Крупнейшая бесплатная информационно-справочная система онлайн доступа к полному собранию технических нормативно-правовых актов РФ. Огромная база технических нормативов (более 150 тысяч документов) и полное собрание национальных стандартов, аутентичное официальной базе Госстандарта. GOSTRF.com - это более 1 Терабайта бесплатной технической информации для всех пользователей интернета. Все электронные копии представленных здесь документов могут распространяться без каких-либо ограничений. Поощряется распространение информации с этого сайта на любых других ресурсах. Каждый человек имеет право на неограниченный доступ к этим документам! Каждый человек имеет право на знание требований, изложенных в данных нормативно-правовых актах!

  


 

межгосударственный совет по стандартизации, метрологии и сертификации
(мгс)

interstate council for standardization, metrology and certification
(isc)

МЕЖГОСУДАРСТВЕННЫЙ
СТАНДАРТ

ГОСТ
30630.1.8-
2002

(МЭК 60068-2-57:
1989)

Методы испытаний на стойкость к механическим внешним
воздействующим факторам машин, приборов и других технических изделий

ИСПЫТАНИЯ НА ВОЗДЕЙСТВИЕ ВИБРАЦИИ С ВОСПРОИЗВЕДЕНИЕМ ЗАДАННОЙ АКСЕЛЕРОГРАММЫ ПРОЦЕССА

IEC 60068-2-57:1989
Environmental testing - Part 2-57: Test - Test Ff: Vibration -
Time-history method
(MOD)

Москва
Стандартинформ
2007

 

Содержание

Предисловие

Цели, основные принципы и основной порядок проведения работ по межгосударственной стандартизации установлены ГОСТ 1.0-92 «Межгосударственная система стандартизации. Основные положения» и ГОСТ 1.2-97 «Межгосударственная система стандартизации. Стандарты межгосударственные, правила и рекомендации по межгосударственной стандартизации. Порядок разработки, принятия, применения, обновления и отмены»

Сведения о стандарте

1 ПОДГОТОВЛЕН Открытым акционерным обществом «Научно-исследовательский центр контроля и диагностики технических систем» на основе собственного аутентичного перевода стандарта, указанного в пункте 4

2 ВНЕСЕН Госстандартом России

3 ПРИНЯТ Межгосударственным советом по стандартизации, метрологии и сертификации (протокол № 21 от 30 мая 2002 г.)

За принятие проголосовали:

Краткое наименование страны по
МК (ИСО 3166) 004-97

Код страны по
МК (ИСО 3166) 004-97

Сокращенное наименование национального органа по стандартизации

Азербайджан

AZ

Азгосстандарт

Армения

AM

Армгосстандарт

Беларусь

BY

Госстандарт Республики Беларусь

Казахстан

KZ

Госстандарт Республики Казахстан

Кыргызстан

KG

Кыргызстандарт

Молдова

MD

Молдова-Стандарт

Российская Федерация

RU

Госстандарт России

Таджикистан

TJ

Таджикстандарт

Туркменистан

TM

Главгосслужба «Туркменстандартлары»

Узбекистан

UZ

Узгосстандарт

Украина

UA

Госстандарт Украины

4 Настоящий стандарт является модифицированным по отношению к международному стандарту МЭК 60068-2-57:1989 «Испытания на воздействие внешних факторов. Часть 2. Испытания. Испытание Ff. Вибрация, задаваемая в форме акселерограммы» (IEC 60068-2-57:1989 ((Environmental testing - Part 2-57: Tests - Test Ff: Vibration - Time-history method»).

Степень соответствия - модифицированная (MOD). Настоящий стандарт идентичен ГОСТ Р 51499-99

5 Приказом Федерального агентства по техническому регулированию и метрологии от 14 июня 2007 г. № 136-ст межгосударственный стандарт ГОСТ 30630.1.8-2002 (МЭК 60068-2-57:1989) введен в действие в качестве национального стандарта Российской Федерации с 1 ноября 2007 г.

6 Введен впервые

(Поправка, ИУС 5 2008 г.).

(Поправка, ИУС 1 2009 г.).

Информация о введении в действие (прекращении действия) настоящего стандарта публикуется в указателе «Национальные стандарты».

Информация об изменениях к настоящему стандарту публикуется в указателе «Национальные стандарты», а текст этих изменений - в информационных указателях «Национальные стандарты». В случае пересмотра или отмены настоящего стандарта соответствующая информация будет опубликована в информационном указателе «Национальные стандарты»

Введение

Настоящий стандарт устанавливает метод испытаний на вибропрочность и виброустойчивость машин и оборудования всех видов, которые в процессе эксплуатации могут подвергаться воздействию случайных динамических сил небольшой длительности, типичными примерами которых являются механические напряжения в оборудовании вследствие землетрясений, взрывов и в процессе движения транспорта.

Испытания на вибропрочность и виброустойчивость проводят посредством возбуждения образца вибрацией с заданным спектром ответа, характеристики которого должны быть такими, чтобы моделировать эффект воздействия динамических сил.

Форма возбуждаемой в процессе испытаний вибрации может быть в виде акселерограммы реального процесса (естественный процесс), в виде выборки случайного процесса или в виде акселерограммы, искусственно созданной на основе заданного спектра ответа. Использование возбуждения на основе заданной акселерограммы процесса позволяет воздействовать на образец вибрацией в широкой полосе частот. Это дает возможность одновременного возбуждения всех мод колебаний образца вдоль направления (или направлений) возбуждения и позволяет учитывать эффекты, связанные с появлением напряжений в конструкции под действием связанных мод.

В стандарте приведены методы проведения испытаний и измерений вибрации в заданных точках с указанием требований к воспроизводимой вибрации и выбору степени жесткости условий испытаний (включая диапазон частот испытаний, форму спектра ответа, число пиков высокой энергии в сигнале отклика и число временных процессов).

Результаты вибрационных испытаний всегда зависят от квалификации проводящего их персонала, о чем должны быть осведомлены и поставщик продукции, и ее потребитель.

В целях согласования настоящего стандарта с комплексом межгосударственных стандартов «Методы испытаний машин, приборов и других технических изделий на стойкость к внешним воздействующим факторам» в нем опущен ряд разделов и приложений, имеющихся в МЭК 60068-2-57-89, а вместо них приведены ссылки на соответствующие стандарты комплекса. Кроме этого, изменено построение стандарта. В то же время в настоящем стандарте сохранена вся совокупность требований, установленных в МЭК 60068-2-57-89.

ГОСТ 30630.1.8-2002
(МЭК 60068-2-57:1989)

МЕЖГОСУДАРСТВЕННЫЙ СТАНДАРТ

Методы испытаний на стойкость к механическим внешним воздействующим факторам машин, приборов и других технических изделий

ИСПЫТАНИЯ НА ВОЗДЕЙСТВИЕ ВИБРАЦИИ С ВОСПРОИЗВЕДЕНИЕМ ЗАДАННОЙ АКСЕЛЕРОГРАММЫ ПРОЦЕССА

Test methods for resistance to environmental factors of machines, instruments and other articles.
Time-history vibration tests

Дата введения - 2007-11-01

1 Область применения

Настоящий стандарт распространяется на машины, приборы и другие технические изделия всех видов (далее - образцы) и устанавливает метод испытаний для определения способности образца противостоять воздействию вибрации, заданной в форме акселерограммы.

Целью испытаний на вибропрочность является определение слабых мест механической конструкции или ухудшения рабочих характеристик образца и использование полученных результатов в соответствии с правилами, устанавливаемыми в стандартах и технических условиях на продукцию или методиках испытаний (далее - НД), для принятия решения о его приемке. Должен ли образец в процессе испытаний функционировать или он подвергается воздействию вибрации в неработающем состоянии, должно быть определено в соответствующем НД.

Требования к проведению испытаний с воспроизведением заданной акселерограммы процесса для оценки сейсмостойкости машин и оборудования - по ГОСТ 30546.2.

Стандарт применяют совместно с ГОСТ 30630.0.0, в котором установлены общие требования к проведению испытаний на воздействие внешних факторов.

Руководство по проведению испытаний приведено в приложении А.

2 Нормативные ссылки

В настоящем стандарте использованы ссылки на следующие стандарты:

ГОСТ 24346-80 Вибрация. Термины и определения

ГОСТ 30546.2-98 Испытание на сейсмостойкость машин, приборов и других технических изделий. Общие положения и методы испытаний

ГОСТ 30630.0.0-99 Методы испытаний машин, приборов и других технических изделий на стойкость к внешним воздействующим факторам. Общие требования

ГОСТ 30630.1.1-99 Методы испытаний на стойкость к механическим внешним воздействующим факторам машин, приборов и других технических изделий. Определение динамических характеристик конструкций.

3 Определения

В настоящем стандарте применяют термины по ГОСТ 24346.

Кроме того, в настоящем стандарте применяют следующие термины и определения1):

1) Для удобства пользования в настоящем разделе приведены термины, определенные в ГОСТ 30630.0.0. В этом случае даны соответствующие сноски.

3.1 критическая частота: Частота, на которой в зависимости от уровня вибрации появляется эффект неправильного функционирования образца или ухудшение его эксплуатационных характеристик или наблюдаются механические резонансы или другие эффекты, связанные с вибрацией, например дребезжание.

3.2 допуск на сигнал: Характеристика точности воспроизведения заданного процесса, определяемая различием между воспроизводимым и воспроизведенным процессами.

Примечания

1 Допуск на сигнал L, %, определяют выражением

где NF - среднее квадратическое значение воспроизведенного сигнала; F - среднее квадратическое значение воспроизводимого сигнала.

2 Воспроизводимый сигнал получают из реально воспроизведенного сигнала после его фильтрации в цепи управления.

3.3 точка крепления: Место контакта образца с крепежным приспособлением или вибростолом, соответствующее обычной установке образца на месте эксплуатации.

Примечание - Если для крепления образца используют его собственные крепежные устройства, точками крепления считают точки контакта крепежного устройства, а не самого образца.

3.4 большие пики отклика: Расчетные пиковые значения отклика осциллятора на входное воздействие в форме акселерограммы, превышающие заданное пороговое значение (рисунок 1).

Рисунок 1 - Пример типичного отклика колебательной системы, возбуждаемой заданным временным процессом (пороговое значение 70 %)

Примечания

1 На практике приходится обращаться к анализу отклика, поскольку в исходной акселерограмме эту характеристику выделить сложно.

2 Под пиком сигнала понимают его отклонение от нуля (в сторону положительных или отрицательных значений) между двумя последовательными точками пересечения сигналом нулевой линии (рисунок 2).

Рисунок 2 - Пример обнаружения пиков отклика, превышающих пороговое значение (70 %)

3.5 измерительная точка: Заданная точка, в которой производят сбор данных в процессе испытаний.

Примечания

1 Измерительные точки бывают двух видов: проверочные и контрольные.

2 Для изучения поведения образца измерения могут быть проведены в точках внутри образца, однако такие точки в настоящем стандарте в качестве измерительных не рассматриваются.

3.5.1 проверочная точка1): Точка, расположенная на крепежном приспособлении, на вибростоле или на образце как можно ближе к одной из точек крепления и жестко связанная с нею.

1) Соответствует определению ГОСТ 30630.0.0.

Примечания

1 Если число точек крепления равно четырем ил и менее, каждую из них следует использовать в качестве проверочной точки. Если число точек крепления превышает четыре, в соответствующем НД следует определить четыре наиболее представительные точки, которые и будут использованы в качестве проверочных точек.

2 В особых случаях, например для больших или сложных образцов, когда проверочные точки не могут быть заданы вблизи точек крепления, положение проверочных точек должно быть определено в соответствующем НД.

3 При испытании большого количества образцов небольших размеров, закрепленных на одном крепежном приспособлении, или при испытании образца небольшого размера, имеющего несколько точек крепления, для получения сигнала управления может быть выбрана одна проверочная (она же контрольная, см. 3.5.2) точка. При этом сигнал управления будет иметь отношение к крепежному приспособлению, а не к точкам крепления образца (образцов). Это допускается только в том случае, если частота низшего резонанса нагруженного крепежного приспособления намного выше верхней границы диапазона частот испытаний.

3.5.2 контрольная точка1): Одна из проверочных точек, сигнал с которой используют для управления испытаниями таким образом, чтобы удовлетворить требования настоящего стандарта.

1) Соответствует определению ГОСТ 30630.0.0.

3.6 акселерограмма: Запись ускорения как функции времени.

3.7 акселерограмма реального процесса: Сигнал ускорения в виде функции времени, записанный во время определения физического процесса.

3.8 пауза: Интервал между двумя последовательными воспроизведениями акселерограммы.

Примечание - Длительность паузы Т, с, должна быть такой, чтобы не происходило значительных наложений откликов образца на воспроизведение двух последовательных акселерограмм, и может быть получена из условия

где f - первая собственная частота, Гц;

d - коэффициент критического демпфирования на частоте f, %.

3.9 предпочтительные направления воздействия вибрации1): Три ортогональные оси, воздействие вдоль которых с наибольшей вероятностью приведет к появлению повреждений в образце.

1) Соответствует определению ГОСТ 30630.0.0.

3.10 выборка случайного процесса: Выборка из записи случайного движения, видоизмененная по диапазону частот и амплитуде таким образом, чтобы обеспечить воспроизведение заданного спектра ответа.

3.11 спектр ответа2): График зависимости от частоты максимального отклика на заданное входное воздействие ансамбля осцилляторов с различными собственными частотами и заданным коэффициентом демпфирования.

2) В научно-технической литературе наряду с термином «спектр ответа» используют также «спектр отклика».

3.12 данный спектр ответа: Спектр ответа заданной формы, установленный в соответствующем НД.

3.13 частота выборки: Число дискретных значений, приходящихся на единицу времени (одну секунду), при представлении акселерограммы в цифровом виде.

3.14 значимая часть заданного спектра ответа: Часть спектра, для которой ускорение отклика превышает уровень минус 3 дБ пикового значения заданного спектра ответа (рисунок 3).

Рисунок 3 - Типичная огибающая спектра ответа

Примечание - Обычно при сейсмических воздействиях значимая часть спектра ответа сосредоточена в нижней трети диапазона частот.

3.15 значимая часть акселерограммы: Часть акселерограммы между двумя моментами времени, когда сигнал в первый раз достигает уровня 25 % пикового значения и когда он в последний раз опускается ниже этого уровня (рисунок 4).

Рисунок 4 - Типичная форма акселерограммы

3.16 синтезированная акселерограмма: Акселерограмма, созданная искусственно таким образом, чтобы ее спектр ответа был всюду не ниже заданного спектра ответа.

3.17 уровень вибрации: Пиковое значение вибрации, возбуждаемой в процессе испытаний.

3.18 реальный спектр ответа: Спектр, получаемый аналитически либо при помощи оборудования для спектрального анализа, который соответствует реальному движению вибростола в процессе испытаний.

3.19 ускорение нулевого периода: Значение ускорения, к которому асимптотически стремится кривая спектра ответа в области высоких частот (рисунок 5).

Примечание - Данный термин важен с практической точки зрения, поскольку ускорение нулевого периода представляет собой пиковое значение (например ускорения) акселерограммы. Не следует путать его с пиковым значением ускорения в спектре ответа.

Рисунок 5 - Типичный график заданного спектра ответа в логарифмическом масштабе

4 Крепление образца

Образец должен быть закреплен на вибростоле в соответствии с требованиями ГОСТ 30630.0.0, а порядок его установки должен быть указан в соответствующем НД. Отступление от этого порядка допускается только в обоснованных случаях и если доказано, что эти отступления не влияют на результат испытаний.

5 Определение частотной характеристики

Исследование частотной характеристики образца в заданном диапазоне частот проводят для определения его критических частот, если эти частоты не указаны в соответствующем НД.

Измерения частотной характеристики образца проводят во всем диапазоне частот испытаний по ГОСТ 30630.1.1.

6 Начальные измерения

Перед началом испытаний на вибропрочность и виброустойчивость образец должен быть подвергнут визуальному осмотру, контролю размеров и проверке эксплуатационных свойств в соответствии с требованиями соответствующего НД.

7 Выдержка

7.1 Общие положения

Если в соответствующем НД не указан другой метод, образец должен быть подвергнут воздействию вибрации в трех предпочтительных направлениях воздействия вибрации. Порядок возбуждения вдоль той или иной оси (если этот порядок не указан в соответствующем НД) значения не имеет.

Если установлено в соответствующем НД, контроль уровня возбуждаемой вибрации может быть дополнен контролем значения вынуждающей силы. В этом случае в НД должен быть установлен способ определения максимального допустимого значения вынуждающей силы.

При проведении испытаний на вибропрочность и виброустойчивость в соответствующем НД должна быть указана степень жесткости условий испытаний, определяемая с учетом положений 7.9. При последовательном воспроизведении акселерограмм они должны быть разделены паузой, обеспечивающей отсутствие значительных наложений откликов образца на воздействия каждой акселерограммы.

В соответствующем НД должно быть установлено число осей, вдоль которых одновременно происходит возбуждение вибрации: одна, две или три.

Если в соответствующем НД предписано проведение испытаний на виброустойчивость, в нем должен быть определен режим функционирования образца и контроля его рабочих характеристик в процессе испытаний.

7.2 Число направлений возбуждения вибрации

7.2.1 Возбуждение в одном направлении

Воздействие вибрацией осуществляют последовательно вдоль каждого из предпочтительных направлений воздействия. Порядок возбуждения по каждому направлению значения не имеет, если иное не определено в соответствующем НД.

7.2.2 Возбуждение в двух направлениях одновременно

В каждой серии испытаний возбуждение, определяемое двумя акселерограммами, прикладывают одновременно в двух предпочтительных направлениях воздействия для данного образца. Если эти акселерограммы одинаковы, каждое испытание проводят сначала для фазового сдвига между акселерограммами, равного 0°, а затем - 180°.

Примечание - Если определено, что возбуждение следует осуществлять одновременно по двум осям, его можно заменить возбуждением по одной, наклонно расположенной оси, однако при этом движение вдоль двух заданных осей будет взаимозависимым. При этом реальный спектр ответа для каждой оси должен быть не ниже заданного спектра ответа.

7.2.3 Возбуждение в трех направлениях одновременно

В каждой серии испытаний возбуждение прикладывают одновременно в трех предпочтительных направлениях воздействия. При данном способе возбуждения его замена на возбуждение вдоль одной или двух осей не допускается.

7.3 Воспроизводимое движение

Используемая акселерограмма может быть получена одним из следующих способов:

а) как акселерограмма реального процесса;

б) синтезирована в форме полигармонического процесса в заданном диапазоне частот. В этом случае синтезированный процесс должен иметь соответствующее разрешение:

- не более 1/12 октавы, если коэффициент демпфирования образца меньше или равен 2 %;

- не более 1/6 октавы, если коэффициент демпфирования образца находится в диапазоне от 2 до 10 % (наиболее распространенный случай);

- не более 1/3 октавы, если коэффициент демпфирования образца больше или равен 10 %. Значение коэффициента демпфирования может быть определено в соответствующем НД или получено другим способом, например в ходе исследования частотной характеристики. Обычно это значение принимают равным 5 %.

7.4 Ограничения на поперечное движение

Пиковое значение колебаний в проверочных точках в направлении, перпендикулярном направлению воспроизводимой вибрации, не должно превышать 25 % заданного пикового значения акселерограммы, если иное не установлено в соответствующей НД.

В некоторых случаях, например для образцов больших размеров или с большой массой или на некоторых частотах возбуждения выполнение указанного требования может оказаться затруднительным (см. А.1). В этом случае в соответствующем НД должно быть оговорено одно из следующих условий:

а) любое превышение вышеуказанных значений должно быть зафиксировано и указано в протоколе испытаний;

б) поперечное движение (для которого известно, что оно не представляет опасности для образца) не контролируют.

7.5 Ограничения на угловое движение

Если на результаты испытаний большое влияние оказывают паразитные угловые колебания, допуск на них должен быть установлен в соответствующем НД и отражен в протоколе испытаний.

7.6 Область допуска для заданного спектра ответа

Область допуска для заданного спектра ответа должна составлять от 0 до 50 % (см. рисунок 5).

Примечание - Допускаются незначительные отклонения отдельных точек в реальном спектре ответа за пределы области допуска, при условии, что эти точки не соответствуют резонансным частотам образца. Если это условие не выполняется, уровень вибрации, полученный на частоте резонанса, должен быть отражен в протоколе испытаний (см. также А.1).

Контроль реального спектра ответа следует проводить:

- в 1/12 октавных полосах для образца с коэффициентом демпфирования меньше или равным 2 %;

- в 1/6 октавных полосах для образца с коэффициентом демпфирования от 2 до 10 % (наиболее распространенный случай);

- в 1/3 октавных полосах для образца с коэффициентом демпфирования больше или равным 10 %.

Примечание - В некоторых случаях заданный спектр ответа может иметь столь сложную форму, что его не удается воспроизвести в пределах указанного допуска. Это может потребовать внесения изменений в соответствующий НД относительно установленных границ допуска.

7.7 Диапазон частот испытаний

Сигнал в контрольной точке не должен содержать частотных составляющих выше верхней границы диапазона частот испытаний, за исключением тех, которые обусловлены испытательным оборудованием или самим образцом. Максимальное значение сигнала, выходящего за пределы диапазона частот, появление которого обусловлено испытательным оборудованием без установленного на нем образца, не должно превышать 20 % максимального значения заданного сигнала в контрольной точке. Если указанное условие не выполняется, реальное значение составляющей за пределами заданного диапазона частот должно быть отражено в протоколе испытаний.

Частотные составляющие за пределами диапазона частот испытаний не следует принимать во внимание при вычислении реального спектра ответа.

7.8 Вычисление реального спектра ответа

Для того чтобы свести к минимуму погрешность оценки реального спектра ответа, необходимо особое внимание уделить методам выборки и фильтрации сигнала.

Рекомендуется, чтобы частота выборки по меньшей мере в 10 раз превышала верхнюю границу f2, принимаемую во внимание при расчете спектра ответа.

Примечание - При выполнении этого условия оценка отклика осциллятора, которому соответствует максимальная частота f2, будет получена с погрешностью, не превышающей 5 %. Если же частота выборки будет всего в 2,56 раза превышать f2 (что является обычным при проведении частотного анализа), данная погрешность может превышать 60 %.

Для избежания эффекта наложения спектров перед оцифровкой аналогового сигнала необходимо применять фильтр низкой частоты. Рекомендуется, чтобы частота на половине спада характеристики фильтра нижних частот была равна 1,5f2. Крутизна спада должна быть не менее 60 дБ/октава. При выполнении этих требований отклик осциллятора на максимальной частоте f2 приходится на пологий участок частотной характеристики. Необходимо также исключить погрешность оценки откликов осцилляторов в высокочастотной области спектра вследствие сдвига фаз, происходящего при применении фильтра нижних частот.

Дополнительная погрешность может быть в том случае, если сигнал возбуждения или сигналы отклика не успеют полностью затухнуть в пределах выборки. Особенно важно учитывать этот факт для осцилляторов с низким значением коэффициента демпфирования. Чтобы исключить появление погрешности данного вида, период выборки сигнала должен быть достаточно большим.

7.9 Степень жесткости условий испытаний

7.9.1 Общие положения

Степень жесткости условий испытаний определяется сочетанием следующих параметров:

- диапазона частот испытаний;

- заданным спектром ответа;

- числом повторений и длительностью воспроизводимых акселерограмм (для испытаний на вибропрочность);

- числом больших пиков отклика (см. А.3).

Для каждого параметра в соответствующем НД должны быть установлены требования с учетом положений 7.9.2-7.9.5.

7.9.2 Диапазон частот испытаний

Диапазон частот возбуждения должен быть определен в соответствующем НД в виде нижней (выбирают из значений, приведенных в таблице 1) и верхней (выбирают из значений, приведенных в таблице 2) границ. Рекомендуемые диапазоны частот приведены в таблице 3.

Таблица 1 - Нижняя граница диапазона частот

 

Таблица 2 - Верхняя граница диапазона частот

  

Таблица 3 - Рекомендуемые диапазоны частот

f1, Гц

  

f2, Гц

  

От f1 до f2, Гц

0,1

 

10

 

0,1...10

1

 

20

 

1...35

5

 

35

 

1...100

10

 

55

 

5...35

55

 

100

 

10...100

100

 

150

 

10...150

 

 

300

 

10...500

 

 

500

 

10...2000

 

 

2000

 

55...2000

7.9.3 Заданный спектр ответа

В соответствующем НД должны быть установлены уровень и форма заданного спектра ответа, используемого при испытаниях, включая значение ускорения нулевого периода. Кроме того, если возбуждение вибрации осуществляют не по всем направлениям осей образца, должны быть указаны используемые направления возбуждения.

Руководство по синтезу заданного спектра ответа в случае, когда реальные условия вибрационного воздействия на образец неизвестны, приведено в А.2.

7.9.4 Число повторений и длительность воспроизводимых акселерограмм

7.9.4.1 Число повторений

В соответствующем НД должно быть установлено число повторений воспроизводимых акселерограмм в процессе возбуждения, прикладываемого к образцу вдоль соответствующей оси.

Если в соответствующем НД не установлено иное, число повторений для возбуждения вдоль каждой оси и для каждого уровня вибрации должно быть выбрано из следующего ряда значений: ...., 1, 2, 5, 10, 20, 50,....

При использовании более одного уровня вибрации, испытания следует начинать с возбуждения вибрации низшего уровня с последующим подъемом до более высоких уровней.

7.9.4.2 Длительность

В соответствующем НД должна быть установлена длительность каждой акселерограммы, для которой рекомендуется выбирать значения (в секундах) из следующего ряда: ..., 1, 2, 5, 10, 20, 50,....

7.9.4.3 Длительность значимой части акселерограммы

В некоторых случаях в соответствующем НД может быть установлено, что значимая часть акселерограммы составляет определенную долю ее общей длительности. В противном случае, если это не вступает в противоречие с требованиями 7.9.5, значение доли значимой части спектра следует выбирать из следующего ряда: 25, 50,75 %.

Выбранное значение должно быть отражено в протоколе испытаний.

7.9.5 Число больших пиков отклика

В соответствующем НД может быть установлено число больших пиков отклика, превышающих некоторое заданное пороговое значение (см. А.3).

Большие пики вносят дополнительную нагрузку на образец в процессе испытаний, которую используют в случае, если собственные частоты образца попадают в значимую часть заданного спектра ответа. Такие пики выражают в процентах значения заданного спектра ответа на собственной частоте.

Если соответствующим НД не предписано иное, то при коэффициенте демпфирования от 2 до 10 % и пороговом значении 70 % число больших пиков отклика должно быть от 3 до 20. Положительные и отрицательные пики, следующие друг за другом, должны быть распределены приблизительно одинаковым образом (см. рисунок 1).

8 Восстановление

Если указано в соответствующем НД, перед проведением заключительных измерений проводят этап восстановления по ГОСТ 30630.0.0.

9 Заключительные измерения

Образец должен быть подвергнут визуальному осмотру, контролю размеров и проверке эксплуатационных свойств в соответствии с требованиями соответствующего НД.

В том же НД должны быть предусмотрены критерии приемки или отбраковки образца.

10 Сведения, приводимые в соответствующем НД

Если в соответствующем НД установлен метод испытаний с воздействием заданной акселерограммы процесса, в нем должны быть приведены, при необходимости, следующие данные:

- воспроизводимое движение1);

- поперечное движение;

- угловое движение;

- допуск на сигнал;

- допуски на амплитуду вибрации;

- коэффициент демпфирования;

- крепление образца1);

- диапазон частот испытаний1);

- заданный спектр ответа1);

- число акселерограмм1);

- длительность акселерограммы1);

- длительность значимой части акселерограммы;

- число больших пиков отклика и пороговое значение;

- условия предварительной выдержки;

- условия начальных измерений1);

- предпочтительные направления воздействия вибрации;

- ограничения на вынуждающую силу;

- требования к исследованию частотной характеристики;

- условия контроля рабочих характеристик и правильности функционирования образца;

- порядок возбуждения вдоль одной, двух или трех осей1);

- условия промежуточных измерений;

- условия восстановления;

- условия заключительных измерений1).

1) Данные, указываемые в НД в обязательном порядке

Приложение А
(рекомендуемое)

Руководство по синтезу акселерограммы

А.1 Введение

Для демонстрации возможностей образца противостоять воздействию различных типов вибрации существует несколько методов испытаний - от возбуждения непрерывной синусоидальной вибрацией до воспроизведения сложных временных зависимостей (акселерограмм). Каждый из данных методов соответствует конкретным требованиям, обстоятельствам, условиям эксплуатации.

Метод возбуждения с воспроизведением акселерограммы процесса имеет особое значение в следующих условиях применения:

а) если реальные условия воздействия вибрации должны быть воспроизведены с максимально возможной точностью;

б) если сведений об образце недостаточно или существуют значительные сложности в определении слабых сторон образца, например его критических частот.

По сравнению с другими метод испытания с воспроизведением акселерограмм процесса не имеет тенденции к избыточному нагружению образца. Это является следствием того, что воспроизводимая в данном методе вибрация близка к возникающей в реальных условиях эксплуатации, поэтому вероятность появления избыточных механических напряжений и усталостных повреждений меньше, чем это бывает при применении других методов.

Спектр ответа, который соответствует реальным условиям эксплуатации, устанавливают при разработке соответствующего НД. Обычно при этом указывают коэффициент демпфирования, соответствующий реальному демпфированию образца. Данный спектр ответа считают заданным спектром ответа. Лаборатория, проводящая испытания образца, должна обеспечить условия воспроизведения заданного спектра ответа, однако в процессе испытаний на самом деле возбуждается вибрация, описываемая реальным спектром ответа. Реальный спектр ответа определяют при обработке записи вибрации вибростола, полученной в процессе испытаний на вибропрочность и виброустойчивость. При расчете реального спектра ответа важно, чтобы запись входной вибрации (движения вибростола) была сделана с учетом требований 7.8.

После получения оценки реального спектра ответа его сравнивают с заданным спектром ответа, чтобы проверить, выполнены ли требования данного метода испытаний. Кривая реального спектра ответа должна лежать не ниже кривой заданного спектра ответа. В процессе синтеза реального спектра ответа часто проводят пробные возбуждения без установки образца на вибростоле. Он может быть заменен эквивалентной массой с динамическими свойствами, аналогичными свойствам данного образца. Это позволяет отрегулировать уровень возбуждения и не перегружать образец.

Допуски на реальный спектр ответа должны быть указаны в соответствующем НД, однако если отдельные точки выходят незначительно за область допуска (см. рисунок 5), условия испытаний можно считать выполненными. В некоторых случаях при испытании образца значительной массы или больших размеров может оказаться невозможным воспроизведение вибрации на определенных частотах в пределах заданных допусков. В этом случае в соответствующем НД может быть предусмотрено расширение границ допуска (см. 7.6).

Применение метода воспроизведения заданной акселерограммы требует использования сложной и точной аппаратуры и оборудования цифровой обработки данных для управления испытаниями и анализа. Параметры, указанные в настоящем стандарте, и допуски на эти параметры установлены, исходя из необходимости обеспечить воспроизводимость результатов испытаний при их проведении в различных лабораториях. Установленные ряды параметров, определяющих степень жесткости условий испытаний, дают также возможность классифицировать оборудование по категориям в зависимости от их способности противостоять вибрационному воздействию.

А.2 Рекомендации по синтезу заданного спектра ответа (см. 7.9.3)

Данные рекомендации применяют в случае, если неизвестны реальные условия возбуждения образца при эксплуатации. Ввиду большого количества различных условий эксплуатации (сейсмические колебания, аэрокосмическая техника, транспорт и др.), данные рекомендации разделены по двум категориям спектров ответа.

А.2.1 Категория 1

К данной категории следует обращаться в случаях:

- сейсмических воздействий;

- применения акселерограмм, содержащих большое число частотных составляющих в широком диапазоне частот;

- совокупности временных процессов с различными частотными составляющими;

- необходимости возбуждения оборудования в широкой полосе частот безотносительно к условию применения.

Заданный спектр ответа категории 1 представлен на рисунке А.1. Для этого заданного спектра ответа:

Рисунок А.1 - Категория 1. Рекомендуемый вид заданного спектра ответа

а) диапазон частот испытаний (от f1 до f2) выбирают по таблице 3;

б) значение ускорения нулевого периода (м/с2) выбирают обычно из следующего ряда:...; 2; 5; 10; 20; 50; 100; 200;...;

в) между частотами f1 и 2f2 ускорение растет со скоростью 12 дБ/октава.

Примечание - Если выбранная частота f1 меньше 0,8 Гц, частота 2f1 должна быть зафиксирована на 1,6 Гц и спад характеристики ниже 1,6 Гц должен быть 12 дБ/октава;

г) максимальное значение ускорения в диапазоне между 2f1 и 1/3f2 должно превышать значение ускорения нулевого периода в:

2,24 раза - для коэффициента демпфирования 10 %;

3 раза - для коэффициента демпфирования 5 %;

5 раз - для коэффициента демпфирования 2 %;

д) между 1/3f2  и 2/3f2  ускорение спадает по линейному закону (на графике с логарифмическим масштабом по обеим осям) до значения ускорения нулевого периода.

Примечание - Если коэффициент демпфирования образца от 2 до 10 %, рекомендуется при задании спектра ответа использовать значение 5 %. Если типичный коэффициент демпфирования образца меньше или равен 2 %, рекомендуется при задании спектра ответа использовать значение 2 %, и, если коэффициент демпфирования больше или равен 10 %, рекомендуется при задании спектра ответа использовать значение 10 %.

А.2.2 Категория 2

К данной категории следует обращаться в случаях, когда известно, что акселерограмма содержит одну или несколько частотных составляющих в относительно узкой полосе частот.

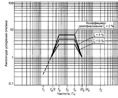
Заданный спектр ответа категории 2 представлен на рисунке А.2. Для него должно выполняться следующее:

а) центральную частоту диапазона f0 выбирают на основе информации о доминирующих частотах в реальных условиях применения. Рекомендуемые значения для f0, Гц, выбирают из следующего ряда (значения идут с интервалом в 1/3 октавы):...; 16; 20; 25; 31,5; 40; 50; 63; 80; 100; 125; 160;...;

б) между частотами f0, fa, fb должны выполняться соотношения:

fa = f0/2;  fa = 2 f0;

Рисунок А.2 - Категория 2. Рекомендуемый вид заданного спектра ответа

(Поправка, ИУС 5 2008 г.).

Примечание - В некоторых применениях значимая часть спектра ответа должна быть сосредоточена в более узком диапазоне частот; в этом случае рекомендуется использовать диапазон в 2/3 октавы (от  до );

в) диапазон частот между fa/2 и 3fb допускается корректировать для согласования со значениями, приведенными в 7.9.2;

г) значение ускорения нулевого периода (м/с2) выбирают обычно из ряда:...; 10; 20; 50; 100; 200;...;

д) между частотами fa/2 и fa и между частотами fb и 2fb ускорение достигает значения ускорения нулевого периода по линейному закону (на графике с логарифмическим масштабом по обеим осям) в соответствии с рисунком А.2. Между частотами f1 и fa/2 рекомендуется значение спада частотной характеристики 12 дБ/октава; на участке от 2fb до f2 значение ускорения должно быть равно ускорению нулевого периода;

е) максимальное значение ускорения в диапазоне между fa и fb должно превышать значение ускорения нулевого периода в:

3 раза - для коэффициента демпфирования 10 %;

4,5 раза - для коэффициента демпфирования 5 %;

6,5 раза - для коэффициента демпфирования 2 %.

Примечание - Если коэффициент демпфирования образца лежит в пределах от 2 до 10 %, рекомендуется при задании спектра ответа использовать значение 5 %. Если типичный коэффициент демпфирования образца меньше или равен 2 %, рекомендуется при задании спектра ответа использовать значение 2 % и, если коэффициент демпфирования больше или равен 10 %, рекомендуется при задании спектра ответа использовать значение 10 %. Если допуск на сигнал меньше 5 %, разница между воспроизводимым и реально воспроизведенным сигналами несущественна.

А.3 Учет больших пиков отклика (см. 7.9.5)

Воспроизведение воздействия, оказываемого вибрацией (например вследствие землетрясений или взрывов) требует моделирования конкретных условий с максимально возможной точностью с некоторым запасом по параметрам, определяющим степень жесткости воздействия. Если достаточная информация об условиях применения отсутствует или же их моделирование сопряжено с трудностями, этот запас выбирают, исходя из наиболее неблагоприятных возможных условий применения.

Для этого, во-первых, кривая реального спектра ответа не должна быть ниже кривой заданного спектра. Это обеспечит получение максимально требуемого отклика от каждого осциллятора.

Во-вторых, длительность значимой части акселерограммы должна быть равна или больше характерной длительности соответствующего природного процесса.

Однако этих мер недостаточно, поскольку они не в полной степени учитывают воздействие больших значений вибрации в процессе возбуждения. Такое возбуждение, если оно происходит на резонансных частотах, может оказать самое неблагоприятное воздействие на оборудование и привести к появлению пластических деформаций, вызывающих, в результате, повреждение образца.

Анализ сигналов, моделирующих определенные природные условия воздействия, позволяет учитывать влияние больших пиков. Этот анализ проводят во время синтеза временного процесса:

а) посредством контроля частотного состава синтезированного временного процесса, чтобы убедиться в том, что образец будет возбуждаться на своих собственных частотах (Фурье-анализ);

б) посредством подсчета числа больших пиков отклика, чьи значения превышают установленный уровень для осцилляторов с центральными частотами, покрывающих область значимой части заданного спектра ответа.

Способность возбуждения, используемого в данном методе испытаний, приводить к повреждениям образца прямо связана с его энергией, а энергия временного процесса, в свою очередь, связана с числом больших пиков отклика осциллятора. Таким образом, если две различных акселерограммы процесса будут вызывать появление одного и того же числа больших пиков в отклике одного и того же осциллятора, им будет соответствовать одна и та же разрушительная способность вибрации. При этом следует учесть, что степень повреждения образца будет обусловлена не только числом больших пиков отклика, но и уровнем этих пиков, т.е. число больших пиков отклика должно быть выбрано с учетом порогового значения.

Поскольку величина усталостных повреждений быстро падает с понижением амплитуды, достаточно принимать во внимание только большие пики в откликах осцилляторов, собственные частоты которых лежат в значимой части заданного спектра ответа (см. 7.9.5 и рисунки 1 и 2).

Для всех условий применения существует соотношение между пороговым уровнем и числом пиков в месте установки образца. Таким образом, уровень порога и соответствующее число пиков должны быть выбраны таким образом, чтобы наиболее точно моделировать накопление усталостных повреждений. С точки зрения олигоцикловой усталости пики с уровнем ниже 50 % оказывают минимальное воздействие на образец. Пороговый уровень, превышающий 90 %, приведет к тому, что число больших пиков будет исчисляться единицами, а это не позволит получить представление о накоплении усталостных эффектов. Поэтому в качестве порогового рекомендуется значение 70 %, которое позволит получить представительное число больших пиков для любых условий применения. Опыт показывает, что при сейсмических воздействиях в сигнале должно присутствовать, по крайней мере, пять пиков, превышающих уровень 70 %. Но в любом случае обоснованный выбор числа больших пиков отклика требует от экспериментатора высокой квалификации.

Получению достаточного числа пиков в процессе синтеза акселерограммы процесса следует уделять особое внимание. Опыт показывает, что необходимое число больших пиков отклика можно считать полученным при выполнении следующих условий:

- собственные частоты образца находятся в пределах значимой части спектра ответа;

- поведение образца линейно;

- реальный спектр ответа должен быть всюду выше заданного.

Ключевые слова: вибрация, вибрационные испытания, вибропрочность, виброустойчивость, машины, приборы, измерения, частотная характеристика, степень жесткости испытаний, акселерограмма, спектр ответа

 




ГОСТЫ, СТРОИТЕЛЬНЫЕ и ТЕХНИЧЕСКИЕ НОРМАТИВЫ.
Некоммерческая онлайн система, содержащая все Российские Госты, национальные Стандарты и нормативы.
В Системе содержится более 150000 файлов нормативно-технической документации, действующей на территории РФ.
Система предназначена для широкого круга инженерно-технических специалистов.

Рейтинг@Mail.ru Яндекс цитирования

Copyright © www.gostrf.com, 2008 - 2026