Крупнейшая бесплатная информационно-справочная система онлайн доступа к полному собранию технических нормативно-правовых актов РФ. Огромная база технических нормативов (более 150 тысяч документов) и полное собрание национальных стандартов, аутентичное официальной базе Госстандарта. GOSTRF.com - это более 1 Терабайта бесплатной технической информации для всех пользователей интернета. Все электронные копии представленных здесь документов могут распространяться без каких-либо ограничений. Поощряется распространение информации с этого сайта на любых других ресурсах. Каждый человек имеет право на неограниченный доступ к этим документам! Каждый человек имеет право на знание требований, изложенных в данных нормативно-правовых актах!

  


 

СИСТЕМА НОРМАТИВНЫХ ДОКУМЕНТОВ В СТРОИТЕЛЬСТВЕ

ТЕРРИТОРИАЛЬНЫЕ СТРОИТЕЛЬНЫЕ НОРМЫ РЕСПУБЛИКИ САХА (ЯКУТИЯ)

 

Производство бетонных работ при отрицательных температурах среды на территории республики Саха (Якутия)

ТСН 12-336-2007

Республики Саха (Якутия)

МИНИСТЕРСТВО СТРОИТЕЛЬСТВА И ПРОМЫШЛЕННОСТИ СТРОИТЕЛЬНЫХ МАТЕРИАЛОВ РЕСПУБЛИКИ САХА (ЯКУТИЯ)

ЯКУТСК 2007

Предисловие

1 РАЗРАБОТАНЫ ГУП Якутский государственный проектный и научно-исследовательский институт строительства (ЯкутПНИИС), г. Якутск (Федорова Г.Д., Матвеева О.И.) при участии Крылов Б. А. (НИИЖБ)

2 ВНЕСЕНЫ Министерством строительства и промышленности строительных материалов Республики Саха (Якутия), ГУП «ЯкутПНИИС»

3 ПРИНЯТЫ И ВВЕДЕНЫ В ДЕЙСТВИЕ приказом Министерства строительства и промышленности строительных материалов Республики Саха (Якутия) от 21 августа 2007 г., №169.

4 ВКЛЮЧЕНЫ в Указатель нормативных документов по строительству, действующих на территории Российской Федерации по состоянию на 01.01.2008г. (письмо ОАО ЦНС от 27 августа 2007г., № 565/СН).

5 ВВЕДЕНЫ ВПЕРВЫЕ

Содержание

Предисловие

Введение

1 Область применения

2 Нормативные ссылки

3 Термины и определения

4 Общие положения

5 Требования к производству бетонных работ в зимних условиях

6 Порядок производства бетонных работ

6.1 Подготовительные работы

6.2 Материалы для бетона

6.3 Приготовление и транспортирование бетонной смеси

6.4 Укладка и уплотнение бетонной смеси

6.5 Выдерживание бетона в конструкциях

6.6 Особенности выдерживания бетона в различных конструкциях

7 Способы зимнего бетонирования и порядок их проектирования

7.1 Метод термоса

7.2 Обеспечение твердения бетона с комплексными противоморозными добавками

7.3 Предварительный разогрев бетона

7.4 Метод электропрогрева (электродный прогрев)

7.5 Обогрев бетона в греющей опалубке

7.6 Обогрев бетона греющим проводом

7.7 Воздушный обогрев бетона

8 Контроль за производством работ и качеством бетона

Приложение A (справочное)

Расчетная температура наружного воздуха, °С

Приложение Б (рекомендуемое)

Пример технического задания на проектирование состава бетонной смеси

Приложение В (справочное)

Формулы для определения модуля поверхности конструкций

Приложение Г (справочное)

Методика определения удельного электрического сопротивления бетона

Приложение Д (справочное)

Мощность греющего провода ПНСВ-1,2

Приложение Е (справочное)

Пример определения прочности бетона с использованием графика нарастания прочности и фактического температурного режима твердения бетона

Приложение З (рекомендуемое)

ФОРМА ЖУРНАЛА БЕТОНИРОВАНИЯ КОНСТРУКЦИЙ

Приложение Ж (рекомендуемое)

ФОРМА ТЕМПЕРАТУРНОГО ЛИСТА

Введение

Настоящие территориальные строительные нормы по производству бетонных работ при отрицательных температурах среды на территории Республики Саха (Якутия) разработаны по заданию Министерства строительства и промышленности строительных материалов Республики Саха (Якутия) в качестве документа, регламентирующего специальные требования к процессам производства бетонных работ, и принимаются в целях защиты жизни или здоровья граждан, имущества физических или юридических лиц, государственного или муниципального имущества.

Территориальные нормы также устанавливают общий порядок выбора наиболее эффективного способа выдерживания бетона и методики его осуществления с учетом особенности технологии приготовления, транспортирования и укладки бетонной смеси.

Настоящие нормы разработаны на основании анализа правовой базы процедуры производства бетонных работ при возведении объектов недвижимости и в соответствии с требованиями действующих в настоящее время документов: «Закона РФ «О техническом регулировании», вступившего в силу с 1 июля 2003г., СНиП 12-01-2004 «Организация строительства», СНиП 52-01-2003 «Бетонные и железобетонные конструкции. Основные положения», СНиП 3.03.01-87 «Несущие и ограждающие конструкции», СНиП 3.06.03-85 «Автомобильные дороги», СНиП 3.06.04-91 «Мосты и трубы», СНиП 32-03-96 «Аэродромы», СНиП 32-04-97 «Тоннели железнодорожные и автодорожные», СНиП 3.07.01-85 «Гидротехнические сооружения речные», PCH-I-89 «Рекомендации по применению бетонов с комплексными противоморозными добавками для монолитных конструкций, возводимых в Якутской АССР при отрицательных температурах».

Требования настоящего нормативного документа преследуют цель защитить права и охраняемые законом интересы потребителей строительной продукции.

Положения настоящих норм за исключением специальных требований к процессам производства бетонных работ, подлежащих обязательному выполнению на территории республики Саха (Якутия), носят рекомендательный характер.

TCH 12-336-2007

Территориальные строительные нормы Республики Саха (Якутия)

Производство бетонных работ при отрицательных температурах среды на территории Республики Саха (Якутия)

Дата введения: 2007-09-01.

1 Область применения

Настоящие территориальные нормы распространяются на производство бетонных работ в зимних условиях на территории Республики Саха (Якутия) и устанавливают специальные требования к процессам производства бетонных работ.

Территориальные нормы также устанавливают общий порядок по выбору наиболее эффективного способа выдерживания бетона и методики его осуществления с учетом особенности технологии приготовления, транспортирования и укладки бетонной смеси.

Положения настоящих норм за исключением специальных требований к процессам производства бетонных работ (разделы 4, 5, 6 и 8), подлежащих обязательному выполнению на территории Республики Саха (Якутия), носят рекомендательный характер.

2 Нормативные ссылки

В настоящих ТСН использованы ссылки на следующие нормативные документы:

СНиП 3.03.01-87 «Несущие и ограждающие конструкции»

СНиП 3.06.03-85 «Автомобильные дороги»

СНиП 3.06.04-91 «Мосты и трубы»

СНиП 3.07.01-85 «Гидротехнические сооружения речные»

СНиП 12-01-2004 «Организация строительства»

СНиП 32-03-96 «Аэродромы»

СНиП 32-04-97 «Тоннели железнодорожные и автодорожные»

СНиП 52-01-2003 «Бетонные и железобетонные конструкции. Основные положения».

3 Термины и определения

В настоящем нормативном документе применены следующие термины с соответствующими определениями:

3.1 Строительная продукция: законченные строительством здания и другие строительные сооружения, а также их комплексы.

3.2 Бетонные работы: комплекс строительных работ и организационно-технических мероприятий по возведению монолитных бетонных и железобетонных конструкций.

3.3 Производство бетонных работ: комплексный механизированный технологический процесс возведения монолитных бетонных и железобетонных конструкций, который должен отвечать следующим основным требованиям - выполняться в темпе и последовательности, обеспечивающими бесперебойное ведение сопутствующих и последующих строительно-монтажных работ по технологическому регламенту, гарантирующему достижение к заданному сроку предусмотренного проектом качества готовых бетонных и железобетонных конструкций.

3.4 Зимние условия: период года с установившейся среднесуточной температурой наружного воздуха ниже 5°С и минимальной суточной температурой ниже 0°С, когда необходимо принимать специальные меры по выдерживанию уложенного бетона в конструкциях и сооружениях, бетонируемых на открытом воздухе.

3.5 Способы зимнего бетонирования: комплекс методов ускорения твердения бетона при низких положительных и отрицательных температурах наружного воздуха, обеспечивающих достижение бетоном требуемых прочностных показателей, надежности и долговечности конструкций к моменту замерзания или загрузки проектной нагрузкой.

3.6 Проектирование способа зимнего бетонирования: комплекс расчетов и организационно-технических мероприятий, связанных с выбором наиболее экономичного метода выдерживания бетона с обеспечением его критической прочности в конструкции к моменту распалубки и замерзания.

3.7 Критическая прочность бетона: прочность бетона в процентах от прочности, соответствующей проектному классу бетона после достижения, которой бетон может быть заморожен без снижения его прочности и других показателей в процессе последующего твердения после оттаивания.

4 Общие положения

4.1 Настоящие территориальные нормы устанавливают специальные требования к процессам производства бетонных работ в зимних условиях, невыполнение которых в силу климатических особенностей Якутии может привести к необеспечению безопасности строительной продукции. Руководство по производству бетонных работ при отрицательных температурах среды на территории Республики Саха (Якутия) содержит рекомендации по выбору наиболее эффективного способа выдерживания бетона и методики его осуществления, а также особенности технологии приготовления, транспортирования и укладки бетонной смеси.

4.2 Согласно СНиП 3.03.01-87, СНиП 3.06.04-91, СНиП 3.06.03-85, СНиП 32-03-96, СНиП 32-04-97 условия производства бетонных работ в период при ожидаемой среднесуточной температуре наружного воздуха ниже 5°С и минимальной суточной температуре ниже 0°С относятся к зимним условиям, когда требуется применение специальных способов приготовления бетонной смеси и выдерживания бетона для обеспечения проектных показателей бетона.

4.3 На территории Республики Саха (Якутия) в зависимости от температуры наружного воздуха зимние условия для производство бетонных работ разделяются на периоды: весенний, осенне-зимний и зимний.

4.3.1 Весенний период года характеризуется умеренными отрицательными температурами наружного воздуха (до минус 25°С), суточными амплитудами до 27°С и большим количеством переходов температуры через 0°С (до 20 переходов за сезон). Бетон, изготовленный в весенний период, подвергается в раннем возрасте воздействию знакопеременных температур; последующее его твердение происходит при положительных температурах летнего периода.

4.3.2 Осенне-зимний период для производства бетонных работ характеризуется циклическими умеренными отрицательными температурами (до минус 25°С) осеннего и зимнего периодов года. Бетоны конструкций в этом случае после распалубки подвергаются воздействию низких отрицательных температур (до минус 50° и ниже) и многократному воздействию знакопеременных температур в период оттаивания.

4.3.3 Зимний период характеризуется низкими отрицательными температурами до минус 64°С. Бетоны конструкций, возводимых в зимнее время, подвергаются воздействию низких отрицательных температур и многократному воздействию знакопеременных температур в период оттаивания.

4.4 Возможность применения тех или иных способов зимнего бетонирования в различные периоды года определяется температурой твердения бетона конструкции в установленные сроки при обеспечении критической прочности бетона к сроку их распалубки.

При этом моделирование температурно-прочностного поведения бетона при выдерживании различных конструкций следует выполнять теплотехническими расчетами, в основе которых лежат уравнения теплового баланса.

4.5 Бетонирование конструкций в зимних условиях следует производить только по специально разработанным технологическим картам и регламентам, в которых должны быть приведены последовательность и состав выполняемых технологических операций, перечень технологической и нормативной документации, установлены технологические режимы и показатели качества выполняемых операций и процедура оценки их соответствия.

5 Требования к производству бетонных работ в зимних условиях

5.1 Проект организации строительства (ПОС) в составе организационно-технологической документации является обязательным документом для заказчика и подрядных организаций. ПОС должен разрабатываться генеральной проектной организацией, в котором должны предусматриваться специальные мероприятия, учитывающие условия организации строительного производства на стройплощадках в соответствии с требованиями строительных норм и правил для районов с особыми природно-климатическими условиями и настоящих ТСН.

5.2 Решение о выполнении бетонных работ в зимних условиях принимает Застройщик после проверки наличия и соответствия состава и качества проекта производства работ (ППР), который разрабатывается генеральной подрядной организацией или субподрядной строительно-монтажной организации. При невозможности выполнить эту работу собственными силами ППР может быть разработан по заказу в научно-проектной, проектной или проектно-конструкторской организацией, имеющей соответствующие на то полномочия.

5.3 Не допускается отступление от решений ПОС и ППР без согласования с организациями, разработавшими и утвердившими их.

5.4 Способ выдерживания бетона при зимнем бетонировании должен быть установлен в ППР на основании технико-экономического сопоставления способов для конкретных конструкций и условий.

Расчетные температуры наружного воздуха и скорость ветра даны в приложении А.

5.5 При производстве работ в весенний период рекомендуется, руководствуясь настоящими ТСН, применять беспрогревный метод, основанный на применении бетона с комплексными химическими добавками, обеспечивающими получение заданной подвижности и нерасслаиваемости бетонной смеси, ускоренное твердение бетона при отрицательных (до -25°С) температурах наружного воздуха и высокую морозостойкость.

5.6 При бетонировании в осенне-зимний и зимний периоды в бетонную смесь следует вводить противоморозную добавку (нитрит натрия) в количестве соответственно до 2 и 4% от массы цемента для предотвращения замерзания смеси в период ее транспортирования, укладки и применять тепловую обработку бетона в конструкции путем электропрогрева или электрообогрева с последующим выдерживанием его способом термоса.

5.7 Бетонная смесь, предназначенная для зимнего бетонирования, должна приготавливаться с обязательным применением комплексных добавок НН + С-3 и НН + ПФМ-НЛК для бетонов проектной маркой F200, НН+ ПФМ-НЛК, НН + ЛСТ + СНВ, НН + С-3 + СНВ для бетонов проектной маркой F300 и выше. При обеспечении заданной удобоукладываемости бетонной смеси для бетонов проектной маркой до F150 возможно применение комплексной добавки НН + ЛСТ.

Применение других комплексных добавок должно быть подтверждено исследованиями их влияния на морозостойкость бетона, подвергнутого при воздействии низких отрицательных температур в раннем возрасте.

Применение бетона с вышеуказанными комплексными противоморозными добавками в предварительно-напряженных железобетонных конструкциях запрещается.

5.8 Оптимальную дозировку добавок, вводимых в бетонную смесь, следует устанавливать экспериментально при подборе состава бетона с учетом фактических условий производства бетонных работ, а именно, из условия обеспечения на месте укладки заданных параметров бетонной смеси по удобоукладываемости, расслаиваемости, воздухововлечения и температуры бетонной смеси.

Указанные показатели должны быть установлены в ППР и включены в технические условия (утвержденное задание на проектирование состава бетона) на поставку бетонной смеси.

5.9 Номинальный состав бетона следует подбирать по утвержденному заданию в соответствии с ГОСТ 27006-86. Состав бетона подбирают исходя из условия обеспечения среднего уровня прочности, значение которого следует определять по ГОСТ 18105-86* с учетом однородности бетона. При отсутствии данных о фактической однородности бетона за средний уровень прочности необходимо принимать требуемую прочность для бетона данного класса при коэффициенте вариации 13,5%.

5.10 Приготовление бетонных смесей с комплексными противоморозными добавками следует вести при соблюдении следующих условий:

- запрещается применять смерзшиеся заполнители;

- для обеспечения расчетной температуры бетонной смеси на выходе ее из бетоносмесителя должен осуществляться подогрев воды, отогрев или подогрев заполнителей, а также отопление бетоносмесительного узла, дозаторного и бункерных отделений;

- наибольшая температура бетонной смеси и ее составляющих при загрузке и на выходе из смесителя при применении портландцемента и сульфатостойкого портландцемента должна быть не более значений, указанных в таблице 5.1;

Таблица 5.1- Наибольшая допускаемая температура бетонной смеси и ее составлящих

Вид цемента

Наибольшая допустимая температура, °С

при загрузке в смеситель

Бетонной смеси на выходе из смесителя

Воды

Заполнителей

Портландцемент и сульфатостойкий портландцемент марки 400 и выше

60

40

35

- продолжительность перемешивания должна быть на 25% больше, чем в летних условиях, которое устанавливается экспериментально от типа смесителя и объема готового замеса.

5.11 Транспортирование бетонной смеси в зимних условиях следует производить автобетоносмесителями и автобетоновозами, которые при. необходимости должны быть специально оборудованы (теплоизоляция, обогрев кузова и т.д.) и должны исключить охлаждение ее более установленного технологическим регламентом, нарушение однородности, снижения воздухововлечения и снижение заданной подвижности на месте укладки.

5.12 При применении бетонов с комплексными добавками смесь допускается укладывать на неотогретое мерзлое непучинистое основание или старый бетон, очищенный от снега и наледи, если в зоне контакта на протяжении всего расчетного срока выдерживания будет обеспечиваться незамерзаемость бетона.

5.13 При температуре воздуха ниже минус 10°С арматура диаметром более 25 мм, а также арматура прокатных профилей и крупные металлические закладные детали могут не отогреваться, если температура уложенного бетона с комплексными добавками на 5°С выше температуры замерзания воды затворения смеси.

5.14 Укладку бетонной смеси следует вести непрерывно с минимальным количеством перегрузок, средствами механизации, обеспечивающими минимальное охлаждение смеси при ее подаче, распределении и уплотнении.

5.15 Послойное бетонирование массивных конструкций необходимо вести так, чтобы температура бетона в уложенном слое до перекрытия его следующим слоем не опускалась ниже предусмотренной расчетом. Допустимая продолжительность перекрытия слоев должна назначаться строительной лабораторией в зависимости от температуры укладываемой бетонной смеси и начала схватывания цемента.

Толщина укладываемого слоя бетонной смеси назначается в зависимости от средств уплотнения, обычно составляет 30-50 см.

5.16 Бетонирование монолитных железобетонных конструкций при выдерживании с применением методов активного прогрева бетона следует производить с соблюдением следующих требований:

а) железобетонные балки, свободно опирающиеся на массивные, ранее забетонированные конструкции, в целях возможности перемещения ее по опорам при прогреве должны быть отделены от конструкций прокладками из металлических листов;

б) при бетонировании элементов каркасных и рамных конструкций в сооружениях с жестким сопряжением узлов (опор) необходимость устройства разрывов в пролетах в зависимости от температуры тепловой обработки, с учетом возникающих температурных напряжений, должна быть указана в ППР;

в) если дополнительные температурные напряжения в балках не учтены расчетом, то следует бетонировать и прогревать неразрезные балки участками с разрывом в каждом пролете длиной 1/8 пролета, но не менее 0,7 м, заполнение разрывов бетонной смесью и прогрев бетона в них следует производить после остывания бетона балок до 15°С;

г) бетонирование и прогрев неразрезных балок, не связанных с опорами, должны производиться одновременно на участках длиной не более 20 м;

д) бетонирование и прогрев неразрезных ригелей многопролетных рам при отношении высоты стойки рамы к высоте ее сечения (в плоскости рамы) менее 15 должны также производиться в порядке, изложенном в подпунктах «б», «в», с разрывами через два пролета при пролетах рам до 8 м и через пролет при большей величине пролетов;

е) бетонирование и прогрев колонн, связанных с массивными ригелями малых пролетов, должны производиться с устройством разрывов в ригелях между колоннами, аналогичных указанным в подпунктах «б», «в»;

ж) при прогреве балок, расположенных параллельно друг другу и жестко связанных между собой, должны обеспечиваться возможно близкие температурные условия их прогрева и остывания;

з) бетонирование и прогрев железобетонных ребристых перекрытий должны производиться участками, имеющими разрывы в продольном и поперечном направлениях, расстояние между которыми определяется в соответствии с указаниями, приведенными в подпунктах «б», «в» и «д»;

е) бетонирование и прогрев балок ребристых перекрытий должны производиться одновременно с бетонированием и прогревом плиты.

5.17 Технические требования, которые следует выполнять при выдерживании бетона конструкций в зимних условиях приведены в таблице 5.2.

Таблица 5.2 - Технические требования к выдерживанию бетона конструкций в зимних условиях

Технические требования

Модуль поверхности конструкции, м-1

2-4

5-6

7-8

9-10

Свыше 10

1

2

3

4

5

6

1 Коэффициент теплопередачи опалубки, Вт/м2 °С, не более

3,6

2 Температура бетонной смеси, уложенной в опалубку, к началу выдерживания или прогрева (обогрева), или предварительного разогрева должна быть не ниже:

 

а) при выдерживании бетона по способу термоса

температуры установленной расчетом

б) при применении безобогревного способа;

на 5°С выше температуры замерзания бетонной смеси на

в) при применении других способов выдерживания

2°С выше температуры замерзания бетонной смеси

3 Скорость подъема температуры бетона в наиболее быстро-нагреваемых зонах не более, °С/ч

5

8

10

10

15

4 Максимальная температура слоя бетона, прилегающего к опалубке (в термоактивной опалубке, инфракрасном излучении), С

35

45

55

60

60

5 Максимальная температура наружного слоя бетона, °С

35

40

50

60

60

6 Максимальная температура бетона в ядре, С

70

70

70

60

60

7 Перепад температуры между наружным слоем бетона и ядром, °С

35

30

20

0

0

8 Прочность бетона с комплексными противоморозными добавками к моменту возможного замораживания конструкции не менее, % прочности, соответствующей проектному классу бетона

70

9 Разность температур наружных слоев бетона и воздуха при распалубке и снятии теплоизоляционных укрытий не более, °С

20

30

5.18 Распалубливание конструкций, снятие гидроизоляционных и теплоизоляционных укрытий следует выполнять по достижении бетоном предварительно напряженных конструкций прочности не менее 80% прочности, соответствующей проектному классу бетона, конструкций с обычным армированием не менее 70% прочности, соответствующей проектному классу бетона.

5.19 Загружение конструкции следует производить по достижении бетоном не менее 100% прочности, соответствующей проектному классу бетона, при фактической нагрузке свыше 70% расчетной и не менее 80% при фактической нагрузке менее 70% расчетной.

5.20 Распалубливание и загружение конструкций, а также снятие гидро- и теплоизоляционного укрытия должно производиться только после определения прочности (по контрольным образцам и фактическим режимом твердения или неразрушающими методами при отогретом до оттаивания бетоне), подтверждающего достижение бетоном необходимой прочности.

6 Порядок производства бетонных работ

6.1 Подготовительные работы

6.1.1 Технологический процесс бетонирования железобетонных конструкций должен обеспечивать требования СНиП 3.03.01-87 и настоящих ТСН 12-336-2007 к производству бетонных работ при отрицательных температурах.

6.1.2 До начала бетонных работ необходимо:

- установить арматуру;

- смонтировать опалубку;

- подготовить и проверить исправность технологического оборудования для подачи бетона в опалубку;

- проверить и подготовить к работе вибраторы;

- проверить наличие гидроизоляционного материала и утеплителя для укрытия неопалубленных поверхностей и соответствие их требованиям технологической карты;

- проверить общее состояние нагревателей, термоактивных щитов и т.д.;

- проверить соответствие омического сопротивления нагревателей и их удельной мощности паспортным данным, электрическое сопротивление изоляции нагревателей и коммутирующей разводки (величина сопротивления должна быть не менее 0,5 Мом).

6.1.3 Коэффициент теплопередачи опалубки должен соответствовать требованиям таблицы 5.2. настоящих ТСН.

Бетонирование железобетонных конструкций рекомендуется производить в разборно-щитовой деревянной опалубке из досок толщиной 40 мм. Коэффициент теплопередачи опалубки - 3,46 Вт/м2·°С или каркасно-щитовой опалубки с палубой из фанеры толщиной 21 мм. В последнем случае опалубка утепляется минеральной ватой с плотностью 100 кг/м (К=0,05 Вт/м2·°С) или пенополистиролом с плотностью 25 кг/м3 (К=0,045 Вт/м2·°С). Толщина утепления 20 мм.

Для утепления неопалубленной верхней горизонтальной поверхности следует использовать опилки (б=100 мм), укладываемые на толь или строительную бумагу во избежание их увлажнения.

Допускается применение других утеплителей, толщина которых должна обеспечивать коэффициент теплопередачи не более 2,5 Вт/м2·°С.

Утеплитель с такими же теплоизолирующими свойствами следует применять для укрытия отогретых участков (например, ранее забетонированная часть), выступающих на 1 м за наружные грани термоактивных опалубочных форм.

6.1.4 Приемку арматурных и опалубочных работ следует выполнять до бетонирования конструкций; результаты освидетельствования и приемки следует оформлять актом на скрытые работы.

6.1.5 Технические показатели бетона должны соответствовать требованиям проекта. Для обеспечения проектных показателей бетона следует особое внимание уделить проектированию состава бетонной смеси. Подбор состава должен производиться в соответствии п.5.9 настоящих ТСН. Технические показатели бетонной смеси должны удовлетворять требованиям ГОСТ 7473-93 и условиям технического задания, которое должно быть неотъемлемой частью договора на поставку товарной бетонной смеси или технологического регламента, если бетонная смесь готовится на стройплощадке собственными силами.

6.1.6 Минимальная прочность конструкций, загружаемых в процессе возведения многоэтажного здания, определяется ППР и согласовывается с проектной организацией.

При невозможности обеспечения требуемой прочности бетона к моменту загрузки конструкции проектной нагрузкой допускается применение марки бетона, увеличенной на одну ступень.

6.1.7 Работы, связанные с бетонированием конструкций, выполняются в три этапа:

- укладка бетонной смеси;

- выдерживание бетона и уход за ним;

- распалубливание.

6.2 Материалы для бетона

6.2.1 Для приготовления бетона следует применять цементы на основе портландцементного клинкера, удовлетворяющего требованиям ГОСТ 10178 и ГОСТ 22266.

6.2.2 В таблице 6.1 приведены характеристики цементов, выпускаемых цементным заводом ПО ОАО «Якутцемент», качество которых полностью удовлетворяет требованиям ГОСТ 10178 и ГОСТ 22266.

Таблица 6.1- Минералогический состав портландцементного клинкера

Наименование цемента

C3S

C2S

С3А

C4AF

Силикатный модуль

Глиноземный модуль

Коэффициент насыщения

Портландцемент

58,70

16,38

6,44

14,35

2,08

1,15

0.91

Сульфатостойкий портландцемент

47,40

29,26

4,27

15,41

2,29

0,96

0,85

6.2.3 При поставке материалов в отдаленные районы только в период навигации в целях снижения потери активности цемента во времени рекомендуется завозить цементный клинкер с помолом его в районе строительства или доставлять цемент в герметично закрытой таре.

6.2.4 Заполнители для бетона должны удовлетворять требованиям ГОСТ 26633, при отсутствии в районе строительства заполнителей с требуемыми качествами необходимость применения заполнителей с показателями качества ниже требований ГОСТ 26633 должна подтверждаться проведением их исследования в бетонах в специализированных центрах.

6.2.5 Пески, относящиеся к группе «мелкие» или «очень мелкие», допускается использовать только при обязательном введении пластифицирующих добавок или при обогащении их более крупными фракциями песка из отсевов дробления горных пород.

6.2.6 Пески из песчано-гравийных смесей, характеризующиеся высоким содержанием пылевидных и илистых частиц, должны обогащаться их промывкой в летнее время.

6.2.7 В зимнее время для приготовления бетона предпочтительно использовать в качестве крупного заполнителя щебень или щебень, полученный при дроблении гравия. При применении гравия в качестве заполнителя прочность бетона на контакте заполнителя и цементного камня снижается

6.2.8 Местный известняковый щебень эксплуатируемых месторождений, как правило, обладает низкой морозостойкостью из-за мергелистых включений. Применение такого щебня для получения бетона повышенной морозостойкости допускается только при условии введения в бетонную смесь пластифицирующе-воздухововлекающих или воздухововлекающих добавок.

6.2.9 Заполнители не должны содержать частиц льда и смерзшихся комьев размером более 10 мм.

6.2.10 Компоненты рекомендуемых комплексных химических добавок, указанных в таблице 6.2. должны удовлетворять требованиям соответствующих нормативных документов.

6.2.11 Вода для приготовления водных растворов добавок к бетонной смеси должна удовлетворять требованиям ГОСТ 23732.

Таблица 6.2 - Химические добавки

Вид добавок

Наименование добавок

Обозначение добавок

ГОСТ и ТУ на добавки

1 Противоморозные

Нитрит натрия

НН

ГОСТ 19906, ТУ 38-10274-79

2 Пластифицирующие

Суперпластификатор С-3

С-3

ТУ 6-36-0204229-625 Минхимпрома СССР

Лигносульфонаты технические

ЛСТ

2455-0316-4628971520-2000

3 Воздухововлекающие

Смола нейтрализованная воздухововлекающая

СНВ

 

4 Пластифицирующе-воздухововлекающие

Модификатор бетона ПФМ-НЛК

ПФМ-НЛК

ТУ 2493-010-04786546-2001

6.3 Приготовление и транспортирование бетонной смеси

6.3.1 Бетонная смесь должна удовлетворять требованиям ГОСТ 7473, удобоукладываемость и температура бетонной смеси на месте укладки должна соответствовать требованиям технологического регламента или технологической карты, разрабатываемой в составе ППР.

6.3.2 Подбор состава бетона для зимней укладки осуществляется любыми, проверенными на практике и принятыми для летних условий методами, с учетом требований ГОСТ 27006 по показателям прочности бетона, подвижности и воздухосодержания смеси при минимальном ее водосодержании.

Расход цемента на 1 м3 бетонной смеси, как правило, не должен превышать 450 кг. Водоцементное отношение для бетонов с повышенными требованиями по морозостойкости (выше F50) должно быть не более 0,5.

Пример оформления технического задания (технических условий) на проектирование бетонной смеси приведен в приложении Б.

6.3.3 Оптимальное количество пластифицирующих и воздухововлекающих добавок в составе комплексной устанавливается экспериментально и считается таким, при котором в бетоне обеспечивается требуемая подвижность бетонной смеси с учетом таблицы 6.3 и воздухосодержание смеси не более 4-6% при прочности бетона на сжатие не ниже, чем у бетона без добавок.

Таблица 6.3 - Корректировка подвижности смеси с комплексными добавками, в состав которых входит воздухововлекающий компонент

Подвижность бетонной смеси (осадка конуса), см

без добавки

с добавками, при воздухосодержании, %

до 2

2-4

4-6

4-6

4-6

3-4

2-4

6-8

6-8

4-6

3-5

8-10

8-10

6-8

4-6

10-14

11-13

8-12

6-10

14-20

17-19

12-18

10-16

20-22

19-21

18-20

16-18

6.3.4 Количество противоморозного компонента НН в составе комплексных добавок в зависимости от расчетной температуры твердения бетона при безобогревном выдерживании бетона конструкций следует назначать по таблице 6.4. Возможно изменение на 0,5-1% на основании экспериментальных данных строительной лаборатории.

При применении тепловой обработки бетона конструкции количество противоморозного компонента НН назначается в зависимости от температуры наружного воздуха: 2% при температуре от минус 10 до минус 20°С, 4% при температуре минус 20°С и ниже.

Таблица 6.4 - Количество противоморозного компонента НН в составе комплексной добавки при безобогревном выдерживании

Обозначение добавки

Количество безводных добавок, % от массы цемента, при расчетной температуре твердения, °С

0...-5

-5...-10

-10...-15

-15...-20

НН

1-2

2-4

4-6

-

6.3.5 При приготовлении бетонной смеси с комплексными противоморозными добавками порядок загрузки материалов при использовании неподогретой воды не отличается от принятого на бетонном заводе или узле.

При применении подогретой воды загрузку цемента следует производить после предварительного перемешивания воды затворения и растворов добавок с заполнителями.

6.3.6 Температура приготовленной бетонной смеси с комплексными добавками должна назначаться строительной лабораторией, исходя из условий производства, сроков загустевания смеси, теплопотерь при транспортировании, перегрузках и укладке и должна обеспечивать требуемую температуру уложенной бетонной смеси.

6.3.7 Для предотвращения замораживания бетона непосредственно после укладки необходимо, чтобы температура уложенной бетонной смеси с учетом потерь теплоты превышала температуру замерзания применяемого раствора затворения не менее чем на 5°С.

Температура уложенной бетонной смеси (tyл.см., °С) с учетом потерь теплоты на отогрев металла, опалубки, теплоизоляции и грунта (бетона) определяется по формуле

                                                                                                     (6.1)

где V - объем бетона, опалубки, теплоизоляции, арматуры, соприкасающегося с бетоном грунта («старым» бетоном), м3;

g - плотность указанных материалов, кг/м3;

с -удельные теплоемкости материалов, КДж (кг·°С);

t - температура материалов, °С.

При расчете объема грунта («старого» бетона) определяется по формуле

V = F · h,                                                                                                                     (6.2)

где F - площадь грунта (бетона), соприкасающегося с укладываемым бетоном, м2;

h - глубина отогрева грунта (бетона), принимаемая 0,2 м.

6.3.8 Для получения бетонной смеси с заданной температурой подогревается вода не более чем до 60°С. Если этого окажется недостаточно, то подогреваются заполнители, в первую очередь песок.

Температура подогрева составляющих бетона назначается, исходя из формулы:

                                                                                             (6.3)

где:  - температура бетонной смеси после перемешивания, °С;

q - количество твердых составляющих бетонной смеси, кг;

qp - количество раствора затворения смеси, л;

t - температура составляющих бетонной смеси, °С;

tp -температура раствора затворения смеси, °С.

6.3.9 Температура бетонной смеси, продолжительность перемешивания должны соответствовать требованиям п.5.10, условия транспортирования бетонной смеси - п.5.11 настоящих ТСН.

6.4 Укладка и уплотнение бетонной смеси

6.4.1 Перед укладкой бетонной смеси в опалубку необходимо обеспечить ее полную готовность для этой технологической операции. Опалубка должна быть предварительно выверена, надежно закреплена, полость ее должна быть совершенно чистой.

Перед укладкой бетонной смеси удалить снег и наледь с опалубки и арматуры (механически, сжатым горячим воздухом и т.п.). Подготовленную к бетонированию опалубку до укладки бетона необходимо защитить (укрыть) от атмосферных осадков (снега).

6.4.2 Бетонная смесь после доставки ее к объекту разгружается в заранее подготовленные переносные поворотные бункера и сразу подается краном в опалубку.

Рекомендуется пользоваться поворотными бункерами (бадьями) объемом не более 0,75 м3 и шарнирно-пристроенными к выходному отверстию бадьи направляющими лотками. При бетонировании ригелей и монолитных участков перекрытий допускается применение бункера объемом до 2 м3.

На площадке приема бетонной смеси необходимо организовать местный отогрев поворотных бункеров (бадьи) огневым способом во избежание замерзания затворов в бункерах.

6.4.3 Укладку бетонной смеси следует вести непрерывно. В случае возникновения перерывов в бетонировании поверхность бетона необходимо укрыть и утеплять, а при необходимости обогревать.

6.4.4 После укладки бетонная смесь тщательно уплотняется глубинными или навесными на опалубку, или поверхностными вибраторами в зависимости от вида возводимой конструкции, после чего неопалубленная поверхность надежно укрывается пароизоляцией от влагопотерь в период твердения и теплоизоляционным слоем в соответствии с требованиями технологического регламента. Все выступающие закладные части и выпуски, а также участок старого бетона (в зоне контакта со свежеуложенным бетоном) длиной 1 м должны быть дополнительно утеплены.

6.4.5 Температура бетонной смеси, уложенной в опалубку, к началу выдерживания бетона должна соответствовать требованиям п.5.17.

6.4.6 При бетонировании конструкций неизбежны технологические перерывы. В этих случаях устраивают рабочие швы. Расположение рабочих швов назначается в местах наименьшего изгибающего момента или перерезывающей силы. Возобновление бетонирования допускается производить по достижении бетоном прочности не менее 1,5 МПа.

6.4.7 Бетонирование конструкций должно сопровождаться соответствующими записями в «Журнале бетонных работ».

6.5 Выдерживание бетона в конструкциях

6.5.1 Выдерживание бетона монолитных бетонных и железобетонных конструкций, возводимых в зимних условиях Якутии, необходимо производить с соблюдением требований п.5.17 настоящих ТСН.

6.5.2 Для выдерживания бетона конструкций применяют различные способы зимнего бетонирования, эффективность которых во многом зависит от массивности конструкции, точнее от модуля поверхности и температуры наружного воздуха. Окончательное решение следует принимать на основе теплотехнических расчетов и установления экономической эффективности того или иного способа применительно к местным условиям.

6.6 Особенности выдерживания бетона в различных конструкциях

6.6.1 Выдерживание бетона при изготовлении буронабивных свай и других подземных конструкций

В летнее время бетон буронабивных свай, расположенных в толще вечномерзлых грунтов, греть нежелательно, кроме случая, когда свая возводится на скальном основании. Обеспечить твердение можно путем введения в бетонную смесь добавки электролита в количестве 2-3% от массы цемента и обязательно с добавкой суперпластификатора при марке бетона по морозостойкости до F200, при F300 и выше дополнительно следует применять воздухововлекающую добавку (ПФМ-НЛК). Бетон уже через 1-1,5 месяца при температуре вечной мерзлоты минус (2...4)°С достигает проектной прочности. В зимнее время при низкой температуре промороженного в верхних слоях грунта сезоннооттаивающего слоя (до 1,5-2 м) бетон буронабивных свай следует обогревать (прогревать) до температуры 40-60°С. Если свая уходит в слой грунта вечной мерзлоты, бетонировать следует так: в нижнюю часть сваи укладывать бетон с противоморозной добавкой, а в верхнюю (в активном промороженном слое) бетон прогревать. Лучше это делать греющим проводом, заранее установленным на арматуру до ее опускания в скважину. Прогрев бетона свай также можно осуществить с помощью струнного электрода и рабочей арматуры.

6.6.2 Выдерживание бетона в фундаментах и рандбалках в холодное время года

Бетон в фундаментах типа монолитной железобетонной плиты в зависимости от ее толщины выдерживается по-разному. Плита толщиной более 50 см бетонируются предварительно разогретой бетонной смесью, быстро укрывается теплоизоляцией и выдерживается методом термоса. В плитах меньших толщин бетон целесообразно прогревать. По периферии конструкцию достаточно хорошо утеплить. А в очень сильные морозы использовать обогрев в греющей опалубке или электродным методом, при этом электроды устанавливаются вблизи опалубки вертикально. В нижней части плиты целесообразно располагать греющий провод и при температурах до минус 8-10°С сверху хорошо утеплить. При более низких температурах греющий провод следует устанавливать и в верхней части плиты, а затем конструкцию тщательно утеплить с боков и сверху.

В рандбалках бетон обязательно следует прогревать или с помощью греющей опалубки, или греющим проводом, или устраивать местные тепляки из негорючих и трудногорючих материалов. В пространство (20-30 см) между опалубкой и брезентом подается горячий воздух (воздушный обогрев). Неопалубленная поверхность конструкции должна быть защищена пароизоляцией.

Фундаменты очень удобно возводить в надувных тепляках, которые защищают и рабочих, и бетон от ветров, снегопадов и сильных морозов при постоянной подаче в них теплого воздуха. Но бетон следует выдерживать указанными выше методами (т.е. прогревать).

6.6.3 Выдерживание бетона в колоннах

В колоннах бетон обязательно следует прогревать любыми изложенными в настоящем документе методами. Лучше это делать с помощью греющего провода или в греющей опалубке. Распалубку целесообразно производить при достижении бетоном 70% прочности от проектной.

6.6.4 Выдерживание бетона в стенах

Выдерживание бетона в стенах следует обязательно с обогревом любым методом. При распалубке их необходимо создать все условия для достижения бетоном к моменту загрузки проектной нагрузкой требуемой прочности. Но лучше в условиях Якутии распалубку производить при достижении бетоном прочности равной не менее 80% от проектной.

6.6.5 Выдерживание бетона в перекрытиях

Перекрытия являются весьма ответственной конструкцией и бетон в них обязательно надо выдерживать до достижения им не менее 80% прочности, соответствующей проектному классу бетона, независимо от пролета. Прогревать удобнее греющим проводом, установленным в нижней части перекрытия и при толщине до 25 см при надежном укрытии бетона сверху теплоизоляцией по пароизоляции. При большей толщине перекрытия греющий провод следует устанавливать помимо нижней и в верхней части конструкции. Можно также, укрыв неопалубленную поверхность бетона пароизоляцией, прогревать горячим воздухом, подаваемым под установленной сверху перекрытия брезент с просветом до 30 см в пространство между ним и бетоном.

7 Способы зимнего бетонирования и порядок их проектирования

7.1 Метод термоса

7.1.1 Метод термоса является одним из самых недорогих методов выдерживания бетона на морозе. Сущность метода заключается в следующем: приготовленную на заводе или на приобъектном бетоносмесительном узле бетонную смесь доставляют к месту ее укладки с максимально возможной температурой, быстро укладывают в опалубку, уплотняют и укрывают паро-, теплоизоляцией. За счет теплоты, внесенной при изготовлении бетонной смеси, и экзотермической теплоты, выделяющейся в бетоне в процессе твердения, в конструкции длительное время поддерживается положительная температура, обеспечивающая твердение бетона и достижение им к моменту замерзания критической прочности. Температура внутри конструкции начинает подниматься примерно через 10-16 часов и может достигать 60°С, поскольку каждый килограмм цемента при гидратации выделяет 80 ккал тепла. Схема выдерживания бетона методом термоса показана на рисунке 1.

Рисунок 7.1 - Схема выдерживания бетона методом термоса
1 - опалубка; 2 - бетон; 3 - пароизоляция; 4 - теплоизоляция; 5 - температурная кривая разогрева бетона.

7.1.2 Целесообразная область применения метода термоса - возведение массивных конструкций с модулем поверхности не более 5 (Мп £ 5 м-1), а также бетонирование конструкций из бетона, к которому предъявляются повышенные требования по морозостойкости, водонепроницаемости и трещиностойкости, так как применение этого метода позволяет получать наиболее благоприятное термонапряженное состояние бетона в конструкциях.

Метод термоса рекомендуется использовать как элемент комбинированных способов бетонирования, например, предварительным электроразогревом бетонной смеси перед укладкой ее в опалубку с применением комплексной добавки, а также термос целесообразно сочетать с электропрогревом или электрообогревом. Комбинированные способы с использованием термоса в этом случае могут применяться для выдерживания бетона в конструкциях с Мп до 12 м-1.

7.1.3 При расчете термосного выдерживания бетона необходимо решить одну из двух задач:

1) определение продолжительности выдерживания бетона и величины набранной им за это время прочности при заданном термическом сопротивлении термоограждающих конструкций;

2) определение величины термического сопротивления термоограждающих конструкций, требуемой для достижения заданной прочности в установленные сроки.

Ориентировочный расчет продолжительности остывания бетона в конструкциях с Мп от 3 до 12 м-1 выполняется по формуле Б.С. Скрамтаева (7.1), которая дает наилучшую сходимость с фактической продолжительностью остывания при Мп от 4 до 6 м-1:

                                                                                           (7.1)

где сб - удельная теплоемкость бетона, принимается равной 1,05 кДж/(кг·°С);

gб - плотность бетона, кг/м ;

tб.н - начальная температура бетона после укладки, °С;

tб.к - температура бетона к концу остывания; для бетонов без противоморозных добавок рекомендуется принимать не ниже 5°С, для бетонов с комплексными противоморозными добавками принимается на 5°С выше температуры замерзания воды затворения бетонной смеси;

Э - тепловыделение цемента, кДж/кг, за время твердения бетона;

Ц - расход цемента в бетоне, кг/м ;

К - коэффициент теплопередачи опалубки или укрытия неопалубленных поверхностей, Вт/(м2·°С), определяемой по формуле (7.2);

Мп - модуль поверхности конструкции, определяемый по приложению В;

tб.cp. - средняя температура за время остывания бетона, °С; определяется по формуле (7.5) или приближенно может быть принята равной: (tб.н + 5)/2 для конструкций с Мп £ 4 м-1; tб.н/2 при Мп от 5 до 8 м-1; tб.н/3 при Мп от 9 до 12 м-1;

tн.в - температура наружного воздуха; принимается средняя за время остывания бетона, °С.

Для повышения точности расчета по формуле (4) рекомендуется продолжительность остывания определять в несколько этапов, принимая остывание бетона на каждом этапе примерно на 5°С, при неизменных К и tн.в (например, от 20 до 15°С, от 15 до 10 °С и т.д.).

7.1.4. Коэффициент теплопередачи опалубки или утеплителя укрытия неопалубленных поверхностей определяется по формуле

                                                                                                         (7.2)

где aн - коэффициент теплопередачи у наружной поверхности ограждения, Вт/(м2·°С); определяется по таблице 7.1 в зависимости от скорости ветра;

di - толщина каждого слоя ограждения, м;

l i  - коэффициент теплопроводности материала каждого слоя ограждения, Вт/(м2·°С).

Таблица 7.1 - Коэффициент теплопередачи у наружной поверхности ограждающих конструкций

Скорость ветра, м/с

aн, Вт/(м2·°С)

Скорость ветра, м/с

aн, Вт/(м2·°С)

0

3,77

5

26,56

1

3,88

10

33,18

3

14,96

15

43,15

Если передача тепла от бетона в окружающую среду происходит через ограждения с разным утеплением (например, через деревянную опалубку или неопалубленную поверхность, укрытую толем и минераловатной плитой), следует пользоваться приведенным коэффициентом теплопередачи, определяемым по формуле

                                                                                        (7.3)

где F1, F2, ... Fi - площади соответствующих поверхностей, м2;

K1, K2, ... Ki -коэффициенты теплопередачи через разные поверхности конструкции, Вт/(м2·°С).

7.1.5 При бетонировании плитных конструкций на мерзлом основании параметры выдерживания бетона в конструкции должны назначаться при проектировании производства работ по следующим исходным данным: ожидаемая температура (tг) и влажность (Wг) приповерхностного слоя грунта (до глубины 0,5 м), температура воздуха (tн.в) и состав бетона.

Основными тепловыми параметрами выдерживания являются: температура бетонной смеси после укладки (tб.н), длительность остывания конструкции до 0°С (tост), требуемое термическое сопротивление тепловой изоляции (R), а также максимальная глубина протаивания основания (hпр) под забетонированной конструкцией.

Указанные параметры определяются теплотехническим расчетом.

В случае, когда начальная температура грунта отличается от температуры воздуха более чем на 2°С, необходимое термическое сопротивление тепловой изоляции (R') рассчитывается по формуле

                                                                                                         (7.4)

где R - термическое сопротивление тепловой изоляции, м2·град/Вт;

tб.cp - средняя температура бетона за время остывания, °С;

tн.в - температура наружного воздуха, °С;

tгр - температура грунта, °С.

При термосном выдерживании бетона необходимо осуществить контроль за его температурой особенно в углах и вблизи опалубки. В случае более быстрого охлаждения бетона в этих местах эти части конструкции следует дополнительно утеплить или осуществлять прогрев бетона.

7.1.6 Средняя температура остывания бетона в конструкции определяется по формуле:

                                                          (7.5)

7.2 Обеспечение твердения бетона с комплексными противоморозными добавками

7.2.1 Выдерживание конструкций из бетона с комплексными противоморозными добавками, возводимых в весенний период, необходимо производить с соблюдением следующих указаний:

- термическое сопротивление опалубки и укрытия должно обеспечивать в бетоне температуру не ниже расчетной до набора им критической прочности;

- для обеспечения одинаковых условий остывания части конструкций, имеющиеся различную толщину, тонкие элементы, выступающие углы и другие части, остывающие быстрее основной конструкции, должны иметь усиленное утепление, размеры участков с усиленным утеплением и их термическое сопротивление должны быть указаны в технологическом регламенте (технологической карте);

- поверхности бетона, незащищенные опалубкой, во избежание потери влаги или увлажнения за счет атмосферных осадков следует по окончании бетонирования немедленно укрывать слоем гидроизоляционного материала (полиэтиленовая пленка, прорезиненная ткань, рубероид и др.);

- при возможном понижении температуры бетона ниже расчетной конструкции необходимо дополнительно утеплять или обогревать до набора им критической прочности.

7.2.2. Температура твердения бетона для конструкций с Мп до 16 м-1 определяется расчетом. Продолжительность остывания бетона (t, сут) до предельно допустимой температуры для выбранного к производству работ вида добавок определяет по формуле

                                                                                          (7.6)

где значения сб, gб, tб.н, tб.к, Ц, Э, К, Мп, tб.cp, tн.в - аналогичны значениям формулы (7.1);

a - коэффициент интенсивности тепловыделения, 1/%, принимается по таблице 7.2.

Таблица 7.2 - Значение коэффициента интенсивности тепловыделения, 1/%

tб.н - tб.к

5

10

15

20

25

30

35

40

45

50

А

0,01

0,011

0,012

0,013

0,014

0,015

0,016

0,017

0,018

0,019

Расчетная температура твердения бетона для конструкций с Мп более 16 м-1 принимается равной:

- минимальной температуре наружного воздуха до приобретения бетоном критической прочности, если в течение этого периода температура наружного воздуха ожидается выше среднемесячной, определяемой по таблице А1;

- среднемесячной температуре наружного воздуха, если за период выдерживания бетона до набора им критической прочности минимальная температура воздуха ожидается выше среднемесячной.

7.3 Предварительный разогрев бетона

Предварительный разогрев бетона можно производить электрическим током после приготовления бетонной смеси или паром в процессе ее приготовления. Последний метод применяется редко и обычно в заводских условиях при производстве сборных бетонных или железобетонных конструкций. Предварительный электроразогрев бетона производится непосредственно на строящемся объекте вблизи от места его укладки в конструкцию.

Предварительный разогрев бетонной смеси, как метод зимнего бетонирования, обеспечивает наибольший эффект при бетонировании среднемассивных монолитных и сборных конструкций (в условиях полигона) с модулем поверхности Мп < 8 м-1 при температуре наружного воздуха до минус 20°С или с меньшим Мп при более низких температурах.

При бетонировании маломассивных конструкций, в том числе пролетного типа, например, плит перекрытия в монолитном домостроении, целесообразно совмещать предварительный разогрев с термоактивным выдерживанием бетона.

7.3.1 Предварительный пароразогрев бетонной смеси

Сущность метода предварительного пароразогрева заключается в быстром - в течение нескольких минут разогреве бетонной смеси. При пароразогреве в смеситель подается вместо воды затворения пар или такое количество воды, чтобы вместе с конденсацией пара общее ее содержание не превышало проектного водоцементного отношения. В процессе перемешивания от пара нагреваются все компоненты бетона. Очень быстро разогреваются зерна мелкого заполнителя, цемента и медленнее нагреваются зерна крупного заполнителя. По этой причине при разогреве бетонной смеси ее перемешивание производится более длительное время (не менее 4-6 мин.), что позволит обеспечить почти равномерный разогрев компонентов и после выгрузки температура бетонной смеси не будет снижаться из-за перераспределения тепла, идущего на нагрев крупного заполнителя или снизится на несколько градусов Цельсия.

7.3.1.1 При пароразогреве бетонной смеси и в случае ее приготовления с добавками последние вводятся в смесь или до подачи пара в смеситель или в процессе пароразогрева. Добавки в бетонную смесь обычно вводятся в виде водных растворов, и количество входящей в их состав воды должно учитываться при расчете водоцементного отношения смеси.

7.3.1.2 Подаваемый в смеситель пар, передавая свое тепло компонентам бетонной смеси, охлаждается и конденсируется. Конденсат идет на затворение бетонной смеси. И здесь очень важно обеспечить нужную температуру разогрева смеси (обычно до 60°С) и в то же время количество образовавшегося конденсата должно соответствовать проектному водоцементному отношению. При этом учитывается и ранее введенная вода в растворе добавок.

7.3.1.3 После пароразогрева бетонная смесь должна выгружаться в емкости, быстро подаваться к месту укладки ее в формы, уплотняться и укрываться. Разогретую смесь не рекомендуется подавать к месту укладки ленточными транспортерами из-за ее быстрого остывания и существенного снижения эффекта предварительного разогрева.

7.3.1.4 Заводская лаборатория должна рассчитать количество подаваемого в смеситель пара для разогрева бетонной смеси до требуемой температуры и обеспечения проектного водоцементного отношения. При этом количество тепла, выделенного паром при конденсации, должно быть равно теплоемкости бетонной смеси, с учетом потерь тепла в окружающую среду и нагрев стенок барабана смесителя. Количество потребного тепла на разогрев смеси составит разницу между ее начальной (до разогрева) температурой и конечной (после разогрева).

Удельную теплоемкость бетонной смеси следует определять по формуле:

                                                                                                            (7.7)

где ci - удельные теплоемкости составляющих бетонную смесь компонентов, кДж/кг·град;

рi - весовые части составляющих бетонной смеси (цемента, воды, крупного и мелкого заполнителей), кг; удельная теплоемкость цемента в расчетах принимается равной 0,84, воды - 4,18.

Удельная теплоемкость заполнителей сз определяется с учетом их влажности и ее можно определить по формуле:

сз = ссух + 0,01w,                                                                                                          (7.8)

Удельную теплоемкость сухого заполнителя (ссух) можно принимать примерно равной: гранитный щебень - 0,84; известняковый щебень - 0,79; керамзитовый гравий - 0,75; кварцевый песок - 0,71.

Весовая влажность заполнителя (w) в % определяется лабораторией обычным методом (взвешивание до высушивания и после него) после пребывания его в бетонной смеси в течение одного часа, которая может быть принято равной: гранитный щебень - 1%, известняковый щебень - 3-5% и керамзитовый гравий -10-12%.

Удельная теплоемкость пара составляет: 1,103 при 100°С, 1,978 при 200°С и 2,015 при 300°С. Следует отметить, что пар для пароразогрева смеси применяется с температурой 100°С (возможно несколько выше), но не более 200°С.

7.3.2 Предварительный электроразогрев бетонной смеси

7.3.2.1 Сущность предварительного электроразогрева бетонной смеси заключается в пропускании через нее электрического тока. Бетонная смесь включается в электрическую цепь и в этом случае является проводником, по которому проходит электрический ток и как всякий проводник она при этом нагревается. Проводником в такой многокомпонентной системе, как бетон, является жидкая фаза - вода с растворенными в ней минералами цементного клинкера и, главным образом, содержанием щелочи гидрооксида кальция. При прохождении через бетонную смесь электрического тока нагревается именно жидкая фаза, а от нее мелкий и крупный заполнители. Почти с такой же скоростью, как и жидкая фаза, нагревается кварцевый песок и содержащиеся в нем тонкодисперсные частички, а также цемент. Скорость нагрева крупного заполнителя зависит от размеров его зерен, и чем они крупнее, тем разогреваются медленнее (их нагрев производится за счет теплопроводности от жидкой фазы).

Предварительный электроразогрев бетонной смеси осуществляется с применением переменного электрического тока промышленной частоты напряжением 220/380В.

Нагрев зерен плотного заполнителя (гранит, известняк) диаметром 20 мм происходит примерно за 6-8 минут, а зерен пористого заполнителя (керамзит и т.п.) примерно за 10-12 минут. По этой причине разогрев бетонной смеси целесообразно производить до полного прогрева всех компонентов до установленной температуры. Если напряжение электрического тока при разогреве отключить раньше, то вследствие внутреннего теплообмена крупные зерна будут постепенно нагреваться за счет тепла от растворной части бетонной смеси, что приведет к некоторому падению температуры всей массы смеси.

Разогрев мелкозернистого бетона до температуры 60°С (можно разогревать и до 80°С) происходит в течение 2,5-3 минут, а бетона на плотном заполнителе, как указано выше, за более длительное время. Продолжительность разогрева устанавливается экспериментально.

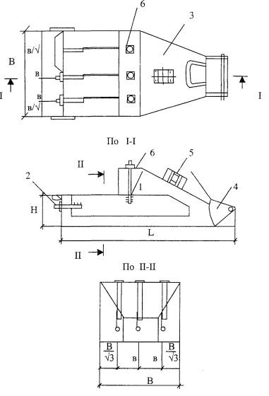
7.3.2.2 Технология порционного электроразогрева бетонной смеси строится следующим образом. Оборудуется стенд (рисунок 7.2), на котором устанавливаются снабженные электродами (рисунок 7.3) бункеры.

Привозимая с завода бетонная смесь выгружается в бункеры, равномерно распределяется между электродами, после чего на них подается электрический ток, и разогрев длится в течение указанного выше времени в зависимости от вида бетонной смеси. Металлические бункеры на период разогрева должны заземляться.

Оборудование для предварительного электроразогрева бетонной смеси может быть разным: прямоугольные или цилиндрические бункеры, автосамосвалы, труба в трубе и др. (рисунки 7.3 - 7.7). Обычно электроды из таких емкостей, кроме указанной на рисунке 7.3, вынимаются с одновременным вибрированием с целью их очистки от налипшей смеси.

По завершении электроразогрева бетонной смеси до требуемой температуры напряжение отключается, и она быстро подается к месту укладки в опалубку конструкции. Желательно подавать разогретую смесь для укладки без перегрузок. Уложенная смесь уплотняется и неопалубленная поверхность бетона сразу же укрывается теплоизоляцией по пароизоляции.

7.3.2.3 В качестве пароизоляции могут быть использованы полиэтиленовая пленка, пергамин и другой подобный материал, а теплоизоляционного материала - маты из минеральной ваты, термофлор или другие теплоизоляционные материалы. Дальнейшее выдерживание бетона в конструкции осуществляется методом термоса до достижении установленной проектом прочности.

Рисунок 7.2 - Принципиальная схема площадки для разогрева бетонной смеси
1 - бункер разогрева; 2 - деревянный настил; 3 - пульт управления; 4 - ограждение; 5 - контур заземления; 6 - светильники; 7 - концевые выключатели (блокировка); 8 - вибратор площадочный; 9 - заземляющий кабель; 10 - токоподводящий кабель; 11 - ворота.

Рисунок 7.3 - Принципиальная схема бадьи для электроразогрева бетонной смеси
1 - электрод; 2 - контактная шпилька; 3 - бункер; 4 - затвор; 5 - вибратор; 6 - крепление электрода.

Рисунок 7.4 - Технологическая комплексная линия для непрерывного электроразогрева бетонной смеси производительностью - 20-40 м3 в смену при потребляемой мощности 50-100 кВт, расходе электроэнергии - 30 кВт ч/м при времени разогрева 2-3 мин.
1 - доставка бетонной смеси с завода автобетоновозом; 2 - установка непрерывного разогрева; 3- автобетононасос для подачи разогретой смеси в опалубку возводимых конструкций.

Рисунок 7.5 - Предварительный электроразогрев бетонной смеси в кузове автомашины
1 - кузов машины; 2 - пластинчатые электроды с прорезями; 3 - электроизоляторы; 4 - электровибратор; 5 - крюк грузоподъемного механизма.

Рисунок 7.6 - Схема предварительного электроразогрева бетонной смеси в цилиндрическом бункере трубчатыми электродами
1 - бункер; 2 - трубчатые электроды; 3 - плита с закрепленными на ней электродами; 4 - электровибратор.
Цифры на электродах означают фазы переменного тока, к которым электрод подключается.

Рисунок 7.7 - Расчетные схемы камер разогрева
А) наклонной трубы с кольцевыми электродами;
Б) вертикальной трубы с треугольными электродами.
а - ширина грани треугольного электрода; b - расстояние между электродами; d - диаметр кольцевого электрода; D - диаметр наклонной трубы;
1 - вертикальная труба; 2 - треугольный электрод; 3 - выступ треугольного электрода;
ап - высота треугольного электрода; bмэ - расстояние между треугольными электродами; r - расстояние от выступа треугольного электрода до центра трубы.

7.3.2.4 Объем бункера электроразогрева зависит от объема разогреваемой смеси и определяется по формуле

Vб = kV,                                                                                                                       (7.9)

где k - коэффициент уплотнения бетонной смеси к моменту разогрева, учитывающий разрыхленное состояние ее при загрузке в бункер, который с достаточной точностью может быть принят равным 1,2 для тяжелого бетона и 1,4 - для легкого бетона;

V - объем помещаемой в бункер бетонной смеси, м3.

7.3.2.5 Потребную удельную электрическую мощность (Руд) в кВт/м3 определяют по формуле

                                                                                  (7.10)

где сб.с. - удельные теплоемкости составляющих бетонную смесь компонентов, кДж/кг·град; определяются по формуле (7.7);

gб.с. - плотность бетонной смеси, кг/м3;

tнач - начальная температура разогреваемой смеси, °С;

tкон - температура смеси по окончании разогрева, °С;

a - коэффициент, учитывающий потери тепла в период разогрева, который зависит от условий окружающей среды и может быть принят в пределах 1,2 ... 1,4;

tр - продолжительность разогрева, мин.

7.3.2.6 Расстояние между электродами в бункере определяется по формуле

                                                                                               (7.11)

где U - напряжение в сети в В;

Руд - потребная удельная электрическая мощность для разогрева смеси в кВ/м3;

rрасч - расчетное удельное сопротивление бетонной смеси в Ом·м;

b - расстояние между электродами в м.

При заземлении стального корпуса бункера, в котором производится разогрев, расстояние между электродами и днищем, а также между электродами и стенками бункера (b) принимается равным

7.3.2.7 Электрическая мощность установки, необходимая для электроразогрева бетонной смеси, в кВт/м3 определяется по формуле

                                                                                                         (7.12)

где значения U, b и rрасч - аналогичны значениям формулы (7.11).

7.3.2.8 Тип трансформатора назначается исходя из величины максимальной и расчетной мощности, необходимой для электроразогрева бетонной смеси.

Максимальная электрическая мощность для разогрева в кВт определяется по формуле

                                                                                                 (7.13)

где rмин - минимальное удельное электрическое сопротивление бетонной смеси в процессе разогрева, Ом·м, определяемое по методике, приведенной в приложении Ж;.

значения U, b - аналогичны значениям формулы (7.11), Vб - значению формулы (7.9).

Расчетная электрическая мощность в кВт определяется по формуле

                                                                                                   (7.14)

где h и cosj - соответственно к.п.д. и коэффициент мощности трансформатора (обычно hcosj  = 0,9);

kк.п. - коэффициент кратковременной допустимой перегрузки трансформатора (принимается равным 1,3-1,5).

По расчетной мощности подбирается тип трансформатора таким образом, чтобы соблюдалось условие Рном ³ Ррасч,

где Рном - номинальная (паспортная) мощность выбранного трансформатора, кВт.

7.3.2.9 Максимальная сила тока (I) в А для выбора типа и сечения подводящих кабелей определяется по формуле

                                                                                                        (7.15)

После определения величины тока подбирается сечение проводов, а соответственно и кабеля в зависимости от напряжения, подводимого к первичной обмотке трансформатора. В зависимости от условий работы подбирается тип кабеля.

7.3.2.10 Более совершенным оборудованием для электроразогрева бетонной смеси являются установки, разработанные проф. А.С. Арбеньевым и усовершенствованные проф. Л.М. Колчеданцевым. Эти установки представляют собой трубу с электродами, закрепленными на внутренней или наружной трубе (рисунок 7.7). Такие установки помимо применения в заводских условиях удобны и для использования в производственных условиях (рисунок 7.8).

Технология электроразогрева строится следующим образом. Бетонная смесь, поступающая с завода или с приобъектного бетоносмесительного узла, подается в бункер с закрепленным на нем вибратором. Бункер соединен с наклонной трубой, и смесь из него постепенно с помощью вибровоздействия движется в трубу. Проходя по трубе, она нагревается и из отверстия с задвижкой на противоположном конце трубы выходит разогретой до требуемой температуры. По трубе бетонная смесь проходит в течение 1,5-2 минут, и за это время в основном разогревается растворная часть смеси, а от нее начинает нагреваться крупный заполнитель. За такой короткий промежуток времени зерна диаметром 20 мм и более достигнуть установленной для разогрева смеси температуры не смогут, поэтому процесс перераспределения внутреннего тепла продолжается и после выхода смеси из трубы. В зависимости от крупности заполнителя при температуре разогрева 80°С в течение 2 минут температура бетонной смеси по всей массе достигается через несколько минут после выхода из смесителя и при этом может снизиться на 15-20°С и составить 60-65°С.

Разогретая бетонная смесь должна быстро укладываться в опалубку, уплотняться и укрываться для дальнейшего выдерживания. Необходимо помнить, что уже через 15 минут после разогрева бетонная смесь начинает загустевать и схватываться. Поэтому организацию работ следует так осуществить, чтобы бетонную смесь уложить в течение 15 минут, пока она не потеряла своих пластичных свойств. Перегрузки разогретой бетонной смеси всегда связаны с теплопотерями в окружающую среду, вследствие чего ее температура и эффективность метода снижаются.

Оборудование для порционного или непрерывного электроразогрева бетонной смеси необходимо регулярно очищать от налипшего или затвердевшего бетона и промывать водой.

Это делается обязательно при перерывах в работе и в конце дня после завершения бетонирования.

7.3.2.11 Предварительный электроразогрев бетонной смеси требует строгого соблюдения требований техники безопасности, изложенных в СНиП 12-03-2001 «Безопасность труда в строительстве. Часть 1. Общие требования», СНиП 12-04-2002 «Безопасность труда в строительстве. Часть 2. Строительное производство», а также правилами работы с электроустановками - ГОСТ 12.1.030-81 ССБТ «Электробезопасность. Защитное заземление, зануление». Кроме того, для строительных объектов обычно разрабатываются специальные инструкции для конкретных установок, которые прилагаются к указанным документам.

7.3.2.12 Металлические части установок для электроразогрева смеси, находящиеся под напряжением, должны быть заземлены. Установки непрерывного разогрева и стенды для порционного разогрева оборудуются средствами защитного отключения электрического тока.

Рисунок 7.8. - Поворотный бункер с приставкой для термовиброобработки бетонной смеси (БП-ТВОБС) в условиях строительной площадки
а) при загрузке бетонной смесью; б) в процессе бетонирования; в) при очистке термовиброоргана.
1 - загрузочный бункер; 2 - термовиброорган; 3 - электрошкаф с пультом управления.

7.3.2.13 До начала электроразогрева обязательно проверяется электроизоляция подводящих электрических кабелей, надежность изоляции электродов от корпусов емкостей и установленных на них вибраторов. Заземление установки производится гибким кабелем с медной жилой сечением не менее 10 мм2, проложенным с силовым подводящим кабелем и скрепленного с ним.

7.3.2.14 Цикличный электроразогрев бетонной смеси в бункерах производится на специальных огороженных стендах. При включении напряжения вход людей на стенд запрещается.

7.3.2.15 Категорически запрещается оставлять под напряжением установки электроразогрева без надзора, производить их очистку и ремонт при включенном напряжении. Нельзя эксплуатировать технически неисправные установки и допускать для их обслуживания необученный персонал.

7.4 Метод электропрогрева (электродный прогрев)

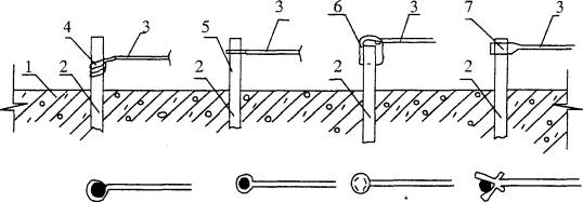
7.4.1 Электропрогрев (электродный прогрев) бетона является одним из экономичных методов термообработки, поскольку проходящий сквозь бетон электрический ток разогревает изнутри всю массу материала. Целесообразна область применения прогрева бетона в неармированных или малоармированных конструкциях. Для прогрева бетона в густоармированных конструкциях и тем более армированных прокатными стальными профилями электропрогрев не годится из-за замыкания электродов на арматуру и из-за неравномерного прогрева вследствие формирования неравномерного электрического поля из-за искажающего воздействия на него стальной арматуры (рисунок 7.9). Электропрогрев производится переменным электрическим током при напряжении не выше 120 В.

Электропрогрев бетона подразделяется на сквозной и периферийный.

Рисунок 7.9 - Схема разновидностей электропрогрева
а) сквозной прогрев ленточными нашивными на опалубку электродами; б) и в) сквозной прогрев и электрическое поле при прогреве армированных конструкций; г) прогрев стержневыми электродами; д) прогрев групповыми электродами; е) периферийный прогрев; ж) прогрев струнными электродами; з) невозможность применять электропрогрев при высоком каркасном армировании конструкции.
1 - бетон; 2 - электроды; 3 - опалубка; 4 - арматура; 5 - электрическое поле.

7.4.2 Сущность сквозного электропрогрева заключается в пропускании электрического тока через весь объем прогреваемой конструкции. Электрический ток проходит через бетон между электродами, располагаемыми на противоположных гранях прогреваемого конструктивного элемента или устанавливаемыми непосредственно в бетон. Подведение электрического тока к бетону при сквозном электропрогреве осуществляется с помощью электродов.

Основным свойством, обуславливающим прохождение электрического тока, является электропроводность бетона или обратная ей характеристика - удельное электрическое сопротивление, которое в зависимости от различных факторов колеблется в пределах от 5 до 20 Ом·м. Поэтому для обеспечения эффективного прогрева расстояние между электродами определяется в соответствии с типом электродов и на основе электрофизических свойств бетона при условии напряжения в сети не более 120 В, но в любом случае оно не должно превышать 50 см.

7.4.3 Сущность периферийного электропрогрева заключается в пропускании электрического тока через поверхностные зоны конструкции, которые нагреваются вследствие выделения джоулева тепла. Остальной объем бетона нагревается за счет передачи тепла из этих зон вследствие теплопроводимости и экзотермического тепловыделения при твердении бетона.

Периферийный прогрев производится ленточными электродами, закрепленными на опалубке. В качестве электродов применятся кровельная сталь шириной полос не менее 20 мм. При более широких ленточных электродах прогрев будет проходить лучше, поскольку увеличивается площадь соприкосновения электрода с бетоном. Толщина ленточных электродов значения не имеет и она может составить даже 100 микрон, важно чтобы электрод нигде не прерывался.

Подключаются ленточные электроды или каждый на свою фазу или группы на противоположных сторонах прогреваемой конструкции на разные фазы.

7.4.4 Стержневые электроды делаются из стальных прутков диаметром не менее 5 мм, на практике чаще применяются электроды из гладкой арматуры диаметром 8-10 мм. Для электропрогрева электроды устанавливают в бетон или группами (рисунок 7.9 д), или отдельными стержнями (рисунок 7.9 г)

Подключение электродов к питающим проводам производится отпайками (отводами). Групповые электроды на фазу подключаются все вместе, отдельные стержневые или каждый на свою фазу или электроды на противоположных сторонах прогреваемой конструкции подключаются всей группой на каждой стороне к разным фазам (рисунки 7.9 а, б). Соединение отпайки с электродом производится по разному (скруткой, петлей, кольцом, зажимом (рисунок 7.10). По завершении прогрева электроды остаются в бетоне и только обрезаются торчащие из конструкции концы. Во избежание больших отходов металла выходящие из бетона концы электродов следует делать по возможности короче.

Для электропрогрева нельзя применять алюминиевые электроды из-за взаимодействия алюминия с гидроксидом кальция и образования водорода, блокирующего электрод.

При установке электродов необходимо строго соблюдать расстояние между ними - ставить их параллельно во избежание неравномерного прогрева. Электроды должны быть чистыми от коррозионных пленок, масла, налипшего и затвердевшего цементного раствора.

Это поможет избежать перегрева бетона на контакте с электродом и закипания жидкой фазы, что приведет к выключению электродов из работы. Расстояние между электродами при любой модификации определяется расчетом, а обычно в зависимости от применяемого напряжения электрического тока оно составляет в среднем 15-30 см.

7.4.5 Струнные электроды выполняются из стержней диаметром 5-10 мм, которые после укладки бетона втапливаются в него или устанавливаются внутри конструкции по всей ее длине и тщательно изолируются от арматуры. Для прогрева эти электроды подключаются на фазу, а роль второго электрода выполняет арматура, которая заземляется, а в отдельных случаях подключается на фазу.

7.4.6 При проектировании и осуществлении электропрогрева бетона сначала определяют тип электродов и их размеры, далее назначают технологические параметры, затем рассчитывают электрические параметры и проверяют соответствие выделяемой электрической мощности требуемой.

К технологическим параметрам относятся: скорость разогрева, температура изотермического прогрева, продолжительность прогрева, прочность бетона к окончанию тепловой обработки, скорость остывания. Технологические параметры должны удовлетворять требованиям раздела 5.

К электрическим параметрам относятся: напряжение в сети, сила тока, выделяемая электрическая мощность.

Рисунок 7.10 - Схема подключения электрода к электропитанию при электропрогреве различными методами
1 - бетон; 2 - электрод; 3 - питающий провод; 4 - скрутка; 5 - кольцо; 6 - бронзовый колпачок; 7 - бронзовый зажим.

7.4.7 Расчет параметров электродного прогрева бетона осуществляется в следующей последовательности:

а) определяют тип электродов и их размеры;

б) назначают технологические параметры:

- температура прогрева;

- скорость разогрева;

- продолжительность изотермического прогрева;

- скорость остывания;

в) рассчитывают электрические параметры:

- удельное электрическое сопротивление бетона;

- потребную электрическую мощность на период разогрева бетона;

- то же на период изотермического прогрева;

- то же на период остывания;

- величину напряжения электрического тока на период разогрева;

- то же на период изотермического прогрева;

- максимальную силу тока;

- сечение подводящих проводов;

г) проверяют соответствие выделяемой электрической мощности требуемой.

7.4.8 Тип электродов и схему их размещения в конструкции выбирают исходя из габаритов и размеров конструкции, степени армирования и вида арматурных изделий с учетом положений настоящего раздела.

7.4.9 С учетом положений раздела 5 настоящего документа назначают технологические параметры.

7.4.10 Удельное электрическое сопротивление r является физическим свойством бетона. На величину электрического сопротивления бетона существенное влияние оказывает содержание щелочей в цементе, введение химических добавок-электролитов (противоморозные добавки), а также количество жидкой фазы в бетоне. Увеличение жидкой фазы в бетоне вызывает уменьшение r, а уменьшение количества жидкой фазы в бетоне - его увеличение. Химические добавки-электролиты снижают r, поверхностно-активные и воздухововлекающие добавки не изменяют r.

Для ориентировочных расчетов удельное электрическое сопротивление бетонов на портландцементе ПЦ 500-Д0 ОАО ПО «Якутцемент» с комплексными добавками НН + ЛСТ, НН + С-3 и НН + ПФМ-НЛК при расходе воды 180 л/м3 можно принять равным rнач = 3,3 Ом·м; rmin =1,47 Ом·м.

7.4.11 Расчет необходимого напряжения на электродах в период подъема температуры бетона следует осуществлять по расчетной величине удельного электрического сопротивления

                                                                                                    (7.16)

Определение удельного электрического сопротивления бетона строительной лабораторией производится до начала электропрогрева по методике, приведенной в приложении Г .

7.4.12 При проектировании электрических параметров электропрогрева целесообразно определять требуемую удельную электрическую мощность, т.е. мощность, приходящуюся на 1 м3 бетона.

Удельная электрическая мощность для выдерживания заданного режима определяется по следующим формулам:

на период подъема температуры

              (7.17)

на период изотермического прогрева

                                                                                          (7.18)

где P1 - мощность, необходимая для разогрева бетона, кВт/м3;

P2 - мощность, необходимая для разогрева опалубочной системы, кВт/м3;

P3 - мощность, необходимая для восполнения теплопотерь в окружающую среду в процессе разогрева бетона, кВт/м3;

P4 - мощность, необходимая для восполнения теплопотерь в окружающую среду в процессе изотермического прогрева, кВт/м3;

0,8 - мощность, эквивалентная теплу, выделяющемуся за время прогрева вследствие экзотермии цемента,

сб - удельная теплоемкость бетона, принимается равной 1,05 кДж/(кг·°С);

gб - плотность бетона, кг/м ;

tб.н - начальная температура бетона перед началом прогрева, °С;

tи - температура изотермического прогрева, °С;

tн.в - температура наружного воздуха, °С;

di, gi, di - соответственно удельная теплоемкость, кДж/(кг·°С), плотность, кг/м3 и толщина, м, отдельных слоев опалубки;

К - коэффициент теплопередачи опалубки или укрытия неопалубленных поверхностей, Вт/(м2·°С), определяемой по формуле (5);

Мп - модуль поверхности конструкции, определяемый по приложению В;

tп - продолжительность подъема температуры от tб.н до tи, ч.

7.4.13 Выбор трансформатора осуществляется исходя из максимальной потребности (кВт) с учетом объема одновременно прогреваемого по формулам:

Pр = (P1 + P2 + P3)Vб                                                                                                   (7.19)

Pи = (P4 - 0,8)Vб                                                                                                          (7.20)

7.4.14 Определение электрических параметров разогрева и изотермического прогрева бетона производят исходя из следующего условия:

напряжение в сети U, В, составит:

                                                                                                                 (7.21)

сила тока J, А, подводимая к каждой паре электродов, составит:

J = U/R ,                                                                                                                      (7.22)

где Р - требуемая удельная электрическая мощность при разогреве или изотермическом прогреве бетона;

R - электрическое сопротивление бетона, Ом, определяемое по формуле:

                                                                                                               (7.23)

где rрасч - расчетное удельное электрическое сопротивление бетона, Ом·м;

b - расстояние между разноименными электродами, м;

S - площадь электродов, м2.

7.4.15 Расчет выделяемой электрической мощности Р, кВт/м3, осуществляется по следующим формулам:

а) При электропрогреве с помощью пластинчатых электродов:

                                                                                                              (7.24)

где rрасч - расчетное удельное электрическое сопротивление бетона, Ом·м;

b - расстояние между разноименными электродами, м;

б) при прогреве бетона полосовыми электродами:

- при расположении электродов с одной стороны конструкции (периферийный прогрев):

                                                                             (7.25)

- при расположении электродов по всей поверхности конструкции (периферийный прогрев конструкций толщиной более 300 мм):

                                                                                (7.26)

- при сквозном электропрогреве с двусторонним размещением электродов:

                                                                               (7.27)

где a - коэффициент при электропрогреве, равный 3/2 при трехфазном токе и 2 - при однофазном токе;

b - расстояние между разноименными электродами при периферийном прогреве, м;

h - расстояние между одноименными электродами при сквозном прогреве, м;

В - толщина конструкции, м

а - ширина полосового электрода, м;

в) при прогреве бетона стержневыми электродами:

- при расположении стрежневых электродов в шахматном порядке:

                                                                                 (7.28)

где d - диаметр стержневого электрода;

b - расстояние между разноименными электродами;

- при расположении стержневых электродов плоскими группами:

                                                                            (7.29)

где b - расстояние между плоскими электродными группами (разноименными электродами, м);

h - расстояние между электродами в группе, м;

г) при прогреве бетона струнными электродами:

- при прогреве конструкции с четырьмя арматурными стержнями в углах сечения в деревянной опалубке:

                                                                                        (7.30)

где D - диаметр стержневого электрода, м;

В - сторона сечения конструкции, м;

b - расстояние от оси струны (электрода) до осей арматурных стержней в углах сечения, м;

- при прогреве конструкций квадратного или близкого к квадратному сечению с часто

расположенными на периферии продольными арматурными стержнями:

                                                                                                  (7.31)

Если диаметр струнного электрода, определенный расчетом, превышает 12-16 мм, для экономии металла и увеличения равномерности температурного поля в бетоне рекомендуется одиночную струну заменить пучком струнных электродов меньшего размера диаметра. Условие электрической эквивалентности определяется формулой:

                                                                                                          (7.32)

где D1 - диаметр пучка электродов, м;

d1 - диаметр струнных электродов пучка, м.

7.4.16 При любом виде электропрогрева неопалубленные части конструкции должны тщательно укрываться теплоизоляционным материалом по пароизоляции во избежание теплопотерь и влагопотерь из бетона во время прогрева в окружающую среду. Режимы прогрева должны быть мягкими по возможности с медленным подъемом температуры до изотермического прогрева и особенно при остывании (рисунок 7.11). Оптимальная температура изотермического прогрева 60°С, но можно температуру поднять и до 80°С.

7.4.17 При соединении электродов с питающими проводами необходимо стремиться к равномерной загрузке фаз во избежание их перекоса.

7.5 Обогрев бетона в греющей опалубке

7.5.1 Сущность способа заключается в обогреве бетона путем передачи теплоты от греющей опалубки в поверхностные слои бетона. Теплота в толще бетона распределяется в основном путем теплопроводности.

Рисунок 7.11 - Режим прогрева бетонов класса по прочности В25-В30 на портландцементе М400-500 в зависимости от температуры изотермического прогрева
Скорость подъема температуры 10-15°С/ч, скорость остывания 5-8°С/ч.

7.5.2 Греющую опалубку следует применять для обогрева тонкостенных и среднемассивных конструкций с любой степенью армирования при температуре наружного воздуха до минус 40°С.

Греющую опалубку можно использовать для компенсации тепловых потерь пристенными слоями бетона в массивных конструкциях по способу «регулируемый термос».

Эффективный прогрев бетона в греющей опалубке происходит на глубину 20 см. Если возводимые стены имеют большую толщину, например, 40 см, такие стены надо прогревать с двух сторон.

7.5.3 Греющая опалубка является тепловой установкой с различными нагревателями. Она представляет собой конструкцию, в которой нагреватели устанавливаются с тыльной стороны палубы. В качестве нагревателей может применяться греющий провод или углеграфитовые ленты шириной 10 см, хорошо изолированные двумя слоями стеклоткани (рисунок 7.12).

Рисунок 7.12 - Греющая опалубка
1 - опалубка; 2 - деревянный брусок 3´3 или 4´4 см; 3 - греющий провод; 4 - теплоизоляция; 5 - защитное покрытие

Греющая опалубка должна хорошо теплоизолироваться с наружной стороны с целью сокращения теплопотерь в окружающую среду. Теплоизоляцию снаружи защищают от увлажнения при снегопадах и дождях, а также от механических повреждений.

7.5.4 Напряжение для нагревателей в греющей опалубке можно применять до 220 В. Поэтому производство греющих опалубок следует производить только в заводских условиях, а их ремонт - в специализированных предприятиях.

7.5.5 Расчет параметров кондуктивного нагрева бетона осуществляется в следующей последовательности:

а) определяют конструкцию греющей опалубки и тип нагревателя;

б) назначают технологические параметры:

- температура прогрева;

- скорость разогрева;

- продолжительность изотермического прогрева;

- скорость остывания;

в) рассчитывают энергетические параметры:

- потребную электрическую мощность на период подъема температуры;

- то же на период изотермического выдерживания;

- то же на период остывания;

- удельную электрическую мощность нагревателя для обогрева 1 м2 бетонной поверхности на стадии подъема температуры;

- то же в период изотермического выдерживания бетона;

- требуемая удельная мощность нагревателя (на 1 пог. м);

- величину напряжения и силу электрического тока в нагревателе для подъема температуры;

- то же на период изотермического выдерживания бетона;

- допустимые напряжения, ток, минимальное сопротивление нагрузки принятого источника питания (по паспорту);

- длину нагревателя, подсоединяемого к источнику питания;

- количество полос нагревателя, подключаемого к источнику питания;

- количество параллельных ветвей, обеспечивающих полную загрузку трансформатора по току;

- сечение подводящих проводов;

г) назначают схему коммутации нагревателей на различных стадиях обогрева бетона;

д) проверяют соответствие выделяемой нагревателями мощности при принятой схеме коммутации с требуемой;

е) производят проверку соответствия нагрузки при принятой схеме коммутации с допустимой нагрузкой.

7.5.6 Мощность Рп, необходимая в период подъема температуры, складывается из мощности нагрева бетона Рб, мощности, необходимой для нагрева собственно нагревателя Рн разделительной стенки Рр.с. и опалубки Роп, а также мощности, которую следует затратить для компенсации теплопотерь в окружающую среду Ртп, за вычетом эквивалентной интенсивности тепловыделения бетона Рэ.р.. При кондуктивном нагреве в период подъема температуры требуемая мощность составляет:

Рп = Рб + Рн  + Рр.с. + Роп + Ртп - Рэ.р.                                                                        (7.33)

Мощность, необходимая для нагрева бетона Рб определяется по формуле

                                                                                                 (7.34)

где lб - коэффициент теплопроводности бетона;

tн.к. - конечная температура нагревателя;

tб.н. - начальная температура бетона;

d - толщина уложенного слоя бетона при одностороннем обогреве или половина его - при двустороннем прогреве;

aб - коэффициент температуропроводности бетона;

tр - продолжительность разогрева бетона.

Мощность, необходимая для нагрева нагревателя Рн, определяется по формуле

                                                      (7.35)

где сн, gн, dн - соответственно удельная теплоемкость, плотность материала и толщина нагревателя;

tн.н. - конечная температура нагревателя, tн.н. = (tб.н. + tв)/2, °С.

По аналогии мощность, необходимая для нагрева разделительной стенки, Рр.с. составит:

                                                                     (7.36)

где сp.c.i, gp.c.i, dp.c.i - соответственно удельная теплоемкость, плотность материала и толщина слоев разделительной стенки;

Мощность, необходимая на нагрев опалубки, равна:

                                                                         (7.37)

где соп.i, gоп.i, dоп.i - соответственно удельная теплоемкость, плотность материала и толщина слоев опалубки.

Мощность, затрачиваемую для компенсации потерь в окружающую среду, Ртп определяют по формуле

                                                              (7.38)

где К - коэффициент теплопередачи опалубки.

Мощность, эквивалентная интенсивности тепловыделения бетона Рэ.р., определяется по формуле

                                                                   (7.38)

где Qt - удельная теплота гидратации цемента;

Ц - удельное содержание цемента в бетоне.

7.5.7 Мощность Ри, затрачиваемая в период изотермического выдерживания бетона, расходуется на компенсацию теплопотерь в окружающую среду Ртп.и за вычетом мощности, эквивалентной тепловыделению цемента на этой стадии термообработки Рэ.р.и:

Ри = Ртп.и - Рэ.р.и ,                                                                                                        (7.39)

где  Ртп.и = К·(tн.к. - tв), а значение Рэ.р.и определяется по формуле (7.38).

7.5.8 Удельная электрическая мощность нагревателя Руд (кВт/м2), необходимая для обогрева 1 м2 бетонной поверхности на стадии подъема температуры и изотермического выдерживания, определяется по формуле

                                                                                                                (7.40)

где Р - соответственно Рп и Ри для

п = 1 для одностороннего и п = 2 для двухстороннего обогрева.

По величине необходимой мощности на 1 м2 греющей опалубки определяют удельную мощность линейного нагревателя Руд (кВт/м), электрические параметры 1 пог. м нагревателя: ток Iн, А, и напряжение Uн, В.

Далее с учетом допустимых значений напряжения, тока и минимального сопротивления нагрузки определяются длина и количество полос нагревателя, подключаемых к источнику питания, назначается схема их коммутации и проверяется мощность, выделяемая нагревателями при принятой схеме коммутации..

7.5.9 При низких температурах наружного воздуха за час до укладки бетона нагреватели можно включить и укладывать его в теплую опалубку.

7.5.10 В колоннах прогрев бетона в греющей опалубке целесообразно осуществлять со всех четырех сторон (граней), что обеспечит быстрое формирование равномерного температурного поля по всей массе бетона. Для прогрева бетона в перекрытиях и балках подача тепла будет поступать в конструкцию снизу, а в балках еще и с боков. Неопалубленную часть конструкции перекрытия следует утеплить по пароизоляции и для формирования равномерного температурного поля в конструкции этого вполне достаточно.

7.5.11 Режим обогрева бетона в греющей опалубке будет мягким с температурой на поверхности палубы не более 80°С (достаточно будет и 60°С). Продолжительность прогрева до достижения бетоном 70% прочности от марки должна составить: при 80°С на поверхности палубы 10 часов, при температуре 60°С - 12-14 часов. Распалубливается конструкция только после обеспечения на поверхности бетона температуры, отличающейся от температуры окружающего воздуха не более чем на 20°С. Охлаждение бетона после прогрева осуществляется по возможности медленнее (4-10°С в час).

7.6 Обогрев бетона греющим проводом

7.6.1 Обогрев бетона греющим проводом происходит кондуктивно изнутри конструкции, поскольку источник тепловыделения - провод - находится непосредственно в ней. В этом большое преимущество метода, поскольку все тепло, выделяемое нагревателем, передается бетону.

7.6.2 Для обогрева бетона греющим проводом последний должен иметь жилу из металла с достаточно высоким сопротивлением. Для этой цели не годятся провода с медной или алюминиевой жилой. Греющий провод выпускается промышленностью специально для целей прогрева и обычно имеет жилу из стальной проволоки сечением 1,2 мм или 1,4 мм в полимерной электроизоляции.

В конструкции для прогрева бетона греющий провод устанавливается прядями длиной 25 м (при сечении 1,2 мм2) и 32 м (при сечении 1,4 мм2).

7.6.3 Для прогрева колонн 40´40 см, например, греющий провод удобнее устанавливать на арматурных гранях с расстоянием между струнами прядей 10 см. При высоте колонны 280 см с каждой стороны колонны устанавливают по 4 струны прядей. Всего на одну колонну потребуется две пряди, из которых каждая прядь указанной длины достаточна для обогрева двух граней колонны (рисунок 7.13). Пряди провода можно навивать на арматуру с расстоянием между струнами прядей 10 см. На одну колонну также потребуются две греющих полных пряди. Для прогрева стен греющий провод устанавливается с двух сторон с расстоянием между прядями 10 см (рисунок 7.14).

7.6.4 Для прогрева перекрытия греющий провод устанавливается только в нижней части конструкции с расстоянием между струнами прядей 10 см. В балках греющий провод устанавливается только в нижней части по одной пряди через 8-10 см между ними. Поверхность плиты перекрытия должна сразу после укладки бетона тщательно утепляться по пароизоляции (по полиэтиленовой пленке).

7.6.5 Греющий провод во всех конструкциях крепится к арматуре со стороны защитного слоя во избежание его повреждения или обрыва при укладке и уплотнении бетона вибратором.

Рисунок 7.13 - Установка греющего провода при прогреве колонн 40´40 см
А - установка греющего провода путем навивки на арматуру;
1 - арматурный стержень; 2 - арматурный хомут; 3 - греющий провод; 4 - места соединения греющего провода; 5 - питающие провода; 6 - соединительные провода с медной жилой.
Б - установка греющего провода вдоль арматуры на всю высоту колонны
1 - арматурный стержень; 2 - ветвь греющего провода; 3 - места соединения греющего провода; 4 - питающие провода; 5 - соединительные провода с медной жилой.

Рисунок 7.14 - Установка греющего провода при прогреве бетона в стенах
1 - арматурный каркас; 2 - греющий провод; 3 - места соединения греющего провода; 4 - питающие провода; 5 - соединительные провода с медной жилой.

Крепление производится любым электроизоляционным материалом через 60-80 см в средне натянутом состоянии провода.

Во всех конструкциях греющий провод желательно располагать вдоль арматурного стержня, но не между стержнями.

7.6.6 Греющий провод для прогрева бетона в колоннах и стенах устанавливается сразу же после завершения монтажа арматуры. Установленный и закрепленный провод проверяется путем включения на одну минуту для проверки его целостности и работоспособности. То же второй раз проверяется после установки опалубки. Включать провод на воздухе на более длительное время нельзя во избежание оплавления электроизоляции. Подключение греющего провода к питающим проводам должно осуществляться путем отвода провода с медной жилой, который при подаче к греющему проводу напряжения не нагревается. Места соединения греющего провода с отводом (проводом с медной жилой) должны обязательно оставаться в бетоне, но не на открытом воздухе, во избежание его перегрева и расплавления электроизоляции. За прогревом бетона обязательно осуществляется температурный контроль. В случае, если температура в бетоне поднимается более 80°С, подачу напряжения следует прекратить и только после падения температуры в бетоне до установленной в соответствии с принятым режимом температуры изотермического прогрева, можно будет продолжать прогрев.

При прогреве бетона греющим проводом напряжение можно принять 220 В, с расходом электроэнергии примерно 80-100 кВт.ч/м3. Температурный контроль за прогревом бетона осуществляется при отключенном напряжении. На захватках, где прогревается бетон, кроме дежурного электрика и лаборанта никого из рабочих быть не должно.

Режимы прогрева бетона остаются такими же, как было ранее указано (рисунок 7.11) с продолжительностью в зависимости от температуры изотермического прогрева.

7.6.7 Прогрев бетона греющим проводом весьма удобен и его можно применять для прогрева конструкций с любым армированием, размерами и конфигурацией. Этот метод по расходу электроэнергии более экономичен, чем внешний обогрев. Обогрев греющими проводами монолитных конструкций может быть совмещен с другими способами обеспечения требуемой температуры твердения бетона: термоактивные опалубки, термоактивные гибкие покрытия, воздушный прогрев тепловыми генераторами.

7.6.8 При расчете определяют требуемую электрическую мощность, обеспечивающую нагрев бетона до требуемой температуры и изотермическое выдерживание с учетом нагрева опалубки, тепловых потерь в окружающую среду и собственного тепловыделения бетона.

При расчетах основными технологическими параметрами являются:

- удельная электрическая мощность, приходящаяся на единицу площади обогреваемых конструкций;

- равномерность температурного поля обогреваемой поверхности конструкции, обеспечиваемая необходимой плотностью укладки нагревательного провода или расстоянием (шагом) между смежными витками провода.

7.6.9 Удельная электрическая мощность, приходящаяся на единицу площади обогреваемых конструкций Руд (Вт/м2) определяется по формуле

Руд = P/F,                                                                                                                    (7.42)

где Р - суммарная электрическая мощность нагревателей, Вт;

F - площадь обогрева, м2.

7.6.10 Шаг расстановки греющих проводов (в) определяется по формуле

                                                                                                                (7.43)

где р - погонная нагрузка на провод, Вт/м.

7.6.11 Справочные данные о мощности наиболее широко применяемого греющего провода ПНСВ-1,2 в зависимости от погонной нагрузки на провод и напряжения представлены в приложении Д.

7.7 Воздушный обогрев бетона

7.7.1 Сущность метода заключается в конвективном обогреве бетона от подводимого теплового потока к прогреваемой конструкции.

7.7.2 Воздушный обогрев обычно осуществляется горячим воздухом, подаваемым по гибким рукавам или шлангам. Воздух с температурой 100-120°С подается в рукава от теплогенераторов электрических или работающих на жидком топливе.

При применении теплогенераторов, работающих на жидком топливе, образуется много выхлопных газов, которые надо из помещения отводить, ибо рабочим в загазованных помещениях нельзя работать. Поэтому с позиции экологии лучше применять электрические теплогенераторы.

При обогреве бетона в замкнутом пространстве обязательно следует устанавливать вентилятор для постоянного перемешивания воздуха, иначе в верхней части помещения температура может быть во много раз выше, чем в нижней.

7.7.3 Воздушный обогрев бетона можно выполнять или в замкнутом пространстве или при использовании приопалубочных штор из плотного брезента или какого-либо другого воздухонепроницаемого материала (рисунок 7.15). Желательно шторы делать утепленными, что сделает прогрев более эффективным.

Во всех случаях воздушного обогрева противоположные стороны прогреваемых конструкций должны утепляться, если они не обогреваются.

Неопалубленные поверхности перекрытий должны утепляться по пароизоляции.

При воздушном обогреве бетона с применением штор последние крепятся к опалубке или на специальном легком каркасе с зазором между опалубкой и шторами 20-30 см. Теплогенератор устанавливается на полу. Горячий воздух с температурой 100-120°С от теплогенератора по шлангам (лучше перфорированным) подается в зазор между опалубкой стен и шторами снизу, что позволяет воздушный обогрев сделать достаточно эффективным и относительно экономичным.

Рисунок 15 - Схема воздушного прогрева монолитного бетона с применением утепленных штор.
1 - железобетонная стена; 2 - железобетонное перекрытие; 3 - опалубка; 4 - утепленная штора; 5 - теплогенератор; 6 - шланг для подачи горячего воздуха; 7 - перфорированная труба; 8 - горячий воздух; 9 - теплоизоляция.

7.7.4 Теплогенераторы могут быть электрическими (таблица 7.3) или дизельными прямого или непрямого нагрева (таблицы 7.4 и 7.5), у последних КПД ниже по сравнению с электрическими.

7.7.5 При применении для получения горячего воздуха любых теплогенераторов особое внимание следует обращать на строгое соблюдение Правил пожарной безопасности (ППБ 01-03).

7.7.6 Выбор параметров конвективного прогрева следует осуществлять в определенной последовательности:

- рассчитывают требуемую мощность теплогенератора;

- выбор типа теплогенератора с учетом требуемой мощности;

- расчет температуры в приопалубочном пространстве;

- определение температуры в бетоне на основании численного метода тепловых балансов;

- расчет распределения прочности бетона на основании распределения температуры в прогреваемой конструкции через заданный период времени;

- сравнение рассчитанного значения прочности с требуемым по ППР.

Таблица 7.3 - Электрогенераторы, выпускаемые некоторыми отечественными предприятиями

Теплофизические характеристики

Марка электрокалорифера

ЭКО-60

ЭК-52

ЭК-40

ЭТВ4-30

СФО-25

СФОО-18

Мощность ТЭН, кВт

67,5

52,5

37,5

30,0

25,0

18,0

Производительность вентилятора, м3

4000

2600

2020

4100

1341

1000

Фирма-производитель

ОАО «Мовен» (Москва)

«Урал-

Микма Терм» (Миасс)

ООО «Сибпромкомплект»

«Тепло» (ОМСК)

ЗАО «Делсот» (Миасс)

ЗАО ПТК «Лингас» (Нижний Новгород)

Таблица 7.4- Дизельные теплогенераторы прямого нагрева «Термобиль»

Модель

Тепловая мощность, кВт

Расход топлива, л/ч

Производительность вентилятора, м /ч

Емкость бака, л

Т/ТА-16

18,6

1,8

600

15

Т/ТА-22

25,5

2,5

600

38

Т/ТА-40

46,4

4,5

1200

80

Т/ТА-80

92,8

9,0

2350

160

Таблица 7.5 - Дизельные теплогенераторы непрямого нагрева

Модель

Тепловая мощность, кВт

Расход топлива, л/ч

Производительность вентилятора, м3

Емкость бака, л

1/ТА-16

29

2,3

1200

40

1/ТА-40

46

4,5

2150

80

1/ТА-65

75

7,5

2400

120

7.7.7 Требуемая мощность теплогенератора должна превышать количество тепла, складывающегося из теплопотерь приопалубочного пространства через конструкцию стен, перекрытий Qопал, пола Qпол, штору, закрывающую в ход тоннель (помещение), Qшт и через приопалубочные шторы Оприоп.шт., а также расхода тепла на прогрев инфильтрирующегося через ограждения воздуха Qи

Qэл ³ Qопал + Qпол + Qшт + Qприоп.шт. + Qи                                                               (7.44)

7.7.8 Температуру воздуха внутри тоннеля (замкнутого помещения, t) и температуру воздуха в приопалубочном пространстве (t + Dt) можно найти, решив систему уравнений теплового баланса:

Qэл = Qопал + Qпол + Qшт + Оприоп.шт. + Qи                                                                   

Qопал = S[((t + Dt) - tнini·Fi·bi]/Ri,                                                                            

Qпол = [(t - tнini·Fпол·bi]/Rпол,                                                                            (7.45)

Qшт = [(t - tнini·Fшт·bi]/Rшт,                                                                                                                 

Qприоп.шт. = SDt·Fприоп.шт./Rприоп.шт.,                                                                             

где Fi, Fпол, Fшт и Fприоп.шт. - соответственно площадь стен и перекрытий, пола, шторы, закрывающей вход в тоннель и приопалубочных штор;

t - расчетная температура воздуха внутри тоннеля;

tнi - температура наружного воздуха при расчете потерь теплоты через наружные ограждения или температура воздуха более холодного помещения при расчете потерь через внутренние ограждения прогреваемого пространства;

ni - коэффициент, учитывающий фактическое понижение расчетной разности температур (tтi - tнi) для ограждений, которые отделяют обогреваемое помещения от не обогреваемых;

bi - коэффициент, учитывающий дополнительные потери тепла через ограждение;

Ri, Rпол, Rшт и Rприоп.шт. - соответственно сопротивление теплопередаче стен и перекрытий, пола, шторы, закрывающей вход в тоннель, и приопалубочных штор.

Для приближенного расчета значение Dt можно принять в интервале от 12 до 18°С.

7.7.9 Для определения температуры в бетоне прогреваемая конструкция разбивается на элементарные объемы-симплексы: внутри каждого из них намечается узловая точка. Затем составляется уравнение энергетического баланса для каждого элементарного объема: количество тепла, воспринятое (или отданное) от соседних элементов, обуславливает теплосодержание рассматриваемого. При трехмерном температурном поле температура произвольного элемента, ti,j,k через период времени Dt составит:

                     (7.45)

где ti,j,k... ti,j,k+1 - температура в соответствующих точках;

Ri-1,j,k...Ri,j,k+1 - термическое сопротивление между соответствующими узлами в направлениях х, у, z;

Dх, Dy, Dz - шаг узловых точек в направлении соответствующих осей;

DVi,j,k - объем рассматриваемого элемента;

 - температура в узловой точке в моменты времени t, t + Dt;

ri,j,k, ci,j,k - соответственно плотность и удельная теплоемкость элемента.

8 Контроль за производством работ и качеством бетона

8.1 При производстве бетонных работ в соответствии со СНиП 52-01-2003 осуществляют входной, операционный и приемочный контроль.

8.2 Входной контроль заключается в проверке соответствия бетонных смесей, предназначенных для бетонирования монолитных железобетонных конструкций, к моменту укладки следующим требованиям:

- обеспечивать затвердевшему бетону в указанные сроки проектные физико-механические свойства (прочность, морозостойкость и т.д.);

- свойства бетонной смеси должны соответствовать технологии производства бетонных работ, включающей сроки и условия твердения бетона, способы, режимы приготовления и транспортирования бетонной смеси и другие особенности (ГОСТ 7473, ГОСТ 10181), что подтверждается подбором состава бетона в соответствии с ГОСТ 27006;

- иметь отклонение от заданной подвижности не более ± 1см;

- температура бетонной смеси должна соответствовать требованиям технологической карты или регламента, разрабатываемых в составе ППР.

Периодичность определения свойств бетонной смеси и бетона должна соответствовать требованиям технологической карты или регламента.

8.3 Операционый контроль проводится по следующим технологическим процессам: подготовительным работам, укладке и уплотнению бетонной смеси, по выдерживанию бетона (уход за бетоном) и распалубке. Перечень технологических процессов, подлежащих контролю, способы и объем контроля представлены в таблице 8.1.

8.4 Приемку бетонных и железобетонных конструкций после их возведения производить в соответствии с требованиями СНиП 12-01, СНиП 52-01 и СНиП 3.03.01.

Таблица 8.1 - Перечень технологических процессов, подлежащих контролю

№ п/п

Наименование технологических процессов, подлежащих контролю

Предмет контроля

Способ контроля

Время проведения контроля

Ответственный за контроль

Технические характеристики оценки качества

Документы подтверждающие результаты контроля

1

2

3

4

5

6

7

8

1

Подготовительные работы

Качество выполнения опалубки

Визуально

До начала бетонирования

Мастер

Наличие акта приемки опалубки

Акт приемки опалубки

Состояние арматуры и закладных деталей

Визуально

До начала бетонирования

Мастер

Наличие акта приемки армирования

Акт приёмки армирования

Состояние поверхности опалубки и арматуры

Визуально

Перед приемкой бетонной смеси

Мастер

Отсутствие грязи, мусора, снега и наледи в опалубке и на арматуре

Выполнение мероприятий по утеплению и обогреву транспортной и приемной тары, бетона конструкции

Визуально

До начала бетонирования

Прораб, мастер

Наличие утепляющих материалов в необходимых объемах, надежность обеспечения обогрева тары

 

Состояние изоляции проводов, коммутационной сети, понижающих трансформаторов и другого электрооборудования.

Визуально

До начала бетонирования

Мастер, электромонтер

Отсутствие механических повреждений

 

2.

Укладка бетонной смеси

Качество бетонной смеси (подвижность)

Конус, визуально

До укладки в конструкцию

Мастер, строительная лаборатория

Марка по удобоукладываемости смеси устанавливается по техническому заданию (техническому условию на поставку смеси)

Журнал бетонирования конструкций, приложение 3

Отбор проб на прочность (при необходимости контроля марки и при применении безобогревного метода бетонирования)

Визуально, формы

В процессе приемки смеси

Образцы должны быть хорошо уплотнены и сразу поставлены в условия, принятые при подборе состава бетона

 

Температура бетонной смеси и наружного воздуха

Термометр, журнал

В процессе приёмки смеси

Согласно технологической карте

 

Соблюдение технологии укладки бетона

Визуально, журнал

В процессе укладки

Мастер

Согласно технологической карте

 

3.

Уплотнение бетонной смеси

Соблюдение технологии уплотнения

Визуально

В процессе укладки

Мастер

Перекрываемость полос уплотнения должна составлять 10... 15 см. Продолжительность вибрирования на одной позиции 10... 20 сек.

 

4.

Уход за бетоном при твердении

 

 

 

 

 

 

4.1.

Укладка пароизолирующего слоя на неопалубленную поверхность

Соблюдение материала и толщины

Визуально

В процессе укладки

Мастер

Согласно технологической карте

Зафиксировать в температурном листе, приложение Ж

4.2.

Безобогревный метод

Температура бетонной смеси после уплотнения

Термометр,

После уплотнения бетонной смеси

Мастер, строительная лаборатория

По технологической карте, раздел 5 настоящего документа

Температурный лист, приложение Ж

Соблюдение влажностного и температурного режима

Термометр, визуально, журнал бет. работ (прил. 3)

В процессе твердения

Мастер

 

Запись в журнале бетонных работ

Условия хранения контрольных образцов

Визуально,

В процессе твердения

Мастер

9 образцов должны твердеть на конструкции под опилками: 3 шт. -при распалубке; 3 шт.- в 28 сут; 3 шт. - при загружении конструкции или другие условия по технологической карте

Запись в журнале бетонных работ, приложение Ж

4.3.

Электрообогрев бетона

Температура бетонной смеси после уплотнения

Термометр

После уплотнения бетонной смеси

Мастер, строительная лаборатория

Не менее чем на 5 °С выше температуры замерзания бетонной смеси

Температурный лист, приложение Ж

Правильность коммутации проводов, кабелей

Визуально

Перед подачей напряжения

Мастер, Электромонтер

 

Величина напряжения и сила тока в цепи

Инструментально

После подачи напряжения

Электромонтер

Согласно технологической карте

Соблюдение влажностного и температурного режима

Термометр, визуально

В процессе твердения. Периодичность замеров: в период подъема темп. - через 1 ч. в процессе изотерм. прогрева - через 2 ч. в период остывания - раз в сутки. Температуру воздуха замеряют один раз в сутки.

Мастер

Согласно технологической карте

5.

Распалубка

Разность температур наружных слоев бетона и воздуха при распалубке

Термометр

Перед распалубкой

Мастер

Устанавливается по разделу 5 настоящего документа

Запись в журнале бетонных работ

6.

Приемка конструкций

Качество поверхности, отклонение горизонтальных плоскостей, размеров поперечного сечения, наличие трещин, однородность бетона

Визуально, метр, правило

После распалубки

Мастер

Предельные отклонения по табл.11 СНиП 3.03.01-87

Акт приемки конструкций, журнал операционного контроля

Определение прочности

По фактическому температурному режиму с использованием графиков нарастания прочности бетона (данные ЯкутПНИИС, прил.Е)

Перед распалубкой и загружением

Прораб, мастер

При распалубке - не менее 70% Rnp. При загружении конструкции проектной нагрузкой - не менее 100% Rnp, а также по технологической карте

Приложение A (справочное)

Расчетная температура наружного воздуха, °С

Таблица А.1

Улусы, населенные пункты

Расчетная температура наружного воздуха, °С, мес.

Скорость ветра, м/с

IХ

X

XI

ХII

I

II

III

IV

V

1

2

3

4

5

6

7

8

9

10

11

Алданский

 

 

 

 

 

 

 

 

 

 

Алдан

5,2

-6,3

-19,7

-26,5

-27,5

-25,2

-16,7

-5,6

3,9

4,1

Буяга

4,7

-7,5

-26,0

-36,4

-37,6

-33,6

-21,6

-6,9

5,1

-

Добролет

4,5

-7,5

-23,2

-31,9

-32,6

-28,6

-17,3

-5,7

4,7

-

Канкунский

1,7

-10,6

-23,2

-30,3

-31,7

-29,8

-21,4

-10,8

0,5

-

Томмот

5,5

-6,7

-24,4

-33,9

-35,5

-31,6

-20,0

-5,8

5,4

-

Учур

6,7

-5,2

-22,2

-32,0

-33,3

-28,6

-17,1

-3,5

7,0

-

Ыллымах

3,5

-8,3

-20,8

-27,3

-28,7

-26,8

-17,9

-7,8

1,9

-

Ленский

 

 

 

 

 

 

 

 

 

 

Витим

6,4

-3,4

-18,6

-27,6

-29,2

-26,9

-16,1

-3,9

5,7

4,9

Ленек

5,9

-4,5

-20,4

-28,9

-29,8

-27,6

-16,5

-4,2

5,5

-

Нюя

6,8

-3,5

-20,1

-28,6

-30,0

-26,8

-15,9

-3,5

6,3

5,3

Мирнинский

 

 

 

 

 

 

 

 

 

 

Мирный

5,1

-7,1

-23,2

-30,2

-31,8

-28,7

-16,7

-6,8

3,7

-

Туой-Хая

5,4

-6,3

-23,6

-31,2

-33,2

-29,3

-18,8

-6,4

6,4

3,0

Сюльдюкар

4,5

-7,4

-26,9

-ЪА,2_

-37,6

-31,9

-22,9

-8,3

4,7

-

Нерюнгринский

 

 

 

 

 

 

 

 

 

 

Нагорный

4,3

-7,7

-22,1

-29,0

-29,6

-26,4

-18,0

-7,0

3,2

6,6

Токко

3,6

-9,3

-27,0

-37,8

-39,8

-34,5

-22,9

-8,9

3,1

-

Чульман

4,5

-7,6

-24,7

-34,9

-36,7

-31,9

-20.0

-7,0

4,0

2,3

Олекминский

 

 

 

 

 

 

 

 

 

 

Дикимдя

5,6

-5.4

-22,9

-33,1

-34,7

-31,4

-19,1

-4.4

6,1

-

Олекминск

5,9

-5,0

-21,6

-30,8

-32,2

-28,8

-16,8

-4,2

6,2

3,5

Тяня

5,1

-5,9

-22,6

-32,2

-33,1

-29,9

-18,2

-4,5

5,7

-

Сунтарский

 

 

 

 

 

 

 

 

 

 

Сунтар

5,6

-6,1

-24,1

-32,2

-33,7

-30,1

-19,3

-6,0

5,6

3,3

Эльгяй

5,1

-6.7

-23,4

-33,9

-35,4

-29,5

-19,2

-7,1

4,6

-

Амгинский

 

 

 

 

 

 

 

 

 

 

Амга

5,3

-8,9

-29,6

-40,6

-42,9

-38,0

-24,0

-7,5

6,1

2,5

Тегультя

4,8

-8,1

-27,6

-38,5

-40,1

-35,1

-22,4

-6,9

5,7

-

Верхневилюйский

 

 

 

 

 

 

 

 

 

 

Верхневилюйск

4,6

-8,0

-25,8

-35,7

-37,7

-32,5

-21,9

-8,4

4,1

-

Вилюйский

 

 

 

 

 

 

 

 

 

 

Вилюйск

5,5

-7.7

-26,3

-35,9

-37,8

-32,1

-20,2

-7,5

4,3

3,0

Горный

 

 

 

 

 

 

 

 

 

 

Бердигестях

3,9

-8,7

-28,2

-38,9

-40,5

-35,7

-22,9

-8,3

4,7

-

Нюрбинский

 

 

 

 

 

 

 

 

 

 

Нюрба

5,2

-7,3

-26,0

-34,2

-36,0

-31,9

-20,6

-7,2

5,0

3,3

Хангаласский

 

 

 

 

 

 

 

 

 

 

Исит

6,5

-5,3

-23,8

-33,5

-35,8

-31,9

-20,6

-5,9

5,8

5,4

Покровск

5,6

-7,8

-28,1

-38,7

-40,9

-35,5

-22,5

-7,0

5,8

-

Синек

5,8

-6,7

-25,2

-34,7

-37,2

-32,8

-20,5

-6,2

5,6

-

Устъ-Майский

 

 

 

 

 

 

 

 

 

 

Усть-Мая

6,3

-7,1

-27,2

-39,5

-42,2

-36,0

-21,5

-6,0

6,0

2,2

Усть-Миль

5,5

-7,3

-27,0

-37,7

-39,6

-34,2

-21,0

-5,2

5,4

-

Югоренок

5,2

-8,9

-27,5

-36,6

-38,7

-33,0

-21,2

-7,1

4,3

-

Якутск

 

 

 

 

 

 

 

 

 

 

Якутск

6,2

-8,0

-28,3

-39,5

-42,6

-35,9

-22,2

-7,2

5,8

2,6

Абыйский

 

 

 

 

 

 

 

 

 

 

Абый

3,3

-12,2

-29,6

-37,0

-41,9

-36,9

-27,4

-14,8

-1,3

-

Дружина

2,9

-12,4

-29,6

-37,0

-39,4

-37,0

-28,0

-14,5

0,4

2,8

Таттинский

 

 

 

 

 

 

 

 

 

 

Ытык-Кюель

4,5

-10,3

-32,5

-42,7

-44,9

-39,5

-25,0

-8,2

5,6

-

Булунский

 

 

 

 

 

 

 

 

 

 

Кюсюр

2,2

-11,2

-28,7

-35,4

-39,0

-35,1

-26,3

-15,8

-3,7

7,7

Саханджа

0,5

-14,1

-30,6

-35,8

-40,1

-35,5

-26,9

-14,7

1,1

-

Верхнеколымский

 

 

 

 

 

 

 

 

 

 

Зырянка

3,8

-11,1

-28,1

-35,1

-36,8

-33,9

-25,9

-12,4

2,7

5,3

Жиганский

 

 

 

 

 

 

 

 

 

 

Вестях

4,2

-10,3

-30,9

-38,9

-40,7

-36,5

-24,2

-10,5

2,4

-

Джарджан

3,1

-11,0

-29,6

-36,1

-38,6

-34,7

-23,7

-12,4

-0,8

6,1

Жиганск

3,5

-10,1

-29,5

-37,1

-39,3

-35,2

-23,6

-10,9

1,1

5,1

Кобяйский

 

 

 

 

 

 

 

 

 

 

Батамай

5,0

-9,6

-30,6

-40,1

-41,8

-37,4

-23,8

-8,8

4,2

-

Сангар

6,0

-8,7

-28,5

-37,3

-39,1

-34,5

-21,6

-8,5

4,1

7,6

Себян-Кюель

1,7

-12,1

-27,4

-33,1

-34,6

-32,4

-23,6

-12,7

-0,2

-

Нижнеколымский

 

 

 

 

 

 

 

 

 

 

Черский

2,4

-10,2

-24,0

-31,0

-33,0

-32,3

-25,2

-14,8

-1,5

-

Оленекский

 

 

 

 

 

 

 

 

 

 

Оленек

2,4

-12,1

-31,8

-36,9

-41,3

-37,4

-26,5

-13,1

-1,1

2,4

Сухана

2,4

-11,6

-32,2

-38,8

-42,5

-38,3

-26,5

-13,0

-0,5

4,0

Шелогонцы

2,4

-10,8

-31,0

-38,9

-41,9

-37,6

-25,6

-12,5

0,5

2,3

Эйик

2,8

-10,5

-28,4

-35,5

-37,7

-34,2

-23,8

-11,8

0,0

-

Среднеколымский

 

 

 

 

 

 

 

 

 

 

Среднеколымск

2,8

-11,3

-27,5

-35,1

-37,3

-34,7

-26,9

-14,6

-0,3

2,9

Томпонский

 

 

 

 

 

 

 

 

 

 

Западная

3,1

-12,5

-29,9

-35,9

-38,0

-33,7

-22,9

-10,4

2,1

-

Крест-Хальджай

5,8

-9,0

-30,9

-42,5

-45,1

-39,0

-23,3

-7,1

6,2

-

Охотский Перевоз

5,5

-8,7

-30,3

-41,1

-44,2

-39,4

-24,7

-7,8

5,7

1,8

Томпо

3,1

-13,3

-34,3

-42,2

-44,3

-39,2

-27,3

-11,8

3,2

3,1

Устпь-Алданский

 

 

 

 

 

 

 

 

 

 

Борогонцы

5,4

-9,6

-30,1

-41,7

-43,6

-38,1

-24,0

-9,9

4,8

-

Усть-Майский

 

 

 

 

 

 

 

 

 

 

Аллах-Юнь

3,5

-12,2

-32,2

-42,7

-44,1

-39,2

-26,6

-11,1

2,3

3,2

Чурапчинский

 

 

 

 

 

 

 

 

 

 

Чурапча

5,2

-9,4

-30,8

-41,8

-44,0

-38,4

-24,0

-7,8

5,8

-

Аллаиховский

 

 

 

 

 

 

 

 

 

 

Воронцово

1,5

-13,2

-29,7

-35,9

-37,9

-36,2

-28,8

-16,8

-2,6

-

Чокурдах

0,9

-12,4

-25,8

-32,3

-35,5

-33,9

-28,3

-18,9

-6,1

-

Анабарский

 

 

 

 

 

 

 

 

 

 

Саскылах

1,1

-12,6

-27,7

-31,4

-35,1

 

-28,8

-18,7

-7,3

-

Булунский

 

 

 

 

 

 

 

 

 

 

Тикси

1,7

-10,3

-23,9

-29,8

-33,3

-31,3

-26,3

-18,1

-6,9

-

Верхоянский

 

 

 

 

 

 

 

 

 

 

Верхоянск

2,5

-14,5

-36,4

-45,1

-48,2

-43,6

-30,2

-13,3

2,1

2,1

Екючю

2,1

-13,9

-35,5

-43,2

-45,9

-41,8

-29,2

-13,1

2,2

-

Момский

 

 

 

 

 

 

 

 

 

 

Усть-Мома

2,5

-15,0

-34,9

-43,0

-44,9

-41,0

-29,0

-13,2

3,1

3,8

Оймяконский

 

 

 

 

 

 

 

 

 

 

Артык

1,1

-17,1

-37,6

-46,5

-47,5

-41,8

-33,1

-16,5

0,0

-

Предпорожный

3,6

-14,1

-34,4

-42,3

-43,8

-40,5

-29,3

-12,8

3,5

-

Оймякон

1,6

-16,3

-37,3

-45,6

-47,5

-43,3

-32,8

-15,2

1,2

1,0

Усть-Нера

3,4

-14,7

-35,9

-44,4

-46,3

-41,6

-29,1

-11,3

3,8

-

Эльгинский

2,0

-16,4

-37,1

-47,3

-49,7

-43,9

-32,2

-13,2

1,6

-

Томпонский

 

 

 

 

 

 

 

 

 

 

Тополиное

2,0

-14,8

-35,4

-42,7

-45,5

-42,3

-31,8

-16,6

1,0

-

Усть-Янский

 

 

 

 

 

 

 

 

 

 

Депутатский

-0,2

-15,6

-31,2

-36,6

-39,4

-37,1

-30,4

-18,1

-2,7

-

Казачье

1,9

-11,6

-27,0

-33,6

-37,4

-34,7

-27,3

-17,8

-5,5

-

Усть-Янск

2,0

-11,8

-27,3

-33,8

-37,9

-35,3

-28,1

-18,3

-5,8

-

Эвено-Бытантайский

 

 

 

 

 

 

 

 

 

 

Батагай-Алыта

-0,1

-15,3

-31,9

-37,0

-39,0

-36,1

-28,1

-15,9

-2,2

-

Приложение Б (рекомендуемое)

Пример технического задания на проектирование состава бетонной смеси

Показатели

Величина

Примечание

1

2

3

1. Требования к бетону:

 

 

по прочности на сжатие:

 

 

Класс

В 25

По заданию заказчика

Коэффициент вариации, Vn, %

нет данных

Статистический контроль на БСУ не ведется

Средний уровень прочности Бетона, Ry, МПа

3,53

Расчет по ГОСТ 18105-86* с учетом ГОСТ 26633-91 и ГОСТ 27006-86

Марка по морозостойкости

F300

по заданию заказчика

Марка по водонепроницаемости

W8

то же

2. Сырьевые материалы:

 

 

Портландцемент АО «Якутцемент»

 

 

Марка

400 (500)

По результатам испытаний

Активность, Rц, МПа

47,8

тоже

НГЦ Т, %

25,5

тоже

Щебень ОАО «Якутцемент» (смесь фракции от 5 до 20 мм):

 

 

Содержание фракции в смеси щебня по массе, %:

26,2

ГОСТ 26633-91, согласовано с заказчиком

фр от 5 до 10 мм

 

 

фр от 10 до 20 мм

55

 

Насыпная масса смеси щебня, (щ.нас) кг/м3

1366

По результатам испытания

средняя плотность щебня щ, г/см3

2,67

Тоже

Содержание пылевидных и глинистых частиц, %

0,7

То же

в том числе глины в комках, %

0

Тоже

Пустотность смеси щебня, Пщ, %

49

По расчету

Песок речной (р. Лена)

 

 

Содержание зерен крупностью, %

 

 

по массе: св. 10 мм

0

По результатам испытания

св. 5 мм

0

То же

менее 0,14 мм

4,7

-«-

модуль крупности

1,0-1,3

-«-

Плотность зерен песка, п, г/см3

2,66

-«-

Насыпная плотность, п.нас, кг/м

1343

-«-

Содержание илистых и глинистых частиц, %

1,5

-«-

в том числе глины в комках, %

0

-«-

3. Ограничение по составу бетона:

 

 

В/Ц

не более 0,5

на основе ранее выполненных ЯПНИИС исследований по ГОСТ 26633-91

расход цемента

не менее 220

4. Требование к бетонной смеси:

 

 

Подвижность, ОК, см

5-9

по СНиП 3.03.01-87

марка по удобоукладываемости:

П2

ГОСТ 7473-94

5. Параметры технологии изготовления:

 

 

Перемешивание

 

в бетоносмесителе принудительного действия

Транспортирование

 

Автобетоносмесителем

Уплотнение

 

глубинными вибраторами

Условия твердения

 

Электропрогрев, tи.n = 50°С, скорость подъема температуры - 10... 15°С, термосное остывание

Прочность бетона конструкции к его остыванию до 0°С

 

70%

Приложение В (справочное)

Формулы для определения модуля поверхности конструкций

Тип конструкций

Наименование конструкций

Расчетная формула

Балки и колонны прямоугольного сечения

То же квадратного сечения

Стены и плиты

Куб

Ребристое перекрытие

Параллелепипед

Параллелепипед, примыкающий к массиву

Приложение Г (справочное)

Методика определения удельного электрического сопротивления бетона

Определение удельного электрического сопротивления бетона производится в строительной лаборатории на образце размером 10´10´20 см. Боковые стенки и днище формы изготавливаются из диэлектрика (текстолита, пластмассы и др.), а торцевые стенки, служащие электродами, из металла.

Бетонная смесь заданного состава уплотняется вибратором. Образец включают в электрическую цепь, по которой пропускается ток строго фиксированного напряжения. Напряжение выбирается в зависимости от состава бетона и пределов измерения миллиамперметра (определяется оно опытным путем).

Предварительное выдерживание бетона перед началом прогрева должно быть таким же, как и в натуральных условиях. Температура бетона перед подачей на электроды напряжения должна соответствовать температуре в производственных условиях и составлять не ниже 2°С.

Заданный температурный режим выдерживается путем регулирования напряжения на электродах с помощью лабораторного трансформатора ( ЛАТР). Сила тока в цепи замеряется миллиамперметром с точностью до 1 мА, напряжение - вольтметром с точностью до 1 В.

Удельное электрическое сопротивление бетона r, Ом·м, вычисляется по формуле:

r= (R·S)/L,

где R - электрическое сопротивление бетона, Ом;

S - площадь поперечного сечения образца, см2;

L - расстояние между электродами, см.

Измерение электрического сопротивления бетона производится по схеме «амперметр-вольтметр» (рис. Г1). В зависимости от схемы включения образца в электрическую цепь расчет сопротивления образца производится по различным формулам.

При включении образца в цепь по схеме (рис. Г1а) сопротивление его рассчитывается по формуле

где U - показания вольтметра, В;

I - показания амперметра, А;

Ra - собственное сопротивление амперметра, включенного в цепь последовательно, Ом (указывается в паспорте прибора или на его циферблате).

Рисунок Г. 1 - Схемы электрической цепи по определению удельного электрического сопротивления бетона

При включении образца в цепь по схеме (рис. Г1б) его сопротивление определяется по формуле R=U/I при условии, что сопротивление вольтметра значительно выше сопротивления образца, т.е. Rv>R, где Rv - сопротивление вольтметра.

В противном случае, когда Rv соизмеримо с R, сопротивление образца определяется по формуле

 

Для определения сопротивления бетона могут использоваться и другие схемы и способы, например, при отсутствии миллиамперметра - схема с двумя вольтметрами (рис. Г1в).

В этом случае сопротивление рассчитывается по формуле

где U1 - показания вольтметра, включенного в цепь параллельно (V1), В;

U2 - показания вольтметра, включенного в цепь последовательно (V2), В;

Rv2 - собственное сопротивление вольтметра, включенного в цепь последовательно, Ом (указывается в паспорте прибора или на его циферблате).

После начала прогрева удельное электрическое сопротивление уменьшается от начальной величины до минимальной, затем начинает расти. После достижения минимальной величины прогрев образца и измерения следует продолжить для наиболее надежного фиксирования минимума на кривой удельного сопротивления.

Расчетная величина удельного электрического rрасч вычисляется по формуле (18) как среднее арифметическое результатов не менее чем трех опытов.


Приложение Д (справочное)

Мощность греющего провода ПНСВ-1,2

Погонная нагрузка, Вт/м

Удельное сопротивление жилы ПНСВ-1,2, Ом/м

Удельное сопротивление жилы ПНСВ-1,4, Ом/м

Длина провода ПНСВ-1,2 при напряжении 55В

Мощность данного отрезка провода ПНСВ-1,2 при напряжении 55В, Вт

Длина провода ПНСВ-1,2 при напряжении 65В

Мощность данного отрезка провода ПНСВ-1,2 при напряжении 65В, Вт

Длина провода ПНСВ-1,2 при напряжении 75В

Мощность данного отрезка провода ПНСВ-1,2 при напряжении 75В, Вт

Длина провода ПНСВ-1,2 при напряжении 85В

Мощность данного отрезка провода ПНСВ-1,2 при напряжении 85В, Вт

Длина провода ПНСВ-1,2 при напряжении 95В

Мощность данного отрезка провода ПНСВ-1,2 при напряжении 95В, Вт

10

0,17

0,124

42,2

421,8

49,9

498,5

57,5

575,2

65,2

651,9

72,9

728,6

15

0,181

0,134

33,4

500,7

39,4

591,7

45,5

682,8

51,6

773,8

57,7

864,8

20

0,194

0,141

27,9

558,4

33,0

660,0

38,1

761,5

43,2

863,0

48,2

964,6

25

0,21

0,146

24,0

600,1

28,4

709,2

32,7

818,3

37,1

927,4

41,5

1036,5

30

0,222

0,158

21,3

639,4

25,2

755,6

29,1

871,9

32,9

988,1

36,8

1104,4

35

0,235

0,166

19,2

671,2

22,7

793,3

26,2

915,3

29,6

1037,3

33,1

1159,4

40

0,24

0,177

17,8

710,0

21,0

839,1

24,2

968,2

27,4

1097,3

30,7

1226,4

50

0,259

0,185

15,3

764,2

18,1

903,1

20,8

1042,1

23,6

1181,0

26,4

1320,0


Приложение Е (справочное)

Пример определения прочности бетона с использованием графика нарастания прочности и фактического температурного режима твердения бетона

На рис.1 приведен фактический температурный режим твердения бетона ригеля по данным замера температуры. Необходимо определить относительную прочность бетона при остывании до 20°С, используя график нарастания прочности бетона класса В25...В30 на местных материалах, по данным ЯкутПНИИС, приведенный на рис. 2.

Рисунок Е. 1 - Фактический температурный режим твердения бетона

Решение. Устанавливаем по данным графика (рис. 1) среднюю температуру бетона в период подъема температуры, изотермического прогрева и остывания:

Определяем величину относительной прочности за период подъема температуры. Для этого находим 18 ч. по оси абсцисс (точка А). Из точки А проводим перпендикуляр (см. рис.2) до пересечения с кривой прочности при 30 °С (точка Б). Величина прочности за время подъема температуры определяется проекцией точки Б на ось ординат (точка В) и составляет 32% от R28.

Определяем прирост относительной прочности бетона при изотермическом прогреве за 20 ч. Из точки В проводим перпендикуляр до кривой прочности при 52°С (точка Г) и опускаем перпендикуляр на оси абсцисс (точка Д). Из точки Д откладываем по оси абсцисс 20 ч. (точка Е), откуда проводим перпендикуляр до кривой прочности 52 °С (точка Ж). Проекция участка ГЖ кривой прочности 52 °С на оси ординат (ВИ) составляет 43% от R28.

Далее определяем прочность при остывании. Для этого из точки И проводим перпендикуляр до кривой прочности 35°С и далее по образцу для определения прироста относительной прочности при изотермическом прогреве. Относительная прочность при остывании соответствует проекции участка КН кривой прочности 35 °С на оси ординат (ПИ) и составляет 7% от R28.

Итого за заданный цикл термообработки бетон приобрел прочность 32+43+7=82% от R28.

Рисунок Е.2 - График нарастания прочности бетона класса В25...30 с добавкой НН+СЗ или НН+ПФМ- НЛК на Якутском портландцементе ПЦ500-Д0.


Приложение З (рекомендуемое)

ФОРМА ЖУРНАЛА БЕТОНИРОВАНИЯ КОНСТРУКЦИЙ

Объект__________________________________________

Этаж _____________ Наименование конструкции

Номер (маркировка) конструкции по проекту

Дата, № смены

Класс бетона

Осадка конуса, см

Температура, °С

Способ транспортирования смеси

Время в пути, ч.

Объем бетона в конструкции, м3

Начало бетонирования, ч., мин.

Окончание бетонирования, ч., мин.

Отметка верха конструкции

Кол-во контр, образцов, маркировка, место хранения

Замечания в процессе бетонирования

Исполнители (Ф.И.О.), подписи

Бетонной смеси

Воздуха

 

 

 

 

 

 

 

 

 

 

 

 

 

 

 

Подписи:

Прораб___________________________

Сменный мастер___________________


Приложение Ж (рекомендуемое)

ФОРМА ТЕМПЕРАТУРНОГО ЛИСТА

Строительная организация______________________________________________________

Объект_______________________________________________________________________

Этаж _____________ Наименование конструкции___________________________________

Марка бетона__________________ Объем захватки (конструкции)_____________________

Дата бетонирования______ начало бетонирования ____ч. ____мин., окончание бетонирования ____ч. _____мин.

Температура бетонной смеси на воздухе _____°С, бетона по окончании укладки ______°С

Температура воздуха при бетонировании ____________________________°С

Начало тепловой обработки______ ч _________мин

Время

tн.в.

Температура бетона, °С, в скважинах № (схема размещения и нумерация скважин прилагается)

Показания электрических приборов

Примечания (продолжительность и причина отключения, результаты осмотра конструкции и т.п.

1

2

3

4

5

6

7

8

9

10

11

12

13

14

Напряжение, В

сила тока А, по фазам

1

2

3

 

 

 

 

 

 

 

 

 

 

 

 

 

 

 

 

 

 

 

 

 

Подписи: мастер_________ лаборант ______________электрик___________________

Ключевые слова: производство, бетон, работа, критическая прочность, зимнее бетонирование, термос, противоморозные добавки, предварительный электроразогрев, электропрогрев, электрообогрев, воздушный обогрев, контроль, качество

 




ГОСТЫ, СТРОИТЕЛЬНЫЕ и ТЕХНИЧЕСКИЕ НОРМАТИВЫ.
Некоммерческая онлайн система, содержащая все Российские Госты, национальные Стандарты и нормативы.
В Системе содержится более 150000 файлов нормативно-технической документации, действующей на территории РФ.
Система предназначена для широкого круга инженерно-технических специалистов.

Рейтинг@Mail.ru Яндекс цитирования

Copyright © www.gostrf.com, 2008 - 2026