Крупнейшая бесплатная информационно-справочная система онлайн доступа к полному собранию технических нормативно-правовых актов РФ. Огромная база технических нормативов (более 150 тысяч документов) и полное собрание национальных стандартов, аутентичное официальной базе Госстандарта. GOSTRF.com - это более 1 Терабайта бесплатной технической информации для всех пользователей интернета. Все электронные копии представленных здесь документов могут распространяться без каких-либо ограничений. Поощряется распространение информации с этого сайта на любых других ресурсах. Каждый человек имеет право на неограниченный доступ к этим документам! Каждый человек имеет право на знание требований, изложенных в данных нормативно-правовых актах!

  


 

 

Р НП «АВОК» 7.3-2007

СТАНДАРТ АВОК

ВЕНТИЛЯЦИЯ ГОРЯЧИХ ЦЕХОВ
ПРЕДПРИЯТИЙ ОБЩЕСТВЕННОГО
ПИТАНИЯ

НЕКОММЕРЧЕСКОЕ ПАРТНЕРСТВО

«Инженеры по отоплению, вентиляции,

кондиционированию воздуха, теплоснабжению

и строительной теплофизике» (НП «АВОК»)

www.abok.ru

Предисловие

Сведения о рекомендациях

1 РАЗРАБОТАНЫ творческим коллективом специалистов некоммерческого партнерства «Инженеры по отоплению, вентиляции, кондиционированию воздуха, теплоснабжению и строительной теплофизике» (НП «АВОК»):

А.В. Ливчак, канд. техн. наук (фирма «Халтон», США) - руководитель;

М.А. Малахов (ГУП «Моспроект-2»);

С.Н. Хорев (ООО «Эркон»).

2 УТВЕРЖДЕНЫ И ВВЕДЕНЫ В ДЕЙСТВИЕ приказом Президента НП «АВОК» от 6 июня 2007 г. № 8.

3 ВВЕДЕНЫ ВПЕРВЫЕ.

Содержание

1 Область применения

2 Нормативные ссылки

3 Термины и определения

4 Общие положения

4.1 Температура воздуха

4.2 Подвижность воздуха

4.3 Гигиенические требования

5 Вытяжные системы

5.1 Назначение

5.2 Местные отсосы

5.3 Вентилируемые потолки

6 Механические фильтры

7 Расчет воздушного баланса помещения

7.1 Общие положения

7.2 Расчет расхода воздуха, удаляемого местными отсосами и вентилируемыми потолками

7.3 Общеобменная вытяжная система

7.4 Приточные вентиляционные системы

8 Воздуховоды

9 Вентиляторы

10 Требования к системе пожарной безопасности

10.1 Система вентиляции

10.2 Системы пожаротушения (справочно)

11 Пример расчета

11.1 Исходные данные

11.2 Решение

11.3 Примечания к примеру расчета

Приложение А (справочное) Тепло - и влаговыделения кухонного оборудования

Приложение Б (справочное) Классификация горячих цехов и ориентировочные значения* коэффициента одновременности работы кухонного оборудования

Библиография

РЕКОМЕНДАЦИИ АВОК

ВЕНТИЛЯЦИЯ ГОРЯЧИХ ЦЕХОВ ПРЕДПРИЯТИЙ ОБЩЕСТВЕННОГО ПИТАНИЯ

COMMERCIAL KITCHEN VENTILATION

Дата введения - 2007-09-01

1 Область применения

1.1 Настоящие рекомендации предназначены для проектирования систем вентиляции горячих цехов предприятий общественного питания. При разработке рекомендаций использовались соответствующие нормативные документы России, США, Великобритании и Германии.

1.2 При проектировании системы вентиляции предприятий общественного питания необходимо иметь в виду, что воздухообмен в помещениях горячих цехов, как правило, является частью воздухообмена предприятия в целом. Следовательно, воздухообмен должен рассчитываться с учетом этого обстоятельства.

2 Нормативные ссылки

В настоящих рекомендациях использованы ссылки на следующие нормативные документы:

МГСН 4.14-98 Предприятия общественного питания

ANSI/ASHRAE Standard 154-2003 Ventilation for commercial cooking operations

VDI 2052-1999 Ventilation equipment for kitchens

LPS 1263-2003 Requirements for the LPCB approval and listing of the fire performance of kitchen extract systems

Рекомендации по расчету систем вентиляции и кондиционирования воздуха в горячих цехах предприятий общественного питания / Л.М. Зусманович. М.: Стройиздат, 1975

3 Термины и определения

В настоящих рекомендациях применены следующие термины с соответствующими определениями.

3.1 горячий цех предприятия общественного питания: Производственное помещение, предназначенное для изготовления кулинарной продукции, технологические процессы в котором сопровождаются значительным выделением тепла и других производственных вредностей.

3.2 вылет местного отсоса: Расстояние, на которое местный отсос выступает над кухонным оборудованием*.

_____________

* В настоящих рекомендациях вместо термина «технологическое оборудование» используется термин «кухонное оборудование».

Примечание - Подразумевается, что площадь поверхности местного отсоса в плане больше площади поверхности кухонного оборудования.

3.3 кухонные выделения**: Выделения от кухонного оборудования в процессе приготовления пищи, например, водяной пар, пары жира, продукты сгорания, дым, мелкие летучие частицы.

______________

** В настоящих рекомендациях вместо термина «теплогазовыделения» используется термин «кухонные выделения».

Примечание - Кухонные выделения переносятся в конвективном потоке, восходящем от горячей поверхности кухонного оборудования.

3.4 расчетный расход воздуха через фильтр: Расход воздуха, соответствующий условиям использования данного фильтра в местном отсосе или вентилируемом пространстве подвесного потолка (далее - вентилируемый потолок).

3.5 перемешивающая вентиляция: Способ воздухораспределения, при котором приточный воздух смешивается с воздухом помещения.

3.6 эффективность фильтра: Величина, определяющая процент частиц заданного размера, задержанных фильтром.

Примечание - Эффективность фильтра устанавливают в результате испытания на стенде с испытуемым фильтром, генератором частиц, счетчиком частиц (как правило, в диапазоне от 1 до 12 мк) и вентилятором, обеспечивающим движение воздуха через фильтр в заданном для испытываемого фильтра диапазоне расхода воздуха. Число частиц заданного размера измеряют в сечении воздуховода после фильтра по направлению движения воздуха. Замеры производят с фильтром и без него при постоянном расходе воздуха. Допускается замер частиц до и после фильтра. Эффективность фильтра в заданном диапазоне частиц определяют как отношение числа частиц, измеренных с установленным фильтром, к числу частиц, измеренных без фильтра, или как отношение числа частиц, измеренных до и после фильтра.

4 Общие положения

4.1 Температура воздуха

Температура воздуха в помещениях горячих цехов с постоянным пребыванием людей должна находиться в пределах от 16 °С до 27 °С. Исключение составляют помещения, в которых для приготовления и хранения продуктов питания требуется специальный температурный режим.

4.2 Подвижность воздуха

Подвижность воздуха в помещениях, оборудованных местными отсосами, следует ограничивать. Повышенная подвижность воздуха снижает эффективность местных отсосов и приводит к загрязнению помещения горячего цеха. Скорость воздуха в рабочем помещении горячего цеха не должна превышать 0,35 м/с.

4.3 Гигиенические требования

4.3.1 Система вентиляции горячего цеха не должна допускать загрязнения продуктов питания.

4.3.2 Система вентиляции должна препятствовать распространению нежелательных запахов, связанных с разделкой и приготовлением продуктов питания, за пределы горячего цеха.

4.3.3 Конструкция местных отсосов и фильтров, установленных в отсосах, должна способствовать их беспрепятственной очистке от кухонных выделений.

4.3.4 Не допускается рециркуляция воздуха, загрязненного кухонными выделениями.

5 Вытяжные системы

5.1 Назначение

Вытяжные системы предназначены для локализации и удаления выделений, связанных с разделкой и приготовлением продуктов питания, а также мытьем посуды.

5.2 Местные отсосы

5.2.1 Классификация по принципу работы

По принципу работы местные отсосы подразделяют на пассивные и активированные. Активированные отсосы отличаются от пассивных тем, что в них используются приточные струи для локализации и улавливания кухонных выделений. Активированные отсосы (с поддувом внутри зонта) обладают большей эффективностью и работают при меньшем расходе удаляемого воздуха по сравнению с пассивными отсосами. Общий расход воздуха в приточных струях активированного отсоса не превышает 10 % от общего расхода воздуха, удаляемого этим отсосом. Источником воздуха для поддува может служить как наружный воздух, так и внутренний воздух помещения.

5.2.2 Виды местных отсосов

По конструкции местные отсосы подразделяют на следующие виды:

- настенный отсос (рисунок 1а). Устанавливают, как правило, вплотную к стене над одиночным устройством или кухонным оборудованием, установленным вряд. Настенный отсос оборудуется сплошной вертикальной панелью, закрывающей пространство от задней стенки отсоса до поверхности кухонного оборудования. Габариты настенного местного отсоса превышают габариты кухонного оборудования с фронтальной стороны и по ширине. Наличие стены или задней панели способствует улавливанию отсосом кухонных выделений. Это объясняется тем, что конвективный поток, поднимающийся над поверхностью кухонного оборудования и несущий кухонные выделения, настилается на вертикальную поверхность стены, тем самым снижая расход воздуха в восходящем конвективном потоке на уровне отсоса;

- островной отсос (рисунок 1б). Отдельно стоящий отсос, расположенный над одиночным устройством или кухонным оборудованием, установленным в ряд. Такой отсос открыт со всех сторон и его габариты превышают габариты кухонного оборудования по ширине и длине. Конвективный поток, поднимающийся над кухонным оборудованием, не ограничен какими-либо ограждениями и подвержен влиянию перекрестных потоков воздуха в помещении. Таким образом, островной отсос требует больший по сравнению с настенным отсосом расход воздуха для удаления выделений от одинакового кухонного оборудования;

- сдвоенный островной отсос (рисунок 1в). Состоит из двух настенных отсосов со смежной задней стенкой. Отсосы этого типа монтируют над кухонным оборудованием, установленным в два ряда и обращенным задними стенками друг к другу. Такой отсос открыт со всех сторон, и его габариты превышают габариты кухонного оборудования по ширине и длине. Сдвоенный отсос может быть оборудован вертикальной панелью, расположенной между рядами кухонного оборудования. Расход воздуха, удаляемого сдвоенным островным отсосом, соизмерим с расходом воздуха, удаляемого островным отсосом;

- отсос-шкаф (рисунок 1г). Устанавливают низко над поверхностью кухонного оборудования вплотную к стене или оборудуют специальной вертикальной панелью. Отсос-шкаф, как правило, оснащают боковыми панелями от отсоса до кухонного оборудования. Отсос-шкаф располагают на небольшом расстоянии от поверхности кухонного оборудования, поэтому его глубина может быть меньше или равна глубине кухонного оборудования;

- отсос-шкаф с верхним доступом (рисунок 1д). Монтируют достаточно низко, что позволяет раздавать приготовленную пищу поверх отсоса;

- отсос-козырек (рисунок 1е). Монтируют непосредственно на кухонном оборудовании, над его проемом или дверцами.

Рисунок 1 - Виды местных отсосов:

а) настенный отсос;

г) отсос-шкаф;

б) островной отсос;

д) отсос-шкаф с верхним доступом;

в) сдвоенный островной отсос;

е) отсос-козырек

5.2.3 Размеры местных отсосов

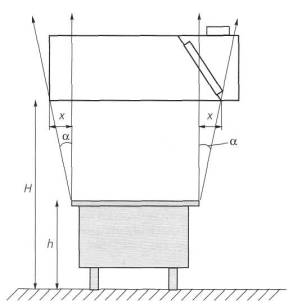
5.2.3.1 Минимальный вылет местного отсоса х, м, за габариты кухонного оборудования определяют в соответствии с рисунком 2 следующим образом:

если Н - h 1,2 м, то х = 0,2 м;

если Н - h > 1,2 м, то х = 0,2 + (Н - h - 1,2)·0,208 м.

Примечание - Эти требования распространяются только на настенные и островные отсосы. Причем для настенных отсосов минимальный вылет регламентируется только для фронтальной стороны отсоса, а кухонное оборудование рекомендуется устанавливать как можно ближе к стене.

Рисунок 2 - Размеры местного отсоса:

Н - расстояние от пола до нижней точки отсоса, номинальное значение Н = 2,1 м; h - высота кухонного оборудования, как правило, равная от 0,85 до 0,9 м; α - угол, равный 12°; х - вылет местного отсоса, м

5.2.3.2 Расстояние от поверхности кухонного оборудования до кромки местного отсоса z, м, как правило, не должно превышать 1,1 м; при увеличении расстояния z увеличивается требуемый расход воздуха (до 40 % при z = 1,4 м).

При проектировании общего зонта над вытянутой линией оборудования (А/В > 2, где А, В - соответственно длина и ширина) вытяжные отверстия в зонте должны быть с шагом около для выравнивания скорости по сечению зонта.

При использовании промышленных местных отсосов равномерное удаление воздуха предусмотрено в его конструкции.

5.2.3.3 Вылет отсоса над кухонным оборудованием с открывающимися дверьми должен быть не менее 0,4 м со стороны открывающихся дверей.

5.2.3.4 Для отсосов-шкафов и отсосов-шкафов с верхним доступом фронтальный вылет над кухонным оборудованием не регламентируется.

5.3 Вентилируемые потолки

5.3.1 Вентилируемый потолок выполняет роль, аналогичную местному отсосу, занимающему всю или значительную часть поверхности потолка горячего цеха.

Также как и местные отсосы, вентилируемые потолки служат для локализации и удаления кухонных выделений. В вентилируемых потолках могут размещаться устройства для подачи приточного воздуха.

5.3.2 По конструкции вентилируемые потолки делят на два типа: открытые и закрытые (рисунок 3).

Рисунок 3 - Вентилируемые потолки:

а) открытый вентилируемый потолок со съемными фильтрами;

б) открытый вентилируемый потолок со съемными фильтрами и желобами для сбора конденсата;

в) закрытый вентилируемый потолок с изолированными приточными и вытяжными воздуховодами;

г) закрытый вентилируемый потолок с вытяжными воздуховодами и открытой подачей приточного воздуха

В вентилируемых потолках закрытого типа вытяжные воздуховоды присоединяют непосредственно к герметичному металлическому вытяжному воздуховоду с фильтрами.

В вентилируемых потолках открытого типа вытяжной воздуховод и вентилируемый потолок не соединены металлическим коробом. Стены и потолок помещения горячего цеха образуют замкнутый объем над вентилируемым потолком. Вытяжной воздуховод присоединяют непосредственно к этому объему.

5.3.3 Вентилируемые потолки изготавливают из нержавеющей стали или из комбинации нержавеющей стали и алюминия с оксидным или эмалевым защитным покрытием. Непосредственно над газовым кухонным оборудованием допускается монтаж панелей вентилируемого потолка, изготовленных только из нержавеющей стали.

5.3.4 Фильтры, устанавливаемые в вентилируемых потолках, должны легко очищаться или быть съемной конструкции для последующей очистки.

5.3.5 Вентилируемые потолки закрытого типа следует устанавливать во всех случаях, если кухонные выделения содержат продукты сгорания твердого топлива или пары и частицы жира. Во всех остальных случаях допускается установка вентилируемых потолков как закрытого, так и открытого типа.

6 Механические фильтры

6.1 Воздух, удаляемый местными отсосами и вентилируемыми потолками, должен очищаться от частиц жира до попадания в вытяжные воздуховоды.

6.2 Конструкция механических фильтров должна удовлетворять условиям, изложенным в 6.2.1 - 6.2.5.

6.2.1 Фильтры должны быть установлены под углом к горизонту от 45° до 90°, для того чтобы кухонные выделения, накапливаемые в фильтрах, свободно поступали в желоб для сбора жира.

Примечание - В вентилируемых потолках допускается установка фильтров под углом к горизонту менее 45°, если конструкция фильтра обеспечивает эффективное отведение жира в коллекторы, смонтированные под фильтрами.

6.2.2 Конструкция жирового фильтра должна предотвращать распространение огня от кухонного оборудования к вытяжному воздуховоду.

6.2.3. Фильтр должен быть легкосъемным для периодической очистки или замены.

Примечание - В вентилируемых потолках допускается использовать несъемные фильтры, если их конструкция обеспечивает постоянный отток собранного жира и накопленные в фильтре выделения не изменяют сопротивление фильтра по воздуху более чем на 20 Па при расчетном расходе воздуха.

6.2.4 Габаритные размеры съемных фильтров не должны превышать 500×500 мм, с тем чтобы их можно было мыть в посудомоечных машинах.

6.2.5 Не допускается установка самодельных жировых фильтров. Производители жировых фильтров должны поставлять фильтры с паспортом, содержащим:

- наименование и адрес производителя;

- полученные разрешительные документы (сертификаты) надзорных органов, действующих на территории Российской Федерации;

- габаритные размеры и массу фильтра;

- название материала, из которого изготовлен фильтр;

- диапазон расхода воздуха (минимальный, максимальный), м3/с;

- аэродинамическое сопротивление фильтра при минимальном и максимальном расходе воздуха, Па;

- эффективность фильтра по задержанию частиц при минимальном и максимальном расходе воздуха. Представляется в форме графика или таблицы - эффективность фильтра в зависимости от размера частиц при заданных расходе воздуха и сопротивлении воздуха;

- эффективность жирового фильтра в диапазоне частиц размером от 5 до 7 мк должна быть не менее 40 % при расчетном расходе воздуха.

7 Расчет воздушного баланса помещения

7.1 Общие положения

Воздушный баланс горячего цеха определяют из расчета компенсации воздуха, удаляемого местными отсосами, вентилируемыми потолками и общеобменной вытяжной вентиляцией.

Для предотвращения распространения запахов, связанных с приготовлением пищи, давление в горячем цеху поддерживается ниже, чем в смежных помещениях. Это достигается поддержанием воздухообмена, при котором переток из смежных помещений в горячий цех составляет как минимум 10 %, но не более 60 % от общего расхода воздуха, удаляемого из горячего цеха.

7.2 Расчет расхода воздуха, удаляемого местными отсосами и вентилируемыми потолками

Расчет габаритов местных отсосов и расхода воздуха, удаляемого местными отсосами и вентилируемыми потолками, допускается осуществлять производителям - поставщикам оборудования. При этом последние несут ответственность за правильность расчетов и за то, что местные отсосы и вентилируемые потолки, смонтированные и работающие в соответствии с их расчетами и рекомендациями, будут полностью улавливать кухонные выделения.

7.2.1 Расчет конвективного потока над горячей поверхностью кухонного оборудования

Расход воздуха, удаляемого местным отсосом, определяют из расчета улавливания конвективного потока, восходящего над горячей поверхностью кухонного оборудования.

Расход воздуха в конвективном потоке над индивидуальным кухонным оборудованием Lкi, м3/с, рассчитывают по формуле

Lкi = kQк1/3(z + 1,7D)5/3r,                                                                                        (1)

где k - экспериментальный коэффициент, равный 5·10-3м4/3·Bт1/3·c-1;

Qк - доля конвективных тепловыделений кухонного оборудования, Вт;

z - расстояние от поверхности кухонного оборудования до местного отсоса, м (рисунок 4);

D - гидравлический диаметр поверхности кухонного оборудования, м;

r - поправка на положение источника теплоты по отношению к стене, принимают по таблице 1.

Рисунок 4 - Конвективный поток над поверхностью кухонного оборудования:

Lкi - конвективный поток воздуха над индивидуальным кухонным оборудованием, м3/с; z - расстояние от поверхности кухонного оборудования до местного отсоса, м; h - высота кухонного оборудования, как правило, равная от 0,85 до 0,9 м; Qк - конвективные тепловыделения кухонного оборудования, Вт; А, В - соответственно длина и ширина кухонного оборудования, м

Таблица 1 - Поправка на положение источника теплоты по отношению к стене

Положение кухонного оборудования

Коэффициент r

Свободно стоящее

1

У стены

0,63В/А, но не менее 0,63 и не более 1

В углу

0,4

Долю конвективных тепловыделений кухонного оборудования Qк, Вт, определяют по формуле

Qк = QтКяКкКо,                                                                                                           (2)

где Qт - установленная мощность кухонного оборудования, кВт;

Кя - доля явных тепловыделений от установочной мощности кухонного оборудования, Вт/кВт, принимают по таблице А.1;

Кк - доля конвективных тепловыделений от явных тепловыделений кухонного оборудования. При отсутствии данных для конкретного оборудования допускается принимать Кк = 0,5;

Ко - коэффициент одновременности работы кухонного оборудования, принимают по таблице Б.1.

Гидравлический диаметр поверхности кухонного оборудования D, м, определяют по формуле

                                                                                                             (3)

где А - длина кухонного оборудования, м;

В - ширина кухонного оборудования, м.

7.2.2 Расчет расхода воздуха, удаляемого местным отсосом

Расход воздуха, удаляемого местным отсосом, Lo, м3/с, определяют по формуле

                                                                                             (4)

где n - количество оборудования, расположенного под отсосом;

Lкi -тоже, что в формуле (1);

Lri - объемный расход продуктов сгорания кухонного оборудования, м3/с. Для оборудования, работающего на электроэнергии, Lri = 0. Для оборудования, работающего на газе, рассчитывают по формуле

Lri = 3,75·10-7QтКо,                                                                                                      (5)

где Qт, Ko - то же, что в формуле (2);

а - поправочный коэффициент, учитывающий подвижность воздуха в помещении горячего цеха, принимают по таблице 2 в зависимости от системы воздухораспределения;

Кко - коэффициент эффективности местного отсоса. Для стандартных местных отсосов принимают равным 0,8. Активированные местные отсосы (с поддувом приточного воздуха) обладают коэффициентом эффективности выше 0,8. Для таких отсосов значение Кко принимают по данным производителя. Производители активированных местных отсосов с Кко > 0,8 должны представить результаты испытаний поставляемого ими активированного отсоса для подтверждения заявленного коэффициента эффективности. Ориентировочно, при отсутствии данных, можно принять Кко = 0,85.

Таблица 2

Способ подачи воздуха

Коэффициент а

Перемешивающая вентиляция

Струйная подача воздуха

 

через приточные решетки на стен

1,25

через плафонные воздухораспределители на потолке

1,20

Вытесняющая вентиляция

Подача воздуха через низкоскоростные перфорированные панели*

 

на потолке

1,10

в рабочей зоне помещения

1,05

* Скорость воздуха, отнесенная к общей площади перфорированной панели, не превышает 0,7 м/с. Конструкция воздухораспределителя должна обеспечивать равномерную раздачу воздуха по всей поверхности перфорированной панели.

7.2.3 Расчет расхода воздуха, удаляемого вентилируемым потолком

Расход воздуха, удаляемого вентилируемым потолком, Lo, м3/с, рассчитывают по формуле

                                                                                             (6)

где Lкi - то же, что в формуле (1); при расчете Lкi высоту z принимают равной расстоянию от поверхности кухонного оборудования до потолка, но не менее 1,5 м;

Lri, а - то же, что в формуле (4).

7.3 Общеобменная вытяжная система

В помещениях с местными отсосами следует предусматривать общеобменную вытяжную вентиляцию с удалением воздуха из верхней зоны. Расход воздуха, удаляемого общеобменной вентиляцией, следует принимать в размере не менее 10 % от общего расхода воздуха, удаляемого местными отсосами. Установка общеобменной вытяжной системы не требуется, если кратность воздухообмена в горячем цеху превышает 20 1/ч или горячий цех оборудован вентилируемыми потолками.

7.4 Приточные вентиляционные системы

7.4.1 Общие положения

7.4.1.1 Приточные вентиляционные системы предназначены для восполнения расхода воздуха, удаляемого местными отсосами, общеобменной вытяжкой или вентилируемыми потолками, и поддержания заданной температуры воздуха в горячем цеху в соответствии с 4.1.

7.4.1.2 Воздухозабор приточных вентиляционных систем следует располагать таким образом, чтобы не допускалась рециркуляция воздуха, удаляемого местными отсосами и вентилируемыми потолками.

7.4.1.3 В системах, где расход воздуха, удаляемого местными отсосами, регулируется или не все отсосы работают одновременно, расход приточного воздуха должен регулироваться автоматически в соответствии с переменным расходом удаляемого воздуха для поддержания баланса воздуха в горячем цеху.

7.4.1.4 Системы отопления и вентиляции во встроенных, встроенно-пристроенных предприятиях питания к зданиям различного назначения должны проектироваться раздельными с системами этих зданий; возможно их присоединение к узлам управления этих зданий.

7.4.2 Расчет расхода приточного воздуха

Массовый расход наружного воздуха, подаваемого в помещение горячего цеха, Gп, кг/с, определяют из расчета воздушного баланса помещения исходя из компенсации воздуха, удаляемого местными отсосами, общеобменной вытяжкой или вентилируемым потолком, по формуле

                                                              (7)

где Loi - объемный расход воздуха, удаляемого i-м местным отсосом или вентилируемым потолком, м3/с;

ρi - плотность воздуха, удаляемого i-м местным отсосом или вентилируемым потолком, кг/м3. Температуру удаляемого воздуха следует определять по указаниям МГСН 4.14; при отсутствии данных допускается принимать 35 °С;

Lв - объемный расход воздуха, удаляемого общеобменной вентиляцией, м3/с;

ρв - плотность воздуха, удаляемого общеобменной вентиляцией, кг/м3;

Lc - объемный расход воздуха, поступающего в горячий цех из смежных помещений, м3/с. Если горячий цех ограничен смежными помещениями и не допускается распространение запахов, связанных с приготовлением пищи, в смежные помещения, Lc принимают не менее 10 % от общего объемного расхода воздуха, удаляемого местными отсосами или вентилируемыми потолками;

ρс - плотность воздуха, поступающего из смежных помещений, кг/м3;

 - объемный расход воздуха, подаваемого от комбинированного приточно-вытяжного устройства, кг/м3; принимают по данным производителя-поставщика оборудования;

 - плотность воздуха, раздаваемого в помещение горячего цеха через комбинированное приточно-вытяжное устройство, кг/м3;

 - объемный расход воздуха, подаваемого в поддув активированного местного отсоса, м3/с; принимают по данным производителя - поставщика оборудования, но не выше 0,1 Lo. Если в качестве источника воздуха для поддува используют внутренний воздух помещения, ;

 - плотность воздуха, подаваемого в поддув активированного местного отсоса, кг/м3.

7.4.2.1 Для расчета воздухообмена в горячих цехах и в помещениях для выпечки кондитерских изделий принимать:

- температуру воздуха, удаляемого через зонты, завесы и локализующие устройства над кухонным оборудованием, выделяющим тепло, до 42 °С;

- температуру воздуха под потолком 30 °С.

В горячих цехах теплонапряженность не должна превышать 200-210 Вт на 1 м2 производственной площади.

7.4.2.2 Приблизительный расчет воздухообмена

Если на этапе проектирования нет данных о кухонном оборудовании, приблизительный расчет расхода приточного воздуха может производиться исходя из площади всего помещения горячего цеха, расхода приточного воздуха 90 (м3/ч)/м2 (кратность n @ 30 1/ч).

Окончательный расчет расхода приточного воздуха производят в соответствии с формулой (7).

7.4.2.3 Расчет воздухообмена для вспомогательных помещений

Расчет расхода приточного воздуха для вспомогательных помещений допускается по таблице 3 исходя из площади помещения горячего цеха или расчета энергетического баланса помещения.

Таблица 3 - Данные для расчета воздухообмена вспомогательных помещении

Назначение помещения

Расход приточного воздуха, (м3/ч)/м2, и приблизительная кратность воздухообмена п, 1/ч

Для приготовления мясопродуктов, рыбы, птицы и овощей

15(n = 5)

Складские помещения

6 (n = 2)

Для раздачи горячей пищи

60 (n = 20)

7.4.3 Перемешивающая вентиляция

Приточные устройства перемешивающей вентиляционной системы следует располагать таким образом, чтобы приточные струи не препятствовали улавливанию отсосами конвективных потоков, восходящих над кухонным оборудованием.

7.4.4 Вытесняющая вентиляция

Вытесняющая вентиляция, при которой приточный воздух подается с низкой скоростью непосредственно в рабочую зону горячего цеха, обладает преимуществом по сравнению с перемешивающей вентиляцией, поскольку позволяет сократить расход воздуха, удаляемого местными отсосами и вентилируемыми потолками (таблица 2).

Воздухораспределительные устройства вытесняющей вентиляции, установленные в рабочей зоне горячего цеха, следует изготавливать из нержавеющей стали.

8 Воздуховоды

Приточные и вытяжные воздуховоды должны соответствовать действующим российским стандартам и изготавливаться из листовой оцинкованной стали толщиной не менее 0,8 мм.

Вытяжные воздуховоды должны оборудоваться съемными люками для периодической проверки и очистки.

На горизонтальных участках вытяжных воздуховодов люки монтируются на боковых поверхностях воздуховода. Минимальное расстояние от нижнего среза отверстия для люка до основания воздуховода должно быть не менее 40 мм.

При прокладке вертикальных вытяжных воздуховодов через несколько этажей на каждом этаже должен быть обеспечен доступ к воздуховодам для их очистки.

Скорость воздуха в воздуховодах рекомендуется рассчитывать в соответствии с таблицей 4.

Таблица 4 - Рекомендуемая скорость воздуха

В метрах в секунду

Часть воздуховода

Приточный воздуховод

Вытяжной воздуховод

Магистральный воздуховод

6-8

6-9

Ответвления

4-6

5-7

Присоединения вентиляционных решеток

3-4

4-5

9 Вентиляторы

Приточные и вытяжные вентиляторы должны монтироваться таким образом, чтобы можно было осуществлять периодические проверки и очистки.

Вытяжные вентиляторы, обслуживающие местные отсосы и вентилируемые потолки, удаляющие пары и/или частицы жира, должны оборудоваться дренажом и поддоном для оттока и сбора жира. Электродвигатели таких вентиляторов должны быть изготовлены в жирозащитном исполнении, с учетом работы при высоких температурах или, по возможности, размещаться вне потока удаляемого воздуха.

10 Требования к системе пожарной безопасности

10.1 Система вентиляции

10.1.1 Систему вентиляции горячих цехов относят к повышенной категории пожароопасности в связи с выделением паров и/или частиц жира и возможностью их возгорания.

10.1.2 Вытяжные системы горячих цехов должны проектироваться и эксплуатироваться с учетом ограничения скопления жира в воздуховодах. Съемные жировые механические фильтры должны ежедневно очищаться.

10.1.3 Для балансирования местных отсосов, присоединенных к общему вытяжному воздуховоду, следует использовать специальные регуляторы расхода воздуха, конструкция которых ограничивает скопление жира на его поверхностях.

10.2 Системы пожаротушения (справочно)

10.2.1 Если кухонные выделения содержат продукты сгорания твердого топлива или пары и/или частицы жира, то в местных отсосах (в месте присоединения к вытяжному воздуховоду) и над кухонным оборудованием следует устанавливать системы пожаротушения. Перечень кухонного оборудования, над которым рекомендуется установка систем пожаротушения, приводится ниже:

- фритюрница;

- сковорода;

- барбекю и открытый гриль;

- плита с духовкой;

- нерифленый гриль;

- печь для пиццы;

- гриль на угле;

- жаровня.

10.2.2 В качестве реагентов в системах пожаротушения могут использоваться вода, углекислый газ или специальные химикаты. Системы пожаротушения с углекислым газом используются редко из-за высокой стоимости и ограниченной способности углекислого газа охлаждать поверхности.

10.2.3 Система пожаротушения может быть активирована вручную или автоматически.

10.2.4 В момент включения системы пожаротушения кухонное оборудование должно быть обесточено и отключено от подачи газа.

10.2.5 Химические системы пожаротушения

Химические системы пожаротушения содержат твердый или жидкий реагент. Предпочтение следует отдавать системам с жидким реагентом, поскольку они быстрее охлаждают источник огня и легче удаляются после ликвидации возгорания.

При срабатывании системы пожаротушения химический реагент под высоким давлением разбрызгивают над источником огня через сопла, находящиеся в полости местного отсоса над кухонным оборудованием. При контакте реагента с горячей поверхностью, покрытой жиром, образуется пена, поглощающая горючие пары и препятствующая их воспламенению.

10.2.6 Водяные системы пожаротушения

Водяные системы пожаротушения используют при наличии в здании противопрожарной спринклерной системы. Спринклеры, рассчитанные на определенную (в соответствии с кухонным оборудованием) температуру срабатывания, монтируют над кухонным оборудованием и присоединяют непосредственно к спринклерной системе здания. Преимуществом этой системы является практически неограниченный запас воды и легкость очистки после пожара.

Спринклеры располагают таким образом, чтобы затопить очаг пожара тонкораспыленными каплями воды. Попадая на горячую поверхность, вода охлаждает ее за счет испарения. Образующийся при этом водяной пар вытесняет кислород из воздуха в зоне очага пожара и способствует его тушению.

10.2.7 Проектирование, монтаж, наладку и испытание системы пожаротушения производят в соответствии со спецификацией производителя этого оборудования.

11 Пример расчета

11.1 Исходные данные

Помещение горячего цеха размером 6×8 м, высота - 3 м. Горячий цех предназначен для столовой, количество блюд более 650.

Расположение оборудования - островное, местный отсос установлен на высоте 2,0 м от уровня пола. Расстояние по высоте от поверхности кухонного оборудования до отсоса z = 1,1 м, подача воздуха в помещение - через воздухораспределительные плафоны в потолке. Перечень кухонного оборудования, установленного под кухонным отсосом, приведен в таблице 5.

Таблица 5

Наименование

Оборудование

Электроплита с металлическими конфорками

Варочный аппарат (котел)

Электрооборудование (сковорода)

Количество, шт.

3

2

2

Установочная мощность, кВт

14,5

5,0

9,0

Размеры (длина × ширина × высота), мм

700×800×900

350×800×900

700×800×900

Гидравлический диаметр D, м

0,747

0,487

0,747

Доля явных тепловыделений Кя, Вт/кВт

200

35

330

Конвективные тепловыделения Qк, Вт

870

52,5

891

Расход воздуха в конвективном потоке Lкi, м3

0,201

0,056

0,203

11.2 Решение

Ниже приведен подробный расчет расхода воздуха в конвективном потоке, восходящем над кухонной плитой. Результаты расчета остального кухонного оборудования сведены в таблице 5.

11.2.1 Гидравлический диаметр поверхности кухонного оборудования расчитываем по формуле (3):

11.2.2 Долю конвективных тепловыделений кухонного оборудования определяем по формуле (2):

Qк = 14,5·200·0,5·0,6 = 870 Вт.

11.2.3 Расход воздуха в конвективном потоке над кухонным оборудованием на уровне местного отсоса определяем по формуле (1):

Lкi = 0,005·8701/3·(1,1 + 1,7·0,747)5/3·1 = 0,201 м3

Расход воздуха, удаляемого местным отсосом, определяем по формуле (4):

Lo = (0,201·3 + 0,056·2 + 0,203·2)·(1,25/0,8) = 1,750 м3/с или 6300 м3/ч.

Кратность воздухообмена помещения горячего цеха 6300/(6·8·3) = 44 1/ч превышает 20 1/ч. В соответствии с 7.3, общеобменная вытяжка не требуется, следовательно, Lв = 0 м3/ч.

Расход воздуха, поступающего из смежных помещений, принят в размере 60 % от объемного расхода воздуха, удаляемого местными отсосами, и составляет Lc = 3780 м3/ч.

Массовый расход воздуха, подаваемого в помещение горячего цеха, определяем по формуле (7):

Gп = Loρ0Lсρс = 6300·1,165 - 3780·1,185 = 2861 кг/ч или 0,795 кг/с,

где ρ0 = 1,165 кг/м3 при tо = 30 °С;

ρс = 1,185 кг/м3 при tc = 25 °С.

11.2.4 Если горячий цех и торговый зал непосредственно сообщаются между собой, вентиляция помещения горячего цеха и торгового зала решаются совместно.

При расчетах вентиляции температура в горячем цехе принимается на 5 °С выше наружной (параметры А [1]), но не более 27 °С; для торгового зала выше на 3 °С, но не более 25 °С.

Тепловыделения в залах следует принимать 116 Вт на одного посетителя (включая 30 Вт скрытого тепла от пищи).

Минимальное количество наружного воздуха на одного посетителя принимается 40 м3/ч в залах для некурящих и 100 м3/ч в залах для курящих; для помещений горячих цехов - 100 м3/ч на одного работающего [2].

Расчет вентиляции отдельно стоящих предприятий общественного питания следует выполнять для летнего, переходного (tнар = 10 °С) и зимнего периодов - с целью выявления теплового баланса с учетом теплопотерь и необходимости регулирования производительности вентиляционных установок.

Температуру приточного воздуха в зимний период принимают от 16 °С до 18 °С.

В результате расчетов определяют:

- расход воздуха, удаляемого местными отсосами, который в данном примере расчета составил 6300 м3/ч;

- массовый расход воздуха, подаваемый для компенсации удаляемого воздуха по расчету (см. 11.2.3) равен 6300·1,165 = 7340 кг/ч.

Количество удаляемого местными отсосами воздуха компенсируется:

- перетоком из торгового зала в пределах до 60 %; в данном примере принимаем Lс = 6300·0,6 = 3780 м3/ч или Gс = 3780·1,185 = 4479 кг/ч (1,244 кг/с);

- подачей остального воздуха отдельной приточной установкой Gпp = 7340 - 4479 = 2861 кг/ч (0,795 кг/с).

Распределение количества перетока и приточного воздуха уточняется на компенсацию явных тепловыделений в помещении горячего цеха, Вт, которые поступают от оборудования Qоб, освещения Qocв людей Qл.

Величину Qоб определяют аналогично Qк по явным тепловыделениям от установленной мощности оборудования (приложение А) в размере 50 % и коэффициента одновременности Ко = 0,6 (приложение Б):

Qоб = (14,5·200·3 + 5·35·2 + 9·330·2)×0,5·0,6 = 4500 Вт;

Qл (7 человек) = 7·100 = 700 Вт;

Qocв = 48·20 = 960 Вт.

Суммарные теплопоступления в помещении горячего цеха:

ΣQявн = 6160 Вт.

Считается, что конвективная часть тепловыделений кухонного оборудования улавливается местными отсосами, а лучистая - поступает в помещение. Вследствие отсутствия более точных данных явные тепловыделения кухонного оборудования делят на конвективные и лучистые в пропорции 1:1.

Далее рассчитываем температуру горячего цеха в летний период из расчета подачи воздуха приточной установкой с температурой tн = 22,6 °С. Для этого составим уравнение энергетического баланса помещения:

Qявн = Gпрср(tкух - tн) + Gccр(tкух - tс);

Здесь Gпр, Gc - соответственно массовый расход воздуха, подаваемого отдельной приточной установкой, и переточного воздуха, кг/с;

ср - удельная теплоемкость воздуха, равная 1005 Дж/(кг·°С).

Отсюда

что меньше 27 °С и на 26,4 - 22,6 = 3,8 °С < 5 °С выше температуры наружного воздуха. Расчет закончен.

При превышении температурой tкух допустимого значения необходимо увеличить расход воздуха, подаваемого отдельной приточной установкой, и соответственно сократить расход переточного воздуха. В случае если этого недостаточно, следует охладить воздух, подаваемый отдельной приточной установкой, для поддержания заданной температуры воздуха в помещении.

Массовый баланс воздуха:

7340 = 4479 + 2861 кг/ч.

11.3 Примечания к примеру расчета

11.3.1 При наличии общего зонта над линией кухонного оборудования кухонные выделения и расход воздуха через зонт следует определять отдельно по каждой единице по формуле (4), затем их суммировать.

11.3.2 При заданном объеме перетока воздуха из зала в горячий цех следует проверять скорость в раздаточном проеме, которая должна быть около 0,2-0,3 м/с.

11.3.3 При выборе расчетной температуры воздуха в летний период tн следует принимать во внимание, что в условиях плотной городской застройки температура воздуха у воздухозабора приточной вентиляционной установки может быть на 5 °С-10 °С выше tн.


Приложение А
(справочное)

Тепло - и влаговыделения кухонного оборудования

Таблица А.1

Зона помещения

Кухонное оборудование

Электрическое оборудование и оборудование, использующее пар в качестве теплоносителя

Газовое оборудование

Режим работы

Режим работы

Нормальный

Облегченный

Нормальный

Облегченный

Явные тепловы­деления, Вт/кВт

Скрытые тепловы­деления, Вт/кВт

Влаговы­деления, г/ч·кВт

Явные тепловы­деления, Вт/кВт

Скрытые тепловы­деления, Вт/кВт

Влаговы­деления, г/ч·кВт

Явные тепловы­деления, Вт/кВт

Скрытые тепловы­деления, Вт/кВт

Влаговы­деления, г/ч·кВт

Явные тепловы­деления, Вт/кВт

Скрытые тепловы­деления, Вт/кВт

Влаговы­деления, г/ч·кВт

Зона варения, пропаривания и приготовления

Котел и автоматический котел

35

200

294

25

80

118

100

300

441

75

80

118

Скороварка

40

10

15

-

-

-

-

-

-

-

-

-

Пароварка

25

200

294

25

0

0

-

-

-

-

-

-

Конвекционная паровая духовка

120

180

265

70

100

147

150

180

265

85

100

147

Зона жарки, гриля и выпекания

Сотейник

450

400

588

250

150

220

450

450

630

450

250

368

Сковорода для жарки

330

400

588

200

120

176

350

400

588

250

150

220

Барбекю и гриль

700

175

257

700

175

257

720

200

294

720

200

294

Духовка для жарки и выпекания

350

160

235

250

160

235

350

200

294

250

200

294

Оборудование с горячим воздухом для размораживания продуктов

70

150

220

40

60

88

100

150

220

50

100

147

Автоматическое устройство для жарки и гриля

250

230

338

250

230

338

-

-

-

-

-

-

Автоматическая соусница

150

160

235

110

160

235

-

-

-

-

-

-

Фритюрница

90

700

1030

-

-

-

90

700

1030

-

-

-

Автоматическая фритюрница*

50

100

147

-

-

-

-

-

-

-

-

-

То же**

50

550

808

-

-

-

-

 

-

 

-

-

Многофункцио­нальное оборудование

Духовка, плита***

200

80

118

100

50

74

250

100

147

150

80

118

Оборудование:

Печь для кастрюль

200

150

220

150

100

147

250

150

265

200

120

176

для приготовления пищи

Микроволновая печь

50

10

15

-

-

-

-

-

-

-

-

-

размораживания

Водяная ванна для размораживания

125

200

294

-

-

-

195

220

323

-

-

-

поддержания температуры

Шкаф для горячих блюд

350

-

-

-

-

-

-

-

-

-

-

-

охлаждения

Холодильник (без центрального холодоснабжения)

700

-

-

-

-

-

-

-

-

-

-

-

обработки

Кухонный процессор

175

-

-

-

 

-

-

-

-

-

-

-

транспортировки

Конвейер****

1000

-

-

-

-

-

-

-

-

-

-

-

Зона раздачи

горячих продуктов

125

200

-

-

-

-

-

 

-

-

-

-

холодных продуктов

700

-

-

-

-

-

-

-

-

-

-

-

Раздаточный аппарат для посуды

300

-

-

-

-

-

-

-

-

-

 

-

Автомат для пива и напитков

100

200

-

-

-

-

-

-

-

-

-

-

* С местным отсосом.

** Без отсоса.

*** Значения следует умножить на поправочный коэффициент в зависимости от типа конфорок. Поправочный коэффициент для электрических плит: традиционная металлическая конфорка - 1; керамическая конфорка - 1; индукционная конфорка - 0,35; сплошная стальная плита - 1,3.

Поправочный коэффициент для газовых плит: традиционная конфорка с открытым пламенем - 1; конфорка с закрытым пламенем - 1,2; керамическая конфорка - 0,8.

**** Вся теплота, выделяемая конвейерами, поступает в помещение.

Примечания

1 Тепловлаговыделения от кухонного оборудования отнесены к 1 кВт установленной мощности.

2 Нормальный режим работы - одновременная, нормальная эксплуатация кухонного оборудования для жарки, варения, приготовления во фритюре, гриля, выпекания и сушения (обычный набор оборудования).

3 Облегченный режим работы - в периоды низкой активности с частичной эксплуатацией оборудования для обдавания кипятком, бланширования, оттаивания, разогревания, поддержания теплоты, приготовления при низкой температуре и т.д.

4 Для расчета конвективного потока воздуха для устройств кабинетного типа (например, духовой шкаф, где продукт приготавливается в объеме, а не на горячей поверхности) для определения параметра z берут среднюю высоту устройства (в случае духового шкафа h - расстояние от пола до середины объема приготовления пищи (рисунок 4)).

5 Особенности расчета кухонного оборудования: лапшеварка рассчитывается как кастрюля; скороварка рассчитывается как кастрюля или, если долго используется для приготовления блюд во фритюре, как фритюрница; гриль для курицы рассчитывается как жаровня или паровая конвекционная печь; вращающийся и контактный грили рассчитываются как сковорода.

6 Данные приложения А являются справочной информацией, заимствованной из зарубежной практики. При проектировании следует использовать данные о тепловыделениях и объеме удаляемого от оборудования воздуха, предоставленные производителями - поставщиками оборудования.

 


Приложение Б
(справочное)

Классификация горячих цехов и ориентировочные значения* коэффициента одновременности работы кухонного оборудования

Таблица Б.1

Тип горячего цеха

Производительность горячего цеха

Маленький

Средний

Большой

Кол-во блюд в день

Кол-во блюд за один прием пищи

Коэффи­циент одновре­менности Ко**

Кол-во блюд в день

Кол-во блюд за один прием пищи

Коэффи­циент одновре­менности Ко**

Кол-во блюд в день

Кол-во блюд за один прием пищи

Коэффи­циент одновре­менности Ко**

Гастрономия (снек-бары, рестораны, горячие цеха отелей)

<100

-

1,0

<250

-

0,7

>250

-

0,7

Горячий цех в буфетах, казино, столовых

-

<150

0,8

-

<500

0,6

-

>500

0,6

Горячий цех в больницах

Главный

-

<250

0,8

-

<650

0,6

 

>650

0,6

Филиалы

-

<40

1,0

-

-

-

-

-

-

Общественный горячий цех

-

<100

0,9

-

<250

0,6

-

>250

0,6

Подготовительный смешанный горячий цех

-

<50

0,9

-

<400

0,6

-

>400

0,6

Промышленное приготовление пищи (горячий цех полуфабрикатов, передвижной горячий цех)

-

-

-

<3000

-

0,7

>3000

-

0,7

* Отклонения должны быть согласованы с заказчиком, проектировщиком, наладчиком горячего цеха и проектировщиком систем вентиляции и кондиционирования воздуха. Коэффициент одновременности работы равен 1,0 для оборудования, над которым устанавливается местный отсос. В особых случаях нижний предел коэффициента одновременной работы может быть согласован с заказчиком.

** Коэффициент одновременности работы кухонного оборудования Ко - количество кухонного оборудования, работающего одновременно в горячем цеху, отнесенное к общему количеству кухонного оборудования, установленного в помещении горячего цеха, или отношение значения среднего энергопотребления оборудования к его установочной мощности.

Примечание - Данные приложения Б являются справочной информацией, заимствованной из зарубежной практики. Фактические значения коэффициента одновременности работы кухонного оборудования принимают по технологическим заданиям.

 

Библиография

[1] Строительные нормы и правила СНиП 23-01-99* Строительная климатология

[2] АВОК Стандарт-1-2004 Здания жилые и общественные. Нормы воздухообмена

Ключевые слова: вентиляция, горячий цех, предприятие общественного питания, кухонное оборудование, местный отсос, воздушный баланс

 

 




ГОСТЫ, СТРОИТЕЛЬНЫЕ и ТЕХНИЧЕСКИЕ НОРМАТИВЫ.
Некоммерческая онлайн система, содержащая все Российские Госты, национальные Стандарты и нормативы.
В Системе содержится более 150000 файлов нормативно-технической документации, действующей на территории РФ.
Система предназначена для широкого круга инженерно-технических специалистов.

Рейтинг@Mail.ru Яндекс цитирования

Copyright © www.gostrf.com, 2008 - 2026