|
|
|
ФЕДЕРАЛЬНОЕ
АГЕНТСТВО
ШВЫ МОНТАЖНЫЕ ОКОННЫЕ Технические условия
ПредисловиеЦели и принципы стандартизации в Российской Федерации установлены Федеральным законом от 27 декабря 2002 г. № 184-ФЗ «О техническом регулировании», а правила применения национальных стандартов Российской Федерации - ГОСТ Р 1.0-2004 «Стандартизация в Российской Федерации. Основные положения» Сведения о стандарте1 РАЗРАБОТАН НИУПЦ «Межрегиональный институт окна», ООО «Тремко-Илльбрук», 000 «РОБИТЕКС», ООО «ЭмСиАй», ООО «Стройсистема СТ» с участием ООО «ЖилСтрой» 2 ВНЕСЕН Техническим комитетом по стандартизации ТК465 «Строительство» 3 УТВЕРЖДЕН И ВВЕДЕН В ДЕЙСТВИЕ Приказом Федерального агентства по техническому регулированию и метрологии от 24 сентября 2007 г. № 251-ст 4 ВВЕДЕН ВПЕРВЫЕ Информация об изменениях к настоящему стандарту публикуется в ежегодно издаваемом информационном указателе «Национальные стандарты», а текст изменений и поправок - в ежемесячно издаваемых информационных указателях «Национальные стандарты». В случае пересмотра (замены) или отмены настоящего стандарта соответствующее уведомление будет опубликовано в ежемесячно издаваемом информационном указателе «Национальные стандарты». Соответствующая информация, уведомление и тексты размещаются также в информационной сети общего пользования - на официальном сайте Федерального агентства по техническому регулированию и метрологии в сети Интернет Содержание Введение Настоящий стандарт разработан с целью обеспечения высококачественного монтажа светопрозрачных конструкций и наружных дверных блоков, применяемых в различных зданиях и сооружениях во всех климатических районах Российской Федерации. Монтажные швы, выполненные в соответствии с требованиями настоящего стандарта, строительных норм и правил, обеспечивают необходимую водо- и воздухонепроницаемость, требуемые тепло- и звукоизоляционные характеристики и удаление диффузионной и конденсатной влаги из монтажного зазора на протяжении заданного срока их эксплуатации. Настоящий стандарт предназначен для применения строительными, строительно-монтажными, ремонтными, проектными и испытательными организациями, осуществляющими свою деятельность по проектированию, монтажу и испытаниям узлов примыканий и монтажных швов с использованием паропроницаемых саморасширяющихся лент. Настоящий стандарт не противоречит действующим нормативным документам Российской Федерации в области строительства и производства строительных материалов. Настоящий стандарт следует применять с учетом требований строительных, санитарных, противопожарных, экологических норм и правил, а также действующих правовых документов. Настоящий стандарт может быть использован для целей сертификации монтажных швов светопрозрачных конструкций с использованием паропроницаемых саморасширяющихся лент и услуг по устройству монтажных швов. ГОСТ Р 52749-2007НАЦИОНАЛЬНЫЙ СТАНДАРТ РОССИЙСКОЙ ФЕДЕРАЦИИШВЫ МОНТАЖНЫЕ ОКОННЫЕ С ПАРОПРОНИЦАЕМЫМИ САМОРАСШИРЯЮШИМИСЯ ЛЕНТАМИ Технические условия Assembly
window joints with vapour-permeable
|
||||||||||||||||||||||||||||||||||||||||||||||||||||||||||||||||||||||||||||||||||||||||||||||||||||||||||||||||||||||||||||||||||||||||||||||||||||||
|
Характеристика |
Значение по каждому показателю для классов |
||
|
1 |
2 |
3 |
|
|
Термическое сопротивление, м2·°С/Вт |
3,0 и более |
От 2,1 до 2,9 |
От 1,2 до 2,0 |
|
Предел водонепроницаемости, Па |
Свыше 600 |
От 400 до 600 |
От 200 до 399 |
|
Деформационная устойчивость, % |
15 и выше |
От 11 до 14 |
От 8 до 10 |
Примечания1 Предел водонепроницаемости шва допускается оценивать по пределу водонепроницаемости уплотнительной саморасширяющейся ленты наружного слоя. 2 Показатель деформационной устойчивости монтажного шва допускается принимать по показателю материала среднего слоя (в случае применения в качестве материала внутреннего слоя паронепроницаемых самоклеящихся лент). |
|||
4.2 Класс монтажного шва по основным эксплуатационным характеристикам рекомендуется устанавливать в рабочей документации на узлы примыканий оконных блоков к стеновым проемам.
4.3 Условное обозначение монтажного шва должно включать в себя буквенный индекс «ШМ» - шов монтажный, цифровые обозначения классов швов по показателям термического сопротивления, предела водонепроницаемости и деформационной устойчивости согласно таблице 1, обозначение настоящего стандарта или стандарта организации, разработанного в его развитие.
Пример условного обозначения шва монтажного третьего класса по термическому сопротивлению, второго класса по пределу водонепроницаемости, первого класса по деформационной устойчивости:
ШМ 3-2-1 ГОСТ Р 52749-2007
В договоре, паспорте и другой документации на монтажные швы рекомендуется приводить дополнительную техническую информацию (в том числе конкретные значения технических характеристик монтажных швов и материалов, применяемых для их устройства, подтвержденные результатами испытаний).
5.1.1 Оконный монтажный шов является изделием, изготовляемым в условиях строительной площадки или на домостроительном предприятии.
Конструкция монтажного шва с паропроницаемыми лентами включает в себя, как правило, три слоя, имеющих различное функциональное назначение:
- наружный - водоизоляционный, паропроницаемый;
- средний (центральный) - тепло-, звукоизоляционный;
- внутренний - пароизоляционный.
Допускается устройство дополнительного четвертого водо-, пароизоляционного слоя между средним слоем шва и поверхностью проема, устраиваемого для предотвращения проникновения в шов диффузионной или конденсатной влаги из материала стены.
Каждый из слоев монтажного шва может кроме основных выполнять и дополнительные функции (например, наружный слой может иметь существенное термическое сопротивление), что необходимо учитывать при определении расчетных характеристик конструкции шва. Условия работы слоев монтажного шва определяют, исходя из комплекса нагрузок (воздействий) на шов, возникающих во время его эксплуатации, приведенных в приложении Б, таблица Б.1.
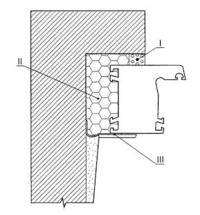
Принципиальная схема монтажного шва приведена на рисунке 1.

I - наружный водоизоляционный паропроницаемый слой;
II - средний (центральный) тепло-, звукоизоляционный слой;
III - внутренний пароизоляционный слой
5.1.2 Конструкции монтажных швов устанавливают в стандартах организаций и/или рабочей документации на монтажные узлы примыкания конкретных видов оконных блоков к проемам на основании расчетов и результатов испытаний, учитывая положения строительных норм и правил и требования настоящего стандарта.
Примеры конструктивных решений монтажных швов приведены в приложении А.
5.1.3 Конструкции монтажных швов должны быть устойчивы к различным эксплуатационным воздействиям: атмосферным факторам, температурно-влажностным воздействиям со стороны помещения, силовым (температурным, усадочным и др.) деформациям и динамическим (ветровым) нагрузкам.
5.1.4 При выборе материалов для устройства монтажных швов следует учитывать возможные температурные изменения размеров оконных блоков при их эксплуатации. При этом эластичные изоляционные материалы, предназначенные для эксплуатации в сжатом состоянии, должны быть подобраны с учетом их оптимальной (расчетной) рабочей степени сжатия.
5.1.5 Значение термического сопротивления (сопротивления теплопередаче) монтажного шва должно находиться в диапазоне значений этого показателя для стеновой конструкции и оконного блока и обеспечивать температуру внутренних поверхностей узлов примыканий оконного блока к стеновому проему, и быть не ниже требуемой строительными нормами и правилами.
5.1.6 Значения показателей предела водонепроницаемости и звукоизоляции монтажных швов не должны быть ниже значений этих показателей для применяемых оконных блоков.
5.1.7 Монтажные швы должны быть воздухонепроницаемыми при заданных значениях ветровых нагрузок.
5.1.8 В зависимости от конфигурации поверхностей стеновых проемов монтажные швы могут быть прямыми (оконный проем без четверти) или угловыми (оконный проем с четвертью, предпочтительный вариант).
5.1.9 С наружной стороны монтажные швы могут быть защищены специальными профильными деталями: сливами (отливами), дождезащитными, звукоизоляционными, ветрогасящими или антивандальными накладками и штукатурным слоем. С внутренней стороны монтажные швы могут быть закрыты штукатурным слоем или деталями облицовки оконных откосов и подоконной доской.
5.2.1 Наружный слой монтажного шва должен быть водонепроницаемым при дождевом воздействии и заданном (расчетном) перепаде давления между наружной и внутренней поверхностями монтажного шва.
5.2.2 Материалы наружного слоя монтажного шва не должны препятствовать удалению парообразной влаги из центрального слоя шва.
Значение сопротивления паропроницанию наружного слоя шва должно быть не более 0,25 м2·ч·Па/мг.
5.2.3 Для устройства наружного слоя монтажного шва следует применять саморасширяющиеся уплотнительные ленты по НД, значение коэффициента паропроницаемости в состоянии рабочего сжатия которых не менее 0,14 мг/м·ч·Па.
В случаях применения лент для уплотнения монтажных зазоров строительных конструкций, предназначенных для эксплуатации с повышенными ветровыми (например, в высотном строительстве) и другими нагрузками, уплотнительные ленты следует применять в комплекте с защитными накладными профилями (нащельниками).
5.2.4 Материалы наружного слоя монтажного шва должны быть стойкими к атмосферному воздействию и воздействию слабоагрессивных химических сред в течение заданного срока службы, подтвержденного испытаниями на долговечность.
5.2.5 Материалы наружного слоя монтажного шва должны быть устойчивы к воздействию эксплуатационных температур:
- для швов обычного исполнения - от плюс 70 °С до минус 30 °С;
- для швов морозостойкого исполнения - от плюс 70 °С до минус 31 °С и ниже.
5.2.6 Водопоглощение поверхности саморасширяющихся уплотнительных лент по объему при рабочем сжатии ленты за 12 ч не должно превышать 4 %.
5.2.7 Саморасширяющиеся уплотнительные ленты должны перекрывать монтажный зазор в состоянии, близком к оптимальной рабочей степени сжатия, которая должна составлять не менее 25 % их полного расширения.
5.2.8 Сопротивление сжатию уплотнительных лент при 50%-ной деформации должно быть не менее 2,5 кПа.
5.2.9 Сопротивление отслаиванию (прочность сцепления) уплотнительных и диффузионных лент от бетонного основания должно быть не менее 0,3 кНм (кгс/см).
5.3.1 Средний слой монтажного шва должен обеспечивать требуемые термическое сопротивление (сопротивление теплопередаче) и звукоизоляцию монтажного шва.
5.3.2 В качестве материалов среднего слоя монтажного шва используют, как правило, монтажные пенные полиуретановые уплотнители. Оптимальная толщина слоя пенного уплотнителя должна быть 15 - 40 мм.
5.3.3 Заполнение монтажного зазора изоляционными материалами должно быть сплошным по сечению, без пустот, разрывов, щелей и переливов. Наличие расслоений, сквозных зазоров и щелей не допускается.
5.3.4 Сопротивление паропроницанию среднего слоя монтажного шва должно находиться в диапазоне значений этого показателя для наружного и внутреннего слоев, отличаясь от этих значений не менее чем на 30 %.
5.3.5 Прочность сцепления пенных уплотнителей с поверхностями оконных проемов и коробок оконных блоков должна быть не менее 0,1 МПа.
5.3.6 Водопоглощение материалов среднего слоя по объему при поверхностном воздействии влаги не должно превышать 2,5 %.
5.3.7 Деформационная устойчивость материалов среднего слоя должна быть не менее 8%.
5.4.1 Внутренний изоляционный слой должен обеспечивать надежную пароизоляцию материалов среднего слоя монтажного шва со стороны помещения.
5.4.2 В любом случае значение сопротивления паропроницанию внутреннего слоя должно быть не менее 2,0 м2·ч·Па/мг.
5.4.3 В качестве материалов внутреннего слоя монтажного шва применяют, как правило, паронепроницаемые самоклеящиеся ленты. Допускается применение пароизоляционных мастичных герметиков, которые рекомендуется наносить по бутовочному шнуру из эластомерных материалов. Для герметизации мест сопряжений элементов узлов примыканий (включая элементы облицовки и подоконную доску) допускается применение силиконовых, акриловых и других герметизирующих материалов, соответствующих условиям эксплуатации монтажных швов.
5.4.4 Пароизоляционные материалы внутреннего слоя монтажного шва должны иметь сопротивление отслаиванию (прочность сцепления) от бетонного основания не менее 0,3 кгс/см для лент (0,1 МПа - для герметиков).
5.4.5 Пароизоляционные материалы по внутреннему контуру монтажного зазора должны быть уложены непрерывно, без пропусков, разрывов и непроклеенных участков.
5.5.1 Материалы, применяемые при устройстве монтажных швов, должны соответствовать требованиям стандартов, условиям договоров на поставку и технической документации, утвержденной в установленном порядке.
5.5.2 Диапазон рабочих температур применения материалов для устройства монтажных швов находится, как правило, в пределах от 5°С до 35°С. В случае необходимости применения материалов при более низких температурах следует обеспечить проведение комплекса технологических мероприятий согласно рекомендациям производителей материалов.
5.5.3 Долговечность материалов (срок службы), применяемых для устройства монтажного оконного шва, должна быть не менее 25 условных лет эксплуатации.
5.5.4 Материалы, применяемые для устройства различных слоев монтажного шва, должны быть совместимы между собой, а также с материалами стенового проема и оконной коробки.
5.5.5 Материалы, применяемые в конструкциях монтажных швов, должны иметь санитарно-эпидемиологическое заключение органов санэпиднадзора РФ.
5.5.6 Материалы для устройства монтажных швов должны храниться в сухих отапливаемых вентилируемых помещениях с соблюдением условий хранения, указанных в нормативной документации на эти материалы.
5.6.1 Номинальные размеры монтажных зазоров для устройства швов устанавливают в рабочих чертежах узлов примыканий оконных блоков к стеновым проемам.
Рекомендуемые размеры боковых монтажных зазоров (расстояние между торцевой поверхностью оконной коробки и смежной с ней поверхностью оконного проема) при монтаже оконных блоков по ГОСТ 23166 приведены в таблице 2. Размер фронтального монтажного зазора должен быть, как правило, 3 - 20 мм.
Таблица 2 - Рекомендуемые размеры боковых монтажных зазоров
|
Материал бруска (профиля) коробки оконного блока |
Ширина монтажного зазора, мм, при длине (высоте) коробки оконного блока |
|||
|
до 1,2 м |
1,3 - 2,2 м |
2,3 - 3,0 м |
3,0 - 3,5 м |
|
|
Алюминий, ПВХ (белого цвета) |
15 |
20 |
25 |
30 |
|
Алюминий, ПВХ (темного цвета) |
20 |
25 |
30 |
35 |
|
Древесина |
15 |
15 |
20 |
- |
5.6.2 Размеры и конфигурация оконных проемов должны соответствовать установленным в рабочей проектной документации.
Рекомендуемые предельные отклонения размеров оконных проемов по высоте и ширине от номинальных - плюс 15 мм. Отклонение сторон оконного проема по вертикали и горизонтали не должно превышать 3,0 мм на 1 м, но не более 8 мм на всю высоту или ширину проема, при этом отклонения по вертикали и горизонтали должны находиться в поле допусков отклонений размеров по высоте и ширине проема.
5.6.3 Габаритные размеры и предельные отклонения размеров коробок оконных блоков устанавливают в нормативной документации на конкретные изделия.
Отклонения сторон коробок по вертикали и горизонтали смонтированных оконных блоков не должны превышать 1,5 мм на 1 м длины, но не более 3 мм на всю высоту изделия.
5.7.1 Кромки и поверхности проемов не должны иметь выколов, раковин, наплывов раствора и других повреждений высотой (глубиной) более 10 мм. Дефектные места должны быть зашпаклеваны водостойкими составами.
Пустоты в откосах проемов стен (например полости на стыках облицовочного и основного слоев кирпичной кладки; в местах стыков перемычек и кладки; выколы, образовавшиеся при удалении коробок при замене оконных блоков и др.) допускается заполнять пенопластами.
Поверхности, имеющие масляные загрязнения, следует обезжиривать. Рыхлые, осыпающиеся участки поверхностей должны быть упрочнены, например обработаны связующими составами (праймерами) или мастиками.
5.7.2 Перед устройством монтажных швов поверхности оконных проемов и монтируемых конструкций должны быть очищены от пыли, грязи и масляных пятен, а в зимних условиях - от снега, льда, инея с последующим прогревом поверхности.
5.7.3 Общие положения по устройству монтажных швов приведены в приложении Б.
При производстве работ по устройству монтажных швов, а также при хранении и переработке отходов изоляционных и других материалов должны соблюдаться требования строительных норм и правил по технике безопасности в строительстве, правил пожарной безопасности при производстве строительно-монтажных работ, санитарных норм и стандартов безопасности, в том числе стандартов системы безопасности труда (ССБТ).
Для всех технологических операций и производственных процессов должны быть разработаны инструкции по технике безопасности (включая операции, связанные с эксплуатацией электрооборудования и работами на высоте).
6.1 Приемку готовых монтажных швов на строительных объектах или домостроительных предприятиях осуществляют партиями. За партию принимают число оконных проемов с установленными оконными блоками и законченными монтажными швами, выполненными по одной технологии и оформленными одним актом сдачи-приемки или документом о качестве (паспортом), - если приемку проводят в условиях домостроительного предприятия.
6.2 Приемку монтажных швов производят путем проведения:
- входного контроля применяемых материалов;
- контроля качества подготовки оконных проемов и оконных блоков;
- производственного операционного контроля;
- приемо-сдаточных испытаний при производстве работ;
- квалификационных и периодических лабораторных испытаний материалов и монтажных швов, проводимых испытательными центрами (лабораториями).
Результаты всех видов контроля (испытаний) фиксируют в соответствующих журналах контроля качества.
Завершение работ по устройству монтажных швов оформляют актом на скрытые работы и актом сдачи-приемки.
6.3 Входной контроль качества материалов и изделий при их поступлении и хранении проводят в соответствии с требованиями нормативной и проектной документации. При этом проверяют наличие санитарно-эпидемиологического заключения, сроки годности, маркировку изделий (тары), сертификаты соответствия (при их наличии), а также выполнение условий, установленных в договорах на поставку.
6.4 Контроль качества подготовки оконных проемов и установки оконных блоков производят согласно технологической документации на производство монтажных работ, с учетом требований действующей нормативной документации (НД) и настоящего стандарта. При этом проверяют:
- подготовку поверхностей оконных проемов и оконных блоков;
- размеры (предельные отклонения) оконных проемов и блоков;
- отклонения от размеров при установке оконных блоков;
- отклонения от размеров монтажных зазоров;
- другие требования, установленные в рабочей проектной и технологической документации.
Качество подготовки оконных проемов рекомендуется оформлять актом сдачи-приемки оконных проемов.
6.5 Производственный операционный контроль качества проводит ответственный исполнитель работ последовательно по каждой операции технологического процесса согласно требованиям конструкторско-технологической документации.
6.6 Приемо-сдаточные испытания при производстве работ по устройству монтажных швов проводят не реже одного раза в смену. При этом не менее чем на трех образцах проверяют:
- качество установки монтажных лент, утеплителей и других материалов (после завершения работ по каждому слою шва);
- температурно-влажностные параметры условий производства работ;
- соответствие размеров монтажного шва установленным требованиям (см. 5.6.3).
В случае если технология установки оконных блоков предусматривает двух-, трехдневный срок монтажа (например, первый день - установка оконных блоков на монтажных клиньях и укладка материалов наружного слоя, второй день - нанесение монтажных материалов центрального и внутреннего слоев), то контроль качества монтажного шва проводят на одних и тех же оконных блоках.
6.7 Квалификационные и периодические лабораторные испытания проводят по запросу и согласованию с проектными, строительными и другими организациями для подтверждения квалификационных характеристик и эксплуатационных показателей монтажных швов (см. 5.5 - 5.7). Испытания проводят в испытательных центрах (лабораториях), аккредитованных на право проведения таких испытаний.
Допускается определение характеристик монтажных швов расчетными методами по методикам, программам и НД, утвержденным в установленном порядке.
6.8 Приемку работ по устройству монтажных швов в условиях строительства оформляют актом сдачи-приемки, подписанным исполнителем и заказчиком.
К акту сдачи-приемки прилагают описание конструкции, чертежи, технические характеристики монтажного шва (включая крепежные элементы), гарантийные обязательства; копии протоколов замеров и согласования условий работ и, по требованию заказчика, перечень использованных монтажных материалов с приложением санитарно-эпидемиологических заключений и протоколов испытаний (сертификатов соответствия).
6.9 В случае возникновения спорных (арбитражных) вопросов по качеству монтажных швов в течение гарантийного срока заказчик вправе потребовать контрольного вскрытия монтажных швов. При этом рекомендуется использовать план контроля, приведенный в таблице 3.
Партию монтажных швов принимают, если число дефектных швов в первой выборке менее или равно приемочному числу, и бракуют без назначения второй выборки, если число дефектных швов превышает браковочное число. Если число дефектных швов в первой выборке более приемочного числа, но менее браковочного, переходят ко второй ступени контроля и проводят вторую выборку.
Партию монтажных швов принимают, если вторая выборка не содержит дефектных швов.
В случае обнаружения дефектных швов при проведении второй ступени контроля, все предъявленные к приемке монтажные швы должны быть вскрыты и проверены (поштучно).
Дефектные монтажные швы должны быть исправлены в присутствии представителя заказчика.
Таблица 3 - План контроля монтажных швов
В штуках
|
Число проемов (монтажных швов) |
Объем выборки |
Приемочное число |
Браковочное число |
Объем выборки |
Приемочное число |
Браковочное число |
|
До 15 вкл. |
1-я ступень |
2-я ступень |
||||
|
2 |
0 |
1 |
- |
- |
- |
|
|
Св. 15 до 100 |
3 |
0 |
2 |
3 |
0 |
1 |
|
Св. 100 |
4 |
0 |
3 |
4 |
0 |
1 |
7.1 Методы испытаний материалов при входном контроле качества устанавливают в технологической документации с учетом требований НД на эти материалы и условий договоров на их поставку.
7.2 Методы испытаний при производственном операционном контроле качества устанавливают в технологической документации с учетом требований настоящего стандарта.
7.3 Подготовку поверхностей оконных проемов оценивают визуально.
7.4 Геометрические размеры монтажных зазоров, стеновых проемов, монтируемых оконных конструкций и размеры дефектов поверхностей проемов измеряют металлической измерительной рулеткой по ГОСТ 7502, металлической линейкой по ГОСТ 427, штангенциркулем по ГОСТ 166 с использованием методов по ГОСТ 26433.0 и ГОСТ 26433.1.
При измерении отклонений от отвесной линии (вертикали) и горизонтального уровня поверхностей оконных проемов и конструкций следует пользоваться правилами измерений по ГОСТ 26433.2.
7.5 Внешний вид и качество устройства слоев монтажного шва оценивают визуально при освещенности не менее 300 лк на расстоянии 400 - 600 мм.
7.6 Методы квалификационных и периодических лабораторных испытаний
7.6.1 Термическое сопротивление монтажных швов определяют по ГОСТ 26602.1 или расчетным методом по НД, методикам, программам, утвержденным в установленном порядке.
7.6.2 Предел водонепроницаемости монтажных швов определяют, используя методику испытаний по ГОСТ 26602.2, со следующими добавлениями:
- аппаратура для испытаний должна обеспечивать создание и поддержание контрольного конечного давления, заданного в программе испытаний;
- проем испытательной камеры должен быть идентичен конструкции стенового проема, а коробка образца оконного блока - коробке оконного блока, в соответствии с конструкторской документацией на испытуемый монтажный шов (узел примыкания);
- монтажный шов должен быть устроен в соответствии с его конструктивным решением и технологией производства работ (в том числе с материалами);
- форсунки для подачи воды должны быть установлены по контуру монтажного шва с интервалом 250-300 мм и обеспечивать угол атаки (направление дождевания) монтажного шва 45° к плоскости остекления. При этом форсунки верхнего горизонтального ряда должны быть направлены вниз, а нижнего ряда - вверх, под слив оконного блока;
- наличие протечек определяют следующим образом: удаляют внутренний слой монтажного шва; выбирают в углах и посредине сторон шва перны из пенного уплотнителя диаметром 6-10 мм; разрезают полученные цилиндры по длине на две части (срез должен быть смещен от плоскости наружной стороны коробки на 5-7 мм к внутреннему торцу цилиндра; на поверхность среза кисточкой наносят порошок водного анилинового красителя (или морилки) любого цвета; краситель окрашивает поверхность среза при наличии свободной влаги на исследуемой поверхности образцов.
Условия проведения испытаний уточняют в программе испытаний.
В случае принятия предела водонепроницаемости монтажного шва по соответствующему показателю паропроницаемых саморасширяющихся уплотнительных лент наружного слоя, этот показатель определяют по НД.
7.6.3 Звукоизоляцию и воздухопроницаемость монтажных швов определяют по ГОСТ 26602.3 и ГОСТ 26602.2 соответственно.
Проем испытательной камеры должен быть идентичен конструкции стенового проема, а коробка образца оконного блока - коробке оконного блока, приведенным в конструкторской документации на испытуемый монтажный шов (узел примыкания). Конструкцию и технологию устройства монтажного шва принимают согласно конструктивному решению узла примыкания, установленному в проектной документации.
Коробку оконного блока заполняют панелью, тщательно изолируя зазоры в соединении коробки и панели. Конструктивное решение панели и изоляция зазоров при испытаниях звукоизоляции должны обеспечивать расчетную звукоизоляцию не менее 45 дБА
Условия проведения испытаний уточняют в программе испытаний.
7.6.4 Деформационную устойчивость монтажного шва определяют по максимальному значению его деформации под воздействием силы, направленной перпендикулярно к боковой плоскости монтажного шва, при которой сохраняется его целостность. Допускается проводить данное испытание монтажного шва на пенном уплотнителе.
Число образцов для испытаний - не менее трех.
Для испытаний применяют следующие аппаратуру и приспособления:
- машину разрывную, обеспечивающую разрушение образца со скоростью движения активного захвата (10 ± 1) мм/мин и позволяющую устанавливать значение разрушающего усилия с погрешностью не более 1%;
- специальное приспособление с обоймой для размещения образцов монтажного шва, обеспечивающее совпадение поперечной оси образца с направлением прилагаемого усилия, схема которого приведена на рисунке 2;

b - толщина шва; 1 - обойма из алюминия или нержавеющей стали толщиной 3 мм; 2 - образец испытуемого монтажного шва
Рисунок 2 - Схема приспособления для испытания прямых монтажных швов на деформационную устойчивость
- специальное устройство для подготовки образцов пенного утеплителя и их установки в испытательной машине (см. рисунок 3).

1 - корпус устройства; 2 - образец материала; 3 - алюминиевые пластины толщиной не менее 2,0 мм; 4 - смазка; h1 - положение пластин при заданной (начальной) толщине образца; h2 - положение пластин при наибольшем сжатии образца; h3 - положение пластин при наибольшем растяжении образца
Примечание - Общая площадь отверстий в корпусе устройства должна быть не менее 30 % площади внутренней поверхности корпуса.
Рисунок 3 - Схема устройства для подготовки образца и испытания пенного утеплителя на деформационную устойчивость
7.6.4.1 Образцы для испытаний
Образцы монтажного шва для проведения испытаний получают послойным заполнением обоймы специального устройства, схема которого представлена на рисунке 2, изоляционными материалами в соответствии с проектным решением и технологией производства монтажных работ. Размеры контактных поверхностей обоймы устанавливают, исходя из размеров слоя пенного утеплителя, примерно 30×60×160 мм. Пароизоляционную ленту внутреннего слоя наклеивают на срезанную поверхность пенного утеплителя с заходом на одну из боковых поверхностей обоймы на 4 - 5 мм.
Образцы пенного утеплителя для проведения испытаний получают заполнением им корпуса устройства, схема которого показана на рисунке 3. Внутренний диаметр корпуса, определяющий размер образца 60,0+0,2 мм, высота внутренней полости корпуса - 30 мм (без учета толщины ограничительных пластин). Внутренняя поверхность корпуса должна быть смазана консистентной смазкой.
На дно корпуса устройства до заливки пены устанавливают алюминиевую пластину диаметром 60,0-02 мм. Вторую пластину диаметром 65,0-0,5 мм устанавливают в верхней части корпуса в виде крышки и жестко фиксируют любым способом. Заливку пены производят в отверстие диаметром 8 мм в боковой стенке корпуса. Для удаления излишка пены предусматривают отверстия в стенках корпуса. После заливки пены образец выдерживают не менее суток, после чего образец в виде цилиндра отвердевшей пены, зажатый между двумя приклеенными алюминиевыми пластинами, вынимают из корпуса.
7.6.4.2 Порядок проведения и оценка результатов испытания
Обойму с образцом монтажного шва (или образец пенного утеплителя) устанавливают в захватах машины. Испытание проводят при температуре (20 ± 3) °С последовательными растяжениями и сжатиями образца. Значения растяжения и сжатия устанавливают в программе испытаний, исходя из назначения монтажного шва. Производят не менее 20 циклов «растяжение - сжатие» образца. Между циклами образец выдерживают без нагрузки не менее 10 мин.
После завершения испытания поверхности образца подвергают визуальному осмотру. Результат испытания признают удовлетворительным, если каждый образец не имеет расслоений и разрушений.
Деформационную устойчивость φ, %, определяют по формуле
(1)
где Δh - значение перемещения пуансона (разница между толщиной образца при растяжении и сжатии), мм;
h1 - заданная (начальная) толщина образца, мм.
7.6.5 Устойчивость монтажного шва к воздействию эксплуатационных температур определяют по значению этого показателя для саморасширяющихся паропроницаемых уплотнительных лент по НД.
7.6.6 Методы испытаний показателей материалов, применяемых для устройства монтажных швов, устанавливают в НД на эти материалы.
7.6.6.1 Сопротивление паропроницанию и коэффициент паропроницаемости материалов монтажного шва - по ГОСТ 25898.
7.6.6.2 Теплотехнические показатели материалов монтажного шва - по ГОСТ 7076.
7.6.7 Долговечность (срок службы) монтажного шва допускается определять как минимальную долговечность материалов, входящих в состав наружного или центрального слоя монтажного шва, по НД на эти материалы.
7.6.8 Совместимость материалов монтажного шва подтверждают сопоставлением значений водородного показателя рН контактирующих материалов, при этом не допускается контакт материалов, имеющих кислую и щелочную реакцию.
Производитель гарантирует соответствие монтажных швов требованиям настоящего стандарта при условии соответствия подготовки проемов и размеров монтажных зазоров требованиям настоящего стандарта, а также при условии соответствия фактических эксплуатационных нагрузок на швы расчетным нагрузкам (заданным в проектной документации).
Гарантийный срок монтажного шва устанавливают в договоре между производителем работ и заказчиком, но не менее пяти лет со дня подписания акта сдачи-приемки.

1 - пенный утеплитель; 2 - изоляционная саморасширяющаяся паропроницаемая лента (ПСУЛ); 3 - рамный дюбель; 4 - герметик; 5 - пароизоляционная лента; 6 - компенсатор монтажного зазора (рекомендуется для утепления откоса в зданиях старой постройки, может применяться для утепления откоса и изоляции пенного утеплителя от плоскости возможной конденсации); 7 - штукатурный слой внутреннего откоса (с фаской для слоя герметика)
Рисунок А.1 - Узел бокового примыкания оконного блока к проему с четвертью в стене из кирпича; с отделкой внутреннего откоса штукатурным раствором

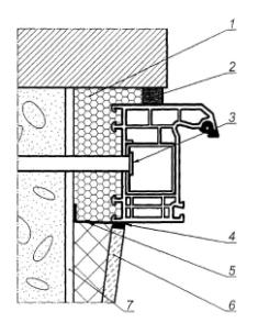
1 - штукатурный слой наружного откоса (с фаской для слоя герметика); 2 - строительный шуруп; 3 - герметик; 4 - фальшчетверть из уголка; 5 - изоляционная саморасширяющаяся паропроницаемая лента (ПСУЛ); 6 - рамный дюбель; 7 - пенный утеплитель; 8 - герметик; 9 - пароизоляционная лента; 10 - элемент отделки внутреннего откоса; 11 - полость между неутепленной однослойной стеной и элементом отделки откоса (рекомендуется заполнять теплоизоляционным материалом)
Рисунок А.2 - Узел бокового примыкания оконного блока к проему без четверти в стене из кирпича и с отделкой внутреннего откоса облицовочной панелью

1 - пенный утеплитель; 2 - изоляционная саморасширяющаяся паропроницаемая лента (ПСУЛ); 3 - гибкая анкерная пластина; 4 - герметик; 5 - пароизоляционная лента; 6 - штукатурный слой внутреннего откоса (с фаской для слоя герметика); 7 - армирующая сетка; 8 - дюбель со стопорным шурупом
Рисунок А.3 - Узел бокового примыкания оконного блока к проему с четвертью слоистой стены из кирпича с эффективным утеплителем и отделкой внутреннего откоса штукатурным раствором

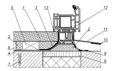
1 - подоконная доска; 2 - пенный утеплитель; 3 - пароизоляционная лента; 4 - гибкая анкерная пластина; 5 - опорная колодка под подоконную доску; 6 - штукатурный раствор; 7 - дюбель со стопорным шурупом; 8 - вкладыш из антисептированного пиломатериала или выравнивающий слой из штукатурного раствора (рекомендуется только для нижнего узла); 9 - водоизоляционная паропроницаемая лента; 10 - шумопоглощающая прокладка; 11 - слив; 12 - изоляционная саморасширяющаяся паропроницаемая лента (ПСУЛ); 13 - тонкий слой герметика
Рисунок А.4 - Узел нижнего примыкания оконного блока, подоконника и слива к проему слоистой стены с эффективным утеплителем

1 - вкладыш из атисептированного пиломатериала; 2 - дюбель со стопорным шурупом; 3 - армирующая сетка; 4 - штукатурный слой внутреннего откоса (с фаской для слоя герметика), возможна отделка листовым материалом (влагостойкая панель); 5 - гибкая анкерная пластина; 6 - пароизоляционная лента; 7 - герметик; 8 - изоляционная саморасширяющаяся паропроницаемая лента (ПСУЛ); 9 - пенный утеплитель; 10 - стальная перемычка; 11 - антикоррозийное покрытие
Рисунок А.5 - Узел верхнего примыкания оконного блока к перемычке из стального уголка в проеме многослойной стены с облицовкой кирпичом

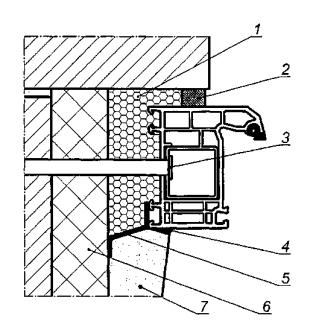
1 - пенный утеплитель; 2 - изоляционная саморасширяющаяся паропроницаемая лента (ПСУЛ); 3 - рамный дюбель; 4 - герметик; 5 - пароизоляционная лента; 6 - панель отделки внутреннего откоса; 7 - штукатурный выравнивающий слой внутреннего откоса
Рисунок А.6 - Узел бокового примыкания оконного блока к проему с четвертью в стене из ячеистобетонных блоков (плотностью 400 - 450 кг/м3) с облицовкой кирпичом и отделкой внутреннего откоса панелью

1 - элемент отделки наружного оконного откоса; 2 - изоляционная саморасширяющаяся паропроницаемая лента (ПСУЛ); 3 - водоизоляционная паропроницаемая лента; 4 - рамный дюбель; 5 - пенный утеплитель; 6 - нащельник из ПВХ в комбинации с пароизоляционным вкладышем
Рисунок А.7 - Узел бокового примыкания оконного блока к проему стены из бетона с наружным утеплением фасада и установкой внутреннего нащельника с пароизоляционным вкладышем
Б.1.1 Основные элементы узлов примыканий: стена (оконный проем) - монтажный шов - оконный блок (торцевая зона коробки) должны проектироваться и работать как единая конструктивная система, обеспечивающая выполнение требований, предъявляемых к наружным ограждающим конструкциям.
Б.1.2 Проектированию монтажных швов должна предшествовать предварительная проработка исходных условий для проектирования на конкретном строительном объекте, при этом эти условия могут быть различны при монтаже оконных блоков во вновь строящихся зданиях или замене их в эксплуатируемых помещениях.
В общем случае исходные данные должны включать в себя:
- климатические и другие факторы (параметры температуры и влажности воздуха, ветровых воздействий, УФ-облучения и др.), определяющие внешние нагрузки;
- расчетные параметры микроклимата внутри помещений, определяющие внутренние нагрузки;
- требуемые классы показателей монтажных швов, технические характеристики швов с учетом внешних факторов воздействия;
- требуемые значения эксплуатационных характеристик оконных блоков и стеновых элементов;
- конструкцию, конфигурацию, размеры оконных проемов (включая наличие и расположение четверти, перемычки, подоконной доски, слива и др.);
- конструкцию и материалы стены, возможную осадку конструктивных элементов, влагосодержание материалов в области стенового проема;
- конструкцию, материал, габаритные размеры и размеры сечения профилей коробки оконных блоков;
- предполагаемое расположение оконных блоков по глубине проема;
- особенности устройства отопительно-вентиляционной системы здания, в т.ч. условия кондиционирования или воздухообмена.
Наличие этих данных позволяет установить оптимальные размеры монтажных зазоров, выбрать материалы и разработать несколько конструктивных решений монтажного шва, сравнительно оценить теплотехнические и другие возможности этих решений и принять базовый вариант конструкции монтажного шва на основе экономических расчетов.
При разработке конструктивного решения, определении размеров монтажного шва и выборе монтажных материалов следует руководствоваться строительными нормами и правилами и требованиями настоящего стандарта.
Б.1.3 Крепежные элементы и опорные колодки должны обеспечивать надежную фиксацию оконных блоков в проемах с передачей силовых нагрузок на несущие строительные конструкции.
Б.1.4 Условия работы слоев монтажного шва определяют, исходя из комплекса нагрузок (воздействий) на шов, возникающих во время его эксплуатации, приведенных в таблице Б.1.
Таблица Б.1 - Комплекс нагрузок (воздействий) на монтажный шов, возникающих во время эксплуатации
|
Вид нагрузки (воздействия) |
Возможный результат воздействия |
Техническая характеристика монтажного шва |
Слой монтажного шва, воспринимающий нагрузку |
|
Механическая |
Изменение размеров монтажного зазора в связи с перемещением элементов строительных конструкций, вызванных осадкой здания |
Деформационная устойчивость, % |
Все слои |
|
Перепад эксплуатационных температур наружного воздуха |
Изменение размеров монтажного зазора в связи с изменением линейных размеров и формы профилей коробки |
Деформационная устойчивость, % |
|
|
Критические значения эксплуатационных температур |
Нагрев монтажного шва |
Теплостойкость, °С |
Наружный, средний* |
|
Охлаждение монтажного шва |
Морозостойкость, °С |
Наружный, средний |
|
|
Температурный градиент на границах шва |
Тепловой поток через монтажный шов |
Термическое сопротивление, м2·°С/Вт |
Средний, наружный* |
|
Ветровая нагрузка |
Инфильтрация воздуха через шов при перепаде давления на его границах |
Воздухопроницаемость, м3·ч/м |
Внутренний,* средний,* наружный |
|
Дождевое воздействие при перепаде давления на границах шва |
Проникновение атмосферной влаги в центральный слой или сквозная протечка через шов |
Предел водонепроницаемости, Па |
Наружный |
|
Миграция влаги из материала стены и протечки из оконной конструкции |
Увлажнение центрального слоя |
Водопоглощение, % |
Средний, дополнительный |
|
Паропроницаемость, мг/м·ч·Па |
Средний,* наружный |
||
|
Влажность внутреннего воздуха |
Диффузия паров воды в монтажный шов и скопление влаги в центральном слое |
Сопротивление паропроницаемости, м2·ч·Па/мг; |
Внутренний |
|
Внешний шум |
Проникновение звука через монтажный шов |
Звукоизоляция, дБА |
Все слои |
|
Солнечная радиация |
Деструкция материала наружного слоя |
Стойкость к УФ-облучению, МДж |
Наружный |
|
Химическое воздействие (слабые агрессивные среды) |
Потеря свойств материалов монтажного шва под воздействием дождевой воды, моющих средств и влаги из стеновых материалов |
Стойкость к химическому воздействию |
Все слои |
|
* Функция восприятия соответствующей нагрузки является дополнительной. |
|||
Кроме указанного в таблице Б.1 комплекса нагрузок, монтажные швы должны соответствовать требованиям экологической безопасности (подтверждается санитарно-эпидемиологическим заключением по каждому из материалов, формирующих шов), долговечности и ремонтопригодности.
Б.1.5 При проектировании монтажных швов узлов примыканий следует выполнять расчеты температурных полей, подтверждающие требуемые значения температурных перепадов на поверхностях стен, откосов, а также отсутствие конденсата на внутренних откосах и оконных коробках при расчетных температурно-влажностных условиях эксплуатации.
Б.2.1 Устройство монтажных швов выполняют одновременно с монтажом оконных конструкций. Монтаж должен выполняться специализированными организациями по проекту производства работ и технологической документации, разработанными на основании проектно-конструкторской документации, настоящего стандарта и учитывающими условия (в том числе безопасность) проведения работ, монтажный инструмент, свойства монтажных материалов, другие необходимые данные.
Б.2.2 При строительстве и реконструкции строительных объектов работы по монтажу оконных блоков и устройству монтажных швов производят после сдачи здания или его части под монтаж по акту сдачи-приемки оконных проемов.
Б.2.3 При ремонте или замене оконных блоков в эксплуатируемых помещениях монтажные работы выполняют в порядке, обеспечивающем соблюдение требований настоящего стандарта, с учетом конкретных условий объекта, по согласованию с заказчиком.
Б.3 Обследование, конструкторские замеры и согласование условий производства работ
Б.3.1 Перед разработкой проектно-конструкторских решений узлов примыканий при реконструкции и капитальном ремонте зданий, а также при замене оконных блоков в эксплуатируемых помещениях проводят обследование условий строительной ситуации, особенности эксплуатации помещений и проводят необходимые конструкторские замеры.
Б.3.2 При обследовании строительного объекта кратко описывают его назначение, этажность, ориентацию, техническое состояние здания (включая состояние и конструкцию стенового ограждения), состояние вентиляционной и отопительной систем. При необходимости составляют поэтажные планы здания, оконные проемы нумеруют и проводят увязку базовых линий относительно фасада.
Б.3.3 Замеры фактических геометрических размеров стеновых проемов проводят по ГОСТ 26433.0 - ГОСТ 26433.2 (при этом фиксируют отклонения в горизонтальной и вертикальной плоскостях), одновременно оценивают техническое состояние проемов, их подготовку к монтажу в соответствии с требованиями настоящего стандарта и условиями заказа.
Б.3.4 Для разработки оптимальных проектно-конструкторских решений и технологии монтажных работ проводят согласование с заказчиком:
- чертежей (эскизов) конструкций оконных блоков, подлежащих монтажу, варианта установки оконных блоков по глубине проема, размеров подоконной доски;
- предполагаемой конструкции монтажного шва, включая выбор изоляционных материалов и крепежных элементов;
- конструкции элементов отделки (деталей облицовки) стенового проема;
- последовательности работ по демонтажу заменяемых конструкций, восстановлению откосов, монтажу оконных блоков, устройству монтажных швов, установке отливов, подоконников и других элементов;
- условий организации монтажной зоны для производства работ, а также мер, обеспечивающих их безопасное ведение.
Кроме того, оговаривают с заказчиком особенности строительной ситуации во время проведения работ, в том числе предполагаемые температурные и влажностные условия, порядок проветривания и отопления помещения и др.
Б.3.5 По результатам конструкторских замеров, данных обследования и согласованных с заказчиком условий оформляют лист (карту) замеров и протокол согласования.
Б.4.1 Подготовке проемов может предшествовать выноска базовых линий, увязанных по фасаду здания, относительно которых будут размещаться оконные блоки по вертикали и горизонтали.
Б.4.2 Перед устройством монтажных швов примыкающие поверхности коробки оконного блока и стенового проема должны быть очищены от пыли, грязи, масляных пятен, наледей и изморози.
5.4.3 При ремонте объектов и замене оконных блоков в эксплуатируемых помещениях разрушенные при извлечении старых оконных блоков поверхности внутренних и наружных откосов выравнивают штукатурным раствором без образования тепловых мостиков (мостиков холода).
Б.4.4 В наружных ограждающих конструкциях стен с низким сопротивлением теплопередаче и при необходимости размещения коробки оконного блока снаружи от плоскости возможной конденсации выполняют утепление поверхностей внутренних откосов по всему контуру проема материалами с низким коэффициентом теплопроводности.
Б.4.5 При отсутствии в оконном проеме четверти рекомендуется устройство фальшчетверти (например, использование уголка из атмосферостойких полимерных материалов или стали). Для этих же целей допускается применение нащельников без герметизации мест их примыкания к коробке оконного блока или поверхности стенового проема.
Б.5.1 Выбор места установки оконного блока по глубине стенового проема определяют согласно проектному решению.
При замене оконных блоков в эксплуатируемых помещениях или отсутствии проектного решения коробку оконного блока в однородной (однослойной) ограждающей конструкции следует размещать на расстоянии не более 2/3 ее толщины от внутренней поверхности стены, а в слоистых стенах с эффективным утеплителем - в зоне утеплительного слоя. При этом следует учитывать величину монтажных зазоров, рекомендованных настоящим стандартом (см. 5.6.1).
Б.5.2 Оконные блоки устанавливают по уровню в пределах допускаемых отклонений и временно фиксируют установочными клиньями или иным способом в местах угловых соединений коробок и импостов. При установке оконных блоков допускается использовать опорные колодки. После установки и временной фиксации коробку оконного блока крепят к стеновому проему при помощи крепежных элементов.
Б.5.3 Выбор крепежных элементов и расстояние между ними по контуру проема, а также глубину заделки в стене устанавливают в рабочей документации на основании расчета в зависимости от площади и массы оконного изделия, конструкции стенового проема, прочности стенового материала, значения ветровых и других эксплуатационных нагрузок.
Минимальные расстояния между крепежными элементами не должны превышать для:
- оконных коробок из древесины - 800 мм;
- коробок из алюминиевых сплавов и профилей ПВХ белого цвета - 700 мм;
- коробок из цветных профилей ПВХ - 600 мм.
Расстояние от внутреннего угла коробки до крепежного элемента - 150 - 180 мм; от узла импостного соединения до крепежного элемента - 120 - 180 мм.
Б.5.4 Для передачи нагрузок, действующих в плоскости оконного блока, на несущую строительную конструкцию применяют опорные (несущие) колодки из полимерных материалов твердостью не менее 80 ед. по Шору А или пропитанной защитными средствами древесины твердых пород. Число и расположение опорных колодок определяют в рабочей или технологической документации. Рекомендуемая длина колодки должна быть 100 - 120 мм. Опорные колодки устанавливают после крепления оконного блока к стеновому проему крепежными элементами.
Пример расположения точек крепления коробки и опорных (несущих) колодок и крепежных деталей при монтаже оконного блока приведен на рисунке Б.1.

а) Оконный блок с вертикальным импостом

б) Оконный блок с безимпостным (штульповым) притвором
|
А |
- расстояние между крепежными деталями; |
|
|
- опорные (несущие) колодки; |
|
|
- крепежные детали (системы) |
Рисунок Б.1 - Пример расположения точек крепления коробки и опорных (несущих) колодок и крепежных деталей
Б.6.1 Устройство монтажного шва выполняют в соответствии с проектно-конструкторским решением, согласно технологической документации и требованиям настоящего стандарта. Монтажный зазор заполняют послойно с учетом температурных и влажностных условий окружающей среды, а также рекомендаций производителей изоляционных материалов. Порядок устройства монтажных оконных швов в условиях температур ниже рекомендованных производителями изоляционных материалов (например, с использованием обогрева материалов и поверхностей строительных конструкций) должен быть предусмотрен в технологической документации или стандартах организаций.
Б.6.2 При использовании в наружном слое монтажного шва саморасширяющихся уплотнительных лент учитывают следующие требования:
- для обеспечивания плотного примыкания в горизонтальном и вертикальном направлениях шва ленты раскраивают по длине с припуском 1,0 - 1,5 см на каждую сторону;
- ленты наклеивают монтажным самоклеящимся слоем на расстоянии 3 - 5 мм от грани четверти по внутренней поверхности оконного проема;
- если четверть, выполненная из кирпича, имеет расшивку или углубления в швах, то ленту крепят непосредственно к коробке оконного блока до установки ее в проем;
- перелом лент под углом не допускается;
- возможен изгиб ленты при изоляции шва оконного блока арочной или круглой конфигурации;
- нанесение штукатурного слоя, шпатлевки или красящих составов, ухудшающих эксплуатационные показатели монтажных швов, на паропроницаемый материал наружного слоя не допускается.
Б.6.3 Для устройства центрального тепло- и звукоизоляционного слоя рекомендуется применение пенного уплотнителя. Заполнение монтажного зазора пенным уплотнителем следует выполнять при полностью собранном и окончательно закрепленном оконном блоке, при этом следует контролировать полноту и степень заполнения монтажного зазора.
Перед началом работ следует провести пробный тест на первичное расширение пенного материала в условиях окружающей среды монтажной зоны и при работе не допускать выхода излишков пенного уплотнителя за внутреннюю плоскость профиля коробки оконного блока. Срезка излишков пенного уплотнителя с внутренней стороны монтажного шва допускается при условии устройства сплошного пароизоляционного слоя с использованием пароизоляционной ленты или мастики.
В случае применения профилей коробок оконных блоков шириной более 80 мм и если ширина монтажного зазора превышает размеры, предусмотренные настоящим стандартом, более чем в 1,5 раза, заполнение зазора следует выполнять послойно, с интервалами между слоями по технологии, рекомендованной производителем пенного уплотнителя.
Б.6.4 Внутренний пароизоляционный слой устанавливают непрерывно по всему контуру стенового проема.
При использовании для изоляции внутреннего слоя пароизоляционных ленточных материалов следует руководствоваться следующими требованиями:
- раскрой лент по длине следует выполнять с припуском для нахлеста в местах угловых соединений;
- соединение лент с поверхностями оконного блока и стенового проема по всему периметру должно быть плотным, без складок и вздутий;
- при установке пароизоляционной ленты под штукатурный слой следует применять ленты с наружным покрытием, которое обеспечивает необходимую адгезию с штукатурным раствором;
- допускается стыковка лент по длине на прямолинейных участках с нахлестом не менее 1/2 номинальной ширины ленты.
Б.6.5 Места примыкания накладных внутренних откосов (независимо от их конструкции) к коробке оконного блока и монтажному шву должны быть герметизированы, при этом должны выполняться мероприятия, исключающие в период эксплуатации проявление трещин и щелей (например уплотнение примыканий герметиками или другими материалами, обладающими достаточной деформационной устойчивостью).
Б.6.6 При установке оконного слива в узлах примыкания к стеновому проему и коробке оконного блока необходимо обеспечивать условия, исключающие попадание влаги в монтажный шов, а под сливами устанавливать прокладки (гасители), снижающие шумовое воздействие дождевых капель.
Б.6.7 Примыкание подоконной доски (подоконника) к коробке оконного блока должно быть плотным, герметичным и устойчивым к деформациям. Допускается установка подоконника на опорные несущие колодки и пенный уплотнитель.
Ключевые слова: узел примыкания оконного блока к стеновому проему, монтажный зазор, монтажный шов, паропроницаемая саморасширяющаяся лента, оконные блоки
|
ГОСТЫ, СТРОИТЕЛЬНЫЕ и ТЕХНИЧЕСКИЕ НОРМАТИВЫ. Некоммерческая онлайн система, содержащая все Российские Госты, национальные Стандарты и нормативы. В Системе содержится более 150000 файлов нормативно-технической документации, действующей на территории РФ. Система предназначена для широкого круга инженерно-технических специалистов. Copyright © www.gostrf.com, 2008 - 2026 |