Крупнейшая бесплатная информационно-справочная система онлайн доступа к полному собранию технических нормативно-правовых актов РФ. Огромная база технических нормативов (более 150 тысяч документов) и полное собрание национальных стандартов, аутентичное официальной базе Госстандарта. GOSTRF.com - это более 1 Терабайта бесплатной технической информации для всех пользователей интернета. Все электронные копии представленных здесь документов могут распространяться без каких-либо ограничений. Поощряется распространение информации с этого сайта на любых других ресурсах. Каждый человек имеет право на неограниченный доступ к этим документам! Каждый человек имеет право на знание требований, изложенных в данных нормативно-правовых актах!

  


 

РОССИЙСКИЙ ГОСУДАРСТВЕННЫЙ КОНЦЕРН РОСАВТОДОР

ЦЕНТРАЛЬНОЕ БЮРО НАУЧНО - ТЕХНИЧЕСКОЙ ИНФОРМАЦИИ

АВТОМОБИЛЬНЫЕ ДОРОГИ

НАУЧНО-ТЕХНИЧЕСКИЕ ДОСТИЖЕНИЯ И ПЕРЕДОВОЙ ОПЫТ В ОБЛАСТИ АВТОМОБИЛЬНЫХ ДОРОГ

ЗАЩИТА ОТ СЕЛЕВЫХ ПОТОКОВ

информационный сборник
выпуск 3

МОСКВА 1992

Выходит с 1989 г.

6 выпусков в год

 

СОДЕРЖАНИЕ

ЗАЩИТА АВТОМОБИЛЬНЫХ ДОРОГ ОТ СЕЛЕВЫХ ПОТОКОВ

1. ВВЕДЕНИЕ

2. ОСНОВНЫЕ ХАРАКТЕРИСТИКИ СЕЛЕВОГО ПОТОКА

2.1. Классификация селевых потоков

2.2. Характер движения селевых потоков и селеформирования

2.3. Методы определения расчетных характеристик селей

2.4. Методы определения давления селевых потоков на сооружение

3. СЕЛЕЗАЩИТНЫЕ СООРУЖЕНИЯ

3.1. Способы защиты дорог от селевых потоков

3.2. Конструктивные особенности и анализ работы селезащитных сооружений

3.3. Зарубежный опыт строительства селезащитных сооружений

4. НЕКОТОРЫЕ НОВЫЕ ЭФФЕКТИВНЫЕ КОНСТРУКЦИИ СЕЛЕЗАЩИТНЫХ СООРУЖЕНИЙ

4.1. Защитные сооружения дорог в горловине узких ущелий

4.2. Защитные сооружения дорог в зоне конуса выноса широких ущелий

4.3. Защитные сооружения дорог, расположенных на склоне гор

4.4. Защитные сооружения дорог из автомобильных покрышек в предгорной зоне от небольших потоков

5. МЕТОДИКИ РАСЧЕТА СЕЛЕЗАЩИТНЫХ СООРУЖЕНИЙ

5.1. Расчет арочного сооружения методом конечного элемента

5.2. Расчет сооружения стержневого типа по несущей способности

5.3. Динамический расчет элементов сооружения на удар селевого потока

5.4. Расчет конструкции селезащитного сооружения типа "противотанковые ежи"

5.5. Расчет решетчатого селеуловителя с наклонными тросами

ЗАКЛЮЧЕНИЕ

СПИСОК ЛИТЕРАТУРЫ 

В информационном сборнике изложены основные сведения о природе образования селевых потоков, условия их формирования и движения; описаны характерные случаи их прохождения; приведены методы определения основных характеристик селевых потоков; освещен анализ работы сооружений, применяемых у нас и за рубежом; систематизированы противоселевые мероприятия по типам конструкции, районам строительства; показаны принципы выбора конструкции сооружений в зависимости от характера пересечения дороги селевым руслом. Кроме того, приведена методика расчета конструкций защитных сооружений арочного, стержневого и решетчатого типов.

Канд. техн. наук Ж.Б. Байнатов

(Алма-Атинский архитектурно-строительный институт)

ЗАЩИТА АВТОМОБИЛЬНЫХ ДОРОГ ОТ СЕЛЕВЫХ ПОТОКОВ

1. ВВЕДЕНИЕ

Селевые потоки наносят ущерб в основном автомобильным и железным дорогам, мостам, оросительным системам, линиям электропередачи, зданиям и сооружениям. Они разрушают и повреждают опоры и пролетные строения мостов и само земляное полотно, заваливают его селевыми выносами, прерывая движение поездов и транспортных средств, забивают отверстия мостов и труб, выводя их из строя. Только на одной Закавказской железной дороге насчитывается свыше 150 участков, подверженных селевым воздействиям.

Ежегодные убытки от селей составляют в нашей стране от 60 до 100 млн. р. [1].

Основными селеопасными районами в нашей стране являются территории Закавказья и горные части Северного Кавказа, горные районы Украины, большинство горных и предгорных районов Средней Азии и Казахстана. Селевые явления наблюдаются также на Урале, особенно Северном и Приполярном, в Саянах, на севере Сибири, Кольском полуострове и Камчатке.

В Европе основными селеопасными очагами являются приальпийские страны (южные области Франции и север Италии, Австрия, Швейцария, Югославия, Чехословакия, южная часть ФРГ), страны Балканского полуострова, Апеннин, Пиренеев, Карпат. Селевая деятельность наблюдалась в горах Скандинавии. Селям подвержены горные пригималайские районы Китая и Индии, полуострова Малой Азии и Западно-Анатолийских гор (турецкие провинции Измир и Маниса). Для этих районов характерно засушливое лето и выпадение обильных ливневых дождей в зимне-весенний период.

В Японии наиболее селеопасным является остров Хоккайдо. Сели здесь формируются в летние периоды, когда ветры с Тихого океана приносят большое количество ливневых осадков, сочетающихся со снеготаянием на горных склонах.

На американском континенте селевые потоки наблюдаются, в основном, в штате Калифорния, г. Лос-Анджелесе, расположенном в зонах хребтов и предгорий Анд и Кордильер.

От селей страдает население Мексики, Колумбии, Эквадора, Чили и некоторых других стран. Очаги селевых явлений отмечены в Африке, Австралии, в горных районах островов Тихого, Атлантического и Индийского океанов.

Опасность возникновения селевых потоков и необходимость изучения условий их образования увеличивается в сейсмически активных регионах.

В СНГ такие зоны занимают 30 % территории, на которой проживает около 80 млн. человек и находится 9 столиц суверенных независимых государств бывшего Союза.

Стратегия защиты от селевых потоков состоит в строительстве специальных сооружений, способных защитить автомобильные дороги и мосты от разрушения и размывов и обеспечить безопасность движения транспортных средств. Кроме того, сооружения такого типа должны соответствовать экономическим требованиям, быть просты в изготовлении, транспортировании и монтаже.

2. ОСНОВНЫЕ ХАРАКТЕРИСТИКИ СЕЛЕВОГО ПОТОКА

2.1. Классификация селевых потоков

В основу их построения положены различия в морфологии, геологическом строении селевых бассейнов или в характеристиках селевой деятельности [1].

По морфологии выделяют два главных типа селевых бассейнов - русловые и склоновые.

По геологическому строению селевые бассейны делятся на:

выветривание коренных пород;

размыв моренных отложений;

размыв аллювиальных, делювиальных и других отложений рыхлого чехла.

По объему единовременных выносов (характеризует мощность селевого потока) селевые потоки разделяются на шесть групп:

очень мелкие - < 1 тыс. м3;

мелкие 1 - 10 тыс. м3;

средние - 10 - 100 тыс. м3;

крупные - 100 тыс. - 1 млн. м3;

очень крупные - 1 - 10 млн. м3;

гигантские - > 10 млн. м3.

По повторяемости селей (характеризует селеактивность) или частоте их схода выделяются три группы селевых бассейнов:

высокий (с повторяемостью селей 1 раз в 3 - 5 лет и чаще);

средний (с повторяемостью селей один раз в 6 - 15 лет);

низкий (с повторяемостью селей 1 раз в 16 лет и реже).

По характеру воздействия селевого потока на сооружения в 1978 г. проф. С.М. Флейшман [2] предложил четыре группы селеопасности:

небольшие размывы, частичная забивка отверстий водопропускных сооружений;

сильные размывы, полная закупорка отверстий;

снос мостовых ферм, балок, разрушение устоев мостов и каменных строений;

разрушение населенных пунктов, участков дорог с полотном и сооружениями, погребение сооружений под наносами.

2.2. Характер движения селевых потоков и селеформирования

Важнейшей характеристикой движения является скорость. Скорость селевого потока определяется режимом движения, свойствами селевой смеси, а также морфометрическими характеристиками русла. Например, в высокогорных районах сели нередко образуются на высоте до 2500 - 3000 м над уровнем моря и спускаются оттуда в долины, где высота местности всего 500 - 700 м над уровнем моря. Пробегая этот путь, поток приобретает огромную кинетическую энергию. Давление селей при ударе о препятствие достигает 1,5 - 3 кгс/см2, или (1,5 - 3)·105 Па.

Отложение наносов и размыв дна русла в основном зависят от скорости потока и профиля русла.

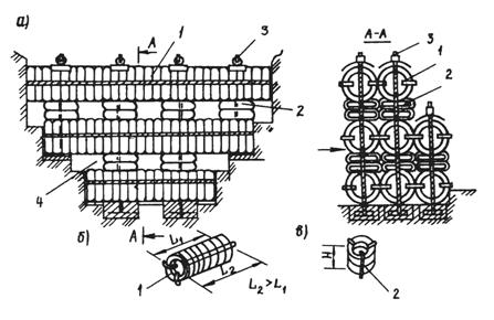
Поток, насыщенный наносами, протекает в условиях, изображенных на рис. 1,а. При расширении русла средняя скорость вода уменьшается и вода не в состоянии перемещать от точки А все наносы; вследствие этого начнется отложение потока наиболее крупных наносов (рис. 1,б) [3].

Рис. 1. Отложение наносов и размыв дна русла в зависимости от профиля русла в плане:

а - расширение русла; б - сужение русла; в - русло периодического плана

Селевые потоки могут иметь турбулентный и ламинарный характер движения.

Характерной особенностью перемещения твердой фазы в составе грязекаменных селей является равномерность распределения частиц по глубине потоков. Причиной такого распределения может служить турбулентное перемешивание смесей.

Характерной особенностью ламинарных течений является параллельность движения слоев жидкости в потоке, причем скорость течения по глубине потоков неодинакова: от нулевого значения на дне потока до максимального вблизи его поверхности.

Несвязные селевые потоки могут двигаться только в турбулентном режиме и подчиняются законам гидравлики, а связные движутся как в турбулентном, так и в ламинарном режимах, т.е. не подчиняются законам гидравлики, а течение протекает как в вязкопластических средах, например, как бетонный раствор.

Связный (структурный) селевой поток содержит 80 - 90 % обломков горных пород, средняя плотность (ρс) которых от 2000 до 2300 кг/м3. Несвязный селевой поток содержит 15 - 60 % твердых материалов, средняя плотность его 1100 - 1600 кг/м3 (рис. 2).

Рис. 2. Структурно-реологические типы селей:

а - несвязный (водокаменный, наносоводный); б - связный грязекаменный); 1 - вода или суспензия; 2 - обломочный материал; 3 - грязевая масса

Остановившись, структурный поток не отдает свободную воду и, не сортируя влекомый материал, застывает на месте, а турбулентный поток по пути стекания откладывает сносимый материал с определенной сортировкой по крупности.

В 1980 г. Ю.Б. Виноградов предложил группировать селевые потоки в зависимости от состава и плотности селевой массы на наносоводные (ρс = 1100 - 1600 кг/м3), грязевые (ρс = 1400 - 2000 кг/м3) и грязекаменные (ρс = 1800 - 2500 кг/м3) [4].

Селевые потоки имеют большую вязкость (внутреннее сопротивление жидкости при движении одного ее слоя по другому). Благодаря значительной плотности и большой вязкости селевые потоки удерживают в себе крупные валуны.

Из моделей селеформирования наибольшую известность приобрели модели Ю.Б. Виноградова и Т. Такахаши [5].

Т. Такахаши рассмотрены схемы формирования селевых смесей в двух ситуациях:

рыхлообломочные порода, не обладающие сцеплением, залегают на неразрушенном основании на уклонах, близких к углам естественного откоса;

толстый слой рыхлообломочных пород (также не обладающих сцеплением) залегает на относительно небольшом уклоне.

В первой ситуации (рис. 3,а) сдвиг рыхлообломочных пород происходит при полном или частичном заполнении порового пространства водой.

Рис. 3. Соотношение между сдвигающими и удерживающими напряжениями на уклонах:

а - превышающих критическое значение; б - не превышающих критическое значение; 1 - водный поток; 2 - рыхлообломочная порода

Во второй ситуации (рис. 3,б) сдвиг рыхлообломочных пород может наблюдаться и на уклонах, меньших, нежели это следует из уравнения (1), если влияние поверхностного потока на величину результирующего напряжения становится весомым. Значение угла, при котором происходит сдвиг рыхлообломочных пород в слое толщиной α, определяется из уравнения:

,

(1)

где h0 - глубина водного потока;

а - толщина сдвигающего слоя;

ρ и ρ0 - соответственно плотность горных пород и воды;

φ - угол внутреннего трения рыхлообломочной породы;

С* - концентрация частиц в сдвигающейся толще водонасыщенного грунта.

2.3. Методы определения расчетных характеристик селей

Планомерные исследования селевых потоков в нашей стране ведутся с 1930 г. После образования в 1941 г. при Академии Наук селевой комиссии объем их увеличился. В результате появились первые расчетные формулы для определения динамических характеристик селевых потоков, их скоростей, расходов, транспортирующей способности, физико-механических свойств селей, а также был предложен ряд противоселевых мероприятий.

Ниже приведены наиболее важные количественные характеристики селей, необходимые при проектировании противоселевых мероприятий.

Объемы ранее прошедших селей могут быть выявлены топографической съемкой в сочетании с проходкой шурфов, бурением или другими видами определения мощности отложений каждой генерации. Если нельзя определить объем селя прямым способом (вынос селевых отложений в крупный водоток, трудности выделения каждой генерации селя, размыв конуса выноса и др.), то можно воспользоваться аналитическим способом. Существуют два таких способа, применимых для определения объёмов ливневых селей, с использованием формулы Д.Л. Соколовского [2].

WH = 1000HαFρ,

(2)

где WH - объем селя;

H - слой осадков, вызвавших паводок;

α - коэффициент стока, принимаемый для высокогорных бассейнов равным 0,5 - 0,7, для среднегорных - 0,3 - 0,5 и для низкогорных 0,1 - 0,3;

F - площадь бассейна;

Р - объемное содержание наносов в 1 м3 воды (0,1 - 0,7).

Объем селя можно приближенно вычислить путем умножения среднего расхода селевого потока на продолжительность селя. Для расчета объема селехранилища используют формулу [6]

V = WC - Wсбр + TWср,

(3)

где WC - максимальный объем селевого потока в створе плотины;

Wсбр - объем части селевого потока, сбрасываемый в нижний бьеф в период аккумуляции (устанавливают по результатам изысканий);

Т ≥ 25 лет - расчетное время заиления селехранилища;

Wср - среднегодовой объем наносов, аккумулируемых в селехранилище, определяемый в период изысканий.

Размеры селевого потока - его расчетную (максимальную) ширину и глубину - необходимо знать для правильного определения габаритов селепропускных сооружений, а также для расчета расхода потока. Геометрические параметры селевого потока устанавливаются по следам прошедшего селя. Такие следы всегда остаются на поверхности скальных откосов, границ размыва и коррозии, обмазок бортов селевой массой,

Скорость селя, непосредственное измерение которой в ходе движения потока представляет значительные трудности, до настоящего времени определяется с помощью аналитических формул. В инструкции [2] рекомендуется определять скорость движения селевого потока по формуле

,

(4)

где hср - средняя глубина потока;

Jy - средний уклон русла на расчетном участке в долях единицы;

Wотр - коэффициент текучести селевой массы.

Наиболее распространенной формулой является выведенная из известной формулы Тьери, которая приводится к виду

,

(5)

где dмакс - наибольший размер обломка, транспортируемого селем на данном участке;

а - интегральный коэффициент, учитывающий параметры потока и русла и колеблющийся (для водных потоков) в пределах 3 - 5.

Многие исследователи и проектировщики пользуются этой формулой, получая в одних случаях близкие к натурным результаты, в других - большие отклонения при сравнении с результатами определений по другим формулам.

Расход селевого потока определяется как произведение его скорости на площадь поперечного сечения.

Формула Д.Л. Соколовского связывает значение максимального селевого расхода с водным

Qмакс.с = Qмакс.в(1 + β)Кзат.,

(6)

где β - наносоводное отношение;

Kзат. - коэффициент заторности селевого русла.

Коэффициент β составляет для селей слабой насыщенности 0,03 - 0,14, для селей средней насыщенности - 0,14 - 0,32 и для очень насыщенных селей - 0,32 - 0,5. Коэффициент заторности принимается в пределах 3 - 5.

2.4. Методы определения давления селевых потоков на сооружение

Во многом прочность, надежность и экономическая эффективность проектируемых сооружений зависят от точного определения селевых нагрузок.

Наличие в селевом потоке значительного количества твердых включений различной величины и формы усложняет установление реального давления на сооружение. В ГрузНИИГиМ на основе закона сохранения количества движения, получена зависимость, связывающая динамические нагрузки на вертикальную сплошную преграду с параметрами связного селевого потока в виде:

,

(7)

где Р - сила удара связного селя; плотность селевой массы γс = (1,8 - 2,3) 103 кг/м3;

k - экспериментальный коэффициент, равный 4,5;

ω - площадь;

VC - скорость селя.

И.И. Херхеулидзе [7] рекомендует определять суммарное, среднее по высоте полное давление на запруду по формуле

Hполн = 0,1γC(5H0 + VС)2,

(8)

где Н0 - глубина потока.

Японские исследователи [8] предложили зависимость для расчета ударного воздействия крупных каменных включений в виде:

,

(9)

где СD - коэффициент ударного трения, зависящий от относительной плотности грязевой составляющей селевой массы и каменных включений, а также некоторых упругих параметров, CD = 1,64;

Р - плотность селевой массы;

V0 - средняя скорость селя;

a - радиус крупных каменных включений.

Сила удара, воспринимаемая сквозным сооружением, определяется по формуле (9)

,

(10)

где Δ - минимальный размер ячеек в вертикальной плоскости;

Н - высота потока;

V - средняя скорость потока.

На рис. 4 представлено графическое определение силы удара о сквозное сооружение в зависимости от соотношения Δ/Н.

Например, требуется определить силу удара связного селевого потока о сквозное противоселевое сооружение с вертикальной напорной гранью при глубине потока Н = 5 м, ширине русла В = 50 м, средней скорости движения селевого потока 5 м/с, объемном весе γС = 2,0 т/м3, размер ячеек сквозного сооружения равен 0,8×2 м2, коэффициент сквозности 0,6.

Рис. 4. График для определения силы удара сквозными сооружениями

По формуле (7) сила удара связного селевого потока на вертикальное поперечное массивное сооружение равна:

Для данного сквозного сооружения отношение минимального размера ячеек к глубине потока составляет

 = 0,16, т.е. сквозное сооружение принимает на себя 90 % силы, воспринимаемой эквивалентным массивным сооружением.

Следовательно, действительная сила удара связного селевого потока о сквозное сооружение равна:

Исходя из анализа формул и натурных данных [2] средние расчетные значения Р для различных селевых бассейнов при сооружении жестких запруд приведены в табл. 1.

Таблица 1

Характер селевого потока по мощности

Максимальная глубина потока, м

Наибольший размер обломков, м

Ударная сила селей, т/м2

Слабый

До 2

Не более 0,5

5 - 6

Средний

2 - 3

-"- 0,7

7 - 8

Очень мощный

3 - 5

-"- 1,5

9 - 10

Катастрофический

5 - 10

-"- 2,5 - 3

11 - 15

Исключительно катастрофический

10

Более 3,1

15 - 30 и более

К сожалению, до настоящего времени измерения ударной силы селевых потоков в естественных условиях не производились.

3. СЕЛЕЗАЩИТНЫЕ СООРУЖЕНИЯ

3.1. Способы защиты дорог от селевых потоков

Мероприятия по защите народнохозяйственных объектов и дорог можно разделить на четыре группы: предотвращение зарождения селей; пропуск транзитом селей над или под защищаемыми дорогами, полная и частичная аккумуляция (заполнение емкости) селей выше защищаемой дороги.

Первая группа селезащиты - предотвращение возникновения селей - практикуется с давних времен, она более простая, так как не требует строительства специальных селеаккумулирующих емкостей. Суть ее заключается в уменьшении размыва и исключении перерастания незначительного водного течения по склону в мощный наносоводный или грязекаменный поток.

В этой группе более распространенным способом защиты являются лесонасаждения на горных склонах, которые замедляют образование оврагов. Кроме того, корни деревьев хорошо укрепляют почву от размыва и защищают горные породы от выветривания.

Однако следует отметить, что по климатическим условиям во многих местах лесонасаждения невозможны, их произрастание ограничено предельной высотой распространения лесов на скалистых склонах гор. Кроме того, для выращивания леса и до получения устойчивого лесного массива требуется значительное время.

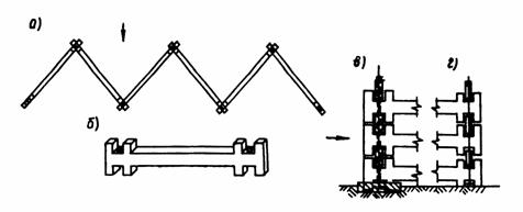
В мировой практике для уменьшения активности проявления селевых потоков часто на крутых склонах устраиваются ступенчатые террасы параллельно одна другой на расстоянии 15 - 20 м с валами и без них. Склон превращается как бы в пологую лестницу, благодаря чему замедляется скорость стекания воды и задерживаются камни (рис 5 а, б).

Для предотвращения размывов русла и приведения крутых уклонов в ступенчатый вид часто практикуются заграждения русел горных потоков подпорными стенами в виде порогов. Порог - это поперечная стена, расположенная по ширине русла горного потока, опущенная в грунт русла на всю высоту (рис. 5, в).

Рис. 5. Регулирующие мероприятия на склонах:

а - ступенчатая терраса; б - то же, с валами; в - порог

К наиболее распространенному типу сооружений в мировой практике, обеспечивающих постепенное затухание селевого потока, относится система барражей-запруд, возводимых выше защищаемых объектов дороги. Барражи, в отличие от порогов, строятся выступающими над дном оврага (рис. 6). Расстояние L между барражами определяется по формуле:

L = H/(tg α - tg αy),

(11)

где H - высота запруды над дном русла;

tg α - уклон русла перед запрудой;

tg αy = 0.7tg α уравнительный уклон отложений наносов перед запрудой.

Рис. 6. Противоселевые барражи (запруды):

а - каскад барражей; б - поперечное сечение барража по Г.Д. Рождественскому; i0 -первоначальный уклон; i1 - уклон русла после занесения запруд наносами

Объем наносов в пазухах подсчитывается по формуле:

W = 0,5BHL,

(12)

где В - ширина русла.

Г.Д. Рождественским [7] установлено, что при высоте барража 2 м и уклоне меньше 0,25 уравнительный уклон равен 0,1. С увеличением уклона русла в пределах 0,25 - 0,3 уравнительный уклон увеличивается до 0,12 - 0,15. В условиях дальнейшего увеличения уклона русла производится переход к более высоким запрудам.

Ширина запруд рекомендуется в зависимости от применяемого материала: для каменных запруд на растворе - 1 - 1,25 м, для бетонных барражей - менее 0,5 м, для запруд из габионов – 1 м (рис. 6,б). Принцип работы барражей следующий. Переливаясь через гребень барража, селевой поток падает как водопад - вертикально - ударяясь о подошву запруды. На удар расходуется часть энергии потока и дальше он движется с меньшей скоростью. Обычно в русле устраивают несколько запруд-барражей, располагая их одну за другой. Когда поток пройдет через все стенки, пространство между каждой парой запруд заполнится наносами. Система барражей изменяет профиль русла, превращая его из крутого в ступенчатый пологий.

Ко второй группе селезащиты относятся направляющие и ограждающие дамбы, селедуки, верховые и низовые селеспуски, селесбросные тракты и др. Считается, что они имеют несложную конструкцию, выполняются сравнительно легко и более экономичны. Однако условия их применения ограничиваются прежде всего уклоном местности (не более 5 - 10 %).

Селепропускные лотковые каналы (селеспуски) строятся в местах пересечения селеносными руслами автомобильных дорог (рис. 7, а, б). Эта разновидность сооружения эффективна в зоне возможных отложений селевых выносов. Верховые сооружения типа лотка строятся над объектом, а низовые (мосты или эстакады) пропускают сели под объектом.

В узких и крутых ущельях, где дорога вплотную пересекает русла, селевой поток пропускается над дорогой, для этого строят селедук. По арке из камня или бетона прокладывают железобетонный лоток, имеющий достаточную ширину и уклон, благодаря чему грязекаменный поток проносится по нему, не задерживаясь. У входа на лоток селедука устраивают две сужающие направляющие бортовые стенки, которые собирают поток и не дают ему растекаться в стороны.

Рис. 7. Локальные защитные мероприятия:

а - селеспуск; б - то же в плане; в - селеотводящие стенки-полузапруды; г - подпорная стенка зубчатого типа

Эти сооружения предназначены только для защиты дорог, при этом другие объекты (пастбища, кошары, сети орошения и обрабатываемые поля) остаются незащищенными. Кроме того, они трудоемки и неэкономичны, а когда дорога проходит недалеко от горного склона, их устраивать нецелесообразно. Известно много примеров, когда селевые потоки заваливают наносами и те дороги, которые расположены далеко от горы.

Селеотводящие сооружения предназначены для отвода или изменения направления движения селевых потоков. К ним относятся селеотбойные стенки селевых лотков, предотвращающие.растекание селей, селенаправляющие лотки, полузапруды, отклоняющие селевые потоки от берега, на котором проложена автомобильная дорога, и другие сооружения (рис. 7, в).

Для большей устойчивости сооружений, уменьшения глубины их размыва и обеспечения отложения наносов продольные направляющие дамбы имеют зубчатое очертание в плане (рис. 7, г).

Пропуск селевых потоков через населенные пункты принято осуществлять по канализированным руслам. В этом случае продольные уклоны должны быть 8 - 15°, чтобы не происходило образование заторов.

Третья группа сооружений служит для полного задержания селей глухими плотинами из местных материалов или большими ловушками типа котлованов и карманов. Глухие плотины наиболее надежны в борьбе с селями любого происхождения - ливневыми, ледниковыми, сейсмическими, вулканическими (рис. 8, а).

Рис. 8. Гидротехнические сооружения:

а - глухая плотина с водосбросам; б - сквозной селеуловитель

Однако они трудоемки и неэкономичны, так как после прохождения каждого крупного селя необходимо возобновлять резервную емкость путем наращивания старой или строительства новой плотины, либо очистки селехранилища. Кроме того, материал плотины фильтрует воды и подвержен растворению или выщелачиванию. Все это особенно опасно в сейсмоактивных районах, так как в теле плотины могут появиться трещины, сдвиги. Большие плотины нарушают экологический режим региона, изменяют направление ветра или затормаживают их движение, создавая непроветриваемую зону ниже плотины.

Для освобождения потока от наносов, когда сель переносит крупные валуны, копают котлованы, карманы больших размеров, называемые наносоуловителями.

Проходя через такой наносоуловитель, поток откладывает переносимые им камни и движется дальше, лишенный наиболее опасных средств разрушения.

Для борьбы с селевыми потоками в Узбекистане широко распространены насыпные, укатанные земляные плотины, высота которых не превышает 15 м.

К четвертой группе можно отнести сквозные сооружения из стержневых конструкций (рис. 8, б).

Основное назначение сквозных сооружений - задержание крупных фракций селевого потока, уменьшение объема, плотности и скорости селя, пропуск легких фракций в нижний бьеф. Мелкие наносы (булыжники, песок, глина) используются как основной материал для изготовления элементов строительных конструкций, покрытий автомобильных дорог и т.д.

Отложения селевых наносов в пределах сооружения, а также сам поток, протекая через сооружение и загружая его, увеличивают устойчивость на опрокидывание и сдвиг. По мере заполнения верхнего бьефа наносами уменьшается скорость потока, а следовательно, и динамическое давление на сооружение.

Сквозные конструкции более дешевы, чем массивные сплошные сооружения, поэтому возможность их использования и привлекает к себе внимание проектировщиков.

Селезадерживающие сквозные сооружения из сборного железобетона позволяют индустриализировать строительные работы и получить значительный экономический эффект. Обладая малым коэффициентом строительной застройки (0,07 по объему), сборно-решетчатые конструкции имеют в то же время довольно значительный коэффициент гидравлической сплошности. Изготовление отдельных элементов сборно-решетчатых конструкций довольно просто, особенно в заводских условиях, где применяется инвентарная опалубка. Как правило, перевозка небольших по весу элементов конструкций не вызывает затруднений.

Авторами таких стержневых сквозных сооружений являются И.И. Херхеулидзе [7], М.С. Гагошидзе [10] и Ж.Б. Байнатов [11, 12].

Разработанная система сооружения И.И. Херхеулидзе (ЗакНИГМИ) широко внедрена в Казахстане, Армении, Крыму и на Северном Кавказе, за рубежом - в Югославии.

В мировой практике в последнее время применяют комплексные меры борьбы против селевых потоков: в верхнем течении строится водохранилище для перехвата наносов, в среднем течении - каскад небольших ловушек из запруд и в нижнем течении - канал для отвода селей.

Наряду с упомянутыми выше противоселевыми сооружениями имеются также различные блоки и форменные элементы, изготовляемые из бетона или железобетона и применяемые в локальных условиях для ослабления селевой активности с целью предотвращения обрушения береговых откосов, отвода селевых потоков от защищаемых участков дорог.

На рис. 9 приведены схемы загружения сплошных, сквозных сооружений и динамика разрушения селеуловителя от подмыва опорной части.

Рис. 9. Характер загружена и разрушения селезащитных сооружений:

а - этапы загружения сплошных запруд; б - этапы загружения сквозных селеуловителей; в - этапы разрушения сквозного селеуловителя

3.2. Конструктивные особенности и анализ работы селезащитных сооружений

В современном противоселевом строительстве используются земляные, бетонные и железобетонные плотины, глухие запруды из тех же строительных материалов, а также сквозные сооружения из железобетонных элементов в виде отдельных, соединенных между собой балок, сетчатые и решетчатые металлические конструкции различных видов.

В последние 30 лет широкое распространение получили селеуловители сквозного типа различных конструктивных форм, среди них - железобетонные стержневые системы пространственного типа, разработанные в ЗакНИГМИ. Такая система состоит из равносторонних треугольников (каждая сторона которых представляет собой отдельную железобетонную балку), расположенных в трех разных параллельных плоскостях [7]. Железобетонные балки с отверстиями на концах располагают так, чтобы отверстия всех смежных элементов совпадали и в образуемые шахты вставляют арматурный каркас с последующим омоноличиванием бетоном (рис. 10).

Рис. 10. Сквозное селезащитное сооружение сквозного типа из стержневых элементов:

а - общий вид в плане; б - стержневой элемент; в - узел соединения элементов

К достоинствам таких сооружений относятся простота формы, что удобно для массового изготовления в заводских условиях; минимум типовых размеров, удобство монтажа и транспортирования, что имеет существенное значение в труднодоступных горных районах.

Недостаток сооружения заключается в том, что в такой структуре наблюдается неравномерное загружение внутренних поперечных горизонтальных балок, и это приводит к перерасходу материалов. Треугольные ячейки, отдаленные от места удара селевой массы, практически не работают. Кроме того, наличие ступеней в поперечном разрезе значительно увеличивает вероятность разрушения элементов при падении крупных валунов в режиме перелива через гребень селеуловителя.

Ряд конструкций наклонных и наклонноступенчатых сквозных селеуловителей, представляющих собой решетки из железобетонных элементов, разработаны в ГрузНИИГиМ [7] и ЗакНИГМИ [11]. Сооружения этих конструкций могут достигать высоты 30 - 50 м (рис. 11).

Рис. 11. Наклонноступенчатый селеуловитель ГрузНИГиМ

Их недостатками являются большое количество типоразмеров, значительный вес отдельных элементов, а также применение монтажных стыков на сварных металлических закладных частях.

В окрестностях г. Алма-Аты построено множество различных типов селезащитных сооружений:

железобетонные стержневые (система ЗакНИГМИ) на руслах рек Иссык, Каскелен, Акжар, Сарканд;

металлические решетчатые и сетчатые на руслах рек Черкассай (в районе г. Текели), Сарысай, Малой Алматинке (в районе ущелья Куйгенсай турбаза "Горельник") и в притоке Мынжилкы. Все они разрушены селевыми потоками.

Для временной защиты г. Алма-Аты и строительной площадки Медео в 1964 г. построено два сквозных селеуловителя выше плотины Медео. Конструкция их состоит из треугольных ферм, расположенных через 3,5 м и связанных между собой горизонтальными ригелями и двумя тросами (d = 50 мм), заанкерованными к массивным берегам, высота селеуловителя 10 м, длина по гребню 40 м, объем селехранилища 15 тыс. м3.

Первый селеуловитель расположен на расстоянии 500 м, а второй (аналогичный) - у турбазы "Горельник" на расстоянии 1,5 км выше проектируемой плотины Медео. Общая сметная стоимость обоих селеуловителей составляет 401 тыс. р.

Сооружение разрушено в течение 10 - 15 с селем 15 июля 1973 г. Этот сель по некоторым источникам называется крупнейшим селем века. Главная причина разрушения сооружения заключается в катастрофическом характере селя, на который данная конструкция не рассчитана. Проведенные расчеты показали, что импульсные нагрузки, продолжительность которых в данном случае соизмерима с периодом собственных колебаний конструкций, и явились причиной разрушения селеуловителя. Кроме того, выбранное место расположения селеуловителя оказалось неудовлетворительным.

Ниже плотины Медео в 1965 - 1966 гг. построены два металлических сквозных селеуловителя высотой 5,6 и 7 м (рис. 12), предназначенных для перехвата мелких селей из притоков: Ким-Ассар, Казачка и Батарейки, общей емкостью 500 тыс. м3. Общая стоимость их строительства составляет 1,6 млн.р.

Рис. 12. Металлический сквозной селеуловитель на р. Малая Алматинка ниже плотины Медео

В октябре 1966 г. в ущелье Медео был произведен уникальный в мировой практике направленный взрыв (5,3 тыс. т взрывчатых веществ) на правом берегу р. Малой Алматинки, а в апреле 1967 г. (3,9 тыс. т. взрывчатых веществ) - на левом берегу [13, 14].

Высота камненабросной плотины (рис. 13) составляет 150 м, длина ее по гребню 530 м, ширина по основанию 800 м. В тело плотины уложено 8,5 млн. м3 грунта, в том числе направленными взрывами - более 2,5 млн. м3, остальная часть досыпана механизированным способом.

Рис. 13. Камненабросная плотина Медео с шахтным водосбросом (поперечный разрез)

Емкость селехранилища составляет 12,6 млн. м3. При строительстве водосборных и водоприемных сооружений уложено 27 тыс. м3 железобетона. Общая стоимость строительства плотины составила 33,9 млн. р.

В 1973 г. на плотину обрушился крупнейший ледниковый сель объемом 3,8 млн. м3 (сель века). Полное задержание его в селехранилище Медео спасло г. Алма-Ату от катастрофических разрушений. Плотина находилась в предельном состоянии, так как по телу плотины прошла сильная фильтрация воды.

Общая схема размещения селезащитных сооружений в бассейнах рек Малой и Большой Алматинок г. Алма-Аты приводится на рис. 14.

Рис. 14. Комплексная схема селезащиты г. Алма-Аты:

 - плотины глухие;  - плотины сквозные;  - стабилизация русел; ♦ - запруды;  - отстойники;  - подпорная стенка

Сквозное сооружение системы ЗакНИГМИ, построенное в мае 1978 г. на р. Акжар, имеет высоту 7,2 м, ширину по гребню 7,8 м, длину по основанию 23 м. Расчетный расход селя 143 м3/с, вместимость - 112 тыс. м3 (рис. 15).

24 мая 1985 г. по р. Акжар прошел сель с максимальным расходом 12,8 м3/с, который полностью заполнил селехранилище и после перелива через сооружение завалил слоем отложений, расположенную ниже по течению автомобильную дорогу.

В теле селеуловителя во внутренних ячейках оседали валуны размером до 0,7 м, а крупные глыбы размером более 0,7 м задерживались передней подпорной гранью, образуя глухую преграду, которая предотвращала свободный проход мелких частиц через сооружение. Поэтому селехранилище сравнительно быстро (за 2 года) было занесено.

Рис. 15. Сквозное сооружение на р. Акжар, занесенное селевыми отложениями

Для защиты западной части города на р. Большая Алматинка построена 40-метровая монолитная железобетонная ячеистая плотина (рис. 16). Длина плотины по гребню 422 м, а ширина по основанию - более 200 м. В тело плотины уложено 85 тыс. м3 железобетона и отсыпано валунно-галечного грунта около 1 млн. м3. Вместимость селехранилища составляет 8,2 млн. м3. Сметная стоимость строительства - 16 млн. р. [13].

Рис. 16. Ячеистая селезадерживающая плотина на р. Большая Алматинка (вид с нижнего бьефа)

Это сооружение выдержало крупный селевой поток объемом до 1 млн. м3 и максимальным расходом 1000 м3/с, который прошел 27 июня 1988 г. Жидкие составляющие этого селевого потока с расходом 30 - 40 м3/с сбрасывались по стабилизированному руслу через отстойники в котлованы озера Сайран. Начиная с 1841 г., по р. Большой Алматинке прошли около 10 селевых потоков различной мощности и происхождения (большинство ливневые).

В 1988 г. Казселезащита внедрил в производство новую конструкцию селезащитного сооружения арочного типа (а.с. № 1182104).

Арочная плотина высотой 6 м состоит из сборных клинообразных железобетонных блоков метровой высоты, уложенных по расчетной дуге, образующих сквозные отверстия диаметром 30 см, и из массивных опор на концах (рис. 17).

Рис. 17.

Арочное железобетонное сквозное сооружение на притоке Кокчек р. Большой Алматинки

Конструкция может применяться и для устройства подпорных стен, малых архитектурных форм, в других сооружениях, где требуются повышенная надежность и экономичность, так как дает возможность уменьшить массу до 60 % по сравнению с неразрезной аркой.

Арочные плотины построены в ущелье Кокчек на р. Большая Алматинка (один пролет), вблизи с. Кайназаровки Енбекшиказахского района (два сооружения по четыре пролета) и в с. "Красный Восток" Каскеленского района (три пролета).

На основе результатов анализа разрушения плотин можно сделать вывод о том, что мелкие селезадерживающие сооружения из металлических форм, стоек и тросов оказались не эффективными не только против селя, но и против крупного наносонесущего паводка. Такие одиночные плоские селезадерживающие запруды эффективны в условиях малых селеопасных бассейнов, где формируются незначительные паводковые расходы до 20 м3/с.

Эксплуатация селеуловителя на р. Акжар подтвердила высокую эффективность сборных пространственных железобетонных сооружений против селевых потоков с максимальным расходом до 50 м3/с.

Из класса сквозных легких железобетонных сооружений по надежности работы, быстроте монтажа и экономичности выделяется сооружение, построенное в ущелье Кокчек на р. Большая Алматинка.

Сооружение выдержало несколько натисков селевых потоков и в данное время (в течение одного года) полностью занесено наносами, при этом в теле сооружения не обнаружено никаких следов разрушений. Такие сооружения могут выдержать любые катастрофические селевые потоки.

3.3. Зарубежный опыт строительства селезащитных сооружений

Наиболее распространенным методом борьбы с уже сформировавшимися селевыми потоками является перехват твердого селевого стока на различных участках водотока путем строительства различных сквозных металлических и железобетонных конструкций селезащитных сооружений. Такие сооружения строятся либо в транзитной зоне, либо в верховьях, в створах, где может быть обеспечена максимальная емкость верхнего бьефа.

Наиболее распространенным типом поперечных сооружений во Франции являются запруды, которых здесь построено несколько десятков тысяч. Материалами запруды являются дерево и сухая каменная кладка [7].

В последнее время начали сооружать бетонные и железобетонные запруды различных конструкций высотой более 8 - 10 м. Несколько таких запруд в сочетании с облесением площади, превышающей 2000 га, сооружены на водотоке Бурже (в бассейне р. Ибай). Поперечный профиль запруд трапецеидальный, в плане они часто имеют выпуклость в сторону верхнего бьефа, открылки и основания, глубоко врытые в грунт (на 1-2 м), порог водосливного отверстия вогнутого профиля. Внедрение железобетона привело к появлению конструкции основания запруд с платформой (шириной до 2 м) и профилем в виде L, обращенной к верхнему бьефу, что повышает устойчивость против опрокидывания после пригрузки основания отложениями.

Во Франции разработан селеуловитель, состоящий из наклонных решеток, образуемых горизонтально расположенными параллельно друг другу стержнями (рис. 18), свободно входящими в опорные береговые массивы. В случае широкого русла устраиваются промежуточные опорные массивы. Решетке придается наклон по течению или против течения по углу естественного откоса, чтобы снять статическое давление селевых отложений на решетки.

Кроме того, применяются мелкие сетчатые запруды, габионные плотины [7].

В ФРГ разработано заграждение для улавливания селевых потоков и плавающей древесины. Заграждение выполнено в виде решетки из стальных горизонтальных и вертикальных стержней (рис. 19), причем решетки образуют плоские каркасы, расположенные в направлении потока.

Рис. 19. Заграждение для улавливания крупных включений селевых потоков

Между каркасами имеются сквозные отверстия. Стержни каркасов соединены между собой с помощью узловых листов и болтов. Расстояние между горизонтальными стержнями на нижнем участке заграждения меньше, чем на верхнем. Вертикальные стержни находятся на одинаковом расстоянии один от другого.

Плотины для перехвата твердого стока селевых потоков наиболее широко применяются в Японии, где построено свыше 4 тыс. противоселевых плотин, т.е. в среднем одна плотина на каждые 70 км2 территории, не считая других мелких противоселевых сооружений и конструкции [15]. Показательным в этом отношении является бассейн селеносной р. Юкава, в котором размещены 12 крупных (высотой более 10 м) противоселевых бетонных плотин, а также низконапорные запруды и берегозащитные стены.

В Японии предложены плотины повышенной устойчивости (рис. 20), состоящие из двух взаимосвязанных сооружений разной высоты. В процессе прохода селевых потоков пространство между плотинами заполняется материалом селя, что способствует повышению ее устойчивости.

Рис. 20. Конструкция запруды повышенной устойчивости на сдвиг и опрокидывание

Кроме того, каскад из двух сооружений, имеющих разные высоты и единую фундаментную часть, полностью исключает размыв основания и опрокидывание. Устраиваются также фильтрующие запруды, сквозные сооружения из металлических конструкций и из железобетонных элементов. С целью закрепления прирусловых участков используются отдельные форменные элементы из пространственных конструкций типа тетраэдра и сипая, укладываемых вдоль береговой полосы.

Территория Югославии характеризуется сетью селеносных водотоков не слишком большой мощности [7].

В качестве противоселевых сооружений используются фильтрующие запруды (высотой до 10 м) системы С. Росича и ретардационные - С. Гавриловича. Они строятся из бетона или из каменной кладки на цементном растворе. Фильтрующие устройства представляют собой три продольных канала (главный и два боковых) сборно-решетчатой конструкции. Назначение сооружения - образовать мощные отложения в предбарражной пазухе. Из-за быстрого отделения воды от наносов на фильтрующих каналах уменьшается транспортирующая сила селевого потока, откладывающего крупные наносы непосредственно на решетках каналов. В дальнейшем эти крупные отложения на решетках должны служить как новая дренажная система, развивающаяся при следующих паводках.

В теле ретардационной запруды предусмотрены большие отверстия (окна). Часть расхода потока под давлением проходит через отверстия, остальная часть - через водослив, что дает возможность расщепить поток на ряд струй, имеющих различные скорости на выходе. Так как каждая струя находится под разным гидротехническим давлением на выходе, верхняя струя задерживается по отношению к средней, средняя - к нижней. В Югославии также строятся земляные запруды высотой 4 - 7 м с бетонными трубами d = 1 м и запруды из сборных железобетонных элементов.

В Австрии широко распространены гидротехнические сооружения, барражи бетонные сквозные и из каменной кладки [16].

Прямолинейные и слабоизогнутые в плане неармированные каменные и бетонные запруды выполняются на основе теории гравитационных стенок. Ширина гребня запруды равна 1 - 1,5 м, верховая грань вертикальная, уклон низовой грани 20 - 25 %. Длина пролета бетонных {прямолинейных в плане) запруд достигает 20 - 30 м; при больших пролетах запруды арочного очертания. Для уменьшения воздействия гидростатического давления высокие запруды строят в два этапа, причем ко второму этапу (наращиванию верхней трети) приступают только после полного занесения наносами ранее построенной части сооружений.

Наиболее часто применяемые в Австрии запруды с горизонтальным расположением балок имеют просвет между элементами от 15 - 20 до 30 (100) см, высоту решетки 2,25 - 4 м; ширину 3,5 - 5,5 м. Решетки изготовляют из полосовой стали, труб, рельсов.

Стоимость такого сооружения на 60 % дороже стоимости обычного гравитационного, однако его преимущество заключается в более легкой и быстрой очистке емкости от наносов, которую осуществляют скреперами, экскаваторами, фронтальными погрузчиками на гусеничном ходу и мощными автомобилями-самосвалами. Стоимость механизированной очистки составляет 9 - 21 шиллинг за 1 м3.

В США, в основном, строятся крупные плотины высотой до 60 м, например, в районе г. Лос-Анжелеса построено 19 плотин, 72 селехранилища [8], а также запруды из железобетонного ряда и металлического шпунта. Выбор типа сооружения определяется наличием подъездных путей, так как тяжелые железобетонные элементы могут доставляться на место лишь автомобильным транспортом. В необжитых и неосвоенных районах применяют конструкции из металлического шпунта, детали которых к месту строительства доставляют вертолетами. Запруды должны предотвращать ливневую эрозию, ведущую к интенсификации склоновых процессов (осыпей, оползней, подмывов берегов и т.п.).

В Китае для борьбы с селевыми потоками осуществляются посадка деревьев, дренирование воды, строятся различные ловушки для наносов, а также крупные земляные плотины.

В Италии практикуются мелкие гидротехнические сооружения типа плотин-запруд в сочетании с лесомелиоративными мероприятиями.

Большие комплексные работы по борьбе с эрозией и регулированию горных потоков ведутся в Болгарии, Чехословакии, Швейцарии и т.д.

4. НЕКОТОРЫЕ НОВЫЕ ЭФФЕКТИВНЫЕ КОНСТРУКЦИИ СЕЛЕЗАЩИТНЫХ СООРУЖЕНИЙ

4.1. Защитные сооружения дорог в горловине узких ущелий

Продолжительность эксплуатации автомобильных дорог в горных и предгорных селеопасных районах страны в значительной степени зависит от удачного выбора конструкции защитного сооружения. При этом необходимо учесть такие факторы, как протяженность горных склонов вдоль дороги как на равнине, так и на перевалах, уклон и ширину конуса русла, а также вид селя, мощность и частоту возникновения селевых потоков.

Малоэффективными являются широко распространенные в практике строительства запруды, сооружаемые в узких и крутых ущельях, для которых характерно прохождение насыщенных селевых потоков, из-за их быстрого заполнения наносным материалом и сложности работ по расчистке межбарражных заполнений.

При защите автомобильных дорог, пересекающих конусы узких и крутых селеактивных ущелий, необходимо строить более надежные сооружения, допускающие очистку их емкостей с целью повторного использования [12].

Этим требованиям удовлетворяют сооружения арочного типа из клинообразных блоков. Такое сооружение с массивными опорами на концах построено в 1988 г. для защиты нижерасположенного автодорожного моста и предотвращения русловой эрозии на Кокчеке, левом притоке р. Большой Алматинки, где прохождение селей отмечается по нескольку раз в год, т.е. практически при каждом заметном ливне. Высота железобетонного блока составляет 1 м, длина 1,2 м. По бокам блока выполнены два полукруглых отверстия радиусом 15 см. Высота сооружения 6 м, длина - 21,8 м, ширина по гребню - 2 м, по основанию - 1,8 м. Сооружение полностью занесено селевыми отложениями в первый год эксплуатации. Демонтирование блоков для очистки емкости не представляется возможным из-за монолитного бетонного слоя по верху сооружения толщиной 0,4 м. Такой короткий срок эксплуатации сооружения связан с ограниченным диаметром сквозного канала. В настоящее время это сооружение служит не для перехвата и удержания выносов, а лишь для трансформации крутых уклонов логов на более пологие уклоны, что лишь в некоторой степени способствует гашению энергии селевых потоков и отложению наиболее крупных фракций (см. рис. 17).

Арочное сооружение (а.с. № 1182104) выдерживает давление мощных селевых потоков, так как материалы сооружения работают в основном на сжатие, т.е. полностью используется его несущая способность (рис. 21). Кроме того, сборное арочное сооружение можно демонтировать и очистить его емкость от наносов.

Рис. 21. Арочное сооружение с предварительно обжатыми блоками по всей высоте:

а - общий вид; б - план; 1 - клинообразный блок; 2 - вертикальный стальной стержень

Это экономичнее, чем строить новое сооружение. Такое сооружение более сейсмостойкое, так как при сейсмических воздействиях свободно связанные блоки допускают незначительные сдвиги и повороты. При этом не появляются трещины, разрушения и резонансный режим колебаний всего сооружения. Энергия сейсмических воздействий расходуется на преодоление трения между блоками и тросами.

Слабым местом этого арочного сооружения являются береговые опоры, незначительные перемещения которых во время землетрясения приводят к нарушению цельности каждого горизонтального пояса, в результате чего происходит их расслоение с последующим разрушением всего сооружения.

Для исключения расслоения поясов разработана конструкция нового сооружения с сейсмическим поясом (а.с. № 1361241) [12].

Очень часто разрушения сооружений происходят из-за подмыва их основания или обхода потоком их торцов, а иногда из-за переливания селевого потока через верхние грани сооружения с образованием воды и камнепадов. Такой характер разрушения наблюдался на селезащитных сооружениях ЗакНИГМИ, построенных на р. Дуруджи (Грузия) (рис. 22) и р. Акжар вблизи г. Алма-Аты (см. рис. 15).

Рис. 22. Размыв подошвы сооружения ЗакНИГМИ на р. Дуруджи (Грузия)

Для исключения размыва основания, облегчения массы элементов и упрощения геометрической формы сооружения разработана конструкция на арочном фундаменте (комбинация двух изобретений по а.с. 1606584, 1670030). Сооружение состоит из трапецеидальной плиты с двумя отверстиями разных диаметров, опорной шайбы с коническими уширениями, стойки периодического сечения и из арочного фундамента, (рис. 23). Трапецеидальная плита снабжена с двух сторон параллельными желобами и образует при сборке сплошной кривой диск, опирающийся на берег русла и на стойки. После завершения монтажа плит их желоба омоноличиваются бетонным раствором, образуя шпонки против сдвига. Стойки армированы пространственным стальным каркасом. Комбинация плит с опорными шайбами по высоте создает сквозные каналы. Нижние концы стоек заделываются в арочную железобетонную площадку, установленную на селевых отложениях русла.

Диаметр опорных шайб со стороны верхнего бьефа больше, чем со стороны нижнего бьефа. Это связано с тем, что основной удар приходится на передние стойки. Цилиндрическая форма опорных шайб создает хорошую обтекаемость поверхности, тем самым повышает устойчивость против истирания влекомыми наносами. Опорные шайбы, в основном, работают на восприятие вертикальных нагрузок, так как на них опираются диски, а также защищают несущую стойку от непосредственного удара. Кроме того, они, допуская незначительные вращения, смягчают ударную нагрузку. Изменением диаметров опорных шайб регулируются параметры выходных и входных сквозных каналов. Это необходимо для исключения закупорки сквозных каналов при прохождении через них селевых потоков.

Железобетонные шпонки между плитами предотвращают возможные взаимные сдвиги из плоскости по линии стыковки плит. Периодический профиль стоек за счёт конического уширения (а.с. № 1213116) исключает возможные сдвиги плит из плоскости диска, а также повышает сопротивляемость сечения на срез стоек между опорными шайбами.

Это облегченное сооружение дает возможность экономить материал за счет замены стенки клинообразных блоков (а.с. № 1182104) на две стойки разных диаметров и уменьшения количества слоев; упростить конструкцию, так как массивные блоки заменены легкими плитами и шайбами, которые нетрудно изготовить в любых строительных организациях; улучшить их транспортирование и монтаж кранами средней мощности. Кроме того, допускается варьирование размеров сквозных каналов по высоте и их уклонов в зависимости от мощности селевых потоков, повышается эксплуатационная надежность за счет сохранения устойчивости на опрокидывание в случае размыва фундаментной части сооружения со стороны нижнего бьефа.

Рис. 23. Сооружение из плоских длит на арочном фундаменте:

а - общий вид; б - план; в - клинообразная плита; г - монолитная стойка периодического профиля; 1 - плита; 2 - стойка; 3 - шайба с конусообразными уширениями; 4 - стальной каркас; 5 - сквозной канал; 6 - арочный фундамент

Тросы, обжимающие клинообразные блоки по вертикали (а.с. № 1182104; 1361241), затрудняют монтаж и демонтаж блоков. Кроме того, опасным местом арочного сооружения являются полки клинообразных двутавровых блоков, которые первыми могут разрушаться при динамических нагрузках из-за недостаточной прочности по сравнению с другими сечениями блока.

Чтобы исключить эти недостатки, разработано более эффективное сооружение арочного типа.

Селезащитные сооружения арочного типа имеют более высокий запас прочности, чем другие сооружения, и способны переносить больше случайные перегрузки.

Преимущества этих сооружений - несложный монтаж, возможность вертикального наращивания и простота демонтажа для очистки емкости селехранилища с целью повторного использования.

Кроме того, сборные сооружения более сейсмостойкие, чем монолитные, так как блоки изготовлены облегченными и соединены между собой свободно, т.е. допускают взаимные сдвиги и повороты.

4.2. Защитные сооружения дорог в зоне конуса выноса широких ущелий

На расширенных участках селеносного русла, т.е. в зоне конуса выноса, где крутизна берега уменьшается, скорость и глубина селевых потоков относительно малы, более эффективными являются облегченные селезащитные сооружения из унифицированных железобетонных стержневых элементов или решетчатые из комбинации тросов и стальных стержней [12].

Оба типа защитных сооружений способны задерживать средние по мощности селевые потоки с расходом до 100 м3/с.

Это могут быть железобетонная плоская триада и ее модификации, состоящие из элементов, соединенных под углом 120°, комбинация прямолинейных и дугообразных элементов с двумя отверстиями, балки с тавровыми окончаниями и прямолинейные двухпролетные балки с тремя отверстиями для стоек.

Многообразие конструкций позволяет подобрать наиболее рациональную конструктивную схему сооружения в зависимости от морфологии русла.

Так, сооружение стержневого типа (а.с. № 1130658) монтируется на основе комбинации двух элементов: железобетонной балки-триады и опорных шайб, образующих цилиндрические стойки для арматурных каркасов с последующим заполнением бетоном (рис. 24, а). При воздействии селевого потока плоский жесткий элемент, состоящий из трех железобетонных стержней, соединенных под углом 120°, работает на восприятие продольных сжимающих усилий. Разработанная конструкция позволяет изменить распределение внутренних условий в зависимости от структуры сооружения. Например, в лобовой части сооружения триады можно устанавливать чаще, а в удаленной - реже.

Рис. 24. Сооружение из плоских триад:

а - общий вид - макет; б - сооружение из наклонных триад - поперечное сечение

По высоте сооружения выполняют многоступенчатыми с пригрузочными участками для повышения устойчивости на сдвиг и опрокидывание.

Применение данного типа сооружения по сравнению с системой, разработанной ЗакНИГМИ [7], дает возможность снизить расход стали на 30 %, бетона на 40 %,

Однако недостаток предложенного сооружения состоит в том, что триады расположены в плане горизонтально, т.е. по отношению к поперечному удару падающих камней они работают в невыгодных условиях.

С целью исключения этого недостатка и повышения жесткости конструкции разработано сооружение с наклонными триадами (а.с. № 1182113) и с наклонными отверстиями на концах триады. А в другом аналогичном сооружении на дно селеносного русла рядом с фундаментами укладываются блоки из автомобильных покрышек. (а.с, № 1377327) для исключения размыва нижнего бьефа.

Наклонное расположение железобетонных балок-триад повышает жесткость сооружения на 80 %, обеспечивает режим работы всех элементов на восприятие продольных сжимающих усилий (рис. 24, б).

В ААСИ разработана высокоэффективная конструкция сооружения из прямолинейных элементов с тремя отверстиями (по краям и в середине) для фиксации со стойками. Экономичность сооружения с двухпролетными балками (а.с. № 1511323) по сравнению с сооружениями ЗакНИГМИ [7] достигается в результате укрупнения стержней, упрощения монтажа и транспортирования.

Укрепление балок позволяет регулировать размеры треугольных ячеек по всей площади и по высоте сооружения. В результате чего достигается рациональное расположение элементов, обеспечивающее перераспределение усилий, и повышается жесткость сооружения как в целом, так и отдельных его частей (рис. 25, а, б)

Рис. 25. Сооружение из двухпролетных балок:

а - план; б - двухпролетная балка; в - стойка сооружения с элементами с коническими уширениями

Для упрощения монтажа и повышения несущей способности сооружения разработаны конструкции с жесткими треугольными стержневыми элементами (а.с. № 1654428), дугообразными стержневыми элементами (а.с. № 1423677), Г-образными элементами и крестообразными опорными элементами с раскосной структурой (а.с. № 1331942).

В широких ущельях устраиваются сооружения с облегченными стержневыми элементами, соединенными со стойками шарнирно в горизонтальной плоскости (см. рис. 10) [7]. В некоторых случаях можно использовать наклонноступенчатые селеуловители, поперечные стержневые элементы, которые жёстко заделаны по торцам в железобетонные массивные треугольные рамы (см. рис. 11) [10].

В ААСИ разработан способ соединения сборных элементов сквозного сооружения (а.с. № 1213116). С обеих сторон цилиндрической плоскости сборных элементов наполняют конические уширения с сужением к серединной поверхности. При этом образуются стойки с периодически меняющимися сечениями. Угол наклона уширения составляет 45°, что увеличивает площадь поперечного сечения железобетонных столбов в 1,5 раза и повышает их сопротивление на 35 - 50 % при одинаковом расходе материалов по сравнению с элементами без уширения (рис. 25,в). Данный способ применим в любых стержневых сооружениях, разработанных в ААСИ [12] и ЗакНИГМИ [7].

В целом селезащитные сооружения стержневого типа соответствуют требованиям, предъявляемым к сооружениям для защиты автомобильных мостов и дорог, пересекающих широкие русла. Облегченные элементы сооружения технологичны и унифицированы при минимуме типоразмеров. Унифицированные элементы соответствуют условиям транспортирования в труднодоступных горных районах. Сооружения экономичны по затратам материалов, трудовым и денежным ресурсам. Они дают значительно меньшую нагрузку на фундаменты по сравнению с массивными сооружениями и не подвергаются разрушениям при неравномерной осадке фундамента.

4.3, Защитные сооружения дорог, расположенных на склоне гор

Для защиты дорог, расположенных вдоль склона, в основном применяются запруды продольного типа, которые сооружаются в виде земляных сплошных дамб, траншей, железобетонных заграждений и различных типов стальных и бетонных сипай. В плане они имеют большую протяженность, их сплошные стенки могут образовывать непроветриваемую полосу. Кроме того, массивные элементы этих сооружений закреплены на жестких фундаментах, что полностью исключает перемещения, в результате этого запруды быстро заполняются наносами или разрушаются.

Для повышения эффективности гашения давления потока и продления срока службы разработаны несколько типов сооружений, которые способны перемещаться на некоторые расстояния совместно с селевыми потоками, погашая таким образом их разрушительную силу.

Подвижное селезащитное сооружение (а.с. № 1366583) состоит из отдельных элементов, образованных из трех наклонно установленных металлических балок (рельсов), пересекающихся посередине их длины и скрепляемых в местах пересечения балок (противотанковые ежи).

Элементы устанавливаются вдоль дороги на расстоянии друг от друга и скрепляются между собой гибкими связями (канатами) в местах пересечения наклонных балок, концы которых закрепляются на подпорной стенке (рис. 26).

Рис. 26. Сооружение типа "противотанковые ежи";

а - общий вид; б - план; в - несущий элемент; 1 - ежи; 2 - трос; 3 - опора; 4 - различные положения сооружения

Удар селевого потока противотанковые ежи принимают на себя, так как установлены в плане вогнуто в сторону верхнего бьефа. При превышении силы удара селевого потока удерживающих сил противотанковые ежи сооружения совершают сложное движение совместно с селевым потоком и принимают положение, противоположное первоначальному. Различные положения ежей зависят от мощности селевого потока. Дискретное расположение противотанковых ежей, допускающих перемещение и свободное соединение отдельных ежей канатами, интенсивно рассеивает и поглощает энергию селевых потоков и уменьшает ударные нагрузки на конструкции.

Для повторного использования ежей необходимо их извлечь из-под селевых отложений краном.

Применение конструкции сетчатого и решетчатого типов на склонах гор вдоль дороги является вполне целесообразным, так как в качестве материалов используются бывшие в употреблении канаты и рельсы и их монтаж на месте производства работ нетрудоемок и непродолжителен.

Селеулавливающая решетка (а.с. № 1341320) состоит из стоек, расположенных рядами на склоне гор вдоль дороги и шарнирно прикрепленных к фундаменту, и из горизонтально расположенных тросов, соединенных со стойками и подпорной стенкой. Решетка также снабжена удерживающими тросами, находящимися с обеих сторон стоек и прикрепленными к ним и к фундаментным опорам на дне русла (рис. 27).

Соединение удерживающих тросов с фундаментными опорами представляет собой пучки. При прохождении селевого потока по руслу частично задерживаются влекомые им грязекаменная масса, а также другие твердые предметы (деревья, кустарник и т.п.). Гашение энергии потока происходит вследствие последовательного расчленения его на отдельные струи и соударения этих струй между собой. Эффективность гашения энергии селевого потока обеспечивается автономностью шарнирного крепления стоек к фундаменту, креплением удерживающих тросов к нескольким фундаментным опорам.

Масса селевого потока осаждается с верховой и низовой сторон стоек в виде плотины из грунта с верховым откосом переменной крутизны и низовым откосом, наклоненным под углом естественного откоса.

Такая селеулавливающая решетка может быть устроена и на участках большой протяженности. Например, для защиты участков железных или автомобильных дорог от снежных лавин.

Рис. 27. Сооружение решетчатого типа с наклонными тросами:

а - общий вид: б - план; 1 - стойки; 2 - удерживающий трос; 3 - трос, скрепляющий стойки; 4 - промежуточная подпорная стенка; 5 - фундаменты на дне русла

Если склоны гор вдоль дороги сложены из глинистых и суглинистых грунтов, обладающих подвижными свойствами при увлажнении, то на таких участках необходимо защитить дороги не только от селевых потоков, но и устранить возможные оползневые процессы.

В таких сложных природных условиях применение свайных наносоуловителей является более экономичным и надежным. Сооружение (а.с. по заявке № 4360269) состоит из отдельно размещенных комбинированных стоек, образованных из упругого материала - автомобильных покрышек, насаженных на сваи. Покрышки прикреплены к стойке со стороны дороги гибкими связями. Стойки сооружения ставятся вдоль дороги как минимум в два ряда в шахматном порядке и в том же порядке связываются между собой (через сваи) наклонными тросами (рис. 28). Тросы соединяют низ коротких стоек переднего ряда с верхом высоких стоек второго ряда со стороны дороги и так далее, образуя в плане зигзагообразную линию.

Рис. 28. Сооружение свайного типа:

а - план; б - схема соединения элементов; 1 - автомобильная покрышка; 2 - сваи; 3 - трос; 4 - хомут

Принцип работы сооружения заключается в следующем. При прохождении селевого потока отдельно стоящие стойки, выполненные из упругих элементов и свай, принимают на себя давление селевого потока или снежных лавин. Небольшая жесткость и высокая податливость упругих элементов способствуют поглощению энергии и уменьшению разрушения и истирания несущих конструкций свай при ударе. Дополнительное гашение энергии селевого потока происходит за счет работы тросов, удерживающих высокие сваи второго ряда от удара. Наклонные тросы упруго деформируются, и, меняя свое положение от каждого удара твердых включений потока благодаря эластичности, снижают скорость и изменяют их направление.

С этой целью можно также применять решетчатое сборное железобетонное сооружение (а.с. № 1634743), которое состоит только из одного типа балок с двутавровыми окончаниями с прямоугольными пазами и отверстиями (рис. 29).

Рис. 29. Сооружение ряжевого типа:

а - план; б - балка с двутавровыми окончаниями; в - лобовой узел; г - узел со стороны дороги

Балки соединяют двутавровыми окончаниями, в плане они образуют зигзагообразное очертание вдоль дороги. Стыки узлов обжимаются металлическими тросами, пропущенными через отверстия в пазах двутаврового окончания. Вертикальные тросы передних узлов соединяются с фундаментом для повышения устойчивости на сдвиг и опрокидывание сооружения, а в задних узлах со стороны дороги нижняя часть тросов соединяется с нижними балками и обжимает узел, повышая его сопротивляемость на разъединение.

В целом для защиты протяженных участков горных дорог более экономичными и надежными являются те сооружения, которые допускают большие перемещения, сопровождая и притормаживая селевой поток. Кроме того, эти сооружения могут быть неоднократно использованы. В предложенных вариантах сооружений использованы в основном промышленные отходы: изношенные автомобильные покрышки, бывшие в употреблении тросы и рельсы.

4.4. Защитные сооружения дорог из автомобильных покрышек в предгорной зоне от небольших потоков

Для защиты объектов от действия селевых потоков и снежных лавин впервые автором работы предложено применение старых "башмаков автомобилей".

Изношенные автомобильные покрышки податливы, допускают большие упругие перемещения, т.е. являются поглотителем энергии, надежно защищают несущие железобетонные элементы от динамических ударов и истирания. Покрышки легки, их нетрудно транспортировать и монтировать в труднодоступных местах селеактивных ущелий. Кроме того, за счет использования старых покрышек экономятся цемент, сталь, увеличивается срок службы сооружения, утилизируются отходы производства. Сметная стоимость защитных сооружений из покрышек вдвое ниже чем из железобетона. По зарубежным данным, долговечность покрышки в воде составляет 1500 - 2000 лет, а в атмосфере 50 - 60 лет.

Арочное селезащитное сооружение (а.с. № 1330241) состоит из двух типов упругих блоков из изношенных покрышек, расположенных взаимно перпендикулярно ярусам, образуя по высоте сквозные каналы, а в плане - арочное очертание (рис. 30).

Первый тип упругого блока включает 7 - 10 покрышек, скрепленных в поперечном направлении тросами разной длины с образованием клинообразной формы и расположенных горизонтально.

Второй тип упругого блока состоит из 2 - 4 покрышек, скрепленных в поперечном направлении тросами одинаковой длины с образованием цилиндрической формы и при сборке расположенных вертикально.

Блоки обжимаются между собой по вертикали тросами, нижние концы которых заанкерованы в фундаменты, а верхние концы соединены с дугообразными стальными шайбами.

Для создания усилия обжатия тросы проходят через стыки соседних блоков первого типа и через проемы блоков второго типа.

Особенностью сооружения является его эффективное энергопоглощение за счет значительной податливости несущих блоков. При необходимости повышения массивности и ограничения податливости блоков их полости заполняют булыжниками. Сооружение можно строить в узких ущельях для защиты мостов, дорожного полотна, регулирования и стабилизации русла реки.

Рис. 30. Сооружение арочного типа из автомобильных покрышек:

а - общий вид; б, в - упругие блоки первого и второго типов; 1 - горизонтальные блоки; 2 - вертикальные блоки; 3 - гибкие связи; 4 - сквозные каналы

При очистке емкости сооружения от селевых отложений достаточно отсоединить натяжное устройство от вертикальных тросов. При этом сооружения распадаются на отдельные блоки. Мелкие наносы промываются паводковой водой или гидрометом, а крупные камни удаляются механизированным способом, а затем сооружение восстанавливается для повторного использования.

Треугольное поперечное селезащитное сооружение выполнено из покрышек (а.с. № 1595988), вертикально расположенных рядами вдоль селеносного русла и связанных между собой поперек русла несколькими тросами со стороны нижнего и верхнего бьефов, закрепленными концами на берегу русла. Нижние покрышки частично заделываются в грунт на дне русла (рис. 31).

Рис. 31. Сооружение треугольного типа:

а - общий вид; б - соединение покрышек шпильками

Каждый продольный ряд сооружения собран из вертикально расположенных покрышек, скрепленных в местах контакта посредством шпилек на шайбах в виде равнобедренного треугольника с вершиной наверху, причем размеры треугольников у основания каждого ряда увеличиваются к продольной оси селеносного русла. Покрышки снабжены по периметру отверстиями через 60° для шпилек.

Принцип работы сооружения состоит в следующем. При прохождения по руслу селевого потока удар воспринимается покрышками и передается на поперечный трос. Небольшая жесткость и высокая податливость покрышек, трение в местах их соединения между собой способствуют поглощению энергии селевого потока. Наличие тросов в конструкции повышает ее несущую способность и эксплуатационную надежность. Пространство между продольными рядами покрышек служит для пропуска бытовых отходов.

В целом сооружение представляет собой упругие решетки, способные работать при давлении селевого потока как пространственная конструкция, колеблющаяся с определенной частотой.

Для повышения устойчивости упругих решеток их можно устанавливать спаренными. Если через А обозначить общую площадь решетки, а площадь просветов между решетками A1, то отношение А1 = 0,5 - 0,6.

Стандартное решение инженерных сооружений по защите автомобильных дорог рекомендовать невозможно. Предложенные решения защитных сооружений несомненно расширят кругозор проектировщиков и облегчат выбор наиболее оптимального проектного решения в зависимости от мощности, повторяемости селевых потоков, морфологии русла и значимости защищаемого объекта.

5. МЕТОДИКИ РАСЧЕТА СЕЛЕЗАЩИТНЫХ СООРУЖЕНИЙ

5.1. Расчет арочного сооружения методом конечного элемента

Сооружение арочного очертания в плане составлено из отдельных блоков. Блок в поперечнике имеет двутавровое сечение, переменное по длине, т.е. до форме он напоминает клин (см. рис. 21).

Блоки укладываются свободно друг на друга по высоте сооружения, образуя по вертикали диафрагму. Несколько таких диафрагм создают криволинейную поверхность.

Каждый блок испытывает деформации только в плоскости арки. Примем соединения блоков между собой идеальными шарнирами в узловых точках i, J, k, т. Зависимость между узловыми силами и узловыми перемещениями может быть представлена в виде уравнения равновесия

,

(13)

где  - вектор узловых сил;

 - вектор узловых перемещений;

k - матрица жесткости в общей системе осей координат.

Система разрешающих уравнений (13) отражает условие равновесия узлов, совокупности элементов, и порядок уравнения зависит от их числа.

Для формирования матрицы К необходимо построить матрицы жесткости отдельных элементов, в случае прямоугольной формы, плоского напряженного состояния и изотропного материала это не вызывает особых затруднений [11].

По найденным из уравнения (13) узловым перемещениям определяются напряжения в области конечного элемента, которые характеризуют работу блока по длине l. Для выявления напряженно-деформированного состояния по толщине h блока необходимо перейти к изучению всего сооружения в целом.

Компонуя матрицу жесткости всего сооружения и решая уравнение (13), получим вектор перемещений узлов серединной поверхности, по которому определяется напряженное состояние блока в рассматриваемой плоскости.

Такой прием позволяет определить перемещения и напряжения в блоках сооружения, используя готовые матрицы жесткости.

Предлагаемую методику расчета можно рассмотреть на примере. Определим перемещения и напряжения в арке кругового очертания с нагрузкой и размерами, показанными на рис. 32, а, б [17].

Рис. 32. Конструктивная и расчетная схемы горизонтального- пояса арочного сооружения:

а - конструктивная схема; б - расчетная схема с графиком деформации;„в - эпюры нормальных напряжений σx u σy.

Сформировав матрицу жесткости представленного сооружения и решив уравнение (13), получим вектор перемещений  и соответствующие ему напряжения в блоках сооружения.

Для принятого сооружения матрица жесткости конечных элементов в местной системе осей координат будет одинакова и равна

При обходе узлов по ходу часовой стрелки матрица жесткости первого элемента будет иметь вид:

(14)

Аналогично записываются матрицы жесткости остальных элементов.

Матрицы жесткости первого конечного элемента в общей системе осей координат запишем в виде

,

(15)

где С1 - матрица преобразования векторов при повороте осей координат;

1)' - транспортированная матрица преобразования векторов при повороте осей координат.

Полная матрица жесткости такого сооружения представлена в работе [12].

Сформировав матрицу жесткости представленного сооружения и решив уравнение , получим вектор перемещений

 = [U13 U23 U14 U24 U15 U25 U16 U26 U17 U27 U18 U28 U19 U29 U110 U210 U111 U211 U112 U212] = [1,56; 7,62; -3,64; 3,67; 0,89; 14,54; -4,41; 12,66; 0; 17,51; 0; 17,I6; 0,89; 14,53; 4,42; 12,65; -1,55; 7,61; 3,64; 3,66]

По найденным из разрешающей системы уравнений значениям перемещений определяем напряженное состояние каждого конечного элемента

(16)

где х, у - координаты точек в области конечного элемента;

μ - коэффициент Пуассона;

Е - модуль упругости.

Например, для первого элемента точки 3 при х = 1, у = 0, μ = 0,17 (рис. 32, б) напряжения определяются в такой последовательности:

Схема деформации блоков сооружения (у) и эпюры нормальных напряжений показаны на рис. 32, б, в.

5.2. Расчет сооружения стержневого типа по несущей способности

При расчетах принята консольная схема. Согласно п. 1.9. СНиП 2.03.01-84 железобетонные конструкции, в том числе сборные селезащитные сооружения, следует рассчитывать по несущей способности на прочность с проверкой устойчивости положения и формы конструкции.

Предельное состояние сооружения оценивается по общему условию п. 2.2 СНиП 2.06.01-86.

,

(17)

где пС - коэффициент сочетания нагрузок, принимаемыi для основного сочетания 1, для особого сочетания - 0,9, К основному сочетанию относятся горизонтальная суммарная статическая и динамическая нагрузки от ударной волны селевого потока и вертикальная нагрузка от собственного веса сооружения, к особому сочетанию - горизонтальные нагрузки селевого потока и сейсмических воздействий и вертикальная нагрузка от собственного веса сооружения;

NP - расчетное значение обобщенного силового воздействия, определяемое с учетом коэффициентов перегрузки п = (1…..1,2);

R - расчетное значение обобщенной несущей способности сооружения, определяемое с учетом коэффициента безопасности по материалам;

m - коэффициент условий работы, учитывающий вид предельного состояния, приближенность расчетных схем, тип сооружения, вид материала;

KH = 1,1 - коэффициент надежности, учитывающий степень ответственности, капитальность и значимость последствий при наступлении каких-либо предельных состояний.

Расчет сборных селезащитных сооружений проводится только для основного сочетания нагрузок.

Давление потока на сооружение оказывает двоякое воздействие - локальное и глобальное. При локальном воздействии создается напряженное состояние в элементах и частях сооружения, на которые непосредственно действует давление потока; при глобальном - во всех элементах сооружения, в том числе и в тех, на которые оказывалось локальное воздействие.

При расчете на местное сжатие (смятие) поверхностей сборных элементов от селевых потоков, согласно п. 3.39 СНиП 2.03.01--84, должно удовлетворяться условие

,

(18)

где N - продольная сила от местной нагрузки;

АСМ - площадь смятия;

ψ - коэффициент, принимаемый равным 1 при равномерном распределении местной нагрузки по площади смятия;

КСМ - расчетное сопротивление бетона смятию, определяемое по формуле

,

(19)

где γБ = 1, так как нагрузка от ударной волны селевого потока распределена по всей поверхности сборных элементов, направленной перпендикулярно этой волне;

Rnр - расчетное сопротивление тяжелого бетона по прочности на сжатие.

С учетом вышеуказанного можно записать

,

(20)

где gmax - максимальное давление ударной волны селевого потока; 0,99 - усредненный коэффициент условий работы бетона.

При действии ударной волны на железобетонный стержень, расположенный перпендикулярно потоку, в первом ряду сооружения происходит его изгиб. Этот стержень входит в состав всего сооружения, которое сопротивляется глобальному воздействию нагрузки. В стержне возникает продольная сила. Таким образом, общее напряженное состояние стержня представляет собой продольно-поперечный изгиб. Так как стержни сквозного селезащитного сооружения имеют относительно небольшую продольную гибкость, рассмотрим отдельно изгиб стержня без учета влияния продольной силы на этот изгиб.

При шарнирных опираниях по концам и в середине и равномерно распределенной нагрузке максимальный изгибающий момент на опоре равен

,

(21)

где l - расчетная длина одного пролета;

в - ширина поперечного сечения стержня.

К расчету изгибаемого стержня по предельному состоянию необходимо приступить после определения в этом стержне продольной силы, возникающей в результате глобального воздействия нагрузки.

Рассмотрим сдвиг и срез железобетонных столбов, образованных замоноличиванием вкладышей (вертикальных цилиндрических каркасов) в каналах, образованных полостями на концах стержней.

При расчете на срез железобетонных столбов при условии, что срез наступает одновременно во всех столбах по плоскости, находящихся внизу сооружения, он имеет вид

NТпр·S,

(22)

где S - количество железобетонных столбов;

Тпр - предельное усилие среза, определяемое по формуле

,

(23)

где ,  - расчетные сопротивления соответственно на срез арматуры и бетона;

Аа, Аб - соответственно площадь среза и бетона.

Тогда согласно (17) можно записать

,

(24)

В этой формуле не учтено сопротивление трению по горизонтальным поверхностям соприкосновения стержней.

Описанный расчет по формуле (24) является приближенным, так как в нем не учитывается упругая работа самого сооружения, и усилия среза во всех железобетонных столбах принимаются одинаковыми. Ввиду упругой работы сооружения при ударе селевого потока усилия среза в железобетонных столбах будут разными. Причем максимальные усилия среза будут в столбах, наиболее близких к ударной волне, минимальные - к нижнему бьефу.

Уточненный расчет железобетонных столбов на срез возможен лишь при анализе упругой работы сооружения.

Приближенный расчет усилий в стержнях сооружения основан на рассмотрении напряженного состояния ряда условно-плоских горизонтальных ферм, составленных из стержней, находящихся в разных слоях сооружения.

Сооружения расчленяются горизонтальными поверхностями на несколько таких частей, каждая из которых может представлять ферму в проекции на горизонтальную плоскость. На рис. 33, а, показаны три таких фермы Ф-1., Ф-2, Ф-3, они соединены между собой упругими связями на сдвиг, которые имеют в каждом узле усредненную жесткость, зависящую от того, сколько стержней и на каких уровнях соединены в этом узле.

Порядок расчета следующий. В начале рассчитывается самая верхняя ферма Ф-1 на ту часть нагрузки от селевого потока, которую она непосредственно воспринимает. При этом нижележащая ферма Ф-2 считается условно-неподвижной и абсолютно жестко. В расчете определяются усилия в стержнях фермы Ф-1, а также усилия в упругих связях (T1, T2, T3). В каждом узле фермы будут возникать два усилия в горизонтальной плоскости. Затем проводится аналогичный расчет фермы Ф-2 на часть нагрузки от селевого потока и усилия T1, T2, T3, передаваемые от фермы Ф-1. При этом ферма Ф-3 считается условно-неподвижной и абсолютно жесткой. Аналогично проводится расчет фермы Ф-3.

Рис. 33. Расчетная схема сооружения стержневого типа:

а - поперечный разрез - разбивка на фермы; б - разбивка на составные фермы; в - план расчетной схемы; г - опорный узел; д - то же, в плане

Расчетная схема каждой из ферм показана на рис. 33, б. Каждый узел фермы прикреплен к основанию двумя упругими связями одинаковой жесткости, как это показано только для нижнего правого узла. Ферма является внутренне и внешне статически неопределимой.

На ферму действует часть нагрузки от лобового удара селевого потока, которая распределяется на передние узлы (сила Р1, Р2, Р3, Р4, Р5, Р6) и на пары усилий Тi. T'i в каждом узле фермы, передаваемые от вышележащей фермы.

Таким образом, в расчетной схеме сооружения приняты следующие допущения:

пренебрегают условиями совместной деформации между отдельными фермами;

пренебрегают тем, что сходящиеся в одном узле стержни находятся на разных уровнях, жесткость упругих связей принимают средней по всем сходящимся стержням;

пренебрегают тем, что пара лобовых сходящихся в узле стержней соединена между собой упругими связями.

Определение жесткости упругих связей узлов фермы рассмотрим на примере узла по рис. 33,г. В узле сходятся концы шести стержней, из них два - двухпролетные цельные элементы, имеются еще три шайбы. Жесткость на сдвиг любого элемента относительно условного основания (узла нижерасположенной фермы) определяется как для систем с последовательным расположением связей

,

(25)

где С - жесткость на сдвиг двух соседних элементов, определяемая по формуле C = (σаАа + σбАб)/h [11];

Cу - средняя жесткость связей;

h - толщина элемента.

Пример. Выполняется расчет фрагмента сотовой горизонтальной фермы (одного яруса) селезащитного сооружения на действие одной сосредоточенной нагрузки Р = 100 т (рис. 34, а).

Рис. 34. Расчетная схема одного яруса сооружения на упругих опорах (фрагмент):

а - верхний ярус сооружения на действие одной нагрузки Р =100 т и нумерация узлов и стержней; б - нижний (второй) ярус, загруженный узловыми нагрузками от влияния верхнего яруса

Расстояние между фермами по высоте принимаем n = 1 м, диаметр стойки 0,3 м, J = 3,974·10-4 м4, приведенная площадь А = 3J/h2 = 1,1922·10-3 м2. Элементы фермы имеют квадратные сечения 0,3×0,3 м и соответственно А = 0,09 м2, J = 6,75·10-4 м4. Модуль упругости бетона Е = 3·106 т/м2.

Результаты расчета, выполненного на ЭВМ, приведены в таблице 2. Расчет показывает, что в стержнях второго ряда 1-2; 2-3; 3-4; 4-5 усилия (М, Q и N) в 3 раза меньше, чем в первом ряду 6-7; 7-8; 7-9. При проектировании сооружения размеры поперечного сечения стержней первого ряда необходимо подобрать в соответствии с максимальными значениями усилий, а для остальных рядов использовать облегченные конструкции, имеющие уменьшенную площадь сечения в пролете.

При расчете фермы второго нижнего яруса к ней в узлах 1, 3, 5, 6, 8 и 9 в двух направлениях прикладываются нагрузки от верхнего яруса (рис. 34, б).

5.3. Динамический расчет элементов сооружения на удар селевого потока

Рассмотрим расчет лобовых элементов сооружения на удар отдельных камней. При этом элемент (балка) может опираться на упругие опоры, жесткость которых определяется условиями сопряжения концов балки с другими элементами сооружения [18].

Горизонтальный поперечный удар камня массой σ в середину упругоопертой балки постоянного сечения схематично представлен на рис. 35, а. Концы балок связаны с упругими опорами, жесткость которых равна С.

Рис. 35. Расчетные схемы балки на упругих опорах:

а - схема упругоопертой балки на поперечный удар; б - динамическая расчетная схема; в - схема упругоопертой балки на косой удар; г - соответствующая расчетная схема

Таблица 2

Номера элементов

Координаты, м

Перемещения

Усилия

узел

стержень

х

у

UX·10-2, м

UY·10-2, м

φ, рад

, т

. т·м

1

1-2

0,0

0,0

-0,19

-0,23

0,0

-10,18

3,79

0,0

6,56

2

2-3

1,5

0,886

-0,21

-0,4

85·10-6

-5,24

-0,94

1,62

0,0

3

3-4

3,0

0,0

0,0

-0,19

0,0

-5,24

0,94

0,0

1,62

4

4-5

4,5

0,886

0,11

-0,4

85·10-6

-10,18

3,79

6,56

0,0

5

2-6

6,0

0,0

0,19

-0,23

0,0

11,8

-2,85

4,94

0,0

6

4-8

1,5

2,538

-0,5

-0,4

0,0

-11,8

-2,65

-4,94

0,0

7

6-7

3,0

3,464

0,0

-1,31

0,0

-31,03

12,14

0,0

21,03

8

7-8

4,5

2,598

0,5

-0,4

0,0

-31,13

-12,14

21,03

0,0

9

7-9

3,0

5,196

0,0

-1,34

0,0

-52,06

0,0

0,0

0,0

Приравнивая потенциальную энергию деформации балки при действии на ее середину, статически приложенной силы F, вызывающей прогиб у0 (рис. 35,6), к максимальной кинетической энергии системы камень-балка, получим выражения максимального динамического прогиба после удара и соответствующей силы удара

;

(26)

;

(27)

где ρ = 24EJ/Cl3 - безразмерный параметр жесткостей балки и упругих опор;

k = (17/35 + 5ρ/4 + ρ2)/(1 + ρ)2 - коэффициент приведения;

U0 - скорость камня до удара;

g - ускорение свободного падения.

Рассмотрим числовой пример удара камня по балке при изменении параметра упругости в диапазоне ρ = 0 - 0,5 и отношения массы балки к массе камня в диапазоне S = mlg/G = 1 - 2.

При этом y0(0), Р(0) соответствуют случаю применения жестких опор (ρ = 0). Как видно, с уменьшением жесткости опор увеличивается динамический прогиб при ударе, а сила удара уменьшается; с увеличением соотношения массы балки к массе камня обе эти характеристики уменьшаются.

Таблица 3

S

ρ = 0

ρ = 0.1

ρ = 0,2

ρ = 0,3

ρ = 0,4

ρ = 0,5

1

2

3

4

5

6

7

1,0

1,0

0,9445

1,039

0,8967

1,076

0,8553

1,112

0,8186

1,146

0,7853

1,178

1,2

1,0

0,9436

1,038

0,8950

1,074

0,8530

1,109

0,8150

1,141

0,7820

1,173

1,4

1,0

0,9427

1,037

0,8933

1,072

0,8500

1,105

0,8121

1,137

0,7782

1,168

1,6

1,0

0,9418

1,036

0,8917

1,070

0,8485

1,103

0,8093

1,133

0,7760

1,164

1,8

1,0

0,9409

1,035

0,8900

1,068

0,8462

1,100

0,8071

1,130

0,7733

1,160

2,0

1,0

0,9400

1,034

0,8891

1,067

0,8454

1,092

0,8057

1,128

0,7713

1,157

Примечание. В числителе приведены относительные величины динамического прогиба y0(Р)/y0(0) вычисленные по формуле (26), в знаменателе - относительные величины силы удара Р(ρ)/Р(0), вычисленные по формуле (27).

Горизонтальный косой удар камня массой G под углом α в середину упругоопертой балки постоянного сечения представлен на рис. 35, в. В момент удара составляющие скорости V0, V01 и V02 камня и балки одинаковы только в точке соприкосновения А. Соударение двух тел порождает появление силы F1 и F2 в точке контакта А (рис. 35, г)

Величины прогиба и силы поперечного удара F определяются формулами. А сила продольного удара F определяется из предположения, что скольжение камня наблюдается при предельной величине силы трения, которая определяется выражением

F2 = fgF1;

(28)

где fg - динамический коэффициент трения.

Однако при ударе коэффициенты трения fg не могут быть определены точно, следовательно, их определение основывается либо на гипотезах, либо соответствующих величинах при отсутствии соударения.

Известно, что величина динамического коэффициента трения fg зависит от материалов балки и камня, их формы, состояния поверхностей и от других факторов и fg < fст, где fcт - статический коэффициент трения.

Величина коэффициента трения приближенно принимается для скольжения камня о бетонную поверхность в пределах 0,5 - 0,73. Так как применяемые в гидротехническом строительстве селезащитные сооружения стержневого типа имеют относительно небольшую продольную гибкость, расчет элемента на усилие F1 ведется без учета влияния продольной силы F2 на изгиб.

Вышеизложенная методика расчета элементов (балок) селезащитных сооружений на удар отдельных камней может быть применена при расчете сооружения на основное сочетание нагрузок.

5.4. Расчет конструкции селезащитного сооружения типа "противотанковые ежи"

Основным элементом конструкции расположенных вдоль склонов гор для защиты дорог от селевых потоков является трос, представляющий по статическому расчету гибкую нить. Вдоль троса по дуге дискретно установлены ежи, состоящие из трех взаимно пересекающихся стержней. Концы тросов прикреплены к подпорным стенкам неподвижно (рис. 36, а).

Рис. 36. Этапы расчета конструкции типа "противотанковые ежи":

а - конструктивная схема, б, в - расчетные схемы; г - произвольная селевая нагрузка

Селевые распределенные нагрузки действуют в горизонтальной плоскости по всей длине троса, а в местах прикрепления ежей к тросу приложены сосредоточенные силы (рис. 36,б).

Так как трос гибкий и воспринимать изгибающие моменты не может, то в любом его сечении, в том числе и на опорах, усилия могут быть направлены только вдоль троса. Поэтому реакции опор будут направлены по касательным к тросу.

Вертикальные и горизонтальные реакции опор определяются на основании уравнений статики (Σх = 0; ΣMB = 0; ΣMC = 0).

Распор определяется по формуле

Н = M;

(29)

где М - момент внешних сил;

у - ординаты троса.

Наибольшее усилие растяжения в тросах определяется по формуле

;

(30)

где Hmax - распор;

V - вертикальная составляющая опорной реакции, для того чтобы трос мог выдержать селевые нагрузки, необходимо соблюдение условия

n·NTP ≤ [NP];

(31)

где n - коэффициент запаса, равный 3;

[NP] - допустимое разрывное усилие.

Натяжение троса с учетом изменения расчетной схемы от действия дополнительных сил определяется по универсальной формуле [19].

;

(32)

где H0, Н1 - натяжение соответственно при начальной и расчетной селевых нагрузках;

ЕF - жесткость троса;

Q0 - поперечная сила в произвольном сечении простой балки, нагруженной точно так же, как трос при начальной нагрузке;

Q1 - то же, при расчетной нагрузке.

Из уравнения (32) H определяется либо путем подбора, либо с помощью специальных таблиц для решения кубических уравнений. Величина расчетного натяжения Н1 зависит только от одной переменной величины интеграла . Определение параметра нагрузки  довольно громоздко. Допустим, что селевая нагрузка дала очертания эпюры балочной силы (рис. 36, в). Эту эпюру надо перемножить саму на себя. Для этого делим всю эпюру на равные по длине пролета участки С. Каждую из образовавшихся площадок считаем трапецией. Тогда, используя формулу Верещагина, получим

;

(33)

Пример. Рассмотрим один пролет l = 100 м сооружения с тремя "ежами", несущим тросом, прикрепленным к подпорным стенам. Действуют равномерно распределенная селевая нагрузка q0 =1 т/м и равнодействующие силы V1 =30 т, V2 = 40 т, V3 = 50 т, которые приложены в местах установки "ежей" и имеют разный угол отклонения в плане от оси русла d1 =30°, d2 = 40°, d3 = 35°. Влиянием трения элементов "ежей" о селевые отложения и трос в местах соединения пренебрегаем. Жесткость троса ЕF = 50000 т; максимальное отклонение троса от оси подпорных стенок f = 5 м.

Определим сначала натяжение нити H0 от нагрузки g0 и вертикальных составляющих Рi от равнодействующих Тi (i = 1, 2, 3)

С учетом этих нагрузок, добавляя к ним нагрузку g, определим натяжение Н1 по формуле (32), т.е. Н1 = 439 т.

Теперь перейдем к определению натяжения на разных участках троса. Для этого найдем сначала горизонтальные составляющие усилий Т1, Т2. и Т3 (рис. 37)

S1 = 30sin 30° = 15 т; S2 = 40sin 40° = 25.6 т; S3 = 50sin 35° = 28,7 т

Натяжение на первом участке (рис. 36):

HI = H1 - (3S1l/4)/l - (S2l/2)l + (S3l/4)/l = 422,1 т.

НII = НI + S1 = 437,1 т; HIII = HII + S2 = 462,7 т; НIV = НIII - S3 = 434 т.

Немаловажным при расчете такого сооружения с подвижными "ежами" является определение опрокидывающих сил подпорной стены (опоры).

Рис. 37. Этапы расчета решетчатой конструкции с наклонными тросами:

а - конструкция решетки; б, в - расчетные схемы; г, д - виртуальные состояния конструкции для определения перемещения упругих опор

Для этого определяем хотя бы одну из двух опорных реакций. Реакция левой опоры от вертикальных сил (рис. 37).

 = g0 l/2 + 3P1/4 + P2/2 + P3/4 = 95,0 т.

Реакция от горизонтальных сил

 = -S1C1/l - S2C2/l + S3C3/l = -0,300C1 - 0,512C2 + 0,574C3.

Полная реакция RA -  +  = 95,0 - 0,300C1 - 0,51 2C2 + 0,574C3.

Для определения C1, C2 и С3 надо составить три уравнения. В качестве таких уравнений воспользуемся равенством нулю балочных моментов в точках нити К1, K2 и К3

 = RA·l/4 - g0 (l/4)2/2 - HI·C1 = 0

 = RA·l/2 - g0(l/2)2/2 - HI·C2 - S1(C2 - C1) - P1l/4 = 0

(34)

 = 3RA·l/4 - g0(3l/4)2/2 - HI·C3 - S1(C3 - C1) - S2(C3 - C2) - P1l/2 + P2l/4 = 0

В результате решения получим

С1 = 4,79 м; С2 = 6,47 м; С3 = 5,20 м

Теперь можно вычислить реакцию левой опоры RA = 93,1 т.

Динамическую нагрузку на трос от селевых потоков можно определить по формуле

;

(35)

где т = Q/g - масса нагрузки на трос;

ω    - частота собственных колебаний троса.

5.5. Расчет решетчатого селеуловителя с наклонными тросами

Общая схема селеуловителя представлена на рис. 37, а и состоит из стоек, шарнирно-соединенных с фундаментом, и пучкообразных поддерживающих наклонных тросов. Основная система (рис. 37, б) выбирается в виде цепи стержней на промежуточных упругих опорах с одной нижней шарнирно-неподвижной опорой. Натяжения тросов 1-5, 2-5 дают как вертикальные (V1, V2), так и горизонтальные составляющие усилия (S1, S2), передающиеся на стойку и вызывающие ее сжатие. В узлах 1, 2, 3 действуют сосредоточенные силы от удара отдельных камней потока. Кроме того, на стойку по высоте действует равномерно распределенная нагрузка от общего давления селевого потока.

Полные осевые силы в стойках (рис. 37, в)

S01 = S1 + S2; S12 = S2

В уравнения трех моментов для сжато-изогнутых стоек [20] войдут выражения для углов наклона изогнутой оси на опоре простой балки с учетом влияния сжимающих сил. Например, для угла поворота α10 будем иметь

;

(36)

где

S01 - осевая сила в элементе 0-1.

Пользуясь основной системой рис. 37, составим уравнения трех моментов для сжато-изогнутой стойки как двухпролетной балки на упругих опорах в точках 1, 2:

(37)

где углы αn вычисляются по формуле (36);  = EJYn;  = Е10;

tV и SV - функция Жуковского от аргумента V.

В управление (37) вошли, кроме опорного момента, два неизвестных перемещения упругих опор y1, y2. Для определения их применяем уравнение возможных работ, составляя сумму работ всех сил и моментов, действующих на основную систему (рис. 37, б) последовательно на виртуальных перемещениях в состояниях, представленных на рис. 37, г. В каждом из этих состояний задаемся виртуальным углом поворота одного из стержней цепи  = 1, принимая углы поворота остальных стержней равными нулю. В результате получаем следующие уравнения виртуальных работ всех сил, действующих на основную систему на виртуальных перемещениях соответственно I, II состояний.

;

(38)

;

(39)

Последние члены каждого из этих уравнений показывают виртуальную работу моментов пар сил Sn, равную (Sn ψn ln)ψn, где ψn - действительный угол поворота цепи, выражаемый через перемещения упругих опор, например . Предпоследние члены этих уравнений характеризуют виртуальную работу упругих реакций. Момент М2 от консольной нагрузки известен, Уравнения очень удобны для применения метода итерации. Приняв момент M1 равным нулю, определяем из этого уравнения перемещения упругих опор и, внося их значения в уравнения (38) и (39), получаем М1 после чего из уравнения (37) находим уточненные значения yn. Предложенная методика более эффективна, когда неизвестно несколько опорных моментов.

ЗАКЛЮЧЕНИЕ

В Западной Европе (Франции, Австрии, Швейцарии и других странах) борьба с селевыми потоками осуществляется путем проведения защитных мероприятий, главным образом, в местах их зарождения. В большинстве случаев эти мероприятия сводятся к облесению больших горных территорий, террасированию, устройству нагорных канав, валиков, возведению небольших гидротехнических русловых сооружений (запруд, подпорных стенок).

В США строят преимущественно крупные гидротехнические сооружения, размещая их как в горах, так и на конусе выноса (высокие плотины, котлованы, дамбы, селеотводящие каналы и др.).

В нашей стране в основном практикуются комплексные метода защиты объектов от селевых потоков, т.е. мероприятия, проводимые в высокогорных частях бассейна, на конусе выноса и в долине отличаются друг от друга: в горной зоне бассейна борьба направлена на уменьшение и рассредоточение стока, а в предгорной зоне, т.е. на конусе выноса - на уменьшение разрушительного действия селевого потока.

При защите автомобильных дорог, пересекающих конусы узких и крутых селеактивных ущелий, более надежными являются массивные сборные сооружения арочного типа, которые допускают очистку его емкости от наносов с целью неоднократного использования.

На расширенных участках селеносного русла, т.е. в зоне конуса выноса, где скорость и глубина селевых потоков относительно малы, более эффективными являются облегченные селезащитные сооружения из железобетонных одно- и двухпролетных стержневых элементов.

Для защиты автомобильных дорог, расположенных вдоль склона гор и по руслам рек на перевалах, более эффективными являются протяженные гибкие и сквозные сооружения, которые допускают большие перемещения в плане за счет сдвига и перекатывания блоков и разрыва тросов.

Использование изношенных автомобильных шин в качестве несущих элементов противоселевых устройств является более экономичным и технологичным для защиты мостов, откосов и других вспомогательных объектов дорожных служб.

При расчете сборного арочного сооружения более практичным является представление расчетной схемы сооружения в виде отдельных дугообразных полос, составленных из клинообразных блоков, взаимодействующих между собой и поясами по линиям их контакта. Для определения внутренних усилий может быть принят метод конечных элементов. При этом конечными элементами будут блоки сооружения.

Для расчета стержневых систем схему сооружения можно представить в виде множества пакетов горизонтально расположенных ферм, имеющих в узлах упругие связи и сосредоточенные моменты, действующие из плоскости от эксцентрично расположенных элементов. При определении усилий в элементах фермы учитывается влияние соседних ферм в виде сдвигающих усилий.

Сетчатые и решетчатые системы относятся к классу комбинированно-вантовых систем. При расчете их стойки могут быть представлены в виде неразрезных балок на упругих опорах, а тогда расчетные усилия и реакции определяются уравнением трех моментов. Диаметры поддерживающих тросов подбираются по теории нитей, а также из расчета несущей способности тросов на разрыв.

Материальные расходы, связанные со строительством защитных сооружений автомобильных дорог, быстро окупаются, если провести ряд целенаправленных мероприятий: использовать паводки для орошения в засушливых районах; селевые отложения для пополнения пляжей; селевые выносы в качестве строительных материалов; защитные сооружения (особенно арочного типа) как временные мосты для движения пешеходов, животных и транспортных средств или как мельницы и эстакада для различных коммуникаций.

СПИСОК ЛИТЕРАТУРЫ

1. Флейшман С.М., Перов В.Ф. Сели: (Учеб. пособие). - М.: МГУ, 1986. - 120 с.

2. Флейшман С.М. Сели. - Л.: Гидрометеоиздат, 1978. - 312 с.

3. Дорнбаум И.С. Защита населенных мест от селевых (грязекаменных) потоков. - М., 1949. - 175 с.

4. Виноградов Ю.Б., Этюды о селевых потоках. - Л.: Гидрометеоиздат, 1980. - 144 с.

5. Степанов Б.С., Степанова Т.С. Механика селей. - М.: Гидрометеоиздат, 1991. 379 с.

6. Инструкция по проектированию и строительству противоселевых защитных сооружений: СН 518-79: Утв. Гос. Ком. СССР по делам стр-ва: Введ. с 01.01.81. - Изд. офиц. - М.: Стройиздат, 1981. - 13 с.

7. Херхеулидзе И.И. Сквозные, защитные и регулирующие сооружения на горных реках. - М.:. Гидрометеоиздат, 1967 - 131 с.

8. Квасов А.И. Селевые потоки и их воздействие на сооружения. - Алма-Ата: Наука, 1987. - 130 с.

9. Методические рекомендации по гидравлическому расчету селезадерживающих и селепропускных сооружений / ГрузНИИГиМ, - Тбилиси, 1978. - 58 с.

10. Гагошидзе М.С. Селевые явления и борьба с ними. - Тбилиси: "Сабчота Сакартвело", 1970. - 386 с.

11. Байнатов Ж.Б. Конструкции селезащитных сооружений и метода их расчета. - Алма-Ата: КазНИИНТИ, 1991. - 159 с.

12. Байнатов Ж.Б. Искусственные защитные сооружения на горных автомобильных дорогах. - М., 1992. - (Итоги науки и техники. Сер. Автомоб. дороги / ВИНИТИ; т. 10).

13. Хегай А.Ю. Укрощение "черного дракона". - Алма-Ата: Казахстан, 1988. - 72 с.

14. Дуйсенов Е.Д. Селевые потоки в заилийском Алатау. - Алма-Ата: Казахстан, 1971. - 192 с.

15. Тевзадзе В.И. Борьба с эрозионно-селевыми явлениями в Японии // Гидротехника и мелиорация. - 1977. - В 2. - С. 107-111.

16. Власов А.Ю., Перов В.Ф. Селевые явления в Австрии и борьба с ними // ХУ Всесоюз. конф. по противоселевым мероприятиям, (Ташкент, 1979) / ЦБНТИ Минводхоза СССР. - М., 1978.

17. Байнатов Ж.Б., Кузютин А.Д. Конструкция селезащитного сооружения арочного типа и методика его расчета // Науч.-техн. прогресс в стр-ве и пути его ускорения в новых условиях хозяйствования: Межвуз. сб. науч. тр. - Алма-Ата, 1991. - С. 107-114.

18. Байнатов Ж.Б., Тулебаев К.Р. Динамический расчет элементов селезащитных сооружений стержневого типа при взаимодействии с селевым потоком // Совершенствование архитектуры и градостр-ва Казахстана: Межвуз. сб. науч. тр. - Алма-Ата, 1991. - С. 20-23.

19. Качурин В.К. Статический расчет вантовых систем. - М.: Стройиздат, 1969. - 142 с.

20. Снитко Н.К. Устойчивость стержневых систем в упруго-пластической области. - Л.: Стройиздат, 1968. - 248 с.

 




ГОСТЫ, СТРОИТЕЛЬНЫЕ и ТЕХНИЧЕСКИЕ НОРМАТИВЫ.
Некоммерческая онлайн система, содержащая все Российские Госты, национальные Стандарты и нормативы.
В Системе содержится более 150000 файлов нормативно-технической документации, действующей на территории РФ.
Система предназначена для широкого круга инженерно-технических специалистов.

Рейтинг@Mail.ru Яндекс цитирования

Copyright © www.gostrf.com, 2008 - 2026