|
|
|
ГОСУДАРСТВЕННАЯ СЛУЖБА ДОРОЖНОГО ХОЗЯЙСТВА МИНИСТЕРСТВА ТРАНСПОРТА РОССИЙСКОЙ ФЕДЕРАЦИИ ИНФОРМАЦИОННЫЙ ЦЕНТР ПО АВТОМОБИЛЬНЫМ ДОРОГАМ
АВТОМОБИЛЬНЫЕ ДОРОГИ И МОСТЫ НАПЛАВНЫЕ МОСТЫ Обзорная информация Выпуск 6 Москва 2003
СОДЕРЖАНИЕ В данном выпуске обзорной информации даны типы и конструкции наплавных мостов, приведены примеры из отечественного и зарубежного опыта. Рассмотрены основные правила и методы проектирования наплавных мостов, главное внимание уделено гидрологическим аспектам проектирования как наименее исследованной области, имеющей пробел в нормативной базе. Приведены основные принципы учета особенностей организации строительства и эксплуатации этого самого древнего типа мостов. Обзор подготовили засл. деятель науки РФ, д-р техн. наук, профессор, академик Академии транспорта России Б.Ф. Перевозников (Союздорпроект), инж. В.А. Селиверстов (Гипротрансмост) 1. ВВЕДЕНИЕНаплавные мосты строили в древности и продолжают строить на всех континентах. В современном мостостроении этот вид мостов находит широкое применение в США, Норвегии, России и некоторых странах Азии. В российской строительной практике наплавные мосты больше известны как временные сооружения или как мосты быстрого наведения при проведении аварийно-спасательных работ в условиях чрезвычайных ситуаций (стихийных бедствий) и военных действий. Также считается целесообразным их устройство на дорогах с низкой интенсивностью движения транспортных средств, т.е. на дорогах низших категорий. В то время как за рубежом в последнее 20-летие наметилась тенденция сооружения наплавных мостов со сроками службы, соответствующими капитальным мостовым сооружениям. Уже реализовано несколько крупных проектов, ведется концептуальное проектирование плавучих мостов нового поколения, но этот опыт мало известен в России. Для водных преград, к которым относятся, главным образом, устья рек при большой глубине воды и илистом грунте дна, морские проливы, устройство наплавных мостов может являться единственным экономически и технически целесообразным. В последнее время довольно активно как в печати, так и на международных конференциях и симпозиумах обсуждается возможность строительства мостовых переходов значительной протяженности через морские проливы: Берингов (Россия - Америка); Керченский (Крым - Кавказ); Мессина (Италия - Сицилия); Гибралтар (Испания - Марокко); Невельского (Россия -Сахалин). Строительство указанных сооружений отличают исключительно сложные инженерно-гидрометеорологические и геологические условия, глубины заложения фундаментов опор до 100 м, повышенные требования морского судоходства. Очевидно, что при таких условиях вариант наплавного моста может оказаться вполне конкурентоспособным. Следует отметить, что в практике проектирования и строительства мостов возник ряд новых характерных направлений, когда требуется проведение углубленного изучения комплекса вопросов по морским мостовым переходам с привлечением специалистов смежных специальностей (навигация морских водных путей, судостроение, морская гидрология и метеорология). Применительно к наплавным мостам возникает дополнительная сложность, которая выражается в том, что для обоснования устройства этого типа мостов нужны не только максимальные гидрологические характеристики, но и минимальные, которые также представляют один из экстремумов гидрологического режима. Тематика наплавных мостов неизменно представляет особый интерес на международных конференциях, симпозиумах и конгрессах, организуемых или проводимых при финансовой поддержке Международной ассоциации по мостам и конструкциям (IABSE). Так, в сентябре 2001 г. в г. Бергене (Норвегия) был проведен 4-й международный симпозиум по транспортным пересечениям морских проливов. В технической программе этого симпозиума вопросам проектирования и строительства наплавных мостов была посвящена самостоятельная сессия, а также организована экскурсия на уникальный вантово-наплавной автодорожный мост Nordhordland, построенный в 1994 г. К настоящему времени как в мировой, так и в российской практике накоплен значительный опыт проектирования, строительства и эксплуатации наплавных мостов. Этот опыт необходим для использования при разработке новых проектов и дальнейшего совершенствования нормативных документов. Вместе с тем выявлено [1], что в настоящее время в российских проектных организациях ослаблены навыки проектирования наплавных мостов, количество специалистов, способных качественно выполнить разработку проектной документации, ограничено. Разрозненность опыта, а также перспектива строительства наплавных мостов через судоходные реки, акватории и морские проливы предопределяют необходимость развития теоретических основ проектирования, обеспечивающих требуемую надежность и долговечность этого самого древнего типа мостов. 2. ТИПЫ НАПЛАВНЫХ МОСТОВ, УСЛОВИЯ ИХ ПРИМЕНЕНИЯ И ФУНКЦИОНИРОВАНИЯ2.1. Общие положенияНаплавной мост включает плавучую часть, переходные и подходные участки (рис. 1). Плавучая часть представляет собой плавучие опоры, на которые опирается пролетное строение.
Рис. 1. Схема основных частей наплавных мостов: 1 - подходная (береговая) часть; 2 - сопрягающая (переходная) часть; 3 - плавучая часть; 4 - поперечное закрепление; 5 - продольное закрепление Переходные участки представляют собой обычно один пролет для сопряжения плавучей части, имеющей переменный уровень, с подходным (береговым) участком, имеющим постоянный уровень. Подходной участок может представлять собой как насыпь, так и эстакаду, устраиваемую у берегов. Неотъемлемой частью наплавного моста являются закрепления против сноса его течением, продольным и поперечным ветром или аварийным торможением транспортных средств на мосту. Как правило, предусматривают совместное продольное и поперечное закрепления моста. При необходимости пропуска судов в наплавных мостах устраивают выводные звенья или разводные пролеты. Наплавные мосты устраивают через реки с большой глубиной воды и слабыми грунтами в основании, когда возникают сложности при устройстве фундаментов мостовых опор, что влечет за собой их удорожание. Возможность устройства наплавных мостов определяется соответствующими гидрологическими условиями: малой скоростью течения; отсутствием волнового воздействия, ледяного покрова либо наличием благоприятного ледового режима. Наплавные мосты нередко устраивают на дорогах низших категорий и пионерных дорогах, а также в качестве временных мостов, например, при возведении постоянного моста на время его строительства (рис. 2). В условиях военного времени наплавные мосты играют немалую роль. Наплавные мосты весьма разнообразны по типам, конструктивным признакам, материалам и режиму функционирования во внутригодовом и многолетнем периодах. По конструктивным признакам наплавные мосты принято различать по системе речной части: разрезная, шарнирная, неразрезная. По материалу наплавные мосты могут быть деревянными, металлическими, железобетонными или выполненными из комбинации материалов [2, 3]. Плавучими опорами деревянных наплавных мостов служат плашкоуты (плоскодонные деревянные плавучие опоры). В качестве опор металлических наплавных мостов применяют закрытые понтоны различной формы (прямоугольной, круглой, овоидальной). Опорами железобетонных наплавных мостов служат железобетонные понтоны обычно замкнутой конструкции.
Рис. 2. Временный наплавной мост для строительства моста через р. Оку в г. Нижнем Новгороде По режиму функционирования наплавные мосты могут быть стационарными и сезонными. Стационарные наплавные мосты работают без перерыва в течение всего года. Сезонные наплавные мосты разводят на период пропуска паводков и ледохода. 2.2. Древние мостыДревние наплавные мосты были построены персидскими царями для военных походов в Южную Европу. В 480 г. до н.э. для пересечения пролива Дарданеллы армией Ксеркса был построен наплавной мост с использованием около 700 кораблей, заякоренных спереди и сзади в две линии. Вдоль каждой линии кораблей были натянуты шесть канатов из льна и папируса. Поверх канатов были уложены доски, удерживаемые второй линией канатов. Дорога с ограждением была устроена поверх досок с использованием хвороста и земли. В трех местах между кораблями имелись разрывы, позволявшие проход маломерным судам [4]. В 1115 г. при Владимире Мономахе взамен древнего перевоза через р. Днепр около г. Киева был построен крупнейший наплавной «живой» мост (Ипатьевская летопись, 1115 г.). В г. Москве наплавные мосты строили с самого ее основания. В те времена реки и глубокие рвы, имевшие оборонное значение, перекрывались так называемыми «живыми» мостами. Это обуславливалось двумя причинами: весной и осенью, чтобы сооружение не сносило половодьем, их легко было разбирать; при вражеском нападении такие мосты проще было быстро уничтожить. Их конструкции представляли собой настилы из связанных между собой бревен. Для большей надежности под такие настилы подводили еще и плоты. На старинном плане г. Москвы, составленном в 1605 г. и названном «Годунов чертеж Москвы», показана вся речная сеть города с различными гидротехническими сооружениями, в том числе наплавным мостом на Москве-реке [5]. Упоминавшийся в летописях первый постоянный московский мост на сваях через р. Неглинную у Троицких ворот Кремля был построен только в 1367 г. Залив Золотой Рог в г. Стамбуле (Турция) являлся местом сооружения наплавных мостов на протяжении нескольких столетий. Первые наплавные мосты были деревянными, в настоящее время - стальные. Два наплавных моста через залив Золотой Рог построены в начале прошлого века. В 1992 г. один из старых наплавных мостов, построенный в 1912 г., был заменен на новый мост двухъярусной конструкции из предварительно напряженного железобетона на свайных фундаментах, с центральным разводным пролетом 80 м в свету. Из российской практики начала прошлого века известны примеры деревянных плотовых и плашкоутных мостов, которые имели срок службы от 30 до 50 лет (Севастопольский мост, мосты через р. Неву, мост через р. Оку в г. Горьком). Отметим также длительное 30-летнее успешное функционирование Рижского моста через р. Западную Двину, построенного в 1895 г. Общая длина моста составляла 524 м. Стальной понтонный мост состоял из 14 двухконсольных двухпонтонных звеньев, двух выводных звеньев и двух сопрягающих частей. Продолжительность ледостава на реке в среднем составляет 4 месяца, а ледоход проходит стремительно и сопровождается заторами. Поэтому этот мост ежегодно разводился для пропуска ледохода [3]. 2.3. Зарубежный опытДеревянный наплавной железнодорожный мост через р. Миссисипи (шт. Висконсин, США) длиной 124 м был построен в 1874 г. Он перестраивался несколько раз пока, наконец, не был закрыт. В 1978 г. в шт. Вермонт (США) в седьмой раз были заменены конструкции деревянного наплавного моста длиной 98 м, который продолжает эксплуатироваться в настоящее время. Первый в мировой практике железобетонный наплавной мост Lacey V. Murrow, который назван по имени инженера, его запроектировавшего, длиной 2,4 км через оз. Вашингтон (шт. Вашингтон, США) был построен и открыт для движения в 1940 г. Сравнение вариантов показало, что высоководный мост с опорами на свайном основании стоит в 5 раз дороже. После этого в этом же штате было построено еще три наплавных моста: мост через канал Hood в 1961 г.; мост Evergreen Point через оз. Вашингтон в 1963 г.; и 3-й мост через оз. Вашингтон параллельно мосту Lacey V. Murrow в 1989 г. Все эти мосты находятся на основной транспортной сети на автомобильных дорогах регионального и межрегионального значения. В истории эксплуатации наплавных мостов известны драматические ситуации. Так, при шторме в 1990 г. мост Lacey V. Murrow частично затонул. В этом же году было запланировано сооружение нового моста взамен частично затонувшего. Новый наплавной мост через оз. Вашингтон был открыт в 1993 г. (рис. 3). Стоимость строительства нового моста составила 73,7 млн. долл. США [6]. Поперечное сечение железобетонного наплавного моста приведено на рис. 4. Проектом предусмотрено устройство 20 понтонов длиной по 110 м, шириной 18,3 м и высотой 5,1 м, которые выполнены из предварительно напряженного железобетона. По сравнению с ранее сооруженной (затонувшей) конструкцией понтонов предусматривается предварительное напряжение в трех направлениях, увеличение проектной прочности бетона почти в 2 раза, увеличение массы анкеров в 4 раза, кроме того, установлены повышенные требования к водонепроницаемости бетона [7].
Рис. 3. Новый наплавной мост через оз. Вашингтон (США) С целью ограничения проникновения воды каждый понтон разделен на 48 отдельных ячеек, причем в каждой ячейке установлены предупреждающий датчик и водоотливная система. Между ячейками устроены водонепроницаемые двери. Доступ внутрь понтонов обеспечивается с боковых сторон [8]. Каждый понтон закрепляется с помощью двух донных анкеров посредством канатов диаметром 60 мм.
Рис 4. Поперечное сечение железобетонного наплавного моста Критерии проектирования для этого наплавного моста предусматривали некоторые особые требования, которые включали: - обеспечение комфортности проезда при обычных штормовых условиях; - безопасность при экстремальных штормовых условиях без значительного повреждения; - устойчивость при прогрессирующем разрушении вследствие протечек воды [9]. Для обеспечения безопасности наплавного моста от прогрессирующего разрушения и заблаговременного предупреждения о попадании воды внутрь отсеков был разработан ряд мероприятий. Так, понтоны запроектированы с учетом наиболее вероятных сценариев разрушения. Например, боковая стенка понтона может быть повреждена случайными воздействиями от маломерных судов, в результате чего может быть затоплено от двух до четырех отсеков одновременно, что вызывает незначительные вертикальные перемещения и повороты конструкции моста. В экстремальном случае, когда конструкция полностью повреждена, водонепроницаемая компоновка отсеков должна предотвратить прогрессирующее затопление и разрушение. Установленные в каждом отсеке датчики попадания воды обеспечивают заблаговременное предупреждение. При попадании воды в отсек система автоматически срабатывает и сигнал поступает непосредственно к обслуживающему персоналу [9]. Через три года после сооружения первого наплавного моста через оз. Вашингтон аналогичный проект был реализован в Австралии. Этот наплавной мост через p. Derwent у г. Хобарта (Тасмания) длиной 965 м был собран из двух длинномерных секций с шарнирным соединением в центре. Поперечное сечение конструкции этого моста, имея принципиальную схожесть с конструкцией моста через оз. Вашингтон, отличается некоторыми конструктивными признаками. Пролетное строение криволинейное в плане, причем выпуклая сторона расположена в направлении вверх по течению реки. Таким образом, мост воспринимает воздействие течения реки и при этом не требуется дополнительного устройства поперечной системы анкеров. Впоследствии в 1965 г. этот наплавной мост был заменен на высоководный из-за проблем, возникших после разрушений от воздействия шторма. Наплавной мост через канал Hood в шт. Вашингтон был построен в 1961 г. и являлся в то время одним из нескольких постоянных понтонных мостовых сооружений в мире (рис. 5). Этот мост имеет длину около 2 км и представляет собой конструкцию, опертую на понтоны в виде коробок из предварительно напряженного железобетона, составленных в ряд. Экономичность варианта наплавного моста была обусловлена значительными глубинами воды в месте перехода, составляющими 30 - 100 м. Конструкция моста запроектирована на воздействие приливно-отливных явлений, выражающихся в перепаде уровней воды, равном 5,1 м, и скорости течения воды 4 км/ч, а также ветровых и волновых воздействий. Переходные части моста длиной 85 м обеспечивают плавный проезд транспортных средств при перепаде уровней воды. В середине моста предусмотрен выводной судоходный пролет длиной около 200 м для пропуска больших океанских судов [10].
Рис. 5. Наплавной мост через канал Hood (США) Понтоны имеют длину 110 м, ширину 15 м и высоту около 5 м и представляют собой преднапряженную ячеистую конструкцию с размерами ячеек 4×4,5 м. Нижние плиты и боковые стенки имеют толщину 23 см, а верхняя плита - 18 см. После изготовления в сухом доке г. Сиэтла (шт. Вашингтон, США) понтоны соединяли по три штуки, при этом стык шириной 4 см заполняли специальным составом из эпоксидной смолы. После затвердевания связующего состава производилось натяжение высокопрочных болтов. Дополнительно три понтона объединялись через все диафрагмы посредством натяжения 24 кабелей диаметром 65 мм. Далее такие строенные комплекты буксировались к месту строительства на расстояние 55 км [10]. Мост достаточно хорошо проявил себя в эксплуатации; производился ремонт только элементов выводного пролета. Тем не менее, не избежал драматической ситуации и этот наплавной мост. Так, после шторма 13 февраля 1979 г. западная часть моста затонула и была восстановлена за 44 месяца. В 1982 г. была выполнена замена восточной половины этого моста. С учетом анализа причин разрушения при проектировании учитывалось максимальное волновое воздействие, что выявило необходимость существенного повышения несущей способности конструкции. Новые пролеты предполагалось изготавливать рядом со строительной площадкой в сухих доках с последующей подачей на плаву. При этом закрытие движения было необходимо только на шесть недель [7]. Наплавной мост через оз. Okanagan (Канада) длиной 640 м был выполнен из железобетона по проекту, аналогичному первому мосту через оз. Вашингтон, и открыт для движения в 1957 г. Этот мост продолжает функционировать в настоящее время. Второй наплавной мост Evergreen Point через оз. Вашингтон длиной 2,3 км был построен в четырех милях севернее первого моста в 1963 г. Конструктивное решение не имело особенных отличий от проекта первого наплавного моста, но дополнительно было применено частичное предварительное напряжение железобетонных понтонов. Из-за более жестких гидрометеорологических условий в месте расположения этого моста, по сравнению с первым мостом, волновые воздействия вызывали эксплуатационные проблемы и отдельные конструктивные повреждения. На основании натурных и лабораторных исследований усталостной прочности конструктивных соединений наплавного моста в зоне выводного (судоходного) пролета выявлены зависимости между напряжениями в анкерных болтах, фиксирующих понтоны в проектном положении, скоростью и направлением ветра, а также составлены рекомендации по реконструкции [11]. Проведенная реконструкция конструктивных элементов в зоне выводного пролета обеспечила надежное функционирование моста на современном этапе. Третий наплавной мост через оз. Вашингтон построен в 1989 г. параллельно первому мосту с просветом 18,3 м. Этот мост имеет независимую от первого моста систему анкеров, что позволит, при необходимости, в будущем демонтировать старый мост. Пространство между мостами предусматривает его использование для сбора загрязняющих веществ с поверхности проезжей части. В результате проведения комплекса инженерных динамических расчетов предварительное напряжение железобетонных конструкций применялось в двух направлениях и во всех плоскостях. Критерии проектирования предусматривали детальный анализ потенциально возможных случаев повреждений конструкций и, таким образом, риск разрушения вследствие гидрологических воздействий был сведен к минимуму. В начале прошлого века в бухте Золотой Рог у г. Стамбула (Турция) были построены два наплавных моста: Galata (1912 г.) и Unkapani (1938 г.). В конструктивном плане оба моста включали сталежелезобетонные пролетные строения, установленные на стальные понтоны [12]. Наплавной мост Galata, изготовленный фирмой Man (Германия), является одной из достопримечательностей древнего г. Стамбула. Этот мост длиной 466 м состоит из стальных понтонов, а в центральной части для прохода судов предусмотрен выводной участок длиной 62,4 м. Компоновка моста позволяет использовать два его яруса: верхний ярус предназначен для движения транспортных средств, а в нижнем ярусе (внутри понтонов) размещены магазины, кафе, рестораны. Схема наплавного моста приведена на рис. 6 [13]. Вследствие роста интенсивности движения автомобильного транспорта и увеличения эксплуатационных расходов городские власти пришли к выводу о необходимости строительства нового моста рядом с существующим. Требованиями заказчика предусматривалось устройство двухъярусной наплавной конструкции, но с железобетонными понтонами. Таким образом, в конструкции наплавного моста должно быть предусмотрено выводное звено из трех понтонов длиной 80 м в центральной части, а также устройство двух судоходных пролетов длиной 20 м в свету и высотой подмостового габарита 6 м. Проработка варианта наплавного моста выявила ряд недостатков. Ограничение массы выводного звена в соответствии с мощностью двигателей буксиров вызывало необходимость устройства тонких стенок железобетонных понтонов. Для строительства тонких стенок, в свою очередь, при глубине погружения понтона 7,5 м требуется необычно большое насыщение железобетонного элемента арматурой (до 350 кг/м3), что создает проблему при укладке и уплотнении бетона с надлежащим качеством. Кроме того, в условиях агрессивного воздействия морской воды тонкие стенки будут иметь пониженную долговечность [13].
Рис 6. Схема наплавного моста Galata (Турция): а - план расположения понтонов; б - поперечное сечение моста Выполненные статические расчеты показали, что дополнительная осадка моста достигает 2 м от центрального загружения временной нагрузкой, в то же время при одностороннем загружении возникает поперечный перекос до 7%, что неизбежно вызовет сложности для функционирования перспективного рельсового транспорта. Таким образом, поскольку вариант наплавного моста имел ряд недостатков, к реализации было принято альтернативное предложение: конструктивно-технологическое решение моста с разводным пролетом с отверстием 80 м в свету, эстакадами двухъярусной конструкции из предварительно напряженного железобетона, фундаментами опор на забивных и буровых сваях. В результате пожара 1992 г. 25 % пролетного строения существовавшего наплавного моста Galata получило серьезные повреждения, а шесть понтонов затонули. Восстановление моста включало ремонт поврежденных участков и перемещение всего сооружения на новое положение - на 1,5 км вверх по течению. На новом месторасположении наплавной мост был укорочен на 160 м. С целью уменьшения стеснения водного потока новое проектное решение предусматривало уменьшение длины понтонов и увеличение расстояния между ними с 2,1 до 8,1 м. При этом с уменьшением длины понтонов потребовалось их уширение [12]. Новое конструктивное решение по железобетонной плите проезжей части предусматривало сохранение основных стальных несущих балок пролетного строения. Мост Unkapani длиной 454 м в первоначальном виде имел ширину проезжей части 16 м. С увеличением транспортного потока появилась необходимость уширения проезжей части моста с 16 до 20 м, что было выполнено за счет уменьшения ширины тротуаров с 4,5 до 2,5 м с двух сторон. Уширение произведено посредством реконструкции железобетонной плиты сталежелезобетонного пролетного строения (рис. 7). Разработка нефтяных месторождений в Северном море способствовала выдвижению Норвегии в лидеры по развитию технологий в области сооружения нефтяных платформ, что в свою очередь дало импульс к разработке новых конструктивно-технологических решений в области наплавных мостов.
Рис. 7. Наплавной мост Unkapani после уширения (Турция) Особенности местных условий Норвегии требуют разработки таких технических решений, которые были бы эффективны при сочетании двух факторов: большой глубины воды и значительной протяженности сооружений, пересекающих проливы.
Рис. 8. Наплавной мост Bergsoysund (Норвегия) Оригинальные конструктивные решения были реализованы при строительстве двух наплавных мостов Bergsoysund (1992 г.) и Nordhordland (1994 г.), построенных в Норвегии. Рассмотрим их конструктивные особенности более подробно. Оба моста устроены на горизонтальной кривой. За счет такого планового расположения горизонтальные усилия от внешних нагрузок, включая воздействия приливно-отливных явлений, и автомобилей передаются на устой. Конструкция моста включает понтоны из легкого бетона и металлические пролетные строения. Между тем имеются и принципиальные конструктивные различия. Наплавной мост Bergsoysund длиной 933 м расположен в плане на кривой радиусом 1300 м. Неразрезное стальное пролетное строение в виде фермы с трубчатыми элементами и ортотропной плитой проезжей части опирается на семь понтонов, выполненных из легкого железобетона (рис. 8). Железобетонные понтоны имеют следующие габаритные размеры: длина 34 м; ширина 20 м; высота от 6 до 6,5 м (рис. 9). Каждый понтон разделен на девять водонепроницаемых отсеков [14].
Рис. 9. Поперечное сечение конструкции наплавного моста Bergsoysund (Норвегия)
Рис. 10. Наплавной мост Nordhordland (Норвегия) При проектировании были предусмотрены меры по обеспечению безопасности эксплуатации наплавных мостов. Пролетное строение запроектировано на нагрузку от навала судов, понтоны - на работоспособность при затоплении смежных отсеков. Кроме того, весь мост оборудован автоматической системой слежения за нарушением герметичности отсеков и их протечкой. За перемещениями и уровнем напряжений на отдельных участках конструкций установлен мониторинг, предусмотрено проведение постоянных наблюдений за возможной коррозией арматуры железобетонных понтонов. Наплавной мост Nordhordland через фьорд Salhus (Норвегия) (рис. 10) длиной плавучей части 1246 м расположен в плане на кривой радиусом 1700 м. Криволинейное стальное пролетное строение коробчатого трапецеидального поперечного сечения опирается на десять железобетонных понтонов длиной 42,0 м, шириной 20,5 м и высотой от 6,7 до 8,5 м [15, 16]. Расстояние между понтонами 113,25 м. Просвет между низом пролетного строения и уровнем моря составляет 5 м, что позволяет проходить маломерным судам под мостом между понтонами. При этом данный мост имеет также высоководный участок с подмостовым габаритом высотой 32 м для обеспечения прохода крупнотоннажных судов. Высоководный участок моста - вантовой системы с железобетонной балкой жесткости и главным пролетом 172 м. Отметим, что наплавной мост Nordhordaland является рекордсменом по длине наплавной части без устройства системы анкеров для поперечного закрепления. Интересное конструктивное решение для пешеходного наплавного моста длиной 90 м между пристанью Canary и набережной West India в старой части г. Лондона (рис. 11) было разработано фирмой Future Systems/Antony Hunt Associates (Великобритания). Этот конкурсный проект выиграл призовой фонд 2 млн. долл. США [17] и был реализован в 1996 г.
Рис. 11. Пешеходный наплавной мост в г. Лондоне (Великобритания) Наплавной разводной мост в г. Осаке (Япония) был построен в 2001 г. в составе мостового перехода длиной 940 м, который соединяет искусственные острова. Непосредственно сам наплавной мост общей длиной 410 м с главным пролетом 280 м арочной системы опирается на два массивных стальных понтона, обеспечивает подмостовой габарит 24 м и разводится для прохода крупнотоннажных судов в порт г. Осаки (рис. 12). Горизонтальное закрепление осуществляется посредством отбойных свай и упругих (резиновых) ограждений [18]. К особенностям проектирования следует отнести то, что, кроме регламентированных воздействий волн, ветра и землетрясений, мост сохраняет работоспособность при экстремальных воздействиях ветра и волн, соответствующих уровню нагрузки от тайфунов [18]. Так, регламентированная скорость течения составляет 0,2 м/с, а для экстремальных штормовых условий принята 0,5 м/с.
Рис. 12. Модель наплавного разводного моста в г. Осаке (Япония) Известны также наплавные мосты, в которых используются стальные понтоны и пролетные строения системы Beiley (рис. 13). Один из вариантов мостового перехода через Мессинский пролив предусматривает комбинированное проектное решение, суть которого заключается в следующем [19]. У каждого берега пролива сооружаются вантовые участки моста с одним пилоном и пролетами длиной по 450 м, а центральная часть - мост на высоких плавучих опорах, который включает 15 пролетов по 155 м. Пролетные строения запроектированы в виде стальных двухъярусных решетчатых ферм высотой 15 м. Ширина верхнего яруса фермы составляет 26,3 м, что обеспечивает пропуск автомобилей по шести полосам движения, а также пешеходов по двум тротуарам шириной 2 м. В уровне нижнего яруса фермы предусмотрен пропуск двух железнодорожных путей. Для обеспечения прохода под мостом океанских судов высота опор принята равной 60 м над зеркалом воды. Конструкция опор выполнена в виде четырех стоек, которые устраиваются на плавучих платформах высотой 6,3 м, заанкеренных тросами к якорям, уложенным по дну пролива.
Рис. 13. Наплавной мост через р. Евфрат (Сирия) Стоимость этого варианта мостового перехода была оценена в 400 млрд. лир (1982 г.), что составляет всего 27 % от стоимости варианта висячего моста с главным пролетом 3000 м [19]. При разработке проекта моста через Гибралтарский пролив за основу принята концепция конструкции двухпилонного вантового моста Prince Edward Island Link, сооружение которого осуществлялось наплавным способом крупными блоками длиной 380 м. Основное отличие заключается в том, что в данном случае пилоны опираются на специальные понтоны под водой, заанкеренные в морское дно [20]. Аналогичное техническое решение по устройству плавучих опор было разработано в концептуальном проекте мостового перехода через Мраморное море (Турция). Выбор плавучей системы обосновывается значительной глубиной воды, достигающей 60 м, и наличием линии геологического разлома (опасная сейсмическая зона). Мостовой переход предназначен для пропуска автомобильного и железнодорожного транспорта и соединяет Европейскую и Азиатскую части г. Стамбула. Длина этого мостового перехода составляет около 35 км, при этом только в его центральной части предполагается сооружение высоководного моста висячей системы, обеспечивающей проход крупнотоннажных судов. Для боковых участков предусматривается устройство пролетных строений на опорах из плавучих сегментов, заанкеренных в морское дно (рис. 14). Расстояние между опорами составляет 135 м [21].
Рис. 14. Фрагмент плавучей системы мостового перехода «TRANSMAR» (Турция) Один из основных критериев проектирования предусматривает функционирование мостового перехода (системы) без риска разрушения при нормальных условиях, а в экстремальных условиях риск разрушения допускается минимальным. Так, при проектировании учитывалось ветровое воздействие для нормальных и экстремальных условий. Нормальным условиям соответствовала скорость ветра в зависимости от его направления от 6 до 11 м/с, для экстремальных условий скорость ветра принята 27 м/с. Кроме того, к экстремальным условиям отнесены гидродинамические нагрузки от воздействия цунами [21]. Инновационная программа Датского Министерства транспорта «Гибкая инфраструктура. Дороги к будущему» начала реализовываться в 2000 г. Разработка концепции «Новый водный путь» является составной частью этой программы. Основная цель программы - мобилизовать имеющиеся знания и идеи, создать базу для опытного строительства и эксперимента. Одним из краеугольных камней являлось повышение гибкости существующей дорожной сети к изменяющимся условиям, разработка концепции «плавучей дороги». Целевое предназначение дороги может изменяться со временем, и она должна иметь возможность легко адаптироваться к новым условиям с учетом изменения функциональных свойств. По сути гибкость выражается в возможности быстрого устройства и разборки, простоте уширения и удлинения. Наибольшее развитие эта концепция получила применительно к условиям Нидерландов: дороги для обеспечения доступа на затапливаемые территории при регулировании водных ресурсов; временные переправы для проведения эксплуатационных мероприятий; конструкции, дающие возможность использования водных путей для проезда транспортных средств; дороги на грунтах с низкой несущей способностью [22]. Реализация программы предусматривает четыре фазы: 1 - формирование рабочей группы и разработка подробного определения концепции «Новый водный путь»; 2 - подготовка тендера на технические идеи; 3 - разработка проекта; 4 - строительство демонстрационной дороги. Последнюю фазу программы планировалось завершить после 2002 г. [22]. В результате обобщения зарубежного опыта установлено, что целесообразность устройства наплавных мостов диктуется рядом факторов. По данным зарубежных специалистов [23], при ширине водной преграды от 2 до 5 км, глубине воды от 30 до 60 м и слабых грунтах основания, залегающих на глубине от 30 до 60 м, стоимость наплавного моста оценивается в 3-5 раз меньше стоимости постоянного высоководного длиннопролетного моста. На основе анализа различных источников, конструктивных и стоимостных показателей наплавных мостов, а также с учетом данных работ [4, 18] составлена обобщающая табл. 1, отражающая характерные технико-экономические показатели. Таблица 1 Технико-экономические показатели наплавных мостов
* Указана стоимость с учетом двух вантовых пролетов по 450 м с одним пилоном у каждого берега. Интересны могут быть данные, подготовленные Норвежской администрацией общественных дорог: при ширине водной преграды 1 км и глубине воды до 200 м стоимость строительства варианта наплавного моста из расчета организации пропуска автомобилей по двум полосам движения сопоставима со стоимостью тоннеля, причем с увеличением ширины водной преграды экономическая эффективность реализации тоннельного варианта при той же глубине воды возрастает [24]. 2.4. Отечественный опытВ современной российской практике наплавные мосты чаще всего использовались и используются как временные, сезонные сооружения, как правило, разбирающиеся на зиму. Достаточно широко наплавные мосты применяются в ходе строительства постоянных мостов и гидроузлов. В качестве быстрооборудуемых переправ используются понтонно-мостовые парки, созданные в основном на базе Вооруженных Сил Российской Федерации. Понтонные парки подразделяются на самоходные и несамоходные. Основное отличие заключается в том, что самоходные парки имеют в три раза большую осадку (около 2 м) и неприменимы на мелководье, при быстром течении и сильном волнении. Данные по наплавным мостам из понтонных парков, паромно-мостовых машин на колесной (ПММ) и гусеничной (ПММ-2) базе заимствованы из работы [25] и приведены в табл.2. Обычно устройство наплавных мостов производится посредством передвижения по воде мостовых звеньев с применением средств моторизации (катеров, мотозвеньев или мотопонтонов). Без применения средств моторизации наведение наплавных мостов осуществляется посредством их сборки вдоль берега с верховой стороны и последующим поворотом ленты моста течением. Однако по местным условиям широкий фронт одновременной выгрузки на воду и сборки звеньев не всегда может быть обеспечен. Таблица 2 Основные характеристики наплавных мостов
Для краткосрочного восстановления разрушенных мостов на автомобильных и железных дорогах и при ликвидации последствий стихийных бедствий используются специальные понтонные парки ППС-84, НЖМ-56 и МЛЖ. Материальная часть парка ППС-84 аналогична парку ПП-91, отличие же в том, что непосредственно сам комплект в шесть раз больше и моторизация осуществляется более мощными катерами. Другой особенностью является то, что из парка ППС-84 могут быть собраны перевозные паромы. Характеристики наплавных мостов из парка ППС-84 приведены в табл. 3. Таблица 3 Характеристики наплавных мостов из парка ППС-84
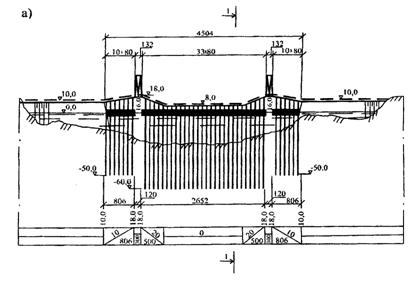
Наводка наплавных мостов из материальной части понтонных парков НЖМ-56 и МЛЖ может быть осуществлена в течение суток [25]. Длина моста из комплекта НЖМ-56 составляет 532 м; он собирается на отдельных плавучих опорах, при этом скорость течения ограничивается до 2,3 м/с. Этот тип наплавного моста обеспечивает пропуск поездов общей массой до 3,5 тыс. т, а также автодорожных нагрузок от 60 до 600 т и гусеничной техники с массой машин до 50 т. Длина моста из комплекта МЛЖ составляет 504,6м; он собирается в виде моста-ленты по типу ПМП, при этом скорость течения ограничивается до 2,6 м/с. В случае применения гидрощитов скорость течения не ограничивается. Инвентарное имущество наплавного железнодорожного моста НЖМ-56 было создано в 50-е годы прошлого столетия и имеется на базах МПС России и ЖДВ Российской Федерации. К основным недостаткам имущества НЖМ-56 следует отнести высокую трудоемкость сборки многоболтовых монтажных стыков пролетного строения, причем трудоемкость этой работы оценивается до 50% от общей трудоемкости наводки моста [1]. В рамках создания наплавного имущества нового поколения в 2001 г. разработан новый модульный комплект наплавного железнодорожного моста-ленты МЛЖ-ВФ-ВТ, позволяющий пропускать все виды существующих и перспективные поездные нагрузки, причем колесная и гусеничная техника пропускается без переустройства проезжей части. Кроме того, по сравнению с существующим НЖМ-56, металлоемкость снизилась в 1,3 - 1,4 раза, а трудоемкость - в 2 - 2,5 раза [1]. За период 1994 - 1999 гг. в Ханты-Мансийском автономном округе, Тюменской и Свердловской областях и Республике Коми построено около десяти наплавных мостов из баржевых конструкций [26]. Так, на автомобильной дороге Нефтеюганск - Сургут в Ханты-Мансийском автономном округе эксплуатируется мост длиной свыше 900 м. Конструктивной особенностью таких мостов является то, что используются баржи водоизмещением от 800 до 3500 т, на палубы которых укладывают дорожные плиты. Закрепление барж, состыкованных «в ленту», относительно течения производится посредством русловых якорей и береговых оттяжек. По данным ЗАО «Сибмостострой-ТНГС», срок службы такого типа наплавных мостов составляет 15 - 20 лет и более. Ориентировочная стоимость 100 м такого моста составляет 2-3 млн. р. (в ценах 1998 г.). В отличие от понтонно-мостовых парков Вооруженных Сил Российской Федерации, которые зимой должны содержаться в майне, упомянутые баржевые мосты можно эксплуатировать и зимой, несмотря на то, что они вморожены в лед. Один из вариантов железнодорожного транспортного пересечения через пролив Невельского, предложенного Гипротрансмостом в 1995 г., предусматривал сооружение наплавного моста в составе мостового перехода [27]. Месторасположение мостового перехода характеризуется значительной протяженностью (более 6 км) с опорами на слабых водонасыщенных грунтах при глубине воды до 24 м. Морские и аллювиальные морские отложения мощностью до 50 м по составу песчано-глинистые, иловатые с линзами галечников. Принципиальное техническое решение с наплавным мостом приведено на рис. 15. Высоководные боковые участки мостового перехода имеют главные пролеты по 132 м с подмостовым габаритом 16 м и предназначены для пропуска обычных судов. Для обеспечения пропуска крупнотоннажных океанских судов предусмотрена продольная сдвижка главного пролета. Центральный участок включает наплавной мост с понтонами, имеющими ледорезную часть. Поперечное закрепление производится за опоры, установленные в проливе, также обустроенные ледорезами. Общая стоимость строительства такого варианта оценена в 2,7 млрд. р. (в ценах 1984 г).
Рис. 15. Вариант наплавного моста через пролив Невельского: а - схема мостового перехода; б - поперечное сечение участка наплавного моста; 1 -русловая опора; 2 – ледорезы на опорах; 3 -ледорезы на понтонах; 4 - понтоны; 5 - поперечные закрепления; 6 - железнодорожные пути 3. ОСНОВНЫЕ ПРАВИЛА И МЕТОДЫ ПРОЕКТИРОВАНИЯ
НАПЛАВНЫХ МОСТОВ
|
||||||||||||||||||||||||||||||||||||||||||||||||||||||||||||||||||||||||||||||||||||||||||||||||||||||||||||||||||||||||||||||||||||||||||||||||||||||||||||||||||||||||||||||||||||||||||||||||||||||||||||||||||||||||||||||||||||||||||||||||||||||||||||||||||||||||||||||||||||||||||||||||||||||||||||||||||||||||||||||||||||||||||||||||||||||||||
|
Уровни ответственности сооружений |
Класс ответственности сооружений |
Наименование объектов и сооружений |
|
Уровень I Постоянные мостовые сооружения |
1 |
Мостовые сооружения и водопропускные трубы на железных и автомобильных дорогах I-II категорий общей сети, городские и совмещенные мосты для размещения нескольких видов транспорта |
|
2 |
Мостовые сооружения и водопропускные трубы на железных и автомобильных дорогах III категории общей сети, большие мосты на дорогах IV категории общей сети |
|
|
3 |
Мостовые сооружения и водопропускные трубы на железных и автомобильных дорогах IV категории общей сети |
|
|
Уровень II Постоянные мостовые сооружения |
4 |
Мостовые сооружения и трубы на автомобильных дорогах V категории общей сети |
|
5 |
Мостовые и малые водопропускные сооружения на внутрихозяйственных дорогах и дорогах к промышленным предприятиям |
|
|
Уровень III Временные сооружения |
6 |
Мосты и водопропускные сооружения на внутристанционных и соединительных путях и на временных автомобильных дорогах, сложные вспомогательные сооружения. |
ВП максимальных расходов и уровней воды в зависимости от класса ответственности сооружений
|
Расчетные случаи |
Класс ответственности сооружений |
|||||
|
1 |
2 |
3 |
4 |
5 |
6 |
|
|
Ежегодная ВП максимальных расходов и уровней воды, % |
||||||
|
для постоянных мостовых сооружений |
для временных сооружений |
|||||
|
Основной |
0,33 |
0,5 |
0,7 |
1 |
2 |
10 |
|
Поверочный |
0,2 |
0,33 |
0,5 |
0,7 |
1 |
5 |
Эти предложения и рекомендации вошли в первую редакцию перерабатываемого СНиП 2.05.03-84*, были рассмотрены ЦНИИС, Гипротрансмостом, МИИТ, МАДИ (ГТУ), Союздорнии и рядом других организаций и включены во вторую редакцию этого документа. В её составе были также отражены проработки по нормированию критериев ВП для автодорожных совмещенных мостов, а также для временных, вспомогательных и периодически затопляемых дорожно-мостовых сооружений. Следует считать, что данные критерии ВП распространяются на наплавные мосты.
Обобщение зарубежного и отечественного опыта проектирования и эксплуатации позволило сформулировать цели, которые должны отражаться в критериях проектирования, и устанавливать специальные требования, которые обеспечивают эффективность применения и надежное функционирование наплавных мостов. Основные устанавливаемые требования должны обеспечивать срок службы наплавных мостов - 75 - 100 лет с низкими эксплуатационными расходами, надежное функционирование, безопасность и комфортность проезда в обычных (регулярных) условиях эксплуатации; устойчивость при повреждениях от катастрофических нагрузок и экстремальных гидрометеорологических воздействий; а также в случае отдельного повреждения не должны быть подвержены эффекту прогрессирующего разрушения.
Проектирование конструкций наплавных мостов ведется на нагрузки и их сочетания, регламентированные СНиП 2.05.03-84*. Однако наплавные мосты представляют собой пространственную комбинацию элементов, отличающихся от высоководного моста тем, что, кроме регламентированных нагрузок, есть еще и другие дополнительные факторы, имеющие гидрометеорологическую природу, влияющие на надежное функционирование всего сооружения: амплитуда колебания уровней воды; течение воды; ветровые и волновые воздействия; приливно-отливные явления и ледовые воздействия (в зависимости от места расположения). Таким образом, работоспособность наплавных мостов очень чувствительна к воздействию гидрометеорологических факторов. Очевидно, что при проектировании оценка степени их воздействия должна быть подвержена детальному анализу.
При расчете отверстия мостового перехода с наплавной частью применяются те же методы, что и для мостов на капитальных опорах. Живое сечение считается стесненным погруженной частью плавучих опор. Устройство наплавного моста может оказать влияние на распределение скоростей в поперечном сечении потока и движение наносов. В отдельных случаях, например при близком расположении плавучих опор, малой глубине, возможно образование подпора.
Работоспособность наплавного моста обеспечивается при колебании уровня воды в реке (озере, море) в определенном диапазоне. При самых высоких уровнях воды возможно затопление подъездов, или в сопрягающей части получаются значительные (недопустимые) продольные уклоны ездового полотна, препятствующие движению транспортных средств.
Основное отличие наплавных мостов от мостов на постоянных опорах заключается в том, что уклоны ездового полотна имеют переменное значение и напрямую зависят от двух факторов: величины и расположения временной нагрузки (в плавучей части); уровня воды в данный момент (в плавучей и сопрягающей частях).
Проблема определения амплитуды колебания уровней воды является центральной в обосновании надежного функционирования наплавного моста. От величины этой амплитуды зависят высота моста, длина подходной и сопрягающей частей, отметки бровки земляного полотна у подходной части, длительность и бесперебойность функционирования моста. Однако решению этой проблемы не придавалось серьезного научного значения.
Анализ действующих норм и рекомендаций показал, что в них отсутствуют требования к установлению расчетной амплитуды колебания уровней воды и не регламентированы методы определения расчетных уровней воды. Поэтому введем новое понятие - расчетная амплитуда колебания уровней воды (А). За А будем принимать разницу между расчетным (максимальным) уровнем высоких вод (РУВВ) и расчетным (минимальным) уровнем низких вод (рис. 16). При поднятии уровня воды выше расчетного уровня высокой воды (РУВВ) или опускании ниже расчетного уровня низкой воды (РУНВ) нормальная работа наплавного моста прекращается. Таким образом, устанавливаются граничные условия функционирования моста.

Рис. 16. Схема для определения расчетной амплитуды колебания уровней воды:
А -расчетная амплитуда колебания уровня воды в реке; б - наибольшая осадка точки опирания мостика на береговом звене от временной нагрузки; h - высота настила въездов над РУВВ (или над наивысшим уровнем принятой расчетной амплитуды); Н - высота настила плавучей части над уровнем воды при постоянной нагрузке; i0 - уклон сопрягающей части при РУВВ и отсутствии временной нагрузки; iн - уклон при РУНВ при наличии временной нагрузки на мосту; L - длина сопрягающей части
Длительность надежной работы наплавного моста напрямую связана с выбранными РУВВ и РУНВ и зависит от продолжительности перерывов. Перерывы носят стихийный характер и могут привести к дезорганизации работы непосредственно наплавного моста и, соответственно, действующей транспортной сети. Рассмотрим понятие перерывы в работе наплавного моста более подробно.
Перерывы могут быть ожидаемые и незапланированные. Ожидаемые перерывы соотнесены с периодом прохождения весеннего и осеннего ледоходов, если предусматривается разводка моста. Эти перерывы поддаются прогнозу, поскольку наступают ежегодно в определенное время, и их можно планировать заранее.
Незапланированные перерывы наступают внезапно вследствие значительного подъема или спада уровней воды, которые не учитывались при выборе и обосновании РУВВ и РУНВ. Такие перерывы могут нанести значительный материальный ущерб из-за простоя транспортных средств.
Учитывая изложенное, вывод очевиден. Выбор расчетных уровней воды, обеспечивающих надежное функционирование наплавного моста, должен производиться на основе технико-экономического сравнения вариантов. Наиболее целесообразным будет функционирование наплавного моста без перерывов или с небольшими перерывами, последствия от которых несущественны и легко преодолимы.
Из практики проектирования известно, что расчетные уровни воды для обоснования функционирования наплавного моста определяли аналогично методу определения расчетного судоходного уровня воды для мостов. Однако найденные таким методом расчетные уровни воды являются только первым приближением. Основу расчетов составляют графики годового хода уровней воды за многолетний период (рис. 17). Этот метод не требует установления ВП и ориентирован только на допустимую величину возможного перерыва функционирования. В то время как современные нормативные требования устанавливают необходимость придерживаться заданной вероятности превышения, соотнесенной со степенью ответственности сооружения (см. табл. 4 и 5).

Месяцы
Рис. 17. График годового хода уровней воды
В инструкции ВСН 136-78 [34] сделана попытка регламентировать требование к определению уровня воды в период перевозки пролетных строений (применительно к проектированию плавучих опор), который рекомендуется принимать вероятностью повышения и понижения 10 %. Здесь значение ВП в какой-то мере соотнесено с тем, что плавучие опоры являются временным сооружением и срок надежного функционирования ограничен. Но при этом не оговорены требования к определению исходно-расчетных характеристик (уровней).
Исследованиями характера эмпирических кривых распределения вероятностей превышения уровней по ряду рек с различными условиями формирования и проявления их внутригодового речного стока установлена необходимость индивидуального подхода к аппроксимации этих кривых в виде графоаналитических или графических зависимостей. Также рядом исследований установлена возможность применения параболических кривых и кривых нормального распределения ВП для установления величин гидрологических характеристик редкой повторяемости [35, 36]. Эти кривые достаточно полно соответствуют эмпирическим точкам годовых максимумов и характеру асимметричности эмпирических распределений.
Установление характеристик годовых минимумов (РУНВ) применительно к наплавным мостам является основной задачей. Исследования этой направленности не проводились. Поэтому здесь сформулируем основные отправные моменты.
При строительном проектировании используются низкие гидрологические характеристики в интервале обеспеченности от 75 до 99 %. Обычно для различных целей водохозяйственного проектирования в этом диапазоне определяются расчетные уровни меженных вод. Предварительно можно рекомендовать для определения наибольшей разности уровней воды, ожидаемой за период эксплуатации наплавного моста, например отнесенного ко 2 классу ответственности, принимать ежегодную ВП уровней воды для основного расчетного случая 0,5 и 99,5 %. Учитывая предварительный характер рекомендаций, выбор критериев ВП требует подтверждения технико-экономическими расчетами и пробного проектирования.
Быстрое течение воды требует решения двух крайне серьезных проблем. Первая проблема - надежность закрепления моста, которая определяется гидродинамическим сопротивлением потоку. Вторая - устойчивость моста в набегающем потоке, т.е. сохранение плавучести при взаимодействии моста с водным потоком.
Вопросы учета гидродинамического воздействия водного потока достаточно хорошо исследованы [29]. Применительно к мостам-лентам типа ПМП графическая зависимость гидродинамического сопротивления от ширины ленты и грузоподъемности моста, а также расстояния между грузами для разных значений скорости течения и глубины воды приведены в работе [25]. Причем зависимости относятся к наплавным мостам, как оборудованным гидрощитами, так и без них.
Надежность закрепления наплавного моста на течении определяется расчетом прочности моста на действие вертикальной нагрузки и горизонтальной нагрузки от ветрового воздействия скоростного напора потока. В работе [25] приведены графические зависимости для определения допустимых расстояний между точками закрепления мостов-лент типа ПМП. Приведенные в этой работе графические зависимости позволяют также определить допустимую длину мостов-лент с креплением береговых концов оттяжками в зависимости от гидродинамической и вертикальной нагрузки. Кроме того, даны рекомендации по выбору схем закрепления мостов оттяжками при равномерном и неравномерном течении реки, а также при значительной несимметричности положения стрежня потока относительно берегов.
Другая не менее важная проблема - устойчивость наплавных мостов при быстром течении. В работе [25] приведен пример взаимодействия наплавного моста через р. Катунь при скорости течения водного потока 6,5 м/с. Вначале поток подтапливал мост и переливался через него. После чего мост всплывал, и перед ним образовывался подпор. По мере роста подпора мост вновь затапливался приблизительно на длину, равную 1/3 ширины реки. Береговые участки моста, работающие на кручение, удерживали его от полного затопления.
Вопросы устойчивости мостов-лент типа ПМП достаточно исследованы. Исходя из расчетной нагрузки и дистанции между нагрузками по графическим зависимостям, приведенным в работе [25], можно определить предельно допустимые скорости течения воды для этого типа мостов при неблагоприятной глубине воды 4 м, учитывая ширину моста (в диапазоне от 4 до 16 м). Причем зависимости относятся к мостам как с гидродинамическими щитами, так и без них. Кроме того, шкала предельно допустимых скоростей течения воды отражает скорости по живому сечению русла равнинных рек, поверхностную скорость течения воды, скорость течения воды горных рек.
Ветровые и волновые воздействия являются, как правило, определяющими при выборе основных параметров конструкции наплавного моста. Волновая нагрузка функционально зависит от скорости ветра, его направления и продолжительности, длины разгона, конфигурации береговой линии водной преграды и глубины воды. В свете современных представлений о безопасности инженерных сооружений при проектировании необходимо рассматривать обычные и экстремальные условия эксплуатации. В соответствии с Рекомендациями [23] экстремальные штормовые условия рекомендовано для ветровых и волновых воздействий принимать с обеспеченностью 1 %. Здесь же обратим внимание, что вопросы сочетания нагрузок в условиях их экстремального проявления мало исследованы, не имеют однозначного решения и единого методологического подхода. Тем не менее, следует признать обоснованными рекомендации [23] о том, что в сочетаниях с экстремальными волновыми нагрузками временная нагрузка (нагрузка от транспортных средств) не учитывается.
В обычных мостовых сооружениях на постоянных опорах волновая нагрузка играет второстепенную роль. В таких же конструкциях, как наплавные мосты, влияние волн на прочность и надежность велико. Большая протяженность, неблагоприятные динамические свойства, а также форма поперечного сечения понтонов делают эти типы мостов весьма чувствительными к действию приливно-отливных явлений, волновых нагрузок, причем высота, период и направление движения волны также имеют значение.
В отличие от мостов на капитальных опорах наплавные мосты подвержены явлению раскачивания в большей степени. Наплавной мост после проезда грузового автомобиля продолжительное время совершает медленные колебания. При проходе последующих автомобилей во время опускания звена происходит увеличение раскачивания. Учитывая, что собственные периоды колебаний наплавных мостов могут быть соизмеримы с периодами прохождения нагрузок, динамический расчет приобретает определяющее значение.
Таким образом, комплекс инженерных расчетов при проектировании наплавных мостов устанавливает необходимость обязательного выполнения динамических расчетов. Теоретические основы динамических расчетов, в том числе с использованием метода конечных элементов применительно к наплавным мостам, рассмотрены в работах [23, 37, 38].
В течение срока службы моста возможно проявление особых, исключительных условий (нестандартных ситуаций). Надежное функционирование наплавного моста обеспечивается анализом потенциальной возможности повреждения конструкций моста. Потенциальные повреждения могут произойти в результате навала маломерных судов, ударов карчей или плывущих предметов, затопления понтонов, обрыва анкерных устройств. Также, применительно к наплавным мостам, отклонения от нормальной работы могут вызвать: вывод одного понтона или потерю его плавучести; независимое от нагрузки изменение уровня воды по отношению к понтонам за счет волнового воздействия (не сопровождаемое всплытием понтона); экстремальные паводочные воздействия. Анализ и расчеты, обосновывающие безопасное функционирование наплавных мостов, производят применительно только к одному из видов повреждений или ситуаций (т.е. одновременный учет разнородных ситуаций не предусматривается).
Безопасное функционирование моста в пределах заданного срока службы обеспечивается также анализом возможности его прогрессирующего разрушения (проявление эффекта «домино»). Одной из версий разрушения наплавного моста через канал Hood в США явилось проявление именно эффекта «домино» после разрушения одного из элементов моста. Исследование работы моста в условиях проявившегося повреждения и затопления плавучей части выявит эффективность принятых конструктивных решений. В конструктивном плане понтон должен быть разделен на водонепроницаемые отсеки. В современной практике рекомендуется устанавливать специальное оборудование для слежения, имеющее сенсоры, фиксирующие попадание воды в отсеки и дающие сигнал предупреждения. Это позволяет эксплуатационным службам своевременно принимать меры по устранению появляющихся повреждений.
Ветровое воздействие на наплавной мост необходимо рассматривать применительно к двум случаям: перпендикулярно мосту; под углом к мосту. При косом воздействии ветра в дополнение к составляющей, перпендикулярной мосту, необходимо учитывать силу воздействия ветра на надводную часть понтонов, направленную вдоль моста. Отметим, что усилия при воздействии косого ветра возрастают к концам моста. Между тем, если косое воздействие ветра прикладывается ко всему мосту (сразу ко всем звеньям), то перегрузки понтонов не возникает.
При проектировании также следует устанавливать предельные уровни гидрометеорологических воздействий, при превышении которых эксплуатация моста может быть прекращена. Например, для типичных конструкций наплавных мостов такими пределами могут служить высота волны более 1,2 м и ветер со скоростью свыше 15 м/с.
Тем не менее, по мнению авторов обзора, установление пределов уровней гидрометеорологических воздействий по условиям эксплуатации или производства работ не следует понимать однозначно. При разработке проектной документации необходимо не просто устанавливать ограничения, а предусматривать специальные мероприятия на случай возможного проявления экстремального воздействия с оценкой степени риска превышения принятого предела. Кроме того, представляется целесообразным выполнять прогноз возможного проявления гидрометеорологических факторов в период производства строительных работ и предполагаемого срока службы мостового сооружения.
Ледово-термические явления и процессы на реках являются неотъемлемой частью речного гидрологического режима с его внутригодовыми и многолетними проявлениями. В той или иной мере они распространены почти на всей территории России.
Во внутригодовом режиме они проявляются в осенне-зимний и весенний периоды в виде шугохода, осеннего и весеннего ледохода, осенне-зимнего речного стока, ледостава, промерзания водной поверхности, внутриводного льда (донного, наледного и другого), зажоров и заторов льда, подвижек ледяного покрова, припаев льда, наледно-мерзлотных и других явлений.
Расчетные характеристики этих процессов и явлений предопределяют необходимость вариантных проработок основных вопросов по конструктивно-планировочным решениям, срокам и продолжительности функционирования наплавных мостов (в случае их разборки на период ледохода), а также по выбору наиболее целесообразного периода года по производству строительных работ.
Анализ действующих нормативно-методических документов, направленных на проектирование и строительство мостов, организацию строительного производства, учет нагрузок и воздействий [28, 34, 39, 40, 41, 42, 43] показывает, что в них, кроме требований к учету ледовых нагрузок и воздействий и методов их расчета, отсутствуют какие-либо рекомендации по определению исходно-расчетных характеристик этих воздействий.
В Строительных нормах и правилах, обуславливающих методы определения гидрологических характеристик [44, 45], геофизику опасных природных воздействий [46], строительную климатологию [39], инженерно-гидрометеорологические изыскания для строительства [47], не рассматриваются состав и методы расчетов ледово-термических характеристик, а сами процессы и явления, предопределяющие эти характеристики, не отнесены к нормируемым категориям и разновидностям опасных процессов.
Не останавливаясь на дальнейшей критике действующих нормативных и рекомендательных документов, укажем, что на основе изучения и обобщения особенностей проявления расчетных характеристик ледово-термических процессов и явлений в осенне-зимний и весенний периоды применительно к специфике наплавных мостов можно рекомендовать их требуемый состав.
В этом составе требуемых расчетных ледово-термических характеристик, условий их формирования и проявления в осенне-зимний и весенний периоды в части сроков начала и окончания, продолжительности, уровенного и ледового режима и других сопряженных с ними гидрологических характеристик подлежат расчетам и обоснованиям следующие из них:
- максимальные и минимальные годовые расходы и уровни воды этого периода требуемой нормативной ВП и соответствующие им глубины и скорости течения воды;
- продолжительность периода, свободного ото льда, уровни и даты появления ледовых образований (начало осеннего ледохода, ледостава, весеннего ледохода, очищения ото льда);
- период возможного прохождения осеннего ледохода, образования шуги и заберегов; размеры и траектории плывущих льдин и их максимальная толщина, отметки уровней ледохода;
- даты начала и окончания ледостава, сведения о характере и уровне ледостава, максимальная и минимальная ежегодная за зимний период толщина льда нормативной ВП, относительная с учетом влияния снега и приведенная толщина ледяного покрова, количественные характеристики изменения во времени толщины льда и его структуры (игольчатой, рыхлой, раковистой, прозрачной, мутной);
- уровни высокого и низкого весеннего (зимнего) ледохода и карчехода, даты начала и окончания, размеры льдин и карча, их траектории движения, продолжительность и интенсивность, скорости течения и глубины воды, влияние ветровых воздействий и нагонов, а также некоторые другие характеристики.
Основные характеристики ледовых процессов и явлений рассмотрены в работе [48]. Одним из основных требований по определению расчетных ледово-термических характеристик следует считать обоснование выбора и назначения критериев ВП по заблаговременному учету степени опасности проявления этих характеристик. Основные положения и рекомендации по обоснованию этих критериев ВП, приведенные ранее, применимы также и к ледово-термическим характеристикам.
Следует отметить, что методы определения максимальных расходов и уровней воды по многолетним рядам наблюдений получили свое достаточно полное освещение трудами ряда ученых (Д.Л. Соколовского, С.Н. Крицкого, М.Ф. Менкеля, Е.В. Болдакова, Е.Г. Блохинова, Б.Ф. Перевозникова, Л.Ф. Сотниковой и другими) и регламентированы СНиП 2.01.14-83 [44].
Применительно к расчетным гидрологическим характеристикам ледового режима рек такие исследования ранее не проводились, а методы определения этих характеристик по многолетним рядам наблюдений не нормированы. На основании исследований по обоснованию выбора расчетных кривых распределения ВП требуемых характеристик ледового режима рек ниже сформулированы основные принципы.
Наиболее репрезентативные расчетные ледово-термические характеристики могут быть получены на водомерных постах и метеостанциях, расположенных в непосредственной близости от створа строящегося объекта. При этом к анализу должны привлекаться все исходные данные независимо от продолжительности наблюдений. Особое значение для определения расчетных ледово-термических характеристик имеют результаты краткосрочных полевых обследований и опросы местных жителей, которые позволяют получать важную исходную информацию, трансформируемую вероятностными и интерполируемыми методами в расчетные характеристики.
Наблюдения на отдаленных водпостах отражают менее репрезентативные данные, которые подлежат тщательному анализу их возможностей по отражению пространственно-временных изменений расчетных ледово-термических характеристик вдоль реки. Они могут быть использованы для установления года проявления особо редких явлений и процессов и их ВП, высоких уровней и расходов воды весенних половодий, но не таких характеристик, как толщина льда, УВЛ, размеры льдин, условия заторообразования и некоторых других, имеющих особенности специфических местных проявлений.
Данные отдаленных водпостов и водпостов, расположенных на смежных реках целесообразно использовать для определения дат начала и окончания проявления расчетных характеристик на основе обработки данных их многолетних наблюдений и использования метода географической интерполяции. Эти данные, как и данные близлежащих водпостов, рекомендуется корректировать официальными прогнозами Роскомгидромета, его местных управлений и прогнозами МЧС.
Анализ многолетней практики проектирования позволяет установить, что вероятностные методы определения РУВВ, толщин льда и других характеристик должны основываться на построении и анализе эмпирических кривых распределения ВП этих характеристик с использованием формулы [44]
|
|
(1) |
где m - порядковый номер исследуемой характеристики;
п - общее количество членов ряда этих характеристик.
Использование этой формулы, в отличие от всех других известных формул, не вызывает искусственного приближения первых точек исследуемого ряда наблюдений к редким ВП. С её помощью может быть также определена ВП исследуемой гидрологической характеристики, установленной по опросам местных жителей или следам (меткам) от прошедших в прежние годы карчехода, ледохода или их заторов. Признаки и методы определения этих характеристик более подробно рассматриваются в работах ряда авторов [49, 50].
Величины гидрологических характеристик требуемой ВП (Xр), исследуемых такими способами их определения, могут быть получены с применением формулы:
|
Хр = Хн·Ор:Он |
(2) |
где Он - ордината кривой распределения ВП, соответствующая ВП наблюденной (зафиксированной) величины характеристики (Хн);
Ор - той же кривой требуемой ВП.
В качестве расчетной величины Xр могут рассматриваться УВЛ и другие ледово-термические характеристики.
При определении Он и Ор рекомендуется использование диапазона ординат индивидуальных или нормативных кривых, аппроксимируемых эмпирические распределения ВП исследуемых характеристик Хн с учетом признаков, характера и параметров асимметричности этих распределений.
При наличии на реках водомерных постов с длительными рядами измерений годовых максимумов гидрологических характеристик расчетные их величины принято определять по графическим или аналитическим кривым распределения вероятностей превышения этих характеристик, основанным на анализе характера асимметричности и параметров соответствующих эмпирических распределений.
Исследование особенностей характера эмпирических кривых распределения вероятностей превышения основных гидрологических характеристик осенне-зимнего и весеннего периодов по ряду рек с различными условиями формирования и проявления их внутригодового речного стока (p.p. Дона, Костромы, Вятки, Суры, Сакмары, Мологи, Хопра, Буреи, Кубани, Оки, Белой, Уфы, Тобола и других) выявило, что эмпирические кривые ВП по характерным признакам асимметричности подразделяются на три типа кривых: со слабо выраженной асимметрией; нормального распределения или близкого к нормальному распределению; с положительной асимметрией.
Этому исследованию подлежали наибольшие годовые уровни начала весеннего ледохода (УНВЛ), уровни весеннего ледохода (УВЛ), уровни очищения рек ото льда (УООЛ), уровни начала осеннего ледохода (УНВЛ), уровни начала ледостава (УНЛ), продолжительность периода, свободного ото льда, максимальная в зимний период толщина льда (hл).
Выявленные особенности характера исследуемых эмпирических кривых распределения ВП обуславливают необходимость индивидуального подхода к их аппроксимации в виде расчетно-прогнозных аналитических, графоаналитических или графических зависимостей.
Возможность применения параболических кривых и кривых нормального распределения ВП изучаемых гидрологических характеристик проиллюстрирована на примере применительно к характеристике - продолжительность периода, свободного ото льда, - имеющей отношение к обоснованию периода функционирования наплавного моста или периоду, целесообразному для наведения моста (рис. 18). Эти кривые достаточно полно соответствуют эмпирическим точкам годовых максимумов и характеру асимметричности всех трех типов исследуемых эмпирических распределений. Они восполняют пробел в нормативных рекомендациях СНиП 2.01.14-83, не предусматривающих расчеты исследуемых гидрологических характеристик, и не исключают дальнейших исследований по анализу эмпирических кривых распределения ВП этих и других гидрологических характеристик внутригодового режима рек и по обоснованию соответствующих расчетных кривых.
Однако опять же обратим внимание, что в зоне низких вероятностей характер эмпирических кривых распределения ВП не исследован и возможность аппроксимации не установлена.

Рис. 18. Характерные кривые распределения ВП продолжительности периода, свободного ото льда (р. Иртыш, г. Ханты-Мансийск, 1931-1999 гг.)
Особенности внутригодового режима рек в значительной степени влияют на распределение строительных работ по сезонам года, выбор методов ведения этих работ. Организация и планирование строительства, а также назначение сроков производства отдельных видов работ и возведения отдельных типов этих сооружений предопределяет необходимость учета сроков и продолжительности стояния характерных уровней воды и других, сопряженных с ними гидрологических характеристик внутригодового режима рек.
Инженерно-гидрологические обоснования в период строительства основываются на нормируемом рабочем уровне воды. За этот уровень принято принимать наивысший возможный в период производства строительных работ уровень воды нормируемой вероятности превышения.
Вопросы совершенствования критериев ВП рабочего уровня подробно рассмотрены в работах [4, 51, 52]. Регламентация критериев ВП с учетом различной сложности функционирования и значимости этих сооружений по восприятию нагрузок и воздействий и их взаимообусловленности функционирования с основными возводимыми сооружениями приведена в табл. 6 и 7.
Таблица 6
Классификация временных сооружений по степени ответственности
|
Класс ответственности |
Подкласс ответственности |
Типы временных и вспомогательных сооружений |
|
6 |
1 |
Конструкции, работающие в особо тяжелых условиях и подвергающиеся непосредственному воздействию постоянных и временных нагрузок: мосты; водопропускные трубы; опоры; котлованы и их ограждение (шпунтовое ограждение, бездонные ящики и перемычки); искусственные островки и полуостровки; рабочие мостики; подмости для погружения свай и оболочек; плашкоуты для размещения кранов и перевозки конструкций; подкрановые эстакады; причалы; стройплощадки. Срок службы сооружений, как правило, составляет до 2-4 лет. |
|
2 |
Конструкции, не подвергающиеся непосредственному воздействию подвижных или других монтажных нагрузок: защитные ограждения (ледорезы, карчеотбойники); противоразмывные укрепления и конструкции; спрямление русл на период строительства; карьерные разработки; стапеля; противоналедные устройства. Срок службы сооружений, как правило, составляет до 1-2 лет. |
В зависимости от конкретных условий при строительстве особо сложных и ответственных внеклассных мостов, а также городских и совмещенных мостов, разрушение которых способно вызвать длительное нарушение жизнеобеспечения территорий с ущербами, превышающими первоначальную стоимость строительства, возможно усиление критериев ВП и доведение их до уровня капитальных сооружений. Особое значение это имеет для мостов, располагаемых в густонаселенных мегаполисах, разобщенных и отдаленных территориях.
Таблица 7
ВП максимальных расходов и уровней воды в зависимости от класса ответственности сооружения
|
Расчетные случаи |
Подклассы ответственности (по табл. 6) |
|
|
1 |
2 |
|
|
ВП, % |
||
|
Основной |
10 |
50 |
|
Поверочный |
5 |
20 |
В предшествующих отечественных и зарубежных исследованиях, а также в нормативных документах [34, 44, 45, 53] не рассматривались и не были регламентированы методы определения рабочих уровней воды при наличии многолетних наблюдений за уровенным режимом рек. Не получили они своего методологического обобщения и в практике ведущих проектных организаций. Все это обусловило необходимость изучения особенностей характера очертаний эмпирических кривых распределения ВП месячных уровней воды с целью выявления возможных методов их аппроксимации в требуемом диапазоне ВП.
По результатам изучения рядов годовых максимумов среднемесячных уровней воды на отдельных реках с ранжировано-вероятностной и статистической обработкой рядов этих уровней воды, построением и анализом их эмпирических кривых было установлено, что на створах всех этих рек характер асимметричности эмпирических кривых по каждому месяцу года индивидуален и весьма различен. Так, например, на р. Иртыше эти кривые, в январе, феврале, марте, октябре, ноябре и декабре характеризуются слабо выраженной положительной асимметрией, а в остальные месяцы - явно выраженной отрицательной асимметрией в их верхней части (рис. 19).

Рис. 19. Расчетные кривые распределения ВП месячных уровней воды р. Иртыша (г. Ханты-Мансийск, 1931-1999 гг.)
По результатам этого анализа установлено, что в качестве расчетных кривых распределения ВП годовых максимумов среднемесячных уровней воды должны быть использованы три типа таких кривых: 1 тип - нормального распределения; 2 тип - с явно выраженной положительной асимметрией; 3 тип- с отрицательной асимметрией в верхней части ряда.
Особенности очертания и характер асимметричности эмпирических кривых 2-го и 3-го типов в диапазоне ВП от 0,1 до 99,8 %, а также величины коэффициентов вариации и асимметрии и их соотношений выходят за рамки рекомендуемых СНиП 2.01.14-83 расчетных кривых и регламентированных величин их параметров, что обуславливает необходимость обоснования выбора других расчетных кривых распределения ВП исследуемых уровней воды.
Анализ этих особенностей эмпирических кривых среднемесячных уровней воды и ранее известных разновидностей расчетных кривых распределения ВП других гидрологических характеристик позволил установить, что для исследуемых уровней воды применительно ко 2 и 3 типам этих кривых наиболее предпочтительны параболические кривые следующих двух разновидностей: непрерывно вогнутого или выпуклого очертания по всему диапазону ВП; вогнутого очертания в средней или нижней части ряда с сопрягаемыми отрезками параболических кривых выпуклого очертания или касательно-прямыми вставками в верхней (нижней) части ряда. Этими кривыми возможно достичь наиболее полного соответствия с натурными точками эмпирических кривых.
Годовой строительный период характеризуется несколькими внутригодовыми сезонами. Для определения рабочих уровней и расходов воды этот период принято дифференцировать по месячным интервалам с определением этих уровней и расходов воды по каждому месяцу года.
Анализ типов внутригодового распределения речного стока, выполненный в работе [54], позволил при недостаточности исходных данных в створе строительства рекомендовать для определения максимальных расходов воды 10 и 50%-ной ВП каждого месяца года следующие формулы:
|
Qм = Q10·кп |
(3) |
|
|
Q50 = Qм·кv |
(4) |
|
где Q10 - максимальный годовой расход 10 %-ной ВП, м3/с;
кп - переходный коэффициент от годового максимума с ВП 10 % к месячному расходу воды с ВП = 10%, определяемый в зависимости от месяца года и типа внутригодового распределения стока [54];
Qм - максимальный расход воды 10 %-ной ВП каждого месяца года, определяемый по формуле (3), м3/с;
кv - модульный коэффициент редукции максимального годового расхода воды 10%-ной ВП, определяемый в зависимости от коэффициента изменчивости паводочного стока Сv.
Зависимость модульного коэффициента ку от коэффициента изменчивости Су приведена ниже.
Cv kv
0,2 0,75
0,4 0,59
0,6 0,46
0,8 0,37
1,0 0,32
1,2 0,26
При проектировании наплавных мостов учет особенностей эксплуатации в зимнее время имеет большое значение. Например, в случае сильного ледохода целесообразно устройство специального затона для заводки в него моста до начала ледостава. При слабом ледоходе обычно выводят только среднюю часть и, как правило, устройства специального затона не требуется, но место для расположения выведенной части должно быть выбрано с надлежащим обоснованием.
В случае наличия опасности повреждения моста льдом или карчами должны предусматриваться защитные мероприятия, например устройство бон или запаней.
Условия эксплуатации влияют на выбор системы наплавного моста. Известно, что система наплавного моста определяется конструкцией его плавучей (речной) части и подразделяется на: разрезную, шарнирную и неразрезную [38].
Одним из важнейших эксплуатационных достоинств наплавного моста является возможность не только вывести из состава моста звено или развести весь мост, но и убрать при необходимости отдельный понтон, причем без предварительного подведения запасного. При этом пропуск транспортных средств по мосту не прекращается. Этим упомянутым удобствам эксплуатации отвечает шарнирная или неразрезная системы, в то время как по экономическим показателям предпочтение остается на стороне простейшей балочно-разрезной системы.
В то же время при сооружении наплавных мостов балочно-разрезных систем могут появиться затруднения, особенно при большой глубине воды. В случае потери плавучести хотя бы одного понтона разрушение распространяется на два смежных пролета. А при выводе одного понтона необходима одновременная замена его запасным, что сопряжено с дополнительными сложностями.
Другим немаловажным эксплуатационным преимуществом является применение больших пролетов, что обеспечивает свободный пропуск весеннего ледохода, снижение эксплуатационных расходов за счет меньшего количества плавучих опор, а также повышенную устойчивость моста при волновых воздействиях.
Для обеспечения свободного пропуска ледохода необходимо знать размер ледяных полей при ледоходе.
Так, Методическими указаниями [55] среднюю длину ледяного поля рекомендуется определять не более длины наибольшего пролета моста. Одновременно с этим, её рекомендуется определять равной 3Вр, где В - ширина реки во время вскрытия льда.
Пособием ПМП-91 [53] длину и ширину льдин рекомендуется принимать одинаковой и равной 0,1В, где В - ширина реки. Нетрудно заметить, что не величина наибольшего пролета моста и не ширина реки предопределяют размеры ледяных полей, а конкретные гидрометеорологические условия их образования. Размеры минимально допустимого пролета моста должны определяться размерами ледяных полей, а не наоборот.
Отмечая весьма существенные погрешности методических документов [53, 55], следует отметить крайнюю необходимость рекомендаций по определению размеров ледяных полей для проектирования объектов, расположенных в неизученных, отдаленных и малообжитых районах строительства. Анализируя особенности гидрометеорологических условий формирования речного стока в зимне-весенний периоды, а также становления устойчивого ледяного покрова на незарегулированных реках можно убедиться, что этот покров устанавливается при меньших уровнях воды, соответствующих датам начала промерзания водной поверхности. Эти уровни обуславливают ширину руслового потока, его глубины и скорость течения воды, а также наибольшую ширину ледяного покрова. С учетом этого более оправдано размеры ледяных полей при ледоходе определять на данной стадии изучения по следующим формулам:
|
Fлп = (ал·Вмр)2; |
(5) |
|
|
Lм = 1,42·ал·Вмр. |
(6) |
|
где Fлп - площадь наибольших льдин при весеннем ледоходе, м2;
Вмр - ширина русла при зимних меженных уровнях воды в период становления устойчивого ледяного покрова, м;
Lм - максимальный размер льдин, м;
ал - коэффициент редукции размеров льдин.
Ниже приведена зависимость коэффициента ал от Вмр.
Вмр, м aл
350 и более 0,1
300 - 249 0,11
250 - 199 0,12
200 - 149 0,13
150 - 100 0,15
Менее 1000 2
Несмотря на вышесказанное, вопрос беззаторного пропуска льда не следует считать решенным даже приближенно. Крупное ледяное поле необязательно может остановиться перед опорами моста, оно может быть ими прорезано. В этом вопросе требуются дальнейшие исследования, учитывающие возможность разрушения льдины, навалившейся на опору моста.
Подводя итоги обсуждения обоснования наиболее целесообразной системы наплавного моста, отметим, что при выборе варианта экономические показатели могут идти в разрез с преимуществами эксплуатации. Поэтому применительно к наплавным мостам оптимизацию схемы целесообразно производить исходя из эксплуатационных соображений.
Наплавные мосты являются одной из разновидностей комплекса водопропускных сооружений на действующей транспортной сети. Конструктивно-технологические решения, транспортно-эксплуатационные качества и гидротехнические свойства этих сооружений весьма многофункциональны. Они способны обеспечить безопасное функционирование в условиях воздействия паводков и в межпаводочный (меженный) период. В условиях России наплавные мосты продолжают строиться и эксплуатироваться на автомобильных дорогах с относительно небольшой интенсивностью движения транспортных средств.
В то же время на современном этапе роль наплавных мостов становится более значительной: они применяются не только на дорожной сети местного значения, но и становятся частью основной транспортной сети федерального уровня все в большем количестве стран. В шт. Вашингтон (США) функционируют три наплавных моста значительной протяженности, в Норвегии с 1992 г. и 1994 г. введены в эксплуатацию два крупных наплавных моста через морские проливы.
При сравнении с вариантами высоководных мостов или тоннелей наплавные мосты являются особенно конкурентоспособными в условиях пересечения широких, глубоких водных преград с преобладанием в основаниях грунтов слабой несущей способности. Так, в условиях пересечения оз. Вашингтон в г. Сиэтле (США), где ширина озера составляет 1610 м, глубина воды 61 м, толщина слоя слабых пород дна 61 м строительная стоимость варианта наплавного моста оказалась в 3-5 раз меньше по сравнению с высоководным мостом и тоннелем.
Нельзя не отметить, что проектирование наплавных мостов предопределяет необходимость решения комплекса проблемных вопросов, не имеющих нормативного обеспечения. По составу, детальности и глубине проработок этот комплекс даже шире комплекса проектных обоснований строительства высоководных мостов и имеет свои специфические особенности. Так, наиболее важной характеристикой, определяющей основные конструктивные параметры наплавных мостов, является амплитуда колебания уровней воды. Вопросы установления нормативных критериев ВП гидрологических характеристик требуют проведения дальнейших научных исследований. Необходимы дополнение и переработка строительных норм, в которых была бы отражена специфика наплавных мостов, а также разработка методических и рекомендательных документов.
Все же практика показывает, что, несмотря на пробелы в нормативной базе, при серьезной проектной проработке, надлежащей эксплуатации наплавные мосты являются безопасными, эффективными, долговечными, комфортными для движения транспортных средств мостовыми сооружениями. Несмотря на многие проблемные вопросы проектирования и сооружения, этот тип мостов, являясь самым древним, использовавшимся для пересечения водных преград, найдет более широкое применение в будущем.
1. Химченко В.П., Сбитнев В.И., Сбитнев А.В. «Рубеж -2000» взят! // Трансп. стр-во. - 2000. - № 10. - С. 20-23.
2. Мосты и сооружения на дорогах. Ч. 2. / Е.Е. Гибшман, В.С. Кириллов, Л.В. Маковский и др. - 2-е изд., перераб. и доп. - М.: Транспорт, 1972. - 404 с.
3. Уманский А.А. Наплавные мосты. - М.: Трансжелдориздат, 1939. - 392 с.
4. Gloyd C.S. Concrete floating bridges // Concrete International. - 1998. - May. - P. 17-24.
5. Латышенков A.M. Основы гидравлики: Учеб. для гидрометеорол. техникумов. - 2-е изд., перераб. и доп. - Л.: Гидрометеоиздат, 1971. - 248 с.
6. Wright A.G. Buoyed by a water-tight design // Engineering News Record. - 1993. - May 31. - P. 22-25.
7.
8. Plagemann W. Neubau der Schwimmbrucke in Seatle // Bauingenieur. - 1992. - Vol. 67. - № 6. - P. 302.
9. Lwin M.M. The Lacey V.
10. Моранди Р. Значительные сооружения из преднапряженного железобетона: Мосты, виадуки, эстакады. - Пер. ст. из журн.: Beton und Stahlbetonbau. - 1962. - № 12. - С. 275.
11. Brown С.В., Christensen D.R., Heavner J.W., et al. Floating Bridge Drawspan Maintenance // J. Struct. Div. Proc. Amer. Soc. Civ. Eng. - 1981. - 107, № 11. - P. 2124-2146.
12. Arda T.S., Yardimci N., Eyrekci O.
Rehabilitation of two floating bridges, Turkey // Structural Engineering
International. -
13. Saul R., Zellner W., Eilzer W., Braun M., Veeser K. Die neue Galata-Brucke in Istanbul-Entwurf // Bauingenieur. - 1992. - 67, № 10. - P. 433-444.
14. Solland G., Haugland S., Gustavsen J.H. The
15. Reina P. Box girders float across a fjord // Engineering News Record. - 1994. - March 7. - P. 24-26.
16. Nothern lights // Bridge design and engineering. - 1996. - August. - P. 24.
17. Competition success // International Construction. - 1994. - December. - P. 64.
18. Watanabe E. Floating Bridges: Past and Present
// Structural Engineering International. -
19. Giovanni M. Per lo Stretto di Messina un ponte flottantea sostentamento indrostatico // Nuovo cant. - 1982. - 16, № 3. - P. 46-51.
20. Schlaich J. Variety in Bridge Design //
Proceedings of the Fourth Symposium on Strait Crossings, Bergen/Norway, 2-5
September 2001. - A.A. Balkema Publishers. Lisse / Abingdon / Exton (pa) /
21. Alp A.V. Worlds longest floating sea
crossing-Istanbul bypass «TRANSMAR» // Proceedings of the Fourth Symposium on
Strait Crossings, Bergen/Norway, 2-5 September 2001. - A.A. Balkema Publishers.
Lisse / Abingdon / Exton (pa) /
22. Hamel В., Zijlstra D., Nuijens D., Barneveld A. The
new waterway // Proceedings of the Fourth Symposium on Strait Crossings,
Bergen/Norway, 2-5 September 2001. - A.A. Balkema Publishers. - Lisse /
Abingdon / Exton (pa) /
23. Chen W.F.,
24. Costing out
25. Аварии и катастрофы. Предупреждение и ликвидация последствий: Учеб. пособие. Кн. 4 / В.А. Котляревский, А.В. Забегаев, Ю.Н. Глазунов и др.; Под ред. В.А. Котляревского, А.В. Забегаева. - М.: Изд-во АСВ, 1998. - 208 с.
26. Ойстач С. Надежный, долговечный, недорогой // Автомоб. дороги. - 1999. - № 2. - С. 5.
27. Технико-экономический доклад. Мостовой переход через Татарский пролив (пролив Невельского) на соединении Хабаровского края и острова Сахалин: Технич. докл. / Гипротрансмост. - М., 1995. - 14 с.
28. СНиП 2.05.03-84*. Мосты и трубы / Минстрой России: Введ. 01.01.86. - М.: ГП ЦПП Минстроя России, 1996. - 214 с.
29. Методические указания по проектированию плавучих средств / Мин-во обороны СССР. - М.: Воениздат, 1979. - 184 с.
30. Инструкция по проектированию железнодорожных наплавных мостов и паромных переправ (ПНМ-79) / Минтрансстрой СССР, ВПТИТрансстрой. - М., 1980. - 165 с.
31. Методические рекомендации по расчету железнодорожных наплавных мостов (РНМ-79) / Минтрансстрой СССР, ВПТИТрансстрой. - М., 1980. - 184 с.
32. Перевозников Б.Ф., Селиверстов В.А. Гидрологические аспекты повышения надежности автодорожных переходов через водотоки // Новости в дор. деле: Науч.-техн. информ. сб. / Информавтодор. - М., 2003. - Вып.4. - С. 5-24.
33. СНиП 2.05.02-85. Автомобильные дороги / Госстрой СССР: Введ. 01.01.87. - М.: ЦИТП Госстроя СССР, 1986. - 56 с.
34. Инструкция по проектированию вспомогательных сооружений и устройств для строительства мостов: ВСН 136-78 / Минтрансстрой СССР. - М., 1978. - 300 с.
35. Субх Мухаммед Бадр. Методика расчета максимального дождевого стока применительно к дорожным сооружениям республики Ливан: Дисс канд. техн. наук. - М., 1994. - 206 с.
36. Чандра Д.П. Максимальный дождевой сток для расчета дорожных сооружений Непала: Дисс. канд. техн. наук. - М., 1996. - 229 с.
37.
38. Телов В.И., Кануков И.М. Наплавные мосты, паромные и ледяные переправы / Под ред. В.И. Телова. - М.: Транспорт, 1978. - 384 с.
39. СНиП 23-01-99. Строительная климатология / Госстрой России: Введ. 01.01.2000. - М.: ГУП ЦПП, 2000. - 57 с.
40. СНиП 2.01.07-85. Нагрузки и воздействия / Госстрой России: Введ. 01.01.87. - М.: ГУП ЦПП, 2000. - 44 с.
41. СНиП 2.06.04-82*. Нагрузки и воздействия на гидротехнические сооружения (волновые, ледовые и от судов) / Минстрой России: Введ. 01.01.84. - М.: ГП ЦПП, 1996. - 48 с.
42. СНиП 3.01.01-85*. Организация строительного производства / Госстрой России: Введ. 01.01.86. - М.: ГУП ЦПП, 2000. - 56 с.
43. СНиП 3.06.04-91. Мосты и трубы / Госстрой России: Введ. 01.07.92.-М.: ГУП ЦПП, 2003. - 168 с.
44. СНиП 2.01.14-83. Определение расчетных гидрологических характеристик / Госстрой СССР: Введ. 01.07.84. - М.: Стройиздат, 1985. - 36 с.
45. Пособие по определению расчетных гидрологических характеристик / ГГИ. - Л.: Гидрометеоиздат, 1984. - 448 с.
46. СНиП 22-01-95. Геофизика опасных природных воздействий / Минстрой России: Введ. 01.01.96. - М.: ГП ЦПП, 1996. - 9 с.
47. СП 11-103-97. Инженерно-гидрометеорологические изыскания для строительства / Госстрой России. - М.: ПНИИС Госстроя России, 1997. - 29 с.
48. Перевозников Б.Ф., Селиверстов В.А. Ледовые процессы и их воздействия на дорожно-мостовые сооружения. - М., 1999. - 76 с. - (Автомоб. дороги: Обзорн. информ. / Информавтодор; Вып. 4).
49. Перевозников Б.Ф. Расчеты максимального стока при проектировании дорожных сооружений. - М.: Транспорт, 1975. - 304 с.
50. Переходы через водотоки / Л.Г. Бегам, Е.В. Болдаков, Б.Ф. Перевозников и др. - М.: Транспорт, 1973. - 456 с.
51. Селиверстов В.А. Нормативные требования и рекомендации по определению факторов гидрометеорологических воздействий и нагрузок для проектирования временных и вспомогательных сооружений // Автомоб. дороги: Информ. сб./ Информавтодор. - 1997. - Вып. 8. - С. 8-31.
52. Селиверстов В.А. Вероятностные критерии паводочных воздействий на временные и вспомогательные сооружения в мостостроении. - М., 2000. - С. 281-292. - (Сб. науч.-метод. работ по повышению уровня обоснованности проектов автомоб. дорог и сооружений на них / Союздорпроект; Вып. 4.)
53. Пособие к СНиП 2.05.03-84 (Мосты и трубы) по изысканиям и проектированию железнодорожных и автомобильных мостовых переходов через водотоки (ПМП-91) / Корпорация «Трансстрой», ПКТИТрансстрой. - М.: ЦНИИС. - 1992. - 411 с.
54. Селиверстов В. А. Методы определения рабочих уровней воды для проектирования временных и вспомогательных сооружений в мостостроении. - М., 1999. - С. 180-190. - (Сб. науч.-метод. работ по повышению уровня обоснованности проектов автомоб. дорог и сооружений на них / Союздорпроект; Вып. 3).
55. Методические указания по определению ледовых нагрузок на опоры мостов / ЦНИИС. - М., 1993. - 53 с.
|
ГОСТЫ, СТРОИТЕЛЬНЫЕ и ТЕХНИЧЕСКИЕ НОРМАТИВЫ. Некоммерческая онлайн система, содержащая все Российские Госты, национальные Стандарты и нормативы. В Системе содержится более 150000 файлов нормативно-технической документации, действующей на территории РФ. Система предназначена для широкого круга инженерно-технических специалистов. Copyright © www.gostrf.com, 2008 - 2026 |