|
|
|
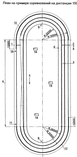
]Система нормативных документов в строительстве СВОД ПРАВИЛ ПО ПРОЕКТИРОВАНИЮ И СТРОИТЕЛЬСТВУ ФИЗКУЛЬТУРНО-СПОРТИВНЫЕ ЗАЛЫ СП 31-112-2007 Часть 3 Москва Содержание ВВЕДЕНИЕНастоящий документ разработан на основании Государственного контракта № 213 от 04.12.2007 г. между Федеральным агентством по физической культуре и спорту и Международной академией футбольной и спортивной индустрии (МАФСИ) по разработке Сводов правил по проектированию и функционально-планировочным нормалям (решениям) физкультурно-спортивных сооружений для зимних и экстремальных видов спорта. Свод правил разработан ОАО «Институт общественных зданий» в развитие СНиП 2.08.02-89* «Общественные здания и сооружения» и является документом федерального уровня. В нём рассматриваются функциональные и технологические требования к проектированию физкультурно-спортивных сооружений с искусственным льдом. Они предназначены для соревнований и тренировочных занятий различного уровня, демонстрационных мероприятий, проводимых как в специализированных (для одного вида спорта), так и в универсальных (для нескольких различных видов спорта или зрелищных мероприятий) объектах, а также для массового катания. Настоящий документ разработан в помощь проектировщикам и в основном включает спортивно-функциональные параметры и требования к размерам различных типов ледовых полей и площадок с намораживаемой (ледяной) или синтетической (силиконовой) поверхностью. Свод правил разработан творческим коллективом под руководством Л.В. Аристовой (МАФСИ). Ответственные исполнители: канд. эконом: наук Л.В. Аристова (МАФСИ), канд. архитектуры A.M. Гарнец, канд. архитектуры Б.П. Анисимов (ОАО «Институт общественных зданий»), архитектор Ю.Г. Жура (ВНИИ ФК), д-р пед. наук Г.М. Панов (РГУ ФК), инж. Г.И. Гарифулина (ГУП МНИИП «Моспроект 4»), инж. А.В. Наголкин (НПФ «Поток-интер»), при участии: канд. техн. наук Н.В. Товарас, инж. О.Г. Воронков, инж. А.С. Колесников (ООО «НПФ «Химхолодсервис»). Научный редактор текста - канд. архитектуры А.М. Гарнец. Компьютерную графику выполнили: канд. техн. наук В.Ф. Кротюк и канд. техн. наук В.И. Цыганов (ОАО «Институт общественных зданий»). СВОД ПРАВИЛ ПО ПРОЕКТИРОВАНИЮ И СТРОИТЕЛЬСТВУ
1. ОБЛАСТЬ ПРИМЕНЕНИЯ1.1. Настоящий свод правил предназначен для проектирования новых, реконструируемых и приспособляемых зданий, сооружений и помещений для: - скоростного бега на коньках; - хоккея с шайбой; - фигурного катания; - шорт-трека; - кёрлинга; - хоккея с мячом; - массового катания. 1.2. Положения Свода правил распространяются на проектирование ледовых полей с искусственным льдом с замораживаемой (ледяной) поверхностью. 1.3. Габариты и разметка игровых и тренировочных полей и площадок, параметры зон безопасности, установленные правилами проведения соответствующих видов соревнований, следует принимать как обязательные технологические требования при проектировании. 1.4. Сопутствующие группы вспомогательных помещений определяются основными процессами спортивных соревнований, а также функциями иного назначения - при универсальном использовании физкультурно-спортивных сооружений. 1.5. Положения документа следует применять для определения пропускной способности площадок и полей для тренировок и соревнований, а также состава и размеров вспомогательных помещений для занимающихся: гардеробных, умывальных, уборных, душевых, инвентарных и т.д. По данному документу рассчитываются вспомогательные помещения для зрителей в соответствии с количеством мест на трибунах. 1.6. Свод правил содержит рекомендательные положения, за исключением указанных в п. 1.3. При включении их в задание на проектирование положения данного документа становятся обязательными для проектировщиков и организаций, проводящих экспертизу. 1.7. При разработке архитектурно-строительной части проекта зданий катков следует использовать соответствующие нормативные документы. 1.8. Термины, применяемые в этом документе, и их определения приведены в приложении А. 2. НОРМАТИВНЫЕ ССЫЛКИВ настоящем Своде правил даны ссылки на следующие нормативные документы: СНиП 21-01-97* Пожарная безопасность зданий и сооружений СНиП 23-05-95* Естественное и искусственное освещение СНиП 31-03-2001 Производственные здания СНиП 31-04-2001 Складские здания СНиП 35-01-2001 Доступность зданий и сооружений для маломобильных групп населения СНиП 41-01-2003 Отопление, вентиляция и кондиционирование СНиП 2.04.01-85* Внутренний водопровод и канализация зданий СНиП 2.04.02-84* Водоснабжение. Наружные сети и сооружения СНиП 2.08.02-89* Общественные здания и сооружения СНиП 2.09.04-87* Административные и бытовые здания СНиП 3.05.06-85 Электротехнические устройства ГОСТ 21786-76 Система «человек-машина». Сигнализаторы звуковые неречевых сообщений ГОСТ 24214-80 Связь громкоговорящая. Термины и определения. Общие эргономические требования ГОСТ 12.1.004-91 ССБТ. Пожарная безопасность. Общие требования СП 31-110-2003 Проектирование и монтаж электроустановок жилых и общественных зданий СП 31-112-2004 (1) Физкультурно-спортивные залы. Часть 1 СП 31-112-2004 (2) Физкультурно-спортивные залы. Часть 2 СП 35-101-2001 Проектирование зданий и сооружений с учётом доступности для маломобильных групп населения. Общие положения СП 4723-88 Санитарные правила устройства и эксплуатации систем централизованного горячего водоснабжения СанПиН 2.1.4.1074-01 Питьевая вода. Гигиенические требования к качеству воды централизованных систем питьевого водоснабжения. Контроль качества ВСН 1-73 Нормы электрического освещения спортивных сооружений НПБ 88-2001* Установки пожаротушения и сигнализации. Нормы и правила проектирования НПБ 104-03 Системы оповещения и управления эвакуацией людей при пожарах в зданиях и сооружениях НПБ 110-03 Перечень зданий, сооружений, помещений и оборудования, подлежащих защите автоматическими установками пожаротушения и автоматической пожарной сигнализацией ПУЭ Правила устройства электроустановок 3. ПЛАНИРОВОЧНОЕ РЕШЕНИЕ ЛЕДОВЫХ ПЛОЩАДОК И ПОЛЕЙ3.1. Общие положения3.1.1. Строительные размеры, площади и пропускная способность катков с искусственным льдом должны приниматься в соответствии с правилами по организации учебно-тренировочных занятий и проведения спортивных соревнований. Составы и площади вспомогательных помещений при залах катков принимаются в соответствии с положениями раздела 4 настоящего Свода правил, СНиП 2.08.02, а также справочного пособия к нему. Проектирование залов катков и вспомогательных помещений, с учётом использования их инвалидами, должно производиться в соответствии с требованиями СНиП 35-01 и СП 35-101, а также в соответствии с рекомендациями настоящего Свода правил. 3.1.2. Размеры ледовых полей и арен, а также высоту помещений над ними устанавливают в зависимости от вида спортивных занятий и уровня соревнований в соответствии с таблицей 3.1.
Продолжение таблицы 3.1
* В числителе приведён размер для расчетной длины дорожки 400 м, в знаменателе - 333,33 м. ** В числителе указаны размеры для международных соревнований. *** Поле для хоккея с шайбой. Размеры универсальных залов катков (предназначенных для попеременных занятий по различным видам спорта) принимаются по наибольшему из показателей для этих видов, приведённых в таблице 3.1, а пропускная способность - по наибольшей удельной площади, приходящейся на одного занимающегося. При использовании универсальных залов катков для незимних видов спорта их пропускная способность не должна быть больше указанной в таблице 3.1. Стандартный размер катка 30×60 м позволяет разместить на ледовой площадке поле для хоккея с шайбой, для фигурного катания, для шорт-трека или массового катания. Ледовое сооружение может дополнительно иметь малоразмерную ледовую площадку 10×15 м или большеразмерную площадку 30×15 м. 3.1.3. Размеры и состав элементов крытых сооружений для скоростного бега на коньках могут быть снижены по согласованию с местными или федеральными органами управления физической культурой, что должно отражаться в заданиях на проектирование или реконструкцию конкретных объектов. 3.1.4. Сооружения катков с искусственным льдом подразделяются на учебно-тренировочные (без мест для коммерческого зрителя) и демонстрационные, предназначенные для проведения соревнований и платных зрелищных мероприятий (рисунок 3.1). 3.1.5. Учебно-тренировочные и демонстрационные катки могут быть специализированными или универсальными. Специализированные катки предназначаются для одного вида спорта. Универсальные сооружения катков приспосабливаются для попеременного использования под различные виды спорта (например, для фигурного катания, хоккея с шайбой или шорт-трека, для хоккея с мячом или массового катания и т.п.). Универсальные спортсооружения могут использоваться и для незимних видов спорта. 3.1.6. Демонстрационные сооружения делятся на спортивно-демонстрационные катки, предназначенные только для спортивных соревнований и выступлений на льду, и многофункциональные залы катков, предназначенные как для занятий на льду, так и для культурно-массовых и общественных мероприятий. 3.1.7. Демонстрационные спортивные сооружения по числу зрителей подразделяются на три категории: - малые ледовые арены с количеством сидячих мест до 2000 зрителей; - средние ледовые арены вместимостью от 2000 до 6000 зрителей; - многофункциональные ледовые арены вместимостью более 6000 зрителей. 3.1.8. Многофункциональные залы катков проектируются универсальными: трансформируемыми для попеременного проведения соревнований по разным видам спорта или культурно-зрелищных или общественных мероприятий. 3.1.9. Залы крытых катков (ледяных арен и полей) следует располагать на первом этаже с обеспечением въезда в них грузовых автомашин. В удобной связи с залом катка следует предусматривать помещение для двух машин по уходу за льдом, размером (в чистоте) 9×6,5 м, высотой 3,9 м. Проёмы для выезда из помещения на лёд должны иметь высоту не менее 2,4 м, ширину не менее 3,5 м. 3.1.10. Помещение катка должно быть герметичным, чтобы предотвратить неконтролируемую инфильтрацию воздуха через проходы (двери и пр.) и места соединения строительных конструкций. 3.1.11. Основные параметры территории ледового сооружения и необходимые постройки, рекомендуемые Международным олимпийским комитетом, приведены в приложении Б. 3.2. Скоростной бег на коньках3.2.1. Функционально-планировочная схема сооружений с конькобежной дорожкой приведена на рисунке 3.2. Соревнования международного уровня проводятся на кольцевых (замкнутых) двухполосных дорожках с искусственным намораживанием льда, защищенных от атмосферных осадков, излишней солнечной радиации и ветра. Дорожка состоит из двух параллельных прямых участков и двух поворотов на 180°. Расчетная длина дорожки составляет 400 м (рисунки 3.3 и 3.4). Для соревнований юниоров и ниже международного уровня, а также для учебно-тренировочных занятий длина дорожки может быть уменьшенной (наиболее целесообразно 333,33 м) - рисунок 3.5 А. 3.2.2. Каждая дорожка включает две соревновательные полосы (дорожки) - внутреннюю и внешнюю - и разминочную дорожку, примыкающую к внутренней соревновательной дорожке. Размерные параметры всех элементов кольцевой дорожки базируются на трех константах: - радиус поворота внутренней границы соревновательной дорожки составляет 26 м; - ширина внутренней дорожки - 4 м; - переходная прямая (где спортсмены меняются дорожками) занимает всю длину прямого участка между двумя поворотами. Ширина внешней соревновательной дорожки может составлять от 4 до 6 м. Ширина разминочной дорожки от 4 до 5 м. Разметка двухполосной дорожки производится водорастворимой краской с помощью соответствующих приспособлений. Границы дорожек, стартовые, финишные и прочие линии принимаются шириной 5 см. 3.2.3. Расчетная длина пути конькобежца устанавливается исходя из того, что спортсмен движется на расстоянии 0,5 м от внутренней границы своей полосы, то есть расчетный радиус внутренней дорожки составляет 26,5 м, внешней дорожки - 30,5 м. 3.2.4. По всему внешнему периметру 400-метровой дорожки с ледовым покрытием предусматривается полоса (зона безопасности и техническая зона) шириной 4-5 метров с твердым покрытием (например, бетон). Для дорожек длиной 333,33 м зона безопасности может быть уменьшена до 2,5 м. Для обеспечения максимальной безопасности спортсменов, движущихся с большими скоростями, по всей длине поворотов и не менее чем на 12 м на прямых участках после окончания поворотов предусматривается установка несдвигаемых защитных поролоновых матов (или иных эластичных конструкций), способных существенно снизить или исключить опасность травмирования упавшего спортсмена, толщиной не менее 21 см. У изгибов и на расстоянии не менее 1 метра от них защита должна быть лучшего качества. Высота защитных матов должна быть равной толщине ограждений катка (рисунок 3.6 А). 3.2.5. За внутренней границей разминочной полосы 400-метровой дорожки, предназначаемой для крупнейших соревнований, должно предусматриваться твердое (не ледовое) покрытие (за исключением возможного участка разминочной полосы для обеспечения кругового движения - рисунок 3.5 Б). Это требование (наличие не ледового покрытия) не распространяется на сооружения с 333,33-метровой дорожкой, а также на сооружения с 400-метровой дорожкой, где не предусматривается проведение соревнований международного уровня и где возможно чередование учебно-тренировочных занятий и соревнований по хоккею с мячом или по скоростному бегу на коньках (при невысоком уровне соревнований) *. * См. также раздел «Хоккей с мячом». 3.2.6. В сооружениях с 400-метровой дорожкой, предназначаемых для соревнований международного уровня, не допускается устройство выходов из вспомогательных помещений спортсменов или обслуживающего персонала к месту проведения соревнований на отметке ледового покрытия с внешней стороны кольцевой дорожки. Поэтому для прохода от вспомогательных помещений во внутреннюю зону катка необходимо устройство тоннелей. Целесообразно наличие двух тоннелей: для спортсменов в районе старта на 500 м, для организаторов соревнований и официальных лиц в районе главного финиша (рисунок 3.4). Допускается устройство одного тоннеля с выходом в средней зоне катка или со смещением к старту на 500 м. 3.2.7. При конькобежной дорожке должны быть предусмотрены места для судей по бегу на коньках (рисунок 3.4). Они располагаются в районе финишного створа на высоте 2-3 м (примерно на уровне 7-го и 8-го рядов): помещения для судьи-информатора (3 м2), четырех судей-хронометристов и двух судей-секретарей на финише (7 м2), служба электронного хронометража (2-3 человека, 3 м2), управление табло (6 м2), аппаратная для музыкального сопровождения парадов, награждений, выступлений фигуристов; комнаты для судей по конькам, которые следует разместить рядом с помещениями судей в районе финишного створа. 3.2.8. Для обеспечения специализированной подготовки и координации движений конькобежцев необходим тренажерный зал 24×12 м либо 24×18 м (при расширенном составе тренажеров) (рисунок 3.17). В обоих случаях обязателен батут, а значит и высота помещения должна быть не менее 6 м. Необходимо помещение для имитационного бега на коньках 12×6 м или 24×6 м высотой 4 м, помещения силовой подготовки 12×6 м или 12×8 м. В сооружении желателен игровой зал, используемый также для общефизической подготовки спортсменов, размером 30 (36)×18 м, высотой 8 м. 3.3. Хоккей с шайбой3.3.1. Соревнования по хоккею с шайбой проводятся на белой ледяной поверхности, называемой «хоккейной площадкой». Максимальные размеры площадки: 61 м в длину и 30 м в ширину. Минимальные размеры: 56 м в длину и 26 м в ширину. На официальных соревнованиях размеры площадки должны быть 60-61 м в длину и 29-30 м в ширину. Разметка площадки для хоккея дана на рисунке 3.7, а оборудование арены для соревнований показано на рисунке 3.8. Углы площадки должны быть скруглены дугой окружности радиусом от 7 м до 8,5 м. 3.3.2. Площадка должна быть окружена бортами из стекловолокна белого цвета с системой ограждений из высокопрочного закалённого стекла или из полиэтилена в соответствии с мировыми стандартами. Высота бортов должна быть не менее чем 1,17 м и не более чем 1,22 м над уровнем поверхности льда. Поверхность борта, обращенная ко льду, должна быть гладкой и без каких-либо изъянов, способных нанести травму игрокам. Защитные экраны и приспособления для их крепления должны быть смонтированы на наружной от игровой поверхности стороне борта. Зазор между панелями бортов не должен превышать 3 мм. У основания бортов устанавливается «отбойная планка» жёлтого цвета высотой 15-20 см. Все двери, дающие доступ к ледяной поверхности, должны открываться во внешнюю сторону от площадки. Вертикальный зазор между дверями и бортом не должен превышать 8 мм. 3.3.3. На лицевых бортах площадки должно быть установлено защитное стекло высотой от 160 см до 200 см и оно должно продолжаться вдоль боковых бортов в направлении нейтральной зоны на 4 м от линии ворот. Защитное стекло высотой 80-120 см должно быть установлено на боковых бортах по всей длине площадки, за исключением пространства перед скамейками для игроков. Зазор между панелями защитного стекла не должен превышать 8 мм. Там, где защитное стекло имеет разрыв, на открытую кромку стекла должна быть установлена защитная набивка, необходимая для защиты игроков от травм. 3.3.4. Ледовая поверхность разделяется по длине площадки на части пятью линиями, нанесёнными на льду. Непрерывные поперечные линии должны продолжаться вертикально вверх по поверхности бортов (рисунок 3.7). Красные линии, нанесённые на расстоянии 4 м от лицевых бортов, шириной 5 см называются «линиями ворот». Поверхность льда между двумя линиями ворот должна быть разделена на три равные части линиями синего цвета, шириной 30 см, которые называются «синими линиями». По середине площадки должна быть нанесена красная линия шириной 30 см. Эта линия называется «центральной линией». 3.3.5. Точки вбрасывания. Все точки и круги, которые наносятся на ледовой поверхности, предназначены для правильного расположения игроков во время произведения судьями вбрасывания. Центральная точка вбрасывания. Круглая синяя точка диаметром 30 см должна быть нанесена на поверхности льда точно в центре площадки. Из этой точки, как центра, должен быть нанесён круг радиусом 4,5 м синей линией шириной 5 см. Точки вбрасывания в нейтральной зоне. Две красные точки диаметром 60 см должны быть нанесены в нейтральной зоне на расстоянии 1,5 м от каждой синей линии. Точки конечного вбрасывания. В каждой конечной зоне, с обеих сторон от каждых ворот, наносятся точки конечного вбрасывания и круги. Точки вбрасывания должны быть красного цвета, диаметром 60 см. По обе стороны от каждой точки конечного вбрасывания должны быть нанесены двойные L-образные линии. Круги вокруг точки конечного вбрасывания должны быть радиусом 4,5 м. Они должны быть нанесены на поверхности льда красной линией шириной 5 см. 3.3.6. Площадь судьи. Полукруг радиусом 3 м должен быть нанесён на льду линией красного цвета шириной 5 см, непосредственно перед местом, где расположен секретарь игры. Площадь ворот. На поверхности льда перед каждыми воротами должна быть нанесена красная линия шириной 5 см. Площадь ворот должна быть окрашена в светло-голубой цвет. 3.3.7. Ворота должны быть установлены на линии ворот по центру площадки и иметь высоту 1,22 м над поверхностью льда и ширину 1,63 м (внутренние размеры). Боковые стойки и перекладина ворот, соединяющая боковые стойки, должны быть определённой конструкции и изготовлены из материала с наружным диаметром 5 см. Боковые стойки и перекладина должны быть красного цвета (рисунок 3.7). В конструкции ворот должна быть предусмотрена рама, предназначенная для крепления сетки, размеры которой вглубь должны быть не более 1,12 м и не менее 0,60 м. Рама должна быть окрашена в белый цвет, за исключением наружной поверхности опорного каркаса, которая должна быть окрашена в красный цвет. Ворота с сетками должны быть установлены неподвижными во время игры при помощи эластичных фиксаторов. 3.3.8. Каждая хоккейная площадка должна быть оборудована двумя одинаковыми скамейками, предназначенными для размещения на них исключительно игроков в форме и официальных представителей обеих команд. Скамейки должны быть установлены на одной и той же стороне от игровой поверхности, непосредственно вдоль поля на значительном расстоянии друг от друга, и располагаться в непосредственной близости от раздевалок игроков (рисунок 3.8). Скамейка каждой команды должна начинаться с отступом 2 м от центральной красной линии. Минимальная длина скамейки должна быть 10 м, а минимальное расстояние от борта в глубину для скамейки - 1,5 м. Каждая скамейка должна быть рассчитана на 16 игроков и 6 официальных представителей команды. Каждая зона скамейки для игроков должна иметь две двери для выхода на лед, одна из которых должна быть в нейтральной зоне. Скамейки для игроков должны быть защищены от доступа посторонних лиц, кроме игроков и шести официальных представителей команды. 3.3.9. Скамейки для оштрафованных игроков предназначены только для размещения на них оштрафованных игроков. Каждая скамейка рассчитывается для размещения на ней как минимум 5 игроков. Скамейки должны быть установлены по обе стороны от стола, где находятся судьи в бригаде и напротив скамеек для игроков. Минимальная длина скамеек должна быть 4 м, а минимальное расстояние от бортика до защитной стенки за скамейкой - 1,5 м. 3.3.10. Места для судей за воротами оборудуются кабинами, хорошо защищенными от вмешательства в действия судей за воротами, которые должны быть установлены за бортом и защитным стеклом в каждом конце площадки в месте расположения ворот. Между скамейками для оштрафованных игроков должна быть расположена скамейка для судей в бригаде длиной 5,5 м, предназначенная для размещения на ней 6 человек. 3.3.11. Каждая арена с хоккейной площадкой оборудуется: - сиреной или другими подходящими звуковыми устройствами, используемыми судьёй во время игры; - табло с электронными часами для обеспечения зрителей, игроков и судей необходимой информацией. Табло должно показывать: - название обеих команд; - время игры в каждом периоде, отсчитываемое в минутах и секундах, от 0,00 до 20,00; - штрафное время, оставшееся отбывать, по крайней мере, двум игрокам каждой команды, отсчитываемое от суммарных минут до 0; - счёт; - время тайм-аута, отсчитываемое от 30 секунд до 0; - время перерыва, отсчитываемое от 15 минут до 0. Позади каждых ворот должны быть установлены фонари: - красный фонарь должен включаться судьёй за воротами при взятии ворот; - зеленый фонарь будет включаться автоматически электрическими часами в случае остановки судьёй времени игры и по окончании каждого периода. 3.3.12. Список обязательного оборудования катка по требованиям Международной федерации хоккея на льду (IIHF) приведен в приложении В. 3.4. Фигурное катание3.4.1. В соответствии с требованиями Международного Союза фигурного катания (ISU) для соревнований и занятий по фигурному катанию необходимо иметь площадку искусственного льда размером 60×30 м (главная арена). Кроме того, необходимы помещения или отдельные корпуса с площадками для тренировок. 3.4.2. В зданиях специализированных катков, предназначаемых для фигурного катания (в том числе универсальных), рекомендуется дополнительно предусматривать учебную ледовую площадку размером 30×20 для отработки отдельных элементов фигурного катания, зал хореографии на 30 занимающихся 12×12 м и зал акробатики 30 (36)×18 м, высота 8 м. 3.4.3. На катках, на которых будут проходить официальные международные соревнования, следует дополнительно запланировать: - зону проведения церемоний - рабочая площадь 20 м2 (всего 30 м2); - «задник» зоны проведения церемоний - рабочая площадь 36 м2 (всего 45 м2); - помещение для ведущих церемонии, хранения флагов и медалей (в день церемонии) - 22 м2; - помещение для хранения призов - 12 м2; - площадка для флагштоков - 32 м2. В спортивно-зрелищных катках, в которых площадка для выступлений на льду располагается поперёк поля для хоккея (рисунок 3.14 б), учебная площадка для фигурного катания не предусматривается. 3.5. Шорт-трек3.5.1. Для соревнований по шорт-треку используется хоккейная площадка с минимальными размерами 60×30 см, для международных соревнований дорожка должна быть овальной формы с длиной круга 111,12 м (см. рисунок 3.9). Ширина прямой части дорожки в одном направлении должна быть не менее 7 метров. Расстояние от разметочного блока, установленного на вершине поворота, до барьера ограждения катка не должно быть меньше 4 м. Повороты должны быть размечены симметрично. Симметричная дуга для поворота должна быть размечена от конца одной прямой части дорожки до точки, где начинается следующая прямая. Стандартная дорожка должна иметь разметку 4-х поворотов других дорожек, которые сдвигаются на один и два метра в каждом направлении от стандартной дорожки, что позволит сохранить хороший лед во время соревнований. Для всех дорожек используется только одна линия финиша. Для полуфинальных и финальных забегов на 500 м используются только те дорожки, которые показаны на рисунке 3.9. 3.5.2. Стартовые и финишная линии обозначаются цветными линиями шириной не более 2 см, которые должны быть начерчены под прямым углом к прямой части дорожки. Предстартовые позиции обозначаются рядом разметок на льду за 0,75 метра до соответствующих стартовых линий. Стартовые линии прочерчиваются от бортика катка на всю ширину прямой части дорожки. Финишная линия прочерчивается от бортика катка на всю ширину прямой части дорожки плюс 1,5 м. Позиции для расположения спортсменов на старте должны быть размечены пунктирными точками диаметром 2 см через каждый метр, отступая 50 см от внутренней стороны дорожки, чтобы обозначить порядок стартовых позиций спортсменов на старте. 3.5.3. Борта площадки вдоль трассы должны покрывать защитные маты из полиуретановой пены (средней или высокой плотности) и минимальной толщиной 15 см. Минимальная высота такой защиты должна составлять 1 м и она должна полностью покрывать борта. Дополнительно может быть установлена защита в половину высоты перед обычными матами. Обивка должна быть водонепроницаемой и неразрезаемой. Маты размером в 1 м должны быть прикреплены к бортам и друг к другу. Маты должны стоять под своим весом на льду. 3.6. Кёрлинг3.6.1. Для игры в кёрлинг необходима ледовая дорожка размерами 44,5×4,75 м. Как правило, игра проводится на двух и более дорожках на залитой ледяной площадке с размерами 45×10-30 м. На дорожку яркими красками наносится мишень, размеры и разметка площадки приведены на рисунке 3.10 а. Центр мишени - «дом» - белый, последующие цвета кругов - синий, белый и красный. Цвет кругов может быть изменен. Разметка задних линий входит в игровую площадь, боковые линии - не входят. Боковые линии могут быть заменены деревянным бруском высотой 150 мм. 3.6.2. Специальный зал с площадками для кёрлинга, предназначенный для тренировок и соревнований, включает до 6 дорожек и располагается на ледовом поле размером 60×30 м. Такую площадку допускается использовать также для начинающих фигуристов и массового катания, что следует учитывать при проектировании вспомогательных помещений. 3.6.3. Пять дорожек для игры на ледовом поле соответствуют требованиям Международной федерации кёрлинга (WCF). Дорожки должны иметь буквенное обозначение: А, В, С, D и Е, причем зона А должна находиться слева, если смотреть со стороны зоны для прессы (рисунок 3.10 в). Основной фон льда - белый, за исключением «зоны свободного защитника», которая должна быть голубого цвета. 3.6.4. Круги в «зачетной зоне» имеют следующую последовательность окраски, начиная с внешнего - красный, белый, синий, белый. По центру дорожки идет сплошная линия и перпендикулярно ей через центр каждой зачетной зоны также проходят линии. Стандартная разметка линий должна быть выполнена черным цветом. 3.6.5. Каждая дорожка размечается таким образом, чтобы можно было вести игру в обоих направлениях, то есть дорожка симметрична и «зачетные зоны» имеются с обоих ее концов. 3.6.6. Позади каждого дома установлена небольшая резиновая колодка, выступающая изо льда, от которой и начинается движение игрока. В 10 м от колодки проходит зачётная (контрольная) линия. Расстояние между зачётными линиями на разных концах дорожки - около 22 м. 3.7. Хоккей с мячом3.7.1. Основным элементом данного типа сооружения является ледовое поле (с искусственным намораживанием льда) длиной от 90 до 110 м и шириной от 50 до 70 м (рисунок 3.11 а). Для проведения международных соревнований предпочтительным является размер поля 110×65 м. Вопрос о проведении соревнований на полях меньших размеров решается организаторами соревнований. 3.7.2. Основное оборудование поля для игры включает (см. рисунок 3.11 б, в, г): - ворота, состоящие из двух вертикальных стоек, верхней перекладины и боковых и задней рам жесткости (конструктивный материал - преимущественно дерево; сечение квадратных элементов от 5×5 до 7,5×7,5 см); - подвижные бортики для перехвата мячей вдоль линий поля, изготавливаемые из досок длиной от 4 до 6 м шириной 12-18 см (высота бортика), толщиной 2-4 см, устанавливаются на ребро с помощью прикрепленных к ним угольников; - флаги для обозначения углов и средней линии игрового поля, состоящие из подвижных деревянных опор в форме усеченного конуса высотой не более 50 см, диаметром у основания 25-30 см и закрепленного на конусе древка с флагом (высота древка от поверхности льда в пределах 1,5 до 2 м); - стол с сидением для судьи - секретаря. 3.7.3. Габариты поля для хоккея с мячом практически «вписываются» в габариты двухполосной 400-метровой дорожки для скоростного бега на коньках (рисунок 3.12 а). Поэтому для крытых катков, предназначаемых в основном для учебно-тренировочных занятий и соревнований не самого высокого международного уровня, экономически целесообразно совмещение функций конькобежного спорта и хоккея с мячом. 3.8. Универсальные залы катков3.8.1. При вариантном использовании хоккейная площадка 61×30 м может быть предназначена и оборудована как для хоккеистов и фигуристов, так и конькобежцев, тренировок и соревнований по «шорт-треку», а также для тренировок по хоккею с мячом (отработка отдельных элементов) (рисунки 3.13 и 3.14). 3.8.2. Универсализация использования залов с ледовыми аренами может быть обеспечена трансформацией основных элементов спортивного сооружения. На планшете сборно-разборного настила возможно оборудование легкоатлетического манежа, могут эпизодически проводиться соревнования по спортивным играм (и иным видам спорта). Подобным образом могут быть использованы ледовые арены, соответствующие по размерам футбольным манежам. 3.8.3. На рисунках 3.15 и 3.16 приведены примеры трансформации арен спортивно-демонстрационного или многофункционального катка для проведения соревнований по ряду видов спорта. При этом соревнования по волейболу, баскетболу, гандболу, теннису и мини-футболу проводятся на настилах, а по спортивной и художественной гимнастике, акробатике, борьбе и боксу - на помостах. 3.8.4. В зданиях спортивно-демонстрационных и спортивно-зрелищных катков, исходя из их универсального использования для соревнований по многим видам спорта, для разминки соревнующихся предусматривается зал 30×18 м, размещаемый в удобной связи с ареной. Когда на катке не проводятся соревнования или зрелищные мероприятия, этот зал может использоваться автономно для учебно-тренировочных занятий по спортивным играм, в связи с этим при нём следует предусмотреть раздевальные с душевыми и уборными. 3.8.5. В составе зданий катков для обеспечения учебно-тренировочного процесса, как правило, предусматриваются общие для здания помещения для индивидуальной силовой и акробатической подготовки размером 12×6 м, высотой не менее 3 и 6 м соответственно и один хореографический класс размером 12×12 м (в плане), высотой не менее 4,8 м. Для возможности автономного его использования при нём предусматриваются отдельные раздевальные (с душевыми и уборными при них), исходя из пропускной способности класса 30 чел/смену. Примерные схемы плана расстановки оборудования в помещениях для индивидуальной, силовой и акробатической подготовки и в хореографическом классе приведены на рисунках 3.17 и 3.18. Примечание. При размещении батутного полотна на уровне пола высота помещения может быть уменьшена до 5 м. 3.8.6. При вместимости трибун демонстрационного катка более 2000 зрителей рекомендуется дополнительно предусматривать устройство крытого катка для учебно-тренировочных занятий по фигурному катанию и хоккею с размером рабочей площади льда 61×30 м. Для автономной работы этого катка при нём предусматриваются отдельные раздевальные с душевыми и уборными, исходя из пропускной способности в смену, приведенной в таблице 3.1. При наличии учебно-тренировочного катка рекомендуется помещения индивидуальной силовой и акробатической подготовки, а также хореографического класса располагать в удобной связи с учебно-тренировочным катком. 3.9. Многофункциональные залы катков3.9.1. Чтобы обеспечить условия для вариабельного проектирования катков, позволяющие учитывать потребности в разнообразных тренировочных и демонстрационных мероприятиях можно выделить три наиболее эффективных типа сооружений, базирующихся на сочетании различных функциональных элементов. Первый тип включает основные виды мероприятий на искусственном льду и их рациональные сочетания. Второй - представляет универсализацию катка и легкоатлетического манежа в рамках сооружения круглогодичного использования - «каток-манеж». Третий - объединяет варианты кооперированного сооружения типа «каток-бассейн», базирующегося на сочетаниях катков и ванн бассейнов при общем взаимно сбалансированном энергопотреблении. Примеры из зарубежной практики приведены на рисунке 3.19. Для каждого типа сооружения должен быть рассчитан состав помещений в зависимости от ведущего функционального назначения по видам спорта, по характеру использования. 3.9.2. Для выступления балета на льду размер ледяной площадки принимается 45×24 м. Эта площадка может располагаться как вдоль арены для хоккея, так и поперёк неё (симметрично короткой оси). В последнем случае за пределами площади поля для хоккея вплотную к нему предусматривается дополнительная ледяная площадка длиной 24 м (по 12 м в обе стороны от короткой оси арены) и шириной 15 м (см. рисунок 3.14 б). Такой вариант создаёт при односторонней или серповидной трибуне наилучшие (фронтальные) условия наблюдения за представлением. В периоды между выступлениями балета дополнительная площадка размером 24×15 м может использоваться для занятий фигуристов по отработке отдельных элементов. При этом пропускная способность определяется исходя из 25 м2 площади льда на одного занимающегося. 4. ВСПОМОГАТЕЛЬНЫЕ ПОМЕЩЕНИЯ4.1. Общие положения4.1.1. В состав помещений вспомогательного назначении в зданиях и сооружениях с ледовыми аренами, полями и площадками могут входить следующие функциональные группы: вестибюль с гардеробом, блоки раздевальных, душевых и санузлов для занимающихся, инвентарные, тренерские, административные помещения, медицинские пункты, методические кабинеты, бытовки для персонала, реабилитационные помещения, комнаты отдыха, мастерские, пункты проката. 4.1.2. Состав и удельные показатели для расчета площади вспомогательных помещений указаны в таблице 4.1. Состав и расчётные показатели площади вспомогательных помещений учебно-тренировочных катков
Продолжение таблицы 4.1.
Продолжение таблицы 4.1.
Продолжение таблицы 4.1.
Продолжение таблицы 4.1.
В таблице перечислены вспомогательные элементы любого спортивного объекта с искусственным намораживанием льда, которые обеспечивают техническое функционирование сооружения в режиме учебно-тренировочных занятий, включая сооружения массового строительства. 4.1.3. Состав и удельные расчетные показатели площади вспомогательных помещений для обеспечения соревнований международного уровня приведены в таблице 4.2. Основные параметры таблицы даны с учетом требований международного Олимпийского комитета. Состав и расчётные показатели площади вспомогательных помещений для обеспечения соревнований международного уровня
Продолжение таблицы 4.2.
Продолжение таблицы 4.2.
Продолжение таблицы 4.2.
Продолжение таблицы 4.2.
Продолжение таблицы 4.2.
4.1.4. Состав и удельные расчетные показатели площади вспомогательных помещений для зрителей приведены в таблице 4.3. Состав и расчётные показатели площади вспомогательных помещений для зрителей
Продолжение таблицы 4.3.
Продолжение таблицы 4.3.
Продолжение таблицы 4.3.
4.1.5. В таблицах 4.2 и 4.3 приведен максимальный состав элементов сооружения в случаях его использования для проведения крупнейших международных соревнований, включая Олимпийские Игры. Состав сооружений, занимающих промежуточное положение по своей значимости в области спорта, определяется заданием на проектирование, исходя из местных условий и финансовых возможностей заказчика. 4.2. Входная группа4.2.1. При проектировании вестибюлей в зданиях крытых катков с искусственным льдом их площадь определяется из расчета 0,5 м2 на одного занимающегося в смену (но не менее 20 м ) и 0,25 м на одно зрительское место. 4.2.2. В зданиях спортивно-демонстрационных катков и многофункциональных залов катков рекомендуется вестибюли для занимающихся (соревнующихся) и для зрителей устраивать отдельно друг от друга. В зданиях остальных спортивных залов катков вестибюль предусматривается, как правило, общим для занимающихся и зрителей. Площадь вестибюлей определяется исходя из удельных расчетных параметров, приведенных в таблицах 4.1 и 4.3. Пример входной зоны ледового комплекса показан на рисунке 4.1. 4.2.3. В спортивном корпусе с двумя и более залами катков, из которых места для зрителей предусматриваются только в одном, площадь общего вестибюля определяется сложением площади, рассчитанной исходя из общего числа занимающихся в смену во всех катках с площадью вестибюля для зрителей. 4.2.4. В тех случаях, когда в зале имеются стационарные места (трибуны) и временные (партер), расчетное число зрителей определяется, исходя не из суммарного числа стационарных и временных мест, а в соответствии со схемами трансформации зала и зрительских мест (см. рисунок 4.9), при этом временные места для проведения собраний и митингов в расчет не принимаются. 4.2.5. Площадь за барьером в гардеробной верхней одежды для занимающихся или зрителей определяется из расчета 0,1 м2 на один крючок на подвесных или обычных вешалках (с учетом подходов), но не менее 10 м2. При использовании вешалок консольного типа площадь на одно место составляет 0,08 м2. Расчетное число мест в гардеробной верхней одежды для занимающихся принимается равным 200 % численности смены при учебно-тренировочных занятиях, что обеспечивает также и хранение верхней одежды соревнующихся при проведении соревнований. Гардеробная для верхней одежды зрителей рассчитывается на 100 % зрительских мест (с учетом схем трансформации мест, как это указывалось выше, при расчете площади вестибюля). Гардеробная, как правило, объединяется с вестибюлем. В тех случаях, когда она размещается в отдельном помещении, перед барьером гардеробной (вдоль него) предусматривается свободная полоса из расчета 0,03 м2 на одно место в гардеробной, но ширина полосы не должна быть меньше 1 м. Глубина гардеробной за барьером предусматривается не более 6 м. Верхняя одежда сотрудников хранится, как правило, у рабочего места и в расчете гардеробной для занимающихся (или зрителей) не учитывается. При численности сотрудников 40 человек и более для их верхней одежды предусматриваются места в общей гардеробной. 4.2.6. В круглогодично действующем сооружении, предназначенном для учебно-тренировочных занятий с детьми до 10-летнего возраста, для родителей, сопровождающих детей, предусматривается площадь для ожидания из расчета 0,5 м2 на одно место, размещаемая, как правило, объединенной с площадью вестибюля для занимающихся, а также места в гардеробной верхней одежды. Число мест следует принимать на катках на 100 % пропускной способности. В сооружениях с местами для зрителей площадь для ожидания родителей и места в гардеробной для их верхней одежды не предусматриваются, так как для ожидания и хранения одежды родителей используются вестибюль и гардеробная для зрителей. 4.2.7. Во всех сооружениях, где имеются места для зрителей, предусматривается фойе, площадь которого определяется из расчета 0,35 м на зрительское место; при этом принимаемое в расчет число зрительских мест должно учитывать схемы трансформации арены и зрительских мест. В тех случаях, когда все входы на зрительские места находятся на той же отметке, что и вестибюль для зрителей, фойе совмещается с вестибюлем. При этом расчетные площади вестибюля и фойе не суммируются, а принимается одна, наибольшая по расчету, так как использование этой площади в качестве вестибюля или в качестве фойе происходит разновременно. 4.2.8. При двух или нескольких трибунах в одном зале (катке), изолированных друг от друга, фойе целесообразно устраивать отдельно при каждой из трибун и площадь каждого фойе определять в соответствии с числом зрительских мест на каждой из трибун (с учетом вышеуказанных рекомендаций при совмещении фойе с вестибюлем). 4.2.9. В зданиях спортивно-демонстрационных и спортивно-зрелищных залов и катков, а также в других сооружениях, где предусмотрено проведение платных мероприятий, в том числе массового катания на коньках, для продажи билетов предусматриваются кассы. Количество кассовых кабин определяется исходя из удельных расчетных параметров, приведенных в таблице 4.3. 4.2.10. При двух и более кабинах целесообразно устраивать кассовый вестибюль, площадь которого определяется из расчета 15 м2 на каждую кабину. Кассовый вестибюль должен иметь самостоятельный наружный вход и, по возможности, сообщаться с вестибюлем для зрителей, а также сообщаться через окно с помещением заведующего билетными кассами (администратора), площадь помещения 6-8 м2. 4.3. Раздевальные4.3.1. Число мест для переодевания в мужских и женских раздевальных может приниматься одинаковым - 1:1. Однако из-за различного фактического соотношения числа одновременно занимающихся мужчин и женщин число шкафов для хранения домашней одежды в каждой из раздевальных принимается (с учётом опыта эксплуатации) равным 150 % расчетного числа мест. 4.3.2. Хранение домашней одежды в отдельном помещении гардеробной целесообразно по эксплуатационным соображениям, так как не зависит от численного соотношения занимающихся в одной смене мужчин и женщин (всегда хранение будет обеспечено числом двухъярусных шкафов на 100 % занимающихся в смену), что дает экономию площади, но требует наличия гардеробщика. Помещение гардеробной рекомендуется размещать смежно с мужской и женской раздевальными, сообщающимся с ними через окно приема и выдачи одежды. При числе раздевальных более двух гардеробная может располагаться не смежно с раздевальными, а на пути движения занимающихся к залу катка. 4.3.3. В раздевальных, предназначаемых для детей до 10 лет, рекомендуется хранение их домашней одежды только в помещении раздевальной в одноярусных закрытых шкафах размером 0,6×0,3 м в плане, число которых принимается на 300 % мест для переодевания. 4.3.4. В тех случаях, когда зал или каток предназначается для вида (видов) спорта, которым занимаются как мужчины, так и женщины раздевальных для занимающихся при этом зале (катке) должно быть не менее двух (мужская и женская). Если зал (каток) предназначается для вида спорта, которым занимаются только женщины (например, художественней гимнастикой), или только мужчины (например, хоккей), то предусматривается одна мужская или женская раздевальная, при этом число мест для переодевания и число двухъярусных закрытых шкафов в ней принимаются на 100 % занимающихся в смену. 4.3.5. Для удобства подсчета площади раздевальных рекомендуется пользоваться таблицей 4.4, в которой приведены удельные показатели площади. Они при умножении на принятое число мест в раздевальной определяют площадь раздевальной. В этих показателях учтено необходимое число шкафов, скамей для переодевания с необходимым числом мест, проходов надлежащей ширины, а также размещение в раздевальной умывальника. Таблица 4.4
Примечание. В скобках приведен показатель удельной площади раздевальной при хранении домашней одежды в отдельном помещении гардеробной. При одной и той же пропускной способности зала число занимающихся и одновременно пользующихся раздевальной зависит от принятого в проекте числа помещений раздевальных. Следует иметь в виду, что чем меньше мест в раздевальной, тем выше комфорт, что ведет, однако, к некоторому увеличению суммарной площади всех раздевальных. 4.3.6. Раздевальные при крытых катках с искусственном льдом в отличие от раздевальных при залах безо льда имеют следующие особенности: - наряду с занимающимися хоккеем (только мужчины), раздевальные используются для занимающихся фигурным катанием на коньках (мужчины и женщины); - на демонстрационных катках раздевальные используются также для соревнующихся по видам спорта безо льда (в том числе по командным видам спортивных игр с мячом); - крупногабаритная спортивная одежда хоккеистов требует большей площади раздевальной на каждое место для переодевания. С учетом изложенных выше особенностей в крытых катках с искусственным льдом рекомендуется предусматривать четыре раздевальные (без деления на мужские и женские) площадью 64 м2 каждая. В них можно разместить 25 мест для переодевания, сблокированных с 25 двухъярусными закрытыми шкафами для хранения домашней одежды, один умывальник, одну мойку для ног (допускается не предусматривать), а также кабину площадью 3-4 м2 для индивидуальной подгонки клюшек и точки коньков (рисунки 4.2. и 4.3). 4.3.7. На сооружениях, предназначаемых для соревнований по командным спортивным играм не ниже республиканского масштаба, в каждой из четырех раздевальных должна, как правило, дополнительно предусматриваться площадь для официальных лиц (представителя, тренеров и др.), составляющая 8-9 м2 для хоккея и 4-4,5 м2 для остальных игр. Вариант планировки раздевалок для фигурного катания приведен на рисунке 4.4. 4.3.8. При расстановке скамей для переодевания и шкафов для хранения домашней одежды ширина проходов в раздевальных принимается не менее: 1,5 м - между рядами скамей при сидении лицом друг к другу; 1,1 м - между рядом скамей и параллельной ему стеной или стоящим напротив рядом шкафов; 0,5 м - перед фронтом отдельно стоящих шкафов; 0,7 м - перед фронтом проёмов в гардеробную домашней одежды; 0,5 м - боковые проходы; 1,0 м - главные проходы. В гардеробных домашней одежды минимальная ширина прохода перед фронтом проёмов для приёма и выдачи одежды принимается 0,7 м, а между рядом шкафов или рядом шкафов и стеной - 0,6 м. 4.3.9. Пути движения занимающихся из раздевальных в зал (каток) не должны пересекаться с путями движения зрителей. Раздевальные должны сообщаться с залом непосредственно или по коридору, или по лестнице, предназначаемым только для сообщения с залом. Раздевальные для занимающихся (соревнующихся) на льду должны размещаться на одном уровне со льдом или связь с ним может осуществляться по пандусу с уклоном не более 1:10. 4.4. Санитарно-гигиенические помещения4.4.1. Душевые и санитарные узлы располагаются при раздевальных, комнатах инструкторского и тренерского состава, а также при бытовых помещениях для рабочих. Душевые при раздевальных для занимающихся устраиваются открытым и, как правило, без поддонов, а при комнатах инструкторского и тренерского состава, бытовых помещениях для рабочих и массажных - закрытыми, с дверями, открывающимися наружу. Число санитарных приборов во вспомогательных помещениях приведено в таблицах 4.1.-4.3. 4.4.2. Численное соотношение мужчин и женщин - занимающихся, сотрудников, инструкторского и тренерского состава принимается, как правило, 1:1. В санитарных узлах для зрителей расчетное число зрителей-мужчин принимается исходя из 60 %, а в залах катков, предназначаемых для хоккея, - исходя из 70 % общего числа зрительских мест. Иные соотношения могут быть установлены заданием на проектирование, исходя из местных демографических особенностей. 4.4.3. При душевых с числом душевых сеток более четырех предусматриваются преддушевые (шлюзы для переодевания), которые оборудуются скамьями-вешалками с крючками для полотенец и полочками для туалетных принадлежностей. При числе единовременно работающих менее 5 душевые при комнатах для инструкторского и тренерского состава и бытовых помещениях могут не предусматриваться. 4.4.4. Число умывальников в шлюзах определяется, исходя из расчета один умывальник на каждые 5 приборов (унитазов и писсуаров), но не менее одного умывальника при каждом санитарном узле. Проход в санитарные узлы для зрителей или умывальные при них через помещения курительных не допускается. Умывальники в раздевальных для занимающихся допускается размещать в шлюзах при уборных. Сушилки для волос допускается размещать в отдельном помещении, смежном с раздевальными. 4.4.5. Размеры кабин уборных и душевых, размеры проходов в них и в умывальных, а также расстояние между приборами должны быть не менее приведенных в таблице 4.5. Таблица 4.5
* Принимается только для уборных, состоящих из одной кабины и шлюза. ** Включая преддушевую при закрытых кабинах. 4.5. Прочие помещения4.5.1. В зданиях крытых катков с искусственным льдом, предназначаемых для учебно-тренировочных занятий и соревнований по хоккею, следует предусматривать помещения для сушки спортивной одежды и обуви хоккеистов площадью 7 м2 на каждую команду. При одной площадке (61×30 м) рекомендуется предусматривать 10 помещений. На сооружениях, предназначаемых для проведения сборов или кустовых соревнований с участием большого числа команд, число помещений определяется заданием на проектирование. Практически на каждом катке имеется «своя» команда, для которой выделяется в постоянное пользование одна из раздевальных; в этом случае помещение для сушки спортивной одежды и обуви хоккеистов этой команды рекомендуется располагать смежно с этой раздевальной, непосредственно сообщающейся с нею. 4.5.2. В крытых катках с местами для зрителей рекомендуется предусматривать проведение массового катания на коньках (что определяется заданием на проектирование). В отдельных случаях, по заданию на проектирование, допускается предусматривать массовое катание на коньках в сооружениях без мест для зрителей, но без выделения дополнительной для этой цели площади вестибюля и гардеробной верхней одежды. В составе вспомогательных помещений крытого катка, в котором проводится массовое катание на коньках, на площади вестибюля или смежно с ним следует дополнительно предусматривать: - помещение для хранения, выдачи и сушки прокатных ботинок с коньками (площадью 10 м2); - мастерскую для точки коньков (площадью 6 м2); - две кабины для переодевания (площадью 1 м2 каждая). Хранение верхней одежды, переодевание и отдых катающихся, а также пользование уборными и буфетами предусматриваются на площади вспомогательных помещений для зрителей, которые в этом случае должны размещаться на одном уровне с катком или сообщаться с ним по пандусу с уклоном не более 1:10. Из вестибюля должно предусматриваться не менее двух выходов на лед для катающихся, размещаемых рассредоточено. Допускается устройство отдельной раздевальной для массового катания (рисунок 4.5). 4.5.3. При залах катков с искусственным льдом следует предусматривать инвентарные для хранения переносного спортивного оборудования и инвентаря. Инвентарные должны располагаться смежно с залами катков. Пол инвентарной предусматривается на одном уровне с полом зала и без порога. Двери инвентарных в залы, а также двери залов, предназначенные для транспортирования через них спортивного оборудования, принимаются шириной не менее 1,8 м. Допускаются открытые проемы в инвентарные из залов. Размеры инвентарных при залах катков с искусственным льдом следует определять исходя из состава и размеров переносного оборудования, инвентаря и способа их хранения. 4.5.4. Помещение для отдыха занимающихся рекомендуется принимать из расчета 3 м2 на одно место исходя из 15 % пропускной способности в смену при учебно-тренировочных занятиях (но не менее 24 м2). Возможно вместо отдельного помещения предусматривать требуемую площадь в световых разрывах коридоров. 4.5.5. Учебный класс (методический кабинет) может предусматриваться практически во всех круглогодично действующих спортивных залах катков, однако необходимость устройства, а также число классных помещений определяются заданием на проектирование. Размер класса рекомендуется 30 м2, что обеспечивает размещение одной учебной группы. При двух и более классных помещениях дополнительно предусматривается помещение для хранения пособий площадью 6 м2. 4.5.6. Комнаты инструкторского и тренерского состава предусматриваются, как правило, раздельно для мужчин и женщин, но при числе одновременно работающих 5 и менее может предусматриваться одна общая для мужчин и женщин комната с размещением в ней 1-2 кабин для переодевания площадью не менее 1 м2 каждая. При раздельных (мужской и женской) комнатах соотношение числа мест в них принимается 1:1, если иное соотношение исходя из местных условий не определено в задании на проектирование. Общее число мест определяется исходя из того, что на каждого инструктора или тренера приходится 15 человек занимающихся в смену при учебно-тренировочных занятиях. Площадь комнат определяется из расчета 2,5 м2 на одно место, но не менее 9 м2 каждая. При числе мест в одном помещении более 10 площадь помещения может рассчитываться исходя из 1,8 м2 на одно место. 4.5.7. В зданиях катков предусматриваются бытовые помещения для рабочих и служебные помещения административного и инженерно-технического персонала. В связи с тем, что рабочие на спортивных сооружениях работают посменно, расчетное число мест для определения площади бытовых помещений рекомендуется принимать на 50 % штатного расписания и исходить из 1,5 м2 на одно место. При этом места для хранения рабочей (домашней) одежды в шкафах предусматриваются на 100 % работающих. При проектировании бытовых помещений площадь каждого из них (для мужчин или женщин), независимо от полученной по расчету, не должна, как правило, быть менее 9 м2. 4.5.8. В составе служебных помещений административного и инженерно-технического персонала рекомендуется предусматривать: - кабинет директора. При числе сотрудников 100 чел. и более площадью 24 м2, при меньшем числе - 12 м2; - кабинеты заместителя директора, главного инженера. При числе сотрудников 100 человек и более - по 12 м2, при меньшем числе - по 9 м2; - приёмную - при числе сотрудников 100 чел. и более площадью 12 м2, а при меньшем числе - 8 м2; приёмная предусматривается общей при кабинетах директора и главного инженера; - кабинет начальника (заведующего) отделом (службы). При числе сотрудников отдела (службы) 100 чел. и более площадью 24 м2, при меньшем числе - 12 м2. При числе сотрудников менее 10 человек, кабинет начальника (заведующего) не предусматривается, а его рабочее место размещается в общей комнате отдела (службы) из расчета 7 м2; - рабочие помещения сотрудников отделов (служб). Определяются из расчета 4 м2 на одного сотрудника; - комнату коменданта (заведующего хозяйством). Во всех случаях принимается площадью 8 м2; - зал заседаний площадью 72 м2. Предусматривается при числе сотрудников 100 человек и более. Рабочие помещения и кабинеты начальников (заведующих) таких отделов, как бухгалтерия, планово-финансовый, кадров и т. п., располагаются в блоке административных помещений и кабинетов руководства (дирекции) сооружения. Рабочие помещения и, как правило, кабинеты начальников инженерных служб сооружения (сантехнической, холодильной, электро-, радио-, телефонной и т.п.) - в удобной связи с соответствующими техническими помещениями и рабочими помещениями сотрудников служб. 4.5.9. В зданиях катков предусматриваются следующие помещения для медицинского обслуживания: - кабинет врача площадью 14 м2; - ожидальная площадью 9 м2 . Ожидальная может размещаться в расширенной части коридора. На спортивных комплексах, состоящих из нескольких корпусов, кабинет врача с ожидальной предусматриваются только в одном здании, а в остальных предусматриваются комнаты для оказания первой медицинской помощи площадью 9 м2 каждая. 4.5.10. В отдельных случаях, при соответствующем обосновании и по согласованию с местными органами здравоохранения, заданием на проектирование в составе помещений для медицинского обслуживания могут предусматриваться медико-восстановительные центры. На спортивных комплексах, состоящих из нескольких спортивных корпусов, помещения медико-восстановительного центра предусматриваются в одном из спортивных корпусов (взамен кабинета врача и ожидальной). Возможно размещение медико-восстановительного центра в отдельном здании; в этом случае в остальных зданиях комплекса предусматриваются только комнаты для оказания первой медицинской помощи (площадью 9 м2 каждая). Рекомендуемые состав и площади помещений медико-восстановительного центра принимаются в соответствии с пунктами 6.5.5; 6.5.6 и 6.5.7 СП 31-112-2004 (часть 2). Варианты планировок саун даны на рисунке 4.6. 4.5.11. В корпусах многофункциональных, спортивно-демонстрационных и учебно-тренировочных катков необходимо предусматривать буфеты для занимающихся и зрителей. При пропускной способности занимающихся менее 48 чел. в смену или при числе зрительских мест менее 500 буфеты не предусматриваются. При пропускной способности менее 48 занимающихся в смену в помещениях для отдыха или вестибюлях для зрителей могут устанавливаться автоматы для продажи напитков. 4.5.12. Число мест в буфетах рекомендуется принимать: - для занимающихся из расчета одно посадочное место на 6 человек суммарной пропускной способности в смену; - для зрителей из расчета 3 % числа зрительских мест. В спортивных корпусах с двумя и более залами, в которых предусмотрены места для зрителей расчет числа мест в буфетах для зрителей ведётся по планировке зала с максимальным числом зрительских мест; при этом расположение буфета должно позволять пользование им зрителями всех залов. 4.5.13. Площади залов буфетов (с раздаточной) для занимающихся принимаются из расчёта 3,4 м2 на каждое посадочное место при их числе до 8 и по 1,25 м2 на каждое посадочное место сверх 8 и до 30. При общем числе мест в зале свыше 30 - не менее чем по 1,8 м2 на каждое место. Площади залов буфетов для зрителей (без учёта раздаточной) принимаются не менее 1,4 м2 на каждое место. Площади подсобных помещений буфетов определяются применительно к требованиям по проектированию предприятий общественного питания. 4.5.14. Сотрудники, как правило, пользуются буфетами для занимающихся. В зависимости от числа сотрудников заданием на проектирование может предусматриваться служебная столовая, проектируемая по нормам для предприятий общественного питания, предусмотренных СНиП 2.09.04; в расчет буфетов для занимающихся или зрителей служебная столовая не входит. 4.5.15. В зданиях крытых катков с искусственным льдом, в удобной связи с катком (катками) предусматривается помещение для двух-трех машин по уходу за льдом размером (в чистоте) 9×6,5 м, высотой 3,9 м. Проемы для выезда из помещения предусматриваются высотой не менее 2,4 м и шириной не менее 3,5 м. В помещении предусматривается приямок размером 3×1 м, глубиной 1 м с устройством для таяния снежной стружки. Приямок должен закрываться решеткой заподлицо с полом. Схема помещения для стоянки двух машин по уходу за льдом приведена на рисунке 4.1. 4.5.16. В числе помещений для судей рекомендуется предусматривать помещение секретариата, помещение множительной техники, которые должны быть удобно связаны друг с другом и с ареной. Желательно предусматривать также помещения для бригады судей по награждению (холл для сбора победителей и призёров, рабочая комната бригады и гравера, кладовая для хранения призов и цветов), а также зал для заседаний судейской коллегии, проведения пресс-конференций и жеребьевок. При наличии в сооружении зала заседаний, отдельный зал для заседаний судейской коллегии не предусматривается. Площади приведённых выше помещений определяются в каждом отдельном случае заданием на проектирование. 4.5.17. Для проведения эстрадных концертов и выступлений балета на льду в многофункциональных залах катков необходимы вспомогательные помещения для артистов и художественных руководителей, гримерная - парикмахерская, костюмерная и обувная, оперативный склад для реквизита и бутафории, размещаемые в удобной связи с ареной, а также помещения для хранения инструментов оркестра и складирования кофров. Площадь этих помещений определяется заданием на проектирование, в зависимости от назначения зала (катка) и масштаба проводимых мероприятий. 4.5.18. Необходимость устройства отдельных помещений для спортивных судей, прессы, артистов и др., определяется заданием на проектирование. Их рекомендуется устраивать, когда на сооружении предусматривается большое число зрителей, и оно предназначается для частого проведения зрелищных мероприятий или соревнований крупного масштаба. В других случаях в качестве помещений для судей и прессы могут использоваться учебные классы (методические кабинеты), комнаты администрации, инструкторского и тренерского состава, в качестве артистических - раздевальные для занимающихся, для солистов, художественных руководителей, гримерной, парикмахерской - комнаты инструкторского и тренерского состава, а также административные помещения. 4.5.19. Помещения для уборочного инвентаря располагаются рассредоточено, поэтажно, вблизи убираемых помещений, а их площади определяются из расчета 4 м2 на каждые 1000 м2 убираемой площади пола. 4.5.20. Помещение для пожарного поста принимается площадью 25 м2 при вместимости трибун более 2000 мест и площадью 15 м2 при вместимости трибун от 1000 до 2000 мест. При вместимости трибун менее тыс. мест помещение пожарного поста не предусматривается. Помещение пожарного поста размещается на первом этаже в удобной связи с наружным выходом и техническими помещениями. 4.5.21. Помещения для работников охраны общественного порядка предусматриваются в виде двух смежных комнат по 10-12 м2 каждая на демонстрационных сооружениях с трибунами вместимостью не менее 1500 зрителей. Они должны размещаться в удобной связи с трибунами, фойе и вестибюлем для зрителей. 4.5.22. Состав хозяйственных помещений - кладовых и складов для хранения спортивного оборудования и инвентаря и других складских помещений, мастерских (художников, столярной, слесарной, ремонта электро- и радиоаппаратуры, спортивного оборудования и инвентаря) и иных производственных и складских помещений определяется заданием на проектирование; площади складских помещений принимаются в зависимости от количества, габаритов и способов складирования. Проектирование складских и производственных помещений должно отвечать требованиям СНиП 31-04 и СНиП 31-03, а для персонала, работающего в этих помещениях, должны предусматриваться санитарно-бытовые помещения в соответствии со СНиП 2.09.04. 4.5.23. В зданиях катков для зрителей предусматриваются курительные, площадь которых принимается из расчета 0,04 м2 на одно зрительское место, но не менее 10 м2. Смежное размещение курительных и санитарных узлов не рекомендуется. 4.5.24. Высота вспомогательных помещений в зависимости от архитектурно-планировочного решения и технологических требований, а также при размещении их в подтрибунном пространстве может приниматься: - в помещениях гардеробной верхней и домашней одежды - 2,1 м; - в остальных помещениях (кроме вестибюля) - 2,7 м. Высота технических помещений принимается в зависимости от применяемого оборудования, а складских помещений и кладовых - от размеров и способов хранения складируемых предметов. Высоту складских помещений хранения трансформируемых мест партера рекомендуется принимать не менее 3 м. 4.5.25. На сооружениях, предназначаемых для проведения крупных соревнований, должна предусматриваться зона (холл, помещение), где возможно проведение кратких встреч журналистов (представителей СМИ) с участниками соревнований. Данная зона (микст-зона) располагается между выходом спортсменов на арену (место соревнований) и проходом из раздевальных и планировочно не должна препятствовать движению спортсменов к месту проведения соревнований и возвращению в раздевальные. Размеры микст-зоны (ориентировочно около 100 м2) должны обеспечивать размещение в ней до 30 журналистов, включая телекомментаторов с обслуживающим персоналом (при 6-8 телекамерах). 4.5.26. Состав, размеры и, частично, оборудование помещений для антидопингового контроля, в зависимости от основного предназначения сооружения (скоростной бег на коньках или командные спортивные игры), могут отличаться. Пункт антидопингового контроля для конькобежцев по составу и размерам помещений может быть минимизирован в связи с относительно небольшим количеством одновременно контролируемых участников соревнований (рисунок 4.7, а). Для контроля хоккеистов и фигуристов требуются помещения увеличенных размеров с более развитым составом сантехнического оборудования (рисунок 4.7, б). Помещения антидопингового контроля должны быть расположены вблизи раздевальных. 4.6. Места для зрителей4.6.1. В сооружениях, предназначаемых для проведения соревнований, предусматриваются места для зрителей в виде трибун или балконов, а в многофункциональных залах катков - в виде партера. 4.6.2. Трибуны для зрителей проектируются, как правило, в стационарных конструкциях с местами для сидения; в отдельных случаях применяются трансформируемые или сборно-разборные трибуны. Целесообразно применение следующих типов трансформируемых трибун: - бличеры - трибуны, состоящие из раздвигающихся секций телескопического типа; - трибуны типа партер-трибуна. Оба вида таких трибун имеют ограниченное число рядов (как правило, в пределах 8-10 рядов с местами для сидения). Их применение в каждом отдельном случае определяется конкретным характером их использования. 4.6.3. Трибуна-бличер, в виде выдвигающихся секций, имеет строго фиксированное местоположение (прикрепляется к стенам зала или к стационарной трибуне с поднятым над ареной первым рядом) и поэтому имеет ограниченное применение. Путем выдвижения различного числа отдельных секций возможно изменять вместимость этой трибуны, что важно при эксплуатации сооружения. 4.6.4. Партер-трибуна, монтируемая на передвижной платформе, легко перемещается в любом направлении по арене, обеспечивая требуемую проектом ее трансформацию. Изменяющийся углом наклона партер-трибуна позволяет использовать ее как обычный плоский партер, что очень важно при трансформации арены для проведения культурно-зрелищных и общественных мероприятий (митинг, концерт и др.). 4.6.5. Зонирование расположения зрительских мест на трибунах и построение профиля трибуны, а также определение местоположения наблюдаемой точки (фокуса) в зависимости от назначения зала по видам спорта приведены на рисунке 4.8. 4.6.6. Для обеспечения зрительного восприятия происходящего на арене, при расположении зрительских мест на балконе, рекомендуется размещать на нем один ряд мест для сидения и один - для стояния из расчета 9 зрителей на 2 м длины балкона. Балкон устраивается, как правило, вдоль продольных стен зала и желательно так, чтобы проекция балкона оказывалась за пределами арены; балкон не должен также мешать размещению под ним спортивного оборудования. 4.6.7. При проектировании трибун следует применять следующие размеры зрительских мест: - глубина ряда на стационарных трибунах 0,8-0,9 м (на бличерах допускается уменьшать до 0,75 м); - ширина места для сидения - 0,45 м; - глубина сидения на стационарных трибунах - 0,4 м (на бличерах допускается уменьшать до 0,35 м); - высота сидения над уровнем пола прохода - 0,43 м. 4.6.8. Расчетное число зрительских мест в многофункциональных ледовых залах с устройством партера определяется как сумма мест в партере и на трибунах за вычетом мест, расположенных за пределами горизонтального угла 120° с вершиной на середине дальней стороны эстрады и на удалении от нее более 40 м. На рисунке 4.9 приведены данные о «потере» мест на трибунах различной конфигурации при аренах наиболее распространенных размеров и при размерах эстрады, приведенных в п. 3.9.3. В иных случаях определение «потерь» осуществляют, руководствуясь приведенными выше величинами удаления и горизонтального угла. Если «потери» зрительских мест на трибунах при проведении эстрадных концертов и установке партера превышают принятую вместимость партера, расчет вспомогательных помещений для зрителей ведется в проекте, исходя из суммарной вместимости всех трибун, но без учета вместимости партера. 4.6.9. Зрительские места на трибуне разделятся на блоки, по границам которых устанавливаются стационарные, как правило, металлические ограждения; высота ограждения вдоль рядов зрительских мест принимается исходя из условий видимости, а у ограждений, устанавливаемых у боковых границ блоков (поперек рядов трибуны), - 0,9-1,0 м. 4.6.10. На трибунах, пол первого ряда которых расположен выше поверхности арены более чем на 0,25 м, вдоль прохода этого ряда предусматривается устройство ограждения высотой не менее 0,8 м. В этом случае для удобств движения зрителей вдоль первого ряда рекомендуется увеличивать ширину прохода. По верху и по торцам трибун, если они не примыкают к стенам спортивного зала (катка), предусматриваются ограждения высотой не менее 1,2 м. 4.6.11. При разнице уровня пола смежных рядов трибуны 0,3 м и более у сидений предусматривается устройство спинок, возвышающихся над полом вышерасположенного смежного ряда не менее чем на 0,12 м. 4.6.12. Конструкцию сидений на трибунах рекомендуется принимать консольного типа с покрытием деревом или пластмассой. Наиболее распространенный тип сидений - в виде скамьи (в том числе со спинкой). Для достижения большего комфорта для зрителей желательно применение штампованных пластмассовых сидений в виде отдельных кресел (без подлокотников). 4.6.13. Применение сидений в виде кресел с подлокотниками не рекомендуется. На стационарных трибунах и в партере крытых катков предусматриваются места для инвалидов, передвигающихся на креслах-колясках, из расчета 2 % общей вместимости зала до 1000 мест включительно. И по одному месту дополнительно на каждые последующие 100 мест. 4.6.14. Места для инвалидов на креслах-колясках предусматриваются в первом ряду трибун (партера); при этом в той части ряда, где расположены места для инвалидов, сидения не устраиваются, а их роль выполняют кресла-коляски. Ширина подъезда инвалидов к своим местам принимается не менее 0,9 м, а при необходимости поворота кресла-коляски на 90° - не менее 1,1 м. Размер каждого места принимается равным 0,9 м ширины и 1,4 м длины. 4.6.15. На открытых сооружениях главная трибуна ледовой площадки, ориентированной север-юг, должна располагаться на восточной стороне. 5. ЛЕДОВЫЕ ПОЛЯ5.1. Инженерное обеспечение5.1.1. Для размещения основного оборудования по обслуживанию ледовых полей необходимо предусматривать следующий состав помещений: - машинный зал (холодильные агрегаты, насосы, ёмкостное оборудование, трубопроводы и арматура и т.д.); - вентиляционную камеру (приточно-вытяжная установка, центральный кондиционер); - электрощитовую (силовые щиты, щиты управления); - площадку для расположения наружных теплообменных аппаратов (конденсаторы, градирни); - помещение стоянки машин для заливки льда с ямой таяния ледовой крошки. Площади всех помещений варьируются в зависимости от состава оборудования для конкретной системы и архитектурных решений. Минимальная площадь машинного зала - 110 м . 5.1.2. При проектировании крытых катков с искусственным льдом расположение помещений холодильных станций и холодильных машин, а также хладагента осуществляется в соответствии с требованиями СНиП 41-01. 5.1.3. Холодильное оборудование подбирается индивидуально для каждого катка. Возможно размещение холодильной установки в контейнере на открытом воздухе или внутри здания. Расстояния от помещений до автономных блоков не ограничены и также зависят от архитектурных решений. Мощность холодильной установки подбирается исходя из размеров катка (в первую очередь кубатуры зала) и климатической зоны строительства. 5.2. Требования к ледовой конструкции5.2.1. Конструктивную основу ледовых полей (арен, площадок) составляют преимущественно трубные системы, среди которых выделяются три основных вида технологических плит: - поле с высокопрочной бетонной охлаждающей плитой, полностью пластиковая трубная система (рисунок 5.1); - поле с засыпкой из кварцевого песка или гранитной крошки, полностью пластиковая трубная система; - мобильная система из трубных матов, монтирующихся на любом основании. 5.2.2. Бетонная охлаждающая плита является предпочтительным вариантом для многофункциональных ледовых дворцов, когда возникает необходимость использования поля безо льда. Отличается высокой стоимостью первоначальных капитальных вложений. Охлаждающая плита включает полиэтиленовые трубы диаметром 25 мм с расстоянием между трубами 80-100 мм. Применяются полиэтиленовые трубы со сроком службы не менее 50 лет, которые позволяют использовать любые холодоносители, включая этиленгликоль и хлорид кальция. Под охлаждающей плитой предусматривается теплоизоляция от теплопритоков из грунта, выполняемая из экструдированного пенополистирола и трубная система обогрева грунта (защита от промерзания). 5.2.3. Охлаждающая плита в песчаной засыпке предпочтительна при круглогодичном функционировании льда, а также для малобюджетных проектов. Энергетическая эффективность существенно выше, чем у бетонной плиты, а стоимость материалов и работ на 40-60 % ниже, чем для бетона. Ледовое поле выполняется из полиэтиленовых труб диаметром 25 мм с расстоянием между трубами 80-100 мм. Трубы закрываются засыпкой из кварцевого песка или гранитной крошки слоем до 30 мм от их верхней поверхности. 5.2.4. Мобильная система из трубных матов предпочтительна для случаев кратковременного устройства льда. Высокую стоимость самой трубной системы компенсирует низкая стоимость строительных подготовительных работ. Маты из гибких трубок диаметром 14 мм, с межтрубным расстоянием 23 мм. Система укладывается на твердое основание, подключается к холодильной машине. Наморозка льда производится поверх трубок. После размораживания поля отсоединённые субколлекторы накрываются крышками и маты сворачиваются вместе с находящимся внутри холодоносителем на специальные оцинкованные катушки и убираются на склад хранения. 5.2.5. При возведении конструкций ледовых полей (площадок) необходимо учитывать следующее: - коллекторы трубной системы поля и трубопроводы к холодильной машине выполняются из полиэтиленовых труб по трёхтрубной схеме «Уравнитель давления Тишермана». Соединения выполняются стыковой сваркой, также используются фланцевые соединения. Возможно использование любых холодоносителей, включая этиленгликоль и хлорид кальция; - не допускается укладка системы холодильных труб, в том числе замоноличенных в плиту из теплопроводного материала, на пучинистые грунты; - конструкция и размеры охлаждающей плиты катка для хоккея должны обеспечивать возможность установки и крепления бортов, окаймляющих поле для игры; - разность отметок в плоскости поверхности охлаждающей плиты катков с искусственным льдом не должна превышать 0,005 м; - в универсальных спортивно-зрелищных залах с искусственным льдом должна обеспечиваться возможность создания ледяной поверхности разных размеров в соответствии с предусмотренной трансформацией арены; - при расчёте конструкции охлаждающей плиты и основания под неё следует учитывать дополнительную временную нагрузку на плиту от проезда машин по уходу за льдом и грузовых автомашин исходя из нормативной автомобильной нагрузки Н-10 (для нормального автомобиля); - для отвода воды в канализацию должны предусматриваться каналы за пределами охлаждающей плиты; - каналы, устраиваемые в крытых катках, должны перекрываться съемными щитами, верхняя поверхность которых должна быть заподлицо с полом зала катка (см. рисунок 5.1, б). 5.2.6. Конструктивная особенность так называемого силиконового льда дана в приложении Г. 6. ИНЖЕНЕРНОЕ ОБУСТРОЙСТВО ЗДАНИЙ6.1. Отопление и вентиляция6.1.1. Все спортивные сооружения должны быть оборудованы системами отопления, вентиляции, кондиционирования, обеспечивающие соответствующую температуру, влажность и бактериальную обсеменённость воздуха. 6.1.2. Расчетная температура и кратность обмена воздуха в спортивных сооружениях принимаются согласно таблице 6.1. Обеспечение указанных параметров внутреннего воздуха в спортивных залах с местами для более 800 зрителей и крытых катках с местами для зрителей во всех климатических районах, а также в спортивных залах с местами для 800 и менее зрителей в IV климатическом районе рекомендуется путем устройства систем кондиционирования воздуха. Выбор системы определяется технико-экономическим расчетом.
Продолжение таблицы 6.1
* В нерабочее время в этих помещениях следует предусматривать снижение температуры воздуха в пределах до 5°С с учетом восстановления нормируемой температуры воздуха к началу рабочего времени. Выбор системы отопления в этих помещениях (воздушное, водяное и др.) определяется технико-экономическим обоснованием. ** Обеспечивается от самостоятельного источника энергии технологическим оборудованием заводского изготовления и отключающим устройством при повышении температуры в камере св. 110°С. 6.1.3. В помещениях, не указанных в таблице, температуру воздуха и кратность воздухообмена следует принимать по требованиям соответствующих норм. Расчетное число зрителей в зале катка при проектировании систем вентиляции принимается исходя из 100 % заполнения зрительских мест. 6.1.4. Расчетная температура воздуха приведена в таблице 6.1 для рабочего времени в холодный период года. В теплый период года температура в помещениях принимается в соответствии с требованиями СНиП 41-01 и ГОСТ 30494. 6.1.5. В период, когда крытые катки с местами для зрителей используются для учебно-тренировочных занятий (без присутствия зрителей), расчетная температура воздуха в них (в холодный период года) принимается как для залов крытых катков без мест для зрителей. 6.1.6. В залах крытых катков с местами для зрителей расчетная температура воздуха, приведенная в настоящей таблице для холодного периода года, может быть выдержана только в зоне размещения мест для зрителей, а в зоне нахождения занимающихся (соревнующихся) температура может приниматься такой, какая предусмотрена для спортивных залов и крытых катков без мест для зрителей соответственно. 6.1.7. Расчет воздухообмена в универсальных залах катков с местами для зрителей производится для следующих эксплуатационных режимов при функционировании: - льда и мест для зрителей; - мест для зрителей без использования льда; - льда без использования мест для зрителей. В спортивных залах (без искусственного льда) с местами для зрителей расчет воздухообмена рекомендуется производить для двух режимов - со зрителями и без них. 6.1.8. Самостоятельные системы приточной и вытяжной вентиляции предусматриваются для: - залов крытых катков; - душевых, раздевален занимающихся и массажных; - служебных помещений для административного и инженерно-технического персонала, инструкторско-тренерского состава, бытовых помещений для рабочих; - технических помещений (бойлерных и др.). Удаление воздуха из зальных помещений крытых катков, как правило, предусматривается вытяжными системами с естественным побуждением. 6.1.9. Удаление воздуха из зальных помещений крытых катков с искусственным льдом, предусматриваемое вытяжными системами с естественным побуждением, рекомендуется осуществлять, используя обычные вентиляционные шахты, устанавливаемые непосредственно на кровле зала. Вытяжные шахты оборудуются утепленными клапанами с электроподогревом и дистанционным управлением, а также поддонами для сбора и удаления конденсата. К клапанам и поддонам обеспечивается удобный доступ обслуживающего персонала. Размеры внутреннего сечения шахт определяются по расчету с учетом гравитационного и ветрового напора и давления, создаваемого приточной вентиляцией. Систему вытяжной вентиляции из санитарных узлов и курительных допускается объединять с системой вытяжной вентиляции из душевых. 6.1.10. В системах воздушного отопления зальных помещений, совмещенных с вентиляцией и кондиционированием воздуха, допускается применение рециркуляции воздуха. При этом объем подаваемого наружного воздуха не должен быть меньше указанного в таблице 6.1. 6.1.11. В зальных помещениях рециркуляционный воздух следует использовать в объеме, не превышающем установленные нормы, при этом рециркуляционный контур системы вентиляции и кондиционирования рекомендуется оснащать обеспыливающими фильтрами и устройствами обеззараживания воздуха с эффективностью инактивации микроорганизмов и вирусов не менее 95 %. 6.1.12. В зданиях спортивных сооружений круглогодичного использования применяются системы центрального водяного отопления. Для помещений, в которые предусматривается в нерабочее время понижение внутренней расчетной температуры воздуха, подогрев его до нормируемых параметров рекомендуется осуществлять системами приточной вентиляции, которые в этот период используются как системы воздушного отопления. При соответствующем обосновании для отопления указанных помещений или их групп могут применяться только системы воздушного отопления. 6.1.13. В залах крытых катков с местами для зрителей рекомендуется предусматривать самостоятельные системы распределения воздуха для зоны размещения мест для зрителей и для зоны нахождения занимающихся (соревнующихся). 6.1.14. Помещения, предназначаемые для оборудования в них приточных систем и установок кондиционирования воздуха, рекомендуется размещать в подвальных или цокольных этажах (на грунте) так, чтобы протяженность трасс воздуховодов была минимальной. 6.1.15. Холодопроизводительность холодильных станций крытых катков с искусственным льдом принимается по летним нагрузкам с учетом параметров внутреннего воздуха, приведенных в таблице 6.1. Температура поверхности льда для расчета принимается минус 8°С при толщине льда 50 мм. Разность температур поверхности льда в любых точках может составлять не более 0,5°С. 6.1.16. При проектировании конфигурации оборудования катка следует принимать во внимание виды деятельности и интересы разных групп пользователей в соответствии с параметрами таблицы 6.2. Таблица 6.2
6.2. Водопровод и канализация6.2.1. Здания спортивных залов и крытых катков оборудуются системами хозяйственно-питьевого и противопожарного водопровода и канализации, присоединяемыми к наружным сетям населенного пункта или к собственному водозаборному узлу. В неканализированных районах предусматриваются местные очистные сооружения, состав которых и степень очистки согласовываются с местными органами санитарного надзора. Вода для хозяйственно-питьевых и технологических нужд в зданиях спортивных залов и катков должна удовлетворять требованиям СНиП 2.04.01. 6.2.2. Горячее водоснабжение предусматривается для обеспечения хозяйственно-бытовых и технологических нужд. Для сокращения потребления тепла на нужды горячего водоснабжения объектов, расположенных в районах с большой солнечной активностью, рекомендуется предусматривать устройство солнечных аккумуляторов, рассчитывая их на максимальный расход горячей воды. Горячая вода должна соответствовать требованиям СП 4723. 6.2.3. Подводка горячей воды предусматривается к душевым, кабинету врача, комнатам медицинской сестры и для оказания первой медицинской помощи, помещениям блока водных процедур медико-восстановительного центра, массажным, бытовым помещениям для рабочих, раздевальням для занимающихся, комнатам инструкторского и тренерского состава, умывальным при санитарных узлах для зрителей, помещениям для уборочного инвентаря, а также к другим помещениям в соответствии с технологическим заданием. На технологические нужды горячая вода подается для подготовки поверхности льда катков, для буфетов, для ускорения таяния льда в каналах у охлаждающей плиты спортивно-демонстрационных и спортивно-зрелищных крытых катков (в ночное время) и в приямках для ледяной стружки в помещениях для стояния машин по уходу за льдом, а при устройстве контрастной ванны в бане сухого жара - для ее заполнения. 6.2.4. Устройство внутреннего хозяйственно-питьевого и противопожарного водопровода и нормы расхода воды в сутки и в часы максимального водопотребления, а также устройство канализации должны отвечать требованиям СНиП 2.04.01 с дополнительным учетом водопотребления на хозяйственно-питьевые нужды и на технологические нужды, приведенного в таблице 6.3. Таблица 6.3
* Рекомендуется использование воды с малой жесткостью - 0,5-1,0 мг-экв/л. 6.2.5. При подсчете максимальных часовых расходов воды занимающимися рекомендуется принимать укрупненные показатели (учитывающие технологию водопотребления и продолжительность смены), определяемые по формуле: Qобщ. (гор) = (9 сут. общ. (гор) × n)/Т, где: Qобщ. (гор) - часовой расход (общий или горячей воды); 9 сут. общ. (гор) - суточный расход (общий или горячей воды); n - число занимающихся в 1 смену; Т - продолжительность смены в часах (при продолжительности смены менее 1 ч Т принимается равной 1). Максимальное секундное водопотребление принимается исходя из одновременной работы всех сеток в душевых при раздевальных. Максимальный секундный сброс воды в канализацию принимается равным секундному водопотреблению при его величине более 8 л/с, а при меньшем водопотреблении к нему прибавляется максимальный расход одним прибором. 6.2.6. Водообмен в контрастных ваннах бань сухого жара предусматривается, как правило, с непрерывным протоком свежей воды (с дезинфекцией и подогревом); при этом продолжительность полного водообмена принимается не более 8 ч. Водообмен методом периодических наполнений и опорожнений ванны не допускается. Температура воды в этих ваннах принимается в пределах до 20°С. 6.2.7. При устройстве автоматического водяного пожаротушения следует руководствоваться требованиями НПБ 88 и НПБ 110, относя помещения спортивных корпусов к I группе по степени опасности развития пожара. 6.2.8. Расчетный расход воды на наружное пожаротушение для зданий залов крытых катков принимается в соответствии с требованиями СНиП 2.04.02. При проектировании крытых залов катков с объемом зданий свыше указанных в табл. 6 СНиП 2.04.02 расход воды на наружное пожаротушение согласовывается с органами пожарной охраны и управлениями водопроводного хозяйства на стадии отвода земельного участка под строительство. 6.2.9. В санитарных узлах и душевых с количеством приборов свыше трех (унитазов, писсуаров или душевых сеток соответственно) предусматривается установка поливочных кранов диаметром 20 мм с подводкой холодной и горячей воды, а также устанавливаются трапы для отвода стоков диаметром 100 мм. 6.2.10. В душевых при раздевальных для занимающихся трапы для отвода стоков диаметром 100 мм устраиваются из расчета один трап не более чем на 3 сетки. В душевых при комнатах инструкторского и тренерского состава и при бытовых помещениях для рабочих рекомендуется устанавливать душевые поддоны. 6.2.11. Поливочные краны диаметром 50 мм с подводкой холодной и горячей воды устанавливаются в помещении для машин по уходу за льдом. По периметру ледяного поля, исходя из радиуса обслуживания не более 30 м, устанавливаются поливочные краны диаметром 50 мм с подводкой холодной воды. Вода от таяния льда и снежной стружки при отсутствии наружной дождевой канализации отводится в бытовую канализацию. 6.2.12. В уборных для занимающихся и зрителей устанавливаются напольные керамические унитазы или напольные чаши со смывным краном.
|
|||||||||||||||||||||||||||||||||||||||||||||||||||||||||||||||||||||||||||||||||||||||||||||||||||||||||||||||||||||||||||||||||||||||||||||||||||||||||||||||||||||||||||||||||||||||||||||||||||||||||||||||||||||||||||||||||||||||||||||||||||||||||||||||||||||||||||||||||||||||||||||||||||||||||||||||||||||||||||||||||||||||||||||||||||||||||||||||||||||||||||||||||||||||||||||||||||||||||||||||||||||||||||||||||||||||||||||||||||||||||||||||||||||||||||||||||||||||||||||||||||||||||||||||||||||||||||||||||||||||||||||||||||||||||||||||||||||||||||||||||||||||||||||||||||||||||||||||||||||||||||||||||||||||||||||||||||||||||||||||||||||||||||||||||||||||||||||||||||||||||||||||||||||||||||||||||||||||||||||||||||||||||||||||||||||||||||||||||||||||||||||||||||||||||||||||||||||||||||||||||||||||||||||||||||||||||||||||||||||||||||||||||||||||||||||||||||||||||||||||||||||||||||||||||||||||||||||||||||||||||||||||||||||||||||||||||||||||||||||||||||||||||||||||||||||||||||||||||||||||
|
Виды спорта |
Горизонтальное освещение |
Равномерность освещения |
||
|
Тренировка |
Соревнование |
Тренировка |
Соревнование |
|
|
Бег на коньках |
200 |
500 |
1 :2 |
1:1,4 |
|
Хоккей с шайбой |
5001) |
500 до 7502) |
1:2 |
1:1,4 |
|
Катание на коньках |
1003) |
1:3 |
||
|
При телепередачах вертикальная освещенность Еверт. на высоте 1 м: от 800 лк до 1400 лк (при цифровом телевидении Еверт. в сторону главной телекамеры - 2000 лк). При этом на трибунах должна быть предусмотрена вертикальная освещенность от 30 % Еверт.норм. - на передних рядах до 10 % Еверт.норм. - на верхних рядах). |
||||
1) При тренировках бега на коньках - 200 лк.
2) Для соревнований высшего уровня.
3) Уровень горизонтальной освещенности может быть уменьшен до 50 лк.
6.3.3. При проектировании осветительной установки, обеспечивающей уровни освещенности, требующиеся для проведения цветных телепередач, необходимо из общего числа светильников выделять приборы, обеспечивающие нормируемые уровни освещенности, предусмотренные в таблице 6.5. Управление этими приборами предусматривается отдельно от остальных приборов осветительной установки.
Таблица 6.5
|
Освещаемый объект |
Наименьшая освещенность, лк |
Плоскость или зона, в которой нормируется освещенность |
|
1. Спортивная арена (фигурное катание, хоккей с шайбой, шорт-трек, конькобежные дорожки) |
1000 |
Вертикальная, на высоте 1 м в направлении главной телевизионной камеры |
|
2. Трибуна |
50 |
Горизонтальная освещенность на зрительских местах |
6.3.4. Коэффициент запаса осветительных установок принимается 1,5 (для телевизионного освещения - 1,25). Источники света принимаются со сплошным или близким к сплошному спектром излучения с цветовой температурой, как правило, 5600-6000К. Отношение горизонтальной освещенности спортивной арены к вертикальной принимается не более 3:1.
6.3.5. Неравномерность освещенности трибуны (с плавным переходом от одного уровня к другому) допускается не св. 1:3 (в сторону снижения от приведенного в таблице). Освещенность зон показа зрителей на трибуне крупным планом принимается увеличенной до 750 лк. Эти зоны определяются заданием на проектирование в пределах до 20 % площади трибуны.
6.3.6. Электроприемники спортивных сооружений по надежности электроснабжения относятся к следующим категориям.
В спортивных залах и катках без мест для зрителей или при их числе менее 300:
- при числе занимающихся 120 чел. и менее в смену все электроприемники III категории;
- при числе занимающихся более 120 чел/смену светильники аварийного и эвакуационного освещения, электродвигатели пожарных насосов, автоматическая пожарная сигнализация и система дымоудаления II категории;
- остальные электроприемники - III категории.
В спортивных залах и катках, предназначаемых только для занятий с детьми, светильники аварийного и эвакуационного освещения, электродвигатели пожарных насосов, автоматическая пожарная сигнализация и система дымоудаления - I категории.
Надежность электроснабжения электроприемников крытых спортивных сооружений с числом мест для зрителей 300 и более определяется согласно главе VII-2 ПУЭ.
6.3.7. Уровень средней горизонтальной освещенности трибун для зрителей принимается 50 лк. Для освещения спортивных залов и крытых катков, как правило, применяются газоразрядные лампы; при этом коэффициент пульсации освещенности принимается равным 10 %. При необходимости плавного регулирования светового потока, а также в случаях невозможности или технико-экономической нецелесообразности применения газоразрядных источников света допускаются, а при уровнях освещенности менее 30 лк используются, как правило, лампы накаливания.
В зданиях спортивных сооружений в соответствии с требованиями норм предусматривается эвакуационное освещение.
6.3.8. Для ограничения слепящего действия светильников при освещении зальных помещений показатель ослеплённости принимается не более 60.
При применении газоразрядных источников света допускается управление освещением осуществлять тремя-четырьмя ступенями.
6.3.9. В зданиях залов крытых катков предусматриваются:
- радиофикация от радиотрансляционной сети населенного пункта;
- телефонизация от АТС населенного пункта;
- электрочасификация (при установке не менее десяти электровторичных часов).
6.3.10. При проектировании залов катков необходимо предусматривать обеспечение осветительной установкой всех режимов освещения в соответствии с нормами освещенности. Предусматривается также специальное освещение эстрады, обеспечивающее технологические требования проводимых на эстраде зрелищных мероприятий. Управление освещением универсальных спортивных залов или катков предусматривает включение осветительных установок в соответствии с трансформацией зала (катка).
6.3.11. На спортивных сооружениях, предназначаемых для соревнований республиканского и более высокого масштаба, как правило, дополнительно предусматриваются оперативно-служебная телефонная связь между помещениями судейской коллегии и местами нахождения отдельных судейских бригад, а также с помещением дежурного медицинского персонала; установка информационной и регистрирующей аппаратуры; местная АТС для связи между отдельными помещениями; радио- и телевизионные передачи со спортивного сооружения. В устройствах связи и сигнализации применяются оборудование и материалы серийного производства, соответствующие требованиям ГОСТов или технических условий.
6.3.12. При эстрадных выступлениях и балете на льду рекомендуется иметь системы, обеспечивающие:
- оперативную связь помощника режиссера с персоналом, обслуживающим эти выступления (осветители, дирижер и т. д.);
- трансляцию с эстрады в артистические;
- вызов помощником режиссера артистов на эстраду.
Предусматриваемая система звукоусиления предназначается для обеспечения необходимым уровнем громкости зрителей на трибунах и спортсменов, находящихся на арене. С учетом шума трибун номинальный уровень громкости повышают на 10-15 дБ. Громкоговорители (звуковые колонки) для систем звукоусиления устанавливаются вдоль трибун, на низких опорах так, чтобы они не мешали зрителям следить за ходом соревнований.
6.3.13. В помещениях хореографических классов предусматривается звуковая подача информации и звуковоспроизведение музыки для занимающихся.
В раздевальных для занимающихся устанавливаются звуковые колонки небольшой мощности (2 Вт) для оповещения о ходе соревновании и своевременного вызова. При звукоусилении в многофункциональных и спортивно-демонстрационных залах катков громкоговорители, объединяемые в отдельные группы, устанавливаются на ходовых мостиках, каждая группа обеспечивает звукоусиление той или иной программы (эстрадные выступления, балет на льду, хоккей, фигурное катание и т. д.). Конструкция крепления громкоговорителей в зальных помещениях предусматривается обеспечивающей поворот их в двух плоскостях (вертикальной и горизонтальной), что необходимо при настройке системы звукоусиления. При эстрадных выступлениях для подключения выносных громкоговорителей, устанавливаемых на эстраде, предусматриваются коробки с разъемами. Месторасположение шкафов и коробок с разъемами для подключения микрофонов в зальном помещении определяется в зависимости от их назначения (эстрадные выступления, спортивные соревнования, балет на льду).
6.3.14. Если в зданиях согласно СНиП 3.05.06 требуется устройство молниезащиты, то вводные трубостойки проводного вещания, располагаемые на кровле, подсоединяются к молниезащитной сетке. Если молниезащита отсутствует, то трубостойки заземляются на самостоятельный контур.
6.3.15. Аппаратная системы звукоусиления в залах крытых катков располагается так, чтобы из нее обеспечивалась при спортивных соревнованиях прямая видимость всей арены, а при зрелищных мероприятиях - эстрады или ледяной площадки балета на льду. Площадь звукоаппаратной в спортивно-демонстрационных и многофункциональных залах катков рекомендуется принимать 25-30 м2 , а окно в зальное помещение (с раздвижным стеклами) размером 2,5×0,8 м; в других залах и катках с местами для зрителей площадь звукоаппаратной рекомендуется принимать 10-12 м2 , а размер окна - не менее 1,5×0,8 м.
Для прокладки проводов и кабелей по периметру аппаратной звукоусиления предусматривается подпольный канал. Размер канала определяется количеством кабелей и проводов, прокладываемых в нем.
6.3.16. В спортивных залах и катках, оборудованных светоинформационным табло, предусматриваются помещение для размещения силового оборудования и аппаратная датчиков табло. Помещение с силовым электрооборудованием располагается как можно ближе к светоинформационному табло, а его размеры определяются в зависимости от принятого типа табло. Аппаратная датчиков табло располагается так, чтобы из нее была обеспечена видимость табло, а ее площадь принимается не менее 14 м2.
6.4.1. Акустика в залах с ледовым покрытием - время послезвучая в верхней части помещения от 500 Гц не должно превышать 6 сек. Время послезвучая следует доводить до 4 сек. Это может быть достигнуто специальным акустическим покрытием помещения.
Для спортивных залов и катков рекомендуется принимать, как правило, средние показатели зоны, но не выше верхней границы, являющейся предельно допустимой.
На частотах ниже 500 Гц время реверберации допускается увеличивать на 15-20 %.
Уровень звука от внешних источников (в том числе от работы систем санитарно-технического и инженерного оборудования), проникающего в эти помещения, рекомендуется принимать по таблице 6.6.
6.4.2. Для предотвращения влияния внешних источников шума помещение для отдыха спортсменов и занимающихся, тренерские и помещения судей, помещения медицинского обслуживания, дикторские и комментаторские кабины рекомендуется располагать на удалении от помещений вентиляционных камер, машинных залов кондиционеров, насосных и других источников шума.
В залах крытых катков для учебно-тренировочных занятий, а также спортивно-демонстрационных и многофункциональных залах катков устройство звукопоглощающих потолков рекомендуется независимо от акустического расчета.
Таблица 6.6
|
Помещения |
Уровень звукового давления, дБ, при среднегеометрической частоте октавных полос, Гц |
Уровень звука, ДБА |
|||||||
|
63 |
125 |
250 |
500 |
1000 |
2000 |
4000 |
8000 |
||
|
Спортивные залы крытых катков и хореографические классы |
71 |
61 |
54 |
49 |
45 |
42 |
40 |
38 |
50 |
6.4.3. При проектировании зальных помещений с выпуклыми (купольными, сводчатыми, арочными) покрытиями для избежания концентрации звуковой «энергии» и фокусировки звука рекомендуется, чтобы радиус кривизны не менее чем в два раза был больше высоты помещения.
В зальных помещениях без мест для зрителей независимо от формы покрытия при отношении длины помещения к его высоте, равном 5 и менее, акустические устройства могут не предусматриваться.
6.4.4. В спортивно-демонстрационных и многофункциональных залах катков предусматривать кинопоказ, как правило, не рекомендуется. При необходимости предусматривать коммерческий кинопоказ планировочное решение и интерьер зала должны проектироваться с учетом акустических требований, а разработка акустических мероприятий должна осуществляться специалистом-акустиком.
6.4.5. Для защиты мягкой фактуры звукопоглощающих материалов от механического повреждения применяются акустически прозрачные экраны (перфорированные плиты, отверстия в которых составляют не менее 20 % поверхности, металлические сетки с ячейками 5×5 см и др.).
6.4.6. Звукопоглощающие материалы, рекомендуемые для применения в качестве акустических облицовок, приведены в таблице 6.7.
Таблица 6.7
|
Материал |
Плотность, кг/м3 |
|
Супертонкое щелочное стекловолокно |
15-20 |
|
Ультратонкое и супертонкое щелочное стекловолокно |
8-10 |
|
Супертонкое штапельное базальтовое волокно |
20-25 |
|
Холст СТВ |
8-10 |
7.1. При проектировании зданий и сооружений, включающих помещения физкультурно-спортивных залов, следует обеспечивать безопасность занимающихся с учетом применяемых строительных конструкций и материалов, объемно-планировочных решений зданий, состава и назначения дополнительных групп помещений и т.д. Для этого следует учитывать требования СНиП 21-01, СНиП 2.08.02, ГОСТ 12.1.004.
Не допускается проектировать здания IV и V степеней огнестойкости для занятий инвалидов.
Параметры путей эвакуации зданий физкультурно-оздоровительных учреждений должны соответствовать требованиям, изложенным в СНиП 21-01, СНиП 35-01 и СНиП 2.08.02.
7.2 Площадь физкультурно-спортивных залов должна соответствовать параметрам, указанным в таблице 1 п. 1.14* СНиП 2.08.02. Если площадь зала превышает установленную в таблице 1, то между зальным и другими помещениями следует предусматривать противопожарные стены или перегородки 1-го типа и необходимо иметь не менее двух эвакуационных выходов.
При применении трансформируемых перегородок в зальных помещениях следует предусматривать эвакуационные выходы из каждой разделяемой части.
7.3 Степень огнестойкости зданий с физкультурно-спортивными помещениями не должна быть ниже степени огнестойкости здания, к которому они пристраиваются.
При размещении сооружений физкультурно-оздоровительных учреждений в блоках, пристраиваемых к общеобразовательным школам, необходимо отделить их функционально, а также противопожарными перегородками 1-го типа и перекрытиями 3-го типа. Заполнение проемов в противопожарных преградах выполняется в соответствии с требованиями СНиП 21-01 и СНиП 2.08.02.
7.4. Конструкции и материалы покрытия пола спортзала должны соответствовать пожарно-техническим характеристикам п. 6.25* СНиП 21-01:
для зала без зрителей - аналогично покрытию пола в общих коридорах и холлах - В2, РП2, Д2, Т2;
для зала, где занимаются инвалиды или есть зрители, - аналогично покрытию пола в вестибюле - Г2, РП2, Д2, Т2.
7.5. Материалы для обшивки (в том числе акустической) стен и потолков в зальных помещениях физкультурно-спортивного назначения следует принимать со следующими пожарно-техническими характеристиками:
- каркас для подвесных потолков - НГ;
- обрешетка или каркас стен - Г2*;
- облицовка стен и потолков - Г3.
7.6. В отделке стен и потолков помещений для физкультурно-оздоровительных занятий инвалидов, а также помещений, где могут находиться дети, следует применять материалы со следующими пожарно-техническими характеристиками: П, В1, Д2 и Т2.
7.7. Система средств оповещения об опасности должна быть комплексной и соответствовать СНиП 35-01, НПБ 104.
Блок зрительских мест - группа мест, с которых зрители эвакуируются по общему проходу в одном направлении и с одинаковым на всем протяжении прохода видом пути (горизонтальный, пандус, лестницы вниз или вверх).
Вспомогательные помещения - помещения, предназначаемые для обслуживания занимающихся, зрителей, а также необходимые для обеспечения эксплуатации сооружения.
Каток с искусственным льдом - сооружение, включающее горизонтальную (ые) плоскость (ти), имеющую (ие) искусственное ледяное покрытие и различные вспомогательные, бытовые и административные помещения, а также, во многих случаях, трибуны для зрителей.
Ледовое поле - горизонтальная плоскость, имеющая искусственное ледяное покрытие различных размеров.
Ледовая площадка - площадка, представляющая собой ледовое поле, размеры которого определяются заданными функциональными процессами.
Люк - проем в гребенке трибуны, предназначаемый для входа зрителей на трибуну и выхода с нее, а также для связи вспомогательных помещений, размещаемых в подтрибунном пространстве, с трибуной и ареной.
Многофункциональные сооружения катков - сооружения (здания) размеры, архитектурные и конструктивные решения которых позволяют проводить мероприятия различного функционального назначения, включая эстрадные концерты и различные общественные мероприятия, с трибунами для зрителей.
Основные помещения - помещения, предназначаемые для непосредственного проведения в них учебно-тренировочных занятий или соревнований.
Площадки (поле) для игры - часть пола зала (арены) для того или иного вида спортивных соревнований, ограниченная наружными линиями разметки.
Размер арены для соревнований - габариты зоны, включающие игровое поле или беговую дорожку, зону безопасности и обходное пространство первого ряда кресел.
Размер игрового поля - ледовая площадка в границах разметки для проведения соревнований и тренировок. Толщина размеченных граничных линий может входить в габариты площадки (уточняется по каждому виду спортивных мероприятий).
Специализированный спортивный каток - каток, предназначаемый для учебно-тренировочных занятий и (или) соревнований по одному из видов спорта.
Спортивно-демонстрационный каток - сооружение (здание), предназначенное для проведения спортивных соревнований или по одному виду спорта (специализированный), или для нескольких различных видов (универсальный), с трибунами для зрителей.
Учебно-тренировочный каток - сооружение (здание), предназначенное для проведения тренировочных занятий (тренировок) по одному или нескольким видам спорта, без трибуны или с трибунами (как правило, трансформируемыми) для специалистов и небольшого числа учащихся и зрителей.
Универсальный спортивный зал катка - каток, предназначаемый для попеременных занятий и (или) соревнований по различным видам спорта.
|
Зоны (участки) |
Размеры, площади |
Примечания, дополнительные требования или рекомендации |
|
Пункты въезда и выезда транспортных средств (со стороны служебных входов): |
|
По периметру территории или в зонах досмотра |
|
пункты въезда/выезда спортсменов |
6 м2 |
Ширина ворот - 6 м |
|
пункты въезда/выезда для экстренных служб |
То же |
То же |
|
пункты въезда/выезда для телевидения |
То же |
То же |
|
пункты въезда/выезда для разгрузки/погрузки |
То же |
То же |
|
КПП для проверки пропусков на транспортные средства |
По заданию на проектирование |
С внешней стороны периметра территории объекта |
|
КПП для посетителей с билетами или имеющих аккредитацию, в том числе: |
То же |
На территории объекта. Оборудуются металлоискателями, столами для вещей, сканерами |
|
зона (зоны) проверки билетов - после металлоискателей перед входом в сооружение |
3-9 м2 каждая зона |
На территории участка объекта на расстоянии 12 м от металлоискателей на 2 м вглубь |
|
для спортсменов, в т.ч. команд |
Не менее 18 м2 |
|
|
для технических делегатов и судей |
То же |
Возможно совмещение со входом для спортсменов и членов «Олимпийской семьи» |
|
для членов «олимпийской семьи» |
То же |
Возможно совмещение со входом для СМИ |
|
для телевидения |
То же |
Крытый КПП; прямой проход к зоне ТВ |
|
для журналистов и фотографов |
То же |
Желательно устройство отдельного входа вблизи зоны прессы и медиа-центра |
|
для рабочих и служащих |
То же |
|
|
для зрителей и спонсоров |
То же |
Из расчёта один КПП на 10000 посетителей |
|
уборные в зоне КПП |
1 кабина на 2 000 посетителей |
По внешнему периметру ограждения объекта |
|
специальный КПП для аккредитованного контингента |
По заданию на проектирование |
Вблизи с основным КПП для зрителей |
|
зона специального устройства для сканирования вещей (сумок, оборудования), вносимых на территорию объекта |
Не менее 50 м2 |
Размещение - по условиям планировочного решения |
|
Зона досмотра транспортных средств: |
600-800 м2 |
На максимальном расстоянии от спортивных сооружений |
|
участок очереди на досмотр |
180 м2 |
|
|
резервный участок очереди на досмотр (для большегрузных машин) |
140 м2 |
|
|
пропускной пункт |
150 м2 |
Оборудуется сканерами |
|
участок пропускного пункта для грузовиков |
70 м2 |
|
|
платформы досмотра |
1,2×1,2 м, высотой 4 м каждая |
Количество - по заданию на проектирование |
|
офис сотрудников зоны досмотра |
15 м2 |
|
|
уборные |
3 м2 |
|
|
Выходы для пеших посетителей с территории объекта к парковкам транспортных средств и остановкам общественного транспорта: |
|
|
|
для аккредитованного контингента |
Ширина выходов 1-3 м |
Размещение - в каждой зоне досмотра. Могут использоваться как дополнительный выезд для служебных транспортных средств |
|
для зрителей |
6 м2; ширина выходов 6 м |
Размещение - по направлению к остановкам общественного транспорта |
|
для рабочих и служащих |
По заданию на проектирование |
Размещение - на выходе из рабочей зоны |
|
Управление транспортом: |
|
|
|
офис менеджера |
25-50 м2 |
За периметром участка объекта. Возможно использование мобильных помещений |
|
зона отдыха водителей |
80-150 м2 |
То же |
|
уборные для сотрудников транспортного отдела |
По заданию на проектирование |
То же |
|
Двор для хранения дорожного инвентаря и оборудования |
Не менее 20 м2 |
Может размещаться на территории зоны логистики |
|
Зона (зоны) посадки/высадки посетителей: |
Количество зон - по заданию на проектирование |
Вблизи входов для зрителей |
|
для спортсменов индивидуальных видов |
170 м2 (каждая) |
Не включая зону разворота транспортных средств |
|
для спортивных команд |
100 м2 (каждая) |
То же |
|
для «олимпийской семьи» |
50 м2 (каждая) |
То же |
|
для представителей СМИ |
170 м2 (каждая) |
То же |
|
для зрителей и служащих |
120 м2 (каждая) |
То же |
|
для спонсоров |
120 м2 (каждая) |
То же |
|
Парковки для транспортных средств аккредитованных групп посетителей: |
|
На территории охраняемых участков объекта; вблизи аккредитованных зон |
|
для членов «олимпийской семьи» |
32 м2 (каждая) |
|
|
для телевидения |
32 м2 (каждая) |
|
|
для прессы |
32 м2 (каждая) |
|
|
для службы безопасности |
32 м2 (каждая) |
В данной зоне может предусматриваться парковка машин VIP-персон |
|
для экстренных служб |
50 м2 (каждая) |
|
|
Зона управления участком (техническое обслуживание сооружений, обеспечение технической безопасности): |
|
Размещение - на территории объекта, частично в крытых помещениях; удобный доступ в различные зоны. Возможно совмещение с зоной логистики |
|
рабочая зона |
60 м2 |
Помещение |
|
кабинет менеджера и его ассистента |
12 м2 |
То же |
|
кабинет администратора (с хранением документации, ключей и т.д.) |
12 м2 |
То же |
|
ожидальная (для дежурных сотрудников, ожидающих вызова на работы) |
24 м2 |
То же |
|
кладовая |
12 м2 |
То же |
|
рабочая зона строительного отдела (место совещаний, офис, переговорная) |
30 м2 |
Возможно использование мобильного сооружения |
|
кладовая для хранения материалов и инструмента |
50 м2 |
То же |
|
склад/рабочий участок (хранение материалов для мелких работ в интерьере, проведение некоторых мелких работ) |
80 м2 |
Крытое помещение |
|
контейнерная площадка |
60 м2 |
То же |
|
зона (участок) погрузки/выгрузки тяжёлых стройматериалов |
50 м2 |
Открытая площадка |
|
двор для хранения крупногабаритных элементов конструкций и материалов |
50 м2 |
То же |
|
парковка для специальной мобильной техники |
90 м2 |
То же |
|
уборные для сотрудников строительного отдела |
3 м2 |
На территории хозяйственной зоны |
|
кладовая крупногабаритных электроматериалов |
18 м2 |
Возможно размещение в зоне логистики |
|
кладовая электрического инвентаря и запасных частей к нему |
9-12 м2 |
|
|
Зона уборки и удаления мусора: |
|
В хозяйственной зоне с удобным доступом во все остальные зоны |
|
парковка для мусороуборочных машин |
70 м2 |
|
|
зона сортировки мусора |
70 м2 |
|
|
зона мусорных контейнеров |
60 м2 |
Дополнительные контейнеры размещаются в зонах логистики, кухни, телевидения |
|
накопитель |
25 м2 |
Для случаев редкой уборки мусора |
|
инвентарная кладовая |
15-30 м2 |
Возможно использование передвижного помещения |
|
офис |
18 м2 |
|
|
Зона логистики (оперативной диспетчеризации перевозки грузов, погрузочно-разгрузочных операций, движения специальных транспортных средств): |
|
В составе хозяйственной зоны с удобным доступом в остальные зоны |
|
логистический центр |
|
Возможно использование мобильного помещения |
|
«кабинет менеджера и его ассистента |
|
|
|
рабочая зона персонала |
|
|
|
кладовая инструмента |
|
|
|
склад оборудования, мебели, крупногабаритных приборов и т.п. |
|
|
|
двор для хранения оборудования |
|
|
|
зона для парковки, движения и разворота транспортных средств |
|
Открытая площадка. Разгрузка |
|
автозаправочные точки |
|
|
|
площадки для мусорных контейнеров |
|
|
|
уборные для персонала службы логистики |
|
|
|
зона временного хранения грузов |
|
|
|
зона досмотра транспортных средств |
|
Площадка под тентом |
|
Парковка (парковки) для машин скорой помощи |
|
В удобной связи с пунктами медицинской помощи и выездом с территории объекта |
|
Вертолётная площадка |
|
|
Примечание.
Состав и параметры функциональных зон территории объекта учитывают требования к сооружениям, предназначаемым для соревнований высшего уровня, включая Олимпийские игры. Состав и размеры участков объектов более низкого соревновательного уровня, вплоть до массовых учебно-тренировочных занятий, определяются заданием на проектирование, исходя из местных условий.
Арена
Борт с плексигласом
Страховочные сетки
Водяной шланг(и)
Машина для заливки льда
Станок для обработки края
Оскрёбщик снега
Тележка для инструментов
Инструменты (сверлильный станок, ключи для труб, разводные ключи, отвертки и пр.)
Ворота (4 шт.)
Подъемник (для замены ламп)
Таймер + табло
Часы
Звуковоспроизводящая система
Носилки + аптечка первой помощи
Скамейки (для игроков, штрафников, оштрафованных на время)
Покрытия на лед (для неледовых мероприятий)
Резиновые маты
Раздевалка со шкафчиками
Скамейки
Шкафчики/крючки для одежды или вешалки
Стойки для клюшек
Зеркала
Мусорные корзины
Резиновые маты
Служба общественного катания
Прокатные коньки + стеллажи
Шкафчики
Вешалки
Резиновые маты
Станок для заточки лезвий
Служба уборки
Щетки
Половые швабры
Очиститель высокого давления
Пылесос
Машина для мытья полов
Машина для натирки полов
Стиральная машина
Кафетерий
Духовка
Холодильник с морозильной камерой
Микроволновая печь
Прилавок
Столы
Стулья
Наборы посуды (тарелки, вилки, ложки и пр.)
1. Искусственное покрытие - силиконовый лёд является дополнением к традиционному ледовому покрытию. Благодаря очень низким эксплуатационным расходам и высокой рентабельности силиконовый лёд, в основном, используется для коммерческих целей в торговых комплексах, развлекательных центрах, спорткомплексах и т.п. Силиконовый лёд в отличие от настоящего льда никогда не бывает мокрым или холодным. То, что силиконовый лёд по техническим параметрам на 10% медленнее настоящего, делает его идеальным покрытием для начинающих фигуристов и хоккеистов. Данное качество льда вынуждает хоккеистов и фигуристов прикладывать немного больше усилий в процессе тренировок, что положительно сказывается на их физической подготовке. Силиконовый лёд может быть применён для следующих занятий:
- любительский хоккей (тренировки и матчи);
- полупрофессиональный хоккей (тренировки);
- фигурное катание (любительский уровень);
- кёрлинг (любительский уровень);
- любительское катание.
Преимущества силиконового льда проявляются при проектировании физкультурно-оздоровительных центров, в которых заложена идея невысоких капитальных вложений и минимальных эксплуатационных затрат.
2. Силиконовый лёд
собирается из панелей многослойной влагостойкой высококачественной фанеры,
покрытой с двух сторон скользким полиэтиленовым слоем толщиной
Габариты панелей -
122×122 см, толщина панелей -
3. Для подготовки и дальнейшей эксплуатации поверхности силиконового льда используют:
- шлифовальную машину, укомплектованную навесным пылесосом;
- отдельный пылесос для сбора с поверхности синтетического льда пыли стружки, образовавшейся в процессе ежедневной эксплуатации;
- резиновый скребок для нанесения силикона на поверхность «синтетического льда».
Рекомендуемая
длина резинового скребка -
4. Сравнительные характеристики традиционного и силиконового льда приведены в таблице ниже.
|
Характеристики |
Традиционный лёд |
Силиконовый лёд |
|
Основание |
Бетонное основание с каналами для охлаждающей жидкости |
Бетонное основание |
|
Холодильные установки |
2 холодильные установки с периферийным оборудованием |
Не требуется |
|
Обслуживание |
1-2 квалифицированных техника на полный рабочий день |
1 уборщица на 2 часа в день |
|
Уход за поверхностью |
Ежедневный и квалифицированный |
Минимальный |
|
Тех. остановки катания для обслуживания |
Регулярные |
1 раз в день |
|
Специальное оборудование |
Заливочная машина с водителем |
Пылесос и шлифовальная машина, компрессор |
|
Потребление воды |
|
Не требуется |
|
Подогрев воды |
Регулярно и дорого |
Не требуется |
|
Эксплуатационные расходы (холодильные установки, установки для осушения воздуха. Без учёта освещения) |
Энергоснабжение не менее 1000 кВт/час в месяц |
|
|
Ожидаемый срок эксплуатации |
10-15 лет |
20-25 лет |
|
Скольжение: |
100 % |
90% |
|
после подготовки льда |
85 % |
90% |
|
через 1 час катания, через 2 часа катания |
80 % |
90% |
|
Коммерческое использование времени |
50-60 % |
100% |
5. Для трансформации спортивных площадей и защиты уже имеющихся покрытий целесообразно применять универсальный изолирующий композиционный материал покрытия типа Ice Comfort, особенно в ледовых дворцах для трансформации ледового покрытия, без его предварительной разморозки, в площадку для проведения выставок, театрально-зрелищных мероприятий и увеличения количества мест для зрителей.
6. Покрытие составляется из
листов, имеющих размеры 1000×1000×24 мм или 950×950×24
мм при весе
Для хранения
1 - сооружения с искусственным льдом; 2 - открытые; 3 - полуоткрытые; 4 - трансформируемые; 5 - крытые; 6 - тренировочные; 7 - демонстрационные; 8 - универсальные; 9 - специализированные; 10 - спортивно-зрелищные; 11 - спортивные; 12 - соревнования и тренировки с использованием льда; 13 - соревнования с использованием льда; 14 - соревнования без использования льда; 15 - культурно-массовые мероприятия с использованием льда; 16 - культурно-массовые мероприятия без использования льда; 17 - массовое катание; 18 - скоростной бег; 19 - фигурное катание; 20 - хоккей; 21 - хоккей с мячом.
Рис. 3.1 Типологические разновидности ледовых сооружений

КД - конькобежная дорожка; 1 - трибуна для зрителей; 2 - входная группа, вестибюль, фойе для зрителей, буфеты для зрителей; 3 - раздевальные для спортсменов; 4 - помещение для пресс-центра; 5, 6 - ложи прессы и почетных гостей; 7 - помещение для судей; 8 - помещение для обслуживания занимающихся массовым катанием; 9 - помещения для инструктора и тренеров; 10 - помещение для сушки одежды и обуви; 11 - медицинские помещения; 12 - массажная и баня сухого пара; 13 - стоянка машин по уходу за льдом; 14 - бытовые помещения для рабочих; 15 - хладоцентр; 16 - зал 36×18 м для учебно-тренировочной работы; 17 - зал с тренажерами; 18 - администрация; 19 - буфет для спортсменов; 20 - помещение для отдыха спортсменов; 21 - методический кабинет; 22 - вестибюль для спортсменов; 23 - гардероб для спортсменов; 24 - буфет для спортсменов и сотрудников; 25 - технические помещения; 26 - пожарный пост.
Рис. 3.2 Функционально-планировочная схема сооружения с конькобежной дорожкой
1 - зона безопасности; 2 - разминочная дорожка; 3 - направление гонки; 4 - старт на 500 и
R1 - расчетные радиусы беговых дорожек.
Рис. 3.3 Арена для скоростного бега на коньках
1 - старт дистанции на
R1 - расчетные радиусы беговых дорожек.
Рис. 3.4 Обустройство дорожки длиной
1 - внутренняя соревновательная дорожка (ширина
Рис. 3.5 Арены для скоростного бега на коньках
1 - соломенные маты;
2 - металлическое ограждение; 3 - забор; 4 - свободная от препятствий зона; 5 -
нейтральная зона шириной не менее
Рис. 3.6 Ограничительные барьеры ледовых дорожек
Рис. 3.7 Площадка для хоккея с шайбой


1 - скамьи для
участников соревнований; 2 - скамьи для оштрафованных игроков; 3 - стол
секретариата; 4 - места судей за воротами; 5 - борт высотой 1170-
Рис. 3.8 Арена для игры в хоккей с шайбой
1 - прочное ограждение площадки, покрытое с внутренней стороны эластичными матами для омортизации удара упавшего спортсмена; 2 - расчетная внутренняя ограничительная линия дорожки для бега (длина
Примечание: Стартовые и финишные линии - цветные шириной не более
Рис. 3.9 Площадка для соревнований по шорт-треку
Рис. 3.10 Площадка для игры в кёрлинг

1 - линия ворот*; 2 - средняя линия*; 3 - боковая линия*; 4 - центральный круг*; 5 - отметка 12-метрового удара; 6 - точка штрафного удара; 7 - центральная отметка; 8 - ворота; 9 - съемный бортик для перехвата мячей; 10 - место углового флага; 11 - место флага средней линии; 12 - граница ледовой поверхности; 13 - зона безопасности; 14 - стол судьи-секретаря; 15 - места удаленных игроков; 16 - места запасных игроков; 17 - зона зрительских мест.
* Линии синего цвета шириной
Рис. 3.11 Поле для хоккея с мячом
1 - границы игрового поля размером 102×62 м*; 2 - разметка соревновательных конькобежных дорожек (красный, оранжевый цвет); 3 - неледовое покрытие (бетон); 4 - места возможного размещения выходов из тоннеля.
* Линии синего цвета шириной
Рис. 3.12 Поле для хоккея с мячом и ледовая дорожка
1 - техническое помещение; 2 - гараж; 3 - туалет; 4 - кассы; 5 - фойе; 6 - сервисная зона, прокат коньков, 7 - помещение для катающихся; 8 - помещения для команд; 9 - помещение обслуживания, 10 - администрация; 11 - кафе-бар; 12 - парковка автобусов.
Рис. 3.13 Варианты использования ледовой арены
Рис. 3.14 Трансформация арен катков
Рис. 3.15 Трансформация арен катков для соревнований на настиле
Рис. 3.16 Трансформация арен катков для соревнований на настиле
а - планировочная схема помещения с расстановкой тренажеров из набора АП-2; б, в - планировочные схемы помещений для групповых занятий по общей физической подготовке на пристенном трансформируем оборудовании и тренажерах
Рис. 3.17 Расстановка оборудования в помещениях
г - планировочная схема помещения для групповых занятий ритмической гимнастикой, хореографией и женской оздоровительной гимнастикой; д - помещение для акробатической подготовки спортсменов
Экспликация оборудования
1. Тренажер «Эспандер». 2. Тренажер для развития плечевого пояса. 3. Приспособление «Брусья консольные». 4. Тренажер для развития мышц бедра. 5. Тренажер для развития широчайших мышц спины. 6. Тренажер для развития силы ног тип 1. 7. Штанга тяжелоатлетическая народная. 8. Тренажер «Гребля». 9. Приспособление «Скамья универсальная». 10. Тренажер для развития силы ног тип 2. 11. Маты. 12. Тренажер для развития икроножных мышц. 13. Приспособление для развития мышц спины. 14. Стеллаж для гантелей. 15. Стеллаж для штанг. 16. Тренажер для бега Л. 3-01. 17. Устройство для развития тазобедренных суставов. 18. Тренажер «Рити-2». 19. Велотренажер «Здоровье». 20. Тренажер многоцелевой «Стенка». 21. Тренажер для вращения и развития ловкости. 22. Тренажер «Гимнастический». 23. Тренажер для гребли. 24. Тренажер для развития мышц спины и пресса. 25. Велотренажер «Циклон-1». 26. Пианино. 27. Стенка гимнастическая. 28. Батут. 29. Зеркало. 30. Станок хореографический.
Рис. 3.18 Расстановка оборудования в помещениях
а - Центр фигурного катания в г. Оберсдорфе (ФРГ):
1 - ледовое поле 60×30 м; 2 - ледовое поле 45×20 м; 3 - ледовое поле 60×30 м.
б - Каток для массового катания в г. Бохуме (ФРГ). План 1-го этажа:
1 - ледовое поле; 2 - круговая искусственная дорожка; 3 - вестибюль; 4 - помещение пункта проката
Рис. 3.19 Комплексные ледовые арены (зарубежный опыт)

1 - зона накопления артистов; 2 - передняя граница эстрады; 3 - партер на настиле; 4 - попланные занавеси; 5 - кулисы; α - горизонтальный угол, ограничивающий зону допустимого расположения зрительских мест.
Рис. 3.20 Планы арены для проведения эстрадных выступлений
Рис. 4.1 Входная зона. Стоянка машин по уходу за льдом
ПОМЕЩЕНИЯ (ЗОНЫ):
1 - раздевальная для хоккеистов или фигуристов на 23-24 места; 2 - раздевальная для хоккеистов на 22-24 места; 3 - гардеробная домашней одежды с обслуживанием на 92 места; 4 - кабина для точки коньков и подгонки клюшек; 5 - душевая; 6 - преддушевая; 7 - шлюз; 8 - зона шкафов (вешалок) для домашней одежды; 9 - кладовая для хранения и сушки формы хоккеистов - постоянных арендаторов льда; 10 - тренерская; 11 - массажная.
ОБОРУДОВАНИЕ:
12 - открытые двухъярусные шкафы; 13 - вентилируемые шкафы; 14 - шкафы для запасных клюшек, шлемов и ботинок; 15 - верстак; 16 - точильный станок; 17 - мойка для ног*; 18 - сушилки для волос; 19 - стол тренера.
* Допускается не предусматривать
Рис. 4.2 Командные раздевальные (для сооружений массового типа)

1 - раздевальная (
Рис. 4.3 Варианты планировки раздевалок для хоккеистов

а - раздевалка от 3 до 6 мест, площадью от 15 до
Рис. 4.4 Варианты планировки раздевалок для фигурного катания
Примерный состав оборудования:
- 100 тройных шкафчиков, отделение по
- 35 тройных шкафчиков, отделение по
- 50 одинарных шкафчиков, отделение по
Рис. 4.5 Варианты раздевалок катка для массового катания

1 - раздевальная с размещением домашней одежды на крючках (вешалках); 2 - камера сухого жара; 3 - турецкая баня; 4 - контрастная напольная ванна (глубина воды
Рис. 4.6 Варианты планировки саун
1 - ожидальная на 16 мест; 2 - ожидальная на 25 мест, 3 - помещение медперсонала; 4 - туалетная кабина для забора мочи в присутствии медицинского работника; 5 - стол для анализа проб; 6 - стол врача; 7 - шкаф; 8 - холодильник; 9 - охраняемый вход; 10 - стол для напитков; 11 - сидения для отдыха; 12 - телевизор.
Рис. 4.7 Пункты антидопингового контроля
Рис. 4.8 Расположение наблюдаемой точки F при соревнованиях по различным видам спорта
|
Схема зала |
Вместимость зала, чел. |
Процент «потерь» мест на трибуне (при концертах) |
|
|
2700 |
10 |
|
|
5500 |
30 |
|
|
8600 |
50 |
|
|
5800 |
40 |
|
|
11700 |
55 |
|
Экспликация: 1 - трибуны; 2 - партер; 3 - эстрада; 4 - «потерянные» места. Примечания: 1. Над чертой приведены данные для залов с ареной размером 65×36 кв.м, под чертой - с ареной 48×26 кв.м. 2. α - максимально допустимый горизонтальный угол, в пределах которого должны располагаться зрительные места; R - максимально допустимое удаление зрительских мест. |
||
Рис. 4.9 Зоны видимости в универсальных аренах
1 - подпорная стенка;
2 - грунт; 3 - закладная деталь борта; 4 - хоккейный борт; 5 - канал для отвода
в канализацию; 6 - съемный щит; 7 - арматура диаметром
Примечания:
1. Размеры L и H определяются при конкретном проектировании;
2. Размеры хоккейного борта см. на рисунке 3.8.
Рис. 5.1 Конструктивные схемы ледяных полей для хоккея, фигурного катания и шорт-трека
|
Ключевые слова: физкультурно-спортивные сооружения, ледовые площадки крытые, вспомогательные помещения, инженерное обустройство катков. |
|
ГОСТЫ, СТРОИТЕЛЬНЫЕ и ТЕХНИЧЕСКИЕ НОРМАТИВЫ. Некоммерческая онлайн система, содержащая все Российские Госты, национальные Стандарты и нормативы. В Системе содержится более 150000 файлов нормативно-технической документации, действующей на территории РФ. Система предназначена для широкого круга инженерно-технических специалистов. Copyright © www.gostrf.com, 2008 - 2026 |