Крупнейшая бесплатная информационно-справочная система онлайн доступа к полному собранию технических нормативно-правовых актов РФ. Огромная база технических нормативов (более 150 тысяч документов) и полное собрание национальных стандартов, аутентичное официальной базе Госстандарта. GOSTRF.com - это более 1 Терабайта бесплатной технической информации для всех пользователей интернета. Все электронные копии представленных здесь документов могут распространяться без каких-либо ограничений. Поощряется распространение информации с этого сайта на любых других ресурсах. Каждый человек имеет право на неограниченный доступ к этим документам! Каждый человек имеет право на знание требований, изложенных в данных нормативно-правовых актах!

  


 

МИНИСТЕРСТВО ВНУТРЕННИХ ДЕЛ

РОССИЙСКОЙ ФЕДЕРАЦИИ

ДЕПАРТАМЕНТ ОБЕСПЕЧЕНИЯ БЕЗОПАСНОСТИ ДОРОЖНОГО ДВИЖЕНИЯ

НАУЧНО-ИССЛЕДОВАТЕЛЬСКИЙ ЦЕНТР ПРОБЛЕМ БЕЗОПАСНОСТИ ДОРОЖНОГО ДВИЖЕНИЯ

ОСУЩЕСТВЛЕНИЕ КОНТРОЛЯ ЗА СОБЛЮДЕНИЕМ ТРЕБОВАНИЙ, ПРЕДЪЯВЛЯЕМЫХ К ПРИМЕНЕНИЮ ДОРОЖНЫХ ОГРАЖДЕНИЙ

МЕТОДИЧЕСКИЕ РЕКОМЕНДАЦИИ

Москва 2006

Содержание

Введение

1. ТЕРМИНЫ И ОПРЕДЕЛЕНИЯ

2. КЛАССИФИКАЦИЯ ДОРОЖНЫХ ОГРАЖДЕНИЙ

3. КОНТРОЛЬ ПРАВИЛЬНОСТИ ПРИМЕНЕНИЯ УДЕРЖИВАЮЩИХ ОГРАЖДЕНИЙ ДЛЯ АВТОМОБИЛЕЙ1

3.1. Определение необходимого уровня удерживающей способности ограждения

3.2. Определение максимального прогиба, максимальной рабочей ширины, минимальной высоты ограждения

3.3. Дополнительные рекомендации по выбору конструкции удерживающих ограждений для автомобилей

4. КОНТРОЛЬ ПРАВИЛЬНОСТИ РАСПОЛОЖЕНИЯ ОГРАЖДЕНИЙ В ПЛАНЕ АВТОМОБИЛЬНОЙ ДОРОГИ, УСТАНОВКИ (МОНТАЖА) И СОБЛЮДЕНИЯ ТРЕБОВАНИЙ К КОНСТРУКЦИИ

5. КОНТРОЛЬ ПРАВИЛЬНОСТИ ПРИМЕНЕНИЯ И УСТАНОВКИ УДЕРЖИВАЮЩИХ ОГРАЖДЕНИЙ ДЛЯ ПЕШЕХОДОВ И ОГРАНИЧИВАЮЩИХ ОГРАЖДЕНИЙ ДЛЯ ПЕШЕХОДОВ И ЖИВОТНЫХ

6. КОНТРОЛЬ ЭКСПЛУАТАЦИОННОГО СОСТОЯНИЯ ОГРАЖДЕНИЙ

Приложение 1

Приложение 2

Приложение 3

Приложение 4

Приложение 5

Список литературы 

Рекомендовано к опубликованию Редакционо-издательским советом НИЦ БДД МВД России

Осуществление контроля за соблюдением требований, предъявляемых к применению дорожных ограждений: Методические рекомендации. - М.: НИЦ БДД МВД России, 2006. - 64 с.

Рассматриваемые методические рекомендации разъясняют отельные положения ГОСТ Р «Технические средства организации дорожного движения. Правила применения дорожных знаков, разметки, светофоров, дорожных ограждений и направляющих устройств» и европейских стандартов серии EN 1317 в части применения дорожных ограждений в конкретных дорожных условиях.

Приведены параметры наиболее часто устанавливаемых дорожных ограждений отечественного производства.

Предназначены для сотрудников службы дорожной инспекции и организации движения Госавтоинспекции, осуществляющих контроль за соблюдением требований, предъявляемых к применению дорожных ограждений.

Методические рекомендации: В.М. Тарасенков, В.В. Елизаров, В.Ю. Логинов, С.А. Сторожев, С.А. Соболев.

Введение

Статистические данные свидетельствуют, что столкновения и опрокидывания транспортных средств, наезд их на препятствия в совокупности составляют почти 50 % от общего числа дорожно-транспортных происшествий.

Снижение тяжести последствий таких ДТП может быть достигнуто путем повышения пассивной безопасности дорог, одним из эффективных способов обеспечения которой являются дорожные ограждения (далее - ограждения).

Большое разнообразие видов транспортных средств, участвующих в движении, и условий их наездов на ограждения не позволяет создать универсальную конструкцию ограждения. Поэтому, оценивая возможности каждой конструкции, необходимо ограничивать область ее использования с учетом вероятности вовлечения в ДТП различных типов транспортных средств, скорости их движения и угла наезда.

В национальном стандарте ГОСТ Р 52289 «Технические средства организации дорожного движения. Правила применения дорожных знаков, разметки, светофоров, дорожных ограждений и направляющих устройств», введенном в действие с 1 января 2006 г., впервые установлены требования к применению вновь устанавливаемых ограждений с различным уровнем удерживающей способности.

Однако в настоящее время производство и установка ограждений ведется на основании множества нормативных документов различного уровня значимости, а также технических условий, разрабатываемых каждым производителем самостоятельно.

В данных рекомендациях разъясняются отдельные положения ГОСТ Р 52289 в части применения ограждений в конкретных дорожных условиях, приведены рекомендации по контролю за их установкой и эксплуатационным состоянием, а также дополнительные рекомендации по выбору конструкции удерживающих ограждений.

При этом учтены положения проекта национального стандарта ГОСТ Р «Ограждения дорожные удерживающие боковые для автомобилей. Общие технические требования», а также национальных стандартов ГОСТ Р 52398 «Классификация автомобильных дорог. Основные параметры и требования» и ГОСТ Р 52399 «Геометрические элементы автомобильных дорог».

1. ТЕРМИНЫ И ОПРЕДЕЛЕНИЯ

В рекомендациях приняты следующие используемые в нормативных и технических документах термины и определения:

балка - конструктивный элемент ограждения, предназначенный для воспринятая, распределения и передачи нагрузки от вступающего в контакт с ограждением транспортного средства на другие элементы ограждения;

выбег автомобиля - процесс неуправляемого движения автомобиля после прекращения контакта с ограждением;

высота ограждения - расстояние в вертикальной плоскости от наиболее высокой точки ограждения до уровня обочины на дороге, покрытия на мостовом сооружении или разделительной полосе, измеренное у края ограждения со стороны проезжей части;

динамический прогиб ограждения - наибольшее горизонтальное смещение продольной оси балки ограждения в поперечном направлении относительно оси недеформированного ограждения при наезде автомобиля на ограждение (Приложение 1, рис. 1а);

индекс тяжести травм - показатель воздействия инерционных перегрузок на пассажиров автомобилей, равный величине корня квадратного из суммы квадратов отношений средних фактических и допустимых величин инерционных перегрузок, действующих в течение 50 мс по направлениям главных осей автомобиля при его взаимодействии с ограждением;

консоль - элемент барьерного ограждения, расположенный между стойкой и балкой, главная функция которого - предотвращение контакта автомобиля со стойками ограждения. Консоль может быть жесткая и деформируемая (консоль-амортизатор). В конструкциях двусторонних барьерных ограждений используют консоль-распорку;

лицевая поверхность балки (бордюра или парапета) - поверхность ограждения, обращенная в сторону проезжей части;

ограждения дорожные - устройства, предназначенные для предотвращения съезда транспортного средства с земляного полотна дороги и мостового сооружения (моста, путепровода, эстакады и т.п.), переезда через разделительную полосу, столкновения со встречным транспортным средством, наезда на массивные препятствия и сооружения, расположенные на обочине и в полосе отвода дороги, на разделительной полосе (удерживающие ограждения для автомобилей), падения пешеходов с мостового сооружения или насыпи (удерживающие ограждения для пешеходов), а также для упорядочения движения переходов и предотвращения выхода животных на проезжую часть (ограничивающие ограждения);

перегрузка инерционная - отношение среднего ускорения (замедления), действующего в течение 50 мс при наезде автомобиля на ограждение и измеренного вблизи центра масс автомобиля, к ускорению свободного падения;

рабочая ширина ограждения - максимальное, динамическое боковое смещение кузова автомобиля, находящегося в нем груза или фрагмента ограждения (в зависимости от места установки ограждения) относительно лицевой поверхности балки недеформированного ограждения (Приложение 1, рис. 1б);

расчётный автомобиль - автомобиль, используемый в качестве представителя определённой категории транспортных средств для полномасштабных испытаний ограждений на полигоне и расчётов характеристик взаимодействия автомобиля: и ограждения;

стойка - вертикальный элемент ограждения, закреплённый в земляном полотне, на плите проезжей части мостового сооружения или на переходной плите;

угол наезда на ограждение - угол между проекциями на плоскость дороги продольных осей автомобиля и недеформированного ограждения в начале контакта автомобиля с ограждением;

участок ограждения рабочий - основная часть ограждения, предназначенная для воспринятая ударных нагрузок и передачи усилий на начальный и конечный участки;

участок ограждения начальный - дополнительная часть ограждения, расположенная перед рабочим участком ограждения (по ходу движения автомобиля) на земляном полотне дороги и предназначенная для воспринятия продольного усилия при наезде автомобиля на рабочий участок ограждения;

участок ограждения конечный - дополнительная часть ограждения, расположенная после рабочего участка ограждения (по ходу движения автомобиля) на земляном полотне дороги и предназначенная для воспринятая продольного усилия, действующего при наезде на рабочий участок ограждения;

участок ограждения переходный - часть ограждения, предназначенная для сопряжения ограждений, установленных на обочине или разделительной полосе, с ограждениями, установленными на мостовом сооружении, для сопряжения участков односторонних и двусторонних ограждений на разделительной полосе, а также для сопряжения ограждений разных типов и конструкций;

удерживающая способность (энергоёмкость) ограждения - условный показатель, характеризующий величину поглощаемой кинетической энергии движущегося автомобиля при наезде его на ограждение. Энергоёмкость определяют с использованием значений поперечной составляющей скорости движения автомобиля в момент наезда, массы автомобиля и угла наезда на ограждение;

уровни удерживания - диапазоны энергоёмкостей (от минимально допустимого до максимально возможного), по которым выбирают конструкции ограждений для применения в тех или иных дорожных условиях.

2. КЛАССИФИКАЦИЯ ДОРОЖНЫХ ОГРАЖДЕНИЙ

Основным классификационным признаком, позволяющим относить дорожные ограждения к тому или иному классу (подклассу), является назначение ограждений. Кроме того, используются следующие признаки:

расположение ограждения (определяет группы и подгруппы);

принцип работы ограждения (определяет тип конструкции дорожного ограждения);

разновидности по конструктивному исполнению (определяют виды конструкций).

Конструкции ограждений разделяются по классам (подклассам) и группам (подгруппам).

По назначению дорожные ограждения подразделяют на два класса - удерживающие (для автомобилей и пешеходов) и ограничивающие (для пешеходов и животных).

Дорожные удерживающие ограждения для автомобилей по назначению подразделяют на два подкласса - боковые и фронтальные. Боковые ограждения удерживают и корректируют траекторию движения при боковом ударе под острым углом к оси ограждения. Фронтальные ограждения удерживают автомобиль и гасят энергию удара как при ударе сбоку, так и в торец (в переднюю сторону) под углом, близким к 90°.

По условиям расположения удерживающие ограждения для автомобилей боковые подразделяют на две группы - дорожные и мостовые, каждая из которых состоит из подгрупп:

одностороннее ограждение (удерживает автомобиль, удар которого об ограждение может быть с одной стороны, устанавливается по боковым сторонам дороги или разделительной полосы);

двустороннее ограждение (удерживает автомобиль, удар которого об ограждение может быть с двух сторон, устанавливается по оси разделительной полосы).

Удерживающие ограждения для автомобилей фронтальные по условиям расположения также подразделяют на две группы - дорожные и мостовые, каждая из которых состоит из подгрупп: одностороннее ограждение (удерживает удар автомобиля, двигающегося по полосам одного направления движения), устанавливаемое при разделении потока автомобилей,

двусторонние ограждения (удерживает удар автомобилей, двигающихся по полосам различного направления движения), устанавливаемое в начале и конце разделительной полосы.

Дорожные удерживающие ограждения для пешеходов по условиям расположения подразделяют на две группы - дорожные (устанавливаемые на краю обочины) и мостовые (устанавливаемые на краю тротуаров мостовых сооружений). Ограждения для пешеходов предназначены для предотвращения падения пешехода в ограждаемую зону.

По принципу работы дорожные удерживающие ограждения подразделяют на следующие типы:

а) боковые ограждения для автомобилей:

барьерные (энергия удара гасится за счёт упругопластической деформации материала конструкций);

бордюрные (энергия удара гасится за счёт сопротивления колёс и подвески автомобиля, обеспечивающего коррекцию траектории движения);

парапетные (энергия удара гасится за счёт подъёма колёс, уменьшающего опрокидывающий момент);

комбинированные конструкции, являющиеся комбинацией типов, упомянутых выше;

б) фронтальные ограждения для автомобилей:

телескопические (энергия удара гасится в основном за счёт трения при вхождении одних элементов конструкций в другие);

упругопластические (энергия удара гасится в основном за счёт упругих, эластических и упругопластических деформаций материала);

наливные (энергия удара гасится за счёт сопротивления ёмкостей с водой или другим жидким либо вязким веществом);

комбинированные конструкции, являющиеся комбинацией типов, упомянутых выше;

типы конструкций с иными принципами гашения энергии;

в) удерживающие ограждения для пешеходов:

перила парапетные (недеформируемые конструкции);

перила барьерные (внешнее расчётное воздействие воспринимается упругими деформациями всех элементов конструкции - стоек, поручня, заполнения);

перила стоечные (внешнее расчётное воздействие воспринимается в основном упругими деформациями стоек);

комбинированные конструкции;

иные типы конструкций.

Классификация дорожных удерживающих ограждений по конструктивному исполнению (виду конструкций) может быть дана в отраслевых документах либо документах, разработанных для конкретного изделия, типа или группы изделий (например, в технических условиях).

Дорожные ограничивающие ограждения для пешеходов по условиям расположения подразделяют на три группы:

направляющие - располагаемые на боковой разделительной полосе, у надземных или подземных переходов с целью показать направление движения пешеходов;

защитные - располагаемые на газонах и других площадках, которые необходимо защитить от повреждения пешеходами;

предупреждающие - располагаемые на тротуарах со стороны проезжей части (при отсутствии удерживающих ограждений), у опор путепроводов и опор информационно-указательных знаков, а также у опор ЛЭП с целью исключить попадание человека в опасную зону.

По условиям расположения дорожные ограничивающие ограждения для животных подразделяют на две группы:

группа 1 - ограждения, располагаемые по границе полосы отвода вдоль дороги,

группа 2 - ограждения, располагаемые в специальных проходах для животных под дорогами (скотопрогонах) и перед ними.

По типам ограждения подразделяют на сетки, решетки, заборы и другие конструкции, которые представляют собой механический способ защиты от животных. Разновидности конструкций могут быть отражены в специальных документах (технических условиях, рекомендациях и др.).

3. КОНТРОЛЬ ПРАВИЛЬНОСТИ ПРИМЕНЕНИЯ УДЕРЖИВАЮЩИХ ОГРАЖДЕНИЙ ДЛЯ АВТОМОБИЛЕЙ1.

При осуществлении контрольно-надзорной деятельности необходимо, прежде всего, убедиться в соответствии ограждений требуемому уровню удерживающей способности (таблица 1), а также требованиям к минимальной высоте (далее - высоте), максимально допустимым динамическому прогибу (далее - прогибу) и рабочей ширине.

Рабочую ширину учитывают при установке ограждения на разделительной полосе, у опор путепроводов, консольных или рамных опор информационных дорожных знаков, опор линий электропередачи и связи, опор освещения и наземных трубопроводных коммуникаций и т.п. (далее - массивных препятствий), а также на городских дорогах и улицах у бортового камня на тротуаре или газоне, разделяющем проезжую часть и тротуар. В других случаях учитывают прогиб.

Таблица. 1

Уровни удерживающей способности

Уровень удержания

У1

У2

УЗ

У4

У5

У6

У7

У8

У9

У10

Значение уровня, кДж

130

190

250

300

350

400

450

500

550

600

1В данном разделе содержатся рекомендации, относящиеся к боковым удерживающим ограждениям. Рекомендации по применению фронтальных удерживающих ограждений будут разработаны дополнительно.

3.1. Определение необходимого уровня удерживающей способности ограждения

Уровень удерживающей способности ограждений устанавливается с учетом степени сложности дорожных условий, которые подразделяют на следующие группы:

А и Б - для участков автомобильных дорог;

В, Г и Д - для мостовых сооружений автомобильных дорог;

Е и Ж - для городских дорог и улиц и мостовых сооружений на них.

Минимальные уровни удерживающей способности ограждений, устанавливаемых на автомобильных дорогах, приведены в таблице 2.

К группе А относят участки автомобильных дорог:

на насыпи высотой более 5 м;

расположенные на склоне местности круче 1:4;

проложенные вдоль железнодорожных путей, болот, водных потоков или водоемов глубиной более 1 м, оврагов и горных ущелий, находящихся на расстоянии менее 15 м от края проезжей части;

с разделительной полосой шириной 6 м и менее с односторонним поперечным уклоном круче 1:10;

на которых массивные препятствия расположены на разделительной полосе или сбоку от проезжей части на расстоянии 4 м и менее от ее кромки.

К группе Б относят участки автомобильных дорог:

с разделительной полосой шириной 6 м и менее без массивных препятствий;

проложенные вдоль железнодорожных путей, болот, водотоков или водоемов глубиной более 1 м, оврагов и горных ущелий, находящихся на расстоянии от 15 до 25 м от края проезжей части;

подходы к мостовым сооружениям при высоте насыпи, менее указанной в таблице 12, на автомобильных дорогах IV-V, II- III и I категорий протяженностью 12, 18, и 24 м соответственно без учета начальных и концевых участков.

на насыпи с откосами круче 1:4 при условиях, указанных в таблице 3.

Таблица 2

Минимальные уровни удерживающей способности ограждений на автомобильных дорогах

Участки автомобильных дорог

Продольный уклон дороги, %

Группа дорожных знаков

Категория автомобильной дороги* и число полос движения в обоих направлениях

IА и IБ

II

III

IV

V

6 полос и более

4 полосы

2-4 полосы

2 полосы

1 полоса

Уровни удерживающей способности

Обочины прямолинейных участков дорог и с кривыми в плане радиусом более 600 м

до 40

А

У5

У4

У3

У2

Б

У4

УЗ

У2

У1

Обочина с внутренней стороны кривой в плане радиусом менее 600 м на спуске и после него на участке длиной 100 м

40 и более

А

У6

У5

У4

У3

У2

Б

У5

У4

У3

У2

У1

Обочина с внешней стороны кривой в плане радиусом менее 600 м на спуске и после него на участке длиной 100 м

до 40

А

У6

У5

У4

У3

У2

Б

У5

У4

У3

У2

У1

Обочина с внешней стороны кривой в плане радиусом менее 600 м на спуске и после него на участке длиной 100 м

40 и более

А

У7

У6

У5

У4

У3

Б

У6

У5

У4

У3

У2

Обочины на вогнутой кривой в продольном профиле, сопрягающей участки с абсолютным значением алгебраической разности встречных уклонов 50 % и более

-

А

У6

У5

У4

У3

У2

Б

У5

У4

У3

У2

У1

Разделительная полоса

 

А/Б

У6/У5

У5/У4

-

*Категории дорог приняты по ГОСТ Р 52398. при уменьшенных фактических значениях ширины полос движения на 0,25 м и более и ширины на 0,5 м и более по сравнению с ГОСТ Р 52399 уровень удерживающей способности (кроме У1) принимают уменьшенным на единицу.

Таблица 3

Условия отнесения участков автомобильных дорог к группе Б на насыпях.

Участки автомобильных дорог

Продольный уклон дороги, %

Минимальная высота насыпи, м, при перспективной1 интенсивности движения, авт./сут, не менее

1002

200

1

2

3

4

Прямолинейные и с кривыми в плане радиусом более 600 м. С внутренней стороны кривой в плане радиусом менее 600 м на спуске и после него на участке длиной 100 м

до 40

4,0

3,0

Прямолинейные и с кривыми в плане радиусом более 600 м. С внутренней стороны кривой в плане радиусом менее 600 м на спуске и после него на участке длиной 100 м

40 и более

3,5

2,5

С внешней стороны кривой в плане радиусом менее 600 м на спуске и после него на участке длиной 100 м

до 40

На вогнутой кривой в продольном профиле, сопрягающей участки с абсолютным значением алгебраической разности встречных уклонов 50 % и более

-

С внешней стороны кривой в плане радиусом менее 600 м на спуске и после него на участке 100 м

40 и более

3,0

2,0

Примечания:

1. На пятилетний период.

2. При организации на дороге регулярного автобусного движения ограждения устанавливают аналогично условиям, соответствующим интенсивности движения 2000 авт./сут и более.

Минимальные уровни удерживающей способности ограждений, устанавливаемых на мостовых сооружениях автомобильных дорог, определяют по таблице 4.

Таблица 4

Минимальные уровни удерживающей способности ограждений на мостовых сооружениях автомобильных дорог

Категория автомобильной дороги (число полос движения)

Мостовые сооружения автомобильных дорог

С тротуарами или служебными проходами

Без тротуаров или служебных проходов

Группа дорожных условий

В

Г

Д

В

Г

Д

Уровень удерживающей способности

I (6 и более)

У8

У6

У5

У9

У7

У6

I(4)-II(4)

У7

У5

У4

У8

У6

У5

II(2,3)

У5

У4

У3

У6

У5

У4

III(2)

У4

У3

У2

У5

У4

У3

IV(2), V(1)

У3

У2

У1

У4

У3

У2

Примечание. Если интенсивность движения автомобилей, имеющих разрешенную максимальную массу 30 т и более, составляет не менее 1000 авт./сут, вместо уровней У7-У9 принимают соответственно уровни У8-У10.

Требования таблицы 3 справедливы для габаритов мостовых сооружений, включающих размеры полос безопасности:

2,0 м - для сооружений на дорогах I-II категорий,

1,5 м - для сооружений на дорогах III категории,

1,0 м - для сооружений на дорогах IV категории,

1,0 м - для сооружений на дорогах V категории.

Для случаев с уменьшенной шириной полосы безопасности на 0,25 м и более уровни удерживающей способности (кроме У1) принимают уменьшенными на единицу.

Дорожные условия на мостовых сооружениях автомобильных дорог относят к группе В, Г или Д по таблице 5.

Минимальные уровни удерживающей способности ограждений, устанавливаемых на городских дорогах, улицах и мостовых сооружениях на них, определяют по таблице 6.

Таблица 5

Группы дорожных условий для мостовых сооружений автомобильных дорог

Категория автомобильной дороги

Группа дорожных условий

В

Г

Д

(число полос движения)

R, м, менее

i, %, более

R, м

i, %

R, м, более

менее

I (6 и более)

1500

30

1500-3000

20-30

3000

20

I (4)-II (4)

1000

 

1000-2500

 

2500

 

II (2, 3)

800

40

800-2000

30-40

2000

30

III (2)

600

50 '

600-1500

40-50

1500

40

IV (2)

 

 

 

 

 

 

V (1)

500

60

500-1000

50-60

1000

50

Примечания:

1. На мостовом сооружении и примыкающих к нему участках подходов протяженностью 100 м выбирают наименьшее значение радиуса кривой в плане R и наибольшее значение продольного уклона i.

2. Если значения радиуса и уклона окажутся в разных группах, принимают группу с более сложными условиями движения.

К группе Е относят участки городских дорог и улиц: с продольным уклоном не менее 50 %;

с массивными препятствиями на центральной разделительной полосе шириной 4 м и менее;

на насыпи высотой 5 м и более при расстоянии между бортовым камнем и бровкой земляного полотна 10 м и менее;

у водотоков или водоемов глубиной более 1 м, находящихся на расстоянии менее 10 м от бортового камня;

на набережной;

с подпорными стенами на расстоянии 4 м и менее от кромки проезжей части.

К группе Ж относят участки городских дорог и улиц:

без массивных препятствий на разделительной полосе шириной 4 м и менее;

на насыпи высотой от 2 до 5 м при расстоянии между бортовым камнем и бровкой земляного полотна 10 м и менее;

с боковыми разделительными полосами шириной 4 м и менее;

с двусторонним движением на боковых проездах.

Таблица 6

Минимальные уровни удерживающей способности ограждений на улицах и дорогах населенных пунктов

Категории городских дорог и улиц

Группа дорожных условий

Дороги и улицы

Мостовые сооружения

с тротуарами или служебными проходами

без тротуаров или служебных проходов

Уровни удерживающей способности

Магистральные дороги скоростного движения

Е

У4 (У5)

У6 (У5)

У7 (У5)

Магистральные улицы общегородского значения непрерывного движения

Ж

УЗ (У4)

У4 (У4)

У5 (У4)

Магистральные дороги регулируемого движения

Е

У3

У4

У5

Магистральные улицы общегородского значения регулируемого движения

Ж

У2

У3

У4

Магистральные улицы районного значения

Е

У2

У3

У4

Ж

У1

У2

У3

Улицы и дорога местного значения

Е

У1

У2

У3

Ж

У1

У2

Примечание. Значения в скобках относятся к ограждениям, устанавливаемым на разделительной полосе.

Дорожные условия на мостовых сооружениях в городах относят к группе Е в следующих случаях:

мостовое сооружение пересекает железные дороги, интенсивность движения по главным путям которых составляет более 100 поезд./сут, открытые линии метрополитена или трамвая;

на мостовом сооружении, расположенном на магистральной дороге или улице, трамвайные пути размещены на обособленном полотне;

проезжая часть на мостовом сооружении расположена в одном уровне с железнодорожными путями или путями метро;

проезжая часть на мостовом сооружении магистральной дороги или улицы общегородского значения или перед ним на участке длиной 100 м имеет продольный уклон от 40 до 50 % при длине сооружения более 100 м и более, 50 % - при длине сооружения не более 100 м;

Таблица 7

Минимальные уровни удерживающей способности ограждений в тоннелях

Место установки ограждения

Дорожные условия

Число полос движения в одном направлении

3 и более

2

1

Городской тоннель

i≤30 % и R≥1000 м

У2

У1

У1

i≤30 % и R≥50<1000 м

У3

У2

У1

i>30 % или R<1000 м

У4

У3

У2

Тоннель на дороге

i≤30 % и R≥1000 м

У3

У2

У1

i>30 % или R<1000 м

У4

У3

У2

Примечание: i - продольный уклон проезжей части, R - радиус кривой в плане.

проезжая часть мостового сооружения расположена на расстоянии более 5 м от поверхности водотока или водоема глубиной более 1 м;

длина мостового сооружения более 250 м;

эстакады третьего и выше уровней пересечений в разных уровнях.

В остальных случаях дорожные условия на мостовых сооружениях в городах относят к группе Ж.

Минимальные уровни удерживающей способности ограждений, устанавливаемых на съездах пересечений и примыканий в разных уровнях автомобильных дорог и улиц, принимаются равными:

УЗ - для ограждений, устанавливаемых на правоповоротных съездах с одной полосой движения;

У4 - для ограждений, устанавливаемых на правоповоротных съездах с двумя полосами движения и на левоповоротных съездах;

У5 - для ограждений, устанавливаемых на мостовых сооружениях съездов.

Минимальные уровни удерживающей способности ограждений, устанавливаемых в автодорожных и городских тоннелях, должны соответствовать требованиям таблицы 7.

Для соединения мостовых и дорожных ограждений, а также для соединения ограждений разных типов и конструкций должны устраиваться переходные участки ограждений.

Конструкция переходного участка, соединяющего ограждение мостовой и ограждение дорожной группы, должна обеспечивать плавный переход от удерживающей способности и высоты мостового ограждения к удерживающей способности и высоте дорожного ограждения.

В любом случае уровень удерживающей способности переходного участка ограждений не должен быть меньше самого низкого из допустимых уровней удерживающей способности, установленных для соединяемых ограждений, и больше самого высокого из них.

3.2. Определение максимального прогиба, максимальной рабочей ширины, минимальной высоты ограждения

Прогиб барьерного ограждения, устанавливаемого на обочине, не должен превышать расстояние от продольной оси балки недеформированного ограждения до бровки земляного полотна, увеличенное на 0,25 м (Приложение 1, рис. 2а),

Рабочая ширина не должна превышать расстояние от лицевой поверхности балки ограждения до массивного препятствия, находящегося на обочине или за ее пределами на расстоянии менее 4 м от кромки проезжей части (Приложение 1, рис. 2г, д).

Рабочая ширина для барьерного ограждения, устанавливаемого на разделительной полосе автомобильных дорог, городских дорог и улиц, а также мостовых сооружений, не должна превышать:

расстояние от лицевой поверхности балки ограждения до края проезжей части (Приложение 1, рис. 2б) при установке ограждения по середине разделительной полосы шириной менее 3 м при отсутствии на ней массивных препятствий;

Таблица 8

Прогиб ограждения на мостовом сооружении

Место расположения мостового сооружения

Служебный проход

Ширина тротуара, м

1,0

1,5

2,25 и более

 

Прогиб ограждения, м

Автомобильная дорога

0,75

0,75

1,25

1,50

Городская дорога или улица

-

1,00

1,25

расстояние от лицевой поверхности балки ограждения до массивного препятствия при установке барьерного ограждения по боковым сторонам разделительной полосы (Приложение 1, рис. 2в) при наличии на ней массивных препятствий.

На боковых сторонах городской дороги и улицы ограждения устанавливают на газоне между проезжей частью и тротуаром (Приложение 1, рис. 3а, б), а если невозможно установить ограждение на газоне или если он отсутствует - между бровкой земляного полотна и внешним краем тротуара (Приложение 1, рис. 3в, е). Если и такая возможность отсутствует - на тротуаре, примыкающем к проезжей части (Приложение 1, рис. 3ж).

Прогиб барьерного ограждения, устанавливаемого между бровкой земляного полотна и внешним краем тротуара, не должен превышать расстояние между продольной осью балки недеформированного ограждения и бровкой земляного полотна, увеличенное на 0,25 м (Приложение 1, рис. 3в-е).

Рабочая ширина барьерного ограждения, устанавливаемого на газоне, не должна превышать расстояние от лицевой поверхности балки ограждения до массивного препятствия на газоне, при его отсутствии - до ближнего края тротуара, но не более 3 м (Приложение 1, рис. 3а, б).

Рабочая ширина барьерного ограждения, устанавливаемого на тротуаре, не должна превышать 1,5 м при ширине тротуара не менее 3,0 м (Приложение 1, рис. 3ж). Если расширение тротуара до 3,0 м невозможно, рабочая ширина не должна превышать расстояние от лицевой поверхности балки ограждения до оси тротуара.

Таблица 9

Минимальная высота ограждения

Место установки ограждения

Наличие и ширина тротуаров и служебных проходов

Уровень удерживающей способности

У1

У2

У3

У4

У5

У6

У7

У8-У10

Высота ограждения, м

Автомобильные дороги, городские дороги и улицы. Разделительная полоса мостового сооружения

-

0,75

1,10

-

Мостовые сооружения на автомобильных дорогах, городских дорогах и улицах

Без тротуаров и служебных проходов

1,10

1,30

1,50

 

Служебные проходы шириной 0,75 м

0,60

0,75

0,75

0,90

0,90

1,10

1,10

1,30

 

Тротуары шириной более 1,00 м

 

0,60

 

0,75

 

0,90

 

1,10

Прогиб барьерного ограждения на мостовом сооружении без тротуаров или служебных проходов не должен превышать 1,0 м (Приложение 1, рис. 2к).

Прогиб ограждения на мостовом сооружении с тротуарами или служебными проходами принимают по таблице 8.

Высота ограждения должна быть не менее указанной в таблице 9.

3.3. Дополнительные рекомендации по выбору конструкции удерживающих ограждений для автомобилей

Значения основных функциональных показателей рабочих участков боковых ограждений (удерживающая способность, рабочая ширина, динамический прогиб, высота), а также требования безопасности (параметры выбега автомобиля после наезда на ограждение, индекс тяжести травм и т.д.), выпускаемых российскими производителями, должны указываться в технической документации и протоколах натурных испытаний, проведенных в аккредитованных лабораториях, и соответствовать требованиям национальных стандартов, ОДН 218.012. Некоторые из них приведены в Приложении 2 (данные подтверждены результатами сертификационных испытаний).

Значения аналогичных показателей ограждений зарубежных предприятий указываются в сертификатах соответствия или протоколах натурных испытаний, проведенных в аккредитованных лабораториях, в том числе зарубежных (на соответствие требованиям европейских стандартов EN 1317-1, EN 1317-2, EN 1317-4).

Основные требования безопасности (кроме обеспечения необходимых значений удерживающей способности, динамического прогиба и рабочей ширины), предъявляемые к ограждениям в EN 1317-1, EN 13.17-2, приведены в Приложении 3. Аналогичные требования содержатся в проектах национальных стандартов (срок введения - 2008 г.).

При рассмотрении возможности применения конструкций ограждений, разработанных путем модификации ранее утвержденных конструкций, учитываются значения энергоемкости, прогиба и рабочей ширины ограждения, полученные расчетным или/и экспериментальным путём.

Допускается устанавливать характеристики конструкций только по результатам расчёта при следующих изменениях, внесённых в новые конструкции, по сравнению с испытанными (при натурных испытаниях):

изменении прочности применяемых материалов (прочность стали, бетона);

незначительных изменениях узлов крепления деталей;

изменении шага стоек барьерных ограждений на величину не более 1,0 м;

изменении площади сечения элементов не более чем на 30 %.

Если при модернизации конструкций ограждений сохранена кинематическая схема взаимодействия автомобиля и ограждения, но в конструкцию последнего внесены изменения одновременно по нескольким позициям из- перечисленных выше или шаг стоек изменён на величину более 1,0 м, то характеристики усовершенствованных конструкций ограждений должны быть подтверждены стендовыми испытаниями.

При этом результаты стендовых испытаний усовершенствованных конструкций ограждений сравнивают с испытаниями базовых конструкций.

В других случаях модификации уже известных конструкций, а также при разработке новых конструкций ограждений для определения их характеристик должны проводиться натурные испытания на специализированных полигонах.

При рассмотрении возможности установки фронтальных удерживающих ограждений рекомендуется отдавать предпочтение ограждениям, соответствующим требованиям европейского стандарта EN 1317-3.

4. КОНТРОЛЬ ПРАВИЛЬНОСТИ РАСПОЛОЖЕНИЯ ОГРАЖДЕНИЙ В ПЛАНЕ АВТОМОБИЛЬНОЙ ДОРОГИ, УСТАНОВКИ (МОНТАЖА) И СОБЛЮДЕНИЯ ТРЕБОВАНИЙ К КОНСТРУКЦИИ

При приемке в эксплуатацию участков автомобильных дорог и улиц и реализации мероприятий по совершенствованию организации дорожного движения следует контролировать соблюдение следующих требований.

4.1. На обочине автомобильной дороги барьерное ограждение устанавливается на расстоянии 0,5-0,85 м от бровки земляного полотна до стойки барьерного ограждения, парапетное - на расстоянии 0,50 м от бровки земляного полотна до ближнего края парапетного ограждения и не менее 1,00 м от кромки проезжей части до лицевой поверхности балки ограждения или до ближнего края парапетного ограждения (Приложение 1, рис. 2а, е).

При наличии на обочине или откосе насыпи массивного препятствия, парапетное ограждение устанавливают на расстоянии 0,30-0,50 м от него (Приложение 1, рис. 2ж).

На разделительной полосе автомобильной дороги барьерное или парапетное ограждение устанавливается на расстоянии не менее 1,0 м от кромки проезжей части (Приложение 1, рис, 2б, в, и).

При расположении между бровкой земляного полотна и внешним краем тротуара барьерное ограждение устанавливается на расстоянии не менее 0,5 м от бровки земляного полотна до стойки ограждения и на расстоянии не менее 0,1 м от продольной оси балки ограждения до тротуара (Приложение 1, рис. 3в-е). При этом расстояние от внешнего края тротуара до бровки должно составлять не менее 1,0. м.

На газоне барьерное ограждение устанавливается на расстоянии 0,05-0,10 м от бортового камня до лицевой поверхности балки ограждения (Приложение 1, рис. 3 а, б).

На тротуаре барьерное ограждение устанавливается на расстоянии 0,05-0,10 м от бортового камня до лицевой поверхности балки ограждения (Приложение 1, рис. 3 ж).

На мостовом сооружении без тротуаров или служебных проходов барьерное ограждение устанавливается на расстоянии не менее 0,4 м от края плиты до стойки ограждения (Приложение 1, рис. 2 к), на мостовых сооружениях с тротуарами или служебными проходами - на внешней границе полосы безопасности.

4.2. Балки барьерного ограждения в пределах всей длины должны быть состыкованы болтовыми соединениями. При этом отклонения оси балки от ее проектного положения в плане не должны превышать 1:1000 от длины стыкуемых балок.

В местах начала ограждений, разделяющих транспортные потоки одного направления, рекомендуется использовать специальные радиусные балки. В Приложении 2 (рис. 8а-) приведен пример применения таких балок и их характеристики.

Отдельные блоки парапетных ограждений также должны быть состыкованы между собой.

Над деформационными швами пролетных строений мостовых сооружений должна быть предусмотрена возможность относительного перемещения секций балки или парапета (бордюра) на их стыке на величину расчетных перемещений в деформационном шве. Конструктивное решение такого перемещения должно быть регламентировано в технической документации на ограждение на основании Рекомендаций [21].

В блоках парапетных ограждений необходимо предусматривать соединения, препятствующие смещению или наклону блоков относительно друг друга. При монтаже блоков их относительное смещение в плане и по высоте не должно превышать 5 мм.

Таблица 10

Длины концевых и начальных участков (в метрах)

Категория дороги

Длина участков ограждений

начальный

концевой

I

25

15

II-III

18

12

IV-V

12

12

Парапетные ограждения не должны препятствовать отводу воды с поверхности проезжей части, обочин (полос безопасности) дорог и мостовых сооружений.

Конструкция ограждения на протяжении участка с одним и тем же уровнем удерживающей способности должна быть одинаковой.

При сопряжении барьерных мостовых ограждений с ограждениями на подходах к мосту на дорогах I-III категорий требуется их выравнивание в плане. При этом необходимо обеспечить минимальную длину отгона мостовых ограждений в сторону обочины в соответствии с Рекомендациями [21].

Конструкция ограждения на переходном участке должна соответствовать требованиям технической документации.

На переходных плитах в узлах сопряжения мостового сооружения с насыпями подходов устанавливают ограждения той же конструкции, что и на мостовом сооружении.

Начальный и конечный участки барьерного и парапетного ограждения, устанавливаемого на обочине, устраивают с отгоном 1:20 к бровке земляного полотна. При этом балки барьерных ограждений и верхние плоскости парапетных ограждений понижают до поверхности дороги (Приложение 1, рис. 4а, б).

Минимальные размеры участков приводятся в таблице 10.

Допускается применение концевых элементов в ограждениях, выполненных по ГОСТ 26804 или по технической документации, согласованной с надзорным органом (например, по типовой серии 3.503.1).

Начальный и конечный участки одностороннего барьерного ограждения допускается выполнять с изгибом балки в "форме петли длиной не менее 5,00 м. При этом расстояние от бровки земляного полотна до ближней стойки. должно быть не менее 0,25 м (Приложение 1, рис. 4 в).

Начальные и конечные участки балки одно- и двусторонних барьерных ограждений и верхние плоскости парапетных ограждений, устанавливаемых на разделительной полосе, понижают до земли с уклоном 1:15 (Приложение 1, рис. 4 г-ж). Односторонние ограждения сближают к оси разделительной полосы (Приложение 1, рис. 4 д, е).

В местах технологических разрывов разделительной полосы, разворота, пересечений и примыканий в одном уровне, у постов дорожно-патрульной службы и т.п. допускается устраивать понижение балок или верхних плоскостей парапетных ограждений до земли с уклоном 1:10 (Приложение 1, рис. 4г-ж).

При установке ограждений барьерного типа должен быть обеспечен безопасный просвет под нижней балкой, составляющий величину в пределах:

300-450 мм - для ограждений, устанавливаемых в населённых пунктах, а также в тоннелях;

350-450 мм - в остальных случаях.

Для обеспечения видимости удерживающих ограждений в темное время суток на них должны быть установлены световозвращатели, изготовленные по ГОСТ Р 50971 или по технической документации, согласованной с надзорным органом. Световозвращатели следует размещать:

на барьерных ограждениях с балкой(-ами) волнистого профиля - в углублении в средней части поперечного профиля балки (при наличии нескольких рядов балок - в углублении средней части поперечного профиля нижней балки);

на барьерных ограждениях с балкой неволнистого профиля - над верхней гранью верхней балки или на опоре над ней;

на парапетных ограждениях - на верхней плоскости ограждений.

Световозвращатели устанавливаются по всей длине ограждения с интервалом 4 м (в т.ч. на участках отгона и понижения).

В Приложении 2 (рис. 9а-б) приведен пример световозвращателя, характеристики которого регламентированы в технических условиях (ТУ 5217-006-44884945-05), согласованных с Департаментом ОБДД МВД России.

4.3. Конструкции металлических ограждений и открытые металлические детали железобетонных ограждений должны иметь надёжное защитное антикоррозийное покрытие.

При горячей оцинковке деталей ванным способом толщина цинкового покрытия должна быть не менее 80 мкм для основных деталей и 30 мкм для крепёжных деталей.

При цинковании термическим нанесением толщина защитного слоя должна быть не менее 120 и 60 мкм соответственно.

Качество антикоррозионного покрытия может быть подтверждено сертификатом соответствия или протоколами испытаний, проведенных в независимой аттестованной лаборатории.

При нанесении лакокрасочных материалов на лицевую поверхность ограждения должны быть учтены требования ГОСТ Р 52289 и ГОСТ Р 51256, касающиеся вертикальной разметки 2.5 и 2.6. Кроме того, при использовании лакокрасочных покрытий следует учитывать требования ГОСТ 9.401.

Железобетонные конструкции ограждений должны быть выполнены из бетона класса не ниже В35 по ГОСТ 26633, с морозостойкостью F 200-300 в зависимости от климатических условий при испытании в хлористых слоях по ГОСТ 10060.0. Толщина защитного слоя бетона над арматурой должна быть не менее 50 мм.

Все сварные соединения элементов ограждений должны быть выполнены согласно СНиП 3.03.01.

Качество железобетонных конструкций и сварных соединений может быть подтверждено сертификатом соответствия ограждений требованиям нормативной документации (например, технических условий) или протоколами испытаний в независимой аккредитованной лаборатории.

При установке дорожных ограждений по ГОСТ 26804 допускается:

применение шайб и болтов М 16×35 с полукруглой головкой и высотой квадратного подголовника 7 мм при соединении секций балок между собой, с консолями и диагональными связями;

применение на участке 11ДО-Н одной балки СБ-5 и двух балок СБ-6 длиной 4320 мм вместо двух балок СБ-5 и СБ-6 длиной 6320 мм.

Установка удерживающих ограждений для автомобилей должна производиться в соответствии с техническими условиями или/и иными документами (инструкциями) с учетом требований СНиП 3.06.03, СНиП 3.03.01.

Контроль формы и геометрических размеров элементов ограждения и качества сборки ограждения производится в соответствии с техническими условиями (или ГОСТ 26804), СНиП 3.06.03 и иной технической документацией в зависимости от конструкции ограждения.

5. КОНТРОЛЬ ПРАВИЛЬНОСТИ ПРИМЕНЕНИЯ И УСТАНОВКИ УДЕРЖИВАЮЩИХ ОГРАЖДЕНИЙ ДЛЯ ПЕШЕХОДОВ И ОГРАНИЧИВАЮЩИХ ОГРАЖДЕНИЙ ДЛЯ ПЕШЕХОДОВ И ЖИВОТНЫХ

Контролируется соблюдение следующих условий применения и правил установки удерживающих ограждений.

5.1. Удерживающие пешеходные ограждения (перила) применяют у внешнего края тротуара на мостовом сооружении или на насыпи высотой более 1м. Следует использовать ограждения с удерживающей способностью перил не менее 1,27 кН.

Удерживающие пешеходные ограждения (перила) устанавливают у внешнего края тротуара на насыпях на расстоянии не менее 0,3 м от бровки земляного полотна.

Высота пешеходных удерживающих ограждений (перил) должна быть не менее 1,1 м.

5.2. Контролируется соблюдение следующих правил применения ограничивающих ограждений.

Ограждения перильного типа или сетки применяют на разделительных полосах шириной не менее 1 м между основной проезжей частью и местным проездом напротив остановок общественного транспорта с подземными или надземными пешеходными переходами в пределах длины остановочной площадки и на протяжении не менее 20 м в каждую сторону за ее пределами, при отсутствии на разделительной полосе удерживающих ограждений для автомобилей.

Ограждения перильного типа также применяют у наземных пешеходных переходов со светофорным регулированием с двух сторон дороги на протяжении не менее 50 м в каждую сторону от пешеходного перехода, а также на участках, где интенсивность пешеходного движения превышает 1000 чел./ч на одну полосу тротуара при разрешенной остановке или стоянке транспортных средств и 750 чел./ч - при запрещенной остановке или стоянке.

Устанавливают следующие ограничивающие пешеходные ограждения:

перильного типа или сетки - на разделительной полосе между основной проезжей частью и местным проездом на расстоянии не менее 0,3 м от кромки проезжей части;

перильного типа - у внешнего края тротуара у наземных пешеходных переходов со светофорным регулированием на расстоянии не менее 0,3 м от лицевой поверхности бортового камня.

Высота ограждений ограничивающих перильного типа должна быть 0,8-1,0 м, сеток - 1,2-1,5 м. Ограждения, перильного типа высотой 1,0 м должны иметь две перекладины, расположенные на разной высоте.

Ограждения из сеток или решеток устанавливают для предотвращения выхода животных на проезжую часть автомобильных дорог I и II категорий, проложенных через (вдоль) заповедники(ов) и (или) вдоль пастбищ. Ограждения устанавливают с двух сторон дороги по границе полосы отвода, за исключением мест пересечений с автомобильными и железными дорогами, а также с водными преградами (реками, каналами и т.п.).

6. КОНТРОЛЬ ЭКСПЛУАТАЦИОННОГО СОСТОЯНИЯ ОГРАЖДЕНИЙ

При оценке эксплуатационного состояния дорожных ограждений проверяются их конструктивная целостность, надежность крепления всех элементов, наличие световозвращающих элементов, степень загрязнения, высота установки.

Не допускается эксплуатация железобетонных элементов ограждений с раскрытой сеткой трещин, сколами бетона до арматуры, а деревянных и металлических элементов - с механическими повреждениями.

Особое внимание необходимо обращать на замененные в процессе эксплуатации участки удерживающих ограждений вследствие наезда транспортного средства. Балки должны быть непрерывны и соединены между собой по ходу движения с помощью равнопрочных болтовых соединений. При этом болты должны иметь полукруглую головку. Не допускается заменять болтовые соединения, предусмотренные конструкцией, сваркой (кроме специально оговоренных в технической документации случаев). Замененные элементы ограждений должны иметь одинаковые с остальными аналогичными элементами ограждения размеры, в том числе расчетную площадь поперечного сечения.

В ограждении, выполненном из оцинкованного металла, при замене секций балки допускается использовать секции из неоцинкованного металла, окрашенные в серый (серебристый) цвет. В отдельно взятом ограждении их общая длина не должна превышать 20 % длины ограждения.

Высота замененных секций ограждения не должна отличаться от высоты остальных секций.

Кроме того, высоту установки ограждений следует проверять после окончания дорожно-ремонтных работ.

Необходимо также контролировать соответствие коэффициента яркости; белых полос разметки 2.5 и 2.6 на лицевой поверхности балки ограждения и степени их износа требованиям ГОСТ Р 51256.

Тросовые ограждения должны соответствовать требованиям типовых строительных конструкций 3.5.3.1. При этом они не должны провисать, а их конечные и начальные участки (упоры или анкеры) должны быть надежно закреплены. Тросовое ограждение должно иметь конструкцию, не допускающую жесткое крепление троса к компенсаторам (в противном случае динамическая нагрузка будет воздействовать только на один пролет). Для эффективной работы тросовых конструкций необходимо обеспечивать требуемые натяжения каждого троса: при двухнитеевой конструкции сила натяжения должна составлять 8 т для каждого троса, при трехнитеевой - 6 т. Для измерения силы натяжения тросов используются специальные динамометры. Пример тросового ограждения с железобетонными стойками приведен в Приложении 4.

Для определения фактического износа удерживающих ограждений рекомендуется использовать методику (Приложение 5), в основе которой - положения ОДН 218.0.017.

Приложение 1

Рис. 1

1 - проезжая часть, 2 - укрепительная полоса; 3 - недеформированное ограждение; 4 - деформированное ограждение, 5 - транспортное средство

Рис. 2

1 - проезжая часть; 2 - укрепительная полоса; 3 - недеформированное барьерное ограждение; 4 - деформированное барьерное ограждение; 5 - парапетное ограждение; 6 - основание ограждения; 7 - массивная опора; 8 - плита мостового сооружения

Рис. 3

1 - проезжая часть; 2 - бортовой камень; 3 - недеформированное ограждение; 4 - деформированное ограждение; 5 - подземные инженерные сети; 6 - тротуар; 7-массивная опора; 8 - бровка земляного полотна или край подпорной стены; 9 - газон; 10 - полоса между тротуаром и бровкой земляного полотна

Рис. 4

1 - барьерное ограждение; 2 - парапетное ограждение; 3 - изгиб балки ограждения; 4- стойка ограждения; 5 - отгон ограждения; 6 - понижение ограждения на начальном и конечном участках; 7 - бровка земляного полотна; 8 - основание; 9 - ось разделительной полосы; 10 - сближение рядов ограждения с осью разделительной полосы; ← - направление движения транспортных средств

Приложение 2

000 «Трансбарьер», ТУ 5262-010-56506912-2004

Марка рабочего участка ограждения

Удерживающая способность, кДж

Динамический прогиб, м

Высота, м

Рабочая ширина, м

1

2

3

4

5

11 ДО-1,1 Ш/1,5-300

300

0,62

1,10

1,33

11 ДО-1,1 Д/2,0-400

400

0,72

1,42

11 ДО-1,1 Д/1,5-500

500

0,95

1,50

11 ДД-1,1 Д/2,0-400

400

0,42

1,12

11 ДД-1,1 Д/1,5-500

500

 

1,10

1.1 МО-1,1 С/2,0-300

300

0,53

1,04

11 МОЦ-1,1 С/2,0-300

11 МО-1,3 С/2,0- 300

1,30

1,17

11 МОЦ-1,3 С/2,0-300

11 МО-1,5 С/2,0-300

1,50

1,30

11 МОЦ-1,5 С/2,0-300,

11 МО-1,1 С/2,0-400

 

 

1,10

1,20

11 МОЦ-1,1 С/2,0-400

11 МО-1,3 С/2,0-400

400

0,64

1,30

1,33

11 МОЦ-1,3 С/2,0-400

11 МО-1,5 С/2,0-400

1,50

1,50

11 МОЦ-1,5 С/2,0-400-

11 МО-1,1 С/2,0-500

500

0,45

1,10

0,75

11 МОЦ-1,1 С/2,0-500

11 МО-1,3 С/2,0-500

1,30

1,0

11 МОЦ-1,3 С/2,0-500

1.1 МО-1,5 С/2,0-500

1,50

1,20

11 МОЦ-1,5 С/2,0-500

11 МО-1,1 С/1,5-600

600

0,45

1,10

0,75

11 МОЦ-1,1 С/1,5-600

11 МО-1,3 С/1,5-600

1,30

1,0

11 МОЦ-1,3 С/1,5-600

11 МО-1,5 С/1,5-600

600

0,45

1,50

1,20

11 МОЦ-1,5 С/1,5-600

11 МД-1,1 Д/2,0-400

400

0,47

1,10

1,07

11 МДЦ-1,1 Д/2,0-400

11 МД-1,1 Д/2,0-500

500

0,45

1,10

11 МДЦ-1,1 Д/2,0-500

11 МД-1,1 Д/1,5-600

600

11 МДЦ-1,1 Д/1,5-600

Примеры расшифровки марок:

11 ДО-1,1 Ш/1,5-300 - Участок рабочий группы Д, односторонний, с габаритом высоты 1,1 м, с профилем стойки в виде швеллера, с шагом стоек 1,5 м, с удерживающей способностью 300 кДж.

11 ДД-1,1Д/1,5-500 - Участок рабочий группы Д, двусторонний, с габаритом высоты 1,1 м, с профилем стойки в виде двутавра, с шагом стоек 1,5 м, с удерживающей способностью 500 кДж.

11 МОЦ-1,5 С/2,0-400 - Участок рабочий группы М, односторонний, предназначенный для установки на цоколе, с габаритом высоты 1,5 м, с С-образным профилем стойки, с шагом стоек 2,0 м, с удерживающей способностью 400 кДж.

ЗАО «Южуралавтобан», ТУ 5216-067-36910961-2002

Марка рабочего участка ограждения

Удерживающая способность, кДж

Динамический прогиб, м

Высота, м

1

2

3

4

11 ДО-1А-250/1,25

250

1,25

0,75

11 ДО-2А-200/1,25

200

11 ДО-3А-135/1,25

135

11 ДО-4А-95/1,25

95

11 ДО-2В-180/1,25

180

11 ДО-2Е-300/1,25

300

0,78

11 ДО-1E-350/1,25

350

11 ДО-2Е-400/1,25

400

1,10

11 ДД-1А-250/1,25

250

0,75

11 ДД-2А-200/1,25

200

11 ДД-3А-135/1,25

135

И ДД-4А-95/1,25

95

И ДД-2В-180/1,25

180

11 ДД-2Е-300/1,25

300

0,78

11 ДД-1E-350/1,25

350

11 ДД-2Е-400/1,25

400

1,10

11 МО-1E-350/0,5

350

0,50

0,78

11 МО-1E-400/0,5

400

1,10

11 МО-1E-520/0,6

520

0,60

1,65

11 МД-11E-350/0,5

350

0,50

0,78

11 МД-1E-400/0,5

400

1,10

11 МД-1E-520/0,6

520

0,60

1,65

Примеры расшифровки марок:

11 ДО-1А-250/1,25 - Участок рабочий группы Д, односторонний, с шагом стоек 1 м, с профилем балки типа А, с удерживающей способностью 250 кДж, с динамическим прогибом 1,25 м.

11 ДД-2В-180/1,25 - Участок рабочий группы Д, двусторонний, с шагом стоек 2 м, с профилем балки типа В, с удерживающей способностью 180 кДж, с динамическим прогибом 1,25 м.

11 МО-1E-400/0,5 - Участок рабочий группы М, односторонний, с шагом стоек 1 м, с профилем балки типа Е, с удерживающей способностью 400 кДж, с динамическим прогибом 0,5 м.

Различные типы, профиля балки приведены на рис. 1.

Рис. 1

ЗАО «Точинвест», ТУ 5216-004-44884945-04 (рис.2)

Марка рабочего участка ограждения

Удерживающая способность, кДж

Динамический прогиб, м

Шаг стоек, м

Высота, м

1

2

3

4

5

11 МО (Б)-1,33-325/0,8

325

0,80

1,33.

1,10

11 МО (Б)-1,5-300/0,85

300

0,85

1,5

11 МО (Б)-2-250/0,9

2.50

0,90

2

11 МО (Б)-3-225/0,95

225

0,95

3

11 МО (Б)-1,33-375/0,75

375

0,75

1,33

0,95

11 МО (Б)-1,5-350/0,8

350

0,80

1,5

11 МО (Б)-2-300/0,85

300

0,85

2

11 МО (Б)-3-275/0,9

275

0,90

3

Примеры расшифровки марок:

11 МО (Б)-1,5-350/0,8 - Участок рабочий группы М, односторонний, усиленный балкой, с шагом стоек 1,5 м, с удерживающей способностью 350 кДж, с динамическим прогибом 0,8 м.

Рис.2

1 - стойка мостовая усиленная. СМ-У; 2 - дополнительная балка усиленная; 3 - элемент концевой ЭК-1; 4 - болт, гайка, шайба; 5 - консоль амортизатор КА; 6 - балка; 7 - световозвращатель дорожный; 8 - ребро жесткости толщиной 10 мм; 9 - фланец толщиной 20 мм.

ЗАО «МЕТАКО» (рис. 3-6).

Марка рабочего участка ограждения

Удерживающая способность, кДж

Динамический прогиб, м

Шаг стоек, м

Высота, м

1

2

3

4

5

ТУ 5216-021-00110604-03 (рис. 3)

11 ДО-0,85/2,0-288/1,3

288

1,3

2,0

0,85

ТУ 5216-054-01393697-03 (рис. 4)

11 ДО-1,0/1,5-400/1,8

400

1,8

1,5

1,0

11 ДО-1,0/2,0-350/1,2

350

1,2

2,0

 

ТУ 5216-020-00110604-03 (рис. 5)

11 МО-600-1,5-1,0-0,9

600

0,90

1,0

1,5

11 МО-545-1,5-1,5 -0,9

545

1,5

 

 

11 МО-490-1,5-2,0-0,95

490

0,95

2,0

 

11 МО-650-1,7(0,2)-1,0-0,9

650

0,90

1,0

1,7

11 МО-600-1,7(0,2)-1,5-0,9

600

1,5

 

 

11 МО-550-1,7(0,2)-2,0-0,95

550

0,95

2,0

 

ТУ 5216-017-00110604-02 (рис. 6)

11 МО-425-1,1-1,0-0,75

425

0,75

1,0

1,1

11 МО-350-1,1-1,5-0,75

350

 

1,5

 

11 МО-300-1,1-2,0-0,75

300

 

2,0

 

11 МО-210-1,1-3,0-0,75

210

 

3,0

 

11 МО-475-1,3(0,2)-1,0-0,75

475

0,75

1,0

1,3

11 МО-400-1,3(0,2)-1,0-0,75

400

 

1,5

 

11 МО-350-1,3(0,2)-1,5-0,75

350

 

2,0

 

11 МО-250-1,3(0,2)-2,0-0,75

250

 

3,0

 

Примеры расшифровки марок:

11 ДО-0,85/2,0-288/1,3 - Участок рабочий группы Д, односторонний, с габаритом высоты 0,85 м, с шагом стоек 2 м, с удерживающей способностью 288 кДж, с динамическим прогибом 1,3 м.

11 МО-600-1,7(0,2)-1,5-0,9 - Участок рабочий группы М, односторонний, с удерживающей способностью 600 кДж, с габаритом высоты 1,7 м (включая цоколь высотой 0,2 м), с шагом стоек 1,5 м, с динамическим прогибом 0,9 м.

Рис. 3

Рис. 4

Рис. 5

Рис. 6

ОАО «345 Механический завод», ТУ 5216-001-07630224-2000 (рис. 7а, б)

Группа ограждений

Шаг стоек, м

Материал и марка стойки

Удерживающая способность ограждения, кДж при поперечном прогибе, м

0,5

0,75

1,5

1,25

1,5

11 МО-У

1

Двутавр № 12 СМУ-1

200

250

300

-

-

2

160

225

275

-

-

3

125

150

200

-

-

1

Двутавр № 14 СМУ-2

250

300

325

350

-

2

200

250

300

325

-

3

175

225

250

300

-

Ограждение группы 11 МО-У. Общий вид

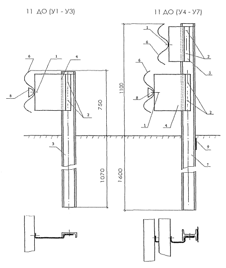
1 - балка; 2 - стойка мостовая СМУ; 3 - консоль-амортизатор; 4 - труба ТА; 5 - элемент световозвращающий; б - шов деформационный; 7 - пролетное строение

Ограждение группы 11 МО-У

8 - переходная плита мостового сооружения, 9 - концевой участок трубы, 10 - анкерный блок в теле насыпи

Рис. 7а

Рис. 7б

Параметры барьерных ограждений по ГОСТ 26804

Характеристика конструкций

Параметр

Значения параметров при шаге стоек, м

4,0

3

2,5

2,0

1,5

1,33

1,0

1

2

3

4

5

6

7

8

9

10

А. Дорожная группа

1

Ограждение с балкой из стали толщиной 3 мм (ТП 3.503-1-89)

Е

 

 

 

 

155

170

196

Уmах

 

 

 

 

1,5

1,5

1,5

В

 

 

 

 

1,7

1,75

1,75

У

 

 

 

 

У1

У1

У2

2

То же, но с балкой из стали толщиной 4 мм

Е

 

 

 

140

190

205

225

Уmах

 

 

 

1,5

1,5

1,5

1,5

В

 

 

 

1,7

1,7

1,75

1,75

У

 

 

 

У1

У2

У2

У2

3

То же, но со стойкой из швеллера № 14 (вместо № 12)

Е

 

130

150

170

210

225

250

Уmах

 

1,5

1,5

1,5

1,5

1,5

1,5

В

 

1,65

1,65

1,7

1,7

1,75

1,75

У

 

У1

У1

У1

У2

У2

У3

4

То же, но с болтом крепления консоли к стойке M-16 (вместо М-10)

Е

 

145

165

190

230

250

265

Уmах

 

1,5

1,5

1,4

1,4

1,3

1,25

В

 

1,65

1,65

1,7

1,7

1,75

1,75

У

 

У1

У1

У2

У2

У3

У3

Б. Мостовая группа

5

Ограждение с балкой из стали толщиной 4 мм, высотой стойки 0,75 м и общей высотой ограждения 0,75 м

Е

-

-

130

150

190

200

210

Уmax

 

 

0,75

0,75

0,75

0,75

0,75

В

 

 

0,80

0,85

0,85

0,90

0,90

У

 

 

У1

У1

У2

У2

У2

6

То же, но со стойкой 0,6 м и общей высотой ограждения 0,75 м (на цоколе высотой 15 см)

Е

 

 

135

160

200

220

230

Уmax

 

 

0,65

0,65

0,70

0,70

0,70

в

 

 

0,80

0,80

0,80

0,85

0,85

У

 

 

У1

У1

У2

У2

У2

7

То же, но общей высотой 0,9 м (на цоколе высотой 3.0 см)

Е

130

150

175

200

250

275

300

Уmax

0,60

0,60

0,60

0,60

0,60

0,60

0,60

В

0,65

0,65

0,70

0,70

0,75

0,75

0,75

У

У1

У1

У1

У2

У3

У3

У4

Примечание:

Е - удерживающая способность (энергоемкость), кДж; Уmах- максимальный прогиб, м; В - рабочая ширина, м; У - класс удерживающей способности по ГОСТ Р 52289

Рис. 8а

Рис. 8б

- участок стыка состоит из секции радиусной выпуклой балки;

- при стыковке с балкой СБ-5 (по ГОСТ 26804 или типовой серии 3.503.1) радиусная выпуклая балка располагается сверху в местах слияния транспортных потоков и снизу - в местах разветвления.

Рис. 8в

Радиусные балки выпуклые, выпускаемые по ТУ 5216-067-36910961-2002

(х) - размер радиуса в м, изготавливаются из профиля А, В

Рис. 9а

Рис. 9б

ОАО КТЦ «Металлоконструкция», ТУ 5262-063-01393697-2006

Уровень удерживающей способности

Энергия удара, кДж

Высота ограждения, м

Количество балок, шт.

Толщина балки, мм

Профиль стойки

Высота ограждения, м

Динамический прогиб ограждения, м

Дорожные ограждения

У1

130

0,75

1

3

3,0

Швеллер № 12

1,08

У2

190

2,0

У3

250

1,0

У4

300

1,10

2

2,5

Двутавр № 12

1,25

У5

350

1,5

У6

400

4

1,5

1,23

У7

450

1,0

Мостовые ограждения

У1

130

0,75

1

4

2,5

Двутавр № 12

0,48

У2

190

1,5

У3

250

1,0

У4

300

1,10

2

2,5

Двутавр № 14

0,83

У5

350

2,0

У6

400

1,5

У7

450

1,0

У8

500

1,33

Двутавр № 16

<1,0

У9

550

1,0

У10

600

1,10

1,0

Рис. 10а

1 - Болт М 16×45 ГОСТ 7802-81. Гайка M 16 ГОСТ 5915-70

2 - Болт М 16×30 ГОСТ 7798-70. Гайка М 16 ГОСТ 5915-70

3 - Стойка СА-1.8 Ш12.

4 - Консоль КН

5 - Консоль KB

6 -Балка СБ 1

7 - Стойка СД-2,6 Д12 (СД-2,6 ДМ; СД-2,6 Д12* для У7)

8 - Элемент световозвращающий

9 - Пластина 200×300

Рис. 10б

1 - Болт М 16×45 ГОСТ 7802-81. Гайка M 16 ГОСТ 5915-70

2 - Болт М 16×30 ГОСТ 7798-10. Гайка М 16 ГОСТ 5915-70

3 - Стойка СМ-0,75 Ш12 (СМ-0,75 Д12)

4 - Консоль КН

5 - Консоль KB

6 - Балка СБ 1

7 - Стойка СМ-1,1Д12 (СМ-1,1 Д14; СМ-1,5 Д14 для У10)

8 - Элемент световозвращающий

Приложение 3

Основные требования безопасности, предъявляемые к удерживающим ограждениям в европейских стандартах EN 1317-1 и EN 1317-2

При испытании ограждения с целью подтверждения определенного уровня удерживающей способности должны быть соблюдены следующие требования безопасности (кроме допустимых динамического прогиба и рабочей ширины):

а) ни одна из основных частей ограждения не должна быть отделена от него и представлять серьезную опасность для других транспортных средств, пешеходов или рабочих в зоне проведения дорожных работ;

б) отдельные детали ограждения не должны попадать в салон или кабину транспортного средства;

в) после взаимодействия с ограждением транспортные средства не должны опрокинуться ни через ограждение, ни в сторону проезжей части; центр тяжести транспортного средства не
должен пересекать центральную ось ограждения;

г) удержанное транспортное средство после удара об ограждение должно двигаться так, чтобы след колеса не пересекал на расстоянии В линию, параллельную первоначально обращенной к транспортному средству стороне ограждения и находящуюся на расстоянии, равном сумме параметра А, ширины транспортного средства и 16 % его длины.

Величины параметров (расстояний) А и В указаны в таблице:

Тип автомобиля

А (м)

В (м)

Легковой

2,2

10,0

Грузовой или автобус

4,4

20,0

д) деформации салона транспортного средства не должны приводить к серьёзным травмам водителя или пассажиров;

е) обобщенный показатель инерционной перегрузки при наезде легкового автомобиля на ограждение (индекс тяжести травм), определяемый по формуле ASI = [(Nx/12)2+(Ny/12)+(Nz/12)]0,5, не должен превышать порогового значения - А (1,0) или В (1,4). В приведенной формуле Nx, Ny и Nz - средние величины инерционных перегрузок в центре масс автомобиля, действующие по его трем осям.

Приложение 4

Пример тросового ограждении, устанавливаемого согласно типовым строительным конструкциям 3.503.1

Начальный участок (ИДО - ТЖ.Н)

1 - стойка СД-6; 2 - стойка СД-7; 3 - упор; 4 - тяж; 5 - тяж с проушиной; 6 - стяжка; 7 - коуш; 8 - сжим; 9 - гайка; 10 - шайба; 18-анкер (Ø 20 AI, l = 300, 0,74 кг)

Рабочий участок (11ДО - ТЖ.5)

11 - стойка СД-8; 12 - канат Ø 19,5 мм; 13 - компенсатор КС; 14 - шайба; 15 - болт; 16 - гайка; 17 - элемент фиксирующий (Ø 12 AI, l = 900, 0,8 кг); 19 - световозвращатель

Узел стойка-компенсатор

11 - стойка СД-8; 12 - канат Ø 19,5 мм; 13 - компенсатор КС; 14 - шайба 16.01. Ст3; 15 - болт М 16.01×280.58; 16 - гайка М 16-6H.5; 17 - элемент фиксирующий (Ø 12 АI, l = 900, 0,8 кг)

Приложение 5

Методика определения износа удерживающих ограждений для автомобилей

Данная методика основана на оценке изменения удерживающей способности (энергоемкости) конструкций, которая зависит от размеров и состояния конструкций и может применяться по отношению к бордюрным, парапетным и барьерным ограждениям.

Износ ограждений (в процентах) определяется по соотношению фактической и требуемой энергоемкостей. Фактическая энергоемкость устанавливается с помощью данных о первоначальной энергоемкости ограждений (сразу после установки) и показателя дефектности, отражающего влияние на энергоемкость изменения состояния конструкций.

где Еф - фактическое значение энергоемкости; Е - первоначальное значение энергоемкости; Етр - требуемые значения энергоемкости; Д - показатель дефектности конструкций, зависящий от их высоты и состояния.

где hф, hтр - фактическая и требуемая высоты различных конструкций ограждений; nс - коэффициент состояния.

Коэффициент состояния конструкций ограждений принимается в интервале от nс = 0 до nс = 1,0 в зависимости от степени повреждения.

1. nс - для барьерных ограждений:

nс = 0,9 - повреждения окраски металлических конструкций;

nс = 0,7(0,8) - отсутствуют амортизаторы на всех стойках (между стойками и балкой), если они необходимы;

nс = 0,5(0,6) - направляющая балка слабо закреплена на всех стойках (например, только прихваткой сваркой или недостаточным количеством болтов);

nс = 0,3(0,4) - стойки деформированы (погнуты, отклонены, имеются трещины в сварных швах);

nс = 0,1(0,2) - направляющие балки деформированы; nс = 0 - балки и стойки обрушены или деформированы. В скобках приведены значения коэффициента для ограждений, установленных на мостовых сооружениях.

2. nс - для парапетных ограждений:

nс = 0,8 - шелушение поверхности бетона в пределах толщины защитного слоя по всей длине;

nс = 0,6 - вертикальные трещины в блоках (от ударов), сколы углов;

nс = 0,4 - частичное разрушение (смещение) парапетов.

При оценке состояния ограждений на мостах приведенные значения nс распространяются на случаи, когда повреждения имеются на участках ограждений, длина которых составляет не менее половины длины моста. При меньшей длине nс принимается по интерполяции между 1,0 и указанными значениями.

3. nс - для бордюрных ограждений (бордюров):

nс = 0,9 - шелушение камней по всей длине на толщину защитного слоя;

nс = 0,8 - трещины по периметру камней, нарушающие их закрепление;

nс = 0,7 - разрушение камней в различной степени (от частичного до 100 % разрушения бордюрного камня).


Список литературы

1. ГОСТ 9.401-91 «Единая система защиты от коррозии и старения. Покрытия лакокрасочные. Общие технические. Общие требования и методы ускоренных испытаний на стойкость к воздействию климатических факторов».

2. ГОСТ 10060-95 «Бетоны. Методы контроля морозостойкости».

3. ГОСТ 26633-91 «Бетон тяжелый. Технические условия».

4. ГОСТ 26804-86 «Ограждения дорожные металлические барьерного типа. Технические условия».

5. ГОСТ Р 50597-93 «Автомобильные дороги и улицы. Требования к эксплуатационному состоянию, допустимому по условиям обеспечения безопасности дорожного движения».

6. ГОСТ Р 50971-96 «Световозвращатели дорожные. Общие технические требования. Правила применения».

7. ГОСТ Р 52289-2004 «Технические средства организации дорожного движения. Правила применения дорожных знаков, разметки, светофоров, дорожных ограждений и направляющих устройств».

8. ГОСТ Р 52398-2005 «Классификация автомобильных дорог. Основные параметры и требования».

9. ГОСТ Р 52399-2005 «Геометрические элементы автомобильных дорог».

10. EN 1317-1: «Дорожные удерживающие системы. Терминология и общие требования к методам испытаний».

11. EN 1317-2: «Дорожные удерживающие системы. Классы исполнений, критерии приемки испытаний на удар и методы испытаний защитных ограждений».

12. EN 1317-3: «Дорожные удерживающие системы. Классы: исполнений, критерии приемки испытаний на удар и методы испытаний поглотителей удара».

13. EN 1317-4: «Дорожные удерживающие системы. Критерии приемки испытаний на удар и методы испытаний конечных и переходных участков защитных ограждений».

14. EN 1317-6: «Дорожные удерживающие системы для пешеходных тротуаров.

15. ОДН 218.012-99 «Общие технические требования к ограждающим устройствам на мостовых сооружениях, расположенных на магистральных автомобильных дорогах».

16. ОДН 218.0.017-2003 «Руководство по оценке транспортно-эксплуатационного состояния мостовых конструкций».

17. СНиП 2.05.02-85 «Автомобильные дороги».

18. СНиП 2.05.03-84 «Мосты и трубы».

19. СНиП 2.07.01-89 «Градостроительство. Планировка в застройках городских и сельских поселений».

20. Типовые строительные конструкции серии 3.50.1-89.

21. Пособие по проектированию элементов плана, продольного и поперечного профиля, инженерных обустройств, пересечений и примыканий автомобильных дорог (к СНиП 2.05.02-85) / Союздорнии, 1989 г.

22. Рекомендации по применению ограждающих устройств на мостовых сооружениях автомобильных дорог / Минтранс России, от 7 мая 2001 г. № 114-р.

 




ГОСТЫ, СТРОИТЕЛЬНЫЕ и ТЕХНИЧЕСКИЕ НОРМАТИВЫ.
Некоммерческая онлайн система, содержащая все Российские Госты, национальные Стандарты и нормативы.
В Системе содержится более 150000 файлов нормативно-технической документации, действующей на территории РФ.
Система предназначена для широкого круга инженерно-технических специалистов.

Рейтинг@Mail.ru Яндекс цитирования

Copyright © www.gostrf.com, 2008 - 2026