Крупнейшая бесплатная информационно-справочная система онлайн доступа к полному собранию технических нормативно-правовых актов РФ. Огромная база технических нормативов (более 150 тысяч документов) и полное собрание национальных стандартов, аутентичное официальной базе Госстандарта. GOSTRF.com - это более 1 Терабайта бесплатной технической информации для всех пользователей интернета. Все электронные копии представленных здесь документов могут распространяться без каких-либо ограничений. Поощряется распространение информации с этого сайта на любых других ресурсах. Каждый человек имеет право на неограниченный доступ к этим документам! Каждый человек имеет право на знание требований, изложенных в данных нормативно-правовых актах!

  


 

ФЕДЕРАЛЬНОЕ АГЕНТСТВО
ПО ТЕХНИЧЕСКОМУ РЕГУЛИРОВАНИЮ И МЕТРОЛОГИИ

НАЦИОНАЛЬНЫЙ
СТАНДАРТ
РОССИЙСКОЙ
ФЕДЕРАЦИИ

ГОСТ Р МЭК
61084-2-4-
2007

Системы кабельных и специальных кабельных коробов для электрических установок

Часть 2

Частные требования

Раздел 4

СЕРВИСНЫЕ СТОЙКИ

IEC 61084-2-4:1996
Cable trunking and ducting systems for electrical installations -
Part 2: Particular requirements - Section 4: Service poles
(IDT)

Москва
Стандартинформ
2008

Содержание

Предисловие

Введение

1 Область применения

2 Нормативные ссылки

3 Термины и определения

4 Общие требования

5 Испытания. Общие условия

6 Классификация

7 Маркировка

8 Размеры

9 Конструкция

10 Механические свойства

11 Сопротивление распространению горения

12 Электрические характеристики

13 Внешние воздействия

Приложение А (справочное)

Приложение Б (справочное) Сведения о соответствии национальных стандартов Российской Федерации ссылочным международным стандартам

Предисловие

Цели и принципы стандартизации в Российской Федерации установлены Федеральным законом от 27 декабря 2002 г. № 184-ФЗ «О техническом регулировании», а правила применения национальных стандартов Российской Федерации» - ГОСТ Р 1.0-2004 «Стандартизация в Российской Федерации. Основные положения»

Сведения о стандарте

1 ПОДГОТОВЛЕН Открытым акционерным обществом «Компания «Электромонтаж» (ОАО «Компания «Электромонтаж») на основе собственного аутентичного перевода стандарта, указанного в пункте 4

2 ВНЕСЕН Техническим комитетом по стандартизации ТК 337 «Электроустановки жилых и общественных зданий»

3 УТВЕРЖДЕН И ВВЕДЕН В ДЕЙСТВИЕ Приказом Федерального агентства по техническому регулированию и метрологии от 19 декабря 2007 г. № 379-ст

4 Настоящий стандарт идентичен международному стандарту МЭК 61084-2-4:1996 «Системы кабельных и специальных кабельных коробов для электрических установок, Часть 2. Частные требования. Раздел 4. Сервисные стойки» (IEC 61084-2-4:1996 «Cable trunking and ducting systems for electrical installations - Part 2: Particular requirements - Section 4: Service poles»).

При применении настоящего стандарта рекомендуется использовать вместо ссылочных международных стандартов соответствующие им стандарты Российской Федерации, сведения о которых приведены в дополнительном приложении Б

5 ВВЕДЕН ВПЕРВЫЕ

Информация об изменениях к настоящему стандарту публикуется в ежегодно издаваемом информационном указателе «Национальные стандарты», а текст изменений и поправок - в ежемесячно издаваемых указателях «Национальные стандарты». В случае пересмотра (замены) или отмены настоящего стандарта соответствующее уведомление будет опубликовано в ежемесячно издаваемом информационном указателе «Национальные стандарты». Соответствующая информация, уведомление и тексты размещаются также в информационной системе общего пользования - на официальном сайте Федерального агентства по техническому регулированию и метрологии в сети Интернет

Введение

Настоящий стандарт является прямым применением международного стандарта МЭК 61084-2-1:2003, входящего в комплекс стандартов «Системы кабельных и специальных кабельных коробов для электрических установок».

Комплекс стандартов состоит из следующих частей:

часть 1 - Общие требования,

часть 2 - Частные требования.

На момент издания настоящего стандарта часть 2 состояла из следующих разделов:

раздел 1 - часть 2-1. Системы кабельных и специальных кабельных коробов, предназначенные для установки на стенах и потолках;

раздел 2 - часть 2-2. Системы кабельных и специальных кабельных коробов, предназначенные для установки под полом и заподлицо с полом;

раздел 4 - часть 2-4. Сервисные стойки.

Вышеуказанный комплекс стандартов является основополагающим нормативным документом, который должен использоваться при разработке, производстве и эксплуатации систем кабельных и специальных кабельных коробов, и устанавливает требования к конструкции систем и их компонентов, к их классификации, размерам, электрическим и механическим параметрам, огнестойкости, исполнению защиты от внешних воздействий и от поражения людей электрическим током, маркировке, требования к испытаниям, а также термины и определения, относящиеся к области применения данных систем.

Настоящим стандартом следует пользоваться совместно с МЭК 61084-1-2007 «Системы кабельных и специальных кабельных коробов для электрических установок. Часть 1. Общие требования».

Частные требования настоящего стандарта дополняют или заменяют требования соответствующих разделов МЭК 61084-1. Если в тексте настоящего стандарта приведено указание «дополнение» или «замена» соответствующего требования МЭК 61084-1, такое измененное требование МЭК 61084-1 становится требованием настоящего стандарта. Если изменения не требуются, в настоящем стандарте указано: «Применяют раздел (соответствующий номер) МЭК 61084-1».

Номера разделов и рисунков настоящего стандарта, являющихся дополнительными к МЭК 61084-1, обозначены номером 101.

В настоящем стандарте методы испытаний выделены курсивом.

ГОСТ Р МЭК 61084-2-4-2007

НАЦИОНАЛЬНЫЙ СТАНДАРТ РОССИЙСКОЙ ФЕДЕРАЦИИ

Системы кабельных и специальных кабельных коробов для электрических установок

Часть 2

Частные требования

Раздел 4

СЕРВИСНЫЕ СТОЙКИ

Cable trunking and ducting systems for electrical installations. Part-2. Particular requirements. Section 4. Service poles

Дата введения - 2008-07-01

1 Область применения

Настоящий стандарт устанавливает требования к сервисным стойкам для кабельных и специальных кабельных коробов, предназначенным для подключения оборудования к электрической сети при помощи штепсельных соединителей или других электрических аппаратов, размещаемых в сервисных стойках, а также для размещения и, при необходимости, разделения в них проводов, кабелей или шнуров.

Стандарт устанавливает требования к сервисным стойкам, предназначенным как для стационарной установки, так и к перемещаемым в любом направлении.

Требования стандарта не распространяются на трубы, кабельные лотки и кабельные лестницы, а также на токоведущие части, прокладываемые внутри системы кабельных и специальных кабельных коробов.

2 Нормативные ссылки

Применяют раздел 2 МЭК 61084-1 со следующим дополнением:

Дополнение

ИСО 9328-5:1991 Стальные пластины и полосы, используемые в условиях давления. Технические условия на поставку. Часть 5. Аустенитные стали

3 Термины и определения

Применяют раздел 3 МЭК 61084-1 со следующими дополнениями:

Дополнения

3.101 сервисная стойка (service pole): Специальная прямая секция системы кабельных или специальных кабельных коробов, оборудованная специальными устройствами крепления и предназначенная для размещения в ней электроустановочных изделий или содержащая электроустановочные изделия, обеспечивающие быстрое подключение к низковольтным питающим (распределительным) сетям, к телекоммуникационным системам и т.д.

3.102 сервисная стойка со свободным монтажом (service pole for re-locatable mounting): Сервисная стойка, предназначенная для стационарной установки, но которая может быть легко перемещена в другое место, для чего она укомплектована или может быть укомплектована гибким кабелем и штепсельной вилкой для присоединения к электрической питающей (распределительной сети).

3.103 сервисная стойка для стационарной установки (service pole for fixed mounting): Сервисная стойка, которая предназначена для стационарной установки и не может быть легко перемещена в другое место.

4 Общие требования

Применяют раздел 4 МЭК 61084-1.

5 Испытания. Общие условия

Применяют раздел 5 МЭК 61084-1 со следующим дополнением:

Дополнение

5.101 Все испытания проводят на трех образцах, поставляемых изготовителем.

6 Классификация

Применяют раздел 6 МЭК 61084-1 со следующими изменениями:

Изменения

Пункты 6.2.1, 6.2.2, 6.2.4, 6.2.5 и 6.4.1 не применяют.

Подраздел 6.3 применяют за исключением испытаний при температурах минус 45 °С и плюс 90 °С.

7 Маркировка

Применяют раздел 7 МЭК 61084-1 со следующими дополнениями:

Дополнения

7.101 Маркировка сервисных стоек должна содержать:

- тип изделия или его каталожный номер;

- символ степени защиты, если она превышает степень IP20 (см. МЭК 60529).

7.102 Если для маркировки степени защиты используют символы, они должны быть следующими:

IPXX,

где буквы X должны быть заменены соответствующими цифрами.

7.103 Маркировка должна быть расположена на видном месте, что не является обязательным требованием в случае, когда сервисная стойка находится в установленном для эксплуатации положении.

7.104 Зажимы заземления должны быть обозначены символом:

7.105 В комплект поставки сервисной стойки должна входить инструкция по монтажу, если она требуется для правильной сборки стойки с другими компонентами системы и монтажа.

7.106 Соответствие вышеприведенным дополнительным подпунктам проверяют путем осмотра.

8 Размеры

Применяют раздел 8 МЭК 61084-1 за исключением:

Подраздел 8.2 не применяют.

9 Конструкция

Применяют раздел 9 МЭК 61084-1 за исключением:

Пункт 9.7.2

Дополнение после второго абзаца

Примечание - Монтаж сальников других типов, не требующих применения инструмента, выполняют по инструкции изготовителя.

Дополнение

9.101 Сервисные стойки со свободным монтажом должны быть оснащены анкерным креплением провода (кабеля) для уменьшения натяжения проводников, включая скручивание в местах присоединения к зажимам и в местах концевых заделок, и для защиты покрытия проводников от абразивных воздействий.

Примечание - Допускается применять анкерные крепления типа «лабиринт» при условии, что они выдержали соответствующее испытание.

Соответствие сервисных стоек вышеуказанным требованиям проверяют путем осмотра и испытанием по 10.5.101.

10 Механические свойства

Применяют раздел 10 МЭК 61084-1 за исключением:

Для сервисных стоек, устанавливаемых вертикально, подразделы 10.2 и 10.4 не применяют.

10.5 Испытание на стойкость к внешним механическим воздействиям

Дополнения

10.5.101 Сервисные стойки, оборудованные анкерным креплением для провода (кабеля), подвергают испытанию на воздействие растягивающей силы с помощью испытательного устройства, изображенного на рисунке 102.

Испытания компонентов сервисной стойки проводят с наименьшим и наибольшим диаметрами каждого типа кабеля или провода, указанными в инструкции изготовителя с помощью ссылки на соответствующий международный стандарт.

Анкерное крепление проводов выполняют обычным способом с затяжкой зажимных винтов крутящим моментом, равным 2/3 значения, указанного в таблице 2 МЭК 61084-1. После сборки образца части анкерного крепления провода должны прилегать плотно, также должно быть невозможно протолкнуть кабель или провод внутрь образца на какое бы то ни было заметное расстояние.

Образец помещают в испытательное устройство таким образом, чтобы ось кабеля или провода на входе в образец была расположена вертикально.

Затем кабель или провод 100 раз подвергают воздействию растягивающей силы 60 Н.

Растягивающую силу следует прикладывать без рывков в течение 1 с. Должно быть обеспечено, чтобы ко всем частям гибкого кабеля или провода (проводникам, изоляции и оболочке) одновременно прикладывалась одна и та же растягивающая сила.

В процессе испытания кабель или провод не должны быть повреждены.

После испытания смещение кабеля или провода должно быть не более 2 мм.

Перед испытанием на продольное смещение на кабель или провод, находящийся в натянутом состоянии, наносят метку на расстоянии приблизительно 20 мм от края образца или от вводной втулки, при ее наличии.

После испытания измеряют на натянутом кабеле или проводе, на какое расстояние сместилась метка относительна образца или втулки.

10.5.102 Сервисные стойки должны быть установлены и закреплены в положении, соответствующем нормальным условиям эксплуатации.

Соответствие этому требованию проверяют следующими испытаниями.

Образец с деталями для установки аппаратов и другими вспомогательными деталями собирают и устанавливают в соответствии с инструкцией изготовителя. Для сервисных стоек, предназначенных для установки на распорках между полом и потолком, должны быть использованы следующие специальные испытательные поверхности.

Поверхность потолка должна быть из бетона марки К25 (стойкость к давлению 25 МПа, измеренная на 15 см3) при крупности заполнителя не более 16 мм, сформованного в стальной форме. Поверхность пола должна быть из нержавеющей стали толщиной не менее 2 мм с качествам поверхности 2В по ИСО 9328, часть 5.

Испытательные поверхности должны быть смонтированы на неупругом основании, например бетонном, параллельно друг другу.

Сервисные стойки, предназначенные для горизонтальной установки, испытывают в горизонтальном положении. Испытательные поверхности должны быть из бетона, указанного выше.

К середине сервисной стойки, перпендикулярно к ней, на 1 мин прикладывают растягивающую силу 400 Н в наиболее неблагоприятном направлении при помощи хомута с площадью приложения усилия приблизительно 50´50 мм.

В процессе испытания не должно быть шаткости сервисной стойки. Крышка, если имеется, не должна отделяться от стойки. После испытания на стойке не должно быть повреждений.

После испытания сервисную стойку в течение 1 мин подвергают воздействию крутящего момента 10 Н×м по часовой стрелке, при этом стойка не должна поворачиваться на угол более 30° от начального положения, а крышка, если имеется, не должна отделяться от стойки. После испытания на стойке не должно быть повреждений.

Затем данное испытание повторяют в направлении против часовой стрелки.

Для сервисных стоек, предназначенных для установки на распорках между полом и потолком, испытания на воздействие растягивающей силы и крутящего момента повторяют в тех же условиях после увеличения расстояния между полом и потолком на 5 мм без дополнительного закрепления сервисной стойки.

Примечание - При проведении вышеуказанных испытаний следует применять такие испытательные устройства, которые не будут препятствовать отделению крышки от образца.

10.5.103 Деталь, предназначенная для установки аппарата, должна быть надежно закреплена на прямой секции системы кабельных и специальных кабельных коробов (например, к сервисной стойке).

Соответствие проверяют с помощью следующего испытания.

Если результаты испытания зависят от температуры, испытание проводят при температуре (40 ± 2) °С.

Силу 100 Н в течение 1 мин прикладывают к устройству крепления детали, предназначенной для установки аппарата под углом от 45° до 90°, в наиболее неблагоприятном направлении со стороны фронтальной поверхности прямой секции сервисной стойки.

В процессе испытания деталь для установки аппарата не должна отделяться от основания, на котором она установлена.

Сразу же после испытания деталь для установки аппарата, подвергают воздействию крутящего момента 3 Н×м по часовой стрелке, а затем - против часовой стрелки в течение 1 мине каждом направлении.

В процессе испытания угол смещения детали для установки аппарата от начального положения должен быть не более 15°.

11 Сопротивление распространению горения

Применяют раздел 11 МЭК 61084-1.

12 Электрические характеристики

Применяют раздел 12 МЭК 61084-1 за исключением:

Замена

12.1 Доступные для прикосновения металлические части сервисных стоек, которые могут оказаться под напряжением при повреждении изоляции, должны быть постоянно и надежно присоединены к заземляющему зажиму (или блоку зажимов) внутри сервисной стойки, который должен быть присоединен к заземляющему (нулевому защитному) проводнику стационарной установки.

Соответствие проверяют испытанием по 12.2.

13 Внешние воздействия

Применяют раздел 13 МЭК 61084-1 за исключением;

Дополнение

13.101 Стойкость к коррозии

Части сервисной стойки, изготовленные из черного металла, окисление которых может привести к снижению ее безопасности, не должны покрываться ржавчиной.

Соответствие проверяют с помощью следующего испытания.

С испытуемых частей сервисной стойки удаляют смазку путем погружения в трихлорэтан на 10 мин. Затем испытуемые части на 10 мин погружают в 10 %-ный водный раствор соляной кислоты при температуре (20 ± 5) °С.

После этого с испытуемых частей стряхивают все капли (без. обсушивания) и помещают в камеру влажности на 10 мин при температуре (20 ±5) °С.

Затем испытуемые части помещают в камеру тепла на 10 мин при температуре (100 ± 5) °С, после чего извлекают их из испытательной камеры и выдерживают при комнатной температуре в течение 24 ч. После испытания на частях не должно быть признаков ржавчины.

Следы ржавчины на острых краях и желтоватую пленку, удаляемую трением, не учитывают.

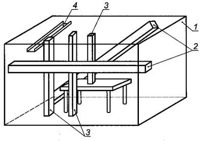
1 - помещение; 2 - примеры установки коробов сервисных стоек; 3 - примеры установки сервисных стоек; 4 - деталь дополнительного крепления или лоток
Рисунок 101 - Примеры установки коробов и сервисных стоек

Рисунок 102 - Испытательное устройство для испытания анкерного крепления проводов

Приложение А
(справочное)

Приложение А МЭК 61084-1 не применяют.

Приложение Б
(справочное)

Сведения о соответствии национальных стандартов Российской Федерации ссылочным международным стандартам

Обозначение ссылочного международного стандарта

Обозначения и наименования соответствующего национального стандарта и условное обозначение степени его соответствия ссылочному международному стандарту

ИСО 9328-5-1991

*

* Соответствующий национальный стандарт отсутствует. До его утверждения рекомендуется использовать русскую версию или аутентичный перевод на русский язык данного международного стандарта, Переводы международных стандартов (при их наличии) находятся в Федеральном информационном фонде технических регламентов и стандартов.

Ключевые слова: короба, короба для электрических установок, кабельные короба, специальные кабельные короба, системы кабельных коробов, частные требования, сервисные стойки, испытания, классификация, размеры, конструкция, характеристики

 




ГОСТЫ, СТРОИТЕЛЬНЫЕ и ТЕХНИЧЕСКИЕ НОРМАТИВЫ.
Некоммерческая онлайн система, содержащая все Российские Госты, национальные Стандарты и нормативы.
В Системе содержится более 150000 файлов нормативно-технической документации, действующей на территории РФ.
Система предназначена для широкого круга инженерно-технических специалистов.

Рейтинг@Mail.ru Яндекс цитирования

Copyright © www.gostrf.com, 2008 - 2026