|
|
Вибрация СТАНКИ БАЛАНСИРОВОЧНЫЕ Ограждения и другие средства защиты ISO 7475:2002
Предисловие Цели, основные принципы и основной порядок проведения работ по межгосударственной стандартизации установлены ГОСТ 1.0-92 «Межгосударственная система стандартизации. Основные положения» и ГОСТ 1.2-97 «Межгосударственная система стандартизации. Стандарты межгосударственные, правила и рекомендации по межгосударственной стандартизации. Порядок разработки, принятия, применения, обновления и отмены» Сведения о стандарте 1 ПОДГОТОВЛЕН Открытым акционерным обществом «Научно-исследовательский центр контроля и диагностики технических систем» на основе собственного аутентичного перевода стандарта, указанного в пункте 4 2 ВНЕСЕН Межгосударственным техническим комитетом по стандартизации МТК 183 «Вибрация и удар» 3
ПРИНЯТ Межгосударственным советом по стандартизации, метрологии и сертификации (протокол № 29 от 24 июня За принятие проголосовали:
4 Настоящий стандарт является модифицированным по отношению к международному стандарту ИСО 7475:2002 «Вибрация. Станки балансировочные. Ограждения и другие средства защиты на месте проведения балансировки» (ISO 7475:2002 «Mechanical vibration - Balancing machines - Enclosures and other protective measures for the measuring station») путем внесения технических отклонений, объяснение которых приведено во введении к настоящему стандарту. Степень соответствия - модифицированная (MOD) 5 Приказом Федерального агентства по техническому регулированию и метрологии от 12 декабря
6 ВВЕДЕН ВПЕРВЫЕ Информация о введении в действие (прекращении действия) настоящего стандарта публикуется в указателе «Национальные стандарты». Информация об изменениях к настоящему стандарту публикуется в указателе «Национальные стандарты», а текст изменений - в информационных указателях «Национальные стандарты». В случае пересмотра или отмены настоящего стандарта соответствующая информация будет опубликована в информационном указателе «Национальные стандарты» Содержание Введение Изготовление и эксплуатация балансировочных станков требуют принятия различных мер с целью свести к минимуму их опасность для оператора и других лиц, находящихся в зоне проведения балансировки. Потенциальными источниками опасности являются контакт с вращающимися элементами ротора, отрыв элементов ротора или корректирующих грузов в процессе их вращения, соскакивание ротора с опор или его разрушение. Опасность каждого из перечисленных видов возрастает при увеличении массы ротора и скорости его вращения, но ее можно уменьшить благодаря правильному проектированию конструкции ротора и соблюдению инструкций по балансировке. Балансировочные станки специального назначения, например применяемые в массовом производстве автомобилей, обычно изначально содержат все необходимые элементы защиты, поскольку место и условия применения этих станков заранее известны и приняты во внимание изготовителем. Однако для балансировочных станков многоцелевого назначения, место и условия применения которых заранее неизвестны, проектировщик может учесть только некоторые очевидные источники опасности, оградив, например, область сочленения ротора с приводом или зону движения приводных ремней. Поэтому пользователю балансировочного станка следует самостоятельно определить потенциальные источники опасности, связанные с процедурой балансировки конкретных роторов, и сообщить о них изготовителю, чтобы тот мог снабдить станок необходимыми средствами защиты. В противном случае пользователь должен будет обеспечить применение необходимых средств защиты самостоятельно. Если вид ротора, который требуется уравновесить, изначально неизвестен (что часто имеет место в службах сервиса и ремонта), пользователю следует провести предварительную оценку риска. Необходимые для этого данные для станков разных размеров приведены в таблице А.2. Но при балансировке каждого конкретного ротора следует заново убедиться в том, что применяемые средства защиты адекватны всем возможным источникам риска. В ряде случаев стоимость защитных мер может быть столь высока, или они требуют таких больших затрат времени, что целесообразно рассмотреть другие меры предосторожности, например удаление места наблюдателя на достаточно большое расстояние, удаленный контроль за работой балансировочного оборудования, проведение балансировки во внерабочее время. При высокоскоростной балансировке ротора следует принимать во внимание возможность несчастных случаев, связанных с разрушением ротора во время вращения, хотя обычно рабочая скорость балансировочного станка лежит много ниже предела, при котором могут произойти серьезные повреждения ротора. Роторы, содержащие лопасти или лопатки (например, рабочее колесо турбины), обычно балансируют на низкой скорости. В этом случае важно убедиться, сможет ли защитное ограждение выдержать удар лопатки или корректировочного груза, оторвавшихся в процессе балансировки. Если вероятность отрыва лопатки незначительна, достаточно использовать легкие ограждения, предназначенные для защиты от оторвавшихся грузов. Поскольку в настоящий стандарт включены только самые общие положения, относящиеся к обеспечению безопасной работы балансировочных станков, в нем не рассмотрен риск, связанный с роторами конкретного вида или конкретным балансировочным оборудованием. В каждом таком случае может потребоваться проведение индивидуальных исследований с учетом конкретных характеристик ротора. При этом анализ риска следует проводить с учетом особенностей самого балансировочного станка. Чтобы оценить пределы возможных повреждений, важно знать, насколько большой дисбаланс, связанный с повреждением ротора, например отрывом некоторых его элементов, допускают опоры ротора. Основные общие источники опасности перечислены в разделе 4 настоящего стандарта. Требования безопасности и средства защиты, необходимые для уменьшения риска от этих источников, приведены в таблице 1; в разделе 5 установлены методы подтверждения выполнения установленных требований. По сравнению с примененным международным стандартом ИСО 7475:2002 в текст настоящего стандарта внесены следующие изменения: - в разделе 2 ссылки на международные стандарты заменены ссылками на соответствующие межгосударственные стандарты; - уточнена формулировка ограничения на допустимую тангенциальную силу в 5.1.2; - классы защиты в 5.1.4 определены без использования табличной формы (таблица 2 в ИСО 7475:2002), а их формулировки уточнены для приведения в соответствие с ГОСТ 12.4.023-84; соответственно изменен номер следующей таблицы (таблица 2 вместо таблицы 3 по ИСО 7475:2002); - уточнен один из параметров, характеризующих проникающую способность частиц, в приложении А (использовано понятие «наименьшая площадь проекции частицы на плоскость» вместо «площадь минимального поперечного сечения частицы»); - исключены сопоставления с предыдущей редакцией международного стандарта ИСО 7475:1984, который не был введен в качестве межгосударственного стандарта, в частности в отношении формы эталонного ударника (А.2.1); - форма всех таблиц приведена в соответствие с требованиями ГОСТ 1.5-2001; - исключен элемент «Библиография» для приведения в соответствие с требованиями ГОСТ 1.5-2001. МЕЖГОСУДАРСТВЕННЫЙ СТАНДАРТ
Дата введения - 2008-07-01 1 Область примененияНастоящий стандарт устанавливает требования к ограждениям и другим средствам защиты, используемым для уменьшения риска механических повреждений в процессе балансировки ротора на балансировочном станке. Этот риск связан с работой станка в разных условиях при балансировке роторов разных типов и размеров. Настоящий стандарт устанавливает несколько классов защиты балансировочных станков и пределы применимости каждого класса. Настоящий стандарт не распространяется на устройства распределения масс вдоль ротора и устройства перемещения ротора, даже если те являются неотъемлемой частью рабочего места, на котором проводят балансировку. В настоящем стандарте не рассмотрены другие характеристики ограждений: способность снижать производимый шум, уменьшать сопротивление воздуха, поддерживать вакуум (например, при балансировке ротора с лопатками) и пр. 2 Нормативные ссылкиВ настоящем стандарте использованы нормативные ссылки на следующие межгосударственные стандарты: ГОСТ 12.4.023-84 Система стандартов безопасности труда. Щитки защитные лицевые. Общие технические требования и методы контроля (ИСО 4849:1981 «Средства индивидуальной защиты органов зрения. Технические требования», NEQ) ГОСТ 19534-74 Балансировка вращающихся тел. Термины (ИСО 1925:1981 «Балансировка. Словарь», NEQ) ГОСТ 20523-80 Устройства числового программного управления станками. Термины и определения (ИСО 2806:1994 «Системы промышленной автоматизации. Числовое программное управление станками. Словарь», NEQ) ГОСТ 24346-80 Вибрация. Термины и определения (ИСО 2041:1990 «Вибрация и удар. Словарь», NEQ) ГОСТ 28989-91 (ИСО 3719-82) Станки балансировочные. Символы на панелях управления (ИСО 3719:1994 «Вибрация. Символы на балансировочных станках и вспомогательном оборудовании», NEQ) Примечание - При пользовании настоящим стандартом целесообразно проверить действие ссылочных стандартов на территории государства по соответствующему указателю стандартов, составленному по состоянию на 1 января текущего года, и по соответствующим информационным указателям, опубликованным в текущем году. Если ссылочный стандарт заменен (изменен), то при пользовании настоящим стандартом следует руководствоваться заменяющим (измененным) стандартом. Если ссылочный стандарт отменен без замены, то положение, в котором дана ссылка на него, применяется в части, не затрагивающей эту ссылку. 3 Термины и определенияВ настоящем стандарте применены термины по ГОСТ 19534 и ГОСТ 24346. 4 Значительные источники риска4.1 Общие положения Значительные источники риска на месте работы балансировочного станка перечислены в таблице 1, где приведены также примеры ситуаций, связанных с риском указанных видов, выполняемые при этом рабочие операции и зоны повышенной опасности. 4.2 Оценка риска Оценку риска осуществляет пользователь балансировочного станка, его проектировщик, изготовитель или поставщик. Как часть этой процедуры должны быть описаны назначение балансировочного станка, применяемый ручной инструмент, способ установки ротора на опоры станка, методы технического обслуживания, ремонта и ухода за балансировочным станком, а также возможные примеры его неправильного использования. Кроме того, следует указать, является ли перечень источников риска, приведенный в таблице 1, исчерпывающим и применимым к конкретному балансировочному станку или требует дополнений. Таблица 1 - Перечень разных видов риска и их возможных источников на месте работы балансировочного станка
4.3 Доступ к балансировочному станку Оценка риска должна исходить из того, что к балансировочному станку имеется доступ со всех направлений. Риск в отношении оператора и других лиц, находящихся в опасной зоне работы станка, должен быть указан с учетом опасностей всех видов, возможных в период его эксплуатации. Оценка должна включать в себя анализ влияния отказов функции защиты в системе управления. 5 Требования безопасности и средства защиты5.1 Общие требования 5.1.1 Общие принципы обеспечения безопасности Балансировочный станок должен быть закреплен на фундаменте (полу) таким образом, чтобы выдерживать все нагрузки, определяемые массой ротора, его дисбалансом, частицами, отрывающимися от ротора в процессе вращения, и перемещениями ограждения при его открытии (закрытии). В процессе работы балансировочного станка для его оператора существует потенциальная опасность таких специфических видов, как: - контакт с движущимися частями станка или ротора; - отрыв от вращающегося ротора его элементов или корректирующих грузов; - поднятие ротора с опор или его разрушение в процессе вращения. Поэтому требования безопасности должны предусматривать наличие средств защиты от возможного контакта с опасно движущимися предметами (в основном, уравновешиваемым ротором) и защиты от летящих предметов (частиц, оторвавшихся от ротора). 5.1.2 Защита от контакта с движущимися частями Для многих роторов источник их опасности в процессе балансировки связан с накопленной ротором кинетической энергией или с движением его поверхности (например, для ротора с лопатками). По этой причине рабочая область станка, на котором проводят динамическую балансировку, должна быть защищена ограждением (барьерами), чтобы исключить возможность контакта человека с вращающимся ротором или частями привода. В таких ограждениях нет необходимости только в случае выполнения всех нижеперечисленных условий: a) поверхность ротора гладкая и не может вызвать порезов при контакте с нею; b) метод коррекции дисбаланса исключает возможность отрыва от вращающегося ротора каких-либо частиц (например, дисбаланс устраняют удалением лишнего материала ротора); c) максимальная скорость вращения ротора такова, что его возможные повреждения в процессе вращения маловероятны; d) предусмотрены меры против подъема ротора с подшипников балансировочного станка, как это указано в таблице 2 (пункт 1.3), или же кинетическая энергия ротора на максимальной скорости вращения столь мала, что подъем ротора не может привести к каким-либо повреждениям; e) максимальный момент привода достаточно мал, так что тангенциальные силы в точках на поверхности ротора1), позволяющие удержать его от вращения, не превышают 100 Н; 1) При наличии у ротора выступающих частей рассматривают силы, приложенные к этим частям. f) кинетическая энергия ротора вместе с приводом (в случае их жесткого соединения, не допускающего возможности проскальзывания) на балансировочной скорости не превышает 20 Н·м. Примечание - Для роторов большого диаметра (например, автомобильных колес) допустимы более высокие значения кинетической энергии, если предусмотрены меры против захвата вращающимся ротором одежды оператора. 5.1.3 Защита от летящих частиц В зависимости от массы и скорости летящих частиц должны быть приняты разные меры защиты - от защиты органов зрения (с помощью очков, защитных лицевых щитков), использования ограждений, полностью закрывающих станок, до применения станка во взрывозащищенном исполнении. Обычно для определения необходимой защиты используют три критерия. A) Критерий на основе удельной энергии Этот критерий применяют для оценки опасности, связанной с концентрацией всей энергии летящей частицы на минимально возможной площади устройства защиты [см. А.2.1 (приложение А) и формулу (А.1)]. Частица не должна пробивать ограждение и вылетать за его пределы. B) Критерий на основе абсолютной энергии Этот критерий применяют для оценки опасности, связанной с восприятием защитным устройством всей кинетической энергией летящей частицы [см. А.3.1 (приложение А) и формулу (А.6)]. Частица не должна разрушать ограждение, вылетая за его пределы. C) Критерий на основе импульса Этот критерий применяют для оценки опасности, связанной с передачей летящей частицей своего импульса устройству защиты [см. А.5.1 (приложение А) и формулу (А.10)]. В процессе столкновения с частицей защитное устройство не должно опрокидываться, а его смещения должны быть относительно невелики. 5.1.4 Система классов защиты Система классов защиты, установленная настоящим стандартом, основана на двух критериях: - защиты от контакта с движущимися частями (см. 5.1.2), т.е. необходимости для балансировочного станка иметь ограждение (барьеры); - защиты от летящих частиц (см. 5.1.3) с учетом параметров их движения (удельной энергии, абсолютной энергии или импульса). Различают следующие классы защиты: 0: Предполагает отсутствие каких-либо специальных средств защиты: лицевых щитков (защитных очков) или ограждений (кожухов, барьеров). А: Предполагает использование индивидуальных средств защиты - защитных лицевых масок или очков - при отсутствии ограждений балансировочного станка. Применяют, когда значения параметров движения летящих частиц лежат ниже уровня, обусловливающего использование ограждений по классу С. В: Предполагает применение ограждений (барьеров) в целях защиты от контакта с движущимися частями без использования индивидуальных средств защиты (лицевых щитков или очков). Применяют в случаях, когда опасность отрыва частиц от ротора в процессе его вращения отсутствует или энергия летящих частиц мала. А + В: Сочетание классов защиты А и В, т.е. применение защитных щитков (очков) в предположении, что от ротора в процессе балансировки могут отрываться только маленькие частицы с небольшой энергией, и ограждений (барьеров) для защиты от контакта с движущейся поверхностью ротора или элементов привода. С: Применяют, когда значения параметров движения летящих частиц лежат в следующих интервалах: - удельная энергия: от 342) до 340 мН·м/мм2; - абсолютная энергия: от 22) до 2000 Н·м; - импульс: от 0,22) до 200 кг·м/с. 2) При более низких значениях ГОСТ 12.4.023 допускает в целях защиты от летящих частиц применение защитных лицевых щитков соответствующей прочности (класс защиты А). Однако, если это целесообразно, может быть принято решение о применении класса защиты С. D: Применяют, когда значения параметров движения летящих частиц превышают верхние значения для класса защиты С. 5.1.5 Режим работы При наличии ограждения вокруг рабочей зоны должна быть предусмотрена возможность работы станка в двух режимах, как указано ниже. A) Режим 1 (режим нормального функционирования): вращение объекта балансировки под ручным или автоматическим управлением с последовательным выполнением операций балансировки при закрытом ограждении и включенном устройстве блокировки (срабатывающем, например, по электрическому сигналу или при превышении некоторого порогового значения давления). B) Режим 2 (установочный): вращение объекта балансировки под ручным или автоматическим управлением для проверки правильности его установки на месте балансировки при открытом ограждении и отключенном устройстве блокировки. Процедура выполнения работ в режиме 2 и предъявляемые при этом требования к квалификации оператора должны быть описаны в инструкции по эксплуатации станка. Существенным фактором снижения риска при работе в данном режиме является уменьшение скорости вращения ротора, поэтому при оценке риска необходимо определить максимально допустимую скорость вращения. Режим работы выбирают с помощью переключателя, числового кода или других надежных средств за пределами рабочей зоны. При этом установка режима не должна сопровождаться автоматическим пуском станка. Более подробные рекомендации относительно работы в указанных режимах приведены в таблице 2. Конструкция станка должна предусматривать хорошо читаемую индикацию выбранного режима работы. 5.1.6 Система управления Части системы управления, отвечающие за безопасность (блокировку работы станка, мониторинг, уменьшение скорости вращения, разрешение доступа), должны быть спроектированы таким образом, чтобы единичный сбой в системе управления не приводил к отказу функций защиты и мог быть обнаружен до следующего обращения к этим функциям. Мониторинг может быть проведен по раздельным каналам, в автоматическом режиме или с использованием других соответствующих средств. Устройство разрешения доступа может быть двухпозиционным и дополненным устройством экстренного останова или трехпозиционным. 5.2 Специальные требования Конструкция станка и применяемые вместе с ним средства защиты должны удовлетворять требованиям, указанным в таблице 2. Таблица 2 - Перечень требований по безопасности и средствам защиты и процедуры проверки их выполнения
6 Проверка выполнения требований безопасности и принятых мер защитыВыполнение требований по безопасности и использованию средств защиты в соответствии с разделом 5 должно быть проверено с помощью процедур, указанных в последнем столбце таблицы 2. 7 Информация, предоставляемая изготовителем7.1 Общие требования Устройство аварийной сигнализации станка (производящее звуковые или световые сигналы), его маркировка (знаки, символы, включая установленные ГОСТ 28989), а также эксплуатационные документы должны удовлетворять требованиям национального законодательства. 7.2 Руководство по эксплуатации В дополнение к требованиям 7.1 каждый станок должен быть укомплектован печатным справочным руководством на языках стран предполагаемого использования данного станка, содержащим следующую информацию: а) наименование и адрес компании-изготовителя (поставщика); b) ссылки на настоящий стандарт (с указанием класса защиты и соответствующих параметров по 5.1.4) и все прочие стандарты, использованные при изготовлении станка; c) сведения, необходимые для безопасной установки станка (например, требования к полу, обслуживанию); d) инструкцию по проведению наладочных испытаний и проверке станка и систем его защиты перед пуском станка в эксплуатацию; e) инструкцию по периодическому техническому обслуживанию и испытаниям самого станка, ограждений и других устройств защиты (аппаратура и вспомогательное оборудование, используемые при проведении периодических испытаний, должны быть общедоступны, в противном случае их следует включать в комплект поставки станка); f) инструкцию по проведению дополнительных испытаний после замены элементов станка или добавления вспомогательного оборудования (включая программные средства), которые могут оказать влияние на выполнение функций защиты; g) инструкцию по безопасному применению, установке, техническому обслуживанию и чистке оборудования, включая меры по предотвращению возникновения опасных ситуаций, связанных с применяемыми жидкостями и другими материалами; h) инструкцию по работе системы управления, включая принципиальные схемы электрической, гидравлической и пневматической систем; i) перечень жидкостей, которые могут быть применены в системах смазки, торможения и трансмиссии; j) инструкцию по мерам, принимаемым в случае захвата работающим станком одежды оператора. Инструкции, указанные в перечислениях е), f) и g), должны иметь лист проверок для внесения в него записей по результатам периодических проверок, и включать в свой состав чертежи и схемы. Информация по применению станка должна включать в себя: - методы безопасной работы (рабочие процедуры, установка, техническое обслуживание, чистка); - предупреждения об опасности воздействия режущих кромок частей станка и необходимости в связи с этим использования индивидуальных средств защиты, в частности защитных очков или лицевых щитков; - процедуры, позволяющие свести к минимуму ошибки монтажа, особенно при работе с системой обеспечения безопасности станка; - ограничения на размеры ротора, его массу, положение центра тяжести и способы крепления; - описание остаточного риска всех видов. 7.3 Маркировка Маркировка должна информировать пользователя о назначении балансировочного станка и классе защиты по 5.1.4 (с указанием соответствующих параметров). Класс защиты должен быть указан через критерии и предельные значения, на основе которых он был установлен, понятным пользователю способом, чтобы позволить оператору станка самостоятельно оценить остаточный риск для данного класса защиты и выполняемого производственного задания. Примеры маркировки для класса защиты С приведены в разделе А.4 (приложение А). Кроме того, с помощью маркировки изготовитель сообщает следующую информацию о балансировочном станке: - изготовитель станка (наименование фирмы, адрес), название модели, ее серийный номер и год выпуска; - масса станка; - напряжение питания или данные о гидравлической (пневматической) системе питания (например, минимальное давление воздуха в системе); - места крепления подъемного устройства при транспортировке и установке станка; - предельные нагрузки для основных элементов станка (например, максимальное смещение вверх и вниз на опоре станка, максимальная нагрузка и скорость вращения роликов и приводного вала). Ограждения, средства защиты и другие устройства, являющиеся частью станка, но поставляемые как отдельные элементы, должны иметь маркировку, содержащую сведения об этих устройствах и способах их установки. Приложение А
|
|||||||||||||||||||||||||||||||||||||||||||||||||||||||||||||||||||||||||||||||||||||||||||||||||||||||||||||||||||||||||||||||||||||||||||||||||||||||||||||||||||||||||||||||||||||||||||||||||||||||||||||||||||||||||||||||||||||||||||||||||||||||||||||||||||||||||||||||||||||||||||||||||||||||||||
|
Pcap = fP,rel Espec, |
(A.2) |
где
fP,rel - безразмерный коэффициент проникающей способности частицы с данной удельной энергией относительно проникающей способности эталонного ударника (определяется материалом и формой частицы);
Espec - удельная энергия частицы, мН·м/мм2.
Рисунок А.3 -
Стандартный ударник тупоголовой формы
(из стали
твердостью 40-50 единиц
по шкале Роквелла)
Для эталонного ударника (см. рисунок А.3) коэффициент fP,rel равен единице.
Примечание - Единица измерения мН·м/мм2 использована из практических соображений (см., например, рисунок А.1 и таблицу А.1).
В результате исследований установлено, что способность материала сопротивляться прониканию в него частиц Pres, мН·м/мм2, представляющая собой удельную энергию частицы, передающуюся материалу при ее поглощении, может быть аппроксимирована выражением
|
|
(А.3) |
где
fm,std - безразмерный коэффициент стойкости материала, из которого изготовлено ограждение (А.2.2), к воздействию эталонного ударника;
Rm - стойкость материала ограждения к разрыву, Н/мм2;
- безразмерный коэффициент растяжения материала до разрыва;
t - толщина материала, из которого изготовлено ограждение, мм.
Таблица А.1 - Размеры эталонного ударника, его абсолютная и удельная энергия и импульс для скорости движения 20 м/с
|
Масса m, |
Диаметр D, |
Длина L, |
Скорость v, |
Удельная энергия |
Абсолютная |
Импульс I, |
|
0,01 |
8,6 |
22,1 |
20 |
34 |
2 |
0,2 |
|
0,03 |
12,5 |
31,3 |
20 |
50 |
6 |
0,6 |
|
0,1 |
18,6 |
47 |
20 |
70 |
20 |
2 |
|
0,3 |
26,8 |
67,8 |
20 |
110 |
60 |
6 |
|
1 |
40,1 |
100,9 |
20 |
160 |
200 |
20 |
|
3 |
57,8 |
145,7 |
20 |
230 |
600 |
60 |
|
10 |
86,4 |
217,3 |
20 |
340 |
2000 |
200 |
А.2.2 Проверка
Проверка способности материала сопротивляться прониканию в него частиц может быть проведена расчетным или экспериментальным путем.
При экспериментальной проверке выбирают потенциально наиболее слабое место ограждения и проводят удар эталонным ударником по плоскому образцу ограждения перпендикулярно к его поверхности. В зависимости от скорости движения эталонного ударника, которая может достигать 150 м/с, используют разное испытательное оборудование (см. приложение В).
Испытуемый образец ограждения должен иметь длину и ширину, превышающие диаметр используемого эталонного ударника по меньшей мере в десять раз. Кроме того, образец должен быть закреплен таким образом, чтобы в максимальной степени имитировать реальные условия.
Ударник может пробить материал ограждения насквозь, но должен быть пойман специальным устройством.
Стойкость материала к воздействию ударника (т.е. коэффициент fm, std) определяют в соответствии с рисунком А.3 и таблицей А.1.
Коэффициент проникающей способности частицы fP,rel определяют с использованием эталонного ударника, форму оголовка которого изменяют таким образом, чтобы она соответствовала форме исследуемой частицы.
А.2.3 Классификация изготовителем
Ограждение классифицируют по удельной энергии Pres,qual, мН·м/мм2, в предположении справедливости следующего выражения:
|
|
(A.4) |
где
Pres - удельная энергия, поглощаемая при захвате частицы, мН·м/мм2;
SF,spec - безразмерный коэффициент запаса по удельной энергии (по умолчанию принимаемый равным 2).
А.2.4 Выбор пользователем
Пользователь может отнести ограждение к классу С по критерию удельной энергии, если максимальная проникающая способность Рcap,mах, мН·м/мм2, для всех частиц, которые могут оторваться от ротора в процессе его балансировки, меньше или равна заявленному значению предельной стойкости материала ограждения:
|
Pcap,max ≤ Pres,qual, |
(A.5) |
где
Pres,qual - стойкость материала, выраженная через удельную энергию при классификации ограждения, мН·м/мм2.
А.3 Критерий на основе абсолютной энергии
Абсолютная энергия частицы Eabs, H·м, определяется выражением
где
m - масса частицы, кг;
v - скорость поступательного движения частицы, м/с.
На рисунке А.4 показана зависимость абсолютной энергии от массы (от 0,01 до
Справедливость этого условия особенно важна для стыков и оконных проемов в ограждении.

Рисунок А.4 - Зависимость абсолютной энергии от массы и поступательной скорости частицы
А.3.2 Проверка
Сопротивляемость защитного устройства к разрушению определяют экспериментально с использованием эталонного ударника (см. рисунок А.3 и таблицу А.1), скорость которого может быть от 10 до 30 м/с и выше.
Испытания проводят с помощью вертикальной трубы или пушки, устройство которой показано в приложении В. Мишенью бомбардировки может быть само ограждение в целом или отдельные его части, которые должны быть установлены также, как и в реальных условиях их применения. При этом в качестве конкретной цели выбирают то место мишени, попадание в которое способно нанести наибольшие разрушения.
Данные испытания проводят с целью определить прочность крепления всей конструкции ограждения в целом и отдельных его частей и не применяют для определения стойкости материала к проникновению в него частиц извне. Поэтому в случае если эталонный ударник в процессе испытаний проникает внутрь материала ограждения, его следует заменить ударником больших размеров и разгонять до меньшей скорости так, чтобы значение абсолютной энергии ударника оставалось неизменным.
А.3.3 Классификация изготовителем
Ограждение классифицируют по абсолютной энергии Eabs,qual, H·м, в предположении справедливости следующего выражения:
|
|
(A.7) |
где
Еabs,adm - абсолютная энергия ударника, при которой он не производит недопустимых разрушений в процессе испытаний, Н·м;
SF,abs - безразмерный коэффициент запаса по абсолютной энергии (по умолчанию принимаемый равным 2).
А.3.4 Выбор пользователем
Пользователь может принять классификацию по критерию абсолютной энергии, предложенную изготовителем, если максимальная энергия Eabs,max, H·м, для всех частиц, которые могут оторваться от ротора в процессе его балансировки, меньше или равна заявленной изготовителем:
|
Eabs,max ≤ Pabs,qual, |
(А.8) |
где
Eabs,qual - значение абсолютной энергии, заявленное при классификации ограждения, Н·м.
А.4 Обозначение средств защиты класса С
Средства защиты класса С обозначают следующим образом:
|
С (значение Eabs qual)/(значение Pres,qual), |
(A.9) |
где
Eabs,qual, - абсолютная энергия, значение которой заявлено при классификации ограждения, Н·м;
Pres,qual - стойкость материала, выраженная через удельную энергию при классификации ограждения, мН·м/мм2.
Пример - Обозначение С 600/230 показывает, что для данного ограждения класса С заявленные максимальные значения по критериям абсолютной и удельной энергии равны, соответственно, 600 Н·м и 230 мН·м/мм2.
Примечание - Единицы измерения Н·м и мН·м/мм2 выбраны из соображений получения заявляемых значений для абсолютной и удельной энергии одного порядка.
А.5 Критерий на основе импульса
А.5.1 Общие положения
Импульс частицы I, кг·м/с, определяется выражением
|
I = m v, |
(А.10) |
где
m - масса частицы, кг;
v - скорость поступательного движения частицы, м/с.
При ударе частицы или оторвавшейся части ротора по ограждению часть импульса частицы передается ограждению, что может привести к его смещению и даже опрокидыванию.
А.5.2 Проверка
Устойчивость ограждения к передаваемому импульсу проверяют расчетным методом. При этом рассматривают наиболее неблагоприятный случай (обычно это большая масса, движущаяся с относительно невысокой скоростью).
Опрокидывание ограждения должно быть исключено. Допустимое смещение ограждения должно быть ограничено разумными пределами, четко определено и указано на плане установки балансировочного станка или ограждения.
При необходимости с целью избежать опрокидывания или смещения свыше допустимых пределов ограждение следует надежно закрепить.
А.6 Частицы с высокой скоростью
Если ожидаемая скорость движения частиц превышает 150 м/с, следует провести специальные испытания, в ходе которых частицы разгоняют до максимально возможной скорости.
А.7 Ограждения класса С для балансировочных станков общего назначения
Когда тип ротора заранее неизвестен (типичная ситуация для служб сервиса и ремонта), невозможно определить с достаточной точностью, риск каких видов будет сопровождать процедуру балансировки конкретного ротора. Рекомендуется при выборе подходящего ограждения использовать типичные данные для балансировочных станков разного размера, приведенные в таблице А.2.
Для каждого ротора, уравновешиваемого на данном станке, должна быть проведена оценка возможного риска. Если возможности ограждения превышают потенциальный риск всех видов, балансировку можно проводить. В противном случае принимают меры по снижению риска до приведения его в соответствие с характеристиками ограждения (например, уменьшают балансировочную скорость, изменяют метод балансировки) либо усиливают само ограждение.
Таблица А.2 - Балансировочные станки общего назначения. Предполагаемые ограждения класса С, когда источники риска не могут быть определены
|
Максимальная масса уравновешиваемого ротора, кг |
Заявленное значение абсолютной энергии Eabs,qual, Н·м |
Заявленное значение удельной энергии Pres,qual, мН·м/мм2 |
Обозначение ограждения |
|
1,5 |
2 |
30 |
С 2/30 |
|
8 |
6 |
50 |
С 6/50 |
|
50 |
20 |
70 |
С 20/70 |
|
250 |
60 |
110 |
С 60/110 |
|
1500 |
200 |
160 |
С 200/160 |
|
8000 |
600 |
230 |
С 600/230 |
|
50000 |
2000 |
340 |
С 2000/340 |
В.1 Пушка
В.1.1 Конструкция
Пушка состоит из баллона со сжатым воздухом и ствольного канала, соединенных между собой с помощью фланцевого соединения (см. рисунок В.1). Через специальный клапан сжатый воздух подается отдельными порциями в канал, разгоняя ударник и направляя его к испытуемому объекту.
В.1.2 Работа оборудования
Воздух в пушку подается от воздушного компрессора, скорость движения ударника регулируется давлением и объемом сжатого воздуха.
Скорость ударника измеряют вблизи дульного среза ствольного канала с помощью велосиметра (например, бесконтактного датчика или фотоэлемента).

1 - объект испытаний; 2 - датчик скорости; 3 - ствол пушки; 4 - ударник; 5 - панель управления; 6 - баллон сжатого воздуха
Рисунок В.1 - Пример оборудования (пушка) для испытаний на удар
В.2 Вертикальная труба
При наличии трубы достаточной длины можно применять простой метод с использованием ускоренного движения ударника под действием силы тяжести. Максимально достижимая скорость ограничена высотой помещения. В случае если скорость движения ударника относительно невысока, ее измерение можно заменить расчетом.
Примеры ограждений разных типов приведены на рисунках С.1 - С.6.

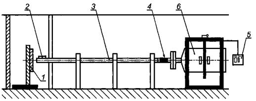
Рисунок С.1 - Ограждение для горизонтального балансировочного станка (класс защиты В)

Рисунок С.2 - Кожух ротора для горизонтального балансировочного станка (класс защиты В или С)

Рисунок С.3 - Телескопический кожух, полностью охватывающий балансировочный станок (класс защиты С)

Рисунок С.4 - Кожух ротора для вертикального балансировочного станка (класс защиты В или С)

Рисунок С.5 - Приямок с крышкой для высокоскоростного балансировочного станка (класс защиты D, взрывозащищенный)
Рисунок С.6 - Туннель с заслонкой для высокоскоростного балансировочного станка (класс защиты D, взрывозащищенный)
Ключевые слова: балансировочный станок, безопасность, риск, ограждения, меры защиты, классы защиты
|
ГОСТЫ, СТРОИТЕЛЬНЫЕ и ТЕХНИЧЕСКИЕ НОРМАТИВЫ. Некоммерческая онлайн система, содержащая все Российские Госты, национальные Стандарты и нормативы. В Системе содержится более 150000 файлов нормативно-технической документации, действующей на территории РФ. Система предназначена для широкого круга инженерно-технических специалистов. Copyright © www.gostrf.com, 2008 - 2026 |