Крупнейшая бесплатная информационно-справочная система онлайн доступа к полному собранию технических нормативно-правовых актов РФ. Огромная база технических нормативов (более 150 тысяч документов) и полное собрание национальных стандартов, аутентичное официальной базе Госстандарта. GOSTRF.com - это более 1 Терабайта бесплатной технической информации для всех пользователей интернета. Все электронные копии представленных здесь документов могут распространяться без каких-либо ограничений. Поощряется распространение информации с этого сайта на любых других ресурсах. Каждый человек имеет право на неограниченный доступ к этим документам! Каждый человек имеет право на знание требований, изложенных в данных нормативно-правовых актах!

  


 

МИНИСТЕРСТВО АВТОМОБИЛЬНЫХ ДОРОГ РСФСР

ЦЕНТРАЛЬНОЕ БЮРО НАУЧНО-ТЕХНИЧЕСКОЙ ИНФОРМАЦИИ

АВТОМОБИЛЬНЫЕ ДОРОГИ

РЕМОНТ ГИДРОИЗОЛЯЦИИ

АВТОДОРОЖНЫХ МОСТОВ

ОБЗОРНАЯ ИНФОРМАЦИЯ

ВЫПУСК 7

Москва 1989

Выходит с 1971 г.

7 выпусков в год

В обзоре рассмотрены применяемые в ряде стран (Венгерской республике, ГДР, ПНР, США, Швеции и др.) методы оценки состояния гидроизоляции, ремонта системы гидроизоляция-водоотвод; материалы, требования к ним; технология проведения работ; анализ применяемых решений. Кроме того, приводятся сведения о методах ремонта гидроизоляции, которые учитывают важность и первостепенность обеспечения водоотвода; об использовании для ремонта готовых гидроизоляционных материалов, а также составов, наносимых на месте производства работ. Особенностью современного развития технологии ремонта гидроизоляции является расширение использования полимерных материалов, позволяющее сократить сроки ремонта.

 

Обзор подготовили:

канд. техн. наук М.И. Шейнцвит,

А.В. Бугурусланов (НПО Росдорнии),

В.Ф. Гришенков (ордена Ленина автомобильная дорога Москва-Ленинград)

СОДЕРЖАНИЕ

I. ВВЕДЕНИЕ

2. МЕТОДЫ ОЦЕНКИ СОСТОЯНИЯ И КАЧЕСТВА СУЩЕСТВУЮЩЕЙ СИСТЕМЫ ГИДРОИЗОЛЯЦИИ МОСТОВ

3. ТРЕБОВАНИЯ К ИЗОЛЯЦИОННЫМ СИСТЕМАМ МОСТОВ

4. КОНСТРУКТИВНО-ТЕХНОЛОГИЧЕСКИЕ СИСТЕМЫ ГИДРОИЗОЛЯЦИИ, ПРИМЕНЯЕМЫЕ ПРИ РЕМОНТЕ

5. РЕМОНТ ГИДРОИЗОЛЯЦИИ МОСТОВ

5.1. Технология ремонта путем пропитки бетона и нанесения покровных материалов

5.2. Применение мастичных материалов (тонких изоляционных слоев)

5.3. Приклеивание готовых рулонных или пленочных материалов

5.4. Устройство гидроизоляционного слоя из различных материалов (толстые изоляционные слои)

5.5. Использование специальных материалов для герметизации швов

ЗАКЛЮЧЕНИЕ

СПИСОК ЛИТЕРАТУРЫ 

I. ВВЕДЕНИЕ

Рост интенсивности и скорости движения, массы транспортных средств, использование химических средств для борьбы с гололедом, влажностные и температурные воздействия - все это определяет сложные условия эксплуатации мостовых конструкций. В первую очередь разрушению подвергаются покрытие и другие элементы мостового полотна, затем в случае недостатков и нарушения водоотвода и гидроизоляции - несущие конструкции моста. Поэтому для сохранности сооружения и обеспечения его нормальной эксплуатации проводятся исследования по двум направлениям [1]:

защита бетонных и металлических поверхностей от атмосферной коррозии путем пропитки бетона или нанесения защитных покрытий, красок, слоев из пластмасс;

совершенствование методов ремонта гидроизоляции мостового полотна.

Актуальность рассматриваемого вопроса повышается тем, что ремонт гидроизоляции связан с ограничением движения транспортных средств на период ремонта, кроме того, вследствие плохого состояния гидроизоляции на мостах уже через 15-20 лет необходимо производить капитальный ремонт с заменой или усилением несущих конструкций. Практика показала, что ремонт гидроизоляции, проводимый систематически, гораздо эффективнее капитального ремонта моста [2].

Специалисты разных стран считают, что срок, службы сооружения должен быть не менее 100 лет. Поэтому в первые 10 лет эксплуатации мостов допускаются лишь незначительные повреждения. При этом причиной разрушения является вода, проникающая через изоляцию, которая содержит соли и вызывает коррозию арматуры и бетона [3, 4, 6] .

Вместе с тем, учитывая особенности ремонта гидроизоляции, появилась тенденция разработки технологий с использованием современных материалов на основе синтетических смол, которые дают возможность максимально сократить продолжительность ремонтных работ и увеличить срок службы гидроизоляции.

Другая тенденция - проведение профилактических работ по очистке, обновлению и нанесению тонких слоев покрытий [6, 7] с целью приведения покрытия проезжей части в нормальное состояние, не допуская скопления грязи, воды и поверхностных дефектов. Наличие впадин, бороздок повышает силовое динамическое воздействие от транспортных средств на конструкцию. При этом обеспечиваются безопасность движения и экономия средств, предназначенных для проведения ремонта. В процессе исследований установлено, что расходы на ремонтные работы, по сравнению с расходами на содержание мостов, значительно выше, так как по мере износа моста стоимость ремонтных работ увеличивается.

В Венгрии расходы на содержание и профилактический ремонт моста составляют в год 2,5 % от, стоимости сооружения. Специалисты Великобритании считают, что затраты на мероприятия по защите конструкции от коррозии, достигающие в год 2,5 % от общей стоимости моста, вполне оправданны, так как значительно снижаются затраты на преждевременный ремонт или замену моста.

Наоборот, резкое сокращение расходов на содержание мостов, например в Польше, привело к увеличению количества неисправностей, с которыми служба эксплуатации не могла справиться [8],

В ГДР разработана система профилактических мероприятий, включающая ежегодную очистку водоприемников, трубопроводов, а также очистку фильтрационных трубок, с периодичностью 8 лет.

Тщательное проведение профилактических работ является залогом обеспечения принятых межремонтных сроков: периодичность ремонта и реконструкции водоотводных систем, а также замены, и реконструкции гидроизоляции составляет 24 года [9]. На основе этих сроков осуществляют планирование, а ремонт системы водоотвод-гидроизоляция на объектах выполняют с учетом их фактического состояния. При проведении профилактических работ устраняются дефекты с использованием синтетических материалов без ограничения движения транспортных средств.

При решении вопроса о необходимости ремонта гидроизоляции особое внимание следует обращать на состояние водоотвода. Если при обеспеченном отводе воды продолжается ее фильтрация, то осуществляют ремонт гидроизоляции.

В настоящее время при содержании мостов и профилактике повреждений основными вопросами являются контроль состояния мостов и их испытание. В Канаде, например, разработана специальная программа обследования состояния проезжей части мостов, система ДАРТ, предусматривающая использование радара и термографии. В США для обнаружения мест протечек существуют поисковые портативные передвижные приборы [10].

При выборе метода ремонта гидроизоляции специалисты ряда зарубежных стран рассматривают работу слоев одежды мостового полотна (покрытия, защитного слоя, изоляции, изолируемой плиты) как единое целое, а также работу деформационных швов и узлов примыкания изоляции к встроенным элементам мостового полотна (ограждениям, тротуарам, мачтам освещения и т.п.).

2. МЕТОДЫ ОЦЕНКИ СОСТОЯНИЯ И КАЧЕСТВА СУЩЕСТВУЮЩЕЙ СИСТЕМЫ ГИДРОИЗОЛЯЦИИ МОСТОВ

Наряду с тем, что в зарубежной информации освещаются результаты исследований, направленных на разработку приборов контроля состояния изоляции, основным остается визуальный контроль наличия протечек и степени их воздействия на конструкцию. При этом необходимо, чтобы осмотры выполняли квалифицированные специалисты, знающие места, которые подвержены повреждению в большей степени.

Так, в ГДР отмечают следующие наиболее подверженные повреждению участки гидроизоляции [11]:

места примыкания к встроенным элементам мостового полотна;

участки с большими поперечными уклонами мастичной гидроизоляции, где возникают неплотности на краях из-за склонности изоляции к скольжению;

места контакта мастичной изоляции с настилом, в которых образуются пустоты и пузырьки;

места перекрытия швов.

Дефекты могут быть обнаружены только при тщательном обследовании, поэтому на его проведение не следует ограничивать средства. Проще всего выявить протечки, коррозию и трещины, однако могут быть и скрытые дефекты, оказывающие влияние на техническое состояние объекта [8]. Точно определить его достаточно сложно. Аварийное состояние не всегда сопровождается дефектами в виде трещин. Протечки и коррозия бетона в начальной стадии развития, не связанные с другими- дефектами, не являются признаками ослабления конструкции. Однако в этом случае следует проводить соответствующие мероприятия, в том числе ремонт гидроизоляции.

Особое внимание при осмотре мостов необходимо уделять системе водоотвода и дренажа, имеющей решающее значение для работы гидроизоляции [12]. При этом проверяют наличие поперечных и продольных уклонов, водоотводных трубок, проходимость и неплотность трубопроводов.

По мнению специалистов, место повреждения гидроизоляции не всегда соответствует месту протечек, так как вода может фильтроваться под слоем гидроизоляции по основанию и через железобетонную плиту в местах с бетоном, имеющим недостаточную плотность.

Трудности в определении мест дефектной гидроизоляции соответственно предопределяют сложность в обосновании локального ремонта. Эту проблему можно решить при использовании специальных приборов обнаружения дефектов. Помимо упомянутых разработок. США и Канады, известны исследования по созданию приборов в других странах. В Венгерской республике исследованы электрический, ультразвуковой, микроволновой, нейтронный и рентгеноаналитический методы определения мест дефектной гидроизоляции [13]. Более перспективным является метод микроволновой рефлексии, позволяющий определять уровень влажности бетона.

Метод основан на том, что при прохождении микроволн через среду они подвергаются рефлексии (отражению), а величина рефлексии зависит от состояния слоев (покрытия, изоляции и нижнего слоя бетона): сухие или влажные. Максимальная глубина проникания волн в бетон при исследовании составляла 12 см. Отработка методики основана на сравнении с эталонными образцами, содержащими несколько слоев (сухих или влажных), обладающих заранее заданными свойствами.

3. ТРЕБОВАНИЯ К ИЗОЛЯЦИОННЫМ СИСТЕМАМ МОСТОВ

Требования к. изоляционным системам можно подразделить на две группы: первая - к устройству гидроизоляции (конструктивные); вторая - к качеству изоляционных материалов. При этом сложившиеся требования в разных странах (Великобритании, Венгрии, Польше, США, ГДР и др.), в основном, одинаковые, хотя в них учтены традиции каждой страны и разнообразие используемых материалов.

Можно выделить следующие общие конструктивные требования к устройству гидроизоляции [3, 5, 9, 12]:

гидроизоляционная система должна обеспечивать защиту конструкции от проникания воды по всей ширине мостового полотна (рис. 1);

все элементы конструкции должны быть защищены гидроизоляцией от воздействия атмосферных осадков и конденсата, поверхностных и фильтрационных вод;

форма и конструкция элементов мостового полотна должны обеспечивать их технически правильную гидроизоляцию;

покрытие, защитный слой и гидроизоляцию необходимо рассматривать во взаимосвязи с учетом их конструкции, особенностей устройства и функционального назначения; защитные слои и покрытие должны иметь минимальную толщину для ограничения постоянной нагрузки;

удаление воды с проезжей части следует осуществлять в возможно короткий срок, (без задерживания воды в конструкции), что достигается наличием поперечных и продольных уклонов, системы отвода поверхностной и дренажной (фильтрационной) воды со всех элементов мостового полотна;

гидроизоляционные слои необходимо устраивать из специальных материалов;

Рис. 1. Конструкция мостового полотна в ФРГ:

1 - слой износа из литого асфальта; 2 - продольные и осевые швы; 3 - защитный слой из литого асфальта; 4 - шов; 5 - металлическое полотно из высокопрочной стали; 6 - изоляционный слой; 7 - покрытие тротуара и велосипедной дорожки; 8 - защитный слой и слой износа из литого асфальта; 9 - шов между тротуаром и высоким бордюром; 10 - битумная мастичная грунтовка; 11 - высокий бордюр; 12 - краевой шов с заполнением; 13 - лоток из литого асфальта; 14 - конструкция стыка шва; 15 - шов между тротуаром и карнизом; 16 - россыпь каменной мелочи; 17 - грунтовка из эпоксидной смолы; 18 - клеевой фланец; 19 - анкер или болт; 20 - бетонная плита проезжей части

с целью предотвращения скопления воды, особенно в пониженных местах изоляции, на гидроизоляционном слое следует устраивать дренаж;

необходимо устраивать швы примыкания к встроенным элементам мостового полотна и тщательно заделывать их мастикой; швы, например, у водоотводных устройств, конструкций деформационных швов, стоек ограждений и т.п. выполнять на толщину покрытия защитного слоя; заполненные мастикой швы должны воспринимать длительные деформации; необходимо обеспечить надежное присоединение гидроизоляции к встроенным деталям (рис. 2);

следует устраивать герметичные деформационные швы между пролетными строениями (в частности на большие перемещения устраивать многомодульные системы швов, перекрытых резиноподобными полимерными материалами).

Изложенное требование о быстром отводе воды специалистами не конкретизировано (по ограничению времени отвода воды). Вместе с тем, оно реализовано системой сочетания уклонов поверхностей и расстояний между водоотводными устройствами, примеры которых приведены ниже при рассмотрении конструкций системы гидроизоляция-водоотвод.

Характерными требованиями к. гидроизоляционным материалам, используемым в разных странах, являются [3, 14, 15]:

долговечность материалов, стойкость к. старению, биологическая стойкость, водостойкость, химическая стойкость к нефтяным отходам, сульфатам выхлопных газов, кислотам, хлоридам;

механическая прочность на растяжение, предельное относительное удлинение изоляции, прочность на сжатие;

сопротивляемость разрыву изоляции над трещинами, к разрушению при строительстве, например, при попадании камня;

адгезия к изолируемым, в частности, бетонным поверхностям;

водонепроницаемость и небольшое водопоглощение;

температурная стойкость - сохранение требуемых свойств при низкой температуре и разогреве;

устойчивость при движении транспортных средств (торможении, ускорении), на уклонах;

стойкость к. образованию вздутий во время укладки, вызванных водяными или воздушными парами, и в интервале времени перед устройством защитного слоя;

технологичность устройства, возможность доступными методами обеспечить качество изоляции.

 

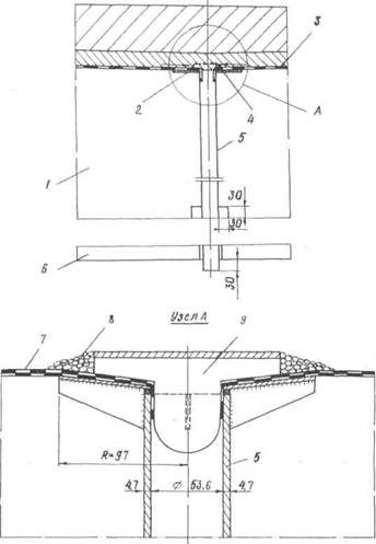
Рис. 2. Отвод фильтрационной воды:

1. - монолитный бетон; 2 - гидроизоляционная полихлорвиниловая лента; 3 - изоляция; 4 - водоприемники; 5 - полихлорвиниловая труба диаметром 60 мм; 6 - сборный элемент пролетного строения; 7 - изоляционный слой; 8 - фильтрующее кольцо из гравия, обработанного смолой; 9 - защитный колпак фильтра

4. КОНСТРУКТИВНО-ТЕХНОЛОГИЧЕСКИЕ СИСТЕМЫ ГИДРОИЗОЛЯЦИИ, ПРИМЕНЯЕМЫЕ ПРИ РЕМОНТЕ

В гидроизоляционную систему включают систему поверхностного водоотвода и конструктивные слои покрытия, защитного слоя, специального слоя гидроизоляции и изолируемую поверхность. На рис. 1 показан характерный пример конструктивного решения гидроизоляции, обеспечивающий защиту конструкции по всей ширине от воздействия поверхностной и фильтрационной воды.

В ряде зарубежных стран устраивают швы в покрытии, заполняемые мастиками, для предотвращения хаотичного образования трещин и преждевременного разрушения покрытия. При этом в зоне над слоем изоляции укладывают усилительные полосы, например, в виде металлических полотен из высокосортной стали.

На рис. 2 и 3 показаны конструктивное решение примыкания гидроизоляционного слоя к водоотводным трубкам, используемое в ГДР, ПНР, а также установка фильтрационных трубок в пониженных местах гидроизоляции. Поперечный уклон на мосту определяется условиями движения на дороге (для проезжей части), в остальных местах его принимают равным не менее 2,5 %.

Продольный уклон лотков, как правило, составляет не менее 1 %. При уменьшении продольных уклонов лотков уменьшают расстояние между водоотводными устройствами. Например, если при уклоне 0,8 % расстояние между водоотводными трубками составляет 30 м, то при уклоне 0,2 % соответственно 5 м. Кроме того, ограничивают площадь водосбора, приходящуюся на каждое водоотводное устройство, например, величиной 400 м2 - при наличии требуемых уклонов поверхности мостового полотна [9].

Если профиль покрытия обеспечивает пропуск воды через деформационные швы, перед ними устанавливают водоотводные устройства.

Расстояние между фильтрационными трубками принято равным не более 20 м. Уклон гидроизоляции, обеспечивающий сток, фильтрационной воды (в зависимости от типа изоляции и защитного слоя), а также максимальный уклон изоляции для предотвращения стекания мастики, регламентированы.

Например, при использовании в изоляции битумных мастик уклон изолируемых поверхностей должен быть не более 0,04 [9] .

Рис. 3. Детали гидроизоляции:

а - примыкание гидроизоляции к встроенным элементам; б - фрагмент водоотводного устройства;

1 - болт М16, шаг 160 мм; 2 - защитная полихлорвиниловая прокладка, склеиваемая с гидроизоляцией и фланцем; 3 - фланец; 4 - гидроизоляция; 5 - решетка водоприемника; 6 - рама решетки; 7 - битумная мастика в швах; 8 - фильтрационная вода; 9 - бетон с одноразмерным заполнителем; 10 - корпус водоотводного устройства

Регламентируют также превышение (высотное) уровня покрытия над уровнем водоотводных лотков (на 10 мм) и водоприемников (на 5 мм) в местах примыкания к. ним. Для отвода фильтрационной воды рекомендуют использовать полихлорвиниловые трубы, на поверхности которых не оседают продукты выноса.

При ремонте гидроизоляции восстанавливают старую систему, если она удовлетворяет современным требованиям, или устраивают более совершенную с водоотводом и заменой элементов мостового полотна. Кроме того, устраивают новые гидроизоляционные слои, не требующие защитного слоя, сохраняя или обновляя при этом систему водоотвода.

Отвод поверхностной воды, в основном, осуществляется через трубопроводы или коллекторы в систему канализации. При отводе фильтрационной воды предпочтение отдают непосредственному вертикальному отводу ее вниз. При этом расстояние фильтрационных труб от свай, опор, боковых поверхностей пролетного строения должно быть достаточным для предотвращения загрязнения конструкции.

В целом применяемые конструктивно-технологические системы устройства гидроизоляционного слоя можно разделять следующим образом:

пропитка (импрегнирование) бетона защитного слоя составами, придающими ему повышенную водонепроницаемость, и обработка изоляционными покровными материалами толщиной 0,1-0,3 мм;

нанесение мастичных материалов, в том числе армированных различными полотнами (как правило, тонких изоляционных слоев толщиной до 6 мм);

приклеивание готовых рулонных или пленочных гидроизоляционных материалов;

устройство гидроизоляционного слоя из различных материалов (как правило, толстых слоев изоляции толщиной свыше 6 мм).

В каждой из указанных систем в разных странах используют различные материалы.

Например, для пропитки бетона применяют [1, 2, 16, 17, 18]:

льняное масло (Югославия, США);

мономер метилметакрилата (Югославия, США, ФРГ, Франция);

полиэфирные, акриловые, эпоксидные смолы на основе поливинилацетата, этилена, стирола, бутадиена (Югославия, Венгрия);

фирменные материалы: Бетонол (Венгрия);

ВДВ-102 (ФРГ);

Сикагард 70 (Швейцария, Болгария);

гидрофобизатор ГФ-I (Болгария),

кремнийорганические жидкости: силан, силоксан (ФРГ, США, Канада, Великобритания, Венгрия);

мочевину (Великобритания);

жидкое (водное) стекло (Венгрия, Болгария).

В качестве покровного материала используют [1, 16, 19]:

эпоксидную обмазку (Югославия, Венгрия, Италия); фирменные составы:

Сикагард 67 (Швейцария);

Ривалфекс 7, Синодур ЕН (Австрия);

Вигулен (Болгария);

краски на основе акриловой или полиуретановой смолы (Канада).

В качестве мастичных материалов применяют [3, 4, 6, 15, 17, 20-24]:

битумную мастику (Болгария, ГДР, Венгрия и др.); резинобитумные, битумополимерные, эпоксидно-дегтевые мастики (Финляндия, Великобритания, НРБ);

полимерную мастику, эпоксидные смолы (Великобритания, ГДР); эпоксибитум по методу Ресификс (Франция); эмульсию каменноугольного дегтя (США); состав на основе Вигулена (Болгария);

фирменные мастики:

Тиофлекс-600 (Австрия., Великобритания);

Пластик (Великобритания);

Сульфитон, ВДВ-102 и Икозит (ФРГ);

Конкретон (ФРГ, Австрия);

Авенариус-Агро (Австрия, Венгрия);

мастики, модифицированные полимерами, эластомерами, металлизированными комплексными соединениями (США).

Для армирования мастичных материалов применяют: металлические полотна (фольгу), пленки из полимерных материалов, стеклоткани, толь, тканевые полотна.

Для гидроизоляции используют также готовые рулонные и пленочные материалы [4, 5, 9, 20, 24]:

кашированные металлом полотна (рулоны) (ФРГ, Великобритания, ГДР);

битумный мат (Финляндия);

фирменные рулонные пленочные материалы:

Битутен (Швеция, Австрия);

Карбодур (Европейский патент, ФРГ);

Фамгард, Фамфлекс, Профекс, Хайлоуд (Великобритания);

Парафор соло (Франция);

Гумизол и Битексинт (НРБ);

Аквабит и Таурус-котекс (Венгрия);

термопластичные полимерные пленки из полиэтилена, поливинилхлорида, полиуретана и др. (Швейцария, Австрия, ФРГ, ГДР, Швеция, Канада);

Понтифлекс (Австрия); Биматизол (ПНР);

самоклеящиеся ленты фирмы В.Р. Граце (США) и фирмы Керана (Финляндия).

Для устройства гидроизоляционных слоев применяют следующие материалы [17, 25-28]:

песчаный цементобетон, модифицированный полимером; бетоны, улучшенные добавками; полимербетон (США);

литую песчано-битумную мастику (ПНР, ГДР, НРБ);

мелкозернистую смесь по способу "Этаупласт" (Франция);

 настил из пластобетона (ЧССР).

В ФРГ, США, Англии, Франции, Японии, ЧССР для герметизации швов используют [23]:

горячие материалы на основе битума или дегтей, модифицированные минеральным заполнителем и синтетическим каучуком;

холодные материалы на основе полиуретанового, полисульфидного или силиконового каучука (одно или двухкомпонентные материалы, быстро твердеющие);

профильные прокладки ячеистой структуры (заводского изготовления) на основе полихлоропренового каучука.

Для герметизации швов используют также гидроизоляционные мастики и, наоборот, отдельные материалы, применяемые для герметизации швов, используют для устройства изоляционного слоя.

Кроме того, осуществляется комплексное применение приведенных выше типов гидроизоляции, например, пропитки и гидроизоляционных слоев, мастики в сочетании с рулонными или пленочными гидроизоляционными материалами.

Конструктивно-технологическое решение гидроизоляции определяется не только применяемыми материалами и способами их нанесения, но и увязанными с ними методами исключения образования пустот от парового давления, технологией укладки и т.п.

5. РЕМОНТ ГИДРОИЗОЛЯЦИИ МОСТОВ

5.1. Технология ремонта путем пропитки бетона и нанесения покровных материалов

Ввиду трудностей определения мест повреждения гидроизоляции, локальный ремонт, например в Венгрии, производят только в отдельных случаях [24]. При этом целесообразно выполнить работы по обеспечению водоотвода. Такой, подход характерен и для других методов ремонта. При локальном ремонте необходимо обеспечить совместимость нового материала со старым, укладывать их следует с перекрытием полосами шириной не менее 20 см.

Влажность бетона при пропитке не должна превышать 4 % по массе. Поверхность бетона очищают пескоструйной обработкой или струей воды под большим давлением и затем подсушивают.

При подготовке поверхности для ремонта удаляют также рыхлые, поврежденные, размороженные или вспученные участки бетона. Для этого используют и механические средства (стальные щетки, дробилки, резцы, каменотесы, отбойные молотки, фрезы - в зависимости от качества и толщины снимаемого бетона). Пыль удаляют с помощью сжатого воздуха, который не должен содержать масел.

Поверхность бетона очищают от масел, жиров промывкой или протиркой 10 % -ным раствором натриевой щелочи, тринатрийфосфатом или другими специальными химическими средствами для очистки бетона.

Возможность выполнения работ во многом определяют погодные условия: пропитку и обработку бетона покровными материалами осуществляют в сухую погоду при температуре окружающего воздуха не ниже 15°С.

При выполнении всех методов ремонта следует тщательно проводить гидроизоляционные работы и осуществлять их контроль. Например, в Венгрии, были случаи, когда изоляция, оправдавшая себя в других странах, в силу каких-либо обстоятельств не привела к должному результату [4]. Качество устройства изоляции зависит от уровня профессиональной, подготовки выполняющих этот процесс.

Из методов очистки поверхности бетона, как правило, рекомендуют использование воды под высоким давлением. Например, при ремонте мостового полотна моста в США применяли оборудование "Конъет" [29]. Водой под давлением до 120 МПа очищали бетон от грязи, арматуру от ржавчины, удаляли поврежденный бетон, обеспечивая таким образом высокое сцепление старого бетона с новым выравнивающим слоем.

К одним из наиболее эффективных материалов пропитки относят кремнийорганические соединения, используемые для защиты бетона от воды и проникания противогололедных солей. Во Франции проводили исследования по изучению влияния пропиточных составов на долговечность бетона [29, 30], при этом определяли морозостойкость бетона в 3 %-ном растворе хлористого натрия, водопоглощение, степень проникания хлоридов.

Кремнийорганическая эмульсия с низкой вязкостью пропитывает бетон на глубину 2-4 мм, выполняет функцию водоотталкивающей пористой облицовки гидрофобизатора [18] и имеет следующие преимущества: не является покрытием, бесцветна и почти не влияет на внешний вид поверхности; допускает выделение из бетона определенного количества водяного пара (поверхностные покрытия или другие пропиточные составы не пропускают влагу, поэтому происходят отслаивание, шелушение покрытия, образование на нем вздутий);

Как правило, кремнийорганическую эмульсию наносят краскораспылителями на предварительно очищенную бетонную поверхность щетками, водой под давлением, сжатым воздухом в два приема при общем расходе около 0,5 л/м2. При этом второй слой распределяют после подсыхания первого примерно через 30-60 мин (в зависимости от температуры окружающего воздуха).

Специалисты США исследовали эффект улучшения бетона добавками, повышающими водонепроницаемость и предохраняющими бетон конструкции от проникания хлоридов [26]. При этом из 20 типов материалов были рекомендованы 50 %-ная эпоксидная смола в твердом состоянии, метилметакрилат, силан.

По сравнению с контрольными (необработанными образцами), водопоглощение которых по массе составляло 2,2-2,75 %, бетон с силаном имел водопоглощение 0,5-0,85 %, с эпоксидной смолой - 0,352.

Льняное масло применяют для пропитки бетона значительно реже. Специалисты Югославии отмечают, что срок его действия 1-3 года, это менее эффективно, по сравнению с пропиткой метилметакрилатом [16].

Для пропитки бетона используют также смесь вареного льняного масла и лака-бензона в соотношении 1:1, расход 0,15 кг/м2

В США, кроме указанного состава, применяют состав из равных частей вареного льняного масла и керосина; то же, вместо керосина - лигроин; состав из вареного льняного масла и лака-бензона в соотношении 1:2.

Смеси наносят краскопультом методами безвоздушного распыления в два слоя при расходе, например, для последнего состава на первый слой 0,07 л/ м2, на второй слой - 0,11 л/ м2. Второй слой наносят после высыхания первого слоя.

Пропитку бетона метилметакрилатом выполняют несколькими методами. Так, ранее в США, Канаде, Японии использовали следующие способы [2].

После очистки и высушивания бетона распределяют мономер метилметакрилата и для уменьшения его испарения укладывают слой толщиной 6 см из сухого промытого песка. После проникания мономера на требуемую глубину (например, через 16 ч глубина пропитки достигает 25 мм) осуществляют его полимеризацию. Для этого используют катализаторы в количестве 0,5-1 % от массы мономера и нагревают бетон до температуры 80°С, достаточной для активации катализатора.

Для локальных участков бетона разработан метод пропитки метилметакрилатом под давлением, при котором глубина пропитки достигает 100 мм. Специальную двухсекционную камеру (каждая размером 0,9×3,7 м) крепят болтами к пропитываемой поверхности и герметизируют резиновыми полосами по периметру. Пропиточный состав (например, смесь метилметакрилата и триметилолпропана в соотношении 9:1 с добавкой катализатора) нагнетают в камеру под давлением 0,14 МПа. По окончании процесса пропитки остатки мономера откачивают насосом и для его полимеризации в камеру вводят, горячую воду при температуре 70-90°С.

В последнее время в США применяют следующую технологию пропитки [17]

пропиливают прорези размером 19×38 мм с интервалом 76 мм;

высушивают поверхность бетона инфракрасными нагревательными устройствами, температура нагрева бетона при этом составляет 110°С на глубину 100 мм;

охлаждают бетон до температуры окружающего воздуха, заполняют прорези пропитывающим составом на основе мономера метилметакрилата и укрывают пластиковыми щитами от испарения; за 16 ч мономер полностью впитывается бетоном (прорези становятся пустыми);

укладывают брезентовый мат, заполненный водой, в течение 24 ч пропускают через брезент пар, поддерживая температуру воды на уровне 100°С;

после охлаждения и слива воды удаляют брезентовый мат, прорези заполняют цементным раствором с добавками латекса.

Глубина пропитки достигает 100 мм, полимерная композиция обволакивает арматуру и предотвращает проникание хлоридов в бетон в течение 50 лет. Специалисты считают, что такая обработка может конкурировать с катодной защитой. Преимуществом ее является то, что в дальнейшем не требуется техническое обслуживание бетона.

Технология использования других пропиточных фирменных материалов (см. раздел 4) практически не отличается от технологии пропитки кремнийорганическими эмульсиями. Ниже приведены отличительные характеристики некоторых из них [I] :

материал ВДВ-102 (ФРГ) получают на месте смешением двух компонентов А и В в соотношении 5:1, расход составляет 0,3 кг/ м2;

однокомпонентный материал Сикагард 70 (Швейцария) на месте смешивают с водой в соотношении 1:8, готовую эмульсию наносят в два слоя (верхний слой - после впитывания нижнего); расход эмульсии при распределении одного слоя составляет 0,27 кг/ м2;

материал Бетонол (Венгрия) - однокомпонентная водная эмульсия с содержанием фтора - токсичен, расход составляет 0,4 кг/ м2.

По мнению специалистов, из перечисленных пропиточных составов на основе синтетических смол эпоксидная смола обладает лучшими характеристиками по сравнению с полиэфирной, акриловой и др. [19].

При этом, как правило, пропитку бетона сочетают с последующим нанесением покровных покрытий. Например, при пропитке двухкомпонентным составом на основе эпоксидной смолы покровный слой выполняют из той же смолы с наполнителем. Если защищают открытые поверхности бетона, то на эпоксидную смолу, предохраняя ее от действия ультрафиолетовых лучей, укладывают отделочный слой на основе полиуретанового вяжущего.

В качестве покровных материалов используют также фирменные составы. Как правило, их наносят на сухую очищенную поверхность бетона кистями, валиками или краскопультом в зависимости от консистенции состава.

Двухкомпонентный покровный материал Ривалфекс 7 (Австрия) на основе синтетической смолы готовят на месте смешением компонентов А и В в соотношении 1:1, распределяют из расчета 0,3 кг /м2. Аналогичным материалом является Синодур ЕН (Австрия), расход на покрытие составляет 0,15 кг/ м2. Особенность его применения - возможность нанесения на влажный бетон.

Покровный материал Вигулен (НРБ) представляет собой смесь полимерной эмульсии, сополимера винилхлорида и винилизобутилового эфира с заполнителями и пигментами. Перед употреблением Вигулен разбавляют ксилолом или ацетоном в соотношении 3:1. Вязкость состава по ВЗ-4 - 30-50 с; содержание заполнителя - не более 30 %. Материал наносят в один или два слоя по грунтовке, которая не содержит заполнитель. Вигулен разбавляют растворителем в соотношении 1:1. Расход материала при устройстве одного слоя составляет 0,3 кг/ м2. Время полимеризации - не более 2 ч.

5.2. Применение мастичных материалов (тонких изоляционных слоев)

При ремонте гидроизоляции наиболее широко используют битумные мастики, в том числе улучшенные полимерными добавками. При локальном ремонте гидроизоляции необходимо осторожно снять защитные слои (особенно последний слой толщиной 1 см) до уровня существующей изоляционной прослойки. Для примыкания новой изоляции к старой участок, ремонта принимают на 30-50 см шире, чем место повреждения. Для ремонта применяют материалы, совместимые со старой изоляцией. Перекрытие изоляции со старой выполняют на ширину не менее 20 см.

Для снятия защитных слоев используют традиционные методы. Также соблюдаются требования по чистоте и влажности изолируемой поверхности. При локальном ремонте для очистки поверхности от мелких частиц, пыли используют пылесосы.

Особенности применения битумных мастик связаны с их различными составами. Так, в НРБ используют битумно-резиновые композиции [14]. Мастику готовят смешением расплавленного битума с резиновым порошком при температуре 160°С. Резиновый порошок получают путем измельчения старых автомобильных шин в специальной установке. Количество резинового порошка в мастике 10-15 %. При контрольной температуре размягчения битума, равной 70°С, температура размягчения мастики составляет 90-105°С. В то же время вязкость возрастает в 2-3 раза с повышением содержания резинового порошка, что затрудняет нанесение мастики тонким слоем.

В зоне, где изолируемый бетон работает без трещин, слой мастики не армируют. На участках, где возможно появление трещин, в бетоне устраивают температурные швы шириной 20 мм (поверхность бетона разбивают на карты размером до 4×4 м). При этом шов заполняют эпоксидно-дегтевой композицией и перекрывают полосками Битексинта шириной 30 см, приклеиваемыми по краям к гидроизоляции.

В Финляндии также применяют битумную мастику, с добавлением резины [20]. Температура размягчения мастики 95-105°С, хрупкости - минус 30°С, вспышки - не менее 230°С; величина пенетрации (0,1 мм) 35-50; удлинение - не менее 50 мм.

В Венгрии применяют трехслойную битумную армированную изоляцию с защитным слоем из бетона толщиной 60 мм и двухслойным асфальтобетонным покрытием, состоящим из связующего слоя и слоя износа [24]. Температура размягчения битумной мастики 80-110°С. Укладку ее производят на бетонную поверхность, в сухую погоду и при температуре окружающего воздуха не ниже 5°С.

Работы выполняют в следующей последовательности:

производят розлив горячей битумной мастики и распределение ее движками (средняя толщина слоя 1,5 мм, расход 1,5 кг/ м2);

укладывают армирующий рулонный материал;

разливают и распределяют второй слой битумной мастики толщиной 1,5 мм;

укладывают второй слой рулонного материала и третий слой битумной мастики толщиной 2 мм.

Битумную мастику распределяют при температуре 180-210°С. Рулоны укладывают вдоль моста от полос изолируемой поверхности, расположенных ниже по стоку воды, с перекрытием швов на 10 см вдоль рулона и 15 см - поперек. Верхние слои рулонов располагают со смещением относительно нижних. Под армирующими прослойками не должно оставаться включений воздуха или влаги. Защитный слой бетона укладывают не позднее чем через 48 ч после устройства гидроизоляции.

Изложенная выше технология широко использовалась во многих странах. В настоящее время во Франции применяют модифицированный битум по методу Ресификс [22], в соответствии с которым предусматривается укладка одного слоя из эпоксибитума толщиной 2-2,5 мм вместо ранее применяемых двух слоев. По этому слою распределяют гравий и наносят смолу Эльвакс (окисленный виниловый этилен).

Поверх слоя изоляции укладывают связующий слой покрытия из битумизированной смеси, имеющей температуру 120°С, При этом смола плавится (температура плавления смолы 90°С). Так как смола легче гравия, она остается на поверхности, полимеризуется и обеспечивает сцепление покрытия с изоляционным слоем.

Слой эпоксибитума может быть выполнен на заводе и уложен в виде пленочного материала.

Стоимость полимерного покрытия в 3 раза превышает стоимость битумно-мастичного покрытия [21]. Однако использование составов полимера, твердеющего всего за 20-60 с, имеющего высокую прочность, дает существенные преимущества при ремонте. Полимер применяют в жидком виде, нанося набрызгом, что обеспечивает непрерывность покрытия и не требует обязательной ровности обрабатываемой поверхности. Быстрое отвердевание позволяет наносить полимер на наклонные и вертикальные поверхности, а также снизить негативные последствия от воздействия дождя после устройства покрытия. Горячий асфальтобетон приклеивается непосредственно поверх полимера, поэтому он выдерживает действие сил торможения и ускорения транспортных средств и не отслаивается.

Применение полимерных покрытий на основе реактивных смол в качестве гидроизоляции практикуется в разных странах. Как правило, при этом соблюдают требования по обеспечению адгезии покрытия к изолируемой бетонной поверхности. Прочность на растяжение, (отрыв) должна быть не менее 1,5 МПа.

Для обеспечения этого влажность бетона не должна превышать 4 % по массе. В отдельных случаях ограничивают разность температур сооружения и окружающего воздуха величиной, равной 3-5° в момент производства работ.

В ГДР используют изоляционные слои на основе эпоксидной смолы или полиуретана, которые имеют следующие преимущества перед битумной изоляцией [9]:

хорошая передача касательных напряжений от верхнего слоя к основанию;

повышенная сопротивляемость механическим повреждениям;

укладка холодным способом;

химическая стойкость;

высокая производительность работ при укладке.

Благодаря этому использование полимерных покрытий при ремонте гидроизоляции позволяет проводить работы в кратчайшие сроки при незначительном увеличении массы дорожной одежды. Устраиваемые в отдельных странах покрытия отличаются тем, что в их состав входят различные материалы. Ниже приведены полимерные составы, применяемые в ГДР, их свойства и технология работ [15]. Состав полимера (в частях по массе): смола - 100; отвердитель - 9-15; ускорители твердения (дигидроксидфенилпропан -2, триэтиноламин - 4, трифенилфосфат - 10); растворители -5-20 (стирол, толуол, вступающие в молекулярную связь); модификаторы (специальные дегти - 100, тиопласт - 25, вступающие в молекулярную связь; к дегтю необходимо добавлять отвердитель); наполнители и заполнители - 70-85 (минеральный материал, сухой, без примесей глины, перегноя и т.п.: природный песок, мелкозернистый гравий и мелкий кварцевый или базальтовый щебень); в качестве пылевидных наполнителей применяют кварцевый или сланцевый асбест, мел, минеральные сухие краски; крупность зерен заполнителя должна составлять 0,2-0,33 толщины слоя изоляционного покрытия.

Толщину слоя полимерного покрытия в зоне движения пешеходов и велосипедных дорожек принимают равной 3-5 мм, в зоне проезжей части - 6-8 мм.

При приготовлении раствора полимера наполнитель и заполнитель должны быть высушены. Смешение компонентов выполняют в мешалке принудительного действия (лучше ручными дрелями). Мешалку чистят специальным растворителем 204 и 420, толуолом, ксилолом, углеводородом.

Работы по устройству полимерной изоляции осуществляют в сухую погоду при относительной влажности и температуре воздуха соответственно до 70° и 20-25°С. Подготовку бетонного основания - очистку от масла, нефти, битума, красок, пыли и т.п. - выполняют с помощью пескоструйной обработки и сжатым воздухом.

Изоляцию наносят в три (или два) слоя: грунтовка, покрытие и отделка покрытия. В качестве грунтовки используют жидкие составы без наполнителя, которые разливают по поверхности и распределяют щетками или движками или механизированными методами (напылением или разбрызгиванием). Смесь тщательно втирают в поверхность бетона и пропитывают его. Затем устраивают изоляционный, слой по незатвердевшей грунтовке.

Изоляционный состав наносят вручную мастерками, уплотняют и разравнивают. Следует избегать перерывов в работе, покрывать за один прием всю площадь. Структура поверхности должна быть шероховатой. В противном случае поверхность посыпают песком для обеспечения сцепления с покрытием.

При необходимости наносят отделочный слой. Для этого жидкий состав разливают, по нему рассыпают каменную мелочь размером частиц 0,5-1 мм.

Состав затвердевает через 24 ч, набирая при этом 60-70 % от конечной прочности, достигаемой через 10-14 сут. Процесс полимеризации протекает с незначительной усадкой. Полимер имеет следующие показатели:

Объемная плотность, г/см3....................... 1,8-2

Прочность на растяжение, не менее,

МПа......................................................... 11

Удлинение при разрыве, не менее, % ..... 4

Модуль упругости, МПа ........................ (7,5-10,5)×103

Растяжение при изгибе, не менее, МПа ... 15

Прочность на сжатие, не менее, МПа ...... 30

Коэффициент линейного расширения ...... 4,5×103

Водопоглощение, менее, % по объему ...... 0,8

Усадка, мм/м ............................................. 0,8

Остаточная деформация при длительном

сжатии, при давлении 20 МПа

в течение 1 ч, менее, % ............................. 6

Прочность сцепления с бетоном ................ не менее прочности бетона

Прочность сцепления с металлом, МПа:

на растяжение (отрыв), не менее ............... 6

на сдвиг, более .......................................... 10

Контроль качества устройства изоляции состоит в соблюдении технологических требований и испытании на соответствие приведенным свойствам. Выборочно контролируют толщину слоя изоляции, его ровность проверяют четырехметровой линейкой (допускаются отклонения не более 2 мм). Визуально определяют однородность поверхности (отсутствие пор, ячеек, концентраций песка), структуру (шероховатость) поверхности, состояние краев и участков соединения изоляции с элементами мостового полотна.

Для гидроизоляции в разных странах используют различные фирменные полимерные составы. Так, в НРБ применяют состав на основе Вигулена (в частях по массе):

Вигуленовая краска.................................... 100

Кварцевая мука...........................................50-100

Цемент....................................................... 50-100

Асбест, коротковолокнистый .................... 0-50

Укладка состава допускается при температуре не ниже 5°С.

В ФРГ применяют изоляцию типа ВДВ-102 с защитным слоем из литого асфальта. Двухкомпонентный материал ВДВ-102 не подвержен воздействию химикатов и масел, удобоукладываем, износостоек. При распределении по его поверхности песка обеспечивается сцепление с защитным слоем.

Изоляционное покрытие ВДВ-102 выполняют двухслойным по следующей технологии [24]. Компоненты А и В материала смешивают в медленно вращающемся смесителе до приобретения равномерной окраски (не менее 3 мин).

Нижний слой изоляционного покрытия наносят катком типа "тедди" или оборудованием для разбрызгивания с расходом около 0,8 кг/м2, по свежей неотвердевшей поверхности распределяют высушенный кварцевый песок размером частиц 0,7-1,2 мм в количестве 1,5 кг/м2. После затвердевания нижнего слоя сметают излишки песка с изолируемой поверхности и наносят второй слой ВДВ-102 при расходе 0,3-0,4 кг/м2.

Не уступает по качеству и изоляционное покрытие типа ВДВ-131-ВДВ-133. Сначала наносят слой грунтовки ВДВ-131, затем покровный слой ВДВ-131, адгезионный слой из двухкомпонентного материала ВДВ-133 и технологический слой ВДВ-131. Порядок приготовления двухкомпонентной смеси, а также технология нанесения составов те же, что и для ВДВ-102. Продолжительность работы с двухкомпонентным составом не более 3 ч.

В ФРГ также применяют полимерную изоляцию типа Конкретан на основе двухкомпонентной полиуретановой пластмассы. Гидроизоляционный слой имеет следующий состав: грунтовка, изоляционный слой, адгезионный слой, россыпь кварцевого песка. Поверх слоя укладывают асфальтобетонное покрытие. Изоляционный слой двухкомпонентного материала Конкретан ВА наносят, как и другие слои, распылением толщиной слоя 2-3 мм. Адгезионный слой из материала Конкретан ТВ-50 распределяют не раньше, чем через 1 сут.

В Венгрии технология, основанная на распылении материалов фирмы "Конкрехими" (ФРГ), получила название "жидкая фольга". Для снятия асфальтобетонного покрытия толщиной до 12 см используют фрезы ФРГ с алмазными рабочими поверхностями производительностью около 5000 м2/смену.

Бетонную поверхность очищают пескоструйной обработкой, что обеспечивает открытие пор бетона для пропитки материалом и чистоту поверхности, гарантирующую сцепление изоляционного материала с бетоном.

Изоляционный материал наносят методом безвоздушного напыления. Особенность технологии заключается в ограниченном времени полимеризации смолы, равном 17-30 с. При этом используют специальный распылитель, к распределительной головке которого подведены три трубы. По двум трубам подают материал (смолу и отвердитель), смешивающийся в камере перед распределительной головкой, по третьей - растворитель при промывке головки.

Агрегат для распыления материалов снабжен микро-ЭВМ, обеспечивающей автоматическое включение подачи растворителя и прекращение подачи изоляционного материала в случае отказа поступления того или иного компонента.

Контроль сплошности покрытия визуальный. Равномерное смешение компонентов и однородность состава также контролируют визуально, так как один компонент черного цвета, второй - белого, а при равномерном смешении состав имеет серый цвет.

Изоляционный материал содержит ту же основу, что и материал типа Конкретан, а именно: полиуретан и отвердитель - полиизоцианат. Один компонент представляет собой смесь полиуретана с эпоксидной смолой (имеет черный цвет), другой содержит полиизоцианат. Из-за токсичности последнего работают в респираторе или противогазе.

После отвердевания изоляционное покрытие представляет собой резиноподобный материал с предельной растяжимостью около 500 %.

Поверх изоляции укладывают горячую асфальтобетонную смесь. Прочность сцепления слоев составляет 1 МПа. При значительных продольных уклонах для обеспечения их сцепления по поверхности гидроизоляции распределяют смесь эпоксидной смолы с дегтем.

Аналогичные материалы применяют для устройства изоляционного покрытия типа Авенариус - Агро (Австрия) и Икозит М (ФРГ). Двухкомпонентный изоляционный материал типа Интероль-эластомасс, состоящий из полиуретана и эпоксидной смолы, наносят в жидком виде. После отвердевания материала образуется черная эластичная пленка толщиной до 2 мм, перекрывающая трещины шириной до 1 мм. Материал сохраняет эластичность даже при температуре -20°С. При добавлении к нему наполнителя в соотношении 1:1 можно получить эластичный слой толщиной до 6 мм.

По бетонной поверхности устраивают следующие конструктивные слои изоляции [24]:

слой грунтовки и выравнивания поверхности, жидкий состав, толщина слоя после отвердевания 0,4-0,7 мм (например, марка состава типа Икозит-275);

слой того же материала, перемешанного с кварцевым песком (укладывают не всегда);

изоляционный материал, наносимый в один или два слоя толщиной 2 мм каждый (например, типа Икозит М или Интероль-эластомасс);

тот же материал в виде раствора с наполнителем.

Поверх изоляции укладывают защитно-связующий слой и слой износа из горячей асфальтобетонной смеси.

Технология устройства изоляции Икозит заключается в следующем:

производят розлив раствора Икозит-275 при расходе 2 кг/м2 и выдерживают не менее 24 ч;

готовят материал Интероль-эластомасс 10 на месте производства работ, при этом компоненты А и Б смешивают в соотношении 6:4 (по массе) в низкооборотном смесителе; его наносят одним или двумя слоями при расходе 3 кг/м2 на один слой толщиной 2 мм; в верхний слой добавляют кварцевый песок; термостойкость слоя материала не ниже 130°С;

готовят композицию Интероль-эластомасс 20 из двух компонентов, смешиваемых в соотношении 45:55, или с добавлением наполнителя Фильштофф 20, производят розлив и распределение материала гладилками (движками) в период его технологической жизнедеятельности (сохранения вязкости); допустимая минимальная толщина слоя 2 мм; сухой песок размером частиц 0,8-1,2 мм добавляют только после перемешивания компонентов смеси.

Термостойкость слоя Интероль-эластомасс 20 равна 250°С и достигается за короткий промежуток времени. Так как защитно-связующий слой из асфальтобетонной смеси можно укладывать при температуре не выше 130°С (учитывая термостойкость слоя Интероль-эластомасс 10), то его можно устраивать сразу после нанесения верхнего изоляционного слоя на основе Интероль-эластомасс 20.

В НРБ используют мастичную обмазочную гидроизоляцию на основе ЭДК - эпоксидно-дегтевой композиции [14]. ЭДК имеет следующий состав (в частях по массе): эпоксидная смола - 40, каменноугольный деготь - 45, растворитель (ксилол, толуол) - 15.

Применяют следующие конструкции гидроизоляции:

слой грунтовки толщиной 1 мм;

слой полимерного раствора (лака) толщиной 2-3 мм;

термозащитный слой из песка толщиной 5 мм или цементобетона толщиной 40 мм;

защитный слой из песчаной асфальтобетонной смеси толщиной 20 мм (в случае устройства песчаного термозащитного слоя):

покрытие из асфальтобетонной смеси толщиной слоя 80 мм.

Грунтовка имеет следующий состав (в частях по массе): ЭДК - 100, растворитель (ксилол, толуол) - 100, отвердитель (диэтилентриамин, полиэтиленполиамин) - 4.

В состав полимерного раствора (лака) входят (в частях по массе): ЭДК - 100, отвердитель - 4, наполнитель (цемент, диабазовый или кварцевый порошок) - 100, кварцевый песок размером частиц 0,1-0,5 мм - 100.

Предел размягчения изоляционного состава около 150°С, поэтому по истечении 1 ч после распределения лака укладывают слой толщиной 5 мм из просушенного песка размером частиц 1,25 - 2,5 мм. Прочность на растяжение изоляционного лака не менее 10 МПа, модуль упругости 300-320 МПа, предельное относительное удлинение при разрыве - 0,4-0,45.

В США в основании покрытия по бетону защитного слоя для улучшения свойств гидроизоляции ее устраивают на основе эмульсии каменноугольного дегтя [17]. Работы выполняют следующим образом: после очистки основания наносят слой дегтевой эмульсии, укладывают стеклоткань для армирования, распределяют второй слой эмульсии, стеклоткань, затем укладывают слой песка, обработанный эмульсией; покрытие устраивают из двух слоев: слоя из песчаной асфальтобетонной смеси толщиной 12,7 мм и асфальтобетонной смеси толщиной 50,8 мм.

Фирменная мастика Сулфитон представляет собой улучшенную каучуком битумную эмульсию, при этом для уменьшения влияния конденсата в материал введен Стиропор. Слои изоляции на основе битумной эмульсии армируют стеклотканью.

Фирменная мастика Пластик - горячая битумная мастика - содержит резину. После холодного отвердевания другой мастики - Тиофлекс-600 (двухкомпонентной полисульфидной) - образуется эластичный резиновый долговечный материал, который характеризуется хорошей адгезией к бетону, металлу, устойчивостью к статическому и повторному загружению.

5.3. Приклеивание готовых рулонных или пленочных материалов

При использовании для ремонта гидроизоляции готовых рулонных или пленочных материалов бетонная поверхность должна быть ровной, чистой, сухой. Для устранения на ней неровностей или ремонта разрушенных участков бетона применяют цементобетон, активированный цементный раствор или синтетический материал.

В Венгерской республике для локального ремонта бетона защитного слоя используют полимербетон на основе смолы (как связующей) или смеси цемента и смолы в качестве связующих. Смолу Типоксин готовят по лицензии фирмы ФРГ и смешивают с кварцевым песком в соотношении от 1:2 до 1:12. При этом величина модуля упругости полимербетона должна быть близка к показателям бетона конструкции.

В последнее время в качестве изоляционных материалов стали использовать металлические ленты, имеющие покровные слои из клейкого вещества. В этом случае гидроизоляцию, например в ГДР, выполняют в следующей последовательности [9].

Первый вариант: грунтовка; клеевая обработка; битумизированная алюминиевая лента А (два слоя); защитный слой из толя низкого качества; защитный слой из цементобетона.

Второй вариант: грунтовка; прослойка для исключения образования пустот от парового давления; битумизированная алюминиевая лента А, один слой; толь марки 500; защитный слой из литого асфальта.

Третий вариант: грунтовка; прослойка для устранения парового давления; изоляционный слой из алюминиевой или медной ленты; защитный слой из толя марки 500, если устраивают защитный слой из цементобетонной смеси.

Гидроизоляционные ленты приклеивают к основанию и склеивают друг с другом.

Слой из толя используется для защиты изоляции от механического повреждения. Для этого его наклеивают на готовую изоляцию клеевой смесью без заполнителя и покрывают краской.

Укладку гидроизоляционных слоев выполняют сначала в месте примыкания к встроенным элементам (водоотводным трубкам, окаймлениям деформационных швов и др.). Встроенные элементы, у которых делают разрывы гидроизоляции, предварительно должны быть жестко установлены. Примыкание гидроизоляции выполняют с помощью жестких фланцев на площадках шириной не менее 250 мм (см. рис. 2). Поверхность фланцев очищают от ржавчины и покрывают слоем клея.

Прослойку для устранения парового давления помещают между бетоном (изолируемой поверхностью) и гидроизолирующим составом. Прослойку не используют, если слой гидроизоляции сразу же перекрывают цементобетонной смесью и в готовом состоянии обеспечивается поверхностная нагрузка, равная 4 кН/м2.

В качестве прослойки применяют перфорированный нетканый материал из стекловолокна, который укладывают на поверхность, обработанную битумной грунтовкой. Перекрытие полотен стекловолокна должно быть на ширину 100 мм. Не допускается равномерное склеивание стеклоткани с изолируемой поверхностью.

При перерывах в работе (окончание смены, выпадение атмосферных осадков) приклеивают полоски гидроизоляции на ширину 100-200 мм непосредственно к изолируемой поверхности. Для обеспечения отвода конденсатной воды из-под гидроизоляции под слоем прослойки для устранения парового давления помещают полихлорвиниловые трубки с внутренним диаметром не менее 20 мм и расстоянием между ними, равным 6 м. Трубки располагают в самых низких местах (точках) изолируемой поверхности.

Клеевую, обработку выполняют из битумной мастики марки 80/134 или 80/120 (термоклея).

Ширина основных лент гидроизоляции не более 600 мл. При применении битумной мастики (клеевой смеси) с заполнителем металлические тисненые ленты укладывают на прослойку для устранения парового давления. У продольных швов основные ленты перекрывают на ширину не менее 100 мм, а у поперечных швов - не менее чем на 200 мм.

Битумные мастики с заполнителем, используемые для грунтовки и поверхностной обработки, разливают и распределяют движками.

При ремонте гидроизоляции в локальных местах возможно ее соединение с существующей изоляцией, имеющей также битумную основу. В этом случае в зоне соединения, на ширине не менее 200 мм, защитную прослойку из толя не укладывают, а перекрывают участок стыковки слоем мастики.

При устройстве покрытия из литого асфальта или асфальтобетона, как правило, по гидроизоляции устраивают защитный слой из литого асфальта толщиной 30-40 мм, укладываемого вручную. В местах примыкания покрытия к встроенным элементам выполняют обработку битумным клеевым составом.

В случае устройства покрытия из цементобетона изоляцию закрывают защитным слоем бетона толщиной 50-80 мм, армированного сеткой из стержней периодического профиля диаметром 6,5 мм.

При устройстве защитного слоя из литого асфальта не соблюдают требования по минимальному уклону, так как установлено, что фильтрация воды в случае примыкания литого асфальта к изоляции на битумной основе отсутствует.

В ФРГ используют кашированные металлом сварные полотна, приклеиваемые по всей поверхности [5]. Изолируемая поверхность должна быть чистой и сухой. Для исправления неровностей используют раствор с добавками полимера или синтетической смолы. Отклонения поверхности от прямолинейности на участке длиной 4 м, не должны превышать 10 мм. Глубина микронеровностей не более 1,5 мм. Контроль ровности выполняют кварцевым песком размером частиц 0,2-0,5 мм путем распределения его в объеме 30 см3 по поверхности бетона с минимальным диаметром 16 см. Прочность поверхности на отрыв должна быть не менее 1,5 МПа.

Изоляционные полотна с кэшированием высококачественной сталью (кэширование алюминием не стойко к действию солей) толщиной 4 мм укладывают на поверхность, обработанную грунтовкой из эпоксидной смолы с расходом 0,3-0,5 кг/м2. Сварку полотен осуществляют нагревом по всей ширине рулона. Хотя такая изоляция в 2 раза дороже мастичной, ее использование вполне оправданно в условиях ФРГ.

Рекомендуют также устраивать гидроизоляцию из каптированных металлом полотен под продольными швами покрытия, под водотоками для усиления изоляции других типов.

В Финляндии в качестве пленочного материала используют так называемый битумный мат [20]. Он состоит из основы (армирующего полотна), резинобитумной мастики, наполнителя массой соответственно 0,15; 2,2 и 3 кг/м2. Прочность на разрыв битумного мата (вдоль и поперек полотна).8 кг/с/м2, предельное удлинение при температуре 20 - -20°С - 35 %.

Битумные маты приклеивают к бетонной поверхности резинобитумной мастикой. Поверх битумного мата устраивают защитный слой из цементобетонной смеси толщиной 5 см и двухслойное асфальтобетонное покрытие.

Для гидроизоляции можно использовать также термопластичные полимерные пленки из поливинилхлорида (ПВХ), полиэтилен и другие полимеры, которые обладают высоким сопротивлением прокалыванию, низкой водопроницаемостью, химической стойкостью, высокой прочностью на растяжение и деформативностью. С этой целью также можно применять армированные листы ПВХ толщиной 1,5 и 2 мм, обладающие повышенным сопротивлением разрыву. Но при этом изолируемая поверхность должна быть более ровной.

Для устройства стыков при использовании полимерных пленок, применяют технологию двойной сварки, в шве между стыкуемыми листами размещают нагревающий элемент, после нагрева пленки внутренние поверхности листов в месте перехлеста прижимают друг к другу с помощью роликовых катков сверху и снизу шва.

Такой метод обеспечивает создание прочного и непроницаемого двойного шва с небольшим пространством между швами, которое используют для испытания шва давлением воздуха. Результаты испытания считают положительными, если при давлении, равном 0,2 МПа, в течение 15 мин падение давления на превысит 10 %.

В ГДР для гидроизоляции применяется только экструдированная полихлорвиниловая пленка [9]. Ее обрабатывают клеем для соединения с изолируемой поверхностью только на концевых участках шириной 400 мм.

Гидроизоляционные пленки укладывают свободно, без натягивания и сразу же покрывают брезентом или матами для защиты от механических воздействий и ультрафиолетовых лучей.

По гидроизоляции из полихлорвиниловой ленты устраивают защитный слой из бетона. Не допускается соединение битумной гидроизоляции с полихлорвиниловой из-за вредного воздействия друг на друга. В местах их примыкания применяют разделительный элемент, например, из синтетического каучука или полиэтилена, устойчивый к воздействию битума.

В местах примыкания на концевых участках пленку приваривают к забетонированным профилям из полихлорвинила. При примыкании к встроенным элементам последние должны иметь фланцы, обеспечивающие приклеивание пленки на ширине 250 мм. Для этой цели поверхность фланца нагревают и смазывают полихлорвиниловым клеем.

Наряду с металлическими лентами, битумными матами и термопластичными полимерными пленками используют разнообразные фирменные рулонные и пленочные материалы, содержащие в качестве основы металлическую фольгу, полимерную пленку и т.п., и нанесенный на основу изоляционный слой.

Гидроизоляционные полотна Н-822 применяют с защитной прослойкой У-160 по следующей технологии [24]. На сухую бетонную поверхность кистью наносят равномерный непрерывный слой грунтовки - битумной мастики Бонобит - в количестве 0,6 кг/м2.

После подсыхания грунтовки в течение 20-24 ч (испарения растворителя) укладывают полотна Н-822 с перекрытием их на 15 см в стыках. Полотна прокатывают катком, при этом под изоляцией не должно оставаться воздушных прослоек и раковин. Для укладки второго слоя полотен обеспечивают смещение стыков на половину ширины рулона. Сразу поверх изоляционных полос укладывают защитную прокладку У-160.

Материал Аквабит содержит битумную изоляционную прослойку на обеих сторонах алюминиевой фольги. С одной стороны на битумной прослойке имеется россыпь из мелкого песка. Рулоны раскатывают по битумной грунтовке, наносимой щетками в горячем жидком состоянии при температуре 150° С. Стыки перекрывают на ширину 100 мм и усиливают прокладками из гладкой алюминиевой фольги толщиной 0,05 мм и шириной 100 мм. Поверх изоляции укладывают защитный слой из цементобетонной смеси толщиной 6 см и двухслойное асфальтобетонное покрытие.

Материал Хайлоуд представляет собой композицию дегтя и полимера (поливинилхлорида), армированную волокнами. Он может перекрывать трещины шириной 0,6 мм. Технология устройства следующая: наносят слой грунтовки Бонобит, после подсыхания которого равномерно распределяют адгезионный слой из горячей битумной мастики (при температуре 130°С) в количестве 1,5-2,5 кг/м2.

При укладке изоляционной прослойки Хайлоуд на горячий адгезионный слой ширина перекрытия рулонов вдоль составляет 10 см, на концах (поперек) - 15 см.

Понтифлекс - рулонный материал с прокладкой из стеклоткани со слоями битумно-полимерной мастики. Ширина рулона 1 м, длина 10 м, толщина 4 и 3 мм. Ремонт гидроизоляции моста в Венгрии с использованием Понтифлекса выполняли по следующей технологии. На сухую бетонную поверхность наносили слой грунтовки Бонобит, после высыхания которого распределяли адгезионный слой битумной мастики толщиной 3-5 мм при температуре 180-190°С.

За счет высокой температуры мастики достигались оплавление слоя битумной мастики рулонного материала толщиной 4 мм и его сцепление. Рулоны укладывали с перекрытием стыков на ширину 10 см. Верхний слой Понтифлекса толщиной 3 мм укладывали вручную на нижний слой с перекрытием стыков на половину ширины полотна. Верхний слой рулона раскатывали с оплавлением газовой горелкой мастичного слоя, который обеспечивает сцепление с нижним рулоном. На второй слой вручную наносили адгезионный слой из мастики при температуре 120-140°С.

Для предотвращения изоляции от повреждений вручную укладывали защитный слой толщиной до 20 мм из песчаной асфальтобетонной смеси и уплотняли ее легкими катками. Затем асфальтоукладчиком на пневмоходу укладывали два слоя асфальтобетонного покрытия.

Рулонный материал Битутен представляет собой ткань терефталата, покрытую с одной стороны адгезионным слоем битума, с другой - самоприлипающим прорезиненным битумом и слоем силиконовой бумаги. Общая толщина материала 2 мм, толщина ткани - 0,5 мм, длина рулона 13,7 м, ширина 0,9 м, масса 1м2 - 2,5 кг.

Изоляционный слой укладывают после высыхания грунтовки (типа Бонобит). Направление раскатки рулонов - обычное, силиконовую бумагу удаляют непосредственно при укладке изоляции. Приглаживая щеткой материал от центра к краям, удаляют воздух из-под уложенной прослойки. Слои перекрывают на ширину 10-15 см, листы перекрытия тщательно разглаживают и усиливают полосками Битутена. Непосредственно после укладки гидроизоляции устраивают защитный слой бетона толщиной 6 см.

Материал Таурус-котекс представляет собой бутилкаучуковую прослойку толщиной 1,2 мм с подкладкой из материала Терфил на обеих сторонах прослойки.

Изоляцию укладывают по грунтовке из битумной эмульсии после ее распада и испарения воды. Для перекрытия швов изолирующих полотен используют липкую ленту типа Бутилана шириной 80 мм или другие клеящие материалы.

Рулонный материал Карбодур имеет толщину 3 мм, состоит из полиэтиленовой пленки (предохраняющей от склеивания при транспортировании и хранении), битума толщиной слоя 1 мм, модифицированного полимером битума толщиной слоя 2 мм; тонкого слоя пластмассовой ткани (армирующей прослойки). Прочность на растяжение материала составляет 5 МПа, удлинение - 450 %.

Карбодур сохраняет эластичность при температуре до -20° С, он может быть применен при повышении температуры до 50°С.

В Венгрии гидроизоляцию с применением Карбодура устраивают по следующей технологии: ровной, сухой и чистой поверхности бетона придают шероховатость, используя специальное оборудование для фрезерования бетона с ручным управлением. Наносят слой грунтовки - битумной эмульсии в количестве 0,3 кг/м2. После высыхания грунтовки распределяют адгезионный слой из горячей битумной мастики (температура разогрева 120°С) в количестве 1,5-1,8 кг/м2. В качестве адгезионного слоя может быть использована мастика с теплостойкостью не менее 80°С.

Укладку рулонов Карбодура осуществляют с нагревом газовыми горелками изоляционного слоя полотна. Продольные стыки при этом выполняют сваркой внахлест на ширину 8 см, поперечные стыки - на ширину 12 см двое рабочих с помощью разогрева газовой горелкой рулонов и немедленного прижатия ручным катком.

Сразу после устройства гидроизоляции укладывают защитно-связующий слой из асфальтобетонной смеси, используя механизмы на пневмоходу. При этом температура смеси не должна превышать 250°С.

Материалы Гумизол (высокоэластичный) и Битексинт (армированный полиамидной тканью) используют совместно при устройстве листовой изоляции [14] . Конструкция гидроизоляционного слоя следующая: Битексинт + Гумизол + Битексинт. В гидроизоляцию входит пародренажная система.

Пленочный рулонный материал Фамгард изготовлен в виде слоя битумной мастики с алюминиевой облицовкой. Его приклеивают к изолируемой поверхности, произведя предварительный нагрев этого слоя. Затем укладывают защитный слой и покрытие из асфальтобетонных смесей.

Фамфлекс в отличие от Фамгарда содержит в качестве основы полиэтиленовую пленку. Они используются совместно, например, для защиты Фамгарда сверху при устройстве бетонного защитного слоя.

Во Франции ремонт гидроизоляции осуществляли с использованием листового материала Парафор соло, представляющего собой композицию эластомерной добавки стирол-бутадиен-стирола с битумом, армированную нетканым волокном из полиэфира и керамическим гранулированным материалом. Размер рулона 8 × 1 м, масса 1 м2 -5,9 кг, толщина - 4 мм, масса 1 м3 нетканого волокна 0,18 кг [30]. Слои дорожной одежды толщиной от 10 до 25 см, включая гидроизоляцию, снимали гидролопатой, оснащенной ковшом с ножом без зубьев.

Основание для укладки листового изоляционного материала подготавливали следующим образом: удаляли фрезами выступы и остатки старого слоя; промывали поверхность водой под давлением 3-9 МПа; продували сжатым воздухом; обрабатывали полимерраствором в количестве 2 кг/м2 для устранения неровностей.

Затем по поверхности бетона распыляли холодный лак с расходом 0,3 кг/м2.

Полотна листового материала укладывали с разогревом изоляционного слоя газовыми горелками. Размягченная мастика на поверхности рулона по мере его раскатывания обеспечивала соединение с бетоном, пропитанным лаком. В продольном направлении рулоны стыковали внахлест на ширину 8 см. Сверху укладывали защитный слой из битумоминеральной смеси со следующими показателями: прочностью в возрасте 18 дней - 12 МПа,после водонасыщения - 9 МПа.

В ПНР применяют рулонный материал Биматизол и самоклеящиеся ленты фирмы Б.Р. Граце (США) и Керана (Финляндия), содержащие противоадгезионную полиэтиленовую пленку, которая снимается при развертывании рулона. Защитный слой выполняют из песчаной асфальтобетонной смеси, реже из литого асфальта.

Основу материала Биматизол, выпускаемого в ПНР, составляет толь с нанесенной на него битумной мастикой. При укладке на развернутых рулонах мастику расплавляют паяльником и тщательно прижимают к изолируемой поверхности. Стыки листов Биматизола расплавляют паяльником и склеивают (сваривают). Второй слой полотна укладывают на первый слой со сдвижкой на половину ширины рулона.

Самоклеящиеся ленты, фирмы В.Р. Граце или Керана укладывают по фирменной грунтовке Пример. Изоляция состоит из двух слоев, отличающихся конструкцией и разными функциями - изоляции и защитного слоя. Ее приклеивание обеспечивается нанесенным на изолируемую поверхность слоем битума, модифицированного полимерами.

Второй слой, изготовленный на основе картона, приклеивают к первому слою. Второй слой выполняет функции защитного слоя при укладке горячих смесей защитного слоя и покрытия. По этому слою допускается .укладка горячей асфальтобетонной смеси при температуре до 160°С без повреждения гидроизоляции. Защитный слой литого асфальта устраивают сразу после укладки гидроизоляции.

5.4. Устройство гидроизоляционного слоя из различных материалов (толстые изоляционные слои)

Устройство одного слоя из особо плотного бетона, выполняющего функции выравнивающего, изоляционного, защитного слоев и покрытия взамен изоляционных слоев одежды мостового полотна, в каждой стране имеет свою специфику, связанную с использованием различных материалов.

Так, в США применяется песчаный бетон на портландцементе, модифицированном латексом (эмульсией синтетического латекса). Этот слой водонепроницаем и характеризуется повышенным сцеплением с бетоном основания [25].

Технология устройства такого слоя имеет следующие особенности:

укладка бетонной смеси осуществляется при температуре 8-29°С;

смесь распределяется сразу же после ее приготовления.

Перед нанесением смеси основание бетонной поверхности тщательно промывают водой.

Для распределения и уплотнения смеси используют финишер с направляющими из труб диаметром 50,8 мм на базе 12,2 м. Раствор подают из лотка передвижного смесителя (цикл перемешивания около 1 мин). Точная дозировка составляющих и контроль осадки смеси гарантируют однородность раствора.

После распределения раствора финишером его поверхность вручную затирают вдоль краев и для придания шероховатости обрабатывают щеткой. Затем укладывают влажную мешковину и пленку для предупреждения испарения воды. Влажный уход производят в течение двух дней, сухой уход - трех дней.

Для устройства гидроизоляционного слоя используют полимер-бетон. Специалисты США отмечают, что наиболее важный вопрос, возникающий в процессе ремонта - сроки выполнения работ. При применении полимербетонов, основными компонентами которых являются различные синтетические смолы (эпоксидная, полиэфирная, метилметакрилаты) и песок, открывать движение транспортных средств можно через несколько часов после окончания ремонтных работ [17]. Например, работы по ремонту проезжей части трех мостов проводили в то время суток, когда движение автомобилей минимальное. Производительность труда при этом составляла 35 м2/сут. Прочность на сжатие полимербетона через 1 ч после укладки достигала 28 МПа, а через 3 ч - 42 МПа.

Полимербетон можно укладывать в виде тонких, по сравнению с цементобетоном, слоев толщиной до 10 мм. Полимербетоны на основе метилметакрилата характеризуются более высокой прочностью, быстро затвердевают.

Технология устройства полимерного слоя следующая. Очищают поверхность бетона основания (она должна быть сухой); наносят слой метилметакрилата и распыляют наполнитель. После пропитки бетона основания наносят второй слой метилметакрилата.

К отрицательным свойствам полимербетона относят: токсичность и низкую температуру возгорания; при использовании модифицированных метилметакрилатов эти показатели снижаются.

Специалисты США считают, что одним из перспективных направлений в области устройства гидроизоляции является укладка электропроводящего полимербетона в систему катодной защиты на мостах, что позволило бы избежать трудоемкого процесса - пропиливания в бетоне прорезей на расстоянии 20-25 см для размещения анодов. Кроме того, с этой целью используется полимербетон на основе низкомодульного эпоксидного связующего и базальтового заполнителя с большим содержанием оксида алюминия. Модуль упругости полимербетона составляет 690-1035 МПа, прочность на сжатие - 35-42 МПа, прочность на растяжение - 10 МПа, коэффициент температурного расширения у него в 2-3 раза выше, чем у бетона и стали [27].

Перед укладкой полимербетона поверхность основания готовят с помощью машины воздушной продувки "Нелко", оснащенной вакуумным оборудованием для сбора мусора. Недоступные участки очищают пескоструйной обработкой.

Для приготовления раствора используют смеситель фирмы Респект" (ФРГ) производительностью 6 м3/ч. Раствор имеет следующий состав (в частях по массе): эпоксидное вяжущее - 100, заполнитель - 380.

Раствор распределяют вручную и разравнивают самоходным брусом. Так как заполнитель оседает в клее и в верхнем слое образуется избыток вяжущего, то после разравнивания смеси вручную рассыпают заполнитель. При этом образуется шероховатая поверхность.

Для ремонта гидроизоляции используется также полимербетон, укладываемый слоем толщиной до 20 мм [28]. Наряду с эпоксидным вяжущим применяют полиуретановый вяжущий материал с наполнителем - кварцевым песком. Добавка наполнителя снижает коэффициент температурного расширения полимербетона, приближая его по этому показателю к цементобетону.

Перспективным направлением является устройство изоляционных слоев на основе битумных вяжущих.

В ГДР применяют следующий состав раствора, в частях по массе [9]:

Битум марки В40.......................................... 13-14

Минеральный порошок ................................ 35-60

Песок с содержанием частиц размером более 5 мм

не более 10 % по массе................................... 24-50

Температура размягчения битумной мастики по Вильгельму 100-130°С,

глубина вдавливания штампа по стандарту ГДР - 5-12 мм.

Перед распределением изоляционного слоя из битумной мастики поверхность грунтуют битумной эмульсией.

При устройстве защитного слоя из литого асфальта мастичную гидроизоляцию укладывают в один слой толщиной 10 мм. Если на других участках моста на мастичную гидроизоляцию распределяют бетон, то в этих зонах ее укладывают в два слоя каждый по 8 мм. Уклон гидроизоляции на проезжей части не должен превышать 0,04, а вне этой зоны допускаются уклоны до 0,10. У рабочих швов мастику разогревают до температуры обработки на полосе шириной до 100 мм для соединения кромок.

При устройстве защитного слоя из цементобетона мастичную гидроизоляцию укладывают в два слоя каждый толщиной 8 мм. При этом содержание битума в мастике увеличивают до 21 % по массе. Требования относительно температуры размягчения по Вильгельму, содержания заполнителя и глубины вдавливания штампа отсутствуют. Рабочие швы размещают со смещением, устраивают их также путем разогрева полосы шириной 100 мм. При ремонтных работах поверх мастики укладывают цементобетонное покрытие (без предварительного устройства защитного бетонного слоя). Мастику армируют стекловолокнистой тканью с размером ячеек 20 или 50 мм.

В ПНР мастику для изоляции готовят с использованием природного асфальта. Слой мастики толщиной 10 мм укладывают на сухую бетонную поверхность, предварительно загрунтованную Абизолем Р или катионной эмульсией в количестве 0,3 кг/м2. Поверх изоляции укладывают асфальтобетонную смесь.

В Венгрии применяется мастика, содержащая 14-16 % битума, 34-43 % минерального порошка и 41-52 % песка [24].

Перед нанесением мастики бетонную поверхность обрабатывают битумной грунтовкой Бонобит, которую распределяют щеткой в количестве 0,3-0,35 кг/м2. Грунтовку считают удовлетворительной, если она образует равномерный по толщине слой, имеющий блестящую черную поверхность.

Слой мастичной изоляции толщиной 10 мм наносят непрерывно вдоль моста по ширине не более 5 м при температуре 180-220°С. Защитный слой из асфальтобетона укладывают не позднее чем через 48 ч после распределения изоляционного слоя.

Для гидроизоляции можно также использовать битумно-песчаную смесь с содержанием битума 7-9 %. Песок содержит 15-20 % измельченного известняка, остальное - мелкий песок, где фракции крупнее 5 мм не допускаются. Битумно-песчаную смесь укладывают на предварительно загрунтованную поверхность толщиной слоя 12-16 мм. Затем наносят битумную грунтовку и укладывают защитный слой из асфальтобетонной смеси.

Французская фирма "Жан Лефевре" предлагает метод "Этаупласт" ремонта гидроизоляции, который заключается в укладке двух слоев мелкозернистой смеси: нижнего Микропласт и верхнего Мобилпласт. Перед распределением нижнего слоя выполняют пескоструйную обработку бетонной поверхности, которую целесообразно пропитывать специальным холодным лаком или наносить на нее эмульсионную грунтовку.

Укладку слоев выполняют с помощью укладчиков. Нижний слой Микропласт позволяет выравнивать основание. Смесь Мобилпласт наносят распределителем с подогревом. Сразу после устройства изоляционного слоя укладывают асфальтобетонную смесь.

5.5. Использование специальных материалов для герметизации швов

Материалы горячего применения используют в швах, где относительное расширение не превышает 0,2. Наиболее распространены мастики на основе битума, модифицированного полимером, каучуком.

Например, для герметизации швов используется состав, содержащий (в частях по массе): битум - 96-99,5; бутадиенстирольный Полимер - 0,5-4; минеральный порошок - 50-70. Герметик приготавливают в котлах вместимостью 25-50 л при температуре свыше 150°С путем перемешивания битума и полимера до полного его растворения. Затем вводят минеральный порошок (асбест), непрерывно перемешивая смесь до однородной консистенции. Минеральный порошок повышает теплостойкость мастики в шве.

Для уменьшения хрупкости герметика при эксплуатации в условиях низких температур используют полимер, содержащий 76 % бутадиена и 24 % стирола.

Возможно получение высококачественного герметика на основе битума без добавления асбеста. Повышение термостойкости и эластичности достигается в этом случае за счет введения полиолефинов, улучшающих пластичность при низкой температуре [23].

Такой герметик приготавливают следующим образом: 1,5-2,5 части по массе полиолэфина растворяют в 40-50 частях битума при температуре 200-220°С. В полученную смесь вводят 7,5-12 частей резиновой муки и 35-45 частей минерального заполнителя (сланцевой или каменноугольной муки). Дополнительное повышение термостойкости и эластичности герметика достигается за счет добавления 0,1-0,2 частей стеклонитей (длиной до 10 мм). Приготавливают его в смесителях с подогревом. Время перемешивания синтетических компонентов 1-1,5 ч, минеральных - 0,5 ч.

Другой путь улучшения герметиков - приготовление их на основе каменноугольного дегтя, модифицированного молотой резиной и порошкообразным полихлорвинилом. Компоненты перемешивают при температуре 150-180°С до получения резиноподобного однородного материала.

Известен герметик на основе смеси битума (40-75 %) и дегтя (25-60 %), улучшенной полимерной добавкой. В качестве добавки применяют смесь винилацетата (18-32 %) с этиленом (68-82 %). Герметик характеризуется высокой эластичностью, достаточным сцеплением с бетоном, прочностью на разрыв. Швы заполняют герметикой при температуре 130-150°С.

Для герметизации швов мастики холодного применения используют реже. Максимальное относительное удлинение швов при их использовании составляет 0,30. После отвердевания мастики обладают высокой упругостью и прочностью. Их готовят на месте производства работ смешением составляющих. Например, силиконовые герметики образуют при взаимодействии с влажным воздухом силоксановый каучук. В США различают три вида силиконовых герметиков: высокий, средний и низкий (по величине модуля упругости). Упругие деформации на сжатие составляют 90-100 %.

В Венгрии для заливки деформационных швов используют холодные мастики Колас.

Перед заполнением швов стыкуемые поверхности грунтуют составами, имеющими одну основу с используемым герметикой. Мастику Колас поставляют в банках вместимостью 5 л. Перед использованием ее необходимо перемешивать.

Профильные готовые прокладки применяют в швах с максимальным относительным удлинением, равным 0,5. Полихлоропреновый каучук обладает высокой устойчивостью к старению.

Размеры профиля принимают из расчета сжатия его до 0,8 и удлинения на 0,5 от начальной ширины, ширину поперечного шва - в зависимости от величины раскрытия, ширину продольного шва - из возможности заполнения, но не менее 7 мм.

Так, например, прокладки из неопрена шириной 31,8 мм (сжимали при установке почти на 200 % от начальной ширины) помещали в шов шириной 12,7 мм.

Установлено, что в течение 9 лет эксплуатации не было необходимости проводить ремонт шва.

ЗАКЛЮЧЕНИЕ

При анализе зарубежного опыта ремонта гидроизоляции следует учитывать методы, применяемые в нашей стране. В обзоре показана широкая номенклатура способов и материалов, используемых за рубежом. В СССР также имеются разработки и опыт ремонта гидроизоляции, отражающие практически все затронутые в обзоре методы.

Так, для пропитки бетона защитного слоя используют водные эмульсии кремнийорганических жидкостей 136-41, 119-215 или эпоксидные вяжущие [31]. Госдорнии Миндорстроя УССР предлагает для устройства покровных слоев применять однокомпонентную эмаль на основе сополимеров винилхлорида XC-710 и. двухкомпонентную композицию на основе клея СПРУТ 5МДИ [32].

В основном для ремонта гидроизоляции используют битумные мастики, армированные стеклотканями или льно-джуто-кенафными тканями, или стеклосетками [33]. Реже применяют холодную битумно-латексную мастику, армированную стеклосеткой [34].

В качестве готовых рулонных материалов, наплавляемых на изолируемую поверхность, используют гидростеклоизол, фольгоизол и другие материалы. Для гидроизоляции можно также применять резиноподобные материалы (бутизол или гидробутил), приклеиваемые горячей битумной мастикой, холодными мастиками или другими клеящими составами; полиэтиленовые пленки [33].

Гидроизоляционные слои устраивают из особо плотного бетона, выполняющего функции выравнивающего, изоляционного и защитного слоев [32]. В этом случае в бетонную смесь для обеспечения требуемой морозостойкости и водонепроницаемости вводят пластифицирующие и воздухововлекающие добавки (смолу нейтрализованную воздухововлекающую, сульфатно-дрожжевую бражку, кремнийорганическую жидкость). Для приготовления бетона при этом применяют портландцемент или напрягающий цемент.

В качестве изолирующих слоев на основе реактивных смол используют составы на основе алкилрезорциновой смолы ЭИС-I и дибутилфталата или жидкого битума с наполнителем (цемент) [35]. Эпоксидно-полимерную композицию изоляционного слоя укладывают сразу на полную его толщину (2,5-4 мм). В Ленмостотресте применяют для ремонта гидроизоляции моста эпоксидно-фенольный состав на основе метилениминной смолы со сланцевым модификатором (сламором) и наполнителем (железным суриком).

Для заливки деформационных швов в СССР и за рубежом применяют, как правило, те же мастичные материалы, что и для гидроизоляции. Наряду с этим используют специальные герметики горячего и холодного применения, однокомпонентного и двухкомпонентного состава.

Технологические приемы производства работ по перечисленным выше методам ремонта гидроизоляции имеют большое сходство с описанным зарубежным опытом. Некоторые различия детально-конструктивного характера связаны с особенностями использования различных материалов, устройства изоляции мест примыкания к встроенным элементам мостового полотна, решения по отводу воды.

Отмечая известные преимущества использования готовых рулонных изолируемых материалов, специалисты за рубежом указывают на необходимость соблюдения при этом жестких требований к ровности изолируемой поверхности и на трудности в механизации изоляционных работ.

Использование мастичных толстых изоляционных слоев позволяет преодолеть указанные недостатки, допуская в определенных пределах выравнивание поверхности. Однако для решения проблемы сползания гидроизоляционного слоя и его вздутия требуется тщательное соблюдение технологического регламента, в частности, необходимо укладывать пародренажные прокладки, обеспечивать повышенное сцепление с изолируемой бетонной поверхностью, соблюдать требования по ограничению влажности бетона, учитывать температурные факторы и т.д.

В зарубежной практике для ремонта гидроизоляции широко используются полимерные материалы. Несмотря на токсичность большинства составов, их применение оказывается целесообразным благодаря сокращению сроков производства работ. При этом используют полимеры в виде пленочных, рулонных материалов заводского изготовления и составов, наносимых на месте.

Анализируемый опыт ремонта гидроизоляции в разных странах имеет свои особенности, поэтому следует выделить лишь в обобщенном виде наиболее прогрессивные из них.

Первая особенность - тщательность контроля состояния гидроизоляции и качества ремонта. Например, существует метод, при котором заливают водой отремонтированный участок гидроизоляции и наблюдают в течение не менее 24 ч эффект проявления протечек. Для принятия решения о выборе метода ремонта гидроизоляции определяют глубину карбонизации (методом высверливания образцов-кернов диаметром 20-30 мм).

Вторая особенность, связанная с совместной работой изоляционных слоев и элементов мостового полотна, состоит как в комплексном контроле состояния водоотвода, гидроизоляционного слоя, покрытия, изолируемой поверхности и т.д., так и в применении конструктивных решений, подчиненных требованиям гидроизоляции. Например, исходя из этого характерно применение монолитного бетона на тротуарах, устройство и усиление при ремонте железобетонной плиты, увеличение ее толщины. Такая плита, работающая без трещин, способствует в значительной степени сохранению герметичности гидроизоляционного слоя.

Учитывая совместную работу гидроизоляции, защитных слоев и покрытия, большое значение придают устройству герметичных швов в местах примыкания слоев к. встроенным элементам, продольных и поперечных температурных швов в покрытии, заполняемых мастиками.

Третья особенность имеющегося опыта в СССР - конструктивное решение проблемы водоотвода как поверхностной, так и фильтрационной воды. Сюда относятся: системы уклонов в покрытии, устройство лотков между водоотводными трубками, усиление гидроизоляции в зоне лотков, установка фильтрационных трубок в пониженных местах гидроизоляции, надежность, герметичность мест примыкания гидроизоляционных слоев к. встроенным элементам и др.

Опыт устройства катодной защиты мостового полотна в США показал, что такое направление защиты конструкции от коррозии без устройства гидроизоляции не приносит должного эффекта. Перспективно совмещение этих двух способов, что позволит повысить долговечность сооружения.

Характерна тенденция использования для гидроизоляции мастичных слоев на основе битума, при этом не требуется устройство бетонного защитного слоя. Использование в качестве защитного и покровного слоев из литого асфальта дает возможность избежать  при ремонте увеличения постоянной нагрузки. Применение модифицированных битумных вяжущих способствует повышению устойчивости слоев.

Следует отметить необходимость комплексного использования различных технологий ремонта и гидроизоляционных материалов. В частности, методов пропитки бетона совместно с нанесением различных изоляционных слоев. В целом используемые технологии ремонта гидроизоляции, как правило, заимствованы из практики строительства мостов, хотя по отдельным технологиям наблюдается и обратный процесс.

С целью совершенствования методов ремонта, используемых в СССР, целесообразно учитывать положительные результаты, достигнутые в этой области за рубежом.

В то же время, из-за наличия большого количества разнообразных материалов, методов ремонта гидроизоляции отсутствуют универсальные решения гидроизоляции мостов. При этом осуществляется непрерывный поиск новых методов и материалов, проводятся исследования в направлении совершенствования материалов, улучшения их адгезионных, деформативных, теплоустойчивых и других свойств, повышения технологичности укладки.

СПИСОК ЛИТЕРАТУРЫ

1. Противокоррозионная защита бетонных и железобетонных автодорожных мостов / ВЦП. - № H-47168. - М., 1987.

2. Шейнцвит М.И., Полетаева Н.К. Современные методы ремонта гидроизоляции мостов / Автомоб. дороги: Зарубеж. опыт: Экспресс-информ. / ЦБНТИ Минавтодора РСФСР. - 1986. - Вып. 10.

3. Водонепроницаемость проезжей части моста: оценка имеющихся проблем / Гипродорнии. - № 10/80 - М., 1980. - Пер. ст. Los I.A. из журн.: Highways and Road Construction International. - 1980. - Vol. 44. - 1803. - P. 4-5.

4. Новые опытные данные о системе изоляции шоссейных мостовых конструкций /ВЦП. - № Н-39767. - М., 1987.

5. Гидроизоляция и покрытия из литого асфальта на Гамбургских мостах / ВЦП. - M-32781. - М., 1986. - Пер. ст. Renecke Р. из журн.: Bitumen. - 1985. - 4. - Р. 154-159.

6. Roads &. Bridges.- 1986. - Vol. 24. - № 5. - P. 32, 37.

7. Сверхтонкие асфальтобетонные покрытия на основе чистого битума. Обобщенные результаты исследований и производственного опыта / НПО Росдорнии. - 17/88. - М., 1986. - Пер. ст. Bense P. из журн.: Bulletin de liaison des Laboratoires des Ponta et Chausses . - 1986. - № 146. - P. 119-135.

8. Общая оценка состояния бетонных мостов. Рекомендации по улучшению их эксплуатационных качеств / ВЦП. - № И-36989. - М., 1984. - Пер. ст. Rybak M. из журн.: XVIII Konferencya nankowo - techniezna. Dnidrogawe.- 1984. - С. 6-24.

9. Разработка рекомендаций по технологии ремонта элементов проезжей части автодорожных мостов / НПО Росдорнии. - 2/89. -М., 1989. - Berlin, 1988.

10. Провести научно-исследовательские работы по подбору новых модификаций материалов, пригодных для ремонта гидроизоляции и деформационных швов автодорожных мостов Гипродорнии. - М., 1986.

11. Стандарт tgl - 20003. Мосты. Слои износа и изоляции / НПО Росдорнии. - 3/89. - М., 1989. - Berlin, 1988.

12. Влияние дренажа и водоотвода на коррозиеустойчивость мостовых объектов / ВЦП. - № И-36993. - М., 1984. - Пер.ст. Magerowics I. из журн.: ХVIII techniezhe dni drogowe,- Krakow, 1984.

13. Исследование состояния гидроизоляции железобетонных мостов с помощью методов экспериментальной физики / ВЦП. -№ И-47167. - М., 1987.

14. Современные болгарские гидроизоляции для железобетонных мостов / ВЦП. - № Р-23785. - М. , 1988. - Пер. ст. Минев М. из журн.: Пчтица. - 1987. - 7. - С. 1-6.

15. Покрытие из материала на основе эпоксидной смолы / Гипродорнии. - 54/77. - М., 1977.

16. Стойкость бетона к воздействию мороза и противогололедных солей / ВЦП. - № Д-66908. - М., 1982. - Украинчик. В. из журн.: Цесте и мостови. - 1981. - № 12. - С. 347-352.

17. Фэруэзер В. Восстановление покрытий проезжей части моста // Гражд. стр-во (США). - 1986. - № 12.

18. Новая эпоха в защите бетонных мостов / ВЦП. - № Н-52824. - М., 1987. - Пер. ст. Pritchar J.B. из журн.: Highways . - 1986. - Vol. 54. - № 1917. - P. 20-28.

19. Специальные методы ремонта мостов и виадуков / ВЦП. - Д-66658. - М., 1982. - Пер. ст. Camomieba G. из журн.: Autoatrade . - 1981. - № 12. - P. 3-18.

20. Аарре Неими. Гидроизоляция и облицовка мостов в Финляндии: Тез. докл. на выставке Фексимстрой-81 в Москве. - М., 1981. - В надзаг.: Гос. науч.-техн. исслед. центр, лаборатория по дор.-трансп. вопросам А/о "Фексима", ОТК завод стройматер. Керана.

21. Защитные покрытия для предотвращения коррозии арматуры мостов в Западном Берлине / ВЦП. - И 47120. - М., 1985. - Пер. ст. Middelboe S.из журн.: Civil Engineer . - 1985. - № 639. - P. 14-15.

22. Скоростной метод создания водонепроницаемых дорожных покрытий для мостов / ВЦП. - Д-67373. - М., 1983. - Пер. ст. из журн.: Huovo couct . - 1981. - Vol. 10. - № 4. - P. 58.

23. Современные материалы для герметизации швов цементобетонных покрытий. - М., 1988. - (Сер. Стр-во автомоб. дорог и аэродромов: Экспресс-информ. / ВПТИтрансстрой; Вып. 3).

24. Дальнейшая разработка методов и способов изоляции мостов и подходов к ним / ВЦП. - H-47168. - М., 1987.

25. Три метода ремонта покрытия проезжей части мостов / Гипродорнии. - № 6/80. - М., 1980. - Пер. ст. из журн.: Roads and streets . - 1975. - 6. - P. 50-53.

26. Экономическая эффективность защиты арматурных стержней от хлоридов. Изоляция или усиленный защитный слой ? / Гипродорнии. - 73 04/5. - М., 1984. - Пер. ст. Donald V. Playfer, William F. Perenchio из журн.: Concrete Construction.-1984. - Vol. 29. - 5. - P. 503-507.

27. Покрытие из полимерного бетона / ВЦП. - № P-12692. -М., 1988. - Пер. ст. Mendis P.из журн.: Concrete IHTERUA-TYONAL. - 1987. - Vol. 9- 12.- P. 54-56.

28. Информационное сообщение ЧССР / ВЦП. - № Б-44853. -М., 1982.

29. Влияние водонепроницаемых материалов пропитки на долговечность бетона // Автомоб. дороги: Зарубеж. опыт: Экспресс-информ. / ЦБНТИ Минавтодора РСФСР. - 1987. - Вып. I.

30. Надзор за искусственными сооружениями. Работы на эксплуатируемой автомагистрали. Ремонт моста через р. Варезу на автомагистрали А7 в департаменте Изер Франции / Гипродорнии. - 2/87. - М., 1987. - Пер. CT.Deniau M. Zasoniere M. из журн.: Revue Generale des Routes et des Aerodromes. - 1985. - № 623X. -P. 31-42.

31. Рекомендации по улучшению гидроизоляционных свойств одежды мостового полотна эксплуатируемых автодорожных мостов / Гипродорнии. - М., 1987.

32. Разработать руководство по ремонту элементов проезжей части автодорожных мостов /Гипродорнии. - М., 1987.

33. Инструкция по устройству гидроизоляции конструкций мостов и труб на железных, автомобильных и городских дорогах: ВСН 32-81 / Минтрансстрой СССР. - М., 1982.

34. Инструкция по устройству гидроизоляции конструкций мостовых сооружений из битумно-латексной мастики: ВСН 35-83 // Миндорстрой БССР. - Минск, 1989.

35. Тахиров М.К. Валитов Р.Х. Технология механизированного устройства полимерной гидроизоляции железобетонных конструкций мостов. - М., 1979. - (Экспресс-информ. / Оргтрансстрой).

 




ГОСТЫ, СТРОИТЕЛЬНЫЕ и ТЕХНИЧЕСКИЕ НОРМАТИВЫ.
Некоммерческая онлайн система, содержащая все Российские Госты, национальные Стандарты и нормативы.
В Системе содержится более 150000 файлов нормативно-технической документации, действующей на территории РФ.
Система предназначена для широкого круга инженерно-технических специалистов.

Рейтинг@Mail.ru Яндекс цитирования

Copyright © www.gostrf.com, 2008 - 2026