Крупнейшая бесплатная информационно-справочная система онлайн доступа к полному собранию технических нормативно-правовых актов РФ. Огромная база технических нормативов (более 150 тысяч документов) и полное собрание национальных стандартов, аутентичное официальной базе Госстандарта. GOSTRF.com - это более 1 Терабайта бесплатной технической информации для всех пользователей интернета. Все электронные копии представленных здесь документов могут распространяться без каких-либо ограничений. Поощряется распространение информации с этого сайта на любых других ресурсах. Каждый человек имеет право на неограниченный доступ к этим документам! Каждый человек имеет право на знание требований, изложенных в данных нормативно-правовых актах!

  


 

МЕЖГОСУДАРСТВЕННЫЙ СОВЕТ ПО СТАНДАРТИЗАЦИИ, МЕТРОЛОГИИ И СЕРТИФИКАЦИИ
(МГС)

INTERSTATE COUNCIL FOR STANDARDIZATION, METROLOGY AND CERTIFICATION
(ISC)

межгосударственный
СТАНДАРТ

ГОСТ
308
73.9-
2006
(ИСО 8662-9:1996)

Ручные машины

ИЗМЕРЕНИЯ ВИБРАЦИИ НА РУКОЯТКЕ

Часть 9

Трамбовки

ISO 8662-9:1996
Hand-held portable power tools - Measurement of vibrations at the handle - Part 9: Rammers
(MOD)

Москва
Стандартинформ
2008

Предисловие

Цели, основные принципы и основной порядок проведения работ по межгосударственной стандартизации установлены ГОСТ 1.0-92 «Межгосударственная система стандартизации. Основные положения» и ГОСТ 1.2-97 «Межгосударственная система стандартизации. Стандарты межгосударственные, правила и рекомендации по межгосударственной стандартизации. Порядок разработки, принятия, применения, обновления и отмены»

Сведения о стандарте

1. ПОДГОТОВЛЕН Открытым акционерным обществом «Научно-исследовательский центр контроля и диагностики технических систем» на основе собственного аутентичного перевода стандарта, указанного в пункте 4

2. ВНЕСЕН Межгосударственным техническим комитетом по стандартизации МТК 183 «Вибрация и удар»

3. ПРИНЯТ Межгосударственным советом по стандартизации, метрологии и сертификации (протокол 29 от 24 июня 2006 г.)

За принятие проголосовали:

Краткое наименование страны
по
МК (ИСО 3166) 004-97

Код страны по
МК (ИСО 3166) 004-97

Сокращенное наименование национального органа по стандартизации

Азербайджан

AZ

Азстандарт

Беларусь

BY

Госстандарт Республики Беларусь

Казахстан

KZ

Госстандарт Республики Казахстан

Кыргызстан

KG

Кыргызстандарт

Молдова

MD

Молдова-Стандарт

Российская Федерация

RU

Федеральное агентство по техническому регулированию и метрологии

Таджикистан

TJ

Таджикстандарт

Узбекистан

UZ

Агентство «Узстандарт»

4. Настоящий стандарт является модифицированным по отношению к международному стандарту ИСО 8662-9:1996 «Ручные машины. Измерения вибрации на рукоятке. Часть 9. Трамбовки» (ISO 8662-9:1996 «Hand-held portable power tools - Measurement of vibrations at the handle - Part 9: Rammers») путем внесения технических отклонений, объяснение которых приведено во введении к настоящему стандарту, и изменения его структуры.

Сравнение структуры настоящего стандарта со структурой указанного международного стандарта приведено в дополнительном приложении B.

5. Приказом Федерального агентства по техническому регулированию и метрологии от 12 декабря 2007 г. № 360-ст межгосударственный стандарт ГОСТ 30873.9-2006 (ИСО 8662-9:1996) введен в действие в качестве национального стандарта Российской Федерации с 1 июля 2008 г.

6. ВВЕДЕН ВПЕРВЫЕ

Информация о введении в действие (прекращении действия) настоящего стандарта публикуется в указателе «Национальные стандарты».

Информация об изменениях к настоящему стандарту публикуется в указателе «Национальные стандарты», а текст изменений - в информационных указателях «Национальные стандарты». В случае пересмотра или отмены настоящего стандарта соответствующая информация будет опубликована в информационном указателе «Национальные стандарты»

Содержание

Введение

Настоящий стандарт является испытательным кодом по вибрации и устанавливает правила проведения испытаний для измерения вибрации на рукоятках трамбовок. Общие требования к испытаниям такого вида для ручных машин установлены ГОСТ 16519.

Принцип работы трамбовок состоит в том, что энергия привода преобразуется в возвратно-поступательное движение поршня с удлиняющим стержнем, на конце которого установлена трамбовочная плита. Поршень, в свою очередь, производит силу отдачи, действующую на корпус машины и вызывающую ее вибрацию.

Многочисленные измерения вибрации в условиях выполнения трамбовками типичных рабочих операций, например, уплотнения песка, показывают относительно хорошую воспроизводимость. Однако использование в испытаниях формовочного песка вызывает значительные неудобства, поскольку после каждой серии испытаний его необходимо хорошо перемешивать. Поэтому настоящий стандарт устанавливает метод испытаний с моделированием нагрузки, в качестве которой использован неопреновый материал, - это позволяет получать значения вибрации, схожие с теми, которые наблюдаются в реальных условиях применения трамбовок. Установленный метод испытаний демонстрирует хорошую воспроизводимость.

По сравнению с примененным международным стандартом ИСО 8662-9:1996 в текст настоящего стандарта внесены следующие изменения:

- раздел 1 дополнен ссылками на ГОСТ 12.1.012 и ГОСТ 16519, чтобы показать место стандарта в комплексе стандартов по вибрационной безопасности;

- в разделе 2 международные стандарты заменены на аналогичные межгосударственные и, кроме того, добавлен ряд документов, где установлены используемые в стандарте термины, а также ГОСТ 31192.2;

- исключена нормативная ссылка на невведенный ИСО 2787:1984 (см. библиографию);

- стандарт дополнен разделом 3 «Термины и определения»;

- раздел 4 и подраздел 5.4 дополнены ссылкой на ГОСТ 31192.2;

- стандарт дополнен пунктом 8.6, в котором установлено правило заявления вибрационной характеристики ручных машин данного вида;

- стандарт дополнен элементом «Библиография», в который перенесены ссылки, использованные в ИСО 8662-9:1996 как нормативные.

МЕЖГОСУДАРСТВЕННЫЙ СТАНДАРТ

Ручные машины

ИЗМЕРЕНИЯ ВИБРАЦИИ НА РУКОЯТКЕ

Часть 9

Трамбовки

Hand-held portable power tools. Measurement of vibrations at the handle. Part 9. Rammers

Дата введения - 2008-07-01

1. Область применения

Настоящий стандарт относится к стандартам безопасности типа С (испытательный код по вибрации) согласно классификации ГОСТ 12.1.012 и устанавливает лабораторный метод измерения вибрации на рукоятках трамбовок разных видов, используемых в литейном производстве, строительстве и других технологических процессах, в целях заявления и подтверждения вибрационной характеристики ручной машины1). Общие требования к методу испытаний ручных машин в целях заявления и подтверждения вибрационной характеристики приведены в ГОСТ 16519.

Полученные в ходе испытаний результаты могут быть использованы для сравнения разных образцов или моделей ручной машины. Хотя результаты испытаний получены в искусственных модельных условиях, они позволяют получить ориентировочное представление о том, какая вибрация будет наблюдаться на рабочем месте в условиях выполнения реального рабочего задания.

1) При необходимости данный метод может быть использован в других целях, например при входном, периодическом или послеремонтном контроле продукции (см. ГОСТ 12.1.012, пункт 4.2).

2. Нормативные ссылки

В настоящем стандарте использованы нормативные ссылки на следующие межгосударственные стандарты:

ГОСТ 12.1.012-2004 Система стандартов безопасности труда. Вибрационная безопасность. Общие требования

ГОСТ 16519-2006 (ИСО 20643:2005) Вибрация. Определение параметров вибрационной характеристики ручных машин и машин с ручным управлением. Общие требования (ИСО 20643:2005 «Вибрация. Машины ручные и машины с ручным управлением. Принципы определения параметров виброактивности», MOD)

ГОСТ 24346-80 Вибрация. Термины и определения

ГОСТ 31192.2-2005 (ИСО 5349-2:2001) Вибрация. Измерение локальной вибрации и оценка ее воздействия на человека. Часть 2. Требования к проведению измерений на рабочих местах (ИСО 5349-2:2001 «Вибрация. Измерение локальной вибрации и оценка ее воздействия на человека. Часть 2. Практическое руководство по проведению измерений на рабочих местах», MOD)

Примечание - При пользовании настоящим стандартом целесообразно проверить действие ссылочных стандартов на территории государства по соответствующему указателю стандартов, составленному по состоянию на 1 января текущего года, и по соответствующим информационным указателям, опубликованным в текущем году. Если ссылочный стандарт заменен (изменен), то при пользовании настоящим стандартом следует руководствоваться заменяющим (измененным) стандартом. Если ссылочный стандарт отменен без замены, то положение, в котором дана ссылка на него, применяется в части, не затрагивающей эту ссылку.

3. Термины и определения

В настоящем стандарте применены термины по ГОСТ 12.1.012, ГОСТ 16519 и ГОСТ 24346.

4. Измеряемые величины

В процессе испытаний измерению подлежат следующие величины:

- среднеквадратичное значение корректированного виброускорения по ГОСТ 16519;

- давление воздуха или жидкости в системе питания;

- частота ударов;

- силу нажатия на ручную машину оператором.

Значительные ускорения, сопровождающие работу ручной машины, способны привести к появлению паразитного низкочастотного сигнала на выходе датчика вибрации (см., например, ГОСТ 31192.2). Для того, чтобы убедиться в отсутствии низкочастотного сдвига, рекомендуется в процессе испытаний проводить частотный анализ вибрации.

5. Средства измерений

5.1. Общие положения

Требования к средствам измерений - по ГОСТ 16519.

5.2. Датчики вибрации

Требования к датчикам вибрации - по ГОСТ 16519.

Если машина снабжена легкими (например, пластиковыми) рукоятками, не следует нагружать их чрезмерно большой массой датчика и устройства его крепления. Когда такие рукоятки работают как механический фильтр (см. 5.3), легкий датчик массой не более 5 г может быть приклеен к поверхности рукоятки.

5.3. Механические фильтры

Обычно при испытаниях машин данного вида необходимо использовать механический фильтр (см. ГОСТ 16519).

5.4. Крепление датчиков вибрации

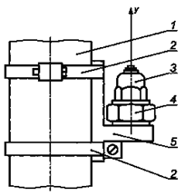
Крепление датчика вибрации (см. рисунок 1)должно соответствовать требованиям ГОСТ 16519. При установке датчика следует руководствоваться рекомендациями изготовителя. Дополнительные рекомендации по креплению датчиков вибрации приведены в ГОСТ 31192.2.

1 - зона обхвата; 2 - хомут; 3 - датчик вибрации; 4 - механический фильтр; 5 - жесткая площадка

Рисунок 1 - Способы крепления датчика вибрации и направление измерений

5.5. Калибровка

Калибровку выполняют в соответствии с ГОСТ 16519.

5.6. Вспомогательное оборудование

Давление сжатого воздуха или жидкости в гидравлической системе измеряют высокоточным датчиком давления.

Частоту ударов хвостовика в процессе измерений определяют с помощью узкополосного анализа сигнала вибрации или частотомера.

Для измерения силы нажатия используют весы (см. 7.3).

6. Точки и направления измерений

6.1. Направления измерений

Измерения проводят в направлении нанесения ударов (ось y на рисунке 2).

6.2. Точки измерений

Измерения проводят во всех зонах обхвата, которые оператор обычно использует для удержания машины и приложения силы нажатия.

Если во всех этих зонах вибрация приблизительно одинакова, допускается проведение измерений только в одной основной зоне.

Нормальное положение датчика вибрации - посередине длины зоны обхвата (см. рисунок 2), за исключением случаев, когда этому мешает расположение пускового устройства.

1 - возможные места установки датчиков вибрации

Рисунок 2 - Направление измерений и положения датчиков вибрации

7. Условия испытаний

7.1. Общие положения

Для испытаний используют новую смазанную машину, обеспеченную соответствующим техническим уходом.

В процессе испытания ручная машина должна работать при номинальных условиях питания в соответствии с требованиями, определенными изготовителем. Работа ручной машины должна быть стабильной и плавной (см. 7.3).

В процессе испытаний объект обработки или поглотитель энергии ударов устанавливают таким образом, чтобы оператор мог работать выпрямившись, а ось нанесения ударов была расположена вертикально (см. рисунок 3). Условия работы оператора должны быть комфортными.

1 -весы

Рисунок 3 - Рабочая поза оператора

7.2. Поглотитель энергии ударов

Поглотитель энергии состоит из стального ящика с толстыми трехмиллиметровыми стенками размером 500×500 мм, заполненного ударопоглощающим вспененным неопреновым материалом жесткостью от 40 до 50 единиц по шкале Шора и толщиной 20 мм (см. рисунок 4).

Примечание - Установлено, что такой ящик дает поглощение и отражение ударной волны, аналогичное тому, которое имеет место при использовании трамбовок во время выполнения реальных рабочих операций.

7.3. Сила нажатия

Сила нажатия, приложенная к машине, в совокупности с весом самой машины должна обеспечить ее нормальное функционирование, т.е. стабильный и ровный режим работы.

1 - вспененный заполнитель (неопрен); 2 - стальной ящик с толстыми стенками

Рисунок 4 - Поглотитель энергии (стальной ящик с неопреновым заполнителем)

Обычно такие условия достигаются приложением силы нажатия FA в ньютонах, численно равной увеличенной в 10 раз массе машины, выраженной в килограммах. Установленное значение силы нажатия должно поддерживаться неизменным в пределах ± 10 %.

Пример - Для машины массой 3,5 кг сила нажатия должна быть примерно 35 Н.

Для трамбовок с устройством защиты от вибрации требуемую силу нажатия определяют в ходе предварительных испытаний.

Для контроля и управления силой нажатия FA оператор в процессе испытаний встает на весы. Тогда усилие нажатия будет равно весу оператора за вычетом показания весов.

8. Метод измерений и оценка достоверности полученных результатов

8.1. Система питания

Давление в системе питания ручной машины измеряют и поддерживают в соответствии с рекомендациями изготовителя (см. также [1]).

8.2. Метод испытаний

В испытании участвуют три опытных оператора, для каждого из которых проводят серию измерений с испытуемой ручной машиной. Испытания должны включать не менее пяти измерений на поглотителе энергии.

При испытаниях с использованием поглотителя энергии время измерения для каждого испытания, отсчитываемое после установления стабильной работы машины, должно быть не менее 16 с.

8.3. Достоверность результатов испытаний

Для каждого оператора измерения продолжают до тех пор, пока не будет получена достоверная серия измерений, т.е. пока коэффициент вариации (см. 8.4), полученный для среднеквадратичного значения корректированного виброускорения в пяти последовательных измерениях с участием одного оператора, не будет менее 0,15 или пока стандартное отклонение для этой серии не будет менее 0,30 м/с2.

8.4. Коэффициент вариации

Коэффициент вариации Cv для серии испытаний определяют как отношение стандартного отклонения sn-1 для результатов измерений в этой серии к их среднеарифметическому :

,

где  - стандартное отклонение результатов измерений;

 - среднеарифметическое значение результатов измерений;

хi - результат i-го измерения;

n - число измерений.

8.5. Оценка результатов

Вычисляют среднеарифметическое значение для данного положения датчика вибрации для каждого оператора. После этого для данного положения датчика вибрации определяют общее среднеарифметическое значение по всем трем операторам. Полученное общее среднеарифметическое значение служит основой для заявления вибрационной характеристики ручной машины.

8.6. Заявляемая вибрационная характеристика

В качестве вибрационной характеристики ручной машины указывают общее среднеарифметическое среднеквадратичного значения корректированного виброускорения по 8.5 и неопределенность измерений К по ГОСТ 16519 (пункт 8.2).

9. Протокол испытаний

Помимо сведений, определенных в ГОСТ 16519, в протоколе испытаний указывают:

а) основные размеры и массу ручной машины;

b) размеры поглотителя энергии;

с) рабочее давление или другие характеристики системы питания;

d) частоту ударов;

e) силу нажатия;

f) результаты измерений вибрации (см. 8.5).

Форма протокола испытаний приведена в приложении А.

Приложение А
(рекомендуемое)
Форма протокола испытаний

Испытания проведены в соответствии с ГОСТ 16519-2006 «Вибрация. Определение параметров вибрационной характеристики ручных машин и машин с ручным управлением. Общие требования» и ГОСТ 30873.9-2006 «Ручные машины. Измерения вибрации на рукоятке. Часть 9. Трамбовки ».

Общие сведения

Испытания провел:

Дата:

 

Протокол составил:

Испытуемая ручная машина

Тип

Модель

Масса, кг:

 

Изготовитель:

Серийный

Геометрия и размеры хвостовика:

Вставной инструмент

Тип:

 

Модель

Изготовитель:

Длина, мм:

Серийный

Масса, кг:

Поглотитель энергии

Размеры, мм:

Характеристики неопренового материала:

Жесткость по шкале Шора А

Рабочие условия

Частота ударов, Гц:

Расход жидкости, бар:

Длительность измерения, с:

 

Давление воздуха, бар,:

Сила нажатия, Н:

Средства измерений

Акселерометр (изготовитель, тип):

Акселерометр (масса, г):

Механический фильтр (изготовитель, тип):

Механический фильтр (масса, г):

Усилитель (изготовитель, тип):

Анализатор (изготовитель, тип):

Устройство записи (изготовитель, тип):

Крепление датчика и механического фильтра

(Описать метод крепления датчика и механического фильтра, если он используется)

Обработка сигнала

(Указать тип интегратора в анализаторе спектра и метод определения среднеквадратичного значения корректированного виброускорения)

Дополнительные сведения

(Описать устройство записи, если оно используется, корректирующие множители для центральных частот октавных или третьоктавных полос).

(Указать любые детали, способные повлиять на результат измерений).

Результаты испытаний

(Результаты представляют в форме среднеквадратичного значения корректированного виброускорения в виде таблиц)

Среднеквадратичные значения корректированного виброускорения - Оператор А

Измерения

Среднеквадратичные значения корректированного виброускорения, м/с2

1

 

 

2

 

 

3

 

 

4

 

 

5

 

 

Среднеарифметическое

 

 

Коэффициент вариации

 

 

Среднеквадратичные значения корректированного виброускорения - Оператор В

Измерения

Среднеквадратичные значения корректированного виброускорения, м/с2

1

 

 

2

 

 

3

 

 

4

 

 

5

 

 

Среднеарифметическое

 

 

Коэффициент вариации

 

 

Среднеквадратичные значения корректированного виброускорения - Оператор С

Измерения

Среднеквадратичные значения корректированного виброускорения, м/с2

1

 

 

2

 

 

3

 

 

4

 

 

5

 

 

Среднеарифметическое

 

 

Коэффициент вариации

 

 

Общее среднеарифметическое значение по трем операторам, м/с2:

Приложение В
(справочное)
Изменение структуры настоящего стандарта по отношению к ИСО 8662-9:1996

Указанное в таблице В.1 изменение структуры межгосударственного стандарта относительно структуры примененного международного стандарта обусловлено приведением в соответствие с требованиями ГОСТ 1.5.

Таблица В.1

Структура международного стандарта
ИСО
8662-9: 1996

Структура настоящего стандарта

Разделы

Пункты

Разделы

Пункты

-

 

3

 

3

 

4

 

4

 

5

 

5

 

6

 

6

 

7

 

7

7.1

8

8.1

7.2

8.2

7.3

8.3

7.4

8.4

-

8.5

-

8.6

8

 

9

 

Примечание - Структурные элементы настоящего стандарта и международного стандарта ИСО 8662-9:1996, не указанные в данной таблице, идентичны.

Библиография

[1]

ИСО 2787:1984

(ISO 2787:1984)

Инструменты пневматические ротационные и ударные - Эксплуатационные испытания

(Rotary and percussive pneumatic tools - Performance tests)

Ключевые слова: ручные машины, вибрационная характеристика, испытания, испытательный код по вибрации, трамбовки, измерения, воспроизводимость, заявление, подтверждение

 

 




ГОСТЫ, СТРОИТЕЛЬНЫЕ и ТЕХНИЧЕСКИЕ НОРМАТИВЫ.
Некоммерческая онлайн система, содержащая все Российские Госты, национальные Стандарты и нормативы.
В Системе содержится более 150000 файлов нормативно-технической документации, действующей на территории РФ.
Система предназначена для широкого круга инженерно-технических специалистов.

Рейтинг@Mail.ru Яндекс цитирования

Copyright © www.gostrf.com, 2008 - 2026