Крупнейшая бесплатная информационно-справочная система онлайн доступа к полному собранию технических нормативно-правовых актов РФ. Огромная база технических нормативов (более 150 тысяч документов) и полное собрание национальных стандартов, аутентичное официальной базе Госстандарта. GOSTRF.com - это более 1 Терабайта бесплатной технической информации для всех пользователей интернета. Все электронные копии представленных здесь документов могут распространяться без каких-либо ограничений. Поощряется распространение информации с этого сайта на любых других ресурсах. Каждый человек имеет право на неограниченный доступ к этим документам! Каждый человек имеет право на знание требований, изложенных в данных нормативно-правовых актах!

  


 

ИНСТИТУТ ЖИЛИЩА

Рекомендации

УСИЛЕНИЕ БЕТОННЫХ
И ЖЕЛЕЗОБЕТОННЫХ ЭЛЕМЕНТОВ
КРУПНОПАНЕЛЬНЫХ ЗДАНИЙ,
ПОВРЕЖДЕННЫХ ТРЕЩИНАМИ

Государственный комитет по архитектуре и градостроительству
при Госстрое СССР

Центральный ордена Трудового Красного Знамени
научно-исследовательский и проектный институт
типового и экспериментального проектирования жилища
(ЦНИИЭП жилища)

РЕКОМЕНДАЦИИ
ПО УСИЛЕНИЮ БЕТОННЫХ И ЖЕЛЕЗОБЕТОННЫХ
ЭЛЕМЕНТОВ КРУПНОПАНЕЛЬНЫХ ЗДАНИЙ,
ПОВРЕЖДЕННЫХ ТРЕЩИНАМИ

Утверждены

председателем Научно-

технического совета,

директором института

С.В. Николаевым

(протокол № 4 от 15 марта 1990 г.)

Москва - 1990

Настоящие Рекомендации знакомят со способом усиления и восстановления бетонных и железобетонных элементов, поврежденных трещинами. По сравнению с традиционным способом он прост в применении, экономичен и нетрудоемок.

Рекомендации предназначены для инженерно-технических работников, занятых проектированием и строительством крупнопанельных жилых домов.

Рекомендации разработаны канд. техн. наук Ю.В. Барковым и инж. В.Ф. Захаровым на основе авторского свидетельства № 1432169 (Бюллетень открытий и изобретений, 1988, № 39).

ЦНИИЭП жилища оказывает техническую помощь в освоении и использовании способа усиления и восстановления несущей способности бетонных и железобетонных элементов крупнопанельных домов, поврежденных трещинами.

За консультацией и оказанием технической помощи при внедрении способа усиления конструкций обращаться по адресу: 127434, Москва, Дмитровское шоссе, 9, корп. Б, ЦНИИЭП жилища отдел, эксплуатационных свойств жилых зданий, тел. 216-89-18.

ВВЕДЕНИЕ

Анализ повреждений конструкций крупнопанельных зданий при различных аварийных случаях показал, что выполняя конструктивные мероприятия, можно восстановить несущую способность панелей и обеспечить их эксплуатационную надежность. Однако хотя строители и производят усиление элементов в соответствии с предписаниями проектных организаций, при этом часто применяются недостаточно обоснованные конструктивные решения. В одних случаях они разработаны с излишним запасом и требуют большого расхода материалов и трудозатрат, а в других - недостаточно эффективны. Поэтому так часто применяются металлические или железобетонные обоймы, которые помимо высокой стоимости и трудозатрат уменьшают жилую площадь.

В ряде стран при ремонте различных железобетонных конструкций применяется метод инъекции в трещины клеящих эпоксидных составов. Имеется и подобный отечественный опыт, примененный при восстановлении уникальных зданий и сооружений. Но широкого распространения этот метод не получил из-за несовершенства применяемого оборудования и специфики трещинообразования в панелях. В ряде случаев, чтобы заполнить эпоксидным составом полости трещины, создают искусственное ее раскрытие, что является весьма трудоемким процессом.

Поэтому предлагаемые методы усиления панелей, поврежденных трещинами, позволяющие восстановить эксплуатационные свойства и несущую способность элементов конструкций, должны быть просты, технологичны в исполнении при минимальных затратах.

Предлагаемый способ усиления конструкций, поврежденных трещинами, отвечает этим требованиям; он экономичен и менее трудоемок по сравнению с многими методами усиления элементов конструкций крупнопанельных зданий.

1. ОБЩИЕ ПОЛОЖЕНИЯ

1.1. Рекомендуемый способ усиления бетонных и железобетонных элементов предназначен для разработки проектных решений по усилению конструкций крупнопанельных зданий, поврежденных трещинами при аварийных случаях.

1.2. Способ усиления бетонных и железобетонных элементов может быть применен строительными организациями, осуществляющими строительство, ремонт и эксплуатацию крупнопанельных жилых домов.

1.3. Рекомендуемый способ усиления бетонных и железобетонных элементов поврежденных трещинами, рассчитан на применение в строительстве крупнопанельных домов различных серий, несущие конструкции которых представляют собой плоские панели и плиты перекрытия сплошного сечения. Конструктивное решение усиления несущих элементов крупнопанельных домов - внутренних стен и плит перекрытий, для которых разработаны рекомендации, позволяет исключить дальнейшее раскрытие и развитие трещин, повысить трещиностойкость и восстановить несущую способность конструкций при воздействии монтажных и эксплуатационных нагрузок.

1.4. Способ усиления разработан с учетом положений норм [1, 2, 3].

1.5. При усилении конструкций выполняются следующие работы:

- обследуются повреждения конструкций;

- определяется расчетом количество узлов усиления;

- проект усиления согласуется с проектной организацией;

- производится устройство узлов усиления;

- осуществляется контроль за качеством работ и соблюдением правил по технике безопасности.

2. КОНСТРУКТИВНОЕ РЕШЕНИЕ СПОСОБА УСИЛЕНИЯ

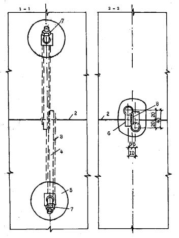
2.1. Конструктивное решение узла усиления панельных конструкций, поврежденных трещинами в крупнопанельных домах, заключается в следующем. Вдоль трещины, разделяющей панель на отдельные части, в ряде сечений, перпендикулярных направлению трещины, сверлят симметрично относительно трещины по два сквозных канала под углом 40-50° к плоскости элемента, в которые затем устанавливают металлические стержни, имеющие отгибы на одном конце и резьбу - на другом; отгибы стержней соединяют между собой электросваркой, после чего на стержнях с противоположных сторон затягивают гайки. За счет установки стержней с двух сторон обеспечивается равномерное обжатие сечения с трещиной (рис. 1).

Рис.1. Конструктивное решение способа усиления элементов:

а - элемент с трещиной и узлами усиления; б - конструкция одностороннего усиления и схема усилий; в - конструкция двухстороннего усиления и схема усилий; 1 - элемент с узлами усиления; 2 - трещина; 3 - сквозной канал; 4 - металлический стержень усиления; 5 - гнездо; 6 - отгибы стержней, соединенные на сварке; 7 - гайка с шайбой; 8 - сварной шов hш = 6 мм; lш = 30 - 40 мм; S - усилие от натяжения стержня, передаваемое через шайбу; Т - вертикальная составляющая от усилия, воспринимаемая отгибами стержней; N - горизонтальная составляющая, создающая обжатие сечения с трещиной

2.2. Полости каналов, в которых установлены стержни, заполняются цементным раствором.

2.3. Крепления концов металлических стержней узла усиления в элементах могут выполняться скрытыми или открытыми в зависимости от назначения элемента и условий эксплуатации. Открытые крепления покрываются антикоррозийными составами.

При устройстве скрытого крепления узла усиления в конструкции делаются углубления (гнезда), которые затем заполняются цементным раствором с добавлением пасты ПВА.

2.4. На основе расчетных и опытных данных установлены следующие рациональные параметры соединительных конструкций применительно к элементам и панелям крупнопанельных зданий наиболее распространенных серий:

- сквозные каналы Ø 12 мм;

- соединительные стержни из круглой стали Ø 10 мм, класса А-1;

- длина стержней - в зависимости от толщины элемента;

- длина отгиба принята 30 мм, длина сварного шва не менее 40 мм, высота сварного шва 5 мм, длина резьбы 40 мм.

В прил. 2 приводятся рабочие чертежи металлических стержней усиления (рис. 1.П.2) и шаблона для сверления сквозных каналов (рис. 2.П.2).

2.5. Количество устанавливаемых узлов усиления определяется расчетом в зависимости от типа и назначения конструкций, действующих усилий и величины нагрузки.

В разделах по усилению внутренних стен и плит перекрытий приводятся соответствующие методики расчета усилений элементов.

2.6. Узлы усиления в зависимости от типа конструкции и вида нагрузки могут выполняться либо с одной стороны (одной грани) элемента, либо с двух сторон. Так, при усилении внутренних стен усиление, как правило, выполняется с двух сторон с некоторым шагом, определяемым количеством узлов и длиной трещины. При усилении перекрытий узлы усиления выполняются с одной стороны с расположением стержней со стороны растянутого волокна плиты (см. рис.1).

3. УСИЛЕНИЕ ВНУТРЕННИХ СТЕН

3.1. Трещины во внутренних стеновых панелях условно могут быть разделены на четыре типа (табл. 1), для которых разработаны схемы усиления.

Таблица 1

Типы трещин во внутренних стеновых панелях

Виды трещин

Тип усиления

Примечания

1.Количество узлов усиления устанавливается расчетом.

2.Направления соединительных стержней в смежных узлах изменяются ортогонально (на 90°)

То же

-"-

Минимальное количество узлов соединения не менее четырех

3.2. Выполнение усилений внутренних стеновых панелей предлагаемым способом рекомендуется в случаях повреждений их наклонными трещинами. При повреждениях внутренних стен вертикальными трещинами необходимость усиления устанавливается в зависимости от статической схемы работы конструкции в системе здания. При повреждении внутренних стен горизонтальными трещинами их усиление выполняется путем устройства железобетонных сбойм.

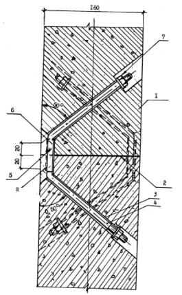
3.3. Рекомендуемое усиление для внутренних стеновых панелей выполняется путем устройства узлов усиления, описанных в п. 2.1, с двух сторон (граней) стены с тем, чтобы создать равномерное обжатие сечения с трещиной, что позволяет надежно воспринимать сдвигающие и растягивающие усилия (рис. 2).

Рис.2. Усиление панелей внутренних стен, поврежденных трещинами:

а - фрагмент здания; б - конструктивные узлы усиления; г, д - конструктивные усиления; 1 - элемент стены; 2 - трещина; 3 -сквозной канал; 4 - металлический стержень; 5 - гнездо; 6 - отгибы стержней; 7 - гайка с шайбой

3.4. Количество устанавливаемых узлов соединений при усилении внутренних стеновых панелей определяется из расчета несущей способности одного узла и величины нагрузки, приходящейся на внутренние стены.

3.5. Расчетная несущая способность одного узла усиления при работе на сдвиг составляет 500 кг и установлена экспериментально. Этой нагрузке соответствует граница линейной зависимости диаграммы "нагрузка-деформация", полученной при испытании узлов усиления. Предельная нагрузка узла усиления составляет 800 кг.

3.6. Количество узлов усиления внутренних стеновых панелей определяется с учетом трения вдоль трещины, при коэффициенте трения принимаемым равным 0,9:

n = 0,15·P·l·cos·α,                                                                           (1)

где Р - расчетная нагрузка, т/пог. м, (см. прил. 1);

α - угол наклона трещины к вертикали (α от 20° до 45);

l - длина горизонтальной проекции трещины, м.

В прил. 1 приведен пример расчета усиления панели внутренней стены, поврежденной трещиной.

3.7. Минимальное количество узлов усиления внутренних стеновых панелей при длине трещины более 1,5 м должно быть не меньше 4 (по два - с каждой стороны).

4. УСИЛЕНИЕ ПЛИТ ПЕРЕКРЫТИЙ

4.1. Трещины в плитах перекрытий условно разделены на пять типов, для которых разработаны схемы усиления (табл. 2).

Таблица 2

Типы трещин в панелях перекрытий

Вид трещин

Тип усиления

Примечания

1. Количество узлов соединения определяется расчетом.

2. Минимальное количество узлов - два

То же

-"-

 

-"-

-"-

4.2. Усиление плит перекрытий, поврежденных трещинами, приведенных в табл. 2, производится в том случае, если величина прогиба в плите перекрытия не превышает допустимого значения прогиба (1/200 от расчетного пролета плиты). Если же прогиб плиты больше допустимого, ее усиление производится с предварительным выправлением прогиба. Выправление прогиба производится по специальным рекомендациям.

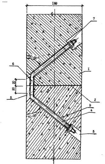
4.3. Рекомендуемое усиление для плит перекрытий производится путем устройства узлов усиления, описанных в п. 2.1, но при этом узлы усиления располагаются с одной стороны, т.е. отгибы соединительных стержней в узнал усиления помешаются в растянутой зоне сечения плиты перекрытия (рис. 3).

Рис.3. Усиление панелей перекрытий, поврежденных трещинами:

а - фрагмент здания; б - конструктивный узел усиления; в - конструкции усиления перекрытия при скрытии деталей; г - то же, но без скрытия деталей; 1 - элемент перекрытия; 2 - трещина; 3 - сквозной канал; 4 - металлический стержень усиления; 5 -гнездо; 6 - отгибы стержней, соединенные на сварке; 7 - гайка с шайбой

Стержни усиления после натяжения обеспечивают обжатие растянутой зоны сечения с трещиной, что позволяет восстановить трещиностойкость и жесткость конструкции, а также повысить несущую способность плиты перекрытия.

4.4. Количество устанавливаемых узлов усиления для плит перекрытий определяется из расчета в зависимости от величины несущей способности одного узлового соединения, определяемого экспериментальным путем, и величины нагрузки. Величина несущей способности на изгиб одного узлового усиления из стержней диаметром d = 10 мм, класса А-1 для элемента толщиной 16 см составляет Му = 0,25 тм. Для плиты перекрытия размером 3,2×5,7 (серия КПД 121) количество узлов определяется величиной максимального изгибающего момента (в сечении по центру плиты - Мm = 0,096 рl2п тм [4] и несущей способностью одного узла (Мy = 0,25 тм):

                                                      (2)

где lп - расчетный пролет плиты (короткая сторона), м;

р - нормативная нагрузка на перекрытие, т/м2.

В прил.1 приводится пример расчета усиления плиты перекрытия, поврежденной трещиной.

5. ОСОБЕННОСТИ ТЕХНОЛОГИИ ПРОИЗВОДСТВА РАБОТ.

КОНТРОЛЬ КАЧЕСТВА ИХ ВЫПОЛНЕНИЯ.

ТЕХНИКА БЕЗОПАСНОСТИ

5.1. Работы по усилению элементов, поврежденных трещинами, выполняются в следующей последовательности:

- в соответствии с проектом усиления конструкций производится разметка мест установки стержней усиления путем нанесения поперечных меток вдоль трещины;

- по размеченным сечениям электроперфоратором производится сверление сквозных каналов диаметром 12 мм, наклонных под углом 40-50° к вертикали, по два в каждом сечении;

- для обеспечения при сверлении точности направления каналов используется шаблон (см. рис. 2.П.2),с помощью которого выполняются направляющие отверстия на глубину 40-50 мм, после чего шаблон убирается. Шаблон крепится к конструкции с помощью прижима;

- на концах отверстий для скрытия креплений стержней (если это требуется по проекту) выполняются гнезда, для чего применяются скарпели;

- металлические стержни усиления с отгибами и резьбой вставляются в каналы со стороны сверления, после чего производится стыковка и электросварка отгибов;

- после электросварки отгибов навинчиваются гайки с усилием натяжения примерно до 25 кг;

- выполняется затирка трещин и заполнение открытых гнезд в конструкциях полимерцементным раствором (состав в прил. 2). При открытых деталях креплений стержней усиления на них наносится антикоррозийные покрытия.

5.2. Контроль качества работ и их приемка производятся представителями строительной организации, осуществляющей усиление конструкций, и проектной организацией.

5.3. При приемке работ контролируется:

- соответствие проекту мест расположения узлов усиления;

- направление сквозных каналов, их диаметр, симметричность расположения относительно трещины;

- глубина гнезд в бетонных конструкциях для скрытия узлов крепления (при скрытых узлах усиления);

- величина защитного слоя до металлических частей узлов крепления;

- качество и параметры сварных швов в соединениях;

- затяжка гаек стержней усиления;

- качество заделки гнезд и затирки трещин полимерцементным раствором;

5.4. Контроль качества работ производится визуально и инструментально: угол наклона сквозных каналов проверяется шаблоном; глубина гнезд - мерной линейкой или шаблоном; симметричность расположения отверстий - линейкой или шаблоном; усиление затягивания гаек - стандартным гаечным ключом; качество затирки трещин и гнезд проверяется с помощью контрольной рейки для штукатурных работ.

5.5. Допускаемые отклонения при производстве работ:

- угол отклонения от проекта при сверлении отверстий ±5°;

- несимметричность расположения отверстий относительно трещины ±5 мм;

- заглубление гнезд ±5 мм;

- величина защитного слоя +5 мм.

5.6. Перед началом работ должен быть проведен инструктаж по технике безопасности и технологии производства работ [5].

5.7. Прежде чем приступить к работе, необходимо провести профилактический осмотр электрифицированного инструмента, токопроводящих проводов и защитно-включающих устройств.

5.8. После окончания работ составляются акты на скрытые работы.

Приложение 1

примеры расчета усилений внутренних панельных стен и плит перекрытий

А. Усиление внутренней стены

Исходные данные

По результатам обследования панель внутренних стен 1-го этажа крупнопанельного 9-этажного дома серии 121 повреждена наклонной трещиной под углом α = 45° (рис. 1.П.1).

Рис. 1.П.1. Усиление панели внутренней стены, поврежденной трещиной:

а - план дома; б - схема усиления

Трещина по табл. 1 в панели относится к типу 1. Конструкция усиления должна препятствовать сдвигу частей панели по трещине. Вертикальная нагрузка на внутреннюю стену определяется по табл. 1.П.1, равна 26 т/пог.м.

Таблица 1.П.1

Нагрузки на внутренние стены в крупнопанельных домах серии 1-464, 121, 1-468, 83, 84 и др.

Серии КПД

Нагрузка по этажам на внутреннюю стеновую панель, т/пог.м

1

2

3

4

5

6

7

8

9

1-464, 121

28

23

20

17

14

11

8

5

2

90

30

27

24

20

18

14

12

8

5

1-468, 83 и 84 с шагом 6-3 м

40

36

32

28

24

20

15

11

6

То же, с шагом 6×6 м

55

49

43

37

31

25

19

13

17

По (1) определяется количество узлов усиления.

При: p = 26 т /м; l = 1,5 м α = 45°;

n = 0,15·pl cos α = 0,15·26·1,5·0,7 = 4,09.

Принимаем четыре узла усиления: два узла с одной стороны (грани) и два - с другой. Конструкцию узла см. на рисунках 2, 2.П.1 и 5.П.1.

Рис. 2.П.1. Узел усиления внутренней стеновой панели (обозначения см.рис.2)

Б. Усиление плиты перекрытия

Исходные данные

По результатам обследования плита перекрытия повреждена трещиной, показанной на рис. 3.П.1.

Рис. 3.П.1. Усиление панели перекрытия, поврежденной трещиной

Трещина в панели относится к типу 2 (см. табл.2). Конструкция усиления должна восстанавливать трещиностойкость плиты и повысить несущую способность.

По (2) определяется количество односторонних узлов усиления при р = 0,6 т/м2 и lп = 3,04 м.

n = 0,4·pl2п = 0,4·0,6·3,042 = 2,21.

Принимаем: 3 узла усиления.

Конструкция узла усиления приводится на рисунках 4.П.1 и 5.П.1.

Рис. 4.П.1. Узел усиления плиты перекрытия (обозначения см. рис .3)

Рис. 5.П.1. Виды 1-1 и 2-2 узлов усиления

Приложение 2

Таблица 1.П.2

Размеры заготовок для стержней усиления

Толщина элемента, см

Диаметр стержня, мм

Размеры, мм

Примечание

l

C

Общая длина

10

10

115

30

145

Сталь класса А1

12

10

155

30

185

Тоже

14

10

195

30

225

-"-

16

10

235

30

265

-"-

18

10

275

30

305

-"-

20

10

315

30

345

-"-

Рис. 1.П.2. Металлический стержень усиления

Примечания:

1. Неуказанные предельные отклонения размеров h14; ± 1T 14/2;

2. Длина общей заготовки стержня - по табл. 1.П.2;

3. Материал круг 10-В-ГОСТ 2590-71

35-5-ГОСТ 1050-74

Рис. 2.П.2. Шаблон для сверления сквозных наклонных отверстий в бетонных элементах

Приложение 3

Таблица 1.П3

материалы, необходимые для усиления бетонных и железобетонных элементов, поврежденных трещинами

Материалы

ГОСТ или ТУ

Круглая сталь Ø 10 мм

10-В-ГОСТ 2590-71

ВСт.3 ГОСТ 16523-70

Портландцемент

ГОСТ 10178

Добавка в цементный раствор пасты ПВА для повышения механических свойств цементного раствора

ГОСТ 1002-62

Таблица 2.П.3

Расход основных материалов на усиление бетонных и железобетонных элементов, поврежденных трещинами

Материалы

Ед. изм.

Расход материалов

на один узел усиления

на одну панель на 4 узла усиления

на 1 м3 сборного железобетона

Сталь Ст.3

кг

0,4

1,6

0,8

Гайки М-10

-"-

0,1

0,4

0,2

Шайбы под Ø 10

-"-

0,08

0,3

0,18

Цемент

-"-

0,7

 

 

Паста ПВА

-"-

0,1

0,4

0,25

Примечание: Паста ПВА применяется в качестве добавки к цементному раствору; паста растворяется в воде, на которой замешиваются компоненты цементного раствора.

Таблица 3.П.3

Оборудование и инструмент, необходимые для производства работ

Оборудование и инструмент

Марка

Кол-во

Электроперфоратор ударнокрутильного действия

ИЭ-712

ГОСТ 19475-80

2

Скарпель Ø 20 мм

-

1

Шлямбур Ø 16-20 мм

-

2

Шаблон металлический

Прил. 2

2

Переносной кабель электросети длиной 20-25 м

-

1

Литература

1. Панели стеновые внутренние бетонные и железобетонные для жилых и общественных зданий. Общие технические условия. ГОСТ 12504-80*.

2. Плиты железобетонные сплошные для перекрытий жилых и общественных зданий. Технические условия. ГОСТ 12767-80*.

3. СНиП 2.03.01-84* Бетонные и железобетонные конструкции.

4. Справочник проектировщика промышленных и общественных зданий и сооружений. Расчетно-теоретический. Книга 2 - М.: Стройиздат, 1973.

5. СНиП III-4-80. Техника безопасности в строительстве.

Содержание

ВВЕДЕНИЕ

1. ОБЩИЕ ПОЛОЖЕНИЯ

2. КОНСТРУКТИВНОЕ РЕШЕНИЕ СПОСОБА УСИЛЕНИЯ

3. УСИЛЕНИЕ ВНУТРЕННИХ СТЕН

4. УСИЛЕНИЕ ПЛИТ ПЕРЕКРЫТИЙ

5. ОСОБЕННОСТИ ТЕХНОЛОГИИ ПРОИЗВОДСТВА РАБОТ.

КОНТРОЛЬ КАЧЕСТВА ИХ ВЫПОЛНЕНИЯ.

ТЕХНИКА БЕЗОПАСНОСТИ

Приложение 1 примеры расчета усилений внутренних панельных стен и плит перекрытий

Приложение 2 Размеры заготовок для стержней усиления

Приложение 3 материалы, необходимые для усиления бетонных и железобетонных элементов, поврежденных трещинами

 

 




ГОСТЫ, СТРОИТЕЛЬНЫЕ и ТЕХНИЧЕСКИЕ НОРМАТИВЫ.
Некоммерческая онлайн система, содержащая все Российские Госты, национальные Стандарты и нормативы.
В Системе содержится более 150000 файлов нормативно-технической документации, действующей на территории РФ.
Система предназначена для широкого круга инженерно-технических специалистов.

Рейтинг@Mail.ru Яндекс цитирования

Copyright © www.gostrf.com, 2008 - 2026