|
|
|
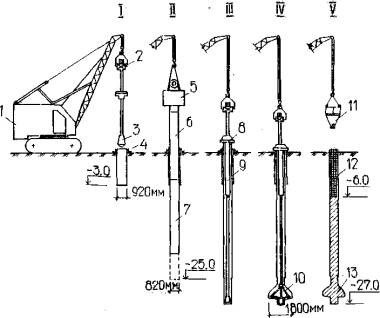
НИИСП ГОССТРОЯ УССР РУКОВОДСТВО КИЕВ 1991 Одобрено Научно-техническим советом Госстроя УССР и рекомендовано к внедрению (протокол № 7 от 15.05.91) Приведены прогрессивные нормы проектирования и технологические требования по возведению современных фундаментов и инженерных сооружений с применением буронабивных свай и буровых опор-колонн. Разработало в развитие и дополнение. Указаний по проектированию, устройству и приемке фундаментов ил буронабивных свай (РСН 263-74) и Инструкции по проектированию и устройству фундаментов типа буровая опора-колонна (РСН 309-78). Для инженерно-технических работников научно-исследовательских, проектных, специализированных строительных организации и студентов старших курсов. Разработано НИИСП Госстроя УССР (кандидаты техн. наук Д.А. Романов, С.В. Романов. В.Д. Романов, П.П. лычев, инженеры А.И. Велигура и В.В. Хоход) и НИИСК Госстроя СССР (кандидаты техн. наук Н.С. Метелюк и В.Г. Абросимов) при участии ВНИИОПС Госстроя СССР (кандидаты техн. наук Б.В. Бахолдин), института Укрспецстройпроект Минмонтажспецстроя УССР (кандидаты техн. наук В.Е. Коваль и В.Л. Оперштейн), трестов Укрбурвод (инженеры С.С. Шевандин и Р.А. Ярощук) и Укргидроспецфундаментстрой НПО Укргадроспецстрой Минмонтажспецстроя УССР (инженеры В.С. Казаков и В.Н. Новицкий). Под общей редакцией канд. тех. наук, заслуженного строителя УССР Д.А. Романова. СОДЕРЖАНИЕ 1. ОБЩИЕ ПОЛОЖЕНИЯ1.1. Настоящее руководство распространяется на проектирование, устройство и приемку фундаментов промышленных, жилищно-гражданских и сельскохозяйственных зданий и сооружений из буронабивных свай и опор-колонн. 1.2. Руководство не распространяется на проектирование и устройство буронабивных свай в районах вечной мерзлоты и залегания просадочных грунтов мощностью более 30 м. 1.3. Выбор конструкций фундаментов (например, свайного, на естественном или искусственно упрочненном основании), вида свай или опор, а также способа устройства следует производить в соответствии с требованиями СНиП 2.02.03-85 "Свайные фундаменты", п. 1.2 и настоящего руководства (разделы 2, 7-9, приложения 15-19) на основе сравнения технико-экономических показателей возможных вариантов фундаментов с учетом требований по экономному расходованию основных строительных материалов, уменьшению стоимости, затрат труда и сроков строительства. 1.4. Свайные фундаменты следует проектировать на основе результатов инженерных изысканий для каждой строительной площадки. 1.5. При проектировании, производстве и приемке работ следует также руководствоваться СНиП 2.03.01-84 "Бетонные и железобетонные конструкции", СНиП 3.02.01-83 "Основания и фундаменты" и СНиП III-4-60 "Техника безопасности в строительстве". 2. ВИДЫ БУРОНАБИВНЫХ СВАЙ И БУРОВЫХ ОПОР-КОЛОНН. ОБЛАСТЬ ПРИМЕНЕНИЯ2.1. Буронабивные сваи по характеру работы в грунте подразделяют сваи-стойки и висячие сваи. К стойкам относятся сваи и опоры, опирающиеся практически на несжимаемые грунты (скальные, крупнообломочные породы с песчаным заполнителем, пески гравелистые, крупные и средней крупности плотные, а также глинистые грунты твердой консистенции). Такие сваи и опоры передают нагрузку на грунт через пяту (сопротивление грунта по боковой поверхности ствола в расчетах, их несущей способности не учитывается). К сваям-стойкам также можно отнести сваи, опирающиеся на мало сжимаемые песчаные или глинистые грунты при относительно небольших нагрузках, которые не вызывают деформации (осадки) основания в процессе эксплуатации здания или сооружения, возводимого на таких сваях. К висячим относятся сваи и опоры, заглубленные в сжимаемые грунты и воспринимающие нагрузку на них черед боковую поверхность и пяту. 2.2. К буровым опорам условно относятся буронабивные сваи, имеющие поперечные сечения ствола больше 600 мм и соответственно более высокую несущую способность. К буровым опорам-колоннам относятся одиночные буронабивные сваи с оголовниками под колонны каркасных зданий. 2.3. Буронабивные сваи и буровые опоры подразделяются: по способу устройства скважины: на буронабивные или буровые (грунт вдоль ствола в процессе бурения не уплотняется). В устойчивых связных грунтах скважины образуются вращательным бурением насухо или вибробурением специальными механизмами и приспособлениями. В сыпучих или водонасыщенных оплывающих грунтах бурение выполняется под глинистым раствором или под защитой инвентарных стальных труб. В отдельных случаях при соответствующем обосновании допускается забивка оставляемых в грунте труб-оболочек с открытым нижним концом, под защитой которых грунт извлекается изнутри; на штампованные (грунт вдоль ствола в процессе устройства уплотняется), скважины которых образуются забивкой, вибрацией или вдавливанием трубчатых лидеров с закрытым нижним концом или теряемым башмаком, а также расширением скважин небольших диаметров взрывом удлиненных зарядов взрывчатого вещества (ВВ); по материалу ствола: на бетонные (с конструктивным размещением арматурных стержней в верхней части ствола; на железобетонные (с арматурным каркасом по всей длине ствола); на трубобетонные из труб-оболочек с бетонным ядром; на комбинированные, с железобетонной стойкой (сваей) сплошного сечения заводского изготовления или железобетонной оболочкой на части длины ствола; по способу устройства ствола: на монолитные (при бетонировании скважин на месте); из железобетонных свай заводского изготовления, погружаемых в грунт по скважине забивкой, вибрацией или вдавливанием (для свай с уширенной пятой); на сборные из готовых железобетонных столбов заводского изготовления диаметром 500 мм и более, опускаемых в предварительно пробуренные скважины. После добавки столбов зазоры между стенками скважины и столба в глинистых грунтах заполняют жидким раствором марки 8-10, а в песчаных грунтах они закрываются сами в результате обсыпания и уплотнения песка от вибрации при добивке; по геометрической форме поперечного сечения ствола: на круглые сплошного сечения; на круглые пустотелые (трубчатые); на квадратные (в комбинированных сваях); по наличию уширенной пяты: с уширением в основании ствола и с двумя уширениями (одно в основании и одно по длине ствола), разбуриваемыми специальными механизмами (расширителями); с камуфлетной пятой, образуемой энергией взрыва; с уширением, получаемым путем втрамбования в грунт бетонной смеси жесткой консистенции (типа Франки); с корневидным основанием из коротких железобетонных сваек заводского изготовления, забиваемых в грунт с забоя скважины; по положению оси ствола к горизонту: вертикальные и наклонные; по расположении свай в плане: одиночные, кустовые, однорядные, двухрядные и свайные поля, объединенные общим ростверком. 2.4. Применение буронабивных свай и буровых опор разных видов рекомендуется для зданий и сооружений различного назначения при относительно больших вертикальных и горизонтальные нагрузках, а также при наличии сложных инженерно-геологических условий строительства, когда: в пределах строительной площадки отметки кровли несущего слоя грунта, пригодного в качестве основания, резко изменяются; несущий слой залегает под толщей слабых грунтов в пределах от 5 до 25 м (глинистых с консистенцией IL ≥ 0,5, просадочных разнородных насыпных, илистых, торфяных, рыхлых песков и др.); необходима прорезка разнородной насыпи с твердыми включениями, прослойками твердых глинистых грунтов и плотных песков с галькой, не позволяющими забивать сваи до проектных отметок; площадки стеснены, сложно транспортировать и устанавливать забивные сваи; вблизи существующих зданий и сооружений, в которых от ударов или вибрации при погружении свай могут возникнуть недопустимые деформации элементов несущих конструкции зданий или оборудования; недопустим шум, удары и вибрация вблизи больниц, школ, театров и др.; строительство ведется на оползневых склонах, на подрабатываемых и закарстованных территориях; отсутствуют базы стройиндустрии по изготовлению забивных свай; усиливаются фундаменты существующих зданий и сооружений. 2.5. Одиночные буровые опор-колонны могут быть применены при строительстве зданий каркасного типа, кроме цехов, оборудованных мостовыми кранами с тяжелым режимом работы. 2.6. Тип уширений и корневидных оснований следует выбирать исходя из условий возможности их образования в несущем слое грунта мощностью не менее 5 м. Основными из них являются: разбуриваемые механическими расширителями (преимущественно в глинистых устойчивых грунтах, позволяющих качественно производить зачистку забоя); разбуриваемые с применением глинистого раствора (в неустойчивых сыпучих или оплывающих грунтах); камуфлетные (в различных связных грунтах с коэффициентом консистенции IL ≤ 0,5 и непосредственно над песками плотными и средней плотности); вытрамбовыванные (в песках средней плотности и связанных грунтах с IL = 0,3 - 0,5); корневидные основания (в песках плотах и средней плотности, супесях твердых и пластичных, суглинках полутвердых и тугопластичных). 3. СТАТИЧЕСКИЕ ИСПЫТАНИЯ ОПЫТНЫХ И КОНТРОЛЬНЫХ СВАЙ3.1. Статические испытания буронабивных свай, буровых опор и свай оболочек проводятся с целью определения их несущей способности и деформаций (перемещений) для проектирования свайных фундаментов, а также оценки технологии устройства и качества работ. 3.2. Статические испытания сваи назначаются во всех характерных местах геологического разреза строительной площадки не менее, чем с двухкратной повторяемостью. К таким местам относятся следующие участки: резкого искривления пластов грунта; изменения физико-механических свойств прорезаемых грунтов; наличия слоев и пропластков слабых грунтов; изменения отметок подошвы низкого ростверка больше, чем на 3 м, вызывающие выбор свай разной длины. 3.3. для объектов в сложных инженерно-геологических условиях должны выполняться комплексные испытания свай с раздольным определением сопротивления грунта по боковой поверхности ствола и под пятой. Испытания свай в просадочных грунтах II типа должны включать возможность определения отрицательного (негативного) сопротивления грунта по боковой поверхности ствола при искусственном замачивании основания в соответствии с пп. 3.41-3.43 настоящего руководства. 3.4. Программу или задание на испытание свай статической нагрузкой должна выдавать проектная организация (приложение 1). Требования к программе приведены в приложении 1 к ГОСТ 5686-78 "Сваи. Методы полевых испытаний". 3.5. Испытания опытных свай и оценка их несущей способности должны выполняться до разработки и выдачи рабочих чертежей проекта к производству работ. 3.6. Контрольные испытания рабочих свай могут выполняться в процессе производства работ при наличии соответствующих обоснований, а также по требованию авторского надзора или технического надзора заказчика. 3.7. Количество статических испытаний свай определяется программой, в зависимости, от геологических и гидрогеологических условий площадки, типа свай, конструктивной схемы сооружения и результатов испытаний на аналогичных смежных площадках, но не менее двух на отдельное здание или сооружение. При застройке микрорайонов или кварталов количество опытных свай по решению проектного института может быть принято на группу зданий с однотипными свайными фундаментами, возводимыми в аналогичных инженерно-геологических условиях. 3.8. Оголовки опытных и контрольных свай должны быть армированы или заключены в металлическую обойму (трубу) с заглублением последней на 30 см ниже уровня грунта и выводом над поверхностью земли на высоту 40-50 см. 3.9. Торец испытываемой сваи должен быть ровным и горизонтальным. Если это условие не выполнено, то за 5-6 дней до испытания на выровненный торец следует уложить металлическую плиту толщиной 10-20 мм на цементном растворе марки 100. 3.10. Выпуски арматурных стержней анкерных свай должны быть строго вертикальными и ровными. Длина выпуска арматурных стержней назначается в зависимости от конструкции испытательного стенда. 3.11. При проведении испытаний в зимнее время грунт в местах испытаний следует отогревать на всю глубину промерзания в радиусе 1 м + 0,5d при вертикальной нагрузке и 2 м + 0,5d при горизонтальной (d - диаметр сваи, м). 3.12. Манометры, прогибомеры и другие приборы, применяемые для измерения нагрузки и деформаций (перемещений), должны быть предварительно протарированы, а гидросистема проверена на стабильность давления. 3.13. К испытаниям свай разрешается приступить не ранее приобретения бетоном ствола проектной прочности, определяемой по результатам испытаний стандартных бетонных образцов, изготовленных при бетонировании свай, или определяемой неразрушающим методом. 3.14. Подготовка и проведение испытаний должны выполняться с соблюдением правил безопасности, установленных для соответствующих видов работ. 3.15. Статические испытания свай и опор при всех видах нагрузок выполняются в соответствии с ГОСТ 5686-78 и настоящего руководства. 3.16. По результатам статических испытаний составляется следующая документация: геологический разрез, соответствующий месту испытания 1 т программы или задания на испытание); результаты уточнения наименований и отметок кровли, прорезаемых сваями слоев грунта, а также грунта, залегающего ниже подошвы пяты; журнал испытаний каждой сваи; графики зависимости осадок или перемещений свай от нагрузки в масштабе: при испытании вдавливающей или выдергивающей нагрузкой: для нагрузки по горизонтали 1 см = 20-100 кН (2-10 тс), при максимальной нагрузке до 500 кН (50 тс) 1 см = 20 кН (2 тс), от 500 до 2000 кН (от 50 до 200 тс) 1 см = 50 кН (5 тс), более 2000 кН (200 тс) 1 см = 100 кН (10 тс); для осадки по вертикали 1 см = 1-10 мм, при максимальной осадке до 50 мм 1 см = 10 мм, от 50 до 100 мм 1 см = 5 мм, более 100 мм 1 см = 10 мм; для времени 1 см = 1 ч; при испытании горизонтальной нагрузкой 1 см = 5 кН (0,5 тс); для перемещения по вертикали 1 см = 2 мм; акт о проведении испытаний за подписями представителей заказчика, изыскательской или проектной организации, строительной организации и научно-исследовательского института, если представители последнего принимали участие в испытаниях. В акте должны быть кратко указаны вид свай, их размеры, армирование, глубина, заложения, способ устройства, характерные особенности проведения испытаний, их конечные результаты и предложения; заключение о несущей способности испытанных свай с определением предельных и расчетных (допустимых) нагрузок. Испытание свай (опор) осевыми вдавливающими нагрузками 3.17. Схему загрузочного устройства при статических испытаниях свай вертикальной вдавливающей нагрузкой следует принимать в зависимости от значения расчетной нагрузки на сваю и наличия упорных конструкций, платформ и пригрузки. 3.18. При нагрузке на сваю до 1000 кН (100 тс) испытание можно проводить либо с применением платформы и штучного груза для упора гидродомкрата, гидродомкрата упорной бачки и двух анкерных свай. Сопротивление последних выдергиванию должно быть больше ожидаемой предельной нагрузки на испытываемую сваю. 3.19. При нагрузке на сваю до 2000 кН (200 тс) и невозможности анкеровки сваями следует применять консольную загрузочную платформу, устанавливаемую на выровненную горизонтальную поверхность грунта вокруг испытываемой сваи. 3.20. При нагрузке на сваю (опору) более 2000 кН (200 тс) применяется испытательная установка рамного типа с передачей реактивных усилий на анкерные сваи, количество которых должно быть не менее четырех (рисунки 1 и 2).
Рис. 1. Схема испытательной установки при кустовом расположении анкерных свай: 1 - анкерная свая; 2 - упорная балка; 3 - гидродомкрат; 4 - балка для крепления прогибомеров; 5 - испытываемая свая.
Рис. 2. Схема установки при рядовом расположении анкерных свай: 1 - анкерная свая; 2 - тяжи; 3 - упорная балка; 4 - гидродомкрат; 5 - испытываемая свая 3.21 Количество анкерных свай зависит от грунтовых условий, глубины заложения и диаметра уширений и должно определяться расчетом. При этом глубина заложения анкерных свай не должна превышать длину испытываемой сваи. При необходимости недостаточное реактивное усилие анкерных свай можно повысить пригрузом испытательной установки стальными плитами, балками, блоками и др. 3.22. Арматурный каркас анкерной сваи должен заходить в уширенную пяту до ее подошвы и его расположение в плане должно соответствовать конструкции упорной системы испытательной установки. Количество и сечение арматурных стержней класса АII должна приниматься по расчету в зависимости от значения выдергивающих усилий с коэффициентом условий работы, учитывающим неравномерность распределения усилий в стержнях арматуры, равным 0,7. 3.23. Загрузочные устройства и анкерные сваи должно рассчитываться на усилия, соответствующие полуторной ожидаемой продельной нагрузке испытываемой сваи. 3.24. Нагрузка на сваю повышается ступенями. Значение ступеней нагрузок назначается в зависимости от требуемой точности испытания: при равномерной схеме нагрузок - в пределах 1/15-1/10 ожидаемого значения предельного сопротивления свай (рис. 3); при дифференцированной - от 1/5 в начале испытания до 1/15-1/10 на последующих стадиях. При значительном ожидаемом предельном сопротивлении (более 100 тс) первая ступень нагрузки может быть принята равной 0,3 Fпр.
Рис. 3. График зависимости осадки сваи от нагрузки при статическом испытании вертикальной вдавливающей нагрузкой 3.25. При статических испытаниях рабочих свай нагрузка на них не должна превышать расчетную, умноженную на коэффициент 1,1. 3.26. Расчетная нагрузка, допустимая на сваю (опору) по несущей способности грунтов основания Fd, кН (тс), по результатам статических испытаний вдавливающей нагрузкой определяется по формуле
где Fu - нормативное значение предельного сопротивления, определяемое по результатам испытания сваи (опоры), кН (тс); vg -коэффициент надежности по грунту, принимаемый равным 1,2; для одиночной сваи (опоры) под колонну - 1,4. За предельную принимается нагрузка, соответствующая резкому изменению кривой на графике зависимости осадки от нагрузки. Если на графике не наблюдается резкого изменения кривой вплоть до критической нагрузки, то за предельную принимается нагрузка, предшествующая критической на одну ступень или меньше критической на 10 %. При этом за критическую принимается такая нагрузка, при которой происходит срыв или оседание сваи без увеличения нагрузки и достигается общая осадка сваи не менее 100 мм. Критическое напряженное состояние грунта у сваи считается также наступившим, если при нагрузке, увеличиваемой ступенями, общая осадка сваи составляет более 40 мм, а приращение осадки за последнюю ступень превышает приращение осадки за предшествующую ступень в 5 раз и более или при меньшей разнице, если осадка не затухает в течение одних суток и более. Для опор больших сечений (0,6 м и более) или свай с уширенной пятой предельную нагрузку следует ограничивать предельной осадкой, равной 80 мм для фундаментов зданий и сооружений, малочувствительных к неравномерным осадкам (дымовые трубы, водонапорные башни, элеваторы и др.) и 40-50 мм для жилых, общественных и промышленных зданий. Кроме того, осадка сваи, соответствующая расчетной нагрузке, не должна превышать 20 мм. Таким образом, при статических испытаниях опытных висячих свай нагрузка, как правило, должна доводиться до критического значения или до достижения осадок, превышающих предельно допустимые для данного сооружения, или до разрушения материала ствола сваи. 3.27. Испытания опытных свай, опертых на плотные пески или глинистые грунты твердой консистенции, могут быть прекращены при осадках менее 40 мм при условии доведения нагрузки до полуторной расчетной по материалу ствола. При таком условии расчетную нагрузку, допустимую на сваю (опору), следует принимать равной расчетной нагрузке по сопротивлению материала ствола. Испытание свай осевыми выдергивающими нагрузками 3.28. Испытание свай на выдергивающую нагрузку производится с помощью одной упорной балки, гидравлического домкрата с манометром, двух поперечных опорных балок, упорной плиты и тягового приспособления с тяжами (рис. 4). Минимальное расстояние между осями опорных балок следует принимать равным 5-6 d или 3-4 D (для свай с уширением), но не менее 4 м. Опирание упорной балки также возможно на шпальные клетки или дощатые подкладки по головам двух анкерных свай.
Рис. 4. Схема установки для испытания свай на действие вертикальной выдергивающей нагрузки: 1 - испытываемая свая; 2 - нижняя плита анкера; 3 - упорная плита; 4 - гидродомкрат; 5 - тяжи 3.29. В зависимости от назначения рабочих свай и особенностей действующих выдергивающих нагрузок могут быть следующие виды испытаний: ступенчато-возрастающей нагрузкой с выдержкой каждой ступени до условной стабилизации; пульсирующей нагрузкой, возрастающей ступенями, причем в пределах каждой ступени производится нагрузка и полная разгрузка без выдержки до тех пор, пока не наступит условная стабилизация перемещений, которая считается наступившей, если в течение трех очередных циклов действия пульсирующей нагрузки перемещение возрастает не более, чем на 0,1 мм; непрерывно возрастающей выдергивавшей нагрузкой, причем перемещение измеряется от каждой ступени нагрузки без выдержки во времени до его условий стабилизации. 3.30. Расчетная выдергивающая нагрузка, допустимая на сваю (опору) Fd,b, кН (тс) по результатам статических испытаний, определяется по формуле
где vc,b - коэффициент условий работы, принимаемый равным при глубине заложения менее 4 м - 0,6, при глубине 4 м и более - 0,8; Fu,b - предельная выдергивающая нагрузка на сваю, определяемая по графику статического испытания, и соответствующая нагрузке, предшествующей на одну ступень критической, при которой подъем сваи начинает непрерывно возрастать без увеличения нагрузки, причем подъем сваи должен, быть не менее 50 мм для свай без уширений и не менее 25 мм - для свай с уширенной пятой, кН (тс); vq - коэффициент надежности, равный 1,2. Испытание свай горизонтальными нагрузками
Рис. 5. Схема испытания на горизонтальную нагрузку одной сваи: 1 - испытываемая свая; 2 -гидродомкрат; 3 - распорная балка; 4 - опора; 5 - насосная станция; 6 - манометр 3.31. Схема загружения при статических испытаниях горизонтальной нагрузкой принимается в зависимости от вида испытаний и наличия неподатливых опор вблизи испытываемой сваи (рисунки 5-8).
Рис. 6. Схема испытания на горизонтальную нагрузку двух свай: 1 - испытываемая свая; 2 - гидродомкрат; 3 - распорная балка; 4 - насосная станция; 5 - манометр
Рис. 7. Схема комбинированного испытания на горизонтальную нагрузку одной сваи: 1 - ранее испытанная свая; 2 - упорная балка; 3 - распорная балка; 4 - гидродомкрат; 5 - испытываемая свая; 6 - насосная станция
Рис. 8. Схема испытания на горизонтальную нагрузку одновременно четырех свай: 1 - испытываемая свая; 2 -гидродомкрат; 3 - распорная балка; 4 - насосная станция 3.32. Несущая способность распорной балки должна соответствовать максимальной испытательной нагрузке и рассчитываться на полуторную нагрузку сваи на изгиб по сопротивление материала ствола. 3.33. При испытании свай до заданного значения горизонтального перемещения и отсутствии вблизи Них неподатливых жестких опор загрузочное устройство (домкрат и упорная балка на, катках) располагается между двумя сваями (рисунки 6 и 8). Расстояние между осями испытываемых свай с уширенной пятой должно быть не менее 2D (D - диаметр уширения). 3.34. При испытании сваи до критической нагрузки и отсутствии вблизи нее жесткой неподатливой опоры следует применять загрузочное устройство, состоящее из гидродомкрата, распорной балки и упорной балки, опирающейся на две сваи (рис. 7). 3.35. В зависимости от назначения сваи и характера действующих на нее эксплуатационных нагрузок назначаются следующие виды испытаний: ступенчато-возрастающей нагрузкой с выдержкой каждой ступени до условной стабилизации перемещений и полной разгрузкой после завершения загружения (рис. 9,а); ступенчато-возрастающей нагрузкой с частичкой разгрузкой на каждой ступени после условной стабилизации перемещений и полной разгрузкой после завершения загружения (рис. 9,б); ступенчато-возрастающей нагрузкой с полной разгрузкой на каждой ступени после условной стабилизации перемещений (рис. 9,в). Испытания свай на совместное действие вертикальных вдавливающих и горизонтальных нагрузок, вертикальных выдергивающих и горизонтальных нагрузок рекомендуется производить в соответствии с разд. 9 "Рекомендаций по комплексным мерам защиты зданий и сооружений на оползнеопасных склонах" (НИИСК Госстроя СССР. - Киев: НИИСП Госстроя УССР, 1989).
Рис. 9. Графики зависимости горизонтального перемещения Δг от нагрузки Рг: а - при ступенчато-возрастающей нагрузке; б - при ступенчато-возрастающей нагрузке с частичной разгрузкой после каждой ступени; в - при ступенчато-возрастающей нагрузке с полной разгрузкой каждой ступени 3.36. Горизонтальная нагрузка на сваю в уровне приложения, заданного программой, должна доводиться до значения, вызывающего перемещение не менее 50 мм, за исключением случаев, когда сваи испытываются до заданного значения горизонтальных перемещений, а при испытании рабочих свай, используемых в свайных фундаментах, не более 10 мм. 3.37. Расчетная горизонтальная нагрузка, допустимая на сваю (опору) Fd,г кН (тс), По результатам статических испытаний определяется по формуле
где Fu,г - предельное сопротивление сваи, определяемое по графику горизонтального перемещения от нагрузки и принимаемое равным нагрузке, предшествующей на одну ступень критической, при которой перемещение непрерывно возрастает без увеличения нагрузки; vq -коэффициент надежности, равный 1,2. При контрольных испытаниях рабочих свай, испытываемых до заданного в проекте значения перемещения, за предельное сопротивление Fu,nг принимается нагрузка, соответствующая на графике заданному значению перемещения, а при отсутствии ограничения - перемещению, равному 10 мм. Особенности испытаний свай в просадочных грунтах 3.38. В случаях возможного аварийного замачивания просадочной толщи (для зданий и сооружений, оборудованных водопроводом и канализацией, промышленных цехов с мокрым технологическим процессом) либо при возможном в период эксплуатации зданий и сооружений повышения уровня грунтовых вод испытание свай (опор) статической нагрузкой должно проводиться с предварительным замачиванием всей просадочной толщи грунтов с сохранением водонасыщенного состояния просадочного грунта в процессе испытаний. Статические испытания с замачиванием основания следует проводить на площадках, расположенных за пределами пятна проектируемого здания или сооружения, но в аналогичных грунтовых условиях. 3.39. При наличии близко расположенных эксплуатируемых зданий замачивание производится через дренажную траншею глубиной не менее 1 м, устраиваемую от испытываемой сваи или куста свай на расстоянии 1 м, и дренажные скважины (рис. 10). При испытании вертикальной нагрузкой траншея заполняется слоем щебня толщиной 10-12 см, а при горизонтальной нагрузке - на всю глубину. Степень водонасыщения просадочного грунта в процессе испытаний на расстоянии не менее 2 м от боковой поверхности ствола и по всей глубине просадочной толщи должна быть Sr ≥ 0,8.
Рис. 10. Схема замачивания просадочных грунтов вокруг испытываемой сваи: 1 - траншея, заполненная щебнем; 2 - дренажная скважина; h - мощность просадочных грунтов; α - угол распространения замачивания (α = 40°); R - радиус замоченного объема грунта (основание усеченного конуса) 3.40. Контроль увлажнения просадочного грунта на глубине проводится бурением скважин с отбором проб и определением степени влажности. 3.41. На незастроенных территориях микрорайонов или промышленных комплексов статические испытания свай в грунтовых условиях II типа по просадочности при возможности обводнения территории в процессе строительства и дальнейшей эксплуатации зданий и сооружений должны проводиться с замачиванием через котлован размером в плане не менее 20×20 м, глубиной 0,8-1 м и до полного проявления просадочных свойств грунтов от собственного веса. 3.42. Комплексные испытания с определением негативного (отрицательного) сопротивления грунта по боковой поверхности свай (опор) должны выполняться по специальной программе, составляемой проектным институтом с привлечением специализированной научно-исследовательской организации. 3.43. В процессе замачивания основания и испытания свай в просадочных грунтах следует проводить наблюдения путем нивелирования за возможными перемещениями (осадками) глубинных марок, анкерных устройств и опор реперной системы с закрепленными по ней прогибомерами. Результаты наблюдений должны учитываться при определении осадки или перемещения сваи на каждой ступени нагрузки. 3.44. Результаты комплексных испытаний решением проектного Института могут быть распространены на несколько зданий или сооружений, расположенных в пределах одного участка с аналогичными грунтовыми условиями. 3.45. В грунтовых условиях I типа по просадочности в тех случаях, когда толщина просадочного слоя невелика (3-5 м) и нижний конец свай находится ниже уровня грунтовых лед (УГВ), допускается не проводить статических испытаний свай с локальным замачиванием грунта. При этом сопротивление грунта в полости опирания пяты определяется путем статического испытания сваи с освобожденной боковой поверхностью в пределах просадочной толщи (скважина бурится с обсадной трубой, а бетонирование ствола сваи выполняется в другой трубе меньшего диаметра). Сопротивление по боковой поверхности ствола в замоченном грунте определяется по результатам испытания сван с локальным замачиванием в аналогичных грунтовых условиях. 3.46. В грунтовых условиях II типа по просадочности в тех случаях, когда низший конец сваи находится ниже УГВ, а разница между толщиной просадочного слоя hпр и длиной участка ствола сваи, на котором учитывается негативное трение hsl невелика (не более 3 м), допускается не проводить статического испытания сваи с локальным замачиванием грунта. При этом сопротивление грунта по нижнему участку сваи (ниже hпр) определяется как разность между сопротивлением основания под пятой вдавливающей нагрузке, определяемой без замачивания, и сопротивлением основания сваи длиной, равной hпр, выдергивающей нагрузке такие без замачивания. Сопротивление по боковой поверхности в замоченном грунте в пределах h - hsl определяется расчетом по результатам испытаний с локальным замачиванием в аналогичных грунтовых условиях. Учет сил негативного сопротивления выполняется по указаниям раздела 8 CНиП 2.02.03-85 "Свайные фундаменты" и пп. 5.11-5.14 настоящего руководства. 3.47. Расчетная нагрузка Fd,II, кН (тс), допустимая на сваю (опору), в грунтовых условиях II типа по просадочности с учетом возможного развития негативного трения грунта по результатам статических испытаний с замачиванием (см. п. 3.38) следует определять по формуле где Fu,II - нормативное значение предельного сопротивления, равное предельной нагрузке на сваю (опору), по результатам испытаний с замачиванием, кН (тс); u - периметр ствола в пределах слоев грунта, проседающих под действием собственной массы при замачивании, м; hsl - расчетная глубина, до которой производится суммирование сил бокового сопротивления проседающих слоев грунта, м; fi - расчетное сопротивление i -го слоя просадочного грунта в замоченном состоянии по боковой поверхности ствола, определяемое по результатам статических испытаний выдергивающей нагрузкой, кПа (тс/м2); hi - толщина i-го слоя просадочного грунта, оседающего при замачивании, м; vg - коэффициент надежности, равный 1,2. 4. ОСНОВНЫЕ УКАЗАНИЯ ПО ПРОЕКТИРОВАНИЮ4.1. Рабочие чертежи свайных фундаментов из буронабивных свай и одиночных опор-колонн разрабатываются на основе результатов инженерно-геологических изысканий и исследований грунтов строительной площадки с учетом опыта строительства и данных испытаний свай статической нагрузкой ряда других объектов с аналогичными условиями. 4.2. Проект фундаментов из буронабивных свай должен содержать следующие элементы*/: геологические разрезы основания по основным осям сооружения и основные физико-механические характеристики грунтов всех напластований; план фундаментов и вертикальные разрезы с указанием необходимых марок, размеров и отметок; рабочие чертежи конструкций всех типов свай, опор и ростверков с указанием расчетной схемы нагрузок на каждый тип фундаментов, приведенных к центру тяжести куста свай в плане на отметке подошвы ростверков в виде суммарных значений вертикального усилия N, кН (тс), изгибающего момента М, кН·м (тс·М), и горизонтального усилия Н, кН (тс), действующих во всех направлениях; расход и требования к материалам ростверков, стволов свай и уширенных пят, а также потребность в стальных трубах с учетом из оборачиваемости; количество и тип сборных элементов и основные объемы работ; проект организации строительства, в состав которого включается генеральный план объекта или комплекса объектов; проект производства работ **/, в котором должны быть технологические карты со схемами устройства свай или опор, ведомостями потребного оборудования, механизмов и приспособлений, последовательностью рабочих процессов и продолжительностью их выполнения, численностью и квалификационным составом бригад; потребность в извлекаемых стальных обсадных трубах; решения по выполнению мероприятий подготовительного периода; указания по требованиям безопасности при работе на каждом этапе; ведомости объемов работ и материалов; схемы пооперационного контроля качества работ; графики организации строительства свайных фундаментов комплекса сооружений или зданий квартальной застройки. _________________ */ Перечисленные ниже элементы проекта фундаментов можно совмещать. **/ Проект производства работ выполняется производственной организацией. 4.3. Рекомендуется следующий порядок проектирования фундаментов из буронабивных свай и опор-колонн: по результатам инженерно-геологических изысканий на строительной площадке выбирается опорный пласт и назначаются отметки опирания пяты свай на грунт, а также глубины бурения (или продавливания) скважин или забивки трубчатых оболочек в соответствии с п. 4.7 настоящего руководства; выбирается вид свай и ориентировочно назначается высота ростверков; назначается параметры свай или опор согласно пп. 4.4-4.7 и определяется их несущая способность в соответствии с пп. 5.1-5.14; определяются усилия, действующие на сваи, необходимое количество свай, производится их размещение в плане, рассчитываются и конструируются ростверки. На общем плане расположения свай (опор) указываются их номера; для камуфлетных свай определяется масса зарядов ВВ и производятся все необходимые технологические расчеты согласно пп. 8.137-8.147 и пп. 8.150-8.153; проверяется устойчивость отдельных свай и фундаментов в целом, расположенных на откосах или подвергающихся горизонтальным усилиям; определяются конечные осадки оснований одиночных свай и свайных кустов, опирающихся на сжимаемые породы, согласно пп. 6.2-6.6; составляется расчетно-пояснительная записка с технико-экономическим обоснованием выбора конструкций фундаментов и технологии работ */; разрабатывается проект организации строительства производства работ. ________________ */ Расчетно-пояснительная записка с технико-экономическим обоснованием выбора конструкций и технологии работ (заказчику не передается, хранится в архиве проектной организации), 4.4. Буронабивные сваи и опоры могут применяться без уширений, с уширенной пятой или с корневидным основанием. Наличие и размер уширенных пят, а также корневидных конструкций определяется в зависимости от значения нагрузок и грунтовых условий. При этом следует исходить из целесообразности получения равенства расчетных нагрузок на сваю по сопротивлению материала ствола и грунта основания. 4.5. Диаметр ствола сваи назначается из условия обеспечения необходимой прочности, но не менее 400 мм при длине свай до 10 м, 500 мм - до 15 м, 600 мм и более - до 30 м. 4.6. Отношение диаметра пяты D к
диаметру ствола d обычно удовлетворяет условию
Диаметры уширений, разбуриваемых механическими расширителями, рекомендуется назначать в пределах 1200-1800 мм с градацией через 200 мм; образуемых энергией взрыва (камуфлетных) - в пределах 800-2000 мм с градацией через 100 мм; получаемых втрамбованием жесткой бетонной смеси (типа Франки) в пределах 800-1200 мм с учетом возможности отжатия грунта за пределы периметра скважины до 200 мм. 4.7. Нижний конец свай без уширений необходимо заглублять в выбранный опорный пласт не менее, чем на 1 м, а с уширениями в основании - в связные грунты не менее, чем на 2 м, или один диаметр уширенной пяты, в крупнообломочные и песчаные грунты не менее, чем на 0,3 м, считая от кровли выбранного пласта до подошвы уширения, разбуриваемого расширителем, и до центра камуфлетной пяты. При наличии слоя погребенного торфа нижний конец свай (опор) должен быть заглублен не менее, чем на 2 м ниже подошвы этого слоя. 4.8. Выбор опорного пласта следует производить с учетом возможных изменений гидрогеологических условий в процессе эксплуатации зданий и сооружений. 4.9. Длина сваи в грунте должна быть не менее 3 м, включая уширение и подпятник, от поверхности земли или подошвы ростверка. 4.10. Опирание нижних концов свай (пят) в слабых грунтах (торф, рыхлые пески, разнородные насыпные пылевато-глинистые грунты с показателем текучести в водонасыщенном состоянии IL > 0,5, просадочные I типа с показателем текучести в водонасыщенном состоянии IL > 0,4 и просадочные II типа) не допускается. 4.11. Применение буронабивных свай в фундаментах зданий и сооружений, возводимых в районах залегания просадочных грунтов II типа, при возможности отмачивания допускается только при условии полной прорезки присадочной толщи. Если по прогнозу подъем уровня грунтовых вод невозможен, а при возможности случайного замачивания грунта в проекте предусматриваются водозащитные и конструктивные мероприятия, обеспечивающие прочность и устойчивость сооружений, то в таких случаях допустима частичная прорезка просадочных грунтов. 4.12. Армировать сваю следует в зависимости от вида и размера нагрузок. При действии только вертикальных вдавливающих нагрузок, когда несущая способность ствола обеспечивается одним бетоном и по расчету армирование ствола не требуется, следует армировать только головную часть ствола конструктивной постановкой в свежеуложенный бетон отдельных стержней диаметром 14-20 мм, длиной 2000-2500 мм в количестве 4-12 шт. без хомутов или спирали. Выпуски для связи с ростверком необходимо предусматривать в пределах 400-600 мм (нижний предел для стволов диаметром 400 мм, верхний - диаметром 800 мм и более). При действии на сваю горизонтальных нагрузок и изгибающих моментов армирование ствола следует назначать по расчету (см. пп. 5.4, 6.6 и 7.9). 4.13. Диаметр арматурного каркаса должен быть на 100-120 мм меньше диаметра буровой скважины. Каркас должен иметь достаточную жесткость, обеспечивающую его геометрическую неизменяемость при транспортировании и установке в скважину. Жесткость каркаса увеличивается приваркой хомутов большего диаметра (10-16 мм), спаренных хомутов или колец из полосовой стали толщиной 5-6 мм, шириной 50-60 мм с шагом 3-4 м. Защитный слой бетона в свае обеспечивается приваркой скоб-полозьев к четырем продольным стержням каркаса по диаметрально противоположным сторонам. Расстояние между скобами по длине стержня должно быть не более 4 м. 4.14. Свайные фундаменты следует проектировать с минимальным количеством типоразмеров свай на одной строительной площадке. Рекомендуется назначать не более трех типов свай, отличающихся по длине, а также диаметрам ствола и уширенных пят. 4.15. При устройстве буронабивных свай в котлованах или траншеях с разными отметками дна условия выполнения должны быть оговорены в рабочих чертежах свайных фундаментов и решены в проекте производства работ. 4.16. В одном кусте подошва всех свай должна располагаться на одной отметке. Минимальное расстояние между осями свай и опор с уширенной пятой:
В отдельных случаях в маловлажных связных грунтах расстояние может быть уменьшено до 1,3 D, где D - диаметр пяты. 4.17. Расстояние между осями свай без уширения пят, в том числе с корневидным основанием рекомендуется принимать равным: при кустовом расположении 2,5...3d, где d - диаметр ствола (меньший предел для свай диаметром больше 600 мм); при однорядном расположении по контуру несущих стен - по расчету и конструктивным соображениям, но не менее 2,5 d; для свай-стоек, опирающихся на практически несжимаемые грунты, расстояние между осями можно уменьшить до 2 d, предусмотреть соответствующий порядок бурения и бетонирования стволов. 4.18. Ширина ростверка (балки) при расположении свай в один ряд, мм: b = d+100 (5) 4.19. Ширина ростверка при кустовом или многорядном расположении свай, мм: b = а(n-1) + d + 2e, (6) где a - расстояние между осями свай, мм; n - количество рядов; d - диаметр ствола свай, мм; е - свес ростверка (расстояние от края ростверка до ближайшей грани сваи в крайних рядах), принимаемый равным 100 мм. 4.20. Расчет свайных фундаментов и их оснований должен производиться по предельным состояниям двух групп в соответствии с рекомендациями разделов 3 и 4 СНиП 2.02.03-85 "Свайные фундаменты", а также разделов 5, 6 и приложений 15-19 настоящего руководства: для первой группы: по прочности материала ствола свай (опор) и свайных ростверков; по несущей способности грунта основания; для второй группы; по осадкам оснований свай и свайных фундаментов от вертикальных нагрузок; по перемещениям свай от действия горизонтальных нагрузок и моментов; по образованию или раскрытию трещин в элементах железобетонных конструкций свайных фундаментов. 4.21. Свайные фундаменты в целом, сваи и опоры, рассчитываемые по предельным состояниям, должны удовлетворять условиям
где N - расчетная нагрузка, передаваемая на одну сваю (опору) или свайный фундамент в целом (либо его основание), определяемая при проектировании здания или сооружения, кН (тс); Fd - несущая способность одиночной сван в составе фундамента по сопротивлению грунта основания, кН (тс); vg - коэффициент надежности; S - деформация (осадка или перемещение) фундамента, определяемая расчетом в соответствии с разд. 6 настоящего руководства и приложениями 1, 3 и 4 СНиП 2.02.03-85 "Свайные фундаменты"; Sпр - предельные деформации оснований (осадок или перемещений) фундамента, устанавливаемые в задании на проектирование, а при отсутствии ее в задании принимается по предельно допустимым деформациям, приведенным в СНиП 2.02.01-83 "Основания зданий и сооружений". 4.22. Горизонтальную нагрузку на отметке подошвы ростверка разрешается принимать равномерно распределенной на все сваи фундамент как при шарнирном опираний, так и жестком. 4.23. Железобетонные и бетонные сваи (опоры) следует проектировать из тяжелого бетона. Класс бетона следует назначать согласно требованиям СНиП 2.02.03-85 "Свайные фундаменты". При этом во всех случаях проектная марка бетона для буронабивных свай и ростверков должна быть не ниже B10 (M 150), железобетонных свай заводского изготовления не ниже B15 (М 200), а для предварительно напряженных железобетонных свай-стоек и оболочек не ниже В22.5 (М 300). 4.24. При наличии агрессивных грунтовых вод или возможности попадания в грунт агрессивных производственных вод следует руководствоваться СНиП 2.03.11-85 "Защита строительных конструкций от коррозии" и Инструкцией по защите железобетонных конструкций от коррозии (СН 262-67). 5. РАСЧЕТ СВАЙ И ОПОР ПО ПРЕДЕЛЬНОМУ СОСТОЯНИЮ ПЕРВОЙ ГРУППЫ (ПРОЧНОСТИ)5.1. Несущую способность буронабивных свай следует принимать по наименьшему из двух значений, полученных при расчете: по сопротивлению материалов ствола в соответствии с пп. 5.2-5.4; по сопротивлению грунта основания сваи в соответствии с пп. 5.5-5.14. При наличии данных статических испытаний несущая способность свай принимается непосредственно по их результатам. Расчетная нагрузка по материалу ствола5.2. Расчетная нагрузка, допустимая на буронабивную сваю (буровую опору), работающую на осевую вдавливающую нагрузку по сопротивлению материала ствола Fб,ств, кН. Fб,ств = 0,1φ·(vδ1vδ2vδ3RδAδ + Ra,cАа), (9) где φ - коэффициент продольного изгиба, учитываемый только в пределах свободной длины ствола - от низа высокого ростверка до поверхности плотного грунта, принимаемый по табл. 1. При расположении ствола сваи в слабых грунтах (текучих глинистых грунтах, илах, торфе или воде) за свободную длину ствола следует принимать расстояние от низа ростверка до подошвы слабого слоя; vδ1 - коэффициент условий работы, учитывающий бетонирование в вертикальном положении, принимаемый равным 0,85; vδ2 - коэффициент условий работы, учитывающий бетонирование подводным способом (методом ВПТ), принимаемый равным 0,7. При бетонировании сухих скважин, а также трубчатых полостей, свободных от воды, vδ2 принимается равным 1,0; vδ3 - коэффициент, учитывающий сроки твердения бетона, принимаемый по табл. 2; Rδ -расчетное сопротивление тяжелого бетона для предельных сопротивлений первой группы на осевое сжатие (призменная прочность), МПа; Аδ - наименьшая площадь поперечного сечения ствола, см2, Ra,c - расчетное сопротивление арматуры сжатию для предельных состояний первой группы, МПа; Aа - площадь поперечного сечения арматуры, см2. Таблица 1. Значения коэффициентов φ
Примечание. Расчетную длину сваи lo определяют в зависимости от свободной длины l; при защемлении обоих концов сваи lo = 0,5l; при защемлении одного конца и шарнирном опирании другого lo = 0,7l; при шарнирно-неподвижном закреплении обоих концов lo = l; при защемлении одного конца и свободном другом конце (голова сваи) lo = 2l. Таблица 2. Значения коэффициентов γδ3, учитывающих повышение прочности бетона во времени
5.3. Расчетную нагрузку, допустимую на сваю, работающую на осевую выдергивающую нагрузку, по материалу ствола - арматурной стали Fs,b кH, следует определять по формуле Fs,b = 0,1 γsRsAa, где γs - коэффициент условий работы, учитывающий неравномерность натяжения рабочих стержней арматуры, принимаемый равным 0,7; Rs - расчетное сопротивление арматуры растяжению для предельных состояний первой группы, МПа; Аа - площадь поперечного сечения арматуры, см2. 5.4. Расчет стволов свай и опор под колонны зданий по предельным состояниям первой и второй групп (по деформациям, образованию трещин, их раскрытию и переменной жесткости) рекомендуется выполнит в соответствии со СНиП 2.03.01-84 "Бетонные и железобетонные конструкции", разделом 6 Рекомендаций по комплексным мерам защиты зданий и сооружений (К,: НИИСП Госстроя УССР, 1989), а также настоящим руководством. для упрощения расчетов процент армирования стволов допускается определять по приложению 3 настоящего руководства. 5.5. Длину арматурных каркасов в грунте при наличии небольшой горизонтальной силы, вызывающей горизонтальное перемещение головы свай Δг ≤ 10 мм, рекомендуется принимать равной:
где d - диаметр ствола сваи. Расчет нагрузки на сваю по сопротивлению грунта основания5.6. Расчетная нагрузка, допустимая на буронабивную сваю без уширения и с уширенной пятой, а также на опору с корневидным основанием или сваю-оболочку, погружаемую с открытым нижним концом, выемкой грунта и бетонным ядром, работающую на осевую вдавливающую нагрузку Fd,r, кН (тс), должна определяться как сумма расчетных сопротивлений грунта в плоскости нижнего конца ствола или подошвы уширенной пяты и по боковой поверхности по формуле где Fd - то же значение, что в формуле (7), кН (тс); vg - коэффициент надежности по грунту, принимаемый равным 1,4, для одиночной сваи (опоры) под колонну vg = 1,6; vCR - коэффициент условий работы, зависящий от размеров пяты и вида основания, определяемый по табл. 3; R - расчетное (предельное) сопротивление грунта под нижним концом ствола сваи (опоры) без уширения и с уширенной пятой, кПа (тс/м2), принимаемое по табл. 4, для буровых опор с корневидным основанием и буроопускных свай с уплотненным основанием - по табл. 5; А - площадь опирания на грунт (проекция наибольшего поперечного сечения ствола или уширенной пяты на горизонтальную плоскость, для опор корневидным основанием площадь поперечного сечения нижнего конца ствола), м2; u - периметр поперечного сечения ствола, м; vcf - коэффициент, зависящий от способов образования скважин и ствола сваи (опоры), принимаемый по табл. 6; fi - расчетное (предельное) сопротивление по боковой поверхности ствола, кПа (тс/м2), определяемое по табл. 7; hi - толщина i-го слоя грунта, соприкасающегося с боковой поверхностью ствола, м; Nd - расчетная нагрузка, предаваемая на одну сваю (опору) от расчетных нагрузок, действующих на фундамент при наиболее не выгодном их сочетании с учетом собственной массы сваи (опоры), кН (тс). Значение коэффициентов условий работы vCR, зависящих от размеров пяты и способа подготовки основания
продолжение табл.
Примечание: 1. Для плотных песков R увеличивается на 30%, если способ бурения и зачистки скважины обеспечивает сохранность естественной структуры основания. 2. Для промежуточных глубин, опирание сваи на грунт и промежуточных значений показателя текучести IL глинистых грунтов определяется интерполяцией. 3. Глубину опирания пяты сваи на грунт при планировке территории срезкой, подсыпкой, намывом до 3 м следует принимать от уровня природного рельефа, и при срезке, подсыпке, намыве от 3 м до 10 м - от условной отметки, расположенной на 3 м выше уровня срезки или на 3 м ниже уровня подсыпки, намыва. 4. При коэффициенте пористости l > 0,75 значения R следует уменьшить умножением на коэффициент ml, определяемый интерполяцией между значениями ml = 1,0 при l = 0,75 ml = 0,9 при l = 1,1 Расчетное (предельное) сопротивление грунта под нижним концом ствола опоры с корневидным основанием и буроопускной сваи (столба) с уплотненным основанием, R, кПа (тс/м2)
Примечания: 1. Значения R над чертой относятся к глинистым грунтам. 2. Для плотных песков R увеличиваете на 60 %. 3. При опирании нижнего конца опоры на пески мелкие влажные и насыщенные водой значения R уменьшаются на 20 %, песня пылеватые влажные - на 30 % и насыщенные водой - на 50 %. 4. для промежуточных глубин опирания ствола опоры, на грунт и промежуточных значений показателя консистенции R определяется интерполяцией. 5. Глубину опирания опоры на грунт при планировке территории срезкой, подсыпкой, намывом до 3 м следует принимать от уровня природного рельефа, а при срезке, подсыпке, намыве более 3 м - от условной отметки, расположенной на 3 м выше срезки или на 3 м ниже уровня подсыпки намыва. Значения коэффициентов γсf, зависящих от способов образования скважин и ствола сваи (опоры)
Расчетное (предельное) сопротивление грунта по боковой поверхности ствола свай (опор) fi, кПа (тс/м2)
Примечания: 1. Среднее значение fiн принимается на глубине, соответствующей расстоянию низшего уровня воды или поверхности земли до середины толщины однородного слоя грунта, li. 2. В сваях с уширенной пятой fiн учитывается в пределах цилиндрической части ствола (от поверхности земли до переходной части к уширенной пяте). 3. Для плотных песчаных грунтов fiн увеличивается на 30 %. 5.7. Расчетная нагрузка, допустимая на буронабивные сваи-стойки, а также опоры-стойки Fdr, кН (тс), должна определяться по формуле
где Fd, γg, A, Nd - обозначения те же, что в формуле (11). Расчетное (предельное) сопротивление грунта под пятой сваи (опоры), R, кПа (тс/м2), принимается: для свай, свай-оболочек и буровых опор, заделанных в скальный грунт не менее, чем на 0,5 м, и заполненных бетоном
где Rc,n - нормативное значение предела прочности на одноосное сжатие скального грунта в водонасыщенном состоянии, кПа (тс/м2); lа - глубина заделки в скальный грунт, м; df - наружный диаметр части ствола, заделанного в скальный грунт, для сваи-оболочки, такие заполненный бетоном на высоту не менее трех ее диаметров, м; для свай, свай-оболочек и буровых опор, опирающихся на крупнообломочные грунты с песчаным заполнителем, пески гравелистые крупные и средней крупности плотные, а также глинистые грунты твердой консистенции - по таблицам 3 и 4 настоящего руководства. 5.8. Расчетная нагрузка, допустимая на армированную буронабивную сваю с уширенной пятой по грунту, работающую на осевую выдергивающую нагрузку, Fd,в, кН (тс),
где γg, Rcr, R, u, γcf, fi, hi - обозначения те же, что в формуле (11), γCB - коэффициент условий работы для уширений, заглубленных в грунт не менее 5 м при глинистых грунтах и 6 м при песчаных грунтах (от планировочной отметки до центра уширенной пяты), принимаемый равным: для нагрузок, возрастающих ступенями γCB =0,8; для нагрузок пульсирующих и знакопеременных; в глинах и суглинках с IL ≤ 0,5 γCB = 0,7; в глинах и суглинках при 0,5<IL≤0,75, песках маловлажных и супесях при IL<0 γCB = 0,6; в глинах и суглинках при 0,75<IL≤I, в песках влажных и супесях при 0≤IL≤I γCB = 0,5; глинах, суглинках и супесях при IL>I и песках водонасыщенных γCB =0,4; Ав - площадь передачи давления на вышележащий пласт грунта (площадь проекции уширенной пяты на горизонтальную плоскость за вычетом площади поперечного сечения ствола, примыкающего к пяте), м2; G - масса сваи (собственный вес), в водонасыщенных грунтах принимается с учетом взвешивающего действия воды, кН (тс). 5.9. Диаметр уширенной пяты D, м определяется исходя из условия равенства несущей способности сваи по материалу ствола и грунту Fδ,ств = Fd,r для висячей сваи из формул (9) и (11)
для анкерной сваи из формулы (14)
где АСТВ - площадь поперечного сечения ствола; остальные обозначения те же, что в формуле (14). Условия определения расчетных нагрузок, допустимых на сваи (опоры), прорезающие просадочные грунты5.10. Основания, сложенные просадочными грунтами, должны проектироваться в соответствии с указаниями раздела 8 СНиП 2.02.03-85 "Свайные фундаменты" и требованиями настоящего руководства. 5.11. Расчетное сопротивление грунта по боковой поверхности ствола fi в пределах просадочной толщи, которая может быть подвержена замачиванию, следует определять с учетом ее полного водонасыщения. 5.12. Если возможно замачивание грунта II типа по просадочности только сверху, то негативное сопротивление (трение и сцепление) грунта Fн.с, кН (тс), для одиночных свай и опор-колонн следует учитывать по формуле
где u, hII, fi, hi - обозначения те же, что в формуле (4). При отсутствии результатов испытаний свай выдергивающей нагрузкой fi принимается по таблицам 6 и 7 для грунтов в замоченном состоянии. 5.13. Если просадочные грунты II типа могут быть подвержены обводнению снизу (подъем грунтовых вод, сезонные подтопления и др.), то fi в пределах просадочной толщи должно приниматься по таблицам 6 и 7 для грунтов в естественном состоянии (до замачивания) со знаком минус или по результатам комплексных испытаний в соответствии с п. 3.42. 5.14. В грунтовых условиях II типа по просадочности проверка прочности свай (опор) по материалу ствола, установленную по п. 5.2, должна производиться на нагрузки с учетом действия негативных сил сопротивления грунта. 6. РАСЧЕТ СВАЙНЫХ ФУНДАМЕНТОВ И ИХ ОСНОВАНИЙ ПО ПРЕДЕЛЬНОМУ СОСТОЯНИЮ ВТОРОЙ ГРУППЫ (ДЕФОРМАЦИИ)6.1. Расчет отдельно стоящих свай-стоек, а также свайных фундаментов, состоящих из свай-стоек, по деформации выполнять не требуется. 6.2. Расчет осадок свайных фундаментов (кустов или полей) из висячих свай следует производит- как для условного фундамента на естественном основании в соответствии со СНиП 3.02.01-83 "Основания и фундаменты". Границы условного фундамента определяются
по схемам, представленным на рис. II, а, б, в: снизу - плоскостью АБ,
проходящей в уровне опирания нижних концов свай или уширенных пят на грунт
естественной структуры; с боков - вертикальными плоскостями АВ и ВГ, состоящими
от наружных граней свай крайних рядов на расстоянии
где φ1н, φ2н, φnн - нормативные значения углов внутреннего трения для отдельных пройденных сваями слоев грунта толщиной соответственно l1, l2,… ln; l - глубина погружения свай в грунт, считая от подошвы ростверка. В собственный вес условного фундамента при определении его осадки включается вес свай, ростверка и грунта в объеме условного фундамента. Полученные по расчету осадки свайных фундаментов не должны превышать предельно допустимых значений согласно условию (8). 6.3. Расчет осадок отдельно стоящих свай, опор или свай-оболочек без уширений следует выполнять как для условного столбчатого фундамента с круглой подошвой по схеме, представленной на рис. 12, а. 6.4. Расчет осадок свайных фундаментов, в которых круговые площадки в основании не накладываются, следует выполнить с учетом влияния нагрузок от соседних свай (опор) в пределах круга с радиусом, равным 6 d для свай без уширений и 3D -с уширенной пятой. При расположении свай в 2 ряда и более (рис. 12,б) учитывается среднеарифметическое значение дополнительных осадок, вызванных влиянием нагрузок от всех свай куста друг на друга в пределах зоны влияния. Если в пределах всей длины сваи
сопротивление грунта по боковой поверхности не учитывается или учитывается с
отрицательным знаком как дополнительная пригрузка, или если проведенные линии
под углом Если сопротивление грунта по боковой
поверхности не учитывается только в пределах верхней части ствола или
учитывается на этом участке с отрицательным знаком, расчет осадок производится
в соответствии с пп. 6.2-6.3. При этом загрузочные площадки ограничиваются
образующей линией, проведенной из точки пересечения ствола сваи с плоскостью,
ниже которой сопротивление грунта вдоль боковой поверхности учитывается с
положительным знаком под углом
Рис. 11. Схемы к расчету осадок условного фундамента при кустовом расположении свай: а - без уширений; б - с уширенной пятой, образуемой механическим разбуриванием; в - с уширенной пятой, образуемой методом камуфлетирования (взрывом) или трамбованием
Рис. 12. Схемы к расчету осадок условного фундамента: а - при однорядном расположении, свай, когда круговые площадки не накладываются; б - при кустовом расположении буронабивных свай с уширенной пятой, когда круговые площадки не накладываются 6.5. Расчет свай (опор) и свай-оболочек на совместное действие вертикальных и горизонтальных нагрузок и моментов следует выполнять в соответствии с требованиями, изложенными в приложении I к СНиП 2.02.03-85 "Свайные фундаменты". 6.6. Изгибающие моменты М, кН·м (тс·м), от действия горизонтальной силы на сваю, защемленную в ростверке, допускается определять по упрощенной формуле
где β - коэффициент, определяемый по табл. 8; Н0 - расчетное значение горизонтальной (поперечной) силы, кН (тс); αд - коэффициент деформации, I/М, определяемый по приложению СНиП II-17-77 "Свайные фундаменты". 7. КОНСТРУИРОВАНИЕ И РАСЧЕТ СВАЙНЫХ РОСТВЕРКОВ7.1. Размещение свай в плане фундаментов зданий и сооружений, а также назначение размеров подошвы ростверков осуществляются в соответствии с разд. 7 СНиП 2.02.03-85 "Свайные фундаменты" и п.п. 4.14-4.19 настоящего руководства. Примерные схемы размещения свай в плане приведены на рис. 13, а,б,в.
Рис. 13. Схемы расположения свай: а - под ленточными фундаментами; б - один ряд с парными сваями; в - круглых кольцевых и в свайном поле; г - в кустах 7.2. Головы свай в кусте объединяются железобетонным ростверком, составляющим одно целое с переходной ступенчатой частью фундамента и подколонником. 7.3. Подошва ростверка может располагаться ниже поверхности земли (низкий ростверк) и выше (высокий свайный рострерк). 7.4. После размещения свай в плане и конструирования ростверка для фундаментов с вертикальными сваями уточняется расчетная нагрузка на каждую сваю N, кН (тс), по формуле
где Nd, Мx, Мy - соответственно расчетная сжимающая сила (равнодействующая вертикальных сил), кН (тс), и расчетные изгибающие моменты относительно главных центральных осей x и y в плоскости подошвы ростверка, кН·м (тем); n - количество свай в свайном фундаменте; X, Y - расстояния от главных осей свайного фундамента в плане до оси сваи, для которой вычисляется нормальная нагрузка, м; Хi, Yi - расстояния от главных осей до оси каждой сваи, м; Fd - наименьшее значение расчетной нагрузки сдай по материалу ствола или по грунту основания, кН (тс). Примечание. При кратковременных и особых нагрузках (ветровых, крановых и др.) допускается перегрузка крайних свай до 20 % их расчетной нагрузки по грунту. Таблица 8Значение коэффициентов β
7.5. Под низкие ростверки следует предусматривать подготовку из бетона класса В7,5 (M100) толщиной не менее 100 мм, в слабых и водонасыщенных грунтах - до 150 мм. 7.6. Высота ростверка определяется по расчету и должна быть не менее 400 мм. 7.7. Головы буронабивных свай должны заделываться в ростверке по длине: в свайном фундаменте, работающем только на вертикальные сжимающие нагрузки при монолитных ростверкам - на 50-100 мм, а выпуски арматуры для связи с ростверками должны быть не менее 250 мм; в свайном фундаменте, работающем на горизонтальные или вертикальные растягивающие нагрузки при жестком сопряжении ростверка со сваями - не менее 100 мм, а выпуски рабочей арматуры с заделкой в ростверке на длину их анкеровки следует предусматривать в соответствии со СНиП 2.03.01-84 "Бетонные и железобетонные конструкции", но не менее 300 мм. 7.8. Верхние концы свай-стоек и свай-оболочек заводского изготовления, работающие в фундаментах только на вертикальные нагрузки, должны заделываться в ростверке по длине не менее 80 мм без арматуры работающие на вертикальные и горизонтальные нагрузки должны заделываться при низком ростверке по высоте не менее 300 мм, а при высоком - по высоте, установленной расчетом, но не менее диаметра круглого или стороны квадратного сечения. Примечания: 1. Головы свай, поврежденные в процессе производства работ, подлежат разбивке до прочного бетона с последующим добетонированием в опалубке. 2. Высота заделки верхних концов свай в фундаментных подушках из бетона, уложенного подводным способом, не учитывается. 7.9. Расчет верхних уширений стволов буронабивных свай-(опор), сопряжений с колонной, ростверков и безростверковых свайных фундаментов следует выполнять в соответствии со СНиП 2.03.01-84 "Бетонные и железобетонные конструкции", а также приложениями 9-12 Руководства по проектировании свайных фундаментов, дополняющего СНиП 2.02.03-85 "Свайные фундаменты". Примечание. Безростверковые фундаменты из буронабивных свай с оголовками успешно применяются в Днепропетровске по проектам Укрспецстройпроекта. Цокольные панели и плиты перекрытия опираются на оголовки, смонтированные на сваях. 8. ТЕХНОЛОГИЯ И ОРГАНИЗАЦИЯ РАБОТОбщие требования8.1. Устройство буронабивных свай, ведение технической документации и контроль качества работ выполняют в соответствии с проектом, а также требованиями настоящего руководства. 8.2. Выбор того или иного способа устройства буронабивных свай производится проектной организацией в зависимости от геологических и гидрогеологических условий строительства, а также с учетом оснащенности специализированных строительных организаций оборудованием и механизмами. 8.3. Устройству буронабивных свай должны предшествовать подготовительные работы, предусматриваемые проектом организации и производства работ. 8.4. Головы всех видов буронабивных свай и буровых опор рекомендуется формовать в инвентарной разъемной опалубке. Если в верхнем слое обнаруживается раствор без крупного заполнителя или бетон, загрязненный буровым шламом, то его следует удалить, а затем добавить бетонную смесь пластичной консистенции (с осанкой конуса 5-7 см) с уплотнением электровибратором. 8.5. Материалы, применяемые для приготовления бетонной смеси, соответствующей проектной марко бетона, должны удовлетворять требованиям стандартов на эти материалы и обеспечивать получение бетона заданной консистенции и прочности на сжатие. 8.6. Вода для затворения бетонной смеси не долина содержать вредных примесей, препятствующих нормальному схватыванию цемента и твердения бетона, а также не должна вызывать коррозию арматуры. 8.7. Сваи, предназначенные для работы в грунтах с агрессивными грунтовыми водами, выполняются с учетом мероприятий, повышающих устойчивость материала стволов против вредного воздействия среды. 8.8. Для улучшения технологических свойств бетонной смеси (удобоукладываемости, однородности и нерасслаиваемости) и уменьшения расхода цемента рекомендуется применять пластифицирующие добавки (расжижители), удовлетворяющие требованиям соответствующих стандартов и технических условий. 8.9. Применению добавок в бетонах должны предшествовать испытания свойств бетонных смесей и бетонов в лаборатории на конкретных материалах с добавками в соответствии с требованиями действующих стандартов, нормативно-технической или проектно-технологической документации. 8.10. Приготовление бетонной смеси с пластифицирующими добавками должно осуществляться на централизованных растворобетонных узлах, расположенных вблизи строительных площадок, с последующим транспортированием к месту укладки автосамосвалами или автобетоносмесителями. 8.11. При большом расстоянии от нейтрализованных узлов до строительной площадки, когда за время доставки смеси к месту укладки эффект от применения пластифицирующих добавок может значительно снизиться, доставку смеси следует производить в автобетоносмесителях с дополнительным перемешиванием у места укладки или доставлять смесь без добавок автосамосвалами с перегрузкой на строительной площадке в бетоносмеситель (с эстакады) и вводить водный раствор добавок с перемешиванием на месте. 8.12. Объем бетонной смеси, завозимый на площадку за смену, определяется по накладным завода, а расход на одну сваю для записи в журнале - по емкости автобетоносмесителей, кузовов автосамосвалов или протарированных бадей. 8.13. По окончании устройства свай обеспечивается уход за бетоном голов. При этом должны соблюдаться следующие правила: бетон головы сваи предохраняется от вредного воздействия ветра и солнечных лучей специальными матами и увлажнением; благоприятные условия для твердения бетона обеспечиваются поливкой водой. В сухую погоду поливку бетона на портландцементе надлежит производить в течение 2-3 сут., а бетонов на прочих цементах в течение 4-5 сут; поливку при температуре 15 °С и выше следует производить в течение первых суток днем не реже, чем через каждые 3 ч, в последующее время - не реже трех раз в сутки; при укрытии бетона, влагоемкими материалами длительность перерывов между поливками может быть уменьшена в 1,5 раза; при температуре воздуха ниже 5 °С поливка не производится. 8.14. При низкой среднесуточной температуре воздуха (от 5 °С и ниже) бетон головы сваи выдерживается по методу "термоса" или с электропрогревом. При этом укладываемая бетонная смесь должна иметь положительную температуру и готовиться с применением оттаявших заполнителей и подогретой воды. 8.15. Температура подогрева составляющих бетонной смеси должна обеспечить температуру бетонной смеси к концу бетонирования сваи: не ниже 20 °С при выдерживании бетона по методу "термоса" с применением конструкции утеплителя (рис. 14, а или б); не ниже 5 С при применении электропрогрева.
а б Рис. 14. Утепление головы сваи по методу термоса: а - вариант I; б - вариант 2 с использованием инвентарного утеплительного ящика; 1 - наброска из грунта толщиной 10-15 см: 2 - слой опилок толщиной 20 см; 3 - дощатый шит или 2 слоя толя; 4 - валик из грунта; 5 - инвентарная разборная опалубка; 6 - бетон головы сваи; 7 -арматурные стержни; 8 - подсыпка из грунта; 9 - утеплительный ящик; 10 - инвентарная опалубка; 11 - бетон головы сваи 8.16. Продолжительность перемешивания бетонной смеси в зимних условиях должна быть увеличена по сравнению с нормами летнего времени не менее, чем на 25 %. При применении подогретой воды одновременно с началом подачи ее в смеситель загружают крупный заполнитель, а после заливки половины требуемого количества воды и нескольких оборотов барабана (чаши) смесителя подают песок и цемент. Бетонная смесь в зимних условиях транспортируется с принятием мер, замедляющих процесс ее остывания в пути и при перегрузках, для чего кузова бетоновозов и бадьи должны быть утеплены и перед началом работ прогреты; при больших морозах, ветре и снегопадах бетонную смесь следует укрывать, а для доставки на расстояния свыше 3 км - применять транспортируемые средства с искусственным подогревом кузова. Предельная продолжительность транспортирования устанавливается строительной лабораторией. 8.17. Температура бетонной смеси, доставляемой в зимнее время на площадку, должна контролироваться с помощью технического термометра. 8.18. Качество применяемой бетонной смеси на площадке проверяется отбором контрольных кубиков непосредственно из верхней части ствола сваи после подъема бетонолитной трубы удаления кондуктора и формования оголовка. 8.19. Контрольные бетонные кубики изготовляются и хранятся в условиях, аналогичных условиям, в которых происходит бетонирование свай. Контрольные бетонные кубики отбираются в количестве 3 шт. с каждых 50-100 м3 уложенного бетона, но не меньше, чем в каждой двадцатой сваи. При устройстве опытных свай контрольные кубики отбираются в количестве 3 шт. с каждой сваи и хранятся в шурфе рядом со сваей. 8.20. Бетон признается соответствующим заданному классу (марке), если ни в одной из испытанных серии контрольных кубиков после 28-суточного твердения средняя прочность не будет ниже 85 % проектной прочности бетона. 8.21. Контроль прочности бетона головы свай рекомендуется осуществлять путем обстрела после 28-суточного твердения неразрушающим склерометрическим методом с применением приборов типа КМ со стержневым ударником, молотка Кашкарова, ГПНС-4 или других аналогичных приборов. По требованию технадзора обстрелу может подвергаться любая свая в выборочном порядке. 8.22. Результаты контроля качества работ должны оформляться соответствующими актами. Устройство буронабивных свай (опор) сухим способом8.23. Сухой способ устройства буронабивных свай применяется в условиях прорезки устойчивых связных грунтах, при не оплывающих и не обрушающихся после бурения и во время бетонирования скважинах. Технологическая схема устройства таких свай показана на рис. 15.
Рис. 15. Схема устройства буронабивных свай с уширенной пятой сухим способом: I - шнековое бурение диаметром 400-600 мм; II - устройство уширенной полости при помощи расширителя; III - установка кондуктора - инвентарной опалубки и арматурного каркаса; IV - опускание воронки с бетонолитной трубой; V - заполнение скважины бетонной смесью класса В20 - В25 (М200-М300) с осадкой, конуса 10-12 см; VI - извлечение обсадной трубы с уплотнением бетона обратно-поступательными движениями трубы и формованием головы сваи; 1 - стреловой кран; 2 - навесное буровое оборудование типа СО-2; 3 - буровая скважина; 4 - расширитель; 5 - кондуктор-опалубка; 6 - арматурный каркас; 7 - воронка (бункер) с бетонолитной трубой; 8 вибробадья; 9 - уширенная пята 8.24. Работы по устройству буронабивных свай при кустовом расположении рекомендуется выполнять в котлованах, траншеях или на выровненных площадках с отметками под подошву ростверков, одиночных свай-колонн или опор-колонн - на спланированных площадках с отметками на 0,15 м ниже уровня пола подвала или первого этажа бесподвального здания, а на местности, покрытой водой, - с поверхности искусственных островков. 8.25. Бурение скважин производят самоходными буровыми машинами, комплектами навесного оборудования типа СБУ-2, СО-1200 с ковшовым буром на кране МКГ-25 или ДЭК-251, СО-2 с уширителем скважин PC-I на кране МКГ-25, кране-экскаваторе Э-1252 или ДЭК-251 или с любыми другими установками, позволяющими бурить скважину диаметром на менее 400 мм до глубины, предусмотренной проектом. При установке и центровке бурового станка смещения в плане и отклонения вертикальной оси штанги от проектного положения оси сваи не допускаются. 8.26. В процессе бурения каждой скважины необходимо визуально определять соответствие грунтов в основании сваи с указанным в проекте (по наименованию, плотности и влажности). В случае расхождения следует прекратить бурение и вызвать представителей проектного института и заказчика для решения вопроса об изменении глубины бурения. 8.27. Перерывы при бурении скважины без обсадных труб, а также между окончанием бурения скважины и разбуриванием уширения допускаются не более 8 ч. При этом производится обязательная контрольная проверка сохранности скважины и уширения с зачисткой забоя ковшовый буром, что записывается в журнале устройства сваи. 8.28. После окончания бурения глубина скважины намеряется с помощью бурового става (колонн), рейки или лота. Затем устанавливается кондуктор-опалубка с обсадным патрубком (рис. 16) и производится зачистка забоя (дна скважины) вращением цилиндрической бадьи с ножами и прорезями в откидном днище.
Рис. 16. Формование головы сваи с помощью инвентарной опалубки: 1 - инвентарная разборная металлическая опалубка; 2 - арматурный каркас; 3 - бетон головы сваи 8.29. Кондуктор с обсадным патрубком можно не ставить в случаях, когда в устье скважины связный грунт достаточно устойчив, поверхность земли очищена от рыхлого грунта и обсыпание его исключается, воронка (бункер) с бетонолитной трубой опирается непосредственно на поверхность земли, обжимая грунт в устье скважины. 8.30. В скважинах без уширений вместо зачистки забоя допускается уплотнение основания втрамбовыванием слоя щебня или жесткого бетона толщиной 15-20 см с помощью какого-либо балансира, долота или гидроштампа. При этом стенки скважины должны быть закреплены инвентарной обсадной трубой. 8.31. Разбуривание уширений производят четырехфрезерным механическим расширителем с цилиндрической бадьей (рис. 17). В откидном днище бадьи имеются ножи для зачистки забоя скважины и прорези, через которые стружки грунта поступает внутрь бадьи. Механические расширители должны иметь ограничители раскрытия шарнирных ножевых лопастей до требуемых диаметров пяты на 1200, 1400, 1600, 1800 мм, а также стопоры удерживания раскрытия лопастей и вращения бадьи.
Рис. 17. Четырехфрезерный расширитель для устройства уширенной полости при сухом способе бурения 8.32. Перед началом работ производится тарировка расширителя, заключающаяся в следующем: на поверхности земли последовательно раскрываются лопасти расширителя по требуемым диаметрам с соответствующим замером опускания штанги; одновременно проверяется надежность стопоров удерживания раскрытия лопастей и вращения бадьи. 8.33. Если расширитель не приспособлен для постановки стопоров, тогда зачистку грунта в забое скважины можно производить другой бадьей бег раскрывающихся лопастей или ковшовым буром с обрезанным рыхлителем. 8.34. Проектное положение и размер уширенной пяты буронабивной сваи обусловливается неизменной отметкой опирания бадьи в забое скважины, что требует обязательной зачистки грунта в забое перед разбуриванием уширения с подъемом расширителя и выгрузкой грунта на поверхности земли. Замер глубины скважины после зачистки забоя производится с помощью специальной мерной рулетки, лота или по разметке на буровой штанге, для чего на штангу наносятся краской или мелом две риски: нижняя риска соответствует глубине скважины после опускания расширителя с касанием бадьи забоя скважины и должна находиться на уровне поверхности земли; верхняя риска соответствует отметке препарированного опускания штанги, она показывает полное раскрытие ножевых лопастей расширителя до требуемого диаметра. 8.35. Перед разбуриванием уширения днище бадьи должно опираться на проектной глубине забоя скважины, при этом нижняя риска на буровой штанге должна быть на уровне устья скважины (поверхности земли), что проверяется с помощью линейки, уложенной на доску у устья скважины или другого какого-либо фиксатора. 8.36. Если положение нижней риски оказывается выше, это указывает на возможное обсыпание грунта в забой скважины и подъем отметки опирания бадьи (рис. 18). Тогда до разбуривания уширитель следует поднять, бадью и ножевые лопасти застопорить и произвести зачистку забоя с помощью ножей в днище бадьи. Затем колонна с расширителем поднимается и производится выгрузка грунта из бадьи. Только после этого снимаются стопоры с бадьи и разрешается цикл разбуривания уширения.
Рис. 18. Разбуривание уширения без зачистки рыхлого грунта в забое скважины 8.37. Спуск колонны с расширителем должен производиться на минимальной скорости со строгой центрировкой колонны во избежание обсыпания грунта со стенок и лопастей расширителя. 8.38. В процессе разбуривания уширения желательно заполнение бадьи грунтом на 3/4 высоты. При этом перед подъемом и выгрузкой бадьи расширителя на поверхности земли следует 2-3 раза поднять и опустить колонну по высоте на 0,8-1,0 м с целью сброса грунта с лопастей в бадью. 8.39. Чтобы не оставалось в основании уширенной пяты рыхлого грунта, циклы зачистки забоя и разбуривания уширения должны чередоваться и заканчиваться зачисткой. 8.40. Разбуривание уширения заканчивается, когда верхняя риска на штанге опустится и будет на уровне поверхности земли, что проверяется аналогично указанны, изложенному в п. 8.35. Несмотря на простоту устройства, во многих случаях из-за неполной зачистки рыхлого грунта в забое скважины и на опорной площадке уширения, несущая способность свай с уширенной пятой часто снижается до 50 % по сравнению с качественно выполненными уширениями. 8.41. Разбуренное уширение перед постановкой арматурного каркаса и бетонированием должно выборочно проверяться и приниматься технадзором заказчика или авторским надзором. Заданный диаметр уширения проверяется посадкой протарированной штанги до риски, фиксирующей полное раскрытие лопастей расширителя. 8.42. Качество зачистки основания и сохранность свода уширения также должен проверять производитель работ (мастер) путем осмотра забоя с помощью электрической лампочки. 8.43. В журнале устройства буронабивных свай должны быть указаны отметка забоя скважин, диаметр уширенной пяты, дата и время разбуривания уширения и бетонирования, подпись прораба или мастера. 8.44. Арматурные каркасы длиной меньше глубины скважины следует подвешивать к опалубке сваи или поперечным балкам. 8.45. Бетонирование армируемых свай (опор) с уширенной пятой, а без уширений диаметром до 600 мм следует производить с подачей бетонной смеси через воронку (бункер) с бетонолитной трубой наружным диаметром на 25-30 мм меньше внутреннего диаметра арматурного каркаса и длиной на 0,5-0,6 м больше длины каркаса. При достаточно устойчивых стенках буровых скважин и неармируемых сваях без уширений или армируемых только в верхней части ствола короткими стержнями, а также армируемых сваях (опорах) диаметром более 600 мм бетонирование следует производить свободным сбрасыванием бетонной смеси через воронку с бетонолитным парубком диаметром 325-350 мм, длиной 2-3 м без ограничения высоты сбрасывания (устанавливается строительной организацией по согласованию с технадзором заказчика). 8.46. Для бетонирования должна применяться бетонная смесь класса, соответствующего проекту, но не ниже B15(M200) с осадкой конуса 10-12 см. 8.47. Для бетонирования неармированных свай диаметром 600 мм и более допускается применение бетонной смеси пластичной консистенции с осадкой конуса 6-8 см, сбрасываемой через кондуктор или воронку с бетонолитным патрубком при обязательном уплотнении бетона в головной части глубинным электровибратором (вибробулавой или виброиглой). 8.48. Крупность гравия для изготовления бетонных свай должна быть не более 40 мм, а щебня - 30 мм. 8.49. Бетонную смесь с подачей непосредственно в воронку или бункер рекомендуется доставлять автобетоносмесителями. При доставке смеси автосамосвалами ее следует выгружать в вибробадью с секторным затвором, а к скважине подавать стреловым краном. 8.50. Если применяется товарная бетонная смесь, доставляемая на площадку автосамосвалами, то для ее приготовления должен применяться цемент со сроком начала схватывания не менее 2 ч. 8.51. Консистенция бетонной смеси должна проверяться непосредственно на месте бетонирования с помощью конуса. Отклонение от заданной подвижности допускается в пределах ±20 мм. 8.52. Подвижность смеси, должна, сохраняться в течение времени, необходимого для транспортирования и соблюдения нормальных режимов бетонирования. Водоотделение смеси, характеризующее ее связность, должно находиться в пределах 1-2 %. 8.53. Бетонировать буронабивные сваи необходимо без перерывов. Объем бетонной смеси, подаваемой через бетонолитную трубу, должен быть достаточным для заполнения скважины с небольшим превышением отметки головы сваи и для компенсации понижения уровня бетона при извлечении трубы за счет заполнения затрубного пространства и усадки при твердении. 8.54. В случаях перерыва в бетонировании ствола продолжительностью более 2 ч обсадная или бетонолитная труба не должна извлекаться. В таких случаях она оставляется в теле сваи, верхний слой расслоившегося бетона в трубе удаляется и бетонирование завершается после доставки бетонной смеси независимо от срока перерыва. 8.55. Если при перерыве бетонирования бетонолитная труба поднята выше уровня бетона к скважине или полностью извлечена, а затем ствол добетонирован без зачистки от обсыпавшейся земли и слабого бетона, то такую сваю следует считать дефектной и взамен ее должна быть назначена дополнительная. 8.56. Объем разбуренной полости и
соответственно объем бетона в уширенной пяте следует принимать равным 8.57. В процессе устройства свай ведется журнал* по форуме, указанной в приложении 4, а также составляются акты на скрытые работы с участием технадзора заказчика. По окончании свайных работ составляется сводная ведомость (приложение 5). ____________________ * Журнал ведется мастером под контролем производителя работ и технадзора заказчика. Устройство набивных свай с плоской уширенной пятой в вытрамбованных скважинах8.58. Выштамповка скважины с устройством набивного ствола может выполняться в маловлажных связных грунтах (глина, суглинок, лесс и лессовидный суглинок). 8.59. Производство работ по изготовлению набивных свай следует выполнять в соответствии с технологической схемой, приведенной на рис. 19.
Рис. 19. Технологическая схема устройства свай с плоским уширением: I - устройство скважин вдавливанием штампа; II - устройство уширения; III - извлечение штампа; IV - установка инвентраного щита; V - установка арматурного каркаса; VI - заполнение скважины бетонной смесью; VII - уплотнение бетонной смеси виброштампом; VIII - готовая свая; 1 - вдавливающий штамп; 2 - скважина; 3 - инвентарный щит; 4 - арматурный каркас; 5 - воронка (бункер с бетонолитным патрубком); 6 - виброштамп; 7 - плоское уширение; 3 - оголовок 8.60. Выштамповка скважин и уширенных полостей производится с помощью сваевдавливающего агрегата мостовой конструкции, перемещающегося по рельсам вдоль свайного поля, оборудованного устройством для вдавливания свай, а также погружения в грунт и извлечения штампа призматической формы с двухлопастным расширителем гидравлического действия. Вдавливающее устройство монтируется на грузовой тележке, перемещающейся по мосту поперек свайного поля (рис. 20).
Рис. 20. Сваевдавливающая установка: 1 - рельсовый путь; 2 - опорные катки; 3 - мост; 4 - рельсовый путь для грузовой тележки; 5 - грузовая тележка; 6 - балласт; 7 - сваевдавливающий агрегат; 8 - свая (штамп); 9 - крановая установка 8.61. Выштамповка осуществляется в полуавтоматическом режиме с контролем усилия вдавливания по манометру и глубины погружения по меткам, имеющимся на корпусе устройства для погружения штампа. 8.62. После погружения штампа на требуемую глубину производят полное раскрытие лопастей, вследствие чего образуется плоское (двустороннее) уширение (рис. 21). Затем лопасти возвращаются в исходное положение и штамп извлекается вместе с металлической обжимной рамкой.
Рис. 21. Конструкция свайного фундамента: а - безростверкового; б - с монолитным ростверком; 1 - ствол сваи; 2 - плоское уширение пяты; 3 -монолитный железобетонный оголовок; 4 - монолитный железобетонный ростверк 8.63. Бетонирование набивных свай в выштампованных скважинах разрешается только после проверки геометрических размеров скважин и чистоты ее забоя. При наличии в скважине разрыхленного грунта следует повторно погрузить в нее штамп и обжать забой усилием, равным усилию вдавливания при первом погружении штампа с раскрытыми лопастями. 8.64. Укладывать бетонную смесь в скважину следует с уплотнением при помощи вибросердечника и вибростержня. 8.65. Исполнительная документация должна выполняться по формам, аналогичным для буронабивных свай, осуществляемых сухим способом. Устройство буронабивных свай с применением глинистого раствора вблизи существующих зданий8.66. При прорезке буронабивными сваями водонасыщенных неустойчивых слоев грунта, осыпающихся или оплывающих в незакрепленных выработках, скважины и уширения в них должны буриться под глинистым раствором, а бетонирование производится методом вертикально перемещаемой трубы (ВПТ). Технологические схемы устройства таких свай даны на рисунках 22 и 23.
Рис. 22. Схема устройства буронабивных свай под глинистым раствором: I - бурение скважины диаметром 500-800 мм установкой УРБ-ЗАМ под глинистым раствором; II - устройство уширенной полости; III - установка арматурного каркаса; IV - установка контейнера или бездонного ящика и бетонолитной трубы с вибробункером; V - бетонирование сваи методом вертикально перемещаемой трубы (ВПТ); VI - формование головы сваи и утепление в зимних условиях; 1 - буровой агрегат УРБ-ЗАМ; 2 - насосная установка; 3 - глиномешалка; 4 -расширитель; 5 - арматурный каркас; 6 - стреловой кран; 7 - контейнер для сбора пульпы; 8 - вибробункер с бетонолитной трубой; 9 - проволока диаметром Ø 2,5-3 мм; 10 - клапан (пробка); 11 - вибробадья; 12 - толь; 13 - опилки; 14 - земля; 15 - обрезки досок.
Рис. 23. Технологическая схема устройства буронабивных свай в неустойчивых грунтах с применением буровой установки СБУ-2 или CО-1000/1200: I - бурение скважины; II - устройство уширенной полости при помощи расширителя с применением глинистого раствора; III - установка арматурного каркаса; IV - установка бетонолитной трубы и бетонирование уширенной полости и ствола методом БПТ; V - установка инвентарной опалубки и бетонирование оголовка сваи; 1 - стреловой кран типа МКГ-25; 2 - буровой кондуктор; 3 - буровой рабочий орган; 4 - ковшовый бур; 5 - автосамосвал; 6 - емкость для глинистого раствора; 7 - расширитель; 8 - арматурный каркас; 9 - бункер с бетонолитной трубой; 10 - автобетоносмеситель; 11 - инвентарная опалубка; 12 - ствол буронабивной сваи; 13 - уширенная пята 8.67. Минимальный диаметр бурения скважин, который может быть принят по технологическим условиям устройства бетонных набивных свай, бетонируемых подводным способом, равен 400 мм, железобетонных - 500 мм. Максимальный диаметр бурения скважин установками УРБ ЗАМ - 800 мм, СБУ-2 - 1000 мм, ЛБУ-50A при ударно-канатном и вращательно-всасывающем бурении - 1200 мм, ЭО-51224-1200, CО-1200 - до 1500 мм. Диаметр разбуриваемых уширений - 1200, 1400, 1600, 1800 и 2000 мм. 8.68. Перед началом бурения буровую машину приводят в рабочее положение и устанавливают так, чтобы ось штанги находилась в вертикальном положении и центрировалась с осью сваи. 8.69. Во избежание размыва устья скважины циркуляционным потоком глинистого раствора необходимо устанавливать кондуктор с отводным патрубком или специальный-контейнер с обсадным патрубком длиной 1-1,5 м. Расстояние от стены существующего здания до ближайших свай должно быть не меньше 1,5 м (рекомендуется порядок устройства в ряду: через одну, а промежуточные - после твердения бетона в первых). 8.70. Бурение скважин и разбуривание уширений с применением воды вместо глинистого раствора допускается в связных грунтах /суглинках и глинах/ только в том случае, если устойчивость стенок скважины и свода уширений установлена опытным изготовлением свай и обусловлена проектом. 8.71. Состав глинистого раствора подбирается строительной лабораторией в зависимости от характеристики прорезаемых грунтов и применяемой глины. 8.72. Глинистый раствор приготовляется из бентонита или местных глин. Рекомендуемые параметры глинистых растворов приведены в табл. 9. Таблица 9. Рациональные параметры глинистых растворов для бурения скважин в различных геологических условиях
8.73. Уровень глинистого раствора независимо от способа бурения должен превышать уровень грунтовых вод не менее, чем на 1 м, при наличии обсадной трубы, а при отсутствии трубы не должен быть пике устья скважины. 8.74. Уширения разбуриваются при помощи механического расширителя /при бурении установками УРБ-ЗАМ или ЛБУ-50А рис. 24, а СБУ-2 и СО-1200 - рис. 17/, после чего в первом случае скважины промываются тем же глинистым раствором до полного выноса бурового шлама, а во втором случае зачистка основания производится ковшовым буром. 8.75. В процессе бурения следует периодически проверять основные показатели глинистого раствора: удельный вес, вязкость и суточный отстой.
Рис. 24. Расширитель для устройства уширенной полости под глинистым раствором при бурении скважин установками УРБ-ЗАМ или ЛБУ-50А 8.76. Глубина скважины должна проверяться с помощью лота, а для более точных замеров - штангой с буровым снарядом. Контроль заданного диаметра, уширенной полости осуществляется посадкой протарированной штанги вместе с расширителем. Проверку производят для двух взаимно перпендикулярных направлений без вращения штанги. При этом штангу следует опускать до отметки, фиксирующей полное раскрытие расширителя. 8.77. Перерывы при бурении скважины, а также между окончанием бурения скважины и разбуриванием уширения допускаются не более 4 ч а при условии поддержания в скважине уровня глинистого раствора на отметке поверхности земля или подошвы отводящего лотка. 8.78. Перерыв между окончанием разбуривания уширения с промывкой и началом бетонирования сваи допускается для песков и супесей не более 2 ч; для суглинков и глин - не более 4 ч. При перерывах большей продолжительности производится контрольная проверка сохранности скважины и уширения с помощью расширителя с повторной промывкой глинистым раствором или нацисткой забоя ковшевым буром. При перерывах более 6 ч контрольная проверка выполняется с участием инспектора по технадзору. 8.79. Состав бетонной смеси должен удовлетворять требованиям затвердевшего бетона. Класс бетона для подводного бетонирования методом ВПТ допускается не ниже В25 /М300/ при расходе цемента не менее 400 кг на 1 м3 бетона. Прочность образцов бетонной смеси рабочего состава при подборе долина быть на 10 % выше требуемой по проекту. 8.80. Консистенция смеси должна быть литая с осадкой конуса в пределах 18-20 см. 8.81. Наибольшая крупность заполнителя бетонных свай не должна превышать 30, а железобетонных - 20 мм. В качестве крупного заполнителя рекомендуется применять смесь гравия с 20-30 % щебня, мелкий заполнителем служат среднезернистые и мелкие пески. 8.82. Приготавливать смесь следует на близко расположенных бетонных заводах с доставкой товарного бетона в автобетоносмесителях или специально приспособленных кузовах автосамосвалов. При этом должна быть обеспечена бесперебойность приготовления и доставки на рабочую площадку бетонной смеси требуемого объема и качества. Утечка раствора /теста/ в процессе транспортирования смеси должна быть исключена. Бетонирование методом вертикально перемещаемой трубы /ВПТ/8.83. Уширенную пяту и ствол сваи рекомендуется бетонировать по методу ВПТ. Арматурный каркас следует устанавливать перед бетонированием. 8.84. Бетонолитные стальные трубы с наружным диаметром 273-350 мм могут применяться цельные и собранные из отдельных секций. Цельные трубы разрешается применять как исключение при глубине скважин до 10 м и расходе бетонной смеси до 4 м3 на одну сваю. При применении труб, собранных из отдельных секций, должна быть обеспечена герметичность всех стыков. 8.85. Бетонолитную трубу следует снабдить вверху жестким металлическим бункером. К бункеру прикрепляется площадка с ограждением и лестницей. Бункер для загрузки бетонной смеси изготовляется из листовой стали толщиной 3-5 мм с металлической обвязкой из уголковой стали. 8.86. Бетонирование методом ВПТ рекомендуемся производить с применением вибраторов, укрепляемых на бадье, бетонолитной трубе и бункере, включаемых в случаях образования пробок. 8.87. для подъема и отсекания труб, а также для их наращивания или укорачивания применяются стреловые краны необходимой грузоподъемности или инвентарные металлические вышки с электрическими лебедками. Вышка ставится над устьем скважины и предназначается для закрепления бункера или воронки и трубы бетонной смесью, подъема и опускания трубы, удержания трубы при смене и снятии верхних секций, наблюдения за режимом бетонирования /наполнением трубы, ее заглублением и др./. 8.88. Механизмы для подъема и опускания труб должны обеспечивать их вертикальное перемещение и возможность быстрого опускания трубы /травления/ на 50-100 см. 8.89. Первоначальное заполнение трубы бетонной смесью должно производиться с применением предохранительных клапанов или пробок, изолирующих бетонную смесь от смешивания с глинистым раствором или водой. Разделители могут быть разных видов, например, плоский из листовой стали, закрывающий горловину бункера; изготавливаемый из кровельного железа в виде конуса с диаметром основания, равный внутреннему диаметру бетонолитной трубы, и высотой, равной половине диаметра трубы. Перед бетонированием конус-разделитель устанавливается в горловине бункера и крепится к нему проволокой; свободно скользящий в виде пробки толщиной 200-300 км, изготавливаемой из круглой древесины. Пробка движется в трубе под действием массы бетонной смеси, вытесняя, глинистый раствор или воду подобно поршню. 8.90. При применении клапана в виде жесткой воронки-разделителя расстояние от забоя скважины до нижнего конца бетонолитной трубы перед началом бетонирования должно быть не более 200 мм. При использовании пробки нижний конец трубы должен быть поставлен на забой скважины с заглублением в грунт на 100-200 мм. При этом создается гидростатистическое давление, которое удерживает бетонную смесь в бункере до подъема трубы. 8.91. Для исключения растекания глинистого раствора на рабочей площадке над устьем скважины устанавливается металлические бездонный ящик с отверстием над отводящим лотком /бетонирование ведется с выпуском раствора через верх, кондуктора-опалубки/. Для этой цели возможно также применение свайного контейнера /рис. 25/. 8.92. В процессе бетонирования нижний конец трубы должен быть заглублен в бетон не менее чем на 2, и не более, чем на 4 м.
Рис. 25. Свайный контейнер: а - вид сбоку; б - вид с торца; в - план; 1 - запор; 2 - стенки (дверка): 3 - шарнирная петля; 4 - трубчатый кондуктор; 5 -диафрагма; 6 - отверстия с закладными шкворнями; 7 - строповочная петля; 8 - каретка; 9 - днище; 10 - люк с задвижкой Уровень бетонной смеси в скважине и заглубление трубы проверяются с помощью стандартного уровнемера или лота, опускаемого в зазор между стенкой скважины и трубой. В зависимости от результатов измерений устанавливается предельно возможная высота подъема трубы. 8.93. Интенсивность укладки бетонной смеси должна быть не менее 1 м3/ч в летних и 5 м3/ч в зимних условиях, но не менее 4 м ствола в 1 ч. Перерывы в бетонировании не должны превышать 1 ч. 8.94. Бетонирование следует немедленно прекращать в случае прорыва глинистого раствора или воды в трубу /при неосторожном ее подъеме или недостаточном заглублении/. Об этом свидетельствует падение уровня глинистого раствора или воды в скважине. После аварийного перерыва с удалением бетонолитной трубы допускается возобновление бетонирования только при условии обсадки скважины трубой диаметром, равным диаметру скважины, с заглублением ее конца в свежеуложенный бетонный столб на 2-3 м и удалением изнутри трубы глинистого раствора, шлама и слабого бетона толщиной слоя не менее 0,5 м при помощи желонки. Указанные работы должны выполняться до начала твердения бетона. Оставляемая в грунте труба при отсутствии в ней воды заполняется бетонной смесью класса B15 /М200/ пластичной консистенции свободным сбрасыванием через воронку с патрубком, установленную по центру сваи /высота падения смеси в трубе не ограничивается/. 8.95. Свая признается дефектной, если при ее бетонировании бетонная смесь из бетонолитной трубы упущена, а затем бетонирование продолжено без удаления шлама. Пониженная несущая способность такой сваи должна быть компенсирована устройством дополнительной сваи. 8.96. При бетонировании сваи методом ВПТ особое внимание должно быть уделено обеспечению интенсивности и непрерывности подачи бетонной смеси. При этом к концу бетонирования глинистый раствор и загрязненная бетонная смесь должна быть полностью вытеснены из скважины. Признаком качественного завершения бетонирования является выход на поверхность земли незагрязненного бетона "шапкой" /после удаления трубы/ с наличием в нем щебня или гравия такой же крупности, какая была в примененной бетонной смеси. 8.97. Если по производственным условиям буронабивные сваи устраиваются с отметки земли или дна котлована, превышающей проектную отметку подошвы ростверка, и головы свай не формуются в опалубке, (см. рис. 16), то после их отрывки верхний расслоившийся слабый слой бетона должен быть срублен до обнаружения в сколах бетона щебня, но не менее чем на 30 см. 8.98. В процессе бетонирования свай надлежит контролировать: качество и температуру /зимой/ бетонной смеси; интенсивность укладки смеси; уровень бетонной смеси в трубе; размер заглубления трубы в бетонную смесь; объем бетона, уложенного в скважину, поскольку сопоставление фактически уложенного объема с предусмотренным по проекту характеризует размеры свай и является наряду с другими способами также средством контроля качества работ. 8.99. Журнал устройства каждой сваи заполняется бригадиром или мастером по форме, приведенной в приложении 5. Сводная ведомость буронабивных свай по всему объекту или по отдельным захваткам составляется по форме, приведенной в приложении 5. Устройство свай /опор/ с применением трубчатых оболочек8.100. Буронабивные сваи /опоры/ с применением оставляемых в грунте трубчатых стальных или железобетонных оболочек устраивают на местности, покрытой водой, или вблизи существующих зданий при наличии в прорезаемых напластованиях весьма неустойчивых водонасыщенных или сыпучих слоев грунта, когда сохранность скважин и основания под фундаментами зданий в процессе бурения и бетонирования под глинистым раствором не гарантируется (рис. 26).
Рис. 26. Технологическая схема устройства трубобетонных свай с уширенной пятой: I - установка кондуктора диаметром 920 мм, длиной 3,0 м и бурение скважины ковшовым буром диаметром 880 мм до отметки грунтовой воды; II- установка и погружение в грунт первой секции трубы диаметром 820 мм вибропогружателем ВП-30, съемка вибропогружателя, постановка второй секции трубы со сваркой стыка и дополнительное погружение трубы в грунт до проектной отметки; III - съемка вибропогружателя и бурение скважины ковшовым буром диаметром 780 мм до проектной отметки; IV - разбурившие уширения с зачисткой основания ковшовым буром; V - бетонировании сваи бетонной смесью класса B15 (М200) с осадкой конуса 7-8 см и установка арматурного каркаса длиной 7 м; 1 - кран МКГ-25; 2 - навесное буровое оборудование; 3 - ковшовый бур; 4 - кондуктор; 5 - вибропогружатель; 6 - вторая секция трубы; 7 - первая секция трубы; 8 - упорная каретка; 9 - телескопическая колонна; 10 - расширитель; 11 - бадья с секторным затвором; 12 - арматурный каркас; 13 - уширенная пята 8.101. Если сотрясения при забивке оболочек или вибрация при их погружении в грунт опасны для устойчивости существующих зданий, бурение скважин рекомендуется производить с применением глинистого раствора с одно временной обсадкой их трубами без применения ударных или вибрационных механизмов. Состав, параметры и расход глинистого раствора задаются проектом и подбираются строительной лабораторией в зависимости от характеристики прорезаемых грунтов и применяемых глин. 8.102. Бетонирование трубчатых полостей свай-оболочек, свободных от воды, при внутреннем диаметре труб до 650 мм и отсутствии в них арматуры следует производить свободным сбрасыванием бетонной смеси с осадкой конуса 6-8 см. Уплотнение бетона глубинным электровибратором следует производить только в головной части ствола после извлечения обсадной трубы. 8.103. Бетонирование вертикальных трубчатых полостей свай-оболочек, свободных от воды, при внутреннем диаметре труб более 650 мм, а также при наличии в трубах диаметром 500 мм и более арматурных каркасов допускается производить свободным сбрасыванием бетонной смеси через воронку или бункер с бетонолитной трубой диаметром 325-377 мм, длиной 2-3 м, установленной по центру сваи-оболочки. При наклонных сваях-оболочках длина бетонолитной трубы должна быть не меньше арматурного каркаса. 8.104. Бетонирование трубчатых полостей свай-оболочек и уширений, заполненных водой или глинистым раствором, следует производить методом ВПТ в соответствии с пп. 8.83-8.98. Допускается также бетонирование уширения и бетонной пробки в трубе по высоте не менее 2 м подводным способом /методам ВПТ или при помощи контейнера/ с удалением изнутри оболочки воды или глинистого раствора эрлифтом или желонкой, расчисткой загрязненного верхнего слоя бетона и последующим бетонированием ствола "насухо". 8.105. При наличии соответствующего по грузоподъемности оборудования и интенсивном бетонировании следует применять инвентарные обсадные трубы, извлекаемые из грунта по окончании бетонирования всего ствола до начала схватывания цемента. Расход обсадных труб в сметной документации следует определять с учетом их износа (6 %) и отходов (4 %) от общего объема крепления скважин с извлечением труб, предусмотренного проектом. 8.106. Для уменьшения сопротивления грунта по боковой поверхности извлекаемых труб соответственно допустимому усилию подъемного механизма рекомендуется применение телескопически вводимых двух или трех обсадных труб разного диаметра. Журнал устройства каждой сваи ведется по форме, приведенной в приложении 6. Сводная ведомость свай-опор по всему объекту или захваткам составляется по форме, приведенной в приложении 5. Устройство глубоких буровых опор с применением станков типа Супер-ЕДФ и 20-ТН8.107. Устройство глубоких буровых опор с применением станков Супер-ЕДФ французской фирмы "Беното", 20-ТН японской фирмы "Като" и аналогичных станков отечественного производства возможно в грунтах различных характеристик. Скважины диаметром 800-1700 мм, глубиной до 40 м образуются ударным грейферным или роторным бурением, с применением инвентарных обсадных труб, состоящих из секций длиной 2, 4 и 6 м и режущего наконечника в нижнем фланце первой секции. Технологическая схема устройства таких опор дана на рис. 27.
Рис. 27. Технологическая схема устройства свай станком Супер-ЕДФ-55: I - бурение скважины под защитой обсадной трубы диаметром 670-1180 мм; II - установка арматурного каркаса; III - бетонирование сваи методом ВПТ с подъеме; обсадной трубы; IV - удаление обсадной трубы и формование головы сваи; 1 - буровой станок Супер-ЕДФ; 2 - грейфер; 3 - инвентарная обсадная труба; 4 - автосамосвал; 5 - гидравлический домкрат, сообщающий трубе поступательное движение домкрат, вращающий трубу, не показал; 6 - хомут для захвата обсадной трубы; 7 - арматурный каркас: 8 - воронка с бетонолитной трубой; 9 - автобетоносмеситель; 10 ствол сваи-опоры 8.108. Во время бурения скважин обсадные трубы непрерывно погружаются вращательно-поступательными движениями. 8.109. Для проходки песков, мягкопластичных глин и других слабых пород в нижнем конце первой секции трубы следует ставить обычный режущий наконечник, а для проходки твердых глинистых и скальных грунтов - усиленный режущий наконечник. 8.110. В конце бурения необходимо следить за характером проходимых грунтов, при изменении вида грунта - менять рабочий орган Для разработки песчаных и крупнообломочных пород следует применять двухчелюстный грейфер с герметическими челюстями повышенной вместимости. Для разработки твердых глинистых и скальных грунтов челюсти грейфера снабжаются режущими сверхармированными зубьями. Для разработки твердых грунтов челюсти грейфера закрепляются /блокируются/ в открытом положении, чтобы обеспечить работу грейфера как ударного долота. Разработка прочных скальных грунтов может выполняться ударными долотами. 8.111. В связных грунтах средней плотности при наличии роторной приставки к станку могут применяться шнековые буровые органы или, цилиндрические фрезы с откидным днищем. Водонасыщенные неплотные пески и или рекомендуется разрабатывать желонкой, обеспечивающей большую производительность, чем грейфер. Желонка также может быть использована для зачистки забоя скважины и откачки воды. В процессе бурения необходимо тщательно осуществлять контроль отметки забоя и режущего наконечника путем регулярных примеров. Отметку режущего наконечника устанавливают, учитывая общую длину секций обсадных трус, ниже зафиксированного на станке условного уровня. отметка забоя определяется опусканием в скважину лота. 8.112. При бурении в устойчивых грунтах, в которые обсадная труба может погружаться под действием гидравлических домкратов ниже забоя, следует стремиться к тому, чтобы режущий наконечник врезался в забой на 25-40 см. В таких случаях к моменту удара грейфера о забой целесообразно поднимать обсадную трубу на 12-20 см. При этом в грунте образуется кольцевая полость, облегчающая работу грейфера. 8.113. При проходке слабых неустойчивых грунтов /плывунов, водонасыщенного торфа, ила и др./ рекомендуется разрабатывать их при положении режущего наконечника на 1-3 м ниже забоя, а в момент удара грейфера о забой обсадную трубу поднимать не следует. 8.114. При разработке водонасыщенных неустойчивых грунтов уровень воды в скважине необходимо поддерживать не менее, чем на 3 м выше уровня грунтовых вод для предупреждения наплыва грунта в скважину. Это достигается периодическим добавлением воды в скважину, для чего должны быть предусмотрены водоснабжение от временного водопровода или доставка воды автоцистернами. 8.115. При разработке маловлажных глинистых грунтов возможно налипание грунта на режущий наконечник обсадной трубы, что может при бетонировании привести к попаданию грунта в бетонную смесь. Для предупреждения этого следует после достижения проектной отметки приподнять обсадную трубу на 0,3-0,5 м и несколько раз опустить грейфер до забоя скважины. 8.116. После достижения проектной отметки забой следует зачистить грейфером, несколько раз медленно опуская его на забой. При зачистке забоя в водонасыщенных песчаных грунтах необходимо обращать особое внимание на уровень воды в скважине, выполняя требование п. 8.114. Зачистка забоя скважины в этих случаях выполняется желонкой. 8.117. Грунт, извлекаемый из скважины, рекомендуется грузить в транспортные средства и удалять от места бурения. 8.118. В тех случаях, когда предвидится значительная задержка с началом бетонирования (отсутствие арматурных каркасов, бетонной смеси и др.), бурение рекомендуется приостановить, не доводя забой до проектной отметки на 1-2 м. Этот участок следует проходить после того, как возможность перерыва между окончанием бурения и началом бетонирования будет устранена. 8.119. При установке арматурного каркаса на части длины опоры необходимо учитывать его осадку при уплотнении бетонной смеси. Размер ожидаемой осадки каркаса устанавливается опытным путем. 8.120. Бетонирование сухих буровых скважин должно производиться непрерывно на полную глубину скважины или в несколько этапов в соответствии с п. 8.102. При бетонировании в несколько этапов высота столба бетона в скважине на каждом этапе должна на 2 м превышать длину удаляемых секций обсадной трубы. 8.121. Высота укладки бетонной смеси на первом этапе до начала подъема обсадной трубы должна приниматься так, чтобы уложенный бетон внизу скважины не начал твердеть до подъема трубы. 8.122. Время, необходимое для доставки бетонной смеси с завода на строительную площадку для ее укладки на заданную высоту и подъема обсадной трубы, не должно превышать срока начала схватывания цемента в бетонной смеси. 8.123. Для уплотнения бетонной смеси и лучшей связи бетона с грунтом подъем обсадной трубы должен производиться поступательно-вращательным движением, с последовательным подниманием ее на 20-30 см и опусканием на 10-15 см. 8.124. Секции обсадной трубы после извлечения должны быть тщательно очищены от налипших затвердевших частиц бетона и промыты. Бетонирование скважин при наличии в них воды должно производиться методом ВПТ или инвентарным контейнером с открывающимися внизу створками. 8.125. При укладке бетонной смеси контейнером необходимо проверить его узлы, после чего приступить к бетонированию, полностью заполняя его бетонной смесью. Заполненный контейнер сначала следует опустить на дно забоя скважины или на поверхность ранее уложенной бетонной смеси. Затем для открытия нижних створок контейнером необходим его небольшой подъем и спуск. После этого контейнер следует постепенно поднимать так, чтобы нижние створки его оставались в свежеуложенном бетоне до полного выхода бетонной смеси. 8.126. Бетонирование следует вести до отметки, превышающей проектную не менее, чем на 40-50 см, с последующим сбросом жидкого раствора и загрязненного бетона. 8.127. Бетонная смесь должна поставляться строго по графику, составленному исходя из необходимой скорости укладки с учетом схватывания цемента и технологических перерывов для снятия секции обсадной трубы. 8.128. В процессе устройства буровых опор должны вестись журналы бурения и бетонирования буровых опор (приложение 7). На правильность ведения, записей в журнале должно быть обращено особое внимание производителя работ и технадзора, так как журнал является единственным документом, дающим возможность проконтролировать весь процесс изготовления буровой опоры. Устройство свай с камуфлетной пятой8.129. Сваи с камуфлетной пятой, образуемой энергией взрыва, применяются в следующих случаях: если с поверхности земли залегают сильно сжимаемые, разнородные насыпные, набухающие, или просадочные грунты, подстилаемые на относительно небольшой глубине (до 20 м) глинистыми породами, не обладающими просадочными свойствами; когда сваи других типов могут быть заменены камуфлетными такой же несущей способности, но меньшей длины или большей несущей способности при меньшем количестве и при меньшей или равной стоимости; если требуется увеличить несущую способность ранее погруженных в грунт свай-оболочек с открытым нижним концом или глухим конусным башмаком. 8.130. Камуфлетные уширения в основании свай образуются мгновенно - одним взрывом сосредоточенного заряда, двумя последовательными взрывами (двойного камуфлетирования), взрывом кольцевого заряда и групповым взрывом нескольких зарядов, расположенных по периметру стенки скважины. 8.131. Бетонные буронабивные сваи с камуфлетной пятой изготавливаются на площадках, непокрытых водой, в буровых или взрывных скважинах. В устойчивых связных грунтах обсадка скважин инвентраной трубой, которая служит также бетонолитной, производится только перед камуфлетированием (рис. 28). В песчаных грунтах, в которых стенки скважин обсыпаются или оплывают через, небольшой промежуток времени после бурения, обсадка скважин производится вслед за бурением.
Рис. 28. Технологическая схема устройства набивных свай с камуфлетной пятой: I - бурение скважины диаметром 400-600 мм глубиной 4-14 м; II -опускание инвентарной обсадной трубы с воронкой; III - установка заряда взрывчатого вещества (ВВ) и заполнение скважины бетонной смесью класса В 20 (М 200) литой консистенции (осадка конуса 12-16 ом); IV - образование камуфлетной пяты взрывом заряда ВВ и добавление бетонной смеси; V - перестановка трубы в другую скважину, забивка арматурных стержней диаметром 16-20 мм и формирование головы сваи в инвентраной опалубке под проектную отметку; 1 - буровая машина; 2 - скважина; 3 - стреловой кран; 4 - обсадная труба с воронкой; 5 - вибробадья; 6 - электросеть; 7 - бетонная смесь; 8 - заряд ВВ; 9 - арматурные стержни; 10 - ствол сваи; 11 - камуфлетная пята; 12 - грунтовая оболочка, уплотненная взрывом 8.132. Сваи, состоящие из железобетонных свай-стоек заводского изготовления с камуфлетной пятой, утраиваются в устойчивых связных грунтах (рис. 29). Скважины бурятся самоходными буровыми установками, навесным оборудованием типа СО-2, сваевдавливающими агрегатами или пробиваются при помощи станка ударно-канатного бурения с конусным балансиром.
Рис. 29. Технологическая схема устройства железобетонных свай-стоек с камуфлетной пятой: I - бурение скважины; II - установка обсадной трубы с воронкой; III - опускание заряда ВВ и заполнение скважины бетонной смесью литой консистенции; IV - образование уширенной пяты взрывом заряда; V - добетонирование пяты и ствола сваи до проектной отметки; VI - перестановка трубы в следующую скважину; VII - забивка железобетонной сваи-стойки с заглублением конусного конца в бетонную смесь до центра пяты; 1 - буровой агрегат; 2 - скважина; 3 -стреловой кран; 4 - инвентарная обсадная труба с воронкой; 5 - вибробадья; 6 - электросеть; 7 - бетонная смесь; 8 - заряд ВВ; 9 - камуфлетная пята; 10 - грунтовая оболочка, уплотненная взрывом; 11 - вибропогружатель; 12 - железобетонная свая-стойка заводского изготовления 8.133. На местности, покрытой водой, а также при прорезке слабых водонасыщенных грунтов (плывунных, илистых и др.) скважины бурятся с одновременной обсадкой трубами. В таких случаях применяются камуфлетные сваи с защитной оболочкой, извлекаемой ступенями по мере бетонирования ствола или оставляемой в грунте. 8.134. Сваи двойного камуфлетирования применяются в случаях, когда требуется получить относительно большую пяту в неглубокой скважине или при небольшом диаметре обсадных труб, через которые большой ящик с зарядом ВВ не проходит. При этом один заряд заменяется двумя меньшими, взрываемыми в той же скважине последовательно. Объем бетона в скважине над первым зарядом должен рассчитываться из условия необходимости заполнения камуфлетной полости до половины. После взрыва первого заряда и проседания бетонной смеси в центре полости устанавливается второй заряд, а затем вся полость и скважина вновь заполняются смесью. Взрывом этого заряда, действующим через малосжимаемую массу бетонной смеси литой консистенции, грунт отжимается дальше. Таким образом происходит увеличение диаметра пяты без заметных деформаций грунта на поверхности. 8.135. При устройстве свай двойного камуфлетирования необходимо тщательно контролировать уровень бетона в камуфлетной полости после первого взрыва, а также положение второго заряда при помощи щупа или лота. 8.136. Камуфлетирование кольцевыми и групповыми зарядами применяется для устройства уширенных пят в основании скважин или колодцев-оболочек большого диаметра (более 1 м), В этом случае заряды взрывчатого вещества располагаются предельно близко к наружной грани скважины или оболочки, что способствует образованию значительно большей камуфлетной полости за пределами скважины. 8.137. Для производства взрывных работ разрешается использовать взрывные материалы (ВМ) и средства взрывания (СВ), на которые имеются государственные стандарты или утвержденные в установленном порядке технические условия, а также постановления Госгортехнадзора СССР. Преимущественно следует применять влагостойкие ВВ. Рекомендуемые ВВ и СВ приведены в таблицах 10 и 11. Таблица 10. Взрывчатые вещества, рекомендуемые к применению при камуфлетировании свай
Таблица 11. Средства взрывания
8.138. Массу наряда ВВ С1, кг для образования камуфлетной полости следует определять по формуле где Kn - коэффициент сопротивления грунта отжатию взрывом при создании полости, кг/м3, определяемый по табл. 12; D - диаметр камуфлетной полости, м. Коэффициент сопротивления грунта отжатию взрывом прессованного тратила Kn, кг/м3
Примечания: 1. В случаях применения другого ВВ значения С, установленные по формулам /20/, /21/, уточняются по формуле
где С3 - уточненная масса заряда ВВ, кг; Kэ - коэффициент, учитывающий влияние теплоты взрыва, принимавши по табл. 13. 2. При камуфлетировании последовательным взрывом двух зарядов, а также групповым взрывом нескольких зарядов ВВ /не менее 4/, расположенных по периметру скважины, значения умножаются на дополнительный коэффициент 0,8. Таблица 13. Поправочные коэффициенты на теплоту взрыва
8.139. Дополнительная масса заряда ВВ на разрыв металлических оболочек (труб или конусных башмаков) С2 при расположении его в центре сечения принимается на 1 см2 площади металлического сечения: Для труб диаметром:
8.140. Суммарная масса ВВ для камуфлетного заряда, помещенного внутри трубы, определяется сложением массы зарядов, необходимых для образования полости и разрыва трубы, С = С1 + С2. 8.141. Масса заряда ВВ по условию получения в грунте камуфлетной полости без рыхления или выброса породы проверяется по формуле где KB - коэффициент сопротивления грунта выбросу взрывом, определяемый по табл. 14, кг/см3; h - линия наименьшего сопротивления (расстояние от центра заряда до поверхности земли для грунта в близко расположенной выработке - траншее, штольне и др.), м. Из формулы (21)
Таблица 14. Коэффициенты сопротивления грунта выбросу взрывом KB, кг/см3
8.142. При сосредоточенном заряде ВВ и однородной грунтовой среде сферы действия камуфлетного взрыва имеют форму, близкую к шарообразной. В этом случае радиус разрушения или деформации (уплотнения) грунта Тp, м,
где Kр - коэффициент сопротивления грунта разрушению взрывом, определяемый по табл. 15, м/кг1/3; С - масса заряда ВВ, кг. Таблица 15. Коэффициенты, сопротивления грунта разрушению взрывом
8.143. Безопасное расстояние от очага камуфлетного взрыва (центра заряда) до ближайшей части фундамента близко расположенных сооружений (по сейсмическому влиянию) Rδ, м, определяется по формуле
где Тр - радиус разрушения, м; Kр - коэффициент сопротивления грунта разрушению взрывом. При размещении зарядов в водонасыщенных грунтах его следует увеличить в 2 раза; С - масса заряда ВВ, кг. При групповых взрывах эквивалентный заряд по сейсмическому влиянию Сэкв, кг, определяется по формуле
где С1, С2, … Сn - масса одновременно взрываемых (одиночных) зарядов, кг; R1, R2, ... Rn - соответствующие расстояния от зарядов до ближайшей части фундамента сооружения, для которого определяется сейсмическое влияние взрыва, м. Усредненное расстояние по сейсмическому влиянию одновременно взрываемых зарядов Rэкв, м, определяется по формуле.
8.144. Масса заряда ВВ для создания требуемого размера камуфлетной пяты, установленного расчетом, должна быть проверена пробными взрывами в аналогичных грунтовых условиях при устройстве опытных свай, подлежащих испытаниям статической нагрузкой. При этом следует учитывать, что применение высокобризантных ВВ (гексогена, тротила и др.) обеспечивает получение трещин по поверхности камуфлетных полостей, заполнение которых жидким раствором способствует увеличению размеров опорной пяты сваи. Применение воздушных оболочек зарядов (50 % от объема ВВ) позволяет на 20-25 % увеличить диаметр камуфлетной полости, что также способствует увеличению несущей способности свай. 8.145. Взрывные работы по образованию камуфлетных уширений необходимо выполнять силами специальной команды подрывников под руководством лица, имеющего право ведения взрывных работ, со строгим соблюдением Единых правил безопасности при взрывных работах, утвержденных Госгортехнадзором, и настоящего руководства. 8.146. Критерием правильности подбора заряда может служить объем бетонной смеси, просевшей в камуфлетную полость, или диаметр камуфлетной пяты DK, м, вычисленный по формулам: при сосредоточенном заряде ВВ, взрываемом в маловлажном связном грунте и помещенном ниже обсадной трубы при сосредоточенном заряде ВВ, взрываемом внутри трубы, оставляемой в грунте, или ниже трубы н песчаном грунте где V - объем бетонной смеси, просевшей после взрыва заряда из скважины, или трубы в камуфлетную полость, м3, определяется исходя из разности отметок поверхности бетона в скважине до и после взрыва. 8.147. Минимальную высоту заполнения обсадной трубы или сваи-оболочки бетонной смесью для камуфлетирования свай в неустойчивых грунтах следует назначать из условия проседания ее после взрыва на высоту столба смеси, необходимой для заполнения камуфлетной полости, с запасом на 2 м бетонной пробки в трубе. Объем камуфлетной полости, VK, м3, определяется по формуле объема шара с коэффициентом 1,1, учитывающим увеличение объема бетонной смеси на заполнение трещин и переходной части от ствола к пяте
Высота ствола бетонной смеси в трубе, м, определяется из формулы объема цилиндра
где dвн - внутренний диаметр трубы, м. Полная высота столба бетонной смеси в трубе, м, L = Lo + 2м. (31) 8.148. Высоту бетонной снеси или раствора в трупе в устойчивых связных грунтах, при первом взрыве для свай двойного камуфлетирования следует назначать из условия потребности заполнения половины камуфлетной полости
8.149. Нормативное время процесса камуфлетирования определяется с учетом всех затрат времени от приготовления бетонной смеси до момента взрыва заряда. Это время должно быть меньше срока схватывания цемента, не больше 1 ч в летнее время и 2 ч при температуре ниже +5 °C. 8.150. Камуфлетирование свай при условиям, указанных в п. 4.16, рекомендуется производить последовательными рядами, в кустах первыми изготавливаются средние сваи, а затем крайние. В отдельных случаях при небольшом количестве свай в кусте в связных устойчивых грунтах целесообразно выполнять групповое камуфлетирование. Количество одновременно взрываемых зарядов в группе равно числу свай в кусте. 8.151. В пробуренную скважину инвентарная обсадная труба опускается стреловым краном не до самого забоя (см. рис. 29), а до ограничителей или наклонных плоскостей воронки. При этом нижний конец трубы должен находиться над зарядом ВВ на расстоянии не меньше 1,2 м при массе заряда до 1,5 кг, 1,5-1,6 м - при массе заряда до 2 кг и 1,8-2,0 м - при массе заряда больше 2 кг. 8.152. Если обсадная труба не подвешена, а опущена до забоя скважины, ее поднимают на высоту, указанную в п. 8.151, затем ставят удерживающий хомут. 8.153. Наружный диаметр инвентарной обсадной трубы следует назначать на 10-20 мм меньше диаметра скважины. Такое отношение диаметров позволяет устанавливать трубу, свободно опуская ее в скважину без принудительного вдавливания или забивки, а также поднимать без большого усилия на крюке крана. 8.154. При отсутствии склада ВВ вблизи строительной площадки взрывные материалы рекомендуется завозить на строительную площадку в количестве суточной потребности. 8.155. Заготовка зарядов должна выполняться в специально оборудованном помещении. Во время работы взрывника на рабочей площадке помещение закрывается на замок и охраняется проинструктированным рабочим. 8.156. Заряды ВВ упаковываются в дощатые ящики или пластмассовые коробки (тару) с отверстиями для вывода проводов электросети. Тара должна быть прочной и водонепроницаемой. 8.157. При диаметре скважин больше 500 мм к таре следует прикреплять направляющие планки, чтобы опущенный заряд фиксировался в центре сечения. 8.158. Для полной гарантии взрыва на один заряд следует ставить по два электродетонатора, к которым присоединяются провода двух параллельных линий электросети. 8.159. Для защиты электросети от истирания или повреждения провода протягиваются в пределах верхнего конца обсадной трубы и воронки через газовую трубу или гибкий резиновый шланг. При подводном бетонировании методом ВПТ провода должны предохраняться по всей длине трубы. В таких случаях нижний конец предохранительной трубки надежно прикрепляется к ящику с зарядом, верхний - выводится на поверхность, а промежуточные звенья соединяются муфтами. 8.160. Провода, по которым подается ток, и электродетонаторы предварительно должны быть проверены на проводимость электричества и пробиваемость изоляции. При этом разница в расчетном и измеренном сопротивлениях не должна превышать 10 %. 8.161. После заделки крыши и проверки электросети ящик с зарядом опускается на проволоке или тросике в скважину и устанавливается в самое нижнее положение по оси сваи; при открытом конце трубы - на грунт, при закрытом конусном башмаке - на конус без подстилающего грунтового или бетонного слоя. Чтобы заряд не всплывал, к ящику с зарядом следует привязать груз. В сухих скважинах вместо пригрузки заряд покрывается слоем песка толщиной 20-25 см. 8.162. Заряд взрывают после заполнения скважины (трубы) бетонной смесью или раствором на высоту, обусловленную проектом или рекомендациями настоящего руководства (пп. 8.146, 8.147). 8.163. Взрывание зарядов с электродетонаторами производится конденсаторными взрывными машинками КПМ-2 и ВМК 3/50 или любым источником электроэнергии, имеющим достаточную силу тока, но не меньше 2,5 А при переменном токе и 1,8 А при постоянном токе. 8.164. В качестве забойки сухих скважин и материала для камуфлетной пяты должна применяться бетонная смесь литой консистенции (осадка конуса 18-20 см) класса не ниже В 15 (М 200) с крупным заполнителем (щебнем) размером не более 40 мм. Объем растворной части должен быть на 5-10 % больше нормы для обычного бетона. В устойчивых связных грунтах для забойки и заполнения нижней части камуфлетных уширений допускается также применение раствора текучепластичной консистенции класса не ниже В 7,5 (М 100). 8.165. Сбрасывать бетон в скважину или полость трубы с большой высоты разрешается только после образования над зарядом мягкого защитного слоя из песка или раствора толщиной не меньше 20 см. Такой слой предохраняет от преждевременного взрыва в результате детонации, которую могут вызвать удары крупного щебня, падающего с большой высоты. 8.166. При неглубоких скважинах в целях исключения выброса забоечной смеси при взрыве и уменьшения радиуса опасной зоны рекомендуется над скважиной старить железобетонный блок «б» виде опрокинутого ящика с отверстиями для выхода продуктов взрыва (рис. 30)
Рис. 30. Железобетонный блок, исключающий выброс забоечной бетонной смеси при камуфлетировании свай небольшой глубины заложения: а - разрез по оси; б - схема армирования; I - защитный козырек δ = 14 мм, приваривается к закладной детали; 2 - труба диаметром 219 мм; 3 - фиксатор диаметром 25 мм, длиной 250 мм; 4 - хомут диаметром 12 мм; 5 - строповочные скобы диаметром 22 мм; 6 - сетки 150×150 мм диаметром 18 мм 8.167. При наличии большего притока воды через открытый конец трубы (сваи-оболочки) последняя должна заполняться бетонной смесью подводным способом (методом ВПТ), В таких случаях объем бетонной смеси в трубе назначается с учетом потребности в ней на заполнение камуфлетной пяты и создание бетонной пробки по высоте не менее 2 м. 8.168. Отметки поверхности бетона или раствора в трубе до и после взрыва следует определять намерением глубины при помощи лота, изготовляемого из стальной рулетки, телефонного провода или мягкой проволоки и грузика с ограничителем на конце. 8.169. После камуфлетирования производится армирование и дебетонирование ствола "насухо" бетонной смесью класса не ниже В 15 (М 200) с осадкой конуса 10-12 см. 8.170. При добетонировании неармированных стволов свай диаметром 600 мм и больше с подачей бетонной смеси через воронку с бетонолитной трубой допускается применение бетонной смеси пластичной консистенции с осадкой конуса 6-8 см при обязательном уплотнении бетона в головной части глубинным электровибратором /виброиглой или вибробулавой/. 8.171. Технология устройства комбинированных свай с камуфлетной пятой на первых процессах работ осуществляется так же, как с буронабивных стволом, а затем выполняется в такой последовательности: после камуфлетирования добавляется бетонная смесь в образовавшуюся полость и ствол сваи на высоту, равную 1,5 диаметра уширенной пяты от центра заряда, с запасом на осадку после подъема трубы; поднимается обсадная труба с воронкой и устанавливается в другую скважину; в скважину устанавливаемся железобетонная свая-стойка; на голову сваи ставится вибропогружатель или молот с наголовником стаканного типа и свая забивается до проектной отметки. При этом нижний конец сваи должен быть заглублен в бетонную смесь литой консистенции до центра пяты; если имеются зазоры между стволом сваи и стенками скважины, они заполняются жидким раствором марки 8-10. 8.172. В связных устойчивых грунтах образование камуфлетной полости допускается выполнять без обсадной трубы и бетонной смеси, заменяя их инвентарным устройством /рис. 31/. При этом масса заряда, определяемая по формуле (20), увеличивается на 20-30 %.
Рис. 31. Устройство, заменяющее забойку над нарядом ВВ из бетонной смеси: а - вид сбоку; б - схема армирования; I - торцовый диск δ = 30+40 мм; 2 - сетки 150×150 мм диаметром 18 мм; 3 - строповочные скобы диаметром 22 мм; 4 - хомуты диаметром 8 мм; 5 - стержни каркаса диаметром 20 мм Случайные дефекты и способы их устранения8.173. Если при длительном нахождении заряда ВВ в воде, обрыве проводов электросети или некачественных электродетонаторах заряд ВВ не взорвался и ствол заполнен бетоном, выборка которого затруднена, заряд ликвидируется следующим образом. Бурится вторая скважина рядом со скважиной с отказным зарядом глубиной на 20-30 см ниже забоя скважины. Бурение скважины разрешается не ранее чем через 24 ч после укладки забоечной бетонной смеси. В скважину устанавливается, другой заряд ВВ такой же массы. Провода электросети выводятся на поверхность земли, затем скважина заполняется бетонной смесью литой консистенции и производится взрыв. После проседания бетонной смеси в камуфлетную полость ствол сваи бетонируется обычном порядке. 8.174. Если в результате применения бетонной смеси жесткой консистенции или пластичной с крупным заполнителем более 40 мм, бетон после взрыва не проседает в образовавшуюся полость, зависает в скважине или обсадной трубе (образуется пробка), то в целях исключения зависания смеси необходимо применять бетонную смесь литой консистенции в соответствии с п. 8.164. Для ликвидации пробки в трубе в воронку с обсадной трубой следует поставить вибропогружатель и включать его в работу на 1-1,5 мин для передачи вибрации трубе с бетонной смесью. При образовании бетонной пробки в грунте ниже обсадной трубы трубу следует извлечь полностью вместе с бетонной смесью, оставшуюся пробку прорезать металлической трубой соответствующей длины с открытым нижним концом при помощи вибропогружателя или вращением шнека буровой установкой, затем установить повторно обсадную трубу с воронкой и заполнить бетонной смесью камуфлетную полость и ствол сваи. 8.175. Если при недостаточном объеме бетонной смеси в трубе над зарядом в рыхлых или сыпучих грунтах после взрыва свод камуфлетной полости обрушается и просевшая бетонная смесь покрывается грунтом, необходимо произвести повторное камуфлетирование путем взрыва заряда ВВ массой, равной 1/3-1/2 расчетной. При этом объем забоечной смеси должен соответствовать условию п. 8.147. 8.176. Если при небольшой глубине скважины и предельной массе камуфлетного заряда у поверхности земли произошло рыхление грунта, рекомендуется увеличить глубину скважины или уменьшить массу заряда с соответствующей корректировкой проекта или применить способ двойного камуфлетирования. 8.177. При перерыве в бетонировании ствола продолжительностью более 2 ч, во избежание оставления слабой прослойки бетона в стыке при добетонировании ствола, обычно извлекаемая труба должна быть оставлена в теле сваи. 8.178. Если при перерыве бетонирования в неустойчивых грунтах обсадная труба поднята выше уровня бетона в скважине или полностью извлечена, а затем ствол добетонирован без очистки поверхности от расслоившегося бетона и осыпавшейся земли, то такая свая признается дефектной и взамен ее должна быть выполнена дополнительная. 8.179. В процессе устройства камуфлетных свай ведется журнал устройства свай с камуфлетной пятой /приложения 8 и 9/. Журнал ведется специально выделенным техником или строительным мастером, освобожденным от работ, не связанных с устройством свай, под контролем начальника участка или инженера ПТО. 8.180. Контроль соответствия камуфлетных уширений в основании свай проектным размерам осуществляется, сравнением получаемых уширений по записям в журнале устройства с проектными; пооперационным контролем размеров скважин и расхода бетонной смеси с последующим вычислением диаметров по формулам /27/ и /28/; камуфлетированием пробными взрывами в связных грунтах с устойчивыми стенками под водяной забойкой с последующим просвечиванием и замером полостей прибором пантографного типа, аналогичным механическому расширителю; отрывкой и освидетельствованием опытных свай. Устройство буровых опор с корневидным основанием8.181. Конструкция буровых опор с корневидным основанием включает монолитный железобетонный или трубобетонный ствол круглого поперечного сечения и пакет коротких корневых сваек заводского изготовления. Область применения таких опор указана в п. 2.6 настоящего руководства. 8.182. В устойчивых маловлажных грунтах диаметры буровых скважин и соответственно диаметры стволов должны назначаться на 30-40 мм больше наружных диаметров извлекаемых обсадных труб, чтобы за счет затрубных зазоров уменьшить усилие стрелового крана при подъеме труб. 8.183. При диаметре ствола 660-750 мм по способу размещения в обсадной трубе по технологическим условиям рекомендуется принимать 4 свайки длиной 1300-1500 мм (включая острие), с поперечным сечением 200×200 мм (рис. 32). При диаметре ствола 850-950 мм принимают 5 сваек длиной 1500-1800 мм, центральная свайка с симметричным острием 250×250 мм, крайние со скошенными плоскостями в острие 250×200 мм или также 250×250 мм (рис. 33). При диаметре ствола 1050 мм и более принимают 5 сваек длиной 1900-2000 мм, по поперечным сечениям они могут быть как квадратными, так и прямоугольными, в зависимости от диаметра обсадной трубы. Между внутренним диаметром трубы и углами крайних сваек по диагоналям необходимо оставлять зазоры в пределах 100-120 мм.
Рис. 32. Конструкция основания из четырех корневых сваек: а - план размещения четырех сваек в забое, скважины; б - разрез по двум свайкам в положении перед забивкой; в - разрез по скважине с корневидным основанием в положении к концу забивки сваек; 1 - стальная обсадная труба; 2 - корневые свайки со скошенными плоскостями в острие; 3 - строповочные скобы-фиксаторы; 4 - гибкие связи из круглой стали; 5 - подвесной молот; α - угол скоса.
Рис. 33. Конструкции основания из пяти корневых сваек: а - план разрешения сваек в забое скважины; б - разрез по трем свайкам перед забивкой; в - разрез полой оболочки с корневидным основанием в положении к концу забивки сваек; 1 - стальная или железобетонная труба (оболочка) 2 - крайние свайки со скатанными плоскостями в острие; 3 - центральная свайка с симметричным острием; 4 - строповочные скобы-фиксаторы; 5 - гибкие связи из полосовой или круглой стали; 6 - трубчатая мачта с опорной плитой; 7 - отверстия для пропуска воды; α - угол скоса 8.184. При разработке проекта производства работ по возведению буровых опор с корневидным основанием, а также подбора комплекта оборудования и приспособлений следует руководствоваться технологическими схемами, приведенными на рисунках 34, 35, 36.
Рис. 34. Технологическая схема устройства буровой опоры с корневидным основанием с применением навесного оборудования типа СБУ-2. I - отрывка приямка, установка кондуктора и бурение скважины; II - перестановка кондуктора, закрепление скважины обсадной трубой, сборка и сбрасывание пакета сваек в забой скважины; III - забивка пакета сваек в грунт; IV - установка арматурного каркаса и бетонирование опоры; V - извлечение обсадной трубы и формование оголовка в инвентарной опалубке; 1 - кран МКГ-25; 2 - навесное буровое оборудование СБУ-2; 3 - кондуктор; 4 - ковшовый бур диаметром 850 мм; 5 - инвентарная обсадная труба диаметром 820 мм; 6 -строповочные скобы с гибкими связями; 7 - крайние свайки со скошенными плоскостями острия; 8 - центральная, свайка с симметричным острием; 9 - вибропогружатель ВП-I; 10 - трубчатая мачта; 11 - опорная плита; 12 - вибробадья; 13 - арматурной каркас
Рис. 35. Технологическая схема устройства буровой опоры с корневидным, основанием с применением бурового оборудования СО-2 и уширителя РС-I: I - бурение скважины диаметром 600 мм буровой установкой СО-2; II- расширение скважины уширителем РС-I до проектного диаметра; III - засыпка нижней части скважины бетонной смесью или песком или разбуривание ковшовым буром до проектного диаметра, установка обсадной трубы и опускание в скважину пакета свай; IV - забивка пакета сваек вибропогружателем с трубчатой мачтой; V - установка арматурного каркаса и бетонирование ствола опоры; VI - извлечение обсадной трубы и трамбование головной части опоры; 1 - скважина диаметром 600 мм; 2 - буровая коронка; 3 -шнековый став; 5 - стреловой кран; 6 - буровой рабочий орган: 6 - уширитель РС-I с бадьей; 7 - скважина проектного диаметра; 8 - песок; 9 - инвентарная обсадная труба диаметром 820 мм; 10 - упорное кольцо; 11 - крайние свайки; 12 - центральная свайка; 13 - строповочное кольцо; 14 - трубчатая мачта; 15 - вибропогружатель; 16 - корневидное основание; 17 - уплотненное грунтовое ядро; 18 - арматурный каркас; 19 - вибробадья; 20 - металлическая тренога; 21 - полиспаст
Рис. 36. Технологическая схема устройства короткой буровой опоры с корневидным основанием: I - бурение скважины шнековой буровой установкой ЛВУ-50А; II - установка обсадной трубы, сборка пакета корневых сваек в кондукторе и сбрасывание его в забой скважины; III - подъем обсадной трубы на 0,4-0,5 м и забивка пакета сваек в грунт подвесным молотом; IV - установка арматурного каркаса и бетонирование опоры; V - извлечение обсадной трубы и формирование оголовка в ивнентарной опалубке; 1 - буровая установка ЛБУ-50А; 2 - шнековый став; 3 - буровая коронка; 4 - скважина диаметром 650-680 мм; 5 - кран-экскаватор (драглайн) грузоподъемностью не менее 10 т; 6 - обсадная труба диаметром 630 мм; 7 - пакет корневых сваек; 8 - строповочная скоба; 9 - подвесной молот массой 2,5-4,0 т; 10 - уплотненное грунтовое ядро; 11 - вибробадья; 12 - арматурный каркас; 13 - бетонный ствол 8.185. Конструкции корневых сваек заводского изготовления должны выполняться по специальному чертежу с размерами и размещением в плане, указанными в п. 8.183 и на рисунках 31 и 33. Скосы острия крайних сваек следует назначать под углом 35-40° или по длине 1,25 α для грунтов средней плотности и 30-35° и 1,5 α для плотных грунтов (α - сторона квадратного сечения свайки, при прямоугольном сечении - меньшая сторона). 8.186. Свайки корневидного основания должны армироваться сварными каркасами. Примерная схема арматурного каркаса приведена на рис. 37.
Рис. 37. Схема вотирования корневых сваек: а - центральной, с симметричным острием; б - крайних со скованными плоскостями в острие 8.187. Пакеты корневых сваек следует собирать в специальном кондукторе (трубчатом патрубке), длина которого на 0,5 м меньше длины сваек, а диаметр равен диаметру обсадной трубы. 8.188. Свайки через строповочные скобы в торцах верхних концов должны быть соединены гибкими связями из арматурной проволоки диаметром 8 мм со сваркой концов внахлестку одним фланговым швом длиной 80 мм (см. рисунки 32 и 33). 8.189. После установки связей пакет поднимают из кондуктора стреловым краном и подают в обсадную трубу. Освобождение стропа, удерживающего пакет сваек на крюке крана, необходимо производить с предварительной подвеской пакета на двутавровой или рельсовой балке, опертой на торец обсадной трубы, с помощью промежуточного кольца из арматурной стали диаметром 10 мм. Срезку кольца и сбрасывание пакета в забой скважины производят при отведенной стреле крана. 8.190. Групповую забивку сваек производят вибропогружателем с возмущающей силой не меньше 185 кН или свайным молотом с помощью трубчатой мачты с опорной булавой или плитой, диаметр которой на 50-100 мм меньше внутреннего диаметра обсадной трубы. Для свободного опускания в скважину, заполненную водой или глинистым раствором, в мачте прорезают 2-3 отверстия у стыка с опорной плитой для пропуска воды и одно - в верхнем конце для выхода воздуха. Забивать пакет сваек допускается также подвесным молотом массой 2,5-4,0 т, сбрасываемым внутри обсадной трубы с высоты 1-3 м (см. рис. 36). 8.191. Забивка пакета сваек в грунт должна быть прекращена при отметке головок, на 200-300 мм превышающей отметку забоя скважины, или при нулевом отказе в течение двух минут работы вибропогружателя либо пяти ударов подвесного молота. 8.192. Длина погружения сваек в грунт должна быть записана в журнале. При этом учитывается заглубление нижних концов сбрасываемого пакета от собственной массы. Среднее заглубление в грунт нижних концов сваек сброшенного пакета рекомендуется принимать равным, м: С высоты, м:
Глубину забивки определяют по разметке мелом на трубчатой мачте или с помощью лота. 8.193. При небольшой мощности прорезаемых неустойчивых водонасыщенных или сыпучих грунтов ствол следует бетонировать под защитой извлекаемой обсадной трубы. При недостаточной грузоподъемности крана срыв трубы производят с помощью треноги с полиспастом (см. рис. 33) или двух гидравлических домкратов. 8.194. Максимальное усилие на крюке крана при подъеме извлекаемой обсадной трубы определяют учитывая следующие данные: сопротивление грунта по наружной поверхности обжатой стальной трубы, равное значениям fi, кПа (тс/м2), приведенным в таблицах 6 и 7 настоящего руководства; сопротивление бетонной смеси по внутренней поверхности трубы, равное 6 кПа (0,6 тс/м2); масса трубы в зависимости от диаметра и толщины стенок по, стандарту. При наличии зазора между стенками скважины и обсадной трубы сопротивление срыву равно общей массе трубы плюс сопротивление трения находящейся в ней бетонной смеси. 8.195. При бетонировании в скважине, закрепленной обсадной трубой, трубу следует поднимать только после заполнения ее бетонной смесью на 1 м выше кровли верхнего неустойчивого слоя грунта. Дальнейшее бетонирование допускается производить без обсадной трубы с подачей бетонной смеси через кондуктор. 8.196. В процессе устройства буровых опор с корневидным основанием ведется журнал устройства по форме, приведенной в приложении 10. 8.197. По окончании работ по всему объекту или отдельному участку, предъявляемому к сдаче, составляют сводную ведомость и исполнительный чертеж расположения опор в плане с отметками верха оголовков. Устройство буроопускных свай с уплотненным основанием8.198. Буроопускные сваи с уплотненным основанием могут выполняться двух видов: с основанием, уплотненным вибрационным способом в песчаных грунтах (рис. 38,а), и с уширенной пятой и уплотненным основанием в песчаных и глинистых грунтах (рис. 38,б)
а б Рис. 38. Технологическая схема устройства буроопускных свай: а - с уплотненным основанием; б - с уширенной пятой; 1- буровая скважина; 2 - ствол сваи; 3 - вибропогружатель; 4 - уплотненное основание; 5 - бетонная смесь; 6 - уширенная пята 8.199. Диаметр сборного ствола свай следует принимать в пределах 600-1000 мм, а длину назначать с учетом инженерно-геологических условий и конструктивных особенностей здания или сооружения, но не менее 3 м. 8.200. Ствол сваи армируют сварным каркасом с продольными стержнями рабочей арматуры и распределительной арматурой в виде хомутов или спиралей, шаг которых принимается в зависимости от размеров свай и нагрузок. Стержни продольной арматуры рассчитываются на знакопеременную нагрузку от возбуждающей силы вибропогружателя. Конструкция сваи диаметром 800 мм показана на рис. 39.
Рис. 39. Конструкция ствола сваи: 1 - стержни продольной арматуры; 2 - хомуты; 3 - стальной оголовок из листа толщиной 8 мм; 4 - строповочная проушина; 5 - строповочная скоба 8.201. Голова сваи снабжается металлическим трубчатым оголовком длиной 200 мм, к которому с внутренней стороны привариваются стержни продольной арматуры, а с наружной стороны - строповочные проушины. Оголовок служит также для соединения на сварке с переходным патрубком вибропогружателя. 8.202. Бурение скважин ниже уровня грунтовых вод следует выполнять под защитой извлекаемой обсадной трубы при избыточном гидростатическом давлении воды. 8.203. Диаметр бурения должен быть больше диаметра ствола сван: при длине сваи до 5 и на 20-30 мм, а при длине от 5 до 10 м на 50-80 мм. 8.204. Глубина бурения скважины определяется необходимым положением сваи с учетом ее дополнительной осадки в результате вибрационного уплотнения основания или погружения сваи, связанного с формованием уширенной пяты (устанавливается пробным устройством опытных свай, предназначенных для статического испытания). 8.205. Готовый ствол сваи опускают в пробуренную скважину при помощи грузового полиспаста буровой установки или специальным стреловым краном, после чего из скважины извлекают кондуктор (металлический патрубок), служивший для закрепления устья скважины, или обсадную трубу. 8.206. Основания свай уплотняют низкочастотным вибропогружателем типа ВП в режиме вибротрамбования. Система свая-вибропогружатель представляет собой мощную трамбовку, обладающую большой массой, с размахом колебаний до 20-22 мм при частоте 7-8 Гц. 8.207. Вибрационное воздействие на основание с целью его уплотнения осуществляется залогами продолжительностью 3-5 мин. Признаком прогрессирующего уплотнения основания является уменьшение амплитуды колебания системы. После каждого залога замеряют размер осадки сваи. За отказ принимается скорость осадки в двух последних залогах, не превышающих 1 см/мин при номинальных оборотах вибропогружателя. Суммарная продолжительность вибрации сваи независимо от размера отказа должна быть не менее 15 мин. 8.208. Сваи с уширенной пятой допускается выполнять только в необводненных скважинах. Вибрационное воздействие, с целью формирования уширенной пяты, осуществляется в режиме погружения сваи. Бетонная смесь укладывается на дно скважины слоем толщиной 2 d. Затем свая погружается в бетонную смесь на глубину, равную размеру ее диаметра. При соблюдении этих условий диаметр уширенной пяты получается равным 1,5d. 8.209. При устройстве; буронабивных свай с уширенной пятой, работающих на выдергивающие нагрузки, необходимо предусматривать выпуски стержней продольной арматуры в нижнем конце для связи с уширенной пятой. 8.210. Для вибрационного погружения свай и уплотнения основания, в зависимости от их размеров, можно использовать вибропогружатели ВП-1, ВП-3, ВП-30А, ВП-80 или ВП-60-120. 8.211. Подбор вибропогружателя для уплотнения основания сваи принятых размеров производится по значению возбуждающей силы Ра, кН (тс), амплитуде вынужденных колебаний системы АВ, и удельной энергии удара Э. 8.212. Возбуждающую силу вибропогружателя находят из условия Ра > Рkр + Gс + GB, (33) где Pkp - сопротивление срыву по боковой поверхности сваи, определяемое с учетом удельной величины f = 7, кПа (тс/м2); Gc, GB - вес соответственно сваи и вибропогружателя, кН (тс). 8.213. Значение амплитуды вынужденных колебаний системы, определяется по формуле
где Мс - грузовой момент эксцентриков вибропогружателя, кН·м (тс·м). 8.214. Для эффективной работы системы в режиме вибротрамбования удельная, энергия удара Э, кН·м/м2 (тс·м/м2), должна быть в пределах 1,0 ≤ Э ≤ 2,5; (35)
где А = 2АВN - работа удара, кН·м (тc·м); N = Ра+GC+GB-Pkp - сила ударного действия уплотнителя, кН (тс); Pa, GC, GB, Pkp - обозначения те же, что в формуле (33); F- площадь подошвы сваи, м2. 8.215. Подбор вибропогружателя для работы в режиме погружения сваи (для случаев формования уширенной пяты) производится с соблюдением условий согласно формулам (33), (34) и (35). При этом амплитуда вынужденных колебаний, определяемая по формуле (34), должна быть не менее 12 мм, а энергия удара, согласно формуле (35), должна быть более 2,5 кН·м/м2 (тс м/м2). 8.216. Расчетная нагрузка, допустимая на буроопускную сваю с уплотненным основанием, работающую на осевую, вдавливающую нагрузку, определяется по формуле (11) настоящего руководства. 8.217. Для уточнения несущей способности на каждом объекте до начала производства свайных работ необходимо провести испытание опытных свай пробной статической нагрузкой в соответствии с требованиями СНиП и настоящего руководства. 8.218. При устройстве буроопускных свай с уплотненным основанием должны составляться журнал бурения скважин и погружения стволов свай (приложение 11) и журнал вибрационного воздействия на сваи (приложение 12). Устройство комбинированных свай8.219. Комбинированные сваи, состоящие в нижней части из забивных железобетонных свай заводского изготовления, а в верхней части из монолитного бетонного или железобетонного ствола, рекомендуются для применения в условиях необходимости прорезки большой мощности слабых разнородных или просадочных грунтов и возможности опирания забивной сваи в подстилающий слой песка или супеси (рис. 40).
Рис. 40. Последовательность устройства комбинированных свай: I - стековое бурение скважин диаметром 530-550 мм, глубиной согласно проектным отметкам, но не глубже установившегося уровня грунтовых вод; II - закрепление скважины инвентарной обсадной трубой диаметром 520 мм; III - забивка сваи сечением 30×30 см трубчатым дизель-молотом C-1047 или С-949 до уровня касания наголовника с верхом обсадной трубой; IV - добивка сваи с помощью стального подбабка до проектной отметки, при этом верхний коней забивной сваи должен выступать не менее 0,5 м над забоем буровой скважины для заделки в монолитном железобетонном стволе комбинированной сваи; V - установка арматурного каркаса с выпуском рабочих стержней длиной не менее 400 мм для заделки в бетоне ростверка и бетонирование верхней части ствола сваи свободным сбрасыванием в полость трубы бетонной смеси класса В 25 (М 300) пластичной консистенции (осадка конуса 8-10 см); VI - извлечение обсадной трубы краном МКГ-25 и уплотнение бетона виброиглой; VII - формование головы сваи в инвентарной опалубке; 1 - буровая установка на базе крана типа МКГ-25 или ДЭК-251; 2 - навесной бутовой рабочий орган С0-2; 3 - шнековый став; 4 - скважина; 5 - буровая коронка диаметром 550 мм; 6 - опорное кольцо; 7 - инвентарная обсадная труба диаметром 530 мм; 8 - копровое оборудование; 9 - трубчатый дизель-молот; 10 - наголовник; 11 - железобетонная свая заводского изготовления сечением 300×300 мм, длиной по проекту; 12 - кондуктор-фиксатор; 13 - стальной подбабок с наголовником; 14 - стреловой кран; 15 - вибробадья; 16 - арматурный каркас; 17 - инвентарная опалубка для формования головной части буронабивного ствола; 18 - железобетонный буронабивной ствол комбинированной сваи диаметром 550 мм. 8.220. По наличию в специализированных организациях оборудования отечественного производства оптимальными размерами конструкции комбинированных свай следует считать: для забивных свай сечение 35×35 см, длину 12-16 м; для монолитного ствола - диаметр в пределах 520-630 мм, длину 8-12 м. 8.221. Устройству комбинированных свай должны предшествовать подготовительные работы, предусматриваемы проектом организации работ. 8.222. Рабочая площадка должна быть спланирована под отметку подошвы подготовки под ростверки с точностью ±5 см. 8.223. Глубина буровой скважины назначается до кровли несущего слоя грунта. 8.224. Забивная свая свободно опускается в полость извлекаемой обсадной трубы. Затем свая забивается по лидирующей скважине свайным молотом при помощи стального подбабка до проектной отметки. При этом верхний конец забивной сваи должен заделываться не менее 0,5 м в бетонной пяте буронабивной части сваи. 8.225. Армирование и бетонирование ствола сваи выполняется "насухо" или методом ВПТ в соответствии с пп. 8.45-8.55 или пп. 8.83-8.97 настоящего руководства. 8.226. Критерием качественной забивки свай является обеспечение вертикального погружения по оси буровой скважины через кондуктор-фиксатор, устанавливаемый не торец обсадной трубы, а также погружение нижнего конца в несущий слой грунта на глубину до проектной отметки. 8.227. Журналы работ на забивку свай заводского изготовления и устройство в верхней части буронабивных свай (см. приложение 4) ведутся мастером или специально назначенным техником под контролем производителя работ и технадзора заказчика. 9. ДОПОЛНИТЕЛЬНЫЕ ТРЕБОВАНИЯ ПО ВОЗВЕДЕНИЮ БУРОВЫХ ОПОР-КОЛОНН9.1. При возведении одиночных буровых опор под колонны каркасных зданий особое внимание должно уделяться обеспечению точности разбивки и закреплению осей опор, исключению отклонений от проектного положения и плане и по вертикальной оси, а также качеству нижних и верхних уширений. 9.2. В целях увеличения сопротивления грунта действию горизонтальных и моментных нагрузок в верхней части ствола следует конструировать уширения круглого или прямоугольного сечения со стаканами или анкерным устройством для сопряжения с колонной. При необходимости верхние уширения могут иметь консоли для опирания балок (рис. 41).
Рис. 41. Верхние уширения в стволах опоры под колонну: а - с круглым верхним уширением; б - с анкерными болтами для сопряжения с металлической колонной; в - со сборным элементом; 1 - ствол буровой опоры; 2 - каркас верхнего уширения; 3 - уширение; 4 - стакан для сопряжения с колонной; 5 - арматурный каркас ствола; 6 - консоль для рандбалки; 7 - анкерные болты; 8 - опорная плита; 9 - сборный железобетонный элемент 9.3. Бурение скважин и бетонирование опор должны выполняться в соответствии с технологическими картами согласно технологическим схемам, приведенным в разделах 8 и 9 настоящего руководства. 9.4. При прорезке опорами глинистых или лессовых устойчивых грунтов уширения пяты в основании скважин могут быть получены и механическим разбуриванием, энергией камуфлетных взрывов или комбинированным способом путем сочетании механического разбуривания с последующим камуфлетированием или вибротрамбованием (рис. 42).
Рис. 42. Технологическая схема устройства буровых опор под колонны с комбинированным уширением: I - бурение скважины диаметром 600 мм буровой установкой СО-2: II - разбуривание верхнего уширения при помощи уширителя скважин; III - разбуривание ствола опоры до проектного диаметра; IV -разбуривание нижнего уширения; V - установка инвентарной опалубки, заполнение уширения бетонной смесью на расчетную высоту и вытрамбовывание уширенной пяты; VI - установка арматурного каркаса и бетониравание ствола опоры; VII - армирование верхнего уширения, установка пробки стакана с последующим бетонированием; VIII - извлечения пробки стакана инвентарной опалубки верхнего, уширения, 1 - стреловой кран; 2 - буровая головка СО-2; 3 - шнек; 4 - верхнее уширение; 5 - уширитель скважины; 6 - пионерная скважина; 7 - -скважина проектного диаметра; 8 - механический расширитель; 9 - вибропогружатель; 10 - инвентарная опалубка; 11 - обсадная труба; 12 - виброштамп; 13 - разбуренное уширение; 14 - арматурный каркас ствола; 15 - уширенная пята; 16 - пробка стакана; 17 - арматурный каркас верхнего уширения; 18 - готовая буровая опора 9.5. Массу заряда ВВ для образования уширенной пяты комбинированным способом (камуфлетным взрывом после разбуривания) Скомб, кг, следует определять по формуле Скомб = Кп(D3комб-0,6D3мех), (37) где Кп - коэффициент сопротивления грунта отжатию взрывом, кг/м3, определяемый по табл. 12; Dкомб - конечный диаметр уширенной пяты, м; Dмех - диаметр разбуренной полости, м. 9.6. критерием правильности подбора заряда ВВ для получения требуемого диаметра уширенной пяты комбинированным способом может служить объем бетонной смеси, просевшей после взрыва. Диаметр уширенной пяты по объему бетонной смеси рекомендуется определять по формуле
Объем бетонной смеси, укладываемой в разбуренную полость до установки заряда ВВ в центре уширения, определяется по формуле V = 0,2D3комб. (39) 9.7. До установки арматурных каркасов верхнее уширение должно быть закреплено инвентарной опалубкой, а при необходимости вся скважина - извлекаемой обсадной трубой. Последовательность работ по устройству верхнего уширения к разбуренном приямке показана на технологической схеме (рис. 43).
Рис. 43. Последовательность работ по устройству верхнего уширения с консолями: I - обсадка приямка и установка арматурных каркасов; II - бетонирование верхнего уширения до отметки верха консолей; III - извлечение опалубки приямка, установка опалубки подколенника и пробки стакана; IV - бетонирование подколонника; V -извлечение пробки и опалубки подколонника; 1 - ствол буровой опоры; 2 - каркас консолей; 3 - инвентарная опалубка; 4 - арматурный каркас подколонника; 5 - вибробадья; 6 - пробка стакана; 7 - щитовая опалубка подколонника верхнего уширения; 8 - готовая буровая опора-колонна 9.8. При невозможности разбуривания верхнего уширения из-за обрушения стенок скважин вместо бурения допускается отрывка местного приямка экскаватором с последующим использованием инвентарной опалубки или сборного железобетонного пустотелого элемента для бетонирования верхнего уширения. 9.9. Армирование буровых опор может быть осуществлено двумя отдельными каркасами (для ствола и верхнего уширения - (см. рис. 41,а) или одним цельным каркасом (см. рисунки 41,б, в и 43). 9.10. В процессе возведения буровых опор следует вести журнал по форме, приведенной в приложении 14, а также составлять акты на скрытые работы с участием технадзора заказчика. По окончании работ составляются сводная ведомость (приложение 15) и исполнительные чертежи положения опор в плане с отметками верха оголовком. 10. ПРИЕМКА РАБОТ10.1. При приемке свай и свайных фундаментов предъявляется следующая документация: проект свайных фундаментов; проект производства работ; данные о результатах геологических и гидрогеологических исследований, об агрессивности грунтовых и поверхностных вод; документы по испытаниям свай статической нагрузкой; акты приемки котлована до начала работ и схемы геодезической разбивки и закрепления осей свайных фундаментов; данные о результатах испытания материалов, примененных для свай и ростверков, паспорта на бетонную смесь; акты приемки арматурных каркасов, свай-оболочек или железобетонных стоек до их погружения; акты контрольных проверок размеров буровых скважин и уширений, а также других скрытых работ; журналы устройства свай по установленной форме для каждого вида свай; сводные ведомости каждого вида свай по установленной форме; исполнительный план расположения свай в сооружении или его конструктивной части; акты лабораторных испытаний контрольных бетонных кубиков; акты испытаний прочности бетона голов свай неразрушающим склерометрическим методом, если таковые выполнялись. 10.2. Приемка должна сопровождаться: изучением предъявленной документации; освидетельствованием свай с проверкой соответствия выполненных работ проекту и настоящему руководству; инструментальной проверкой правильности положения свай; контрольными испытаниями свай, если их несущая способность вызывает сомнения. 10.3. В процессе проверки выявляются: соответствие несущей способности свай по данным статических испытаний расчетной по проекту; отклонения свай в плане от проектного положения; соответствие размеров свай (ствола и уширенных пят, отметок голов свай и глубины опирания пят в грунте), показанных в журнале, проектным. Размеры в головной части стволов проверяются в выборочном порядке; соответствие класса бетонной смеси, прочности бетона в головной части стволов, а также армирования свай проектным. 10.4. Отклонения центра свай от проектного положения в плане не должны превышать; при расположения в один ряд ±5 см; при расположении в два ряда под ленточные фундаменты и сваи в кустах: в буровых скважинах ±10 см; при забивных оболочках 600 < d ≤ 800 мм ±10 см; при 800 < d ≤ 1500 мм ±0,2 d; сваи в крайних рядах кустов и свайных полей ±0,3 d. 10.5. Отклонения центра одиночных буровых опор-колонн от проектного положения в плане не должны превышать, см: При диаметре опоры, мм:
10.6. Отклонения диаметров стволов от проектных не должны превышать, см:
10.7. отклонения диаметров уширенных пят от проектных не должны превышать ±10 см. Отклонения глубины заложения не должны превышать ±30 см при условии расположения подошвы пяты в несущем пласте грунта, предусмотренном проектом. 10.8. Отклонения вертикальной оси свай от проектного положения не должны превышать 1 см на 1 м длины ствола сваи. 10.9. Отрытые опытные сваи и обнаженные головы стволов должны представлять собой сплошной бетонный массив без раковин, превышающих по глубине 2 см. 10.10. При выявлении отклонений, превышающих допуски по пп. 10.4-10.9, решение принимается проектной организацией. 10.11. Приемка свай оформляется актом комиссии в составе представителей заказчика, генподрядчика и исполнителей работ, в котором должны быть отмечены все дефекты, выявленные в процессе приемки, указаны сроки их устранения и дана общая оценка качества работ. 11. ТРЕБОВАНИЯ ПО ТЕХНИКЕ БЕЗОПАСНОСТИ11.1. Проектирование и производство работ по устройству буронабивных свай и опор-колонн должно осуществляться в соответствии с требованиями настоящего руководства; СНиП III-4-80; Правил устройства и безопасности эксплуатации грузоподъемных кранов, утвержденных Госгортехнадзором СССР; Правил технической эксплуатации электроустановок потребителей и правил техники безопасности при эксплуатации электроустановок потребителей (ПТЭ и ПТБ), утвержденных Госэнергонадзором Минэнерго СССР; Инструктивных указаний по технике безопасности при использовании пневмоинструментов на монтажных и специальных строительных работах при срубке бетона в голове перебетонированных опор; Единых правил безопасности при ведении взрывных работ. 11.2. Перед началом устройства свай и опор руководитель работ должен получить разрешение на производство работ от организаций, эксплуатирующих подземные коммуникации. При наличии на строительной площадке таких коммуникаций к разрешению должен быть приложен план (схема) с указанием их расположения и глубины заложения. До начала работ следует установить знаки, указывающие места расположения подземных сооружений. При обнаружении во время бурения не отмеченных на плане и схеме подземных коммуникаций необходимо приостановить работы до выявления характера обнаруженных сооружений и получения дополнительного разрешения. 11.3. Устраивать буровые опоры необходимо под руководством начальника участка, прораба или мастера, назначаемого приказом начальника строительной организации. На него возлагается ответственность за выполнение мероприятий по технике безопасности и промышленной санитарии непосредственно на строительной площадке. 11.4. Все рабочие, независимо от профессии, должны пройти инструктаж по технике безопасности и приемам работ в установленном порядке. Проведение инструктажа оформляется в специальном журнале, который хранится у инженера по технике безопасности строительной организации, а на участке - у начальника участка. Рабочие к самостоятельной работе могут быть допущены после проверки усвоения ими правил техники безопасности и приемов работ. 11.5. Рабочие, выполняющие свайные работы, должны иметь удостоверения такелажника. 11.6. Работы по устройству буронабивных свай и буровых опор с уширенной пятой, образуемой механическим разбуриванием, взрывом или с корневидным основанием должны выполняться в строгом соответствии с проектом производства работ, в котором должны быть предусмотрены технологические требования, изложенные в разделах 8, 9 и 11 настоящего руководства. 11.7. Грузы, перемещаемые подъемными механизмами, должны удерживаться от раскачивания и произвольного разворота пеньковыми или капроновыми канатами. 11.8. Перемещение и установка машин и механизмов вблизи котлованов, траншей и других выемок разрешается при соблюдении допустимых расстояний от бровки или подошвы откоса выемки до ближайшей опоры механизмов в зависимости от вида грунта и глубины выемки в соответствии с требованиями СНиП III-4-80. 11.9. Монтаж и демонтаж оборудования следует производить только в дневное время с обязательным присутствием руководителя работ. 11.10. Стальные тросы и такелажные приспособления должны соответствовать требованиям Госгортехнадзора и иметь коэффициент запаса прочности не менее 6 при механическом приводе и 4,5 - при ручном. 11.11. Шнеки, сваи-стойки, корневые свайки и другой груз разрешается подтаскивать только через отводной блок, закрепленный за раму буровой установки или крана, по прямой линии. Запрещается кантовать, подтягивать или поднимать любой груз при косом натяжении каната. 11.12. При производстве работ на строительной площадке расстояние между двумя и более механизмами должно быть не менее суммы радиусов их опасных зон плюс 5 м. При невозможности соблюдения настоящего требования в стесненных условиях рабочие, обслуживающие один из механизмов, должны временно прекратить работы и выйти из опасной зоны работающего механизма. 11.13. При работе вблизи существующих зданий и сооружений в каждом конкретном случае проектом производства работ должны быть предусмотрены дополнительные мероприятия по безопасному ведению работ. 11.14. Запрещается перетаскивать и подтягивать силовой кабель бульдозером или буровой установкой во избежание его повреждения. Нельзя перемещать электрокабель, находящийся под напряжением. 11.15. Запрещается спуск людей в скважину для осмотра стенок, дна или устранения дефекта. 11.16. Для проверки качества бурения скважин и уширенных полостей, а также состояния головок корневых сваек после забивки допускается пользоваться переносной лампой низковольтного освещения с напряжением не более 36 В переменного или 50 В постоянного тока, опускаемой в скважину. 11.17. Устья пробуренных скважин должны наделаю закрываться инвентарными крышками. 11.18. Запрещается поворот грузоподъемных кранов и базовых машин буровых установок, когда перемещаемый груз (шнековый став, вибробадья и др.) поднят над устьем скважины или верхом обсадной трубы менее, чем на 0,5 м, и не отключен электродвигатель навесного бурового оборудования. 11.19. Особое, внимание руководителя работ и рабочих исполнителей должно быть уделено обеспечению надлежащей прочности соединения корневых сваек в пакет, постановке промежуточного кольцевого стропа и безопасному сбросу пакета в забой скважины. Сброс пакета сваек непосредственно с крюка стрелового крана запрещается. 11.20. Безопасность работы крана при подъеме и извлечении из скважин инвентарных обсадных труб должна быть обеспечена с учетом требований настоящего руководства (см. пп. 8.193, 8.194). 11.21. Забивка пакета корневых сваек подвесным молотом допускается с помощью крана на базе экскаватора или станка ударно-канатного бурения. При этом нижняя часть молота не должна выходить из обсадной трубы. 11.22. Взрывные работы по образованию камуфлетных уширений должны выполняться специальной командой подрывников под руководством должностного лица, имеющего право ведения взрывных работ. 11.23. Радиус опасной зоны для людей по возможному разлету щебня устанавливается для скважин глубиной до 4 м - 50 м, больше 4 м - 30 м. 11.24. После подачи сигнала об опасности на всех подходах в радиусе 50 м от камуфлетируемой скважины выставляются посты живого оцепления. Сигналы подаются руководителем взрывных работ свистком или ударами по рельсу. Сигналисты оцепления назначаются из числа рабочих, выполнявших работы по устройству камуфлетных свай, инструктируются начальником команды взрывников и обеспечиваются красными флажками. 11.25. Перед взрывом все рабочие и взрывники выходят за пределы опасной зоны. Кран, копер и другие машины и механизмы остаются вблизи взрывных скважин на расстоянии не меньше 5 м. Машинисты (шоферы) также, как и все рабочие, удаляются из опасной зоны, а стекла кабин, обращенные в сторону взрыва, прикрываются щитами или матами. 11.26. При неглубоких скважинах в целях исключения выброса забоечной бетонной смеси при взрыве и уменьшения радиуса опасной зоны рекомендуется над скважиной ставить железобетонный блок в виде опрокинутого ящика с отверстиями для выхода продуктов взрыва (см. рис. 30). 11.27. После опускания в скважину заряда ВВ запрещается наклоняться над воронкой и заглядывать в скважину. 11.28. Заряды взрывчатых веществ должны рассчитываться на камуфлетное действие. При необходимости использования зарядов выброса личный состав бригад и обслуживающий персонал должны выводиться за пределы взрывоопасной зоны по разлету комьев грунта, которая определяется расчетом (но не менее 100 м). 11.29. Во всех случаях должна проверяться безопасность зданий и сооружений подземных и надземных коммуникаций по разлету щебня и комьев грунта, действию воздушной волны и сейсмическому влиянию взрывов. Методика этих расчетов изложена в Единых правилах безопасности при взрывных работах. ПРИЛОЖЕНИЕ 1
|
|||||||||||||||||||||||||||||||||||||||||||||||||||||||||||||||||||||||||||||||||||||||||||||||||||||||||||||||||||||||||||||||||||||||||||||||||||||||||||||||||||||||||||||||||||||||||||||||||||||||||||||||||||||||||||||||||||||||||||||||||||||||||||||||||||||||||||||||||||||||||||||||||||||||||||||||||||||||||||||||||||||||||||||||||||||||||||||||||||||||||||||||||||||||||||||||||||||||||||||||||||||||||||||||||||||||||||||||||||||||||||||||||||||||||||||||||||||||||||||||||||||||||||||||||||||||||||||||||||||||||||||||||||||||||||||||||||||||||||||||||||||||||||||||||||||||||||||||||||||||||||||||||||||||||||||||||||||||||||||||||||||||||||||||||||||||||||||||||||||||||||||||||||||||||||||||||||||||||||||||||||||||||||||||||||||||||||||||||||||||||||||||||||||||||||||||||||||||||||||||||||||||||||||||||||||||||||||||||||||||||||||||||||||||||||||||||||||||||||||||||||||||||||||||||||||||||||||||||||||||||||||||||||||||||||||||||||||||||||||||||||||||||||||||||||||||||||||||||||||||
|
Наименование комплекса строительства__________________________________________ (город, микрорайон, завод, комбинат) Наименование сооружения _____________________________________________________ Техническая характеристика проектируемого сооружения 1. Этажность или высота сооружения _____________________________________________ 2. Наличие и глубина подвала ___________________________________________________ 3. Конструктивная схема здания, сооружения ______________________________________ (каркасное, с несущими продольными стенами, _____________________________________________________________________________ с несущими поперечными стенами и др.) 4. Материал стен ______________________________________________________________ 5. Материал каркаса ____________________________________________________________ 6. Тип свай с расположением в плане ________________________________________________________________________________ буронабивные, вибротрамбованные и др.; по контуру несущих стен; ________________________________________________________________________________ кустовые, свайное поле, опоры-колонны) 7. Конструкция ростверка _______________________________________________________ (ленточный, отдельно стоящий, высокий, низкий, монолитный, сборный и др.) 8. Отметка низа ростверка (ориентировочная), _____________________________________ 9. Максимальная нагрузка, на фундамент, опору-колонну____________________________ ________________________________________________________________________________ (кН(тс) на 1м для ленточных, кН (тс) и кН-м (тс-м) - для отдельно стоящих и опор-колонн) 10. Характеристика опытных свай ________________________________________________ (диаметр ствола и уширения) 11. Отметка нижнего конца (уширения) сваи (ориентировочная) ______________________ 12. Грунт основания ___________________________________________________________ 13. Ожидаемая вдавливающая предельная нагрузка на сваю, кН(тс)____________________ 14. Ожидаемая горизонтальная предельная нагрузка на сваю, кН(тс) ___________________ 15. Ожидаемая выдергивающая предельная нагрузка на сваю, кН(тс) ___________________ 16. Количество свай, подлежащих испытаниям статической нагрузкой, шт.: статической осевой вдавливающей нагрузкой ______________________________________ статической горизонтальной нагрузкой ___________________________________________ статической осевой выдергивающей нагрузкой _____________________________________ 17. Предельная величина средней осадки фундамента, проектируемого сооружения в соответствии со СНиП 2.02.01-83 "Основания зданий и сооружений", см. _________________ 18. Особые условия проведения испытаний __________________________________________ |
Испытания производить в соответствии с ГОСТ 5686-78* "Сваи. Методы полевых испытаний" и разделом 3 настоящего руководства.
Приложения:
1. Генплан участка с расположением подземных и надземных коммуникаций, топографическая съемка участка с привязкой проектируемых сооружений и указыванием габаритов.
2. План размещения опытных свай с привязкой к осям здания и существующим сооружениям.
3. Геологический разрез, соответствующий месту испытания с указанием физико-механических свойств прорезаемых грунтов.
Главный конструктор отдела _______________________
(Ф.И.О., подпись)
Главный инженер проекта _______________________
(Ф.И.О., подпись)
ЖУРНАЛ
СТАТИЧЕСКОГО ИСПЫТАНИЯ _____________сваи № ______
(вид сваи)
Параметры сваи: диаметр ствола:
длина сваи _________________________
диаметр пяты _______________________
марка бетона ________________________
армирование ________________________
Объект ______________________________________________________________
(название объекта или строительной площадки)
на вдавливающую (выдергивающую) нагрузку при помощи__________________________
(название и тип испытательной установки)
Начало испытания ____________________________________
(дата и время)
Конец испытания _____________________________________
(дата и время)
|
Показание манометра (или динамометра) по ступеням нагрузки, атм |
Ступень нагрузки, кН (тс) |
Общая нагрузка кН (тс) |
Время снятия отсчетов по приборам, ч, мин |
Осадка (подъем) сваи, мм, по отчетам |
Положение анкерных свай, мм* |
Примечание |
|||||
|
№ 1 |
№ 2 |
среднее значение |
№ 1 |
№ 2 |
№ 3 |
№ 4 |
|||||
|
1 |
2 |
3 |
4 |
5 |
6 |
7 |
8 |
9 |
10 |
11 |
12 |
|
|
|
|
|
|
|
|
|
|
|
|
|
________________
* При отсутствии анкерных свай гр. 8-11 исключаются.
Испытания производим __________________________________________
(место работы, должность, Ф.И.О., подпись)
|
Процент армирования, μ |
Класс бетона |
Значение момента, кН·м (0,1 тс. м), при диаметре ствола, см |
|||||
|
40 |
50 |
60 |
80 |
100 |
120 |
||
|
Вертикальная нагрузка отсутствует |
|||||||
|
0,4 |
В15(М200) |
18,64 |
37,98 |
67,43 |
165,19 |
328,92 |
575,60 |
|
0,4 |
В25(М300) |
19,61 |
39,77 |
70,39 |
171,83 |
341,44 |
596,72 |
|
0,6 |
В15(М200) |
26,16 |
53,59 |
95,50 |
234,92 |
468,85 |
821,72 |
|
0,6 |
В25(М300) |
27,96 |
56,96 |
101,14 |
247,79 |
493,37 |
863,40 |
|
0,8 |
В15(М200) |
33,17 |
68,26 |
121,95 |
300,93 |
601,65 |
1055,66 |
|
0,8 |
В25(М300) |
35,19 |
71,99 |
128,17 |
314,98 |
628,28 |
1100,74 |
|
1,0 |
В15(М200) |
39,73 |
82,06 |
146,92 |
363,47 |
727,72 |
1278,03 |
|
1,0 |
В25(М300) |
42,86 |
87,95 |
156,86 |
386,29 |
771,43 |
1352,57 |
|
1,2 |
В15(М200) |
46,09 |
95,47 |
171,25 |
424,52 |
850,94 |
1495,55 |
|
1,2 |
В25(М300) |
49,76 |
102,39 |
182,93 |
451,40 |
902,48 |
1583,49 |
|
1,4 |
В15(М200) |
52,60 |
109,21 |
196,17 |
487,07 |
977,20 |
1718,42 |
|
1,4 |
В25(М300) |
56,28 |
116,10 |
207,75 |
513,56 |
1027,78 |
1804,51 |
|
1,6 |
В15(М200) |
58,35 |
121,43 |
218,43 |
543,24 |
1090,89 |
1919,48 |
|
1,6 |
В25(М300) |
62,96 |
130,14 |
,233,16 |
577,21 |
1156,10 |
2030,84 |
|
1,8 |
В15(М200) |
64,16 |
133,80 |
240,97 |
600,13 |
1206,05 |
2123,12 |
|
1,8 |
B25(M300) |
69,13 |
143,20 |
256,87 |
636,78 |
1276,42 |
2243,32 |
|
2,0 |
В15(М200) |
70,04 |
146,31 |
263,77 |
657,66 |
1322,49 |
2329,05 |
|
2,0 |
В25(М300) |
75,41 |
156,46 |
280,94 |
697,27 |
1398,58 |
2459,05 |
|
2,2 |
В15(М200) |
75,98 |
158,94 |
286,78 |
715,73 |
1440,05 |
2536,96 |
|
2,2 |
В25(М300) |
81,76 |
169,89 |
305,33 |
758,57 |
1522,39 |
2677,70 |
|
2,4 |
B15(M200) |
81,49 |
170,71 |
308,29 |
770,20 |
1550,50 |
2732,49 |
|
2,4 |
B25(М300) |
37,52 |
182,14 |
327,64 |
814,86 |
1636,34 |
2879,21 |
|
2,6 |
В15(М200) |
87,03 |
182,55 |
329,94 |
824,99 |
1661,61 |
2929,20 |
|
2,6 |
В25(М300) |
93,33 |
194,49 |
350,14 |
871,64, |
1751,27 |
3082,45 |
|
2,8 |
В15(М200) |
92,60 |
194,46 |
351,70 |
830,-08 |
1773,32 |
3126,98 |
|
2,8 |
B25(1300) |
99,18 |
206,93 |
372,82 |
928,86 |
1867,09 |
3287,29 |
|
3,0 |
В15(М200) |
97,71 |
205,44 |
371,83 |
931,23 |
1877,22 |
3311,15 |
|
3,0 |
В25(М300) |
105,07 |
219,46 |
395,65 |
986,49, |
1983,74 |
3493,57 |
|
Вертикальная нагрузка 500 кН (50 тс) |
|||||||
|
0,4 |
В5(М200) |
56,21 |
93,32 |
148,86 |
286,25 |
488,06 |
772,23 |
|
0,4 |
В25(М300) |
70,32 |
113,03 |
165,51 |
308,66 |
521,36 |
815,46 |
|
0,6 |
В15(М200) |
60,65 |
103,74 |
170,03 |
345,84 |
613,76 |
998,96 |
|
0,6 |
В25(М300) |
75,14 |
125,25 |
189,17 |
373,69 |
654,90 |
1056,67 |
|
0,8 |
В15(М200) |
65,14 |
119,43 |
190,76 |
401,61 |
736,70 |
1223,44 |
|
0,8 |
В25(М300) |
79,96 |
136,49 |
212,12 |
435,93 |
785,11 |
1295,87 |
|
1,0 |
В15(М200) |
69,68 |
129,86 |
211,48 |
459,56 |
855,55 |
1430,94 |
|
1,0 |
В25(М300) |
34,53 |
148,27 |
235,25 |
497,04 |
909,97 |
1528,51 |
|
1,2 |
В15(М200) |
74,19 |
140,23 |
231,65 |
514,76 |
969,37 |
1642,13 |
|
1,2 |
В25(М300) |
89,40 |
159,56 |
257,56 |
559,12 |
1037,61 |
1751,15 |
|
1,4 |
В15(М200) |
78,31 |
150,71 |
251,84 |
568,65 |
1084,36 |
1844,13 |
|
1,4 |
В25(М300) |
94,22 |
171,22 |
278,03 |
614,57 |
1157,74 |
1961,16 |
|
1,6 |
B15(M200) |
83,08 |
151,13 |
272,06 |
622,81 |
1196,85 |
2048,29 |
|
1,6 |
В25(М300) |
99,04 |
182,19 |
300,54 |
675,54 |
1279,53 |
2183,39 |
|
1,3 |
В15(М200) |
88,01 |
171,56 |
292,29 |
677,19 |
1310,12 |
2254,30 |
|
1,8 |
В25(М200) |
103,86 |
193,53 |
322,15 |
731,96 |
1402,78 |
2390,58 |
|
2,0 |
В15(М200) |
92,65 |
181,98 |
312,54, |
730,06 |
1420,45 |
2449,01 |
|
2,0 |
В25(М300) |
108,68 |
204,36 |
343,82 |
788,75 |
1516,80 |
2609,49 |
|
2,2 |
В15(М200) |
97,29 |
192,41 |
331,62 |
783,08 |
1527,69 |
2544,79 |
|
2,2 |
В25(М300) |
113,50 |
215,72 |
364,55 |
843,25 |
1631,67 |
2811,74 |
|
2,4 |
В15(М200) |
101,94 |
203,10 |
351,89 |
834,50 |
1635,30 |
2841,52 |
|
2,4 |
B25(M300) |
118,31 |
227,09 |
385,32 |
897,99 |
1747,31 |
3015,50 |
|
2,6 |
В15(М200) |
106,64 |
213,52 |
371,58 |
886,02 |
1743,25 |
3025,82 |
|
2,6 |
В25(М300) |
123,13 |
237,43 |
406,13 |
955,64 |
1863,64 |
3220,55 |
|
2,8 |
В15(М200) |
111,30 |
223,95 |
391,28 |
937,63 |
1851,51 |
3224,03 |
|
2,8 |
В25(М300) |
127,95 |
248,82 |
426,98 |
1008,15 |
1969,57 |
3417,27, |
|
3,0 |
В15(М200) |
115,95 |
234,63 |
411,53 |
989,32 |
1956,33 |
3409,46 |
|
3,0 |
В25(М300) |
132,77 |
259,17 |
447,86 |
1060,81 |
2087,01 |
3614,33 |
|
Вертикальная нагрузка 1000 кН (100 тс) |
|||||||
|
0,4 |
В15(M200) |
36,16 |
111,95 |
190,84 |
375,98 |
621,56 |
942,41 |
|
0,4 |
В25(М300) |
79,20 |
152,24 |
231,39 |
422,54 |
676,65 |
1019,68 |
|
0,6 |
В15(М200) |
42,65 |
121,86 |
208,97 |
429,43 |
737,63 |
1158,23 |
|
0,6 |
В25(М300) |
33,92 |
162,04 |
250,54 |
480,23 |
801,85 |
1247,55 |
|
0,8 |
В15(М200) |
48,91 |
131,79 |
227,38 |
480,64 |
848,70 |
1367,38 |
|
0,8 |
В25(М300) |
88,59 |
171,86 |
270,44 |
536,14 |
924,94 |
1466,70 |
|
1,0 |
В15(М200) |
55,04 |
141,73 |
245,57 |
531,91 |
963,50 |
1573,83 |
|
1,0 |
В25(М300) |
93,22 |
181,67 |
290,33 |
592,35 |
1045,23 |
1690,67 |
|
1,2 |
В15(М200) |
60,96 |
151,74 |
264,04 |
583,22 |
1072,84 |
1771,04 |
|
1,2 |
В25(М300) |
97,8 |
191,75 |
309,50 |
648,83 |
1162,20 |
1902,15 |
|
1,4 |
B15(M200) |
66,61 |
161,69 |
282,52 |
634,56 |
1179,52 |
1975,48 |
|
1,4 |
В25(М300) |
102,47 |
201,33 |
329,40 |
700,99 |
1280,23 |
2116,47 |
|
1,6 |
В15(М200) |
72,18 |
171,74 |
301,03 |
684,62 |
1286,51 |
2169,61 |
|
1,6 |
В25(М300) |
107,17 |
211,67 |
349,30 |
757,88 |
1394,32 |
2333,31 |
|
1,8 |
В15(М200) |
77,65 |
181,79 |
319,80 |
734,70 |
193,79 |
2364,65 |
|
1,8 |
В25(М300) |
111,81 |
221,77 |
365,47 |
810,34 |
1509,12 |
2534,64- |
|
2,0 |
В15(М200) |
83,00 |
191,85 |
338,33 |
784,80 |
150.1,30 |
2554,54 |
|
2,0 |
В25(М300) |
116,42 |
231,57 |
387,64 |
862,90 |
1619,56 |
2737,43 |
|
2,2 |
В15(М200) |
88,42 |
201,96 |
357,12 |
834,91 |
1605,85 |
2745,03 |
|
2,2 |
В25(М300) |
121,05 |
241,97 |
407,54 |
915,57 |
1735,50 |
2941,51 |
|
2,4 |
В15(М200) |
93,51 |
212,11 |
375,93 |
885,04 |
1710,55 |
2930,00 |
|
2,4 |
В25(М300) |
125,74 |
252,08 |
426,71 |
968,32 |
1841,80 |
3137,58 |
|
1,6 |
В25(М300) |
85,70 |
217,59 |
377,46 |
824,17 |
1493,76 |
2461,90 |
|
1,8 |
В15(М200) |
33,17 |
163,05 |
323,24 |
774,37 |
1463,46 |
2460,64 |
|
1,8 |
В25(М300) |
91,44 |
227,61 |
396,06 |
874,83 |
1609,26 |
2656,56 |
|
2,0 |
В15(М200) |
41,22 |
174,05 |
341,86 |
823,24 |
1565,34 |
2651,12 |
|
2,0 |
В25(М300) |
97,28 |
237,57 |
414,66 |
925,51 |
1715,88 |
2860,75 |
|
2,2 |
В15(М200) |
48,78 |
185,58 |
360,57 |
871,24 |
1669,92 |
2836,52 |
|
2,2 |
В25(М300) |
102,58 |
247,58 |
432,91 |
976,21 |
1882,72 |
3057,22 |
|
2,4 |
В25(М200) |
56,07 |
196,49 |
379,20 |
919,25 |
1769,21 |
3022,16 |
|
2,4 |
В25(М300) |
108,27 |
257,62 |
451,54 |
1026,93 |
1929,77 |
3254,41 |
|
2,6 |
В15(М200) |
62,50 |
207,51 |
397,90 |
968,14 |
1873,87 |
3208,03 |
|
2,6 |
В25(М300) |
113,73 |
257,68 |
470,18 |
1077,67 |
2037,00 |
3443,43 |
|
2,8 |
В15(М200) |
68,90 |
218,26 |
416,66 |
1017,02 |
1973,22 |
3388,62 |
|
2,8 |
В25(М300) |
118,93 |
277,70 |
488,83 |
1126,43 |
2144,40 |
3632,91 |
|
3,0 |
В15(М200) |
75,32 |
229,10 |
435,47 |
1065,90 |
2077,92 |
3569,34 |
|
3,0 |
В25(М300) |
124,50 |
287,82 |
507,49 |
1177,20 |
2251,94 |
3831,81 |
|
Вертикальная нагрузка 2000 кН (200 тс) |
|||||||
|
0,4 |
В15(М200) |
- |
- |
157,78 |
469,72 |
818,98 |
1237,01 |
|
0,4 |
В25(М300) |
- |
130,89 |
277,93 |
583,32 |
935,98 |
1368,11 |
|
0,6 |
В15(М200) |
- |
16,72 |
179,15 |
515,33 |
918,60 |
1429,73 |
|
0,6 |
В25(М300) |
- |
142,79 |
295,80 |
632,25 |
1049,74 |
1579,89 |
|
0,3 |
В15(М200) |
- |
36,79 |
200,21 |
561,45 |
1020,32 |
1613,42 |
|
0,8 |
В25(М300) |
- |
154,11 |
313,71 |
661,13 |
1155,72 |
1786,21 |
|
1,0 |
В15(М200) |
- |
55,38 |
221,32 |
608,06 |
1119,94 |
1607,45 |
|
1,0 |
В25(М300) |
5,11 |
165,67 |
331,76 |
728,55 |
1266,03 |
1994,16 |
|
1,2 |
В15(М200) |
- |
72,29 |
241,78 |
654,45 |
1219,56 |
1992,08 |
|
1,2 |
В25(М200) |
15,49 |
177,00 |
349,80 |
777,48 |
1372,45 |
2195,66 |
|
1,4 |
В15(М200) |
- |
67,23 |
252,07 |
701,64 |
1319,19 |
2176,94 |
|
1,4 |
В25(М300) |
25,07 |
186,06 |
367,96 |
826,41 |
1463,20 |
2382,26 |
|
1,6 |
В15(М200) |
- |
101,66 |
282,14 |
748,58 |
1418,81 |
2362,00 |
|
1,6 |
В25(М300) |
34,74 |
199,28 |
386,16 |
675,34 |
1585,80 |
2585,61 |
|
1,8 |
В15(М200) |
- |
114,88 |
301,94 |
795,95 |
1518,43 |
2547,24 |
|
1,8 |
В25(М300) |
43,33 |
210,19 |
404,41 |
924,27 |
1692,69 |
2781,67 |
|
2,0 |
В15(М200) |
- |
128,24 |
321,96 |
843,39 |
1618,05 |
2732,61 |
|
2,0 |
В25(М300) |
51,92 |
221,22 |
422,72 |
973,20 |
1795,49 |
2978,36 |
|
2,2 |
В15(М200) |
- |
142,23 |
341,69 |
890,89, |
1717,67 |
2908,49 |
|
2,2 |
В25(М300) |
59,68 |
231,93 |
441,08 |
1022,13 |
1902,60 |
3167,38 |
|
2,4 |
В15(М200) |
- |
155,31 |
361,05 |
938,45 |
1819,39 |
3094,10 |
|
2,4 |
В25(М300) |
66,90 |
242,74 |
459,47 |
1071,06 |
2009,80 |
3356,81 |
|
2,6 |
В15(М200) |
1,8 |
168,07 |
381,11 |
986,42 |
1919,02 |
3274,97 |
|
2,6 |
В25(М300) |
73,95 |
253,62 |
477,92 |
1119,99 |
2108,62 |
3546,61 |
|
2,8 |
В15(М200) |
10,82 |
181,12 |
400,25 |
1034,07 |
2018,64 |
3455,92 |
|
2,3 |
В25(М300) |
80,40 |
264,18 |
496,39 |
1168,92 |
2215,99 |
3736,76 |
|
3,0 |
В15(М200) |
19,90 |
193,74 |
420,06 |
1081,76 |
2120,34 |
3641,76 |
|
3,0 |
В25(М300) |
87,15 |
274,80 |
514,90 |
1217,85 |
2314,91 |
3927,21 |
|
Вертикальная нагрузка 2500 кН (250 тс) |
|||||||
|
0,4 |
В15(М200) |
- |
- |
81,29 |
471,39 |
880,83 |
1350,71 |
|
0,4 |
В25(М300) |
- |
70,26 |
260,31 |
631,78 |
1043,58 |
1520,55 |
|
0,6 |
В15(М200) |
- |
- |
110,89 |
517,67 |
976,86 |
1535,23 |
|
0,6 |
В25(М300) |
- |
86,46 |
279,09 |
678,09 |
1146,34 |
1727,79 |
|
0,8 |
В15(М200) |
- |
- |
136,76 |
563,91 |
1072,92 |
1715,72 |
|
0,8 |
В25(М300) |
- |
101,59 |
298,15 |
724,44 |
1249,15 |
1921,53 |
|
1,0 |
В15(М200) |
- |
- |
161,68 |
610,54 |
1170,55 |
1896,27 |
|
1,0 |
В25(М300) |
- |
115,88 |
317,46 |
771,88 |
1355,70 |
2116,00 |
|
1,2 |
В15(М200) |
- |
- |
185,54 |
657,23 |
1266,73 |
2081,02 |
|
1,2 |
В25(М300) |
- |
129,67 |
336,49 |
819,36 |
1458,62 |
2318,63 |
|
1,4 |
В15(М200) |
- |
2,10 |
209,60 |
704,30 |
1365,95 |
2257,53 |
|
1,4 |
В25(М300) |
- |
142,58 |
355,23 |
865,81 |
1561,59 |
2506,84 |
|
1,6 |
В15(М200) |
- |
21,87 |
232,75 |
751,36 |
1462,23 |
2442,38 |
|
1,6 |
В25(М300) |
- |
156,30 |
374,60 |
913,34 |
1664,59 |
2695,45 |
|
1,8 |
В15(М200) |
- |
40,89 |
254,76 |
798,64 |
1560,04 |
2618,96 |
|
1,8 |
B25(M300) |
- |
168,98 |
393,20 |
960,90 |
1767,61 |
2884,43 |
|
2,0 |
В15(М200) |
- |
60,03 |
277,42 |
845,91 |
1557,83 |
2799,72 |
|
2,0 |
В25(М300) |
- |
182,02 |
412,39 |
1003,48 |
1866,96 |
3073,74 |
|
2,2 |
В15(М200) |
- |
77,72 |
300,58 |
893,55 |
1757,22 |
2980,50 |
|
2,2 |
B25(M300) |
- |
194,51 |
431,24 |
1056,09 |
1973,75 |
3263,36 |
|
2,4 |
В15(М200) |
- |
94,04 |
322,29 |
941,14 |
1853,62 |
3157,14 |
|
2,4 |
В25(М300) |
1,67 |
206,73 |
449,7 |
1103,70 |
2073,15 |
3453,24 |
|
2,6 |
В15(М200) |
- |
109,16 |
342,49 |
988,87 |
1953,02 |
3333,79 |
|
2,6 |
В25(М300) |
10,50 |
219,06 |
468,83 |
1151,34 |
2172,55 |
3643,37 |
|
2,8 |
В15(М200) |
- |
123,66 |
364,89 |
1036,53 |
2052,42 |
3518,78 |
|
2,3 |
В25(М300) |
19,90 |
230,66 |
487,98 |
1200,04 |
2279,40 |
3833,71 |
|
3,0 |
В15(М200) |
- |
137,80 |
385,71 |
1084,31 |
2150,37 |
3695,48 |
|
3,0 |
В25(М300) |
29,39 |
242,82 |
506,79 |
1247,71 |
2378,85 |
4008,59 |
|
Вертикальная нагрузка 3000 кН (300 тс) |
|||||||
|
0,4 |
В15(М200) |
- |
- |
- |
444,12 |
919,45 |
1445,19 |
|
0,4 |
В25(М300) |
- |
- |
214,49 |
658,96 |
1128,85 |
1661,01 |
|
0,6 |
В15(М200) |
- |
- |
0,83 |
492,10 |
1013,14 |
1619,23 |
|
0,6 |
В25(М300) |
- |
- |
236,68 |
704,57 |
1228,47 |
1855,51 |
|
0,8 |
В15(М200) |
- |
- |
38,06 |
541,08 |
1107,12 |
1796,04 |
|
0,8 |
В25(М300) |
- |
15,31 |
257,89 |
749,82 |
1328,09 |
2043,54 |
|
1,0 |
В15(М200) |
- |
- |
72,12 |
589,22 |
1202,18 |
1972,86 |
|
1,0 |
В25(М300) |
- |
36,25 |
279,73 |
796,20 |
1430,86 |
2238,91 |
|
1,2 |
В15(М200) |
- |
- |
104,72 |
638,03 |
1297,45 |
2149,68 |
|
1,2 |
В25(М300) |
- |
55,18 |
300,32 |
842,18 |
1530,48 |
2427,63 |
|
1,4 |
B15(M200) |
- |
- |
133,90 |
635,82 |
1393,74 |
2326,49 |
|
1,4 |
B25(M300) |
- |
74,36 |
321,34 |
888,76 |
1630,10 |
2616,60 |
|
1,6 |
В15(М200) |
- |
- |
161,66 |
734,10 |
1490,18 |
2503,30 |
|
1,5 |
В25(М300) |
- |
92,07 |
341,85 |
934,91 |
1729,72 |
2798,71 |
|
1,8 |
В15(М200) |
- |
- |
187,08 |
782,80 |
1535,75 |
2680,12 |
|
1,6 |
В25(М300) |
- |
108,43 |
362,67 |
981,67 |
1829,35 |
2988,11 |
|
2,0 |
В15(М200) |
- |
- |
211,13 |
830,35 |
1683,46 |
2856,93 |
|
2,0 |
B25(M300) |
- |
123,50 |
382,90 |
1028,49 |
1928,97 |
3177,69 |
|
2,2 |
B15(M200) |
- |
- |
234,90 |
878,98 |
1780,26 |
3033,75 |
|
2,4 |
В25(М300) |
- |
138,24 |
403,38 |
1075,91 |
2028,59 |
3360,29 |
|
2,4 |
B15(M200) |
- |
7,24 |
259,77 |
927,89 |
1877,16 |
3210,56 |
|
2,4 |
B25(M300) |
- |
152,49 |
423,21 |
1122,86 |
2128,21 |
3543,00 |
|
2,6 |
В15(М200) |
- |
25,44 |
284,13 |
975,58 |
1974,97 |
3387,38 |
|
2,6 |
В25(М300) |
- |
165,53 |
443,24 |
1170,40 |
2227,83 |
3732,99 |
|
2,8 |
B15(M200) |
- |
46,00 |
307,87 |
1023,50 |
2072,86 |
3564,19 |
|
2,8 |
B25(М300) |
- |
178,51 |
462,61 |
1217,45 |
2327,45 |
3908,72 |
|
3,0 |
B15(M200) |
- |
64,91 |
332,17 |
1072,37 |
2169,98 |
3741,01 |
|
3,0 |
B25(M300) |
- |
192,36 |
482,98 |
1255,08 |
2427,07 |
4098,92 |
|
Вертикальная нагрузка 3500 кН (350 тс) |
|||||||
|
0,4 |
В15(М200) |
- |
- |
386,63 |
933,61 |
1517,99 |
|
|
0,4 |
В25(М300) |
- |
140,29 |
665,65 |
1197,92 |
1787,20 |
|
|
0,6 |
В15(М200) |
- |
- |
438,71 |
1026,73 |
1691,25 |
|
|
0,6 |
В25(М300) |
- |
167,59 |
711,16 |
1294,67 |
1975,68 |
|
|
0,3 |
В15(М200) |
_ |
- |
491,52 |
1120,57 |
1861,86 |
|
|
0,3 |
В25(М300) |
- |
193,54 |
756,86 |
1391,45 |
2157,90 |
|
|
1,0 |
В15(М200) |
- |
- |
543,21 |
1215,05 |
2035,31 |
|
|
1,0 |
В25(М300) |
- |
217,79 |
802,80 |
1488,26 |
2340,21 |
|
|
1,2 |
В15(М200) |
- |
- |
594,81 |
1309,99 |
2208,83 |
|
|
1,2 |
В25(М300) |
- |
241,68 |
848,96 |
1587,66 |
2529,14 |
|
|
1,4 |
В15(М200) |
- |
26,69 |
646,10 |
1405,31 |
2382,41 |
|
|
1,4 |
В25(М300) |
- |
264,42 |
895,26 |
1684,50 |
2711,67 |
|
|
1,6 |
В15(М200) |
- |
62,39 |
696,92 |
1500,96 |
2556,64 |
|
|
1,6 |
В25(М300) |
- |
287,98 |
941,73 |
1781,37 |
2394,38 |
|
|
1,3 |
В15(М200) |
- |
96,96 |
747,13 |
1597,19 |
2729,72 |
|
|
1,3 |
В25(М300) |
19,32 |
310,99 |
983,97 |
1880,81 |
3076,96 |
|
|
2,0 |
В15(М200) |
- |
128,69 |
796,56 |
1693,38 |
2906,14 |
|
|
2,0 |
В25(М300) |
40,11 |
334,58 |
1035,15 |
1977,71 |
3259,71 |
|
|
2,2 |
В15(М200) |
- |
158,63 |
846,75 |
1790,10 |
3077,19 |
|
|
2,2 |
В25(М300) |
59,26 |
356,19 |
1082,02 |
2077,18 |
3442,51 |
|
|
2,4 |
В15(М200) |
- |
185,96 |
897,32 |
1887,02 |
3253,69 |
|
|
2,4 |
В25(М300) |
78,74 |
373,22 |
1129,05 |
2174,10 |
3625,37 |
|
|
2,6 |
В15(М200) |
- |
212,32 |
947,01 |
1984,12 |
3430,20 |
|
|
2,6 |
В25(М300) |
96,87 |
399,33 |
1176,16 |
2273,59 |
3801,70 |
|
|
2,8 |
В15(М200) |
- |
236,47 |
997,08 |
2081,37 |
3604,05 |
|
|
2,8 |
В25(М300) |
113,74 |
420,87 |
1223,39 |
2373,07 |
3984,64 |
|
|
3,0 |
В15(М200) |
- |
260,58 |
1046,21 |
2178,78 |
3777,92 |
|
|
3,0 |
В25(М300) |
130,07 |
442,64 |
1270,69 |
2470,03 |
4167,6 |
|
|
Вертикальная нагрузка 4000 кН (400 тс) |
|||||||
|
0,4 |
В15(М200) |
- |
- |
299,77 |
924,36 |
1572,63 |
|
|
0,4 |
В25(М300) |
- |
32,15 |
651,36 |
1249,93 |
1897,73 |
|
|
0,6 |
В15(М200) |
- |
- |
357,65 |
1018,72 |
1740,78 |
|
|
0,6 |
В25(М300) |
- |
68,51 |
698,42 |
1344,40 |
2074,31 |
|
|
0,8 |
В15(М200) |
- |
- |
415,76 |
1113,50 |
1911,21 |
|
|
0,8 |
В25(М300) |
- |
101,95 |
745,26 |
1438,99 |
2256,00 |
|
|
1,0 |
В15(М200) |
- |
- |
473,47 |
1208,57 |
2079,99 |
|
|
1,0 |
В25(М300) |
- |
134,67 |
791,86 |
1533,67 |
2439,31 |
|
|
1,2 |
В15(М200) |
- |
- |
529,91 |
1304,40- |
2250,94 |
|
|
1,2 |
В25(М300) |
- |
164,11 |
838,83 |
1630,38 |
2615,96 |
|
|
1,4 |
В15(М200) |
- |
- |
584,52 |
1399,71 |
2422,10 |
|
|
1,4 |
В25(М300) |
- |
- |
190,79 |
385,49 |
1727,16 |
2798,51 |
|
1,6 |
В15(М200) |
- |
- |
- |
638,78 |
1496,18 |
2593,44 |
|
1,6 |
В25(М300) |
- |
- |
218,09 |
933,08 |
1822,08 |
2981,07 |
|
1,8 |
В15(М200) |
- |
- |
- |
692,41 |
1592,57 |
2766,85 |
|
1,8 |
В25(М300) |
- |
- |
243,65 |
980,30 |
1918,98 |
3157,77 |
|
2,0 |
В15(М200) |
- |
- |
16,92 |
745,23 |
1689,40 |
2938,48 |
|
2,0 |
В25(М300) |
- |
- |
267,24 |
1027,16 |
2015,95 |
3334,47 |
|
2,2 |
В15(М200) |
- |
- |
51,82 |
798,94 |
1786,07 |
3112,15 |
|
2,2 |
В25(М300) |
- |
- |
290,38 |
1047,25 |
2112,96 |
3517,08 |
|
2,4 |
В15(М200) |
- |
- |
36,88 |
849,70 |
1883,61 |
3235,92 |
|
2,4 |
В25(М300) |
- |
- |
314,92 |
1122,02 |
2210,02 |
3693,80 |
|
2,6 |
В15(М200) |
- |
- |
120,83 |
901,14 |
1980,40 |
3457,85 |
|
2,6 |
В25(М300) |
- |
- |
340,16 |
1169,03 |
2307,12 |
3876,41 |
|
2,8 |
В15(M200) |
- |
- |
152,47 |
953,18 |
2077,99 |
3633,71 |
|
2,8 |
B25(M300) |
- |
25,30 |
362,85 |
1217,25 |
2004,26 |
4053,16 |
|
3,0 |
В15(М200) |
- |
- |
181,21 |
1005,75 |
2175,82 |
3805,82 |
|
3,0 |
В25(М300) |
- |
44,51 |
386,04 |
1264,48 |
2503,34 |
4229,90 |
Примечания: 1. Значения процента армирования вычислены для арматурной стали класса А-II при защитном слое бетона 60 мм и симметричном расположении рабочих стержней по периметру каркаса.
2. При другом классе арматурной стали процент армирования пересчитывается по соотношению расчётных сопротивлений арматурной стали.
3.
- где площадь
поперечного сечения продольной арматуры.
|
Строительная организация ______________ |
Объект ________________________________ |
|
Тип бурового станка ____________________ |
Наличие, показатели глинистого раствора ______________________________________ |
|
Тип и диаметр бурового снаряда, мм ______________________________________________ |
|
|
Тип и диаметр уширителя, мм ____________ |
Отметка верха каркаса, м ________________ |
|
Объем бункера (воронки) и трубы, м3 ______________________________________ (для свай, бетонируемых методом ВПТ) |
Арматурный каркас:
|
|
Диаметр ствола, мм ___________________ |
продольная арматура ____________ |
|
Диаметр уширения, мм ________________ |
поперечная арматура _______________ |
|
Отметка поверхности грунта, м ________ |
Длина общая, м _______ Длина звеньев, м __ |
|
Отметка головы сваи, м ______________ |
Способ бетонирования ___________________ |
|
Отметка подошвы, м ________________ |
Диаметр, длина бетонолитной трубы, мм ___________________________________ |
|
Начало работ ________________ |
Марка бетона, консистенция ______________ |
|
Объем уложенного бетона, м3 ____________ |
Окончание работ _______________________ |
|
№ фундамента, оси |
№ сваи |
Дата, смена |
Бурение скважины |
Разбуривание уширения |
Характеристика разбуриваемых грунтов |
Бетонирование |
Примечание |
|||||
|
Начало ч, мин |
Окончание, ч мин |
Отметка забоя, м |
Начало ч, мин |
Окончание, ч, мин |
Окончание промывки, ч, мин |
Начало ч, мин |
Окончание, ч, мин |
|||||
|
|
|
|
|
|
|
|
|
|
|
|
|
|
Производитель работ ______________Мастер __________________
(Ф.И.О., подпись) (Ф.И.О., подпись)
___________________
* Отмечаются разрывы между окончанием бурения или промывки уширения и началом бетонирования, вынужденные перерывы в бетонировании, проверки размеров скважин и уширения и др.
наименование строительной организации ______________________________________
Объект __________________________________________________________________
|
№ пп |
Дата устройства сваи |
№ сваи по плану |
Отметка низа, м |
Отметка головы, м |
Диаметр ствола, м |
Диаметр уширения, м |
Примечание |
||||
|
по проекту |
фактически |
по проекту |
фактически |
по проекту |
фактически |
по проекту |
фактически |
||||
|
|
|
|
|
|
|
|
|
|
|
|
|
Руководитель работ ________________________
(Ф.И.О., подпись)
|
Наименование строительной организации __ |
Объект ________________________________ |
|
№ сваи по плану _______________________ |
Тип бурового стакана ___________________ |
|
Тип уширителя ______________________________________________________________ |
|
Свая-опора №___ |
|
|
Диаметр
стальной |
Способ бетонирования_________________ |
|
Диаметр уширенной пяты, м _____________ |
Марка бетона, консистенция _____________ |
|
Фактическая
отметка |
Арматурный каркас продольная арматура __________________________________ |
|
Отметка низа оболочки, м ________________________________________________________ |
|
|
Отметка верха оболочки, м _______________ |
поперечная арматура ______________ |
|
дата, смена |
Бурение ствола |
Отметка кровли несущего слоя грунта |
Время погружения оболочек, ч, мин |
Время разбуривания уширения, ч, мин |
Время бетонирования, ч, мин |
Объем уложенного бетона, м3 |
Заглубление (минимальное) низа трубы в бетоне, м |
Примечание |
||||
|
Тип и диаметр бурового снаряда, мм |
Отметка забоя скважины |
начало |
окончание |
начало |
окончание |
начало |
окончание |
|||||
|
|
|
|
|
|
|
|
|
|
|
|
|
|
Производитель работ ______________ Сменный мастер __________________
(Ф.И.О., подпись) (Ф.И.О., подпись)
|
Трест ________________________________ |
Строительное управление ________________ |
|
Участок ______________________________ |
Объект ________________________________ |
|
Тип бурового станка ___________________ |
|
|
Начальник
участка (Ф.И.О., подпись) |
Производитель работ ____________________ (Ф.И.О., подпись) |
ЖУРНАЛ БУРЕНИЯ (форма)
|
Опора № /по плану объекта/ ____________________________________________________ Диаметр ствола опоры /наружный диаметр обсадной трубы/ ________________________ Отметка условного горизонта /0.00/ _____________________________________________ Проектная отметка подошвы /относительно условного горизонта/ ___________________ Длина звеньев обсадной трубы l1 = _________, l2 = __________, l3 = __________________ /l1 - длина нижнего звена с режущим наконечником/ Отметка уровня грунтовых вод /относительно условного горизонта/ ___________________ |
|
Дата, смена |
Время работы |
Пройдено за смену, м |
Наименование грунтовых слоев и марка грунтовых образцов |
Отметка слоя кровли |
Отметка подошвы слоя |
Отметка поверхности воды в скважине |
Время окончания зачистки забоя в основании подошвы опоры, ч, мин |
Отметка основания после зачистки забоя |
Примечание /простои и их причины, наплывы грунта в скважину и меры по их устранению, нарушения технологического режима в ходе работ замечания технадзора/ |
Подпись бурового мастера |
|
|
начало, ч, мин |
Окончание, ч.мин |
||||||||||
|
|
|
|
|
|
|
|
|
|
|
|
|
Руководитель работ __________________
(Ф.И.О., подпись)
ЖУРНАЛ БЕТОНИРОВАНИЯ (форма)
Марка бетона /по проекту/ ___________________________________________________
Осадка конуса /по проекту/ ____________________________________________________
Вид, марка и срок схватывания цемента __________________________________________
Объем бетона в опоре /по проекту/ м _____________________________________________
Маркировка контрольных образцов /№ образца и время взятия пробы/ ______________________
Отметка низа каркаса:
по проекту ___________________ м
фактически ___________________ м
|
Дата, смена |
Этапы, мин |
Объем уложенного бетона, м3 |
Подъем обсадной трубы |
Отметка бетонной смеси, м |
отметка режущего наконечника после подъема обсадной трубы, м |
Подвижность и температура /зимой/ бетонной смеси при укладке |
Примечание /нарушения технологического режима в ходе работ, их причины, меры устранения, отметка об отборе контрольных кубиков, особые условия, замечания технического надзора и др./ |
Подписи бурового мастера |
|||||
|
начало |
окончание |
Начало, ч, мин |
Окончание, ч, мин |
в начале подъема трубы |
в конце подъема трубы |
Время замера, ч, мин |
Осадка конуса, см |
Температура, град |
|||||
|
|
|
|
|
|
|
|
|
|
|
|
|
|
|
Производитель работ ___________________
(Ф.И.О. подпись)
|
Наименование строительной организации _____________________________________ Наименование объекта ______________________________________________________ Способ образования скважин ________________________________________________ Способ установки обсадной трубы, размеры трубы _______________________________ Класс бетона ствола, осадка конуса _____________________________________________ Срок начала схватывания цемента _____________________________________________ Взрывчатое вещество _______________________________________________________ Даты: начала работ окончания работ |
|
№ фундамента, оси |
№ сваи |
Дата бурения скважины |
Диаметр скважины, мм |
Глубина скважины, м |
Дата камуфлетирования |
Масса заряда ВВ, кг |
Время взрыва заряда, ч, мин |
Уровень бетона в трубе, м |
Объем бетона, м3 |
Диаметр камуфлетной пяты, м |
Подпись ответственного исполнителя |
|||
|
до взрыва |
после взрыва |
пяты |
ствола над пятой |
общий |
||||||||||
|
|
|
|
|
|
|
, |
|
|
|
|
|
|
|
|
Производитель работ ___________________
(Ф.И.О. подпись)
|
Наименование строительной организации _________________________________________ Наименование объекта ________________________________________________________ Способ образования скважины __________________________________________________ Способ установки воронки с обсадной трубой ______________________________________ Класс бетона, применяемого для камуфлетной пяты, осадка конуса _____________________ Конструкция ствола, сечение, класс бетона _________________________________________ Взрывчатое вещество _________________________________________________________ Даты: начала работ окончания работ |
|
№ фундамента, оси |
№ сваи |
Диаметр скважины, мм |
Глубина скважины, м |
Дата камуфлетирования |
Масса заряда ВВ, кг |
Время приготовления бетонной смеси, ч, мин |
Время взрыва заряда, ч, мин |
Уровень бетона в трубе, м |
Объем бетона, м3 |
Диаметр камуфлетной пяты, м |
Время забивки, сваи-стойки, ч, мин |
Отметка головы сваи |
Подпись ответственного исполнителя |
||||
|
до взрыва |
после взрыва |
перед забивкой ствола |
пяты |
ствола над пятой |
общий |
||||||||||||
|
|
|
|
|
|
|
|
|
|
|
|
|
|
|
|
|
|
|
Производитель работ ___________________
(Ф.И.О. подпись)
|
Строительная организация _________________ |
Объект ___________________________ |
|
Тип бурового станка ______________________________________________________________ |
|
|
Механизм для забивки пакета сваек _________________________________________________ |
|
|
Способ бетонирования ____________________________________________________________ |
|
|
Отметка поверхности грунта ______________ м |
Отметка верха опоры ______________ м |
|
Отметка забоя скважины _________________ м |
Класс бетона, консистенция __________ м |
|
Количество и размеры сваек (шт., мм) _______ |
Длина арматурного каркаса __________ м |
|
Диаметр ствола опоры __________________ мм |
Диаметр, марка продольной арматуры ___ |
|
|
Диаметр, марка, шаг поперечной арматуры ___________________________ |
|
Дата, смена |
Бурение скважины, м |
Характеристика прорезаемых грунтов и грунта в забое скважины |
Забивка пакета сваек |
Глубина погружения сваек в грунт, м |
Время бетонирования, ч, мин |
Объем уложенного бетона, м3 |
|||
|
Углубление |
Отметка забоя |
Время, мин |
Отказ, мм |
Начало |
Окончание |
||||
|
|
|
|
|
|
|
|
|
|
|
Производитель работ ______________ Сменный мастер /техник/_______________
(Ф.И.О., подпись) (Ф.И.О., подпись)
Объект _____________________________________________________
|
№ сваи |
Диаметр сваи, мм |
Длина сваи, м |
Диаметр скважины, мм |
Отметка подошвы забоя |
Дата бурения скважины и погружения сваи |
Отметка головы сваи |
|
|
|
|
|
|
|
|
Производитель работ __________________________________
(Ф.И.О., подпись)
Мастер ______________________________________________
(Ф.И.О., подпись)
|
Объект ______________________________________________________________ Диаметр сваи ___________________ мм Длина ____________________________ м Вибропогружатель типа __________________________ Дата вибровоздействия __________________________ |
|
№ залога |
Продолжительность залога, мин |
Осадка сваи за очередной залог, см |
Отказ в последнем залоге, см/мин |
Отметка головы сваи |
|
|
|
|
|
|
Производитель работ_____________________
(Ф.И.О., подпись)
(Ф.И.О., подпись)
|
Трест ________________________________________________________ Строительное управление _______________________________________ Участок ______________________________________________________ Объект ___________________________________________________________ Тип бурового оборудования (станка) ____________________________________ Марка бетона ______________________________________________________ Осадка конуса ______________________________________________________ |
Начальник участка (старший производитель работ) __________________________
(Ф.И.О., подпись)
Производитель работ ____________________________________
(Ф.И.О., подпись)
ЖУРНАЛ БУРЕНИЯ В УСТОЙЧИВЫХ ГРУНТАХ (форма) (см. рис. 42 настоящего руководства)
|
№ опоры оси |
Бурение лидирующей скважины |
разбуривание верхнего уширения |
Расширение скважины |
Разбуривание полости под пяту |
Подпись бурового мастера |
|||||||||
|
Дата |
Диаметр, мм |
Глубина, м |
Отметка забоя, м |
Характеристика грунта на последующем метре бурения |
Дата |
Диаметр, мм |
Отметка низа, м |
Дата |
Диаметр, мм |
Дата |
Диаметр, мм |
|||
|
проектная |
фактическая |
|||||||||||||
|
|
|
|
|
|
|
|
|
|
|
|
|
|
|
|
Производитель работ _____________________________
(Ф.И.О., подпись)
ЖУРНАЛ АРМИРОВАНИЯ И БЕТОНИРОВАНИЯ ОПОР-КОЛОНН (форма), (см. рис. 42 настоящего руководства)
|
№ опоры, оси |
Дата |
Отметка забоя (глубина), м |
Отметка низа обсадной трубы (оболочки), м |
Вытрамбовывание уширения |
|||||||
|
I цикл |
II цикл |
Объем бетона пяты, м3 |
Диаметр уширения, мм |
||||||||
|
Отметка бетона в скважине до трамбования, м |
Отметка бетона в скважине после трамбования, м |
Время работа вибропогружателя, мин |
Отметка бетона в скважине до трамбования, м |
Отметка бетона в скважине после трамбования, м |
Время работа вибропогружателя, мин |
||||||
|
|
|
|
|
|
|
|
|
|
|
|
|
продолжение табл.
|
Отметка верха арматурного каркаса, м |
Длина арматурного каркаса, м |
Объем бетона ствола, м3 |
Верхнее уширение |
Общий расход бетона, м3 |
Примечание |
Подпись ответственного исполнителя |
||
|
Отметка верха арматурного каркаса консолей, м |
Отметка верха арматурного каркаса стакана, м |
Объем бетона, м3 |
||||||
|
|
|
|
|
|
|
|
|
|
Наименование строительной организации _____________________________________
Объект ___________________________________________________________________
|
Дата устройства |
№ опоры колонны по плану объекта (сооружения) |
Отметка низа опоры-колонны, м |
Диаметр отзола, мм |
Диаметр уширения, мм |
Примечание |
|||
|
по проекту |
фактически |
по проекту |
фактически |
по проекту |
фактически |
|||
|
|
|
|
|
|
|
|
|
|
Руководитель работ _____________________________
(Ф.И.О., подпись)
1. Настоящее приложение составлено в развитие и дополнение раздела 10 СНиП 2.02.03-85 и относится к расчету буронабивных свай и ростверков на воздействие горизонтальных деформаций основания.
2. Дополнительные усилия в сваях, вызванные горизонтальными деформациями основания, зависят от способа сопряжения свай с ростверком, перемещения грунта и жесткостных характеристик свай и основания.
3. Максимальные расчетные усилия в сваях поперечной силы Q, кН, (тс) и изгибающего момента М, кН м, (тc м) следующие.
При жесткой заделке головы сваи в ростверке (рис. 1,а)
Q = 0,66q1h0;
М = 0,33q1h02,
где q1 - максимальная ордината эпюры давления грунта на сваю, кН/м, (тс/м);
h0 - ордината положения нулевой точки, м.
При шарнирном сопряжении головы сваи с ростверком (рис. 1,б)
Q = 0,33q1h0;
М = 0,104q1h02.
При устройстве шва скольжения между оголовком сваи и ростверком
Q = NМ.Г = 0,66q1h0;
М = 0,33q1h02,
где NM.Г - максимальное горизонтальное усилие в свае, кН (тс).

Рис. 1. Схемы взаимодействия сваи с грунтом при горизонтальном перемещении основания от подработки:
а - при жестком соединении сваи с ростверком и при устройстве шва скольжения; б - при шарнирном соединении сваи с ростверком; 1 - деформация сваи; 2 - эпюра горизонтального перемещения грунта; 3 - эпюра давления грунта на сваю; 4 - эпюра поперечных сил; 5 - эпюра изгибающих моментов
4. Максимальная ордината эпюры давления грунта на сваю при жесткой заделке и при устройстве шва скольжения
q1 = 0,5CodpΔl;
при шарнирном сопряжении
q1 = 0,3CodpΔl;
где Со - коэффициент жесткости основания в горизонтальном направлении;
dр - условная расчетная ширина сваи;
Δl - расчетное горизонтальное перемещение грунта, м. определяемое по п. 8 настоящих рекомендаций.
5. Расчетная длина сваи, м (до нулевой точки) при жесткой заделке

при шарнирном сопряжении

при устройстве шва скольжения

где
NM.Г = NBfγ03,
здесь NB - вертикальная нагрузка на сваю или куст свай, кН (тс);
f - коэффициент трения по шву скольжения для следующих материалов заполнения и конструкции шва скольжения: пластический шов из смеси бутилена и графита в пропорции 1:1:1 толщиной 2,5 см - 0,15; два слоя пергамина с прослойкой молотого графита из расчета 0,025 г/см2 - 0,2; то же, с прослойкой щипаной слюды из расчета 0,1 г/см2 - 0,3; то же, с прослойкой инертной пыли из расчета 0,1 г/см2 - 0,4;
γ03 - коэффициент условий работы, учитывающий перераспределение нагрузок на сваи при искривлении основания, принимаемый для жестких зданий (например, бескаркасных многоэтажных) равным 1,2, а для податливых зданий (например, одноэтажных каркасных с шарнирными, Катковыми или скользящими опорами) - равным 1,0.
6. Коэффициент жесткости основания принимается изменяющимся линейно по глубине грунтового массива
Cо = βZ;
Z = 2(dp+1) ,
где β - коэффициент пропорциональности, кН/м4, равный для следующих видов грунтов:
текучепластичных суглинков, глин - 2000; мягкопластичных суглинков, глин, супесей, пылеватых и рыхлых песков - 4000; тугопластичных суглинков, глин, супесей, песков мелкой и средней крупности - 6000; твердых суглинков и глин, супесей крупных песков - 10000; гравелистых песков, гравия, гальки - 20000.
7. Расчетный диаметр сваи, м, с учетом влияния формы поперечного сечения сваи
dp = Kфd
где Kф - коэффициент, учитывающий форму поперечного сечения сваи, равный 0,9;
d - диаметр ствола сваи, м.
8. Расчетное горизонтальное перемещение грунта, м
Δl = nεmεεx,
где nε, mε - коэффициенты соответственно перегрузки к условий работы для относительных горизонтальных деформаций (принимаются по таблицам 3 и 4 СНиП II-8-78);
ε - ожидаемое значение относительной горизонтальной деформации грунта (определяется по маркшейдерскому расчету);
X - расстояние от оси отсека до рассматриваемой сваи, м.
9. Усилия в ростверке от вертикальных нагрузок следует определять по соответствующим нормативным документам.
10. Ростверки следует рассчитывать на внецентренное растяжение (или внецентренное сжатие), вызванное вертикальными нагрузками (рис. 2) и горизонтальными деформациями основания (рисунки 3, 4).

Рис. 2. Схема вертикальных нагрузок и усилий в ростверке:
а - план свайного поля; б - схема нагрузки от стен и перекрытий; в, г - соответственно эпюры Q и М

Рис. 3. Схема нагрузок и усилий в ростверке от воздействия горизонтальных деформации растяжения основания при шарнирной сопряжении свай с ростверком:
а - план свайного поля; б - эпюра перемещений основания; в - схема нагрузок на ростверк; г - эпюра продольных усилий в ростверке

Рис. 4. Схема нагрузки и усилия в ростверке от воздействия горизонтальных деформаций растяжения при жесткой заделке полов свай в ростверке:
а - план свайного поля; б - эпюры перемещений основания; в - схема нагрузок, действующих на ростверк; г - эпюра продольных усилий в ростверке; д - эпюра изгибающих моментов
11. Продольное усилие в ростверке в любом сечении независимо от вида сопряжения сваи с ростверком, кН (тс)

где Тi - горизонтальная опорная реакция i-й сваи, находящейся на расчетном участке ростверка, кН (тс);
Tin - часть опорной реакции i-й сваи, находящейся на примыкающей поперечной оси расчетного участка ростверка, кН (тс);
n1, n2 - количество свай на участке от 0,5 L до X.
12. При жесткой заделке свай в ростверке эпюру изгибающих моментов допускается принимать по схеме на рис. 4, д. При этом от крайних свай момент на ростверк передается однозначно, а от промежуточных разбивается по 50% на положительный и отрицательный.
Примечание. Крутящие моменты от промежуточных свай, находящихся на примыкающих элементах ростверка, должны добавляться к соответствующим изгибающим моментам от свай в данном сечении ростверка.
13. Крутящие моменты в ростверке, кН м (тс м)
Mkp = 0,8(0,5Tihp+KpMi),
где hp - высота ростверка, м;
Мi - опорный изгибающий момент в i-й свае, имеющей жесткую заделку в ростверке, кН м (тc м) (для шарнирного сопряжения и шва скольжения Мi = 0);
Kр - коэффициент, учитывающий распределение крутящего момента между участками пролета ростверка (допускается принимать аналогично распределению поперечной силы в простой балке от сосредоточенной нагрузки, равным отношению длины противоположного участка к общей длине пролета ростверка).
14. Продольные усилия в связях-распорках между фундаментами каркасных зданий, передаваемые через сваи на ростверк (рис. 5), кН (тс)
![]()
где Ncг - усилие в шве скольжения на куст свай от i-й колонны;
n - количество колонн на участке от 0,5 L до X;
mp - коэффициент условий работы, учитывающий неодновременность сдвига ростверка по шву скольжения, принимаемый в зависимости от n:
|
n |
1 |
2 |
3 |
4 |
5 |
|
mp |
1,0 |
0,85 |
0,7 |
0,6 |
0,5 |

Рис. 5. Схема свайного фундамента для каркасного здания при наличии связей-распорок в двух направлениях и ростверка, отделенного от фундамента швом скольжения:
а - план фундаментов; б - разрез; в - эпюра продольных усилий в ростверке; 1 - подколонники; 2 - связи-распорки; 3 - колонны; 4 - ростверк; 5 - шов скольжения; 6 - сваи
15. Полное усилие в связи-распорке, кН(тс)
N = NT + Nδ + Nq,
где NT - усилие в связи-распорке от одного из основных сочетаний нагрузок;
Nδ - дополнительное усилие, вызванное трением сдвигающегося грунта по боковым поверхностям ростверка, определяемое в соответствии с Руководством по проектированию зданий и сооружений на подрабатываемых территориях;
Nq - дополнительное усилие в связи-распорке, вызываемое давлением сдвигающегося грунта на лобовую поверхность ростверка.
1. При проектировании свайных фундаментов на закарстованных территориях кроме требований настоящего руководства следует соблюдать требования СНиП 2.02.01-83; при этом в дополнение к материалам инженерно-геологических изысканий для проектирования свайных фундаментов должны быть использованы данные карстового микрорайонирования площадки строительства и сведения об ожидаемых деформациях земной поверхности.
2. В задании на проектирование свайных фундаментов на закарстованных территориях должны содержаться полученные по результатам дополнительных инженерно-геологических изысканий данные об ожидаемых максимальных деформациях земной поверхности на участке строительства, в том числе провалах, оседаниях, просадках, наклонах, радиусах кривизны земной поверхности.
3. При инженерно-геологических изысканиях на строительных площадках на закарстованных территориях следует определять размеры деформаций земной поверхности и физико-механические характеристики грунтов в зонах ненарушенной структуры и в зонах, ослабленных карстом.
4. Расчет свайных фундаментов зданий и сооружений, возводимых на закарстованных территориях, должен производиться по предельным состояниям на особое сочетание нагрузок, назначаемых с учетом воздействий со стороны деформируемого основания.
5. Свайные фундаменты из буронабивных свай на закарстованных территориях с непровальными деформациями земной поверхности следует применять в случаях, когда возможна прорезка сваями всех слоев грунтов, прочностные и деформационные характеристики которых снижаются при оседании или просадке. Нижние концы свай должны быть заглублены в подстилающие грунты из расчета обеспечения заданной несущей способности свай; при этом осадка свай не должна превышать предельных значений.
Допускается устройство свай без прорезки проседающих слоев при условии, что в пределах длины свай и под острием нет незаполненных осадочным материалом полостей и обеспечивается несущая способность свай, а суммарные значения возможных осадок и просадок не превышают предельных значений.
6. На закарстованных территориях, где возможно образование провалов, свайные фундаменты применяются при наличии специального обоснования.
7. Применение висячих свай в качестве противокарстового мероприятия не допускается. Они могут применяться на закарстованных территориях из условий несущей способности грунтов, в случаях, указанных в п. 6.
8. В зависимости от характера взаимодействия свай с карстующимся основанием различаются следующие схемы устройства свай.
При залегании прочных, нетронутых карстом пород, на глубине до 20 м, свайные фундаменты должны прорезать толщу карстующихся пород и заглубляться в незакарстованные породы (см. рисунок а, б).

Расчетные схемы свайных фундаментов на закарстованных территориях:
а - карстовая полость в пределах длины сваи; о - карстовая воронка на поверхности; в - карстовая полость ниже острия сваи; 1 - свая: 2 - покрывающий слой грунта; 3 - карстообразование (полость); 4 - карстующийся слой грунта; 5 - подстилающий слой грунта; 6 - оседание позерхности
Примечания. 1. Если подстилающий слой сложен скальными породами, расчет свай должен производиться как расчет свай-стоек.
2. Если подстилающий слой сложен прочными грунтами, сваи должны рассчитываться как висячие.
9. При необходимости опирания свай-стоек на скальные закарстованные грунты должен быть дан прогноз несущей способности грунтов во времени (с учетом возможности растворения этих пород).
10. Висячие сваи могут применяться, когда прочные скальные грунты залегают на большой глубине, сосредоточенные нагрузки на колонну не превышают 100-150 т, а образование карстовых полостей прогнозируется ниже острия сваи (см. рисунок, в).
Примечания. 1. Если карстовая полость находится в пределах от l до 2l (где l -длина сваи, м), свая исключается из работы.
2. Если глубина расположения полости более 2l и возможно обрушение в полость вышележащего грунта, несущую способность сваи следует определять с учетом отрицательного трения.
11. Головы висячих свай должны быть объединены общим ростверком, рассчитанным на воздействие соответствующих карстовых деформаций.
12. Узел соединения висячих свай с ростверком должен предусматривать возможность их выскальзывания из ростверка с тем, чтобы исключить дополнительное нагружение зависающими сваями, находящимися на участке образовавшегося провала под фундаментом. Конструкция сопряжения свай-стоек с ростверком принимается как правило жесткой.
13. В случае сопряжения свай с ростверком через шов скольжения свайный ростверк должен быть достаточно жестким, чтобы воспринять нагрузку, ранее воспринимавшуюся сваей, зависшей над провалом.
14. При залегании прочных пород на большой глубине (25-40 м и более) и больших сосредоточенных нагрузок на колонну более 4000 кН, (400 тс) должны применяться буровые опоры глубокого заложения, прорезающие покровную толщу и карстующийся массив с передачей нагрузок от здания и сооружения на прочные, не тронутые карстом породы.
15. Расчет свайных фундаментов и их оснований на закарстованных территориях должен производиться с учетом данных прогноза об изменении состояния карстующегося слоя и перераспределения дополнительных нагрузок на сваи, вызванных прогнозируемыми параметрами деформаций земной поверхности.
16. Несущая способность сваи-стойки, кН (тс), (см. рисунок а, б)
Fd = γcRA-pn
где γc, R, A - расшифровывается по формуле (8) СНиП 2.02.03-85;
Рn - расчетное значение отрицательной силы трения,
Pn = U∑fihi,
где U - периметр поперечного сечения сваи, м;
fi - расчетное сопротивление i-го слоя грунта, кПа, (тс/м2), передающего силы негативного трения на боковую поверхность сваи, принимается по табл. 2 СНиП 2.02.03-85;
hi - толщина i-гo слоя грунта, передавшего силы негативного трения на боковую поверхность сваи, м.
17. Несущая способность висячей сваи
Fd = γc(γCRRA + U∑γcffihi)-Pn,
где γCR γcf R - расшифровывается по формуле (8) СНиП 2.02.03-85.
18. Сваи-стойки, прорезающие карстовые полости (полые, заполненные водой или разжиженным материалом), или слабые карстующиеся слои, следует рассчитывать на изгиб в пределах свободной длины сваи в слабом слое.
1. Буронабивные сваи или опоры-колонны должны прорезать оползневой массив, должны быть заглублены в устойчивый грунт и объединены в единую систему ростверком или конструкциями первого снизу этажа здания или сооружения.
2. Фундаментная часть должна воспринимать нагрузку от конструкций сооружения и обеспечивать возможность восприятия оползневого давления смещающихся или стремящихся сместиться грунтовых масс за счет реактивного сопротивления устойчивого грунта по наружным поверхностям свай или опор, а также не допускать продавливание между ними или переползание через них грунта оползневого массива. Таким образом, здания и сооружения на оползневых склонах должны иметь удерживающие противооползневые фундаменты.
3. Сопряжение свай и опор с вышележащими конструкциями следует выбирать в зависимости от характера и значений действующих нагрузок, мощности оползневого массива, физико-механических характеристик устойчивого грунта, вида конструкций и количества их рядов и направлении действия оползневого давления. Для уменьшения максимальных значений изгибающих моментов в сваях и опорах и их горизонтальных перемещений следует применять жесткие сопряжения.
Для уменьшения отрицательного воздействия на здания и сооружения горизонтальных составляющих сейсмических сил при землетрясениях следует устраивать шарнирные сопряжения свай и опор с вышележащими конструкциями.
4. Количество свай и опор в фундаменте должно быть минимальным, исходя из обеспечения восприятия ими нагрузок и исключения продавливания между ними грунта оползневого массива.
5. Ростверк, объединяющий в единую систему сваи и опоры, может быть выполнен в виде железобетонных монолитных перекрестных лент, сплошной плиты, горизонтальной фермы или замкнутой рамы.
6. Подвальная часть здания или сооружения, объединяющая в единую систему сваи и опоры, может быть выполнена в виде железобетонных пространственно-рамных систем, плитно-рамных систем, плоских рам с объединенными связями-распорками и перекрестных балок.
7. Все элементы ростверка и железобетонных конструкций первого снизу этапа здания или сооружения, объединяющие сваи и опоры в единую систему, должны иметь жесткие узлы сопряжения между собой.
8. Вертикальную вдавливающую нагрузку на сваи и опоры, имеющие шарнирные сопряжения с вышележащими конструкциями, следует по возможности прикладывать с эксцентриситетом, удаленным от геометрического центра сваи или опоры в направлении, противоположном действию оползневого давления. Это позволяет уменьшить максимальные значения изгибающих моментов.
Такой эксцентриситет может создаваться за счет выполнения консолей в верхних частях свай и опор, уменьшения сечения свай и опор в месте их соединения с вышележащими конструкциями, смещения геометрических осей надростверковых конструкций относительно геометрических осей свай и опор.
9. Буронабивные сваи и опоры следует, как правило, изготавливать с сосредоточенным армированием - максимально возможной концентрацией продольной рабочей арматуры в зонах наибольших усилий поперечных сечений свай и опор; с неравномерным армированием по длине стволов свай и опор частично оборванными стержнями в арматурных каркасах в соответствии с эпюрами действующих усилий.
10. Для восприятия усилий от оползневого давления сооружения на оползнеопасных склонах выполняются из одиночных буронабивных свай, представляющих единую монолитную железобетонную вытянутую по глубине склона конструкцию.
При мощности оползневого массива более 6 м фундаменты из таких свай или опор целесообразно конструировать переменными как по форме, так и по площади поперечного сечения соответственно действующим усилиям по эпюре изгибающих моментов. Размеры поперечных сечений свай (опор), заглубленных в подстилаемые скальные или другие устойчивые грунты, должны возрастать по длине от ростверка до подошвы оползня.
Если заглубление в нескальные устойчивые грунты составит не менее одной трети длины свай (опор), то их поперечные сечения следует уменьшать по глубине в зависимости от уменьшения изгибающих моментов.
11. Расстояние от края конструкции, которая объединяет сваи и опоры в единую систему, до наружной поверхности сваи или опоры (с учетом их допустимого возможного отклонения) должно быть не менее 50 мм, а глубина заделки сваи и опоры в ростверк - не менее 100 мм.
12. Длина заделки продольной арматуры и опор в конструкцию, которая объединяет их в единую систему, при жестком сопряжении определяется расчетом по СНиП 2.03.01-84 и должна составлять не менее 25dα mах (dα mах - максимальный диаметр заделываемой продольной рабочей арматуры сваи или опоры), а при шарнирном сопряжении - от 150 до 250 мм.
13. При выборе диаметра свай, геометрии сечений опор, вида и процента их армирования следует исходить из нагрузок, действующих на фундамент в условиях строительства и эксплуатации, конструкций вышележащей части сооружения, инженерно-геологических и гидрогеологических условий площадки строительства, имеющегося оборудования и опыта строительства.
14. При назначении наружных размеров свай и опор, у которых практически полностью используется несущая способность их стволов в местах действия максимальных усилий, предпочтение следует отдавать таким, у которых большие высоты поперечных сечений.
15. Рекомендации по расчету стволов железобетонных опор глубокого заложения приведены в разделе 6 Рекомендаций по комплексным мерам защиты зданий и сооружений на оползнеопасных склонах, изданных НИИСК Госстроя СССР в 1989 г.
1. Расчет удерживающих противооползневых фундаментов (УПФ) из буронабивных свай (опор) следует производить исходя из следующих предпосылок:
буронабивные сваи и опоры обладают переменной по их длине жесткостью, зависящей от геометрии сечения, класса бетона по прочности, действующих усилий, продольного армирования и фактора времени;
грунт представляет собой упруго-пластическую среду, характеризуемую горизонтальным коэффициентом жесткости основания, увеличивающимся с увеличением по линейному закону;
реактивные сопротивления грунта основания зависят от горизонтальных коэффициентов жесткости основания и поперечных сечений и горизонтальных перемещений свай (опор), приложены посредине участков, на которые сваи (опоры) разбиты при расчете.
2. Равнодействующая реактивного сопротивления грунта на i-м участке j-й сваи или опоры, кН (тс)
Qirj = lijbipjyicjKirj, (1)
где lij - длина i-го участка j-й сваи или опоры, м;
bipj - условная расчетная ширина на i-м участке j-й сваи или эпюры, принимаемая равной: при dij ≤ 0,8 м bipj = 1,5 dij + 0,6 м; при dij ≥ 0,8 м - bipj = dij + 1,0 м, но не более шага опор в ряду, перпендикулярном направлению действия горизонтальной нагрузки (dij - наибольший размер на i-м участке j-й сваи или опоры в поперечном направлении действия горизонтальной нагрузки);
уicj - горизонтальное перемещение посредине i-го участка j-й сваи или опоры, м;
Kirj - горизонтальный коэффициент жесткости основания посредине i-го участка j-й сваи или опоры, кН/м3, (тс/м3), подставляемый в первоначальный расчет в предположении того, что все yicj равны 1,0 см и определяемый по приложению I СНиП 2.02.03-85 при γ = 3,0 или по результатам испытаний (исследований).
3. Знамения Kirj, подставляемые в последующие за первым расчеты
(2)
где yicj, n-1 - горизонтальное перемещение i-го участка j-й сваи или опоры, см, найденное при предыдущем расчете.
4. Изгибные жесткости на i-х участках j-х свай или опор Вijcrc1, кН·м2 (тc·м2),подставляем в первоначальный расчет при моменте образования трещин Мcrcij1, кН·м (тс·м),
Bijcrc = Mcrcijhoij/(εcijcrc - εbijcrc), (3)
где hoij - расстояние от центра тяжести наиболее растянутого (наименее сжатого) арматурного стержня на i-м участке j-й сваи или опоры до плоскости, перпендикулярной плоскости изгиба и проходящей через наиболее сжатое (наименее растянутое) волокно бетона сваи или опоры, м;
εsijcrc и εbijcrc - относительная деформация соответственно наиболее растянутого (наименее сжатого) арматурного стержня и наиболее сжатого (наименее растянутого) волокна бетона при моменте образования трещин на i-м участке j-й сваи или опоры.
Значения εsijcrc и εbijcrc в формуле (3) принимаются положительными при деформациях растяжения и отрицательными при деформациях сжатия.
5. Расчет УПФ рекомендуется производить в такой последовательности:
задаются сечения, класс бетона по прочности и армирование свай или опор;
сваи или опоры разбиваются на участки длиной не более I м так, чтобы в пределах одного участка же характеристики ствола и создающего реактивное сопротивление грунта были одинаковы;
вычисляются значения Kirj1 и Мcrcij;
по найденным Мcrcij; находится Bicrcj;
составляется расчетная схема фундамента (предпочтительная-пространственная расчетная схема) с накладыванием при этом связей, имитирующих упруго-пластическое реактивное сопротивление устойчивого грунта: горизонтальные - посредине участков, на которые сваи или опоры разбиты при расчете, и вертикальные - под пятами свай или опор;
определяется осадка свай и опор от действия постоянных и длительных нагрузок, а по этим осадкам - характеристики вертикальных связей;
по правилам статики или программе расчета на ЭВМ (например, "Полифем", "Лира"), определяется yicj, Nicj и Мicj (Nicj и Micj - соответственно продольная сила и изгибающий момент посредине i-го участка j-й сваи или опоры);
находятся новые значения Kirj по формуле (2) и новые значения Вij по приведенным в настоящем приложении зависимостям (на участках, где Мicj < Mcrcij последующие за первым расчетом, можно подставлять жесткости Bijcrc);
вновь определяется yicj, Nicj и Micj;
расчет ведется до тех пор, пока не выполняется условие
Mjmax,n-Mjmax,n-1/Mjmax,n ≤ 0,05, (4)
где Mjmax,n и Mjmax,n-1 - максимальный изгибающий момент в j-й свае или опоре, найденный соответственно при последнем и предшествующем ему расчете.
Вычисленную левую часть условия (4) принимаем по абсолютному значению, то есть вне зависимости от полученного в ней знака, положительной.
6. Устойчивость УПФ можно считать обеспеченной при соблюдении условия
yoj ≤ 5,0 см, (5)
где yoj - горизонтальное перемещение в уровне поверхности грунта, создающего горизонтальное реактивное сопротивление, j-й сваи или опоры.
7. Расчет УПФ по предельным состояниям второй группы может не производиться, если деформации и ширина раскрытия трещин, определенные после статического расчета УПФ по первому предельному состоянию, окажутся меньше допустимых.
8. Расчет буронабивных свай и опор по моменту появления и ширине раскрытия трещин можно не производить в случае отсутствия воздействия на них агрессивной среды.
1. Настоящее приложение составлено в развитие и дополнение раздела II СНиП 2.02.03-85 и относится к расчету фундаментов из буронабивных свай на сейсмические воздействия.
2. Основные положения расчета свай на воздействие вертикальных и горизонтальных сейсмических сил и моментов принимаются по СНиП 2.02.03-85.
3. Расчет свай с учетом сейсмических воздействий следует производить на особое сочетание нагрузок. При этом дополнительная вертикальная сейсмическая нагрузка на сваю N, кН (тс), возникающая в продольном или поперечном направлении здания, определяется по формулам


где ∑M - суммарный опрокидывающий момент, кН·м (тс·м);
xn, yn - расстояния от каждой n- й сваи до центра тяжести свайного поля.м;
Sik - сейсмическая нагрузка на здание, кH (тс), соответствующая i-му тону собственных колебаний массы здания, сосредоточенных в точке K (определяется по СНиП II-7-81);
hk - расстояние от отметки подошвы ростверка до сосредоточенной массы здания в точке K, м.
4. Значение горизонтальной сейсмической силы Н, кН (тс), действующей на сваю в уровне подошвы ростверка
![]()
где Si - суммарная сейсмическая сила на уровне подошвы ростверка, кН (тс);
n - количество свай в пределах ростверка.
Примечание: Если количество свай, определенное расчетом на вертикальные нагрузки, окажется недостаточным для восприятия горизонтальных сейсмических нагрузок, то возможно применение дополнительных свай, длину которых допускается принимать меньше основных, но не менее 4,0 м, а их количество следует устанавливать расчетом на горизонтальные нагрузки.
|
Наименование величины |
Система единиц |
Соотношение единиц |
|||
|
Техническая (МКГСС) |
СИ |
||||
|
Наименование |
Обозначение |
Наименование |
Обозначение |
||
|
Сила нагрузка, вес |
Килограмм-сила |
кгс |
Ньютон |
Н |
1 кгс ≈ 9,8·Н ≈ 10 Н |
|
Тонна-сила |
тс |
|
|
1 тс ≈ 9,8·103Н ≈ 10 кН |
|
|
Линейная нагрузка |
Килограмм-сила на метр |
кгс/м |
Ньютон на метр |
Н/м |
1 кгс/м ≈ 10 Н/м |
|
Поверхностная нагрузка |
Килограмм-сила на квадратный метр |
кгс/м2 |
Ньютон на квадратный метр |
Н/м2 |
1 кгс/м2 ≈ 10 Н/м2 |
|
Давление |
Килограмм-сила на квадратный сантиметр |
кгс/см2 |
Паскаль |
Па |
1 гкс/см2 ≈ 9,8·104 Па ≈ 105 Па ≈ 100 кПа ≈ 0,1 МПа |
|
Тонна-сила на квадратный метр |
тс/м |
Паскаль |
Па |
1 тс/м2 ≈ 9,8·103 Па ≈ 104 Па ≈ 10 кПа ≈ 0,01 МПа |
|
|
Механическое напряжение |
Килограмм-сила на квадратный миллиметр |
кгс/мм2 |
Паскаль |
Па |
1 кгс/мм2 ≈ 9,8·106Па ≈ 107 Па ≈ 10 МПа |
|
Модуль продольной упругости; модуль сдвига; модуль объемного сжатия |
Килограмм-сила на квадратный сантиметр |
кгс/см2 |
Паскаль |
Па |
1 кгс/см2 ≈ 9,8·104 Па ≈ 105 Па ≈ 0,1 мПа |
|
Момент силы; момент пары сил |
Килограмм-сила-метр |
кгс·м |
Ньютон-метр |
Н·м |
1 кгс·м ≈ 9,8 Н·м |
|
Работа (энергия) |
Килограмм-сила-метр |
кгс·м |
Джоуль |
Дж |
1 кгс·м ≈ 9,8 Дж ≈ 10 Дж |
|
ГОСТЫ, СТРОИТЕЛЬНЫЕ и ТЕХНИЧЕСКИЕ НОРМАТИВЫ. Некоммерческая онлайн система, содержащая все Российские Госты, национальные Стандарты и нормативы. В Системе содержится более 150000 файлов нормативно-технической документации, действующей на территории РФ. Система предназначена для широкого круга инженерно-технических специалистов. Copyright © www.gostrf.com, 2008 - 2026 |