|
|
Шум ОПИСАНИЕ, ИЗМЕРЕНИЕ И ОЦЕНКА ШУМА НА МЕСТНОСТИ Часть 2 Определение уровней звукового давления ISO 1996-2: 2007
Предисловие Цели, основные принципы и основной порядок проведения работ по межгосударственной стандартизации установлены ГОСТ 1.0-92 «Межгосударственная система стандартизации. Основные положения» и ГОСТ 1.2-97 «Межгосударственная система стандартизации. Стандарты межгосударственные, правила и рекомендации по межгосударственной стандартизации. Порядок разработки, принятия, применения, обновления и отмены» Сведения о стандарте 1 ПОДГОТОВЛЕН Открытым акционерным обществом «Научно-исследовательский центр контроля и диагностики технических систем» на основе собственного аутентичного перевода стандарта, указанного в пункте 4 2 ВНЕСЕН Федеральным агентством по техническому регулированию и метрологии 3
ПРИНЯТ Межгосударственным советом по стандартизации, метрологии и сертификации (протокол
№ 29 от 24 июня За принятие проголосовали:
(Поправка. ИУС 1-2009) (Поправка. ИУС 5-2009) 4 Настоящий стандарт является модифицированным по отношению к международному стандарту ИСО 1996-2:2007 «Акустика. Описание, измерение и оценка шума на местности. Часть 2. Определение уровней шума на местности» (ISO 1996-2:2007 «Acoustics - Description, measurement and assessment of environmental noise - Part 2: Determination of environmental noise levels») путем внесения технических отклонений, объяснение которых приведено во введении к настоящему стандарту 5
Приказом Федерального агентства по техническому регулированию и метрологии от 4 марта 6 ВВЕДЕН ВПЕРВЫЕ Информация о введении в действие (прекращении действия) настоящего стандарта публикуется в указателе «Национальные стандарты». Информация об изменениях к настоящему стандарту публикуется в указателе «Национальные стандарты», а текст изменений - в информационных указателях «Национальные стандарты». В случае пересмотра или отмены настоящего стандарта соответствующая информация будет опубликована в информационном указателе «Национальные стандарты» Введение В настоящем стандарте раздел «Нормативные ссылки» изложен в соответствии с ГОСТ 1.5-2001 и выделен сплошной вертикальной линией, расположенной слева от приведенного текста. В тексте стандарта соответствующие ссылки выделены подчеркиванием сплошной горизонтальной линией. В настоящий стандарт включены дополнительные по отношению к международному стандарту ИСО 1996-2:2007 положения, отражающие потребности национальной экономики государств, указанных в предисловии, а именно: - нормативные ссылки на не введенный международный стандарт ИСО 7196 и Руководство по выражению неопределенности измерений (GUM) даны как справочные в библиографии. Нормативные ссылки дополнены ГОСТ 31295.1-2005, ГОСТ 31295.2-2005, на международные аналоги которых ИСО 9613-1 и ИСО 9613-2 в ИСО 1996-2 даны библиографические ссылки; - обозначение эквивалентного уровня шума Leq приведено без указания символа интервала усреднения T в нижнем индексе, за исключением пункта 8.4.4, где для этого параметра указано явное числовое значение; - из подраздела 5.2 исключен следующий текст: «Рекомендуется подтверждать соответствие калибратора требованиям МЭК 60942 ежегодно, а инструментальной системы требованиям соответствующего стандарта МЭК по крайней мере через два года в лабораториях, оснащенных первичными эталонами. Регистрируют дату последней поверки и факт соответствия соответствующему стандарту МЭК», - так как требования, относящиеся к метрологическому обеспечению, устанавливают другие национальные нормативные документы; - в примечании к пункту 8.4.1 обозначения даны по ГОСТ 31296.1-2005; - в пункт 8.4.11 добавлена октавная полоса 31,5 Гц; - из библиографии в соответствии с ГОСТ 1.5-2001 исключены литературные источники (5 наименований) и ИСО 6190, ИСО 5725, на которые отсутствуют ссылки в стандарте. Кроме того, в текст настоящего стандарта внесены выделенные курсивом положения и разъяснения, облегчающие понимание и применение стандарта. СодержаниеМЕЖГОСУДАРСТВЕННЫЙ СТАНДАРТ
Дата введения - 2008-07-01 1 Область примененияНастоящий стандарт устанавливает методы определения уровней звукового давления прямыми измерениями, экстраполяцией по результатам измерений или расчетом, являющиеся основой для оценки шума на местности. Приведены рекомендации относительно предпочтительных условий измерения или расчета, которые следует применять в случаях, когда другие методы не могут быть использованы. Стандарт применяют для измерений с любыми частотными характеристиками шумомера и в любых полосах частот. В стандарте приведено руководство по оценке неопределенности при оценке шума. Примечания 1 Настоящий стандарт касается измерений в реальных условиях, в чем состоит его отличие от других стандартов, устанавливающих требования к измерению звукового излучения в заданных условиях. 2 В целях общности изложения индексы, обозначающие частотные и временные характеристики шумомера, допускается не указывать. 2 Нормативные ссылкиВ настоящем стандарте использованы нормативные ссылки на следующие межгосударственные стандарты ГОСТ 17168-82 Фильтры электронные октавные и третьоктавные. Общие технические требования и методы испытаний ГОСТ 17187-81 Шумомеры. Общие технические требования и методы испытаний ГОСТ 31295.1-2005 (ИСО 9613-1:1993) Шум. Затухание звука при распространении на местности. Часть 1. Расчет поглощения звука ГОСТ 31295.2-2005 (ИСО 9613-2:1996) Шум. Затухание звука при распространении на местности. Часть 2. Общий метод расчета ГОСТ 31296.1-2005 (ИСО 1996-1:2003) Шум. Описание, измерение и оценка шума на местности. Часть 1. Основные величины и процедуры оценки Примечание - При пользовании настоящим стандартом целесообразно проверить действие ссылочных стандартов на территории государства по соответствующему указателю стандартов, составленному по состоянию на 1 января текущего года, и по соответствующим информационным указателям, опубликованным в текущем году. Если ссылочный стандарт заменен (изменен), то при пользовании настоящим стандартом следует руководствоваться заменяющим (измененным) стандартом. Если ссылочный стандарт отменен без замены, то положение, в котором дана ссылка на него, применяется в части, не затрагивающей эту ссылку. 3 Термины и определенияВ настоящем стандарте применены термины по ГОСТ 31296.1, а также следующие термины с соответствующими определениями: 3.1 точка наблюдения (receiver location): Место, в котором оценивают шум и в котором располагают микрофон. 3.2 метод расчета (calculation method): Совокупность алгоритмов расчета уровня звукового давления в произвольных точках по измеренным или полученным в результате прогноза уровням звукового излучения и данным об ослаблении звука. 3.3 метод прогнозирования (prediction method): Метод расчета ожидаемых уровней шума. 3.4 продолжительность измерений (measurement time interval): Временной интервал, в течение которого проводят единичное (однократное) измерение. 3.5 интервал наблюдения Т (observation time interval): Временной интервал, в течение которого проводят серию измерений. 3.6 метеорологическое окно (meteorological window): Совокупность метеорологических условий, при которых могут быть выполнены измерения с допустимыми и известными вариациями их результатов в зависимости от изменения этих условий. 3.7 радиус кривизны траектории звука R, км или м (sound path radius of curvature): Радиус линии, аппроксимирующий траекторию звука, искривленную под действием рефракции в атмосфере. 3.8 низкочастотный шум (low-frequency sound): Шум в диапазоне третьоктавных полос со среднегеометрической частотой от 16 до 200 Гц. 4 Неопределенность измеренийНеопределенность определения уровней звукового давления по настоящему стандарту зависит от источника шума и продолжительности измерений, метеорологических условий, от расстояния от места измерений до источника и измерительной аппаратуры. Неопределенность измерений рекомендуется оценивать по [1]. Способ оценки расширенной неопределенности при определении эквивалентного уровня звука при уровне доверия 95 % и коэффициенте охвата k = 2 указан в таблице 1. Таблица 1 - Оценка расширенной неопределенности измерений Значения в дБА
При определении максимального уровня шума, уровня шума в полосах частот и уровня тонального шума неопределенность может быть более высокой. Примечания 1 Таблица 1 не является полной из-за недостаточности информации при разработке настоящего стандарта. Во многих случаях могут быть дополнительные источники неопределенности, например одна из них связана с выбором положения микрофона. 2 Компетентные органы могут установить другой уровень доверия. Например, при коэффициенте охвата 1,3 уровень доверия равен 80 %, при 1,65 - 90 %. 5 Средства измерений5.1 Измерительная системаИзмерительная система, включая микрофон, кабели и самописец, если имеется, должна соответствовать классу 1 или 2 по ГОСТ 17187. Ветровой экран всегда используют при измерениях вне помещений и вносят поправку на влияние экрана. Примечание - Средства измерений класса 1 применяют для измерений при температуре от минус 10°С до плюс 50°С, класса 2 - от 0°С до 40°С. Для измерений в октавных и третьоктавных полосах частот измерительная система классов 1 и 2 должна иметь фильтры класса 1 или 2 соответственно по ГОСТ 17168. 5.2 КалибровкаНепосредственно до и сразу после каждой серии измерений с помощью калибратора звука, имеющего класс, соответствующий классу измерительной системы, проверяют калибровку всей системы на одной или нескольких частотах. Если измерения выполняют на большом временном интервале, например в течение дня или более, то калибровку измерительной системы проверяют акустически или электрически через регулярные промежутки времени, например один или два раза в день. 6 Работа источника шума6.1 Общие положенияРабочий режим источника шума должен быть статистически репрезентативен шуму на рассматриваемой местности. Чтобы получить достоверную оценку эквивалентного уровня звукового давления, а также максимального уровня звукового давления на интервале, равном продолжительности измерений, должно быть задано минимальное число звуковых событий. Для наиболее общих типов источников шума указания о шумовой ситуации при измерениях даны в 6.2 - 6.5. Примечание - Настоящий стандарт рассматривает только реальные режимы работы. Поэтому требования настоящего стандарта могут отличаться от требований других стандартов к режиму работы источников, устанавливаемых при измерениях их шума. Эквивалентный уровень звукового давления Leq железнодорожного и автомобильного транспорта часто может быть рассчитан по уровням воздействия шума LE большого числа единичных событий. Прямые измерения эквивалентного уровня звукового давления Leq возможны при стационарном шуме или когда изменения шума во времени такие же, как в случае шума автотранспорта и шума промышленных предприятий. Уровни воздействия шума единичных событий LE при движении автотранспорта могут быть измерены только при небольшой интенсивности транспортного потока. 6.2 Дорожное движение6.2.1 Измерение эквивалентного уровня звукового давления Leq При измерениях Leq подсчитывают число прошедших автомобилей на интервале, равном продолжительности измерений. По меньшей мере, должны быть выделены две категории автомобилей («тяжелые» и «легкие»), если результаты измерений должны быть приведены к условиям другого транспортного потока. Для определения репрезентативности условий движения измеряют среднюю скорость движения и указывают тип дорожного покрытия. Примечание - В общем случае тяжелыми считают автомобили, масса которых более При измерениях Leq необходимо достаточное число прошедших автомобилей, чтобы усреднить различия шума отдельных автомобилей в зависимости от требуемой точности. Однако если соответствующей информации не имеется, то стандартное отклонение воспроизводимости Х в таблице 1 рассчитывают по формуле
где n - число прошедших автомобилей. Примечание - Формула (1) соответствует смешанному транспортному потоку. Если движутся автомобили одной категории, то стандартное отклонение может быть меньше. Если при прохождении каждого автомобиля регистрируют LE и затем используют статистические данные о транспортном потоке для расчета Leq на опорном временном интервале, то число автомобилей каждой категории должно быть не менее 30. 6.2.2 Измерение максимального уровня звукового давления Lmax Максимальные уровни звукового давления Lmax автомобилей различных категорий различаются. Для каждой категории имеет место определенный разброс максимальных уровней звукового давления вследствие различия технических характеристик автомобилей, разных скоростей движения или манеры вождения. Максимальный уровень звукового давления должен быть определен при прохождении по меньшей мере 30 автомобилей рассматриваемой категории. 6.3 Железнодорожное движение6.3.1 Измерение эквивалентного уровня звукового давления Leq При измерениях Leq должны пройти не мене 20 поездов, в числе которых не менее пяти поездов каждой категории, вносящих существенный вклад в общее значение Leq. Если необходимо, то измерения могут быть продолжены на следующий день. 6.3.2 Измерение максимального уровня звукового давления Lmax Чтобы определить максимальный уровень звукового давления Lmax для поездов данной категории, должен быть зарегистрирован максимальный уровень звукового давления при прохождении не менее 20 поездов. Если невозможно получить так много записей, то в протоколе испытаний указывают число прошедших поездов, шум которых измерен, и приводят оценку влияния числа поездов на неопределенность измерений. 6.4 Воздушное движение6.4.1 Измерение эквивалентного уровня звукового давления Leq Для определения Leq измеряют шум при пролете пяти или более самолетов каждого типа, существенно влияющих на значение Leq. Обеспечивают релевантность схемы движения (по используемой взлетно-посадочной полосе, режимам взлета и посадки, парку самолетов, распределению по времени дня транспортного потока), определяющего результаты измерений. 6.4.2 Измерение максимального уровня звукового давления Если целью является измерение максимального уровня звукового давления авиационного шума в определенной жилой зоне, то обеспечивают, чтобы во время измерений наиболее шумные самолеты пролетали в непосредственной близости. Максимальные уровни звукового давления определяют по пяти и предпочтительно по 20 или более пролетам на наиболее шумных режимах полета. Чтобы оценить процентили максимальных уровней звукового давления, регистрируют шум по меньшей мере 20 соответствующих звуковых событий. Если невозможно получить так много записей, то в протоколе испытаний указывают число пролетевших самолетов, шум которых измерен, и приводят оценку влияния числа самолетов на неопределенность измерений. Примечание - Источником авиационного шума может быть пролетающий или движущийся по земле самолет, например выполняющий руление. 6.5 Промышленные предприятия6.5.1 Измерение эквивалентного уровня звукового давления Leq Режимы работы источников шума делят на классы. В каждом классе изменения звукового излучения предприятия должны быть достаточно стационарны в статистическом смысле и быть меньше, чем изменения вследствие затухания по траектории распространения звука из-за метеорологических условий (раздел 7). Непостоянство шума предприятия для выявленных режимов работы определяют посредством измерений на опорных интервалах от 5 до 10 мин на расстоянии от предприятия, достаточно большом, чтобы учесть вклад шума основных источников, и относительно малом, чтобы минимизировать метеорологические воздействия (см. раздел 7). Если шум циклический, то продолжительность измерений должна включать в себя целое число циклов. Если измеренные Leq существенно различаются, то должна быть проведена новая классификация режимов работы. Если измеренные Leq относительно неизменны, то измеряют Leq на каждом режиме работы и рассчитывают суммарное значение Leq, принимая во внимание частоту и продолжительность каждого режима работы. 6.5.2 Измерение максимального уровня звукового давления Lmax Если целью измерений является определение максимального уровня звукового давления предприятия, то необходимо убедиться, что вблизи выбранной точки наблюдения на интервале продолжительности измерений предприятие работает в наиболее шумном режиме. Максимальный уровень звукового давления определяют по меньшей мере по пяти событиям наиболее шумного режима работы. Примечание - Режим работы определяют по виду работы, а также по месту ее проведения на предприятии. 6.6 Источники низкочастотного шумаПримерами источников низкочастотного шума являются, например, вертолеты, вибрирующие мостовые конструкции, поезда метро, штамповочные установки, пневматическое оборудование и т.д. В ГОСТ 31296.1 (приложение С) приведены примеры других источников низкочастотного шума. Методика измерения низкочастотного шума приведена в 8.3.2 и 8.4.9. 7 Метеорологические условия7.1 Общие положенияМетеорологические условия должны соответствовать наиболее типичным условиям воздействия исследуемого шума. Дорога или рельсы должны быть сухими, земля не должна быть покрыта снегом или льдом и не должна быть промерзшей или чрезмерно увлажненной, если только такие условия не являются предметом исследования. Уровни звукового давления изменяются в зависимости от метеорологических условий. Для акустики мягкой поверхности земли (рыхлый неукатанный грунт, травяной покров, рыхлый снег) изменения умеренные, когда где hs - высота источника шума; hr - высота приемника; r - расстояние между источником шума и приемником. Если поверхность земли акустически жесткая, то измерения можно проводить на большем расстоянии. Метеорологические условия при измерениях следует указывать или при необходимости проводить их мониторинг. Если условие (2) не выполнено, то метеорологические условия могут значительно повлиять на результаты измерений. Основные указания по этому вопросу приведены в 7.2 и 7.3, дополнительные рекомендации - в приложении А. Если звук распространяется против ветра, то неопределенность измерений больше и такие условия обычно непригодны для краткосрочных измерений шума на местности. 7.2 Благоприятные условия распространения звукаДля облегчения сравнения результатов удобно выполнять измерения, выбирая метеорологические условия, при которых результаты являются воспроизводимыми. Воспроизводимость измерений выше при стабильных условиях распространения звука. Такие условия существуют, когда траектория распространения звука нисходящая, например при распространении звука по ветру, что означает высокие уровни звукового давления на месте приемника при их умеренной вариации. В этом случае радиус кривизны траектории R положителен и его значение зависит от градиентов скорости ветра и температуры вблизи земли, как это следует из формулы (А.1) приложения А. При одном доминирующем источнике шума удобно выбрать метеорологические условия, при которых звуковой луч от источника шума к микрофону направлен по ветру и выбрать интервалы измерений в
соответствии с приложением А, например для R < Принимают, что R < - ветер дует от доминирующего источника шума к микрофону (в дневное время под углом ± 60°, ночью под углом ± 90°); - скорость ветра, измеренная на высоте от 3 до - отсутствует сильный отрицательный температурный градиент вблизи земли (например, как бывает неярким солнечным днем). 7.3 Уровни звукового давления, усредненные по метеорологическим условиямЧтобы оценить уровни шума на местности, усредненные по изменявшимся в широком диапазоне метеорологическим условиям, требуется очень большой интервал наблюдения, часто несколько месяцев. В альтернативе долгосрочное усреднение можно выполнить по результатам краткосрочных измерений при хорошо контролируемых различных метеорологических условиях, объединив их с учетом статистических данных о погоде. Объединение данных о шуме на различных режимах работы источника шума и при зависящем от погоды распространении звука должно быть проведено так, чтобы были учтены все значительные компоненты воздействия шума. Чтобы определить среднегодовое значение, должны быть приняты во внимание вариации звукового излучения и условий распространения звука в течение всего года. 8 Методика измерений8.1 Общий принципДля выбора подходящих интервала наблюдения и продолжительности измерений может потребоваться проведение исследования на относительно долгом временном интервале. 8.2 Выбор продолжительности измеренийВыбирают такую продолжительность измерений, чтобы охватить все значительные изменения звукового излучения и условия распространения звука. Если шум появляется периодически, то продолжительность измерений должна охватывать по меньшей мере три периода. Если непрерывные измерения на этом периоде невозможны, то продолжительность измерений должна быть выбрана так, чтобы результаты измерений были представительны для части цикла, а совместно адекватно характеризовали полный цикл. Если шум создается единичным звуковым событием (например, пролетом самолета, во время которого шум может изменяться и отсутствовать на значительной части опорного временного интервала), то продолжительность измерений выбирают так, чтобы можно было определить уровень воздействия шума LE единичного события. 8.3 Положение микрофона8.3.1 Вне помещения Микрофон устанавливают в том месте, где необходимо оценить шум. Для других целей используют одно из нижеследующих местоположений: a) в свободном звуковом поле (основной вариант). Этот вариант соответствует реальному или гипотетически свободному звуковому полю над поверхностью земли, для которого уровни звукового давления вне здания рассчитывают по измерениям вблизи от него [см. перечисления b) и с)]. Такое звуковое поле означает, что воздействием на микрофон всех имеющихся отражений от какого-либо здания позади микрофона пренебрегают. Пространство за экранирующим зданием рассматривают как область такого же звукового поля, однако на него перечисления b) и с) не распространяются, поскольку в этом случае учитывают отражения от обратной стороны здания; b) микрофон смонтирован заподлицо со звукоотражающей плоскостью. В этом случае для получения значения поля падающей волны к измеренному полю применяют коррекцию минус 6 дБ, если условия установки микрофона соответствуют приложению В. При других условиях используют другие коррекции. Примечание - Разность сигналов между смонтированным на фасаде здания микрофоном и микрофоном в свободном звуковом поле в идеальном случае равна плюс 6 дБ. Практически разность несколько меньше; c) микрофон установлен на расстоянии от 0,5 до В этом случае для получения значения поля падающей волны к измеренному полю применяют коррекцию минус 3 дБ, если условия установки микрофона соответствуют приложению В. При других условиях используют другие коррекции. Примечание - В идеальном случае, когда отсутствуют другие вертикальные препятствия, влияющие на распространение звука к микрофону, разность сигналов установленного на расстоянии В принципе может быть использовано любое из этих местоположений с соответствующей коррекцией. В некоторых особых случаях использование указанных выше местоположений может быть ограничено другими условиями (см. приложение В). Для общего картографирования микрофоны устанавливают на высоте (4 ± 0,5) м в зоне многоэтажного жилья. При одноэтажной застройке и в зонах отдыха микрофоны устанавливают на высоте (1,2 ± 0,1) или(1,5 ± 0,1) м. Для непрерывного мониторинга микрофоны могут быть установлены на другой высоте. Уровни шума в точках картографической сетки обычно рассчитывают. Если в особых случаях измерения в них выполняют, то плотность точек сетки выбирают в зависимости от пространственного разрешения, требуемого для исследования пространственного изменения уровней звукового давления. Изменения велики вблизи источников и больших преград. Поэтому плотность точек в этих местах должна быть выше. В общем случае разность уровней звукового давления между соседними точками не должна быть более 5 дБ. Если разность оказывается больше, то должны быть введены промежуточные точки. 8.3.2 В помещении Используют по меньшей мере три точки измерений, равномерно распределенные по площади помещения, в котором преимущественно большую часть времени могут находиться люди, или альтернативно, при непрерывном шуме, применяют вращающийся микрофон. Если предполагают наличие доминирующего низкочастотного шума (см. 6.6), то одна из трех точек
должна быть в углу помещения и вращающийся микрофон в этом случае не применяют. Угловая точка
должна быть в Другие микрофоны должны быть установлены по меньшей мере в Примечание - При измерении только уровня звука в случае малой доли низкочастотных составляющих иногда бывает достаточным ограничиться одним положением микрофона. Вышеописанная методика применима главным образом для помещений объемом менее 8.4 Измерения8.4.1 Общие положения Примечание - Измеряемые величины и оценочные уровни: годичный, дневной Lday, вечерний Levening и на периоде «день-вечер-ночь» Lden определены в ГОСТ 31296.1. 8.4.2 Эквивалентный уровень звукового давления Leq Обычно измеряют эквивалентный уровень звукового давления Leq. Если плотность транспортного потока невелика или высок уровень остаточного шума, то эквивалентные уровни звукового давления, если возможно, определяют по результатам измерений уровня воздействия шума LE отдельных проходящих транспортных средств (см. 6.3.1 и 6.4.1 соответственно). Если не выполняются условия формулы (2), то измерения проводят по меньшей мере 10 мин, чтобы усреднить обусловленные метеорологическими условиями вариации траектории распространения звука. Если условия формулы (2) выполняются, то обычно бывает достаточна продолжительность измерений 5 мин. Это минимальное время может быть увеличено, чтобы получить более представительную выборку данных об источнике шума (см. раздел 6). 8.4.3 Уровень воздействия шума LE Если невозможно измерить Leq для требуемого числа звуковых событий, то измеряют уровень воздействия шума LE каждого события. Число звуковых событий должно соответствовать указанному в разделе 6. Измерение каждого звукового события проводят в течение времени, которое достаточно, чтобы охватить все основные составляющие шума. Для проходящего транспортного средства шум измеряют до тех пор, пока уровень звукового давления снизится по меньшей мере на 10 дБ относительно максимального уровня. 8.4.4 Уровень N-процентного превышения LNT На интервале, равном продолжительности измерений, регистрируют краткосрочные значения LeqT (где интервал усреднения T не превышает 1 с) или регистрируют уровень звукового давления через интервалы времени, не превышающие используемую постоянную времени шумомера, применяя в этом случае самописец уровня шума. Ширина интервалов, на которые разбивается область значений измеряемой величины (ширина классов), должна быть 1 дБ или менее. В протоколе измерений для LNT указывают определяемую величину и, если применяется, временную характеристику шумомера, интервал времени регистрации отсчетов и ширину класса (например, так: «Отсчет значений LFчерез 10 мс, ширина класса 0,2 дБ» или «Отсчет значений Leq,1s, ширина класса 1 дБ»). 8.4.5 Максимальный уровень звукового давления при частотном и временном взвешивании LF, max, LS, max Используя временную характеристику F («быстро») или S («медленно») и соответствующую частотную характеристику шумомера, измеряют LF, max или LS, max для минимально заданного в разделе 6 числа звуковых событий. Регистрируют каждый результат. Примечание - Характеристика F лучше соответствует восприятию шума человеком, чем характеристика S. Характеристика S в общем случае улучшает воспроизводимость. 8.4.6 Пиковый уровень звукового давления Lpeak При измерениях звуковых импульсов, шума взрывов и т.д. рекомендуется применять методы по [2]. 8.4.7 Тональный шум Если в точке наблюдения в шуме слышны тоны, то их следует измерить. Выбирают положения микрофонов, где тоны слышны в наибольшей мере, и анализируют их основным методом по приложению С или упрощенным методом по приложению D. Примечание - В общем случае тональный анализ шума в помещении не рекомендуется из-за модального характера изменения тонов в помещениях. Для некоторых частотных полос он также затруднен при установке микрофона перед фасадом здания. 8.4.8 Импульсный шум Не существует общепризнанного метода определения импульсного шума посредством объективных измерений. Если имеет место импульсный шум, то идентифицируют его источник и классифицируют по ГОСТ 31296.1. Дополнительно убеждаются, что импульсный шум репрезентативен и охватывается продолжительностью измерений. 8.4.9 Низкочастотный шум Внутри помещения выбирают три местоположения микрофона по 8.3.2. Вне помещения измерения выполняют в свободном звуковом поле или на фасаде здания (см. приложение В). Методы настоящего стандарта применимы в общем случае на частотах ниже октавной полосы 16 Гц. При низкочастотных измерениях микрофон должен быть расположен не ближе Примечание - Положение микрофона перед звукоотражающей поверхностью по 8.3.1, перечисление с) непригодно для измерения низкочастотного шума. 8.4.10 Остаточный шум При измерении шума на местности остаточный шум часто создает затруднения. Одна из причин состоит в том, что часто требуется выделить шум источников различных типов. Разделение, например, шума транспорта и промышленного шума зачастую затруднительно. Другая причина состоит в том, что обычно измерения проводят вне помещения. Ветер, воздействуя непосредственно на микрофон и вызывая шум деревьев, зданий и т.д., может отрицательно повлиять на результат. Характер этих источников шума может обусловить трудность или невозможность определить какие-либо коррекции. Тем не менее, для коррекции результатов (см. 9.6) необходимо измерить остаточный шум. 8.4.11 Измерения в полосах частот Если требуется частотный анализ шума, то измеряют уровни звукового давления с помощью октавных фильтров (если не установлено по-иному) в полосах со среднегеометрическими частотами: 31,5; 63; 125; 250; 500; 1000; 2000; 4000 и 8000 Гц. Дополнительно могут быть проведены измерения в третьоктавных полосах со среднегеометрическими частотами от 50 до 10000 Гц. Частотные полосы с незначительным влиянием (менее 0,5 дБА) на уровень звука могут быть исключены из рассмотрения, что указывают в протоколе испытаний. При низкочастотном шуме диапазон частот составляет приблизительно от 5 до 100 Гц. На частотах ниже 20 Гц в некоторых странах шум оценивают по [3], используя характеристику шумомера G. В некоторых странах используют анализ на частотах свыше 15 Гц в октавных или третьоктавных полосах в диапазоне от 16 до 100 Гц. В настоящем стандарте диапазон низкочастотного шума расширен и включает в себя частоты от 12 до 200 Гц (включает третьоктавные полосы 16; 31,5; 63; 125 и 160 Гц). Оценку шума проводят по [3]. 9 Оценка результатов измерений9.1 Общие положенияРезультаты измерений вне помещения корректируют, приводя их, по возможности, к условиям свободного звукового поля, когда исключены все отражения звука, кроме отражения от поверхности земли. 9.2 Эквивалентные уровни LE и LeqВ каждом положении микрофона и для каждого режима работы источника шума определяют среднее по энергии значение LE или Leq. Примечание - Указания по определению оценочных уровней LRdn и LRdtn приведены в ГОСТ 31296.1. 9.3 Максимальный уровень звукового давления LmaxДля каждого положения микрофона и каждого режима работы определяют при необходимости: максимальное, среднеарифметическое, среднее по энергии значения, стандартное отклонение, вид закона распределения измеренных уровней Lmax. Для однородных групп единичных звуковых событий с нормальным законом распределения максимальных уровней звукового давления определяют процентили максимальных уровней звукового давления по формуле (3) и рисунку 1.
где Lmах, p - максимальный уровень, превышенный в p % случаев;
y - число стандартных отклонений; s - стандартное отклонение максимальных уровней по всем звуковым событиям (оценка стандартного отклонения при нормальном законе распределения).
Рисунок 1 - Процентили р максимальных уровней звукового давления единичных звуковых событий, превышающих на y стандартных отклонений среднеарифметическое значение при нормальном распределении максимальных уровней звукового давления Пример - Если пять из прошедших 500 автомобилей имеют наивысший уровень шума, то процентиль равен (5/500)·100 = 1 %. По рисунку 1 находят значение у = 2,33 @ 2,3 и подставляют в формулу (3).
где s - оценка стандартного отклонения максимального уровня звукового давления. 9.4 Уровень N-процентного превышения LNTДля получения LNT проводят статистический анализ выборочных значений в процентном отношении N. 9.5 Измерения в помещенииИспользуют сканирующий микрофон или дискретные точки измерений. По результатам измерений в дискретных точках рассчитывают эквивалентный уровень звукового давления Lеq дБ, по формуле
где n - число точек измерений (n ≥ 3); Leqj - эквивалентный уровень звукового давления в точке j, дБ. Если измерения выполнены на разных временных интервалах в различных условиях транспортного потока, то каждый уровень звукового давления Leqj приводят к одним и тем же условиям с помощью соответствующего метода прогнозирования (см. 11.2). Если в помещении обычная обстановка или оно имеет звукопоглощающие покрытия на потолке, то измеренные значения не корректируют. Если помещение пустое и без звукопоглощающих покрытий, то из измеренных значений вычитают 3 дБ. Примечание - Коррекцию 3 дБ вводят, чтобы учесть различие между заполненным и пустым помещением, достигая этим упрощения измерений за счет отказа от измерения времени реверберации. Если установлены другие требования, то измеряют время реверберации и нормализуют измеренные значения по установленной методике. 9.6 Остаточный шумЕсли уровень звукового давления остаточного шума на 10 дБ или более ниже измеренного уровня звукового давления испытуемого источника, то коррекцию не проводят. Результаты измерения считают пригодными. Если уровень звукового давления остаточного шума на 3 дБ или менее ниже измеренного уровня звукового давления источника, то допускается коррекцию не проводить. Неопределенность измерений будет при этом большая. Тем не менее, результат может быть внесен в протокол испытаний и может служить верхней границей уровня звукового давления испытуемого источника. Если эти данные протоколируют, то должно быть ясно указано в тексте протокола, а также на графиках или в таблицах, что измеренные значения не могут быть скорректированы, чтобы устранить влияние остаточного шума. В случае, когда уровень звукового давления остаточного шума ниже измеренного уровня звукового давления на 3 - 10 дБ, последний корректируют по формуле
где Lcorr - корректированный уровень звукового давления, дБ; Lmeas - измеренный уровень звукового давления, дБ; Lresid - уровень звукового давления остаточного шума, дБ. 10 Экстраполяция на другие условия10.1 Экстраполяция на другое местоЭкстраполяцию часто применяют, чтобы оценить уровень звукового давления в других местах, чем те, в которых проведены измерения. Экстраполяция является обычной, например, когда остаточный шум не позволяет измерить шум источника в месте установки микрофона. Измерения шума должны быть выполнены в правильно определенном месте, расположенном ни слишком близко (не в ближнем звуковом поле некоторых частей источника шума), ни слишком далеко (при незначительном влиянии метеорологических условий на распространение звука) от источника шума. Используя расчетное ослабление звука при распространении от источника шума к микрофону, по измеренному шуму оценивают звуковое излучение источника шума. Эту оценку затем используют, чтобы рассчитать уровень звукового давления в промежуточных точках измерений. Чтобы рассчитать ослабление звука, необходим метод расчета (см. раздел 11). Промежуточные точки измерений выбирают так, чтобы была обеспечена достоверность измерений и расчетов. Например, не должно быть экранирующих препятствий между источником шума и микрофоном и предпочтительна высота микрофона, при которой метеорологические условия оказывают умеренное влияние на результаты измерений. 10.2 Экстраполяция на другое время и режим работыЧасто измерения выполняют на более коротком временном интервале, чем опорный временной интервал, и результаты приводят к другому временному интервалу и режиму работы источника шума. Долгосрочное среднее значение рассчитывают по краткосрочным измерениям, принимая во внимание влияние других условий транспортного потока, другого состава автомобилей, других метеорологических условий и т.д. Иногда результаты измерений, проведенных в различное время дня, соотносят с помощью весовых коэффициентов. Эти коррекции основываются на нескольких методах прогнозирования (см. раздел 11). 11 Расчет11.1 Общие положенияВо многих случаях измерения могут быть заменены или дополнены расчетами. Расчеты часто более надежны, чем разовые краткосрочные измерения, когда требуется определить среднее долгосрочное значение, а также в случае, когда невозможно выполнить измерения вследствие слишком высоких уровней звукового давления остаточного шума. В последнем случае иногда удобно выполнить измерения на небольшом расстоянии от источника шума и, используя метод расчета, определить результат для большего расстояния. Когда расчет предпочтительнее прямых измерений уровней звукового давления, то для его проведения должны быть предоставлены данные о звуковом излучении (желательно, уровень звуковой мощности и направленность источника) и указано положение некоего точечного (ых) источника (ов), создающего те же уровни шума в окружающем пространстве, что и реальный источник. Для шума транспорта уровни звуковой мощности часто заменяют уровнями звукового давления, определенными при строго заданных условиях. Часто эти данные имеются в признанных расчетных моделях, но в других случаях их следует определять в каждом конкретном случае. Используя подходящую модель распространения звука от источника шума к приемнику, можно рассчитать уровень шума в оцениваемой точке. Распространение звука зависит от точно определенных метеорологических условий и состояния земли. Большинство расчетных моделей основаны на распространении звука при безветрии или по ветру, так как распространение звука против ветра чрезвычайно сложно прогнозировать. Акустический импеданс земли также важен, в особенности на небольшом расстоянии при малых высотах источника шума и микрофона. Большинство моделей учитывают различие только между твердым и мягким грунтами. В общем случае большей точности расчетов достигают при высокорасположенных источнике шума и микрофоне. Требуемая точность зависит от цели расчета. Необходимая плотность сетки точек, используемых при картографировании уровней шума, зависит от цели картографирования. Вариации уровня шума велики вблизи источника и больших препятствий. Поэтому плотность сетки должна быть выше в этих местах. В общем случае на обзорной карте воздействия шума разность уровней звукового давления в соседних точках сетки должна быть не более 5 дБ. Если для уменьшения воздействия шума предполагают применить технические средства или выплатить компенсации, то плотность точек должна быть такой, чтобы разность уровней звукового давления в соседних точках сетки составляла не более 2 дБ. 11.2 Методы расчета11.2.1 Общие положения Комплекса общепризнанных международных методов расчета не существует, хотя имеется несколько стандартов, относящихся к распространению звука от источников с известной звуковой мощностью (см. ГОСТ 31295.1. ГОСТ 31295.2), [4]). В приложении Е приведен перечень национальных методов прогнозирования. 11.2.2 Специальные методы Методы прогнозирования могут быть созданы для оценки шума автомобильного, железнодорожного и воздушного транспорта. В большинстве стран имеются национальные методы. Многие методы ограничены только расчетами уровня звука и применимы для заданного спектра частот. Обычно рассчитывают эквивалентный уровень звука LAeq как основную величину, иногда дополняя эту характеристику максимальным уровнем звукового давления Lmax. Но это является исключением. 12 Регистрируемая и вносимая в протокол информацияРегистрируют и отражают в протоколе измерений следующую информацию, если она уместна: a) время, день и место измерений; b) средства измерений и их калибровка; c) измеренные и (если необходимо) корректированные уровни Leq, LE, Lmax, уровень звука (дополнительно - корректированный по характеристике С уровень звука) и, дополнительно, уровни звукового давления в полосах частот; d) уровень N-процентного превышения LN, включая указание о базе данных, по которым он рассчитан (частоту отсчета и другие параметры); e) оценка неопределенности измерений с указанием уровня доверия; f) информация об уровнях остаточного шума при измерениях; g) временные интервалы измерений; h) подробное описание места измерений, включая покров и состояние поверхности земли, положения микрофона и источника шума, включая высоту над землей; i) описание режима работы источника шума, включая число импульсов или проходов автомобилей/поездов/самолетов каждой заданной категории; j) описание метеорологических условий, включая скорость и направление ветра, облачный покров, температуру, барометрическое давление, влажность и наличие осадков, и указание места установки анемометра и термометра; k) метод(ы) экстраполяции измеренных значений на другие условия. Для расчетов должна быть предоставлена информация по перечислениям от а) до k), включая информацию для расчета неопределенности. Приложение А
|
|||||||||||||||||||||||||||||||||||||||||||||||||||||||||||||||||||||||||||||||||||||||||||||||||||||||||||||||||||||||||||||||||||||||||||||||||||||||||||||||||||||||||||||||||||||||||||||||||||
|
|
(А.2) |
где ∆τ - разность температур воздуха на высоте 10 и
∆u - разность скоростей ветра на высоте 10 и
θ - угол между направлением ветра и направлением от источника шума к микрофону.
А.3 Благоприятные условия распространения звука
Радиус кривизны траектории звука R, который зависит от среднего градиента ветра и температуры, является наиболее важным фактором, определяющим условия распространения звука. При положительном значении R звуковой луч искривляется вниз (например, при распространении звука по ветру). Такие условия распространения звука часто называют благоприятными, так как при них уровни звукового давления на месте измерения высокие.
Примечания
1 Температурная инверсия случается, например, ночью при облачном покрове менее 70 %.
2 R = ∞ соответствует прямолинейному распространению звука (безветрие, однородная атмосфера); отрицательное значение R соответствует искривлению звукового луча вверх (например, при распространении против ветра или в тихий летний день).
А.4 Оценка радиуса кривизны траектории распространения звука при благоприятных условиях и неопределенности измерений, зависящей от метеорологических условий
Для проведения измерений в любых погодных условиях для соблюдения условия (2) в 7.1 при расстоянии
до источника шума около 50 и до
На рисунке А.1 показаны различия между так называемыми «высокой» и «низкой» ситуациями в зависимости от высот источника шума hs и микрофона hr над землей. Ситуация «высокая» имеет место, когда микрофон и источник шума расположены на высоте
Таким образом, соответствующая ситуация имеет место при следующих условиях:
- «высокая»: hs ≥
hs <
- «низкая»: hs <
Если поверхность земли между источником шума и точкой измерений твердая, то стандартным отклонением из-за метеорологических условий можно пренебречь, поскольку не образуется акустическая тень источника, т.е. σm = 0,5 дБ при расстоянии до
Примечания
1 Указанные условия основаны на данных измерений. Обычно эти данные получают при измерениях на высоте
2 Рисунок А.1 действителен для местности без экранирующих препятствий. В настоящее время нет количественной информации для экранированных точек измерений или для поверхности земли со сложным рельефом. Поэтому пока рекомендуется пользоваться рисунком А.1 также и в случае экранирования, относя экранированную точку к ситуации «низкая».

А - ситуация «высокая»; В - ситуация «низкая»; С - область значений d, где ограничения на радиус кривизны отсутствуют
Примечание - На расстоянии d более 400 м:
, дБ при условии, что радиус кривизны траектории звука менее
Рисунок А.1 - Радиус кривизны траектории звука R и соответствующая неопределенность измерений из-за метеорологических условий, выраженная через стандартное отклонение σm, дБ, для различных комбинаций расстояния и высоты пары «источник шума - микрофон» над пористой землей
Для дорог и других протяженных источников шума кривизна траектории звука должна быть определена в проходящей через микрофон вертикальной плоскости, перпендикулярной к оси дороги (или перпендикулярной к наибольшему характерному размеру источника, если это применимо). Среднее направление ветра должно лежать в пределе угла ± 60° к перпендикуляру, опущенному из точки измерений на дорогу. Эффективное расстояние от источника шума до микрофона определяют вдоль биссектрисы угла между направлением средней скорости ветра и указанным перпендикуляром (рисунок А.2).

1 - среднее направление ветра; 2 - осевая линия дороги; 3 - микрофон
Рисунок А.2 - Благоприятные условия распространения звука от дороги и эффективное расстояние d между источником шума и микрофоном
А.5 Указания для случая, когда кривизна траектории звука соответствует рисунку А.1
На рисунках А.3 и А.4 показаны зоны, характеризующие условия распространения звука для каждого месяца года (месяцы указаны на горизонтальной оси рисунков) в зависимости от времени дня (время указано на вертикальной оси) и высоты солнца и, следовательно, от температурного градиента, находящихся в известных пределах. Зона А соответствует высоте солнца над горизонтом от 40° до 60°; зона В - от 25° до 40°; зона АА (рисунок А.4) - высоте более 60°.
Рисунки А.3 и А.4 соответствуют распространению звука над городской и сельской территориями (травой, одиночными деревьями и отдельно стоящими группами жилых домов).
В таблице А.1 указаны наименьшие составляющие скорости ветра в направлении распространения звука
(далее - компонента скорости ветра), при которых обеспечен радиус кривизны траектории звука менее минус
Зона А соответствует «середине летнего дня». При плотной и толстой облачности при компоненте скорости
ветра 1,3 м/с обеспечено значение R <

Рисунок А.3 - Временные интервалы, когда высота солнца в зависимости от месяца года и, следовательно, температурный градиент находятся в известных пределах (для 56° северной широты. Для других широт - см. рисунок А.4)
Примечания
1 Рисунок А.3 и таблица А.1 соответствуют 56° северной широты.
2 Для других широт - см. рисунок А.4.
Таблица А.1
- Требования, обеспечивающие радиус кривизны траектории звука R менее минус
|
Временная зона, соответствующая определенному времени дня |
Облачность |
Наименьшая компонента скорости ветра на |
|
|
R < |
R < |
||
|
А |
8/8 (сплошная плотная) |
0,4 |
1,3 |
|
6/8 - 8/8 (разорванная и до сплошной) |
1,2 |
2,0 |
|
|
Менее 6/8 (разорванная и до рассеянной) |
2,0 |
2,7 |
|
|
В |
8/8 |
0,2 |
1,2 |
|
6/8 - 8/8 |
0,9 |
1,7 |
|
|
Менее 6/8 |
1.6 |
2,3 |
|
|
С |
8/8 |
0 |
0,9 |
|
6/8 |
0,3 |
1,3 |
|
|
Менее 4/8 (разорванная с большими просветами и до рассеянной) |
0,8 |
1,7 |
|
|
Ночь |
6/8 - 8/8 |
0,1 |
Более 0,5 |
|
Менее 6/8 |
Скорость ветра более 2 м/с, |
||
|
D |
Измерения только вблизи источника шума |
||
|
Примечание - В таблице приведена международная классификация облачности. Рассеянной облачности 1 - 4 балла по международной классификации соответствует облачность 1 - 5 баллов по отечественной классификации. Аналогично разорванной облачности 5 - 7 баллов и сплошной облачности 8 баллов соответствуют 6 - 9 и 10 баллов. |
|||
Зона В соответствует утренним и послеполуденным летним часам и около полудня весной и осенью. Например, условие R <
Зона D соответствует интервалам продолжительностью 1,5 ч от восхода и 1,5 ч до захода солнца. В течение этих часов может быть большое местное изменение температуры и не рекомендуется выполнять чувствительные к метеорологическим условиям измерения, если только такие условия не установлены в специальных случаях.
Ночью (черная зона на рисунках А.3 и А.4) требуется малая компонента скорости ветра, когда облачность более 6/8. Если облачность менее 6/8, то может быть большой местный температурный градиент и требуется компонента скорости ветра 2 м/с или более, чтобы избежать особых эффектов, таких как фокусировка (усиление) звука при инверсии.

Рисунок А.4 - Временные интервалы, когда высота солнца и, следовательно, температурный градиент находятся в известных пределах в зависимости от широты
Примечание - Данные для рисунка А.4 собраны для северной широты приблизительно 56° и распространены на другие широты. Данных о требуемой компоненте скорости ветра в зоне АА в настоящее время недостаточно.
B.1 Положения в свободном звуковом поле
В свободном звуковом поле нет других звукоотражающих поверхностей, кроме поверхности земли, достаточно близких, чтобы оказывать влияние на уровень звукового давления. Расстояние от микрофона до любой звукоотражающей поверхности, кроме земли, по меньшей мере должно быть вдвое больше, чем от микрофона до доминирующей по шуму части источника шума.
Примечание - Как исключение допускается наличие небольших звукоотражающих поверхностей, когда может быть показано, что влияние отражения от них незначительно. Это может быть обосновано расчетами, учитывающими наибольшие размеры звукоотражающей поверхности и длину звуковой волны.
B.2 Микрофон непосредственно на звукоотражающей поверхности
При положении микрофона, отвечающем нижеуказываемым ограничениям и требованиям, уровень звукового давления по сравнению со свободным звуковым полем возрастает на 6 дБ.
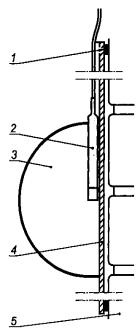
Микрофон устанавливают заподлицо со звукоотражающей плоскостью. При этом ниже некоторой частоты f прямой и отраженный звуки находятся в фазе. В случае широкополосного автодорожного шума, когда звуковые волны падают под разными углами, частота f приблизительно равна 4000 Гц для 13-мм микрофона, смонтированного на звукоотражающей плоскости. Но так устанавливать микрофон не следует, если звук преимущественно скользящий.
Фасад на расстоянии

1 - резиновая прокладка; 2 - микрофон; 3 - ветровой экран; 4 - монтажная плита; 5 - стена или звукоотражающая поверхность
Рисунок В.1 - Крепление микрофона на звукоотражающей плоскости
Плита должна быть акустически жесткой и изготовлена из жесткого
материала, чтобы избежать звукопоглощения и резонансов в диапазоне
частот измерений, например из окрашенного картона толщиной более
Примечание - Плиту на рисунке В.1 монтируют на резиновых прокладках, чтобы исключить влияние неплоскостности фасада.
Следует исключить возникновение аэродинамического шума при протекании воздушного потока между плитой и шероховатой поверхностью фасада.
Микрофон можно устанавливать без использования плиты, если
стена бетонная, каменная, стеклянная, деревянная или изготовленная
из другого столь же твердого материала. В этом случае неплоскостность
стены должна быть не более ±
В.3 Микрофон вблизи звукоотражающей поверхности
При положении микрофона, отвечающем указываемым ниже ограничениям и требованиям, уровень звукового давления по сравнению со свободным звуковым полем возрастает на 3 дБ.
Если микрофон установлен на некотором расстоянии от звукоотражающей поверхности, то прямой и отраженный звуки равны, и если диапазон частот измерений достаточно широкий, то за счет отраженного звука уровень звукового давления удваивается (возрастает на 3 дБ).
Неплоскостность фасада должна быть не более ±
При измерениях окна должны быть закрыты, но допускаются небольшие отверстия для прохода кабелей.
При соблюдении условий (В.1) - (В.3) измеренный эквивалентный или максимальный уровень звукового давления отличается менее чем на 1 дБ от уровня прямого звука плюс 3 дБ. На рисунке В.2 показаны два случая: а) протяженный источник, т.е. когда угол зрения а равен 60° или более; b) точечный источник, т.е. когда угол а менее 60°.
В случае узкополосных источников шума или при определении шума в полосах частот рекомендуется проводить измерения в свободном звуковом поле или устанавливать микрофон на звукоотражающей поверхности, когда уровень звукового давления возрастает на 6 дБ.
Расстояние от микрофона М по перпендикуляру в точку О на звукоотражающей плоскости равно d (рисунок В.2). Точку О считают условным положением микрофона, если она лежит на биссектрисе угла зрения а. Расстояния а' и d' измеряют вдоль биссектрисы угла а. Точка М' лежит на расстоянии d' от звукоотражающей плоскости.
Горизонтальное расстояние от точки О до ближайшей кромки звукоотражающей поверхности равно b, вертикальное расстояние равно с. Чтобы исключить влияние кромок в диапазоне частот измерений, содержащем октавные полосы от 124 до 4000 Гц, следует выполнить условия
|
b ≥ 4d, |
(B.1) |
|
с ≥ 2d. |
(В.2) |
Падающий и отраженный звуки равны, если соблюдены условия:
|
d' ≤ 0,1 а' для протяженного источника; |
(В.3) |
|
d' ≤ 0,05 а' для точечного источника. |
(В.4) |
Микрофон гарантированно находится вне ближнего звукового поля фасада, где уровень звукового давления возрастает на 6 дБ, если соблюдены следующие условия:
- для протяженного источника:
|
при измерении уровня звука d' ≥ |
(В.5) |
|
при измерении уровня звукового давления в октавных полосах d' ≥ |
(В.6) |
- для точечного источника:
|
при измерении уровня звука d' ≥ |
(В.7) |
|
при измерении уровня звукового давления d' ≥ |
(В.8) |
а' = РМ'
d' = M'О

1 - фасад здания или другая звукоотражающая поверхность; 2 - протяженный источник шума; d - расстояние по перпендикуляру, опущенному из точки расположения микрофона на звукоотражающую поверхность; RO - биссектриса угла а
Рисунок В.2 - Положение микрофона вблизи звукоотражающей поверхности
С.1 Введение
Если наличие слышимых тонов вызывает сомнение, то описываемый в настоящем приложении метод позволяет инструментально проверить их существование. Метод обеспечивает также определение рекомендуемых коррекций уровня шума на тональность. Метод состоит в инструментальной оценке тонов тем же способом, как это делает на слух средний слушатель. Метод основан на психоакустическом понятии критической полосы, когда ее ширину определяют так, что шум вне критической полосы не оказывает существенного влияния на слышимость тонов внутри полосы.
Метод включает в себя процедуры для оценки постоянных и переменных тонов, узкополосного шума, низкочастотных тонов и позволяет определить коррекции на тональность в диапазоне от 0 до 6 дБ.
С.2 Инструментальный метод
С.2.1 Общие положения
Метод состоит из трех этапов:
1) узкополосного частотного анализа (предпочтительно с использованием быстрого преобразования Фурье);
2) определения среднего уровня звукового давления тона(ов) и маскирующего шума внутри критической полосы вблизи тона(ов);
3) расчета слышимости тона ∆Lta и коррекции КT.
С.2.2 Частотный анализ
Узкополосный спектр измеряют на частотной характеристике А шумомера при линейном усреднении по меньшей мере в течение 1 мин («длительное усреднение»).
Эквивалентная полоса пропускания анализатора (далее - полоса анализатора) должна быть менее 5 % ширины критической полосы. Ширина критических полос указана в таблице С.1.
Рекомендуется, чтобы измерительная аппаратура, включая анализатор спектра, была калибрована в децибелах относительно 20 мкПа и чтобы анализ был выполнен с применением временного окна Ханна.
Примечания
1 При использовании окна Ханна полоса анализатора составляет 1,5 разрешения по частоте. Разрешением по частоте называют расстояние в герцах между соседними линиями спектра.
2 При полосе анализатора, равной 5 % ширины критической полосы, явно слышимый тон обычно проявляется как локальный максимум с уровнем по меньшей мере на 8 дБ выше маскирующего шума в усредненном спектре.
3 В редких случаях, когда имеется множество близких тонов (комплексный тон), может потребоваться высокое разрешение, чтобы безошибочно определить уровень маскирующего шума.
4 Если частота слышимых тонов в спектре изменяется более чем на 10 % ширины критической полосы в течение времени усреднения, то может потребоваться подразделить период длительного усреднения на некоторое число коротких периодов усреднения.
С.2.3 Определение уровней звукового давления
С.2.3.1 Уровень звукового давления тона Lpt
Тон может быть идентифицирован визуально при узкополосном спектральном анализе. Уровни звукового давления тонов определяют по спектру.
Любые локальные максимумы спектра считают тоном, если их ширина по уровню 3 дБ от максимума (рисунок С.2) составляет менее 10 % ширины критической полосы.
Уровни Lpti всех тонов с номерами i в критической полосе суммируют по энергии, чтобы получить общий уровень тона Lpt дБ, в этой полосе по формуле
|
|
(C.1) |
Примечание - Если тон представляет собой узкую полосу или частота тона варьируется, или частота тона не совпадает с частотой спектральной сетки анализатора то тон может проявляться несколькими спектральными линиями в усредненном спектре. В таком случае уровень тона Lpti есть сумма по энергии всех линий вблизи тона с уровнями не более чем на 6 дБ ниже локального максимума спектра, корректированная на влияние применяемой функции окна (при использовании весовой функции Ханна из суммы по энергии вычитают 1,8 дБ).
Низкочастотные тоны (при наличии) целесообразно исследовать, если общий уровень тона выше порога слышимости. Если общий уровень тона в критической полосе ниже порога слышимости, то этой критической полосой следует пренебречь при оценке слышимости тонов.
С.2.3.2 Ширина и центральная частота критических полос
Ширина критических полос указана в таблице С.1.
Таблица С.1 - Ширина критических полос
|
Центральная частота fc, Гц |
Ширина полосы |
|
От 50 до 500 |
100 Гц |
|
Св. 500 |
20 % fc |
Критическая полоса должна быть размещена так, чтобы ее центральная (среднеарифметическая) частота fc совпадала с частотой тона. Если в критической полосе имеется много тонов, то ее размещают симметрично относительно наиболее значительных тонов таким образом, чтобы разность между общим тональным уровнем Lpt и уровнем маскирующего шума Lpn (С.2.3.3) была максимальна.
При определении центральной частоты критической полосы существенными считают только тоны с уровнями не более чем на 10 дБ ниже максимального тона.
Примечание - Центральная частота критической полосы fc может изменяться непрерывно в диапазоне частот измерений. Низшая критическая полоса содержит частоты от 0 до 100 Гц.
С.2.3.3 Уровень звукового давления маскирующего шума в критической полосе Lpn
Средний уровень шума Lpn, avg в критической полосе находят визуальным усреднением «спектральных линий шума» в узкой полосе частот, составляющей приблизительно от ± 0,5 до ±1,0 ширины критической полосы (относительно центральной частоты fc), не принимая во внимание все максимумы спектра, обусловленные наличием тонов и их возможных боковых составляющих в рассматриваемой полосе.
Примечание - Определение наличия и интенсивности тона проводят по С.4.
Общий уровень маскирующего шума Lpn, дБ, рассчитывают по среднему уровню шума в критической полосе Lpn, avg по формуле
|
|
(C.2) |
где Bcrit - ширина критической полосы, Гц;
Beff - полоса анализатора, Гц.
С.2.4 Расчет слышимости тона ∆Lta и коррекции КТ
Слышимость тона ∆Lta, дБ, выражается превышением тона над маскирующим порогом слышимости (МТ) (рисунок С.1). Коррекцию КT прибавляют к значению эквивалентного уровня звука LAeq, чтобы получить корректированный на тональность оценочный уровень LAeq на временном интервале измерения. По разности между общим уровнем тона и общим уровнем шума в критической полосе Lpt - Lpn по графикам на рисунке С.1 могут быть получены значения величин ∆Lta и КT. Конкретные значения центральной частоты fc критической полосы и разности Lpt - Lpn задают соответствующую точку на рисунке С.1. Слышимость тона ∆Lta определяют по разности между Lpt - Lpn и маскирующим порогом слышимости, показанным на рисунке. Значения КT находят интерполяцией соответствующих значений КT графиков на рисунке С.1.

Lpt - общий уровень звукового давления тона в критической полосе; Lpn - общий уровень звукового давления маскирующего шума в критической полосе
Рисунок С.1 - Маскирующий порог слышимости (МТ) и графики для определения коррекции КT
В альтернативе значение ∆Lta может быть рассчитано по формуле
|
|
(C.3) |
где Lpt - общий уровень звукового давления тона в критической полосе, дБ;
Lpn - общий уровень звукового давления маскирующего шума в критической полосе, дБ;
fc - центральная частота критической полосы, Гц.
Коррекция КT, дБ, в зависимости от значения ∆Lta, дБ, равна:
|
- при ∆Lta > 10 |
KT = 6; |
(C.4) |
|
- при 4 ≤ ∆Lta ≤ 10 |
КT = ∆Lta - 4; |
(С.5) |
|
- при ∆Lta < 4 |
КT = 0. |
(С.6) |
Примечание - КT может быть выражена нецелыми значениями.
Если одновременно имеется несколько тонов (или групп тонов) в разных критических полосах, то оценки должны быть сделаны для каждой из этих полос. Критическая полоса, содержащая наиболее значимые тоны (т.е. имеющие наибольшие значения ∆Lta), определяет значения ∆Lta и КT.
С.3 Документация
Должна быть представлена следующая документированная информация:
a) для спектрального анализа:
- число усредненных спектров, продолжительность измерений и полоса анализатора;
- временное окно (например, Ханна), временная и частотная характеристики шумомера;
- один типичный спектр (по меньшей мере) с указанием положения критической полосы и среднего уровня шума в этой полосе;
b) для расчетов в определяющей критической полосе:
- информация о том, получены ли результаты посредством визуального контроля или путем автоматического расчета;
- границы критической полосы и диапазон частот для визуального усреднения или линейной регрессии (см. C.4.3);
- частоты и уровни тонов и общий уровень тона (Lpti и Lpt в децибелах относительно 20 мкПа);
- уровень маскирующего шума в критической полосе (Lpn в децибелах относительно 20 мкПа);
- слышимость тона ∆Lta , дБ;
- значение коррекции КT, дБ.
c) тоны в других критических полосах, на частотах которых может потребоваться внести коррекции.
С.4 Определение уровней тона и маскирующего шума
C.4.1 Общие положения
В настоящем разделе приведена методика определения уровней тонов и маскирующего шума в расчете на компьютерную обработку информации.
Примечание - От эксперта, выполняющего анализ спектра, зависит корректность результатов. Поэтому важно выбрать программное обеспечение так, чтобы был возможен визуальный контроль результатов. По крайней мере, требуется получить спектр с линиями, определяющими тоны, с соответствующими критическими полосами и линиями регрессии. Кроме того, полезно использовать цветные линии для выделения спектра шума, шумового интервала и тонов.
C.4.2 Шумовые интервалы
Шумовыми интервалами называют локальные максимумы в спектре, вероятно содержащие тоны. Шумовые интервалы определяют по следующему правилу.
Начало шумового интервала находят на положительном склоне локального максимума как спектральную линию с номером s, которая соответствует следующим условиям:
|
Ls - Ls-1 ≥ ∆, дБ, |
(С.7) |
|
Ls-1 - Ls-2 < ∆, дБ, |
(С.8) |
где Ls - уровень звукового давления, соответствующий линии с номером s;
Ls-1 - уровень звукового давления, соответствующий линии с номером s - 1 и т.д;
∆ - критерий для распознавания тона, обычно принимаемый равным 1 дБ.
Примечание - Для нормального и гладкого спектра критерий ∆ = 1 дБ вполне надежен. Для нерегулярного спектра (например, спектра с коротким временем усреднения, как указано в С.2.2, примечание 4) значения критерия вплоть до 3 или 4 дБ могут дать лучшие результаты. Рекомендуется, чтобы значение критерия мог задавать пользователь программного обеспечения метода.

1 - диапазон частот, рассматриваемый как тон при условии, что его ширина на уровне 3 дБ от максимума менее 10 % ширины критической полосы; 2 - уровень на 6 дБ ниже максимума, используемый для расчета энергии тона; 3 - линия регрессии уровня шума; 4 - начало шумового интервала (начало возрастания уровня шума, предшествующее тону); 5 - конец шумового интервала (конец спада уровня шума на частоте выше тона); 6 - зона неопределенности (переходная область между шумом и тоном ); 7 - тон; ∆ - критерий для распознавания тона; СВ - критическая полоса
Рисунок С.2 - Графическое представление тонов, шума и шумовых интервалов
Конец шумового интервала находят на отрицательном склоне (на спаде) локального максимума как спектральную линию е, которая отвечает следующим условиям:
|
Lе - Le+1 ≥ ∆, дБ, |
(С.9) |
|
Le+1 - Le+2 < ∆, дБ. |
(С.10) |
Предварительно шумовым интервалом считают зону между линиями s и е, включая их обе.
Поиск следующего шумового интервала начинают с линии номер е + 1.
Шумовой интервал может иметь только одно начало и один конец.
Указанная процедура должна быть выполнена при исследовании спектра в направлении от высоких частот к низким.
Окончательно шумовые интервалы находят, объединяя предварительно определенные шумовые интервалы при движении по спектру в обоих направлениях.
С.4.3 Тоны
Тоны находят внутри шумового интервала. Тон может присутствовать в спектре, если уровень звукового давления на любой частоте в шумовом интервале на 6 дБ или более выше уровня звукового давления линий s - 1 и е + 1.
Признаки тонов указаны в С.2.3.1. Это определение относится как к тонам, так и к узкополосному шуму. Ширина полосы пика определяется границами, в которых уровень звукового давления на 3 дБ ниже максимального уровня звукового давления в шумовом интервале (правило 3 дБ).
Если эта полоса уже 10 % ширины критической полосы, то каждую линию спектра в полосе, которая ниже максимального уровня звукового давления не более чем на 6 дБ, считают тоном. Но за частоту тона принимают частоту линии с максимальным уровнем звукового давления в шумовом интервале.
Примечание - Если полоса по правилу 3 дБ шире 10 % ширины критической полосы, то линии спектра не считают ни тонами, ни узкополосным шумом. Для этого феномена не существует коррекций, если только не имеет место тон с изменяющейся частотой, когда требуется применить краткосрочное усреднение.
Тоны с изменяющейся частотой могут проявляться как широкие (размытые) максимумы при длительном усреднении спектра. Ширина этих максимумов зависит от диапазона изменения частоты тона и времени усреднения. Если частота тона изменяется более чем на 10 % ширины критической полосы на интервале усреднения, то 10 %-ный критерий (см. С.2.3.1) должен быть отвергнут и всякая линия внутри широкого максимума должна быть признана тоном, или должно быть выполнено усреднение на коротком интервале.
С.4.4 Маскирующий шум
Все линии спектра, не относящиеся к шумовому интервалу, названные в С.2.3.3 «спектральными линиями шума», считают маскирующим шумом. Уровень маскирующего шума в критической полосе определяют по линии линейной регрессии, аппроксимирующей спектр. Частотный диапазон регрессии обычно принимают равным ± 0,75 ширины критической полосы относительно центральной частоты критической полосы.
Для нерегулярного спектра или спектра с широкими тональными максимумами частотный диапазон регрессии может быть расширен до ± 1 или до ± 2 ширины критической полосы. Это может повысить коэффициент корреляции для линии регрессии, аппроксимирующей спектр шума. Рекомендуется, чтобы частотный диапазон регрессии мог задавать пользователь программного обеспечения метода.
Для каждой частоты в критической полосе уровень шума Ln определяют по линии регрессии. Общий уровень маскирующего шума Lpn, дБ, в критической полосе определяют как сумму по энергии уровней Ln всех линий спектра в критической полосе с коррекцией на влияние применяемого окна по формуле
|
|
(С.11) |
где ∆f - частотное разрешение, Гц;
Beff - полоса анализатора, Гц.
С.5 Примеры
Примеры даны по результатам автоматической обработки следующих данных: число спектров 350, продолжительность измерений 2 мин.
|
|
Пример 1 Критическая полоса (показана в верхней части рисунка): 3,6 - 4,4 кГц Тон: 4 кГц Уровень тона Lpt; 46,7 дБ Ширина полосы тона по правилу 3 дБ: 0,5% критической полосы 800 Гц Lpn в критической полосе: 37,3 дБ Слышимость тона ∆Lta:13,7 дБ относительно маскирующего порога (далее -МТ) Коррекция КT: 6 дБ. |
|
|
Пример 2 Критическая полоса: 380 - 480 Гц Тоны: 395 Гц, 53,1 дБ; 468 Гц, 47,0 дБ Уровень тона Lpt: 54,1 дБ Ширина полосы тона по правилу 3 дБ: 3,1 % критической полосы 100 Гц Lpn в критической полосе: 45,2 дБ Слышимость тона ∆Lta; 11,1 дБ относительно МТ Коррекция КТ: 6 дБ. |
|
Примечание - Наиболее слышимыми являются два тона с наибольшими частотами. |
|
|
|
Пример 3 Критическая полоса: 258 - 358 Гц Тоны: 278 Гц, 33,3 дБ; 299 Гц, 38,4 дБ; 319 Гц, 54,3 дБ; 334 Гц, 37,1 дБ Уровень тона Lpt: 54,6 дБ Ширина полосы тона по правилу 3 дБ: 3,4 % критической полосы 100 Гц Lpn в критической полосе: 45, 5 дБ Слышимость тона ∆Lta:10,6 дБ относительно МТ Коррекция КT: 6 дБ. |
|
|
Пример 4 Критическая полоса: 680 - 830 Гц Тоны изменяются от 680 до 830 Гц Уровень тона Lpt: 53,6 дБ Lpn в критической полосе: 45, 5 дБ Слышимость тона ∆Lta: 10,7 дБ относительно МТ Коррекция КТ: 6 дБ. |
Примечание - На графиках показаны усредненный и мгновенный спектры. В соответствии с С.2.3.1 и С.4.2 уровень тона может быть найден или суммированием по энергии линий в широком максимуме усредненного спектра или усреднением уровней тонов в измеренных с краткосрочным усреднением спектрах при том же общем времени усреднения.
Для проверки наличия заметных дискретных частот (тонов) обычно сравнивают усредненный уровень звукового давления в какой-нибудь третьоктавной полосе с усредненными по времени уровнями звукового давления в двух соседних с ней третьоктавных полосах. Тон признают существующим, если усредненный по времени уровень звукового давления в рассматриваемой третьоктавной полосе превосходит усредненные по времени уровни звукового давления в двух соседних третьоктавных полосах на некоторую постоянную величину.
Эта постоянная величина может изменяться в зависимости от частоты. Допускается использовать следующие значения разности уровней: 15 дБ - в низкочастотных третьоктавных полосах (от 25 до 125 Гц), 8 дБ - в средних полосах (от 160 до 400 Гц), 5 дБ - в высокочастотных полосах (от 500 до 10000 Гц).
Примечание - Приведенные границы частотных полос не совпадают с указанными в 8.4.11, где частотный спектр рассматривается с точки зрения восприятия человеком, в то время как в настоящем приложении предельные частоты полос приведены с учетом физических явлений, а именно действия сильных атмосферных флуктуаций подобно полосовому фильтру.
Е.1 Движение автотранспорта
Австрия: RVS 04.02.11 Lärmschutz, март 2006 Дания, Финляндия, Исландия, Норвегия, Швеция:
- Road Traffic Noise - Nordic Prediction Method, Tema Nord 1996:525, ISBN 92 9120 836 1, ISSN 0908-6692.
- Nord 2000. New Nordic Prediction Method for Rail Traffic Noise
Примечание - Этот документ размещен на сайте www.delta.dk, но пока не получил официального статуса.
Европейский союз: Harmonoise Model.
Примечание - Этот документ размещен на сайте www.imagine-project.org, но пока не получил официального статуса.
Франция: NMPB, 1997
Примечание - Документ частично основан на ИСО 9613-2 при годичном усреднении в октавных полосах на основании статистических данных о метеорологических условиях.
Германия: RLS - 90.
Япония: ASJ RTN - Model 2003.
Нидерланды: Reken - en Meetvoorschrift Wegverkeerslawaai 2002, установивший основной метод (Standaard Rekenmethode I) и углубленный метод (Standaard Rekenmethode II).
Швейцария: StI-86. Swiss road traffic noise model, 1986.
Примечание - Документ на новый метод SonRoad, Swiss road traffic noise model, 2004 будет введен вскоре после публикации ИСО 1996-2.
Великобритания: CRTN - 88.
Примечание - Продолжительность дня 18 ч, L10, расчет, ISBN 0115508473
США: TNM 1998: Геометрическая лучевая теория и теория дифракции - третьоктавный спектр.
Е.2 Железнодорожное движение
Австрия: Berechnung der Schallimission durch Schienenverrehr, Zugverkehr, Verschub- und Umschlagbetrieb.
Дания, Финляндия, Исландия, Норвегия, Швеция:
- Railway Traffic Noise - Nordic Prediction Method, Tema Nord 1996:524, ISBN 92 9120 837 X, ISSN 0908-6692.
- Nord 2000. New Nordic Prediction Method for Rail Traffic Noise
Примечание - Этот документ размещен на сайте www.vejdirektoratet.dk/dokument.asp?page=document&objno=89873.org, но пока не получил официального статуса.
Европейский союз: Harmonoise Propagation Model.
Примечание - Этот документ размещен на сайте www.vejdirektoratet.dk/dokument.asp?page=document&objno=89873.org, но все еще не получил официального признания.
Франция: NMPB-fer, French standard S 31-133
Примечание - Проект стандарта Pr S 31-133 связан с датой публикации ИСО 1996-2.
Германия: Schall 03, Richtlinie zur Berechnung der Schallimmissiontn von Schienenwegen.
Япония: К. Nagakura & Y. Zenda, Prediction model of wayside noise level of Shinkansen, Wave 2002, 237 - 244, BALKEMA PUBLISHERS.
Нидерланды: Reken - en Meetvoorschrift Railverkeerslawaai '96, установивший основной метод (Standaard Rekenmethode I) и углубленный метод (Standaard Rekenmethode II).
Швейцария: Schweizerisches Emission- und Imissionsmodell fur die Berechnung von Eisenbahnlarm (SEMIBEL).
Великобритания: Calculation of Railway Noise (CRN) ISBN 0115517545, ISBN 0115518738.
E.3 Воздушное движение
Канада: Transport Canada NEF 1.8.
Дания: DANISM на основе ЕСАС doc 29.
Европейский союз: ЕСАС doc 29: Standard Method of Computing Noise Contours around Civil Airports.
Швейцария: FLULA 2, Swiss aircraft noise program.
США: FAA INM 6.0 for Fixed Wing Civilian Aircraft; FAA HNM 2.2 for Civilian Helicopter; USAF - NOISEMAP for Military Aircraft.
E.4 Промышленный шум
Австрия: ÖAL-Richtlinie 28 Schallabstrahlung und Schallausbreitung, 1987.
Дания, Финляндия, Исландия, Норвегия, Швеция: Environmental noise from industrial plants. General Prediction method. Industrial Noise - Nordic Prediction Method
Примечание - Документ в принципе соответствует ИСО 9613-2.
Германия: Руководство VDI: VDI 2714 Schallausbreitung im Freien (Распространение звука в свободном пространстве), 1988.
Япония: Construction noise prediction model of ASJ CN-Model 2002, Acoustical Society of Japan, 2002.
Нидерланды: Handleiding Meten en rekenen industrielawaai 1999, установивший основной метод (Method I) и углубленный метод (Method II)
Таблица F.1
|
Обозначение ссылочного межгосударственного стандарта |
Обозначение и наименование ссылочного международного стандарта и условное обозначение степени его соответствия ссылочному межгосударственному стандарту |
|
ГОСТ 17168-82 |
МЭК 61260:1995 «Электроакустика. Фильтры с полосой пропускания в октаву и долю октавы» (NEQ) |
|
МЭК 61672-1:2002 «Электроакустика. Шумомеры. Часть 1. Требования» (NEQ) |
|
|
ГОСТ 31295.1-2005 |
ИСО 9613-1:1993 «Акустика. Затухание звука при распространении на местности. Часть 1. Расчет поглощения звука атмосферой» (MOD) |
|
ИСО 9613-2:1996 «Акустика. Затухание звука при распространении на местности. Часть 2. Общий метод расчета» (MOD) |
|
|
ИСО 1996 -1: 2003 «Акустика. Описание, измерение и оценка шума на местности. Часть 1. Основные величины и процедуры оценки» (MOD) |
|
|
Примечание - В настоящей таблице использованы следующие условные обозначения степени соответствия стандартов: - MOD - модифицированные стандарты; - NEQ - неэквивалентные стандарты. |
|
|
ИСО ISO) |
Руководство по выражению неопределенности измерений (Guide for the expression of uncertainty in measurement (GUM)) |
|
|
ИСО 10843:1997 |
Акустика. Методы измерения единичных звуковых импульсов или шума взрывного характера |
|
|
|
(ISO 10843:1997) |
(Acoustics - Methods for the physical measurement of single impulses or bursts of noise) |
|
ИСО 7196: 1995 |
Акустика. Частотные характеристики для инфразвуковых измерений |
|
|
|
(ISO 7196 1995) |
(Acoustics - Frequency-weighting characteristic for infrasound measurements) |
Ключевые слова: шум; окружающая среда; шум автомобильного, железнодорожного и воздушного транспорта; промышленный шум; метеорологические условия; продолжительность измерений; положения микрофона; измерения характеристик шума; тональный шум; импульсный шум; остаточный шум; оценка результатов измерений; экстраполяция на другие условия; расчеты
|
ГОСТЫ, СТРОИТЕЛЬНЫЕ и ТЕХНИЧЕСКИЕ НОРМАТИВЫ. Некоммерческая онлайн система, содержащая все Российские Госты, национальные Стандарты и нормативы. В Системе содержится более 150000 файлов нормативно-технической документации, действующей на территории РФ. Система предназначена для широкого круга инженерно-технических специалистов. Copyright © www.gostrf.com, 2008 - 2026 |