Крупнейшая бесплатная информационно-справочная система онлайн доступа к полному собранию технических нормативно-правовых актов РФ. Огромная база технических нормативов (более 150 тысяч документов) и полное собрание национальных стандартов, аутентичное официальной базе Госстандарта. GOSTRF.com - это более 1 Терабайта бесплатной технической информации для всех пользователей интернета. Все электронные копии представленных здесь документов могут распространяться без каких-либо ограничений. Поощряется распространение информации с этого сайта на любых других ресурсах. Каждый человек имеет право на неограниченный доступ к этим документам! Каждый человек имеет право на знание требований, изложенных в данных нормативно-правовых актах!

  


 

ПОСОБИЕ
ПО РАСЧЕТУ ОГНЕСТОЙКОСТИ
И ОГНЕСОХРАННОСТИ
ЖЕЛЕЗОБЕТОННЫХ КОНСТРУКЦИЙ
ИЗ ТЯЖЕЛОГО БЕТОНА

СТО 36554501-006-2006)

Москва 2008

Пособие по расчету огнестойкости и огнесохранности железобетонных конструкций из тяжелого бетона разработано к СТО 36554501-006-2006 «Правила по обеспечению огнестойкости и огнесохранности железобетонных конструкций».

Содержит указания по расчету огнестойкости и огнесохранности железобетонных конструкций, положения, детализирующие эти указания, примеры расчета, а также рекомендации, необходимые для проектирования.

Для инженеров-проектировщиков, а также для студентов строительных вузов.

Пособие разработано д-ром техн. наук, проф. А.Ф. Миловановым.

Предисловие

В Пособии приведены указания СТО 36554501-006-2006 по расчету огнестойкости во время пожара и огнесохранности после пожара, положения, детализирующие эти указания, примеры расчета элементов, а также рекомендации по проектированию.

В Пособие не включен теплотехнический расчет температуры в железобетонных элементах, так как расчет при сложном нестационарном процессе тепло- и массопереноса проводят с помощью компьютерных программ. В Пособии приведены только результаты этого расчета - распределение температуры в бетоне наиболее часто применяемых элементов конструкции. Для других размеров плит, балок и колонн допускается интер- и экстраполяция температуры.

В Пособии приводится определение предела огнестойкости по потере несущей способности железобетонных элементов и даются примеры по установлению обеспечения конструкции требуемого предела огнестойкости по потере несущей способности.

Единицы физических величин приведены в Пособии в системе СИ: сила выражена в ньютонах (Н) или в килоньютонах (кН); линейные размеры в мм (для сечений) или в м (для элементов или их участков); распределенные нагрузки и усилия в кН/м или Н/мм, напряжения, сопротивления, модули упругости в мегапаскалях (МПа). Поскольку 1МПа = 1Н/мм2, при использовании в примерах расчета формул, включающих величины в МПа (напряжения, сопротивления, модули упругости), для удобства расчета они переводятся в Н/мм2. Остальные величины приводятся только в Н и мм (мм2). В таблицах нормативные и расчетные сопротивления и модули упругости материалов приведены в МПа и в кгс/см2. Приведены уточненные значения коэффициента γst для арматуры класса А500 (табл. 2.8).

Пособие разработано д-ром техн. наук, проф. А.Ф. Миловановым при участии кандидатов техн. наук В.В. Соломонова, И.С. Кузнецовой, инженеров О.П. Барановой, И.М. Румянцева, Ю.В. Середа.

Автор выражает большую благодарность Л.Ф. Калининой за помощь, оказанную при подготовке рукописи к изданию.

Отзывы и замечания просим присылать по адресу: 109428, Москва, 2-я Институтская ул., д. 6., НИИЖБ им. А.А. Гвоздева.

1. ОСНОВНЫЕ ПОЛОЖЕНИЯ

1.1. Расчет огнестойкости при пожаре и огнесохранности после пожара производится при наличии следующих данных:

степени огнестойкости здания или сооружения и пределов огнестойкости несущих железобетонных конструкций;

расчетной схемы всего здания или сооружения и отдельных элементов конструкций;

нормативной и расчетной нагрузкок;

усилий в отдельных элементах конструкций от нормативной и расчетной нагрузок.

1.2. Согласно СНиП 21-01-97* здания и сооружения, выделенные противопожарными стенами и перекрытиями, подразделяются по степеням огнестойкости, классам конструктивной и функциональной пожарной опасности. Степень огнестойкости здания и сооружения определяется пределом огнестойкости его железобетонных несущих и ненесущих конструкций.

Предел огнестойкости железобетонной конструкции устанавливается по времени (в минутах) наступления одного или двух нормирующих для данной конструкции признаков предельных состояний:

потерей несущей способности R;

потерей теплоизолирующей способности j;

а также проверки по потере целостности Е - возможности взрывоопасного разрушения влажного бетона при огневом воздействии.

Класс конструктивной пожарной опасности определяется степенью участия железобетонной конструкции в развитии пожара и образованием его опасных факторов.

Класс функциональной пожарной опасности здания и сооружения и их частей определяется назначением и особенностями размещаемых технологических процессов.

1.3. Для зданий и сооружений из железобетона устанавливаются степени огнестойкости: особая, I, II и III. В СНиП 21-01-97* установлена всего одна, III степень огнестойкости. В СНиП 2.01.02-85* «Противопожарные нормы» III степень огнестойкости подразделяется на III, IIIа и IIIб1.

_______________________

1 В постановлении Минстроя России от 13 февраля 1997 г. № 18-7 указывается, что те положения СНиП 2.01.02-85*, на которых основаны требования СНиП по проектированию зданий и сооружений различного назначения и инженерных систем, продолжают действовать до пересмотра СНиП на эти зданий и сооружения.

1.4. Степень огнестойкости жилых многоквартирных зданий устанавливают в зависимости от класса конструктивной пожарной опасности здания, наиболее допустимой высоты здания и площади пожарного отсека по табл. 7.1 СНиП 31-01-2003.

1.5. Степень огнестойкости общественных зданий и сооружений устанавливают в зависимости от этажности и площади этажа между противопожарными стенами по табл. 1 СНиП 2.08.02-89*.

1.6. Степень огнестойкости зданий предприятий бытового обслуживания устанавливают в зависимости от этажности и площади этажа между противопожарными стенами в здании по табл. 2 СНиП 2.08.02-89*.

1.7. Степень огнестойкости зданий магазинов устанавливают в зависимости от этажности и площади этажа между противопожарными стенами в здании по табл. 3 СНиП 2.08.02-89*.

1.8. Степень огнестойкости зданий и аудиторий, актовых и конференц-залов, залов собраний и зальных помещений, спортивных сооружений устанавливают в зависимости от этажности и числа мест в аудитории или зале по табл. 4 СНиП 2.08.02-89*.

1.9. Степень огнестойкости зданий детских дошкольных учреждений общего типа устанавливают в зависимости от числа мест и этажности по табл. 5 п. 1.18 СНиП 2.08.02-89*.

1.10. Степень огнестойкости школ и школ-интернатов устанавливают в зависимости от этажности и мест учащихся или мест в здании по табл. 6 СНиП 2.08.02-89*.

1.11. Степень огнестойкости зданий и сооружений зрительных залов культурно-зрелищных учреждений устанавливают в зависимости от этажности и наибольшей вместимости по табл. 7 СНиП 2.08.02-89*.

1.12. Степень огнестойкости административных и бытовых зданий, отдельно стоящих зданий пристроек и вставок: залов столовых, собраний и совещаний устанавливают в зависимости от числа мест в зале, этажей и площади этажей пожарных отсеков по табл. 1-4 СНиП 2.09.04-87*.

1.13. Степень огнестойкости многофункциональных зданий и комплексов (МГСН 4.04-94) и многофункциональных высотных зданий и зданий-комплексов в городе Москве (МГСН 4.19-2005) устанавливается особая.

1.14. Степень огнестойкости производственных зданий устанавливают в зависимости от категории по взрывопожарной и пожарной опасности согласно НПБ 105, количества этажей и площади пожарного отсека по табл. 1-5 СНиП 31-03-2001.

1.15. Степень огнестойкости стоянок легковых автомобилей устанавливается в зависимости от вида стоянки, числа этажей, площади и этажности пожарного отсека по табл. 3 МГСН 5.01-94.

1.16. По степени огнестойкости здания и сооружения устанавливают пределы огнестойкости железобетонных конструкций по табл. 1.1.

Таблица 1.1

Степень огнестойкости здания

Предел огнестойкости железобетонных конструкций, не менее

Несущие элементы здания: стены, колонны, балки, ригели, фермы, рамы

Наружные ненесущие стены

Плиты перекрытия междуэтажные (в т.ч. чердачные и над подвалом)

Элементы бесчердачных покрытий

Лестничные клетки

Настилы, плиты (в т.ч. с утеплителем)

Фермы, балки, прогоны

Внутренние стены

Марши и площадки лестниц

Особая

R 1801

Е 603

Е 60

R 1801

EI 602

REI 1202

R 1801

R 1801

EI 180

R 60

I

R 120

Е30

REI 60

RE 30

R 30

REI 120

R 60

II

R 90

Е 15

REI 45

RE 15

R 15

REI 90

R 60

III

R 45

Е 15

REI 45

RE 15

R 15

REI 60

R 45

1 Для зданий высотой более 100 м предел огнестойкости устанавливают R 240.

2 Для зданий высотой более 100 м предел огнестойкости устанавливают REI 180, EI 180.

3 Предел огнестойкости Е 60 устанавливают только для наружных стен.

Предел огнестойкости противопожарных преград (стены и перекрытие) для зданий особой степени огнестойкости устанавливают REI 180; при высоте здания более 100 м - REI 240; для зданий I, II и III степеней огнестойкости - REI 150.

1.17. За предел огнестойкости железобетонных конструкций принимают время в минутах от начала огневого стандартного воздействия до возникновения одного из предельных состояний по огнестойкости:

- по потере несущей способности R конструкций и узлов (обрушение или недопустимый прогиб в зависимости от типа конструкции);

- по теплоизолирующей способности I - повышение температуры на необогреваемой поверхности в среднем до 160 °С или в любой другой точке этой поверхности до 190 °С в сравнении с температурой конструкции до нагрева, или до 220 °С независимо от температуры конструкции до огневого воздействия;

- по проверке целостности Е - образование в бетоне конструкции сквозных трещин или сквозных отверстий, через которые проникают продукты горения или пламя.

1.18. Расчет предела огнестойкости железобетонной конструкции по потере несущей способности R состоит из двух частей: теплотехнической и статической.

Теплотехническим расчетом определяют время предела огнестойкости, по истечении которого арматура нагревается до критической температуры или сечение бетона конструкции сокращается до предельного значения при воздействии на нее стандартного температурного режима.

Статический расчет обеспечивает защиту железобетонной конструкции от разрушения, а также от потери устойчивости при совместном воздействии нормативной нагрузки и стандартного температурного режима.

Предел огнестойкости железобетонной конструкции по теплоизолирующей способности I определяют теплотехническим расчетом. Найденные значения температуры на необогреваемой поверхности должны быть менее предельно допустимой температуры нагрева (см. п. 1.17).

Проверка по целостности Е - по образованию сквозных отверстий или сквозных трещин - производится в железобетонных конструкциях из тяжелого бетона с влажностью более 3,5 %, а также при нагреве бетона в расчетном сечении выше его критической температуры.

1.19. За нормативную кратковременно действующую нагрузку принимают наиболее неблагоприятное сочетание нормативных, постоянных, временных длительных статических нагрузок по СНиП 2.01.07-85*, существенно влияющих на напряженное состояние железобетонной конструкции при пожаре. В тех случаях когда нельзя установить усилия от нормативной нагрузки, разрешают принимать их равными 0,7 расчетных усилий. Расчетная схема приложения нормативной нагрузки должна соответствовать проекту.

1.20. Несущая способность железобетонных конструкций при огневом воздействии зависит от изменения свойств бетона и арматуры с ростом температуры. Во многих случаях вычисляют усилие, которое может воспринять сечение элемента при требуемом пределе огнестойкости. Если это усилие равно или больше нормативного, то требуемый предел огнестойкости обеспечен.

Решение статической задачи по оценке огнестойкости иногда сводится к определению значения критической температуры нагрева растянутой арматуры, поскольку она не зависит от результатов теплотехнической задачи.

Решение теплотехнической задачи выполнимо лишь для конкретных промежутков времени с начала нагрева. Поэтому нахождение условий предельного состояние строится на принципе последовательных приближений для заранее известных промежутков времени. В итоге предел огнестойкости определяется либо графически, либо аналитически в результате решений уравнений предельного состояния.

Вычисленные пределы огнестойкости железобетонных конструкций должны быть не менее принятых значений (табл. 1.1).

1.21. При расчете огнестойкости целесообразно рассматривать приведенные сечения. При этом расчетная площадь приведенного сечения бетона может ограничиваться изотермой критических температур нагрева бетона tb,cr. Критическая температура для тяжелого бетона на силикатном заполнителе (граниты, сиениты, диориты) - 500 °С, на карбонатном заполнителе (известняки) - 600 °С.

1.22. Критическая температура нагрева арматуры характеризует стадию образования пластического шарнира в растянутой зоне железобетонных конструкций и наступление предела огнестойкости при огневом воздействии.

Критическая температура нагрева арматуры ts,cr, при которой, возможно, образуется пластический шарнир и наступает предел огнестойкости, ориентировочно равна для арматуры классов: А240, А300-510 °С; А400-550 °С; А500, А540-520 °С; В500-430 °С; А600-510 °С; А800-500 °С; А1000-450 °С; Вр1200-Вр1500, К1400, К1500-410 °С.

1.23. При проектировании многофункциональных высотных зданий, комплексов и сооружений, относящихся к 1-му ответственному уровню надежности, отказы которых после пожара могут привести к тяжелым экономическим и экологическим последствиям, а также тех конструкций, восстановление которых потребует больших технических сложностей и затрат, необходимо обеспечить их огнесохранность после пожара.

За огнесохранность железобетонной конструкции принимают такое ее состояние, при котором остаточная прочность или необратимые деформации обеспечивают надежную работу после стандартного пожара. Расчет огнесохранности железобетонной конструкции после пожара ведется при расчетных нагрузках и расчетных сопротивлениях бетона и арматуры после огневого воздействия.

2. МАТЕРИАЛЫ ДЛЯ ЖЕЛЕЗОБЕТОННЫХ КОНСТРУКЦИЙ

Нормативные и расчетные характеристики бетона

2.1. Основные прочностные характеристики бетона - нормативное сопротивление бетона осевому сжатию Rbn и нормативное сопротивления бетона осевому растяжению Rbtn.

Расчетные значения сопротивления бетона осевому сжатию и осевому растяжению определяют делением нормативного сопротивления на коэффициент надежности.

Значения коэффициента надежности по бетону при сжатии 1,3 - для предельных состояний по несущей способности (первая группа) и 1,0 - для предельных состояний по эксплуатационной пригодности (вторая группа).

Значения коэффициента надежности по бетону при растяжении 1,5 - для предельных состояний по несущей способности при назначении класса бетона по прочности на сжатие и 1,0 - для предельных состояний по эксплуатационной пригодности.

Нормативные и расчетные значения сопротивлений бетона принимают по табл. 2.1.

Таблица 2.1

Вид сопротивления

Нормативные значения сопротивления бетона Rbn и Rbtn и расчетные значения сопротивления бетона Rb и Rbt для предельных состояний первой группы и расчетные значения сопротивления бетона Rb,ser и Rbt,ser для предельных состояний второй группы, МПа (кгс/см2), при классе бетона по прочности на сжатие

В20

В25

В30

В35

В40

В45

В50

В55

В60

Сжатие осевое

Rbn, Rb,ser

15,0

18,5

22,0

25,5

29,0

32,0

36,0

39,5

43,0

(153)

(188)

(224)

(260)

(296)

(326)

(367)

(403)

(438)

Rb

11,5

14,5

17,0

19,5

22,0

25,0

27,5

30,0

33,0

(117)

(148)

(173)

(199)

(224)

(255)

(280)

(306)

(336)

Растяжение осевое

Rbtn, Rbt,ser

1,35

1,55

1,75

1,95

2,1

2,25

2,45

2,6

2,75

(13,8)

(15,8)

(17,8)

(19,9)

(21,4)

(22,9)

(25,0)

(26,9)

(28,0)

Rbt

0,9

1,05

1Д5

1,3

1,4

1,5

1,6

1,7

1,8

(9,2)

(10,7)

(П,7)

(13,3)

(14,3)

(15,3)

(16,3)

(17,3)

(18,3)

В необходимых случаях расчетное сопротивление бетона Rb умножают на следующие коэффициенты условия работы: γb1 = 0,9 при продолжительном действии нагрузки; γb2 = 0,9 для конструкций, бетонируемых в вертикальном положении.

2.2. Влияние температуры на изменение прочности бетона при сжатии учитывают умножением прочностных характеристик бетона на коэффициент условия работы бетона при сжатии γbt.

Нормативные сопротивления сжатию

Rbnt = Rbn·γbt.                                                                                                                (2.1)

Расчетные сопротивления сжатию:

для предельных состояний первой группы

Rb,tem = Rb·γbt;                                                                                                               (2.2)

для предельных состояний второй группы

Rb,ser,t = Rb,ser·γbt.                                                                                                          (2.3)

Значения коэффициента условий работы бетона при сжатии γbt принимают по табл. 2.2.

Значение коэффициента условия работы γbt принимают по средней температуре бетона:

сжатой зоны при расчете по формулам (5.9, 5.10, 5.18, 5.24, 5.31, 5.32, 5.44-5.46, 5.48-5.51, 5.58, 5.59); сжатой полки и сжатого ребра (5.25, 5.26, 5.28, 5.45, 5.46); поперечного сечения - (5.60).

Значение коэффициента условия работы бетона на сжатие γbt разрешается принимать равное 1 при нагреве бетона до критической температуры (п. 1.21) и γbt = 0 при нагреве бетона выше критической температуры.

Таблица 2.2

Вид бетона

Коэффициенты

Значения коэффициентов γbt, γtt, βb и φb,cr для бетона при температуре, °С

20

200

300

400

500

600

700

800-900

Тяжелый на силикатном заполнителе

γbt

1,0

1,0

0,98

0,95

0,95

0,90

0,85

0,80

0,80

0,70

0,60

0,50

0,20

-

0,10

-

γtt

1,0

1,0

0,65

0,60

0,50

0,45

0,35

0,30

0,20

0,15

0,05

0,03

-

-

-

-

βb

1,0

0,70

0,50

0,40

0,30

0,20

0,10

0,05

φb,cr

1,5

3,0

5,7

9,0

13,0

19,0

-

-

Тяжелый на карбонатном заполнителе

γbt

1,0

1,0

1,0

0,95

0,95

0,90

0,90

0,85

0,85

0,80

0,65

0,60

0,30

-

0,15

-

γtt

1,0

1,0

0,70

0,65

0,55

0,50

0,40

0,35

0,25

0,20

0,10

0,05

-

-

-

-

βb

1,0

0,75

0,55

0,45

0,35

0,25

0,15

0,10

φb,cr

1,2

2,4

4,6

7,2

10,0

15,0

-

-

Примечания:

1. Значения коэффициентов γbt и γtt над чертой и βb даны в нагретом состоянии бетона, и они используются при расчете огнестойкости.

2. Значения коэффициентов γbt и γtt под чертой и φb,cr даны после нагрева бетона в охлажденном состоянии, и они используются при расчете огнеохранности.

2.3. Нормативные Rbtn и расчетные Rbt и Rbt,ser сопротивления бетона растяжению при огневом воздействии также изменяются. Изменение сопротивления бетона растяжению с увеличением температуры нагрева учитывают коэффициентом условия работы бетона на растяжение γtt:

Rbtnt = Rbtn γtt; Rbtt = Rbt γtt; Rbt,ser,t = Rbt,ser γtt.                                                              (2.4)

Значения коэффициента γtt принимают по табл. 2.2.

При расчете по формулам (5.63, 5.66, 5.67, 5.82, 5.84, 5.86) значения коэффициента γtt принимают по средней температуре бетона сечения; при расчете усилия в зоне анкеровки по формулам (5.15, 5.71) - по температуре анкерующего стержня арматуры.

2.4. В расчетах огнестойкости используют начальный модуль упругости бетона Еb.

Значения начального модуля упругости бетона Еb естественного твердения для разных классов бетона по прочности на сжатие и растяжение приведены в табл. 2.3.

Таблица 2.3

Значения начального модуля упругости бетона при сжатии и растяжении Еb·103, МПа (кгс/см2), при классе бетона по прочности на сжатие

В20

В25

В30

В35

В40

В45

В50

В55

В60

27,5

30,0

32,5

34,5

36,0

37,0

38,0

39,0

39,5

(280)

(306)

(331)

(352)

(367)

(377)

(387)

(398)

(403)

2.3. При расчете огнестойкости изменение значения начального модуля упругости бетона при непродолжительном огневом воздействии с увеличением температуры учитывают коэффициентом βb

Ebt = Eb βb.                                                                                                                  (2.5)

Значение коэффициента βb принимают по табл. 2.2 в зависимости от средней температуры бетона сечения при расчете по формулам (5.38, 5.39) и i-го сечения (8.11).

2.5. При расчете огнесохранности и продолжительном действии нагрузки значения модуля деформаций бетона Eb определяют по формуле

                                                                                                            (2.6)

Коэффициент ползучести бетона φb,cr получен как отношение полных относительных деформаций сжатия бетона при воздействии температуры к полным деформациям бетона до воздействия температуры.

Коэффициент ползучести бетона φb,cr после нагрева принимают по табл. 2.2 для температуры бетона в центре тяжести приведенного сечения при расчете кривизны в элементах без трещин.

Допускается температуру бетона в центре тяжести приведенного сечения принимать равной его средней температуре.

2.6. При нагревании бетона естественной влажности температурная деформация бетона состоит из двух видов: обратимой - температурное расширение и необратимой - температурная усадка.

Значения коэффициентов температурной деформации расширения αbt приведены в табл. 2.4 и температурной усадки αcs - в табл. 2.5

Таблица 2.4

Вид бетона

Коэффициент температурной деформации расширения бетона αbt·10-6·°С-1 при температуре бетона, °С

20-50

100

300

500

700-1100

Тяжелый на силикатном заполнителе

9

9

8

11

14,5

Тяжелый на карбонатном заполнителе

10

10

9

12

15,5

Таблица 2.5

Вид бетона

Коэффициент температурной усадки αcs·10-6·°С-1 при температуре бетона, °С

20-50

100

300

500

700-1100

Тяжелый на силикатном заполнителе

0,5

1,0

1,0

-1,8

-6,8

Тяжелый на карбонатном заполнителе

0,5

1,5

1,1

1,3

1,5

2.7. Относительные деформации бетона сжатию при однозначной равномерной эпюре εb0 и при двухзначной эпюре в нормальном сечении εb2 в зависимости от длительности действия нагрузки и расчета на огнестойкость и огнесохранность принимают по табл. 8.1.

Нормативные и расчетные характеристики арматуры

2.8. Основной расчетной характеристикой арматуры является нормативное сопротивление растяжению Rsn, принимаемое равным гарантированному значению предела текучести с обеспеченностью не менее 0,95 (табл. 2.6).

Таблица 2.6

Арматура класса

Номинальный диаметр арматуры, мм

Нормативные значения сопротивления растяжению Rsn и расчетные значения сопротивления растяжению для предельных состояний второй группы Rs,ser, МПа (кгс/см2)

А240

6-40

240(2450)

А300

10-40

300(3050)

А400

6-40

400(4050)

А500

6-40

500(5100)

В500

3-12

500(5100)

А540

20-40

540(5500)

А600

10-40

600(6100)

А800

10-40

800(8150)

А1000

10-40

1000(10200)

Вр1200

8

1200(12200)

Вр1300

7

1300(13200)

Вр1400

4; 5; 6

1400(14300)

Вр1500

3

1500(15300)

К1400(К-7)

15

1400(14300)

К1500(К-7)

6; 9; 12

1500(15300)

К1500(К-19)

14

1500(15300)

2.9. Коэффициент надежности γs по арматуре для предельных состояний первой группы принимают равным:

1,10 - для арматуры классов А240, А300, А400;

1,15 - для арматуры классов А500 (А500С, А500СП), А600, А800;

1,2 - для арматуры классов А540, А1000, В500, Вр1200-Вр1500, К1400, К1500.

Расчетные значения сопротивления продольной арматуры растяжению Rs,ser приведены (с округлением) для предельных состояний второй группы в табл. 2.6 и Rs и сжатию Rsc первой группы - в табл. 2.7.

Таблица 2.7

Арматура класса

Расчетные сопротивления арматуры для предельных состояний первой группы, МПа (кгс/см2)

растяжению

сжатию Rsc

продольной Rs

поперечной (хомутов и отогнутых стержней) Rsw

А240

215(2200)

170(1730)

215(2200)

А300

270(2750)

215(2190)

270(2750)

А400

355(3600)

285(2900)

355(3600)

А500

435(4450)

300(3060)

400(4100)

В500

415(4250)

300(3060)

360(3650)

А540

450(4600)

300(3060)

200(2000)

А600

520(5300)

-

400(4100)

А800

655(6650)

-

-

А1000

830(8450)

-

-

Вр1200

1000(10200)

-

-

Вр1300

1070(10900)

-

-

Вр1400

1170(11900)

-

-

Вр1500

1250(12750)

-

-

К1400

1170(11900)

-

-

К1500

1250(12750)

-

-

2.10. Влияние температуры на изменение нормативных и расчетных сопротивлений арматуры учитывают умножением прочностных характеристик арматуры при растяжении и сжатии на коэффициент условия работы арматуры γst:

Нормативные сопротивления:

Rsnt = Rsn γst; Rs,ser,t = Rs,ser γst.                                                                                      (2.7)

Расчетные сопротивления продольной арматуры

Rst = Rs γst; Rsct = Rsc γst.                                                                                               (2.8)

Расчетные сопротивления поперечной арматуры

Rswt = Rsw γst.                                                                                                                (2.9)

Значения коэффициента условия работы арматуры γst принимают:

по температуре центра тяжести растянутой и сжатой арматуры;

по максимальной температуре хомутов (поперечной арматуры).

Значения коэффициентов условия работы арматуры γst принимают по табл. 2.8.

Таблица 2.8

Класс арматуры

Коэффициент

Значение коэффициентов γst, βs при нагреве арматуры до температуры, °С

20

200

300

400

500

600

700

800

А240, А300, А400

γst

1,0

1,0

1,0

1,0

1,0

1,0

0,85

1,0

0,60

1,0

0,37

1,0

0,22

0,92

0,10

0,85

βs

1,0

0,92

0,90

0,85

0,80

0,77

0,72

0,65

А500

γst

1,0

1,0

1,0

1,0

0,90

1,0

0,70

0,95

0,50

0,90

0,30

0,80

0,20

0,70

0,10

0,60

βs

1,0

0,95

0,90

0,80

0,75

0,70

0,60

0,50

А540, А600, А800, А1000

γst

1,0

1,0

1,0

1,0

0,96

1,0

0,80

1,0

0,55

0,86

0,30

0,66

0,12

0,56

0,08

0,46

βs

1,0

0,90

0,85

0,80

0,76

0,70

0,66

0,61

В500, Вр1200, Вр1300, Вр1400, Вр1500, К1400, К1500

γst

1,0

1,0

1,0

1,0

0,90

1,0

0,65

0,90

0,35

0,80

0,15

0,60

0,05

0,50

0,02

0,40

βs

1,0

0,94

0,86

0,77

0,64

0,55

0,45

0,35

Примечания:

1. Значения коэффициента γst над чертой и значения коэффициента βs даны в нагретом состоянии, и они используются при расчете огнестойкости.

2. Значения коэффициента γst под чертой даны после нагрева в охлажденном состоянии, и они используются при расчете огнесохранности.

3. Значения коэффициента βs после нагрева равны 1.

2.11. Значение модуля упругости арматуры всех видов, кроме канатной, принимается равным Es - 200 000 МПа (2 000 000 кгс/см2), а для канатной арматуры классов К1400 и К1500 Es = 180 000 МПа (1 800 000 кгс/см2).

2.12. Влияние температуры на изменение модуля упругости арматуры учитывают умножением модуля упругости арматуры Es на коэффициент βs:

Еst = Еs βs.                                                                                                                   (2.10)

Значение коэффициента βs принимают по табл. 2.8 по температуре центра тяжести растянутой и сжатой арматуры и по средней температуре хомутов.

2.13. С повышением температуры коэффициент температурного расширения αst арматурных сталей увеличивается, и значения его для всех классов сталей допускается принимать одинаковыми в зависимости от температуры нагрева по табл. 2.9.

Таблица 2.9

Класс арматуры

Коэффициент температурного расширения арматуры αst·10-6·°С-1 при температуре, °С

20

100

200

300

400

500

600

700

800

А240, А300, А400, А500, А540, А600, А800, А1000, В500, Bp1200-Bp1500, К1400, К1500

11,5

12,0

12,5

13,0

13,5

14,0

14,5

15,0

15,5

3. ТЕПЛОТЕХНИЧЕСКИЙ РАСЧЕТ ЖЕЛЕЗОБЕТОННЫХ КОНСТРУКЦИЙ

3.1. Для определения предела огнестойкости железобетонных конструкций необходимо знать распределение температур по бетону поперечного сечения элемента от воздействия стандартного пожара. Согласно ГОСТ 30247.1 температура стандартного пожара изменяется в зависимости от времени согласно уравнению:

t = 345 lg (0,133τ + l) + te,                                                                                                    (3.1)

где τ - время нагрева, с;

te - начальная температура, °С.

При начальной температуре te = 20 °С по уравнению (3.1) температура среды поднимается в зависимости от времени огневого воздействия (табл. 3.1)

Таблица 3.1

Время, мин

t, °С

Время, мин

t, °С

Время, мин

t, °С

5

576

50

915

120

1049

10

679

60

945

150

1082

15

738

70

970

180

1110

20

781

80

990

210

1133

25

810

90

1000

240

1153

30

841

100

1025

270

1170

40

885

110

1035

300

1186

3.2. Решение задачи нестационарной теплопроводности сводится к определению температуры бетона в любой точке поперечного сечения элемента в заданный момент времени. Функциональная зависимость температуры от времени описывается дифференциальным уравнением теплопроводности Фурье при нелинейных граничных условиях и сложном процессе тепло- и массопереноса.

Алгоритм расчета представляет собой систему уравнений для определения температуры в каждом узле накладываемой на сечение координатной сетки. Координатная сетка накладывается так, чтобы ее узлы располагались не только в толщине сечения, но и по его периметру, а также в центре стержней для конструкций с гибкой арматурой и по длине полок и стенки в середине их толщины для конструкций с жесткой арматурой. Шаг сетки рекомендуется задавать в пределах 0,01-0,03 м, но обязательно больше максимального диаметра рабочей арматуры.

3.3. Для теплотехнического расчета железобетонных элементов рекомендуется принимать:

коэффициент теплопроводности тяжелого бетона:

на силикатном заполнителе

λ = 1,2 - 0,00035t, Вт/(м·°С);                                                                                     (3.2)

на карбонатном заполнителе

λ = 1,14 - 0,00055t, Вт/(м·°С);                                                                                   (3.3)

коэффициент удельной теплоемкости:

для тяжелого бетона на силикатном и карбонатном заполнителях

С = 0,71 - 0,00083t, кДж/(кг·°С);                                                                              (3.4)

приведенный коэффициент температуропроводности:

ared = λ(C+50W)ρ, м2/ч,                                                                                              (3.5)

где λ и С - расчетные средние коэффициенты теплопроводности и теплоемкости бетона при 450 °С;

ρ - плотность сухого бетона, кг/м3;

W - весовая эксплуатационная влажность бетона, кг/кг.

В элементах с жесткой арматурой, у которых наблюдается перепад температуры по длине полок и высоте стенок жесткой арматуры, необходимо учитывать теплопроводность стали.

Коэффициент теплопроводности стали равен:

λ = 58 - 0,0048t, Вт/(м·°С).                                                                                        (3.6)

Коэффициент теплоемкости стали равен:

С = 0,48 - 0,00063t, кДж/(кг·°С).                                                                              (3.7)

3.4. Для наиболее часто применяемых в строительстве железобетонных конструкций (плит, стен, балок, колонн) были проведены теплотехнические расчеты распределения температуры в бетоне поперечного сечения элемента при одно-, двух-, трех- и четырехстороннем нагреве в зависимости от длительности воздействия стандартного пожара.

Теплотехническому расчету были подвергнуты железобетонные конструкции из тяжелого бетона плотностью 2350 кг/м3, влажностью до 2,5-3 % на силикатном и карбонатном заполнителях (приложения А и Б).

4. ОПРЕДЕЛЕНИЕ ПРЕДЕЛА ОГНЕСТОЙКОСТИ ПЛИТ, СТЕН ПО ПОТЕРЕ ТЕПЛОИЗОЛИРУЮЩЕЙ СПОСОБНОСТИ

4.1. Температура на необогреваемой поверхности конструкции при одностороннем действии огня зависит от условий теплообмена на этой поверхности, который характеризуется коэффициентом теплоотдачи.

В расчет вводится среднее арифметическое из начального и конечного значений коэффициентов теплоотдачи. Начальное значение находят при повышении температуры на 1 °С на необогреваемой поверхности. Конечное значение определяют при повышении температуры на необогреваемой поверхности на 160 °С, т.е. при наступлении предела огнестойкости конструкции по потере теплоизолирующей способности. Затем теплотехническим расчетом находят время достижения предела огнестойкости по потере теплоизолирующей способности.

4.2. Предел огнестойкости по потере теплоизолирующей способности I при одностороннем нагреве плит, стен из тяжелого бетона на силикатном и карбонатном заполнителях при длительности огневого воздействия до 300 мин указан на рис. 4.1. Для многопустотных плит предел огнестойкости по потере теплоизолирующей способности следует умножать на 0,65.

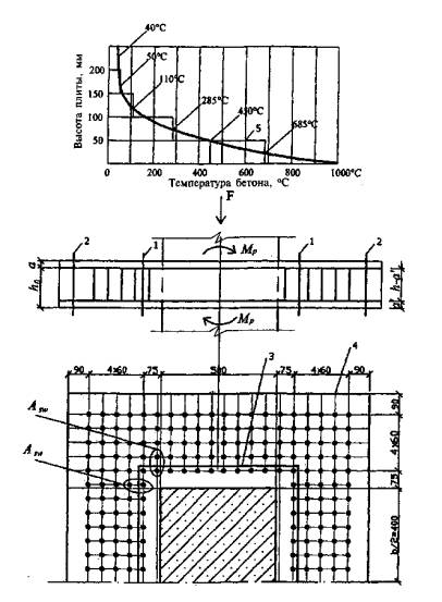
Рис. 4.1. Предел огнестойкости по теплоизолирующей способности плит (стен) при одностороннем нагреве бетона от стандартного пожара

1 - тяжелого бетона на силикатном заполнителе; 2 - то же, на карбонатном

5. РАСЧЕТ ПРЕДЕЛА ОГНЕСТОЙКОСТИ ПО ПОТЕРЕ НЕСУЩЕЙ СПОСОБНОСТИ

Основные условия

5.1. Расчет предела огнестойкости по потере несущей способности R железобетонных элементов следует производить на основе нелинейной деформационной модели согласно пп. 8.1-8.8.

Расчет огнестойкости по потере прочности железобетонных элементов допускается выполнять по предельным усилиям (предельные состояния первой группы) до полной непригодности к эксплуатации вследствие потери несущей способности.

Расчет огнестойкости по потере несущей способности железобетонных элементов при огневом воздействии производится в следующей последовательности.

1. Для принятого по проекту размера сечения, вида бетона и требуемого предела огнестойкости R по приложениям А и Б находят распределение температуры в бетоне сечения элемента и температуру нагрева арматуры от стандартного пожара длительностью, равной пределу огнестойкости.

2. Если принимают коэффициент γbt, зависящий от температуры сжатого бетона, то сначала определяют Rbnt по формуле (2.1) для каждой части сжатого сечения и его значения подставляют в формулы прочности нормальных и наклонных сечений с действительными размерами.

Среднюю температуру бетона сжатой зоны при ξ ξR допускается принимать для плит по температуре бетона, расположенного на расстоянии 0,1h0, для других элементов - на расстоянии 0,2 h0t от сжатой нагреваемой грани сечения; при х = ξRh0 и х = h0 - на расстоянии, равном 0,5x от сжатой грани сечения. При расчете по приведенным сечениям h0 заменяют на h0t.

Если сжатая зона сечения расположена у ненагреваемой грани сечения, то средняя температура бетона сжатой зоны в балках, нагреваемых с трех других сторон, определяется по рис. 5.1.

Рис. 5.1. Средняя температура бетона сжатой зоны, расположенной у ненагреваемой грани балки, нагреваемой с других трех сторон; 30 - 240 - длительность стандартного огневого воздействия, мин

3. Когда коэффициенту γbt принимают равным 1, то определяют глубину прогрева бетона at до критической температуры (рис. 5.2 и 5.3). Устанавливают приведенные размеры сечения по формулам (5.1)-(5.8) и в формулах прочности нормальных и наклонных сечений используют Rbn, Rbtn, bt, ht, b'ft, h'ft, Аred и h0r

Рис. 5.2. Глубина прогрева at до критической температуры tb,cr в балке от нагреваемой грани сечения

1 - тяжелый бетон на силикатном заполнителе; 2 - то же, на карбонатном; 30-240 - время прогрева в минутах от стандартного пожара

4. Определяют прочность сечения железобетонного элемента от действия нормативной нагрузки при требуемом пределе огнестойкости. Если вычисленная прочность больше или равна прочности сечения от нормативной нагрузки до пожара, то требуемый предел огнестойкости обеспечен или для требуемого предела огнестойкости R определяют расчетом необходимую площадь растянутой и сжатой арматуры.

Рис. 5.3. Глубина прогрева at до критической температуры тяжелого бетона в колонне

1 - на силикатном заполнителе; 2 - на карбонатном заполнителе в зависимости от ширины b квадратной колонны при воздействии температуры стандартного пожара

5.2. При расчете железобетонных элементов приведенные размеры сечений принимают равными:

при трехстороннем нагреве:

ширина балки, колонны

bt = b - 2at;                                                                                                                  (5.1)

ширина полки

b'ft = b'f - 2at;                                                                                                               (5.2)

высота полки

h'ft = h'f - at;                                                                                                                 (5.3)

высота сечения балки, колонны

ht = h - 2at;                                                                                                                  (5.4)

площадь балки

Ared = 0,95 (b - 2at) (h - 2at);                                                                                       (5.5)

При четырехстороннем нагреве:

высота сечения колонны

ht = h - 2at;                                                                                                                  (5.6)

площадь сечения колонны

Ared = 0,95 (b - 2at) (h - 2at);                                                                                       (5.7)

рабочая высота сечения при нагреве со стороны сжатой зоны:

h0t = h0 - 2at;                                                                                                                (5.8)

Глубина прогрева бетона at до критической температуры в балках от нижней нагреваемой грани сечения дана на рис. 5.2.

Глубина прогрева бетона at до критической температуры в колоннах при четырехстороннем огневом воздействии показана на рис. 5.3.

5.3. Расчет предела огнестойкости по потере несущей способности нормальных сечений следует производить в зависимости от соотношения между значениями относительной высоты сжатой зоны бетона ξ = x/h0, определяемыми из соответствующих условий равновесия, и значением граничной относительной высоты сжатой зоны ξR, при которой предельное состояние элемента наступает одновременно с достижением в растянутой арматуре напряжения, равного нормативному сопротивлению Rsnt.

Значение ξR определяют в зависимости от класса арматуры по табл. 5.1.

Таблица 5.1

Класс арматуры

А240

А300

А400

А500

В500

А540

А600

А800

А1000

Вр1200

Вр1300

Вр1400

Вр1500

К1400

К1500

Значения ξR

0,61

0,58

0,53

0,49

0,50

0,62

0,43

0,41

0,39

0,37

0,36

0,30

0,33

Плиты балочные свободно опертые

5.4. Железобетонные плиты балочные свободно опертые по двум противоположным сторонам при одностороннем нагреве снизу разрушаются в результате образования пластического шарнира в середине пролета из-за снижения нормативного сопротивления арматуры растяжению до критического значения напряжения от нормативной нагрузки (рис. 5.4).

Рис. 5.4. Схема усилий и эпюра напряжений в сечении, нормальном к продольной оси железобетонной балочной плиты в пролете, обогреваемой при пожаре с нижней стороны

Во многих случаях можно пренебречь прогревом бетона сжатой зоны и сжатой арматуры, так как они нагреваются незначительно.

Высота сжатой зоны определяется по формуле

x = (RsntAs - RscA's)/ Rbnb.                                                                                             (5.9)

Прочность сечения проверяют по формуле

М = Rbn bx (h0 - 0,5х) + Rsc A's(h0 - a').                                                                       (5.10)

Если температура сжатой зоны бетона и сжатой арматуры высокая, то в формулы (5.9) и (5.10) вводят нормативное сопротивление бетона сжатию Rbnt, вычисленное по формуле (2.1), и сопротивление сжатию арматуры Rsct, определенное по формуле (2.8).

В сильноармированных плитах при ξ < ξR допускается их прочность определять по формуле:

М = Rsnt As(h0 - 0,5x) + Rsct A's(0,5x - a').                                                                    (5.11)

Высоту сжатой зоны определяют по формуле (5.9).

Если значения моментов, вычисленные по формулам (5.10) и (5.11), равны или больше нормативного момента до пожара, то принятая в проекте конструкция плиты обеспечивает требуемый предел огнестойкости R.

5.5. Для того чтобы установить предел огнестойкости плиты R, можно найти критическое значение коэффициента условия работы растянутой арматуры.

Критическое значение коэффициента условий работы растянутой арматуры, когда ξ < ξR вычисляют по формулам:

при одиночном армировании

γst,cr = Mn/Rsn As(h0 - 0,5x),                                                                                           (5.12)

при двойном армировании

γst,cr = [Mn - Rsct A's(0,5x - a')]/Rsn As (h0 - 0,5x),                                                          (5.13)

где Мп - момент от нормативной нагрузки.

Высоту сжатой зоны определяют по формуле (5.9).

Зная критическое значение коэффициента условий работы арматуры γst,cr, в зависимости от класса арматуры по табл. 2.8 определяют критическую температуру нагрева арматуры ts,cr, при которой наступает предел огнестойкости R по потере несущей способности.

Время наступления предела огнестойкости находят по кривым прогрева бетона плит (приложение А), принимая критическую температуру нагрева арматуры ts,cr равной температуре бетона на уровне ее оси.

Многопустотные плиты

5.6. В многопустотных плитах предел огнестойкости может наступить при действии изгибающего момента от нормативной равномерно распределенной нагрузки в пролете и в опасном наклонном сечении от момента и проскальзывания арматуры на опоре при нагреве контактного слоя бетона и арматуры до критической температуры.

Расчет огнестойкости при действии изгибающего момента в опасном наклонном сечении и момента, воспринимаемого продольной арматурой, пересекающей растянутую зону наклонного сечения, определяют из условия (5.14).

Расчет огнестойкости при действии изгибающего момента в пролете производят по формулам (5.10) и (5.11) и в опасном наклонном сечении из условия

М = 0,9Nsh0 + 0,5Rswt Aswc2/sw.                                                                                   (5.14)

Усилие Ns в формуле (5.14), воспринимаемое анкерующим стержнем арматуры при ds ≤ 32 мм в зоне анкеровки, определяют по формуле

Ns = (η1Rbtnt ls us /α) < Rsnt As.                                                                                       (5.15)

В формулах (5.14) и (5.15):

Rswt - сопротивление в поперечной арматуре, определяют по формуле (2.9), в которой γst принимают по табл. 2.8 для максимальной температуры нагрева хомутов;

Asw - площадь поперечной арматуры на единицу длины плиты;

с - длина проекции наклонной трещины, принимаемая от h0 до 2h0;

sw - расстояние между хомутами;

Rsnt - нормативное сопротивление растяжению, которое определяют по формуле (2.7), принимая γst, по табл. 2.8 для температуры анкерующего стержня;

η1 - коэффициент, учитывающий влияние вида поверхности арматуры, принимаемый равным: 1,5 - для арматуры класса А240; 2,0 - для арматуры класса В500; 2,5 - для арматуры классов А300, А400 и А500;

Rbtnt - нормативное сопротивление бетона осевому растяжению, определяемое по формуле (2.4), в которой коэффициент условия работы бетона на растяжение γtt принимают по табл. 2.2 в зависимости от температуры бетона, равной температуре анкерующего стержня на опоре. Температуру арматуры в зоне анкеровки при опирании плиты на железобетонный ригель или стену принимают равной 0,8ts и при опирании на металлическую балку - ts;

ls - расстояние от конца анкеруемого стержня до рассматриваемого поперечного сечения плиты, принимаемое в качестве длины анкеровки (не менее 15ds и 200 мм), требуемой для передачи усилия в арматуре Ns на бетон;

us - периметр поперечного сечения анкеруемого стержня, определяемый по его номинальному диаметру;

α - коэффициент, учитывающий влияние напряженного состояния бетона и арматуры и конструктивного решения элемента в зоне анкеровки на длину анкеровки. При анкеровке стержней периодического профиля с прямыми концами или гладкой арматурой с крюками или петлями без дополнительных анкерующих устройств принимают равным: для растянутых стержней 1,0 и для сжатых 0,75.

За предел огнестойкости принимается минимальное значение из пределов огнестойкости: при образовании пластического шарнира в середине пролета и у края наклонной трещины, умноженное на коэффициент 0,9.

Для определения огнестойкости момент при образовании пластического шарнира в середине пролета определяют по формулам (5.9) и (5.10), в которых вместо b - ширины ребра подставляют b'f - ширину сжатой полки.

Неразрезные и консольные плиты

5.7. Неразрезные и консольные плиты имеют момент на опоре. При одностороннем огневом воздействии снизу прочность опорного сечения снижается в основном за счет нагрева до высоких температур сжатого бетона и, вследствие этого, уменьшения расчетной высоты сечения (рис. 5.5). Расчетная высота сечения уменьшается на толщину слоя бетона аt, прогретого до критической температуры.

Рис. 5.5. Схема усилий и эпюра напряжений в сечении, нормальном к продольной оси железобетонной балочной и консольной плит на опоре, обогреваемой при пожаре с нижней стороны

Прочность опорного сечения при нормативной нагрузке и при огневом воздействии снизу следует определять по формулам (5.10) и (5.11), в которых (h0 - 0,) заменяют на (h0t - 0,5x), h0t вычисляют по формуле (5.8).

Для плит из бетона классов В30 и ниже с ненапрягаемой арматурой, если полученное из расчета по формуле (5.9) значение x > ξRh0t, допускается производить расчет по этим формулам, принимая высоту сжатой зоны х = ξRh0t.

Плиты безбалочного перекрытия для малоэтажного строительства

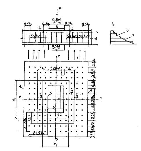
5.8. При одностороннем огневом воздействии снизу плиты огнестойкость безбалочного железобетонного перекрытия, образованного гладкой плитой, которая жестко сопрягается с поддерживающими ее колоннами, определяют методом предельного равновесия при расчете прочности плиты на излом полосы панели вдоль или поперек покрытия (рис. 5.6).

Рис. 5.6. Схема излома средней полосы (а) и излома смежных панелей (б) безбалочного перекрытия

1 - отрицательные шарниры; 2 - положительные шарниры; 3 - сквозные трещины; 4 - оси надопорных шарниров

Расчет на излом отдельной поперечной или продольной полосы панели производят в предположении, что в рассматриваемой полосе панелей образуются линейные пластические шарниры, параллельные оси этой полосы: один линейный пластический шарнир в пролете с раскрытием трещины снизу плиты и по одному линейному пластическому шарниру у колонн с раскрытием трещин сверху плиты. В консольном свесе плиты, выступающем за крайний ряд колонн, принимается, что пластический шарнир не образуется, если свес консоли не превышает 0,25lх. Если свес консоли больше, то производят дополнительный расчет по формуле (5.16) на излом плиты консоли у колонн с образованием дополнительного пластического шарнира, параллельного краю перекрытия. Для конструкций, симметричных относительно середины рассматриваемой полосы, проверку прочности средних панелей ведут из условия:

                                                    (5.16)

где q - интенсивность нормативной постоянной и кратковременной длительных нагрузок с коэффициентом перегрузки γf = 1, равномерно распределенных по полосе на 1 м2;

l1, l2 - расстояние между рядами колонн в направлении, перпендикулярном полосе, и вдоль рассматриваемой полосы (рис. 5.6);

с - расстояние крайних пластических шарниров до ближайших к ним рядов колонн;

AsI, A'sI - площадь верхней растянутой арматуры в левом и правом опорных пластических шарнирах в пределах одной панели;

As1 - площадь нижней растянутой арматуры в среднем пластическом шарнире;

zI, z1, z'I - плечи внутренней пары сил в левом, среднем и правом пластических шарнирах соответственно, которые определяют по формуле:

zi = h0 - 0,5хi.                                                                                                              (5.17)

Высоту сжатой зоны в левом и правом опорных пластических шарнирах определяют по формулам:

                                                                                            (5.18)

В формуле (5.18) Rbnt определяют по формуле (2.1), принимая значения γbt по табл. 2.2 в зависимости от средней температуры бетона сжатой зоны. Допускается γbt принимать равным 1 при замене h0 на h0t, которое определяют по формуле (5.8).

Высота сжатой зоны в среднем пролетном пластическом шарнире равна:

                                                                                                            (5.19)

В формуле (5.19) Rsnt определяют по формуле (2.7), принимая значения γst по табл. 2.8 в зависимости от температуры арматуры на уровне ее оси.

Температуру бетона и арматуры определяют теплотехническим расчетом для требуемого предела огнестойкости (приложения А и Б). Если условие (5.16) выполняется, то требуемый предел огнестойкости обеспечен. Сжатую арматуру в пластических шарнирах не учитывают.

При применении квадратных или прямоугольных в плане капителей с наклоном нижней части капители не менее чем на 45° расчет на излом панелей производят при расположении опорных пластических шарниров по месту перелома очертания капителей. При этом в формуле (5.16) значение , где lk - длина капители.

Изложенный метод расчета огнестойкости плит может быть применен к расчету монолитного безбалочного перекрытия, представляющего собой многопролетную плиту, опертую на площадки колонн или капителей. При расчете на излом смежных плит принимают, что в их пролетах образуются взаимно перпендикулярные пролетные пластические шарниры (рис. 5.6, б). Каждая плита разделяется на четыре звена, вращающихся вокруг опорных пластических шарниров. Оси опорных шарниров расположены в зоне колонн под углом 45°. Направления опорных пластических шарниров попарно пересекаются с пролетными шарнирами. Трещины опорных пластических шарниров раскрываются вверху, а пролетных - внизу.

При квадратной плите, одинаково армированной в двух направлениях, когда l1 = l2 = l, As1= As2 и AsI = A'sI = AsII = A'sII, проверку несущей способности плиты определяют из условия

                                                                             (5.19, a)

где с - катет прямоугольного треугольника, отламывающегося от четверти плиты под колонной или капителью. Несущую способность при установленном пределе огнестойкости принимают по меньшей из разрушающих нагрузок.

Плиты балочного перекрытия

5.9. При одностороннем огневом воздействии снизу перекрытия огнестойкость плит, работающих в двух направлениях и монолитно связанных с балками, определяют кинематическим способом метода предельного равновесия. Предполагают, что плита разламывается на плоские звенья, соединенные между собой по линиям излома пластическими шарнирами (рис. 5.7). При равномерно распределенной нагрузке и неизменном по длине пролета армировании предел огнестойкости плиты определяют из уравнения

                                            (5.20)

здесь l1 и l2 - меньший и больший пролеты плиты;

q - нормативная постоянная длительная и временная равномерно распределенная нагрузка на 1 м2 плиты.

Моменты в пролете плиты

                                                                                 (5.21)

Моменты на опорах плиты

                                                                              (5.22)

                                                                             

Рис. 5.7. К расчету плиты, защемленной по контуру

a - схема излома плиты; б - направления действия предельных моментов; 1-4 - номера звеньев; 1', 2' - шарниры соответственно пролетные и опорные

где As1 - площадь сечения стержней, пересекающих пролетные пластические шарниры и параллельных короткой стороне плиты;

As2 - то же, для стержней, параллельных длинной стороне плиты;

AsI - площадь сечения растянутой арматуры, расположенной вдоль пролета l2, в сечении I-I;

A'sI - площадь сечения растянутой арматуры, расположенной вдоль пролета l2, в сечении I'-I';

AsII - площадь сечения растянутой арматуры, расположенной вдоль пролета l1 в сечении II-II;

A'sII = площадь сечения растянутой арматуры, расположенной вдоль пролета l1 в сечении II'-II';

z1, z2 - плечи внутренней пары сил в пролетных пластических шарнирах, вычисляются по формуле (5.17), в которой х1 определяют по формуле (5.19), а при вычислении х2 в формуле (5.19) значение As1 заменяют на As2, а вместо значения l2 подставляют l1;

zI, z'I, zII, z'II - плечи внутренней пары сил в опорных пластических шарнирах, вычисляются по формуле (5.17), в которой хI и х'I определяют по формуле (5.18). При вычислении хII и х'II в формуле (5.18) значения AsI и A'sI заменяют соответственно на AsII и A'sII, а вместо значения l2 подставляют l1.

При определении значений As1 и As2 стержни, отогнутые или оборванные до пересечения с пролетными шарнирами, не учитывают (рис. 5.8), а оборванные или отогнутые только у одной из опор и пересекающие пролетные шарниры одним из концов вводят в расчет с половинной площадью.

Рис. 5.8. К определению As1 и As2

1 - линия обрыва или отгиба стержней; 2 - не учитываемые в работе стержни

Рис. 5.9. Возможная схема излома плиты при обрыве или отгибе арматуры

Если арматуру обрывают (отгибают) на расстоянии а1 от длинной и а2 от короткой сторон, то необходимо дополнительно выполнить проверку по несущей способности плиты при изломе по схеме, показанной на рис. 5.9. Эту проверку производят из условия:

                                    (5.23)

где  - площади доходящей до опор части растянутой арматуры, параллельной соответственно короткой и длинной сторонам плиты.

Если условия (5.20) или (5.23) соблюдаются, то требуемый предел огнестойкости плиты обеспечен.

ПРИМЕРЫ РАСЧЕТА

Пример 1. Дано. Балочная плита перекрытия в магазине; высота плиты h = 160 мм, ширина b = 1200 мм, длина l = 5500 мм; бетон тяжелый класса В25; Rbn = 18,5 МПа; арматура класса А400 Ø16; Rsn = 400 МПа; защитный слой бетона 15 мм; нормативная постоянная и временная длительнодействующая нагрузка 6500 Па.

Для трехэтажного магазина с площадью между противопожарными стенами 2500 м2 по табл. 3 СНиП 2.08.02 находим I и II степени огнестойкости здания. Как наиболее безопасную принимаем I степень огнестойкости. По табл. 1.1 для I степени огнестойкости здания устанавливаем для плит междуэтажных перекрытий пределы огнестойкости REI 60.

Требуется определить пределы огнестойкости железобетонной плиты перекрытия.

Расчет. Поскольку вид заполнителя не указан, то принимаем бетон с большей теплопроводностью - бетон с силикатным заполнителем.

Расчетный пролет плиты при опирании на кирпичную стену глубиной ls = 0,13 м равен

l0 = l - 4/3 ls = 5,5 - 4/3·0,13 = 5,33 м.

Момент в пролете плиты при нагрузке на 1 м длины

q = 6500·1,2 = 7800 Па = 7,8 кН/м;

Площадь сечения арматуры в пролете As = 6Ø16 = 1206 мм2. Высота сжатой зоны (формула 5.9) при одиночном армировании

Рабочая высота сечения при а = 15 + 0,5ds = 15 + 8 = 23 мм равна

h0 = h - а = 160 - 23 = 137 мм.

Критическое значение коэффициента условия работы растянутой арматуры определяем по формуле (5.12)

По табл. 2.8 для арматуры класса А400, используя интерполяцию, находим

Предел огнестойкости плиты находим по рис. А2 приложения А. Для плиты высотой 160 мм на вертикальной оси находим температуру нагрева арматуры 560 °С и проводим горизонтальную прямую до пересечения с кривой нагрева бетона на расстоянии от оси арматуры до нагреваемой грани а = 23 мм. Из точки пересечения прямой и кривой проводим вертикальную линию до пересечений с осью длительности стандартного пожара и определяем предел огнестойкости по потере несущей способности, который равен 90 мин. Этот предел огнестойкости больше требуемого R60.

Предел огнестойкости плиты по потере теплоизолирующей способности определяем по рис. 4.1. При толщине плиты 160 мм, изготовленной из тяжелого бетона на силикатном заполнителе, предел огнестойкости составил 220 мин, что значительно больше установленного предела огнестойкости Е60. Расчет плиты по потере сплошности см. Пример 17.

Пример 2. Дано. Консольная плита покрытия автостоянки; высота плиты h = 200 мм, вылет консоли 4,0 м; бетон класса В20; Rbn = 15,0 МПа; арматура класса А300; Rsn = 300 МПа; защитный слой бетона 25 мм; нормативная постоянная и временная длительная нагрузка 6200 Па на 1 м2.

Для автостоянки открытого типа надземной с наибольшей площадью между противопожарными стенами 4000 м2 по табл. 3 МГСН 5.01 находим I и II степени огнестойкости. Принимаем I степень огнестойкости. По табл. 1.1 для I степени огнестойкости здания устанавливаем для плиты покрытия предел огнестойкости RE 30.

Требуется определить пределы огнестойкости железобетонной консольной плиты покрытия.

Расчет. Так как консольная монолитная плита соединена с опорной балкой и другой плитой, то наиболее опасное - опорное сечение. Расчет консольной плиты ведем на 1 м длины опорного сечения. Наибольший момент в опорном сечении плиты от нормативной нагрузки q = 6200 Па = 6,2 кН/м определяем по формуле

Площадь арматуры на 1 м консоли 6Ø16 - As = 1206 мм2.

Расстояние от верхней грани плиты до оси арматуры а = 25 + 8 = 33 мм.

Расчет ведем по приведенному сечению без учета бетона, прогретого выше критической температуры, нагреваемого от огневого воздействия снизу плиты. Критическая температура бетона на карбонатном щебне 600 °С (п. 1.21). По рис. А.4 приложения А для плиты высотой 200 мм и длительностью стандартного пожара 30 мин тяжелый бетон ts,cr = 600 °С прогреется на аt = 4 мм.

Приведенная рабочая высота сечения определяется по формуле (5.8)

h0t = h - а - at = 200 - 33 - 4 = 163 мм.

Высота сжатой зоны (формула 5.9) при Rsn = 300 МПа = 300 Н/мм2

Опорное сечение выдерживает момент (формула 5.10) при стандартном пожаре с нижней стороны плиты длительностью 30 мин.

M = 15 - 1000·24 (163 - 0,5·24) = 54,2 кН·м > 49,6 кН·м.

Опорное сечение консольной плиты выдерживает момент 54,2 кНм, которое больше момента от нормативной нагрузки 49,6 кН·м, и плита обеспечивает установленный предел огнестойкости по потере несущей способности R30.

Предел огнестойкости по потере теплоизолирующей способности определяем по рис. 4.1. При длительности стандартного пожара 30 мин плита из тяжелого бетона на карбонатном заполнителе высотой 42 мм уже обеспечивает предел огнестойкости Е30, а плита высотой 200 мм тем более.

Пример 3. Дано. Многопустотная плита перекрытия; высота плиты h = 220 мм, ширина b = 1190 мм и длина l = 5080 мм; бетон класса В20; Rbn = 15,0 МПа; растянутая арматура класса В500 7Ø12; Rsw = 300 МПа; Rs = 500 МПа; Rsc = 360 МПа; защитный слой бетона 20 мм; нормативная временная и постоянная длительно действующая нагрузка 7500 Па.

Многопустотная плита устанавливается в жилом здании высотой 28 м при наибольшей площади пожарного отсека этажа 2200 м2, класс конструктивной пожарной опасности здания С1. По табл. 7.1 СНиП 31-01 устанавливаем степень огнестойкости не менее II. Для II степени огнестойкости здания по табл. 1.1 для плит междуэтажных перекрытий принимаем предел огнестойкости REI 45.

Требуется определить расчетом обеспечения многопустотной плитой перекрытия предела огнестойкости REI 45.

Рис. 5.10. К примеру 3. Температуры прогрева бетона на карбонатном заполнителе в многопустотной плите высотой 220 мм при длительности стандартного пожара:

1 - 45 мин; 2 - 60 мин. Для многопустотных плит из бетона на силикатном заполнителе температуру умножают на 1,1; 3 - ось арматуры

Расчет. Для определения температуры нагрева оси растянутой арматуры были использованы расчеты температур, выполненные А.И. Яковлевым для многопустотных плит из бетона на карбонатном заполнителе (рис. 5.10). При длительности стандартного пожара 45 мин и расстоянии оси арматуры от нагреваемой грани а = 20 + 6 = 26 мм температура нагрева оси арматуры составит 370 °С. По табл. 2.8 находим коэффициент условия работы арматуры γst равный 0,89.

Для расчета прочности многопустотной плиты сечение плиты приводим к тавровому высотой h = 220 мм, шириной полки b'f = 1190 мм, шириной ребра 195 мм и толщиной сжатой полки h'f = 30 мм.

Определяем границу сжатой зоны из условия (5.24). Площадь растянутой арматуры As = 792 мм2. Площадь сжатой арматуры A's = 87,9 мм2. Находим левую часть условия (5.24), принимаем 500 МПа = 500 Н/мм2.

Rsn·γst·As = 500·0,89·792 = 352 кН.

Правая часть условия (5.24)

Rbn·b'f ·h'f + Rsc·A's = 15·1190·30 + 360·87,9 = 577 кН > 352 кН.

Условия (5.24) соблюдаются и высота сжатой зоны проходит в полке. Расчет прочности плиты производим по формулам (5.10) и (5.11), принимая b = b'f и h0 = h - а = 220 - 26 = 194 мм.

Высота сжатой зоны

Пролетное сечение многопустотной плиты при пожаре длительностью 45 мин выдерживает момент

М = 15·1190·18 (194 - 0,5·18) = 59,7 кН·м.

Расчетный пролет плиты при глубине опирания 180 мм

l0 = 5,98 - 4/3·0,18 = 5,74 м.

Нормативная нагрузка на 1 м длины плиты q = 7500·1,2 = 9000 Па = 9000 Н/м = 9 кН/м.

Изгибающий момент от нормативной нагрузки

и предел огнестойкости по потере несущей способности R45 обеспечен.

Проверка многопустотной плиты в опасном наклонном сечении выполняется по формуле (5.14), в которой усилие Ns в анкерующем стержне определяется по формуле (5.15).

В этих формулах:

Для арматуры класса В500 η1 = 2,0 и α = 1,0, так как нет дополнительных анкерующих устройств.

Расстояние от конца анкерующего стержня до рассматриваемого поперечного сечения плиты, принимаемого за длину анкеровки ls = 15ds = 15·12 = 180 мм. Длина проекции наклонной трещины с = h0 = 194 мм.

Периметр поперечного сечения анкерующего стержня us = πds = 3,14·12 = 38 мм.

Расстояние между хомутами sw =100 мм.

Температура арматуры в зоне анкеровки при опирании на кирпичную стену ts = 0,8·370 = 300 °С. При этой температуре по табл. 2.8 для арматуры класса В500 γst = 0,9. Прочность бетона на растяжение в зоне анкеровки определяют по формуле (2.4), в которой коэффициент условия работы бетона на растяжение принимаем по табл. 2.2 - γtt = 0,47.

Rbtnt = 1,35·0,47 = 0,63 МПа.

Усилие в анкерующем стержне N= 2,0·0,63·180·38/1,0 = 10773 Н < 500·0,9·113,1 = 50900 Н.

Момент, воспринимаемый продольной арматурой, пересекающей растянутую зону наклонного сечения, согласно (5.14) равен

М = 0,9·10773·194 + 0,5·300·0,9·12,6·1942/100 = 2,48 кН·м.

Момент, воспринимаемый продольной арматурой, пересекающей наклонное сечение (рис. 5.26), от нормативной нагрузки ; в этой формуле у - 0,5ls + с = 0,5·180 + 194 = 284 мм.

Расчетом установлено, что при стандартном пожаре длительностью 45 мин многопустотная плита в середине пролета выдерживает момент 59,7 кН·м и в зоне анкеровки 17,4 кН·м, которые больше моментов от нормативной нагрузки. Это значит, что многопустотная плита обеспечивает предел огнестойкости по потере несущей способности R45.

Из кривых прогрева бетона многопустотных плит видно, что температура бетона на холодной ненагреваемой грани плиты 35 °С. Это меньше допустимой температуры прогрева бетона 160 °С. Таким образом, предел огнестойкости по потере теплоизолирующей способности Е45 обеспечен.

Расчет по потере сплошности I см. в примере 17.

В случае применения предварительно напряженной арматуры при нагреве ее до 370 °С произойдет полная потеря предварительного напряжения. Поэтому необходимо увеличить толщину защитного слоя бетона.

Пример 4. Дано. Железобетонная плита перекрытия; высота плиты h = 200 мм; монолитно опирается на железобетонные колонны сечением 600×600 мм; расстояние между колоннами 7,0 м; бетон класса В25; Rbn = 18,5 МПа; арматура класса А400; Rsn = 400 МПа; верхняя арматура Ø12 с шагом 200 мм; нижняя арматура Ø16 с шагом 200 мм; арматура уложена в двух направлениях по всей площади плиты; защитный слой бетона нижней арматуры 25 мм, верхней - 22 мм; нормативная постоянная и временная длительно действующая нагрузка 7000 Па.

Требуется определить расчетом обеспечение плитой перекрытия установленного предела огнестойкости по потере несущей способности R150.

Расчет. Плиту перекрытия рассчитываем методом предельного равновесия на излом полосы панелей поперек пролета l1 (рис. 5.6, а) с образованием пластических шарниров у опор на расстоянии с = 0,3 м и в середине пролета l1. Для симметричных относительно своей середины полос несущую способность плиты проверяем из условия (5.16).

Рабочая высота сечения плиты в пролете h01 = 200 - 25 - 8 = 167 мм; на опорах h0I = h'0I = 200 - 22 - 6 = 172 мм.

При длительности стандартного пожара 150 мин, равной установленному пределу огнестойкости R150, по приложению А (рис. А.2) находим температуру прогрева тяжелого бетона на силикатном заполнителе (рис. 5.11). В пролете при расстоянии от оси нижней арматуры до нагреваемой грани 25+8 = 33 мм ts = 630 °С и γst = 0,33 (табл. 2.8).

На опорах средняя температура бетона сжатой зоны принимается на расстоянии 0,1 h0 от нагреваемой грани 0,10·172 = 17 мм, tb = 800 °С и γbt = 0,1 (табл. 2.2).

Площадь сечения нижней арматуры на 1 м длины Аs1 = 1005 мм2; верхней арматуры АsI = 565 мм2.

Площадь нижней арматуры, пересекающей пролетный пластический шарнир, Аs1 = 565·7 = 3955 мм2.

Высота сжатой зоны в среднем пролетном пластическом шарнире (формула 5.19) равна

Плечо внутренней пары сил (формула 5.17) - zs1 = h01 - 0,5x1 = 167 - 0,5·7,2 = 163 мм.

Пролетный момент (формула 5.21) при 400 МПа = 400 Н/мм2.

Высота сжатой зоны в опорных пластических шарнирах (формула 5.18) равна

Плечо внутренней пары сил в опорном пластическом шарнире - zsI = h0I - 0,5xI = 172-0,5·12= 166 мм.

Опорный момент в пластическом шарнире

Из условия (5.16) момент от внешней нормативной нагрузки при q = 7000 Па = 7000 Н/м

Сумма моментов от внутренних усилий при

Условие (5.16) выполняется и железобетонная плита обеспечивает предел огнестойкости по потере несущей способности R150.

В том случае, если расстояния между осями колонн l1 и l2 неодинаковые, расчет на излом полосы производят дважды, принимая соответствующие значения l1 и l2.

Кроме того, проверка несущей способности плиты производится из условия (5.19, а). При квадратной панели, одинаково армированной в двух направлениях, когда l1 = l2 = l, с = 0,6 м, As1 = As2 и AsI = AsII момент от внешней нормативной нагрузки равен

Условие (5.19, а) выполняется и плита обеспечивает установленный предел огнестойкости по потере несущей способности R150.

Пример 5. Дано. Железобетонная плита перекрытия; высота плиты h = 200 мм; монолитно опирается на железобетонные стены толщиной 300 мм; бетон класса В25; Rbn = 18,5 МПа; арматура класса А500; Rsn = 500 МПа; верхняя арматура Ø12 с шагом 300 мм уложена в двух направлениях по всей площади плиты; нижняя арматура Ø14 с шагом 150 мм, 50 % арматуры обрывается в одной четверти пролета; пролеты плиты в осях - короткой стороны l1 = 7,2 м, длинной стороны l2 = 9,7 м; толщина защитного слоя бетона 20 мм; нормативная временная и постоянная длительно действующая нагрузка q = 10000 Па.

Требуется определить расчетом обеспечение плитой перекрытия установленного предела огнестойкости по потере несущей способности R150.

Расчет. Расчетные пролеты плиты при монолитном опирании на стены l1 = 7,2 - 0,3 = 6,9 м, l2 = 9,7 - 0,3 = 9,4 м.

Нижнюю арматуру обрывают на расстоянии от длинной стороны a1 = l2/4 = 6,9/4 = 1,73 м, от короткой стороны а2 = l2/4 = 9,4/4 = 2,35 м.

Отношение стороны плиты l2/l1 = 9,4/6,9 = 1,36 - плита рассчитывается как работающая в двух направлениях. Рабочая высота сечения плиты: в направлении l1 в пролете h01 = 200 - 20 - 7 = 173 мм; на опорах h0I = h'0I = 200 - 20 - 6 = 174 мм; в направлении l2 в пролете h02 = 200 - 20 - 14 - 7 = 159 мм; на опорах h0II = h'0II = 200 - 20 - 12 - 6 = 162 мм.

При длительности стандартного пожара 150 мин, равной установленному пределу огнестойкости R150, по приложению А, рис. А.2, находим температуры прогрева бетона и арматуры для плиты h = 200 мм из бетона на силикатном заполнителе (рис. 5.11).

Рис. 5.11. К примеру 4. Температуры прогрева бетона на силикатном заполнителе в плите высотой 200 мм при длительности стандартного пожара 150 мин. Оси арматуры: 1 - растянутой; 2 - сжатой

Значение коэффициента условия работы растянутой арматуры γst принимаем по табл. 2.8 в зависимости от температуры оси стержня, которая принимается равной температуре бетона (рис. 5.11). При расстоянии оси нижней арматуры 1-го ряда до нагреваемой грани 27 мм ts1 = 675 °С и γst = 0,23; для 2-го ряда арматуры при 41 мм ts2 = 540 °С и γst = 0,42. Для верхней арматуры 1-го ряда tsI = 60 °С γst = 1,0; для второго ряда tsII = 75 °С и γst = 1,0.

Среднюю температуру бетона сжатой зоны, расположенной у нагреваемой грани сечения, допускается принимать на расстоянии 0,10h0 от этой грани (см. п. 5.1). Средняя температура бетона сжатой зоны в направлениях l1 и l2 на расстоянии 0,1·170 = 17 мм; по рис. 5.11 tbm = 780 °С и по табл. 2.2 γbt = 0,12.

Общая площадь сечения стержней Ø14 мм с шагом 150 мм, пересекающих пластические шарниры в пролете и параллельных короткой стороне плиты l1 равна

То же, и параллельные длинной стороне плиты l2 с шагом 150 мм

Общая площадь сечения растянутой арматуры Ø12 мм с шагом 300 мм, пересекающей опорные пластические шарниры в сечениях I-I и I'-I' и параллельной короткой стороне плиты l1 (рис. 5.7), равна

AsI = A'sI = 9400 : 300·113,1 = 3544 мм2.

То же, в сечениях II-II и II'-II' и параллельной длинной стороне плиты

AsII = A'sII = 6900 : 300·113,1 = 2601 мм2.

Высота сжатой зоны и плечо внутренней пары в пролетных пластических шарнирах, параллельных короткой стороне плиты

z1 = h01 - 0,5x1 = 173 - 0,5·8,7 = 169 мм.

То же, параллельных длинной стороне плиты

z2 = h02 - 0,5х2 = 159 - 0,5·8,5 = 154,8 мм.

Высота сжатой зоны в опорных пластических шарнирах в сечениях I-I и I'-I', параллельных короткой стороне плиты

zI = z'I = 174-0,5·115 = 116 мм.

То же, в сечениях II-II и II'-II' и параллельных длинной стороне плиты

zII = z'II = 162 - 0,5·12 = 131 мм.

Пролетные моменты определяем по (5.19)

Опорные моменты определяем по (5.20)

Сумма моментов от внутренних усилий (правая часть условия 5.17) равна

2·211 + 2·278 + 2·203 + 2·170 = 1684 кН·м.

Момент от внешней нагрузки q = 10000 Па = 10 кН/м

10·6,92(3·9,4 - 6,9) : 12 = 1119 кН·м < 1684 кН·м.

Условие (5.20) выполняется и плита при изломе по схеме, указанной на рис. 5.7, обеспечивает установленный предел огнестойкости по потере несущей способности R150.

Поскольку 50 % стержней нижней арматуры обрывается на расстоянии а1 = 1,73 м от длинной и а2 =2,35 м от короткой стороны, необходимо дополнительно проверить несущую способность плиты при изломе по схеме, показанной на рис. 5.9. Эту проверку производят из условия (5.23).

Площади доходящей до опор части нижней растянутой арматуры, параллельно соответственно длинной и короткой сторонам плиты, равны

Пролетные моменты в пластических шарнирах параллельны соответственно короткой и длинной сторонам плиты:

Моменты от внешней нагрузки

Сумма моментов от внутренних усилий

Условие (5.23) соблюдено и плита при изломе по схеме, указанной на рис. 5.9, обеспечивает предел огнестойкости по потере несущей способности R150.

Балки свободно опертые

5.10. Балки в подавляющем большинстве случаев во время пожара подвергаются трехстороннему нагреву. Огневому воздействию подвергаются нижняя горизонтальная поверхность и две боковые вертикальные поверхности. Происходит нагрев не только растянутой арматуры, но и бетона сжатой зоны, и сжатой арматуры (рис. 5.12).

Рис. 5.12. Схема усилий и эпюра напряжений, возникающих в сечении, нормальном к продольной оси изгибаемого железобетонного элемента, от трехстороннего огневого воздействия пожара при расчете на огнестойкость

а - прямоугольного сечения; б - таврового сечения с полкой в сжатой зоне; в - таврового сечения с полкой и ребром в сжатой зоне

Момент, который может выдержать балка прямоугольного поперечного сечения, определяют по формулам (5.10) и (5.11), в которых вместо b подставляют приведенную ширину балки bt вычисленную по формуле (5.1).

Прочность тавровых и двутавровых изгибаемых элементов определяют в зависимости от положения сжатой зоны. Если граница сжатой зоны проходит в полке (рис. 5.12, в), то соблюдается условие:

RsntAs < Rbnb'fth'ft + RsctA's.                                                                                           (5.24)

Если граница сжатой зоны проходит в полке, то расчет следует выполнять как для прямоугольного сечения шириной b'ft. В формулы (5.10) и (5.11) вместо b подставляют ширину полки b'ft, вычисленную по формуле (5.2).

Если граница сжатой зоны проходит в ребре и условие (5.24) не выполняется, то значение момента определяют по формуле

М = Rbn bt x(h0 - 0,5х) + Rbn (b'ft - b) h'ft (h0 - 0,5 h'ft) + Rsct As(h0 - a').                       (5.25)

При этом высоту сжатой зоны бетона определяют по формуле

x = [Rsnt As - Rsct A's - Rbn (b'ft - bt) h'ft]/Rbnbt.                                                               (5.26)

В балках, армированных разными классами сталей и расположенных в разных уровнях, арматура нагревается неодинаково. В этом случае при ξξR прочность вычисляют по формуле:

м = ΣRsnt As (h0 - 0,5x) + ΣRsct A's (0,5x - a').                                                             (5.27)

5.11. Критическая температура растянутой арматуры изгибаемых элементов при ξ < ξR определяет наступление предела огнестойкости по потере несущей способности R.

Критическое значение коэффициента условия работы растянутой арматуры вычисляют:

в балках прямоугольного сечения при одиночной арматуре (без учета сжатой арматуры) по формуле (5.12), в балках прямоугольного сечения с учетом сжатой арматуры по формуле (5.13) и в балках таврового сечения, когда граница сжатой зоны проходит в ребре:

                                          

                                                                           (5.28)

Значение высоты сжатой зоны определяют по формулам (5.9) и (5.26), приведенную ширину балки bt - по формуле (5.1) и ширину полки b'ft - по формуле (5.2).

Зная критическое значение коэффициента условия работы арматуры γst,cr, в зависимости от класса арматуры по табл. 2.8 определяют критическую температуру нагрева арматуры ts,cr для крайнего стержня арматуры в балке. Зная расстояние от оси арматуры до нижней и боковой поверхностей балки, на схемах прогрева балок (см. рис. Б.1-Б.4 в приложении Б) находят балки нужного размера и ту схему прогрева, в которой температура бетона по биссектрисе угла равна критической температуре оси арматуры крайнего стержня. На этой схеме сверху указана длительность стандартного пожара, которая будет соответствовать пределу огнестойкости балки по потере несущей способности R.

При промежуточных значениях температуры ts,cr на схемах прогрева балок предел огнестойкости определяют линейной интерполяцией.

Неразрезные балки

5.12. Неразрезные, статически неопределимые балки, кроме момента в пролете, имеют еще момент на опоре. При пожаре снизу прочность опорного сечения снижается в основном за счет трехстороннего нагрева сжатой зоны бетона.

При трехстороннем обогреве опорного сечения бетон сжатой зоны нижней и боковых граней сечения, нагретый до температуры выше критической, выключается из работы. Прочность опорных сечений снижается в основном за счет нагрева бетона сжатой зоны до критической температуры и вследствие этого уменьшения рабочей высоты сечения (рис. 5.13).

Глубина прогрева бетона at до критической температуры у нагреваемой грани сечения балки находится по рис. 5.2.

Рис. 5.13. Схема усилий и эпюра напряжений в опорном сечении, нормальном к продольной оси изгибаемого статически неопределимого железобетонного элемента, при трехстороннем обогреве сжатой зоны при пожаре и расчете огнестойкости

ПРИМЕРЫ РАСЧЕТА

Пример 6. Дано. Железобетонная свободно опертая балка сечением 300×600 мм перекрытия административного здания; бетон класса В30; Rbn = 22,0 МПа; арматура класса А400; Rsn = 400 МПа, а = 40 мм; изгибающий момент от нормативных постоянных и временных длительно действующих нагрузок 160 кНм.

Требуется определить предел огнестойкости по потере несущей способности.

Расчет. Административное трехэтажное здание с площадью этажа в пределах пожарного отсека 4000 м2 по табл. 4 СНиП 2.09.04 имеет II степень огнестойкости. Для II степени огнестойкости по табл. 1.1 устанавливаем предел огнестойкости по потере несущей способности для балок R90.

Для бетона с силикатным заполнителем при длительности стандартного пожара 90 мин по рис. 5.2 определяем глубину прогрева бетона до критической температуры 500 °С - аt = 36 мм. Приведенная ширина балки находится по формуле (5.1) - bt = 300 - 2·36 = 228 мм и рабочая высота балки h0 = 600 - 40 = 560 мм.

Армирование балки 2Ø32 - As = 1609 мм2. При МПа = Н/мм2 по формуле (5.9) определяем высоту сжатой зоны

х = 400·1609/(22·228) = 166 мм.

В балке прямоугольного сечения при одиночном армировании критическое значение коэффициента условия работы растянутой арматуры определяем по формуле (5.12)

γs,cr = 160·106/1609·400 (560 - 0,5·16) = 0,56.

Согласно табл. 2.8 для арматуры класса А400 при γs,cr = 0,56 по интерполяции находим критическую температуру нагрева арматуры

Ось крайнего стержня арматуры находится на расстоянии 40 + 16 = 56 мм от горизонтальной и вертикальной поверхностей балки, или на 56·1,41 = 79 мм по диагонали угла балки.

На рис. Б.2 приложения Б для балки сечением 300×600 мм при длительности стандартного пожара 90 мин ось крайнего стержня арматуры прогреется до 500 °С. Это соответствует R90.

Пример 7. Дано. Железобетонная свободно опертая балка перекрытия тоннеля сечением 500×1200 мм, пролетом 20 м; балка монолитно соединена с плитой толщиной 250 мм; бетон класса В30; Rbn = 22,0 МПа; в пролете балка армирована арматурой класса А400; Rsn = 400 МПа; арматура 1-го ряда 5Ø32 мм с а = 62 мм; 2-го ряда 5Ø32 мм с а = 94 мм и 3-го ряда 5Ø28 мм с a = 126 мм; сжатая арматура 5Ø20 мм с а' = 45 мм (рис. 5.14); расстояние между балками 2 м; изгибающий момент от нормативной нагрузки 160 кН·м.

Требуется установить расчетом, обеспечивает ли балка требуемый предел огнестойкости по потере несущей способности R180.

Рис. 5.14. К примеру 7. Сечение в пролете балки перекрытия туннеля пролетом 20 м при длительности стандартного пожара 180 мин

Расчет. По рис. Б.2 приложения Б находим температуру прогрева бетона в балке и плите, интерполируя температуры бетона по ширине балки до 500 мм и по высоте до 1200 мм и экстраполируя температуры бетона плиты высотой 200 мм до 250 мм (рис. 5.14). При огневом воздействии арматура прогревается до 750 °С. Для каждого стержня арматуры по табл. 2.8 находим коэффициент условия работы арматуры γst в зависимости от температуры стержня при:

ts = 330 °С 3Ø28  As = 1847 мм2  γst = 0,96;

ts = 555 °С 2Ø28  As = 1232 мм2  γst = 0,49;

ts = 447 °С 3Ø32  As = 2413 мм2  γst = 0,73;

ts = 635 °С 2Ø32  As = 1609 мм2  γst = 0,33;

ts = 600 °С 3Ø32  As = 2413 мм2  γst = 0,37;

ts = 750°С 2Ø32  As = 1609 мм2  γst = 0,16.

Рабочая высота:

h01 = 1200 - 62 = 1138 мм;

h02 = 1200 - 94 = 1106 мм;

h03 = 1200 - 126 = 1074 мм;

h'0 = 1200 - 45 - 53 = 1102 мм.

Критические значения температуры нагрева бетона на силикатном заполнителе (п. 1.21) - tb,cr = 500 °С. Глубину прогрева бетона до критической температуры находим по рис. А2 и 5.2. Для плиты и балки глубина прогрева бетона до 500 °С при длительности пожара 180 мин составляет 53 мм. Приведенная ширина балки определяется по формуле (5.1) bt = 500 - 2·53 = 394 мм и приведенная высота плиты - по формуле (5.3) h'ft = 250 - 53 = 197 мм.

Свесы полки в расчете должны быть не более 1/6l = 1/6·20000 = 3333 мм и не более 0,5·2000 = 1000 мм.

Ширина полки bft = 500 + 2·1000 = 2500 мм.

Проверяем условия (5.24). Левая часть условия равна (при МПа = Н/мм2)

ΣRsntАs = 400·0,96·1847 + 400·0,49·1232 + 400·0,73·2413 + 400·0,33·1609 +

+ 400·0,37·2413 + 400·0,16·1609 = 23,27·105 Н

Rsnt = 355 МПа; A's = 1571 мм2.

Правая часть условия равна 22·2500·197 + 355·1571 = 114·105 Н > 23,27·105 Н.

Сжатая зона проходит в полке. Высота сжатой зоны по формуле (5.9) равна

Прочность сечения определяем по формуле (5.27)

М = (7,19 + 2,41)105(1138 - 0,5·70) + (6,25 + 2,12)105(1106 - 0,5·70) +

+ (3,57 + 1,03)105(1074 - 0,5·70) + 5,57·105(1102 - 45) = 1924 кН·м > 1625 кН·м.

Балка при длительности стандартного пожара 180 мин выдерживает момент 1924 кН·м, который больше нормативного момента до пожара. Следовательно, балка обеспечивает предел огнестойкости по потере несущей способности R180.

Пример 8. Дано. Типовая предварительно напряженная двутавровая балка (серия Б1400.110.150 - Б2500.110.50), которая успешно применяется при строительстве мостов (рис. 5.15).

Рис. 5.15. К примеру 8. Температуры в двутавровой балке с толщиной стенки 16 см при длительности стандартного пожара 180 мин

Требуется определить возможность применения балок этой серии в перекрытиях тоннелей, относящихся к 1-му ответственному уровню надежности, для которой устанавливается предел огнестойкости по потере несущей способности R180.

Расчет. Теплотехническим расчетом или по приложению Б (рис. 63) МДС 21-2.2000 находим температуру прогрева бетона в двутавровой балке. При этом интерполируя температуру по ширине полки с 400 мм до 580 мм и по высоте балки с 760 мм до 1500 мм. Основная предварительно напряженная арматура состоит из четырех пучков канатов К7-1400, которые расположены на расстоянии 180 и 280 мм от нижней нагреваемой грани балки. Арматурные пучки прогреваются до 130, 185 и 195 °С. При этих температурах нагрева пучков коэффициент условия работы арматуры γst = 1,0 и прочность арматурных канатов не изменяется во время пожара. Однако предварительное напряжение в канатах снижается. Согласно формуле (5.92) предварительного напряжения в канатах останется при температуре нагрева до 130 °С σsp = 89 - 0,27·130 = 54 %; при 185 °С - σsp = 39 %; при 195 °С - σsp = 36 %. В стенке толщиной мм, при двухстороннем нагреве бетон прогреется до 820 - 1088 °С. При таких высоких температурах бетон разрушится, стенка не будет работать и перекрытие тоннеля обрушится во время пожара. Этого допустить нельзя. Кроме того, к несущим конструкциям, относящимся к 1-му уровню надежности, предъявляются требования по огнесохранности (п. 1.23). Для обеспечения требуемых огнестойкости и огнесохранности на балку необходимо нанести огнезащитное покрытие, которое позволило бы снизить температуру нагрева наружной поверхности бетона до 450-500 °С. Легкое огнезащитное покрытие может состоять из вспученных перлита и вермикулита или из керамзитового песка на основе вяжущего портландцемента. Портландцемент (ГОСТ 10178), вспученный перлит насыпной массой не более 300 кг/м3 из смеси пудры и фракция до 5 мм; вспученный вермикулит (ГОСТ 12869) насыпной массой не более 200 кг/м3 при крупности зерен до 5 мм. Керамзит (ГОСТ 9759) без содержания свободной окиси кальция СаО, окиси магния, а также карбонатных включений. Объемная масса керамзитового песка 350-500 кг/м3.

Ориентировочные составы огнезащитного покрытия на 1 м3: портландцемент - 300 кг, перлит - 500 кг; портландцемент - 350 кг, вермикулит - 600 кг; портландцемент - 300 кг, керамзит - 400 кг.

Для уменьшения температурно-усадочных деформаций и компенсации температурных напряжений, возникающих между бетоном и огнезащитным покрытием, целесообразно вводить распушенный асбест V-VI сортов, полужестких марок П-5-65, П-5-70 в количестве 10-20 % массы сухой смеси. Для улучшения технологичности смеси рекомендуется укладывать смесь глиняной суспензии (шликера) плотностью 1,1-0,2 г/м3 или вводить в состав смеси 20 % массы заполнителя молотой глины.

Прогрев огнезащитного покрытия толщиной 25 мм при стандартном пожаре длительностью R180 (3 ч) устанавливают расчетом.

Покрытие с перлитовым заполнителем. Влажность покрытия W = 15 %. Плотность смеси в сухом состоянии

Коэффициент теплопроводности при средней температуре нагрева 700 °С

λt = 0,18 + 0,000116t = 0,18 + 0,08 = 0,26 Вт/(м·°С).

Коэффициент теплоемкости при 700 °С

Сt = 0,84 + 0,00059t = 0,84 + 0,41 = 1,25 кДж/(кг·°С).

Приведенный коэффициент температуропроводности определяют по формуле (3.5)

Глубина прогреваемого слоя покрытия (в м) до 20 °С при τ = 3 ч

Условная толщина прогреваемого слоя при φ1 = 0,51, который учитывает плотность смеси в сухом состоянии ρс = 870 кг·м3, равна

Температура прогрева каждого слоя tbi = 20 + 1200 (1 - r1i)2, где r1i = x'i/h ≤ 1.

При толщине огнезащитного покрытия 25 мм температура наружного слоя бетона будет 414 °С. Температура бетона в центре стенки двутавровой балки - 83 °С и температура арматурных пучков - 34, 40 и 42 °С (рис. 5.16). При этих температурах нагрева предварительно напряженных канатов в пучках дополнительные потери предварительного напряжения будут незначительные и железобетонная двутавровая балка обеспечит требуемый предел огнестойкости по потере несущей способности R180 и огнесохранность после пожара.

Рис. 5.16. К примеру 8. Температуры в двутавровой балке с толщиной стенки 16 см и огнезащитным перлитовым покрытием толщиной 2,5 см при длительности стандартного пожара 180 мин

Для крепления огнезащитного покрытия толщиной 25 мм и более следует применять металлическую сетку с размерами ячеек не более 70×70 мм и диаметром проволоки 1-2 мм. Сетка крепится к бетону балки дюбелями с шагом не более 500 мм. Сетка должна располагаться посередине толщины огнезащитного покрытия. Нанесение покрытия осуществляют полусухим торкретированием на всю толщину или набрызгом с толщиной одного слоя не более 15 мм.

При стандартном пожаре длительностью 180 мин температура нагрева бетона стенки двутавровой балки 452 °С достигается при толщине 25 мм огнезащитного покрытия из вермикулита; 438 °С при толщине покрытия 35 мм из керамзита и 452 °С при толщине покрытия 35 мм из плит на основе термостойкого базальтового волокна.

Огнестойкость внецентренно сжатых железобетонных элементов

5.13. Колонны, находящиеся в стенах, могут подвергаться огневому воздействию с одной, двух и трех сторон. Отдельно стоящие колонны, как правило, подвергаются огневому воздействию с четырех сторон. Огневое воздействие вызывает неравномерное распределение температуры в бетоне по поперечному сечению колонны. Периферийные слои бетона прогреваются значительно больше, чем внутренние, что приводит к снижению прочности и сильному развитию деформаций бетона у краев сечения колонны. Менее нагретый бетон центральной части сечения обладает большей прочностью и меньшей деформативностью. Разрушение колонн происходит по менее нагретому, более прочному бетону, при деформации сжатия, близкой к предельной.

В арматуре, расположенной у краев сечения колонны, при высоких температурах нагрева развиваются большие пластические деформации, и она перестает воспринимать усилия от внешней нагрузки, которые передаются на менее нагретый бетон в центральной части колонны.

Колонны прямоугольного сечения

5.14. Расчет прочности при четырехстороннем огневом воздействии прямоугольных сечений внецентренно сжатых элементов с арматурой, расположенной у противоположных в плоскости изгиба сторон сечения, при эксцентриситете продольной силы е0h/30 и гибкости λ = l0 /h220, производят по формуле

                                                                                            (5.29)

где Ared - приведенная площадь сечения, которую определяют по формуле (5.7).

Площадь приведенного круглого сечения:

Ared = 0,785d2t = 0,785(d - 2аt)2.                                                                                  (5.30)

Приведенная высота сечения колонны ht определяется по формуле (5.6).

Глубину прогрева бетона at для круглой колонны находят по рис. 5.3, принимая b = 1,1d или dt = 0,9bt, и найденное значение аt умножают на коэффициент 1,11.

Расчетная длина l0 принимается равной:

с шарнирным опиранием на двух концах - 1,0l;

с шарнирным опиранием на одном конце, а на другом конце:

с жесткой заделкой - 0,7l;

с податливой заделкой - 0,9l;

с заделкой на двух концах:

жесткой - 0,5l;

податливой - 0,8l;

с податливой заделкой на одном конце и с жесткой заделкой на другом - 0,7l.

Здесь l - расстояние между концами элементов.

5.15. Коэффициент продольного изгиба φ для нагретых прямоугольных и круглых колонн следует принимать в зависимости от отношения расчетной длины l0 колонны к приведенным высоте ht или диаметру dt по табл. 5.2.

Таблица 5.2

l0/ht

6

8

10

12

14

16

18

20

l0/dt

5

6

8

10

12

14

16

17

φ

0,92

0,91

0,90

0,88

0,85

0,81

0,76

0,71

При наличии в сечении колонны промежуточных стержней коэффициент φ определяют по формуле

φ = φb + 2 (φsb - φb)αs,                                                                                                 (5.30,a)

но принимают не более φsb.

Здесь φb и φsb - коэффициенты, принимаемые по табл. 5.3 и 5.4.

Таблица 5.3

Коэффициент φb при l0/ht

6

8

10

12

14

16

18

20

0

0,93

0,92

0,91

0,90

0,89

0,88

0,86

0,84

0,5

0,92

0,91

0,90

0,89

0,86

0,82

0,77

0,71

1,0

0,92

0,91

0,89

0,87

0,83

0,76

0,68

0,60

Таблица 5.4

Коэффициент φsb при l0/ht

6

8

10

12

14

16

18

20

А. При a = a' < 0,15h (см. эскиз) и площади сечения промежуточных стержней менее As,tot/3

0

0,93

0,92

0,91

0,90

0,89

0,88

0,86

0,83

0,5

0,92

0,91

0,91

0,90

0,88

0,87

0,83

0,79

1,0

0,92

0,91

0,90

0,90

0,88

0,85

0,80

0,74

Б. При 0,25 h > a = a' ≥ 0,15 и площади промежуточных стержней (см. эскиз), равной или более As,tot/3 независимо от а

0

0,92

0,92

0,91

0,89

0,87

0,85

0,82

0,79

0,5

0,92

0,91

0,90

0,88

0,85

0,81

0,76

0,71

1,0

0,92

0,91

0,89

0,87

0,83

0,77

0,70

0,62

Обозначения, принятые в табл. 5.3 и 5.4:

N1 - продольная сила от действия постоянных и длительных нагрузок;

N - продольная сила от всех нагрузок

                                                                                                               (5.30,б)

As,tot - площадь сечения всей арматуры в сечении.

При αs > 0,5 можно, не пользуясь формулой (5.30,а), принимать φ = φsb.

5.16. Расчет по прочности прямоугольных сечений внецентренно сжатых элементов (рис. 5.17) при огневом воздействии производят из условия

Ne < Rbn bt x(h0 - 0,5x) + RsctA's(h0 - a').                                                                     (5.31)

Высоту сжатой зоны определяют по формуле

x=(N + Rsnt As - Rsct A's)/Rbnbt.                                                                                     (5.32)

Если x/h0ξR (см. табл. 5.1), высоту сжатой зоны корректируют по формуле

                                                                       (5.33)

При четырехстороннем огневом воздействии в формулу (5.31) вместо h0 вводят h0t.

Приведенную высоту сечения h0t определяют по формуле (5.8). Приведенную ширину bt в формулах (5.31-5.33) определяют по формуле (5.1).

Рис. 5.17. Схема усилий и эпюра напряжений в сечении, нормальном к продольной оси внецентренно сжатого железобетонного элемента

а - при трехстороннем обогреве и расчете на огнестойкость; б - то же, при четырехстороннем

5.17. Эксцентриситет или расстояние от точки приложения продольной силы N до центра тяжести сечения растянутой или менее сжатой арматуры в прямоугольном сечении колонны при огневом воздействии определяют по следующей формуле

е = е0 η + 0,5 (h0 - а') + et;                                                                                          (5.34)

е0 = M/N.                                                                                                                     (5.35)

Значение коэффициента, учитывающего влияние продольного изгиба элемента на его несущую способность, определяют по формуле

                                                                                                                 (5.36)

Условную критическую силу определяют по формуле

Ncr = π2 D/l20.                                                                                                               (5.37)

Жесткость железобетонного элемента в предельной по прочности стадии допускается определять по формулам:

для любой формы сечения

                                                                                         (5.38)

для элементов прямоугольного сечения с арматурой, расположенной у наиболее сжатой и у растянутой (менее сжатой) грани элемента

                                                          (5.39)

В формулах (5.38) и (5.39):

I, Is - моменты инерции соответственно бетонного сечения и сечения всей арматуры относительно центра тяжести бетонного сечения элемента;

Еbt - модуль упругости бетона, определяют по формуле (2.5), в которой βb принимают по средней температуре бетона всего сечения;

Est - модуль упругости арматуры, определяют по формуле (2.10), в которой βs принимают по температуре всей арматуры;

φ1 - коэффициент, учитывающий влияние длительного действия нагрузки на прогиб элемента и равный

φ1 = 1 + (Ml1/М1);                                                                                                        (5.40)

М1, Ml1 - моменты внешних сил относительно оси, нормальной к плоскости изгиба и проходящей через центр наиболее растянутого или наименее сжатого (при целиком сжатом сечении) стержня арматуры, соответственно от действия всех нагрузок и от действия постоянных и длительных нагрузок.

При расчете огнестойкости φ1 = 2;

δе = e0/ht, но не менее 0,15.                                                                                       (5.41)

Для кольцевых и круглых сечений значение ht заменяется на Dcir,t.

                                                                                                     (5.42)

При одно-, двух- или трехстороннем неравномерном нагреве по высоте сечения внецентренно сжатой колонны дополнительный эксцентриситет (или прогиб) от огневого воздействия определяют по формуле

еt = a(αstts - αbttb)l20/8h0.                                                                                               (5.43)

При четырехстороннем нагреве et = 0.

Для колонн с несмещаемыми заделками на двух концах (без поворота) а = 0,55.

Для колонн с несмещаемыми заделками на двух концах с податливым ограниченным поворотом а = 0,7.

Для колонн с шарнирными опорами на двух концах а= 1,0.

Коэффициент αbt принимают по табл. 2.4 в зависимости от температуры бетона менее нагретой сжатой грани сечения и αst - по табл. 2.9 в зависимости от температуры арматуры у нагреваемой грани.

Колонны двутаврового сечения

5.18. Проверку огнестойкости по потере прочности двутавровых сечений с симметричной арматурой, сосредоточенной в полках при четырехстороннем огневом воздействии (рис. 5.18), производят следующим образом.

Если соблюдается условие

N Rbnb'fth'ft,                                                                                                               (5.44)

(т.е. граница сжатой зоны проходит в полке), расчет производится как для прямоугольного сечения шириной b'ft в соответствии с п. 5.16.

Рис. 5.18. Схема усилий в поперечном двутавровом сечении внецентренно сжатого элемента при четырехстороннем огневом воздействии

Если условие (5.44) не соблюдается (т.е. граница сжатой зоны проходит в ребре), прочность сечения проверяют из условия

Ne Rbnbtx(h0t - 0,5х) + RbnAov(h0t - 0,5h'ft) + RsctA's(h0t - a'),                                      (5.45)

где высоту сжатой зоны х принимают равной:

а) при

б) при ξ > ξR

                                                                               (5.46)

где

Aov - площадь сжатых свесов полки, равная

Aov = (b'ft - bt)h'ft;                                                                                                         (5.47)

ξR - см. табл. 5.1.                                                                                                       

При переменной высоте свесов полок значение h'fi принимается равным средней высоте свесов.

Колонны круглого сечения

5.19. Огнестойкость по потере прочности круглых сечений (рис. 5.19) с арматурой, равномерно распределенной по окружности (при числе продольных стержней не менее 7), при классе арматуры не выше А400 проверяется из условия

                                                 (5.48)

где r - радиус поперечного сечения, rt = r - at, at - см. п. 5.14;

ξcir - относительная площадь сжатой зоны бетона, определяемая следующим образом:

при выполнении условия

N = 0,77RbnAred + 0,645RsntAs,tot                                                                                  (5.49)

Рис. 5.19. Схема, принимаемая при расчете круглого сечения внецентренно сжатых элементов при всестороннем огневом воздействии

из решения уравнения

                                                                       (5.50)

при невыполнении условия (5.49) из решения уравнения

                                                                                       (5.51)

φ - коэффициент, учитывающий работу растянутой арматуры и принимаемый равным: при выполнении условия (5.49) φ = 1,6(1 - 1,55ξcir)ξcir, но не более 1,0; при невыполнении условия (5.49) φ = 0;

As,tot - площадь сечения всей продольной арматуры;

Ared - по формуле (5.30);

rs - радиус окружности, проходящей через центр тяжести стержней продольной арматуры.

Момент М определяется с учетом прогиба элемента.

M=Ne0η,                                                                                                                      (5.52)

η - коэффициент, определяемый по формуле (5.36).

Проверку предела огнестойкости по прочности, а также определение необходимого количества продольной арматуры для круглых сечений допускается производить с помощью графиков на рис. 5.20, используя формулы

M ≤ αmRbnAredrt;                                                                                                           (5.53)

αп = N/Rbn·Ared, αs = Rsnt·As,tot/Rbn·Ared.                                                                         (5.54)

Прочность колонн, вычисленная по формулам (5.29), (5.31), (5.44), (5.45), (5.48) и (5.53) от нормативной нагрузки при стандартном пожаре длительностью, соответствующей пределу огнестойкости R, должна быть равна или больше прочности от нормативной нагрузки до пожара.

Несущие стены

5.20. Железобетонные несущие стены сплошного сечения с гибкостью λ83(l0/ht24) при одностороннем огневом воздействии с жесткими несмещаемыми опорами, когда продольная сжимающая сила приложена с начальным или случайным эксцентриситетом со стороны обогреваемой поверхности, работают на внецентренное сжатие. Предел огнестойкости по потере несущей способности наступает при прогибе стены, направленном в необогреваемую сторону.

Прогиб от неравномерного нагрева стены по высоте сечения в расчете не учитывают, если он направлен в обогреваемую сторону и уменьшает эксцентриситет приложения продольной сжимающей силы.

При одностороннем огневом воздействии и с жестким опиранием стены прочность внецентренно сжатых плоских элементов при приложении продольной силы с большим эксцентриситетом (рис. 5.21), когда ξ = x/h0t ξR, определяют по формулам (5.31) - (5.33).

Расчетный предел огнестойкости железобетонных стен при контактном опирании на упруго-податливое основание при растворных швах толщиной 20 мм умножается на коэффициент упругой податливости 0,75; при швах толщиной 5 мм, заполненных цементно-песчаной пастой, - 0,85.

Условные обозначения:

_____________ при a/Dcir= 0,05

------------------- при a/Dcir= 0,10

Рис. 5.20. Графики несущей способности внецентренно сжатых элементов круглого сечения

Рис. 5.21. Железобетонная стена с ограниченным поворотом опорных сечений

а - расчетные размеры стены; б - схема разрушения стены при одностороннем огневом воздействии; в - схема сечения стены при расчете огнестойкости

В условиях пожара двухсторонний обогрев железобетонной стены не всегда возможен. Однако при нагревании одновременно с двух сторон в железобетонной стене практически не возникает температурного прогиба и стена продолжает работать на сжатие. Предел огнестойкости R такой стены, возможно, будет выше, чем при одностороннем нагреве, но он должен быть проверен расчетом.

ПРИМЕРЫ РАСЧЕТА

Пример 9. Дано. Железобетонная колонна сечением 1200×1200 мм; бетон тяжелый класса В30; Rbn = 22,0 МПа; арматура класса А400 36Ø40; Rsc = 355 МПа; колонна высотой 4,0 м находится в подземном этаже высотного здания; защитный слой бетона 30 мм; предел огнестойкости по потере несущей способности установлен R240.

Требуется определить фактический предел огнестойкости по потере несущей способности.

Рис. 5.22. К примеру 9. Армирование колонны

а - по проекту; б - по расчету огнестойкости; t - распределение темпера туры в бетоне по оси стороны колонны (ось х-х)

Расчет. По проекту арматура расположена вдоль нагреваемых поверхностей колонны (рис. 5.22, а) на расстоянии 50 мм до оси арматуры. При четырехстороннем огневом воздействии все стержни арматуры будут сильно нагреваться. По рис. Б.7 приложения Б находим температуру оси каждого стержня при длительности стандартного пожара 240 мин в каждой четверти сечения, интерполируя температуру сторон с 200 мм до 600 мм.

4Ø40  ts = 890°C  A's = 5·103 мм2  γst = 0,05;

8Ø40  ts = 750 °С  A's = 10·103 мм2  γst = 0,16;

8Ø40  ts = 680 °С  A's = 10·103 мм2  γst = 0,25;

16Ø40  ts = 660 °С  A's = 20·103 мм2  γst = 0,28.

Коэффициент условия работы арматуры γst находим по табл. 2.8 в зависимости от температуры арматуры. Находим глубину прогрева тяжелого бетона на силикатном заполнителе до критической температуры tb,cr = 500 °С по рис. 5.3,а - at = 65 мм. Приведенная высота сечения по формуле (5.6) ht = h - 2at = 1200 - 2·65 = 1070 мм. Приведенная площадь сечения колонны по формуле (5.7) равна Аred = 0,9·1,070·1,070= 1,03 м2.

Колонна имеет жесткую заделку на двух концах. Расчетная длина колонны равна l0 = 0,5·l = 2 м. Приведенная высота колонны h0t = h - a - at = 1200 - 50 - 65 = 1085 мм. Гибкость колонны λ = l0/h0t = 2/1,085 = 1,84 < 20. Расчет прочности при четырехстороннем огневом воздействии проводим по формуле (5.29), в которой φ = 1,0:

Rbn Аred = 22·1,03·106 = 22,66·106 Н;

Rsct Аs,tot = 355 (0,05·5 + 0,16·10 + 0,25 10 + 0,28·20)103 = 3,53 106 Н.

Нагрузку, которую может воспринять колонна при пожаре длительностью 240 мин, равна

N = 22,66·106 + 3,53·106 = 26,19 106 Н.

Эта нагрузка меньше нормативной нагрузки (30·106 Н) до пожара. Предел огнестойкости R240 колонна при таком армировании не обеспечивает. Для повышения предела огнестойкости необходимо распределить арматуру по всему поперечному сечению колонны (рис. 5.22, б).

При расположении арматуры по всему поперечному сечению колонны арматура прогреется:

4Ø40 до ts = 890°C  A's = 5·103 мм2  γst = 0,05;

8Ø40 до ts = 680 °С  A's = 10·103 мм2  γst = 0,25;

8Ø40 до ts = 660 °С  A's = 10·103 мм2  γst = 0,28;

4Ø40 до ts = 280°C  A's = 5·103 мм2  γst = 1,0;

8Ø40 до ts = 250 °С  A's = 10·103 мм2  γst = 1,0;

4Ø40 до ts = 150 °С  A's = 5·103 мм2  γst = 1,0.

Колонна воспринимает нагрузку

N= 22,66·106 + 3,55 (0,05·5 + 0,25·10 + 0,28·10 + 1·20)103 = 31,73·106 Н.

Эта нагрузка больше нормативной (30·106 Н) и колонна при расположении арматуры по всему поперечному сечению обеспечивает предел огнестойкости по потере несущей способности R240.

Пример 10. Дано. Железобетонная колонна сечением 600×600 мм. Бетон тяжелый класса В35; Rbn = 35,5 МПа; арматура класса А500 25Ø36; Rsc = 400 МПа; высота этажа 3,9 м; усилия от нормативных нагрузок Nn = 10420 кН; Мп = 24,6 кН·м (Рис. 5.23).

Рис. 5.23. К примеру 10. Распределение температуры в бетоне и арматуре колонны 600×600 мм при четырехстороннем стандартном пожаре длительностью 180 мин

Требуется определить расчетом обеспечение колонной предела огнестойкости по потере несущей способности R180 при четырехстороннем огневом воздействии.

Расчет. Арматурные стержни равномерно распределены по сечению колонны: по 5 стержней на каждой стороне. Расстояние от нагреваемых сторон колонны до 1-го ряда стержней 60 мм, до 2-го ряда - 180 мм и до центрального стержня - 300 мм. Из рис. Б.7 приложения Б для колонны сечением 400×400 мм и длительностью стандартного пожара 180 мин находим температуру нагрева всех стержней в колонне сечением 600×600 мм с помощью интерполяции. По табл. 2.8 в зависимости от температуры нагрева арматуры находим коэффициент условия работы γst

1Ø36  ts = 50 °С  A's = 1018 мм2  γst = 1,0;

4Ø36  ts = 110 °С  A's = 4072 мм2  γst = 1,0;

4Ø36  ts = 150 °С  A's = 4072 мм2  γst = 1,0;

12Ø36  ts = 480°С  A's = 12216 мм2  γst = 0,54;

4Ø36  ts = 700°С  A's = 4072 мм2  γst = 0,20.

ΣRsctAs,tot = 400(1018·1 + 4072·1 + 4072·1 + 12216·0,54 + 4072·0,20) =

= 400·16573 = 6,6·106·Н.

Глубина прогрева тяжелого бетона на силикатном заполнителе по рис. 53,а до критической температуры tb,cr = 500 °С - at = 50 мм. Приведенная высота сечения по формуле (5.6) ht = h - 2at = 600 - 2·50 = 500 мм. Приведенная площадь сечения бетона колонны по формуле (5.7) равна Ared = 0,9·0,5·0,5 = 0,23 м2.

RbnAred = 35,5·23·106 = 5,87·106 Н.

Эксцентриситет продольной силы по формуле (5.35) равен

Эксцентриситет продольной силы не превышает случайный эксцентриситет, максимальное значение которого составило h/30 = 600/30 = 20 мм, принимаем e0 = 20 мм.

Расчетная высота колонны при жесткой заделке на одной опоре и податливой заделке на другой опоре l0 = 0,7l = 0,7·3,9 = 2,75 м. Эта высота колонны меньше l0 =20ht =20·0,5 = 10,0 м. При действии продольной силы, приложенной со случайным эксцентриситетом е0 = h/30 и при е0 < 20ht расчет производится из условия (5.29), в котором коэффициент φ определяют по формуле φ = (φb + 2(φsb - φb)αs, но принимают не более φsb. Площадь всей арматуры Аs,tot = 25·1018 = 25450 мм2. Площадь промежуточных стержней Аs,mt = 15·1018 = 15270 мм2

Коэффициент  и φsb = φ. При l0/ht = 2,75/0,5 = 5,5 по табл. 5.2 φ = 0,93.

Сжимающая продольная сила, которую может выдержать колонна при пожаре, равна

N = 0,93(5,87 + 6,6)106= 11,6·106 Н = 11600 кН > 10420 кН.

При воздействии стандартного пожара длительностью 180 мин колонна выдерживает силу большую, чем сила от нормативной нагрузки до пожара, следовательно, предел огнестойкости по потере несущей способности R180 колонна обеспечивает.

Пример 11. Дано. Железобетонная колонна высотой 4,8 м круглого сечения диаметром Dcir = 450 мм, а = 40 мм; бетон класса В25; Rbn = 18,5 МПа, Еb = 3·104 МПа; продольная арматура класса А400 10Ø20; Rsc = 355 МПа; As,tot = 3140 мм2; продольная сила и момент в верхнем опорном сечении от нормативных постоянных и временных длительных нагрузок Nn = 1700 кН; Мп = 60,0 кН·м.

Требуется проверить несущую способность колонн при длительности стандартного пожара 90 мин.

Расчет. Верхнее сечение колонны расположено у податливой заделки, согласно п. 5.14 расчетная длина колонны l0 = l = 4,8 м. Глубину прогрева до критической температуры тяжелого бетона на силикатном наполнителе находим по рис. 5.3, принимая b = 1,1d = 1,1·450 = 495 мм, аt = 32·1,1 = 35 мм (п. 5.14). Приведенный диаметр колонны Dcir,t = Dcir - 2at = 450 - 2·35 = 380 мм; rt = r - at = 225 - 35 = 190 мм; rs = r - а = 225 - 40 = 185 мм.

По формуле (5.35) определяем эксцентриситет продольной силы

Определяем жесткость D по формуле (5.38). Для этого вычисляем:

М1 = Мп + Nn·rt= 60 + 1700·0,19 = 417 кН·м.

В связи с учетом в расчете огнестойкости только кратковременного действия нагрузок М1 = Мl1 и по формуле (5.40) φ1 = 2. Так как  принимаем δе = 0,15.

Момент инерции бетонного сечения и всей продольной арматуры

Температуру нагрева арматуры определяем по рис. Б.7 приложения Б по оси стороны колонны сечением 400×400 мм при длительности стандартного пожара 90 мин на расстоянии от нагреваемой поверхности до оси арматуры ts = 408·1,1 = 448 °С (см. п. 5.14). По табл. 2.8 для этой температуры находим значения коэффициентов γst = 0,73 и βs = 0,83. Расчет ведем по приведенному сечению и в формуле (5.38) Еbt = Еb βb. При tb = 200 °С βb = 0,7.

По формуле (5.37) критическая сила

Коэффициент η по формуле (5.36) равен:

Момент от нормативной нагрузки с учетом прогиба - (формула (5.52))

М = 1700·0,035·1,54 = 92 кН·м.

Прочность сечения проверяем из условия (5.53) с помощью графика на рис. 5.20. Определяем площадь приведенного бетонного сечения

М = 0,33·18,5·113354·191 = 132 кН·м > 92 кН·м.

При воздействии стандартного пожара длительностью 90 мин прочность круглой колонны обеспечена и она выдерживает предел огнестойкости по потере несущей способности R90.

Пример 12. Дано. Простенок длиной 1500 мм и шириной 300 мм; бетон класса В25; Rbn = 25,5 МПа, Еb = 34,5·103 МПа; армирование симметричное As = A's = 10Ø36 = 10179 мм2, а = а' = 60 мм; арматура класса А500; Rsn = 500 МПа; Rsc = 400 МПа; Es = 2·105 МПа; нормативная нагрузка на простенок Nn = 4000 кН, Мп = 20,0 кН·м; расчетная высота простенка l0 = 0,7·3900 = 2730 мм.

Требуется определить расчетом прочность простенка при пределе огнестойкости по потере несущей способности R180.

Расчет. Простенок подвергается одностороннему огневому воздействию длительностью 180 мин. По рис. А.2 приложения А для стены высотой 200 мм находим глубину прогрева бетона до критической температуры 500 °С - at= 53 мм и температуру арматуры при а = 60 мм ts = 460 °С и γst = 0,58 (табл. 2.8). Нагрев бетона на толщине 300 мм находим экстраполяцией: температура арматуры около холодной поверхности t's= 55 °С и по табл. 2.8 γ'st = 1,0; β's = 0,92. При tbm = 200°С βbt =0,7.

Находим размеры приведенного сечения простенка

ht = h - аt = 300 - 53 = 247 мм; h0 = h - а = 300 - 60 = 240 мм;

bt = b - 2at= 1500 - 2·53 = 1394 мм;

h0t = h - а - at = 300 - 60 - 53 = 187 мм.

Гибкость простенка

Эксцентриситет продольной силы определяют с учетом прогиба простенка от продольного изгиба и от неравномерного нагрева по высоте сечения по формуле (5.34). Для определения прогиба от продольного изгиба сначала определяем коэффициент φ1 при М1 = Мl1

по формуле (5.40) φ1 = 2;

Так как

Жесткость сечения простенка по формуле (5.39) равна

Условная критическая сила по (5.37)

Коэффициент учета прогиба простенка η по формуле (5.36) равен

От неравномерного нагрева по толщине простенка образуется температурный прогиб, который увеличивает эксцентриситет продольной силы, так как он направлен в одну сторону прогиба от продольной силы, формула (5.43). По табл. 2.9 при ts = 460 °С коэффициент αs = 13,8·10-6 °С-1. По табл. 2.4 при tb = 50 °С коэффициент αbt = 9·10-6 °С-1. Прогиб простенка от неравномерного нагрева по высоте сечения

Общий эксцентриситет

е = 5·1,18 + 0,5(240 - 60) + 21 = 116,9 мм.

Момент от нормативной нагрузки

Mn = N·e = 4000·0,1169 = 467 кН·м.

Определяем высоту сжатой зоны сечения по формуле (5.33), так как по формуле (5.32) ξ > ξR. По табл. 5.1 при арматуре класса А500С ξR = 0,493.

Расчет прочности прямоугольного сечения простенка при огневом воздействии 180 мин производится из условия (5.31).

M = 25,5·1394·108(187 - 0,5·57) + 400·1,0·10179(187 - 60) = 859 кН·м > 467 кН·м.

Следовательно, простенок обеспечивает предел огнестойкости по потере несущей способности R180.

Огнестойкость центрально и внецентренно растянутых элементов

5.21. В несущих конструкциях ферм, арок имеются железобетонные элементы, которые работают на центральное и внецентренное растяжение. Как правило, эти элементы во время пожара обогреваются со всех сторон (рис. 5.24).

Рис. 5.24. Схема усилий и эпюра напряжений в сечении, нормальном к продольной оси внецентренно растянутого железобетонного элемента, при четырехстороннем обогреве во время пожара при расчете огнестойкости

Продольная сила приложена: а - между усилиями в арматуре As и A's; б - за пределами расстояния между усилиями в арматуре As и A's

Прочность прямоугольных железобетонных элементов при всестороннем огневом

воздействии следует вычислять по формулам:

при центральном растяжении

N = ΣRsntAs;                                                                                                                 (5.55)

при внецентренном растяжении и продольной силе, приложенной между усилиями в арматуре S и S' (рис. 5.24)

Ne ≤ RsntA's(h0 - a');                                                                                                     (5.56)

Ne' ≤ RsntAs (h0 - a');                                                                                                    (5.57)

при продольной силе, приложенной за пределами расстояния между усилиями в арматуре S и S'

Ne ≤ Rbn btx (h0t - 0,5x) + RsctA's(h0 - a').                                                                     (5.58)

Высоту сжатой зоны определяют по формуле

x = (RsntAs - RsctA's - N) Rbn bt.                                                                                     (5.59)

Если х > ξRh0, то в условие (5.58) подставляют x = ξRh0tR, см. табл. 5.1.

Расстояние е от растягивающей продольной силы до равнодействующей усилий в арматуре определяют по формуле (5.34) без коэффициента η, так как нет дополнительного продольного изгиба от растягивающей силы, и без еt, так как при всестороннем огневом воздействии нет дополнительного выгиба от неравномерного нагрева.

Если усилие N, вычисленное по формулам (5.56) - (5.58), от воздействия нормативной нагрузки при стандартном пожаре длительностью, равной пределу огнестойкости R, равно или больше усилия N от нормативной нагрузки до пожара, то требуемый предел огнестойкости обеспечен.

Огнестойкость железобетонных элементов при действии поперечных сил

5.22. Расчет огнестойкости по потере прочности железобетонных элементов при действии поперечных сил в условиях огневого воздействия проводят на основе модели наклонных сечений согласно СП 52-101.

При расчете по модели наклонные сечения должны быть обеспечены прочностью элемента по полосе между наклонными сечениями и наклонному сечению на действие поперечных сил, а также прочностью по наклонному сечению на действие момента.

Расчет железобетонных элементов по полосе между наклонными сечениями

5.23. Расчет железобетонных элементов по полосе между наклонными сечениями производят из условия

Qn ≤ 0,3Rbnbth0,                                                                                                           (5.60)

где Qn - поперечная сила от нормативной нагрузки в нормальном сечении элемента, принимаемая на расстоянии от опоры не менее h0. Для внецентренно сжатых элементов, если N/Nb > 0,5, правая часть условия (5.60) умножается на коэффициент φb1 = 2(1 - N/Nb) при Nb = 1,3RbnA, но не менее N.

Расчет железобетонных элементов по наклонным сечениям на действие поперечных сил

5.24. Расчет изгибаемых элементов по наклонному сечению производят из условия

QnQb + Qsw,                                                                                                             (5.61)

где Qn - поперечная сила от нормативной нагрузки в наклонном сечении с длиной проекции с на продольную ось элемента, расположенную по одну сторону от рассматриваемого наклонного сечения (рис. 5.25);

Qb - поперечная сила, воспринимаемая бетоном в наклонном сечении, определяемая по формуле

Qb = Mb/c,                                                                                                                   (5.62)

где Mb = 1,5Rbtnbth20.                                                                                                   (5.63)

Рис. 5.25. Схема усилий в наклонном сечении элемента с хомутами при расчете огнестойкости от действия поперечных сил в условиях трехстороннего огневого воздействия

Значение Qb принимают не более (2,5Rbtn bth0) и не менее (0,5Rbtn bth0); bt определяют по формуле (5.1);

Qsw - поперечная сила, воспринимаемая поперечной арматурой в наклонном сечении, определяемая по формуле

Qsw = 0,75qswc;                                                                                                            (5.64)

qsw - усилие в поперечной арматуре на единицу длины элемента

qsw = RswγstAsw/sw,                                                                                                        (5.65)

где γst - принимают по наибольшей температуре поперечной арматуры по табл. 2.8.

Расчет производят для наиболее опасной длины проекции наклонного сечения с, которую принимают не менее h0 и не более 2h0.

Поперечную арматуру учитывают в расчете, если соблюдается условие

qsw ≤ 0,25Rbtnbt.                                                                                                           (5.66)

Шаг поперечной арматуры sw, учитываемый в расчете, должен быть не больше значения

sw,max = Rbtnbt h20/Q,                                                                                                     (5.67)

При отсутствии поперечной арматуры или нарушении указанных выше требований расчет производят из условия (5.62), принимая усилия Qsw равными нулю.

Расчет внецентренно сжатых элементов при N/Nb > 0,5 производят по условиям (5.62), (5.63), (5.66), правую часть которых умножают на коэффициент

Расчет железобетонных элементов по наклонным сечениям на действие моментов

5.25. Расчет железобетонных элементов по наклонным сечениям на действие моментов (рис. 5.26) в условиях огневого воздействия производят из условия

Мn Мs + Мsw,                                                                                                            (5.69)

где Мп - момент от нормативной нагрузки в наклонном сечении с длиной проекции с на продольную ось элемента, определяемый от внешних сил, расположенных по одну сторону от рассматриваемого наклонного сечения, относительно конца наклонного сечения, противоположному концу, у которого располагается проверяемая продольная арматура, испытывающая растяжение от момента в наклонном сечении, при этом учитывают наиболее опасные загружения в пределах наклонного сечения;

Мs - момент, воспринимаемый продольной арматурой, пересекающей наклонное сечение, относительно противоположного конца наклонного сечения

Ms = 0,9Nsh0,                                                                                                              (5.70)

Ns - усилие в продольной растянутой арматуре, принимают равным RstAs, а в зоне анкеровки - по формуле (5.15).

Рис. 5.26. Схема усилий в наклонном сечении элемента с хомутами при расчете огнестойкости от действия момента в условиях четырехстороннего огневого воздействия

При приваривании к продольным растянутым стержням поперечной или распределенной арматуры усилие Ns увеличивают на усилие

Nw = 0,7nwφwd2wRbtnt.                                                                                                   (5.71)

Но принимают не более 0,8Rstd2wnw. Здесь nw - число приваренных стержней; dw - диаметр приваренных стержней, (φw - коэффициент, принимаемый при диаметре dw = 6 мм, - 200; при 8 мм - 150; при 10 мм - 120; при 12 мм - 100 и при 14 мм - 80.

Момент для поперечной арматуры, нормальной к продольной оси элемента, определяют по формуле:

Msw = 0,50Qswc.                                                                                                           (5.72)

Усилия в поперечной арматуре:

Qsw = qswc,                                                                                                                   (5.73)

где qsw - определяют по формуле (5.65), с принимают в пределах от h0 до 2h0.

Допускается производить расчет наклонных сечений, принимая в условии (5.72) момент Msw в наклонном сечении при длине проекции с на продольную ось элемента, равной 2h0, а момент Msw равен

Msw = 0,5qswh20.                                                                                                           (5.74)

Значения поперечных сил Q, вычисленных по формулам (5.60) и (5.61), и момента Мп - по формуле (5.69) от нормативной нагрузки при длительности стандартного пожара, соответствующей пределу огнестойкости R, должны быть равны или больше значений Qn и Мп от нормативной нагрузки до пожара.

ПРИМЕРЫ РАСЧЕТА

Пример 13. Дано. Свободно опертая балка перекрытия с размерами сечения: b = 300 мм, h = 360 мм; бетон класса В25; Rbn = 22,0 МПа; Rbtn = 1,55 МПа; хомуты двухветвевые Ø8 мм; Asw =101 мм2 с шагом sw = 100 мм; арматура класса А400; Rsw =285 МПа; поперечная сила на опоре (Qmах = 150 кН (рис. 5.25), нормативная равномерно распределенная нагрузка 40 кН/м.

Требуется проверить прочность наклонных сечений и бетонной полосы между наклонными сечениями при огневом воздействии стандартного пожара длительностью 60 мин.

Расчет. Прочность бетонной полосы проверим из условия (5.60), в котором приведенная ширина балки bt определяется по формуле (5.1). Глубину прогрева бетона на силикатном заполнителе до критической температуры 500 °С находим по рис. 5.2. Для балки шириной 300 мм at = 15 мм, bt = 300 - 2·15 = 270 мм, тогда Qn = 0,3·22·270·360 = 640 кН > 150 кН.

Прочность наклонного сечения по поперечной силе проверим из условия (5.62). При продольной арматуре диаметром 20 мм и а = 40 мм ось хомутов будет находиться от нагреваемой грани балки на расстоянии ах = 40 - 10 - 4 = 26 мм. По рис. Б.2 приложения Б для балки шириной 300 мм и длительностью пожара 60 мин на расстоянии 26 мм находим температуру нагрева хомутов tx = 500 °С. По табл. 2.8 находим для арматуры класса А400 γst = 0,6. По формуле (5.65) определим интенсивность хомутов

Поскольку , т.е. условие (5.66) выполнено, хомуты полностью учитываем и значение Мb определяем по формуле (5.63)

Mb = 1,5·1,55·270·3602 = 81,36 106 мм.

При действии сплошной равномерно распределенной нагрузки невыгоднейшее значение с принимаем равным

и принимаем с0 = с = 632 мм < 2h0.

Тогда Qsw определяем по формуле (5.64) Qsw = 0,75·171·632 = 75650 Н = 75,6 кН.

Из формулы (5.62) находим

Q = Qmах - q·с = 150 - 40·632 = 125 кН.

Проверяем условие (5.61)

Qb + Qsw = 130 + 75,6 = 206 кН > 125 кН.

Следовательно, прочность наклонных сечений обеспечена при длительности стандартного пожара 60 мин и предел огнестойкости по потере несущей способности R60 соблюден.

Пример 14. Дано. Свободно опертая балка пролетом l = 5,5 м сечением 300×450 мм; бетон класса В25; Rbtn = 1,55 МПа; продольная арматура без анкеров класса А400 2Ø25; Rsn = 400 МПа; As = 982 мм2; хомуты из арматуры класса А400 Ø10 мм с шагом sw = 150 мм приварены к продольным стержням; нормативная равномерно распределенная нагрузка q = 35 кН/м, а = = 45 мм, h0 = 400 - 45 = 355 мм; глубина опоры l0 = 280 мм; Rsw = 285 МПа.

Требуется проверить прочность наклонного сечения на действие момента во время стандартного пожара длительностью 60 мин.

Расчет. Ось каждого арматурного стержня продольной арматуры расположена от нижней и боковой поверхностей балки на расстоянии 45 мм. По рис. Б.2 приложения Б для балки шириной 300 мм при длительности стандартного пожара 60 мин находим температуру нагрева арматуры по диагонали угла балки ts = 400 °С. При опирании балки на кирпичную стену температуру в зоне анкеровки принимают равной ts1 = 0,8ts = 0,8·400 = 320 °С. Температуру бетона в зоне анкерующего стержня принимают равной температуре стержня. Для температуры бетона 320 °С по табл. 2.2 находим значение коэффициента условия работы бетона на растяжение γtt = 0,47.

Усилие в растянутой арматуре определяем по формуле (5.15), в которой для горячекатаной арматуры периодического профиля коэффициент η = 2,5.

Для бетона нормативное сопротивление растяжению по формуле (2.4) равно

Rbtnt = 1,55·0,47 = 0,73 МПа, ls = 280 - 10 = 270 мм, us = 3,14ds = 3,14·25 = 78,5 мм.

Для растянутых анкерующих стержней периодического профиля без дополнительных анкерующих устройств α = 1. Тогда для 2 продольных стержней Ns = 2,5·0,73·78,5·270·2 = 77362 Н.

Поскольку к растянутым стержням в пределах длины ls приварены 4 вертикальных и 2 горизонтальных поперечных стержней, по формуле (5.71) находим усилие Nw = 0,7·6·120·102·0,73 = 36792 Н.

Это усилие не должно превышать 0,8·400·0,38·102·6 = 72960 Н.

Отсюда Ns = 77362 + 36792 = 114154 Н.

Растягивающее усилие Ns не должно превышать RsnγstAs. Для арматуры класса А400 и ts = 400 °С; γst = 0,85 (табл. 2.8), тогда 400·0,85·982 = 339388 Н > 114154 Н.

Момент, воспринимаемый продольной арматурой, определяем по формуле (5.70)

Ms = 0,9·114154·355 = 45·106 Н·мм.

По формуле (5.65) вычисляем величину qsw. Ось поперечной арматуры расположена от нагреваемых граней балки на расстоянии ах = 45 - 12,5 - 5 = 27,5 мм. Температура оси поперечной арматуры по рис. Б.2 приложения Б равна 600 °С и γst = 0,37 (табл. 2.8); Asw =157 мм2.

Определяем длину проекции невыгоднейшего наклонного сечения с, принимая Qmax равной опорной реакции

Момент, воспринимаемый поперечной арматурой, по формуле (5.72) равен

Msw = 0,5·110,4·5082 = 14,1·106 Н·мм.

Момент в наклонном сечении определяем как момент в нормальном сечении, расположенном в конце наклонного сечения, на расстоянии от точки приложения опорной реакции равной

х = lsnp/3 + с = 280/3 + 508 = 601 мм.

Проверяем условие (5.69)

Мs + Мsw = 45 + 14 = 59 кН·м > 51 кН·м.

Условие выполняется, прочность наклонного сечения по изгибающему моменту обеспечена при длительности стандартного пожара 60 мин. Следовательно, предел огнестойкости по потере несущей способности R60 обеспечен.

Огнестойкость статически неопределимых конструкций

5.26. В статически неопределимых конструкциях, выполненных из монолитного железобетона (плитах, балках, ригелях и колоннах), огнестойкость больше, чем в сборном железобетоне. Однако в многопролетных и многоэтажных зданиях и сооружениях при локальном пожаре в одном пролете или на одном этаже взаимодействие отдельных монолитно сопряженных элементов приводит к возникновению дополнительных усилий в других пролетах, в которых нет пожара.

5.26.1 Расчет многоэтажных и высотных зданий из монолитного железобетона следует производить с использованием сертифицированных в России компьютерных программ, согласованных с НИИЖБ: «Лира», «Мономах», «Stark-Es» и других.

Согласно СП 52-103-2007 пространственная конструктивная система (КС) здания рассматривается как статически неопределимая система, состоящая из взаимосвязанных несущих конструктивных элементов, обеспечивающих его прочность и устойчивость во время пожара и после него.

Расчетная схема здания при расчете огнестойкости включает физическую модель, данные о нормативных нагрузках, о требуемом пределе огнестойкости по потере несущей способности R колонн, стен, плит, балок, а также данные о нормативных сопротивлениях бетона и арматуры, их температурный нагрев от огневого воздействия пожара, коэффициенты условия работы бетона и арматуры, учитывающие изменение их механических свойств от воздействия температуры, коэффициенты, учитывающие изменение модуля упругости и температурные деформации материалов, критические температуры прогрева бетона и арматуры от огневого воздействия, температурные усилия и деформации конструктивных элементов от их неравномерного нагрева.

5.26.2 Распределение усилий от нормативной нагрузки и температурных усилий, вызванных огневым воздействием, в пространственно-деформируемых системах в значительной степени определяется жесткостными характеристиками, которые зависят от материала и температуры воздействия, типа конструкций и их напряженного состояния, влажности бетона и других факторов, которые при проектировании учесть сложно. Поэтому геометрические параметры и физические характеристики материалов и конструкций в расчете принимаются заданными.

5.26.3 Расчеты напряжений и деформаций железобетонных монолитных плоских и объемных элементов и их сопряжений разработаны только для нормальных сечений при простых воздействиях. Расчеты по наклонным и пространственным сечениям с трещинами имеются лишь для частных случаев, а для сложных воздействий и учетом многих факторов применяют различные упрощения.

Сложные пространственные геометрические схемы упрощают путем замены реальной конструкции условной схемой. Ребристый и пустотный диски перекрытий, а также структурное покрытие из стержней заменяются условной анизотропной пластиной постоянной толщины.

Колонны и балки аппроксимируются стержнями, приведенными к оси, а плиты и стены - пластинами, приведенные к серединной плоскости. Применяют континуальные, дисперсные расчетные модели. Наиболее широкое распространение получили дискретные расчетные модели, основанные на математической и геометрической дискредитации пространственных конструкций, рассчитываемых методом конечных элементов (МКЭ).

5.26.4 Расчет огнестойкости несущих конструктивных систем включает определение усилий в элементах конструктивной схемы (колоннах, плитах, стенах) с учетом заданного стандартного пожара по длительности соответствующему требуемому пределу огнестойкости по потере несущей способности R каждого конструктивного элемента системы.

Расчет огнестойкости по потере несущей способности конструктивной системы следует производить в общем случае в пространственной постановке с учетом совместной работы надземных и подземных конструкций в условиях стандартного пожара.

5.26.5 Расчет огнестойкости по потере несущей способности производят с использованием линейных и нелинейных жесткостей железобетонных конструкций.

Линейные жесткости железобетонных элементов определяют как для сплошного упругого тела с учетом влияния кратковременного температурно-огневого воздействия на модуль упругости.

Нелинейные жесткости железобетонных элементов определяют по поперечному сечению с учетом развития неупругих деформаций в бетоне и арматуре, отвечающих кратковременному действию нагрузки.

Значение нелинейных жесткостей железобетонных элементов следует устанавливать в зависимости от класса бетона и арматуры, их температур нагрева от стандартного пожара для предельной стадии расчета.

5.26.6 В результате расчета несущей конструктивной системы должны быть установлены: в колоннах - значения продольных и поперечных сил, изгибающих моментов, а в необходимых случаях и крутящие моменты; в плоских плитах - значения изгибающих и крутящих моментов, поперечных и продольных сил; в стенах - значения нормальных и сдвигающих сил, изгибающих и крутящих моментов и поперечных сил.

Определение усилий в элементах конструктивной системы следует производить от непродолжительного действия нормативных постоянных и временно длительных нагрузок и температурных усилий от огневого воздействия стандартного пожара.

На первой стадии расчета огнестойкости для оценки усилий в элементах конструктивной системы допускается принимать приближенные значения жесткостей элементов с помощью обобщенных условных коэффициентов.

На последующих стадиях расчета конструктивной системы, когда известно армирование железобетонных элементов, в расчет следует вводить уточненные значения жесткостей элементов согласно указаниям действующих нормативных документов.

В результате расчета огнестойкости по потере несущей способности элементов конструктивной системы во время пожара должны быть установлены усилия (силы, моменты), которые должны быть больше или такими же, как до пожара, при воздействии нормативной нагрузки.

5.27 Усилия в статически неопределимой конструкции определяют по формулам строительной механики как в упругой системе. Единичные и грузовые перемещения определяют с помощью формулы Мора, в которой сдвиговые деформации, как правило, отбрасывают.

Перемещения в основной системе, вызванные воздействием температуры в iнаправлении, равны:

                                                                          (5.75)

где Mt и Ni - изгибающий момент и продольная сила в сечении х-элемента основной системы от действия в i-м направлении соответствующей единичной силы;

(1/r)tx, εtx - температурные кривизна и деформация х-элемента, вызванные огневым воздействием.

С повышением температуры огневого воздействия до 500 °С наблюдаются наибольшие значения температурного момента. При температурах 900 °С температурный момент снижается. В практических расчетах криволинейное распределение температуры нагрева бетона по высоте сечения элемента приводится к прямолинейному. Перепад температуры по высоте сечения элемента определяют из равенства статических моментов и площадей действительной криволинейной эпюры и приведенной расчетной трапецеидальной эпюры температур. Для практических расчетов допускается у нагреваемой грани сечения температуру сжатого бетона принимать равной 500 °С при пределе огнестойкости до R120 включительно, 575 °С - при R180 и 650 °С при R240 и температуру растянутой арматуры - по теплотехническому расчету.

Для железобетонного элемента с трещинами в растянутой зоне при прямолинейной эпюре температур температурную кривизну оси элемента определяют:

при расположении растянутой арматуры у нагреваемой грани сечения

                                                                                                     (5.76)

при расположении сжатого бетона у нагреваемой грани сечения

                                                                                                     (5.77)

где αbt и αst - коэффициенты температурной деформации бетона и арматуры, принимаемые по табл. 2.4 и 2.9, в зависимости от температуры бетона менее нагретой и температуры бетона более нагретой грани сечения (500, 575 и 650 °С) и температуры нагрева арматуры.

Изгибающий момент от неравномерного нагрева по высоте действительного сечения элемента, заделанного на опорах, а также в замкнутых рамах кольцевого, квадратного и прямоугольного очертаний, имеющих одинаковое сечение, определяют по формуле

Mt = φt (1/r)tD,                                                                                                             (5.78)

где (1/r)t - температурная кривизна, определяемая по формулам (5.76) и (5.77);

D - жесткость сечения в предельной по прочности стадии, определяемая по (5.79).

Коэффициент φt учитывает снижение температурного момента в предельной стадии. Для изгибаемых элементов φt = 0,5, для внецентренно сжатых и внецентренно растянутых элементов φ = 0, так как в предельной стадии температурных моментов у них нет.

Жесткость изгибаемых железобетонных элементов допускается определять по формуле

D = φ1Es,tAsz(h0 - x).                                                                                                    (5.79)

Коэффициент φ1 в формуле (5.79) учитывает влияние температуры на жесткость элемента и принимается равным 0,5 при пределе огнестойкости до R120 включительно; 0,4 - при R180 и 0,3 - при R240.

Для элементов прямоугольного сечения при отсутствии (или без учета сжатой арматуры) значение z - расстояния от центра тяжести растянутой арматуры до точки приложения равнодействующей усилий в сжатой зоне - определяют по формуле

z = h0 - x/3.                                                                                                                  (5.80)

Для элементов прямоугольного, таврового (с полкой в сжатой зоне) и двутаврового поперечных сечений значения z допускается принимать 0,85h0. Высоту сжатой зоны в формулах (5.79) и (5.80) разрешается вычислять по формуле (5.10) без учета сжатой арматуры. При ξ = x/h0 > ξR значение х = ξR h0. Температурный момент оказывает влияние на работу изгибаемого железобетонного элемента. При достижении предельных усилий от нагрузки, когда моменты от нагрузки и температуры суммируются, значение температурного момента снижается на 50 %. Это учитывается коэффициентом φt (формула 5.78).

В центрально и внецентренно сжатых и растянутых железобетонных элементах температурные моменты полностью снимаются продольной силой до наступления предельного состояния и не влияют на прочность.

Продольные температурные деформации в железобетонном элементе могут вызвать напряжения сжатия при несмещаемых опорах и увеличение эксцентриситета сжимающей силы в колоннах от температурного удлинения ригеля.

Для железобетонных элементов с трещинами в растянутой зоне при линейной эпюре температур по высоте сечения температурное удлинение оси элемента равно

;                                                                                                       (5.81)

где αbt и αst принимают как в формулах (5.76) и (5.77).

5.28. Для статически неопределимых конструкций расчет предела огнестойкости следует выполнять в следующей последовательности.

1. Устанавливают возможность огневого воздействия на все несущие элементы системы и их минимальные пределы огнестойкости по потере несущей способности.

2. Теплотехническим расчетом или по приложениям А и Б от воздействия стандартного пожара, длительностью соответствующего принятому пределу огнестойкости, находят температуры нагрева бетона и арматуры в поперечном сечении несущего элемента системы.

3. Для каждого элемента от непродолжительного действия нормативных постоянных и временных длительных нагрузок находят их неблагоприятное сочетание.

4. При расчете упругой системы статически неопределимой конструкции определяют усилия в элементах.

5. По найденным значениям усилий определяют жесткость сечения. Жесткость следует определять с учетом наличия трещин от огневого воздействия по всей длине элемента и изменения физико-механических свойств бетона и арматуры от нагрева.

6. Температурные усилия учитывают от неравномерного нагрева по высоте сечения элемента в изгибаемых элементах при расчете по предельным усилиям.

7. При расчете методом предельного равновесия используют перераспределение усилий и определяют моменты в пластических шарнирах только от нагрузки.

8. Требуемый предел огнестойкости каждого элемента будет обеспечен, если усилия от нормативной нагрузки и температуры во время пожара будут больше или равны усилиям от нормативной нагрузки до пожара.

В общем случае, расчет предела огнестойкости по потере несущей способности статически неопределимой конструкции зависит от схемы разрушения системы в целом, когда она превратится в механизм. Однако за предел огнестойкости конструкции следует принимать минимальный предел одного несущего элемента системы. Наступление предела огнестойкости одного несущего элемента системы не всегда приводит к обрушению всей конструкции. Однако с практической точки зрения, такой вид отказа необходимо учитывать.

ПРИМЕРЫ РАСЧЕТА

Пример 15. Дано. Опорное сечение двухпролетной балки высотой 700 мм и шириной 350 мм; бетон класса В30; Rbn = 22 МПа; Еb = 32,5·103 МПа; арматура класса А400; Rsn = 400 МПа, Rsc = 355 МПа; а = 60 мм, а' = 40 мм, Еs = 2·105 МПа; момент в опорном сечении от нормативной нагрузки Мп = -800 кН·м (рис. 5.27); Аs = 4826 мм2 (6Ø32); А' = 4021 мм2 (5Ø32).

Требуется определить предел огнестойкости опорного сечения при стандартном огневом воздействии длительностью 120 мин.

Расчет. Определение температурного момента производим по действительному опорному сечению балки с учетом изменения свойств бетона и арматуры от воздействия температуры. По рис. Б.2 приложения Б находим температуру прогрева бетона и арматуры. На опоре стержни растянутой арматуры имеют температуру: два крайних стержня 440 °С; следующих 2 стержня 140 °С и средние два стержня 50 °С. Средняя температура нагрева растянутой арматуры 210 °С. Для этой температуры по табл. 2.8 находим γst = 1,0; βs = 0,92 и по табл. 2.9 αst = 12,5·10-6 °С-1. Стержни сжатой арматуры нагреваются: два крайних стержня до 660 °С; следующих 2 стержня до 430 °С и средний стержень до 380 °С. Средняя температура нагрева сжатой арматуры 512 °С. Для этой температуры по табл. 2.8 находим γst = 0,57. Согласно п. 5.3 среднюю температуру бетона сжатой зоны находим на расстоянии 0,2h0 = 0,2(700 - 60) = 130 мм. По рис. 5.27 tbm = = 450 °С и по табл. 2.2 γbt = 0,83. При tb = 500 °С по табл. 2.4 αbt = 11·10-6 °С-1.

По формуле (5.79)

По формуле (5.9)

Плечо внутренней пары сил по (5.80)

z = 640 - 302/3 = 540 мм.

Жесткость опорного сечения по (5.79)

D = 0,5·2·105·4826·540(640 - 302) = 81·1012 Н·мм2.

Температурный момент по (5.78)

Mt = 0,5·4,5·10-6·81·1012 = 182 кН·м.

Суммарный момент в опорном сечении

М = Mt + Мп = 182 + 800 = 982 кН·м.

Огнестойкость опорного сечения по потере несущей способности при длительности огневого воздействия 120 мин проверим по условию (5.10):

М = 982 < 22·0,83·350·302 (640 - 0,5·302) +

+ 355·0,57·4021·(640 - 40) = 1432 кН·м.

Условие выполняется и опорное сечение обеспечивает предел огнестойкости по потере несущей способности R120.

Рис. 5.27. К примеру 15. Распределение температуры в бетоне и арматуре опорного сечения балки при длительности трехстороннего стандартного пожара 120 мин

Огнестойкость железобетонных плит при продавливании

5.29. При одностороннем огневом воздействии снизу плиты расчет на продавливание железобетонных плит производят при действии на них местных, нормально к плоскости плиты концентрированно приложенных сосредоточенной силы и изгибающего момента. При проверке прочности плиты на продавливание в условиях одностороннего огневого воздействия снизу плиты рассматривают расчетное поперечное сечение, расположенное вокруг зоны передачи усилий на плиту на расстоянии 0,5h0 нормально к ее продольной оси, по поверхности которого действуют касательные усилия от сосредоточенной силы и изгибающего момента.

Действующие касательные усилия должны быть восприняты бетоном с нормативным сопротивлением бетона растяжению Rbtnt и расположенной по обе стороны от расчетного поперечного сечения на расстоянии 0,5h0 поперечной арматуры с сопротивлением растяжению Rswt. Учет влияния высокотемпературного воздействия на бетон производят по формуле (2.4). Находят значения Rbtnt, принимая среднее значение коэффициента γtt.

Для того чтобы найти среднее значение коэффициента γtt, сечение плиты по высоте разбивают не менее чем на 5 частей. Для каждой части сечения находят среднюю температуру ее нагрева и по ней (табл. 2.2) определяют значение коэффициента γtt. Зная значения коэффициентов γtt для средней температуры каждой части сечения, их суммируют, делят на количество частей и получают средний коэффициент γtt. Учет влияния высокотемпературного воздействия на поперечную арматуру производят по формуле (2.9). Находят значение Rswt принимая коэффициент γst пo табл. 2.8 для максимальной температуры поперечной арматуры.

5.30. Расчет железобетонной плиты на продавливание без поперечной арматуры на действие сосредоточенной силы производят из условия

F Rbtntuh0,                                                                                                                 (5.82)

Рис. 5.28. Схема для расчета железобетонной плиты на продавливание без поперечной арматуры при одностороннем огневом воздействии снизу плиты

1 - расчетное поперечное сечение; 2 - контур расчетного поперечного сечения; 3 - контур площадки приложения нагрузки; 4 - температура нагрева бетона по высоте плиты; 5 - средняя температура участка по высоте плиты

где F - сосредоточенная сила от нормативной нагрузки перекрытия на колонну;

и - периметр контура расчетного поперечного сечения, расположенного на расстоянии 0,5h0 от границы площадки опирания сосредоточенной силы F (рис. 5.28).

При прямоугольной площадке опирания а×b периметр

и = 2(а + b + 2h0),                                                                                                      (5.83)

где h0 - рабочая высота плиты, равная среднеарифметическому значению рабочим высотам для продольной арматуры в направлении осей х и у;

Rbtnt - см. п. 5.29.

5.31. Расчет железобетонной плиты на продавливание без поперечной арматуры на действия сосредоточенной силы и изгибающего момента проводят из условия

                                                                                                         (5.84)

где M/Wb - принимается не более F/u;

Wb - момент сопротивления контура расчетного поперечного сечения.

При прямоугольной площадке опирания и замкнутом контуре расчетного поперечного сечения Wb определяют по формуле

                                                                                     (5.85)

Сосредоточенный момент М в формуле (5.84) равен половине сосредоточенного момента от внешней нагрузки.

В железобетонном каркасе здания с плоскими перекрытиями момент от внешней нагрузки равен суммарному изгибающему моменту в сечениях верхней и нижней колонн, примыкающих к перекрытию в рассматриваемом узле, а сила F направлена снизу вверх.

При действии добавочного момента Мy в направлении, нормальном направлению действия момента М, левая часть условия (5.84) увеличивается на , где Wby - момент сопротивления контура расчетного сечения в направлении момента Мy; при этом сумма  также принимается не более F/u.

Рис. 5.29. Схема для расчета на продавливание железобетонной плиты с вертикальной равномерно распределенной поперечной арматурой при одностороннем огневом воздействии снизу плиты

1 - расчетное поперечное сечение; 2 - контур расчетного поперечного сечения; 3 - граница зоны, в пределах которой учитывается поперечная арматура; 4 - контур расчетного поперечного сечения без учета в расчете поперечной арматуры; 5 - контур площадки приложения нагрузки; 6 - температура бетона по высоте плиты; 7 - средняя температура участка по высоте плиты

5.32. Расчет железобетонной плиты на продавливание с поперечной арматурой при действии сосредоточенной силы (рис. 5.29) производят из условия

F Fbt + Fsw = Rbtnt u h0 + 0,8qsw и,                                                                           (5.86)

где Rbtntu h0 > 0,8qswи;

qsw - усилие в поперечной арматуре на единицу длины контура расчетного поперечного сечения, равное при равномерном распределении поперечной арматуры

                                                                                                              (5.87)

Аsw - площадь сечения поперечной арматуры с шагом sw, расположенной в пределах расстояния 0,5h0 по обе стороны от контура расчетного поперечного сечения;

sw - шаг поперечных стержней в направлении контура поперечного сечения;

Rbtnt и Rswt - см. п. 5.29

При равномерном расположении поперечной арматуры вдоль контура расчетного поперечного сечения значение и принимается как для бетонного расчетного поперечного сечения согласно п. 5.30.

За границей расположения поперечной арматуры расчет на продавливание производят согласно п. 5.30, рассматривая контур расчетного поперечного сечения на расстоянии 0,5h0 от границы расположения поперечной арматуры.

5.33. Расчет железобетонной плиты на продавливание с поперечной арматурой при действии сосредоточенных силы и изгибающего момента (рис. 5.29) производят из условия

                                                                                           (5.88)

где M/(Mb + Msw) принимается не более F/(Fbt + Fsw), Fbt и Fsw см. п. 5.32;

Mb = RbtntWbh0 - сосредоточенный момент, воспринимаемый бетоном в расчетном поперечном сечении;

Msw = 0,8qswWs - сосредоточенный момент, воспринимаемый поперечной арматурой вдоль контура расчетного поперечного сечения.

При равномерном расположении поперечной арматуры вокруг площади опирания Wsw = Wb и вместо условия (5.88) можно воспользоваться условием (5.84) с увеличением правой части на величину 0,8qsw, принимаемой не более Rbtnt h0.

При действии добавочного момента Мy в направлении, нормальном направлению М, левая часть условия (5.88) увеличивается на , где Мby и Мswy - сосредоточенные моменты, воспринимаемые совместно бетоном и поперечной арматурой в расчетном поперечном сечении в направлении действия момента Мy; при этом сумма  также принимается не более , а Мswy не более Мbу.

5.34. Поперечную арматуру в плитах в зоне продавливания в направлении, перпендикулярном сторонам расчетного контура, устанавливают с шагом не более h0/3 и не более 300 мм. Стержни, ближайшие к контуру грузовой площадки, располагают не ближе h0/3 и не далее h0/2 от этого контура. При этом ширина зоны постановки поперечной арматуры от контура грузовой площадки должна быть не менее 1,5/h0. Расстояние между стержнями поперечной арматуры в направлении, параллельном сторонам расчетного контура, принимают не более 1/4 длины соответствующей стороны расчетного контура.

ПРИМЕРЫ РАСЧЕТА

Пример 16. Дано. Плита плоского монолитного перекрытия толщиной 220 мм; колонны, премыкающие к перекрытию сверху и снизу сечением 500×800 мм; бетон класса В30, Rbtn = 1,75 МПа, Еb = 32,5·103 МПа; нормативная нагрузка, передающаяся с перекрытия на колонну N= 600 кН.

Моменты в сечениях колонн по верхней и по нижней граням плиты равны: в направлении размера колонны 500 мм - Мх = 100 кН·м, в направлении размера 800 мм - Мy = 50 кН·м.

Требуется проверить плиту перекрытия на продавливание при пожаре снизу плиты длительностью 120 мин.

Расчет. При одностороннем огневом воздействии снизу плиты длительностью 120 мин (рис. А.2 приложения А) на плиту высотой 200 мм устанавливаем температуру прогрева бетона. Высоту плиты разделяем на 5 частей и для каждой части находим среднюю температуру бетона (рис. 5.30). По табл. 2.2 находим коэффициент условия работы бетона на растяжение: при 40 °С - γtt = 0,82; при 50 °С - γtt = 0,8; при 110 °С - γtt = 0,74; при 285 °С - γtt = 0,48 и при 685 °С - γtt = 0,02. Находим среднее значение коэффициента γtt

По формуле (2.4) Rbtnt = 1,75·0,572 = 1,0 МПа. Усредненную рабочую высоту плиты принимаем равной h0 = 180 мм. За сосредоточенную продавливающую силу принимаем нагрузку на перекрытия F = N = 600 кН; за площадь опирания этой силы - сечение колонны а×b = 500×800 = 400000 мм2.

Определим геометрические характеристики контура расчетного поперечного сечения: периметр и =2 (а + b + 2h0) = 2(500 + 800 + 2·180) = 3320 мм.

Момент сопротивления в направлении момента Мх (при а = 500 мм, b = 800 мм)

Рис. 5.30. К примеру 16

1 - первое расчетное сечение; 2 - второе расчетное сечение; 3 - контур 1-го расчетного сечения; 4 - контур 2-го расчетного сечения; t, °С - распределение температуры по высоте плиты; 5 - средняя температура участка сечения

Момент сопротивления в направлении момента Мy (при а = 800 мм, b - 500 мм)

За расчетный сосредоточенный момент в каждом направлении принимаем половину суммы моментов в сечении по верхней и нижней гранями плиты

Проверяем условие (5.84), принимая М = Мxp = 50 кН·м; Wb = Wbx = 820760 мм2 и добавляя к левой части

При этом  Следовательно, момент не корректируем.

Условие (5.84) не выполняется и необходимо устанавливать в плите поперечную арматуру.

Принимаем согласно п. 5.34 шаг поперечных стержней sw = 60 мм ≤ h0/3 = 180/3 = 60 мм. Первый рад стержней располагаем на расстоянии от колонны 75 мм < h0/2 = 90 мм и 75 мм > > h0/3 = 60 мм. Тогда в пределах расстояния 0,5h0 = 90 мм по обе стороны от контура расчетного поперечного сечения могут разместиться в одном сечении 2 стержня. Принимаем стержни из арматуры класса А300 с Rsw = 215 МПа диаметром 6 мм. При усредненном расстоянии продольной нижней арматуры от нагреваемой грани плиты а' = 40 мм температура поперечной арматуры равна 450 °С (рис. 5.30). По табл. 2.8 коэффициенту γst = 0,72 и по формуле (2.9) Rswt = 215·0,72 = 155 МПа. Тогда Аsw = 57 мм2 и

При этом согласно п. 5.32 предельное усилие, воспринимаемое поперечной арматурой и равное 0,8 qsw и = 0,8·144 и = 115и, должно быть не менее 0,25Fb = 0,25 Fb Rbtnt h0 и = 0,25·180u = 45u. Как видим, это требование выполнимо.

Проверяем условие (5.84) с добавлением к правой части значения 0,8 qsw.

Можно считать, что прочность расчетного сечения с учетом установленной поперечной арматуры обеспечена. 324 < 327 всего на 1 %, что находится в пределах точности расчета.

Проверяем прочность расчетного сечения с контуром на расстоянии 0,5h0 за границей расположения поперечной арматуры. Согласно требованиям п. 5.34 последний ряд поперечных стержней располагается на расстоянии от грузовой площади (т.е. от колонны), равном 75 + 4·60 = 315 мм > 1,5 h0 = 1,5·180 = 270 мм. Тогда контур нового расчетного сечения имеет размеры: а = 500·2·315 + 180 = 1310 мм; b = 800 + 2·315 + 180 = 1610 мм.

Его геометрические характеристики: и = 2(1310 + 1610 + 2·180) = 6560 мм;

Проверяем условие (5.84) с учетом момента Мур. При этом пренебрегаем в «запас» уменьшением продавливающей силы F за счет нагрузки, расположенной на участке с размерами (а + h0)(b + h0) вокруг колонны

Прочность этого сечения обеспечена. Таким образом, предел огнестойкости по потере несущей способности R120 при воздействии стандартного пожара длительностью 120 мин при продавливании плиты около колонны обеспечен.

Потери предварительного напряжения в арматуре при пожаре

5.35. При огневом воздействии во время пожара происходят дополнительные потери предварительного напряжения в арматуре.

Учет дополнительных потерь предварительного напряжения в арматуре необходим при расчете деформаций и при решении вопроса дальнейшего использования конструкций после пожара. При пожаре возникают дополнительные потери предварительного напряжения в арматуре, вызванные температурной усадкой и ползучестью бетона, релаксацией напряжения в арматуре при нагреве и разностью температурных деформаций бетона и арматуры.

При огневом воздействии бетон на уровне продольной арматуры интенсивно прогревается и происходит температурная усадка бетона. Деформация температурной усадки тяжелого бетона даже при кратковременном нагреве больше, чем при нормальной температуре. Значение потерь предварительного напряжения от температурной усадки допускается принимать равным 40 МПа.

Потери предварительного напряжения арматуры от релаксации напряжений в арматуре за счет развития пластических деформаций арматуры при нагреве зависят от значения напряжений в арматуре и температуры ее нагрева.

Потери предварительного напряжения в арматуре от релаксации напряжений за 1-3 ч нагрева допускается принимать равными 0,001 Δtsσsp. Предварительное напряжение в арматуре σsp определяют с учетом всех потерь при нормальной температуре; Δts - разность между температурой нагрева арматуры при пожаре и температурой при натяжении.

От воздействия температуры из-за различия температурных деформаций бетона и арматуры возникают потери предварительного напряжения, которые принимают равными (αst - αbt) ΔtsEst. Значения коэффициента αbt определяют по табл. 2.4, коэффициента αst - по табл. 2.9 и модуля упругости арматуры Est - по формуле (2.10) в зависимости от температуры арматуры.

Потери предварительного напряжения арматуры, вызванные быстро натекающей ползучестью бетона при нагреве, зависят от напряжений в бетоне на уровне продольной арматуры и их допускается принимать равными 100σbp, где σbp - сжимающие напряжения в бетоне на уровне продольной арматуры.

В элементах из бетона классов В30 и выше, имеющих преднапряжение порядка σsp = 0,6 - 0,8Rs, после огневого воздействия остаток предварительного напряжения в арматуре определяют:

в стержневой арматуре классов

А600

σsp = 84 - 0,4ts

(5.89)

А800

σsp = 87 - 0,39ts

(5.90)

А1000

σsp = 92 - 0,26ts

(5.91)

в проволочной арматуре классов Вр1200 - Вр1500, К1400 - К1500

σsp = 89 - 0,27 ts,                                                                                                    (5.92)

где σsp ≥ 0 - остаток предварительного напряжения в арматуре, % исходного значения при изготовлении;

ts >20 - температура арматуры при пожаре, °С.

Из формул (5.89 - 5.92) следует, что во время пожара от огневого воздействия происходит полная потеря предварительного напряжения в стержневой арматуре класса А600 при ее нагреве свыше 210 °С, класса А800 - свыше 220 °С, класса А1000 - свыше 350 °С и в проволочной классов Вр1200 - Вр1500, К1400 - К1500 - свыше 330 °С.

При нагреве арматуры ниже температуры, при которой происходит полная потеря предварительного напряжения, во время остывания может наблюдаться некоторое восстановление потерь преднапряжения в арматуре из-за различия температурных деформаций арматуры и бетона.

Потери предварительного напряжения в арматуре при нагреве выше температуры, при которой происходит полная потеря предварительного напряжения при пожаре, после пожара не восстанавливаются.

6. РАСЧЕТ ЦЕЛОСТНОСТИ БЕТОНА ПРИ ПОЖАРЕ

6.1. Потеря целостности - или образование сквозных отверстий или сквозных трещин во влажном бетоне при одностороннем нагреве - наступает через 5-20 мин после начала пожара и сопровождается отколами бетона от нагреваемой поверхности.

В тонкостенных железобетонных конструкциях толщиной 40-200 мм это приводит к образованию сквозных отверстий и трещин. В конструкциях толщиной более 200 мм это приводит к отколам кусков бетона толщиной до 50-100 мм, что уменьшает поперечное сечение элемента.

Причиной хрупкого разрушения бетона при пожаре является образование трещин в структуре бетона и их переход в неравновесное спонтанное развитие под воздействием внешней нагрузки и неравномерного нагрева и фильтрации пара по толщине сечения элемента.

6.2. Во избежание хрупкого разрушения в бетоне напряжения сжатия в бетоне не должны превышать значений, указанных на рис. 6.1, независимо от вида бетона.

Рис. 6.1. Зависимость хрупкого разрушения бетона от напряжений сжатия в бетоне и толщины элемента

6.3. В железобетонных конструкциях из тяжелого бетона с силикатным заполнителем и влажностью более 3,5 %, с карбонатным заполнителем и влажностью более 4 % возможно хрупкое разрушение бетона при пожаре.

Возможность хрупкого разрушения бетона при пожаре по В.В. Жукову оценивается значением критерия хрупкого разрушения F. Если F ≤ 4, то хрупкого разрушения бетона не будет. Если F > 4, то бетон будет хрупко разрушаться, и предел огнестойкости по целостности не будет превышать Е15. Критерий хрупкого разрушения бетона следует определять по формуле

F = btEbtρWэ/K11λп,                                                                                                 (6.1)

где а - коэффициент пропорциональности, равный 1,16·10-2 Вт·м-3/2;

αbt - коэффициент температурной деформации бетона, принимают по табл. 2.4 для температуры бетона 250 °С;

Еbt - модуль упругости бетона, МН/м2 (МН/м2 = МПа = 10 кгс/см2), определяют по формуле (2.5), в которой коэффициент (βb принимают по табл. 2.2 при нагреве бетона до 250 °С;

ρ - плотность бетона в сухом состоянии, кг/м3, принимают равной плотности бетона в естественном состоянии за вычетом испаряющейся воды в количестве 150 кг/м3;

K11 - коэффициент псевдоинтенсивности напряжений бетона, МН·м-3/2, принимают по табл. 6.1 в зависимости от вида и количества крупного заполнителя;

λ - коэффициент теплопроводности бетона, Вт/(м·°С), определяют по формулам (3.2) и (3.3) для температуры бетона 250 °С;

п - общая пористость бетона.

Общую пористость бетона с плотными заполнителями определяют по формулам:

для бетона с В/Ц ≥ 0,4

п = Ц(В/Ц - 0,2)10-3;                                                                                                   (6.2)

для бетона с В/Ц < 0,4

п = (В/Ц·8·10-4)Ц.                                                                                                       (6.3)

При наличии в составе бетона микрокремнезема (МК) или модификатора (МБ) значения водоцементного отношения в формулах (6.2) и (6.3) принимают: в бетоне с микрокремнеземом

                                                                                                          (6.4)

в бетоне с модификатором

                                                                                                      (6.5)

Объемная эксплуатационная влажность бетона Wэ, м33, равна:

Wэ = Wbρ10-3,                                                                                                              (6.6)

где Wb - равновесная влажность бетона по массе, кг/кг.

Таблица 6.1

Вид заполнителей

Значения K11, МН·м-3/2, в зависимости от содержания крупного заполнителя в бетоне, %

35

50

Природный песок и силикатный щебень

0,47

0,53

Природный песок и карбонатный щебень

0,39

0,44

Примечания:

1. При крупности заполнителя более 10 мм значения K11 умножают на 1,14.

2. Для бетона тепловлажностной обработки значения K11 делят на 1,4.

3. Значения K11 для расхода крупного заполнителя <50 и >35 % принимаются по линейной интерполяции.

6.4. Максимальная равновесная влажность бетона в железобетонных конструкциях может сохраняться в первый месяц влажного твердения бетона или при эксплуатации во влажных условиях, когда все поры и капилляры заполнены водой.

Равновесную влажность бетона в зависимости от относительной расчетной влажности воздуха, при которой будет эксплуатироваться железобетонная конструкция, и от расхода цемента принимают по табл. 6.2.

Таблица 6.2

Расход цемента, кг на 1 м3 бетона

Весовая влажность бетона Wb·102, кг/кг, в зависимости от относительной расчетной влажности воздуха, %

25

50

75

200

0,6

0,9

1,2

300

1,0

1,3

2,5

400

1,5

2,1

3,0

500

2,0

2,7

3,8

700

3,0

3,9

5,4

Примечание. Промежуточные значения Wb принимают по линейной инерполяции.

6.5. Как видно из формулы (6.1), значение критерия хрупкого разрушения бетона F зависит от физических свойств бетона, которые незначительно отличаются для разных составов, и от объемной эксплуатационной влажности бетона, которая существенно влияет на значение этого критерия. Чем больше влажность бетона, тем больше значение критерия хрупкого разрушения и тем больше опасность возможности хрупкого разрушения бетона во время пожара.

Необходимо рассматривать возможность хрупкого разрушения бетона при пожаре как во время строительства, так и в период пуска объекта в эксплуатацию и при эксплуатации сооружения в зависимости от относительной расчетной влажности воздуха.

6.6. Бетон, имеющий значение критерия хрупкого разрушения F > 4, необходимо защитить от хрупкого разрушения во время пожара следующими мерами:

1) повышением противопожарной безопасности, чтобы в случае пожара его можно было локализовать на начальной стадии;

2) снижением расчетной относительной влажности воздуха в помещении;

3) дополнительным конструктивным армированием поверхностного слоя бетона со стороны нагрева арматурной сеткой с ячейками 25-70 мм и диаметром арматуры 0,5-1,0 мм;

4) нанесением огнезащитного покрытия толщиной 2-4 см на нагреваемую поверхность бетона;

5) устройством металлической облицовки со стороны нагреваемой поверхности;

6) применением бетонов с ограниченным расходом цемента, уменьшенным В/Ц, крупным заполнителем с более низким коэффициентом температурного расширения.

ПРИМЕРЫ РАСЧЕТА

Пример 17. Дано. Составы тяжелого бетона, которые применяли при строительстве подземного торгового центра (табл. 6.3).

Таблица 6.3

№ состава бетона

Наименование конструкций, в которых применяли бетон

Класс бетона по прочности

на сжатие

Состав бетонной смеси, кг/м3

Плотность бетона, кг/м3

в/ц

Щебень, %

Цемент

Ц

Микро­кремне­зем

МК

Песок П

Щебень Щ

Вода

В

Модифи­катор бетона

МБ

Естествен­ной влажности

ρ1

Сухого

ρ

1

Стена в грунте, пандус

В30

370

45

760

1030

176

 

2380

2230

0,42

0,43

2

Плиты перекрытий

В30

550

 

700

960

200

 

2410

2260

0,36

0,40

3

Плиты покрытий

В40

400

55

700

1030

185

 

2370

2220

0,41

0,43

4

То же

В40

430

 

660

1050

180

50

2370

2220

0,38

0,44

5

Колонны, балки перекрытий

В55

500

60

580

1070

175

 

2390

2240

0,31

0,45

6

В55

490

 

630

1050

175

50

2400

2250

0,33

0,44

Требуется определить возможность хрупкого разрушения бетона в железобетонных конструкциях при огневом воздействии пожара.

Расчет. Наибольшую влажность бетон имеет после изготовления конструкций. Поэтому рассмотрим возможность хрупкого разрушения бетона при пожаре во время строительства объекта, когда относительная расчетная влажность воздуха 75 %.

Определение критерия хрупкого разрушения бетона F производим по формуле (6.1), в которую входят значения указанных ниже физических величин.

Коэффициент температурной деформации тяжелого бетона на силикатном заполнителе при нагреве до 250 °С принимаем по табл. 2.4 - αbt = 8,25·10-6 °С-1.

Коэффициент теплопроводности тяжелого бетона на силикатном заполнителе при 250 °С определяем по формуле (3.2)

λ = 1,2 - 0,00035·250 = 1,11 Вт/(м·°С).

Коэффициент псевдоинтенсивности напряжения бетона принимаем по табл. 6.1 с учетом примечания 1, так как крупность заполнителя для всех составов бетона была 20 мм. Для 1-го состава бетона K11 = 0,58·103 кН/м-3/2.

Модуль упругости для бетона класса В30 принимаем по табл. 2.3 - Eb = 32,5·103 МПа.

Коэффициент βb, учитывающий снижение модуля упругости бетона с повышением температуры до 250 °С, принимаем по табл. 2.2 - βb = 0,6.

Еbt = 32,5·103·0,6 = 19,5·103 МН/м2; ρ = 2380-150 = 2230 кг/м3.

Общую пористость бетона определяют по формулам (6.2) и (6.3).

Для 1-го состава с В/Ц = 0,42 > 0,4

П = 0,1(3,7 + 0,45)(0,42 - 0,2) = 0,091.

Для 2-го состава с В/Ц = 0,36 < 0,4

П = 0,08·5,5·0,36 = 0,158.

Объемная эксплуатационная влажность бетона определяется по формуле (6.6), в которой равновесная влажность бетона принимается по табл. 6.2 в зависимости от относительной расчетной влажности воздуха. Для 1-го состава бетона (табл. 6.3) Wэ = 0,1·0,028·22,3 = 0,062 и критерий хрупкого разрушения бетона равен:

Для других составов бетона вычисленные значения критерия хрупкого разрушения бетона F приведены в табл. 6.4. Как видно из таблицы, для составов бетона 1, 2, 3, 5 и 6 значения F≥4.

Таблица 6.4

№ состава бетона

K11, кН/м·10-3/2

Ebt, кН/м·104

Плотность, м33

Расчетная относительная влажность воздуха, %

75

50

Wb

Wэ

F

Wb

Wэ

F

1

0,58

1,95

0,091

0,028

0,062

4,4

0,019

0,042

3,0

2

0,58

1,95

0,158

0,042

0,095

4,0

0,028

0,063

2,7

3

0,58

2,16

0,096

0,030

0,067

5,0

0,021

0,047

3,8

4

0,57

2,16

0,147

0,032

0,071

3,7

0,023

0,051

2,7

5

0,56

2,34

0,139

0,038

0,085

5,0

0,027

0,060

3,5

6

0,57

2,34

0,129

0,037

0,083

5,1

0,026

0,059

3,6

В стене в грунте, в пандусах, плитах покрытий и перекрытий, в колоннах и балках возможно хрупкое разрушение бетона при пожаре во время строительства. Поэтому необходимо серьезное внимание обратить на технику пожарной безопасности, чтобы в случае возгорания пожар можно было бы локализовать на начальной стадии.

Следует отметить, что в железобетонных конструкциях перекрытий, у которых нижняя поверхность облицована профильным стальным листом, и в ограждающих конструкциях «стена в грунте», имеющих облицовку из металлического листа с внутренней поверхности, взрывообразного разрушения не будет, так как облицовка препятствует отколу бетона с нагреваемой поверхности. В этих конструкциях возможно только образование трещин глубиной до 5 см, которые не окажут влияния на прочность и деформативность конструкций и не снизят их предел огнестойкости.

После распалубки железобетонных конструкций влажность бетона уменьшается, так как нарушается гигрометрическое равновесие с воздухом. Влажный капиллярно-пористый бетон высыхает. Испарение влаги из бетона начинается в первую очередь из крупных пор и капилляров за счет нарушения физико-механических связей и удаления свободной воды. Затем начинается испарение воды из микропор и мелких капилляров. После удаления капиллярной воды начинается удаление структурно связанной и адсорбционной воды из структурных ячеек, образованных мельчайшими кристалликами продуктов гидратации цемента и полимолекулярно адсорбированных слоев. Последней удаляется вода, адсорбированная в виде мономолекулярных слоев.

Начальная максимальная влажность бетона в конструкции после изготовления - 5 %. В первые полгода влажность бетона в средних слоях и на поверхности выравнивается и уменьшается. Через год влажность бетона не превышает 2,5 % и после двух лет составляет менее 2,0 %. Равновесная влажность бетона при относительной влажности воздуха 60 % не более 1,5 % и при 70 % - не более 2,5 %.

Затем влажность бетона уменьшается и влагопотери доходят до 2 - 5 %.

Теперь рассмотрим случай пуска в эксплуатацию комплекса, когда системы отопления и кондиционирования воздуха еще не пущены в нормальную эксплуатацию и влажность воздуха - 50 %.

Значения критерия хрупкого разрушения бетонов F вычисляли по формуле (6.1). Из табл. 6.4 видно, что все составы бетона в пусковой период не будут разрушаться, так как значения F < 4.

При эксплуатации в летний период влажность воздуха будет 45 - 55 % и хрупкого разрушения бетона не будет.

В холодное время года, когда относительная влажность воздуха в помещениях будет еще меньше (35-45 %), бетон тем более не будет хрупко разрушаться в железобетонных конструкциях подземного торгового центра в период пуска в эксплуатацию и при эксплуатации.

Сухой капиллярно-пористый бетон при повышении влажности в помещениях будет вновь впитывать ее и увлажняться. Если нарушится нормальная работа системы обеспечения или через стены и днище будет попадать вода, а дренаж не будет работать, то влажность бетона может быстро повыситься до максимальной, как это было установлено при обследовании железобетонных конструкций подземного гаража. В этом случае возможно хрупкое разрушение бетона во время пожара.

7. ОГНЕСОХРАННОСТЬ ЖЕЛЕЗОБЕТОННЫХ КОНСТРУКЦИЙ ПОСЛЕ ПОЖАРА

7. 1. При проектировании железобетонных конструкций, указанных в п. 1.23, должна быть проверена их огнесохранность после возможного пожара. При этом необходимо учитывать последствия разрушающего воздействия огня на наружные слои бетона и арматуру.

Прочность после пожара

7.2. Прочность железобетонных элементов рассчитывают для нормальных и наклонных сечений согласно указаниям раздела 5.

Сопротивление бетона сжатию, нагретого выше критической температуры, допускается не учитывать, сопротивление бетона сжатию принимают равномерно распределенным по сжатой зоне. В этом случае при температуре нагрева ниже критической температуры расчетные сопротивления принимают: сжатию Rb и растяжению Rbt, но модуль упругости бетона Еbt принимают с учетом влияния температуры. Расчетные сопротивления арматуры растяжению после огневого воздействия при пожаре принимают равными Rst и сжатию Rsct.

Значение коэффициентов условия работы арматуры γst в охлажденном состоянии после пожара принимают по табл. 2.8 в зависимости от температуры нагрева арматуры во время пожара. Прогрев бетона до критической температуры во время пожара устанавливают по рис. 5.1 - 5.3 и теплотехническим расчетом (приложения А, Б).

7.3. При расчете огнесохранности железобетонных конструкций по деформационной модели и с ЭВМ изменения свойств бетона после пожара учитывают по всему сечению элемента:

7.4. При расчете прочности нормальных сечений железобетонных элементов следует учитывать, что элементы, рассчитанные на работу до пожара при х ξRh0, после пожара могут работать при х > ξRh0t из-за уменьшения рабочей высоты сечения после прогрева наружных слоев бетона выше критической температуры.

Когда условие х ξRh0 не соблюдается, момент определяют по формулам (5.10) и (5.11), подставляя в них значения высоты сжатой зоны х = ξRh0. Значение ξR определяют по табл. 5.1.

ПРИМЕРЫ РАСЧЕТА

Пример 18. Дано. Плита перекрытия высотой 220 мм армирована сетками из арматуры класса А500С Ø14 мм; в опорных сечениях сетка с ячейками 100×100 мм с площадью арматуры на 1 м длины As =1539 мм2 и в пролете с ячейками 200×200 мм; A's = 769 мм2; бетон класса В35; Rb =19,5 МПа; арматура класса А500; Rs = 435 МПа; Rsc = 400 МПа.

Требуется определить прочность плиты после пожара длительностью 180 мин.

Расчет. Средняя рабочая высота в местах пересечения арматуры стержней при a = a' = 54 мм в пролете h0 = 220-54 = 166 мм. По рис. А2 приложения А для плиты высотой 200 мм находим температуру прогрева бетона глубиной 54 и 166 мм, которую принимаем за температуру арматуры ts = 495 °С и t's = 60 °С. По табл. 2.8 для арматуры класса А500 при 495 °С коэффициент условия работы арматуры в охлажденном после пожара состоянии в пролете равен γst =0,91 и γ'st =1,0. Расчетный момент в пролете Мпр = 33,0 кН·м и на опоре - 61,5 кН·м. Коэффициент условия работы бетона γb = 0,9.

Высота сжатой зоны по (5.9) без учета сжатой арматуры в пролете равна

Прочность сечения в пролете определяем по формуле:

М = Rst·As(h0 - 0,5x) = 0,91·435·769(166-0,5·17,3) = 47,8 кН·м > 33 кН·м.

Проверяем прочность опорного сечения. Расчетный момент Моп = 61,5 кН·м. Прогрев сжатой зоны бетона до критической температуры бетона по рис. А2 приложения А - at = 53 мм. Рабочая высота сечения h0t = h0 - a - at = 220-54-53 = 113 мм.

Высота сжатой зоны по (5.9) без учета сжатой арматуры с учетом γb2 = 0,9 на опоре равна

Тогда прочность опорного сечения равна М = 435·1539(113 - 0,5·38) = 62,9·106 Н·мм > 61,5кН·м.

Прочность пролетного и опорного сечений плиты перекрытия после стандартного пожара длительностью 180 мин обеспечена. Плита имеет достаточную огнесохранность и может эксплуатироваться после пожара без усиления. Потребуется только ремонт защитного слоя бетона.

Пример 19. Дано. Колонна примера 10, имеющая предел огнестойкости R180 мин. Усилия от расчетной нагрузки N = 11750 кН, М = 27,8 кН·м.

Требуется определить огнесохранность колонны после пожара длительностью 180 мин: Rb = 19,5 МПа; Еb = 34,5·103 МПа; Es =2·105 МПа.

Расчет. При действии постоянных длительных нагрузок для арматуры класса А500 Rsc = Rs = 435 МПа. Расчетное сопротивление бетона, сжатого при длительной нагрузке, умножаем на коэффициент условия работы - 0,9 Rb = 19,5·0,9 = 17,55 МПа.

Из рис. 5.23 видно, что стержни при пожаре нагревались от 50 °С до 700 °С. Только 4 стержня имеют температуру 700 °С и 12 стержней - 480 °С. По табл. 2.8 в охлажденном состоянии после нагрева до 700 °С и 480 °С коэффициент условия работы арматуры равен γst = 0,91 и 0,7. Остальные 9 стержней с температурой нагрева от 50 до 480 °С имеют γst = 1.

Эксцентриситет продольной силы по (5.35)

Эксцентриситет продольной силы не превышает случайный эксцентриситет, максимальное значение которого составило h/30=600/30 = 20 мм. Колонна на одной опоре имеет жесткую заделку и на другой - податливую заделку l0 = 0,7l = 0,7·3,9 = 2,75 м < 20ht = 20·0,5 = 10 м. При продольной силе со случайным эксцентриситетом е0 = 20 мм и при l0 < 20ht расчетное усилие определяем из условия (5.29), в котором коэффициент φ = φst = 0,93 (см. табл. 5.2), так как отношение площади промежуточных стержней к площади всей арматуры, деленной на три, больше 0,5 (см. пример 10).

Продольную силу колонна после пожара может выдержать

N = 0,93[17,55·0,23·106 + 435(9·1018·1 + 12·1018·0,91 + 4·1018·0,70)] = 13113 > 11750 кН.

Прочность колонны после пожара больше расчетного усилия. Таким образом огнесохранность колонны после пожара длительностью 180 мин обеспечена без какого-либо усиления.

Пример 20. Дано. Простенок примера 12, имеющий предел огнестойкости по потере несущей способности R180; расчетная нагрузка N = 8000 кН, М = 60,0 кН·м; Rb = 19,5 МПа; Rs = 435 МПа; Rsc = 400 МПа; Eb = 34,5·103 МПа; Еs = 2 105 МПа; γb2 = 0,9.

Требуется определить огнесохранность простенка после пожара.

Расчет. Во время пожара длительностью 180 мин простенок подвергался одностороннему огневому воздействию, при этом аt = 53 мм, ts = 460 °С, t's = 55 °С. При этих температурах нагрева γst = 0,92; γ'st = 1,0 (табл. 2.8). При tbm = 200 °С βbt = 0,7.

Модуль арматуры Es при нагреве в охлажденном состоянии не изменяется, тогда μα по (5.4) равно

Жесткость сечения простенка по (5.39) равна

Условная критическая сила по (5.37)

Коэффициент учета прогиба по (5.36)

После пожара в охлажденном состоянии прогиб от неравномерного нагрева не учитывают. Тогда общий эксцентриситет по (5.34) равен е = 7,5·1,15 + 0,5(187 - 60) = 71,1 мм.

Момент от расчетной нагрузки равен М = Ne = 8000·0,0711 = 569 кН·м.

Высота сжатой зоны по (5.32) получилась больше граничной ξ > ξR, поэтому определяем высоту сжатой зоны по (5.33) при ξR > 0,493 (см. табл. 5.1)

После стандартного пожара длительностью 180 мин прочность простенка по (5.31) равна

М = 19,5·0,9·1394·133 (187 - 0,5·133)+400·10179 (187 - 60) = 907 кН·м >569 кН·м.

Условие (5.31) соблюдено и простенок после стандартного пожара длительностью 180 мин имеет достаточную огнесохранность. Простенок без усиления может в дальнейшем эксплуатироваться после ремонта защитного слоя бетона.

Расчет ширины раскрытия трещин после пожара

7.5. После пожара от огневого воздействия в изгибаемых железобетонных элементах в растянутой зоне уже имеются нормальные трещины, поэтому определение момента образования трещин не проводят. Во время огневого воздействия прочность и модуль упругости бетона снизились и развились деформации температурной усадки бетона, которые после охлаждения не восстанавливаются.

Проверку ширины раскрытия трещин в железобетонных элементах после пожара проводят по действительным сечениям по формуле

                                                                                             (7.1)

где φ1 - коэффициент, учитывающий продолжительность действия нагрузки; φ1 = 1,0 - при непродолжительном действии нагрузки; φ1 = 1,4 - при продолжительном; φ2 - коэффициент, учитывающий профиль продольной арматуры; φ2 = 0,5 - для арматуры периодического профиля; φ2 = 0,8 - для гладкой арматуры.

7.6. Значение коэффициента ψs для изгибающих элементов допускается определять по формуле (7.2) без учета арматуры, но не менее 0,2

                                                                                                 (7.2)

Прочность бетона на растяжение Rbt,ser,t определяют по формуле (2.3), принимая коэффициент γtt по табл. 2.2 по температуре бетона на уровне растянутой арматуры. Допускается коэффициент ψs принимать равным 1.

Рис. 7.1. Схема напряжений и деформаций в сечении с трещиной при действии изгибающего момента (а, б), изгибающего момента и продольной силы (в)

1 - центр тяжести приведенного сечения

____________ δ ≤ 0,2

------------------ δ ≥ 0,3

δ = h'f/h0; для сечений без сжатой полки δ = 2а'/h0

Рис. 7.2. Коэффициент ζ = zs/h0 для определения плеча внутренней пары сил

7.7. Напряжения в растянутой арматуре σs (рис. 7.1) определяют по формуле

                                                                                                                   (7.3)

где zs - плечо внутренней пары сил, равное zs = ζh0, а коэффициент ζ, определяется по графику рис. 7.2 в зависимости от μαs1:  - по табл. 2.1; εb1,red - по табл. 8.1 в зависимости от наименьшей температуры сжатой зоны бетона.

При действии изгибающего момента М и сжимающей продольной силы N в элементах прямоугольного сечения напряжение σs в растянутой арматуре допускается определять по формуле

                                                                                                               (7.4)

Расстояние от центра тяжести растянутой арматуры до точки приложения продольной силы N равно

                                                                                                          (7.5)

Коэффициент φcrc определяется по табл. 7.1.

Таблица 7.1

e/h0

Коэффициенты φcrc

при A'sAs и значениях μαs1, равных

при A's = 0 и значениях μαs1, равных

0,01

0,05

0,10

0,20

≥0,40

0,01

0,05

0,10

0,20

≥0,40

≤ 0,8

0,01

0,06

0,07

0,08

0,08

0,01

0,06

0,10

0,20

0,18

1,0

0,13

0,20

0,23

0,25

0,26

0,13

0,20

0,26

0,31

0,36

1,2

0,25

0,33

0,37

0,39

0,40

0,25

0,33

0,38

0,43

0,49

1,5

0,42

0,48

0,52

0,54

0,55

0,42

0,48

0,53

0,58

0,64

2,0

0,56

0,63

0,66

0,68

0,69

0,56

0,63

0,67

0,72

0,78

3,0

0,73

0,79

0,82

0,84

0,85

0,73

0,79

0,82

0,88

0,936

4,0

0,80

0,86

0,90

0,93

0,93

0,80

0,86

0,91

0,96

1,01

Примечание.  При 0 < A's < As коэффициенты φcrc определяются линейной интерполяцией.

7.8. Расстояние между трещинами ls определяют по результатам измерения при натурном освидетельствовании конструкций, поврежденных пожаром, или расчетом

                                                                                                               (7.6)

и принимают не менее 10ds и 100 мм и не более 40ds и 400 мм для элементов с h < 1000 мм. Здесь Аbt - площадь сечения растянутого бетона;

As - площадь сечения растянутой арматуры;

ds - номинальный диаметр арматуры.

Значения Аbt вычисляют при высоте растянутой зоны приведенного сечения элемента, определяемой по формуле

y = ytk,                                                                                                                         (7.7)

где yt - высота растянутой зоны бетона, определяемая как для упругого материала при коэффициенте приведения арматуры к бетону

α = Es/Ebt;                                                                                                                    (7.8)

Ebt - определяем по табл. 2.3 и формуле (2.5), в которой βb принимают по табл. 2.2 в зависимости от температуры бетона в центре сечения элемента;

k - поправочный коэффициент, равный 0,90 для прямоугольных сечений и тавровых сечений с полкой в сжатой зоне; 0,95 - для двутавровых (коробчатых) сечений и тавровых с полкой в растянутой зоне.

Значение yt принимают равным:

для изгибаемых элементов

yt = Sred/Ared;                                                                                                                 (7.9)

для внецентренно сжатых элементов

                                                                                                   (7.10)

где Rbt,ser,t - см. (7.2).

Статический момент полного приведенного сечения относительно растянутой грани

Sred = Sb + αSs + αS'sc.                                                                                                  (7.11)

Статический момент бетонного сечения относительно растянутой грани

Sb = 0,5h.                                                                                                                 (7.12)

Статический момент соответственно растянутой и сжатой арматуры относительно растянутой грани

Ss = Aa;                                                                                                                       (7.13)

Ssc = A(h0 - a').                                                                                                             (7.14)

Площадь приведенного поперечного сечения равна

Ared = A + αAs + αAsc.                                                                                                 (7.15)

При определении площади растянутой зоны бетона Аbt значение высоты yt принимается не менее 2а и не более 0,5h.

7.9. Деформации бетона, вызванные температурной усадкой во время огневого воздействия при пожаре, в охлажденном состоянии бетона после пожара определяют по формуле

εcs = αcstb,                                                                                                                     (7.16)

где αcs - коэффициент температурной усадки бетона, принимаемый по табл. 2.5 в зависимости от температуры бетона tb на уровне арматуры во время пожара.

7.10. Если фактическое раскрытие трещин после пожара превышает допустимые значения, но не препятствует нормальной эксплуатации здания или сооружения, допускается не предусматривать усиление конструкции либо снижение нагрузки.

Расчет прогиба после пожара

7.11. Во время пожара в изгибаемых, внецентренно сжатых и внецентренно растянутых элементах при эксплуатационной нагрузке от огневого воздействия происходит развитие дополнительного прогиба из-за значительного нагрева растянутой арматуры и перепада температуры по высоте сечения.

При температуре нагрева арматуры до 350 °С прогиб железобетонного элемента развивается в основном за счет температурного расширения арматуры и бетона у более нагреваемой поверхности.

При более высоких температурах огневого воздействия прогиб развивается в основном из-за высокотемпературной ползучести арматуры.

При пожаре прогиб состоит из прогиба от воздействия нагрузки и прогиба от воздействия температуры.

После пожара, в охлажденном состоянии, прогиб от неравномерного нагрева по высоте сечения элемента уменьшается, и оставшаяся часть прогиба от нагрузки значительно больше, чем прогиб от нагрузки до пожара из-за снижения модуля упругости бетона и развития пластических деформаций арматуры при нагреве.

При остывании после пожара прочностные и упругопластические свойства бетона практически не восстанавливаются, а в арматуре происходит частичное восстановление прочности и полное восстановление упругости.

Рис. 7.3. Схема напряжений и деформаций в приведенном поперечном сечении элемента с трещинами при расчете по деформациям при действии изгибающего момента (а), изгибающего момента и продольной силы (б)

1 - центр тяжести приведенного сечения

7.12. После пожара железобетонные элементы в растянутой зоне имеют трещины с нагреваемой стороны по всей длине пролета (рис. 7.3).

Для изгибаемых элементов, имеющих постоянную высоту по длине элемента, в пределах которого изгибаемый момент не меняет знак, кривизну допускается вычислять для наиболее напряженного сечения, принимая ее для остальных сечений изменяющейся пропорционально значению изгибаемого момента.

Для свободно опертых и консольных элементов максимальный прогиб допускается определять по формуле

f = Sl2 (1/r)mах,                                                                                                           (7.17)

где S - коэффициент, зависящий от вида нагрузки и от расчетной схемы элемента, принимаемый по табл. 7.2.

Таблица 7.2

Схема загружения свободно опертой балки

Коэффициент S

Схема загружения консоли

Коэффициент S

5

48

1

4

1

12

1

3

Примечание. При загружении элемента сразу по нескольким схемам S = ΣsiMiMi, где si и Mi - соответственно коэффициент S и момент М в середине пролета балки или заделке консоли для каждой схемы загружения. В этом случае кривизна  определяется при значении М, равном ΣMi.

Для изгибаемых элементов с защемленными опорами прогиб в середине пролета может определяться по формуле

                                                     (7.18)

где -  кривизна соответственно в середине пролета, на левой и правой опорах;

S - коэффициент, определяемый по табл. 7.2 как для свободно опертой балки.

7.13. Кривизну изгибаемых, внецентренно сжатых и внецентренно растянутых элементов с трещинами в растянутой зоне определяют

(1/r)max = (1/r)1 - (1/r)2 + (1/r)3 - (1/r)cs,                                                                       (7.19)

где (1/r)1 - кривизна от непродолжительного действия всей нагрузки, на которую производят расчет по деформациям;

(1/r)2 - кривизна от непродолжительного действия постоянных и временных длительных нагрузок;

(1/r)3 - кривизна от продолжительного действия постоянных и временных длительных нагрузок;

(1/r)cs - кривизна от температурной усадки бетона.

7.14. Кривизну приведенного изгибаемого элемента с трещинами в растянутой зоне определяют по формуле

                                                                                                         (7.20)

где Eb,red,t - по (7.30).

Момент инерции Ired приведенного поперечного сечения элемента относительно его центра тяжести определяют по формуле (7.21) с учетом площади сжатой зоны, площадей сечения сжатой арматуры с коэффициентом приведения арматуры к бетону αs1, и растянутой арматуры с коэффициентом приведения арматуры к бетону αs2

Ired = Ib + I'bαs1 + Ibαs2.                                                                                                 (7.21)

Момент инерции площади сечения сжатого бетона Ib определяют

а) при действии только изгибаемого момента М:

для элементов прямоугольного поперечного сечения

Ib = bxm3/3;                                                                                                                   (7.22)

для элементов таврового со сжатой полкой и двутаврового поперечных сечений с нулевой линией, расположенной в ребре ниже сжатой полки (хт > h'ft) по формуле

                                               (7.23)

б) при действии изгибающего момента М и продольной сжимающей или растягивающей силы N:

для элементов прямоугольного поперечного сечения по формуле

                                                                                    (7.24)

для элементов таврового со сжатой полкой и двутаврового поперечных сечений с нулевой линией, расположенной в ребре ниже сжатой полки (хт > h'ft), по формуле

                              (7.25)

В тех случаях когда в формулах (7.23) и (7.25) высота сжатой зоны xm h'ft, момент инерции Ib вычисляют по формулам (7.22) и (7.24) как для прямоугольного сечения, принимая bt = b'ft.

Моменты инерции площадей сечения растянутой Is и сжатой арматуры I's относительно центра тяжести приведенного поперечного сечения определяют по формулам:

Is = As(h0 - ycm)2;                                                                                                          (7.26)

I's = A's(ycm - а')2.                                                                                                         (7.27)

Значение уст, равное расстоянию от наиболее сжатого волокна бетона до центра тяжести приведенного поперечного сечения без учета бетона растянутой зоны для изгибаемых элементов, равно хт - средней высоте сжатой зоны бетона, учитывающей влияние работы растянутого бетона между трещинами, определяемой по формуле (7.31).

7.15. Значения коэффициентов приведения арматуры к бетону принимают равными для сжатой арматуры

                                                                                                               (7.28)

для растянутой арматуры

                                                                                                           (7.29)

                                                                                                           (7.30)

где Rbt,ser,t - по табл. 2.1 и по формуле (2.3), в которой γbt принимают по табл. 2.2, εb1 - по табл. 8.1 в зависимости от наименьшей температуры бетона сжатой зоны.

Значение коэффициента ψs для изгибаемых элементов допускается определять по формуле (7.2).

7.16. Для прямоугольных, тавровых и двутавровых сечений среднюю высоту сжатой зоны определяют по формуле

                                                   (7.31)

                                                                                                (7.32)

где

7.17. Для изгибаемых элементов прямоугольного, таврового и двутаврового сечений, эксплуатируемых при влажности воздуха окружающей среды выше 40 %, кривизну на участках с трещинами допускается определять по формуле

                                                                                                (7.33)

где φ1 - см. табл. 7.3; φ2 - см. табл. 7.4;

Rbt,ser,t - см. (2.3), табл. 2.2, в которой γtt принимают по температуре растянутой арматуры.

Таблица 7.3

μ'f

Коэффициенты φ1 при значениях μαs1, равных

≤0,07

0,10

0,15

0,20

0,30

0,40

0,50

0,60

0,70

0,80

0,90

1,00

0,0

0,60

0,55

0,49

0,45

0,38

0,34

0,30

0,27

0,25

0,23

0,22

0,20

0,2

0,69

0,65

0,59

0,55

0,48

0,43

0,39

0,36

0,33

0,31

0,29

0,27

0,4

0,73

0,69

0,65

0,61

0,55

0,50

0,46

0,42

0,40

0,37

0,35

0,33

0,6

0,75

0,72

0,68

0,65

0,59

0,55

0,51

0,47

0,45

0,42

0,40

0,38

0,8

0,76

0,74

0,71

0,69

0,62

0,58

0,54

0,51

0,48

0,46

0,44

0,42

1,0

0,77

0,75

0,72

0,70

0,65

0,61

0,57

0,54

0,52

0,49

0,47

0,45

1,2

0,78

0,76

0,73

0,71

0,68

0,64

0,60

0,57

0,56

0,51

0,50

0,48

Таблица 7.4

Коэффициенты

Коэффициенты φ 2 при значениях μαs1, равных

μf

μ'f

≤0,07

0,07

0,1

0,2

0,4

0,6

0,8

≤0,07

0,07

0,1

0,2

0,4

0,6

0,8

 

-0,1

-0,2

-0,4

-0,6

-0,8

-1,0

 

-1,0

-0,2

-0,4

-0,6

-0,8

-1,0

Непродолжительное действие нагрузок

Продолжительное действие нагрузок

0,0

0,0

0,16

0,16

0,16

0,17

0,17

0,17

0,17

0,15

0,14

0,14

0,13

0,13

0,12

0,12

0,0

0,2

0,20

0,20

0,20

0,21

0,22

0,23

0,23

0,18

0,18

0,18

0,17

0,17

0,17

0,16

0,0

0,4

0,22

0,23

0,23

0,24

0,26

0,27

0,28

0,21

0,21

0,21

0,21

0,21

0,20

0,20

0,0

0,6

0,24

0,25

0,25

0,27

0,29

0,31

0,32

0,23

0,23

0,23

0,23

0,24

0,24

0,24

0,0

0,8

0,25

0,26

0,27

0,29

0,32

0,34

0,36

0,24

0,24

0,25

0,25

0,26

0,27

0,27

0,0

1,0

0,26

0,27

0,28

0,30

0,34

0,37

0,39

0,25

0,26

0,26

0,27

0,28

0,29

0,30

0,0

1,2

0,27

0,28

0,29

0,31

0,36

0,40

0,42

0,26

0,27

0,27

0,29

0,30

0,31

0,33

0,2

0,0

0,24

0,23

0,23

0,22

0,21

0,21

0,20

0,20

0,21

0,20

0,18

0,16

0,15

0,14

0,4

0,0

-

0,31

0,29

0,27

0,26

0,25

0,24

-

0,27

0,26

0,22

0,19

0,18

0,17

0,6

0,0

-

0,38

0,36

0,33

0,30

0,28

0,27

-

0,34

0,31

0,27

0,23

0,20

0,19

0,8

0,0

-

-

0,43

0,38

.0,35

0,32

0,30

-

-

0,37

0,31

0,26

0,23.

0,21

1,0

0,0

-

-

0,50

0,44

0,39

0,36

0,30

-

-

0,44

0,36

0,30

0,26

0,23

1,2

0,0

-

-

0,57

0,50

0,43

0,38

0,30

-

-

0,51

0,41

0,34

0,29

0,25

0,2

0,2

0,29

0,28

0,28

0,28

0,27

0,27

0,27

0,27

0,14

0,25

0,23

0,21

0,20

0,19

0,4

0,4

-

0,41

0,40

0,39

0,39

0,38

0,38

-

0,26

0,36

0,33

0,31

0,29

0,28

0,6

0,6

-

-

0,53

0,52

0,51

0,50

0,49

-

0,38

0,48

0,44

0,41

0,38

0,37

0,8

0,8

-

-

0,66

0,64

0,63

0,62

0,61

-

-

0,61

0,56

0,51

0,48

0,46

1,0

1,0

-

-

-

0,77

0,75

0,79

0,73

-

-

-

0,68

0,63

0,59

0,50

1,2

1,2

-

-

-

-

0,90

0,96

0,85

-

-

-

-

0,75

0,70

0,54

7.18. Кривизну внецентренно сжатых элементов, а также внецентренно растянутых элементов при приложении силы N вне расстояния между арматурами S и S' на участках с трещинами в растянутой зоне определяют по формуле

                                                                                                         (7.34)

где Sred - статический момент приведенного сечения относительно нейтральной оси, вычисляется по формуле

Sred = Sb + αs1S's0 - αs2Ss0;                                                                                             (7.35)

Sb, S's0 и Ss0 - статический момент соответственно сжатой зоны бетона, сжатой и растянутой арматуры относительно нейтральной оси;

αs1 и αs2 - коэффициенты приведения для сжатой и растянутой арматуры, определяемые по п. 7.15;

Еb,red,t - см. формулу (7.30).

В формуле (7.34) знак «плюс» принимается для внецентренно сжатых элементов, знак «минус» - для внецентренно растянутых элементов, поскольку для этих элементов значение Sred, вычисленное по формуле (7.35), всегда меньше нуля.

Высоту сжатой зоны внецентренно нагруженных элементов определяют из решения уравнения

                                                                                                         (7.36)

где Ired - момент инерции приведенного сечения относительно нейтральной оси, равный

Ired = Ib0 + αs1I's0 + αs2Is0,                                                                                              (7.37)

Ib0, I's0, Is0 - момент инерции соответственно сжатой зоны бетона, сжатой и растянутой арматуры относительно нейтральной оси.

Для прямоугольного сечения уравнение (7.36) принимает вид

                         (7.38)

                                                                

где

Для внецентренно растянутых элементов значение е в уравнениях (7.36) и (7.38) подставляется со знаком «минус».

7.19. Кривизну элемента при остывании от температурной усадки неравномерно нагретого бетона во время пожара определяют по формуле

(1/r)cs = (αcs1tb1 - αcstb)/ht,                                                                                             (7.39)

где αcs1 и αcs - коэффициенты температурной усадки бетона, принимаемые по табл. 2.5 в зависимости от температуры бетона более tb1 и менее tb нагретой грани сечения, которая была при пожаре.

7.20. После пожара прогиб элемента является одним из критериев возможности дальнейшей эксплуатации конструкции. При действии постоянных и временных нагрузок прогиб балок, плит во всех случаях не должен превышать 1/150 пролета и 1/75 вылета консоли.

Если фактические прогибы превышают допустимые значения, но не препятствуют нормальной эксплуатации, допускается дальнейшая эксплуатация железобетонных конструкций без их усиления.

ПРИМЕР РАСЧЕТА

Пример 21. Дано. Плита перекрытия примера 18; бетон класса В35; Еb = 34,5·103 МПа; Rb,ser = 25,5 МПа; Rbt,ser = 1,95 МПа; арматура класса А500С Ø14 мм в пролете; Аs = 169 мм2 и А's = 462 мм2, Es = 2·105 МПа; момент в середине пролета от нормативной нагрузки согласно п. 1.2 Мп = 0,7·Mp = 0,7·33 = 23 кН·м.

Требуется определить ширину раскрытия трещин в пролете плиты после стандартного пожара длительностью 180 мин. Плита подверглась огневому воздействию со стороны растянутой зоны.

Расчет. Расчет ведем по действительному сечению. При высоте плиты 220 мм середина сечения находится на расстоянии 110 мм. По рис. А.2 приложения А находим температуру бетона - 225 °С. По табл. 2.2 при 225 °С коэффициент βb = 0,65. По (2.5) Еbt = 34,5·103·0,65 = 22,4·103 МПа. Коэффициент приведения

Приведенная площадь сечения плиты (по п. 7.15) Ared = 1000·220+8,9·679+8,9·462 = 230·103 мм2.

Приведенный момент сопротивления сечения по (7.11) Sred = 220·1000·0,5·220 + 769·54 + +462(166-54) = 24288 мм2.

Высота растянутой зоны бетона по (7.8)

Наименьшая температура бетона сжатой зоны 70 °С (см. рис. А.2). При этой температуре коэффициент γbt по табл. 2.2 равен 1,0 и εbI,red по табл. 8.1 равно 17·10-4. Тогда по (2.4) Rbt,ser,t = 25,5·1,0 = 25,5 МПа.

Приведенный модуль деформации бетона по (7.30)

Коэффициент приведения

При μαs1 = 0,0035·13,3 = 0,0465 по рис. 7.2 при γ = 0,0 находим ζ = 0,92.

Тогда плечо внутренней пары сил zs = ζh0 = 0,92·166 = 153 мм.

Напряжение в арматуре по (7.3)

Расстояние между трещинами по (7.6)

Принимаем ls = 400 мм. При температуре арматуры 495 °С коэффициент γtt = 0,21 (табл. 2.2) и Rbt,ser = 1,95·0,21 = 0,41 МПа.

Находим коэффициент ψs по (7.31) .

Для температуры нагрева бетона на уровне растянутой арматуры 495 °С по табл. 2.5 находим αsc = -1,8·10-6 °С-1. Тогда деформация усадки бетона при остывании составит по (7.16) εsc = -1,8·10-6·495 = -0,99·10-3. Знак «минус» свидетельствует о том, что при остывании в бетоне остаются деформации расширения и они уменьшают деформацию растяжения от нагрузки. Ширина раскрытия трещин по (7.1) при φ1 = 1,4, φ2 = 0,5, φ3 = 1,0 и ψ5 =0,89 равна

После пожара длительностью 180 мин с учетом деформаций усадки бетона ширина раскрытия трещин составила всего 0,025 мм. Если не учитывать деформации усадки бетона при охлаждении, то ширина раскрытия трещин будет равна асrс = 1,4·0,5·0,89·99·10-5·400 = 0,24 < 0,30 мм, что меньше допустимого.

Пример 22. Дано. Плита перекрытия примера 18; в опорном сечении As = 1539 мм2, Ø14 мм; A's = 7,69 мм2; момент от нормативной нагрузки согласно п. 1.2 Мп = 0,7·Мp =0,7·62,5 = 44 кН·м.

Требуется определить ширину раскрытия трещин в опорном сечении плиты, подвергшейся огневому воздействию в течение 180 мин со стороны сжатой зоны.

Расчет. Коэффициент приведения α = 8,9 (см. пример 21).

Ared = 1000·220 + 8,9·1539 + 8,9·769 = 240,5·103 мм2.

Snd = 220·1000·0,5·220 + 1539·54 + 769(166-54) =24369·103 мм2.

Средняя температура бетона сжатой зоны на расстоянии 0,1h = 0,1·220 = 22 мм от нагреваемой грани (см. рис. А.2) равна 775 °С. При этой температуре коэффициент γbt = 0,13 по табл. 2.2. Тогда по (2.4) Rb,ser,t = 25,5·0,13 = 3,3 МПа. Наименьшая температура бетона сжатой зоны на расстоянии 44 мм равна 550 °С и по табл. 8.1 εbI,red = 70·10-4. Приведенный модуль деформации бетона по (7.30)

Коэффициент приведения

При μαs1 = 0,0077·42 = 0,32 по рис. 7.2 при γ = 0,0 находим ζ = 0,82, тогда плечо внутренней пары сил zs = ζh0 = 0,82·166 = 136 мм.

Напряжения в растянутой арматуре по (7.3)

Расстояния между трещинами по (7.6)

Принимаем ls = 400 мм.

При температуре растянутой арматуры 80 °С (h0 = 166 мм) по табл. 2.5 находим αcs = 0,8·10-6 °С-1. Тогда деформации усадки бетона при остывании составят по (7.16) εcs = 0,8·10-6·80 = 64·10-6: γtt = 0,78 и по (2.4) Rbt,ser,t = 1,95·0,78 = 1,52 МПа.

Находим по (7.31) коэффициент ψs

Ширина раскрытия трещин по (7.1) при φ1 = 1,4, φ2 = 0,5, φ3 = 1,0 и ψs = 0,78 равна

После пожара расчетная ширина раскрытия трещин составила 0,24 мм, что меньше предельно допустимой ширины продолжительного раскрытия трещин 0,30 мм.

Пример 23. Дано. Свободно опертая балка примера 7; пролет 20 м; Мп = 1625 кН·м; Rb,ser = 22 МПа; Rbt,ser = 1,75 МПа, γst = 1,0.

Требуется определить прогиб балки от нормативной нагрузки после пожара длительностью 180 мин (рис. 5.14), аt = 53 мм.

Расчет. As = 5Ø28+10Ø32 = 11122 мм2;

При длительном Действии нагрузки и наименьшей температуре бетона сжатой зоны 20 °С относительная деформация бетона сжатию по табл. 8.1 εb1,red = 28·10-4. Приведенный модуль деформации сжатого бетона по (7.30)  Коэффициент приведения

Из табл. 7.3 при μαs1 = 0,5 и μ'f =0,84 находим φ1 = 0,56, а из табл. 7.4 при μαs1 = 0,5 и μ'f = 0,84 и μf = 0 находим соответствующий продолжительному действию нагрузки коэффициент φ2 = 0,22 тогда по (7.33)

При остывании балки возникает кривизна от неравномерной усадки бетона по высоте сечения. Значение коэффициента температурной усадки тяжелого бетона на силикатном заполнителе принимаем по табл. 2.5. При температуре холодной грани 20 °С αcs = 0,5·10-6 °С-1. Температуру бетона нагреваемой грани при пожаре согласно п. 5.27 принимаем 575 °С αcs = -3,8·10-6 °С-1. Знак «минус» свидетельствует о том, что при остывании на нагреваемой поверхности останутся деформации расширения и температурная кривизна от усадки бетона должна суммироваться с кривизной от нагрузки согласно (7.39).

Суммарная кривизна от нагрузки и деформаций усадки бетона при остывании

Прогиб определяем по формуле (7.17), принимая согласно табл. 7.2  это составляет 1/169l. Это вполне допустимо.

После пожара балка имеет вполне допустимый прогиб и она может эксплуатироваться без усиления.

8. ОГНЕСТОЙКОСТЬ И ОГНЕСОХРАННОСТЬ ЖЕЛЕЗОБЕТОННЫХ ЭЛЕМЕНТОВ НА ОСНОВЕ НЕЛИНЕЙНОЙ ДЕФОРМАЦИОННОЙ МОДЕЛИ

8.1. При расчете огнестойкости по потере несущей способности от огневого воздействия и огнесохранности после пожара усилия и деформации в сечении, нормальном к продольной оси элемента, определяют на основе деформационной модели, используя уравнения равновесия внешних сил и внутренних усилий в сечении элемента с учетом изменения свойств бетона и арматуры от воздействия температуры.

При этом используются следующие положения:

распределение относительных деформаций бетона и арматуры по высоте сечения элемента принимают по линейному закону;

связь между осевыми сжимающими напряжениями бетона σb и относительными его деформациями εb допускается принимать в виде двухлинейной диаграммы (рис. 8.1), согласно которой напряжения σb определяют по п. 8.3;

сопротивление бетона растянутой зоны не учитывается;

связь между напряжениями арматуры σs и относительными ее деформациями εs допускается принимать в виде двухлинейной диаграммы (рис. 8.2), согласно которой напряжения σs принимают по п. 8.4.

Рис. 8.1. Диаграмма деформирования бетона при расчете огнестойкости и огнесохранности

Рис. 8.2. Диаграмма деформирования арматуры при расчете огнестойкости и огнесохранности

8.2. Относительные деформации бетона сжатию при однозначной равномерной эпюре εb0 и при двухзначной эпюре в нормальном сечении εb2 в зависимости от длительности действия нагрузки и расчета на огнестойкость и огнесохранность принимают по табл. 8.1.

Таблица 8.1

Наименьшая температура нагрева сжатого бетона в сечении, °С

Относительные деформации бетона при сжатии и расчете на

огнестойкость и кратковременное нагружение

огнесохранность и длительное нагружение

εb1,red·10-4

εb0·10-4

εb2·10-4

εb1,red·10-4

εb0·10-4

εb2·10-4

20

15

20

35

28

34

48

100

19

25

44

35

43

60

200

26

35

61

49

60

84

300

38

50

88

70

85

120

400

49

65

114

91

111

156

500

68

90

158

126

153

216

Относительные деформации бетона принимают для наименее нагретого сжатого волокна бетона, так как при неравномерном нагреве сжатого бетона разрушение его происходит по наиболее прочному менее нагретому бетону.

8.3. При двухлинейной диаграмме сжимающие напряжения бетона σb в зависимости от относительных деформаций εb определяют по формулам:

при 0 < εb < εb1

σb = Eb,red,t εb;

 

(8.1)

при εb1< εb < εb2

σb = Rbnt

σb = Rb,tem,

(8.2)

где

                                                                                         (8.3)

Значение приведенного модуля деформаций Eb,red,t принимают:

Eb,red,t = Rbntb1,red;   Eb,red,t = Rb,temb1,red.                                                                     (8.4)

8.4. Диаграммы состояния арматуры при растяжении и сжатии принимают одинаковыми. Напряжение в арматуре σs в зависимости от относительных деформаций εs согласно диаграмме состояния арматуры определяют по формулам:

при 0 < εs < εs0

σs = Est εs;

 

(8.5)

при εb0 εs εs2

σs = Rsnt

σs = Rst.

(8.6)

Значения предельной относительной деформации арматуры:

при ts = 20 - 200 °С составляют εs2 = 0,0025;

при ts 500 °С - εs2 = 0,0050;

при 200 °С < ts < 500 °С - по интерполяции.

8.5. При расчете огнестойкости железобетонных конструкций используют диаграммы деформирования бетона при сжатии от кратковременного огневого воздействия в нагретом состоянии при пожаре. Диаграммы деформирования бетона на сжатие строят в зависимости от изменения нормативного сопротивления бетона сжатию при кратковременном огневом воздействии.

При расчете огнесохранности железобетонных конструкций после пожара используют диаграммы деформирования бетона при сжатии после огневого воздействия в охлажденном состоянии. Диаграммы деформирования бетона на сжатие строят в зависимости от изменения расчетного сопротивления бетона сжатию после огневого воздействия.

8.6. Переход от эпюры напряжений в бетоне к обобщенным внутренним усилиям рекомендуется осуществлять с помощью процедуры численного интегрирования по нормальному сечению. Для чего нормальное сечение при внецентренном сжатии, растяжении и изгибе в плоскости оси симметрии условно разделяют на малые участки: при одностороннем огневом воздействии в плитах - только по высоте сечения; при трехстороннем - в балках и ригелях по высоте и ширине сечения, при четырехстороннем - в колоннах на полые прямоугольники с одинаковой температурой нагрева.

8.7. Расчет на основе нелинейной деформационной модели производится с помощью компьютерных программ, которые рекомендуется составлять на основе следующего логарифма.

1. Для принятого по проекту предела огнестойкости R железобетонного элемента решается теплотехническая задача, по которой от стандартного пожара длительностью, соответствующей требуемому пределу огнестойкости R, находят температуру нагрева i-го участка бетона и j-го стержня арматуры в поперечном течении элемента.

2. По температуре каждого участка сжатой зоны бетона по табл. 2.2 устанавливают значения коэффициентов γbt и βb. Зная класс бетона по прочности на сжатие, по формуле (2.1) находят сопротивление бетона сжатию, а по формуле (2.5) - значения модуля упругости бетона. Для менее нагретого сжатого волокна бетона по табл. 8.1 устанавливают базовые деформационные точки диаграммы состояния бетона и строят диаграмму сжатого бетона.

3. Зная класс арматуры, находят сопротивление арматуры растяжению по формуле (2.7), сжатию по формуле (2.8) и модуль упругости по формуле (2.10). В этих формулах значения коэффициентов γst и βs принимают по табл. 2.8 в зависимости от температуры растянутой и сжатой арматуры. Предельные значения относительных деформаций арматуры принимают по п. 8.4 и строят диаграммы деформирования растянутой и сжатой арматуры.

4. В общем случае при расчете нормальных сечений внецентренно сжатых и растянутых железобетонных элементов используют следующие зависимости:

уравнения равновесия внутренних и внешних усилий:

                                                                              (8.7)

                                                                                             (8.8)

уравнения, определяющие распределения деформаций по сечению элемента:

                                                                                            (8.9)

                                                                                            (8.10)

зависимости, связывающие напряжения и относительные деформации бетона и арматуры:

                                                                                                             (8.11)

                                                                                                              (8.12)

В уравнениях (8.7)-(8.12):

Мх, Му - изгибающие моменты от внешних воздействий относительно выбранных осей х и у в пределах поперечного сечения элемента, определяемые по формулам

                                                                                                      (8.13)

Mxd, Myd - изгибающие моменты в соответствующих плоскостях от внешних усилий, определяемые из статического расчета;

N - продольная сила от внешних усилий;

ех, еy - расстояния от точки приложения силы N до соответствующих осей;

Аbi, Zbxi, Zbyi, σbi - площадь, координаты центра тяжести i-го участка бетона и напряжение на уровне его центра тяжести;

Аsj, Zsxj, Zsyj, σsj - площадь, координаты центра тяжести j-го стержня арматуры и напряжения в нем;

ε0 - относительная деформация волокна, расположенного на пересечении выбранных осей;

1/rх; 1/rу - кривизна продольной оси в рассматриваемом поперечном сечении элемента в плоскостях действия изгибающих моментов Мx и Мy;

Ebti, Estj - модули упругости бетона i-го участка и арматуры j-го стержня;

vbi, vsj - коэффициенты упругости бетона i-го участка и арматуры j-го стержня.

Коэффициенты vbi и vsj принимают по соответствующим диаграммам состояния бетона и арматуры.

5. Значения коэффициентов vbi и vsj определяют как соотношение значений напряжений и деформаций для рассматриваемых точек соответствующих диаграмм состояния бетона и арматуры, деленное на приведенный модуль упругости бетона Eb,red,t,i и на модуль деформации арматуры Еstj

                                                                                                           (8.14)

                                                                                                                 (8.15)

где Eb,red,t,i - приведенный модуль деформации бетона, определяемый по формуле (8.4), в которой Rbnt и Rbt принимают по табл. 2.1 в зависимости от температуры в центре тяжести i-го участка бетона.

6. Расчет нормальных сечений железобетонных элементов по прочности производят из условий:

относительная деформация наиболее сжатого волокна бетона в нормальном сечении от действия внешних усилий εb,mахεb,ult. Предельное значение относительной деформации бетона при сжатии εb,ult принимают при двухзначной эпюре деформаций бетона равной εb2 (табл. 8.1); при деформации одного знака - в зависимости от отношений деформаций бетона на противоположных гранях сечения элемента ε1 и ε2:

                                                                                               (8.16)

относительная деформация наиболее растянутого стержня арматуры в нормальном сечении элемента от внешних усилий εs,mахεs,ult. Предельное значение относительной деформации удлинения принимают равным εs2 (п. 8.4).

7. В железобетонном элементе при действии момента и продольной силы в плоскости симметрии поперечного сечения и расположения оси в этой плоскости Му = 0, D12 = D22 = D23 = 0, деформации бетона εb,mах и арматуры εs,mах определяют из решения системы уравнений (8.17) и (8.18) с использованием уравнений (8.9) и (8.10)

                                                                                                     (8.17)

                                                                                                       (8.18)

В уравнениях (8.17) и (8.18) жесткостные характеристики (матрицы жесткости) определяют по формулам:

изгибная жесткость:

                                                                    (8.19)

изгибно-осевая жесткость:

                                                                    (8.20)

осевая жесткость:

                                                                             (8.21)

Для изгибаемых элементов в уравнениях (8.8), (8.13), (8.18) N = 0.

8. Если внутренние усилия в железобетонном элементе оказываются равными или несколько больше внешних усилий от нормативной нагрузки до пожара, то требуемый предел огнестойкости по потере несущей способности R для этого элемента обеспечен.

8.8. Определение прогибов железобетонных элементов на основе деформационной модели после пожара производится по формулам (7.17) и (7.18). Значения кривизны, входящей в формулы (7.17) и (7.18), определяют из решения уравнений железобетонных характеристик в охлажденном состоянии с учетом влияния температуры пожара на модуль упругости и деформации бетона согласно пп. 7.13 и 7.17.

Модуль упругости арматуры после воздействия высокой температуры полностью восстанавливается. После пожара учитываются дополнительные напряжения сжатия, возникающие в арматуре от развития деформаций усадки в бетоне. Для этого следует прибавить к определяемой деформации бетона сжатию εb2 деформацию укорочения бетона от температурной усадки εcs менее нагретой части сечения.

εcs = αcs tb,                                                                                                                    (8.22)

где αcs - коэффициент температурной усадки бетона, принимаемый по табл. 2.5;

tb - температура менее нагретой части сечения элемента.

При двухзначной эпюре деформаций значение кривизны по сечению

                                                                                                                   (8.23)

Максимальные деформации бетона εb,max определяют на основе положений, приведенных в п. 8.6.

Для элементов с трещинами в растянутой зоне напряжение в арматуре, пересекающей трещину, определяют по формуле

                                                                                                (8.24)

где εsi - усредненная относительная деформация растянутой арматуры в рассматриваемой стадии расчета, соответствующая линейному закону распределения деформаций по сечению;

εcrc - относительная деформация растянутой арматуры в сечении с трещиной сразу после образования трещин.

9. КОНСТРУКТИВНЫЕ ТРЕБОВАНИЯ, ПОВЫШАЮЩИЕ ПРЕДЕЛ ОГНЕСТОЙКОСТИ И ОБЕСПЕЧИВАЮЩИЕ ОГНЕСОХРАННОСТЬ ЖЕЛЕЗОБЕТОННЫХ КОНСТРУКЦИЙ

9.1. Чем больше защитный слой бетона, тем выше предел огнестойкости конструкции. Если толщина защитного слоя бетона больше 60 мм, защитный слой бетона может иметь армирование со стороны огневого воздействия в виде сетки из стержней Ø1-2 мм с ячейками не более 70×70 мм.

9.2. В железобетонных колоннах с продольной арматурой в количестве более четырех стержней в сечении нецелесообразно устанавливать всю арматуру около обогреваемой поверхности. Для повышения предела огнестойкости колонн рабочую арматуру следует устанавливать в максимально возможном удалении от поверхности, ближе к ядру сечения колонн, если это позволяют усилия.

9.3. Колонны большого поперечного сечения с меньшим процентом армирования лучше сопротивляются огневому воздействию, чем колонны меньшего поперечного сечения с большим процентом армирования.

9.4. Предел огнестойкости колонн с косвенным армированием в виде арматурных сварных поперечных сеток, установленных с шагом не более 250 мм, или со спиральной арматурой увеличивается в 1,5 раза.

9.5. Колонны и балки с жесткой арматурой, расположенной в середине сечения, имеют значительно больший предел огнестойкости по потере несущей способности по сравнению с балками и колоннами, армированными стержневой арматурой, расположенной около обогреваемой поверхности.

9.6. В балках при расположении арматуры разного диаметра и на разных уровнях следует располагать арматуру большего диаметра дальше от обогреваемой поверхности при пожаре.

9.7. Для повышения предела огнестойкости балок предпочтительнее применять широкие балки, а не узкие и высокие. В качестве основной арматуры балок рекомендуется использовать более двух стержней, наиболее предпочтительно размещать арматуру в несколько рядов, максимально возможно поместив арматуру вглубь сечения от обогреваемой поверхности.

9.8. На опорах между соседними балками и между балкой и стеной должен быть зазор, который позволит балке свободно удлиняться в процессе огневого воздействия. Ширина зазора должна быть не менее 0,05l, где l - пролет балки. Во избежание распространения огня в соседние помещения все зазоры и стыки должны быть заполнены огнестойким материалом.

9.9. В плитах целесообразно иметь поперечную арматуру, которая предохранит продольную арматуру от выпучивания во время пожара.

9.10. В плитах на стальном профилированном настиле бетон или арматура в гофрах должны соединяться с настилом во избежание его отслоения при огневом воздействии.

Для повышения огнестойкости многопролетных плит из монолитного железобетона на стальном профилированном настиле до R150 в первом крайнем пролете плиты следует увеличить площадь арматуры на 30 % сверх расчета, сечение арматуры на первой промежуточной опоре предусмотреть в два раза больше, чем в первом пролете.

9.11. Предел огнестойкости статически неопределимой конструкции больше предела огнестойкости статически определимой конструкции на 75 %, если площадь сечения арматуры на опоре, где действует отрицательный момент, больше, чем в пролете, в 1,25 раза; на 100 % - если в 1,5 раза; на 125 % - если в 1,75 раза и на 150 % - если в 2 раза.

Влияние арматуры на опорах учитывают, если 20 % арматуры расположено над серединой пролета и 80 % доводится не менее чем на 0,4l у крайней опоры и не менее 0,15l на промежуточных опорах.

9.12. Для того чтобы конструкция температурного шва могла выдерживать высокотемпературное огневое воздействие при пожаре и сохранять достаточные теплоизоляционные свойства, необходимо заполнить его негорючими материалами с низкой теплопроводностью. Ширина температурного шва должна быть не менее 0,0015l, где l - расстояние между температурными швами.

9.13. Во время пожара защитный слой бетона предохраняет арматуру от быстрого нагрева ее до критической температуры. Предел огнестойкости увеличивается, если применить огнезащитное покрытие. Известково-цементная штукатурка толщиной 15 мм, гипсовая - толщиной 10 мм, вермикулитовая - толщиной 5 мм или теплоизоляция из минерального волокна толщиной 5 мм эквивалентны увеличению на 10 мм толщины защитного слоя тяжелого бетона. Огнезащитные покрытия, применяемые для повышения предела огнестойкости конструкций, также могут иметь армирование.

9.14. При применении в стеновых панелях или перекрытиях горючего утеплителя следует предусматривать огнезащиту этого утеплителя по периметру несгораемыми материалами.

9.15. Засыпки и пол из негорючих материалов при теплотехническом расчете включаются в общую толщину плиты и повышают ее предел огнестойкости. Горючие изоляционные слои, уложенные на цементную подготовку, не снижают предела огнестойкости плит. Дополнительные слои стяжки и штукатурки могут быть отнесены к толщине плиты.

9.16. При кратковременном высокотемпературном огневом воздействии во время пожара в бетоне происходят физико-химические процессы, изменяющие его механические свойства. В начале пожара при температуре до 200 °С прочность бетона на сжатие практически не изменяется. Происходят дополнительная гидратация клинкерных минералов и повышение прочности заполнителей, что упрочняет структуру бетона. Если влажность бетона выше 3,5 %, то при огневом воздействии и температуре 250 °С возможно хрупкое разрушение бетона. С повышением температуры бетона до 350 °С вследствие высыхания бетона начинают образовываться трещины от температурной усадки бетона (рис. 9.1).

Рис. 9.1. Нарушение структуры бетона после высокотемпературного огневого воздействия с температурой

1 - до 250 °С - взрывообразное хрупкое разрушение наружного слоя бетона с влажностью более 3,5 %; 2 - от 250 до 350 °С - в бетоне образуются в основном трещины от температурной усадки бетона; 3 - до 450 °С - в бетоне образуются трещины преимущественно от разности температурных деформаций цементного камня и заполнителей; свыше 450 °С - нарушение структуры бетона из-за дегидратации Са(ОН)2, когда свободная известь в цементном камне гасится влагой воздуха с увеличением объема; 4 - свыше 573 °С - нарушение структуры бетона из-за модификационного превращения α-кварца в β-кварц в граните с увеличением объема заполнителя; 5 - выше 750 °С - структура бетона полностью разрушена

9.17. При высокотемпературном воздействии свыше 350 °С в структуре бетона образуются и развиваются микротрещины в кристаллизационной решетке цементного камня. Внутренние напряжения и микротрещины, которые образуются при нагревании из-за различия температурных деформаций в бетоне, снижают прочность и повышают деформативность бетона.

После нагрева бетона до температуры выше 450 °С в охлажденном состоянии свободная окись кальция (известь) цементного камня гасится влагой воздуха, при этом происходит значительное увеличение объема минерала с нарушением структуры бетона. Температурная усадка цементного камня при одновременном расширении заполнителей нарушает связи между ними и разрывает цементный камень на отдельные части.

Модификационное превращение кристаллического α-кварца в β-кварц в граните при температуре 573 °С сопровождается значительным увеличением объема минерала и снижением прочности заполнителя. Охлаждение бетона водой после пожара вызывает дополнительное нарушение структуры в наружных слоях бетона.

При температуре свыше 750 °С из цементного камня удаляется химически связанная вода и продолжает нарушаться структура бетона из-за разности температурных деформаций вяжущего и заполнителей.

9.18. В арматуре классов А240, А300, А400 и А500 после нагрева до 600 °С, классов А540, А600, А800, А1000 после нагрева до 400 °С и классов В500, Вр1200 - Вр1500, К1400 - К1500 после нагрева до 300 °С прочностные свойства восстанавливаются.

9.19. Для обеспечения огнесохранности и ремонтопригодности железобетонной конструкции после пожара необходимо, чтобы разрушающий слой бетона, нагретый до 450 °С, после пожара не оказывал влияния на дальнейшую эксплуатацию конструкции. Это можно обеспечить расстоянием от оси арматуры до нагреваемой грани.

9.20. При стандартном пожаре длительностью 90 мин расстояние от оси арматуры до нагреваемой грани бетона должно быть не менее 35 мм, при 120 мин - 45 мм, при 150 мин - 55 мм, при 180 мин - 60 мм и при 240 мин - 75 мм с учетом слоя штукатурки.

9.21. Во избежание выпучивания продольной арматуры при ее нагреве во время пожара необходимо предусмотреть конструктивное армирование хомутами и поперечными стержнями.

9.22. Конструирование элементов должно обеспечить нагрев ненапрягаемой арматуры во время пожара не более 500 °С, предварительно напряженной арматуры - не более 100 °С.

9.23. Если фактические прогиб и раскрытие трещин после пожара превышают допустимые значения, но не препятствуют нормальной эксплуатации здания и сооружения, допускается не предусматривать усиление конструкции либо снижение нагрузки.

10. ПОЯСНЕНИЯ К ПРИЛОЖЕНИЯМ

Приложение А. Теплотехническим расчетом определена температура в плитах и стенах из тяжелого бетона плотностью 2350 кг/м3, влажностью до 2,5-3,0 %, на силикатном и карбонатном заполнителях.

Температуру оси арматуры ts (рис. А.1-А.4) принимают по температуре бетона на расстоянии от нагреваемой поверхности до оси арматуры.

Предел огнестойкости по потере несущей способности устанавливают по точке пересечения горизонтальной прямой на уровне критической температуры бетона tb,cr с кривой прогрева слоя бетона толщиной at от обогреваемой поверхности до оси растянутой арматуры.

Предел огнестойкости многопустотных и ребристых плит с ребрами вверх следует определять как для сплошных плит с коэффициентом 0,9.

Температура тяжелого бетона на силикатном заполнителе в плите высотой 200 мм на профилированном настиле указана на рис. А.5 и А.6. Температура прогрева бетона в плитах и стенах высотой (толщиной) 200 мм и более и огневом воздействии длительностью 240 мин дана на рис. А.7.

Приложение Б. Теплотехническим расчетом определены температуры в тяжелом бетоне с силикатным заполнителем плотностью 2000-2400 кг/м3 и влажностью 2-3 % при стандартном пожаре. Температуру в тяжелом бетоне с карбонатным заполнителем следует определять с коэффициентом 0,9 по значению температуры, приведенной в номограммах:

- для прямоугольных балок сечением:

от 160×320 мм до 240×1000 мм (рис. Б.1);

от 300×500 мм до 600×1500 мм (рис. Б.2);

- для двутавровых балок с шириной полки:

240 мм (рис. Б.3); 360 мм (рис. Б.4);

- для колонн сечением:

от 200×200 мм до 260×260 (рис. Б.5);

от 300×300 мм до 390×390 (рис. Б.6);

от 400×400 мм и более (рис. Б.7).

Температуру прогрева бетона, приведенную в приложениях А и Б, используют при расчете огнестойкости и огнесохранности железобетонных конструкций жилых, гражданских, спортивных, административных, промышленных зданий и сооружений и тоннелей метро. Для железобетонных конструкций авто- и железнодорожных тоннелей, в которых перевозят горючие жидкости, допускается значения температуры умножать на 1,1, а при перевозке углеводородных газов - на 1,2. Для складских помещений для хранения каучука, синтетических материалов, масел, лаков, красок, сжиженного газа, бумаги, зерна и муки - на 1,25. Температуру бетона в плитах, балках и колоннах, имеющих промежуточные размеры или больше указанных в приложениях А и Б, допускается интерполировать. Для колонн круглого поперечного сечения допускается изменение температуры по радиусу колонны принимать так же, как и по оси стороны квадратной колонны.

Приложение А

ТЕМПЕРАТУРА ПРОГРЕВА БЕТОНА В ПЛИТАХ И СТЕНАХ ПРИ ОДНОСТОРОННЕМ ОГНЕВОМ ВОЗДЕЙСТВИИ СТАНДАРТНОГО ПОЖАРА

Длительность стандартного пожара, мин

Рис. А.1. Температура прогрева тяжелого бетона на силикатном заполнителе в плитах и стенах высотой сечения 40, 60, 80, 100 и 120 мм при одностороннем огневом воздействии

0-120 - глубина прогрева бетона от нагреваемой поверхности

Длительность стандартного пожара, мин

Рис. А.2. Температура прогрева тяжелого бетона на силикатном заполнителе в плитах и стенах высотой сечения 140, 160, 180 и 200 мм при одностороннем огневом воздействии

0-200 - глубина прогрева бетона от нагреваемой поверхности

Длительность стандартного пожара, мин

Рис. А.3. Температура прогрева тяжелого бетона на карбонатном заполнителе в плитах и стенах высотой сечения 40, 60, 80, 100 и 120 мм при одностороннем огневом воздействии

0-120 - глубина прогрева бетона от нагреваемой поверхности

Длительность стандартного пожара, мин

Рис. А.4. Температура прогрева тяжелого бетона на карбонатном заполнителе в плитах и стенах высотой сечения 140, 160, 180 и 200 мм при одностороннем огневом воздействии

0-200 - глубина прогрева бетона от нагреваемой поверхности

Рис. А.5. Температура прогрева тяжелого бетона на силикатном заполнителе в плитах на профилированном настиле (1) при одностороннем огневом воздействии длительностью 60 и 100 мин

Рис. А.6. Температура прогрева бетона в плите на профилированном настиле (1) при одностороннем огневом воздействии стандартного пожара длительностью 120 и 150 мин

Рис. А.7. Температура прогрева бетона в плитах (стенах) высотой (толщиной) более 200 мм при одностороннем воздействии огня длительностью 240 мин

Приложение Б

ТЕМПЕРАТУРА ПРОГРЕВА БЕТОНА В БАЛКАХ И КОЛОННАХ

Рис. Б.1. Изотермы в бетоне на силикатном заполнителе балок шириной 160-240 мм и высотой 320-1000 мм при трехстороннем огневом воздействии стандартного пожара длительностью 30, 60, 90 и 120 мин

Рис Б.2. Изотермы в бетоне балок шириной 300-540 мм и высотой 600-1500 мм при трехстороннем огневом воздействии стандартного пожара длительностью 30, 60, 90, 120, 180 и 240 мин

Рис. Б.3. Температура прогрева бетона в двутавровых балках с шириной полок 240 мм и стенкой 80 мм при трехстороннем огневом воздействии длительностью 30 и 60 мин

Рис. Б.4. Температура прогрева бетона на силикатном заполнителе в двутавровых балках с шириной полок 360 мм и высотой

а - 80-60 мм; б - 80- 120 мм при трехстороннем огневом воздействии длительностью 30, 60, 90 и 120 мин

Рис. Б.5. Температура прогрева бетона в колоннах сечением от 200×200 мм до 260×260 мм при четырехстороннем воздействии пожара длительностью 30, 60 и 90 мин

Рис. Б.6. Изотермы в бетоне колонны сечением от 300×300 мм до 390×390 мм при четырехстороннем воздействии пожара длительностью 30, 60, 90, 120, 180 и 240 мин

Рис. Б.7. Температура прогрева бетона в колоннах сечением 400x400 мм и более при четырехстороннем воздействии пожара длительностью 30, 60, 90, 120, 180 и 240 мин

Приложение В

ОСНОВНЫЕ БУКВЕННЫЕ ОБОЗНАЧЕНИЯ

Усилия от нагрузки и температуры в поперечном сечении элемента при огневом воздействии

Mn, M, Mt

- изгибающий момент от нормативной и расчетной нагрузок и от температуры в результате огневого воздействия;

Nn, N, Nt

- продольная сила от нормативной и расчетной нагрузок и от температуры в результате огневого воздействия;

Qn, Q, Qt

- поперечная сила от нормативной и расчетной нагрузок и от температуры в результате огневого воздействия;

и

- длительность стандартного пожара;

Rbnt = Rbnγbt

Rb,tem = Rbγbt

- нормативное и расчетное сопротивления бетона сжатию;

Rbtnt = Rbtnγtt

Rbtt = Rbtγtt

- нормативное и расчетное сопротивления бетона растяжению;

Rsnt = Rsnγst

Rst = Rsγst

- нормативное и расчетное сопротивления арматуры растяжению;

Rsct = Rscγst

- расчетное сопротивление арматуры сжатию;

Rswt = Rswγst

- расчетное сопротивление поперечной арматуры растяжению;

Ebt = Ebβb

- модуль упругости бетона;

E

- модуль деформации бетона;

Est = Esβs

- модуль упругости арматуры;

γbt, γtt

- коэффициенты условий работы бетона при сжатии и растяжении;

γst

- коэффициент условий работы арматуры при сжатии и растяжении;

γst,cr

- критическое значение коэффициента условий работы растянутой арматуры;

βb, βs

- коэффициенты, учитывающие изменения модулей упругости бетона и арматуры;

φb,cr

- коэффициент ползучести сжатого бетона;

αbt, αcs, αst

- коэффициенты температурной и усадочной деформации бетона и температурной деформации арматуры;

εt, εsc

- температурная деформация и деформации усадки бетона;

λ, c, ared

- коэффициенты теплопроводности, теплоемкости бетона и арматуры и приведенный коэффициент температуропроводности бетона;

εb0, εb2

- предельные относительные деформации бетона при осевом сжатии и однородном напряженном состоянии и крайнего волокна бетона сжатой зоны при неоднородном напряженном состоянии;

εs0, εs2

- относительные деформации арматуры при напряжении, равном Rst;

εw

- расстояние между хомутами;

e, e'

- расстояние от точки приложения продольной силы N до равнодействующей усилий в арматуре соответственно S и S';

e0

- эксцентриситет продольной силы N относительно центра тяжести приведенного сечения.

Геометрические характеристики

a, а'

- расстояние от равнодействующей усилий в арматуре S и S' до ближайшей грани сечения;

at

- глубина прогрева бетона до критической температуры tb,cr;

h0t

- рабочая высота сечения при нагреве бетона сжатой зоны до критической температуры бетона tb,cr;

tb, ts

- температура бетона и арматуры;

bt

- ширина прямоугольного сечения, ширина ребра таврового и двутаврового сечений при нагреве бетона до критической температуры;

b'ft

- ширина полки таврового и двутаврового сечений в сжатой зоне при нагреве бетона до критической температуры.

Приложение Г

СОРТАМЕНТ АРМАТУРЫ

Номинальный диаметр стержня, мм

Расчетная площадь поперечного стержня, мм2, при числе стержней

Теорети­ческая масса 1 м длины арматуры, кг

Диаметр арматуры классов

Максимальный размер сечения стержня периодического профиля

1

2

3

4

5

6

7

8

9

А240, А400, А500

А300

В500

3

7,1

14,1

21,2

28,3

35,3

42,4

49,5

56,5

63,6

0,052

-

-

+

-

4

12,6

25,1

37,7

50,2

62,8

75,4

87,9

100,5

113

0,092

-

-

+

-

5

19,6

39,3

58,9

78,5

98,2

117,8

137,5

157,1

176,7

0,144

-

-

+

-

6

28,3

57

85

113

141

170

198

226

254

0,222

+

-

+

6,75

8

50,3

101

151

201

251

302

352

402

453

0,395

+

-

+

9,0

10

78,5

157

236

314

393

471

550

628

707

0,617

+

+

+

11,3

12

113,1

226

339

452

565

679

792

905

1018

0,888

+

+

+

13,5

14

153,9

308

462

616

769

923

1077

1231

1385

1,208

+

+

-

15,5

16

201,1

402

603

804

1005

1206

1407

1608

1810

1,578

+

+

-

18

18

254,5

509

763

1018

1272

1527

1781

2036

2290

1,998

+

+

-

20

20

314,2

628

942

1256

1571

1885

2199

2513

2828

2,466

+

+

-

22

22

380,1

760

1140

1520

1900

2281

2661

3041

3421

2,984

+

+

-

24

 

Номинальный диаметр стержня, мм

Расчетная площадь поперечного стержня, мм2, при числе стержней

Теорети­ческая масса 1 м длины арматуры, кг

Диаметр арматуры классов

Макси­мальный размер сечения стержня периоди­ческого профиля

1

2

3

4

5

6

7

8

9

А240, А400, А500

А300

В500

25

490,9

982

1473

1963

2454

2945

3436

3927

4418

3,84

+

+

-

27

28

615,8

1232

1847

2463

3079

3685

4310

4926

5542

4,83

+

+

-

30,5

32

804,3

1609

2413

3217

4021

4826

5630

6434

7238

6,31

+

+

-

34,5

36

1017,9

2036

3054

4072

5089

6107

7125

8143

9161

7,99

+

+

-

39,5

40

1256,6

2513

3770

5027

6283

7540

8796

10053

11310

9,865

+

+

-

43,5

45

1590,4

3181

4771

6362

7952

9542

11133

12723

14313

12,49

-

+

-

49

50

1963,5

3927

5891

7854

9818

11781

13745

15708

17672

15,41

-

+

-

54

55

2376

4752

7128

9504

11880

14256

16632

19008

21384

18,65

-

+

-

59

60

2827

5654

8481

11308

14135

16962

19789

22616

25443

22,19

-

+

-

64

70

3848

7696

11544

15392

19240

23088

26936

30784

34632

30,46

-

+

-

74

СПИСОК ЛИТЕРАТУРЫ

СНиП 2.01.07-85*

Нагрузки и воздействия.

СНиП 21-01-97*

Пожарная безопасность зданий и сооружений.

СНиП 52-01-2003

Бетонные и железобетонные конструкции. Основные положения.

СП 52-101-2003

Бетонные и железобетонные конструкции без предварительного напряжения арматуры.

СП 52-102-2004

Предварительно напряженные железобетонные конструкции.

СП 52-103-2007

Железобетонные монолитные конструкции зданий.

СТО 36554501-006-2006

Правила по обеспечению огнестойкости и огнесохранности железобетонных конструкций.

 

Инструкция по расчету фактических пределов огнестойкости железобетонных конструкций на основе новых требований СНиП /ВНИИПО МВД СССР. - М, 1985.

ГОСТ 12.1.033-81

ССБТ. Пожарная безопасность. Термины и определения.

ГОСТ 30247.1-94

Конструкции строительные. Методы испытания на огнестойкость. Несущие и ограждающие конструкции.

ГОСТ 30403-96

Конструкции строительные. Методы определения пожарной опасности.

МГСН 4.19-2005

Временные нормы и правила проектирования многофункциональных высотных зданий и зданий-комплексов в городе Москве.

МГСН 4.04-94

Многофункциональные здания и комплексы.

ТСН 102-00

Железобетонные конструкции с арматурой классов А500С и А400С.

 

Eurocode 2: Design of Concrete Structures. Pat 10: Structural Fire Design. - Draft April, 1990.

 

Милованов А.Ф. Железобетонные температуростойкие конструкции. - М., 2005.

 

Милованов АФ. Огнестойкость железобетонных конструкций. - М., 2005.

 

Пособие по проектированию бетонных и железобетонных конструкций из тяжелого бетона без предварительного напряжения арматуры (к СП 52-101-2003). - М., 2005.

Содержание

Предисловие

1. ОСНОВНЫЕ ПОЛОЖЕНИЯ

2. МАТЕРИАЛЫ ДЛЯ ЖЕЛЕЗОБЕТОННЫХ КОНСТРУКЦИЙ

Нормативные и расчетные характеристики бетона

Нормативные и расчетные характеристики арматуры

3. ТЕПЛОТЕХНИЧЕСКИЙ РАСЧЕТ ЖЕЛЕЗОБЕТОННЫХ КОНСТРУКЦИЙ

4. ОПРЕДЕЛЕНИЕ ПРЕДЕЛА ОГНЕСТОЙКОСТИ ПЛИТ, СТЕН ПО ПОТЕРЕ ТЕПЛОИЗОЛИРУЮЩЕЙ СПОСОБНОСТИ

5. РАСЧЕТ ПРЕДЕЛА ОГНЕСТОЙКОСТИ ПО ПОТЕРЕ НЕСУЩЕЙ СПОСОБНОСТИ

Основные условия

Плиты балочные свободно опертые

Многопустотные плиты

Неразрезные и консольные плиты

Плиты безбалочного перекрытия для малоэтажного строительства

Плиты балочного перекрытия

Балки свободно опертые

Неразрезные балки

Огнестойкость внецентренно сжатых железобетонных элементов

Колонны прямоугольного сечения

Колонны двутаврового сечения

Колонны круглого сечения

Несущие стены

Огнестойкость центрально и внецентренно растянутых элементов

Огнестойкость железобетонных элементов при действии поперечных сил

Огнестойкость статически неопределимых конструкций

Огнестойкость железобетонных плит при продавливании

Потери предварительного напряжения в арматуре при пожаре

6. РАСЧЕТ ЦЕЛОСТНОСТИ БЕТОНА ПРИ ПОЖАРЕ

7. ОГНЕСОХРАННОСТЬ ЖЕЛЕЗОБЕТОННЫХ КОНСТРУКЦИЙ ПОСЛЕ ПОЖАРА

Прочность после пожара

8. ОГНЕСТОЙКОСТЬ И ОГНЕСОХРАННОСТЬ ЖЕЛЕЗОБЕТОННЫХ ЭЛЕМЕНТОВ НА ОСНОВЕ НЕЛИНЕЙНОЙ ДЕФОРМАЦИОННОЙ МОДЕЛИ

9. КОНСТРУКТИВНЫЕ ТРЕБОВАНИЯ, ПОВЫШАЮЩИЕ ПРЕДЕЛ ОГНЕСТОЙКОСТИ И ОБЕСПЕЧИВАЮЩИЕ ОГНЕСОХРАННОСТЬ ЖЕЛЕЗОБЕТОННЫХ КОНСТРУКЦИЙ

10. ПОЯСНЕНИЯ К ПРИЛОЖЕНИЯМ

Приложение А ТЕМПЕРАТУРА ПРОГРЕВА БЕТОНА В ПЛИТАХ И СТЕНАХ ПРИ ОДНОСТОРОННЕМ ОГНЕВОМ ВОЗДЕЙСТВИИ СТАНДАРТНОГО ПОЖАРА

Приложение Б ТЕМПЕРАТУРА ПРОГРЕВА БЕТОНА В БАЛКАХ И КОЛОННАХ

Приложение В ОСНОВНЫЕ БУКВЕННЫЕ ОБОЗНАЧЕНИЯ

Приложение Г СОРТАМЕНТ АРМАТУРЫ

СПИСОК ЛИТЕРАТУРЫ

 

 




ГОСТЫ, СТРОИТЕЛЬНЫЕ и ТЕХНИЧЕСКИЕ НОРМАТИВЫ.
Некоммерческая онлайн система, содержащая все Российские Госты, национальные Стандарты и нормативы.
В Системе содержится более 150000 файлов нормативно-технической документации, действующей на территории РФ.
Система предназначена для широкого круга инженерно-технических специалистов.

Рейтинг@Mail.ru Яндекс цитирования

Copyright © www.gostrf.com, 2008 - 2026