Крупнейшая бесплатная информационно-справочная система онлайн доступа к полному собранию технических нормативно-правовых актов РФ. Огромная база технических нормативов (более 150 тысяч документов) и полное собрание национальных стандартов, аутентичное официальной базе Госстандарта. GOSTRF.com - это более 1 Терабайта бесплатной технической информации для всех пользователей интернета. Все электронные копии представленных здесь документов могут распространяться без каких-либо ограничений. Поощряется распространение информации с этого сайта на любых других ресурсах. Каждый человек имеет право на неограниченный доступ к этим документам! Каждый человек имеет право на знание требований, изложенных в данных нормативно-правовых актах!

  


 

ОРДЕНА ТРУДОВОГО КРАСНОГО ЗНАМЕНИ
ВСЕСОЮЗНЫЙ
НАУЧНО-ИССЛЕДОВАТЕЛЬСКИЙ.
ПРОЕКТНО-ИЗЫСКАТЕЛЬСКИЙ
И
КОНСТРУКТОРСКО-ТЕХНОЛОГИЧЕСНИИ ИНСТИТУТ
ОСНОВАНИЙ
И ПОДЗЕМНЫХ СООРУЖЕНИЙ
имени Н.М. ГЕРСЕВАНОВА
ГОССТРОЯ СССР
инженерный центр ВНИИОСП

РЕКОМЕНДАЦИИ ПО УСТРОЙСТВУ ФУНДАМЕНТОВ СПОСОБОМ ОПУСКНОГО КОЛОДЦА

МОСКВА 1988

Настоящие Рекомендации содержат сведения по устройству фундаментов зданий и сооружений способом опускного колодца.

Приведены особенности опускных конструкций и способы их погружения, связанные с требованиями фундаментостроения.

Настоящие Рекомендации разработаны во ВНИИОСП совместно со специализированными организациями, занятыми устройством фундаментов глубокого заложения. Работа выполнена коллективом авторов: докт. техн. наук М.И. Смородинов, канд. техн. наук Ю.А. Березницкий, инж. Б.С. Остюков и А.А. Арсеньев при участии докт. техн. наук В.И. Шейнина, канд. техн. наук В.Г. Федоровского, Н.С. Четыркина, инженеров В.Т. Климова, В.Б. Михайлова, А.Н. Басиева и А.Л. Михлина.

Рекомендации предназначены для инженерно-технических работников, занятых проектированием и строительством фундаментов, одобрены секцией "Специальные работы" НТО, ВНИИОСП и рекомендованы к изданию.

СОДЕРЖАНИЕ

1. Общие положения

1.1. Настоящие Рекомендации составлены в развитие СНиП 3.02.01-83 "Производство работ при устройстве оснований и фундаментов" и в дополнение к "Рекомендациям по строительству опускных сооружений способом задавливания" (М., НИИОСП, 1980).

1.2. Земляные и другие специальные работы, связанные с изготовлением и погружением опускных колодцев должны: наполняться с учетом требований соответствующих глав СНиП 3.02.01-83 или других документов, утвержденных Госстроем СССР.

1.3. Способы производства работ по устройству фундаментов с применением опускных колодцев и последовательность их погружения должны быть взаимоувязаны с работами по прокладке подземных коммуникаций, строительству подъездных путей на стройплощадках и другими работами нулевого цикла.

1.4. При производстве работ способом опускного колодца должны соблюдаться правила Госгортехнадзора, технической инспекции и т.д., правила производства работ при прокладке и переустройстве подземных сооружений, а также положения об охране подземных и надземных инженерных сооружений.

1.5. При возведении фундаментов способом опускного колодца в грунтах с особыми свойствами (просадочных, насыпных, пучинистых и др.), а также под особо ответственные сооружения в период строительства должны быть организованы наблюдения за перемещениями фундаментов и деформациями сооружений.

После завершения строительства эти наблюдения должны быть продолжены эксплуатирующей организацией.

1.6. Целесообразность применения опускных колодцев для устройства фундаментов должна определяться конкретными условиями строительной площадки на основании результатов технико-экономического сравнения возможных вариантов проектных решений.

1.7. Устройство фундамента здания с образованием подвальной части в виде одного опускного колодца можно производить к при наличии скальных породных прослойков, в том числе и при опирании на скалу.

1.8. Работы по строительству фундаментов способом опускного колодца должны выполняться специализированными строительными организациями.

2. Конструкции опускных колодцев для возведения отдельно стоящих фундаментов

2.1. Опускные колодцы-фундаменты в виде отдельных опор глубокого заложения должны передавать нагрузки от здания на прочное грунтовое основание с обеспечением трения их наружной поверхности о грунт.

2.2. Форму и размеры опускного колодца следует определять исходя из действующих нагрузок и гидрогеологических условий.

2.3. Верх опускного колодца должен быть на 10-15 % шире надфундаментной части с целью сохранения осей надземной части здания в случае горизонтального смещения верха колода при его погружении.

2.4. В качестве стен опускных колодцев могут быть использованы железобетонные трубы и кольца Ø 2000-5000 мм и длиной 590-4500 мм, серийно выпускаемые промышленностью для инженерных коммуникаций (табл. 1.).

Таблица 1

Наименование

Марка

Диаметр внутренний, мм

Толщина стенки, мм

Длина, мм

Трубы железобетонные

ФТ-20Н

2000

130

4500

ГОСТ 6482-71

ФT-24H

2400

150

3000

 

ФТ-30Н

3000

Задается проектом

3000

 

ФТ-34Н

3400

То же

3400

 

ФТ-40Н

4000

-«-

4000

Кольца железобетонные

KC-20-1

2000

1000

590

ГОСТ 8020-68

КС-20-2

2000

100

890

 

КС-20-3

2000

100

1190

2.5. При диаметре опускного колодца в плане более 4000 мм целесообразно применять сегментные стеновые блоки из железобетона с металлической окантовкой. Соединение таких блоков в кольца и колец между собой следует производить электросваркой с применением металлических накладок (рис. 1).

2.6. Размеры сегментных блоков необходимо назначать из условий транспортирования и возможностей монтажных грузоподъемных механизмов. Рекомендуется использовать для опускных колодцев сегментные блоки длиной 1500-2500 мм, высотой 800-1200 мм, толщиной 400-600 мм.

2.7. Армирование сегментных блоков допускается арматурными стержнями как в один, так и в два ряда. В качестве продольной арматуры рекомендуется использовать стержни периодического профиля диаметром 16-30 мм, размещаемые с шагом 120-250 мм вдоль периметра стен колодца. Поперечную арматуру, служащую для предотвращения трещин от изгибающих моментов в период погружения, необходимо изготавливать из стержней диаметром 10-20 мм с шагом 200-300 мм по высоте колодца.

Защитный слой бетона в блоках следует принимать в пределах 40-50 мм.

2.8. Для строительства фундаментов с заполнением полости погруженного колодца бетоном можно использовать утолщенные сегментные блоки, что облегчает погружение и практически не отражается на стоимости фундамента.

2.9. Сборно-железобетонные элементы колодцев могут образовывать их стены, как с вертикальным, так и с горизонтальным членением.

2.10. Ориентироваться следует преимущественно на горизонтальное членение, так как оно дает возможность изменять высоту колодца при его недопогружении или перепогружении относительно проектной отметки, использовать стеновые элементы в качестве местной пригрузки при исправлении перекосов в период погружения и применения монтажных кранов с меньшим вылетом стрелы.

2.11. Вертикально стеновые панели опускных колодцев могут быть выполнены как одно целое с ножевой частью или без нее.

Рис.1. Сегментные железобетонные блоки

2.12. Толщину стеновых панелей следует назначать в пределах 250-600 мм, а ширину - в зависимости от высоты и принятой массы. Высоту панелей для опускных колодцев глубиной до 12 м следует назначать равной глубине погружения. Для колодцев большей глубины необходимо предусматривать стены из нескольких ярусов панелей.

2.13. Массу панелей следует ограничивать 20-25 т.

2.14. В плане стеновые панели могут иметь плоское, ребристое или вогнутое поперечное сечение (рис. 2).

2.15. Для выполнения стен опускных колодцев можно использовать тюбинги конструкции ВНИИОМШСа [1], которые представляют собой вогнутую оболочку из железобетона с двумя горизонтальными и тремя вертикальными ребрами.

2.16. Допускается использовать железобетонные блоки-тюбинги конструкции Шахтспецстрой Минмонтажспецстроя СССР [2], которые представляют собой сегменты из бетона марки 300, армированные стальной сеткой в два ряда при расходе арматурной стали 100-180 кг на 1 м3 бетона.

2.17. При проектировании стыков сборных железобетонных элементов следует обеспечивать необходимые для расчетных нагрузок прочность и неизменяемость взаимного положения. Предпочтительно использовать стыки с ограниченным применением сварочных работ [3]. Необходимо максимальное обеспечение равнопрочности стыка и сплошного сечения стены колодца.

2.18. Возможно применение стыков элементов стен колодца на эпоксидном клее.

2.19. Монолитные опускные колодцы следует изготавливать с двухрядной арматурой. Продольная арматура предназначена для восприятия эксплуатационных нагрузок, а горизонтальная - для предотвращения раскрытия трещин в период погружения.

2.20. Ножевую часть опускных колодцев можно выполнять из сборного (заодно со стеновой панелью) или монолитного железобетона, а также металлической. В железобетонных конструкциях ножевой части наклон внутренней поверхности к горизонтали принимают под углом L ≤ 70° для плотных грунтов, L ≤ 45° для грунтов средней плотности и L ≤ 35° - для слабых грунтов.

Рис. 2. Стеновые панели опускных колодцев: а) плоские, б) вогнутые; в) ребристые

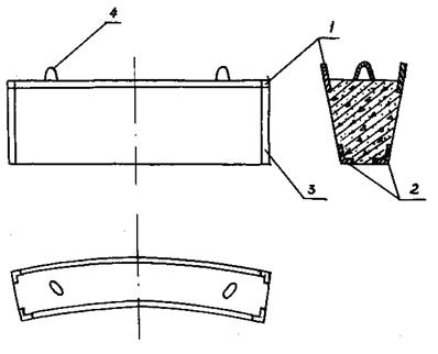
Рис. 3. Армометаллоблочная ножевая часть опускного колодца:
1 - отверстия для бетонирования внутренней полости, 2 - бетонное заполнение

2.21. В грунтах, содержащих крупные валунные включения, и при посадке опускного колодца на неровную поверхность напластования скального грунта необходимо использовать армометаллобетонную ножевую часть, представляющую собой оболочку клинового сечения с ребрами жесткости с заполненной бетоном полостью (рис. 3).

2.22. Для устройства фундаментных опор глубиной до 10 м в слабых грунтах целесообразно применять металлические ножевые части в виде вальцованного листа, образующего вертикальную поверхность, с ребрами жесткости в форме клиньев.

2.23. Стыковку ножевой части со сборными элементами стен следует производить электросваркой закладных деталей. Бетонирование ножевой части при монолитных стенах колодца необходимо выполнять одновременно с бетонированием первого яруса стен.

3. Конструкции опускных колодцев, используемых под подвалы зданий

3.1. При проектировании опускных колодцев следует обеспечивать возможность размещения над ними зданий, имеющих унифицированную сетку колонн.

3.2. Вопрос об использовании типовых опускных колодцев следует решать с сопоставлением удорожаний вследствие замены частных параметров унифицированными и снижения себестоимости объекта вследствие повторного использования проектов заводского производства изделий, кондукторов, опалубки и других факторов.

3.3. В плане опускные колодцы целесообразно выбирать круглые с внутренним диаметром 24, 30, 36, 42, 48, 54 и 60 м [4].

3.4. Для колодцев, используемых под подвалы зданий, конструкции стен следует выполнять аналогичными пп. 2.5-2.18, как для колодцев-опор.

3.5. По сравнению с опускными колодцами-опорами к колодцам под подвалы зданий следует предъявлять повышенные требования по обеспечению водонепроницаемости.

Марку бетона по водонепроницаемости следует принимать в зависимости от напорного градиента, который определяется как отношение напора к толщине стен колодца:

Напорный градиент до

5

10 - 12

12 и более

Марка бетона по водонепроницаемости

В-4

В-6

B-12

3.6. Опускные колодцы-помещения следует выполнять на 0,2 Н шире габаритов, необходимых для размещения оборудования и другого внутреннего обустройства подвала, из условий возникновения перекосов при погружении (Н - глубина погружения колодца).

3.7. Днище опускных колодцев следует выполнять из монолитного железобетона независимо от конструкции стен.

3.8. При погружении колодцев насухо основание под днище необходимо выравнивать дренирующим слоем. В случае заложения днища в крупных песках дренирующим материалом заполняются только местные перекопы. В качестве дренажной отсыпки рекомендуется применять щебень, гальку и крупный песок, укладываемые по типу обратного фильтра: более крупные фракции следует укладывать снизу, а более мелкие сверху.

3.9. Оклеечную гидроизоляцию необходимо выполнять под железобетонной плитой днища по бетонной подготовке. Металлическую гидроизоляцию следует укладывать поверху железобетонной плиты.

3.10. При подводном бетонировании подушки под днище в случаях погружения колодца без откачки воды последняя выполняется толщиной, необходимой для восприятия гидростатического давления при изготовлении железобетонного днища. Дренажный слой в этом случае может не выполняться.

3.11. В случае использования опускных колодцев в качестве подвалов каркасных зданий в теле железобетонного днища при его бетонировании образуют гнезда под колонны или втапливают железобетонные стаканы заводского изготовления.

3.12. В благоприятных геологических условиях неглубокие колодцы-помещения при опирании надфундаментной конструкции на верхний торец их стен возможно выполнять без железобетонной плиты днища с устройством обыкновенных бетонных полов.

В этих случаях после погружения колодца его нож дебетонируют до образования требуемой расчетом ширины подошвы кольцевого фундамента.

3.13. Гидроизоляцию стен торкретированием следует выполнять при напоре грунтовых вод до 10 м в два слоя толщиной 25 мм, а при наборе более 10 м - в три слоя толщиной 40 мм.

3.14. При отсутствии грунтовых вод для защиты стен колодца от капиллярной влаги необходимо нанести на его наружную поверхность окрасочную битумную гидроизоляцию.

3.15. Для гидроизоляции стен и днища колодца можно применять мастику на эпоксидных смолах с холодным отвердением. Такую гидроизоляцию при напоре до 25 м используют при толщине слоя 2-4 мм.

3.16. Внутри больших колодцев для подвалов и технических помещений несущие колонны и внутренние стены монтируют с шагом и пролетами, равными 6,9 и 12 м. Высота этажей должна быть типовой - 2,4; 2,6; 3,2; 4,2 и 4,8 м.

3.17. Подземную часть, образованную опускным колодцем, оборудуют лестницами, а при глубине более 16 м - пассажирскими и грузовыми лифтами.

3.18. Внутренние стены и перекрытия целесообразно выполнять после погружения колодца.

3.19. Внутренние стены и перекрытия, бетонируемые на месте, следует соединять с наружными стенами опускного колодца жесткими узлами рамного типа.

3.20. Стыки внутренних монолитных стен с перекрытиями и железобетонным  массивным днищем необходимо осуществлять при помощи арматурных сеток, омоноличиваемых при устройстве днища и перекрытий. Для связи монолитных железобетонных стен с вышележащими конструкциями вверху стен надо оставлять арматурные выпуски.

3.21. Внутренние стены из сборного железобетона целесообразно выполнять из панелей или блоков с горизонтальным или вертикальным членением, при этом следует стремиться к использованию стеновых конструкций, приятых для изготовления наружных стен колодца.

3.22. Сборные стены следует соединять с наружными стенами в паз. В монолитных стенах форма паза и его размещение в плане могут быть произвольными. В наружных стенах из ярусов панелей паз следует устраивать между ярусами.

3.23. В опускных колодцах с металлическими накладками на стыках панелей наружных стен и в колодцах с внутренней металлоизоляцией паз необходимо выполнять привариванием к ним металлоконструкций - образного профиля.

3.24. Перекрытия в колодце могут быть устроены сборными или сборно-монолитными по сборным колоннам.

3.25. Колонны целесообразно использовать квадратного сечения с обычными стыками, причем следует применять колонны того же типа, что и для каркаса надземной части здания.

3.26. Балки, плиты, настилы перекрытий необходимо опирать на консоли или уступы в стенах. В сборных колодцах со стальными накладками в стыках или с внутренней металлоизоляцией необходимо использовать металлические упоры, привариваемые к ним.

3.27. При большой временной нагрузке перекрытия целесообразно изготовлять из сборных железобетонных лотковых настилов.

4. Требования к проекту производства работ

4.1. Работы по устройству фундаментов способом опускного колодца должны выполняться по соответствующим проектам зданий и сооружений, организации строительства и производства работ с соблюдением действующих правил Госгортехнадзора СССР и техники безопасности.

4.2. Состав проекта производства работ (ПНР) по строительству фундаментов опускным способом, определяемый действующими положениями, должен включать в себя следующие основные документы:

чертежи строительных площадок» необходимые для возведения и опускания колодцев;

описание технологии возведения и опускания колодцев с необходимыми рабочими чертежами временного основания под нож, вспомогательных конструкций, оборудования, средств водопонижения и временных сооружений;

мероприятия по обеспечению техники безопасности с чертежами необходимых устройств.

4.3. Для составления ПНР заказчиком должны быть предоставлены:

топографический план площадки в горизонталях через 1-0,5 м с указанием планировочных отметок и привязочных данных. На плане должны быть нанесены подъездные пути, инженерные коммуникации, электросети и точки подключения к ним;

геологическое строение площадки на глубину не менее 5 м ниже проектной отметки подошвы фундамента (ножа колодца). Геологическое строение площадки выдается в виде геологических колонок и разрезов, причем в описании грунтов должна быть дана оценка наличия в них крупных включений, валунов и т.п. с их качественной характеристикой (размеры, прочность и др.);

число геологических скважин должно быть не менее трех из расчета на колодец диаметром 15 м. При наличии просадочных грунтов они должны быть охарактеризованы на всю толщу;

гидрологические условия должны содержать отметки расчетного уровня грунтовых вод и их режим (по временам года);

физико-механические характеристики грунтов должны содержать:

а) для несвязных грунтов - зерновой состав, удельный вес, угол внутреннего трения, пористость и коэффициент фильтрации;

б) для глинистых грунтов - удельный вес, угол внутреннего трения, пористость, характеристики пластичности и консистенции, сцепление и коэффициент фильтрации;

источники водоснабжения с указанием их минимальных и максимальных расходов;

места возможных отвалов грунта;

источники энергоснабжения с указанием напряжения, мощности и мест возможного подключения.

4.4. ППР должен предусматривать мероприятия по обеспечению нормальной работы размещенных в пределах призмы обрушения временных сооружений (краны, компрессорная станция, глинорастворный узел) в случае возможных подвижек грунта.

4.5. В пределах призмы обрушения не допускается строительство капитальных сооружений в период опускания колодца и до окончания устройства днища отключения водопонижения, а при погружении колодцев в тиксотропных рубашках - до завершения работ по тампонажу полости тиксотропной рубашки.

4.6. ППР должен предусматривать устройство временного основания под нож опускного колодца, которое может быть выполнено в виде бетонного колодца толщиной 0,2-0,3 м, шальной выкладки или дощатого настила в зависимости от массы первого яруса колодца.

4.7. При монтаже ножевой части колодца на слабом грунте под временное основание следует отсыпать песчаную подушку, толщину которой рекомендуется принимать в зависимости от расчетной несущей способности грунта в уровне его поверхности

Р, МПа

0,12

0,14

0,16

0,20

Толщина подушки, м

0,6

0,5

0,4

0,3

4.8. ПНР должен предусматривать последовательность и способы разборки временного основания колодца перед его опусканием.

4.9. При погружении опускных колодцев в тиксотропной рубашке ППР должен включать конструкцию форшахты (металлической, железобетонной или деревометаллической) и технологию ее выполнения.

4.10. В ППР необходимо приводить технологические схемы монтажа глинорастворного узла обсчетом его производительности, инструкцию по его эксплуатации, схемы систем подачи глинистых растворов в полость тиксотропной рубашки и потребное количество резервных емкостей для хранения глинистого раствора.

4.11. ППР должен включать дополнительные мероприятия по погружению колодцев в тиксотропной рубашке в зимнее время (утепление глинорастворного узла и форшахты, паропрогрев или электропрогрев растворов).

4.12. Для предотвращения утечек глинистого раствора из полости тиксотропной рубашки в забой при погружении опускного колодца ПНР необходимо предусматривать устройство на ножевом уступе замка-уплотнителя. Такие уплотнители могут быть выполнены из мятой глины или глинистой пасты и обладать возможностью расширения и сжатия при перекосах колодца, не допуская проникновение глинистого раствора ниже ножевого уступа.

4.13. В ППР должна быть указана потребность материалов для образования тиксотропной рубашки: глины или глинопорошка, химических реагентов и воды.

4.14. В ППР необходимо предусмотреть мероприятия по предотвращению самопогружения колодца, особенно на заключительном этапе опускания, и его всплытия после устройства днища.

5. Особенности производства работ при устройстве фундаментов способом опускного колодца

5.1. Для устройства отдельно стоящих фундаментов в виде опускных колодцев можно использовать только способы погружения, обеспечивающие предотвращение, разуплотнения грунта в основании колодца и наплыва грунта внутрь колодца.

5.2. При разработке грунта для опускания колодца насухо использовать открытый водоотлив допускается только для грунтов, исключающих их наплыв из-под ножа; когда приток подземных вод не превышает 0,2-0,25 м3А на 1 м2 площади забоя колодца.

5.3. Количество фильтрующей воды (м3ч) через 1 м2 забоя колодца ориентировочно составляет для песков 0,01-0,1 (мелких), 0,2-0,25 (средних), 0,4-1,5 (крупных), 2,0-3,0 (гравелистых).

5.4. Понижение уровня грунтовых вод при открытом водоотливе должно опережать разработку грунта, чтобы забой на всем периоде погружения оставался сухим. Наличие воды над глинами и суглинками в сочетании с направленной вверх фильтрацией может вызвать их дополнительное набухание, что приведет к снижению несущей способности основания.

5.5. Следует учитывать, что при интенсивном водоотливе происходит вымывание мелких фракций несвязных грунтов, отрицательно влияющее на несущую  способность основания. В этих случаях необходимо принимать меры по предотвращению попадания мелких частиц грунта во всасывающее устройство насосов путем выполнения защитной дренирующей отсыпки из гравелистого песка по поверхности и дну водосборника.

5.6. При применении открытого водоотлива необходимо учитывать возможность выпучивания грунта забоя под воздействием давления воды на подошву пласта водонепроницаемого грунта, размещенного под поверхностью забоя. Выпучивания не произойдет, если масса пласта водонепроницаемого грунта в пределах колодца больше напора воды.

При расчете минимальной толщины водоупорного слоя, при которой исключено выпучивание, следует учитывать сопротивление грунта срезу ложевой частью колодца, за которое можно принимать значение сцепления связного грунта.

5.7. Для погружения опускных колодцев под фундаментные опоры целесообразно использовать глубинное водопонижение, осуществляемое путем откачки воды через скважины, устроенные за контуром колодца и оборудованные насосами.

5.8. Глубинное водопонижение исключает возможность разрыхления грунтов и вымывания мелких фракций. При таком способе водопонижения основание уплотняется за счет увеличения объемного веса грунтов ввиду устранения взвешивающего действия воды. Уплотнению грунтов также способствует гидродинамическое давление фильтрующей воды, направленное выше и в стороны от колодца, т.е. в направлении, обратном тому, которое имеет место при открытом водоотливе.

5.9. На уплотнившийся в результате глубинного водопонижения грунт рекомендуется укладывать насухо бетонную подушку (подошву фундаментов) для предотвращения разуплотнения грунта после прекращения откачки воды.

5.10. При разработке и выдаче грунта из полости колодца подводным способом с целью недопущения наплывов пылеватых и мелкозернистых песков необходимо обеспечивать на 2-3 м превышение уровня воды в колодце над уровнем грунтовых вод. Такое же превышение необходимо соблюдать при разработке несвязных грунтов ниже режущей кромки ножевой части колодца.

5.11. Дня погружения опускных колодцев, используемых в качестве фундаментов, рекомендуется применять подмыв в глинистых и суглинистых грунтах полутвердой и тугопластичной консистенции во избежание значительного нарушения структуры грунтов на контакте с наружной поверхностью стен колодца и связанного с этим снижения их сопротивления воздействиям горизонтальных нагрузок.

5.12. При использовании для погружения опускных колодцев в просадочных грунтах тиксотропных рубашек допускается применять глинистые растворы с минимальным значением водоотдачи.

5.13. Для строительства фундаментов способом опускного колодца гложет быть применено погружение в заранее подготовленную траншею. Такую траншею образуют под защитой глинистого раствора специальными механизмами, предназначенными для работ способом "стена в грунте" [5].

5.14. Ослабленная зона может быть образована бурением скважин по контуру колодца и заполнения их песком (на песчаных сваях) (рис. 4.).

5.15. Опускные колодцы, погружаемые в заранее подготовленную траншею, могут быть выполнены без ножевой части, а их стены монтируют заподлицо с наружной грунтовой стенкой траншеи на подкладках, выступающих на 1,2-1,4 м за внешний и внутренний края траншеи.

5.16. При создании зоны ослабления грунта бурением скважин их диаметр должен составлять 0,9-1,1 толщины стены колодца, а расстояние между их центрами 2,1-2,3 диаметра скважин.

Такой прием целесообразно использовать в твердых глинистых грунтах.

5.17. Для устройства фундаментов большой глубины может быть использовано погружение опускных колодцев способом задавливания (рис. 5). Этот способ целесообразно применять для строительства фундаментов глубиной более 15 м, для специальных фундаментов с повышенными требованиями соблюдения вертикальности и при производстве работ вблизи существующих строений и коммуникаций.

5.18. Для опускных колодцев, погружаемых залавливаем, могут быть использованы сборные железобетонные конструкции стен с горизонтальным членением, например, сегментные блоки (см. п.п. 2.5-2.7).

5.19. В качестве систем для задавливания опускных колодцев в грунт следует использовать конструкции, описанные в Рекомендациях по строительству опускных сооружений способом задавливания (НИИ оснований, 1980).

5.20. Нагрузку задавливания в грунт колодца при погружении в тиксотропной рубашке, включающую усилив домкратов и вес колодца за вычетом взвешивающей силы в обводненных грунтах, необходимо создавать: в песках 40-60 т, в супесях, глинах 30-40 т, в плывунах 40-50 т на 1 м окружности режущей, кромки ножевой части.

5.21. Ножевую часть таких колодцев предпочтительно выполнять металлической с заполнением внутренней полости бетоном с углом заострения 16-18°, а ширина режущей кромки 50-70 мм.

Рис.4 Погружение опускного колодца на песчаных сваях

Рис.5 Схема погружения колодца задавливанием

5.22. Погружение опускных колодцев задавливанием. При наращивании стен монолитным железобетоном опорную конструкцию следует использовать в качестве наружной опалубки, причем внутреннюю опалубку можно выполнять подвесной, закрепленной на опорной конструкции (рис. 6).

5.23. При малом водопритоке в устойчивых грунтах фундаменты-колодцы можно выполнять обычным горным способом проходки, включающим наращивание крепи снизу по мере разработки грунта и утлубки забоя.

В этих случаях в качестве материала стен колодца целесообразно использовать железобетонные тюбинги.

Применять металлические тюбинги для колодцев под фундаменты не допускается.

5.24. При погружении опускных колодцев в связных грунтах, подстилаемых грунтами с напорными подземными водами, необходима проверка безопасной толщины слоя вскрытого связного грунта обеспечивающей предотвращение прорыва подземных вод в забой по формуле

где  

- удельный вес воды;

 

- напор подземных вод нижележащего горизонта;

F

- площадь сечения внутренней полости колодца;

L

- периметр внутренней поверхности колодца;

С

- удельное сцепление связного грунта;

γ

- удельный вес связного грунта.

5.25. При погружении опускных колодцев под фундаменты использование искусственного замораживания для погашения водопритока не допускается, т.к. приводит к изменениям свойств грунта основания в результате оттаивания и снижению несущей способности.

5.26. В отдельных случаях можно использовать контурное искусственное замораживание для погружения колодцев для выполнения подвала здания в случае его посадки на водоупорный грунт.

5.27. При погружении опускного колодца под подвал здания с опиранием на трещиноватые скальные порода необходимо предусматривать цементацию основания.

Рис. 6. Погружение колодцев задавливанием с монолитными железобетонными стенами;
1 - консольные упоры; 2 - домкраты; 3 - наружная опалубка; 4 - внутренняя опалубка; 5 - опускной колодец

Устройство днища колодца в этих случаях может производиться по типу полов на грунтовом основании.

5.28. При заглублении опускных колодцев в скальные породы с применением буровзрывных работ необходима зачистка основания от кусков взорванной массы, а в некоторых случаях цементации основания.

5.29. Образующаяся при погружении, в скальные порода опускного колодца пазуха должна быть заполнена мятой глиной или затампонирована твердеющим раствором.

5.30. Погружение колодцев в скальные породы следует производить заходками по 0,2-0,4 м. Перед погружением на очередную заходку по периметру ножевой части рекомендуется устраивать пояс из мятой глины.

5.31. Возможна остановка колодца на границе скальных пород и дальнейшая проходка под ним полости буро-взрывным способом. При этом должны быть предприняты меры по предотвращению произвольной посадки колодца.

6. Снижение сил трения боковой поверхности фундаментов, сооружаемых опускным способом

6.1. При сооружении фундаментов опускным способом следует предусматривать мероприятия по снижению сил трения их поверхности о грунт с целью уменьшения материалоемкости фундаментов и облегчения процесса их погружения.

6.2. По окончании погружения фундамента в случае необходимости вовлечения в работу его боковой поверхности следует предусматривать мероприятия по восстановлению сил трения.

6.3. Уменьшение сил трения боковой поверхности сооружений о грунт может быть выполнено путем:

а) уменьшения коэффициента трения; б) уменьшения нормального давления на боковую поверхность фундамента; в) комбинирования способов а и б.

6.4. Уменьшение коэффициента трения боковой поверхности фундамента грунт возможно осуществлять (рис. 7) путем погружения фундаментов в тиксотропной рубашке, создания антифрикционного покрытия, гидроподрыва грунта, электроосмотического увлажнения поверхности, погружения в пневматической рубашке.

Рис. 7. Способы снижения сил трения боковой поверхности опускных сооружений о грунт: а - тиксотропная рубашка; б - стабилизированная тиксотропная рубашка; в - антифрикционная обмазка; г - гидроподмыв; д - податливая оболочка; е - гидрофобизаад поверхности податливой оболочки; ж - электроосмоотическое увлажнение; з - пневматическая рубашка

6.5. Нормальное давление может быть снижено с помощью образования на боковой поверхности фундамента податливой оболочки из легко деформируемого материала.

6.6. Эту оболочку целесообразно также использовать и в качестве основы для осуществления мероприятий по уменьшению коэффициента трения.

6.7. Нормальное давление на оболочку со стороны грунтового массива следует определять путем решения соответствующей задачи теории упругости, приведенного например, в [6].

6.8. При погружении в глинистых грунтах целесообразно производить гидрофобизацию боковой поверхности фундамента или его податливости оболочки путем введения во внешний слой раствора поверхностно-активного вещества (ПАВ). Расход ПАВ должен составлять 0,8-1,2 л на 1 м2 поверхности в расчете на концентрированное ПАВ. В качестве ПАВ можно использовать "Прогресс", ОП-7, алюмосульфонафтеновый пенообразователь, пасту алкилсульфатов, детолин и др. Влияние вида ПАВ на уменьшение коэффициента трения незначительно.

6.9. В случае погружения в Песчаных грунтах следует использовать введение  во внешний слой антифрикционного наполнителя, в качестве которого можно рекомендовать гранулированный полиэтилен. Добавка полиэтилена должна составлять 10-15 % массы материала внешнего слоя оболочки. Введение следует производить в поверхностный слой оболочки при его нанесении. Толщину поверхностного слоя назначают в этом случае в зависимости от величины максимального линейного размера гранул полиэтилена в соответствии с соотношением

t = 1,2 + 2А, мм,

где t

- толщина поверхностного слоя оболочки, -мм;

A

- максимальный линейный размер гранул полиэтилена, мм

6.10. Работы по устройству податливой оболочки могут осуществляться как одновременно с монтажом, стен фундамента, так и при погружении. В зависимости от этого рекомендуются две технологические схемы.

6.11. Первая технологическая схема предусматривает образование оболочки путем заливки твердеющего раствора в пространство между стеной фундамента и форшахтой (рис. 8). При ее использовании следует уделять внимание вопросу увязки производительности растворного узла по приготовлению материала податливой оболочки и размеров заглубляемого сооружения в плане. Одного замеса должно хватать на заполнение полости на высоту не менее 15 см. В данном случае гидрофобизацию поверхности оболочки следует осуществлять путем подачи ПАВ в кольцевой паз, выполненный в нижней части форшахты (рис. 9).

6.12. Комплекс оборудования для приготовления материала и устройства податливой оболочки путем заполнения полости между форшахтой и стенами фундамента должен включать в себя склад материалов со средствами малой механизации, растворосмесительный узел, краскопульт для нанесения покрытия из синтетической смолы, а также приспособление для нанесения противоадгезионного слоя, комплект шлангов и трубопроводов, растворонасос и емкость для воды.

6.13. Для удобства укладки материала оболочки растворосмесительный узел целесообразно размещать на передвижной платформе, например, авто- или электрокаре с возможностью передвижения последней по кольцевой дороге вокруг фундамента. В этом случае распылитель краскопульта следует связать с выпускным трубопроводом растворосмесительного узла, чтобы покрытие стен синтетической смолой осуществлять непосредственно под местом укладки материала оболочки,

6.14. В качестве растворосмесителя могут быть использованы серийно выпускаемые турбулентные быстроходные турбинные растворосмесителя РМ-750 вместимостью 0,75 м3, а также растворосмесители циркуляционного типа, преимуществом которых является наличие в их комплексе растворонасоса, способного перекачивать готовый материал в полость будущей оболочки. Может быть использован и насос производительностью 2-6 м3/ч с дальностью подачи до 50 м по горизонтали и до 30 м по вертикали.

6.15. Вторая технологическая схема предусматривает образование податливой оболочки параллельно с монтажом стен или после его окончания, но обязательно до начала погружения фундамента. В этом случае оболочка создается набрызгом материала на боковую поверхность.

Рис. 8. Схема образования податливой оболочки: 1 - податливая оболочка; 2 - уступ ножевой части; 3 - ножевая часть: 4 - форшахта; 5 - материальный склад; 6 - передвижной смесительный узел; 7 - землеройное оборудование; 8 - грузоподъемный механизм; 9 - ходовая тележка; 10 - кольцевая дорога; 11 - трубопровод; 12 - опускной колодец

Рис. 9. Снижение трения при погружением колодца путем устройства податливой оболочки и гидрофобизации ее поверхности: 1 - опускной колодец; 2 - запорная арматура; 3 - трубопровод;  4 - растворонасос; 5 - растворосмеситель циркуляционного типа; 6 - податливая o6oлочка; 7 - материальный склад; 8 - форшахта; 9 - емкость с раствором ПАВ; 10 - кольцевой паз для гидрофобизации.

При использовании материалов на основе минеральных вяжущих рекомендуется применять установку "Пневмобетон", а при использовании полимерных материалов - серийно выпускаемое оборудование для нанесения малярных составов, работающее по принципу распыления.

6.16. Для устройства податливой оболочки рекомендуется применять две группы материалов.

Основу материалов первой группы составляет ячеистый цемент-содержащий высокопористый состав. B качестве воздухововлекающей добавки рекомендуется использовать ПАВ, а в качестве структурообразующих компонентов - карбамидную смолу и волокнистый асбест. Для удешевления состава целесообразно к цементу добавлять отходы местной промышленности, обладающие вяжущими свойствами: золу уноса, различные тонкомолотые шлаки и т.п.

Основу материалов второй группы составляют изоцианаты с добавками полиэфира, ПАВ, воды и синтетических катализаторов (например, "Дайко", КЭП-1 и т.д.).

6.17. Подбор параметров податливой оболочки следует осуществлять путем количественного соотношения компонентов (изоцианата, вода, ПАВ, полиэфира и катализатора).

Возможные  пределы изменения модуля деформации составляют 1÷1000 МПа; изменение характера пористости - от замкнутой до открытой.

Выбор вида материала податливой оболочки должен осуществляться на стадии проектирования путем технико-экономического сравнения. При сравнении вариантов необходимо учитывать гидроизоляционные свойства материалов податливой оболочки. Окончательно состав материала податливой оболочки назначается после проведения испытаний по определению характеристик деформируемости на образцах.

6.18. Для восстановления силы трения на боковой поверхности фундамента следует предусматривать следующие мероприятия: при погружении в тиксотропной рубашке - ликвидация последней; разрушение антифрикционного покрытия или связь его с грунтовым массивом за счет введения химических добавок; при электроосмотическом увлажнении поверхности - ее осушение путем изменении направления электрического поля.

6.19. Тиксотропная рубашка может быть ликвидирована замещением тиксотропного раствора твердеющим глиноцементным раствором; надвижкой окружающего грунтового массива на полость тиксотропной рубашки; разрушением грунтовой стенки тиксотропной рубашки с одновременным укреплением образованной массы с помощью введения сухого вяжущего.

6.20. При сооружении фундаментов в просадочных грунтах целесообразность осуществления мероприятий по снижению сил трения на боковой поверхности должна решаться в каждом конкретном случае исходя из возможности замачивания окружающего грунтового массива.

СПИСОК ЛИТЕРАТУРЫ

1. Березницкий Ю.А. Северные железобетонные крепи вертикальных выработок для строительства городских заглубленных помещений. - Шахтное строительство, 1986, № 9.

2. Березницкий Ю.А. Эффективные конструкции для строительства городских инженерных сооружений. - Экспресс-информация "Современное состояние и тенденции развития больших городов в СССР и за рубежом", МГНТИ, 1986, вып. II.

3. Смородинов М.И. Устройство фундаментов с использованием опускных колодцев. - Основания, фундаменты и механика грунтов, 1985, № 5.

4. Смородинов М.И. Строительство подземной части здания способом опускного колодца. - Основания, фундаменты и механика грунтов, 1986, № 5.

5. Пособие по производству работ при устройстве оснований и фундаментов. М., Стройиздат, 1986.

6. Н.С. Булычев. Механика подземных сооружений. М., Недра, 1982.

 

 




ГОСТЫ, СТРОИТЕЛЬНЫЕ и ТЕХНИЧЕСКИЕ НОРМАТИВЫ.
Некоммерческая онлайн система, содержащая все Российские Госты, национальные Стандарты и нормативы.
В Системе содержится более 150000 файлов нормативно-технической документации, действующей на территории РФ.
Система предназначена для широкого круга инженерно-технических специалистов.

Рейтинг@Mail.ru Яндекс цитирования

Copyright © www.gostrf.com, 2008 - 2026