|
|
Шум машин ПРИЕМОЧНЫЕ ИСПЫТАНИЯ ЗУБЧАТЫХ РЕДУКТОРОВ НА ШУМ ISO 8579-1:2002
Предисловие Цели и принципы
стандартизации в Российской Федерации установлены Федеральным законом от 27
декабря Сведения о стандарте 1. ПОДГОТОВЛЕН Открытым акционерным обществом «Научно-исследовательский центр контроля и диагностики технических систем» (ОАО «НИЦ КД») на основе собственного аутентичного перевода стандарта, указанного в пункте 4 2. ВНЕСЕН Техническим комитетом по стандартизации ТК 358 «Акустика» 3. УТВЕРЖДЕН И
ВВЕДЕН В ДЕЙСТВИЕ Приказом Федерального агентства по техническому регулированию
и метрологии от 27 декабря 4. Настоящий стандарт является модифицированным по отношению к международному стандарту ИСО 8579-1:2002 «Приемочные испытания редукторов. Часть 1. Испытания на шум» (ISO 8579-1:2002 «Acceptance code for gear units - Part 1: Test code for airborne sound») путем изменения отдельных фраз, которые выделены курсивом, и внесения технических отклонений, объяснение которых приведено в дополнительном приложении Е. Наименование настоящего стандарта изменено для приведения в соответствие с ГОСТ Р 1.5 - 2004 (подраздел 3.5) 5. ВВЕДЕН ВПЕРВЫЕ Информация об изменениях к настоящему стандарту публикуется в ежегодно издаваемом информационном указателе «Национальные стандарты», а текст изменений и поправок - в ежемесячно издаваемых информационных указателях «Национальные стандарты». В случае пересмотра (замены) или отмены настоящего стандарта соответствующее уведомление будет опубликовано в ежемесячно издаваемом информационном указателе «Национальные стандарты». Соответствующая информация, уведомление и тексты размещаются также в информационной системе общего пользования - на официальном сайте Федерального агентства по техническому регулированию и метрологии в сети Интернет СОДЕРЖАНИЕ
НАЦИОНАЛЬНЫЙ СТАНДАРТ РОССИЙСКОЙ ФЕДЕРАЦИИ
Дата введения - 2008-07-01 1. Область примененияНастоящий стандарт устанавливает методы определения шума зубчатых редукторов и мотор-редукторов, указанных в разделе 4. Шум характеризуют уровнями звука излучения в заданных контрольных точках и уровнем звуковой мощности. Определение этих величин необходимо: a) изготовителям редукторов (мотор-редукторов) для заявления значений шумовых характеристик; b) для сравнения шума редукторов (мотор-редукторов) при функционировании; c) для контроля шума при изготовлении редукторов (мотор-редукторов). Допускаются измерения шума техническим (степень точности 2) и ориентировочным (степень точности 3) методами. 2. Нормативные ссылкиВ настоящем стандарте использованы нормативные ссылки на следующие стандарты: ГОСТ Р 51400-99 (ИСО 3743-1-94, ИСО 3743-2-94) Шум машин. Определение уровней звуковой мощности источников шума по звуковому давлению. Технические методы для малых переносных источников шума в реверберационных полях в помещениях с жесткими стенами и в специальных реверберационных камерах ГОСТ Р 51401-99 (ИСО 3744-94) Шум машин. Определение уровней звуковой мощности источников шума по звуковому давлению. Технический метод в существенно свободном звуковом поле над звукоотражающей плоскостью ГОСТ Р 51402-99 (ИСО 3746-95) Шум машин. Определение уровней звуковой мощности источников шума по звуковому давлению. Ориентировочный метод с использованием измерительной поверхности над звукоотражающей плоскостью ГОСТ 27243-2005 (ИСО 3747:2000) Шум машин. Определение уровней звуковой мощности по звуковому давлению. Метод сравнения на месте установки ГОСТ 30457-97 (ИСО 9614-1-93) Акустика. Определение уровней звуковой мощности источников шума на основе интенсивности звука. Измерение в дискретных точках. Технический метод ГОСТ 30691-2001 (ИСО 4871-96) Шум машин. Заявление и контроль значений шумовых характеристик ГОСТ 30720-2001 (ИСО 11203-95) Шум машин. Определение уровней звукового давления излучения на рабочем месте и в других контрольных точках по уровню звуковой мощности ГОСТ 31171-2003 (ИСО 11200:1995) Шум машин. Руководство по выбору метода определения уровней звукового давления излучения на рабочем месте и в других контрольных точках ГОСТ 31252-2004 (ИСО 3740:2000) Шум машин. Руководство по выбору метода определения уровней звуковой мощности Примечание - При пользовании настоящий стандартом целесообразно проверить действие ссылочных стандартов в информационной системе общего пользования - на официальном сайте Федерального агентства по техническому регулированию и метрологии в сети Интернет или по ежегодно издаваемому информационному указателю «Национальные стандарты», который опубликован по состоянию на 1 января текущего года, и по соответствующим ежемесячно издаваемым информационным указателям, опубликованным в текущем году. Если ссылочный стандарт заменен (изменен), то при пользовании настоящим стандартом следует руководствоваться заменяющим (измененным) стандартом. Если ссылочный стандарт отменен без замены, то положение, в котором дана ссылка на него, применяется в части, не затрагивающей эту ссылку. 3. Термины и определенияВ настоящем стандарте применены термины по ГОСТ 30457, ГОСТ 30691 и ГОСТ 31252 (приложение 7). 4. Типы редукторов и акустические условия4.1. Типы редукторов Настоящий стандарт распространяется на редукторы и мотор-редукторы общемашиностроительного применения с цилиндрическими, коническими и червячными передачами: a) редукторы, исключая привод или систему привода; b) мотор-редукторы (двигатель объединен с редуктором); c) редукторы с приводом (двигатель или устройство привода установлены на общее основание с другим требуемым вспомогательным оборудованием). Потребитель и изготовитель должны иметь договоренность о том, какой шум подлежит измерению: устройства в целом или только редуктора. Устройства защиты: ограждения карданного вала или муфты, звукоизолирующие кожухи (если предусмотрены), - должны быть установлены при испытаниях на шум. 4.2. Акустические условия Настоящий стандарт допускает проводить испытания на шум редуктора (мотор-редуктора) каждого типа при акустических условиях, обеспечиваемых: - в специальных установках, предназначенных для акустических измерений (7.2.2); - на испытательном стенде в цехе (7.2.3); - на месте эксплуатации (7.2.4). 5. Определение уровня звуковой мощности5.1. Общие положения Если не установлено иное, то определяют корректированный по частотной характеристике А шумомера (далее - корректированный по А) уровень звуковой мощности путем испытаний на испытательном стенде изготовителя и выбранным им методом. При выборе метода определения уровня звуковой мощности принимают во внимание его степень точности и неопределенность измерений, указываемые в соответствующем стандарте. Пример - Стандартное отклонение воспроизводимости s, характеризующее неопределенность измерений техническим методом, указано в таблице 1. Таблица 1 - Неопределенность определения уровней звуковой мощности по ГОСТ 30457
Предпочтительны технические методы определения уровня звуковой мощности по ГОСТ 30457, ГОСТ Р 51400 (метод сравнения в гулком помещении), ГОСТ Р 51401 или [1]. Если технические методы неприменимы, то измерения проводят ориентировочными методами по ГОСТ 30457, ГОСТ Р 51402 или [1]. Если ни один из указанных методов неприменим, то может быть применен метод по [2]. Выбирают стандарт на метод определения уровня звуковой мощности редукторов (мотор-редукторов) в соответствии с таблицами 2 и 3. Таблица 2 относится к измерению шума редукторов и редукторов с приводом. В последнем случае измерение шума непосредственно редукторов является более трудоемким. Таблица 3 соответствует относительно более простым измерениям шума мотор-редукторов как компактной конструкции, когда не требуется определять отдельно шум редуктора и двигателя. Под термином «мотор-редуктор» также подразумевают иные компактные механизмы, шум составных частей которых не может быть определен по отдельности. К таким механизмам могут быть отнесены редуктор, сочлененный с генератором, и гидромотор. Примечание - Указанные в таблицах 2 и 3 стандарты применительно к настоящему стандарту имеют следующие особенности (полная характеристика дана в ГОСТ 31252): ГОСТ 27243 устанавливает технический или ориентировочный метод определения (с использованием образцового источника шума) уровней звуковой мощности в октавных полосах частот и корректированного по А уровня звуковой мощности преимущественно стационарных машин непосредственно на месте их установки в производственном помещении с относительно низким уровнем фонового шума. Измерения проводят в октавных полосах частот, по результатам которых рассчитывают корректированный по А уровень звуковой мощности, ГОСТ Р 51400 устанавливает метод измерений с использованием образцового источника шума в помещении с акустически жесткими стенами при низком уровне фонового шума. Измерения проводят в октавных полосах частот, по результатам которых рассчитывают корректированный по А уровень звуковой мощности. ГОСТ Р 51401 устанавливает метод измерений в существенно свободном звуковом поле над звукоотражающей плоскостью при низком уровне фонового шума. Корректированный по А уровень звуковой мощности рассчитывают по измеренным уровням звука или октавным или третьоктавным уровням звукового давления. ГОСТ Р 51402 менее требователен к звуковому полю, чем ГОСТ Р 51401. Корректированный по А уровень звуковой мощности рассчитывают по измеренным уровням звука. ГОСТ 30457 и [1] могут быть применены для измерений в любом испытательном пространстве, в том числе при наличии значительной реверберации и посторонних источников шума. Корректированный по А уровень звуковой мощности или уровни звуковой мощности в октавных полосах частот рассчитывают по результатам измерений уровней нормальной составляющей интенсивности звука. По ГОСТ 30457 измерения выполняют в дискретных точках, число которых значительно больше, чем в соответствии с методами, основанными на измерениях уровней звукового давления. По [1] измерения проводят сканированием по измерительной поверхности (общей или по частям в зависимости от конфигурации испытуемой машины), что требует меньшего времени, чем при измерениях по дискретным точкам. Метод по [2] основан на измерениях виброскорости в точках на поверхности корпуса редуктора или мотор-редуктора. Он обеспечивает оценку корректированного по А уровня звуковой мощности или уровней звуковой мощности в октавных (третьоктавных) полосах частот. Таблица 2 - Выбор стандарта для определения уровня звуковой мощности редуктора и редуктора с приводом
Таблица 3 - Выбор стандарта для определения уровня звуковой мощности мотор-редуктора
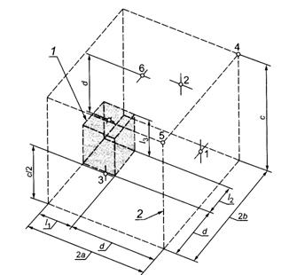
5.3. Огибающий параллелепипед, измерительная поверхность, положения микрофонов и акустического зонда 5.3.1. Общие положения Применяют ГОСТ 30457, ГОСТ Р 51401, ГОСТ Р 51402 или [1] в соответствии с 5.3.2 -5.3.4. 5.3.2. Огибающий параллелепипед Огибающий параллелепипед в общем случае представляет собой воображаемую поверхность простой формы минимального объема (параллелепипед), охватывающую зубчатый механизм, исключая вспомогательные элементы трансмиссии и привода. Огибающий параллелепипед для редуктора с приводом должен охватывать все устройство. Огибающий параллелепипед оканчивается на звукоотражающей плоскости (на твердом полу или на поверхности воды). Примеры огибающего параллелепипеда приведены на рисунках 1 - 3. Примечание - Небольшие части испытуемого объекта, шум которых незначителен, в огибающий параллелепипед не включают. 5.3.3. Измерительная поверхность Измерительная поверхность обычно охватывает огибающий параллелепипед на заданном расстоянии, называемом измерительным расстоянием d, которое зависит от примененного метода измерений и должно быть: - по ГОСТ
Р 51401 предпочтительно - по ГОСТ
30457 более - по [1]
d ≥ Типичные измерительные поверхности показаны на рисунках 1 - 3. Измерительная поверхность опирается на звукоотражающую плоскость. Измерительная поверхность оканчивается на звукоотражающей плоскости, которая лежит на расстоянии, меньшем или равном измерительному расстоянию d. Другие отражающие поверхности должны быть расположены на расстоянии не менее 2d (см. рисунки 4 - 6).
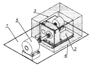
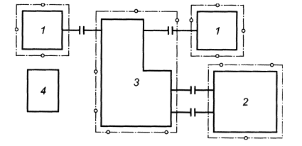
1 - пол; 2 - редуктор; 3 - огибающий параллелепипед; 4 - измерительная поверхность; 5 - двигатель; 6 - нагрузочное устройство Рисунок 1 - Огибающий параллелепипед и измерительная поверхность для редуктора
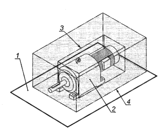
1 - пол; 2 - редуктор; 3 - огибающий параллелепипед; 4 - измерительная поверхность; 5 - нагрузочное устройство Рисунок 2 - Огибающий параллелепипед и измерительная поверхность для редуктора с приводом 1 - пол; 2 - редуктор; 3 - огибающий параллелепипед; 4 - измерительная поверхность Рисунок 3 - Огибающий параллелепипед и измерительная поверхность для мотор-редуктора 5.3.4. Положения микрофонов и акустического зонда Положения микрофонов и акустического зонда должны соответствовать требованиям стандарта, примененного для измерений. Типичные положения микрофонов для измерения звукового давления показаны на рисунках 4 - 11. Положения акустического зонда и расстояние d при измерениях по ГОСТ 30457 и [1] могут отличаться от указанных на рисунках 4 - 11. Следует тщательно выбирать положения микрофонов и акустического зонда относительно редуктора, чтобы они соответствовали его конструкции, и относительно стен или звукоотражающих поверхностей. В противном случае найденная звуковая мощность может отличаться от действительной. Примеры возможного положения микрофонов для редукторов и мотор-редукторов различных типов и размеров приведены в приложении А. 1 - решетчатый настил Рисунок 4 - Примеры установки редуктора на полу и у стены - огибающий параллелепипед; 2 - измерительная поверхность Рисунок 5. Точки измерений для рисунка 4 1 - решетчатый настил Рисунок 6 - Примеры установки редуктора на полу и вблизи стены 1 - огибающий параллелепипед; 2 - измерительная поверхность Рисунок 7 - Точки измерений для рисунка 6
Рисунок 8 - Пример редуктора, установленного в колодце с акустически жесткими звукоотражающими стенками 1 - огибающий параллелепипед: 2 - измерительная поверхность Рисунок 9 - Точки измерений для рисунка 8
Рисунок 10 - Пример редуктора, установленного на большом расстоянии от звукоотражающей поверхности 1 - огибающий параллелепипед; 2 - измерительная поверхность Рисунок 11 - Точки измерений для рисунка 10 5.4. Неопределенность измерений Неопределенность измерений соответствует установленной примененным стандартом. Примечание - Результаты измерений могут быть искажены влиянием условий измерений (вибрацией, электрическим и магнитным полями, ветром или газовым потоком, ненормальной температурой и т.д.), 6. Определение уровня звука излучения6.1. Основной стандарт Уровень звука излучения на рабочем месте (см. 6.2) определяют по ГОСТ 30720 (метод с рассчитываемым значением величины Q2, определяющей связь уровня звука излучения с корректированным по А уровнем звуковой мощности), который позволяет рассчитать средний на измерительной поверхности (см. 5.3.3) уровень звука излучения по известному корректированному по А уровню звуковой мощности. Если значение Q2 не может быть определено, то метод измерения уровня звука излучения выбирают по ГОСТ 31171. 6.2. Рабочее место Если рабочее место у
редуктора отсутствует, то в качестве условного рабочего места принимают точку
на расстоянии 7. Установка и монтаж7.1. Степень точности измерений Степень точности измерений зависит от условий установки и монтажа испытуемого объекта. Для обеспечения одинаковой степени точности требования к условиям измерений интенсивности звука менее жесткие, чем к условиям измерений уровней звукового давления, так как метод звуковой интенсиметрии позволяет значительно снизить влияние посторонних источников шума. 7.2. Акустические условия 7.2.1. Общие положения Установка и монтаж редуктора зависят от акустических условий. 7.2.2. Испытательная установка для акустических измерений Испытательная установка, предназначенная для акустических измерений, должна соответствовать следующим минимальным требованиям: - иметь малошумные привод и тормозное устройство; - не допускать образования стоячих звуковых волн; - виброизолировать редуктор от опорной конструкции для предотвращения распространения звуковой вибрации; - не иметь механических резонансов; - в случае определения только шума редуктора иметь акустический экран или кожух для трансмиссии, тормозного устройства и приводного двигателя. Установка, предназначенная для измерений техническим методом, может быть аттестована. 7.2.3. Испытательный стенд в цехе Шум нагрузочного устройства, присоединяемого к редуктору, и шум вспомогательного оборудования не должны влиять на результаты измерений. Предпочтительно использовать малошумное нагрузочное устройство. Должно быть предусмотрено: - капотирование присоединяемых механизмов и устройств; - сведение до минимума числа других работающих источников шума; - экранирование на время испытаний приводного двигателя, трансмиссии и нагрузочного устройства; - покрытие на время испытаний звукопоглощающим материалом звукоотражающих поверхностей. Если возможно, то принимают следующие меры для улучшения акустических условий: - сводят к минимуму число других работающих источников шума; - на время испытаний экранируют приводной двигатель, трансмиссию и нагрузочное устройство; - на время испытаний покрывают звукоизолирующим материалом звукоотражающие поверхности. 8. Режим работы8.1. Общие положения Если не установлено иное, то потребитель и изготовитель/продавец согласовывают условия испытаний по 8.2 - 8.4. Если обычный рабочий режим не может быть установлен при испытаниях из-за ограничений по мощности или по другим причинам, то изготовитель и потребитель согласовывают условия испытаний с пониженной нагрузкой. Соблюдают следующие условия испытаний: - редуктор испытывают при вращении в рабочем направлении, а если он реверсивный, то в обоих направлениях; - измерения проводят при работающей масляной системе и вязкости масла, как при эксплуатации; - измерения проводят при рабочей температуре редуктора, соответствующей условиям эксплуатации. 8.3. Частота вращения Редуктор испытывают при эксплуатационной частоте вращения. Редуктор, предназначенный для работы при различных частотах вращения, испытывают в интервалах диапазона частот вращения, если договоренностью изготовителя и потребителя не установлено иное. В общем случае рекомендуется проводить испытания при частоте вращения, при которой шум максимален. 8.4. Рабочая нагрузка Измерения проводят при номинальной или обусловленной соглашением нагрузке. Нагрузка может быть равна: - номинальной; - установленной по соглашению сторон (если она не совпадает с номинальной); - номинальной при максимальном коэффициенте полезного действия. Примечание - Если имеется договоренность о возможности испытаний на холостом ходу, то их проводят, если шум при нагрузке труднопереносим. 9. Регистрируемая информацияРегистрируют информацию, соответствующую требованиям примененного при испытаниях стандарта. 10. Протокол испытанийВ протокол испытаний включают данные, необходимые изготовителю для заявления значений шумовых характеристик или потребителю для подтверждения заявленных значений. Как минимум, в протокол испытаний включают следующие данные: a) сведения, идентифицирующие редуктор, b) технические характеристики редуктора; c) ссылку на настоящий стандарт и стандарт, выбранный из числа допустимых настоящим стандартом. Если стандарт по испытаниям на шум редуктора рекомендует применить технический метод измерений, но применен ориентировочный метод, то приводят обоснование невозможности применить технический метод; d) запись о том, что требования настоящего и примененного стандартов соблюдены полностью, кроме случая, когда согласно приложению С (С.3.1.4) измерения выполняют в единственной точке; e) описание условий и режима работы, включая эскиз с указанием размеров испытательного помещения, положения редуктора, положения точек измерений, измерительные расстояния и результаты измерений по точкам (см. раздел 7); f) перечень средств измерений и сведения о поверке; g) уровень звука излучения или корректированный по А уровень звуковой мощности и, если требуется, уровни звуковой мощности в октавных полосах частот. 11. Заявление и подтверждение значений шумовых характеристикЗаявление значений шумовых характеристик является обязанностью изготовителя. Заявление оформляют по ГОСТ 30691. Рекомендуется заявлять корректированный по А уровень звуковой мощности и уровень звука излучения на рабочем месте (см. 8.2). В заявлении необходимо указать, что значения шумовых характеристик получены в соответствии с настоящим стандартом и примененным стандартом по определению уровня звуковой мощности. Если требования стандартов не соблюдены, то в заявлении указывают отклонения от настоящего или примененного стандарта, или от обоих. Рекомендуется применять метод заявления по ГОСТ 30691 (приложение А). При подтверждении заявленных значений испытания проводят при тех же условиях, что при определении значений шумовых характеристик. Для подтверждения заявленных значений применяют метод контроля по единичной машине по ГОСТ 30691 (подраздел 6.2). Дополнительно в заявлении могут быть указаны уровни звуковой мощности в октавных полосах частот и значения других измеренных величин, характеризующих шум. При этом во избежание недоразумений поясняют, что эти величины являются дополнительными и не относятся к заявленным. Приложение А
|
||||||||||||||||||||||||||||||||||||||||||||||||||||||||||||||||||||||||||||||||||||||||||||||||||||||||||||||||||||||||||||||||||||||||||||||||||||||||||||||||||||||||||||||||||||||||||||||||||||||||||||||||||||||||||||||||||||||||||||||||||||||||||||||||||||||||||||||||||||||||||||||||||||||||||||||||||||||||||||||||||||||||||||||||||||||||||||||||||||||||||||||||||||||||||||||||||||||||||||||||||||||||||||||||||||||||||||||||||||||||||||||||||||||||||||||||||||||||||||||||||||||||||||||||||||||||||||||||||||||||||||||||||||||||||
|
Тип: цилиндрические зубчатые передачи с внешним зацеплением со следующими преобладающими характеристиками (более чем у 80 %) |
|
|
Корпус |
Литой |
|
Опоры |
Подшипники качения |
|
Смазка |
Разбрызгиванием |
|
Монтаж |
На жесткой стальной плите или бетонном основании |
|
Мощность |
От 0,7 до 2400 кВт |
|
Частота вращения входного вала (максимальная) |
От 1000 до 5000 об/мин (преимущественно 1500 об/мин) |
|
Скорость вращения по делительной окружности |
От 1 до 20 м/с: |
|
Крутящий момент |
От 100 до 200000 Н·м |
|
Число ступеней |
От 1 до 3 |
|
Сведения о зубчатой передаче |
Косозубое зубчатое колесо (угол наклона зуба β = 10° - 30°) с наибольшей скоростью вращения закалено, финишное шлифование до степеней точности 5 - 8 по [4] |
Рисунок В.8 - Корректированные по А уровни звуковой мощности цилиндрических редукторов общемашиностроительного применения
Логарифмическая линия регрессии LWA = 85,6 + 6,4 log P
(80 %-ная линия)
Дисперсия r2 = 0,48
Доверительная вероятность 90 %

а - 80 %-ная линия
|
Тип: цилиндрические зубчатые передачи с внешним зацеплением со следующими преобладающими характеристиками (более чем у 80 %) |
|
|
Корпус |
Литой |
|
Опоры |
Подшипники качения |
|
Смазка |
Система смазки с впрыском под давлением |
|
Монтаж |
На жесткой стальной плите или бетонном основании |
|
Мощность |
От 380 до 42000 кВт |
|
Частота вращения входного вала (максимальная) |
От 1000 до 12700 об/мин |
|
Скорость вращения по делительной окружности |
Более 35 м/с |
|
Крутящий момент |
От 3600 до 460200 Н·м |
|
Число ступеней |
От 1 до 2 |
|
Сведения о зубчатой передаче |
Большинство косозубых зубчатых колес (β =10° - 30°) с двумя венцами закалено, финишное шлифование до степеней точности от 3 до 5 по [4] |
Рисунок В.9 - Корректированные по А уровни звуковой мощности цилиндрических турбинных редукторов
Логарифмическая линия регрессии LWA = 77,1 + 15,9 log P
(80 %-ная линия)
Дисперсия r2 = 0,88
Доверительная вероятность 90 %

а - 80 %-ная линия
|
Тип: конические и коническо-цилиндрические зубчатые передачи со следующими преобладающими характеристиками (более чем у 80 %) |
|
|
Корпус |
Литой и сварной |
|
Опоры |
Роликовые подшипники, шестерня на конических подшипниках |
|
Смазка |
Разбрызгиванием |
|
Монтаж |
На жесткой стальной плите или бетонном основании |
|
Мощность |
От 2 до 1800 кВт |
|
Частота вращения входного вала (максимальная) |
От 970 до 3000 об/мин |
|
Скорость вращения по делительной окружности |
От 2 до 24 м/с |
|
Крутящий момент |
От 3600 до 190000 Н·м |
|
Число ступеней |
От 1 до 3 |
|
Сведения о зубчатой передаче |
Коническая передача {высшей ступени) с поверхностным упрочнением и шлифованием; спирально-зубая коническая передача без осевого смещения |
Рисунок В.10 - Корректированные по А уровни звуковой мощности конических и коническо-цилиндрических редукторов
Логарифмическая линия регрессии LWA = 87,7 + 4,4 log P
(80 %-ная линия)
Дисперсия r2 = 0,78
Доверительная вероятность 90 %

а - 80 %-ная линия
|
Тип: планетарные редукторы со следующими преобладающими характеристиками (более чем у 80 %) |
|
|
Корпус |
Литой |
|
Опоры |
Для тихоходных - подшипники качения; для быстроходных - подшипники скольжения |
|
Смазка |
Вспрыскиванием |
|
Монтаж |
На жесткой стальной плите или бетонном основании |
|
Мощность |
От 6 до 12500 кВт |
|
Частота вращения входного вала (максимальная) |
От 350 до 16500 об/мин |
|
Крутящий момент |
От 1000 до 330000 Н·м |
|
Число ступеней |
От 1 до 2 |
|
Сведения о зубчатых передачах: |
|
|
- тихоходные |
Прямозубые |
|
- быстроходные |
Косозубые (β = 25° - 30°) |
|
|
Зубчатые колеса внутреннего зацепления термообработаны, центральное зубчатое колесо и сателлиты закалены |
Рисунок В.11 - Корректированные по А уровни звуковой мощности планетарных редукторов
Логарифмическая линия регрессии LWA = 65,0 + 15,9 log P
(80 %-ная линия)
Дисперсия r2 = 0,95
Доверительная вероятность 90 %
80 %-ная линия
|
Тип: червячные редукторы со следующими преобладающими характеристиками (более чем у 80 %) |
|
|
Корпус |
Ребристый (теплорассеивающий) |
|
Опоры |
Подшипники качения |
|
Смазка |
Разбрызгиванием |
|
Монтаж |
На жесткой стальной плите |
|
Мощность |
От 0,7 до 56 кВт |
|
Частота вращения входного вала (максимальная) |
От 1360 до 3800 об/мин |
|
Крутящий момент |
От 67 до 330000 Н·м |
|
Число ступеней |
1, простой червячный редуктор |
|
Число заходов червяка |
От 1 до 6 |
|
От 1 до 3 |
|
|
Сведения о зубчатой передаче |
Червяк поверхностно упрочнен, червячное колесо - бронзовое |
Рисунок В.12 - Корректированные по А уровни звуковой мощности червячных редукторов
В.4. Типичные уровни звука излучения
Типичные уровни звука излучения одноступенчатого редуктора с параллельными валами с зубьями четвертой или меньшей степени точности в 1 мот корпуса в зависимости от передаваемой мощности показаны на рисунке В.13 [3].

Рисунок В.13 - Типичные уровни звука излучения
В.5. Типичные уровни звуковой мощности, определенные по интенсивности звука
Корректированные по А уровни звуковой мощности редукторов (мощностью до 5 МВт), определенные по интенсивности звука, показаны на рисунке В.14. Применение метода звуковой интенсиметрии позволяет уменьшить влияние посторонних источников шума и реверберации.

Рисунок В.14 - Удельный корректированной по А уровень звуковой мощности
Настоящее приложение содержит пояснения по применению ГОСТ Р 51401 и ГОСТ Р 51402 при измерениях по настоящему стандарту.
Из-за инструментальных ошибок, помех при измерениях неопределенность определения корректированного по А уровня звуковой мощности по настоящему стандарту равна ± 2 дБА.
Примечание - Если распределение результатов измерений нормальное и стандартное отклонение s равно 1 дБА, то с вероятностью 70% неопределенность может быть менее ± 1 дБА и с вероятностью 95 % - менее ± 2 дБА.
С.2. Аппаратура и условия измерений
Принято, что аппаратура соответствует ГОСТ Р 51401 или ГОСТ Р 51402, условия измерений соответствуют настоящему стандарту.
С.3. Измерительная поверхность, измерительное расстояние, положение и число точек измерений
С.3.1. Положение и число точек измерений
С.3.1.1. Общие положения
Точки измерений располагают одним из способов по С.3.1.2 - С.3.1.4.
С.3.1.2. Полное число точек
Точки измерений выбирают в
соответствии с размерами огибающего параллелепипеда; их расположение показано
на рисунках 5, 7, 9 и 11. Число точек
измерений увеличивают, если расстояние по горизонтали между соседними точками
превышает
С.3.1.3. Уменьшенное число точек измерений
Основные точки измерений показаны на рисунках 5, 7, 9 и 11, но число точек может быть уменьшено, если установлено при испытаниях редуктора данного типа, что звуковое поле существенно равномерное, так что уровень шума (корректированный по А уровень звуковой мощности), определенный по уменьшенному числу точек измерений, не отличается более чем на 1 дБА от уровня, определенного по полному числу точек.
С.3.1.4. Измерения в единственной точке в приемочных испытаниях
В целях сокращения затрат испытание серийного образца редуктора может быть проведено измерением уровня звукового давления в единственной точке. Это возможно, если:
- испытательное пространство и тип испытуемого объекта те же, что при испытаниях с измерениями по полному числу точек по С.3.1.2;
- точка измерений уровня звукового давления выбрана в той части измерительной поверхности, где отклонение уровня звукового давления от его среднего значения по измерительной поверхности минимально.
Метод измерений по единственной точке может быть применен только по соглашению между изготовителем и потребителем и на основании предварительных исследований, предотвращающих грубую ошибку. При применении метода в протоколе испытаний и заявлении делают запись об этом и указывают, что условия испытаний соответствуют ГОСТ Р 51401 (ГОСТ Р 51402).
Шум редуктора может быть измерен, если влияние реверберации в помещении на шум вблизи точек измерений не более 3 дБ (дБА). Это требование удовлетворено, если показатель акустических условий K2А £ 3 дБА (см. С.6.2). Указанное значение является промежуточным для значений по ГОСТ Р 51401 и ГОСТ Р 51402.
Если расстояние от измерительной поверхности до ближайшей плоской поверхности, включая стены и другие машины, по меньшей мере вдвое больше измерительного расстояния, то испытательное помещение можно считать пригодным при условии, что внутренний объем помещения численно приблизительно равен ста или более площадям измерительной поверхности, в квадратных метрах. Если объем помещения не удовлетворяет этому требованию, то его пригодность можно определить следующим образом,
Устанавливают широкополосный источник шума в точку, соответствующую геометрическому центру испытуемого редуктора. Используя этот источник, определяют средние по множеству измерений уровни звукового давления (уровни звука) в двух точках. Эти точки должны:
а) быть предварительно выбранными;
b) находиться на удвоенном или на половинном измерительном расстоянии от источника шума, но не в ближнем звуковом поле.
Помещение пригодно, если разность между средними значениями по каждой серии измерений составляет не менее 5 дБ (дБА).
Результаты измерений корректируют по С.6.1.4.
Если показатель акустических условий K2А > 3 дБА то результаты измерений не могут быть корректированы по С.6.1.4, так как влияние шума посторонних источников становится чрезмерным. В этом случае проверку пригодности помещения повторяют при меньшем измерительной расстоянии или устанавливают висячие звукопоглощающие преграды и дополнительно наносят звукопоглощающие покрытия на отражающие поверхности, или выбирают более подходящее помещение.
С.5. Методика измерения уровня звукового давления
С.5.1. Общие положения
До проведения измерений проверяют условия в испытательном пространстве на соответствие применяемому стандарту, чтобы определить необходимые коррекции.
С.5.2. Измерение уровней звука
В каждой точке измерений измеряют уровень звука ΔLpAS при временной характеристике шумомера S («медленно»). По результатам измерений определяют эквивалентный уровень звука LpASm. Продолжительность измерений выбирают так, чтобы зафиксированный уровень соответствовал нормальному рабочему режиму.
С.5.3. Определение спектра уровней звукового давления
Спектр уровней звукового давления в общем случае определяют, не прибегая к частотному взвешиванию в октавных полосах. Измерения в каждой точке в каждой октавной полосе рекомендуются, если имеются чистые тоны, при которых может потребоваться третьоктавный, узкополосный анализ или анализ на основе преобразования Фурье.
С.5.4.1. При неработающем редукторе измеряют уровни фонового шума в каждой точке измерений и регистрируют результаты по С.5.2 и С.5.3. Эти уровни должны быть достаточно низкие, чтобы не влиять на результаты измерений шума редуктора. Это гарантировано, если уровень звукового давления фонового шума в каждой полосе частот (уровень звука) на 10 дБ (дБА) или более ниже звукового давления (уровня звука) при работе редуктора. Если это условие не соблюдено, то можно попытаться уменьшить фоновый шум по С.5.4.2 - С.5.4.5.
С.5.4.2. При возможности удаляют с испытательной площадки большинство источников фонового шума.
С.5.4.3. Источники фонового шума, если возможно, экранируют. При этом принимают во внимание возможность отражения звука редуктора от экранов.
С.5.4.4. По соглашению сторон режим работы может быть изменен с целью избежать, например, структурного резонанса на испытательной площадке.
С.5.4.5. Если указанные выше меры не позволяют существенно снизить фоновый шум, то выполняют коррекции на фоновый шум, если его значение на 3 - 9 дБ (дБА) ниже измеренных по С.5.2 и С.5.3 значений.
Площадь измерительной поверхности S, м2, равна:
S = 4(ab + ас + bc) (см. рисунок 5);
S = 2(2ab +2ас + bc) (см. рисунок 7);
S = 4аb (см. рисунок 9);
S = 4(2ab + ас + be) (см. рисунок 11).
Величина LS, дБ (дБА), учитывающая площадь измерительной поверхности S при определении уровня звуковой мощности, равна

где S0
- опорная площадь (S0 =
В таблице С.1 приведены значения LS в зависимости от S. При отличии значений площади измерительной поверхности от значений, указанных в таблице, от минус 20 % до плюс 25 % ошибка определения LS не превысит 1 дБ (дБА).
Таблица С.1 - Значения LS при опорной площади S0 =
|
Площадь измерительной поверхности, м2 |
LS, дБ(дБА) |
Площадь измерительной поверхности, м2 |
LS, дБ (дБА) |
|
0,63 |
-2 |
25 |
+14 |
|
0,8 |
-1 |
32 |
+15 |
|
1 |
0 |
40 |
+16 |
|
1,25 |
+1 |
50 |
+17 |
|
1,6 |
+2 |
63 |
+18 |
|
2 |
+3 |
80 |
+19 |
|
2,5 |
+4 |
100 |
+20 |
|
3,2 |
+5 |
125 |
+21 |
|
4 |
+6 |
160 |
+22 |
|
5 |
+7 |
200 |
+23 |
|
6,3 |
+8 |
250 |
+24 |
|
8 |
+9 |
320 |
+25 |
|
10 |
+10 |
400 |
+26 |
|
12,5 |
+11 |
500 |
+27 |
|
16 |
+12 |
630 |
+28 |
|
20 |
+13 |
С.6. Определение корректированного по А уровня звуковой мощности
С.6.1. Определение среднего на поверхности уровня звука ![]()
С.6.1.1. Общие положения
Средний на поверхности
уровень звука
, дБА, определяют по С.6.1.3 - С.6.1.4 по результатам
измерений звукового давления на измерительной поверхности.
С.6.1.2. Эквивалентные уровни звука (звукового давления)
Значения, полученные по С.5.2 и С.5.3, являются эквивалентными уровнями (усредненными по времени).
С.6.1.3. Коррекция на фоновый шум
Если необходимо учесть влияние фонового шума, то рекомендуется определить коррекцию К1 на фоновый шум для каждой точки измерений по таблице С.2 в зависимости от разности результатов измерений по С.5.2 и С.5.3 и результатов измерений фонового шума.
Если разность менее 3 дБ (дБА) в любой из точек, то результаты измерений недействительны. Однако они могут быть внесены в протокол испытаний и служить верхней оценкой шума.
Средний на поверхности
уровень звукового давления на расстоянии
Таблица С.2 - Коррекции на фоновый шум K1
|
Разность между значениями, определенными по С.5.2 и С.5.4, дБ(дБА) |
Коррекция K1, вычитаемая из значения, определенного по С.5.2, дБ (дБА) |
|
3 |
3 |
|
От 4 до 5 |
2 |
|
От 6 до 9 |
1 |
С.6.1.4 Средний на поверхности
уровень звука ![]()
Средний на поверхности
уровень звука
, дБА рассчитывают по корректированным по С.6.1.3
эквивалентным уровням звука во всех точках измерений по формуле
![]()
С.6.2. Определение показателя акустических условий K2(K2А)
С.6.2.1. Общие положения
Влияние акустических условий на месте испытаний на уровень звука на поверхности, определяемый по С.6.1.4. в основном зависит от звукопоглощения испытательного помещения и от отношения объема помещения V к площади измерительной поверхности S.
Показатель акустических условий K2(K2А ) определяют по ГОСТ Р 51401, ГОСТ Р 51402, таблице С.3 или с помощью образцового источника шума.
Образцовый источник шума должен быть широкополосным в диапазоне частот измерений без существенной направленности и чистых тонов.
Уровень звука считают постоянным, если результаты измерений на временной характеристике шумомера «медленно» в фиксированной точке не изменяются более чем на 1 дБА в течение 1 ч.
Зона ближнего звукового поля для образцового источника шума должна быть известна во всем диапазоне частот измерений.
Примечание - В общем случае малые источники шума имеют менее протяженную зону ближнего звукового поля. Особенно это характерно для небольших редукторов для вентиляторов с регулируемой частотой вращения (например, пылесосов с регулятором частоты вращения).
Таблица С.3 - Показатель акустических условий K2(K2А) для испытательных помещений различных типов и отношения V/S
|
Характеристика помещения |
K2(K2А) для обычных машин и испытательных помещений в зависимости от площади измерительной поверхности, дБ (дБА) |
||||||||||||||||
|
Отношение V/S* |
|||||||||||||||||
|
25 |
32 |
40 |
50 |
63 |
80 |
100 |
125 |
160 |
200 |
250 |
320 |
400 |
500 |
830 |
800 |
1000 |
|
|
А. Помещение со звукоотражающими стенами (например, кафельными, плоскими бетонными или оштукатуренными) |
|
3 |
2 |
1 |
0 |
||||||||||||
|
В. Помещение без свойств по А и С |
|
3 |
2 |
1 |
0 |
||||||||||||
|
С. Помещение со слабым звукоотражением от поверхностей с несколькими участками звукопоглощающих поверхностей |
|
3 |
2 |
1 |
0 |
||||||||||||
|
* Площадь измерительной поверхности S, м2, характеристики помещения и его объем V, м3, известны. Примечание - Настоящая таблица позволяет оценить K2А без измерений шума по частотам. Однако проверка пригодности помещения по результатам прямых измерений необходима, если применение настоящей таблицы сомнительно или когда показатель K2 (K2А) более 3 дБ (дБА) (как может быть в заштрихованной части таблицы). |
|||||||||||||||||
С.6.2.2. Определение K2(K2А)
Образцовый источник шума устанавливают в испытательном помещении на месте, соответствующем геометрическому центру испытуемого редуктора. Во всех точках измерений определяют уровень звуковой мощности или уровни звуковой мощности в октавных полосах частот LW1 no C.6.
Определение уровня звуковой мощности LW1 образцового источника шума повторяют для другого расположения точек измерений вблизи источника, но вне ближнего звукового поля. Рекомендуется уменьшить по крайней мере вдвое начальное измерительное расстояние. Результат второго определения обозначают LW2.
Показатель акустических условий K2(K2А) или для измерений октавных уровней звуковой мощности K2 рассчитывают по формуле
С.6.2.3. Расчет корректированного
среднего на поверхности уровня звука ![]()
Показатель акустических
условий K2А
используют для расчета корректированного среднего на поверхности уровня
звука
по формуле
=
- K2A
С.6.3. Расчет корректированного по A уровня звуковой мощности LWA
Корректированный по А уровень звуковой мощности LWA, дБА, обычно представляют суммой корректированного среднего на поверхности уровня звука и величины LS, учитывающей влияние площади измерительной поверхности (см. С.5.5), по формуле
LWA =
+ LS
С.7. Протокол испытаний
С.7.1. Общие положения
В протокол испытаний включают сведения согласно разделу 10 и С.7.2.
С.7.2. Измерения при испытаниях и результаты
В протокол включают:
a) уровень звука LpASm (С.5.2) в каждой точке измерений;
b) уровень фонового шума и коррекцию на фоновый шум K1 в каждой точке измерений (С.6.1.3);
c) средний на поверхности
уровень звука
, рассчитанный по LpASm и K1 в каждой
точке измерений (С.6.1.4);
d) показатель акустических условий K2(K2а) (С.6.2);
e) значение величины LS (С.5.5);
f) корректированный по А уровень звуковой мощности LWA (С.6.3);
д) уровень звукового
давления излучения на рабочем месте по С.6.1.4, определенный или рассчитанный
для расстояния
h) точные сведения о любых дополнительно выбранных точках или точках, которые были использованы.
С.8. Методика расчета уровня звука или корректированного по 4 уровня звуковой мощности по уровням звукового давления в октавных (третьоктавных) полосах частот
С.8.1. Средний уровень
звука
, дБА рассчитывают по формуле

где Сj - поправка на частотное взвешивание по характеристике А шумомера в j-й октавной или третьоктавной полосе (см. С.8.2 или С.8.3);
- средний
уровень звукового давления в октавной полосе частот, дБА.
Примечание - По этой же формуле
рассчитывают корректированный по А уровень звуковой мощности LW , заменяя в ней величину
на средний уровень
звуковой мощности в октавной полосе
.
С.8.2. Для расчета по результатам измерений в третьоктавных полосах (jmax = 21) значения поправок Cj берут по таблице С.4.
С.8.3 Для расчета по результатам измерений в октавных полосах (jтах = 7) значения поправок С; берут по таблице С.5.
Таблица С.4 - Значения поправок Сj для третьоктавных полос
|
Номер третьоктавной полосы j |
Среднегеометрическая частота третьоктавной полосы, Гц |
Сj дБ |
|
1 |
100 |
-19,1 |
|
2 |
125 |
-16,1 |
|
3 |
160 |
-13,4 |
|
4 |
200 |
-10,9 |
|
5 |
250 |
-8,6 |
|
6 |
315 |
-6,6 |
|
7 |
400 |
-4,8 |
|
8 |
500 |
-3,2 |
|
9 |
630 |
-1,9 |
|
10 |
800 |
-0,8 |
|
11 |
1000 |
0,0 |
|
12 |
1250 |
0,6 |
|
13 |
1600 |
1,0 |
|
14 |
2000 |
1,2 |
|
15 |
2500 |
1,3 |
|
16 |
3150 |
1,2 |
|
17 |
4000 |
1,0 |
|
18 |
5000 |
0,5 |
|
19 |
6300 |
-0,1 |
|
20 |
8000 |
-1,1 |
|
21 |
10000 |
-2,5 |
Таблица С.5 - Значения поправок Сj для октавных полос
|
Номер третьоктавной полосы j |
Среднегеометрическая частота третьоктавной полосы, Гц |
Сj дБ |
|
1 |
125 |
-16,1 |
|
2 |
250 |
-8,6 |
|
3 |
500 |
-3,2 |
|
4 |
1000 |
0,0 |
|
5 |
2000 |
1,2 |
|
6 |
4000 |
1,0 |
|
7 |
8000 |
-1,1 |
С.9 Последовательность действий
На рисунке С.1 показана последовательность действий при определении корректированного по А уровня звуковой мощности.

Рисунок С.1 - Диаграмма последовательности действий при определении звуковой мощности по звуковому давлению
Таблица D.1
|
Обозначение ссылочного национального или межгосударственного стандарта |
Обозначение и наименование ссылочного международного стандарта и условное обозначение степени его соответствия ссылочному национальному стандарту Российской Федерации |
|
ГОСТ Р 51400 - 99 |
ИСО 3743-1:1994 «Акустика. Определение уровней звуковой мощности источников шума по звуковому давлению. Технические методы для малых переносных источников шума в реверберационных полях. Часть 1. Метод сравнения для испытательных помещений с жесткими стенами» (MOD) ИСО 3743-2:1994 «Акустика. Определение уровней звуковой мощности источников шума по звуковому давлению. Технические методы для малых переносных источников шума в реверберационных полях. Часть 2. Методы для специальных реверберационных камер» (MOD) |
|
ГОСТ
Р 51401-99 |
ИСО 3744:1994 «Акустика. Определение уровней звуковой мощности источников шума по звуковому давлению. Технический метод в существенно свободном звуковом поле над звукоотражающей плоскостью» (MOD) |
|
ГОСТ
Р 51402 - 99 |
ИСО 3746:1995 «Акустика. Определение уровней звуковой мощности источников шума по звуковому давлению. Ориентировочный метод с применением охватывающей поверхности над звукоотражающей плоскостью» (MOD) |
|
ГОСТ
27243 - 2005 |
ИСО 3747:2000 «Акустика. Определение уровней звуковой мощности источников шума по звуковому давлению. Метод сравнения на месте установки» (MOD) |
|
ГОСТ
30457-97 |
ИСО 9614-1:1993 «Акустика. Определение уровней звуковой мощности источников шума по интенсивности звука. Часть 1. Измерение в дискретных точках» (MOD) |
|
ГОСТ
30691-2001 |
ИСО 4871:1996 «Акустика. Заявление и подтверждение значений шумовых характеристик машин и оборудования» (MOD) |
|
ГОСТ
30720-2001 |
ИСО 11203:1995 «Акустика. Шум машин и оборудования. Определение уровней звукового давления излучения на рабочем месте и в других контрольных точках по уровню звуковой мощности» (MOD) |
|
ГОСТ
31171-2003 |
ИСО 11200:1995 «Акустика. Шум машин и оборудования. Руководство по применению основополагающих стандартов по определению уровней звукового давления излучения на рабочем месте и в других контрольных точках» (MOD) |
|
ГОСТ
31252-2003 |
ИСО 3740:2000 «Акустика. Определение уровней звуковой мощности источников шума. Руководство по применению основополагающих стандартов» (MOD) |
|
Примечание - В настоящей таблице использовано следующее условное обозначение степени соответствия стандартов: - MOD - модифицированные стандарты. |
|
Е.1. Исключено введение в соответствии с ГОСТ Р 1.5-2004 (8.1.5).
Е.2. Из раздела 2 исключена ссылка на ИСО 3745 (отечественный аналог - ГОСТ 31273), не используемый в ИСО 8579-1, и ссылки на невведенные ИСО 9614-2 и ИСО/ТО 7849,
Е.3. В 5.2 таблица 1 оформлена в виде примера по ГОСТ 1.5 - 2001 (4.11).
Е.4. В примечание 5.2 дополнительно внесены сведения о ГОСТ 27243. Из примечания исключены сведения об ИСО 3745, не применяемом в стандарте.
Е.5. Таблицы 2 и 3 дополнены ГОСТ 27243, специально предназначенным для измерений шума на месте эксплуатации в производственном помещении. Из сносок в таблицах исключена сноска, относящаяся к ИСО 3745:
«с Маловероятно, чтобы ИСО 3745 мог быть применен для измерений техническим методом в специальной установке».
Сноска исключена в связи с неприменением ИСО 3745 в ИСО 8579-1.
Сноска д) в таблице 2, имеющая редакцию «При слишком близком расположении частей оборудования может оказаться недостаточно места для выполнения измерений», изменена с целью пояснения ее смысла. Действие сноски распространено на условия применения ГОСТ Р 51401.
Соответствующим образом изменены обозначение и порядок следования сносок.
Е.6. В 5.3.3 уточнено измерительное расстояние d: вместо «d ≥ 0,5 м» указано «более 0,5 м» в соответствии со ссылочным стандартом.
Е.7. В наименовании приложения С указаны национальные стандарты, соответствующие действующим ИСО 3744 и ИСО 3746. В связи с этим приложение приведено в соответствие национальным стандартам.
Е.8. В С.1 исключена как утратившая актуальность и заменена другой (выделена курсивом) часть текста первого абзаца, имеющая редакцию:
«исторические сведения по определению звукового излучения редукторов, изложенные в первом издании ИСО 8579-1 и основанные на ИСО 3744:1981 и ИСО 3746:1979 по измерениям над звукоотражающей плоскостью».
Е.9. В С.3.1.3 уточнено в соответствии с ГОСТ Р 51401 условие, при котором возможны измерения с уменьшенным числом точек измерений.
В ИСО 8579-1 этот пункт имеет редакцию:
«С.3.1.3 Уменьшенное число точек измерений
Основные точки измерений показаны на рисунках 5, 7, 9 и 11 или может быть достаточна даже более простая сеть точек, если установлено при испытаниях данного типа редуктора, что звуковое поле существенно равномерное, так что измеренный уровень шума больше или равен значению, определенному по полному числу точек».
Е.10. В С.3.1.4 исключено первое перечисление, имеющее редакцию:
« - по измерениям в единственной точке не может быть правильно определен уровень звуковой мощности;».
Перечисление исключено, так как оно не согласуется с указанными далее условиями, при которых возможно использование одной точки измерений.
Е.11. В С.4 ошибочная ссылка на С.6.1.4 заменена ссылкой на С.6.2.
Е.12. Во втором абзаце С.6.1.3 выражение «..., то корректированный таким образом уровень звукового давления неточен» заменено на следующий текст: «… то результаты измерений недействительны. Однако они могут быть внесены в протокол испытаний и служить верхней оценкой шума».
Изменение внесено в соответствии с ГОСТ Р 51401 (7.4).
Е.13. На рисунке С.1
формула для расчета среднего на поверхности уровня звука
=
заменена на
формулу, используемую в С.6.1.4, для приведения в соответствие рисунка С.1 и
С.6.1.4.
Е.14. Другие не указанные в настоящем приложении незначительные редакционные отличия или сокращения текста имеют целью приведение его в соответствие с требованиями ГОСТ Р 1.5 - 2004.
[1] ИСО 9614-2:1996 Акустика. Определение уровней звуковой мощности источников шума по интенсивности звука. Часть 2. Измерения сканированием
(ISO 9614-2:1996) (Acoustics - Determination of sound power levels of noise sources using sound intensity - Part 2: Measurement by scanning)
[2] ИСО/ТО 7849:1987 Акустика. Оценка воздушного звукового излучения машин по вибрации
(ISO/TR 7849:1987) (Acoustics - Estimation of airborne noise emitted by machinery using vibration measurement)
[3] ИСО 1328-1:1995 Цилиндрические редукторы. Система точности ИСО. Часть 1. Определения и допускаемые отклонения профиля зубьев зубчатой передачи
(ISO 1328:1995) (Cylindrical gears - ISO system of accuracy - Part I: Definition and allowable values of deviations relevant to corresponding flanks of gear teeth)
(DIN 3980)(Definition, parameters and equations for involute cylindrical gears and gear pairs)
Ключевые слова: зубчатые редукторы и мотор-редукторы, методы измерения шума, корректированный по А уровень звуковой мощности, уровень звука излучения, испытания в специальной установке, испытания на цеховом стенде, испытания на месте эксплуатации, условия испытаний, измерительная поверхность, точки измерений, заявление и подтверждение значений шумовых характеристик
|
ГОСТЫ, СТРОИТЕЛЬНЫЕ и ТЕХНИЧЕСКИЕ НОРМАТИВЫ. Некоммерческая онлайн система, содержащая все Российские Госты, национальные Стандарты и нормативы. В Системе содержится более 150000 файлов нормативно-технической документации, действующей на территории РФ. Система предназначена для широкого круга инженерно-технических специалистов. Copyright © www.gostrf.com, 2008 - 2026 |