|
|
|
ФЕДЕРАЛЬНОЕ АГЕНТСТВО
Сосуды и аппараты НОРМЫ
И МЕТОДЫ РАСЧЕТА Расчет
на прочность и герметичность фланцевых
Предисловие Цели и принципы стандартизации в Российской Федерации установлены Федеральным законом от 27 декабря 2002 г. № 184-ФЗ «О техническом регулировании», а правила применения национальных стандартов Российской Федерации - ГОСТ Р 1.0-2004 «Стандартизация в Российской Федерации. Основные положения» Сведения о стандарте1 РАЗРАБОТАН Открытым акционерным обществом «Научно-исследовательский и конструкторский институт химического машиностроения» (ОАО НИИХИММАШ); Закрытым акционерным обществом «Петрохим Инжиниринг» (ЗАО Петрохим Инжиниринг); Открытым акционерным обществом «Всероссийский научно-исследовательский и проектно-конструкторский институт нефтяного машиностроения» (ОАО ВНИИНЕФТЕМАШ); Федеральной службой по экологическому, технологическому и атомному надзору (Ростехнадзор) 2 ВНЕСЕН Техническим комитетом по стандартизации ТК 260 «Оборудование химическое и нефтегазоперерабатывающее» 3 УТВЕРЖДЕН И ВВЕДЕН В ДЕЙСТВИЕ Приказом Федерального агентства по техническому регулированию и метрологии от 27 декабря 2007 г. № 503-ст 4 В настоящем стандарте учтены основные нормативные положения следующих международных и европейских стандартов: Директивы 97/23 ЕС Европейского Парламента и Совета от 29 мая 1997 г. по сближению законодательств государств-членов, касающейся оборудования, работающего под давлением; ЕН 13445-3:2002 «Сосуды, работающие под давлением. Часть 3. Расчет» (EN 13445-3:2002 «Unfired pressure vessel - Part 3: Design») 5 ВВЕДЕН ВПЕРВЫЕ Информация об изменениях к настоящему стандарту публикуется в ежегодно издаваемом информационном указателе «Национальные стандарты», а текст изменений и поправок - в ежемесячно издаваемых информационных указателях «Национальные стандарты». В случае пересмотра (замены) или отмены настоящего стандарта соответствующее уведомление будет опубликовано в ежемесячно издаваемом информационном указателе «Национальные стандарты». Соответствующая информация, уведомление и тексты размещаются также в информационной системе общего пользования - на официальном сайте Федерального агентства по техническому регулированию и метрологии в сети Интернет Содержание НАЦИОНАЛЬНЫЙ СТАНДАРТ РОССИЙСКОЙ ФЕДЕРАЦИИ Сосуды и аппараты НОРМЫ И МЕТОДЫ РАСЧЕТА НА ПРОЧНОСТЬ Расчет на прочность и герметичность фланцевых соединений Vessels and apparatus. Norms and methods of strength
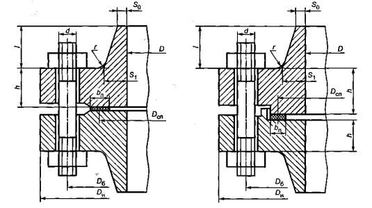
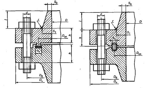
calculation. Дата введения - 2008-04-01 1 Область примененияНастоящий стандарт устанавливает нормы и методы расчета на прочность и герметичность фланцевых соединений сосудов и аппаратов из углеродистых и легированных сталей, цветных металлов (алюминия, меди, титана и их сплавов), применяемых в химической, нефтехимической, нефтеперерабатывающей и смежных отраслях промышленности, работающих в условиях однократных и многократных нагрузок под внутренним избыточным давлением или вакуумом, под действием осевых сил и изгибающих моментов. Допускается также использование настоящего стандарта для расчета фланцевых соединений трубопроводов. Нормы и методы расчета на прочность и герметичность фланцевых соединений применимы при условии, что технические требования к конструированию, изготовлению и контролю удовлетворяют требованиям нормативных документов. В случае, если свойства материалов, отклонения от геометрической формы, неточности или качество изготовления отличаются от требований нормативных документов, то при расчете на прочность эти отступления должны быть учтены соответствующей корректировкой расчетных формул. Настоящий стандарт распространяется на расчет фланцевых соединений с фланцами приварными встык, плоскими приварными и свободными с плоскими, восьмигранными и овальными прокладками, которые полностью расположены внутри окружности, ограниченной отверстиями под шпильки (болты). Настоящий стандарт применяется совместно с ГОСТ Р 52857.1-2007. 2 Нормативные ссылкиВ настоящем стандарте использованы ссылки на следующие стандарты: ГОСТ Р 52630-2006 Сосуды и аппараты стальные сварные. Общие технические условия ГОСТ Р 52857.1-2007 Сосуды и аппараты. Нормы и методы расчета на прочность. Общие требования ГОСТ Р 52857.6-2007 Сосуды и аппараты. Нормы и методы расчета на прочность. Расчет на прочность при малоцикловых нагрузках ГОСТ Р 52857.7-2007 Сосуды и аппараты. Нормы и методы расчета на прочность. Теплообменные аппараты ГОСТ 481-80 Паронит и прокладки из него. Технические условия ГОСТ 2850-95 Картон асбестовый. Технические условия ГОСТ 7338-90 Пластины резиновые и резинотканевые. Технические условия ГОСТ 12816-80 Фланцы арматуры, соединительных частей и трубопроводов на Ру от 0,1 до 20,0 МПа (от 1 до 200 кгс/см2). Общие технические требования ГОСТ 28759.5-90 Фланцы сосудов и аппаратов. Технические требования Примечание - При пользовании настоящим стандартом целесообразно проверить действие ссылочных стандартов в информационной системе общего пользования - на официальном сайте Федерального агентства по техническому регулированию и метрологии в сети Интернет или по ежегодно издаваемому информационному указателю «Национальные стандарты», который опубликован по состоянию на 1 января текущего года, и по соответствующим ежемесячно издаваемым информационным указателям, опубликованным в текущем году. Если ссылочный стандарт заменен (изменен), то при пользовании настоящим стандартом следует руководствоваться заменяющим (измененным) стандартом. Если ссылочный стандарт отменен без замены, то положение, в котором дана ссылка на него, применяется в части, не затрагивающей эту ссылку. 3 ОбозначенияВ настоящем стандарте применены следующие обозначения: Аб - суммарная площадь сечения болтов (шпилек) по внутреннему диаметру резьбы или нагруженному сечению наименьшего диаметра, мм2; а - плечо усилий в болтах (шпильках) свободного фланца, мм; b - плечо усилий в болтах (шпильках), мм; b0 - эффективная ширина прокладки, мм; bп - ширина прокладки, мм; с - прибавка на коррозию, мм; CF - коэффициент, учитывающий изгиб тарелки фланца между болтами (шпильками); Dн - наружный диаметр фланца, мм; D - внутренний диаметр фланца, мм; Dб - диаметр окружности расположения болтов (шпилек), мм; Dсп - расчетный диаметр прокладки, мм; Dн.п - наружный диаметр прокладки, мм; Dк - внутренний диаметр кольца свободного фланца, мм; Dнк - наружный диаметр кольца свободного фланца, мм; Ds - наружный диаметр контакта бурта и кольца свободного фланца, мм; D* - приведенный диаметр фланца, мм; d - наружный диаметр болта (шпильки), мм; Еп - условный модуль сжатия прокладки, МПа; Еб20 - модуль продольной упругости материала болта (шпильки) при температуре 20 °С, МПа; Ек20 - модуль продольной упругости материала свободного кольца при температуре 20 °С, МПа; Ек - модуль продольной упругости материала свободного кольца при расчетной температуре, МПа; Еб - модуль продольной упругости материала болта (шпильки) при расчетной температуре, МПа; Е120, Е220, Е20 - модуль продольной упругости материала фланца при температуре 20 °С, МПа; Е1, Е2, Е - модуль продольной упругости материала фланца при расчетной температуре, МПа; Екр20 - модуль продольной упругости материала крышки при температуре 20 °С, МПа; Екр - модуль продольной упругости материала крышки при расчетной температуре, МПа; е - плечо усилия от действия давления внутри фланца, мм; F - внешняя осевая сила (растягивающая сила берется со знаком плюс, сжимающая сила - со знаком минус), Н; f - коэффициент увеличения изгибных напряжений в сечении S0 приварного встык фланца; fб - площадь поперечного сечения болта (шпильки) по внутреннему диаметру резьбы или сечению наименьшего диаметра, мм2; h, h1, h2 - толщина тарелки фланца, мм; h0 - расстояние от наружной поверхности обечайки до внутренней окружности контакта бурта и кольца свободного фланца, мм; hк - толщина кольца свободного фланца, мм; hкр, δкр - толщина крышки и ее фланцевой части, соответственно, мм; hп - толщина прокладки, мм; hр - толщина трубной решетки или закладной детали между прокладками, мм; Кобж - коэффициент обжатия прокладки; К - отношение наружного диаметра тарелки фланца к внутреннему диаметру; Ккр - отношение наружного диаметра плоской крышки к среднему диаметру прокладки; Кт - коэффициент увеличения допускаемых напряжений при расчете фланцев с учетом стесненности температурных деформаций; Ку.р - коэффициент условий работы; Ку.з - коэффициент условий затяжки болтов (шпилек); Ку.т - коэффициент учета нагрузки от температурных деформаций; КΘ - коэффициент увеличения допускаемого угла поворота фланцев при испытании; Lб - эффективная длина болта (шпильки) при определении податливости, мм; Lб.o - расстояние между опорными поверхностями гайки и головки болта или опорными поверхностями гаек, мм; l - длина конической втулки приварного встык фланца, мм; l0 - параметр длины втулки, мм; М - внешний изгибающий момент, Н·мм; МM - расчетный изгибающий момент, действующий на фланец при затяжке Н·мм; МP - расчетный изгибающий момент, действующий на фланец в рабочих условиях, Н·мм; Ммк - расчетный изгибающий момент, действующий на кольцо свободного фланца при затяжке, Н·мм; Мрк - расчетный изгибающий момент, действующий на кольцо свободного фланца в рабочих условиях, Н·мм; Мкр - крутящий момент на ключе при затяжке для болтов (шпилек), Н·мм; m - прокладочный коэффициент; Nр - число циклов изменения режимов эксплуатации; Nс - число циклов сборок - разборок; [N]p - допускаемое число циклов изменения режимов эксплуатации; [N]c - допускаемое число циклов сборок - разборок; п - число болтов (шпилек); пт - коэффициент запаса прочности по пределу текучести; nD - коэффициент запаса прочности по пределу длительной прочности; пп - коэффициент запаса прочности по пределу ползучести; Робж - усилие, необходимое для смятия прокладки при затяжке, Н; Рб1 - расчетная нагрузка на болты (шпильки) при затяжке, необходимая для обеспечения в рабочих условиях давления на прокладку, достаточного для герметизации фланцевого соединения, Н; Рб2 - расчетная нагрузка на болты (шпильки) при затяжке, необходимая для обеспечения обжатия прокладки и минимального начального натяжения болтов (шпилек), Н; Рмб - расчетная нагрузка на болты (шпильки) при затяжке фланцевого соединения, Н; Ррб - расчетная нагрузка на болты (шпильки) фланцевых соединений в рабочих условиях, Н; р - расчетное давление (внутреннее - положительное, наружное - отрицательное), МПа; рпр - приведенное давление, МПа; Qд - равнодействующая нагрузка от давления, Н; QFM - приведенная нагрузка, вызванная воздействием внешней силы и изгибающего момента, Н; Qt - нагрузка, вызванная стесненностью температурных деформаций, Н; [q] - допускаемое удельное давление, МПа; q - расчетное удельное давление, МПа; qобж - удельное давление обжатия прокладки, МПа; Rс - радиус кривизны сферической части неотбортованной крышки, мм; Rп - усилие на прокладке в рабочих условиях, необходимое для обеспечения герметичности фланцевого соединения, Н; Sэ - эквивалентная толщина втулки фланца, мм; S0 - толщина втулки приварного встык фланца в месте приварки к обечайке (трубе), толщина обечайки (трубы) плоского фланца или бурта свободного фланца, мм; S1 - толщина втулки приварного встык фланца в месте присоединения к тарелке, мм; t - расчетная температура стенки корпуса (штуцера) в месте расположения фланцевого соединения, °С; tф1, tф2, tф - расчетная температура фланца, °С; tб - расчетная температура болта (шпильки), °С; tк - расчетная температура свободного кольца, °С; tкp - расчетная температура крышки, °С; tp - расчетная температура трубной решетки или иной закладной детали, зажатой между фланцами, °С; Хкр - параметр плоской крышки; х - относительная длина втулки фланца; уп - податливость прокладки, мм/Н; уб - податливость болтов (шпилек), мм/Н; уф1, уф2, уф - угловая податливость фланца при затяжке, 1/Н·мм; ук - угловая податливость свободного кольца при затяжке, 1/Н·мм; уф.н - угловая податливость фланца, нагруженного внешним изгибающим моментом, 1/Н·мм; уф.с - угловая податливость кольца свободного фланца, нагруженного внешним изгибающим моментом, 1/Н·мм; укр - угловая податливость плоской крышки или угловая податливость фланца со сферической неотбортованной крышкой, 1/Н·мм; α - коэффициент жесткости фланцевого соединения, нагруженного внутренним давлением или внешней осевой силой; αМ - коэффициент жесткости фланцевого соединения, нагруженного внешним изгибающим моментом; αф1, αф2, αф - температурный коэффициент линейного расширения материала фланца, 1/°С; αб - температурный коэффициент линейного расширения материала болта (шпильки), 1/°С; αк - температурный коэффициент линейного расширения материала кольца свободного фланца, 1/°С; αкр - температурный коэффициент линейного расширения материала крышки, 1/°С; αр - температурный коэффициент линейного расширения материала трубной решетки или иной закладной детали, зажатой между фланцами, 1/°С; ασ - коэффициент концентрации напряжений; βТ, βU, βY, βz - расчетные коэффициенты, зависящие от соотношения размеров тарелки фланца; βF, βV - расчетные коэффициенты, зависящие от соотношения размеров втулки фланца; β - отношение толщины втулки в сечении S1 к толщине в сечении S0; γ - жесткость фланцевого соединения, Н/мм; ξ - коэффициент увеличения допускаемых напряжений при затяжке для фланцевых соединений; η - коэффициент, учитывающий концентрацию напряжений в резьбе; Θк - угол поворота кольца свободного фланца в рабочих условиях, рад; [Θ] - допускаемый угол поворота приварного встык фланца, плоского фланца или бурта свободного фланца в рабочих условиях, рад; [Θ]к - допускаемый угол поворота кольца свободного фланца в рабочих условиях, рад; λ - коэффициент; λ1 - параметр сферической неотбортованной крышки; ζ - коэффициент, зависящий от соотношения размеров втулки фланца; σа - расчетная амплитуда приведенных упругих напряжений, МПа; σра - расчетная амплитуда приведенных упругих напряжений для рабочих условий, МПа; σ20в - временное сопротивление материала болтов (шпилек) при температуре 20 °С, МПа; σв - временное сопротивление материала болтов (шпилек) при расчетной температуре, МПа; σ20т - предел текучести материала болтов (шпилек) при температуре 20 °С, МПа; σт - предел текучести материала болтов (шпилек) при расчетной температуре, МПа; σд.105 - среднее значение предела длительной прочности материала болтов (шпилек) за 105 ч при расчетной температуре, МПа; σ1%105 - средний 1% - ный предел ползучести материала болтов (шпилек) за 105 ч при расчетной температуре, МПа; σм1, σм0 - меридиональное изгибное напряжение во втулке фланца в сечении S1 и S0 соответственно, МПа; σм11, σм12 - расчетные меридиональные напряжения в обечайке (втулке) фланца при затяжке на наружной и внутренней поверхности соответственно (в сечении S1), МПа; σм01, σм02 - расчетные меридиональные напряжения в сечении S0 фланца при затяжке на наружной и внутренней поверхности соответственно, МПа; σм13, σм14 - окружные напряжения при затяжке на наружной и внутренней поверхности соответственно (сечение S1), МПа; σм15, σм16 - радиальные напряжения при затяжке (сечение S1), МПа; σм03, σм04 - окружные напряжения при затяжке на наружной и внутренней поверхности соответственно (сечение S0), МПа; σм05, σм06 - радиальные напряжения при затяжке (сечение S0), МПа; σр1, σр0 - расчетные меридиональные изгибные напряжения в рабочих условиях (в сечении S1 и S0 соответственно), МПа; σр1м.м, σр0м.м - меридиональные мембранные напряжения в рабочих условиях (в сечении S1 и S0 соответственно), МПа; σр0м.о - окружные мембранные напряжения в рабочих условиях в сечении S0, МПа; σр11, σр12 - меридиональные напряжения в обечайке (втулке) в рабочих условиях на наружной и внутренней поверхности соответственно (в сечении S1), МПа; σр01, σр02 - меридиональные напряжения в обечайке (втулке) в рабочих условиях на наружной и внутренней поверхности соответственно (в сечении S0), МПа; σр03, σр04 - окружные напряжения в обечайке (втулке) в рабочих условиях на наружной и внутренней поверхностях соответственно (в сечении S0), МПа; σр05, σр06 - радиальные напряжения в рабочих условиях (сечение S0), МПа; σр13, σр14 - окружные напряжения в обечайке (втулке) в рабочих условиях на наружной и внутренней поверхностях соответственно (в сечении S1), МПа; σр15, σр16 - радиальные напряжения в рабочих условиях (сечение S1), МПа; σб1 - расчетное напряжение в болтах (шпильках) при затяжке, МПа; σб2 - расчетное напряжение в болтах (шпильках) в рабочих условиях, МПа; σмк - расчетное напряжение в кольце свободного фланца при затяжке, МПа; σрк - расчетное напряжение в кольце свободного фланца в рабочих условиях, МПа; σмR - радиальное напряжение в тарелке приварного встык фланца, плоского фланца и бурте свободного фланца в условиях затяжки, МПа; σмт - окружное напряжение в тарелке приварного встык фланца, плоского фланца и бурте свободного фланца в условиях затяжки, МПа; σрR - радиальное напряжение в тарелке приварного встык фланца, плоского фланца и бурте свободного фланца в рабочих условиях, МПа; σрт - окружное напряжение в тарелке приварного встык фланца, плоского фланца и бурте свободного фланца в рабочих условиях, МПа; [σ]0 - допускаемое значение условных упругих напряжений в сечении S0, МПа; [σ]бн - номинальное допускаемое напряжение для болтов (шпилек) в рабочих условиях, МПа; [σ]бм - допускаемое напряжение для болтов (шпилек) при затяжке, МПа; [σ]бр - допускаемое напряжение для болтов (шпилек) в рабочих условиях и при расчете на условия испытания, МПа; [σ]20 - допускаемое напряжение для материала фланца или бурта свободного фланца при температуре 20 °С, МПа; [σ] - допускаемое напряжение для материала фланца или бурта свободного фланца при расчетной температуре, МПа; [σ]20к - допускаемое напряжение для материала кольца свободного фланца при температуре 20 °С, МПа; [σ]к - допускаемое напряжение для материала кольца свободного фланца при расчетной температуре, МПа; [σ]м - допускаемое значение общих мембранных и изгибных напряжений в соответствии с пунктом 8.10 ГОСТ Р 52857.1, МПа; [σ]R - допускаемое значение суммарных общих и местных условных упругих мембранных и изгибных напряжений в соответствии с пунктом 8.10 ГОСТ Р 52857.1, МПа; Δσр11, Δσр01, Δσр02, Δσр03, Δσр04, Δσрк, Δσσ2 - максимальные разности значений напряжений при различных эксплуатационных нагрузках, имеющих место в течение одного цикла нагружения, МПа; ψк - коэффициент; ω1 - коэффициент сферической неотбортованной крышки. 4 Общие положения4.1 Основные типы фланцевых соединений, рассматриваемых в настоящем стандарте, приведены на рисунках 1 - 3. На рисунке 1 приведены примеры фланцевых соединений с приварными встык фланцами, на рисунке 2 - с плоскими приварными фланцами, на рисунке 3 - со свободными фланцами.
Рисунок 1, лист 1 - Фланцевые соединения с приварными встык фланцами
Рисунок 1, лист 2 - Фланцевые соединения с приварными встык фланцами
Рисунок 2, лист 1 - Фланцевые соединения с плоскими фланцами
в - фланцевое соединение с уплотнительной поверхностью типа шип - паз Рисунок 2, лист 2 - Фланцевые соединения с плоскими фланцами
Примечание - Рисунки 1-3 не определяют всех деталей конструкции фланцевых соединений Рисунок 3 - фланцевые соединения со свободными кольцами Настоящий стандарт позволяет также рассчитывать фланцевые соединения смешанных типов: приварные встык - с плоскими, плоские - со свободными фланцами и т.д., соединения фланца с плоской или неотбортованной сферической крышкой, а также фланцевые соединения с зажатыми между фланцами трубными решетками или другими закладными деталями. Рекомендации по пределам применения фланцев и прокладок различных типов приведены в приложении А. 4.2 Настоящий метод расчета распространяется на фланцевые соединения, отвечающие условиям:
Уклон втулки приварного встык фланца не должен превышать 1:2,5 (0,4):
Если уклон втулки приварного встык фланца превышает 1:3 (0,33), втулка должна иметь цилиндрическую часть толщиной S0 и длиной не менее 1,5S0. 4.3 При расчете фланцевых соединений учитывают следующие виды нагрузок: - усилие затяжки болтов (шпилек); - внутреннее или наружное давление; - внешнюю осевую силу; - внешний изгибающий момент; - усилия, вызванные стесненностью температурных деформаций элементов фланцевых соединений, включая фланцы, болты (шпильки) и зажатую между фланцами трубную решетку или закладную деталь. Если между фланцами зажата трубная решетка или закладная деталь, давления по обе стороны которой отличаются друг от друга, в расчете фланцевого соединения следует учитывать давление, действующее на каждый из фланцев в отдельности, и общее для двух фланцев усилие в болтах (шпильках). Если в качестве ответного фланца используют краевую часть трубной решетки кожухотрубчатого теплообменного аппарата, то при определении нагрузок, действующих на элементы фланцевого соединения, и углов поворотов фланцев следует учитывать деформации кожуха, трубного пучка и решетки в соответствии с ГОСТ Р 52857.7. 4.4 Если внешняя осевая сила F включает составляющую от давления, в расчетные формулы следует вместо F подставлять (F-Qд). Фланцевые соединения должны отвечать условиям прочности и плотности как в случае учета внешней осевой силы и изгибающего момента, так и при расчете только на действие давления. Рекомендации по выбору нормализованных фланцевых соединений, нагруженных давлением, осевой силой и изгибающим моментом, приведены в приложении Б. 4.5 Если аппарат работает при нескольких различных режимах, расчет должен быть выполнен на условия, обеспечивающие прочность и герметичность фланцевых соединений при всех режимах. 4.6 Расчетные температуры элементов фланцевого соединения, необходимые для определения физико-механических характеристик материалов и допускаемых напряжений, а также при расчете на прочность с учетом стесненности температурных деформаций, определяют на основании теплотехнических расчетов или результатов испытаний в соответствии с ГОСТ Р 52857.1, раздел 5. Рекомендации по назначению температур элементов фланцевого соединения при отсутствии результатов специальных теплотехнических расчетов или результатов испытаний приведены в приложении В. Рекомендации, приведенные в приложении В, не распространяются на фланцы с прорезями и фланцы, между которыми зажата трубная решетка или закладная деталь. 4.7 Если свободное температурное расширение в осевом направлении элементов фланцевого соединения, находящихся между опорными поверхностями гаек (головки болта и гайки), превышает свободное температурное перемещение болтов (шпилек), расчет фланцев и болтов (шпилек) с учетом усилий, вызванных стесненностью температурных деформаций элементов фланцевых соединений, допускается не проводить в следующих случаях: - если расчетная температура элементов фланцевого соединения не превышает 100 °С; - если свободное температурное расширение в осевом направлении элементов фланцевого соединения, находящихся между опорными поверхностями гаек (головки болта и гайки), включая фланцы и зажатую между фланцами трубную решетку или закладную деталь, превышает свободное температурное перемещение болтов (шпилек) не более чем на 10 %. 4.8 Если необходимо учесть усилия, вызванные стесненностью температурных деформаций элементов фланцевого соединения, следует выполнить два расчета: расчет без учета усилий, вызванных стесненностью температурных деформаций элементов фланцевых соединений, и с их учетом, используя в каждом случае соответствующие значения допускаемых напряжений. При этом в каждом случае должна обеспечиваться прочность и герметичность всех элементов фланцевого соединения. 4.9 Необходимость выполнения расчета фланцевого соединения на малоцикловую усталость определяется в соответствии с ГОСТ Р 52857.6 в зависимости от расчетного количества сборок - разборок и циклов нагружения давлением или теплосмен. 4.10 Расчет фланцевого соединения для условий испытаний проводят также, как для рабочих условий. При этом допускаемые напряжения для условий испытания принимаются в соответствии с ГОСТ Р 52857.1 и приложением Г. Расчет фланцевого соединения для условий испытания проводить не требуется, если выполняется соответствующее условие, приведенное в ГОСТ Р 52857.1 (пункт 8.4). 4.11 Расчет фланцевых соединений на прочность и герметичность состоит из следующих этапов: - определения усилия, действующего на прокладку в рабочих условиях, необходимого для обеспечения герметичности фланцевого соединения, и усилия, необходимого для первоначального сжатия прокладки; - определения усилия в болтах (шпильках) в рабочих условиях и усилия при затяжке, необходимого для обеспечения герметичности фланцевого соединения в рабочих условиях. Проверка прочности болтов (шпилек) и прокладки; - расчет на прочность элементов фланцевого соединения при затяжке и в рабочих условиях при действии давления, усилий в болтах (шпильках), необходимых для обеспечения герметичности фланцевого соединения и других нагрузок; - проверки углов поворота фланцев; - расчета элементов фланцевого соединения на малоцикловую усталость в случае, если нагружение носит циклический характер. 4.12 Если для учета воздействия на фланец коррозионно-активной среды назначается прибавка к расчетной толщине для компенсации коррозии, следует при определении податливости фланцев и усилий, действующих на элементы фланцевого соединения, использовать номинальные размеры фланца без вычета прибавки на коррозию. При определении напряжений во фланцах следует во всех случаях использовать расчетные толщины за вычетом прибавки на коррозию в соответствии с ГОСТ Р 52857.1 (пункт 12.1). Если для защиты фланца от воздействия коррозионно-активной среды используется наплавка коррозионно-стойкой сталью, следует при определении податливости фланцев и усилий, действующих на элементы фланцевого соединения, использовать номинальные размеры фланца с учетом толщины наплавки. При определении напряжений во фланце и проверке его прочности учет наплавки проводят в соответствии с ГОСТ Р 52857.1 (пункт 8.8). Если для защиты от воздействия коррозионно-активной среды используется облицовка листом из коррозионно-стойкой стали, следует при определении податливости фланцев, усилий, действующих на элементы фланцевого соединения, и напряжений во фланце использовать номинальные размеры фланца без учета толщины облицовки. 5 Усилия, необходимые для смятия прокладки и обеспечения герметичности фланцевого соединения5.1 Эффективную ширину прокладки вычисляют по формулам: - для плоских прокладок: b0 = bп при bп ≤ 15 мм, (4)
- для прокладок овального или восьмигранного сечения:
Расчетный диаметр плоских прокладок вычисляют по формуле Dсп = Dн.п - b0 (7) Расчетный диаметр прокладок овального или восьмигранного сечения равен среднему диаметру прокладки. 5.2 Усилие, необходимое для смятия прокладки при затяжке, вычисляют по формуле Робж = 0,5πDсп b0 qобж. (8) 5.3 Усилие на прокладке в рабочих условиях, необходимое для обеспечения герметичности фланцевого соединения, вычисляют по формуле Rп = πDсп b0 mр. (9) В случае расчета на действие наружного давления принимают Rп = 0. 6 Усилия в болтах (шпильках) фланцевого соединения при затяжке и в рабочих условиях6.1 Суммарную площадь сечения болтов (шпилек) по внутреннему диаметру резьбы или нагруженному сечению наименьшего диаметра вычисляют по формуле Aб = nfб. (10) Площади поперечных сечений болтов (шпилек) приведены в приложении Д. 6.2 Равнодействующую нагрузку от давления вычисляют по формуле Qд = 0,785D2cпр. (11) 6.3 Приведенную нагрузку, вызванную воздействием внешней силы и изгибающего момента, вычисляют по формуле
6.4 Нагрузку, вызванную стесненностью температурных деформаций, вычисляют по формулам: - в соединениях с приварными встык (см. рисунок 1) и плоскими (см. рисунок 2) фланцами
- в соединениях со свободными фланцами (см. рисунок 3):
- в соединении с крышкой:
- в случае, если между фланцами зажата трубная решетка или иная закладная деталь:
Коэффициент жесткости фланцевого соединения у определяют в соответствии с приложением Е. Физические и механические свойства крепежных сталей приведены в приложении Ж. 6.5 Расчетную нагрузку на болты (шпильки) фланцевых соединений вычисляют по формулам: - при затяжке фланцевого соединения: Рмб = mах{Рб1; Рб2}, (17) где Рб1 - расчетная нагрузка на болты (шпильки) при затяжке, необходимая для обеспечения в рабочих условиях давления на прокладку, достаточного для герметизации фланцевого соединения:
Коэффициенты α и αМ определяют по приложению Е. Рб2 - расчетная нагрузка на болты (шпильки) при затяжке, необходимая для обеспечения обжатия прокладки и минимального начального натяжения болтов (шпилек):
- в рабочих условиях:
7 Проверка прочности болтов (шпилек) и прокладки7.1 Расчетные напряжения в болтах (шпильках) вычисляют по формулам: - при затяжке:
- в рабочих условиях:
7.2 Условия прочности болтов (шпилек) определяют по формулам: - при затяжке:
- в рабочих условиях:
Допускаемые напряжения для болтов (шпилек) при затяжке [σ]бм и в рабочих условиях [σ]бр определяют по приложению Г. 7.3 Условие прочности прокладки (проверяется для мягких прокладок) определяют по формуле
Допускаемое удельное давление [q] определяют по приложению И. 8 Расчет фланцев на статическую прочность8.1 Расчетный изгибающий момент, действующий на фланец при затяжкеРасчетный изгибающий момент, действующий на фланец при затяжке, вычисляют по формулам: - для приварного встык фланца, плоского фланца и бурта свободного фланца:
- для кольца свободного фланца:
8.2 Расчетный изгибающий момент, действующий на фланец в рабочих условияхРасчетный изгибающий момент, действующий на фланец в рабочих условиях вычисляют по формулам: - для приварного встык фланца, плоского фланца и бурта свободного фланца:
- для кольца свободного фланца:
Коэффициент CF определяют по приложению К. 8.3 Расчетные напряжения во фланце при затяжке8.3.1 Меридиональное изгибное напряжение во втулке приварного встык фланца, обечайке (трубе) плоского фланца или обечайке бурта свободного фланца вычисляют по формулам: -для приварных встык фланцев с конической втулкой в сечении S1:
- для приварных встык фланцев с конической втулкой в сечении S0:
- для приварных встык фланцев с прямой втулкой, плоских фланцев и свободных фланцев:
λ, D* и f определяют по приложению К. 8.3.2 Напряжения в тарелке приварного встык фланца, плоского фланца и бурте свободного фланца в условиях затяжки вычисляют по формулам: - радиальное напряжение:
- окружное напряжение:
λ, l0, βF, βY и βZ определяют по приложению К. 8.3.3 Окружное напряжение в кольце свободного фланца в условиях затяжки вычисляют по формуле
Коэффициент βY определяют по приложению К. 8.4 Расчетные напряжения во фланце в рабочих условиях8.4.1 Меридиональные изгибные напряжения во втулке приварного встык фланца, обечайке (трубе) плоского фланца или обечайке (трубе) бурта свободного фланца в рабочих условиях вычисляют по формулам: - для приварных встык фланцев с конической втулкой в сечении S1.
- для приварных встык фланцев с конической втулкой в сечении S0:
- для приварных встык фланцев с прямой втулкой, плоских фланцев и фланцев со свободными кольцами:
λ, D* и f определяют по приложению К. 8.4.2 Меридиональные мембранные напряжения во втулке приварного встык фланца, обечайке (трубе) плоского фланца или обечайке (трубе) бурта свободного фланца в рабочих условиях вычисляют по формулам: - для приварных встык фланцев с конической втулкой в сечении S1:
- для приварных встык фланцев с конической втулкой в сечении S0, приварных встык фланцев с прямой втулкой, плоских фланцев и свободных фланцев:
8.4.3 Окружные мембранные напряжения от действия давления во втулке приварного встык фланца, обечайке (трубе) плоского фланца или обечайке (трубе) бурта свободного фланца в сечении S0 вычисляют по формуле
8.4.4 Напряжения в тарелке приварного встык фланца, плоского фланца и бурте свободного фланца в рабочих условиях вычисляют по формулам: - радиальное напряжение:
- окружное напряжение:
λ, l0, βF, βY и βZ - определяют по приложению К. 8.4.5 Окружное напряжение в кольце свободного фланца в рабочих условиях вычисляют по формуле
Коэффициент βY определяют по приложению К. 8.5 Условия статической прочности фланцев8.5.1 Для приварных встык фланцев с конической втулкой в сечении S1 условия статической прочности вычисляют по формулам: - при затяжке: - в рабочих условиях:
где КТ = 1,3 при расчете с учетом стесненности температурных деформаций. При расчете без учета стесненности температурных деформаций Кт = 1. 8.5.2 Для приварных встык фланцев с конической втулкой в сечении S0 условия статической прочности определяют по «формулам: - при затяжке:
- в рабочих условиях:
8.5.3 Для приварных встык фланцев с прямой втулкой, плоских фланцев и буртов свободных фланцев в сечении S0 условия статической прочности вычисляют по формулам: - при затяжке:
- в рабочих условиях:
где [σ]0 = [σ]м - допускаемое значение условных упругих напряжений в сечении S0. Для плоских
фланцев при D ≥ 400 мм допускается принимать Кт определяют по 8.5.1. 8.5.4 Проверку приварных встык фланцев с прямой втулкой, плоских фланцев и буртов свободных фланцев в сечении S0 по 8.5.3 допускается не проводить, если выполняются следующие условия: S0 ≤ 16 мм; (49)
8.5.5 Для фланцев всех типов в сечении S0 должно выполняться условие:
Для тарелок приварных встык фланцев, плоских фланцев и буртов свободных фланцев должны выполняться условия: - при затяжке:
в рабочих условиях:
Кт определяют по 8.5.1. 8.5.7 Для колец свободных фланцев условия статической прочности определяют по формулам: - при затяжке:
- в рабочих условиях:
Кт определяют по 8.5.1. 9 Проверка углов поворота фланцев9.1 Угол поворота приварного встык фланца, плоского фланца и бурта свободного фланца в рабочих условиях вычисляют по формуле
Допустимый угол поворота приварного встык фланца: [Θ] = 0,006 при D ≤ 400 мм, [Θ] = 0,013 при D > 2000 мм. При значениях 400 мм < D ≤ 2000 мм допустимый угол поворота [Θ] определяют с помощью линейной интерполяции. Допустимый угол поворота плоского фланца или бурта свободного фланца [Θ] = 0,013. Коэффициент КΘ = 1 - в рабочих условиях; КΘ = 1,3 - в условиях испытания. 9.2 Угол поворота кольца свободного фланца в рабочих условиях вычисляют по формуле
Допустимый угол поворота кольца свободного фланца [Θ] = 0,002. 10 Расчет элементов фланцевого соединения на малоцикловую усталость10.1 Размах условных упругих напряжений в элементах фланцевого соединения10.1.1 Размах условных упругих напряжений на наружной и внутренней поверхностях конической втулки приварного встык фланца в сечении S1, в условиях затяжки вычисляют по формулам: - меридиональное напряжение:
- окружное напряжение:
- радиальное напряжение:
10.1.2 Размах условных упругих напряжений в меридиональном направлении на наружной и внутренней поверхностях конической втулки приварного встык фланца в сечении S0 в условиях затяжки вычисляют по формулам:
10.1.3 Размах условных упругих напряжений на наружной и внутренней поверхностях втулки приварных встык фланцев с прямой втулкой, плоских фланцев и бурта свободных фланцев в сечении S0 в условиях затяжки вычисляют по формулам: - меридиональное напряжение:
- окружное напряжение:
- радиальное напряжение:
10.1.4 Размах условных упругих напряжений на наружной и внутренней поверхности конической втулки приварного встык фланца в сечении S1 в рабочих условиях вычисляют по формулам: - меридиональное напряжение:
- окружное напряжение:
- радиальное напряжение:
10.1.5 Размах условных упругих напряжений на наружной и внутренней поверхности конической втулки приварного встык фланца в сечении S0 в рабочих условиях вычисляют по формулам: - меридиональное напряжение:
- окружное напряжение:
10.1.6 Размах условных упругих напряжений на наружной и внутренней поверхности втулки приварных встык фланцев с прямой втулкой, плоских фланцев и бурта свободных фланцев в сечении S0 в рабочих условиях вычисляют по формулам: - меридиональное напряжение:
- окружное напряжение:
- радиальное напряжение:
10.2 Расчетные амплитуды приведенных условных упругих напряжений при затяжке10.2.1 Для приварных встык фланцев с конической втулкой амплитуду приведенных условных упругих напряжений при затяжке вычисляют по формуле
ασ определяют по графику, приведенному на рисунке 4, в зависимости от отношения r/S1:
10.2.2 Для приварных встык фланцев с прямой втулкой и бурта свободных фланцев амплитуду приведенных условных упругих напряжений при затяжке вычисляют по формуле
ασ определяют по графику, приведенному на рисунке 4, при S1 = S0. 10.2.3 Для плоских фланцев амплитуду приведенных условных упругих напряжений при затяжке вычисляют по формуле
10.2.4 Для колец свободных фланцев амплитуду приведенных условных упругих напряжений при затяжке вычисляют по формуле
10.2.5 Для шпилек (болтов) амплитуду приведенных условных упругих напряжений при затяжке вычисляют по формуле
10.3 Расчетные амплитуды приведенных упругих напряжений в рабочих условиях10.3.1 Для приварных встык фланцев с конической втулкой амплитуду приведенных условных упругих напряжений в рабочих условиях вычисляют по формуле
ασ определяют по графику, приведенному на рисунке 4. 10.3.2 Для приварных встык фланцев с прямой втулкой и буртов свободных фланцев амплитуду приведенных условных упругих напряжений в рабочих условиях вычисляют по формуле ασ определяют по графику, приведенному на рисунке 4 при s1 = s0. 10.3.3 Для плоских фланцев амплитуду приведенных условных упругих напряжений в рабочих условиях вычисляют по формуле
10.3.4 Для колец свободных фланцев амплитуду приведенных условных упругих напряжений в рабочих условиях вычисляют по формуле
10.3.5 Для шпилек (болтов) амплитуду приведенных условных упругих напряжений в рабочих условиях вычисляют по формуле
Δσр11, Δσр01, Δσр02, Δσр03, Δσр04, Δσрк, Δσσ2 формулах (88) - (92) определяют как максимальные разности значений напряжений определенных в соответствии с 10.1.4 - 10.1.6, 8.4.5 и 7.1; Δσр11, Δσр01, Δσр02, Δσр03, Δσр04, Δσрк, Δσσ2 соответственно при различных эксплуатационных нагрузках, имеющих место в течение одного цикла нагружения. Коэффициент η определяют по ГОСТ Р 52857.6. 10.4 Проверку малоцикловой прочности элементов фланцевого соединения проводят по ГОСТ Р 52587.6. Для этого по амплитуде напряжений, определенной из условия затяжки (σа) по 10.2, определяют допустимое число сборок-разборок [N]c. По амплитуде напряжений, определенной для рабочих условий (σра) по 10.3, определяют допустимое число циклов изменения режима эксплуатации [N]p. Условие прочности для заданного числа циклов сборок - разборок Nс и изменений режима эксплуатации Nр будет выполняться, если
Приложение
А
|
|||||||||||||||||||||||||||||||||||||||||||||||||||||||||||||||||||||||||||||||||||||||||||||||||||||||||||||||||||||||||||||||||||||||||||||||||||||||||||||||||||||||||||||||||||||||||||||||||||||||||||||||||||||||||||||||||||||||||||||||||||||||||||||||||||||||||||||||||||||||||||||||||||||||||||||||||||||||||||||||||||||||||||||||||||||||||||||||||||||||||||||||||||||||||||||||||||||||||||||||||||||||||||||||||||||||||||||||||||||||||||||||||||||||||||||||||||||||||||||||||||||||||||||||||||||||||||||||||||||||||||||||||||||||||||||||||||||||||||||||||||||||||||||||||||||||||||||||||||||||||||||||||||||||||||||||||||||||||||||||||||||||||||||||||||||||||||||||||||||||||||||||||||||||||||||||||||||||||||||||||||||||||||||||||||||||||||||||||||||||||||||||||||||||||||||||||||||||||||||||||||||||||||||||||||||||||||||||||||||||||||||||||||||||||||||||||||||||||||||||||||||||||||||||||||||||
|
Тип фланцевого соединения |
Изолированные фланцы |
Неизолированные фланцы |
||||
|
tф |
tк |
tб |
tф |
tк |
tб |
|
|
Плоские, приварные встык |
t |
- |
0,97t |
0,96t |
- |
0,85t |
|
Со свободными кольцами |
t |
0,97t |
0,90t |
0,96t |
0,90t |
0,81t |
Номинальное допускаемое напряжение для болтов (шпилек) при затяжке и испытании вычисляют по формуле (Г.1) при температуре 20 °С.
Номинальное допускаемое напряжение для болтов (шпилек) в рабочих условиях вычисляют по формулам (Г.1), (Г.2), но не более номинального допускаемого напряжения при затяжке:
- если расчетная температура для болтов (шпилек) из углеродистых сталей не превышает 380 °С, низколегированных сталей - 420 °С, аустенитных сталей - 525 °С:
(Г.1)
- если расчетная температура болтов (шпилек) из углеродистых сталей превышает 380 °С, низколегированных сталей - 420 °С, аустенитных сталей - 525 °С:
(Г.2)
где пт - коэффициент запаса по отношению к пределу текучести:
пт = 2,6 - 2,8 - для углеродистых сталей, у которых σ20т / σ20В ≥ 0,7;
пт = 2,3 - для углеродистых сталей, у которых σ20т / σ20В < 0,7;
пт = 1,9 - для аустенитных сталей;
nD = 1,8 - коэффициент запаса прочности по пределу длительной прочности;
пп = 1,1 - коэффициент запаса прочности по пределу ползучести.
Допускаемые напряжения для болтов (шпилек) при затяжке в рабочих условиях и при расчете на условия испытания вычисляют по формулам:
(г.3)
(Г.4)
где ξ = 1,2 - коэффициент увеличения допускаемых напряжений при затяжке;
Ку.р - коэффициент условий работы:
Ку.р =1,0 для рабочих условий;
Ку.р = 1,35 для условий испытания.
Ку.з - коэффициент условий затяжки:
Ку.з = 1,0 при обычной неконтролируемой затяжке;
Ку.з = 1,1 при затяжке с контролем по крутящему моменту (см. приложение Л);
Ку.з = 1,3 при затяжке с помощью одновременной контролируемой вытяжке шпилек.
Рекомендуемые значения крутящих моментов при затяжке приведены в приложении Л.
Ку.т - коэффициент учета нагрузки от температурных деформаций:
Ку.т = 1,0, если нагрузка от температурных деформаций не учитывается;
Ку.т = 1,3 при расчете фланцев с учетом нагрузки от температурных деформаций.
Номинальные допускаемые напряжения для болтов (шпилек) приведены в таблице Г.1.
Таблица Г.1
|
Расчетная температура болтов (шпилек), °С |
Номинальное допускаемое напряжение для болтов (шпилек), МПа |
|||||||
|
Марки материала |
||||||||
|
35,40 |
12Х18Н10Т, 10Х17Н13М2Т |
45Х14Н14В2М |
20X13 |
35Х, 40Х, 38ХА, 37Х12Н8Г8МБФ, 20ХНЗА |
30ХМА |
25X1МФ |
Д16 |
|
|
20 |
130,0 |
110,0 |
160,0 |
195,0 |
230,0 |
230,0 |
238,0 |
83 |
|
100 |
126,0 |
105,0 |
150,0 |
182,0 |
230,0 |
230,0 |
227,0 |
80 |
|
200 |
120,0 |
98,0 |
150,0 |
165,0 |
225,0 |
200,0 |
217,0 |
76 |
|
250 |
107,0 |
95,0 |
144,0 |
158,0 |
222,0 |
182,0 |
210,0 |
- |
|
300 |
97,0 |
90,0 |
139,0 |
150,0 |
222,0 |
174,0 |
199,0 |
- |
|
350 |
86,0 |
86,0 |
128,0 |
147,0 |
185,0 |
166,0 |
185,0 |
- |
|
375 |
80,0 |
85,0 |
128,0 |
146,0 |
175,0 |
166,0 |
180,0 |
- |
|
400 |
75,0 |
83,0 |
128,0 |
145,0 |
160,0 |
166,0 |
175,0 |
- |
|
425 |
68,0 |
82,0 |
125,0 |
143,0 |
156,0 |
161,0 |
168,0 |
- |
|
450 |
- |
80,0 |
123,0 |
142,0 |
- |
156,0 |
161,0 |
- |
|
475 |
- |
79,0 |
120,0 |
140,0 |
- |
- |
152,0 |
- |
|
500 |
- |
78,0 |
118,0 |
- |
- |
- |
143,0 |
- |
|
510 |
- |
- |
117,0 |
- |
- |
- |
- |
- |
|
520 |
- |
- |
116,0 |
- |
- |
- |
- |
- |
|
530 |
- |
- |
115,0 |
- |
- |
- |
- |
- |
|
540 |
- |
- |
114,0 |
- |
- |
- |
- |
- |
|
550 |
- |
- |
113,0 |
- |
- |
- |
- |
- |
Окончание таблицы Г.1
|
Расчетная температура болтов (шпилек), °С |
Номинальное допускаемое напряжение для болтов (шпилек), МПа |
||||||
|
Марки материала |
|||||||
|
25Х2М1Ф |
20Х1МФ1БР |
18Х12ВМБРФ |
14Х17Н2 |
07X16Н6 |
ХН35ВТ |
08Х15Н24ВА4ТР |
|
|
20 |
238,0 |
238,0 |
238,0 |
232,0 |
321,0 |
208,0 |
231,0 |
|
100 |
232,0 |
234,0 |
234,0 |
230,0 |
314,0 |
196,0 |
226,0 |
|
200 |
231,0 |
224,0 |
231,0 |
220,0 |
312,5 |
186,0 |
221,0 |
|
250 |
224,0 |
213,0 |
227,0 |
218,0 |
309,8 |
186,0 |
219,0 |
|
300 |
220,0 |
202,0 |
227,0 |
209,0 |
307,0 |
186,0 |
217,0 |
|
350 |
213,0 |
185,0 |
220,0 |
207,0 |
307,0 |
186,0 |
215,0 |
|
375 |
209,0 |
183,0 |
216,0 |
- |
- |
186,0 |
214,0 |
|
400 |
206,0 |
182,0 |
213,0 |
- |
- |
186,0 |
213,0 |
|
425 |
202,0 |
178,0 |
208,0 |
- |
- |
186,0 |
213,0 |
|
450 |
199,0 |
175,0 |
203,0 |
- |
- |
186,0 |
213,0 |
|
475 |
195,0 |
171,0 |
196,0 |
- |
- |
186,0 |
213,0 |
|
500 |
192,0 |
167,0 |
189,0 |
- |
- |
186,0 |
208,0 |
|
510 |
- |
- |
- |
- |
- |
185,0 |
205,0 |
|
520 |
- |
- |
- |
- |
- |
184,0 |
202,0 |
|
530 |
- |
- |
- |
- |
- |
183,0 |
199,0 |
|
540 |
- |
- |
- |
- |
- |
181,0 |
196,0 |
|
550 |
- |
- |
- |
- |
- |
180,0 |
195,0 |
|
560 |
- |
- |
- |
- |
- |
165,0 |
183,0 |
|
570 |
- |
- |
- |
- |
- |
150,0 |
171,0 |
|
580 |
- |
- |
- |
- |
- |
135,0 |
169,0 |
|
590 |
- |
- |
- |
- |
- |
120,0 |
157,0 |
|
600 |
- |
- |
- |
- |
- |
115,0 |
147,0 |
|
610 |
- |
- |
- |
- |
- |
110,0 |
- |
|
620 |
- |
- |
- |
- |
- |
105,0 |
- |
|
630 |
- |
- |
- |
- |
- |
100,0 |
- |
|
640 |
- |
- |
- |
- |
- |
94,0 |
- |
|
650 |
- |
- |
- |
- |
- |
88,0 |
- |
Площадь поперечного сечения болта (шпильки) по внутреннему диаметру резьбы fб и минимальные площади поперечных сечений шпилек с проточкой приведены в таблице Д.1. Все значения в таблице Д.1 приводятся для резьбы с крупным шагом.
Таблица Д.1
|
Диаметр болта (шпильки), мм |
М 10 |
М 12 |
М 16 |
М 20 |
М 22 |
М 24 |
М 27 |
м 30 |
|
Площадь поперечного сечения болтов (шпилек) без проточки, мм2 |
52,2 |
76,2 |
144,0 |
225,0 |
281,5 |
324,0 |
430,0 |
520,0 |
|
Площадь поперечного сечения болтов (шпилек) с проточкой, мм2 |
47,8 |
70,9 |
133,0 |
201,0 |
254,5 |
314,0 |
380,0 |
452,0 |
Окончание таблицы Д.1
|
Диаметр болта (шпильки), мм |
М 36 |
М 42 |
М 48 |
М 52 |
М 56 |
М 60 |
М 64 |
М 68 |
|
Площадь поперечного сечения болтов (шпилек) без проточки, мм2 |
760,0 |
1045,0 |
1376,0 |
1652,0 |
1905,0 |
2227,0 |
2520,0 |
2888,0 |
|
Площадь поперечного сечения болтов (шпилек) с проточкой, мм2 |
707,0 |
962,0 |
1257,0 |
1521,0 |
1810,0 |
2124,0 |
2290,0 |
2463,0 |
Плечи действия усилий в болтах (шпильках) вычисляют по формулам:
- для приварных встык и плоских фланцев:
b = 0,5 (Dб - Dcп), (E.1)
- для фланцев со свободными кольцами:
а = 0,5 (Dб - Ds), (E.2)
b = 0,5(Ds - Dcп), (E.3)
где Ds = 0,5 (Dн + Dк + 2h0).
Плечо усилия от действия давления на фланец для всех типов фланцев принимается равным:
e = 0,5 (Dcп - D - Sэ), (E.4)
где Sэ - эквивалентная толщина втулки фланцев приварных встык, вычисляемая по формуле
Sэ = ζS0. (E.5)
Коэффициент ζ, зависящий от соотношения размеров конической втулки фланца β и х, определяются по графику, приведенному на рисунке Е.1, или вычисляют по формуле
(Е.6)
где β, х - вычисляют по формулам (К.9), (К.10) приложения К.

Рисунок Е.1 - Коэффициент ζ
Эквивалентную толщину плоских фланцев и фланцев со свободными кольцами вычисляют по формуле
Sэ = S0. (E.7)
Жесткость фланцевого соединения у вычисляют по формулам:
- для приварных встык и плоских фланцев:
(Е.8)
- для фланцев со свободными кольцами:
(Е.9)
- для соединения фланца с крышкой:
(Е.10)
Коэффициент жесткости фланцевого соединения, нагруженного внутренним давлением или внешней осевой силой α, вычисляют по формулам:
- для приварных встык и плоских фланцев с плоскими прокладками:
(Е.11)
- для соединения фланца с плоской прокладкой с крышкой:
(Е.12)
Коэффициент жесткости фланцевого соединения, нагруженного внешним изгибающим моментом αм, вычисляют по формулам:
- для приварных встык и плоских фланцев:
![]()
(Е.13)
- для фланцев со свободными кольцами:
(Е.14)
уп, уб, уф1, уф2, ук, уф.н, уф.с, укр определяют по приложению К.
Для фланцев с овальными и восьмигранными прокладками и для свободных фланцев коэффициенты жесткости фланцевого соединения принимают равным 1.
Модули продольной упругости крепежных материалов в зависимости от температуры приведены в таблице Ж.1.
Таблица Ж.1
|
Марка стали |
Модуль упругости 10-5, МПа, при температуре, °С |
|||||||||
|
20 |
100 |
200 |
300 |
400 |
450 |
500 |
550 |
600 |
650 |
|
|
10, 20, 25, 30, 35, 40 |
2,13 |
2,10 |
1,98 |
1,90 |
1,85 |
- |
1,79 |
- |
- |
- |
|
35Х, 40Х, 15ХМ, 30ХМА, 35ХМ |
2,18 |
2,15 |
2,08 |
2,01 |
1,92 |
- |
1,79 |
- |
- |
- |
|
12Х1МФ (12ХМФ), 25X1МФ (ЭИ10), 25Х2М1Ф (ЭИ723), 20Х1М1Ф1ТР (ЭП182), 20Х1М1Ф1БР (ЭП44) |
2,15 |
2,12 |
2,08 |
2,02 |
1,94 |
- |
1,83 |
1,77 |
1,70 |
- |
|
20X13(2X13), 15Х11МФ (1Х11МФ), 20Х12ВНМФ (ЭП428), 18X11 МНФБ (ЭП291), 1Х12Н2ВМФ (ЭИ961), 18Х12ВМБФР (ЭИ993) |
2,28 |
2,22 |
2,13 |
2,05 |
1,93 |
- |
1,84 |
1,751) |
1,70 |
- |
|
12Х18Н10Т (Х18Н10Т), 08Х18Н10Т (0Х18Н10Т), 08Х16Н13М2Б (ЭИ680), 31Х19Н9МВБТ (ЭИ572), ХН35ВТ (ЭИ612) |
2,05 |
2,02 |
1,97 |
1,90 |
1,81 |
1,80 |
1,73 |
1,70 |
1,65 |
1,60 |
|
10Х11Н22ТЗМР (ЭИ696М) |
1,9 |
1,81 |
1,69 |
1,58 |
1,48 |
1,42 |
1,37 |
1,33 |
1,31 |
1,30 |
|
Д16 |
0,71 |
0,67 |
0,59 |
- |
- |
- |
- |
- |
- |
- |
|
1) При температуре 565 °С модуль упругости равен 1,73·10-5, МПа. |
||||||||||
Коэффициенты линейного расширения крепежных сталей в зависимости от температуры приведены в таблице Ж.2.
Таблица Ж.2
|
Марка стали |
Коэффициент
линейного расширения 106 |
|||||
|
20-100 |
20-200 |
20-300 |
20-400 |
20-500 |
20-600 |
|
|
10, 20, 25, 30, 35 |
11,1 |
11,9 |
- |
13,4 |
- |
- |
|
40 |
11,3 |
12,0 |
13,3 |
13,3 |
- |
- |
|
20X13 |
10,4 |
10,9 |
11,4 |
11,8 |
- |
- |
|
14Х17Н2 |
10,6 |
10,8 |
11,0 |
11,1 |
11,3 |
- |
|
35Х, 40Х, 38ХА |
13,4 |
13,3 |
- |
14,8 |
- |
- |
|
20ХНЗА |
11,0 |
12,0 |
13,0 |
13,5 |
14,0 |
14,5 |
|
30ХМА |
12,3 |
12,6 |
12,9 |
13,9 |
- |
14,4 |
|
25X1МФ |
11,3 |
12,7 |
- |
13,9 |
- |
14,6 |
|
25Х2М1Ф |
12,5 |
12,9 |
13,3 |
13,7 |
14,0 |
14,7 |
|
18Х12ВМБФР |
11,2 |
11,3 |
11,4 |
11,8 |
12,0 |
- |
|
37Х12Н8Г8МБФ |
15,9 |
18,0 |
19,2 |
21,5 |
22,4 |
21,0 |
|
12Х18Н10Т, 10Х17Н13М2Т |
16,6 |
17,0 |
18,0 |
18,0 |
18,0 |
- |
|
45Х14Н14В2М |
- |
17,0 |
- |
18,0 |
- |
18,0 |
|
ХН35ВТ |
14,8 |
15,1 |
15,5 |
15,9 |
16,1 |
16,6 |
|
08Х15Н24ВА4ТР |
14,5 |
15,5 |
16,3 |
16,8 |
17,2 |
17,4 |
|
07Х16Н16 |
11,2 |
11,9 |
12,1 |
12,5 |
12,9 |
- |
|
Д16 |
22,7 |
23,4 |
- |
- |
- |
- |
Характеристики основных типов прокладок для использования в расчете фланцевых соединений по настоящему стандарту приведены в таблице И.1.
Таблица И.1
|
Тип и материал прокладки |
Прокладочный коэффициент т |
Удельное давление обжатия прокладки qобж |
Допускаемое Удельное давление [q], МПа |
Коэффициент обжатия Кобж |
Условный модуль сжатия прокладки Еп·10-5, МПа |
|
Плоская неметаллическая прокладка из: |
|
|
|
|
|
|
резины по ГОСТ 7338 с твердостью по Шору А до 65 единиц |
0,5 |
2,0 |
18,0 |
0,4 |
|
|
резины по ГОСТ 7338 с твердостью по Шору А более 65 единиц |
1,0 |
4,0 |
20,0 |
0,09 |
|
|
паронита по ГОСТ 481 при толщине не более 2-3 мм |
2,5 |
20,01) |
130,0 |
0,90 |
0,02 |
|
картона асбестового по ГОСТ 2850 при толщине 1-3 мм |
2,5 |
20,0 |
130,0 |
0,90 |
0,02 |
|
фторопласта 4 по ТУ 6-05-810 [1] при толщине 1-3 мм |
2,5 |
10,0 |
40,0 |
1,00 |
0,02 |
|
терморасширенного графитового материала (типа «Графлекс») с обтюратором |
2,0 |
4,0 |
200,0 |
1,00 |
0,02 |
|
терморасширенного графитового материала (типа «Графлекс») без обтюратора |
2,5 |
4,0 |
120 - при hп = 2 мм; 100 -при hп = 3 мм |
1,00 |
0,02 |
|
Плоская металлическая прокладка из: |
|
|
|
|
|
|
алюминия марки АД по ГОСТ 21631 |
4,0 |
60,0 |
- |
- |
- |
|
латуни марки Л63 по ГОСТ 2208 |
4,75 |
90,0 |
- |
- |
- |
|
стали марки 05кп по ГОСТ 9045 |
5,5 |
125,0 |
- |
- |
|
|
Плоская прокладка из асбеста по ГОСТ 2850 в оболочке из: |
|
|
|
|
|
|
алюминия |
3,25 |
38,0 |
- |
- |
- |
|
меди и латуни |
3,5 |
46,0 |
- |
- |
- |
|
стали марки 05кп |
3,75 |
53,0 |
- |
- |
- |
|
стали марки 12Х18Н10Т |
3,75 |
63,0 |
- |
- |
- |
|
Плоская спирально-навитая прокладка с лентой из: |
|
|
|
|
|
|
нержавеющей стали |
3,0 |
69,0 |
- |
- |
- |
|
углеродистой стали |
2,5 |
69,0 |
- |
- |
- |
|
Кольцо с овальным или восьмигранным сечением из: |
|
|
|
|
|
|
5,5 |
125,0 |
- |
- |
- |
|
|
стали марки 08Х18Н10Т |
6,5 |
180,0 |
- |
- |
- |
|
1) Для сред с высокой проникающей способностью (водорода, гелия, легких нефтепродуктов, сжиженных газов и т.п.) qобж = 35,0 МПа. |
|||||
К.1 Податливость прокладки и болтов (шпилек)
Податливость прокладки уп вычисляют по формуле
(К.1)
Для металлических и асбометаллических прокладок уп = 0.
Податливость болтов (шпилек) уб вычисляют по формуле
(К.2)
где Lб = Lб0 + 0,28d - для болта;
Lб = Lб0 + 0,56d - для шпильки.
Параметр длины обечайки вычисляют по формуле
(К.3)
Отношение наружного диаметра тарелки фланца к внутреннему диаметру вычисляют по формуле
(К.4)
Коэффициенты βТ, βU, βY и βZ зависящие от соотношения размеров тарелки фланца, определяют по графикам, приведенным на рисунке К.1, в зависимости от К или вычисляют по формулам
(К.5)
(К.6)
(К.7)
(K.8)
Коэффициенты βF, βv и f, зависящие от соотношения размеров втулки фланца, для фланцевых соединений с приварными встык фланцами с конической втулкой определяют по графикам, приведенным на рисунках К.2 - К.4, в зависимости от отношений:
(К.9)
(к.10)
Для фланцевых соединений с приварными встык фланцами с прямой втулкой, плоскими фланцами и свободными фланцами: βF = 0,91; βv = 0,55, f = 1.
Коэффициент λ вычисляют по формуле
(К.11)

Рисунок К.1 - Коэффициенты βТ, βU, βY и βZ, зависящие от соотношения размеров тарелки фланца
Угловую податливость фланца при затяжке вычисляют по формуле
(К.12)
Угловую податливость кольца свободного фланца при затяжке вычисляют по формуле
(К.13)
где
(К.14)
Угловую податливость фланца, нагруженного внешним изгибающим моментом, вычисляют по формулам:
- для фланцев (см. рисунки 1, 2):
(К.15)
- для бурта фланца (см. рисунок 3):
(К.16)
- для свободного фланца (см. рисунок 3):
(К.17)


Рисунок К.3 - Коэффициент βV
Коэффициент, учитывающий изгиб тарелки фланца между шпильками (болтами), вычисляют по формуле
(К.18)
Приведенный диаметр приварного встык фланца с конической или прямой втулкой равен:
D* = D - при D ≥ 20S1;
D* = D + S0 - » D < 20S1 и f > 1 (К.19)
D* = D + S1 - » D < 20S1 и f = 1
Приведенный диаметр плоского фланца: D* = D.

Рисунок К.4 - Поправочный коэффициент для напряжений во втулке фланца f
К.3 Угловые податливости фланца со сферической неотбортованной крышкой и плоской крышки
Угловую податливость фланца со сферической необортованной крышкой вычисляют по формуле
(К.20)
где


Угловую податливость плоской крышки вычисляют по формуле
(К.21)
где

![]()
Крутящий момент при затяжке для болтов (шпилек) без смазки в зависимости от напряжения σб1 в болте (шпильке) определяют по графику на рисунке Л.1. В случае применения болтов со смазкой величина Мкр снижается на 25 %.

Рисунок Л.1 - Крутящий момент при затяжке для болтов (шпилек)
При σб1 < 120 МПа крутящий момент вычисляют по формуле
(л.1)
[1] ТУ 6-05-810 Заготовки из фторопласта 4 и фторопласта 4А общего назначения
Ключевые слова: сосуды и аппараты, фланцы, нормы и методы расчета на прочность, герметичность, допускаемые напряжения
|
ГОСТЫ, СТРОИТЕЛЬНЫЕ и ТЕХНИЧЕСКИЕ НОРМАТИВЫ. Некоммерческая онлайн система, содержащая все Российские Госты, национальные Стандарты и нормативы. В Системе содержится более 150000 файлов нормативно-технической документации, действующей на территории РФ. Система предназначена для широкого круга инженерно-технических специалистов. Copyright © www.gostrf.com, 2008 - 2026 |