Крупнейшая бесплатная информационно-справочная система онлайн доступа к полному собранию технических нормативно-правовых актов РФ. Огромная база технических нормативов (более 150 тысяч документов) и полное собрание национальных стандартов, аутентичное официальной базе Госстандарта. GOSTRF.com - это более 1 Терабайта бесплатной технической информации для всех пользователей интернета. Все электронные копии представленных здесь документов могут распространяться без каких-либо ограничений. Поощряется распространение информации с этого сайта на любых других ресурсах. Каждый человек имеет право на неограниченный доступ к этим документам! Каждый человек имеет право на знание требований, изложенных в данных нормативно-правовых актах!

  


 

ПРОИЗВОДСТВЕННЫЙ И НАУЧНО-ИССЛЕДОВАТЕЛЬСКИЙ ИНСТИТУТ ПО ИНЖЕНЕРНЫМ ИЗЫСКАНИЯМ В СТРОИТЕЛЬСТВЕ ГОССТРОЯ СССР

ОРДЕНА ТРУДОВОГО КРАСНОГО ЗНАМЕНИ НАУЧНО-ИССЛЕДОВАТЕЛЬСКИЙ ИНСТИТУТ ОСНОВАНИЙ И ПОДЗЕМНЫХ СООРУЖЕНИЙ ГОССТРОЯ СССР

РУКОВОДСТВО
ПО ОПРЕДЕЛЕНИЮ ФИЗИЧЕСКИХ, ТЕПЛОФИЗИЧЕСКИХ И МЕХАНИЧЕСКИХ ХАРАКТЕРИСТИК МЕРЗЛЫХ ГРУНТОВ

МОСКВА-1973

Содержание

ПРЕДИСЛОВИЕ

1. ОБЩИЕ ПОЛОЖЕНИЯ

ОСНОВНЫЕ ПОНЯТИЯ И НОМЕНКЛАТУРА МЕРЗЛЫХ ГРУНТОВ

КРИОГЕННАЯ ТЕКСТУРА

ОТБОР, УПАКОВКА, ТРАНСПОРТИРОВАНИЕ И ХРАНЕНИЕ ОБРАЗЦОВ МЕРЗЛОГО ГРУНТА

2. ФИЗИЧЕСКИЕ СВОЙСТВА

ВЛАЖНОСТЬ

ЛЬДИСТОСТЬ

ОБЪЕМНЫЙ ВЕС

засоленность

3. ТЕПЛОФИЗИЧЕСКИЕ СВОЙСТВА

ТЕПЛОЕМКОСТЬ

ТЕПЛОПРОВОДНОСТЬ И ТЕМПЕРАТУРОПРОВОДНОСТЬ

ТЕМПЕРАТУРА НАЧАЛА ЗАМЕРЗАНИЯ ЗАСОЛЕННЫХ ГРУНТОВ

РЕКОМЕНДАЦИИ ПО ИЗГОТОВЛЕНИЮ ОСНОВНЫХ УЗЛОВ И ДЕТАЛЕЙ ПРИБОРОВ ДЛЯ ОПРЕДЕЛЕНИЯ ТЕПЛОФИЗИЧЕСКИХ ХАРАКТЕРИСТИК

4. МЕХАНИЧЕСКИЕ СВОЙСТВА

ПОДГОТОВКА ОБРАЗЦОВ ГРУНТА И ТРЕБОВАНИЯ К ИХ ЛАБОРАТОРНЫМ ИСПЫТАНИЯМ

СЖИМАЕМОСТЬ МЕРЗЛЫХ ГРУНТОВ

СЖИМАЕМОСТЬ ОТТАИВАЮЩЕГО ГРУНТА

СОПРОТИВЛЕНИЕ МЕРЗЛЫХ ГРУНТОВ НОРМАЛЬНОМУ ДАВЛЕНИЮ

СОПРОТИВЛЕНИЕ МЕРЗЛЫХ И ОТТАЯВШИХ ГРУНТОВ СДВИГУ

СОПРОТИВЛЕНИЕ МЕРЗЛОГО ГРУНТА СДВИГУ ПО БОКОВОЙ ПОВЕРХНОСТИ ФУНДАМЕНТА

КАСАТЕЛЬНЫЕ СИЛЫ ПУЧЕНИЯ ГРУНТОВ

ВЯЗКОСТЬ ВКЛЮЧЕНИЙ ЛЬДА

ПРЕДИСЛОВИЕ

При проектировании оснований и фундаментов зданий и сооружений на вечномерзлых грунтах необходимо знать их физические, теплофизические и механические характеристики, определяемые в лабораторных и полевых условиях при инженерных изысканиях для строительства.

Перечень характеристик, обязательных для выполнения расчетов оснований и фундаментов на вечномерзлых грунтах, приводится в действующих главах СНиП II-Б.6-66 «Основания и фундаменты зданий и сооружений на вечномерзлых грунтах. Нормы проектирования» и СНиП II-А.13-69 «Инженерные изыскания для строительства. Основные положения». Однако в настоящее время не существует документа, содержащего унифицированные методики определения физических, теплофизических и механических характеристик мерзлых грунтов.

Настоящее Руководство восполняет указанный пробел и является первым документом такого рода. Оно разработано в развитие действующих глав СНиП с целью унифицировать методики определения указанных выше характеристик. При этом рекомендуемые в Руководстве методики впервые учитывают зависимость физических, теплофизических и механических свойств мерзлых грунтов от их криогенного строения. Мерзлые грунты, как правило, характеризуются резко выраженной анизотропией и неоднородностью распределения свойств, для оценки которых используют обычно осредненные значения характеристик. В связи с этим возникает необходимость расчленения неоднородного мерзлого массива на объемы (слои, горизонты), в пределах которых распределение данного свойства принимается однородным, что в свою очередь потребовало введения некоторых новых понятий.

Был обобщен опыт практики строительства на Севере и учтены предложения и замечания ряда научно-исследовательских, изыскательских, проектных, строительных организаций и высших учебных заведений страны.

Подразделы Руководства составлены следующими авторами; Литвиновым А.Я. и Пчелинцевым А.М. - «Основные понятия и номенклатура мерзлых грунтов», «Криогенная текстура»; Литвиновым А.Я. и Нерсесовой З.А. - «Отбор, упаковка, транспортирование и хранение - образцов мерзлого, грунта», «Льдистость»; Литвиновым А.Я., Нерсесовой З.А. и Кроником Я.А. - «Влажность», «Объемные вес»; Нерсесовой З.А. и Гришиным П.А. - «Засоленность»; Федоровичем Д.И. - «Теплоемкость», «Теплопроводность и температуропроводность», «Рекомендации по изготовлению основных узлов и деталей прибора для определения теплофизических характеристик грунта»; Нерсесовой З.А. и Саркисяном Р. М. - «Температура начала замерзания засоленного грунта»; Зацарной А.Г. - «Подготовка образцов грунта и требования к их лабораторным испытаниям»; Зацарной А.Г. - «Сжимаемость мерзлого грунта»; Парщиковой И.А., Григорьевой В.Г. и Водолазкиным В.М. - «Сжимаемость оттаивающего грунта»; Цытовичем Н.А., Вяловым С.С., Зацарной А.Г. и Пекарской Н.К. - «Сопротивление мерзлого грунта нормальному давлению»; Пекарской Н.К. и Григорьевой В.Г. - «Сопротивление мерзлых и оттаивающих грунтов сдвигу»; Садовским А.В. - «Сопротивление мерзлого грунта сдвигу по боковой поверхности фундамента»; Орловым В.О., Садовским А.В., Саркисяном Р.М. и Дубновым Ю.Д. - «Касательные силы пучения»; Вяловым С.С., Докучаевым В.В., Пекарской Н.К. и Шейпкманом Д.Р. - «Вязкость включений льда».

1. ОБЩИЕ ПОЛОЖЕНИЯ

1.1. Руководство включает методики лабораторных и некоторых полевых определений физических, теплофизических и механических свойств мерзлых грунтов и предназначено для инженерно-геологических изысканий для строительства на вечномерзлых грунтах.

1.2. В главах СНиП II-Б.6-66 и II-А.13-69 указан комплекс основных расчетных характеристик мерзлых грунтов. Настоящее руководство содержит рекомендации методик определения таких характеристик.

1.3. В разделе «Физические свойства» даны методики определения суммарной влажности, льдистости, незамерзшей воды и объемного веса, засоленности; в разделе «Теплофизические свойства» приведены методики определения теплоемкости, теплопроводности и температуропроводности, а также температуры начала замерзания засоленных грунтов; в разделе «Механические свойства» рассмотрены вопросы подготовки образцов и требования к их испытаниям, а также методики определения сжимаемости мерзлого и оттаивающего грунта, сопротивления мерзлого грунта нормальному давлению, сопротивления мерзлого и оттаивающего грунта сдвигу, сопротивления сдвигу по боковой поверхности фундамента, касательной силы пучения при промерзании грунта и вязкости льда.

1.4. Состав необходимых характеристик, определяемых в лабораторных и полевых условиях, устанавливается программой или заданием на инженерные изыскания, составляемой в соответствии с требованиями главы СНиП II-А.13-69.

Экспериментальное определение характеристик, приведенных в таблицах главы СНиП II-Б.6-66, также может быть предусмотрено программой или заданием на инженерные изыскания для сложных мерзлотно-грунтовых условий при строительстве уникальных зданий и сооружений. К числу таких свойств, определяемых главой СНиП II-Б.6-66, относятся: содержание незамерзшей воды (табл. 1), нормативное сопротивление мерзлого грунта сдвигу (табл. 5) и нормальному давлению (табл. 6), теплофизические характеристики (табл. 10) и касательные силы пучения (п. 5.15).

1.5. Документация, прилагаемая к доставляемым в лаборатории образцам и монолитам мерзлых грунтов, должна содержать кроме общепринятых также сведения о криогенной текстуре той части мерзлого массива, из которой произведен их отбор.

1.6. В лабораторных условиях определяют точечные характеристики свойств мерзлого грунта, т.е. характеристики, отражающие свойства ограниченного объема грунта.

Количество, вес и объем отбираемых образцов мерзлого грунта устанавливаются программой работ на производство инженерных изысканий.

ОСНОВНЫЕ ПОНЯТИЯ И НОМЕНКЛАТУРА МЕРЗЛЫХ ГРУНТОВ

1.7. Согласно главе СНиП II-Б.6-66 грунты всех видов называют мерзлыми, если они имеют отрицательную или нулевую температуру и содержат в своем составе лед; грунты называются вечномерзлыми, если они находятся в мерзлом состоянии в продолжение многих (от 3 и более) лет.

1.8. Наименование видов мерзлых грунтов принимают по номенклатуре грунтов главы СНиП II-Б.1-62* «Основания зданий и сооружений. Нормы проектирования» в соответствии с характеристиками этих грунтов после их оттаивания.

В соответствии с главой СНиП II-Б.6-66 к номенклатурному наименованию мерзлого глинистого грунта добавляют прилагательное пылеватый, если он содержит больше 50 % частиц размером 0,05-0,005 мм.

В соответствии с главой СНиП II-Б.1-62 нескальные грунты подразделяют на:

крупнообломочные - несцементированные грунты, содержащие более 50 % по весу обломков кристаллических или осколочных пород с размерами частиц более 2 мм;

песчаные - сыпучие в сухом состоянии грунты, не обладающие свойством пластичности (Wn < l), содержащие менее 50 % по весу частиц крупнее 2 мм;

глинистые - связные грунты, для которых число пластичности Wn1.

По числу пластичности глинистые грунты подразделяются на:

супеси, для которых 1 ≤ Wn ≤ 7;

суглинки, для которых 7 < Wn < 17;

глины, для которых Wn > 17.

Примечания: 1. Числом пластичности грунта Wn называется разность весовых влажностей, соответствующих двум состояниям грунта: на границе текучести WT и на границе раскатывания Wp,; выраженная в процентах.

2. Крупнообломочные, песчаные и глинистые грунты объединяются общим наименованием - нескальные грунты.

1.9. В соответствии с главой СНиП II-Б.6-66 мерзлые грунты по их состоянию подразделяют на:

твердомерзлые - прочно сцементированные льдом, характеризуемые относительно хрупким разрушением и практической несжимаемостью под нагрузками от сооружений; к твердомерзлым относятся песчаные и глинистые грунты, если их температура ниже:

для пылеватых песков - 0,3 °С;

для супесей - 0,6 °С;

для суглинков – 1 °С;

для глин - 1,5 °С;

пластичномерзлые - сцементированные льдом, но обладающие вязкими свойствами (вследствие содержания в них значительного количества незамерзшей воды), способные сжиматься под нагрузками от сооружений;

сыпучемерзлые - несцементированные льдом вследствие малой влажности песчаные и крупнообломочные грунты.

Примечание. Крупнообломочные мерзлые грунты могут находиться в твердомерзлом или сыпучемерзлом состоянии в зависимости от их температуры, состава и свойств заполнителя, а также от условий залегания этих грунтов в массиве.

1.10. Помимо характеристик, предусмотренных для талых грунтов главой СНиП II-А.13-69, для мерзлых и оттаивающих грунтов согласно главе СНиП II-Б.6-66 определяют дополнительные характеристики физических, теплофизических и механических свойств:

суммарную влажность;

льдистость;

влажность за счет незамерзшей воды;

объемный вес;

теплоемкость;

теплопроводность и температуропроводность;

коэффициенты оттаивания и сжимаемости оттаивающего грунта;

коэффициент сжимаемости и модуль деформации мерзлого грунта;

сопротивление мерзлого грунта сдвигу;

касательные силы пучения;

угол внутреннего трения и сцепление мерзлого и оттаявшего грунта;

сопротивление мерзлого грунта нормальному давлению;

вязкость включений льда;

засоленность.


Таблица 1

Форма

Перечень необходимых характеристик исследуемых образцов грунтов

№ пп

Лабораторный №

Геологический индекс

№ выработки

Глубина взятия образца в м

Номенклатурное название грунта

Криогенная текстура мерзлого грунта.

Удельный вес минеральных частиц грунта γч, г/см3

Пластичность в %

горизонта (интервала глубин) в мм

слоя в мм

граница раскатывания Wр

граница текучести WТ

число пластичности Wп

 

 

 

 

 

 

 

 

 

 

 

 

 

 

 

 

 

 

 

 

 

 

 

 

Продолжение таблицы 1 (правая часть)

Гигроскопическая влажность в %

Зерновой состав мерзлого грунта [распределение частиц по крупности (d, мм) в % к весу сухого грунта]

метод подготовки к анализу

> 10

10-2

2-0,5

0,5-0,25

0,25-0,1

0,1-0,05

0,05-0,01

0,01-0,005

0,005-0,001

< 0,001

 

 

 

 

 

 

 

 

 

 

 

 

 

 

 

 

 

 

 

 

 

 

 

 


1.11. Водно-физические свойства, удельный вес и гранулометрический состав мерзлых грунтов определяют после их оттаивания по методикам для талых грунтов, согласно ГОСТ 5179-64 «Грунты. Метод лабораторного определения влажности»; ГОСТ 5183-64 «Грунты. Метод лабораторного определения границы раскатывания»; ГОСТ 5184-64 «Грунты. Метод лабораторного определения границы текучести»; ГОСТ 5180-64 «Грунты. Метод лабораторного определения количества гигроскопической воды»; ГОСТ 5181-64 «Грунты. Метод лабораторного определения удельного веса»; ГОСТ 12536-67 «Грунты. Метод лабораторного определения зернового (гранулометрического) состава». Перечисленные характеристики записывают по форме (табл. 1).

КРИОГЕННАЯ ТЕКСТУРА

1.12. Под криогенной текстурой понимают строение мерзлого грунта, обусловленное замерзанием содержащейся в нем воды и характеризуемое размерами, формой и пространственным распределением льда. Лед в мерзлом грунте подразделяют на:

поровой лед (лед-цемент), который находится в порах мерзлого грунта и цементирует его частицы или их агрегаты;

ледяные включения - прослойки, линзы и другие формы льда. В зависимости от толщины ледяные включения подразделяют на тонкие (менее 2 мм), средние (2-20 мм) и толстые (более 20 мм).

Примечание. Прослойки и линзы льда толщиной более 0,3 м в зависимости от характера залегания называют пластом или жилой; эти образования рассматриваются как элементы сложения массива мерзлого грунта и в понятие «криогенная текстура» не входят.

1.13. В соответствии с главой СНиП II-Б.6-66 различают массивную, слоистую и сетчатую криогенные текстуры мерзлого грунта:

массивная криогенная текстура характеризуется равномерным распределением порового льда, а льдистость за счет ледяных включений не превышает 3 % общего объема мерзлого грунта (Лв ≤ 0,03);

слоистая криогенная текстура характеризуется наличием ледяных включений в виде прослоек и линз (Лв > 0,03). Ледяные включения могут быть расположены горизонтально, косо, вертикально и распределены равномерно или неравномерно;

сетчатая криогенная текстура характеризуется расположением ледяных включений в виде сетки (Лв > 0,03). Ледяная сетка может быть правильной, завершенной или неправильной, незавершенной и т.п.

1.14. При описании криогенной текстуры необходимо приводить данные о размерах ледяных включений и расстояниях между ними.

Слоистую криогенную текстуру по расстоянию между ледяными включениями (толстыми, средними или тонкими) подразделяют на частослоистую (менее 10 мм), среднеслоистую (10-100 мм) и редкослоистую (более 100 мм).

Сетчатую криогенную текстуру в зависимости от размера ячеек подразделяют на мелкосетчатую (менее 10 мм), среднесетчатую (10-100 мм) и крупносетчатую (более 100 мм).

Наименование криогенной текстуры мерзлого грунта включает оба указанных признака - толщину ледяных включений и расстояние между ними (и поэтому имеет двучленный характер, например, тонкочастотослоистая, толстокрупносетчатая и т.п.).

1.15. В природных условиях часто встречаются переходные разновидности криогенных текстур: прерывисто- и неполнослоистая, слоисто-сетчатая, беспорядочно- и неполносетчатая и т.д. Иногда криогенную текстуру лишь условно можно отнести к определенному типу. Нередко можно наблюдать сложное строение мерзлого массива, вследствие наложения и чередования двух или более криогенных текстур; в этих случаях следует выделять криогенные текстуры различного порядка, образованные ледяными включениями, которые отличаются друг от друга размерами и интервалом между ними.

1.16. Оценка среднего показателя какого-либо свойства определенной части неоднородного мерзлого массива предполагает его расчленение на объемы, в пределах которых распределение данного свойства с известным приближением можно считать однородным. Величину показателя определяют для каждого из выделенных объемов; полученные значения используют для характеристики всего массива или его части.

1.17. Изучение разрезов мерзлого грунта, отличающихся сложным криогенным строением, следует начинать с расчленения разреза на горизонты, которые характеризуются криогенной текстурой первого порядка, образованной системой наиболее крупных для данного разреза ледяных включений. Внутри горизонтов выделяют слои, заключенные между наиболее крупными включениями льда. Каждый слой характеризуется криогенной текстурой второго порядка, связанной с более мелкими ледяными включениями; между ними расположены минеральные прослойки или отдельности, сцементированные поровым льдом.

1.18. Отбор образцов мерзлого грунта и определение показателей их физических, теплофизических и механических характеристик необходимо производить таким образом, чтобы охарактеризовать каждый из выделенных слоев мерзлого грунта и обобщить эти показатели для горизонта или его части.

1.19. При определении физических, теплофизических и механических свойств мерзлых грунтов необходимы следующие сведения об их криогенном строении:

а) характеристика элементов криогенной текстуры горизонтов и слоев мерзлого грунта: форма ледяных включений (прослойки, линзы, гнезда и т.д.), их размер (толщина, протяженность, выдержанность по простиранию), характер залегания (горизонтально, косо, вертикально, равномерно или неравномерно), интервалы между ледяными включениями;

б) льдистость за счет ледяных включений: в случае слоистой криогенной текстуры с ледяными включениями толщиной более 10 мм необходимы данные непосредственных измерений их толщины и суммарной мощности на 1 м разреза; в случае сетчатой криогенной текстуры подсчет суммарной толщины ледяных включений производят по глубине и по простиранию разреза и относят к 1 м2 его площади. Подсчет суммарной толщины ледяных включений производят для каждого горизонта или его части в случае, если мощность горизонта превышает 1-1,5 м;

в) характеристика минеральной или органо-минеральной составляющей мерзлого грунта: размер и форма минеральных прослоек и отдельностей, литологический состав, цвет, гумусированность и содержание растительных остатков, оглеенность, включения и новообразования, текстурные признаки (слоистость, пористость, трещиноватость), характер залегания.

ОТБОР, УПАКОВКА, ТРАНСПОРТИРОВАНИЕ И ХРАНЕНИЕ ОБРАЗЦОВ МЕРЗЛОГО ГРУНТА

1.20. Образцом мерзлого, грунта называют определенный его объем, отобранный из массива мерзлой породы. Образцы мерзлого грунта отбирают или с сохранением естественного сложения и влажности (монолиты, керны) или нарушенного сложения. Количество, вес и объем отбираемых образцов мерзлого грунта устанавливаются программой работ на производство инженерных изысканий.

1.21. Образцы нарушенного сложения и монолиты (керны) мерзлого грунта отбирают из свежезачищенных забоя и стенок открытых горных выработок или из буровых скважин.

На монолите (керне) мерзлого грунта немедленно после отбора отмечают его верх. Монолиты (керны) и образцы нарушенного сложения снабжают этикеткой. Этикетка должна содержать:

наименование организации, производящей изыскания;

название или номер изыскательской партии (экспедиции);

наименование объекта (участка);

номер образца;

название, вид, номер выработки;

глубину отбора образца;

характеристику криогенной текстуры мерзлого грунта в месте взятия образца;

наименование грунта по визуальному определению;

должность и фамилию лица, производившего отбор образца, его подпись;

дату отбора образца.

Этикетку заполняют четко простым графитовым карандашом.

1.22. Образцы нарушенного сложения и монолиты (керны) мерзлого грунта для определения физических, теплофизических и механических свойств отбирают только из массива мерзлого грунта массивной, тонкослоистой или мелкосетчатой текстуры (пп. 1.13, 1.14). При наличии в разрезе крупных ледяных включений образцы отбирают между ними, одновременно измеряя толщину ледяных включений и расстояния между ними.

1.23. Монолиты мерзлого грунта отбирают при отрицательной температуре воздуха; в теплое время года отбор монолитов мерзлого грунта допускается производить при условии сохранения их мерзлого состояния и немедленной доставки в помещение с отрицательной температурой воздуха.

1.24. Монолиты мерзлого грунта отбирают из открытой горной выработки в форме куба с минимальным размером стороны не менее 10 см для глинистых и песчаных грунтов, не менее 20 см для дресвяных и гравийных грунтов и не менее 30 см для щебнистых и галечниковых грунтов. Допускается производить отбор монолитов мерзлого грунта произвольной формы, но с сохранением указанных размеров сторон как минимальных. Диаметр кернов мерзлых грунтов, отбираемых из буровых скважин для определения физических, теплофизических и механических свойств для крупнообломочных грунтов, должен быть не менее 200 мм, остальных видов грунтов не менее 94 мм при высоте не менее одного и не более двух диаметров.

1.25. Образцы мерзлого грунта нарушенного сложения отбирают в шламовые мешочки. Вес каждого из отобранных образцов мерзлого грунта должен быть не менее:

для глинистых 1,5 кг;

для песчаных 2 кг;

для крупнообломочных 10 кг.

Примечание. Сохранение мерзлого состояния и влажности отбираемых образцов не предусматривается. Для определения суммарной влажности мерзлого грунта эти образцы использованы быть не могут.

1.26. Образцы мерзлого грунта нарушенного сложения для определения суммарной влажности отбирают, не допуская их оттаивания:

а) из песчаных и глинистых грунтов массивной криогенной текстуры весом не менее 50 г в заранее взвешенные металлические бюксы;

б) из песчаных и глинистых грунтов слоистой и сетчатой криогенной текстуры весом не менее 2 кг в мешочки из синтетической пленки;

в) из крупнообломочных грунтов независимо от их криогенной текстуры весом 2-3 кг в заранее взвешенные металлические банки с крышкой.

Образцы для определения суммарной влажности мерзлого грунта взвешивают немедленно после их отбора: в случае массивной криогенной текстуры - на технических весах с точностью до 0,01 г, для всех остальных - на торговых весах с точностью до 1 г.

1.27. Проходка открытых выработок в теплое время года допускается только на участках, где обеспечен отвод поверхностных и надмерзлотных вод,

В соответствии с требованиями главы СНиП II-А.13-69 бурение скважин производят «всухую» с пониженным числом оборотов бурового снаряда. Запрещается использовать при бурении промывочные жидкости. Сжатый воздух используют с предварительным охлаждением. Диаметр бурения должен превышать диаметр отбираемых образцов в 1,5-2 раза.

1.28. Упаковку монолитов (кернов) мерзлого грунта производят при отрицательной температуре воздуха. Для изоляции их от внешней среды монолиты парафинируют или намораживают на них корку льда. Каждый монолит должен быть снабжен этикеткой, которую помещают на его верхнюю грань.

ПАРАФИНИРОВАНИЕ

Монолит туго обматывают несколькими слоями марли и покрывают слоем парафина толщиной 2-3 мм путем многократного полива или погружения монолита в сосуд с расплавленным парафином.

Температура расплавленного парафина не должна превышать 60 °С; для увеличения пластичности парафина к нему добавляют гудрон (35-50 % по весу).

НАМОРАЖИВАНИЕ ЛЬДА

Монолит туго обматывают несколькими слоями марли или кальки и намораживают на него слой льда, либо многократно погружая монолит в охлажденную пресную воду, либо поливая его небольшими порциями охлажденной воды до образования на поверхности монолита корки льда толщиной не менее 1 см.

1.29. Монолит мерзлого грунта, предназначенный для транспортирования в лабораторию, удаленную от места отбора, после парафинирования или намораживания льда помещают в ящик, на дно которого предварительно укладывают теплоизоляционный материал (опилки, стружки, сухой мох или торф, поролон и т.п.) слоем толщиной 3-4 см. Монолиты укладывают в ящик, оставляя зазор 3-4 см между ними и стенками ящика и 2-3 см между соседними монолитами; все свободное пространство заполняют теплоизоляционным материалом. Под крышку ящика кладут завернутую в кальку опись монолитов. Ящики нумеруют, снабжают подписями «Верх» и «Не кантовать», а также адресами получателя и отправителя.

Упаковку монолитов мерзлого грунта в ящики производят только при отрицательной температуре воздуха.

1.30. Образцы, отправляемые в лабораторию, расположенную в непосредственной близости от места их отбора, доставляют без упаковки в ящики, но обязательно в сопровождении лица, ответственного за их сохранность.

1.31. Транспортирование ящиков с образцами мерзлого грунта на дальние расстояния (по железной дороге, морским или речным транспортом) производят только при отрицательной температуре воздуха, а в теплое время года - транспортом, оборудованным холодильными камерами. Допускается перевозка монолитов мерзлого грунта в теплое время года обычным транспортом при условии, что время транспортирования не превышает 3 ч.

При транспортировании монолиты не должны подвергаться резким динамическим воздействиям и значительным перепадам температуры.

1.32. При производстве инженерно-геологических изысканий в теплое время года предохранить от оттаивания монолиты мерзлого грунта можно только при условии немедленного помещения их в холодильную камеру или подземную полевую лабораторию с отрицательной температурой (рис. 1). Перенос образцов мерзлого грунта от скважин в полевую подземную лабораторию или в холодильную камеру осуществляют в специальных термосах. Термос представляет собой деревянный ящик с двойными стенками, пространство между которыми заполнено теплоизоляцией (вата, пенопласт и др.). Крышка ящика обшита войлоком.

1.33. Доставленные в лабораторию монолиты мерзлого грунта хранят в холодильных камерах при отрицательной температуре и относительной влажности воздуха не ниже 80 %.

Рис. 1. Схема полевой лаборатории

1 - настил - площадка из толстых досок; 2 - теплоизоляция (торф, мох, опилки - слой 30 см); 3 - грунтовой отвал; 4 - двустворчатый люк из теса; 5 - одностворчатый люк из теса; 6 - граница наибольшего сезонного протаивания; 7 - крепление стенок шурфа; 8 - навес

2. ФИЗИЧЕСКИЕ СВОЙСТВА

2.1. Основные физические свойства мерзлых грунтов: суммарная влажность, льдистость и объемный вес - зависят от их криогенной текстуры. Поэтому показатели этих свойств необходимо определять с учетом особенностей криогенного строения мерзлых грунтов в условиях их естественного залегания.

2.2. Мерзлые грунты слоистой и сетчатой криогенной текстуры обладают резко выраженной анизотропией и неоднородностью пространственного распределения их свойств в массиве. Для оценки свойств таких грунтов используют только осредненные значения их характеристик (пп. 1.16-1.18), по испытанию серии образцов.

Мерзлые грунты массивной криогенной текстуры, отличающиеся однородностью строения и распределения свойств, характеризуют по данным испытаний одного образца (с повторностью).

2.3. Осредненные значения характеристик мерзлого грунта должны сопровождаться указанием конкретных размеров части геологического разреза, для которой они определены, так как показатели этих характеристик изменяются в зависимости от размеров опробуемой части массива. В связи с этим суммарная влажность, льдистость и объемный вес мерзлого грунта определяют для основных составляющих разреза, т.е. слоев и горизонтов (или заданных интервалов глубин).

2.4. Физические свойства мерзлых грунтов помимо криогенной текстуры зависят также от их засоленности.

С увеличением засоленности резко возрастает содержание незамерзшей воды, что в свою очередь оказывает существенное влияние на теплофизические и механические свойства грунтов.

ВЛАЖНОСТЬ

ПЕСЧАНЫЕ И ГЛИНИСТЫЕ ГРУНТЫ

2.5. Под влажностью грунта, согласно ГОСТ 5179-64, понимают содержание в нем воды, удаляемой высушиванием при 100-105 °С до постоянного веса. Значение влажности выражают в процентах или долях единицы к весу сухого грунта.

Суммарная влажность (Wc) мерзлого грунта равна:

Wc = Wв + Wц + Wн = Wв + Wг,                                                                (1)

где Wв - влажность за счет ледяных включений;

Wц - влажность за счет льда-цемента (порового льда);

Wн - влажность за счет незамерзшей воды, содержащейся в мерзлом грунте при данной отрицательной температуре;

Wг = Wц + Wп - влажность минеральных прослоек или макроагрегатов, заключенных между ледяными включениями.

В случае отсутствия в мерзлом грунте ледяных включений или при незначительном их содержании (Лв ≤ 0,03), т.е. для грунтов массивной криогенной текстуры, суммарную влажность принимают равной:

Wc Wг = Wц + Wн,                                                                                  (1 а)

где обозначения те же, что в формуле (1).

2.6. При изучении мерзлых грунтов в массиве определяют влажность минеральных прослоек или макроагрегатов (Wг) и суммарную влажность слоев (Wсл) и горизонтов (Wгор). В случае если выделение горизонтов мерзлого грунта не производится, определяют суммарную влажность грунта, залегающего в определенном интервале глубин.

Примечание. При частом переслаивании минеральных прослоек и ледяных включений, когда влажность минеральных прослоек или макроагрегатов мерзлого грунта нельзя определить опытным путем, допускается принимать WгWр, где Wp - влажность грунта на границе раскатывания.

Суммарная влажность слоя мерзлого грунта (Wcл) равна:

Wcл = Wв.сл + Wг,                                                                                       (2)

где Wв.сл - влажность за счет ледяных включений, содержащихся в слое;

Wг - значение то же, что в формуле (1).

Суммарная влажность горизонта мерзлого грунта или мерзлого грунта, залегающего в определенном интервале глубин (Wгор), равна:

Wгор = Wв.гор + Wсл                                                                                  (3)

где Wв.гор - влажность за счет ледяных включений, разделяющих слои мерзлого грунта и формирующих криогенную текстуру горизонта;

 - среднее значение суммарной влажности слоев, составляющих горизонт или залегающих в определенном интервале глубин;

п - число слоев;

Wсл.i - суммарная влажность i-го слоя мерзлого грунта.

2.7. Влажность за счет незамерзшей воды (Wн) и льда-цемента (Wц) для мерзлых грунтов массивной криогенной текстуры и минеральных прослоек или макроагрегатов грунтов слоистой и сетчатой криогенной текстуры определяют:

для незасоленных грунтов расчетом по СНиП II Б.6-66 или калориметрическим методом (пп. 2.12-2.26);

для засоленных грунтов - только калориметрическим методом.

Примечание. Для незасоленных мерзлых грунтов содержание незамерзшей воды и порового льда - льда-цемента определяют калориметрическим методом, если это предусмотрено программой работ.

2.8. Суммарную влажность песчаных и глинистых мерзлых грунтов определяют различными методами в зависимости от их криогенной текстуры:

для грунтов массивной текстуры - точечным методом (пп. 2.28-2.30) или методом бороздки (п. 2.31);

для грунтов тонкочастослоистой и тонкомелкосетчатой криогенной текстуры - методом бороздки (п. 2.31) или методом средней пробы (пп. 2.32-2.33);

для грунтов средне- и толстослоистой и средне- и крупносетчатой криогенной текстуры - методом средней пробы (пп. 2.32-2.33) или расчетным методом (пп. 2.34-2.37).

2.9. Влажность крупнообломочных мерзлых грунтов вне зависимости от их криогенной текстуры определяют согласно пп. 2.38-2.41.

2.10. Данные определения влажности сопровождают указанием:

метода определения (точечный, средней пробы и др.);

вида образца: монолит или нарушенного сложения; криогенная текстура: ее типы, размеры и форма ледяных включений; расстояния между ними.

ПРИБОРЫ

2.11. Для определения влажности песчаных и глинистых мерзлых грунтов используют следующую аппаратуру:

сушильный шкаф с термометром до 250-300 °С;

весы технические Т-200 или Т-1000 с комплектом разновеса Г-2-210 или Г-2-1000;

весы чашечные на 10 кг с комплектом разновеса Г-1-10;

эксикаторы по ГОСТ 6371-64*;

стеклянные стаканчики с крышкой по ГОСТ 7148-70 или алюминиевые стаканчики с крышкой;

эмалированные миски диаметром не менее 40 см;

шпатели металлические;

два ультратермостата типа ТС-15;

калориметр;

метастатический термометр Бекмаиа с рабочим интервалом температур 5° и ценой деления 0,01°;

латунные никелированные бюксы диаметром 40 мм, высотой 60 мм;

лабораторные ртутные термометры на интервал температур от -30 до +20 °С с ценой деления 0,1° типа ТЛ-103;

аккумуляторы;

лупа;

секундомер;

вольтметр;

миллиамперметр.

ПРОВЕДЕНИЕ ИСПЫТАНИЙ

а) Определение влажности за счет незамерзшей воды Wn и льда-цемента Wц

Калориметрический метод

2.12. Калориметрический метод определения влажности за счет незамерзшей воды (Wн) и льда-цемента (Wц) основан на измерении теплового эффекта при оттаивании образцов мерзлого грунта в калориметре. Для каждого вида грунта определяют Wп при пяти заданных значениях отрицательной температуры и строят для него кривую зависимости содержания незамерзшей воды от температуры (рис. 2).

2.13. Для определения влажности за счет незамерзшей воды и льда-цемента калориметрическим методом используют образцы нарушенного сложения. В случае если это предусмотрено программой работ, используют образцы естественного сложения и природной влажности.

2.14. Воздушно-сухой грунт (400-500 г) растирают в фарфоровой ступке и просеивают через сито с отверстиями 1 мм. Фракции грунта мельче 1 мм переносят в фарфоровую чашку, добавляют дистиллированную воду и, перемешивая, доводят до состояния грунтовой массы. Из грунтовой массы в специальные латунные бюксы отбирают 15-18 образцов весом по 25-30 г. Бюксы закрывают крышками и хранят в экскаваторе над водой.

2.15. Калориметрические опыты проводят с образцами грунта с заданной отрицательной температурой в интервалах: от -0,3 до 0,5°; от -1 до -1,5°; от -3 до -4°; от 9 до -10° и от -20 до -22° С.

Для каждого значения отрицательной температуры определяют содержание Wп с трехкратной повторностью.

2.16. Бюксы с грунтом извлекают из эксикатора, тщательно вытирают, взвешивают на технических весах с точностью до 0,01 г и привязывают нитку к крышке каждого бюкса, после чего их помещают в холодильную камеру, где выдерживают 10-15 ч при температуре от -25 до –30 °С.

Бюксы с замороженными образцами помещают во внутренний сосуд ультратермостата, заполненный сухим песком (рис. 3), где выдерживают в течение суток при заданной для данного опыта отрицательной температуре; температуру песка контролируют лабораторным термометром с делением шкалы 0,1°. Ультратермостат должен находиться в холодильной камере при температуре на 2-3° ниже заданной для данного опыта.

Рис. 2. Пример кривой зависимости содержания незамерзшей воды от отрицательной температуры и расчет температуры начала замерзания грунта

Wт - влажность образца грунта на границе текучести; W - природная влажность образца грунта; 03 - температура начала замерзания парового раствора

Примечание. Если в ультратермостате нет внутреннего бачка, в нем закрепляют металлический сосуд диаметром 15-17 см и высотой - 20 см.

2.17. Калориметрический опыт проводят в помещении с положительной температурой, где не допускаются резкие колебания температуры.

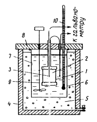
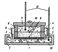
Рис. 3. Схема ультратермостата

Ультратермостат: 1 - внешняя стенка; 2 - изоляция; 3 - внутренняя стенка; 4 - незамерзающая жидкость; 5 - нагреватель; 6 - выключатель; 7 - сигнальная лампа; 8 - реле; 9 - контактный термометр; 10 - регулятор контактного термометра; 11 - контрольный термометр; 12 - электромотор; 13 - термометр с ценой деления 0,1°; 14 - крышка; 15 - нитки, удерживающие бюксы с образцами грунта; 16 - бюксы с образцами грунта; 17 - бачок для выдерживания образцов грунта при постоянной температуре; 18 - песок; 19 - мешалка

Рис. 4. Схема калориметра

1 - стенки калориметра; 2 - жидкость (вода) в оболочке калориметра; 3 - калориметрический стакан; 4 - эбонитовая подставка для калориметрического стакана; 5 - калориметрическая жидкость (вода); 6 - термометр Бекмана; 7 - мешалка; 8 - сетка, в которую помещают образец мерзлого грунта; 9 - нагреватель для определения теплового значения калориметра; 10 - эбонитовая крышка; 11 - термометр в оболочке калориметра; 12 - образец грунта

Калориметр (рис. 4) представляет собой цилиндрический сосуд емкостью 20-25 л с двойными стенками, между которыми находится изоляционный материал (войлок, стеклянная вата, пенопласт и т.п.); оболочку калориметра через отверстие для термометра заполняют водой, а в случае проведения опыта при отрицательной температуре - спиртом или керосином.

В центре оболочки калориметра на подставке из изоляционного материала помещается латунный никелированный калориметрический стакан диаметром 100 мм, высотой 200-210 мм; сверху его закрывают крышкой из эбонита, в которой закреплены пропеллерная мешалка (размер лопастей ~ 4 см) для перемешивания калориметрической жидкости, жесткая латунная сетка для бюкса с мерзлым грунтом и нагреватель для определения теплового значения калориметра. В крышке имеется отверстие для термометра Бекмана.

Калориметрическая жидкость - обычно дистиллированная вода; в случае проведения опыта при температуре ниже 0 °С - спирт.

2.18. Калориметрический стакан, термометр Бекмана, нагреватель, сетка для образца и мешалка должны быть сухими. Взвешивание воды для опыта производят непосредственно в калориметрическом стакане; вес воды определяют по разности весов калориметрического стакана с водой и без воды (в сухом состоянии). Вес воды берут постоянным, например 1200 или 1000 г, и для этого же количества воды определяют тепловое значение калориметра.

Перед взвешиванием температуру воды в калориметрическом стакане доводят до значения на 0,5-1° выше, чем температура воды в оболочке калориметра, добавлением теплой или холодной воды; затем взвешивают калориметрический стакан с водой на технических весах с точностью до 0,01 г, ставят его на подставку и закрывают сверху крышкой с вмонтированными в нее нагревателем, мешалкой и сеткой. В крышку вставляют термометр Бекмана таким образом, чтобы нижняя часть его не менее чем на 10 см была погружена в калориметрическую жидкость; это устанавливают предварительно и делают отметку на термометре Бекмана.

Примечание. Температура воды в параллельных опытах не должна отличаться более чем на 0,5°.

2.19. Шкала термометра Бекмана (рис. 5) имеет условный характер, так как при различном наполнении ртутью основного резервуара каждый 1° его шкалы имеет различное значение. Для перевода разности температуры, установленной по этому термометру, к действительному значению разности температуры нужно ввести поправку на «значение градуса», которая дается в паспорте термометра Бекмана. Цена деления шкалы термометра Бекмана равна 0,01°, при работе с лупой точность отсчета составляет ~ 0,002°. Установку положения ртути в термометре Бекмана на желаемый интервал температур производят перед опытом следующим образом: термометр Бекмана поворачивают верхней частью вниз и легким постукиванием ртуть из главного резервуара приводят в соприкосновение с ртутью в дополнительном резервуаре; затем, осторожно повернув термометр главным резервуаром вниз, помещают его в воду с температурой, близкой к заданной; при этом следует следить за тем, чтобы столбик ртути в дополнительном капилляре не разорвался; выждав несколько минут, резко встряхивают термометр, чтобы ртуть в дополнительном капилляре упала на дно, и проверяют положение ртути в термометре.

При определении Wн и Wц положение ртути в термометре Бекмана должно быть не ниже чем 4°.

Рис. 5. Термометр Бекмана для измерения теплового эффекта при оттаивании образцов мерзлого грунта в калориметре

1 - главный резервуар; 2 - дополнительный резервуар

2.20. Перед началом опыта включают мешалку для выравнивания температуры воды в калориметрическом стакане. Отсчеты по термометру Бекмана в этом периоде делают через 5 мин. Когда в течение 10 мин «ход» температуры, т.е. изменение ее в единицу времени, имеет постоянное значение - около 0,002, 0,003° в 1 мин, начинают калориметрический опыт.

Калориметрический опыт состоит из трех периодов, в течение которых через каждую минуту производят отсчеты температуры по термометру Бекмана с точностью до 0,002° (с помощью лупы).

Первые 10 мин составляют «начальный» период опыта, когда проверяется постоянство «хода температуры» калориметрической жидкости; разность последовательных отсчетов не должна превышать 0,002-0,003°.

После восьмого отсчета температуры бюкс с образцом быстро вынимают из ультратермостата, помещают в трубку диаметром 70-80 мм из изоляционного материала, закрытую на концах пробками и охлажденную до температуры более низкой, чем температура образца, и переносят к калориметру. Производят одиннадцатый отсчет температуры (10-я минута начального периода) и осторожно на капроновой нитке, закрепленной за петлю на крышке бюкса, опускают его в калориметр.

«Главный» период опыта - от момента погружения образца в калориметр до начала равномерного изменения температуры калориметрической жидкости или изменения ее хода на обратный.

В этот период отсчеты температуры по термометру Бекмана вследствие ее быстрого изменения можно производить с точностью до 0,01-0,02°, так как эти погрешности мало отражаются на окончательном результате. Важно не пропустить записи ни одного из отсчетов.

«Конечный» период - 10-12 отсчетов температуры через 1 мин после окончания главного периода.

После окончания конечного периода в калориметрический стакан помещают лабораторный термометр сценой деления 0,1° и через 2-3 мин производят одновременные отсчеты температуры по термометру Бекмана и по лабораторному термометру. На основании этих данных вычисляют температуру калориметрической жидкости в начале и в конце главного периода в °С.

Бюкс с оттаявшим образцом грунта вынимают из калориметра и определяют влажность образца (пп. 2.28-2.30).

2.21. Для обработки данных калориметрического опыта необходимо установить поправку на теплообмен с окружающей средой и определить тепловое значение калориметра. Хотя масса воды в оболочке калориметра уменьшает теплообмен с окружающей средой, все же его необходимо учитывать.

Вычисление поправки на теплообмен производят по формуле Реньо-Пфаундлера-Усова

                                   (4)

где Δ(Δ) - поправка на теплообмен;

п - число отсчетов в главном периоде опыта;

v0 - средний «ход» температуры за один отсчет в начальном периоде;

vn - то же, в конечном периоде;

Θ0 - средняя температура начального периода (сумма первого и одиннадцатого отсчетов, деленная на 2);

Θп - то же, для конечного периода;

0 - последний отсчет начального периода;

п - последний отсчет главного периода (температура равновесия);

 - сумма температур калориметра всех отсчетов главного периода, за исключением последнего отсчета (п);

п - последний отсчет главного периода; с учетом поправки на теплообмен равен:  = п + Δ(Δ).

Формула Реньо-Пфаундлера-Усова, строго говоря, применима для случая, когда главный период калориметрического опыта не превышает 10-15 мин и изменение температуры происходит равномерно. При определении льдистости грунтов допустимое время главного периода 15-20 мин. Пример расчета поправки на теплообмен дан в п. 2.26.

2.22. Тепловое значение калориметра k в кал/°С, т.е. сумму теплоемкостей всех его частей определяют путем электронагрева, пропуская в течение 10-12 мин через нагреватель с сопротивлением 20-25 ом электрический ток постоянной силы и напряжения от аккумулятора. Это регулируют реостатом и контролируют при помощи миллиамперметра и вольтметра. Тепловое значение калориметра k равно:

                                                                               (5)

Где I - сила тока в а;

U - напряжение в в;

t - время пропускания электрического тока в сек;

gк - вес калориметрической жидкости в г;

ск - теплоемкость калориметрической жидкости в кал/г·град;

 - изменение температуры калориметрической жидкости в результате электронагрева (с учетом поправки на теплообмен).

2.23. Обычно в качестве калориметрической жидкости используют дистиллированную воду; теплоемкость ее принимают по данным табл. 2 для значения температуры, среднего между 0 и .

2.24. Вес льда-цемента в образце мерзлого грунта (gл) вычисляют на основании данных калориметрического опыта по формуле (6), а вес незамерзшей воды при данной отрицательной температуре gn - по разности

gн = gв - gл,

где gв - общий вес воды, льда и незамерзшей воды в образце.

Принимая температуру плавления льда 0°, теплоемкости незамерзшей воды - 1 кал/г·град, льда - 0,5 кал/г·град и заменяя количество незамерзшей воды разностью gв-gл, получают формулу для определения количества льда gл в образце мерзлого грунта

            (6)

где gл - вес льда в грунте в г;

gк - вес воды в калориметре в г;

gг - вес скелета грунта в г;

gб - вес бюкса в г;

gв - вес воды в грунте в г;

k - тепловое значение калориметра;

ск - теплоемкость воды в калориметре, средняя в интервале температур от  до , в кал/г·град (см. табл. 2);

сг - теплоемкость скелета в кал/г·град. Желательно определять теплоемкость скелета каждого грунта экспериментально (пп. 3.18-3.22);

св - теплоемкость воды, содержащейся в грунте, для температуры, средней между  и  (см. табл. 2);

0,09 - теплоемкость латуни (материал бюкса) в кал/г·град;

L - скрытая теплота плавления льда в кал/г, равная 79,75;

 -температура начала опыта в °С;

 - температура равновесия в °С (с учетом поправки на теплообмен);

 - температура образца мерзлого грунта в °С.

Запись данных калориметрического опыта производят по форме табл. 3.

 


Таблица 2

Удельная теплоемкость воды и льда при различной температуре в кал/г-град

Температура в °С

Теплоемкость воды

Теплоемкость льда

Температура в °С

Теплоемкость воды

Теплоемкость льда

Температура в °С

Теплоемкость воды

Теплоемкость льда

ниже 0

выше 0

ниже 0

выше 0

ниже 0

выше 0

0

1,010

1,010

0,506

10

1,020

1,003

0,487

20

1,030

1,000

0,468

1

1,011

1,009

0,504

11

1,021

1,003

0,485

2-1

1,031

1,000

0,467

2

1,012

1,008

0,502

12

1,022

1,002

0,483

22

1,032

1,000

0,466

3

1,013

1,008

0,500

13

1,023

1,002

0,481

23

1,033

0,999

0,463

4

1,014

1,007

0,498

14

1,024

1,002

0,480

24

1,034

0,999

0,461

5

1,015

1,006

0,496

15

1,025

1,001

0,478

25

1,035

0,999

0,459

6

1,016

1,005

0,495

16

1,026

1,001

0,476

26

1,036

0,999

0,457

7

1,017

1,004

0,493

17

1,027

1,001

0,474

27

1,037

0,999

0,455

8

1,018

1,004

0,491

18

1,028

1,000

0,472

28

1,038

0,999

0,454

9

1,019

1,004

0,489

19

1,029

1,000

0,470

29

1,039

0,999

0,452

Таблица 3

(Форма)

Данные определения влажности за счет льда-цемента (Wц) и незамерзшей воды (Wн), калориметрическим способом

№ пп

Лабора­торный №

№ выработки

Глуби­на взятия образца в м (от - до)

Темпера­тура образца в °С

№ бюкса

Вес бюкса
g, г

Вес бюкса с мерзлым грунтом, g1, г

Вес мерзлого грунта g1-g, г

Вес бюкса с грунтом после сушки, г

Вес воды и льда g1-g0, г

Вес сухого грунта gг = g0 - g, г

Вес льда в образо­вании, gл, г

Вес незамер­зшей воды gн, г

Влажность грунта за счет

I взвеши­вание

II взвеши­вание

III взвеши­вание

принятое значение g0

льда-цемента Wц

незамер­зшей воды Wн

 

 

 

 

 

 

 

 

 

 

 

 

 

 

 

 

 

 

 

 


2.25. Расчет влажности за счет незамерзшей воды и льда-цемента ведут в такой последовательности:

вычисляют поправку на теплообмен;

переводят показания термометра Бекмана в градусы Цельсия;

вычисляют количества льда-цемента и незамерзшей воды в исследованном образце грунта и рассчитывают значения Wn и Wц.

2.26. Пример записи данных калориметрического опыта и расчета значений Wn и Wц приведен в табл. 4.

Расчет по формуле (4) поправки на теплообмен калориметра со средой Δ(Δ) по данным опыта табл. 4.

Средняя температура начального периода

«Ход» температуры начального периода

Средняя температура конечного периода . «Ход» температуры конечного периода . Число отсчетов в главном периоде п = 9. Сумма температур всех отсчетов главного периода, за исключением последнего отсчета,  = 26,915. Средняя температура главного периода

Таблица 4

Данные калориметрического опыта (грунт - пылеватый суглинок)

Период

Время в мин

Показание термометра

Данные для расчета Бекмана

Предварительный

0

3880

Вес калориметрического стакана с водой 1632,1 г

Вес калориметрического стакана 432,1 г

5

3870

10

3,860

15

3,850

20

3,845

Начальный

0

3,845

Вес воды 1200 г

Вес бюкса с влажным грунтом 71,18 г

Вес бюкса 42,9 г

Вес влажного грунта 28,28 г

Вес бюкса с грунтом после высушивания при 105 °С 63,38 г

1

3,844

2

3,843

3

3,842

4

3,840

5

3,840

6

3,839

7

3,838

8

-

9

 

10

 = 3,835

Главный

1

3,610

Вес сухого грунта 20,48 г

Вес воды в образце 7,8 г

Влажность образца 38, 1 %

Температура в ультратермостате (термометр № 232) 1,1 °С

2

3,500

3

3,400

4

3,350

5

3,310

6

3,280

7

3,260

8

3,255

9

 = 3,255

Поправка к термометру № 232 -0,1 °С

Конечный

10

3,257

Температура образца группы  -1,2 °С

11

3,259

12

3,260

13

3,263

14

3,265

15

3,267

16

3,268

17

3,271

18

3,275

19

3,275

23

 = 3,305 *

*  =3,305 (по термометру Бекмана), цена деления п = 1;  = 18,5 °С (по лабораторному термометру); разница показаний по лабораторному термометру и термометру Бекмана δ = 18,5-3,305 = 15,195.

Средняя температура начального периода, умноженная на число отсчетов главного периода, п = 3,84×9 = 34,56.

 = 26,915 + 3,545 - 34,56 = -4,1;

vn - vn = -0,002 - (+0,001) = - 0,003°/мин;

 -  = 3,265 - 3,84 = -0,575;

nv0 = 9·0,001 = 0,009;

Последний отсчет главного периода с учетом поправки на теплообмен  =  + Δ(Δθ) = 3,255 - 0,011 = 3,244.

Изменение температуры воды в калориметре с учетом поправки на теплообмен Δθ =  -  = 3,835 - 3,244 = 0,591.

Разница между показаниями по лабораторному термометру и термометру Бекмана δ = 15,195.

 в °С = δ + 3,83 = 15,195 + 3,38 = 19,03 °С;

 в °С = δ + 3,244 = 15,195 + 3,244 = 18,439 = 18,44 °С;

 = -1,2 °С

 -  = 18,44 °С - (-1,2 °С) = 19,64 °С

Расчет влажности за счет льда-цемента и незамерзшей воды. Количество льда в образце мерзлого грунта (gл) вычисляют по формуле (6). В данном опыте k = 85; сг = 0,19 кал/г·град; св и Сс = 1 кал/г·град.

Влажность за счет льда-цемента , или в долях единицы 0,28.

Вес незамерзшей воды gн в образце мерзлого грунта равен: gн = gв - gл = 7,8 - 5,74 = 2,06 г.

Влажность за счет незамерзшей воды Wн равна:

Wн = 0,1 в долях единицы.

2.27. Влажность за счет незамерзшей воды (Wн) для незасоленных грунтов определяют по формуле

Wн = kнWр                                                                                                 (7)

где Wp - влажность грунта на границе раскатывания;

kн - коэффициент, принимаемый по табл. 5, в зависимости от вида грунта, числа пластичности Wп и температуры мерзлого грунта.

Таблица 5

Значение коэффициента kн

Грунты

Число пластичности

Значения kн при температуре грунтов в °С

-0,3

-0,5

-1

-2

-4

-10

Пески

Wп < 1

0

0

0

0

0

0

Супеси

1 < Wп < 2

0

0

0

0

0

0

»

2 < Wп < 7

0,6

0,5

0,4

0,35

0,3

0,25

Суглинки

7 < Wп < 13

0,7

0,65

0,6

0,5

0,45

0,4

»

13 < Wп < 17

-

0,75

0,65

0,55

0,5

0,45

Глины

Wп > 17

-

0,95

0,9

0,65

0,6

0,55

* Вся вода в порах грунта находится в немерзлом состоянии.

б) определение суммарной влажности Wc

Точечный метод

2.28. В заранее высушенный и взвешенный стеклянный или алюминиевый стаканчик с крышкой помещают пробу мерзлого грунта весом не менее 50 г и взвешивают на технических весах с точностью до 0,01 г. Пробу грунта в стаканчике с открытой крышкой сушат при 100-105 °С; глинистые грунты высушивают 5 ч; песчаные - 3 ч. Стаканчик закрывают крышкой, охлаждают 30 мин в эксикаторе с хлористым кальцием и взвешивают. Повторные высушивания производят до постоянного веса, т.е. до тех пор, пока разница между двумя последующими взвешиваниями будет не более 0,02 г: для глинистых грунтов - 2 ч, для песчаных - 1 ч.

Если при повторном высушивании и взвешивании грунта наблюдается увеличение веса пробы, то за постоянный вес принимают наименьшее его значение.

Примечание. Допускается ускоренное высушивание мерзлого грунта при 200-250 °С, если содержание органических веществ не превышает 10 % веса сухого грунта. При этом первое высушивание производят в течение 1 ч, повторные - в течение 30 мин.

2.29. Величину суммарной влажности мерзлого грунта (Wc) в долях единицы вычисляют по формуле

                                                                                           (8)

где g1 - вес стаканчика с крышкой и мерзлым грунтом в г;

g0 - вес стаканчика с крышкой и грунтом, высушенным до постоянного веса, в г;

g - вес стаканчика с крышкой в г.

2.30. Для каждого образца мерзлого грунта производят два параллельных определения, и за величину суммарной влажности образца мерзлого грунта принимают среднее арифметическое значение результатов параллельных определений.

Запись данных определений производят по форме табл. 6.

Метод бороздки

2.31. По зачищенной стенке выработки или по всей высоте керна прочерчивают линию, по которой последовательно с каждых 25-30 см по высоте соскабливают мерзлый грунт тонким (в несколько миллиметров) слоем; отобранную пробу помещают в тарированный металлический или стеклянный бюкс и определяют суммарную влажность (пп. 2.28-2.30). Определение производят с трехкратной повторностью. Запись данных производят по форме табл. 6.

Метод средней пробы

2.32. Образец мерзлого грунта весом около 2 кг, отобранный в мешочек из синтетической пленки и взвешенный немедленно после его отбора (п. 1.26), переносят в сухую предварительно взвешенную эмалированную миску или таз.

Таблица 6

(Форма)

Данные определения суммарной влажности мерзлого грунта точечным методом и методом бороздки

№ пп

Лабора­торный №

№ выра­ботки

Глубина взятия образца в м  (от - до)

№ бюкса

Вес бюкса, g, г

Вес бюкса с мерзлым грунтом, g, г

Вес бюкса с грунтом после сушки g, г

Вес воды g1 - g0, г

Вес сухого грунта, g0 - g, г

Суммарная влажность образца Wс

I взвеши­вание

II взвеши­вание

III взвеши­вание

принятое значение g

в %

в долях единицы

 

 

 

 

 

 

 

 

 

 

 

 

 

 

 

Таблица 7

(Форма)

Определение суммарной влажности мерзлого грунта методом средней пробы

№ пп

Лабора­торный №

№ выра­ботки

Глубина взятия образца, г, в (от - до)

№ мешочка

Вес мешочка g0, г

Вес мерзлого грунта с мешочком g1, г

Вес мерзлого грунта g1 = g3-g0, г

Вес чашки g, г

Вес чашки с грунтовой массой g, г

Вес грунто­вой массы g2 - g, г

Влажность средней пробы * Wсп в долях единицы

Суммарная влажность образца грунта Wc

в %

в долях единицы

 

 

 

 

 

 

 

 

 

 

 

 

 

 

* Определение влажности средней пробы Wсп производится по формуле (8); запись данных по определению Wcn по форме табл. 5.

Оттаявший грунт перемешивают металлическим шпателем и доводят до состояния однородной грунтовой массы с влажностью, близкой к границе текучести, добавляя к образцу дистиллированную воду или сливая избыток воды после ее осветления. Миску с грунтом взвешивают; в тарированные бюксы берут с двукратной повторностью пробы весом не менее 50 г и определяют влажность грунтовой массы (Wсп) согласно пп. 2.28-2.30.

2.33. Суммарную влажность мерзлого грунта (Wc) в долях единицы рассчитывают по формуле

                                                                                     (9)

где g1 - вес образца мерзлого грунта, определенный при его отборе, в г;

g2 - вес чашки с грунтовой массой в г;

g - вес сухой чашки в г;

Wсп - влажность средней пробы грунтовой массы в долях единицы.

Запись данных производят по форме табл. 7.

Расчетный метод

2.34. Расчетный метод определения суммарной влажности применяется для грунтов слоистой и сетчатой криогенных текстур, когда включения льда имеют четкие прямолинейные границы, толщина их превышает 2 мм, а расстояния между соседними включениями более 10 мм.

2.35. При изучении криогенной текстуры мерзлого грунта в стенках открытых горных выработок или естественных обнажений непосредственно измеряют суммарную толщину включений льда в определенном интервале глубин или в горизонте (п. 1.16-1.19).

Для грунта слоистой криогенной текстуры суммарную толщину включений льда подсчитывают по глубине разреза, для грунта сетчатой криогенной текстуры - по глубине и по простиранию.

Измерения производят с трехкратной повторностью, и за величину суммарной толщины включений льда принимают среднее арифметическое значение результатов параллельных измерений.

Суммарная толщина включений льда (в см), приходящаяся на 1 м разреза (в случае слоистой криогенной текстуры) или на 1 м2 (для сетчатой криогенной текстуры) дает величину объемной льдистости (Лв, %) мерзлого грунта за счет ледяных включений.

2.36. Суммарную влажность слоев (Wсл) мерзлого грунта определяют в зависимости от их криогенной текстуры точечным методом (пп. 2.28-2.30) или методом бороздки (п. 2.31).

Рис. 6. Зависимость влажности горизонта мерзлого грунта Wгор от льдистости за счет ледяных включений, разделяющих слои, Лв.гор и средней влажности слоя Wcл

При мощности слоев 0,5 м и более влажность определяют для каждого из них; при меньшей мощности - в случае постоянства их криогенной текстуры - через каждые 0,5 м по глубине, а при изменении криогенной текстуры слоев в разрезе - для каждого слоя. В последующих расчетах используют среднее значение суммарной влажности слоев (W'сл), определяемое из формулы (3).

2.37. Суммарную влажность горизонта (рис. 6) или его определенной части вычисляют по формуле

                                                                          (10)

где Лв.гор - льдистость за счет включений льда, формирующих криогенную текстуру горизонта, в %;

Wcл - среднее значение суммарной влажности слоев мерзлого грунта, составляющих горизонт, в %.

Примечание. При определении влажности мерзлого грунта крупноредкосетчатой криогенной текстуры по кернам расчетный способ дает лишь приближенное значение Wс, как правило, заниженное, так как при этом невозможно учесть крупные вертикальные включения льда.

Запись результатов производят по форме табл. 8.

Таблица 8

(Форма)

Данные определения суммарной влажности расчетным методом

№ пп

Лабора­торный №

№ выра­ботки

Интервал глубин в м (от - до)

Мощность горизонта или части горизонта мерзлого грунта в м

Суммарная толщина ледяных включений, разделяющих слон, в см

Льдистость за счет ледяных включений, разделяющих слои, Лв

Среднее значение суммарной влажности слоя мерзлого грунта W'сл

Суммарная влажность горизонта мерзлого грунта

 

 

 

 

 

 

 

 

 

 

 

 

 

 

 

 

 

 

КРУПНООБЛОМОЧНЫЕ ГРУНТЫ

ПРИБОРЫ

2.38. Для определения влажности мерзлых крупнообломочных грунтов используют следующую аппаратуру:

набор грунтовых сит;

сушильный шкаф с термометром до 250-300°;

весы чашечные на 10 кг с комплектом разновеса Г-1-10;

шпатели металлические;

эмалированные миски (тазы) диаметром 30-40 см; противни металлические.

ПРОВЕДЕНИЕ ИСПЫТАНИЙ

2.39. Влажность крупнообломочных мерзлых грунтов определяют высушиванием их образцов весом не менее 3 кг до постоянного веса при температуре 100-105 °С. Высушивание образцов производят на металлических противнях в сушильном шкафу. Взвешивание образцов производят на чашечных весах с точностью до 1 г. Значение влажности определяют по формуле (8).

Примечание. При массовых определениях влажности крупнообломочных грунтов, содержащих органические остатки менее 10 % веса сухого грунта, допускается производить высушивание образцов на открытом воздухе и при температуре сушки 200-250°С.

2.40. Для крупнообломочных грунтов различают влажность крупнообломочных частиц Wк и влажность мелкозема или заполнителя Wзп.

Влажность Wк крупнообломочных частиц (> 2 мм) принимают равной величине их водоудерживающей способности, которую определяют следующим образом.

Образец крупнообломочного грунта после его высушивания для определения влажности (п. 2.38) рассеивают на ситах с диаметром отверстий 2 мм. Сито с крупнообломочными частицами (> 2 мм) взвешивают на чашечных весах с точностью до 1 г и помещают в сосуд с водой на 1 ч, после чего, дав стечь избытку воды, вновь взвешивают и высушивают до постоянного веса. Значение влажности крупнообломочных частиц (Wк) вычисляют по формуле (8).

2.41. Влажность заполнителя (Wзn), выражаемую отношением веса содержащейся в нем воды к весу скелета заполнителя, вычисляют по формуле

                                                                                      (11)

где W - влажность крупнообломочного грунта;

Wк - влажность крупнообломочных частиц;

р - относительное содержание крупнообломочных частиц, определяемое отношением их веса к весу высушенного до постоянного веса образца крупнообломочного грунта.

Примечание. Все входящие в формулу значения приведены в долях единицы.

ЛЬДИСТОСТЬ

2.42. Под льдистостью мерзлого грунта понимают отношение объема содержащегося в нем льда к объему всего мерзлого грунта. Значение льдистости выражают в процентах или долях единицы.

2.43. Суммарную льдистость Лс мерзлых грунтов выражают:

Лс = Лв + Лц                                                                                              (12)

где Лв - льдистость за счет ледяных включений;

Лц - льдистость за счет льда-цемента.

2.44. Льдистость минеральных прослоек и макроагрегатов мерзлого грунта, содержащая только лед-цемент, выражают:

                                                                               (13)

где γг - удельный вес скелета грунта в г/см3.

Обозначения Wг и Wн те же, что в формуле (1) и выражены в % к весу сухого грунта.

В случае отсутствия в мерзлом грунте ледяных включений или незначительном их содержании (Лв ≤ 0,03), т.е. для грунтов с массивной криогенной текстурой, принимают ЛсЛц.

2.45. Льдистость мерзлых грунтов за счет ледяных включений (Лв) вычисляют раздельно для слоев (Лв.сл) и горизонтов (Лв.гор) или, если горизонты не выделены, - для заданного интервала глубин по формулам:

                                                                         (14)

                                                                        (15)

где Wсл - суммарная влажность слоя грунта в %;

Wсл - средняя суммарная влажность слоя в %;

Wгop - суммарная влажность горизонта грунта в %.

Значения Wг и γг - те же, что в формуле (13).

Примечание. Значение влажности минеральных прослоек Wг в пределах слоев и горизонта предполагается постоянным.

2.46. Льдистость за счет ледяных включений, когда они имеют четкие границы, толщину более 2 мм и расстояние между соседними ледяными включениями превышает 10 мм, можно определять расчетом по результатам непосредственных измерений в стенках горных выработок или по кернам, извлеченным из буровых скважин.

ОБЪЕМНЫЙ ВЕС

2.47. Под объемным весом мерзлого грунта понимают вес единицы его объема.

Различают:

объемный вес мерзлого грунта ненарушенного сложения и природной влажности  г\см3), равный отношению веса монолита мерзлого грунта к его объему;

объемный вес скелета мерзлого грунта  г/см3), равный отношению веса монолита, высушенного до постоянного веса при 100-105 °С, к его первоначальному объему в мерзлом состоянии.

2.48. Для определения объемного веса песчаных и глинистых мерзлых грунтов в зависимости от типа криогенной текстуры применяют следующие методы:

для мерзлых грунтов массивной криогенной текстуры - метод режущего кольца (пп. 2.54-2.57), метод обмера образцов правильной геометрической формы (п. 2.58), метод взвешивания в нейтральной жидкости (пп. 2.59-2.62);

для мерзлых грунтов слоистой и сетчатой криогенной текстуры - метод вытеснения нейтральной жидкости (пп. 2.63-2.65) или расчетный метод (п. 2.67).

2.49. Объемный вес мерзлых крупнообломочных грунтов определяют вне зависимости от их криогенной текстуры методом вытеснения нейтральной жидкости (пп. 2.63-2.65) или методом «лунки» (п. 2.68).

2.50. Определение объемного веса мерзлого грунта выполняют в помещении с отрицательной температурой воздуха в шерстяных перчатках; приборы и нейтральная жидкость, используемые для определения объемного веса мерзлых грунтов, должны иметь отрицательную температуру.

2.51. Взвешивание производят с точностью до 0,01 г на технических весах и до 1 г на чашечных весах. Определение объемного веса мерзлого грунта производят с двукратной повторностью. Расхождение в результатах параллельных определений объемного веса мерзлого грунта не должно превышать 0,05 г/см3. За величину объемного веса мерзлого грунта принимают среднее арифметическое значение результатов параллельных определений. Конечный результат выражают с точностью до 0,01 г/см3.

2.52. Каждое определение объемного веса мерзлого грунта должно сопровождаться указанием:

метода определения;

криогенной текстуры: ее типа, размеров и формы ледяных включений, расстояний между ними;

влажности монолита мерзлого грунта.

ПРИБОРЫ

2.53. Для определения объемного веса мерзлого грунта применяют следующую аппаратуру:

кольца с насадкой из некоррозирующего металла внутренним диаметром не менее 80 мм, высотой не более диаметра и не менее половины диаметра кольца, со стенками толщиной 1,5-2 мм;

два плоских стекла или пластинки с гладкой поверхностью из плексигласа или металла для покрывания кольца с грунтом;

пресс винтовой;

ножовку по металлу;

нож с прямым лезвием;

весы технические на 1 кг Т-1000 с разновесом Т-2-1000;

нефтеденсиметр, укороченный с ценой деления 0,001 г/см3 и термометром со шкалой от -15 до +35 °С;

стеклянный сосуд емкостью не менее 500 см3;

мензурка или мерный цилиндр емкостью 1000 мл;

стеклянные стаканчики для взвешивания по ГОСТ 7148-70 или алюминиевые стаканчики с крышкой;

стеклянный или металлический измерительный сосуд емкостью 2-3 л;

ведро со сливом емкостью 10-12 л;

весы чашечные на 10 кг с комплектом разновеса Г-1-10.

ПРОВЕДЕНИЕ ИСПЫТАНИЙ

Метод режущего кольца

2.54. Метод режущего кольца применяют для определения объемного веса сыпучемерзлого, пластичномерзлого и твердомерзлого грунта:

в случае сыпучемерзлого грунта режущее кольцо вдавливают в монолит и определение объемного веса производят в соответствии с ГОСТ 5182-64 «Грунты. Методы лабораторного определения объемного веса»;

в случае пластичномерзлого и твердомерзлого грунта режущее кольцо насаживают на призму, предварительно вырезанную из монолита.

2.55. Из монолита пластичномерзлого или твердомерзлого грунта с помощью ножовки выпиливают призму, наименьший размер которой на 2-3 см превышает диаметр режущего кольца. Призму мерзлого грунта помещают на площадку пресса, на ее верхнее основание ставят режущее кольцо острым концом вниз; сверху на кольцо надевают насадку и опускают поршень до упора. Подрезают ножом мерзлый грунт вокруг кольца и одновременно осторожно опускают поршень пресса, не допуская перекоса кольца.

Примечание. При отсутствии пресса кольцо насаживают вручную.

2.56. После того как кольцо с насадкой заполнено мерзлым грунтом, его вынимают из-под пресса. С нижней стороны кольца ножовкой осторожно отпиливают мерзлый грунт на расстоянии 3-5 мм от края кольца и снимают с него насадку. Избыток грунта с обеих сторон кольца срезают ножом, грунт с торцов зачищают шкуркой вровень с краями кольца.

Кольцо с грунтом помещают между заранее взвешенными плоскими стеклами или пластинками и взвешивают на технических весах. Мерзлый грунт из кольца выдавливают в заранее взвешенную выпаривательную чашку, взвешивают и определяют суммарную влажность мерзлого грунта.

2.57. Объемный вес мерзлого грунта  в г/см3 вычисляют по формуле

                                                                                    (16)

где g - вес кольца с мерзлым грунтом и покрывающими его плоскими стеклами или пластинками в г;

g1 - вес кольца в г;

g2 - вес стекол или пластинок в г;

V - объем кольца в см3.

Запись данных опыта производят по форме табл. 9.

Таблица 9

(Форма)

Определение объемного веса мерзлых грунтов способом режущего кольца

№ пп.

Лабораторный №.

№ выработки

Глубина взятия образца в м

Объем кольца в см3 V

Вес кольца g, г

Вес кольца с грунтом и стеклами g, г

Вес стекол в г

Вес мерзлого грунта g - g1 - g2, г

Объемный вес мерзлого грунта , г/см3

 

 

 

 

 

 

 

 

 

 

 

 

 

 

 

 

 

 

 

 

Таблица 10

(Форма)

Определение объемного веса мерзлых грунтов способом взвешивания в нейтральной жидкости

№ п.п.

Лабораторный №

№ выработки

Глубина взятия образца в м

Вес образца в воздухе g, г

Вес образца в нейтральной жидкости g, г

Удельный вес нейтральной жидкости γж. г/см3

Объемный вес мерзлого грунта , г/см3

 

 

 

 

 

 

 

 

 

 

 

 

 

 

 

 

Метод обмера образцов правильной геометрической формы

2.58. При отсутствии колец для взятия образцов мерзлого грунта ненарушенного сложения для определения объемного веса можно использовать керны из буровых скважин весом не более 1 кг каждый или образцы-монолиты из шурфов, которым придают форму куба с ребром около 5 см.

Высоту и диаметр керна или каждое ребро куба измеряют с трехкратной повторностью, с точностью до 1 мм. Керн или монолит взвешивают, не допуская его оттаивания, на технических весах с точностью до 0,01 г.

Объемный вес вычисляют по формуле

                                                                                                  (17)

где g - вес образца в г;

V - объем образца в см3.

Метод взвешивания в нейтральной жидкости

2.59. Стеклянный сосуд емкостью - 500 см3 на две трети его высоты заполняют нейтральной жидкостью (керосином, лигроином и т.п.), измеряют ее температуру и определяют удельный вес нефтеденсиметром.

С коромысла технических весов снимают левую дужку с чашкой и уравновешивают весы с помощью мешочка с дробью, подвешенного на крючок левой дужки.

2.60. Из монолита мерзлого грунта отбирают пробу произвольной формы весом - 100-150 г, перевязывают ее капроновой ниткой, подвешивают к левой серьге и взвешивают. Одновременно из монолита берут пробу мерзлого грунта для определения влажности грунта (пп. 2.28-2.30 или 2.31).

2.61. На подставку весов с левой стороны помещают стеклянный сосуд с нейтральной жидкостью; пробу мерзлого грунта, подвешенную к левой серьге весов, осторожно погружают в жидкость на глубину не менее 5-7 см и вновь взвешивают.

Примечание. Проба мерзлого грунта при взвешивании в нейтральной жидкости не должна соприкасаться с дном и стенками сосуда.

2.62. Объемный вес мерзлого грунта () в г/см3 вычисляют по формуле

                                                                                       (18)

где g - вес пробы мерзлого грунта в воздухе в г;

g1 - вес пробы мерзлого грунта в нейтральной жидкости в г;

γж - удельный вес нейтральной жидкости в г/см3.

Запись данных опыта производят по форме табл. 10.

Метод вытеснения нейтральной жидкости

2.63. Монолит мерзлого грунта произвольной формы весом 3-5 кг взвешивают на чашечных весах и перевязывают капроновой жилкой или тонкой проволокой.

Ведро со сливом наполняют нейтральной жидкостью, пока избыток не начнет выливаться через слив; предварительно измеряют температуру и определяют удельный вес нейтральной жидкости нефтеденсиметром.

Монолит мерзлого грунта, подвешенный на жилке или проволоке, осторожно погружают в сосуд с нейтральной жидкостью и собирают всю вытесняемую жидкость в заранее взвешенный стеклянный или металлический сосуд емкостью 2-3 л.

2.64. Сосуд с вытесненной жидкостью взвешивают на чашечных весах. Монолит мерзлого грунта извлекают из ведра, удаляют слой, пропитанный жидкостью, определяют влажность мерзлого грунта.

2.65. Объемный вес мерзлого грунта определяют по формуле

                                                                                    (19)

где g - вес монолита мерзлого грунта в воздухе в г;

g1 - вес сосуда с вытесненной жидкостью в г;

g2 - вес сосуда в г;

γж - удельный вес нейтральной жидкости в г/см3.

Запись данных опыта производят по форме (табл. 11 а).

2.66. При массовых определениях объемного веса мерзлых грунтов в поле допускается измерять объем вытесненной жидкости мензуркой или мерным цилиндром. В этом случае объемный вес мерзлого грунта вычисляют по формуле

                                                                                                  (20)

Таблица 11 а

(Форма)

Определение объемного веса мерзлых грунтов методом вытеснения нейтральной жидкости

а) взвешивание вытесненной жидкости

№ п.п.

№ выработки

Глубина взятия образца в м

Вес образца в воздухе g, г

Вес сосуда g2, г

Вес сосуда с вытесненной нейтральной жидкостью g1, г

Вес вытесненной нейтральной жидкости g1 - g2, г

Удельный вес нейтральной - жидкости vж, г/см3

Объемный вес образца , г/см3

 

 

 

 

 

 

 

 

 

 

 

 

 

 

 

 

 

 

Таблица 11 б

(Форма)

б) измерение объема вытесненной жидкости

№ п.п.

Лабораторный №

№ выработки

Глубина взятия образца в м

Вес образца в воздухе g, г

Объем вытесненной жидкости Vж см3

Объемный вес образца , г/см3

 

 

 

 

 

 

 

 

 

 

 

 

 

 

где g - вес монолита мерзлого грунта в воздухе в г;

V - объем вытесненной жидкости в см3.

Запись данных опыта производят по форме табл. 11 б.

Расчетный метод

2.67. Объемный вес мерзлых грунтов слоистой и сетчатой криогенной текстуры можно определить расчетом на основании данных о его влажности. Для каждого слоя заданного интервала глубин или горизонта грунта объемный вес вычисляют по формуле

                                                                                 (21)

где γг - удельный вес скелета грунта в г/см3;

Wc - суммарная влажность слоя или горизонта (интервала глубин) в долях единицы.

Способ «лунки»

2.68. Определение объемного веса мерзлого грунта способом «лунки» производят в открытых горных выработках (шахтах, шурфах и т.д.). Дно выработки выравнивают и зачищают, затем на дне делают углубление («лунку») размером не менее 20×20×20 см и по возможности правильной формы. Весь грунт, отобранный из лунки, собирают и взвешивают на чашечных весах с точностью до 1 г. Объем лунки замеряют, полностью заполняя ее из мерного сосуда сухим песком или водой.

Примечание. При заполнении водой лунку выстилают синтетической пленкой.

Объемный вес мерзлого грунта вычисляют по формуле

                                                                                                (22)

где g2 - вес выбранного из лунки грунта в г;

Vлун - объем лунки, равный объему заполнившего ее песка или воды, в см3.

Объемный вес скелета

2.69. Объемный вес скелета мерзлого грунта () вычисляют по формуле

                                                                                            (23)

где  - объемный вес мерзлого грунта в г/см3;

Wc - суммарная влажность грунта в долях единицы.

засоленность

2.70. Под засоленностью грунта понимают весовое содержание в нем водорастворимых солей. Засоленность Z выражают в % к весу скелета грунта, включая вес водорастворимых солей, т.е. (где gч - вес скелета частиц грунта, включая и вес водорастворимых солей).

2.71. Грунты называют засоленными, если содержание в них водорастворимых солей превышает:

для песков 0,1 %;

 » супесей 0,15 %;

 » суглинков 0,2 %;

 » глин 0,25 %.

Примечания: 1. Крупнообломочные грунты называются засоленными, если содержание водорастворимых солей в их заполнителе превышает указанные значения засоленности.

2. Критерии засоленности для различных номенклатурных видов грунта установлены на основании данных о влиянии засоленности на прочностные свойства образцов мерзлых грунтов.

2.72. Для определения засоленности мерзлых грунтов используют монолиты или образцы нарушенного сложения и природной влажности.

ПРИБОРЫ

2.73. Для определения засоленности используют: широкогорлые колбы емкостью 1000 мл; чашки выпаривательные, фарфоровые № 3 или № 4; воронки диаметром 15 см; песчаные бани и часовые стекла диаметром 18-20 см.

ПРОВЕДЕНИЕ ИСПЫТАНИЙ

2.74. В стеклянную широкогорлую колбу емкостью 1000 мл помещают навеску грунта природной влажности, значение которой определено заранее. Навеску отбирают так, чтобы в ней содержалось 100 г частиц скелета грунта.

Вес влажной навески определяют по формуле

g = g1(1 + W),                                                                                           (24)

где g - вес влажной навески в г;

g1 - вес сухой навески в г;

W - влажность грунта в долях единицы [определяют методом средней пробы (пп. 2.32-2.33)].

В колбу доливают 500 мл дистиллированной воды, плотно закрывают ее пробкой, энергично встряхивают в течение 5 мин и переносят суспензию на воронку с двойным фильтром, установленную над колбой, емкостью 500-700 мл. Во время фильтрования воронку необходимо прикрыть часовым стеклом.

Примечание. Если первые порции фильтрата будут мутными, их повторно фильтруют через тот же фильтр до тех пор, пока фильтрат не станет совершенно прозрачным.

2.75. Фильтрат разливают на пять порций в заранее взвешенные чашки емкостью 150-200 мл и выпаривают на песчаной бане до получения сухого остатка.

Примечание. При выпаривании не допускается кипения и выбрызгивания фильтрата из чашки.

Чашки с сухим остатком помещают в сушильный шкаф и сушат до постоянного веса при температуре 100-105 °С; определяют с точностью до 0,01 г вес сухого остатка в каждой чашке, суммированием находят общий вес сухого остатка водной вытяжки.

2.76. Засоленность грунта (Z) вычисляют по формуле

                                                                                   (25)

где gz - вес сухого остатка водной вытяжки в г; значения g1 и W такие же, что в формуле (24).

Результаты определения засоленности записывают по форме табл. 12 и 13.

3. ТЕПЛОФИЗИЧЕСКИЕ СВОЙСТВА

3.1. Характеристики теплофизических свойств мерзлых и оттаявших грунтов, используемых в качестве оснований зданий и сооружений, необходимы для выполнения теплотехнических расчетов.

3.2. Основными расчетными характеристиками теплофизических свойств мерзлого или оттаявшего грунта являются: объемная теплоемкость С, коэффициент теплопроводности λ и коэффициент температуропроводности а.

Таблица 12

(Форма)

Данные определения сухого остатка водной вытяжки

№ п.п.

Лабораторный №

№ чашки

Вес в г

Вес чашки с сухим остатком в г

Вес сухого остатка gz,i, г

Общий вес сухого остатка gz = , г

I взвешивание

II взвешивание

III взвешивание

принятое значение g0

 

 

 

 

 

 

 

 

 

 

 

 

 

 

 

 

 

 

 

 

Таблица 13

(Форма)

Данные определения засоленности грунта

№ п.п.

Лабораторный №

№ выработки

Глубина взятия образца в м

Вес образца природной влажности g, г

Влажность образца * W в долях единицы

Вес сухого остатка водной вытяжки gz, г

Засоленность грунта Z, %

 

 

 

 

 

 

 

 

 

 

 

 

 

 

 

 

* Определение влажности образца грунта производят согласно форме табл. 7.

Эти характеристики связаны между собой соотношением

λ = аС.                                                                                                      (26)

3.3. Теплофизические свойства грунта зависят от его влажности, объемного веса, гранулометрического состава, сложения и температуры и должна определяться на образцах естественного сложения и влажности.

3.4. Лабораторные методы определения теплофизических характеристик грунта разделяются на методы стационарного и нестационарного теплового режима. В составе последних выделяют методы регулярного теплового режима. Практическая применимость этих методов различна и определяется характером грунта, его температурой, размерами испытуемых образцов и требуемой точностью измерений характеристик.

3.5. Основным преимуществом метода стационарного теплового режима является простое и строгое теоретическое обоснование. Методом стационарного теплового режима коэффициент теплопроводности определяется непосредственно по величине теплового потока при установившемся распределении температур в исследуемом образце грунта. При определении теплопроводности мерзлого грунта, изменение температуры которого сопровождается фазовыми переходами воды, этот метод обеспечивает получение наиболее точных результатов.

Метод стационарного теплового режима неприменим для определений тепловых свойств влажного талого грунта, внутри которого вода перераспределяется в связи с большой продолжительностью испытания. Для этих целей применяют методы нестационарного теплового режима, позволяющие определять теплофизические характеристики грунта при кратковременном тепловом воздействии на него. Методы нестационарного теплового режима применяются также для определения тепловых свойств мерзлых грунтов, но при достаточно низких отрицательных температурах которых затратами тепла на фазовые переходы воды можно пренебречь.

3.6. Различные модификации указанных методов определения теплофизических свойств грунтов отличаются теоретическим обоснованием, способами учета утечек тепла и техникой производства опыта. Методики, рекомендованные в Руководстве для практического применения, выбраны с учетом особенностей тепловых свойств талых и мерзлых грунтов, а также накопленного опыта теплофизических исследований грунтов и строительных материалов.

3.7. В состав рекомендуемого комплекса теплофизических исследований талых и мерзлых грунтов различного гранулометрического состава и текстуры, а также сильнольдистых и засоленных грунтов включены методы:

стационарного теплового режима для определения коэффициента теплопроводности мерзлого грунта;

теплового импульса для определения теплофизических характеристик влажного талого грунта;

регулярного теплового режима для определения теплофизических характеристик грунтов на образцах малых размеров (типа кернов буровых скважин);

калориметрирования для точных определений удельной теплоемкости грунтов и их отдельных составляющих.

3.8. Метод стационарного теплового режима приведен в соответствии с основными положениями ГОСТ 7076-66 «Материалы строительные. Метод определения коэффициента теплопроводности». Метод теплового импульса рекомендуется в модификации, предложенной Конференцией по современным проблемам строительной физики. Применительно к определению тепловых свойств грунтов эти методы подвергались некоторой переработке, не затрагивающей их принципиальной основы.

Метод регулярного теплового режима и калориметрический метод определения теплоемкости грунтов приведены в соответствии с общепринятой методикой.

3.9. Применение разных методов для исследования мерзлых и талых грунтов, соответственно основанных на закономерностях стационарного и нестационарного теплового режима, отвечает особенностям теплопереноса и обеспечивает получение результатов, свободных от влияния основных мешающих факторов. Комплекс экспериментальных методов определения теплофизических характеристик грунтов дополнен расчетными способами, что позволяет сократить в допустимых случаях количество трудоемких опытов.

3.10. В приложении к этому разделу Руководства даны основные рекомендации по изготовлению необходимых измерительных приборов для теплофизических исследований грунтов.

ТЕПЛОЕМКОСТЬ

3.11. Теплоемкость грунта характеризует его способность аккумулировать тепло. Различают удельную и объемную теплоемкость. Удельная теплоемкость грунта с численно равна количеству тепла, необходимого для изменения температуры единицы его массы на 1°, и выражается в ккал/кг·град. Объемная теплоемкость С численно равна количеству тепла, необходимого для изменения температуры единицы объема грунта на 1°. Значения удельной и объемной теплоемкостей грунта связаны соотношением

С = сγоб ккал/м3·град,                                                                              (27)

где γоб - объемный вес грунта в кг/м3.

3.12. Удельная теплоемкость грунта не зависит от его сложения и объемного веса. С достаточной для практических целей точностью величины удельной теплоемкости талого (ст) и мерзлого (см) грунта можно определять расчетом по весовому соотношению основных составляющих грунта (минерального скелета, незамерзшей воды и льда) по формулам:

а) для талого грунта

 ккал/м3·град,                                                                  (28)

б) для мерзлого грунта

 ккал/м3·град,                                             (29)

где сск - удельная теплоемкость минерального скелета грунта в ккал/кг·град, определяемая экспериментально; приблизительное значение сск равно: для песков ~ 0,17, для супесей ~ 0,18, для суглинков ~ 0,19-0,2 и для глин ~ 0,21-0,22;

св и сл - удельные теплоемкости соответственно воды и льда в ккал/кг·град, определяемые по табл. 2;

Wc - весовая влажность грунта в долях единицы;

Wн - количество незамерзшей воды при заданной температуре мерзлого грунта в долях единицы, определяемое по формуле (7) или по методике пп. 2.20-2.27.

3.13. Для мерзлого грунта различают его собственную и эффективную теплоемкость.

Собственная теплоемкость мерзлого грунта численно равна количеству тепла, необходимого для изменения на 1° температуры единицы объема или массы грунта. При сообщении тепла грунту допускается, что в нем соотношение воды и льда не изменяется.

Эффективная теплоемкость мерзлого грунта численно равна количеству тепла, необходимого для изменений температуры единицы объема или массы грунта на 1° и фазового состава поровой влаги в нем. Эффективная теплоемкость зависит от температуры грунта.

Удельная эффективная теплоемкость может быть приближенно выражена формулой

 ккал/м3·град,                                                  (30)

где см - собственная теплоемкость мерзлого грунта, определяемая по формуле (29);

L = 80 ккал/кг - удельная теплота таяния льда;

 - объемный вес минерального скелета мерзлого грунта в кг/м3;

 - объемный вес мерзлого грунта в кг/м3;

 - изменение количества незамерзшей воды в долях единицы при изменении температуры мерзлого грунта на 1°. Величина  определяется по кривой зависимости количества незамерзшей воды от температуры мерзлого грунта, получаемой калориметрическим методом, если это предусмотрено заданием, или по формуле (2) главы СНиП II-Б.6-66. Численно она равна тангенсу угла наклона касательной к кривой в точке заданной температуры.

3.14. В теплотехнических расчетах промерзания и протаивания грунтов в качестве расчетного параметра принимают величину собственной теплоемкости мерзлого грунта. Затраты тепла на фазовые переходы воды учитывают отдельно, полагая условно, что такие переходы происходят на границе промерзания. При экспериментальных определениях теплофизических характеристик грунтов разделить затраты тепла, идущие на таяние льда и нагрев грунта, нельзя. Поэтому в общем случае на основании экспериментальных определений получают величину эффективной теплоемкости мерзлого грунта.

Примечание. Если теплоемкость мерзлого грунта определена экспериментально или вычислена по формуле (30), то коэффициент kcp в формулах (42)-(44) главы СНиП II-Б.6-66 следует принимать равным единице не зависимо от состава грунта.

3.15. Величину собственной теплоемкости мерзлого грунта экспериментально не определяют. Значение ее вычисляют по формуле (29) либо определяют по табл. 10 главы СНиП II-Б.6-66. Экспериментально определяют:

удельную теплоемкость минерального скелета грунта;

эффективную теплоемкость мерзлого грунта как среднюю величину для заданного интервала отрицательных температур.

3.16. Экспериментальное определение теплоемкости производят для определения других теплофизических свойств грунта (фазового состава поровой влаги, коэффициента теплопроводности) в составе соответствующих методик, а также в специальных целях при стационарных исследованиях теплового режима грунтов оснований.

ОПРЕДЕЛЕНИЕ УДЕЛЬНОЙ ТЕПЛОЕМКОСТИ МИНЕРАЛЬНОГО СКЕЛЕТА ГРУНТА

ПРИБОРЫ

3.17. Определение удельной теплоемкости минерального скелета грунта производят методом калориметрирования в жидкостном калориметре переменной температуры, описание и комплектация которого приведены в пп. 2.17-2.19.

ПОДГОТОВКА ОБРАЗЦОВ

3.18. Образцы для определения удельной теплоемкости минерального скелета грунта приготовляют из отобранного грунта согласно указаниям п. 1.25. Отобранный грунт высушивают до воздушно-сухого состояния, измельчают пестиком с резиновым наконечником и просеивают через сито с отверстиями 1 мм. Из просеянного через сито грунта путем последовательных квартований отбирают 3-4 навески весом по 60-80 г. При наличии в грунте крупных включений из них приготовляют отдельные навески (по количеству основных минеральных разновидностей). Весовое содержание выделенных компонентов грунта определяют по отношению к исходному весу образца с точностью до 1 – 2 %.

Если определение удельной теплоемкости минерального скелета грунта входит составной частью в методику исследования фазового состава поровой влаги, то для измерения теплоемкости следует использовать образцы грунта, на которых выполнялись определения количества незамерзшей воды. Из отдельных образцов составляют объединенную пробу, из которой путем последовательных квартований отбирают 3-4 навески весом по 60-80 г.

3.19. Подготовленные навески грунта помещают с небольшим уплотнением в предварительно взвешенные бюксы и высушивают при температуре +105 °С до постоянного веса (с точностью до 0,002 г). Грунты с большой примесью органических остатков высушивают при температуре +80 °С.

3.20. Высушенные образцы охлаждают в эксикаторе над хлористым кальцием, герметизируют нитрокраской стык крышки и бюкса и после контрольного взвешивания помещают в ультратермостат или криостат, где выдерживают 8-10 ч при постоянной температуре, поддерживаемой с точностью до 0,1 С. Температуру, при которой выдерживают образцы, назначают с учетом температуры жидкости в стакане калориметра так, чтобы выполнялись условия:

                                                                    (31)

                                                                        (32)

где θобр и θо - соответственно температура образца и начальная температура жидкости в стакане калориметра в °С;

θисп - установленная заданием температура испытания образца в °С;

k - тепловое значение калориметра в кал/град;

gг - вес образца грунта в г;

0,2 кал/г·град - ориентировочная величина с  удельной теплоемкости образца.

ПРОВЕДЕНИЕ ИСПЫТАНИЙ И РАСЧЕТ ТЕПЛОЕМКОСТИ

3.21. Опыты по определению удельной теплоемкости минерального скелета грунта производят с трехкратной повторностью по общим правилам калориметрирования. По окончании измерений производят контрольное взвешивание образцов.

3.22. Величину удельной теплоемкости исследованного образца грунта по результатам опыта вычисляют по формуле

ккал/кг-град,         (33)

где k - тепловое значение калориметра в кал/град;

gк - вес калориметрической жидкости в г;

ск - удельная теплоемкость калориметрической жидкости в кал/г·град, средняя в интервале температур от  до  (см. табл. 3);

 и  - соответственно начальная и конечная температуры жидкости в калориметрическом стакане в °С, исправленные с учетом влияния теплообмена;

 - начальная температура образца в °С;

сб - удельная теплоемкость материала бюкса. Для латунного бюкса сб = 0,09 кал/г·град;

св - удельная теплоемкость герметизирующего уплотнения бюкса в кал/г·град;

gг, gб, gn - соответственно вес образца грунта, бюкса и герметизирующего уплотнителя в г.

3.23. Удельную теплоемкость минерального скелета неоднородного грунта, теплоемкость отдельных составляющих которого определялась раздельно на образцах, приготовленных согласно указаниям п. 3.18, вычисляют по формуле

c = с1п1 + с2п2 + … + cini ккал/м3·град,                                                   (34)

где сi - измеренные значения удельных теплоемкостей составляющих грунт компонентов в ккал/кг·град;

ni - весовое содержание компонентов в долях единицы.

3.24. Результаты калориметрических определений теплоемкости грунтов представляют по форме табл. 14. За величину теплоемкости исследованного грунта принимают, среднеарифметическое значение параллельных определений, вычисленное с точностью до 0,01 ккал/кг·град. В графе о температурных условиях опыта указывают начальную температуру образца и калориметрической жидкости. За среднюю температуру калориметрических испытаний образца принимают среднеарифметическое значение указанных температур.

ОПРЕДЕЛЕНИЕ СРЕДНЕЙ ЭФФЕКТИВНОЙ ТЕПЛОЕМКОСТИ МЕРЗЛОГО ГРУНТА

3.25. Средней эффективной теплоемкостью мерзлого грунта сэф называют среднее значение его эффективной теплоемкости в заданном интервале отрицательных температур, отнесенное к середине этого интервала.

3.26. Величину средней эффективной теплоемкости мерзлого грунта определяют методом калориметрирования для установленного заданием интервала отрицательных температур или ряда последовательных интервалов. Если изменения сэф входят в состав методики определения коэффициента теплопроводности мерзлого грунта, то калориметрирование образцов производят в тех температурных пределах, при которых выполнялся основной опыт.

ПРИБОРЫ

3.27. Калориметрирование образцов мерзлых грунтов производят в жидкостном калориметре. Для работы при отрицательной температуре в качестве калориметрической жидкости используют спирт или другую незамерзающую жидкость, которые заливают в калориметрический стакан и во внешнюю оболочку калориметра. Калориметр устанавливают в холодильной камере с постоянной отрицательной температурой, равной или близкой к предполагаемой в опытах температуре калориметрической жидкости.

ПОДГОТОВКА ОБРАЗЦОВ

3.28. Образцы грунтов для калориметрических определений теплоемкости отбирают согласно указаниям п. 1.26. Вес образца должен быть 0,5-1 кг. Допускается оттаивание образцов при условии сохранении их начальной влажности.

3.29. Из отобранного образца грунта приготовляют 3-4 навески весом по 60-80 г, помещают их с небольшим уплотнением в калориметрические бюксы, взвешивают с точностью до 0,01 г и замораживают при постоянной температуре в соответствии с указаниями п. 1.26. Образцы, доставленные в лабораторию в мерзлом состоянии, перед калориметрированием выдерживают при постоянной отрицательной температуре 10-12 ч, которая должна соответствовать нижнему пределу температурного интервала опытов, установленных заданием.

3.30. В случае, когда измерение теплоемкости входит в состав методики определения коэффициента температуропроводности мерзлого грунта, для калориметрирования используют образец, на котором определялся коэффициент теплопроводности грунта. Перед калориметрированием образец выдерживают при постоянной отрицательной температуре 10 - 12 ч.

ПРОВЕДЕНИЕ ИСПЫТАНИЙ И ВЫЧИСЛЕНИЕ ТЕПЛОЕМКОСТИ

3.31. Калориметрическое определение теплоемкости образца мерзлого грунта производят по правилам калориметрирования. Измерения проводят в режиме повышения температуры исследуемого образца (в цикле оттаивания) при начальной температуре калориметрической жидкости, равной верхнему пределу интервала температуры испытания образца, установленному заданием. Измерения выполняют с трехкратной повторностью. После окончания калориметрических испытаний образец взвешивают и определяют его суммарную влажность термостатно-весовым методом.

3.32. Значение средней эффективной теплоемкости исследованного образца грунта сэф вычисляют по формуле (33). Вычисленное значение сэф относят к средней температуре калориметрического опыта, равной среднему арифметическому из начальных значений температуры образца θобр и калориметрической жидкости θ0. Результаты калориметрических испытаний грунта представляют по форме табл. 14.

3.33. Пример расчета удельной теплоемкости минерального скелета грунта приведен в табл. 15.


Таблица 14

(Форма)

Результаты определений теплоемкости грунта

Лабора­торный № образца

Место отбора образца (выработка, глубина)

Наиме­нование и характе­ристика грунта

Общий вес образца грунта в кг

Влажность  грунта в %

Содер­жание фракций > 5 мм

Температура образца в °С

Удельная теплоемкость минерального скелета грунта, в ккал/кг×град

Средняя эффек­тивная теплоем­кость мерзлого грунта в ккал/кг×град

Приме­чание

началь­ная

конеч­ная

сред­няя

в целом для образца

фракций < 5 мм

фракций > 5 мм

 

 

 

 

 

 

 

 

 

 

 

 

 

 

 

 

 

 

 

 

 

 

 

 

 

 

 

 

 

 

 

 

 

 

 

 

 

 

 

 

 

 

 

 

 

 

 

 

 

 

 

 

 

 

 

 


Таблица 15

Период опыта

Время в мин

Отсчет по термометру Бекмана

Исходные данные

Начальный

0

1,022

Грунт: суглинок пылеватый

Вес образца сухого грунта gг = 44,6 г

Вес бюкса gб = 50,08 г

Вес нитрокраски gп = 0,26 г

1

1,020

2

1,017

3

1,015

4

1,013

5

1,011

6

1,009

7

1,007

8

1,004

9

1,000

10

θ0 = 1,000

Начальная температура образца  

Главный

1

0,848

Вес воды в калориметрическом стакане gн = 1200 г

Тепловое значение калориметра k = 80 кал/град

Удельная теплоемкость калориметрической жидкости (воды) при температуре 17-18 °С (по табл. 2) сн = 1,001 кал/г×град

2

0,820

3

0,804

4

0,793

5

0,785

6

0,777

7

 = 0,770

Конечный

1

0,772

Удельная теплоемкость материала бюкса (латунь) сб =  0,09 кал/г

Удельная теплоемкость нитрокраски сн = 0,5 кал/г

Значение деления термометра Бекмана при температуре 17-18 °С равно 1 °С

2

0,773

3

0,773

4

0,775

5

0,776

6

0,776

7

0,778

8

0,779

9

0,780

10

0,780

Примечание.  по термометру Бекмана; 0,79.  по лабораторному термометру 17,55°С.

Измеренные в опыте по термометру Бекмана начальную θ0 и конечную θп температуру главного периода опыты пересчитывают на °С, предварительно скорректировав конечную температуру на теплообмен калориметра с окружающей средой. Поправку на теплообмен Δ(Δθ) вычисляют по формуле (4). В данном случае эта поправка равна -0,004 °С и исправленная температура конца главного периода  -0,77-0,004 = 0,766. Изменение температуры калориметрической жидкости с учетом поправки на теплообмен  -  = 1000 - 0,766 = 0,234 (по термометру Бекмана).

Определяют разницу между показаниями лабораторного термометра и термометра Бекмана: δ = 17,55 - 0,79 = 16,76.

Находят значения начальной и конечной температуры главного периода опыта в °С:

°С =  + δ = 1 + 16,76 = 17,76;

°С =  + δ = 0,766 + 16,76 = 17,526;

 -  = 17,76 - 17,526 = 0,234 °С;

 - θобр = 17,526 - (-5) = 22,526 °С.

Удельную теплоемкость образца грунта определяют по формуле (33)

 ккал/кг×гр

ТЕПЛОПРОВОДНОСТЬ И ТЕМПЕРАТУРОПРОВОДНОСТЬ

3.34. Свойство теплопроводности грунта характеризуют величиной коэффициента теплопроводности, являющегося показателем пропорциональности между величиной удельного теплового потока и градиентом температуры в грунте. Коэффициент теплопроводности выражают в ккал/м×ч·град.

3.35. Согласно действующим главам СНиП, при теплотехнических расчетах оснований зданий и сооружений, возводимых на вечномерзлых грунтах, величину коэффициента теплопроводности грунта определяют по таблице расчетных значений теплофизических характеристик талых и мерзлых грунтов (табл. 15 а). Экспериментальные определения теплопроводности грунтов предусматривают при строительстве в сложных мерзлотно-грунтовых условиях, а также на сильнольдистых, переувлажненных и засоленных грунтах, на которые действие табл. 15 а не распространяется. Программу этих работ устанавливает проектная организация в зависимости от назначения и класса сооружений, мерзлотно-грунтовых условий и принятого способа использования грунтов в качестве оснований.

3.36. Коэффициент теплопроводности определяют для мерзлого, талого или оттаявшего грунта, используя монолиты грунта ненарушенного сложения, отбираемые согласно указаниям п. 1.24 и требованиям ГОСТ 12071-66. Образцы должны иметь размеры не менее чем 20×20 см в плане и высоту 10-20 см. При исследовании грунтов в основании сооружений на глубину более 5 м для определения теплопроводности допускается также пользоваться керном из буровых скважин диаметром не менее 50 мм. Коэффициент теплопроводности оттаявшего грунта определяют на образцах мерзлого грунта после их оттаивания под расчетной нагрузкой.

3.37. Испытания образцов мерзлого грунта для определения теплопроводности производят при установившемся распределении температуры в образце методом стационарного теплового режима. Средняя температура образца при испытании должна быть равна естественной или расчетной температуре грунта, установленной заданием.

3.38. Образцы талого и оттаявшего грунта испытывают при неустановившемся тепловом режиме методом теплового импульса, исключающим перераспределение в них влаги. Максимальное изменение температуры образца при испытании не должно превышать 15 °С.

3.39. Испытание образцов талого или мерзлого грунта, вырезанных из керна скважин малого диаметра (за исключением тяжелых суглинков и глин), производят в обоих случаях методом регулярного теплового режима. Температура образца мерзлого грунта при испытании не должна быть выше –10 °С. Значение теплопроводности грунта при температуре выше –10 °С находят по формуле

 ккал/м·ч·град,                                       (35)

Таблица 15

Расчетные значения теплофизических характеристик талых и мерзлых грунтов

Объемный вес γоб, т/м3

Суммарная влажность в долях единицы Wс

Коэффициент теплопроводности грунта в ккал/м·ч·град

Объемная теплоемкость грунта в ккал/м3·град

пески

супеси

суглинки и глины

λт

λм

λт

λм

λт

λм

Ст

См

1,2

0,05

0,4

0,52

-

-

-

-

285

260

1,2

0,1

0,62

0.79

0,38

0,45

-

-

320

270

1,4

0,05

0,57

0,69

-

-

-

-

330

300

1,4

0,1

0,87

1,08

0,52

0,69

0,44

0,68

370

315

1,4

0,15

1

1,25

0,71

0,88

0,56

0,84'

410

330

1,4

0,2

-

-

0,84

1,05

0,65

0,94

450

345

1,4

0,25

-

-

0,92

1,16

0,72

1

490

360

1,6

0,05

0,75

0,91

-

-

-

-

380

340

1,6

0,1

1,05

1,35

-

-

-

-

430

360

1,6

0,15

1,25

1,6

0,93

1,1

0,72

0,98

470

370

1,6

0,2

1,36

1,73

1,05

1,29

0,88

1,12

520

395

1,6

0,25

1,41

1,82

1,16

1,44

0,96

1,24

565

410

1,6

0,3

-

1,93

1,2

1,55

1

1,3

610

430

1,6

0,35

-

-

1,3

1,65

1,05

1,35

650

445

1,6

0,4

-

-

-

1,72

1,1

1,41

700

465

1,6

0,6

-

-

-

-

-

1,5

-

500

1,8

0,1

1,3

1,6

-

-

-

-

480

400

1,8

0,15

1,55

1,9

1,19

1,31

1

1,23

530

420

1,8

0,2

1,65

2,1

1,34

1,52

1,12

1,38

580

440

1,8

0,25

1,75

2,23

1,43

1,7

1,24

1,53

640

460

1,8

0,3

-

2,23

1,48

1,82

1,28

1,61

690

480

1,8

0,35

-

-

1,51

1,93

1,33

1,66

740

500

1,8

0,4

-

-

-

2

1,4

1,72

795

520

1,8

0,6

-

-

-

-

-

1,8

-

560

2

0,15

1,76

2,2

1,4

1,5

-

-

590

470

2

0,2

2

2,42

1,56

1,75

1,24

1,5

650

490

2

0,25

2,26

2,72

1,73

1,93

1,35

1,65

705

510

2

0,3

-

-

1,8

2,1

1,44

1,75

770

530

2

0,35

-

-

-

-

1,53

1,86

820

555

Примечание. Значения См в таблице даны для температуры –10 °С. В интервале температур от -0,5 до –10 °С  определяется в зависимости от количества незамерзшей воды при заданной температуре по формуле .

где λм и λт - значение коэффициента теплопроводности грунта в мерзлом и оттаявшем состоянии в ккал/м·ч·град;

W'н и Wн - содержание незамерзшей воды в образце мерзлого грунта в долях единицы при заданной температуре грунта и температуре опыта;

Wc - суммарная влажность грунта в долях единицы.

3.40. Коэффициент теплопроводности льдистого грунта с крупными включениями льда определяют расчетом по данным раздельных определений теплопроводности слагающих его минеральных и ледяных прослоек. В зависимости от характера криогенной текстуры расчет производят по следующим формулам:

для льдистого грунта слоистой текстуры в направлении, нормальном слоистости,

 ккал/м·ч·град,                                                  (36)

для того же грунта в направлении слоистости

 ккал/м·ч·град,                                                   (37)

для грунта сетчатой текстуры, а также грунта с беспорядочным распределением включений льда

 ккал/м·ч·град,                                   (38)

где Лв - объемная льдистость грунта за счет ледяных включений в долях единицы;

λл - коэффициент теплопроводности ледяных прослоек. Для льда средней плотности принимают λл  ≈ 1,8 ккал/м·ч·град;

λг - коэффициент теплопроводности минеральных прослоек грунта в ккал/м·ч·град. Приближенное значение λ2 определяют по табл. 15 а.

3.41. Результаты определений коэффициента теплопроводности грунта представляют по форме табл. 16.

ОПРЕДЕЛЕНИЕ КОЭФФИЦИЕНТА ТЕПЛОПРОВОДНОСТИ МЕРЗЛОГО ГРУНТА

3.42. Преимущественно коэффициент теплопроводности мерзлых грунтов следует определять методом стационарного теплового режима на образцах грунта размером не менее чем 20×20 см в плане.


Таблица 16

(Форма)

Данные определения коэффициента теплопроводности грунта

№ пп

Лабора­торный №

№ выра­ботки

Глубина отбора образца в м

Номенкла­турное название грунта

Вид образца (монолит или нарушенного сложения)

Размер образца

Криогенная текстура образца

Влажность образца в %

Объемный вес образца в г/см3

Метод определения коэффициента теплопроводности

Темпе­ратур­ные усло­вия опыта

Средняя темпе­ратура испы­тания образца в °С

Коэффи­циент тепло­провод­ности λ, ккал /м·ч·град

 

 

 

 

 

 

 

 

 

 

 

 

 

 

 

 

 

 

 

 

 

 

 

 

 

 

 

 

 

 

 

 

 

 

 

 

 

 

 

 

 

 

Примечание. Если испытание производилось по методу регулярного теплового режима, дополнительно указываются значение удельной теплоемкости образца и способ ее определения.


3.43. Рекомендуемый для испытаний мерзлого грунта метод стационарного теплового режима основан на измерении проходящего через исследуемый образец грунта, установившегося во времени потока тепла. Поток тепла, возникающий при постоянной разности температур на поверхности образца, измеряют малоинерционным тепломером. Метод применим для определения коэффициента теплопроводности мерзлых песчано-глинистых и гравелистых грунтов с размером отдельных минеральных включений до 10 мм, а также льдистых грунтов средне-слоистой и сетчатой текстуры при температуре более нагретой поверхности образца не выше минус 1 °С.

ПРИБОРЫ

3.44. Устройство прибора для определения коэффициента теплопроводности мерзлых грунтов показано на рис. 7.

Прибор состоит из плоского электронагревателя и малоинерционного тепломера, устанавливаемого на расстоянии 2 см от поверхности холодильника, представляющего собой ванночку с проточной незамерзающей жидкостью постоянной отрицательной температуры, которая регулируется термостатом с точностью до 0,1 °С. На поверхностях образца заложены термопары. Прибор помещен в металлический кожух, заполненный теплоизоляцией. Плотное прилегание образца к тепломеру и нагревателю обеспечивается рычажным приспособлением. Нагреватель, тепломер и холодильник имеют форму круга диаметром 20-25 см. Средняя рабочая часть тепломера, занятая термоэлементами, не должна превышать половины его диаметра.

Рис. 7. Схема прибора для определения коэффициента теплопроводности мерзлых грунтов по методу стационарного теплового режима

1 - образец грунта; 2 - плоский электронагреватель; 3 - малоинерционный тепломер; 4 - холодильник; 5 - 8 - термопара; 9 - теплоизоляционный кожух; 10 - прижимное приспособление

3.45. В комплект прибора входят: терморегулятор РО-1 (на отрицательный диапазон температур), потенциометр КП-69, лабораторный автотрансформатор РНО-250-2, переключатель термопар МГП, термостат ТС-16, амперметр переменного тока до 5 а, сосуд Дьюара. емкостью 1,5-2 л и технические весы.

Примечание. В полевых условиях можно применять упрощенный вариант прибора, в котором холодильник и нагреватель заменены ваннами, заполненными охладительными смесями с разными температурами плавления. Схема упрощенного прибора показана на рис. 8.

Рис. 8. Схема прибора для определения коэффициента теплопроводности мерзлых грунтов по методу стационарного теплового режима (упрощенный вариант)

1 - малоинерционный тепломер; 2 - металлический поддон; 3 - сменный теплоизоляционный корпус; 4 - образец грунта; 5 - прокладка; 6 - ванна нагревателя; 7 - ванна холодильника; 8 - пружинные зажимы; 9 - термопары; 10 - охладительные смеси; 11 - крышка, 12 - лабораторные ртутные термометры

ПОДГОТОВКА ОБРАЗЦОВ

3.46. Для определения теплопроводности грунта из монолитов вырезают образцы, имеющие в плане форму круга с диаметром, равным диаметру нагревателя прибора или квадрата с диагональю такого же размера. Толщину образцов принимают не менее 4 см и не более 5 см. Высоту образца измеряют с точностью до 0,1 см. Основания образца грунта должны быть плоскими и строго параллельными между собой. Образец льдистого грунта слоистой криогенной текстуры вырезают так, чтобы основания его совпадали с направлением слоистости грунта.

3.47. Образец сыпучемерзлого грунта, не сохраняющий форму без жесткой тары, приготовляют того же размера в специальных обоймах из теплоизоляционного материала, Плотность образца должна быть равномерной по всему объему и соответствовать среднему объемному весу монолита грунта.

Примечание: 1. При невозможности получить образец указанного размера измерение производят на образце меньших размеров, но не менее размеров рабочей части тепломера. Пространство между краями образца и тепломера в этом случае заполняют материалом с теплопроводностью примерно равной, но не большей теплопроводности образца.

ПРОВЕДЕНИЕ ИСПЫТАНИЙ

3.48. Подготовленный к испытанию образец грунта помещают в измерительный прибор. При этом на подставку холодильника устанавливают тепломер; на тепломер - исследуемый образец грунта; с обеих сторон образца в средней его части закладывают рабочие спаи дифференциальных термопар, а «холодные» спаи термопар (спаи сравнения) помещают в сосуд Дьюара, заполненный тающим льдом. Сверху на образец устанавливают нагреватель с датчиком терморегулятора. Собранную таким образом измерительную установку сжимают рычажным приспособлением. Для улучшения теплового контакта образца с тепломером и нагревателем между ними рекомендуется прокладывать тонкие асбестовые или резиновые прокладки.

3.49. Терморегуляторы нагревателя и термостата холодильника устанавливают на заданные значения температуры опыта и включают ток электронагревателя. Разность между температурой нагревателя и холодильника не должна быть меньше 5°. По истечении 3-4 ч после включения нагревателя производят периодические отсчеты термоЭДС тепломера по потенциометру. После установления стационарного теплового потока в образце, что соответствует постоянству последовательных отсчетов по потенциометру, производимых в течение 30 мин и более (с точностью до 0,05 мв), записывают показания термопар, установленных на поверхностях образца. Данные наблюдений записывают по формуле табл. 17. Для контроля результатов рекомендуется проведение повторного опыта при расположении нагревателя с противоположной стороны образца.

3.50. После окончания измерений образец грунта взвешивают с точностью до 0,01 кг и отбирают не менее трех проб для определения влажности грунта по ГОСТ 5179-64. Объемный вес образца грунта определяют путем деления его веса на объем, устанавливаемый обмерами.

 


Таблица 17

(Форма)

Данные определения коэффициента теплопроводности грунта методом стационарного режима

а) исходные данные

№ пп

Лабораторный №

№ выработки

Глубина отбора образца в м

Номенклатурное наименование грунта

Размер образца в см

Криогенная текстура образца

Вес образца в кг

Ориентация включений льда в образце к плоскости тепломера

Пересчетный коэффициент тепломера

№ пробы на определение влажности

Примечание

 

 

 

 

 

 

 

 

 

 

 

 

 

 

 

 

 

 

 

 

 

 

 

 

 

 

 

 

 

 

 

 

 

 

 

 

б) данные наблюдений

Время в ч

Показания потенциометра в ма

Показания термопар

Установившийся тепловой поток q,  ккал/м2·ч

Коэффициент теплопроводности образца λ, ккал/м·ч×град

нагревателя

холодильника

 

 

 

 

 

 

 

 

 

 

 

 

 

 

 

 

 

 

 

 

 

 

 

 

 


ОБРАБОТКА РЕЗУЛЬТАТОВ И ОПРЕДЕЛЕНИЕ ТЕПЛОПРОВОДНОСТИ

3.51. По данным опыта вычисляют коэффициент теплопроводности исследованного образца грунта по формуле

 ккал/м·ч·град,                                                                    (39)

где h - толщина образца в мм;

θ1 - установившаяся температура поверхности образца со стороны нагревателя в °С;

θ2 - установившаяся температура поверхности образца со стороны холодильника в °С;

q - количество тепла, проходящего через единицу поверхности образца в единицу времени при установившемся тепловом потоке, в ккал/м2·ч.

Количество тепла q определяют по формуле

q = ккал/м2·ч,                                                                                       (40)

где ε - измеренная по потенциометру электродвижущая сила (ТЭДС) термобатареи тепломера в мв;

v - постоянная тепломера в ккал/м2·ч·мв.

3.52. Коэффициент теплопроводности вычисляют с точностью до 0,01 ккал/м·ч·град. За среднюю температуру испытания образца принимают среднеарифметическое значение установившихся температур на поверхностях образца, измеряемых с точностью до 0,1 °С. Для каждого монолита грунта опыты производят не менее чем на двух однотипных образцах.

ОПРЕДЕЛЕНИЕ КОЭФФИЦИЕНТА ТЕПЛОПРОВОДНОСТИ ТАЛЫХ И ПРОТАЯВШИХ ГРУНТОВ

3.53. В исследуемом образце талого грунта при определении коэффициента теплопроводности не должно происходить перераспределения влаги. Это достигается кратковременным тепловым воздействием на образец грунта при испытаниях его по методу теплового импульса.

3.54. Вариант метода теплового импульса, рекомендуемый для лабораторного испытания грунта, основан на нагреве образца плоским электрическим нагревателем в течение заданного промежутка времени.

В опыте измеряют скорость изменения температуры образца на поверхности контакта с плоским нагревателем и на фиксированном расстоянии от него. Метод применяют для комплексного определения теплофизических характеристик влажных талых и протаявших грунтов при положительных температурах от 0 до 30-40 °С на двух одинаковых образцах размером 20×20×10 см, которые могут содержать включения размером не более 20 мм.

Примечание. При требовании к точности измерений не выше 10-20 % этот метод может быть использован для определения тепловых свойств мерзлых грунтов при начальной отрицательной температуре образца не выше – 20 °С.

ПРИБОРЫ

3.55. Устройство прибора для определения теплопроводности грунта по методу теплового импульса показано на рис. 9.

Прибор состоит из подставки, плоского электрического нагревателя, помещаемого между двумя половинами образца, теплоизоляционного корпуса и прижимного устройства рычажного типа. На поверхности нагревателя и на строго фиксированном расстоянии от него закладывают рабочие спаи термопар Т и Т'. Нагреватель имеет форму круга диаметром 20 см или квадрата со стороной того же размера и изготовляется из константанового или манганинового провода.

Величина собственной теплоемкости нагревателя не должна превышать 0,05 ккал/см2·град.

Рис. 9. Схема прибора для определения коэффициента теплопроводности грунтов по методу теплового импульса

1 - подставка; 2 - образец грунта; 3 - плоский электрический нагреватель; 4 - теплоизоляционный кожух; 5 - прижимное устройство; Т, Т’ - термопары

3.56. В комплект прибора входят: лабораторный автотрансформатор РНО-250-2, стабилизатор напряжения, гальванометр чувствительностью по току не ниже 10-6 ма/дел., переключатель термопар типа МГП, амперметр переменного тока до 5 а, многопредельный вольтметр, секундомер, сосуд Дьюара емкостью 1,5-2 л и технические весы.

ПОДГОТОВКА ОБРАЗЦОВ

3.57. Для испытаний из монолита вырезают два одинаковых образца, имеющих в плане форму и размеры нагревателя прибора.

Высота каждого из них должна быть не менее 10 см. Торцовые поверхности образца должны быть ровными для плотного прилегания к нагревателю.

3.58. Образцы протаявшего грунта приготовляют из монолитов мерзлого грунта и оттаивают их в жестких формах, соответствующих размерам образца. Оттаивание образца производят при заданной нагрузке в условиях свободного отжима влаги.

ПРОВЕДЕНИЕ ИСПЫТАНИЙ

3.59. Подготовленные к испытаниям образцы устанавливают в измерительный прибор. Нагреватель помещают между образцами. На поверхности нагревателя в центральной части закладывают рабочий спай одной дифференциальной термопары Тэ, а другой - Т’э - закладывают в испытуемый образец грунта на расстоянии 2-3 см от нагревателя. Расстояние между нагревателем и термопарой Тэ измеряют с точностью до 1-2 мм. Холодные спаи дифференциальных термопар, т.е. спаи сравнения, помещают в сосуд Дьюара, заполненный тающим льдом. Выводы термопар через переключатель МГП присоединяют к клеммам гальванометра. В пределах образца грунта выводы термопар располагают параллельно плоскости нагревателя.

3.60. Собранную измерительную установку закрывают кожухом и выдерживают при постоянной температуре до полного выравнивания температуры образца, что проверяется по равенству показаний помещенных в нем термопар Тэ и Т’э (с точностью до 0,1 °С).

3.61. Для определения коэффициента теплопроводности образца включают электронагреватель и в течение 8-10 мин регистрируют изменение температуры образца во времени по показанию термопары Т’э, а с момента выключения нагревателя регистрируют изменение температуры также по показанию термопары Т3.

 


Таблица 18

(Форма)

Данные определения коэффициента теплопроводности методом теплового импульса

а) исходные данные

№ пп

Лаборатор­ный №

№ выработки

Глуби­на отбора образца в м

Номенклату­рное название грунта

Размеры образца в см

Вес образца в г

Площадь нагревателя в см2

Электрическое сопротивление нагревателя в ом

Расстояние от нагревателя до термостата Тэ

Начальная температура образца в °С

Пересчетный коэффициент термопар

№ проб на определение влажности

Приме­чание

 

 

 

 

 

 

 

 

 

 

 

 

 

 

 

 

 

 

 

 

 

 

 

 

 

 

 

 

б) данные наблюдений

Напряжение тока нагревателя в вольтах

Длительность теплового импульса в мин

Наблюдения по термопаре Тэ

Наблюдения по термопаре Т’э

Максимальная температура по термометру

Коэффициент теплопроводности в ккал/м·ч·град по определению

время в мин

показания гальванометра в дел. шкалы

температура θ, °С

время в мин.

показания гальванометра в дел. шкалы

температура θ', °С

основному

контрольному

 

 

 

 

 

 

 

 

 

 

 

 

 

 

 

 

 

 

 

 

 

 

 


Отсчет времени в обоих случаях производят от начала включения нагревателя с интервалом 2-3 мин. Для контроля результатов опыта дополнительно отмечают время наступления и величину максимума температуры по показанию термопары Т’э. Данные наблюдений записывают по форме табл. 18.

3.62. Напряжение тока в нагревателе прибора в течение опыта должно быть постоянным, отклонения не должны превышать 0,5 % его величины. Длительность теплового импульса не должна быть более 10-12 мин. Величины напряжения тока нагревателя назначают исходя из электрического сопротивления и размеров нагревателя по формуле

                                                                                        (41)

где Rэ - электрическое сопротивление нагревателя в ом;

F - площадь нагревателя в контакте с одним образцом в см2.

3.63. По окончании опыта образец грунта взвешивают с точностью до 0,01 кг, а затем отбирают не менее трех проб для определения влажности грунта по ГОСТ 5179-64. Объемный вес образца определяют путем деления веса образца на его объем, устанавливаемый обмером.

ОБРАБОТКА РЕЗУЛЬТАТОВ ИСПЫТАНИЯ И ОПРЕДЕЛЕНИЕ КОЭФФИЦИЕНТА ТЕПЛОПРОВОДНОСТИ

3.64. По данным испытаний коэффициент теплопроводности исследованного образца грунта определяют по формуле

 ккал/м·ч·град,                                                 (42)

где Qэ = 0,862U2/Rэ - тепловая мощность нагревателя в ккал/ч;

F - площадь нагревателя в контакте с одним образцом в м2;

 - коэффициент температуропроводности образца грунта в м2/ч;

l - расстояние от нагревателя до термопары Тэ в м;

θ - температура образца в момент времени t (в ч), измеренная по термометру Т’э, в °С;

t0 - продолжительность действия нагревателя в ч;

t- продолжительность времени к моменту измерения температуры по термометру Т’э в ч;

у - аргумент, определяемый по значению функции В(у) (см. табл. 19).

3.65. Величина функции В(у) определяется по формуле

                                                                   (43)

где θ0 - начальная температура образца в °С;

θ" - температура образца в момент времени t, измеренная по термопаре Т’э, в °С.

Остальные обозначения те же, что в формуле (42).

3.66. Контрольное определение коэффициента теплопроводности образца грунта производят по формуле

 ккал/м·ч·град                         (44)

где θmax - значение максимума температуры в месте расположения термопары Т”э, °С;

tтах - время наступления максимума температуры по термопаре Т’э, отсчитанное от начала включения нагревателя, в ч;

В(у1) и В(у2) - значение функции В(у) для значений ее аргумента, определяемых по формулам:

                                                               (45)

                                                                      (46)

Таблица 19

Таблица значений функций В(у)

y

0

1

2

3

4

5

6

7

8

9

0

1,0000

0,8327

0,7693

0,7229

0,6852

0,6533

0,6253

0,6002

0,5777

0,5570

0,1

0,5379

0,5203

0,5037

0,4881

0,4736

0,4599

0,4469

0,4346

0,4229

0,4117

0,2

0,4010

0,3908

0,3810

0,3716

0,3652

0,3539

0,3455

0,3375

0,3298

0,3223

0,3

0,3151

0,3081

0,3014

0,2948

0,2885

0,2824

0,2764

0,2707

0,2651

0,2596

0,4

0,2543

0,2492

0,2442

0,2394

0,2347

0,2301

0,2256

0,2213

0,2170

0,2129

0,5

0,2089

0,2049

0,2010

0,1973

0,1937

0,1902

0,1867

0,1833

0,1800

0,1767

0,6

0,1735

0,1704

0,1674

0,1645

0,1616

0,1588

0,1561

0,1534

0,1507

0,1481

0,7

0,1456

0,1431

0,1407

0,1383

0,1360

0,1337

0,1315

0,1293

0,1271

0,1250

0,8

0,1230

0,1210

0,1190

0,1170

0,1151

0,1132

0,1114

0,1096

0,1078

0,1061

0,9

0,1044

0,1027

0,1011

0,0995

0,0979

0,0964

0,0949

0,0934

0,0913

0,0905

1,0

0,0891

0,0877

0,0863

0,0850

0,0837

0,0842

0,0811

0,0799

0,0787

0,0775

1,1

0,0763

0,07516

0,0740

0,0729

0,0718

0,0707

0,0697

0,0686

0,0676

0,0666

1,2

0,0656

0,06464

0,0637

0,0627

0,0618

0,0609

0,0600

0,0591

0,0853

0,0574

1,3

0,0566

0,05575

0,0594

0,0541

0,0533

0,0526

0,0518

0,0511

0,0503

0,0496

1,4

0,0489

0,0482

0,0475

0,0468

0,0462

0,0455

0,0449

0,0442

0,0436

0,0430

1,5

0,0424

0,0418

0,0412

0,0406

0,0400

0,0395

0,0389

0,0384

0,0378

0,0373

1,6

0,0368

0,0363

0,0358

0,0353

0,0348

0,0343

0,0338

0,0334

0,0329

0,0325

1,7

0,03201

6,0316

0,0311

0,0307

0,0303

0,0299

0,0295

0,0291

0,0287

0,0283

1,8

0,0279

0,0275

0,0271

0,0268

0,0264

0,0261

0,0257

0,0253

0,0250

0,0247

1,9

0,0243

0,0240

0,0237

0,0234

0,0230

0,0228

0,0225

0,0222

0,0219

0,0216

2,0

0,02128

-

-

-

-

-

-

-

-

-

3.67. Величину коэффициента теплопроводности исследованного образца грунта принимают по среднему арифметическому значению основного и контрольного определений, вычисленных с точностью до 0,01 ккал/м·ч·град. Если разница значений коэффициента теплопроводности в основном и контрольном определениях превышает 5 %, опыт повторяют.

3.68. Результаты определения коэффициента теплопроводимости грунта представляют по форме табл. 16. В графе «Температурные условия опыта» указывают начальную температуру образца и максимальную температуру нагревателя в °С. За среднюю температуру испытания образца принимают среднее арифметическое значение указанных температур.

ПРИМЕР РАСЧЕТА

3.69. Значение коэффициента теплопроводности определяют как среднее из основного и контрольного определений.

Исходные данные: образец грунта - средний суглинок при влажности W = 25 % имеет размер 20×20×20 см и начальную температуру θ0 = 21,88°С.

Измерительная установка имеет следующие параметры: площадь нагревателя F = 0,043 м2, его электрическое сопротивление Rэ = 56,2 ом, напряжение тока в нагревателе U = 90 в, время действия нагревателя или длительность действия теплового импульса t0 = 0,18 ч. Расстояние от термопары Т’э до нагревателя l = 0,02 м, пересчетный коэффициент термопар v = 0,51 град/дел. шкалы.

В ходе опыта получены данные, приведенные в табл. 19 а.

Расчет: вычисляется тепловая мощность нагревателя по формуле:

Функция В(у), определяемая по температурам θ' и θ, измеренным термометрами Т’э и Тэ в произвольные моменты времени t' и t, причем (t' < to < t). например по θ' = 26,88 °С при t' = 0,14 ч и θ = 38,71°С при t = 0,24 ч, вычисляется по формуле (43):

Таблица 19 а

Наблюдения

Время в ч

Показания гальваном. дел. шкалы

Температура в °С

t

По термометру Tэ

θ'

0,06

44,7

22,80

0,10

48,4

24,68

0,14

52,7

26,88

0,18

57,3

29,22

0,22

60,6

30,91

0,26

61,4

31,31

0,30

61,2

31,21

0,34

60,6

30,91

t

По термометру То

θ

0,20

84,5

43,10

0,24

75,9

38,71

0,28

71,2

36,31

0,32

68,3

34,83

0,36

66,2

33,76

Примечание. tmах = 0,26 ч; θmах = 31,31 °С.

Аргумент у, находимый по табл. 19 по значению функции В(у), в данном случае равен: y = 0,538.

Коэффициент теплопроводности образца

 м2

Вычисляется коэффициент теплопроводности образца грунта по формуле (42)

 ккал/м·ч·град,

3.70. Контрольное определение: по времени наступления максимальной температуры в точке расположения термометр Т’э и длительности теплового импульса (tmах = 0,26 ч и t0 = 0,18 ч) вычисляются значения аргументов y1 и y2 функции В(у) по формулам (45) и (46):

Значения функций В(у1) и В(у2) находим по значениям аргументов y1 и у2. В данном случае B(y1) = 0,344; В(у2) = 0,113 (табл. 19).

Вычисляется величина коэффициента теплопроводности образца грунта при θmах = 31,31 °С по формуле (44):

Среднее значение коэффициента теплопроводности грунта из данных основного и контрольного определений равно:

 ккал/м2·град.

ОПРЕДЕЛЕНИЕ ТЕПЛОПРОВОДНОСТИ ГРУНТА НА ОБРАЗЦЕ МАЛОГО РАЗМЕРА

3.71. Теплопроводность грунта на образцах малого размера, например, типа керна буровой скважины определяют по упрощенной методике, основанной на закономерности регулярного теплового режима. Методика применима для исследования влажных талых грунтов песчано-глинистого состава с размером включений до 5 мм, а также мерзлого грунта того же состава массивной или мелкослоистой криогенной текстуры с толщиной ледяных включений менее 2 мм при температуре не выше –10 °С. В состав испытания образца грунта для нахождения коэффициента теплопроводности этим методом входит независимое калориметрическое определение его теплоемкости.

ПРИБОРЫ

3.72. Прибор для определения коэффициента теплопроводности грунта по методу регулярного теплового режима основан на свободном охлаждении или нагревании образца в среде постоянной температуры. В опыте наблюдают за изменениями температуры во времени. Схема прибора показана на рис. 10.

3.73. Прибор состоит из а-калориметра, в который помещают исследуемый образец грунта, термоса, заполненного охладительной смесью, латунного или медного бачка теплоприемника с незамерзающей жидкостью, крышки из теплоизоляционного материала и мешалки с механическим или электрическим приводом.

а-калориметр представляет собой латунный цилиндр диаметром 4-6 см и высотой 6-8 см с двумя герметически закрывающимися крышками. К верхней крышке припаяна латунная трубка для ввода в образец рабочего спая дифференциальной термопары.

3.74. В комплект прибора входят: гальванометр чувствительностью не ниже 10-6 а/дел шкалы; ртутные лабораторные термометры с ценой деления 0,1° на интервалы температур от 0 до +30 °С и от 0 до –30 °С, ультратермостат или криостаты, секундомер и технические весы.

Рис. 10. Схема прибора для определения коэффициента теплопроводности грунтов по методу регулярного теплового режима

1 - а-калориметр; 2 - образец грунта: 3 - дифференциальная термопара, 4 - термос; 5 - охладительная смерь; 6 - бачок теплоприемника; 7 - незамерзающая жидкость; 8 - крышка; 9 - мешалка; 10 - лабораторный ртутный термометр

ПОДГОТОВКА ОБРАЗЦОВ

3.75. Испытание образцов грунта по методу регулярного теплового режима производят в а-калориметре.

Размеры образца определяются основными размерами а-калориметра.

3.76. Образец грунта приготовляют либо из керна разведочной скважины, либо вырезают из монолита, отобранного в горной выработке. В процессе обработки поверхность образца плотно притирают к стенкам и крышкам а-калориметра. Из буровой скважины образец отбирают; с уровня зачищенного забоя с помощью обуривающего или забивного грунтоноса, обеспечивающего сохранность естественного сложения грунта. Для отбора керна мерзлых грунтов применяют специальные пробоотборники.

При отборе, транспортировании и обработке образцов мерзлого грунта принимают меры для сохранения их в мерзлом состоянии.

3.77. При испытании грунта нарушенного сложения образец приготовляют из равномерно увлажненного и уплотненного под заданной нагрузкой грунта до достижения условной стабилизации осадки. Уплотнение образцов можно производить рычажным прессом непосредственно в а-калориметре. Для предотвращения деформации последнего его при этом помещают в толстостенную оправу.

3.78. Для измерения температуры образца закладывают в среднюю его часть спай дифференциальной термопары. Спай термопары должен плотно соприкасаться с грунтом.

3.79. а-калориметр, заполненный грунтом, герметически закрывают крышками. Крышки при этом должны плотно прилегать к торцовым поверхностям образца. Подготовленные таким образом образцы выдерживают при постоянной температуре:

образцы талых грунтов - в помещении при комнатной температуре (18-20 °С) в течение 3-4 ч;

образцы мерзлых грунтов - в холодильной камере или криостате при температуре не выше –10 °С в течение 6-8 ч (не считая времени замораживания).

ПРОВЕДЕНИЕ ИСПЫТАНИЯ

3.80. При испытании образца мерзлого грунта термос прибора заполняют охладительной или криогидратной смесью с температурой плавления не выше –20 °С. В бачок теплоприемника наливают незамерзающую жидкость (спирт, керосин) и доводят ее температуру до температуры охладительной смеси (с точностью до 0,1 °С).

3.81. При испытаниях образца талого грунта бачок теплоприемника удаляют, а термос прибора заполняют смесью воды с измельченным льдом. Прибор с работающей мешалкой выдерживают до установления постоянной температуры смеси, равной 0°.

3.82. Для измерения а-калориметр погружают в бачок или термос прибора и наблюдают за изменением во времени разности температур между образцом и теплоотводящей жидкостью с помощью гальванометра, присоединенного к выводам дифференциальной термопары. Показания гальванометра отсчитывают в течение 8-12 мин с интервалом в 1 мин. В процессе опыта интенсивным турбулентным перемешиванием жидкости поддерживают постоянство ее температуры с точностью до 0,1°. Данные наблюдений записывают в форму табл. 20.

3.83. Образцы анизотропных грунтов тонкослоистой текстуры подвергаются дополнительному испытанию при измененном условии теплообмена: с а-калориметра снимают нижнюю крышку и заменяют ее тонкостенным пластмассовым колпачком. Между колпачком и поверхностью образца оставляют воздушный зазор в 8-10 мм, исключающий непосредственный контакт образца с жидкостью и теплообмен между ними. После выдержки образца при постоянной температуре повторяют опыт в указанной выше последовательности.

Примечание. Испытание анизотропных образцов следует производить в а-калориметре высотой, примерно равной их диаметру. Слоистость образца должна совпадать с его торцовой поверхностью.

3.84. Все опыты выполняют с двукратной повторностью. Если расхождение между двумя измерениями превышает 5 %, то производят контрольный опыт. По окончании измерений определяют влажность исследованного образца грунта термостатно-весовым методом (ГОСТ 5179-64).

Таблица 20

(Форма)

Данные определения коэффициента теплопроводности методом регулярного теплового режима

а) исходные данные

№ п.п.

Лабора­
торный номер

На выра­ботки

Глубина отбора образца в м

Номенкла­турное наиме­нование грунта

Вес образца грунта в г

Влаж­ность грунта в %

Размеры а-калориметра в см

Коэффи­циент формы а-калори­метра

Начальная темпе­ратура образца в °С

Темпе­ратура среды в °С

Пере­счетный коэффи­циент термо­пары в град/дел. шкалы

Приме­чание

диаметр

высота

 

 

 

 

 

 

 

 

 

 

 

 

 

 

 

 

 

 

 

 

 

 

 

 

 

 

 

 

 

 

б) данные наблюдений

№ опыта

Время в мин

Отсчет по гальванометру в дел. шкалы

Разность температур в °С

ln θ

Темп остывания образца η в мин

Коэффициенты

температурно­проводности а, м2

теплопроводности λ, ккал/м·ч·град

 

 

 

 

 

 

 

 

 

 

 

 

 

 

 

 

ОБРАБОТКА РЕЗУЛЬТАТОВ И ОПРЕДЕЛЕНИЕ ХАРАКТЕРИСТИК

3.85. По данным опыта строят график изменения разности температуры образца и теплоотводящей жидкости θ в °С в зависимости от времени t. График строят в полулогарифмическом масштабе. По оси ординат откладывают значения ln θ, а по оси абсцисс - время t в мин. На прямолинейном участке графика выбирают две точки, соответствующие моментам времени t1 и t2, и определяют значения температур θ1 и θ2. По этим данным вычисляют темп охлаждения образца грунта η по формуле

                                                                             (47)

3.86. Вычисляют коэффициент температуропроводности образца а по формуле

                                                                                (48)

где kф - коэффициент формы a-калориметра, определяемый по формуле

                                                                      (49)

где R и h - соответственно радиус и высота образца в см.

3.87. Определяют коэффициент теплопроводности исследованного образца грунта по формуле

λ = асγо6 ккал/м·ч·град,                                                                            (50)

где γоб - объемный вес образца грунта в кг/м3, определяемый путем деления веса образца на объем;

с - удельная теплоемкость образца грунта в ккал/кг×град.

3.88. Величину удельной теплоемкости образца грунта, вошедшую в формулу (50), определяют экспериментально при температурных условиях, аналогичных условиям данного опыта.

3.89. Для образца грунта слоистой текстуры вычисляют коэффициент тепловой анизотропности по формуле

                                                                          (51)

где  - коэффициент тепловой анизотропности образца грунта в долях единицы;

η -темп охлаждения образца в мин-1, вычисленный по формуле (47) по данным основного опыта;

η' - темп охлаждения образца в мин-1 вычисленный по формуле (47) по данным повторного опыта;

λz и λr - значения теплопроводности образца грунта соответственно вдоль его оси и нормально к ней.

Примечание. Абсолютное значение теплопроводностей λR и λz по данной методике не определяют. Приближенно λRελ и , где λ - коэффициент теплопроводности образца грунта, вычисленный по данным основного опыта.

3.90. Результаты испытаний грунта представляют по форме табл. 20. За величину коэффициента теплопроводности испытанного образца грунта принимают среднее арифметическое значение из двух-трех определений, вычисленных с точностью до 0,01 ккал/м·ч·град. За среднюю температуру испытания образца принимают среднее арифметическое значение начальной и конечной температуры. В числе дополнительных сведений приводят значения коэффициента температуропроводности в м2и удельной теплоемкости образца грунта с указанием способа ее определения (расчетный, экспериментальный).

ПРИМЕР РАСЧЕТА

3.91. Испытан суглинок мерзлый тонкослоистой криогенной текстуры с суммарной влажностью Wc = 59,6 %. Испытания образца грунта произведены двумя способами: при обычных условиях измерений (опыт 1) и при теплоизоляции нижнего торца (опыт 2).

Исходные данные. Вес образца грунта gг = 192,8 г.

Размеры образца (внутренние размеры а-калориметра):

радиус R = 2,5 см;

высота h = 6 см.

Объем образца (внутренний объем а-калориметра) V = πR2h = 3,14·6,25·6 = 117,5 см3.

Коэффициент формы а-калориметра kф = 0,833 см2.

Объемный вес образца грунта

Постоянная термопары п = 0,122 град/дел. шкалы.

Начальная температура образца грунта θoбp = -12 °С.

Температура теплоотводящей жидкости θсp = -22,2 °С.

Данные опытов приведены в табл. 21.

Таблица 21

Данные опытов

Время в мин

Опыт № 1

Опыт № 2

отсчет по гальванометру, дел. шкалы

Разность температур θ, град

отсчет по гальванометру, дел шкалы

Разность температур θ, град

1

86

10,5

-

-

2

62

7,56

63

7,69

3

43

5,24

45

5,49

4

24

2,93

29

3,54

5

14,2

1,73

19,5

2,38

6

8,8

1,07

12,6

1,54

7

5,5

0,67

8,3

1,01

8

3,3

0,42

5,8

0,71

Вычисление. По двум произвольным значениям температуры, взятым на линейном участке графика изменения ln θ по времени t, например, для моментов времени t1 = 3 мин и t2 - 7 мин в первом опыте и для t1 = 3 мин и t2 = 6 мин во втором, вычисляют темпы охлаждения образца η и η' по формуле (47):

 мин-1;

 мин-1.

По найденному из первого опыта значению темпа охлаждения образца η определяют величину коэффициента температуропроводности грунта по формуле (48):

а = 0,006·0,501·0,833 = 0,0026 м2.

Вычисляют величину коэффициента тепловой анизотропности образца грунта по формуле (51)

Для расчета коэффициента теплопроводности грунта предварительно вычисляют величину его удельной теплоемкости по формуле (30) либо используют данные ее экспериментального определения. В данном случае с = 0,34 ккал/кг×град. Подставляя это значение с в формулу (51), определяют коэффициент теплопроводности

λ = 0,0026×0,34×1,64 = 1,45 ккал/м×ч×град.

ТЕМПЕРАТУРА НАЧАЛА ЗАМЕРЗАНИЯ ЗАСОЛЕННЫХ ГРУНТОВ

3.92. Под температурой начала замерзания засоленного грунта понимают отрицательную температуру, при которой в поровом растворе появляются кристаллы льда.

3.93. Температуру начала замерзания порового раствора определяют для мерзлых грунтов массивной криогенной текстуры, а также для минеральных прослоек или макроагрегатов мерзлых грунтов слоистой и сетчатой криогенной текстуры, содержащих только поровый лед.

3.94. В засоленных грунтах массивной криогенной текстуры незамерзшая вода состоит из различных категорий связанной воды и раствора солей. Для таких грунтов температуры начала замерзания и таяния практически совпадают, так как они в основном зависят от концентрации порового раствора.

3.95. В засоленных мерзлых грунтах слоистой и сетчатой криогенной текстуры ледяные включения практически не содержат солей и оттаивают при 0° С.

3.96. Для определения температуры начала замерзания засоленного грунта используют монолиты или образцы нарушенного сложения с сохранением природной влажности.

3.97. Температуру начала замерзания определяют по кривой зависимости количества незамерзшей воды от отрицательной температуры, которую строят по результатам калориметрических опытов (см. рис. 2).

3.98. Температура начала замерзания засоленного грунта на кривой зависимости количества незамерзшей воды от отрицательной температуры соответствует количеству незамерзшей воды, равной природной влажности исследуемого образца.

3.99. Образцы засоленного грунта для определения содержания незамерзшей воды при различных значениях отрицательной температуры приготовляют при влажности границы текучести, т.е. влажности, заведомо превышающей природную влажность мерзлого грунта массивной криогенной текстуры или влажность минеральных прослоек (макроагрегатов) грунтов слоистой или сетчатой криогенной текстуры.

3.100. Для определения температуры начала замерзания грунта массивной криогенной текстуры на графике зависимости количества незамерзшей воды от отрицательной температуры (см. рис. 2) по оси ординат откладывают отрезок ОА, соответствующий значению природной влажности мерзлого грунта. Из точки А проводят прямую, параллельную оси температур, до ее пересечения в точке В с кривой Wн(θ). Основание перпендикуляра, опущенного из точки В к оси температур, определяет температуру замерзания засоленного грунта массивной криогенной текстуры θз.

3.101. В случае мерзлых грунтов слоистой и сетчатой криогенной текстуры для определения температуры замерзания необходимо предварительно установить влажность минеральных прослоек или макроагрегатов Wг. Эту влажность откладывают на оси ординат и определяют значение θз.

РЕКОМЕНДАЦИИ ПО ИЗГОТОВЛЕНИЮ ОСНОВНЫХ УЗЛОВ И ДЕТАЛЕЙ ПРИБОРОВ ДЛЯ ОПРЕДЕЛЕНИЯ ТЕПЛОФИЗИЧЕСКИХ ХАРАКТЕРИСТИК

ИЗГОТОВЛЕНИЕ И ТАРИРОВКА ТЕРМОПАР

3.102. При определении теплофизических характеристик грунта применяют дифференциальные термопары. Они представляют собой два последовательно соединенных термоэлемента, каждый из которых образован контактом двух проволок из разных металлов. Один термоэлемент, называемый горячим, или рабочим спаем, помещают в исследуемый образец грунта, другой - холодный спай, или спай сравнения - в среду в известной температурой, например в тающий лед.

3.103. Для изготовления термопар следует выбирать металлы, дающие в паре устойчивую и высокую термоэлектродвижущую силу (ТЭДС) на единицу разности температур горячего и холодного спаев (см. табл. 22).

Таблица 22

ТЗДС термопар различных металлов и сплавов

Электрод

ТЭДС на 100° разности температуры в мв

положительный

отрицательный

Хромель

Алюмель

4,1

Железо

Константин

5,37

Медь

»

4,26

Олово

»

3,93

Хромель

Капель

6,95

»

Константан

6,2-6,6

Для большинства практических целей применяют медь-константановые термопары из проводов марки ПЭШОК; ПЭК; ПЭЛ или ПЭВ диаметром 0,2-0,5 мм. Провода для электродов проверяют на термоэлектрическую гомогенность, пропуская их через трубчатую печь с температурой 100-200 °С. При этом зеркальным гальванометром, присоединенным скользящими контактами из того же металла к проверяемому участку провода, выявляют наличие ТЭДС. Участки проводов, в которых отмечен термоэлектрический ток, отбраковывают.

3.104. Из проверенных на гомогенность проводов изготовляют термопары. Для этого концы медного и константанового провода зачищают, плотно скручивают между собой и тщательно пропаивают оловом 1. Спаивание производят только с применением: канифоли. Длина спая термопары должна быть 2-3 мм. Для предохранения термопары от окисления и предупреждения условий возникновения паразитных токов ее покрывают водостойким электроизоляционным лаком (шеллак, эмалитовый лак и пр.). Следует избегать промежуточных соединений проводников термопары. К гальванометру, как правило, выводят медные электроды дифференциальной термопары.

3.105. Каждую термопару подвергают индивидуальной тарировке, причем тем гальванометром, которым предусматривают выполнение работ. Тарировку производят для четырех фиксированных значений температуры, избираемых из предполагаемого диапазона измерений.

1 Хорошее качество термопар получают при сварке проводков или при электролитическом нанесении слоя меди на константановый провод.

В процессе тарировки записывают показания гальванометра и соответствующие значения температуры холодного и горячего спаев термопары, измеряемой ртутными термометрами с точностью до 0,1°. Обычно холодный спай тарируемой термопары помещают в тающий лед, а горячий - в сосуд Дьюара с перемешиваемой жидкостью. По данным тарировки строится график изменения показаний гальванометра в делениях его шкалы в зависимости от разности температур горячего и холодного спаев термопары в °С. Угловой коэффициент этого графика в дел. шкалы/град принимается за коэффициент термопары.

ИЗГОТОВЛЕНИЕ ПЛОСКИХ ЭЛЕКТРИЧЕСКИХ НАГРЕВАТЕЛЕЙ

3.106. Электрический нагреватель, применяемый при определении теплофизических характеристик грунта, должен быть тонким (около 2 мм) обладать малой собственной теплоемкостью, большой теплопроводностью, обеспечивать равномерный и симметричный нагрев соприкасающихся с ними поверхностей образца грунта при стабильной тепловой мощности.

3.107. Для изготовления обмотки нагревателя используют провод диаметром 0,3-0,5 мм в шелковой или эмалевой изоляции с малым температурным коэффициентом сопротивления, например константан, манганин, нейзильбер, фехраль и др. Нагревательную обмотку укладывают бифилярно между двумя листами лакоткани так, чтобы расстояние между витками было одинаковым и не превышало 5 мм.

3.108. Рекомендуют следующую технологию изготовления нагревателя. На доску накладывают лист лакоткани и по контуру нагревателя на равных расстояниях вбивают шпильки, служащие основой для обмотки. После укладки нагревательной обмотки поверхность проводов в лакоткани смазывают клеем БФ-2 или эмалитовым лаком, снимают шпильки и накладывают второй слой лакоткани. Затем нагреватель сжимают между двумя медными или алюминиевыми пластинами толщиной 0,3-0,5 мм, смазанными клеем, и ставят в сушильный шкаф, где выдерживают в течение 2-3 ч при температуре 150 °С до полной полимеризации клея.

3.109. Выбор сечения и длины провода для нагревательной обмотки производится исходя из заданной тепловой мощности нагревателя по формуле

                                                                               (52)

где lн - длина провода нагревателя в м;

Q - удельная мощность нагревателя в ккал/ч;

ρэ - удельное сопротивление материала проводника в ом·мм2/м;

fн - поперечное сечение проводника в мм2;

U и I - соответственно напряжение в вольтах и сила тока в амперах.

Значения основных электрических параметров проводников, применяемых для изготовления нагревателей, приведены в табл. 23.

Таблица 23

Электрические параметры материалов, применяемых для изготовления нагревателей

Материал

Удельное сопротивление в ом×мм2(при 20 °С)

Температурный коэффициент (при 20 °С)

Материал

Удельное сопротивление в ом·мм2(при 20 °С)

Температурный коэффициент (при 20 °С)

Константен

0,6

5·10-6

Сплав № 1 (Х13Ю5)

1,2-1,3

5·10-5

Манганин

0,45

5·10-5

Нейзильбер

1-1,15

4·10-5

Сплав № 2 (3Х25Ю5)

1,3-1,6

5·10-5

Никелин

0,42

3·10-4

Сплав

1,18-1,363

6·10-5

Нихром

1-1,15

1,3·10-4

Латунь

0,06-0,09

10-3

Фехраль

1,2

5·10-5

Медь

0,017

4,3·10-3

Сталь

0,199

1,6·10-3

ИЗГОТОВЛЕНИЕ И ТАРИРОВКА ТЕПЛОМЕРОВ

3.110. Тепломер представляет собой батарею последовательно соединенных термопар, горячие и холодные спаи которых располагаются на противоположных сторонах плоской пластины, выполняющей роль эталонного тела.

3.111. Эталонную пластину - основу тепломера - изготовляют из органического стекла или другого негигроскопичного материала со стабильной теплопроводностью 0,1-0,2 ккал/м·ч·град. Пластине толщиной 3-5 мм придают форму круга диаметром не менее 25 см или квадрата со стороной того же размера. В средней части пластины (до половины ее радиуса или стороны квадрата) по равномерной квадратной сетке просверливают тонкие отверстия с расстоянием между ними в 5-7 мм. В отверстия поочередно проделывают медные и константановые электроды термопар и спаивают между собой так, чтобы каждый последующий спай находился на противоположной стороне пластины посередине между соседними отверстиями. Первый и последний электроды термобатареи выбирают медными. Концы их выводят к выходным клеммам тепломера, запрессованным сбоку пластины. Диаметр проводов для изготовления термопар не должен быть более 0,2-0,3 мм. После монтажа термопарной батареи спаи термопар заделывают вровень с поверхностью пластины и весь тепломер покрывают слоем изоляционного покрытия, например раствором органического стекла в дихлорэтане.

3.112. Изготовленные тепломеры градуируют по величине удельного теплового потока q, ккал/м2·ч, эквивалентного 1 мв ТЭДС термобатареи ε. Градуировку производят в установке, описанной в п. 3.44. Для этого в прибор дополнительно устанавливают второй холодильник, присоединяемый к общему термостату с первым холодильником. Между холодильниками помещают два одинаковых тепломера с заложенным между ними плоским нагревателем. После включения тока нагревателя и установления стационарного теплового потока записывают показания потенциометра, который поочередно подключают к тарируемым тепломерам. Тарировочные опыты выполняют с двукратной повторностью при взаимной перемене положения тепломера по отношению к нагревателю. Коэффициент пересчета тепломера v вычисляется по формуле

 ккал/м2×ч×мв,                                                             (53)

где U - напряжение тока нагревателя в в;

Rэ - электрическое сопротивление нагревателя в ом;

ε - ТЭДС термобатареи в мв.

4. МЕХАНИЧЕСКИЕ СВОЙСТВА

ПОДГОТОВКА ОБРАЗЦОВ ГРУНТА И ТРЕБОВАНИЯ К ИХ ЛАБОРАТОРНЫМ ИСПЫТАНИЯМ

ПОДГОТОВКА ОБРАЗЦОВ

4.1. Характеристики механических свойств мерзлых и оттаивающих грунтов рекомендуется определять для глинистых и песчаных грунтов массивной, тонкослоистой и мелкосетчатой криогенной текстуры (пп. 1.12-1.18) при отсутствии в них обломочного материала. Для крупнообломочных, исключая щебнистые мерзлые грунты, в лабораторных условиях допускается определять только осадку при оттаивании.

4.2. Испытание мерзлого грунта производят на образце грунта ненарушенного сложения, естественной влажности и при отрицательной температуре, соответствующей заданным условиям опыта.

4.3. Образец грунта вырезают из монолита или керна, доставляемых в лабораторию без изменения их естественной влажности и при отрицательной температуре. Количество и размер поступающих в лабораторию монолитов и кернов должны обеспечить получение необходимого числа идентичных образцов для каждой разновидности грунта.

4.4. Образец вырезают из монолита так, чтобы при последующем испытании он по отношению к прилагаемому усилию имел ориентировку, соответствующую природному залеганию грунта в массиве.

4.5. Образец мерзлого грунта вырезают при помощи металлического кольца-пробобрателя (режущего цилиндра), из которого он с помощью ручного пресса или специального выталкивателя перемещается в рабочее кольцо прибора. Для уменьшения трения грунта внутреннюю поверхность стенки кольца пробообрателя предварительно покрывают тонким слоем (пленкой) технического вазелина.

Примечание. В опытах по определению сжимаемости мерзлого грунта под нагрузкой (пп. 4.22-4.56) образец отбирают непосредственно в рабочее кольцо, что уменьшает возможные потери грунта и образование зазоров между кольцом и образцом.

4.6. Кольцо-пробобратель изготовляют из нержавеющей стали толщиной 3-4 мм. Нижнюю часть кольца с внешней стороны затачивают на конус. Пробобратель должен быть на 5-6 мм выше рабочего кольца и иметь внутренний диаметр на 0,5-1 мм больше внутреннего диаметра рабочего кольца, что исключит возможность появления зазора между образцом и стенками рабочего кольца.

Рекомендуется иметь набор колец-пробобрателей (по 5-6 шт.), размеры, которых должны соответствовать диаметрам рабочих колец.

4.7. Перед отбором образцов грунта рабочие кольца и кольца-пробобратели нумеруют, а также определяют их вес и размеры, необходимые для расчета объемного веса испытываемого мерзлого грунта. Эти данные записывают в журнал (табл. 24).

4.8. Для отбора образца на зачищенную поверхность мерзлого грунта устанавливают кольцо-пробобратель или рабочее кольцо.

Грунт с наружной стороны кольца (у заостренного края) осторожно срезают острым ножом и, легко надавливая кольцо, постепенно надвигают на образующийся грунтовый цилиндр до полного его заполнения. Излишки грунта с торцов срезают вровень с краями кольца; верхнюю и нижнюю поверхности образца грунта тщательно зачищают ножом с прямым лезвием.

4.9. Испытываемый образец грунта должен соответствовать размеру рабочего кольца и иметь тщательно зачищенные и отшлифованные тонкой наждачной бумагой поверхности оснований. Взаимную параллельность оснований образца проверяют измерением его высоты штангенциркулем, производимым с точностью до 0,1 мм. Измерение высоты производят не менее чем в шести различных точках образца. Исходные данные записывают в журнал наблюдений (табл. 24).

4.10. Подготовленный образец мерзлого грунта вместе с кольцом-пробобрателем или рабочим кольцом взвешивают с точностью до 0,01 г на технических весах, установленных в помещении, в котором поддерживается отрицательная температура. Полученные данные записывают в журнал (табл. 24).

4.11. Перед испытанием образец мерзлого грунта, взятый в кольцо-пробобратель (за исключением случая, когда он предназначен для испытания на сжимаемость в мерзлом состоянии), перемещают из пробобрателя в рабочее кольцо, зачищают сверху и снизу вровень с краями кольца и снова взвешивают.

Данные записывают в журнал (табл. 24). При перемещении образца грунта в рабочее кольцо необходимо следить за плотностью прилегания грунта к стенкам кольца.

Таблица 24

(Форма)

Журнал

исходных данных исследуемых образцов мерзлого грунта перед опытом

Наименование грунта ________________________________________________________

Место, глубина и дата отбора грунта ___________________________________________

Тип криогенной текстуры _____________________________________________________

Лабораторный №

Номер кольца (бюкса) чашки

Вес кольца (бюкса) чашки

Внутренний диаметр кольца в см

Площадь образца в см2

Высота образца перед опытом в мм

Объем образца перед опытом в см3

Вес образца с кольцом в г

Вес образца в г

1

2

3

4

5

6

среднее значение

 

 

 

 

 

 

 

 

 

 

 

 

 

 

 

 

 

 

 

 

 

 

 

 

 

 

 

 

 

 

 

 

 

 

 

 

 

 

 

 

 

 

 

 

 

 

 

 

 

 

 

 

 

 

 

 

 

 

 

 

4.12. Операции по отбору образца мерзлого грунта, его хранению, перемещению в рабочее кольцо прибора и загрузке в прибор производят в помещении с отрицательной температурой воздуха, но не выше минус 2-3 °С, когда в процессе обработки образцы быстро оттаивают, и не ниже минус 8-10 °С, когда обработка грунта затруднена. Условиям таких помещений отвечают естественные и искусственные холодильные камеры и полевые лаборатории, вырытые в толще вечномерзлых грунтов (см. рис. 1).

4.13. Подготовленный образец грунта до испытания рекомендуется хранить в помещении с отрицательной температурой и постоянной относительной влажностью воздуха в нем, но не более пяти суток, при этом с целью предохранения образцов от выветривания их обертывают листовой резиной - изопаролентой или полиэтиленовой пленкой. Образец можно также покрывать резиновым клеем, при высыхании которого образуется тонкий слой резины, хорошо прилегающий к поверхности образца и предохраняющий его от выветривания. Образец при постоянной температуре и влажности воздуха хранят либо непосредственно в помещении, где производят испытания, либо в специальном ультратермостате, холодильном шкафу или камере.

4.14. Подготовленный образец грунта перед испытанием выдерживают при постоянной температуре, соответствующей температуре последующих испытаний: не менее 6 ч для песчаного грунта и не менее 24 ч для глинистого грунта.

4.15. Для каждого образца грунта определяют исходное (до опыта) и конечное (после опыта) значения объемного веса и влажности, а для каждой разновидности грунта - гранулометрический состав, засоленность и удельный вес, а также пластические свойства, необходимые для общей характеристики и установления номенклатуры грунта.

Результаты определений записывают в журнал (табл. 1, 24, 25).

Таблица 25

(Форма)

Данные по определению физических показателей образцов мерзлого грунта после опыта

Лабораторный № образца

Высота образца после опыта в мм

Объем образца после опыта в мм

Вес образца с чашкой в г

Вес сухого образца в г

Вес влажного образца

до сушки

после сушки

1

2

3

 

 

 

 

 

 

 

 

 

 

 

 

 

 

 

 

 

 

 

 

 

 

 

 

 

 

 

ТРЕБОВАНИЯ К ИСПЫТАНИЯМ

4.16. Испытания образца мерзлого грунта производят при постоянных в течение всего опыта отрицательной температуре и относительной влажности воздуха в помещении.

При испытании допускается лишь небольшое отклонение температуры от принятого экспериментального значения; Для песчаных и глинистых грунтов в пластичномерзлом состоянии допускают отклонения температуры на величину ±0,1 °С, а для таких же грунтов в твердомерзлом состоянии - на ±0,5 °С.

Примечание: При длительных испытаниях грунтов, когда по техническим причинам в течение всего опыта трудно поддерживать постоянную температуру, допускается кратковременное (2-3-часовое) ее понижение, но не более чем на один градус, при обязательном условии, что заданная температура будет восстановлена и выдержана в течение времени, необходимого для стабилизации деформации.

4.17. Температуру образца мерзлого грунта при испытании назначают в зависимости от задания. При отсутствии в задании на лабораторную работу указания о температуре испытания рекомендуется проводить при двух температурах:

температуре, соответствующей природной температуре грунта в основании слоя с нулевой годовой амплитудой, расположенного на глубине 10 м;

температуре, соответствующей максимальной среднегодовой температуре грунта, средней за десять лет, на глубине 1 м от верхней границы вечномерзлой толщи.

4.18. Не допускается испытывать образец мерзлого грунта на приборе, имеющем температуру выше 0 °С. Перед каждым испытанием прибор выдерживают не менее 2 ч в холодильной камере при отрицательной температуре, соответствующей температуре последующих испытаний.

4.19. Перед началом каждого испытания опытную установку проверяют и приводят в горизонтальное положение. Установку прибора в горизонтальном положении осуществляют специальными установочными винтами, уровнем и отвесом.

4.20. Смонтированный для испытания прибор необходимо тарировать, т.е. определять его собственную деформацию при предполагаемых нагрузках. Тарировку производят с трехкратной повторностью по методике, принятой для приборов, применяемых при испытаниях талых грунтов.

4.21. Перед началом каждого испытания для достижения наиболее полного контакта поверхности оснований образца со штампом и поддоном прибора производят обжатие мерзлого грунта: образцов с температурой выше -2 °С в течение 15 сек под нагрузкой, равной максимальному усилию в опыте; образцов с температурой ниже -2 °С в течение 30 сек под нагрузкой, равной также максимальному усилию в опыте. При обжатии штамп необходимо поворачивать вокруг оси на 90° (четыре раза) с возвращением его в исходное положение. Обжатие производят в помещении с отрицательной температурой воздуха.

СЖИМАЕМОСТЬ МЕРЗЛЫХ ГРУНТОВ

4.22. Некоторые разновидности мерзлых грунтов при определенных условиях обладают свойством сжимаемости. Основания, сложенные сжимаемыми грунтами, рассчитывают по второму предельному состоянию, т.е. по деформациям.

Под сжимаемостью мерзлого грунта понимают его уплотнение без возможности бокового расширения, вызываемое в изотермических условиях действием сжимающей нагрузки.

4.23. К сжимаемым мерзлым грунтам можно отнести все разновидности пластичномерзлых грунтов (табл. 26), а также твердомерзлые сильнольдистые грунты;

4.24. Основными расчетными показателями, характеризующими сжимаемость мерзлых грунтов, являются коэффициент сжимаемости аi и модуль деформации Еi которые зависят от температуры мерзлого грунта, а также от величины и продолжительности действия нагрузки.

Таблица 26

Пластичномерзлые грунты

Грунт

Температура грунта, °С выше

Песок пылеватый

-0,3

Супесь

-0,6

Суглинок

-1

Глина

-1,5

Примечание. Табл. 26 дана для незасоленных грунтов (см. п. 2.70) при их льдистости Лв £ 0,4.

4.25. Сжимаемыми считают такие мерзлые грунты, которые характеризуются коэффициентом сжимаемости аi > 0,005 см2/кг или модулем деформации Еi < 200 кг/см2 при воздействии на них нормальных давлений, не превышающих величины нормативного сопротивления мерзлых грунтов нормальному давлению Rн (см. табл. 6 главы СНиП II-Б.6-66 и п. 4.125 настоящего Руководства),

4.26. Характеристики сжимаемости мерзлого грунта определяют по результатам испытаний грунта статическими нагрузками (испытания штампом), проводимых непосредственно в полевых условиях, или по результатам компрессионных испытаний грунта в лабораториях.

4.27. Метод испытаний мерзлых грунтов статическими нагрузками в настоящее время имеет ограниченное применение: испытание мерзлого грунта штампом трудоемко, так как связано с необходимостью сохранения отрицательной температуры грунта и окружающего воздуха в течение длительного времени. Этот метод рекомендуется использовать только в исключительных случаях при инженерно-геологических изысканиях для особо важных зданий и сооружений, причем проведение таких испытаний должно быть предусмотрено специальным заданием.

4.28. Метод компрессионного испытания имеет широкое применение, как наиболее простой и приемлемый для работы в стационарных лабораториях. При таком испытании образец мерзлого грунта подвергается сжатию без возможности его бокового расширения под действием возрастающей ступенями нагрузки.

Примечание. Метод компрессионных испытание образцов мерзлого грунта в отличие от испытаний талых грунтов дает удовлетворительные результаты, так как трение мерзлого грунта о стенки прибора незначительно и при этом не нарушается структура грунта, взятого с любой глубины.

ПРИБОРЫ

4.29. Приборы, используемые для компрессионных испытаний мерзлого грунта, аналогичны компрессионным установкам, предназначенным для обычных, немерзлых грунтов, и состоят из трех основных частей - одометра или прибора, в котором непосредственно сжимают мерзлый грунт, рычажного пресса, при помощи которого осуществляют передачу нагрузки на образец, и измерительной аппаратуры - индикаторы, самописцы. Каждая составная часть компрессионного прибора, предназначенного для испытания именно мерзлого грунта, должна удовлетворять повышенным техническим требованиям.

4.30. Компрессионный прибор - одометр (рис. 11) должен отвечать следующим основным требованиям:

а) детали прибора, за исключением штампа и рабочего кольца, должны быть изготовлены из органического стекла (плексигласа), плохие теплопроводные свойства которого позволяют сохранять постоянную температуру образца грунта при небольших колебаниях температуры окружающей среды;

Примечание. При испытаниях образцов мерзлого грунта с температурой ниже –2 °С допускается пользоваться одометрами, изготовленными из металла, например нержавеющей стали.

Рис. 11. Схема прибора для определения сжимаемости мерзлого грунта

1 - образец групп; 2 - рабочее кольцо; 3 - направляющее кольцо; 4 - направляющий цилиндр (обойма); 5 - перфорированный поддон; 6 - перфорированный штамп; 7 - индикаторы; 8 - стойки для крепления индикаторов: 9 - подвижной кронштейн; 10 - шарик для точечной передачи

б) измерители деформаций должны располагаться непосредственно на штампе или поддоне одометра, чтобы исключить возникновение дополнительных погрешностей;

в) размер отверстий в перфорированном штампе и поддоне одометра не должен превышать 0,5 мм, а зазор между штампом и рабочим кольцом должен быть менее 0,1 мм, что исключает возможность пластического выдавливания льда;

г) рабочие кольца одометра должны изготавливаться из нержавеющей стали толщиной не менее 0,04 от диаметра кольца и использоваться в качестве пробобрателей, для чего одни край их с наружной стороны затачивается на конус;

д) высота рабочего кольца должна быть менее ⅓ от его внутреннего диаметра в случае испытания мерзлых грунтов массивной, тонкослоистой или мелкосетчатой криогенной текстуры и с влажностью менее 50 %, а в случае испытания образцов слоистой и сетчатой криогенной текстуры при влажности более 50 % высота кольца должна быть более ⅓ диаметра, но не более ⅔ его;

е) внутренний диаметр рабочих колец должен быть равен 8,74 или 11,3 см, что обеспечивает испытание образцов принятой площади (60 или 100 см2).

4.31. Рычажный пресс, применяемый при испытании мерзлого грунта, подбирают в зависимости от максимального значения предполагаемого усилия. Для принятых размеров образца грунта такому условию удовлетворяют прессы с усилием в 0,5-1,5 т. Рекомендуют применять прессы с передачей нагрузки через сдвоенную систему рычагов или секторные рычаги при общей кратности их плеч, не превышающей 1:20. Это позволяет пользоваться при экспериментах нагрузками-разновесами небольшой величины.

4.32. Деформации сжимаемости мерзлого грунта измеряют разовыми отсчетами по индикаторам часового типа или автоматически при помощи самописцев. Ввиду незначительной величины скорости процесса уплотнения мерзлого грунта и в связи с тем, что необходимо проследить за сжимаемостью во времени, рекомендуется применять микронные измерительные приборы с ценой деления ≈0,002 мм. Измерение деформаций производят двумя приборами, расположенными по диаметру образца.

4.33. Исследуемые образцы должны строго соответствовать размеру рабочих колец, поэтому поверхности нижнего и верхнего оснований образца тщательно зачищают острым ножом с прямым лезвием и отшлифовывают на тонкой наждачной бумаге. Основания образца должны быть взаимно параллельны, что следует проверять измерениями высоты образца штангенциркулем с точностью до 0,1 мм не менее чем в шести различных точках.

ПРОВЕДЕНИЕ ИСПЫТАНИЙ

4.34. Показатели сжимаемости мерзлого грунта определяют по данным измерения линейных деформаций образца. Другие способы определения деформации (по изменению пористости и веса) не применяют.

4.35. Компрессионные испытания образца мерзлого грунта производят в помещении с постоянными отрицательной температурой и относительной влажностью воздуха. В случае, когда в течение всего опыта поддерживать постоянную температуру технически невозможно, допускают кратковременное (до 2-3 ч) ее понижение не более чем на 1°, но при обязательном восстановлении исходной температуры и выдерживании ее в течение времени, необходимого для достижения стабилизации деформаций.

4.36. Перед каждым испытанием проверяют готовность компрессионного прибора, обращая внимание на отсутствие засоренности отверстий в штампе и поддоне, а также на свободное прохождение штампа через рабочие кольца (проверка на эллипсность).

4.37. Компрессионные испытания выполняют под нагрузкой, возрастающей ступенями, с выдерживанием каждой ступени нагрузки до стабилизации деформации.

4.38. Число и величина ступеней нагрузки определяются видом мерзлого грунта и его температурой:

а) нагружение песчаных грунтов осуществляют ступенями, последовательно увеличивающимися на 2-3 кг/см2;

б) нагружение глинистых грунтов (суглинок, глина) с температурой ниже -1,5 °С проводят ступенями, последовательно увеличивающимися на 2-3 кг/см2, а грунтов с температурой выше -1,5°С - на величину не более 1-2 кг/см2.

4.39. Величину нагрузки первой ступени принимают равной природному давлению рб = Н, где Н - глубина взятия образца,  - объемный вес мерзлого грунта.

4.40. Величину последней ступени нагрузки, т.е. максимальное уплотняющее давление, принимают по заданию, При отсутствии конкретного задания в качестве ориентировочного значения давления на последней ступени нагружения образца грунта принимают величину, равную нормативному сопротивлению мерзлого грунта нормальному давлению по табл. 6 главы СНиП II-Б.6-66.

4.41. На каждой ступени нагрузки фиксируют деформацию и время. Нагрузку каждой последующей ступени прикладывают только после стабилизации деформации на данной ступени.

4.42. Условно стабилизовавшейся считают деформацию, приращение которой не превышает 0,005 мм за следующие интервалы времени: для песков - 6 ч, для супесей - 12 ч, для суглинков и глин - 24 ч.

Критерием стабилизации деформации является также величина приращения деформации, которая за те же интервалы времени должна быть менее 5 % полной деформации, достигнутой на данной ступени нагружения. Стабилизацию считают достигнутой, если указанные условия выполняются в течение двух последующих интервалов времени.

4.43. Для каждой установленной ступени нагрузки определяют вес груза (разновесов) в кг:

Рг = pFN,

где F - площадь образца грунта, вычисленная по внутреннему диаметру рабочего кольца, в см2;

N - соотношение плеч рычагов пресса (например, 1:20 или 1:40);

р - давление на образец грунта в кг/см2.

4.44. Подготовленный в соответствии с рекомендациями пп. 4.1-4.15 настоящего Руководства образец грунта помещают в одометр, на него устанавливают штамп и закрепляют измерители деформаций - индикаторы. После этого образец выдерживают в одометре не менее 1 ч.

4.45. По индикаторам, установленным в «нулевое положение», берут контрольные отсчеты, производят обжатие образца в соответствии с указаниями п. 4.21 и вновь берут контрольные отсчеты.

4.46. После обжатия образца индикаторы вновь устанавливают в «нулевое положение» и берут начальные отсчеты. Затем дают первую ступень нагрузки, одновременно включая секундомер, и производят последующие отсчеты. Результаты наблюдений записывают в журнал (табл. 27).

4.47. Отсчеты по индикаторам рекомендуют брать через следующие интервалы времени: 1, 5, 10, 20, 30 мин, а затем через 1, 3, 6, 12 ч и в дальнейшем через каждые 12 или 24 ч до полной стабилизации, устанавливаемой в соответствии с указаниями п. 4.42. Установленный режим наблюдений сохраняют для всех ступеней нагружения в каждом опыте.

4.48. В ходе опыта одновременно с измерением деформаций наблюдают за температурой окружающего воздуха, которая определяется автоматически при помощи самописца или путем разовых отсчету по термометру с ценой деления 0,1°. Периодические наблюдения позволяют своевременно реагировать на отклонения температуры от ее опытного значения. Данные наблюдений записывают в журнал (табл. 27).

4.49. После стабилизации деформации на последней ступени нагрузки считают опыт законченным, одометр быстро (в течение нескольких минут) разбирают, чтобы отжатая вода в нем не замерзла. Образец грунта вместе с кольцом извлекают из одометра. Появившуюся на поверхности образца воду рекомендуется удалять фильтровальной бумагой. Наконец, образец вместе с рабочим кольцом взвешивают с точностью до 0,01 г на технических весах, установленных в том же помещении.

Таблица 27

(Форма)

Данные наблюдений при испытании мерзлых грунтов на компрессию

Дата

Вес грунта Р, кг

Давление σ1, кг/см2

Время взятия отсчета

Время от момента прило­жения данной ступени нагрузки

Температура испытания θ, °С

Показания индикаторов в мм

Абсолютная деформация грунта и прибора в мм

Абсолютная деформация грунта, λ, мм

Относительная деформация грунта δ. %

ч

мин

I

II

I инди­катор

II инди­катор

средняя

 

 

 

 

 

 

 

 

 

 

 

 

 

 

 

 

 

 

 

 

 

 

 

 

 

 

 

 

ОБРАБОТКА ОПЫТНЫХ ДАННЫХ И ОПРЕДЕЛЕНИЕ ХАРАКТЕРИСТИК СЖИМАЕМОСТИ

4.50. По результатам измерений, выполненных в соответствии с п. 4.33, определяют начальную высоту образца грунта с точностью до 0,1 мм. Ее вычисляют как среднюю арифметическую величину (hн) из числа замеров (п), сделанных штангенциркулем

По установленным значениям размера образца мерзлого грунта (высоты, диаметра) и результатам его взвешивания до и после опыта рассчитывают следующие характеристики грунта: объемный вес образца грунта  влажность Wc и льдистость Л.

4.51. По результатам наблюдений при испытаниях (табл. 27) определяют абсолютную деформацию грунта и прибора (в мм) срочностью до трех десятичных знаков. Ее рассчитывают как среднюю арифметическую величину из показаний двух индикаторов (или записей двух автоматических измерительных устройств). Затем рассчитывают величину абсолютной деформации самого грунта с учетом поправки на тарировку прибора (п. 4.20).

4.52. Для каждой нагрузки во все моменты времени ее действия определяют величину относительной деформации грунта δ = λhн с точностью до третьего десятичного знака или до десятых долей процента δ = λhн×100 %, где λ - абсолютная деформация грунта в мм; hн - начальная высота образца в мм.

Результаты всех вычислений заносят в журнал (табл. 28).

4.53. По сведениям журнала (табл. 27) строят:

а) кривые консолидации, т.е. кривые изменения относительной деформации во времени, при действии постоянной нагрузки (рис. 12); по этим кривым судят о стабилизировавшейся деформации δ = f(t) на каждой ступени нагружения;

б) компрессионную кривую, т.е. кривую зависимости относительной деформации от нагрузки (рис. 13) δ = f(р) по результатам всех ступеней нагружения.

Рис. 12. Зависимость величины относительной деформации δ от времени t при ступенчатом загружении мерзлого грунта

Рис. 13. Зависимость относительной деформации от давления р (компрессионная кривая)

4.54. Компрессионную кривую строят по конечным деформациям грунта, т.е. по деформациям, стабилизовавшимся на каждой ступени нагрузки, откладывая по оси абсцисс величину давления р (кг/см2), а по оси ординат - величину относительной деформации δ (в долях единицы).

4.55. По кривой зависимости относительной деформации δ от нагрузки р определяют величину коэффициента сжимаемости мерзлого грунта аi. С этой целью компрессионную кривую заменяют ломаной прямой и величину коэффициента сжимаемости аi мерзлого грунта определяют как отношение приращения относительной деформации сжатия Δδ к величине приращения давления Δр. Таким образом, коэффициент сжимаемости аi численно равен тангенсу угла наклона к оси абсцисс прямой, интерполирующей компрессионную кривую в пределах выбранного интервала уплотняющих давлений (см. рис. 13):

                                                                                (54)

Интервалы давлений Δр и соответствующие им изменения деформаций Δδ грунта определяют графически и записывают в журнал (табл. 28).

4.56. Модуль деформации Ei мерзлого грунта, как обратную величину коэффициента сжимаемости аi, рассчитывают по формуле

                                                                                                   (55)

где

μ - коэффициент бокового расширения (коэффициент Пуассона).

При отсутствии данных о значении коэффициента бокового расширения величину β можно принимать равной 0,8.

Таблица 28

(Форма)

Результаты определения показателей величины сжимаемости мерзлого грунта

№ опыта

Грунт

Объемный вес , г/см3

Влажность Wc, %

Интервалы давления Δp, кг/см2

Приращение относительной деформации на каждой ступени нагрузки Δδ

Коэффициент сжимаемости ai, см2/кг

Модуль деформации Ei, кг/см2

Примечание

 

 

 

 

 

 

 

 

 

 

 

 

 

 

 

 

 

 

СЖИМАЕМОСТЬ ОТТАИВАЮЩЕГО ГРУНТА

4.57. Расчет оснований, оттаивающих при эксплуатации зданий и сооружений, производят по второму предельному состоянию (по деформациям) по формулам (28) и (31) в соответствии с указаниями пп. 5.35 и 5.36 главы СНиП II-Б.6-66. В эти формулы входит важная характеристика оттаивающего мерзлого грунта, называемая относительным сжатием.

4.58. Под относительным сжатием вечномерзлого грунта при его оттаивании понимают осадку, отнесенную к слою грунта единичной толщины, обусловленную таянием ледяных включений и уплотнением оттаявшего грунта при воздействии сжимающей нагрузки.

4.59. Величину относительного сжатия вечномерзлого грунта определяют по формуле

δi = Аi + aiσi                                                                                             (56)

где Аi - безразмерный коэффициент оттаивания, зависящий исключительно от объема ледяных включений в грунте. Он характеризует осадку оттаивающего слоя мерзлого грунта единичной толщины без воздействия давления;

ai - коэффициент сжимаемости или уплотнения оттаивающего грунта под нагрузкой. Он равен относительной осадке, приходящейся на единицу давления, т.е. , см2/кг;

σi - давление в кг/см2, которое в опыте должно быть равно давлению в середине i-го слоя оттаивающего грунта основания и обусловленное собственным весом вышележащей толщи грунта и внешней нагрузкой.

4.60. Коэффициенты Аi и аi, характеризующие сжимаемость оттаивающего грунта, могут быть определены в полевых условиях горячими штампами или в лабораторных условиях методом компрессионных испытаний.

4.61. Основным видом испытания для определения характеристик сжимаемости оттаивающего грунта Ai и ai появляется полевой метод. При полевом испытании грунта получают значения Ai и ai, осреднениые по слоям литологического разреза. Полевой метод применим для всех видов грунтов, но ввиду трудоемкости он используется главным образом для определения сжимаемости оттаивающих разрушенных коренных пород, крупнообломочных и сильнольдистых мерзлых грунтов.

Метод компрессионных испытаний оттаивающего грунта рекомендуется для грунтов, указанных в п. 4.1.

ПОЛЕВОЙ МЕТОД

ОБОРУДОВАНИЕ

4.62. Деформативные характеристики оттаивающего грунта определяют непосредственно на строительной площадке в оборудованном для этих целей опытном шурфе с помощью специальных установок.

4.63. Для испытания грунта в шурфе применяют жесткие квадратные или круглые плоские штампы площадью не менее 5000 см2. Сравнительно большой размер штампа вызван необходимостью учета влияния на осадку при оттаивании криогенного строения текстурированных грунтов и крупных включении крупнообломочных грунтов.

4.64. Конструкция штампа должна обеспечивать его нагревание электроэнергией, горячей водой или газом. Наиболее простой и рациональной является конструкция штампа с электрообогревом (рис. 14). Потребляемая мощность для штампа площадью 5000 см2 должна быть 6-7 квт, чтобы обеспечить наблюдаемую в естественных условиях скорость протаивания грунта.

4.65. Испытание грунта в опытном шурфе желательно производить двумя штампами с целью выявления неравномерности осадки по площади. При работе с одним штампом сечение шурфа в плане принимают 2,5×2,5 или 2,5×4,5 м при наличии двух штампов.

4.66. Нагрузку на штамп создают при помощи гидравлического домкрата или любого тарированного груза (при использовании грузовой платформы или рычага). В последнем случае нагрузку осуществляют бетонными погрузочными блоками весом до 2,5 т. Величина нагрузки при опыте берется из расчета получения в испытываемом слое грунта напряжений, предусмотренных заданием.

Рис. 14. Штамп с электрообогревом

1 - плита; 2 - боковая поверхность штампа; 3 - крышка; 4 - упор; 5 - стойка; 6 - ребро (100×360 мм); 7 - ребро (100×255 мм); 8 - наконечник; 9 - ручка; 10 - фарфоровый ролик; 11 - фарфоровая трубка; 12 - нагревательная электрическая спираль общей мощностью 6 - 1 квт; 13 - асбест

4.67. Наиболее целесообразно применять распорное устройство в сочетании с гидравлическим домкратом (рис. 15). Распорное устройство состоит из саней, двух опорных ферм, двух продольных и одного поперечного пакета. Для выемки грунта из шурфа и спуска в него материалов и оборудования предусматривают кран-укосину с лебедкой.

Рис. 15. Схема полевой установки для определения сжимаемости мерзлого грунта при оттаивании

1 - балласт - бетонные блоки; 2 - продольный пакет; 3 - опорные фермы; 4 - сани; 5 - поперечный пакет; 6 - гидравлический домкрат с индикатором перемещений и манометром давлений; 7 - винтовой (ручной) домкрат; 8 - насосная станция; 9 - кран-укосина для выемки грунта из шурфа и спуска в него материалов и оборудования; 10 - электрическая лебедка; 11 - распределительный электрощит; 12 - колонна штанг на фланцевом соединении; 13 - металлический штамп с электронагревателем: 14 - деревянная венцовая крепь; 15 - насыпной грунт; 16 - суглинистый грунт; 17 - крупнообломочный грунт

4.68. Предлагаемая распорная установка в опытном шурфе позволяет проводить испытания одновременно двумя штампами. Расстояния между центрами штампов должны быть не менее 2 м, чтобы исключить их взаимное влияние.

4.69. Нагрузку от гидравлических домкратов, каждый из которых крепится к поперечному пакету установки, передают на штампы через колонну вертикальных штанг. Для испытаний целесообразно применять домкраты с механическим приводом от насосной станции марки НСП-400 м.

4.70. Вертикальные штанги изготовляют из металлических труб диаметром 168 мм на фланцевых соединениях. Комплект штанг для одного штампа при его заглублении до 15 м состоит из труб длиной 0,2; 0,4; 0,5; 0,6; 0,8; 1; 1,2; 1,5 м и пяти труб длиной 2 м. Возможность продольного изгиба колонны штанг при заглублении штампа более чем на 10 м устраняют установкой распорок к каждой стенке шурфа через каждые 4 м по высоте.

4.71. Нижний конец штанги снабжен шаровой пятой, которая опирается на подпятник (наконечник) штампа. На верхний конец штанги крепят ручной винтовой домкрат, с помощью которого окончательно устанавливают длину колонны штанг (в пределах 300 мм), требуемую по условиям опыта.

4.72. Манометр для регистрации давления монтируют непосредственно на гидравлическом домкрате. Максимальное рабочее давление в опыте должно укладываться в пределах 2/3 шкалы манометра.

4.73. Для поддержания в течение всего опыта в масляной системе постоянного давления, соответствующего заданной нагрузке на штамп, гидравлический домкрат с насосной станцией оборудуют магнитным пускателем с реле, а вместо обычных применяют электроконтактные манометры с теми же пределами измерений.

4.74. Вертикальные перемещения штампа измеряют индикаторами часового типа или другими измерительными устройствами. Окончательную осадку определяют как среднее из двух показаний измеряющих устройств, фиксирующих осадку противоположных сторон штампа.

ПОДГОТОВКА ШУРФА К ИСПЫТАНИЯМ

4.75. Место для опытного шурфа выбирают в зависимости от задания с учетом инженерно-геологических и мерзлотно-грунтовых условий строительной площадки.

4.76. Выбранную площадку планируют. Для сохранения температурного режима мерзлых грунтов строительной площадки (в период монтажа оборудования) на ее поверхность отсыпают балластную подушку из гравия, гальки или горелой породы толщиной 20-40 см.

4.77. На выровненную площадку устанавливают при помощи отвеса и уровня распорную установку. После этого проходят шурф с креплением стенок до глубины максимального сезонного оттаивания, а в случае несливающейся вечномерзлой толщи - до ее верхней поверхности. Над шурфом устраивают перекрытие с люками и наблюдательную будку. На продольные пакеты установки укладывают бетонные блоки, а затем в будке монтируют все необходимое оборудование.

4.78. До начала испытания описывают и зарисовывают криогенное строение стенок шурфа с тщательным замером ледяных включений в соответствии с указаниями пп. 1.12-1.19. На уровне установки штампа отбирают два-три монолита мерзлого грунта весом более 4-5 кг каждый для определения состава и основных физических характеристик.

Исходные данные об условиях проведения полевого опыта записываются в журнал (табл. 29).

4.79. Перед установкой штампа забой шурфа тщательно выравнивают и зачищают до ненарушенного мерзлого грунта. Выступы отдельных валунов и крупной гальки сбивают, а образовавшиеся углубления засыпают песком и уплотняют для обеспечения надежного контакта штампа с грунтом.

4.80. В местах установки штампа под его центром пробуривают, если это возможно, скважину диаметром 3-4 см и глубиной 50 см. В ней устанавливают пять электротермометров сопротивления на глубинах 10, 20, 30, 40 и 50 см.

4.81. Скважины с установленными электротермометрами по всей глубине тщательно забивают охлажденной глиной или суглинком, чтобы предотвратить попадание воды при оттаивании мерзлого грунта под штампом. Концы проводов от электротермометров сопротивления выводят в будку для наблюдений и подключают к измерительной аппаратуре.

4.82. На подготовленный забой шурфа под центром гидравлического домкрата по отвесу и уровню устанавливают штамп и монтируют вертикальные штанги требуемой длины. Гидравлический домкрат подключают к насосной станции, а штамп с обогревательными спиралями включают в электрическую сеть. Всю измерительную аппаратуру, установленную в будке, приводят в рабочее положение.

4.83. Перед началом испытания полностью собранную установку тарируют нагрузкой, согласно условиям опыта, но без включения подогрева штампа. Верхний предел тарировочной нагрузки должен на 10-15 % превышать максимальное давление на штамп. По данным этих испытаний строят тарировочный график установки.

Таблица 29

(Форма)

Исходные данные при определении осадки мерзлых грунтов  в процессе оттаивания в полевых условиях

Местоположение опытного шурфа и его описание

Глубина залегания испытываемого слоя грунта в см

Мощность испытываемого слоя в см

Температура мерзлого грунта в °С

Площадь горячего штампа F, в см2

Сила тока, а и мощность, вт, потребляемые электрической спиралью штампа

Температура штампа в °С

в начале опыта

в конце опыта

 

 

 

 

 

 

 

 

 

 

 

 

 

 

 

 

ПРОВЕДЕНИЕ ИСПЫТАНИЙ

4.84. Грунты оснований испытывают послойно. Путем послойного опробования оттаивающих грунтов определяют характеристики сжимаемости Ai и ai ряда слоев мерзлых грунтов до заданной проектной глубины.

4.85. Испытанию подвергают слой грунта толщиной менее половины ширины или радиуса штампа. После испытания каждого слоя штамп демонтируют, убирают опробованную породу и снова монтируют всю установку.

4.86. Рекомендуется подогрев штампа производить до момента, когда глубина оттаивания грунта под штампом достигнет 20 см, после чего обогревательную установку выключают. Дальнейшее оттаивание грунта происходит за счет запаса тепла в оттаявшем грунте.

4.87. При штампе диаметром 70,7 см и потребляемой мощности электроэнергии 6-7 квт оттаивание на глубину 20 см в среднем происходит за 6-10 ч в зависимости от разновидности грунтов и типа их криогенной текстуры.

4.88. Перед началом каждого испытания на штамп прикладывают кратковременную (до 3 мин) нагрузку обжатия, равную природному давлению грунта на отметке установки штампа, по не менее 0,5 кг/см2. После снятия нагрузки обжатия приступают непосредственно к испытаниям.

4.89. Испытание грунта в шурфе горячим штампом производят путем оттаивания грунта без нагрузки - первый этап и до следующего его уплотнения под нагрузкой - второй этап.

Таблица 30

(Форма)

Данные наблюдения за осадкой штампа в процессе оттаивания и уплотнения грунта

№ опыта

Дата испы­тания

Давление на штамп по шкале манометра гидравлического домкрата -в кг/см2

Давле­ние на грунт εσi, кг/см2

Время нагруже­ния штампа в ч·мин

Отсчеты по индикаторам

Средняя глубина оттаивания грунта под штампом Нот, см

Осадка штампа

I

II

средний

абсолют­ная S, см

Относи­тельная

 

 

 

 

 

 

 

 

 

 

 

 

 

 

 

 

 

 

 

 

 

 

4.90. При оттаивании грунта (первый этап) на него передается нагрузка лишь от веса штампа и штанг, что создает давление не более 0,2 кг/см2, которым в расчетах пренебрегают.

4.91. После оттаивания производят уплотнение грунта (второй этап) давлением, равным: для глин σi = 1 кг/см2 и для песков σi = 2 кг/см2.

4.92. При наличии крупнообломочных грунтов и разрушенных коренных пород их оттаивание без нагрузки может привести к заклиниванию крупных включений. Поэтому для таких грунтов оттаивание следует производить под нагрузкой σi - 1 кг/см2 (первый этап). Последующее уплотнение (второй этап) производят под нагрузкой σi - 2 кг/см2.

4.93. При испытаниях измеряют протекающие во времени осадки штампа и максимальную глубину оттаивания грунта под штампом. Данные измерений записывают в журнал (табл. 30 и 31).

Таблица 31

(Форма)

Наблюдения за температурой грунта под штампом

Глубина заложения электротермометров сопротивления в см

10

20

30

40

60

Время

°C

Время

°С

Время

°С

Время

°С

Время

°С

 

 

 

 

 

 

 

 

 

 

 

 

 

 

 

 

 

 

 

 

4.94. Осадки грунта измеряют индикаторами или самописцами, а глубину оттаивания грунта определяют щупами через каждый час и контролируют термометрическими измерениями (см. п. 4.80).

Глубину оттаивания грунта под серединой штампа определяют графически, экстраполируя измеренные щупом (минимум в пяти точках) глубины протаивания.

4.95. При каждой ступени нагрузки испытание проводят до условной стабилизации осадки, что устанавливают периодическим наблюдением за процессом уплотнения. Измерения деформации производят по показаниям индикаторов через 1; 5; 10; 20 и 60 мин от начала опыта и далее через каждый час до установления стабилизации.

4.96. За критерий стабилизации осадки штампа принимают условие, когда приращение осадки штампа в течение трех последних (часовых) отсчетов не превышает 0,1 мм для крупнообломочных и песчаных грунтов и 0,05 мм для глинистых грунтов.

4.97. По окончании каждого опыта вертикальные штанги и штамп демонтируют, из зоны оттаивания удаляют оттаявший слой грунта, зарисовывают вид оттаявшей зоны и замеряют ее глубину и диаметр. Затем описывают криогенную текстуру пород и характер их залегания в опробованном слое.

4.98. После завершения опробования одного слоя опыт повторяют на следующем слое. Оттаявший грунт удаляют из шурфа и на 5-10 см зачищают мерзлую поверхность забоя.

ОПРЕДЕЛЕНИЕ ХАРАКТЕРИСТИК ОТТАИВАНИЯ И СЖИМАЕМОСТИ ОТТАИВАЮЩЕГО МЕРЗЛОГО ГРУНТА

4.99. Для каждого опробованного слоя по опытным значениям осадки штампа S и глубины оттаивания грунта Нот определяют величину относительного сжатия , которую записывают в журнал (табл. 30).

4.100. По результатам, представленным в табл. 30, строят графики изменения осадки штампа S во времени t, по которым судят о стабилизации осадки и графики зависимости величины относительного сжатия оттаивающего грунта Si от уплотняющего давления σi.

4.101. Для каждого опробованного слоя по графикам зависимости относительного сжатия Si от давления σi определяют коэффициент оттаивания грунта Ai и коэффициент сжимаемости ai, оттаивающего под нагрузкой грунта.

Таблица 32

(Форма)

Результаты определения характеристик сжимаемости мерзлых грунтов при их оттаивании горячими штампами

№ опыта

Глубина заложения оттаивающего слоя h, см

Грунт

Объемный вес мерзлого грунта 7 об. г/см3

Суммарная влажность мерзлого грунта, Wс, дол. ед.

Давление σi, кг/см3

Коэффициенты оттаивания

Ai

ai,см2 кг

 

 

 

 

 

 

 

 

 

 

 

 

 

 

 

 

Результаты определения записывают и журнал (табл. 32).

4.102. Коэффициент оттаивания Ai - выражается зависимостью Aj = d0 = S0/Hот, где S0 - осадка без нагрузки, определяемая на первом этапе испытания, а Hот - глубина оттаявшего слоя. На графике зависимости δii коэффициент Ai соответствует начальной ординате графика.

4.103. Коэффициент сжимаемости грунта ai выражается зависимостью

                                                                                           (57)

где δ0 и δ1 относительное сжатие соответственно при первом этапе испытания без нагрузки и при втором этапе испытания под нагрузкой;

σ0 и σ1 - нагрузка соответственно от веса штампа с колонной штанг на первом этапе испытания и от  уплотняющего давления на втором этапе испытаний.

4.104. Для крупнообломочных грунтов коэффициенты ai и Ai- выражаются зависимостями:

                                                                  (57 a)

где δ1 и δ2 - относительное сжатие под первой и второй нагрузками;

σi и σ2 величины уплотняющих давлении.

На графике зависимости δii коэффициент ai определяется как тангенс угла  наклона  прямой, соединяющей экспериментальные точки, а Ai- - как отрезок па оси ординат, отсекаемый этой прямой.

ЛАБОРАТОРНЫЙ МЕТОД

ПРИБОРЫ

4.105. Для лабораторного определения коэффициентом сжимаемости оттаивающих грунтов применяют компрессионную установку, состоящую из рычажного пресса, одометра, нагревательной и измерительной аппаратуры. Общая схема установки представлена на рис. 16, а.

4.106. Одометр для испытания мерзлого грунта изготовляют из материала низкой теплопроводности (оргстекла, эбонита, текстолита), чтобы обеспечивалось оттаивание образца грунта только сверху. Оттаивание осуществляют с помощью теплого штампа, устанавливаемого на образец мерзлого грунта (рис. 16, б), или путем естественного  оттаивания при комнатной температуре под обычным штампом.

Рис. 16. Схема прибора для определения сжимаемости мерзлого грунта при оттаивании

а - общая установка: б - одометр;

1 - станина; 2 - одометр (основание и направляющий цилиндр); 3 - рабочее кольцо с образцом грунта; 4 - штамп; 5 - рычажный пресс; 6 - ультратермостат; 7 - индикаторы

4.107. Одометр, используемый при определении сжимаемости оттаивающего грунта, состоит из трех основных частей: корпуса, рабочего кольца и штампа. Корпус одометра сборный - состоит из основания с перфорированным дном и направляющего цилиндра, изготовленных из оргстекла. Толщина стенок должна составлять не менее 5-7 см. Рабочее кольцо (из оргстекла) имеет толщину стенок 5-6 мм, оно должно плотно, без зазора, входить в корпус одометра.

Штамп - полый цилиндр высотой 6-7 см, изготовляют из меди или нержавеющей стали. Дно штампа двойное: верхнее - сплошное, а нижнее (на расстоянии 1,5-2 см) - перфорированное с отверстиями не более 1 мм, через которые отводится вода из оттаивающего грунта. Сверху штамп наглухо закрывают крышкой, на которой укреплены шток по центру и два штуцера для подачи и отвода теплой воды, которая во время опыта циркулирует в верхней полости штампа. На внешней цилиндрической поверхности штампа внизу имеются отверстия диаметром 1 мм, а по всей высоте узкие вертикальные бороздки, обеспечивающие отвод воды, поступающей из образца в нижнюю полость штампа. При естественном оттаивании образца мерзлого грунта за счет теплообмена с окружающим воздухом используют обычный перфорированный штамп из теплопроводного материала (латунь, медь).

4.108. Для определения осадки мерзлых грунтов при оттаивании размеры рабочего кольца выбирают в зависимости от состава и однородности грунта. Рекомендуется пользоваться кольцами высотой от 3 до 6 см с внутренними диаметрами 8,74; 11,3 и 16 см, что позволяет испытывать образцы грунта площадью соответственно 60, 100 и 200 см2.

4.109. Для обеспечения равномерности оттаивания образца мерзлого грунта в одометре рекомендуется пользоваться ультратермостатом, с помощью которого в штампе поддерживают заданную температуру воды. Удобен ультратермостат марки ТС-16-А. Ультратермостат присоединяют к штуцерам штампа с помощью резиновых шлангов. При отсутствии ультратермостата вода в штамп может поступать из любого большого сосуда (бака, ведра), в котором поддерживают заданную температуру.

4.110. Температуру воды в штампе принимают согласно заданию в соответствии с режимом оттаивания грунтов под сооружением. Если температура, при которой должно производиться оттаивание образца мерзлого грунта, не регламентирована заданием, то опыт рекомендуется проводить при температуре +20 °С.

4.111. Осадку при оттаивании и уплотнении образца мерзлого грунта под заданными нагрузками измеряют с помощью индикаторов часового типа с точностью до 0,01 мм.

ПРОВЕДЕНИЕ ИСПЫТАНИЙ

4.112. Перед началом опыта производят проверку компрессионной установки: уравновешивают рычаг с помощью противовеса подготавливают индикаторы, гири, ультратермостат; проверяют штамп на герметичность; на штоке штампа укрепляют держатель индикаторов.

4.113. Испытание по определению осадки оттаивающего грунта предпочтительно проводить при отрицательной температуре воздуха. Допускается вести испытание и при обычной температуре. Однако в таком случае вся подготовительная работа (перемещение образца грунта в рабочее кольцо, взвешивание его и сборка одометра) обязательно осуществляется при отрицательной температуре воздуха, после чего прибор переносят в теплое помещение, где будет производиться испытание.

4.114. Перед установкой образца одометр и штамп охлаждают до возможно низкой отрицательной температуры. Затем подготовленный в соответствии с указаниями пп. 4.2-4.15 образец мерзлого грунта помещают в одометр (грунт с торцов должен быть покрыт бумажными фильтрами). На образец устанавливают штамп с закрепленными на нем индикаторами; прибор в собранном, виде устанавливают на станину и производят обжатие образца (см. п. 4.21).

4.115. К штампу присоединяют шланги от ультратермостата, записывают начальные показания индикаторов, прикладывают нагрузку, при которой будет производиться оттаивание, снова берут отсчеты по индикаторам и затем включают ультратермостат, фиксируя при этом время начала опыта. Перед началом опыта индикаторы целесообразно устанавливать на нуль.

4.116. Отсчеты по индикаторам при определении осадки оттаивающего грунта производят через 1, 5, 10, 20, 30 мин. от начала оттаивания и далее через каждые 30 мин до стабилизации осадки. Осадку оттаивания считает законченной, если при двух последних отсчетах изменение показаний индикаторов не превышает 0,01 мм. Результаты опыта записывают в журнал (табл. 33).

Таблица 33

(Форма)

Данные наблюдений осадки мерзлых грунтов в процессе оттаивания при компрессионных испытаниях

№ опыта

Дата испытания

Нагрузка на подвеске рычага р, кг

Давление на грунт σi, кг/см2'

Время отсчета t, ч·мин

Показание индикаторов (мессур)

Осадка грунта в приборе S, см

Поправка на деформацию прибора-

Стабилизированная осадка грунта с учетом поправки на деформацию прибора S, см

по индикаторам

средняя

1

2

1

2

 

 

 

 

 

 

 

 

 

 

 

 

 

 

 

 

 

 

 

 

 

 

 

 

ОПРЕДЕЛЕНИЕ КОЭФФИЦИЕНТОВ ОТТАИВАНИЯ И СЖИМАЕМОСТИ ОТТАИВАЮЩИХ ГРУНТОВ

4.117. Оттаивание мерзлого грунта под нагрузкой сопровождается резким изменением его пористости. Для оттаивающего вечномерзлого грунта его относительное сжатие δi определяют по формуле (56).

4.118. Коэффициент Ai представляет собой параметр, характеризующий деформацию грунта вследствие оттаивания, не зависящую от нормального давления. Его значение численно равно начальной ординате спрямленного графика зависимости δi от σi при σi = 0, которым заменяют кривую σi = f(σi) (рис. 17). Таким образом, величину Ai рассматривают как параметр линейной зависимости сжатия грунта при его оттаивании под нагрузкой. Практически оттаивание ведут при небольшой нагрузке, обеспечивающей сжатие грунта только за счет вытаивания ледяных включений и смыкания образующихся при этом полостей. Поэтому принимается; что величина Ai соответствует сжатию слоя грунта под действием собственного веса. Поскольку толщина слоев hi принимается небольшой, то давление от веса вышележащего грунта обычно не превышает 0,1 кг/см2.

Рис. 17. Зависимость относительного сжатия δi от давления σi

4.119. Коэффициент сжимаемости аi представляет собой угловой коэффициент спрямленной опытной зависимости δi от σi или тангенс угла наклона прямой. Опыт показывает, что в большинстве случаев линейная зависимость δi от σi допустима при изменении σi: для песков - от 0 до 4-5 кг/см2, для глинистых грунтов - от 0 до 2-4 кг/см2.

4.120. Определение коэффициентов Ai и аi производят по результатам испытаний нескольких образцов, оттаивающих под разными нагрузками (первый способ) или по результатам испытания одного образца (второй способ). Второй способ используют для определения приближенных значений коэффициентов Ai и аi, когда отсутствует необходимое количество идентичных образцов грунта.

4.121. При первом способе определяют величину осадки при оттаивании S для нескольких идентичных образцов мерзлого грунта, каждый из которых оттаивает под определенной нагрузкой σi. Для каждого испытания вычисляют относительное сжатие , соответствующее каждой нагрузке. Результаты испытаний записывают в журнал (табл. 34).

Учитывая неоднородность мерзлых грунтов, определение осадки при оттаивании рекомендуется проводить с трехкратной повторностью при трех-четырех значениях давления: для глинистых грунтов - при давлениях 0,1; 0,5; 1; 3 кг/см2; для песчаных грунтов - при 0,1; 1; 3; 5 кг/см2.

Таблица 34

(Форма)

Результаты определений сжимаемости оттаивающих грунтов

№ опыта

Грунт

Объемный вес мерзлого грунта  г/см3

Влажность мерзлого грунта WCt дол. ед.

Давление σi v кг/см2

Осадка грунта S, см

Относительное сжатие δi, дол. ед.

Коэффициент оттаивания, Аi

Коэффициент сжимаемости оттаивающего грунта аi, см2/кг

Примечание

 

 

 

 

 

 

 

 

 

 

 

 

 

 

 

 

 

 

 

 

 

 

 

 

 

 

 

 

 

 

Для определения значений коэффициентов Ai и аi этим способом необходимо иметь не менее девяти идентичных образцов мерзлого грунта.

По полученным в каждом отдельном опыте величинам вычисляют среднеквадратичные значения параметров  и  по формулам (58) и (59):

                            (58)

                                           (59)

где δi,j - относительное сжатие мерзлого грунта, оттаивающего при давлении σi,j;

п - число опытов;

j - порядковый номер опыта от 1 до п.

Осреднение опытных данных при определении  и  может быть произведено также графически (см. рис. 17).

На графике зависимости δi от σi коэффициент  соответствует отрезку на оси ординат, отсекаемому прямой; коэффициент  - тангенсу угла наклона прямой к оси абсцисс.

4.122. При втором способе значения Ai и аi определяются из испытания одного образца - сначала определяют осадку образца мерзлого грунта, оттаивающего под нагрузкой 0,1 кг/см2, и приближенно принимают, что

                                                                                      (60)

т.е. приведенный коэффициент оттаивания Аi принимают равным величине относительного сжатия мерзлого грунта δ0,1 оттаивающего под нагрузкой 0,1 кг/см2, или изменению коэффициента пористости Δε. Затем к оттаявшему образцу грунта прикладывают нагрузку, равную 1 кг/см2, определяют осадку (в стабилизированном состоянии) и рассчитывают относительное сжатие ;

коэффициент уплотнения при оттаивании определяют из условия

 см2/кг,                                                                                                            (61)

где δ1 - относительное сжатие грунта, оттаивающего под нагрузкой 0,1 кг/см2 и уплотненного нагрузкой, равной 1 кг/см2.

4.123. Определение коэффициентов Ai и ai - вторым способом рекомендуется проводить не менее чем с трехкратной повторностью (на трех и более идентичных образцах мерзлого грунта). Средние значения Ai и ai вычисляют как среднее арифметическое из всех определений.

4.124. Для предварительных расчетов величину относительного сжатия δi вечномерзлого песчаного грунта, оттаивающего в процессе эксплуатации, допускается определять по формуле

                                                                                         (61 а)

где  - объемный вес скелета оттаявшего песчаного грунта после уплотнения его под нагрузкой определяется опытным путем, а для ориентировочных подсчетов конечных осадок принимается равным объемному весу скелета воздушно-сухого грунта при максимальной его плотности в кг/см3 (по образцам нарушенной структуры);

 - объемный вес скелета мерзлого грунта, кг/см3, определяется на образцах природного сложения.

СОПРОТИВЛЕНИЕ МЕРЗЛЫХ ГРУНТОВ НОРМАЛЬНОМУ ДАВЛЕНИЮ

4.125. Важной характеристикой мерзлых грунтов, используемых в качестве оснований зданий и сооружений, является сопротивление грунта нормальному давлению. Предельно длительное значение этого сопротивления принимают за нормативную величину сопротивления грунта нормальному давлению Rн и используют для оценки несущей способности мерзлых грунтовых оснований.

4.126. Значение нормативного сопротивления грунта нормальному давлению Rн определяется для основных разновидностей грунтов по табл. 6 главы СНиП II-Б.6-66. Для ряда видов грунтов - сильнольдистых, засоленных, заторфованных и др., а также для корректировки и уточнения приведенных в главе СНиП значений рекомендуется Rн определять экспериментальным путем.

4.127. Основным методом определения нормативного сопротивления мерзлых грунтов нормальному давлению Rн является метод испытания грунтов статическими нагрузками (испытание штампом). Испытание мерзлого грунта штампом трудоемко, так как связано с сохранением в течение длительного времени отрицательной температуры грунта и окружающего воздуха. Испытания по этому методу проводят, как правило, в особых случаях и по специальной программе.

4.128. Нормативное сопротивление мерзлого грунта нормальному давлению Rн определяют также в лабораторных условиях по результатам испытания образцов мерзлого грунта на сдвиг, трехосное и одноосное сжатие. Все эти испытания производят в условиях ползучести при постоянно действующих нагрузках.

4.129. Методика испытания мерзлого грунта на сдвиг описывается в пп. 4.184-4.232.

Испытания мерзлых грунтов на трехосное сжатие ввиду трудоемкости эксперимента применяют для мерзлых грунтов в случаях, специально предусмотренных заданием. Такие испытания проводят при проектировании особо ответственных сооружений, а также в тех случаях, когда грунт работает в условиях, при которых существенно сказывается влияние всестороннего давления - глубокозаложенные подземные выработки и сооружения, основания тяжелонагруженных фундаментов большого размера в плане и др.

Испытания мерзлого грунта на одноосное сжатие проводят только с глинистыми грунтами. Они заключаются в испытаниях при постоянно действующем напряжении серии однородных и однотипных образцов под разными нагрузками.

4.130. При определении нормативного сопротивления Rн можно пользоваться также характеристиками эквивалентного сцепления сэкв и сопротивления грунта сжатию σсж, полученными из испытаний образцов мерзлого грунта упрощенными экспресс-методами:

методом испытания грунта шариковым штампом (метод Цытовича);

методом испытания грунта на одноосное сжатие в условиях непрерывно меняющегося напряжения (метод Вялова).

4.131. Метод испытания шариковым штампом применяют для всех разновидностей мерзлых грунтов с массивной, мелкосетчатой и тонкослоистой криогенной текстурой, за исключением крупнообломочных грунтов и крупного песка. Метод испытания на одноосное сжатие в условиях меняющегося напряжения используют для всех видов песчаных и глинистых мерзлых грунтов, за исключением глин со слоистой криогенной текстурой при толщине ледяных включений более 2 см.

4.132. Значение нормативного сопротивления мерзлого грунта нормальному давлению Rн по данным испытания образцов грунта шариковым штампом определяют по формуле 1

                                                                                       (62)

где сэкв - нормативное значение эквивалентного сцепления в кг/см2;

q = Н - пригрузка в кг;

 - объемный вес мерзлого грунта в кг/см3;

Н - глубина заложения фундамента в см.

4.133. Значение нормативного сопротивления мерзлого грунта нормальному давлению Rн по данным испытания образцов грунта на одноосное сжатие в условиях уменьшающегося напряжения определяют по формуле

                                                                                    (63)

где  - нормативное значение предельно длительного сопротивления грунта одноосному сжатию.

1 Формулы (62) и (63) справедливы для оснований под фундаменты круглого и квадратного сечения.

ИСПЫТАНИЕ ШАРИКОВЫМ ШТАМПОМ

4.134. Сущность метода испытания образцов грунта шариковым штампом заключается в определении деформаций ползучести грунта при длительном вдавливании в него под постоянной нагрузкой шарикового штампа, По полученным значениям деформаций образца грунта вычисляют эквивалентное сцепление сэкв и фиксируют его изменение во времени.

Эквивалентное сцепление сэкв является комплексной характеристикой мерзлого грунта, учитывающей как его сцепление с, так и внутреннее трение φ (при φ £ 20°).

4.135. Значение эквивалентного сцепления cэкв для каждого момента времени определяют по величине погружения в грунт шарикового штампа при действии постоянной нагрузки и рассчитывают по формуле

                                                                                     (64)

где Р - нагрузка, передаваемая на штамп, в кг;

dш - диаметр шарикового штампа в см;

Sш - деформация грунта под штампом, или глубина погружения штампа, в см.

В приведенной формуле (64) деформация грунта под штампом является переменной во времени величиной, зависящей от продолжительности действия нагрузки, В связи с этим различают наибольшее, или условно-мгновенное, эквивалентное сцепление мерзлого грунта сэкв..мгп, определяемое для десятисекундного момента времени от начала испытания, и наименьшее, или предельно длительное, эквивалентное сцепление сэкв.дл, определяемое за время, в которое наступает стабилизация деформации образца под штампом.

ПРИБОРЫ

4.136. Определение эквивалентного сцепления мерзлых грунтов рекомендуется производить на шариковых приборах. Схематическое изображение одного из них представлено на рис. 18. Шариковые приборы состоят из следующих основных частей: опорной плиты, являющейся основанием прибора и служащей подставкой для испытуемого образца грунта; консоли с установленными на ней грузовой площадкой, измерительным прибором, шариковым штампом и направляющей стойки, на которой крепится консоль и осуществляется ее фиксация в рабочем положении. Каждый шариковый прибор имеет набор штампов разного диаметра.

4.137. Для определения эквивалентного сцепления мерзлого грунта могут быть рекомендованы одноштоковые и многоштоковые шариковые приборы (рис. 19 и 20). Одноштоковые приборы отличаются простотой конструкции, небольшим весом и малыми габаритами. Преимущество многоштоковых приборов заключается в возможности одновременного проведения измерений в нескольких (по числу штоков) точках испытуемого образца, что повышает точность определяемых характеристик и сокращает сроки испытаний.

4.138. При испытании мерзлого грунта с криогенной текстурой, указанной в п. 4.131, применяют шариковые штампы диаметром 22 мм.

При испытании мерзлого грунта с более крупными включениями льда используют штампы больших размеров, при этом диаметр отпечатка шарика должен быть не менее чем в 10 раз больше самых крупных видимых отдельностей льда.

Для предохранения мерзлого образца грунта при испытании от воздействия колебаний температуры в помещении и выветривания шариковые приборы рекомендуется располагать либо в специально вырытой в толще вечномерзлых грунтов нише с застекленной рамой, если испытание ведется в полевых условиях, либо накрывать прибор защитным колпаком (коробом) из органического стекла, если испытание ведется в холодильной камере. При этом образец грунта на время испытания рекомендуется накрывать бумажным кружком из глянцевой или парафинированной бумаги, соответствующим по размеру внутреннему диаметру кольца пробобрателя. Бумажный кружок должен иметь отверстия, через которые свободно может проходить штамп прибора. Чтобы уменьшить испарение с поверхности мерзлого образца, вокруг прибора укладывают кусочки льда.

Рис. 18. Схема шарикового прибора (конструкция НИС «Гидропроекта»)

1 - опорная плита (основание); 2 - консоль; 3 - направляющий стержень (стойка); 4 - зубчатая рейка; 5 - нивелировочный винт; 6 - индикатор; 7 - зажимной винт индикатора; 8 - грузовая площадка; 9 - шариковый штамп; 10 - стопорный винт штампа

Рис. 19. Рычажный одноштоковый шариковый прибор конструкции Цытовича - Файнциммера

Рис. 20. Трехштоковый шариковый прибор конструкции НИС «Гидропроекта»

ПРОВЕДЕНИЕ ИСПЫТАНИЙ

4.139. Испытание образца грунта шариковым штампом выполняют при одной постоянной в течение всего опыта нагрузке. Величину нормальной нагрузки устанавливают исходя из следующих рекомендаций. При испытании шариковым штампом диаметром в 22 мм назначают следующие нагрузки: на глинистый мерзлый грунт в пластичномерзлом состоянии 2-3 кг; на песчаный грунт в пластичномерзлом состоянии и глинистый грунт в твердомерзлом состоянии 4-5 кг.

4.140. При испытании мерзлого грунта с крупными включениями льда (см. п. 4.138) величину нагрузки устанавливают опытным путем. Определение величины нагрузки производят на основании данных, полученных из серии кратковременных испытаний; продолжительность опыта принимают равной 15 мин при условии, что граничное погружение штампа за это время удовлетворяет требованию 0,005d < S15 < 0,05d,

где S15 - деформация мерзлого грунта под штампом за 15 мин от начала опыта;

d - диаметр шарикового штампа.

4.141. Перед каждым испытанием проверяют готовность прибора к работе: прибор устанавливают в горизонтальном положении (см. п. 4.19), тарируют (см. п. 4.20), устанавливают индикаторы, подбирают нагрузку (см. пп. 4.139 и 4.140), проверяют подвижность штоков и уравновешивают их (см. п. 4.142).

4.142. Уравновешивание одноштокового шарикового прибора осуществляется либо с. помощью противовесов (в рычажном приборе), либо путем подбора тарировочной пружины.

Загрузку многоштокового прибора производят при неуравновешенном штоке и штампе. Собственный вес штока и штампа включают в общий вес, т.е. учитывают при определении общей величины нагрузки.

4.143. На опорную плиту прибора (см. рис. 18) устанавливают подготовленный в соответствии с указаниями пп. 4.4-4.13 образец грунта, выдержанный при определенной температуре (п. 4.14), и обжимают его плоским штампом в соответствии с требованиями п. 4.21. Затем шариковый штамп доводят до поверхности грунта, следя за отклонением стрелки индикатора на 1-2 деления, и закрепляют стопорным винтом; с помощью поворота шкалы индикатор устанавливают в «нулевое положение» и загружают грузовую площадку подготовленными гирями, вес которых назначают в зависимости от требований пп. 4.139, 4.140. Передачу нагрузки на образец мерзлого грунта осуществляют путем ослабления стопорного винта штампа. С момента начала загружения штампа включают секундомер и берут отсчеты по индикатору, записывая их в журнал (табл. 35).

4.144. Отсчеты по индикатору производят через следующие промежутки времени от начала опыта: 1, 5, 10, 20, 30 мин (по секундомеру), а затем через 1, 2, 3, 4, 6, 8 ч и далее один раз в сутки до полной стабилизации деформации. Критерием стабилизации деформации служит ее приращение, которое не должно превышать 0,01 мм за два следующих друг за другом интервала времени продолжительностью 24 ч каждый.

4.145. Испытание образца мерзлого грунта шариковым штампом допускается производить также ускоренно; в этом, случае опыт продолжается 8 ч, считая от начала нагружения.

4.146. Штампы многоштокового шарикового прибора загружают последовательно с интервалами 10 мин. Дальнейшая процедура испытания выполняется в соответствии с программой испытания образца на одноштоковом шариковом приборе (п. 4.144).

4.147. Испытание образца мерзлого грунта производят минимум с тройной повторностью, при этом расстояние между центрами погружения шарикового штампа должно быть на 25 % больше диаметра штампа (1,25 d).

4.148. Во время проведения испытания ведут наблюдение за деформацией образца грунта и температурой окружающего воздуха. Температуру воздуха определяют по данным автоматической записи термографом или путем разовых отсчетов по психрометрическому термометру, устанавливаемому рядом с прибором. При этом ртутный резервуар термометра должен располагаться на уровне верхнего основания образца. Данные измерений записывают в журнал (табл. 35).

4.149. После стабилизации деформации образца грунта под шариковым штампом опыт считают законченным и производят разгрузку прибора: образец грунта извлекают из кольца, взвешивают на технических весах, установленных в том же помещении, а затем высушивают в сушильном шкафу до постоянного веса.

ОПРЕДЕЛЕНИЕ ПРЕДЕЛЬНО ДЛИТЕЛЬНОГО ЗНАЧЕНИЯ ЭКВИВАЛЕНТНОГО СЦЕПЛЕНИЯ МЕРЗЛЫХ ГРУНТОВ

4.150. Величину эквивалентного сцепления сэкв мерзлого грунта определяют по результатам испытаний грунта шариковым штампом. Величину сцепления сэкв рассчитывают по формуле (64) с точностью до 0,01 кг/см2. Результаты вычислений записывают в журнал (табл. 35).

4.151. По полученным значениям эквивалентного сцепления сэкв мерзлого грунта строят кривую зависимости сцепления от времени t, т.е. кривую длительной прочности, по которой затем определяют величины мгновенного сэкв..мгн и предельно длительного сцепления сэкв.дл. Величина мгновенного сцепления сэкв.мгн соответствует ординате для момента времени, равного 10 сек после начала загружения, а величина предельно длительного сцепления сэкв.дл - ординате, соответствующей времени, при котором происходит стабилизация деформации (рис. 21). Результаты определения величины предельно длительного эквивалентного сцепления записывают в журнал (табл. 36).

Таблица 35

(Форма)

Данные наблюдений при испытании мерзлого грунта шариковым штампом

Дата

Время взятия отсчета

Время от начала опыта

Показания индикатора

Деформация грунта (осадка) Sш, мм

Сцепление грунта сэкв, кг/см2

Температура испытаний θ, °С

Примечание

ч

мин

 

 

 

 

 

 

 

 

 

 

 

 

 

 

 

 

 

 

Таблица 36

(Форма)

Результаты определения эквивалентного сцепления мерзлого грунта

№ опыта

Грунт

Объемный вес мерзлого грунта , г/см3

Влажность. Wc, %

Величина эквивалентного сцепления грунта сэкв.дл

Нормативное значение эквивалентного сцепления грунта

Нормативное сопротивление мерзлого грунта нормальному давлению Rн, кг/см2

Примечание

 

 

 

 

 

 

 

 

 

 

 

 

 

 

 

 

4.152. Величину предельно длительного эквивалентного сцепления по результатам кратковременных (8-часовых) испытаний образца определяют из выражения

сэкв.дл = 0,8,                                                                                        (65)

где  - эквивалентное сцепление, рассчитанное по деформации образца грунта под штампом, полученной через 8 ч после загрузки прибора.

Рис. 21. Изменение во времени сопротивления мерзлого грунту вдавливанию шарикового штампа

4.153. Нормативную величину длительного сцепления мерзлого грунта  определяют как среднее значение из нескольких (минимум трех) повторных определений. Результаты определений записывают в журнал (табл. 36).

ОДНООСНОЕ СЖАТИЕ В УСЛОВИЯХ НЕПРЕРЫВНО МЕНЯЮЩЕГОСЯ НАПРЯЖЕНИЯ

4.154. Способ испытания образца мерзлого грунта на одноосное сжатие при непрерывно изменяющемся напряжении сводится к определению минимального значения напряжения, устанавливающегося в образце мерзлого грунта при длительном воздействии на него уменьшающейся во времени сжимающей нагрузки. Эта нагрузка создается предварительно сжатым динамометром. Испытание образца грунта сопровождается развитием деформации ползучести, в результате чего происходит разжатие динамометра и уменьшение передаваемого им напряжения. В опыте этот процесс продолжают до стабилизации деформации.

4.155. Достижение стабилизации деформации образца грунта соответствует наступлению равновесного состояния между нагрузкой, передаваемой динамометром, и внутренними силами сопротивления грунта. Если начальное напряжение задают близким к условно-мгновенному сопротивлению грунта сжатию σсж.мгн, то конечное напряжение, при котором достигается стабилизация деформации, соответствует предельно длительной прочности грунта при сжатии.

4.156. По результатам испытания двух образцов (не считая повторности) методом одноосного сжатия при непрерывно уменьшающемся напряжении σсж определяют значение предельно длительной прочности при сжатии σсж.дл.

ПРИБОРЫ

4.157. Для испытаний используют динамометрический прибор конструкции Вялова - Ермакова (рис. 22). Прибор состоит из следующих основных узлов: нагрузочного устройства, образцового динамометра с индикатором для измерения деформаций динамометра, а также индикатора для измерения деформаций образца грунта и станины.

4.158. Нагрузочное устройство состоит из винта и воротка. Образцовый динамометр с усилием от 0,2 до 5 т служит для передачи нагрузки на образец грунта. Деформацию динамометра измеряют индикатором с ценой деления 0,01 мм, а деформацию образца грунта - индикатором с ценой деления 0,01-0,02 мм. Прибор смонтирован на столе, ножки которого снабжены винтами для установки в горизонтальном положении. Загрузку образца осуществляют вращением нагрузочного винта воротом. Усилие от нагрузочного винта передается через сферический шарнир на динамометр и далее через пуансон на образец мерзлого грунта.

Рис 22. Схема динамометрического прибора

1 - образец; 2 - индикатор для замера деформаций образца; 3 - пуансон; 4 - образцовый динамометр; 5 - индикатор для замера деформаций динамометра; 6 - сферический шарнир; 7 - станина; 8 - вороток; 9 - нагрузочный винт; 10 - расточка опорной плиты; 11 - расточка штампа; 12 - опорная плита; 13 - стол

4.159. Для обеспечения центрировки образца в опорной плите прибора имеется специальная цилиндрическая расточка, центр которой строго совпадает с вертикальной осью прибора. Штамп (пуансон), с помощью которого передают нагрузку на образец грунта, также снабжен аналогичной расточкой (по размеру равной диаметру образца); пуансон помещен в специальную направляющую обойму, которая строго центрирована относительно оси прибора; динамометр устанавливается между пуансоном и загрузочным винтом, причем сочленение между загрузочным винтом и динамометром выполнено в виде сферического шарнира.

Рис. 23. Развитие деформаций во времени при испытаниях на динамометрическом приборе

а - динамометра; б - образца

4.160. Прибор рассчитан на испытание образца цилиндрической формы диаметром 45,2 мм при высоте 100 мм. Наибольшее сжимающее усилие составляет 3000 кг.

4.161. Деформацию динамометра λ' в мм для любого момента времени определяют по разности между начальным его сжатием λ'0 и расжатием λ'0(t), зависящим от продолжительности испытания: при натяжении в динамометре возникает начальная деформация сжатия λ'0 (рис. 23, а), а в процессе испытания динамометр постепенно разжимается на величину λ'0(t). Эту деформацию измеряют индикатором. Таким образом, общую деформацию динамометра для заданного момента времени определяют из выражения

λ' = λ'0 - λ'(t).                                                                                            (66)

По мере разжатия динамометра его деформация λ'(t), уменьшаясь, достигает конечной величины λ'к, соответствующей стабилизованному состоянию.

4.162. Деформацию образца грунта λ" определяют непосредственно по показаниям индикатора. Деформация образца грунта состоит из начальной деформации λ0 и деформации, развивающейся во времени, λ" (t). Последнюю вычисляют по формуле

.                                                                                        (67)

4.163. Значение нагрузки, передаваемой динамометром на образец, определяют по тарировочному графику или вычисляют по формуле

Р = Кд λ',                                                                                                  (68)

где Кд - коэффициент жесткости динамометра, определяемый по данным тарировки, в кг/мм;

λ' - деформация динамометра, определяемая из выражения (66), в мм.

ПРОВЕДЕНИЕ ИСПЫТАНИЙ

4.164. Предварительно, до определения предельно длительной прочности образца мерзлого грунта на сжатие σсж.дл, проводят испытание образца грунта при быстром приложении возрастающей нагрузки, в результате чего устанавливают условно-мгновенное, максимальное сопротивление образца данного грунта сжатию под нагрузкой Рмгн. Затем с идентичным образцом грунта проводят основной опыт по определению значения предельно длительной прочности σсж.дл. Начальную нагрузку в этом опыте задают близкой (несколько меньшей) к значению рмгн.

4.165. Испытание проводят в помещении с отрицательной температурой, соответствующей заданной. Подготовленный образец мерзлого грунта, предварительно выдержанный при температуре испытания, устанавливают в прибор. Загрузочный винт должен плотно соприкасаться с динамометром, для этого медленно подкручивают винт так, чтобы стрелка индикатора, слегка отклонившись, снова вернулась к нулю. После установки образец не менее 1 ч выдерживают в приборе при заданной температуре.

4.166. Испытание при быстром воздействии нагрузки проводят в такой последовательности: вращением воротка образцу передают непрерывно и равномерно возрастающую нагрузку. Опыт продолжают в течение 20-30 сек и заканчивают его либо при разрушении образца, либо при значении осевой деформации образца грунта, равной 20 % начальной высоты, т.е. когда λ” = 0,2h мм. В конце опыта определяют деформацию динамометра λ’, соответствующую разрушению образца или его деформации λ” = 0,2h.

4.167. Значение нагрузки, при которой произошло разрушение образца или была достигнута деформация образца грунта λ” = 0,2h, соответствует условно-мгновенной, максимальной разрушающей нагрузке Pсж.мгн. Эту нагрузку определяют непосредственно по тарировочному графику данного динамометра или согласно выражению (68).

4.168. Перед проведением основного опыта для определения предельно длительной прочности σсж.дл производят обжатие образца при нагрузке, соответствующей 0,25 Рмгн. Для этого задают натяжение динамометра, определяемое из выражения

 см.

Под обжимающей нагрузкой образец выдерживают в течение 2 мин, после чего производят разгрузку, и образец в течение 2 ч выдерживают в приборе при температуре испытания.

4.169. Основной опыт, служащий для определения предельно длительной прочности на сжатие σсж.дл, проводят при начальной нагрузке Pн = 0,75 Рмгн.

4.170. Загружение образца грунта осуществляется плавно, но достаточно быстро, в течение 10-15 сек. В процессе загружения следят, чтобы в образце грунта не появились трещины, а при последующих испытаниях не происходили перекосы. При возникновении трещин и перекосов опыт проводят сначала.

4.171. После приложения начальной нагрузки Рн положение динамометра закрепляют с помощью натяжного устройства и сразу регистрируют показания индикаторов, служащие для определений начальных деформации образца  и  динамометра.

В процессе дальнейшего испытания ведут наблюдения за изменяющимися во времени деформациями образца и динамометра. Показания индикаторов регистрируют сначала через 20-30 сек, затем через 1, 5, 10, 20, 40 мин, далее через 3,5, 8, 12 и 24 ч от начала опыта и, наконец, через каждые сутки. Результаты наблюдений записывают в журнал (табл. 37).

Таблица 37

(Форма)

Данные наблюдений при испытании мерзлого грунта на одноосное сжатие в динамометрической установке

Номер динамометра ______________________________

Начальная нагрузка Рн, кг

Коэффициент жесткости динамометра Кд, кг/см _______________________________________________

Начальная деформация образца  мм

Начальная деформация динамометра , мм

 

 

Дата

Время взятия отсчета, t

Время от начала опыта, t

Показания индикаторов

Абсолютная деформация λ, мм

Нагрузка Р, кг

Температура θ, °С

Примечание

динамометра

образца

 

 

 

 

 

 

 

 

 

 

 

 

 

 

 

 

 

 

 

 

 

 

 

 

 

 

 

4.172. Опыт заканчивается, когда достигается стабилизация деформации. Стабилизацию деформации считают достигнутой, если приращение относительной деформации образца  не превышает 0,5·10-4 за сутки. В целях более точного определения σсж.дл (если это специально предусмотрено заданием) принимают, что приращение деформации образца не должно превышать δ = 0,25·10-4 за пять суток. По результатам испытаний вычисляют в соответствии с формулой (66) абсолютную конечную деформацию  динамометра.

ОПРЕДЕЛЕНИЕ ПРЕДЕЛЬНО ДЛИТЕЛЬНОГО СОПРОТИВЛЕНИЯ ГРУНТА ОДНООСНОМУ СЖАТИЮ

4.173. Используя полученное значение деформации , определяют конечную нагрузку Рк в соответствии с п. 4.163, соответствующую стабилизированной деформации.

4.174. На основании полученных данных определяют значение предела длительной прочности образца грунта при сжатии σсж.дл кг/см2. Если динамометр обладает достаточно большой жесткостью, то σсж.дл = σк, где σк - значение конечного напряжения, определяемое из выражения , при этом F - площадь образца после окончания опыта в см2.

4.175. Жесткость динамометра, при которой справедливо выражение σсж.дл = σк, определяют по формуле

                                                                                               (69)

где  - начальная деформация образца;

 -конечная стабилизовавшаяся деформация образца в мм;

Δ - допускаемая погрешность, принимаемая равной 0,1.

4.176. В случае, если условие по формуле (69) не удовлетворяется, значение предельно длительной прочности при одноосном сжатии вычисляют по формуле

                                                                              (70)

где  - конечная, стабилизовавшаяся деформация динамометра;

 и  - соответственно начальная и конечная деформации образца;

т - параметр, характеризующий нелинейность связи между напряжением и деформацией мерзлых грунтов и определяемый в соответствии с п. 4.177.

4.177. Параметр т, входящий в формулу (70), определяют из выражения

                                                                                  (71)

или из выражения

                                                                                           (72)

в которых  =  + и  =  + суммарная начальная деформация динамометра () и образца () соответственно для первой  и второй  начальных нагрузок;

 и  - деформации |динамометра в данный момент времени ti соответственно для первой и второй начальных нагрузок (рис. 24, а);

Рмгн - условно-мгновенное (максимальное) значение разрушающей нагрузки.

4.178. Для получения исходных данных для расчета параметра т по формуле (71) дополнительно проводят испытание идентичного образца при другой начальной нагрузке Рн(2), отличной от Рн(1) (см. п. 4.169).

4.179. Начальную нагрузку в дополнительном опыте рекомендуется принимать равной Рн(2) = 0,5 Рмгн или Рн(2) = 0,6Рмгн.

Дополнительный опыт проводят по той же методике, что и основной (см. пп. 4.170-4.172).

Рис. 24. Определение параметра т по данным испытаний

а - при заданных начальных нагрузках Рн(1) и Рн(2); б, в - при непрерывно возрастающей нагрузке

4.180. По данным опытов для каждого значения начальной нагрузки Рн(1) и Рн(2) строят график в координатах деформация динамометра λ' - время t (рис. 24, а) и по нему для произвольно выбранных моментов времени ti определяют значения  и . Подставляя эти данные в формулу (71), вычисляют значение т. Для контроля выполняют не менее трех таких определений для различных моментов времени ti; (различных точек графика). В качестве расчетной величины т принимают среднее ее значение.

4.181. Для расчета параметра т по формуле (72) во время испытания при быстром приложении нагрузки (пп. 4.166, 4.167) измеряют осевые деформации образца грунта и динамометра. Для этого прибор оборудуют самописцем. По данным опыта строят график в координатах ÷ нагрузка Р - деформация образца грунта λ" (рис. 24, б). Затем график этот представляют в логарифмических координатах (рис. 24, в). Угол наклона полученной прямой к оси абсцисс определяет величину α = arctg m.

4.182. Используя полученное значение параметра т, вычисляют предельно-длительное значение сопротивление данного мерзлого грунта одноосному сжатию σсж.дл по формуле (70).

4.183. Допускается величину предельно-длительного сопротивления мерзлого грунта одноосному сжатию определять также по результатам восьмичасовых испытаний. В этом случае в качестве конечной величины деформации  и  и нагрузки Рк принимают значения этих характеристик, полученные через восемь часов от начала опыта. Обработку опытных данных проводят в соответствии с пп. 4.173-4.182. Предельно-длительное сопротивление σсж.дл при динамометре достаточной жесткости 1 определяют из выражения:

σсж.дл = .                                                                                       (73)

1 В этом случае условие жесткости динамометра определяют выражением

где 0,8 - эмпирический коэффициент;

 - начальная деформация образца;

 - деформация образца через 8 ч после начала опыта;

Δ - допускаемая погрешность, принимаемая равной 0,1,

Если не удовлетворяется условие жесткости динамометра (п. 4.175), то σсж.дл определяют из выражения:

                                                                        (74)

где σсж.8 - сопротивление одноосному сжатию, рассчитанное по данным восьмичасовых испытаний;

0,8 - эмпирический коэффициент;

 и  - деформации динамометра и образца грунта по прошествии восьми часов после начала опыта.

Результаты определений записываются в журнал (табл. 38).

Таблица 38

(Форма)

Результаты определения длительного сопротивления мерзлого грунта сжатию

Дата

Время и № опыта

Грунт

Объемный вес грунта  г/см3

Влажность грунта Wс, %

Сопротивление одноосному сжатию σсж.дл.

Нормативное сопротивление сжатию

Примечание

 

 

 

 

 

 

 

 

 

 

 

 

 

 

 

 

 

 

 

 

 

 

 

 

СОПРОТИВЛЕНИЕ МЕРЗЛЫХ И ОТТАЯВШИХ ГРУНТОВ СДВИГУ

4.184. В соответствии с действующими в настоящее время СНиП для расчета несущей способности фундаментов и их оснований используются характеристики сопротивления грунта сдвигу - сцепление с и угол внутреннего трения φ.

4.185. Основными методами определения этих характеристик являются:

испытания на сдвиг при одновременном воздействии нормального напряжения;

испытания на трехосное сжатие под воздействием различных радиальных и осевых нагрузок.

Испытания на трехосное сжатие наиболее полно воспроизводят реальную работу грунта в массиве, т.е. в основании сооружения. Однако, вследствие значительной сложности трехосных испытаний, проведение их рекомендуется для особо ответственных случаев.

4.186. В настоящем Руководстве излагается общепринятый и широко используемый метод определения параметров прочности с и φ из испытаний грунта на сдвиг при одновременном воздействии нормального напряжения. При таких испытаниях используют стандартные приборы, выпускаемые серийно.

4.187. Для определения сопротивления грунта сдвигу τ используют связь между ним, нормальным напряжением σ, сцеплением и углом внутреннего трения

τ = с + σ tg φ,

где tgφ - коэффициент внутреннего трения;

с - удельное сцепление.

Значения нормального напряжения σ, при котором производится срез образцов, а для мерзлых грунтов также и значения температуры, устанавливаются заданием.

4.188. Для мерзлых грунтов в качестве расчетных характеристик принимаются предельно-длительные значения сцепления σдл и угла внутреннего трения φдл. Для оттаявшего грунта расчетные характеристики с и φ принимают по данным испытаний на сдвиг образцов грунта, имеющих плотность и влажность оттаявшего основания.

ПРИБОРЫ

4.189. Для определения сопротивления мерзлого или оттаявшего грунтов сдвигу используют одноплоскостной прибор с фиксированной плоскостью среза (рис. 25).

4.190. Рекомендуется пользоваться прибором ГГП-30 системы Гидропроекта. Нормальная и сдвигающая нагрузки в приборе этого типа прикладываются независимо одна от другой. Сдвиг осуществляется смещением одной части образца относительно другой, при одновременном воздействии сжимающей нагрузки, приложенной перпендикулярно к плоскости сдвига.

Рис. 25. Схема одноплоскостного сдвига прибора

N - нормальное усилие;

Т - сдвигающее усилие

Рис. 26. Схема клинового прибора

1 - образец цилиндрической формы; 2 - подвижная обойма; 3 - неподвижная обойма; 4 - сменный металлический клин

4.191. Срезной прибор ГГП-30 рассчитан на усилия до 400 кг. Для испытания мерзлого грунта используют этот же прибор, переоборудованный и специализированный для работы с большими усилиями, достигающими 900-1000 кг: уменьшен диаметр испытываемого образца грунта до 50,5 мм, увеличено передаточное число рычагов, усилены тросы.

4.192. Для испытания мерзлого грунта наряду с прибором ГГП-30 Гидропроекта используют также значительно более мощные клиновые приборы конструкции ВНИМИ (рис. 26). Эти приборы позволяют испытывать образцы при усилиях свыше 900 кг.

В отличие от приборов ГГП-30 в клиновом приборе касательное и нормальное усилия не могут быть заданы автономно, а определяются путем расчета.

4.193. Клиновой прибор состоит из двух чугунных обойм, в которые помещают образец грунта. Нагрузку Р прикладывают вертикально. При наклонном положении образца грунта составляющие усилия Р по нормали и касательной к плоскости среза образуют нормальную N и касательную Т нагрузки. Желаемое соотношение между нормальным и касательным напряжениями получают, изменяя угол наклона образца α при помощи сменных металлических клиньев.

4.194. Испытание на клиновом приборе обычно проводят при наклоне образца от 30 до 60 - 70°. Нагрузку Р на образец подают гидравлическим или механическим прессом, а при испытании слабых грунтов - рычажным прессом.

4.195. Значения нормальных () и касательных () напряжений в зависимости от угла наклона образца грунта α определяют по формулам:

                                                                                              (75)

                                                                                           (76)

где α - угол наклона образца в град;

F - площадь среза в см2;

Р - вертикальная нагрузка в кг.

4.196. Испытание на срез производят с образцом цилиндрической формы. При испытании на приборе ГГП-30, обычно высота образца талого грунта 50 мм, диаметр 71,4 мм (площадь 40 см2), а мерзлого грунта при той же высоте образца сокращают диаметр до 50,5 мм (площадь 20 см2). На клиновом приборе испытывают во всех случаях образец высотой 100 мм и диаметром 71,4 мм.

Примечание. В тех случаях, когда высота монолита или керна не позволяет получить образец грунта указанной высоты, допустимо ее уменьшение до 35 мм при испытании на приборе тина ГГП-30 и до 95 мм при испытании на клиновом приборе.

4.197. Для определения значений сопротивлений сдвигу оттаявших грунтов текучей и мягкопластичной консистенции рекомендуют использовать одноплоскостной сдвиговой прибор ВСВ-1 системы Гидропроекта (рис. 27).

4.198. Передачу сдвигающей и нормальной нагрузок на приборе ВСВ-1 осуществляют с помощью динамометров. Для передачи нормальной нагрузки используют динамометр типа ДС-02 или ДС-1, для сдвигающей - типа ДС-02.

Рис. 27. Схема сдвигового прибора ВСВ-1

1 - динамометр для передачи вертикальной нагрузки; 2 - штамп; 3 - верхняя обойма; 4 - верхняя часть разрезного кольца для грунта; 5 - резиновая оболочка; 6 - образен, грунта; 7 - нижняя обойма; 8 - нижняя часть разрезного кольца для грунта; 9 - тормозное устройство для индикатора динамометра; 10 - динамометр ДС-02 для измерения сопротивления сдвигу; 11 - дно нижней обоймы; 12 - пористый вкладыш; 13 - подвижная плита; 14 - арретирный винт; 15 - винт для приложения вертикальной нагрузки; 16 - винт для приложения сдвигающего усилия

Рис. 28. Тормозное устройство

1 - неподвижная ножка индикатора; 2 - крепежный винт; 3 - прижимной винт; 4 - упор для пружины; 5 - пружина; 6 - корпус; 7 - подвижная ножка индикатора; 8 - регулировочный винт

4.199. На неподвижную часть ножки индикатора динамометра, измеряющего напряжение сдвига, устанавливают тормозное устройство (рис. 28), фиксирующее значение максимального напряжения сдвига. Прижимной штифт тормозного устройства должен быть прижат к подвижной части ножки индикатора с достаточной силой, чтобы воспрепятствовать ее обратному ходу, но не затруднять перемещение ножки при приложении нагрузки.

4.200. Прибор ВСВ-1, позволяющий производить испытание на сдвиг в течение 8-10 сек, используют при определении условно-мгновенного значения сопротивления грунта сдвигу.

ОПРЕДЕЛЕНИЕ УСЛОВНО-МГНОВЕННОГО СОПРОТИВЛЕНИЯ МЕРЗЛОГО ГРУНТА СДВИГУ

4.201. Определение сопротивления мерзлого грунта сдвигу производят без предварительного уплотнения образца грунта.

4.202. Опыт ведут при трех-четырех значениях нормального напряжения, величина которого обусловливается заданием на лабораторное испытание, учитывающим требования расчета. Число повторных определений должно быть не менее трех.

4.203. Определению предельно длительного сопротивления мерзлого грунта сдвигу предшествует испытание данного вида грунта при быстром приложении нагрузки, при котором определяют значения условно-мгновенного; сопротивления τмгн.

4.204. При испытании на срезных приборах с раздельной передачей нормального и касательного напряжения образец грунта устанавливают в прибор и нагружают заданной нормальной нагрузкой.

4.205. Образцу быстро, но, не допуская удара, сообщают непрерывно и равномерно возрастающую сдвигающую нагрузку Т. Загружение осуществляют дробью. Продолжительность испытания должна составлять 20-30 сек. Опыт заканчивают, когда разрушается образец грунта или когда его деформирование происходит с ускорением и без дальнейшего увеличения нагрузки Т. После опыта из зоны сдвига отбирают две пробы на влажность. В процессе опыта ведут запись данных наблюдений в журнал (табл. 39).

4.206. Значение условно-мгновенного сопротивления мерзлого грунта при быстром сдвиге τмгн определяют как частное от деления разрушающего усилия Тмгн на площадь среза образца F. Полученные результаты заносят в журнал (табл. 39).

4.207. По результатам испытаний образца данного грунта известной влажности и температуры строят диаграмму сдвига (рис. 29, кривая l): по оси абсцисс откладывают значения нормального напряжения σ, а по оси ординат - соответствующие значения сопротивления быстрому сдвигу τмгн.

4.208. Условно-мгновенные значения параметров смгн и φмгн данного вида грунта определяют графически по полученной диаграмме сдвига или путем расчета. Значение смгн определяют отрезком, отсекаемым на оси ординат диаграммой сдвига (см. рис. 29).

Таблица 39

(Форма)

Данные наблюдений при испытании мерзлого грунта на быстрый сдвиг в приборе Гидропроекта

Дата

№ опыта

Нормальное усилие в кг

Нормальное напряжение в кг/см2

Горизонтальное усилие в кг

Сдвигающее напряжение в кг/см2

Продолжи­тельность опыта в мин

Температура образца в °С

Примечание

 

 

 

 

 

 

 

 

 

 

 

 

 

 

 

 

 

 

 

 

 

 

 

 

 

 

 

Таблица 40

(Форма)

Результаты определений характеристик сопротивления мерзлого и оттаявшего грунта сдвигу

опыта

Грунт

Объемный вес , г/еж'

Влажность Wc, %

Нормальное напряжение σ, кг/см2

Характеристика сопротивления грунта сдвигу

Примечание

τ, кг/см2

с, кг/см2

φ°

 

 

 

 

 

 

 

 

 

 

 

 

 

 

 

 

 

 

 

 

 

 

 

 

 

 

 

Значение угла внутреннего трения φмгн определяют углом наклона диаграммы к оси абсцисс.

Расчетным путем значения смгн и φмгн определяют со среднеквадратным приближением - способом наименьших квадратов по формулам:

                                                       (77)

                                                                        (78)

где п - число определений сопротивления сдвигу (не менее 9)

Полученные, значения смгн и φмгн заносят в журнал (табл. 40).

4.209. Испытание на срезном приборе при передаче одной суммарной нагрузки (клиновой прибор) проводят при различных (не менее трех) значениях угла наклона а образца грунта. Рекомендуется принимать α = 30, 45 и 60°.

4.210. Образец мерзлого грунта освобождают от формы, помещают в обойму прибора, установленного под прессом при заданном угле наклона, и выдерживают не менее одного часа.

4.211. Образцу быстро, не допуская удара, сообщают непрерывно и равномерно возрастающую нагрузку Р (см. рис. 26). Далее опыт проводят в соответствии с указаниями п. 4.205. В процессе опыта ведут запись в журнал (табл. 41).

4.212. По данным испытания на клиновом приборе сопротивление сдвигу вычисляют в следующей последовательности:

определяют полное разрушающее напряжение по плоскости среза Рмгн/F, где F - первоначальная площадь среза образца в см2;

подставляют полученную величину Pмгн/F в формулы (75), (76) и вычисляют τмгн и σ. Полученные данные заносят в журнал (табл. 40).

Рис. 29. Диаграммы сдвига

1 - условно-мгновенное сопротивление; 2 - предельно длительное сопротивление

4.213. По результатам испытания строят диаграмму сдвига (см. п. 4.207, рис. 29), по которой определяют смгн и φмгн. Полученные значения заносят в журнал (табл. 40).

4.214. Если необходимо иметь значение смгн и φмгн в широком диапазоне нормальных напряжений (более 20-25 кг/см2), то, используя результаты испытания грунта на обоих приборах, наносят их на общую диаграмму сдвига и по ней определяют смгн и φмгн.

Таблица 41

(Форма)

Данные наблюдений при испытании мерзлого грунта на быстрый сдвиг в клиновом приборе

Дата

№ опыта

Угол наклона образца α°

Разрушающая; нагрузка, Рмгн, кг

Давление на образец , кг/см2

Продолжительность опыта t, мин

Температура образца θ, °С

Примечание

 

 

 

 

 

 

 

 

 

 

 

 

 

 

 

 

 

 

 

 

 

 

 

 

ОПРЕДЕЛЕНИЕ ПРЕДЕЛЬНОДЛИТЕЛЬНОГО СОПРОТИВЛЕНИЯ МЕРЗЛОГО ГРУНТА СДВИГУ

4.215. Определения предельно длительного сопротивления мерзлого грунта сдвигу, как и при быстром сдвиге, производят не менее чем для трех значений нормального напряжения σ, или трех значений угла наклона образца а. Значение нормальной нагрузки или угла наклона α назначают в соответствии с заданием.

4.216. Испытание на сдвиг для каждого значения σ или α проводят с трехкратной повторностью. Сдвигающее усилие или суммарную нагрузку Р прикладывают равными ступенями.

4.217. Величину последовательно прикладываемой ступени нагрузки принимают равной 1/10 от условно-мгновенного сопротивления Тмгн или Рмгн, т.е. Т = 0,1Тмгн или Р = Рмгн.

4.218. Измерения деформаций образца производят с помощью индикаторов часового типа с ценой деления 0,01 мм.

4.219. Перед началом опыта индикатор устанавливают в нулевое положение. Затем прикладывают первую ступень нагрузки Т или Р и, включив секундомер, наблюдают за деформацией образца во времени.

4.220. Каждую ступень нагрузки выдерживают до стабилизации деформаций. Стабилизацию деформации считают достигнутой, когда приращение деформации не превышает 0,01 мм для песков за время 6 ч, для супесей 12 ч, для суглинков и глин 24 ч.

4.221. Интервалы времени между отсчетами деформаций принимают следующими. В начале каждой ступени, если скорость деформации значительна, отсчеты ведут не реже 1 раза в минуту. По мере уменьшения скорости деформирования, когда за одну минуту приращение деформации не фиксируется, интервалы времени между отсчетами постепенно увеличивают до 2, 4, 8, 15, 30 мин и далее до 1, 2, 3 и до 8 ч. При этом период времени между последующими отсчетами корректируют по величине деформации, которая не должна превышать 0,5 мм. В противном случае время между отсчетами уменьшают.

Таблица 42

(Форма)

Данные наблюдений при длительных испытаниях мерзлого грунта на сдвиг

№ опыта

Нормальное напряжение σ, кг/см2 (угол наклона α образца)

Ступени нагрузки сдвигающей Т (или вертикально Р), кг

Время взятия отсчета

Время от начала опыта

Время между отсче­тами ti-ti-1

Поправка на деформацию прибора

Деформация образца λi, мм

Приращение деформации λi-λi-1, мм

Скорость деформации , мм/мин

Приме­чание

ч

мин

ч

мин

 

 

 

 

 

 

 

 

 

 

 

 

 

 

 

 

 

 

 

 

 

 

 

 

 

 

4.222. В процессе испытаний ведут запись данных наблюдений (табл. 42). Абсолютную деформацию λi определяют разностью данного и нулевого отсчета. Приращение деформации вычисляют разностью данной и предыдущей деформации. Скорость деформации определяют как частное от деления приращения деформации на интервал времени, соответствующий этому приращению.

4.223. После достижения стабилизации деформации от первой нагрузки (пункт 4.220) переходят к следующей ступени нагружения, которую также продолжают до стабилизации деформации. Опыт продолжают до той ступени нагружения, на которой деформация не стабилизируется, переходя в незатухающее деформирование с постоянной скоростью. Деформирование с постоянной скоростью считают достигнутым, когда не менее чем при четырех последующих отсчетах не наблюдают закономерного увеличения или уменьшения скорости деформирования.

4.224. Опыт прекращают, когда четко установлено незатухающее деформирование не менее чем при двух очередных ступенях нагрузки (рис. 30, пятая и шестая ступени). Каждую из этих нагрузок выдерживают в течение трех суток с тем, чтобы убедиться в незатухающем характере деформирования.

4.225. По результатам испытаний (табл. 42) строят графики в координатах: деформация сдвига - время (рис. 30).

По оси ординат откладывают деформацию сдвига λi (мм), а по оси абсцисс - время t; для каждого значения нормального напряжения σ или угла наклона образца α строят свой график.

4.226. Каждая ступень нагрузки соответствует своему значению сдвигающего усилия Т (срезной прибор) или вертикального усилия Р (клиновой прибор).

4.227. Предельно длительное сопротивление Тдл или Рдл при данном значении σ или α находится в диапазоне напряжений между наибольшим его значением Т4 или Р4 при котором деформации еще стабилизируются, и наименьшим Т5 или Р5, при котором наблюдается незатухающее течение, т.е. V > 0.

Предел длительной прочности с известным запасом принимают равным первому из указанных значений, т.е. Тдл = Т4 (или Рдл = Р4)

Рис. 30. Развитие деформаций во времени при загружении ступенями

1 - для N (α1); 2 - для N2 (α2); 3 - для N3 (α3)

4.228. Значение предельно длительного сопротивления мерзлого грунта сдвигу  по испытаниям на срезном приборе определяют непосредственно из графика (см. рис. 30) зависимости λ - t, полученного для данного значения α.

4.229. Если испытания проводились на клиновом приборе, то из графиков зависимости λ - t (см. рис. 30) определяют значение для данного угла наклона образца грунта и по нему рассчитывают предельно длительное сопротивление мерзлого грунта сдвигу τдл и соответствующее ему нормальное напряжение σ по формулам:

                                                                                        (79)

                                                                                          (80)

4.230. Для определения расчетных параметров сдл и φдл для данного грунта строят диаграмму сдвига (см. рис. 29, кривая 2).

На оси абсцисс графика откладывают значения нормального напряжения σ, а на оси ординат - соответствующие им значения предельно длительного сопротивления сдвигу τдл.

4.231. По полученной диаграмме сдвига (см. рис. 29, кривая 2) определяют по аналогии с указаниями пп. 4.207, 4.208, предельно длительные значения сцепления сдл и угла внутреннего трения φдл для данного грунта, которые заносят затем в журнал.

4.232. Приближенно значение параметра φдл мерзлого грунта массивной, тонкослоистой и тонкосетчатой текстуры может быть определено по результатам испытания сопротивления сдвигу образца данного грунта в немерзлом состоянии. Эти испытания проводят в соответствии с ГОСТ 12248-66. При этом опыты проводят с образцом грунта, имеющим влажность и объемный вес, соответствующие таковым в мерзлом его состоянии.

ОПРЕДЕЛЕНИЕ ХАРАКТЕРИСТИК СОПРОТИВЛЕНИЯ СДВИГУ ОТТАЯВШИХ ГРУНТОВ

4.233. Определение предельного сопротивления сдвигу оттаявшего грунта текучей или мягкопластичной консистенции проводят на приборе ВСВ-1 (см. рис. 27), передающем усилия с помощью динамометра. Каждый из динамометров, используемых при испытании, должен иметь свидетельство о государственной проверке.

4.234. По данным, приведенным в свидетельстве, строят тарировочный график в координатах: показание индикатора динамометра λ (мм) - нагрузка Р (кг). Для удобства в работе график, перестроив, представляют в координатах λ - σ и λ - τ, где  кг/см2 и  кг/см2, где F - площадь поперечного сечения образца в см2.

Пользуясь тарировочными графиками, по измеренной при испытании образца деформации λ определяют соответствующие значения σ и τ.

4.235. Определение сопротивления оттаявшего грунта сдвигу производят при различных (не менее трех - четырех) значениях вертикальной нагрузки Р, величину которой принимают по заданию в соответствии с требованием предполагаемого расчета. Количество повторных определений должно быть не менее трех.

4.236. Если необходимо получить характеристики прочности для грунта непосредственно после его оттаивания (с сохранением влажности, соответствующей мерзлому грунту), то испытание проводят в условиях закрытой системы: образец мерзлого грунта заключают в тонкую резиновую оболочку (толщиной не более 0,2 мм) и помещают, в рабочее кольцо срезывателя. Затем образец грунта с обоих торцов покрывают резиновыми прокладками.

Примечание. Для того чтобы при загружении в прибор образец не деформировался, внутренний диаметр кольца пробобрателя должен быть меньше диаметра рабочего кольца срезывателя на толщину резиновой оболочки.

4.237. Перед испытанием образец переносят в теплое помещение и устанавливают в срезыватель прибора.

4.238. Оттаивание образца происходит в приборе при комнатной температуре. Окончание оттаивания устанавливают с помощью зондирования тонкой проволокой через верхний торец образца. Как правило, оттаивание продолжается 40-60 мин.

4.239. После оттаивания образца устанавливают динамометры, отпускают арретирный винт и сразу производят определение сопротивления грунта сдвигу: вращением винта создают заданное вертикальное давление; показание индикатора, соответствующее этому давлению, находят по графику, прилагаемому к данному динамометру.

4.240. Непосредственно после приложения вертикального усилия равномерным вращением винта быстро (в течение 8-10 сек) производят сдвиг: прекращение увеличения сдвигающего усилия является показателем возникшего сдвига. В момент сдвига индикатор фиксирует максимальное значение деформаций λ, соответствующее предельному сопротивлению сдвига. Во избежание завышения сопротивления грунта сдвигу за счет упругости резиновой оболочки необходимо наблюдать за кареткой срезывателя, не допуская ее смещения более чем на 5 мм.

4.241. При испытании образца грунта необходимо следить за постоянством вертикального давления, поддерживая его с помощью регулировочного винта (см. рис. 27).

4.242. После окончания опыта прибор разбирают, образец грунта вынимают из резиновой оболочки и из зоны сдвига берут пробу для определения влажности.

4.243. Значение предельного сопротивления сдвигу τ находят по графику, приложенному к динамометру.

4.244. По результатам испытаний строят диаграмму сдвига оттаявшего грунта данной влажности. Расчетные параметры с и φ определяются в соответствии с указаниями пп. 4.207, 4.208.

4.245. Определение характеристик сопротивления сдвигу оттаявших грунтов тугопластичной и полутвердой консистенции может быть произведено также на приборе типа ГГП-30 в соответствии с ГОСТ 12248-66, разработанным для немерзлых грунтов.

СОПРОТИВЛЕНИЕ МЕРЗЛОГО ГРУНТА СДВИГУ ПО БОКОВОЙ ПОВЕРХНОСТИ ФУНДАМЕНТА

4.246. При расчетах фундаментов по устойчивости и прочности на действие сил пучения необходимо знать сопротивление мерзлого грунта сдвигу по поверхности фундамента , именуемое нормативным сопротивлением мерзлых грунтов сдвигу по боковой поверхности смерзания.

4.247. Значение  определяют экспериментально по результатам полевых испытаний фундаментов пробными нагрузками или на основании лабораторных испытаний. Основным методом определения являются полевые испытания. При отсутствии опытных данных величина принимается по табл. 5 главы СНиП II-Б.6-66.

4.248. Лабораторные испытания образцов мерзлого грунта на сдвиг по боковой поверхности смерзания, если это предусмотрено заданием, производятся для получения значений  в зависимости от состава грунтов, температуры, влажности, нормального давления и других факторов.

ПРИБОРЫ

4.249. Для определения сопротивления мерзлых грунтов сдвигу по боковой поверхности фундаментов лабораторным методом используют приборы, в которых через испытуемый грунт продавливаются модели фундаментов (прибор Н.А. Цытовича) или элементы фундаментов (прибор В.Ф. Ермакова), а также сдвиговые приборы, в которых сдвиг осуществляется по плоскости смерзания грунта с элементом фундамента (прибор НИИ оснований).

4.250. Прибор Н.А. Цытовича (рис. 31) состоит из наружного кольца (диаметром 105 мм, высотой 80 мм); поддона с круглым отверстием в центре; вкладыша, закрывающего отверстие в поддоне; стойки (диаметром 40 мм и высотой 120 мм), изготовленной из различного строительного материала; наголовника, надеваемого на стойку.

Рис. 31. Схема прибора Цытовича

1 - наружное кольцо; 2 - поддон; 3 - вкладыш; 4 - стойка; 5 - наголовник

Рис. 32. Схема прибора Ермакова

1 - корпус; 2 - пластина

Для проведения испытаний наружное кольцо устанавливается на поддон, отверстие в котором закрывается вкладышем; на вкладыш ставится стойка. Пространство внутри кольца заполняется грунтом. После этого прибор ставится в холодильную камеру или шкаф, где производится замораживание грунта.

Перед испытанием из поддона удаляют вкладыш, а на стойку надевают наголовник; прибор устанавливают под пресс и производят продавливание стойки через грунт.

4.251. Прибор В.Ф. Ермакова (рис. 32) состоит из двух частей: стального корпуса и пластины из строительного материала, имитирующего элемент фундамента. Корпус выполняется в виде прямоугольного короба размером 200×150×100 мм с прорезью в днище. В прорезь устанавливается пластина из строительного материала размером 150×120×40 мм. Во избежание трения пластины о боковые стенки корпуса в последних устраиваются прорези, которые закрываются съемными накладками, После установки пластины в корпус прибора его заполняют грунтом и устанавливают в холодильную камеру или шкаф для замораживания грунта.

Перед испытанием с корпуса прибора снимают накладки, закрывающие нижнюю и боковые прорези. Подготовленный прибор помещают под пресс и прикладывают нагрузку к верхнему торцу пластины.

Рис. 33. Схема прибора НИИ оснований

1 - сдвиговая камера; 2 - подвижная каретка; 3 - направляющая обойма; 4 - материал фундамента; 5 - образец; 6 - стальной шарик; 7 - крепежный винт; 8 - опорная плита; 9 - боковой штамп; 10 - боковая упорная плита; 11 - винт; 12 - кронштейн динамометра; 13 - скоба динамометра; 14 - боковая стойка; 15 - стяжной винт

4.252. Прибор НИИ оснований 1 (рис. 33) имеет сдвиговую камеру и направляющую обойму, в которой на стальных шариках перемещается подвижная каретка. К сдвиговой камере крепится устройство для передачи нормального давления, состоящее из четырех стоек, упорной плиты, винта и динамометра.

1 Конструкция прибора разработана Л.В. Садовским при участии С.Э. Городецкого.

4.253. Образец в виде цилиндра, состоящий из смерзшихся друг с другом грунтовой части и материала фундамента, помещают в сдвиговую камеру и цилиндрическое углубление подвижной каретки. Сдвигающая нагрузка с помощью пресса передается на образец через верхний прилив подвижной каретки.

Передачу нормальной нагрузки на образец осуществляют с помощью винта, вращающегося в боковой упорной плите. Усилие, создаваемое винтом, через динамометр и боковой штамп передается на образец. Для предотвращения опрокидывания весь прибор закрепляется на опорной плите с помощью крепежного винта.

4.254. В том случае, когда испытания проводятся с приложением нормальной нагрузки, сопротивление сдвигу следует рассчитывать с поправкой на трение в приборе. Для этого предварительно определяют опытным путем коэффициент трения подвижной каретки по направляющей обойме.

4.255. Коэффициент трения определяют следующим образом. Подвижная каретка устанавливается на горизонтально расположенную направляющую обойму, продольные канавки которой заполнены стальными шариками. В каретку устанавливают стальной цилиндр диаметром на 15 мм меньше, чем диаметр образца, затем к каретке несколькими ступенями прикладывают вертикальную нагрузку и по динамометру для каждой ступени определяют усилие, которое необходимо для того, чтобы придать каретке медленное перемещение по направляющей обойме. После нескольких загружений строится график, по которому определяют коэффициент трения прибора:

Кп = tg φп,                                                                                                 (81)

где φп - угол наклона спрямленной кривой, выражающей зависимость сдвигающего усилия, при котором начинается медленное перемещение каретки, от нормальной нагрузки.

Величину , кг/см2 для каждой ступени нормальной нагрузки N, кг вычисляют по формуле

                                                                                      (82)

где Т - сдвигающее усилие в кг;

F- площадь образца в см2;

Кп - коэффициент трения прибора.

4.256. Из перечисленных приборов более совершенным является прибор НИИ оснований, поэтому методика приготовления образцов и проведения испытаний для определения сопротивления мерзлых грунтов сдвигу по боковой поверхности фундамента излагается применительно к этому прибору.

ПРИГОТОВЛЕНИЕ ОБРАЗЦОВ

4.257. Образец для испытания на приборе НИИ оснований представляет собой цилиндр и состоит из двух смороженных между собой частей: грунтовой части и материала фундамента.

Грунтовая часть образца заключена в металлический стакан внутренним диаметром 71,3 мм и высотой 35 мм. Материал фундамента выполняется в виде диска наружным диаметром 73,3 мм и высотой 15 мм.

Рис. 34. Формы для изготовления образцов

а - при одностороннем охлаждении с подтоком воды; б - при всестороннем охлаждении без подтока воды; в - при одностороннем охлаждении без подтока поды; 1 - крепежное кольцо; 2 - запирающее кольцо; 3 - стяжное кольцо; 4 - промежуточное кольцо; 5 - стяжной винт; 6 - дырчатый диск; 7 - трубка для подвода воды; 8 - гайка; 9 - материал фундамента; 10 - стакан-грунтонос; 11 - резервуар для соды; 12 - крышка; 13 - закладное кольцо; 14 - грунт

4.258. Для приготовления образцов, т.е. смораживания грунта с материалом фундамента, используют формы, при помощи которых создаются различные условия промерзания грунта;

1) для одностороннего охлаждения грунта через поверхность материала фундамента в открытой системе, т.е. с постоянным подтоком воды к фронту промерзания, форму изготовляют из оргстекла толщиной стенок 25 мм (рис. 34, а);

2) для всестороннего охлаждения без подтока воды форму изготовляют из металла (рис. 34,б);

3) для одностороннего охлаждения в закрытой системе, т.е. без подтока воды к фронту промерзания, форму изготовляют из оргстекла толщиной стенок 25 мм (рис. 34, в).

4.259. Последовательность операций при приготовлении образцов должна быть следующей: предварительно высушенный и размельченный грунт доводится до требуемой влажности; затем, в зависимости от задач эксперимента, выбирается нужная форма для смораживания, в нее закладываются диск материала фундамента и металлический стакан, который заполняется грунтом. Таким образом собранную форму помещают в холодильную камеру.

4.260. Режим замораживания образцов выбирают в зависимости от задания с учетом теплового влияния сооружения. При этом следует руководствоваться формулой (10) главы СНиП II-Б.6-66.

4.261. В процессе замораживания грунта наблюдают за температурой с помощью термопар. Термопары вводят в образец грунта через отверстия в стенке металлического стакана и формы. После полного промерзания грунта образец вынимают из формы и выдерживают в ультратермостате или холодильной камере не менее 2 ч при температуре, принятой в опыте.

4.262. В качестве формы для приготовления образцов грунта может быть использована сдвиговая камера прибора НИИ оснований. Это следует делать в случаях, когда необходимо определить сопротивление сдвигу по поверхности фундамента при действии нормальных (обжимающих) усилий. В природной обстановке нормальные усилия возникают в процессе замерзания грунта, ограниченного боковой поверхностью фундамента и стенкой скважины, в которую он погружен, например при смерзании грунта со сваей в скважине, заполненной разжиженным грунтом (шламом).

4.263. Приготовление образца в приборе НИИ оснований (рис. 33) производится по следующей методике. В сдвиговую камеру устанавливают стакан-грунтонос, а в цилиндрическое углубление подвижной каретки закладывают диск материала фундамента. В собранном виде прибор устанавливают так, чтобы материал фундамента оказался под стаканом-грунтоносом. После этого стакан-грунтонос заполняют грунтом. На поверхность грунта накладывают штамп и устанавливают динамометр. Для выравнивания поверхности грунта под штампом с помощью винта грунт в течение 5 мин обжимают давлением 0,1 кг/см2.

После этого прибор ставится в холодильную камеру. В процессе промерзания грунта наблюдают за показаниями динамометра, который фиксирует усилие пучения в грунте при смерзании его с материалом фундамента. После того как процесс пучения грунта закончится, прибор помешают под пресс и производят испытание на сдвиг.

4.264. Стенки стакана-грунтоноса перед заполнением грунтом следует смазать техническим вазелином или солидолом и проложить слоем полиэтиленовой пленки; поверхность штампа, соприкасающуюся с грунтом, также смазывают вазелином или солидолом.

ПРОВЕДЕНИЕ ИСПЫТАНИЙ

4.265. Конечной целью испытаний является определение предельно длительного сопротивления сдвигу мерзлого грунта по материалу фундамента.

4.266. Для проведения испытаний могут быть использованы гидравлические, электромеханические и рычажные прессы и испытательные машины. Кратковременные испытания производят на гидравлических и электромеханических прессах; испытания на ползучесть - на рычажных прессах или испытательных машинах, приспособленных для поддержания постоянной нагрузки в течение длительного времени.

4.267. Величина нормальной нагрузки определяется заданием в зависимости от способа установки или погружения фундамента в вечномерзлый грунт. Если величина нормальной нагрузки не задана, то испытания проводят при действии только сдвигающей нагрузки.

4.268. Методика испытаний аналогична методике, применяемой для испытаний мерзлых грунтов на сдвиг. Согласно этой методике, определениям предельно длительного сопротивления сдвигу предшествуют испытания в условиях быстрого приложения нагрузки, в результате которых определяют значение условно-мгновенного сопротивления.

4.269. Согласно общей методике сдвиговых испытаний (пп. 4.184-4.200), испытания с целью определения предельно длительного сопротивления сдвигу мерзлого грунта по поверхности фундамента проводятся при нагружении образца постоянной сдвигающей нагрузкой равными ступенями. Величина каждой ступени принимается равной 1/10 от условно-мгновенного сопротивления сдвигу.

4.270. Каждая ступень сдвигающей нагрузки выдерживается до стабилизации деформации. Стабилизация деформаций считается достигнутой, когда ее приращение не превышает 0,01 мм за следующие интервалы времени: для песков за 6 ч, для супесей за 12 ч, для суглинков и глин за 24 ч.

Таблица 43

(Форма)

Исходные данные при определении предельно длительного сопротивления сдвигу мерзлых грунтов по поверхности фундаментов

Материал фундамента

Тип формы для смораживания

Температура образца грунта в °С

Температура замораживания в °С

Площадь сдвига F, см2

Коэффициент трения в приборе Кн

Описание грунта, характер льдовыделения по контакту с фундаментом и другие примечания

 

 

 

 

 

 

 

 

 

 

 

 

 

 

 

 

 

 

 

 

 

Таблица 44

(Форма)

Данные наблюдений при длительных испытаниях на сдвиг мерзлых грунтов по поверхности фундамента

№ опыта

Нормальное напряжение σ, кг/см2

Ступени сдви­гающей нагрузки Т, кг

Время взятия отсчета, ч-мин

Время от начала опыта, ч-мин

Время между отсчетом ti-ti-1

Показания индикатора, мм

Поправка на деформацию прибора

Дефор­мация образца λ, мм

Прираще­ние деформации λi-λi-1, мм

Скорость деформации

 

 

 

 

 

 

 

 

 

 

 

 

 

 

 

 

 

 

 

 

 

 

 

 

 

 

 

 

 

 

 

 

 

4.271. При последующем увеличении сдвигающей нагрузки стабилизации деформаций не наблюдается, а деформирование продолжается с постоянной скоростью. Тогда прикладывается следующая ступень нагрузки для того, чтобы убедиться, что процесс деформирования протекает в стадии установившейся ползучести. Опыт прекращается, когда незатухающее деформирование хорошо фиксируется при двух последовательных ступенях сдвигающей нагрузки.

Исходные данные и данные наблюдений записывают в журнал (табл. 43 и 44).

ОБРАБОТКА ОПЫТНЫХ ДАННЫХ

4.272. За величину предельно длительного сопротивления сдвигу мерзлого грунта по поверхности фундамента при заданном значении нормальной нагрузки (или без нее) принимается сопротивление сдвигу, соответствующее наибольшему значению сдвигающей нагрузки, при которой произошла стабилизация деформации (см. рис. 30).

Результаты определения предельно длительного сопротивления сдвигу мерзлых грунтов по поверхности фундамента записываются в журнал (табл. 45).

4.273. Расчетная величина нормативного сопротивления сдвигу мерзлого грунта по поверхности фундамента  по результатам лабораторных испытаний принимается равной среднему значению предельно длительного сопротивления сдвигу, определенному в соответствии с п. 4.270.

КАСАТЕЛЬНЫЕ СИЛЫ ПУЧЕНИЯ ГРУНТОВ

4.274. Под морозным выпучиванием фундаментов и конструкций сооружений понимают их вертикальные смещения (поднятия), вызываемые пучением грунта при промерзании.

4.275. Силы пучения грунта по направленности их к поверхности фундамента подразделяют на касательные и нормальные. Под касательными понимают силы, направленные вдоль боковой поверхности фундамента (или конструкции сооружения), под нормальными - силы, направленные перпендикулярно боковой поверхности или подошве фундамента.

Таблица 45

(Форма)

Результаты определений предельно длительного сопротивления сдвигу мерзлых грунтов по поверхности фундамента

№ опыта

Температура испытаний θ, °С

Грунт и материал фундамента

Объемный вес мерзлого грунта , г/см2

Влажность мерзлого грунта W, %

Нормальное напряжение σ, кг/см2

предельно длительное сопротивление сдвигу τсд.дл

Нормативное сопротивление мерзлого грунта сдвигу

 

 

 

 

 

 

 

 

 

 

 

 

 

 

 

 

4.276. При расчетах фундаментов на вечномерзлых грунтах необходимо проверять устойчивость фундамента на действие касательных сил пучения. Для проведения расчета согласно пп. 5.14-5.21 главы СНиП II-Б.6-66 необходимо знать нормативное значение касательных сил пучения τн.

Значение τн рекомендуется принимать на основании опытных данных, и лишь при отсутствии их для осредненных мерзлотногрунтовых условий допускается назначать 0,6-0,8 кг/см2, а для сложных условий - 1 кг/см2.

4.277. В зависимости от времени и сроков проведения изыскательских и проектных работ, местоположения возводимого объекта и других причин значения касательных сил пучения могут быть установлены на основании проведения полевых и лабораторных испытаний. Основным методом получения расчетных значений являются полевые испытания. Лабораторные испытания проводятся для уточнения τн, полученных в результате полевых испытаний в части оценки влияния на τн влажности грунта, температуры и других факторов.

ОПРЕДЕЛЕНИЕ СУММАРНОЙ КАСАТЕЛЬНОЙ СИЛЫ ПУЧЕНИЯ ГРУНТОВ В ПОЛЕВЫХ УСЛОВИЯХ

4.278. Полевые испытания касательных сил пучения грунтов могут предусматривать решение следующих задач:

а) оценка сил пучения на определенной площадке, выбранной под конкретный строительный объект;

б) оценка сил пучения в качестве расчетной характеристики для района строительства в целом.

4.279. В первом случае силы пучения определяются на опытных фундаментах, аналогичных тем, которые будут заложены на проектируемом объекте. При этом искомой величиной Т, кг является результирующее значение всех сил, действующих на опытный фундамент при промерзании грунтов. По результатам определения Т проверка устойчивости проектируемого сооружения на действие касательных сил пучения производится по формуле

                                                                                                 (83)

где п1 - коэффициент перегрузки постоянной нагрузки, действующей на фундамент, принимаемый равным 0,9;

 -нормативное значение постоянной нагрузки, включая вес фундамента и грунта, лежащего на его уступах, в кг.

4.280. Во втором случае силу пучения определяют на моделях столбчатых фундаментов, устанавливаемых на глубину сезонного промерзания (протаивания). При этом искомой величиной является нормативное значение касательной силы пучения τн в кг/см2, определяемое по формуле

                                                                                                   (84)

где Т - суммарная сила пучения, определяемая испытанием модели фундамента, в кг;

и - периметр модели фундамента в см;

z - глубина сезонного промерзания (протаивания) в см. По результатам определения τн расчет устойчивости фундаментов на действие касательных сил пучения производится в соответствии с п. 5.15 главы СНиП II-Б.6-66 (14).

4.281. Для полевого определения касательных сил пучения используются установки, в которых суммарная сила пучения, действующая на опытный фундамент или его модель, через силоизмерительное устройство передается на анкер, закрепленный в грунте (рис. 35). Вместо анкера может использоваться платформа с грузом, в которую через динамометр упирается опытный фундамент. При этом вес груза должен в 1,5-2 раза превышать ожидаемую суммарную силу пучения.

Рис. 35. Схема опытной установки для определения касательных сил пучения и полевых условиях

1 - анкерная стойка; 2 - упор (двутавровая балка); 3 - динамометр; 4 - опытный фундамент; 5 - обсадная труба; 6 - поверхность вечномерзлого грунта; 7 - термометр сопротивления

4.282. При выборе типа установок предпочтение следует отдавать установкам с одиночными фундаментами и раздельными анкерами для каждого фундамента.

ВЫБОР ОПЫТНОЙ ПЛОЩАДКИ И ТРЕБОВАНИЯ К ИСПЫТАНИЯМ

4.283. Определение сил пучения производится на опытных площадках, располагаемых в местах будущего строительства.

Размеры опытных площадок должны быть не менее 20×20 м, границы площадки должны быть удалены от строений и насаждении не менее чем на 10 м.

Рис. 36. Схемы анкерных опор

I - рамные опоры; II - одиночная заглубленная опора; III - опора в виде анкерной плиты; а - для одного фундамента; б - для нескольких фундаментов

4.284. Опытную площадку оборудуют тремя однотипными установками.

4.285. Основными элементами полевой установки (рис. 36) являются: опытный фундамент, анкерная опора (одна или несколько), упор, силоизмерительное устройство.

Установка обычно оборудуется приспособлениями и приборами для измерения перемещения грунта вблизи фундамента, температуры и глубин его промерзания.

4.286. При проектировании конструктивных элементов установки необходимо учитывать следующие требования:

все элементы установки следует рассчитывать на действие ожидаемых касательных сил пучения с учетом возможного их превышения в 1,5-2 раза;

за силы, удерживающие анкерную опору в грунте, следует принимать силы смерзания (при наличии вечно-мерзлых грунтов сливающегося типа), определяемые по главе СНиП II-Б.6-66 (п. 5.7, табл. 5), или силы трения, определяемые по главе СНиП II-Б.6-66 (п. 5.17);

если анкерная опора установки выполняется с уширением в нижней части в виде башмака, плиты и т.п., то ее следует рассчитывать на выдергивание, руководствуясь п. 6.16 главы СНиП II-И.9-62 «Линии электропередачи напряжением выше 1 кв. Нормы проектирования» и принимая коэффициент условий работы равным 1;

опытный фундамент следует выполнять в виде одиночной опоры, боковая поверхность которой должна иметь такую же шероховатость, что и у фундаментов проектируемых сооружений;

упорные элементы опытной установки необходимо проектировать с таким расчетом, чтобы их деформации, а следовательно, и максимальное перемещение опытного фундамента, были минимальными и не превышали 5-6 мм;

для измерения сил пучения следует использовать: стандартные пружинные динамометры, динамометрические кольца и другие силоизмерительные приборы.

Жесткость динамометров должна быть, возможно, большей, а верхний их предел измерений должен назначаться исходя из ожидаемых сил пучения с учетом возможного их превышения в 1,5-2 раза.

МОНТАЖ УСТАНОВОК

4.287. Погружение анкерных опор в вечномерзлый грунт производится в лидерные скважины, проходимые виброударным способом или бурением. В пластичномерзлые и высокотемпературные грунты анкерные опоры забиваются непосредственно дизель-молотами или виброударными установками.

Лидерная скважина устраивается несколько большего диаметра, чем диаметр анкерной стойки. После установки опоры свободное пространство скважины заливается разжиженным грунтом (шламом).

4.288. При необходимости искусственного охлаждения вечномерзлых грунтов после установки анкерных опор нижнюю часть скважины заливают ледосоляной эвтектической смесью или вентилируют через внутреннюю полость опоры холодным наружным воздухом.

4.289. Установку анкерных опор в лидерные скважины завершают за 2-3 месяца до начала сезонного промерзания грунтов.

4.290. Анкерные опоры, имеющие уширение в нижней части в виде башмака или плиты, устанавливают в шурф или котлован.

Анкерные опоры с уширением используются на участках, где вечномерзлые грунты в основании отсутствуют или залегают на большой глубине (8-10 м).

4.291. Погружение в грунт опытного фундамента должно производиться по аналогии с проектными предложениями по производству фундаментных работ.

ПРОВЕДЕНИЕ ИСПЫТАНИЙ

4.292. При испытаниях касательных сил пучения грунтов фиксируют:

величину пучения грунта около фундамента;

глубину промерзания и температуру грунта;

температуру воздуха;

уровень грунтовых вод (при наличии вечномерзлых грунтов несливающегося типа или при сезоннопромерзающих грунтах);

влажность грунта.

Регулярно контролируется устойчивость анкерных опор и опытного фундамента.

Данные наблюдений записывают в журнал (табл. 46 и 47).

4.293. Наблюдение за силами пучения начинают с наступлением морозного периода и продолжают с частотой 4-5 раз в декаду.

4.294. Пучение грунта фиксируют по перемещениям специальных марок, устанавливаемых на поверхности грунта. Марки представляют собой деревянные или металлические диски диаметром 80-100 мм и толщиной 10 мм с острым шипом длиной 30-40 мм посередине диска. Марки закрепляются путем вдавливания шипа до упора в грунт. Их перемещения фиксируют нивелиром или рейкой, закрепленной на анкерной опоре.

Марки закрепляют на расстоянии 2, 25, 50 и 100 см от боковой поверхности фундамента. Наблюдения за перемещением марок проводят 2-3 раза в месяц.

Таблица 46

(Форма)

Журнал записи показаний температуры воздуха, грунта по глубине и деформации перемещения его поверхности у опытного фундамента

Площадка №_________________

Установка №_________________

Время и дата проведения наблюдений

Температура воздуха

Температура грунта на глубине в м

Перемещение грунта в мм на расстоянии от фундамента в см

0,2

0,5

1

2,5

2

25

60

100

 

 

 

 

 

 

 

 

 

 

 

 

 

 

 

 

 

 

 

 

 

 

 

 

 

 

 

 

 

 

Таблица 47

(Форма)

Журнал записи влажности образца грунта

Площадка №,_________________

Установка № _________________

Дата определения влажности грунта

Глубина отбора образцов h, м

Грунт

Влажность талого грунта до промерзании W, %

Влажность проб после промерзания грунта Wc, %

 

 

 

 

 

 

 

 

 

 

 

 

 

 

 

4.295. Глубину промерзания грунта определяют мерзлотомером Данилина, представляющим резиновую трубку с дистиллированной водой. Высота льда, образующегося в трубке, определяет глубину промерзания грунта.

Глубина промерзания может определяться также бурением.

4.296. Температуру грунта вблизи опытного фундамента измеряют вытяжными ртутными термометрами, термопарами или электротермометрами сопротивления, погружаемыми в скважины.

Температуру грунта измеряют на глубинах 20, 50, 100, 150 см и далее через 1 м до подошвы фундамента.

4.297. Влажность грунта и ее распределение по глубине определяют для образцов, отобранных через 0,5 м и скважине до и после промерзания грунта.

Все данные наблюдений заносятся в журнал (табл. 46).

ОПРЕДЕЛЕНИЕ УДЕЛЬНОЙ КАСАТЕЛЬНОЙ СИЛЫ ПУЧЕНИЯ ГРУНТОВ В ЛАБОРАТОРНЫХ УСЛОВИЯХ

4.298. Механическое взаимодействие фундамента и пучащегося при промерзании грунта в лабораторных условиях моделируется контактной задачей. Этот метод определения удельной касательной силы пучения τн основан на эквивалентности касательной силы пучения и так называемого устойчивого сопротивления сдвигу модели мерзлого грунта относительно фундамента.

4.299. Значение устойчивого сопротивления сдвигу определяется в лаборатории из испытания по продавливанию модели фундамента, вмороженной боковой поверхностью в грунт, с постоянной скоростью перемещения, близкой к скорости морозного пучения грунта, моделируемой в природной обстановке.

4.300. При испытании сопротивления сдвигу сдвигающее усилие по мере увеличения перемещения модели фундамента относительно мерзлого грунта сначала возрастает, а затем убывает и, стабилизируясь, достигает значения устойчивого сопротивления сдвигу.

Устойчивое сопротивление сдвигу в опыте фиксируют в момент, когда перемещение модели фундамента относительно мерзлого грунта достигает 10 мм.

4.301. Удельное значение устойчивого сопротивления сдвигу τу, кг/см2 определяют отношением расчетной величины устойчивого сопротивления сдвигу Р, кг, действующего на модель фундамента при указанных в п. 4.299 условиях, к площади боковой поверхности F, см2, смерзшейся с грунтом:

                                                                                                    (85)

4.302. Температура, влажность (льдистость) образца грунта (заданного гранулометрического состава) и скорость его перемещения по модели фундамента, определяющие условия проведения испытаний, устанавливают в соответствии с природными условиями обследуемой строительной площадки.

ПРИБОРЫ

4.303. Для исследования устойчивого сопротивления сдвигу мерзлого грунта относительно модели фундамента рекомендуется применять механизированный динамометрический пресс (конструкция ЦНИИС Минтрансстроя).

4.304. Механизированный динамометрический пресс (рис. 37) состоит из двух стоек, опорной балки, измерительного устройства - динамометра, электромотора, редуктора, рабочей платформы, имеющей вертикальные перемещения с необходимой заданной скоростью.

Пресс запрограммирован на пять скоростей перемещения рабочей платформы: 0,2 1; 5; 10; 20 мм/сутки. Переключение скоростей производится сменой парных шестерен. Максимальное перемещение рабочей платформы равно 60 мм. Перемещение платформы в процессе проведения испытаний осуществляется с помощью электромотора, а для установления пресса в рабочее положение предусмотрена возможность подъема и опускания платформы вручную. Перемещение и закрепление балки на необходимом уровне в зависимости от высоты исследуемых моделей фундамента производится вручную с помощью регулировочных гаек.

Рис. 37. Схема динамометрического пресса для определения сопротивления сдвигу мерзлого грунта по модели фундамента конструкции ЦНИИС Минтрансстроя

1 - стойка пресса; 2 - опорная балка; 3 - динамометр; 4 - электромотор; 5 - редуктор; 6 - рабочая платформа; 7 - регулировочная гайка; 8 - гнездо для крепления динамометра; 9 - самописец; 10 - стопорная накладка; 11 - форма-кольцо с образцом грунта с моделью фундамента; 12 - индикатор часового типа; 13 - хомутик для крепления индикаторов; 14 - наголовник модели фундамента

4.305. Измерительным устройством служат образцовые динамометры типа ДОСМ, рассчитанные на нагрузки 0,5; 1; 3 или 5 г с точностью измерения порядка 0,5 %. Динамометр закрепляется на опорной балке в специальном гнезде. Показания динамометра посредством системы рычагов передаются на самописец, где усилие фиксируется на ленте с увеличением деформации динамометра в 100 раз.

Величина смещения мерзлого грунта относительно модели фундамента измеряется индикаторами часового типа с ценой деления 0,01 мм.

4.306. Исследуемый образец грунта и модель фундамента размещаются в форме (рис. 38), которая имеет: наружное кольцо диаметром около 105 мм и высотой 80 мм; поддон с отверстием для модели и вкладышем, используемым при замораживании грунта; модель фундамента, изготовляемую из дерева, бетона и других материалов диаметром 40 мм и высотой 120 мм.

4.307. Температура воздуха в холодильной камере контролируется показаниями ртутных термометров и термографом. Температура образца грунта измеряется термопарой, размещаемой на контакте грунта с поверхностью модели фундамента.

Рис. 38. Форма для замораживания образца грунта с моделью фундамента

1 - кольцо; 2 - поддон; 3 - модели фундамента; 4 - термопара

ПОДГОТОВКА ОБРАЗЦОВ

4.308. Перед укладкой грунта собирают форму: кольцо надевается на поддон, в отверстие поддона снаружи устанавливают вкладыш, верх которого с поверхностью поддона образует углубление (2-3 мм) для центрирования и устойчивости положения модели в форме. На внутреннюю поверхность поддона укладывается в виде кольца промасленная бумага или резиновая пленка. Затем в углубление поддона устанавливают модель фундамента, поверхность которой предварительно увлажняется (модель в течение суток выдерживается в воде).

При укладке в форму сильно увлажненного грунта щели между кольцом, поддоном и вкладышем рекомендуется замазывать техническим вазелином.

4.309. В форму укладывают грунт с нарушенной структурой и заданной влажностью W1 соответствующей природной. Если влажность образца грунта меньше заданной влажности, то до укладки грунта в форму в него добавляют необходимое количество воды gв, которое рассчитывают по формуле

                                                                                    (86)

где g1 - вес образца грунта в г с природной весовой влажностью W1 %;

W2 - влажность грунта, при которой должно проводиться испытание, в %.

После добавления требуемого количества воды грунт тщательно перемешивают до получения однородной массы. В связи с потерями влаги от испарения при перемешивании и укладке грунта в прибор значение W2 рекомендуется принимать на 2-3 % больше заданной влажности.

4.310. Перед укладкой грунта в форму берут 2-3 контрольные пробы на влажность. Данные о влажности грунта записывают в журнал (табл. 48).

Укладку грунта производят послойно (в 1-2 см) с приданием образцу необходимой плотности. Высота образца грунта в форме должна быть 6-7 см. Для уменьшения испарения влаги поверхность грунта прикрывают слоем промасленной бумаги или резиновой пленкой.

4.311. Заложенный в форму грунт замораживают в холодильной камере при условии одностороннего его промораживания (сверху). Для этого форму устанавливают в ящик с теплоизолирующим материалом, которым тщательно изолируются стенки и дно прибора. Продолжительность промораживания грунта принимают от 2 до 4 суток в зависимости от температуры холодильной камеры.

Таблица 48

(Форма)

Журнал записи влажности образцов грунта

Площадка_________________

Выработка ________________

Дата проходки_________________

Дата определе­ния влажнос­ти при укладке грунта в форму

№ образ­ца

Глуби­на отбора образца h, м

Грунт

Природ­ная влажность талого грунта W1, %

Расчетная влажность W2, %

Контрольные пробы влажности талого грунта перед укладкой грунта в форму

Влажность мерзлого грунта Wс на контакте с моделью фундамента

верх

середина

низ

среднее значение

верх

середина

низ

среднее значение

 

 

 

 

 

 

 

 

 

 

 

 

 

 

 

 

 

 

 

 

 

 

 

 

 

 

 

 

 

 

 

 

 

 

 

 

 

 

 

 

 

 

ПОДГОТОВКА ПРЕССА К ПРОВЕДЕНИЮ ИСПЫТАНИЙ

4.312. Подготовкой пресса к проведению испытаний предусматриваются проверка работы узлов пресса и его тарировка, которая сводится к установлению зависимости между величиной нагрузок, прикладываемых к динамометру, и перемещениями пера самописца (с часовым механизмом), имеющим недельный ход.

4.313. Перед тарировкой необходимо проделать следующие подготовительные операции:

установить на рабочую платформу стальную наставку с углублением для шарика, располагаемого между динамометром и наставкой;

подвести наставку с шариком к нижней загрузочной площадке динамометра, перемещая рабочую платформу вручную так, чтобы шарик соприкасался с динамометром;

завести часовой механизм и установить стрелку самописца в исходное положение на 3-5 мм от низа барабана;

включить электродвигатель.

При включении электродвигателя рабочая платформа будет перемещаться вверх и через наставку и шарик будет оказывать давление на динамометр, упирающийся в неподвижную опорную балку.

4.314. Основная задача в процессе тарировки заключается в одновременной записи показаний динамометра и самописца.

При достижении нагрузкой максимального значения (для данного типа динамометра) электродвигатель выключают. После соответствующего переключения электромотора платформа опускается, а нагрузка на динамометр уменьшается. В процессе обратного хода также снимают одновременные показания динамометра и самописца.

4.315. Тарировку для каждого динамометра выполняют не менее 3-4 раз при заданной температуре испытания. Результаты тарировки наносят на график. В случае неудовлетворительного разброса тарировочных точек необходимо установить и устранить причины неисправности в записывающей системе и повторить тарировку.

ПРОВЕДЕНИЕ ИСПЫТАНИЙ

4.316. Образец грунта с моделью фундамента после полного промерзания при данной температуре устанавливают на рабочую платформу пресса.

На цилиндр формы сверху надевают хомут с индикаторами часового типа, а на модель фундамента устанавливают наголовник с хомутом (см. рис. 37); в концы хомута упирают ножки индикатора. После этого ослабляют стопорные накладки и рабочую платформу вручную поднимают до соприкосновения через шарик модели фундамента с нижней загрузочной площадкой динамометра. Таким образом, платформа будет поставлена в исходное положение, в котором она закрепляется с помощью стопорных накладок. Затем устанавливают перо самописца в исходное положение. После выдерживания в течение 3-4 ч образца грунта в форме при заданной температуре и проверки температуры грунта по термопаре включают электродвигатель и приводят во вращение систему передаточных шестерен, устанавливаемых в зависимости от требуемой скорости подъема рабочей платформы.

Таблица 49

(Форма)

Журнал записи показаний температуры воздуха, образца грунта и его перемещения относительно модели фундамента

Образец _________________

Дата начала замораживания _________________

Дата окончания замораживания ______________

Дата и время проведения испытаний

Температура воздуха по термометру в °С

Показания гальванометра

Температура образца грунта в °С

Показания индикаторов на форме

Величина перемещения в мм

правый

левый

среднее значение

 

 

 

 

 

 

 

 

 

 

 

 

 

 

 

 

 

 

 

 

 

 

 

 

Таблица 50

(Форма)

Условия опыта

Время проведения опыта t ______________________________________________________

Влажность талого грунта W _____________________________________________________

Влажность мерзлого грунта Wс __________________________________________________

Температура воздуха в камере θmin, θmax, θср ________________________________________

Температура образца грунта θmin, θmax, θср _________________________________________

Скорость перемещения образца грунта v __________________________________________

Величина перемещения образца грунта относительно модели фундамента______________

_____________________________________________________________________________

Средняя высота образца грунта h ________________________________________________

Внутренний диаметр кольца dн __________________________________________________

Диаметр модели фундамента dф _________________________________________________

Площадь смерзания Р _________________________________________________________

Вес образца с формой gи _______________________________________________________

Вес формы с моделью фундамента gз ____________________________________________

Вес образца грунта gгp _________________________________________________________

Объем образца грунта V0 _______________________________________________________

Объемный вес талого грунта  ________________________________________________

Журнал записи результатов испытания устойчивого сопротивления сдвигу

Образец № ___________

Дата и время проведения испытаний

Отсчет по динамометру в мм

Отсчет по самописцу в мм

Суммарное сдвигающее усилие на прессе в кг

Боковая поверхность смерзания в см

Устойчивое сопротивление сдвигу τу, кг/м2

 

 

 

 

 

 

 

 

 

 

 

 

 

 

 

 

 

 

4.317. Во время испытания образца систематически записывают показания индикаторов, установленных на форме и динамометре самописца, термопары и термографа.

Все отсчеты рекомендуется производить круглосуточно с интервалом времени от 1 до 3 ч в зависимости от скорости перемещения образца грунта по модели фундамента. Опыт считается законченным при величине смещения модели фундамента относительно грунта, равной 10 мм.

Данные о температурах воздуха, грунта и перемещениях, а также условия опыта и результаты испытания устойчивого сопротивления сдвигу записывают в журнал (табл. 49, 50).

4.318. По окончании испытания пресс разгружают, ослабляют стопорные накладки и рабочую платформу вручную опускают в исходное положение. После снятия хомутика с индикатора форму разбирают, для чего рекомендуется небольшой подогрев кольца. Освободив от поддона и кольца образец грунта, измеряют его высоту. Измерение высоты образца грунтов производят в 5-6 точках вокруг модели с точностью до 1 мм.

4.319. Влажность мерзлого грунта на контакте с боковой поверхностью модели фундамента определяют как среднюю из трех проб, взятых из контактной зоны грунта - из верхней, средней и нижней части модели фундамента. Для этого вскрытый образец грунта разрезается ножом вдоль образующей модели фундамента на две части, одна из которых освобождается от модели.

Данные о влажности мерзлого грунта записывают в журнал (табл. 48).

ОБРАБОТКА РЕЗУЛЬТАТОВ ОПЫТНЫХ ДАННЫХ

4.320. Удельное значение устойчивого сопротивления сдвигу τу определяют как среднюю величину из трех-четырех испытаний при одинаковых условиях опыта: заданных температуре tср, влажности Wc и скорости перемещения v рабочей платформы с образцом грунта относительно модели фундамента.

4.321. Значения τу, соответствующие частным значениям tср, Wc, используются при расчете фундаментов на действие касательных сил пучения для определенных природных условий с теми же характеристиками исходных данных, включая состав грунта.

4.322. При освещении строительных площадок с переменными значениями температуры, влажности и скорости морозного пучения грунта возникает необходимость установления зависимости величины τу от изменения температуры, влажности, скорости пучения. В этом случае проводят серию испытании, в каждой из которых выявляется значение τу в зависимости от изменения в заданных пределах одной из характеристик при постоянстве двух других. Если каждая из трех характеристик (tcр, Wc, v) получает в опыте п разных заданных значении при m-кратном повторении каждого опыта (т = 3÷4), то общее число испытаний для одной грунтовой разности достигает N = m3n.

4.323. По результатам серий испытаний строятся графики зависимости τу от tcp, Wc, v. Для построения каждой такой кривой требуется не менее трех точек, поэтому п ≥ 3.

4.324. Выполнение большого числа испытаний п, требующееся для установления функции τу = (tcр, Wc, v), всегда оправдывается в случае освещения пучинистых свойств грунтов больших территорий, осваиваемых строительством.

4.325. В предлагаемой методике определения τу предполагалась однородность гранулометрического состава грунтов. При наличии на осваиваемой территории нескольких грунтовых разновидностей испытания проводятся для каждой из них.

ВЯЗКОСТЬ ВКЛЮЧЕНИЙ ЛЬДА

4.326. Расчет по второму предельному состоянию оснований с включением льда производится из условий ограничения осадки, вызванной вязким течением льда за заданный период времени.

4.327. При расчетах осадки лед рассматривают как нелинейно-вязкое тело. Основные параметры деформативности такого льда п и Кл, необходимые для расчета его осадки, определяются из условия, что при установившемся течении коэффициент вязкости льда равен:

                                                                                             (87)

где θ - температура льда в оС без учета знака минус;

Т - интенсивность касательных напряжений в кг\см2;

п - безразмерный показатель степени, характеризующий нелинейную зависимость скорости вязкого течения льда от нагрузки; его определяют экспериментально;

Кл - параметр, характеризующий вязкость льда; он зависит от структуры и температуры льда; измеряется в .

Параметры Кл и п определяются из лабораторных испытаний льда на вдавливание штампа или одноосное сжатие.

ПРИБОРЫ

4.328. При испытаниях льда на одноосное сжатие и вдавливание штампов могут быть использованы гидравлические и электромеханические прессы различной конструкции, а также рычажные прессы, используемые для испытаний грунтов.

Приборы должны обеспечивать возможность деформирования образца на величину, не меньшую 20 % его первоначальной высоты. Наиболее удобно использовать рычажные прессы с секторными рычагами на 0,5 и 1 т конструкции Гидропроекта. Из гидравлических прессов используются испытательные машины, оборудованные холодильным шкафом (например, испытательные машины ДМК-30 t).

4.329. Приборы оборудуются устройствами для измерения осевых и радиальных деформаций образца. Для таких измерений используют индикаторы часового типа с ценой деления 0,002 мм или, как исключение, с ценой деления 0,01 мм.

4.330. На одноосное сжатие испытывают образцы льда цилиндрической формы с диаметром 50 мм и высотой 100 мм. При испытаниях вдавливанием штампов используют цилиндрические образцы, диаметр которых составляет 10d, а высота 5d (d -диаметр штампа). Рекомендуется принимать d = 50 мм. Подготовка образцов льда производится в соответствии с указаниями пп. 4.2-4.4.

4.331. При проведении испытаний образцов льда следует обращать внимание на параллельность торцовых поверхностей образца и его центровку по отношению к штампу испытательной машины. В центре штампа наносится кольцевая риска, имеющая размер диаметра образца, по которой устанавливается образец. Торцы образца тщательно зачищаются мелкой наждачной бумагой.

ПРОВЕДЕНИЕ ИСПЫТАНИЙ

4.332. При испытаниях на ползучесть определяют значения скорости относительной деформации установившегося течения льда при различных напряжениях. По результатам таких испытаний рассчитывают характеристики вязкости льда.

4.333. Опыты проводят с серией идентичных образцов льда. Образцы испытывают при различных, но постоянных в течение каждого опыта напряжениях и при неизменной для данной серии опытов температуре льда. Значения задаваемых давлений (не менее трех) ориентировочно определяются следующим образом: наибольшее давление принимают равным  кг/см2, где θ - температура образца без учета знака минус. Последующие давления приближенно принимают соответственно 0,75 и 0,5 от наибольшего. В процессе опыта ведут измерения осевых и радиальных деформаций.

4.334. Испытания допускается проводить при одном значении температуры θ, равном одной трети ее значения на глубине 10 м.

4.335. При каждой нагрузке испытывают не менее трех образцов льда. Количество повторных опытов увеличивают, если полученные результаты определений скорости установившегося течения v (мм/мин) различаются более чем на 20 %.

4.336. При испытаниях льда на ползучесть площадь поперечного сечения образца, по мере его деформирования, может значительно изменяться. Если площадь изменяется по сравнению с первоначальной более чем на 5 %, то для сохранения в опыте постоянства напряжения σ нагрузка Р должна увеличиваться в соответствии с ростом рабочей площади образца. Изменение действующей нагрузки достигается применением автоматического устройства; при его отсутствии изменение нагрузки производят вручную обычной догрузкой.

4.337. Измерение деформации ползучести начинают с того момента, когда нагрузка достигает заданной величины. Результаты измерения записывают в журнал (табл. 51).

 


Таблица 51

(Форма)

Данные наблюдений при испытаниях льда на ползучесть

Площадь образца F, см2 ____________________________

Напряжение а, кг/см1 ______________________________

Начальная нагрузка P = , кг _______________________

Дата

Время взятия отсчета ч, мин

Время начала опыта ti, мин (ч)

Время между отсчетами Δt =ti - ti-1 мин (ч)

Показания измерительных приборов

Абсолютная деформация образца

Приращение деформации Δλi=λi-λi-1

Скорость осевой деформации  мм/мин

Нагрузка Р, кг

Температура θ, oС

Примечание

Осевая λi

Радиальная λpi

осевая

радиальная

 

 

 

 

 

 

 

 

 

 

 

 

Характер разрушения, время появления трещин, наличие перекоса и т.д.

 

 

 

 

 

 

 

 

 

 

 

 

 

 

 

 

 

 

 

 

 

 

 

 

 

 

 

 

 

 

 

 

 

 

 

 

 

 

 

 

 

 

 

 

 

 

 

 

 


4.338. В процессе опыта для каждого интервала времени между регистрацией деформаций определяют скорость деформирования v, мм/мин:

                                                                                            (88)

где λi - λi-1 - приращение деформации за время ti - ti-1. Значения v вписывают в журнал (табл. 51).

4.339. Интервалы времени между замерами деформаций зависят от скорости деформирования и стадии ползучести.

На стадии неустановившейся ползучести отсчеты производят через каждую минуту, а затем по мере уменьшения скорости деформирования промежутки времени между отсчетами последовательно увеличивают и принимают равными Δti = 2 Δti-1, т.е. отсчеты производят через интервалы времени в 2, 4, 8, 15, 30 мин, 1, 2 ч и т.д. При этом приращение деформации за время ti+[ - ti не должно быть менее 0,005 мм. В противном случае время между отсчетами увеличивают.

4.340. Если не менее чем при трех последующих отсчетах скорости деформирования окажутся одинаковыми, то считают, что наступила стадия течения с постоянной скоростью.

4.341. На станции течения с постоянной скоростью деформации измеряют через равные промежутки времени Δt = const, при этом Δt принимают равным интервалу времени между последними отсчетами на стадии неустановившейся ползучести.

4.342. Опыт заканчивают, когда не менее чем при пяти последующих отсчетах скорость деформирования остается постоянной.

Рис. 39. Зависимость относительной деформации льда δ от времени t при различных значениях напряжения (σ1 > σ2 > σ3)

4.343. При испытаниях вдавливанием штампа опыты проводят по изложенной выше методике с той лишь разницей, что нагрузка в процессе опыта не изменяется.

ОБРАБОТКА ОПЫТНЫХ ДАННЫХ И ОПРЕДЕЛЕНИЕ ХАРАКТЕРИСТИК ВЯЗКОСТИ ЛЬДА

4.344. Исходными данными для определения характеристик вязкости льда служат значения абсолютной скорости деформации v, мм/мин на стадии установившегося течения.

При испытаниях на одноосное сжатие по опытным значениям скорости v вычисляют относительную скорость установившегося течения

                                                                                         (89)

где h - начальная высота образца в мм.

Для проверки правильности определения относительной скорости vот по результатам каждого из опытов строят кривую ползучести, т.е. кривую зависимости относительной деформации δ от времени t (см. рис. 39). Для этого берут из табл. 51 значения абсолютной осевой деформации λi, соответствующие значениям времени ti и определяют относительную деформацию  (где h - первоначальная высота образца). По результатам испытаний образцов данной серии получают семейство кривых ползучести, при этом каждая кривая соответствует своему постоянному значению напряжения σ1 > σ2 > σ3.

4.345. На каждой из кривых ползучести выделяют линейный участок, соответствующий течению с постоянной скоростью (рис. 39). Затем определяют установившуюся скорость относительной деформации voтi = const, численно равную тангенсу угла наклона линейного участка каждой из кривых ползучести к оси абсцисс (времени), т.е. получают ряд скоростей voт1 = tgα1; voт2 = tgα2 и т.д. по числу опытов. Эти значения должны совпадать со значениями относительной скорости voтi, вычисленными по формуле (89).

4.346. Для определения параметров п и Кл строится график, по оси ординат которого откладывается логарифм установившейся скорости относительной деформации ξ, пересчитанной в 1/ч, а по оси абсцисс - логарифм соответствующего этой скорости напряжения σ (рис. 40).

4.347. На основании полученного графика определяют значения расчетных параметров п и Кл данного вида льда при заданной его температуре. Параметр п принимают равным тангенсу угла наклона полученной прямой к оси абсцисс, а Кл рассчитывают по формуле

                                                                                     (90)

где θ - абсолютное значение температуры льда в °С без учета знака минус;

ξ - установившаяся скорость относительной деформации в 1/ч при σ = 1 кг/см2, определяемая из рис. 40 как отрезок на оси ординат.

4.348. Обработка результатов испытаний вдавливанием штампа заключается в следующем:

а) строят график развития осадки штампа s, мм во времени t, мин, из которого находят значения установившейся скорости осадки v, мм/мин для различных (не менее трех) напряжений, по аналогии с рекомендациями п. 4.345 для значения δ;

Рис. 40. Зависимость установившейся скорости относительной деформации от напряжения (в логарифмическом масштабе)

б) по полученным значениям v, пересчитанным в см/ч, в логарифмическом масштабе строят зависимость в от σ (по аналогии с указаниями п. 4.346, см. рис. 40). Из этого графика определяют параметр п как тангенс угла наклона прямой к оси абсцисс; параметр Кя вычисляется из выражения

                                                                                    (91)

где v = скорость установившегося течения, см/ч при σ = 1 кг/см2, определяемая из графика рис. 40 как отрезок на оси ординат;

d - диаметр штампа, в см;

е - основание натурального логарифма, е1,6 = 4,95;

θ - температура, при которой производились испытания, без учета знака минус, °С.

 

 




ГОСТЫ, СТРОИТЕЛЬНЫЕ и ТЕХНИЧЕСКИЕ НОРМАТИВЫ.
Некоммерческая онлайн система, содержащая все Российские Госты, национальные Стандарты и нормативы.
В Системе содержится более 150000 файлов нормативно-технической документации, действующей на территории РФ.
Система предназначена для широкого круга инженерно-технических специалистов.

Рейтинг@Mail.ru Яндекс цитирования

Copyright © www.gostrf.com, 2008 - 2026