Крупнейшая бесплатная информационно-справочная система онлайн доступа к полному собранию технических нормативно-правовых актов РФ. Огромная база технических нормативов (более 150 тысяч документов) и полное собрание национальных стандартов, аутентичное официальной базе Госстандарта. GOSTRF.com - это более 1 Терабайта бесплатной технической информации для всех пользователей интернета. Все электронные копии представленных здесь документов могут распространяться без каких-либо ограничений. Поощряется распространение информации с этого сайта на любых других ресурсах. Каждый человек имеет право на неограниченный доступ к этим документам! Каждый человек имеет право на знание требований, изложенных в данных нормативно-правовых актах!

  


 

НАУЧНО-ИССЛЕДОВАТЕЛЬСКИЙ ИНСТИТУТ
СТРОИТЕЛЬНОГО ПРОИЗВОДСТВА ГОССТРОЯ УССР

МЕТОДИЧЕСКИЕ РЕКОМЕНДАЦИИ
по применению лазерной системы
геодезического обеспечения и контроля
при строительстве крупнопанельных
жилых зданий

Одобрены секцией № 2 Ученого совета НИИСП Госстроя УССР (протокол от 16.11.89 № 17)

КИЕВ 1990

Содержание

1. ОБЩИЕ ПОЛОЖЕНИЯ

2. ЛАЗЕРНАЯ СИСТЕМА ГЕОДЕЗИЧЕСКОГО ОБЕСПЕЧЕНИЯ И КОНТРОЛЯ СТРОИТЕЛЬСТВА КРУПНОПАНЕЛЬНЫХ ЖИЛЫХ ЗДАНИЙ

3. ЛАЗЕРНАЯ ПОДСИСТЕМА ПЕРЕДАЧИ ГЕОДЕЗИЧЕСКОЙ СЕТИ (ОПОРНЫХ ТОЧЕК) НА МОНТАЖНЫЙ ГОРИЗОНТ И СОЗДАНИЯ ЛАЗЕРНЫХ ОПОРНЫХ ВЕРТИКАЛЕЙ

4. ЛАЗЕРНАЯ ПОДСИСТЕМА ГЕОДЕЗИЧЕСКОГО ОБЕСПЕЧЕНИЯ И КОНТРОЛЯ МОНТАЖА СТЕНОВЫХ ПАНЕЛЕЙ И ПАНЕЛЕЙ ПЕРЕКРЫТИЯ

5. ЛАЗЕРНАЯ ПОДСИСТЕМА РАЗБИВОЧНЫХ РАБОТ НА МОНТАЖНОМ ГОРИЗОНТЕ

6. ЛАЗЕРНАЯ ПОДСИСТЕМА НИВЕЛИРОВАНИЯ СВАЙНОГО ПОЛЯ И РОСТВЕРКОВ

7. ТРЕБОВАНИЯ ПО ТЕХНИКЕ БЕЗОПАСНОСТИ ПРИ РАБОТЕ С ЛАЗЕРНОЙ СИСТЕМОЙ

8. ХРАНЕНИЕ И ТРАНСПОРТИРОВАНИЕ ЛАЗЕРНОЙ СИСТЕМЫ

Даны рекомендации по применению лазерной системы для геодезического обеспечения и контроля монтажа строительных конструкций крупнопанельных домов.

Для работников геодезической службы и производителей работ.

Разработаны канд. техн. наук В.Г. Рукосуевым, инженерами П.Н. Морозом, П.Н. Никитенковым, П.Е. Григоровским, Л.А. Косолапом, П.М. Яцыком, А.А. Киселевой.

1. ОБЩИЕ ПОЛОЖЕНИЯ

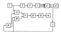
1.1. Лазерная система геодезического контроля и обеспечения строительства крупнопанельных жилых зданий состоит из четырех самостоятельных лазерных подсистем:

геодезического обеспечения и контроля монтажа стеновых панелей и панелей перекрытия;

разбивочных работ на монтажном горизонте;

передачи геодезической сети (опорных точек) на монтажный горизонт и создания лазерных вертикалей;

нивелирования свайного поля и ростверков.

1.2. Методические рекомендации составлены из расчета обеспечения самостоятельности строительных организаций в выполнении всего объема работ (подготовительных перед установкой лазерной системы на объект, работ по ее развертыванию, настройке и эксплуатации в условиях строительной площадки).

1.3. При эксплуатации лазерной системы и выполнении с ее помощью геодезических работ следует руководствоваться настоящими методическими рекомендациями, инструкцией по эксплуатации (паспортом) лазерного излучателя ЛГН-208 (ЛГН-207) завода-изготовителя, а также техническими условиями на газовые лазеры согласно ГОСТ 24428-80 и строительным нормам и правилам по геодезическим работам в строительстве.

1.4. При работе с лазерными установками необходимо строго соблюдать ГОСТ 24428-80 и Санитарные нормы и правила устройства и эксплуатации лазеров, утвержденные Минздравом СССР в 1982 г.

1.5. К работе с лазерными приборами допускаются лица, имеющие не ниже третьей квалификационной группы по технике безопасности.

1.6. При работе с лазерными приборами необходимо предупреждать попадание влаги в коллиматор, излучатель и другие оптические и электронные элементы.

1.7. При работе с устройством начальной выставки лазерных приборов (устройством создания зеркально-отражающей горизонтальной плоскости) необходимо после настройки, во избежание коррозии отражающей поверхности, покрывать ее тонким слоем масла типа ОКБ 122-16.

1.8. Строительство крупнопанельных жилых домов требует четкой организации инженерно-геодезических работ.

2. ЛАЗЕРНАЯ СИСТЕМА ГЕОДЕЗИЧЕСКОГО ОБЕСПЕЧЕНИЯ И КОНТРОЛЯ СТРОИТЕЛЬСТВА КРУПНОПАНЕЛЬНЫХ ЖИЛЫХ ЗДАНИЙ

Назначение лазерной системы

2.1. Лазерная система геодезического контроля и обеспечения строительства крупнопанельных жилых зданий предназначается для геодезического обеспечения и контроля монтажа стеновых панелей и панелей перекрытия, выполнения разбивочных работ на монтажном горизонте, передачи геодезической сети на монтажный горизонт и создания лазерных опорных направляющих, нивелирования свайного поля и ростверков.

Комплектность лазерной системы

2.2. Лазерная система включает в себя следующие лазерные приборы:

малогабаритный вращающийся лазерный зенит-центрир (ЛЗЦВ) с верхним креплением и системой влагопылезащиты на лазере ЛГН-208;

лазерный сканирующий нивелир с компенсатором и системой влагопылезащиты на лазере ЛГН-208 (ЛСНК);

фотоэлектронную геодезическую рейку с автоматическим определением превышений контролируемых точек, цифровой индикацией и автономным блоком питания (ФГРЦ);

устройство сканирования лазерного луча ЛЗЦ и создания лазерной опорной вертикальной плоскости (УСЛВ);

устройство сканирования лазерного луча ЛЗЦ и создания лазерной опорной горизонтальной плоскости (УСЛГ);

фотоэлектронную малогабаритную геодезическую рейку с автоматическим определением превышений контролируемых точек, стрелочной индикацией и автономным блоком питания (ФГРС);

устройство начальной выставки ЛЗЦВ и ЛСНК (УНВ) (устройство создания искусственных зеркально-отражающих горизонтальной и вертикальной плоскостей);

устройство визуального наблюдения проекции лазерного луча (УВН);

устройство проектирования опорной геодезической точки и начальной выставки УСЛВ (УПТНВ);

устройство зацепа и фиксации мерной ленты рулетки и лазерной вертикальной плоскости (УЗФЛВП);

устройства монтажа и крепления (УМК);

устройство защиты (защитные кабины) для ЛЗЦВ и ЛСНК от влагопылеударного воздействия (УЗ).

ЛЗЦВ с УЗ устанавливаются стационарно на весь период строительства, а остальные лазерные установки могут устанавливаться стационарно или на время выполнения соответствующих технологических операций.

В зависимости от характера выполняемых технологических процессов лазерная система может преобразовываться в следующие лазерные подсистемы:

лазерная подсистема геодезического обеспечения и контроля монтажа стеновых панелей и панелей перекрытия (ЛЗЦВ, УСЛГ, ФГРЦ, УНВ, УЗ, УМК);

лазерная подсистема разбивочных работ на монтажном горизонте (ЛЗЦВ, УНВ, УСЛВ, УЗФЛВП, УПТНВ, УЗ, УВН);

лазерная подсистема передачи геодезической сети (опорных точек) на монтажный горизонт и создания лазерных опорных вертикалей (ЛЗЦВ, УНВ, УВН, УЗ, УМК);

лазерная подсистема нивелирования свайного поля и ростверков (ЛСНК, ФГРС, УЗ, УМК).

Технические характеристики лазерной системы

Дальность действия при визуальной индикации лазерного пятна ЛЗЦ, м, не менее

300

Дальность действия лазерного сканирующего нивелира и устройства сканирования лазерного луча (УСЛГ, УСЛВ, ЛСНК) при использовании фотоэлектронной геодезической рейки, м, не менее

150

Погрешность (средняя квадратическая погрешность):

 

лазерного зенит-центрира при визуальной индикации, угл. с

8÷10

лазерного сканирующего нивелира и устройств сканирования лазерного луча (УСЛГ, УСЛВ, ЛСНК) при использовании фотоэлектронной геодезической рейки, угл. с

10÷12

Работоспособность в любое время суток, в простых и сложных метеоусловиях:

при температуре окружающей среды, °С

от -10 до +50

при относительной влажности, %

98

при давлении, кПа

90,6÷113,2

Долговечность, ч

22000

Конструктивные особенности элементов лазерной, системы

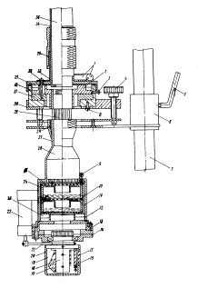
2.3. Малогабаритный вращающийся лазерный зенит-центрир (ЛЗЦВ) с верхним креплением предназначается для создания лазерной опорной вертикали, т.е. вертикального проектирования базисных точек на монтажный горизонт (рис. 1).

Рис. 1. Малогабаритный вращающийся лазерный зенит-центрир:

1 - металлическое кольцо; 2 - оптическое защитное стекло;. 3 - подвижная диафрагма; 4 - защитная обойма; 5 - цилиндрические уровни; 6 - крепежные винты; 7 - механический клиновой компенсатор; 8 - оптический клиновой компенсатор; 9 -влагопылепротивоударный защитный кожух лазерного излучателя; 10 - трегер; 11 - подшипник скольжения с системой центрирования; 12 - юстировочные винты; 13 - влагопылезащитный тубус коллиматора; 14 - цилиндрическая насадка

В качестве источника лазерного излучения применяется гелий-неоновый излучатель типа, ЛГН-207 или ЛГН-208. Лазерный излучатель закрепляется во влагопылепротивоударном металлическом защитном кожухе, в нижней части которого по оси лазерного излучателя располагается оптический клиновой компенсатор, а в передней его части - механический, клиновой компенсатор, к верхней пластине обоймы которого крепятся влагопылезащитный тубус с вмонтированным в него коллиматором, и пластина с двумя перпендикулярно расположенными цилиндрическими уровнями с ценой деления 30".

Лазерный излучатель с защитным кожухом с помощью подшипника скольжения закреплен в трегере. Относительно оси подшипника он может свободно наклоняться и линейно перемещаться.

Посредством линейного перемещения кожуха с лазерным излучателем относительно внутренней обоймы подшипника обеспечивается компенсация линейной несоосности между осью вращения ЛЗЦ и осью выходящего из коллиматора лазерного луча.

Механический клиновой компенсатор представляет собой обойму с вмонтированными в нее двумя механическими клиньями, свободно вращающимися относительно друг друга, а оптический клиновой компенсатор - обойму с двумя оптическими клиньями, также свободно вращающимися относительно друг друга.

Механический компенсатор предназначается для компенсации угловой несоосности между осью вращения ЛЗЦ и прямым лазерным, лучом, а оптический компенсатор - для компенсации угловой несоосности между осью вращения и обратным лазерным лучом. Для компенсации угловой несоосности необходимо вращать клинья навстречу друг другу.

По цилиндрическим уровням с помощью подъемных винтов трегера производится выставка ЛЗЦ в отвесное положение, т.е. фиксация отвесного положения лазерного луча. С целью обеспечения независимости выставки пузырьков уровней в нуль-пункты продольная ось одного из цилиндрических уровней расположена параллельно линии, соединяющей два любых подъемных винта трегера.

В передней части влагопылезащитного тубуса коллиматора закреплена цилиндрическая насадка, в выходное отверстие которой вмонтировано оптическое защитное стекло, предохраняющее коллиматор от попадания на его оптику влаги, пыли. Под защитным стеклом располагается подвижная диафрагма с рабочим отверстием 10÷15 мм. Она предназначается для ограничения диаметра выходного лазерного луча. Центр ее отверстия должен совпадать с центром лазерного луча. Диаметр отверстия диафрагмы зависит от высоты проектирования опорной точки на монтажный горизонт. Диафрагма с помощью боковых регулировочных винтов в небольших пределах может линейно перемещаться. С помощью линейного перемещения производится окончательная компенсация линейной несоосности между осью вращения и осью прямого лазерного луча.

В средней части тубуса коллиматора располагается защитная цилиндрическая обойма, закрывающая кремальеру коллиматора, предназначенную для фокусировки лазерного луча на "бесконечность".

Питание ЛЗЦВ осуществляется через блок питания от сети напряжением 220 В и частотой тока 50 Гц. На лицевой панели блока питания размещены выключатель "Сеть - Выкл.", клемма "Земля", шнур подвода напряжения 220 В и разъем "Выход" для подключения высоковольтного кабеля от излучателя.

2.4. Лазерный сканирующий нивелир с компенсатором (ЛСНК) предназначается для создания опорной стабилизированной в пространстве лазерной горизонтальной плоскости и лазерных горизонтальных направляющих (рис. 2). Он состоит из следующих основных узлов: лазерного излучателя с защитным кожухом, блока пространственной стабилизации, подшипника скольжения, механического клинового компенсатора, коллиматора с влагопылезащитным кожухом, трегера, уровней, блока сканирования и блока питания.

В качестве лазерного излучателя применяется гелий-неоновый излучатель типа ЛГН-207 или ЛГН-208. Защитный кожух излучателя с помощью цилиндрической обоймы и трех винтов крепится к верхнему основанию внутренней обоймы подшипника скольжения. На верхней плоскости основания обоймы расположены развернутые в горизонтальной плоскости под углом 90° два цилиндрических уровня с ценой деления 30 ÷ 60", по которым производится рабочая выставка ЛСНК. Продольная ось одного из цилиндрических уровней параллельна линии, соединяющей два каких-либо подъемных винта трегера. Внешняя обойма подшипника скольжения закрепляется на верхней пластине трегера с помощью трех стопорных винтов.

В качестве коллиматора применяется зрительная труба с коэффициентом увеличения порядка 25×. Основание обоймы крепления защитного кожуха коллиматора располагается на верхней плоскости внутренней обоймы подшипника и закрепляется на ней с помощью трех верхних крепежных винтов и трех боковых юстировочных винтов.

Механический клиновой компенсатор представляет собой совокупность двух клиньев с углом клиновидности порядка 30'. Он располагается между основаниями обойм крепления защитных кожухов излучателя и коллиматора и предназначается для компенсации угловой ошибки несоосности между осью вращения и осью лазерного луча излучателя.

Рис. 2. Лазерный сканирующий нивелир с компенсатором:

1 - уровни; 2 - цилиндрическая обойма крепления кожуха коллиматора; 3 - юстировочный винт; 4 - регулировочный винт; 5 - боковой стопорный рычаг; 6 - тубус; 7 - штанга; 8 - стопорный винт; 9 - стопорный винт с компенсаторной пружиной; 10 - цилиндрический корпус блока стабилизации; 11 - блок пространственной стабилизации; 12 - окно; 13 - нижняя крышка; 14 - основание с подшипников; 15 - защитное стекло; 16 - обойма с оптическим клином; 17 - пентапризма; 18 - цилиндрическая оправа; 19 - блок сканирования; 20 - защитный кожух; 21 - ременная передача; 22 - двигатель; 23 - механический клиновой компенсатор; 24 - жидкостная металлическая кювета; 25 - стеклянная защитная пластина; 26 - коллиматор; 27 - влагопылезащитный кожух; 28 - цанговый зажим; 29 - кремальера; 30 - трегер; 31 - подшипник скольжения; 32 - крепежный винт; 33 - цилиндрическая обойма крепления кожуха излучателя; 34 - защитный кожух излучателя; 35 -лазерный излучатель,

Линейная несоосность между осью вращения и осью лазерного луча компенсируется посредством перемещения основания обоймы крепления защитного кожуха излучателя, а линейная несоосность между осью коллиматора и осью вращения - посредством перемещения основания обоймы крепления защитного кожуха коллиматора с помощью трех боковых регулировочных винтов.

Трегер предназначается для крепления лазерного сканирующего нивелира к вертикальной штанге и выставки его лазерного луча в отвесное положение. Он представляет собой сочетание верхнего и нижнего оснований и трех регулировочных винтов. К нижнему основанию прикреплен тубус, с помощью которого трегер крепится к штанге. Фиксация тубуса на штанге производится с помощью стопорного рычага. Штанга представляет собой стержень со специальным цанговым зажимом. В зависимости от условий применения ЛСНК (стационарная установка или переносной вариант) штанга закрепляется на треноге или внутри защитной кабины.

Блок пространственной стабилизации представляет собой компенсатор жидкостного типа. Он состоит из цилиндрического корпуса, внутри которого смонтированы две последовательно размещенные жидкостные металлические кюветы, снабженные тремя плоскопараллельными защитными стеклянными пластинками. Цилиндрический корпус размещается в цилиндрической части защитного кожуха коллиматора и крепится в нем с помощью нижней крышки. Между крышкой и нижним основанием корпуса размещается механический клиновой компенсатор, а между верхним основанием корпуса и верхней плоскостью защитного кожуха коллиматора размещаются три стопорных винта с компенсаторными пружинами. Клиновой компенсатор предназначается для выставки жидкостной кюветы в нейтральное положение, а верхние стопорные винты с пружинами - для фиксации ее пространственного положения.

К нижней крышке защитного кожуха коллиматора с помощью трех крепежных винтов прикрепляется блок сканирования, который предназначается для создания лазерной горизонтальной опорной плоскости. Он состоит из основания с запрессованным в его центре подшипником, цилиндрической оправы с пентапризмой, защитного цилиндрического кожуха, двигателя и обоймы с оптическим клином.

Цилиндрическая оправа запрессована во внутреннюю обойму подшипника, в ее нижней части имеется выточка под пасик, а под ней - две боковые щечки для крепления пентапризмы. Защитный цилиндрический кожух предназначен для защиты пентапризмы от попадания на нее влаги и пыли. Он закрепляется на монтажном пояске над боковыми щечками. Обойма с оптическим клином закрепляется на основании против боковой грани пентапризмы, через которую выходит лазерный луч. Оптический клин свободно вращается внутри обоймы и фиксируется в рабочем положении с помощью стопорного винта. Он предназначен для компенсации угловой ошибки пентапризмы. В качестве двигателя в блоке сканирования используется двигатель постоянного тока типа ДПМ-25. Двигатель с помощью обоймы крепится к боковой поверхности нижней части защитного кожуха коллиматора. На его выходном валу закрепляется цилиндрическая насадка с выточкой под резиновый пасик. Для предохранения от влаги и пыли двигатель защищен кожухом. Вращение от двигателя к цилиндрической оправе с пентапризмой передается с помощью резинового пасика.

Пентапризма при своем вращении разворачивает лазерный луч и создает лазерную опорную горизонтальную плоскость.

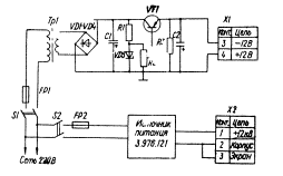
Блок питания (рисунки 3 и 4) предназначен для преобразования напряжения сети 220 В, 50 Гц в высоковольтное напряжение постоянного тока для питания лазерного излучателя и постоянное напряжение 12 В для питания двигателя блока сканирования. На его наружной панели размещены переключатель "Сеть - Выкл.", регулятор "Регулировка скорости", лампочка контроля напряжения сети, предохранитель на 0,5 А, клемма "Земля", разъем "Выход" для подключения высоковольтного кабеля от излучателя, разъем "Выходное напряжение" для подключения вилки шнура устройства сканирования, шнур подвода напряжения сети, переключатель "Двигатель - Выкл."

Принципиальная электрическая схема блока питания (см. рис. 4) представляет собой совокупность источника питания 3.976.121 лазерного излучателя ЛГН-208 и транзисторного стабилизатора питания двигателя блока сканирования.

2.5. Устройство сканирования лазерного луча ЛЗЦ в горизонтальной плоскости (УСЛГ) предназначается для формирования опорной нестабилизированной горизонтальной плоскости и лазерных горизонтальных направляющих (рис. 5).

Рис. 3. Внешний вид блока питания ЛСНК:

1 - шнур подвода напряжения сети; 2 - разъем "Выход" для подключения высоковольтного кабеля от излучателя; 3 - разъем "Выходное напряжение" для устройства сканирования; 4 - регулятор скорости; 5 - переключатель "Двигатель - Выкл."; 6 - клемма "Земля"; 7 - переключатель "Сеть - Выкл."; 8 - лампочка сигнализации подачи напряжения сети; 9 -предохранитель на 0,5 А

Рис. 4. Принципиальная электрическая схема блока питания JICHK

Оно состоит из следующих основных узлов: трегера (используется трегер от нивелира H-3), блока сканирования, монтажного основания, блока питания, двигателя и защитного кожуха. УСЛГ закрепляется на специальном кронштейне над ЛЗЦВ.

Рис. 5. Устройство сканирования лазерного луча ЛЗЦ в горизонтальной плоскости:

1 - трегер; 2 - блок питания; 3 - двигатель: 4 - тубус; 5 - защитный кожух; 6 - ременная передача; 7 - подшипник; 8 - обойма с оптическим клином; 9 - обойма с защитным оптическим стеклом; 10 - пентапризма; 11 - цилиндрическая оправа; 12 - защитный кожух; 13 - круглый уровень; 14 - сканирующая головка; 15 - монтажное основание; 16 - тумблер подачи питания внешней сети

Блок сканирования предназначается для развертывания в пространстве лазерного луча ЛЗЦ. Он состоит из тубуса, двигателя, сканирующей головки и круглого уровня. Тубус представляет собой цилиндр с фланцами. Диаметр внутреннего отверстия тубуса находится в пределах 20-25 мм. На его верхнем конце запрессован подшипник, на внешней обойме которого насажена сканирующая головка. Тубус с помощью фланца четырьмя винтами крепится к монтажному, основанию. Нижний конец тубуса вставляется в отверстие трегера и фиксируется в нем с помощью стопорного винта.

Сканирующая головка УСЛГ аналогична сканирующей головке ЛСНК. Она включает в себя цилиндрическую оправу с пентапризмой, обойму с оптическим клином и защитный цилиндрический кожух. Цилиндрическая оправа представляет собой основание с двумя боковыми щечками, между которыми монтируется пентапризма. В центре основания имеется круглое отверстие. Цилиндрическая оправа своим основанием монтируется на внешней обойме подшипника таким образом, чтобы центры их отверстий совпадали. Перед выходным отверстием пентапризмы на основании цилиндрической оправы закрепляется обойма с оптическим клином.

Защитный цилиндрический кожух предназначается для защиты пентапризмы от попадания на нее влаги и пыли. Он закрепляется на верхней части основания цилиндрической оправы, на нижней части которого имеется выточка для пасика. В средней части цилиндрического кожуха против обоймы с оптическим клином имеется круглое отверстие, в котором закрепляется обойма с защитным оптическим стеклом, через которое выходит лазерный луч.

Оптический клин свободно вращается внутри своей обоймы и фиксируется в рабочем положении с помощью стопорного винта, расположенного в ее верхней части. Оптический клин предназначен для компенсации угловой ошибки пентапризмы.

На верхнем основании защитного кожуха смонтирован круглый уровень с четырьмя регулировочными винтами, предназначенный для выставки устройства сканирования в рабочее положение.

Монтажное основание служит для закрепления на нем блока питания, двигателя и тумблера для подключения внешнего напряжения. Оно представляет собой металлическую пластину, которая крепится к фланцу цилиндрического тубуса блока сканирования.

В качестве двигателя в устройстве сканирования используется двигатель постоянного тока типа ДПМ-25. На его выходном валу закрепляется цилиндрическая насадка с выточкой под резиновый пасик. С помощью пасика вращение двигателя передается на сканирующую головку. Максимальная скорость вращения сканирующей головки, а следовательно, и сканирования лазерного луча, находится в пределах 5 Гц. На монтажном основании двигатель крепится с помощью цилиндрической обоймы.

Защитный кожух предназначается для защиты узлов устройства сканирования от механических воздействий, попадания влаги и пыли. Он представляет собой квадратную коробку с вырезом для сканирующей головки.

Блок питания (рис. 6) предназначается для преобразования напряжения сети 36 В, 50 Гц в постоянное напряжение в пределах 64-16 В питания двигателя. Он представляет собой выпрямитель на диодах и импульсный стабилизатор на транзисторах. Регулирующие транзисторы стабилизатора работают в ключевом режиме. Рассеиваемая на них мощность незначительна. Регулировка выходного напряжения стабилизатора с помощью потенциометра R 12 позволяет установить требуемую частоту сканирования УСЛГ.

Рис. 6. Принципиальная электрическая схема блока питания УСЛГ

2.6. Устройство начальной выставки (УНВ) предназначается для создания зеркально отражающей горизонтальной и вертикальной плоскостей. Оно применяется для начальной выставки, контроля и настройки ЛЗЦВ и ЛСНК.

Устройство начальной выставки (рис. 7) состоит из трегера, нижней и верхней плоскопараллельных шайб, двух цилиндрических обойм, цилиндрического уровня, станового винта, набора дифракционных диафрагм.

Плоскопараллельные шайбы выполнены из нержавеющей стали толщиной порядка 10 мм и диаметром 60 мм. Нижняя шайба имеет в центре отверстие диаметром 35 мм, ее верхняя поверхность зеркальная. Шайба закрепляется в цилиндрической обойме, которая в свою очередь крепится к верхнему основанию трегера. Верхняя шайба закреплена в верхней цилиндрической обойме, ее нижняя рабочая поверхность зеркальная.

Рис. 7. Устройство начальной выставки:

1 - цилиндрический уровень; 2 - вертикальная зеркальная отражающая грань; 3 - верхняя цилиндрическая обойма; 4 - нижняя цилиндрическая обойма; 5 - становой винт; 6 - трегер; 7 - нижняя плоскопараллельная шайба с отверстием; 8 - нижняя зеркальная отражающая грань; 9 - верхняя плоскопараллельная шайба

Верхняя шайба своей зеркальной поверхностью соприкасается с зеркальной поверхностью нижней шайбы. На боковой поверхности верхней шайбы имеется скос с зеркальной поверхностью, перпендикулярный ее нижней поверхности. Скос служит для создания опорной вертикальной зеркальной поверхности. Горизонтальная опорная зеркальная поверхность создается нижней зеркальной поверхностью верхней шайбы. В соответствии с размерами скоса сделано отверстие в боковой поверхности верхней обоймы.

Цилиндрический уровень предназначается для настройки УНВ, т.е. выставки нижней и боковой зеркально отражающих плоскостей соответственно в горизонтальное и вертикальное положения. Он закрепляется на верхнем основании обоймы верхней шайбы. Цена деления уровня в пределах 10".

Для исключения попадания пыли и влаги внутрь УНВ, а в частности на соприкасающиеся между собой поверхности шайб на них наносится тонкий слой веретенного масла. Кроме того, верхняя цилиндрическая обойма, имея диаметр больше диаметра нижней обоймы, перекрывает ее, обеспечивая дополнительную герметичность УНВ.

Становой винт предназначается для крепления УНВ с помощью трегера в исходное рабочее положение. Для свободного прохождения лазерного луча в нижних пластинах основания трегера и становом винте имеются отверстия диаметром 30÷35 мм.

Дифракционные диафрагмы монтируются на выходных отверстиях ЛЗЦВ и ЛСНК. Они применяются при начальной выставке ЛЗЦВ и ЛСНК с помощью УНВ по дифракционному методу. Дифракционные диафрагмы (рис. 8) используются двух видов: диафрагмы, выполненные в виде тубуса и в виде круглой пластины. По центру и их периферии располагаются пять отверстий каждое диаметром 1÷1,5 мм. Для повышения контрастности наблюдения на поверхности диафрагм дифракционных колец отраженного от УНВ лазерного излучения, они окрашиваются в красный цвет.

Рис. 8. Дифракционные диафрагмы:

а - в виде тубуса; б - в виде пластинки; 1 - дифракционное отверстие

2.7. Устройство визуального наблюдения (УВН) (рис. 9) предназначается для проектирования на него лазерного излучения ЛЗЦВ и наблюдения его проекции на монтажном горизонте. Оно представляет собой плоскую металлическую раму с пазами и конусообразным тубусом, закрепленным к ее нижней поверхности. В пазах рамы располагается плексигласовая пластина (палетка), имеющая две степени свободы. Рама с помощью конусообразного тубуса фиксируется в рабочих (круглых) проемах над ЛЗЦВ.

Палетка представляет собой пластину размером 120×120 мм из листового оргстекла, верхняя поверхность, которой матируется. На палетке нанесены две взаимно перпендикулярные линии и параллельно им через 5 мм ряд вспомогательных линий для отсчета положения центра лазерного пятна. Палетка свободно перемещается в пазах рамы. После начальной выставки, когда центр пятна совпадает с центром перекрытия палетки, ее положение фиксируется с помощью стопорных винтов рамы.

2.8. Фотоэлектронная малогабаритная геодезическая рейка со стрелочным индикатором (ФГРС) предназначается для определения превышения контролируемых точек (рис. 10). Она включает в себя металлическую рейку, фотоголовку и механизм перемещения.

Рис. 9. Устройство визуального наблюдения проекции лазерного луча ЛЗЦВ:

1 - конический тубус; 2 - металлическая рама; 3 - плексигласовая палетка; 4 - стопорный винт

Рис. 10. Фотоэлектронная геодезическая рейка со стрелочным индикатором:

1 - фотодиоды со светофильтрами; 2 - переключатель "Вкл. - Выкл."; 3 - стрелочный индикатор; 4 - фотоголовка; 5 - зажимной винт; 6 - фиксатор уровня (подвижный визир); 7 - указатель; 8 - держатель; 9 - каретка; 10 - рейка с делениями

Металлическая рейка выполнена из алюминиевого двутаврового профиля. На ее поверхность нанесены сантиметровые деления, причем нулевое деление находится у пятки рейки. Механизм перемещения представляет собой каретку с указателем. Каретка может свободно перемещаться вдоль рейки, она фиксируется на ней с помощью зажимного винта. На каретке располагается держатель в виде прямоугольной пластины для крепления фотоголовки.

Фотоголовка предназначена для регистрации лазерного сканирующего излучения и определения высотного положения лазерной плоскости. Она состоит из корпуса, шести фотодиодов типа ФД-24К, светофильтров типа KC-11 и СЗС-24, стрелочного индикатора и усилительно-преобразовательного блока. Зона приема фотоголовки составляет 100 мм. Корпус фотоголовки выполнен в виде прямоугольной коробки размером 129×113×31 мм, на лицевой стороне которой смонтированы шесть фотодиодов со светофильтрами, на левой стороне - стрелочный индикатор и переключатель "Вкл. - Выкл.", а на правой - винт установки стрелки индикатора на "нуль". На тыльной стороне расположены направляющие для установки фотоголовки на держатель каретки рейки. Фотодиоды предназначены для регистрации лазерного излучения, а светофильтры - для их предохранения от воздействия внешнего фонового излучения.

Светофильтры выполнены в виде круглых шайб диаметром 14 мм. Они попарно располагаются перед чувствительными площадками фотодиодов. Верхняя и нижняя пары фотодиодов предназначены для грубого определения положения лазерной плоскости, т.е. определения ее полярности, а средние - для точного измерения ее высотного положения.

Стрелочный индикатор предназначен для индикации положения лазерной плоскости относительно фотоэлементов. Он соединен с корпусом фотоприемного блока разъемом. В случае необходимости его можно с помощью переходного кабеля вынести на расстояние до 3 м.

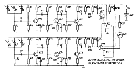
Усилительно-преобразовательный блок (рис. 11) состоит из источника питания и электронного усилителя. Он размещается внутри корпуса фотоголовки. В качестве источника писания используется источник постоянного напряжения 9 В (батарейка "Корунд"). Усилительная часть состоит из двух идентичных каналов, представляющих собой трехкаскадные усилители, собранные на транзисторах по схеме ток-напряжение VT1-VT6. Для создания более широкой зоны захвата на вход каждого канала включено по три параллельно соединенных фотодиода B1, В2, В3 и В4, В5, В6. С выхода каждого канала напряжение сигнала подается на однополупериодные выпрямители (детекторы) VD1 и VD2, а выпрямленное напряжение - на вход мостовой схемы (сравнивающее устройство), собранное на транзисторах VTVT8. С выхода мостовой схемы сигнал рассогласования поступает на стрелочный индикатор.

Рис. 11. Принципиальная электрическая схема усилительно-преобразовательного блока ФГРС

При попадании лазерного луча на нижние или верхние пары фотодиодов стрелка индикатора занимает крайнее левое или правое положение, а при попадании лазерного луча на среднюю пару фотодиодов степень отклонения стрелки от нулевого положения характеризуется положением лазерного пятна относительно этих фотодиодов. В случае их одинаковой засветки лазерным лучом стрелка индикатора занимает нулевое (среднее) положение.

2.9. Фотоэлектронная малогабаритная геодезическая рейка с цифровой индикацией (ФГРЦ) предназначена также для определения превышения контролируемых точек (рис. 12). Она включает в себя круглую металлическую рейку, отвес, фотоголовку и цифровой индикатор. Металлическая рейка представляет собой дюралюминиевую трубку, снабженную нижним и верхним (съемным) упорами. Верхний упор предназначен для установки геодезической рейки на верхнюю кромку стеновой панели, а нижний упор - для ее фиксации относительно плоскости стеновой панели. К верхнему упору крепится верхняя точка нитяного отвеса. На верхнем конце штанги с помощью зажима закрепляется фотоголовка, которая может поворачиваться и перемещаться вдоль штанги. Так как упоры имеют возможность вращаться, то фотоголовка может занимать любое необходимое положение для работы. Фотоголовка предназначена для регистрации лазерного сканирующего излучения и определения высотного положения лазерной плоскости.

Рис. 12. Фотоэлектронная малогабаритная геодезическая рейка с цифровой индикацией:

1 - круглая металлическая рейка; 2 - фотоголовка; 3 - разъем для кабеля; 4 - кабель; 5 - светозащитный козырек; 6 - цифровой индикатор: 7 - кнопка "индикации; 8 - кнопка измерения: 9 - переключатель; 10 - нижний упор; 11 - отвес; 12 - верхний упор; 13 - светозащитный тубус

Рис. 13. Структурная схема усилительно-преобразовательного блока ФГРЦ:

1 - генератор; 2 - триггер; 3 - счетчик; 4 - дешифратор; 5 - ключи; 6 - блок фотодиодов: 7 - усилитель; 8 - триггер: 9, 10 - схема "И"; 11 - схема "ИЛИ"; 12 - счетчик; 13 - дешифратор; 14 - индикатор

Она представляет собой металлический прямоугольный корпус размером 80×65×125 мм, на передней стороне которого смонтировано 36 фотодиодов типа ФД-27К, размещенных в три параллельных ряда по 12 шт. в каждом. Для предохранения от воздействия внешнего фонового освещения фотоголовка снабжена светозащитным тубусом, а над фотодиодами закреплены две пластины светофильтров KC-11 и СЗC-24. На тыльной стороне корпуса закреплены направляющие, с помощью которых фотоголовка закрепляется на рейке, а в нижней части расположен разъем для кабеля, соединяющего фотоголовку с цифровым индикатором. Длина кабеля 2 м.

Внутри корпуса фотоголовки смонтирован приемо-усилительно-преобразовательный блок (рис. 13), принцип работы которого заключается в следующем: генератор вырабатывает импульсы с удвоенной частотой опроса фотодиодов, счетчик (3) считает количество импульсов, а дешифратор (4) управляет ключами (5), подключающими поочередно фотодиоды к усилителю (7). Одновременно импульсы генератора через схему "И" (9) и схему "ИЛИ" (11) поступают на счетчик (12). При появлении сигнала на одном из фотодиодов переключается триггер (8) и схема "И" (9) закрывается, а открывается схема "И" (10) и импульсы сигнала поступают на счетчик (12). Блок фотодиодов представляет собой матрицу из 36 фотодиодов, установленных через 2 мм. Так как на счетчик (12) поступает два импульса за время опроса фотоэлемента (триггер (2) делит частоту генератора на 2), то он фактически отражает положение опроса в мм от исходного. Ввиду того, что за время опроса приходит один импульс сигнала, то к показанию счетчика добавляется половина диаметра лазерного пятна. При этом необходимо, чтобы частота опроса фотодиодов превышала частоту сканирования, что уменьшает ошибку в определении середины лазерного пятна. Девять верхних и девять нижних фотоэлементов подключены параллельно, а счетчик производит счет до 24, что дает возможность при скорости сканирования лазерного луча порядка 5 Гц опрос фотоэлементов производить за 5 с. В момент установки счетчиков в нулевое положение и переключения фотодиодов выход усилителя закорачивается с помощью ключа. Питание фоторейки производится от четырех аккумуляторов типа Д-0,55С, вырабатывающих постоянное напряжение 5 В.

Цифровой индикатор представляет собой прямоугольную металлическую коробку размером 160×80×35 мм. На торцевой стороне корпуса размещается индикатор, защищенный от механического воздействия плексигласовой пластинкой. Для его защиты от фоновой освещенности и обеспечения необходимого контраста для свободного наблюдения светящихся цифр над индикатором смонтирован светозащитный козырек. С левой стороны под индикатором размещается панель с двумя кнопками, одна из которых "Измер." предназначена для включения фотоголовки в режим измерения, а вторая "Инд." - в режим индикации. В нижней торцовой части располагается переключатель "Вкл. - Выкл." для подачи напряжения питания на фотоголовку от аккумулятора, а в верхней части - разъем для кабеля, соединяющего цифровой индикатор с фотоголовкой. На тыльной стороне индикатора размещен разъем для подключения зарядного устройства - выпрямителя для подзарядки аккумуляторной батарейки от сети 220 и 127 В переменного напряжения 50 Гц и зажим для крепления цифрового индикатора к рейке. Внутри корпуса в верхней части цифрового индикатора смонтированы четыре аккумулятора типа Д-0,55С.

2.10. Устройства защиты (УЗ) представляют собой защитные кабины, предохраняющие ЛЗЦВ и ЛСНК от механических воздействий, а также попадания влаги, пыли, бетона и других посторонних предметов.

Защитная кабина ЛЗЦВ (рис. 14) представляет собой герметический прямоугольный металлический ящик, выполненный из стального листа толщиной 1,5 мм, высотой 600 мм и поперечным сечением 230-210 мм.

Рис. 14. Защитная кабина ЛЗЦВ:

1 - неподвижная часть кабины; 2 - подвижная часть кабины; 3 - пластина; 4 - гайка; 5 - заглушка; 6 - петля для замка

Защитная кабина ЛЗЦВ состоит из двух частей - неподвижной и подвижной (отбрасывающейся). На верхнем основании подвижной части кабины относительно ее центра имеется пять круглых отверстий - центральное (диаметром 40 мм) и боковые (диаметром 18 мм), над которыми с помощью четырех болтов закрепляется пластина, по центру которой имеется гайка с внутренним диаметром 22 мм, предназначенная для прохождения лазерного луча ЛЗЦВ. Подвижная и неподвижная части защитной кабины имеют петли для замка, с помощью которого они соединяются между собой. Для предохранения от попадания внутрь кабины пыли и влаги отверстие гайки закрывается с помощью болта-заглушки, а подвижная часть кабины плотно с перекрытием прилегает к ее неподвижной части. Кабина устанавливается над ЛЗЦВ и крепится к проему панели перекрытия с помощью специального устройства крепления. Обязательным требованием является независимость крепления кабины относительно крепления самого ЛЗЦВ.

Устройство крепления кабины (рис. 15) представляет из себя цилиндрический тубус, к нижнему концу которого приварены две лапки. На расстоянии порядка 12 мм от верхнего конца тубуса с двух его противоположных сторон перпендикулярно линии лапок располагаются две прорези на глубине 15 мм, в которые вставляются грани уголков.

Рис. 15. Устройство крепления защитной кабины ЛЗЦВ:

1 - крепежный болт; 2 - панель перекрытия; 3 - проем панели перекрытия; 4 - цилиндрический тубус; 5 - лапка тубуса; 6 - уголок кабины; 7 - болт фиксации тубуса; 8 - уголок крепления тубуса с болтами

На этих гранях имеются по три отверстия с резьбой для болтов - одно центральное и два боковых. Боковые болты выполняют роль прижимных, а центральные - роль фиксирующих, удерживающих уголок в прорези тубуса. Боковые прижимные болты упираются на плоскости уголков, прикрепленных к основанию кабины с противоположных сторон. При закручивании прижимных болтов происходит подъем тубуса и его прижим к основанию кабины, а кабины - к панели перекрытия.

Защитная кабина ЛСНК (рис. 16) представляет собой металлический прямоугольный корпус, на наружной стороне задней стенки которого располагаются две металлические пластины с отверстиями. Лицевая и нижняя части торцовой стороны подвешены на петлях и могут открываться, причем лицевая сторона может подниматься вверх, а нижняя опускаться вниз. На передней, боковых и задней стенках корпуса кабины имеются вырезы, причем вырезы на передней и боковых стенках предназначены для прохождения через них сканирующего лазерного луча, а на задней стенке - для прохождения через него пластины устройства крепления ЛСНК. Вырезы на передней и боковых стенках в нерабочем положении закрываются нижней торцовой стороной корпуса, имеющей их конфигурацию.

Рис. 16. Защитная кабина ЛСНК:

1 - корпус кабины; 2 - монтажная металлическая полоска; 3 - вырез для лазерного луча; 4 - нижняя откидная сторона; 5 - петля для замка; 6 - лицевая откидная сторона; 7 - вырез для устройства крепления ЛСНК

На подвижных сторонах корпуса кабины имеются петли для установки замка. С помощью металлических полос производится крепление защитной кабины к рабочему основанию на стройплощадке.

2.11. Устройство сканирования лазерного луча ЛЗЦ в вертикальной плоскости (УСЛВ) предназначено для создания опорной нестабилизированной лазерной вертикальной плоскости и лазерных вертикальных направляющих (рис. 17). Оно представляет собой теодолит типа Т-30, снабженный съемными блоками (двигателя, сканирования и питания).

Блок двигателя состоит из основания, защитного кожуха, малогабаритного двигателя и обоймы крепления двигателя к основанию. В качестве двигателя применяется двигатель постоянного тока типа ДПМ-25.

Рис. 17. Устройство сканирования лазерного луча в вертикальной плоскости:

1 - насадка; 2 - ременная передача; 3 - коллиматор; 4 - блок сканирования: 5 - подшипник; 6 - стойка; 7 - шкив; 8 - обойма с оптическим клином; 9 - отверстие для прохождения лазерного луча; 10 - трегер; 11 - основание; 12 - призма; 13 - сканирующая головка; 14 - ось сканирующей головки; 15 - защитный кожух; 16 - блок питания; 17 - блок двигателя; 18 - защитный кожух двигателя

На выходном валу двигателя крепится втулка с канавкой для пасика. Блок двигателя крепится к площадке над коллиматором.

Блок питания предназначен для питания двигателя. Он представляет собой преобразователь переменного напряжения сети 36 В, 50 Гц в постоянное напряжение 12 В (см. рис. 6). Блок питания крепится к правой стойке теодолита.

Блок сканирования предназначается для развертывания лазерного луча ДЗЦВ в вертикальной плоскости. Лазерный луч проходит через отверстие основания корпуса теодолита и трегер. Блок сканирования состоит из монтажного основания, на котором крепятся две боковые стойки и обойма с оптическим клином, сканирующей головки и защитного кожуха. В боковые стойки запрессованы подшипники. Сканирующая головка представляет собой основание с двумя осями, на которых закрепляется оптическая призма полного внутреннего отражения. Вращение сканирующей головки передается от двигателя с помощью ременной передачи. Блок сканирования закрепляется к нижнему основанию оправы коллиматора.

Оптический клин служит для юстировки вертикальности формируемой лазерной плоскости путем изменения угла падения лазерного луча на отражающую поверхность оптической призмы.

Защитные кожухи блока сканирования с лицевой и нижней сторон имеет вырезы для прохождения лазерного луча, снабженные защитными оптическими стеклами.

Защитные кожухи блоков обеспечивают защиту от попадания влаги и пыли.

2.12. Устройство зацепа и фиксации мерной ленты и лазерной вертикальной плоскости (УЗФЛВП) предназначается для фиксации мерной ленты и выноса в натуру линий параллельных главным разбивочным осям, заданным с помощью УСЛВ и УПТНВ. Оно включает в себя рулетку, устройство зацепа и фиксации конца мерной ленты рулетки и устройство фиксации начала ленты рулетки и положения лазерной вертикальной плоскости.

Устройство зацепа и фиксации конца ленты рулетки (рис. 18) представляет собой крюк, закрепленный на прямоугольной пластине с двумя направляющими, между которыми свободно перемещается планка, снабженная устройством фиксации мерной ленты. Устройство фиксации - это прижимная пластина с двумя стопорными болтами, под которой проходит мерная лента.

Рис. 18. Устройство зацепа и фиксации конца измерительной ленты рулетки:

1 - крюк; 2 - прижимная пластина; 3 - стопорный болт; 4 -направляющая; 5 - планка; 6 -прямоугольная пластина

Рис. 19. Устройство фиксации начала ленты рулетки и лазерной вертикальной плоскости:

1 - фотоголовка ФГРС; 2 - прямоугольные зажимные планки; 3 - лента рулетки; 4 - распорная конусообразная планка; 5 - крепежные упоры; 6 - стяжная пружина; 7 - панель перекрытия; 8 - монтажная пластинка; 9 - стопорный винт; 10 - вертикальная панель; 11 - горизонтальная направляющая

Между передней точкой крюка и планкой расположена пружина, обеспечивающая необходимое натяжение мерной ленты. В рабочем положении крюк зацепляют за крайний конец панели перекрытия.

Устройство фиксации начала ленты рулетки и положения лазерной вертикальной плоскости (рис. 19) состоит из двух самостоятельных узлов (верхнего и нижнего). Верхний узел предназначен для крепления начала мерной ленты и фотоголовки ФГРС, с помощью которой производится регистрация пространственного положения лазерной вертикальной плоскости, создаваемой с помощью УСЛВ, а нижний узел - для крепления верхнего узла в конусообразном проеме панели перекрытия.

Верхний узел представляет собой совокупность двух зажимных планок, снабженных стопорными винтами, между которыми пропускается мерная лента рулетки. К верхней планке крепится вертикальная панель с двумя горизонтальными направляющими, в которые вставляется фотоголовка ФГРС и по которым она может свободно перемещаться. Для фиксации фотоголовки ФГРС (после ее выставки относительно лазерной вертикальной плоскости УСЛВ) служит стопорный винт. Нижняя планка представляет собой прямоугольную пластину, в средней части которой закреплена распорная конусообразная планка.

Нижний узел представляет собой совокупность двух свободно подвешенных к горизонтальной монтажной пластине крепежных упоров, нижние концы которых соединены между собой с помощью стяжных пружин.

Монтаж устройства фиксации производится в такой последовательности: в конусообразный проем панели перекрытия вначале устанавливается нижний узел, а затем в него вставляется верхний узел, который фиксируется с помощью направляющих крепежных упоров и пружин.

2.13. Устройство проектирования опорной геодезической точки и начальной выставки УСЛВ (УПТНВ) предназначается для выноса опорной точки на вертикальную ось визирования, обеспечения выставки (УСЛВ) и построения опорной продольной линии на монтажном горизонте. Оно представляет собой совокупность марки-экрана, палетки, рамки и тубуса (рис. 20).

Марка-экран представляет собой экран с двумя вертикальными визирными линиями. Тубус имеет коническую форму с профилем, соответствующим профилю проема в панели перекрытия. Он крепится к нижнему основанию рамки. Палетка представляет собой прямоугольную матированную плексигласовую пластинку, снабженную прямоугольной системой координат, в центре которой располагается отверстие, предназначенное для установки оси марки-экрана.

УПТНБ своим тубусом устанавливается в проеме панели перекрытия над ЛЗЦБ, проектирующим на палетку с помощью лазерного луча опорную геодезическую точку. Посредством перемещения палетки производится ее центрирование, т.е. совмещение центра ее перекрестия, а следовательно, и оси марки-экрана с центром проекции лазерного пятна (центром опорной геодезической точки). После центрирования в отверстие палетки устанавливается марка-экран с таким расчетом, чтобы ее визирные линии были обращены в сторону УСЛВ.

2.14. Устройства монтажа и крепления (УМК) предназначаются для крепления и монтажа ЛЗЦБ, ЛСНК, УСЛГ и УСЛВ на рабочем основании строительной площадки.

Устройство крепления ЛЗЦВ (рис. 21) предназначается для монтажа ЛЗЦВ над проемом панели перекрытия. Оно состоит из столика с четырьмя ножками и крепежного стержня. На верхнем конце стержня с помощью гайки закрепляется прямоугольная пластина, а на нижнем ее конце - уголковая полоска. Верхнее основание столика представляет собой треугольную пластинку с центральным отверстием, а нижнее - рамку из четырех приваренных к ножкам уголков. Треугольная пластина крепится к верхнему основанию столика с помощью крепежных болтов. Монтаж устройства крепления ЛЗЦВ к проему панели перекрытия (рис. 22) производится после монтажа защитной кабины и выполняется в такой последовательности. Открывается откидная часть защитной кабины, внутрь ее по центру над проемом устанавливается столик, через центр рамки столика и цилиндрический тубус крепления защитной кабины пропускается стержень, верхняя пластина которого устанавливается на двух противоположно расположенных уголках нижней рамки столика. Снизу проема к стержню с помощью гайки закрепляется уголковая полоска. Она располагается перпендикулярно верхней пластине. С помощью верхней гайки стержня производится окончательное подтягивание столика к проему до придания ему необходимой жесткости. После этого производится монтаж на столике ЛЗЦВ.

Устройство крепления УСЛГ (рис. 23) предназначено для монтажа УСЛГ на верхней кромке стеновой панели. Оно представляет из себя кронштейн, состоящий из горизонтальной монтажной пластины и двух вертикально расположенных крепежного основания и опорной пластины, размещенных относительно друг друга на расстоянии несколько большем толщины стеновой панели. Вертикальное крепежное основание представляет собой два расположенных под углом друг к другу уголка, на внешней стороне которых размещены два стопорных винта, с помощью которых производится крепление кронштейна к стеновой панели. Горизонтальная пластина имеет направляющее отверстие, с помощью которого производится центрирование и крепление УСЛГ.

Кронштейн устанавливается на верхней кромке наружной стеновой панели таким образом, чтобы осевая направляющая отверстия горизонтальной монтажной пластины совпадала с центром проекции лазерного пятна ЛЗЦВ. После центрирования кронштейн крепится к стеновой панели с помощью двух стопорных винтов, затем производятся центрирование и монтаж на нем УСЛГ, который крепится к горизонтальной пластине с помощью полого стопорного винта.

Рис. 20. Устройство проектирования опорной геодезической точки и начальной выставки УСЛВ:

1 - марка-экран; 2 - палетка; 3 - направляющая рамка; 4 - конусообразный тубус; 5 - отверстие для марки-экрана; 6 - стопорный винт рамки

Рис. 21. Устройство крепления ЛЗЦВ к проему панели, перекрытия:

1 - верхняя треугольная площадка; 2 - столик с ножками; 3 - нижняя рама столика из уголков; 4 - прямоугольная пластина; 5 - крепежный стержень; 6 - уголковая полоса; 7 - крепежная гайка; 8 - болт крепления

Рис. 22. Общий вид монтажа защитной кабины и ЛЗЦ на строительной площадке:

1 - защитная кабина; 2 - ЛЗЦВ; 3 - устройство крепления ЛЗЦВ; 4 - устройство крепления защитной кабины; 5 - проем панели перекрытия

 

Рис. 23. Устройство крепления УСЛГ к стеновой панели:

1 - вертикальная опорная пластина; 2 - ребро жесткости; 3 - горизонтальная монтажная пластина; 4 - отверстие для центрирования и монтажа УСЛГ; 5 - стопорный винт крепления кронштейна к стеновой панели; 6 - вертикальное крепежное основание

Рис. 24. Устройство крепления ЛCHK на строительной площадке:

а - переносной вариант; б - стационарный вариант; 1 - трегер; 2 - горизонтальная пластина; 3 - сканирующая головка; 4 - штатив; 5 - металлическая штанга; 6 - цанговый зажим: 7 - фиксатор; 8 - цилиндрическая муфта; 9 - ЛСНК; 10 - вертикальная пластина; 11 - отверстие для крепления трегера ЛСНК; 12 - откосы жесткости; 13 - крепежные отверстия; 14 - прямоугольный паз

Центрирование УСЛГ производится путем его перемещения вдоль продольного отверстия горизонтальной пластины до момента совпадения центра отверстия в трегере УСЛГ с центром проекции лазерного луча.

Устройство крепления ЛСНК (рис. 24) предназначено для монтажа ЛСНК при его работе в переносном (рис. 24, а) и стационарном вариантах (рис. 24, б).

Устройство крепления ЛСНК при его работе в переносном варианте состоит из штатива, металлической штанги и горизонтальной пластины, закрепляемой на штанге с помощью цилиндрической муфты, снабженной фиксатором. Металлическая штанга крепится к штативу с помощью цангового зажима. Горизонтальная пластина имеет отверстие диаметром 70 мм. На ней сверху с помощью трех винтов закрепляется трегер, на котором монтируется ЛСНК. Сканирующая головка ЛСНК размещается под пластиной.

Устройство крепления ЛСНК при его работе в стационарном варианте состоит из Т-образной пластины, вертикальная сторона которой снабжена четырьмя отверстиями. С помощью крепежных болтов она закрепляется на рабочем основании стройплощадки. Горизонтальная пластина предназначена для крепления на ней ЛСНК. К пластине с помощью стопорных винтов крепится нижняя пластина трегера ЛСНК. Через прямоугольный паз с торцевой стороны ЛСНК устанавливается на пластину.

Устройство крепления УСЛВ предназначено для его монтажа над проемом панели перекрытия, через который проходит лазерный луч от ЛЗЦВ, проектирующий центр геодезической опорной точки. В качестве такого устройства может быть использована тренога или кронштейн, которые устанавливаются над проемом панели перекрытия таким образом, чтобы центры их верхних крепежных отверстий и стопорного винта УСЛВ совпадали с центром проекции лазерного луча ЛЗЦВ.

Подготовительные работы перед установкой лазерной системы на строительной площадке

2.15. Подготовительные работы должны проводиться в соответствии с утвержденным проектом производства работ (ППР). В ППР в разделе "Геодезическое обеспечение" необходимо предусмотреть и указать места для установки лазерных приборов: ЛЗЦВ, ЛСНК, УЗФЛВП, УСЛГ, УСЛВ, УПТНВ, ФГРЦ, ФГРС, УНВ и УВН, устройств их монтажа, крепления и защиты.

Над каждой защитной кабиной, где должны устанавливаться ЛЗЦВ для вертикального проектирования, по всей высоте сооружения следует исключить помехи прохождению луча лазера. К месту установки ЛЗЦВ и ЛСНК необходимо подвести напряжение 220 В, 50 Гц и шину "Земля", а для УСЛГ и УСЛВ - напряжение 36 В, 50 Гц.

2.16. Подготовительные работы включают изготовление и монтаж: устройств крепления для ЛЗЦВ; УСЛГ, УСЛВ, ЛСНК, УНВ; защитных кабин для ЛЗЦВ и ЛСНК.

Общая схема размещения ЛЗЦВ, УПТНВ, УВН, УСЛГ, УСЛВ, ФГРЦ и УЗФЛВП при выполнении работ по геодезическому контролю и обеспечению при монтаже стеновых панелей и панелей перекрытия, передаче опорных точек на монтажный горизонт и выполнении разбивочных работ дана на рис. 25, а общая схема размещения ЛСНК и ФГРС при нивелировании свайного поля и ростверков - на рис. 26.

2.17. Лазерные зенит-центриты и их защитные кабины должны устанавливаться стационарно на весь период строительства на монтажном горизонте цокольного этажа над круглыми отверстиями панелей перекрытия вблизи наружных стеновых панелей. ЛСНК, УЗФЛВП, УСЛГ, УСЛВ, УПТНВ, ФГРЦ, ФГРС, УВН и УНВ устанавливаются лишь на период выполнения монтажных и геодезических работ, причем УСЛГ устанавливается на наружной стеновой панели над круглым проемом панели перекрытия, через который проходит лазерный луч ЛЗЦВ. УСЛВ и его устройства УЗФЛВП и УПТНВ монтируются непосредственно на панелях перекрытия, причем УСЛВ и УПТНВ над их круглыми отверстиями, под которыми располагаются ЛЗЦВ: УСЛВ - над одним, а УПТНВ - над другим. Их монтаж осуществляется только на период выполнения разбивочных работ.

Рис. 25. Схема размещения ЛЗЦВ, УСЛГ, УСЛВ, УПТНВ, УВН, ФГРЦ и УЗФЛВП лазерных подсистем разбивочных работ и геодезического обеспечения и контроля монтажа стеновых панелей и панелей перекрытия:

1 - ЛЗЦВ в защитной кабине; 2 - УСЛВ; 3 - УСЛГ; 4 - кронштейн крепления УСЛГ на стеновой панели; 5 - ФГРЦ нивелирования панелей перекрытия и стеновых панелей; 6 - УЗФЛВП; 7 - УПТНВ; 8 - УВН; 9 - стеновая панель

Рис. 26. Схема размещения ЛСНК и ФГРС при нивелировании свайного поля и ростверков:

1 - ЛСПК; 2 - свая; 3 - ФГРС; 4 - ЛСНК в защитной кабине при стационарной установке; 5 - горизонт обрубки свай; 6 - подвижный визир ФГРС; 7 - лазерная плоскость ЛСНК

Устройство начальной выставки (УНВ) устанавливается на треноге на высоте 0,5 м над выходным отверстием ЛЗЦВ только в период его настройки и контроля. УНВ крепится к основанию треноги с помощью станового винта.

2.18. Перед установкой лазерных приборов производится монтаж их устройств крепления. Порядок монтажа устройств крепления для защитных кабин и лазерных приборов ЛСНК, УСЛГ, УСЛВ и ЛЗЦВ, а также самих лазерных приборов изложен в пп. 2.10 и 2.14.

2.19. Геодезическая опорная точка, ось лазерного луча ЛЗЦВ, центр гайки защитной кабины, ось УВН, центр станового винта устройства крепления УСЛГ и центры проемов вышерасположенных панелей перекрытия должны лежать на одной линии. Для проверки их соосности монтируется ЛЗЦВ, производится его выставка и открывается задняя защитная крышка излучателя ЛГН-208. При правильном монтаже указанных узлов центры прямого и обратного лазерных лучей ЛГН-208 должны совпадать с центрами указанных устройств крепления, проемов и геодезической опорной точки.

2.20. Внутри защитных кабин ЛЗЦВ и ЛСНК монтируются электрощитки, на которых расположены розетка "Питание" и клемма "Земля". К электрощиткам подводится напряжение 220 В и шина "Земля" от центрального электрощитка, на котором монтируется переключатель "Лазер" с двумя положениями "Вкл. - Выкл." и клемма "Земля". Около УСЛГ и УСЛВ монтируются розетки "Питание", к которым подводится напряжение 36 В, 50 Гц от электрощитка, установленного на монтажном горизонте. На электрощитке располагается переключатель "Лазер" с двумя положениями "Вкл. - Выкл.".

2.21. ЛСНК снабжается защитной кабиной только при его работе в стационарном режиме, т.е. режиме длительного нивелирования свайного поля и ростверков из одной точки. Защитная кабина и устройство крепления ЛСНК в этом случае монтируются на наружной стене любого подсобного помещения.

При необходимости нивелирования свайного поля и ростверков из различных точек, т.е. при работе ЛСНК в "переносном" режиме, он монтируется на треноге.

2.22. Для облегчения работ по монтажу лазерных приборов в условиях строительной площадки устройства крепления и защиты необходимо изготавливать заранее в стационарных условиях.

2.23. Устройства визуального наблюдения устанавливаются своими конусообразными тубусами в круглые отверстия проемов панелей перекрытия только на этапах установки и центрирования лазерного луча ЛЗЦВ относительно центров отверстий панелей перекрытия, установки и центрирования центра входного отверстия трегера УСЛВ относительно центра поперечного сечения лазерного луча ЛЗЦВ.

Монтаж УВН на монтажном горизонте необходимо осуществлять так, чтобы обеспечить удобство наблюдения поперечного сечения лазерного луча ЛЗЦВ, контрастность его изображения на палетке-экране и ее защиту от попадания влаги и пыли, как при центрировании ЛЗЦВ, так и при центрировании УСЛВ.

2.24. Для уменьшения количества контрольных проверок и регулировок, которые требуют присутствия специалиста, при изготовлении, монтаже и эксплуатации ЛЗЦВ, ЛСНК, УСЛВ, УСЛГ, УНВ и УВН должны быть приняты меры по исключению попадания внутрь их воды, пыли, бетона и других взвешенных частиц. Так, в частности, в период между включениями ЛЗЦВ для его предохранения от указанных воздействий, выходное отверстие защитной кабины ЛЗЦВ и проемы в панелях перекрытия необходимо закрывать с помощью специальных заглушек, а в период между эксплуатацией ЛСНК должны быть закрыты подвижные нижняя и лицевая стороны его защитной кабины.

3. ЛАЗЕРНАЯ ПОДСИСТЕМА ПЕРЕДАЧИ ГЕОДЕЗИЧЕСКОЙ СЕТИ (ОПОРНЫХ ТОЧЕК) НА МОНТАЖНЫЙ ГОРИЗОНТ И СОЗДАНИЯ ЛАЗЕРНЫХ ОПОРНЫХ ВЕРТИКАЛЕЙ

Назначение и состав лазерной подсистемы

3.1. Лазерная подсистема передачи геодезической сети на монтажный горизонт предназначена для создания лазерных опорных вертикалей и геодезического контроля степени ухода здания от вертикали, а также обеспечения выполнения разбивочных работ на монтажном горизонте и работ по выставке стеновых панелей и панелей перекрытия.

3.2. Лазерная подсистема включает:

малогабаритный вращающийся лазерный зенит-центрир (ЛЗЦВ);

устройство визуального наблюдения проекции лазерного луча (УВН);

устройство начальной выставки, контроля и настройки ЛЗЦВ (УНВ);

защитную кабину для ЛЗЦВ (ЗК);

устройства монтажа и крепления ЛЗЦВ и защитной кабины (УМК).

Особенности конструктивного выполнения и монтажа указанных устройств изложены в пп. 2.3-2.14.

3.3. В зависимости от типа здания в комплект лазерной подсистемы может включаться различное количество ЛЗЦВ, УВН, ЗК и УМК.

Технические характеристики лазерной подсистемы

Дальность действия при визуальной индикации проекции лазерного луча, м

300

Погрешность (среднеквадратическая ошибка), утл. с

8÷10

Время на передачу опорной геодезической точки на монтажный горизонт, мин, не более

1÷2

Работоспособность в любое время суток, в простых и сложных метеоусловиях:

 

при температуре окружающей среды, °С

от -10 до +50

при относительной влажности, %, не более

98

при давлении, кПа

90,6÷113,2

Долговечность, ч

22000

Габаритные размеры: мм:

 

лазерного зенит-центрира с блоком питания

470×145×145

устройства визуального наблюдения

250×150×40

устройства начальной выставки

140×130×130

защитной кабины

600×230×210

Масса, кг, не более:

 

лазерного зенит-центрира с блоком питания

5,2

устройства визуального наблюдения

1,1

устройства начальной выставки

1,8

защитной кабины

8,0

устройств монтажа и крепления

3,2

Развертывание лазерной подсистемы

3.4. Развертывание лазерной подсистемы целесообразно производить на цокольном этаже здания в такой последовательности:

а) Установить защитную кабину для ЛЗЦВ, для чего:

выбрать круглый проем в панели перекрытия в непосредственной близости от наружной стеновой панели;

подготовить устройство крепления защитной кабины ЛЗЦВ;

установить защитную кабину по центру круглого проема панели перекрытия неподвижной частью к внутренней поверхности наружной стеновой панели, открыть ее подвижную часть;

пропустить цилиндрический тубус устройства крепления ЗК (с двумя лапками) снизу в круглое отверстие панели перекрытия и установить под лапки две полоски уголка;

в прорези в верхней части цилиндрического тубуса вставить полоски уголков и зафиксировать их внутри тубуса и на внутренних уголках кабины с помощью крепежных болтов;

закручивая четыре боковых крепежных болта, прижать ЗК к панели перекрытия.

б) Смонтировать в защитной кабине устройство для крепления ЛЗЦВ, для чего:

подготовить устройство крепления;

открыть подвижную часть ЗК и установить внутрь ее по центру проема монтажный столик;

сцентрировать монтажный столик таким образом, чтобы центр отверстия его верхней пластины был соосным с центром выходного отверстия гайки защитной кабины;

через центр монтажного столика и цилиндрический тубус крепления ЗК пропустить металлический стержень. Закрепленную на его верхнем конце пластину установить таким образом, чтобы она опиралась на плоскости противоположных уголков нижней рамки столика;

закрепить с нижней стороны проема панели перекрытия к стержню с помощью гайки уголковую полоску, расположив ее ось перпендикулярно оси верхней пластины;

с помощью верхней гайки стержня закрепить монтажный столик к панели перекрытия.

в) Установить ЛЗЦВ в ЗК, для чего:

подготовить ЛЗЦВ;

установить ЛЗЦВ в отверстие верхней пластины монтажного столика и закрепить его;

прикрепить с помощью крючка в ЗК блок питания ЛЗЦВ;

с помощью подъемных винтов трегера выставить уровни ЛЗЦВ в нуль-пункты;

присоединить высоковольтный кабель лазерной трубки к высоковольтному разъему блока питания;

присоединить вилку шнура питания 220 В, 50 Гц и клемму "Земля" блока питания к розетке "Питание" и клемме "Земля" электрощитка ЗК;

переключатель "Лазер" на центральном электрощитке установить в положение "Вкл.", тумблер "Сеть - Выкл." блока питания установить в положение "Сеть". При этом на пульте блока питания загорится красная лампочка, а на выходе ЛЗЦВ появится луч красного цвета;

установить тумблер в положение "Выкл."

г) Произвести центровку лазерного луча ЛЗЦВ относительно центра выходного отверстия ЗК, для чего:

ослабить болты крепления пластины с гайкой на подвижной части кабины и снять с нее заглушку;

установить подвижную часть ЗК в исходное рабочее положение;

установить тумблер "Сеть - Выкл." блока питания в положение "Сеть", а на выходное отверстие гайки пластины надеть матированную плексигласовую заглушку с осями по ее центру;

путем перемещения пластины с гайкой добиться совмещения центра проекции лазерного луча с центром осей матированной заглушки гайки и закрепить пластину с помощью болтов;

проверить положение пузырьков уровней на ЛЗЦВ, при необходимости установить их в нуль-пункты.

д) Произвести центровку центра проекции лазерного луча ЛЗЦВ с центром круглого проема панели перекрытия монтажного основания вышерасположенного этажа, для чего:

смонтировать УВН в круглом проеме панели перекрытия, расположенном над ЛЗЦВ (рис. 27);

Рис. 27. Схема центровки центра проекции лазерного луча ЛЗЦВ с центром круглого проема панели перекрытия:

1 - проекция лазерного пятна; 2 - круглое отверстие проема; 3 - устройство визуального наблюдения; 4 - ЛЗЦВ

снять заглушку с выходного отверстия гайки ЗК ЛЗЦВ;

определить положение проекции пятна лазерного луча на плексигласовой палетке УВН;

выключить ЛЗЦВ, для чего тумблер блока питания установить в положение "Выкл."

При наличии линейной несоосности повторить операции (п. 3.4, в, г) до обеспечения соосности центра проекции лазерного пятна с центром выходного отверстия ЗК и центром проема панели перекрытия. Измерить координаты Х0 и Y0 положения центра лазерного пятна на выходном отверстии ЗК ЛЗЦВ относительно внутренних поверхностей наружных боковых стеновых панелей.

е) Произвести в соответствии с п. 3.4 в, г, д выставку других ЛЗЦВ, при этом необходимо обеспечить равенство координат Х и Y лазерных лучей всех ЛЗЦВ.

Примечание. При отсутствии соосности в расположении центров круглых проемов относительно друг друга на цокольном этаже и последующих этажах необходимо при монтаже ЛЗЦВ выбирать такое начальное значение  и  при котором обеспечивалось бы как нормальное прохождение лазерного луча через проемы, так и равенство координат X и Y лазерных лучей всех смонтированных ЛЗЦВ.

ж) Вынуть из упаковочного ящика устройство начальной выставки (УНВ) и спиртом или чистым бензином снять с его отражающей поверхности защитный слой масла. Установить УНВ на треноге над ЛЗЦВ.

Настройка лазерной подсистемы

3.5. Настройка лазерной подсистемы включает:

юстировку устройства начальной выставки (УНВ);

выставку лазерного луча ЛЗЦВ на "бесконечность";

выставку обратного лазерного луча ЛЗЦВ соосно с его осью вращения;

выставку прямого лазерного луча соосно оси вращения ЛЗЦВ;

выставку прямого лазерного луча в отвесное положение.

Настройка лазерной подсистемы производится в стационарных условиях (на заводе или в лаборатории).

В условиях строительной площадки производится, как правило, проверка степени настройки ЛЗЦВ и при необходимости его подстройка,

3.6. Юстировка УНВ производится в такой последовательности:

установить УНВ на треногу или кронштейн, вмонтированный в боковую стеновую панель на высоте 1,5÷2 м, и закрепить его с помощью станового винта;

повернуть верхнюю вращающуюся шайбу с уровнем так, чтобы ось уровня была параллельна линии, соединяющей два подъемных винта трегера, вращением этих винтов добиться установки пузырька уровня в нуль-пункт;

верхнюю шайбу повернуть на 90°, а пузырек уровня установить в нуль-пункт с помощью третьего подъемного винта;

повернуть верхнюю шайбу на 180°. Если при этом пузырек уровня сместится более, чем на 1/4 деления, то с помощью третьего подъемного винта сместить его в сторону нуль-пункта на половину дуги отклонения;

слегка ослабив шпилькой один из юстировочных винтов уровня, вторым установить пузырек уровня в нуль-пункт. Затем осторожно, чтобы не сорвать резьбу, затянуть юстировочные винты. Проверку необходимо производить дважды. Если пузырек уровня при повороте верхней шайбы на 90° и 180° отклонится не более чем на 1/4 деления, устройство начальной выставки считается настроенным.

3.7. Выставку лазерного луча ЛЗЦВ на "бесконечность" можно производить двумя методами: дифракционным и базовым.

При использовании дифракционного метода выставку ЛЗЦВ на "бесконечность" необходимо производить в такой последовательности (рис. 28):

установить на треноге (или кронштейне) УНВ;

открыть подвижную часть ЗК ЛЗЦВ (или установить ЛЗЦВ на кронштейне);

установить ось ЛЗЦВ в перпендикулярное горизонту (рабочее) положение, для чего пузырьки уровней с помощью подъемных винтов трегера установить в нуль-пункты;

включить ЛЗЦВ и произвести 30-минутный прогрев;

произвести центровку УНВ относительно лазерного луча ЛЗЦВ, т.е. обеспечить попадание лазерного луча на отражающую поверхность УНВ, при необходимости произвести его дополнительную настройку;

установить на выходное отверстие коллиматора ЛЗЦВ диафрагму с пятью дифракционными отверстиями и обнаружить на ее поверхности отраженные от УНВ пять проекций лазерных лучей;

с помощью винтов трегера ЛЗЦВ добиться совмещения центра проекции центрального отраженного лазерного луча с центром центрального дифракционного отверстия диафрагмы;

проверить положение пузырьков уровней ЛЗЦВ. Если они отклонились от положения нуль-пунктов, то с помощью шпильки выставить их в это положение;

Рис. 28. Выставка лазерного луча ЛЗЦВ на "бесконечность" дифракционным методом:

1 - устройство начальной выставки; 2 - тренога; 3 - пучок лазерного луча; 4 - дифракционная диафрагма; 5 - столик для ЛЗЦВ; 6 - ЛЗЦВ; 7 - панель перекрытия; 8 - дифракционные кольца

Рис. 29. Выставка лазерного луча ЛЗЦВ на "бесконечность" базовым методом:

1 - ЛЗЦВ; 2 - столик для ЛЗЦВ; 3 - панель перекрытия; 4 - устройство крепления столика; 5 - зеркало; 6 - передвижной экран

Рис. 30. Выставка обратного и прямого лазерных лучей ЛЗЦВ соосно его оси вращения:

1 - ЛЗЦВ; 2 - столик для ЛЗЦВ; 3 - панель перекрытия; 4 - экран; 5 - зеркало; 6, 7 - экран

проверить положение центров проекций периферийных отраженных лазерных лучей относительно центров соответствующих им периферийных дифракционных отверстий диафрагмы. При совмещении указанных центров ЛЗЦВ выставлен на "бесконечность". При отсутствии совмещения центров необходимо отвернуть кольцевую муфту влагозащитного тубуса коллиматора ЛЗЦВ, закрывающую подход к его фокусирующему устройству, и стопорный винт фиксации кремальеры фокусирующего устройства;

вращая кремальеру фокусирующего устройства коллиматора, добиться совмещения центров проекций периферийных отраженных лазерных лучей с центрами соответствующих им периферийных дифракционных отверстий диафрагмы. Завернуть стопорный винт фиксации кремальеры.

Выставка ЛЗЦВ на "бесконечность" по базовому методу (рис. 29) не требует наличия УНВ и дифракционной диафрагмы. Вместо УНВ необходимо установить зеркало, с помощью которого направить лазерный луч параллельно подстилающей поверхности. Установив экран в непосредственной близости от зеркала, определить диаметр проекции лазерного пятна. Перемещая экран вдоль лазерного луча через 5 м в пределах 80÷100 м, определить степень изменения диаметра проекции пятна лазерного луча в функции расстояния. При его изменении в пределах 20 % можно считать, что ЛЗЦВ выставлен на "бесконечность". В противном случае необходимо этого добиться с помощью фокусирующего устройства коллиматора.

3.8. Выставка обратного лазерного луча ЛЗЦВ соосно с его осью вращения (рис. 30) производится в такой последовательности:

открыть заслонку заднего выходного отверстия защитного чехла лазерной трубки ЛЗЦВ;

в непосредственной близости от выходного отверстия установить экран. Поворачивая ЛЗЦВ через 90°, определить положение центра проекции обратного лазерного луча;

установить экран на расстоянии 2÷3 м и повторить эксперимент. Если центр проекции обратного лазерного луча в первом и втором случаях остается неподвижным, то это говорит о том, что обратный лазерный луч ЛЗЦВ соосен с его осью вращения. Если же в первом и втором положениях экрана обратный лазерный луч описывает при вращении окружность, то это говорит о наличии соответственно, линейной и угловой несоосностей между обратным лазерным лучом и осью вращения.

Для ликвидации линейной несоосности необходимо провести подстройку в такой последовательности:

ослабить винты фиксации лазерной трубки во внутренней обойме подшипника, сдвинуть лазерную трубку в направлении и на величину, соответствующую линейной ошибке;

завернуть винты крепления лазерной трубки;

проверить путем вращения ЛЗЦВ степень компенсации линейной несоосности между осью вращения ЛЗЦВ и обратным лазерным лучом. В случае ее наличия повторить настройку.

Для ликвидации угловой несоосности необходимо:

снять защитный кожух с лазерной трубки и защитный чехол с оптического компенсатора, вращением всего блока оптического компенсатора и двух его клиньев навстречу друг другу добиться поворота обратного лазерного луча в направлении и на величину, соответствующую угловой несоосности;

проверить путем вращения ЛЗЦВ степень угловой несоосности между осью вращения ЛЗЦВ и обратным лазерным лучом. В случае ее наличия повторить настройку;

установить защитный кожух и защитный чехол в прежнее положение.

3.9. Выставка прямого лазерного луча ЛЗЦВ соосно с его осью вращения производится в такси последовательности (см. рис. 30):

установить над ЛЗЦВ на треноге зеркало и направить лазерный луч параллельно подстилающей поверхности;

установить экран последовательно в положение 6 и 7 и определить путем вращения ЛЗЦВ наличие и степень линейной и угловой несоосностей между прямым лазерным лучом и осью вращения ЛЗЦВ.

Для ликвидации линейной несоосности необходимо произвести подстройку в такой последовательности:

ослабить винты крепления пластины тубуса коллиматора;

переместить пластину тубуса совместно с коллиматором, относительно выходного окна лазерной трубки в направлении и на величину ошибки, соответствующую величине линейной несоосности;

завернуть винты крепления пластины тубуса коллиматора, проверить путем вращения ЛЗЦВ степень компенсации линейной несоосности. В случае ее наличия повторить настройку.

Для ликвидации угловой несоосности необходимо:

ослабить винты фиксации механического компенсатора и снять с него защитный чехол;

вращением всего блока механического компенсатора и двух его клиньев навстречу друг другу добиться поворота прямого лазерного луча в направлении и на величину, соответствующую величине угловой несоосности;

проверить путем вращения ЛЗЦВ степень угловой несоосности между осью вращения ЛЗЦВ и прямым лазерным лучом. В случае ее наличия повторить настройку;

установить защитный чехол механического компенсатора в прежнее положение и завернуть крепежные винты.

3.10. Выставка прямого лазерного луча в отвесное положение производится после выставки ЛЗЦВ на "бесконечность". Она может выполняться так же, как и выставка ЛЗЦВ на "бесконечность" двумя методами: дифракционным и базовым.

При дифракционном методе выставку ЛЗЦВ в отвесное положение производить с использованием УНВ и дифракционной диафрагмы в такой последовательности:

установить и закрепить ЛЗЦВ и УНВ (см. рис. 28);

включить ЛЗЦВ и обеспечить его прогрев в течение 30 мин;

проверить юстировку УНВ поворотом верхней шайбы на 90° и 270°;

установить в центре выходного отверстия коллиматора ЛЗЦВ дифракционную диафрагму;

винтами трегера добиться такого положения, при котором центр отраженного дифракционного лазерного пятна точно совпадет с дифракционным отверстием диафрагмы;

исправительными винтами уровней установить их пузырьки в нуль-пункты. В этом случае, уровни будут фиксировать выставку лазерного луча ЛЗЦВ в отвесное положение.

При базовом методе выставка ЛЗЦВ в отвесное положение производится без УНВ и дифракционной диафрагмы. Для использования этого метода требуется наличие свободного пространства в каком-либо направлении в пределах не менее 25÷30 м, а также зеркало и экран (см. рис. 30).

Выставка ЛЗЦВ состоит из двух этапов; установки оси вращения в положение перпендикулярно горизонту (выставка уровней ЛЗЦВ) и выставка луча ЛЗЦВ соосно с осью вращения.

Установка оси вращения ЛЗЦВ в положение перпендикулярно горизонту производится в такой последовательности:

повернуть корпус ЛЗЦВ в положение, при котором уровень становится параллельно линии, соединяющей центры двух подъемных винтов трегера. Если пузырек уровня отклоняется от середины более чем на 1/5 деления, то, вращая один из подъемных винтов, установить уровень в нуль-пункт;

повернуть корпус ЛЗЦВ на 90°. Если пузырек уровня отклоняется от середины более, чем на 1/5 деления, то, вращая третий подъемный винт, установить уровень в нуль-пункт;

повернуть ЛЗЦВ на 180°. Если при этом пузырек уровня отклонится более чем на 1/5 деления, то с помощью третьего подъемного винта его необходимо сместить в сторону нуль-пункта на половину дуги отклонения и, слегка ослабив шпилькой один из юстировочных винтов уровня, другим винтом установить пузырек уровня в нуль-пункт. Затем осторожно, не прилагая больших усилий, чтобы не сорвать резьбу, затянуть юстировочные винты уровня.

Повторить вышеизложенное, при этом следить за положением пузырька уровня. Если при повороте на 90° и 180° пузырек уровня отклоняется от середины не более чем на 1/5 деления, настройку можно прекратить.

Выставка луча ЛЗЦВ соосно с осью вращения производится в соответствии с п. 3.9.

3.11. После настройки ЛЗЦВ необходимо проконтролировать прохождение лазерного луча через центры контрольных отверстий на крышке ЗК и в проеме панели перекрытия, расположенного над ЛЗЦВ. Если луч лазера проектируется симметрично относительно указанных отверстий, то трегер, на котором устанавливается ЛЗЦВ, следует осторожно закрепить с помощью стопорной гайки к столику. В противном случае ЛЗЦВ необходимо переместить так, чтобы указанное требование выполнялось.

По окончании центровки повторить операции, изложенные в п. 3.10.

3.12. В проеме панели перекрытия, расположенном над ЛЗЦВ, установить УВН. На палетке закрепить светозащитный тубус. Перемещая палетку, совместить ее центр с центром лазерного пятна. С помощью крепежных винтов зафиксировать палетку и снять защитный тубус.

3.13. При настройке лазерной подсистемы, со всеми ЛЗЦВ, входящими в состав лазерной подсистемы передачи геодезической сети на монтажный горизонт необходимо проделать все работы, описанные в пп. 3.5-3.12. После их выполнения лазерная подсистема готова к применению.

3.14. Выключить все ЛЗЦВ, для чего выключатели на их блоках питания и на центральном электрощитке установить в положение "Выкл." Зеркало, тубусы, экраны и УНВ снять, отражающую поверхность УНВ смазать тонким слоем масла. Все элементы уложить в упаковочный ящик, который должен храниться в сухом отапливаемом помещении.

3.15. Ввернуть в верхние крышки ЗК заглушки и закрыть их на замки.

Порядок работы с лазерной подсистемой

3.16. Вынос геодезической сети (осей) здания на монтажный горизонт необходимо производить при выключенных механизмах, вызывающих вибрацию, в такой последовательности:

вывернуть из верхних крышек ЗК ЛЗЦВ заглушки;

установить выключатели на центральном электрощитке и на блоках питания ЛЗЦВ соответственно в положение "Вкл." и "Сеть";

проверить положение уровней на ЛЗЦВ и при необходимости выставить их пузырьки в нуль-пункты. Проверить подключение клеммы "Земля" блоков питания к шине "Земля";

проверить симметричность прохождения лазерного луча через контрольные отверстия в ЗК и УВН, установленных в проемах панелей перекрытия.

По расположению лазерного пятна относительно центров отверстия в ЗК и осей координат УВН можно предварительно судить о вертикальности лазерных лучей ЛЗЦВ. При отсутствии симметричности прохождения лазерного луча ЛЗЦВ необходимо:

прекратить все работы по геодезическому обеспечению и контролю и провести работы, предусмотренные в пп. 3.9-3.11;

проверить и при необходимости произвести совмещение центров палеток УВН с центрами лазерных пятен, соответствующих им ЛЗЦВ;

по мере выполнения работ по монтажу перекрытий последующих этажей здания УВН необходимо всякий раз закреплять в проемах вышерасположенных перекрытий и производить совмещение центров их палеток с центром лазерного пятна соответствующих ЛЗЦВ.

3.17. С момента включения ЛЗЦВ до начала выполнения работ с его использованием должно пройти не менее 20 мин. Это время необходимо для пространственной стабилизации лазерного луча, угловое перемещение которого с момента включения и до установления рабочего режима составляет в среднем 8÷10.

3.18. По окончании работ с лазерной подсистемой необходимо выполнить работы, предусмотренные в пп. 3.14 и 3.15.

3.19. По информации, снимаемой с УВН, можно:

производить непрерывный оперативный геодезический контроль вертикальности здания;

судить о точности выполнения монтажных работ по установке стеновых панелей, панелей перекрытия и панелей лифтовых шахт;

давать в любой момент рекомендации для повышения точности монтажных работ, т.к. расстояние от перекрестия палетки до центра лазерного пятна характеризует размер и направление отклонения.

Периодичность контроля настройки лазерной подсистемы

3.20. Контроль формирования отвесного (вертикального) положения лазерных лучей ЛЗЦВ, который проводится по уровням (пузырьки уровней должны занимать среднее положение), необходимо выполнять перед началом вертикального проектирования опорных точек, т.е. перед началом работы с лазерной подсистемой.

3.21. Контроль выставки лазерного луча в отвесное (вертикальное) положение, выполняемый с помощью УНВ, необходимо производить через каждые 10-15 дней работы с лазерной подсистемой (см. п. 3.10).

3.22. Контроль степени центрирования ЛЗЦВ, т.е. прохождения оси лазерного луча через центры отверстий в крышке защитной кабины и в панелях перекрытий, необходимо производить при каждом включении лазерной подсистемы.

3.23. Перед каждым включением лазерной подсистемы необходимо производить внешний осмотр ее узлов и средств их защиты. При этом следует проверить состояние ЛЗЦВ, УНВ, УВН, герметичность защитной кабины ЛЗЦВ и состояние его коллиматора, устранить возможность проникновения в них влаги, пыли, бетона. При необходимости протереть отверстие коллиматора ЛЗЦВ, палетку УВН и зеркально отражающую поверхность УНВ чистой фланелью и заделать имеющиеся в их защитных устройствах щели.

Ремонт аппаратуры лазерной подсистемы

3.24. В случае отказа ЛЗЦВ (отсутствует лазерное излучение в выходном отверстии защитной кабины ЛЗЦВ) необходимо проверить:

наличие электрических контактов в местах соединения шнура подвода напряжения 220 В к блоку питания и в разъеме "Выход" подключения высоковольтного кабеля от излучателя к блоку питания;

исправность предохранителя (при необходимости заменить его в соответствии с номиналом);

подачу напряжения к электрощитку защитной кабины, для чего к его розетке подключить контрольный вольтметр или вилку с контрольной лампочкой. Если не подводится напряжение, то принять меры по исправлению системы подачи электропитания к электрощитку;

проверить, не забито ли выходное отверстие коллиматора ЛЗЦВ пылью, бетоном, влагой, проходит ли луч лазера через контрольное отверстие в защитной кабине. При необходимости прочистить выходное отверстие коллиматора ЛЗЦВ мягкой фланелью, настроить ЛЗЦВ и сцентрировать луч лазера относительно выходного отверстия защитной кабины.

3.25. Если выполнение работ, предусмотренных в п. 3.24, не дает результата, необходимо демонтировать ЛЗЦВ и сдать излучатель или блок питания вместе с паспортом в ремонт на завод-изготовитель.

3.26. Демонтаж ЛЗЦВ следует производить в такой последовательности:

вынуть ЛЗЦВ вместе с блоком питания из защитной кабины;

снять защитный кожух излучателя;

снять обойму с коллиматором;

вывернуть высоковольтный разъем из гнезда блока питания;

осторожно вынуть излучатель из корпуса ЛЗЦВ.

3.27. Лазерный излучатель необходимо вместе с блоком питания тщательно упаковать в упаковочный ящик, предварительно выложенный поролоном.

3.28. После ремонта следует произвести монтаж ЛЗЦВ в обратной последовательности.

3.29. При сборке ЛЗЦВ необходимо установить детали на свои места, принимая меры предосторожности по сохранению его исправности.

3.30. Подсоединить высоковольтный разъем излучателя к блоку питания ЛЗЦВ.

3.31. Произвести развертывание и настройку ЛЗЦВ в соответствии с пп. 3.4-3.15 настоящих рекомендаций.

4. ЛАЗЕРНАЯ ПОДСИСТЕМА ГЕОДЕЗИЧЕСКОГО ОБЕСПЕЧЕНИЯ И КОНТРОЛЯ МОНТАЖА СТЕНОВЫХ ПАНЕЛЕЙ И ПАНЕЛЕЙ ПЕРЕКРЫТИЯ

Назначение и состав лазерной подсистемы

4.1. Лазерная подсистема предназначена для определения превышений и обеспечения геодезического контроля положения стеновых панелей и панелей перекрытия в процессе и после их монтажа.

4.2. Лазерная подсистема включает в себя узлы лазерной подсистемы передачи геодезической сети, а именно:

малогабаритный вращающийся лазерный зенит-центрир с верхним креплением;

устройство начальной выставки, контроля и настройки;

защитную кабину для ЛЗЦВ;

устройства монтажа и крепления ЛЗЦВ и защитной кабины;

устройство визуального наблюдения проекции лазерного луча ЛЗЦВ;

а также следующие дополнительные устройства:

устройство создания лазерной опорной горизонтальной плоскости (УСЛГ);

устройства монтажа и крепления для УСЛГ (УМК);

фотоэлектронную геодезическую рейку с цифровой индикацией (ФГРЦ);

Особенности конструктивного выполнения и монтажа указанных устройств изложены в пп. 2.3-2.14.

Технические характеристики лазерной подсистемы

Дальность действия при использовании ФГРЦ, м, не менее

150

Погрешность определения превышений (среднеквадратическая ошибка), угл. с

10÷12

Диапазон угловых скоростей вращения лазерного опорного луча, Гц, не менее

5

Работоспособность в любое время суток, простых и сложных метеоусловиях:

 

при температуре окружающей среды, °С

-10÷+50

при относительной влажности, %, не более

98

при давлении, кПа

90,6÷113,2

Долговечность, ч

22000

Габаритные размеры, мм:

 

лазерного зенит-центрира с блоком питания

470×145×145

устройства визуального наблюдения

250×150×40

устройства начальной выставки

140×130×130

защитной кабины

600×230×210

устройства создания лазерной опорной горизонтальной плоскости (УСЛГ)

200×100×100

фотоэлектронной геодезической рейки с цифровой индикацией (ФГРЦ)

190×82×80

устройства монтажа и крепления УСЛГ

300×180×80

Масса, кг, не более:

 

лазерного зенит-центрира с блоком питания

5,2

устройства визуального наблюдения

1,1

устройства начальной выставки

1,8

защитной кабины

8,0

устройства создания лазерной опорной горизонтальной плоскости

1,53

фотоэлектронной геодезической рейки

3,0

устройства монтажа и крепления УСЛГ

2,0

Развертывание лазерной подсистемы

4.3. Развертывание лазерной подсистемы включает в себя развертывание лазерной подсистемы передачи геодезической сети на монтажный горизонт, а также УСЛГ, ФГРЦ и УМК, развертывание которых производится на монтажном горизонте этажа, на котором выполняется монтаж стеновых панелей и панелей перекрытия.

4.4. Развертывание лазерной подсистемы (см. рис. 25) необходимо выполнить в такой последовательности:

на первом этаже здания в соответствии с п. 3.4. смонтировать лазерную подсистему передачи геодезической сети на монтажный горизонт, обеспечивающую создание лазерных опорных вертикалей;

на монтажном горизонте установить лазерную аппаратуру определения превышения панелей перекрытия и стеновых панелей.

4.5. Для определения превышений панелей перекрытия в процессе и после их монтажа (рис. 31) необходимо:

а) установить УСЛГ на треноге над проемом панели перекрытия, под которым смонтирован ЛЗЦВ;

б) включить ЛЗЦВ, для чего на центральном электрощитке переключатель "Лазер" установить в положение "Вкл.", а на его блоке питания переключатель "Сеть - Выкл." - в положение "Сеть";

в) сцентрировать вертикальную ось УСЛГ с осью лазерного луча ЛЗЦВ, для чего вынуть из трегера УСЛГ коробку с блоком сканирования, а в освободившееся отверстие вставить обойму с плексигласовой пластинкой, в центре которой проведены оси координат X-Y. Путем перемещения трегера добиться совмещения центра проекции лазерного пятна с центром плексигласовой пластинки. С помощью станового винта закрепить трегер на треноге, установить коробку с блоком сканирования в отверстие трегера и закрепить ее с помощью бокового крепежного винта.

г) включить УСЛГ, для чего:

вилку шнура блока питания УСЛГ подключить к розетке подвода внешнего напряжения 36 В, 50 Гц;

переключатель блока питания "Вкл. - Выкл." установить в положение "Вкл.";

переключатель "Регулятор скорости" установить в положение, соответствующее скорости сканирования лазерного луча 1 Гц;

д) установить в непосредственной близости от УСЛГ на панели перекрытия лазерную геодезическую рейку и ориентировочно выставить ее фотоголовку в нулевое положение, т.е. в положение, при котором визуально лазерный луч УСЛГ будет проходить через нулевую разделительную линию приемной части фотоголовки;

е) подключить к фотоголовке напряжение питания, для чего переключатель "Вкл. - Выкл." на цифровом индикаторе установить в положение "Вкл.";

ж) переключатель "Регулятор скорости" УСЛГ установить в положение, при котором скорость вращения лазерного луча будет соответствовать ее рабочему значению, т.е. не менее 5 Гц;

Рис. 31. Схема геодезического контроля положения панелей перекрытия в процессе их монтажа:

1 -ЛЗЦВ; 2 - проем панели перекрытия; 3 - УСЛГ; 4 - лазерная геодезическая рейка; 5 - точка геодезического контроля; 6 - панель перекрытия

Рис. 32. Схема геодезического контроля положения стеновых панелей в процессе их монтажа:

1 - ЛЗЦВ в защитном ящике; 2 - панель перекрытия; 3 - проем панели перекрытия; 4 - УСЛГ; 5 - стеновая панель: 6 - ФГРЦ; 7 - индикатор ФГРЦ

з) включить фотоголовку в режим "Измерение" высотного положения лазерной плоскости, создаваемой УСЛГ, а через 3-4 с при появлении запятой в правом углу цифрового табло индикатора - в режим "Индикация", при котором на цифровом табло индикатора высветится значение ошибки начальной выставки фотоголовки;

и) посредством перемещения фотоголовки вдоль рейки добиться нулевого значения ошибки ее начальной выставки;

к) выключить УСЛГ, ФГРЦ и ЛЗЦВ.

4.6. Для определения превышений стеновых панелей в процессе их монтажа (рис. 32) необходимо:

а) выполнить операцию п. 4.5, б.

б) установить устройство крепления УСЛГ на стеновой панели, расположенной около проема панели перекрытия, через который проходит луч ЛЗЦВ;

в) посредством перемещения устройства крепления в горизонтальной плоскости по кромке стеновой панели добиться проецирования центра лазерного пятна на продольную ось его отверстия;

г) закрепить устройство крепления на стеновой панели и установить на нем УСЛГ;

д) выполнить операции п. 4.5, в, г;

е) выставить с помощью ножек трегера (или перемещения УСЛГ в вертикальном направлении) ось лазерного луча УСЛГ на проектную высоту;

ж) установить на стеновую панель в непосредственной близости от УСЛГ лазерную геодезическую рейку и выставить ориентировочно ее фотоголовку в нулевое положение, при котором визуально лазерный луч УСЛГ будет проходить через нулевую разделительную линию приемной части фотоголовки;

з) выполнить операции п. 4.5, е, ж, з, и, к.

Настройка лазерной подсистемы

4.7. Настройка лазерной подсистемы включает:

настройку лазерной подсистемы передачи геодезической сети на монтажный горизонт;

юстировку устройства начальной выставки (УНВ) УСЛГ;

выставку лазерного луча УСЛГ в горизонтальное положение;

юстировку лазерной геодезической рейки.

4.8. Настройка лазерной подсистемы передачи геодезической сети на монтажный горизонт производится по методике, изложенной в пп. 3.5-3.15.

4.9. Юстировку УНВ (искусственная горизонталь-вертикаль) необходимо производить в последовательности, изложенной в п. 3.6.

4.10. Выставку лазерного луча УСЛГ в горизонтальное положение с помощью искусственной вертикали УНВ (рис. 33) необходимо производить в такой последовательности:

Рис. 33. Схема настройки лазерного луча УСЛГ в горизонтальное положение с помощью УНВ:

1 - УНВ; 2 - дифракционная картина отраженного лазерного луча; 3 - диафрагма; 4 - УСЛГ; 5 - дифракционное отверстие

установить УСЛГ на треноге и выставить его относительно ЛЗЦВ согласно п. 4.5 а, б, в;

выставить УСЛГ по круглому уровню;

на расстоянии 1 м от УСЛГ закрепить на треноге УНВ;

проверить юстировку УНВ путем поворота его верхней шайбы на 90 и 180°. При необходимости произвести его юстировку по ранее описанной методике;

развернуть верхнюю шайбу УНВ и пентапризму блока сканирования УСЛГ так, чтобы лазерный луч попадал на вертикальную отражающую поверхность УНВ;

на выходное отверстие блока сканирования УСЛГ надеть диафрагму с дифракционным отверстием диаметром 1÷1,5 мм;

медленно разворачивая сканирующую головку УСЛГ и верхнюю шайбу УНВ, добиться такого положения дифракционных колец отраженного лазерного пучка, чтобы их центр попал на вертикаль диафрагмы;

разворачивая оптический клин (см. рис. 5), установленный перед выходным отверстием пентапризмы, добиться совмещения центра дифракционных колец отраженного от УНВ лазерного пучка с центром дифракционного отверстия диафрагмы, установленной на выходном отверстии УСЛГ;

с помощью крепежного винта зафиксировать положение оптического клина.

Примечание. Выставку лазерного луча УСЛГ в горизонтальное положение можно производить и с помощью высокоточного нивелира, например Н-0,5. Для этого необходимо отбить нивелиром через 90° контрольные точки по окружности радиусом 5-10 м. Установив вместо нивелира УСЛГ и направляя его лазерный луч путем поворота сканирующей головки на контрольные точки, определить разницу в их превышениях. Вращая оптический клин в УСЛГ, добиться компенсации или сведения к минимуму погрешности настройки УСЛГ. Зная расстояние r и погрешность Δ1 настройки УСЛГ, можно оценить точность настройки в угловой мере

Если погрешность настройки УСЛГ не превышает 10-12", то можно считать выставку лазерного луча УСЛГ в горизонтальное положение удовлетворительной, а УСЛГ - пригодной к эксплуатации.

4.11. Юстировка лазерной геодезической рейки выполняется в соответствии с п. 4.5 д, е, ж, з, и и п. 4.6 е, ж. Юстировка ФГРЦ производится с целью выставки ее фотоголовки (нулевой линии) в рабочее положение, соответствующее проектному положению стеновых панелей и панелей перекрытия.

Порядок работы с лазерной подсистемой

4.12. Геодезический контроль положения стеновых панелей и панелей перекрытия в процессе и после их монтажа необходимо производить при выключенных механизмах, вызывающих вибрацию.

4.13. Геодезический контроль положения панелей перекрытия в процессе их монтажа с помощью лазерной подсистемы (см. рис. 31) производится с целью определения их превышений. Он выполняется в такой последовательности:

произвести развертывание и подготовку лазерной подсистемы согласно пп. 4.4 и 4.5;

винтами трегера выставить пузырек круглого уровня УСЛГ в нуль-пункт;

установить переключатели на УСЛГ и индикаторе ФГРЦ в положение "Вкл." При этом в правом углу цифрового индикатора высвечивается запятая;

установить ФГРЦ на угол панели перекрытия, предварительно развернув фотоголовку ее приемной частью в сторону УСЛГ;

нажать кнопку "Измерение" на цифровом индикаторе. При этом запятая на цифровом индикаторе должна погаснуть, а через 3,5 с снова высветится, что указывает на окончание процесса измерения:

нажать на кнопку "Индикация". При этом происходит высвечивание цифр, значение которых соответствует величине превышения измеряемой точки относительно ее проектного значения;

в соответствии с высвеченным на индикаторе в мм цифровым значением погрешности выставки контролируемого края панели относительно проектного положения произвести корректировку его высотного положения;

устанавливая поочередно ФГРЦ на остальные углы панели перекрытия, по изложенной выше методике произвести выставку панели перекрытия в проектное положение. Аналогичным образом выполняется работа по выставке и других панелей перекрытия в проектное положение в процессе их монтажа.

Контрольные точки, в которые необходимо установить ФГРЦ, определяются геодезистом.

4.14. Геодезический контроль положения стеновых панелей в процессе их монтажа с помощью лазерной подсистемы (см. рис. 32) производится с целью определения превышения стеновой панели в вертикальной плоскости и ее наклона по отношению к этой плоскости. Он производится в такой последовательности:

произвести развертывание и подготовку лазерной подсистемы согласно п. 4.6;

установить переключатели на УСЛГ и индикаторе ФГРЦ в положение "Вкл.". При этом в правом углу цифрового индикатора высвечивается запятая;

установить ФГРЦ на ближайшую к УСЛГ часть монтируемой стеновой панели, предварительно развернув фотоголовку ее приемной части в сторону УСЛГ;

путем наклона стеновой панели на угол, при котором отвес ФГРЦ займет вертикальное положение, т.е. установится по нулевой линии, установить панель в вертикальное положение;

нажать кнопку "Измерение" на цифровом индикаторе. При этом запятая на цифровом индикаторе должна погаснуть, а через 3,5 с снова высветиться, что указывает на окончание процесса измерения;

нажать на кнопку "Индикация". При этом происходит высвечивание цифр, значение которых соответствует величине превышения измеряемой точки относительно ее проектного значения;

в соответствии с высвеченным на индикаторе в мм цифровым значением погрешности выставки контролируемого края панели произвести корректировку его высотного положения;

установить ФГРЦ на дальнюю от УСЛГ часть монтируемой стеновой панели и выполнить вышеописанные операции.

Аналогичным образом выполняется выставка и других стеновых панелей в проектное положение в процессе их монтажа.

4.15. Геодезический контроль высотного положения панелей перекрытия и стеновых панелей после их монтажа производится с целью определения их превышений относительно проектного положения. Он выполняется по изложенной выше методике посредством поочередной установки ФГРЦ в контрольные точки панелей перекрытия и стеновых панелей и определения по цифровому индикатору (см. п. 4.13, 4.14) их превышений относительно проектного положения.

По результатам измерений при необходимости произвести корректировку высотного положения панелей перекрытия и стеновых панелей.

Периодичность контроля настройки лазерной подсистемы

4.16. Контроль формирования горизонтальной плоскости, создаваемой с помощью УСЛГ, проводимый по круглому уровню (пузырек уровня должен занимать среднее положение), необходимо выполнять перед началом каждой работы с лазерной подсистемой.

4.17. Контроль выставки лазерного луча УСЛГ в горизонтальное положение, проводимый с помощью УНВ, необходимо выполнять через каждые 10-15 дней работы с лазерной подсистемой в соответствии с п. 4.10.

4.18. Контроль выставки лазерного луча УСЛГ на "бесконечность" необходимо проводить через 1,5-2 мес. в соответствии с п. 3.7.

4.19. Юстировку УНВ необходимо проводить в соответствии с п. 3.6, каждый раз перед началом использования данного устройства.

4.20. Юстировку лазерной геодезической рейки необходимо проводить каждый раз перед началом работы с ней в соответствии с п. 4.11.

4.21. Перед каждым включением лазерной системы необходимо проводить внешний осмотр ее узлов и средств их защиты, обращая при этом особое внимание на герметичность защитной кабины ЛЗЦВ и устройств предварительной индивидуальной защиты УСЛГ, ФГРЦ и лазерной трубки ЛЗЦВ, а также на состояние светофильтров ФГРЦ и ее солнцезащитных приспособлений и палеток визуального наблюдения.

При необходимости поверхность защитных стекол ЛЗЦВ, УСЛГ, светофильтров фотоголовки ФГРЦ и палеток УВН следует протереть чистой фланелевой тканью.

Ремонт аппаратуры лазерной подсистемы

4.22. В случае отказа УСЛГ (отсутствие лазерного излучения) и лазерной геодезической рейки (отсутствие показаний цифрового индикатора) прежде всего, необходимо выяснить причину отказа и постараться устранить ее своими силами.

4.23. В случае отказа ЛЗЦВ его проверку необходимо проводить в последовательности, изложенной в п. 3.24.

4.24. В случае отказа УСЛГ его проверку необходимо проводить в такой последовательности;

проверить подачу напряжения к блоку питания УСЛГ. Для этого контрольной лампочкой или с помощью вольтметра проверить наличие напряжения на розетке, питаемой от центрального электрощитка, к которой подсоединяется вилка шнура подвода напряжения сети к блоку питания;

проверить надежность электрического контакта в местах соединения электрической цепи: розетка - блок питания.

4.25. Если электрическая цепь: блок питания УСНГ - розетка исправна и напряжение подводится к розетке, а при установке переключателя на УСЛГ в положение "Вкл." не происходит вращения сканирующей головки в различных положениях регулятора скорости, то необходимо тщательно упаковать УСЛГ, предварительно выложив упаковочный ящик поролоном, и отправить в ремонт по адресу изготовителя.

4.26. После ремонта произвести настройку УСЛГ в соответствии с п. 4.10.

4.27. В случае отказа ФГРЦ ее проверку необходимо проводить в такой последовательности:

проверить вольтметром постоянного тока наличие напряжения на выходе разъема кабеля, соединяющего цифровой индикатор с фотоголовкой, при установке переключателя на цифровом индикаторе в положении "Вкл.". В случае его отсутствия вынуть аккумуляторные батареи, зачистить тонкой наждачной бумагой места электрических контактов и вновь поставить батареи на прежнее место;

вновь проверить вольтметром напряжение на выходе указанного разъема. Если выходное напряжение будет менее 4,5 В, то необходимо произвести подзарядку аккумуляторных батарей от выпрямительного блока, для чего подключить его к разъему на тыльной стороне индикатора.

4.28. В случае исправности блока питания цифрового индикатора (выходное напряжение равно 5 В) проверку ФГРЦ необходимо провести при ее работе с УСЛГ в соответствии с п. 4.13.

4.29. При неработоспособности ФГРЦ. ее необходимо демонтировать (снять фотоприемный блок и цифровой индикатор), тщательно уложить в упаковочный ящик, выложив предварительно ее блоки поролоном, и отправить в ремонт по адресу изготовителя:

4.30. После ремонта лазерную рейку необходимо смонтировать, произвести ее настройку в соответствии с п. 4.11.

4.31. При возникновении трудностей в выполнении работ, связанных с развертыванием и настройкой лазерной подсистемы, а также для получения консультаций по ее эксплуатации следует обращаться в НИИСП Госстроя УССР.

5. ЛАЗЕРНАЯ ПОДСИСТЕМА РАЗБИВОЧНЫХ РАБОТ НА МОНТАЖНОМ ГОРИЗОНТЕ

Назначение и состав лазерной подсистемы

5.1. Лазерная подсистема предназначается для вынесения на монтажный горизонт главных и промежуточных геодезических осей.

5.2. Лазерная подсистема включает:

лазерные вращающиеся зенит-центриры с верхним креплением (ЛЗЦВ);

устройство создания лазерной опорной вертикальной плоскости (УСЛВ);

устройство начальной выставки ЛЗЦВ (УНВ);

устройство монтажа и крепления ЛЗЦВ (УМК);

защитные кабины для ЛЗЦВ (ЗК);

устройство зацепа и фиксации мерной ленты и лазерной вертикальной плоскости (УЗФЛВ);

устройство проектирования опорной геодезической точки и начальной выставки УСЛВ (УПТНВ).

Особенности конструктивного выполнения и монтажа указанных устройств изложены в пп. 2.3-2.14,

Технические характеристики лазерной подсистемы:

Дальность действия при визуальной индикации

визирной линии марки-экрана, м, не менее

50

Дальность действия при использовании фотоголовки ФГРС, м, не менее

150

Диапазон угловых скоростей сканирования лазерного луча, Гц

3÷5

Погрешность (среднеквадратическая ошибка) начальной выставки лазерной вертикальной плоскости, угл. с

10

Работоспособность в любое время суток, простых и сложных метеоусловиях:

 

при температуре окружающей среды, °С

от -10 до +50

при относительной влажности %, не более

98

при давлении, кПа

90,6÷113,2

Долговечность, ч, не менее

22000

Габаритные размеры, мм:

 

лазерного зенит-центрира с блоком питания

470×145×141

устройства начальной выставки

140×130×130

защитной кабины

600×230×210

устройства создания лазерной опорной вертикальной плоскости (УСЛВ)

220×130×130

устройства зацепа и фиксации мерной ленты и лазерной вертикальной плоскости УСЛВ (УЗФЛВП)

410×150×310

устройства проектирования опорной геодезической точки и начальной выставки УСЛВ (УПТНВ)

180×180×60

Масса, кг:

 

лазерного зенит-центрира с блоком питания

5,2

устройства начальной выставки

1,8

устройств монтажа и крепления

3,2

защитной кабины

8,0

устройства создания лазерной опорной вертикальной плоскости (УСЛВ)

2,1

устройства зацепа и фиксации мерной ленты и лазерной вертикальной плоскости (УЗФЛВП)

1,73

устройства проектирования опорной геодезической точки и начальной выставки УСЛВ (УПТНВ)

0,57

Развертывание лазерной подсистемы

5.3. Развертывание лазерной подсистемы (рис. 34) включает в себя развертывание на первом этаже строящегося дома лазерной подсистемы передачи геодезической сети на монтажный горизонт и развертывание на монтажном горизонте этажа, на котором должны производиться разбивочные работы, УСЛВ, УВН, УЗФЛВП, УПТНВ.

Все вопросы, связанные с временем, местом и порядком развертывания подсистемы должны быть согласованы с геодезистом.

5.4. Развертывание лазерной подсистемы производится в такой последовательности:

а) в крайних проемах панелей перекрытия секции первого этажа здания, расположенных на главной геодезической оси или линии, ей параллельной, в последовательности, изложенной в п. 3.4, смонтировать и настроить два комплекта лазерной подсистемы передачи геодезической сети на монтажный горизонт, обеспечивающие перенос с помощью лазерных вертикалей опорных геодезических точек на монтажный горизонт;

б) над проемом монтажного горизонта, расположенным над первым ЛЗЦВ, установить УВН и треногу с закрепленным на ней УСЛВ;

в) включить ЛЗЦВ, для чего на центральном электрощитке переключатель "Лазер" установить в положение "Вкл.", а на его блоке питания переключатель "Сеть - Выкл." - в положение "Сеть";

г) сцентрировать вертикальную ось УСЛВ с центром проекции лазерного пятна, создаваемого лазерным лучом ЛЗЦВ на палетке УВН, посредством его перемещения по верхнему основанию треноги. Закрепить УСЛВ с помощью станового винта;

д) включить ЛЗЦВ, расположенный под вторым проемом монтажного горизонта, для чего выполнить операцию по п. 5.4, в;

е) в проем монтажного горизонта, расположенного над вторым ЛЗЦВ, установить У1ГГНВ - устройство проектирования опорной геодезической точки и начальной выставки УСЛВ. Посредством перемещения его плексигласовой палетки добиться совмещения центра лазерного пятна (проекции лазерного луча ЛЗЦВ) с центром ее перекрестия. Установить в отверстие центра перекрестия палетки марку-экран;

Рис. 34. Схема выполнения разбивочных работ на монтажном горизонте:

1 - ЛЗЦВ; 2 - УВН; 3 - УСЛВ; 4 - промежуточные оси; 5 - УЗФЛВП; 6 - главная продольная ось; 7 - УПТНВ; 8 - проемы в панелях перекрытия

ж) установить УЗФЛВП в ближайший от УСЛВ проем панели перекрытия в направлении на УПТНВ, развернуть его фотоголовку приемной частью в сторону УСЛВ.

Настройка и юстировка лазерной подсистемы

5.5. Настройка и юстировка лазерной подсистемы включает:

настройку лазерной подсистемы передачи геодезической сети на монтажный горизонт;

юстировку УСЛВ;

юстировку фотоприемной головки УЗФЛВП.

5.6. Настройка лазерной подсистемы передачи геодезической сети на монтажный горизонт производится по методике, изложенной в пп. 3.5-3.15.

5.7. Юстировка УСДВ производится с целью выставки плоскости сканирования лазерного луча УСЛВ (лазерной плоскости) в вертикальную плоскость его теодолитной основы. Она выполняется посредством компенсации угловых ошибок пространственного положения лазерной плоскости относительно вертикальной плоскости теодолитной основы УСЛВ, которые возникают за счет нарушения параллельности оси вращения блока сканирования УСЛВ относительно оси вращения коллиматора его теодолитной основы и за счет угловой ошибки начальной выставки призмы в блоке сканирования и выставки ЛЗЦВ.

5.8. Выставка плоскости сканирования лазерного луча производится в такой последовательности:

а) установить УСЛВ на треногу и выставить его относительно ЛЗЦВ в соответствии с п. 5.4, б, в, г;

б) выставить ось УСЛВ в отвесное положение по уровню по известной методике выставки оси теодолита;

в) произвести компенсацию угловой ошибки пространственного положения лазерной плоскости УСЛВ, возникающей за счет нарушения перпендикулярности оси вращения блока сканирования относительно вертикальной оси теодолитной основы, для чего:

на расстоянии 4-5 м от УСЛВ закрепить нитяной отвес;

поворотом коллиматора в горизонтальной плоскости совместить вертикаль его сетки нитей с линией отвеса;

поворотом коллиматора с блоком сканирования в вертикальной плоскости определить угловое положение проекции лазерной плоскости относительно нити отвеса;

путем наклона в вертикальной плоскости блока сканирования относительно оси коллиматора (вертикальной оси теодолитной основы) добиться совпадения лазерной плоскости с линией нити отвеса;

г) произвести компенсацию угловой ошибки пространственного положения лазерной плоскости УСЛВ, возникающей за счет ошибки начальной выставки ЛЗЦВ, для чего:

на расстоянии 40 м установить экран с вертикальной визирной осью;

поворотом коллиматора с блоком сканирования спроектировать центр лазерного пятна на визирную ось;

выставить лимб горизонтального круга теодолитной основы в нулевое положение;

повернуть коллиматор с блоком сканирования на 180°;

вновь спроектировать центр лазерного пятна на экран и определить угловую ошибку пространственного положения лазерной плоскости;

путем вращения оптического клина, расположенного в блоке сканирования, добиться совмещения центра лазерного пятна с визирной осью;

д) произвести компенсацию угловой ошибки пространственного положения лазерной плоскости УСЛВ, возникающей за счет непараллельности оси вращения блока сканирования относительно оси вращения коллиматора теодолитной основы, для чего:

поворотом коллиматора с блоком сканирования спроектировать центр лазерного пятна на визирную ось экрана, размещенного на расстоянии 40 м;

с помощью боковых коллимационных винтов окуляра коллиматора совместить вертикальную ось сетки нитей с центром проекции лазерного луча.

5.9. Юстировка фотоприемной головки УЗФЛВП выполняется в такой последовательности:

закрепить УЗФЛВП в проеме панели перекрытия на расстоянии 30-40 м от УСЛВ и ориентировочно выставить его фотоголовку в нулевое положение;

включить УСДВ, для чего вилку шнура его блока питания установить в розетку подвода внешнего напряжения 36 В, 50 Гц, а переключатель "Вкл. - Выкл." установить в положение "Вкл.";

направить лазерный луч УСЛВ на приемную часть фотоголовки УЗФЛВП;

переключатель "Вкл. - Выкл." блока питания фотоголовки установить в положение "Вкл.";

посредством перемещения фотоголовки по направляющей убедиться, что при попадании лазерного сканирующего луча на правые или левые фотодиоды стрелка индикатора занимает соответственно правое или левое крайнее положение, а при попадании на центральные фотодиоды - нулевое положение;

установить фотоголовку в положение, при котором стрелка индикатора занимает нулевое положение. Путем медленного перемещения фотоголовки в правое и левое положения определить величину ее мертвой зоны, т.е. линейное значение отрезка, при перемещении в пределах которого фотоголовки стрелка индикатора сохранит нулевое положение. Ее величина не должна превосходить 1÷1,5 мм;

установить фотоголовку в центр ее мертвой зоны, а переключатель блока питания УСЛВ - в положение "Выкл.";

спроектировать лазерный луч поочередно на верхний и нижний обрезы приемной части корпуса фотоголовки;

провести через центры проекций лазерного луча разделительную линию;

указательную стрелку фотоголовки установить соосно с разделительной линией;

Работа по настройке и юстировке лазерной подсистемы производится в стационарных условиях ее изготовителями. В условиях строительной площадки производится только проверка работоспособности лазерной подсистемы и точностных параметров ее настройки и юстировки.

Порядок работы с лазерной подсистемой

5.10. Разбивочные работы на монтажном горизонте необходимо выполнять при выключенных механизмах, вызывающих вибрацию.

5.11. Разбивочные работы на монтажном горизонте с помощью лазерной подсистемы (см. рис. 34) выполняются в такой последовательности:

а) произвести развертывание и подготовку лазерной подсистемы согласно пп. 5.3 и 5.4. Выставить ось УСЛВ в отвесное положение по известной методике выставки оси теодолита;

б) развернуть УСЛВ визирной осью в сторону УПТНВ, предварительно выставив шкалу его горизонтального лимба в нулевое положение. С помощью коллиматора навести УСЛВ на визирную линию марки-экрана УПТНВ;

в) включить УСЛВ, для чего переключатель на его блоке питания установить в положение "Вкл.";

г) установить переключатель фотоголовки в положение "Вкл." и повернуть ее приемной частью в сторону УСЛВ. Посредством перемещения фотоголовки по направляющей УЗФЛВП добиться установки стрелки ее индикатора в нулевое положение;

д) перенести нулевое положение фотоголовки с помощью визирной стрелки на оба края проема панели перекрытия;

е) зажать на УЗФЛВП с помощью стопорных винтов начало мерной ленты рулетки, предварительно развернув ее под углом 90° к направлению на УСЛВ;

ж) откладывая вдоль мерной ленты расстояния, характеризующие положение внутренних стеновых панелей, перенести их на панели перекрытия;

з) развернуть мерную ленту на 180° и выполнить работу, указанную в п. 5.11, ж.

и) устанавливая УЗФЛВП поочередно в согласованные с геодезистом проемы в панелях перекрытия, лежащие на линии УСЛВ - УПТНВ, выполнить работу в соответствии с п. 5.11, г, д, е, ж, в;

к) повернуть УСЛВ на 90°. Устанавливая УЗФЛВП поочередно в согласованные с геодезистом проемы в панелях перекрытия в направлении оси визирования УСЛВ, выполнить работу в соответствии с п. 5.11, г, д, е, ж;

л) развернуть УСЛВ на 180° и выполнить работу, изложенную в п. 5.11, к;

м) установить переключатели "Вкл. - Выкл." на фотоголовке УЗФЛВП и блоке питания УСЛВ в положение "Выкл.";

н) снять УСЛВ, УЗФЛВП, УПТНВ и уложить их в упаковочный ящик.

Для уменьшения ошибки в угловом положении мерной ленты в процессе выполнения работ, т.е. операций, изложенных в п. 5.11, е, ж, з, и, необходимо постоянно контролировать линейное положение мерной ленты между соседними панелями перекрытий.

В результате выполнения вышеизложенных разбивочных работ с помощью лазерной подсистемы будут получены следующие геодезические оси:

главная геодезическая ось или ось параллельная ей - это линия, соединяющая риски на панелях перекрытия вдоль визирной оси УСЛВ;

промежуточные геодезические оси или оси, параллельные им, - это линии, соединяющие риски на панелях перекрытия, перпендикулярные или параллельные главной геодезической оси.

Периодичность контроля лазерной подсистемы

5.12. Контроль лазерной подсистемы разбивочных работ на монтажном горизонте включает контроль входящей в ее состав подсистемы передачи геодезической сети на монтажный горизонт и лазерных устройств УСЛВ, УЗФЛВП, УПТНВ.

5.13. Контроль лазерной аппаратуры, входящей в состав лазерной подсистемы передачи геодезической сети на монтажный горизонт, производится с периодичностью, описанной в пп. 3.20-3.23.

5.14. Контроль пространственного положения плоскости, создаваемой с помощью УСЛВ, проводимый по цилиндрическому уровню (пузырек уровня при вращении УСЛВ занимает среднее положение), необходимо выполнять перед началом каждой работы с лазерной подсистемой.

5.15. Контроль точности совмещения лазерной плоскости УСЛВ с вертикальной плоскостью его теодолитной основы и юстировку УСЛВ следует проводить в соответствии с п. 5.8, а, б, в, г, один раз в 15-20 дней.

5.16. Юстировку фотоприемной головки УЗФЛВП необходимо проводить по методике, изложенной в п. 5.9, каждый раз перед началом работы с ней.

5.17. Контроль выставки лазерного луча УСЛВ на "бесконечность" необходимо проводить через 1-1,5 месяца в соответствии с п. 3.7.

5.18. Перед каждым включением лазерной подсистемы необходимо проводить внешний осмотр ее узлов и средств их защиты, обращая при этом особое внимание на герметичность защитной кабины ЛЗЦВ и устройств индивидуальной защиты УСЛВ, фотоголовки УЗФЛВП и лазерной трубки ЛЗЦВ, а также на состояние светофильтров фотоголовки и ее солнцезащитных приспособлений и палеток визуального наблюдения.

Ремонт аппаратуры лазерной подсистемы

5.19. В случае отказа УСЛВ (отсутствие лазерного излучения, не вращается блок сканирования) и фотоголовки УЗФЛВП (стрелка индикатора не отклоняется) необходимо выяснить причину отказа и постараться своими силами устранить ее.

5.20. В случае отсутствия лазерного излучения на выходе УСЛВ необходимо проверить ЛЗЦВ и его защитные устройства в последовательности, изложенной в п. 3.24.

5.21. В случае отсутствия вращения блока сканирования УСЛВ его проверку необходимо проводить в такой последовательности:

проверить подачу напряжения к блоку питания УСЛВ. Для этого контрольной лампочкой или с помощью вольтметра проверить наличие напряжения на розетке, питаемой от центрального электрощитка, к которой подсоединяется вилка шнура блока питания УСЛВ;

проверить надежность электрического контакта в местах соединения электрической цепи: розетка - двигатель.

5.22. Если электрическая цепь: розетка - двигатель исправна и напряжение от электрощитка подводится в розетке, а при установке переключателя блока питания УСЛВ в положение "Вкл." не происходит вращение сканирующей головки, то необходимо тщательно упаковать УСЛВ, предварительно выложив упаковочный ящик поролоном, и отправить в ремонт по адресу изготовителя.

5.23. После ремонта произвести настройку УСЛВ в соответствии с п. 5.7.

5.24. В случае отказа фотоголовки УЗФЛВП ее проверку необходимо проводить в такой последовательности:

проверить вольтметром постоянного тока подачу напряжения 9 В от батарейки "Корунд" на вход усилительно-преобразовательного блока. В случае его отсутствия вынуть батарейку, зачистить мелкой наждачной бумагой места электрических контактов и поставить ее на прежнее место, соблюдая полярность;

проверить стрелочный индикатор путем подачи на его вход автономно от батареи напряжение 1,5 В.

5.25. В случае исправности блока питания и стрелочного индикатора необходимо проверить наличие электрических контактов в разъеме, соединяющем фотоголовку со стрелочным индикатором.

5.26. При исправности всех проверяемых узлов проверку фотоголовки следует выполнить при ее работе с УСЛВ согласно методике, изложенной в п. 5.9.

5.27. В случае, если фотоголовка неработоспособна, ее необходимо уложить в упаковочный ящик, предварительно выстелив его поролоном, и отправить в ремонт изготовителю.

5.28. После ремонта необходимо смонтировать фотоголовку на УЗФЛВП и произвести ее настройку в соответствии с п. 5.9.

6. ЛАЗЕРНАЯ ПОДСИСТЕМА НИВЕЛИРОВАНИЯ СВАЙНОГО ПОЛЯ И РОСТВЕРКОВ

Назначение и состав лазерной подсистемы

6.1. Лазерная подсистема предназначается для перенесения высотной проектной отметки на сваи свайного поля и геодезического контроля в процессе изготовления ростверков.

6.2. Лазерная подсистема включает в себя:

лазерный сканирующий нивелир с компенсатором (ЛСНК);

устройство начальной выставки, контроля и настройки ЛСНК (УНВ);

защитную кабину для ЛСНК (ЗК);

устройство монтажа и крепления ЛСНК (УМК);

фотоэлектронную геодезическую рейку со стрелочным индикатором (ФГРС).

Особенности конструктивного выполнения и монтажа указанных устройств изложены в пп. 2.3-2.14.

Технические характеристики лазерной подсистемы

Дальность действия при использовании ФГРС, м, не менее

200

Погрешность (среднеквадратическая ошибка) определения превышений, угл. с

10÷12

Диапазон угловых скоростей сканирования лазерного опорного луча, Гц

3÷5

Диапазон угловой стабилизации ЛСНК, угл. мин

±20

Работоспособность в любое время суток, простых и сложных метеоусловиях:

 

при температуре окружающей среды, °С

от -10 до +50

при относительной влажности, %, не более

98

при давлении, кПа

90,6÷113,2

Долговечность, ч, не менее

22000

Габаритные размеры, мм:

 

устройства начальной выставки (УНВ)

140×130×130

лазерного сканирующего нивелира (ЛСНК)

600×220×170

блока питания ЛСНК

240×125×100

фотоэлектронной геодезической рейки со стрелочным индикатором (ФГРС)

176×130×40

защитной кабины для ЛСНК

600×220×200

устройства монтажа и крепления ЛСНК

200×200×170

Масса, кг, не более:

 

устройства начальной выставки

1,8

лазерного сканирующего нивелира

4,5

фотоэлектронной геодезической рейки со стрелочным индикатором

1,2

защитной кабины для ЛСНК

8,0

устройства монтажа и крепления ЛСНК

2,0

Развертывание лазерной подсистемы

6.3. Развертывание лазерной подсистемы необходимо проводить на строительной площадке в месте, удобном для нивелирования свай свайного поля и ростверков. В зависимости от конкретных условий работы ЛСНК может монтироваться стационарно или применяться в переносном варианте (см. рис. 26). Все вопросы по развертыванию лазерной подсистемы согласуются с геодезистом, ответственным за нивелирование свайного поля.

6.4. Развертывание лазерной подсистемы производится в такой последовательности:

а) установить ЛСНК на треноге (кронштейне), соединить клемму "Земля" его блока питания с шиной "Земля" штыря заземления;

б) включить лазерный излучатель ЛСНК, для чего:

подключить высоковольтный кабель от излучателя к разъему "Выход", а вилку шнура устройства сканирования - к разъему "Выходное напряжение" блока питания;

вилку шнура подвода напряжения сети блока питания установить в розетку электрощитка, к которому подводится напряжение сети 220 В, 50 Гц;

переключатель на центральном электрощитке установить в положение "Лазер";

переключатель "Сеть - Выкл." на блоке питания установить в положение "Сеть";

в) включить блок сканирования ЛСНК, для чего:

переключатель "Двигатель - Выкл." установить в положение "Двигатель";

ползунок "Регулятор скорости" установить в такое положение, при котором скорость вращения лазерного луча будет находиться в пределах 3÷5 Гц;

г) установить лазерную геодезическую рейку в непосредственной близости (на расстоянии 1÷2 м) от ЛСНК, выставить приемную часть ее фотоголовки против выходного отверстия блока сканирования ЛСНК. Переключатель "Вкл. - Выкл." на корпусе фотоголовки установить в положение "Вкл.".

При попадании лазерного луча на верхние или нижние пары фотодиодов фотоголовки стрелка индикатора должна занимать крайнее левое или правое положение. Посредством перемещения фотоголовки вдоль рейки добиться такого ее положения, при котором стрелка займет нулевое положение;

д) вынуть из упаковочного ящика УНВ и спиртом или чистым бензином снять с его отражающей поверхности защитный слой масла. Установить УНВ на треноге в непосредственной близости (на расстоянии 1÷2 м) от ЛСНК с таким расчетом, чтобы лазерный луч попадал на вертикальную отражающую поверхность УНВ.

Настройка лазерной подсистемы

6.5. Настройка лазерной подсистемы включает:

юстировку УНВ;

выставку лазерного луча ЛСНК в горизонтальное положение с помощью УНВ;

выставку лазерного луча ЛСНК на "бесконечность";

юстировку ФГРС.

Настройка лазерной подсистемы производится в стационарных условиях (условиях завода или лаборатории). В условиях строительной площадки производится, как правило, проверка степени настройки ЛСНК, и при необходимости - его донастройка, а также юстировка ФГРС.

6.6. Юстировка УНВ производится в последовательности, изложенной в п. 3.6.

6.7. Выставка лазерного луча ЛСНК на "бесконечность" производится аналогично выставке на "бесконечность" ЛЗЦВ (см. рис. 29) в такой последовательности:

установить ЛСНК на треногу и закрепить его;

освободить доступ к кремальере коллиматора, для чего отвернуть обойму его защитного кожуха;

на экран, установленный около выходного отверстия сканирующей головки ЛСНК перпендикулярно ее оси, спроектировать лазерный луч и измерить его диаметр d0;

на расстоянии 80-100 м на этот же экран вновь спроектировать лазерный луч и измерить диаметр его пятна d0;

вращая коллиматор, добиться равенства d0 = d1.

6.8. Выставку лазерного луча ЛСНК в горизонтальное положение с помощью УНВ (см. рис. 33) необходимо производить в такой последовательности:

установить ЛСНК и УНВ на треногах на расстоянии 1÷2 м друг от друга;

выставить ЛСНК и УНВ по уровням;

проверить юстировку УНВ путем поворота его верхней шайбы на 90° и 180°; при необходимости произвести его юстировку по методике, описанной в п. 3.6;

развернуть верхнюю шайбу УНВ и блок сканирования так, чтобы лазерный луч попадал на вертикальную отражающую поверхность УНВ;

на выходное отверстие блока сканирования надеть диафрагму с дифракционным отверстием диаметром 1÷1,5 мм;

медленно разворачивая блок сканирования и вертикальную плоскость УНВ, добиться такого положения, чтобы центр дифракционных колец отраженного лазерного пучка попал на вертикаль диафрагмы;

разворачивая оптический клин (см. рис. 2), установленный около выходного отверстия пентапризмы, добиться совмещения центра дифракционного отверстия с центром дифракционных колец. С помощью крепежного винта зафиксировать положение оптического клина.

Выставку лазерного луча ЛСНК в горизонтальной плоскости можно производить и с помощью высокоточного нивелира по методике, описанной в п. 4.10.

6.9. Юстировку лазерной геодезической рейки необходимо выполнять в такой последовательности:

произвести развертывание лазерной подсистемы согласно пп. 6.3-6.4;

передвигая фотоголовку по рейке, добиться установления стрелки индикатора в нулевое положение.

Порядок работы с лазерной подсистемой

6.10. Нивелирование свай свайного поля и ростверков необходимо производить при выключенных механизмах, вызывающих вибрацию.

В условиях солнечной освещенности нивелирование свай свайного поля и ростверков следует производить с помощью лазерной геодезической рейки. Последовательность нивелирования определяется геодезистом.

6.11. Нивелирование свай свайного поля необходимо выполнять (см. рис. 26) в такой последовательности:

закрепить ЛСНК на треноге (или кронштейне) и установить его по согласованию с геодезистом в месте, удобном для нивелирования;

произвести развертывание лазерной подсистемы согласно п. 6.4, а, б, в. Работать с ЛСНК можно лишь при заземленном блоке питания;

привести ЛСНК по уровням в рабочее положение, для чего винтами трегера выставить пузырьки уровней в нуль-пункты;

выполнить работу согласно п. 6.4, г;

закрепить фотоголовку на рейке;

перемещая фотоголовку геодезической рейки, добиться установления стрелки ее индикатора в нулевое положение, что соответствует положению, лазерной опорной горизонтальной плоскости;

согласно плану производства работ (ППР) определить высотное положение проектной горизонтальной плоскости нивелирования свай свайного поля (Нс.п). Для определения высотного положения проектной горизонтальной плоскости геодезист должен перенести и закрепить реперную точку в место установки лазерной геодезической рейки;

определить превышение проектной горизонтальной плоскости относительно лазерной опорной плоскости

в = Нл.п  Нс.п,

где Нл.п - высотное положение лазерной опорной плоскости относительно реперной точки;

отмерить по геодезической рейке относительно фотоголовки расчетное значение превышения в и зафиксировать его с помощью подвижного визира;

закрепить подвижный визир на рейке;

установить геодезическую рейку вертикально на плоскую сторону сваи, а приемную часть ее фотоголовки повернуть в сторону ЛСНК;

посредством плавного перемещения геодезической рейки в вертикальном направлении вдоль сваи добиться установления стрелки индикатора в нулевое положение;

на стрелке визира перенести рабочую точку проектной горизонтальной плоскости на сваю;

поочередно устанавливая геодезическую рейку на остальные сваи, произвести их нивелирование.

6.12. Нивелирование ростверков (рис. 35) производится в такой последовательности:

установить ЛСНК в непосредственной близости от ростверков в месте, согласованном с геодезистом;

произвести развертывание лазерной подсистемы согласно п. 6.4, а, б, в. Работать с ЛСНК можно лишь при заземленном блоке питания;

установить лазерную геодезическую рейку на край ростверка и выставить приемную часть ее фотоголовки в сторону ЛСНК;

переключатель "Выкл. - Вкл." на корпусе фотоголовки установить в положение "Вкл.";

Рис. 35. Схема нивелирования ростверков с помощью лазерной подсистемы нивелирования свайного поля и ростверков:

1 - реперная точка; 2 - ЛСНК; 3 - ФГPC; 4 - проектное положение поверхности ростверка; 5 - начальная контрольная точка; 6 - ростверк

закрепить ЛСНК на треноге в таком высотном положении, при котором фотоголовка на геодезической рейке после ее выставки (стрелка индикатора занимает нулевое положение) будет находиться над плоскостью ростверка;

привести ЛСНК по уровням в рабочее положение, для чего винтами трегера выставить пузырьки его уровней в нуль-пункты;

установить по согласованию с геодезистом геодезическую рейку в начальную контрольную точку ростверка, высотное положение которой Δв0 по отношению проектного ее положения известно;

перемещая фотоголовку геодезической рейки, добиться установления стрелки ее индикатора в нулевое положение. Высотное положение фотоголовки Нк будет характеризовать положение лазерной опорной плоскости относительно начальной контрольной точки;

снять по шкале рейки отсчет Нк. Высотное положение фотоголовки Н0 (лазерной опорной плоскости) относительно проектного положения начальной контрольной точки можно определить с помощью соотношения:

Н0 = Нк ±  Δв0,

поочередно устанавливая рейку в другие контрольные точки, определить по ее шкале их высотные положения Н1 и Н2 и т.д. относительно лазерной опорной плоскости;

с помощью соотношения Δв1,2,3 = Н0 - Н1,2,3 определить превышения контролируемых точек относительно их проектного положения.

По результатам измерений производится соответствующая корректировка поверхности ростверка.

Периодичность контроля настройки лазерной подсистемы

6.13. Контроль формирования лазерной горизонтальной опорной плоскости, создаваемой с помощью ЛСНК, проводимый с помощью цилиндрических уровней (пузырьки уровней занимают среднее положение), необходимо выполнять перед началом каждой работы с лазерной подсистемой.

6.14. Контроль выставки лазерного луча ЛСНК в горизонтальное положение, проводимый с помощью УНВ, необходимо выполнять через каждые 10÷15 дней работы с лазерной подсистемой согласно методике, изложенной в п. 6.8.

6.15. Контроль выставки лазерного луча ЛСНК на "бесконечность" необходимо проводить через 1,5÷2 мес. согласно методике, изложенной в п. 6.7.

6.16. Юстировку УНВ необходимо проводить согласно методике, изложенной в п. 3.6, каждый раз перед началом использования данного устройства.

6.17. Юстировку лазерной геодезической рейки необходимо проводить каждый раз перед началом работы с ней согласно методике, изложенной в п. 6.9.

6.18. Перед каждым включением лазерной подсистемы необходимо проводить внешний осмотр ее узлов и средств их защиты, обращая при этом особое внимание на герметичность защитной кабины ЛСНК и устройств индивидуальной защиты ЛСНК и ФГРС, а также на состояние светофильтров ФГРС и ее солнцезащитных приспособлений.

При необходимости поверхность защитных стекол ЛСНК и светофильтров фотоголовки ФГРС следует протереть чистой фланелевой тканью.

Ремонт аппаратуры лазерной подсистемы

6.19. В случае отказа ЛСНК (отсутствие лазерного излучения) и лазерной геодезической рейки (отсутствие отклонения стрелки стрелочного индикатора) необходимо прежде всего выяснить причину отказа и постараться своими силами устранить ее.

6.20. В случае отказа ЛСНК его проверку необходимо проводить в такой последовательности:

проверить подачу напряжения к блоку питания ЛСНК. Для этого с помощью контрольной лампы или вольтметра проверить наличие напряжения 220 В, 50 Гц на розетке переноски, питаемой от центрального электрощитка, к которой подсоединяется вилка шнура подвода напряжения сети к блоку питания;

проверить надежность электрического контакта в высоковольтном разъеме, исправность предохранителя, сигнальной лампочки подачи напряжения сети и переключателя "Сеть - Выкл." на щитке блока питания;

вилку шнура подвода напряжения установить в розетку переноски, а переключатель "Сеть - Выкл." - в положение "Сеть".

6.21. Если при исправных лампочке и предохранителе, надежных электрических соединениях при установке переключателя в положение "Сеть" лазерное излучение отсутствует, то необходимо проверить прохождение лазерного луча через блок стабилизации и блок сканирования, для чего поочередно их снять.

6.22. Если лазерное излучение на выходе коллиматора отсутствует, то это означает, что лазерный излучатель или его блок питания вышли из строя. В этом случае необходимо:

а) демонтировать ЛСНК, для чего:

отвернуть цанговый зажим и вынуть лазерный излучатель из защитного кожуха;

вывернуть высоковольтный разъем из гнезда блока питания.

б) тщательно упаковать лазерный излучатель вместе с блоком питания в упаковочный ящик, выложив его предварительно поролоном, и отправить в ремонт по адресу изготовителя.

6.23. После ремонта произвести монтаж ЛСНК в обратной последовательности. Во избежание вывода из строя лазерного излучателя монтаж производить аккуратно, трубку не сжимать, особенно при ее установке в защитный кожух и крепления защитного кожуха с помощью цангового зажима.

6.24. Подсоединить высоковольтный разъем излучателя к блоку питания и произвести развертывание и настройку ЛСНК в соответствии с пп. 6.4, 6.7, 6.8.

6.25. В случае отказа лазерной геодезической рейки ее проверку необходимо проводить в последовательности, изложенной в пп. 5.24-5.25.

6.26. При исправности всех проверяемых узлов проверку лазерной геодезической рейки произвести при ее работе с ЛСНК согласно методике, изложенной в п. 6.9.

6.27. В случае, если ЛГРС не работоспособна, ее необходимо демонтировать, тщательно уложить в упаковочный ящик, выложив ее блоки поролоном, и отправить в ремонт изготовителю.

6.28. После ремонта смонтировать ФГРС и произвести ее развертывание и настройку в соответствии с п. 6.9.

6.29. В случае отказа блока сканирования ЛСНК с помощью контрольной лампочки или вольтметра постоянного тока необходимо проверить напряжение на разъеме "Выходное напряжение" блока питания, подводимое к двигателю блока сканирования, при установке переключателя "Двигатель - Выкл." в положение "Двигатель" и различных положениях регулятора скорости. Выходное напряжение не должно превышать 12 В.

6.30. При выходе из строя блока питания или блока сканирования отправить их в ремонт в адрес изготовителя.

6.31. В случае выхода из строя-блока стабилизации (течь жидкости, разъюстировка кювет или блока призм и др.) снять его с ЛСНК и отправить в ремонт изготовителю.

7. ТРЕБОВАНИЯ ПО ТЕХНИКЕ БЕЗОПАСНОСТИ ПРИ РАБОТЕ С ЛАЗЕРНОЙ СИСТЕМОЙ

7.1. К работе с лазерной аппаратурой допускаются лица, имеющие не ниже третьей квалификационной группы по технике безопасности, изучившие настоящие методические рекомендации и инструкцию по эксплуатации (паспорт) лазерного излучателя ЛГН-208 (ЛГН-207), прошедшие местный инструктаж по безопасности труда при работе с лазерными излучателями и установками, находящимися под напряжением свыше 1000 B.

7.2. При размещении лазерной аппаратуры и выполнении работ с ней (испытания, ремонт, обслуживание) следует соблюдать требования, изложенные в Санитарных нормах и правилах эксплуатации лазеров, утвержденных Министерство здравоохранения СССР, Правилах техники безопасности и промышленной санитарии в электронной промышленности (М.: Энергия. - 1973. -52 с.).

7.3. При работе с лазерной аппаратурой лазерный луч должен проходить выше головы или ниже пояса работающего. Запрещается:

смотреть в направлении лазерного пучка и его зеркального или диффузно направленного отражения;

направлять лазерный пучок на окна, двери, стены и т.п.;

вносить в зону лазерного пучка предметы, способные вызвать его зеркальное отражение;

проводить прямую визуальную юстировку лазерных излучателей без необходимых средств защиты глаз (диффузно рассеивающие пластины, светофильтры и т.д.);

направлять лазерное излучение на человека;

находиться в зоне наблюдения лицам, не связанным с настройкой или эксплуатацией лазерной аппаратуры.

7.4. Персонал, связанный с обслуживанием и эксплуатацией лазерной аппаратуры, должен проходить предварительные и периодические медицинские осмотры.

7.5. При эксплуатации лазерной аппаратуры необходимо помнить, что для питания лазерного излучателя используется высокое напряжение (свыше 1000 В), опасное для жизни человека. Во избежание поражения током, устранение неисправностей лазерной системы, а также внешний осмотр и начальная выставка ее лазерных приборов должны производиться только при отключенном источнике питания. Запрещается работать с неисправной аппаратурой, оставлять включенными устройства с лазерными излучателями без присмотра, оставлять незащищенную крышкой кабельную часть разъема со стороны источника питания при разъединении излучателя и источника питания.

7.6. Работа с лазерной аппаратурой (ЛЗЦВ, ЛСНК) разрешается только при заземленном источнике питания и наличии исправного диэлектрического коврика. Запрещается присоединять или отсоединять лазерный излучатель при включенном источнике питания, а также включать источник питания при отсоединенном излучателе.

8. ХРАНЕНИЕ И ТРАНСПОРТИРОВАНИЕ ЛАЗЕРНОЙ СИСТЕМЫ

8.1. Запрещается включать лазерные установки во время дождя или снега.

8.2. В перерывах и во время работы лазерный излучатель и другие оптические узлы должны быть закрыты влагопылезащитными устройствами.

8.3. Лазерная аппаратура должна храниться в упакованном виде в помещении при температуре от +