|
|
|
Открытое акционерное общество УтверждаюГенеральный директор ОАО «Теплопроект» ______________ 2006 г. ООО «ПЕНОПЛЭКС СПб» СЕГМЕНТЫ И ПОЛУЦИЛИНДРЫ ИЗ ЭКСТРУЗИОННОГО ПЕНОПОЛИСТИРОЛА ПЕНОПЛЭКС® В КОНСТРУКЦИЯХ ТЕПЛОВОЙ ИЗОЛЯЦИИ ТРУБОПРОВОДОВ Рекомендации по применению ТР 12312-ТИ.2006 Москва 2006 г Содержание АННОТАЦИЯТехнические решения «Сегменты и полуцилиндры из экструзионного пенополистирола ПЕНОПЛЭКС® в конструкциях тепловой изоляции трубопроводов. Рекомендации по применению с альбомом технических решений» разработаны в соответствии с заданием ООО «ПЕНОПЛЭКС СПб». Технические решения предназначены для применения при проектировании и монтаже конструкций тепловой изоляции трубопроводов с применением полуцилиндров и сегментов из экструзионного пенополистирола ПЕНОПЛЭКС® марок 35 и 45. Технические решения содержат рекомендации по применению полуцилиндров и сегментов в конструкциях тепловой изоляции горизонтальных и вертикальных трубопроводов с положительными и отрицательными температурами, отводов и фланцевых соединений трубопроводов и арматуры. В технических решениях приведены методики расчета толщины тепловой изоляции в зависимости от её назначения и таблицы расчетных толщин теплоизоляционного слоя из пенополистирола ПЕНОПЛЭКС® марок 35 и 45 в конструкциях тепловой изоляции. Технические решения разработаны в соответствии с требованиями СНиП 41-03-2003 «Тепловая изоляция оборудования и трубопроводов». При проектировании теплоизоляционных конструкций с применением полуцилиндров и сегментов из экструзионного пенополистирола ПЕНОПЛЭКС® следует учитывать требования норм технологического проектирования, пожарной безопасности и других нормативных документов. Технические решения разработаны в составе: ТР 12312-ТИ.2006.ПЗ - Пояснительная записка ТР 12312-ТИ.2006 - Технические решения ВВЕДЕНИЕЭкструзионный пенополистирол ПЕНОПЛЭКС® - обладает уникальными теплофизическими и эксплуатационными свойствами, позволяющими широко использовать его в конструкциях тепловой изоляции трубопроводов и воздуховодов круглого сечения. Благодаря своей структуре изделия из экструзионного пенополистирола ПЕНОПЛЭКС обладают стабильными теплотехническими показателями и необычайно высокой прочностью на сжатие. ПЕНОПЛЭКС® - экологически чистый материал с закрытыми порами, по природе химически инертный, не подвержен гниению, не содержит озоноразрушающих веществ. ПЕНОПЛЭКС® - экструзионный вспененный полистирол, изготавливаемый методом экструзии из полистирола общего назначения на высокотехнологичном оборудовании с полной автоматизацией, от подачи и дозировки сырья до упаковки готовой продукции. В качестве вспенивающего агента используется смесь легких фреонов с добавлением двуокиси углерода (СО2). Фреоны, применяемые для производства плит ПЕНОПЛЭКС®, относятся к группе озонобезопасных, нетоксичных и негорючих. После изготовления плит в ячейках происходит относительно быстрое замещение остаточного фреона окружающим воздухом. Закрытая микроячеистая структура, отсутствие капиллярного поглощения, высокое сопротивление сжатию и изгибу при небольшой плотности, незначительное водопоглощение, превосходные теплоизоляционные свойства, безопасность для здоровья - главные достоинства этого материала, широко используемого в качестве тепловой изоляции трубопроводов водопровода, канализации, вентиляции, газопроводов, нефтепроводов и холодильного оборудования. Закрытопористая структура плит ПЕНОПЛЭКС® препятствует диффузии водяного пара в теплоизоляционную конструкцию и к поверхности изолируемого объекта, что делает его наиболее приемлемым материалом для изоляции объектов с отрицательными температурами содержащихся в них веществ. Полуцилиндры и сегменты из пенополистирола ПЕНОПЛЭКС® могут использоваться для тепловой изоляции водопроводов, воздухопроводов, газопроводов, нефтепроводов и других трубопроводов надземной, подземной канальной и бесканальной прокладок, тепловой изоляции трубопроводов с температурой ниже окружающей среды на объектах пищевой промышленности, холодильниках, складах пищевых продуктов и прочих объектах. Теплоизоляционные конструкции на основе полуцилиндров и сегментов из экструзионного пенополистирола ПЕНОПЛЭКС® обладают высокой надежностью и долговечностью в диапазоне температур от минус 60 до +75°С, для трубопроводов с температурой носителя от +76 до +115°С применяется многослойная конструкция теплоизоляции оборудования и трубопроводов, с внутренним предохранительным теплоизоляционным слоем и внешним теплоизоляционным слоем из экструзионного пенополистирола ПЕНОПЛЭКС®, см. раздел 7. Пенополистирол ПЕНОПЛЭКС® 35 является горючим материалом, однако он прекращает горение при удалении источника зажигания. 1. НОМЕНКЛАТУРА И ФИЗИКО-ТЕХНИЧЕСКИЕ СВОЙСТВА ПОЛУЦИЛИНДРОВ И СЕГМЕНТОВ ИЗ ЭКСТРУЗИОННОГО ПЕНОПОЛИСТИРОЛА ПЕНОПЛЭКС®1.1. Полуцилиндры сегменты изготавливаются путем фигурного вырезания нагретой нихромовой проволокой по ТУ 5767-001-01297858-02 из плит ПЕНОПЛЭКС®, полученных методом экструзии из полистирола общего назначения. Выпускаются полуцилиндры и сегменты из экструзионного пенополистирола ПЕНОПЛЭКС® двух марок 35 и 45 (по плотности). 1.2. Номенклатура* изделий для тепловой изоляции трубопроводов приведена в таблице 1.1. Таблица 1.1. В миллиметрах
* - по согласованию с потребителем могут быть изготовлены изделия других размеров. Предельные отклонения от основных размеров изделий не должны превышать значений, приведенных в таблице 1.2. Таблица 1.2. В миллиметрах
1.3. Для изготовления полуцилиндров и сегментов используют плиты из экструзионного пенополистирола ПЕНОПЛЭКС® двух марок: тип 35 и тип 45, изготавливаемых по ТУ 5767-001-56925804-2003, технические характеристики которых приведены в таблице 1.3.
* - возможно применение при температуре до 115°С при устройстве промежуточного предохранительного слоя из температуростойких волокнистых материалов. ** - группа горючести - по ГОСТ 30244-94; группа по воспламеняемости - по ГОСТ 30402-96; группа дымообразующей способности - по ГОСТ 12.1.044-89; группа распространения пламени - по ГОСТ 30444-97. 1.4. По результатам испытаний образцов экструзионного пенополистирола ПЕНОПЛЭКС® марок 35 и 45 коэффициент теплопроводности при средней температуре слоя 75°С составляет 0,0335 Вт/(м·К). Испытания проведены ИЦ «ТЕПЛОПРОЕКТМОССТРОЙ - ТЕСТ» протокол № 27 от 05.10.2006 г. 1.5. При изготовлении экструзионного пенополистирола ПЕНОПЛЭКС® марки 35 в исходное сырье вводится эффективный антипирен с запатентованной предприятием добавкой, что существенно повышает ее стойкость к горению. По результатам испытаний, проведенных Независимым испытательным центром пожарной безопасности СПб, плиты ПЕНОПЛЭКС® марки 35, из которых изготавливаются полуцилиндры и скорлупы, по пожарно-техническим характеристикам соответствуют материалам слабогорючим (ГОСТ 30244-94), трудносгораемым (СТ СЭВ 2437-80), не распространяющим пламени по поверхности, умеренновоспламеняемым, но с высокой дымообразующей способностью. При горении выделяется в основном два вида газов: СО - угарный газ и СО2 - углекислый газ. 1.6. Экструзионный пенополистирол ПЕНОПЛЭКС® - экологически чистый материал, по природе химически инертный, не подвержен гниению. Изделия из пенополистирола ПЕНОПЛЭКС® обладают достаточно высокой химической стойкостью по отношению к большинству используемых в строительстве материалов и веществ: битумным смесям, извести, цементу, не содержащим растворителей клеям, краскам, кислотам и щелочам. Некоторые органические вещества (включая содержащие растворители, каменноугольную смолу и ее производные, разбавители красок, а также широко употребляемые растворители - ацетон, этилацетат, нефтяной толуол и т.д.) могут привести к размягчению или усадке экструзионных пенополистиролов. В таблице 1.4. приведены данные по химической стойкости экструзионного пенополистирола к некоторым материалам. Таблица 1.4.
Продолжение таблицы 1.4.
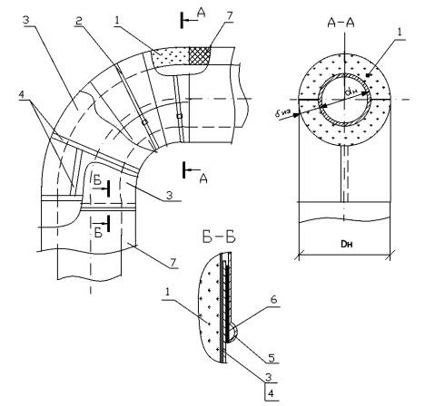
2. ОБЛАСТЬ ПРИМЕНИЛ ПОЛУЦИЛИНДРОВ И СЕГМЕНТОВ ИЗ ЭКСТРУЗИОННОГО ПЕНОПОЛИСТИРОЛА ПЕНОПЛЭКС®2.1. Теплоизоляционные изделия (полуцилиндры или сегменты) из экструзионного пенополистирола ПЕНОПЛЭКС® применяются для тепловой изоляции трубопроводов наружным диаметром 57 ÷ 1420 мм с температурой транспортируемых веществ от минус 60°С до 75°С, расположенных на открытом воздухе, в помещении, непроходных каналах, а также прокладываемых бесканальным способом, в том числе в районах с вечномерзлыми грунтами. 2.2. Допускается применение изделий для тепловой изоляции технологических трубопроводов и трубопроводов надземной прокладки с температурой до плюс 115°С с устройством промежуточного (внутреннего) предохранительного слоя из волокнистых температуростойких материалов. Температура на границе внутреннего предохранительного слоя и наружного теплоизоляционного слоя из полуцилиндров или сегментов из пенополистирола ПЕНОПЛЭКС® не должна превышать 75°С. 2.3. Полуцилиндры и сегменты из пенополистирола ПЕНОПЛЭКС® марки 35 рекомендуется применять для тепловой изоляции трубопроводов, прокладываемых любым способом, кроме бесканального. При бесканальной прокладке трубопроводов в грунте, где требуется высокая прочность теплоизоляционного материала на сжатие, рекомендуется использовать изделия марки 45. Трубопроводы подземной бесканальной прокладки, подлежащие тепловой изоляции изделиями ПЕНОПЛЭКС®, должны иметь надежное антикоррозионное покрытие в соответствии с действующей нормативной документацией. 2.4. Полуцилиндры и сегменты из пенополистирола ПЕНОПЛЭКС® рекомендуется применять в конструкциях тепловой изоляции нефте-газопроводов, в том числе в районах Крайнего Севера. Основным назначением тепловой изоляции трубопроводного транспорта является обеспечение максимальной безопасности, эксплуатационной эффективности и надежности, снижение интенсивности теплового взаимодействия между транспортируемым веществом (нефтью, газом) и окружающей средой, на заданный период времени. Тепловая изоляция на объектах трубопроводного транспорта применяется для того, чтобы: - обеспечить заданное распределение температуры по длине промысловых нефте-газопроводов; - снизить тепловое воздействие при транспорте нефти и газа с положительной температурой на вечномерзлые и высокольдистые просадочные грунты; - снизить тепловое воздействие газопроводов при транспортировке газа с отрицательными температурами на талые пучинистые грунты; - обеспечить комплексную теплогидроизоляционную защиту объектов трубопроводного транспорта газа. Требования к тепловой изоляции трубопроводного транспорта регламентированы нормами технологического проектирования трубопроводов транспорта нефти и газа. Изделия из пенополистирола ПЕНОПЛЭКС® рекомендуется применять в конструкциях тепловой изоляции трубопроводов всех способов прокладки. 2.5. Полуцилиндры и сегменты из пенополистирола ПЕНОПЛЭКС®, как материалы с закрытопористой структурой, являются практически водопаронепроницаемым материалом (см. таблицу 1.3.). Они не увлажняются в процессе эксплуатации, в связи с этим, их рекомендуется применять в конструкциях тепловой изоляции: – технологических трубопроводов с отрицательными температурами; – трубопроводов холодного и горячего водоснабжения; – трубопроводов холодильного оборудования; – воздуховодов круглого сечения. Для изоляции отводов трубопроводов могут быть применены сегменты необходимой формы, вырезанные из полуцилиндров. 2.6. Полуцилиндры и сегменты из пенополистирола ПЕНОПЛЭКС® могут быть применены для тепловой изоляции фланцевых соединений трубопроводов и фланцевой арматуры при наличии соответствующих типоразмеров по внутреннему диаметру конструкции. 2.7. Полуцилиндры и сегменты из экструзионного пенополистирола ПЕНОПЛЭКС® можно применять без особых мер для защиты окружающей среды или здоровья людей, в том числе на объектах пищевой промышленности и особо чистых производствах (фармацевтическая промышленность, микробиология, электроника и т.д.), если нормы технологического проектирования и пожарной безопасности допускают применение горючих материалов с показателями пожарной опасности, соответствующими показателям экструзионного пенополистирола ПЕНОПЛЭКС марки 35 (Г1, В2, Д3, РП1). При применении пенополистирола в качестве теплоизоляционного слоя в конструкциях изоляции трубопроводов на таких объектах герметизацию швов покровного слоя можно не производить. 2.8. Изделия из пенополистирола ПЕНОПЛЭКС® не подвержены гниению, повреждению паразитами и грызунами, вследствие чего могут быть рекомендованы к применению для изоляции трубопроводов на складах, овощехранилищах и т.д. 2.9. Полуцилиндры и сегменты из пенополистирола ПЕНОПЛЭКС® могут быть использованы в качестве теплоизоляционного слоя в полносборных конструкциях, применяемых для изоляции трубопроводов и арматуры, изготавливаемых по ТУ 36-1180-85 «Индустриальные конструкции для промышленной тепловой изоляции трубопроводов, аппаратов и резервуаров». Полносборные конструкции на основе изделий из пенополистирола могут использоваться при необходимости применения на нефте-газопроводах съемной тепловой изоляции. 2.10. При проектировании теплоизоляционных конструкций на основе теплоизоляционных изделий (полуцилиндров и сегментов) из экструзионного пенополистирола ПЕНОПЛЭКС® следует соблюдать требования СНиП 41-03-2003 «Тепловая изоляция оборудования и трубопроводов», СП 41-103-2000 «Проектирование тепловой изоляции оборудования и трубопроводов» с учетом требований норм технологического проектирования соответствующих отраслей промышленности, требований пожарной безопасности, и охраны окружающей среды. При проектировании тепловой изоляции трубопроводов объектов, расположенных на территории г. Екатеринбурга и Свердловской области, следует учитывать требования ТСН 23-337-2002 Свердловской области «Тепловая изоляция оборудования и трубопроводов». При проектировании тепловой изоляции трубопроводов объектов, расположенных на территории Ямало-Ненецкого автономного округа, следует учитывать требования ТСН 41-309-2004 Ямало-Ненецкого автономного округа «Тепловая изоляция оборудования и трубопроводов». 2.11. Толщину теплоизоляционного слоя из полуцилиндров и сегментов из экструзионного пенополистирола ПЕНОПЛЭКС® марок 35 и 45 следует определять по методикам, приведенным в разделе 6. Расчетная толщина теплоизоляционного слоя из полуцилиндров и сегментов из экструзионного пенополистирола ПЕНОПЛЭКС® марок 35 и 45 в зависимости от назначения теплоизоляционной конструкции может быть принята по таблицам раздела 6. 2.12. Конструктивные решения тепловой изоляции с применением полуцилиндров и сегментов из экструзионного пенополистирола ПЕНОПЛЭКС® определяются параметрами изолируемого трубопровода, месторасположением и способом прокладки, назначением тепловой изоляции, условиями эксплуатации теплоизоляционных конструкций, видом применяемых покровных материалов и настоящими рекомендациями. 2.13. Необходимое количество материалов для теплоизоляционных конструкций на основе полуцилиндров и сегментов из экструзионного пенополистирола ПЕНОПЛЭКС® марок 35 и 45 ® рекомендуется принимать по таблице 5.5. раздела 5. 3. ТЕХНИЧЕСКИЕ ТРЕБОВАНИЯ К КОНСТРУКЦИЯМ ТЕПЛОВОЙ ИЗОЛЯЦИИ ТРУБОПРОВОДОВ ПРИ ПРОЕКТИРОВАНИИ3.1. Конструкции промышленной тепловой изоляции включают следующие основные элементы: – теплоизоляционный слой, который непосредственно примыкает к изолируемой поверхности и выполняет теплозащитную функцию; – покровный слой, предохраняющий основной слой от внешних механических воздействий, атмосферных осадков, воздействия агрессивных сред; – пароизоляционный слой (в конструкциях с температурой ниже температуры окружающего воздуха и с отрицательными температурами), защищающий изоляцию от проникновения содержащихся в воздухе паров влаги; – крепежные и вспомогательные детали, которые служат для закрепления основного теплоизоляционного и защитно-покровного к изолируемой поверхности, а также обеспечивают жесткость конструкции. Некоторые виды конструкций, с учетом их назначения, условий эксплуатации, материала основного и покровного слоев дополнительно могут включать предохранительный, выравнивающий, антикоррозионный и отделочный слои. Антикоррозионный слой в составе теплоизоляционных работ выполняется для объектов с температурой ниже температуры окружающего воздуха и отрицательными температурами. При изоляции поверхностей с положительными температурами антикоррозийное покрытие не входит в состав теплоизоляционных работ, и является отдельным видом строительно-монтажных работ. Антикоррозионное покрытие трубопроводного транспорта также является отдельным видом работ. 3.2. При проектировании тепловой изоляции трубопроводов, фланцевых соединений и арматуры с температурой транспортируемых веществ от минус 60 до 75°С (115°С) применением изделий из пенополистирола ПЕНОПЛЭКС® учитываются следующие факторы: - месторасположение изолируемого объекта; - температуру изолируемой поверхности; - температуру и относительную влажность окружающего воздуха; - требования пожарной безопасности; - агрессивность окружающей среды или веществ, содержащихся в изолируемых объектах; - влияние ультрафиолетового излучения; - возможность коррозионного воздействия; - материал поверхности изолируемого объекта; - допустимые нагрузки на изолируемый трубопровод; - требования к механической прочности теплоизоляционной конструкции; - наличие вибрации и ударных воздействий; - требуемую долговечность теплоизоляционной конструкции; - санитарно-гигиенические требования; - возможность температурных деформаций трубопроводов; - геометрические размеры изолируемого объекта. 3.3. Для фланцевых соединений, фланцевой арматуры и элементов трубопроводов, требующих в процессе эксплуатации систематического наблюдения, следует предусматривать сборно-разборные съемные теплоизоляционные конструкции. 3.4. Расчетную толщину тепловой изоляции определяют по методикам, приведенным в разделе 6. Если расчетная толщина теплоизоляционного слоя не совпадает с номенклатурной толщиной полуцилиндров и сегментов из экструзионного пенополистирола ПЕНОПЛЭКС® марок 35 и 45, следует принимать по действующей номенклатуре ближайшую более высокую толщину теплоизоляционных изделий. Допускается принимать ближайшую более низкую толщину теплоизоляционного слоя в случаях расчета по температуре на поверхности изоляции и нормам плотности теплового потока, если разница между расчетной и номенклатурной толщиной не превышает 3 мм. 3.5. Конструкция изоляции трубопроводов с температурой ниже окружающего воздуха должна быть герметичной и не пропускать воды и водяных паров к поверхности изолируемого объекта. Следует предусматривать пароизоляционный слой из паронепроницаемых материалов. 3.6. При проектировании рекомендуется предусматривать установку изделий полуцилиндров и сегментов из экструзионного пенополистирола ПЕНОПЛЭКС® на поверхность трубопроводов с температурой : от минус 60 до плюс 75°С - насухо. При температуре изолируемой поверхности трубопроводов ниже 19°С при отсутствии рекомендованного специального антикоррозионного покрытия может быть предусмотрена установка полуцилиндров и сегментов с применением горячего битума (с температурой не более 75°С) или битумных мастик, не содержащих растворителей (см п. 1.5.). Могут быть применены другие клеящие и герметизирующие мастики, совместимые с пенополистиролом. При выборе клеевых составов следует руководствоваться указаниями изготовителя относительно их пригодности для склеивания полистиролов. 3.7. Для компенсации напряжений, возникающих в конструкции вследствие различия коэффициентов температурного расширения материала изолируемого трубопровода и материалов теплоизоляционной конструкции (изделий из пенополистирола ПЕНОПЛЭКС® и металлического покрытия), для сохранения целостности теплоизоляционных конструкций следует предусматривать компенсационные температурные швы. Температурные швы предусматривают между фиксированными элементами, такими, как места крепления, отводы, фланцевые соединения, запорная арматура. Температурные швы в металлическом покровном слое при изоляции изделиями ПЕНОПЛЭКС® в диапазоне температур от минус 60 до плюс 115°С рекомендуется устанавливать с шагом 4 - 5 метров. Температурные швы в теплоизоляционном слое из изделий ПЕНОПЛЭКС® на прямых участках протяженных трубопроводов могут располагаться с шагом 10-12 метров по длине трубопровода. При изоляции трубопроводов технологических установок температурные швы располагают у отводов трубопроводов и у разгружающих устройствах (см. п. 3.10.) на вертикальных участках трубопроводов. 3.8. В качестве компенсационных вставок (температурных швов) в теплоизоляционном слое из пенополистирола рекомендуется применять изделия из стеклянного штапельного волокна на синтетическом связующем (маты или плиты в зависимости от диаметра изолируемого трубопровода). Могут быть использованы маты из минеральной или базальтовой ваты. Для объектов с отрицательными температурами для компенсационных вставок следует предусматривать гидрофобизированные волокнистые материалы. Ширина компенсационных вставок 50 мм. При двухслойной изоляции вставки предусматриваются в каждом слое со смещением относительно друг друга. 3.9. В качестве покровного слоя тепловой изоляции из полуцилиндров и сегментов из пенополистирола ПЕНОПЛЭКС® предусматривается: - металлическое покрытие из алюминия, оцинкованной или нержавеющей стали; - штукатурное покрытие; - покрытие из стеклопластика рулонного РСТ или других рулонных материалов. Характеристики материалов для покровного слоя приведены в разделе 5. 3.10. При применении металлического покровного слоя в конструкциях тепловой изоляции трубопроводов с отрицательными температурами, для предохранения пароизоляционного слоя из алюминиевой фольги от повреждения в процессе эксплуатации и монтажа может быть предусмотрен предохранительный слой из стеклоткани, стеклохолста, полотна холстопрошивного, иглопробивного или других рулонных материалов. Предохранительный слой устанавливается между покровным и пароизоляционным слоями. При применении пароизоляционного слоя из полиэтиленовой пленки, рубероида, битума или битумных мастик предохранительный слой не устанавливается. 3.11. В конструкциях тепловой изоляции вертикальных трубопроводов при применении металлического покрытия следует предусматривать опорные конструкции (разгружающие устройства) с шагом 3 - 4 метра по высоте, предотвращающие деформацию и сползание металлического покрытия. Конструкция тепловой изоляции не должна иметь сквозных теплопроводных включений («мостиков холода»). При проектировании разгружающих устройств, сквозные элементы или их части рекомендуется предусматривать из материалов с теплопроводностью не более 0,3 Вт/(м∙°С) для снижения теплового потока и разности температур между поверхностью изоляции и окружающим воздухом в месте установки разгружающего устройства. При необходимости, в местах установки разгружающих устройств, предусматриваются температурные швы в теплоизоляционном слое из пенополистирола ПЕНОПЛЭКС® и в металлическом покрытии. 3.12. Изделия из пенополистирола ПЕНОПЛЭКС® в конструкциях тепловой изоляции трубопроводов, расположенных на открытом воздухе, должны быть защищены от воздействия ультра-фиолетового излучения покровным слоем. 3.13. При применении покрытий на открытом воздухе следует учитывать допустимую температуру применения материала покровного слоя. Это особенно важно при расположении изолируемых объектов в районах Крайнего Севера и Сибири, где температура в зимнее время опускается ниже минус 40°С. Рулонные стеклопластики и покрытие из оцинкованной стали не рекомендуются к применению в районах, где температура окружающего воздуха опускается ниже минус 40°С. 3.14. Допускается применение полуцилиндров и сегментов из пенополистирола ПЕНОПЛЭКС® без покровного слоя в конструкциях тепловой изоляции трубопроводов подземной канальной прокладки. 3.15. В качестве покровного слоя при изоляции изделиями из пенополистирола ПЕНОПЛЭКС® может быть применено штукатурное покрытие. Для покрытия изоляции объектов, расположенных на открытом воздухе применяют асбестоцементный или песчано-цементный растворы. Для покрытия изоляции объектов, расположенных в помещении применяют асбозуритовый, асбозуритоцементный растворы или растворы, содержащие гипс. Поверхность асбозуритовой и асбозуритоцементной штукатурок оклеивают тканью с целью повышения их механической прочности и увеличения срока службы. Для трубопроводов, подвергающихся вибрации, следует предусматривать оклейку штукатурного покрытия с последующей окраской. Для оклейки применяются миткаль, бязь техническая, парусина, мешковина, марля, стеклоткань; тонкие стеклосетки с мелкой ячейкой. В качестве клеящего состава используют крахмал, огнеупорную глину, лаки и краски, которыми окрашивают поверхность ткани. Для окраски покрытия применяют масляную краску, краску БТ-177, перхлорвиниловые лака и эмали. 3.16. При применении полуцилиндров и сегментов из экструзионного пенополистирола ПЕНОПЛЭКС® для изоляции трубопроводов с температурой от 76 до 115°С для предохранения пенополистирола от температурных воздействий между теплоизоляционным слоем и поверхностью трубопровода следует предусматривать установку промежуточного предохранительного слоя из температуростойких волокнистых материалов. Рекомендуется применять изделия из стеклянного штапельного волокна, минеральной или базальтовой ваты. Расчет толщины теплоизоляционного слоя из пенополистирола ПЕНОПЛЭКС® и предохранительного слоя следует производить по методике, приведенной в разделе 6. 3.17. Антикоррозионное покрытие трубопроводов не должно содержать органических растворителей и быть совместимым с экструзионным пенополистиролом. 4. КОНСТРУКТИВНЫЕ
РЕШЕНИЯ ТЕПЛОВОЙ ИЗОЛЯЦИИ ИЗ ПОЛУЦИЛИНДРОВ И СЕГМЕНТОВ ИЗ ПЕНОПОЛИСТИРОЛА
|
|||||||||||||||||||||||||||||||||||||||||||||||||||||||||||||||||||||||||||||||||||||||||||||||||||||||||||||||||||||||||||||||||||||||||||||||||||||||||||||||||||||||||||||||||||||||||||||||||||||||||||||||||||||||||||||||||||||||||||||||||||||||||||||||||||||||||||||||||||||||||||||||||||||||||||||||||||||||||||||||||||||||||||||||||||||||||||||||||||||||||||||||||||||||||||||||||||||||||||||||||||||||||||||||||||||||||||||||||||||||||||||||||||||||||||||||||||||||||||||||||||||||||||||||||||||||||||||||||||||||||||||||||||||||||||||||||||||||||||||||||||||||||||||||||||||||||||||||||||||||||||||||||||||||||||||||||||||||||||||||||||||||||||||||||||||||||||||||||||||||||||||||||||||||||||||||||||||||||||||||||||||||||||||||||||||||||||||||||||||||||||||||||||||||||||||||||||||||||||||||||||||||||||||||||||||||||||||||||||||||||||||||||||||||||||||||||||||||||||||||||||||||||||||||||||||||||||||||||||||||||||||||||||||||||||||||||||||||||||||||||||||||||||||||||||||||||||||||||||||||
|
Материал покровного слоя |
Диаметр изоляции трубопровода, мм |
||
|
Толщина листа, |
мм, |
||
|
350 и менее |
св. 350 до 600 |
св. 600 до 1620 |
|
|
Листы и ленты из нержавеющей стали |
0,35-0,5 |
0,5 |
0,5-0,8 |
|
Листы из тонколистовой стали, в том числе с полимерным покрытием |
0,35-0,5 |
0,5-0,8 |
0,8 |
|
Листы из алюминия и алюминиевых сплавов |
0,3 |
0,5-0,8 |
0,8 |
|
Ленты из алюминия и алюминиевых сплавов |
0,25-0,3 |
0,3-0,8 |
0,8 |
Примечания.
1. В качестве покровного слоя теплоизоляционных конструкций диаметром изоляции более 600 до 1600 мм, расположенных в помещении с неагрессивными и слабоагрессивными средами, допускается применять металлические листы и ленты толщиной 0,6 мм.
2. Листы и ленты из алюминия и алюминиевых сплавов толщиной 0,25 - 0,3 мм рекомендуется применять гофрированными.
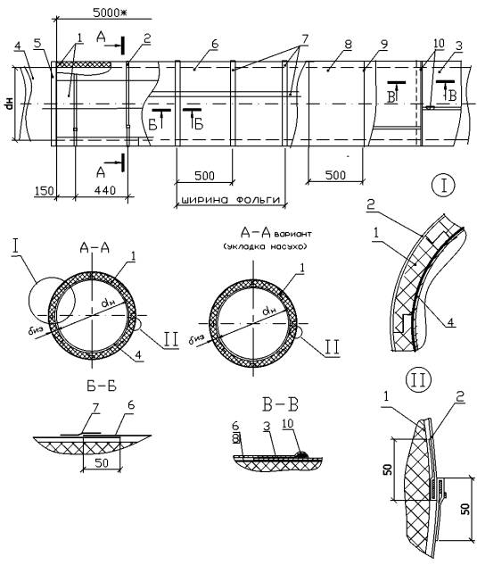
4.1.14. Покрытие из рулонного стеклопластика, стеклотекстолита, пленки винипластовой каландрированной или других упругих материалов рекомендуется предусматривать для трубопроводов диаметром изоляции не более 650 мм.
Крепление покрытия из рулонного стеклопластика производится бандажами или кольцами из проволоки диаметром 2 мм. Шаг установки бандажей - 500 мм по длине трубопровода.
Из стеклотекстолита, пленки винипластовой каландрированной или листового стеклопластика могут быть изготовлены элементы покрытия (картины) с обрамлением шва металлическими планками. Крепление элементов покрытия осуществляется самонарезающими винтами по планке. Шаг установки винтов такой же, как при применении металлического покровного слоя.
4.1.15. Штукатурное покрытие (см. п. 3.14.) выполняется по армирующей металлической сетке. Для армирования применяют сетку стальную плетеную с ромбической ячейкой 12 × 1,2, 12 × 1,4.
Состав растворов для изготовления штукатурного покрытия приведен в разделе 5.
Толщину штукатурного покрытия при укладке по основанию из экструзионного пенополистирола ПЕНОПЛЭКС® в зависимости от диаметра изолируемого трубопровода рекомендуется принимать:
- для трубопроводов диаметром 57 - 133 мм - 10 мм;
- для трубопроводов диаметром 159 мм и более - 15 мм.
В штукатурном защитном покрытии следует предусматривать температурные швы в виде разрывов в покрытии шириной 8 - 10 мм с шагом 5 м по длине трубопровода. Температурные швы заполняют волокнистым теплоизоляционным материалом и закрывают накладками из оцинкованной стали. Накладки из алюминиевого листа не применяются.
Может быть предусмотрено штукатурное покрытие по армирующей щелочестойкой стеклосетке, аналогичное применяемому при наружном утеплении зданий при изоляции пенополистиролом ПЕНОПЛЭКС® ("мокрый" фасад)/
4.1.16. Для предотвращения повреждения пароизоляционного слоя в конструкциях изоляции трубопроводов с отрицательными температурами крепление покровного слоя рекомендуется производить бандажами.
Возможно применение элементов покрытия с отбортовкой и креплением болтами и гайками или другие способы крепления покрытия.
При применении винтового крепления должна быть предусмотрена установка предохранительного слоя из волокнистых материалов толщиной более длины винта.
Допускается устройство воздушного зазора между пароизоляционным слоем и металлическим покрытием.
4.1.17. В конструкциях тепловой изоляции трубопроводов с отрицательными температурами транспортируемых веществ в соответствии с требованиями п. 3.5. должен быть предусмотрен пароизоляционный слой из паронепроницаемых материалов. Дополнительно могут быть герметизированы швы металлического покровного слоя.
Швы пароизоляционного слоя и места примыкания к опорным конструкциям, фланцам, оборудованию должны быть герметизированы. Повреждение пароизоляционного слоя в процессе монтажа и эксплуатации не допускается.
В качестве пароизоляционного слоя могут быть предусмотрены:
- пленка полиэтиленовая с проклейкой швов липкой лентой;
- фольга алюминиевая с проклейкой швов лентой алюминиевой с липким слоем или с применением клеящих составов;
- рубероид с проклейкой швов битумом или битумной мастикой.
Могут быть применены другие виды паронепроницаемых материалов.
При изоляции изделиями из экструзионного пенополистирола ПЕНОПЛЭКС® - материала с закрытопористой структурой, устанавливается один пароизоляционный слой.
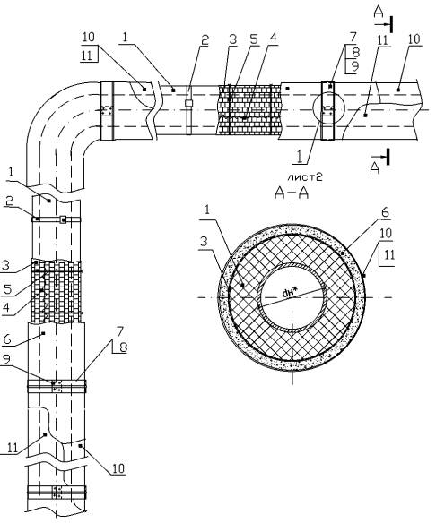
4.1.18. Разгружающие устройства, предусматриваются на вертикальных участках трубопроводов в конструкциях изоляции с металлическим покрытием в соответствии с требованиями п. 3.11.
Разгружающие устройства состоят из разгружающих колец с ребрами, которые изготавливаются из лент или полос из углеродистой или нержавеющей стали (в зависимости от материала трубопроводов) шириной 30 мм, толщиной 2 - 3 мм.
Разгружающие кольца в зависимости от диаметра изолируемого трубопровода могут состоять из одного (до диаметра 108 мм), двух (до диаметра 1020 мм) или трех элементов (диаметр 1220 - 1420 мм). Разгружающие кольца крепятся на трубопроводе болтами и гайками.
На разгружающие кольца устанавливается диафрагма из материала покровного слоя или текстолита (в конструкциях изоляции для трубопроводов с отрицательными температурами). Навесные скобы (кляммеры), поддерживающие покровный слой, крепятся к диафрагме винтами.
В местах установки разгружающих устройств выполняются температурные швы в металлическом покровном слое и вставки из упругих материалов в теплоизоляционном слое из изделий из пенополистирола при необходимости.
Если допускается приварка, к трубопроводу можно приварить кронштейны (ребра), на которые затем можно установить металлическую диафрагму или диафрагму из текстолита.
4.1.19. При изоляции трубопроводов подземной бесканальной прокладки швы изделий из пенополистирола ПЕНОПЛЭКС® могут быть проклеены клеем РУСЭКСП-ПС, и должно быть предусмотрено водонепроницаемое покрытие для теплоизоляционного слоя. Может быть предусмотрено покрытие из двух слоев рубероида с установкой на битуме или битумной мастике или другие виды водонепроницаемых материалов.
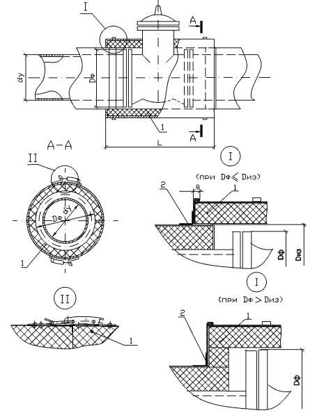
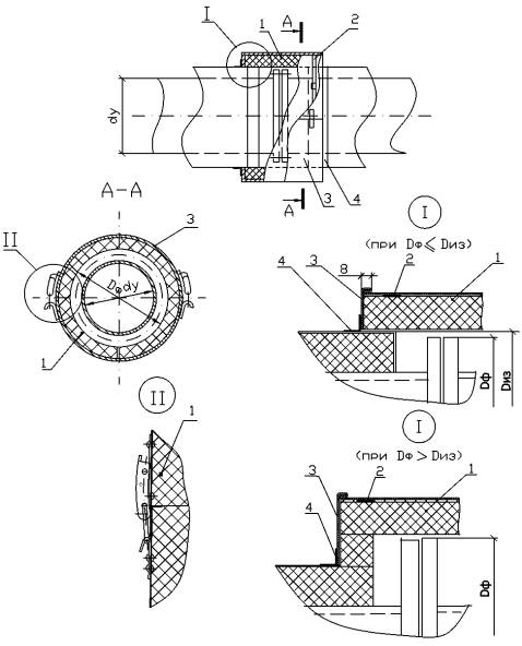
4.2.1. Для тепловой изоляции арматуры и фланцевых соединений трубопроводов в соответствии с требованиями СНиП 41-03-2003 следует предусматривать съемные теплоизоляционные конструкции.
4.2.2. Для изоляции фланцевых соединений трубопроводов рекомендуется применять комплекты сегментов из экструзионного пенополистирола ПЕНОПЛЭКС® в соответствии с действующей номенклатурой. Следует применять сегменты с внутренним диаметром, соответствующим диаметру фланцев или диаметру изоляции трубопровода.
Сегменты устанавливают сверху фланцевого соединения на тепловую изоляцию трубопровода и закрепляют бандажами с пряжками (2 бандажа на фланцевой соединение). Сверху сегментов устанавливают съемный металлический кожух, крепление которого производится замками. Крючки и замки крепятся к элементам кожуха заклепками. Для крепления съемных кожухов могут быть предусмотрены бандажи с замками.
Если фланцы выступают за изоляцию трубопровода, под сегменты могут быть установлены кольцевые прокладки, которые могут быть изготовлены из пенополистирольных плит.
Длина конструкции для изоляции фланцевого соединения определяется как две толщины фланцев плюс пространство, необходимое для того, чтобы снять болты, плюс перекрытие по 100 мм с каждой стороны для установки на изоляцию трубопровода.
4.2.3. Для изоляции фланцевых соединений трубопроводов с отрицательными температурами, по теплоизоляционному слою следует устанавливать пароизоляционный слой и герметизировать стыки конструкций изоляции трубопровода и фланцевого соединения.
4.2.4. Для изоляции фланцевых соединений могут быть изготовлены полносборные конструкции (полуфутляры).
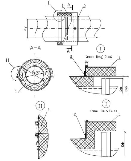
В качестве теплоизоляционного слоя применяются сегменты из экструзионного пенополистирола ПЕНОПЛЭКС®. Сегменты должны быть приклеены к съемному металлическому кожуху клеевыми составами, совместимыми с пенополистиролом.
При изоляции фланцевых соединений трубопроводов с отрицательными температурами полносборными конструкциями с применением сегментов из экструзионного пенополистирола ПЕНОПЛЭКС® следует герметизировать стыки с конструкций изоляции трубопровода.
4.2.5. Для изоляции арматуры рекомендуется применять полносборные конструкции - полуфутляры, с приклеенным теплоизоляционным слоем из сегментов из пенополистирола ПЕНОПЛЭКС®. Полуфутляры оснащаются замками. Количество замков зависит от размеров арматуры и варьируется в пределах 4 - 8 шт.
Крепление полуфутляров также может выполняться бандажами с замками.
Разъем конструкции выполняется по центру привода. Вырез под привод в полуфутляре выполняется по месту.
Для изоляции арматуры допускается применение теплоизоляционного слоя из сегментов в комплекте со съемным кожухом. При этом для крепления сегментов предусматриваются бандажи с пряжками.
4.2.6. При изоляции арматуры с отрицательными температурами следует герметизировать места стыковки с теплоизоляционной конструкцией трубопровода и выреза под привод.
При применении несъемных конструкций тепловая изоляция арматуры трубопроводов с отрицательной температурой выполняется полуцилиндрами или сегментами из пенополистирола ПЕНОПЛЭКС® заодно с изоляцией трубопровода.
4.2.7. Допускается изоляция фланцевых соединений и арматуры съемными конструкциями с теплоизоляционным вкладышем из стекловолокнистых или минераловатных матов.
При изоляции арматуры и фланцевых соединений трубопроводов с отрицательными температурами из матов следует изготавливать матрацы в стеклоткани и полиэтиленовой пленки с герметизацией швов полиэтиленовой пленки.
4.2.8. Если диаметр фланцев арматуры больше диаметра изоляции трубопроводов, следует изготовить кольцевые прокладки из сегментов (или вырезать из плит), на которые затем устанавливаются сегменты из пенополистирола ПЕНОПЛЭКС® с внутренним диаметром, соответствующим диаметру фланцев и кольцевых прокладок.
Сегменты, установленные на кольцевые прокладки, закрепляются бандажами (2 бандажа на фланцевое соединение).
Металлический кожух изготавливается и устанавливается, как указано выше.
4.2.9. Для герметизации швов металлического покрытия арматуры и фланцевых соединений и покрытия изоляции трубопроводов могут быть использованы герметики или липкие алюминиевые и металлизированные ленты.
5.1. Выбор материалов для покровного слоя тепловой изоляции конструкций с теплоизоляционным слоем из полуцилиндров или сегментов из экструзионного пенополистирола ПЕНОПЛЭКС® следует производить с учетом их технических характеристик.
Необходимо учитывать следующие характеристики материала:
– прочность;
– гибкость;
– водонепроницаемость;
– горючесть;
– морозостойкость;
– допустимую температуру применения;
– коррозионную стойкость к атмосферным воздействиям и возможному воздействию транспортируемых веществ;
– стойкость к солнечной радиации;
– биостойкость;
– конструктивные свойства;
– декоративность.
5.2. В составе теплоизоляционных конструкций с теплоизоляционным слоем из пенополистирола ПЕНОПЛЭКС® в качестве покровного слоя в зависимости от требований, предъявляемых к конструкциям, могут применяться материалы, приведенные в таблице 5.1.
Таблица 5.1.
|
Материал, ГОСТ или ТУ |
Группа горючести |
Применяемая толщина, мм |
Срок службы, год |
|
|
вне помещения |
в помещении |
|||
|
Металлические |
||||
|
Листы из алюминия и алюминиевых сплавов ГОСТ 21631-76, марки АД0, АД1, АМц, Амг2 |
НГ |
0,3-1,0 |
12-15 |
14-17 |
|
Ленты из алюминия и алюминиевых сплавов ГОСТ 13726-96 марки АД0, АД1, АМц, Амг2 |
НГ |
0,3-1,0 |
10-12 |
12-14 |
|
Прокат тонколистовой коррозионно-стойкий, жаропрочный и жаростойкий ГОСТ 5582-75 |
НГ |
0,3-0,8 |
18-20 |
18-25 |
|
Лента холоднокатаная из коррозионно-стойкой и жаростойкой стали ГОСТ 4986-79 |
НГ |
0,3-0,8 |
18-20 |
18-25 |
|
Сталь тонколистовая оцинкованная непрерывных линий ГОСТ 14918-80 |
НГ |
0,35-0,1 |
10-12 |
12-14 |
|
На основе синтетических полимеров |
||||
|
Стеклопластик рулонный РСТ ТУ 6-48-87-92, марки РСТ-Х, РСТ-Ф, РСТ-Л |
трудногорючий |
0,25-0,5 |
6-8 |
8-9 |
|
Стеклопластик рулонный РСТ ТУ 36.16.22-68-95 |
трудногорючий |
0,25-0,5 |
5-6 |
6-8 |
|
Стеклопластик теплоизоляционный ТУ 6-48-00204961-99 |
трудногорючий |
0,25-0,5 |
6-8 |
8-9 |
|
Стеклотекстолит КАСТ-В ГОСТ 10292-74, КАСТ-В-ТЭ ТУ 6-05-031-489-92 |
Г4 |
0,5-1,2 |
6-8 |
8-9 |
|
Пленка винипластовая каландрированная ГОСТ 16398-81 |
Г4 |
0,4-1,0 |
3-4 |
5-6 |
|
Минеральные |
||||
|
Штукатурки асбестоцементная, песчаноцементная |
НГ |
10-20 |
4-5 |
8-10 |
|
Дублированные |
||||
|
Фольга алюминиевая дублированная для теплоизоляционных конструкций ТУ 36.16.22-49-90 |
П |
0,5-1,5 |
4-5 |
6-7 |
|
Фольма-ткань. ТУ 2244-055-00204961-00, марки: (П)-280-0,2, (П)-180-0,12 |
П |
0,12-0,2 |
4-5 |
6-7 |
Примечание. При применении металлических защитных покрытий следует учитывать характер и степень агрессивности окружающей среды и производства.
5.3. Материалы, которые могут применяться для устройства пароизоляционного слоя в составе теплоизоляционных конструкций с теплоизоляционным слоем из экструзионного пенополистирола ПЕНОПЛЭКС® приведены в таблице 5.2.
Таблица 5.2.
|
Наименование материала |
Область применения |
|
Битумы нефтяные строительные ГОСТ 6617-76, битумы дорожные ГОСТ 22245-90 |
Обмазочная пароизоляция, наклейка и проклейка швов пароизоляционных слоев из рулонного материала при температуре окружающей среды от -10 до +70°С. Рекомендуется применять битум марки БН-70/30 |
|
Мастики битумные, битумо-полимерные ТУ 5775-001-29659211-96, ТУ 21-5744710-527-92 |
Обмазочная пароизоляция, наклейка и проклейка швов пароизоляционных слоев из рулонного материала при температуре окружающей среды от -50 до +70°С. |
|
Пленка полиэтиленовая ГОСТ 10354-82 |
Рулонная пароизоляция при температуре не ниже -60°С. Применяется с проклейкой швов липкой лентой. Рекомендуется применять марки С, Т, В |
|
Фольга алюминиевая для технических целей ГОСТ 618-73 |
Рулонная пароизоляция с проклейкой швов клеями, герметиками, или самоклеящимися алюминиевыми лентами |
|
Лента алюминиевая самоклеящаяся ТУ 1811-054-04696843-98 |
Для склеивания швов алюминиевой фольги и фольгированных покрытий и приклеивания их к металлическим покрытиям (проклейка стыков покрытий). |
|
Лента полиэтиленовая с липким слоем ГОСТ 20477-86 |
Проклейка швов пароизоляционного и покровных слоев теплоизоляционных конструкций. Применяется лента марки А при температуре не ниже - 40°С |
|
Лента поливинилхлоридная ГОСТ 16214-86; ТУ 6-19-240-84 |
Проклейка швов пароизоляционного и покровных слоев теплоизоляционных конструкций при температуре не ниже - 40°С |
|
Лента поливинилхлоридная с липким слоем ТУ 95.2322-92 |
Тоже |
|
Лента поливинилбутиральная с липким слоем ГОСТ 9438-85 |
Рулонная пароизоляция и проклейка швов пароизоляционного слоя |
|
Лента герметизирующая «Герлен-Д, Т, Ф» ТУ 5772-009-05108038-98 |
Герметизация швов пароизоляционного и покровного слоев при температуре от минус 60 до +(100-120)°С |
|
Герметизирующий материал Абрис ТУ 2513-001 -43008408-98 |
Для герметизации металлических, бетонных, полимерных и др. поверхностей Температура эксплуатации от -60 до +180°С. Выпускается в виде лент, брикетов, шнуров и мастик. |
|
Герметик марки УТ-34. ГОСТ 24285-90 |
Для герметизации швов металлического покрытия. Температура эксплуатации до минус 60°С. |
|
Рубероид РКП-350 ГОСТ 10923-93 |
Рулонная пароизоляция при температуре не ниже -40°С |
|
Изол ГОСТ 10296-79 |
Рулонная пароизоляция при температуре не ниже - 35°С. С проклейкой швов битумом |
|
Фольгоизол ГОСТ 20429-84 |
Рулонная пароизоляция на битуме или с проклейкой швов битумом Покровный слой. Покрытие устанавливается без проклейки швов |
5.4. Перечень вспомогательных и крепежных материалов и изделий, применяемых в составе теплоизоляционных конструкции с теплоизоляционным слоем из экструзионного пенополистирола ПЕНОПЛЭКС®, приведен в таблице 5.3.
Таблица 5.3.
|
Наименование материала |
Назначение |
Примечания |
|
Лента стальная упаковочная 0,7 × 20 мм ГОСТ 3560-73 |
В качестве бандажей для крепления теплоизоляционного, предохранительного, выравнивающего слоев и покровного слоя из упругих или рулонных материалов. |
Бандажи должны быть покрыты антикоррозионными составами, совместимыми с пенополистиролом. Масса 1 м: 0,11 кг |
|
Проволока стальная низкоуглеродистая общего назначения ГОСТ 3282-74 |
Крепление пароизоляционного, выравнивающего, предохранительного слоев, теплоизоляционного слоя противопожарных вставок и покровного слоя из стеклопластика, изола или рубероида. |
Применяется проволока из Ст. 0 диаметром 1,2 - 2,0 мм. Масса 1000 м,: Ø1,2-8,88 кг; Ø2,0 - 24,65. В конструкциях тепловой изоляции с отрицательными температурами применяется оцинкованная проволока. |
|
Проволока из высоколегированной коррозионно-стойкой и жаростойкой стали ГОСТ 18143-72 |
Крепление пароизоляционного, выравнивающего, предохранительного слоев, теплоизоляционного слоя противопожарных вставок в районах с температурой ниже минус 40 С°. |
Проволока из стали 12Х18Н9Т или 12X18Н10Т диаметром 1,2 -2,0 мм. |
|
Сетки стальные плетеные одинарные с квадратными или ромбическими ячейками ГОСТ 5336-80 |
В качестве армирующего слоя под штукатурное покрытие. |
Применять сетку № 12-1,4 или № 12-1,2 |
|
Лента стальная горячекатаная ГОСТ 6009-74 |
Для изготовления разгружающих устройств |
Применяют ленты 2 × 30, 3 × 30 мм из стали СтЗпс |
|
Винты самонарезающие для металла и пластмасс с потайной или полукруглой головкой ГОСТ 10621-80 |
Крепление металлического покрытия или неметаллического покрытия (картин) с окантовкой металлом. |
Применять винты 4 × 12 с противокоррозионным покрытием (оцинкованные или кадмированные). Масса 1000 шт. стальных винтов 1,193 кг. |
|
Заклепки с полукруглой головкой ГОСТ 10299-80, заклепки трубчатые ГОСТ 26805-86 |
Крепление металлического покрытия, диафрагм, изготовление элементов съемных конструкций, бандажей с замками |
Применять заклепки диаметром 4 мм алюминиевые или стальные с противокоррозионным покрытием |
|
Текстолит конструкционный ГОСТ 5-78, ГОСТ 10292-74 |
Для изготовления элементов диафрагм, разгружающих устройств и прокладок при изоляции поверхностей с отрицательными температурами. |
Текстолит толщиной 3 - 8 мм |
|
Ткань хлопчатобумажная ГОСТ 29298-92, ткань мешочная ГОСТ 30090-93 |
Для оклейки штукатурного слоя конструкций, расположенных на открытом воздухе |
Рекомендуется применять с окраской масляной краской |
|
Битум, битумные мастики и эмульсии ГОСТ 6617-76 |
Для приклеивания к изолируемой поверхности изделий из пенополистирола. |
|
|
Клей РУСЭКСП-ПС ТУ 2252-005-52422383-2003 |
Для склеивания и приклеивания к изолируемой поверхности изделий из пенополистирола. |
двухкомпонентный полиуретановый клей холодного отверждения |
5.5. Состав растворов для изготовления штукатурного покрытия приведен в таблице 5.4.
Таблица 5.4.
|
Раствор |
Нормы расхода компонентов (с учетом влажности и потерь) на 1 м3 раствора |
|
|
компонент |
количество |
|
|
Асбозуритовый |
Асбозурит, т |
0,915 |
|
Вода, м3 |
0,86 |
|
|
Асбозуритоцементный |
Асбозурит, т |
0,76 |
|
Цемент, т |
0,2 |
|
|
Вода, м3 |
1 |
|
|
Асбестоцементный |
Асбест VI сорта, т |
0,313 |
|
Цемент, т |
1,17 |
|
|
Вода, м3 |
1 |
|
|
Цементно-песчаный |
Цемент, т |
0,4 |
|
Песок, м3 |
1,01 |
|
|
Вода, м3 |
1 |
|
5.6. Ориентировочный расход материалов и изделий в конструкции с теплоизоляционным слоем из полуцилиндров или сегментов из экструзионного пенополистирола ПЕНОПЛЭКС® в расчете на 10 п. м изоляции трубопровода приведен в таблице 5.5.
Таблица 5.5.
|
Наименование материала, изделия |
Наружный диаметр трубопровода, мм |
|||||||||
|
57 |
76 |
89 |
||||||||
|
Толщина теплоизоляционного слоя в конструкции, мм |
||||||||||
|
30 |
40 |
80* |
90* |
30 |
40 |
70* |
80* |
90* |
40 |
|
|
Изделия ПЕНОПЛЭКС® объем в конструкции, м3 |
0,085 |
0,126 |
0,352 |
0,426 |
0,104 |
0,151 |
0,33 |
0,404 |
0,451 |
0,17 |
|
Бандаж с пряжкой, шт |
24 |
24 |
48 |
48 |
24 |
24 |
48 |
48 |
48 |
24 |
|
1. Лента 0,7 × 20, кг |
1,4 |
1,6 |
3,8 |
4,0 |
1,6 |
1,7 |
3,8 |
4,0 |
4,3 |
1,9 |
|
2. Пряжка, шт |
24 |
24 |
48 |
48 |
24 |
24 |
48 |
48 |
48 |
24 |
|
Покрытие, м2 |
4,6 |
5,3 |
7,9 |
8,6 |
5,3 |
6,0 |
7,8 |
8,4 |
9,2 |
6,2 |
|
1. Винт, шт |
70 |
70 |
70 |
70 |
70 |
70 |
70 |
70 |
70 |
70 |
|
2. Бандаж с пряжкой, шт |
20 |
20 |
20 |
20 |
20 |
20 |
20 |
20 |
20 |
20 |
|
Планка жесткости, м.п. |
10,4 |
10,4 |
10,4 |
10,4 |
10,4 |
10,4 |
10,4 |
10,4 |
10,4 |
10,4 |
|
Лента герметизирующая, м.п. |
13,8 |
14,4 |
16,9 |
17,5 |
14,4 |
15,0 |
16,9 |
17,7 |
18,4 |
15,3 |
|
Пароизоляционный слой, м2 |
4,6 |
5,3 |
7,9 |
8,6 |
5,3 |
6,0 |
7,8 |
8,4 |
9,2 |
6,3 |
|
Лента с липким слоем, м.п. |
14,8 |
15,4 |
17,9 |
18,5 |
15,4 |
16,0 |
17,9 |
18,5 |
19,2 |
16,3 |
Продолжение таблицы 5.5.
|
Наименование материала, изделия |
Наружный диаметр трубопровода, мм |
|||||||||
|
89 |
108 |
133 |
159 |
|||||||
|
Толщина теплоизоляционного слоя в конструкции, мм |
||||||||||
|
50 |
40 |
50 |
90* |
100* |
40 |
50 |
80* |
90* |
40 |
|
|
Изделия ПЕНОПЛЭКС® объем в конструкции, м3 |
0,228 |
0,195 |
0,259 |
0,591 |
0,691 |
0,226 |
0,30 |
0,56 |
0,66 |
0,26 |
|
Бандаж с пряжкой, шт |
24 |
24 |
24 |
48 |
48 |
24 |
24 |
48 |
48 |
24 |
|
1. Лента 0,7 × 20, кг |
2,0 |
2,0 |
2,2 |
5,2 |
5,3 |
2,3 |
2,4 |
5,2 |
5,3 |
2,4 |
|
2. Пряжка, шт |
24 |
24 |
24 |
48 |
48 |
24 |
24 |
48 |
48 |
24 |
|
Покрытие, м2 |
7,0 |
6,9 |
7,6 |
10,3 |
10,9 |
7,6 |
8,2 |
10,3 |
11,0 |
8,4 |
|
1. Винт, шт |
70 |
70 |
70 |
70 |
70 |
70 |
70 |
70 |
70 |
70 |
|
2. Бандаж с пряжкой, шт |
20 |
20 |
20 |
20 |
20 |
20 |
20 |
20 |
20 |
20 |
|
Планка жесткости, м.п. |
10,4 |
10,4 |
10,4 |
10,4 |
10,4 |
10,4 |
10,4 |
10,4 |
10,4 |
10,4 |
|
Лента герметизирующая, м.п. |
16,2 |
16,2 |
16,8 |
19,6 |
20,2 |
16,9 |
17,5 |
19,6 |
20,2 |
17,7 |
|
Пароизоляционный слой, м2 |
7,1 |
7,1 |
7,8 |
11,1 |
11,8 |
8,0 |
8,7 |
11,0 |
11,8 |
8,9 |
|
Лента с липким слоем, п.м |
17,1 |
17,1 |
17,6 |
20,6 |
21,1 |
17,9 |
18,6 |
20,6 |
21,3 |
18,7 |
Продолжение таблицы 5.5.
|
Наименование материала, изделия |
Наружный диаметр трубопровода, мм |
|||||||||
|
159 |
219 |
273 |
325 |
|||||||
|
Толщина теплоизоляционного слоя в конструкции, мм |
||||||||||
|
50 |
40 |
50 |
100* |
110* |
50 |
60 |
50 |
60 |
100* |
|
|
Изделия ПЕНОПЛЭКС® объем в конструкции, м3 |
0,34 |
0,33 |
0,43 |
1,03 |
1,17 |
0,52 |
0,64 |
0,60 |
0,74 |
1,38 |
|
Бандаж с пряжкой, шт |
24 |
24 |
24 |
48 |
48 |
24 |
24 |
24 |
24 |
48 |
|
1. Лента 0,7 × 20, кг |
2,6 |
2,8 |
3,1 |
7,1 |
7,3 |
3,6 |
3,7 |
4,0 |
4,2 |
8,8 |
|
2. Пряжка, шт |
24 |
24 |
24 |
48 |
48 |
24 |
24 |
24 |
24 |
48 |
|
Покрытие, м2 |
9,2 |
10,5 |
11,2 |
14,7 |
15,4 |
13,1 |
13,8 |
14,9 |
15,6 |
18,3 |
|
1. Винт, шт |
70 |
70 |
70 |
140 |
140 |
140 |
140 |
140 |
140 |
140 |
|
2. Бандаж с пряжкой, шт |
20 |
20 |
20 |
20 |
20 |
20 |
20 |
20 |
20 |
20 |
|
Планка жесткости, м.п. |
10,4 |
10,4 |
10,4 |
10,4 |
10,4 |
10,4 |
10,4 |
20,8 |
20,8 |
20,8 |
|
Лента герметизирующая, м.п. |
18,3 |
19,6 |
20,2 |
23,5 |
24,2 |
22,0 |
22,6 |
23,5 |
24,2 |
26,8 |
|
Пароизоляционный слой, м2 |
6,9 |
11,1 |
11,8 |
15,6 |
16,3 |
13,7 |
14,5 |
15,6 |
16,3 |
19,3 |
|
Лента с липким слоем, п.м. |
19,3 |
20,6 |
21,3 |
24,5 |
25,2 |
23,0 |
23,6 |
24,5 |
25,2 |
27,8 |
Продолжение таблицы 5.5.
|
Наименование материала, изделия |
Наружный диаметр трубопровода, мм |
|||||||||
|
325 |
426 |
529 |
||||||||
|
Толщина теплоизоляционного слоя в конструкции, мм |
||||||||||
|
110* |
130 |
50 |
60 |
80 |
100* |
110* |
130 |
50 |
60 |
|
|
Изделия ПЕНОПЛЭКС® объем в конструкции, м3 |
1,53 |
1,89 |
0,76 |
0,93 |
1,30 |
1,69 |
1,90 |
2,32 |
0,93 |
1,14 |
|
Бандаж с пряжкой, шт |
48 |
48 |
24 |
24 |
24 |
48 |
48 |
48 |
24 |
24 |
|
1. Лента 0,7 × 20, кг |
8,9 |
9,4 |
4,9 |
5,0 |
5,4 |
10,6 |
10,8 |
11,1 |
5,7 |
5,9 |
|
2. Пряжка, шт |
48 |
48 |
24 |
24 |
24 |
48 |
48 |
48 |
24 |
24 |
|
Покрытие, м2 |
19,0 |
20,4 |
18,5 |
19,2 |
20,5 |
22,0 |
22,7 |
24,0 |
22,1 |
22,8 |
|
1. Винт, шт |
140 |
140 |
140 |
140 |
140 |
182 |
182 |
189 |
182 |
182 |
|
2. Бандаж с пряжкой, шт |
20 |
20 |
20 |
20 |
20 |
20 |
- |
- |
20 |
20 |
|
Планка жесткости, м.п. |
20,8 |
20,8 |
20,8 |
20,8 |
20,8 |
20,8 |
- |
- |
20,8 |
20,8 |
|
Лента герметизирующая, м.п. |
27,5 |
28,7 |
26,8 |
27,3 |
28,5 |
30,1 |
30,7 |
32,0 |
30,1 |
30,7 |
|
Пароизоляционный слой, м2 |
20,0 |
21,5 |
19,3 |
20,0 |
21,5 |
23,1 |
23,9 |
25,3 |
23,1 |
23,9 |
|
Лента с липким слоем, п.м. |
28,5 |
30,0 |
27,8 |
28,5 |
30,0 |
31,1 |
31,8 |
33,0 |
31,1 |
31,8 |
Продолжение таблицы 5.5.
|
Наименование материала, изделия |
Наружный диаметр трубопровода, мм |
|||||||||
|
529 |
630 |
720 |
||||||||
|
Толщина теплоизоляционного слоя в конструкции, мм |
||||||||||
|
80 |
100* |
110* |
130* |
50 |
60 |
80 |
50 |
60 |
80 |
|
|
Изделия ПЕНОПЛЭКС® объем в конструкции, м3 |
1,55 |
2,01 |
2,25 |
2,74 |
1,08 |
1,32 |
1,81 |
1,22 |
1,49 |
2,04 |
|
Бандаж с пряжкой, шт |
24 |
48 |
48 |
48 |
24 |
24 |
24 |
24 |
24 |
24 |
|
1. Лента 0,7 × 20, кг |
6,2 |
12,3 |
12,4 |
12,8 |
6,6 |
6,7 |
7,1 |
7,3 |
7,5 |
7,8 |
|
2. Пряжка, шт |
24 |
48 |
48 |
48 |
24 |
24 |
24 |
24 |
24 |
24 |
|
Покрытие, м2 |
24,2 |
25,5 |
26,3 |
27,6 |
25,5 |
26,3 |
27,6 |
28,7 |
29,4 |
30,7 |
|
Винт самонарезающий, шт |
259 |
259 |
266 |
266 |
259 |
259 |
259 |
260 |
266 |
266 |
|
Лента герметизирующая, м.п. |
32,0 |
33,3 |
33,9 |
35,1 |
33,3 |
33,9 |
35,1 |
36,1 |
36,7 |
37,6 |
|
Пароизоляционный слой, м2 |
25,3 |
26,7 |
27,5 |
28,9 |
25,1 |
26,0 |
27,3 |
30,0 |
30,7 |
32,1 |
|
Лента с липким слоем, п.м. |
33,0 |
34,8 |
35,4 |
36,6 |
34,8 |
35,4 |
36,6 |
37,6 |
38,2 |
39,5 |
Продолжение таблицы 5.5.
|
Наименование материала, изделия |
Наружный диаметр трубопровода, мм |
|||||||||
|
720 |
820 |
920 |
||||||||
|
Толщина теплоизоляционного слоя в конструкции, мм |
||||||||||
|
100* |
110* |
130* |
50 |
60 |
80 |
100* |
110* |
130* |
50 |
|
|
Изделия ПЕНОПЛЭКС® объем в конструкции, м3 |
2,60 |
2,90 |
3,51 |
1,38 |
1,68 |
2,29 |
2,92 |
3,24 |
3,92 |
1,54 |
|
Бандаж с пряжкой, шт |
48 |
48 |
48 |
24 |
24 |
24 |
48 |
48 |
48 |
24 |
|
1. Лента 0,7 × 20, кг |
15,4 |
15,7 |
15,9 |
8,1 |
8,4 |
8,6 |
17,1 |
17,2 |
17,6 |
9,0 |
|
2. Пряжка, шт |
48 |
48 |
48 |
24 |
24 |
24 |
48 |
48 |
48 |
24 |
|
Покрытие, м2 |
32,1 |
32,8 |
34,2 |
32,1 |
32,8 |
34,2 |
35,6 |
36,3 |
37,6 |
35,6 |
|
Винт самонарезающий, шт |
273 |
273 |
273 |
348 |
350 |
350 |
350 |
357 |
357 |
343 |
|
Лента герметизирующая, м.п. |
39,2 |
39,9 |
41,1 |
39,2 |
39,9 |
41,1 |
42,3 |
43,0 |
44,2 |
42,3 |
|
Пароизоляционный слой, м2 |
33,6 |
34,3 |
35,8 |
33,6 |
34,3 |
35,8 |
37,2 |
37,9 |
39,4 |
37,2 |
|
Лента с липким слоем, п.м. |
40,7 |
41,3 |
42,6 |
40,7 |
41,3 |
42,6 |
43,9 |
44,5 |
45,8 |
43,9 |
Продолжение таблицы 5.5.
|
Наименование материала, изделия |
Наружный диаметр трубопровода, мм |
|||||||||
|
920 |
1020 |
|||||||||
|
Толщина теплоизоляционного слоя в конструкции, мм |
||||||||||
|
60 |
80 |
110* |
130* |
150* |
60 |
80 |
100 |
160* |
180* |
|
|
Изделия ПЕНОПЛЭКС® объем в конструкции, м3 |
1,86 |
2,53 |
3,59 |
4,31 |
5,09 |
2,05 |
2,80 |
3,55 |
5,99 |
6,84 |
|
Бандаж с пряжкой, шт |
24 |
24 |
48 |
48 |
48 |
24 |
24 |
24 |
48 |
48 |
|
1. Лента 0,7 × 20, кг |
9,1 |
9,5 |
19,0 |
19,3 |
19,6 |
10,0 |
10,3 |
10,6 |
22,2 |
22,6 |
|
2. Пряжка, шт |
24 |
24 |
48 |
48 |
48 |
24 |
24 |
24 |
48 |
48 |
|
Покрытие, м2 |
36,3 |
37,6 |
39,7 |
41,1 |
42,5 |
39,7 |
41,1 |
42,5 |
46,6 |
48,0 |
|
Винт самонарезающий, шт |
350 |
350 |
354 |
360 |
364 |
357 |
357 |
357 |
434 |
441 |
|
Лента герметизирующая, м.п. |
43,0 |
44,2 |
46,1 |
47,4 |
48,6 |
46,1 |
47,4 |
48,6 |
52,4 |
53,6 |
|
Пароизоляционный слой, м2 |
37,9 |
39,4 |
41,5 |
43,0 |
44,4 |
41,5 |
43,0 |
44,4 |
48,8 |
50,2 |
|
Лента с липким слоем, м2 |
44,5 |
45,8 |
47,6 |
49,0 |
50,2 |
47,6 |
49,0 |
50,2 |
54,0 |
55,2 |
Продолжение таблицы 5.5.
|
Наименование материала, изделия |
Наружный диаметр трубопровода, мм |
|||||||||
|
1020 |
1220 |
1420 |
||||||||
|
Толщина теплоизоляционного слоя в конструкции, мм |
||||||||||
|
200* |
60 |
80 |
100 |
160* |
180* |
200* |
60 |
80 |
100 |
|
|
Изделия ПЕНОПЛЭКС® объем в конструкции, м3 |
7,73 |
2,44 |
3,29 |
4,18 |
6,99 |
7,97 |
8,98 |
2,81 |
3,79 |
4,80 |
|
Бандаж с пряжкой, шт |
48 |
24 |
24 |
24 |
48 |
48 |
48 |
24 |
24 |
24 |
|
1. Лента 0,7 × 20, кг |
22,9 |
11,6 |
12,0 |
12,3 |
25,6 |
25,9 |
26,4 |
13,3 |
13,6 |
14,1 |
|
2. Пряжка, шт |
48 |
24 |
24 |
24 |
48 |
48 |
48 |
24 |
24 |
24 |
|
Покрытие, м2 |
49,4 |
46,7 |
48,0 |
49,4 |
53,5 |
54,9 |
56,3 |
53,5 |
54,9 |
56,3 |
|
Винт самонарезающий, шт |
441 |
434 |
441 |
441 |
448 |
455 |
455 |
448 |
455 |
455 |
|
Лента герметизирующая, м.п. |
54,9 |
52,4 |
53,6 |
54,9 |
58,7 |
60,0 |
61,2 |
58,7 |
60,0 |
61,2 |
|
Пароизоляционный слой, м2 |
51,6 |
48,8 |
50,2 |
51,6 |
56,0 |
57,4 |
58,9 |
56,0 |
57,4 |
58,9 |
|
Лента с липким слоем, м2 |
56,4 |
54,0 |
55,2 |
56,4 |
60,2 |
61,4 |
62,7 |
60,2 |
61,4 |
62,7 |
Примечания.
1. Для крепления покрытия применять винты (1) или бандажи с пряжками (2).
2. Бандажи по покрытию устанавливать до диаметра конструкции (по изоляции) до 600 мм.
3. Планка жесткости применяется для элементов покрытия из упругих материалов.
4. Лента герметизирующая применяется, если требуется герметизация швов покрытия.
* толщина двухслойной изоляции
Расчет толщины теплоизоляционного слоя из экструдированного пенополистирола ПЕНОПЛЭКС® для конструкций тепловой изоляции трубопроводов производится в зависимости от её назначения.
Тепловая изоляция трубопроводов с положительными температурами
теплоносителя может выполняться:
- с целью обеспечения заданной или нормативной плотности теплового потока;
- с целью обеспечения допустимой температуры на поверхности изоляции;
- в соответствии с технологическими требованиями (например, предотвращения снижения или повышения температуры теплоносителя в трубопроводе и т.д.);
Тепловая изоляция трубопроводов с отрицательными температурами теплоносителя может выполняться:
- в соответствии с технологическими требованиями;
- с целью предотвращения или ограничения испарения теплоносителя;
- с целью предотвращения конденсации на поверхности изолированного объекта, расположенного в помещении;
- с целью предотвращения повышения температуры теплоносителя не выше заданного значения
- по нормам плотности теплового потока (тепловых потерь).
Тепловая изоляция трубопроводов холодной воды может выполняться:
- с целью предотвращения конденсации влаги на поверхности трубопровода, расположенного в помещении;
- с целью предотвращения замерзания воды при остановке её движения в трубопроводе, расположенном на открытом воздухе.
6.1.1. Допустимое значение плотности теплового потока с поверхности изолированного объекта может определяться требованиями технологического процесса, общим тепловым балансом предприятия или нормативными значениями плотности теплового потока.
Нормы плотности теплового потока для изолированных трубопроводов с положительными и отрицательными температурами теплоносителя следует принимать по таблицам 2 - 7 СНиП 41-03-2003 «Тепловая изоляция оборудования и трубопроводов».
Нормы плотности теплового потока для изолированных трубопроводов с положительными температурами теплоносителя объектов, расположенных в Екатеринбурге и Свердловской области, следует принимать по приложению 7 ТСН 23-337-2002 Свердловской области «Тепловая изоляция оборудования и трубопроводов».
Нормы плотности теплового потока для изолированных трубопроводов с положительными температурами теплоносителя объектов, расположенных в Ямало-Ненецком Автономном округе, следует принимать по приложению 7 ТСН 41-309-2004 ЯНАО «Тепловая изоляция оборудования и трубопроводов».
6.1.2. Расчетная толщина тепловой изоляции трубопроводов надземной прокладки, определяемая по заданной плотности теплового потока, зависит от расположения изолируемого объекта (на открытом воздухе или в помещении), температуры окружающего воздуха(t0), температуры теплоносителя (tm), наружного диаметра трубопровода (dн) и величины заданного или нормативного теплового потокам dI.
Для трубопроводов наружным диаметром до 1420 мм включительно, толщина тепловой изоляции по заданной (нормированной) линейной плотности теплового потока (плотность теплового потока с метра длины) при заданной температуре определяется по формуле (6.1.1 - 6.1.2):
где: dн - наружный диаметр изоляционной конструкции, м;
dиз - наружный диаметр изолируемого трубопровода, м;
tm - температура теплоносителя, °С;
t0 - среднегодовая температура окружающего воздуха - для трубопроводов, расположенных на открытом воздухе, или температура в помещении, °С,
λиз - коэффициент теплопроводности теплоизоляционного слоя, Вт/(м∙°С);
qI - нормированная линейная плотность теплового потока (с 1 метра длины), Вт/м,
αн - коэффициент теплоотдачи от поверхности изоляции в
окружающий воздух, Вт/(м2∙°С).
δиз - толщина изоляции, м.
6.1.3. Нормы плотности теплового потока (qj) через изолированную поверхность объектов расположенных в Европейском регионе России, следует принимать по таблицам СНиП 41-03-2003:
для трубопроводов с положительными температурами, расположенных:
- на открытом воздухе - по таблицам 2 и 3;
- в помещении - по таблицам 4 и 5;
для оборудования и трубопроводов с отрицательными температурами, расположенных:
- на открытом воздухе - по таблице 6;
- в помещении - по таблице 7.
При расположении изолируемых объектов в других регионах страны следует применять коэффициент К, (табл. 13 СНиП) учитывающий изменение стоимости теплоты в зависимости от района строительства и способа прокладки трубопровода (места установки оборудования):
6.1.4. Плотность теплового потока, отличающуюся от нормированной, при расчетах толщины тепловой изоляции по заданной плотности определяют, исходя из условий технологического процесса или общего баланса тепла всего объекта. Расчет проводят по формулам (6.1.1 - 6.1.2).
6.1.5. Теплопроводность сегментов и полуцилиндров из пенополистирола ПЕНОПЛЭКС® в конструкции принимают при средней температуре теплоизоляционного слоя, определяемой как среднеарифметическое значение между температурой изолируемой поверхности и температурой поверхности изоляции.
Расчетную теплопроводность (λиз) изделий из пенополистирола ПЕНОПЛЭКС® марок 35 и 45 в конструкциях тепловой изоляции трубопроводов следует принимать с коэффициентом запаса, учитывающим влияние швов и изменение коэффициента теплопроводности в процессе эксплуатации по таблице 6.1.1.
|
Средняя температура слоя, °С |
25 |
75 |
От 19 до -50 |
|
Коэффициент теплопроводности, Вт/(м∙°С) |
|||
|
марка 35 |
0,03 |
0,037 |
0,03 |
|
марка 45 |
0,032 |
0,037 |
0,032 |
6.1.6. За расчетную температуру окружающей среды при расчетах по нормированной плотности теплового потока следует принимать:
а) для изолируемых трубопроводов, расположенных на открытом воздухе:
tcpm для технологического трубопроводов - среднюю за год;
tcpm для трубопроводов тепловых сетей при круглогодичной работе - среднюю за год;
tcpm для трубопроводов тепловых сетей, работающих только в отопительный период, - среднюю за период со среднесуточной температурой наружного воздуха 8°С и ниже;
б) для изолируемых поверхностей, расположенных в помещении - +20°С;
в) для трубопроводов, расположенных в. тоннелях - +40°С;
6.1.7. Расчетную температуру теплоносителя следует принимать в соответствии с заданием на проектирование
6.1.8. Коэффициент теплоотдачи от поверхности изоляции к окружающему воздуху, αн, при расчетах по нормированной или заданной плотности теплового потока рекомендуется принимать по таблице 6.1.2.
Таблица 6.1.2.
|
Температура теплоносителя °С |
Изолируемые трубопроводы |
Коэффициент теплоотдачи, αн, Вт/(м2∙оС), при расположении трубопроводов |
|||
|
в помещениях
для покрытий с
коэффициентом излучения |
на открытом воздухе, для покрытий с коэффициентом излучения, С, Вт/(м2∙К4) |
||||
|
≤ 2,33 |
>2,33 |
≤ 2,33 |
>2,33 |
||
|
20-75 |
вертикальные |
7 |
12 |
35 |
35 |
|
горизонтальные |
6 |
11 |
29 |
29 |
|
|
19 и менее |
вертикальные и горизонтальные |
6 |
11 |
29 |
29 |
Примечание. К материалам для покровного слоя с коэффициентом излучения С ≤ 2,33 Вт/(м2∙К4) относятся нержавеющая и тонколистовая оцинкованная сталь, листы и ленты из алюминия и алюминиевых сплавов, алюминиевая фольга, а также другие материалы, окрашенные алюминиевой краской. К покрытиям с коэффициентом излучения С > 2,33 С Вт/(м2∙К4) относятся стеклопластики рулонные и прочие материалы на основе синтетических и природных полимеров, штукатурки, другие материалы, окрашенные различными красками, кроме алюминиевой.
6.1.9. Толщина тепловой изоляции из пенополистирола ПЕНОПЛЭКС® в конструкции принимается в соответствии с номенклатурой изделий.
Если расчетное значение толщины изоляции из полуцилиндров и сегментов для трубопроводов наружным диаметром 57 - 320 мм менее чем на 3 мм больше, чем ближайшее значение кратное 10 мм, принимается его меньшее значение, если расчетная толщина изоляции больше более, чем на 3 мм, ближайшего кратного 10 мм значения, принимается, соответственно, его большее значение.
Если расчетное значение толщины изоляции из сегментов для трубопроводов наружным диаметром 325 - 1420 мм больше на 5 мм и более, чем ближайшее значение кратное 20 мм по техническим условиям, принимается более высокое значение толщины выпускаемых сегментов. (Например, если расчетная толщина теплоизоляционного слоя из сегментов для трубопровода диаметром 1020 мм равна 85 мм, следует принимать толщину в конструкции 100 мм.).
6.1.10. В таблицах 6.1.3. - 6.1.8. приведены расчетные значения толщины теплоизоляционного слоя из сегментов и полуцилиндров из экструзионного пенополистирола ПЕНОПЛЭКС® марок 35 и 45, отвечающие нормам плотности теплового потока, в конструкциях тепловой изоляции трубопроводов с положительными температурами транспортируемых веществ для Европейского региона России, при расположении на открытом воздухе и в помещении при числе часов работы более 5000 и 5000 и менее.
При определении толщины теплоизоляционного слоя расчетная теплопроводность теплоизоляционного слоя из полуцилиндров или сегментов из экструзионного пенополистирола ПЕНОПЛЭКС® марок 35 и 45 принималась на основании данных таблицы 6.1.1.
Нормы плотности теплового потока приняты по таблицам 2 - 5 СНиП 41-03-2003 «Тепловая изоляция оборудования и трубопроводов».
Таблица 6.1.3. Расчетная толщина теплоизоляционного слоя из пенополистирола ПЕНОПЛЭКС® марки 35, отвечающая нормам плотности теплового потока по СНиП 41-03-2003, в конструкциях тепловой изоляции трубопроводов с положительными температурами теплоносителя при числе часов работы более 5000 при расположении на открытом воздухе.
|
Наружный диаметр, |
Температура теплоносителя, °С |
||||||
|
20 |
30 |
40 |
50 |
60 |
70 |
75 |
|
|
Толщина теплоизоляционного слоя из пенополистирола ПЕНОПЛЭКС® марки 35, мм |
|||||||
|
57 |
16 |
19 |
22 |
23 |
25 |
27 |
28 |
|
76 |
18 |
22 |
24 |
26 |
29 |
31 |
32 |
|
89 |
18 |
23 |
26 |
29 |
31 |
34 |
35 |
|
108 |
19 |
24 |
27 |
30 |
33 |
36 |
37 |
|
133 |
21 |
26 |
30 |
33 |
36 |
39 |
40 |
|
159 |
22 |
28 |
32 |
35 |
38 |
41 |
43 |
|
219 |
23 |
30 |
35 |
39 |
42 |
45 |
47 |
|
273 |
25 |
32 |
36 |
40 |
44 |
48 |
50 |
|
325 |
26 |
32 |
36 |
39 |
43 |
47 |
49 |
|
426 |
24 |
31 |
36 |
40 |
44 |
48 |
50 |
|
530 |
25 |
32 |
38 |
42 |
46 |
50 |
52 |
|
630 |
26 |
33 |
39 |
42 |
47 |
51 |
53 |
|
720 |
27 |
34 |
39 |
43 |
48 |
52 |
54 |
|
820 |
27 |
34 |
40 |
44 |
49 |
53 |
55 |
|
920 |
27 |
35 |
41 |
45 |
50 |
54 |
56 |
|
1020 |
27 |
35 |
41 |
45 |
50 |
55 |
57 |
|
1420 |
28 |
36 |
42 |
47 |
52 |
57 |
59 |
Таблица 6.1.4. Расчетная толщина теплоизоляционного слоя из пенополистирола ПЕНОПЛЭКС® марки 45, отвечающая нормам плотности теплового потока по СНиП 41-03-2003, в конструкциях тепловой изоляции трубопроводов с положительными температурами теплоносителя при числе часов работы более 5000 при расположении на открытом воздухе.
|
Наружный диаметр, |
Температура теплоносителя, °С |
|
|||||
|
20 |
30 |
40 |
50 |
60 |
70 |
75 |
|
|
Толщина теплоизоляционного слоя из пенополистирола ПЕНОПЛЭКС® марки 45, мм |
|||||||
|
57 |
18 |
22 |
24 |
26 |
28 |
29 |
30 |
|
76 |
20 |
24 |
27 |
29 |
31 |
33 |
34 |
|
89 |
20 |
25 |
28 |
31 |
34 |
36 |
37 |
|
108 |
21 |
26 |
30 |
33 |
36 |
38 |
39 |
|
133 |
23 |
29 |
33 |
36 |
39 |
41 |
42 |
|
159 |
24 |
31 |
35 |
38 |
41 |
44 |
45 |
|
219 |
26 |
33 |
38 |
42 |
45 |
48 |
50 |
|
273 |
28 |
35 |
40 |
43 |
47 |
51 |
52 |
|
325 |
29 |
35 |
39 |
42 |
46 |
50 |
52 |
|
426 |
27 |
34 |
39 |
43 |
47 |
51 |
53 |
|
530 |
27 |
35 |
41 |
45 |
49 |
53 |
55 |
|
630 |
29 |
36 |
42 |
46 |
50 |
54 |
56 |
|
720 |
29 |
37 |
42 |
46 |
51 |
55 |
57 |
|
820 |
29 |
37 |
43 |
47 |
52 |
56 |
58 |
|
920 |
30 |
38 |
44 |
48 |
53 |
57 |
59 |
|
1020 |
30 |
38 |
44 |
48 |
53 |
58 |
62 |
|
1420 |
31 |
40 |
46 |
50 |
55 |
60 |
62 |
Таблица 6.1.5. Расчетная толщина теплоизоляционного слоя из пенополистирола ПЕНОПЛЭКС® марки 35, отвечающая нормам плотности теплового потока по СНиП 41-03-2003, в конструкциях тепловой изоляции трубопроводов с положительными температурами теплоносителя при числе часов работы 5000 и менее при расположении на открытом воздухе.
|
Наружный диаметр, |
Температура теплоносителя, °С |
||||||
|
20 |
30 |
40 |
50 |
60 |
70 |
75 |
|
|
Толщина теплоизоляционного слоя из пенополистирола ПЕНОПЛЭКС® марки 35, мм |
|||||||
|
57 |
13 |
16 |
18 |
19 |
21 |
23 |
24 |
|
76 |
15 |
18 |
21 |
22 |
24 |
26 |
27 |
|
89 |
15 |
19 |
21 |
23 |
25 |
27 |
28 |
|
108 |
17 |
20 |
23 |
25 |
28 |
30 |
31 |
|
133 |
17 |
21 |
24 |
27 |
29 |
32 |
33 |
|
159 |
18 |
23 |
26 |
29 |
32 |
34 |
35 |
|
219 |
20 |
25 |
28 |
31 |
34 |
37 |
38 |
|
273 |
21 |
26 |
30 |
33 |
36 |
39 |
41 |
|
325 |
21 |
27 |
31 |
34 |
38 |
41 |
42 |
|
426 |
20 |
25 |
29 |
32 |
36 |
39 |
42 |
|
530 |
21 |
26 |
30 |
33 |
37 |
40 |
42 |
|
630 |
21 |
27 |
31 |
34 |
38 |
41 |
43 |
|
720 |
21 |
27 |
32 |
35 |
39 |
42 |
44 |
|
820 |
21 |
28 |
32 |
35 |
39 |
43 |
45 |
|
920 |
21 |
28 |
32 |
36 |
40 |
44 |
45 |
|
1020 |
22 |
28 |
33 |
36 |
40 |
44 |
45 |
|
1420 |
22 |
29 |
34 |
37 |
42 |
46 |
48 |
Таблица 6.1.6. Расчетная толщина теплоизоляционного слоя из пенополистирола ПЕНОПЛЭКС® марки 45, отвечающая нормам плотности теплового потока по СНиП 41-03-2003, в конструкциях тепловой изоляции трубопроводов с положительными температурами теплоносителя при числе часов работы 5000 и менее при расположении на открытом воздухе.
|
Наружный диаметр, |
Температура теплоносителя, °С |
||||||
|
20 |
30 |
40 |
50 |
60 |
70 |
75 |
|
|
Толщина теплоизоляционного слоя из пенополистирола ПЕНОПЛЭКС® марки 45, мм |
|||||||
|
57 |
15 |
18 |
20 |
21 |
23 |
25 |
26 |
|
76 |
17 |
20 |
23 |
24 |
26 |
28 |
29 |
|
89 |
17 |
21 |
23 |
25 |
27 |
29 |
30 |
|
108 |
18 |
22 |
25 |
27 |
30 |
32 |
33 |
|
133 |
18 |
23 |
26 |
29 |
31 |
34 |
35 |
|
159 |
20 |
25 |
29 |
31 |
34 |
36 |
37 |
|
219 |
22 |
27 |
31 |
33 |
36 |
39 |
40 |
|
273 |
23 |
29 |
33 |
35 |
39 |
42 |
43 |
|
325 |
23 |
30 |
34 |
37 |
40 |
43 |
45 |
|
426 |
22 |
28 |
32 |
34 |
38 |
41 |
43 |
|
530 |
23 |
29 |
33 |
36 |
39 |
42 |
43 |
|
630 |
23 |
29 |
33 |
37 |
40 |
44 |
45 |
|
720 |
23 |
30 |
34 |
37 |
41 |
45 |
46 |
|
820 |
23 |
30 |
34 |
38 |
42 |
45 |
47 |
|
920 |
23 |
30 |
35 |
38 |
43 |
46 |
48 |
|
1020 |
24 |
31 |
35 |
39 |
43 |
46 |
49 |
|
1420 |
24 |
31 |
36 |
40 |
44 |
48 |
50 |
Таблица 6.1.7. Расчетная толщина теплоизоляционного слоя из пенополистирола ПЕНОПЛЭКС®, отвечающая нормам плотности теплового потока по СНиП 41-03-2003, в конструкциях тепловой изоляции трубопроводов с положительными температурами теплоносителя при числе часов работы более 5000 при расположении в помещении.
|
Наружный диаметр, |
Температура теплоносителя, °С |
|||||||
|
50 |
60 |
70 |
75 |
50 |
60 |
70 |
75 |
|
|
Толщина теплоизоляционного слоя, мм, из пенополистирола ПЕНОПЛЭКС® марки |
||||||||
|
35 |
45 |
|||||||
|
57 |
19 |
21 |
23 |
24 |
20 |
22 |
24 |
25 |
|
76 |
20 |
23 |
26 |
27 |
21 |
24 |
27 |
28 |
|
89 |
21 |
25 |
28 |
29 |
22 |
26 |
29 |
30 |
|
108 |
24 |
28 |
31 |
32 |
25 |
29 |
32 |
33 |
|
133 |
26 |
29 |
32 |
34 |
27 |
31 |
33 |
35 |
|
159 |
27 |
31 |
35 |
37 |
28 |
33 |
36 |
38 |
|
219 |
30 |
35 |
39 |
41 |
31 |
36 |
40 |
41 |
|
273 |
31 |
36 |
40 |
42 |
32 |
38 |
42 |
43 |
|
325 |
33 |
38 |
42 |
44 |
34 |
40 |
44 |
45 |
|
426 |
34 |
40 |
45 |
47 |
36 |
42 |
46 |
48 |
|
530 |
35 |
42 |
47 |
49 |
37 |
43 |
48 |
50 |
|
630 |
37 |
43 |
48 |
51 |
38 |
45 |
50 |
52 |
|
720 |
37 |
44 |
49 |
52 |
39 |
45 |
50 |
53 |
|
820 |
38 |
45 |
50 |
53 |
40 |
46 |
52 |
54 |
|
920 |
39 |
46 |
51 |
53 |
40 |
47 |
52 |
55 |
|
1020 |
39 |
46 |
52 |
54 |
40 |
47 |
53 |
55 |
|
1420 |
40 |
48 |
53 |
56 |
42 |
49 |
55 |
57 |
Таблица 6.1.8. Расчетная толщина теплоизоляционного слоя из пенополистирола ПЕНОПЛЭКС®, отвечающая нормам плотности теплового потока по СНиП 41-03-2003, в конструкциях тепловой изоляции трубопроводов с положительными температурами теплоносителя при числе часов работы 5000 и менее при расположении в помещении.
|
Наружный диаметр, |
Температура теплоносителя, °С |
|||||||
|
50 |
60 |
70 |
75 |
50 |
60 |
70 |
75 |
|
|
Толщина теплоизоляционного слоя, мм из пенополистирола ПЕНОПЛЭКС® марки |
||||||||
|
35 |
45 |
|||||||
|
57 |
16 |
18 |
20 |
21 |
16 |
19 |
21 |
22 |
|
76 |
17 |
20 |
22 |
23 |
18 |
21 |
23 |
24 |
|
89 |
20 |
23 |
25 |
26 |
20 |
22 |
24 |
25 |
|
108 |
22 |
25 |
28 |
29 |
21 |
24 |
26 |
27 |
|
133 |
22 |
25 |
28 |
30 |
23 |
26 |
28 |
29 |
|
159 |
24 |
28 |
31 |
33 |
23 |
26 |
29 |
30 |
|
219 |
24 |
28 |
31 |
33 |
25 |
29 |
32 |
34 |
|
273 |
26 |
30 |
33 |
35 |
27 |
31 |
34 |
36 |
|
325 |
27 |
31 |
35 |
36 |
28 |
32 |
36 |
37 |
|
426 |
28 |
33 |
37 |
39 |
29 |
34 |
38 |
39 |
|
530 |
29 |
34 |
38 |
40 |
30 |
35 |
39 |
41 |
|
630 |
30 |
35 |
39 |
41 |
31 |
36 |
40 |
42 |
|
720 |
30 |
36 |
40 |
42 |
32 |
37 |
41 |
43 |
|
820 |
31 |
36 |
41 |
43 |
32 |
37 |
42 |
44 |
|
920 |
31 |
37 |
41 |
44 |
32 |
38 |
42 |
44 |
|
1020 |
31 |
37 |
41 |
44 |
32 |
38 |
42 |
44 |
|
1420 |
32 |
38 |
43 |
45 |
33 |
39 |
44 |
46 |
6.1.11. В таблицах 6.1.9. - 6.1.11. приведены расчетные значения толщины теплоизоляционного слоя из сегментов и полуцилиндров из экструзионного пенополистирола ПЕНОПЛЭКС® марок 35 и 45, отвечающие нормам плотности теплового потока, в конструкциях тепловой изоляции трубопроводов объектов, расположенных в г. Екатеринбурге.
Нормы приняты в соответствии с приложением 7 ТСН 23-337-2002 Свердловской области «Проектирование тепловой изоляции оборудования и трубопроводов».
При определении толщины теплоизоляционного слоя расчетная теплопроводность принималась на основании данных таблицы 6.1.1.
Таблица 6.1.10. Расчетная толщина теплоизоляционного слоя из пенополистирола ПЕНОПЛЭКС® марки 35, отвечающая нормам плотности теплового потока по ТСН 23-337-2002 Свердловской обл., в конструкциях тепловой изоляции трубопроводов с положительными температурами теплоносителя при расположении на открытом воздухе в г. Екатеринбурге.
|
Наружный диаметр, мм |
Температура теплоносителя, С |
||||||
|
20 |
30 |
40 |
50 |
60 |
70 |
75 |
|
|
Толщина теплоизоляционного слоя из пенополистирола ПЕНОПЛЭКС® марки 35, мм |
|||||||
|
57 |
20 |
25 |
29 |
32 |
34 |
36 |
37 |
|
76 |
22 |
27 |
31 |
34 |
37 |
39 |
40 |
|
89 |
26 |
31 |
34 |
37 |
40 |
43 |
44 |
|
108 |
27 |
33 |
37 |
41 |
44 |
47 |
49 |
|
133 |
28 |
35 |
40 |
43 |
47 |
51 |
53 |
|
159 |
30 |
37 |
42 |
45 |
50 |
53 |
55 |
|
219 |
34 |
42 |
48 |
53 |
57 |
61 |
63 |
|
273 |
35 |
44 |
51 |
57 |
62 |
66 |
68 |
|
325 |
39 |
48 |
54 |
60 |
65 |
69 |
71 |
|
426 |
42 |
51 |
58 |
63 |
69 |
74 |
77 |
|
530 |
42 |
52 |
60 |
66 |
72 |
78 |
81 |
|
630 |
43 |
54 |
62 |
69 |
75 |
81 |
84 |
|
720 |
46 |
56 |
64 |
70 |
77 |
84 |
87 |
|
820 |
47 |
58 |
66 |
72 |
80 |
86 |
89 |
|
920 |
47 |
59 |
67 |
74 |
81 |
88 |
91 |
|
1020 |
48 |
60 |
68 |
75 |
83 |
90 |
93 |
|
Более 1020 |
51 |
66 |
77 |
85 |
94 |
102 |
106 |
Таблица 6.1.11. Расчетная толщина теплоизоляционного слоя из пенополистирола ПЕНОПЛЭКС® марки 45, отвечающая нормам плотности теплового потока по ТСН 23-337-2002 Свердловской обл, в конструкциях тепловой изоляции трубопроводов с положительными температурами теплоносителя при расположении на открытом воздухе в г. Екатеринбурге.
|
Наружный диаметр, мм |
Температура теплоносителя, С |
||||||
|
20 |
30 |
40 |
50 |
60 |
70 |
75 |
|
|
Толщина теплоизоляционного слоя из пенополистирола ПЕНОПЛЭКС® марки 45, мм |
|||||||
|
57 |
22 |
28 |
32 |
35 |
37 |
38 |
39 |
|
76 |
25 |
30 |
34 |
37 |
40 |
42 |
43 |
|
89 |
29 |
34 |
37 |
40 |
43 |
46 |
47 |
|
108 |
30 |
36 |
41 |
45 |
48 |
51 |
52 |
|
133 |
32 |
39 |
43 |
47 |
51 |
54 |
56 |
|
159 |
33 |
41 |
45 |
49 |
53 |
57 |
59 |
|
219 |
37 |
46 |
52 |
57 |
61 |
65 |
67 |
|
273 |
39 |
49 |
56 |
61 |
66 |
70 |
72 |
|
325 |
43 |
53 |
59 |
64 |
69 |
73 |
75 |
|
426 |
46 |
56 |
63 |
68 |
73 |
78 |
81 |
|
530 |
46 |
57 |
65 |
71 |
77 |
83 |
86 |
|
630 |
48 |
59 |
67 |
74 |
80 |
86 |
89 |
|
720 |
50 |
62 |
69 |
75 |
82 |
88 |
91 |
|
820 |
51 |
63 |
71 |
77 |
85 |
91 |
94 |
|
920 |
52 |
64 |
73 |
79 |
87 |
93 |
96 |
|
1020 |
53 |
65 |
74 |
81 |
88 |
95 |
98 |
|
Более 1020 |
51 |
66 |
77 |
85 |
94 |
102 |
106 |
Таблица 6.1.12. Расчетная толщина теплоизоляционного слоя из пенополистирола ПЕНОПЛЭКС®, отвечающая нормам плотности теплового потока по ТСН 23-337-2002 Свердловской обл., в конструкциях тепловой изоляции трубопроводов с положительными температурами теплоносителя при расположении в помещении на промышленных предприятиях в г. Екатеринбурге.
|
Наружный диаметр трубопровода, мм |
Температура теплоносителя, °С |
|||||||
|
50 |
60 |
70 |
75 |
50 |
60 |
70 |
75 |
|
|
Толщина теплоизоляционного слоя, мм, из пенополистирола ПЕНОПЛЭКС® марки |
||||||||
|
35 |
45 |
|||||||
|
57 |
27 |
31 |
33 |
35 |
29 |
32 |
35 |
36 |
|
76 |
32 |
35 |
37 |
38 |
34 |
36 |
38 |
39 |
|
89 |
32 |
37 |
40 |
42 |
34 |
38 |
41 |
43 |
|
108 |
35 |
40 |
43 |
45 |
37 |
41 |
45 |
47 |
|
133 |
39 |
43 |
47 |
49 |
41 |
45 |
48 |
50 |
|
159 |
39 |
44 |
49 |
51 |
40 |
46 |
51 |
53 |
|
219 |
42 |
50 |
55 |
58 |
44 |
51 |
57 |
60 |
|
273 |
47 |
54 |
60 |
63 |
49 |
56 |
61 |
64 |
|
325 |
50 |
58 |
64 |
67 |
52 |
60 |
65 |
68 |
|
426 |
54 |
62 |
69 |
72 |
57 |
64 |
71 |
74 |
|
530 |
55 |
65 |
72 |
75 |
57 |
67 |
74 |
77 |
|
630 |
57 |
67 |
75 |
78 |
60 |
69 |
77 |
83 |
|
720 |
60 |
70 |
78 |
81 |
62 |
72 |
80 |
83 |
|
820 |
61 |
72 |
80 |
84 |
64 |
74 |
82 |
86 |
|
920 |
62 |
73 |
82 |
86 |
65 |
75 |
84 |
88 |
|
1020 |
63 |
74 |
83 |
95 |
66 |
76 |
85 |
89 |
|
Более 1020 |
70 |
84 |
95 |
100 |
73 |
86 |
97 |
102 |
6.1.10. В таблицах 6.1.13. - 6.1.15. приведены расчетные значения толщины теплоизоляционного слоя из сегментов и полуцилиндров из экструзионного пенополистирола ПЕНОПЛЭКС® марок 35 и 45, отвечающие нормам плотности теплового потока, в конструкциях тепловой изоляции трубопроводов промышленных предприятий, расположенных в Свердловской области. При определении толщины теплоизоляционного слоя расчетная теплопроводность принималась на основании данных таблицы 6.1.1.
Таблица 6.1.13. Расчетная толщина теплоизоляционного слоя из пенополистирола ПЕНОПЛЭКС марки 35, отвечающая нормам плотности теплового потока по ТСН 23-337-2002 Свердловской обл., в конструкциях тепловой изоляции трубопроводов с положительными температурами теплоносителя при расположении на открытом воздухе на предприятиях Свердловской области.
|
Наружный диаметр, мм |
Температура теплоносителя, °С |
||||||
|
20 |
30 |
40 |
50 |
60 |
70 |
75 |
|
|
Толщина теплоизоляционного слоя из пенополистирола ПЕНОПЛЭКС® марки 35, мм |
|||||||
|
57 |
16 |
19 |
21 |
23 |
25 |
27 |
28 |
|
76 |
18 |
22 |
24 |
26 |
28 |
30 |
31 |
|
89 |
19 |
23 |
26 |
29 |
31 |
33 |
34 |
|
108 |
20 |
25 |
28 |
30 |
33 |
35 |
36 |
|
133 |
22 |
26 |
29 |
32 |
35 |
37 |
39 |
|
159 |
24 |
29 |
32 |
34 |
37 |
40 |
41 |
|
219 |
26 |
31 |
35 |
38 |
42 |
45 |
47 |
|
273 |
26 |
32 |
37 |
40 |
44 |
47 |
49 |
|
325 |
27 |
33 |
38 |
42 |
46 |
50 |
52 |
|
426 |
29 |
36 |
41 |
45 |
50 |
54 |
56 |
|
530 |
30 |
37 |
43 |
47 |
52 |
57 |
59 |
|
630 |
31 |
39 |
45 |
49 |
54 |
59 |
61 |
|
720 |
32 |
40 |
46 |
50 |
56 |
60 |
63 |
|
820 |
32 |
40 |
46 |
51 |
56 |
61 |
64 |
|
920 |
32 |
41 |
47 |
52 |
58 |
63 |
65 |
|
1020 |
33 |
42 |
48 |
53 |
59 |
64 |
67 |
|
Более 1020 |
39 |
48 |
55 |
60 |
68 |
75 |
79 |
Таблица 6.1.14. Расчетная толщина теплоизоляционного слоя из пенополистирола ПЕНОПЛЭКС® марки 45, отвечающая нормам плотности теплового потока по ТСН 23-337-2002 Свердловской обл., в конструкциях тепловой изоляции трубопроводов с положительными температурами теплоносителя при расположении на открытом воздухе на предприятиях Свердловской области.
|
Наружный диаметр, мм |
Температура теплоносителя, °С |
||||||
|
20 |
30 |
40 |
50 |
60 |
70 |
75 |
|
|
Толщина теплоизоляционного слоя из пенополистирола ПЕНОПЛЭКС® марки 45, мм |
|||||||
|
57 |
18 |
21 |
24 |
25 |
27 |
29 |
30 |
|
76 |
21 |
24 |
27 |
29 |
31 |
32 |
33 |
|
89 |
21 |
25 |
29 |
31 |
33 |
35 |
36 |
|
108 |
22 |
27 |
31 |
33 |
35 |
38 |
39 |
|
133 |
25 |
29 |
32 |
34 |
37 |
40 |
41 |
|
159 |
27 |
32 |
35 |
37 |
40 |
42 |
44 |
|
219 |
29 |
34 |
38 |
41 |
45 |
48 |
49 |
|
273 |
29 |
35 |
40 |
43 |
47 |
50 |
51 |
|
325 |
29 |
36 |
41 |
45 |
50 |
53 |
55 |
|
426 |
32 |
39 |
44 |
48 |
53 |
57 |
59 |
|
530 |
33 |
41 |
46 |
51 |
56 |
60 |
62 |
|
630 |
34 |
42 |
48 |
53 |
58 |
62 |
64 |
|
720 |
35 |
43 |
49 |
54 |
59 |
64 |
66 |
|
820 |
35 |
44 |
50 |
55 |
60 |
65 |
67 |
|
920 |
36 |
45 |
51 |
56 |
61 |
66 |
68 |
|
1020 |
36 |
45 |
52 |
57 |
63 |
67 |
70 |
|
Более 1020 |
43 |
52 |
59 |
64 |
72 |
79 |
82 |
Таблица 6.1.15. Расчетная толщина теплоизоляционного слоя из пенополистирола ПЕНОПЛЭКС®, отвечающая нормам плотности теплового потока по ТСН 23-337-2002 Свердловской обл., в конструкциях тепловой изоляции трубопроводов с положительными температурами теплоносителя при расположении в помещении на промышленных предприятиях в Свердловской области.
|
Наружный диаметр трубопровода, мм |
Температура теплоносителя, °С |
|||||||
|
50 |
60 |
70 |
75 |
50 |
60 |
70 |
75 |
|
|
Толщина теплоизоляционного слоя, мм, из пенополистирола ПЕНОПЛЭКС® марки |
||||||||
|
35 |
45 |
|||||||
|
57 |
20 |
23 |
25 |
26 |
21 |
24 |
26 |
27 |
|
76 |
24 |
27 |
29 |
30 |
26 |
28 |
30 |
31 |
|
89 |
26 |
29 |
31 |
32 |
27 |
30 |
32 |
33 |
|
108 |
26 |
30 |
33 |
35 |
27 |
31 |
34 |
36 |
|
133 |
27 |
31 |
35 |
37 |
28 |
33 |
36 |
38 |
|
159 |
31 |
35 |
38 |
40 |
32 |
36 |
39 |
41 |
|
219 |
33 |
38 |
42 |
44 |
35 |
40 |
44 |
46 |
|
273 |
36 |
41 |
46 |
48 |
37 |
43 |
47 |
49 |
|
325 |
38 |
43 |
48 |
50 |
39 |
45 |
49 |
51 |
|
426 |
40 |
46 |
51 |
53 |
41 |
47 |
52 |
54 |
|
530 |
41 |
48 |
53 |
56 |
43 |
50 |
55 |
57 |
|
630 |
42 |
49 |
55 |
58 |
44 |
51 |
57 |
59 |
|
720 |
43 |
51 |
57 |
60 |
45 |
52 |
58 |
61 |
|
820 |
44 |
51 |
58 |
61 |
45 |
53 |
59 |
62 |
|
920 |
45 |
53 |
59 |
62 |
47 |
54 |
60 |
63 |
|
1020 |
45 |
53 |
60 |
63 |
47 |
55 |
61 |
64 |
|
Более 1020 |
51 |
61 |
69 |
73 |
52 |
63 |
71 |
75 |
6.1.12. В таблицах 6.1.16. - 6.1.18. приведены расчетные значения толщины теплоизоляционного слоя из сегментов и полуцилиндров из экструзионного пенополистирола ПЕНОПЛЭКС® марок 35 и 45, отвечающие нормам плотности теплового потока, в конструкциях тепловой изоляции трубопроводов промышленных предприятий, расположенных в Ямало-Ненецком автономном округе.
Нормы плотности теплового потока приняты в соответствии с приложением 7 ТСН 41-309-2004 Ямало-Ненецкого Автономного Округа «Проектирование тепловой изоляции оборудования и трубопроводов».
При определении толщины теплоизоляционного слоя расчетная теплопроводность принималась на основании данных таблицы 6.1.1.
Таблица 6.1.16. Расчетная толщина теплоизоляционного слоя из пенополистирола ПЕНОПЛЭКС® марки 35, отвечающая нормам плотности теплового потока по ТСН 23-337-2002 Свердловской обл., в конструкциях тепловой изоляции трубопроводов с положительными температурами теплоносителя при расположении на открытом воздухе на предприятиях Ямало-Ненецкого Автономного Округа.
|
Наружный диаметр, мм |
Температура теплоносителя, °С |
||||||
|
20 |
30 |
40 |
50 |
60 |
70 |
75 |
|
|
Толщина теплоизоляционного слоя из пенополистирола ПЕНОПЛЭКС® марки 35, мм |
|||||||
|
57 |
22 |
25 |
27 |
29 |
31 |
33 |
34 |
|
76 |
25 |
28 |
30 |
32 |
35 |
37 |
38 |
|
89 |
26 |
30 |
33 |
35 |
38 |
41 |
43 |
|
108 |
28 |
33 |
37 |
40 |
43 |
45 |
46 |
|
133 |
31 |
35 |
38 |
41 |
44 |
48 |
50 |
|
159 |
31 |
36 |
40 |
44 |
48 |
51 |
53 |
|
219 |
37 |
42 |
47 |
50 |
54 |
58 |
60 |
|
273 |
38 |
44 |
49 |
53 |
58 |
62 |
64 |
|
325 |
40 |
47 |
53 |
57 |
62 |
66 |
68 |
|
426 |
43 |
51 |
57 |
63 |
68 |
72 |
74 |
|
530 |
46 |
54 |
60 |
65 |
71 |
76 |
79 |
|
630 |
48 |
56 |
63 |
68 |
74 |
80 |
83 |
|
720 |
48 |
57 |
65 |
71 |
77 |
83 |
86 |
|
820 |
49 |
59 |
66 |
73 |
79 |
85 |
88 |
|
920 |
50 |
60 |
67 |
74 |
81 |
87 |
90 |
|
1020 |
52 |
61 |
69 |
75 |
82 |
89 |
92 |
|
Более 1020 |
57 |
68 |
77 |
84 |
92 |
100 |
103 |
Таблица 6.1.17. Расчетная толщина теплоизоляционного слоя из пенополистирола ПЕНОПЛЭКС® марки 45, отвечающая нормам плотности теплового потока по ТСН 23-337-2002 Свердловской обл., в конструкциях тепловой изоляции трубопроводов с положительными температурами теплоносителя при расположении на открытом воздухе на предприятиях Ямало-Ненецкого Автономного Округа.
|
Наружный диаметр, мм |
Температура теплоносителя, °С |
||||||
|
20 |
30 |
40 |
50 |
60 |
70 |
75 |
|
|
Толщина теплоизоляционного слоя из пенополистирола ПЕНОПЛЭКС® марки 45, мм |
|||||||
|
1 |
2 |
3 |
4 |
5 |
6 |
7 |
8 |
|
57 |
25 |
28 |
30 |
32 |
34 |
35 |
36 |
|
76 |
28 |
31 |
34 |
35 |
38 |
40 |
41 |
|
89 |
29 |
33 |
36 |
39 |
41 |
44 |
45 |
|
108 |
31 |
36 |
40 |
44 |
46 |
48 |
49 |
|
133 |
35 |
39 |
42 |
44 |
48 |
51 |
53 |
|
159 |
34 |
40 |
44 |
48 |
51 |
55 |
57 |
|
219 |
41 |
46 |
51 |
54 |
58 |
62 |
64 |
|
273 |
42 |
48 |
53 |
58 |
62 |
66 |
68 |
|
325 |
44 |
52 |
57 |
62 |
66 |
70 |
72 |
|
426 |
48 |
56 |
62 |
68 |
72 |
76 |
78 |
|
530 |
51 |
59 |
65 |
70 |
76 |
81 |
83 |
|
630 |
52 |
61 |
68 |
73 |
79 |
84 |
87 |
|
720 |
53 |
62 |
70 |
76 |
82 |
87 |
90 |
|
820 |
54 |
64 |
72 |
78 |
84 |
90 |
93 |
|
920 |
55 |
65 |
73 |
79 |
86 |
92 |
95 |
|
1020 |
57 |
67 |
74 |
81 |
87 |
93 |
96 |
|
Более 1020 |
62 |
74 |
83 |
90 |
98 |
105 |
108 |
Таблица 6.1.18. Расчетная толщина теплоизоляционного слоя из пенополистирола ПЕНОПЛЭКС®, отвечающая нормам плотности теплового потока по ТСН 23-337-2002 Свердловской обл., в конструкциях тепловой изоляции трубопроводов с положительными температурами теплоносителя при расположении в помещении на промышленных предприятиях в Ямало-Ненецком Автономном Округе.
|
Наружный диаметр трубопровода, мм |
Температура теплоносителя, °С |
|||||||
|
50 |
60 |
70 |
75 |
50 |
60 |
70 |
75 |
|
|
Толщина теплоизоляционного слоя, мм, из пенополистирола ПЕНОПЛЭКС® марки |
||||||||
|
35 |
45 |
|||||||
|
57 |
22 |
25 |
28 |
29 |
25 |
28 |
30 |
31 |
|
76 |
27 |
30 |
33 |
35 |
30 |
33 |
36 |
37 |
|
89 |
28 |
32 |
35 |
36 |
31 |
34 |
37 |
39 |
|
108 |
31 |
35 |
38 |
40 |
34 |
38 |
41 |
43 |
|
133 |
31 |
36 |
40 |
42 |
34 |
39 |
43 |
45 |
|
159 |
35 |
40 |
45 |
47 |
38 |
43 |
48 |
50 |
|
219 |
39 |
45 |
50 |
52 |
43 |
49 |
53 |
55 |
|
273 |
41 |
48 |
53 |
56 |
44 |
51 |
56 |
59 |
|
325 |
45 |
52 |
58 |
61 |
48 |
55 |
61 |
63 |
|
426 |
49 |
57 |
63 |
66 |
53 |
61 |
67 |
70 |
|
530 |
51 |
59 |
66 |
69 |
54 |
63 |
69 |
72 |
|
630 |
54 |
63 |
70 |
73 |
57 |
66 |
73 |
76 |
|
720 |
55 |
64 |
72 |
76 |
58 |
68 |
75 |
78 |
|
820 |
56 |
66 |
74 |
77 |
60 |
69 |
77 |
80 |
|
920 |
58 |
68 |
76 |
79 |
61 |
71 |
79 |
82 |
|
1020 |
58 |
68 |
76 |
80 |
61 |
71 |
80 |
83 |
|
Более 1020 |
65 |
76 |
85 |
89 |
69 |
80 |
89 |
93 |
6.1.13. В таблицах 6.1.19. - 6.1.20. приведены расчетные значения толщины теплоизоляционного слоя из экструзионного пенополистирола ПЕНОПЛЭКС® марок 35 и 45, отвечающие нормам плотности теплового потока, в конструкциях тепловой изоляции трубопроводов с отрицательными температурами теплоносителя предприятий, расположенных в Европейском регионе России. Нормы плотности теплового потока приняты по таблицам 6 и 7 СНиП 41-03-2003.
Расчетный коэффициент теплопроводности полуцилиндров и сегментов из экструзионного пенополистирола ПЕНОПЛЭКС® в конструкции принят по таблице 6.1.1.
Таблица 6.1.19. Расчетная толщина теплоизоляционного слоя из пенополистирола ПЕНОПЛЭКС®, отвечающая нормам плотности теплового потока в конструкциях тепловой изоляции трубопроводов с отрицательными температурами теплоносителя при расположении на открытом воздухе, на промышленных предприятиях в Европейском регионе России
|
Наружный диаметр трубопровода, мм |
Температура теплоносителя, °С |
|||||||||
|
0 |
-10 |
-20 |
-40 |
-60 |
0 |
-10 |
-20 |
-40 |
-60 |
|
|
Толщина теплоизоляционного слоя, мм, из пенополистирола ПЕНОПЛЭКС® марки |
||||||||||
|
35 |
45 |
|||||||||
|
57 |
3 |
18 |
31 |
50 |
65 |
4 |
20 |
34 |
56 |
73 |
|
76 |
4 |
20 |
33 |
56 |
74 |
4 |
21 |
36 |
62 |
83 |
|
89 |
5 |
23 |
32 |
56 |
76 |
5 |
25 |
35 |
62 |
84 |
|
108 |
5 |
23 |
34 |
59 |
81 |
5 |
25 |
37 |
65 |
90 |
|
133 |
5 |
25 |
42 |
65 |
89 |
6 |
26 |
46 |
71 |
99 |
|
159 |
6 |
26 |
44 |
69 |
97 |
7 |
28 |
48 |
76 |
106 |
|
219 |
7 |
31 |
49 |
73 |
103 |
8 |
34 |
53 |
79 |
113 |
|
273 |
8 |
32 |
51 |
78 |
112 |
9 |
34 |
55 |
85 |
122 |
|
325 |
9 |
35 |
52 |
82 |
117 |
10 |
38 |
56 |
89 |
128 |
|
426 |
9 |
37 |
53 |
91 |
124 |
9 |
39 |
56 |
98 |
135 |
|
530 |
9 |
34 |
56 |
94 |
130 |
10 |
36 |
60 |
101 |
140 |
|
Более 530 |
9 |
33 |
58 |
100 |
146 |
10 |
36 |
62 |
107 |
156 |
Таблица 6.1.20. Расчетная толщина теплоизоляционного слоя из пенополистирола ПЕНОПЛЭКС®, отвечающая нормам плотности теплового потока в конструкциях тепловой изоляции трубопроводов с отрицательными температурами теплоносителя при расположении в помещениях, на промышленных предприятиях в Европейском регионе России
|
Наружный диаметр трубопровода, мм |
Температура теплоносителя, °С |
|||||||||
|
0 |
-10 |
-20 |
-40 |
-60 |
0 |
-10 |
-20 |
-40 |
-60 |
|
|
Толщина теплоизоляционного слоя, мм, из пенополистирола ПЕНОПЛЭКС® марки |
||||||||||
|
35 |
45 |
|||||||||
|
57 |
15 |
24 |
32 |
55 |
67 |
16 |
26 |
36 |
61 |
75 |
|
76 |
18 |
28 |
45 |
63 |
78 |
19 |
31 |
49 |
70 |
88 |
|
89 |
18 |
34 |
45 |
65 |
92 |
20 |
37 |
49 |
72 |
103 |
|
108 |
20 |
36 |
48 |
70 |
99 |
21 |
39 |
53 |
77 |
111 |
|
133 |
22 |
40 |
53 |
78 |
99 |
24 |
43 |
58 |
85 |
110 |
|
159 |
24 |
38 |
57 |
77 |
108 |
26 |
41 |
63 |
84 |
120 |
|
219 |
26 |
41 |
61 |
84 |
110 |
28 |
45 |
66 |
92 |
121 |
|
273 |
31 |
49 |
61 |
99 |
121 |
34 |
53 |
67 |
108 |
133 |
|
325 |
31 |
48 |
65 |
98 |
123 |
33 |
52 |
70 |
107 |
134 |
|
426 |
33 |
52 |
67 |
101 |
134 |
35 |
55 |
72 |
109 |
146 |
|
530 |
33 |
52 |
71 |
103 |
138 |
36 |
56 |
76 |
112 |
149 |
|
Более 530 |
35 |
51 |
70 |
108 |
145 |
37 |
55 |
75 |
115 |
155 |
6.1.14. В таблице 6.1.21 приведены расчетные значения толщины теплоизоляционного слоя из экструдированного пенополистирола ПЕНОПЛЭКС® марок 35 и 45, отвечающие нормам плотности теплового потока, в конструкциях тепловой изоляции трубопроводов с отрицательными температурами теплоносителя для предприятий, расположенных в Ямало-Ненецком Автономном Округе и других районах Крайнего Севера со среднегодовой температурой окружающего воздуха минус 5 -минус 8°С.
Нормы плотности теплового потока приняты по таблицам 6 и 7 СНиП 41-03-2003.
Таблица 6.1.21. Расчетная толщина теплоизоляционного слоя из пенополистирола ПЕНОПЛЭКС®, отвечающая нормам плотности теплового потока в конструкциях тепловой изоляции трубопроводов с отрицательными температурами теплоносителя при расположении на открытом воздухе в Ямало-Ненецком Автономном Округе.
|
Наружный диаметр трубопровода, мм |
Температура теплоносителя, °С |
|||||||
|
-10 |
-20 |
-40 |
-60 |
-10 |
-20 |
-40 |
-60 |
|
|
Толщина теплоизоляционного слоя, мм, из пенополистирола ПЕНОПЛЭКС® марки |
||||||||
|
35 |
45 |
|||||||
|
57 |
1 |
12 |
31 |
48 |
2 |
13 |
34 |
52 |
|
76 |
2 |
14 |
36 |
55 |
2 |
15 |
39 |
60 |
|
89 |
2 |
14 |
36 |
57 |
2 |
15 |
39 |
61 |
|
108 |
2 |
15 |
39 |
61 |
2 |
16 |
42 |
66 |
|
133 |
2 |
18 |
43 |
68 |
3 |
20 |
46 |
73 |
|
159 |
3 |
20 |
46 |
74 |
3 |
21 |
50 |
79 |
|
219 |
4 |
22 |
49 |
80 |
4 |
24 |
54 |
86 |
|
273 |
4 |
23 |
54 |
87 |
4 |
25 |
58 |
93 |
|
325 |
4 |
24 |
57 |
92 |
5 |
26 |
61 |
98 |
|
426 |
5 |
25 |
63 |
99 |
5 |
29 |
66 |
105 |
|
530 |
4 |
27 |
66 |
104 |
5 |
29 |
71 |
110 |
|
Более 530 |
4 |
29 |
73 |
121 |
5 |
31 |
78 |
127 |
6.1.15. Если это необходимо, полный тепловой поток с поверхности изоляции трубопроводов с тепловой изоляцией из полуцилиндров или сегментов из экструзионного пенополистирола ПЕНОПЛЭКС следует определять по формуле:
Q = ql∙L∙Kred, (6.1.3)
где: Q - полный тепловой поток, Вт;
L - длина трубопровода, м;
Kred - коэффициент, учитывающий дополнительный тепловой поток через подвески и опоры трубопроводов и оборудования принимают по таблице 6.1.22.
Таблица 6.1.22.
|
Способ прокладки трубопроводов |
red |
|
Надземный на открытом воздухе, в непроходных каналах, тоннелях и помещениях: для стальных трубопроводов на подвижных опорах, условным проходом |
|
|
-до 150 мм |
1,2 |
|
-150 мм и больше |
1,15 |
|
для стальных трубопроводов на подвесных опорах |
1,05 |
|
Бесканальный |
1,15 |
6.2.1. Расчет толщины изоляции по заданной температуре на поверхности изоляции следует производить в случаях, когда тепловой поток с поверхности изоляции не регламентирован, а изоляция необходима как средство, обеспечивающее нормальную температуру воздуха в рабочих помещениях, или предохраняющее обслуживающий персонал от ожогов.
Толщина тепловой изоляции, определяемая по заданной температуре на её поверхности, зависит от расположения изолируемого объекта (на открытом воздухе или в помещении), температуры окружающего воздуха, (t0), температуры теплоносителя, (tm), наружного диаметра, (dн) и коэффициента теплоотдачи от поверхности к окружающему воздуху (dн), Вт/(м2∙°С).
6.2.2. Толщину теплоизоляционного слоя для трубопроводов и оборудования с наружным диаметром менее 2 м следует определять по формуле:
где: tn -температура на поверхности изоляционной конструкции, °С;
tm, t0, dиз, dн, λиз - по формуле (6.1.1).
после определения толщину
изоляции определяют по формуле (6.1.2).
6.2.3. Температура на поверхности изоляции принимается согласно заданию или:
а) для изолируемых трубопроводов, расположенных в рабочей или обслуживаемой зоне помещений:
- 45°С - при температуре теплоносителя выше 100°С;
- 35°С - при температуре теплоносителя до 100°С вкл.;
- 35°С - для трубопроводов, содержащих вещества с температурой вспышки паров не выше 45°С;
б) для изолируемых трубопроводов, расположенных на открытом воздухе:
- 60°С - на открытом воздухе при неметаллическом покрытии;
- 55°С - при металлическом покрытии.
6.2.4. Температуру окружающего воздуха следует принимать для изолируемых поверхностей, расположенных:
tcpm на открытом воздухе - среднюю максимальную наиболее жаркого месяца;
tcpm в помещениях - в соответствии с заданием или, если не указано в задании, +20°С.
6.2.5. Коэффициент теплоотдачи, ан следует принимать по таблице 6.2.1.
Таблица 6.2.1.
|
Трубопровод |
Коэффициент теплоотдачи, αн, Вт/(м2∙°C) при расположении изолируемых трубопроводов |
|||
|
в помещениях, тоннелях, для покрытий |
на открытом воздухе, для покрытий |
|||
|
металлических |
неметаллических |
металлических |
неметаллических |
|
|
вертикальный |
6 |
11 |
6 |
11 |
|
горизонтальный |
6 |
10 |
6 |
10 |
6.2.6. В конструкциях тепловой изоляции, отвечающей температуре на поверхности тепловой изоляции в соответствии с требованиями п. 6.2.3., следует устанавливать теплоизоляционные изделия из экструдированного пенополистирола минимальной толщины в соответствии с действующей номенклатурой независимо от вида покровного слоя.
6.2.7. Примеры расчета толщины тепловой изоляции из экструзионного пенополистирола ПЕНОПЛЭКС марки 35 в конструкции с покровным слоем из алюминиевого листа при расположении на открытом воздухе и в помещении.
Пример I. Трубопровод расположен на открытом воздухе в районе со средней температурой самого жаркого месяца 25°С.
Исходные условия.
1. Наружный диаметр трубопровода 520 мм.
2. Температура транспортируемого вещества 75°С.
3. Определить толщину тепловой изоляции конструкции с теплоизоляционным слоем из сегментов из экструзионного пенополистирола марки 35 с металлическим покрытием для предохранения обслуживающего персонала от ожогов
Решение.
1. В соответствии с требованиями СНиП 41-03-2003 и рекомендаций п. 6.2.3. температура на поверхности изоляции должна быть не более 55°С.
2. Расчетный коэффициент теплопроводности экструдированного пенополистирола марки 35 определяется по данным таблицы 6.1.1. линейной интерполяцией при средней температуре теплоизоляционного слоя.
Средняя температура теплоизоляционного слоя tcp = (tT + tП)/2 = (75 + 55)/2 = 65°С.
λиз2= 0,03 + 0,00014·(tcp2 - 25) = 0,03 + 0,00014∙(65 - 25) = 0,0356 Вт/(м·°С).
3. Толщину тепловой изоляции определяют по формулам 6.2.1. и 6.1.2.
![]()
тогда dиз/dн = 1,015.
Толщина тепловой изоляции из пенополистирола ПЕНОПЛЭКС

4. Расчетная толщина тепловой изоляции из пенополистирола ПЕНОПЛЭКС марки 35 при расположении на открытом воздухе всего 4 мм.
При необходимости установки теплоизоляционного слоя устанавливать сегменты толщиной 50 мм.
Пример II. Трубопровод расположен в помещении с температурой воздуха 20°С.
Исходные условия.
1. Наружный диаметр трубопровода 520 мм.
2. Температура транспортируемого вещества 75°С.
3. Определить толщину тепловой изоляции конструкции с теплоизоляционным слоем из сегментов из экструзионного пенополистирола марки 35 с металлическим покрытием для предохранения обслуживающего персонала от ожогов.
Решение.
1. В соответствии с требованиями СНиП 41-03-2003 и рекомендаций п. 6.2.3. температура на поверхности изоляции должна быть не более 35°С.
2. Расчетный коэффициент теплопроводности экструдированного пенополистирола марки 35 определяется по данным таблицы 6.1.1. линейной интерполяцией при средней температуре теплоизоляционного слоя.
Средняя температура теплоизоляционного слоя tcp = (tT + tП)/2 = (75 + 35)/2 = 55°С.
λиз2= 0,03+0,00014·(tcp2 - 25) = 0,03 + 0,00014∙(55 - 25) = 0,0342 Вт/(м·°С).
3. Толщину тепловой изоляции определяют по формулам 6.2.1. и 6.1.2.
![]()
тогда dиз/dн = 1,056.
Толщина тепловой изоляции из пенополистирола ПЕНОПЛЭКС

4. Расчетная толщина тепловой изоляции из пенополистирола ПЕНОПЛЭКС марки при расположении в помещении с температурой 20°С - 15 мм.
При необходимости установки теплоизоляционного слоя устанавливать сегменты толщиной 50 мм.
6.3.1. Толщину тепловой изоляции с целью предотвращения конденсации влаги из воздуха на поверхности изоляции определяют для трубопроводов, расположенных в помещении и транспортирующих вещества с температурой ниже температуры окружающего воздуха, для воздуховодов систем приточной вентиляции и кондиционирования воздуха.
Для объектов, расположенных на открытом воздухе в соответствии с требованиями СНиП 41-03-2003 , такой расчет не выполняют.
На величину толщины теплоизоляционного слоя в конструкциях тепловой изоляции, предназначенных для предотвращения конденсации влаги из воздуха на поверхности теплоизоляционной конструкции, влияют относительная влажность окружающего воздуха (φ), температура воздуха в помещении (t0) и вид покровного слоя. При использовании покрытия с высоким коэффициентом излучения, расчетная толщина изоляции существенно ниже, чем при применении металлического покровного слоя.
6.3.2. Расчетную толщину теплоизоляционного слоя для трубопроводов следует определять по формуле:
где: tn - температура на поверхности изоляции °С;
tm, t0, dиз, dn, λиз - по формуле (6.1.1).
после определения dиз/dн толщину изоляции определяют по формуле (6.1.2).
6.3.3. При расчетах толщины теплоизоляционного слоя трубопроводов для предотвращения конденсации влаги на поверхности изоляции температуру и относительную влажность воздуха следует принимать в соответствии с заданием.
6.3.4. Расчетный коэффициент теплопроводности следует принимать по таблице 6.1.1. при средней температуре изоляционного слоя.
6.3.5. Коэффициент теплоотдачи от поверхности теплоизоляционной конструкции к окружающему воздуху, αн следует принимать:
- при покрытии неметаллическом покровном слое - 7 , Вт/(м2∙оС);
- при металлическом покрытии - 5 Вт/(м2∙оС).
6.3.6. Для определения толщины изоляции следует задать температуру на поверхности изоляции, (tк), выше «точки росы» (температура, при которой происходит конденсация влаги на холодной поверхности) при температуре и относительной влажности окружающего воздуха (φ) в помещении.
Допустимый перепад температур, (t0 - tn), при температуре при относительной влажности окружающего воздуха в помещении рекомендуется принимать по таблице 6.3.1.
При этом температура на поверхности изоляции будет выше «точки росы».
6.3.8. Расчетная толщина тепловой изоляции из экструзионного пенополистирола ПЕНОПЛЭКС® в конструкциях тепловой изоляции трубопроводов, расположенных в помещении с температурой 20°С при относительной влажности 60, 75 и 80 % приведена в таблицах 6.3.2 - 6.3.7.
Таблица 6.3.1.
|
Температура воздуха, в помещении t0, °C |
Относительная влажность воздуха, φ, % |
||||
|
50 |
60 |
70 |
80 |
90 |
|
|
Расчетный перепад, (t0 - tn)∙°C |
|||||
|
10 |
9,8 |
7,3 |
5,1 |
3,1 |
1,5 |
|
12 |
9,9 |
7,3 |
5,1 |
3,1 |
1,5 |
|
14 |
10,1 |
7,4 |
5,2 |
3,2 |
1,5 |
|
16 |
10,2 |
7,6 |
5,3 |
3,3 |
1,5 |
|
18 |
10,4 |
7,7 |
5,4 |
3,3 |
1,5 |
|
20 |
10,5 |
7,8 |
5,4 |
3,4 |
1,5 |
|
22 |
10,7 |
7,9 |
5,5 |
3,4 |
1,5 |
|
24 |
10,9 |
8,0 |
5,6 |
3,5 |
1,6 |
|
26 |
11,0 |
8,2 |
5,7 |
3,5 |
1,6 |
|
28 |
11,2 |
8,3 |
5,8 |
3,6 |
1,6 |
|
30 |
11,4 |
8,4 |
5,9 |
3,6 |
1,6 |
Таблица 6.3.2. Рекомендуемая толщина теплоизоляционного слоя из экструзионного пенополистирола ПЕНОПЛЭКС® марки 35 в конструкциях тепловой изоляции, предотвращающая конденсацию влаги из воздуха на поверхности изоляции трубопроводов, расположенных в помещении с относительной влажностью воздуха не более 60 %.
|
Наружный диаметр трубопровода, мм |
Температура теплоносителя, °С |
|||||||||
|
5 |
-10 |
-20 |
-40 |
-60 |
5 |
-10 |
-20 |
-40 |
-60 |
|
|
Вид покрытия |
||||||||||
|
металлическое |
неметаллическое |
|||||||||
|
57 |
5 |
14 |
19 |
29 |
38 |
4 |
10 |
15 |
22 |
40 |
|
76 |
5 |
15 |
20 |
30 |
40 |
4 |
11 |
15 |
23 |
42 |
|
89 |
5 |
15 |
21 |
31 |
41 |
4 |
11 |
15 |
23 |
43 |
|
108 |
5 |
15 |
21 |
32 |
42 |
4 |
11 |
16 |
24 |
45 |
|
133 |
5 |
15 |
22 |
33 |
44 |
4 |
11 |
16 |
25 |
46 |
|
159 |
5 |
16 |
22 |
34 |
45 |
4 |
11 |
16 |
25 |
47 |
|
219 |
5 |
16 |
23 |
35 |
47 |
4 |
12 |
17 |
26 |
49 |
|
273 |
5 |
16 |
23 |
36 |
48 |
4 |
12 |
17 |
26 |
51 |
|
325 |
5 |
16 |
23 |
36 |
49 |
4 |
12 |
17 |
27 |
52 |
|
426 |
5 |
16 |
24 |
37 |
50 |
4 |
12 |
17 |
27 |
53 |
|
530 |
5 |
17 |
24 |
38 |
51 |
4 |
12 |
17 |
27 |
54 |
|
630 |
5 |
17 |
24 |
38 |
52 |
4 |
12 |
17 |
28 |
55 |
|
720 |
5 |
17 |
24 |
38 |
52 |
4 |
12 |
17 |
28 |
55 |
|
820 |
6 |
17 |
24 |
38 |
52 |
4 |
12 |
17 |
28 |
56 |
|
920 |
6 |
17 |
24 |
39 |
53 |
4 |
12 |
17 |
28 |
56 |
|
1020 |
6 |
17 |
24 |
39 |
53 |
4 |
12 |
17 |
28 |
56 |
|
1220 |
6 |
17 |
25 |
40 |
55 |
4 |
12 |
18 |
29 |
58 |
|
1420 |
6 |
17 |
25 |
40 |
56 |
4 |
12 |
18 |
29 |
59 |
Таблица 6.3.3. Рекомендуемая толщина теплоизоляционного слоя из экструзионного пенополистирола ПЕНОПЛЭКС® марки 45 в конструкциях тепловой изоляции, предотвращающая конденсацию влаги из воздуха на поверхности изоляции трубопроводов, расположенных в помещении с относительной влажностью воздуха не более 60 %.
|
Наружный диаметр трубопровода, мм |
Температура теплоносителя, °С |
|||||||||
|
5 |
-10 |
-20 |
-40 |
-60 |
5 |
-10 |
-20 |
-40 |
-60 |
|
|
Вид покрытия |
||||||||||
|
металлическое |
неметаллическое |
|||||||||
|
1 |
2 |
3 |
4 |
5 |
6 |
7 |
8 |
9 |
10 |
11 |
|
57 |
5 |
15 |
20 |
30 |
40 |
4 |
11 |
15 |
23 |
30 |
|
76 |
6 |
15 |
21 |
32 |
42 |
4 |
11 |
16 |
24 |
32 |
|
89 |
6 |
16 |
22 |
33 |
43 |
4 |
12 |
16 |
25 |
33 |
|
108 |
6 |
16 |
22 |
34 |
45 |
4 |
12 |
17 |
25 |
34 |
|
133 |
6 |
16 |
23 |
35 |
46 |
4 |
12 |
17 |
26 |
35 |
|
159 |
6 |
17 |
23 |
36 |
47 |
4 |
12 |
17 |
27 |
35 |
|
219 |
6 |
17 |
24 |
37 |
49 |
4 |
12 |
18 |
27 |
37 |
|
273 |
6 |
17 |
24 |
38 |
51 |
4 |
12 |
18 |
28 |
38 |
|
325 |
6 |
17 |
25 |
39 |
52 |
4 |
13 |
18 |
28 |
38 |
|
426 |
6 |
18 |
25 |
39 |
53 |
4 |
13 |
18 |
29 |
39 |
|
530 |
6 |
18 |
25 |
40 |
54 |
4 |
13 |
18 |
29 |
40 |
|
630 |
6 |
18 |
25 |
40 |
55 |
4 |
13 |
18 |
29 |
40 |
|
720 |
6 |
18 |
26 |
41 |
55 |
4 |
13 |
18 |
29 |
40 |
|
820 |
6 |
18 |
26 |
41 |
56 |
4 |
13 |
18 |
30 |
40 |
|
920 |
6 |
18 |
26 |
41 |
56 |
4 |
13 |
19 |
30 |
41 |
|
1020 |
6 |
18 |
26 |
41 |
56 |
4 |
13 |
19 |
30 |
41 |
|
1220 |
6 |
18 |
26 |
42 |
59 |
4 |
13 |
19 |
31 |
42 |
|
1420 |
6 |
18 |
26 |
43 |
59 |
4 |
13 |
19 |
31 |
42 |
Таблица 6.3.4. Рекомендуемая толщина теплоизоляционного слоя из экструзионного пенополистирола ПЕНОПЛЭКС® марки 35 в конструкциях тепловой изоляции, предотвращающая конденсацию влаги из воздуха на поверхности изоляции трубопроводов, расположенных в помещении с относительной влажностью воздуха 75 %.
|
Наружный диаметр трубопровода, мм |
Температура теплоносителя, °С |
|||||||||
|
5 |
-10 |
-20 |
-40 |
-60 |
5 |
-10 |
-20 |
-40 |
-60 |
|
|
Вид покрытия |
||||||||||
|
металлическое |
неметаллическое |
|||||||||
|
1 |
2 |
3 |
4 |
5 |
6 |
7 |
8 |
9 |
10 |
11 |
|
57 |
12 |
26 |
34 |
48 |
61 |
9 |
19 |
26 |
37 |
47 |
|
76 |
13 |
27 |
36 |
51 |
65 |
9 |
20 |
27 |
39 |
50 |
|
89 |
13 |
28 |
37 |
53 |
67 |
9 |
21 |
28 |
40 |
51 |
|
108 |
13 |
28 |
38 |
55 |
70 |
10 |
21 |
28 |
41 |
53 |
|
133 |
13 |
29 |
39 |
57 |
73 |
10 |
22 |
29 |
43 |
55 |
|
159 |
13 |
30 |
40 |
58 |
75 |
10 |
22 |
30 |
44 |
57 |
|
219 |
14 |
31 |
42 |
61 |
79 |
10 |
23 |
31 |
46 |
60 |
|
273 |
14 |
32 |
43 |
63 |
82 |
10 |
23 |
31 |
47 |
61 |
|
325 |
14 |
32 |
43 |
64 |
84 |
10 |
23 |
32 |
48 |
63 |
|
426 |
14 |
33 |
44 |
66 |
87 |
10 |
24 |
32 |
49 |
65 |
|
530 |
14 |
33 |
45 |
68 |
89 |
10 |
24 |
33 |
50 |
66 |
|
630 |
14 |
33 |
45 |
69 |
91 |
10 |
24 |
33 |
50 |
67 |
|
720 |
14 |
33 |
46 |
70 |
92 |
10 |
24 |
33 |
51 |
68 |
|
820 |
14 |
34 |
46 |
70 |
93 |
10 |
24 |
33 |
51 |
68 |
|
920 |
14 |
34 |
46 |
71 |
94 |
10 |
24 |
33 |
51 |
69 |
|
1020 |
14 |
34 |
46 |
71 |
95 |
10 |
24 |
34 |
52 |
69 |
|
1220 |
14 |
35 |
48 |
74 |
99 |
10 |
25 |
34 |
53 |
72 |
|
1420 |
14 |
35 |
49 |
76 |
103 |
10 |
25 |
35 |
54 |
74 |
Таблица 6.3.5. Рекомендуемая толщина теплоизоляционного слоя из экструзионного пенополистирола ПЕНОПЛЭКС® марки 45 в конструкциях тепловой изоляции, предотвращающая конденсацию влаги из воздуха на поверхности изоляции трубопроводов, расположенных в помещении с относительной влажностью воздуха 75 %.
|
Наружный диаметр трубопровода, мм |
Температура теплоносителя, °С |
||||||||||
|
5 |
-10 |
-20 |
-40 |
-60 |
5 |
-10 |
-20 |
-40 |
-60 |
||
|
Вид покрытия |
|||||||||||
|
металлическое |
неметаллическое |
||||||||||
|
57 |
13 |
27 |
36 |
51 |
64 |
10 |
21 |
27 |
39 |
50 |
|
|
76 |
13 |
29 |
37 |
54 |
69 |
10 |
21 |
28 |
41 |
53 |
|
|
89 |
14 |
29 |
39 |
55 |
71 |
10 |
22 |
29 |
42 |
54 |
|
|
108 |
14 |
30 |
40 |
58 |
74 |
10 |
22 |
30 |
44 |
56 |
|
|
133 |
14 |
31 |
41 |
60 |
77 |
10 |
23 |
31 |
45 |
58 |
|
|
159 |
14 |
32 |
42 |
62 |
79 |
10 |
23 |
31 |
46 |
60 |
|
|
219 |
14 |
33 |
44 |
65 |
84 |
11 |
24 |
33 |
48 |
63 |
|
|
273 |
15 |
33 |
45 |
67 |
87 |
11 |
25 |
33 |
50 |
65 |
|
|
325 |
15 |
34 |
46 |
68 |
89 |
11 |
25 |
34 |
51 |
66 |
|
|
426 |
15 |
35 |
47 |
70 |
92 |
11 |
25 |
34 |
52 |
69 |
|
|
530 |
15 |
35 |
48 |
72 |
95 |
11 |
25 |
35 |
53 |
70 |
|
|
630 |
15 |
35 |
48 |
73 |
96 |
11 |
26 |
35 |
53 |
71 |
|
|
720 |
15 |
36 |
49 |
74 |
98 |
11 |
26 |
35 |
54 |
72 |
|
|
820 |
15 |
36 |
49 |
74 |
99 |
11 |
26 |
35 |
54 |
72 |
|
|
920 |
15 |
36 |
49 |
75 |
100 |
11 |
26 |
36 |
55 |
73 |
|
|
1020 |
15 |
36 |
49 |
76 |
101 |
11 |
26 |
36 |
55 |
73 |
|
|
1220 |
15 |
37 |
51 |
79 |
106 |
11 |
27 |
37 |
57 |
76 |
|
|
1420 |
15 |
37 |
52 |
81 |
110 |
11 |
27 |
37 |
58 |
79 |
|
Таблица 6.3.6. Рекомендуемая толщина теплоизоляционного слоя из экструзионного пенополистирола ПЕНОПЛЭКС® марки 35 в конструкциях тепловой изоляции, предотвращающая конденсацию влаги из воздуха на поверхности изоляции трубопроводов, расположенных в помещении с относительной влажностью воздуха 80 %.
|
Наружный диаметр трубопровода, мм |
Температура теплоносителя, °С |
|||||||||
|
5 |
-10 |
-20 |
-40 |
-60 |
5 |
-10 |
-20 |
-40 |
-60 |
|
|
Вид покрытия |
||||||||||
|
металлическое |
неметаллическое |
|||||||||
|
1 |
2 |
3 |
4 |
5 |
6 |
7 |
8 |
9 |
10 |
11 |
|
57 |
16 |
33 |
42 |
60 |
76 |
12 |
25 |
32 |
46 |
58 |
|
76 |
17 |
35 |
45 |
64 |
81 |
13 |
26 |
34 |
49 |
62 |
|
89 |
17 |
36 |
46 |
66 |
83 |
13 |
27 |
35 |
50 |
64 |
|
108 |
18 |
37 |
48 |
68 |
87 |
13 |
27 |
36 |
52 |
66 |
|
133 |
18 |
38 |
50 |
71 |
91 |
13 |
28 |
37 |
54 |
69 |
|
159 |
18 |
39 |
51 |
73 |
94 |
14 |
29 |
38 |
55 |
71 |
|
219 |
19 |
40 |
53 |
77 |
100 |
14 |
30 |
40 |
58 |
75 |
|
273 |
19 |
41 |
55 |
80 |
103 |
14 |
30 |
41 |
60 |
78 |
|
325 |
19 |
42 |
56 |
82 |
106 |
14 |
31 |
41 |
61 |
80 |
|
426 |
20 |
43 |
57 |
85 |
110 |
14 |
31 |
42 |
63 |
82 |
|
530 |
20 |
44 |
59 |
87 |
114 |
14 |
32 |
43 |
64 |
84 |
|
630 |
20 |
44 |
59 |
88 |
116 |
14 |
32 |
43 |
65 |
86 |
|
720 |
20 |
44 |
60 |
90 |
118 |
14 |
32 |
44 |
66 |
87 |
|
820 |
20 |
45 |
60 |
91 |
119 |
14 |
32 |
44 |
66 |
88 |
|
920 |
20 |
45 |
61 |
91 |
121 |
14 |
32 |
44 |
67 |
89 |
|
1020 |
20 |
45 |
61 |
92 |
122 |
14 |
33 |
44 |
67 |
89 |
|
1220 |
20 |
46 |
63 |
96 |
129 |
15 |
34 |
45 |
69 |
93 |
|
1420 |
20 |
47 |
65 |
100 |
135 |
15 |
34 |
46 |
71 |
97 |
Таблица 6.3.7. Рекомендуемая толщина теплоизоляционного слоя из экструзионного пенополистирола ПЕНОПЛЭКС® марки 45 в конструкциях тепловой изоляции, предотвращающая конденсацию влаги из воздуха на поверхности изоляции трубопроводов, расположенных в помещении с относительной влажностью воздуха 80 %.
|
Наружный диаметр трубопровода, мм |
Температура теплоносителя, °С |
|||||||||
|
5 |
-10 |
-20 |
-40 |
-60 5 |
-10 |
-20 |
-40 |
-60 |
||
|
Вид покрытия |
||||||||||
|
металлическое |
неметаллическое |
|||||||||
|
57 |
17 |
35 |
45 |
63 |
80 |
13 |
26 |
34 |
48 |
61 |
|
76 |
18 |
36 |
47 |
67 |
85 |
13 |
28 |
36 |
51 |
65 |
|
89 |
18 |
37 |
49 |
69 |
88 |
14 |
28 |
37 |
53 |
67 |
|
108 |
19 |
39 |
50 |
72 |
91 |
14 |
29 |
38 |
55 |
70 |
|
133 |
19 |
40 |
52 |
75 |
95 |
14 |
30 |
39 |
57 |
73 |
|
159 |
20 |
41 |
54 |
77 |
99 |
14 |
31 |
40 |
58 |
75 |
|
219 |
20 |
43 |
56 |
82 |
105 |
15 |
32 |
42 |
61 |
79 |
|
273 |
20 |
44 |
58 |
85 |
109 |
15 |
32 |
43 |
63 |
82 |
|
325 |
21 |
44 |
59 |
87 |
112 |
15 |
33 |
44 |
65 |
84 |
|
426 |
21 |
46 |
61 |
90 |
117 |
15 |
33 |
45 |
67 |
87 |
|
530 |
21 |
46 |
62 |
92 |
120 |
15 |
34 |
46 |
68 |
89 |
|
630 |
21 |
47 |
63 |
94 |
123 |
15 |
34 |
46 |
69 |
91 |
|
720 |
21 |
47 |
64 |
95 |
125 |
15 |
34 |
46 |
70 |
92 |
|
820 |
21 |
47 |
64 |
96 |
126 |
15 |
34 |
47 |
70 |
93 |
|
920 |
21 |
48 |
65 |
97 |
128 |
15 |
35 |
47 |
71 |
94 |
|
1020 |
21 |
48 |
65 |
98 |
129 |
15 |
35 |
47 |
71 |
95 |
|
1220 |
22 |
49 |
37 |
103 |
137 |
16 |
36 |
48 |
74 |
99 |
|
1420 |
22 |
50 |
69 |
107 |
144 |
16 |
36 |
49 |
76 |
103 |
6.3.9. При температуре и влажности воздуха в помещении, отличающихся от указанных в таблицах, толщину изоляции следует определять по формулам (6.3.1) или (6.3.2), так как с повышением относительной влажности воздуха при отсутствии вентиляции толщина изоляции значительно возрастает.
6.4.1. Тепловую изоляцию с целью предотвращения замерзания холодной воды при остановке её движения предусматривают для трубопроводов, расположенных на открытом воздухе или в неотапливаемых помещениях.
Тепловая изоляция не может предотвратить замерзание жидкости в случае остановки её движения трубопроводе в зимнее время. Однако она замедляет процесс охлаждения, и при кратковременных перерывах в работе (например, на время ремонта) может предотвратить замерзание жидкости по всему сечению трубопровода до возобновления движения жидкости.
6.4.2. Толщину теплоизоляционного слоя следует рассчитывать по формуле (6.4.1.):
|
|
(6.4.1.) |
где: tз - температура замерзания жидкости, °С;
vm - объём жидкости на метр длины трубопровода, м3;
ρm - плотность жидкости, кг/м3;
сm - удельная теплоемкость жидкости, кДж/(кг∙К):
vm - объём стенки на метр длины трубопровода, м3 ;
ρm - плотность материала стенки трубопровода, кг/м3;
сm - удельная теплоемкость материала стенки, кДж/(кг∙К);
rз - скрытая теплота замерзания (плавления), кДж/кг;
Z - допустимое время приостановки движения жидкости, час
Для трубопроводов холодной воды расчет толщины тепловой изоляции проводят по формуле (6.4.2):
|
|
(6.4.2.) |
6.4.3.
Расчетную температуру окружающего воздуха следует принимать как
среднюю температуру наиболее холодной пятидневки с обеспеченностью 0,98 в
соответствии со СНиП 23-01-99 «Строительная климатология» или по данным местной
метеостанции для конкретного населенного пункта;
6.4.4. Коэффициент теплоотдачи, ан, рекомендуется принимать по таблице 6.1.1.
6.4.5. Расчетное время, в течение которого конструкция тепловой изоляции с теплоизоляционным слоем из экструдированного пенополистирола ПЕНОПЛЭКС® заданной толщины предотвращает замерзание холодной воды с начальной температурой 5 и 10°С в трубопроводах, расположенных на открытом воздухе с температурой минус 20 и минус 30°С, при приостановке её движения приведена в таблицах 6.4.1 - 6.4.4.
При других исходных данных время до замерзания воды в трубопроводах определяется по формулам (6.4.1. и 6.4.2).
Таблица 6.4.1. Время до начала замерзания воды с начальной температурой +5°С в трубопроводах с теплоизоляцией из экструзионного пенополистирола ПЕНОПЛЭКС® марки 35 при остановке ее движения.
|
Наружный диаметр, мм |
Толщина теплоизоляционного слоя из пенополистирола ПЕНОПЛЭКС® марки 35, мм |
||||||
|
30 |
40 |
50 |
30+40 |
80 |
90 |
100 |
|
|
Время до начала замерзания при температуре воздуха минус 20°С, час |
|||||||
|
57 |
9,6 |
11,6 |
- |
- |
17,5 |
18,6 |
- |
|
76 |
13,2 |
16,2 |
- |
23,3 |
25,2 |
27,0 |
- |
|
89 |
- |
21,4 |
25,0 |
- |
- |
- |
- |
|
108 |
- |
28,6 |
33,6 |
- |
- |
49,8 50+40 |
53,2 |
|
133 |
- |
37,7 |
44,6 |
- |
62,3 |
67,4 |
- |
|
159 |
- |
46,8 |
55,7 |
- |
- |
- |
- |
|
Время до начала замерзания при температуре воздуха минус 30°С, час |
|||||||
|
57 |
6,5 |
7,8 |
- |
- |
11,7 |
12,5 |
|
|
76 |
8,9 |
10,9 |
- |
15,7 |
17,0 |
18,2 |
|
|
89 |
- |
14,4 |
16,8 |
- |
- |
- |
|
|
108 |
- |
19,2 |
22,6 |
- |
- |
33,5 |
35,7 |
|
133 |
- |
25,3 |
30,0 |
- |
41,9 |
45,3 |
- |
|
159 |
- |
31,4 |
37,4 |
- |
- |
- |
|
Таблица 6.4.2. Время до начала замерзания воды с начальной температурой +10°С в трубопроводах с теплоизоляцией из экструзионного пенополистирола ПЕНОПЛЭКС® марки 35 при остановке ее движения.
|
Наружный диаметр, мм |
Толщина теплоизоляционного слоя из пенополистирола ПЕНОПЛЭКС® марки 35, мм |
||||||
|
30 |
40 |
50 |
30+40 |
80 |
90 |
100 |
|
|
Время до начала замерзания при температуре воздуха минус 20°С, час |
|||||||
|
57 |
11,1 |
13,5 |
- |
- |
20,2 |
21,5 |
- |
|
76 |
15,4 |
18,9 |
- |
27,1 |
29,4 |
31,4 |
- |
|
89 |
- |
24,7 |
28,8 |
- |
- |
- |
- |
|
108 |
- |
32,7 |
38,4 |
- |
- |
57,0 |
60,8 (50+50) |
|
133 |
- |
42,9 |
50,8 |
- |
71,1 |
76,9 |
- |
|
159 |
- |
53,3 |
63,5 |
- |
- |
- |
- |
|
Время до начала замерзания при температуре воздуха минус 30°С, час |
|||||||
|
57 |
7,6 |
9,2 |
- |
- |
13,8 |
14,7 (40+50) |
|
|
76 |
10,5 |
12,9 |
- |
18,5 |
20,1 |
21,5 |
|
|
89 |
- |
16,8 |
19,7 |
- |
- |
- |
|
|
108 |
- |
22,3 |
26,2 |
- |
- |
38,8 |
41,4 |
|
133 |
- |
29,2 |
34,6 |
- |
48,4 |
52,4 |
- |
|
159 |
- |
36,3 |
43,3 |
- |
- |
- |
|
Таблица 6.4.3. Время до начала замерзания воды с начальной температурой +5°С в трубопроводах с теплоизоляцией из экструзионного пенополистирола ПЕНОПЛЭКС® марки 45 при остановке ее движения.
|
Наружный диаметр, мм |
Толщина теплоизоляционного слоя из пенополистирола ПЕНОПЛЭКС® марки 45, мм |
||||||
|
30 |
40 |
50 |
30+40 |
80 |
90 |
100 |
|
|
Время до начала замерзания при температуре воздуха минус 20°С, час |
|||||||
|
57 |
9,0 |
10,9 |
- |
- |
16,4 |
17,5 |
- |
|
76 |
12,5 |
15,2 |
- |
21,9 |
23,7 |
25,3 |
- |
|
89 |
- |
20,1 |
23,5 |
- |
- |
- |
- |
|
108 |
- |
26,8 |
31,6 |
- |
- |
46,8 |
49,9 |
|
133 |
- |
35,4 |
41,9 |
- |
58,5 |
63,3 |
- |
|
159 |
- |
44,0 |
52,4 |
- |
- |
- |
- |
|
Время до начала замерзания при температуре воздуха минус 30°С, час |
|||||||
|
57 |
6,1 |
7,3 |
- |
- |
11,0 |
11,7 |
- |
|
76 |
8,4 |
10,3 |
- |
14,7 |
15,9 |
17,0 |
- |
|
89 |
- |
13,5 |
15,8 |
- |
- |
- |
- |
|
108 |
- |
18,0 |
21,2 |
- |
- |
31,4 |
33,5 (50+50) |
|
133 |
- |
23,8 |
28,1 |
- |
39,3 |
42,5 |
- |
|
159 |
- |
29,5 |
35,2 |
- |
- |
- |
- |
Таблица 6.4.4. Время до начала замерзания воды с начальной температурой +10°С в трубопроводах с теплоизоляцией из экструзионного пенополистирола ПЕНОПЛЭКС® марки 45 при остановке ее движения.
|
Наружный диаметр, мм |
Толщина теплоизоляционного слоя из пенополистирола ПЕНОПЛЭКС® марки 45, мм |
||||||
|
30 |
40 |
50 |
30+40 |
80 |
90 |
100 |
|
|
Время до начала замерзания при температуре воздуха минус 20°С, час |
|||||||
|
57 |
10,5 |
12,6 |
|
|
19,0 |
20,2 |
- |
|
76 |
14,5 |
17,8 |
|
25,5 |
27,6 |
29,5 |
- |
|
89 |
- |
23,2 |
27,1 |
- |
- |
- |
- |
|
108 |
- |
30,7 |
36,1 |
- |
- |
53,5 |
57,1 |
|
133 |
- |
40,3 |
47,7 |
- |
66,7 |
72,2 |
- |
|
Время до начала замерзания при температуре воздуха минус 30°С, час |
|||||||
|
57 |
7,1 |
8,6 |
- |
- |
13,0 |
13,8 |
- |
|
76 |
9,9 |
12,1 |
- |
17,4 |
18,8 |
20,2 |
- |
|
89 |
- |
15,8 |
18,5 |
- |
- |
- |
- |
|
108 |
- |
20,9 |
24,6 |
- |
- |
36,5 |
38,9 |
|
133 |
- |
27,5 |
32,5 |
- |
45,5 |
49,2 |
- |
|
159 |
- |
34,1 |
40,6 |
- |
- |
- |
- |
7.1. Полуцилиндры и сегменты из экструдированного пенополистирола ПЕНОПЛЭКС в сочетании с промежуточным слоем из теплоизоляционных материалов с температурой применения более 115°С могут быть применены для изоляции трубопроводов с температурой от 75 до 115°С.
7.2. Толщина внутреннего предохранительного слоя рассчитывается так, чтобы температура на границе раздела между внутренним слоем и наружным слоем из пенополистирола ПЕНОПЛЭКС® (междуслойная температура) не превышала 75°С.
Толщина каждого слоя рассчитывается отдельно.
7.3. Тепловой поток с поверхности двухслойной изоляционной конструкции для трубопроводов рассчитывается по формуле:
где: dн - наружный диаметр изолируемого трубопровода, м;
dиз1 -диаметр внутреннего слоя изоляции (из волокнистого материала), м;
dиз2 -диаметр наружного слоя изоляции (из пенополистирола ПЕНОПЛЭКС), м;
tm - температура теплоносителя, °С;
t0 -температура окружающего воздуха, °С,
λиз1 - коэффициент теплопроводности внутреннего слоя, Вт/(м∙°С);
λиз2 - коэффициент теплопроводности теплоизоляционного слоя из пенополистирола ПЕНОПЛЭКС®, Вт/(м°∙С);
ql -нормированная или заданная линейная плотность теплового потока (с 1 метра длины), Вт/м,
αв - коэффициент теплоотдачи от теплоносителя к стенке трубопровода, Вт/(м2∙°С);
αн - коэффициент теплоотдачи от поверхности изоляции в окружающий воздух, Вт/(м2∙°С).
Как правило, при расчетах термическим сопротивлением теплоотдачи от теплоносителя к стенке 1/(αв∙π∙dв) можно пренебречь и в расчетах не учитывать.
7.4. Междуслойную температуру при известной толщине наружного слоя из пенополистирола ПЕНОПЛЭКС® определяют по формуле:
или по формуле:
Температура на поверхности изоляции может быть определена по формуле:
|
|
(7.4) |
7.5. Толщина внутреннего (первого) слоя тепловой изоляции рассчитывается по формулам:

или, если пренебречь термическим сопротивлением теплоотдачи от теплоносителя к стенке:
затем по формуле (6.1.2) определяется толщина первого слоя изоляции.
Коэффициент теплопроводности первого слоя определяется при средней температуре первого слоя: tcp1 = 0,5∙(tm + t1,2).
Толщина второго (наружного) слоя определяется по формуле (6.1.1.) и (6.1.2.).
При этом вместо значения температуры теплоносителя (tm) подставляют значение междуслойной температуры (t1,2), а вместо (dн) - значение (dиз1).
7.6. Порядок расчета двухслойной изоляции с наружным слоем из экструдированного пенополистирола ПЕНОПЛЭКС®:
1. Определяется требуемая плотность теплового потока при заданной температуре теплоносителя (нормируемая по СНиП 41-03-2003 или заданная по технологическим требованиям).
2. Задается междуслойная температура - не более 75°С.
3. Для заданной междуслойной температуры по формуле (7.5.) определяется толщина первого слоя изоляции из температуростойкого материала.
4. Выбирается наиболее близкий по внутреннему диаметру по номенклатуре типоразмер полуцилиндров или сегментов из пенополистирола ПЕНОПЛЭКС® и, исходя из этого, корректируется толщина первого слоя изоляции.
5. По формулам 6.1.1. и 6.1.2. определяется требуемая толщина тепловой изоляции из полуцилиндров или сегментов из пенополистирола ПЕНОПЛЭКС® и определяется типоразмер изделий.
6. Для выбранных типоразмера изделий из пенополистирола и толщины внутреннего слоя из температуростойкого материала производится проверочный расчет значения междуслойной температуры.
Если она превышает заданную, производят повторный расчет с уточнением необходимой толщины тепловой изоляции.
7.7. Для трубопроводов, проложенных на открытом воздухе, необходимо также проверить значение междуслойной температуры при выбранной конструкции для средней максимальной температуры самого жаркого месяца.
Для этого определяют тепловой поток по формуле (7.1.) и междуслойную температуру по формулам (7.2.) или (7.3.).
7.8. Пример расчета требуемой толщины тепловой изоляции из пенополистирола ПЕНОПЛЭКС® марки 35.
1. Исходные данные.
Определить требуемую толщину тепловой изоляции из пенополистирола ПЕНОПЛЭКС® марки 35 в конструкции тепловой изоляции трубопровода наружным диаметром 57 мм с температурой теплоносителя 115°С при числе часов работы более 5000. Трубопровод расположен на открытом воздухе в г. Ярославле.
В соответствии с таблицей 2 СНиП 41-03-2003 «Тепловая изоляция оборудования и трубопроводов» плотность теплового потока принимается ql = 29,6 Вт/м.
Среднегодовая температура окружающего воздуха 3,2°С. (таблица 3 СНиП 23-01-99 «Строительная климатология»).
2. Выбор теплоизоляционного материала для предохранительного слоя.
В качестве внутреннего слоя тепловой изоляции из выпускаемых на территории России и поставляемых из-за рубежа материалов, могут быть использованы следующие:
- полотно стекловолокнистое холстопрошивное марки ПСХ-Т;
- полотно стекловолокнистое иглопробивное марки ИПС-Т;
- маты из стеклянного штапельного волокна марки М-20 или М-25 ГОСТ 10499-95;
- маты из стеклянного штапельного волокна на синтетическом связующем ТУ 5763-001-71451657-2004;
- цилиндры из стеклянного штапельного волокна на синтетическом связующем ТУ 5763-003-00287697-2003;
- цилиндры из минеральной ваты на синтетическом связующем производства ЗАО «Минеральная Вата» или ЗАО «ИЗОРОК»;
- плиты мягкие из базальтового волокна;
- материал базальтовый огнезащитный МБОР без обкладок.
Для внутреннего слоя принимается полотно стекловолокнистое холстопрошивное марки ПСХ-Т или иглопробивное, так как при этом может быть принята любая необходимая толщина предохранительного слоя.
3. Принимаем междуслойную температуру tcp1 = 70°C (с запасом)
4. Определение необходимой толщины предохранительного слоя из полотна ПСХ-Т.
Коэффициент теплопроводности полотна холстопрошивного определяется при средней температуре теплоизоляционного слоя по формуле:
λиз1 = 0,047+0,00023∙tср1, где tср1 = 0,5 (tm + t1,2) = 0,5 (115 + 70) = 92,5°С.
тогда λиз1 = 0,047+0,00023∙92,5 = 0,0683 Вт/(м∙°С).
Толщина внутреннего слоя определяется по формулам 7.5. и 6.1.2.
![]()
по таблицам натуральных логарифмов определяется отношение ![]()
отсюда
м
Наружный диаметр первого слоя тепловой изоляции: 57 + 2∙26 = 109 мм.
Ближайший типоразмер полуцилиндров из пенополистирола ПЕНОПЛЭКС® имеет внутренний диаметр 115 мм (для трубопроводов 108 мм).
Принимаем толщину первого слоя тепловой изоляции 29 мм
5. Толщина наружного слоя из пенополистирола ПЕНОПЛЭКС® определяется по формулам 6.1.1. и 6.1.2. с учетом того, что dиз1 = 0,115 м.
Расчетная теплопроводность экструдированного пенополистирола марки 35 при средне температуре теплоизоляционного слоя:
λиз2 = 0,03 + 0,00014∙(tcp2 - 25),
где tcр2 = 0,5∙(t1,2 + tП) = 0,5∙(70 + 3,2) = 36,6°С.
Примечание. Здесь ориентировочно температура поверхности принимается равной температуре окружающего воздуха, хотя на самом деле она будет несколько выше. Температура поверхности может быть уточнена после определения толщины наружного слоя и всей конструкции в целом.
λиз2 = 0,03 + 0,00014∙(tcp2 - 25) = 0,03 + 0,00014∙(36,6 - 25) = 0,0316 Вт/(м∙°С).
Толщину теплоизоляционного слоя из пенополистирола ПЕНОПЛЭКС® определяют по формуле:

Примечание. Наружный диаметр теплоизоляционной конструкции неизвестен и принимается ориентировочно 0,175 м. На точность расчета это влияет не значительно. Толщина изоляции и наружный диаметр конструкции уточняются в процессе расчета.
По таблицам натуральных логарифмов определяется отношение
,
отсюда:
м
Так как полуцилиндры с внутренним диаметром 115 мм толщиной 31 мм не выпускаются принимаем толщину изоляции из пенополистирола ПЕНОПЛЭКС® марки 35 равной 40 мм.
6. Предварительно принимаем следующую теплоизоляционную конструкцию:
- первый (внутренний) слой тепловой изоляции из полотна из стекловолокнистого холстопрошивного 29 мм;
- второй слой (наружный) из пенополистирола ПЕНОПЛЭКС марки 35 - 40 мм (цилиндры 108 - 40);
- покровный слой из алюминиевого листа толщиной 0,5 мм.
Для заданной конструкции определяем плотность теплового потока и междуслойную температуру при среднегодовой температуре окружающего воздуха.
7. Плотность теплового потока определяют по формуле 7.1. без учета термического сопротивления теплоотдачи от теплоносителя к стенке трубопровода.

Плотность теплового потока не превышает нормативного значения по СНиП 41-03-2003 и отличается от заданной примерно на 8 %.
Междуслойная температура определяется при плотности теплового потока 25,7 Вт/м по формуле 7.3.

или по формуле 7.2.:

что незначительно отличается от заданных параметров.
8. Проверка междуслойной температуры при температуре окружающего воздуха 23,2°С (средняя максимальная самого жаркого месяца для г. Ярославля).
Расчетный коэффициент теплоотдачи от металлического покрытия к окружающему воздуху в отсутствии ветра принимаем αн = 6 Вт/(м2 °С).
Междуслойная температура может находится в пределах 80 - 75°С.
Если предположить, что междуслойная температура равна 75°С:
коэффициент теплопроводности внутреннего слоя из полотна холстопрошивного ПСХ-Т при этом будет равен λиз1 = 0,047+0,00023∙(115 + 75)∙0,5 = 0,0689 Вт/(м∙°С).
коэффициент теплопроводности наружного слоя из пенополистирола ПЕНОПЛЭКС® марки 35 будет равен λиз2 = 0,03 + 0,00014∙[(75 + 25)∙0,5 - 25] = 0,0335 Вт/(м∙°С).
При этом плотность теплового потока по формуле 7.1.:

Междуслойная температура определяется по формулам 7.2. или 7.3.:

Так как значение междуслойной температуры значительно отличается от принятой, необходимо расчет повторить.
9. Задаем значение междуслойной температуры 81°С.
коэффициент теплопроводности внутреннего слоя из полотна холстопрошивного ПСХ-Т при этом будет равен λиз1= 0,047 + 0,00023∙(115 + 81)∙0,5 = 0,0695 Вт/(м∙°С).
коэффициент теплопроводности наружного слоя из пенополистирола ПЕНОПЛЭКС® марки 35 будет равен λиз2 = 0,03 + 0,00014∙[(81 + 25)∙0,5 - 25] = 0,0357 Вт/(м∙°С).
При этом плотность теплового потока по формуле 7.1.:

Междуслойная температура определяется по формулам 7.2. или 7.3.:

что достаточно близко к заданному значению междуслойной температуры 81°С.
Таким образом получено, что при средней максимальной температуре самого жаркого месяца 23,2°С междуслойная температура находится в пределах 80-81°С.
Хотя это несколько превышает допустимую температуру применения экструдированного пенополистирола ПЕНОПЛЭКС®, в связи с тем, что указанная температура может держаться незначительное время, а конструкция обладает некоторой тепловой инерцией, с учетом возможности изменения коэффициента теплоотдачи (наличие ветра), можно принять следующую конструкцию тепловой изоляции:
– первый (предохранительный) слой: полотно стекловолокнистое холстопрошивное марки ПСХ-Т толщиной 29 мм.
– второй (наружный) слой: полуцилиндры из экструдированного пенополистирола ПЕНОПЛЭКС® внутренним диаметром 115 мм толщиной 40 мм.
– покровный слой: алюминиевый лист толщиной 0,5 мм.
1. СНиП 41-03-2003 Тепловая изоляция оборудования и трубопроводов.
2. СП 41-103-2000 Проектирование тепловой изоляции оборудования и трубопроводов
3. СНиП 23-01-99 "Строительная климатология"
4. СНиП 2.01.02-85* "Противопожарные нормы "
5. СНиП 21-01-97* "Пожарная безопасность зданий и сооружений"
6. ТСН 23-337-2002 Свердловской области "Тепловая изоляция оборудования и трубопроводов."
7. ТСН 41-309-2004 Ямало-Ненецкого автономного округа "Тепловая изоляция оборудования и трубопроводов."
8. В.В. Руденко, А.С. Панин, B.C. Жолудов, Л.В. Ставрицкая. Тепловая изоляция в промышленности и строительстве. Издательство БСТ, Москва, 1996 г.
9. Тепловая изоляция. Справочник строителя. М., Стройиздат, 1985 г.
10. Шойхет Б.М. Ставрицкая Л.В. Корельштейн Л.Б. Расчет и проектирование тепловой изоляции оборудования и трубопроводов. Сборник трудов НТК «Промышленная тепловая изоляция. Применение и производство».
11. Сайты компаний:
www.penoplex.ru;
www.rusexp.su;
www.remhouse.spb.ru
www.plastprom.ru.
СЕГМЕНТЫ И ПОЛУЦИЛИНДРЫ ИЗ ЭКСТРУЗИОННОГО ПЕНОПОЛИСТИРОЛА ПЕНОПЛЭКС® В КОНСТРУКЦИЯХ ТЕПЛОВОЙ ИЗОЛЯЦИИ ТРУБОПРОВОДОВ
АЛЬБОМ ТЕХНИЧЕСКИХ РЕШЕНИЙ
ТР 12312-ТИ-2006
Рис. 1.0. Схема устройства тепловой изоляции трубопроводов изделиями из пенополистирола ПЕНОПЛЭКС®
ТЕПЛОВАЯ ИЗОЛЯЦИЯ ТРУБОПРОВОДОВ С ПОЛОЖИТЕЛЬНЫМИ ТЕМПЕРАТУРАМИ
Рис. 1.1. Изоляция горизонтальных трубопроводов диаметром от 57 до 108 мм полуцилиндрами ПЕНОПЛЭКС®
Рис. 1.2. Изоляция горизонтальных трубопроводов диаметром от 133 до 1420 мм сегментами ПЕНОПЛЭКС®
Рис. 1.3. Изоляция вертикальных трубопроводов диаметром от 57 до 1420 мм изделиями ПЕНОПЛЭКС®
Рис. 1.4. Изоляция отвода диаметром от 57 до 1420 мм изделиями ПЕНОПЛЭКС
Рис. 1.5. Изоляция отвода диаметром от 57 до 1420 мм изделиями из волокнистых материалов
Рис. 1.6. Изоляция горизонтальных трубопроводов диаметром от 57 до 1220 мм изделиями ПЕНОПЛЭКС®в два слоя
Рис. 1.7. Изоляция горизонтальных трубопроводов диаметром от 57 до 1220 мм изделиями ПЕНОПЛЭКС® в два слоя, Таблица толщин.
Рис. 1.8. Изоляция горизонтальных трубопроводов диаметром от 57 до 1420 мм с температурой теплоносителя от 75° до 115°С
Рис. 1.9. Устройство противопожарной вставки при изоляции трубопроводов диаметром от 57 до 1420 мм изделиями ПЕНОПЛЭКС®
ТЕПЛОВАЯ ИЗОЛЯЦИЯ ТРУБОПРОВОДОВ
С ОТРИЦАТЕЛЬНЫМИ ТЕМПЕРАТУРАМИ
Рис. 1.10. Изоляция горизонтальных трубопроводов диаметром от 57 до 108 мм с отрицательными температурами полуцилиндрами ПЕНОПЛЭКС® (с пароизоляцией из полиэтиленовой пленки)
Рис. 1.11. Изоляция горизонтальных трубопроводов диаметром от 57 до 108 мм с отрицательными температурами полуцилиндрами ПЕНОПЛЭКС® (с пароизоляцией из фольги)
Рис. 1.12. Изоляция горизонтальных трубопроводов диаметром от 133 до 1420 мм с отрицательными температурами сегментами ПЕНОПЛЭКС (с пароизоляциеи из полиэтиленовой пленки)
Рис. 1.13. Изоляция горизонтальных трубопроводов диаметром от 133 до 1420 мм с отрицательными температурами сегментами ПЕНОПЛЭКС (с пароизоляцией из фольги)
Рис. 1.14. Изоляция вертикальных трубопроводов диаметром от 57 до 1420 мм с отрицательными температурами изделиями ПЕНОПЛЭКС® (с пароизоляцией из полиэтиленовой пленки)
Рис. 1.15. Изоляция отвода диаметром от 57 до 1420 мм с отрицательными температурами изделиями ПЕНОПЛЭКС®
Рис. 1.16. Изоляция отвода диаметром от 57 до 1420 мм с отрицательными температурами изделиями из волокнистых материалов
Рис. 1.17. Устройство противопожарной вставки при изоляции трубопроводов диаметром от 57 до 1420 мм с отрицательными температурами
ВИДЫ ПОКРЫТИЙ
Рис. 1.18. Крепление металлического покрытия
Рис. 1.19. Крепление покрытия из стеклопластика или стеклотекстолита
Рис. 1.20. Покрытие отвода металлическое с креплением на винтах
Рис. 1.21. Покрытие отвода металлическое секционное с креплением на замках
Рис. 1.22. Изоляция трубопроводов диаметром от 57 до 1420 мм изделиями ПЕНОПЛЭКС® со штукатурным покрытием
Рис. 1.23. Изоляция трубопроводов диаметром от 57 до 1420 мм изделиями ПЕНОПЛЭКС® со штукатурным покрытием, Разрезы к рис. 1.22
Рис. 1.24. Изоляция трубопроводов диаметром от 57 до 1420 мм изделиями ПЕНОПЛЭКС® со штукатурным покрытием, Вариант.
РАЗГРУЖАЮЩИЕ УСТРОЙСТВА
Рис. 1.25. Разгружающее устройство для вертикальных трубопроводов
ИЗОЛЯЦИЯ ПОДЗЕМНЫХ ТРУБОПРОВОДОВ
Рис. 1.26. Трубопроводов подземной прокладки с изоляцией изделиями из пенополистирола ПЕНОПЛЭКС®
Рис. 1.27. Изоляция подземных трубопроводов изделиями из пенополистирола ПЕНОПЛЭКС®
И3ОЛЯЦИЯ ФЛАНЦЕВЫХ СОЕДИНЕНИЙ И АРМАТУРЫ
Рис. 2.1. Изоляция Фланцевого соединения изделиями ПЕНОПЛЭКС® с металлическим съемным кожухом
Рис. 2.2. Изоляция Фланцевого соединения полуфутлярами с теплоизоляционным слоем из изделии ПЕНОПЛЭКС®
Рис. 2.3. Изоляция Фланцевой арматуры изделиями ПЕНОПЛЭКС® с металлическим съемным кожухом
Рис. 2.4. Изоляция фланцевой арматуры полуфутлярами с теплоизоляционным слоем из изделии ПЕНОПЛЭКС®
Рис. 2.5. Полуфутляр с теплоизоляционным слоем из изделий ПЕНОПЛЭКС®
Рис. 1.0. Схема устройство тепловой изоляции трубопроводов изделиями из пенополистирола ПЕНОПЛЭКС®
Изоляция трубопроводов надземной прокладки
Изоляция трубопроводов подземной прокладки

1. Изоляция горизонтальных трубопроводов
2. Изоляция вертикальных трубопроводов
3. Изоляция отвода
4. Изоляция фланцевого соединения
5. Изоляция арматуры
6. Разгружающее устройство (для вертикальных, трубопроводов)
7. Устройство противопожарной преграды из негорючих материалов
Рис. 1.1. Изоляция горизонтальных трубопроводов диаметром от 57 до 108 мм полуцилиндрами ПЕНОПЛЭКС®
для dн 57 и 76 мм
1. Полуцилиндры ПЕНОПЛЭКС®
2. Бандаж с пряжкой
3. Покрытие (см. рис. 1.18., 1.19.)
4. Компенсационная вставка
5. Кольцо из проволоки диаметром 1,2 - 2,0 мм
Рис. 1.2. Изоляция горизонтальных трубопроводов диаметром от 133 до 1420 мм сегментами ПЕНОПЛЭКС®
1. Сегменты ПЕНОПЛЭКС®
2. Бандаж с пряжкой
3. Покрытие (см. рис. 1.18., 1.19.)
4. Компенсационная вставка
5. Кольцо из проволоки диаметром 1,2 – 2,0 мм
* Размер для справок
Рис. 1.3. Изоляция вертикальных трубопроводов диаметром от 57 до 1420 мм изделиями ПЕНОПЛЭКС®
1. Изделия ПЕНОПЛЭКС®
2. Бандаж с пряжкой
3. Покрытие металлическое
4. Разгружающее устройство
5. Скоба навесная
6. Компенсационная вставка
7. Винт самонарезающий
* Размер для справок
Рис. 1.4. Изоляция отвода диаметром от 57 до 1420 мм изделиями ПЕНОПЛЭКС®
1. Изделия ПЕНОПЛЭКС®
2. Бандаж с пряжкой
3. Покрытие отвода (см. рис. 1.20., 1.21.)
4. Компенсационная вставка
Рис. 1.5. Изоляция отвода диаметром от 57 до 1420 мм изделиями из волокнистых теплоизоляционных материалов
1. Изделия ПЕНОПЛЭКС®
2. Изделия из волокнистых теплоизоляционных материалов
3. Бандаж с пряжкой
4. Покрытие отвода (см. рис. 1.20., 1.21.)
Рис. 1.6. Изоляция горизонтальных трубопроводов диаметром от 57 до 1220 мм изделиями ПЕНОПЛЭКС® в два слоя
1. Изделия ПЕНОПЛЭКС®
2. Бандаж с пряжкой
3. Покрытие (см. рис. 1.18., 1.19.)
4. Компенсационная вставка
5. Кольцо из проволоки диаметром 1,2 – 2,0 мм
1. * Размер для справок
2. Размеры изделий ПЕНОПЛЭКС® для двухслойной изоляции см. табл. на рис. 1.7
Рис. 1.7. Изоляция трубопроводов диаметром от 57 до 1220 мм изделиями ПЕНОПЛЭКС® в два слоя. Таблица толщин к рис. 1.6
|
dh/Dвн |
δ1 |
Dиз1 |
δ2 |
δ1 + δ2 |
|
dh/Dвн |
δ1 |
Dиз1 |
δ2 |
δ1 + δ2 |
|
57/60 |
40 |
140 |
40 |
80 |
529/540 |
50 |
640 |
50 |
100 |
|
|
50 |
90 |
60 |
110 |
|||||||
|
76/80 |
30 |
140 |
40 |
70 |
80 |
130 |
||||
|
50 |
80 |
720/730 |
50 |
830 |
50 |
100 |
||||
|
40 |
160 |
40 |
80 |
60 |
110 |
|||||
|
50 |
90 |
80 |
130 |
|||||||
|
108/115 |
50 |
225 |
40 |
90 |
820/830 |
50 |
930 |
50 |
100 |
|
|
50 |
100 |
60 |
110 |
|||||||
|
133/140 |
40 |
220 |
40 |
80 |
80 |
130 |
||||
|
50 |
90 |
920/930 |
50 |
1030 |
60 |
110 |
||||
|
219/225 |
50 |
325 |
50 |
100 |
80 |
130 |
||||
|
60 |
110 |
100 |
150 |
|||||||
|
325/330 |
50 |
430 |
50 |
100 |
1020/1030 |
100 |
1230 |
60 |
160 |
|
|
60 |
110 |
80 |
180 |
|||||||
|
80 |
130 |
100 |
200 |
|||||||
|
426/435 |
50 |
535 |
50 |
100 |
1220/1230 |
100 |
1430 |
60 |
160 |
|
|
60 |
110 |
80 |
180 |
|||||||
|
80 |
130 |
100 |
200 |
δ1 - толщина изоляции первого слоя
δ2 - толщина изоляции второго слоя
Dиз1- наружный диаметр изоляции первого слоя
Рис. 1.8. Изоляция горизонтальных трубопроводов диаметром от 57 до 1420 мм с температурой теплоносителя от 75 до 115°С
1. Изделия из стекловолокна или из супертонкого базальтового волокна
2. Сегменты ПЕНОПЛЭКС®
3. Бандаж с пряжкой
4. Покрытие (см. рис. 1.18., 1.19.)
5. Компенсационная вставка
6. Кольцо из проволоки диаметром 1,2 – 2,0 мм
* Размер для справок
Рис. 1.9. Устройство противопожарной вставки при изоляции трубопроводов диаметром от 57 до 1420 мм изделиями ПЕНОПЛЭКС®
1. Изоляция трубопроводов изделиями ПЕНОПЛЭКС®
2. Изделия из волокнистых теплоизоляционных материалов
3. Бандаж с пряжкой
4. Покрытие (рис. 1.18., 1.19.)
Рис. 1.10. Изоляция горизонтальных трубопроводов диаметром от 57 до 108 мм с отрицательными температурами полуцилиндрами ПЕНОПЛЭКС® (с пароизоляцией из полиэтиленовой пленки)
1. Полуцилиндры ПЕНОПЛЭКС®
2. Бандаж с пряжкой
3. Покрытие (см. рис. 1.18)
4. Мастика битумная
5. Компенсационная вставка
6. Пленка полиэтиленовая
7. Лента полиэтиленовая с липким слоем
8. Бандаж из полиамидной ленты (или скотч)
9. Герметик
* Размер для справок
Рис. 1.11. Изоляция горизонтальных трубопроводов диаметром от 57 до 108 мм с отрицательными температурами полуцилиндрами ПЕНОПЛЭКС® (с пароизоляцией из фольги)
1. Полуцилиндры ПЕНОПЛЭКС®
2. Бандаж с пряжкой
3. Покрытие металлическое (см. рис. 1.18.)
4. Мастика битумная
5. Компенсационная вставка
6. Фольга алюминиевая
7. Лента алюминиевая с липким слоем
8. Предохранительный слои (ткань, холст и т.д.)
9. Кольцо из проволоки диаметром 1,2 мм
10. Герметик
* Размер для справок
Рис. 1.12. Изоляция горизонтальных трубопроводов диаметром от 133 до 1420 мм с отрицательными температурами сегментами ПЕНОПЛЭКС® (с пароизоляцией из полиэтиленовой пленки)
1. Сегменты ПЕНОПЛЭКС®
2. Бандаж с пряжкой
3. Покрытие (см. рис. 1.18.)
4. Мастика
5. Компенсационная вставка
6. Пленка полиэтиленовая
7. Лента полиэтиленовая с липким слоем
8. Бандаж из полиамидной ленты (или скотч)
9. Герметик
* Размер для справок
Рис. 1.13. Изоляция горизонтальных трубопроводов диаметром от 133 до 1420 мм с отрицательными температурами сегментами ПЕНОПЛЭКС® (с пароизоляцией из фольги)
1. Сегменты ПЕНОПЛЭКС®
2. Бандаж с пряжкой
3. Покрытие металлическое (см. рис. 1.18.)
4. Мастика битумная
5. Компенсационная вставка
6. Фольга алюминиевая
7. Лента алюминиевая с липким слоем или клей
8. Предохранительный слой (ткань, холст и т.д.)
9. Кольцо из проволоки диаметром 1,2 мм
10. Герметик
* Размер для справок
Рис. 1.14. Изоляция вертикальных трубопроводов диаметром от 57 до 1420 мм с отрицательными температурами изделиями ПЕНОПЛЭКС® (с пароизоляцией из полиэтиленовой пленки)
1. Изделия ПЕНОПЛЭКС®
2. Бандаж с пряжкой
3. Покрытие металлическое
4. Мастика битумная
5. Разгружающее устройство (см. черт. 1.25.)
6. Скоба навесная
7. Компенсационная вставка
8. Пленка полиэтиленовая
9. Лента полиэтиленовая с липким слоем
10. Герметик
* Размер для справок
Рис. 1.15. Изоляция отвода диаметром от 57 до 1420 мм с отрицательными температурами изделиями ПЕНОПЛЭКС®
1. Изделия ПЕНОПЛЭКС®
2. Бандаж с пряжкой
3. Мастика битумная
4. Покрытие отвода (см. рис. 1.20.)
5. Компенсационная вставка
6. Пленка полиэтиленовая *
9. Лента полиэтиленовая с липким слоем
10. Герметик
* или фольга алюминиевая с проклейкой швов лентой алюминиевой с липким слоем
Рис. 1.16. Изоляция отвода диаметром от 57 до 1420 мм с отрицательными температурами изделиями из волокнистых теплоизоляционных материалов
1. Изделия из волокнистых теплоизоляционных материалов
2. Бандаж с пряжкой
3. Пленка полиэтиленовая
4. Лента полиэтиленовая с липким слоем
5. Покрытие отвода (см. рис. 1.20)
6. Герметик
7. Изоляция трубопроводов изделиями ПЕНОПЛЭКС®
* или фольга алюминиевая с проклейкой швов лентой алюминиевой с липким слоем
Рис. 1.17. Устройство противопожарной вставки при изоляции трубопроводов диаметром от 57 до 1420 мм с отрицательными температурами изделиями ПЕНОПЛЭКС®
1. Изделия из волокнистых теплоизоляционных материалов
2. Бандаж с пряжкой
3. Фольга алюминиевая
4. Лента полиэтиленовая с липким слоем
5. Покрытие (рис. 1.18.)
6. Герметик
7. Изоляция трубопроводов изделиями ПЕНОПЛЭКС®
Рис. 1.18. Крепление металлического покрытия
1. Металлическое покрытие
2. Бандаж с пряжкой
3. Винт самонарезающий
4. Болт
5. Гайка
6. Заклепка
7. Крепление выполняется на монтаже прошивными клещами СК-1
8. Проволока диаметром 2 мм
Рис. 1.19. Крепление покрытия из рулонного стеклопластика или стеклотекстолита (для Dк < 650 мм)
1. Стеклопластик, стеклотекстолит и др.
2. Металлическая планка жесткости толщ. 0,5 мм
3. Бандаж с пряжкой
4. Винт самонарезающий
* Размер L равен ширине стеклопластика или стеклотекстола
Рис. 1.20. Покрытие отвода металлическое (крепление на винтах)
1. Секция крайняя верхняя
2. Секция средняя
3. Секция крайняя нижняя
4. Винт самонарезающий
Допускается крепление секции Бандажами с пряжкой (до Dк < 600 мм)
Рис. 1.21. Покрытие отвода металлическое секционное с креплением
1. Элемент покрытия отвода верхний
2. Элемент покрытия отвода нижний
3. Замок
4. Крючок
5. Заклепка
Рис. 1.22. Изоляция трубопроводов диаметром от 57 до 1420 мм изделиями ПЕНОПЛЭКС® со штукатурным покрытием
Узел I, разрезы см. рис. 1.23.
1. Изделия ПЕНОПЛЭКС®
2. Бандаж с пряжкой
3. Сетка стальная плетенная 1,2 – 1,4
4. Сшивка из проволоки диаметром 0,8 мм
5. Кольцо из проволоки 2 мм
6. Штукатурка песчано-цементная
7. Манжета из стали толщ. 0,8 мм
8. Прокладка из резины листовой толщ. 2 мм
9. Винт самонарезающий
10. Оклейка хлопчато-бумажной тканью
11. Окраска краской масляной
Рис. 1.23. Изоляция трубопроводов диаметром от 57 до 1420 мм изделиями ПЕНОПЛЭКС® со штукатурным покрытием.
Состав растворов и норма расхода компонентов для изготовления штукатурного покрытия
|
Раствор |
Нормы расхода компонентов (с учетом влажности и потерь) на 1 м раствора |
|
|
компонент |
количество |
|
|
Цементно-песчаный |
Цемент, т |
0,4 |
|
Песок, м3 |
1,01 |
|
|
Вода, м3 |
1 |
|
|
Асбестоцементный |
Асбест VIсорта, т |
0,313 |
|
Цемент, т |
1,17 |
|
|
Вода, м3 |
1 |
|
Рис. 1.24. Изоляция трубопроводов диаметром от 57 до 1420 мм изделиями ПЕНОПЛЭКС® со штукатурным покрытием, Вариант.
1. Изделия ПЕНОПЛЭКС®
2. Бандаж с пряжкой
3. Штукатурка
4. Армирующая стеклосетка
* Размер для справок
Рис. 1.25. Разгружающее устройство для вертикальных трубопроводов
1. Элемент стяжного бандажа
2. Болт
3. Гайка
4. Элемент диафрагмы
5. Винт самонарезающий 4 × 12
Рис. 1.26. Трубопровод подземной прокладки с изоляцией изделиями из пенополистирола ПЕНОПЛЭКС®
1. Засыпка
2. Засыпка без щебня
3. Засыпка песком
4. Изоляция трубопровода (см. черт. 1.27)
5. Гравии
Рис. 1.27. Изоляция подземных трубопроводов изделиями из пенополистирола ПЕНОПЛЭКС®
1. Изделия ПЕНОПЛЭКС®
2. Бандаж с пряжкой
3. Гидроизоляционный слой
4. Битумная мастика
5. Компенсационная вставка
6. Накладка (резина)
7. Герметизация швов гидроизоляционного слоя ()
* Размер для справок
Рис. 2.1. Изоляция фланцевого соединения изделиями ПЕНОПЛЭКС® с металлическим съемным кожухом
1. Изделия ПЕНОПЛЭКС®
2. Бандаж с пряжкой
3. Металлический кожух (крепление на замках или бандажами с пряжкой)
4. Герметизация швов (при необходимости)
Рис. 2.2. Изоляция фланцевого соединения полуфутлярами с теплоизоляционным слоем из изделии ПЕНОПЛЭКС®
1. Полуфутляр с теплоизоляционным слоем из изделий ПЕНОПЛЭКС® (см. рис. 2.5.)
2. Герметизация швов (при необходимости)
Рис. 2.3. Изоляция .фланцевой арматуры изделиями ПЕНОПЛЭКС® с металлическим съемным кожухом
1. Изделия ПЕНОПЛЭКС®
2. Бандаж с пряжкой
3. Металлический кожух (крепление на замках или бандажами с пряжкой)
4. Герметизация швов (при необходимости)
Рис. 2.4. Изоляция фланцевой арматуры полуфутлярами с теплоизоляционным слоем из изделии ПЕНОПЛЭКС®
1. Полуфутляр с теплоизоляционным слоем из изделий ПЕНОПЛЭКС® (см. рис. 2.5.)
2. Герметизация швов (при необходимости)
Рис. 2.5. Полуфутляр с теплоизоляционным слоем из изделии ПЕНОПЛЭКС®
1. Изделия из пенополистирола ПЕНОПЛЭКС®
2. Стенка боковая металлического кожуха
3. Стенка торцевая
4. Клей
5. Крючок
6. Замок
7. Заклепка
Примечание: при изготовлении полуфутляров для изоляции фланцевых соединении вырез не выполняют





|
ГОСТЫ, СТРОИТЕЛЬНЫЕ и ТЕХНИЧЕСКИЕ НОРМАТИВЫ. Некоммерческая онлайн система, содержащая все Российские Госты, национальные Стандарты и нормативы. В Системе содержится более 150000 файлов нормативно-технической документации, действующей на территории РФ. Система предназначена для широкого круга инженерно-технических специалистов. Copyright © www.gostrf.com, 2008 - 2026 |