|
|
|
СТО 465.002-2007 СТАНДАРТ ОРГАНИЗАЦИИ АЛЬБОМ ТИПОВЫХ УЗЛОВ И КОНСТРУКТИВНЫХ РЕШЕНИЙ ДЛЯ ПРОЕКТИРОВАНИЯ И СТРОИТЕЛЬСТВА С ПРИМЕНЕНИЕМ ЭКСТРУДИРОВАННОГО ПЕНОПОЛИСТИРОЛА STYROFOAM ООО «Дау Кемикал» Москва 1. РАЗРАБОТАН: - ООО «ГПИ-2», отдел № 2: начальник отдела Т.П. Короткова, 129085 г. Москва, Звездный бульвар, д. 21, стр. 1, 6-й этаж, т/ф.: (495) 615-36-01 - ООО «Дау Кемикал», отдел комплексных строительных решений: технический консультант отдела С.В. Матанцев, 109147 г. Москва, ул. Таганская, д. 17/23, т: (495) 258-56-90; ф: (495) 258-56-91/92; www.dow.ru - ЗАО «ЦСИ «Огнестойкость-ЦНИИСК»: руководитель проведения натурных испытаний Л.А. Сидоренко; ответственный исполнитель проведения испытаний, ведущий инженер М.И. Клейменов, 109428 г. Москва, Рязанский проспект, д. 61, т/ф: (495) 174-79-04; www.tsniiskfire.ru 2. ВНЕСЕН: ООО «Дау Кемикал» 3. ВВЕДЕН В ДЕЙСТВИЕ: ООО «Дау Кемикал» 25 мая 2007 г. 4. ВВЕДЕН ВПЕРВЫЕ 5. Стандарт соответствует требованиям Федерального закона от 27.12.2002 г. № 184-ФЗ «О техническом регулировании», ГОСТ Р 1.4-2004, ГОСТ Р 1.5-2004 и ГОСТ 1.5-2001 Содержание
ВВЕДЕНИЕДанный Стандарт организации разработан в соответствии с Федеральным законом № 184-ФЗ «О техническом регулировании» от 27.12.2002 г. для зданий и сооружений высотой до 75 метров. Данный Стандарт устанавливает основные требования к проектированию, строительству и эксплуатации зданий и сооружений с применением утеплителя из экструдированного пенополистирола STYROFOAM (далее по тексту - STYROFOAM) и распространяется на подразделение ООО «Дау Кемикал» (далее по тексту - Предприятие), а также хозяйствующие субъекты, применяющие и использующие STYROFOAM для проектирования и строительства зданий и сооружений в Российской Федерации. ЭНЕРГОЭФФЕКТИВНОСТЬСовременные строительные нормы и правила устанавливают требования к тепловой защите зданий в целях экономии энергии при обеспечении санитарно-гигиенических и оптимальных параметров микроклимата помещений, а также долговечности ограждающих конструкций зданий и сооружений. Требования к повышению тепловой защиты зданий и сооружений (основных потребителей энергии) являются важным объектом государственного регулирования в большинстве стран мира. Эти требования важны также с точки зрения охраны окружающей среды, рационального использования невозобновляемых природных ресурсов, уменьшения влияния «парникового» эффекта и сокращения выделений двуокиси углерода и других вредных веществ в атмосферу. Сегодняшние нормы затрагивают часть общей задачи энергосбережения в зданиях. Одновременно с созданием эффективной тепловой защиты, в соответствии с другими нормативными документами, принимаются меры по повышению эффективности инженерного оборудования зданий, снижению потерь энергии при ее выработке и транспортировке, а также по сокращению расхода тепловой и электрической энергии путем автоматического управления и регулирования оборудования и инженерных систем в целом. Проводимая в России в течение многих десятков лет политика «дешевых» энергоносителей привела к тому, что значительная доля построенных на данный момент зданий характеризуется крайне низким уровнем теплоизоляции, а следовательно, - недопустимо высокими затратами тепла на поддержание необходимых параметров микроклимата. В целом по России расходы на отопление составляют 55 кг у.т./(м2 в год) и на горячее водоснабжение 19 кг у.т./(м2 в год), т.е. суммарный расход тепловой энергии равен 74 кг у.т./(м2 в год), тогда как в странах Скандинавии суммарный расход тепловой энергии составляет 18 кг у.т./(м2 в год). Среди основных причин малой энергоэффективности зданий является низкий уровень термосопротивления основных строительных конструкций, что в 2 - 3,5 раза меньше, чем в странах Западной Европы. С учетом тенденции роста цен на энергоносители - повышение энергетической эффективности зданий и сооружений становится самой актуальной задачей отечественной строительной индустрии. Одним из главных требований, принятым в 1996 г. российским Федеральным законом «Об энергосбережении» в области нормирования характеристик зданий, стало уменьшение теплопотерь и сокращение расхода топливно-энергетических ресурсов. На основе этого закона была разработана программа энергосбережения, включающая совершенствование нормативно-методической базы проектирования и перевод стройиндустрии на использование материалов и технологий, отвечающих современным требованиям. ПРОТИВОПОЖАРНАЯ БЕЗОПАСНОСТЬВ данном Стандарте приведены противопожарные требования для обязательного соблюдения, как в период проектирования, так и в период строительства. В то же время данным СТО опровергается мнение, что сгораемый утеплитель ухудшает огнестойкость строительных конструкций. Например, проведенные натурные испытания в ЦСИ «Огнестойкость-ЦНИИСК» для пустотелых железобетонных плит с нагрузкой 1150 кг/м2, показали следующие параметры: - через 60 минут огневых испытаний в железобетонной пустотелой плите без теплоизоляции возникли предельные деформации и прогиб составил 315 мм в центре плиты; - через 75 минут огневых испытаний в железобетонной пустотелой плите с теплоизоляцией STYROFOAM возникли предельные деформации и прогиб составил 300 мм в центре плиты. Применение STYROFOAM в железобетонных трехслойных панелях на гибких связях (система строительных панелей STYRODOM) дает 8-кратное превосходство перед аналогичными трехслойными панелями с утеплителем из минераловатной плиты при образовании трещин т.е.: - при вертикальной нагрузке в 41 т на облицовочный слой трехслойной плиты со STYROFOAM появляются трещины; - при вертикальной нагрузке в 5 т на облицовочный слой трехслойной плиты с минераловатной плитой появляются трещины. НОРМАТИВНЫЕ ССЫЛКИВ настоящем Стандарте организации использованы ссылки на следующие НД:
ОБОЗНАЧЕНИЕ И НАИМЕНОВАНИЕ СТАНДАРТА ОРГАНИЗАЦИИВ наименованиях марок изделия отмечен ряд параметров, например:
Обозначения Стандарта организаций в следующем порядке:
ТЕРМИНЫ, ОПРЕДЕЛЕНИЯ, ОБОЗНАЧЕНИЯ И СОКРАЩЕНИЯВ Стандарте организации используются без расшифровки следующие сокращения: НД - нормативный документ; ВМГ - вечномерзлый грунт; КПО - класс пожарной опасности конструкции; НГ - негорючая; т.д. - так далее; т.п. - тому подобное; и др. - и другие; в т.ч. - в том числе; пр. - прочие; т.к. -так как; с. - страница; г. - год; гг. - годы; мин. - минимальный; макс. - максимальный; шт. - штуки; св. - свыше; см. - смотри; ут. - утеплитель; δ - толщина утеплителя; мет. - металл; Ø - диаметр; включ. - включительно. В графических материалах НД также используются следующие сокращения латинских слов: min - минимальный; max - максимальный. ФИЗИКО-МЕХАНИЧЕСКИЕ СВОЙСТВА STYROFOAMЭкструдированный пенополистирол STYROFOAM (Стайрофом) был разработан компанией «Дау Кемикал», США в 1941 году, а в строительстве впервые был применен в 1946 году. Изоляционные плиты STYROFOAM имеют отличительный голубой цвет и равномерную мелкую закрытоячеистую структуру, которая обеспечивает высокие изоляционные параметры и прекрасные механические характеристики плит (таблица 1). Таким образом, этот материал способен обеспечить долговечность любого здания и сооружения, независимо от климатических условий. STYROFOAM - это группа изоляционных материалов из экструдированного пенополистирола, специально разработанных для различных применений: - Styrofoam IB 250A, это аналог ранее выпускаемой марки Styrofoam IB А. Предназначен для утепления фасадов под штукатурку, изготовления монолитных, панельных, многослойных стен, перегородок, изоляции «мостиков холода» и т.д. Плиты имеют ровный стык кромки. - Styrofoam 250A, это аналог ранее выпускаемой марки Wallmate CW А. Предназначен для теплоизоляции многослойных стен (бетонных, кирпичных, керамзитобетонных, газобетонных, бессер-блоков) как снаружи, так и изнутри, как строящихся, так и эксплуатируемых зданий, а также скатных крыш. Плиты имеют стык кромки «шип-паз». - Styrofoam 300A, это аналог ранее выпускаемой марки Roofmate SL А. Предназначен для плоской (инверсионной, эксплуатируемой, с садом, облегченной, традиционной) мягкой кровли, пола (в т.ч. пола-на-грунте), а также стен, фундаментов и т.д. Плиты имеют стык кромки «четверть». - Styrofoam 500A, это аналог ранее выпускаемой марки Floormate 500 А. Предназначен для плоской эксплуатируемой кровли и пола с высокими нагрузками, автостоянок, ледовых катков, подземных гаражей, овощехранилищ, промышленных холодильников и т.д. Плиты имеют стык кромки «четверть». Таблица 1
ХРАНЕНИЕ STYROFOAMПлиты STYROFOAM можно хранить вне помещения. Дождь, снег или мороз не ухудшают их физико-механические свойства. Следует защищать плиты от воздействия прямого солнечного света при долговременном хранении. Защитные материалы темного цвета запрещается применять, поскольку аккумуляция тепла внутри упаковок может быть слишком высокой. Также следует обеспечить регулярную вентиляцию при хранении в помещении. STYROFOAM можно обрабатывать столярным инструментом и на станках стандартного типа. Изолирующие плиты STYROFOAM относятся к группе сгораемых в присутствии источника пламени, поэтому всегда должны быть защищены от возгорания. Продуктами горения, как и всех органических материалов, являются в основном окись углерода, а также двуокись углерода и сажа. Дым незначительно ядовит, как и дым от других строительных материалов, например, древесины. Плиты STYROFOAM расплавляются, если они в течение продолжительного времени подвергаются действию высокой температуры. Максимальная рекомендуемая рабочая температура составляет плюс 75°С. Допускается кратковременное воздействие горячей воды до 100°С на STYROFOAM. STYROFOAM следует предохранять от: - прямого механического воздействия нерасчетных нагрузок - соприкосновения с нефтяными продуктами (бензин, керосин и т.д.) - соприкосновения с органическими растворителями (бензол, ацетон и т.д.) - воздействия открытого огня - прямых ультрафиолетовых лучей (более 30 суток). STYROFOAM не поддается воздействию: - карбоната натрия и гидроокиси кальция - натрия хлорида (поваренная соль) - бактерий природного происхождения и органических веществ (гумус, сапропель и т.д.). При наличии в грунте кислот, щелочей, органических удобрений и других веществ, не перечисленных выше, следует проводить оценку устойчивости STYROFOAM индивидуально по конкретному составу и концентрации этих веществ. ПОЖАРНАЯ БЕЗОПАСНОСТЬ ЗДАНИЙРаздел Пожарной безопасности в данном Стандарте организации разработан в помощь проектным и строительным организациям с целью определения пределов огнестойкости строительных конструкций изолированных плитами STYROFOAM, а также установления групп возгораемости STYROFOAM и пределов распространения огня по ним. Выбор соотношения между функциональной пожарной опасностью, степенью огнестойкости и классом конструктивной пожарной опасности, а также противопожарные мероприятия на объекте определяют величину риска, которая оценивается возможными социальными и материальными потерями. Строительные конструкции зданий и сооружений и противопожарные мероприятия в них могут приниматься на основе оценки пожарной опасности и уровня защищенности, выполняемых при страховании объекта на случай пожара. Требования пожарной безопасности настоящих норм и правил основываются на положениях и классификациях, принятых в СНиП 21-01 и СНиП 2.01.02. СНиП 2.01.02 (Таблица 1), на которых основаны требования строительных норм и правил по проектированию зданий и сооружений различного назначения и инженерных систем, продолжают действовать до пересмотра строительных норм на эти здания и сооружения. Для других зданий действует СНиП 21-01. Для наружных стен, покрытий, балок, ферм, колонн и столбов предельным состоянием является только потеря несущей способности конструкций и узлов. Пределы огнестойкости конструкций со STYROFOAM необходимо определять расчетным путем, а также на основании проведенных натурных испытаний (протоколы № 1, 7, 8, 9, 10, 11, 12, 13, 14, 15, 16, 19 ск/по/и-2007 от 05.03.2007 г. и приложение В). НАТУРНЫЕ ИСПЫТАНИЯВ результате испытаний установлено, что предел огнестойкости покрытий и стен, с применением оснований и облицовок из материалов группы горючести НГ (железобетон, пенобетон, кирпич) определяется в основном пределом огнестойкости оснований. Класс пожарной опасности конструкции (КПО) зависит от группы горючести и теплофизических характеристик STYROFOAM. Результаты испытаний приведены в таблице 2. Таблица 2
Таблица 3
На основании вышеизложенного можно считать, что предел огнестойкости конструкций по журналу «Типовые конструкции покрытий, стен и пола с экструдированным пенополистиролом STYROFOAM», не подвергавшихся испытаниям, должен составлять не менее величины предела огнестойкости для конструкции - аналога по типу основания. Дополнительно для оценки КПО конструкций были определены характеристики пожарной опасности STYROFOAM. Результаты испытаний приведены в таблице 3. Степень огнестойкости зданий и сооружений определяется проектом, и в зависимости от этих требований, применяются различные типовые конструкции со STYROFOAM с учетом требований, таблицы 4 и 5. Таблица 4
Примечания: 1. В скобках приведены пределы распространения огня для вертикальных и наклонных участков конструкций. 2. Сокращение «н. н.» означает, что показатель не нормируется. Таблица 5
Предел огнестойкости строительных конструкций устанавливается по времени (в минутах) наступления одного или последовательно нескольких признаков предельных состояний, нормируемых для данной конструкции: потери несущей способности (R); потери целостности (Е); потери теплоизолирующей способности (I). По пожарной опасности строительные конструкции подразделяются на четыре класса: К0 (непожароопасные); К1 (малопожароопасные); К2 (умеренно-пожароопасные); К3 (пожароопасные). По взрывопожарной и пожарной опасности здания или помещения складов в зависимости от хранимых веществ, материалов, продукции, сырья и их упаковки подразделяются на категории А, Б, В1-В4 и Д. Категории зданий и помещений устанавливаются в соответствии с НПБ 105, ведомственными (отраслевыми) нормами технологического проектирования или специальными перечнями, утвержденными в установленном порядке. Противопожарные стены могут выполняться несущими, самонесущими или ненесущими и соответствовать требованиям СНиП 21-01 и СНиП 2.01.02. Различные технические средства (первичные, автоматические, привозные, доставляемые к очагу пожара подразделениями пожарной охраны) назначаются исходя из анализа возможных на объекте ситуаций возникновения и динамики развития пожара, продолжительности стадий пожара и перехода одной стадии в другую при конкретных объемно-планировочных и конструктивных решениях зданий, а также возможности подавления пожара на каждой его стадии. При оборудовании помещений установками автоматического пожаротушения площади пожарных отсеков допускается увеличивать на 100 %. Строительные конструкции не должны способствовать скрытому распространению горения. Противопожарные стены, разделяющие здание на пожарные отсеки, должны возводиться на всю высоту здания и обеспечивать нераспространение пожара в смежный пожарный отсек при обрушении конструкций здания со стороны очага пожара. Для подземной автостоянки легковых автомобилей требуемую степень огнестойкости, допустимые этажность и площадь этажа в пределах пожарного отсека следует принимать по таблице 3 СНиП 21-02. Для надземной автостоянки закрытого типа для легковых автомобилей требуемую степень огнестойкости, допустимые этажность и площадь этажа автостоянки в пределах пожарного отсека следует принимать по таблице СНиП 21-02. Степень огнестойкости, класс конструктивной пожарной опасности, высоту зданий и площадь этажа в пределах пожарного отсека следует принимать на основании строительных норм. Деревянное покрытие пола должно быть подвергнуто глубокой пропитке антипиренами. ФУНКЦИОНАЛЬНАЯ ПОЖАРНАЯ ОПАСНОСТЬ ЗДАНИЙ Ф 1. Для постоянного проживания и временного: Ф 1.1. Детские дошкольные учреждения, специализированные дома престарелых и инвалидов (неквартирные), больницы, спальные корпуса школ-интернатов и детских учреждений; Ф 1.2. Гостиницы, общежития, спальные корпуса санаториев и домов отдыха общего типа, кемпингов, мотелей и пансионатов; Ф 1.3. Многоквартирные жилые дома; Ф 1.4. Одноквартирные, в том числе блокированные жилые дома. Ф 2. Зрелищные и культурно-просветительные учреждения: Ф 2.1. Театры, кинотеатры, концертные залы, клубы, цирки, спортивные сооружения с трибунами, библиотеки и другие учреждения с расчетным числом посадочных мест для посетителей в закрытых помещениях; Ф 2.2. Музеи, выставки, танцевальные залы и другие подобные учреждения в закрытых помещениях; Ф 2.3. Учреждения, указанные в Ф 2.1, на открытом воздухе; Ф 2.4. Учреждения, указанные в Ф 2.2, на открытом воздухе. Ф 3. Предприятия по обслуживанию населения: Ф 3.1. Предприятия торговли; Ф 3.2. Предприятия общественного питания; Ф 3.3. Вокзалы; Ф 3.4. Поликлиники и амбулатории; Ф 3.5. Помещения для посетителей предприятий бытового и коммунального обслуживания (почт, сберегательных касс, транспортных агентств, юридических консультаций, нотариальных контор, прачечных, ателье по пошиву и ремонту обуви и одежды, химической чистки, парикмахерских и других подобных, в том числе ритуальных и культовых учреждений) с нерасчетным числом посадочных мест для посетителей; Ф 3.6. Физкультурно-оздоровительные комплексы и спортивно-тренировочные учреждения без трибун для зрителей, бытовые помещения, бани. Ф 4. Учебные заведения, научные и проектные организации, учреждения управления: Ф 4.1. Школы, внешкольные учебные заведения, средние специальные учебные заведения, профессионально-технические училища; Ф 4.2. Высшие учебные заведения, учреждения повышения квалификации; Ф 4.3. Учреждения органов управления, проектно-конструкторские организации, информационные и редакционно-издательские организации, научно-исследовательские организации, банки, конторы, офисы; Ф 4.4. Пожарные депо. Ф 5. Производственные и складские здания, сооружения и помещения: Ф 5.1. Производственные здания и сооружения, производственные и лабораторные помещения, мастерские; Ф 5.2. Складские здания и сооружения, стоянки для автомобилей без технического обслуживания и ремонта, книгохранилища, архивы, складские помещения; Ф 5.3. Сельскохозяйственные здания. КОНСТРУКТИВНАЯ НАДЕЖНОСТЬ ЗДАНИЙДля учета ответственности зданий и сооружений, характеризуемой экономическими, социальными и экологическими последствиями их отказов, устанавливаются три уровня: I - повышенный, II - нормальный, III - пониженный. I - Повышенный уровень ответственности следует принимать для зданий и сооружений, отказы которых могут привести к тяжелым экономическим, социальным и экологическим последствиям (производственные здания с пролетами 100 м и более, а также уникальные здания и сооружения). II - Нормальный уровень ответственности следует принимать для зданий и сооружений массового строительства (жилые, общественные, производственные, сельскохозяйственные здания и сооружения). III - Пониженный уровень ответственности следует принимать для сооружения сезонного или вспомогательного назначения (парники, теплицы, летние павильоны, небольшие склады и подобные сооружения). При расчете несущих конструкций и оснований следует учитывать коэффициент надежности по ответственности γn принимаемый равным: для I уровня ответственности - более 0,95, но не более 1,2; для II уровня - 0,95; для III уровня - менее 0,95, но не менее 0,8. Отнесение объекта к конкретному уровню ответственности и выбор значений коэффициента γn производятся генеральным проектировщиком по согласованию с заказчиком. Нагрузки, возникающие при изготовлении, хранении и перевозке конструкций, а также при возведении сооружений, следует учитывать в расчетах как кратковременные нагрузки. В зависимости от продолжительности действия нагрузок следует различать постоянные и временные (длительные, кратковременные, особые) нагрузки. При проектировании зданий и сооружений должны приниматься конструктивные схемы, обеспечивающие необходимую прочность, устойчивость и пространственную неизменяемость зданий и сооружений в целом, а также отдельных конструкций на всех стадиях возведения и эксплуатации. Бетонные и железобетонные конструкции должны быть обеспечены требуемой надежностью от возникновения всех видов предельных состояний расчетом по СНиП 2.03.01, выбором материалов, назначением размеров и конструированием. В трехслойных железобетонных плитах на гибких связях из стеклопластика необходимо учитывать сдвижку облицовочного слоя по отношению к несущему слою, которая не должна превышать 2 мм, приложение Г. Бетонные и железобетонные конструкции из плотного силикатного бетона следует проектировать в соответствии со СНиП 2.03.01. При проектировании конструкций из плотного силикатного бетона необходимо соблюдать основные расчетные требования СНиП II-22-81. Конструкции из плотного силикатного бетона следует применять в зависимости от влажностного режима эксплуатации и степени агрессивности среды зданий и сооружений. Применение силикатных кирпича, камней и блоков; камней и блоков из ячеистых бетонов; пустотелых керамических кирпича и камней, бетонных блоков с пустотами; керамического кирпича полусухого прессования допускается для наружных стен помещений с влажным режимом при условии нанесения на их внутренние поверхности пароизоляционного покрытия. Применение указанных материалов для стен помещений с мокрым режимом, а также для наружных стен подвалов и цоколей не допускается. Влажностный режим помещений следует определять в соответствии со СНиП 23-02. При проектировании стен из мелкоштучных материалов необходимо учитывать модуль упругости, деформацию, упругие характеристики кладки, деформации, усадку, коэффициент ползучести, коэффициент линейного расширения и трения и т.д. Многослойные стены должны быть соединены между собой жесткими или гибкими связями. При расчете многослойных стен на прочность различаются два случая: - жесткое соединение слоев. - гибкое соединение слоев - это когда каждый слой следует рассчитывать раздельно на воспринимаемые им нагрузки, нагрузки от покрытий и перекрытий должны передаваться только на внутренний слой. Многослойные стены со STYROFOAM следует рассчитывать по сечению кладки с учетом несущей способности STYROFOAM при 2 % деформации в соответствии с таблицей 1, что не противоречит пункту 4.27. СниП II-22. Необходимо предусматривать защиту стен и столбов от увлажнения со стороны фундаментов, а также со стороны примыкающих тротуаров и отмосток устройством гидроизоляционного слоя выше уровня тротуара или верха отмостки. Гидроизоляционный слой следует устраивать также ниже пола подвала. Для подоконников, поясков, парапетов и тому подобных выступающих, особо подверженных увлажнению, частей стен следует предусматривать защитные покрытия из цементного раствора, кровельной стали и др. Выступающие части стен должны иметь уклоны, обеспечивающие сток воды. Гибкие связи следует проектировать из коррозионно-стойких сталей или сталей, защищенных от коррозии, а также из полимерных материалов. Суммарная площадь сечения гибких стальных связей должна быть не менее 0,4 см2 на 1 м2 поверхности стены. Сечение полимерных связей устанавливается из условия равной прочности стальным связям. Гибкие связи в многослойных стенах с утеплителем STYROFOAM и с наружным облицовочным слоем из кирпича или камня должны обеспечивать возможность восприятия силовых, температурно-усадочных и осадочных деформаций по вертикали. Связи должны выполняться с закреплением в несущей стене и облицовочном слое. Наружные стены подвалов должны быть рассчитаны с учетом бокового давления грунта и нагрузки, находящейся на поверхности земли. При отсутствии специальных требований нормативную нагрузку на поверхности земли следует принимать равной 1000 кгс/м2. Стены подвалов следует рассчитывать как балки с двумя неподвижными шарнирными опорами. Арматурные сетки следует укладывать не реже чем через пять рядов кирпичной кладки из обыкновенного кирпича, через четыре ряда кладки из утолщенного кирпича и через три ряда кладки из керамических камней. Диаметр сетчатой арматуры должен быть не менее 3 мм. Участки кладки, выполняемой способом замораживания (столбы, простенки), в которых расчетом были выявлены перенапряжения в стадии оттаивания, необходимо усиливать установкой временных стоек на клиньях на период оттаивания и последующего твердения кладки. ТЕПЛОВАЯ ЗАЩИТА ЗДАНИЙВ СНиП 23-02 установлены три показателя тепловой защиты здания: 1. Приведенное сопротивление теплопередаче отдельных элементов ограждающих конструкций здания. 2. Санитарно-гигиенический, включающий температурный перепад между температурами внутреннего воздуха и на поверхности ограждающих конструкций и температуру на внутренней поверхности выше температуры точки росы. 3. Удельный расход тепловой энергии на отопление здания, позволяющий варьировать величинами теплозащитных свойств различных видов ограждающих конструкций зданий с учетом объемно-планировочных решений здания и выбора систем поддержания микроклимата для достижения нормируемого значения этого показателя. Требования тепловой защиты здания будут выполнены, если в жилых и общественных зданиях будут соблюдены требования показателей «1» и «2» либо «2» и «3». В зданиях производственного назначения необходимо соблюдать требования показателей «1» и «2». Температура внутренней поверхности ограждающей конструкции (за исключением вертикальных светопрозрачных конструкций) в зоне теплопроводных включений (диафрагм, сквозных швов из раствора, стыков панелей, ребер, шпонок и гибких связей в многослойных панелях, жестких связей облегченной кладки и др.), в углах и оконных откосах, а также зенитных фонарей должна быть не ниже температуры точки росы внутреннего воздуха при расчетной температуре наружного воздуха в холодный период года. Нормируемую воздухопроницаемость Gn, кг/(м2∙ч), ограждающей конструкции зданий следует принимать по таблице 11 СНиП 23-02. Сопротивление паропроницанию Rvp, м2∙ч∙Па/мг ограждающей конструкции определяется разделом 9 СНиП 23-02 и разделом 13 СП 23-101 (в пределах от внутренней поверхности до плоскости возможной конденсации), а также должно быть не менее наибольшего из следующих нормируемых сопротивлений паропроницанию: а) нормируемого сопротивления паропроницанию б) нормируемого сопротивления паропроницанию Расчет на накопление влаги в конструкции стены со STYROFOAM показывает, что такая конструкция допустима, и как пример отражена в исследованиях НИИСФ, приложение А. Расчет на накопления влаги в кровле также выполняется по разделу 9 СНиП 23-02 и разделу 13 СП 23-101. Для того чтобы избежать накопления влаги в STYROFOAM, когда пол выполняется по грунту, необходимо выполнять качественную пароизоляцию между грунтом и STYROFOAM. При разработке проекта по отоплению, вентиляции и кондиционированию следует предусматривать технические решения, обеспечивающие следующие параметры: а) чистоту воздуха в обслуживаемой зоне помещений жилых, общественных, а также административно-бытовых зданий; б) чистоту воздуха в рабочей зоне производственных, лабораторных и складских помещений в зданиях любого назначения; в) ремонтопригодность систем отопления, вентиляции и кондиционирования; г) взрывопожаробезопасность систем отопления, вентиляции и кондиционирования. Температура внутреннего воздуха принимается согласно оптимальным параметрам по ГОСТ 12.1.005, ГОСТ 30494 и СанПиН 2.1.2.1002. Кратность воздухообмена в помещениях следует принимать в соответствии с таблицей 9.1 СНиП 31-01. Кратность воздухообмена во всех вентилируемых помещениях, не указанных в таблице, в нерабочем режиме должна составлять не менее 0,2 объема помещения в час. ЗАЩИТА ОТ ШУМАНормируемым параметром звукоизоляции наружных ограждающих конструкций является звукоизоляция RAтран, дБА, представляющая собой изоляцию внешнего шума, производимого потоком городского транспорта. Нормативные значения индексов изоляции воздушного шума внутренними ограждающими конструкциями Rw и индексов приведенного уровня ударного шума Lnw для жилых и общественных зданий, а также для вспомогательных зданий производственных предприятий приведены в таблице 6 СНиП 23-03 для категорий зданий А, Б и В. Элементы ограждений рекомендуется проектировать из материалов с плотной структурой, не имеющей сквозных пор. Ограждения, выполненные из материалов со сквозной пористостью, должны иметь наружные слои из плотного материала, бетона или раствора. Внутренние стены и перегородки из кирпича, керамических и шлакобетонных блоков рекомендуется проектировать с заполнением швов на всю толщину (без пустошовки) и оштукатуренными с двух сторон безусадочным раствором. Ограждающие конструкции необходимо проектировать так, чтобы в процессе строительства и эксплуатации в их стыках не было и не возникло даже минимальных сквозных щелей и трещин. Возникающие в процессе строительства щели и трещины после их расчистки должны устраняться конструктивными мерами и заделкой невысыхающими герметиками и другими материалами на всю глубину. Пол, выполненный на звукоизоляционном слое ETHAFOAM 222 (экструдированный полиэтилен производства компании «Дау Кемикал»), не должен иметь жестких связей (звуковых мостиков) с несущей частью перекрытия, стенами и другими конструкциями здания, т.е. должен быть «плавающим». Деревянный пол или плавающее бетонное основание пола (стяжка) должны быть отделены по контуру от стен и других конструкций здания зазорами шириной 10-20 мм, заполняемыми звукоизоляционным материалом или изделием, например, мягкой древесно-волокнистой плитой, погонажными изделиями из пористого полиэтилена и т.п. Плинтусы или галтели следует крепить только к полу или только к стене. При проектировании пола с основанием в виде монолитной плавающей стяжки следует располагать по звукоизоляционному слою сплошной гидроизоляционный слой (например, пергамин, гидроизол, рубероид и т.п.) с перехлестыванием в стыках не менее 200 мм. В стыках звукоизоляционных плит (матов) не должно быть щелей и зазоров. Звукопоглощающие конструкции (подвесные потолки, облицовка стен, кулисные и штучные поглотители) следует применять для снижения уровней шума на рабочих местах и в зонах постоянного пребывания людей в производственных и общественных зданиях. Площадь звукопоглощающих облицовок и количество штучных поглотителей определяют расчетом. После завершения графического анализа чертежей и создания в зале оптимальной структуры ранних отражений не занятые для этой цели поверхности должны быть использованы для формирования диффузного звукового поля путем их эффективного расчленения различной формы звукорассеивающими элементами для создания рассеянного, ненаправленного отражения звука. Это достигается расчленением поверхностей балконами, пилястрами, нишами и тому подобными неровностями. Гладкие большие поверхности не способствуют достижению хорошей диффузности звукового поля. Особенно нежелательны гладкие, параллельные друг другу плоскости, вызывающие эффект «порхающего эха», получающегося в результате многократного отражения звука между ними. Расчленение таких стен ослабляет этот эффект и увеличивает диффузность. Причем хорошо рассеиваются звуковые волны, длина которых близка к размерам детали. Рассеивающий эффект увеличивается, если шаг членений нерегулярен, т.е. расстояния между смежными членениями не одинаковы по всей расчлененной поверхности. Балконы, ложи и скошенные стены повышают диффузность поля на низких частотах. Практически применяемые в архитектурной практике пилястры - в основном в области средних и высоких частот. ОСНОВАНИЕ И ПОЛОснования зданий и сооружений, устраиваемые на теплоизоляции STYROFOAM, должны проектироваться с учетом следующих требований: - результатов инженерно-геодезических, инженерно-геологических и инженерно-гидрометеорологических изысканий для строительства; - данных, характеризующих назначение, конструктивные и технологические особенности сооружения, нагрузки, действующие на фундаменты, и условия его эксплуатации; - технико-экономического сравнения возможных вариантов проектных решений (с оценкой по приведенным затратам) для принятия варианта, обеспечивающего наиболее полное использование прочностных и деформационных характеристик грунтов и физико-механических свойств материалов фундаментов или других подземных конструкций. При проектировании оснований и фундаментов со STYROFOAM следует учитывать местные условия строительства, а также имеющийся опыт проектирования, строительства и эксплуатации сооружений в аналогичных инженерно-геологических и гидрогеологических условиях. Основания и фундаменты зданий и сооружений, возводимых на территории распространения вечномерзлых грунтов, следует проектировать на основе результатов специальных инженерно-геокриологических (инженерно-геологических, мерзлотных и гидрогеологических) изысканий с учетом конструктивных и технологических особенностей проектируемых сооружений, их теплового и механического взаимодействия с вечномерзлыми грунтами оснований и возможных изменений геокриологических условий в результате строительства и эксплуатации сооружений и освоения территории, устанавливаемых по данным инженерных изысканий и теплотехнических расчетов оснований. Проектирование оснований со STYROFOAM обосновывается расчетом с учетом требований СНиП 2.02.04, СНиП 2.02.01 или СНиП II-7: - основание - естественное или искусственное; - материалы - железобетонные или бетонные; - размер фундаментов - мелкого или глубокого заложения, плитные и др.; Основными параметрами механических свойств грунтов, определяющими несущую способность оснований и их деформации, являются прочностные и деформационные характеристики грунтов (угол внутреннего трения φ, удельное сцепление с, модуль деформации грунтов Е, предел прочности на одноосное сжатие скальных грунтов Rс и т.п.). Допускается применять другие параметры, характеризующие взаимодействие фундаментов с грунтом основания и установленные опытным путем (удельные силы пучения при промерзании, коэффициенты жесткости основания и пр.). На основе инженерных изысканий проектирование оснований со STYROFOAM должно учитывать возможность изменения гидрогеологических условий площадки в процессе строительства и эксплуатации сооружения, а именно: - наличие или возможность образования верховодки; - естественные сезонные и многолетние колебания уровня подземных вод; - возможное техногенное изменение уровня подземных вод; - степень агрессивности подземных вод. Глубина заложения фундаментов должна приниматься с учетом: - назначения и конструктивных особенностей проектируемого сооружения, нагрузок и воздействий на его фундаменты; - существующего и проектируемого рельефа застраиваемой территории; - гидрогеологических условий площадки и возможных их изменений в процессе строительства и эксплуатации сооружения; - глубины сезонного промерзания. Расчетная глубина промерзания должна определяться теплотехническим расчетом и в случае применения постоянной теплозащиты основания, а также если тепловой режим проектируемого сооружения может существенно влиять на температуру грунтов (холодильники, котельные и т.п.). Опирание фундаментов непосредственно на поверхность сильнозаторфованных грунтов, торфов, слабоминеральных сапропелей и илов не допускается. Если непосредственно под подошвой фундамента залегает слой грунта с модулем деформации Е < 5 МПа (50 кгс/см2) толщиной более ширины фундамента, осадка основания должна определяться с учетом полного давления под подошвой фундамента. Проектирование оснований с учетом сейсмических воздействий должно выполняться на основе расчета по несущей способности на особое сочетание нагрузок, определяемых в соответствии с требованиями СНиП 2.01.07 по нагрузкам и воздействиям, а также по проектированию зданий и сооружений в сейсмических районах СНиП II-7. Основания сооружений, возводимых на закарстованных территориях, должны проектироваться с учетом особенностей развития карстовых процессов. Основания, сложенные намывными грунтами, должны проектироваться с учетом их неоднородности (многослойности, изменчивости состава и свойств в плане и по глубине), способности изменять физико-механические свойства со временем, в том числе за счет колебаний уровня подземных вод, чувствительности к вибрационным воздействиям, а также возможных осадок подстилающих слоев. Для намыва, как правило, используется песчаный грунт. Закрепление грунтов производится в целях повышения их прочности и водонепроницаемости в основании проектируемых или существующих сооружений. Искусственное замораживание грунтов следует предусматривать для устройства временных ледогрунтовых ограждений котлованов при строительстве заглубленных сооружений и фундаментов в водонасыщенных неустойчивых и трещиноватых скальных грунтах. Для искусственного замораживания грунтов следует применять холодильные установки с использованием в качестве хладагента аммиака. В обоснованных случаях допускается использовать фреон и жидкий азот. Искусственное замораживание грунтов производят холодоносителем (рассолом), циркулирующим в рассолопроводах и замораживающих колонках. Вид, концентрация и температура холодоносителя должны определяться в зависимости от температуры, засоленности и скорости движения подземных вод. Как правило, в качестве холодоносителя следует использовать водный раствор хлористого кальция. При проектировании водопонижения необходимо учитывать возможное изменение режима подземных вод, условий поверхностного стока в строительный и эксплуатационный периоды, отведенные места сброса подземных вод, химический состав подземных вод и влияние понижения их уровня на окружающую среду и существующие сооружения, сроки и технологию строительных работ. При водопонижении должны предусматриваться меры, препятствующие ухудшению строительных свойств грунтов в основании сооружения и нарушению устойчивости откосов выработки. Осадочные швы должны, как правило, предусматриваться в случаях возведения здания (сооружения) на неоднородных грунтах основания (просадочных и др.), в местах резкого изменения нагрузок и т. п. Если в указанных случаях осадочные швы не предусматриваются, фундаменты должны обладать достаточной прочностью и жесткостью, предотвращающей повреждение вышележащих конструкций, или иметь специальную конструкцию, служащую для достижения этой же цели. Осадочные швы, а также температурно-усадочные швы в сплошных бетонных и железобетонных конструкциях следует осуществлять сквозными, разрезая конструкцию до подошвы фундамента. Расстояния между температурно-усадочными швами в бетонных фундаментах и стенках подвалов допускается принимать в соответствии с расстояниями между швами. Пол играет существенную роль в сохранении тепла внутри зданий. В обычном доме потеря тепла через пол без термоизоляции может достигать 20 % от общего объема теплопотерь, поскольку через неизолированные полы тепло отводится в грунт и (или) в окружающее пространство. Применение STYROFOAM для теплоизоляции пола, подвергающегося повышенным нагрузкам обусловлено высокой прочностью на сжатие и малой степенью деформации. Помимо уменьшения потерь тепла, термоизоляция пола позволяет более эффективно использовать его теплоемкость. Получаемая таким образом экономия энергии способствует как снижению стоимости отопления, так и, как следствие, уровню загрязнения окружающей среды. Температура на поверхности пола является основным фактором, определяющим степень комфортности помещения. Температурный комфорт требует, чтобы температура на внутренних поверхностях помещения была ниже температуры воздуха внутри помещения не более чем на 2,0°С для жилых, лечебно- профилактических и детских учреждений, школ, интернатов, а для общественных, кроме выше указанных, административных и бытовых, за исключением помещений с влажным или мокрым режимом, не более 2,5°С. Если учесть, что причиной потерь около 50 % тепла нашего организма является теплоизлучение, становится ясно, что эти потери в первую очередь определяются температурой строительных конструкций, окружающих нас. Пол следует устраивать на грунтах, исключающих возможность деформации конструкции от просадки грунта. Торф, чернозем и другие растительные грунты в качестве оснований под полы не допускаются. Естественные грунты с нарушенной структурой или насыпные рекомендуется уплотнять. При расположении низа подстилающего слоя в зоне опасного капиллярного поднятия многолетних или сезонных грунтовых вод в помещениях, где отсутствует воздействие на пол сточных вод, предусматривают понижение горизонта грунтовых вод или повышение уровня пола, а при бетонном подстилающем слое применяют гидроизоляцию для защиты от грунтовых вод. Поверхность пола жилых и общественных зданий, вспомогательных зданий и помещений промышленных предприятий и отапливаемых помещений производственных зданий (на участках с постоянными рабочими местами) должна иметь расчетный показатель теплоусвоения Yfdes, Вт/(м2∙°С), не более нормируемой величины Yfreq, установленной в таблице 13 СНиП 23-02. Теплотехнический расчет полов животноводческих, птицеводческих и звероводческих зданий следует выполнять с учетом требований СНиП 2.10.03. Основание должно быть спланировано по отметкам или профилю, предусмотренным в проекте. Грунт, подсыпанный при планировке, необходимо выровнять и уплотнить в соответствии с требованиями СНиП 3.02.01. Устройство пола на насыщенных водой глинистых, суглинистых и пылеватых грунтах допускается только после понижения уровня грунтовых вод и просушки основания до восстановления проектной несущей способности. Устройство пола на пучинистых грунтах, расположенных в зоне промерзания основания пола неотапливаемых помещений, допускается после осуществления мер, предотвращающих пучение грунта. При пучинистых грунтах в основании пола помещений, где возможно промерзание этих грунтов, предусматривают понижение уровня грунтовых вод ниже глубины промерзания основания не менее чем на 0,8 м, выполнение по основанию теплоизоляционного слоя STYROFOAM толщиной замену пучинистого грунта при засыпке котлованов в зоне промерзания основания практически непучинистым грунтом.
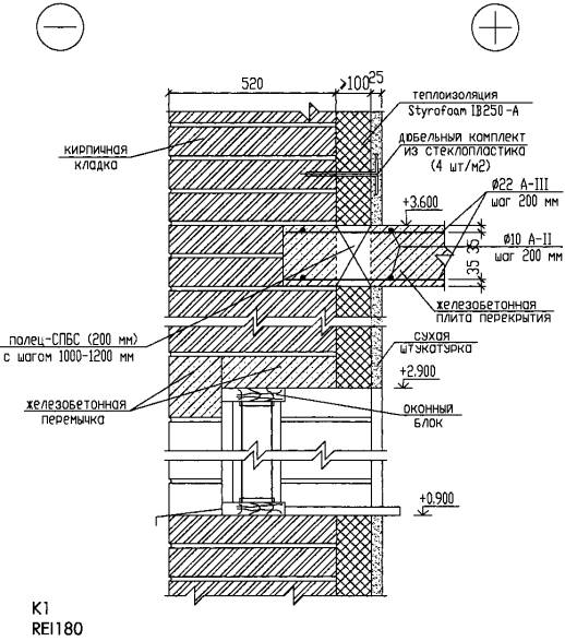
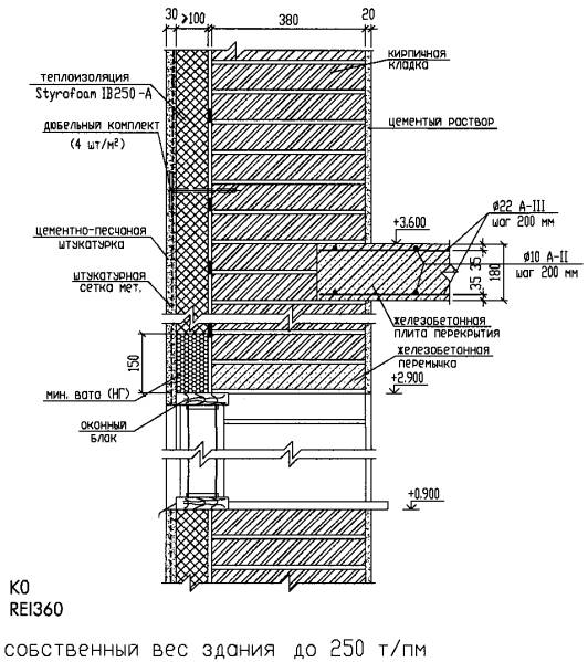
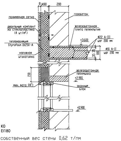
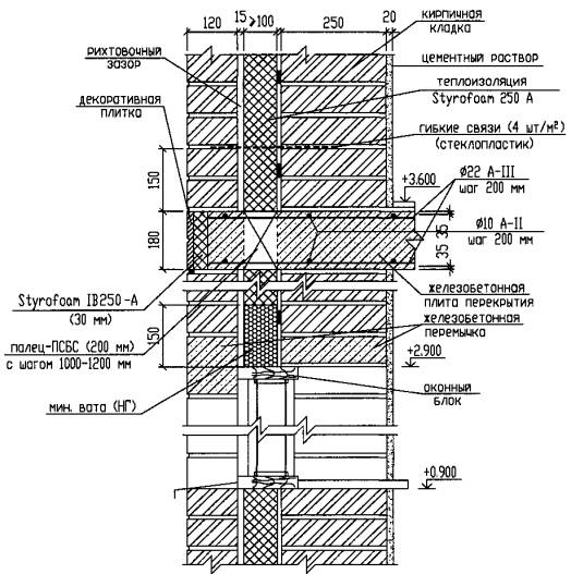
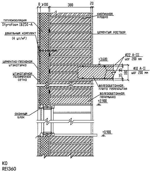
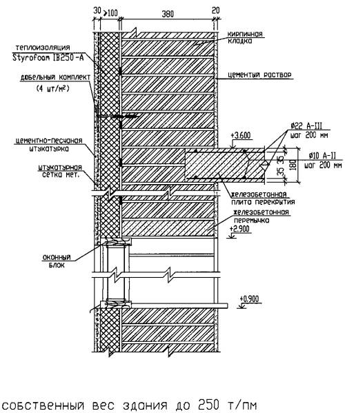
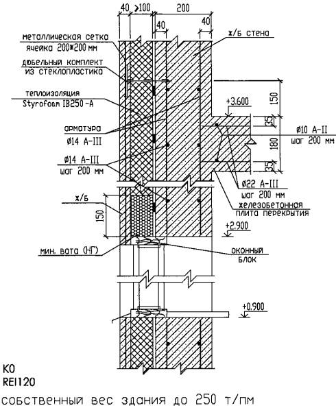
СТЕНЫПлощадь этажа между противопожарными стенами 1-го типа в зависимости от степени огнестойкости и этажности зданий должна быть не более указанной в строительных нормах. Ограждающие конструкции со STYROFOAM для переходов между зданиями (корпусами), а также пешеходных и коммуникационных тоннелей должны быть с пределом огнестойкости не ниже REI 120 и К0, что не противоречит пункту 1.15*. СНиП 2.08.02. В трехслойных железобетонных стеновых панелях со STYROFOAM для детских дошкольных учреждений не требуется выполнять полного замоноличивания панели со всех сторон, и такие конструкции не противоречат пункту 1.22 СНиП 2.08.02, а также СНиП 2.01.02., так как натурные испытания, проведенные во ВНИИПО МЧС РФ и ЦНИИСК им. Кучеренко, подтвердили отсутствие движения пламени внутри конструкции (приложение Д и В). В случаях, если в проектной документации предусмотрены противопожарные рассечки по контуру оконных и дверных проемов для предотвращения контакта STYROFOAM с оконным или дверным блоком, они должны быть выполнены одним из следующих способов: - укладкой слоя FOAMGLAS толщиной 40 мм; - укладкой слоя негорючей минераловатной плиты толщиной не менее 100 мм; - установкой деревянной антисептированной доски толщиной не менее 40 мм; - устройством защитного слоя из бетонной смеси толщиной не менее 10 мм. При проектировании и строительстве, ограждающие конструкции со STYROFOAM должны быть выполнены с пределом огнестойкости не менее REI 120 и К0, что не противоречит пункту 6.3.10. СНиП 31-05 и СНиП 21-01. При проектировании и строительстве холодильников со STYROFOAM допускается не применять противопожарные рассечки, если предел огнестойкости для несущих стен составляет 2,5 часа, а для самонесущих 1,25 часа и 0 см пределе распространения огня, что не противоречит пункту 2.30. СНиП 2.11.02. Со стороны помещения STYROFOAM должен быть защищен материалами, обеспечивающими предел огнестойкости ограждающих конструкций, а также ограничен предел распространения огня в соответствии с требованиями СНиП 2.01.02. Площадь незащищенного в процессе производства работ STYROFOAM допускается в пределах только одного этажа, но не более 700 м2, о чем следует указывать в рабочих чертежах строительной части проекта. Согласно СНиП 2.11.02, трехслойные железобетонные панели со STYROFOAM, применяемые для наружных стен зданий холодильников, должны иметь марку по морозостойкости не ниже F200 для районов с расчетной зимней температурой до минус 40°С включительно и не ниже F300 при температуре ниже минус 40°С, марку по водонепроницаемости - не ниже W4. Толщина наружного несущего железобетонного слоя трехслойной панели принимается по расчету, но не менее 120 мм. Кирпичные стены необходимо проектировать из глиняного обыкновенного сплошного кирпича пластического прессования марки не ниже 100 на тяжелом растворе марки не ниже 50. В нормальных и сухих зонах согласно СНиП 23-03 допускается предусматривать наружные стены холодильников из силикатного кирпича марки 150 или из природных камней марки не ниже 75. Кирпич и естественный камень для стен зданий холодильников должны иметь марку по морозостойкости не ниже Мрз25, для зданий холодильников емкостью менее 700 т допускается применять марку по морозостойкости не ниже Мрз15. При проектировании зданий и сооружений для строительства в сейсмических районах 7, 8 и 9 баллов надлежит: - применять конструкции и конструктивные схемы, обеспечивающие наименьшие значения сейсмических нагрузок; - в зданиях и сооружениях из сборных элементов располагать стыки вне зоны максимальных усилий, обеспечивать монолитность и однородность конструкций с применением укрупненных сборных элементов; - предусматривать условия, облегчающие развитие в элементах конструкций и их соединениях пластических деформаций, обеспечивающие при этом устойчивость сооружения. Для обеспечения сейсмостойкости зданий и сооружений допускается применение сейсмоизоляции и других систем регулирования динамической реакции сооружения. STYROFOAM В ФАСАДНЫХ СИСТЕМАХ С МОКРЫМИ ПРОЦЕССАМИ Приведение ограждающих конструкций здания в технически исправное состояние является основным мероприятием на пути повышения их теплозащиты. Перед выполнением работ по утеплению промерзающих стен необходимо проверить: - герметизацию стыковых соединений стеновых панелей; - герметизацию оконных и дверных блоков, соединений наружных стен с элементами балконов, козырьков, карнизов; - качество отделки наружных стен; - целостность кровельного ковра крыши, правильность выполнения примыканий кровельного ковра к выступающим деталям стен; - качество установки водоотводящих устройств: водосточных труб, водоприемных воронок внутреннего водостока, выпусков, оконных открытий, свесов балконов и карнизов и т.п.; - места креплений к наружным панелям и крышам растяжек, флагодержателей, рекламных щитов и пр.; - обеспечение нормальной работы отопления в соответствии с температурой наружного воздуха; - температурно-влажностный режим чердаков, подвалов и лестничных клеток. Неровности и перепады более 10 мм на поверхности стены должны быть устранены, а трещины зашпатлеваны. Допустимые отклонения от плоскостности поверхности стены после выравнивания - не более 10 мм. Измерения производят двухметровой металлической рейкой с интервалом не менее пяти измерений на каждые 100 м поверхности. Число неровностей (плавного очертания) не более двух на длине 2 м. Предельно допустимая влажность стены перед нанесением грунтовочного состава - не более 5 %. Монтаж фасадной системы с толстой штукатуркой и металлической сеткой Перед установкой плит STYROFOAM фасад следует промыть водой. В случае наличия высолов и пятен на фасаде их следует промыть 1 %-ным содовым или хлорным раствором. Начиная с угла STYROFOAM фиксируют точечной приклейкой по 5 точек на 1 м2 по принципу конверта (четыре точки по краям и одна - в середине). Каждая точка должна быть диаметром 12 - 15 мм и 5 - 7 мм толщиной. После наклейки плит STYROFOAM по ним выполняется тонкий слой штукатурки, а затем натягивается металлическая сетка (ячейки 20 × 20 мм или 40 × 40 мм), которая крепится дюбелями. Штукатурка выполняется несколькими слоями сложного раствора состава 1:2:5 (цемент марки 400, известь-тесто и песок). Каждый слой наносится после схватывания предыдущего. Последний слой выравнивается и затирается. Для предотвращения появления трещин на поверхности штукатурки должны быть устроены температурно-усадочные швы по горизонтали на уровне полов 2, 4, 6, 8-го этажей через каждые 5 - 6 м, а также по вертикали по 1 шву по центру каждого фасада. Швы зачеканиваются герметиком после набора раствором марочной прочности. Оштукатуренная поверхность должна быть окрашена через 1 - 2 дня. Окна, расположенные в комнатах, прилегающих к торцевым стенам, следует утеплить по периметру оконной коробки. Для чего разбить откосы и произвести шпательную конопатку просмоленной паклей или пенополиуретаном с обжатием, затем наклеить тонкий слой STYROFOAM на откосы и закрепить цементным раствором. Система наружного утепления фасадов с тонкой штукатуркой и полимерной сеткой Монтаж фасадной системы выполняют по проекту в следующей последовательности: - разбивают поверхность стены на захватки; - рулоны штукатурной фасадной стеклосетки перед наклейкой размечают и нарезают под размеры захваток, обеспечивая соблюдение величины нахлеста сетки при наклейке не менее 100 мм; - устанавливаются плиты STYROFOAM; - на слой STYROFOAM наносят ровный и гладкий слой штукатурного состава толщиной 3-4 мм по площади захватки; - в местах инженерных выходов, термошвов, оконных и дверных проемов сетку утапливают в раствор с помощью терки, не допуская складок; - после нанесения первого слоя штукатурки на него накладывают лист фасадной штукатурной сетки, который следует утопить в раствор с помощью терки, не допуская складок; - производится монтаж дюбелей согласно проекта; - наносят второй слой штукатурного состава таким же способом, как и первый; при нанесении второго слоя штукатурки необходимо следить, чтобы шляпки (головки) дюбелей были скрыты; также не допускается выход армирующей сетки на поверхность штукатурного слоя. При устройстве базового армирующего слоя следует также выполнять следующие дополнительные требования: - армирующую сетку следует накладывать сверху вниз при условии обеспечения перехлеста на ширину 100 мм; - запрещается обрубать шпателем армирующую сетку на углах и в местах примыкания; - во избежание образования мелких частиц на поверхности запрещается чрезмерное выравнивание армирующего слоя; - возникающие шпатлевочные выступы следует зашкурить после высыхания. После устройства базового слоя торцевые поверхности STYROFOAM в местах термошвов следует обработать клеевым раствором, чтобы не было выходов армирующей сетки на поверхность. После технологической выдержки торцевые поверхности следует обработать красителем с последующей окраской в соответствии с проектом. Термошвы следует заполнить уплотнителем, затем нанести на глубину до 10 мм герметик. Поверхность стены у углов оконных и дверных проемов армируют дополнительными полосами сеток размером 200 × 300 мм, которые устанавливают до нанесения базового армирующего слоя. До устройства базового армирующего слоя производят также дополнительное армирование внутренних и наружных углов зданий сеткой или угловыми сетками с металлическим или пластиковым сердечником. В зоне цокольного этажа для обеспечения необходимой стойкости против удара по поверхности STYROFOAM производится дополнительное армирование антивандальной панцирной сеткой. После затвердевания дополнительного армирующего слоя последующие операции производятся по обычной технологии.
КРОВЛИВне зависимости от конструктивного решения крыши и типа кровельного покрытия, одним из важных условий правильного технического состояния, сохранности конструкций и экономии топливно-энергетических ресурсов в здании является его правильное содержание, т.е. обеспечение его нормального температурно-влажностного режима с учетом требований СНиП 23-02. Кровли с холодным чердаком Толщина плит STYROFOAM зависит от расчетной зимней наружной температуры воздуха и определяется согласно проекта. Кроме того, в пристенной зоне чердачного перекрытия по всему его периметру, на расстоянии не менее, чем 1 м от стены обязательно увеличение слоя STYROFOAM. В чердачном помещении должен обеспечиваться температурный режим, при котором разница температуры наружного воздуха и воздуха чердачного помещения должна составлять не более 2-4°С, чтобы предотвратить подтаивание снега и образование сосулек и наледей на крыше, а также образование конденсата на конструктивных элементах. При разнице температур наружного воздуха и воздуха на чердаке более 2°С необходимо устранить источники поступления тепла в чердачное помещение, которыми могут быть: поступление тепла от расположенных ниже помещений, вследствие недостаточной теплоизоляции чердачного перекрытия, отсыревшая или недостаточная теплоизоляция трубопроводов отопления и горячего водоснабжения, воздухосборников, расширительных баков, вентиляционных каналов шахт, канализационных стояков и т.п., расположенных в чердачном помещении. Кроме того, возможна недостаточная вентиляция чердачного помещения. Вентиляцию чердачных помещений крыш осуществляют через слуховые окна или вентиляционные прикарнизные продухи, устраиваемые в шахматном порядке. Площадь сечения приточно-вытяжных отверстий должна составлять не менее 1/500 площади чердачного перекрытия, т.е. на каждые 100 м2 площади чердака необходимо не менее 1 м2 отверстий. Расположение указанных устройств должно обеспечить сквозное проветривание чердачного помещения, исключающее местный застой (воздушные мешки). Прикарнизные продухи могут быть выполнены в виде щели между карнизом и кровлей (щелевые продухи) шириной 20 - 25 мм или в виде отдельных отверстий 200 × 200 мм в прикарнизной части стены с обязательной установкой сеток с ячейкой 20 × 20 мм. Слуховые окна должны быть обязательно оборудованы жалюзийными решетками. Кровли с теплым чердаком Чердачное пространство крыши с теплым чердаком используется в качестве сборной вентиляционной камеры, обогреваемой вентиляционным воздухом, поэтому к ее ограждающим конструкциям предъявляются требования теплозащиты и герметизации в соответствии с требованиями к ограждающим конструкциям здания. Конструктивные элементы должны быть герметичны, основным вентиляционным отверстием является шахта. Температура воздуха чердачного помещения определяется из условия теплового баланса и недопустимости появления конденсационной влаги на внутренней стороне кровельного покрытия. Не допускается температура воздуха ниже +12 - 14°С, а в случае ее снижения следует определить источники поступления холодного воздуха (нарушение герметичности вентканала, балконной или входной двери или стеклоблоков) и устранить дефект. Если температура воздуха чердачного помещения выше температуры воздуха, удаляемого вентиляционными каналами из жилых помещений, необходимо проверить работу системы вентиляции дома и герметичности в чердачном перекрытии. В чердачном помещении необходимо обеспечить исправность работы инженерных коммуникаций (трубы отопления, горячего водоснабжения, ливневой канализации), покраску труб инженерных коммуникаций антикоррозийными составами; закрывание всех люков и дверей теплого чердака специальными запирающими устройствами; замену уплотняющих прокладок в притворах входных дверей и в межсекционных люках; контроль за состоянием стыков сборных плит перекрытия и покрытия чердака, не допуская их нарушения и трещин; очистку вентиляционных каналов по мере необходимости, но не реже 1 раза в 3 года. В зданиях всех степеней огнестойкости кровлю, стропила и обрешетку чердачных покрытий допускается выполнять из материалов групп Г1-Г4. При этом стропила и обрешетку чердачных покрытий (кроме зданий IV степени огнестойкости классов пожарной опасности С2 и С3) следует подвергать огнезащитной обработке. Качество огнезащитной обработки должно быть таким, чтобы конструкция соответствовала требованиям группы Г3. В зданиях с чердаками (за исключением зданий IV степени огнестойкости) при устройстве стропил и обрешетки из материалов групп Г3, Г4 не допускается применять кровли из материалов групп Г3, Г4. Мансарды В зданиях с мансардами классов Ф2, Ф3, Ф4 и Ф5 противопожарные требования в мансардном этаже следует выполнять как для обычного этажа, а при определении этажности здания - учитывать мансардный этаж. Здания I, II и III степеней огнестойкости допускается надстраивать одним мансардным этажом с несущими элементами, имеющими предел огнестойкости не менее R45 и класс пожарной опасности К0, независимо от высоты зданий, но расположенным не выше 75 м, на основании пункта 1.13*. СНиП 2.08.01. Ограждающие конструкции этих мансард должны отвечать требованиям, предъявляемым к конструкциям надстраиваемого здания. При применении деревянных конструкций следует предусматривать конструктивную огнезащиту, обеспечивающую указанные требования. Бесчердачные (плоские) кровли Отсутствие чердачных помещений требует особого внимания к эксплуатации гидроизоляционных ковров и покрытий, мест соединения полос примыкания к стенам, брандмауэрам, водоприемным воронкам. При эксплуатации совмещенных крыш необходимо осуществлять контроль за состоянием выступающих над поверхностью кровель элементов: дымовых и вентиляционных труб, выходов на крышу, парапетов, антенн и т.д. Инверсионная эксплуатируемая кровля со STYROFOAM на встроенно-пристроенной части должна иметь предел огнестойкости не менее REI 120 и класс пожарной опасности К0, что не противоречит пункту 1.39*. СНиП 2.08.01, а также пункту 7.1.15 СНиП 31-01. Аналогичная конструкция была проверена натурными испытаниями (протокол испытаний № 9 узел № 24) в ЦНИИСК им. Кучеренко. А также получено заключение ВНИИПО о возможности применения плит STYROFOAM в данных типах кровель. На эксплуатируемых инверсионных кровлях противопожарные пояса следует выполнять шириной не менее 600 мм, что не противоречит п. 2.11 СНиП II-26 (на основании проведенных натурных испытаний, протокол испытаний № 7 узел № 9 и протокол испытаний № 8 узел № 1 в ЦНИИСК им. Кучеренко). Противопожарный пояс, выполненный из материала FOAMGLAS, должен рассекать плиты STYROFOAM по всей толщине теплоизоляции. Места пересечения кровель противопожарными стенами допускается рассматривать как противопожарный пояс. В покрытиях зданий с металлическим профилированным настилом и теплоизоляционным слоем STYROFOAM необходимо предусматривать заполнение пустот ребер настилов материалом группы НГ на расстояние 250 мм в местах примыканий настила к стенам, деформационным швам, стенкам фонарей, а также с каждой стороны конька кровли и ендовы. При применении подвесных потолков для повышения пределов огнестойкости покрытий, предел огнестойкости покрытия с подвесным потолком следует определять как для единой конструкции. Подвесные потолки не должны иметь проемов, а коммуникации, расположенные над подвесными потолками, следует выполнять из материалов группы НГ. Кровельные конструкции в производственных и складских зданиях категорий А и Б следует проектировать легкосбрасываемыми в соответствии с требованиями пункта 5.9 СНиП 31-03. Инверсионная кровля Инверсионная кровля предполагает размещения теплоизоляции STYROFOAM поверх гидроизоляционной мембраны, поддерживая этим ее температуру на постоянном уровне, близком к температуре внутри здания круглогодично и предохраняя ее от повреждающих воздействий, что увеличивает срок службы кровли. Концепция инверсионной кровли имеет некоторые дополнительные преимущества: Во-первых, значительно снижена зависимость монтажа кровли от погодных условий, так как после укладки гидроизоляционной мембраны теплоизоляционные плиты STYROFOAM и последующие слои могут укладываться при любых погодных условиях, что снижает риск задержки строительства. Во-вторых, плиты STYROFOAM обеспечивают повышенную механическую защиту мембраны в случаях, когда плоские кровли используются для какой-либо цели (в качестве террасы, автостоянки, устройства сада) как в период строительства, так и после того, как кровля принята в эксплуатацию. В-третьих, поскольку плиты STYROFOAM обычно укладываются свободно, без закрепления, их можно легко поднимать и заменять/использовать заново, если кровля станет использоваться для другой цели или если здание будет реконструировано или снесено. Стандартной конструкцией инверсионной кровли является конструкция с гравийным балластом. В общем случае балластный слой укладывается толщиной не менее 50 мм из промытого гравия, фракции 16/32 мм. Торцевые зоны балластного слоя на кровлях зданий, которые особенно подвержены воздействию повышенных подъемных сил, вызываемых ветром, должны быть защищены дополнительным слоем балласта, тротуарными плитками или устройствами для удержания балласта. Между теплоизоляционными плитами, уложенными в один слой по образцу кирпичной кладки и гравийным балластом, должен укладываться с нахлестом (200 мм) разделительный слой из диффузионного полипропиленового геотекстильного материала, обладающего низкой водособирающей способностью, который вместе с балластом обеспечивает достаточную поверхностную стабильность плит против поднятия ветром. Часто одним из ключевых приоритетов, ориентированных на будущее и экологию архитектуры, является возрождение застроенных зданиями участков как зеленых зон, насколько это возможно. «Кровли-сады», особенно в городах, выполняют две важные функции: они обеспечивают увеличение зеленых насаждений в жилых районах и в большой степени содействуют благодаря потреблению воды снижению нагрузки на системы отвода дождевых вод. Инверсионная кровля, экстенсивным или интенсивным образом превращенная в природный пейзаж, является простой, проверенной и обладающей длительным сроком службы конструкцией плоской кровли. На кровлях с садом защитная функция теплоизоляционных плит STYROFOAM по отношению к гидроизоляционной мембране играет особенно важную роль.
ПРИЛОЖЕНИЯПРИЛОЖЕНИЕ
А
|
|||||||||||||||||||||||||||||||||||||||||||||||||||||||||||||||||||||||||||||||||||||||||||||||||||||||||||||||||||||||||||||||||||||||||||||||||||||||||||||||||||||||||||||||||||||||||||||||||||||||||||||||||||||||||||||||||||||||||||||||||||||||||||||||||||||||||||||||||||||||||||||||||||||||||||||||||||||||||||||||||||||||||||||||||||||||||||||||||||||||||||||||||||||||||||||||||||||||||||||||||||||||||||||||||||||||||||||||||||||||||||||||||||||||||||||||||||||||||||||||||||||||||||||||||||||||||||||||||||||||||||||||||||||||||||||||||||||||||||||||||||||||||||||||||||||||||||||||||||||||||||||||||||||||||||||||||||||||||||||||||||||||||||||||||||||||||||||||||||||||||||||||||||||||||||||||||||||||||||||||||||||||||||||||||||||||||||||||||||||||||||||||||||||||||||||||||||||||||||||||||||||||||||||||||||||||||||||||||||||||||||||||||||||||||||||||||||||||||||||||||||||||||||||||||||||||||||||||||||||||||||||||||||||||||||||||||||||||||||||||||||||||||||||||||||||||||||||||||||||||
|
№ |
Сопротивление теплопередаче |
Соответствует ли нормам да |
Сопротивление паропроницанию м2∙ч∙Па/мг |
Соответствовали
ли нормам да |
|||
|
Rreq |
Ro |
|
|
Rvp |
|||
|
1 |
3,24 |
3,86 |
да |
1,32 |
31,23 |
18,98 |
нет |
|
1а |
3,24 |
3,86 |
да |
1,3 |
33,89 |
68,92 |
да |
|
2 |
3,24 |
3,89 |
да |
1,57 |
32,53 |
18,98 |
нет |
|
2а |
3,24 |
3,89 |
да |
1,57 |
32,53 |
68,98 |
да |
|
3 |
3,24 |
3,75 |
да |
0,025 |
2,45 |
18,98 |
да |
|
4 |
3,24 |
3,98 |
да |
0,026 |
2,45 |
18,14 |
да |
|
5 |
3,24 |
3,64 |
да |
1,2 |
22,88 |
20,05 |
нет |
|
5а |
3,24 |
3,64 |
да |
1,2 |
22,88 |
70,05 |
да |
|
5б |
3,24 |
3,64 |
да |
1,2 |
22,88 |
23,38 |
да |
Варианты конструктивных решений наружных стен с применением теплоизоляции Styrofoam IB А





ИСПЫТАНИЯ НА ОГНЕСТОЙКОСТЬ И ОЦЕНКА ПОЖАРНОЙ ОПАСНОСТИ НАРУЖНЫХ НЕНЕСУЩИХ СТЕН ИЗ ЛЕНТОЧНЫХ ПАНЕЛЕЙ ТИПА ЛП-40-12 СИСТЕМЫ «СТАЙРОДОМ»
Ленточные железобетонные панели типа ЛП-40-12 изготовлены по системе «СТАЙРОДОМ» на ЗЖБИ ООО «ЭкоДок» по чертежам «НАБАД», строительного концерна КРОСТ. Толщина внутреннего (обращенного в помещение) бетонного слоя составляет 80 мм, среднего теплоизоляционного слоя из экструдированного пенополистирола Styrofoam IB А составляет 120 мм, наружного (фасадного) бетонного слоя составляет 70 мм. В качестве гибких связей, соединяющих наружный и внутренний слои панели, применена стеклопластиковая арматура СПА.
Работа выполнялась на основании договора № 2117/Н-3.2 от 06.02.2006 г., заключенного ФГУ ВНИИПО МЧС России с ООО «Проектное бюро «НАБАД».
ХАРАКТЕРНЫЕ ОСОБЕННОСТИ ПОВЕДЕНИЯ КОНСТРУКЦИЙ В ПРОЦЕССЕ ИСПЫТАНИЙ
через 20 минут после начала испытаний - характерный треск (щелчки) вследствие скола (взрыва) незначительных по площади участков бетона с обогреваемой стороны панелей стен;
через 34 минуты после начала испытаний - взрывообразное разрушение части бетонного обогреваемого слоя нижней панели на незначительную глубину с левой стороны конструкции (образец № 1); такое же явление зафиксировано на 36-й минуте при испытании (образца № 2) стены;
через 45 минут после начала испытаний - необогреваемая поверхность конструкций без видимых изменений;
через 60 минут после начала испытаний - на открытых боковых торцах образцов стен в районе стыков между отдельными панелями зафиксированы незначительные по площади участки оплавившегося утеплителя Styrofoam IB A;
через 65 минут после начала испытаний - по согласованию с заказчиком испытания прекратились. Прогиба середины рабочего пролета наружного бетонного слоя средней панели не зафиксировано. Следовательно, нарушения сцепления и разрывов стеклопластиковых связей не было. Средняя температура на необогреваемой поверхности составила +36°С.
|
Температура, °С |
Время, минуты |
|||||||||||||
|
0 |
5 |
10 |
15 |
20 |
25 |
30 |
35 |
40 |
45 |
50 |
55 |
60 |
65 |
|
|
В огневой камере |
0 |
36 |
69 |
74 |
78 |
81 |
84 |
85 |
88 |
90 |
91 |
92 |
95 |
94 |
|
|
0 |
0 |
0 |
0 |
0 |
0 |
0 |
0 |
0 |
0 |
0 |
0 |
0 |
|
|
Поверхность бетона |
0 |
19 |
35 |
46 |
55 |
61 |
68 |
71 |
74 |
78 |
80 |
82 |
85 |
85 |
|
|
0 |
0 |
0 |
0 |
0 |
0 |
0 |
0 |
0 |
0 |
0 |
0 |
0 |
|
|
Бетон- Styrofoam IB A |
0 |
5 |
10 |
20 |
50 |
80 |
10 |
10 |
10 |
10 |
10 |
10 |
13 |
16 |
|
|
|
|
|
|
|
0 |
0 |
0 |
0 |
0 |
5 |
0 |
0 |
|
|
Поверхность бетона |
0 |
5 |
10 |
10 |
10 |
10 |
15 |
20 |
25 |
30 |
30 |
35 |
35 |
35 |
ВЫВОДЫ
- Предел огнестойкости панелей по признаку потери целостности (Е) - Е 60;
- Класс пожарной опасности панелей КО (45).
ОАО «ЦНИИС» Научно-технический отчет ИЦ-04-4078/1
«Испытания железобетонных трехслойных стеновых панелей (1П1-35-30-Ш-Л, 1П1-35-30-Л) с гибкими связями из стеклопластиковой арматуры Бийского завода, разными утеплителями (минвата «Изофлор», экструдированный пенополистирол «Стайрофом») с определением коэффициента теплопередачи и оценкой прочности, деформативности на вертикальные усилия».

Рисунок 11. Зависимость взаимного сдвига наружных слоев панели № 1 от нагрузки

В соответствии с п. 5.9 СНиП 21-01-97* строительные конструкции характеризуются огнестойкостью и пожарной опасностью.
Область применения строительных конструкций определяется соответствующим СНиП с учетом значений пределов огнестойкости и класса пожарной опасности этих конструкций (п.п. 5.10, 5.11 СНиП 21-01-97*).
По мнению специалистов института требования по горючести утеплителя для строительных конструкций, предъявляемые в п. 1,39* СНиП 2.08.01-89* и п. 7.1.15 СНиП 31-01-2003, являются излишними и противоречат СНиП 21-01-97*.
По формальному признаку неучет горючести утеплителя в конструкциях покрытий является отступлением от норм СНиП 2.08.01-89* и СНиП 31-01-2003.
В соответствии с п. 1.6* СНиП 21-01-97* «Разрешение на отступления от противопожарных требований строительных норм и правил по конкретным объектам в обоснованных случаях производится Госстроем России...».
Вам необходимо по данному вопросу обратиться в соответствующие органы Федерального агентства по строительству и жилищно-коммунальному хозяйству. Специалисты института считают, что в данном случае эта просьба является обоснованной.
Ключевые слова: экструдированный пенополистирол STYROFOAM, строительные материалы, ограждающие конструкции, помещения, здания и сооружения, огнестойкость, распространения пожара, многолетнемерзлые грунты, геокриология, мерзлотно-грунтовые исследования, изыскания, принципы проектирования и строительства, расчет промерзания грунтов, расчет строительной осадки, сроки производства работ, охрана окружающей среды.
|
ГОСТЫ, СТРОИТЕЛЬНЫЕ и ТЕХНИЧЕСКИЕ НОРМАТИВЫ. Некоммерческая онлайн система, содержащая все Российские Госты, национальные Стандарты и нормативы. В Системе содержится более 150000 файлов нормативно-технической документации, действующей на территории РФ. Система предназначена для широкого круга инженерно-технических специалистов. Copyright © www.gostrf.com, 2008 - 2026 |