Крупнейшая бесплатная информационно-справочная система онлайн доступа к полному собранию технических нормативно-правовых актов РФ. Огромная база технических нормативов (более 150 тысяч документов) и полное собрание национальных стандартов, аутентичное официальной базе Госстандарта. GOSTRF.com - это более 1 Терабайта бесплатной технической информации для всех пользователей интернета. Все электронные копии представленных здесь документов могут распространяться без каких-либо ограничений. Поощряется распространение информации с этого сайта на любых других ресурсах. Каждый человек имеет право на неограниченный доступ к этим документам! Каждый человек имеет право на знание требований, изложенных в данных нормативно-правовых актах!

  


 

Российское открытое акционерное общество энергетики и электрификации

"ЕЭС России"

СТАНДАРТ

ОРГАНИЗАЦИИ

ОАО РАО «ЕЭС РОССИИ»

СТО
17330282.27.140.005-2008

ГИДРОТУРБИННЫЕ УСТАНОВКИ. ОРГАНИЗАЦИЯ
ЭКСПЛУАТАЦИИ И ТЕХНИЧЕСКОГО ОБСЛУЖИВАНИЯ.
НОРМЫ И ТРЕБОВАНИЯ

Дата введения - 2008 - 05 - 15

ОАО РАО «ЕЭС России»

2008

РОССИЙСКОЕ ОТКРЫТОЕ АКЦИОНЕРНОЕ ОБЩЕСТВО ЭНЕРГЕТИКИ И ЭЛЕКТРИФИКАЦИИ

«ЕЭС РОССИИ»

ПРИКАЗ

15.05.2008                                                                                                                       № 251

Об утверждении и вводе в действие

Стандарта организации ОАО РАО «ЕЭС России»

«Гидротурбинные установки. Организация эксплуатации

и технического обслуживания.

Нормы и требования»

В соответствии с решением Правления ОАО РАО «ЕЭС России» (протокол заседания от 22.11.2004 № 1106пр/2), НП «Гидроэнергетика России» разработан стандарт организации ОАО РАО «ЕЭС России» «Гидротурбинные установки. Организация эксплуатации и технического обслуживания. Нормы и требования».

Проект стандарта прошел процедуры, предусмотренные «Положением о порядке разработки, рассмотрения и утверждения технических стандартов организации корпоративного уровня в ОАО РАО «ЕЭС России». Центральная комиссия ОАО РАО «ЕЭС России» по техническому регулированию приняла решение об утверждении Стандарта (протокол от 04.03. 2008 № 11).

ПРИКАЗЫВАЮ:

1. Утвердить Стандарт ОАО РАО «ЕЭС России» СТО 17330282.27.140.005-2008 «Гидротурбинные установки. Организация эксплуатации и технического обслуживания. Нормы и требования» (далее - Стандарт) согласно приложению № 1.

2. Ввести Стандарт в действие с 15 мая 2008 года.

3. Бизнес-единице «Гидрогенерация» (Синюгину В.Ю.), Бизнес-единице № 1 (Чикунову А.В.), ОАО «СО ЕЭС» Аюеву Б.И., Бизнес-единице «Сервис» (Воронину В.П.) обеспечить рассмотрение Советами директоров ДЗО ОАО РАО «ЕЭС России» (далее - ДЗО), а так же Советами директоров обществ дочерних и зависимых по отношению к ДЗО (далее - ВЗО) вопроса о присоединении указанных ДЗО/ВЗО к Стандарту.

4. Установить, что решение Совета директоров ДЗО/ВЗО по вопросу «О присоединении к Стандарту» должно содержать указание на присоединение ДЗО/ВЗО к Стандарту и положение о том, что Стандарт является локальным нормативным актом ДЗО/ВЗО.

5. Отменить действие в Холдинге нормативных документов согласно Приложению № 2 и исключить их из Реестра действующих в электроэнергетике НТД, утвержденного приказом ОАО РАО «ЕЭС России» от 14.08.2003 г. № 422 «О пересмотре нормативно-технических документов (НТД) и порядке их действия в соответствии с ФЗ «О техническом регулировании».

6. Руководителям Бизнес-единицы «Гидрогенерация», Бизнес-единицы № 1, ОАО «СО ЕЭС», Бизнес-единицы «Сервис» обеспечить до 20 июня 2008 г. внесение изменений в действующую нормативную и техническую документацию с учетом требований Стандарта.

7. Некоммерческому партнерству «ИНВЭЛ» (Левцеву A.M.), Дирекции организации, методологии конкурсных закупок и стандартизации (Романову А.А.) обеспечить регистрацию и учет Стандарта в системе Информационного фонда по техническому регулированию и внести в реестр документов по техническому регулированию в электроэнергетике.

8. Департаменту по взаимодействию со СМИ (Нагоге М.Г.), Дирекции организации, методологии конкурсных закупок и стандартизации (Романову А.А.) обеспечить размещение на сайте ОАО РАО «ЕЭС России» уведомления об утверждении и вводе в действие Стандарта в соответствии с действующим порядком.

9. Контроль за исполнением настоящего приказа возложить на члена Правления, заместителя технического директора - главного технического инспектора ОАО РАО «ЕЭС России» Паули В.К.

Заместитель

Председателя Правления                                                                         Я.М. Уринсон

Приложение 2

к приказу ОАО РАО «ЕЭС России»

от 15.05.2008 г. № 251

ПЕРЕЧЕНЬ

нормативно-технических документов, подлежащих отмене в связи с вступлением в действие стандарта организации «Гидротурбинные установки. Организация эксплуатации и технического обслуживания. Нормы и требования»

№ в реестре

Наименование документа

1

1156

СО 34.31.302-2001 (РД 153-34.2-31.302-2001) Методические указания по проведению натурных испытаний гидротурбинных агрегатов при вводе их в эксплуатацию на ГЭС

2

1165

СО 34.31.502-97 (РД 34.31.502-97) Методические указания по составлению местных инструкций по эксплуатации гидротурбинного оборудования и механической части гидрогенератора

3

1175

СО 34.31.605 Методические указания по переводу гидроагрегатов в режим синхронного компенсатора

Предисловие

Цели и принципы стандартизации в Российской Федерации установлены Федеральным законом от 27 декабря 2002 г. № 184-ФЗ «О техническом регулировании», а правила применения стандарта организации - ГОСТ Р 1.4-2004 «Стандартизация в Российской Федерации. Стандарты организаций. Общие положения».

Сведения о стандарте

1. РАЗРАБОТАН НП «Гидроэнергетика России», Филиал ОАО «Инженерный центр ЕЭС» - «Фирма ОРГРЭС».

2. ВНЕСЕН НП «Гидроэнергетика России»

3. ПРИНЯТ И ВВЕДЕН В ДЕЙСТВИЕ приказом ОАО РАО «ЕЭС России» от 15.05.08 № 251

4. ВВОДИТСЯ ВПЕРВЫЕ

Содержание

Введение

1 Область применения

2 Нормативные ссылки

3 Термины и определения

4 Обозначения и сокращения

5 Общие требования гидротурбинных установок к организации эксплуатации

5.1 Требования к персоналу, осуществляющему эксплуатацию гидротурбинных установок

5.2 Требования к организации технического контроля и надзора за организацией эксплуатации гидротурбинных установок

5.3 Приемка гидротурбинных установок в эксплуатацию

5.4. Требования к организации технического обслуживания и ремонта гидротурбинных установок

5.5 Требования к приемке гидротурбинных установок после капитального ремонта и оценка качества ремонта

5.6. Требования к технической документации

5.7 Общие требования к составлению местных эксплуатационных инструкций (стандартов организации ГЭС и ГАЭС)

6 Техническая эксплуатация. Общие требования

6.1 Техническая эксплуатация при нормальных условиях работы

6.2 Техническое обслуживание гидротурбинных установок под нагрузкой

6.3 Проверки и осмотры оборудования гидротурбинных установок

6.4 Водно-энергетические режимы работы гидротурбинной установки

6.5. Аварийные ситуации при эксплуатации гидротурбинных установок. Требования по их предупреждению и ликвидации последствий

6.6. Режим синхронного компенсатора

7 Возможные неисправности в работе гидротурбинных установок, действия персонала и мероприятия по их устранению

8 Охрана труда (правила безопасности)

Приложение А (Обязательное) Методические указания по проведению натурных испытаний гидротурбинных установок при вводе их в эксплуатацию на ГЭС

Приложение Б (Обязательное) Номенклатура и регламентированный объем работ при капитальном ремонте гидротурбины

Приложение В (Обязательное) Методические указания по переводу гидроагрегатов в режим синхронного компенсатора

Библиография

Введение

Стандарт организации ОАО РАО «ЕЭС России» «Гидротурбинные установки. Организация эксплуатации и технического обслуживания. Нормы и требования» (далее - Стандарт) разработан в соответствии с требованиями Федерального закона № 184-ФЗ «О техническом регулировании».

Стандарт направлен на повышение безопасности и эффективности эксплуатации гидротурбинных установок гидроэлектрических станций (далее - ГЭС).

При разработке Стандарта актуализированы относящиеся к области его применения, действовавшие в электроэнергетике нормативно-технические документы или отдельные разделы этих документов.

Требования Стандарта исходят из условий обеспечения безопасной и надежной эксплуатации при взаимодействии основного оборудования и влияния состояния отдельных элементов и конструктивных узлов этого оборудования при всех эксплуатационных и переходных режимах работы гидротурбинных установок.

В Стандарт включены апробированные, подтвержденные опытом эксплуатации технические нормы, методики и рекомендации по организации эксплуатации гидротурбинных установок ГЭС.

Установленные Стандартом нормы и требования к организации процесса эксплуатации и технического обслуживания учитывают также подтвержденные опытом эксплуатации потенциальные опасности и сценарии развития опасных ситуаций с учетом требований безопасности.

В развитие Стандарта каждая гидроэлектростанция должна в установленном порядке разрабатывать, утверждать и применять собственные стандарты организации (местные производственные инструкции), учитывающие особенности установленного на ней оборудования, не противоречащие Стандарту и не снижающие уровень его требований.

Стандарт должен пересматриваться в случаях ввода в действие новых технических регламентов и национальных стандартов, содержащих не учтенные в Стандарте требования, а также при необходимости введения новых требований и рекомендаций, обусловленных развитием новой техники и реформированием в сфере организации и управления производства на ГЭС.

СТАНДАРТ ОРГАНИЗАЦИИ ОАО РАО «ЕЭС РОССИИ»

ГИДРОТУРБИННЫЕ УСТАНОВКИ ОРГАНИЗАЦИЯ
ЭКСПЛУАТАЦИИ И ТЕХНИЧЕСКОГО ОБСЛУЖИВАНИЯ
НОРМЫ И ТРЕБОВАНИЯ

Дата введения - 15.05.2008

1 Область применения

1.1 Стандарт устанавливает нормы и требования к организации процесса эксплуатации и технического обслуживания вертикальных гидротурбинных установок (код ОКП 31 1140) с поворотнолопастными, радиально-осевыми и пропеллерными рабочими колесами при эксплуатации гидроэлектростанций и определяет требования, которые следует применять при организации эксплуатации оборудования.

1.2 Стандарт предназначен для применения эксплуатирующими, специализированными, экспертными и иными организациями, выполняющими эксплуатацию и техническое обслуживание гидротурбинных установок. Требования стандарта также обязаны выполнять сторонние организации, выполняющие работы на ГЭС (ГАЭС) по договору.

1.3 Стандарт определяет основные требования и методическое основание для разработки местных производственных и оперативных технических документов по эксплуатации и техническому обслуживанию гидротурбинных установок ГЭС. Стандарт устанавливает порядок и правила действий персонала гидроэлектростанций по организации процесса эксплуатации и технического обслуживания, осуществлению технического контроля и принятию решений в целях предотвращения повреждений гидротурбинных установок при эксплуатации.

В ситуациях, не отраженных в Стандарте, персонал должен действовать на основе изложенных положений Стандарта с учетом реальной обстановки.

1.4 Стандарт не учитывает все возможные особенности исполнения его требований на разнотипном оборудовании. В развитие Стандарта каждая гидроэлектростанция должна в установленном порядке разрабатывать, утверждать и применять собственные стандарты организации (далее - СТО ГЭС) и местные производственные инструкции, учитывающие особенности эксплуатации установленного на ней гидротурбинного оборудования, не противоречащие Стандарту и не снижающие уровень его требований.

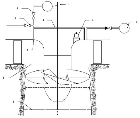
1.5 Действие Стандарта охватывает следующие основные элементы гидротурбинных установок: вал гидротурбины; уплотнения вала; турбинный подшипник; крышка турбины; статор; направляющий аппарат; рабочее колесо; проточный тракт; камера рабочего колеса; система регулирования.

1.6 Требования Стандарта могут быть частично использованы при организации процесса эксплуатации и технического обслуживания гидротурбинного оборудования малых ГЭС и насос-турбин гидроаккумулирующих электростанций (ГАЭС) с учетом их специфических особенностей.

1.7 Стандарт определяет нормы и объем технического обслуживания, минимально необходимого для обеспечения исправности и/или работоспособности гидротурбинного оборудования, а также для принятия решения о проведении технических обследований по специальным программам с целью обеспечения и/или продления ресурса по работоспособности.

1.8 Стандарт устанавливает порядок действий персонала при:

- постоянном техническом обслуживании работающего оборудования;

- периодическом обслуживании выведенного из работы оборудования;

- технических освидетельствованиях оборудования перед выводом в ремонт и приемке оборудования из ремонта.

1.9 Стандарт устанавливает правила контроля параметров и испытаний гидротурбинного оборудования, которые необходимо применять в процессе эксплуатации и техническом обслуживании, на всех стадиях эксплуатации.

1.10 Стандарт не предъявляет требований к типам и видам используемых при эксплуатации и техническом обслуживании штатной контрольной аппаратуры и специальных средств измерений, устанавливаемых для временного применения.

1.11 Требования Стандарта являются минимально необходимыми для обеспечения безопасности эксплуатации гидротурбинного оборудования ГЭС, если оно используется по прямому назначению и в соответствии с не противоречащими друг другу заводскими и эксплуатационными инструкциями, на протяжении срока, установленного в технической документации, с учетом возможных нештатных (опасных) ситуаций.

1.12 Оценка и подтверждение соответствия эксплуатируемого оборудования требованиям Стандарта осуществляется в соответствии с СТО «Гидроэлектростанции. Организация эксплуатации и технического обслуживания. Нормы и требования» [4].

1.13 В Стандарте использованы требования основных нормативно- технических, распорядительных и информационных документов, относящихся к области применения Стандарта, действовавшие в период его разработки.

2 Нормативные ссылки

В Стандарте использованы нормативные ссылки на следующие документы:

Федеральный Закон РФ от 27.12.2002 г. № 184-ФЗ «О техническом регулировании»

Федеральный Закон РФ от 26.03.2003 г. № 35-ФЗ «Об электроэнергетике»

Федеральный Закон от 27.04.93 г. № 4871-1 (ред. от 10.01.2003 г.) «Об обеспечении единства измерений»

Постановление Правительства РФ от 11.07.2001 г. № 526 «О реформировании электроэнергетики Российской Федерации»

Постановление Правительства РФ от 27.12.2004 № 854 «Об утверждении Правил оперативно-диспетчерского управления в электроэнергетике»

OK (MK (ИСО/ИНФКО МКС) 001-96) 001-2000. Общероссийский классификатор Стандартов

ОК 005-93. Общероссийский классификатор продукции

ГОСТ Р 1.0-2004 Стандартизация в Российской Федерации. Основные положения

ГОСТ Р 1.4-2004 Стандартизация в Российской Федерации. Стандарты организации. Общие положения

ГОСТ Р 1.5-2004 Стандартизация в Российской Федерации. Стандарты национальные Российской Федерации. Правила построения, изложения, оформления и обозначения

ГОСТ Р 1.12-2004 Стандартизация в Российской Федерации. Термины и определения

ГОСТ 15467-79 (СТ СЭВ 3519-81). Управление качеством продукции. Основные понятия. Термины и определения

ГОСТ 16504-81 Система государственных испытании продукции. Испытания и контроль качества продукции. Основные термины и определения

ГОСТ 13109-97 Нормы качества электроэнергии в системах электроснабжения общего назначения

ГОСТ 19431-84 Энергетика и электрификация. Термины и определения

ГОСТ 21027-75 Системы энергетические. Термины и определения

ГОСТ 23875-88 Качество электрической энергии. Термины и определения.

ГОСТ 27.002-89 Надежность в технике. Основные понятия. Термины и определения.

ГОСТ 28842-90 Турбины гидравлические. Методы натурных приемочных испытаний

ГОСТ 2.601-2006 ЕСКД. Эксплуатационные документы

ГОСТ 4.427-86 Оборудование гидравлических турбин. Номенклатура показателей

ГОСТ 8339-84 Установки маслонапорные для гидравлических турбин. Технические условия.

ГОСТ 12405-81. Регуляторы электрогидравлические для гидравлических турбин. Технические условия

Правила устройства и безопасной эксплуатации технологических трубопроводов. ПБ-585-03.

СО 153-34.20.501-2003 Правила технической эксплуатации электрических станций и сетей Российской Федерации (утверждены Минэнерго РФ 19.06.03). М.: СПО ОРГРЭС, 2003.

СО 153-34.04.181-2003 (РД 34.04.181) Руководящий нормативный документ. Правила организации технического обслуживания и ремонта зданий и сооружений электростанций и сетей;

СТО 17330282.27.140.001-2006. Методики оценки технического состояния основного оборудования гидроэлектростанций. Стандарт организации ОАО РАО «ЕЭС России».

СТО 17330282.27.100-002-2007 Тепловые и гидравлические электростанции. Методика оценки качества ремонта энергетического оборудования. Основные положения.

Примечание: При пользовании настоящим стандартом целесообразно проверить действие ссылочных стандартов и классификаторов в информационной системе общего пользования - на официальном сайте национального органа Российской Федерации по стандартизации в сети Интернет или по ежегодно издаваемому информационному указателю «Национальные стандарты», который опубликован по состоянию на 1 января текущего года, и по соответствующим ежемесячно издаваемым информационным указателям, опубликованным в текущем году. Если ссылочный документ заменен (изменен), то при пользовании настоящим документом следует руководствоваться замененным (измененным) документом. Если ссылочный документ отменен без замены, то положение, в котором дана ссылка на него, применяется в части, не затрагивающей эту ссылку.

3. Термины и определения

В Стандарте применены следующие термины с соответствующими определениями:

3.1 вспомогательный персонал: Категория работников вспомогательных профессий, выполняющих работу в зоне действующих энергоустановок.

3.2 гидравлическая турбина поворотно-лопастная: Гидравлическая турбина с поворотными лопастями рабочего колеса.

3.3 гидравлическая турбина радиально-осевая: Гидравлическая турбина, в рабочем колесе которой вода движется по криволинейным поверхностям вращения, изменяющим направление потока от радиального к осевому.

3.4 гидроагрегат: Агрегат, состоящий из гидравлической турбины и электрического гидрогенератора.

3.5 гидроагрегат вертикальный: Гидроагрегат с вертикальным валом.

3.6 гидравлическая турбина (гидротурбина): Турбина, в которой в качестве рабочего тела используется вода.

3.7 гидротурбинная установка: Установка, предназначенная для преобразования энергии воды в механическую, включающая гидравлическую турбину и вспомогательное оборудование.

3.8 гидроэлектростанция, ГЭС: Электростанция, преобразующая механическую энергию воды в электрическую энергию [ГОСТ 19431-84, ГОСТ 23875-88].

3.9 дежурный работник объекта электроэнергетики (ГЭС): Работник ГЭС, уполномоченный на выдачу и выполнение команд по управлению электроэнергетическим режимом ГЭС, а также на непосредственное воздействие на органы управления гидроэнергетической установки [постановление Правительства Российской Федерации от 27.12.2004 № 854 «Об утверждении правил оперативно-диспетчерского управления в электроэнергетике»].

3.10 исправное состояние: Состояние объекта, при котором он соответствует всем требованиям нормативно-технической и (или) конструкторской (проектной) документации.

3.11 испытания: Экспериментальное определение количественных и (или) качественных характеристик свойств объекта испытаний как результата воздействия на него при его функционировании, при моделировании объекта и (или) воздействий.

3.12 камера рабочего колеса гидравлической турбины: элемент проточной части осевой или диагональной гидравлической турбины, внутри которого расположено рабочее колесо.

3.13 контроль технического состояния: Проверка соответствия значений параметров объекта требованиям технической документации и определение на этой основе одного из заданных видов технического состояния в данный момент времени. Прим. Видами технического состояния являются например, исправное, работоспособное, неисправное, неработоспособное и т.п. в зависимости от значений параметров в данный момент времени.

3.14 мертвая зона регулятора по скорости (частоте): Максимальная зона между двумя значениями относительной скорости (частоты) в %, в которой главный сервомотор регулятора скорости не перемещается.

3.15 минимальное время закрытия (открытия) сервомотора: Время, за которое совершался бы один полный ход сервомотора при максимальной скорости перемещения поршня.

3.16 направляющий аппарат гидравлической турбины: Рабочий орган гидравлической турбины, изменяющий закрутку потока и регулирующий расход гидравлической турбины за счет поворота лопаток.

3.17 неисправное состояние: Состояние объекта, при котором он не соответствует хотя бы одному из требований нормативно-технической и (или) конструкторской (проектной) документации.

3.18 неработоспособное состояние: Состояние объекта, при котором значение хотя бы одного параметра, характеризующего способность выполнять заданные функции не соответствует требованиям нормативно-технической и (или) конструкторской (проектной) документации.

3.19 номинальное значение параметра: значение параметра, определяемое его функциональным назначением и служащее началом отсчета отклонений.

3.20 нормальная эксплуатация: Эксплуатация изделий в соответствии с действующей эксплуатационной документацией [ГОСТ 25866-83].

3.21 нормативный документ: Документ, устанавливающий правила, общие принципы или характеристики, касающиеся различных видов деятельности или их результатов.

3.22 обратная связь: Связь между элементами системы автоматического регулирования, сигнал которого направлен противоположно ходу регулирующего воздействия.

3.23 объем испытаний: Характеристика испытаний, определяемая количеством объектов и видов испытаний, а также суммарной продолжительностью испытаний

3.24 обслуживание оборудования: Комплекс работ по оперативному и техническому обслуживанию оборудования, включающий эксплуатацию, ремонт, наладку и испытание оборудования, а также пусконаладочные работы на нем.

3.25 отказ: 1. самопроизвольные запуск или прекращение функционирования технического устройства, а также выход параметров функционирования за допустимые границы.

2. событие, заключающееся в нарушении работоспособного состояния объекта (ГОСТ 27.002-89).

Примечание: отказ объекта происходит из-за появления в нем дефекта (дефектов) - выхода параметра (характеристики) технического состояния, определяющего работоспособность объекта, за установленные пределы.

3.26 оперативный персонал гидроэлектростанции: Категория работников, непосредственно воздействующих на органы управления энергоустановок и осуществляющих управление и обслуживание энергоустановок в смене.

3.27 оперативно - ремонтный персонал: Категория работников из числа ремонтного персонала с правом непосредственного воздействия на органы управления технологического оборудования [Правила работы с персоналом в организациях электроэнергетики Российской Федерации].

3.28 паспорт изделия: Эксплуатационный документ, содержащий сведения, удостоверяющие гарантии изготовителя, значения основных параметров и характеристик (свойств) изделия, а также сведения о сертификации и утилизации изделия [ГОСТ 2.601-95].

3.29 персонал: Личный состав организации, работающий по найму, персонал работает на обеспечение целей организации [приказ ОАО РАО «ЕЭС России» то 11.05.2005 № 296].

3.30 периодический осмотр оборудования: Форма технического контроля за состоянием оборудования, осуществляемого комиссией, назначаемой техническим руководителем гидроэлектростанции, с периодичностью, устанавливаемой стандартом организации гидроэлектростанции, не противоречащим настоящему Стандарту.

3.31 постоянный контроль за состоянием оборудования: Форма технического контроля за состоянием оборудования, осуществляемого штатным персоналом гидроэлектростанции посредством инструментальных и/или визуальных наблюдений, проводимых ежедневно в режиме, определяемом стандартом организации каждой гидроэлектростанции.

3.32 проточная часть гидравлической турбины: Совокупность образованных элементами гидравлической турбины каналов, по которым протекает вода, совершая рабочий процесс.

3.33 работоспособное состояние: Состояние объекта, при котором значения всех параметров, характеризующих способность выполнять заданные функции, соответствует требованиям нормативно-технической и (или) конструкторской (проектной) документации.

3.34 рабочая конструкторская документация: Конструкторская документация, разработанная на основе технического задания или проектной конструкторской документации и предназначенная для обеспечения изготовления, контроля, приемки, поставки, эксплуатации и ремонта изделия [ГОСТ 2.103-68]; совокупность конструкторских документов, предназначенных для изготовления, контроля, приемки, поставки эксплуатации и ремонта изделия [Р 50-605-80-93].

3.35 рабочее колесо гидравлической турбины: Рабочий орган гидравлической турбины, преобразующий энергию потока в механическую.

3.36 резервирование: Способ обеспечения надежности объекта за счет использования дополнительных средств и (или) возможностей, избыточных по отношению к минимально необходимым для выполнения требуемых функций.

3.37 ремонт: Комплекс операций по восстановлению исправности или работоспособности изделия и восстановлению ресурса изделий или их составных частей. (ГОСТ 18322-78)

3.38 ремонтный персонал: Категория работников, связанных с техническим обслуживанием, ремонтом, наладкой и испытанием энергоустановок [Правила работы с персоналом в организациях электроэнергетики Российской Федерации].

3.39 синхронный компенсатор (электромашинный компенсатор): Синхронная машина, предназначенная для генерирования или потребления реактивной мощности.

3.40 статическая характеристика регулятора: График зависимости частоты вращения агрегата от величины хода сервомотора НА в установившемся состоянии при неизменном сигнале.

3.41 стандарт организации: Нормативный документ, отвечающий требованиям Федерального закона «О техническом регулировании», введенный в установленном порядке для применения на данной гидроэлектростанции.

3.42 статор гидравлической турбины: Несущий элемент проточной части гидравлической турбины, содержащий профилированные колонны.

3.43 текущий ремонт: Ремонт, выполняемый для обеспечения или восстановления работоспособности изделия и состоящий в замене и (или) восстановлении отдельных частей.

3.44 техническая документация: Совокупность документов, необходимая и достаточная для непосредственного использования на каждой стадии жизненного цикла продукции.

Примечание - к технической документации относятся конструкторская и технологическая документация, техническое задание на разработку продукции и т.д. Техническую документацию можно подразделить на исходную, проектную, рабочую, информационную [Р 50-605-80-93].

3.45 технический руководитель гидроэлектростанции: Лицо в штате гидроэлектростанции, уполномоченное принимать решения и отдавать распоряжения по всем техническим вопросам касательно оборудования и сооружений данной гидроэлектростанции.

3.46 техническое обслуживание: Комплекс операций или операция по поддержанию работоспособности или исправности изделия (технического устройства) при использовании по назначению, ожидании, хранении и транспортировании (ГОСТ 18322-78).

3.47 технические условия: Документ, содержащий требования (совокупность всех показателей, норм, правил и положений) к изделию, его изготовлению, контролю, приемке и поставке, которые нецелесообразно указывать в других конструкторских документах. Технические условия (ТУ) являются неотъемлемой частью комплекта технической документации на продукцию (изделие, материал, вещество и т.п.), на которую они распространяются. При отсутствии конструкторской или другой технической документации на данную продукцию ТУ должны содержать полный комплекс требований к продукции, ее изготовлению, контролю и поставке (ГОСТ 2.114-95).

3.48 техника безопасности: Система организационных мероприятий и технических средств, предотвращающих воздействие на работающих опасных производственных факторов.

3.49 техническая система: Объект техники, агрегат, состоящий из элементов и зависимых узлов, предназначенный для выполнения функций, обеспечивающих работоспособность единиц оборудования (в целях настоящего Стандарта - система технического водоснабжения, система смазки и др.).

3.50 техническое обследование оборудования гидроэлектростанций: Форма технического контроля за состоянием оборудования, включающего углубленные исследования, проводимые по специальным программам, как правило, с привлечением специализированных организаций по решениям комиссий, проводивших периодический осмотр или регулярное техническое освидетельствование.

3.51 технический осмотр: Контроль, осуществляемый в основном при помощи органов чувств и, в случае необходимости, средств контроля, номенклатура которых установлена соответствующей документацией.

3.52 управляющая компания: Организация, оказывающая на основании договора услуги по выполнению функций единоличного исполнительного органа других обществ (АО-станций и др.) [Федеральный закон от 26 декабря 1995 г. № 208-ФЗ «Об акционерных обществах»].

3.53 характеристика сервомотора: Статическая зависимость скорости перемещения сервомотора от величины смещения управляющего золотника.

3.54 ход сервомотора: Перемещение поршня сервомотора относительно положения полного закрытия.

3.55 эксплуатация: Систематическое использование, техническое обслуживание и ремонт оборудования.

3.56 эксплуатационные испытания: Испытания объекта, проводимые при эксплуатации.

Примечание: одним из основных видов эксплуатационных испытаний является опытная эксплуатация. К эксплуатационным испытаниям может быть в некоторых случаях отнесена также подконтрольная эксплуатация.

3.57 эксплуатация: Стадия жизненного цикла изделия, на которой реализуется, поддерживается и восстанавливается его качество. Эксплуатация изделия включает в себя в общем случае использование по назначению, транспортирование, хранение, техническое обслуживание и ремонт (ГОСТ 25866-83).

3.58 эксплуатационные документы: Конструкторские документы, предназначенные для использования при эксплуатации, обслуживании и ремонте изделия в процессе эксплуатации; текстовые и графические рабочие конструкторские документы, которые в отдельности или в совокупности дают возможность ознакомления с изделием и определяют правила его эксплуатации (использования по назначению, технического обслуживания, текущего ремонта, хранения и транспортирования), а также предназначены для отражения сведений, удостоверяющих гарантированные изготовителем значения основных параметров и характеристик (свойств) изделия, гарантий и сведений по его эксплуатации за весь период (длительность и условия работы, техническое обслуживание, ремонт и другие данные), а также сведений по его утилизации [ГОСТ 2.601-2006].

3.59 эксплуатирующая организация: Организация, имеющая в собственности, хозяйственном ведении или оперативном управлении имущество гидроэлектростанции, осуществляющая в отношении этого имущества права и выполняющая обязанности, необходимые для ведения деятельности по безопасному производству электроэнергии в соответствии с действующими нормами и правилами.

4 Обозначения и сокращения

АРЧ - автоматическое регулирование частоты

ГЗ - главный золотник;

ГРАМ - групповое регулирование активной мощности;

ГЭС - гидравлическая электрическая станция;

КПД - коэффициент полезного действия;

КРК - камера рабочего колеса;

МНУ - маслонапорная установка;

НА - направляющий аппарат;

НТД - нормативно техническая документация;

НСС - начальник смены станции;

ОС - обратная связь;

ПЛ - поворотнолопастная (-ое) (гидротурбина, рабочее колесо);

РК - рабочее колесо гидротурбины;

РО - радиально-осевая (-ое) (гидротурбина, рабочее колесо);

РЧВ - регулятор частоты вращения гидротурбины;

САР - система автоматического регулирования;

СН - собственные нужды;

СТО ГЭС - стандарт организации ГЭС;

СК - синхронный компенсатор;

ТВ С - техническое водоснабжение.

ТО - техническое обслуживание;

XX - холостой ход;

ЦР - центральный регулятор;

ЭГП - электрогидравлический преобразователь;

ЭГР - электрогидравлический регулятор;

ЭГРК - электрогидравлический регулятор с комбинатором.

5 Общие требования гидротурбинных установок к организации эксплуатации

5.1 Требования к персоналу, осуществляющему эксплуатацию гидротурбинных установок

5.1.1 К работе на гидротурбинных установках ГЭС, допускаются лица с профессиональным образованием, а по управлению гидротурбинами также и с соответствующим опытом работы.

5.1.2 Лица, не имеющие соответствующего профессионального образования или опыта работы, как вновь принятые, так и переводимые на новую должность должны пройти обучение по действующей в отрасли форме обучения.

5.1.3 Работники, занятые на работах по обслуживанию гидротурбинных установок, в установленном порядке должны проходить предварительные (при поступлении на работу) и периодические (в течение трудовой деятельности) медицинские осмотры, связанные с работой с опасными и неблагоприятными производственными факторами.

5.1.4 На каждой ГЭС и в каждом структурном подразделении, осуществляющим эксплуатацию и техническое обслуживание гидротурбинных установок должна проводиться постоянная работа с персоналом, направленная на обеспечение его готовности к выполнению профессиональных функций и поддержание его квалификации.

На каждой электростанции должна быть техническая библиотека, а также обеспечена возможность персоналу пользоваться учебниками, учебными пособиями и другой технической литературой, относящейся к профилю деятельности организации, а также НТД.

Кроме того, должны быть созданы кабинет по технике безопасности и технический кабинет.

В зависимости от категорий работников (оперативный персонал, ремонтный персонал, руководящие работники и специалисты и пр.) должны быть установлены следующие формы работы с персоналом:

- подготовка к новой должности (профессии) с обучением на рабочем месте (стажировкой);

- проверка знаний норм и правил по охране труда, ПТЭ, ППБ и других государственных норм и правил, включая проверку упомянутых знаний органами Государственного надзора у руководящих работников ГЭС, руководителей структурных подразделений;

- дублирование;

- противоаварийные и противопожарные тренировки;

- инструктажи: вводный, первичный на рабочем месте, повторный, внеплановый, и целевой по безопасности труда, а также инструктаж по правилам безопасности;

- спецподготовка для работников оперативного персонала, включающая выполнение противоаварийных и противопожарных тренировок, изучение изменений, внесенных в схемы электроустановок, проработка обзоров несчастных случаев и технологических нарушений и прочие вопросы;

- занятия по пожарно-техническому минимуму;

- профессиональное обучение для повышения квалификации.

Ответственность за работу с персоналом на ГЭС несет руководитель эксплуатирующей организации (генерирующей компании).

5.2 Требования к организации технического контроля и надзора за организацией эксплуатации гидротурбинных установок

5.2.1 На каждой гидроэлектростанции должен быть организован постоянный и периодический контроль (осмотры, технические освидетельствования, обследования) технического состояния гидротурбинных установок, определены уполномоченные за их состояние и безопасную эксплуатацию лица, а также назначен персонал по техническому и технологическому надзору и утверждены его должностные функции.

Все гидроэлектростанции, осуществляющие производство, преобразование и передачу электрической энергии, подлежат ведомственному техническому и технологическому надзору со стороны специально уполномоченных органов.

5.2.2 Гидротурбинное оборудование должны подвергаться периодическому техническому освидетельствованию.

Техническое освидетельствование гидротурбинного оборудования проводится по истечении установленного нормативно-технической документацией срока службы, причем при проведении каждого освидетельствования в зависимости от состояния оборудования намечается срок проведения последующего освидетельствования.

Техническое освидетельствование производится комиссией гидроэлектростанции, возглавляемой техническим руководителем гидроэлектростанции или его заместителем. В комиссию включаются руководители и специалисты структурных подразделений

гидроэлектростанции, представители служб энергосистемы, специалисты специализированных организаций и органов государственного контроля и надзора.

Задачами технического освидетельствования являются оценка состояния, а также определение мер, необходимых для обеспечения установленного ресурса энергоустановки.

В объем периодического технического освидетельствования на основании действующих нормативно-технических документов должны быть включены: наружный и внутренний осмотр, проверка технической документации, испытания на соответствие условиям безопасности оборудования.

Одновременно с техническим освидетельствованием должна осуществляться проверка выполнения предписаний органов государственного надзора и мероприятий, намеченных по результатам расследования нарушений работы гидроэлектростанции и несчастных случаев при его обслуживании, а также мероприятий, разработанных при предыдущем техническом освидетельствовании.

Результаты технического освидетельствования должны быть занесены в технический паспорт гидротурбины.

Эксплуатация гидротурбинных установок с аварийноопасными дефектами, выявленными в процессе технического освидетельствования, а также с нарушениями сроков освидетельствования не допускается.

5.2.3 Постоянный контроль технического состояния оборудования производится оперативным и оперативно-ремонтным персоналом гидроэлектростанции.

Объем контроля устанавливается в соответствии с положениями СТО 17330282.27.140.001-2006 и иных нормативных технических документов, относящихся к отдельным видам и объектам контроля.

Порядок контроля устанавливается местными производственными и должностными инструкциями.

5.2.4 Периодические осмотры гидротурбинного оборудования производятся лицами, контролирующими их безопасную эксплуатацию.

Периодичность осмотров устанавливается техническим руководителем гидроэлектростанции. Результаты осмотров должны фиксироваться в специальном журнале.

5.2.5 Лица, контролирующие состояние и безопасную эксплуатацию гидротурбинного оборудования, обеспечивают соблюдение технических условий при эксплуатации гидроэлектростанции, учет их состояния, расследование и учет отказов в работе гидротурбинных установок и их элементов, ведение эксплуатационно-ремонтной документации.

5.2.6 Работники гидроэлектростанции, осуществляющие технический и технологический надзор за эксплуатацией гидротурбинного оборудования гидроэлектростанции должны:

- организовывать расследование нарушений в эксплуатации оборудования;

- вести учет технологических нарушений в работе оборудования;

- контролировать состояние и ведение технической документации;

- вести учет выполнения профилактических противоаварийных и противопожарных мероприятий;

- принимать участие в организации работы с персоналом.

5.2.7 Генерирующие компании и эксплуатирующие организации должны осуществлять:

- систематический контроль за организацией эксплуатации гидротурбинного оборудования;

- периодический контроль за состоянием гидротурбинного оборудования гидроэлектростанций;

- периодические технические освидетельствования;

- контроль за соблюдением установленных техническими нормами сроков проведения среднего и капитального ремонта;

- контроль за выполнением мероприятий и положений нормативных распорядительных документов;

- контроль и организацию расследования причин технологических нарушений на гидротурбинном оборудовании;

- оценку достаточности применяемых на объекте предупредительных и профилактических мер по вопросам безопасности производства;

- контроль за разработкой и проведением мероприятий по предупреждению пожаров и аварий на гидроэлектростанциях и обеспечению готовности гидроэлектростанции к их ликвидации;

- контроль за выполнением предписаний уполномоченных органов ведомственного технического и технологического надзора;

- учет нарушений, в том числе на объектах, подконтрольных органам государственного контроля и надзора;

- учет выполнения противоаварийных и противопожарных мероприятий на объектах, подконтрольных органам государственного контроля и надзора;

- пересмотр технических условий на изготовление и поставку гидротурбинного оборудования;

- передачу информации о технологических нарушениях и инцидентах в органы государственного контроля и надзора.

5.2.8 Основными задачами органов технического и технологического надзора должны быть:

- контроль за соблюдением установленных требований по техническому обслуживанию и ремонту;

- контроль за выполнением правил и инструкций по безопасному и экономичному ведению режима;

- организация, контроль и оперативный анализ результатов расследования причин технологических нарушений в работе гидротурбинных установок;

- контроль за разработкой и осуществлением мероприятий по профилактике аварий и других технологических нарушений в работе гидротурбинного оборудования и совершенствованию эксплуатации;

- обобщение практики применения нормативных мер, направленных на безопасное ведение работ и надежную эксплуатацию гидротурбинного оборудования при сооружении и использовании гидроэнергетических установок, и организация разработки предложений по их совершенствованию;

- организация разработки и сопровождение нормативно-технических документов по вопросам промышленной и пожарной безопасности и охраны труда.

5.3 Приемка гидротурбинных установок в эксплуатацию

5.3.1 Перед приемкой в эксплуатацию гидроэлектростанции (пускового комплекса) должны быть проведены: индивидуальные испытания гидротурбинного оборудования и функциональные испытания отдельных систем, завершающиеся для энергоблоков пробным пуском основного и вспомогательного оборудования; комплексное опробование оборудования.

Во время монтажа должны быть проведены промежуточные приемки узлов гидротурбинного оборудования, а также скрытых работ.

5.3.2 Индивидуальные и функциональные испытания гидротурбинного оборудования и отдельных систем проводятся с привлечением персонала заказчика по проектным схемам после окончания всех строительных и монтажных работ по данному узлу. Перед индивидуальным и функциональным испытаниями должно быть проверено выполнение: настоящего Стандарта, строительных норм и правил, стандартов, включая стандарты безопасности труда, норм технологического проектирования, правил органов государственного контроля и надзора, норм и требований природоохранного законодательства и других органов государственного надзора, правил охраны труда, правил взрыво- и пожаробезопасности.

5.3.3 Во время монтажа должны быть проведены гидравлические испытания сервомоторов направляющего аппарата и рабочего колеса поворотно-лопастной гидротурбины.

5.3.4 При приемке в эксплуатацию гидротурбинных установок всех типов должны быть проведены натурные энергетические испытания абсолютным или индексным методом, вибрационные испытания, а также испытания системы регулирования. Испытания проводятся в соответствии с требованиями Приложения А.

5.3.5 Энергетические испытания проводятся в целях:

проверки соответствия фактических значений максимального КПД и максимальной мощности гидротурбины гарантированным заводом-изготовителем значениям;

получения натурных энергетических характеристик - мощностной, рабочей, расходной и эксплуатационной, а также подачи в насосном режиме работы гидроагрегата ГАЭС;

определения оптимальной комбинаторной зависимости поворотно-лопастных гидротурбин в рабочем диапазоне напоров и проверки ее соответствия установленной комбинаторной связи.

Испытания индексным методом должны проводиться на всех гидроагрегатов ГЭС не менее чем при трех значениях напоров, охватывающих полный диапазон их изменения (при выполнении гарантий завода-изготовителя по высоте отсасывания).

5.3.6 Вибрационные испытания проводятся в целях:

определения вибрационного состояния гидроагрегата и проверки соответствия уровня вибрации нормам;

получение вибрационных характеристик гидроагрегата в эксплуатационных режимах его работы;

определения зоны допустимых режимов работы гидроагрегата.

5.3.7 Испытания системы регулирования проводятся в целях проверки гарантий регулирования при сбросах нагрузки.

5.3.8 Испытания проводятся при расчетных условиях эксплуатации. Если гидротурбина вынуждена продолжительно работать в нерасчетных условиях (например, при напоре ниже минимального), допускается проведение испытаний для выявления возможности и оптимальных условий эксплуатации в этом случае. Решение вопроса об объеме испытаний в нерасчетных условиях возлагается на генерирующую компанию, эксплуатирующую данное оборудование.

5.4. Требования к организации технического обслуживания и ремонта гидротурбинных установок

5.4.1 На каждой гидроэлектростанции должны быть организованы техническое обслуживание, плановые ремонт и модернизация гидротурбинного оборудования.

5.4.2 За техническое состояние гидротурбинного оборудования, выполнение объемов ремонтных работ, обеспечивающих стабильность установленных показателей эксплуатации, полноту выполнения подготовительных работ, своевременное обеспечение запланированных объемов ремонтных работ запасными частями и материалами, а также за сроки и качество выполненных ремонтных работ отвечает собственник или эксплуатирующая организация.

5.4.3 Объем технического обслуживания и планового ремонта должен определяться необходимостью поддержания исправного и работоспособного состояния гидротурбинного оборудования с учетом их фактического технического состояния. Рекомендуемый перечень и объем работ по капитальному ремонту гидротурбинного оборудования приведены в Приложении Б.

5.4.4 Периодичность и продолжительность всех видов ремонта установлены правилами организации технического обслуживания и ремонта оборудования, зданий и сооружений электростанций и сетей и нормативно-техническими документами на ремонт данного вида оборудования.

5.4.5 Капитальный ремонт гидротурбин должен производиться 1 раз в 5-7 лет. В отдельных случаях с разрешения энергосистемы допускается отклонение от установленных сроков.

5.4.6 Увеличение периода эксплуатации гидротурбин между капитальными ремонтами и увеличение продолжительности капитального (среднего) ремонта гидротурбинных установок мощностью 160 МВт и выше по сравнению с нормативными должны производиться в соответствии с порядком, установленным правилами организации технического обслуживания и ремонта оборудования, зданий и сооружений электростанций и сетей. [1]

5.4.7 Организация ремонтного производства, разработка ремонтной документации, планирование и подготовка к ремонту, вывод в ремонт и производство ремонта гидротурбинного оборудования должны осуществляться в соответствии с правилами организации технического обслуживания и ремонта оборудования, зданий и сооружений электростанций и сетей. [1]

5.4.8 Объемы ремонтных работ должны быть предварительно согласованы с организациями-исполнителями (подрядными организациями).

5.4.9 Перед началом ремонта и во время его проведения комиссией, состав которой утверждается техническим руководителем, должны быть выявлены все дефекты. Критерии, которым должно соответствовать отремонтированное гидротурбинное оборудование, установлены в СТО 17330282.27.100-002-2007. Тепловые и гидравлические электростанции. Методика оценки качества ремонта энергетического оборудования. Основные положения.

5.4.10 Вывод гидротурбинного оборудования в ремонт и ввод их в работу должны производиться в сроки, указанные в годовых графиках ремонта и согласованные с организацией, в оперативном управлении или оперативном ведении которой они находятся.

5.4.11 Приемка гидротурбинного оборудования из капитального и среднего ремонта должна производиться комиссией по программе, согласованной с исполнителями и утвержденной техническим руководителем гидроэлектростанции. Состав приемочной комиссии должен быть установлен приказом по гидроэлектростанции.

5.4.12 Гидротурбинное оборудование электростанций, прошедшее капитальный и средний ремонт, подлежит приемо-сдаточным испытаниям под нагрузкой в течение 48 ч.

5.4.13 При приемке гидротурбинного оборудования из ремонта должна производиться оценка качества ремонта, которая включает оценку:

- качества отремонтированного оборудования;

- качества выполненных ремонтных работ;

Оценки качества устанавливаются:

- предварительно - по окончании приемо-сдаточных испытаний;

- окончательно - по результатам месячной подконтрольной эксплуатации, в течение которой должна быть закончена проверка работы гидротурбинного оборудования на всех режимах, проведены испытания и наладка всех систем.

Оценка качества ремонта гидротурбинной установки производится в соответствии с СТО 17330282.27.100-002-2007. «Тепловые и гидравлические электростанции. Методика оценки качества ремонта энергетического оборудования. Основные положения».

5.4.14 Временем окончания капитального (среднего) ремонта для гидротурбины является время включения гидрогенератора в сеть;

Если в течение приемо-сдаточных испытаний были обнаружены дефекты, препятствующие работе гидротурбинного оборудования с номинальной нагрузкой, или дефекты, требующие немедленного останова, то ремонт считается незаконченным до устранения этих дефектов и повторного проведения приемо-сдаточных испытаний.

При возникновении в процессе приемо-сдаточных испытаний нарушений нормальной работы отдельных составных частей гидротурбинного оборудования, при которых не требуется немедленный останов, вопрос о продолжении приемо-сдаточных испытаний решается в зависимости от характера нарушений техническим руководителем гидроэлектростанции по согласованию с исполнителем ремонта. При этом обнаруженные дефекты устраняются исполнителем ремонта в сроки, согласованные с гидроэлектростанцией.

Если приемо-сдаточные испытания оборудования под нагрузкой прерывались для устранения дефектов, то временем окончания ремонта считается время последней в процессе испытаний постановки оборудования под нагрузку.

5.4.15 Ремонт гидротурбинного оборудования должен производиться одновременно с ремонтом гидрогенератора и вспомогательным оборудованием, входящим в состав энергоблока.

5.4.16 Гидроэлектростанции должны вести систематический учет технико-экономических показателей ремонта и технического обслуживания гидротурбинного оборудования.

5.4.17 На гидроэлектростанциях должны быть оборудованы ремонтные мастерские, ремонтные площадки и производственные помещения ремонтного персонала в здании ГЭС.

5.4.18 Гидротурбинное оборудование ГЭС должно обслуживаться стационарными и инвентарными грузоподъемными машинами и средствами механизации ремонта в машинном зале и шахте турбины.

5.4.19 Гидроэлектростанции для своевременного и качественного проведения ремонта должны быть укомплектованы ремонтной документацией, инструментом и средствами производства ремонтных работ.

5.4.20 Гидроэлектростанции и ремонтные организации, осуществляющие ремонт маслонаполненных установок, оборудования системы синхронного компенсатора, подведомственных органам государственного контроля и надзора, должны иметь разрешение (лицензию) на право производства ремонтных работ.

5.4.21 Гидроэлектростанции должны располагать запасными частями, материалами для своевременного обеспечения запланированных объемов ремонта гидротурбинного оборудования.

5.4.22 Объем технического обслуживания и планово- предупредительных ремонтов должен определяться необходимостью поддержания работоспособного состояния гидротурбинных установок, периодического их восстановления и приведения в соответствие с меняющимися условиями работы.

Поэтому персонал гидроэлектростанции должен вести работу по уточнению сроков службы отдельных узлов и деталей и на основании этого вносит в соответствующую документацию исправления. Такая работа позволяет, с одной стороны, сократить затраты на техническое обслуживание и ремонт, сокращая объемы и увеличивая межремонтный период, а с другой - своевременно принять меры по модернизации оборудования для обеспечения необходимой долговечности.

Поскольку со временем на каждой ГЭС меняются условия эксплуатации, вызываемые графиком нагрузки, степенью износа оборудования и др., работа по уточнению объемов и сроков технического обслуживания и ремонта носит систематический характер.

5.5 Требования к приемке гидротурбинных установок после капитального ремонта и оценка качества ремонта

5.5.1 Приемка оборудования из капитального или среднего ремонта начинается еще во время его ремонта по мере готовности отдельных узлов и механизмов. В этот период руководители работ предприятий и организаций, участвующих в ремонте, предъявляют приемочной комиссии документацию, составленную в процессе ремонта: карты измерений, протоколы испытаний, ведомость выполненных работ, сертификаты на использованные в процессе ремонта материалы и запасные части; производится опробование механизмов.

По результатам осмотра оборудования, испытаний и опробования механизмов, проверки и анализа предъявленной документации приемочная комиссия с учетом выполнения соответствующих работ по гидрогенераторам [5] дает разрешение на пуск гидротурбинной установки и опробование под нагрузкой в течение 48 ч. В течение этого срока должна быть достигнута стабильная работа всего оборудования гидроагрегата при номинальной нагрузке и номинальных рабочих параметрах.

Для четкого регламентирования взаимоотношений между ремонтной организацией и заказчиком, а также между электростанцией и диспетчерской службой следует руководствоваться требованиями стандартов по организации ремонта, в которых установлены критерии окончания ремонтных работ и перехода энергетического оборудования из состояния ремонта в состояние работы.

5.5.2 Подготовка к пуску гидротурбинной установки.

5.5.2.1 До начала подготовки к пуску после капитального (текущего) ремонта должны быть закончены все ремонтные работы, о чем руководством цеха (участка) должна быть сделана запись в журнале ремонтов. Гидротурбинная установка подготавливается к пуску оперативным персоналом при участии ремонтного персонала.

5.5.2.2 Наладочные работы на гидротурбинной установке должны выполняться по специальной программе, утвержденной техническим руководителем ГЭС.

5.5.2.3 Заполнение маслом и воздухом МНУ осуществляется по программе, составленной конкретно для каждой ГЭС.

При составлении такой программы рекомендуется следующая последовательность операций:

- сливной бак МНУ заполняется маслом до уровня его опорного фланца;

- маслонасосом нагнетается масло до рабочего уровня в котле МНУ;

- вентиль впуска воздуха в котел МНУ открывается и поднимается давление до 15-20% рабочего; значение давления для каждой конкретной ГЭС указывается в местной инструкции;

- для заполнения маслопроводов системы регулирования открывается напорная задвижка котла МНУ, но при этом давление в котле МНУ в пределах 15-20% рабочего поддерживается периодическим включением вручную одного из насосов МНУ; одновременно ведется контроль за уровнем масла в котле; по окончании этой операции давление в котле МНУ устанавливается в пределах 15-20% рабочего;

- после заполнения маслопроводов для удаления воздуха из системы регулирования механизмом ручного регулирования (ограничителем открытия) производится плавное перемещение направляющего аппарата в пределах полного хода от закрытия до открытия и обратно; необходимо сделать 4-5 циклов перемещений направляющего аппарата на открытие-закрытие; на турбинах поворотнолопастного типа при выполнении этих операций должна быть включена комбинаторная зависимость;

- по окончании операций, связанных с заполнением системы регулирования маслом, маслонапорная установка приводится в рабочее состояние наполнением масловоздушного котла до рабочего уровня и воздухом до рабочего давления, а также сливного бака маслом до нормального уровня;

- оперативный персонал осматривает систему регулирования в целях определения протечек масла и их устранения.

5.5.2.4 После окончания капитального ремонта и подъема давления в системе регулирования при опорожненной от воды спиральной камере производятся следующие наладочные работы:

- настройка реле давления масла в котле МНУ;

- настройка реле уровня масла в котле и баке МНУ;

- установка времени перемещения регулирующих органов;

- проверка работы системы смазки;

- проверка действий схемы автоматики, защитных устройств и сигнализации.

5.5.2.5 По окончании наладочных работ дежурный персонал обязан проверить их завершение по имеющимся нарядам и записям о допуске к работам, проверить устранение всех дефектов и замечаний по работе оборудования, относящегося к данной гидротурбинной установке, записанных в журнале дефектов оборудования, и приступить к дальнейшей подготовке к пуску.

5.5.2.6 Дежурный персонал при подготовке к пуску должен выполнить ряд операций, перечень которых должен быть приведен в местной инструкции.

Ниже дается примерный перечень необходимых операций:

- убедиться, что люки в проточную часть гидротурбин плотно закрыты и закреплены;

- убедиться, что задвижки слива воды из спиральной камеры в отсасывающую трубу открыты;

- убедиться, что направляющий аппарат закрыт, срезные пальцы все целы;

- закрыть задвижку сброса воды из отсасывающей трубы;

- заполнить отсасывающую трубу водой и обеспечить подъем затворов со стороны нижнего бьефа в соответствии с местной инструкцией;

- закрыть задвижку слива воды из спиральной камеры после поднятия затворов со стороны нижнего бьефа;

- убедиться в том, что нет протечек через крышку люка отсасывающей трубы;

- проверить наличие рабочего давления в магистралях системы регулирования, системах технического водоснабжения и воздуха;

- собрать систему торможения гидроагрегата, продуть ее и убедиться в том, что тормозные колодки полностью отошли от тормозного диска;

- убедиться в том, что электрические схемы электродвигателей всех насосов гидроагрегатов приведены в рабочее положение, и кратковременным включением проверить исправность насосных агрегатов;

- убедиться в том, что задвижки и вентили системы регулирования находятся в положении, соответствующем рабочему состоянию гидроагрегата;

- убедиться в том, что подан оперативный ток к системам автоматики и сигнализации;

- проверить положение задвижек и вентилей системы смазки и охлаждения подшипников и гидрогенератора;

- убедиться в том, что масляные ванны гидроагрегата и масленки для смазки основного и вспомогательного оборудования заполнены маслом, проверить исправность и правильность подключения указательной аппаратуры вспомогательного оборудования;

- проверить исправность телефонной связи, рабочего и аварийного освещения рабочих мест, а также наличие необходимого противопожарного инвентаря;

- опробовать в действии и поставить на "автомат" ключи управления лекажным и дренажным насосами;

- произвести заполнение водой спиральной камеры гидротурбины; порядок заполнения должен быть указан в местной инструкции;

- осмотреть люк в спиральную камеру и оборудование шахты гидротурбины и убедиться в отсутствии протечек воды после заполнения водой спиральной камеры;

- опробовать в действии и поставить на "автомат" ключ управления насосами принудительной смазки подшипника гидроагрегата (при ее наличии);

- поднять все флажки указательных реле на панели сигнализации; если флажок не поднимается, выяснить и устранить причину, вызвавшую срабатывание указательных реле;

- проверить чистоту рабочих мест и оборудования;

- записать в оперативную ведомость показания приборов теплового контроля гидроагрегата;

- произвести смазку шарниров направляющего аппарата.

5.5.3. В процессе приемки гидротурбинных установок после капитального ремонта необходимо проверить состояние комбинаторной связи гидротурбин. Комбинаторная связь поворотно-лопастных гидротурбин должна быть настроена в соответствии с оптимальной комбинаторной зависимостью, обеспечивающей получение наивысшего значения КПД во всем диапазоне изменения нагрузок и напоров, и определяться на основании результатов натурных испытаний. Проверка и настройка комбинаторной зависимости проводится при опущенных затворах верхнего бьефа.

5.5.4. Для определения эффекта от капитального ремонта могут проводиться энергетические испытания индексным методом (сравнительные испытания). В этом случае испытания должны проводиться до и после ремонта. Оценку технического состояния гидротурбины по результатам энергетических испытаний производят на основании их сравнения с результатами предыдущих испытаний:

- по снижению максимального относительного КПД;

- по изменению формы рабочей характеристики гидротурбины (смещению зоны максимума КПД в сторону больших или меньших мощностей);

Выявление причин ухудшения состояния гидротурбины требует дополнительного анализа.

При проведении сравнительных испытаний следует соблюдать условия идентичности: использовать одни и те же пьезометрические выводы из спиральной камеры, одну и ту же измерительную аппаратуру; идентичными должны быть напор и высота отсасывания. Следует также учитывать повышенную погрешность сравнительных испытаний поворотно-лопастных гидротурбин с неполноохватной бетонной спиральной камерой.

5.5.5 Приемка из капитального ремонта гидротурбинной установки, а также оценка качества ремонта производится в соответствии с СТО 17330282.27.100-002-2007 «Тепловые и гидравлические электростанции. Методика оценки качества ремонта энергетического оборудования. Основные положения».

5.6. Требования к технической документации

5.6.1 На каждой ГЭС по гидротурбинным установкам должны быть следующие документы:

- акты поузловой приемки узлов гидротурбины по окончании монтажа, наладки, пробных прокруток и устранения заводских дефектов, дефектов монтажа и наладки;

- протоколы приемосдаточных испытаний состоянии и на холостом ходу и под нагрузкой;

- акты рабочих комиссий приемки гидротурбины после индивидуального опробования и функциональных испытаний;

- утвержденная проектная документация по гидротурбинной установке со всеми последующими изменениями;

- технические паспорта на каждую гидротурбину, в которые заносятся все сведения о процессе эксплуатации с момента их ввода в эксплуатацию и все изменения, происходящие за весь период работы гидротурбины на ГЭС;

- эксплуатационные характеристики гидротурбин;

- технические отчеты и заключения с результатами натурных испытаний гидротурбин;

- исполнительные рабочие технологические схемы вспомогательных систем гидротурбины (систем регулирования, технологической автоматики, технического водоснабжения, осушения, смазки);

- чертежи запасных частей к гидротурбине;

- комплект действующих и отмененных инструкций по эксплуатации гидротурбины, должностных инструкций для всех категорий специалистов и для рабочих, относящихся к дежурному персоналу, и инструкций по охране труда.

Комплект указанной выше документации должен храниться в техническом архиве электростанции.

На рабочем месте мастера по техническому обслуживанию гидротурбин должен находиться и вестись им эксплуатационный журнал, включающий информацию об имевших место технологических нарушениях и отказах.

5.6.2 В состав технической документации на каждой гидроэлектростанции мощностью 30 МВт и более должны входить нормативные энергетические характеристики оборудования, разработанные в соответствии с требованиями.

В состав нормативных энергетических характеристик включаются:

- эксплуатационные характеристики гидроагрегата и ГЭС;

- расходно-мощностная характеристика гидроагрегата;

- характеристики удельных расходов воды.

Целесообразность разработки характеристик по гидроэлектростанциям меньшей мощности должна быть установлена генерирующей компанией, эксплуатирующей данную ГЭС.

5.6.3 На электростанции должен быть установлен перечень необходимых инструкций, положений, технологических и оперативных схем для каждого структурного подразделения, участка и лаборатории. Перечни необходимым инструкций и схем по каждому рабочему месту оперативного и руководящего дежурного (административно-технического) персонала составляются начальником цеха и утверждаются техническим руководителем электростанции.

5.6.4 На гидротурбинных установках должны быть установлены таблички с номинальными данными согласно государственному стандарту на это оборудование.

5.6.5 Гидротурбинные установки и вспомогательное оборудование, в том числе трубопроводы, а также арматура, шиберы должно быть пронумеровано. Основное оборудование должно иметь порядковые номера, а вспомогательное - тот же номер, что и основное, с добавлением букв А, Б, В и т.д. Нумерация оборудования должна производиться от постоянного торца здания и от ряда А.

5.6.6 Все изменения в гидротурбинных установках, выполненные в процессе эксплуатации, должны быть внесены в инструкции, схемы и чертежи до ввода в работу за подписью уполномоченного лица с указанием его должности и даты внесения изменения.

Информация об изменениях в инструкциях, схемах и чертежах должна доводиться до сведения всех работников (с записью в журнале распоряжений), для которых обязательно знание этих инструкций, схем и чертежей.

5.6.7 Исполнительные технологические схемы (чертежи) вспомогательных технологических систем гидротурбины должны проверяться на их соответствие фактическим эксплуатационным не реже 1 раза в 3 года с отметкой на них о проверке.

В эти же сроки пересматриваются инструкции и перечни необходимых инструкций и исполнительных рабочих схем (чертежей).

5.6.8 Комплекты необходимых схем должны находиться на рабочих местах руководящего дежурного персонала смены (начальника смены ГЭС) и у дежурного персонала, обслуживающего гидротурбинную установку.

Форма хранения схем должна определяться местными условиями.

5.6.9 Все рабочие места должны быть снабжены необходимыми инструкциями.

5.6.10 У дежурного персонала должна находиться оперативная документация, в объем которой должны быть включены:

для начальника смены ГЭС - суточная оперативная исполнительная схема (схема-макет), оперативный журнал, журнал или картотека заявок диспетчеру на вывод из работы оборудования, находящегося в ведении диспетчера, журнал заявок техническому руководителю на вывод из работы оборудования диспетчеру на вывод из работы оборудования, не находящегося в ведении диспетчера, журнал распоряжений;

В зависимости от местных условий объем оперативной документации может быть изменен по решению технического руководителя ГЭС.

Оперативная документации должна относиться к документации строго учета и подлежит хранению в установленном порядке.

5.6.11 На щитах управления гидротурбинными установками с постоянным дежурством персонала должны вестись суточные ведомости.

5.6.12 Административно-технический персонал гидроэлектростанции в соответствии с установленными графиками осмотров и обходов оборудования должен проверять оперативную документацию и принимать необходимые меры к устранению дефектов и нарушений в работе гидротурбинных установок и персонала.

5.7 Общие требования к составлению местных эксплуатационных инструкций (стандартов организации ГЭС и ГАЭС)

5.7.1 На каждой гидроэлектростанции должны быть составлены местные инструкции по эксплуатации и обслуживанию гидротурбинного оборудования при различных режимах работы. Инструкция может быть совместной с инструкцией по эксплуатации и обслуживанию механической части гидрогенератора.

В инструкции по эксплуатации и обслуживанию гидротурбинных установок вопросы эксплуатации гидромеханического и вспомогательного оборудования, аппаратуры автоматики, КИП и защит должны быть рассмотрены в объеме их участия в обеспечении надежной работы гидроагрегата.

5.7.2 В местной инструкции по эксплуатации гидротурбинного оборудования должны быть приведены:

- краткая характеристика оборудования установки;

- критерии и пределы безопасного состояния и режимов работы оборудования;

- порядок подготовки к пуску; порядок пуска, останова и технического обслуживания оборудования во время нормальной эксплуатации, после ремонта и в аварийных режимах;

- порядок допуска к осмотру, ремонту и испытаниям оборудования;

- требования по безопасности труда, взрыво- и пожаробезопасности, специфические для данной установки.

5.7.3 В инструкции дается перечень и характеристики узлов гидротурбинного оборудования:

- турбина (рабочее колесо, вал, статор, крышка турбины, направляющий аппарат и подшипник);

- турбинные водоводы (спиральная камера, отсасывающая труба);

- устройства питания собственных нужд гидротурбинной установки электроэнергией, водой, маслом и воздухом;

- дренажные устройства турбины;

- лекажные устройства системы регулирования и смазки;

- система охлаждения гидроагрегата;

- система осушения проточной части;

- аэрационные устройства турбинных водоводов;

- устройства и оборудование для отжатия воды из камеры рабочего колеса для гидроагрегатов, используемых в режиме синхронных компенсаторов (СК);

- аппаратура автоматики гидротурбины и механической части генератора;

- устройства управления, сигнализации и контроля работы механизмов установки и пр.

По каждому виду оборудования должны быть кратко указаны соответственно: название, тип, мощность, частота вращения, производительность, диаметры, давление, емкость и другие основные и характерные для него параметры.

5.7.4 Инструкции должны пересматриваться не реже одного раза в 3 года.

В случае изменения состояния или условий эксплуатации оборудования соответствующие дополнения должны быть внесены в инструкции и доведены до сведения работников, для которых обязательно знание этих инструкций, о чем должна быть сделана запись в журнале распоряжений.

Во всех случаях все изменения должны быть подписаны лицом, которое их внесло; должна быть указана дата внесения изменения.

При пересмотре документа на титульном листе ставится отметка "Пересмотрено", дата и подпись технического руководителя гидроэлектростанции.

При составлении местных инструкции по эксплуатации гидротурбинного оборудования следует руководствоваться настоящим Стандартом.

6 Техническая эксплуатация. Общие требования

6.1 Техническая эксплуатация при нормальных условиях работы

6.1.1 Гидротурбинное оборудование гидроэлектростанции должно быть в постоянной готовности к работе в диапазоне от минимально допустимой нагрузки до максимально располагаемой мощности, обратимые гидротурбины ГАЭС должны быть в постоянной готовности к работе в насосном и турбинном режиме.

6.1.2 Находящиеся в эксплуатации гидротурбинное оборудование и вспомогательное оборудование должны быть полностью автоматизированы. Пуск гидроагрегата в генераторный режим и режим синхронного компенсатора, останов из генераторного режима и режима синхронного компенсатора, перевод из генераторного режима в режим синхронного компенсатора и обратно должны осуществляться от одного командного импульса, а для обратимого гидроагрегата этот принцип должен осуществляться также для насосных режимов и для перевода из насосного в генераторный режим.

6.1.3 Гидроагрегаты должны работать при полностью открытых затворах, установленных на турбинных водоводах; максимальное открытие направляющего аппарата гидротурбины должно быть ограничено значением, соответствующим максимально допустимой нагрузке гидроагрегата (генератора-двигателя) при данном напоре и высоте отсасывания.

Предельное открытие направляющего аппарата насос-турбины, работающей в насосном режиме при минимальном напоре и допустимой высоте отсасывания, должно быть не выше значения, соответствующего максимальной мощности генератора-двигателя в двигательном режиме.

Комбинаторная связь поворотнолопастных гидротурбин должна быть настроена в соответствии с оптимальной комбинаторной зависимостью, обеспечивающей получение наивысшего значения КПД во всем диапазоне изменения нагрузок и напоров, и определяться на основании результатов натурных испытаний.

Перепад на сороудерживающих решетках не должен превышать предельного значения, указанного в местной инструкции по эксплуатации.

6.1.4 Гидроагрегаты, находящиеся в резерве, должны быть в состоянии готовности к немедленному автоматическому пуску. Гидротурбины (насос-турбины) с закрытым направляющим аппаратом должны находиться под напором при полностью открытых затворах на водоприемнике и в отсасывающей трубе. На высоконапорных гидроэлектростанциях с напором 300 м и более, а также с напором от 200 до 300 м при числе часов использования менее 3000 предтурбинные и встроенные кольцевые затворы на резервных гидроагрегатах должны быть закрыты.

На гидроэлектростанциях с напором ниже 200 м предтурбинный затвор на резервном агрегате не должен закрываться, если он не выполняет оперативные функции.

6.1.5 Гидроагрегаты должны работать в режиме автоматического регулирования частоты вращения с заданным статизмом. Перевод регулятора гидротурбин в режим работы на ограничителе открытия или на ручное управление допускается в исключительных случаях с разрешения технического руководителя гидроэлектростанции с уведомлением диспетчера энергосистемы.

6.1.6 При эксплуатации автоматического регулирования гидроагрегата должны быть обеспечены:

- автоматический и ручной пуск и останов гидроагрегата;

- устойчивая работа гидроагрегата на всех режимах;

- участие в регулировании частоты в энергосистеме с уставкой статизма в пределах 4,5 - 6,0% и мертвой зоны по частоте, задаваемой энергосистемой;

- плавное (без толчков и гидроударов в маслопроводах) перемещение регулирующих органов при изменении мощности гидроагрегата;

- выполнение гарантий регулирования;

- автоматическое изменение ограничения максимального открытия направляющего аппарата по мощности при изменении напора;

- автоматическое и ручное изменение комбинаторной зависимости по напору (для поворотно-лопастных гидротурбин);

- автоматический перевод гидроагрегата в режим синхронного компенсатора и обратно.

6.1.7. Гидроэлектростанции мощностью свыше 30 МВт и с количеством агрегатов более трех должны быть оснащены системами группового регулирования активной мощности (ГРАМ) с возможностью использования их для вторичного автоматического регулирования режима энергосистем по частоте и перетокам мощности (АРЧМ). Отключение системы ГРАМ допускается с разрешения диспетчерских служб соответствующих энергосистем в тех случаях, когда групповое регулирование агрегатов невозможно по техническому состоянию или режимным условиям работы оборудования гидроэлектростанции.

6.1.8 Условия, разрешающие пуск агрегата, его нормальный и аварийный останов и внеплановое изменение нагрузки, должны быть изложены в местных инструкциях, утвержденных техническим руководителем гидроэлектростанции и находящихся на рабочих местах оперативного персонала.

Значения всех параметров, определяющих условия пуска гидроагрегата и режим его работы, должны быть установлены на основании данных заводов-изготовителей и специальных натурных испытаний.

6.1.9 Для каждого гидроагрегата должно быть определено и периодически в установленные местными инструкциями сроки проконтролировано минимальное время следующих процессов:

- закрытия направляющего аппарата гидротурбины до зоны демпфирования при сбросе нагрузки;

- открытия направляющего аппарата гидротурбины при наборе нагрузки с максимальной скоростью;

- разворота и свертывания лопастей рабочего колеса поворотно-лопастных и диагональных гидротурбин;

- закрытия направляющего аппарата при срабатывании золотника аварийного закрытия;

- закрытия и открытия предтурбинных затворов, а также аварийно-ремонтных затворов на водоприемнике;

- закрытия холостого выпуска гидротурбины.

Кроме того, периодически в соответствии с местной инструкцией должны проверяться гарантии регулирования.

6.1.10 Во время эксплуатации гидротурбиной установки путем осмотра и систематических измерений с помощью стационарных и переносных приборов должен быть организован контроль за работой оборудования в объеме и с периодичностью, указанными в местных инструкциях и в соответствии с СТО 17330282.27.140.001-2006.

6.1.11 Для возможности осуществления контроля, поддержания в заданных пределах и выполнения необходимых действий при обнаружении неисправности на все масляные резервуары гидротурбины (котел и бак МНУ, ванна подшипника лекажный бак) должны быть нанесены и зафиксированы в местной инструкции нормальные и допустимые пределы изменения уровней масла.

6.1.12 Для осуществления нормальной эксплуатации и контроля за работой гидротурбины и вспомогательного оборудования они должны быть оборудованы следующими контрольно-измерительными устройствами:

6.1.12.1 Гидротурбины - манометрами для измерения давления в спиральной камере, перед рабочим колесом, а также мановакуумметром для измерения давления в отсасывающей трубе; устройствами контроля смазки подшипников, уровня воды на крышке турбины, указателями положения стационарных аварийных затворов перед турбиной (при их наличии) и перепада давления на сороудерживающих решетках; на ГЭС должны быть установлены и действовать устройства для дистанционного измерения уровней верхнего и нижнего бьефов и измерения напора.

6.1.12.2 Регуляторы частоты вращения - указателями частоты вращения турбины, открытия направляющего аппарата, угла разворота лопастей рабочих колес у турбин поворотно-лопастного типа; положения ограничителя открытия; шкалами с указателями положения механизмов остающейся степени неравномерности и изменения частоты вращения; манометрами для контроля состояния фильтров.

6.1.12.3 Маслонапорная установка-устройством контроля давления масла в котле МНУ; реле давления, действующим на включение рабочего насоса, резервного насоса, останов агрегата при снижении давления в котле до предельно допустимого значения, на отключение маслонасосов; масломерным стеклом на котле; устройством контроля уровня масла в сливном баке, действующим на сигнал при снижении уровня масла в баке до аварийно низкого и при повышении уровня выше допустимого.

6.1.12.4 Сливные трубопроводы охлаждающей воды масляного направляющего подшипников гидротурбины - струйными реле или датчиками струи, а масляные ванны - указателями и датчиками уровня масла.

6.1.13 Для контроля теплового состояния масляного направляющего подшипника гидротурбины должны быть предусмотрены устройства, позволяющие измерять и регистрировать температуру сегментов подшипника и масла в системе смазки подшипника.

6.1.14 Турбинные затворы, как правило, должны автоматически закрываться как при обычном, так и при аварийном останове агрегата; на пульте управления ГЭС должны быть указатели крайних положений затвора: "Полностью открыт", "Полностью закрыт".

6.1.15 Для сигнализации о неисправностях и о нарушении нормальной работы, а также защиты от повреждений и развития аварийного состояния механическая часть гидротурбинной установки должна быть оборудована следующими защитами и сигнализациями:

- гидромеханическими защитами, действующими на включение резерва (при его наличии) и предупредительной сигнализации - при снижении давления масла в котле МНУ до уставки включения резервного насоса, снижении уровня масла в сливном баке МНУ, снижении уровня масла в ванне масляного турбинного подшипника, снижении расхода воды на охлаждение масляного турбинного подшипников, повышении температуры подшипников, снижении расхода воды на смазку водяного подшипника турбины, поломке разрывных устройств лопаток направляющего аппарата, повышении уровня воды на крышке турбины;

- гидромеханическими защитами, действующими на останов гидроагрегата и включение аварийной (световой и звуковой) сигнализации - при повышении температуры масляных подшипников выше допустимой, снижении расхода воды на смазку водяного подшипника турбины ниже допустимого, снижении давления масла в котле МНУ ниже допустимого, закрытии затвора перед турбиной (или сбросе затвора на напорном бассейне) работающего агрегата, повышении частоты вращения при сбросе нагрузки до уставки срабатывания защиты от разгона.

6.1.16 Не допускается длительная работа гидроагрегата при повышенных уровнях вибрации:

- размах горизонтальной вибрации (двойная амплитуда) корпуса турбинного подшипника в зависимости от частоты вращения ротора гидроагрегата не должен превышать следующих значений указанных в таблице 1:

Таблица 1

Частота вращения ротора гидроагрегата, об/мин

60 и менее

150

300

428

600

Допустимое значение вибрации, мм

0,18

0,16

0,12

0,10

0,08

- размах вертикальной вибрации крышки турбины, опорного конуса в зависимости от частоты вибрации не должен превышать следующих значений (в зависимости от частоты вибрации) указанных в таблице 2:

Таблица 2

Частота вибрации, Гц

1 и менее

3

6

10

16

30 и более

Допустимый размах вибрации, мм

0,18

0,15

0,12

0,08

0,06

0,04

Биение вала гидротурбины не должно превышать значений, записанных в местной инструкции и установленных заводом-изготовителем гидротурбины.

Периодичность и объем проверки вибрационного состояния гидроагрегата устанавливаются в соответствии с СТО 17330282.27.140.001-2006.

6.1.17 Для каждой гидротурбинной установки в местной инструкции должны быть указаны номинальные и максимально допустимые температуры сегментов масляных подшипников и масла в маслованнах. Предупредительная сигнализация должна включаться при повышении температуры сегмента и масла в маслованне на 5°С выше номинальной для данного времени года.

Значения уставок температур для каждого сегмента и для масла

определяются эксплуатационным персоналом на основе опыта эксплуатации или испытаний и вносятся в местную инструкцию.

6.1.18 Эксплуатация направляющих подшипников гидротурбин должна осуществляться в соответствии с местной инструкцией, составленной с учетом действующей нормативной документации и документации заводов- изготовителей.

6.1.19 Система технического водоснабжения на гидротурбинной установке должна обеспечить охлаждение масляного направляющего подшипника или смазку обрезиненного турбинного подшипника, подачу воды к уплотнению вала гидротурбины и других потребителей при всех режимах работы гидроагрегата.

6.2 Техническое обслуживание гидротурбинных установок под нагрузкой

6.2.1 Общие требования

6.2.1.1 Техническое обслуживание действующего гидротурбинного оборудования гидроэлектростанций предусматривает выполнение комплекса операций по осмотру, контролю, смазке, регулировке, не требующих вывода его в текущий ремонт.

6.2.1.2 Объем технического обслуживания и планово- предупредительных ремонтов должен определяться необходимостью поддержания работоспособного состояния энергоустановок, периодического их восстановления и приведения в соответствие с меняющимися условиями работы.

6.2.1.3 Состав работ по техническому обслуживанию и периодичность (график) их выполнения для каждого вида оборудования устанавливается с учетом требований завода-изготовителя и местных условий.

6.2.1.4 Назначаются ответственные исполнители технического обслуживания в зависимости от содержания работ (эксплуатационный или ремонтный персонал).

6.2.1.5 Заводятся журналы по техническому обслуживанию по видам оборудования, в которые должны вноситься сведения о выполненных работах по техническому обслуживанию и исполнителях по формам, рекомендованным ГОСТ 2.601-2006.

Указанные документы должны быть проработаны с персоналом и находиться на рабочих местах.

6.2.1.6 Гидроагрегаты должны работать в режиме автоматического регулирования. Перевод регуляторов гидротурбин в режим работы на ограничителе открытия или на ручное управление, допускается в исключительных случаях по разрешению технического руководителя ГЭС по согласованию с соответствующим диспетчерским центром.

6.2.2 Обслуживание гидротурбинного оборудования, работающего под нагрузкой

6.2.2.1 Оперативный персонал во время работы гидроагрегата должен выполнять следующие работы:

- регулярно осматривать все оборудование;

- периодичность и объем осмотров устанавливаются местной инструкцией по эксплуатации и техническому обслуживанию гидротурбины;

- регулярно заполнять суточную ведомость; объем контролируемых параметров и периодичность измерений устанавливаются местной инструкцией по эксплуатации и техническому обслуживанию гидротурбины;

- регулярно производить чистку масляных и водяных фильтров;

- периодичность чистки фильтров устройств и технология устанавливаются местной инструкцией по эксплуатации и техническому обслуживанию гидротурбины;

- следить за положением указательных реле на панели сигнализации (нормально флажок всех указательных реле должен быть поднят);

- следить за работой регулятора частоты вращения гидротурбины, отсутствием качаний, толчков и заеданий в механизмах;

- производить в соответствии с графиком чистку фильтров колонки регулятора частоты вращения гидроагрегата; последовательность операций при чистке должна быть указана в местной инструкции;

- наблюдать за показаниями манометра, измеряющего давление перед побудительным золотником на колонке регулятора частоты вращения; если давление по манометру начинает снижаться, необходимо произвести внеочередную чистку фильтров колонки;

- производить смазку узлов оборудования в соответствии с графиком, утвержденным техническим руководителем гидроэлектростанции.

6.2.2.2 При работе предупредительной сигнализации дежурный персонал должен немедленно принять меры, чтобы не допустить достижения рабочими параметрами гидротурбины значений, которые могут вызвать его отключение.

6.2.2.3 При обнаружении каких-либо неисправностей в работе гидротурбинного оборудования или отклонения показаний приборов от нормальных значений следует немедленно выяснить и устранить вызвавшие их причины.

6.2.2.4 Дежурный персонал ГЭС обязан проверять состояние резервных гидротурбинных установок наравне с работающими агрегатами и поддерживать готовность их к немедленному пуску.

6.2.3 Условия, запрещающие пуск гидроагрегата

6.2.3.1 Пуск гидроагрегата запрещается при:

- напоре, выходящем за пределы допустимых значений, установленных заводом-изготовителем турбин;

- неисправности любой из защит, действующих на останов гидротурбины;

- неисправности дистанционного управления задвижками и затворами, используемыми при ликвидации аварийных ситуаций;

- дефектах системы регулирования гидротурбины, в результате которых не обеспечивается выполнение гарантий регулирования и нормальное управление гидроагрегатом;

- неисправности устройств дистанционного управления аварийными затворами, клапанов срыва вакуума, системы торможения гидроагрегата;

- уровнях масла в ваннах подшипников, сливном баке и масловоздушном котле маслонапорной установки ниже установленной нормы;

- отсутствие или недостаточное давление и расход воды, идущей на смазку водяного турбинного подшипника;

- качестве масла систем смазки и регулирования, не удовлетворяющем нормам на эксплуатационные масла, и при температуре масла ниже установленного предела.

6.2.4 Пуск гидроагрегата

6.2.4.1. При опробовании механизмов после ремонта гидротурбины пуск производится на ручном управлении. При этом дежурный персонал должен выполнить следующие операции:

- убедиться в том, что подготовительные работы выполнены, а все вспомогательное оборудование агрегата находится в режиме работы на "автомате";

- убедиться в том, что смазка турбинного подшипника обеспечена;

- установить лопасти поворотно-лопастного рабочего колеса в пусковое положение. Угол разворота лопастей должен быть указан в местной инструкции;

- отвести вручную ограничитель открытия направляющего аппарата до пускового положения; значение пускового открытия должно быть указано в местной инструкции;

- следить за скоростью возрастания частоты вращения агрегата;

- установить нормальную частоту вращения агрегата прикрытием направляющего аппарата с помощью ограничителя открытия; на агрегатах с поворотно-лопастными турбинами одновременно сворачиваются лопасти рабочего колеса.

6.2.4.2. На высоконапорных гидротурбинах при наличии турбинного затвора открытию направляющего аппарата должны предшествовать следующие операции: открытие байпаса турбинного затвора и заполнение водой спиральной камеры турбины; открытие затвора после выравнивания давления по обе его стороны.

6.2.5 Останов гидротурбинной установки.

6.2.5.1 Нормальный останов гидротурбины производится на автоматическом управлении.

Операции, производимые при автоматическом останове, и их последовательность приводятся в местной инструкции.

6.2.5.2 При нормальной работе схемы автоматического останова гидротурбины действие дежурного персонала сводится к внимательному наблюдению за ходом автоматически производимых операций. После останова гидротурбина должна находиться в состоянии, обеспечивающем готовность его к новому пуску.

6.2.5.3 Останов гидроагрегата из режима СК может выполняться аналогично останову из генераторного режима. Если при этом длительность снижения частоты вращения до значения уставки включения торможения гидроагрегата возрастает по сравнению с остановом из генераторного режима, то перед подачей команды на останов агрегата следует перевести его в генераторный режим путем кратковременного открытия направляющего аппарата для заполнения водой камеры рабочего колеса.

6.2.5.4 В ряде случаев, перечень которых приводится в местной инструкции, необходим останов гидроагрегата на ручном управлении.

6.2.5.5 При аварийном останове гидротурбины должно происходить следующее:

- при действии электрических защит генератора или блока подается команда на останов гидроагрегата;

- при действии гидромеханических защит должна происходить разгрузка гидроагрегата с последующим нормальным его остановом без сброса аварийного затвора (кроме защиты от разгона).

Осуществление защиты от разгона гидроагрегата обеспечивается с помощью золотника аварийного закрытия или быстродействующих затворов (при их наличии);

- включение реле защиты должно сопровождаться звуковым аварийным сигналом через реле центральной сигнализации. При этом на панели сигнализации должны загораться сигнальные лампы или освещаться табло, указывающие род аварии - гидромеханическая или электрическая;

- при действии защиты причина отключения определяется по сигнальным реле и табло панели щита управления или щита автоматики гидроагрегата;

- до завершения останова гидроагрегата и выяснения причины срабатывания защиты действия по деблокировке защиты не допускаются;

- если при аварийном отключении гидроагрегата автоматического торможения не происходит, его производят вручную;

- после полного останова гидроагрегата и выяснения причины срабатывания защиты и записи деблокируется сначала электрическая защита, а затем - гидромеханическая;

- причина останова гидроагрегата должна быть немедленно сообщена в диспетчерский центр, техническому руководителю ГЭС и руководителю соответствующего подразделения ГЭС, в оперативном журнале производится подробная запись о работе автоматических устройств во время аварии;

- во всех случаях останова гидроагрегата действием защиты повторный его запуск возможен только после выяснения причины действия защиты,

- устранения дефектов в оборудовании и разрешения технического руководителя ГЭС;

- все реле, вызвавшие останов гидроагрегата, должны быть осмотрены на остановленном гидроагрегате; снятие пломб и осмотр реле без специалиста подразделения, ответственного за работу автоматики, запрещается.

6.2.5.6 После сброса нагрузки необходимо проверить состояние гидроагрегата. Перечень и объем проверок и осмотров устанавливаются местной инструкцией.

Повторный пуск гидроагрегата допускается только после устранения неисправностей, вызвавших повышение частоты вращения ротора гидроагрегата.

6.3 Проверки и осмотры оборудования гидротурбинных установок

6.3.1 На каждой ГЭС должны быть составлены графики проверок и осмотров состояния гидротурбинного оборудования и периодических опробований и переключений вспомогательного оборудования, графики смазки устройств и доливки в них масла, чистки фильтров регуляторов скорости и МНУ.

6.3.2 Периодический осмотр гидротурбинного оборудования должны производить лица, ответственные за его состояние и безопасную эксплуатацию. Периодичность осмотра должна быть установлена техническим руководителем гидроэлектростанции. Результаты осмотра должны фиксироваться в специальном журнале.

Во время дежурства или работы оперативный, оперативно-ремонтный и ремонтный персонал проводит регулярные обходы закрепленных за ним объектов по заранее утвержденным маршрутам и графикам.

Задачей периодических осмотров, помимо оценки состояния, является контроль за соблюдением оперативным, оперативно-ремонтным и ремонтным персоналом режимов работы, правил технического обслуживания и содержания оборудования. При необходимости (особенно при превышении критериев безопасного состояния оборудования), ответственные лица за состояние и безопасную эксплуатацию могут потребовать от руководителей предприятия принятия решений по временному выводу объектов из работы.

Проверки и осмотры осуществляются как оперативным, так и ремонтным персоналом ГЭС. Их объемы и сроки устанавливаются в зависимости от местных условий, водного режима, режима работы оборудования ГЭС.

Ниже приводится типовой перечень проверок и осмотров гидротурбинного оборудования.

При осушенной проточной части:

- проверка состояния съемного сегмента и его крепежных деталей;

- проверка уплотнений цапф лопастей рабочего колеса;

- проверка уплотнений пера лопаток направляющего аппарата;

- проверка состояния лопастей рабочего колеса, облицовки камеры рабочего колеса, сопрягающего пояса верхнего и нижнего колец направляющего аппарата;

- проверка состояния спиральной камеры, отсасывающей трубы, закладных частей затворов и др.;

- проверка комбинаторной зависимости;

- проверка соответствия углов разворота лопастей и лопаток направляющего аппарата шкалам и указателям колонки регулятора и др.

На остановленном и работающем гидроагрегате:

- контроль подачи смазки на подшипник гидротурбины;

- проверка протечек масла через уплотняющие устройства маслоприемника на гидроагрегатах с турбинами поворотно-лопастного типа;

- проверка положения клапанов срыва вакуума, целости пружин и отсутствия протечек воды;

- проверка гидравлического режима работы гидроагрегата по показаниям приборов в шахте гидротурбины, открытия направляющего аппарата по шкале сервомотора;

- проверка периодичности подкачки воздуха в камеру рабочего колеса при работе гидроагрегата в режиме СК;

- проверка сигнализации лекажных насосов;

- проверка состояния и сигнализации дренажных устройств гидротурбины;

- проверка и очистка всасывающих труб самовсасывающих насосов;

- измерение перепада давлений на сороудерживающих решетках;

- проверка смазки на регулирующем кольце, тягах сервомотора в рычажных передачах и прочих элементах системы регулирования;

- проверка целости предохранительных устройств (срезных пальцев, разрывных болтов) направляющего аппарата;

- проверка отсутствия протечек масла из сервомоторов направляющего аппарата и работы лекажного агрегата;

- проверка состояния маслоохладителей;

- проверка состояния переключения и чистка фильтра золотника регулятора частоты вращения;

- внешний осмотр и обтирка механизмов МНУ;

- проверка уровня масла в котле МНУ;

- проверка устройств МНУ

- цикличности работы насосов МНУ, подачи насосов МНУ, периодичности подкачки воздуха в котел МНУ, периодичности доливки масла в бак МНУ, сигнализации включения резервных насосов МНУ, уровней масла в баках МНУ;

- проверка гидромеханических защит;

- проверка плотности соединений трубопроводов, при необходимости подтяжка сальниковых уплотнений вентилей;

- проверка температуры сегментов и масла подшипника гидротурбины;

- проверка уровня масла в ванне подшипника гидротурбины;

- проверка плавности хода гидроагрегата, отсутствия вибрации, стуков, гидравлических ударов в проточной части гидротурбин;

- проверка состояния болтовых соединений в местах, доступных для осмотра, без разборки узлов гидротурбины;

- проверка отсутствия протечек масла из ванны подшипника гидротурбины, подводящих трубопроводов;

- анализ масла, находящегося в эксплуатации;

- проверка времени перемещения регулирующих органов гидротурбины - закрытия и открытия направляющего аппарата поворотно-лопастных, радиально-осевых; полного хода лопастей на сворачивание и разворот поворотно-лопастных гидротурбин; закрытия направляющего аппарата золотником аварийного закрытия; закрытия (времени, в течение которого происходит перемещение клапана на закрытие) клапанов срыва вакуума и холостых выпусков гидротурбин.

Приведенный перечень дополняется и уточняется для каждой конкретной ГЭС в соответствии с особенностями конструкции оборудования и местными условиями.

6.4 Водно-энергетические режимы работы гидротурбинной установки

6.4.1 Работа гидротурбины должна происходить при наиболее высоком КПД, для чего число включенных гидроагрегатов при покрытии заданной активной нагрузки должно быть оптимальным в соответствии с эксплуатационной характеристикой ГЭС. При этом необходимо руководствоваться следующим:

при подборе числа работающих гидроагрегатов необходимо учитывать не только активную, но и реактивную мощность, вырабатываемую ГЭС;

в случае, если число гидроагрегатов, оптимальное по покрытию заданной активной нагрузки, оказывается недостаточным для покрытия заданной реактивной нагрузки ГЭС, дополнительно включенные в работу гидроагрегаты целесообразно использовать в качестве СК при условии, что потери активной мощности на их вращение меньше, чем количество электроэнергии, дополнительно вырабатываемой за счет повышения КПД агрегатов, работающих в генераторном режиме.

Если это условие не соблюдается при создавшейся ситуации, целесообразно активную нагрузку распределить поровну между всеми работающими гидроагрегатами ГЭС. Определение количества и режима работы гидроагрегатов, подлежащих включению для покрытия заданных активной и реактивной нагрузок, производится в соответствии с заранее подготовленной производственно-технической службой ГЭС

эксплуатационной диаграммой.

6.4.2 Эксплуатация гидротурбины должна происходить с минимальными кавитационными повреждениями проточной части гидротурбины, для чего необходимо соблюдение следующих условий:

регуляторы частоты вращения должны быть оборудованы устройствами автоматического ограничения мощности по напору, а при отсутствии этих устройств дежурный персонал при обслуживании гидроагрегатов должен обеспечить их работу в соответствии с эксплуатационными характеристиками гидроагрегатов при различных по мощности и напорам режимах;

не должна допускаться работа гидротурбин в диапазоне мощностей, где наблюдается кавитация повышенной интенсивности;

должна проводиться регулярная проверка состояния комбинаторной зависимости поворотно-лопастных гидротурбин.

6.4.3 Работа гидротурбинной установки должна происходить с минимальными потерями напора на сороудерживающих решетках; оперативный персонал должен вести периодический контроль за перепадом на сороудерживающих решетках в соответствии с местной инструкцией. В случае повышения перепада на решетках сверх допустимого значения по условиям экономичности или прочности конструкций решеток оперативный персонал должен поставить об этом в известность руководство соответствующей службы ГЭС для принятия мер по чистке сороудерживающих решеток.

6.4.4 Работа гидротурбин при напорах ниже или выше допустимых, установленных предприятием-изготовителем, не разрешается.

6.4.5 Для подтверждения соответствия состояния гидротурбинных установок нормам и правилам необходимо проводить энергетические обследования гидроэлектростанций. Основной задачей энергетических обследований гидроэлектростанции является определение фактических значений ее энергетической эффективности, сравнение их с нормативными значениями и установлении степени эффективности использования стока воды на ГЭС, а также разработка мероприятий по повышению ее энергетической эффективности.

Первичное энергообследование имеет своей целью составление энергетического паспорта ГЭС, энергетического баланса, а также анализ составляющих затрат энергии на ГЭС и разработку предложений по их снижению.

Периодическое обследование проводится для оценки динамики эффективности использования стока воды на ГЭС. По результатам обследований производится уточнение энергетического баланса и энергетического паспорта.

Периодическому (повторному) энергетическому обследованию подлежат находящиеся в эксплуатации энергообъекты в срок не позднее, чем через 5 лет после проведения первичного энергетического обследования, в дальнейшем - не реже одного раза в 5 лет.

6.5. Аварийные ситуации при эксплуатации гидротурбинных установок. Требования по их предупреждению и ликвидации последствий

6.5.1 Работающий гидроагрегат должен быть немедленно остановлен действием защит или персоналом в следующих случаях:

- снижения давления масла в системе регулирования ниже допустимого предела;

- снижения уровня масла в ваннах подшипников и масловоздушном котле МНУ ниже установленного минимума;

- повышения температуры сегментов подшипников гидротурбины сверх допустимого предела;

- прекращения подачи воды на смазку турбинного подшипника;

- повышения частоты вращения ротора гидроагрегата сверх значения, установленного заводами-изготовителями;

- обрыва троса обратных связей в системе регулирования;

- выхода из строя системы управления лопастями поворотно-лопастных турбин;

- интенсивного роста с превышением допустимого уровня вибрации гидроагрегата, установленного заводом-изготовителем, СТО 17330282.27.140.001-2006 и СО 153-34.20.501-2003 для контрольных точек;

- появления интенсивных протечек воды через детали фланцевого соединения и крепежные детали крышек гидротурбин, уплотнения крышек люков в спиральных камерах и отсасывающих трубах, уплотнений вала турбины, угрожающих затоплению шахт гидротурбин и помещений ГЭС.

Кроме того, гидроагрегат должен быть немедленно остановлен в других случаях, оговоренных местными инструкциями с учетом конструктивных особенностей гидроагрегата.

(Измененная редакция. Изм.)

6.5.2 Гидроагрегат должен быть разгружен или остановлен по согласованию с техническим руководителем гидроэлектростанции в следующих случаях:

- выявления неисправности технологических защит, действующих на останов оборудования;

- неисправной работы системы регулирования;

- появления стуков и необычных шумов в проточной части гидротурбины;

- увеличении биений вала гидроагрегата и вибрации опорных узлов агрегата, маслопроводов и золотников системы регулирования;

- повышения уровня воды на крышке турбины сверх допустимого значения при отказе или недостаточной подаче насосов откачки;

- уменьшения подачи воды к турбинному подшипнику с водяной смазкой;

- нарушения нормальной работы вспомогательного оборудования, если устранение причин нарушения невозможно без останова агрегата.

При обнаружении повышенной вибрации должны быть предприняты немедленные меры по ее уменьшению (изменение режима работы, разгрузка гидроагрегата).

(Измененная редакция. Изм.)

6.5.3 Проводить входной контроль в объеме:

- 100-процентная дефектация неразрушающими методами новых шпилек крепления крышки гидротурбины к верхнему поясу статора, болтов спаривания гидротурбины с валом, вала гидротурбины со ступицей ротора, фланцевые зоны валов;

- 100-процентная дефектация опорных элементов подпятника, турбинного и генераторного подшипников при монтаже новой гидротурбины.

(Введен дополнительно. Изм.)

6.5.4 Проводить периодический контроль ответственных узлов турбины в порядке, определенном инструкцией завода-изготовителя.

(Введен дополнительно. Изм.)

6.5.5 При каждом капитальном ремонте с разборкой гидроагрегата обеспечить:

- контроль чистоты посадочного места крышки гидротурбины;

- очередность и силу затяжки шпилек в соответствии с инструкцией завода-изготовителя (поставщика);

- оформление формуляров по результатам указанных выше проверок при монтаже крышки гидротурбины.

(Введен дополнительно. Изм.)

6.5.6 Обеспечить по согласованию с заводом-изготовителем применение стопорящих устройств для крепления фланцевых соединений в крышках гидротурбин.

(Введен дополнительно. Изм.)

6.6. Режим синхронного компенсатора

6.6.1 Гидроагрегаты, работающие в режиме синхронного компенсатора, должны быть готовы к немедленному автоматическому переводу в генераторный режим.

При работе гидроагрегата в режиме синхронного компенсатора

рабочее колесо турбины должно быть освобождено от воды.

Система охлаждения лабиринтных уплотнений радиально-осевых рабочих колес должна обеспечивать работу без повышения их температуры.

На гидроэлектростанциях, имеющих предтурбинные затворы, при переводе гидроагрегата в режим синхронного компенсатора предтурбинный затвор должен быть закрыт.

Поддержание уровня воды под рабочим колесом, подкачка сжатого воздуха должны производиться автоматически.

6.6.2 Перевод гидроагрегатов в режим СК и из режима СК в генераторный режим должен производиться без останова агрегата и каких-либо переключений в схеме электрических соединений.

6.6.3 Порядок перевода гидроагрегатов в режим СК и обратно должен устанавливаться в соответствии с "Методическими указаниями по переводу гидроагрегатов в режим синхронного компенсатора" (Приложение В) и должен быть указан в местной инструкции.

6.6.4 Объем наблюдений за состоянием гидротурбины и обслуживание ее при работе гидроагрегата в режиме СК в основном остаются теми же, что и при работе агрегата в генераторном режиме. Дополнительные виды наблюдений при работе гидроагрегатов в режиме СК для каждой конкретной ГЭС должны быть указаны в местной инструкции.

7 Возможные неисправности в работе гидротурбинных установок, действия персонала и мероприятия по их устранению

7.1 Неисправности оборудования гидротурбинных установок и действия персонала при их появлении приведены в таблице 3.

Таблица 3

Признаки неисправности

Вероятная причина

Метод устранения и действия персонала

1

Неисправности в проточной части

1.1

Сильные шумы и удары гидравлического характера в проточной части турбины, колебание мощности агрегата, нарушения срезных соединений направляющего аппарата

Попадание в спиральную камеру и направляющий аппарат турбины крупных посторонних предметов

Уменьшить нагрузку агрегата. При первой возможности гидроагрегат остановить и удалить посторонние предметы. Восстановить срезные соединения

1.2

Появление резких стуков и ударов металлического характера, повышенная вибрация и сотрясения крышки турбины, толчки вала турбины

Попадание посторонних предметов в рабочее колесо турбины, поломка лопасти, обрыв облицовки камеры турбины, нарушение отъемного сегмента камеры, поломка лабиринтного уплотнения, задевание лопастей за стенки камеры и т.п.

Изменить нагрузку агрегата, если стуки и удары не прекращаются, агрегат остановить для осмотра и ремонта

1.3

Увеличение вибрации и биения вала агрегата, колебания мощности. При определенном положении лопастей вибрации уменьшаются

Поломка механизма поворота лопастей рабочего колеса поворотно-лопастной гидротурбины

Изменить нагрузку агрегата. Если указанные явления не прекращаются, то агрегат остановить для осмотра и ремонта

2

Неисправности подшипника и уплотнения

2.1

Повышенное биение вала у турбинного подшипника

Неисправности механической части гидроагрегата, состояние линии вала, увеличенные зазоры в подшипнике.

Устранить причину и отрегулировать зазоры в подшипнике

2.2

Уменьшение расхода или прекращение подачи воды на уплотнение вала

Засорение фильтров, неисправности арматуры технического водоснабжения

Устранить причину, фильтры осмотреть, при необходимости очистить и промыть

2.3

Увеличение температуры баббитовых сегментов подшипника со скоростью более 1° С/мин при стационарном режиме работы агрегата

Подплавление баббита сегментов

При отсутствии признаков стабилизации немедленно остановить агрегат. Произвести необходимый осмотр, определение причины и вывод в ремонт.

2.4

Постепенное повышение температуры сегментов подшипника на 3-5°С по сравнению с обычной установившейся величиной

Снижение уровня масла в маслованне, попадание воды в масло, уменьшение расхода охлаждающей воды

Проверить уровень масла, сделать анализ масла, при наличии воды в масле агрегат вывести в ремонт для ликвидации протечек воды, проверить расход воды на охлаждение масла, при необходимости увеличить расход воды на охлаждение, разгрузить агрегат. При неясных причинах повышения температуры агрегат при первой возможности вывести для осмотра и ремонта.

2.5

Повышение температуры сегментов и масла

уменьшение расхода охлаждающей воды

проверить расход воды на охлаждение масла, при необходимости увеличить расход воды на охлаждение, провести чистку фильтров и маслоохладителей в случае необходимости

3

Повышение уровня масла и воды

3.1

Повышение уровня масла в ванне подшипника

Поступление воды в маслованну. Поступление масла в маслованну.

Проводить наблюдение за изменением уровня, проверить состояние запорной арматуры трубопроводов подачи масла, Взять пробу масла на анализ. При повышении уровня выше установленного предела агрегат остановить для определения неисправности и ее устранения.

3.2

Снижение уровня масла в маслованне

Протечки масла из маслованны - неплотности в запорной арматуре, соединениях.

Проводить наблюдение за изменением уровня, проверить состояние запорной арматуры трубопроводов слива масла. При понижении уровня выше установленного предела агрегат остановить для определения неисправности и ее устранения.

3.3

Повышение уровня воды на крышке турбины

Увеличение протечек через уплотнение цапф лопаток направляющего аппарата, увеличение протечек через уплотнение вала, засорение решетки самослива протечек с крышки

Проверить состояние торцевого уплотнения вала, проверить засорение решетки самослива, проверить увеличение протечек через манжеты цапф. Очистить самослив, при необходимости установить передвижной дренажный насос и организовать откачку, при угрозе затопления агрегат остановить для ремонта.

4

Неисправности системы регулирования частоты вращения

4.1

Разгон гидроагрегата

Резкое повышение частоты вращения гидроагрегата, сопровождающееся сильным гулом и вибрациями

Агрегат остановить на ручном регулировании, сбросом быстродействующего затвора, закрытием турбинного затвора

4.2

Резкий скрип и появление дыма в маслоприемнике, сильная вибрация корпуса маслоприемника

Заедание штанг маслоприемника поворотно-лопастной турбины

Гидроагрегат немедленно остановить на ручном регулировании, не изменяя положения лопастей рабочего колеса

4.3

Звук сильного удара, подброс ротора гидроагрегата при отключении агрегата от сети сбросом нагрузки

Возможны поломка лопастей рабочего колеса и другие повреждения гидротурбины

Гидроагрегат остановить. Проверить время закрытия направляющего аппарата гидротурбины, которое должно соответствовать техническим условиям завода-изготовителя гидротурбины. Проверить исправность клапанов срыва вакуума

8 Охрана труда (правила безопасности)

8.1 При эксплуатации и техническом обслуживании гидротурбинных установок требуется выполнять требования СТО «Гидроэлектростанции. Охрана труда (правила безопасности) при эксплуатации и техническом обслуживании сооружений и оборудования ГЭС. Нормы и требования» [2].

8.2 Допуск к работе по обслуживанию гидротурбинного оборудования разрешается только лицам, прошедшим обучение по устройству и эксплуатации оборудования, усвоившим методы безопасного ведения работ с проверкой знаний по технике безопасности.

8.3 Рабочие места при обслуживании или ремонтах оборудования должны подготавливаться в соответствии с выполняемой работой и с соблюдением правил техники безопасности, установленных для выполнения данных видов работ.

8.4 На видных местах, представляющих опасность при ведении работ, а также у органов управления должны быть установлены плакаты безопасности.

8.5 Если по роду проводимых работ по настройке и ремонту узлов гидротурбины не требуется напряжение электропитания и давления масла, следует отключить электропитание и перекрывать давление масла.

8.6 При осмотрах работающих гидроагрегатов запрещается становиться на серьги между рычагами направляющего аппарата, на штоки сервомоторов и другие подвижные части механизмов.

8.7 Запрещается работа при снятых рифленых перекрытиях. При ремонтных работах, связанных со снятием рифленых перекрытий, необходимо выставлять ограждения, предотвращающие случайный доступ персонала в опасную зону.

8.8. Открытие люков ведущих в спиральную камеру турбины и отсасывающую трубу должны производиться после снятия давления и проверки его отсутствия в водоподводящем тракте турбины. Контроль за отсутствием давления воды в спиральной камере и отсасывающей трубе турбины производить по контрольному манометру, устанавливаемому на люке при осушении и по стационарно установленному пробковому кранику.

При открытии люков гайки болтов следует отвинчивать постепенно.

8.9 Допуск персонала в отсасывающую трубу и спиральную камеру турбины может быть разрешен только после установки ремонтных затворов, откачки воды и принятия мер по предотвращению открытия затворов и задвижек, через которые вода может поступать в осушенный проточный тракт.

8.10 Доступ в проточный тракт турбины производится по наряду-допуску бригадой в составе не менее чем двух человек, с обязательным оформлением допуска на работу.

8.11 Для ремонта и осмотра рабочего колеса турбины под ним в отсасывающей трубе должны быть установлены специальные подмости.

8.12 Ремонтные работы на рабочем колесе турбины, направляющем аппарате, уплотнении турбинного вала должны производиться при опущенных ремонтных затворах, открытых задвижках опорожнения и осушения проточной части турбины. При этом должны быть приняты меры, исключающие возможность открытия ремонтных затворов, перемещения направляющего аппарата турбины (обесточены механизмы управления затворами, снято давление с котлов МНУ, направляющий аппарат закрыт и поставлен на стопор, взят на тормоза ротор гидрогенератора, вывешены плакаты безопасности).

8.13 При ремонте проточной части турбины в необходимых случаях (сварочные, пескоструйные, покрасочные работы) должна быть обеспечена принудительная вентиляция.

Для освещения рабочих мест должны применяться переносные электрические светильники напряжением не выше 12В.

8.14 По окончании ремонтных работ в турбине руководитель работ обязан произвести тщательный внутренний осмотр и лично удостовериться в отсутствии людей, материалов, инструментов и приспособлений. Разрешение дежурному персоналу на заполнение проточной части даётся после закрытия люков, дренажных устройств, оформления окончания и закрытия наряда.

8.15 Во время работы гидроагрегата запрещается производить всякого рода ремонты и чистку вращающихся и подвижных частей турбины.

8.16 При заполнении системы регулирования маслом персоналу не разрешается находиться на органах регулирования.

8.17 Не разрешаются работы, связанные с заменой и ремонтом арматуры на маслопроводах и с разборкой деталей регулирования (за исключением замены манометров), при работающей гидротурбинной установке.

8.18 При работах по обслуживанию турбинного оборудования требуется соблюдать правила пожарной безопасности. Не допускается пользоваться открытым огнем вблизи элементов маслосистемы гидротурбины.

Приложение А
(Обязательное)

Методические указания по проведению натурных испытаний гидротурбинных установок при вводе их в эксплуатацию на ГЭС

А.1 Общие положения

А.1.1 Методические указания определяют объем и содержание натурных испытаний гидротурбинных установок перед приемкой ГЭС в постоянную эксплуатацию, в течение гарантийного срока или при вводе после реконструкции или модернизации на действующей ГЭС. Результаты испытаний представляются приемочной комиссии заказчика для учета их при решении вопроса о готовности гидротурбинных установок к сдаче в эксплуатацию.

А.1.2 Методические указания распространяются на все типы гидроагрегатов вертикального исполнения с поворотно-лопастными, радиально-осевыми и пропеллерными рабочими колесами. Методические указания распространяются также на насос-турбины гидроаккумулирующих электростанций. Они предусматривают проведение энергетических и вибрационных испытаний гидроагрегатов, испытаний системы регулирования и при необходимости специальных испытаний.

А.1.3 Указанные испытания проводятся в целях:

- выявления имеющихся недостатков проектирования, изготовления и монтажа оборудования;

- проверки выполнения технических условий на поставку и заводских гарантий по энергетическим, механическим и динамическим характеристикам оборудования;

- проверки надежности отдельных узлов гидроагрегата;

- определения и установления оптимальных режимов и условий работы гидроагрегата.

А.1.4 Испытания проводятся специализированной организацией, обладающей опытом проведения таких работ, и эксплуатационным персоналом ГЭС по программе, согласованной с заводом-изготовителем оборудования и утвержденной техническим руководителем ГЭС.

По результатам испытаний организация, проводящая их, представляет эксплуатирующей организации технический отчет с выводами и рекомендациями.

А.1.5 Испытания проводятся при расчетных условиях эксплуатации. Если оборудование вынуждено продолжительно работать в нерасчетных условиях (например, при напоре ниже минимального), допускается проведение испытаний для выявления возможности и оптимальных условий эксплуатации в этом случае. Решение вопроса об объеме испытаний в нерасчетных условиях возлагается на эксплуатирующую организацию.

А.1.6 При проведении испытаний обязательно соблюдение требований СТО «Гидроэлектростанции. Охрана труда (правила безопасности) при эксплуатации и техническом обслуживании сооружений и оборудования ГЭС. Нормы и требования» и настоящего Стандарта.

А.2 Энергетические испытания

А.2.1 Энергетические испытания гидроагрегатов проводятся в целях:

- проверки соответствия фактических значений максимального КПД и максимальной мощности гидротурбины гарантированным заводом-изготовителем турбины значениям;

- получения натурных энергетических характеристик - мощностной, рабочей, расходной и эксплуатационной, а также подачи в насосном режиме работы гидроагрегатов Г АЭС;

- определения оптимальной комбинаторной зависимости поворотно-лопастных гидротурбин и проверки ее соответствия установленной комбинаторной связи;

- определения эффекта от повышения КПД и мощности после замены или модернизации турбинного оборудования.

А.2.2 Энергетические испытания могут выполняться абсолютным и индексным методами.

Абсолютный метод предусматривает определение фактических (абсолютных) значений КПД. При индексном методе определяется индексное, или относительное значение КПД, т.е. степень изменчивости КПД от мощности. При проведении испытаний следует руководствоваться требованиями ГОСТ 28842-90 и Международных правил натурных приемочных испытаний по определению гидравлических характеристик турбин, аккумулирующих насосов и обратимых турбин (Публикация МЭК 60041)

А.2.3 При проведении испытаний абсолютным методом рекомендуется использовать наиболее отработанный в отечественной практике метод «площадь-скорость», при котором расход воды определяется интегрированием поля местных скоростей, измеряемых гидрометрическими вертушками. При этом испытания следует проводить при напоре, близком к расчетному.

По договоренности между заказчиком и заводом-изготовителем гидротурбины при испытаниях может быть применен ультразвуковой способ измерения расхода воды.

А.2.4 Количество испытываемых по п. А.2.3 гидроагрегатов рекомендуется принимать: для ГЭС с количеством установленных или модернизированных гидроагрегатов до 4 - 1, от 5 до 10 - 2, от 11 до 20 и более - 3.

В случае установки на одной ГЭС разнотипного оборудования или оборудования, имеющего существенное отличие в конструкции отдельных узлов (рабочего колеса турбины, спиральной камеры, отсасывающей трубы и др.), количество испытываемых гидроагрегатов должно быть увеличено. Это распространяется и на гидроагрегаты с различной компоновкой в здании ГЭС.

А.2.5 Гидроагрегаты рекомендуется испытывать абсолютным методом только в том случае, когда может быть обеспечено выполнение всех требований, предъявляемых к измерительному створу по ГОСТ 28842-90. При невозможности выполнения указанных требований целесообразность проведения испытаний решается в каждом конкретном случае. При этом должны быть приняты во внимание результаты модельных испытаний гидротурбины, проведенных на модели, соответствующей проточной части гидротурбинного блока: и результаты входного контроля геометрических размеров рабочего колеса в соответствии с СТО 17330282.27.140.001-2006 и нормами МЭК (Контроль геометрических параметров рабочего колеса. Требования МЭК. Международный код модельных приемо-сдаточных испытаний гидравлических турбин. Публикация МЭК № 60193).

А.2.6 При проведении испытаний абсолютным методом должна быть произведена градуировка расходомерного створа спиральной камеры, которая может быть использована для определения энергетических характеристик в полном диапазоне изменений напора путем проведения испытаний индексным методом.

А.2.7 Для проведения испытаний индексным методом необходимо наличие как минимум двух пьезометрических выводов из спиральной камеры, расположенных в одном и том же радиальном ее сечении, один из которых размещается на внешнем радиусе спирали, другой - на внутреннем радиусе у статорных колонн.

Градуировочное уравнение расходомерного створа спиральной камеры, определяемое по результатам испытаний абсолютным методом, устанавливает зависимость перепада давлений между двумя выводами от расхода воды и позволяет поэтому вычислять значения фактического расхода воды.

При отсутствии градуировочного уравнения следует принимать, что расход воды пропорционален корню квадратному из перепада давлений, т.е. показатель степени равен 0,5. При этом индексный метод дает достаточно надежные результаты при испытании радиально-осевых турбин с полноохватной металлической спиральной камерой. При испытании поворотно-лопастных турбин с не полноохватной бетонной спиральной камерой следует уточнить принятое значение показателя степени путем использования другой пары выводов, измерением средней скорости потока и другими способами. В противном случае индексный способ следует использовать только для определения оптимальной комбинаторной зависимости.

А.2.8 Испытания индексным методом должны проводиться на всех гидроагрегатах ГЭС не менее чем при трех значениях напоров, охватывающих полный диапазон их изменения (при выполнении гарантий завода-изготовителя по высоте отсасывания).

При выполнении работ по модернизации гидротурбинного оборудования рекомендуется выполнять испытания индексным способом как старой, так и вновь установленной гидротурбины.

По результатам испытаний строится эксплуатационная характеристика гидроагрегата, на которой должны быть указаны либо фактические значения КПД (при известной градуировке), либо прогнозируемые значения КПД в абсолютных единицах (полученные из условия равенства максимального значения индексного КПД максимальному значению КПД, гарантированному заводом-изготовителем).

А.2.9 Для возможности сравнения натурных характеристик гидроагрегата с заводскими характеристиками необходимо: мощность и КПД гидроагрегата пересчитать для гидротурбины, принимая значения КПД генератора согласно заводским гарантиям; измеренные значения мощности и расхода воды привести по формулам подобия к постоянному напору гидротурбины.

А.2.10 В процессе энергетических испытаний должны быть определены потери напора в водоподводящем тракте.

Для деривационных ГЭС и сложной системы подводящих сооружений потери напора должны определяться отдельно по каждому участку, а затем суммироваться.

Полученные значения потерь напора следует сравнить с расчетными данными.

А.2.11 Испытания по определению оптимальной комбинаторной зависимости поворотно-лопастных гидротурбин должны проводиться на всех вновь введенных в эксплуатацию гидроагрегатах, а также после замены или модернизации турбинного оборудования не менее чем при трех значениях напоров, охватывающих полный диапазон их изменения. Испытания следует выполнять индексным методом. При этом гидроагрегат должен работать на ручном регулировании с разобщенной комбинаторной связью. Оптимальные по КПД соотношения между открытиями направляющего аппарата и углами разворота лопастей рабочего колеса получают из пропеллерных характеристик. Каждая такая характеристика представляет собой зависимость индексного КПД от мощности гидроагрегата при неизменном угле разворота лопастей. В некоторых случаях такую характеристику удобнее строить при неизменном открытии направляющего аппарата.

При отсутствии пьезометрических выводов допускается определять оптимальную комбинаторную зависимость методом постоянной мощности. В этом случае точка оптимума определяется по линии постоянной мощности, представляющей собой зависимость между углом разворота лопастей и открытием направляющего аппарата при условии поддержания постоянной мощности гидроагрегата.

А2.12 Полученные в результате испытаний графики оптимальных комбинаторных зависимостей следует сравнить с рекомендованными заводом-изготовителем и фактическими комбинаторными зависимостями. При несоответствии фактических и оптимальных комбинаторных зависимостей следует произвести наладку комбинаторной связи. При больших несоответствиях, не устраняемых наладкой, следует изменить профиль пространственного кулачка комбинатора или произвести перепрограммирование устройства, задающего комбинаторную зависимость.

А.3 Вибрационные испытания

А.3.1 Вибрационные испытания гидроагрегатов проводятся в целях:

- определения вибрационного состояния гидроагрегата и проверки соответствия уровня вибрации нормам;

- получения вибрационных характеристик гидроагрегата в эксплуатационных режимах его работы;

- определения зоны допустимых режимов работы гидроагрегата;

- определения при повышенном уровне вибрации наличия механических, электрических или гидравлических возмущающих сил.

А.3.2 При проведении вибрационных испытаний следует руководствоваться требованиями СТО 17330282.27.140.001-2006.

А.3.3 Вибрационные испытания проводятся на каждом смонтированном гидроагрегате в период действия гарантий заводов-изготовителей гидротурбины.

А.3.4 Результаты вибрационных испытаний являются исходным материалом по оценке вибрационного состояния гидроагрегата в целом.

А.3.5 При проведении вибрационных испытаний при необходимости измеряются также показатели, которые могут быть важными для анализа вибрационного состояния гидроагрегата (например, пульсация давления в различных точках проточного тракта гидротурбины, и др.).

А.3.6 Оценку уровня вибрации гидроагрегата следует производить в соответствии с требованиями СТО 17330282.27.140.001-2006. Оценку уровня биения вала следует производить сравнением результатов измерений с предельными значениями, установленными заводами-изготовителями турбины и генератора и указанными в местных инструкциях по эксплуатации.

А.3.7 В случае неудовлетворительной оценки вибрационного состояния гидроагрегата по результатам испытаний следует провести специальные испытания по определению причин повышенной вибрации от наличия механических, электрических или гидравлических возмущающих сил.

А.4 Испытания системы регулирования

А.4.1 Натурные испытания системы регулирования частоты вращения проводятся с целью проверки соответствия ее технических характеристик техническим условиям поставки и паспортным данным регулятора, проверки выполнения гарантий регулирования и качества процессов регулирования частоты и активной мощности. Испытания должны проводиться в соответствии с требованиями Международного кода для испытания систем регулирования гидравлических турбин (публикация МЭК № 308, 1970) и СТО 17330282.27.140.001-2006.

А.4.2 Наиболее полный объем испытаний должен быть выполнен при вводе гидроагрегатов в эксплуатацию на новых объектах или после замены системы регулирования на действующих гидроагрегатах. Он должен включать в себя:

проверку регулятора на соответствие техническим данным завода-изготовителя;

снятие характеристик обратных связей от сервомоторов направляющего аппарата и рабочего колеса;

определение времени открытия и закрытия направляющего аппарата и разворота и свертывания лопастей рабочего колеса;

определение времени закрытия направляющего аппарата от золотника аварийного закрытия;

определение перестановочных усилий сервомоторов направляющего аппарата и рабочего колеса;

определение качества процесса регулирования частоты при работе гидроагрегата на холостом ходу и под нагрузкой в изолированном энергорайоне;

проверку выполнения гарантий регулирования при сбросах нагрузки.

При вводе гидроагрегатов в эксплуатацию после модернизации с сохранением прежней системы регулирования объем испытаний зависит от характера выполненных при модернизации работ. Испытания по проверке выполнения гарантий регулирования при сбросах нагрузки должны выполняться на каждом вводимом после монтажа гидроагрегате.

А.4.3 В процессе пуска гидроагрегата должны быть проверены устанавливаемые регулятором пусковое открытие направляющего аппарата и пусковой угол разворота лопастей рабочего колеса, а также открытие холостого хода.

А.4.4 Испытания маслонапорной установки (МНУ) проводятся в следующем объеме:

- определение протечек масла в системе регулирования и утечек воздуха из аккумулятора давления;

- проверка цикличности работы маслонасосов МНУ.

А.5 Специальные испытания

А.5.1 В объем натурных испытаний гидроагрегатов при сдаче в эксплуатацию могут при необходимости дополнительно входить:

- испытания по выяснению причин повышенной вибрации и биения вала гидроагрегата;

- испытания воздушной системы перевода гидроагрегатов в режим синхронного компенсатора;

- испытания направляющих подшипников и подпятника гидроагрегата;

- испытания системы технического водоснабжения;

- прочностные испытания конструктивных элементов гидротурбины и генератора;

- испытания по определению кавитационного запаса гидротурбины;

- гидравлические испытания с измерениями пульсаций давлений в проточном тракте гидротурбины;

- вибрационные и прочностные испытания металлических напорных трубопроводов гидроэлектростанций;

- испытания по определению протечек через направляющий аппарат гидротурбины и др.

А.5.2 Специальные испытания необходимо проводить в соответствии с действующими отраслевыми методическими указаниями. В случае их отсутствия программа испытаний разрабатывается специализированной организацией, согласовывается с заводом-изготовителем, на оборудовании которого проводятся испытания, и утверждается заказчиком.

Приложение Б
(Обязательное)

Номенклатура и регламентированный объем работ при капитальном ремонте гидротурбины

Б.1 Подготовительные работы:

анализ эксплуатационной, монтажной и ремонтной документации, составление предварительного перечня дефектов и объема работ;

подготовка ремонтных инструментов, приспособлений и материалов;

подготовка монтажной площадки для установки демонтируемых узлов и деталей, составление схемы размещения с учетом нагрузки на перекрытия;

выполнение программы проверочных испытаний и измерений, необходимых для оценки параметров технического состояния оборудования до выхода в капитальный ремонт;

снятие характеристик и проверка действия механизмов, устройств системы регулирования и автоматического управления гидроагрегатом, анализ масла системы регулирования, маслованн подшипников;

измерение вибрации опорных частей, биения вала агрегата, температуры масла, сегментов подшипников, охлаждающей воды и др. в эксплутационных режимах;

визуальное и инструментальное обследование узлов и деталей основного и вспомогательного оборудования гидроагрегата и составление дефектной ведомости;

установка ремонтных затворов, осушение и вскрытие лазов проточной части турбины;

сборка и установка лесов, подмостей, ограждений, обеспечение освещения, вентиляции, электро- и пневморазвода;

маркировка демонтируемых узлов и деталей гидроагрегата;

слив масла из маслованны направляющего подшипника.

Б.2 Рабочее колесо гидротурбины и его камера:

внешний осмотр, проверка состояния, выявление повреждений на рабочем колесе и его камере;

проверка методами неразрушающего контроля лопастей на наличие трещин и определение объема кавитационных разрушений проточной части.

Для поворотно-лопастных рабочих колес:

проверка зазоров между камерой и периферийной кромкой лопастей у поворотнолопастных гидротурбин с одновременным поворотом лопастей;

гидравлические испытания рабочего колеса (на месте установки или с использованием приспособлений на демонтированном рабочем колесе), ремонт поврежденных уплотнений лопастей рабочего колеса;

слив масла из рабочего колеса, вала турбины и системы регулирования;

вывешивание рабочего колеса турбины на штангах и пальцах подвески в камере рабочего колеса;

проверка люфтов в направляющих втулках цапф лопастей;

ревизия крепежа конуса;

проверка состояния крепления съемного сегмента камеры рабочего колеса;

осмотр камеры рабочего колеса, устранение трещин, очагов кавитационного и абразивного износа, отслоений нержавеющей облицовки биметаллических камер;

осмотр и ремонт сопряжения камеры рабочего колеса с нижним кольцом направляющего аппарата и сопрягающим поясом отсасывающей трубы;

определение и устранение пустот между облицовкой камеры рабочего колеса и штрабным бетоном инъектированием раствора; при значительной неплотности прилегания сегментов камеры рабочего колеса к штрабному бетону установка дополнительных анкеров.

Для радиально-осевых рабочих колес:

проверка зазоров в лабиринтных уплотнениях радиально-осевых гидротурбин;

ревизия лабиринтных уплотнений;

проверка на наличие трещин на элементах рабочего колеса;

при необходимости балансировка рабочего колеса.

Б.3 Закладные части гидротурбины:

проверка состояния закладных частей (спиральная камера, статор, фундаментное кольцо, сопрягающий пояс и др.). При необходимости очистка проточной части от коррозии и наростов и проведение антикоррозионной обработки;

ревизия патрубков отбора давления из проточной части турбины для контрольных манометров, дренажных и водозаборных труб.

Б.4 Направляющий аппарат:

проверка состояния лопаток направляющего аппарата, верхнего кольца, крышки турбины и нижнего кольца направляющего аппарата;

контроль и регулировка зазоров между торцевыми поверхностями лопаток направляющего аппарата и нижним и верхним кольцами (или крышкой гидротурбины), а также вертикальных зазоров между лопатками направляющего аппарата;

очистка, проверка состояния верхних цапф и их подшипников, и контроль зазоров между шейками цапф и их направляющих втулок;

ревизия уплотнений подшипников лопаток, а также резинового шнура уплотнений проточной части направляющего аппарата, восстановление или замена;

при уплотнении по перу лопаток металл по металлу произвести припиловку для уменьшения зазоров;

ревизия регулирующего кольца, чистка его маслованны и проверка состояния поверхностей трения;

ревизия сервомоторов, чистка и проверка состояния его деталей, замена изношенных уплотнений смазка шарниров, проверка крепления к фундаменту;

разборка, чистка и проверка состояния стопорного и дроссельного устройств;

ревизия датчиков среза пальца лопаток направляющего аппарата;

ревизия датчика положения направляющего аппарата и концевых выключателей сервомотора;

сборка сервомотора, стопорного и дроссельного устройств и их регулировка;

сборка направляющего аппарата и регулировка зазоров и натяга.

Б.5 Направляющие подшипники гидротурбины:

разборка ванн направляющих подшипников;

измерение зазоров и полная разборка подшипника, проверка состояния вкладышей, сегментов, регулирующих и опорных элементов, чистка и устранение дефектов.

Резиновые направляющие подшипники турбины:

ревизия и ремонт крепежа корпуса турбинного подшипника и посадочных поверхностей в крышке турбины;

проверка состояния сегментов, резины, регулирующих элементов, прижимных планок, запорного буртика и регулировка зазоров;

проверка выставленного зазора на валу гидротурбины;

ревизия и ремонт уплотнения ванны.

Баббитовые направляющие подшипники турбины:

проверка состояния и устранение обнаруженных повреждений на поверхностях трения сегментов (устранение неплотности прилегания баббита к стальному основанию сегмента, сколов, натиров); при необходимости перезаливка баббита; проверка прилегания поверхностей трения баббитовых сегментов к шейке вала, их притирка и шабрение;

проверка состояния опорных элементов сегментов;

чистка маслованны, сборка подшипника, установка на место, контроль и регулировка зазоров;

проверка состояния и устранение повреждений на деталях уплотнения крышки ванны подшипника;

замена на новые уплотнительных элементов (резиновых колец, сальниковой набивка и т.п.), сборка и регулировка уплотнения.

Б.6 Уплотнение вала гидротурбины

разборка, чистка и проверка состояния деталей уплотнения вала;

устранение обнаруженных повреждений (при значительных повреждениях на поверхностях трения подвижных деталей - ремонт или замена их на новые);

замена на новые уплотнительных колец или манжет, а также резиновых колец запорного устройства;

сборка и регулировка уплотнения.

Б.7 Маслоприемник:

разборка маслоприемника, чистка и проверка состояния его деталей;

проверка зазоров, устранение повреждений, шабрение втулок и штанг; при значительном повреждении - замена втулок;

замена на новые всех уплотнительных элементов фланцевых соединений маслоприемника, ревизия изоляционных втулок и прокладок;

установка маслоотражателя и его центровка; установка корпуса и буксы и центровка их относительно штанг; сборка и регулировка обратной связи и маслопроводов;

проверка и устранение люфтов обратной связи регулятора.

Б.8 Маслоохладители:

демонтаж маслоохладителя, его разборка, чистка и промывка, замена прокладок и сборка;

гидравлическое испытание;

установка маслоохладителя и опрессовка их с системой

техводоснабжения.

Б.9 Проверка центровки и линии вала гидроагрегата:

проведение операций по проверке центровки и линии вала до и после ремонта гидроагрегата;

проверка и исправление центровки гидроагрегата;

замер положения вала относительно базовых поверхностей (маяков);

проверка соосности валов;

проверка излома во фланцевом соединении валов;

проверка неперпендикулярности генераторного вала;

проверка общей линии вала поворотом ротора на 360 или другими способами;

проверка уклона линии валов.

Б.10 Вспомогательное оборудование гидроагрегата:

разборка, чистка, промывка, проверка состояния деталей и узлов, проведение необходимых измерений и испытаний, выявление и устранение дефектов вспомогательного оборудования, в том числе:

- клапанов срыва вакуума;

- клапанов срыва вакуума с принудительным открытием;

- устройств для пуска воздуха в зону рабочего колеса;

- системы откачки воды с крышки турбин;

- системы осушения проточной части турбины;

- клапанов опорожнения проточной части гидротурбины;

- системы перевода агрегата в режим синхронного компенсатора;

- лекажных агрегатов;

- холостого выпуска;

- системы централизованной смазки;

- фильтров системы технического водоснабжения;

- системы технического водоснабжения гидроагрегата;

- системы торможения;

- эжектора откачки воды с крышки турбины;

- приборов контроля работы турбины с продувкой трубопроводов отбора давления;

- масляного, водяного и воздушного трубопроводов и арматуры;

- датчиков температурного контроля и гидромеханических защит.

Б.11 Заключительные работы

внешний осмотр оборудования, демонтаж временных устройств вентиляции, освещения, энергоразводок, лесов, подмостей, ремонтных ограждений уборка мусора, инструмента, такелажных и других приспособлений;

покраска узлов гидротурбины;

пусконаладочные работы, проверочные программы испытаний и замеры показателей технического состояния оборудования при осушенной проточной части гидротурбины;

закрытие лазов проточной части гидротурбины, заполнение проточной части;

подготовка узлов и системы гидроагрегата к пробному пуску;

пусконаладочные работы, проверочные программные испытания и замеры показателей технического состояния оборудования при заполненной водой проточной части гидротурбины, при работе гидроагрегатов на холостом ходу и под нагрузкой, наблюдение за работой оборудования;

измерение вибрации опорных частей, биения вала агрегата, температуры масла, сегментов подшипников, охлаждающей воды, воздуха и пр. в эксплуатационных режимах.

Приложение В
(Обязательное)

Методические указания по переводу гидроагрегатов в режим синхронного компенсатора

В.1. Общая часть

В.1.1. Перевод гидроагрегата в режим синхронного компенсатора (СК) в зависимости от первоначального состояния агрегата сопровождается следующими переходными процессами:

- пуск гидроагрегата в режим СК;

- перевод из генераторного в режим СК;

- перевод из насосного в режим СК (для гидромашин Г АЭС).

В.1.2. В большинстве случаев гидроагрегат переводится из генераторного в режим СК. Этот процесс начинается с разгрузки генератора до холостого хода. Без отключения генератора от сети закрывается направляющий аппарат турбины. В момент полного закрытия открывается клапан пуска сжатого воздуха из системы в камеру рабочего колеса турбины. Вода из камеры отжимается сжатым воздухом до определенного уровня в конусе отсасывающей трубы, после чего клапан закрывается и доступ сжатого воздуха в камеру прекращается. Рабочее колесо турбины при этом вращается в воздухе, и гидроагрегат потребляет из сети наименьшую мощность. При этом генератор работает в двигательном режиме, а турбина в насосном.

При подъеме уровня отжатия воды за счет утечек воздуха из камеры периодически производится автоматическая «подкачка» воздуха для восстановления отжатого уровня.

В.1.3. Перевод агрегата из режима СК в генераторный производится открытием направляющего аппарата. Воздух из камеры выносится в нижний бьеф водой, и агрегат набирает активную нагрузку.

К разновидностям вывода агрегата из режима СК относятся также останов работающего в режиме СК агрегата и перевод его в насосный режим (для гидромашин Г АЭС).

В.2 Меры безопасности

В.2.1 Эксплуатация и ремонт воздушной системы, предназначенной для перевода гидроагрегатов в режим СК, осуществляются в соответствии с действующими «Правилами устройства и безопасной эксплуатации стационарных компрессорных установок, воздухопроводов и газопроводов», «Правилами устройства и безопасной эксплуатации сосудов, работающих под давлением» и «Правилами пожарной безопасности при проведении сварочных и других огневых работ на объектах электроэнергетики».

В.2.2 На ГЭС должна быть вывешена схема трубопроводов и оборудования пневматического хозяйства с нанесением на нее всех запорных и регулирующих органов и соответствующей нумерации.

В.2.3 Необходимо постоянно следить за:

- температурой сжатого воздуха в воздухосборниках и воздухопроводах, не допуская ее повышения под влиянием посторонних тепловых источников;

- воздухопроводами и арматурой для своевременного выявления и устранения вибраций;

- удалением конденсата, не допуская обмерзания воздухопроводов и устройств слива конденсата. В случае обмерзания отогревание элементов воздушной системы разрешается только горячей водой, паром или горячим воздухом.

В.2.4 При расположении арматуры, требующем систематического обслуживания, на высоте более 1,8 м от уровня земли или перекрытия должны быть предусмотрены площадки и лестницы для удобства обслуживания арматуры.

В.3 Типы оборудования, применяемого в воздушных системах

В.3.1 Стандартные воздухосборники, применяемые в воздушных системах, имеют объем от 2 до 40 м3. Они снабжены патрубками для подсоединения воздухопроводов, патрубком и вентилем с электромагнитным приводом для периодического выпуска конденсата, устройством для электрообогрева днища (во избежание обмерзания конденсата), люком для осмотра и очистки, манометром с трехходовым краном для присоединения контрольного манометра, предохранительными клапанами.

Кроме стандартных конструкций, в системе отжатия применяется, например, воздухосборник - труба большого диаметра или воздухосборники горизонтального исполнения по 75м3, расположенные вдоль здания ГЭС. Преимущество таких конструкций - возможность размещения их без специальных помещений, удобство ревизий, ремонтов, отсутствие длинных магистралей и лишних запорных органов, отсутствие устройств обогрева и др.

В.3.2 Емкость воздухосборников, требуемых для отжатия, зависит от объема камеры рабочего колеса турбины, который надо освободить от воды, количества одновременно переводимых в режим СК гидроагрегатов и интервала между их переводами. При этом учитывается вынос воздуха в нижний бьеф водой при вращении рабочего колеса турбины в процессе отжатия.

Расчет воздухосборника дан в разделе В5.7.

В.3.3 В воздушных системах низкого давления при подаче да 70м3/мин применяются компрессоры 2028П10/8, а свыше 70 м3/мин - 2058П30/8.

В воздушных системах высокого давления при подаче до 30м3/мин

применяются компрессоры ЧВУ-3146, свыше 30м /мин - 2058П16/70.

В.3.4 Воздуховоды в воздушных системах разделяются на следующие:

Соединительные Dy 50-150, предназначенные для объединения воздухосборников в группы и соединяющие воздухосборники с системой. На них размещаются ремонтные и разделительные вентили;

Магистральные и коллекторные, предназначенные для объединения всех сборочных единиц воздушной системы. Они прокладываются обычно вдоль здания ГЭС. На них могут размещаться секционные запорные краны, компенсаторы и др. Проходное сечение магистралей должно превышать сечение соединительных труб воздухопроводов и обычно составляет Dy 100-300;

Отводящие, соединяющие магистраль с шахтой турбины; их условный диаметр равен (или меньше) диаметру магистральных воздухопроводов. На них устанавливаются автоматические клапаны пуска сжатого воздуха и ручные ремонтные задвижки с двух сторон клапана. В некоторых случаях на них устанавливаются обратные клапаны, предотвращающие попадание воды в магистраль из камеры рабочего колеса турбины.

Разводящие, предназначенные для разветвления отводящего воздухопровода по крышке турбины непосредственно к местам подачи воздуха в камеру рабочего колеса; их условный диаметр меньше диаметра отводящих труб; на них, как правило, размещаются ремонтные задвижки.

Разновидности воздушных систем приведены в разделе В.5.8

В.3.5 Наиболее распространенными устройствами пуска сжатого воздуха в камеру рабочего колеса турбины являются:

на давление 0,8МПа - клапан тарельчатый с гидроприводом и электромагнитным приводом, клапан проходной с пневмоприводом;

на давление от 20 до 6,4 МПа - кран - пробка с пневмоприводом 11с722бк на условный диаметр до 300мм.

От конструкции и характеристики устройства пуска сжатого воздуха во многом зависит эффективность работы воздушной системы по переводу гидроагрегатов в режим СК. Устройство должно обладать малым проходным сопротивлением, достаточной герметичностью в закрытом состоянии, достаточным быстродействием (время полного открытия не должно быть более 3-4с). Устройство пуска воздуха должно монтироваться на отводящем воздухопроводе по возможности ближе к месту подключения его к крышке турбины.

В.3.6 Контроль заданного уровня отжатия воды в камере рабочего колеса при работе гидроагрегата в режиме СК осуществляется следующими устройствами:

электроконтактным манометром или реле давления - по давлению воздуха в камере, когда уровень воды в нижнем бьефе меняется незначительно (не более 1 м). Применение таких датчиков в условиях переменного уровня в нижнем бьефе приводит к перерасходу сжатого воздуха;

дифференциальным реле давления в случае колебаний уровня воды в нижнем бьефе более 1 м;

поплавковыми устройствами, соединенными с камерой рабочего колеса короткими патрубками, следящими непосредственно за уровнем по принципу сообщающихся сосудов;

пневмогидравлическими реле, принцип действия которых основан на измерении давления воздуха, равного давлению столба вытесненной воды из измерительной трубки, открытым концом погруженной под уровень воды в нижнем бьефе;

сигнализаторами уровня типа РСУ-3 и СУ С;

электродами, принцип действия которых основан на замыкании их на воду при повышении уровня отжатия воды выше заданного значения;

реле времени с экспериментально подобранным временем срабатывания;

реле мощности.

В.3.7 От действия устройств контроля уровня отжатия воды подкачка воздуха в камеру рабочего колеса турбины осуществляется:

из основной магистрали - открытием основного клапана пуска воздуха;

байпасами в обвод основного клапана с автоматическим приводом запорного вентиля;

воздуходувкой.

В.4 Особенности перевода в режим СК гидроагрегатов с различными типами гидротурбин

В.4.1 Общие положения

В.4.1.1 Работа устройств, обеспечивающих срыв вакуума и отжатие воды от рабочего колеса, должна быть такой, чтобы время перевода гидроагрегата в режим СК от момента подачи импульса с пульта управления до достижения минимальной потребляемой мощности не превышало 1 мин.

В.4.1.2 Осуществление срыва вакуума, образующегося в камере рабочего колеса после закрытия направляющего аппарата при переводе гидроагрегата в режим СК, атмосферным воздухом нецелесообразно. В этом случае для ощутимого эффекта требуется большое сечение трубопровода, подводящего атмосферный воздух. Поэтому срыв вакуума следует производить сжатым воздухом одновременно с отжатием. Подача сжатого воздуха для срыва вакуума или отжатия воды должна осуществляться в момент полного закрытия направляющего аппарата без выдержки времени.

В.4.1.3 Уровень отжатия воды имеет два предела (верхний и нижний). Верхний определяется достаточным расстоянием от рабочего колеса турбины, исключающим захват воды лопастной системой, и для предварительных расчетов должен приниматься:

- для радиально - осевых турбин - на 1 м ниже нижнего обода;

- для поворотно-лопастных турбин с четырьмя лопастями - на 1 м ниже выходных кромок свернутых лопастей;

- для поворотно-лопастных турбин с количеством лопастей более четырех и для пропеллерных турбин - на 2,0 м ниже выходных кромок свернутых лопастей.

Нормальным нижним предельным уровнем отжатия воды считается уровень, при котором обеспечивается частота подкачек воздуха в камеру рабочего колеса не чаще одного раза в час.

В.4.1.4 В случае использования в системе отжатия воздуха высокого давления и быстродействующих клапанов впуска воздуха в тупиковых трубопроводах, свободные концы которых выходят за крышку радиально-осевой турбины, в момент пуска сжатого воздуха возникает ударное давление, которое может превышать начальное в системе в два раза. В тех случаях когда тупиковые элементы не полностью заполнены водой, это превышение может быть еще большим. Кроме того, для варианта подвода воздуха в разгрузочную полость радиально-осевых турбин при времени открытия клапана впуска воздуха менее 1 с под крышкой турбины происходит ударный заброс давления, значение которого может превысить то, на которое производится прочностной расчет крышки турбины. Последствием тупикового гидроудара могут быть разрушения элементов воздушной системы, системы гидравлических измерений и отдельных узлов гидротурбины. Под ударным понимается резкое повышение давления в трубопроводах и полостях рабочего колеса, обусловленное внезапным подключением их к источнику высокого давления.

При эксплуатации системы высокого давления необходимо проведение специальных испытаний с определением оптимальных параметров. Испытания следует вести, начиная с такого минимального начального давления в воздухосборниках, при котором возможно осуществить отжатие. Дальнейшее повышение начального давления следует вести ступенями через 0,5 МПа, фиксируя повышение заброса давления под крышкой турбины и в каком-нибудь из тупиковых элементах трубопровода (например, в подводящем трубопроводе воздуходувки с обратным клапаном).

Заброс давления под крышкой турбины и в тупиковых элементах не должен превышать значений, допустимых заводом-изготовителем. При достижении этих значений дальнейшее повышение начального давления в воздухосборниках невозможно без проведения специальных мероприятий.

Одним из наиболее эффективных и менее трудоемких способов снижения тупикового гидроудара является увеличение времени срабатывания запорных устройств. Так, увеличение времени открытия кран-пробки Пс 722бк в три- четыре (при исходном времени открытия менее 1 с) позволяет уменьшить заброс давления под крышкой турбины и ударное давление в тупиковых трубопроводах в два - три раза.

Большие скорости воздуха в трубопроводах систем высокого давления вызывают значительные реактивные усилия в местах крепления воздухопровода, поэтому особое внимание следует уделять контролю за состояние опор запорной арматуры и трубопроводов.

В.4.1.5 Подвод сжатого воздуха в камеру рабочего колеса турбины следует осуществлять в область между направляющим аппаратом и лопастями рабочего колеса. Для отжатия воды на радиально осевых турбинах подвод воздуха может быть осуществлен также в зону разгрузочных отверстий (под крышку турбины) при давлении в системе до 2,5 МПа.

В.4.1.6 Остаточное давление в системе после выпуска воздуха на отжатие воды должно превышать давление под крышкой турбины для предотвращения попадания воды в воздухопроводы системы. Давление в системе в конце отжатия принимается большим , чем в камере на 0,1-0,15 МПа при номинальном давлении в системе 0,8 МПа и на 0,35-0,4 МПа при номинальном давлении в системе свыше 2,0 МПа.

В.4.1.7 Протечки воды через направляющий аппарат турбины увеличивает вынос сжатого воздуха из камеры рабочего колеса при работе агрегата в режиме СК. Состояние направляющего аппарата с этой точки зрения следует считать нормальным, если на остановленном агрегате подъем уровня в камере не превышает 1м/ч при достаточной герметичности камеры.

В.4.1.8 При работе гидроагрегата в режиме СК необходимо обеспечить нормальную смазку работающего на воде турбинного подшипника: при увеличении противодавления со стороны камеры рабочего колеса, заполняющейся сжатым воздухом, должно быть увеличено давление в напорной камере подшипника.

Для подшипников с регуляторами давления «после себя» не требуется специальных мероприятий: в этом случае давление перед подшипником автоматически регулируется в соответствии с изменением давления в камере рабочего колеса.

В.4.1.9 При останове агрегата, работающего в режиме СК, должен быть обеспечен выпуск воздуха из камеры рабочего колеса, чтобы обеспечивалось его эффективное торможение. Это достигается кратковременным открытием направляющего аппарата до положения холостого хода. В случае отключения выключателя при работе агрегата в режиме СК должно быть также предусмотрено автоматическое открытие направляющего аппарата до положения холостого хода.

В.4.2 Особенности перевода в режим СК гидроагрегатов с поворотно-лопастными и пропеллерными гидротурбинами

В.4.2.1 Процесс отжатия воды из камеры рабочего колеса поворотно-лопастных гидротурбин отличается тем, что при работе с закрытым направляющим аппаратом (без отключения агрегата от сети) лопастная система рабочего колеса стремится отбросить воду в сторону отсасывающей трубы. Поэтому при отжатии рабочие колеса поворотно-лопастных турбин полностью освобождаются от воды. Этот же эффект определяет потери воздуха при уносе его в нижний бьеф.

В.4.2.2 На рис. В.1. показана типовая схема устройств, используемых для отжатия воды в камере рабочего колеса поворотно-лопастной гидротурбины. При переводе гидроагрегата в режим СК воздух из воздушной системы 1 при открытии клапана пуска сжатого воздуха 2 по воздухопроводам 3, разветвленным по крышке турбины, поступает через диаметрально противоположные отверстия 4 в камеру рабочего колеса 5 и отжимает в ней воду до заданного уровня 6. После этого включаются в работу устройства закрытия клапана пуска воздуха и подержания уровня 7 в заданных пределах.

В некоторых схемах перед пуском сжатого воздуха на отжатие воды в камере предусматривается предварительный срыв вакуума, образовавшегося после закрытия направляющего аппарата, с помощью клапана впуск атмосферного воздуха 8 или клапана срыва вакуума 9. однако в настоящее время на основе опыта эксплуатации предпочтительным считается производить отжатие без предварительного срыва вакуума атмосферным воздухом. Сразу после закрытия направляющего аппарата производится пуск сжатого воздуха на отжатие, обеспечивающего срыв вакуума одновременно.

Рисунок В.1. Воздушная система отжатия воды из камеры рабочего колеса поворотно-лопастной гидротурбины: 1 - Магистраль воздушной системы; 2 - клапан пуска сжатого воздуха; 3 - подводящий воздухопровод; 4 - отверстия в крышке турбины; 5 - камера рабочего колеса; 6 - отжатый уровень воды; 7 - устройство поддержания отжатого уровня; 8 - клапан пуска атмосферного воздуха; 9 - клапан срыва вакуума.

В.4.2.3 При работе гидроагрегата в режиме СК с заполненной водой камерой рабочего колеса создается подъемная сила, в некоторых случаях превышающая массу вращающихся частей. В этом случае при определенных условиях возможен подъем ротора, часто сопровождающийся задеванием вращающихся деталей за неподвижные, поломкой щеточного аппарата и пр.

Возможность подъема ротора должна быть выявлена при наладке, в процессе которой следует определить также оптимальные условия (характер закрытия направляющего аппарата, пуск воздуха, угол разворота лопастей рабочего колеса), исключающие такой подъем. После отжатия воды для уменьшения вентиляционных потерь лопасти рабочего колеса должны быть свернуты. Современные регуляторы частоты вращения удовлетворяют этому требованию: при закрытии направляющего аппарата механизм ограничения

открытия, воздействуя на механизм разворота лопастей, сворачивает лопасти.

В.4.2.4 На гидроагрегатах с гидротурбинами, имеющими более четырех лопастей, возможно такое сочетание частоты вращения гидроагрегата, высоты и формы отсасывающей трубы, при котором процесс отжатия затруднен, а поддержание заданного уровня воды в отсасывающей трубе становится невозможным. Это объясняется образованием глубокой воронки под рабочим колесом, что и вызывает повышение утечки воздуха.

Необходимыми условиями отжатия воды в этом случае являются: высокая интенсивность подачи сжатого воздуха и правильное расположение подающих трубопроводов.

Высокая интенсивность подачи воздуха при условии правильно выбранных сечений трубопроводов может быть обеспечена как повышением начального давления в системе, так и быстродействием клапанов впуска воздуха и должна быть более 15 нм /с.

Воздухопроводы должны быть расположены таким образом, чтобы подвод воздуха рассредоточен по площади крышки турбины (по крайней мере, в двух точках) и чтобы вводы были расположены непосредственно за направляющим аппаратом, т.е. в верхней части конуса крышки. В результате этого воздушная подушка под крышкой турбины образуется сразу после подачи воздуха в ее верхней части. Потери воздуха и вынос в нижний бьеф в этом случае минимальны.

В.4.2.5 При невозможности поддержания заданного уровня воды в камере рабочего колеса из-за повышенных утечек в нижний бьеф необходимо установить воздуходувки соответственной производительности, включающиеся автоматически после первичного отжатия по сигналу реле уровня отжатой воды. Производительность воздуходувки определяется в ходе испытаний, по результатам которых оценивается расход воздуха в нижний бьеф.

В.4.2.6 Отжатие воды из камеры высоконапорного рабочего колеса поворотно-лопастной турбины характерно и для пропеллерных турбин. Поэтому рекомендации п. В.4.2.1…п. В.4.2.5. относятся и к пропеллерным рабочим колесам.

В.4.3 Особенности перевода в режим СК гидроагрегатов с радиально-осевыми гидротурбинами

В.4.3.1 При закрытии направляющего аппарата без отключения гидроагрегата от сети гидротурбина переходит в насосный режим. При этом гидротурбина работает в насосном режиме, а гидрогенератор - в двигательном. Радиально-осевые рабочие колеса, действуя как центробежный насос в заполненной водой камере, подают воду вверх, создавая подпор на закрытом направляющем аппарате, зависящий от быстроходности. У рабочих колес с коэффициентом быстроходности меньше 150, диаметр расположения входных кромок больше, чем выходных. У таких рабочих колес образуется протяженный межлопастной канал, по форме приближающийся каналу центробежного насоса, что обеспечивает их большее насосное действие, чем рабочих колес с коэффициентом быстроходности более 150.

В.4.3.2 На рис. В.2. представлена схема отжатия воды из камеры рабочего колеса радиально-осевой гидротурбины с коэффициентом быстроходности более 150, а также показаны различные схемы подвода воздуха.

A. Подача воздуха через крышку турбины в пространство между лопатками направляющего аппарата и рабочим колесом. В этом случае по сравнению с другими схемами достигается сокращение времени отжатия при том же количестве затраченного воздуха. Кроме того, такой подвод воздуха максимально снижает тупиковый гидроудар, возникающий в случае использования в системе высокого давления и быстродействующих клапанов впуска воздуха.

Б. Подача воздуха через крышку турбины в разгрузочную полость и далее через конус в камеру. Достоинство этого варианта заключается в том, что отжатие происходит при минимальном (по сравнению с другими) исходном давлении в воздухосборниках. Воздух попадает в вакуумную зону под рабочим колесом, что облегчает истечение его из конуса. Происходит интенсивный срыв вакуума. Однако при этом варианте действие тупикового гидроудара максимально, что приводит к необходимости принятия специальных мер по его снижению.

B. Подача воздуха в отсасывающую трубу. В этом случае воздух поступает непосредственно под рабочее колесо турбины в зоне нижнего обода, что способствует уменьшению закрутки потока в отсасывающей трубе, разрушению шнура под рабочим колесом, а также уменьшению воронки, что снижает вынос сжатого воздуха в нижний бьеф. Недостатком этого способа является то, что отжатие требует более высокого исходного давления в воздухосборниках, чем при первых двух способах. Тупиковый гидроудар, как и в первом случае минимален.

Г. Подача воздуха одновременно в разгрузочную полость и в предколесное пространство турбины. В этом случае сокращается время отжатия по сравнению с предыдущим. Тупиковый гидроудар меньше, чем при подаче воздуха в отсасывающую трубу.

Рисунок В.2. Различные схемы подвода воздуха в камеру рабочего колеса радиально-осевой турбины;

А - Через крышку турбины в пространство между направляющим аппаратом и рабочим колесом; Б - через крышку турбины в разгрузочную полость; В - в отсасывающую трубу; Г - одновременно в разгрузочную полость и в предколесное пространство.

В4.3.3 На рис. В.3. показана схема отжатия воды для гидроагрегата, оснащенного рабочим колесом с коэффициентом быстроходности менее 150. при работе таких гидротурбин в режиме СК с отжатой водой из камеры рабочего колеса значительная часть энергии (5-10% номинальной) затрачивается на образование и поддержание водяного кольца в зоне между рабочим колесом и направляющим аппаратом и на циркуляцию потока в межлопастных каналах. Подпитка этих потоков происходит за счет протечек воды через направляющий аппарат, из системы смазки турбинного подшипника и лабиринтных уплотнений. При заполненной спиральной камере, выходу воды из этого пространства препятствует противодавление в спирали.

Рисунок В.3. Схема отжатия воды для гидроагрегата, оснащенного рабочим колесом с коэффициентом быстроходности менее 150

Для достижения минимальной потребляемой из сети мощности (2-4% номинальной) при работе агрегата в режиме СК необходимо проведение следующих мероприятий;

Предтурбинный затвор должен быть закрыт;

Спиральная камера должна быть разгружена от давления, создаваемого насосным действием рабочего колеса. Разгрузка спирали достигается при открытием холостого выпуска или клапана спуска воды из спиральной камеры на величину, достаточную для слива протечек. Однако предпочтительнее такую разгрузку осуществлять через гидроклапан, устанавливаемый в верхней части спирали. Управление клапаном должно входить в схему автоматики режима СК: клапан открывается в момент полного закрытия затвора и остается открытым до перевода агрегата в генераторный режим.

В.4.3.4 В случае появления колебаний потребляемой мощности, вызываемой периодическими срывами водяного кольца в пространстве между закрытыми лопатками направляющего аппарата и рабочим колесом, рекомендуется открыть направляющий аппарат на 3-5% полного открытия. При этом потребление мощности из сети может еще более снизиться.

В.4.3.5 Длительная работа рабочих колес этого типа с освобожденной от воды камерой вызывает интенсивный нагрев лабиринтных уплотнений. Для отвода тепла должен быть обеспечен подвод воды к этим уплотнениям.

В.4.4 Особенности перевода в режим СК гидроагрегатов ГАЭС с насос-турбинами

В.4.4.1 Перевод и работа в режиме СК радиально-осевых гидротурбин с коэффициентом быстроходности менее 150 в большей степени характерны для обратимых гидротурбин, так как их рабочие колеса имеют специальную лопастную систему, обеспечивающую эффективную работу, как в турбинном, так и в насосном режимах.

В.4.4.2 Для обеспечения минимального потребления мощности из сети радикальным решением является установка предтурбинного затвора и работ, а в режиме СК с осушенной спиральной камерой. Такого же эффекта можно достичь установкой разгрузочных трубопроводов по возможности ближе к периферийной части рабочего колеса. При этом суммарный диаметр разгрузочных трубопроводов должен быть рассчитан на пропуск всех протечек в освобожденную от воды камеру рабочего колеса (протечки через закрытый направляющий аппарат, охлаждающей воды из ванны турбинного подшипника, охлаждающей воды лабиринтных уплотнений и пр.)

В.5 Контроль за работой воздушной системы перевода гидроагрегатов в режим СК

В.5.1 Общая часть

8.5.1.1 Проверка технического состояния системы перевода гидроагрегатов в режим СК должна состоять из технического обслуживания и испытаний.

8.5.1.2 При техническом обслуживании достаточно ограничиваться определением герметичности воздушной системы и камеры рабочего колеса. Для этого измеряется давление в пневмосистеме и камере через определенные интервалы времени.

Измерения производятся с помощью манометров класса точности 0,4 и секундомера.

Одновременно с измерениями необходимо проводить визуальное обследование, состоящее из:

Осмотра воздухосборников, трубопроводов, компенсаторов, запорной арматуры, промежуточных и анкерных опор;

Проверки состояния прокладок фланцевых соединений, уплотнений крышки и вала турбины, цапф и лопаток направляющего аппарата.

Периодичность контроля определяется техническими возможностями ГЭС, но не должна превышать 12 мес. для контроля герметичности воздушной системы. Контроль герметичности камеры рабочего колеса гидротурбины достаточно произвести после ремонта, если производились работы по устранению негерметичности.

В.5.1.3 Испытания должны проводиться после монтажа, перед вводом системы СК в эксплуатацию, после проведения реконструкции или модернизации, как пневмосистемы, так и основного гидротурбинного оборудования которая может вызвать изменение параметров процесса отжатия воды из камеры рабочего колеса.

При испытаниях следует также определять затраты воздуха на отжатие , потери воздуха в нижний бьеф и уточненную отметку отжатия. С этой целью фиксируется давление и температура в пневмосистеме и камере рабочего колеса, потребляемая агрегатом из сети мощность, время процесса отжатия, работы запорных органов, устройств подкачки и компрессоров.

Измерения осуществляются с помощью датчиков и осциллографа или образцовых измерительных приборов.

В.5.2 Контроль герметичности воздушной системы

В.5.2.1 Контроль герметичности воздушной системы ведется периодическим измерением давления в воздухосборниках в течение 2 ч. с начала испытаний.

В.5.2.2 давление регистрируется по контрольному манометру, который устанавливается параллельно рабочему или вместо него.

Испытания проводятся при номинальном рабочем давлении в системе при полностью открытой ремонтной и закрытой рабочей запорной арматуре (клапанах, задвижках и др.) и при отключенных компрессорах. Отпуск воздуха потребителю не производится.

В.5.2.3 Герметичность воздушной системы считается удовлетворительной, если через 2 ч. после начала испытаний давление в воздухосборниках снизится не ниже давления уставки на включение компрессоров.

8.5.3 Контроль герметичности камеры рабочего колеса

В.5.3.1 Проверка герметичности камеры рабочего колеса турбины проводится на остановленном агрегате. Пуск сжатого воздуха в камеру осуществляется вручную. Вода отжимается до уровня, близкого к уровню колена отсасывающей трубы. Подача воздуха в камеру прекращается при давлении воздуха в камере Рк, равном давлению водяного столба между отметками уровня нижнего бьефа УНБ и выбранным уровнем отжатой воды УО.

В.5.3.2 Давление в камере фиксируется по контрольному манометру, устанавливаемому вместо рабочего на приборной доске в шахте турбины в точке «за направляющим аппаратом». Перед производством измерений трубку отбора давления необходимо продуть.

В.5.3.3 После отключения подачи сжатого воздуха производится измерение давления в камере рабочего колеса и времени с интервалами, зависящими от интенсивности утечки воздуха.

В.5.4 Контроль утечки воздуха из камеры рабочего колеса при работе в режиме СК

8.5.4.1 В процессе эксплуатации гидроагрегатов в режиме СК необходимо периодически контролировать утечку воздуха q из камеры рабочего колеса, которая при обеспечении герметичности камеры зависит прежде всего от протечек воды через направляющий аппарат.

8.5.4.2 Для осуществления такого контроля необходимо измерить время Т, за которое изменится давление в камере в одних и тех же пределах - от Рк1 до Рк2 (рис. В.4, а).

Например, если давление в камере при каком-то уровне отжатия воды составляет Рк = 0,08 МПа, то измерение можно произвести в диапазоне от 0,07 МПа до 0,04 МПа по контрольному манометру, устанавливаемому на приборной доске в шахте турбины в точке «за направляющим аппаратом». Тогда утечка воздуха из камеры рабочего колеса определяется как

Где q - утечка воздуха, м3/ч;

d1 - диаметр рабочего колеса турбины, м;

h1 и h2 - расстояние от крышки турбины до уровня отжатия (см. рис. В.4.).

При этом считается, что процесс утечки воздуха должен происходить при неизменной температуре. Сравнивая утечки на отдельных гидроагрегатах, можно определить на каком из них ухудшается состояние уплотнения направляющего аппарата. Для этого на рис. 4.б наносится зона нормальных утечек qноpм, значения которых определяются при наладке системы СК.

Рисунок В.4. Контроль утечки воздуха из камеры рабочего колеса турбины при работе в режиме СК:

а - схема; б - кривая изменения утечки воздуха из камеры рабочего колеса турбины

В.5.4.3 Значения утечек, полученных при периодических измерениях на данном гидроагрегате, сравниваются со значениями утечек qноpм. Так на рис. В.4, б видно, что на агрегате № 9 уровень утечек повышенный, что свидетельствует о нарушении работы уплотнений лопаток направляющего аппарата.

В условиях эксплуатации удобнее оценивать утечки как повышение уровня в камере (м/ч), т.е. hΔр/T (см. рис. 4,а), но при этом следует учитывать изменение нижнего бьефа.

В.5.5 Определение потерь воздуха в нижний бьеф

В.5.5.1 При переводе гидроагрегата в режим СК сжатый воздух из пневмосистемы в основном расходуется на заполнение камеры рабочего колеса и потери в нижний бьеф. Для определения расхода воздуха используется формула приведенных объемов, т.е. объем воздуха, содержащийся в емкости V 3), при давлении Р (МПа) и температуре tC) приводится к объему при атмосферном давлении и температуре 0°С:

Таким образом, если емкость воздухосборников (системы) - Vc, начальное (перед отжатием воды) и конечное (после отжатия) избыточное давление в них P1 и Р2 и соответствующие температуры в них t1 и t2 , то израсходованный на отжатие до установленного уровня объем воздуха (м3) составит

В.5.5.2 После достижения установленного уровня отжатой воды в емкости камеры рабочего колеса турбины Vk при давлении Рк и температуре tk остается объем воздуха (м3), равный

Тогда объем воздуха (м3), унесенного в нижний бьеф в процессе отжатия, составит

Vyпp = Vспр - Vкпр.

В.5.5.3 Емкость камеры Vk 3) определяется по действительным размерам проточной части, заполняемой сжатым воздухом при отжатии воды до отметки уровня отжатия. Для сравнения объемов одной камеры при проведении серии отжатий можно пользоваться формулой для приближенного расчета и не учитывающей емкость камеры рабочего колеса турбины и другие емкости, обусловленные конфигурацией проточной части:

где D1 - диаметр рабочего колеса турбины, м;

h - расстояние от крышки турбины до уровня отжатой воды, м.

При проведении специальных испытаний часто применяется метод определения потерь, основанный на том, что при отжатий на остановленном агрегате практически отсутствует вынос воздуха в нижний бьеф. Исходя из этого, потери воздуха в нижний бьеф (м3) определяются как разность объемов воздуха, истраченного на отжатие до установленного уровня на работающем Vcпp и остановленном Voпp агрегатах:

Vyпp = Vспр - Vопр.

В.5.6 Уточнение отметки уровня отжатия

В.5.6.1 Для повышения эффективности использования сжатого воздуха при переводе гидроагрегата в режим СК отжатие воды в камере рабочего колеса турбины необходимо производить до оптимального уровня, который не всегда удается определить при проектировании. Поэтому он уточняется при проведении специальных испытаний. Для этого в первую очередь следует определить верхний предел уровня отжатия воды. С этой целью гидроагрегат переводят в режим СК на ручном управлении. Вода отжимается на 1-2 м ниже рабочего колеса. Затем воздух из камеры постепенно выпускается через специальный воздухопровод или клапан срыва вакуума, что приводит к подъему отжатого уровня воды в камере. При этом регистрируется мощность, потребляемая гидроагрегатом из сети, давление в камере и отметка нижнего бьефа. При достижении уровня рабочего колеса происходит захват воды его лопастной системой с одновременным увеличением потребляемой мощности и гидроагрегат переходит в насосный режим. Момент начала изменения мощности, потребляемой гидроагрегатом из сети, и является критерием достижения уровня рабочего колеса турбины. Таким образом, уровень захвата (УЗ) воды рабочим колесом при давлении в камере Рв и уровне нижнего бьефа УНБ составит

где hв - давление в камере Рв, м.вод.ст.

В.5.6.2 Контроль уровня захвата воды лопастями рабочего колеса турбины может быть также осуществлен методом измерения вибрации крышки турбины, опоры полпятника или биения вала у турбинного подшипника.

С учетом возможных колебаний уровня нижнего бьефа и погрешности уставки автоматических устройств подкачки отметку верхнего предельного уровня отжатия воды (м) определяет как

Нижний предельный уровень (НПУ) отжатия воды следует выбирать из условий экономичности работы устройств впуска и «подкачки» воздуха. При этом следует оценить затрату электроэнергии для восстановления давления в ресиверах, амортизацию компрессоров и другого оборудования в зависимости от частоты его включения при разных отметках нижнего предела уровня отжатия. В большинстве случаев экономически целесообразно выбирать нижний предел отжатия таким, чтобы обеспечить включение «подкачки» воздуха не чаще одного раза в час.

Зная средний нормальный уровень утечки воздуха из камеры рабочего колеса, нижний предел отжатия воды (м) определяется по выражению

где  - подъем воды в камере, м/ч.

В.5.7 Отжатие воды из камеры рабочего колеса при переводе гидроагрегата в режим СК

Истечение воздуха из воздухосборников воздушной системы в камеру рабочего колеса при переводе гидроагрегата в режим СК происходит в сравнительно небольшой отрезок времени. При этом значительно понижается температура в воздушной системе без ощутимого теплообмена с окружающей средой. В термодинамике такой процесс называется адиабатическим.

Заполнение воздухом камеры рабочего колеса носит иной характер. При поступлении воздуха в наполненную водой камеру происходит перемешивание сред с интенсивным теплообменом. Этот процесс близок по характеру к изотермическому.

С точки зрения термодинамики весь процесс перетекания воздуха из воздухосборников в камеру можно рассматривать как политропический, т.е. обобщенный термодинамический процесс сжатия или расширения рабочего тела, протекающий с подводом или отводом тепла и изменением всех параметров: давления, температуры, объема.

Политропический процесс описывается уравнением, отражающим неизменность произведения давления Р и объема V с показателем политропы n:

p*Vn = const.

Показатель политропы для условий воздушного хозяйства ГЭС с достаточной для практических расчетов процесса отжатия точностью принимается равным 1,2.

На основе приведенного общего уравнения выведена формула объема воздухосборника

где Vk - объем камеры рабочего колеса турбины м3;

Vn - объем воздуха, унесенного в процессе отжатия, м3;

Vcp - объем воздуха, идущего на срыв вакуума, приведенный к давлению в камере, м3;

Pk - абсолютное давление в камере в конце отжатия, МПа;

ΔРр - перепад давления в воздухосборнике при отжатии, МПа;

K - показатель адиабаты.

Объем камеры рабочего колеса Vk подсчитывают по геометрическим размерам.

Объем уноса воздуха в процессе отжатия для радиально-осевых турбин и для осевых и диагональных турбин определяют по формулам:

Vn = 1,4 * 10-4 *D2o6 * Ноб * tn;     Vn = 4,6 * 10-3 * D12 * Нл * n;

где Doб - диаметр обода рабочего колеса, м;

Ноб - высота обода рабочего колеса, м;

tn - время отжатия, с;

n - частота вращения агрегата, об/мин;

D1 - диаметр рабочего колеса, м;

Нл - высота лопастной системы, м.

Объем воздуха, расходуемый на срыв вакуума, учитывают и определяют только для осевых турбин

где Vк.в - объем камеры выше оси поворота лопастей, м3.

В.5.8 Разновидности воздушных систем

В.5.8.1 Воздушная система, предназначенная для перевода гидроагрегата в режим СК, является частью пневматического хозяйства ГЭС.

В обеспечении работы гидроагрегата в режиме СК участвуют следующие устройства воздушной системы:

компрессоры;

воздухосборники;

воздухопроводы (соединительные, магистральные, подводящие и т.д.);

запорная арматура и устройства, позволяющие автоматически подавать необходимый объем воздуха в камеру рабочего колеса, осуществлять подкачку воздуха для восстановления потерь, производить ремонты и т.п.

В.5.8.2 В воздушных системах ГЭС для отжатия воды из камеры рабочего колеса гидротурбин при переводе гидроагрегатов в режим СК используется сжатый воздух с номинальным (расчетным) давлением до 6,3 МПа. Давление свыше 2 МПа принято считать высоким. Наибольшее распространение получили системы с давлением 4,0 МПа. Это связано, прежде всего, с тем, что в системе регулирования используется такое же давление и возможна унификация компрессорных установок.

В типовую схему воздушного хозяйства высокого давления входят те же элементы, что и в схему низкого (0,8 МПа) давления: компрессорная установка, воздухосборники, воздухопроводы с запорной арматурой, подкачивающие устройства и устройства автоматики.

Воздушные системы низкого и высокого давления делятся на три типа (рис. В.5.): объединенные (общестанционные), групповые (блочные) и индивидуальные (агрегатные).

В общестанционных системах отжатие воды на всех турбинах производится из общего коллектора, питание которого осуществляется всей группой воздухосборников одновременно. При этом воздухосборники могут размещаться у какого-либо конца коллектора в специальном помещении или вне здания ГЭС, либо распределяться внутри него вдоль коллектора.

В блочных системах каждый отдельный воздухосборник или каждая часть воздухосборников со своим коллектором обеспечивает отжатие воды у группы турбин (как правило, двух, трех, четырех). При этом воздухосборники обычно располагаются вдоль здания ГЭС.

Агрегатные системы характеризуются индивидуальным подводом воздуха в каждой турбине от своего воздухосборника. При этом воздухосборники равномерно располагаются вдоль здания ГЭС.

В.5.8.3 В проектных схемах, как правило, предусматривается возможность резервирования в случае выхода из строя воздухосборников, предназначенных для данного агрегата.

Воздушная система обычно содержит более двух компрессоров, один из которых резервный. Компрессорная установка должна иметь обособленную магистраль для заполнения воздухосборников.

Рисунок В.5. Компоновка воздушной системы отжатия: объединенные (общестанционные) - верхняя схема, групповые (блочные) - средняя схема и индивидуальные (агрегатные) - нижняя схема.

1 - компрессорная; 2 - воздухосборник; 3 - агрегат

Заполнение воздухосборников осуществляется автоматически в зависимости от наличия в них требуемого давления: запуск компрессоров производится при снижении давления в системе до установленного предела, а останов - при достижении номинального давления.

В некоторых системах в компрессорной установке предусматриваются группы компрессоров малой и большой производительности, причем первая – автоматически поддерживает давление в системе при небольшом снижении давления в ней, а вторая при глубокой «посадке» давления.

Библиография

[1] СО 34.04.181-2003 Правила организации технического обслуживания и ремонта оборудования, зданий и сооружений электростанций и сетей. (Утв. ОАО РАО «ЕЭС России»).

[2] СТО «Гидроэлектростанции. Охрана труда (правила безопасности) при эксплуатации и техническом обслуживании сооружений и оборудования ГЭС. Нормы и требования» (проект).

[3] СТО «Технические системы гидроэлектростанций. Организация эксплуатации и технического обслуживания. Нормы и требования» (проект).

[4] СТО «Гидроэлектростанции. Организация эксплуатации и технического обслуживания. Нормы и требования» (проект).

[5] СТО «Гидрогенераторы. Организация эксплуатации и технического обслуживания. Нормы и требования» (проект).

Ключевые слова: гидротурбинные установки, гидроэлектростанции, организация, эксплуатация, техническое обслуживание, норма, требование, персонал, контроль

Руководитель организации-разработчика

Некоммерческое партнерство

«Гидроэнергетика России»

наименование организации

Исполнительный директор ______________________________________P.M. Хазиахметов

Руководитель разработки

Главный эксперт ________________________________________________B.C. Серков

СОИСПОЛНИТЕЛИ

Руководитель организации-соисполнителя

Филиал ОАО «Инженерный центр

ЕЭС» - «Фирма ОРГРЭС»

наименование организации

Директор ________________________________________________________В.А. Купченко

Руководитель разработки

Начальник Центра ________________________________________________В.Н. Банков

 

 




ГОСТЫ, СТРОИТЕЛЬНЫЕ и ТЕХНИЧЕСКИЕ НОРМАТИВЫ.
Некоммерческая онлайн система, содержащая все Российские Госты, национальные Стандарты и нормативы.
В Системе содержится более 150000 файлов нормативно-технической документации, действующей на территории РФ.
Система предназначена для широкого круга инженерно-технических специалистов.

Рейтинг@Mail.ru Яндекс цитирования

Copyright © www.gostrf.com, 2008 - 2026