|
|
УТВЕРЖДАЮ Генеральный директор МГО НЕФТЕКОМ ______________________ В.А.Курамжин "____" _______________________ 1991 г. РУКОВОДСТВО по
инженерной эксплуатации, содержанию и РТМ 1652-10-91 Директор О.Г. Алтапов Руководитель мастерской № 5 О.М. Двойкина Заказ № Арх. № 1991г. СОДЕРЖАНИЕ "Руководство" разработано в соответствии с требованиями "Положения о проведении планово-предупредительного ремонта производственных зданий и сооружений", утвержденного постановлением Госстроя СССР 29 декабря 1973 г. № 279. Предназначено для практического руководства в работе подразделений, занимающихся технической эксплуатацией, надзором и ремонтом производственных зданий и сооружений. При разработке "Руководства" использованы нормативные документы, литературные источники и многолетний опыт натурных обследований различных промышленных зданий, накопленный автором за 30 лет. Для консультаций по вопросам, связанным с обмерно-обследовательскими и проектными работами по восстановлению и капитальному ремонту строительных конструкций, планово-высотной съемкой подкрановых конструкций зданий и сооружений, составлением строительных паспортов, можно обращаться в мастерскую № 5 Проектнефтеком. Разработки мастерской №5 отмечены дипломами и медалями ВДНХ. Замечания и предложения по "Руководству" направлять в Проектнефтеком (мастерская № 5) по адресу: 125040, гор. Москва, ул. Скаковая, дом 32. 1. ОБЩИЕ ПОЛОЖЕНИЯ1.1. Современные промышленные здания являются сложными инженерными сооружениями. Для поддержания их в работоспособном состоянии требуются определенные затраты на техническое обслуживание и ремонты. 1.2. В ряде производств фактические скорости износа строительных конструкций и зданий в целом настолько велики и мешают нормальной работе предприятий, что принятие неотложных мер по снижению интенсивности износа и увеличению сроков службы строительных конструкций является главной задачей службы эксплуатации. 1.3. Особенно это относится к "открытым" и "полуоткрытым" технологическим процессам, сопровождающимся агрессивными для строительных конструкций выделениями из раскрытых емкостей. 1.4. Техническая эксплуатация промышленных зданий и сооружений включает в себя совокупность организационно-технических мероприятий по надзору, уходу и всем видам ремонта строительных конструкций, направленных на обеспечение надежности, исправности и долговечности их работы в условиях эксплуатации. 1.5. В отличие от производственного оборудования строительные конструкции в значительно меньшей мере подвержены моральному износу, поэтому обеспечение их долговечности предупреждением преждевременного физического износа имеет важнейшее народнохозяйственное значение. Опыт показывает, что профилактические мероприятия в десятки раз дешевле и проще, чем восстановление или замена преждевременно вышедшей из строя конструкции в условиях действующего производства. 1.5. Большим организационным недостатком по наблюдению за зданиями и сооружениями является отсутствие на многих заводах квалифицированно составленной инструкции по эксплуатации, содержащей элементарные правила, способствующие сохранности зданий и сооружений. 1.6. Другим недостатком является малая мощность ремонтно-строительных цехов заводов, как по численности, так и по оснащению необходимым оборудованием и материалами. 1.7. В большинстве случаев эксплуатация зданий идет самотеком, нарушаются элементарные правила, не проводятся профилактические и текущие ремонты, очистка конструкций и кровель от пыли и повторная качественная окраска, в результате чего работоспособность конструкций снижается и они преждевременно выходят из строя. 1.8. За состояние конструкций формально ответственными являются начальники цехов и их помощники по оборудованию во главе с главным механиком завода. Не являясь специалистами-строителями, они не в состоянии обеспечить правильную эксплуатацию конструкций. 1.9. Эксплуатационные службы предприятий не укомплектованы квалифицированным инженерно-техническим персоналом. Слабо осуществляется надзор за техническим состоянием зданий и сооружений. Недостаточно четко ведется систематизированный учет данных по эксплуатации зданий и сооружений, необходимых для планирования и накопления статистического материала. 1.10. Имеют место случаи, когда на отдельные здания и сооружения отсутствует проектная и эксплуатационная техническая документация и строительные паспорта зданий. 1.11. Требования настоящего "Руководства" направлены на обеспечение сохранности и эксплуатационной надежности производственных зданий и сооружений, сокращение затрат на их эксплуатацию путем надлежащего ухода и надзора за ними, получение полной и объективной информации о техническом состоянии зданий и сооружений, назначение и своевременное проведение необходимых видов ремонтов, осуществляемых по заранее составленному плану. 1.12. "Руководство" предусматривает правила технической эксплуатации и ремонта производственных зданий и сооружений по всем видам строительных конструкций. 1.13. Знание и соблюдение правил и требований настоящего "Руководства" являются обязательными для административного, инженерно-технического и эксплуатационного персонала промышленных предприятий. 1.14. Лица, занятые эксплуатацией и ремонтом зданий, должны хорошо знать их устройство, условия работы конструкций, технические нормативы на материалы и конструкции и уметь приближенно оценивать техническое состояние зданий и отдельных его конструкций по внешнему виду, выявлять уязвимые места, с которых может начаться разрушение конструкции. 2. ЭКСПЛУАТАЦИОННАЯ ПРИГОДНОСТЬ ЗДАНИЙ.
|
|||||||||||||||||||||||||||||||||||||||||||||||||||||||||||||||||||||||||||||||||||||||||||||||||||||||||||||||||||||||||||||||||||||||||||||||||||||||||||||||||||||||||||||||||||||||||||||||||||||||||||||||||||||||||||||||||||||||||||||||||||||||||||||||||||||||||||||||||||||||||||||||||||||||||||||||||||||||||||||||||||||||||||||||||||||||||||||||||||||||||||||||||||||||||||||||||||||||||||||||||||||||||||||||||||||||||||||||||||||||||||||||||||||||||||||||||||||||||||||||||||||||||||||||||||||||||||||||||||||||||||||||||||||||||||||||||||||||||||||||||||||||||||||||||||||||||||||||||||||||||||||||||||||||||||||||||||||||||||||||||||||||||||||||||||||||||||||||||||||||||||||||||||||||||||||||||||||||||||||||||||||||||||||||||||||||||||||||||||||||||||||||||||||||||||||||||||||||||||||||||||||||||||||||||||||||||||||||||||||||||||||||||||||||||||||||||||||||||||||||||||||||||||||||||||||||||||||||||||||||||||||||||||||||||||||||||||||||||||||||||||||||||||||||||||||||||||||||||||||||
|
№ маяков |
Дата установки |
Место установки (цех, корпус, стена по оси…) |
Дата разрыва маяка |
Примечание |
|
|
|
|
|
|
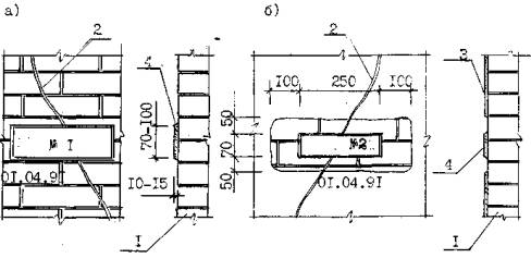
6.21.34. Гипсовые и цементные маяки выполнять длиной 200 - 300, шириной 70 - 100 и толщиной 10 - 15 мм.
6.21.35. Маяки наносятся на очищенную поверхность кладки с таким расчетом, чтобы они перекрывали трещину и заходили по обе стороны за нее на расстояние 100 - 150 мм.
6.21.36. На маяке или рядом с ним указывают порядковый номер и дату установки (Рис. 20).
6.21.37. Стеклянные маяки изготавливают из обыкновенного стекла толщиной 3, шириной 40 - 60 и длиной 200 - 300 мм.
6.21.38. Наклеиваются стеклянные маяки на очищенную поверхность стен при помощи алебастра внутри помещений или цементного раствора на наружных поверхностях.
6.21.39. Рядом с маяком на поверхности стены указывают порядковый номер и дату установки (Рис. 21).
6.21.40. В случаях, когда наблюдение за маяками не дает полной картины напряженного состояния конструкций, изучение деформаций производится при помощи геодезического наблюдения специализированной организацией.
6.21.41. Деревья, произрастающие рядом со стенами, способствуют появлению деформаций фундаментов, так как корни их, проникая в швы и поры кладки, постепенно ее разрушают, что в итоге может привести к деформациям всего здания (Рис. 22).
6.21.42. В целях предотвращения повреждений в строительных конструкциях необходимо во время эксплуатации зданий и сооружений осуществлять следующие мероприятия:
систематически следить за состоянием отмостки и планировки прилегающей территории, не допуская скопления мусора и отходов производства вблизи стен;
не допускать складирование на прилегающей к зданию территории материалов, готовой продукции и отходов производства (Рис. 23);
посадку деревьев и кустарников следует производить не ближе 5 м от стен здания; случайные поросли необходимо немедленно удалять; цветники и газоны устраивать не ближе 2 м от стен здания;
следить за исправностью сетей водопровода, канализации и теплофикации, не допуская утечки воды в сторону фундаментов;
не допускать протечек агрессивных вод и жидкостей через полы первого этажа;
систематически очищать (от ила, травы, мусора) ливнестоки (открытые лотки, кюветы), собирающие и отводящие воды с территории предприятия, поддерживая достаточные для пропуска вод сечения и уклоны в сторону водосброса;
регулярно прочищать дренажные системы путем их промывки;
периодически прочищать систему ливневой канализации с колодцами;
не допускать отрывку траншей или котлованов на расстоянии менее 2 м от обрезов и ниже подошвы фундаментов без согласования с проектной организацией;
увеличение высоты подвального помещения за счет понижения уровня пола разрешается только по специально разработанному проекту;
не допускать проникания жидкостей в грунты оснований фундаментов, в подвальные помещения, тоннели, всевозможные каналы и т.д. (Рис. 24);
регулярно проветривать в летнее время неиспользуемые подвальные помещения;
периодически прочищать сточные каналы, лотки, приямки и тралы от загрязнений.
6.21.43. Очистку каналов, приямков, лотков, и трапов следует производить деревянными инструментами с последующей промывкой водой. Категорически запрещается применять для очистки металлические инструменты.
6.21.44. При появлении опасных деформаций здания необходимо обратиться в специализированную организацию для выполнения обследовательских работ и разработки рекомендаций.
6.22. При нормальных условиях эксплуатации и своевременной защите от разрушающих воздействий колонны, применяемые в конструкциях промышленных зданий и сооружений, надежны и долговечны. Нормальный срок их службы составляет 70 - 100 лет.
6.22.1. Колонны находятся в наиболее благоприятных условиях эксплуатации - по сравнению с другими конструктивными элементами здания. Однако в процессе эксплуатации возможно•появление в них дефектов, вызванных неудачными конструктивными решениями отдельных узлов, механическими повреждениями, коррозионными воздействиями либо различными нарушениями условий эксплуатации.
6.22.2. Наиболее характерными дефектами и повреждениями колонн являются:
а) в стальных колоннах:
вырезы в полках (ветвях) колонн;
всевозможные отверстия в стенках колонн;
погнутости, вмятины, погибы, в нижних частях колонн от ударов тяжелыми предметами;
повреждения от воздействия высоких температур, непосредственное соприкосновение горячего металла или шлака с колонной;
коррозия металла;
смещение верха колонны с разбивочной оси;
смещение колонн в плоскости и из плоскости рам каркаса и др.;
б) распространенным дефектом железобетонных колонн являются вертикальные и горизонтальные трещины на гранях колонн (Рис. 25, 26).
6.22.3. При небрежной эксплуатации часто для проводки различных коммуникаций вырезаются отдельные элементы в сплошностенчатых и решетчатых стальных колоннах, что приводит к ослаблению сечения колонн. При неизбежности вырезов необходимо данные работы выполнять по специально разработанным чертежам с соответствующим усилением ослабленных участков.
6.22.4. В отдельных случаях возникает необходимость вырезки полок в верхней части стальных колонн для возможности прохождения крана при неточной установке колонн в створе, неравномерности осадок фундаментов и их поворотов, вызывающих наклон колонн и изменение габаритов подкрановых путей.
6.22.5. Местные деформации (погнутости и разрушения креплений) могут быть вызваны перегрузкой отдельных элементов стальных колонн, возникающей при передаче усилий от дополнительных нагрузок, неучтенных в проекте.
6.22.6. При стесненных габаритах внутри цехов и небрежной транспортировке деталей колонны и кирпичные столбы подвергаются механическим повреждениям. Наиболее часто повреждаются нижние части колонн и стержни решетки стальных колонн (Рис. 27, 28).
6.22.7. Повреждения стальных колонн могут быть вызваны воздействием высоких температур. Обычно эти повреждения носят местный характер и вызываются соприкосновением колонн с горячим металлом, шлаком или огнем. При этом металл колонн нагреваясь до 300 - 400 °С вызывает коробление отдельных элементов, приводящее к возникновению больших остаточных деформаций.
6.22.8. Стальные колонны могут быть повреждены коррозией. Коррозия бывает общей и местной. В колоннах со сплошными стенками коррозия обычно незначительна, так как открытые профили и вертикальное их расположение не способствуют отложению на них пыли, а, следовательно, и появлению очагов коррозии.
6.22.9. Решетчатые стальные колонны поражаются коррозией из-за возможности отложений пыли на элементах решетки; при увлажнении пыли процесс коррозии протекает более интенсивно.
6.22.10. Местным повреждениям коррозией подвергаются отдельные части и узлы колонн, особенно интенсивно поражается коррозией нижняя часть.
6.22.11. В процессе эксплуатации могут встретиться случаи смещения верха колонн в плоскости и из плоскости рам, достигающие размеров 100 - 200 мм и более, значительно превышающих допустимые величины, равные 0,001 высоты колонны.
6.22.12. В вертикальных связях колонн часто встречаются повреждения в виде погнутостей отдельных элементов и выхода из плоскости (Рис. 29, 30, 31).
6.22.13. Вертикальные трещины в железобетонных колоннах являются причиной коррозии продольной арматуры; продукты коррозии, увеличиваясь в объеме в 2 - 3 рала разрушают защитный слой бетона углов колонн (Рис. 32).
6.22.14. Горизонтальные трещины в железобетонных колоннах встречаются весьма редко. В нормальной среде и при незначительном раскрытии трещин несущая способность колонн не снижается. Проникновение агрессивных компонентов влажной и агрессивной среды в трещины вызывают коррозию арматуры железобетона, что может привести со временем к снижению несущей способности колонны.
6.22.15. Наклонные трещины в железобетонных колоннах являются весьма опасными в конструктивном отношении (Рис. 33). Такие трещины проявляются вследствие нарушения технологии бетонирования, низкой марки бетона и длительных перерывов во время бетонирования колонны.
6.22.16. Некачественное бетонирование монолитных железобетонных колонн в процессе эксплуатации может проявиться в виде разрушения подкрановых консолей колонн (Рис. 34). Такие разрушения опасны, так как могут повлечь за собой обрушение подкрановых конструкций и мостовых кранов.
6.22.17. В монолитных железобетонных колоннах распространенными дефектами являются раковины, пустоты, выколы, оголение арматуры (Рис. 35). Сами дефекты не представляют опасности для несущей способности колонн, но они являются причиной коррозии арматуры и тем самым с течением времени снижают несущую способность колонн. Такие дефекты должны быть устранены.
6.22.18. В существующих зданиях нередко встречаются случаи смещения колонн с разбивочных осей, отклонения от вертикального положения, отступления от повысотных уровней, несоосное расположение по этажам в многоэтажных зданиях, а также смещения шага колонн, достигающие 10 - 20 см и более (Рис. 36), что является результатом некачественного монтажа без тщательной инструментальной выверки соответствия проекту отметок и положения колонн в плане.
6.22.19. Смещения колонн по вертикали и в плане от проектных размеров приводит к внецентренному опиранию на колонны несущих конструкций покрытий и перекрытий, так как с одной стороны их опорные поверхности увеличиваются, а с другой на столько же уменьшаются. В этом случае на колонны действуют дополнительные внешние внецентренные нагрузки, вызывающие дополнительные изгибающие моменты в сечениях колонн, что влечет за собой деформацию колонн.
6.22.20. При отклонении колонн от вертикали в поперечном направлении здания возможны разрушения защитного слоя бетона и деформация арматуры от ударов крана из-за несоблюдения габаритных размеров (Рис. 37), что может вызвать разрушение колонны.
6.22.21. При проникании атмосферных осадок через нарушенную кровлю и наличии агрессивной среды внутри помещения происходит разрушение защитного слоя бетона и коррозия арматуры. Такие повреждения опасны, особенно в верхних жестких узлах монолитных железобетонных рам (Рис. 10).
6.22.22. В кирпичных столбах встречаются трещины в местах опирания несущих конструкций перекрытий или покрытий из-за отсутствия распределительной подушки; по высоте кирпичных столбов возникают трещины в результате перегрузок и значительной высоты столба (Рис. 38).
6.22.23. Во время осмотра колонн и столбов необходимо особое внимание обращать на дефекты и. повреждения, которые представляют собой опасность с точки зрения возможного их влияния на обрушение конструкций.
6.22.24. К признакам, характеризующим аварийное состояние, могут быть отнесены следующие повреждения:
разрывы и значительные местные деформации элементов;
значительные неравномерные осадки колонн и отклонения от вертикали, приводящие к затруднениям в работе мостовых кранов;
значительное поражение металла коррозией, в результате чего резко снижается несущая способность колонн;
подвижка колонн при прохождении мостовых кранов, что указывает на недостаточную жесткость каркаса;
отклонение кирпичных столбов от вертикали, превышающее 1/4 его толщины;
расслоения кладки и наклонные трещины в кирпичных столбах;
значительные разрушения бетона и арматуры коррозией.
6.22.25. Мелкие повреждения в колоннах и столбах должны быть устранены по мере их обнаружения (восстановление защитного слоя бетона, заделка выбоин и раковин, восстановление антикоррозийного покрытия и т.д.).
6.22.26. При обнаружении опасных деформаций колонн и столбов необходимо провести комплекс обследовательских работ и разработку проектно-сметной документации на капитальный ремонт.
6.23. Стены промышленных зданий и сооружений любого назначения являются ограждающими конструкциями и поэтому основное назначение их - защита от атмосферных воздействий на весь период эксплуатации здания. Однако во многих зданиях, особенно старой постройки, стены выполняют также роль несущей конструкции.
6.23.1. Стены, должны иметь достаточную механическую прочность, чтобы воспринимать нагрузку от конструкции здания и передавать ее на фундамент, и обладать достаточной устойчивостью при воздействии на них всевозможных комбинаций нагрузок.
6.23.2. При учете всех факторов кирпичные стены считаются наиболее долговечными.
6.23.3. В процессе эксплуатации на состояние и несущую способность существенное влияние оказывают многие факторы:
перемена температурно-влажностного режима;
действие ветров, паров, газов, чередующиеся увлажнения и высыхания, замерзание и оттаивание воды в порах, динамические и вибрационные воздействия, воздействия взрывной волны, землетрясения, приводящие к разрушению кладки.
6.23.4. Под влиянием вышеизложенных факторов в стенах возможно появление различных разрушений и повреждений.
6.23.5. Основными дефектами каменных стен являются:
отслоения (расслоения) кладки, в результате отсыревания и проникания в стены влаги (Рис. 39);
выветривания раствора и кирпича; отклонения стен от вертикали;
всевозможные местные повреждения кладки;
пробитые горизонтальные и вертикальные борозды, отверстия, проемы и ниши, непредусмотренные проектом;
отсутствие гидроизоляции между фундаментом и стенами и деформационных швов;
отсутствие анкеровки стен к несущему каркасу, перекрытиям и покрытиям;
трещины различных направлений и размеров;
низкая прочность кирпича и раствора;
некачественная перевязка пилястр со стенами и др.
6.23.6. Основными повреждениями крупнопанельных стен являются:
высокая воздухопроницаемость и протечки стыков;
коррозия стальных закладных деталей;
разрушение заделки стыков;
разрушение горизонтальных и вертикальных швов и коррозия арматуры (Рис. 40);
разрушение панелей в местах их опирания на столики (Рис. 41);
6.23.7. Распространенным дефектом стен зданий являются сырость стен и высолы на цокольной части и выше.
6.23.8. Сырость влияет на долговечность стеновых материалов. Намокание и сырость отдельных участков стен могут возникнуть в результате:
капиллярного проникновения в стены поверхностных вод при поднятии их выше уровня гидроизоляции фундаментов или при поднятии грунтовых вод в случае отсутствия или неисправности гидроизоляции стен;
прямого увлажнения стен дождевыми и талыми водами при неисправности системы водоотвода с кровли, неисправности карнизов, парапетных и подоконных сливов;
конденсации влаги на внутренних поверхностях стен и окон в холодное время года;
протечек кровель в результате их повреждений и некачественного выполнения;
промерзания стен из-за чрезмерного их увлажнения.
6.23.9. Весьма часто встречаются различные разрушения цокольных частей стен зданий причинами, которых могут быть значительные повреждения прилегающих участков отмостки или ее отсутствие (Рис. 42, 43), складируемые вблизи стен различные материалы, способствующие накоплению влаги в материалах кладки.
6.23.10. При повреждении или отсутствии гидроизоляции между фундаментом и стеной происходит капилярное поднятие влаги по кладке стен. Поднимающаяся по стенам вода, насыщаясь органическими веществами, образует на поверхности стен налет весьма гигроскопичных азотнокислых соединений, при взаимодействии которых с воздухом на стенах постоянно конденсируется влага, проникающая глубоко в толщу стен, что ведет к интенсивному разрушению материалов кладки.
6.23.11. В кирпичных стенах встречаются разрушения кладки с наружной стороны в результате выветривания (Рис. 45).Чаще такие разрушения происходят в стенах зданий, характер производственных процессов в которых сопряжен с большой влажностью воздуха внутри помещения, или в стенах, выполненных из недостаточно морозостойких материалов (как, например, из силикатного кирпича).
6.23.12. Кирпичные стены, выполненные из неморозостойких материалов и систематически подвергающиеся обильному увлажнению атмосферными осадками особенно подвержены выветриванию с наружной стороны. Глубина выветривания в течение первых нескольких лет эксплуатации может достичь значительных размеров, в результате чего возможно обрушение отдельных участков стен (Рис. 46).
6.23.13. Кирпичные стены, выполненные на маломорозостойких материалов и оштукатуренные с наружной стороны в зданиях с повышенной влажностью воздуха внутри помещений, также подвержены выветриванию. Уменьшение паропроницаемости ограждающих конструкций, и, следовательно, увеличение количества накопленной в кладке влаги ведет к разрушению штукатурки, и затем материалов кладки (Рис. 47).
6.23.14. Разрушения кладки стен наблюдаются в местах дефектов водостоков (Рис. 48).
6.23.15. Местные увлажнения стен возможны на участках расположения наружных пожарных лестниц и площадок, трубопроводов, вытяжных шахт и других устройств (Рис. 49).
6.23.16. Кладка карнизов стен разрушается корнями растений, растущих на них (рис. 50).
6.23.17. Разрушение кладки стен может быть вызвано неудовлетворительным состоянием свесов кровли и мест примыканий кровельного покрытия к парапетам. На рис. 51 и 52 показан пример разрушения карнизной части и парапета.
6.23.18. На рис. 52 показано разрушение парапета фонаря, которое произошло в результате неправильного выполнения кровли фонаря - из одного слоя рубероида. В местах примыкания к парапету произошел ее разрыв. Вода, попадая между кровлей и парапетом при переменном замерзании и оттаивании разрушила парапет.
6.23.19. В перемычках стен встречаются всевозможные повреждения. На рис. 53...56 приведены примеры разрушений перемычек:
на рис. 53 показано начальное разрушение железобетонной перемычки из-за низкого качества бетона;
на рис. 54 - разрушение рядовой перемычки;
на рис. 55 - разрушение армокирпичной перемычки;
на рис. 56 - разрушение клинчатой кирпичной перемычки.
6.23.20. Механические повреждения кладки стен являются распространенным дефектом. На рис. 57 показано разрушение угла кладки стен железнодорожным транспортом.
6.23.21. При установке новых кранов с габаритами, превышающими допустимые, иногда заводские службы самостоятельно принимают решение о пробивке горизонтальных борозд в стенах без выполнения статических расчетов и проекта. Уменьшение сечения стены может привести к аварийному состоянию всего здания (рис. 58 и 59).
6.23.22. Разрушения кирпичной кладки в местах дверных проемов и ворот, как правило, вызваны механическими ударами.
6.23.23. К числу недопустимых повреждений стен, требующих немедленного устранения, относятся:
расслоившаяся кладка в простенке или на значительном участке глухой стены;
отклонение кирпичной стены от вертикали свыше 1/4 ее толщины;
наличие горизонтальных борозд в кладке на глубину свыше 1/4 толщины стены;
наличие горизонтальных и вертикальных борозд в комбинированной кладке;
отслоение кладки на глубину свыше 1/4 толщины стены;
выпучивание стены из плоскости на величину превышающую 1/4 ее толщины и потерявшую связь с поперечными стенами;
трещины в кладке карнизов, свидетельствующие о нарушении ее монолитности;
перемычки и висящие стены, имеющие трещины, характеризующие начало разрушения кладки;
простенки, имеющие значительные повреждения кладки (Рис. 60);
отсутствие анкеровки стен к колоннам.
6.23.24. Для обеспечения надежности и долговечной эксплуатации каменных и крупнопанельных стен необходимо:
не допускать местных перегрузок;
не допускать переувлажнения;
не допускать образования на поверхности стен конденсата;
соблюдать температурно-влажностный режим внутри здания, предусмотренный проектом;
не допускать замачивания грунтов оснований фундаментов дождевыми, талыми и производственными водами;
не допускать пробивки всякого рода проемов, ниш, борозд без наличия соответствующего разрешения;
содержать в. исправном состоянии отмостки по периметру зданий и сооружений;
не допускать выброса у стен зданий и сооружений отработанных воды и пара;
защищать стены от воздействия агрессивных сред;
следить за исправным состоянием кровли особенно в местах сопряжения со стенами и пропуска коммуникационного оборудования;
не допускать складирования непосредственно у наружных стен производственного сырья и отходов, особенно гигроскопических материалов, а также размещения громоздкого оборудования, конструкций, затрудняющих циркуляцию воздуха у стен;
не допускать скопления влаги в междурамных пространствах оконных проемов.
6.23.25. В период эксплуатации необходимо вести наблюдение и постоянный уход за ними.
6.23.26. При обнаружении на стенах увлажненных участков, плесени и т.п. следует выявить причины их появления (конденсационная влага; поверхностные или грунтовые воды, атмосферные воды; повреждение технологических, водопроводных или канализационных устройств и коммуникаций; увлажнения, связанные с технологическим процессом или эксплуатацией технологического оборудования и др.), устранить эти причины и принять меры по сушке указанных мест.
6.23.27. При обнаружении значительных повреждений стен необходимо выполнить их восстановление или усиление. Вопрос о применении того или иного способа восстановления или усиления стен должен решаться с привлечением проектной организации.
6.23.28. Мелкие дефекты и повреждения, для ликвидации которых не требуется разработка проектной документации, устраняются силами предприятия незамедлительно.
6.23.29. В комплекс работ по устранению мелких дефектов входят:
расшивка стабилизировавшихся трещин цементно-песчаным раствором, кирпичной кладкой или путем инъецирования;
восстановление отслоившейся кладки с соблюдением перевязки;
замена выпавших и расшатавшихся отдельных кирпичей и камней;
восстановление карнизов, поясков и перемычек;
расшивка выветрившихся швов цементно-песчаным раствором;
замена выветрившейся кладки;
восстановление анкеровки стен к колоннам и другим конструкциям;
заделка выбоин и восстановление защитного слоя в крупнопанельных стенах;
восстановление герметизации стыков и швов в крупнопанельных стенах;
восстановление штукатурного и окрасочного слоев на фасадах;
восстановление или замена водосточных желобов, труб и др. элементов;
восстановление и замена облицовочных керамических плиток на фасадах и внутренней поверхности наружных стен.
6.24. Внутренние стены и перегородки в промышленных зданиях должны обладать огнестойкостью и достаточной устойчивостью.
6.24.1. В процессе эксплуатации в них могут появиться различные дефекты.
6.24.2. Для обеспечения нормальной эксплуатации внутренних стен и перегородок необходимо выявлять и незамедлительно устранять наиболее опасные дефекты стен:
зыбкость, выпучивание;
трещины, разрушения отделочного слоя (облицовки или штукатурки);
сырые пятна на их поверхности;
разрушения креплений перегородок со стенами.
6.24.3. При наличии трещин в кирпичных стенах и перегородках необходимо установить маяки и вести за ними наблюдение. Если в процессе наблюдений будет установлена стабилизация трещин, последние необходимо расшить цементно-песчаным раствором. Для выяснения причин нарастания деформаций в первую очередь необходимо, осмотреть фундаменты и их основания.
6.24.4. При выявлении зыбкости и выпучиваний в перегородках необходимо выявить их причину и в соответствии с этим решить вопрос их укрепления, переборки или полной замены.
6.24.5. При появлении зыбкости и трещин в местах сопряжений панельных перегородок со стенами, прежде всего, проверяют прочность крепления перегородок к стенам и перекрытиям. После устранения причин появления указанных дефектов производят дополнительные крепления, расшивку трещин, возобновляют штукатурный слой, облицовку и окраску.
6.24.6. Разборку, перестановку и установку новых внутренних стен и перегородок можно производить только с разрешения Отдела эксплуатации и ремонта зданий.
6.24.7. При наличии перегородок из деревянных элементов, мелких гипсолитовых или других плит в помещениях с повышенной влажностью, последние должны быть облицованы влагоустойчивыми плитками или окрашены масляными красками по штукатурке.
6.24.8. В каркасно-засыпных деревянных оштукатуренных перегородках душевых и в местах установки санитарно-технических приборов следует обращать внимание на местные повреждения штукатурки, сырые пятна, нарушения окрасочного слоя и отслоения облицовки плиток.
6.24.9. В процессе эксплуатации часто можно встретить горизонтальные трещины в верхней части перегородок первых этажей или наклонные трещины одного направления. Причиной появления таких деформаций возможно наличие в основании полов слабых грунтов, которые со временем уплотняются и влекут за собой осадку полов, а затем и перегородок первого этажа.
6.24.10. Устранить причину и стабилизировать оседание перегородок можно путем усиления их основания и пола первого этажа химическим закреплением грунта, буроинъекционными сваями по специально разработанному проекту, либо подвести под них несущие балки с опорой на фундаменты каркаса или подвести собственные фундаменты.
6.25. В производственных знаниях находят применение различные типы подкрановых конструкций, отличающиеся назначением, конструктивными схемами и конструкциями:
по назначению: подкрановые конструкции для мостовых электрических кранов, консольных кранов, балочных электрических и ручных кранов, тельферов;
по конструктивной схеме: разрезные и неразрезные;
по конструкциям: сборные и монолитные железобетонные подкрановые балки, стальные балки клепанные, сварные и из прокатных профилей, подкрановые балки с тормозными конструкциями, подкрановые фермы;
рельсы применяют квадратного и прямоугольного сечения с креплением к подкрановым балкам на шплинтах и сварке, железнодорожные рельсы с креплением на крюках и лапках, крановые рельсы с креплением на лапках.
6.25.1. Подкрановые балки и фермы работают в более тяжелых условиях, чем другие строительные конструкции. В них встречаются повреждения и деформации, возникающие от действия подвижных нагрузок и от многих других факторов.
6.25.2. Опыт проведенных натурных обследований стальных подкрановых конструкций на ряде предприятий показывает, что после 3 - 5 лет эксплуатации появляются первые повреждения и отклонения от проектного положения:
усталостные трещины в зоне соединения верхнего пояса со стенкой балки;
разрушение креплений подкрановых и тормозных конструкций к колоннам;
ослабление заклепочных соединений верхней части балок и ферм;
продольные и поперечные уклоны, превышающие допустимые значения, появляющиеся в результате неравномерной осадки колонн;
изменение расстояния между осями подкрановых путей, возникающее в результате смещения подкрановых балок с осей, неточности монтажа конструкций или неравномерной осадки колонн;
перекосы конструкций подкрановых путей по вертикали в поперечном и продольном направлении;
погнутости и вмятины в элементах балок, ферм и тормозных конструкциях;
повреждения кранового рельса (стирание верхних и боковых граней) в результате перекоса моста крана;
ослабления креплений (крючья, лапки) рельсов к балкам;
разрывы элементов решетки тормозных конструкций (Рис. 61).
6.25.3. Изменения геометрического положения подкрановых конструкций в условиях эксплуатации неблагоприятно влияют на их напряженно-деформационное состояние, приводят к преждевременному износу и ухудшают условия эксплуатации мостовых кранов.
6.25.4. В сварных подкрановых балках слабым местом являются сварные швы, прикрепляющие верхний пояс к стенке, ребра жесткости к стенке и поясу и крепления накладок, соединяющих стенки смещенных балок (Рис. 62 и 63).
6.25.5. Продольные трещины, появляющиеся, как правило, в околошовной зоне или сварном шве, развиваясь далее по основному металлу, могут достичь большой величины.
6.25.6. Трещины в сварных балках возникают вблизи концентраторов напряжений (неровности сварных швов, места их пересечений и т.д.) и больших местных напряжений под катком крана.
6.25.7.В клепаных стальных балках слабым местом являются поясные заклепки, которые при больших напряжениях смятия в стенке балки, возникающих от давления катка крана, с учетом крутящего момента, со временем расшатываются в отверстиях. При этом отверстия становятся овальными, а заклепки, сильно изгибаясь, в дальнейшем разрушаются.
6.25.8. При зазорах в примыкании ребер к верхнему поясу и стенке даже незначительный поворот пояса вызывает существенное искривление стенки, в результате чего выходят из строя верхние заклепки крепления ребра жесткости к поясному уголку.
6.25.9. Слабым местом являются заклепки горизонтальных плоскостей крепления поясных уголков к стенке балки. Одной из причин их разрушения является кручение верхнего пояса, вызванного внецентренным приложением нагрузки из-за смещения кранового рельса с оси балки более допустимого. Согласно норм проектирования допускается смещение оси рельса с оси балки не более 15 мм.
6.25.10. Слабым местом подкрановых конструкций является крепление их к колоннам.
6.25.11. При монтаже колонн нередко встречаются случаи неточности установки колонн по высоте. В таких случаях при монтаже подкрановых балок применяют выравнивающие подкладки толщиной, превышающей проектную, в результате чего длина анкерных болтов увеличивается, возрастает податливость соединений на температурные воздействия и силы от торможения крана (Рис. 64).Отсутствие соединения опорных ребер смежных балок ухудшает работу конструкций.
5.25.12. Для рихтовки подкрановых конструкций в вертикальной плоскости из-за неравномерной осадки колонн часто применяют пакеты выравнивающих подкладок, при некачественной установке которых и, тем более, при отсутствии анкерных креплений (Рис. 65) ухудшается работа всех подкрановых конструкций.
5.25.13. Смещения опорных узлов подкрановых балок с осей колонн в результате некачественного монтажа конструкций достигают иногда значительных размеров. В таких случаях внецентренное приложение крановых нагрузок на колонны ведет к появлению в них дополнительных напряжений, что может быть причиной разрушения бетона подкрановой части колонн.
6.25.14. Из-за не осевого опирания подкрановых балок на колонны в местах температурных швов зданий могут образоваться большие зазоры между смежными подкрановыми балками, значительно превышающие допустимые, в результате чего в рельсах этих участков появляются трещины.
6.25.15. В вертикальных диафрагмах, прикрепляющих подкрановую балку к колонне, встречаются повреждения в виде трещин в металле диафрагмы и отрыв ее от колонны (Рис. 67). Трещины в диафрагме и околошовной зоне подкрановых балок появляются в результате жесткого закрепления диафрагмы и податливого соединения верхнего пояса подкрановых балок с колонной.
6.25.16. В составных стальных балках, выполненных из двутавров и полосовой стали, приваренной к верхней полке двутавра прерывистыми швами нередко встречаются случаи появления усталостных трещин, как в сварных швах, так и в металле из-за концентрации напряжений на концах сварных швов.
6.25.17. Отклонения от проектных положений подкрановых путей в виде продольных и поперечных уклонов затрудняют эксплуатацию мостовых кранов и вызывают перераспределение вертикальных давлений между колесами кранов. При этом давление колес, расположенных на одной диагонали моста, увеличивается, а на другой уменьшается.
6.25.18. Смещения рельсов с оси подкрановых балок свыше допустимых (см. табл. 3) вызывают дополнительные напряжения в сечениях балок не учитываемые при проектировании.
5.25.19. При давлении колеса крана на расположенный с эксцентриситетом рельс верхний пояс подкрановой балки поворачивается на некоторый угол, а стенка получает выгиб из своей плоскости. В результате скручивания верхнего пояса подкрановой балки на гранях стенки появляются знакопеременные напряжения. При таких условиях резко снижается несущая способность балки, появляются трещины и разрушения в ее элементах.
6.25.20. Попускаемые величины отклонений от норм проектирования стальных подкрановых конструкций см. в таблице 3.
6.25.21. Наиболее распространенным дефектом в железобетонных подкрановых балках является повреждение свесов полок, чаще всего встречающиеся в местах установки крепежных болтов (Рис. 68 и 69).
6.25.22. В эксплуатируемых промышленных зданиях, как правило, встречаются подкрановые пути, выполненные из железнодорожных рельсов, с креплением на крюках. Практика показала, что такие крепления недостаточно надежны. При поперечных усилиях, передаваемых краном на рельсы, особенно при перекосе кранов, отдельные крюки за счет неравномерного натяжения и перегрузок вытягиваются и разрываются. Отсутствие пружинных шайб, блокирующих самоотвертывание гаек, приводит к ослаблению креплений и к разрушению полок железобетонных подкрановых балок в местах установки крюков.
Таблица 3
Допускаемые величины
отклонений от норм проектирования
стальных подкрановых конструкций при эксплуатации
|
Наименование |
Эскиз |
Допускаемая величина |
|
Трещины в основном металле элементов конструкций |
- |
не допускаются |
|
Выпучивание стенки балки |
|
∆ ≤ 0,003/H |
|
Прогиб из плоскости между точками закрепления участков сжатого пояса подкрановой фермы |
|
∆ ≤ 1/750 l, но не более 15 мм |
|
Прогиб отдельного элемента подкрановой фермы |
|
∆ ≤ 1/750 l, но не более 15 мм |
|
Винтообразность элемента |
- |
0,001 L, но не более 10 мм |
|
Перекос или грибовидность полок верхних поясов подкрановых балок |
- |
0,005в |
|
Отклонение в расстоянии между осями крановых рельсов |
|
L ± 15 мм |
|
Перепад уровней головок крановых рельсов в одном поперечном сечении: |
|
|
|
а) на опоре |
∆ ≤ 20 мм |
|
|
б) в пролете |
∆ ≤ 25 мм |
|
|
Перепад уровней головки рельса на соседних колоннах при расстоянии между колоннами: |
|
|
|
а) l ≤ 10 м |
∆ ≤ 15 мм |
|
|
6) l > 10 м |
∆ ≤ 20 мм |
|
|
Взаимное смещение торцов смежных подкрановых рельсов по высоте и в плане |
- |
4 мм |
|
Зазор в стыках рельсов (при t = 0 °С и длине рельса 12,5 м |
- |
4 мм |
|
Смещение оси кранового рельса с оси подкрановой балки |
|
∆ ≤ 20 мм |
|
Отклонение рельса от прямой линии (для мостовых кранов на участке 40 м, для остальных - 30 м) |
- |
∆ ≤ 20 мм |
|
Перепад уровня нижнего ездового пояса подвесных путей на смежных опорах |
|
Разность отметок ∆ ≤ 1/1000 L |
|
Перепад уровня нижнего пояса подвесных путей в одном поперечном сечении: |
|
|
|
а) при двух - многопролетных кранах: |
|
|
|
на опорах, |
∆ ≤ 10 мм |
|
|
в пролете; |
∆ ≤ 15 мм |
|
|
б) то же, со стыковыми замками: |
|
|
|
на опорах, |
∆ ≤ 3 мм |
|
|
в пролете. |
∆ ≤ 3 мм |
|
|
Смещение оси балки с продольной разбивочной оси подкрановых конструкций |
|
∆ ≤ 4 мм |
6.25.23. В железобетонных подкрановых балках возможно появление множества вертикальных и наклонных трещин разной ширины раскрытия, основными причинами которых являются выполнение балок без предварительного напряжения и низкая прочность бетона.
6.25.24. На первом этапе незначительные трещины не представляют опасности для железобетонных подкрановых балок. Но со временем при их расширении от динамических циклических воздействий крановых нагрузок балка теряет свою жесткость, что ведет к ее разрушению.
6.25.25. При неточной установке подкрановых балок на колонны относительно разбивочных осей смещения создают дополнительные напряжения в колоннах не учитываемые в проектах, что вызывает скол бетона в верхней подкрановой части колонны и разрушение опорных концов подкрановых белок.
6.25.26. Долговечность подкрановых конструкций будет обеспечена при строгом соблюдении требований установленных нормами и правилами безопасной эксплуатации грузоподъемных кранов и допусков при их монтаже и эксплуатации.
6.25.27. При нарушении правил технической эксплуатации мостовых кранов, например в случае использования кранов с неравномерно изношенными ободками и колесами разного диаметра, при несоответствии положения колес моста в плане и по вертикали проектному, резко ухудшаются условия эксплуатации подкрановых конструкций, в результате чего возникают дополнительные поперечные силы на катке пары колесо-рельс, что ведет к преждевременному износу подкрановых рельсов и колес мостовых кранов, особенно в каркасах с железобетонными колоннами, поперечная жесткость которых зачастую выше, чем цельнометаллических.
6.25.28. Причинами преждевременного износа подкрановых конструкций могут быть:
отклонения подкранового пути от проектного положения в плане и по вертикали;
местные искривления, неровности подкранового пути, дефекты рельсовых стыков и др.;
несоосность вала колес крана и продольной оси моста крана;
различие диаметров ведущих колес моста крана;
неравномерный износ поверхностей качения колес;
поворот моста крана относительно вертикальной оси в процессе его движения по подкрановому рельсу.
6.25.29. Освидетельствование подкрановых конструкций необходимо для взаимоувязки вопросов технического состояния балок и мостовых кранов.
6.25.30. Для нормальной работы мостовых кранов необходимо чтобы:
нити рельсов были прямые, параллельны между собой и лежали в одной горизонтальной плоскости;
оси колес были перпендикулярны к осям рельсов;
колеса кранов не имели перекосов.
6.25.31. Перекос колес крана может наступить вследствие:
перекоса фермы моста крана при монтаже или в процессе эксплуатации;
значительного различия диаметров беговой дорожки ведущих колес, расположенных на противоположных концах трансмиссионного вала механизма передвижения.
6.25.32. Различают два вида перекосов мостового крана:
перекос ведущих ходовых колес;
перекос осей ходовых колес.
6.25.33. Возможны следующие случаи перекоса ведущих колес механизма передвижения с одной парой ведущих ходовых колес:
оба колеса имеют перекос в одну сторону (Рис. 70,а);
одно колесо имеет перекос, а второе установлено правильно (Рис .70,б);
оба ведущих колеса имеют перекос в разные стороны (Рис. 70, в, г).
6.25.34. Фактическое положение подкрановых конструкций определяется при помощи геодезической съемки (См. п.п. 7.26 - 7.52 РТМ 1652-9-89. Руководство по инженерно-техническому обследованию, оценке качества и надежности строительных конструкций зданий и сооружений).
6.25.35. Мостовые краны, находящиеся в эксплуатации, должны подвергаться техническому периодическому освидетельствованию через каждые 12 месяцев, а полному - не реже одного раза в 3 года.
6.25.36. Для обеспечения нормальной эксплуатации мостовых кранов необходима правильная организация их ремонта, в основу которой положена система планово-предупредительного ремонта (ППР), т.е. совокупность организационных и технических мероприятий по обслуживанию и ремонту. Система ППР предусматривает межремонтное обслуживание и ремонт кранов: мелкий, средний и капитальный.
6.25.37. Межремонтное обслуживание предусматривает наблюдение за кранами, регулировочные работы и устранение мелких неисправностей.
6.25.38. При мелком ремонте кранов производят осмотр и замену тормозных, накладок, регулирование тормозов, предохранительных устройств, подшипников качения и т.д.
6.25.39. При среднем ремонте заменяют изношенные ходовые колеса, протачивают тормозные шкивы, промывают подшипники, заменяют смазку и рабочую жидкость, ремонтируют элементы металлоконструкций.
6.25.40. При капитальном ремонте осуществляют подетальную разборку и промывку всех узлов механизмов, заменяют изношенные детали, включая тормозные шкивы, зубчатые колеса, подтележные рельсы, частично заменяют подшипники качения, ремонтируют гидросистемы, упоры буферов, металлоконструкции и т.д.
6.25.41. При эксплуатации подкрановых конструкций необходимо:
тщательно следить за геометрическим положением рельсовых путей. Не реже одного раза в год производить планово-высотную геодезическую съемку подкрановых путей. При обнаружении недопустимых отклонений выполнить их рихтовку;
не допускать перекосов моста крана и своевременно производить регулирование и ремонт ходовых колес;
во избежание перегрузки подкрановых конструкций не допускать спаривания двух смежных кранов для подъема груза;
для уменьшения трения между ребордой ходовых колес и гранью кранового рельса производить периодическую смазку граней отработанным маслом;
не допускать изменения режима работы кранов на более тяжелый без согласования с проектной организацией;
не допускать ударных воздействий мостовыми кранами на подкрановые конструкции;
проверять состояние сварных швов и заклепочных соединений в металлических подкрановых конструкциях;
осматривать места примыканий ребер жесткости, диафрагм, различных накладок, места резких изменений сечений и толщин швов, креплений рельсовых путей и балок к колоннам;
обращать внимание на состояние узлов опирания балок на консоли колонн, стыковых соединений балок, защитного слоя бетона балок;
не допускать при подъеме краном боковой оттяжки грузов;
ослабленные болты креплений рельсов и балок подтянуть, установить недостающие, поврежденные заменить.
6.25.42. Особо опасные дефекты и повреждения устранять по специально разработанной проектно-сметной документации после тщательного обследования и выяснения причин их появления.
6.26. Междуэтажные и чердачные перекрытия, выполненные до пятидесятых годов, в основном, состоят из деревянных, деревометаллических, монолитных железобетонных конструкций встречаются кирпичные, бетонные и железобетонные своды по стальным балкам.
6.26.1. Примерно с конца пятидесятых годов перекрытия выполняются из сборных железобетонных конструкций.
6.26.2. Конструкции перекрытий должны удовлетворять следующим требованиям:
обладать необходимой прочностью;
иметь достаточную жесткость;
иметь надежную гидроизоляцию и в необходимых случаях маслостойкую защиту.
6.26.3. В практике эксплуатации встречаются множество различных дефектов и повреждений конструкций перекрытий.
6.26.4. Наиболее распространенные дефекты и повреждения: трещины, раковины и пустоты в железобетонных конструкциях, разрушения швов между плитами, отслоения защитного слоя бетона, коррозия арматуры в железобетонных конструкциях, коррозия стальных балок, поражение древесины гнилью, промасливание бетона и др.
6.26.5. Причины появления дефектов и повреждений в перекрытиях:
нарушения условий эксплуатации и недостаточный надзор за состоянием конструкций;
увеличение нагрузки на перекрытия от технологического оборудования и складирования материалов и изделий;
динамические и вибрационные воздействия;
агрессивное воздействие окружающей среды и др.
6.26.6. Распространенным дефектом железобетонных балок и плит перекрытий, особенно монолитных, является полное или частичное оголение арматуры по нижним плоскостям.
6.26.7. Оголение арматуры может быть вызвано некачественной укладкой бетонной смеси или переармированием конструкций.
6.26.8. Железобетонные перекрытия, эксплуатирующиеся в агрессивной среде, имеющие недостаточный защитный слой бетона, трещины и раковины, разрушаются от коррозии арматуры (Рис. 73, 74).
6.26.9. Продукты коррозии арматуры, увеличиваясь в объеме в 2 - 3. и более раза, разрушают защитный слой бетона нижних поверхностей конструкций.
6.26.10. Коррозия арматуры на отдельных участках балок и плит может достигать 100 % сечения (Рис. 74).
6.26.11. Повреждения железобетонных конструкций перекрытий коррозией арматуры являются весьма опасными. Участки с такими разрушениями плохо поддаются восстановлению, так как скоррозированную арматуру практически невозможно очистить от продуктов коррозии до металлического блеска, вследствие чего не обеспечивается сцепление нового бетона, или раствора с арматурой.
6.26.12. Распространенным повреждением железобетонных конструкций перекрытий являются трещины разных направлений. Появление их возможно в результате перегрузки перекрытий технологическим оборудованием, динамических и вибрационных воздействий. В результате непринятия соответствующих мер по защите или восстановлению конструкции перекрытий постоянно разрушаются, что, как правило, приводит к аварийному состоянию.
6.26.13. В соответствии с технологическими требованиями эксплуатация междуэтажных перекрытий должна производиться в нормальном температурно-влажностном режиме, но как показывает практика они часто подвергаются воздействию кислот, щелочей, отработанных смазочных масел и охлаждающих эмульсий.
6.26.14. В процессе эксплуатации оборудования (металлорежущих, долбежных, сверлильных, фрезерных, автоматно-револьверных станков и т.д.) масла и эмульсии часто проливаются и разбрызгиваются на пол. При недостаточной защитной стойкости полов возможно проникновение отработанных смазочных масел и охлаждающих эмульсий в бетон перекрытий и пропитывание его насквозь, на что указывает появление пятен на потолках цехов нижних этажей (Рис. 75), а при обильном насыщении - протечки масла.
6.26.15. Проникающие масла и эмульсии снижают несущую способность железобетонных конструкций перекрытий.
6.26.16. При длительном промасливании бетон теряет свою первоначальную прочность или прекращает набирать ее, так как масла, покрывая поверхности заполнителей, уменьшают силы сцепления между ними и цементным раствором, т.е. ослабляют внутренние связи в бетоне, что приводит к снижению прочности. От воздействия масел и эмульсий снижается сцепление арматуры с бетоном, в результате чего снижается несущая способность железобетона в целом.
6.26.17. Проведенные исследования в НИЖБе Госстроя СССР показали, что прочность на сжатие бетона, пропитанного маслами и эмульсиями, уменьшается на 20 - 30 % (см. Руководство по защите железобетонных конструкций от действия нефтепродуктов. НИИЖБ Госстроя СССР, М. 1983).
6.26.18. Весьма часто разрушаются консольные конструкции температурно-усадочных швов в главных и второстепенных балках монолитных перекрытий. Эти разрушения происходят как в нижних, так и в верхних консольных выступах и являются следствием ряда причин:
отсутствие металлических опорных листов в горизонтальном шве трущихся поверхностей консолей, в результате чего резко возрастают усилия от трения;
коррозия опорных металлических листов, что исключает возможность скольжения;
поворот сечений консолей из-за разной осадки конструкций смежных отсеков и др.
6.26.19. Несмотря на многообразие причин разрушения консольных выступов температурно-усадочных швов, результат их однообразен - это многочисленные трещины и сколы бетона в консолях.
6.26.20. В зданиях старой постройки встречаются перекрытия, выполненные из бетонных и железобетонных сводов с трещинами в продольном и поперечном направлениях. Появление этих трещин возможно в результате недостаточной прочности бетона или резких ударов. Поперечные трещины опасности не представляют, а появление продольных трещин может привести к потере устойчивости свода.
6.26.21. При сильных ударах сверху из свода возможно выпадение целых кусков бетона, а в кирпичных сводах отдельных кирпичей, что квалифицируется как аварийное состояние сводов.
6.26.22. При больших перегрузках, сильных ударах или вибрациях происходит постепенное разрушение сводов, проявляющееся в значительных осадках и многочисленных трещинах, которые при слабом бетоне (например, промасленном) могут быть причиной резкого обрушения конструкций сводов.
6.26.23. В стальных сварных или клепаных балках встречаются погибы полок и стенок, которые могут быть опасными повреждениями. При выключении деформированных элементов балок из работы происходит перераспределение напряжений на оставшуюся часть сечения, но изменение расчетного сечения может привести к потере общей устойчивости балки от дополнительных напряжений от кручения.
6.26.24. В промышленных зданиях широко распространены конструкции междуэтажных и чердачных перекрытий выполненные полностью из деревянных элементов или смешанных - деревянных по стальным балкам. Такие конструкции менее долговечны, чем железобетонные, и более подвержены разрушению, поэтому эти конструкции должны быть под особым контролем.
6.26.25. При наличии неблагоприятных факторов (изменения температурно-влажностного режима, проникания влаги в перекрытия, отсутствия вентиляции и т.п.) в деревянных конструкциях чердачных и междуэтажных перекрытий возникают всевозможные повреждения:
поражение древесины грибковой гнилью (Рис. 76);
усушечные продольные и косослойные трещины в балках (Рис. 77);
разрушения стыков элементов и узлов сопряжений деревянных конструкций;
зыбкость междуэтажных и чердачных перекрытий;
провисание и обрушение штукатурки потолков и др.
6.26.26. Мелкие дефекты и повреждения, не оказывающие существенного влияния на несущую способность, должны быть устранены по мере обнаружения.
6.26.27. При наличии серьезных поражений древесины грибком конструкции перекрытий должны быть заменены по специально разработанной проектно-сметной документации.
6.26.28. При эксплуатации деревянных междуэтажных и чердачных перекрытий необходимо обращать внимание на состояние древесины в местах возможного появления гниения.
5.26.29. Наиболее характерными местами, где возможно загнивание наката и балок чердачного перекрытия, являются узлы опирания балок на наружные кирпичные стены и места протечек через кровлю.
6.26.30. Места провисания штукатурки потолков в деревянных перекрытиях проверяются путем простукивания. В случае выпучивания и отслоения штукатурки от балок и настилов, штукатурку необходимо отбить. При необходимости произвести ремонт или замену поврежденных деревянных элементов перекрытий, затем восстановить штукатурный слой потолков.
6.26.31. При обнаружении значительного поражения древесины опорных концов балок, которое влияет на несущую способность, необходимо провести срочные временные мероприятия, обеспечивающие безопасную их эксплуатацию (например, подводка временных опор), не исключающие капитальные работы по их замене или усилению.
6.26.32. Характерные признаками, указывающими места поражения древесины, являются:
влажные пятна или плесень на конструкциях;
заметный прогиб элементов конструкции;
спертость воздуха и грибной запах в закрытых непроветриваемых помещениях.
6.26.33. Поверхностная гниль деревянных конструкций легко обнаруживается по следующим внешним признакам:
при начинающемся гниении древесина темнеет, утрачивает смолистый запах, покрывается мелкими трещинами;
при прогрессирующем процессе гниения древесина становится темно-бурой, дряблой, легко расщепляется на отдельные слои, истирается в труху.
6.26.34. Глубина поражения гнилью может быть определена путем стески топором или стамеской пораженной древесины до здоровых ее слоев.
6.26.35. Для обеспечения нормальной эксплуатации междуэтажных перекрытий, площадок и антресолей необходимо:
на видных местах вывешивать таблички с указанием допустимых расчетных нагрузок для каждого перекрытия, площадки и антресоли;
не допускать сбрасывания грузов и деталей на перекрытия;
пробивку всевозможных отверстий в перекрытиях без письменного разрешения Отдела эксплуатации и ремонта зданий;
подвеску к конструкциям перекрытий тельферов и кранбалок производить только после проведения обследовательских работ специализированной организацией.
6.26.36. Поверхности площадок, антресолей необходимо счищать от пыли, смазочных материалов и мусора.
6.26.37. Поверхность металлических площадок должна быть шероховатой, исключающей возможность скольжения. На потертой поверхности необходимо восстанавливать шероховатость капельной наваркой металла электросваркой.
6.27. Конструкции полов производственных помещений должны соответствовать требованиям технологических процессов, быть устойчивыми к механическим, жидкостным и тепловым воздействиям.
6.27.1. Для увеличения сроков эксплуатации полов не допускать:
передвижения транспорта и механизмов на гусеничном ходу;
перемещение технологического оборудования без специальных катков или передвижных устройств на шинном ходу;
работ, связанных с ударными воздействиями;
проливов агрессивных жидкостей на полы, не имеющие специальной защиты;
протяжку по полу листового железа, контейнеров, тяжелых ящиков.
6.27.2. При ремонте, демонтаже и монтаже станков необходимо предохранять полы деревянными щитами.
6.27.3. Для перемещения грузов в цехе по полу использовать предусмотренные для этих целей рельсовые тележки или автокары.
6.27.4. Восстановление полоз при прокладке электрокабелей и коммуникаций или ремонт поврежденных участков производить материалами, аналогичными существующему покрытию.
6.27.5. Полы должны постоянно содержаться в чистоте. Способ очистки должен отвечать санитарно-гигиеническим условиям, требованиям технологического процесса и правилам пожарной безопасности, а также материалам и конструкции пола.
6.27.6. Очистку полов производить в установленные сроки в зависимости от назначения помещения и характера его эксплуатации, а также от материалов и конструкций полов.
6.27.7. В помещениях с большим пылевыделением очистка полов должна выполняться только после предварительного легкого смачивания.
6.27.8. Бетонные, мозаичные, цементно-песчаные полы подметать один раз в смену, предварительно посыпав влажными опилками и не реже одного раза в декаду мыть щетками с горячей водой и протирать. Имеющиеся пятна на полах удалять аммиачной водой.
6.27.9. Асфальтовые полы подметать не реже одного раза в смену и не реже одного раза в декаду мыть холодной или теплой водой.
6.27.10. Полы из клинкерного кирпича или каменных плит следует не реже одного раза в смену промывать холодной или теплой водой с добавлением соды.
6.27.11. Полы из металлических плит следует очищать не реже одного раза в смену капроновыми щетками, смоченными горячей водой. Пролитые масла и эмульсии собирать сухими опилками.
6.27.12. Полы из керамической плитки следует не реже одного раза в смену промывать холодной или теплой водой. В случае попадания на полы отработанных масел и эмульсий надо на эти места насыпать сухие опилки, затем подмести и протереть.
6.27.13. Ксилолитовые полы следует, окрашивать масляной краской или не реже одного раза в месяц, натирать воском или паркетной мастикой. Частое и обильное смачивание полов из ксилолита не допускается. Поэтому уборку их следует производить не реже одного раза в сутки путем протирки отжатыми влажными тряпками.
6127.14. На ксилолитовые полы не допускается попадание солей, щелочей, кислоты, минеральных масел, органических растворителей и др.
6.27.15. Ксилолитовые полы, имеющие царапины, мелкие повреждения и сильное загрязнение, очищают шлифовальными машинами, окрашивают масляной краской или натирают воском или паркетной мастикой.
6.27.16. Поливинилацетатные, полимерцементные и линолеумные полы следует ежедневно протирать влажной затем сухой тряпкой.
6.27.17. Линолеумные полы следует один раз в месяц натирать мастикой.
6.27.18. Деревянные полы по лагам должны содержаться в сухом состоянии и иметь постоянное проветривание подполья.
6.27.19. Деревянные дощатые полы должны быть окрашены масляной краской. Убирать полы следует ежедневно влажной тряпкой с последующей протиркой насухо.
6.27.20. Паркетные полы следует протирать сначала влажными, а затем сухими тряпками.
6.27.21. Паркетные полы не реже одного раза в месяц следует натирать воском или паркетной мастикой.
6.27.22. Уборку производственных и административных помещений следует производить, как правило, с помощью уборочных машин и механизмов.
6.28. Покрытия промышленных зданий отличаются большим разнообразием: чердачные и совмещенные; фонарные и безфонарные; с подвесным подъемно-транспортным оборудованием и без него; монолитные и из сборного железобетона; стальные, деревянные и смешанные из разнородных материалов; безпрогонные и с прогонами.
6.28.1. Основными несущими конструкциями покрытий являются стропильные балки, арки, фермы и плиты, разнообразные по материалам и конструктивным схемам.
6.28.2. Для создания жесткости покрытия и устойчивости ферм применяют различные виды горизонтальных и вертикальных связей.
6.28.3. Стальные конструкции ферм покрытий выполняют из тонкостенных, гибких стержней и расчитывают на нагрузки от собственного веса покрытия с утеплителем и кровлей и снега.
Эти конструкции работают в условиях, близких к расчетным, поэтому очень чувствительны к общим и местным перегрузкам возможным при эксплуатации. Наиболее чувствительны к перегрузкам прогоны кровли, а также сжатые стержни решетки средней части ферм, имеющие большую длину и гибкость.
6.28.4. Перегрузка конструкций покрытий возможна из-за увеличения толщины утеплителя, цементно-песчаной или асфальтовой стяжки и многократного наслоения кровельного покрытия при ремонтах, скопления на кровлях зданий производственной пыли, особенно вблизи источников ее интенсивного выделения (например, вагранки литейных цехов) и т.п. (Рис. 78).В результате перегрузок в элементах конструкций покрытия появляются деформации силового характера (Рис. 79, 80, 81 и 82).
6.28.5. Другим источником перегрузки покрытий являются снеговые мешки. Следует учитывать, что в зданиях застройки до 1961 года, эта нагрузка часто не принималась в расчет. Возведение пристроек значительно превышающих по высоте существующие здания ведет к перегрузке существующих покрытий от снегового мешка.
6.28.6.В результате перегрузки в элементах стальных ферм возможна резкая потеря устойчивости сжатых стержней, особенно сжатых раскосов средних панелей, не являющихся самыми напряженными.
6.28.7. Потеря устойчивости сжатых раскосов происходит в основном из-за их погнутостей, которые появляются в результате неаккуратного транспортирования, дефектов изготовления и монтажа ферм. При достижении в элементе конструкции критической сжимающей силы достаточно малейшего толчка поперек элемента, чтобы стержень потерял устойчивость.
6.28.8. Потеря общей и местной устойчивости часто происходит из-за отсутствия надлежащей развязки сжатых поясов, как при монтаже, так и в период эксплуатации и несвоевременной постановке постоянных или временных связей жесткости, а также при наличии в конструкции погнутых стержней, например при использовании верхнего пояса ферм, для подъема грузов (Рис. 83). Внеузловое приложение нагрузки вызывает значительные остаточные деформации и искривления элементов, скручивание и местные погибы.
6.28.9. Погнутости сжатых стержней ферм более допустимых являются весьма опасными видами повреждений, нередко приводящими к авариям. Искривленные сжатые стержни со стрелой прогиба не более 1/750 длины стрелы можно не усиливать. Такие искривления не оказывают существенного влияния на несущую способность стержня, а, следовательно, всей фермы.
6.28.10. Искривления, превышающие допустимые, существенно меняют напряженное состояние отдельных элементов и всей фермы.
6.28.11. При наличии искривленных отдельных элементов стальных ферм или их перенапряжениях в результате пластических деформаций и совместной работы ряда ферм в едином блоке происходит перераспределение усилий в элементах ферм. Однако фермы с искривленными элементами требуется обследовать, проверить расчетами, и, в необходимых случаях, произвести замену или усиление отдельных поврежденных элементов по специально разработанным проектам.
6.28.12. В стальных фермах встречаются скрученные элементы. На растянутые стержни это не оказывает существенного влияния, а в сжатых - приводит к снижению несущей способности.
6.28.13. В стальных фермах встречаются случаи искривления нижнего пояса (Рис. 84). Одной из причин этого является гибкость нижнего пояса, значительно превышающая допустимую.
6.28.14. Нередко причиной искривления нижнего пояса стальных ферм является установка горизонтальных связей с размерами отличными от проектных, что может привести к искривлению и самих элементов связей (Рис. 85).
6.28.15. Искривление нижнего пояса может быть вызвано горизонтальными связями, с гибкостью превышающей допустимую, отсутствием соединительных прокладок между отдельными стержнями элементов нижнего пояса.
6.28.16. В растянутых элементах стальных ферм, имеющиеся плавные погнутости не оказывают существенного влияния на работу самого элемента, так как при растяжении стержень будет выпрямляться, вследствие чего стрела прогиба будет уменьшаться. Однако под влиянием нагрузки растянутый элемент распрямляясь, будет вызывать деформации соседних элементов, что может неблагоприятно сказаться на работе конструкций в целом.
6.28.17. Искривления нижнего пояса стальных ферм из плоскости можно оставить без исправления при отклонении от вертикальной плоскости не более h/100, где h - высота фермы. При большем отклонении необходимо установить дополнительные вертикальные связи по специально разработанным проектам.
6.28.18. В старых зданиях невысокой постройки при необходимости установки того или иного оборудования, либо для пропуска трубопроводов вырезаются элементы ферм без усиления (Рис. 86 и 87). В этих случаях в оставшихся элементах ферм за счет перераспределения усилий появляются дополнительные напряжения. Перенапряжение этих элементов может привести к обрушению покрытия.
6.28.19. В опорных узлах стропильных стальных ферм встречаются случаи неполного опирания опорного листа фермы на столик колонны. в этих случаях вертикальная реакция от фермы передается на колонну с эксцентриситетом. В сварных швах столика и в опорном листе фермы возникают дополнительные напряжения, обусловленные внецентренным приложением опорной реакции.
6.28.20. Дефектом опорного узла, который при обнаружении следует немедленно устранить, является отсутствие опирания опорного листа фермы на столик колонны. При зазоре между опорным листом фермы и столиком, монтажные болты, не рассчитанные на восприятие опорных реакций, подвергаются значительной деформации, а возможно, и полному разрушению.
6.28.21.В практике эксплуатации встречаются случаи вырезов в фасонках ферм для пропуска коммуникаций непредусмотренных проектом, что влечет за собой нарушение целостности к жесткости узла и фермы в целом.
6.28.22. В стальных сварных фермах, изготовленных хозспособом, часто встречаются случаи отсутствия центровки узлов. В таких узлах возникают изгибающие моменты, вызывающие поворот узла. В стержнях, приваренных к фасонке, возникают реактивные изгибающие моменты, оказывающие дополнительные, не учитываемые проектом усилия на сварные соединения.
6.28.23. Характерной причиной, вызывающей аварийные состояния стальных конструкций покрытия, является неравномерная осадка грунта под фундаментами колонн. Неравномерная осадка вызывает перекосы каркаса, следствием чего может быть нарушение жесткости узлов сопряжения ферм с колоннами и перераспределение усилий в элементах ферм, что влечет за собой изменение статической схемы фермы и возможную ее деформацию.
6.28.24. При жестком сопряжении фермы с колоннами просадки фундаментов колонн влечет за собой поворот опорного листа фермы. Продолжительные осадки могут привести к разрыву монтажных болтов, при этом в элементах решетки фермы возможно появление значительных местных искривлений.
6.28.25. При деформациях поясов ферм на распорки и крестообразные связи передаются дополнительные усилия. Деформация распорок от дополнительных усилий ведет к нарушению жесткости диска покрытия.
6.28.26. При наличии провисающих связей нарушается пространственная работа покрытия и устойчивость поясов ферм.
6.28.27. Внеузловое опирание прогонов или ребристых плит на верхний пояс ферм создает дополнительный местный момент на элемент верхнего пояса фермы, вызывающий изгиб элемента верхнего пояса, иногда достигающий предельных значений. Для предотвращения обрушения покрытия под деформированный элемент необходимо подвести шпренгель.
6.28.28. Одной из причин разрушения стальных конструкций покрытия является коррозия в местах протечек атмосферных осадков из-за повреждений в кровле.
6.28.29. Коррозия может быть местная, когда под воздействием агрессивных факторов поражаются отдельные узлы (Рис. 88) или части конструкций на участках сравнительно небольшой длины, и равномерная, когда конструкции разрушаются по всей поверхности на значительной длине.
6.28.30. Допускаемые отклонения стальных конструкций покрытия приведены в таблице 4.
6.28.31. Несвоевременное принятие мер по ликвидации повреждений приводит к преждевременному износу конструкций и здания в целом.
Таблица 4
Допускаемые величины отклонений от
норм проектирования
стальных конструкций покрытий при эксплуатации
|
Наименование |
Эскиз |
Допускаемые величины |
|
Трещины в основном металле элементов конструкций |
- |
Не допускаются |
|
Прогиб ригеля, балки, участков сжатого пояса фермы из плоскости |
|
∆ ≤ 1/750l, но не более 15 мм |
|
Прогиб отдельного элемента |
|
то же |
|
Винтообразность элемента |
- |
0,001 l, но не более 10 мм |
|
Выпучивание стенки сплошной балки |
|
∆ ≤ 0,003Н |
|
Перекос полок элементов таврового и двутаврового сечения в местах: |
|
|
|
а) примыкания |
∆ ≤ 0,005в |
|
|
б) прочих |
∆ ≤ 0,01в |
|
|
Грибовидность полок элементов тавровых и двутавровых сечений в местах |
|
|
|
а) примыкания |
∆ ≤ 0,005в |
|
|
б) прочих |
∆ ≤ 0,01в |
|
|
Местные прогибы полок элементов |
|
∆ ≤ 0,01δ |
|
Погнутости узловых фасонок: |
|
|
|
а) в случае примыкания к фасонке сжатого элемента с напряжением более половины расчетного сопротивления, |
tg α ≤ 0,01δ |
|
|
б) в остальных случаях |
tg α ≤ 0,02δ |
|
|
Отклонение нижнего пояса фермы от вертикали |
|
∆ ≤ H/100 |
|
Прогибы горизонтальных и вертикальных связей покрытия в плоскости и из плоскости |
- |
∆ ≤ 1/750l, но не более 15 мм |
|
Прогибы балок и ферм покрытия: |
- |
|
|
а) несущих подвесные подъемно-транспортные или технологическое оборудование, |
∆ ≤ 1/400l |
|
|
б) не несущие подвесного оборудования |
∆ ≤ 1/250l |
|
|
Прогибы прогонов покрытия и остекления |
- |
∆ ≤ 1/200l |
6.28.32. В некоторых случаях службы эксплуатации устраняют повреждения без специального обследования и выяснения причин появления этих повреждений, без проверочных расчетов конструкций, что часто приводит к ухудшению работы конструкций.
6.28.33. Степень опасности повреждений конструкций должна быть выявлена специальным обследованием в натуре для определения прочности, устойчивости и несущей способности поврежденных конструкций и для выбора наиболее рационального решения по ликвидации повреждения.
6.28.34. На нижней поверхности железобетонных плит при отсутствии утеплителя в. покрытии возможно образование конденсата. Влага, проникая в бетон плиты, вызывает коррозию арматуры и разрушение защитного слоя бетона.
6.28.35. Протечки в кровлях являются одной из причин коррозии арматуры и разрушения бетона плит покрытия. Появление на поверхности плит волосных трещин, направленных вдоль арматуры, указывает на начало процесса разрушения бетона в результате разбухания рыхлых продуктов коррозии арматуры, в основном окислов железа. Трещины способствуют ускорению процесса разрушения арматуры, что может привести к полному отслоению защитного слоя бетона и оголению арматуры.
6.28.36. В затяжках арочных монолитных железобетонных конструкций, выполненных без предварительного напряжения арматуры, трещины и разрушения бетона обычно связаны с низкой маркой бетона. Эти повреждения не опасны, однако, по мере обнаружения должны быть ликвидированы (Рис. 89).
6.28.37. Разрушения бетона опорных частей монолитных железобетонных прогонов являются весьма опасными. Причинами этих разрушений могут быть переармирование сечений прогонов, некачественное бетонирование, низкая прочность бетона. Усиление таких прогонов выполнять по специально разработанным чертежам.
6.23.38. В промышленных зданиях, построенных в последние годы, преобладают сборные железобетонные конструкции покрытий: фермы, односкатные и двускатные балки, плиты, дефекты монтажа которых заключаются, главным образом, в неточной установке несущих элементов по разбивочным осям, смещениях и перекосах плит покрытий (Рис. 91).
6.28.39. При несовпадении осей колонн с разбивочными осями здания опорные площадки ферм и балок неодинаковые, отличные от проектных, а иногда и недопустимо малые. Результатом перекосов осей несущих конструкций являются несовпадения швов плит и недостаточная площадь опирания их на несущие элементы. При значительных перекосах ребра плит могут быть смещены в сторону от закладных деталей несущих элементов, что исключает возможность приварки, панелей к опорным конструкциям. При недостаточной площади опирания плит возможны сколы ребер плиты, поясов ферм, балок.
6.28.40. Письмом Госстроя СССР № ИИ-3234-1 от 01.08.73 г. установлено, что смещения железобетонных плит относительно осей несущих конструкций не должны превышать ± 20 мм.
6.28.41. В покрытиях промышленных зданий встречаются отклонения балок и ферм от вертикали, возникающие в результате неточной установки закладных опорных листов колонн в горизонтальной плоскости. При больших отклонениях от вертикали несущая конструкция становится малоустойчивой, что может привести к обрушению покрытия. В таких случаях в блоке балок или ферм следует незамедлительно установить дополнительные вертикальные связи по специально разработанному проекту.
6.28.42. В промышленных зданиях старой постройки периода 1930 - 1950 г.г. и ранее встречаются деревянные конструкции покрытий, выполненные в виде ферм, арок, балок, стропил, накатов из пластин, деревоплиты, дощатого настила. Деревянные конструкции менее долговечны, чем железобетонные, однако они могут служить длительное время при условиях постоянного и нормального температурно-влажностного режима. Дереву присущи недостатки, ограничивающие его применение в строительстве: малая огнестойкость и склонность к разрушению под воздействием биологических факторов.
6.28.43. В деревянных конструкциях покрытий наиболее часто встречаются трещины и сколы древесины, а также местные и общие деформации. Основными причинами разрушения деревянных конструкций являются усушка и загнивание древесины. Неблагоприятные условия эксплуатации и отсутствие необходимой защиты деревянных конструкций приводит к их преждевременному разрушению.
6.28.44. При непостоянной влажности окружающей среды происходит попеременное высыхание и разбухание древесины, что влечет за собой изменение геометрических размеров элементов. Различная величина усушки в радиальном и тангенциальном направлениях неизбежно вызывает появление трещин.
6.28.45. Усушечные трещины являются очагами заражения древесины гнилью и, кроме того, они значительно снижают механическую прочность конструкций. Особенно опасны усушечные трещины в сжатых и изгибаемых элементах и во врубках. В элементах, работающих на сжатие и изгиб, продольные трещины уменьшают момент инерции сечения (Рис. 92, 93 и 94). Во врубках трещины могут уменьшить рабочие площади соединений, главным образом, площади скалывания (Рис. 95). Усушка древесины ведет к образованию неплотностей во врубках и ослаблению стальных креплений. В. связи с этим в соединениях появляются значительные деформации, нарушающие нормальную работу конструкции.
6.28.46. Большое количество трещин от усушки в элементах не всегда является показателем резкого ухудшения работы конструкции и, наоборот, появление всего лишь одной неблагоприятно расположенной трещины может быть весьма опасным. Так, например, (см. Рис. 94) незначительные трещины, расположенные в верхнем поясе стропильной фермы по своему характеру не представляют опасности. Трещины же в нижнем поясе фермы, расположенные в середине его сечения, выключают из работы по нескольку болтов, с каждой стороны стыка, вызывая перегрузку оставшихся болтов.
6.28.47. Основной причиной деформации элементов деревянных конструкций является загнивание древесины, которая в значительной степени уменьшает поперечное сечение элемента, что может привести к потере несущей способности всей конструкции.
6.28.48. Загнивание древесины, как правило, происходит во влажной среде, при переменной влажности, при отсутствии вентиляции, в местах протечек кровли сложной конфигурации крыш (Рис. 96). Такие факторы способствуют жизнедеятельности деревообразующих грибков.
6.28.49. Загнивание балок в гнездах и примыкающих к наружным стенам частях деревянных перекрытий может происходить в основном из - за отсутствия в стенах гидроизоляции, вследствие чего проникающая в толщу стен сырость создает неблагоприятный для древесины температурно-влажностный режим.
6.28.50. При недостаточней вентиляции влажные пары, легко проникающие в древесину конструкции, особенно имеющую усушечные трещины, способствуют росту в замкнутых полостях дереворазрушающих грибов.
6.28.51.В покрытиях производственных зданий наиболее часто встречаются поражения гнилью настилов и прогонов (Рис. 97, 98), верхних поясов ферм и составных балок, обрешетки и стропил (Рис. 99) вследствие проникания атмосферных осадков через поврежденную кровлю.
6.28.52. Загнивания древесины площадок скалывания в лобовых врубках ведет к резкому снижению прочности рабочих поверхностей на смятие и скалывание и разрушению опорных соединений.
6.28.53. Грибковые поражения древесины являются наиболее опасными. Распространенными грибками являются: плесневый, домовый, белый, пленчатый, шахтный, синева.
6.28.54. Плесневые грибы древесину не разрушают. Однако наличие плесени указывает на неблагоприятный температурно-влажностный режим, при котором возможно появление опасных грибов.
6.28.55. Дереворазрушающие грибы (домовый, белый, пленчатый, шахтный) представляют собой наибольшую опасность, как по скорости разрушения, так и по его объему. Эти грибы для своего питания используют клетчатку - самую прочную часть древесины, образующую ее скелет полностью разрушая ее.
6.28.56. Домовый и белый грибки встречаются в виде различных налетов, пленок и ватообразных скоплений на деревянных конструкциях, расположенных внутри помещений с повышенной влажностью. Пораженная древесина в начальной стадии приобретает желтоватые, канареечного цвета оттенки, затем буреет и при высыхании образует глубокие продольные и поперечные трещины, распадаясь на отдельные четырехгранные призмочки, легко растирающиеся в порошок.
6.26.57. Пленчатый домовый гриб встречается в виде различных налетов, пленок и ватообразных желтоватых или светло-коричневых скоплений со светлыми краями. Пораженная им древесина отличается от пораженной домовым или белым грибом более темной бурой окраской и имеет мелкие продольные и поперечные трещины. При полном разрушении древесина хорошо растирается в порошок. Этот гриб можно обнаружить в местах протечек покрытия и в местах намокания стен внутри помещений.
6.28.58. Шахтный гриб встречается в виде различных налетов, пленок и редко ватообразных, зеленовато-желтых и лиловых скоплений. Пораженная древесина вначале имеет красновато-буроватые и желтоватые оттенки. Впоследствии древесина становится темно-бурой с мелкими продольными и поперечными трещинами. Разрушенная шахтным грибом древесина легко растирается в порошок. Такой гриб появляется в помещениях с весьма высокой и постоянной влажностью.
6.28.59. Синева - название грибов, придающих древесине синеватый оттенок, но не разрушающих ее. Кроме синевы имеется целый ряд других грибов того же класса, обладающих свойствами окрашивать древесину в разные цвета: серовато-синюю, коричневую, бурую, серую, почти черную, розовую, зеленую и желтую. Все они не оказывают разрушающего действия на древесину.
6.28.60. Для обеспечения сохранности покрытий и крыш необходимо:
обращать особое внимание на прямолинейность сжатых поясов и элементов решетки стальных ферм (особенно составленных из мелких профилей), а также на состояние и качество сварных и болтовых соединении, на состояние окрасочного слоя, защищающего конструкции от коррозии;
тщательно осматривать труднодоступные для окраски места;
регулярно производить очистку кровли от пылевидных наносов, не допуская их скопления на кровле;
при очистке пыли и снега не допускать повреждений кровли, производить очистку кровель только деревянными инструментами;
обнаруженные дефекты кровли немедленно устранять;
при ремонте кровли не допускать складирование материалов на покрытиях;
следить за исправным состоянием кровли, не допускать намокания теплоизоляционного слоя;
защищать конструкции покрытий от агрессивных воздействий;
обращать внимание на узлы сопряжений стропильных и подстропильных ферм с колоннами, а также на сварные и клепаные соединения элементов ферм, и их стыков; в случае обнаружения дефектов в одном из узлов проверить все подобные соединения, приняв меры по устранению дефектов;
не допускать использования элементов конструкций покрытия для поднятия грузов во время ремонтно-строительных работ, при монтаже и демонтаже технологического оборудования;
постоянно контролировать температурно-влажностный режим и степень агрессивности среды в помещениях.
6.28.61. При обнаружении аварийного состояния конструкций покрытия необходимо принять срочные меры, обеспечивающие безопасность работы конструкции до проведения капитального ремонта, путем временных укреплений поврежденных частей, установки дополнительных связей жесткости, максимальной разгрузки конструкции покрытий (счистить снег, прекратить работу грузоподъемных устройств).
6.29. В современных промышленных зданиях кровли выполняются из рулонных материалов, из асбестоцементных волнистых листов и из оцинкованной стали. Наибольшее распространение получили рулонные кровли.
6.29.1. Состояние кровель во многом определяет надежную работу несущих конструкций производственных зданий, технологического оборудования. Обеспечение сохранности кровель является одной из важнейших задач служб технической эксплуатации.
6.29.2. Незначительная долговечность и. малая эксплуатационная надежность кровель, неприспособленность некоторых видов кровель для применения механизированных способов ухода и ремонта создают значительные трудности при их эксплуатации. Повреждения кровли чаще всего происходят в процессе очистки от снега, льда, мусора, пыли. В силу низкой прочности кровли из рулонных материалов особенно подвержены механическим повреждениям.
6.29.3. Срок службы кровель зависит от:
интенсивности эксплуатационных воздействий;
конструктивных решений;
соответствия качества применяемых материалов требованиям действующих стандартов и технических условий;
качества изоляционных работ;
своевременного выполнения ремонтных работ.
6.29.4. В соответствии со СНиП II-26-76 кровли промышленных зданий из рулонных и мастичных материалов с уклоном до 10 % должны иметь трех четырехслойный водоизоляционный ковер с защитным слоем из мелкого гравия, втопленного в кровельную мастику, предохраняющим водоизоляционный ковер от механических повреждений, воздействия солнечной радиации и других атмосферных факторов. Такие кровли при правильной их эксплуатации очень надежны и долговечны. Срок их эксплуатации без ремонта может составлять 10 - 15 лет, а кровель с уклоном 1,5...3 % и более 15 лет. Однако отсутствие защитного слоя ведет к быстрому разрушению рулонных материалов кровли.
6.29.5. Для рулонных кровель характерны следующие дефекты и повреждения:
трещины водоизоляционного ковра и защитного слоя на основных плоскостях кровель и в местах примыканий (Рис. 100);
отсутствие защитного слоя в кровлях с уклоном до 10 %;
выветривание крупнозернистой посылки кровельного материала;
неправильно выполненные примыкания кровли к парапетам, стенам, вентиляционным шахтам (Рис. 101);
несоответствие применяемых мастик указаниям СНиП;
разрывы гидроизоляционного ковра в примыканиях кровли к стенам, парапетам и бортам фонарей;
неплотное соединение рулонного ковра в швах, в результате некачественного склеивания отдельных полотнищ между собой;
воздушные пузыри, появляющиеся в местах укладки гидроизоляционного ковра на влажное основание;
водяные пузыри, возникающие в местах местной протечки ковра (Рис. 103);
срыв или отрыв полотнищ водоизоляционного ковра при сильных порывах ветра из-за некачественного склеивания швов (Рис. 104);
протечки в местах расположения коммуникационного оборудования (Рис. 105 и 106);
разрушения кровли корнями растущих кустарников (Рис. 107 и 108);
наледи на карнизах крыш при неорганизованном водосбросе;
разрушения мест сопряжений металлической отделки карниза и кровельного ковра;
разрушения кровельного ковра в местах скопления производственной пыли.
6.29.6. В нарушение СНиП II-26-76 на многих покрытиях защитный слой из гравия заменяется рубероидом с крупнозернистой или чешуйчатой посыпкой, которая в результате атмосферных воздействий уже в первые сезоны эксплуатации кровель выветривается и смывается водой. В образовавшихся углублениях вода разрушает картонную основу покровного слоя, что снижает прочность и гидроизоляционные качества кровель.
6.29.7. Причинами появления трещин водоизоляционного ковра на основных плоскостях кровель может быть отсутствие температурно-усадочных швов кровель, трещины стяжек. Трещины водоизоляционного ковра в местах примыканий к вертикальным поверхностям появляются в результате неравномерной осадки конструкций здания. Разрыв гидроизоляционного ковра указанных мест возможен и в случае резкого перехода кровельного ковра с одной плоскости на другую и при отсутствии дополнительных слоев усиления в местах перегибов кровли.
6.29.8. Трещины в битумной мастике кровель возникают в результате старения битума, которое происходит от длительных атмосферных воздействий и солнечной радиации.
6.29.9. На Рис. 102 приведен пример сползания кровельного ковра в результате размягчения его битумной основы, выполненное без учета географической широты района строительства и воздействия горячего воздуха, аэрируемого из здания через фонари. Сползание кровельного ковра в местах перепадов кровли может происходить и при отсутствии защитных металлических фартуков.
6.29.10. На Рис. 109 приведен пример образовавшейся наледи значительной толщины на металлическом карнизе и его свесах, где при повышении температуры вследствие различных коэффициентов линейного расширения льда и материалов кровли возможно разрушение мест сопряжения металлической отделки карниза и кровельного ковра, что ведет к протечкам в конструкциях покрытия здания.
6.29.11. Отставание рулонного ковра происходит из-за некачественного выполнения кровельных работ (приклейка полотнищ рулонных материалов к неподготовленной поверхности, отсутствие надежного закрепления верхнего края водоизоляционного ковра, ненадежное закрепление верхнего края защитного фартука в штрабе каменной кладки), наклеивание материалов к влажным и запыленным поверхностям, что ведет к образованию воздушных мешков, где скопившаяся вода, замерзая, разрывает рулонный ковер.
6.29.12. Срыв или отрыв полотнищ водоизоляционного ковра происходит вследствие недостаточной прочности склеивания водоизоляционного ковра с основанием под кровлю (наклейка на сырое, запыленное, неогрунтованное и непрочное основание).
6.29.13. Протечки в кровлях обычно возникают при повреждении основного кровельного ковра, а также при негерметичном соединении между водоприемной воронкой и поддоном.
6.29.14. В кровлях с утеплителем из сильно сжимаемых материалов, уложенным на конструкции покрытия без стяжки иди на выравнивающую стяжку из нежестких материалов, часто происходят просадки отдельных участков.
6.29.15. Механические повреждения кровель происходят в основном при очистке их от снега, льда и производственной пыли металлическими лопатами и ломами. Механическое повреждение кровель происходит и от ударов падающих сосулек в местах перепадов высот, при отсутствии защитных предохраняющих слоев.
6.29.16. Разрушение мягких кровель происходит в местах скопления производственной пыли. Скопившаяся под спрессованной пылью влага обычно не высыхает и в теплый период года в этих местах вызывает загнивание рулонных материалов. Под воздействием кислых или щелочных сред (в зависимости от химического состава пыли), образующихся при взаимодействии пыли с атмосферными осадками, разрушается картонная основа кровельного материала, меняются физико-химические свойства битумной мастики, которая становится твердой и хрупкой и покрытие полностью приходит в негодность.
6.29.17. Для наклейки рубероида нередко применяют тугоплавкий и хрупкий битум марки БНК-5. В таких покрытиях часто встречаются разрывы рулонного ковра, что приводит к быстрому разрушению кровли.
6.28.18. СНиП II-26-76 рекомендует применять марки горячих мастик в зависимости от географической широты местоположения здания и уклона кровли.
6.29.19. Для кровельных покрытий из асбестоцементных волнистых листов характерны дефекты и повреждения в виде продольных и поперечных трещин, которые появляются в результате:
резких температурных колебаний;
перегрузки кровли;
физико-механического воздействия колебаний от работы мостовых кранов, особенно в зданиях с каркасами, имеющими недостаточную жесткость;
нарушений условий эксплуатации.
6.29.20. Трещины, сколы, обломы асбестоцементных листов появляются в местах расположения жестких узлов крепления.
6.29.21. Для кровельных покрытий из металлических листов характерны повреждения в виде коррозии.
6.29.22. Несвоевременное устранение дефектов повреждений или каких-либо неисправностей ведет к утрате покрытиями их важнейших строительных качеств и, в результате, к преждевременному износу всех конструкций здания.
6.29.23. Для увеличения сроков службы конструкций кровель необходимо соблюдать правила их эксплуатации и выполнять тщательный уход за ними:
регулярно производить очистку кровель и водоотводящих устройств от производственной пыли, грязи, листьев и др., препятствующих нормальному стоку дождевых и талых вод;
не допускать непредусмотренных специальными проектами прокладки по покрытиям трубопроводов, установки вентиляционных устройств, стоек светильников, складирования строительных и других материалов;
не сбрасывать снег на кровлю;
спускать снег с кровель только по специальным желобам;
не допускать скопления снега, пыли и грязи во избежание перегрузки покрытия;
очищать и промывать приемные воронки, ливневую канализацию, водосточные трубы;
своевременно производить ремонт защитных слоев рулонных и мастичных кровель;
периодически ремонтировать и окрашивать стальные кровли, разжелобки, водосточные трубы, свесы и другие детали наружных водостоков;
удалять с корнями сорные травы, кустарник, растущие на рулонных и мастичных кровлях и карнизах зданий.
6.29.24. Очистка кровель от производственной пыли осуществляется деревянными лопатами. Пыль с кровли удалять полностью.
6.29.25. Очистку кровель от снега выполнять только деревянными инструментами. Для предохранения кровли от повреждений оставлять слой снега в 8 - 10 см.
6.29.26. Очистку кровель от снега следует производить в случае, если фактически снеговая нагрузка равна или превышает принятую при проектировании, а также в случае аварии или при выполнении срочного ремонта.
6.29.27.С плоских бесфонарных кровель, как правило, снег не убирают, кроме аварийных случаев.
6.29.28. Окраску кровель из неоцинкованных стальных листов производить не реже одного раза в три года масляной краской на натуральной олифе за два раза с предварительной очисткой кровли от старой краски и продуктов коррозии.
6.29.29. На участках мягкой кровли, требующих постоянной уборки производственной пыли, следует выполнить защитный слой из цементно-песчаного раствора и ходовые мостки для перевозки пыли к приемным шахтам или бункерам.
6.29.30. Для предотвращения разрушения кровель и перегрузки покрытия от производственной пыли на покрытии рекомендуется устанавливать пылеуловители.
6.29.31. Для повышения срока службы мягких кровель в процессе эксплуатации необходимо выполнять профилактические работы по устройству защитных слоев и бронирующих посыпок, предохраняющих водоизоляционный ковер от механических повреждений, непосредственного воздействия солнечной радиации и других факторов.
6.30. При эксплуатации зданий с естественным освещением необходимо постоянно следить за состоянием и сохранностью фонарей и оконных заполнений.
6.30.1. Своевременно заменять разбитые стекла. Стекла должны укрепляться свинцово-суриковыми, битумными или мелованными замазками на натуральной олифе, либо штапиками с резиновыми уплотнителями.
6.30.2. Для крепления остекления фонарей следует применять свинцово-суриковые замазки.
6.30.3. В помещениях с агрессивной средой для крепления остекления фонарей рекомендуется применять битумные замазки.
6.30.4. Все металлоконструкции окон и фонарей регулярно, не реже одного раза в три года, окрашивать антикоррозионными составами. Антикоррозионный состав выбирать в зависимости от степени агрессивного воздействия среды в соответствии со СНиП 2.03.11-85 "Защита строительных конструкций от коррозии".
6.30.5. Все деревянные конструкции окон, дверей и ворот окрашивать масляной краской светлых тонов за два раза. Старую отслоившуюся краску предварительно счищать.
6.30.6. В промышленных зданиях от технического состояния оконных заполнений, в частности герметичности, зависит заданный проектом температурно-влажностный режим, для чего необходимо обеспечить: плотность створных переплетов, заделку щелей в глухих участках переплетов, целостность нащельников, резиновых уплотнителей, восстановление потрескавшейся оконной замазки.
6.30.7. Для обеспечения нормального освещения помещений через оконные проемы и фонари необходимо проводить систематическую очистку их остекления.
6.30.8. Очистку поверхностей остекления от загрязнений следует производить с наружной и внутренней сторон не реже двух раз в год, так как не очищаемые в течение двух лет стекла практически не пропускают свет.
6.30.9. Для выполнения работ по очистке и ремонту стекол необходимо обеспечить доступ к высоко расположенным окнам и фонарям.
6.30.10. Для подхода к окнам и фонарям использовать приставные лестницы и стремянки, поворотные консольные выдвижные площадки на автокарах, телескопические вышки, тележки и люльки, подвешиваемые к несущим конструкциям, специальные площадки, устраиваемые вдоль остекления и т.п.
6.30.11. Дня очистки стекол должны применять моющие средства, которые хорошо очищают грязь и пыль со стекол, но не оказывают агрессивного воздействия на окраску и материал окон и фонарей.
6.30.12. При осмотре фонарей следует проверить:
плотность притвора переплетов и обделки бортов козырьками из кровельной стали;
состояние и безотказность действия механизмов открывания;
состояние антикоррозионного покрытия стальных переплетов и козырьков обделки бортов;
состояние стекол и их крепления.
6.30.13. Для обеспечения надежной эксплуатации дверей и ворот необходимо:
не допускать механических ударов по конструкциям дверей и ворот;
следить за состоянием приборов и механизмов открывания и закрывания ворот;
следить за состоянием креплений дверных коробок;
своевременно ремонтировать и регулярно очищать пороги дверей;
не допускать образования наледей на конструкциях наружных дверей и ворот;
своевременно производить ремонты и покраску дверных полотен и ворот;
выполнять крепление петель и приборов при помощи шурупов проектной длины.
6.30.14. В зимний период ворота необходимо плотно закрывать для сокращения теплопотерь.
6.30.15. Распашные ворота в раскрытом положении фиксировать специальными упорами, предотвращающими самопроизвольное закрывание.
6.30.16. Окраску ворот и дверей необходимо возобновлять один раз в два - три года.
6.30.17. Мыть крашеные двери следует теплой водой без мыла и соды.
6.31. При эксплуатации зданий двери лестничных клеток необходимо держать закрытыми для поддержания в лестничных клетках нормального температурно-влажностного режима.
6.31.1. Не допускать использования площадок лестниц для складирования готовой продукции или каких-либо посторонних предметов.
6.31.2. Постоянно следить за сохранностью ступеней, площадок, косоуров и ограждений.
6.31.3. Регулярно проверять состояние защитного слоя и надежность крепления проступей к косоурам лестничных маршей.
6.31.4. Должен быть обеспечен постоянный доступ к местам хранения пожарного оборудования и инвентаря, ко входам на чердаки.
6.31.5. Не реже одного раза в 5 лет следует восстанавливать отделку конструкций лестничных клеток.
6.31.6. Лестница и площадки лестничных клеток следует ежедневно подметать и проветривать, не реже одного раза в неделю мыть горячей водой.
6.31.7. Освещение лестничных клеток должно быть обеспечено постоянно.
7.1. Ремонт производственных зданий и сооружений представляет собой комплекс технических мероприятий, направленных на поддержание или восстановление первоначальных эксплуатационных качеств, как зданий и сооружений в целом, так и их отдельных конструкций.
7.2. Ремонтные работы производственных зданий и сооружений подразделяются на два вида: текущий и капитальный.
7.3. К текущему ремонту относятся работы по систематическому и своевременному предохранению частей зданий и сооружений от преждевременного износа путем профилактических мероприятий и устранения мелких повреждений и неисправностей. Перечень работ по текущему ремонту приведен в приложении 6.
7.4. К капитальному ремонту производственных зданий и сооружений относятся работы по замене изношенных конструкций здания. Перечень работ по капитальному ремонту приведен в приложении 7.
7.5. Капитальный ремонт производственных зданий и сооружений может быть комплексным - ремонт здания или сооружения в целом, и выборочным - ремонт отдельных конструкций здания, сооружения.
7.6. Комплексный капитальный ремонт предусматривает одновременное восстановление всех изношенных или разрушенных элементов здания.
7.7. При выборочном капитальном ремонте производят полную замену отдельных конструкций или их элементов в зданиях, конструкции которых в целом находятся в удовлетворительном состоянии.
7.8. Целесообразность капитального ремонта определяется не только степенью износа здания, уровнем благоустройства и сроком службы, но и экономической эффективностью ремонта здания, которая зависит от степени использования существующих конструкций. Если стоимость ремонта выше, чем стоимость нового строительства, то такой ремонт экономически нецелесообразен. Оптимальное значение этого соотношения 0,5...0,8.
7.9. Капитальный ремонт зданий и сооружений, устранение повреждений и деформаций стальных и железобетонных конструкций выполняется только по проектно-сметной документации, разработанной проектными организациями после проведения комплекса обмерно-обследовательских работ.
7.10. Техническое обследование строительных конструкций зданий и сооружений рекомендуется проводить в соответствии с "Руководством по инженерно-техническому обследованию, оценке качества и надежности строительных конструкций зданий и сооружений РТМ 1652-9-89, Проектнииспецхиммаш, М., 1989 г.
7.11. Задание на разработку проектно-сметной документации для капитального ремонта зданий и сооружений составляется заказчиком с участием проектной организации и оформляется по форме, приведенной в приложении 8. Задание является неотъемлемой частью договора.
7.12. Для разработки проектно-сметной документации заказчик предоставляет проектной организации следующие документы:
обмерные чертежи или задание на выполнение обмерных работ;
схематический план расположения грузоподъемных кранов и механизмов с их характеристиками;
схематический план расположения оборудования на междуэтажных перекрытиях с нагрузками;
сертификаты на стальные конструкции (при отсутствии производится отбор образцов, по указанию проектной организации и их испытание);
паспорта на сборные железобетонные конструкции;
рабочие чертежи первоначального проекта и после реконструкции;
исполнительные схемы монтажа конструкций;
материалы по проведенным ранее обследовательским работам;
задание на проведение обследовательских работ, если последние обследования выполнены белее трех - пяти лет назад.
7.13. Предельные сроки продолжительности капитального ремонта на отдельном здании или сооружении должны быть не более:
одного месяца при сметной стоимости ремонтных работ до 10 тыс. рублей;
двух месяцев при сметной стоимости ремонтных работ до 20 тыс. рублей;
четырех месяцев при сметной стоимости ремонтных работ до 50 тыс. рублей;
шести месяцев при сметной стоимости ремонтных работ до 100 тыс. рублей;
до двенадцати месяцев при сметной стоимости ремонтных работ более 100 тыс. рублей.
7.14. Продолжительность ремонтно-восстановительных работ по зданиям и сооружениям в районах с сейсмичностью 7 баллов устанавливается с применением коэффициента 1,05, а с сейсмичностью 8 и 9 баллов - 1,1.
7.15. Для выполнения ремонтных работ (усиление конструкций покрытия, замена подкрановых балок, рихтовка подкрановых путей и т.д.) в действующих цехах без остановки основного технологического производства следует разработать график совмещения работ.
7.16. Примерная периодичность проведения работ по капитальному ремонту производственных зданий и сооружений приведена в приложении 9. В конкретных случаях сроки проведения капитального ремонта следует назначать с учетом технологии и режима производства.
7.17. Отдел эксплуатации и ремонта зданий и сооружений должен вести постоянный контроль за качеством и сроками выполнения ремонтных работ.
7.18. В процессе выполнения капитального ремонта Отдел эксплуатации и ремонта зданий и сооружений должен осуществлять промежуточную приемку и освидетельствование скрытых работ.
7.19. По окончании ремонтных работ Отдел эксплуатации должен произвести приемку отремонтированного здания или сооружения и принять исполнительную документацию на хранение.
7.20. Ответственность за качество работ по капитальному ремонту возлагается на руководителя подрядной организации, ведущей ремонтные работы.
7.21. Усиления грунтов оснований и фундаментов зданий и сооружений промышленных предприятий проводят с целью увеличения их несущей способности в случае предстоящего увеличения нагрузок на фундамент (установка на перекрытиях более тяжелого оборудования, увеличение грузоподъемности мостовых кранов и т.д.) при неудовлетворительном их состоянии и в случае появления недопустимых осадок фундаментов (замачивание лессовых макропористых грунтов, загнивание органических примесей в насыпных грунтах, фильтрация и вынос мелких частиц грунта из под подошвы фундаментов, понижение и повышение грунтовых вод).
7.22. В тех случаях, когда, при увеличении нагрузок на фундаменты, допустимые расчетные значения давления на грунты в основании фундаментов предполагается превысить, следует провести усиление или грунтов основания или фундаментов в зависимости от конкретных условий.
7.22.1. Во многих случаях усиление оснований и фундаментов приходится производить даже без увеличения нагрузок. Обычно это относится к зданиям, которые получили сильные деформации в результате неравномерных незатухающих осадок, а также в результате резких просадок лессовых просадочных грунтов.
7.22.2. Выбор метода усиления оснований и фундаментов зависит от причин, вызывающих необходимость такого усиления. Усиление может быть выполнено различными методами. Предпочтение следует отдать такому методу, который является наиболее рациональным и экономичным, а также технически целесообразным.
7.22.3. Ремонт или усиление фундаментов можно выполнить различными методами:
инъецирование цементного раствора в поры и трещины тела фундамента;
частичная перекладка фундаментов;
замена отдельных участков фундамента;
уширение подошвы фундамента;
разгрузка фундаментов путем передачи нагрузки от стен и колонн на буроинъекционные сваи или на выносные дополнительные опоры.
7.22.4. Закрепление (усиление) грунтов - это искусственное преобразование строительных свойств грунтов различными физико-химическими способами в условиях их естественного залегания, в результате которого увеличивается прочность, устойчивость, сжимаемость и водопроницаемость грунтов.
7.22.5. Закрепление грунтов можно осуществлять двухрастворной и однорастворной или газовой силикатизацией, смолизацией, цементизацией.
7.22.6. Широкое распространение получил способ закрепления мелких песков карбомидной смолой (крепитель) с добавлением в нее соляной или щавелевой кислоты (отвердитель) и закрепление насыпных грунтов карбомидной смолой с добавлением в нее щавелевой кислоты.
7.22.7. Основным критерием, необходимым при выборе способа закрепления грунтов, является их проницаемость, характеризующаяся коэффициентом фильтрации. Чем меньше коэффициент фильтрации, тем труднее осуществлять инъекцию химических растворов.
7.22.8. Цементация и химическое закрепление грунтов долговечны и производство работ не требует остановки производства в зданиях.
7.22.9. Закрепление песчаных грунтов с коэффициентом фильтрации от 0,5 до 8 м/сут. и в лессовых просадочных грунтах с коэффициентом фильтрации от 0,2 до 2 м/сут можно выполнить методами силикатизации и смолизации.
7.22.10. При закреплении песчаных грунтов двухрастворной силикатизацией происходит химическая реакция между силикатом натрия и хлористым кальцием, в результате чего в порах грунта образуется гель кремневой кислоты, грунт быстро закрепляется и становится водонепроницаемым с прочностью 2 - 8 МПа (20 - 80 кгс/см2).
7.22.11. При закреплении песчаных грунтов средней крупности, мелких, пылеватых и карбонатных с коэффициентом фильтрации 0,5 - 20 м/сут однорастворной силикатизацией на основе силиката натрия и кремнефтористоводородной кислоты прочность грунта достигает 1 - 5 МПа (10 - 50 кгс/ см2).
7.22.12. При закреплении песчаных грунтов средней крупности, мелких, пылеватых и карбонатных с коэффициентом фильтрации 0,5 - 20 м/сут. однорастворной силикатизацией на основе силиката натрия и формамида с добавкой кремнефтористоводородной кислоты прочность грунта достигает 1 - 3 МПа (10 - 30 кгс/ см2).
7.22.13. При закреплении песчаных грунтов средней крупности, мелких, пылеватых и карбонатных с коэффициентом фильтрации 0,5 - 10 м/сут однорастворной силикатизацией на основе силиката натрия и ортофосфорной кислоты прочность грунта достигает 0,2 - 0,5 МПа (20 - 50 кгс/см2).
7.22.14. При закреплении песчаных грунтов всех видов, кроме карбонатных с коэффициентом фильтрации 0,5 - 50 м/сут. одностворной смолизацией на основе карбомидных смол марок М, М-2, М-3, МФ-17 и соляной кислоты прочность грунта достигает 2 - 8 МПа (20 - 80 кгс/см2).
7.22.15. При закреплении песчаных грунтов всех видов и карбонатных с коэффициентом фильтрации 0,5 - 50 м/сут. однорастворной смолизацией на основе карбомидных смол марок М, М-2, М-3, МФ-17 и щавелевой кислоты прочность грунта достигает 1 - 5 МПа (10 - 50 кгс/см2).
7.22.16. Просадочные лессовые грунты можно закрепить методом однорастворной силикатизации, в рецептуру которой входит раствор силиката натрия и углекислого газа. Прочность закрепленного грунта составляет 0,5 - 3,5 МПа (5 - 35 кгс/ см2).
7.22.17. Силикатизация и смолизация грунтов осуществляется нагнетанием в грунт через систему иньекторов или скважин водных растворов или смесей, приготовляемых на основе силиката натрия и синтетических смол с отвердителем.
7.23. В старых промышленных зданиях, построенных в начале XX века, фундаменты, как правило, выложены из бутового, плитнякового камня и редко из пережженного красного кирпича-железняка на известковом растворе.
7.23.1. Со временем растворы теряют свою первоначальную прочность и превращаются в легко разрушаемый материал. В связи, с чем бутовый камень и кирпичная кладка легко разбираются руками. Наиболее целесообразным способом восстановления таких фундаментов является цементация.
7.23.2. В зданиях более поздней постройки фундаменты выполнялись из бутобетона, бетона и железобетона.
7.23.3. Повреждения таких фундаментов обычно вызываются неравномерной осадкой, выносом грунта из-под подошвы фундамента и воздействием агрессивных жидкостей. Повреждения представляют собой различного рода трещины, разрушение материалов фундаментов, выщелачивание цемента бетона. Эти повреждения можно ликвидировать методом цементации тела фундамента и контакта "фундамент-грунт".
7.23.4. Ниже изложена примерная технология цементации фундаментов. С пола первого этажа, подвала и тротуара бурятся наклонные скважины до подошвы фундаментов. Скважины бурят портативным станком КБУ-50, оснащенным перфоратором ПР-50 с механизмом подачи или станком СКБ-40 с промывкой или продувкой воздухом. Скважины располагают вдоль стены на расстоянии 1 - 2 м друг от друга в шахматном порядке. На пробуренные скважины устанавливается кондуктор, затем производится цементация затрубного пространства и скважины оставляются на выстойку на сутки. От устья скважины на глубину не менее одного метра устраивается замок из уплотненной глины, через который производится забивка инъектора, имеющего на конце перфорированную часть размером 1 - 1,5 м. Порядок забивки и обработки скважин сверху вниз.
7.23.5. Цементация фундаментов выполняется с целью омоноличивания кладки фундаментов путем заполнения цементным камнем трещин и пустот.
7.23.6. Для цементации фундаментов применяют портландцемент М-400.
7.23.7. Цементный раствор готовится в установке, состоящей из двух растворомешалок РМ-750 и насоса. Рекомендуемый состав раствора В:Ц = 1,0...0,7.
7.23.8. Нагнетание цементного раствора производится под давлением 0,2 МПа (2 кгс/см2). Расход раствора не более 50 л/мин. Нагнетание производится до полного отказа в поглощении при давлении 0,2 МПа (2 кгс/см2).
7.23.9. В случае значительного расхода цементного раствора при небольшом давлении следует прекратить нагнетание раствора в скважины на одни - двое суток, а скважины забить пробками. По истечении этого срока нагнетание можно продолжить.
7.24. Метод силикатизации рекомендуется применять для закрепления мелкозернистых сухих и водонасыщенных песков, просадочных лессов и лессовидных суглинков.
7.24.1. Способ силикатизации не рекомендуется применять для закрепления грунтов, пропитанных нефтепродуктами. При водородном показателе РН грунтовых вод более 9 двухрастворный способ силикатизации неэффективен, как и при РН > 7,2 - неэффективен способ однорастворной силикатизации.
7.24.2. Для силикатизации песчаных и лессовых грунтов применяют силикат натрия (содовый или содовосульфатный).
7.24.3. Для разработки технологии закрепления грунта силикатизацией проводят полевые и лабораторные исследования, а также опытные работы непосредственно на объекте.
7.24.4. Полевые работы проводят с целью:
уточнения геологических и гидрогеологических условий;
отбора образцов грунта и проб грунтовых вод;
определения интенсивности поглощения растворов грунтом.
7.24.5. Лабораторными исследованиями грунтов определяют:
гранулометрический состав;
пористость;
коэффициент фильтрации;
химический состав грунтовых вод и карбонатность грунтов;
способ закрепления грунтов;
прочность и водоустойчивость закрепленного грунта.
7.24.6. Опытные работы по закреплению грунта производятся с целью уточнения радиуса закрепления и определения нормы закачки растворов, единичного расхода раствора, оптимального давления и продолжительности нагнетания в одну заходку.
7.24.7. Для производства работ по силикатизации следует разработать проектно-сметную документацию в следующем составе:
данные по конфигурации и объему подлежащего закреплению массива;
план расположения инъекторов с указанием глубины заходок и их количества;
данные о количестве раствора, нагнетаемого в одну заходку, его плотности и температуре;
радиус закрепления, время нагнетания и давление;
указания об объеме контрольного закрепления грунтов и порядке ведения контрольных работ;
требования к закрепленному грунту по прочности, монолитности, водонепроницаемости;
схема организации производства работ с указанием порядка нагнетания раствора, количества одновременно действующих инъекционных точек, перечня и характеристик оборудования, потребности в материалах и рабочей силе;
смета.
7.24.8. Двухрастворную силикатизацию применяют для закрепления песчаных грунтов с коэффициентом фильтрации 2 - 80 л/сут.
7.24.9. Метод двухрастворной силикатизации песчаных грунтов заключается в поочередном нагнетании через систему металлических инъекторов, забиваемых в грунт двух химических растворов - силиката натрия (жидкое стекло) и хлористого кальция.
В результате химической реакции в порах грунта выделяется гидрогель кремниевой кислоты и грунт быстро и прочно закрепляется.
7.24.10. Закрепление грунта производят зонами - "заходками". Заходка равна длине перфорированной части трубы инъектора плюс 0,5 радиуса закрепления.
7.24.11. Однорастворную силикатизацию применяют для закрепления мелкозернистых, пылеватых и водонасыщенных песков (плывунов) с коэффициентом фильтрации 0,5 - 5 м/сут., а также для закрепления лессовых просадочных грунтов.
7.24.12. В результате однорастворной силикатизации песчаный грунт приобретает прочность порядка 1 - 5 МПа (10 - 50 кгс/ см2).
7.24.13. Закрепление лессовых просадочных грунтов однорастворной силикатизацией может быть выполнено при коэффициенте фильтрации не менее 0,05 м/сут., емкости поглощения в нормальном растворе щелочи не менее 10 мг-экв на 100 г сухого грунта и степени влажности не более 0,7.
7.24.14. Закрепление лессовых просадочных грунтов производится на всю просадочную толщу. При этом устраняются просадочные свойства грунтов основания, и увеличивается несущая способность грунта, угол внутреннего трения и сцепление.
7.24.15. Силикатизация грунта производится на основе данных инженерно-геологических и гидрогеологических исследований.
7.24.16. Силикатизацию просадочных грунтов производят на основе лабораторных исследований, которыми определяются:
коэффициент фильтрации грунтов;
емкость поглощения в нормальном растворе щелочи;
прочностные и деформативные характеристики грунтов, как в естественном сложении, так и силикатированных: сцепление, угол внутреннего трения, модуль общей деформации, сопротивление сжатию при максимальном расходе силиката натрия;
размокаемость;
компрессионные свойства силикатизированных грунтов;
удельный расход силиката натрия;
модуль раствора силиката натрия.
7.24.17. Прочность закрепленного лессового проселочного грунта однорастворной силикатизацией составляет 0,5 - 3,5 МПа (5 - 35 кгс/см2).
7.24.18. Расход раствора на 1м3 грунта в основном зависит от его пористости и коэффициента заполнения пор, который обычно не превышает 0,8.
7.24.19. Способ газовой силикатизации основан на применении углекислого газа CO2 в качестве отвердителя жидкого стекла. Он обеспечивает быстрое и эффективное закрепление грунтов при меньшем расходе силиката натрия по сравнению с обычной силикатизацией.
7.24.20. Технология газовой силикатизации состоит в следующем: в грунт через забитые инъекторы или пробуренные и специально оборудованные скважины нагнетается углекислый газ для предварительной активизации грунта, затем нагнетается раствор силиката натрия и, наконец, вторично углекислый газ для отвердения раствора силиката натрия. Грунты приобретают прочность, водоустойчивость и водонепроницаемость.
7.24.21. Газовую силикатизацию применяют:
для закрепления бескарбонатных и карбонатных песчаных грунтов с различной степенью влажности 0 ≤ G ≤ 1, с коэффициентом фильтрации от 0,5 до 20 м/сут;
для закрепления лессовых грунтов со степенью влажности не выше 0,75, с коэффициентом фильтрации не ниже 0,1 м/сут;
для закрепления загипсованных грунтов с неограниченным содержанием гипса, с коэффициентом фильтрации от 0,5 до 20 м/сут.
7.24.22. Способ газовой силикатизации применим для грунтов различного химико-минералогического состава, за исключением грунтов, насыщенных производственными щелочными сточными водами со значением РН > 10.
7.24.23. Для проведения работ по закреплению грунтов газовой силикатизацией следует произвести необходимые лабораторные испытания и составить проектно-сметную документацию.
7.24.24. Лабораторные исследования проводить по п.7.24.16. Кроме того, следует определить:
РН грунта и грунтовой воды;
характеристики карбонатов;
закрепляемость грунтов.
7.25. Смолизация грунтов применяется для повышения несущей способности оснований фундаментов.
7.25.1. Способ смолизации грунтов заключается в нагнетании в грунт через трубы-инъекторы или пробуренные и специально оборудованные скважины гелеобразущей смеси водного раствора карбомидной смолы с соляной или щавелевой кислотой. В результате поликонденсации водного раствора карбомидной смолы пропитанный им грунт превращается в камень.
7.25.2. Методом смолизации можно закреплять сухие и водонасыщенные песчаные грунты от пылеватых до гравелистых, имеющих коэффициент фильтрации от 50 до 0,1 м/сут, а также насыпные гумусированные грунты, имеющие повышенное содержание карбонатов и органических включений.
7.25.3. Для закрепления песков можно использовать карбомидные смолы и отвердители в виде 3 - 5 % растворов соляной, щавелевой или кремнефтористоводородной кислоты. При закреплении песков с содержанием глинистых частиц от 1 до 3 % и карбонатов до 3 % грунт предварительно обрабатывают 3 - 5 % раствором соляной кислоты, а при содержании карбонатов более 3 % грунт предварительно обрабатывают 2 - 6 % раствором щавелевой кислоты.
7.25.4. Для закрепления грунтов применяют смолы следующих марок: КМ-2, КМ-3, МФ-17 и КФЖ, хорошо растворяемые в воде, и отвердители: щавелевая, соляная кислоты и хлорное железо.
7.25.5. Прочность закрепленного грунта колеблется от 1 до 8 МПа (10 - 80 кгс/см2) и находится в прямой зависимости от концентрации смолы. Для повышения эффективности закрепления грунты, а особенно содержащие карбонаты, предварительно пропитывают 4 - 5 % раствором щавелевой кислоты.
7.25.6. Закрепленный грунт весьма устойчив в условиях с агрессивными средами.
7.25.7. Для выбора рецептуры раствора отбираются образцы грунта и испытываются в лабораторных условиях.
7.25.8. На основании лабораторного закрепления грунта определяют рецептуру раствора.
7.25.9. В соответствии с данными рекомендациями проводят опытные работы в натурных геологических условиях.
7.25.10. После испытания опытных образцов назначают окончательную рецептуру раствора и приступают; к закреплению грунта непосредственно под подошвой фундаментов.
7.25.11. Работы по закреплению грунтов под фундаментами выполняются без остановки основного производства.
7.26. Срок службы каменных конструкций зависит от многих факторов: условия эксплуатации, надлежащий технический надзор, воздействия стихийных бедствий (пожары, землетрясения и др.), воздействия ударных волн при взрывах, замачивание просадочных грунтов и т.д.
7.26.1. В зависимости от характера дефектов, повреждений, деформаций и причин их появления решается вопрос по их устранению, т.е. разрабатывается проектно-сметная документация на восстановление или усиление в каждом конкретном случае в зависимости от эксплуатационных требований и состояния конструкции.
7.26.2. При разработке проекта восстановления или усиления каменных конструкций необходимо учитывать следующие основные требования:
обеспечение надежности совместной работы элементов усиления и усиливаемой конструкцией;
обеспечение устойчивости ремонтируемых стен на период перекладки отдельных их участков;
быстрое и экономное изготовление и монтаж элементов усиления с минимальными затратами труда;
производство работ по восстановлению или усилению конструкций в наиболее сжатые сроки и без остановки основного технологического производства.
7.26.3. При выборе метода восстановления или усиления следует учитывать конкретные условия, т.е. состояние усиливаемой конструкции, характер загружения, возможность выполнения того или иного способа усиления, габариты конструкции.
7.26.4. Для восстановления каменных конструкций применяют материалы, аналогичные тем, из которых выполнены конструкции. Для усиления конструкции могут быть использованы железобетонные или штукатурные рубашки, металлические обоймы и тяжи.
7.26.5. При выполнении усиления или при перекладке отдельных участков каменных конструкций следует особое внимание уделять вопросу обеспечения общей устойчивости конструкции и здания в целом, для чего при необходимости предусматривать в проектах установку дополнительных связей и креплений.
7.26.6. Поврежденные каменные конструкции, не обладающие достаточной несущей способностью для восприятия продольной силы, следует усиливать обоймами, увеличивающими сопротивляемость конструкций воздействию продольной силы.
7.26.7. Усиление стальными обоймами рекомендуется в случаях, когда ширина простенка или столба равна его толщине или превышает ее не более чем на 50 %.
7.25.8. Стальные обоймы можно выполнять из равнобоких уголков, устанавливаемых на цементном растворе марки не ниже 100 по углам простенка или столба, соединенных на сварке друг с другом стальными планками или тяжами с шагом по высоте 30 - 50 см.
7.26.9. В стальных обоймах широких простенков следует устанавливать дополнительные промежуточные вертикальные планки из полосовой стали с внутренней и наружной сторон простенка, стянутые болтами Ø16...20 мм, пропускаемыми в сквозные отверстия, просверленные в кладке. Сечение планки принимается равным сечению вертикальных уголков.
7.26.10. Для обжатия кладки крепление планки выполняют в начале к полке одного из уголков, затем планку разогревают газовой горелкой до температуры 200°С и крепят к полке другого уголка.
7.26.11. Обжатие кладки можно выполнить стяжными стержнями из круглой стали. Натяжение тяжей производить закручиванием гаек на концах стержней, пропущенных в отрезки трубок, приваренных к стальным уголкам обоймы. Стальная обойма должна быть защищена от коррозии или покрытием антикоррозионными составами или слоем цементно-песчаного раствора толщиной 25 - 30 мм по металлической сетке.
7.26.12. .Перед выполнением работ по усилению поверхности простенков или столбов следует очистить от грязи, штукатурки, удалить разрушающиеся участки кладки, произвести инъецирование или зачеканку трещин, просверлить отверстия в кладке для стяжных болтов.
7.26.13. Железобетонные обоймы применяют для усиления слабой или сильно разрушенной кладки простенков или столбов.
7.26.14. Железобетонная обойма представляет собой железобетонную оболочку толщиной 6 - 10 см., армируемую продольной арматурой, устанавливаемой по расчету, и поперечными хомутами диаметром 4 - 10 мм с шагом не более 15 см. Бетон принимается класса ВI5.
7.26.15. При ширине простенка, равной или более двух его толщин, устанавливают анкера с шагом не более 50 см для промежуточного крепления арматуры. Бетонирование можно производить в постепенно наращиваемой опалубке в зависимости от высоты простенка. Обоймы, выполненные методом торкретирования, наиболее прочные.
7.26.16. Работы при выполнении железобетонных обоим торкретированием необходимо производить в следующей последовательности с соблюдением определенных условий:
до начала работ производят пробные набрызги для определения оптимального давления воды и воздуха;
сопло машины для торкретирования устанавливают на расстоянии 0,7 - 1,0 м от торкретируемой поверхности;
струя должна быть направлена под углом 75 - 80° к обетонируемой поверхности;
толщину наносимого слоя контролировать по маякам;
при торкретировании в несколько слоев каждый последующий слой наносить с интервалом, не превышающим времени схватывания бетона;
поверхность бетона в процессе укладки должна иметь равномерный жирный блеск без сухих пятен;
по окончании торкретирования еще влажную поверхность необходимо выровнять штукатурными инструментами.
7.26.17. Растворные армированные обоймы применяются для незначительного увеличения несущей способности простенка.
7.26.18. Растворные армированные обоймы выполняют из цементно-песчаного раствора марки 75 - 100 методом торкретирования, а при небольших объемах работ - вручную.
7.26.19. При разрушении поверхностного слоя каменной кладки толщиной до 6 см работы по выполнению растворных обойм можно вести в такой технологической последовательности:
ручными сверлильными машинами просверлить сквозные отверстия, заполнить их раствором и установить анкера, навесить металлическую .сетку, установить анкерные шайбы и гайки;
закручиванием гаек анкерными шайбами прижать металлическую сетку к поверхности каменной кладки;
сетки навешивать сверху вниз со стыком внахлестку не менее 100 мм, в зоне которого должно быть не менее двух поперечных стержней каждой сетки, связанных вязальной проволокой;
размеры анкерных шайб должны превышать размеры ячеек сеток на 20 - 30 мм;
слой торкрет-раствора наносят после полного прижатия металлических сеток. Рекомендации по торкретированию см. п. 7.26.16.
7.26.20. Восстановление участков отслоившейся или разрушенной кладки стен в результате сильного выветривания производят методом замены этих участков новой кладкой.
7.26.21. При отслоившейся или разрушенной кладке на глубину до 1/2 кирпича новую кладку выполняют с перевязкой со старой путем устройства тычков из кирпича, заделываемых в оставшуюся часть кладки через 3 ряда кирпича по высоте и через 1,5 кирпича по длине.
7.26.22. При разрушении кирпичной кладки несущих стен на глубину до одного кирпича новую кладку выполняют с перевязкой со старой путем устройства тычков из кирпичей, заделываемых в оставшуюся часть кладки через 4 ряда кирпича по высоте и через 2 кирпича по длине. В промежутках между кирпичными анкерами дополнительно заделываются стальные анкера, для чего в существующей кладке пробивают шлямбуром или сверлят отверстия диаметром 40 - 60 мм, в которые после продувки сжатым воздухом и промывки цементным молоком, заделываются цементно-песчаным раствором марки 100 стальные анкера диаметром 4 - 6 мм.
7.26.23. Для новой кладки можно использовать красный кирпич пластического прессования марки не ниже 100 на цементно-песчаном растворе марки 75 - 100.
7.26.24. В случае замены значительных участков стен перекладку следует вести участками по 1 - 1,5 м без разборки вышерасположенной кладки.
7.26.25. Новую кладку выполнять из глиняного кирпича пластического прессования марки не ниже 100 на цементно-песчаном растворе марки 75 - 100. По достижении 70 % прочности новой кладки горизонтальные зазоры между новой и старой кладкой тщательно заделать цементным раствором.
7.26.26. В случае частичной или полной перекладки простенков производят временное крепление вышележащей кладки, для чего в проемах устанавливают деревянные стойки, а под балки перекрытий подводят стойки, передающие нагрузку на пол первого этажа, через распределительные подкладки.
7.26.27. Временные крепления рекомендуется выполнять из дерева, стальных труб, стального проката, способных воспринять нагрузку от вышерасположенных стен и перекрытий.
7.26.28. Плотное прилегание верхних и нижних стоек и включение стоек в работу обеспечивают установкой клиньев с последующей их подбивкой под стойки.
7.26.29. Все работы по восстановлению кирпичной кладки должны выполняться высококвалифицированными каменщиками под руководством опытного специалиста, с соблюдением техники безопасности.
7.26.30. Значительно разрушенные участки цокольной части стен восстанавливают перекладкой или усиливают железобетонной рубашкой армированной стальной рулонной сеткой, укрепляемой на забитых в цоколь анкерах.
7.26.31. При небольшом разрушении цоколь восстанавливают торкретированием поверхности.
7.26.32. Для предотвращения дальнейшего разрушения кирпичных стен, имеющих незначительные выветривания и отслоения в результате недостаточной термостойкости кладки, устраивают защитные экраны.
7.26.33. Защитные экраны выполняются из волнистых асбестоцементных листов, из листов шлакоситалла или оцинкованного профилированного настила, прикрепляемых к деревянным рейкам. Деревянные рейки крепятся гвоздями или шурупами к деревянным пробкам, забитым в предварительно высверленные в стене гнезда Ø10 - 15 мм. При недостаточной теплостойкости стен в промежутках между рейками прикрепить утеплитель.
7.26.34. Экран устраивается с таким расчетом, чтобы между утеплителем и экраном был зазор, т.е. воздушная прослойка, в которой происходит естественная вентиляция.
7.26.35. В качестве утеплителя стен применяют эффективный плитный утеплитель, например, минераловатные плиты на синтетическом связующем, минераловатные плиты на битумном связующем с теплопроводимостыо до 0,06 Вт/(м.К). Толщина утеплителя определяется теплотехническим расчетом.
7.26.36. Защитные экраны надежно обеспечивают защиту материала стен от увлажнения атмосферными осадками, что весьма важно для зданий, подверженных регулярному и длительному воздействию влаги и сильных ветров. Защитные экраны снижают теплопередачу стен малой толщины в промышленных зданиях, производственный процесс в которых связан с повышенной влажностью. Защитные экраны более эффективны и долговечны, чем оштукатуривание наружных поверхностей стен зданий.
7.26.37. При наличии трещин, пор и пустот усиление стен можно выполнять методом инъецирования (нагнетания) под давлением в предварительно просверленные в поврежденной кладке скважины жидкого цементного или полимерцементного раствора.
7.26.38. Надежность восстановленной инъецированием конструкции обеспечивается замоноличиванием кладки и склеивающим эффектом нагнетаемого раствора. Применение инъецирования позволяет восстанавливать каменную кладку без остановки производственного процесса в зданиях. Эффективность этого метода заключается в малом расходе материалов для производства восстановительных работ без увеличения поперечных сечений восстанавливаемых конструкций.
7.26.39. Перед инъецированием следует произвести разметку и высверливание скважин в стене установкой в них металлических патрубков, произвести расчистку и герметизацию всех трещин оштукатуриванием поверхности кладки тонким слоем цементного раствора.
7.26.40. Скважины глубиной 10 - 30 см, но не более половины толщины стены, располагать в шахматном порядке с шагом 0,5 - 1,2 м, продуть воздухом. Инъекторы изготавливать из газовых трубок диаметром 1/2 - 1/4", длиной 15 - 20 см с резьбой в 5 - 6 витков на одном конце для присоединения накидной гайкой шланга насоса, Инъекторы заделывать в скважине цементным раствором, не допускал попадания раствора в трубки. Целесообразно производить закрепление инъекционных трубок герметизирующим клеем, состоящим из эпоксидной смолы, модификатора, отвердителя и молотого песка или цемента. Наружный диаметр трубки должен быть меньше диаметра скважины на 2 - 3 мм.
7.26.41. Герметичность соединений инъекторов с насосом проверяют прокачкой воды при максимально допустимом давлении. Нагнетание раствора производят после тщательной промывки трещин, качество которой следует контролировать по чистоте вытекающей из трубок воды.
7.26.42. Для инъецирования применяют портландцемент марки не ниже 400, шлакопортландцемент марки 400, обладающий небольшой вязкостью в разжиженных инъекционных растворах, тонкомолотый песок, пластифицирующие добавки (нитрит натрия в количестве 5 % массы цемента, поливинилцементная эмульсия ПВА с полимерцементным отношением п/ц = 0,05, нафталинформальдегидная добавка в количестве 0,1 % от массы цемента).
7.26.43. Составы инъекционных растворов в каждом отдельном случае назначаются в соответствии с требованиями проекта и корректируются на месте производства работ с учетом применяемых материалов с обязательным внесением соответствующих изменений в проект.
7.26.44. Рекомендуются следующие составы инъекционных растворов в частях по массе:
для кладки с раскрытием трещин до 1,5 мм:
полимерные растворы на основе эпоксидной смолы состава:
эпоксидная смола ЭД-20
(возможно использование ЭД-16).......100
модификатор МГФ-9..............................30
отвердитель ПЭПА.................................15
тонкомолотый песок..............................50
цементно-полимерные растворы состава 1:0,15:0,25 при В/Ц 0,6 (цемент: полимер ПВА: песок);
цементно-песчаные растворы с добавкой тонкомолотого песка состава 1:0,1:0,25 при В/Ц = 0,6 (цемент: суперпластификатор нафталинформальдегид: песок);
для кладки с раскрытием трещин 1,5 мм и более:
цементно-полимерные растворы состава 1:0,15:0,3 при В/Ц = 0,6 (цемент:полимер ПВА:песок);
цементно-песчаные растворы состава 1:0,05:0,3 при В/Ц 0,6 (цемент:пластификатор нитрит натрия:песок);
цементные (беспесчаные) растворы состава 1:0,1 при В/Ц = 0,5 (цемент: суперпластификатор нафталинформальдегид).
7.26.45. Нагнетание раствора в кладку осуществляется с помощью механического инъекционного агрегата непрерывного действия на подвижном шасси, разработанного ЦНИИСК им. В.А. Кучеренко совместно с ЭКБ ЦНИИСК Госстроя СССР.
7.26.46. Нагнетание раствора начинают с нижних скважин. Давление может изменяться от начального в 0,15 - 0,2 до 0,4 - 0,6 МПа. При появлении раствора в инъекционных трубках верхнего яруса нагнетание при достигнутом давлении продолжают еще 10 - 15 мин с целью опрессовки трещин, а затем давление постепенно снижают до нуля и растворонасос присоединяют к инъекторам вышележащего яруса.
7.26.47. Контроль плотности заполнения кладки в процессе нагнетания осуществляют по следующим признакам проникновения раствора в трещины: вытекания, его из инъекционных трубок, трещин, намокании штукатурки.
7.26.48. В результате неравномерной осадки фундаментов, нарушения или отсутствия анкеровки стен с колоннами, взрывов в зданиях появляются различного рода трещины, происходит выпучивание отдельных участков стен, отклонения стен от вертикали.
7.26.49. Устранение таких повреждений можно осуществлять только после выявления и устранения причин их появления.
7.26.50. Усиление поврежденных стен можно производить путем устройства: местных стальных тяжей, горизонтальных или вертикальных накладок из стальных полос или швеллеров на стены, продольных горизонтальных связей в уровне нижнего пояса стропильных ферм или балок с анкеровкой их со стенами.
7.26.51. Усиление стен при наличии в них трещин в местах примыкания поперечных стен к нарушенным продольным стенам и в углах зданий рекомендуется выполнять установкой односторонних или двухсторонних тяжей, или металлических креплений из прокатных, профилей.
7.26.52. Дальнейшее развитие деформаций стен, имеющих выпучивание отдельных участков или отклонения от вертикали, можно предотвратить устройством вертикальных или горизонтальных накладок из полосовой стали или швеллеров по наружным и внутренним плоскостям стен, крепление которых осуществляется стяжными соединительными тяжами диаметром 20 - 36 мм, располагаемыми между продольными несущими стенами здания или между капитальными поперечными стенами.
7.26.53. Перед монтажем все стальные элементы должны быть окрашены в целях предупреждения появления коррозии.
7.26.54. Работы по усилению должны производиться в следующем порядке:
произвести заготовку всех элементов с выверкой их длины по месту, просверлить отверстия в стенах в соответствии с отверстиями в швеллерах или пластинах;
смонтировать все металлоконструкции;
произвести взаимное стягивание пластин и швеллеров для обжатия кладки стен.
7.26.55. Металлические полосы сечением не менее 6×80 мм устанавливать вертикально на расстоянии друг от друга, но более 3 м. Расстояние между стяжными стержнями должно быть не более 0,8 м при толщине стены до 0,64 м и не более 1 м при толщине стен более 0,64 м. Большие трещины зачеканивают пластическим раствором, а мелкие - инъецируют. Трещины практически не будут влиять на несущую способность усиливаемой конструкции. В сжатой зоне они стремятся закрыться, а в растянутой будут работать полосы и швеллеры. Полосы располагают в толще существующего штукатурного слоя, гайки прикрыть защитными декоративными колпачками. Если проектом не предусмотрена декоративная штукатурка и металлоконструкции остаются открытыми, то их необходимо окрасить в соответствии с требованиями СНиП 2.03.11-85.
7.26.56. Стены, отклонившиеся от вертикали при нарушении или отсутствии анкеровки с колоннами каркаса, можно заанкеровать хомутами или тяжами, для чего в просверленные в стенах сквозные отверстия Ø20 мм с шагом 1200 мм по высоте пропускают хомуты или тяжи из круглой стали, приваренные с одной стороны к швеллерам № 12 - 16 и с шайбами из полосовой стали размерами 150×150×10 и гайками с другой.
Подтягивание стен производить путем поочередной затяжки гаек в направлении сначала снизу вверх, затем сверху вниз и т.д. до максимально возможного уменьшения зазора между стеной и колонной. В случае невозможности полной ликвидации зазора последний должен быть тщательно заделан сложным раствором.
7.26.57. Анкеровка стен тяжами прекращает дальнейшее развитие деформаций и обеспечивает устойчивое положение стены.
7.26.58. Вертикальное отклонение участков стен между пилястрами в одноэтажных зданиях можно устранить путем устройства специальных горизонтальных связей, устанавливаемых по нижним поясам ферм или балок покрытия, располагаемых вдоль отклонившихся участков стен, для чего в стене в уровне указанных горизонтальных связей сверлят отверстия диаметром 20 - 30 мм с шагом не более 1 м, через которые пропускают анкера, крепящиеся к элементам горизонтальных связей. С наружной стороны стены на анкера устанавливают швеллера и гайки с шайбами. Натяжение анкеров производят затяжкой гаек. Если при простукивании анкера будут издавать чистый звук высокого тона, то натяжение считается достаточным. Зафиксированное положение стены, может обеспечить ее устойчивость.
7.26.59. Для предотвращения полного разрушения стен, имеющих трещины, отклонения от вертикали, нарушения анкеровки с перекрытиями в зданиях с фундаментами недостаточной несущей способности, целесообразно устраивать предварительно-напряженные пояса.
7.26.60. Пояса выполняют по периметру здания или его части в уровнях перекрытий. В пробитые горизонтальные штрабы сечением 70×70 мм укладывают металлические тяжи из стали Ст3, 25Г2С и 35ГС диаметром 20 - 36 мм, которые опоясывают здание или его часть. Продольные стены стягивают поперечными тяжами, пропускаемыми в конструкциях полов в уровне перекрытий.
7.26.61. Тяжи можно изготавливать составными по длине со сварными стыками, равнопрочными сечению тяжа. На углах здания ставят вертикальные стальные уголки, которые обжимают углы после натяжения поясов.
7.26.62. На концах поперечных тяжей устанавливаются упорные шайбы, с размерами, принимаемыми по расчету на смятие кладки, либо ставятся швеллера, к которым одновременно крепятся поперечные и продольные тяжи.
7.26.63. По длине тяжей устраивают промежуточные упоры из металлических пластин или швеллеров, которые крепятся к кладке стяжными болтами. Для предотвращения провисания тяжей рекомендуется укладывать их на металлические костыли, заделываемые в кладку стены через 1,5 - 3 м. В промежутках между закреплениями на тяжи ставят стяжные муфты из усиленной трубы диаметром 60 - 80 мм, в торцах которой вваривают гайки с левой и правой резьбой. В средней части муфты просверливают взаимно перпендикулярные отверстия диаметром 30 мм на расстоянии друг от друга 50 мм по центрам отверстий. Продольные и поперечные тяжи рекомендуется выполнять из стали одного диаметра и монтировать их следует в одном уровне.
7.26.64. Натяжение поясов осуществляется закручиванием стяжных муфт одновременно по всему контуру пояса. Предварительное одновременное натяжение тяжей соединительными муфтами и гайками производят для ликвидации провисания тяжей. Окончательное натяжение следует вести при температуре наружного воздуха +20°С. Закручивание муфт производят ломиками диаметром 20 - 22 мм, длиной 150 см. При усилии, прилагаемом человеком, на конце ломика около 100 кг обеспечивается натяжение тяжей в 30 - 60 кн (3 - 6 т). После полного натяжения тяжей штрабы заделать цементно-песчаным раствором марки 100 и восстановить отделку фасадов. В тех случаях, когда тяжи располагают не в штрабах, а по поверхности стен, тяжи заделать армированными цементно-песчаным поясом.
7.26.65. Диаметр тяжей определяется расчетом из условия обеспечения прочности тяжей, воспринимающих нагибающий момент от стены. Усилие, на которое подбирается сечение тяжа, зависит от расчетного сопротивления кладки скалыванию, толщины и длины стены.
7.27. Ремонт перемычек производят после прекращения деформаций стен от неравномерной осадки. Ремонт или усиление поврежденных кирпичных перемычек может быть выполнен путем частичной или полной их перекладки, заменой их стальными или железобетонными перемычками, а при незначительных разрушениях - заделкой трещин.
7.27.1. Мелкие трещины в кирпичных перемычках заделывают жидким цементным раствором. Перед заделкой трещины расчищается, промываются цементным молоком и расклиниваются металлическими или деревянными клиньями из сухой древесины. На нижние плоскости перемычек натягивают медную проволоку диаметром 1,5 - 2 мм, закрепляемую латунными шурупами, и наносят цементно-песчаную штукатурку марки 100. Через трое суток в трещины шприцом нагнетают жидкий цементный раствор. По окончании схватывания введенного в кладку раствора оставшиеся углубления выравнивают пластичным цементным раствором.
7.27.2. Перемычки, имеющие большое количество сквозных трещин, участки слабой расшатавшейся кладки с выпавшими отдельными кирпичами перекладывают частично или полностью. Для этого по низу перемычки устанавливают опалубку. Слабые участки кладки разбирают и заменяют новой кладкой из красного кирпича пластического прессования марки 100 на сложном цементном растворе марки 50.
7.27.3. Из-за большой трудоемкости полной перекладки рекомендуется сильно разрушенные кирпичные перемычки заменять на стальные или железобетонные.
7.27.4. Кирпичные перемычки, находящиеся в удовлетворительном состоянии, но не обладающие достаточной несущей способностью, в случае предполагаемого увеличения полезной нагрузки на перекрытия, можно усилить дополнительными металлическими перемычками.
7.27.5. Перед началом работ по усилению перемычек под балки перекрытий устанавливают временные деревянные стойки Ø18 - 24 см, разгружающие несущие перемычки. Для равномерного распределения нагрузки стойки устанавливают на специальные лежни из окантованных с двух сторон бревен. Разгрузка достигается за счет расклинки стоек и лежней.
7.27.6. Металлические балки-перемычки из швеллеров устанавливают в горизонтальные штрабы выбитые в стене, по размерам укладываемых балок. Перед монтажем балок штрабы необходимо промыть цементным молоком. Установленные балки временно закрепляются клиньями. Через просверленные сквозные отверстия в существующей перемычке и балке пропускают стяжные болты и слегка их подтягивают. Пространство между балкой и кирпичной кладкой существующей перемычки заливают жидким цементным раствором, а щель между верхом балки и кладкой стены зачеканивают жестким цементным раствором. Балки - перемычки устанавливать поочередной с одной, затем с другой стороны проема. Сечение металлических балок определяется расчетом.
7.28. Деформированные участки кладки столбов и простенков в местах опирания на них несущих конструкций здания можно отремонтировать путем замены разрушенной кладки новой из более прочного кирпича и раствора или подводкой под опорные концы балок или ферм железобетонных подушек или стальных листов.
7.28.1. Перед заменой разрушенной кладки под концы балок или ферм устанавливают временные деревянные или металлические стойки, воспринимающие на себя нагрузку от перекрытий. Стойки устанавливают на расстоянии 1,0 - 1,2 м от стен. После установки временных креплений приступают к замене или устройству новых опор. Разрушенную кладку разбирают, очищают от мусора и пыли сжатым воздухом и промывают цементным молоком. Новую кирпичную кладку выполнять из красного кирпича пластического прессования марки 100 на цементном растворе парки 75 - I00 с перевязкой со старой кладкой.
7.28.2. В тех случаях, когда несущая способность кладки под опорными концами ферм или балок недостаточна, то для перераспределения нагрузки применяют бетонные, железобетонные опорные подушки или стальные листы, размеры которых определяются расчетом.
7.28.3. Усилить деформированные столбы и простенки можно металлическими или железобетонными обоймами, воспринимавшими поперечные растягивающие напряжения, возникающие в кладке столбов и простенков под нагрузкой. Такие обоймы выполняют только в зоне разрушения кладки.
7.28.4. Для местного усиления кирпичных столбов используется металлическая обойма, выполняемая из четырех уголков с приваренными к ним поперечными планками. Уголки устанавливаются на цементном растворе и обжимаются струбцинами, затем к полкам уголков привариваются металлические пластины.
7.28.5. Металлические обоймы для усиления внутренних кирпичных пилястр выполняют из двух уголков, устанавливаемых на цементном растворе по углам пилястр, и хомутов, поперечные стержни которых пропускают через сквозные отверстия в стенах. Усилия натяжения хомутов передаются на стены через металлические шайбы. Натяжение производят гайками и контргайками.
7.28.6. При необходимости усиления пилястры по всей высоте металлическую обойму доводят до обреза фундамента.
7.28.7. Усиление участков сплошной стены под опорами балок может быть выполнено металлической обоймой по всей высоте стены. Металлическую обойму изготавливают из швеллеров, устанавливаемых вертикально с противоположных сторон стены и стянутых между собой стяжными болтами. Для распределения нагрузки от балок в верхней части обоймы к швеллерам приваривают поперечные балки из швеллеров. В зазор между поперечной балкой и балкой покрытия забивают клинья, которые прихватывают после подклинки на сварке к поперечной балке.
7.29. В практике эксплуатации производственных зданий нередко наблюдаются случаи преждевременного износа панельных стен в зданиях с повышенной влажностью воздуха. Основной причиной этого, как правило, является чрезмерное содержание в материале влаги. С увеличением влагосодержания повышается коэффициент теплопроводности, и снижаются прочность и теплозащитная способность материала.
7.29.1. Повреждение заделки стыков панелей способствует прониканию влаги в материал панелей и ведет к отсыреванию стен, в результате чего происходит коррозия арматуры и закладных элементов, а затем и разрушение бетона.
7.29.2. Для уменьшения или предотвращения увлажнения стен, а также для увеличения срока службы панельных стен зданий необходимо предусматривать комплекс защитных мероприятий, в который входят:
обеспечение надежной работы вытяжной вентиляции и отопительной системы;
устройство защитных покрытий по внутренним поверхностям панелей;
восстановление герметизации панелей.
7.29.3. При ремонте стыков стеновых панелей используют специальные герметизирующие прокладки и мастики с высокими физико-механическими свойствами воздухонепроницаемость, влаго-морозостойкость.
7.29.4. Герметизирующие прокладки ПРП-40 и ПРП-60 представляют собой эластичный резиновый пористый жгут круглого сечения Ø10 - 50 мм (ГОСТ 19177-81) со степенью сжатия 20 - 50 %, плотностью 300 - 600 кг/м3, сохраняющий свои свойства при температуре от – 40 °С до + 70 °С.
7.29.5. Процесс подготовки наружной поверхности и устья стыка для нанесения герметика представляет собой одну из наиболее важных технологических операций, от качества которой зависит время сокращения герметичности стыка.
7.29.6. Работы по герметизации стыков выполняют с навесных самоподъемных люлек.
7.29.7. Перед выполнением герметизации производится очистка шва от старого поврежденного герметика, пыли и грязи. Затем швы продуваются сжатым воздухом.
7.29.8. После подготовки поверхностей панелей производят закатку пористых прокладок в швы панелей специальным роликом, состоящим из направляющего диска, прижимного валика, опорных роликов и рукоятки.
7.29.9. После укладки в швы упругих прокладок наносят нетвердеющую строительную герметизирующую мастику (ГОСТ 14791-79).
7.29.10. Герметизация швов нетвердеющими мастиками должна выполняться при температуре наружного воздуха не ниже – 20 °С.
Бетонные поверхности панелей во время нанесения мастики должны иметь влажность не более 4 % , так как при большей влажности, адгезия мастики к бетонной поверхности панелей практически равна нулю. Учитывая это, рекомендуется герметизацию швов их нетвердеющих мастик производить только в летний период времени в сухую погоду.
7.29.11. Нетвердеющая мастика нагнетается в швы между панелями специальными пневмошприцами.
7.29.12. Нетвердеющую мастику следует наносить на швы панелей без наплывов и разрывов. После заполнения швов мастикой ее уплотняют расшивкой, смоченной в воде. Слой мастики должен быть без пустот и плотно прилегать к бетонной поверхности.
7.29.13. Во время герметизации швов наружных панелей стен необходимо вести постоянный контроль:
за качеством упругих прокладок и мастик;
за качеством торцовых поверхностей сборных железобетонных панелей;
за качеством подготовки поверхностей швов в панелях;
за степенью обжатия жгутов пористых прокладок по всей длине шва;
за температурой нагрева нетвердеющей мастики в гильзах;
за сцеплением мастики с поверхностями железобетонных панелей.
7.29.14. При работе с пневмошприцем необходимо следить за рабочим давлением сжатого воздуха, поступающего от компрессора, которое не должно превышать 0,7 МПа.
7.29.15. При работе с термостатом для подогрева гильз с мастикой необходимо следить за исправностью трубчатых электронагревателей сетки и т.п., а также, чтобы внутри его не было посторонних предметов. Термостат должен быть заземлен.
7.29.16. Разрушившиеся участки бетона панелей тщательно очищает, продувают сжатым воздухом и заштукатуривают раствором аналогичным по составу материалу панели.
7.29.17. В случае разрушения отдельных участков арматуры коррозией взамен разрушенного, устанавливается новая арматура с приваркой к оставшейся нескоррозированной арматуре, которую следует очистить до металлического блеска.
7.29.18. Для предохранения фасадной стороны панелей от атмосферного воздействия можно использовать силикатные и перхлорвиниловые краски, обладающие большой долговечностью.
7.29.19. Панели из автоклавного ячеистого бетона с внутренней стороны покрывают латексной смесью ЛСП-145.
7.29.20. Газосиликатные панели с внутренней стороны окрашивают кумаронокаучуковой краской.
7.30. Устранение трещин, отколов и раковин в бетоне производится разными способами в зависимости от характера их появления, величины и объема работ.
7.30.1. Трещины шириной раскрытия менее 0,3 мм заделывают пленкой из жидкой смолы, которая, частично проникая в трещину, закупоривает ее, или слоем эпоксидной смолы, армированной стекловолокном.
7.30.2. Трещины шириной раскрытия более 0,3 мм являются опасными из-за возможности появления коррозии арматуры. Рекомендуется их заполнять синтетическими смолами, хорошо схватывающимися с бетоном и имеющими высокую прочность.
7.30.3. Эффективным методом омоноличивания трещин в бетоне является инъецирование полимерными составами, для чего применяют эпоксидные смолы УП-614 в сочетании с эпоксидной смолой ЭД-5 и с различными отвердителями. В качестве отвердителя эпоксидных смол применяют полиэтиленполиамин. Для инъекционных составов предпочтительнее использовать менее активные отвердители (полиамидные или полиаминоимидазолиновые смолы), которые позволяют получить более эластичные материалы для инъецирования.
7.30.4. В качестве растворителей эпоксидных смол применяют ацетон и толуол. Для инъекционных составов более эффективны активные разбавители, например, глицидиловые эфиры (ГЛЦ-10, ДЭГ-Ж и др.) и окисленный скипидар, химически связывающиеся с эпоксидной смолой и обеспечивающие получение плотного клеевого шва.
7.30.5. Инъецирование трещин полимерными составами производится в следующей последовательности: по трещине в бетоне сверлят отверстия с последующей их продувкой сжатым воздухом и промывают растворителем. Затем в просверленные отверстия в бетоне устанавливают штуцеры на эпоксидном составе (эпоксидная смола УП-614-100 в.ч., (весовая часть), бентонитовая глина - 6,5 в.ч., белый цемент - 6,5 в.ч., асбест № 6 - 13 в.ч., двуокись титана TiO2 - 3,5 в.ч., отвердитель ПЭПА - 100 в.ч.). Для предотвращения вытекания инъекционного состава производится герметизация трещин. Для, этих целей вдоль трещины очищается бетон от цементной пленки и по сухой очищенной поверхности наносят двухслойное покрытие составом (эпоксидная смола ЭД-5 - 100 в.ч., эпоксидная смола УП-614 - 20 в.ч., растворитель окситерпеновый - 40 в.ч., отвердитель ПЭПА - 12 в.ч.) или составом (эпоксидная смола ЭД-5 - 100 в.ч., эпоксидная смола УП-614 - 20 в.ч., растворитель ГЛЦ-10 - 100 в.ч., отвердитель ПЭПА - 12 в.ч.).
7.30.6. Инъецирование состава в трещины производят с помощью специальной установки, которая последовательно подсоединяется к штуцерам при помощи гибкого шланга. Инъецирование производится под давлением в пределах 0,95 - 1 МПа.
7.30.7. Инъецирование эпоксидных клеев в трещины производить устройствами, составленными из приборов заводского изготовления, что позволяет непрерывно контролировать и поддерживать давление на заданном уровне.
7.30.8. По завершении нагнетания инъекционного состава штуцеры удаляются, а на поверхность трещины наносится наполненное колерное покрытие, соответствующее тону основной конструкции. Рецепты колерных покрытий приведены в табл. 5.
7.30.9. Для заделки раковин, отслоений, выбоин, небольших отверстий, участков с разрушающимся крупным заполнителем можно применить составы полимеррастворов и полимербетонов.
7.30.10. Для заполнения раковин и отколов, расположенных на горизонтальных участках можно применять полимерцементные растворы, составы которых указана в табл. 6.
7.30.11. Для заполнения раковин и отколов, расположенных на вертикальных, наклонных и потолочных участках применяются полимерцементные растворы, составы которых указаны в табл. 7.
Таблица 5
Рецепты колерных покрытий
|
№№ составов |
Компоненты |
Весовые части |
|
1 |
Эпоксидная смола УП-614 |
100 |
|
Наполнители и пигменты: |
|
|
|
белый цемент |
10 |
|
|
двуокись титана |
до 5 |
|
|
портландцемент |
10 |
|
|
отвердитель ПЭПА |
10 |
|
|
2 |
Эпоксидная смола УП-614 |
100 |
|
Наполнители и пигменты: |
|
|
|
белый цемент |
24 |
|
|
двуокись титана |
до 5 |
|
|
портландцемент |
6 |
|
|
отвердитель ПЭПА |
10 |
|
|
3 |
Эпоксидная смола УП-614 |
100 |
|
Наполнители и пигменты: |
|
|
|
бентонитовая глина |
6 |
|
|
белый цемент |
6 |
|
|
асбест № 6 |
12 |
|
|
двуокись титана |
6 |
|
|
отвердитель ПЭПА |
10 |
|
|
4 |
Эпоксидная смола УП-614 |
100 |
|
Наполнители и пигменты: |
|
|
|
бентонитовая глина |
6,5 |
|
|
белый цемент |
6,5 |
|
|
асбест№ 6 |
13 |
|
|
двуокись титана |
3,5 |
|
|
отвердитель ПЭПА |
10 |
Составы для заполнения раковин и отколов бетона, расположенных на горизонтальных участках
|
№№ составов |
Компоненты |
Весовые части |
|
1 |
Эпоксидная смола ЭД-5 |
100 |
|
Эпоксидная смола УП-614 |
20 |
|
|
Наполнители и пигменты : |
|
|
|
Асбест № 6 |
10 |
|
|
Портландцемент |
150 |
|
|
Песок до 5 мм |
200 |
|
|
Отвердитель ПЭПА |
12 |
|
|
2 |
Эпоксидная смола ЭД-5 |
100 |
|
Эпоксидная смола УП-614 |
20 |
|
|
Наполнители и пигменты : |
|
|
|
Бентонитовая глина |
5 |
|
|
Белый цемент |
100 |
|
|
Двуокись титана |
5 |
|
|
Портландцемент |
150 |
|
|
Песок до 5 мм |
200 |
|
|
Отвердитель ПЭПА |
12 |
|
|
3 |
Эпоксидная смола ЭД-5 |
100 |
|
Эпоксидная смола УП-614 |
20 |
|
|
Наполнители и пигменты: |
|
|
|
Бентонитовая глина |
5 |
|
|
Белый цемент |
150 |
|
|
Асбест № 6 |
15 |
|
|
Двуокись титана |
5 |
|
|
Портландцемент |
50 |
|
|
Песок до 5 мм |
300 |
|
|
Отвердитель ПЭПА |
12 |
Состав для заполнения раковин и отколов бетона, расположенных на вертикальных участках
|
Компоненты |
Весовые части |
|
Эпоксидная смола ЭД-5 |
100 |
|
Эпоксидная смола УП-614 |
20 |
|
Наполнители и пигменты: |
|
|
Бентонитовая глина |
5 |
|
Белый цемент |
75 |
|
Асбест №6 |
15 |
|
Двуокись титана |
5 |
|
Портландцемент |
75 |
|
Аэросил |
2 |
|
Кварцевый песок до 5 мм |
300 |
|
Отвердитель ПЭПА |
12 |
7.31. В многоэтажных промышленных зданиях иногда появляются масляные пятна на нижней поверхности междуэтажных перекрытий, а зачастую и протечки масла.
7.31.1. Для защиты железобетонных перекрытий от разрушающих воздействий смазочных масел и охлаждающих эмульсий рекомендуется выполнять маслостойкую защиту.
7.31.2. В качестве маслостойкой защиты могут применяться лакокрасочные покрытия, покрытия из поливинилхлоридной или полиэтиленовой активированной пленки толщиной 0,2 - 0,5 мм.
7.31.3. Для лакокрасочных покрытий рекомендуется применять лак ПФ-170 с алюминиевой пудрой (10 - 15 %), эмаль ПФ-115 серая, краски ФЛ-724-1 и ФЛ-724-2, эмали ЭП-255 и ЭП-275 с грунтовкой АК-070, эмали XB-110 и ХВ-785 с грунтовкой лаком ХВ-784, эмали НЦ-132 красная и НЦ-5123 красно-коричневая с грунтовкой лаком КФ-965.
7.31.4. Перед нанесением маслостойкого защитного покрытия следует выполнить подготовку поверхностей железобетонных плит перекрытий:
полностью разобрать конструкцию пола, открытую поверхность плит очистить от пыли, грязи;
удалить масла и эмульсии из толщи перекрытия нагревательными электроковрами или специальными нагревательными установками (см. Руководство по защите железобетонных конструкций от действия нефтепродуктов. НИИЖБ Госстроя СССР, М. 1983г);
поверхность плит пропитать грунтовкой на основе эпоксидной смолы, разбавленной ацетоном состава 1:2 с отвердителем полиэтилен-полиамином в количестве 1 % от массы смолы (для надежного сцепления грунтовки со стяжкой поверхность после нанесения грунтовки посыпают песком);
по грунтовке устраивается цементно-песчаная стяжка состава 1:2 с В/Ц = 0,3 - 0,4 с добавкой хлорного железа, полимерцементной эмульсии или водорастворимых латексов, толщиной 3 - 5 см с затиркой и просушкой поверхности.
7.31.5. По подготовленной поверхности устраивается маслостойкая защита, выполняемая из 6 - 3 слоев лакокрасочного покрытия толщиной 200 - 400 мкм.
7.31.6. Лак наносится пистолетом-распылителем или кистью по выровненной сухой поверхности цементно-песчаной подготовки. При этом расход лака на м2 перекрытия составляет 150 - 300 г.
7.31.7. Окрашиваемая поверхность должна быть гладкой и не иметь раковин и трещин. В случае наличия раковин, трещин и пор, последние необходимо затереть цементным тестом нормальной густоты. При этом влажность поверхностного слоя подготовки не должна превышать 5 - 6 %.
7.31.8. Нанесение покрытий из перхлорвиниловых лаков производится в следующем порядке. Вначале наносится один слой грунта, затем необходимое количество слоев эмали. Каждый последующий слой эмали наносится только тогда, когда высохнет нанесенный ранее слой.
7.31.9. На нанесение одного слоя требуется от 2 до 48 часов при температуре 18 - 23°С.
7.31.10. По выдержанной поверхности маслостойкой защиты устраиваются полы.
7.31.11. Материал покрытия бетонных полов подбирается в зависимости от назначения данного помещения по виду технологического оборудования, от наличия подвижного транспорта, значительных сосредоточенных нагрузок и т.д.
7.31.12. Бетонные полы выполнять из бетона с добавкой хлорного железа и пластифицирующей добавкой сульфитно-спиртовой барды соответственно 0,5 - 1,5 и 0,1 - 0,25 процентов от массы цемента.
7.31.13. Примерный расход материалов на приготовление 1 м3 бетона составляет:
портландцемента марок 500 - 600 - 430 кг;
чистого промытого песка - 640 кг;
гранитного промытого щебня с фракцией не более 15 мм - 1290 кг;
хлорного железа 1 % от веса цемента,
сульфитно-спиртовой барды 0,2 от веса цемента.
7.31.14. Водоцементное отношение приготовленного бетона принимается не более 0,55.
7.31.15. Порошок хлорного железа растворяют в воде в металлических бачках за 2 - 3 дня до начала работ.
7.31.16. Сульфитно-спиртовую барду растворяют перед началом замеса.
7.31.17. Установку технологического оборудования (легкие и средние станки) рекомендуется осуществлять без крепления анкерными болтами на виброизолирующие опоры.
7.31.18. При необходимости установки станков с анкерными болтами, последние должны быть защищены.
7.31.19. Защита анкерных устройств в бетоне может осуществляться мастикой на основе эпоксидной смолы ЭД-5 с отвердителем. Хорошим отвердителем является полиэтиленполиамин, который вводят в смолу в количестве 10 % от веса смолы.
7.31.20. Защита междуэтажных перекрытий от протекания масел в бетон может быть выполнена покрытием конструкций одним слоем поливинилхлоридной или полиэтиленовой активированной пленки толщиной 0,2 - 0,5 мм. Последовательность подготовительных работ указана в п.п. 7.31.4.
7.31.21. На выровненный растворный слой раскатывается рулон пленки, рядом с ним раскатывается другой с таким расчетом, чтобы край пленки перекрывал край другого рулона на 5 - 10 см. Края пленки склеиваются между собой специальным клеем ПВА, в который вводят 10 - 12 % эпоксидной смолы марок ЭД-20 или ЭИС-1, предварительно смешивая с отвердителем в соотношении 10:1.
7.31.22. Для сохранности пленки, работу необходимо вести в мягкой обуви.
7.31.23. В местах пропуска через перекрытия технологического оборудования кабелей, труб, вентиляционных каналов, приискании к стенам и т.п. по перекрытиям должны быть выполнены ограждающие бортики высотой не менее 12 см над уровнем пола.
7.32. Одним из основных факторов повышения срока службы рулонных кровель является постоянный уход за ними и своевременное выполнение профилактических ремонтов.
7.32.1. Ремонт защитного слоя на плоских и скатных кровлях с уклоном до 10 % должен выполняться из чистого сухого гравия с размером зерна 3 - 15 мм, втопленного в дегтевую или битумную мастику.
7.32.2. Ремонт бронирующей посыпки в кровлях с уклоном более 10 % должен выполняться из чистого крупнозернистого песка с мелкой галькой-ракушкой с фракцией зерен 2 - 5 мм, втапливаемого в кровельную мастику.
7.32.3. Марки кровельных мастик принимаются в соответствии с таблицей 16.
7.32.4. Ремонт кровель должен выполняться в возможно короткие сроки только в летний период времени.
7.32.5. При ремонтных работах мягких кровель должны быть приняты меры, исключающие возможность попадания атмосферных осадков в нижележащие слои покрытия.
7.32.6. Согласно требованиям норм проектирования в качестве основания под мягкую кровлю во многих случаях применяются выравнивающие стяжки, в которых должны быть предусмотрены температурно-усадочные швы шириной до 5 мм, Однако в натуре, как правило, эти швы отсутствуют. В результате температурных воздействий в стяжке появляются трещины, что приводит к разрыву основного водоизоляционного ковра.
Таблица 8
|
Районы строительства |
Мастика |
Марки мастик для устройства участков кровель с уклоном, % |
|||
|
< 2,5 |
2,5 < i < 10 |
10 < i < 2,5 |
мест примыканий |
||
|
Севернее 50º с.ш. для европейской и 53º с.ш. для азиатской частей СССР |
Битумная горячая ГОСТ 2889-80 |
МБК-Г-55 |
МБК-Г-65 |
МБК-Г-75 |
МБК-Г-85 |
|
Битумно-резиновая горячая |
МБР-Г-55 |
МБР-Г-65 |
МБР-Г-75 |
МБР-Г-85 |
|
|
Битумно-бутилкаучуковая горячая |
МББГ-65 |
МББГ-70 |
МББГ-80 |
МББГ-80 |
|
|
Битумная холодная |
МБК-Х-65 |
Не допускается |
|||
|
Битумно-латексная кукерсольная |
БЛК-Х-65 |
Не допускается |
|||
|
Битумно-кукерсольная холодная |
БК-Х-65 |
Не допускается |
|||
|
Южнее этих районов |
Битумная горячая |
МБК-Г-65 |
МБК-Г-75 |
МБК-Г-85 |
МБК-Г-100 |
|
Битумно-резиновая горячая |
МБР-Г-65 |
МБР-Г-75 |
МБР-Г-85 |
МБР-Г-100 |
|
|
Битумно-бутилкаучуковая горячая |
МББГ-65 |
МББГ-70 |
МББГ-80 |
МББГ-80 |
|
|
Битумная холодная |
МБК-Х-75 |
МБК-Х-75 |
Не допускается |
||
|
Битумно-латексная кукерсольная холодная |
БЛК-Х-75 |
БЛК-Х-75 |
Не допускается |
||
|
Битумно-кукерсольная холодная |
БК-Х-75 |
БК-Х-75 |
Не допускается |
||
7.32.7. Устранение повреждений кровли выполняется следующим образом:
вдоль трещины удаляется защитный слой кровли на ширину 1 м. Затеи на трещину накладывают полосу из рулонного материала шириной 150 - 200 мм, которую приклеивают с одной стороны трещины к основному водоизоляционному ковру. После чего производят сплошную наклейку дополнительных слоев кровли с таким расчетом, чтобы каждое верхнее полотнище перекрывало нижележащее на 100 - 150 мм и склеивалось с основным водоизоляционным ковром с каждой стороны трещины.
7.32.8. В мягких кровлях встречаются нарушения водоизоляционного ковра в местах примыканий кровель к вертикальным плоскостям. Причиной, как правило, являются неравномерные осадки здания, недостаточная теплостойкость мастик, применяемых для наклейки основных и дополнительных слоев кровли, отсутствие надежного закрепления верхнего водоизоляционного ковра.
7.32.9. Вышеуказанные повреждения могут быть устранены путем тщательной подготовки вертикальных поверхностей с наклейкой нового рулонного ковра с дополнительными слоями на мастиках, указанных в таблице 8. После этого закрепляется защитный оцинкованный фартук.
7.32.10. В случае выветривания на кровлях крупнозернистой посыпки, в этих местах образуются углубления, в которые попадает вода, в результате чего происходит разрушение кровельного покрытия. Устранить такие повреждения можно путем окраски водоизоляционного ковра холодной или горячей кровельной мастикой толщиной 2 мм. После нанесения мастики в нее втапливается бронирующая посыпка из чистого крупнозернистого песка с мелкой галькой - ракушкой с фракцией зерен 2 - 5 мм.
7.32.11. При выветривании крупнозернистой посыпки на больших участках на существующий водоизоляционный ковер наклеивается новый слой из рубероида с эластичный покровным слоем и крупнозернистой посыпкой марки РэК-420 (ГОСТ 10923-82) или рубероида с крупнозернистой посыпкой марок РКК-500А, РКК-400А, РКК-400Б, РКК-400В (ГОСТ 10923-82).
7.32.12. Перед укладкой нового рубероида существующая кровля тщательно очищается от мусора и пыли.
7.32.13. В практике эксплуатации встречаются рулонные кровли с защитным слоем из битумной окраски. В таких кровлях происходит старение битума от воздействия солнечной радиации и атмосферных факторов, в результате чего в битумной окраске появляются трещины. Особенно интенсивное появление трещин происходит в окраске, выполненной из тугоплавких и хрупких битумов марки БНК-5. Эти дефекты могут быть устранены путем тщательной очистки битумной окраски от пыли и нанесения новой битумной кровельной мастики в соответствии таблицы 16, имеющей в своем составе волокнистые и пылевидные наполнители.
7.32.14. Встречаются кровли, у которых происходит сползание полотнищ рулонных материалов на основных плоскостях кровель и местах примыканий. Сползание происходит в результате недостаточной теплостойкости примененных битумов или кровельных мастик.
Ремонт таких кровель монет быть выполнен путем замены существующего ковра новым в соответствии с нормами проектирования.
7.32.15. Для устранения вздутий мягкой кровли освобождают водоизоляционный ковер от защитного слоя. Места вздутий разрезают крестообразно и края отгибают в сторону. Вскрытую поверхность рулонного ковра высушивают, очищают от пыли и покрывают кровельной мастикой. Затем отогнутые части ковра прижимают, начиная от краев к разрезу. После чего эти места заклеиваются полосками рулонных материалов с последующей заделкой защитным слоем.
7.32.16. Стальные кровли ремонтируются путем разборки отдельных участков старой кровли с отборкой годных для дальнейшего использования и заменой отдельных сильно поврежденных листов, выравниванием раскрывшихся гребней и фальцев с промазкой их суриковой замазкой на олифе. Неремонтируемые участки кровли очистить от старой краски и ржавчины. После завершения работ по ремонту кровли и очистке производят окраску всей поверхности кровли.
7.32.17. Кровли из волнистых асбестоцементных листов ремонтируют путем замены отдельных поврежденных листов. В тех случаях, когда имеется большое количество поврежденных листов, кровлю заменяют полностью.
7.32.18. По данным Международного агентства по изучению рака все типы асбеста являются канцерогенными, т.е. могут быть причиной возникновения рака легких, злокачественных опухолей верхних дыхательных путей, желудочно-кишечного тракта и т.д.
7.32.19. На практике необходимо выполнять защиту асбестоцементных листов путем окрашивания, чтобы волокна асбеста не соприкасались с воздухом.
7.32.20. избежание канцерогенного воздействия асбеста на организм человека поврежденные кровли из асбестоцементных листов целесообразно заменять другими материалами.
8.1. При выполнении работ по усилению и восстановлению строительных конструкций необходимо соблюдать правила техники безопасности в соответствии с требованиями главы СНиП III-4-80 "Техника безопасности в строительстве" и руководствоваться всеми действующими правилами охраны труда и техники безопасности.
8.2. Учитывая специфику, технологию и условия работ, выполняемых на территории действующего предприятия и в действующих цехах, эти работы относятся к особо опасным и должны производиться по нарядам - допускам в строгом соответствии с требованиями проекта производства работ, учитывающими технологическую особенность цеха, в котором производятся восстановительные работы.
8.3. При проведении строительно-монтажных работ при усилении или замене строительных конструкций, необходимо обеспечить безопасность предприятия и работы, как строительных рабочих, так и рабочих самого предприятия.
8.4. Все проходы и проезды, находящиеся в зоне ведения работ, должны быть ограждены или выставлены на их границах предупредительные надписи и указатели проходов. Рабочие места должны быть хорошо освещены. На месте усиления должно быть сосредоточено минимальное количество материалов и конструкций. Запрещается нагромождать строительный мусор на перекрытиях и покрытиях. Для сбрасывания строительного мусора и боя следует применять наклонные спуски и лотки.
8.5. При заполнении ремонтно-строительных работ рабочие должны быть снабжены спецодеждой и средствами индивидуальной защиты: каски, рукавицы, предохранительные очки, респираторы и т.д.
8.6. Работы с мостового крана должны производиться после полной остановки крана и отключения питания всех электрических устройств крана.
8.7. При разгрузке усиливаемых участков перекрытия нельзя перегружать соседние участки демонтируемым оборудованием. При пробивке отверстий и проемов в перекрытии или покрытии необходимо оградить опасную зону.
8.8. Разборка конструкций должна вестись под руководством и постоянным наблюдением опытного специалиста. Одновременная разборка конструкций по одной вертикали не разрешается. Конструкции, находящиеся под угрозой обрушения, должны быть временно раскреплены до начала производства работ.
8.9. Гидравлические натяжные устройства должны быть проверены до начала работ на максимальное давление масла в системе.
8.10. При устройстве шпренгельных и комбинированных преднапряженных затяжек, последние не должны затруднять эксплуатацию подъемно-транспортного оборудования. Расстояние между нижней частью затяжки и выступающей частью крана должно быть не менее 100 мм.
8.11. Горизонтальные затяжки усиления должны располагаться в непосредственной близости от нижних граней усиливаемого элемента, но не ближе 100 мм.
8.12. Натяжение конструкций усиления должно осуществляться плавно без резкого возрастания усилия в натяжном устройстве. При электротермическом способе необходимо соблюдать требования безопасности работы с электрическим током. При термическом методе предварительного натяжения стержней усиления особое внимание нужно уделить противопожарным требованиям.
8.13. При усилении строительных конструкций с помощью гидродомкратов длину шланга следует принимать такой, чтобы при установке натяжного устройства он не был натянут. При этом запрещается во время натяжения трогать руками и перемещать шланг, находящийся под высоким давлением. Натяжное устройство следует навешивать с подмостей, размер которых обеспечивает возможность надежного контроля за установкой устройства с двух сторон конструкции. Запрещается стоять под конструкцией при создании в ней предварительного напряжения.
8.14. Применяемые для работы оборудование, машины и механизмы, а также подмости, леса, настилы, стремянки, лестницы и другие приспособления должны быть исправны, отвечать требованиям общестроительных правил и по своей конструкции не иметь недостатков, препятствующих безопасному производству работ.
8.15. В нерабочее время все машины и механизмы должны быть приведены в состояние, исключающее возможность случайного пуска их в ход: пусковые приспособления должны быть отключены.
8.16. При внезапном прекращении подачи электроэнергии персонал, обслуживающий механизмы, обязан немедленно выключить электродвигатели, приводящие в движение механизмы.
8.17. Электродвигатели и пусковая аппаратура на буровых станках, растворных узлах должны быть защищены от попадания на них воды и раствора.
8.18. При выполнении работ по усилению фундаментов и их оснований с использованием бурового инструмента запрещается:
производить работы без пылеулавливания или орошения;
использовать штанги с нарушенной резьбой;
производить во время работы станка его осмотр, смазку и ремонт;
держаться руками за направляющие трубы во время подъема или опускания снаряда;
при работающем перфораторе вставлять бур или направлять его руками, а также регулировать перфоратор;
при заклинке бура придерживать руками штангу.
8.19. К инъекционным работам по цементации стен, фундаментов и химрастворов в грунт допускаются рабочие, прошедшие медицинскую комиссию и инструктаж по технике безопасности.
8.20. Для работы с химическими растворами рабочие должны быть обеспечены спецодеждой (суконный костюм, прорезиненный фартук, резиновые сапоги, резиновые перчатки), респиратором и защитными очками, полотенцем и мылом.
8.21. В складских помещениях, растворном узле и бытовых помещениях должны быть аптечки и питьевая вода.
8.22. При работах с химреагентами категорически запрещается:
использование технической посуды для питьевой воды;
умывание из емкостей из-под реагентов;
хранение верхней одежды в местах складирования химикатов;
переливание химрастворов с помощью ведер;
находиться без защитных средств вблизи мест приготовления раствора;
нахождение в местах хранения и при приготовлении химических реагентов посторонних лиц;
приступать к работе без предварительной проверки исправности подводящих трубопроводов к месту производства работ, вентилей и механизмов;
проводить работы по приготовлению растворов, закачке их, установке и снятию инъектора, бурению и т.д. в закрытых помещениях, не оборудованных вентиляцией.
8.23. Смолы и отвердители складируются и хранятся в герметически закрытой таре, в закрытом проветриваемом и отапливаемом помещении при температуре не выше +20°С. Гидроперекись изопропилбензола и полиэтиленполиамин хранятся в герметически закрытой таре в отдельном складском помещении. Следует охранять их от прямого попадания солнечных лучей.
8.24. Помещения для хранения смол и отвердителей должны иметь противопожарный инвентарь и предупреждающие плакаты "огнеопасно", "не курить". На всех емкостях, содержащих полимерные материалы, использующиеся в качестве пластификаторов раствора и химические добавки, должны быть предупредительные надписи "Яд".
8.25. Работы по разборке и усилению конструкций следует вести в направлении, позволяющем уменьшить размеры опасной зоны (зоны возможного обрушения). Нахождение посторонних людей в зоне производства работ по разборке запрещается.
8.26. Расстояние от нижней грани, усиливаемой строительной конструкции (подкрановые балки, ригели, фермы) до рабочего настила должно быть не менее 2 м при выполнении работ по торкретированию и не менее 1,6 м при производстве арматурных, монтажных и сварочных работ.
8.27. Сварочные работы в условиях действующего производства с лесов, подмостей и люлек допускается выполнять только после принятия мер предосторожности против возникновения пожара и падения расплавленного металла на людей.
1. Н.И. Дмитриев. Деформации здания на просадочных грунтах. Промышленное строительство, М, 1969.
2. Н.И. Дмитриев, Я.Л. Геккер. Ультразвуковой контроль качества в производстве кирпича. Строительные материалы, № 7, 1981.
3. В.И. Зайцев, Н.И. Дмитриев, Я.Л. Геккер. Применение ультразвука при определении прочности кирпича в кладке. Строительные материалы, № 10, 1980.
4. М.Н. Ибрагимов, И.Н. Дмитриев, С.Б. Костин. Усиление грунтов под фундаментами кузнечно-термического цеха способом химического закрепления. Промышленное строительство, № 1,1988.
5. Инструкция по технической эксплуатации, содержанию и ремонту производственных зданий и сооружений. Авторемпромпроект. М. 1980.
6. Инструкция по технической эксплуатации промышленных зданий и сооружений предприятий и организаций Министерства химического и нефтяного машиностроения (в двух частях), Минхиммаш. М, 1976.
7. Правила устройства и безопасной эксплуатации грузоподъемных кранов. Металлургия. М, 1981.
8. Руководство по эксплуатации строительных конструкций производственных зданий промышленных предприятий. ЦНИИПромзданий Госстроя СССР, М, 1981.
9. Руководство по защите железобетонных конструкций от действия нефтепродуктов. НИИЖБ Госстроя СССР, М, 1983.
10. Рекомендации по эксплуатации и ремонту кровель из рулонных материалов. ЦНИИПромзданий Госстроя СССР, М, 1986.
11. Рекомендации по проектированию и устройству фундаментов из буроинъекционных свай. НИИОСП им. Н.М. Герсеванова Госстроя СССР, М, 1982.
|
Наименование зданий, сооружений, конструктивных элементов |
Нормативный срок службы, лет |
|||
|
в нормальных условиях |
при степени агрессивного воздействия среды |
|||
|
слабой |
средней |
сильной |
||
|
I. Здания производственные и непроизводственные |
100 |
80 |
60 |
40 |
|
1) Здания многоэтажные (более двух этажей), за исключением многоэтажных зданий типа этажерок специального технологического назначения (обогатительных фабрик, дробильных, размольных производств); здания одноэтажные с железо бетонными и металлическими каркасами, со стенами из каменных материалов, крупных блоков и панелей, с железобетонными, металлическим и другими долговечными покрытиями, с площадью пола свыше 5 тыс. м с сеткой колонн 6 м и более. |
||||
|
2) Здания двухэтажные всех назначений, кроме деревянных всех видов; здания одноэтажные с железобетонным и металлическим каркасами, с сеткой колонн 6 м и более, со стенами из каменных материалов, крупных блоков и панелей, с железобетонными, металлическими и другими долговечными покрытиями с площадью пола до 5 тыс. м |
83 |
66 |
42 |
33 |
|
3) Здания многоэтажные типа этажерок специального технологического назначения (обогатительных фабрик, дробильных, размольных, химических цехов и других аналогичных производств). |
59 |
|
|
|
|
4) Здания одноэтажные бескаркасные со стенами из каменных материалов, крупных блоков и панелей, с железобетонными, металлическими и кирпичными колоннами и столбами, с железобетонными, металлическими деревянными и другими перекрытиями. |
60 |
48 |
36 |
30 |
|
5) Здания деревянные с брусчатыми и бревенчатыми стенами. |
30 |
30 |
|
|
|
II Конструктивные элементы зданий |
|
|
|
|
|
1) Фундаменты: |
|
|
|
|
|
а) ленточные и столбчатые бетонные и железобетонные, |
100 |
80 |
50 |
40 |
|
б) ленточные и столбчатые бутовые на сложном или цементном растворе, |
80 |
64 |
40 |
32 |
|
в) ленточные и столбчатые на известковом растворе. |
50 |
40 |
25 |
20 |
|
2) Стены: |
|
|
|
|
|
а) особо капитальные, каменные и крупнообломочные на сложном или цементном растворе, |
100 |
80 |
72 |
60 |
|
б) каменные обыкновенные, крупнообломочные и крупнопанельные, |
80 |
64 |
57 |
48 |
|
в) каменные облегченной кладки из кирпича, шлакоблоков и ракушечника. |
50 |
40 |
25 |
20 |
|
3) Колонны: |
|
|
|
|
|
а) сборные или монолитные железобетонные, |
100 |
80 |
75 |
60 |
|
б) стальные. |
85 |
64 |
60 |
53 |
|
4) Подкрановые балки: |
|
|
|
|
|
а) сборные или монолитные железобетонные, |
80 |
66 |
60 |
51 |
|
б) стальные клепанные, сварные, из прокатных профилей легкого и среднего режима работы кранов, |
50 |
42 |
37 |
30 |
|
в) стальные тяжелого и весьма тяжелого режима работы кранов. |
20 |
18 |
15 |
10 |
|
5) Перекрытия: |
|
|
|
|
|
а) железобетонные сборные и монолитные, |
100 |
80 |
62 |
48 |
|
б) с кирпичными сводами или бетонным заполнителем по металлическим балкам, |
80 |
72 |
55 |
40 |
|
в) деревянные по металлическим балкам, |
50 |
|
|
|
|
г) деревянные. |
50 |
|
|
|
|
6) Полы: |
|
|
|
|
|
а) цементные, бетонные, армоцементные, |
30 |
20 |
15 |
7 |
|
б) цементные с мраморной крошкой, |
40 |
28 |
20 |
10 |
|
в) из керамической плитки по бетонному основанию, |
60 |
54 |
45 |
36 |
|
г) паркетные, |
30 |
|
|
|
|
д) линолеумные. |
15 |
|
|
|
|
7. Лестницы: |
|
|
|
|
|
а) марши и площадки сборные или монолитные железобетонные, |
100 |
|
|
|
|
б) площадки железобетонные, ступени железобетонные или каменные по металлическим; балкам и косоурам, |
75 |
|
|
|
|
8) Крыши: |
|
|
|
|
|
а) сборные и монолитные плиты по сборным или монолитным и стальным фермам и балкам, |
100 |
|
|
|
|
б) сборные мелкоразмерные железобетонные плиты по стальным прогонам, балкам и фермам |
50 |
42 |
33 |
25 |
|
в) стальные профилированные или волнистые листы по стальным прогонам, фермам и балкам, |
40 |
33 |
25 |
10 |
|
г) деревянные настилы по деревянным фермам и балкам, стропила и обрешетка деревянные, чердачные перекрытия деревянные, |
30 |
20 |
15 |
10 |
|
9) Кровли: |
|
|
|
|
|
а) из асбестоцементных волнистых листов, |
18 |
13 |
10 |
6 |
|
б) из оцинкованной листовой стали, |
25 |
16 |
13 |
8 |
|
в) из черной листовой стали |
15 |
10 |
8 |
5 |
|
г) из рулонных материалов, |
8 |
8 |
6 |
5 |
|
д) из мастичных материалов. |
10 |
9 |
7 |
6 |
|
III. Сооружения: |
|
|
|
|
|
1) Эстакады для прокладки трубопроводов. |
50 |
|
|
|
|
2). Поддерживающие и защитные подпорные стенки каменные, бетонные и железобетонные. |
59 |
|
|
|
|
3) Эстакады крановые: |
|
|
|
|
|
а) металлические |
60 |
|
|
|
|
б) железобетонные |
75 |
|
|
|
|
4) Дымовые трубы: |
|
|
|
|
|
а) каменные и железобетонные |
50 |
|
|
|
|
б) металлические |
30 |
|
|
|
|
5) Галереи транспортные |
75 |
|
|
|
|
6) Подземные резервуары |
50 |
|
|
|
|
7) Грузовые площадки железобетонные и каменные |
50 |
|
|
|
|
8) Резервуары для хранения дизельного топлива и смазочных материалов: |
|
|
|
|
|
а) металлические |
36 |
|
|
|
|
б) железобетонные |
50 |
|
|
|
|
9) Наземные и подземные емкости для сжиженных газов |
27 |
|
|
|
|
10) Сооружения для аэрации воды: |
|
|
|
|
|
а) брызгательные бассейны железобетонные |
40 |
|
|
|
|
б) градирни железобетонные |
30 |
|
|
|
|
11) Испарительные башенные градирни-охладители: |
|
|
|
|
|
а) железобетонные |
36 |
|
|
|
|
б) металлические конструкции с алюминиевой или асбестоцементной обшивкой |
25 |
|
|
|
|
12) Склады заполнителей |
67 |
|
|
|
|
Приведенная полезная площадь производственных зданий, тыс. м2 |
Кол-во ИТР |
Примерная структура и состав работников отдела эксплуатации и ремонта зданий и сооружений |
|
до 10 |
1 |
Смотритель зданий, обязанности которого возложены на одного из инженеров-строителей, находящегося в подчинении главного инженера или главного механика предприятия. |
|
до 50 |
2 |
Старший инженер-смотритель, инженер-смотритель, назначенные из инженеров-строителей и находящиеся в подчинении главного инженера или главного механика предприятия. |
|
до 100 |
4 |
Начальник группы надзора за зданиями и сооружениями, старший инженер-смотритель, 2 инженера-смотрителя. Группа должна состоять из инженеров-строителей и подчиняться главному инженеру или главному механику предприятия |
|
до 150 |
6 |
Начальник группы надзора, старшие инженер-смотритель, 2 инженера-смотрителя, инженер-геодезист, инженер-сметчик, находящиеся в подчинении главного инженера или главного механика предприятия. |
|
до 200 |
8 |
Начальник группы надзора за зданиями, старший инженер-смотритель, 2 инженера-смотрителя, 2 инженера-конструктора, инженер-геодезист, инженер-сметчик, находящиеся в подчинении главного инженера или его заместителя. |
|
до 250 |
11 |
Начальник бюро надзора за зданиями и сооружениями, 2 старших инженера-смотрителя, 3 инженера-смотрителя, 2 инженера-конструктора, инженер-геодезист, инженер-сметчик, инженер-плановик, находящиеся в подчинении главного инженера предприятия или его заместителя. |
|
до 300 |
13 |
Главный архитектор, начальник бюро надзора, 2 старших инженера-смотрителя, 3 инженера-смотрителя, 3 инженера-конструктора, инженер-геодезист, инженер-плановик, инженер-сметчик. |
|
до 500 |
33 |
см. лист 293 |
|
до 600 |
40 |
см. лист 293 |
|
до 800 |
53 |
см. лист 294 |
|
до 1000 |
66 |
см. лист 294 |
|
УТВЕРЖДАЮ Директор предприятия (организации) ________________________________ "____" ___________________________ 19__г. АКТ общего (периодического, внеочередного) осмотра _____________________________________ ________________________________________________________________________________ город ____________________ Комиссия, назначенная приказом от _______________________ № _______________________ в составе: председатель комиссии ___________________________________________________________ члены комиссии _________________________________________________________________ ________________________________________________________________________________ ____________________________________________________________________________________________ произвела технический осмотр _____________________________________________________ ________________________________________________________________________________ ____________________________________________________________________________________________ (наименование частей здания) В результате произведенного осмотра установлено:
Председатель комиссии Члены комиссии
|
|
на производственное здание, сооружение ____________________________________________ ________________________________________________________________________________ ____________________________________________________________________________________________ ____________________________________________________________________________________________ Составлен "____" _________________ 19 _____г. Балансовая (восстановительная) стоимость __________________________________ тыс. руб. Нач. отдела эксплуатации и ремонта (И.О. Фамилия) Инженер-смотритель (подпись) __________________________ (И.О. Фамилия) ОБЩИЕ СВЕДЕНИЯ 1. Год ввода в эксплуатации _______________________________________________________ 2. Основные габариты здания ______________________________________________________ ________________________________________________________________________________ ________________________________________________________________________________ 3. Этажность: а) производственной части ________________________________________ этажей с подвалом, без подвала (ненужное зачеркнуть); б) служебно-бытовой части _________________________________ этажей с подвалом, без подвала (ненужное зачеркнуть); 4. Площадь застройки, всего ___________________________________ м2 а) производственной части __________________________________ м2 б) служебно-бытовой части _________________________________ м2 5. Строительный объем, всего __________________________________ м3 а) производственной части __________________________________ м3 б) служебно-бытовой части _________________________________ м3 6. Сетка колонн ____________________________________ 7. Отметка головок крановых рельсов _____________________________________________________________________________ ________________________________________________________________________________________ ________________________________________________________________________________________ (указать по каждому пролету) |
КРАТКАЯ ХАРАКТЕРИСТИКА ЗДАНИЙ
|
Наименование конструкций, санитарно-технических устройств и т.д. |
Материал конструкции на момент составления паспорта |
Сведения о состоянии и процент износа конструкции |
Сведения о реконструкции или капитальном ремонте |
|
|
Производственная часть |
||
|
1. Фундаменты |
|
|
|
|
2. Колонны |
|
|
|
|
3. Стены |
|
|
|
|
4. Подкрановые и тормозные конструкции |
|
|
|
|
5. Перегородки |
|
|
|
|
6. Перекрытия |
|
|
|
|
7. Антресоли |
|
|
|
|
8. Полы |
|
|
|
|
9. Несущие конструкции покрытия |
|
|
|
|
10. Кровля (водоизолирующий слой, утеплитель) |
|
|
|
|
11. Фонари |
|
|
|
|
12. Окна |
|
|
|
|
13. Двери |
|
|
|
|
14. Ворота |
|
|
|
|
15. Электроосвещение |
|
|
|
|
16. Вентиляция |
|
|
|
|
17. Отопление |
|
|
|
|
18. Водопровод |
|
|
|
|
19. Канализация |
|
|
|
|
20. Газоснабжение |
|
|
|
|
|
Служебно-бытовая часть |
||
|
1. Фундаменты |
|
|
|
|
2. Колонны |
|
|
|
|
3. Стены |
|
|
|
|
4. Перегородки |
|
|
|
|
5. Перекрытия |
|
|
|
|
6. Полы |
|
|
|
|
7. Несущие конструкции покрытия |
|
|
|
|
8. Кровля (водоизоляционный слой, утеплитель) |
|
|
|
|
9. Окна |
|
|
|
|
10. Двери |
|
|
|
|
11. Электроосвещение |
|
|
|
|
12. Отопление |
|
|
|
|
13. Водопровод |
|
|
|
|
14. Канализация |
|
|
|
НАЛИЧИЕ ПОДЪЕМНО-ТРАНСПОРТНЫХ УСТРОЙСТВ И МЕХАНИЗМОВ
|
Местонахождение (по пролетам) |
По проекту |
Фактически |
Подкрановые пути |
|||||
|
Наименование, краткая характеристика |
Грузо |
Коли- |
Наименова- |
Грузо- |
Коли- |
Длина, м |
Тип рельса |
|
|
|
|
|
|
|
|
|
|
|
ДАННЫЕ О ДОПУСКАЕМЫХ НОРМАТИВНЫХ НАГРУЗКАХ НА ОСНОВНЫЕ НЕСУЩИЕ КОНСТРУКЦИИ И ЭЛЕМЕНТЫ ЗДАНИЯ
|
Наименование конструкций и элементов зданий |
На момент составления паспорта |
В процессе эксплуатации |
|||
|
дата |
дата |
дата |
дата |
||
|
1. На подкрановые балки (попролетно и поярусно) |
|
|
|
|
|
|
2. На полы (попролетно) |
|
|
|
|
|
|
3. На междуэтажные перекрытия (поэтажно) |
|
|
|
|
|
|
4. На чердачное перекрытие |
|
|
|
|
|
|
5. На фермы или балки покрытия (попролетно) |
|
|
|
|
|
ПЛОЩАДИ ПОЛОВ
|
Наименование |
Ед. измерения |
Всего, м2 |
|||
|
На момент составления паспорта |
В процессе эксплуатации |
||||
|
дата и кол-во |
дата и кол-во |
дата и кол-во |
|||
|
1. Торцовая шашка |
|
|
|
|
|
|
2. Бетонные |
|
|
|
|
|
|
3. Чугунные, стальные |
|
|
|
|
|
|
4. Мозаичные |
|
|
|
|
|
|
5. Асфальтовые |
|
|
|
|
|
|
6. Цементные |
|
|
|
|
|
|
7. Метлахская плитка |
|
|
|
|
|
|
8. Ксилолитовые |
|
|
|
|
|
|
9. Паркетные |
|
|
|
|
|
|
10. Дощатые |
|
|
|
|
|
|
11. Линолеумные |
|
|
|
|
|
|
12. Прочие |
|
|
|
|
|
ПЛОЩАДЬ ПОМЕЩЕНИЙ
|
Наименование |
Ед. измерения |
Всего, м2 |
|||
|
На момент составления паспорта |
В процессе эксплуатации |
||||
|
дата и кол-во |
дата и кол-во |
дата и кол-во |
|||
|
1. Производственная площадь |
|
|
|
|
|
|
2. Площадь складов |
|
|
|
|
|
|
3. Площадь служебных помещений |
|
|
|
|
|
|
4. Площадь столовых |
|
|
|
|
|
|
5. Площадь медпунктов |
|
|
|
|
|
|
6. Площадь гардеробных |
|
|
|
|
|
|
7. Площадь душевых |
|
|
|
|
|
|
8. Площадь умывальных |
|
|
|
|
|
|
9. Площадь санузлов |
|
|
|
|
|
|
10. Площадь прочих помещений |
|
|
|
|
|
РАЗМЕНЫ ВНУТРЕННИХ ПОВЕРХНОСТЕЙ ОГРАЖДАЮЩИХ И НЕСУЩИХ КОНСТРУКЦИЙ, м2
|
Наименование |
На момент составления паспорта |
В процессе эксплуатации |
||
|
дата и кол-во |
дата и кол-во |
дата и кол-во |
||
|
1. Общая площадь перекрытий, в том числе: а) железобетонных, б) деревянных |
|
|
|
|
|
2. Развернутая площадь стен за вычетом проемов |
|
|
|
|
|
3. Развернутая площадь перегородок, в том числе: |
|
|
|
|
|
а) металлических, б) стеклянных, в) кирпичных, г) деревянных, д) гипсолитовых |
|
|
|
|
|
4. Развернутая поверхность колонн: а) металлических (со связями), б) железобетонных, в) кирпичных столбов |
|
|
|
|
|
5. Развернутая поверхность подкрановых конструкций: а) железобетонных, б) металлических с тормозными конструкциями |
|
|
|
|
|
6. Развернутая поверхность: а) металлических прогонов покрытия, б) металлических ферм и балок покрытия, в) металлических связей покрытия, г) металлических ферм фонаря д) переплетов фонаря, е) труб промразводок, м ж) вентиляционных систем, и) внутренних дверей и ворот, к) оконных переплетов |
|
|
|
|
РАЗМЕРЫ НАРУЖНЫХ ПОВЕРХНОСТЕЙ ОГРАЖДАЮЩИХ КОНСТРУКЦИЙ, м2
|
Наименование |
На момент составления паспорта |
В процессе эксплуатации |
||
|
дата и кол-во |
дата и кол-во |
дата и кол-во |
||
|
1. Площадь стен за вычетом проемов. |
|
|
|
|
|
2. Площадь торцовых стен фонаря. |
|
|
|
|
|
3. Площадь стеновых светопроемов, в том числе с размерами стекол: а) _________________________ б) _________________________ в) _________________________ |
|
|
|
|
|
4. Площадь фонарного остекления. |
|
|
|
|
|
5. Количество и площадь автоворот. |
|
|
|
|
|
6. Количество и площадь железнодорожных ворот. |
|
|
|
|
|
7. Количество и площадь наружных дверей. |
|
|
|
|
|
8. Площадь кровли, в том числе: а) мягкой, б) из кровельной стали, в) асбестоцементной. |
|
|
|
|
Приложения к паспорту:
1. Обмерные чертежи поэтажных планов, фасадов, разрезов.
2. Схемы расположения технологического оборудования на междуэтажных перекрытиях.
3. Обследовательские чертежи с дефектами и повреждениями конструкций.
4. Заключение по результатам обследования и рекомендации по устранению дефектов и повреждений (если таковые имеются).
Примечание.
1. Допускаемые нормативные нагрузки на строительные конструкции определяются проверочными расчетами по фактической расчетной схеме и состоянию конструкций в натуре.
2. После устранения дефектов и повреждений допускаемые нагрузки определяются проверочными расчетами с учетом новых сечений и расчетных схем.
|
________________________________________________________________________________________________ ________________________________________________________________________________________________ ________________________________________________________________________________________________ (наименование здания, сооружения) Дата приемки в эксплуатацию _____________________________________________________ Основные технико-экономические показатели: 1. Площадь застройки ________________________________ м2 2. Строительный объем ______________________________ м3 3. Балансовая (восстановительная) стоимость ________________________________ тыс. руб.
|
Фундаменты
1. Восстановление планировки территории вокруг здания.
2. Ремонт отместки вокруг здания с восстановлением до 20 % обшей площади отмостки.
3. Ремонт штукатурки или облицовки внутренних поверхностей стен подвальных помещений в объеме не более 5 % общей площади стен.
4. Ремонт поврежденной кладки внутренних поверхностей стен подвальных помещений в объеме не более 10 % общей площади.
5. Инъецирование или зачеканка трещин внутренних поверхностей стен подвальных помещений.
Стены, столбы, колонны
1. Расшивка мелких трещин раствором.
2. Мелкий ремонт стеновых панелей.
3. Ремонт герметизации стыков стеновых панелей на отдельных участках стен.
4. Восстановление выветрившихся или выпавших кирпичей кладки, стен на отдельных участках площадью до 0,25 м2.
5. Ремонт облицовки цоколей до 10 % общей площади облицовки.
6. Ремонт штукатурки и облицовки стен до 10 % общей площади стен.
7. Ремонт или замена сливов на окнах, козырьках и выступающих частях стен.
8. Установка защитных уголков на кирпичные столбы и железобетонные колонны для предохранения от механических повреждений.
10. Устранения мелких повреждений в решетчатых стальных колоннах.
Перегородки
1. Расшивка мелких трещин в кирпичных перегородках.
2. Укрепление существующих перегородок отдельными крепежными деталями.
3. Ремонт и замена отдельных облицовочных плиток.
4. Заделка отверстий в перегородках с выполнением необходимых отделочных работ.
5. Смена разбитых стекол и стеклоблоков перегородок.
Подкрановые конструкции
1. Восстановление ослабленных и установка новых креплений рельсов к балкам и балок к колоннам.
2. Замена отдельных износившихся участков рельсов новыми.
3. Очитка балок от производственной пыли.
4. Рихтовка подкрановых путей.
5. Окраска металлоконструкций подкрановых путей.
Междуэтажные перекрытия и полы.
1. Восстановление защитного слоя железобетонных конструкций
2. Расшивка стыков между элементами железобетонных
настилов сборных перекрытий.
3. Замена поврежденных плиток полов.
4. Мелкий ремонт дощатых полов.
5. Мелкий ремонт паркетных полов.
6. Заделка выбоин в бетонных, цементных, мозаичных, асфальтовых полах.
7. Ремонт плинтусов.
8. Переборка дощатых полов.
9. Окраска металлических конструкций перекрытий.
Покрытия и фонари.
1. Очистка конструкций покрытия от производственной пыли и грязи.
2. Окраска конструкций покрытия антикоррозийными красками.
3. Мелкий ремонт деревянных ферм.
4. Устранение мелких повреждений в металлоконструкциях покрытия.
5. Замена отдельных деформированных (аварийных) железобетонных плит, асбестоцементных листов или участков профнастила.
6. Устройство временных противоаварийных настилов.
7. Мелкий ремонт механизмов открывания фонарей.
8. Ремонт остекления фонарей.
9. Окраска переплетов фонарей.
Крыши и кровли
1. Усиление сгнивших концов стропильных ног.
2. Усиление деформированных стропил.
3. Замена сгнившей обрешетки с восстановлением кровли.
4. Установка дополнительных металлических скоб и болтов в местах ослабленных сопряжений стропильных элементов.
5. Замена сгнивших мауэрлатов.
6. Ремонт слуховых окон.
7. Ремонт выходов на крышу.
8. Частичный ремонт кровли из рулонных материалов с установкой заплат.
9. Ремонт металлической кровли в отдельных местах.
10. Ремонт разжелобки и карнизных сливов.
11. Замена отдельных асбестоцементных листов.
12. Укрепление парапетных стальных решеток и ограждений.
13. Ремонт воронок внутреннего водостока и прилегающих к ним участков кровли.
14. Периодическая окраска стальной кровли.
15. Счистка кровли от мусора, производственной пыли.
Проемы
1. Смена разбитых стекол, промазка фальцев замазкой.
2. Заделка июлей под подоконниками.
3. Смена оконных и дверных приборов.
4. Ремонт дверей с перевязкой, замена отдельных деталей или полная замена отдельных дверей (до 15 % общего количества дверей).
5. Ремонт и замена отдельных деревянных оконных створок, коробок и подоконников (до 10 % общего, количества окон).
6. Установка пружин к. наружным дверям.
7. Укрепление и замена сливов с наружной стороны переплетов.
8. Промывка и протирка стекол окон.
9. Периодическая окраска оконных переплетов, дверей, ворот.
10. Мелкий ремонт ворот с заменой до 10 % конструкций новыми материалами.
Лестницы и крыльца
1. Заделка выбоин в бетонных проступях и на площадках.
2. Замена отдельных изношенных проступей.
3. Укрепление перил и поручней.
4. Замена поручней.
5. Ремонт штукатурки и окраска лестничных клеток.
Фундаменты и их основания
1. Частичная перекладка до 10 % всего объема фундаментов, а также усиление каменных фундаментов и подвальных стен, несвязанные с надстройкой здания или с дополнительными нагрузками.
2. Усиление оснований под фундаментами, не связанное с реконструкцией или надстройкой здания, в том числе цементация, силикатизация, смолизация, закрепление грунтов буроинъекционными сваями и другими методами.
3. Восстановление вертикальной и горизонтальной изоляции фундаментов и стен.
4. Восстановление разрушенной отмостки вокруг здания.
5. Ремонт различных систем дренажа вокруг здания, а также устройство новой дренажной системы или водоотводных каналов от фундаментов.
6. Полная перекладка приямков.
Стены и колонны
1. Восстановление гидроизоляции по всей горизонтальной плоскости.
2. Заделка трещин в каменных стенах с расчисткой борозд, инъецирование трещин.
3. Усиление стен штукатурными, бетонными, стальными обоймами и преднапряженными тяжами.
4. Перекладка поврежденных кирпичных карнизов, парапетов, перемычек;
5. Перекладка и ремонт отдельных участков каменных стен до 20 % общего объема кладки.
6. Усиление каменных столбов и железобетонных колонн обоймами.
7. Усиление металлических колонн.
8. Усиление каменных стен, отклонившихся от вертикали.
9. Замена (до 20 % общего объема) колонн, не связанная с дополнительными нагрузками.
10. Ремонт и облицовка цоколей каменных стен фасадными плитками.
11. Полное или частичное восстановление штукатурки стен.
12. Полная окраска устойчивыми составами внутренних и наружных поверхностей стен.
13. Замена оконных и дверных заполнений.
14. Замена или усиление перемычек в каменных стенах.
15. Замена поврежденных панелей стен.
16. Заделка стыков и швов панельных стен с промазкой швов мастикой.
17. Расширение или закладка оконных проемов при замене переплетов.
18. Утепление существующих каменных стен, имеющих недостаточную толщину.
Междуэтажные перекрытия и полы.
1. Замена деревянных перекрытий на новые долговечные конструкции.
2. Усиление конструкций перекрытий, не связанное с дополнительными нагрузками.
3. Замена всех видов полов и их оснований.
4. Ремонт или замена каналов, проложенных под полами.
5. Очистка поверхностей стальных балок и ферм от продуктов коррозии и окрашивание антикоррозионными составами.
6. Ремонт или усиление железобетонных перекрытий торкретированием.
Перегородки
1. Ремонт или замена всех видов поврежденных перегородок на более прогрессивные конструкции.
2. Частичная перепланировка с увеличением общей площади перегородок не более 20 %.
3. Ремонт или замена облицовок перегородок.
4. Устройство звукоизоляции перегородок с применением эффективных звукоизолирующих материалов.
5. Замена деревянных заполнений.
6. Полное или частичное восстановление штукатурки с последующей окраской.
7. Окраска поверхности перегородок.
8. Устройство новых проемов в перегородках.
Подкрановые конструкции
1. Усиление всех видов подкрановых балок.
2. Замена изношенных рельсов, упоров и тормозных конструкций.
3. Замена изношенных железобетонных и стальных балок конструкциями из новых прогрессивных материалов повышенной прочности.
4. Планово-высотная рихтовка подкрановых балок и рельсов.
5. Замена подвесных путей и их креплений.
6. Замена или усиление узлов крепления подкрановых балок к колоннам.
7. Очистка поверхностей стальных, подкрановых конструкций от продуктов коррозии и окрашивание их антикоррозийными составами.
Крыши и покрытия
1. Замена поврежденных деревянных покрытий на сборные железобетонные или на профнастил.
2. Сплошная или частичная замена поврежденных металлических и железобетонных конструкций покрытия на новые прогрессивные и долговечные конструкции.
3. Усиление поврежденных или деформированных элементов конструкций покрытия.
4. Замена деформированных вертикальных и горизонтальных связей.
5. Установка дополнительных связей для обеспечения пространственной жесткости покрытия.
6. Усиление конструкций ферм с изменением их конструктивной схемы.
7. Ремонт или замена конструкций светоаэрационных фонарей.
8. Замена деревянных светоаэрационных фонарей, на металлические.
9. Замена переплетов и механизмов открывания фонарей.
10. Очистка элементов стальных конструкций от продуктов коррозии.
11. Окрашивание поверхностей элементов стальных конструкций покрытия антикоррозионными составами.
12. Частичная или полная замена всех видов кровли и утеплителя.
13. Частичная или полная замена стропил, мауэрлатов и обрешетки.
14. Переустройство крыши с целью обеспечения полного отвода атмосферных осадков с кровли и проветривания чердачного пространства.
15. Ремонт или замена всех видов элементов коммуникаций, расположенных на кровле (вытяжные вентиляционные устройства, рефлекторы, циклоны и т.п.).
16. Ремонт или замена водосточных воронок и труб.
Лестницы
1. Усиление элементов конструкций всех типов лестниц.
2. Частичная или полная замена лестничных площадок, ступеней и косоуров.
3. Замена перил и поручней лестничных маршей.
|
УТВЕРЖДАЮ _______________________________________ (должность) _______________________________________ (наименованиепредприятия) _______________________________________ (подпись, И.О. Фамилия) "____" __________________ 19____ г.
Ответственный представитель заказчика: _________________________ (подпись) ___________________________________ (должность) (И. О. Фамилия)
|
|
Наименование зданий, сооружений и конструктивных элементов |
Периодичность капитальных ремонтов в годах |
||
|
в нормальных условиях |
в агрессивных средах |
при вибрациях и динамических воздействиях |
|
|
Здания |
|
|
|
|
с железобетонным или металлическим каркасами, с заполнением каркаса каменными материалами; |
20 |
10 - 15 |
6 |
|
с каменными стенами из штучных камней, с крупноблочными стенами, с железобетонными колоннами или кирпичными столбами, с железобетонными перекрытиями; |
15 |
10 |
6 |
|
то же, с деревянными перекрытиями; |
12 |
10 |
6 |
|
со стенами облегченной каменной кладки, с колоннами и столбами железобетонными или кирпичными, с железобетонными перекрытиями; |
12 |
10 |
5 |
|
со стенами из облегченной кладки с кирпичными столбами с деревянными перекрытиями. |
10 |
8 |
5 |
|
Сооружения |
|
|
|
|
крановые эстакады; |
5 |
|
|
|
эстакады для прокладки трубопроводов; |
6 |
|
|
|
транспортерные галереи; |
10 |
|
|
|
водонапорные башни; |
25 |
|
|
|
трубы дымовые. |
20 |
|
|
|
Фундаменты |
|
|
|
|
железобетонные и бетонные; |
50 |
25 |
15 |
|
бутовые и кирпичные. |
40 |
20 |
12 |
|
Стены |
|
|
|
|
каменные из штучных материалов; |
20 |
15 |
12 |
|
каменные облегченной кладки; |
15 |
8 |
10 |
|
каркасные. |
12 |
8 |
10 |
|
Колонны |
|
|
|
|
металлические; |
50 |
30 |
30 |
|
железобетонные; |
50 |
40 |
35 |
|
кирпичные. |
30 |
15 |
12 |
|
Фермы |
|
|
|
|
металлические; |
25 |
15 |
20 |
|
железобетонные; |
20 |
15 |
15 |
|
деревянные. |
15 |
12 |
12 |
|
Перекрытия |
|
|
|
|
железобетонные; |
20 |
12 |
12 |
|
деревянные. |
15 |
12 |
12 |
|
Кровля |
|
|
|
|
металлическая; |
10 |
5 |
10 |
|
шиферная; |
15 |
10 |
6 |
|
рулонная. |
8 |
8 |
8 |
|
Подкрановые балки |
|
|
|
|
металлические; |
15 |
10 |
10 |
|
железобетонные. |
15 |
10 |
10 |
|
Полы |
|
|
|
|
цементные и бетонные; |
5 |
2 |
4 |
|
керамические; |
15 |
12 |
|
|
асфальтовые; |
6 |
6 |
6 |
|
дощатые; |
8 |
6 |
6 |
|
металлические; |
20 |
|
15 |
|
паркетные; |
8 |
6 |
|
|
линолеумные; |
5 |
5 |
|
|
мозаичные. |
20 |
15 |
12 |
|
Антикоррозийная окраска; |
8 |
4 |
6 |
|
Заполнение проемов |
|
|
|
|
переплеты металлические; |
30 |
20 |
25 |
|
переплеты деревянные; |
15 |
10 |
12 |
|
двери; |
10 |
10 |
10 |
|
ворота. |
8 |
8 |
8 |
Рис. 1. Загнивание древесины конструкций покрытия в месте протечки кровли
Рис. 2 .Разрушение кровли в месте примыкания к вертикальной поверхности стены
Рис. 3. Разрушение кровли у парапета
Рис. 4. Выветривание кладки стен
Рис. 5. Скопление производственной пыли на кровле
Рис. 6. Механические повреждения элементов колонн в литейном цехе
Рис. 7. Механические повреждения элементов металлической колонны крановой эстакады
Рис. 8. Повреждения коррозией элементов стальных ферм
Рис. 9. Коррозия стальной балки перекрытия вблизи опоры
Рис. 10 Разрушение защитного слоя бетона в монолитной железобетонной раме

Рис. 11. Разрушение защитного слоя бетона и коррозия арматуры: а) в монолитной железобетонной балке; б) в плите
Pис. 12. Деформации здания из-за закачивания просадочных грунтов
Рис. 13. Появление трещин в стене из-за отсутствия деформационного шва
Рис. 14. Наклонная трещина в стене осадочного характера
Рис. 15. Горизонтальная трещина в стене из-за резкого оседания фундамента

Рис. 16. Трещины в стенах из-за значительной просадки фундаментов
Рис. 17. Вертикальная трещина в верхней части с гены
Рис. 18. Наклонные трещины в углу здания
Рис. 19. Вертикальная трещина в торце здания
Рис. 20. Установка маяков на трещины
а) цементного на наружной стене, б) гипсового
на внутренней оштукатуренной стене,
1 - стена, 2 - трещина, 3 - штукатурка, 4 - маяк.
Рис. 21. Установка стеклянного маяка.
1 - стена, 2 - трещина, 3 - цементный раствор, 4 - стеклянный маяк.
Рис. 22. Деревья, произрастающие в непосредственной близости от стены и фундаментов
Рис. 23. Складирование материалов в непосредственной близости от стен здания
Рис. 24. Затопление подвала грунтовыми водами
Рис. 25. Вертикальные трещины в железобетонной колонне
Рис. 26. Горизонтальная трещина в железобетонной колонне
Рис. 27. Повреждение решетки стальных колонн
Рис. 28. Механически повреждения кирпичного столба
Рис. 29. Повреждения вертикальной связи открытой крановой эстакады
Рис. 30. Повреждения вертикальной пространственной связи открытой кранной эстакады
Рис. 31. Выход вертикальной связи из плоскости
Рис. 32. Разрушение защитного слоя бетона углов колонны
Рис. 33. Разрушение нижней части железобетонной колонны
Рис. 34. Разрушение консоли колонны
Рис. 35. Разрушение защитного слоя бетона в колонне
Рис. 36. Отклонение колонны от вертикали
Рис. 37. Разрушение защитного слоя надкрановой части железобетонной: колонны
Рис. 38. Косые трещины в кирпичных столбах
Рис. 39. Расслоение кирпичной кладки стен
Рис. 40. Разрушение горизонтальных и вертикальных стыков, стеновых панелей, коррозия арматуры.
Рис. 41. Разрешение стеновых панелей в местах опирания на столики
Рис. 42. Разрушение бутовой кладки цоколя стены

Рис. 43. Разрушение кирпичной кладки цоколя стены

Рис. 44 . Разрушение цокольной части стены

Рис. 45. Выветривание кладки стен

Рис. 46. Выветривание кладки стен из силикатного кирпича
Рис. 47. Разрушение штукатурки и начальная стадия выветривания кладки
Рис. 48. Разрушение стен в результате намокания.
Рис. 49. Разрушение железобетонных стеновых панелей в результате намокания
Рис 50 . Поросла деревьев разрушающие кладку карнизов
Рис. 51 Разрешение карнизной части стены
Рис. 52. Обрушение парапета
Рис. 53. Начальная стадия разрушения железобетонной перемычки
Рис. 54. Разрушение рядовой перемычки
Рис. 55. Разрушение армокирпичной перемычки
Рис .56 Разрушение клинчатой перемычки
Рис. 57. Механическое повреждение угла здания из-за малых габаритов проезда
Рис. 58. Ослабление стены горизонтальной штрабой со стороны фасада
Рис. 59. Ослабление стены горизонтальной штрабой для пропуска крана
Рис. 60. Аварийные участки простенков
Рис. 61. Разрыв уголка решетки тормозной фермы подкрановой балки в результате силовых воздействий
Рис. 62 Трещина поперек верхнего пояса и вдоль сварного шва, крепящего накладку к стенке балки
Рис. 63. Поперечная трещина в рельсе, полке и стенке сварной подкрановой балке
Рис. 64. Дефект монтажа колонн и подкрановых конструкций
Рис. 65 Некачественно установленные подкладки

Рис. 66. Смещение опоры подкрановых балок с разбивочной оси колонны
Рис. 67. Трещины в околошовной зоне подкрановых балок и диафрагме.
Рис. 68. Разрушение полки подкрановой балки среднего пролета
Рис. 69. Разрушение полки подкрановой балки крайнего пролета
Рис. 70. Возможные случаи перекоса ведущих ходовых колес крана.
α - угол движения колеса крана к оси подкранового пути

Рис. 71. Разрушение монолитной железобетонной балки в результате некачественного бетонирования

Рис. 72. Разрушение защитного слоя бетона и коррозия арматуры балки на опоре
Рис. 73. Разрушение защитного слоя бетона и начальная стадия коррозии арматуры балки
Рис. 74 Коррозия арматуры железобетонной плиты
Рис. 75. Протечки масла и эмульсия на нижней поверхности железобетонного перекрытия
Рис. 76. Поражение гнилью балок из-за увлажнения и отсутствия вентиляции
Рис.77 Усушечные трещины в балках
Рис. 78. Значительное скопление производственной пыли на покрытии
Рис. 79. Разрыв подфонарной затяжки монолитного железобетонного покрытия
Рис. 80. Деформация верхнего пояса стальной фермы в плоскости
Рис. 81. Деформация раскоса стальной фермы из плоскости
Рис. 82. Деформированные деревянные арки покрытия
Рис. 83. Перелом верхнего пояса фермы в результате подъема груза
Рис. 84. Выход нижнего пояса фермы из плоскости
Рис. 85. Искривление распорок из плоскости
Рис. 86. Нарушение целостности ферм при установке станка
Рис. 87. Нарушение целостности ферм при установке компрессора
Рис. 88. Поражение стальных конструкций покрытия коррозией в опорном узле
Рис. 89. Разрушение бетона в затяжке монолитной железобетонной арки

Рис. 90. Разрушение опорного сечения железобетонного прогона
Рис. 91 Смещение плит с балок покрытия на опоре
Рис. 92. Косослойные трещины в прогонах покрытия
Рис. 93. Усушечные трещины в стойке металлодеревянной фермы
Рис. 94. Усушечные трещины в стропильной ферме
Рис. 95. Усушечные трещины в местах сопряжений нижних поясов стропильных ферм
Рис. 96. Сложная конфигурация крыши, как источник попадания влаги во внутрь помещений
Рис. 97. Поражение гнилью деревянного настила и прогонов покрытия
Рис. 98. Поражение гнилью деревянного настала покрытия
Рис. 99 Поражение гнилью древесины стропил в обрешетки
Рис. 100. Образование трещин в кровельном покрытии
Рис. 101. Некачественное выполнение примыкания рулонного ковра к бортовой части фонаря
Рис. 102. Сползание рулонного ковра по уклону покрытия
Рис. 103. Воздушные пузыри в мягкой кровле
Рис. 104. Срыв полотнищ водоизоляционного ковра
Рис. 105. Повреждение водоизоляционного ковра
Рис. 106. Засорение водосточной воронки производственной пылью
Рис. 107 Произрастание кустарника в ендове около фонаря
Рис. 108. Произрастание кустарника у водосточной воронки
Рис. 109. Наледи на карнизах

Рис. 110. Скопление производственной пыли, деталей, мусора на кровле
Примерная структура и состав работников отдела эксплуатации и ремонта зданий и сооружений


|
ГОСТЫ, СТРОИТЕЛЬНЫЕ и ТЕХНИЧЕСКИЕ НОРМАТИВЫ. Некоммерческая онлайн система, содержащая все Российские Госты, национальные Стандарты и нормативы. В Системе содержится более 150000 файлов нормативно-технической документации, действующей на территории РФ. Система предназначена для широкого круга инженерно-технических специалистов. Copyright © www.gostrf.com, 2008 - 2026 |