|
|
|
СТАНДАРТ ОРГАНИЗАЦИИ РАО "ЕЭС РОССИИ" ТРУБОПРОВОДЫ ТЕПЛОВЫХ СЕТЕЙ. ЗАЩИТА ОТ КОРРОЗИИ УСЛОВИЯ СОЗДАНИЯ. НОРМЫ И ТРЕБОВАНИЯ. СТО 17330282.27.060.001-2008 Дата введения - 2008-04-30 Приказ ОАО РАО «ЕЭС РОССИИ» от 17.04.2008 № 202 Об утверждении и вводе в действие Стандарта организации ОАО РАО "ЕЭС России" "Трубопроводы тепловых сетей. Защита от коррозии. Условия создания. Нормы и требования" В соответствии с решением Правления ОАО РАО "ЕЭС России" (протокол заседания от 22.11.2004 № 1106пр/2), ОАО "Институт ВНИПИэнергопром" разработан стандарт организации ОАО РАО "ЕЭС России" "Трубопроводы тепловых сетей. Защита от коррозии. Условия создания. Нормы и требования". Проект стандарта прошел процедуры, предусмотренные "Положением о порядке разработки, рассмотрения и утверждения технических стандартов организации корпоративного уровня в ОАО РАО "ЕЭС России". Центральная комиссия ОАО РАО "ЕЭС России" по техническому регулированию приняла решение об утверждении Стандарта (протокол от 12.02.2007 № 10). ПРИКАЗЫВАЮ: 1. Утвердить Стандарт ОАО РАО "ЕЭС России" СТО 17330282.27.060.001-2008 "Трубопроводы тепловых сетей. Защита от коррозии. Условия создания. Нормы и требования" (далее - Стандарт) согласно приложению. 2. Ввести Стандарт в действие с 30 апреля 2008 года. 3. Бизнес-единице № 1 (Чикунову А.В.), Бизнес-единице № 2 (Аветисяну В.Е.), Бизнес-единице "Энергосистемы Востока" (Благодырю И.В.), Бизнес-единице "Сервис" (Воронину В.П.) обеспечить рассмотрение Советами директоров ДЗО ОАО РАО "ЕЭС России" (далее - ДЗО), а так же Советами директоров обществ дочерних и зависимых по отношению к ДЗО (далее - ВЗО) вопроса о присоединении указанных ДЗО/ВЗО к Стандарту. 4. Установить, что решение Совета директоров ДЗО/ВЗО по вопросу "О присоединении к Стандарту" должно содержать указание на присоединение ДЗО/ВЗО к Стандарту и положение о том, что Стандарт является локальным нормативным актом ДЗО/ВЗО. 5. Руководителям Бизнес-единицы № 1, Бизнес-единицы № 2, Бизнес-единицы "Энергосистемы Востока", Бизнес-единицы "Сервис" обеспечить до 30 мая 2008 г. внесение изменений в действующую нормативную и техническую документацию с учетом требований Стандарта. 6. Некоммерческому партнерству "ИНВЭЛ" (Левцеву A.M.), Дирекции организации, методологии конкурсных закупок и стандартизации (Романову А.А.) обеспечить регистрацию и учет Стандарта в системе Информационного фонда по техническому регулированию и внести в реестр документов по техническому регулированию в электроэнергетике. 7. Департаменту по взаимодействию со СМИ (Нагоге М.Г.), Дирекции организации, методологии конкурсных закупок и стандартизации (Романову А.А.) обеспечить размещение на сайте ОАО РАО "ЕЭС России" уведомления об утверждении и вводе в действие Стандарта в соответствии с действующим порядком. 8. Контроль за исполнением настоящего приказа возложить на члена Правления, заместителя технического директора - главного технического инспектора ОАО РАО "ЕЭС России" Паули В.К. Заместитель Председателя Правления Уринсон Я.М. ПредисловиеВ настоящем стандарте устанавливаются технические требования и действия по защите от наружной коррозии трубопроводов тепловых сетей, применяющиеся на стадиях их создания (проектирования, строительства, реконструкции, модернизации и технического перевооружения), направленные на формирование и реализацию безопасных и энергетически эффективных систем распределения и транспортирования тепловой энергии (тепловых сетей), рационального использования топливно-энергетических ресурсов. Сведения о стандарте РАЗРАБОТАН Открытым акционерным обществом "Объединение ВНИПИэнергопром" (ОАО "ВНИПИэнергопром"), АКХ им. Памфилова, ОАО "ОРГРЭС", ООО НПК "Курс-ОТ" ВНЕСЕН Открытым акционерным обществом "Объединение ВНИПИэнергопром" (ОАО "ВНИПИэнергопром") УТВЕРЖДЕН И ВВЕДЕН В ДЕЙСТВИЕ Приказом ОАО РАО "ЕЭС России" от 17.04.2008 № 202 ВВЕДЕН ВПЕРВЫЕ Настоящий стандарт не может быть полностью или частично воспроизведен, тиражирован и распространен в качестве официального издания без разрешения ОАО РАО "ЕЭС России". 1 Область примененияНастоящий стандарт устанавливает требования по защите от коррозии наружной поверхности новых, реконструируемых, модернизируемых и технически перевооружаемых магистральных и распределительных стальных трубопроводов тепловых сетей и их стальных конструктивных элементов (сборочных единиц трубопровода, предназначенных для выполнения одной из основных функций трубопровода - например, прямолинейный участок, колено, тройник, конусный переход, фланец и др.) на предэксплуатационных этапах жизненного цикла (предпроектный и проектный этапы, этапы строительства и приемки в эксплуатацию). Стандарт не распространяется на стальные трубопроводы тепловых сетей, проложенные с использованием теплоизоляционных конструкций высокой заводской готовности (например, трубопроводов с изоляцией из пенополиуретана и трубой оболочкой из полиэтилена высокой плотности, оборудованных системой оперативно-дистанционного контроля, сигнализирующей о повреждениях и наличии влаги в изоляции или конструкций теплопроводов в пенополимерминеральной теплоизоляции) за исключением неизолированных в заводских условиях концов трубных секций, отводов, тройников и других металлоконструкций). Стандарт предназначен для применения проектными, строительными, эксплуатирующими и экспертными организациями, выполняющими профильные работы по противокоррозионной защите трубопроводов тепловых сетей. 2 Нормативные ссылкиВ настоящем стандарте использованы ссылки на следующие стандарты: ГОСТ 9.402-2004 ЕСЗКС. Покрытия лакокрасочные. Подготовка металлических поверхностей к окрашиванию ГОСТ 6433.2-71. Материалы электроизоляционные твердые. Методы определения электрического сопротивления при постоянном напряжении. ГОСТ 4765-73. Материалы лакокрасочные. Методы определения прочности пленок при ударе. ГОСТ 15140-78. Материалы лакокрасочные. Методы определения адгезии. ГОСТ 6806-73. Материалы лакокрасочные. Методы определения эластичности пленки при изгибе. ГОСТ 21513-76. Материалы лакокрасочные. Методы водо- и влагопоглощения лакокрасочной пленкой. ГОСТ 12.3.005-75. ССБТ. Работы окрасочные. Общие требования безопасности. ГОСТ 12.3.016-87. ССБТ. Строительство. Работы антикоррозионные. Требования безопасности. ГОСТ 12.1.005-88. ССБТ. Общие санитарно-гигиенические требования к воздуху рабочей зоны. ГОСТ 12.4.011-89. ССБТ. Средства защиты работающих. Общие требования и классификация. ГОСТ 12.4.103-83. ССБТ. Одежда специальная защитная, средства индивидуальной защиты ног и рук. Классификация. ГОСТ 9.602-2005 ЕСЗКС. Сооружения подземные. Общие требования к защите от коррозии ГОСТ Р 12.4.026-2001 ССБТ. Цвета сигнальные, знаки безопасности и разметка сигнальная. Назначение и правила применения. Общие технические требования и характеристики. Методы испытаний ГОСТ Р 51694-2000 "Материалы лакокрасочные. Определение толщины покрытия". ГОСТ 6456-82 Шкурка шлифовальная бумажная. Технические условия. ГОСТ 9.304-87 (СТ СЭВ 4202-83) ЕСЗКС. Покрытия газотермические. Общие требования и методы контроля. ГОСТ 6058-73 Порошок алюминиевый. Технические условия. ГОСТ 6709-72 Вода дистиллированная Технические условия. ГОСТ 4165-78 Реактивы. Медь (II) сернокислая 5-водная. Технические условия (с Изменениями N 1, 2, 3) ГОСТ 19710-83Е Этиленгликоль Технические условия. Примечание - При пользовании настоящим стандартом целесообразно проверить действие ссылочных стандартов и классификаторов и информационной системе общего пользования - на официальном сайте национального органа Российской Федерации по стандартизации в сети Интернет или по ежегодно издаваемому информационному указателю "Национальные стандарты", который опубликован по состоянию на 1 января текущего года, и по соответствующим ежемесячно издаваемым информационным указателям, опубликованным в текущем году. Если ссылочный документ заменен (изменен), то при пользовании настоящим стандартом следует руководствоваться замененным (измененным) документом. Если ссылочный документ отменен без замены, то положение, в котором дана ссылка на него, применяется в части, не затрагивающей эту ссылку. 3 Термины и определения3.1 адгезия: Совокупность сил связи между высохшей пленкой и окрашиваемой поверхностью. 3.2 анодная зона: Участок подземного стального трубопровода, потенциал которого смещается относительно стационарного потенциала данного трубопровода только в сторону положительных значений. 3.3 анодный заземлитесь (анод): Проводник, погруженный в грунт или раствор электролита и подключенный к положительному полюсу источника постоянного тока. 3.4 блуждающий ток: Постоянный электрический ток, протекающий вне предназначенной для него цепи. 3.5 внешний слой покрытия: Слой покрытия, поверхность которого соприкасается с окружающей средой. 3.6 гальванический анод (протектор): Электрод из металла с более отрицательным потенциалом, чем защищаемое металлическое сооружение. Подключается к сооружению при его гальванической защите. 3.7 гальваническая (протекторная) защита: Электрохимическая защита металлического сооружения путем подключения к нему гальванического анода. 3.8 грунтование: Нанесение промежуточных слоев лакокрасочного материала, обладающего хорошей адгезией к окрашиваемой поверхности и следующему слою лакокрасочного покрытия и предназначенного для повышения защитных свойств системы покрытия. 3.9 дефект: Каждое отдельное несоответствие продукции установленным требованиям. 3.10 долговечность лакокрасочного покрытия: Способность лакокрасочного покрытия сохранять заданные свойства в течение заданного срока. 3.11 естественная сушка лакокрасочного покрытия: Сушка лакокрасочного покрытия в нормальных условиях. 3.12 защитное (антикоррозионное, противокоррозионное) покрытие: Слой или система слоев веществ, наносимые на поверхность металлического сооружения для защиты металла от коррозии. 3.13 защитный потенциал: Потенциал, при котором электрохимическая защита обеспечивает необходимую коррозионную стойкость металла. 3.14 знакопеременная зона: Участок подземного стального трубопровода, потенциал которого смещается относительно стационарного потенциала и к более положительным, и к более отрицательным значениям. 3.15 катодная зона: Участок подземного стального трубопровода, потенциал которого смещается относительно стационарного потенциала к более отрицательным значениям. 3.16 катодная поляризация: Электрохимическая защита стального трубопровода путем смещения потенциала коррозии в сторону отрицательных значений. 3.17 катодное покрытие: Металлическое покрытие, имеющее в данной среде электродный потенциал более отрицательный, чем у основного. 3.18 композиционное покрытие: Покрытие, состоящее из включений металлических и неметаллических составляющих. 3.19 коррозионная агрессивность грунта: Совокупность свойств (характеристик) грунта, которые влияют на коррозию металла в грунте. 3.20 коррозионная стойкость: Способность металла труб противостоять коррозии в данной коррозионной системе. 3.21 коррозия металла труб: Разрушение металла труб вследствие химического или электрохимического взаимодействия их с коррозионной средой. 3.22 крацевание: Обработка поверхности основного покрываемого металла и (или) покрытия щетками для удаления окислов, загрязнений, уплотнения покрытия или нанесения декоративного штриха. 3.23 критерии опасности наружной коррозии: Признаки, определяющие опасность наружной коррозии трубопровода тепловой сети. 3.24 критерий предельного состояния: Признак (совокупность признаков) предельного состояния объекта, установленный нормативно-технической и (или) конструкторской (проектной) документацией. 3.25 лакокрасочное защитное покрытие: Покрытие, получаемое при нанесении на поверхность труб лакокрасочных материалов. 3.26 ложемент: Приспособление с рядом полукруглых выемок для укладки труб, которое исключает возможность соприкосновения труб друг с другом и позволяет предотвратить повреждения покрытия при перевозке труб на автомашинах с прицепом. 3.27 медносульфатный электрод сравнения: Электрод сравнения, представляющий собой медный стержень, помещенный в насыщенный раствор медного купороса. Это наиболее часто применяемый электрод сравнения для измерения потенциала между подземными металлическими трубопроводами и грунтом. 3.28 металлизационное покрытие: Покрытие, полученное распылением расплавленного металла. 3.29 металлизация распылением: Получение покрытия распылением расплавленного. 3.30 многослойное покрытие: Покрытие, состоящее из двух и более последовательно полученных слоев. 3.31 надежность: Свойства объекта сохранять во времени в установленных пределах значения всех параметров, характеризующих способность выполнять требуемые функции в заданных режимах и условиях применения, технического обслуживания, хранения и транспортирования. Примечание. Надежность является комплексным свойством, которое в зависимости от назначения объекта и условий его применения может включать безотказность, долговечность, ремонтопригодность и сохраняемость или определенное сочетание этих свойств. 3.32 назначенный срок службы: Календарная продолжительность эксплуатации, при достижении которой эксплуатация объекта должна быть прекращена независимо от его технического состояния (устанавливается проектной организацией). 3.33 окрашивание: Нанесение лакокрасочного материала на окрашиваемую поверхность. 3.34 покрытие: Слой или несколько слоев материала, искусственно полученных на покрываемой поверхности. 3.35 получение лакокрасочного покрытия: Технологический процесс, включающий операции подготовки окрашиваемой поверхности, окрашивания и сушки. 3.36 предельно-допустимая концентрация (ПДК) вредных веществ в воздухе рабочей зоны: Концентрации, которые при ежедневной (кроме выходных дней) работе в течение 8 ч или другой продолжительности, но не более 41 ч в неделю, в течение всего рабочего стажа не могут вызвать заболеваний или отклонений в состоянии здоровья, обнаруживаемых современными методами исследований, в процессе работы или в отдаленные сроки жизни настоящего или последующих поколений. 3.37 предельное состояние: Состояние объекта, при котором его дальнейшая эксплуатация недопустима или нецелесообразна либо восстановление его работоспособного состояния невозможно или нецелесообразно. 3.38 пропитка покрытия: Обработка покрытия заполнением пор веществом, не взаимодействующим химически с материалом покрытия. 3.39 рабочая зона: Пространство, ограниченное по высоте 2 м над уровнем пола или площадки, на которых находятся места постоянного (временного) пребывания работающих. 3.40 разбавитель для лакокрасочных материалов: Летучая жидкость одно- или многокомпонентная, которая, не являясь растворителем для пленкообразующего, может быть использована в сочетании с растворителем, не вызывая нежелательных эффектов. 3.41 разжижитель для лакокрасочных материалов: Летучая жидкость одно- или многокомпонентная, которая добавляется в продукт для снижения вязкости. 3.42 разность потенциалов между трубой и грунтом (потенциал "труба-земля"): Напряжение между трубой и электродом сравнения, находящимися в грунте. 3.43 растворитель для лакокрасочных материалов: Жидкость одно- или многокомпонентная, летучая в условиях сушки, в которой пленкообразующее полностью растворяется. 3.44 расчетная температура среды: Максимальная температура горячей воды или пара в трубопроводе или его фасонной детали. 3.45 расчетный срок службы: Срок службы в календарных годах со дня ввода в эксплуатацию, по истечении которого следует провести экспертное обследование технического состояния трубопровода, с целью определения допустимости, параметров и условий дальнейшей эксплуатации трубопровода или необходимости его демонтажа. 3.46 сварное соединение: Неразъемное соединение деталей, выполненное сваркой и включающее в себя шов и зону термического влияния. 3.47 силикатно-эмалевое покрытие: Покрытие, получаемое на поверхности трубопровода путем расплавления неметаллического порошка, состоящего преимущественно из силикатных продуктов. 3.48 смещение разности потенциалов: Значение изменения разности потенциалов между трубой и электродом сравнения до и после воздействия внешнего источника тока. 3.49 сплошность: Способность материала заполнять весь занимаемый им объем без всяких пустот. 3.50 срок службы: Календарная продолжительность эксплуатации от начала эксплуатации объекта или ее возобновления после ремонта до перехода в предельное состояние. 3.51 срок службы лакокрасочного покрытия: Срок, в течение которого лакокрасочное покрытие сохраняет заданные свойства. 3.52 старение лакокрасочного покрытия: Процесс необратимого изменения строения и (или) состава лакокрасочного покрытия, происходящий с течением времени. 3.53 стационарный потенциал: Потенциал стального трубопровода, измеренный при отсутствии блуждающих токов и воздействия других внешних источников тока. 3.54 стойкость лакокрасочного покрытия: Способность лакокрасочного покрытия сохранять заданные свойства. 3.55 твердость покрытия: Способность высохшей пленки покрытия сопротивляться механическим воздействиям: удару, вдавливанию, царапанью. 3.56 температура сушки лакокрасочного покрытия: Температура, обеспечивающая формирование лакокрасочного покрытия с заданными свойствами. 3.57 термовлагостойкость защитного антикоррозионного покрытия: Сохранение защитным антикоррозионным покрытием защитных свойств и установленных физико-механических показателей после полных многократных увлажнений окружающей трубу тепловой изоляции с последующей сушкой при температуре на поверхности трубы 75-80 °С. 3.58 термостойкость защитного антикоррозионного покрытия: Сохранение защитным антикоррозионным покрытием защитных свойств и установленных физико-механических показателей после испытаний в течение 1875 часов при температуре на поверхности трубы 150 °С. 3.59 толщина покрытия: Расстояние по нормали между поверхностью основного покрываемого металла и поверхностью внешнего слоя покрытия. 3.60 установка (станция) катодной защиты: Совокупность устройств, требуемых для электрохимической защиты от коррозии подземных трубопроводов методом катодной поляризации с питанием от постороннего источника постоянного тока (преобразователь для катодной защиты, анодный заземлитель, соединительные кабели). 3.61 эластичность: Способность отвержденной пленки выдерживать без разрушения деформацию поверхности, на которую она нанесена. 3.62 электрический дефектоскоп: Прибор электрического неразрушающего контроля, предназначенный для обнаружения несплошностей и неоднородностей в объекте контроля. 3.63 электрическая дефектоскопия: Совокупность методов и средств электрического неразрушающего контроля, предназначенных для обнаружения дефектов в объекте контроля. 3.64 электрический неразрушающий контроль: Неразрушающий контроль, основанный на регистрации параметров электрического поля, взаимодействующего с объектом контроля или возникающего в объекте контроля в результате внешнего воздействия. 3.65 электродренажная (дренажная) защита: Электрохимическая защита подземных трубопроводов от коррозии блуждающими токами, осуществляемая устранением анодного смещения потенциала путем отвода блуждающих токов к их источнику. 3.66 электроизолирующее соединение: Конструктивный элемент для прерывания электрической проводимости трубопроводов. 3.67 электроискровой метод контроля (электроискровой метод): Метод электрического неразрушающего контроля, основанный на регистрации возникновения электрического пробоя и (или) изменений его параметров в окружающий объект контроля среде или его участке. 3.68 электрохимическая защита: Защита металла от коррозии в электролитической среде, осуществляемая установлением на нем защитного потенциала или устранением анодного смещения потенциала от стационарного потенциала. 3.69 элемент трубопровода: Сборочная единица трубопровода горячей воды или пара, предназначенная для выполнения одной из основных функций трубопровода (например, прямолинейный участок, колено, тройник, конусный переход, фланец и др.) 4 СокращенияОЭТС - организация, эксплуатирующая тепловые сети; ЭХЗ - электрохимическая защита; КИП - контрольно-измерительный пункт; СКЗ - станция катодной защиты; УЭС - удельное электрическое сопротивление грунта; ППР - проект производства работ; МЭС - медно-сульфатный электрод сравнения; АЗ - анодный заземлитель; ВЭ - вспомогательный электрод; ПТ - подающий трубопровод; ОТ - обратный трубопровод; БПИ - блок пластин-индикаторов; ЭИС - электроизолирующее соединение; МПС - министерство путей сообщения; ПМ - протектор магниевый; ТУ - технические условия; УОЭС - удельное объемное электрическое сопротивление. 5 Общие положения5.1 Настоящий стандарт является основанием для разработки и выполнения противокоррозионной защиты конкретных участков трубопроводов тепловых сетей, а также проведению мероприятий по ограничению протекания процессов коррозии на предэксплуатационных этапах их жизненного цикла. 5.2 Средства защиты от коррозии (материалы и конструкция покрытий, преобразователи для катодной защиты, электродренажи и протекторы, приборы контроля качества защитных изоляционных покрытий и определения опасности коррозии и эффективности противокоррозионной защиты) применяют только в соответствии с требованиями настоящего стандарта. 5.3 Все конструктивные решения по защите от коррозии и средства защиты, предусмотренные и выполненные на предэксплуатационных этапах жизненного цикла трубопроводов тепловых сетей контролируют и принимают в эксплуатацию до начала штатной эксплуатации трубопровода. 6 Требования к организации и условиям создания защиты трубопроводов тепловых сетей от наружной коррозии6.1 Конструктивные решения, предотвращающие наружную коррозию труб тепловой сети должны предусматриваться при проектировании и выполняться в соответствии с проектами противокоррозионной защиты, либо по соответствующим разделам проектов, входящим в состав проектно-сметной документации на строительство или реконструкцию участков тепловой сети в целом. 6.2 Проект (раздел проекта) по противокоррозионной защите трубопроводов тепловых сетей разрабатывается проектной организацией на основании: - исходных данных, характеризующих опасность наружной коррозии трубопроводов на проектируемых к строительству или реконструируемых участках тепловых сетей, выдаваемых проектной организации вместе с техническим заданием на проектирование ОЭТС; - требований настоящего стандарта к выбору методов, материалам и оборудованию, применяемым для защиты трубопроводов тепловых сетей от наружной коррозии. 6.3 Для подготовки исходных данных на проектирование защиты от наружной коррозии трубопроводов тепловых сетей, проводятся предпроектные обследования включающие: - определение критериев (признаков) опасности наружной коррозии на участках вновь прокладываемых и реконструируемых трубопроводов тепловых сетей путем проведения электрических измерений в соответствии с Приложением А настоящего стандарта; - техническое освидетельствование фактического состояния трубопроводов действующих тепловых сетей подлежащих реконструкции в соответствии с действующей нормативной документацией; - определение местоположения смежных проектируемому теплопроводу подземных сооружений с установками ЭХЗ и КИП на них, а также возможности совместной ЭХЗ трубопроводов тепловых сетей и смежных подземных сооружений; - уточнение данных о расположении рельсовой сети электрифицированного транспорта и тяговых подстанций, пунктов присоединения отрицательных питающих линий к рельсам и проверку эффективности мероприятий по снижению утечек токов с рельсовых путей электротранспорта в землю; - определение основного источника опасности коррозии в случае одновременного влияния на трубопровод нескольких источников блуждающих токов. 6.4 Предпроектные обследования могут выполняться ОЭТС, проектными или специализированными организациями с учетом выполнения требований пункта 6.3 настоящего стандарта в полном объеме. 7 Требования к выбору методов защиты трубопроводов тепловых сетей от наружной коррозии при проектировании7.1 Защита трубопроводов тепловых сетей от наружной коррозии может осуществляться с применением методов: - нанесения противокоррозионных покрытий; - ЭХЗ. 7.2 Выбор метода или сочетания методов защиты трубопроводов тепловых сетей от наружной коррозии осуществляется на основании: - способа прокладки тепловых сетей (подземная канальная, подземная бесканальная, надземная); - исходных данных, характеризующих опасность коррозии трубопроводов на проектируемых к строительству или реконструируемых участках тепловых сетей, полученных в результате проведения предпроектных обследований. 7.3 Для конструкций теплопроводов независимо от способов прокладки должны применяться антикоррозионные покрытия, наносимые непосредственно на наружную поверхность стальной трубы. Для защиты трубопроводов тепловых сетей при надземной прокладке должны применяться только защитные противокоррозионные покрытия. 7.4 Для защиты трубопроводов бесканальной и канальной прокладки при наличии хотя бы по одного из признаков опасности наружной коррозии подземных трубопроводов тепловых сетей, согласно Приложения А настоящего стандарта, помимо противокоррозионных покрытий должна применяться электрохимическая защита путем катодной поляризации труб с помощью установок катодной, электродренажной защиты (поляризованных или усиленных электродренажей) или протекторов. 7.5 Катодную защиту трубопроводов тепловых сетей бесканальной прокладки с помощью СКЗ применяют при опасности почвенной коррозии и коррозии блуждающими постоянными токами и переменными токами, если включением электродренажей не обеспечивается защита трубопроводов. 7.6 Защиту поляризованными или усиленными дренажами применяют при наличии опасного воздействия только блуждающих постоянных токов на участках сближения защищаемых трубопроводов (бесканальной прокладки) с рельсовой сетью электрифицированных на постоянном токе железных дорог или трамвая при устойчивых отрицательных потенциалах рельсов (или знакопеременных потенциалах рельсов трамвая). 7.7 Катодную защиту с помощью СКЗ трубопроводов тепловых сетей канальной прокладки применяют при уровне затопления канала, достигающем нижней образующей трубопроводов, а также при опасном воздействии в указанных условиях блуждающих постоянных токов и переменных токов. 7.8 Гальваническая защита с помощью протекторов может применяться на участках трубопроводов канальной прокладки длиной до 50-60 м при установке протекторов непосредственно в каналах, а также на участках трубопроводов, проложенных в футлярах, с установкой протекторов на поверхности трубопроводов или теплоизоляционной конструкции. 7.9 Стальные футляры трубопроводов под автомобильными дорогами, железнодорожными и трамвайными путями при бестраншейной прокладке (прокол, продавливание) должны быть защищены средствами ЭХЗ. При прокладке открытым способом - защитными антикоррозионными покрытиями и ЭХЗ (при прокладке футляров в грунтах с высокой коррозионной агрессивностью и при опасном влиянии блуждающих токов). 7.10 Для трубопроводов тепловых сетей подземной прокладки, транспортирующих пар, с возможными разовыми перерывами в подаче пара продолжительностью более месяца, при наличии признаков опасности наружной коррозии, кроме защитных антикоррозионных покрытий должна предусматриваться электрохимическая защита. 7.11 Для защиты от наружной коррозии стальных элементов трубопроводов тепловых сетей (например, прямолинейный участок, колено, тройник, конусный переход, фланец и др.), а также опорных строительных конструкций под трубопроводы, должны применяться защитные противокоррозионные покрытия. 8 Требования к противокоррозионным покрытиям для трубопроводов тепловых сетей8.1 Противокоррозионные покрытия должны обладать высокими защитными свойствами и сохранять их в условиях эксплуатации (воздействие тепла, влаги, одновременное воздействие тепла и влаги, агрессивных сред, блуждающих токов), обеспечивая защиту трубопроводов от наружной коррозии в течение назначенного (расчетного) срока службы. 8.2 Выбор противокоррозионных покрытий для защиты от наружной коррозии трубопроводов тепловых сетей должен производиться в зависимости от: - способа прокладки тепловых сетей; - максимальной температуры теплоносителя (за которую принимается расчетная температура сетевой воды в подающем трубопроводе по температурному графику тепловой сети, принятому для данной системы теплоснабжения); - вида тепловой изоляции и типа теплоизоляционной конструкции; -состояния защищаемой поверхности трубопровода, возможностью применения механизированных способов очистки защищаемой поверхности и нанесения покрытия. 8.3 Покрытия для защиты наружной поверхности трубопроводов тепловых сетей должны предварительно проходить испытания согласно утвержденным методикам. 8.4 Свойства испытываемых покрытий, которые наносятся как в заводских, так и полевых условиях, должны определяться на образцах с различной степенью подготовки поверхности согласно ГОСТ 9.402, что отвечает реальным условиям их нанесения в полевых условиях. 8.5 Учитывая возможность изменения рецептур и технологии производства покрытий, следует проводить их повторные испытания не реже 1 раза в 5 лет. 8.6 Испытания защитных покрытий с выдачей официального заключения о возможности их применения следует выполнять в организациях, имеющих аккредитацию на проведение соответствующих испытаний. Основные методические положения стендовых испытаний защитных покрытий для теплопроводов приведены в Приложении Б. 8.7 Противокоррозионные покрытия, предназначенные для стендовых испытаний, должны отвечать следующим требованиям: термостойкость: 1875 ч при температуре 145-150 °С; термовлагостойкость: 50 циклов "увлажнение-сушка" (один цикл включает одно полное увлажнение тепловой изоляции, нанесенной на трубу с покрытием, с последующей сушкой при температуре 75-80 °С в течение пяти суток); стойкость в агрессивных средах: сохранение покрытием защитных свойств (отсутствие разрушений покрытия и коррозии металла образцов), под воздействием кислого раствора рН = 2,5 в течение 3000 ч и щелочного раствора рН = 10,5 в течение 3000 ч (для металлизационных алюминиевых покрытий при рН = 4,5 и рН = 9,5); стойкость к воздействию приложенных электрических потенциалов: анодных плюс 0,5 В и плюс 1,0 В по 1500 ч при каждом значении и катодных минус 0,5 В и минус 1,0 В по 1500 ч при каждом значении. 8.8 Пригодность покрытия для защиты от наружной коррозии трубопроводов тепловых сетей должна оцениваться после полного цикла стендовых испытаний по следующим основным показателям: удельное объемное электрическое сопротивление (УОЭС) по ГОСТ 6433.2-71 не ниже rv ≥ 1×108 Ом×см (на металлизационные покрытия и на лакокрасочные покрытия, включающие металлические наполнители и являющиеся электропроводными, не распространяется). сплошность (кроме металлизационных и лакокрасочных, включающих металлические наполнители и являющихся электропроводными) - 100%; Сплошность покрытий проверяется методом электрического неразрушающего контроля с помощью специально предназначенных для этого дефектоскопов. Сплошность покровных силикатноэмалевых покрытий проверяется искровым дефектоскопом постоянного тока. Подаваемое напряжение должно составлять 2 кВ на 1 мм толщины покрытия. Сплошность безгрунтовых силикатноэмалевых и лакокрасочных покрытий толщиной до 0,5 мм проверяется с помощью электроконтактных дефектоскопов типа ЛКД-1 с питанием от аккумуляторных батарей с номинальным напряжением 8,4 В. Для лакокрасочных покрытий толщиной более 0,5 мм применяется электроискровой дефектоскоп с напряжением на щупе до 20 кВ (например, "Крона - 1р"). Напряжение на щупе дефектоскопа должно составлять 1 кВ на каждые 100 мкм покрытия соответственно. Сплошность металлизационных покрытий определяется визуально (не должно быть участков, где отсутствует покрытие). прочность при ударе по ГОСТ 4765-73 - для покрытий лакокрасочных и металлизационных - не ниже 30 кгс×см, для силикатноэмалевых покрытий - не ниже 7 кгс×см; адгезия по ГОСТ 15140-78 - с оценкой "удовлетворительная"; эластичность при изгибе по ГОСТ 6806-73 - отсутствие излома на оправке диаметром не более 100 мм (на силикатноэмалевые покрытия не распространяется); водопоглощение по ГОСТ 21513-76 - не более 0,6% после 120 ч нахождения в воде (на силикатноэмалевые покрытия не распространяется). 8.9 Измерение толщины защитных покрытий в диапазоне от 0 до 3 мм производится с помощью магнитных или ультразвуковых измерителей толщины, погрешность которых в диапазоне от 60 до 250 мкм не должна превышать ±(0,2 Ах+2) мкм, в диапазоне от 250 мкм и более ±(0,2 Ах+5) мкм, где Ах - номинальное значение измеряемой величины. Для измерения толщины более 3 мм следует использовать штангенциркуль с погрешностью измерений 0,05 мм. 8.10 При выборе защитных покрытий необходимо учитывать технологии их нанесения для сохранения максимальных показателей вышеперечисленных характеристик при нанесении покрытий в полевых условиях. 8.11 Защитные противокоррозионные покрытия, свойства которых не отвечают предъявляемым требованиям, применять для защиты от наружной коррозии трубопроводов тепловых сетей и элементов трубопроводов не допускается. 8.12 В зависимости от способа прокладки тепловых сетей, вида теплоносителя и его максимальной температуры, технологий нанесения покрытий рекомендуется применять защитные противокоррозионные покрытия прошедшие соответствующие испытания приведенные в Приложении Б 9 Требования к нанесению и контролю качества противокоррозионных покрытий9.1 Защитные противокоррозионные покрытия должны, как правило, наноситься на стальные трубопроводы тепловых сетей механизированным способом в стационарных условиях на трубозаготовительных заводах и производственных базах строительно-монтажных организаций. Покрытия могут также наноситься в полевых условиях механизированным и ручным способами. Защита в полевых условиях сварных соединений, арматуры, мелких элементов трубопроводов, исправление мест повреждений покрытий выполняется, как правило, лакокрасочными покрытиями. 9.2 Нанесение защитных покрытий должно осуществляться строго в соответствии с технической документацией, представляемой поставщиком (изготовителем). При нанесении защитных покрытий должна быть обеспечена необходимая степень очистки поверхности трубопроводов (в соответствии с техническими условиями или инструкцией по нанесению данного покрытия) по ГОСТ 9.402. 9.3 Для обеспечения заданных свойств защитных антикоррозионных покрытий должен производиться контроль основных показателей их качества, подтверждаемый актом приемки, Приложение В. Контроль качества должен включать наружный осмотр, измерение толщины покрытия, проверку сплошности и адгезии. Все обнаруженные дефекты должны быть устранены в соответствии с требованиями инструкции по ремонту (восстановлению) покрытия. 9.4 Качество защитного антикоррозионного покрытия линейной части трубопровода должно проверяться в полевых условиях до начала строительно-монтажных работ, а также после гидравлического испытания трубопровода на прочность и плотность и нанесения защитного покрытия на сварные стыковые соединения. 9.5 При нанесении защитных антикоррозионных покрытий в заводских условиях следует соблюдать требования к правилам приемки, методам контроля качества покрытий в соответствии с техническими условиями на трубы с данным видом покрытия. 9.6 Толщина покрытия измеряется магнитными или ультразвуковыми толщиномерами с классом точности не ниже 10. 9.7 Контроль сплошности покрытия должен производиться на каждой трубе и на элементах трубопровода по всей поверхности с использованием электроискрового или электроконтактного метода. 9.8 Определение удельного объемного электрического сопротивления покрытия производится методом мокрого контакта с применением электрода-бандажа, смоченного раствором электролита, на двух трубах от партии. 9.9 Определение ударной прочности покрытия производится с применением прибора УТ-1 на двух трубах от партии. 9.10 Определение адгезии покрытия производится в трех точках, отстоящих друг от друга на расстоянии не менее 0,5м. 9.11 При неудовлетворительных результатах приемочных испытаний хотя бы по одному показателю, производится повторное испытание по этому показателю на удвоенном количестве труб или элементов трубопроводов. При неудовлетворительных результатах повторных испытаний производится контроль каждой трубы, отбракованные трубы и детали отправляются на повторное нанесение покрытия. 9.12 На каждую партию труб и элементов трубопроводов, на которую защитное покрытие наносится в заводских или базовых условиях, изготовитель должен выдать Сертификат с результатами приемочных испытаний по показателям, указанным в действующих технических условиях на трубы с покрытием. 9.13 Качество защитных антикоррозионных покрытий, наносимых в полевых условиях механизированным или ручным способами, проверяется в процессе нанесения покрытий, как на линейную часть трубопровода, так и на сварные соединения, включая качество подготовки поверхности и послойного формирования покрытия с составлением Актов скрытых работ и с занесением результатов контроля качества в Журнал производства антикоррозионных работ, Приложение В. Методы проверки качества защитного покрытия и устранения обнаруженных дефектов приведены в таблице 1. 9.14 При приемке в эксплуатацию трубопроводов тепловых сетей, смонтированных из труб с защитным покрытием, должно быть проверено наличие и комплектность следующей документации на защитное покрытие и на производство антикоррозионных работ: - сертификаты или паспорта на применяемые материалы (компоненты покрытия, растворители, отвердители и т.п.); - обоснование возможности применения данного защитного покрытия для трубопроводов тепловых сетей (ссылки на СНиП, РД или Заключение специализированной организации о возможности применения данного защитного покрытия); - на трубы с защитным антикоррозионным покрытием заводского нанесения кроме сертификата, подтверждающего соответствие качества покрытия требованиям технических условий (выходной контроль), должен иметься документ о входном контроле качества покрытия на трассе, оформленный приемщиком; - подтверждение подрядчика о возможности выполнять работы по антикоррозионной защите трубопроводов тепловых сетей (лицензия, протокол обучения персонала); - ППР; - технологические инструкции по нанесению покрытия, включая инструкции по защите сварных стыковых соединений, ремонту (восстановлению) мест повреждения покрытия; - журнал производства антикоррозионных работ, Приложение В. 9.15 На каждую партию труб с защитным покрытием, отправляемую на объекты строительства должен быть оформлен Паспорт, в котором указываются вид покрытия, его толщина, сплошность, адгезия с поверхностью труб.
Таблица 1 Методы проверки в полевых условиях основных показателей качества защитных покрытий. Устранение обнаруженных дефектов
10 Требования к ЭХЗ трубопроводов тепловых сетей от наружной коррозии10.1 На трубопроводах тепловых сетей бесканальной и канальной прокладки с защитным металлизационным алюминиевым и алюмокерамическим покрытиями средства ЭХЗ необходимо применять лишь при опасном действии блуждающих токов. На участках прокладки трубопроводов с указанными защитными покрытиями, проложенных в футлярах, средства ЭХЗ не применяются. 10.2 При защите от почвенной коррозии катодная поляризации трубопроводов тепловых сетей бесканальной прокладки должна осуществляться таким образом, чтобы значение разности потенциалов между трубопроводом и МЭС находились в пределах от минус 1,1 до минус 2,5 В. 10.3 При защите трубопроводов от коррозии под воздействием постоянных блуждающих токов катодная поляризация должна осуществляться таким образом, чтобы обеспечивалось отсутствие на трубопроводах анодных и знакопеременных зон. Примечание. Допускается суммарная продолжительность положительных смещений потенциала относительно стационарного потенциала за время измерений в пересчете на сутки не более 4 мин в сутки. 10.4 При защите трубопроводов тепловых сетей бесканальной прокладки в грунтах высокой коррозионной агрессивности и одновременном опасном влиянии постоянных блуждающих токов значения разности потенциалов должны находиться в пределах от -1,1 В до -2,5 В. При этом мгновенные значения потенциалов по абсолютной величине должны быть не менее значения стационарного потенциала, а при отсутствии возможности его определения не менее минус 0,7 В. 10.5 Защита трубопроводов тепловых сетей от наружной коррозии, вызываемой переменным током, осуществляется в опасных зонах независимо от коррозионной агрессивности грунта методом катодной поляризации. Катодная поляризация должна осуществляться таким образом, чтобы значения разности потенциалов между трубопроводом и МЭС находились в пределах от минус 1,1 до минус 2,5 В. 10.6 Катодная поляризация реконструируемых действующих трубопроводов тепловых сетей канальной прокладки обязательна при наличии воды в канале или заносе канала грунтом, когда вода или грунт достигают теплоизоляционной конструкции или поверхности трубопровода (для вновь сооружаемых трубопроводов - при наличии зон предполагаемого затопления канала). 10.7 Катодная поляризация трубопроводов в отсутствие опасного влияния блуждающих токов при расположении АЗ за пределами канала должна осуществляться таким образом, чтобы значения разности потенциалов между трубопроводами и МЭС находились в пределах от минус 1,1 до минус 2,5 В. 10.8 Катодная поляризация трубопроводов тепловых сетей канальной прокладки (независимо от наличия или отсутствия опасного влияния блуждающих токов) при расположении АЗ в канале должна осуществляться таким образом, чтобы потенциал трубы, измеренный относительно установленного у поверхности трубопровода вспомогательного (стального) электрода (ВЭ), был на 0,3¸0,8 В отрицательнее, чем потенциал трубы относительно этого электрода, измеренный при отсутствии катодной поляризации трубы. 10.9 При отсутствии влияния блуждающих токов катодная поляризация трубопроводов (на участках длиной до 50¸60 м) может осуществляться с помощью протекторов, устанавливаемых на дне или стенках каналов. Смещение разности потенциалов между трубопроводом и установленным на поверхности трубопровода или теплоизоляционной конструкции измерительным электродом в сторону отрицательных значений должна быть не менее 0,2 В. 10.10 Схема ВЭ и схема его расположения на поверхности изоляционной конструкции теплопровода приведены на рис. 1 и 2. Расстояния между ВЭ, которые устанавливаются в одном сечении на подающем и обратном трубопроводах, должны быть не более 50 м. 10.11 Катодная поляризация подземных трубопроводов тепловых сетей осуществляется с помощью установок катодной и электродренажной защиты, а также гальванических анодов (протекторов). 10.12 Катодная поляризация подземных тепловых сетей должна осуществляться так, чтобы исключить вредное влияние ее на смежные подземные металлические сооружения.
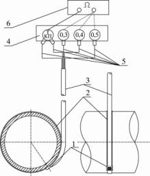
1 - пластина ВЭ из нержавеющей стали Х18Н9Т или Х18Н10Т; σ = 1,5-2 мм 2 - корпус ВЭ из фторопласта σ = 3-4 мм; 3 - крепежный винт из диэлектрического материала; 4 - узел присоединения к ВЭ контрольного проводника; 5 - проводник для крепления ВЭ к трубопроводу; 6 и 7 - шайба и гайка для крепления пластины ВЭ (1) к корпусу ВЭ из диэлектрического материала Рисунок 1 - Схема вспомогательного электрода (ВЭ) для контроля эффективности действия ЭХЗ трубопроводов тепловых сетей при затоплении или заиливании канала
1 - вспомогательный электрод (ВЭ); 2 - трубопровод; 3 - теплоизоляция; 4 - крепежный провод ВЭ; 5 - клеммник КИПа для присоединения контрольных проводников 6 от ПТ и ОТ; в пункте установки ВЭ сетка должна быть снята на участке 100-150 мм; 7 - пункт присоединения контрольного проводника 6 к трубопроводу; 8 - узел соединения крепежного провода Рисунок 2 - Схема расположения ВЭ на поверхности подающего и обратного теплопроводов (ПТ и ОТ) с теплоизоляцией (а) и без теплоизоляции (б)) Примечание: Вредным влиянием катодной поляризации защищаемых трубопроводов тепловых сетей на смежные подземные металлические сооружения считаются: - уменьшение по абсолютной величине потенциала по отношению к минимальному или увеличение по абсолютной величине потенциала по отношению к максимальному защитному потенциалу на соседних подземных металлических сооружениях, защищенных катодной поляризацией; - появление опасности коррозии на соседних подземных металлических сооружениях, ранее не требовавших защиты от нее; - смещение потенциала в любую сторону от стационарного значения на кабелях связи в металлической оболочке, не защищенных катодной поляризацией. В случае, когда при осуществлении ЭХЗ возникает вредное влияние на смежные сооружения, необходимо применить меры по устранению вредного влияния или осуществить совместную защиту этих сооружений. 11 Проектирование электрохимической защиты. Общие положения11.1 Основанием для проектирования ЭХЗ вновь сооружаемых, реконструируемых и действующих трубопроводов канальной и бесканальной прокладок являются требования, изложенные в разделе 7 настоящего стандарта. 11.2 Данные о наличии коррозионной опасности могут быть получены в результате изысканий ОЭТС, организации-разработчика проекта подземных теплопроводов, либо специализированной организации, привлекаемой на субподрядных началах. Проектирование ЭХЗ должно осуществляться на основе технического задания, выдаваемого специализированными предприятиями по защите от коррозии или ОЭТС. 11.3 Объем измерительных работ, выполняемых при определении коррозионной агрессивности грунта, наличия блуждающих постоянных токов и переменных токов и зон их опасного влияния определен в Приложении А настоящего стандарта. 11.4 При разработке проекта согласовывают: - подключение установок ЭХЗ к сетям переменного тока с организациями, эксплуатирующими эти сети; - размещение установок и элементов системы ЭХЗ (анодных заземлителей и контрольно-измерительных пунктов, располагаемых за пределами тепловых каналов, воздушных и кабельных линий) - с держателями геофонда, землепользования и организациями, эксплуатирующими смежные подземные сооружения; - выполнение работ с выходом на проезжую часть в крупных городах - с местными управлениями дорожного хозяйства и органом, инспектирующим безопасность дорожного движения. 11.5 Исходными данными при проектировании ЭХЗ для вновь сооружаемых теплопроводов является ситуационный план в масштабе 1:500 или 1:2000 вновь сооружаемых теплопроводов и существующих подземных сооружений, а для действующих сооружений - их ситуационный план с выделением теплопроводов и тех сооружений, для которых проектируется ЭХЗ. 11.6. Во всех случаях на плане должны быть указаны: диаметры сооружений; рельсовые сети электрифицированного транспорта; действующие установки ЭХЗ; точки подключения к рельсовым путям отсасывающих кабелей и существующих дренажных установок. 11.7 В состав проектной документации по ЭХЗ в соответствии с Инструкцией о порядке разработки [1], входят: 1. ситуационный план рабочие чертежи с согласованиями, включая рабочий план в масштабе 1:500; 2. заключение специализированной организации о гидрогеологических условиях для проектирования глубинных АЗ включающее при необходимости геофизический разрез местности (при размещении АЗ за пределами теплового канала); 3. проект электроснабжения; 4. проект организации движения (при выходе на проезжую часть); 5. проект организации строительства; 6. спецификация оборудования; 7. паспорт проекта; 8. сметная документация и пояснительная записка, которая содержит: - основание для разработки проекта; - характеристику защищаемых подземных сооружений; - сведения об источниках блуждающих токов; - оценку коррозионных условий с таблицами результатов необходимых электроизмерений; - технико-экономическое обоснование выбора установок ЭХЗ (при отсутствии соответствующих указаний в техническом задании); - количество и параметры установок ЭХЗ (сводная таблица); - сведения о проведенных согласованиях и соответствии проекта требованиям нормативных документов и сведения о соответствии проекта рекомендациям по охране природы (при размещении АЗ за пределами теплофикационного канала). 11.8 Проектом ЭХЗ должна быть предусмотрена установка стационарных КИПов с интервалом не более 200 м для теплопроводов бесканальной прокладки и не более 50 м для теплопроводов канальной прокладки. КИПы должны быть установлены: - в пунктах подключения кабеля к трубопроводам от станций катодной защиты (СКЗ); - в местах окончания заданных зон защиты; - в местах максимального сближения с анодным заземлителем, устанавливаемым за пределами канала. - Рекомендуется также установка КИПов: - в местах пересечения трубопроводов с рельсами электрифицированного транспорта; - в местах пересечения трубопроводов со смежными подземными сооружениями, не включенными в систему совместной защиты. 11.9 Для прямой оценки опасности коррозии, а при наличии средств ЭХЗ для оценки эффективности ее действия, рекомендуется предусматривать установку индикаторов скорости коррозии, Приложение Г: типа БПИ-1 - на трубопроводах канальной прокладки с ЭХЗ в пунктах установки ВЭ, а также в тепловых камерах независимо от наличия или отсутствия средств ЭХЗ (в обоих случаях при наличии доступа к БПИ-1); типа БПИ-2 - независимо от наличия или отсутствия ЭХЗ - на участках прокладки трубопроводов в футлярах на поверхности трубопровода внутри футляра на расстоянии 0,2¸0,3 м от места входа или выхода из футляра. 11.10 С целью ограничения натекания на трубопроводы тепловых сетей блуждающих постоянных токов в проекте должна быть предусмотрена установка ЭИС, либо бесфланцевых электроизолирующих вставок, на надземном участке ввода подающего и обратного трубопроводов на объекты, являющиеся источником блуждающих токов (депо, ремонтные базы и др.). ЭИС, кроме диэлектрической прокладки между фланцами, должно иметь на внутренней поверхности участков труб, примыкающих к фланцевому соединению, диэлектрическое термостойкое водонепроницаемое покрытие, длина которого на каждом участке труб должна быть не менее величины диаметра труб (рис. 3). При наличии постоянных блуждающих токов по трассам вновь сооружаемых и реконструируемых тепловых сетей следует применять диэлектрические подвижные и неподвижные опоры.
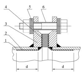
1 - труба; 2 - диэлектрическое антикоррозионное покрытие; 3 - фланец; 4 - изолирующая прокладка; 5 - изолирующая шайба; 6 - изолирующая втулка. Рисунок 3 - Электроизолирующее фланцевое соединение на трубопроводах тепловых сетей 12 Проектирование ЭХЗ вновь сооружаемых и реконструируемых трубопроводов тепловых сетей бесканальной и канальной прокладок12.1 Проектирование ЭХЗ вновь сооружаемых трубопроводов тепловых сетей бесканальной прокладки должно осуществляться одновременно с проектированием трубопроводов. 12.2 Параметры системы ЭХЗ определяются расчетным путем. При проведении расчетов должны быть определены количество, параметры и места расположения СКЗ, электродренажных установок и анодных заземлителей. 12.3 Расчет ЭХЗ может производиться по ведомственным методикам, основанным на статистическом материале (например, о защитных плотностях тока на единицу поверхности трубопровода), собранном эксплуатационными и проектными организациями. 12.4 Расчет ЭХЗ при совместной защите сооружений различного назначения может производиться в соответствии с рекомендациями, изложенными в Приложении Д. Исходными данными для выбора АЗ является значение тока катодной защиты и среднее значение УЭС грунта на площадке, где предполагается разместить АЗ. Для вновь сооружаемых и реконструируемых тепловых сетей канальной и бесканальной прокладок в зоне влияния блуждающих токов должно предусматриваться применение диэлектрических подвижных и неподвижных опор, а также КИП, обеспечивающих необходимые параметры ЭХЗ. 12.5 Для вновь сооружаемых и реконструируемых магистральных тепловых сетей канальной прокладки решение о необходимости ЭХЗ принимается проектной организацией или ОЭТС на основании опыта эксплуатации тепловых сетей до капитального ремонта и прогнозирования возможности их сезонного или постоянного затопления или заноса грунтом на определенных участках. Проектирование ЭХЗ с расположением АЗ в каналах производится расчетным методом, изложенным в разделе 13 настоящего стандарта. 12.6 Для вновь сооружаемых и реконструируемых распределительных тепловых сетей канальной прокладки решение о необходимости их ЭХЗ целесообразно принимать ОЭТС в процессе эксплуатации тепловых сетей на основе данных о состоянии каналов. Определение параметров ЭХЗ производится на основе результатов опытного включения катодной или дренажной защиты. 12.7 Электрохимическая защита наружной поверхности трубопроводов тепловых сетей на участках их прокладки в футлярах, а также при увлажнении теплоизоляционной конструкции капельной влагой, осуществляется с помощью протекторов стержневого типа, устанавливаемых непосредственно на поверхности трубопроводов в тепловой изоляции или на поверхности теплоизоляционной конструкции. Примерные расчетные схемы размещения и количества магниевых протекторов стержневого типа например, типа ПМ-2,7, в сечении трубопровода (на поверхности трубопровода с защитным диэлектрическим покрытием и без него, на поверхности теплоизоляционной конструкции трубопровода без защитного покрытия) приведены в Приложении Ж. 12.8 В целях ограничения натекания блуждающих токов на трубопроводы тепловых сетей на вводах их в трамвайные и железнодорожные депо, тяговые подстанции, ремонтные базы и т.п. на трубопроводах тепловых сетей следует предусматривать установку электроизолирующих фланцевых соединений, либо бесфланцевых электроизолирующих вставок. 13 Проектирование ЭХЗ действующих трубопроводов тепловых сетей бесканальной и канальной прокладок13.1 Решение о необходимости ЭХЗ действующих подземных тепловых сетей должно приниматься ОЭТС на основании результатов их обследования, выявивших опасность наружной коррозии по критериям, указанным в Приложении А настоящего стандарта. На основании принятого решения проектной организации выдается техническое задание на проектирование ЭХЗ тепловых сетей на заданном участке с указанием координат защитной зоны. Примечания. 1. ЭХЗ тепловых сетей, длительное время эксплуатировавшихся в коррозионноопасных условиях и имеющих коррозионные повреждения, осуществляется после оценки их технического состояния в соответствии действующими нормативными документами. На основании результатов оценки технического состояния трубопроводов и рекомендаций по применению средств ЭХЗ, Приложение И, принимаются решения о целесообразности их устройства. 2. При наличии на поверхности тепловой изоляции трубопроводов тепловых сетей канальной прокладки покровного слоя в виде металлического кожуха, фольги, пленок на основе синтетических и природных полимеров эффективность ЭХЗ может быть не обеспечена. С целью обеспечения эффективности ЭХЗ рекомендуется перфорация покровного слоя: при ЭХЗ с помощью преобразователей катодной защиты и усиленных электродренажей - одно отверстие диаметром 10-12 мм на 4 дм2 покровного слоя; при ЭХЗ с помощью протекторов - одно отверстие диаметром 10-12 мм на 1 дм2 покровного слоя (в обоих случаях до уровня затопления трубопровода). Перфорация должна производиться при согласовании с ОЭТС. 13.2 Определение параметров ЭХЗ действующих тепловых сетей производится на основе результатов опытного включения установок катодной и электродренажной защиты. Для проведения опытного опробования установок катодной защиты необходимо оформить ордер на устройство временного АЗ с предварительным согласованием со всеми заинтересованными организациями. 13.3 На основе результатов опытного включения определяют тип ЭХЗ (электродренажная, катодная) и основные ее параметры, пункты присоединения дренажных кабелей к трубопроводам тепловых сетей и источникам блуждающих токов или места установки анодных заземлителей: зону действия защиты; характер влияния защиты на смежные сооружения; необходимость и возможность осуществления совместной защиты. 13.4 При небольшом удалении тепловых сетей от источника блуждающих токов, для защиты от коррозии, вызываемой блуждающими токами, следует применять электродренажную защиту (поляризованные или усиленные электродренажи). Усиленные дренажи применяются в тех случаях, когда применение поляризованных дренажей неэффективно. 13.5 Объем измерений, выполняемых при опытном включении, определяется организацией, проектирующей защиту. Порядок проведения измерений излагается в программе, составленной перед началом работ, в которой указывается: режим работы защиты при опытном включении, пункты измерения на трубопроводах и смежных сооружениях и продолжительность измерений в каждом пункте. Измерения потенциалов смежных сооружений в период опытного включения установок ЭХЗ, как правило, выполняются организациями, эксплуатирующими эти сооружения. Указанные работы также могут выполняться организацией, проектирующей защиту, в присутствии представителей эксплуатационных организаций, в ведении которых находятся смежные сооружения. 13.6 Опытное включение установок ЭХЗ может производиться с помощью специальных передвижных лабораторий по защите подземных сооружений от коррозии. При отсутствии передвижных лабораторий могут быть использованы выпускаемые стандартные установки ЭХЗ. 13.7 При защите от блуждающих токов с помощью электродренажей пункт подключения кабеля к трубопроводам выбирается на участке, где средние значения положительных потенциалов по отношению к земле максимальны. Кроме того, пункт подключения дренажного кабеля к трубопроводу выбирается с учетом наименьшего расстояния от пункта присоединения к источнику блуждающих токов (рельсам, дроссель-трансформаторам, отсасывающим пунктам) и возможности доступа к трубопроводу без его вскрытия (в тепловых камерах, смотровых колодцах и т.п.). При возможности выбора нескольких мест присоединения предпочтение отдается участкам сетей с возможно большими диаметрами при прочих равных условиях. 13.8 Дренажный кабель присоединяется к рельсам трамвая или к отсасывающим пунктам. Не допускается непосредственное присоединение установок дренажной защиты к отрицательным шинам тяговых подстанций трамвая, а также к сборке отрицательных линий этих подстанций. Не допускается присоединять усиленный дренаж в анодных зонах рельсовой сети, а также к рельсам путей депо. 13.9 При влиянии на тепловые сети нескольких источников блуждающих токов (электрифицированная железная дорога, трамвай, метрополитен и др.) необходимо выявить источник преимущественного влияния, на который следует осуществлять дренирование блуждающих токов. 13.10 При опытном включении в качестве дренажного кабеля могут быть использованы шланговые кабели сечением 16-120 мм2. При присоединении дренажного кабеля к трубопроводам и элементам отсасывающей сети электротранспорта для исключения искрообразования должен быть обеспечен надежный электрический контакт. Подключение к рельсам трамвая и железных дорог может выполняться при помощи специальной струбцины, обжимающей подошву рельса или болтовых соединений. При сварных стыках используются отверстия, имеющиеся в шейках рельсов. Подключение дренажного кабеля к отсасывающему пункту, сборке отсасывающих кабелей и средней точке путевого дросселя выполняется с использованием существующего болтового соединения с применением дополнительной гайки. 13.11 На опытное включение дренажной установки должно быть получено разрешение организации, в чьем ведении находится данный вид транспорта. Представитель ведомства при опытном включении присоединяет дренажный кабель к сооружениям источников блуждающих токов. 13.12 Подключение усиленного дренажа к рельсовым путям электрифицированных на постоянном токе железных дорог не должно приводить в часы интенсивного движения поездов к тому, чтобы в отсасывающем пункте появлялись устойчивые положительные потенциалы. Среднечасовой ток всех установок дренажной защиты, подключенных к рельсовому пути или сборке отрицательных питающих линий тяговой подстанции магистральных участков электрифицированных дорог постоянного тока, не должен превышать 25% общей нагрузки данной тяговой подстанции. 13.13 Поляризованные и усиленные дренажи, подключаемые к рельсовым путям электрифицированных железных дорог с автоблокировкой, не должны нарушать нормальную работу рельсовых цепей системы централизованной блокировки во всех режимах. Места и условия подключения поляризованных и усиленных дренажей согласовываются с соответствующими службами МПС. 13.14 Продолжительность работы опытной дренажной защиты зависит от местных условий и может составлять от нескольких десятков минут до нескольких часов. При этом, как правило, должен быть охвачен период максимальных нагрузок электротранспорта. 13.15 Измерение силы тока дренажа, потенциалов на защищаемых трубопроводах тепловой сети, смежных подземных сооружениях и рельсах электротранспорта производится в соответствии с намеченными программой режимами работ защиты. 13.16 Если в результате измерений установлено, что зона эффективного действия поляризованной дренажной установки не распространяется на весь район выявленной опасности, пункт дренирования перемещают или одновременно включают несколько дренажных установок в различных пунктах. При недостаточной эффективности принятых мер производят опытное включение усиленных дренажных установок или комплекс дренажных установок с катодной станцией. В последнем случае опытное включение катодной станции производят после окончательного выбора параметров дренажных установок. 13.17 При проведении испытаний ЭХЗ должны быть приняты меры по исключению вредного влияния на смежные сооружения. 13.18 При опытном включении катодной защиты для установки АЗ, как правило, выбираются участки, на которых впоследствии предполагается разместить и стационарные заземления. 13.19 Временный АЗ представляет собой ряд металлических электродов, помещенных вертикально в грунт на расстоянии 2-3 м друг от друга в один или два ряда. В качестве электродов применяются винтовые (шнековые) электроды или некондиционные трубы диаметром 25-50 мм и длиной 1,5-2 м, которые забиваются в землю на глубину 1-1,5 м. 13.20 При ЭХЗ тепловых сетей бесканальной прокладки АЗ следует относить от трубопроводов тепловой сети на максимально возможное в городских условиях расстояние. В отдельных случаях, при отсутствии достаточной площади для размещения АЗ, применяются распределенные заземлители, состоящие из двух и более групп электродов, расположенных на отдельных участках. Группы электродов соединяются кабелем между собой либо индивидуально подключаются к катодной станции. Для повышения эффективности действия катодной защиты целесообразно выбирать участки, на которых между защищаемыми тепловыми сетями и АЗ отсутствуют прокладки других подземных металлических сооружений. По возможности АЗ следует размещать на участках с минимальным удельным электрическим сопротивлением грунта (газоны, скверы, пойменные участки рек, прудов и т.п.). 13.21 При ЭХЗ тепловых сетей канальной прокладки АЗ следует располагать в зонах затопления (заноса грунтом) или заиливания канала. При этом рекомендуемое расстояние составляет 20-30 м от трубопроводов. Группы электродов соединяются между собой или индивидуально подключаются к установке катодной защиты. 13.22 Электрические измерения по определению эффективности действия катодной защиты и характера ее влияния на смежные подземные сооружения аналогичны измерениям при опытном включении электродренажей. 13.23 Как правило, при опытном включении ЭХЗ определяется основной ее параметр - среднее значение силы тока в цепи электрозащиты. Остальные параметры защиты (сопротивление дренажного кабеля, сопротивление растеканию АЗ, напряжение на зажимах катодной станции или вольтодобавочного устройства усиленного электродренажа) либо рассчитываются, либо выбираются с учетом технико-экономических показателей различных вариантов соотношения параметров. 13.24 Значение сопротивление кабеля Rдк (Ом) проектируемого электродренажа может быть определено по формуле:
где DUт-р - средняя величина разности потенциалов между точками присоединения дренажа к трубопроводам тепловой сети и рельсам за время опытного дренирования, В;
Rду - сопротивление проектируемого дренажного устройства, определяемое по вольтамперной характеристике (с включением 20-30% сопротивления дренажного реостата), Ом. Сечение дренажного кабеля (мм2) определяется по формуле:
где r - удельное электрическое сопротивление металла токопроводящих жил кабеля, Ом×мм2/мм; L - общая длина проектируемого дренажного кабеля, м. 13.25 Значение сопротивления дренажного кабеля при усиленном электродренаже может быть определено по формуле:
где
Uуд - напряжение на зажимах проектируемого усиленного дренажа (принимается равным 6 или 12 В в зависимости от требуемой мощности дренажа), В. Для наиболее экономически выгодного соотношения капитальных и эксплуатационных затрат определяется оптимальное значение сопротивления дренажного кабеля, которое не должно быть выше значения Rдк, рассчитанного по формуле (13.1). 13.26 Исходными данными для выбора АЗ являются величина тока катодной защиты и среднее значение удельного сопротивления грунта на площадке, где предполагается разместить АЗ. 13.27 Совместная защита от коррозии подземных металлических сооружений может осуществляться: - подсоединением отдельных электрических дренажей различных сооружений на общую дренажную сборку, соединенную с отсасывающими пунктами рельсового электротранспорта; - подсоединением ряда различных сооружений непосредственно к общим защитным установкам. 13.28 Для включения в систему совместной защиты трубопроводов тепловых сетей с целью улучшения их электрической проводимости следует применять шунтирующие перемычки на задвижках и компенсаторах. Включение в систему совместной защиты с помощью перемычек трубопроводов тепловых сетей и силовых кабелей не допускается. 13.29 Катодную поляризацию тепловых сетей диаметром от 300 мм и более при затоплении или заносе каналов грунтом рекомендуется осуществлять с использованием распределенных АЗ, располагаемых непосредственно в каналах (при наличии возможности их установки). Применение распределенных анодных заземлителей позволяет обеспечить: - равномерное распределение тока защиты вдоль требующих ЭХЗ участков тепловых сетей; - снижение в два-три раза потребления электроэнергии на единицу длины защищаемой тепловой сети; - локализацию образования дополнительных полей блуждающих токов и вместе с этим устранение вредного влияния ЭХЗ на смежные подземные сооружения; - исключение необходимости в отводе земельной площади для установки анодных заземлителей. 13.30 Для распределенных анодных заземлителей рекомендуется использовать электроды стержневого (штыревого) типа из токопроводящих эластомеров или ферросилидов, электродов кабельного типа из токопроводящих эластомеров или стальных труб. Технические характеристики электродов для АЗ из токопроводящих эластомеров и ферросилидов приведены в таблицах Приложения К. 13.31 Электроды АЗ стержневого типа при диаметре трубопроводов более 700 мм могут располагаться на дне канала перпендикулярно его оси, а при диаметрах трубопроводов от 300 мм и более - на дне канала вдоль его оси. Электроды кабельного типа или из стальных труб диаметром 100-150 мм прокладываются вдоль оси канала. Схемы расположения электродов АЗ стержневого и кабельного типов в канале приведены в Приложении Л. Примечания. 1. В качестве АЗ целесообразно использовать трубы диаметром 100-150 мм, бывшие в эксплуатации, предварительно очистив их от защитного антикоррозионного покрытия и продуктов коррозии. 2. Электроперемычки (поз. 6 на рис. 1, 2 и 3 Приложения Л) не применяются при изготовлении вспомогательных электродов из нержавеющей стали. 13.32 Определение параметров ЭХЗ с использованием распределенных анодов стержневого или кабельного типа производится расчетным методом. 13.33 Значение требуемого тока защиты Iзащ (А) на участке тепловой сети, подлежащем ЭХЗ, может быть получено исходя из значения общей поверхности трубопроводов, контактирующей с водой (грунтом) в канале. При расчете общей поверхности трубопроводов, подлежащих защите, должен учитываться максимально возможный на данном объекте уровень затопления (заноса грунтом) канала.
где j - требуемая плотность тока, А/м2; S - суммарная поверхность подающего и обратного трубопроводов, подверженных затоплению (заносу грунтом), м2; Дн - наружный диаметр трубопроводов, м; L - длина трубопроводов на участке затопления (заноса грунтом) в однотрубном исчислении, м; К - коэффициент, учитывающий максимально возможную глубину погружения в воду (грунт) трубопроводов (от нижней образующей трубы до уровня затопления или заноса грунтом). Например, при полном затоплении трубопровода К принимается равным 1, при затопления до оси трубопровода К = 0,5. Требуемая плотность тока защиты должна быть не ниже значений, принимаемых при ЭХЗ стальных непокрытых (без защитных покрытий) поверхностей во влажных грунтах, т.е. j ³ 0,05 А/м2. 13.34. Количество электродов n анодного заземлителя при использовании электродов стержневого типа рассчитывается по формуле:
где i - допустимая токовая нагрузка на один электрод, А. 13.35 Расстояние l между электродами штыревого типа определяется из соотношения
При ЭХЗ тепловых сетей диаметром более 700 мм при наличии двух труб в канале, уложенных на одном уровне, устанавливается два электрода в одну линию. В этом случае количество стержневых электродов n в соотношении (13.6) уменьшается в два раза. Расстояние l определяется опытным путем (рекомендуемое расстояние - 2,0 м.) 13.36 Напряжение (В) постоянного тока на выходе преобразователя (выпрямителя) для катодной защиты определяется по формуле:
где Rаз - сопротивление растеканию тока с анодного заземлителя, Ом. Rрт - сопротивление растеканию тока с трубопровода тепловой сети, Ом. Учитывая, что Rрт < Rаз, значением Rрт можно пренебречь и величину Uвых (В) определять по формуле:
Значение Uвых не должно превышать 12 В. В случае получения больших значений необходимо снижение Rаз путем увеличения количества электродов анодного заземлителя. 13.37 Сопротивление (Ом) растеканию тока с горизонтального электрода анодного заземлителя, расположенного на дне канала (см. рис. 4), рассчитывается по формуле:
где r - удельное электрическое сопротивление грунта (воды), Ом×м (значение r определяется из отобранной пробы грунта (воды) на участке тепловой сети, подлежащем ЭХЗ); а - длина электрода анодного заземлителя, м; d - диаметр электрода, м. В тех случаях, когда два электрода штыревого типа в анодном заземлителе устанавливаются в одну линию, длина электрода "а" удваивается. 13.38 Сопротивление растеканию тока со всего анодного заземлителя определяется по формуле:
где F - коэффициент взаимовлияния; n - количество электродов в анодном заземлителе (уменьшается в два раза при установке двух электродов в одну линию).
где 1 - расстояние между смежными электродами (или группами электродов), м. Если два электрода устанавливают в одну линию, то n равно половине от общего количества электродов в заземлителе. 13.39 При использовании для анодного заземлителя электродов кабельного или стержневого типов, а также электродов из стальных труб количество линий заземлителя определяется из условий требуемого тока защиты и допустимой токовой нагрузки электрода, Приложение К. При ЭХЗ тепловых сетей диаметром до 300 мм может быть применена одна линия электрода, прокладываемая по дну канала между трубопроводами. При больших диаметрах труб прокладывается не менее двух линий электродов заземлителя. При прокладке электродов АЗ вдоль оси трубопроводов определение Rаз не требуется. При использовании для АЗ электродов кабельного типа из токопроводящих эластомеров расстояния между контактными устройствами на АЗ не должны превышать 100 м, при использовании стальных труб - не более 150 м. При наличии одного контактного устройства длины электродов от контактного устройства до конца электродов кабельного типа или труб соответственно не должны превышать 50 м и 70 м.
Рисунок 4 - Схема для расчета электрода анодного заземлителя стержневого типа, расположенного на дне канала 13.40 Параметры преобразователей для катодной защиты определяются из условий токовой нагрузки, равной 1,3Iзащ при напряжении на выходе преобразования Uвых £ 12 В. На участках трубопроводов тепловых сетей канальной прокладки длиной до 50-60 м, подвергающихся периодическому или постоянному затоплению, ЭХЗ может осуществляться с помощью гальванических анодов (протекторов) из магниевых сплавов (при наличии доступа к пунктам установки протекторов). Схема расположения протекторов в тепловом канале приведена в Приложении М. Технические данные магниевых гальванических анодов приведены в Приложении Н. 14 Основные требования к преобразователям для катодной защиты и электродренажам14.1 Неавтоматические преобразователи для катодной и дренажной защиты должны иметь ручное плавное или ступенчатое регулирование выходных параметров по напряжению и току в пределах от 10 до 100% номинальных значений. 14.2 Автоматические преобразователи для катодной и дренажной защиты должны обеспечивать стабильные потенциалы трубопроводов или тока защиты с погрешностью, не превышающей 2,5% от заданного значения. 14.3 Коэффициент полезного действия преобразователей и усиленных электродренажей в номинальном режиме должен быть не менее 75%. Коэффициент мощности преобразователей и усиленных электродренажей в номинальном режиме должен быть не менее 0,7. 14.4 Уровень шума, создаваемый средствами катодной и электродренажной защиты, применяемых в городах и населенных пунктах, на всех частотах не должен превышать 60 дБ. 14.5 Технический ресурс преобразователей, усиленных и поляризованных электродренажей должен быть не менее 50000 ч. 14.6 Все новые средства ЭХЗ (преобразователи, усиленные и поляризованные дренажи) должны быть подвергнуты эксплуатационным испытаниям продолжительностью не менее одного года на соответствие вышеприведенным требованиям независимой экспертной комиссией по программам, согласованным с потребителем. 14.7 Коэффициент пульсации выходного напряжения преобразователей и усиленных дренажей определяется требованиями потребителя (не более 3% во всем диапазоне изменения нагрузки). 15 Анодные заземлители (АЗ) для катодной защиты трубопроводов тепловых сетей бесканальной и канальной прокладок15.1 В качестве АЗ установок катодной защиты трубопроводов тепловых сетей бесканальной и канальной прокладок (при расположении АЗ за пределами канала) применяют сосредоточенные железокремнистые, углеграфитовые, стальные оксидные железо-титановые и чугунные электроды, помещенные в большинстве случаев в коксовую засыпку. При расположении АЗ непосредственно в каналах могут применяться те же электроды и, кроме того, электроды кабельного типа из токопроводящих эластомеров (без коксовой обсыпки). 15.2 Технико-экономический расчет АЗ заключается в определении оптимальных конструктивных параметров и числа электродов анодных заземлителей, обеспечивающих минимальные суммарные затраты и эффективность ЭХЗ (приведенные к одному году эксплуатации). 15.3 Сосредоточенные АЗ при ЭХЗ трубопроводов тепловых сетей бесканальной прокладки следует размещать на максимально возможном удалении от защищаемых трубопроводов и в грунтах с минимальным удельным электросопротивлением ниже уровня их промерзания. При ЭХЗ трубопроводов тепловых сетей канальной прокладки сосредоточенные АЗ, располагаемые за пределами канала, устанавливают в зонах затопления или заиливания каналов, при этом рекомендуемое расстояние составляет 20-30 м. 16 Гальваническая (протекторная) защита трубопроводов тепловых сетей канальной прокладки16.1 Для гальванической защиты трубопроводов тепловых сетей канальной прокладки (с помощью протекторов) рекомендуется применять протекторы из магниевых сплавов, располагаемые в каналах, тепловых камерах или непосредственно на поверхности трубопроводов или теплоизоляционных конструкций. Технические характеристики протекторов из магниевых сплавов без активаторов и с активатором, располагаемых в каналах, камерах и футлярах приведены в Приложении Н. При прокладке теплопроводов в футлярах следует применять протекторы стержневого типа, устанавливаемые на поверхности трубопроводов при их прокладке, или на поверхности теплоизоляционной конструкции действующих тепловых сетей. Примерные расчетные схемы размещения и количество магниевых протекторов стержневого типа (например, типа ПМ-2,7) в сечении трубопровода на его поверхности с защитным диэлектрическим покрытием, без покрытия, а также при расположении протекторов на поверхности теплоизоляционной конструкции, приведены в Приложении Ж. 17 Производство строительно-монтажных работ по электрохимической защите трубопроводов тепловых сетей17.1 Перед началом строительства проект должен быть зарегистрирован Подрядчиком в административной технической инспекции. Регистрирующая проект организация проверяет действительность на текущий момент согласований проекта, определяет соответствие предусмотренных проектом мероприятий возможностям и требованиям текущего периода, необходимость реализации проекта к моменту регистрации. Необходимые изменения, вносящиеся в проект на этой стадии, должны быть согласованы со всеми заинтересованными организациями, согласовавшими проект при его разработке, и новыми организациями, чьи интересы затрагиваются при внесении этих изменений в проект. 17.2 До начала строительно-монтажных работ строительная организация получает в соответствующих местных органах власти разрешение на производство работ, после чего вызывает на место производства работ все заинтересованные организации, уточняет с их помощью наличие и местоположение в зоне производства работ подземных сооружений и коммуникаций, согласовывает с ними план производства работ. От организации, чьи подземные сооружения или коммуникации находятся в непосредственной (до 5 м) близости к местам производства работ, должны быть получены письменные уведомления с привязками этих сооружений или коммуникаций и особыми требованиями к организации производства работ, если они имеются. Примечание. 1. При ЭХЗ трубопроводов тепловых сетей канальной прокладки с расположением АЗ непосредственно в каналах требования п. 17.2 настоящего стандарта могут не учитываться. 2. Местными органами власти может быть установлен и другой порядок организации подготовки к строительно-монтажным работам, в соответствии с которым Подрядчик получает уведомления от непосредственно заинтересованных организаций. В этих случаях необходимость вызова их представителей на место производства работ определяется при получении уведомления. 17.3 Перед началом строительно-монтажных работ Подрядчик извещает о дате начала работ Заказчика, проектную организацию, организацию, осуществляющую технический надзор за строительством, и организацию, на обслуживание которой будет передаваться строящиеся защитные установки. Сроки извещения о начале строительно-монтажных работ определяются указанными организациями. 17.4 Строительно-монтажные работы на объектах строительства установок ЭХЗ должны осуществляться по технологиям, предусмотренным проектами производства работ. 17.5 Допускается строительство и монтаж отдельных узлов и деталей установок ЭХЗ по чертежам, разработанным специализированными проектными организациями, и согласованным с Заказчиком, эксплуатационной организацией и подрядными строительными организациями. 17.6 На каждом объекте строительства установок ЭХЗ Подрядчиком заводится журнал авторского и технического надзора, в который должны заносить свои замечания и сведения о контроле производства работ те организации, которые осуществляют технический надзор за строительством, авторский надзор и приемку отдельных узлов. 17.7 Отступления от проектных решений в процессе строительства допускаются после согласований с проектными организациями, эксплуатационными организациями и Заказчиками, а также с территориальными организациями - держателями геофонда, в случаях, когда отступления связаны с размещением подземных сооружений. Если отступления затрагивают интересы других организаций, они должны быть предварительно с ними согласованы. 17.8 Приварку контактных устройств, электроперемычек и контрольных проводников к действующим трубопроводам осуществляют организации, которые эксплуатируют эти трубопроводы, по договорам с Подрядчиками. Приварку контактных устройств, электроперемычек и контрольных проводников к строящимся трубопроводам осуществляют специализированные строительные организации. Все работы, связанные с присоединениями дренажных кабелей к соответствующим устройствам сети электрифицированного транспорта, производят в соответствии с предписаниями эксплуатационных организаций (железных дорог и трамвая) и в присутствии представителей этих организаций. 17.9 Восстановление теплоизоляционной конструкции на трубопроводах после приварки контактных устройств, электроперемычек или контрольных проводников осуществляют ОЭТС или с их согласия специализированные организации по договорам с Подрядчиками. 17.10 Используемые в качестве стационарных медносульфатные электроды сравнения, например, типа ЭНЕС, ЭСН-МС, должны быть заполнены незамерзающим электролитом в соответствии с сертификатом качества. Схема и технические характеристики электродов приведены в Приложении П. Перед оборудованием контрольно-измерительных пунктов стационарными медно-сульфатными электродами сравнения необходимо проводить лабораторный предустановочный контроль последних, в процессе которого строительной организацией проверяется переходное сопротивление "электрод - влагонасыщенный песок", которое должно быть не более 15 кОм. Стационарный электрод сравнения устанавливают в КИПе так, чтобы дно корпуса находилось на уровне нижней образующей подающего трубопровода и на расстоянии 100 мм от его боковой поверхности (в плане) или от стенки канала со стороны подающего трубопровода (при расположении АЗ за пределами канала). Медносульфатные электроды сравнения после установки (так же, как контрольно-измерительные пункты, электроперемычки, контактные устройства, индикаторы коррозии и др.) необходимо засыпать вручную. 17.11 Технологический процесс монтажа контактных устройств, электроперемычек, контрольно-измерительных пунктов и АЗ должен осуществляться под пооперационным контролем представителей организаций, осуществляющих технический надзор за строительством ЭХЗ установок с оформлением соответствующих актов приемки. 17.12 Прокладки кабелей, монтаж электрических щитков и подключения к действующим сетям электропитания должны осуществляться в соответствии с требованиями изложенными в действующих нормативных документах. Условия присоединения к действующим сетям электропитания должны удовлетворять также техническим требованиям энергоснабжающей организации, полученным на стадии разработки проекта. 17.14 Оборудование для установок ЭХЗ должно проходить предустановочный (предмонтажный) контроль на соответствие показателям качества с оформлением соответствующих актов. Предустановочный контроль выполняется Заказчиком или по договору с ним Подрядчиком или эксплуатационной организацией. 17.15 Проверка работоспособности и надежности преобразователей различных типов проводится согласно схеме (рис 5). В качестве нагрузки могут быть использованы проволочные или ленточные сопротивления, в частности, намотанные на изолированную трубу. Эти сопротивления по номинальному току и напряжению должны соответствовать номинальным параметрам испытываемого преобразователя. Все преобразователи проверяются в режиме ручного управления. С помощью ручки переменного резистора проверяются: возможность установки номинальных выходных параметров, диапазон регулирования выходного напряжения, значение которого должно меняться в пределах, указанных в паспорте. При номинальном напряжении устанавливаются номинальный ток и производится трехкратное отключение и включение питающего напряжения, затем проверяется работоспособность преобразователя при работе в номинальном режиме. Время испытаний должно быть не менее суммы времени установления стабильной температуры внутри преобразователя или наиболее нагретого ее элемента плюс 1 ч. Указанные выше испытания проводятся на обеих ступенях выходного напряжения преобразователя. Затем автоматические преобразователи переводятся в режим автоматического поддержания разности потенциалов между трубопроводом и электродом сравнения. Согласно схеме к преобразователю подключается делитель напряжения на резисторах. Поочередно устанавливается заданная разность потенциалов 0,8; 2,0 и 3,5 В и измеряется разность потенциалов на клеммах блока управления. Измерения производятся прибором с входным сопротивлением не менее 200 кОм/В. Разница между значениями измеряемой и заданной разности потенциалов не должна превышать указанных в паспорте значений. На преобразователи, не выдержавшие испытаний предустановочного контроля, составляется акт-рекламация, который представляется заводу-изготовителю. 17.16 Преобразователи установок ЭХЗ монтируются на соответствующих фундаментах или металлических каркасах, которые не должны иметь контактов с фундаментами или другими элементами зданий. 17.17 Корпуса преобразователей установок ЭХЗ во избежание поражения людей электрическим током должны быть заземлены или занулены. 17.18 После завершения строительно-монтажных работ Подрядчиком составляется "Акт на приемку строительно-монтажных работ" на каждую установку отдельно, который подписывается Заказчиком, Подрядчиком, представителями технического надзора и представителями проектной организации. 17.19 Исполнительные чертежи на построенные установки ЭХЗ составляются строительными организациями в процессе производства работ до засыпки кабельных прокладок и всех узлов, заверяются представителями Заказчика и эксплуатационных организаций, которым передаются установки. После проверки соответствия их проекту и на основании промеров и осмотров до засыпки. 17.20 Заверенные представителями Заказчиков и эксплуатационной организации должны сдаваться в территориальные геодезические организации - держатели геофонда, которые осуществляют их приемку после контрольных геодезических съемок в открытых траншеях и котлованах. 17.21 После завершения строительно-монтажных работ в полном объеме строительные организации передают Заказчикам для организации выполнения наладочных работ следующую документацию:
Рекомендуемые формы приемо-сдаточной документации приведены в Приложении Р. 17.22 Указанная документация по поручению Заказчиков может передаваться сразу непосредственно эксплуатационным организациям в случаях, когда наладочные работы будут выполняться этими организациями. 17.23 После приемки документации от строительных организаций в полном объеме Заказчик заключает договора с энергоснабжающими организациями на пользование электроэнергией, заключает с ними акты разграничения балансовой принадлежности и ответственности за эксплуатацию линий электропитания и получает от местных органов Госгортехнадзора в установленном ими порядке разрешения на допуск установок ЭХЗ в эксплуатацию
Рисунок 5 - Схема проверки работы преобразователя в ручном и автоматическом режимах 18 Пуско-наладочные работы18.1 Пуско-наладочные работы проводятся перед приемкой ЭХЗ и включают осмотр и проверку всех доступных элементов ЭХЗ и контроль потенциала трубопровода во всех пунктах измерений, указанных в проекте ЭХЗ. Наладка установок ЭХЗ выполняется специализированными организациями. 18.2 Заказчик передает наладочной организации следующую документацию:
18.3 В процессе наладочных работ преобразователи установок ЭХЗ должны пройти тщательный технический осмотр, проверку правильности всех внешних подключений и проверку плотности всех контактов. Выявленные в ходе осмотра и проверки недостатки устраняются работниками наладочных организаций, а выявленные неверные внешние подключения исправляются работниками строительно-монтажных организаций. 18.4 После проверки преобразователей производится осмотр и проверка всех элементов ЭХЗ. Все выявленные в ходе этой проверки дефекты устраняются строительно-монтажной организацией. 18.5 Установки ЭХЗ включаются в работу с токовыми нагрузками, соответствующими проектным параметрам, не менее чем за 72 ч до начала пуско-наладочных работ, при обязательной проверке правильности внешних подключений. Примечание. Для установок ЭХЗ с АЗ находящимися как в каналах тепловой сети, так и за их пределами, наладочные работы с проверкой токовых нагрузок и измерениями смещения потенциалов трубопроводов осуществляется только при наличии затопления или заиливания защищаемых участков. 18.6 О начале пуско-наладочных работ извещаются владельцы защищаемых сооружений, эксплуатационные организации, которым будут передаваться защитные установки, и владельцы смежных подземных коммуникаций. 18.7 На первом этапе наладочных работ производятся измерения потенциалов защищаемых сооружений при проектных режимах работы установок ЭХЗ. 18.8 Измерения производятся во всех пунктах измерений, предусмотренных проектом. Это пункты с наиболее высокими положительными и знакопеременными потенциалами, зафиксированными в ходе коррозионных изысканий; пункты в местах на трубопроводах, наиболее приближенных к источникам блуждающих токов, высоковольтным кабелям и линиям электропередач, а также наиболее удаленные и наиболее приближенные к анодным заземлителям. 18.9 Измерения должны производиться с использованием приборов и технологий, изложенных в Приложении А. 18.10 Измерения при наладке дренажных защитных установок должны производиться приборами, обеспечивающими, по возможности, синхронные измерения потенциалов "труба-земля" и "рельс-земля" с длительностью записи не менее 1 ч. 18.11 Полученные результаты измерений первого этапа с учетом измерений на смежных коммуникациях анализируются и принимаются решения по корректировке режимов работы установок защиты. 18.12 В случае необходимости изменения режимов работы ЭХЗ измерения повторяются во всех пунктах, находящихся в зонах действия защитных установок с измененными режимами работы. 18.13 Корректировка режимов работы ЭХЗ может производиться неоднократно до достижения желаемых результатов. 18.14 В конечном итоге на защитных установках должны быть установлены минимально возможные защитные токи. При которых на защищаемых сооружениях во всех пунктах измерений достигаются защитные потенциалы, по абсолютной величине не ниже минимально допустимых и не более максимально допустимых. 18.15 Окончательно установленные режимы работы защитных установок должны быть согласованы со всеми организациями, имеющими подземные сооружения в зонах действия налаживаемых установок, о чем они дают подтверждения в своих заключениях (справках). 18.16 В случаях, когда в ходе наладочных работ не удается достигнуть на защищаемых сооружениях требуемых защитных потенциалов во всех пунктах измерений, наладочная организация совместно с проектной и эксплуатационной организациями разрабатывает перечень необходимых дополнительных мероприятий и направляет их Заказчику для принятия соответствующих мер. 18.17 До реализации дополнительных мероприятий зона эффективной защиты подземных сооружений остается уменьшенной. 18.18 Завершаются наладочные работы оформлением технического отчета по наладке установок ЭХЗ, который должен включать - полные сведения о: 1 защищаемых и смежных подземных сооружениях; 2 действующих источниках блуждающих токов; 3 критериях коррозионной опасности; 4 о построенных и ранее действующих (если такие имеются) установках ЭХЗ; 5 установленных на сооружениях электроперемычках; 6 действующих и вновь построенных КИП; 7 электроизолирующих соединениях; - полную информацию о выполненных работах и ее результатах; - таблицу с окончательно установленными параметрами работы установок ЭХЗ; - справки (заключения) владельцев смежных сооружений; - таблицу потенциалов защищаемых сооружений в установленных окончательно режимах работы установок ЭХЗ; - заключение по наладке установок ЭХЗ; - рекомендации по дополнительным мероприятиям по защите подземных сооружений от коррозии. 19 Порядок приемки и ввода в эксплуатацию установок электрохимической защиты19.1 Установки ЭХЗ вводятся в эксплуатацию после завершения пусконаладочных работ и испытания на стабильность в течение 72 ч. 19.2 Установки ЭХЗ принимает в эксплуатацию комиссия, в состав которой входят представители следующих организаций: Заказчика; проектной (по необходимости); строительной; эксплуатационной, на баланс которой будет передана построенная установка ЭХЗ; предприятия по защите от коррозии (службы защиты); органов Госгортехнадзора России, органов Госэнергонадзора России (при необходимости); городских (сельских) электросетей. 19.3 Данные проверки готовности объектов к сдаче заказчик сообщает организациям, входящим в состав приемной комиссии не менее, чем за сутки. 19.4 Заказчик предъявляет приемной комиссии: проект на устройство ЭХЗ и документы, указанные в Приложении Р. 19.5 После ознакомления с исполнительной документацией и техническим отчетом о пусконаладочных работах приемная комиссия выборочно проверяет выполнение запроектированных работ - средств и узлов ЭХЗ, в том числе ЭИС, контрольно-измерительных пунктов, перемычек и других узлов, а также эффективность действия установок ЭХЗ. Для этого измеряют электрические параметры установок и потенциалы трубопровода на участках, где в соответствии с проектом зафиксирован минимальный и максимальный защитный потенциал, а при защите только от блуждающих токов предусмотрено отсутствие положительных потенциалов. Установки ЭХЗ, не соответствующие проектным параметрам, не должны подлежать приемке. 19.6 Установку ЭХЗ вводят в эксплуатацию только после подписания комиссией акта о приемке. В случае необходимости может быть осуществлена приемка ЭХЗ во временную эксплуатацию на незаконченном строительством трубопроводе. После окончания строительства ЭХЗ подлежит повторной приемке в постоянную эксплуатацию. 19.7 При приемке ЭХЗ на трубопроводах тепловых сетей бесканальной прокладки, пролежавших в грунтах более 6 месяцев, необходимо проверить их техническое состояние и при наличии повреждений установить сроки их устранения. 19.8 Каждой принятой установке ЭХЗ присваивают порядковый номер и заводят специальный паспорт установки, в который заносят все данные приемочных испытаний, Приложение С. 20 Требования по защите от наружной коррозии при техническом надзоре за сооружением и по приемке в эксплуатацию трубопроводов тепловых сетей и устройств защиты20.1 Строительно-монтажные, антикоррозионные и теплоизоляционные работы должны выполняться в соответствии с разработанными техническими решениями проекта прокладки тепловых сетей и мероприятиями по защите от наружной коррозии. После вскрытия теплопровода необходимо проверить соответствие фактической трассы проекту и при необходимости внести корректировки в проект без снижения требований по защите тепловых сетей от наружной коррозии. Любые отступления от разработанного проекта должны быть согласованны с авторами проекта и Заказчиком. 20.2 Организации, специалисты, разрабатывающие проект по прокладке вновь сооружаемых и реконструируемых тепловых сетей, обязаны осуществлять авторский надзор на каждом этапе проведения строительно-монтажных работ, намеченных в проекте. 20.3 Представитель ОЭТС, осуществляющий технический надзор за проведением строительно-монтажных работ, должен проверять: - соответствие проекту антикоррозионного покрытия на трубах и стыковых соединений (вид, марка материалов, число слоев), качество покрытий; - качество выполнения строительно-монтажных работ при сооружении средств ЭХЗ их соответствие проекту и качество оборудования контрольно-измерительных пунктов для контроля эффективности ЭХЗ. 20.4 При приемке в эксплуатацию тепловых сетей в акте должно быть указано, что все мероприятия по защите от наружной коррозии, обеспечивающие расчетный срок службы, выполнены в соответствии с проектом. 20.5 Технический надзор за сооружением средств защиты трубопроводов тепловых сетей от наружной коррозии должен осуществляться ОЭТС. 20.6 Приемка скрытых работ по ЭХЗ трубопроводов тепловых сетей от наружной коррозии должна осуществляться в процессе производства работ с оформлением акта при обязательном присутствии представителя ОЭТС. 20.7 К моменту окончания строительно-монтажных работ по сооружению установок ЭХЗ ОЭТС должна обеспечить заключение договора на потребление электроэнергии и (при отсутствии возможности обслуживания собственными силами) передачу на обслуживание энергоснабжающей организации силового участка электросети до отключающего устройства на установке ЭХЗ. 20.8 После выполнения строительно-монтажных работ и проверки технической документации ОЭТС, как Заказчик средств защиты трубопроводов тепловых сетей от наружной коррозии, должна созвать комиссию для приемки строительно-монтажных работ. 20.9 Строительная организация должна передать ОЭТС исполнительную техническую документацию и оформленный акт на приемку строительно-монтажных работ по защите трубопроводов тепловых сетей от наружной коррозии, Приложение Р. 20.10 Окончательную приемку устройств ЭХЗ приемочная комиссия производит после выполнения строительно-монтажных и наладочных работ и проверки электрических параметров защиты. В случае совместной с другими подземными сооружениями электрической защиты акт приемки должен быть подписан также владельцами этих сооружений. 21 Требования безопасности при работах с защитными антикоррозионными покрытиями и при эксплуатации устройств электрохимической защиты21.1 При выполнении работ по защите трубопроводов тепловой сети от наружной коррозии с помощью защитных антикоррозионных покрытий должны строго соблюдаться требования безопасности, приведенные в технических условиях на антикоррозионные материалы и защитные антикоррозионные покрытия, ГОСТ 12.3.005, ГОСТ 12.3.016. 21.2 К выполнению работ по нанесению на трубы защитных антикоррозионных покрытий могут допускаться только лица, обученные безопасным методам работы, прошедшие инструктаж и сдавшие экзамен в установленном порядке. 21.3 Рабочий персонал должен быть осведомлен о степени токсичности применяемых веществ, способах защиты от их воздействия и мерах оказания первой помощи при отравлениях. 21.4 При применении и испытаниях защитных антикоррозионных покрытий, содержащих токсичные материалы (толуол, сольвет, этилцеллозольв и др.), должны соблюдаться правила техники безопасности и промышленной санитарии, санитарные и гигиенические требования к производственному оборудованию. 21.5 Содержание вредных веществ в воздухе рабочей зоны при нанесении защитных антикоррозионных покрытий на трубы не должно превышать ПДК, согласно ГОСТ 12.1.005-88: толуол - 50 мг/м3, сольвент - 100 мг/м3, алюминий - 2 мг/м3, оксид алюминия - 6 мг/м3, этилцеллозольв - 10 мг/м3, ксилол - 50 мг/м3, бензин - 100 мг/м3, ацетон - 200 мг/м3, уайт-спирит - 300 мг/м3. 21.6 Все работы, связанные с нанесением защитных антикоррозионных покрытий, содержащих токсичные вещества, должны производиться в цехах, оборудованных приточно-вытяжной и местной вентиляцией в соответствии с ГОСТ 12.3.005-75. 21.7 При работах с защитными антикоррозионными покрытиями, содержащими токсичные вещества, следует применять индивидуальные средства защиты от попадания токсичных веществ на кожные покровы, на слизистые оболочки, в органы дыхания и пищеварения согласно ГОСТ 12.4.011-89 и ГОСТ 12.4.103-83. 21.8 При производстве на тепловых сетях работ по монтажу, ремонту, наладке установок ЭХЗ и электрическим измерениям необходимо соблюдать требования ГОСТ 9.602, правил производства и приемки работ [2], санитарных и гигиенических требований [3]. 21.9 При проведении технического осмотра установок ЭХЗ должно быть отключено напряжение питающей сети и разомкнута цепь дренажа. 21.10 В течение всего периода работы опытной станции катодной защиты, включаемой на период испытаний (2-3 часа), у контура анодного заземлителя должен находиться дежурный, не допускающий посторонних лиц к анодному заземлителю, и должны быть установлены предупредительные знаки в соответствии с ГОСТ 12.4.026-76. 21.11 При электрохимической защите трубопроводов тепловых сетей с расположением анодных заземлителей непосредственно в каналах напряжение постоянного тока на выходе станции катодной защиты (преобразователя, выпрямителя) не должно превышать 12 В. 21.12 На участках трубопроводов тепловых сетей, к которым подключена станция катодной защиты, а анодные заземлители установлены непосредственно в каналах, под крышками люков тепловых камер на видном месте должны быть установлены таблички с надписью "Внимание! В каналах действует катодная защита". 22. Требования к обращению с отходами производства и потребления, образующимися при защите трубопроводов тепловых сетей от наружной коррозии22.1 Отходами производства и потребления, образующимися при защите трубопроводов тепловых сетей от наружной коррозии на этапах строительства и приемки в эксплуатацию, следует считать: - материалы, применяемые при производстве противокоррозионных покрытий и утратившие свои потребительские свойства (лакокрасочные материалы, растворители, отвердители); - провода из цветных металлов, применяемые при производстве устройств электрохимической защиты и утратившие свои потребительские свойства. 22.2 Порядок обращения с отходами, образующимися при защите трубопроводов тепловых сетей от наружной коррозии, определяется в соответствии с разделом "Требования к обращению с отходами производства и потребления на этапах строительства и эксплуатации" СТО-118а-2007 "Системы теплоснабжения. Условия поставки. Нормы и требования". Приложение А
|
|||||||||||||||||||||||||||||||||||||||||||||||||||||||||||||||||||||||||||||||||||||||||||||||||||||||||||||||||||||||||||||||||||||||||||||||||||||||||||||||||||||||||||||||||||||||||||||||||||||||||||||||||||||||||||||||||||||||||||||||||||||||||||||||||||||||||||||||||||||||||||||||||||||||||||||||||||||||||||||||||||||||||||||||||||||||||||||||||||||||||||||||||||||||||||||||||||||||||||||||||||||||||||||||||||||||||||||||||||||||||||||||||||||||||||||||||||||||||||||||||||||||||||||||||||||||||||||||||||||||||||||||||||||||||||||||||||||||||||||||||||||||||||||||||||||||||||||||||||||||||||||||||||||||||||||||||||||||||||||||||||||||||||||||||||||||||||||||||||||||||||||||||||||||||||||||||||||||||||||||||||||||||||||||||||||||||||||||||||||||||||||||||||||||||||||||||||||||||||||||||||||||||||||||||||||||||||||||||||||||||||||||||||||||||||||||||||||||||||||||||||||||||||||||||||||||||||||||||||||||||||||||||||||||||||||||||||||||||||||||||||||||||||||||||||||||||||||||||||||||
|
Коррозионная агрессивность грунта |
Удельное электрическое сопротивление грунта, Ом×м |
|
Низкая |
Свыше 50 |
|
Средняя |
От 20 до 50 |
|
Высокая |
Менее 20 |
А.4 Возможность опасного влияния блуждающего постоянного тока на действующие подземные стальные трубопроводы тепловых сетей определяется по наличию изменяющегося по знаку и по величине смещения потенциала трубопровода по отношению к его стационарному потенциалу (знакопеременная зона) или по наличию только положительного смещения потенциала, изменяющегося по величине (анодная зона). Для вновь сооружаемых теплопроводов оно определяется по наличию блуждающих токов в земле.
Стационарный потенциал трубопровода - это разность потенциалов между трубопроводом и неполяризующимся электродом сравнения при отсутствии блуждающих токов и поляризации от внешних источников тока.
А.5 Возможность опасного влияния переменного тока на стальные подземные трубопроводы тепловых сетей определяется по смещению среднего значения потенциала трубопровода в отрицательную сторону не менее, чем на 10 мВ, по отношению к стационарному потенциалу, либо по наличию переменного тока плотностью более 1 мА/см2 (10 А/м2) на вспомогательном электроде.
А.6 Определение коррозионной агрессивности грунтов в полевых и лабораторных условиях
А.6.1 Измерения УЭС грунта производятся для выявления участков трассы тепловых сетей бесканальной прокладки в грунте с высокой коррозионной агрессивностью, а также для выбора типа, конструкции и расчета анодного заземлителя при необходимости ЭХЗ (катодной защиты) трубопроводов тепловых сетей.
А.6.2 Коррозионная агрессивность грунта по их УЭС определяется в полевых и лабораторных условиях.
А.6.3 Измерение УЭС грунта в полевых условиях на действующих тепловых сетях должно производиться вдоль трассы тепловой сети через каждые 100-200 м на расстоянии 2-4 м от ее оси.
На трассах вновь сооружаемых тепловых сетей УЭС грунта производится вдоль оси предполагаемой трассы через каждые 100-200 м.
А.6.4 Измерение УЭС должно производиться в период отсутствия промерзания грунта на глубине заложения трубопроводов тепловых сетей по четырехэлектродной схеме (рис. 1) с помощью измерителей сопротивления типа М-416, Ф-416, Ф 4103-М1, аппаратуры ГУП "Парсек" или других приборов. В качестве электродов применяют стальные стержни длиной 250-350 мм и диаметром 15-20 мм.
Расстояния между смежными электродами принимаются одинаковыми, глубина забивки электродов в грунт должна быть не более 1/20 расстояния между смежными электродами.

1 - стальные электроды; 2 - измерительный прибор.
Рисунок А.1- Схема определения удельного электрического сопротивления грунта в полевых условиях
А.6.5 УЭС грунта r (Ом×м) вычисляют по формуле:
|
|
r = 2pRа, |
(1.1) |
где R - величина электрического сопротивления, измеренная по прибору, Ом;
а - расстояние между смежными электродами, принимаемое равным глубине прокладки трубопроводов, м.
Результаты измерения и расчетов заносят в протокол (см. ниже).
А.6.6 Для определения УЭС грунта в лабораторных условиях необходимо произвести отбор и обработку проб испытываемого грунта.
Пробы грунта отбирают в шурфах, скважинах или траншеях из слоев, расположенных на глубине прокладки трубопроводов, с интервалом 50¸200 м на расстоянии 0,5¸0,7 м от боковой стенки труб. Для пробы берут 1,5¸2,0 кг грунта, удаляя твердые включения размером более 3 мм. Отобранную пробу помещают в полиэтиленовый пакет и снабжают паспортом, в котором указываются номера объекта и пробы, место и глубина отбора пробы.
А.6.7 Для определения коррозионной агрессивности грунта по отношению к стали в лабораторных условиях рекомендуется использовать специальные устройства и приборы, например, УЛПК-1 и АКГК. Приборы снабжены инструкцией по эксплуатации, ячейками, электродами, предназначенными для определения УЭС грунта.
А.6.8 Определение УЭС грунта в лабораторных условиях проводится по 4-х электродной схеме (рис. 2). Сущность метода в том, что внешние электроды с одинаковой площадью рабочей поверхности S поляризуют током определенной силы J и измеряют падение напряжения U на двух внутренних электродах при расстоянии L между ними. Если измерения проводят на постоянном токе, то используют 3 разных значения силы тока. Сопротивление грунта R рассчитывают по формуле:
|
|
R = U/J, |
(1.2) |
Удельное электрическое сопротивление грунта r, Ом×м, вычисляют по формуле:
|
|
r = R(S/L), |
(1.3) |
где R - измеренное сопротивление, Ом;
S - площадь поверхности рабочего электрода, м2;
L - расстояние между внутренними электродами, м.

1 - измерительная ячейка; 2 - внешние электроды; 3 - внутренние электроды; 4 - прибор для определения УЭС грунта (воды); 5 - клеммник для подключения к прибору соответствующих электродов
Рисунок А.2 - Схема установки для определения удельного электрического сопротивления грунта в лабораторных условиях
Внешние электроды представляют собой прямоугольные пластины (из углеродистой или нержавеющей стали) с ножкой, к которой крепится или припаивается проводник - токоподвод. Размеры электродов 44´40 мм, где 40 - высота электрода. Одну сторону электродов, которая примыкает к торцевой поверхности ячейки, изолируют.
Внутренние электроды изготавливают из медной проволоки или стержня диаметром 1-3 мм и длиной более высоты ячейки.
Ячейка выполняется прямоугольной формы, из материала с диэлектрическими свойствами (стекло, фарфор, пластмасса). Внутренние размеры ячейки рекомендуются 100´45´45 мм.
Отобранную пробу песчаных грунтов смачивают до полного влагонасыщения, а глинистых грунтов - до достижения мягкопластичного состояния. Если уровень грунтовых вод ниже уровня отбора проб, смачивание проводят дистиллированной водой, а если выше - грунтовой водой. Электроды зачищают шлифовальной шкуркой ГОСТ 6456 зернистостью 40 и менее, обезжиривают ацетоном, промывают дистиллированной водой. Внешние электроды устанавливают вплотную к торцевым поверхностям внутри ячейки. В ячейку укладывают грунт, послойно утрамбовывая его, на высоту меньше высоты ячейки на 4 мм. Затем устанавливают внутренние электроды вертикально, опуская их до дна по центральной линии ячейки на расстоянии 50 мм друг от друга и 25 мм от торцевых стенок ячейки.
Измерения при определении УЭС грунта производят в соответствии с инструкцией, прилагаемой к прибору.
Результаты заносят в протокол.
Протокол определения удельного электрического сопротивления грунта в полевых условиях
|
Прибором типа ________________________ Заводской номер _______________________ Дата измерения ________________________ Погодные условия _____________________
Измерил ______________________________ Проверил _____________________________ Протокол определения удельного электрического сопротивления грунта в лабораторных условиях
Анализ провел ______________________ "_____" __________ _______год
|
А.7 Определение наличия блуждающих постоянных токов в земле для вновь сооружаемых трубопроводов тепловых сетей
А.7.1 Определение наличия блуждающих постоянных токов по трассе вновь сооружаемых теплопроводов при отсутствии проложенных смежных подземных металлических сооружений следует проводить, измеряя разность потенциалов между двумя точками земли через каждые 1000 м по двум взаимно перпендикулярным направлениям при разносе измерительных электродов на 100 м. Схема измерений приведена на рис. А3.

1 - медносульфатные электроды сравнения; 2 - изолированные проводники; pV - вольтметр; l - расстояние между электродами сравнения
Рисунок А.3 - Схема электрических измерений для обнаружения блуждающих токов в земле
А.7.2 При наличии подземных металлических сооружений, проложенных вблизи трассы вновь сооружаемых теплопроводов на расстоянии не более 100 м, определение наличия блуждающих токов осуществляется путем измерения разности потенциалов между существующим сооружением и землей с шагом измерений не более 200 м.
А.7.3 Для измерения напряжения и силы тока используются показывающие и регистрирующие приборы классом точности не ниже 1,5. Следует применять вольтметры с внутренним сопротивлением не менее 200 кОм/В. Среди рекомендуемых приборов можно указать прибор для измерения параметров установок защиты от коррозии подземных металлических сооружений
А.7.4 При измерениях используют переносные МЭС, которые подбирают так, чтобы разность потенциалов между двумя электродами не превышала 10 мВ, что должно быть определено в лабораторных условиях.
Переносной медносульфатный электрод сравнения (рис. 4) состоит из неметаллического полого корпуса с пористым дном и навинчивающейся крышкой с укрепленным в ней стержнем из красной меди. В корпус заливают насыщенный раствор медного купороса СuSО4×5Н2О.
При сборке переносных медносульфатных электродов необходимо:
- очистить медный стержень от загрязнений и окисных пленок либо механически (наждачной бумагой), либо травлением азотной кислотой. После травления стержень тщательно промыть дистиллированной или кипяченой водой. Попадание кислоты в сосуд электрода недопустимо;
- залить электрод насыщенным раствором чистого медного купороса в дистиллированной или кипяченой воде с добавлением кристаллов купороса. Заливать электроды следует за сутки до начала измерений. После заливки все электроды установить в один сосуд (стеклянный или эмалированный) с насыщенным раствором медного купороса так, чтобы пористое дно электродов было полностью погружено в раствор.

1 - корпус; 2 - стержень из красной меди; 3 - крышка для крепления стержня; 4 - наконечник проводника; 5 - контактный зажим; 6 - полость, заполняемая насыщенным раствором медного купороса; 7 - нижняя крышка; 8 - пористое дно
Рисунок А.4 - Переносной медносульфатный электрод сравнения
А.7.5 Измерения в каждом пункте должны проводиться не менее 10 мин с непрерывной регистрацией или с ручной записью результатов через каждые 10 с в протокол.
Протокол измерений разности потенциалов при определении наличия постоянных блуждающих токов в земле
|
Город _________________________ Вид подземного сооружения и пункта измерения ___________________ Дата ____________________________ Время измерения начало _____________, конец _____________________ Тип и № прибора _______________________________________________ Класс точности прибора не ниже 1,5 Результаты измерений, в мВ
|
Протокол измерений потенциала трубопровода при определении опасности постоянных блуждающих токов для действующих трубопроводов тепловых сетей
|
Город _________________________ Вид подземного сооружения и пункта измерения ___________________ Дата ____________________________ Время измерения начало _____________, конец _____________________ Тип и № прибора _______________________________________________ Класс точности прибора не ниже 1,5 Измеренное значение стационарного потенциала ВЭ относительно МЭС _______________ Результаты измерений, в мВ
|
||||||||||||||||||||||||||||||||||||||||||||||||||||||||||||||||||||||||||||||||||||||||
В зоне блуждающих токов трамвая с частотой движения 15-20 пар в 1 ч измерения необходимо производить в часы утренней или вечерней пиковой нагрузки электротранспорта.
В зоне влияния блуждающих токов электрифицированных железных дорог период измерения должен охватывать пусковые моменты и время прохождения электропоездов в обе стороны между двумя ближайшими станциями.
А.7.6 Если наибольший размах колебаний разности потенциалов (между наибольшим и наименьшим ее значениями) превышает 0,04 В, это характеризует наличие блуждающих токов (как в отсутствии, так и при наличии других подземных сооружений, проложенных вблизи трассы вновь сооружаемых теплопроводов).
А.8 Определение опасного влияния блуждающего постоянного тока для действующих трубопроводов тепловых сетей
А.8.1 Опасное влияние блуждающего постоянного тока выявляют, определяя изменение потенциала трубопровода под действием блуждающего тока по отношению к стационарному потенциалу трубопровода. Измерения выполняются с шагом не более 200 м.
А.8.2 Измерения производят в стационарных КИП, оборудованных электродами сравнения длительного действия или на нестационарных КИП, устанавливая электроды сравнения на дне камеры, в шурфах или на поверхности земли на минимально возможном расстоянии (в плане) от трубопроводов.
А.8.3 Для проведения измерений используют вольтметры в соответствии с п. 2.3 настоящего Приложения. Положительную клемму измерительного прибора присоединяют к трубопроводу, отрицательную - к электроду сравнения.
А.8.4 Режим измерений должен соответствовать условиям, изложенным в п. 2.5 настоящего Приложения.
Результаты ручной записи измерений заносят в протокол (см. выше).
В тех случаях, когда наибольший размах колебаний потенциала трубопроводов, измеряемого относительно МЭС (разность между наибольшим и наименьшим абсолютными значениями этого потенциала) не превышает 0,04 В, колебания потенциала не характеризуют опасного влияния блуждающих постоянных токов.
А.8.5 Стационарный потенциал трубопроводов Uст следует определять при выключенных средствах ЭХЗ путем непрерывного измерения и регистрации разности потенциалов между трубопроводом (подающим или обратным) и МЭС в течение достаточно длительного времени - вплоть до выявления практически не изменяющегося во времени (в пределах 0,04 В) значения потенциала, относящегося к периоду перерыва в движении электрифицированного транспорта, когда блуждающий ток отсутствует (как правило, в ночное время суток). За стационарный потенциал трубопровода принимается среднее значение потенциала при различии измерявшихся значений не более, чем на 40 мВ. При отсутствии возможности измерения стационарного потенциала трубопровода его значение принимают равным минус 0,7 В относительно МЭС.
Примечание. При определении опасного влияния блуждающего постоянного тока на теплопроводы канальной прокладки электроды сравнения следует устанавливать в зоне затопления или заиливания канала.
А.8.6 Разность между измеренным потенциалом трубопровода и его стационарным потенциалом определяется по формуле:
|
|
DU = Uизм - Uст, |
(1.4) |
где Uизм - наименее отрицательная и наиболее положительная за период измерений разность потенциалов между трубопроводом и МЭС.
Результат вычислений заносят в протокол (см. выше).
Для теплопроводов бесканальной прокладки, проложенных в грунтах c высокой коррозионной агрессивностью, влияние блуждающих токов признается опасным при наличии за период измерений положительного смещения потенциала; в грунтах средней и низкой коррозионной агрессивности влияние блуждающего тока признается опасным при суммарной продолжительности положительных смещений потенциала относительно стационарного потенциала за время измерений в пересчете на сутки более 4 мин/сутки.
Для теплопроводов канальной прокладки на участках их затопления или заиливания влияние блуждающих постоянных токов признается опасным при наличии за период измерений положительного смещения потенциала (см. выше).
А.9 Определение опасного влияния переменного тока
А.9.1 Зоны опасного влияния переменного тока определяют на участках трубопроводов, на которых выявлены значения напряжения переменного тока между трубопроводом и МЭС, превышающие 0,3 В.
А.9.2 Смещение потенциала трубопровода, вызываемое переменным током, измеряют на ВЭ относительно переносного МЭС до и после подключения ВЭ к трубопроводу через конденсатор емкостью 4 мкф. ВЭ представляет собой пластину, изготовленную из стали ст.3 размером 25×25 мм, толщиной 1,5-2,0 мм.
Примечания.
1 На участке трубопровода, оборудованного ЭХЗ, измерения выполняют при отключенных средствах ЭХЗ.
2. На теплопроводах канальной прокладки опасное влияние переменного тока определяют лишь на участках затопления или заиливания каналов.
А.9.3 ВЭ устанавливают в специально подготовленном шурфе, подготовку и установку которого производят в следующем порядке.
В намеченном пункте измерений над теплопроводом или в максимальном приближении к нему (в плане) в месте отсутствия дорожного покрытия делают шурф глубиной 300-350 мм и диаметром 180-200 мм.
Перед установкой в грунт ВЭ зачищают шлифовальной шкуркой ГОСТ 6456 зернистостью 40 и насухо протирают. Предварительно из взятой со дна шурфа части грунта, контактирующего с ВЭ, должны быть удалены твердые включения размером более 3 мм. На выровненное дно шурфа насыпают слой грунта толщиной 30 мм, на нем укладывают ВЭ рабочей (неизолированной) поверхностью вниз и засыпают его грунтом слоем 60-80 мм от дна шурфа. Грунт над ВЭ утрамбовывают с усилием 3-4 кг на площадь ВЭ. Сверху устанавливают переносной МЭС и засыпают грунтом. При наличии атмосферных осадков предусматривают меры против увлажнения грунта и попадания влаги в шурф.
А.9.4 Для проведения измерений собирают схему, приведенную на рис. А.5. Используют вольтметр с входным сопротивлением не менее 1 МОм.
Измерения производят в такой последовательности:
- измеряют стационарный потенциал ВЭ относительно МЭС через 10 мин после его установки в грунт;
- после стабилизации значения стационарного потенциала ВЭ в пределах 1-2 мВ в течение 5 мин подключают ВЭ к трубопроводу по схеме рис. 5 и через 10 мин снимают первое показание вольтметра;
- показания непрерывно записывают в память соответствующего измерительного прибора или снимают через 10 с в течение не менее 10 мин.

1 - трубопровод; 2 - датчик потенциала; 3 - переносной медносульфатный электрод сравнения; 4 - шурф; 5 - вольтметр постоянного тока; 6 - конденсатор; 7 - выключатель; 8 - амперметр переменного тока
Рисунок А.5 - Схема измерения смещения стационарного потенциала трубопровода под влиянием переменного тока.
Среднее смещение потенциала ВЭ за период измерений определяют по компьютерной программе (например, используемой при камеральной работе с прибором ПКИ-02) или по формуле:
|
|
|
(1.5) |
где åUi - сумма значений потенциала, измеренного при подключении ВЭ к трубопроводу, мВ;
Uст - стационарный потенциал ВЭ;
m - общее число измерений.
Действие переменного тока признается опасным при среднем значении смещения потенциала в отрицательную сторону не менее, чем на 10 мВ по отношению к стационарному потенциалу.
Результаты измерений оформляют в виде протокола
Протокол измерений смещения потенциала трубопровода при определении опасного влияния переменного тока
|
Город _______________________________ Вид подземного сооружения и пункта измерения __________________________ Дата _________________________________ Время измерения начало ________________, конец _________________________ Тип и номер прибора ___________________ Класс точности прибора не ниже 1,5 Измеренное значение стационарного потенциала вспомогательного электрода ВЭ относительно МЭС ____________________________________________________ Результаты измерений, мв
Камеральная обработка измерений
Оценка опасности коррозии под действием переменного тока ______________________________________________________________________ (опасно, неопасно) Измерил ________________ Проверил _____________ Обработал _______________ |
А.9.5 Для дополнительной оценки опасности коррозии стальных трубопроводов под воздействием переменного тока измеряют силу переменного тока ВЭ при подключении его к трубопроводу. Для этой цели в цепи ВЭ - конденсатор - трубопровод дополнительно включают амперметр переменного тока с пределами измерений от 0,01 мА (1×10-5 А) (рис. 5). После подключения ВЭ к трубопроводу измеряют силу переменного тока в течение 10 мин через каждые 10-20 с с записью в протокол.
Протокол измерений плотности переменного тока при определении опасного влияния переменного тока
|
Город _______________________________ Вид подземного сооружения и пункта измерения __________________________ Дата _________________________________ Время измерения начало ________________, конец _________________________ Тип и номер прибора ___________________ Класс точности прибора не ниже 1,5 Результаты измерений мгновенной силы переменного тока, мА
Камеральная обработка измерений
Оценка опасности коррозии под действием переменного тока ____________________________________________________________________ (опасно, неопасно) Измерил _______________ Проверил _______________ Обработал ________________ |
Среднюю плотность переменного тока рассчитывают по формуле:
|
|
j = J/6,25, мА/см2, |
(1.6) |
где J - среднее значение силы переменного тока за время измерений, мВ;
6,25 - площадь ВЭ, см2.
Действие переменного тока признается опасным при средней плотности тока более 1 мА/см2 (10 А/м2).
При использовании мультиметров, позволяющих измерять напряжение и силу тока, допускается сначала измерить смещение потенциала ВЭ по п. 3.4 настоящего Приложения, а затем, включив прибор в цепь в качестве амперметра, измерить силу переменного тока на ВЭ.
При наличии амперметра и вольтметра одновременно измеряют смещение потенциала ВЭ и силу переменного тока после присоединения ВЭ к трубопроводу.
Б.1 Стендовые испытания защитных антикоррозионных покрытий для подземных теплопроводов имеет целью в относительно короткий срок выявить защитные свойства покрытий для сопоставительной оценки и отбора наиболее эффективных из них.
Б.2 Защитное антикоррозионное покрытие, нанесенное на наружную поверхность стальных труб под тепловую изоляцию, должно обладать высокими защитными свойствами, чтобы в условиях, характерных для эксплуатации подземных тепловых сетей (под воздействием тепла, влаги, одновременным воздействием тепла и влаги, воздействием агрессивных сред и блуждающих токов), обеспечивать надежную защиту трубопроводов от наружной коррозии в течение всего назначенного (расчетного) срока службы тепловой сети. Оценка стойкости покрытия применительно к условиям такой длительной эксплуатации возможна лишь путем ускоренных испытаний. Продолжительность испытаний может быть сокращена за счет проведения их при более жестких, чем эксплуатационные, режимах по температуре, влажности и другим факторам.
Б.3 Стендовые испытания не могут в полной мере моделировать эксплуатационные условия работы защитного антикоррозионного покрытия на трубопроводах тепловой сети и, особенно, длительность воздействия тех или иных факторов. Поэтому результаты, получаемые при стендовых испытаниях покрытия на старение, позволяют дать лишь сравнительную оценку защитных свойств покрытия. В задачу испытаний входит не определение срока службы того или иного покрытия, а сопоставительная оценка и отбор наиболее стойких покрытий, способных в течение длительного времени сохранять защитные свойства в эксплуатационных условиях.
Б.4 Стендовые испытания защитного покрытия на старение включают следующие основные виды испытаний:
- на термостойкость;
- на термовлагостойкость;
- на воздействие агрессивных сред;
- на воздействие блуждающих токов.
Дополнительно покрытие может быть подвергнуто испытаниям на истирание, в случае, если оно предназначено к применению в бесканальных прокладках тепловых сетей.
Б.5 Стендовые испытания защитного антикоррозионного покрытия включают два этапа: предварительные (оценочные) испытания и испытания по полной программе.
Предварительные (оценочные) испытания предусматривают проверку термостойкости защитного покрытия в сушильных шкафах (термостатах) и термовлагостойкости в гигростатах. Испытания проводятся на плоских образцах.
Испытаниям по полной программе подвергаются защитные покрытия, удовлетворительно выдержавшие оценочные испытания.
Б.6 В основу расчета режима испытаний на термостойкость по полной программе положен наиболее распространенный температурный график работы водяных тепловых сетей 150/70 °С и продолжительность стояния минимальных температур наружного воздуха, характерная для средней полосы европейской части России. Анализ климатологических данных показывает, что продолжительность работы водяной тепловой сети с максимальной температурой теплоносителя 147-150 °С для средней полосы составляет, в среднем, около 60 ч в год. За период назначенного (расчетного) срока службы тепловой сети продолжительность работы тепловой сети с максимальной температурой теплоносителя составляет ~1500 ч. Для ужесточения условий испытаний защитного покрытия на термостойкость продолжительность испытаний принята на 25% больше - 1875 ч, а температура равной 150 °С.
Испытания на термостойкость проводятся на моделях труб с тепловой изоляцией и на плоских образцах без тепловой изоляции. Режим испытаний предусматривает периодические (один раз в сутки) снижения температуры до 20-25 °С.
Проверка защитного покрытия на термостойкость проводится на 10 моделях труб, имеющих внутренний электрообогрев. Осмотр покрытия производится через 500, 1000, 1500 и 1875 ч. При каждом осмотре две трубы снимаются с дальнейших испытаний, с них удаляется тепловая изоляция, и защитное покрытие подвергается осмотру, при котором определяется изменение внешнего вида покрытия, фиксируется наличие и характер разрушений, проверяется сплошность и адгезия, дается общая оценка состояния покрытия на момент осмотра.
Параллельно с испытаниями на моделях труб термостойкость покрытия проверяется на плоских образцах без тепловой изоляции. Основной задачей этих испытаний является проверка изменения физико-механических показателей покрытия при длительном воздействии тепла при высоких температурах. Режим испытаний на плоских образцах аналогичен режиму испытаний на моделях труб; продолжительность испытаний составляет 1875 ч. Осмотр и определение физико-механических показателей производится через каждые 250 ч. На всех образцах проверяется сплошность защитного покрытия, измеряется УОЭС. При осмотрах с испытаний снимается 5 образцов, на которых проверяется ударная прочность, адгезия, гибкость.
Б.7 Продолжительность испытаний защитного покрытия на термовлагостойкость по полной программе определяется из расчета двух полных увлажнений тепловой изоляции в год (это соответствует весеннему и осеннему периодам работы тепловой сети), что за назначенный (расчетный) срок службы тепловой сети, принятый равным 25 годам, составляет 50 циклов "увлажнение-сушка". Испытания проводятся на моделях труб с тепловой изоляцией. При испытаниях продолжительность одного цикла увлажнения и последующего высыхания тепловой изоляции, нанесенной на образец, принята равной одной неделе. Полное увлажнение тепловой изоляции на моделях труб достигается погружением образцов в сосуды с водой.
Для испытаний на термовлагостойкость принята температура 75 °С, при которой в условиях подземных прокладок тепловых сетей скорость коррозии стальных трубопроводов достигает максимального значения.
Испытания защитного покрытия на термовлагостойкость проводится параллельно на 10 моделях труб и на плоских образцах. Осмотры защитного покрытия на моделях труб производятся через 5, 10, 15…50 циклов. При каждом осмотре с испытаний снимаются и освобождаются от тепловой изоляции две трубы. При осмотре определяется изменение внешнего вида покрытия, наличие и характер разрушений покрытия, отмечается наличие и характер коррозии металла под покрытием, проверяется сплошность и адгезия покрытия, дается общая оценка состояния покрытия на момент осмотра.
Параллельно с испытаниями на моделях труб термовлагостойкость покрытия проверяется на плоских образцах без тепловой изоляции. В задачу этих испытаний входит определение изменений физико-механических показателей покрытия при одновременном воздействии на него тепла и влаги. Режим испытаний на плоских образцах аналогичен режиму испытаний на моделях труб. Суммарная продолжительность испытаний покрытия на термовлагостойкость в гигростате на плоских образцах составляет 1500 ч. Осмотр и оценка состояния покрытия на образцах производится через каждые 200 ч. На всех образцах проверяется сплошность покрытия, измеряется УОЭС; на части образцов проверяется ударная прочность и адгезия.
Б.8 Испытания защитного покрытия на стойкость к воздействию агрессивных сред проводятся в растворе соляной кислоты со значением водородного показателя рН, равного 2,5, в растворе едкого натра со значением рН, равным 10,5, и в 3%-ном растворе хлористого калия. Продолжительность испытания в каждой из сред принимается равной 3000 ч. Испытания проводятся при комнатной температуре. Осмотр образцов производится через 250-500-1000-1500 … 3000 ч.
Б.9 Испытания под воздействием приложенных электрических потенциалов проводятся при значениях потенциалов, равных плюс 0,5 В; плюс 1,0 В; минус 0,5 В; минус 1,0 В. Продолжительность испытаний при каждом из указанных режимов составляет 1500 ч. Испытания проводятся при комнатной температуре. В качестве электролита при испытаниях применяется 3%-ый раствор хлористого калия. Осмотр образцов производится через 250-500-1000-1500 ч.
Б.10 При проведении стендовых испытаний защитного покрытия отклонения от заданных режимных параметров должны быть не более:
по температуре при испытаниях на термостойкость - 5 °С;
по температуре при испытаниях на термовлагостойкость ± 5 °С;
по водородному показателю рН при испытаниях в кислых и щелочных средах ±0,5;
по напряжению при испытаниях с приложенными электрическими потенциалами ±0,05 В.
Б.11 После полного цикла стендовых испытаний защитное антикоррозионное покрытие должно сохранять физико-механические показатели, приведенные в разделе 8 настоящего СТО.
Б.12 Защитные антикоррозионные покрытия, имеющие первоначальные (до начала испытаний) физико-механические показатели, не соответствующие указанным выше техническим требованиям, стендовым испытаниям не подлежат.
Б.13 Для испытаний силикатноэмалевых покрытий, для которых в связи с технологическими особенностями их нанесения не представляется возможным подготовить типовые образцы (модели труб с фланцами и пластины), образцы изготавливаются из стальных эмалированных труб диаметром 325/310 мм.
Защитные антикоррозионные покрытия, предназначенные для применения в бесканальных прокладках тепловых сетей, должны быть подвергнуты испытаниям на истирание. Испытания проводятся на трубе диаметром 108×4 мм длиной 1500 мм. В трубе при испытаниях создается циркуляция воды с температурой 70-80 °С. Продолжительность испытания составляет 500 ч.
Покрытия должны сохранять защитные свойства после поступательно-возвратных перемещений трубы с покрытием при суммарной длине перемещений 250 м, под нагрузкой на трубу от давления грунта 2300 кгс/м2. В качестве грунта применяется смесь речного песка с 10-15% (по массе) гравийно-щебеночных включений.
Осмотр покрытия производится после полного срока испытаний. При осмотре контролируется сплошность и измеряется толщина покрытия в закоординированных точках.
Покрытия, рекомендуемые для защиты от наружной коррозии трубопроводов тепловых сетей и прошедшие стендовые испытания до 2002 года
|
Наименование защитного покрытия |
Вид покрытия |
Структура покрытия по слоям. ГОСТ, ТУ на материалы и изделия (см. Прил. 10) |
Общая толщина, мм |
Степень очистки |
Способ прокладки. Вид теплоносителя |
Вид тепловой изоляции |
Максимально допустимая температура теплоносителя, °С |
|
1 |
2 |
3 |
4 |
5 |
6 |
7 |
8 |
1. Органосиликатное покрытие ОС-51-03 (с термообработкой)* |
Лакокрасочное |
Три слоя органосиликатной краски ОС-51-03. |
0,25-0,30 |
Первая и вторая |
Подземная в непроходных каналах. |
Все виды подвесной тепловой изоляции |
180 |
|
|
|
ТУ 84-725-83 |
|
|
Вода |
|
|
|
|
|
Термообработка при температуре 200 °С |
|
|
|
|
|
|
2. Органосиликатное покрытие ОС-51-03 с отвердителем |
Лакокрасочное |
Четыре слоя органосиликатной краски ОС-51-03 |
0,45 |
Первая и вторая |
Подземная в непроходных каналах. |
Все виды подвесной тепловой изоляции |
150 |
|
|
|
(ТУ 84-725-83) с отвердителем (естественная сушка) |
|
|
Вода |
|
|
|
3. Эпоксидное покрытие ЭП-969 |
Лакокрасочное |
Три покровных слоя эпоксидной эмали ЭП-969. |
0,1 |
Вторая |
Подземная в непроходных каналах. |
Все виды подвесной тепловой изоляции |
150 |
|
|
|
ТУ 6-10-1985-84 |
|
|
Вода |
|
|
|
4. Кремнийорганическое покрытие КО* |
Лакокрасочное |
Три покровных слоя покрытия из кремнийорганической композиции КО с отвердителем (естественная сушка). |
0,25 |
Вторая |
Подземная в непроходных каналах. |
Все виды подвесной тепловой изоляции |
150 |
|
|
|
ТУ 88.УССР.0.88.001-91 |
|
|
Вода |
|
|
|
5. Комплексное полиуретановое покрытие "Вектор" |
Лакокрасочное |
Два грунтовочных слоя мастики "Вектор 1236" |
не менее 0,13 |
Вторая и третья |
Подземная в каналах всех типов, в технических подпольях, бесканальная, надземная. |
Все виды тепловой изоляции |
150 |
|
|
|
ТУ 5775-002-17045751-99. |
|
|
Вода |
|
|
|
|
|
Один покровный слой мастики "Вектор 1214" |
|
|
|
|
|
|
|
|
ТУ 5775-003-17045751-99 (см. примеч. 3) |
|
|
|
|
|
|
6. Силикатноэмалевое покрытие из безгрунтовой эмали 155Т* |
Силикатноэмалевое |
Два слоя эмали 155Т. ТУ 88-106-86 БССР (гранулят стеклоэмали безгрунтовой марки 155Т БССР), (ТУ 1390-001-01297858-96) |
0,5-0,6 |
Первая |
Подземная в непроходных каналах; подземная бесканальная. |
Все виды тепловой изоляции |
300 |
|
Вода и пар |
|||||||
|
7. Силикатноэмалевое покрытие из эмали МК-5* |
Силикатноэмалевое |
Два слоя покровной эмали МК-5. |
0,5-0,6 |
Первая |
Подземная в непроходных каналах; подземная бесканальная. |
Все виды тепловой изоляции |
300 |
|
|
|
ТУ 2367-002-05282012-2000 |
|
|
Вода и пар |
|
|
8. Металлизационное алюминиевое покрытие* |
Металлизационное |
Два покровных слоя металлизационного алюминиевого покрытия. |
0,25-0,30 |
Первая |
Подземная в непроходных каналах и в тоннелях, подземная бесканальная; по стенам снаружи зданий, в технических подпольях. |
Все виды тепловой изоляции |
150 |
|
|
|
ГОСТ 9.304 |
|
|
Вода |
|
|
|
9. Алюмокерамическое покрытие* |
Металлизационное |
Один слой покрытия плазменного нанесения из смеси порошков алюминия - ПА-4 (или ПА-3) ГОСТ 6058 - 85% (по массе) и ильменитового концентрата |
0,2-0,3 |
Первая |
Подземная в непроходных каналах; подземная бесканальная. |
Все виды тепловой изоляции |
300 |
|
|
|
ТУ 48-4236-91 - 15% |
|
|
Вода и пар |
|
|
Примечания к таблице
1. Покрытия, отмеченные знаком *, наносятся на трубы только в заводских условиях.
2. Металлизационное алюминиевое покрытие следует применять для трубопроводов с теплоизоляцией из материалов, имеющих рН не ниже 4,5 и не выше 9,5.
3. Для комплексного полиуретанового покрытия "Вектор" в качестве грунтовочных слоев допускается применять мастику "Вектор 1025" ТУ 5775-004-17045751-99.
4. Графа 5 таблицы - согласно ГОСТ 9.402 :
Первая степень очистки характеризует поверхность, при осмотре которой через лупу с 6-кратным увеличением продукты коррозии не просматриваются.
Вторая степень очистки характеризует поверхность, при осмотре которой невооруженным глазом продукты коррозии, пригар, остатки формовочной земли и другие загрязнения не обнаруживаются.
Третья степень очистки характеризует поверхность, до 5% площади которой покрыто прочно сцепленной окалиной, литейной коркой.
г. ___________________ " _____ " ________________ 200 __ годаОбъект ______________________________________________________________________ Комиссия в составе представителей: строительно-монтажной организации ____________________________________________ _____________________________________________________________________________ (наименование организации, должность, инициалы, фамилия) Заказчика ____________________________________________________________________ _____________________________________________________________________________ (наименование организации, должность, инициалы, фамилия) Генерального подрядчика _______________________________________________________ _____________________________________________________________________________ (наименование организации, должность, инициалы, фамилия) составила настоящий акт о нижеследующем: 1. __________________________________________________________________________ (наименование сооружения, строительных конструкций, их краткая техническая характеристика) 2. __________________________________________________________________________ (описание выполненного защитного покрытия) 3. Объем выполненных работ ___________________________________________________ 4. Дата начала работ __________________________________________________________ 5. Дата окончания работ _______________________________________________________
Работы выполнены в соответствии с ППР, технологической инструкцией по нанесению покрытия и отвечают требованиям их приемки. Документация на покрытие представлена в полном (неполном) объеме. __________________________________________________________________________ ___________________________________________________________________________ Качество выполненных работ: Толщина антикоррозионного покрытия на трубопроводе Подающий ___________________________________________________________________ Обратный ____________________________________________________________________ Адгезия антикоррозионного покрытия к металлу трубопровода Подающий ___________________________________________________________________ Обратный ____________________________________________________________________ Сплошность антикоррозионного покрытия Подающий ___________________________________________________________________ Обратный ____________________________________________________________________ Видимые дефекты антикоррозионного покрытия на трубопроводе Подающий ___________________________________________________________________ Обратный ____________________________________________________________________ Качество антикоррозионного покрытия на трубопроводе проверил ____________________ _____________________________________________________________________________ (ФИО, должность) Представитель строительно-монтажной организации ______________________ Представитель Заказчика _______________________ Представитель Генерального подрядчика ______________________ Журнал производства антикоррозионных работ Наименование объекта _______________________________________________________ Основание для выполнения работ ____________________________________________ (договор, наряд) Производитель работ ________________________________________________________ Начало ______________________________________________________________________ Окончание __________________________________________________________ В журнале пронумеровано ______________________ страниц.
М.П. Подпись администрации организации, выдавшей журнал |
|
Дата (число, месяц, год), смена |
Наименование работ и применяемых материалов (пооперационно) |
Объем работ |
Температура во время выполнения работ, °С |
ГОСТ, ОСТ, ТУ на применяемые материалы |
Число нанесенных слоев и их толщина, мм |
Температура, °С, и продолжительность сушки отдельных слоев покрытия, ч |
Фамилия и инициалы бригадира (специалиста), выполнявшего защитное покрытие |
Дата и номер акта освидетельствования выполненных работ |
Фамилия, инициалы и подпись лица, принимающего покрытие |
Примечание |
|
|
На поверхности |
Окружающего воздуха на расстоянии не более 1 м от поверхности |
||||||||||
|
|
|
|
|
|
|
|
|
|
|
|
|
|
|
|
|
|
|
|
|
|
|
|
|
|
|
|
|
|
|
|
|
|
|
|
|
|
|
Прямая оценка возможности коррозии может производиться с помощью блоков пластин-индикаторов типа БПИ-1 и БПИ-2. Первые применяются на трубопроводах канальной прокладки с ЭХЗ в пунктах установки ВЭ, вторые независимо от наличия или отсутствия ЭХЗ на участках прокладки трубопроводов в футлярах на поверхности трубопроводов внутри футляра, а также в тепловых камерах.
Г.1. БПИ-1 (рис. 1) состоит из двух пластин квадратной формы, изготовленных из стали ст.3 толщиной 1,5¸2,0 мм, закрепленных на диэлектрической пластине из фторопласта. Одна из пластин с помощью приварки имеет контакт с трубопроводом. На рис. 2 приведены схемы и зоны установки БПИ-1 непосредственно на поверхности подающего и обратного трубопроводов.

1 - монтажная диэлектрическая пластина из фторопласта; 2 - контрольная пластина без контакта с трубопроводом; 3 - то же, с контактом с трубопроводом; 4 - крепежный винт;
5 - диэлектрическая втулка; 6 - участок электросварки пластины 3 с трубопроводом;
7 - термостойкое антикоррозионное покрытие
Рисунок Г.1 - Блок пластин-индикаторов БПИ-1 для инструментального контроля эффективности ЭХЗ трубопроводов тепловых сетей канальной прокладки
Г.4 Количество устанавливаемых БПИ-1 в зоне нижней образующей трубопроводов на участке "пять часов" (см. рисунок Г.1) должно быть не менее двух.
Кроме того, в том же сечении трубопровода (подающего или обратного) на его поверхности (или на поверхности теплоизоляционной конструкции) при постоянном отсутствии ее затопления также устанавливают один блок пластин-индикаторов. В случаях полного затопления трубопровода в указанном сечении на поверхности его теплоизоляционной конструкции устанавливают диэлектрическую прокладку, толщина которой должна исключать возможность затопления БПИ-1.

1 - теплоизолирующая конструкция; 2 - блоки пластин-индикаторов; 3 - участки приварки пластин-индикаторов к трубопроводам; 4 - трубопровод; 5, 6 - варианты зон установки блоков пластин-индикаторов на подающем и обратном трубопроводах
Рисунок Г.2 - Схема установки блоков пластин индикаторов БПИ-1 на трубопроводах:
а) зона установки блоков пластин индикаторов;
б) варианты установки блоков пластин-индикаторов на подающем и обратном трубопроводе
Установка указанного БПИ-1 обусловлена необходимостью количественной оценки и характера возможного протекания процесса атмосферной коррозии на поверхности трубопроводов.
Г.2 Одну из пластин каждого БПИ-1, устанавливаемых в районе нижней образующей трубопроводов, присоединяют непосредственно к трубопроводу на точечной сварке отводов от пластин-индикаторов (рис. 2).
Отвод от пластин-индикаторов, устанавливаемых на верхней образующей трубопроводов, должен быть отогнут от поверхности трубы или удален, т.к. в указанной зоне индикаторы не должны иметь электрического контакта с трубопроводом или металлической сеткой.
Г.3 После установки БПИ-1 их пластины обезжиривают ацетоном, промывают дистиллированной (или кипяченой) водой и удаляют влагу.
Г.4 Составляют протокол на установку БПИ-1 с указанием:
- пункта установки БПИ-1 с привязками;
- даты установки;
- толщины пластин-индикаторов dисх, измеренной после зачистки шлифовальной шкуркой микрометром типа МК с ценой деления 0,01 мм.
Г.5 Для установления периода снятия (демонтажа) с трубопроводов БПИ-1 должна контролироваться (ориентировочно) суммарная продолжительность затопления канала (тепловой камеры) в зонах установки БПИ-1, при которой уровень воды достигает нижней образующей трубопроводов.
Г.6 Контроль наличия или отсутствия затопления канала в зоне установки БПИ-1 должен производиться не реже двух раз в месяц, что совпадает с периодичностью технического осмотра катодных установок в соответствии с требованиями нормативно-технической документации.
Г.7 Время демонтажа первого БПИ-1 определяется в зависимости от суммарной продолжительности затопления каналов (камер) до уровня установки БПИ-1.
Исходя из величины средней скорости коррозии подающих трубопроводов тепловых сетей 1,1 мм/год с теплоизоляционной конструкцией и 1,25 мм/год без теплоизоляционной конструкции время демонтажа первого блока пластин-индикаторов должно наступить через 350-400 дней суммарной продолжительности затопления БПИ-1.
Демонтаж второго блока БПИ-1 производят при суммарной продолжительности затопления 600-650 дней.
Г.8 Время демонтажа может корректироваться на основе данных визуального осмотра БПИ-1, если осмотр дает достаточную информацию о коррозионном состоянии пластин. Например, если толщина продуктов коррозии на пластине, присоединенной к трубопроводу, не превышает толщины слоя продуктов коррозии на пластине блока, установленного выше уровня затопления канала. В том случае, если толщина слоя продуктов коррозии превышает 1,5 мм, следует принять решение о демонтаже одного БПИ-1.
Г.9 БПИ-1, установленный в зоне нижней образующей трубопровода, отгибают от трубопровода, затем отпиливают ножовкой по металлу или срубают зубилом.
Блок, установленный в зоне отсутствия затопления трубопровода, освобождают от крепления хомутом, затем снимают одну из пластин, устанавливают блок на прежнее место и закрепляют его хомутом.
Г.10 В лабораторных условиях поверхности пластин с помощью деревянного шпателя очищают от рыхлых продуктов коррозии и подвергают катодному травлению в 8%-ном растворе гидрата окиси натрия при плотности тока 15-20 А/дм2 до полного удаления продуктов коррозии.
Катодное травление производят в эмалированной емкости с размерами 200´150´80 мм и объемом электролита 2,0-2,5 л, где размещают одну или две пластины (катод) и стальную пластину (анод). К пластинам-индикаторам подключают отрицательный полюс источника постоянного тока, к пластине-аноду - положительный полюс. При установке силы тока в цепи "анод-катод" следует учитывать общую площадь пластин-индикаторов.
После удаления продуктов коррозии пластины-индикаторы промывают дистиллированной водой и высушивают.
Г.11 Оценку коррозионного состояния пластин-индикаторов производят путем измерения остаточной толщины пластин и глубины их коррозионных повреждений (язвы, каверны, питтинги).
Измерения остаточной толщины пластин dост производят с помощью микрометра типа МК с ценой деления 0,01 мм. Глубину локальных коррозионных повреждений L определяют с помощью прибора - глубиномера игольчатого типа с ценой деления 0,01 мм.
Г.12 Вычисляют уменьшение толщины пластины-индикатора вследствие атмосферной коррозии по разности начальной (исходной) и остаточной толщины пластины-индикатора 1, снятой с блока пластин-индикаторов, располагавшегося в зоне, не подвергавшейся затоплению трубопровода по формуле (1):
|
|
D(1) = d(1)исх - d(1)ост, мм |
(1) |
Г.13 Вычисляют уменьшение толщины пластины-индикатора 2, не имевшей электрического контакта с трубой, вследствие атмосферной коррозии в периоды отсутствия затопления трубопровода и коррозии в результате ее контакта с водой при затоплении трубопровода по формуле (2):
|
|
D(2) = d(2)исх - d(2)ост, мм |
(2) |
Г.14 Вычисляют максимальную глубину проникновения коррозии на пластине-индикаторе 2 по формуле (3):
|
|
L(2)макс = D(2) + L(2)макс.изм., мм, |
(3) |
где L(2)макс.изм. - измеренная величина глубины проникновения коррозии с помощью глубиномера относительно d(2)ост., мм.
Г.15 Вычисляют по формуле (4) уменьшение толщины пластины-индикатора 3, имевшей электрический контакт с трубой, вследствие атмосферной коррозии, в периоды отсутствия затопления трубопровода, а также вследствие отключения станции катодной защиты или недостаточной эффективности ее действия при наличии затопления трубопровода:
|
|
D(3) = d(3)исх - d(3)ост, мм |
(4) |
Г.16 Вычисляют максимальную глубину проникновения коррозии на пластине-индикаторе 3 по формуле (5):
|
|
L(3)макс = D(3) + L(3)макс.изм., мм, |
(5) |
где L(3)макс.изм. - измеренная величина проникновения коррозии с помощью глубиномера относительно d(3)ост., мм.
Г.17 Действие ЭХЗ трубопроводов (при отсутствии отказов в работе ЭХЗ) может быть признано эффективным, если полученные значения D(3) не превышают значения D(1) более, чем на 50%, а значение L(3)макс составляет не более 20% от значения L(2)макс.
Указанные допущения обусловлены возможностью протекания процесса коррозии на уровне ватерлинии при действии средств ЭХЗ.
Г.18 Перед установкой БПИ-1 на действующих теплопроводах, а также перед проведением визуального обследования и демонтажа блоков пластин-индикаторов следует отключать станции катодной защиты.
Г.19 Сущность метода прямой оценки возможности коррозии с применением БПИ-2 заключается в том, что с помощью набора пластин-индикаторов, имеющих разные толщины, оценивается порядок скорости коррозии, как при наличии, так и при отсутствии средств ЭХЗ трубопроводов в месте установки БПИ-2 по времени от момента его установки до потери продольной электропроводимости пластин в результате коррозии.
Г.20 БПИ-2 (рис.3) состоит из трех пластин, изготовленных из стали Ст.3 толщиной 0,3; 0,4 и 0,5 мм, рабочей длиной около 20 мм и шириной по 2 мм. Расстояние между пластинами 2 мм.
Пластины-индикаторы 2 с помощью пайки или контактной сварки укреплены на контрольной пластине 1. К свободным концам пластин-индикаторов и контрольной пластине присоединены изолированные проводники 3. БПИ-2 вмонтирован в пластмассовый корпус таким образом, что внутренние поверхности пластин изолированы от внешней среды.
БПИ-2 может быть установлен непосредственно на поверхности трубопровода или теплоизоляционной конструкции (рисунок Г.4), либо на корпусе стационарного медносульфатного электрода сравнения типа ЭСН-МС или ЭНЕС-1 (рисунок Г.5).

1 - контрольная пластина; 2 - пластина-индикатор; 3 - контрольные проводники;
4 - указатель толщины пластины-индикатора.
Рисунок Г.3 - Блок индикаторов БПИ-2 (без корпуса).
Г.21 В обоих вариантах установки проводники от пластин БПИ-2, трубопровода и (во втором варианте установки) от электрода сравнения присоединяются к специальному клеммнику, располагаемому либо в горловине фальшколодца, КИПе, либо в металлическом корпусе на стене здания. Схема клеммника с присоединенными к нему контрольными проводниками приведена на рис. 4 и рис. 5. Электроперемычка между контрольными проводниками от трубопровода (клемма "Т") и от контрольных пластин размыкается лишь на период измерений потенциала трубопровода.
Г.22 Методика измерений на месте установки БПИ-2 сводится к определению электросопротивления в цепях "индикаторы - трубопровод" с помощью омметра и не зависит от способа установки БПИ-2 (на поверхности трубопровода или на корпусе электрода сравнения).
Г.23 Порядок измерений:
Подключают измерительные провода к клеммам "КП" и "03".
Устанавливают переключатель мультиметра в положение, соответствующее измерению сопротивления в диапазоне 0-200 Ом.

1 - блок индикаторов; 2 - крепежный хомут; 3 - защитная трубка; 4 - клеммник; 5 - контрольные проводники от трубопровода, контрольной пластины блока индикаторов, пластин-индикаторов; 6 - омметр.
Рисунок Г.4 - Схема контроля электропроводимости индикаторов при установке блока индикаторов БПИ-2 на поверхности трубопровода

1 - стационарный медносульфатный электрод сравнения; 2 - блок индикаторов (датчик потенциала) с толщиной пластин 0,3; 0,4; 0,5 мм; 3 - защитная трубка; 4 - клеммник в контрольно-измерительном пункте; 5 - прибор типа 43313.I; 6 - омметр; 7 - контрольные проводники от трубопровода, электрода сравнения, контрольной пластины блока индикаторов, пластин-индикаторов; 8 - электроперемычка.
Рисунок Г.5 - Схема контроля электропроводимости индикаторов и измерения потенциала трубопровода при установке блока индикаторов БПИ-2 на стационарном электроде сравнения
Примечание. При использовании прибора типа ПКИ-02 проводник от трубопровода присоединяют к зажиму прибора Uс.
Подключают измерительные провода к гнездам мультиметра для измерений электросопротивления.
Включают мультиметр. При этом на цифровом отсчетном устройстве должна появиться индикация.
Значение сопротивления менее и более 10 Ом свидетельствует о том, что пластина толщиной 0,3 мм, соответственно, не разрушена и разрушена. Если пластина толщиной 0,3 мм разрушена, аналогичные измерения проводят на пластинах толщиной 0,4 и 0,5 мм. Если разрушена и пластина толщиной 0,4 мм, измерения продолжают на пластине толщиной 0,5 мм.
Г.24 Измерения в местах, где установлены БПИ-2, начинают в день установки БПИ-2 и далее с периодичностью в 6 месяцев.
После срабатывания одной из пластин-индикаторов на данном КИП измерительные работы производятся через каждые 2 месяца.
Г.25 Определение скорости коррозии (К) после фиксации коррозионного разрушения пластины-индикатора производится по формуле (6):
|
|
К » (365d)/t, мм/год, |
(6) |
где d - толщина пластины, мм;
t - число суток от момента установки блока индикаторов до первой фиксации разрушения индикаторов, сут.
Примечание. При срабатывании более одной пластины в расчете К принимается d пластины, имеющей большую толщину.
Г.26 При срабатывании всех пластин-индикаторов в тех случаях, когда осуществлялась ЭХЗ с помощью протекторов стержневого типа, установленных в зазоре между трубопроводом и футляром, необходима замена протекторов. В случаях отсутствия средств ЭХЗ следует предусмотреть (при наличии технической возможности) установку протекторов в зазоре между трубопроводом и футляром.
Д.1 При определении параметров ЭХЗ за основной расчетный параметр принимается средняя плотность защитного тока, представляющая собой отношение значения тока защитной установки к суммарной поверхности трубопроводов, защищаемых данной установкой.
Д.2 Исходными данными для расчета параметров катодной защиты являются технические характеристики (диаметр, протяженность) защищаемых подземных сооружений, а также удельное электрическое сопротивление грунта по трассе вновь сооружаемых тепловых сетей.
Д.3 Площадь поверхности (м2) каждого из трубопроводов, которые имеют между собой соединения, обеспечивающие электрический контакт, либо соединяемые специальными перемычками, определяется по формуле:
|
|
|
(1) |
где di - диаметр трубопровода, мм;
li - длина участка трубопровода, имеющего диаметр di, м.
По формуле (1) определяют площади поверхности трубопроводов тепловых сетей, проложенных в каналах, Sтеп, газопроводов Sг, водопроводов Sв. Поверхность трубопроводов тепловых сетей бесканальной прокладки суммируется с поверхностью водопроводов, поэтому здесь и ниже величина Sтеп относится к действующим трубопроводам тепловых сетей канальной прокладки.
Суммарная площадь поверхности всех совместно защищаемых трубопроводов, в т.ч. вновь сооружаемых (или реконструируемых трубопроводов тепловых сетей бесканальной прокладки), электрически связанных между собой, равна:
|
|
åS = Sтеп + Sг + Sв, |
(2) |
Д.4 Доля площади поверхности каждого из трубопроводов в общей массе подземных сооружений, %, определяется по формулам:
трубопроводов тепловых сетей
|
|
|
(3) |
водопроводов
|
|
|
(4) |
газопроводов
|
|
|
(5) |
Д.5 Площадь поверхности каждого из сооружений, приходящаяся на единицу поверхности территории (зоны защиты), м2/га, определяется по формулам:
трубопроводов тепловых сетей
|
|
|
(6) |
газопроводов
|
|
|
(7) |
водопроводов
|
|
|
(8) |
где Sтер - площадь территории, занимаемой защищаемыми сооружениями, га.
Д.6 Средняя плотность тока, необходимая для защиты трубопроводов, определяется по формуле:
|
|
j =30 - (100в + 128с + 34d + 3е + 0,6f + 5r)10-3, мА/м2 |
(9) |
где r - удельное электрическое сопротивление грунта, Ом×м.
Д.7 Если значение средней плотности защитного тока, полученное по формуле (М9), менее 10 мА, то в дальнейших расчетах следует принимать j = 10 мА/м2.
Д.8 Значение суммарного защитного тока, который необходим для обеспечения катодной поляризации подземных сооружений, расположенных в данной зоне, равно:
|
|
Iзащ = 1,3jåS, А |
(10) |
Д.9 Выбор способа ЭХЗ производится из условий наличия опасности коррозии вновь сооружаемых трубопроводов тепловых сетей бесканальной прокладки и смежных сооружений. При прокладке тепловых сетей в грунтах высокой коррозионной агрессивности и при значительном удалении от рельсовой сети электрифицированного транспорта, работающего на постоянном токе (более 200 м), ЭХЗ целесообразно осуществлять с помощью преобразователей для катодной защиты.
Число преобразователей определяется из соотношения:
|
|
n = Iзащ/Iпр, |
(11) |
где Iзащ - значение тока защиты, найденное по формуле (10);
Iпр - номинальное значение выходного тока преобразователя, А.
При определении числа преобразователей следует учитывать условия оптимального размещения анодных заземлителей (наличие площадок, удобных для размещения заземлителей), наличие источников питания и т.д.
Д.10 После размещения преобразователей на совмещенном плане необходимо произвести расчет зоны действия каждого из них.
Радиус действия преобразователя определяют по формуле:
|
|
|
(12) |
где Iпр - ток преобразователя, для которого определяется радиус действия, А;
j - плотность защитного тока, А/м2;
K - удельная плотность подземных сооружений
|
|
|
(13) |
Д.11 Если площади окружностей, радиусы которых соответствуют радиусам действия преобразователей (12), а центры находятся в точках размещения АЗ, не охватывают всей необходимой зоны защиты, следует изменить либо места расположения катодных установок, либо значения их токов защиты и вновь выполнить проверку, указанную в п. 5.9.
Д.12 Тип преобразователя для катодной установки выбирается с таким расчетом, чтобы допустимое значение напряжения было на 30% выше расчетного с учетом перспективного развития сети трубопроводов, старения защитных покрытий и АЗ.
Д.13 Выбор оптимальных параметров анодного заземлителя следует производить согласно рекомендациям п. 12.5 настоящего стандарта.
Д.14 В случаях сближения подземных трубопроводов с рельсовой сетью электрифицированных железных дорог, работающих на постоянном токе (на участках с устойчивыми отрицательными потенциалами рельсов относительно земли), или с рельсовой сетью трамвая (имеющей устойчивый отрицательный или знакопеременный потенциал), применяется усиленный автоматический электродренаж.
Д.15 Радиус действия одного усиленного дренажа может быть ориентировочно определен по формуле:
|
|
|
(14) |
где Iдр - среднее значение тока усиленного дренажа, А;
j - плотность защитного тока, А/м2;
K - удельная плотность подземных сооружений, определяемая по формуле (13).
Д.16 Ток электродренажа определяется по формуле:
|
|
|
(15) |
где Uдр - номинальное напряжение на выходе дренажной установки, В;
Rкаб - сопротивление дренажного кабеля, Ом;
0,05 - входное сопротивление защищаемых трубопроводов, Ом.
Д.17 Участки трубопроводов за пределами радиуса действия усиленного дренажа защищаются с помощью преобразователей для катодной защиты.

Рисунок Ж.1 - Примерные расчетные схемы размещения и количества магниевых протекторов стержневого типа в сечении трубопровода
|
Условный диаметр трубопровода, мм |
Первоначальная толщина стенки трубы, мм |
Предельная продолжительность эксплуатации теплопроводов в коррозионноопасных условиях, до которой целесообразно применение средств ЭХЗ* t, лет |
|
100-200 |
3,5-6,0 |
2-3 |
|
300-400 |
6,0-7,0 |
3-4 |
|
500-700 |
7,0-8,0 |
4-5 |
|
800-1000 |
8,0-10,0 |
5-7 |
|
1200-1400 |
11,0-14,0 |
7-8 |
_____________
*Указанные предельные значения приняты исходя из средней скорости наружной коррозии трубопроводов тепловых сетей 1,1 мм/год при непрерывном контакте поверхности трубопроводов с увлажненной теплоизоляцией.
Допускается корректировка t в сторону увеличения или уменьшения с учетом коррозионного состояния трубопроводов при условии проведения их технического освидетельствования, анализа коррозионных повреждений и вызывающих их факторов.
1.2 Таблица К.1 - Технические характеристики токопроводящих эластомеров для распределенных анодных заземлителей
|
1.1.1 Наименование параметров |
1.1.2 Тип электрода |
|||
|
электрод штыревого типа ЭР-1 |
электрод кабельного типа ЭР-5 |
электрод кабельного типа ПАР-Т |
электрод кабельного типа ЭР-6М |
|
|
Допускаемая токовая нагрузка, А |
0,5-0,8 на 1 электрод |
0,7-0,9 на 1 п.м. |
0,15 на 1 п.м |
0,4 на 1 п.м. |
|
Длина, м |
1,67 |
56 |
150 |
120 |
|
Диаметр, мм |
47 |
45 |
40-50 |
40 |
|
Температурный диапазон эксплуатации, °С |
-20/+50 |
-20/+50 |
-30/+90 |
-30/+50 |
1.2 Таблица К.2 - Технические характеристики электродов из ферросилидов для анодных заземлителей
|
1.2.1 Наименование параметров |
1.2.2 Тип электрода анодного заземлителя |
|
|
1.2.3 АЗМ-ЗХ |
8.2.4 ЭЖК-1000 |
|
|
Максимальный рабочий ток на 1 электрод, А |
5 |
5 |
|
Длина электрода, м |
1,5 |
1,0 |
|
Диаметр, мм |
65 |
65 |
|
Масса, кг |
35 |
23 |
Таблица К.3 - Технические характеристики электродов из высокоэлектро-проводного эбонита
|
Наименование параметров |
Тип электрода |
Примечание |
|
ЭПР (электрод пластинчатый резиновый) |
||
|
Длина электрода, м |
0,5 и 1,5 |
Электроды могут изготавливаться в виде гирлянд, в каждой из которых должно содержаться по три электрода, соединенных между собой гибкими изолированными электроперемычками длиной: |
|
Ширина электрода, м |
0,16 |
|
|
Допускаемая токовая нагрузка, А |
0,5 и 1,5 |
|
|
Температурный диапазон эксплуатации, °С |
65-75 |
|
|
|
|
1,0 м-при расположении в камере |
|
|
|
1,5 м- при расположении в канал |

1 - электроды АЗ стержневого типа; 2 - вспомогательные электроды; 3 - трубопровод;
4 - распределительный кабель; 5 - КИП у станции катодной защиты; 6 - электроперемычка; 7 - станция катодной защиты (преобразователь); 8 - КИП; 9 - уровень затопления канала;
10 - диэлектрические опоры.
Рисунок Л.1 - Схема размещения в тепловом канале распределенных анодных заземлителей стержневого типа, расположенных перпендикулярно оси трубопроводов

1 - электроды АЗ*; 2 - вспомогательные электроды; 3 - трубопровод; 4 - распределительный кабель; 5 - КИП у станции катодной защиты (СКЗ); 6 - электроперемычка; 7 - СКЗ (преобразователь); 8 - КИП; 9 - уровень затопления канала; 10 - диэлектрические опоры;
11 - электроперемычка между электродами АЗ
Рисунок Л.2 - Схема размещения в тепловом канале распределенных анодных заземлителей катодного типа из токопроводящих эластомеров или стальных трубопроводов

1 - электроды АЗ стержневого типа*; 2 - вспомогательный электрод; 3 - трубопровод;
4 - распределительный кабель; 5 - КИП у станции катодной защиты; 6 - электроперемычка; 7 - станция катодной защиты (преобразователь); 8 - КИП; 9 - уровень затопления канала: 10 - диэлектрические опоры.
_____________
* Количество секций электродов в сечении канала, и их расположение определяется расчетным методом.
Рисунок Л.3 - Схема размещения в тепловом канале распределенных анодных заземлителей стержневого типа из ферросилидов, укладываемых вдоль канала.

1 - магниевые протекторы; 2 - вспомогательный электрод; 3 - трубопровод;
4 - распределительный кабель; 5 - КИП; 6 - электроперемычка; 7 - магниевые протекторы стержневого типа; 8 - диэлектрические опоры
Рисунок М.1 - Схема размещения протекторов в тепловом канале
Таблица Н.1
Технические характеристики протекторов из магниевых сплавов без активатора
|
Тип протектора |
1.2.4.1.1 Габаритные размеры, мм |
Место расположения |
Масса, кг |
|
|
В сечении |
Длина |
|||
|
1.3 ПМ-5 |
75´100 |
500 |
В каналах и камерах |
5,0 |
|
ПМ-10 |
100´130 |
600 |
В каналах и камерах |
10,0 |
|
ПМ-20 |
155´175 |
610 |
В каналах и камерах |
20,0 |
|
ПМ-2,7 |
50´55 |
540 |
В каналах, камерах и футлярах |
2,68 |
Таблица Н.2
Технические характеристики протекторов из магниевых сплавов без активатора
|
Тип протектора |
Габаритные размеры, мм |
Масса, кг |
Место расположения |
|
|
диаметр |
длина |
|||
|
ПМ-5у |
165±4 |
580 |
16,0 |
В каналах и камерах |
|
ПМ-10у |
200±4 |
700 |
30,0 |
В каналах и камерах |
|
ПМ-20у |
270±4 |
710 |
60,0 |
В каналах и камерах |
Стационарные медносульфатные электроды длительного действия типа ЭНЕС и ЭСН-МС (рисунок П.1) состоят из пластмассового корпуса 1, заполненного в заводских условиях электролитом 2, незамерзающим при температуре окружающей среды до минус 40 °С, медного стержня 3, ионообменной мембраны 4 (одной или двух) с защитной сеткой 5, предохранительной трубки 6 с проводниками 7 от медного стержня 3 и наконечников 9. Электроды оснащены датчиком потенциала 8, представляющим собой пластину из ст.3 размером 25´25 мм, вмонтированную в пластмассовое гнездо, закрепленное на корпусе электрода.
Основные параметры и размеры электрода ЭНЕС и ЭСН-МС следующие:
|
Переходное электрическое сопротивление электрода, кОм, в пределах |
0,2 ¸ 15 |
|
Потенциал по отношению к хлорсеребряному электроду, мВ |
120 ± 30 |
|
Диаметр корпуса внутренний, мм, не более |
83 |
|
Количество электролита в корпусе, см3 |
290 ¸ 300 |
|
Длина проводников, мм |
2000 ¸ 3000 |
|
Масса электрода полная, кг, не более |
0,65 |
Таблица П.1
Состав незамерзающего электролита для заполнения электродов ЭНЕС и ЭСН-МС
|
Обозначение документа |
Наименование составной части, единица измерения |
Величина |
|
|
Вода дистиллированная, см3 |
200±3 |
|
ГОСТ 4165-78* |
Медь сернокислая хч или чда, растворяемая в воде, г |
65±1,5 |
|
|
Сухой порошок сернокислой меди, г |
30±1,5 |
|
Этиленгликоль первого или высшего сорта, см3 |
100,0±1,5 |

1 - корпус; 2 - электролит; 3 - стержень из красной меди; 4 - ионообменная мембрана;
5 - защитная сетка; 6 - предохранительная трубка; 7 - проводники; 8 - датчик потенциала;
9 - наконечники
Примечание. При контроле эффективности ЭХЗ трубопроводов тепловых сетей датчик потенциала не используется.
Рисунок П.1 - Стационарный медносульфатный электрод сравнения типа
ЭСН-МС или ЭНЕС-1
АКТ
приемки строительно-монтажных работ
|
_______________________ "___" __________ 200 __г. (регион) По адресу ___________________________________________________________________. Работы выполнены по проекту _________________________________________________. (наименование организации и № проекта) Мы, нижеподписавшиеся: От Заказчика _______________________________________________________________ (должность, фамилия) От эксплуатирующей организации _______________________________________________ (должность, фамилия) От строительной организации __________________________________________________ (должность, фамилия) От технического надзора ______________________________________________________ (должность, фамилия) От проектной организации ____________________________________________________ (должность, фамилия) составили настоящий акт в том, что______________________________________________ ___________________________________________ выполнены в соответствии с проектом. Комиссии были предъявлены следующие узлы строительно-монтажных работ: 1. Кабельные прокладки а) кабель от преобразователя до АЗ марки ______________ уложен в траншее на глубине _______ м, длиной __________ м и защищен ______________________________________ ____________________________________________________________________________ (покрыт кирпичом, в трубах и т.д.) По стене здания_______________________________________________________________ (способ прокладки, марка кабеля и длина) В подвале здания _____________________________________________________________ (способ прокладки, марка кабеля и длина) б) кабель от преобразователя до КУ марки ______________ уложен в траншее на глубине _______ м, длиной __________ м и защищен ______________________________________ _____________________________________________________________________________ (покрыт кирпичом, в трубах и т.д.) По стене здания ______________________________________________________________ (способ прокладки, марка кабеля и длина) В подвале здания _____________________________________________________________ (способ прокладки, марка кабеля и длина) 2. Анодное заземление Выполнено по чертежу ________________________________________________________ а) электроды заземления выполнены из __________________________________________ (материал, профиль, сечение) длиной __________ м, в количестве __________ шт. ________________________________ (с обсыпкой или без обсыпки) б) внутренний электрод выполнен из _____________________________________________ (материал, профиль, сечение) _____________________________________________________________________________ (наличие активатора или обсыпки) в) общее сопротивление растеканию _____________________________________________ 3. Контактные устройства а) КУ на ___________________ выполнено из _____________________________________ (вид сооружения) _____________________________________________________________________________ (материал, сечение, профиль) По чертежу № ___________. Контакт с защищаемым сооружением осуществлен путем _____________________________________________________________________________ _____________________________________________________________________________ Антикоррозионное покрытие на защищаемом сооружении _______________________ _____________________________________________________________________________ б) КУ на ___________________ выполнено из _____________________________________ (вид сооружения) _____________________________________________________________________________ (материал, сечение, профиль) По чертежу № ___________. Контакт с защищаемым сооружением осуществлен путем _____________________________________________________________________________ _____________________________________________________________________________ Антикоррозионное покрытие на защищаемом сооружении _______________________ _____________________________________________________________________________ 4. Электромонтажные работы 1. Установка _______________________ питается от сети переменного тока напряжением ____________ В, размещена ____________________________________________________ _____________________________________________________________________________ (место, метод крепления) 2. Электропроводка переменного тока выполнена ___________________________________ ______________________________________________________________________________ (марка, сечение, длина кабеля, провод) Монтаж проводки осуществлен _________________________________________________ (по фасаду, в подвале, в земле и т.д.) Место подключения ___________________________________________________________ Устройство учета эл. энергии ___________________________________________________ 3. Отключающее устройство выполнено __________________________________________ 4. Защитное заземление выполнено по чертежу № __________________________________ 5. Сопротивление растекания защ. заземления _____________________________________ 6. Электромонтажные работы выполнены в соответствии с актом приемки и сдачи электромонтажных работ__________________________________________________________ 5. Прочие устройства _____________________________________________________________________________ _____________________________________________________________________________ 6. Замечания по строительно-монтажным работам _____________________________________________________________________________ _____________________________________________________________________________ Подписи: От Заказчика _______________________ От эксплуатирующей организации ______________________ От строительной организации __________________________ От технического надзора ______________________________ От проектной организации ____________________________
|
АКТ
приемки и сдачи электромонтажных работ
|
____________________ "___" _________ 200 __ г. (регион) Заказчик _____________________________________________________________________ Объект ______________________________________________________________________ Комиссия в составе: От Заказчика _________________________________________ (должность, фамилия) От электромонтажной организации _______________________________________________ (должность, фамилия) От эксплуатационной организации _______________________________________________ (должность, фамилия) Произведена проверка и осмотр выполненных работ по _____________________________ _____________________________________________________________________________ 1. К сдаче предъявлено _________________________________________________________ _____________________________________________________________________________ _____________________________________________________________________________ 2. Электромонтажные работы выполнены по проекту, разработанному и согласованному с Территориальным Управлением "Госэнергонадзора" и "Энергосбыта" ____________________ _____________________________________________________________________________ _____________________________________________________________________________ 3. Отступление от проекта ______________________________________________________ _____________________________________________________________________________ 4. Электромонтажные работы выполнены (оценка) _________________________________ 5. Оставшиеся недоделки _______________________________________________________ _____________________________________________________________________________ не препятствуют нормальной эксплуатации и подлежат устранению электромонтажной организацией до _________________________________________________________________ _____________________________________________________________________________ ЗАКЛЮЧЕНИЕ: Электрооборудование, перечисленное в п. № 1 настоящего акта, считать принятым в нормальную эксплуатацию после пуско-наладочных работ. К акту прилагается: 1. Протокол измерения сопротивления изоляции кабелей. 2. Протокол измерения полного сопротивления петли "Фаза-О". 3. Протокол проверки наличия цепи между заземлителями и заземляемыми элементами электрооборудования. 4. Протокол измерения сопротивления растекания тока заземляющих устройств. СДАЛ: ________________________ ПРИНЯЛ___________________________ |
АКТ
приемки в эксплуатацию контактных устройств, потенциалоуравнивающих перемычек и контрольно-измерительных пунктов
(ненужное зачеркнуть)
|
г. ___________________ "___" __________ 200 __г. Комиссия в составе представителей: От строительной организации ___________________________________________________ (должность, фамилия) От технического надзора ______________________________________________________ (должность, фамилия) От эксплуатационной организации ______________________________________________ (должность, фамилия) произвела осмотр и проверку выполненных работ _________________________________ _____________________________________________________________________________ по адресу ____________________________________________________________________ на трубопроводе ______________________________________________________________ _____________________________________________________________________________ Работы выполнены по проекту __________________________________________________ В соответствии с типовым чертежом _____________________________________________ Глубина залегания трубопровода ________________________________________________ _____________________________________________________________________________ КУ, ПТ, КИП оборудован ______________________________________________________ (электродом сравнения) ____________________________________________________________________________ Привязки указаны на исполнительном чертеже ____________________________________ _____________________________________________________________________________ Подписи: От строительной организации _________________________ От технического надзора ____________________________ Заключение об исправности сдаваемого сооружения: эксплуатационная организация, проводящая проверку _______________________________ ______________________________________________________________________________ проверка производилась методом ________________________________________________ с помощью прибора ____________________________________________________________ результат проверки_____________________________________________________________ _____________________________________________________________________________ _____________________________________________________________________________ Должность, Ф.И.О. Подпись Печать "____" ____________ 200 ___г.
|
АКТ
гидравлических и электрических испытаний изолирующих фланцев с условным проходом
|
Dу - _____________________________________ Испытания изолирующего фланцевого соединения на прочность и плотность "____" _____________ 200 ___ г. проведено гидравлическое испытание изолирующего фланцевого соединения (№ ______) на прочность и плотность давлением _____ МПа с выдержкой 10 мин. с последующим осмотром и измерением падения давления по манометру. При осмотре дефектов, утечек и видимого падения давления по манометру не обнаружено. Изолирующее фланцевое соединение испытание на прочность и плотность выдержало. Производитель работ _______________________________________________ (должность, Ф.И.О., подпись) Представитель ОТК ________________________________________________ (должность, Ф.И.О., подпись) Электрические испытания изолирующего фланцевого соединения (действительны в течение 3-х месяцев) "____" _____________ 200 ___ г. проведены электрические испытания изолирующего фланцевого соединения (№ ______). При испытании в сухом помещении мегомметром типа М-1101 при напряжении 1 кВ короткое замыкание не зафиксировано. Измеренное сопротивление изолирующего фланцевого соединения _____________ Изолирующее фланцевое соединение электрические испытания выдержало. После установки фланца на трубопровод тепловой сети вызвать представителя эксплуатационной организации для приемки. Производитель работ _______________________________________________ (должность, Ф.И.О., подпись) Представитель ОТК ________________________________________________ (должность, Ф.И.О., подпись)
|
Справка
|
О приемке изолирующего соединения ________________________________________ шт. по __________________________________________________________________________ (адрес) Произведена проверка исправности электроизолирующего соединения по вызову от _____________________________________________________________________________ (наименование организации) Предприятие - изготовитель _____________________________________________________ Установка изолирующего соединения выполнена по проекту № ______________________ _____________________________________________________________________________ (наименование проектной организации) Проверка производилась методом _______________________________________________ с помощью прибора ___________________________________________________________ При приемке представлены следующие документы: а) акты гидравлических и электрических испытаний; б) эскиз трубопровода. Результаты проверки ________________________________________________________ _____________________________________________________________________________ _____________________________________________________________________________ Заключение__________________________________________________________________ _____________________________________________________________________________ _____________________________________________________________________________ Представитель эксплуатационной организации Должность ______________________ Подпись _________________________________ "____"_________200__г. (Ф.И.О.) |
АКТ
приемки строительно-монтажных работ
гальванической (протекторной) защиты
|
_______________________ "___" __________ 200 __г. (регион)
Работы по защите _____________________________________________________________ (наименование сооружения) по адресу _______________________________________ выполнялись по проекту №____ (наименование организации, обозначение проекта) Мы, нижеподписавшиеся: От Заказчика _______________________________________________ (должность, фамилия) От эксплуатирующей организации _____________________________________________ (должность, фамилия) От строительной организации _________________________________________________ (должность, фамилия) От технического надзора _____________________________________________________ (должность, фамилия) От проектной организации ___________________________________________________ (должность, фамилия) составили настоящий акт в том, что ______________________________________________ ____________________________________________ выполнены в соответствии с проектом. Комиссии были предъявлены следующие узлы строительно-монтажных работ: 1. Гальванические аноды (протекторы) а) типа _______ длиной _______ мм, массой ______ кг в количестве ________ шт., установлены группами по ______ шт. в каждой. Общее количество групп ____________; б) расстояние между гальваническими анодами (протекторами) в группах _____ м. Расстояние между гальваническими анодами (протекторами) и защищаемым сооружением: в 1-ой группе ____________ м, во 2-ой группе __________ м, в 3-ей группе __________ м. 2. Кабельные прокладки Соединительная магистраль в группах выполнена кабелем ________ сечением ________ м, длиной __________ м и защищена _________________________________________________ (в трубах и т.д.) Проводники от гальванических анодов (протекторов) к общей магистрали выполнены проводом марки ______________, узлы присоединения герметизированы. Места присоединения изолированы от стенок канала _______________________________ _____________________________________________________________________________ (способ изоляции) 3. Контактные устройства Контакт с __________________________________________ выполнен по типовому (вид сооружения) чертежу (нормали) ____________________________________________________________ (обозначение документа) путем _______________________________________________________________________ (сварки, болтового присоединения) 4. Прочие узлы _____________________________________________________________________________ 5. Замечания по строительно-монтажным работам _____________________________________________________________________________
Подписи: От Заказчика _______________________ От эксплуатирующей организации _________________________ От строительной организации _____________________________ От технического надзора _________________________________ От проектной организации _______________________________
|
АКТ
приемки в эксплуатацию установок электрохимической защиты
в районе _____________
|
г. ___________________ "___" __________ 200 __г.
Комиссия в составе представителей: От Заказчика _________________________________________________________ (должность, фамилия) От строительной организации ___________________________________________ (должность, фамилия) От эксплуатационной организации _______________________________________ (должность, фамилия) От проектной организации ______________________________________________ (должность, фамилия) От технического надзора ______________________________________________ (должность, фамилия) От Госэнергонадзора __________________________________________________ (должность, фамилия) Ознакомившись с технической документацией, установила следующее: 1. Установки ЭХЗ построены по проекту _____________________________________________________________________________ 2. Техдокументация согласована со всеми заинтересованными организациями без замечаний. 3. Характеристика установок ЭХЗ
4. Параметры установок ЭХЗ
5. Замечания по проекту, монтажу, наладке _____________________________________________________________________________ 6. Комиссия постановила принять в эксплуатацию установки ЭХЗ с ________ года. Подписи:
От Заказчика _______________________________ От строительной организации ______________________________ От эксплуатационной организации ________________________ От проектной организации _________________________________ От технического надзора __________________________________ От Госэнергонадзора ______________________________________ |
||||||||||||||||||||||||||||||||||||
|
_______________________________________________________________________ (преобразователь катодной защиты, преобразователь дренажной защиты)
№ __________________________________ Адрес ____________________________________________________________________ 1. Тип установки ___________________________________________________________ (дата выпуска, заводской номер) 2. Способ крепления ________________________________________________________ 3. Дата ввода в эксплуатацию ________________________________________________ 4. Характеристика узлов защиты: кабель ____________________________________________________________________ (марка, сечение, длина) анодный заземлитель _______________________________________________________ (материал, конструкция, число электродов) сопротивление растеканию тока ______________________________________________ место подключения дренажа _________________________________________________ защитное заземление _______________________________________________________ прочие устройства _________________________________________________________ 5. Проектные параметры защиты: напряжение источника питания установки _____________________________________ сила выходного тока ________________________________________________________ выходное напряжение ______________________________________________________ сопротивление цепи ________________________________________________________ разность потенциалов на контактном устройстве КУ: максимальная ___________________ средняя ___________________________________ срок службы анодного заземления ____________________________________________ 6. Протяженность защищаемых сооружений ___________________________________ Перечень контрольно-измерительных пунктов
Составил __________________________ " ____ " __________________ 200 ___ г.
|
[1] СНиП 11-01-95. Инструкция о порядке разработки, согласования, утверждения и составе проектной документации на строительство предприятий, зданий и сооружений. Приняты и введены в действие постановлением Минстроя России от 30.06.1995 г. № 18-64.
[2] СНиП III-4-80. Правила производства и приемки работ. Техника безопасности в строительстве. УТВЕРЖДЕНЫ постановлением Госстроя СССР от 9 июня 1980 г. № 82.
[3] СП 2.2.2.1327-03. Гигиенические требования к организации технологических процессов, производственному оборудованию и рабочему инструменту. Утв. Главным государственным санитарным врачом РФ 23 мая 2003 г.
Ключевые слова: трубопроводы тепловых сетей, наружная коррозия, защитные противокоррозионные покрытия, устройства электрохимической защиты, технические решения, проектирование и строительство, сдача в эксплуатацию
Содержание
|
Руководитель организации-разработчика ОАО "ВНИПИэнергопром" наименование организации |
|
|
|
|
|
|
|
Генеральный директор должность Руководитель разработки |
|
В.Г. Семенов инициалы, фамилия |
|
Заместитель генерального директора должность Исполнители: |
В.Н. Папушкин инициалы, фамилия |
|
|
Заведующий лабораторией должность |
Г.Х. Умеркин инициалы, фамилия |
|
|
Специалист должность |
Х.А.. Алимов инициалы, фамилия |
|
|
СОИСПОЛНИТЕЛИ Руководитель организации-соисполнителя |
|
|
|
ООО "Научно-производственный комплекс Курс-ОТ" наименование организации
|
|
|
|
Генеральный директор должность Руководитель разработки |
|
Н.Т. Петрусенко инициалы, фамилия |
|
Ведущий инженер должность Исполнитель |
В.Б. Косачев инициалы, фамилия |
|
|
Инженер должность |
Д.Н. Крылов инициалы, фамилия |
|
|
|
|
|
|
ГОСТЫ, СТРОИТЕЛЬНЫЕ и ТЕХНИЧЕСКИЕ НОРМАТИВЫ. Некоммерческая онлайн система, содержащая все Российские Госты, национальные Стандарты и нормативы. В Системе содержится более 150000 файлов нормативно-технической документации, действующей на территории РФ. Система предназначена для широкого круга инженерно-технических специалистов. Copyright © www.gostrf.com, 2008 - 2026 |