|
|
|
ОТКРЫТОЕ АКЦИОНЕРНОЕ ОБЩЕСТВО "ГАЗПРОМ" Общество с ограниченной ответственностью Общество с ограниченной
ответственностью СТАНДАРТ ОРГАНИЗАЦИИ ДОКУМЕНТЫ НОРМАТИВНЫЕ ДЛЯ ПРОЕКТИРОВАНИЯ, СТРОИТЕЛЬСТВА И ЭКСПЛУАТАЦИИ ОБЪЕКТОВ ОАО "ГАЗПРОМ" МЕТОДИЧЕСКИЕ УКАЗАНИЯ ПО ДИАГНОСТИЧЕСКОМУ ОБСЛЕДОВАНИЮ ЛИНЕЙНОЙ ЧАСТИ МАГИСТРАЛЬНЫХ ГАЗОПРОВОДОВ СТО Газпром 2-2.3-095-2007 Дата введения 2007-08-28 Предисловие 1 РАЗРАБОТАН Обществом с ограниченной ответственностью "Научно-исследовательский институт природных газов и газовых технологий ВНИИГАЗ" 2 ВНЕСЕН Управлением по транспортировке газа и газового конденсата Департамента по транспортировке, подземному хранению и использованию газа ОАО "Газпром" 3 УТВЕРЖДЕН И ВВЕДЕН В ДЕЙСТВИЕ Распоряжением ОАО "Газпром" от 29 декабря 2006 г. № 441 с 28.08.2007 г. 4 ВЗАМЕН Положения по организации и проведению комплексного диагностирования линейной части магистральных газопроводов ЕСГ, утвержденного Заместителем Председателя Правления ОАО "Газпром" 22.07.1998 г. Содержание ВведениеНастоящий стандарт разработан в рамках Программы научно-исследовательских и опытно-конструкторских работ ОАО "Газпром" на 2004 г., утвержденной Председателем Правления ОАО "Газпром" А.Б. Миллером 13 сентября 2004 г. № 01-69, и Перечня приоритетных научно-технических проблем ОАО "Газпром" на 2002-2006 гг., утвержденного Председателем Правления ОАО "Газпром" (АМ-2121 от 15.04.2002 г.): п. 6.3 "Разработка системы диагностического обслуживания трубопроводов (включая прогнозирование и диагностику стресс-коррозии) скважин и энергетического оборудования". Настоящий стандарт разработан в соответствии с Федеральным законом "О промышленной безопасности опасных производственных объектов" [1], Правилами, утвержденными Постановлением Правительства Российской Федерации [2] и НД Федеральной службы по экологическому, технологическому и атомному надзору [3-7] с учетом требований Федерального закона "О лицензировании отдельных видов деятельности" [8] и НД [9-10] и предусматривает комплекс диагностических мероприятий на протяжении всего жизненного цикла МГ. Стандарт разработан коллективом авторов: И.И. Губанком, В.В. Салюковым, М.Ю. Митрохиным, А.В. Молокановым, И.А. Долговым, В.Н. Ворониным, О.Н. Поповым, С.В. Романцовым, В.В. Харионовским, В.И. Городниченко, В.Е. Грязиным, М.В. Чубуновым, М.А. Широковым, В.А. Алкаевой, Д.А. Колпаковым, Ф.Г. Тухбатуллиным, М.И. Королевым, А.В. Василевичем, А.Н. Кузнецовым. 1 Область применения1.1 Действие настоящего стандарта распространяется на диагностическое обследование линейной части магистральных газопроводов диаметром до 1420 мм включительно, запроектированных на рабочее давление до 10,0 МПа. 1.2 Стандарт определяет основные положения комплексного диагностирования технического состояния линейной части магистральных газопроводов, включая диагностику магистральных газопроводов, выполняемую внутритрубными дефектоскопами. 1.3 Стандарт предназначен для Эксплуатирующих организаций, проектных и научно-исследовательских дочерних обществ и организаций ОАО "Газпром", а также Специализированных организаций, занимающихся техническим диагностированием магистральных газопроводов. 2 Нормативные ссылкиВ настоящем стандарте использованы нормативные ссылки на следующие стандарты: ГОСТ 9.602-89 Единая система защиты от коррозии и старения. Сооружения подземные. Общие требования к защите от коррозии ГОСТ 27.002-89 Надежность в технике. Основные понятия. Термины и определения ГОСТ 7512-82 Контроль неразрушающий. Соединения сварные. Радиографический метод ГОСТ 14782-86 Контроль неразрушающий. Соединения сварные. Методы ультразвуковые ГОСТ 18353-79 Контроль неразрушающий. Классификация видов и методов ГОСТ 20415-82 Контроль неразрушающий. Методы акустические. Общие требования ГОСТ 21104-86 Контроль неразрушающий. Магнитоферрозондовый метод ГОСТ 21105-90 Контроль неразрушающий. Магнитопорошковый метод ГОСТ 23479-92 Контроль неразрушающий. Методы оптического вида. Общие требования ГОСТ 23667-85 Контроль неразрушающий. Дефектоскопы ультразвуковые. Методы измерения основных параметров ГОСТ 24289-80 Контроль неразрушающий вихретоковый. Термины и определения ГОСТ 25225-82 Контроль неразрушающий. Швы сварных соединений трубопроводов. Магнитографический метод ГОСТ 27655-88 Акустическая эмиссия. Термины, определения и обозначения ГОСТ 28702-90 Контроль неразрушающий. Толщиномеры ультразвуковые. Общие технические требования ГОСТ Р 51164-98 Трубопроводы стальные магистральные. Общие требования к защите от коррозии ГОСТ Р 51330.9-99 Электрооборудование взрывозащищенное. Часть 10. Классификация взрывоопасных зон ГОСТ Р 52005-2003 Контроль неразрушающий. Метод магнитной памяти металла. Общие требования СТО Газпром РД 1.10-098-2004 Методика технического диагностирования трубопроводов и обвязок технологического оборудования газораспределительных станций магистральных газопроводов СТО Газпром 2-3.5-032-2005 Положение по организации и проведению контроля за соблюдением требований промышленной безопасности и обеспечением работоспособности объектов Единой системы газоснабжения ОАО "Газпром" СТО Газпром 2-3.5-045-2006 Порядок продления срока безопасной эксплуатации линейной части магистральных газопроводов ОАО "Газпром" СТО Газпром 2-3.5-046-2006 Порядок экспертизы технических условий на оборудование и материалы, аттестации технологий и оценки готовности организаций к выполнению работ по диагностике и ремонту объектов транспорта газа ОАО "Газпром" СТО РД Газпром 39-1.10-084-2003 Методические указания по проведению анализа риска для опасных производственных объектов газотранспортных предприятий ОАО "Газпром" СТО РД Газпром 39-1.10-088-2004 Регламент электрометрической диагностики линейной части магистральных газопроводов Примечание - При пользовании настоящим стандартом целесообразно проверить действие ссылочных стандартов в информационной системе общего пользования - на официальном сайте национального органа Российской Федерации по стандартизации в сети Интернет или по ежегодно издаваемому информационному указателю "Национальные стандарты", который опубликован по состоянию на 1 января текущего года, и по соответствующим ежемесячно издаваемым информационным указателям, опубликованным в текущем году. Если ссылочный документ заменен (изменен), то при пользовании настоящим стандартом следует руководствоваться замененным (измененным) документом. Если ссылочный документ отменен без замены, то положение, в котором дана ссылка на него, применяется в части, не затрагивающей эту ссылку. 3 Термины, определения и сокращения3.1 В настоящем стандарте применены термины по ГОСТ 27.002, а также следующие термины с соответствующими определениями: 3.1.1 Эксплуатирующая организация: Юридическое лицо, осуществляющее эксплуатацию объектов транспорта газа ОАО "Газпром". 3.1.2 Специализированная организация: Организация, включенная в реестр организаций, допущенных к выполнению диагностического обследования на линейной части магистральных газопроводов ОАО "Газпром", или имеющая заключение по ее организационно-технической готовности к ведению работ по диагностированию технического состояния объектов транспорта газа, а также аттестованную диагностическую лабораторию и аттестованных специалистов. 3.1.3 Авария на опасном производственном объекте ОАО "Газпром": Разрушение сооружений и (или) технических устройств, применяемых на действующих опасных производственных объектах ОАО "Газпром"; неконтролируемые взрыв и (или) выброс опасных веществ (природного газа, конденсата и т.д.), находящихся в технологических системах указанных объектов. 3.1.4 Инцидент на опасном производственном объекте ОАО "Газпром": Механическое повреждение или появление скрытого дефекта конструкции, отдельного элемента сооружений действующего опасного производственного объекта, отказ обслуживающих его систем (систем телемеханики, связи, энергоснабжения, электрохимической защиты или других), не повлиявшие на работоспособность объекта, но вызвавшие необходимость принятия нештатных действий, не предусмотренных планом технического обслуживания и ремонта, для восстановления его безопасного состояния. 3.1.5 Техническое состояние объекта: Состояние объекта, которое характеризуется в определенный момент времени при определенных условиях внешней среды значениями параметров, установленных нормативно-технической документацией. 3.1.6 Контроль технического состояния: Проверка соответствия технического состояния объекта требованиям нормативной документации и определение на этой основе одного из заданных видов технического состояния в данный момент времени. 3.1.7 Техническое диагностирование (диагностирование): Процесс определения технического состояния объекта технического диагностирования с определенной точностью, результатом которого является заключение о техническом состоянии объекта технического диагностирования с указанием при необходимости места, вида и причины дефекта (дефектов). 3.1.8 Система технического диагностирования линейной части магистральных газопроводов: Совокупность средств, объектов и исполнителей, необходимых для проведения диагностического обслуживания линейной части магистральных газопроводов в соответствии с настоящим стандартом. 3.1.9 Система диагностического обслуживания: Совокупность действий по определению и прогнозированию технического состояния находящихся в эксплуатации объектов. 3.1.10 Мониторинг технического состояния: Систематический (непрерывный или периодический) контроль параметров, характеризующих техническое состояние оборудования. 3.1.11 Диагностическая бригада: Группа специалистов по техническому диагностированию. 3.1.12 Специалист по техническому диагностированию: Технический специалист Специализированной организации, имеющий необходимые полномочия, квалификацию и средства для выполнения работ по техническому диагностированию, в том числе с применением внутритрубных дефектоскопов. 3.1.13 База данных: Комплекс структурированных данных, используемых и/или формируемых при диагностическом обслуживании, хранящихся на компьютеризованных устройствах памяти, извлекаемых и/или используемых с помощью соответствующего программного обеспечения. 3.1.14 Интеллектуальная вставка: Устройство, позволяющее проводить мониторинг эксплуатационных параметров газопровода (внутреннее давление и температура) и напряжений на потенциально опасных структурных элементах линейной части магистральных газопроводов. 3.2 В настоящем стандарте применены следующие сокращения: А/Д - автомобильная дорога; АЭ - акустическая эмиссия; ВТД - внутритрубная диагностика; ГРС - газораспределительная станция; ЕСГ - единая система газоснабжения; Ж/Д - железная дорога; КИП- контрольно-измерительный пункт; КРН - коррозионное растрескивание под напряжением; КС - компрессорная станция; ЛЧ МГ - линейная часть магистрального газопровода; ЛЭП - линия электропередач; МГ - магистральный газопровод; НД - нормативный документ; НДС - напряженно-деформированное состояние; НК - неразрушающий контроль; ССД - система сбора данных; ЦПДД - Центральный производственно-диспетчерский департамент; ЭХЗ - электрохимическая защита. 4 Общие положения4.1 Основная цель системы диагностического обслуживания ЛЧ МГ - обеспечение бесперебойного транспорта газа в соответствии с плановой производительностью МГ при безаварийной его работе и с минимизацией издержек от рисков природного и техногенного характера. 4.2 Комплексная система обеспечения надежности газотранспортной системы основывается на системе диагностического обслуживания МГ и формируется из следующих направлений: - разработка и внедрение новых технологий, систем мониторинга, приборных средств диагностики технического состояния ЛЧ МГ и приборов для измерения напряжений, деформаций и перемещений трубопроводных конструкций; - создание информационных баз и расчетно-экспериментальных инженерных методов оценки риска эксплуатации, прочности и ресурса с учетом результатов диагностирования технического состояния; - оптимизация методов планирования и организации ремонта МГ с учетом их технического состояния, способов и технико-экономических показателей производства ремонтных работ. 4.3 В зависимости от конструктивных особенностей ЛЧ МГ рассматривают как совокупность структурных элементов, таких как линейные участки газопровода, подводные переходы, переходы через железные и автомобильные дороги, надземные переходы и т.д. 4.4 Средства технического диагностирования должны обнаруживать дефекты с вероятностью не менее 0,9, а измерение размеров дефектов осуществлять с точностью, соответствующей требованиям СТО Газпром 2-3.5-046, что обеспечивает заданные в СТО Газпром 2-3.5-048, СНиП 2.05.06-85* [11] и НД [12-17] требования по надежности к ЛЧ МГ. 4.5 При диагностическом обслуживании ЛЧ МГ используют информацию, хранящуюся в ССД "Инфотех" [18], информацию, получаемую при проектировании, строительстве и производственном контроле, авторском надзоре проектных организаций, испытаниях и приемке объектов в эксплуатацию, эксплуатации, техническом надзоре и специальных исследовательских работах. 4.6 Система диагностического обслуживания ЛЧ МГ обеспечивает решение следующих задач: - проведение технического диагностирования ЛЧ МГ в оптимальные сроки на основе определения приоритета обследования, факторного анализа риска эксплуатации и вероятности образования опасного дефекта; - предупреждение аварий, отказов и инцидентов на ЛЧ МГ ОАО "Газпром"; - планирование ремонта ЛЧ МГ и управление его проведением по фактическому техническому состоянию структурных элементов ЛЧ МГ; - обоснование решения о возможности и условиях дальнейшей эксплуатации структурных элементов ЛЧ МГ; - прогнозирование технического состояния ЛЧ МГ. 4.7 Для решения перечисленных задач необходимо обеспечить: - контроль технического состояния структурных элементов ЛЧ МГ; - систематизацию и обобщение информации, получаемой в ходе диагностического обслуживания структурных элементов ЛЧ МГ, а также информации, полученной при испытаниях; - унификацию и внедрение информационного, методического и метрологического обеспечения системы диагностического обслуживания ЛЧ МГ. 4.8 Техническое диагностирование ЛЧ МГ выполняют Эксплуатирующие и Специализированные организации. 4.9 Техническое диагностирование объектов ЛЧ МГ осуществляют Специализированные организации, включенные в реестр организаций, допущенных к выполнению диагностического обследования на ЛЧ МГ, или организации, имеющие в соответствии с СТО Газпром 2-3.5-046 протокол с решением о готовности к выполнению работ по диагностике и ремонту объектов транспорта газа, а также следующие документы: - заключение по организационно-технической готовности к ведению работ по диагностированию технического состояния газовых объектов; - свидетельство об аттестации лаборатории НК в соответствии с ПБ 03-372-00 [5]; - сертификаты на технические устройства; - разрешение на применение технических устройств (при наличии технических устройств) на опасных производственных объектах в соответствии с правилами [19]; - соответствующие стандарты и методическое обеспечение диагностических работ; - свидетельства об аттестации по методам НК специалистов по техническому диагностированию; - свидетельства об аттестации по правилам безопасного проведения работ специалистов по техническому диагностированию, выданные Федеральной службой по экологическому, технологическому и атомному надзору. 5 Системный подход к техническому диагностированию линейной части магистральных газопроводов5.1 Диагностическое обслуживание МГ на этапе эксплуатации в соответствии с рисунком 1 представляет взаимосвязанную систему трех компонентов: информационно-организационного (управление системой диагностического обслуживания, планирование и исполнение технического диагностирования МГ в соответствии с НД [7, 9, 10, 19, 20], информационное обеспечение в соответствии с регламентом [18]), нормативно-методического (нормативное и методическое обеспечение технического диагностирования и оценки технического состояния МГ), и технической части (совокупность различных методов, способов, видов и средств НК, применяемых для контроля технического состояния МГ). 5.2 Техническое диагностирование (обследование) ЛЧ МГ разделяют на функциональное (плановое), специальное и тестовое диагностирование. Виды, методы и способы технического диагностирования, которые необходимо использовать при техническом диагностировании ЛМ МГ, и рекомендации по их применению приведены в приложении А. 5.3 Комплекс диагностических работ, выполняемых при функциональном диагностировании, в соответствии со схемой, представленной на рисунке 2, включает: - обнаружение на внутренних и наружных поверхностях труб, включая сварные швы, нарушений сплошности металла (прожог, расслоение, неметаллическое включение, раковина, усталостная и стресс-коррозионная трещины, коррозионная язва, задир, канавка, царапина, плена, рванина, непровар), а также вмятин, гофр, смещений кромок и пр.; - измерение (определение) геометрических параметров дефектов; - выявление утечек газа; - выявление нарушений ВРД 39-1.10-006-2000* [10] и охранных зон МГ, определяемых по СНиП 2.05.06-85* [11]; - обследование состояния средств ЭХЗ и их эффективности в соответствии с ГОСТ Р 51164;
Рисунок 1 - Системный подход к организации диагностического обслуживания магистральных газопроводов - измерение механических напряжений (деформаций) и перемещений в соответствии с методическими рекомендациями [20] участков газопроводов, находящихся в непроектном положении; - обследование состояния трубопроводной арматуры в соответствии с методическими указаниями [21];
Рисунок 2 - Структурная схема комплекса диагностических работ на МГ - определение технического состояния подводных переходов в соответствии с РД 51-3-96 [22], переходов через автомобильные и железные дороги в соответствии с инструкцией [23] и других структурных элементов ЛЧ МГ; - определение состояния изоляционного покрытия и глубины заложения трубопровода в соответствии с ВРД 39-1.10-026-2001 [24]; - определение возможностей прохождения очистных или измерительных внутритрубных снарядов и диагностических устройств в соответствии с РД-51-2-97 [25]; - измерение толщины стенок труб и твердости металла; - определение дефектов геометрии трубопровода; - оценку состояния опор, креплений и других конструктивных элементов надземных переходов; - оценку состояния узлов приема и запуска очистных устройств; - наблюдение за динамикой условий эксплуатации, включая замеры давления, температуры продукта и окружающей среды. 5.4 Специальные обследования включают: определение уровня грунтовых вод, ореолов оттаивания и промерзания грунта в полосе отвода и вокруг газопроводов, концентрации водородных ионов рН, внешних нагрузок и воздействий, фиксацию перемещений грунтов, окружающих газопроводы и на прилегающих территориях, и изменения других условий эксплуатации, а также экологической ситуации в зоне, окружающей контролируемые объекты. 5.5 Тестовое диагностирование объектов осуществляют при специально создаваемых контрольных нагрузках и воздействиях, отличающихся от эксплуатационных по величине и времени воздействия. 5.6 Техническое диагностирование ЛЧ МГ Эксплуатирующие организации планируют с учетом предварительно выявленных потенциально опасных и особо ответственных и сложных для технического диагностирования структурных элементов ЛЧ МГ. 5.6.1 К потенциально опасным структурным элементам МГ относят участки МГ, характеризующиеся следующими признаками: - участки примыкания к КС со стороны высокого давления; - участки, расположенные на льдистых, вечномерзлых, слабонесущих грунтах; - участки, расположенные на обводненных территориях (болота, поймы рек, ручьи, водотоки и др.); - участки, проложенные в сейсмических районах; - участки с опасными эндогенными и экзогенными процессами (оползень, пересеченная местность, тектонический разлом, карстообразование, эрозия и т.д.); - участки со сложными геокриологическими условиями, на которых ожидаются пучение или осадка грунтов; - участки, на которых имели место аварии, отказы и инциденты и прилегающие к ним участки; - участки, на которых имеются отклонения от проектных решений; - участки на которых значение защитного потенциала не соответствует ГОСТ Р 51164; - участки, пересекаемые ЛЭП или близко к ним расположенные; - участки, в соответствии с инструкцией [26] склонные к стресс-коррозии. 5.6.2 К особо ответственным и сложным для диагностирования структурным элементам ЛЧ МГ относят: - участки, имеющие сложную конфигурацию в горизонтальной или вертикальной плоскости либо в обеих плоскостях одновременно; - участки с высокой интенсивностью балластировки; - участки пересечений МГ; - подводные переходы; - вантовые переходы; - переходы через автомобильные и железные дороги; - трубопроводную арматуру; - участки ЛЧ МГ, прилегающие к камерам приема-запуска очистных устройств и компенсаторам. 6 Схема технического диагностирования линейной части магистральных газопроводов6.1 Техническое диагностирование ЛЧ МГ Эксплуатирующие организации проводят в соответствии со схемой, представленной на рисунке 3. 6.2 Для учета конструктивных особенностей и условий эксплуатации, а также видов дефектов при составлении алгоритма диагностирования Эксплуатирующие организации формируют перечень структурных элементов ЛЧ МГ в соответствии с рисунком 4 и перечень характерных дефектов, отклонений от проектных решений, нарушений охранных зон в соответствии с рисунком 5. Комплекс взаимодополняющих методов диагностирования структурных элементов ЛЧ МГ разрабатывают с учетом перечня характерных дефектов, отклонений от проектных решений, нарушений охранных зон в соответствии с СНиП 2.05.06-85* [11] и правил эксплуатации ВРД 39-1.10-006-2000* [10].
Рисунок 3 - Схема технического диагностирования ЛЧ МГ 6.3 На основании перечня структурных элементов ЛЧ МГ и перечня обнаруженных ранее характерных дефектов, отклонений от проектных решений, нарушений охранных зон и т.п. Эксплуатирующая организация ранжирует структурные элементы ЛЧ МГ по очередности технического диагностирования в соответствии с критериями настоящего стандарта. 6.4 Эксплуатирующая организация проводит работы по обеспечению диагностирования ЛЧ МГ: - проводит подготовку участков ЛЧ МГ к проведению ВТД; - устанавливает постоянные маркеры по трассе с привязкой к системе спутниковой навигации, в том числе на потенциально опасных, особо ответственных участках и сложных структурных элементах; - производит расчистку полосы газопровода и обеспечивает подъезды к трассе; - обеспечивает установку и сохранность КИП и т.п.
Рисунок 4 - Схема формирования структурных элементов ЛЧ МГ 6.5 В алгоритмах диагностирования структурных элементов ЛЧ МГ, не подготовленных к ВТД, в соответствии со схемой диагностического обслуживания, представленной на рисунке 2, предусматривают проведение наиболее информативных методов обследования - электрометрических обследований в соответствии с СТО РД Газпром 39-1.10-088, а также магнитометрических обследований в соответствии с РД 102-008-2002 [27].
Рисунок 5 - Схема формирования перечня характерных дефектов, отклонений от проектных решений, нарушений охранных зон и нарушений правил эксплуатации МГ 6.6 Для структурных элементов ЛЧ МГ, подготовленных к ВТД, алгоритм диагностирования предусматривает проведение ВТД, а другие виды и методы диагностики в соответствии со схемой диагностического обслуживания, представленной на рисунке 2, применяют с целью выявления дефектов, отклонений и нарушений, не выявляемых ВТД. 6.7 По результатам ВТД, электрометрических обследований, обследований с поверхности земли, обследований на наличие дефектов стресс-коррозии по факторам, способствующим образованию и росту дефектов стресс-коррозии, аэрокосмических обследований и др. обследований Специализированные организации определяют места для инструментального обследования в шурфах. Эксплуатирующие организации проводят инструментальное обследование в шурфах для подтверждения наличия дефектов, а также установления их размеров с целью оценки погрешностей результатов определения размеров дефектов в предыдущих обследованиях. 6.8 С учетом специфики структурных элементов алгоритм диагностирования ЛЧ МГ может быть расширен, например, включением постоянного мониторинга утечек газа на особо ответственных и сложных для диагностирования структурных элементах или мониторинга напряжений с применением интеллектуальных вставок на потенциально опасных структурных элементах. 6.9 При выборе мест установки интеллектуальных вставок и других средств мониторинга напряжений (деформаций) определяют наиболее нагруженные зоны потенциально опасных и особо ответственных и сложных для диагностирования структурных элементов ЛЧ МГ. Для их определения используют результаты натурной инструментальной съемки пространственного положения участка МГ с последующей оценкой НДС в соответствии с инструкцией [28], расчеты общего НДС (методом конечных элементов) и данные экспериментальных измерений напряжений. 6.10 Данные о напряжениях (деформациях) в газопроводе используют: - для оценки работоспособности и запаса прочности структурного элемента ЛЧ МГ; - анализа эффективности защитных мероприятий на потенциально опасных структурных элементах ЛЧ МГ; - выбора метода ремонта ЛЧ МГ. 7 Организация диагностирования линейной части магистральных газопроводов7.1 Организационная структура технического диагностирования ЛЧ МГ в соответствии с рисунком 6 базируется на централизованной системе управления и включает: Департамент по транспортировке, подземному хранению и использованию газа ОАО "Газпром", Эксплуатирующие организации, Специализированные организации (ДОАО "Оргэнергогаз", ЗАО НПО "Спецнефтегаз" и др.) и научно-исследовательские и проектные институты (ООО "ВНИИГАЗ", ОАО "Гипрогазцентр" и др.). 7.2 Организационная структура технического диагностирования ЛЧ МГ определяет взаимодействие между ОАО "Газпром", Эксплуатирующими организациями, научно-исследовательскими и проектными организациями и Специализированными организациями. 7.3 ОАО "Газпром" осуществляет организационно-техническое обеспечение системы диагностического обслуживания ЛЧ МГ, включающее: - формирование концепции целостности, стратегии диагностического обслуживания и планирования диагностических работ и программы развития системы технического диагностирования ЛЧ МГ; - анализ технического состояния ЛЧ МГ на основе результатов технического диагностирования ЛЧ МГ и планирование управленческих решений по инвестициям в капитальный ремонт и реконструкцию ЛЧ МГ;
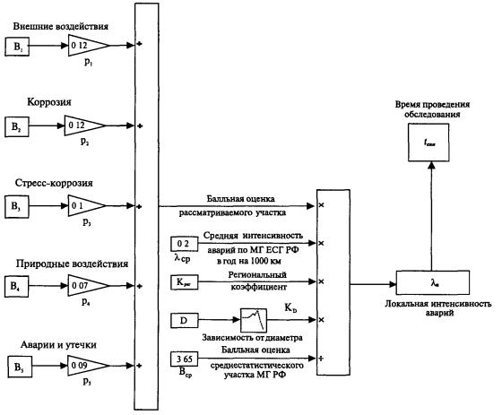
Рисунок 6 - Организационная структура системы диагностического обслуживания ЛЧ МГ - координацию работ по обеспечению эксплуатационной надежности ЛЧ МГ; - прием и анализ заявок на проведение технического диагностирования ЛЧ МГ; - утверждение годового плана работ ОАО "Газпром" по техническому диагностированию ЛЧ МГ; - обобщение и анализ информации по результатам технического диагностирования ЛЧ МГ; - контроль за выполнением плана работ по техническому диагностированию ЛЧ МГ. 7.4 Научно-исследовательские и проектные организации осуществляют: - научное обеспечение диагностических работ; - подготовку НД по техническому диагностированию ЛЧ МГ; - разработку НД по анализу результатов технического диагностирования ЛЧ МГ; - анализ данных о техническом состоянии ЛЧ МГ, в том числе с использованием ССД "Инфотех"; - выявление закономерностей в появлении дефектов и неисправностей на ЛЧ МГ; - разработку рекомендаций по дальнейшей безопасной эксплуатации ЛЧ МГ; - анализ перспектив развития технологий технического диагностирования ЛЧ МГ; - прогноз технического состояния ЛЧ МГ. 7.5 Специализированная организация, ответственная за централизованную систему сбора, передачи, обработки и хранения данных о технологических объектах добычи, транспорта и подземного хранения газа ЕСГ (ССД "Инфотех"), осуществляет: - развитие и ведение (поддержание в рабочем состоянии и наполнение сведениями о результатах ремонтов, инспекции и диагностике ЛЧ МГ) ССД "Инфотех" и организацию доступа к ней; - разработку форм отчетности по структурным элементам ЛЧ МГ, которые должны содержать полную информацию обо всех работах, проводимых на них за весь период эксплуатации, и их фактическом техническом состоянии; - формирование предложений для Департамента по транспортировке, подземному хранению и использованию газа ОАО "Газпром" по плану проведения технического диагностирования; - составление годовых отчетных справок для Департамента по транспортировке, подземному хранению и использованию газа ОАО "Газпром" о техническом состоянии структурных элементов. 7.6 Специализированные организации, проводящие диагностирование структурных элементов ЛЧ МГ осуществляют: - поиск и апробацию новых методов и средств технического диагностирования; - выполнение технического диагностирования ЛЧ МГ в соответствии с планом проведения диагностики трубопроводов и ГРС, а также по заявкам Эксплуатирующих организаций; - представление результатов диагностирования ЛЧ МГ Эксплуатирующей организации, составление заключений о техническом состоянии обследованных структурных элементов ЛЧ МГ и выдачу рекомендаций об условиях их дальнейшей эксплуатации. 7.7 Эксплуатирующие организации осуществляют: - формирование заявок на проведение технического диагностирования ЛЧ МГ; - подготовку структурных элементов ЛЧ МГ к техническому диагностированию; - обеспечение безопасного проведения работ при техническом диагностировании ЛЧ МГ; - оперативный контроль за выполнением технического диагностирования ЛЧ МГ; - проведение ремонтно-восстановительных работ и предоставление информации по результатам ремонта в ССД "Инфотех". 8 Рекомендации по определению приоритета обследования структурных элементов магистральных газопроводов и сроков проведения очередных обследований8.1 Определение приоритета обследования линейной части магистральных газопроводов на основе анализа вероятности возникновения дефектов и отказов8.1.1 Приоритет по техническому диагностированию линейных участков МГ назначают по ожидаемой вероятности возникновения отказа на линейном участке за время эксплуатации. 8.1.2 Расчет вероятности отказа проводят по локальной интенсивности отказов на рассматриваемом участке ЛЧ МГ. 8.1.3 Значение локальной интенсивности отказов lл рассчитывают на основании статистических данных об инцидентах и отказах на газопроводах и по результатам экспертных оценок конструктивно-технологических особенностей, условий строительства, эксплуатации и текущего технического состояния (наличия дефектов) ЛЧ МГ в соответствии с СТО РД Газпром 39-1.10-084. 8.1.4 Среднюю интенсивность отказов рассчитывают на 1000 км газопроводов за год эксплуатации. 8.1.5 Интенсивность отказов обследуемого участка МГ lл вычисляют в соответствии со структурной схемой, представленной на рисунке 7, по формуле
где lрег - среднестатистическая интенсивность отказов для газотранспортного предприятия, которое обслуживает участок газопровода - среднее число отказов в год на 1000 км газопроводов; kD - коэффициент, учитывающий зависимость интенсивности отказов от диаметра газопровода;
Рисунок 7 - Схема расчета риска (вероятности отказа) эксплуатации линейной части магистральных газопроводов Вср - балльная оценка для среднестатистического участка газопровода (по десятибалльной шкале), принимают равной 3,65; pi, qij - весовые коэффициенты, учитывающие определенный относительный вклад каждого фактора внутри каждой из групп технологических и природных факторов влияния; Fij - балльные оценки факторов риска для обследуемого участка газопровода; J(i) - число факторов внутри каждой из групп. 8.1.6 Значения параметров lрег, kD, pj, qij и балльных оценок факторов риска Fij в зависимости от конструктивно-технологических особенностей, условий строительства и эксплуатации, а также текущего технического состояния рассматриваемого участка газопровода определяют в соответствии с СТО РД Газпром 39-1.10-084. 8.1.7 Вероятность возникновения одного или более отказов на обследуемом участке газопровода Р(п³1) с учетом значения интенсивности отказов вычисляют по формуле
где t - время дальнейшей эксплуатации этого участка, год; L - протяженность обследуемого участка газопровода, км. 8.1.8 Вероятность возникновения отказов Р(п³1) используют при составлении планов реконструкции и капитального ремонта, а также для определения приоритета проведения технического диагностирования линейных участков МГ. 8.1.9 В первую очередь следует проводить техническое диагностирование участков МГ, на которых вероятность отказа за один и тот же интервал времени наибольшая. 8.2 Критерии выбора структурных элементов линейной части магистральных газопроводов для технического диагностирования8.2.1 Критерий определения очередности обследования подземных переходов через железные и автомобильные дороги основан на информации, полученной по результатам проведенных обследований. Обследования переходов проводят в соответствии с инструкцией [23]. Критерий основан на факторах, характеризующих техническое состояние переходов в их балльных количественных оценках, приведенных в таблице 1. Таблица 1 - Факторы, характеризующие техническое состояние переходов и их балльные количественные оценки
8.2.2 Суммарная балльная оценка является критерием для определения приоритета проведения обследования переходов. В план проведения технического диагностирования в первую очередь включают переходы через железные и автомобильные дороги с наибольшей балльной оценкой. 8.2.3 Пример определения приоритета проведения обследования переходов через автомобильные и железные дороги в соответствии с балльными оценками представлен в приложении Б. 8.2.4 Критерий определения очередности обследования подводных переходов основан на информации, полученной по результатам проведенных обследований. Обследования подводных переходов проводят в соответствии с РД 51-3-96 [22]. Критерий основан на факторах, характеризующих техническое состояние подводных переходов, и их балльных количественных оценках, приведенных в таблице 2. 8.2.5 Суммарная балльная оценка является критерием для определения приоритета проведения обследования подводных переходов. В план проведения технического диагностирования в первую очередь включают подводные переходы с наибольшей балльной оценкой. Таблица 2 - Факторы, характеризующие техническое состояние подводных переходов, и их балльные количественные оценки
8.2.6 Пример определения приоритета проведения обследования подводных переходов в соответствии с балльными оценками представлен в приложении Б. 8.3 Определение периодичности проведения диагностирования линейных участков магистральных газопроводовСтруктурные схемы статистической обработки данных внутритрубной диагностики и определения периодичности проведения ВТД на ЛЧ МГ с целью обнаружения коррозионных и стресс-коррозионных дефектов приведены на рисунках 8 и 9.
Рисунок 8 - Структурная схема определения времени проведения очередной ВТД с целью обнаружения стресс-коррозионных дефектов
Рисунок 9 - Структурная схема определения времени проведения очередной ВТД с целью обнаружения коррозионных дефектов 8.3.1 Статистическая обработка стресс-коррозионных дефектов по результатам внутритрубной инспекции8.3.1.1 Время проведения очередной внутритрубной диагностики определяют по зависимостям, получаемым на основе статистической обработки данных ВТД и прогноза роста глубины дефектов. 8.3.1.2 Для статистической обработки и прогноза используют только данные ВТД, которые были проведены начиная с 2000 года. 8.3.1.3 Дефектами КРН считают дефекты, обозначенные в дефектной ведомости как "продольная трещина" или "зона продольных трещин". 8.3.1.4 Статистическую обработку с целью определения параметров распределения стресс-коррозионных дефектов производят начиная с первой информативной ВТД, при которой было обнаружено не менее 20 дефектов КРН, глубина которых равна или превышает значение 0,2 (20% от толщины стенки трубы). По результатам следующих ВТД определяют число новых стресс-коррозионных дефектов, обнаруженных на данном участке ЛЧ МГ. 8.3.1.5 Распределение глубины дефектов, обнаруженных при проведении ВТД, описывают показательным законом распределения. Функция плотности распределения показательного закона имеет вид: f(dот) = 1/g×exp(-dот/g), где f(dот) - плотность распределения относительной глубины дефектов; dот = d/d - относительная глубина дефекта (глубина дефекта, отнесенная к толщине стенки трубы); g - параметр закона распределения. 8.3.1.6 Параметр распределения глубины дефектов, обнаруженных при первой информативной ВТД, g1, определяют по зависимостям, представленным на рисунке 10, или по следующей формуле: где m0,2, m0,3 - число обнаруженных при ВТД стресс-коррозионных дефектов, с относительной глубиной, большей или равной соответственно 0,2 и 0,3. 8.3.1.7 Значения m0,2, m0,3 определяют по дефектным ведомостям результатов ВТД, хранящихся в базе данных ССД "Инфотех".
Рисунок 10 - Определение параметра распределения коррозионных и стресс-коррозионных дефектов 8.3.1.8 Прогнозируемое число стресс-коррозионных дефектов на участке газопровода - п (включая дефекты, глубина которых ниже порога чувствительности внутритрубного дефектоскопа) вычисляют по формуле или определяют по графику, представленному на рисунке 11.
Рисунок 11 - Определение прогнозируемого числа дефектов 8.3.2 Статистическая обработка коррозионных дефектов по результатам внутритрубной инспекции8.3.2.1 Коррозионными считают дефекты, обозначенные в дефектных ведомостях как "коррозия", "коррозия по всей длине", "каверна", "продольные и поперечные канавки". 8.3.2.2 Статистическую обработку с целью определения параметров распределения коррозионных дефектов производят начиная с первой информативной ВТД, при которой было обнаружено не менее 20 дефектов, глубина которых равна или превышает значение 0,15 (15 % от толщины стенки трубы). 8.3.2.3 Определение параметров распределения коррозионных дефектов производят для двух последних ВТД начиная с первой информативной ВТД (если после первой информативной ВТД уже была проведена диагностика). 8.3.2.4 Перед проведением статистической обработки из данных предпоследней ВТД исключают дефекты, которые были отремонтированы в период между ВТД, так как этих дефектов нет в данных последней внутритрубной диагностики. 8.3.2.5 Параметр распределения показательного закона определяют по зависимостям, представленным на рисунке 10, или по следующей формуле: g = 0,15/loge[m0,15/m0,3], (3) где m0,15, m0,3 - число обнаруженных при ВТД коррозионных дефектов с относительной глубиной, большей или равной соответственно 0,15 и 0,3. 8.3.2.6 Значения m0,15, m0,3 определяют по дефектным ведомостям результатов ВТД, хранящихся в базе данных ССД "Инфотех". 8.3.2.7 Прогнозируемое число коррозионных дефектов на участке газопровода - п (включая дефекты, глубина которых ниже порога чувствительности внутритрубного дефектоскопа) вычисляют по формуле или определяют по графику, представленному на рисунке 11. 8.3.2.8 Примеры статистической обработки результатов внутритрубной диагностики приведены в приложении Б. 8.3.3 Определение сроков проведения повторной внутритрубной инспекции магистрального газопровода для обнаружения стресс-коррозионных дефектов8.3.3.1 Интервал времени до проведения очередного обследования ЛЧ МГ с целью обнаружения стресс-коррозионных дефектов определяют из условия необходимости обнаружения дефектов, которые не были обнаружены в предыдущих обследованиях из-за их малых размеров и вновь образовавшихся дефектов. 8.3.3.2 До первой информативной ВТД (до тех пор, пока при ВТД обнаруживают незначительное количество КРН дефектов) после выполнения ремонта проведение очередной ВТД для обнаружения стресс-коррозионных дефектов назначают через пять лет. 8.3.3.3 После поведения
первой информативной ВТД интервал времени (число лет) до проведения очередного j+1 обследования ЛЧ МГ где п - прогнозируемое число стресс-коррозионных дефектов, определенное при статистической обработке результатов первой информативной ВТД; j - число проведенных ВТД начиная с первой информативной ВТД;
g1 - параметр показательного закона распределения на рассматриваемом участке газопровода, определенный при статистической обработке результатов первого информативного обследования;
где
gj - параметр распределения глубины дефектов, определенный по результатам последней ВТД по формуле
8.3.3.4 Если интервал времени DtВТд окажется более 5 лет, то в связи с тем, что при ВТД возможен пропуск дефектов, он устанавливается равным 5 годам. 8.3.3.5 Пример расчета времени проведения очередной ВТД для обнаружения стресс-коррозионных дефектов приведен в приложении Б. 8.3.4 Определение сроков проведения повторной внутритрубной инспекции магистрального газопровода для обнаружения коррозионных дефектов8.3.4.1 Интервал времени до проведения очередного обследования ЛЧ МГ с целью обнаружения коррозионных дефектов определяют из условия необходимости обнаружения коррозионных дефектов, которые не были обнаружены в предыдущих обследованиях, обнаружения вновь образовавшихся дефектов, а также для контроля изменения размеров дефектов, которые не были отремонтированы по итогам предыдущего обследования. 8.3.4.2 До первой информативной ВТД (до тех пор, пока при ВТД обнаруживают незначительное количество коррозионных дефектов) после выполнения ремонта проведение очередной ВТД для обнаружения коррозионных дефектов назначают через 5 лет. 8.3.4.3
После проведения первой информативной ВТД интервал времени (число лет) до
проведения очередного j+1 обследования
ЛЧ МГ где j - количество ВТД, проведенных начиная с первой информативной ВТД;
nj и lj - прогнозируемое число коррозионных дефектов и параметр распределения глубины дефектов, определенные по результатам последней ВТД;
gj-1 - параметр распределения глубины дефектов, определенный при статистической обработке данных предпоследней ВТД. 8.3.4.4 Интервал времени 8.3.4.5 При ремонте в первую очередь устраняют наиболее опасные коррозионные дефекты. Если при этом наряду с опасными дефектами устраняют менее опасные дефекты, то их не учитывают в числе отремонтированных дефектов. 8.3.4.6 При планировании по
результатам ВТД ремонтных работ предусматривают такой объем ремонтных работ,
чтобы интервал времени проведения следующей ВТД находился в диапазоне 3 £ 8.3.4.7 Если интервал времени
8.3.4.8 В случае пропуска двух снарядов - продольного и поперечного намагничивания, которые обнаруживают как коррозионные, так и стресс-коррозионные дефекты, время проведения очередной ВТД определяют как меньшее из двух значений, рассчитанных по выражениям (5) и (6). 8.3.4.9 Пример расчета времени проведения очередной ВТД для обнаружения коррозионных дефектов приведен в приложении Б. 8.3.5 Определение времени проведения повторного обследования участка магистрального газопровода по результатам экспертной оценки интенсивности отказов, составленной на основе комплексного диагностирования технического состояния газопровода8.3.5.1 Определение времени проведения повторного обследования участка МГ, не подготовленного для проведения ВТД, осуществляют на основе экспертной оценки локальной интенсивности отказов. 8.3.5.2 Для оценки интенсивности отказов и определения времени проведения очередного комплексного обследования участка МГ используют группы риска, балльные оценки которых изменяются по времени и могут быть определены при комплексном обследовании участка МГ. 8.3.5.3 Интенсивность отказов рассматриваемого участка lл определяют в соответствии с блок-схемой, представленной на рисунке 12, по формуле где lср - средняя для МГ ОАО "Газпром" интенсивность отказов, равная 0,2 отказа в год на участке МГ длиной 1000 км; kрег - коэффициент, учитывающий зависимость интенсивности отказов от региона прокладки газопровода; рi и qij - весовые коэффициенты групп и факторов риска соответственно; Fij - балльные оценки факторов риска для рассматриваемого участка МГ; Вcp - балльная оценка среднестатистического участка МГ; kD - коэффициент, учитывающий зависимость интенсивности отказов от диаметра газопровода; J(i) - число факторов внутри каждой из групп.
Рисунок 12 - Блок-схема определения локальной интенсивности отказов lл и времени проведения следующего комплексного диагностирования участка МГ Значения величин kрег, kD, pi и qij приведены в СТО Газпром РД 39-1.10-084. Балльные оценки факторов риска Fij определяют по результатам комплексного диагностирования технического состояния участка МГ в соответствии с методическими указаниями СТО РД Газпром 39-1.10-084. Опросный лист, позволяющий определить балльные оценки факторов риска, приведен в приложении В. 8.3.5.4 Для экспертной оценки интенсивности отказов рассматривают следующие группы риска: - "внешние антропогенные воздействия"; - "коррозия"; - "стресс-коррозия"; - "природные воздействия"; - "отказы и утечки, имевшие место в прошлом". 8.3.5.5 В качестве оцениваемых участков газопровода рассматривают участки, лежащие между КС в зоне ответственности одного линейно-производственного управления. 8.3.5.6 Для вероятности безаварийной эксплуатации, равной 0,95, время безаварийной эксплуатации (число лет) вычисляют по формуле
где lу - средняя длина участка, равная 60 км. 8.3.5.7 По истечении времени tком необходимо проводить следующее комплексное диагностирование технического состояния данного участка МГ. 8.3.5.8 Если расчетное время проведения следующего комплексного диагностирования технического состояния оказывается малым, намечают рекомендации по повышению эксплуатационной надежности. С учетом намеченных мероприятий по формуле (7) пересчитывают локальную интенсивность отказов и для этого значения lл по формуле (8) уточняют время проведения следующего обследования газопровода. 9 Техническое диагностирование региональных газопроводов и газопроводов-отводов9.1 Для технического диагностирования региональных газопроводов и газопроводов-отводов применяют ВТД, наземные методы обследования, обследования с применением летательных аппаратов и другие способы и методы контроля. 9.2 ВТД проводят на региональных газопроводах и газопроводах-отводах, оборудованных стационарными или временными камерами приема-запуска очистных поршней. На региональных газопроводах и газопроводах-отводах, где проведение ВТД невозможно из-за конструктивных особенностей или нецелесообразно, для технического диагностирования используют: радиолокацию с применением георадара в соответствии с методикой [30], магнитометрию в соответствии с РД 102-008-2002 [27], акустическую эмиссию в соответствии с ПБ 03-593-03 [29], электрометрию в соответствии с СТО РД Газпром 39-1.10-088, оптические и тепловые методы обнаружения утечек газа и другие способы и методы контроля. 9.3 Техническое диагностирование в шурфах региональных газопроводов и газопроводов-отводов, включающее проведение визуально-измерительного и неразрушающего контроля труб, рассматривают в качестве метода обследования, дополняющего ВТД с целью повышения достоверности оценки технического состояния линейной части региональных газопроводов и газопроводов-отводов, а также в качестве самостоятельного вида обследования на региональных газопроводах и газопроводах-отводах, на которых не планируют проведение ВТД. 9.4 Очередность технического диагностирования региональных газопроводов и газопроводов-отводов определяют в соответствии с разделом 8.1 по ожидаемой вероятности отказа с учетом их региональной значимости и возможности резервирования транспорта газа. 9.5 Определение технического состояния региональных газопроводов и газопроводов-отводов без проведения ВТД предусматривает выполнение следующих работ: - проведение технического диагностирования с применением магнитометрических, радиолокационных, акустических и других наземных методов обследования; - определение на основе анализа условий и факторов, способствующих образованию и развитию дефектов, очередности проведения технического диагностирования в шурфах на участках региональных газопроводов и газопроводов-отводов с обнаруженными наземными методами обследования дефектами; - обнаружение дефектов в шурфах по результатам технического диагностирования участков региональных газопроводов и газопроводов-отводов; - оценка степени опасности и отбраковка обнаруженных дефектов. 9.6 В первую очередь техническое диагностирование региональных газопроводов и газопроводов-отводов в шурфах проводят на потенциально опасных участках с обнаруженными дефектами. На остальных участках трассы газопроводов, где были обнаружены дефекты, очередность проведения технического диагностирования в шурфах устанавливают на основе анализа факторов, способствующих образованию и росту дефектов. Для выявления факторов, способствующих образованию и росту дефектов, проводят анализ проектно-исполнительной документации и полевые обследования газопроводов с целью уточнения оценок факторов, выявленных по документации, и математическую обработку результатов анализа документации и полевых обследований. 9.7 В качестве факторов, способствующих образованию и росту дефектов на региональных газопроводах и газопроводах-отводах, рассматривают: - состояние изоляционного покрытия; - защищенность средствами ЭХЗ; - уровень грунтовых вод; - коррозионную агрессивность грунта; - блуждающие токи; - тип грунта. 9.8 Для выявленных в процессе анализа проектно-исполнительной документации и полевых обследований факторов, способствующих образованию и росту дефектов, определяют показатели, численно характеризующие влияние каждого фактора на техническое состояние газопроводов. 9.9 Показатель kф, характеризующий влияние факторов, способствующих образованию и росту дефектов, на техническое состояние региональных газопроводов и газопроводов-отводов, определяют с учетом весовых коэффициентов отдельных показателей, количественно характеризующих влияние факторов, способствующих образованию и росту дефектов, рекомендуемые значения которых приведены в таблице 3. Таблица 3 - Факторы, способствующие образованию и росту дефектов, и рекомендуемые значения весовых коэффициентов показателей
9.10 Процедуру определения показателя, численно характеризующего состояние изоляционного покрытия, осуществляют в соответствии с ВРД 39-1.10-026-2001 [24]. Для этого по результатам электрометрических обследований оценивают состояние изоляционного покрытия и определяют показатель состояния изоляционного покрытия по данным таблицы 4. Таблица 4 - Показатель состояния изоляционного покрытия
9.11 Определение значения показателя, численно характеризующего фактор, связанный с защищенностью участков региональных газопроводов и газопроводов-отводов средствами ЭХЗ, проводят по результатам их электрометрического обследования. По результатам обследования показатель защищенности средствами ЭХЗ определяют по таблице 5. Участки газопровода, где разность потенциалов "труба - земля" выходит за пределы, установленные в ГОСТ Р 51164, имеют значение показателя, равное 1. Таблица 5 - Значения показателя, характеризующего фактор защищенности средствами ЭХЗ
9.12 Определение значения показателя, численно характеризующего фактор, связанный с уровнем грунтовых вод, проводят по проектно-изыскательской документации и уточняют при полевом обследовании. Полевое обследование трасс региональных газопроводов и газопроводов-отводов с целью уточнения уровня грунтовых вод проводят в соответствии с методическими рекомендациями [31]. По результатам обследования показатель уровня грунтовых вод определяют по таблице 6. Таблица 6 - Значения показателя, характеризующего фактор уровня грунтовых вод
9.13 Коррозионную агрессивность грунтов на трассах региональных газопроводов и газопроводов-отводов определяют в соответствии с ГОСТ 9.602 по значению удельного электрического сопротивления. Показатель, численно характеризующий фактор, связанный с коррозионной агрессивностью грунта, определяют по формуле
где r - удельное электрическое сопротивление грунта. При r ³ 50 показатель, связанный с коррозионной агрессивностью грунта, принимают равным нулю (G4 = 0). 9.14 Определение значения показателя, численно характеризующего фактор, связанный с наличием на участке газопровода блуждающих токов, проводят по результатам электрометрического обследования. В таблице 7 приведены значения показателя, учитывающего фактор, связанный с наличием блуждающих токов. Таблица 7 - Значения показателя, характеризующего наличие блуждающих токов на участке трассы
9.15 Определение значения показателя, численно характеризующего фактор, связанный с типом грунта, проводят по проектно-изыскательской документации и уточняют при полевом обследовании. В таблице 8 приведены значения показателя, учитывающего фактор, связанный с типом грунта. Таблица 8 - Значения показателя, численно характеризующего фактор, связанный с типом грунта
9.16 Показатель, характеризующий влияние факторов, способствующих образованию и росту дефектов, на техническое состояние региональных газопроводов и газопроводов-отводов, рассчитывают по значениям показателей исследованных факторов, способствующих образованию и росту дефектов, с учетом их весовых коэффициентов по формуле
где jф - количество исследованных факторов, способствующих образованию и росту дефектов; lг - расстояние от узла подключения регионального газопровода и газопровода-отвода; xi - весовой коэффициент; Gi(lг) - значение i-го показателя на расстоянии lг от узла подключения регионального газопровода и газопровода-отвода. 9.17 По значению показателя kф определяют очередность технического диагностирования в шурфах участков региональных газопроводов и газопроводов-отводов с обнаруженными дефектами. 9.18 В первую очередь техническое диагностирование в шурфах с использованием методов неразрушающего контроля проводят на участках региональных газопроводов и газопроводов-отводов с обнаруженными дефектами, где показатель kф, характеризующий влияние факторов, способствующих образованию и росту дефектов, на техническое состояние региональных газопроводов и газопроводов-отводов имеет наибольшие значения. 9.19 На участках региональных газопроводов и газопроводов-отводов, на которых не обнаружены наземными методами обследования дефекты, но показатель kф > 0,53, также проводят техническое диагностирование в шурфах. 9.20 Оценку степени опасности и отбраковку обнаруженных дефектов проводят в соответствии с: ВРД 39-1.10-032-2001 [13], ВСН 39-1.10-009-2002 [14], рекомендациями [12, 15, 17] и инструкцией [32]. 10 Регламент формирования и реализации плана проведения диагностики трубопроводов и газораспределительных станций10.1 Порядок планирования работ по техническому диагностированию линейной части магистральных газопроводов10.1.1 План работ по техническому диагностированию ЛЧ МГ и ГРС формирует Департамент по транспортировке, подземному хранению и использованию газа ОАО "Газпром" с привлечением Специализированной организации ОАО "Газпром", ответственной за централизованную систему сбора, передачи, обработки и хранения данных о технологических объектах добычи, транспорта и подземного хранения газа ЕСГ (ССД "Инфотех") на основе заявок от Эксплуатирующих организаций. 10.1.2 Эксплуатирующие организации определяют объемы работ по техническому диагностированию ЛЧ МГ и составляют заявку в соответствии с приведенным в приложении Г регламентом формирования плана проведения диагностики трубопроводов и ГРС ОАО "Газпром" и учитывают затраты на эти работы в расчете себестоимости транспорта газа. 10.1.3 В соответствии с приложением Г Эксплуатирующая организация планирует объемы диагностических работ на МГ с учетом технических условий, регламентов эксплуатации объектов ЛЧ МГ, а также информации о природно-климатических условиях, технологических режимах эксплуатации, результатах ранее проведенных обследований ЛЧ МГ и других факторов. 10.1.4 Департамент по транспортировке, подземному хранению и использованию газа ОАО "Газпром" осуществляет прием заявок на техническое диагностирование ЛЧ МГ и ГРС от Эксплуатирующих организаций. 10.1.5 План проведения диагностики трубопроводов и ГРС ОАО "Газпром" утверждает начальник Департамента по транспортировке, подземному хранению и использованию газа ОАО "Газпром". 10.1.6 Эксплуатирующие организации обеспечивают выполнение плана проведения диагностики трубопроводов и ГРС с учетом выделенных объемов финансирования. 10.2 Организация работ по реализации плана проведения диагностики трубопроводов и газораспределительных станций10.2.1 Непосредственную деятельность по техническому диагностированию структурных элементов ЛЧ МГ осуществляют диагностические бригады Специализированных организаций и Эксплуатирующие организации. Эксплуатирующие организации могут проводить техническое диагностирование структурных элементов ЛЧ МГ собственными силами при наличии квалифицированных специалистов. 10.2.2 В соответствии с планом проведения диагностики трубопроводов и ГРС, утвержденным Департаментом по транспортировке, подземному хранению и использованию газа ОАО "Газпром" на соответствующий календарный год, и собственными планами диагностики ЛЧ МГ Эксплуатирующая организация объявляет и проводит конкурс (тендер) на право проведения технического диагностирования ЛЧ МГ. 10.2.3 По итогам конкурса Эксплуатирующая организация заключает договор со Специализированной организацией на проведение технического диагностирования ЛЧ МГ, осуществляет контроль за проведением работ и приемку выполненных работ. 10.2.4 Общий контроль за выполнением плана проведения диагностики трубопроводов и ГРС осуществляет Департамент по транспортировке, подземному хранению и использованию газа ОАО "Газпром". 10.2.5 Для подготовки и выполнения Специализированной организацией договора и составления календарного плана проведения технического диагностирования Эксплуатирующая организация предоставляет ей следующую информацию: - паспорт МГ; - схемы ЛЧ МГ с указанием структурных элементов технического диагностирования; - сведения о ремонтно-восстановительных работах, состоянии ЭХЗ, условиях эксплуатации ЛЧ МГ и результаты технического диагностирования. 10.2.6 Специализированная организация на основе представленной информации разрабатывает и согласовывает с Эксплуатирующей организацией техническое задание и календарный план проведения технического диагностирования ЛЧ МГ. 10.2.7 Договор между Эксплуатирующей и Специализированной организациями на производство технического диагностирования заключают на основе технического задания и календарного плана, в которых определяют объемы, сроки и стоимость работ. В смете затрат учитывают протяженность обследуемой ЛЧ МГ и сложность проведения диагностирования структурных элементов ЛЧ МГ. 10.2.8 После подписания договора на проведение технического диагностирования Специализированная организация издает приказ о проведении технического диагностирования с назначением ответственного лица и исполнителей работ с указанием их квалификации. 10.2.9 Эксплуатирующая организация проводит анализ готовности ЛЧ МГ к проведению технического диагностирования, выполняет необходимые работы по подготовке структурных элементов ЛЧ МГ к техническому диагностированию (для ВТД в соответствии с РД 51-2-97 [25]) и обеспечивает проведение технического диагностирования ЛЧ МГ. 10.2.10 При необходимости снижения производительности обследуемого МГ сроки проведения работ и порядок изменения технологического режима работы газопровода должны быть учтены в комплексном плане-графике, утвержденном ЦПДД ОАО "Газпром" и Департаментом по транспортировке, подземному хранению и использованию газа ОАО "Газпром". 10.2.11 Специализированная организация выполняет комплекс работ от подготовки средств диагностирования к работе и транспортировки их на объект технического диагностирования до выдачи заключения и результатов анализа технического состояния ЛЧ МГ (структурных элементов ЛЧ МГ) Эксплуатирующей организации. 10.2.12 Перед началом работ Эксплуатирующая организация передает Специализированной организации следующие документы: - разрешение на производство работ в охранной зоне ЛЧ МГ; - акт о готовности ЛЧ МГ к безопасному проведению работ по техническому диагностированию; - распоряжение о назначении ответственного представителя Эксплуатирующей организации, отвечающего за выполнение и безопасное проведение работ по техническому диагностированию; - при необходимости наряд-допуск на производство газоопасных работ и др. 10.2.13 В случае, когда в процессе проведения технического диагностирования выясняется невозможность дальнейшего проведения работ, обусловленная техническим состоянием структурных элементов объекта диагностирования, Эксплуатирующая организация разрабатывает подробный план организационно-технических мероприятий по устранению причин, мешающих проведению технического диагностирования. План составляют в произвольной форме и согласовывают со всеми необходимыми службами Эксплуатирующей организации. 10.2.14 После выполнения работ по плану организационно-технических мероприятий Эксплуатирующая организация повторно составляет акт готовности ЛЧ МГ к техническому диагностированию, содержащий полный перечень проведенных работ, приведших к каким-либо изменениям в техническом состоянии структурных элементов объекта технического диагностирования. 10.2.15 После выполнения работ по техническому диагностированию Эксплуатирующая и Специализированная организации оформляют и подписывают акт о проведении диагностических работ. 10.3 Анализ и оформление результатов технического диагностирования10.3.1 По результатам технического диагностирования Специализированная организация оформляет отчет. 10.3.2 Технический отчет включает: - алгоритм диагностирования; - схему объекта диагностирования с указанием основных параметров (диаметр и толщина стенки трубопровода, марка стали, тип изоляционного покрытия и др.) объекта диагностирования, года ввода в эксплуатацию, режима работы и др.; - перечень обнаруженных дефектов, отклонений от проектных решений, нарушений охранных зон и правил эксплуатации МГ; - оценку опасности выявленных дефектов и рекомендации по дальнейшей эксплуатации обследованных структурных элементов ЛЧ МГ; - заключение о целесообразности проведения дополнительного технического диагностирования; - рекомендации по срокам проведения ремонта обследованных структурных элементов ЛЧ МГ; - сроки проведения повторного диагностирования технического состояния структурных элементов ЛЧ МГ. 10.3.3 Прочностной расчет опасных участков на статическую прочность производят с использованием методик и критериев, принятых в ОАО "Газпром". 10.3.4 Оценку остаточного ресурса структурных элементов ЛЧ МГ проводят в соответствии с РД 09-102-95 [33] и методикой [34]. 10.3.5 На основании материалов технического отчета Специализированная организация оформляет Заключение о техническом состоянии обследованных структурных элементов ЛЧ МГ и утверждает его в Эксплуатирующей организации. 10.3.6 После проведения ВТД Специализированная организация выдает Эксплуатирующей организации в виде экспресс-отчета оперативную информацию о наличии дефектов по мере обработки результатов технического диагностирования ЛЧ МГ. 10.3.7 Экспресс-отчет включает предварительную информацию о наиболее опасных дефектах, оформленную в виде таблицы, с указанием мест расположения дефектов по форме представления информации о дефектах в соответствии с приложением Д. 11 Комплексная оценка технического состояния линейной части магистральных газопроводов11.1 Комплексная оценка состояния ЛЧ МГ представляет собой научно и методически обоснованное заключение о техническом состоянии, основанное на анализе: - данных всех проведенных обследований; - проектной и эксплуатационной документации; - результатов проведенных испытаний и переиспытаний; - результатов расчетов по определению прочности в соответствии с НД [12-17], остаточного ресурса в соответствии с РД 09-102-95 [33] и экспертных оценок анализа риска эксплуатации в соответствии с СТО РД Газпром 39-1.10-084, определения качества сварных соединений в соответствии с инструкцией [32]. 11.2 Систему комплексной оценки состояния ЛЧ МГ в соответствии с рисунком 13 используют для обеспечения промышленной безопасности ЛЧ МГ и повышения эффективности технико-экономических показателей транспорта газа. Обеспечение промышленной безопасности ЛЧ МГ достигается путем проведения технического диагностирования и ремонтно-восстановительных работ, а повышение эффективности технико-экономических показателей транспорта газа обеспечивает техническое перевооружение и реконструкция ЛЧ МГ, а также замена и восстановление основного и вспомогательного оборудования, осуществляемые на основе прогноза поведения ЛЧ МГ, выполняемого по имеющейся диагностической информации. 11.3 Оценку технического состояния ЛЧ МГ производят на основе специально разработанных методик с учетом строительных и технологических условий (указаний), инструкций, проектных решений и других нормативных требований. При оценке технического состояния ЛЧ МГ решают следующие задачи: - проверку на прочность опасных участков ЛЧ МГ в соответствии с НД [12-17]; - оценку качества сварных соединений в соответствии с инструкцией [32]; - экспертную оценку анализа риска эксплуатации в соответствии с СТО РД Газпром 39-1.10-084; - установление динамики развития дефектов труб и защитных покрытий;
Рисунок 13 - Схема обеспечения промышленной безопасности и повышения эффективности технико-экономических показателей транспорта газа - оценку остаточного ресурса объекта контроля в соответствии с РД 09-102-95 [33]; - назначение срока повторного диагностирования технического состояния ЛЧ МГ в соответствии с настоящим стандартом; - определение динамики развития условий взаимодействия трубопроводов с окружающей средой. 11.4 По результатам оценки технического состояния ЛЧ МГ делают выводы о необходимости ремонта или реконструкции, определяют срок, тип и объем ремонтных работ, планируют диагностические и профилактические работы, разрабатывают предложения по оптимизации режимов эксплуатации, повышению конструктивной надежности ЛЧ МГ, а также техническому перевооружению и реконструкции ЛЧ МГ в зависимости от значений уровня риска (вероятности отказа). 12 Организация информационного обеспечения12.1 Для хранения в электронном виде результатов технического диагностирования ЛЧ МГ используют централизованную систему сбора, передачи, обработки и хранения данных о технологических объектах добычи, транспорта и подземного хранения газа ЕСГ (ССД "Инфотех"). 12.2 Полученные в процессе технического диагностирования ЛЧ МГ данные Эксплуатирующие организации передают в Специализированные организации для ввода в систему ССД "Инфотех" в формате представления данных, согласованном с Департаментом по транспортировке, подземному хранению и использованию газа ОАО "Газпром". 12.3 Доступ к информации, хранящейся в системе ССД "Инфотех", Эксплуатирующие, Специализированные и научно-исследовательские организации получают по согласованию с Департаментом по транспортировке, подземному хранению и использованию газа ОАО "Газпром". 12.4 Информация, хранящаяся ССД "Инфотех" включает: - паспортные данные объектов ЛЧ МГ; - результаты технического диагностирования, измерений и испытаний; - результаты расчетов, оценок, прогнозов и заключения; - результаты ремонтных работ; - статистические данные, полученные в результате обобщения информации по всем структурным элементам ЛЧ МГ. Приложение А
|
||||||||||||||||||||||||||||||||||||||||||||||||||||||||||||||||||||||||||||||||||||||||||||||||||||||||||||||||||||||||||||||||||||||||||||||||||||||||||||||||||||||||||||||||||||||||||||||||||||||||||||||||||||||||||||||||||||||||||||||||||||||||||||||||||||||||||||||||||||||||||||||||||||||||||||||||||||||||||||||||||||||||||||||||||||||||||||||||||||||||||||||||||||||||||||||||||||||||||||||||||||||||||||||||||||||||||||||||||||||||||||||||||||||||||||||||||||||||||||||||||||||||||||||||||||||||||||||||||||||||||||||||||||||||||||||||||||||||||||||||||||||||||||||||||||||||||||||||||||||||||||||||||||||||||||||||||||||||||||||||||||||||||||||||||||||||||||||||||||||||||||||||||||||||||||||||||||||||||||||||||||||||||||||||||||||||||||||||||||||||||
|
Переход газопровода Горький - Череповец через железную дорогу Москва-Горький на 84 км газопровода |
|
|
Название фактора |
Балльная оценка |
|
1 Категория перехода - два ж/д полотна |
5 |
|
2 Наличие населенных пунктов - нет |
0 |
|
3 Нарушения охранной зоны - нет |
0 |
|
4 Глубина заложения газопровода - 5,5 и 0,8 м |
2 |
|
5 Расчистка трассы вблизи перехода - расчищена |
0 |
|
6 Наличие опознавательных знаков - установлены |
0 |
|
7 Коррозионная активность грунта - низкая |
0 |
|
8 Защищенность средствами ЭХЗ - нет защиты футляра |
2 |
|
9 Наличие КИП - установлены |
0 |
|
10 Состояние изоляционного покрытия - неудовлетворительное |
5 |
|
11 Положение трубы в футляре - несоосное, есть вода |
3 |
|
12 Результаты АЭ контроля - есть активные источники АЭ |
3 |
|
13 Относительная толщина стенки трубы - 0,98 |
0 |
|
14 Последнее обследование перехода проведено три года назад |
3 |
|
Суммарная балльная оценка перехода - приоритет |
23 |
|
|
|
|
Переход газопровода Горький-Череповец через автомобильную дорогу Нововязники-Сергеево на 95,03 км газопровода |
|
|
Название фактора |
Балльная оценка |
|
1 Категория перехода - 4 |
2 |
|
2 Наличие населенных пунктов - есть |
5 |
|
3 Нарушения охранной зоны - нет |
0 |
|
4 Глубина заложения газопровода - 1,4 и 0,6 м |
0 |
|
5 Расчистка трассы вблизи перехода - расчищена |
0 |
|
6 Наличие опознавательных знаков - установлены |
0 |
|
7 Коррозионная активность грунта - низкая |
0 |
|
8 Защищенность средствами ЭХЗ - нет защиты футляра |
2 |
|
9 Наличие КИП - установлены |
0 |
|
10 Состояние изоляционного покрытия - удовлетворительное |
0 |
|
11 Положение трубы в футляре - несоосное, есть вода и касание футляра |
5 |
|
12 Результаты АЭ контроля - нет активных источников АЭ |
0 |
|
13 Относительная толщина стенки трубы - 1,02 |
0 |
|
14 Последнее обследование перехода проведено три года назад |
3 |
|
Суммарная балльная оценка перехода - приоритет |
17 |
|
|
|
|
Переход газопровода Горький - Череповец через автомобильную дорогу Нововязники-Центральный на 95,7 км газопровода |
|
|
Название фактора |
Балльная оценка |
|
1 Категория перехода - 4 |
2 |
|
2 Наличие населенных пунктов - есть |
5 |
|
3 Нарушения охранной зоны - есть |
2 |
|
4 Глубина заложения газопровода - 1,5 и 0,6 м |
0 |
|
5 Расчистка трассы вблизи перехода - расчищена |
0 |
|
6 Наличие опознавательных знаков - установлены |
0 |
|
7 Коррозионная активность грунта - средняя |
2 |
|
8 Защищенность средствами ЭХЗ - нет защиты футляра |
2 |
|
9 Наличие КИП - установлены |
0 |
|
10 Состояние изоляционного покрытия - удовлетворительное |
0 |
|
11 Положение трубы в футляре - соосное, есть вода |
2 |
|
12 Результаты АЭ контроля - нет активных источников АЭ |
0 |
|
13 Относительная толщина стенки трубы - 0,95 |
0 |
|
14 Последнее обследование перехода проведено три года назад |
3 |
|
Суммарная балльная оценка перехода - приоритет |
18 |
|
Переход газопровода Горький - Череповец через автомобильную дорогу на Ст. Мстера на 115,57 км газопровода |
|
|
Название фактора |
Балльная оценка |
|
1 Категория перехода - 4 |
2 |
|
2 Наличие населенных пунктов - нет |
0 |
|
3 Нарушения охранной зоны - нет |
0 |
|
4 Глубина заложения газопровода - 1,4 и 0,6 м |
0 |
|
5 Расчистка трассы вблизи перехода - расчищена |
0 |
|
6 Наличие опознавательных знаков - установлены |
0 |
|
7 Коррозионная активность грунта - низкая |
0 |
|
8 Защищенность средствами ЭХЗ - труба защищена, футляр отсутствует |
2 |
|
9 Наличие КИП - установлены |
0 |
|
10 Состояние изоляционного покрытия - удовлетворительное |
0 |
|
11 Положение трубы в футляре - футляр отсутствует |
5 |
|
12 Результаты АЭ контроля - есть активные источники АЭ |
3 |
|
13 Относительная толщина стенки трубы - 0,74 |
5 |
|
14 Последнее обследование перехода проведено три года назад |
3 |
|
Суммарная балльная оценка перехода - приоритет |
20 |
Из подводных переходов, представленных в таблице Б.2, в соответствии с балльными оценками в первую очередь следует провести обследование подводного перехода через реку Пелым, обладающего наибольшим приоритетом.
Таблица Б.2 - Значения балльных оценок для подводных переходов
|
Переход газопровода Игрим-Серов-Нижний Тагил через р. Сосьва |
|
|
Название фактора |
Балльная оценка |
|
1 Минимальная высота грунта над верхней образующей в русловой части - 0,2 м |
4 |
|
2 Наличие провисов трубы - нет |
0 |
|
3 Глубина водоема над минимально заглубленным участком - 2 м |
1,8 |
|
4 Наличие размывов на береговых урезах - нет |
0 |
|
5 Наличие предупреждающих знаков - установлены |
0 |
|
6 Защищенность перехода средствами ЭХЗ - обеспечена |
0 |
|
7 Наличие КИП - установлены |
0 |
|
8 Состояние изоляционного покрытия - нет повреждений |
0 |
|
9 Обследование перехода проведено два года назад |
2 |
|
Суммарная балльная оценка перехода - приоритет |
7,8 |
|
|
|
|
Переход газопровода Игрим-Серов-Нижний Тагил через р. Пелым |
|
|
Название фактора |
Балльная оценка |
|
1 Минимальная высота грунта над верхней образующей в русловой части - не определена из-за низкого уровня тока ЭХЗ и удаленности КИП от уреза |
5 |
|
2 Наличие провисов трубы - нет |
0 |
|
3 Глубина водоема над минимально заглубленным участком - 1,5 м |
1,85 |
|
4 Наличие размывов на береговых урезах - есть |
5 |
|
5 Наличие предупреждающих знаков - установлены |
0 |
|
6 Защищенность перехода средствами ЭХЗ - нет |
5 |
|
7 Наличие КИП - нет |
2 |
|
8 Состояние изоляционного покрытия - нет повреждений |
0 |
|
9 Обследование перехода проведено два года назад |
2 |
|
Суммарная балльная оценка перехода - приоритет |
20,85 |
|
|
|
|
Переход газопровода Нижняя Тура - Пермь через р. Тура |
|
|
1 Минимальная высота грунта над верхней образующей в русловой части - 0,7 м |
1,5 |
|
2 Наличие провисов трубы - нет |
0 |
|
3 Глубина водоема над минимально заглубленным участком - 1,5 м |
1,85 |
|
4 Наличие размывов на береговых урезах - нет |
0 |
|
5 Наличие предупреждающих знаков - установлены |
0 |
|
6 Защищенность перехода средствами ЭХЗ - обеспечена |
0 |
|
7 Наличие КИП - есть |
0 |
|
8 Состояние изоляционного покрытия - есть повреждения |
5 |
|
9 Обследование перехода проведено два года назад |
2 |
|
Суммарная балльная оценка перехода - приоритет |
10,35 |
В таблице Б.3 приведены числа КРН дефектов m0,2 и m0,3, обнаруженных при ВТД 2000 г. на участке газопровода Пунга-Ухта-Грязовец-4, и рассчитанные при этих значениях по выражениям 1 и 2 раздела 8.3 параметры распределения глубины дефектов n и g.
Таблица Б.3 - Расчет параметров распределения стресс-коррозионных дефектов
|
Участок газопровода |
Год ввода в эксплуатацию |
Год проведения ВТД |
m0,2 |
m0,3 |
g |
n |
|
Пунга-Ухта-Грязовец-4 (1,3-206 км) |
1980 |
2000 |
216 |
50 |
0,068 |
4031 |
В таблице Б.4
приведены числа коррозионных дефектов m0,2 и m0,3,
обнаруженных при ВТД 2001, 2004 гг. на участке газопровода Ямбург-Елец-2
(2533-2644 км), и рассчитанные при этих значениях по выражениям 3 и 4 раздела 8.3
параметры распределения глубины дефектов п и g, а также темп нарастания параметра
распределения по данным этих втд - ![]()
Таблица Б.4 - Расчет параметров распределения коррозионных дефектов
|
Участок газопровода |
Год ввода в эксплуатацию |
Год проведения втд |
m0,15 |
m0,3 |
g |
n |
|
МГ Ямбург-Елец-2 (2533-2644 км) |
1986 |
2001 |
137 |
16 |
0,0698 |
- |
|
2004 |
243 |
43 |
0,0866 |
1374 |
По методике, описанной в разделе 8.3, и результатам статистической обработки данных ВТД, приведенных выше, были выполнены расчеты времени проведения следующих ВТД для участка газопровода Пунга-Ухта-Грязовец-4 (1,3-205 км), где внутритрубная диагностика проводилась три раза - в 2000, 2003 и 2004 гг. Результаты расчетов приведены в таблице Б.5.
Таблица Б.5 - Расчеты интервалов времени до проведения следующих ВТД
|
Годы проведения ВТД |
Параметр распределения |
m0,2 |
Vg |
Интервал времени до проведения следующей ВТД |
|
2000 |
g1 = 0,068 |
216 |
0,0034 |
3,4 |
|
2003 |
g2 = 0,083 |
52 |
0,005 |
1,8 |
|
2004 |
g3 = 0,0831 |
1 |
0,0038 |
2,6 |
Расчеты показывают, что вторую ВТД на участке МГ Пунга-Ухта-Грязовец-4 (1,3-205 км) надо было проводить в 2003 г. (что и было сделано). После ее проведения было обнаружено 52 новых дефекта, из них восемь дефектов имели относительную глубину более 0,3. По расчетам, третью ВТД на этом участке следовало проводить через 1,8 года, т.е. в 2005 г. В действительности третья ВТД была проведена в 2004 г. и был обнаружен только один КРН дефект с глубиной более 20 %. Следующую, четвертую диагностику с целью обнаружения КРН дефектов на этом участке следует проводить через 2,6 года.
По методике, описанной в
разделе 8.3,
и результатам расчета параметров распределения коррозионных дефектов по данным
ВТД за 2001 и 2004 гг., приведенным выше, были проведены расчеты времени
проведения повторной ВТД (после 2004 г.) для участка МГ Ямбург-Елец-2
(2533-2644 км). В расчетах варьировалось число труб, отремонтированных по
итогам ВТД 2004 г. -
. Предполагалось, что при ремонте устраняются наиболее
глубокие коррозионные дефекты. Результаты расчетов приведены на рисунке Б.1.
Расчеты показывают, что после устранения 27-40 наиболее опасных коррозионных дефектов следующую ВТД на данном участке следует проводить через 3-5 лет.

Рисунок Б.1 - Зависимость интервала времени до проведения следующей ВТД от объемов ремонтных работ, проведенных по итогам предыдущей ВТД на МГ Ямбург-Елец-2 (2533-2644 км)
|
Паспортные данные участка |
|
|
Год ввода в эксплуатацию, год последнего испытания, информация о проведенных ремонтах, замене оборудования и реконструкции МГ |
|
|
Диаметр, минимальная толщина стенки, протяженность участка |
|
|
Проектное, разрешенное или испытательное давление, среднее рабочее давление за последний год эксплуатации |
|
|
Завод - изготовитель труб и марка стали |
|
|
Тип изоляционного покрытия и условия его нанесения |
|
|
Внешние воздействия |
|
|
Минимальная глубина заложения МГ, м, протяженность отрытых участков, м |
|
|
Плотность населения чел/км2 |
|
|
Число пересечений с вневедомственными коммуникациями |
|
|
Число пересечений с дорогами |
|
|
Строгая система согласования проведения работ в охранной зоне между сторонними организациями и ЛПУ: имеет место, отсутствует |
|
|
Материалы (карты) о фактическом расположении МГ и его отводов у районной администрации и предприятий-землепользователей: имеются, отсутствуют |
|
|
Разъяснительная работа среди населения и персонала строительных и т.п. предприятий в охранной зоне: не проводится, проводится от случая к случаю, проводится регулярно |
|
|
Наличие и материал ограждения наземного оборудования: ограждение отсутствует, деревянный забор или ограждение из арматуры, прочное ограждение с бетонными опорными столбами |
|
|
Наличие между авто- или железной дорогой и наземным оборудованием дополнительного барьера |
|
|
Степень расчистки полосы: полоса расчищена безукоризненно, возможен обзор трассы с земли и воздуха, имеют место поросшие зеленью участки, трасса полностью заросла |
|
|
Закрепление трассы знаками: установлены все знаки в соответствии с ПТЭ, установлены все знаки, но ряд из них плохо просматривается, не все знаки установлены, требуется установка знаков у автомобильных и железных дорог и водных переходов, отсутствие значительной (>30 %) части знаков, полное отсутствие знаков закрепления трассы |
|
|
Частота обходов и облетов трассы |
|
|
Освоение зоны безопасных расстояний: не имеет места, имеет место и где |
|
|
Несанкционированные работы в охранной зоне: не было, имели место и где |
|
|
Данные предыдущих обследований |
|
|
Изменение удельного сопротивления грунта по трассе [Ом×м] |
|
|
Кислотность почвы по трассе pH |
|
|
Деятельность микроорганизмов: нет, есть |
|
|
Температура перекачиваемого газа |
|
|
Протяженность металлических вневедомственных коммуникаций в охранной зоне МГ, % |
|
|
Протяженность линий вневедомственных электропередач в охранной зоне МГ, % |
|
|
Наличие защиты от блуждающих токов: есть, нет |
|
|
Процент дефектной изоляции с переходным сопротивлением менее 1000 Ом×м2 |
|
|
Качество и периодичность контроля состояния покрытия: полный контроль состояния изоляции не реже одного раза в год, полный контроль состояния изоляции не реже 1 раза в 1,5-2 года или только интегральная оценка не реже 1 раза в год, нерегулярный (реже 1 раза в два года) контроль, редкий контроль с недостаточным приборным оснащением |
|
|
Защищенность средствами ЭХЗ по дистанции и по времени, % |
|
|
Число лет эксплуатации без средств ЭХЗ после ввода в эксплуатацию (если имела место) |
|
|
Периодичность обслуживания средств ЭХЗ: по ПТЭ, с нарушениями |
|
|
Расстояние между КИК и их комплектность |
|
|
Число лет после последнего комплексного диагностирования |
|
|
Данные контрольных шурфовок, характер и размеры обнаруженных дефектов |
|
|
Природные факторы и воздействия |
|
|
Вероятность перемещения грунта: высокая - перемещение грунта является обычным явлением (МГ III-IV категорий просадочности); средняя - топография и тип грунта не исключают возможности перемещения грунта (МГ II категории просадочности); низкая - перемещение грунта наблюдаются редко (МГ I категории просадочности); нулевая - никаких признаков перемещения грунта нет |
|
|
Несущая способность грунта. Торфяники сильно и слабо разложившиеся (низкая несущая способность). Пески пылевые мерзлые и пылевые с включением гальки, гравия и валунов; супеси пластичные, мерзлые, мало- и сильнольдистые; мягкопластичные глины и суглинки (низкая несущая способность); Суглинки полутвердые тугопластичные, мерзлые - малольдистые и льдистые, с включением гальки и гравия; полутвердые тугопластичные глины; мелкие плотные влажные и водонасыщенные пески (средняя несущая способность); глины твердые, мерзлые малольдистые и льдистые; глинистые сланцы с кварцевыми жилами; твердые суглинки и супеси; гравелистые крупные влажные и водонасыщенные пески (нормальная несущая способность) |
|
|
Наличие или отсутствие на участке наземных узлов со сложной обвязкой и арматурой, способ их установки (фундамент) |
|
|
Меры по ослаблению напряжений и повышению устойчивости МГ: имели место или не требуются; не имели место или неадекватны |
|
|
Мероприятия по изменению свойств грунта: проводятся или не требуются, не проводятся или неадекватны |
|
|
Охлаждение газа для предотвращения растепления МГ: осуществляется, не осуществляется, не требуется |
|
|
Мониторинг деформации грунта и перемещений газопровода: не требуется, проводится постоянно с помощью специальных систем, проводится визуально по реперам, не проводится или проводится редко |
|
|
Отказы и инциденты |
|
|
Число зафиксированных на участке утечек |
|
|
Число зафиксированных на участке отказов с указанием причин (акты) |
|
Таблица Г.1 - Регламент формирования плана проведения диагностики трубопроводов и газораспределительных станций
|
Этап |
Нормативная документация или входящая информация |
Исходящие документы |
Сроки исполнения |
Ответственные департаменты |
Департаменты управления и организации-(со) исполнители |
|
1 Разработка плана проведения диагностики трубопроводов и ГРС ОАО "Газпром" |
|
|
I-III кварталы |
Департамент по транспортировке, подземному хранению и использованию газа |
|
|
1.1 Формирование заявок в план проведения диагностики трубопроводов и ГРС ОАО "Газпром" |
|
Заявки Эксплуатирующих организаций в план проведения диагностики трубопроводов и ГРС ОАО "Газпром" |
I-II кварталы |
|
Управление по транспортировке газа и газового конденсата; Эксплуатирующие организации; Специализированные организации |
|
1.1.1 Внутритрубная дефектоскопия |
РД 51-2-97 [25]. Настоящий стандарт |
|
|
|
|
|
1.1.2 Наземное диагностирование газопроводов, не оборудованных для ВТД |
|
|
|
|
|
|
1.1.2.1 Диагностирование газопроводов и продление ресурса |
|
|
|
|
|
|
1.1.2.2 Диагностирование газопроводов в протяженных шурфах |
ВРД 39-1.10-023 [26] |
|
|
|
|
|
1.1.2.3 Диагностирование переходов под авто- и железными дорогами |
Инструкция [23] Настоящий стандарт |
|
|
|
|
|
1.1.2.4 Диагностирование газопроводов-отводов |
Настоящий стандарт |
|
|
|
|
|
1.1.2.5 Геодезическое позиционирование |
Требования [37] |
|
|
|
|
|
1.1.2.6 Наземное диагностирование |
Настоящий стандарт |
|
|
|
|
|
1.1.2.7 Мероприятия по повышению устойчивости ЕСГ к системным авариям |
Комплекс мероприятий [38] |
|
|
|
|
|
1.1.2.8 Диагностирование пересечений газопроводов и крановых узлов |
|
|
|
|
|
|
1.1.2.9 Вертолетное обследование газопроводов |
|
|
|
|
|
|
1.1.2.10 Обследование воздушных переходов |
|
|
|
|
|
|
1.1.3 Диагностика подводных переходов |
РД 51-3-96 [22] Настоящий стандарт |
|
|
|
|
|
1.1.4 Диагностирование ГРС |
|
|
|
|
|
|
1.1.5 Электро-метрические обследования |
|
|
|
|
|
|
1.2 Составление плана диагностики трубопроводов и ГРС ОАО "Газпром" |
Заявки Эксплуатирующих организаций в план проведения диагностики трубопроводов и ГРС ОАО "Газпром" |
Проект плана проведения диагностики трубопроводов и ГРС ОАО "Газпром" |
III квартал |
Департамент по транспортировке, подземному хранению и использованию газа |
Финансово-экономический департамент, Центральный производственно -диспетчерский департамент |
|
2 Утверждение плана проведения диагностики трубопроводов и ГРС ОАО "Газпром" |
Проект плана проведения диагностики трубопроводов и ГРС ОАО "Газпром" |
План проведения диагностики трубопроводов и ГРС ОАО "Газпром" |
IV квартал |
Департамент по транспортировке, подземному хранению и использованию газа |
|
|
Акт
Дата проведения диагностирования: "___"_________ 200 г.
В процессе обследования выявлены: коррозионные дефекты ___________шт.; вмятины ____________шт.; трещины ___________шт.; дефекты в сварном шве - _______ шт.; в том числе смещение кромок - __________ шт.; другое - __________ шт. Ведомость размеров и координат расположения дефектов
Контроль проводился с использованием: ________________________________________________________________________________ ________________________________________________________________________________ перечень используемого оборудования Дефектоскопист: _________________ вид и номер квалификационного удостоверения подпись
|
[1] Федеральный закон от 21 июля 1997 г. № 116-ФЗ "О промышленной безопасности опасных производственных объектов"
[2] Правила организации и осуществления производственного контроля за соблюдением требований промышленной безопасности на опасном производственном объекте (утв. Постановлением Правительства Российской Федерации от 10.03.99 № 263)
[3] Положение о порядке продления срока безопасной эксплуатации технических устройств, оборудования и сооружений на опасных производственных объектах (утв. Постановлением Госгортехнадзора России от 09.07.2002 № 43)
[4] Правила Госгортехнадзора России ПБ 03-440-02 Правила аттестации персонала в области неразрушающего контроля
[5] Правила Госгортехнадзора России ПБ 03-372-00 Правила аттестации и основные требования к лабораториям неразрушающего контроля
[6] Правила Госгортехнадзора России ПБ 08-624-03 Правила безопасности в нефтяной и газовой промышленности
[7] Положение о порядке диагностирования технологического оборудования взрывоопасных производств топливно-энергетического комплекса (утв. ГГК "Газпром" 25.06.92, согл. с Госгортехнадзором России 25.12.92)
[8] Федеральный закон от 8 августа 2001 г. № 128-ФЗ "О лицензировании отдельных видов деятельности"
[9] Правила безопасности при эксплуатации магистральных газопроводов (утв. министром газовой промышленности 16.03.84)
[10] Ведомственный руководящий документ ОАО "Газпром" ВРД 39-1.10-006-2000* Правила технической эксплуатации магистральных газопроводов
[11] Строительные нормы и правила Российской Федерации СНиП 2.05.06-85* Магистральные трубопроводы
[12] Рекомендации по оценке прочности и устойчивости эксплуатируемых магистральных газопроводов и трубопроводов КС. - ООО "ВНИИГАЗ", 2006
[13] Ведомственный руководящий документ ОАО "Газпром" ВРД 39-1.10-032-2001 Инструкция по классификации стресс-коррозионных дефектов по степени их опасности
[14] Ведомственные строительные нормы ВСН 39-1.10-009-2002 Инструкция по отбраковке и ремонту труб линейной части магистральных газопроводов
[15] Рекомендации по оценке работоспособности участков газопроводов с дефектами типа овализации. - ООО "ВНИИГАЗ", 1996
[16] Рекомендации по оценке несущей способности участков газопроводов в непроектном положении, ВНИИГАЗ. - 1986
[17] Рекомендации ООО "ВНИИГАЗ" Рекомендации по оценке работоспособности дефектных участков газопроводов
[18] Регламент сбора, передачи, обработки и хранения данных о технологических объектах добычи, транспорта и подземного хранения газа ЕСГ (ССД "Инфотех") (утв. Распоряжением ОАО "Газпром" от 15.11.2004 г. № 327)
[19] Правила применения технических устройств на опасных производственных объектах (утв. Постановлением Правительства Российской Федерации от 25.12.98 № 1540)
[20] Методические рекомендации по натурным измерениям напряженного состояния магистральных газопроводов. - ВНИИГАЗ, 1985
[21] Методические указания для проведения комплексной инспекции обследований запорно-регулирующей арматуры и камер запуска и приема на объектах ОАО "Газпром" (утв. заместителем начальника Департамента по транспортировке, подземному хранению и использованию газа, 2001 г.)
[22] Руководящий документ ОАО "Газпром" РД 51-3-96 Регламент по техническому обслуживанию подводных переходов магистральных газопроводов через водные преграды
[23] Инструкция по проведению диагностического обследования подземных переходов трубопроводов технологической системы ОАО "Газпром" через железные и автомобильные дороги. - ДОАО "Оргэнергогаз", 2003
[24] Ведомственный руководящий документ ОАО "Газпром" ВРД 39-1.10-026-2001 Методика оценки фактического положения состояния подземных трубопроводов
[25] Руководящий документ ОАО "Газпром" РД 51-2-97 Инструкция по внутритрубной инспекции трубопроводных систем
[26] Ведомственный руководящий документ ОАО "Газпром" ВРД 39-1.10-023-2001 Инструкция по обследованию и ремонту газопроводов, подверженных КРН, в шурфах
[27] Руководящий документ Минэнерго России РД 102-008-2002 Инструкция по диагностике технического состояния трубопроводов бесконтактным магнитометрическим методом
[28] Инструкция по определению фактического напряженно-деформированного состояния по данным геодезической съемки участков газопроводов, расположенных на территориях с опасными геодинамическими процессами, и оценке их работоспособности. - ООО "ВНИИГАЗ", 2003
[29] Правила Госгортехнадзора России ПБ 03-593-03 Правила организации и проведения акустико-эмиссионного контроля сосудов, аппаратов, котлов и технологических трубопроводов
[30] Временная методика комплексного диагностического обследования отводов МП - ЗАО "НПЦ Молния", 2005
[31] Методические рекомендации по контролю за мелиоративным состоянием орошаемых земель. - М.: ВНИИГИМ, 1978
[32] Временная инструкция по оценке качества кольцевых сварных соединений газопроводов, находящихся в эксплуатации. - ООО "ВНИИГАЗ", 2006
[33] Руководящий документ Госгортехнадзора России РД 09-102-95 Методические указания по определению остаточного ресурса потенциально опасных объектов, поднадзорных Госгортехнадзору России
[34] Методика о порядке продления срока безопасной эксплуатации магистральных газопроводов ОАО "Газпром". - ООО "ВНИИГАЗ", 2005
[35] Ведомственный руководящий документ ОАО "Газпром" ВРД 39-1.011-27-2001 Инструкция по магнитному контролю линейной части магистральных газонефтепродуктопроводов
[36] Методические рекомендации по применению аэрокосмических методов для диагностики трубопроводных технических систем и мониторинга окружающей среды. - ГАНГ им. И.М. Губкина, 1995
[37] Позиционирование геодезическое магистральных газопроводов. Основные организационно-методические требования. - ООО "Нефтегазгеодезия", 2004
[38] Комплексные мероприятия по повышению устойчивости ЕСГ к системным авариям (утв. заместителем Председателя Правления ОАО "Газпром" 14.05.2004 г.)
[39] Методика проведения работ по техническому диагностированию перемычек между нитками газопроводов и пересечений с другими трубопроводами. - ЗАО "Промгазинжиниринг", 2007
[40] Временные строительные нормы ВСН 39-1.10-003-2000 Положение по техническому обследованию и контролю за состоянием надземных переходов магистральных газопроводов
[41] Ведомственный руководящий документ ОАО "Газпром" ВРД 39-1.10-016-2000 Методика оценки работоспособности балочных переходов магистральных газопроводов через малые реки, ручьи и другие препятствия
Ключевые слова: линейная часть магистральных газопроводов, объект технического диагностирования, прогноз технического состояния, определение времени проведения диагностирования
|
ГОСТЫ, СТРОИТЕЛЬНЫЕ и ТЕХНИЧЕСКИЕ НОРМАТИВЫ. Некоммерческая онлайн система, содержащая все Российские Госты, национальные Стандарты и нормативы. В Системе содержится более 150000 файлов нормативно-технической документации, действующей на территории РФ. Система предназначена для широкого круга инженерно-технических специалистов. Copyright © www.gostrf.com, 2008 - 2026 |