Крупнейшая бесплатная информационно-справочная система онлайн доступа к полному собранию технических нормативно-правовых актов РФ. Огромная база технических нормативов (более 150 тысяч документов) и полное собрание национальных стандартов, аутентичное официальной базе Госстандарта. GOSTRF.com - это более 1 Терабайта бесплатной технической информации для всех пользователей интернета. Все электронные копии представленных здесь документов могут распространяться без каких-либо ограничений. Поощряется распространение информации с этого сайта на любых других ресурсах. Каждый человек имеет право на неограниченный доступ к этим документам! Каждый человек имеет право на знание требований, изложенных в данных нормативно-правовых актах!

  


 

ОТКРЫТОЕ АКЦИОНЕРНОЕ ОБЩЕСТВО "ГАЗПРОМ"

СТАНДАРТ ОРГАНИЗАЦИИ

Обеспечение единства измерений

РАСХОД И КОЛИЧЕСТВО ПРИРОДНОГО ГАЗА

МЕТОДИКА ВЫПОЛНЕНИЯ ИЗМЕРЕНИЙ С ПОМОЩЬЮ
УЛЬТРАЗВУКОВЫХ ПРЕОБРАЗОВАТЕЛЕЙ РАСХОДА

СТО Газпром 5.2-2005

Дата введения - 2006-01-01

Предисловие

1 РАЗРАБОТАН

Обществом с ограниченной ответственностью "ОМЦ Газметрология"

 

2 ВНЕСЕН

Управлением метрологии и контроля качества газа Департамента автоматизации, информатизации, телекоммуникаций и метрологии ОАО "Газпром"

 

3 УТВЕРЖДЕН

И ВВЕДЕН В ДЕЙСТВИЕ

Распоряжением ОАО "Газпром" от 10 октября 2005 г. № 271 с 1 января 2006 г.

 

ВВЕДЕН ВПЕРВЫЕ

 

Методика выполнения измерений зарегистрирована в Федеральном реестре методик выполнения измерений под № ФР1.29.2004.01349

СОДЕРЖАНИЕ

1 Область применения

2 Нормативные ссылки

3 Термины и определения

4 Обозначения и сокращения

5 Требования к погрешности измерений

6 Метод измерений

6.1 Принцип измерений

6.2 Методы определения времен прохождения ультразвукового импульса

6.3 Виды ультразвуковых преобразователей расхода

6.4 Объемный расход в рабочих условиях

6.5 Массовый расход и объемный расход газа, приведенный к стандартным условиям

6.6 Основные уравнения для определения количества газа

6.7 Объемный расход и объем сухой части влажного газа, приведенные к стандартным условиям

6.8 Энергосодержание газа

7 Требования безопасности

8 Условия проведения измерений

8.1 Условия применения УЗПР, вычислителя и СИ параметров потока газа

8.2 Измеряемая среда

9 Требования к измерительному трубопроводу

10 Средства измерений и требования к их монтажу

10.1. Средства измерений и вспомогательные технические средства

10.2. Требования к УЗПР и его монтажу

10.3 Средства измерения давления

10.4 Средства измерения температуры газа

10.5 Средства измерения плотности и компонентного состава газа

10.6 Вычислительные устройства

11 Подготовка к измерениям и их проведение

12 Обработка результатов измерений

12.1 Расчет расхода газа, приведенного к стандартным условиям

12.2 Расчет количества газа

12.3 Расчет энергосодержания газа

13 Контроль точности результатов измерений

14 Оценка погрешности результатов измерений

14.1 Общие положения

14.2 Общие формулы для расчета погрешности объема газа, приведенного к стандартным условиям

14.3 Составляющие погрешности результатов измерений

14.4 Дополнительные составляющие погрешности определения количества среды (газа)

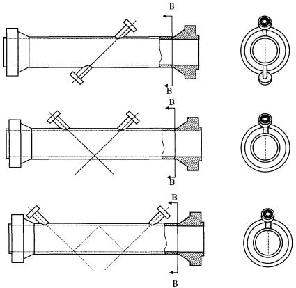
Приложение А (справочное) Варианты расположения акустических путей

Приложение Б (справочное) Варианты монтажа ПЭА

Приложение В (справочное) Теоретические основы метода измерений

Приложение Г (справочное) Источники погрешностей УЗПР

Библиография

1 Область применения

1.1 Настоящий стандарт устанавливает методику выполнения измерений расхода и количества природного газа при помощи ультразвуковых преобразователей расхода.

1.2 Стандарт распространяется на ультразвуковые преобразователи расхода как отечественного, так и зарубежного производства.

1.3 Стандарт предназначен для применения на коммерческих и оперативных пунктах учета природного газа дочерних обществ и организаций ОАО "Газпром".

1.4 Стандарт не распространяется на ультразвуковые расходомеры с накладными ультразвуковыми датчиками.

2 Нормативные ссылки

В настоящем стандарте использованы нормативные ссылки на следующие стандарты:

ГОСТ 2939-63 Газы. Условия для определения объема

ГОСТ 18917-82 Газ горючий природный. Методы отбора проб

ГОСТ 22667-82 Газы горючие природные. Расчетный метод определения теплоты сгорания, относительной плотности и числа Воббе

ГОСТ 17310-2002 Газы. Пикнометрический метод определения плотности

ГОСТ 23781-87 Газы горючие природные. Хроматографический метод определения компонентного состава

ГОСТ 6616-94 Преобразователи термоэлектрические. Общие технические условия

ГОСТ 6651-94 Термопреобразователи сопротивления. Общие технические требования и методы испытаний

ГОСТ 30319.1-96 Газ природный. Методы расчета физических свойств. Определение физических свойств природного газа, его компонентов и продуктов его переработки

ГОСТ 30319.2-96 Газ природный. Методы расчета физических свойств. Определение коэффициента сжимаемости

ГОСТ 30319.3-96 Газ природный. Методы расчета физических свойств. Определение физических свойств по уравнению состояния

ГОСТ 8.563.2-97 Государственная система обеспечения единства измерений. Измерение расхода и количества жидкостей и газов методом переменного перепада давления. Методика выполнения измерений с помощью сужающих устройств

ГОСТ Р 8.577-2000 Государственная система обеспечения единства измерений. Теплота объемная (энергия) сгорания природного газа. Общие требования к методам определения.

3 Термины и определения

3.1 ультразвуковой преобразователь расхода: Акустический преобразователь расхода, работающий в ультразвуковом диапазоне частот, в котором создается сигнал измерительной информации, основанный на зависимости акустического эффекта в потоке газа от ее расхода.

Ультразвуковой преобразователь расхода состоит из первичного ультразвукового преобразователя расхода и устройства обработки его сигналов.

3.2 первичный ультразвуковой преобразователь расхода: Специально изготовленный участок трубопровода, удовлетворяющий требованиям настоящего стандарта и содержащий преобразователи электроакустические.

3.3 преобразователи электроакустические: Устройства, преобразующие электрическую энергию в акустическую (энергию упругих колебаний среды) и обратно.

Преобразователи электроакустические, используемые в первичных ультразвуковых преобразователях расхода, являются передатчиками и приемниками ультразвуковых волн.

3.4 устройство обработки сигналов: Устройство, осуществляющее генерацию сигналов, поступающих на преобразователи электроакустические, обработку сигналов, поступающих с преобразователей электроакустических и формирование стандартного выходного сигнала, пропорционального измеряемому расходу газа.

3.5 вычислитель расхода: Устройство, принимающее данные от устройства обработки сигналов, а также показания датчиков температуры и давления, и вычисляющее расход и количество газа, приведенные к стандартным условиям.

Вычислитель расхода может дополнительно принимать и учитывать показания хроматографа и плотномера.

3.6 акустический канал: Совокупность измеряемой среды и пары преобразователей электроакустических, передающих сигналы с помощью ультразвуковых колебаний.

3.7 акустический луч: Линия, вдоль которой распространяется звуковая энергия, испущенная преобразователем электроакустическим в определенном направлении.

3.8 одноканальный ультразвуковой преобразователь расхода: Преобразователь расхода, в котором для измерения расхода используется один акустический канал.

Примечание 1 - Одноканальные ультразвуковые преобразователи часто в технической литературе называют однолучевыми или однопутевыми расходомерами.

Примечание 2 - Звуковая энергия в одноканальном первичном преобразователе расхода может передаваться между преобразователями электроакустическими в виде прямых или отраженных (однократно или многократно) от стенок измерительного трубопровода акустических лучей.

3.9 многоканальный ультразвуковой преобразователь расхода: Преобразователь расхода, в котором для измерения расхода используется несколько акустических каналов.

Примечание 1 - Многоканальные ультразвуковые преобразователи часто в технической литературе называют многолучевыми или многопутевыми преобразователями расхода.

Примечание 2 - Звуковая энергия в многоканальном первичном преобразователе расхода может передаваться между преобразователями электроакустическими в виде прямых или отраженных (однократно или многократно) от стенок измерительного трубопровода акустических лучей.

3.10 акустический путь: Траектория движения акустического импульса между преобразователями электроакустическими в потоке газа.

Примечание - Кривизна акустического пути зависит от числа Re и Ма и возрастает с увеличением числа Ма и кривизны распределения скоростей потока.

3.11 ультразвуковой импульс: Сигнал (ультразвуковые колебания, волны в газе), генерируемый преобразователями электроакустическими при подаче на него возбуждающего электрического сигнала ограниченной продолжительности.

3.12 незатухающие ультразвуковые колебания в среде: Сигналы, генерируемые преобразователями электроакустическими при подаче непрерывного возбуждающего электрического сигнала.

3.13 измерительный трубопровод: Прямые участки трубопровода, между которыми установлен ультразвуковой преобразователь расхода.

4 Обозначения и сокращения

4.1 Основные условные обозначения, применяемые в настоящем стандарте, приведены в таблице 4.1.

Таблица 4.1 - Условные обозначения

Условное обозначение

Величина

Единица измерения

А

Площадь поперечного сечения

м2

а

Расстояние между активными центрами ультразвуковых датчиков

м

с

Скорость распространения ультразвукового импульса в потоке газа относительно неподвижного наблюдателя

м/с

с0

Скорость распространения ультразвукового импульса в неподвижном газе

м/с

D

Внутренний диаметр трубопровода

м

d

Проекция длины акустического канала L на линию, параллельную оси трубопровода (см. рис. 4.1)

м

Е

Модуль упругости материала корпуса ультразвукового преобразователя расхода

МПа

Eэ

Энергосодержание (количество энергии, которое может быть получено при сгорании газа)

МДж

f

Частота

1/с

Hс

Объемная удельная теплота сгорания газа

МДж/м3

K

Коэффициент сжимаемости газа

1

ku

Корректирующий коэффициент на распределения скоростей потока, равный отношению средней осевой скорости потока uа в сечении ультразвукового преобразователя расхода к средней скорости потока вдоль акустического канала

1

L

Длина части пути акустического импульса, ограниченная внутренней поверхностью трубопровода в состоянии покоя газа (см. рис. 4.1)

м

l

Длина прямого участка измерительного трубопровода

м

Lр

Длина пути акустического импульса от излучающих поверхностей обоих ПЭА в состоянии покоя газа (см. рис. 4.1)

м

m

Масса газа

кг

М

Молекулярная масса газа

кг/кмоль

Ma

Число Маха (Ма = /с0)

1

P

Абсолютное давление газа

Па

Рб

Атмосферное давление

Па

Pнп

Давление насыщенного водяного пара во влажном газе при температуре t

Па

Pи

Избыточное (статическое) давление газа

Па

qс

Объемный расход, приведенный к стандартным условиям

м3

qm

Массовый расход

кг/с

qо

Объемный расход при рабочих условиях

м3

qt

Объемный расход qо, при котором изменяется погрешность ультразвукового преобразователя расхода

м3

R

Универсальная газовая постоянная R = 8,31451

кДж/кмоль·К

Re

Число Рейнольдса

1

t

Температура среды

°С

Т

Термодинамическая температура среды

К

u

Локальная скорость потока

м/с

uа

Средняя осевая скорость потока по сечению трубопровода, равная отношению объемного расхода (q0) к площади поперечного сечения (А)

м/с

Средняя скорость потока вдоль акустического пути

м/с

Vо

Объем газа при рабочих условиях

м3

Vc

Объем газа, приведенный к стандартным условиям

м3

wi

Весовой коэффициент i-й величины

1

xi

Молярная доля i-го компонента смеси

1

Ni

Объемная доля i-го компонента смеси

1

Z

Фактор сжимаемости газа

1

a

Коэффициент линейного теплового расширения материала

°C-1

bж

Абсолютная объемная концентрация жидкости в газе

1

bм

Абсолютная объемная концентрация механических примесей в газе

1

d

Относительная погрешность

%

g

Приведенная погрешность

%

c

Фазовый угол

рад

l

Длина волны ультразвукового колебания

м

f

Угол между осями ультразвуковых преобразователей и осью трубопровода (см. рис. 4.1)

град (рад)

w

Циклическая частота

рад/с

j

Относительная влажность газа

1

m

Динамическая вязкость газа

Па·с

r

Плотность газа

кг/м3

rвг

Плотность влажного газа

кг/м3

rнп

Плотность насыщенного водяного пара во влажном газе при температуре t

кг/м3

t

Время прохождения ультразвукового импульса вдоль акустического пути или интервал времени, за который определяется количество газа

с

D

Абсолютная погрешность

Единица величины параметра

Dt

Разность между временами прохождения ультразвуковых импульсов вдоль и против направления потока одного и того же акустического канала или интервал дискретизации при определении количества газа

с

Рисунок 4.1. Схема однолучевого ультразвукового преобразователя расхода:

А - с прямым лучом; Б - с отраженным лучом

4.2 Индексы в условных обозначениях величин означают следующее:

в - верхний предел измерений;

н - нижний предел измерений;

кр - критическое значение;

max - максимальное значение величины;

min - минимальное значение величины;

с - стандартные условия (Тс = 293,15 К, Pс = 0,101325 МПа = 1,03323 кгс/см2 по ГОСТ 2939);

знак "-" (черточка над обозначением величины) - среднее значение величины;

1 - движения против направления потока газа;

2 - движения по направлению потока газа.

4.3 Сокращения, примененные в настоящем стандарте:

ИТ - измерительный трубопровод;

ПЭА - преобразователь электроакустический;

СИ - средство измерений;

УЗПР - ультразвуковой преобразователь расхода.

5 Требования к погрешности измерений

Пределы относительной погрешности измерений объемного расхода и объема природного газа, приведенного к стандартным условиям, по данной методике не должны превышать:

при применении УЗПР повышенной точности:

± 1 % при qt £ qо £ qов,

± 1,5% при qон £ qо £ qt;

при применении УЗПР малой точности:

± 1,5% при qt £ qо £ qов,

± 2,0 % при qон £ qо < qов,

где qон и qов - нижний и верхний пределы измерений применяемого УЗПР.

Статистические оценки погрешности измерений могут быть получены на основе расчетов, выполненных в соответствии с разделом 14.

6 Метод измерений

6.1 Принцип измерений

Принцип измерений с помощью УЗПР основан на том, что ультразвуковой импульс, направленный вдоль потока, распространяется быстрее ультразвукового импульса, направленного против потока.

Разность времен прохождения ультразвукового импульса, а также время прохождения импульсов по направлению потока газа и против него зависят от средней скорости газа вдоль акустического пути.

Формула для расчета средней скорости потока вдоль акустического пути имеет вид:

.                                                                               (6.1)

6.2 Методы определения времен прохождения ультразвукового импульса

Средняя скорость потока вдоль акустического пути может быть определена путем прямого измерения времен прохождения ультразвукового импульса по направлению и против направления движения потока газа (времяимпульсным методом), а также с использованием фазового или частотного метода.

Фазовый метод основан на измерении фазовых углов двух постоянных ультразвуковых колебаний с циклической частотой w и их фазовых сдвигов, возникающих от разности времен прохождения этими колебаниями одного и того же расстояния по потоку и против него.

Циклическая частота, в зависимости от частоты колебаний, определяется по формуле

w = 2pf.                                                                                                             (6.2)

При прохождении ультразвукового импульса одного и того же расстояния по потоку и против него фазовые углы примут значения:

c1 = wt1 = 2pft1;                                                                                                (6.3)

c2 = wt2 = 2pft2.                                                                                                (6.4)

Из уравнений (6.1), (6.3) и (6.4) следует, что

.                                                                                          (6.5)

Частотный метод основан на зависимости разности частот повторения коротких импульсов или пакетов ультразвуковых колебаний от разности времен прохождения этими колебаниями одного и того же расстояния Lp по потоку и против него.

В частотно-импульсных расходомерах вырабатываются короткие импульсы, которые поступают к ПЭА с интервалами, равными времени прохождения ультразвука по направлению потока и против него.

Тогда

;                                                                                                              (6.6)

;                                                                                                             (6.7)

.                                                                                   (6.8)

Формула (6.1) с учетом уравнения (6.8) примет вид

.                                                                                              (6.9)

Малость величины f2 - f1 у частотных расходомеров является существенным недостатком, затрудняющим точное измерение расхода газа. В работах [1, 2] приводится ряд способов увеличения разности частот, применяемых в ультразвуковых расходомерах.

В частотно-пакетных расходомерах вырабатываются не короткие импульсы, а непрерывные сигналы в течение всего времени прохождения ими акустического пути.

6.3 Виды ультразвуковых преобразователей расхода

6.3.1 УЗПР различают:

- по методам измерений средней скорости вдоль акустического пути (см. 6.2);

- виду (отраженным или прямым является луч), количеству и размещению ультразвуковых каналов;

- устройству и способам монтажа ПЭА.

6.3.2 УЗПР могут быть одноканальными или многоканальными (однолучевыми или многолучевыми).

Основные варианты расположения акустических путей, используемые в УЗПР, приведены в Приложении А.

Варианты монтажа ПЭА приведены в Приложении Б.

6.3.3 Лучи ультразвуковых каналов могут быть прямыми или отраженными (однократно или многократно) от внутренней стенки УЗПР.

Лучи ультразвуковых каналов могут быть расположены в диаметральной плоскости УЗПР или в плоскостях, проходящих через хорды его сечения.

6.4 Объемный расход в рабочих условиях

6.4.1 Одноканальный УЗПР

Объемный расход газа в рабочих условиях связан со средней скоростью прохождения газа через поперечное сечение УЗПР следующим образом:

qо = Auа.                                                                                                            (6.10)

Для вычисления значения средней скорости газа через поперечное сечение УЗПР необходимо знать значение поправочного коэффициента на распределение скоростей:

.                                                                                                (6.11)

Таким образом, расход газа может быть вычислен по измеренной средней скорости потока газа вдоль акустического пути по следующей формуле:

.                                                                                                       (6.12)

Значение ku является функцией числа Re, шероховатости стенок трубопровода (для турбулентных режимов течения) и расположения акустического канала. Теоретические значения ku приведены в Приложении В.

6.4.2 Многоканальный УЗПР

При использовании многоканального УЗПР с применением интегрирующей техники объемный расход может быть вычислен по формуле

,                                                                                                  (6.13)

где n - число каналов;

 - средняя скорость газа вдоль i-го канала;

.                                                                                                      (6.14)

Значения весовых коэффициентов зависят от количества и расположения акустических каналов (например, см. Приложение В).

6.5 Массовый расход и объемный расход газа, приведенный к стандартным условиям

Массовый расход газа qm рассчитывают по измеренным значениям объемного расхода и измеренной или рассчитанной плотности газа:

.                                                              (6.15)

Объемный расход qc рассчитывают путем приведения объемного расхода qо к стандартным условиям по формуле

.                                                                   (6.16)

6.6 Основные уравнения для определения количества газа

6.6.1 Количество газа (Vс, Vo, m), прошедшего по ИТ за определенный период времени т, с использованием информации о приращении объема газа, получаемой от УЗПР, рассчитывают по следующим уравнениям:

;                                 (6.17)

;                                                                                                    (6.18)

,                         (6.19)

где DVоi - приращение объема газа за интервал времени осреднения параметров газа.

6.6.2 Количество газа (Vс, Vo, m), прошедшего по трубопроводу за определенный период времени t, с использованием информации о расходе газа при рабочих условиях, получаемой от УЗПР, рассчитывают по следующим уравнениям:

- при дискретном интегрировании функций во времени t с интервалами дискретизации Dti:

;                       (6.20)

;                                                                                                (6.21)

;                  (6.22)

- при дискретном интегрировании функций во времени t с равномерным интервалом дискретизации Dt:

;                            (6.23)

;                                                                                                  (6.24)

,                        (6.25)

где

;                                                                                                 (6.26)

n - количество интервалов дискретизации в течение времени (tк - tн)

6.6.3 Значения параметров, входящих в формулы (6.17)¸(6.25), могут быть результатами вычислений по средним параметрам, необходимыми для их расчета, или приняты условно-постоянными величинами. Например, величина qоi может быть результатом усреднения нескольких измерений средней скорости газа; значение rс и состав газа могут быть приняты условно-постоянными величинами.

6.7 Объемный расход и объем сухой части влажного газа, приведенные к стандартным условиям

Расчет объемного расхода и объема сухой части влажного газа, приведенные к стандартным условиям, выполняют по формулам

;                                                                                          (6.27)

;                                                                                  (6.28)

;                                                                               (6.29)

,                                                                                (6.30)

где fв - абсолютная влажность газа, выраженная массой водяного пара (в кг) в 1 м3 при рабочих условиях.

6.8 Энергосодержание газа

Энергосодержание газа определяют по формуле

.                                                                                                 (6.31)

Для определения объемной удельной теплоты сгорания газа применяют методы по ГОСТ Р 8.577. При неизвестном полном компонентном составе газа допускается определять объемную удельную теплоту сгорания по ГОСТ 30319.1 и ГОСТ 22667.

7 Требования безопасности

7.1 К проведению монтажа и выполнению измерений допускаются лица, изучившие эксплуатационную документацию на СИ и вспомогательное оборудование, прошедшие инструктаж по технике безопасности, получившие допуск к самостоятельной работе и имеющие опыт эксплуатации СИ на объектах газовой промышленности.

7.2 Перед монтажом СИ и вспомогательного оборудования необходимо обратить внимание на их соответствие эксплуатационной документации, наличие и целостность маркировок взрывозащиты, наличие и целостность крепежных элементов, оболочек (корпусов). Монтаж СИ необходимо производить в строгом соответствии с их схемой внешних соединений. Запрещается вносить какие-либо изменения в электрическую схему внешних соединений, а также использовать любые запасные части, не предусмотренные эксплуатационной документацией и без согласования с изготовителем СИ.

7.3 В процессе эксплуатации, не реже одного раза в месяц, СИ и вспомогательное оборудование должны осматриваться квалифицированным персоналом. При этом необходимо обращать внимание на целостность оболочек (корпусов) СИ, наличие крепежных элементов, пломб и предупредительных надписей.

8 Условия проведения измерений

8.1 Условия применения УЗПР, вычислителя и СИ параметров потока газа

8.1.1 Условия применения УЗПР и СИ должны соответствовать требованиям их изготовителей:

- к климатическим условиям эксплуатации;

- рабочим условиям эксплуатации (давлению, температуре, плотности и скорости потока газа);

- допустимой напряженности постоянных и переменных магнитных полей, а также уровню индустриальных радиопомех;

- допустимому уровню вибрации трубопровода;

- характеристикам электропитания.

8.1.2 Диапазоны измерений применяемых УЗПР и СИ должны соответствовать диапазонам изменений параметров потока газа. Максимальные и минимальные значения измеряемых параметров должны перекрываться диапазонами измерения УЗПР и СИ.

В случае применения СИ, погрешность которых нормирована как приведенная, рекомендуется, чтобы максимальное значение измеряемого параметра было как можно ближе к 90 % верхнего предела измерений соответствующего СИ.

8.1.3 Погрешности УЗПР, вычислителя и СИ параметров потока газа должны соответствовать требованиям, указанным в разделе 10.

8.1.4 УЗПР и СИ параметров потока газа должны быть включены в Государственный Реестр СИ РФ. УЗПР и СИ могут применяться только при наличии положительных результатов их поверки. Все СИ, входящие в состав измерительного комплекса с УЗПР, должны иметь действующие свидетельства о поверке.

8.2 Измеряемая среда

8.2.1 Измеряемой средой является природный газ.

Параметры природного газа (компонентный состав, давление и температура) должны находиться в пределах, при которых обеспечиваются:

- возможность расчета или измерения плотности (фактора сжимаемости) газа при рабочих условиях с известной погрешностью;

- отсутствие условий для образования гидратов в ИТ.

8.2.2 Следует избегать наличия жидких и/или твердых включений в потоке газа. Допустимые концентрации этих включений не должны превышать указанных пределов в эксплуатационной документации на УЗПР.

Изготовитель должен информировать о возможности использования УЗПР при следующих характеристиках среды [3]:

- содержание диоксида углерода в газе свыше 10 %;

- плотность газа близка к критической плотности (0,9 < Т/Tкр < 1,1 и 0,7 < r/rкр < 1,3);

- массовая доля серы, включая меркаптаны, сероводород и другие сернистые соединения, превышает 0,1 %.

Значения критических плотностей и температур газа следует устанавливать на основе официальных данных, утвержденных Федеральным агентством по техническому регулированию и метрологии Российской Федерации и Государственной службой стандартных справочных данных (ГСССД).

8.2.3 Течение потока газа в ИТ может быть стационарным, квазистационарным или пульсирующим.

УЗПР могут использоваться для измерения нестационарных потоков газа, если основная частота спектра потока газа не превышает его полосы пропускания.

8.2.4 Для снижения влияния на показания УЗПР акустических шумов, генерируемых установленной в потоке запорной арматурой (задвижки, клапаны, редукторы и т.п.), рекомендуется использовать УЗПР с рабочей частотой ПЭА выше 100 кГц.

8.2.5 Рекомендуется использование УЗПР при развитых турбулентных режимах течения газа при Re не менее 5000.

8.2.6 Фазовое состояние газа при прохождении через ИТ и в процессе измерений не должно изменяться. Принято, что фазовое состояние газа не меняется, если давление газа ниже давления его конденсации. Давление конденсации смеси газов может быть рассчитано в соответствии с ГСССД МР 107 [7].

9 Требования к измерительному трубопроводу

9.1 ИТ должен иметь круглое сечение по всей длине требуемого прямого участка до и после УЗПР.

Смещение осей УЗПР и прилегающих к нему участков ИТ, а также отклонения внутренних диаметров УЗПР и прилегающих к нему участков ИТ не должны превышать значений, установленных изготовителем УЗПР. Если эти значения не оговорены изготовителем, то выполняют нижеприведенные требования:

а) ИТ считают прямым, если его изгиб не превышает 7°;

б) разница диаметров ИТ и УЗПР не более 3 %, при этом высота уступа в месте соединения ИТ и УЗПР не должна превышать 2 %;

в) на участке ИТ длиной 10D, расположенном непосредственно перед УЗПР, ни одно из значений внутреннего диаметра ИТ в любой плоскости не должно отличаться более чем на 3 % от среднего внутреннего диаметра ИТ.

Внутренний диаметр ИТ определяют как среднее арифметическое результатов измерений не менее чем в трех поперечных сечениях ИТ (два из которых расположены на расстоянии 0 и 0,5D от УЗПР, а третье - в плоскости сварного шва), а в каждом из этих сечений - не менее чем в четырех диаметральных направлениях, расположенных под одинаковым углом друг к другу. Относительная погрешность применяемого СИ не должна превышать 0,1 % измеряемой величины.

Внутренний диаметр УЗПР определяют как среднее арифметическое значение результатов измерений в трех поперечных сечениях:

- вблизи ПЭА, расположенных вверх по потоку;

- вблизи ПЭА, расположенных вниз по потоку;

- на половине расстояния между этими ПЭА.

В каждом сечении выполняют измерения внутренних диаметров не менее чем в четырех диаметральных направлениях, расположенных под одинаковым углом друг к другу. Относительная погрешность применяемого СИ не должна превышать 0,025 % измеряемой величины.

9.2 Длины прямых участков ИТ до и после УЗПР должны соответствовать требованиям, установленным изготовителем УЗПР.

Если данные требования не указываются в эксплуатационной документации на УЗПР, то рекомендуется:

- для одноканальных и двухканальных УЗПР длины прямых участков ИТ выбирать в зависимости от типа ближайшего местного сопротивления, в соответствии с таблицей 9.1;

- для многоканальных УЗПР обеспечивать прямой участок ИТ длиной не менее 20D перед и 10D после УЗПР по ходу потока газа.

Таблица 9.1 - Наименьшая относительная длина () прямых участков ИТ между УЗПР и местными сопротивлениями

Местное сопротивление

Компрессор

40

Вентилятор (воздуходувка)

30

Фильтр

25

Вентиль, клапан, пробковый кран

20

Задвижка, равнопроходный шаровой кран

16

Колено, тройник

20

Группа колен в одной плоскости, разветвляющиеся потоки

30

Группа колен в разных плоскостях, смешивающиеся потоки

50

Резкое сужение потока

30

Любые местные сопротивления, установленные после УЗПР

10

Примечание - Длина прямых участков ИТ приведена для полностью открытой запорной арматуры.

Для уменьшения длины прямого участка ИТ до УЗПР допускается применение струевыпрямителя. Тип струевыпрямителя и место его расположения в ИТ должны указываться изготовителем УЗПР. При отсутствии таких данных поверка УЗПР должна производиться совместно с используемым струевыпрямителем.

9.3 Соединительные фланцы и уплотнительные прокладки ИТ должны быть одинакового диаметра и тщательно подогнаны друг к другу. Сварной шов фланца ИТ, расположенного перед УЗПР, должен быть полностью или частично зачищен.

После проведения частичной зачистки сварного шва фланца ИТ необходимо проверить, что диаметр ИТ, измеренный в плоскости сварного шва (Dш), удовлетворяет следующему условию:

Dш ³ 0,99DУЗПР,                                                                                                 (9.1)

где DУЗПР - внутренний диаметр УЗПР.

Диаметр Dш определяют как среднее арифметическое значение результатов измерений не менее чем в четырех диаметральных направлениях, расположенных под одинаковым углом друг к другу. Относительная погрешность применяемого СИ не должна превышать 0,1 % измеряемой величины.

Уплотнительные прокладки не должны выступать внутрь ИТ. Рекомендуется применение прокладок толщиной не более 3 мм. Для центровки прокладки в процессе монтажа используются три затяжных болта, расположенные под углом 120°. После центровки уплотнительной прокладки все болты плотно затягиваются.

9.4 Для прямых участков ИТ могут использоваться сварные трубы только в том случае, если сварной шов не является спиральным.

На прямом участке ИТ длиной 10D, расположенном непосредственно перед УЗПР, высота валика шва не должна превышать 0,015D.

9.5 Не допускается наличие осадков и отложений на поверхности ИТ на участке длиной 10D перед УЗПР. Данный участок может быть осмотрен без демонтажа ИТ при помощи световодов через одно или несколько отверстий в стенках ИТ. При обнаружении на внутренней поверхности ИТ каких-либо отложений их необходимо удалить.

10 Средства измерений и требования к их монтажу

10.1. Средства измерений и вспомогательные технические средства

Для проведения измерений расхода и количества природного газа в общем случае применяют следующие СИ и технические устройства:

- УЗПР;

- СИ параметров потока газа (температура, давление, плотность, компонентный состав);

- устройства обработки выходных данных измерительных каналов и вычисления расхода и количества газа;

- соединительные линии и вспомогательные устройства (фильтры, струевыпрямители и т.п.).

10.2. Требования к УЗПР и его монтажу

10.2.1. УЗПР должен иметь нормированный стандартный выходной сигнал, пропорциональный расходу газа в рабочих условиях.

Показания УЗПР должны соответствовать, в пределах погрешности, действительному расходу газа по ИТ во всем диапазоне измерения. При этом параметры (состав, давление, температура, плотность, вязкость и скорость) измеряемого потока газа должны соответствовать требованиям, установленным в эксплуатационной документации на УЗПР.

Пределы допускаемой относительной погрешности УЗПР не должны превышать значений:

для УЗПР повышенной точности

± 0,5% при qt £ qо £ qов;

± 1,0% при qон £ qо < qt,

для УЗПР малой точности:

± 1,0% при qt £ qо £ qов;

± 1,5% при qон £ qо < qов.

10.2.2 Рекомендуется внутренний диаметр УЗПР и ИТ выбирать из условия, что 100 мм £ D £ 900 мм, а максимальная средняя скорость газа не превышает 25 м/с для газораспределительных станций и 20 м/с - для магистральных газопроводов.

Не рекомендуется применять УЗПР при максимальной средней скорости газа менее 3 м/с.

Для выбора нужного типоразмера УЗПР (условного прохода Ду, мм) используют следующие формулы:

- при заданном максимальном объемном расходе газа, приведенном к стандартным условиям

;

- при заданном максимальном объемном расходе при рабочих условиях

За значение Ду принимают равное или ближайшее большее к D значение из стандартного ряда условных проходов УЗПР.

10.2.3 Все внутренние части УЗПР, имеющие контакт с газом, должны быть изготовлены из материала, нейтрального к природному газу, его конденсатам и сопутствующим компонентам (метанол, гликоль и др.).

Все наружные части УЗПР должны изготавливаться из коррозионно-стойкого материала или иметь покрытие, стойкое к атмосферным воздействиям.

10.2.4 Проверку установки нуля шкалы УЗПР проводят в соответствии с его эксплуатационной документацией. Для этого УЗПР изолируют от потока газа и проводят измерение. При отсутствии движения газового потока УЗПР должен регистрировать скорость потока газа от каждого ПЭА, не превышающую указанную изготовителем в эксплуатационной документации. Если это значение не указано, то проверяют, чтобы средняя скорость потока газа, измеренная за 300 с, каждым ПЭА не превышала 6 мм/с.

Коррекцию показаний УЗПР допускается производить только при полной стабилизации давления и температуры газа во внутренней полости УЗПР. В полевых условиях данная процедура может проводиться только при условии, что течение газа через УЗПР отсутствует, а температура газа стабилизирована.

10.2.5 Монтаж УЗПР производится в соответствии с его эксплуатационной документацией. Для этого могут привлекаться специалисты изготовителя УЗПР.

УЗПР устанавливают на заранее определенном участке газопровода с соблюдением требований раздела 9. Перед установкой УЗПР в ИТ необходимо удостовериться, что направление потока, указанное на фирменной табличке УЗПР, соответствует направлению потока газа в ИТ. При установке необходимо следить за тем, чтобы не допускалось повреждение и сдавливание кабелей, идущих от датчиков. Внутренняя поверхность УЗПР должна оберегаться от каких-либо повреждений.

10.2.6 УЗПР устанавливают на горизонтальном, вертикальном или наклонном прямом участке ИТ. При измерении расхода газа, содержащего загрязнения или конденсат, пространственное положение УЗПР выбирают таким образом, чтобы обеспечить наименьшую вероятность загрязнения или скопления конденсата в его проточной части и на ПЭА. Для этого УЗПР располагают так, чтобы ПЭА или точка отражения акустического импульса от стенки УЗПР не оказались на дне трубопровода.

10.2.7 Электромонтаж оборудования УЗПР проводят в соответствии с указаниями в его эксплуатационной документации. При необходимости электронные блоки УЗПР выносят в защитные щитовые помещения с соблюдением требований безопасности, принятых в ОАО "Газпром".

10.2.8 После монтажа проводится проверка герметичности ИТ, УЗПР и соединительных линий.

10.2.9 Во время эксплуатации УЗПР особое внимание должно быть обращено на обеспечение чистоты поверхности ПЭА.

Если в газовом потоке предполагается наличие инородных веществ, рекомендуется установка фильтров на расстоянии не ближе 25D до УЗПР.

10.3 Средства измерения давления

10.3.1 Абсолютное давление газа Р измеряют либо непосредственно, либо путем суммирования измеренных величин избыточного (статического) Pи и атмосферного давлений Pб.

10.3.2 Избыточное и абсолютное давления измеряют с помощью измерительных преобразователей давления любого типа.

Метрологические характеристики СИ давления в условиях их эксплуатации должны обеспечивать измерение абсолютного давления газа в ИТ с предельной относительной погрешностью не более ±0,6 %.

Выходные сигналы преобразователя давления должны быть совместимы с характеристиками входных сигналов устройств, предназначенных для регистрации результатов измерений и их обработки.

10.3.3 Отверстие для отбора давления газа может быть размещено до или после УЗПР или в его корпусе. Расстояние от УЗПР до места отбора давления, размещенного вне корпуса УЗПР, выбирают таким образом, чтобы потерями давления газа на этом участке можно было пренебречь. Рекомендуется отверстие для отбора давления газа располагать не далее 5D от УЗПР.

Отверстия для отбора давления, размещенные в корпусе УЗПР, и отверстия каналов, предназначенных для ПЭА, должны располагаться в разных осевых плоскостях (на разных образующих) поверхности корпуса УЗПР.

Отверстие для отбора давления должно быть круглым и цилиндрическим на длине не менее 2,5 диаметра этого отверстия от внутренней поверхности ИТ.

Диаметр отверстия не должен быть более 0,13D. Рекомендуется выбирать диаметр отверстия для отбора давления газа в пределах от 4 до 10 мм.

В месте выхода кромки отверстия должны быть острыми и выполненными заподлицо с внутренней поверхностью ИТ или УЗПР.

10.3.4 В горизонтальных и наклонных трубопроводах отверстия для отбора давления размещают в верхней части ИТ или УЗПР с отклонением от вертикальной плоскости, проходящей через ось трубы, не более 45° - для влажных газов и не более 90° - для сухих газов.

В вертикальных трубопроводах отверстия для отбора давления располагают в любой точке окружности ИТ или УЗПР с учетом требований 10.3.3.

10.3.5 Атмосферное давление измеряют в месте расположения измерительного преобразователя избыточного давления, если последний размещен в замкнутом пространстве при наличии в нем разряжения или избыточного давления (наддува), создаваемого системами вентиляции или кондиционирования.

10.4 Средства измерения температуры газа

10.4.1 Температуру газа следует измерять с помощью СИ температуры любого типа. Метрологические характеристики СИ температуры в условиях эксплуатации должны обеспечивать измерение температуры газа с погрешностью не более ±0,5 °С.

Выходные сигналы преобразователя температуры должны быть совместимы с характеристиками входных сигналов устройств, предназначенных для регистрации результатов измерений и их обработки.

10.4.2 Термодинамическую температуру газа определяют по формуле

Т = 273,15 + t.                                                                                                   (10.1)

10.4.3 Температуру газа измеряют на прямом участке ИТ до или после УЗПР. Наличие местных сопротивлений между УЗПР и местом установки термометра не допускается. Наилучшим способом установки чувствительного элемента термометра является его радиальное расположение на участке трубопровода после УЗПР.

10.4.4 При расположении чувствительного элемента термопреобразователя после УЗПР расстояние до него должно быть не менее 1D и не более 5D, если чувствительный элемент термометра устанавливают в ИТ непосредственно или в гильзу с наружными диаметрами не более 0,13D. При использовании гильз с наружным диаметром, превышающим 0,13D, расстояние от термометра до УЗПР должно быть в пределах от 3D до 5D. Установка термометров в гильзы с наружным диаметром, превышающим 1/3D, не допускается.

При измерении температуры газа перед УЗПР расстояние между чувствительным элементом термопреобразователя и УЗПР должно быть не менее 20D, а наружный диаметр гильзы не более 0,13D. При этом участок ИТ между местом измерения температуры газа и УЗПР рекомендуется теплоизолировать.

10.4.5 Чувствительный элемент термометра должен быть погружен в ИТ на глубину от 0,3D до 0,7D.

10.4.6 При установке чувствительного элемента термометра в гильзу ее заполняют жидким маслом (например, трансформаторным) для обеспечения теплового контакта.

10.4.7 Часть чувствительного элемента термометра, выступающую над ИТ, теплоизолируют, если температура газового потока отличается от температуры окружающей среды более чем на ± 40 °С.

10.5 Средства измерения плотности и компонентного состава газа

10.5.1 Определение плотности при рабочих условиях

10.5.1.1 Плотность измеряемой среды может быть измерена с помощью плотномера или рассчитана по измеренным параметрам потока согласно ГОСТ 30319.1 - ГОСТ 30319.3.

10.5.1.2 Для определения плотности газа в рабочих условиях допустимо применение плотномеров любого типа.

Метрологические характеристики плотномера в условиях эксплуатации должны обеспечивать измерение плотности газа с относительной погрешностью не более ±0,6 %.

10.5.1.3 Если плотность определяют на основе анализа проб измеряемой среды, то для обеспечения представительности отобранных проб следует руководствоваться требованиями ГОСТ 18917. Отобранная проба может быть использована для непосредственного измерения плотности с последующей корректировкой к условиям измерения газа или для определения компонентного состава газа, который используют при расчетных методах определения плотности газа.

10.5.1.4 При установке пробоотборного устройства плотномера непосредственно в ИТ длина прямого участка между УЗПР и плотномером должна быть достаточной для исключения его влияния на кинематическую структуру потока.

Пробоотборное устройство плотномера с наружным диаметром менее 0,13D может быть установлено на расстоянии не ближе 20D перед УЗПР.

При установке пробоотборного устройства плотномера с наружным диаметром не более 0,13D после УЗПР расстояние между ними должно быть не менее 2,5D. Если наружный диаметр пробоотборного устройства плотномера больше 0,13D, то оно должно располагаться на расстоянии не менее 10D после УЗПР.

10.5.1.5 Изменение плотности газа отслеживают, создавая поток газа через чувствительный элемент поточного плотномера путем ответвления контролируемого потока газа.

10.5.1.6 Допускается применение фильтров и осушителей для очистки от примесей пробы газа, поступающей в плотномер. Эти устройства не должны менять основной компонентный состав измеряемого газа.

10.5.1.7 Показания поточных плотномеров необходимо приводить к условиям измерений в сечении УЗПР.

Если значение давления и температуры газа в месте измерения плотности газа отличается от значений давления и температуры газа в месте расположения УЗПР, необходимо провести корректировку показаний плотномера с учетом этих отличий.

10.5.1.8 Равенства температур контролируемого потока газа и пробы, находящейся в чувствительном элементе плотномера, добиваются путем размещения чувствительного элемента плотномера в потоке измеряемого газа и теплоизоляцией элементов плотномера, находящихся вне ИТ.

10.5.1.9 При измерении расхода и количества многокомпонентных газов, состав которых меняется в процессе измерений, необходимо учитывать, что применение метода определения плотности на основе отбора проб требует оценки дополнительной погрешности, вызванной принятием состава измеряемого газа условно-постоянным параметром.

10.5.1.10 Если известны значения фактора сжимаемости и молярной массы газа, то плотность газа может быть рассчитана по формуле

.                                                                                                      (10.2)

Если известны коэффициент сжимаемости и плотность газа при стандартных условиях, то плотность газа при рабочих условиях рассчитывают по формуле

.                                                                                                        (10.3)

Для расчета фактора и коэффициента сжимаемости природного газа рекомендуются следующие методы по ГОСТ 30319.2:

- модифицированный метод NX19;

- модифицированное уравнение состояния "GERG-91 мод.";

- уравнение состояния ВНИЦ СМВ;

- уравнение состояния AGA8-92DC.

Метод NX19 и уравнение состояния "GERG-91 мод." используют при неизвестном полном компонентном составе природного газа. Исходными данными для расчета фактора сжимаемости при использовании данных методов являются плотность при стандартных условиях, давление, температура, содержание азота и диоксида углерода.

Расчет по уравнениям состояния AGA8-92DC и ВНИЦ СМВ может быть осуществлен только при известном полном компонентном составе, температуре и давлении газа.

Методическая погрешность расчета фактора сжимаемости зависит от выбранного метода измерений, плотности газа при стандартных условиях, давления, температуры и содержания сероводорода. В связи с этим рекомендуется применять тот метод, который для выбранных условий измерений имеет наименьшую погрешность. Значения методической погрешности для вышеперечисленных методов расчета коэффициента сжимаемости газа приведены в таблице 1 ГОСТ 30319.2.

При измерении расхода и количества влажного газа возникает необходимость в определении плотности влажного газа (см. 6.7).

Плотность влажного газа рассчитывают в соответствии с действующими нормативными документами на основе результатов измерений давления, температуры и состава газа, определенного с учетом содержания водяных паров.

При известном коэффициенте сжимаемости влажного газа Kвг плотность влажного газа рассчитывают по формуле

.                                                                                             (10.4)

Допускается по согласованию заинтересованных сторон плотность влажного газа рассчитывать по формуле

.                                                                        (10.5)

Относительную влажность газа рассчитывают по формулам:

- при известной абсолютной влажности fм, выраженной массой водяного пара (в кг) в 1 м3 сухого газа,

;                                                                               (10.6)

- при известной абсолютной влажности fс, выраженной массой водяного пара (в кг) в 1 м3 сухого газа в стандартных условиях,

;                                                                                    (10.7)

- при известной абсолютной влажности fв, выраженной массой водяного пара (в кг) в 1 м3 влажного газа,

.                                                                                                           (10.8)

10.5.2 Определение плотности газа при стандартных условиях

10.5.2.1 Плотность газа при стандартных условиях измеряют или рассчитывают косвенным методом по известному компонентному составу.

10.5.2.2 Для определения плотности газа при стандартных условиях можно применять любые поточные плотномеры, показания которых не зависят от изменений температуры и давления контролируемой и окружающей среды, а также не изменяющие структуру потока газа.

Допускается определять плотность газа при стандартных условиях по ГОСТ 17310.

10.5.2.3 Место отбора проб газа должно быть оборудовано в соответствии с требованиями ГОСТ 18917. Рекомендуется точку отбора пробы размещать на ИТ.

10.5.2.4 Расчет плотности косвенным методом по известному компонентному составу выполняют в соответствии с ГОСТ 30319.1.

10.5.2.5 Частоту определения плотности при стандартных условиях рассчитывают, исходя из требований к точности измерения количества газа, возможных изменений значения плотности газа между интервалами измерений и обусловленной этими изменениями дополнительной погрешности.

10.5.3 Определение компонентного состава газа

10.5.3.1 Компонентный состав газа определяют хроматографическим методом по ГОСТ 23781.

10.5.3.2 При отборе проб газа для проведения хроматографического анализа состава газа руководствуются требованиями ГОСТ 18917. Рекомендуется точку отбора пробы размещать на ИТ.

10.6 Вычислительные устройства

10.6.1 Вычислительные устройства, в зависимости от условий измерений и формулы для определения расхода газа, должны автоматически учитывать действительные значения необходимых параметров газа, формировать и сохранять архивы за установленные отчетные периоды измерений.

Вычислитель должен все действия по получению и преобразованию входной информации, а также вычислению промежуточных значений и выдаче выходных параметров производить автоматически. Ручное или какое-либо внешнее вмешательство в процедуру вычислений не допускается.

10.6.2 Основная относительная погрешность вычислителя не должна выходить за пределы допускаемых значений:

± 0,01 % - по показаниям и регистрации времени;

± 0,1 % - по показаниям и регистрации объемного расхода газа, приведенного к стандартным условиям (вычисление по заданным параметрам газа и объемному расходу при рабочих условиях).

Основная приведенная погрешность прибора (за нормирующее значение принимается диапазон измерений СИ) не должна выходить за пределы допускаемых значений ±0,05 % - по показаниям и регистрации давления, плотности и объемного расхода газа при рабочих условиях (преобразование входных сигналов).

Основная абсолютная погрешность прибора не должна выходить за пределы допускаемого значения ± 0,15 °С - по показаниям и регистрации температуры газа.

10.6.3 Подключение и конфигурирование параметров вычислительного устройства выполняют в соответствии с его эксплуатационной документацией.

10.6.4 Вычислительные устройства должны индицировать мгновенные значения абсолютного давления, температуры и расхода газа при рабочих условиях и/или приведенного к стандартным условиям, а также значение объема газа, приведенного к стандартным условиям, накопленное с нарастающим итогом.

При необходимости на экран устройства отображения информации могут выдаваться промежуточные значения вычислений и другие параметры.

10.6.5 В архивную запись должны быть включены следующие данные:

- средние за установленный отчетный период значения температуры, давления;

- средний расход газа при рабочих условиях и/или приведенный к стандартным условиям;

- объем газа, приведенный к стандартным условиям;

- свойства среды за отчетный период (состав и плотность газа при стандартных условиях).

10.6.6 В вычислительном устройстве должна быть предусмотрена защита от вмешательства в процесс формирования и сохранения архивов.

10.6.7 Вычислительное устройство должно обеспечивать возможность распечатки архивной и итоговой информации на принтере непосредственно или через устройство приема/ передачи информации (переносного устройства сбора информации, компьютера и т.п.).

11 Подготовка к измерениям и их проведение

11.1 Перед пуском в эксплуатацию УЗПР проверяют соответствие:

- эксплуатационных характеристик применяемых УЗПР реальным условиям измерения потока газа (температура, давление, скорость газа, компонентный состав, требуемая точность измерения);

- прямых участков ИТ требованиям настоящих правил и/или эксплуатационной документации изготовителя;

- монтажа соединительных трубок и кабельных линий требованиям эксплуатационной документации;

- монтажа СИ параметров потока требованиям раздела 10 и эксплуатационной документации.

11.2 Проводят комплексную проверку на герметичность всех соединений ИТ, УЗПР и соединительных трубок.

11.3 При использовании вычислителя в его память должна быть введена необходимая информация о параметрах и характеристиках СИ параметров потока газа, ИТ, а также физических параметрах среды.

11.4 Условно-постоянные параметры газа записывают в журнал регистрации результатов измерений. Значения условно-постоянных параметров газа по мере необходимости должны корректироваться.

11.5 После проверки все СИ приводят в рабочее состояние и проводят измерения расхода газа через ИТ.

12 Обработка результатов измерений

12.1 Расчет расхода газа, приведенного к стандартным условиям

12.1.1 Процедура расчета расхода газа при стандартных условиях зависит от состава применяемых СИ.

12.1.2 При использовании плотномера для определения r и rс расчет расхода газа, приведенного к стандартным условиям, выполняют следующим образом:

а) определяют переменные параметры среды: r (см. 10.5.1), rс (см. 10.5.2) и qо по показаниям УЗПР;

б) рассчитывают по формуле (6.16) расход qc.

12.1.3 Расчет расхода газа при отсутствии СИ плотности газа в рабочих условиях и наличии СИ плотности газа при стандартных условиях выполняют в следующей последовательности:

а) измеряют переменные параметры среды: Р (см. 10.3), Т (см. 10.4), qо по показаниям УЗПР;

б) измеряют или используют условно-постоянное значение rс (см. 10.5.2);

в) определяют полный компонентный состав (см. 10.5.3), если для расчета коэффициента сжимаемости применяют уравнения состояния AGA8-92DC или ВНИЦ СМВ;

г) определяют содержание в газе диоксида углерода и азота, если для расчета коэффициента сжимаемости используют метод NX19 или уравнение состояния GERG-91;

д) рассчитывают коэффициент сжимаемости газа K (см. 10.5.1.10);

е) рассчитывают по формуле (6.16) расход qc.

12.1.4 При отсутствии СИ плотности газа в рабочих и стандартных условиях расчет расхода газа выполняют в следующей последовательности:

а) измеряют переменные параметры среды: Р (см. 10.3), Т (см. 10.4) и qо по показаниям УЗПР;

б) определяют полный компонентный состав газа (см. 10.5.3) или используют условно-постоянные значения мольных или объемных долей компонентов газа;

в) если для расчета коэффициента сжимаемости применяют метод NX19 или уравнение состояния GERG-91, то рассчитывают плотность газа при стандартных условиях по ГОСТ 30319.1;

г) рассчитывают коэффициент сжимаемости газа K (см. 10.5.1.10);

д) рассчитывают по формуле (6.16) расход qc.

12.1.5 Регистрацию показаний СИ параметров газа и обработку результатов измерений проводят с помощью вычислителя расхода.

12.2 Расчет количества газа

12.2.1 Количество газа определяют с помощью вычислительного устройства путем циклического вычисления и измерения необходимых параметров (см. 6.6) и их интегрирования.

12.2.2 Процедура выполнения расчета на одном цикле вычислений с использованием информации о расходе газа или приращения объема при рабочих условиях, получаемой от УЗПР, аналогична процедуре, изложенной в 12.1. При этом принимают DVоi = Dti qоi.

12.2.3 Результат вычислений выдается в единицах измерения объема газа в рабочих условиях и объема газа, приведенного к стандартным условиям.

12.3 Расчет энергосодержания газа

Энергосодержание газа определяют по формуле (6.31).

13 Контроль точности результатов измерений

13.1 Применяемые СИ должны пройти государственные испытания для целей утверждения типа в соответствии с ПР 50.2.009 [9].

13.2 В процессе эксплуатации СИ подлежат поверке органами Государственной метрологической службы или юридическими лицами, аккредитованными на право поверки, в соответствии с требованиями ПР 50.2.006 [8].

Допускается проведение калибровки СИ, если измерения проводятся вне сферы распространения Государственного метрологического контроля и надзора.

13.3 Поверка (калибровка) СИ проводится в соответствии с требованиями нормативных документов, регламентирующих методы и средства поверки (калибровки) этих СИ.

Периодичность поверки (калибровки) СИ должна соответствовать межповерочным интервалам, установленным при утверждении типа СИ.

Корректировка межповерочного интервала в зависимости от условий эксплуатации УЗПР проводится органом Государственной метрологической службы по согласованию с метрологической службой ОАО "Газпром".

13.4 По результатам поверки допускается юстировка УЗПР. Значение поправочного коэффициента рассчитывают по следующей формуле:

,                                                                                     (13.1)

где;

qоi - показание поверяемого УЗПР;

 - показание эталонного СИ.

13.5 При проведении поверки (калибровки) УЗПР рекомендуется:

- установить струевыпрямитель перед УЗПР, если он используется на реальном ИТ;

- обеспечить соответствие длин прямых участков ИТ и типов местных сопротивлений реальным условиям эксплуатации УЗПР;

- в качестве рабочей среды использовать природный газ;

- давление газа устанавливать не ниже половины и не выше удвоенного значения давления, при котором будет эксплуатироваться УЗПР.

13.6 Если известна скорость распространения звука в измеряемом газе, то проверка установки нуля шкалы УЗПР (см. 10.2.4) может быть совмещена с проверкой длин акустических путей и значений времени прохождения акустического импульса в соответствии с эксплуатационной документацией изготовителя.

Скорость распространения звука в измеряемом газе определяют путем деления длины акустического пути на измеренное значение времени прохождения акустическим импульсом этого пути. Полученное значение скорости распространения звука в измеряемом газе сравнивают с рассчитанной величиной, полученной в соответствии с действующими нормативными документами. Допустимое отклонение скорости звука в измеряемом газе от расчетной величины должно указываться изготовителем в эксплуатационной документации. Если допустимое отклонение не указано изготовителем, то его значения принимают равными:

±0,25 % для D ³ 300 мм;

±0,50 % для D < 300 мм.

При этом погрешность измерения давления газа не должна превышать ±0,1 %, а температуры ±0,2 К.

Для природного газа скорость звука может быть рассчитана в соответствии с ГОСТ 30319.3. Данная проверка может проводиться с использованием азота, скорость распространения звука в котором рассчитывают в соответствии с [4].

13.7 В процессе эксплуатации периодически контролируют:

- отклонение скорости звука от расчетной величины;

- долю правильных измерений или уровень шума.

Скорость звука в потоке газа может быть оценена по формуле

.                                                                                              (13.2)

14 Оценка погрешности результатов измерений

14.1 Общие положения

14.1.1 В данном разделе описана процедура расчета оценки погрешности измерений при ограниченной исходной информации, когда для СИ нормированы только следующие метрологические характеристики:

- пределы допускаемых значений основной погрешности;

- пределы допускаемых значений дополнительных погрешностей при наибольших отклонениях внешних влияющих величин от нормальных значений либо максимально допустимые значения коэффициентов влияния.

Кроме того, отсутствует информация о виде функции распределения внешних влияющих величин и частотных характеристиках изменений измеряемой величины и внешних влияющих величин.

14.1.2 Границу составляющей относительной погрешности измерений параметра (у), вызванной основной погрешностью измерительного преобразователя или СИ, рассчитывают по следующим формулам:

а) при известной абсолютной погрешности

;                                                                                               (14.1)

б) при известной приведенной основной погрешности:

- если нормирующее значение измеряемого параметра равно диапазону шкалы, то

,                                                                                              (14.2)

- если нормирующее значение измеряемого параметра равно верхнему пределу измерений, то

,                                                                                                      (14.3)

14.1.3 Границу составляющей относительной дополнительной погрешности измерений параметра (у), вызванную внешней влияющей величиной, рассчитывают по следующим формулам:

- при нормировании пределов допускаемых значений погрешности при наибольших отклонениях внешней влияющей величины от нормального значения

,                                                                  (14.4)

где d, Dд, gд - относительная, абсолютная и приведенная дополнительные погрешности;

- при нормировании пределов допускаемых значений коэффициентов влияния

,                                         (14.5)

где DXр - наибольшее отклонение внешней влияющей величины от нормального значения.

14.1.4 Доверительные границы, в пределах которых находится значение измеряемого параметра с учетом дополнительных составляющих погрешностей и погрешности, вызванной основной погрешностью измерительного преобразователя или СИ, рассчитывают по следующей формуле

,                                                                                     (14.6)

где n - количество влияющих величин;

dдy - дополнительная погрешность от i-й влияющей величины.

14.1.5 Погрешность параметра (у), определяемого косвенным методом, который связан функциональной зависимостью с параметрами (уi) (например, температурой, давлением, компонентным составом)

y = F(y1, у2 ..... уn),

рассчитывают по формуле

,                                                                                (14.7)

где dмF - методическая погрешность функциональной зависимости;

dyi - погрешность измерения i-го измеряемого параметра;

qyi - коэффициент влияния i-го измеряемого параметра на величину определяемого параметра (у).

Коэффициент влияния рассчитывают по формуле

,                                                                                                    (14.8)

где  - частная производная функции F по параметру уi.

Если неизвестна математическая взаимосвязь параметра у с параметрами уi или дифференцирование функции F затруднено, то коэффициент влияния рассчитывают по формуле

,                                                                                                     (14.9)

где Dу - изменение определяемого параметра у при изменении измеряемого параметра на величину Dуi.

14.1.6 Если параметр измеряемой среды принят за условно-постоянную величину, то погрешность этого параметра рассчитывается по следующей формуле:

,                                                                    (14.10)

где dyв - погрешность СИ, применяемого для оценки диапазона изменения параметра.

14.2 Общие формулы для расчета погрешности объема газа, приведенного к стандартным условиям

14.2.1 Относительную погрешность измерения объемного расхода, приведенного к стандартным условиям, в случае применения плотномера для определения r рассчитывают по формуле

,                                                                           (14.11)

где  - погрешность измерения объемного расхода с помощью УЗПР;

 - погрешность измерения плотности газа, приведенного к стандартным условиям;

dr - погрешность измерения плотности при рабочих условиях;

dв - погрешность вычислителя.

14.2.2 Относительную погрешность измерения объема газа, приведенного к стандартным условиям, при отсутствии плотномера рассчитывают по формуле

,                                                        (14.12)

или

,                                                (14.13)

где dP - погрешность измерения абсолютного давления;

dТ - погрешность измерения температуры;

dK - общая погрешность расчета коэффициента сжимаемости;

dZ, dZс - погрешности расчета факторов сжимаемости.

В случае применения вычислителя, у которого погрешность нормирована с учетом погрешности измерений Р, Т и погрешности расчета коэффициента сжимаемости, dVс определяют по формуле

.                                                                                          (14.14)

В случае применения вычислителя, у которого погрешность нормирована без учета погрешности расчета коэффициента сжимаемости, но с учетом погрешности измерений Р, Т, величину  определяют по формуле

.                                                                                   (14.15)

14.3 Составляющие погрешности результатов измерений

14.3.1 Относительную погрешность измерения объемного расхода dqо в рабочих условиях рассчитывают по формуле

,                                                                                          (14.16)

где n - количество последовательно соединенных измерительных преобразователей или СИ, используемых для измерения расхода (например, УЗПР и СИ для регистрации и интегрирования его показаний);

dyi - погрешность i-го измерительного преобразователя или СИ (например, погрешность УЗПР и погрешность СИ, применяемого для регистрации и интегрирования его показаний) с учетом дополнительных погрешностей (см. формулу 14.6).

Основная погрешность УЗПР определяется по результатам его поверки (калибровки) и приводится в паспорте на УЗПР.

Если градуировка УЗПР осуществлялась при температуре и давлении, отличающихся от рабочих, а алгоритм не предусматривает учета данного обстоятельства, то при измерении расхода газа возникает дополнительная погрешность, обусловленная изменением геометрических размеров УЗПР [5]:

в случае фланцевого соединения УЗПР и ИТ

;                                                                     (14.17)

в случае сварного соединения УЗПР и ИТ

,                                                                          (14.18)

где DТ = Т - Tград - разность температур газа при рабочих условиях и при проведении градуировки УЗПР (Tград);

DР = Р - Pград - разность давлений газа при рабочих условиях и при проведении градуировки УЗПР (Pград).

Учитывают погрешность dдq, если ее значение превышает ±0,1 %. Допускается корректировать показания УЗПР на величину данной погрешности.

Перечень и анализ источников возникновения погрешностей УЗПР приведены в Приложении Г.

14.3.2 Погрешности измерений абсолютного давления газа при применении преобразователей абсолютного давления рассчитывают по формуле

,                                                                                         (14.19)

где n - количество последовательно соединенных измерительных преобразователей или СИ, используемых для измерения абсолютного давления;

dyi - погрешность i-го измерительного преобразователя или СИ с учетом дополнительных погрешностей.

Погрешности измерений абсолютного давления при применении преобразователя избыточного давления рассчитывают по формуле

,                                                             (14.20)

где n -

количество последовательно соединенных измерительных преобразователей или СИ, используемых для измерения избыточного давления;

dyi -

погрешность i-го измерительного преобразователя или СИ с учетом дополнительных погрешностей;

dPб -

погрешность измерения атмосферного давления.

4.3.3 Погрешности измерений температуры газа рассчитывают по формуле

,                                                               (14.21)

где n -

количество последовательно соединенных измерительных преобразователей или СИ, используемых для измерения температуры;

Dyi -

абсолютная погрешность i-го измерительного преобразователя или СИ с учетом дополнительных погрешностей.

Так как погрешность первичных преобразователей температуры нормируется в абсолютных единицах (см. ГОСТ 6616 и ГОСТ 6651), формула (14.21) приведена с использованием абсолютных погрешностей.

14.3.4 Расчет погрешности drс выполняют, исходя из нижеприведенных положений. При использовании плотномера погрешность drс определяют по формулам, приведенным в 14.1.2 и 14.1.4, в зависимости от метода нормирования погрешности плотномера.

Если при измерении плотности применяется более одного измерительного преобразователя или СИ с известными погрешностями drсi, то погрешность drс определяют по формуле

,                                                                                            (14.22)

где n - количество измерительных преобразователей или СИ.

При расчете rс методом косвенных измерений погрешность drс определяют в соответствии с требованиями нормативных документов, регламентирующих этот метод.

При определении значения rс по известному компонентному составу газа по ГОСТ 30319.1 погрешность drс определяют по формулам, приведенным в указанном стандарте.

14.3.5 При использовании плотномера погрешность dr определяют по формулам, приведенным в 14.1.2 и 14.1.4, в зависимости от метода нормирования погрешности плотномера.

Если для измерения плотности применяют более одного последовательно соединенного измерительного преобразователя или СИ с известными погрешностями dri, то погрешность dr находят по формуле

,                                                                                               (14.23)

где n - количество измерительных преобразователей или СИ.

14.3.6 Погрешности dХi определяют в соответствии с нормативными документами, которые устанавливают методы и СИ компонентного состава среды.

Если метрологические характеристики применяемых газоанализаторов (или иных СИ концентраций компонентов газа) нормируются максимальной абсолютной погрешностью DХi определения i-й концентрации Xi, то погрешности dХi определяются по формуле

.                                                                                                  (14.24)

Допускается при проведении расчетов принимать dXi = dNi.

14.3.7 Погрешности фактора и коэффициента сжимаемости рассчитывают без учета погрешности измерений давления и температуры.

Погрешность определения коэффициента сжимаемости рассчитывают по формуле

,                                                                                            (14.25)

где d -

погрешность расчета коэффициента сжимаемости (см. таблицу 1 ГОСТ 30319.2);

dид -

погрешность расчета коэффициента сжимаемости, связанная с погрешностью измерения исходных данных. Значение dид определяют по формулам:

- при расчете K по уравнениям состояния AGA8-92DC или ВНИЦ СМВ:

,                                                                                        (14.26)

где qXi -

коэффициент влияния мольной или объемной доли i-го компонента газа на величину коэффициента сжимаемости;

dХi -

погрешность определения мольной или объемной доли i-го компонента газа.

- при расчете K по методу NX19 мод. или по уравнению состояния GERG-91 мод. погрешность dид рассчитывают по формуле

dид = qrсdrс,                                                                                                       (14.27)

где qrс -

коэффициенты влияния плотности природного газа при стандартных условиях, содержания азота и диоксида углерода на коэффициент сжимаемости;

drс -

погрешности определения плотности природного газа при стандартных условиях.

14.3.8 Коэффициенты влияния qР и qТ, используемые в формулах (14.12) и (14.13), а также коэффициент влияния qrс, необходимый для учета погрешности измерений rс при определении погрешности коэффициента сжимаемости, рассчитывают по формулам

,                                                                                                 (14.28)

,                                                                                                 (14.29)

,                                                                                                   (14.30)

где K'P, K'T и K'rc - частные производные K по давлению, температуре и плотности при стандартных условиях, соответственно.

Значения K'P, K'T и K'rc допускается определять по формулам

;                                                                                                      (14.31)

;                                                                                                       (14.32)

;                                                                                                      (14.33)

где DKP -

изменение величины коэффициента сжимаемости при изменении давления на величину DР;

DKТ -

изменение величины коэффициента сжимаемости при изменении температуры на величину DТ;

DKrc -

изменение величины коэффициента сжимаемости при изменении плотности при стандартных условиях на величину Drс.

Для коэффициентов влияния при Р £ 10 МПа, 250 £ Т £ 350 и 0,67 £ rс £ 0,82 допускается принимать значения:

qP = 1 при ;                                                                          (14.34)

qT = 1 при ;                                                            (14.35)

qrc = 0 при T ³ Tгrс = 626,11 - 249,11P + c0 + [-602,9 + 404,9P + c1]rc.       (14.36)

Коэффициенты аi, bi, ci определяют по следующим формулам:

;                                                                                                     (14.37)

;                                                                                                    (14.38)

;                                                                                                    (14.39)

Значения коэффициентов аij, bij, cij приведены в таблице 14.1.

Таблица 14.1 - Коэффициенты аij, bij, cij.

i

j

aij

bij

cij

0

0

-478,2774

142,0603

-788,8324

1

0

284,33

485,4953

1005,4473

2

0

-46,18

0,4691

 

3

0

2,4627

 

 

0

1

1693,7384

96,9053

449,8721

1

1

-735,28

-612,9600

-509,4425

2

1

125,17

0,7450

 

3

1

-6,8285

 

 

0

2

-1093,4157

 

-36,4980

1

2

556,31

 

19,6610

2

2

-92,94

 

 

3

2

5,0071

 

 

0

3

 

 

2,5259

1

3

 

 

-1,5356

14.4 Дополнительные составляющие погрешности определения количества среды (газа)

14.4.1 Составляющие погрешности определения количества среды включают ряд дополнительных составляющих, обусловленных погрешностями интегрирования значений расхода.

В случае применения вычислителей появляются следующие дополнительные составляющие погрешности:

dt - погрешность определения интервала времени, в течение которого рассчитывают количество газа;

dди - погрешность дискретизации измеряемого параметра.

14.4.2 Погрешность определения интервала времени dt находят на основе данных изготовителя вычислителя или рассчитывают по формуле

,                                                                   (14.40)

где tовк -

интервал времени, который показал вычислитель расхода и количества газа;

tэ -

интервал времени, измеренный с помощью эталонного СИ;

Dt -

интервал времени опроса датчиков;

n -

количество опросов датчика за время tовк.

Данную составляющую погрешность геометрически суммируют (в качестве примера геометрического суммирования может служить формула 14.6) с результатом расчета по формулам подраздела 14.2.

14.4.3 При расчете количества среды по каждому из измеряемых параметров возникает дополнительная погрешность dди дискретизации аналогового сигнала во времени t, которую рассчитывают по формуле:

,                                                   (14.41)

где              Dt -

равномерный интервал дискретизации во времени измеряемого параметра У(t);

М[у] -

математическое ожидание (среднее значение) непрерывной реализации измеряемого параметра У(t);

Kу(0) и Kу(Dt) -

значения автокорреляционной функции Kу(t) соответственно при t = 0 и t=Dt.

Допускается для оценки погрешности dдиi использовать формулу

,                                                           (14.42)

где n - количество опросов СИ за время tк - tн.

Погрешность dди убывает с увеличением времени измерений и уменьшением интервала опроса датчиков и возрастает с увеличением амплитуды пульсаций параметров потока.

Рекомендуется проводить оценку погрешности dди в случаях, если пульсации параметров потока превышают 15 %, а время измерений менее суток.

Погрешность dди геометрически прибавляется к погрешности измерений параметра (к погрешности измерительного канала параметра), а именно: р, t, r и rс.

Погрешность dди дискретизации параметра может быть оценена только после проведения измерений, поэтому ее учет возможен только в реальных условиях эксплуатации.

Приложение А
(справочное)

Варианты расположения акустических путей

А.1 На практике используются УЗПР с одним или несколькими отраженными или прямыми акустическими лучами.

Одноканальные расходомеры применяют для измерения расхода газа с развитым профилем скорости и в случаях, когда не требуется высокой точности.

Многоканальные расходомеры позволяют минимизировать эффекты, вызванные распределением скоростей потока и числом Re. Они имеют высокую надежность, если электронная схема устройства обработки сигналов обеспечивает дублирование или корректировку алгоритма расчета при выходе из строя одного или ряда ПЭА.

На рисунках А.1 и А.2 показаны в качестве примеров варианты расположения акустических путей. На практике могут применяться и другие варианты.

Рисунок A.1 - Однолучевые УЗПР

Рисунок А.2 - Многолучевые УЗПР

Приложение Б
(справочное)

Варианты монтажа ПЭА

Приложение В
(справочное)

Теоретические основы метода измерений

Предположим, что ультразвуковой импульс передается от ПЭА (А) к ПЭА (В), расположенных под углом f к оси ИТ, через поток газа, направленный вдоль оси х, как показано на рисунке В.1, локальные скорости которого зависят только от координаты у.

Рисунок В.1 - Схема измерительного участка

За время t ультразвуковой импульс пройдет некоторый путь, траектория которого может быть описана следующими уравнениями:

dу = c0sin(f)dt;                                                                                                  (B.1)

dх = [с0cos(f) + u(y)]dt.                                                                                   (В.2)

Если за время t2 импульс достигает ПЭА (В), то координаты конца акустического пути в соответствии с уравнениями (В.1) и (В.2) могут быть рассчитаны по следующим формулам:

Y = t2c0sin(f);                                                                                                   (B.3)

.                                        (В.4)

В соответствии с уравнением (B.1) dt = dу/c0sin(f) интеграл в уравнении (В.4) может быть преобразован:

.                                                                        (В.5)

Учитывая, что

                                                                                                  (В.6)

и

c0sin(f) = Y/t2,                                                                                                  (B.7)

уравнение (В.5) можно привести к виду:

.                                                                                     (В.8)

Так как D/Y = d/X , уравнение (В.8) можно записать в следующем виде:

.                                                                                         (В.9)

Возведя в квадрат правую и левую части уравнений (В.7) и (В.9) и складывая их с учетом тождеств sin2(f) + cos2(f) = 1 и X2 + Y2 = (Lp)2, получим следующее уравнение:

.                                     (В.10)

Решая уравнение (В.10) относительно t2, получим следующую формулу для вычисления времени прохождения импульса между ПЭА (А) и (В):

.                                                                    (В.11)

Время прохождения ультразвукового импульса от ПЭА (В) к ПЭА (А) может быть вычислено по аналогичной процедуре с учетом того, что скорость газа вносит обратный эффект на распространение импульса в потоке:

.                                                                    (В.12)

Решая совместно уравнения (В.11) и (В.12) относительно скорости , получим следующую формулу:

.                                                                                                (В.13)

Среднюю скорость газа через поперечное сечение ИТ можно вычислить по значению средней скорости газа вдоль акустического пути и функции распределения скоростей потока в ИТ.

Средняя скорость газа через сечение ИТ по известным локальным скоростям потока рассчитывается по следующей формуле:

,                                                                                                   (В.14)

а средняя скорость газа вдоль акустического пути по формуле

.                                                                                                     (В.15)

В таком случае зависимость между скоростями  и uа может быть выражена в следующем виде:

,                                                                                                          (В.16)

где

.                                                                                                  (В.17)

Для одноканального УЗПР, когда луч проходит через ось ИТ для полностью развитых равномерных турбулентных потоков, значения Ku, вычисленные по формуле (В.17), могут быть аппроксимированы формулой

.                                                                              (В.18)

Для ламинарного режима при равномерном течении газа Ku = 0,75.

Если луч проходит через хорду, находящуюся на расстоянии 0,25D от оси УЗПР, то Ku может быть принято равным среднему значению 0,996. В этом случае при числах Re от 104 до 108 отклонение Ku от его среднего значения не превышает ±0,4 %.

Средняя скорость газа может быть вычислена через значения средних скоростей на хордах сечения ИТ по следующей формуле:

                                                                      (В.19)

или

.                                                                         (В.20)

Многоканальные УЗПР имеют ограниченное число акустических путей, поэтому необходимо уравнение (В.20) заменить следующей квадратурной формулой:

.                                                                                             (В.21)

Значения весовых коэффициентов, входящих в формулу (В.21), зависят от числа Re, числа акустических путей и их расположения. Главной задачей при выборе числа и места расположения акустических путей является снижение зависимости показаний расходомера от числа Re. Значения весовых коэффициентов для различных вариантов числа и места размещения акустических путей приводятся в работах [2, 6].

Приложение Г
(справочное)

Источники погрешностей УЗПР

Г.1 Погрешности определения корректирующего коэффициента распределения скоростей (ku) или весовых коэффициентов (wi) обусловлены следующими отклонениями кинематической структуры потока:

- деформацией потока газа в области каналов, используемых для размещения ПЭА;

- существенным завихрением потока;

- деформацией профиля осевых скоростей;

- пульсациями потока.

Указанные погрешности могут быть снижены за счет:

- увеличения длин прямых участков ИТ до и после УЗПР;

- использования струевыпрямителя;

- применения многоканальных УЗПР;

- выполнения градуировки УЗПР в условиях, максимально приближенных к рабочим.

Г.2 Погрешности вычисления площади сечения УЗПР и длины акустического пути обусловлены погрешностями измерения D, L и d, которые могут быть вызваны следующими факторами:

- использованием малой точности методов и СИ;

- изменением геометрических характеристик УЗПР, обусловленных загрязнением его проточной части или воздействием рабочего давления и температуры.

Указанные погрешности могут быть снижены за счет:

- выбора метода и СИ, обеспечивающих наименьшую погрешность определения D, L и d;

- точной механической обработки внутренней поверхности УЗПР и ИТ;

- коррекции показаний расходомера на изменение его геометрических характеристик;

- выполнения градуировки УЗПР в условиях, максимально приближенных к рабочим.

Г.3 Погрешности измерения времени прохождения импульса обусловлены искажением амплитуды и формы колебаний, которые могут быть вызваны следующими основными источниками:

- электрическим шумом;

- вторичным (вихревым) потоком;

- многофазностью измеряемого газа;

- загрязнением каналов, предназначенных для установки ПЭА;

- градиентами плотности измеряемого газа;

- высокой турбулентностью потока газа;

- акустическим шумом, генерируемым течением потока газа в трубопроводе, внешними источниками, местными сопротивлениями.

Причины, вызывающие искажение импульса, могут быть установлены на основе его диагностики и контроля.

Проблемы, связанные с движением газа, устраняют путем правильного выбора расположения УЗПР, его теплоизоляции и контроля характеристик потока газа.

Акустические проблемы решаются обеспечением большого соотношения "сигнал-шум".

Г.4 Погрешности, связанные с измерением времени, определяются следующими факторами:

- техникой обнаружения импульса;

- методом измерения времени;

- временным разрешением;

- задержками времени в кабелях связи, электронике, ПЭА и стенке трубопровода;

- точностью вычислений;

- внешним влиянием на электронику;

- временными задержками импульса в каналах, предназначенных для установки ПЭА.

Погрешности, связанные с измерением времени, могут быть уменьшены путем установки нуля УЗПР в условиях эксплуатации.

Библиография

1. Кремлевский П.П. Расходомеры и счетчики количества. - Л.: Машиностроение, Ленинградское отделение, 1989.

2. ISO/TR 12765:1998(E) Measurement of fluid flow in closed conduits - Methods using transit-time ultrasonic flowmeters. Technical report.

3. A.G.A. Report N.9. Measurement of Gas by Ultrasonic Meters Transmission Measurement Committee Operating Section American Gas Association, 1997.

4. Сычев В.В и др. Термодинамические свойства азота. - М.: Изд-во стандартов, 1977. - 352 с.

5. Offshore Engineering Standards. Doc. № A3000SJ030 Dec. 1999. Code of practice for ultrasonic flowmeters - for general use/custody transfer.

6. Костылев В.В. и др. Принципы построения многоканального ультразвукового расходомера. - Труды 12-й Международной научно-практической конференции "Совершенствование измерений расхода жидкости, газа и пара", 23-25 апреля 2002 г./ Под ред. В.И. Лачкова - СПб.: Борей-Арт, 2002. - 288 с.

7. ГСССД МР 107-98 Определение плотности, объемного газосодержания, показателя изоэнтропии и вязкости газоконденсатных смесей в диапазоне температур 240...350 К при давлениях до 10 МПа.

8. ПР 50.2.006-94 Государственная система обеспечения единства измерений. Порядок проведения поверки средств измерений.

9. ПР 50.2.009-94 Государственная система обеспечения единства измерений. Порядок проведения испытаний и утверждения типа средств измерений.

 

Ключевые слова: измерение, расход, количество, природный газ, ультразвук, ультразвуковой преобразователь, расчет, погрешность

 

 




ГОСТЫ, СТРОИТЕЛЬНЫЕ и ТЕХНИЧЕСКИЕ НОРМАТИВЫ.
Некоммерческая онлайн система, содержащая все Российские Госты, национальные Стандарты и нормативы.
В Системе содержится более 150000 файлов нормативно-технической документации, действующей на территории РФ.
Система предназначена для широкого круга инженерно-технических специалистов.

Рейтинг@Mail.ru Яндекс цитирования

Copyright © www.gostrf.com, 2008 - 2026