Крупнейшая бесплатная информационно-справочная система онлайн доступа к полному собранию технических нормативно-правовых актов РФ. Огромная база технических нормативов (более 150 тысяч документов) и полное собрание национальных стандартов, аутентичное официальной базе Госстандарта. GOSTRF.com - это более 1 Терабайта бесплатной технической информации для всех пользователей интернета. Все электронные копии представленных здесь документов могут распространяться без каких-либо ограничений. Поощряется распространение информации с этого сайта на любых других ресурсах. Каждый человек имеет право на неограниченный доступ к этим документам! Каждый человек имеет право на знание требований, изложенных в данных нормативно-правовых актах!

  


 

ФЕДЕРАЛЬНОЕ АГЕНТСТВО
ПО ТЕХНИЧЕСКОМУ РЕГУЛИРОВАНИЮ И МЕТРОЛОГИИ

НАЦИОНАЛЬНЫЙ
СТАНДАРТ
РОССИЙСКОЙ
ФЕДЕРАЦИИ

ГОСТ Р ЕН
1149-3-
2008

Система стандартов безопасности труда

ОДЕЖДА СПЕЦИАЛЬНАЯ ЗАЩИТНАЯ. ЭЛЕКТРОСТАТИЧЕСКИЕ СВОЙСТВА

Часть 3

Методы измерения убывания заряда

EN 1149-3:2008
Protective clothing
- Electrostatic properties - Part 3: Test methods for
measurement of charge decay
(IDT)

Москва

Стандартинформ

2009

Предисловие

Цели и принципы стандартизации в Российской Федерации установлены Федеральным законом от 27 декабря 2002 г. 184-ФЗ «О техническом регулировании», а правила применения национальных стандартов Российской Федерации - ГОСТ Р 1.0-2004 «Стандартизация в Российской Федерации. Основные положения»

Сведения о стандарте

1 ПОДГОТОВЛЕН Обществом с ограниченной ответственностью «Центр испытания материалов и изделий» и ТК 320 «Средства индивидуальной защиты»

2 ВНЕСЕН Управлением технического регулирования и стандартизации Федерального агентства по техническому регулированию и метрологии

3 УТВЕРЖДЕН И ВВЕДЕН В ДЕЙСТВИЕ Приказом Федерального агентства по техническому регулированию и метрологии от 2 декабря 2008 г. 336-ст

4 Настоящий стандарт идентичен европейскому стандарту ЕН 1149-3:2008 «Одежда специальная защитная. Электростатические свойства. Часть 3. Методы измерения убывания заряда» (EN 1149-3:2008 «Protective clothing - Electrostatic properties - Part 3: Test methods for measurement of charge decay»)

При применении настоящего стандарта рекомендуется использовать вместо ссылочных европейских стандартов соответствующие им национальные стандарты Российской Федерации, сведения о которых приведены в дополнительном приложении В

5 ВВЕДЕН ВПЕРВЫЕ

Информация об изменениях к настоящему стандарту публикуется в ежегодно издаваемом информационном указателе «Национальные стандарты», а текст изменений и поправок - в ежемесячно издаваемых информационных указателях «Национальные стандарты». В случае пересмотра (замены) или отмены настоящего стандарта соответствующее уведомление будет опубликовано в ежемесячно издаваемом информационном указателе «Национальные стандарты». Соответствующая информация, уведомление и тексты размещаются также в информационной системе общего пользования - на официальном сайте Федерального агентства по техническому регулированию и метрологии в сети Интернет

Содержание

Введение

Для измерения скорости рассеивания электростатического заряда на материалах защитной одежды, а именно убывания заряда, приводится описание двух методов. В обоих случаях заряд контролируют путем наблюдения за электростатическим полем, которое он создает. Это осуществляется с помощью бесконтактных приборов для измерения напряженности поля. Основное различие между этими методами составляет способ создания электростатического заряда. В основе трибоэлектрического накопления заряда лежит формирование заряда при соприкасании двух материалов, их трении и последующем разделении. Индукционное накопление заряда подразумевает размещение электрода под испытательной поверхностью и повышение до определенного потенциала. Индуцированный заряд на испытуемом материале влияет на результирующее поле, наблюдение за которым осуществляется с помощью электрода для измерения поля, расположенного над испытательной поверхностью.

НАЦИОНАЛЬНЫЙ СТАНДАРТ РОССИЙСКОЙ ФЕДЕРАЦИИ

Система стандартов безопасности труда

ОДЕЖДА СПЕЦИАЛЬНАЯ ЗАЩИТНАЯ. ЭЛЕКТРОСТАТИЧЕСКИЕ СВОЙСТВА

Часть 3

Методы измерения убывания заряда

Occupational safety standards system. Protective clothing. Electrostatic properties.
Parts 3. Test methods for measurement of charge decay

Дата введения - 2009-07-01

1 Область применения

Настоящий стандарт распространяется на специальную одежду и текстильные материалы и устанавливает методы измерения убывания заряда с поверхности материалов.

2 Нормативные ссылки

В настоящем стандарте использованы нормативные ссылки на следующие стандарты:

ЕН 340:2003 Одежда защитная. Общие требования.

ЕН 1149-1:1995 Одежда защитная. Электростатические свойства. Часть 1. Метод испытания для измерения поверхностного удельного сопротивления

3 Термины и определения

В настоящем стандарте применены следующие термины с соответствующими определениями:

3.1 поверхностные проводящие волокна: Волокно, в котором проводящий компонент обнажается на поверхности. В зависимости от структуры поперечного сечения волокна проводящей может быть вся поверхность или только ее часть.

3.2 каркасные проводящие волокна: Волокно, в котором проводящий компонент полностью скрыт в непроводящем материале.

3.3 убывание заряда: Перемещение заряда по поверхности материала или через него, приводящее к уменьшению плотности заряда или поверхностного потенциала в точке приложения заряда.

3.4 напряженность электрического поля:

Е0 - максимальная напряженность электрического поля после трибоэлектрического накопления заряда, кВ/м;

Е30 - напряженность электрического поля через 30 с после Е0, кВ/м;

Еmах - напряженность электрического поля, показанная регистрирующим прибором без наличия испытуемого образца, кВ/м;

ER - максимальная напряженность электрического поля, показанная регистрирующим прибором при наличии испытуемого образца в точке измерения.

3.5 полупериод убывания заряда t50: Время, которое требуется для затухания указанной напряженности поля до Еmах/2, с.

3.6 коэффициент экранирования S: Соотношение между Еmах и ER вычисляют по формуле

(1)

4 Методы проведения испытаний

4.1 Подготовка образца к требуемым условиям, применимая к обоим методам испытаний

4.1.1 Предварительная обработка

Предварительная обработка испытуемого образца осуществляется в соответствии со стандартом для данного типа одежды, в других случаях образец подвергается пяти стиркам или сухим химическим чисткам в соответствии с ЕН 340.

Примечание - Предварительная обработка не требуется для защитной одежды, чистка которой в процессе эксплуатации не подразумевается (например, для защитной одежды разового использования).

4.1.2 Окружающая среда для приведения к требуемым условиям и проведения испытаний

Если не указано иное, испытуемые образцы должны быть выдержаны в атмосферной среде при температуре (23 ± 1) °С и относительной влажности (25 ± 5) % в течение не менее 24 ч.

4.2 Трибоэлектрическое накопление заряда (метод испытания 1)

4.2.1 Сущность метода

Заряд в испытуемых материалах создается путем трения о цилиндрические стержни, установленные на вертикально движущемся ползуне.

Напряженность электрического поля от заряда, созданного на испытуемом материале, наблюдается и регистрируется с помощью измерителя напряженности электрического поля, подключенного к прибору графического изображения результатов.

4.2.2 Оборудование

4.2.2.1 Общие сведения

Испытательная аппаратура показана на рисунке 2.

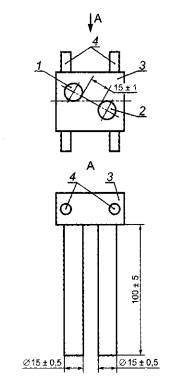
4.2.2.2 Цилиндрические стержни

Используют два стержня длиной (100 ± 5) мм с диаметром поперечного сечения (15,0 ± 0,5) мм. Стержни прикреплены к металлическому ползуну параллельно, без возможности свободного вращения так, чтобы нижняя часть первого стержня располагалась горизонтально на одной оси с верхней частью второго стержня, при этом расстояние между их ближайшими краями составляло (15 ± 1) мм (см. рисунок 1).

Требуются две пары стержней, одна из которых изготовлена из полиэтилена высокой плотности (ПЭВП), а другая пара - из алюминия. Зажимное приспособление, используемое для крепления стержней к ползуну, должно позволять выполнять замену стержней.

Стержни из ПЭВП должны иметь удельную массу (999 ± 10) кг/м3 и твердость по Шору D 63; поверхностное сопротивление - не более 106 Ом и объемное сопротивление - не более 106 Ом·см.

Для алюминиевых стержней используют материал:

AlMgSi (3.3207:6060).

Аналогичные материалы допускается использовать, если они обеспечивают получение таких же результатов.

Примечание - Производитель материала ПЭВП (РЕ-EL): SIMONA AG, D-55606 Kirn. Данную информацию приводят для удобства пользователей.

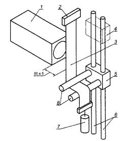
4.2.2.3 Ползун и опорная конструкция

Ползун, к которому прикреплены цилиндрические стержни, перемещается по одной или более вертикальным направляющим. Исходным положением ползуна является наивысшая точка направляющей. Допускается либо свободное падение ползуна под тяжестью собственной массы, либо перемещение по направляющей(им) с использованием соответствующего электропривода. В первом случае требуется соответствующий зажим для фиксации ползуна в исходном положении перед выполнением каждого измерения. Ползун, направляющая(ие) и опорная конструкция могут иметь любое конструктивное исполнение, при котором цилиндрические стержни перемещались на скорости (0,20 ± 0,02) м/с в вертикальном направлении без существенного кручения или вращения.

Все металлические конструкции должны быть заземлены.

4.2.2.4 Устройство для фиксации и натяжения образцов

Верхний край образца крепят к жесткой конструкции и натягивают путем крепления свободно подвешиваемого зажима к нижнему краю. Свободно подвешиваемый зажим должен обеспечивать равномерное распределение нагрузки по всей ширине образца. Фиксированный зажим должен быть выполнен из металла и заземлен. Нагрузка, прилагаемая к нижнему зажиму, должна составлять (1,30 ± 0,05) Н. В случае, если удлинение контрольного образца составляет более 5 %, надлежит использовать нагрузку (0,2 ± 0,05) Н.

4.2.2.5 Прибор для измерения напряженности электростатического поля

Прибор для измерения электростатического поля, отвечающий указанным требованиям, располагают так, чтобы измерительное отверстие было на расстоянии (50 ± 5) мм от плоскости испытуемого образца (см. рисунок 2) после снижения ползуна:

- диапазон - не менее чем от 1 до 200 кВ/м;

- разрешение - не менее 1 кВ/м;

- быстрота реагирования - не менее 10 м/с;

- смещение нуля - не более ± 0,5 кВ/м (долговременное).

Прибор для измерения поля должен быть оснащен выходом для его подключения к регистрирующему прибору.

Примечание - Следует проявлять осторожность и не допускать присутствия заряженных предметов, которые могут оказать влияние на показания прибора для измерения поля.

4.2.2.6 Регистрирующий прибор

Средство регистрации показаний относительных по времени данных на выходе прибора для измерения поля предпочтительно в графической форме. Разрешение по времени и быстрота реагирования этого регистрирующего прибора должны составлять не более 1 м/с, прибор должен регистрировать полный диапазон выходных данных измерителя напряженности поля. В качестве примера соответствующих приборов служат бумажные самописцы, запоминающие осциллографы и регистраторы данных (компьютеры с соответствующим программным обеспечением).

4.2.2.7 Нейтрализатор статического электричества

Нейтрализатор статического электричества - средство нейтрализации электростатического заряда на испытуемых образцах и стержнях из ПЭВП перед выполнением измерений, например электрическая ионизация воздуха.

4.2.2.8 Чистящее средство

Чистящее средство - соответствующее жидкое чистящее средство, пропан-2-ол или этанол. Предупреждение: пропан-2-ол и этанол огнеопасны и вредны для здоровья. Не допускать вдыхания испарений и попадания на кожу, в глаза или на одежду.

4.2.3 Образцы

Вырезают 12 образцов размером (50 ± 2) мм × (300 ± 2) мм каждый от испытуемой ткани или защитной одежды, шесть из них вырезают по длине в направлении нитей основы или в продольном направлении, вторые шесть - в направлении поперечных нитей или по ширине. В случае если продольное направление определить невозможно, шесть образцов вырезают от каждого из двух взаимно перпендикулярных направлений.

Три образца по продольной и три образца по поперечной нити используют на стержнях из ПЭВП, остальные три образца по продольной и три образца по поперечной нити используют на алюминиевых стержнях. Образцы не должны содержать швов. Во избежание загрязнения надлежит держать образцы только за края.

4.2.4 Порядок проведения испытаний

Очищают цилиндрические стержни, протерев их хлопчатобумажной тканью, смоченной очищающим средством (4.2.2.7). Дают цилиндрическим стержням просохнуть. Прикрепляют один конец первого образца к фиксированному зажиму и устанавливают ползун в наивысшей точке, пропускают свободный конец образца между двумя стержнями. Образец должен касаться нижней поверхности первого стержня и верхней поверхности второго стержня (см. рисунок 2). Прикрепляют натяжное приспособление к свободному концу образца.

Снимают с образца и со стержней значительный остаточный электростатический заряд, используя нейтрализатор статического электричества. Проверяют, чтобы показание измерителя поля находилось на нуле или около нуля.

Включают регистрирующий прибор и запускают свободное падение или движение ползуна вниз от электропривода таким образом, чтобы создать трение образца о цилиндрические стержни.

Выключают регистрирующий прибор через 60 с после запуска ползуна.

Из полученных зарегистрированных данных отмечают максимальное показание напряженности поля и напряженность поля через 30 с после Е0.

Снимают образец и повторяют процедуру на остальных образцах.

Повторяют весь порядок выполнения испытания на оставшихся шести образцах, но с использованием стержней другого типа.

4.2.5 Оформление результатов испытаний

Вычисляют среднее из абсолютных значений максимальной напряженности поля E0 и среднее из абсолютных значений напряженности поля через 30 с Е30 для следующих групп:

a) три измерения, выполненные в направлении нитей основы или по длине, с использованием стержней из ПЭВП;

b) три измерения, выполненные в направлении нитей утка или по ширине, с использованием стержней из ПЭВП;

c) три измерения, выполненные в направлении нитей утка или по ширине, с использованием алюминиевых стержней;

d) три измерения, выполненные в направлении нитей основы или по длине, с использованием алюминиевых стержней.

4.3 Индукционное накопление заряда (метод испытания 2)

4.3.1 Принцип

Накопление заряда испытуемого образца выполняют с помощью индукционного эффекта. Непосредственно под контрольным образцом, который расположен горизонтально, устанавливают электрод для измерения поля, при этом он не касается образца. На электрод кратковременно подают высокое напряжение. Если образец представляет собой токопроводящий материал или содержит проводящие компоненты, на образец индуцируется заряд, противоположный полярности электрода. Поле от электрода, которое сталкивается с проводящими элементами, не проходит через испытуемый образец, и результирующее поле уменьшается характерным для испытуемого материала образом. Измерение и регистрацию этого эффекта выполняют с обратной стороны образца с помощью соответствующего датчика для измерения поля.

По мере увеличения количества индуцированного заряда на испытуемом образце уменьшается результирующее поле, зарегистрированное измерительным датчиком. Именно это уменьшение поля используют для определения полупериода затухания и коэффициента экранирования.

4.3.2 Оборудование

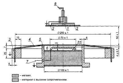
Испытательная аппаратура показана на рисунках 3 - 5.

4.3.2.1 Электрод для создания электростатического поля

Диск из полированной нержавеющей стали диаметром (70 ± 1) мм, прикрепленный к изолирующей опоре. Детали показаны на рисунке 4.

4.3.2.2 Опорное кольцо

Металлическое кольцо внутренним диаметром (100 ± 1) мм, заземленное и расположенное соосно электроду для измерения поля (см. 4.3.2.1). Детали показаны на рисунке 4. Расстояние между верхней поверхностью электрода и верхней частью опорного кольца должно составлять (4,0 ± 0,1) мм.

4.3.2.3 Зажимные кольца для образцов

Образец зажимают между внешним и внутренним кольцами. Внешнее кольцо с наружным диаметром (250 ± 1) мм и внутренним диаметром (220 ± 1) мм заземляют и располагают соосно электроду для измерения поля (см. 4.3.2.1) и опорному кольцу (см. 4.3.2.2). Внешнее кольцо эластичное, и оно зажимает образец. Детали показаны на рисунке 4.

4.3.2.4 Генератор напряжения

Пьезоэлектрический или другой генератор, способный создать ступенчатое напряжение (1200 ± 50) В на электроде для создания поля (см. 4.3.2.1) в течение 30 мкс.

4.3.2.5 Датчик для измерения поля

Металлический диск диаметром (30,0 ± 0,1) мм, обрамленный заземленным защитным кольцом и соединенный с усилителем заряда. Детали показаны на рисунках 4 и 5. Расстояние между нижней частью датчика для измерения поля и верхней частью опорного кольца (см. 4.3.2.2) должно составлять (50 ± 1)мм.

Усилитель заряда (электронный электрометр):

- диапазон 1 пКл ... 2 пКл;

- входное полное сопротивление более 5×108 Ом;

- разрешение 0,05 пКл;

- время нарастания 0,2 В/мкс;

- напряжение на выходе максимальное ± 20 В.

4.3.2.6 Регистрирующий прибор

Регистрирующий прибор - средство регистрации относительных по времени данных на выходе датчика для измерения поля. Разрешение по времени и быстрота реагирования этого регистрирующего прибора должны составлять не более 50 мкс, прибор должен регистрировать полный диапазон выходных данных измерителя напряженности поля. В качестве примера соответствующих приборов служат бумажные самописцы, запоминающие осциллографы и регистраторы данных - компьютеры с соответствующим программным обеспечением.

4.3.2.7 Нейтрализатор статического электричества

Нейтрализатор статического электричества - средство нейтрализации электростатического заряда на контрольных образцах перед выполнением измерений.

4.3.3 Подготовка образцов для испытания

Отрезают от испытуемой ткани или изделия три квадратных образца со стороной не менее 300 мм каждый. Образцы не должны иметь швов. Если требуется провести испытание, не разрезая материал (готовое изделие), измерения выполняют в трех различных местах соответствующего размера. Во избежание загрязнений образцы необходимо держать только за края.

4.3.4 Порядок проведения испытаний

4.3.4.1 Измерение первоначальной максимальной напряженности поля без образца Контрольное измерение проводят без образца между электродом и датчиком измерения поля. Включают регистрирующий прибор и генератор напряжения для подачи ступенчатого напряжения

на электрод для измерения поля. Датчик для измерения поля должен показывать постоянное максимальное значение Еmах.

4.3.4.2 Измерение по 4.3.4.1 с образцом

Зажимают первый испытуемый образец или испытуемую область изделия в кольце для зажима образцов и размещают его так, чтобы зажимное кольцо располагалось соосно опорному кольцу для образца. Выполняют заземление зажимного кольца.

Снимают с образца остаточный электростатический заряд, используя нейтрализатор статического электричества. Проверяют, чтобы показание датчика для измерения поля находилось на нуле или около нуля.

Включают регистрирующий прибор и генератор напряжения для подачи ступенчатого напряжения на электрод для измерения поля.

Выключают регистрирующий прибор, когда показание датчика для измерения поля упадет минимум до половины его максимального значения или по истечении 30 с, в зависимости от того, что наступит раньше.

Из полученных зарегистрированных данных отмечают ER и t50.

Снимают образец и повторяют процедуру на двух остальных образцах.

4.3.5 Оформление результатов испытаний

Вычисляют средние значения полупериода затухания t50 и коэффициент экранирования S (см. 3.6).

Для материалов, в которых не проявляется экранирующий эффект, ER равен Еmах (см. рисунок 6).

Для материалов с некоторым экранирующим эффектом ER меньше Еmах (см. рисунок 7). Иногда в начале записи кривой на самописце возникает временное пиковое значение. При вычислении ER такие пиковые значения не принимают во внимание.

Если ER < Еmах/2, то t50 записывают как менее 0,01 с. Если указанное поле не затухает до Еmах/2 в течение 30 с, t50 записывают как более 30 с.

5 Протокол испытаний

Протокол испытаний включает в себя:

a) ссылку на настоящий стандарт;

b) дату испытания;

c) атмосферную среду для приведения к требуемым условиям проведения испытаний;

d) описание и число пробных образцов и образцов для испытаний;

e) используемый метод проведения испытания;

f) для метода трибоэлектрического накопления заряда отдельные и средние значения для всех параметров, включенных в 4.2.5;

g) для метода индукционного накопления заряда отдельные значения полупериода убывания заряда (степень точности 0,01 с) и коэффициента экранирования (степень точности 0,01 единицы) для всех образцов и средние значения для каждого образца;

h) все результаты наблюдений или отклонения от настоящего стандарта.

1 - первый цилиндрический стержень; 2 - второй цилиндрический стержень; 3 - ползун 4 - направляющие стержни

Рисунок 1 - Цилиндрические стержни, установленные на ползун, для испытания методом трибоэлектрического накопления заряда

1 - датчик для измерения напряженности поля; 2 - фиксированный зажим; 3 - образец для испытаний; 4 - ползун в исходном положении; 5 - ползун в конечном положении; б - направляющие; 7 - натяжное приспособление (зажим с грузом); 8 - цилиндрические стержни

Рисунок 2 - Оборудование для испытания методом трибоэлектрического накопления заряда

1 - усилитель заряда; 2 - регистрирующий прибор; 3 - датчик для измерения поля: 4 защитное кольцо; 5 - зажимное кольцо для образца; 6 - образец для испытаний; 7 - опорное кольцо 8 - электрод для создания поля; 9 - генератор напряжения

Рисунок 3 - Схема оборудования для испытания методом индукционного накопления заряда

1 - датчик для измерения поля; 2 - защитное кольцо; 3 - зажимное кольцо для образца; 4 - образец для испытаний; 5 - опорное кольцо; 6 - электрод для создания поля; 7 - электропровод для соединения с генератором напряжения; 8 - электропровод для соединения с усилителем заряда

Рисунок 4 - Электрод, датчик, зажимное кольцо для образца при испытании методом индукционного накопления заряда

Рисунок 5 - Датчик для измерения поля

X- время; У- напряженность поля (относительные единицы)

Рисунок 6 - Пример графического изображения затухания для рассеивающего материала без экранирующего эффекта

X- время; У- напряженность поля (относительные единицы)

Рисунок 7 - Пример графического изображения затухания для материала с экранирующим эффектом

Приложение А
(справочное)
Пояснение

А.1 Как указано в ЕН 1149-1 (приложение А), измерения поверхностного сопротивления не являются показательными для особых материалов, например для тканей с каркасными проводящими волокнами. Для оценки таких (неоднородных) материалов требуется разработка других методов испытания, например испытания методом убывания заряда. С целью выбора надежных методов испытаний была проведена оценка результатов европейского научно-исследовательского проекта, в результате чего в настоящем стандарте предложены два метода проведения испытаний. Оба метода предназначены для проведения оценки материалов для антистатической защитной одежды для предотвращения возникновения огнеопасных электрических разрядов. При условии надлежащего заземления, как предусмотрено в ЕН 1149-1, оба метода проведения испытаний могут успешно использоваться с соответствующими критериями приемки для определения электростатически «безопасных» материалов защитной одежды. Это утверждение основано на результатах экспериментов с огнеопасными электрическими разрядами с использованием различных видов тканей в наиболее легковоспламеняющейся смеси газообразного водорода и воздуха.

Примечание - Несмотря на то, что убывание заряда для обоих методов испытаний контролируется путем наблюдения за изменениями в измеряемом поле, физические механизмы в каждом случае различаются, поэтому необязательна взаимозависимость между результатами двух методов или другими методами испытаний убывания заряда.

А.2 Сравнение результатов между двумя лабораториями показывает разницу менее чем восемь для метода испытаний 1. Межлабораторный эксперимент для метода 2 с использованием пяти различных материалов и пяти лабораторий-участников в трех различных местах показал следующее стандартное отклонение повторяемости и воспроизводимости:

Таблица А.1

Наименование параметра

Значение параметра

Стандартное отклонение повторяемости sr

0,004

Стандартное отклонение воспроизводимости sR

0,009

Среднее значение полупериода затухания

t50

Колебание повторяемости

30 %

Колебание воспроизводимости

40 %

Приложение В
(справочное)
Сведения о соответствии национальных стандартов Российской Федерации ссылочным европейским региональным стандартам

Таблица В.1

Обозначение ссылочного европейского регионального стандарта

Обозначение и наименование соответствующего национального стандарта

ЕН 340:2003

*

ЕН 1149-1:1995

*

* Соответствующий национальный стандарт отсутствует. До его утверждения рекомендуется использовать перевод на русский язык данного европейского регионального стандарта. Перевод данного европейского регионального стандарта находится в Федеральном информационном фонде технических регламентов и стандартов.

Ключевые слова: накопление заряда, убывание заряда, электростатическое поле, электрод, метод, испытания, образец

 

 




ГОСТЫ, СТРОИТЕЛЬНЫЕ и ТЕХНИЧЕСКИЕ НОРМАТИВЫ.
Некоммерческая онлайн система, содержащая все Российские Госты, национальные Стандарты и нормативы.
В Системе содержится более 150000 файлов нормативно-технической документации, действующей на территории РФ.
Система предназначена для широкого круга инженерно-технических специалистов.

Рейтинг@Mail.ru Яндекс цитирования

Copyright © www.gostrf.com, 2008 - 2026