|
|
АНАЛИЗ ГАЗОВ Приготовление градуировочных газовых смесейГравиметрический метод ISO 6142:2001
Предисловие Цели и принципы стандартизации
в Российской Федерации установлены Федеральным законом от 27 декабря Сведения о стандарте 1. ПОДГОТОВЛЕН Федеральным государственным унитарным предприятием «Всероссийский научно-исследовательский институт метрологии им, Д.И. Менделеева» (ФГУП «ВНИИМ им. Д.И. Менделеева») на основе собственного аутентичного перевода стандарта, указанного в пункте 4 2. ВНЕСЕН Техническим комитетом по стандартизации ТК 457 «Качество воздуха» 3. УТВЕРЖДЕН И
ВВЕДЕН В ДЕЙСТВИЕ Приказом Федерального агентства по техническому регулированию
и метрологии от 13 ноября 4. Настоящий стандарт идентичен международному стандарту ИСО 8142:2001 «Анализ газов. Приготовление градуировочных газовых смесей. Гравиметрический метод» (ISO 6142:2001 «Gas analysis - Preparation of calibration gas mixtures - Gravimetric method»). При применении настоящего стандарта рекомендуется использовать вместо ссылочных международных стандартов соответствующие им национальные стандарты, сведения о которых приведены в дополнительном приложении Н 5. ВВЕДЕН ВПЕРВЫЕ Информация об изменениях к настоящему стандарту публикуется в ежегодно издаваемом информационном указателе «Национальные стандарты», а текст изменений и поправок - в ежемесячно издаваемых информационных указателях «Национальные стандарты». В случае пересмотра (замены) или отмены настоящего стандарта соответствующее уведомление будет опубликовано в ежемесячно издаваемом информационном указателе «Национальные стандарты». Соответствующая информация, уведомление и тексты размещаются также в информационной системе общего пользования - на официальном сайте Федерального агентства по техническому регулированию и метрологии в сети Интернет СОДЕРЖАНИЕ НАЦИОНАЛЬНЫЙ СТАНДАРТ РОССИЙСКОЙ ФЕДЕРАЦИИ
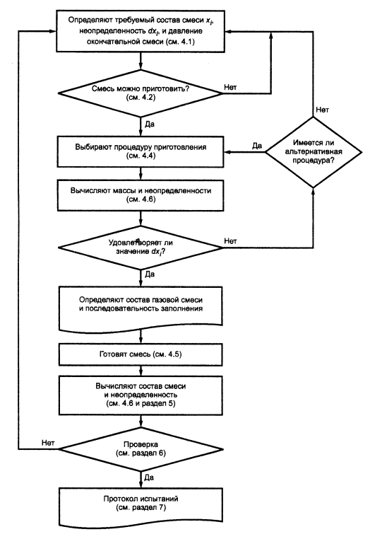
Дата введения - 2009-09-01 1. Область примененияНастоящий стандарт устанавливает гравиметрический метод приготовления градуировочных газовых смесей в баллонах с предварительно заданной точностью состава. Настоящий стандарт применим только к смесям газов или компонентов, находящихся в полностью парообразном состоянии, которые не вступают в реакцию друг с другом или со стенками баллона. В настоящем стандарте приведена методика приготовления, основанная на требованиях, чтобы состав окончательной газовой смеси соответствовал бы в пределах установленной неопределенности заранее заданному. Приготовление многокомпонентных газовых смесей (включая имитаторы природного газа) и многократно разбавленных смесей в настоящем стандарте рассматривается как особые случаи гравиметрического метода приготовления смеси с одним целевым1) компонентом. В настоящем стандарте также описана процедура контроля состава градуировочных газов, приготовленных гравиметрическим методом. При условии строгого комплексного обеспечения и контроля качества при приготовлении гравиметрических газовых смесей и оценки их пригодности, могут быть получены градуировочные газы широкого спектра с наивысшей точностью по сравнению с другими методами приготовления таких газов. 1) Английскому термину «minor» - младший, меньший, второстепенный - в русском языке по смыслу соответствует термин «целевой» (Примеч. перев.). 2. Нормативные ссылкиВ настоящем стандарте использованы нормативные ссылки на следующие стандарты: ИСО 6141:2000 Анализ газов. Требования к сертификатам газов и газовых смесей для градуировки ИСО 6143:2001 Анализ газов. Методы сравнения для определения и проверки состава градуировочных газовых смесей ИСО/МЭК 17025:2005 Общие требования к компетентности испытательных и калибровочных лабораторий 3. Основные положенияГрадуировочные газовые смеси приготавливают путем количественного переноса исходных газов (чистых газов, производимых серийно в баллонах, или смесей известного состава, приготовленных гравиметрическим методом) в баллон, в котором будет находиться градуировочная газовая смесь. Количество введенного исходного газообразного компонента определяют взвешиванием после каждого добавления. Количество исходного газа, введенного в баллон, в котором будет находиться градуировочная газовая смесь, определяют взвешиванием либо баллона с исходным газом» либо баллона, в котором будет находиться градуировочная газовая смесь, до и после каждого добавления. Разность результатов этих двух взвешиваний соответствует массе добавленного газа. Выбор между этими методами взвешивания зависит оттого, какой из них наилучшим образом соответствует процедуре приготовления заданной смеси. Например, добавление небольших количеств соответствующего компонента может быть наилучшим образом выполнено взвешиванием на высокочувствительных весах с малой допустимой нагрузкой небольшого баллона малой вместимости с исходным газом до и после отбора из него газа Метод одноэтапного приготовления может быть использован в том случае, если количество каждого целевого газообразного компонента достаточно велико для того, чтобы при каждом добавлении выполнить точное измерение массы баллона, в котором будет находиться градуировочная газовая смесь, так чтобы суммарная неопределенность состава окончательной градуировочной газовой смеси находилась в заданных пределах. В качестве альтернативы для получения окончательной смеси с приемлемой неопределенностью может быть использован метод многократного разбавления, особенно в том случае, когда необходимы низкие концентрации целевых компонентов. В этом методе «предварительные смеси» приготавливают гравиметрическим методом и используют в качестве исходных газов на одном или более этапах разбавления. Массовая доля каждого компонента в окончательной градуировочной газовой смеси равняется отношению массы данного компонента к общей массе смеси. Схема гравиметрического метода приготовления градуировочных газовых смесей, основанная на предварительно заданных требованиях к составу и уровню неопределенности, приведена на рисунке 1. Отдельные этапы рассмотрены более детально в разделе 4 (на рисунке 1 для каждого этапа приведены ссылки на соответствующие подразделы). Пример гравиметрического метода приготовления градуировочной газовой смеси в соответствии с рисунком 1 приведен в приложении А.
Рисунок 1 - Схема гравиметрического метода приготовления градуировочных газовых смесей 4. Приготовление смеси4.1. Состав смеси и неопределенность Состав окончательной газовой смеси в соответствии с принципом гравиметрического метода выражают через массы отдельных компонентов. Газовый состав предпочтительно выражать молярной долей компонентов (моль/моль). Если требуются другие величины, характеризующие состав (например, массовая концентрация или объемная доля), тогда должны быть приведены соответствующие условия (давление и температура), а также определены дополнительные источники неопределенности, которые следует учитывать при вычислении неопределенности состава градуированного газа. Неопределенность состава окончательной смеси выражается как расширенная неопределенность, т.е. суммарная стандартная неопределенность умножается на коэффициент охвата. Значения молярной массы компонентов и их неопределенности, необходимые для перевода значения массовой доли в значения молярной доли компонента, должны быть взяты из наиболее поздних публикаций комиссии по атомным весам и распространенностям изотопов Международного Союза Чистой и Прикладной Химии (IUPAC). 4.2. Возможность приготовления газовой смеси 4.2.1. Общие положения Смеси газов, которые потенциально могут вступать в опасные реакции, должны быть исключены для обеспечения безопасности. Эффекты, которые должны быть приняты во внимание при рассмотрении возможности приготовления требуемой газовой смеси, описаны в 4.2.2 - 4.2.4. 4.2.2. Конденсация пара с образованием жидкой или твердой фазы При приготовлении, хранении и обращении с газовыми смесями, содержащими компоненты, которые могут конденсироваться (см. приложение В), должны быть предприняты следующие меры по предотвращению конденсации, поскольку это может изменить состав газовой фазы; - во время приготовления газовой смеси давление при заполнении должно быть задано заметно ниже давления насыщенных паров окончательной смеси при температуре заполнения. Чтобы предотвратить конденсацию на промежуточных этапах, это условие должно соблюдаться также для каждой промежуточной смеси. Если конденсация промежуточной смеси не может быть с уверенностью исключена, то должны быть предприняты меры, чтобы перевести в пар любой возможный конденсат и обеспечить однородность газовой фазы на соответствующем последующем этапе: - во время хранения газовой смеси температура хранения должна быть такая, чтобы поддерживать давление в баллоне заметно ниже давления насыщенных паров смеси при температуре хранения; - при обращении с газовой смесью соблюдают то же самое условие относительно окружающей температуры. Дополнительно для предотвращения конденсации во время перепуска смеси, линии перепуска при необходимости подогревают. В приложении В приведены некоторые руководящие указания по оценке максимального давления заполнения вводимыми компонентами газовой смеси, при котором не будет происходить конденсации компонентов. Пример оценки для смеси - имитатора природного газа приведен в В.2 (приложение В). 4.2.3. Реакции между компонентами смеси Перед приготовлением газовой смеси необходимо рассмотреть возможность протекания химических реакций между компонентами смеси. Метод не может быть использован для приготовления смесей, содержащих вещества: - потенциально взаимодействующие друг с другом (например, хлористоводородную кислоту и аммиак; - которые могут вступать в потенциально опасные реакции, в том числе приводящие к взрывам (например, смеси, содержащие горючие газы и кислород); - которые могут вступать в высоко экзотермические реакции полимеризации (например, цианистый водород); - которые могут разлагаться (например, ацетилен). В исключительных случаях данный метод может быть использован для веществ, которые могут обратимо димеризоваться (например, для NО2, обратимо димеризующегося с образованием N2О4). Исчерпывающая информация о всех возможных сочетаниях реагирующих соединений не доступна, поэтому для оценки стабильности газовой смеси необходима химическая экспертиза. Некоторая информация об опасных реакциях и опасных сочетаниях соединений, которые должны быть исключены по причинам безопасности, может быть найдена в правилах по опасной продукции и в справочниках поставщиков газов. 4.2.4. Реакции с материалами баллона Перед приготовлением газовой смеси необходимо рассмотреть возможность протекания химических реакций компонентов смеси с материалами баллона высокого давления, его вентиля и системы перепуска. Особое внимание должно быть уделено разрушению металлов коррозийными газами и возможным реакциям с используемыми эластомерами и смазочными веществами, например, в седле вентиля и уплотнениях. Подобные реакции должны быть предотвращены путем использования только тех материалов, которые инертны по отношению ко всем компонентам смеси. Если это невозможно, должны быть предприняты меры для сведения к минимуму коррозионного воздействия газов на материалы, с которыми они находятся в контакте, с тем, чтобы предотвратить любое значительное влияние на состав смеси и любую опасность при хранении и использовании. Информация по совместимости газов с материалами баллонов приведена в руководствах по отбору проб газа, таблицах коррозионной стойкости и в справочниках поставщиков газов. 4.3. Определение чистоты исходных газов Предельно достижимая точность, которая может быть получена с помощью гравиметрического метода, будет в большой степени зависеть от чистоты исходных газов, используемых для приготовления градуировочной газовой смеси. Примеси в исходных газах часто формируют один из самых существенных вкладов в неопределенность состава окончательной смеси. Вклады в неопределенность зависят от количества примесей в чистых исходных газах и от точности, с которой было измерено содержание этих примесей. Во многих случаях чистота основного компонента (фонового газа) является наиболее важной. Это особенно справедливо, когда молярная доля целевого компонента низка и сравнима с молярной долей примеси в основном компоненте. Также важно оценить критические примеси, которые могут вступать в реакцию с целевым компонентом (например, кислород присутствующий в чистом азоте, будет вступать в реакцию с NО с образованием NО2). Результаты анализа исходных чистых газов должны быть сведены в таблицу чистоты, содержащую значения молярной (или массовой) доли всех компонентов с соответствующими неопределенностями, полученными по результатам анализа. Обычно содержание примесей в номинально «чистом» исходном газе устанавливают посредством анализа, а молярная доля «чистого компонента» в «чистом» исходном газе хpure традиционно определяется по разности следующим образом
где хi - молярная доля i-й примеси, определенная при анализе; N - число примесей, вероятно присутствующих в окончательной смеси. Если примесь, которая
вероятно присутствует в «чистом» исходном газе, не обнаруживается с помощью
используемого аналитического метода, молярная доля ожидаемой примеси должна
быть принята равной половине значения предела обнаружения аналитического
метода. Неопределенность этого значения молярной доли основана на прямоугольном
распределении между нулевым значением и пределом обнаружения аналитического
метода. Таким образом, при применении гравиметрического метода предполагается,
что существует равная вероятность того, что примесь может присутствовать в
«чистом» исходном газе вплоть до значения предела обнаружения. Следовательно,
содержание необнаруженной примеси образует прямоугольное распределение, для которого
стандартная неопределенность определяется как половина значения предела
обнаружения, деленная на 4.4. Выбор процедуры приготовления При выборе подходящей процедуры приготовления следует учитывать ряд факторов и соображений для обеспечения использования наиболее подходящего метода. Факторы, которые должны быть приняты во внимание: - давление, при котором газы могут быть использованы, и возможность конденсации (см. приложение В); - максимальное давление заполнения используемого баллона; - установленный состав каждой используемой исходной газовой смеси; - метод заполнения, т.е. прямой метод, многократное разбавление, метод переноса (использование небольшого баллона, отдельно взвешенного на весах с малой допустимой нагрузкой и высоким разрешением); - тип используемых весов, с их установленными техническими характеристиками; - требования к допускаемым отклонениям при приготовлении; Сначала вычисляют искомые значения масс mi - каждого i-го компонента по формуле
где хi - молярная доля i-го компонента; хj - молярная доля j-го компонента; Мi - молярная масса i-го компонента; Mj - молярная масса j-го компонента; N - число компонентов в окончательной смеси;. mf - масса окончательной смеси. После того, как искомые массы вычислены, выбирают процедуру приготовления и вычисляют неопределенности, связанные с процессом приготовления. Если вычисленная для данной процедуры неопределенность дает неприемлемый результат, то должна быть применена другая процедура. Чтобы выбрать процедуру с приемлемой неопределенностью, может быть необходимо выполнить итерационный процесс. Результатом этих рассмотрений будет процедура приготовления, т.е. выбранная последовательность заполнения баллона, в котором будет находиться градуировочная газовая смесь. Эта процедура состоит из нескольких этапов, на каждом из которых газы перепускаются в баллон, и затем взвешиваются. Каждый этап имеет свою собственную связанную с ним неопределенность, и, после объединения, они остаются в пределах требуемого уровня неопределенности. Данная процедура должна быть использована при последующем приготовлении смеси. 4.5. Приготовление смеси Меры предосторожности, которые должны быть предприняты при взвешивании, обращении и заполнении баллонов, приведены в приложении С. Чтобы получить заданный состав смеси, требуется инструментальное средство. Обычно контролируемыми параметрами являются давление и/или масса. Если контролируемым параметром является давление, становится важным влияние температуры, вследствие повышения давления и сжимаемости вводимых компонентов при повышении давления. В частности, неидеальное поведение некоторых компонентов затрудняет установление простого соотношения между добавленным давлением и добавленной массой. Однако коэффициент сжимаемости, который количественно определяет отклонение от идеального поведения, является функцией давления, температуры и состава, и может быть вычислен и использован для определения требуемого давления. Более прямым способом получения желаемых масс является использование весов, на которые баллон помещают для наблюдения за разницей в массе, возникающей при дозировании. Молярную долю хi, i-го компонента в окончательной смеси, i = 1… n вычисляют по формуле где Р - общее число исходных газов; п - общее число компонентов в окончательной смеси; тА - масса исходного газа А, определенная взвешиванием, А =.1, .. Р; Mi - молярная масса i-го компонента, i – 1, ... п; хiA - молярная доля i-го компонента, i = 1, .., n, в исходном газе А, A = 1, .., Р. Вывод формулы приведен в приложении D. 5. Вычисление неопределенности 5.1. Неопределенность значений молярной доли или массовой доли компонентов в градуировочной газовой смеси, приготовленной гравиметрическим методом, характеризует разброс значений, которые могут быть обоснованно приписаны этим величинам. Процедура оценивания неопределенности описана в 5.2 - 5.7. 5.2. Рассматривают отдельные этапы процедуры приготовления. Исходя из формулы (3) (см. 4.6), могут быть идентифицированы три категории источников неопределенности: - взвешивание исходных газов; - чистота исходных газов; - молярные массы. Примечание - Исходные газы сами могут быть смесями, приготовленными гравиметрическим методом. 5.3. Для каждого этапа
процедуры приготовления смеси гравиметрическим методом должен быть составлен
перечень всех источников неопределенности, т.е. перечень всех факторов, которые
могут влиять на окончательный состав. Перечень возможных источников
погрешностей приведен в приложении Е.
Некоторые из этих вкладов в неопределенность, например, стандартное отклонение
при каждом последующем взвешивании, могут быть определены путем повторных
измерений (оценка типа А). Для хорошо
описанного измерения, выполняемого при наличии статистического контроля, может
быть известна комбинированная или суммарная оценка дисперсии Примечание - Более детально об оценках стандартной неопределенности типов А и В см. [17]. 5.4. Для каждого вклада в общую неопределенность решают, какая оценка подлежит учету (значительные вклады), а какой можно пренебречь (незначительные вклады). Поскольку общая неопределенность представляет собой сумму вкладов, возведенных в квадрат, то вкладом можно уверенно пренебречь, если он составляет меньше 1/10 самого большого вклада. Примечание - Этот метод не всегда применим к анализу исходных чистых газов, т.к. некоторые незначительные примеси могут быть критичными при приготовлении смеси (например, некоторые примеси могут вступать в реакцию с целевым компонентом). В таких случаях необходима оценка влияния чистоты исходного газа на общую неопределенность. 5.5. Суммарную неопределенность, определяющуюся вкладами неопределенностей молярных масс компонентов, результатами взвешивания и анализом исходных чистых газов, получают по правилам распространения неопределенности по формуле (3) в 4.6. В этой формуле заданные величины компонента выражены как функции ряда входных величин y1, y2, ….., yq, т.е.
Здесь к входным величинам уi относятся молярные массы Мj массы исходных газов тА и молярные доли хj,А. В соответствии с правилами распространения неопределенностей стандартные неопределенности u(xi) задаются следующим образом:
В этой формуле должны быть скоррелированы и(уr) - стандартные неопределенности входных величин и и(уr, ys) - ковариации между различными входными величинами. Корреляция может иметь место, например, между массами различных исходных газов тА, тB, если они определялись по разнице результатов последовательных взвешиваний. Корреляция также может иметь место между молярными долями хj.A, хk.А различных компонентов в том же самом исходном газе из-за того, что при сложении эти молярные доли должны составить единицу. Таких корреляций можно избежать при рассмотрении первичных входных величин. Например, при использовании масс исходных газов, этими величинами являются результаты последовательных взвешиваний, начиная с пустого баллона, в котором будет находиться градуировочная газовая смесь (см. приложение С). В случае молярных долей компонентов исходных газов проблема корреляции может быть решена выражением молярной доли основного компонента через молярные доли всех остальных компонентов (которые обычно некоррелированы), вычитая их сумму из единицы (см. 4.3). Если заданные таким образом величины для компонентов хi - были выражены кап функции некоррелированных входных величин z1, z2, ……. zp, т.е.
то суммарные неопределенности u(x) просто задаются выражением
или
где сi - коэффициент чувствительности, задаваемый выражениями
5.6. Общая неопределенность задается результатом этого вычисления, объединенным с вкладами от всех других источников значительной погрешности. Простые методы оценивания вкладов в неопределенность, основанные на оценивании максимальных погрешностей, приведены в приложении F. Примечание - Общая неопределенность годится только для отдельных определений содержания единственного аналита. При любом совместном определении содержаний нескольких аналитов или всего состава, должны приниматься в расчет ковариации, оценка которых находится вне области применения настоящего стандарта, Примечания 1. Коэффициент охвата k обычно находится в диапазоне от 2 до 3. 2. В ИСО/ТК158 коэффициент охвата согласован как k =2, если особые причины не приводят к необходимости выбора другого значения. 3. Для нормального распределения коэффициент охвата k = 2 соответствует доверительной вероятности приблизительно на 95%. Более детальная информация по оцениванию поправок и неопределенности поправок приведена в приложении F. Компьютерная программа, реализующая рекомендованные методы вычисления состава газовой смеси, а также неопределенности, приведена в приложении G. 6. Проверка1) состава градуировочной газовой смесиЦелью проверки состава градуировочной газовой смеси является контроль того, что состав, вычисленный в соответствии с процедурой приготовления смеси гравиметрическим методом, согласуется с результатами измерений, полученными для смеси независимо, например, аналитическим методом сравнения. Такая проверка выявляет грубые промахи в процедуре приготовления единичной газовой смеси. Более того, могут потребоваться дальнейшие проверки через некоторый период времени для демонстрации стабильности конкретных смесей. Подтверждение состава газовой смеси может быть достигнуто следующим образом: a) установлением согласованности между приготовленными смесями и соответствующими стандартными образцами газовых смесей (см. примечание); b) установлением согласованности между несколькими номинально подобными приготовленными смесями; c) текущим контролем производства смесей утвержденного типа при использовании подходящего статистического метода контроля за процессом. Примечание - Стандартные образцы газовых смесей - это такие смеси, метрологические характеристики которых прослеживаются к национальным или международным эталонам через неразрывную цепь сличений с установленными неопределенностями. 1) Английский термин «verification» соответствует понятию «проверка на соответствие установленным требованиям». При проверке приготовленной смеси и подтверждении ее состава, все компоненты смеси могут находиться в области, где имеются соответствующие стандартные образцы газовых смесей, так что согласованность может быть легко продемонстрирована. Однако часто причиной, по которой выбирают гравиметрический метод приготовления, является то, что один или более компонентов находятся вне области, где уже существуют стандартные образцы газовых смесей, поэтому проверка должна проводиться другими методами, такими как демонстрация внутренней совместимости приготовленных смесей и возможность изменения процесса приготовления смесей в те области, где имеются стандартные образцы газовых смесей. На практике подтверждение состава приготовленной градуировочной газовой смеси проводят на основе одного из двух доказательств, приведенных в 6.2. и 6.3. 6.2. Возможность применения стандартных образцов газовых смесей образцов для прямого сравнения со смесью Каждая единичная градуировочная газовая смесь, приготовленная гравиметрическим методом, должна быть проверена по стандартным образцам газовых смесей, приготовленным в соответствии с процедурой, описанной в 6.1 ИСО 6143. 6.3. Невозможность применения стандартных образцов газовых смесей для прямого сравнения со смесью Если подход, описанный в 6.2, не может быть использован, то должны быть выполнены следующие последовательные шаги для проверки приготовленной градуировочной газовой смеси. a) Готовят не менее 5 градуировочных газовых смесей с требуемыми значениями молярной или массовой доли, лежащими в ожидаемой линейной области аналитического метода. Смеси должны быть приготовлены независимо друг от друга, т.е. не должно быть двух смесей, приготовленных из одной и той же исходной газовой смеси. Проверяют смеси на совпадение друг с другом, в соответствии с процедурой, описанной в 6.2 ИСО 6143. b) Проверяют процедуру приготовления. Используют ту же самую процедуру приготовления как в а), чтобы приготовить «контрольную» газовую смесь, содержащую компоненты, для которых имеются доступные стандартные образцы газовых смесей. Проверяют состав этой контрольной смеси в соответствии с процедурой, приведенной в 6.1 ИСО 6143. Если значение, полученное аналитическим методом, согласуется со значением, полученным гравиметрическим методом, то это дает некое доказательство того, что процедура приготовления удовлетворяет требованиям. Предпочтительно использовать «контрольный» компонент, который химически подобен компоненту заданной смеси. с) В тех случаях, когда содержание заданного компонента в многокомпонентной смеси находится за пределами области, охватываемой стандартными образцами газовых смесей, или когда не существует стандартных образцов газовых смесей для такого компонента, при его проверке может потребоваться сравнение с газовой смесью(ями), приготовленной(ыми) другим стандартизованным методом (например, динамическими объемными методами по [19]). 7. Протокол испытанийПротокол испытаний должен быть подготовлен в соответствии с общими требованиями ИСО/МЭК 17025. Требования по содержанию сертификатов на градуировочные газовые смеси установлены в ИСО 8141. В протоколе испытаний должна быть приведена следующая информация: a) ссылка на настоящий стандарт; b) процедура приготовления; c) таблица чистоты для всех исходных газов; d) масса газов, вводимых на каждом этапе в соответствии с процедурой приготовления; e) список вкладов в неопределенность состава; f) детали всех процедур проверки; g) окончательный состав с указанием расширенной неопределенности. Приложение
А
|
||||||||||||||||||||||||||||||||||||||||||||||||||||||||||||||||||||||||||||||||||||||||||||||||||||||||||||||||||||||||||||||||||||||||||||||||||||||||||||||||||||||||||||||||||||||||||||||||||||||||||||||||||||||||||||||||||||||||||||||||||||||||||||||||||||||||||||||||||||||||||||||||||||||||||||||||||||||||||||||||||||||||||||||||||||||||||||||||||||||||||||||||||||||||||||
|
Смесь: |
монооксид углерода 1·10-3 в азоте, требуемая относительная расширенная неопределенность: 0,5 %, k = 2 |
|
Требуемое давление смеси: |
150·105 Па (150 бар) |
|
Баллон: |
5·10- |
|
Чистота компонентов: |
молярная доля основного компонента: |
|
|
для монооксида углерода 99,9·10-2 (99,9 %), |
|
|
для азота 99,999·10-2 (99,999 %) |
|
Весы: |
механические, допустимая
нагрузка |
|
Разрешение весов: |
1 мг |
|
Неопределенность взвешивания баллона вместимостью 5 л: |
± 4 мг на взвешивание (суммарное экспериментальное стандартное отклонение sР) |
|
Число взвешиваний: |
3. |
А.3. Оценка возможности приготовления смеси
Компоненты данной смеси не вступают в реакцию друг с другом. Более того, из предыдущего опыта известно, что смеси со значительно более низким содержанием монооксида углерода в азоте, стабильны в алюминиевых баллонах. Таким образом, здесь отсутствует риск протекания реакции между компонентами, а также между компонентами и баллоном. Если о стабильности ничего неизвестно, то испытания следует проводить заранее. Например, известно, что смеси с монооксидом углерода, приготовленные в стальных баллонах, могут быть нестабильными.
В данном случае нет риска конденсации монооксида углерода. Смесь может быть приготовлена, и не должно быть проблем с ее стабильностью.
А.4. Выбор процедуры приготовления
Сначала должны быть выполнены вычисления, устанавливающие, может ли выбранная газовая смесь быть приготовлена прямым методом или требуется многократное разбавление или предварительное смешивание. Требуемую массу i-го компонента в смеси тi, r, вычисляют по формуле
|
|
(A.1) |
где хi - предполагаемая молярная доля i-го компонента;
pf - окончательное давление в баллоне, Па;
Vcyl - объем баллона, м3;
Мi - молярная масса i-го компонента, г/моль;
R - универсальная газовая постоянная, равная 8,31451 (Дж/моль·К);
Т - температура, К;
Zf - коэффициент сжимаемости смеси при Т и pf.
В данном примере
Хco = 1·10-3
= 99,9·10-2
pf
= 150·105 Па
= 28,01348 г/моль
Vcyl
= 5·10-3м3 mco =
Мco = 28,0104 г/моль
=
Т = 294 K
Zf = 1,0
Использованная
методика взвешивания хорошо описана и находится под статистическим контролем.
Суммарная оценка стандартного отклонения sp = 4 мг;
стандартная неопределенность задана как и = sP/
; в данном
случае она равна 2,3 мг. Оцененная масса монооксида углерода составила 860 мг.
Стандартная неопределенность 2,3 мг вносит вклад 0,27% относительных в
окончательную неопределенность. Требуемая расширенная неопределенность сравнима
с этим вкладом в неопределенность и уже близка к пределу так, что вклад в
неопределенность от взвешивания должен быть уменьшен.
Поэтому лучше проводить многократное разбавление или взвешивать монооксид углерода в отдельном меньшем контейнере на весах малой допустимой нагрузки. В данном примере оценивают первый метод и готовят предварительную смесь.
Для того, чтобы
ограничить вклад в неопределенность от взвешивания монооксида углерода до
значения не более 0,05%, масса взвешиваемого монооксида углерода должна быть не
менее
Для предварительной смеси
выбирают массу монооксида углерода
Приближенная молярная доля монооксида углерода в предварительной смеси СО (хpт) составляет 1·10-2.
Эта предварительная смесь должна затем быть разбавлена в 10 раз, чтобы получить окончательную молярную долю 1·10-3.
Искомые массы могут быть вычислены с использованием формулы (А.1) в предположении 10 %-ного разбавления.
xpm = 10·10-2
= 90·10-2
pf
= 150·105 Па
= 28,01348 г/моль
Vcyl
= 5·10-3м3 mpm =
Мmix = 28,01344 г/моль
=
Т = 294 K
Zf =1,0
А.5. Оценка источников неопределенности
Источники неопределенности распределяют по трем категориям, как в А.5.2 - А.5.4.
А.5.2. Неопределенность при взвешивании (категория 1)
А.5.2.1. Весы (um)
Неопределенность, приведенная
в А.2,
была определена путем повторного взвешивания баллона, который подвергался
процессам, воспроизводящим заполнение. В неопределенность вносят вклад
следующие составляющие; разрешение весов, дрейф, некорректная нулевая точка,
влияние положения баллона на чашке весов, типичные изменения (но не те, которые
являются случайно большими) массы при обращении с баллоном и его подключении, а
также явления адсорбции, имеющие место, когда баллон находится при постоянной
температуре. Это оценивание дает суммарную оценку стандартной неопределенности
при определении массы компонента sP = 4 мг;
стандартная неопределенность составляет um =
, в данном случае 2,3 мг.
А.5.2.2. Гири (uw)
При взвешивании используется метод замещения, и для того, чтобы избежать погрешностей из-за нелинейности и регулировок, целесообразно добавлять гири известной массы, чтобы поддерживать небольшой разницу показаний весов для баллона со смесью и сравнительным баллоном.
Гири, использованные в
данном примере, сделаны из нержавеющей стали, откалиброваны по национальным
эталонам и соответствуют классу Е2 OIML. В сертификате калибровки для этих гирь приведена
приписанная им расширенная неопределенность для гири массой
Максимальная допустимая погрешность составляет 0,06 мг. Таким образом, расширенная неопределенность UW = 0,02 мг (коэффициент охвата k = 2). Для каждой добавленной гири расширенная неопределенность может быть вычислена подобным способом. Плотность гири приведена в сертификате и равна (7850 ± 50) кг/м3. Эта неопределенность довольно высока. Однако номинальное значение массы гирь, поправка на калибровку и неопределенность поправки обычно приводятся в терминах условных масс. Это означает, что массы гирь равны массам эталонных гирь с плотностью 8000 кг/м3 при условии взвешивания на воздухе с плотностью 1,2 кг/м3. Неопределенность в этом случае составляет 0,002 кг/м3 (k = 1).
А.5.2.3. Выталкивающие эффекты (uB), (uexp)
Должна быть вычислена
поправка на выталкивающую силу для разницы объемов баллона со смесью и
сравнительного баллона, т.к. плотность атмосферного воздуха может изменяться
между взвешиваниями (иногда необходимо проводить взвешивание после достижения
стабилизации температуры в течение 12 ч). В худшем случае разница в плотности
воздуха составляет 0,1 кг/м3, а разница объемов двух баллонов
составляет
Выталкивающие эффекты возникают из-за мультипликативного эффекта изменения атмосферных условий между взвешиваниями и разницы в объемах взвешиваемых объектов.
Плотность воздуха может быть вычислена по формуле для определения плотности влажного воздуха [12], [13]). Для диапазона температур от 0°С до 27°С при вычислении плотности воздуха ρ, кг/м3, с неопределенностью 1·10-4 кг/м3 может быть использована упрощенная формула
|
|
(А.2) |
где р - давление, Па;
t - температура, °С;
h - относительная влажность, в долях (% RH).
Условия Плотность воздуха
24°С, 986 гПа, 80 % (RH) 1,1458 кг/м3
18°С, 1040 гПа, 20 % (RH) 1,2429 кг/м3
Приведенный выше пример показывает, что максимальная разница в плотности воздуха между двумя взвешиваниями составляет менее 0,1 кг/м3 (0,1 г/л).
В данном примере
взвешивание проводилось на равноплечих весах со сравнительным баллоном в
качестве массы тары. Разница в объеме обусловлена разницей объемов баллона и
используемых гирь. Для баллонов вместимостью
Если в баллон добавляют
монооксид углерода, то неопределенность массы баллона может составить 20 мг
(0,1 г/л, умноженный на
Чтобы в результат взвешивания ввести поправку на действие выталкивающей силы для разницы масс гирь, помещенных на весы, следует использовать приведенную ниже формулу [14]
|
mm = mR = ρа(Vm - VR) + Δmw |
(А.3) |
где тт - масса баллона, в котором готовят смесь;
mR - масса сравнительного баллона;
ρа - плотность воздуха;
Vm - объем баллона, в котором готовят смесь плюс объем гирек;
VR - объем сравнительного баллона плюс объем гирек;
Δmw - разница показаний при взвешивании баллона, в котором готовят смесь, и сравнительного баллона.
Произведение ρa(Vm - VR) представляет собой поправку на действие выталкивающей силы. Если при взвешивании пустого и затем заполненного баллона определять разность между его массой и массой сравнительного баллона, то количество добавленного газа определяется вычитанием одной разности из другой. Разница в объемах баллонов оказывается таким образом учтенной.
Расширение баллона при
увеличении давления до 15 МПа [150 бар1)] будет составлять около
= 13,7 мг.
1) 1 бар = 105 Н/м2 = 0,1 МПа.
Перед заполнением баллон
продувают азотом и вакуумируют до давления 0,1 кПа (1 мбар). Вычисленное по формуле (А.1)
дополнительное количество азота составило 5,7 мг. Неопределенность этого
значения связана с измерением давления. При допущении, что абсолютная
погрешность будет 0,1 кПа (1 мбар), стандартная неопределенность может быть
вычислена как uR = 5,7/
= 3,3 мг.
А.5.3. Неопределенность, обусловленная степенью
чистоты газов (uco,
) (категория 2)
Установлено, что чистота монооксида углерода должна быть 99,9 %. Следовательно, предполагается, что он содержит максимум 1000·10-6 (1000 ррm2) примесей. В данном примере эти примеси не определяют индивидуально; чистота, установленная производителем чистого СО, используется для составления таблицы чистоты (см. таблицу А.1).
2) 1 ррm = 1·10-6 моль/моль. Не используются ppm.
Причиной этого является то, что СО подлежит разбавлению, а дополнительные усилия по определению содержания индивидуальных примесей не повлияли бы на окончательную неопределенность. Более того, чистый СО не будет содержать никаких примесей, критических по отношению к методам, используемым в данном примере. Для вычисления неопределенности используется «приближение к пределу обнаружения» в предположении прямоугольного распределения, если содержание примесей довольно низкое. В данном примере исходили из того, что от производителя была получена следующая информация: молярная доля N2 в СО составляет менее 700·10-6 (< 700 ррm), но более 100·10-6 (> 100 ррm), поэтому при молярной доле от 100·10-6 до 700·10-6 предполагалось прямоугольное распределение. Рекомендуется запрашивать от производителя как можно больше информации, т.к. это помогает дать наилучшую оценку.
Окончательную стандартную неопределенность молярной доли монооксида углерода иCO, равную 185·10-6, вычисляют как корень квадратный из суммы квадратов неопределенностей всех перечисленных примесей. Использование общих данных по чистоте, приводимых производителем, не всегда может быть полезным. Общую информацию производителей по чистоте часто приводят гак среднее значение для большой партии баллонов. Некоторые примеси могут входить в состав матричного газа (Аr в чистом N2) или не внесены в список. Более строгим является использование результатов анализа исходных чистых газов вместе с их неопределенностями. В некоторых случаях целесообразно проводить анализ исходных чистых газов непосредственно перед приготовлением.
Азот имел чистоту 99,999 %. Максимальная молярная доля примесей в азоте составила 10·10-6. Молярная доля СО в окончательной смеси составила 1000·10-6. Если молярная доля примесей в азоте 10·10-6 будет только за счет СО, тогда вклад в неопределенность может быть максимум 1 %. Заданное значение относительной расширенной неопределенности составляет 0,5 %, поэтому наличие примеси в таком количестве неприемлемо. Должен быть выбран азот лучшего качества. Вклад в конечную неопределенность составит 0,1 %, если максимальная молярная доля примесей составляет 1×10-6 (1 ррm) (чистота 99,9999 %). Определить количество СО в азоте также можно путем определения примесей в чистом азоте. Для данного примера анализ исходного чистого N2 проводился с помощью соответствующих аналитических методов. Анализатор был отградуирован по соответствующим смесям, приготовленным гравиметрическим методом с установленной неопределенностью. Результаты анализа представлены в виде таблицы чистоты (см. таблицу А.2).
Молярная доля СО в азоте составила (1,0 ± 0,2)·10-6.
Полную неопределенность азота вычисляют суммированием квадратов
неопределенностей по примесям, а значение
равно 1,19·10-6,
Таблица А.1 - Таблица чистоты СО
|
Компонент |
Общие характеристики чистоты, приводимые производителем, 10-6 моль/моль |
Распределение |
Молярная доля, 10-6 моль/моль |
Неопределенность, 10-6 моль/моль |
|
Н2О |
≤ 20 |
Прямоугольное |
10 |
6 |
|
N2 |
Между 100 и 700 |
Прямоугольное |
400 |
174 |
|
СО2 |
≤ 50 |
Прямоугольное |
25 |
14 |
|
О2 |
≤ 20 |
Прямоугольное |
10 |
6 |
|
Н2 |
≤ 200 |
Прямоугольное |
100 |
58 |
|
СН4 |
≤ 25 |
Прямоугольное |
12 |
7 |
|
СО |
≥ 998985 |
- |
999443 |
185 |
Таблица А.2 - Таблица чистоты N2
|
Компонент |
Молярная доля, 10-6 моль/моль |
Неопределенность 10-6 моль/моль |
|
Н2O |
2 |
0,5 |
|
СО |
1 |
0,2 |
|
CO2 |
1 |
0,2 |
|
O2 |
2 |
0,2 |
|
Аr |
25 |
1 |
|
CH4 |
0,5 |
0,2 |
|
N2 |
999968,5 |
1,19 |
A.5.4. Неопределенность молярной массы (uм) (категория 3)
Молярные массы компонентов и соответствующие неопределенности вычисляют по атомным весам, приведенным в публикации ИЮПАК по атомным весам элементов.
|
Компонент |
Молярная масса |
Стандартная неопределенность, % |
|
Монооксид углерода |
28,0104 |
0,0010 |
|
Азот |
28,01348 |
0,00010 |
А.5.5. Другие источники погрешности
Разница в температуре может вызвать неодинаковое тепловое расширение плечей коромысла весов, оказывая таким образом значительное влияние на результат взвешивания. При помещении на чашку весов только что заполненного теплого баллона можно наблюдать пример такого влияния. Теплый баллон станет также причиной конвекционных потоков воздуха вдоль его поверхности, приводящих к появлению вертикальных сил [15]. Объем теплого баллона также будет больше, что повлияет на выталкивающую силу. Погрешность, вызванная всеми тепловыми эффектами, может достигать 100 мг. Поэтому перед взвешиванием баллон должен находиться в тепловом равновесии с весами.
Погрешность, обусловленная явлениями адсорбции/десорбции, меняется в зависимости от способа обработки поверхности баллона и на нее оказывают влияние изменения температуры. Этот эффект будет наибольшим, когда в баллон вводят газ-разбавитель, т.к. при этом баллон значительно нагревается. Должны быть проведены испытания с баллонами каждого типа. Если в баллон добавляют небольшое количество газа, температура не изменяется. Для обоих случаев явления адсорбции/десорбции при постоянной температуре включены в испытание, упомянутое в А.5.2.4.
А.5.6.1. Расчет состава предварительной смеси
Взвешивают вакуумированный баллон.
Гиря
Три наблюдения за разницей в массе баллона, в котором будет готовиться смесь (обозначенным М), и сравнительного баллона (обозначенным R) были получены при использовании метода замещения и схемы замещения RMMR, RMMR, RMMR:
|
Наблюдение |
Баллон |
Показание весов |
Разница в массе, Δm |
|
1 |
сравнительный |
0,010 |
-0,009 |
|
для смеси + 50 |
0,022 |
||
|
для смеси + 50 |
0,018 |
||
|
сравнительный |
0,012 |
||
|
2 |
сравнительный |
0,016 |
-0,011 |
|
для смеси + 50 |
0,027 |
||
|
для смеси + 50 |
0,024 |
||
|
сравнительный |
0,013 |
||
|
3 |
сравнительный |
0,012 |
-0,013, |
|
для смеси + 50 |
0,025 |
||
|
для смеси + 50 |
0,023 |
||
|
сравнительный |
0,010 |
Среднее арифметическое:
=
Объединенная оценка стандартного отклонения: Sp(Dm) = 4 мг
Стандартная неопределенность: u(Dm) = 2,3 мг
Во время взвешивания контролировались температура, влажность и атмосферное давление, которые составили соответственно: (19,5 ± 0,5)°С; (40 ± 10)% RH и (1005 ± 2) гПа.
Вычисленная по формуле (А.2) плотность воздуха составила 1,1927 кг/м3.
Так как объем баллона не
меняется при каждом повторном взвешивании, делается поправка только на объем
гирь. Объем гири массой
Вычисление поправки на
действие выталкивающей силы ρa(Vm - VR) приводит к значению 1,1927 г·л-1
× (
Неопределенность данной составляющей задается выражением:
|
|
(А.4) |
Для данного примера получили:

В результате
общая неопределенность, связанная с эффектами вытеснения: иВ =
Определение добавленной массы газов СО и N2 производят таким же способом и получают;
Среднее арифметическое:
(СО) =
Суммарная оценка стандартного отклонения: sp(Dm) = 4 мг
Стандартная неопределенность: и(Dm) = 2,3 мг.
Для определения добавленной массы СО использовались четыре гири с массами:
(20,00096 ± 0,000025) г + (10,000067 ± 0,000020) г + (9,9999 ± 0,000020) г + (1,999985 ± 0,000012) г.
Общая масса составляет
Среднее арифметическое:
(N2) =
Суммарная оценка стандартного отклонения: sp(Dm) = 4 мг
Стандартная неопределенность: и(Dm) = 2,3 мг.
В данном примере для
определения добавленной массы N2 были
использованы гири
Гири 20 и
Вклады в неопределенность сведены в таблицы A.3 - А.5.
Таблица А.3 - Вклады в неопределенность, связанные с вакуумированием
|
Значение |
Оценка xi, г |
Стандартная неопределенность u(xi), мг |
Распределение вероятности |
Коэффициент чувствительности ci |
Вклад в неопределенность u(y), мг |
|
тт |
50,000210 |
0,015 |
Нормальное |
1 |
0,015 |
|
ит |
-0,011 |
2,3 |
Нормальное |
1 |
2,3 |
|
uB |
0,00745 |
0,019 |
Нормальное |
1 |
0,019 |
|
тх |
49,996660 |
- |
- |
- |
2,3 |
Таблица А.4 - Вклады в неопределенность, связанные с определением массы добавленного СО
|
Значение |
Оценка xi, г |
Стандартная неопределенность u(xi), мг |
Распределение вероятности |
Коэффициент чувствительности ci |
Вклад в неопределенность u(y), мг |
|
тт |
42,000812 |
0,0198 |
Нормальное |
1 |
0,0198 |
|
ит |
-0,515 |
2,3 |
Нормальное |
1 |
2,3 |
|
uB |
0,00626 |
0,018 |
Нормальное |
1 |
0,016 |
|
тх |
41,492172 |
- |
- |
- |
2,3 |
Таблица А.5 - Вклады в неопределенность, связанные с определением массы добавленного N2
|
Значение |
Оценка xi, г |
Стандартная неопределенность u(xi), мг |
Распределение вероятности |
Коэффициент чувствительности ciё |
Вклад в неопределенность u(y), мг |
|
тR |
791,1180 |
0,14 |
Нормальное |
1 |
0,14 |
|
ит |
0,024 |
2,3 |
Нормальное |
1 |
2,3 |
|
иB |
0,1179 |
0,297 |
Нормальное |
1 |
0,297 |
|
uexp |
0,0238 |
13,7 |
Прямоугольное |
1 |
13,7 |
|
|
0,0057 |
3,3 |
Прямоугольное |
1 |
3,3 |
|
mx |
791,2894 |
- |
- |
- |
14,28 |
Таким образом, может быть вычислена масса добавленных газов СО и N2:
СО: (49,99666 - 41,492172) = (8,504488 ± 0,003253) г
N2: (791,2894 + 41,492172) = (832,781572 ± 0,014464) г.
В данном способе приведенные выше оценки скоррелированы. В обоих вычислениях принимается в расчет результат взвешивания добавленной массы СО. Чтобы избежать при этом корреляции, следует использовать первое взвешивание с вакуумированным баллоном для оценки количества СО, а затем (после уравновешивания весов) второе взвешивание - для оценки количества N2.
Для вычисления неопределенностей используется формула (5), с этой целью она может быть записана как:
|
|
(А.5) |
где u(Mi) - неопределенность молярной массы (см. А.5.3) (ею можно полностью пренебречь для данной цели);
и(тА) - неопределенность при взвешиваниях (см. А.5.1) - сумма квадратов неопределенностей, приведенных выше;
u(хiA) - неопределенность определения чистоты исходных газов. Применяя формулу (3), вычисляют состав предварительной смеси, которая приведена в таблице А.6.
Таблица А.6 - Таблица состава предварительной смеси
|
Компонент |
Молярная доля 10-6 моль/моль |
Неопределенность 10-6 моль/моль |
|
Н2О |
2,08 |
0,50 |
|
CO |
10176,90 |
4,29 |
|
СО2 |
1,24 |
0,24 |
|
O2 |
2,08 |
0,21 |
|
Аr |
24,75 |
0,99 |
|
СН4 |
0,62 |
0,21 |
|
N2 |
989791,31 |
5,61 |
|
Н2 |
1,02 |
0,59 |
А.5.6.2 Расчет окончательной смеси
После расчета предварительных смесей может быть вычислен состав окончательной смеси. Метод вычисления будет тем же, что и для предварительной смеси. Предполагается, что при приготовлении в баллон было введено (85,8815 ± 0,0033) г предварительной смеси. Также предполагается, что еще было добавлено (774,3214 ± 0,0014) г N2. Характеристики состава предварительной смеси и N2 приведены выше в таблицах А.6 и А.2 соответственно.
Молярная масса предварительной смеси составила
(0,01·28,0104 + 0,99·28,01348) = 28,01345 и N2: 28,01348.
Таблица А.7 - Таблица состава окончательной смеси
|
Компонент |
Молярная доля 10-6 моль/моль |
Неопределенность 10-6 моль/моль |
|
Н20 |
2,01 |
0,45 |
|
СО |
1016,95 |
0,46 |
|
С02 |
1,02 |
0,18 |
|
O2 |
2,01 |
0,18 |
|
Аr |
24,97 |
0,90 |
|
СН4 |
0,51 |
0,18 |
|
N2 |
998952,42 |
1,22 |
|
H2 |
0,10 |
0,06 |
Была поставлена цель получить для молярной доли СО относительную неопределенность 0,5 %. Из таблицы А.7 видно, что молярная доля СО составляет 1016,95·10-6. Относительная расширенная неопределенность равна 0,92·10-6, что составляет менее 0,1 %.
Следующим шагом в процессе приготовления является проверка смеси. Имеются стандартные образцы газовых смесей СО в N2 и, следовательно, применим случай, описанный в 6.1. Для определения содержания и неопределенности приготовленной смеси может использоваться соответствующий анализатор, например, газовый хроматограф с детектором по теплопроводности (GC-TCD) или недисперсионный инфракрасный спектрометр (ND-IR). Анализатор градуируют по стандартным образцам, приготовленным в соответствии с процедурами, предписанными в ИСО 6143.
Используемым критерием совместимости будет:
|
|
(А.6) |
где xgrav - гравиметрически определенная молярная доля равная 1016,95·10-6;
xanal - измеренная с помощью газоанализатора молярная доля;
и(хgrav) - стандартная неопределенность xgrav, равная 0,45·10-6;
u(xanal) - стандартная неопределенность хапаl.
В.1. Оценка предельных значений давления при заполнении для обычных газовых смесей
Конденсируемым считается компонент, который может перейти в жидкое состояние во время приготовления, использования или хранения вне помещения газовой смеси, частью которой он является.
Чтобы такие компоненты оставались полностью в газовой фазе, должно быть установлено давление при заполнении pF. Если отсутствует информация, пригодная для вычисления предельного значения давления при заполнении, то такое предельное значение может быть оценено с использованием простого приближения (которое является довольно ограниченным), приведенного в уравнении
|
|
(В.1) |
где TL - самая низкая температура, при которой будет находиться газовая смесь:
п - число компонентов;
хj - молярная доля j-го компонента;
pj(TL) - давление насыщенного пара j-го компонента при температуре TL.
Для pF > 5·106 Па (50 бар) уравнение (В.1), скорее всего, будет давать достаточно умеренные значения.
Для предотвращения конденсации разница между температурой заполнения TF и температурой TL (для которой выбирается соответствующее давление насыщенных паров конденсируемых компонентов) не должна быть слишком маленькой.
Информацию по давлению насыщенных паров компонентов можно найти в [1] - [11].
В.2 Применение - Природный газ
Максимальное давление (при 20°С), при котором компонент может быть добавлен в баллон, приведено в таблице В.1. Эти давления вычисляют на основе парциальных давлений индивидуальных компонентов.
Давления заполнения, приведенные в таблице В.1, являются максимально допустимыми для «чистого» компонента. Если частично приготовленная смесь находится при давлении большем, чем давление, которое допустимо для «чистого» компонента, то этот компонент не может быть добавлен в «чистом» состоянии. Приведенные значения давления не следует рассматривать как давления, которые могут быть использованы в смесях, если не учитывают содержание других компонентов, так как добавление более одного углеводорода при давлениях, близких к давлению их насыщенных паров, может привести к образованию жидкой фазы в баллоне. Несмотря на то, что окончательная смесь после добавления метана как главного компонента, будет вести себя как единая газовая фаза, во время приготовления следует избегать возможности образования жидкой фазы.
Если жидкость образуется в баллоне во время приготовления, то:
- возникает неопределенность, связанная со временем, необходимым для возвращения всей жидкости в газовую фазу и образования однородной смеси, или с вероятностью такого возвращения,
- уменьшение объема, происходящее в результате образования жидкой фазы, приведет к ситуации, когда вычисленные заранее давления при заполнении не будут иметь взаимосвязи с добавленными массами.
Если имеется компьютерная программа для расчета фазового состава системы, то ее следует использовать для того, чтобы во время приготовления смесь всегда оставалась в газовой фазе. Если такая программа недоступна, то не следует добавлять компоненты в таком количестве, чтобы их давление составляло более 50 % (и, в целом, предпочтительно не более 25 %) от давления их насыщенных паров при окружающей температуре.
Таблица В.1 - Максимальное давление при заполнении, вычисленное на основе давления насыщенных паров чистых компонентов
|
Компонент |
Давление, кПа |
Компонент |
Давление, кПа |
|
н-Бутан |
162 |
Диоксид углерода |
4590 |
|
2-Метилпропан |
234 |
Метан |
> 20000 |
|
Пропан |
500 |
Азот |
> 20000 |
|
Водород |
> 20000 |
Кислород |
> 20000 |
|
Этан |
3400 |
Гелий |
> 20000 |
В.2.2 Фазовый состав окончательной смеси
Кроме фазового состава промежуточных смесей должны быть также рассмотрены свойства окончательной смеси. Особенностью смесей углеводородов является то, что максимальная температура точки росы (т.е. температура, ниже которой компоненты образуют жидкую фазу) имеет место при некотором промежуточном давлении, ниже и выше которого температура точки росы будет ниже. Напротив, предсказания для идеального газа всегда будут связаны с наивысшей температурой точки росы при наивысшем давлении.
На рисунке В.1 показана кривая точки росы для градуировочной газовой смеси, в которой содержания пропана (С3), 2-метилпропана (С4) и н-бутана (С4) соответствуют 50 % давлению их паров при 15°С. Эта кривая получена с помощью программы расчета фазового состава. Максимальная температура точки росы составляет минус 13°С при 5,5 МПа. Это означает, что смесь должна быть стабильной во время транспортирования и хранения в теплом или умеренном климате. Однако при использовании во время выпуска из баллона регулятора давления или другого устройства регулирования давления смесь будет расширяться, и во время этой операции будет происходить ее охлаждение (эффект Джоуля-Томсона).
На рисунке В.1 также показаны кривые охлаждения от 15°С и 7,0 МПа и от 15°С и 10,0 МПа. Когда расширение происходит от 7,0 МПа, кривая охлаждения не проходит через двухфазную область, тогда как это происходит при расширении от 10,0 МПа. При прохождении газа через регулятор будет выделяться некоторое количество жидкости, и состав выходящего газа будет отличаться от состава входящего газа. Смесь с таким содержанием компонентов С3 и С4 можно использовать при давлении заполнения 7,0 МПа, но не должна использоваться при давлении заполнения 10,0 МПа, даже если сама эта смесь стабильна при таком давлении. На рисунке В.1 показана также кривая точки росы для аналогичной градуировочной газовой смеси, компоненты которой С3 и С4 находятся на 25 %-ном уровне давления их насыщенных паров. Максимальная температура точки росы понижается до минус 32°С при 5,0 МПа, давая больший предел уверенности, что при расширении от 10,0 МПа конденсация не произойдет.

Кривая точки росы 50 %;
Кривая охлаждения при расширении от 7 МПа;
Кривая охлаждения при расширении от 10 МПа;
Кривая точки росы 25%
Рисунок В.1 - Кривые точки росы и кривые охлаждения
С.1. Взвешивание
С.1.1. Выбор весов
Выбирают весы с полной
допустимой нагрузкой, соответствующей массе взвешиваемых баллонов, с
чувствительностью, позволяющей точно взвешивать наименьшую массу газа.
Например, для того, чтобы приготовить газовые смеси в алюминиевых баллонах
объемом приблизительно
С.1.2. Условия эксплуатации весов
Характеристики выбранных весов и возможность с их помощью приготовить точные градуировочные газовые смеси могут быть не реализованы, если весы находятся в несоответствующих условиях эксплуатации. Например, сквозняки, вызванные кондиционером воздуха, колебания температуры, вызванные прямым солнечным светом или кондиционером воздуха, а также вибрация, могут ухудшить метрологические характеристики весов. Более того, изменения в окружающей температуре и влажности могут привести к дрейфу показаний.
Следовательно, лучше всего поместить весы в условия, которые соответствуют рекомендациям производителя. Рекомендуется непрерывная регистрация температуры, атмосферного давления и влажности, если их изменение может оказывать значительное влияние на результаты взвешивания. Для подтверждения того, что метрологические характеристики весов удовлетворяют требованиям, должны быть проведены дополнительные эксперименты.
С.1.3. Метрологические характеристики весов
Рекомендуется, чтобы весы устанавливались производителем, а их метрологические характеристики контролировались и весы регулярно поверялись.
В зависимости от типа весов и используемого метода взвешивания должны контролироваться следующие характеристики:
- чувствительность;
- линейность;
- дрейф (нуля и показаний вблизи верхнего предела измерений);
- сходимость;
- стабильность;
- влияние изменений условий окружающей среды.
С.1.4. Использование весов, гирь и взвешивание
Газовые баллоны являются большими объектами, которые замещают значительные объемы воздуха, изменение массы которого пропорционально температуре и влажности.
Изменения фактора вытеснения, происходящие при изменении атмосферного давления, должны быть скорректированы по результатам взвешивания сравнительного баллона или с помощью вычислений.
Кроме температурного эффекта, описанного в С.1.2, важно также свести к минимуму влияние на результаты взвешивания колебаний температуры, которые происходят при заполнении баллона. Важно, чтобы были проведены эксперименты для определения того, насколько необходима стабилизация температуры после заполнения, чтобы свести к минимуму эти эффекты.
Если градуировочные газовые смеси должны быть прослеживаемы к международным или национальным гравиметрическим эталонам, тогда и гири, используемые в процессе взвешивания или при градуировке весов, должны быть прослеживаемы к эталону. Аналогично приборы, используемые для измерения температуры и давления окружающей среды для вычисления поправки на действие выталкивающей силы, должны быть прослеживаемы к международному или национальному эталонам.
С.2. Баллоны
С.2.1. Выбор баллонов
Материал, размер и вентиль баллона должны быть выбраны такими, чтобы с баллоном можно было безопасно обращаться, а материал, из которого он сделан, должен быть совместим с компонентами, которые будут в нем находиться.
С.2.2. Обращение с баллонами
Загрязнение баллонов парами воды может вызвать нежелательные реакции с газами, которые должны находиться в этих баллонах. Чтобы устранить такое загрязнение баллонов, для новых баллонов должно быть предусмотрено их вакуумирование при нагревании путем помещения их в печь и откачкой вакуумным насосом любых парообразных загрязнителей. Однако вакуумирование при нагревании не проводят в случаях, когда это может повредить покрытие внутренней поверхности баллона.
Каждый баллон должен быть испытан на герметичность в условиях вакуума и при рабочем давлении. Утечка может быть обнаружена соответствующими индикаторами вакуум/давление или взвешиванием баллона через некоторый период времени. При взвешивании следует принимать в расчет эффекты, описанные в С.1.2 и С.1.4, касающиеся изменения окружающих условий и эффектов, связанных с повышением давления.
Баллоны, их вентили и резьбы должны быть чистыми и не иметь шелушения краски, чтобы свести к минимуму возможные изменения массы при приготовлении смеси. Если используются очень чувствительные весы, то работать с баллонами следует в перчатках и во время других работ, кроме взвешивания, защищать их полиэтиленовым рукавом. Основание баллона должно быть защищено циновкой от ударов об пол, которые могут привести к потере краски или металла.
Для того, чтобы избежать истирания и изнашивания металлической арматуры и ее резьбы, необходимая арматура предпочтительно должна быть постоянно присоединена к вентилю баллона, а связи с газовой переходной аппаратурой должны быть осуществлены с помощью соответствующих соединений с уплотняющим «О» кольцом.
С.2.3. Меры безопасности
Должны соблюдаться национальные правила, относящиеся к периодичности испытания баллонов, и проводиться повторные испытания утвержденным испытательным органом 1).
1) На территории Российской Федерации действуют «Правила устройства и безопасной эксплуатации сосудов, работающих под давлением».
Не должно быть контактов органических масел или смазочных материалов с баллонами или их арматурой, а также контактов хлорированных растворителей с алюминиевыми баллонами. Максимальное рабочее давление в баллонах, обычно составляющее две трети от испытательного давления, никогда не должно быть превышено.
Все трубопроводы и арматура должны соответствовать давлению и цели использования и иметь совместимые резьбы. Арматура должна быть смонтирована в соответствии с инструкциями производителя.
Аппаратура подачи газа должна быть сконструирована так, чтобы выдерживать давление, в 1,5 раза превышающее максимальное рабочее давление, а утечки при этом давлении должны контролироваться с использованием соответствующих средств. Для защиты от избыточного давления рекомендуется иметь вентиль сброса давления, который устанавливается для отвода избытка газа из зоны приготовления. Если вакуумный насос является частью устройства перепуска, то у него должен быть вентиль сброса для защиты от повышения давления, возникающего при неправильной работе. Кроме того, линия сброса должна быть подсоединена к вентилю, управляемому вручную, и смонтирована так, чтобы выпускать газ под высоким давлением из аппаратуры вне зоны приготовления.
С.3. Наполнение баллонов
С.3.1. Основные методы приготовления градуировочных газовых смесей
Существуют три основных метода приготовления градуировочных газовых смесей:
a) чистые газы или предварительные смеси известного состава добавляют во взвешенный вакуумированный баллон в количествах, определяемых взвешиванием;
b) некоторое количество газа удаляется из баллона, содержащего газовую смесь известной массы и состава. Оставшаяся газовая смесь в количестве, поддающемся количественному определению, затем разбавляется путем добавления другого газа, массу которого определяют заново;
c) для того, чтобы уменьшить неопределенность измерения содержания целевого компонента, этот компонент вводят из меньшего контейнера, в котором он взвешивается на весах с низкой допустимой нагрузкой.
Эти методы описаны ниже (за исключением того, что процедуры для методов а) и b) являются практически одними и теми же) вместе с мерами предосторожности, которые следует соблюдать при их выполнении.
С.3.2. Приготовление с использованием чистых газов или предварительных смеши
Прежде всего, определяют порядок заполнения (см. 4.4). Баллон вакуумируют до такого давления, чтобы масса остаточного газа в баллоне была меньше, чем неопределенность взвешивания. Вакуумированный баллон отсоединяют от вакуумного насоса и после установления теплового равновесия взвешивают до достижения постоянной массы.
Баллон подсоединяют к перепускной аппаратуре и промывают соединительные трубки первым чистым газом или предварительной смесью. Процедура промывания должна быть установлена для того, чтобы свести к минимуму загрязнение окончательной смеси газами, оставшимися в перепускной аппаратуре.
После достаточной прокачки (и откачки) открывают вентиль баллона с чистым газом или предварительной смесью, вводят газ в перепускную аппаратуру и трубку и открывают вентиль заполняемого баллона. Напуск газа в баллон проводят медленно, чтобы уменьшить температурные эффекты. В случае газовых смесей, когда может иметь место конденсация, эти эффекты могут привести к частичной конденсации некоторых компонентов. Из-за адиабатического расширения (эффект Джоуля-Томсона) могут иметь место тепловые эффекты. Эти эффекты могут привести к погрешностям, если результаты измерения давления используются для контроля массы газового компонента. Адиабатическое расширение также может привести к конденсации.
При полностью открытом вентиле баллона продолжают добавлять газ до тех пор, пока либо манометр не покажет, что введено достаточное количество газа, либо весы с вертикальной загрузкой, на которые установлен баллон, не покажут требуемую приблизительную массу. Вентиль баллона закрывают, баллон отсоединяют и после установления теплового равновесия вновь взвешивают до достижения постоянной массы.
Процедуру повторяют для второго и последующих газов. При открытом вентиле баллона убеждаются, что давление каждого газа в аппаратуре и линии перепуска регулируется с тем, чтобы оно оставалось выше, чем давление газа в баллоне. В этом случае газ из баллона не будет попадать обратно в линию перепуска. После того, как последний газ добавлен и взвешен, гомогенизируют содержимое баллона перед использованием. Часто это делают вращением баллона. Минимальная длительность процесса гомогенизации должна быть предварительно определена экспериментально.
В связи с возможной конденсацией должны быть рассмотрены следующие аспекты:
- конденсация может произойти во время заполнения баллона, даже если теоретически нет причины ожидать возникновения такой проблемы. Заполнение газом-разбавителем может привести к сжатию уже присутствующего компонента без полного смешивания с ним, что может привести к конденсации;
- во время процесса гомогенизации частично сконденсированных смесей иногда трудно удалить конденсированную фазу со стенок баллона;
- если один из компонентов имеет относительную плотность более высокую, чем относительная плотность газа-разбавителя, гомогенизации простым вращением баллона может быть недостаточно из-за разницы в плотностях. Гомогенизация может быть достигнута, если поместить баллон в горизонтальное положение на продолжительное время или применить тепло во время его вращения.
С.3.3. Приготовление путем введения целевого компонента из отдельного баллона
После того, как масса целевого компонента определена путем взвешивания в небольшом баллоне на весах с низкой допустимой нагрузкой, баллон подсоединяют к перепускной аппаратуре. «Большой» баллон перед заполнением вакуумируют, взвешивают и подсоединяют к перепускной аппаратуре, как описано в С.3.1. После достаточной продувки линии перепуска следующим добавляемым газом линии перепуска вакуумируют и открывают вентили баллонов, при этом газ из меньшего баллона будет перепускаться в больший баллон. Затем вентиль большего баллона закрывают. Последовательно производится напуск следующего компонента в перепускную аппаратуру и небольшой баллон и дозирование его в больший баллон, при этом небольшой баллон и перепускные линии продувают. Однако перед открытием вентиля большего баллона важно убедиться, что контролируемое давление в перепускной аппаратуре выше, чем действительное давление в большем баллоне. После того, как добавлен следующий компонент, больший баллон отсоединяют и взвешивают. Если меньший баллон или его вентиль не могут выдержать окончательное давление, применяемое для напуска этого компонента, меньший баллон может быть отсоединен от перепускной аппаратуры и вновь взвешен. Разница в массе меньшего баллона до и после добавления этого компонента соответствует массе, добавленной в больший баллон.
Пусть; i = 1,2,…, п обозначает компоненты (включая количественно определяемые примеси) окончательной градуировочной газовой смеси Ω.
Пусть A = 1, 2,…, Р обозначает исходные газы, используемые при приготовлении. Состав окончательной смеси Ω. вычисляют по следующим исходным данным:
- тА - масса исходного газа А в окончательной смеси Ω;
- хi,А - молярная доля i-го компонента в исходном газе А;
- Mi - молярная масса i-го компонента.
Примечание - При таком подходе все исходные газы формально рассматриваются как п-компонентные смеси. Обычно большинство молярных долей хi,А будет равно нулю.
Из приведенных выше данных могут быть получены вспомогательные данные следующим образом:
- МА - (средняя) молярная масса исходного газа А, определяемая по формуле
|
|
(D.1) |
- wi,A - массовая доля i-го компонента в исходном газе А, определяемая по формуле
|
|
(D.2) |
Состав окончательной смеси получают из исходных данных по двухэтапной процедуре:
a) вычисляют состав, выраженный в единицах массовой доли, т.е. w, i-x компонентов в окончательной смеси;
b) пересчитывают значения, выраженные в единицах массовой доли wi в значения, выраженные в единицах молярной доли xi i-x компонентов в окончательной смеси.
Массовую долю wi определяют по формуле
|
|
(D.3) |
где тΩ - масса окончательной смеси.
Используя формулу (D.2), массовые доли wi,A заменяют молярными долями хi,A следующим образом:
|
|
(D.4) |
По формуле (D.4) определяется массовая доля окончательной градуировочной газовой смеси как функция исходных данных, т.е. молярного состава исходных газов, молярных масс компонентов смеси и масс исходных газов, полученных взвешиванием.
На последнем этапе значения, выраженные в единицах массовой доли wi преобразуют в значения, выраженные в единицах молярной доли хi снова используя формулу (D.2) применительно к окончательной смеси Ω.
В результате
|
|
(D.5) |
где MΩ - молярная масса окончательной смеси.
Используя тождество
|
|
(D.6) |
получают следующий результат
|
|
(D.7) |
МА определяют по формуле (D.1), и, подставляя МA в формулу (D.7), получают окончательную формулу
|
|
(D.8) |
Е.1. Общие положения
Большое количество источников погрешностей влияет на неопределенность конечного результата. Они должны быть приняты во внимание или ими можно пренебречь в зависимости от используемых оборудования и метода, а также от допустимого уровня неопределенности конечного результата. Ниже приведен перечень возможных источников погрешностей. В процессе оценки метода приготовления газовой смеси должно быть показано, можно пренебречь источником погрешности или нет. В последнем случае значение погрешности должно быть вычислено или определено.
Е.2. Погрешности, связанные с вести и гирями
С весами и гирями связаны следующие источники погрешности:
- разрешение весов;
- погрешность весов, в том числе линейность;
- неверная нулевая точка;
- дрейф (тепловые и временные эффекты);
- нестабильность из-за сквозняков;
- положение баллона на чашке весов;
- погрешности используемых гирь;
- действие выталкивающей силы на использованные гири.
Е.3. Погрешности, связанные с баллоном
С баллоном связаны следующие источники погрешности:
- изменение массы баллона при механическом обращении с баллоном из-за: потери металла, краски или этикеток с поверхности баллона;
потери металла от резьбы вентиля/арматуры;
грязи на баллоне, вентиле или подсоединенной арматуре;
- явления адсорбции/десорбции на внешней поверхности баллона;
- действие выталкивающей силы: на сам баллон;
из-за разницы температуры баллона и температуры окружающего воздуха, возникающей, например, при заполнении газом;
из-за изменения объема баллона во время заполнения;
из-за изменений плотности воздуха, обусловленных влиянием: температуры, давления воздуха или содержания влаги и диоксида углерода;
неопределенность определения внешнего объема баллона.
Е.4. Погрешности, связанные с газовыми компонентами
С газовыми компонентами связаны следующие источники погрешности:
- остаточный газ в баллоне:
- негерметичность в виде:
натекания воздуха в баллон после вакуумирования, утечки газа через вентиль баллона во время заполнения, утечки газа из баллона после заполнения, утечки газа из баллона в линию перепуска;
- газ, оставшийся в системе перепуска, если используют метод убыли массы;
- адсорбция/реакции компонентов на внутренней поверхности баллона;
- реакции между компонентами;
- примеси в используемых исходных газах;
- недостаточная однородность;
- неопределенность молярной массы.
Часто вклады в неопределенность оценивают исходя из границ погрешностей. Если имеются такие оценки, то они могут быть использованы для получения:
- поправок, чтобы применить их к рассматриваемой искомой величине, и
- неопределенности поправок, чтобы включить их в список вкладов в неопределенность, в соответствии с оценкой типа В, установленной в Руководстве для выражения неопределенности при измерении [17]. В дальнейшем случаи границы для относительных погрешностей и для абсолютных погрешностей рассматриваются раздельно.
а) Источник рассматриваемой погрешности оценивается, как вносящий относительную погрешность со значением от εmin до εmax. Таким образом, влияние источника погрешности описывают числовым коэффициентом f, изменяющимся в интервале от fmin = + εmin до fmin = 1 + εmax. Наиболее часто εmin < 0, εmax > 0 и |εmin| = |εmax|, но на практике могут быть и другие случаи.
Рекомендованной процедурой, основанной на прямоугольном распределении, будет использование среднего коэффициента, задаваемого
|
|
(F.1) |
как поправочный коэффициент, и включение относительной стандартной неопределенности по этой поправке, задаваемой
|
|
(F.2) |
в список вкладов в неопределенность рассматриваемой величины.
Если границы погрешности
симметричны, εmin = –ε, εmax = ε
c положительной
относительной погрешностью ε,
поправочный коэффициент fav
равен 1, то есть нет необходимости вводить поправку. Тем не менее,
этот единичный коэффициент получается с неопределенностью urel =
, которая должна быть принята в расчет.
b) Источник рассматриваемой погрешности оценивается, как вносящий абсолютную погрешность со значением от emin до emax. Как и в а), наиболее часто emin < 0, emax > 0 и |emin| = |emax|, но на практике могут быть и другие случаи.
Рекомендованной процедурой, основанной на прямоугольном распределении, будет использование среднего, задаваемого
|
|
(F.3) |
как аддитивной поправки, и включение (абсолютной) стандартной неопределенности этой поправки, задаваемой
|
|
(F4) |
в список вкладов в неопределенность рассматриваемой величины.
Если границы погрешности
симметричны, emin = -е, еmax = e с
положительной погрешностью е,
поправка равна нулю, то есть нет необходимости в поправке. Тем не менее, этот
нулевой член получается с неопределенностью
, которая должна быть принята в расчет.
Часто границы погрешностей относятся не к заданной рассматриваемой величине х, а к другой величине у, влияющей на х. В этом случае вычисленная поправка и неопределенность поправки должны быть приведены к заданной величине с использованием строгих или приблизительных коэффициентов чувствительности дx/дy или Δx/Δу.
Признанная пригодной для целей настоящего стандарта компьютерная программа, реализующая рекомендованные методы вычисления состава смеси и неопределенностей, как описано в настоящем стандарте, может быть получена по следующему адресу:
NEN
Secretariat of ISO/TC 158
2800 GB Delft
The
Tel. +31 15 2690330
fax. +31 15 2690190
Эта программа обычно поставляется на 3,5-дюймовой двухсторонней дискете высокой плотности, но возможны и другие форматы. Характеристики и цена за копию предоставляется по требованию.
Программа записана для использования с IBM совместимыми персональными компьютерами и операционной системой MS-Windows 95.
Программа состоит из:
- «таблицы чистоты» для ввода редактирования таблиц чистоты исходных газов, содержащих фиксированное число газообразных компонентов;
- «данных смеси» для ввода и редактирования результатов взвешивания и соответствующих неопределенностей.
Вычисление состава смеси проводится в соответствии с методом, приведенным в настоящем стандарте. Полученные таблицы чистоты могут быть отпечатаны на лазерном или струйном принтере.
Программа опробована на большой серии испытаний, использующих наборы реальных данных, и была широко испытана и оценена экспертами технического комитета ИСО/ТК 158.
В большой степени программа является самообучающей. В программе имеется некоторое число файлов-подсказок.
Однако пользователям настоятельно рекомендуется изучить настоящий стандарт перед началом работы с программой и обратиться к описанию для получения полной информации об установке, форматах входных/выходных файлов и использовании программных модулей. Описание содержится в файле «read-me» на программной дискете.
Примечание - Хотя программа и связанные с ней файлы с контрольными данными отвечают требованиям достоверности, это не означает обязательной гарантии того, что их можно использовать в контрактных или других коммерческих целях, и нет гарантии того, что они не содержат ошибок. Однако они прошли испытания и не содержат ошибок, известных во время подготовки к изданию.
Таблица Н.1
|
Обозначение ссылочного международного стандарта |
Обозначение и наименование соответствующего национального стандарта |
|
ИСО 6141:2000 |
* |
|
ИСО 6143:2001 |
* |
|
ИСО/МЭК 17025:2005 |
ГОСТ Р ИСО/МЭК 17025-2006 Общие требования к компетентности испытательных и калибровочных лабораторий |
|
* Соответствующий национальный стандарт отсутствует. До его утверждения рекомендуется использовать перевод на русский язык данного международного стандарта. Перевод данного международного стандарта находится в Федеральном информационном фонде технических регламентов и стандартов. |
|
Список литературы по давлениям паров при данной температуре для конденсируемых компонентов
[1] API Research project 44, Selected Values of
Properties of Hydrocarbons. Government Printing Office,
[2] API, Technical Data Book.
[3] Encyclopedia des Gaz (Gas Encyclopaedia).
L'Air Liquide, Elsevier Science Pub!.
[4] Gallant, R.W. and Yaws C.L. Physical Properties of Hydrocarbons. 4 Volumes, Gulf Publishing Company, Houston, ISBN 0-88415-087-4, 0-88415-175-1, 0-88415-176-X, 0-88415-272-3
[5] Baumer D. and Riedel E. Gase-Handbuch. (Messer
Griesheim, ed.) C. Adeimann Publ.,
[6] Hilsenrath, J. et al. Tables of Thermodynamic
and Transport Properties,
[7] CRC Handbook of Chemistry and Physics. (Lide
D.R., ed.). CRC Press, Inc.,
[8] Landoit-Bdrnstein. Vol II, Springer Verlag, 6th ed
[9] Reid R.C., Prausnitz J.M. and Sherwood Т.К. The properties of gases and liquids. Mc Graw-Hill, 1977, ISBN 0-07-051790-8
[10] TRC Thermodynamic Tables. Thermodynamics
Research Center,
[11] Yaws, C.L, Handbook of Vapor Pressure, 3
Volumes, C1 to C28 Compounds. Gulf Publishing Company,
Библиографический список
[12] Giacomo P. Equation for the determination of the density of moist air (1961). Metrologia, 18, 1982, pp. 33-40
[13] Davis R.S. Equation for the determination of the density of moist air (1981,91). Metrologia, 29, 1992, pp. 67-70
[14] Schwartz R. Guide to mass determination with high accuracy. PTB-Bericht PTB-MA-40, April 1995, ISBN 3-89429-635-6
[15] Glaser M. Response of apparent mass to thermal gradients. Metrologia, 27, 1990, pp. 95-100
Справочные ссылки
[16] ISO/TS 14167:2003 Gas analysis - General quality assurance aspects in the use and preparation of reference gas mixtures – Guidelines
[17] Guide to the expression of uncertainty in measurement (GUM). BIPM. IEC, IFCC, ISO, IUPAC, IUPAP, OIML, 1st ed., исправлено и перепечатано в 1995
Руководство по выражению неопределенности измерения. - Аутентичный текст под ред. проф. Слаева В.А., Изд-во ГУП ВНИИМ им. Д.И. Менделеева, 1999
[18] DIN 51896 Gas analysis - Quantities of composition, compressibility factor - Basis
[19] ISO 6145 (all parts) Gas analysis - Preparation of calibration gas mixtures using dynamic volumetric methods
[20] IUPAC Комиссия по атомным весам и распространенностям изотопов: Атомные веса элементов, двухгодичный обзор
Ключевые слова: газы, анализ, градуировочные газовые смеси, приготовление, метод гравиметрический, баллоны
|
ГОСТЫ, СТРОИТЕЛЬНЫЕ и ТЕХНИЧЕСКИЕ НОРМАТИВЫ. Некоммерческая онлайн система, содержащая все Российские Госты, национальные Стандарты и нормативы. В Системе содержится более 150000 файлов нормативно-технической документации, действующей на территории РФ. Система предназначена для широкого круга инженерно-технических специалистов. Copyright © www.gostrf.com, 2008 - 2026 |