Крупнейшая бесплатная информационно-справочная система онлайн доступа к полному собранию технических нормативно-правовых актов РФ. Огромная база технических нормативов (более 150 тысяч документов) и полное собрание национальных стандартов, аутентичное официальной базе Госстандарта. GOSTRF.com - это более 1 Терабайта бесплатной технической информации для всех пользователей интернета. Все электронные копии представленных здесь документов могут распространяться без каких-либо ограничений. Поощряется распространение информации с этого сайта на любых других ресурсах. Каждый человек имеет право на неограниченный доступ к этим документам! Каждый человек имеет право на знание требований, изложенных в данных нормативно-правовых актах!

  


 

ФЕДЕРАЛЬНОЕ АГЕНТСТВО
ПО
ТЕХНИЧЕСКОМУ РЕГУЛИРОВАНИЮ И МЕТРОЛОГИИ

НАЦИОНАЛЬНЫЙ

СТАНДАРТ

российской

ФЕДЕРАЦИИ

ГОСТ Р МЭК

60745-2-11

2008

Машины ручные электрические

БЕЗОПАСНОСТЬ И МЕТОДЫ ИСПЫТАНИЙ

Часть 2-11

Частные требования к пилам с возвратно-поступательным движением рабочего инструмента (лобзикам и ножовочным пилам)

IEC 60745-2-11:2003
Hand-held motor-operated electric tools
- Safety - Part 2-11:
Particular requirements for reciprocating saws (jig and sabre saws)
(IDT)

Москва

Стандартинформ

2009

Предисловие

Цели и принципы стандартизации в Российской Федерации установлены Федеральным законом от 27 декабря 2002 г. 184-ФЗ «О техническом регулировании», а правила применения национальных стандартов Российской Федерации - ГОСТ Р 1.0-2004 «Стандартизация в Российской Федерации. Основные положения»

Сведения о стандарте

1 ПОДГОТОВЛЕН Открытым акционерным обществом «Институт механизированного инструмента» (ОАО «ВНИИСМИ») на основе собственного аутентичного перевода стандарта, указанного в пункте 4

2 ВНЕСЕН Техническим комитетом по стандартизации ТК 262 «Инструмент механизированный и ручной»

3 УТВЕРЖДЕН И ВВЕДЕН В ДЕЙСТВИЕ Приказом Федерального агентства по техническому регулированию и метрологии от 15 декабря 2008 г. 410-ст

4 Настоящий стандарт идентичен международному стандарту МЭК 60745-2-11:2003 «Ручные электрические инструменты с приводом от электродвигателя. Безопасность Часть 2-11. Частные требования для пил возвратно-поступательного действия (лобзиков и ножовочных пил)» (IEC 60745-2-11:2003 «Hand-held motor - operated electric tools - Safety - Part 2-11: Particular requirements for reciprocating saws (jig and sabre saws)»).

Наименование настоящего стандарта изменено относительно наименования указанного международного стандарта для приведения в соответствие с ГОСТ Р 1.5-2004 (пункт 3.5).

При применении настоящего стандарта рекомендуется использовать вместо ссылочного международного стандарта соответствующий ему национальный стандарт Российской Федерации, сведения о котором приведены в дополнительном приложении 1.

5 ВЗАМЕН ГОСТ Р 50636-94 (МЭК 745-2-11-84)

Информация об изменениях к настоящему стандарту публикуется в ежегодно издаваемом информационном указателе «Национальные стандарты», а текст изменений и поправок - в ежемесячно издаваемых информационных указателях «Национальные стандарты». В случае пересмотра или отмены настоящего стандарта соответствующее уведомление будет опубликовано в ежемесячно издаваемом информационном указателе «Национальные стандарты». Соответствующая информация, уведомление и тексты размещаются также в информационной системе общего пользования - на официальном сайте Федерального агентства по техническому регулированию и метрологии в сети Интернет

Содержание

1 Область применения

2 Нормативные ссылки

3 Термины и определения

4 Общие требования

5 Общие условия испытаний

6 В стадии рассмотрения

7 Классификация

8 Маркировка и инструкции

9 Защита от контакта с токоведущими частями

10 Пуск

11 Потребляемая мощность и ток

12 Нагрев

13 Ток утечки

14 Влагостойкость

15 Электрическая прочность

16 Защита от перегрузки трансформаторов и соединенных с ними цепей

17 Надежность

18 Ненормальный режим работы

19 Механическая безопасность

20 Механическая прочность

21 Конструкция

22 Внутренняя проводка

23 Комплектующие изделия

24 Присоединение к источнику питания и внешние гибкие шнуры

25 Зажимы для внешних проводов

26 Заземление

27 Винты и соединения

28 Пути утечки тока, воздушные зазоры и расстояния по изоляции

29 Теплостойкость, огнестойкость и стойкость к образованию токоведущих мостиков

30 Коррозийная стойкость

31 Радиация, токсичность и подобные опасности

Приложение К (обязательное) Батарейные (аккумуляторные) машины и аккумуляторы

Приложение L (обязательное) Батарейные (аккумуляторные) машины и аккумуляторы, предусмотренные для подсоединения к сети или неизолированным источникам питания

Приложение 1 (справочное) Сведения о соответствии национального стандарта Российской Федерации ссылочному международному стандарту

Библиография

Введение

Настоящий стандарт относится к комплексу стандартов, устанавливающих требования безопасности ручных электрических машин и методы их испытаний.

Настоящий стандарт применяют совместно с ГОСТ Р МЭК 60745-1-2005 «Машины ручные электрические. Безопасность и методы испытаний. Часть 1. Общие требования», который идентичен международному стандарту МЭК 60745-1:2003 «Ручные электрические инструменты с приводом от электродвигателя. Безопасность. Часть 1. Общие требования».

Настоящий стандарт устанавливает частные требования безопасности и методы испытаний пил с возвратно-поступательным движением рабочего инструмента (лобзиков и ножовочных пил), которые дополняют, изменяют или заменяют соответствующие разделы, подразделы, пункты, таблицы и рисунки МЭК 60745-1:2003 (ГОСТ Р МЭК 60745-1-2005).

Номера разделов, пунктов, таблиц и рисунков соответствуют приведенным в МЭК 60745-2-11:2003.

В настоящем стандарте приняты следующие шрифтовые выделения:

- требования к методам испытаний - курсив;

- примененные термины - полужирный шрифт.

Изменение наименования раздела 3 вызвано необходимостью приведения в соответствие с ГОСТ Р 1.5-2004.

НАЦИОНАЛЬНЫЙ СТАНДАРТ РОССИЙСКОЙ ФЕДЕРАЦИИ

Машины ручные электрические

БЕЗОПАСНОСТЬ И МЕТОДЫ ИСПЫТАНИЙ

Часть 2-11

Частные требования к пилам с возвратно-поступательным движением
рабочего
инструмента (лобзикам и ножовочным пилам)

Hand-held motor-operated electric tools. Safety and test methods.
Part 2-11. Particular requirements for reciprocating saws (jig and sabre saws)

Дата введения - 2010-01-01

1 Область применения

По МЭК 60745-1 со следующим изменением:

1.1 Дополнение

Настоящий стандарт распространяется на пилы возвратно-поступательного действия (далее - пилы).

Перечень машин, на которые распространяется настоящий стандарт, не ограничивается лобзиками и ножовочными пилами.

2 Нормативные ссылки

По МЭК 60745-1.

3 Термины и определения

По МЭК 60745-1 со следующим изменением:

3.101 пила возвратно-поступательного действия (reciprocating saw): Машина, предназначенная для пиления различных материалов пильным(ыми) полотном (полотнами), совершающими возвратно-поступательные или колебательные движения.

3.102 лобзик (jigsaw): Пила возвратно-поступательного действия, оснащенная направляющей плитой и имеющая возможность установки под углом к обрабатываемому материалу.

3.103 ножовочная пила (sabre saw): Пила возвратно-поступательного действия с направляющей плитой или без нее, а при ее наличии пила имеет возможность установки под углом к обрабатываемому материалу.

4 Общие требования

По МЭК 60745-1.

5 Общие условия испытаний

По МЭК 60745-1.

6 В стадии рассмотрения

7 Классификация

По МЭК 60745-1.

8 Маркировка и инструкции

По МЭК 60745-1.

9 Защита от контакта с токоведущими частями

По МЭК 60745-1.

10 Пуск

По МЭК 60745-1.

11 Потребляемая мощность и ток

По МЭК 60745-1.

12 Нагрев

По МЭК 60745-1.

13 Ток утечки

По МЭК 60745-1.

14 Влагостойкость

По МЭК 60745-1.

15 Электрическая прочность

По МЭК 60745-1.

16 Защита от перегрузки трансформаторов и соединенных с ними цепей

По МЭК 60745-1.

17 Надежность

По МЭК 60745-1.

18 Ненормальный режим работы

По МЭК 60745-1.

19 Механическая безопасность

По МЭК 60745-1 со следующими изменениями:

19.1. Замена:

а) Для лобзиков

Для предотвращения непреднамеренного прикосновения к движущимся частям, находящимся выше направляющей плиты, должно быть предусмотрено защитное устройство.

Испытание проводят осмотром и нижеследующим испытанием:

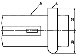
Лобзик настраивается на выполнение пропила под прямым углом. Испытательный палец (см. рисунок 101а) помещается поверх направляющей плиты в соответствии с рисунками 101b и 101c. Продольная ось испытательного пальца должна быть сориентирована перпендикулярно по отношению к кромке зубьев пильного полотна и посередине по отношению к плоскости пильного полотна. При перемещении испытательного пальца к пильному полотну не должно быть возможным его прикосновения к кромке зубьев.

а) Испытательный палец

Примечание - Для упрощения верхняя часть лобзика не изображена.

b) Вид сбоку с указанием положения и направлением движения испытательного пальца

с) Вид сверху направляющей плиты с положением испытательного пальца

а - испытательный палец, b - направляющая плита

Рисунок 101 - Испытательный щуп

б) Для других видов пил с возвратно-поступательным движением пильного полотна

Для предотвращения непреднамеренного прикосновения к движущимся частям должно быть предусмотрено защитное устройство.

Испытание проводят осмотром.

Если пила сконструирована так, что зона захвата (удержания пилы рукой) находится вблизи или позади пильного полотна, то в продолжение пильной кромки пильного полотна должен быть установлен барьер высотой не менее 6 мм с измерением от поверхности захвата. В барьере нет необходимости, если электрический инструмент снабжен дополнительной передней рукояткой.

20 Механическая прочность

По МЭК 60745-1.

21 Конструкция

По МЭК 60745-1.

22 Внутренняя проводка

По МЭК 60745-1.

23 Комплектующие изделия

По МЭК 60745-1.

24 Присоединение к источнику питания и внешние гибкие шнуры

По МЭК 60745-1.

25 Зажимы для внешних проводов

По МЭК 60745-1.

26 Заземление

По МЭК 60745-1.

27 Винты и соединения

По МЭК 60745-1.

28 Пути утечки тока, воздушные зазоры и расстояния по изоляции

По МЭК 60745-1.

29 Теплостойкость, огнестойкость и стойкость к образованию токоведущих мостиков

По МЭК 60745-1.

30 Коррозийная стойкость

По МЭК 60745-1.

31 Радиация, токсичность и подобные опасности

По МЭК 60745-1.

Приложение К
(обязательное)
Батарейные (аккумуляторные) машины и аккумуляторы

К.1.1 Дополнение:

Все пункты настоящего стандарта относятся к приложению, если нет других указаний.

Приложение L
(обязательное)
Батарейные (аккумуляторные) машины и аккумуляторы, предусмотренные для подсоединения к сети или неизолированным источникам питания

L.1.1 Дополнение:

Все пункты настоящего стандарта относятся к приложению, если нет других указаний.

Приложение 1
(справочное)
Сведения о соответствии национального стандарта Российской Федерации ссылочному международному стандарту

Таблица 1.1

Обозначение ссылочного международного стандарта

Обозначение и наименование соответствующего национального стандарта

МЭК 60745-1:2003

ГОСТ Р МЭК 60745-1-2005 Машины ручные электрические. Безопасность и методы испытаний. Часть 1. Общие требования

Библиография

По МЭК 60745-1.

Ключевые слова: машины ручные электрические, пила возвратно-поступательного действия, лобзик, безопасность, испытания

 

 




ГОСТЫ, СТРОИТЕЛЬНЫЕ и ТЕХНИЧЕСКИЕ НОРМАТИВЫ.
Некоммерческая онлайн система, содержащая все Российские Госты, национальные Стандарты и нормативы.
В Системе содержится более 150000 файлов нормативно-технической документации, действующей на территории РФ.
Система предназначена для широкого круга инженерно-технических специалистов.

Рейтинг@Mail.ru Яндекс цитирования

Copyright © www.gostrf.com, 2008 - 2026