|
|
ОГНЕЗАЩИТНЫЕ СОСТАВЫ И ВЕЩЕСТВА Общие требования. Москва Стандартинформ 2007 Предисловие Цели и принципы стандартизации в Российской Федерации установлены Федеральным законом
от 27 декабря Сведения о стандарте 1 РАЗРАБОТАН Федеральным государственным учреждением «Всероссийский научно-исследовательский институт противопожарной обороны» (ФГУ ВНИИПО) МЧС России 2 ВНЕСЕН Техническим комитетом по стандартизации ТК 274 «Пожарная безопасность» 3
УТВЕРЖДЕН И ВВЕДЕН В ДЕЙСТВИЕ Приказом Федерального агентства по техническому
регулированию и метрологии от 18 февраля 4 ВВЕДЕН ВПЕРВЫЕ Информация об изменениях к настоящему стандарту публикуется в ежегодно издаваемом информационном указателе «Национальные стандарты», а текст изменений и поправок - в ежемесячно издаваемых информационных указателях «Национальные стандарты». В случае пересмотра (замены) или отмены настоящего стандарта соответствующее уведомление будет опубликовано в ежемесячно издаваемом информационном указателе «Национальные стандарты». Соответствующая информация, уведомление и тексты размещаются также в информационной системе общего пользования - на официальном сайте Федерального агентства по техническому регулированию и метрологии в сети Интернет. Содержание НАЦИОНАЛЬНЫЙ СТАНДАРТ РОССИЙСКОЙ ФЕДЕРАЦИИ
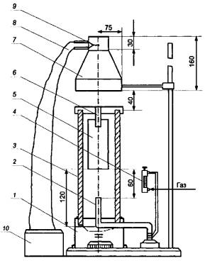
Дата введения - 2010-01-01 1 Область примененияНастоящий стандарт устанавливает общие требования к огнезащитным составам и веществам для древесины и материалов на ее основе, а также методы их испытаний. Требованиями стандарта следует руководствоваться при определении огнезащитных свойств огнезащитных составов, разработке технической документации, сертификации, осуществлении контроля качества огнезащитных составов и выполненной огнезащиты. 2 Нормативные ссылкиВ настоящем стандарте использованы нормативные ссылки на следующие стандарты: ГОСТ Р 1.5-2004 Стандартизация в Российской Федерации. Стандарты национальные Российской Федерации. Правила построения, изложения, оформления и обозначения ГОСТ 2.114-95* Единая система конструкторской документации. Технические условия ГОСТ 745-2003 Фольга алюминиевая для упаковки. Технические условия ГОСТ 2140-81* Видимые пороки древесины. Классификация, термины и определения, способы измерения ГОСТ 5106-77* Цинк азотнокислый 6-водный. Технические условия ГОСТ 7164-78* Приборы автоматические следящего уравновешивания ГСП. Общие технические условия ГОСТ 13045-81* Ротаметры. Общие технические условия ГОСТ 24104-2001 Весы лабораторные. Общие технические требования Примечание - При пользовании настоящим стандартом целесообразно проверить действие ссылочных стандартов и классификаторов в информационной системе общего пользования - на официальном сайте национального органа Российской Федерации по стандартизации в сети Интернет или по ежегодно издаваемому информационному указателю «Национальные стандарты», который опубликован по состоянию на 1 января текущего года, и по соответствующим ежемесячно издаваемым информационным указателям, опубликованным в текущем году. Если ссылочный документ заменен (изменен), то при пользовании настоящим стандартом следует руководствоваться замененным (измененным) документом. Если ссылочный документ отменен без замены, то положение, в котором дана ссылка на него, применяется в части, не затрагивающей эту ссылку. 3 Термины и определенияВ настоящем стандарте применяются следующие термины с соответствующими определениями: 3.1 огнезащитный состав (вещество) для древесины и материалов на ее основе (ОС): Состав (вещество), обладающий требуемой огнезащитной эффективностью и специально предназначенный для огнезащитной обработки различных объектов из древесины и материалов на ее основе. 3.2 антипирен: Вещество, снижающее горючесть древесины и материалов на ее основе. 3.3 огнезащитная эффективность: Показатель, характеризующий способность ОС снижать горючесть древесины и материалов на ее основе. 3.4 объект огнезащиты: Древесина и материалы на ее основе, а также выполненные из них конструкции и изделия, подвергаемые обработке ОС с целью снижения их пожарной опасности. 3.5 огнезащитная обработка: Нанесение ОС на поверхность (поверхностная пропитка, окраска, обмазка и т.д.) и (или) введение его в объем объекта огнезащиты (глубокая пропитка). 3.6 поверхностная пропитка: Обработка поверхности объектов огнезащиты пропиточными ОС (растворами антипиренов) с целью создания огнезащищенного поверхностного слоя. 3.7 глубокая пропитка: Обработка объектов огнезащиты пропиточными ОС (растворами антипиренов) с целью введения антипиренов в объем объекта огнезащиты. 3.8 комбинированный способ: Сочетание различных способов огнезащитной обработки. 3.9 огнезащитное покрытие: Полученный в результате огнезащитной обработки слой (слои) на поверхности объекта огнезащиты. 3.10 техническая документация на ОС (ТД): Технические условия, инструкция, руководство и другая документация, устанавливающая требования к ОС и их применению. 3.11 устойчивость к старению: Способность нанесенного в результате огнезащитной обработки ОС сохранять огнезащитную эффективность при воздействии факторов окружающей среды. 3.12 срок службы огнезащитной обработки: Срок эксплуатации, в течение которого огнезащитная эффективность и состояние нанесенного в результате огнезащитной обработки ОС соответствует требованиям, установленным ТД. 3.13 гарантийный срок службы огнезащитной обработки: Срок эксплуатации, в течение которого разработчик ОС (изготовитель, производитель огнезащитной обработки) гарантирует соответствие огнезащитной обработки требованиям ТД. 3.14 гарантийный срок хранения ОС: Срок хранения, в течение которого разработчик ОС (изготовитель) гарантирует соответствие ОС требованиям ТД. 4 Классификация огнезащитных составов4.1 В зависимости от состава и свойств ОС подразделяются на следующие виды: - лаки огнезащитные, представляющие собой растворы (эмульсии) пленкообразующих веществ на органической или водной основе, содержащие растворимые антипирены (могут включать также пластификаторы, отвердители, растворимые красители и другие вещества), образуют на защищаемой поверхности тонкую прозрачную пленку; - краски огнезащитные, представляющие собой однородную суспензию пигментов и антипиренов в пленкообразующих веществах (могут включать также наполнители, растворители, пластификаторы, отвердители и другие вещества), образуют на защищаемой поверхности тонкую непрозрачную пленку; - пасты, обмазки огнезащитные, представляющие собой композиции, по содержанию компонентов аналогичные краскам, но отличающиеся пастообразной консистенцией и более крупной дисперсностью наполнителей и антипиренов, образуют на защищаемой поверхности слой покрытия большей толщины, чем лаки и краски; - составы пропиточные огнезащитные (огнебиозащитные), представляющие собой растворы антипиренов (антипиренов и антисептиков) в органических и неорганических жидкостях, не образующих пленку, обеспечивают образование поверхностного огнезащищенного слоя (поверхностная пропитка) или огнезащиту в объеме древесины (глубокая пропитка); - составы комбинированные огнезащитные, представляющие собой комплекс из двух или более видов ОС, нанесение каждого из которых на защищаемую поверхность осуществляется последовательно. 4.2 В зависимости от условий эксплуатации ОС подразделяются на: - предназначенные для эксплуатации на открытом воздухе или под навесом (под воздействием совокупности климатических факторов, характерных для данного макроклиматического района, или колебаний температуры и влажности воздуха, несущественно отличающихся от колебаний на открытом воздухе, и имеется сравнительно свободный доступ наружного воздуха); - предназначенные для эксплуатации в закрытом неотапливаемом помещении (без искусственно регулируемых климатических условий, где колебание температуры и влажности воздуха существенно меньше, чем на открытом воздухе); - предназначенные для эксплуатации в закрытом отапливаемом помещении (с искусственно регулируемыми климатическими условиями, положительной температурой и относительной влажностью воздуха не более 70 %); - предназначенные для эксплуатации в иных специально оговоренных условиях. 4.3 Все перечисленные виды ОС в зависимости от устойчивости к воздействию агрессивных факторов подразделяются на стойкие и нестойкие в агрессивной среде. 4.4 В зависимости от способа нанесения пропиточные ОС подразделяются на составы, предназначенные для поверхностной и глубокой пропитки. 5 Общие требования5.1 Требования к содержанию технической документации на огнезащитные составыПроизводство, применение и эксплуатация нанесенных на объект огнезащиты ОС осуществляются в соответствии с ТД, утвержденной и согласованной в установленном порядке. Построение и изложение текста ТД на ОС должны соответствовать ГОСТ 2.114 с учетом следующих требований: - вид ОС и условия его эксплуатации указываются в соответствии с классификацией, приведенной в разделе 4; - основные параметры и характеристики должны включать показатели огнезащитной эффективности ОС и срок службы огнезащитной обработки в рекомендуемых условиях эксплуатации; - контролируемые параметры и характеристики, а также периодичность их контроля в условиях производства и применения определяются исходя из условий обеспечения стабильности свойств ОС и надлежащего качества огнезащитной обработки; - правила приемки в условиях производства должны предусматривать отбор и хранение арбитражной пробы ОС для повторного контроля. Условия хранения пробы должны обеспечивать сохранность свойств ОС в течение гарантийного срока хранения; - указания по эксплуатации должны содержать сведения о технологии подготовки ОС к огнезащитной обработке (если поставка ОС осуществляется не в готовом для применения виде), требования к подготовке защищаемой поверхности, сведения о технологии и условиях огнезащитной обработки, порядке контроля качества и приемки выполненной огнезащитной обработки; - в случае применения дополнительных составов в комплексе с ОС (грунтовочных, декоративных, влагозащитных и др.) указываются марки рекомендуемых составов, сведения о технологии и условиях их применения; - в разделе «Гарантии изготовителя» рекомендуется указывать гарантийный срок хранения ОС и гарантийный срок службы огнезащитной обработки. 5.2 Требования к огнезащитным составам и их применениюК применению допускаются ОС, которые прошли в установленном порядке сертификацию и полностью соответствуют требованиям ТД. Поставка ОС сопровождается документами, подтверждающими их качество. ОС упаковываются в тару с соответствующей маркировкой, не допускающей утрату их свойств в течение гарантийного срока хранения при соблюдении условий хранения и транспортирования. Нанесение ОС осуществляется на подготовленную в соответствии с требованиями ТД поверхность объектов огнезащиты с соблюдением указанной в ней технологии и условий нанесения, необходимых мер по технике безопасности, санитарных норм и требований пожарной безопасности. При применении ОС с поверхностными декоративными, атмосферостойкими или грунтовочными материалами огнезащитная эффективность определяется для системы (огнезащитный слой плюс дополнительный слой). ОС применяют в местах, доступных для контроля качества огнезащитной обработки, повторного нанесения и реставрации в случае необходимости. Нанесение ОС на поверхности, ранее обработанные пропиточными, лакокрасочными и другими составами, в том числе ОС других марок, допускается при положительных результатах исследований на их совместимость, включающих установление сохранения огнезащитных, эксплуатационных свойств, внешнего вида и срока службы огнезащитной обработки. ОС, срок службы огнезащитной обработки которыми установлен ТД более одного года, должны выдерживать испытания на устойчивость к старению. Срок службы огнезащитной обработки рекомендуется устанавливать на основе натурных или ускоренных климатических испытаний. Для ОС, предназначенных для эксплуатации в различных условиях в соответствии с 4.2, срок службы огнезащитной обработки определяется для каждого указанного случая. Метод определения срока службы огнезащитной обработки должен предусматривать контроль сохранения огнезащитных свойств покрытия. Определение огнезащитной эффективности проводится в соответствии с 6.1. Огнезащитными являются составы, обладающие I или II группой огнезащитной эффективности. При проведении контроля качества ОС применяется контрольный метод определения огнезащитной эффективности в соответствии с 6.2. Устойчивость к старению определяется в соответствии с 6.3. Возможность огнезащиты конкретных видов декоративно-отделочных, облицовочных и других строительных материалов из древесины и материалов на ее основе, используемых в помещениях, к которым предъявляются повышенные требования пожарной безопасности (пути эвакуации, зальные помещения и т.д.), определяется исходя из результатов испытаний по определению нормируемых показателей пожарной опасности и обеспечения стабильности этих показателей в процессе эксплуатации. 5.3 Контроль качества выполненных огнезащитных работКонтроль качества выполненных работ включает: проверку состояния огнезащищенной поверхности (наличие дефектов и повреждений, не допускаемых требованиями ТД), проверку соблюдения технологии нанесения, качественную оценку огнезащитной обработки с использованием малогабаритного переносного прибора по 6.4, проверку соблюдения иных требований, предусмотренных ТД. Контроль качества огнезащитной обработки древесины, защищенной способом глубокой пропитки, проводится по контрольному методу определения огнезащитной эффективности по 6.2 на образцах, пропитанных одновременно с партией древесины, и по количеству поглощенного ОС (антипирена) в единице объема древесины А, кг/м3, определяемого по формуле:
где K - масса поглощенного ОС (антипирена), кг; V - объем пропитываемого материала из древесины, м3. В процессе эксплуатации необходим периодический осмотр защищенных поверхностей объектов огнезащиты. Периодичность проведения качественной оценки выполненной огнезащиты с использованием малогабаритного переносного прибора определяется с учетом установленного срока службы, состояния защищенной поверхности и условий эксплуатации. Нарушения, выявленные при проведении контроля качества огнезащитных работ по результатам их выполнения и в процессе эксплуатации объектов огнезащиты, немедленно устраняются с подтверждением факта устранения результатами повторной проверки. 6 Методы испытаний6.1 Метод определения огнезащитной эффективности6.1.1 Средства измерения, испытательное оборудование и материалы 6.1.1.1 Для определения огнезащитной эффективности применяются следующие средства измерения, испытательное оборудование и материалы: - установка «Керамическая труба»; - весы (класс точности III); - секундомер (класс точности 2); - газ бытовой; - фольга алюминиевая толщиной от 0,014 до - вытяжной шкаф с принудительной вентиляцией; - емкость для пропитки образцов древесины; - установка (устройство) для нанесения ОС методом распыления; - кисти, шпатели; - эксикатор; - цинк азотнокислый 6-водный (Zn(NO3)2·6H2O). 6.1.1.2 Установка «Керамическая труба» (приложение А) состоит из следующих элементов: - керамического короба с наружными размерами 120´120 - металлической подставки для крепления керамического короба, которая имеет створки произвольной конструкции (или другое приспособление) для регулирования подачи воздуха в зону горения образца; - газовой горелки, входящей внутрь керамического короба по его центру с отклонением от оси не более - автоматического потенциометра (класс точности 0,5) с пределом измерений от 0°С до 800°С; - держателя образца, фиксирующего положение испытываемого образца в центре керамического короба на расстоянии (60 ± 2) мм от газовой горелки; - зонта, расположенного в рабочем положении соосно коробу и на расстоянии (40 ± 2) мм выше его. Для установки образца должна быть предусмотрена возможность отвода зонта; - термоэлектрического преобразователя с пределами измерения от 0°С до 900°С. Горячий спай термоэлектрического преобразователя должен располагаться в центре верхнего патрубка зонта; - ротаметра типа PM-A-I с верхним пределом измерения расхода газа до 100 л/ч и погрешностью измерения расхода газа не более 4 %. Допускается применять другие регистрирующие приборы, обеспечивающие такую же или меньшую погрешность и соответствующие пределы измерения. 6.1.2 Подготовка к проведению испытаний 6.1.2.1
Образцы изготавливают из прямослойной воздушно-сухой древесины сосны с влажностью 8-15 % и плотностью от 400 до 550 г/м3 в виде прямоугольных брусков с поперечным сечением 30 Для испытания пропиточных и комбинированных (если одним из компонентов является пропиточный состав) составов используются образцы, полученные из заболони, а при испытании других составов - из заболони или ядра. Образцы древесины должны быть без видимых пороков и смоляных включений по ГОСТ 2140. Боковые поверхности образцов должны быть остроганы, торцы опилены и обработаны наждаком. 6.1.2.2 Образцы древесины перед нанесением ОС кондиционируют в эксикаторе с насыщенным раствором цинка азотнокислого 6-водного при температуре (23 ± 5)°С. Кондиционирование прекращают, когда изменение массы образцов между двумя последующими взвешиваниями, проведенными через 24 часа, составит не более 6.1.2.3 На кондиционированные образцы древесины со всех сторон наносят слой испытываемого ОС и высушивают. Расход состава, нанесение, условия и время сушки должны соответствовать ТД на данный ОС. Общий расход ОС, нанесенного на образец древесины, определяют суммированием расходов после нанесения каждого слоя и относят к площади поверхности или объему образца в зависимости от способа обработки. Расход состава после каждой обработки определяют весовым методом по разнице масс образца до и после нанесения ОС. Взвешивание обработанных пропиточными составами образцов осуществляется после прекращения стекания с поверхности невпитавшегося раствора. С торца образца остатки раствора удаляют фильтровальной бумагой. В случае пропитки образцов способами, обеспечивающими глубокое проникновение ОС, общее поглощение R, кг/м3, определяют по формуле
где m1 - масса образца после пропитки, кг; m2 - масса образца перед пропиткой, кг; V - объем образца, м3. Перед испытанием обработанные и высушенные образцы древесины кондиционируют в условиях, указанных в 6.1.2.2, и взвешивают, результат округляют до 6.1.3 Проведение испытаний 6.1.3.1 Испытания проводят не менее чем на 10 образцах в вытяжном шкафу с принудительной вентиляцией, скорость движения воздуха не более 5 м/с. Внутренние стенки керамического короба выкладывают алюминиевой фольгой блестящей стороной внутрь, для чего из фольги вырезают полосы шириной, равной внутренней ширине стенки короба. Полосы поочередно в три слоя закладывают внутрь керамического короба, разглаживают по внутренним стенкам и загибают по торцам на наружную поверхность керамического короба. Фольгу менять после сжигания каждых трех образцов. Керамический короб переводят в горизонтальное положение и зажигают газовую горелку, устанавливают высоту пламени от 15 до Зонт отводят, испытываемый образец, закрепленный в держателе, опускают в керамический короб, одновременно включают секундомер и возвращают зонт в рабочее положение. Образец держат в пламени горелки в течение 2 минут. Расход газа в процессе испытания должен быть постоянным. Через 2 минуты подачу газа в горелку прекращают, образец оставляют в приборе для остывания. После остывания (температура отходящих газов в верхнем патрубке зонта равна комнатной) оставшуюся часть образца извлекают из керамического короба и взвешивают, результат округляют до 6.1.3.2 Потерю массы испытанного образца Рi, %, вычисляют по формуле
где m1i - масса образца до испытания, г; m2i - масса образца после испытания, г; i - номер образца. Полученный результат вычисления округляют до 0,1 %. После испытания определяют среднее арифметическое значение потери массы десяти испытанных образцов. Вместо образцов, для которых не выполняются неравенства (4) и (5), испытывают новые образцы и вновь определяют среднее арифметическое значение потери массы.
где Рср- среднее арифметическое значение потери массы десяти испытанных образцов, %; Рi - значение потери массы одного из десяти испытанных образцов, %. За результат испытания принимают среднее арифметическое значение не менее 10 определений, округленное до целого числа процентов. 6.1.3.3 По результатам испытания устанавливают группу огнезащитной эффективности испытанного ОС при данном способе его применения. При потере массы не более 9 % для ОС устанавливают I группу огнезащитной эффективности. При потере массы более 9 %, но не более 25 % для ОС устанавливают II группу огнезащитной эффективности. При потере массы более 25 % считают, что данный состав не обеспечивает огнезащиту древесины и не является огнезащитным. 6.1.3.4 Результаты испытаний и расчетов заносят в протокол испытаний, который должен содержать следующие сведения: - дата проведения испытаний; - наименование испытательной лаборатории; - наименование и адрес заказчика (изготовителя); - основание для проведения испытаний; - наименование (марка) огнезащитного состава, ТД; - способ обработки; - номер партии, дата изготовления ОС; - место отбора проб; - условия проведения испытания. Пример оформления протокола приведен в приложении Б. 6.2 Контрольный метод определения огнезащитной эффективности6.2.1 Средства измерения, испытательное оборудование и материалы Для определения огнезащитной эффективности по контрольному методу применяются следующие средства измерения, испытательное оборудование и материалы: - установка «Керамическая труба»; - сушильный шкаф или камера для термостатирования, обеспечивающие диапазон температур от 40°С до 70°С; - весы (класс точности III); - секундомер (класс точности 2); - газ бытовой; -
фольга алюминиевая толщиной от 0,014 до - вытяжной шкаф с принудительной вентиляцией; - емкость для пропитки образцов древесины; - установка (устройство) для нанесения ОС методом распыления; - кисти, шпатели; - эксикатор; - цинк азотнокислый 6-водный (Zn(NO3)2·6H2O). 6.2.2 Подготовка к проведению испытаний 6.2.2.1 Требования к изготовлению образцов в соответствии с 6.1.2.1. 6.2.2.2
Образцы древесины перед нанесением ОС доводят до постоянной массы в сушильном
шкафу при температуре (45 ± 5)°С. Термостатирование образцов древесины прекращают, когда изменение массы образца между двумя последующими взвешиваниями, проведенными с интервалом
в 2 часа, составит не более 6.2.2.3 Обработку образцов ОС проводят не позднее чем через 30 минут после термостатирования либо во избежание изменения массы образцов за счет поглощения влаги до начала обработки образцы помещают в эксикатор с насыщенным раствором 6-водного азотнокислого цинка. 6.2.2.4
Поверхностная пропитка образцов древесины ОС на водной основе осуществляется
путем их погружения в пропиточный раствор. Для пропитки используется емкость, выполненная из
коррозионно-стойкого материала, в которую образцы погружаются таким образом, чтобы толщина
слоя раствора над верхней гранью образца составляла от 5 до Обработка образцов древесины другими видами ОС выполняется по технологии в соответствии с ТД на применяемый ОС. Расход ОС определяется в соответствии с 6.1.2.3. 6.2.2.5 Сушка образцов после пропитки ОС на водной основе осуществляется в термостате при температуре (45 ± 5)°С. Сушка образцов после пропитки ОС на неводной основе осуществляется в соответствии с требованиями ТД на конкретный состав. Образцы древесины с огнезащитными покрытиями термостатируют в сушильном шкафу при температуре (55 ± 5)°С, предварительно выдержав их в комнатных условиях (или в вытяжном шкафу для покрытий, содержащих органические растворители) в течение 1 суток. При многослойном нанесении покрытий послойная сушка осуществляется по режиму, установленному ТД на конкретное покрытие. Сушку образцов прекращают, когда изменение массы образца между двумя последующими
взвешиваниями, проведенными с интервалом в 2 часа, составит не более 6.2.2.6 Испытания проводят не позднее чем через 30 минут после сушки либо до начала испытания образцы помещают в эксикатор с насыщенным раствором 6-водного азотнокислого цинка. Перед испытанием образцы взвешивают, результат округляют до 6.2.3 Проведение испытаний 6.2.3.1 Испытания проводят на трех образцах в соответствии с 6.1.3.1. 6.2.3.2 Потерю массы образца вычисляют по формуле (3). За результат испытания принимают среднее арифметическое значение трех определений, округленное до целого числа процентов. В случае получения среднего арифметического трех определений для ОС, относящегося к I группе огнезащитной эффективности, не более 9 %, а для ОС, относящегося ко II группе огнезащитной эффективности, не более 25 %, испытанный ОС считается соответствующим установленной для него группе огнезащитной эффективности. В ином случае проводятся повторные испытания по данному методу на десяти образцах. При получении неудовлетворительного результата при повторных испытаниях ОС считается не соответствующим установленной для него группе огнезащитной эффективности. 6.2.3.3 Результаты испытаний и расчетов заносят в протокол испытаний в соответствии с 6.1.3.4. Пример оформления протокола приведен в приложении В. При оформлении протокола повторных испытаний рекомендуется руководствоваться примером оформления протокола, приведенным в приложении Б. 6.3 Метод определения устойчивости к старению6.3.1 Средства измерения, испытательное оборудование и материалы 6.3.1.1 Сущность метода заключается в определении сохранения огнезащитной эффективности нанесенного на образцы древесины ОС после ускоренного старения в результате попеременного воздействия на образцы колебаний температуры и влажности в заданной последовательности. 6.3.1.2 Применяемые средства измерения, испытательное оборудование и материалы в соответствии с 6.2.1.1. 6.3.2 Подготовка к проведению испытаний Подготовка образцов в соответствии с 6.1.2.1 - 6.1.2.3. 6.3.3 Проведение испытаний 6.3.3.1 Испытания проводят на шести образцах. Из них произвольным образом отбираются три основных образца, оставшиеся три образца являются контрольными. Потерю массы на трех контрольных образцах определяют в соответствии с 6.1.3.1 и формулой (3). Вычисляют среднее арифметическое значение трех определений Рк, %. Допускается при одновременном проведении испытаний ОС с целью определения устойчивости к старению и огнезащитной эффективности за результат испытаний контрольных образцов принимать результат испытаний, полученный по методу определения огнезащитной эффективности в соответствии с 6.1. 6.3.3.2 Три основных образца последовательно выдерживают 8 часов в сушильном шкафу при температуре (60 ± 5)°С, 16 часов в эксикаторе, заполненном водой, с относительной влажностью воздуха над ней 100 %, при температуре (23 ± 5)°С, 8 часов в сушильном шкафу при температуре (60 ± 5)°С, 16 часов при температуре (23 ± 5)°С и влажности воздуха (65 ± 5) %. Эти операции составляют один цикл (48 часов). Испытания включают семь циклов по указанной схеме. Во время испытания ведется наблюдение за состоянием образцов. По истечении указанного срока образцы кондиционируют согласно 6.1.2.2. Потерю массы на трех основных образцах определяют в соответствии с 6.1.3.1 и формулой (3). Вычисляют среднее арифметическое значение трех определений Р0, %. За результат испытаний принимают разницу (Р0 - Рк), округленную до целого числа процентов. 6.3.3.3 Нанесенный ОС считается выдержавшим испытание на устойчивость к старению, если сохраняется целостность выполненного на его основе огнезащитного покрытия (отсутствуют трещины, отслаивания, вздутия и другие, не допускаемые ТД разрушения) для всех образцов (требование не распространяется на нанесенные пропиточные ОС) и выполняются неравенства (6) и (7).
где Р0 - среднее арифметическое значение потери массы трех основных образцов, %; Рк - среднее арифметическое значение потери массы трех контрольных образцов, %. 6.3.3.4 Результаты испытаний и расчетов заносят в протокол испытаний в соответствии с 6.1.3.4. Пример оформления протокола приведен в приложении Г. 6.4 Метод контроля качества огнезащитной обработки6.4.1 Средства измерения, испытательное оборудование и материалы 6.4.1.1 Для контроля качества огнезащитной обработки используется прибор ПМП-1 (приложение Д), состоящий из следующих элементов: - корпуса; - газовой горелки; - поворотной крышки; - зажимного устройства. В качестве газовой горелки рекомендуется использовать бытовую газовую зажигалку (предпочтительно с регулируемой высотой пламени). Габаритные размеры прибора должны быть не более
135´50 6.4.2 Подготовка к проведению испытаний 6.4.2.1 Перед отбором образцов проводится осмотр обработанных ОС материалов и конструкций с целью определения соответствия внешнего вида требованиям ТД. 6.4.2.2 Отбор образцов проводится в местах, преимущественно равномерно расположенных по площади объекта огнезащиты, с различных типов конструкций (стропила, обрешетка и др.), а также в местах, качество обработки которых вызывает сомнения. Для отбора образцов используется доступный режущий инструмент. Место отбора образца и сам образец маркируются. 6.4.2.3 Образец должен представлять собой поверхностный слой огнезащищенной древесины
(стружку) длиной от 50 до По результатам отбора образцов составляется акт, в котором указывается место отбора каждого образца. 6.4.2.4
Количество отобранных образцов должно составлять не менее четырех с каждых 6.4.2.5 Перед испытанием образцы в течение 24 часов выдерживают в помещении на ровной открытой поверхности при температуре от 10°С до 30°С и относительной влажности воздуха (60 ± 10) %. Недопустимо проводить испытания при использовании в качестве образца сырой стружки. 6.4.3 Проведение испытаний 6.4.3.1 Перед проведением испытания необходимо настроить прибор, для чего следует зажечь газовую горелку, отрегулировать высоту пламени таким образом, чтобы оно своей верхней частью точечно касалось верхней кромки нижней подвижной части прижимной рамки держателя образца, отключить газовую горелку. 6.4.3.2 Проведение испытания осуществляется в такой последовательности: - образец установить в зажимное устройство так, чтобы обработанная сторона была обращена к газовой горелке; - зажечь газовую горелку; - установить поворотную крышку в положение, обеспечивающее выполнение требований 6.4.3.1; - выдержать образец под воздействием пламени в течение 40 секунд, после чего отключить газовую горелку; - образец оставить в приборе для остывания образца и прибора до комнатной температуры. При проведении испытания не допускается воздействие на пламя горелки воздушных потоков. За образцом проводят визуальное наблюдение во время испытания и его осмотр после извлечения из прибора, при этом фиксируются: - изменение цвета, усадка, вспучивание, коробление, тление и др.; - появление признаков воспламенения (пламенное горение вне зоны воздействия пламени газовой горелки); - самостоятельное горение после отключения газовой горелки; - сквозное прогорание до образования отверстия; - обугливание на всю глубину в зоне воздействия пламени газовой горелки; - полное или неполное обугливание обработанной ОС стороны образца на площади, ограниченной рамкой зажимного устройства. 6.4.3.3 Результат испытания образца считается отрицательным, если зафиксировано хотя бы одно из следующих явлений: - самостоятельное горение после отключения газовой горелки (допускается наличие локального горения в зоне воздействия газовой горелки в течение не более пяти секунд после ее отключения); - сквозное прогорание до образования отверстия; - обугливание обработанной ОС стороны образца по всей площади, ограниченной рамкой зажимного устройства; - обугливание на всю глубину в зоне воздействия пламени газовой горелки при наличии признаков воспламенения (пламенное горение вне зоны воздействия пламени газовой горелки). Результат испытания образца считается положительным, если указанные явления не наблюдаются. 6.4.3.4 Поверхностная огнезащитная обработка считается качественной при условии получения положительных результатов испытаний на всех отобранных образцах. При получении отрицательных результатов на отдельных образцах (не более двух для площади 6.4.3.5 Результаты испытаний заносят в протокол испытаний, который должен содержать следующие сведения: - дата проведения испытаний; - наименование и адрес заказчика; - основание для проведения испытаний; - наименование и адрес объекта контроля; - наименование организации, проводившей огнезащитную обработку, ее адрес и номер лицензии; - наименование (марка) применяемого для огнезащитной обработки состава, ТД; - вид и состояние огнезащищенных конструкций (отобранных образцов), площадь обработки, условия эксплуатации; - место отбора каждого образца; - наименование испытательной лаборатории. Пример оформления протокола приведен в приложении Е. Приложение А
|
|||||||||||||||||||||||||||||||||||||||||||||||||||||||||||||||||||||||||||||||||||||||||||||||||||||||||||||||||||||||||||||||||||||||||||||||||||||||||||||||||||||||||||||||||||||||||||||||||||||||||||||||||||||||||||||||||||||||||||||||||||||||||||||||||||||||
|
Номер образца |
Масса образца, г |
Расход состава, кг/м2 (кг/м3) |
Потеря массы образца |
Среднее арифметическое значение потери массы, % |
|||||
|
до обработки |
перед сжиганием |
после сжигания |
грунто- |
огнеза- |
поверх- |
г |
% |
||
|
1 |
|
|
|
|
|
|
|
|
|
|
2 |
|
|
|
|
|
||||
|
3 |
|
|
|
|
|
||||
|
4 |
|
|
|
|
|
||||
|
5 |
|
|
|
|
|
||||
|
6 |
|
|
|
|
|
||||
|
7 |
|
|
|
|
|
||||
|
8 |
|
|
|
|
|
||||
|
9 |
|
|
|
|
|
||||
|
10 |
|
|
|
|
|
||||
|
* Сведения о расходе грунтовочного и поверхностного слоя приводят при испытании ОС, технология применения которого предполагает их наличие. |
|||||||||
Вывод:
Исполнители:
1 Наименование организации, выполняющей испытание
2 Дата проведения испытания
3 Заказчик
4 Основание для проведения испытания
5 Наименование (марка) огнезащитного состава, ТД
6 Номер партии, дата изготовления
7 Способ обработки
8 Место отбора проб
9 Условия проведения испытания: температура воздуха, °С _____; относительная влажность воздуха, % _____
|
Номер образца |
Масса образца, г |
Расход состава, кг/м2 (кг/м3) |
Потеря массы образца |
Среднее арифметическое значение потери массы, % |
|||||
|
до обработки |
перед сжиганием |
после сжигания |
грунто- |
огнеза- |
поверх- |
г |
% |
||
|
1 |
|
|
|
|
|
|
|
|
|
|
2 |
|
|
|
|
|
||||
|
3 |
|
|
|
|
|
||||
|
* Сведения о расходе грунтовочного и поверхностного слоя приводят при испытании ОС, технология применения которого предполагает их наличие. |
|||||||||
Вывод:
Исполнители:
1 Наименование организации, выполняющей испытание
2 Дата проведения испытания
3 Заказчик
4 Основание для проведения испытания
5 Наименование (марка) огнезащитного состава, ТД
6 Номер партии, дата изготовления
7 Способ обработки
8 Место отбора проб
9 Условия проведения испытания: температура воздуха, °С ___; относительная влажность воздуха, %___
|
Номер образца |
Вид образца |
Масса образца, г |
Расход состава, кг/м2 (кг/м3) |
Потери массы образца |
Среднее ариф- |
Изменение
огнезащит- |
|||||
|
до обработки |
перед сжиганием |
после сжигания |
грунто- |
огнеза- |
поверх- |
г |
% |
||||
|
1 |
контрольный |
|
|
|
|
|
|
|
|
|
|
|
2 |
|
|
|
|
|
|
|||||
|
3 |
|
|
|
|
|
|
|||||
|
1 |
основной |
|
|
|
|
|
|
|
|
|
|
|
2 |
|
|
|
|
|
|
|||||
|
3 |
|
|
|
|
|
|
|||||
|
* Сведения о расходе грунтовочного и поверхностного слоя приводят при испытании ОС, технология применения которого предполагает их наличие |
|||||||||||
Вывод:
Исполнители:

1 - корпус; 2 - газовая зажигалка; 3 - поворотная крышка; 4 - зажимное устройство
Рисунок Д.1 - Схема малогабаритного переносного прибора для оценки качества огнезащитной обработки деревянных конструкций
1 Наименование организации, выполняющей испытание
2 Дата проведения испытания
3 Заказчик
4 Основание для проведения испытания
5 Наименование и адрес объекта контроля
6 Наименование организации, проводившей огнезащитную обработку
7 Наименование (марка) огнезащитного состава, ТД
8 Тип защищенных конструкций
9 Состояние огнезащищенных конструкций (отобранных образцов)
10 Площадь обработки, условия эксплуатации
11 Условия проведения испытания: температура воздуха, °С ___; относительная влажность воздуха, % ___
|
Номер образца |
Место отбора образца (согласно акту отбора) |
Результат испытаний |
|
1 |
|
|
|
2 |
|
|
|
3 |
|
|
|
4 |
|
|
Вывод:
Исполнители:
Ключевые слова: составы огнезащитные, огнезащитная эффективность, огнезащитная обработка, огнезащитное покрытие, устойчивость к старению.
|
ГОСТЫ, СТРОИТЕЛЬНЫЕ и ТЕХНИЧЕСКИЕ НОРМАТИВЫ. Некоммерческая онлайн система, содержащая все Российские Госты, национальные Стандарты и нормативы. В Системе содержится более 150000 файлов нормативно-технической документации, действующей на территории РФ. Система предназначена для широкого круга инженерно-технических специалистов. Copyright © www.gostrf.com, 2008 - 2026 |