Крупнейшая бесплатная информационно-справочная система онлайн доступа к полному собранию технических нормативно-правовых актов РФ. Огромная база технических нормативов (более 150 тысяч документов) и полное собрание национальных стандартов, аутентичное официальной базе Госстандарта. GOSTRF.com - это более 1 Терабайта бесплатной технической информации для всех пользователей интернета. Все электронные копии представленных здесь документов могут распространяться без каких-либо ограничений. Поощряется распространение информации с этого сайта на любых других ресурсах. Каждый человек имеет право на неограниченный доступ к этим документам! Каждый человек имеет право на знание требований, изложенных в данных нормативно-правовых актах!

  


 

ФЕДЕРАЛЬНОЕ АГЕНТСТВО
ПО
ТЕХНИЧЕСКОМУ РЕГУЛИРОВАНИЮ И МЕТРОЛОГИИ

НАЦИОНАЛЬНЫЙ
СТАНДАРТ
российской
ФЕДЕРАЦИИ

ГОСТ Р
53295-
2009

СРЕДСТВА ОГНЕЗАЩИТЫ ДЛЯ СТАЛЬНЫХ КОНСТРУКЦИЙ

Общие требования.
Метод определения огнезащитной эффективности

Москва

Стандартинформ

2009

Предисловие

Цели и принципы стандартизации в Российской Федерации установлены Федеральным законом от 27 декабря 2002 г. 184-ФЗ «О техническом регулировании», а правила применения национальных стандартов Российской Федерации - ГОСТ Р 1.0-2004 «Стандартизация в Российской Федерации. Основные положения»

Сведения о стандарте

1 РАЗРАБОТАН ФГУ ВНИИПО МЧС России

2 ВНЕСЕН Техническим комитетом по стандартизации ТК 274 «Пожарная безопасность»

3 УТВЕРЖДЕН И ВВЕДЕН В ДЕЙСТВИЕ Приказом Федерального агентства по техническому регулированию и метрологии от 18 февраля 2009 г. 71-ст

4. ВВЕДЕН ВПЕРВЫЕ

Информация об изменениях к настоящему стандарту публикуется в ежегодно издаваемом информационном указателе «Национальные стандарты», а текст изменений и поправок - в ежемесячно издаваемых информационных указателях «Национальные стандарты». В случае пересмотра (замены) или отмены настоящего стандарта соответствующее уведомление будет опубликовано в ежемесячно издаваемом информационном указателе «Национальные стандарты». Соответствующая информация, уведомление и тексты размещаются также в информационной системе общего пользования - на официальном сайте Федерального агентства по техническому регулированию и метрологии в сети Интернет

Содержание

НАЦИОНАЛЬНЫЙ СТАНДАРТ РОССИЙСКОЙ ФЕДЕРАЦИИ

СРЕДСТВА ОГНЕЗАЩИТЫ ДЛЯ СТАЛЬНЫХ КОНСТРУКЦИЙ

Общие требования.

Метод определения огнезащитной эффективности

Fire retardant compositions for steel constructions.
General requirement. Method for determining fire retardant efficiency

Дата введения - 2010-01-01
с правом досрочного применения

1 Область применения

Настоящий стандарт является нормативным документом по пожарной безопасности в области стандартизации и устанавливает общие требования к средствам огнезащиты для стальных конструкций, а также метод определения огнезащитной эффективности этих средств.

Настоящий стандарт не распространяется на определение пределов огнестойкости строительных конструкций с огнезащитой.

Соблюдение требований настоящего стандарта рекомендуется при разработке нормативно-технической документации на данные средства огнезащиты и при их сертификации.

2 Нормативные ссылки

В настоящем стандарте использованы нормативные ссылки на следующие стандарты:

ГОСТ 6616-94 Преобразователи термоэлектрические. Общие технические условия

ГОСТ 8239-89 (CT СЭВ 2209-80) Двутавры стальные горячекатаные. Сортамент

ГОСТ 26020-83 Двутавры стальные горячекатаные с параллельными гранями полок. Сортамент

ГОСТ 30247.0-94 (ИСО 834-75) Конструкции строительные. Методы испытаний на огнестойкость. Общие требования

Примечание - При пользовании настоящим стандартом целесообразно проверить действие ссылочных стандартов в информационной системе общего пользования - на официальном сайте Федерального агентства по техническому регулированию и метрологии в сети Интернет или по ежегодно издаваемому информационному указателю «Национальные стандарты», который опубликован по состоянию на 1 января текущего года, и по соответствующим ежемесячно издаваемым информационным указателям, опубликованным в текущем году. Если ссылочный стандарт заменен (изменен), то при пользовании настоящим стандартом следует руководствоваться заменяющим (измененным) стандартом. Если ссылочный стандарт отменен без замены, то положение, в котором дана ссылка на него, применяется в части, не затрагивающей эту ссылку.

3 Термины и определения

В настоящем стандарте применены следующие термины с соответствующими определениями:

3.1 огнезащита: Технические мероприятия, направленные на повышение огнестойкости и (или) снижение пожарной опасности зданий, сооружений, строительных конструкций.

3.2 средство огнезащиты: Огнезащитный состав или материал, обладающий огнезащитной эффективностью и предназначенный для огнезащиты различных объектов.

3.3 огнезащитный состав: Вещество или смесь веществ, обладающих огнезащитной эффективностью и предназначенных для огнезащиты различных объектов.

3.4 огнезащитная эффективность: Показатель эффективности средства огнезащиты, который характеризуется временем в минутах от начала огневого испытания до достижения критической температуры (500°С) стандартным образцом стальной конструкции с огнезащитным покрытием и определяется методом, изложенным в разделе 5 настоящего стандарта.

3.5 огнезащитная обработка: Нанесение (монтаж) средства огнезащиты на поверхность объекта огнезащиты в целях повышения огнестойкости.

3.6 конструктивный способ огнезащиты: Облицовка объекта огнезащиты материалами или иные конструктивные решения по его огнезащите.

3.7 комбинированный способ огнезащиты: Сочетания различных способов огнезащитной обработки.

3.8 объект огнезащиты: Конструкция или изделие, подвергаемые обработке средством огнезащиты в целях снижения их пожарной опасности и (или) повышения огнестойкости.

3.9 огнезащитное покрытие: Слой, полученный в результате нанесения (монтажа) средства огнезащиты на поверхность объекта огнезащиты.

3.10 приведенная толщина металла: Отношение площади поперечного сечения металлической конструкции к периметру ее обогреваемой поверхности.

3.11 гарантийный срок хранения (годности): Время, в течение которого средство огнезащиты (отдельные его составляющие) может храниться или быть использовано для огнезащитной обработки конструкций без снижения огнезащитной эффективности и гарантийного срока эксплуатации.

3.12 гарантийный срок эксплуатации: Время, в течение которого гарантируется эксплуатация средства огнезащиты с заданной огнезащитной эффективностью.

4 Общие требования

4.1 Средства огнезащиты для стальных конструкций должны иметь техническую документацию (технические условия, технологические регламенты, паспорта), разработанную производителем и зарегистрированную в установленном порядке.

4.2 Техническая документация должна содержать следующие показатели и характеристики средств огнезащиты:

- группу огнезащитной эффективности;

- расход для определенной группы огнезащитной эффективности;

- толщину огнезащитного покрытия для определенной группы огнезащитной эффективности;

- плотность (объемную массу) средства огнезащиты;

- сведения по технологии нанесения: способы подготовки поверхности, виды и марки грунтов, клеящих составов, количество слоев, условия сушки, способы крепления и порядок изготовления (монтажа);

- виды и марки дополнительных (защитных, декоративных) поверхностных слоев средства огнезащиты;

- гарантийный срок и условия хранения средства огнезащиты;

- мероприятия по технике безопасности и пожарной безопасности при хранении средства огнезащиты и производстве работ;

- гарантийный срок и условия эксплуатации (предельные значения влажности, температуры окружающей среды и т.п.);

- возможность и периодичность замены или восстановления в зависимости от условий эксплуатации.

4.3 Проектирование и производство работ по огнезащите конструкций должны осуществляться организациями, имеющими лицензию на данные виды деятельности.

4.4 Группа огнезащитной эффективности средств огнезащиты определяется в соответствии с 5.5.3 настоящего стандарта.

4.5 Испытания по определению огнезащитной эффективности средств огнезащиты должны проводиться в специализированной организации, имеющей соответствующую аккредитацию.

4.6 Одновременно с испытаниями по определению огнезащитной эффективности проводятся контрольные испытания в соответствии с разделом 6 настоящего стандарта.

4.7 Необходимо предусмотреть возможность восстановления средств огнезащиты в течение гарантийного срока эксплуатации и (или) замены после окончания этого срока, устанавливаемого производителем в соответствии с технической документацией.

4.8 Не допускается применение средств огнезащиты на объектах, расположенных в местах, где отсутствует возможность замены или восстановления (реставрации) средств огнезащиты.

4.9 При использовании дополнительного (защитного, декоративного) поверхностного слоя для средства огнезащиты огнезащитные характеристики следует определять с учетом этого слоя.

4.10 Показатели и характеристики средств огнезащиты, за исключением группы огнезащитной эффективности, определяются разработчиком технической документации, и за их точность он несет установленную законодательством ответственность.

4.11 При научно-техническом обосновании по инициативе заказчика могут быть проведены испытания по расширенной программе, целью которых будет являться построение обобщенной зависимости огнезащитной эффективности конкретного средства огнезащиты от приведенной толщины металла и толщины огнезащитного покрытия.

4.12 Упаковка, условия хранения и транспортирования средств огнезащиты должны обеспечивать их огнезащитные свойства в течение установленного срока годности.

4.13 Не допускается применение средств огнезащиты на неподготовленных (или подготовленных с нарушениями требований технической документации на эти средства) поверхностях объектов защиты.

5 Метод определения огнезащитной эффективности

5.1 Сущность метода заключается в определении времени от начала теплового воздействия на опытный образец до наступления предельного состояния этого образца.

5.2 Оборудование для испытаний

5.2.1 Оборудование включает в себя:

- установку для огневых испытаний малогабаритных образцов стержневых конструкций;

- приспособления для установки образца;

- систему измерения и регистрации параметров, включая оборудование для проведения кино-, фото- или видеосъемок.

5.2.2 Основные размеры и схемы установки приведены на рисунке А.1 (приложение А).

5.2.3 Требования к системе подачи и сжигания топлива, системам измерения и регистрации параметров, температурному режиму в установке - по ГОСТ 30247.0.

5.3 Образцы для испытаний

5.3.1 Для проведения испытаний изготавливаются два одинаковых образца.

5.3.2 В качестве образцов, на которые наносится (монтируется) средство огнезащиты, должны использоваться стальные колонны двутаврового сечения профиля 20 по ГОСТ 8239 или профиля 20Б1 по ГОСТ 26020. Высота образца (1700 ± 10) мм. Приведенная толщина металла стальной колонны определяется непосредственно перед каждым испытанием.

5.3.3 Средство огнезащиты наносится (монтируется) на образцы в соответствии с технической документацией (зачистка поверхности стальных образцов, тип грунтовки, количество и толщина наносимого слоя и т.д.) в присутствии специалистов, проводящих испытания.

Примечание - Перед нанесением средства огнезащиты должна быть проведена его идентификация. Экспериментальная идентификация средства огнезащиты (огнезащитного состава) проводится с помощью аппаратуры термического анализа.

5.3.4 Влажность средства огнезащиты должна быть динамически уравновешенной с окружающей средой с относительной влажностью (60 ± 15) % при температуре (20 ± 10)°С.

5.4 Подготовка и проведение испытаний

5.4.1 Условия проведения испытаний - по ГОСТ 30247.0.

5.4.2 Подготовка к проведению испытаний включает в себя расстановку термоэлектрических преобразователей (термопар) в печи и на образце, проверку и отладку систем подачи и сжигания топлива, приборов, установку опытного образца в печи.

5.4.3 Перед испытаниями проводятся контрольные измерения фактической толщины нанесенного на образцы средства огнезащиты (для огнезащитных составов, штукатурок и пр.). Измерение толщины покрытия проводится не менее чем в десяти точках по периметру обогреваемой поверхности двутавра, с шагом не более 500 мм по высоте образца. За результат принимается среднее арифметическое значение результатов всех измерений. При этом среднее квадратическое отклонение  должно составлять не более 20 % от результата измерений. Оценка и пример вычисления среднего квадратического отклонения результата измерений даны в приложении Б.

Погрешность измерения при толщине покрытий:

- до 3 мм - 0,01 мм;

- до 20 мм - 0,1 мм;

- более 20 мм - 1 мм.

5.4.4 Температура металла опытного образца измеряется с помощью термоэлектрических преобразователей (термопар) (класс допуска 2 по ГОСТ 6616), изготовленных из провода диаметром не более 0,75 мм. Термопары на образце устанавливаются методом зачеканивания в количестве трех штук: в среднем сечении образца на стенку двутавра и на внутренние поверхности полок двутавра. Схема расстановки термопар представлена на рисунке А.2 (приложение А).

5.4.5 Температура металла испытываемого образца определяется как среднее арифметическое значение показаний термопар, расположенных в установленных местах.

5.4.6 В процессе проведения испытаний регистрируются следующие показатели:

- время наступления предельного состояния образца;

- изменение температуры в печи согласно ГОСТ 30247.0;

- поведение средства огнезащиты (вспучивание, обугливание, отслоение, появление трещин, выделение дыма, продуктов горения и т. д.);

- изменение температуры металла опытного образца.

5.4.7 Испытания проводятся без статической нагрузки, при четырехстороннем тепловом воздействии до наступления предельного состояния опытного образца.

5.4.8 За предельное состояние принимается достижение металлом опытного образца критической температуры, равной 500°С (среднее значение по показаниям трех термопар).

5.5 Оценка результатов испытаний

5.5.1 За результат испытания одного образца принимается время (в минутах) наступления предельного состояния этого образца.

5.5.2 Огнезащитная эффективность средства огнезащиты для стальных конструкций определяется как среднее арифметическое значение результатов испытаний двух образцов. При этом максимальные и минимальные значения результатов испытаний образцов не должны отличаться друг от друга более чем на 20 % (от большего значения). Если значения результатов испытаний отличаются друг от друга более чем на 20 %, должно быть проведено дополнительное испытание, а огнезащитную эффективность следует определять как среднее арифметическое двух меньших значений.

5.5.3 Огнезащитная эффективность средств огнезащиты в зависимости от наступления предельного состояния подразделяется на 7 групп:

- 1-я группа - не менее 150 мин;

- 2-я группа - не менее 120 мин;

- 3-я группа - не менее 90 мин;

- 4-я группа - не менее 60 мин;

- 5-я группа - не менее 45 мин;

- 6-я группа - не менее 30 мин;

- 7-я группа - не менее 15 мин.

При определении группы огнезащитной эффективности средств огнезащиты результаты испытаний с показателями менее 15 мин не рассматриваются.

6 Контрольный метод испытаний средств огнезащиты

6.1 Сущность метода

6.1.1 Контрольный метод испытаний средств огнезащиты используется при проверке их огнезащитной эффективности в процессе производства этих средств, а также при их поставках крупными партиями (из расчета требуемой массы средства огнезащиты на 1000 м2 поверхности металлоконструкции и более).

6.1.2 Сущность метода заключается в тепловом воздействии на опытный образец и определении времени от начала теплового воздействия до наступления предельного состояния опытного образца.

6.2 Образцы для испытаний

6.2.1 Для проведения испытаний изготавливается один образец.

6.2.2 В качестве образца используется стальная пластина размером 600´600´5 мм с нанесенным на нее средством огнезащиты. Допустимые отклонения по ширине и длине стальной пластины не должны превышать ± 5 мм, а по толщине ± 0,5 мм.

6.2.3 Необогреваемая поверхность опытного образца должна иметь теплоизоляцию из материала с термическим сопротивлением не менее 1,9 м2·°С/Вт и толщиной не менее 100 мм.

6.2.4 Состав, толщина, технология нанесения средств огнезащиты (механизированный способ нанесения или вручную), качество стальной поверхности, на которую наносится покрытие (неокрашенная очищенная поверхность или поверхность, загрунтованная лакокрасочными покрытиями), должны быть идентичными составу, толщине и технологии нанесения, применявшимся при испытаниях по оценке огнезащитной эффективности средств огнезащиты для стальных конструкций.

6.3 Проведение испытаний

6.3.1 Условия проведения испытаний - по ГОСТ 30247.0.

6.3.2 Испытания проводятся на установке для теплофизических исследований и испытаний малогабаритных фрагментов плоских конструкций и отдельных узлов их стыковых сопряжений и закреплений. Основные размеры и схема установки приведены на рисунке А.3 (приложение А).

6.3.3 Требования к испытательному оборудованию и средствам измерений, температурный режим - по ГОСТ 30247.0.

6.3.4 Температура на поверхности образца измеряется с помощью термопар (класс допуска 2 по ГОСТ 6616), изготовленных из провода диаметром не более 0,75 мм, которые устанавливаются методом зачеканивания на необогреваемую поверхность образца в количестве трех штук. Одна из термопар устанавливается в центре образца, а две другие - по диагонали на расстоянии (200 ± 5) мм от центра.

6.3.5 Температура металла испытываемого образца рассчитывается как среднее арифметическое значение показаний термопар, расположенных в установленных местах.

6.3.6 В процессе проведения испытаний регистрируются следующие показатели:

- время наступления предельного состояния;

- изменение температуры в печи;

- поведение средства огнезащиты (вспучивание, обугливание, отслоение, выделение дыма, продуктов горения и т.д.);

- изменение температуры на необогреваемой поверхности опытного образца.

6.3.7 Испытания проводятся до наступления предельного состояния опытного образца.

6.3.8 За предельное состояние принимается достижение металлом опытного образца критической температуры, равной 500°С (среднее значение по показаниям трех термопар).

6.4 Оценка результатов испытаний

6.4.1 За результат принимается время достижения образцом предельного состояния.

6.4.2 Результаты последующих испытаний не должны отличаться от результатов испытаний контрольного образца более чем на 20 % в сторону уменьшения времени достижения предельного состояния.

6.5 Протокол испытаний

6.5.1 Результаты испытаний оформляются в виде протокола, который является приложением к отчету об испытаниях по оценке огнезащитной эффективности средства огнезащиты для стальных конструкций.

6.5.2 Протокол должен содержать:

- наименование организации, проводившей испытания;

- наименование организации-заказчика;

- наименование средства огнезащиты, сведения об изготовителе, товарный знак и маркировку средства огнезащиты с указанием технической документации;

- дату изготовления средства огнезащиты;

- способ нанесения и толщину слоя огнезащиты;

- дату проведения испытаний;

- наименование нормативного документа на методы проведения испытаний;

- визуальные наблюдения при испытании;

- эскизы и описание испытанных образцов, данные о контрольных измерениях состояния образцов, об эксплуатационных свойствах покрытий и перечень допущенных при изготовлении образца отклонений от требований технических документов на конструкцию;

- контролируемые параметры, результаты их обработки и оценки;

- заключение о группе огнезащитной эффективности средства огнезащиты;

- срок действия протокола.

7 Техника безопасности

Соблюдение требований техники безопасности - по ГОСТ 30247.0.

Приложение А
(обязательное)
Установки для проведения испытаний

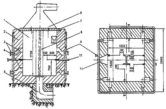
а - основной вид

b - вид сверху

1 - огневая камера; 2 - кладка печи; 3 - нагревательный канал форсунки; 4 - форсунка; 5 - дымовой канал; 6 - вытяжной зонт; 7 - свод печи; 8 - испытываемый образец; 9 - воздуховод; 10 - термопара; 11 - смотровой люк

Рисунок А.1 - Установка для огневых испытаний малогабаритных образцов стержневых конструкций

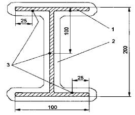
1 - двутавр 20; 2 - огнезащитное покрытие; 3 - термоэлектрические преобразователи (термопары)

Рисунок А.2 - Схема расстановки термоэлектрических преобразователей в среднем сечении на поверхности опытного образца

а - основной вид

b - вид сбоку

1 - форсунка; 2 - нагревательный канал форсунки; 3 - термопара; 4 - вкладыш; 5 - испытываемый образец; 6 - дымовой канал; 7 - кладка печи; 8--огневая камера; 9 - разборная часть кладки

Рисунок А.3 - Установка для теплофизических исследований и испытаний на огнестойкость малогабаритных фрагментов плоских конструкций и отдельных узлов их стыковых сопряжений и закреплений

Приложение Б
(обязательное)
Оценка и пример вычисления среднего квадратического отклонения результата измерений

Б.1. Оценка среднего квадратического отклонения S(X) результата измерений производится по формуле

(Б.1)

где n - число измерений;

xi - i-e измерение, мм;

 - результат измерений (среднее арифметическое значение результатов всех измерений), мм. (Б.2)

Б.2. Пример вычисления среднего квадратического отклонения результата измерений

Пусть проведено 5 наблюдений над нормально распределенной величиной . Результаты наблюдений приведены в таблице Б1.

Таблица Б.1

Номер наблюдения i

Полученный результат xi, мм

1

1,05

2

1,15

3

0,92

4

0,91

5

0,98

Определяем:

Согласно формуле (Б.2) имеем:

Определяем:

Согласно формуле (Б.1) имеем:

Определяем среднее квадратическое отклонение в процентном выражении:

Среднее квадратическое отклонение в процентном выражении составило 10 % от результата измерений (среднее арифметическое значение результатов всех измерений).

Ключевые слова: средство огнезащиты, огнезащитная эффективность, группа огнезащитной эффективности

 

 




ГОСТЫ, СТРОИТЕЛЬНЫЕ и ТЕХНИЧЕСКИЕ НОРМАТИВЫ.
Некоммерческая онлайн система, содержащая все Российские Госты, национальные Стандарты и нормативы.
В Системе содержится более 150000 файлов нормативно-технической документации, действующей на территории РФ.
Система предназначена для широкого круга инженерно-технических специалистов.

Рейтинг@Mail.ru Яндекс цитирования

Copyright © www.gostrf.com, 2008 - 2026