Крупнейшая бесплатная информационно-справочная система онлайн доступа к полному собранию технических нормативно-правовых актов РФ. Огромная база технических нормативов (более 150 тысяч документов) и полное собрание национальных стандартов, аутентичное официальной базе Госстандарта. GOSTRF.com - это более 1 Терабайта бесплатной технической информации для всех пользователей интернета. Все электронные копии представленных здесь документов могут распространяться без каких-либо ограничений. Поощряется распространение информации с этого сайта на любых других ресурсах. Каждый человек имеет право на неограниченный доступ к этим документам! Каждый человек имеет право на знание требований, изложенных в данных нормативно-правовых актах!

  


 

ФЕДЕРАЛЬНОЕ АГЕНТСТВО
ПО ТЕХНИЧЕСКОМУ РЕГУЛИРОВАНИЮ И МЕТРОЛОГИИ

НАЦИОНАЛЬНЫЙ
СТАНДАРТ
РОССИЙСКОЙ
ФЕДЕРАЦИИ

ГОСТ Р
53257-
2009

ТЕХНИКА ПОЖАРНАЯ.

ЛИЦЕВЫЕ ЧАСТИ СРЕДСТВ ИНДИВИДУАЛЬНОЙ ЗАЩИТЫ
ОРГАНОВ ДЫХАНИЯ.

Общие технические требования.
Методы испытаний

Москва
Стандартинформ
2009

Предисловие

Цели и принципы стандартизации в Российской Федерации установлены Федеральным законом от 27 декабря 2002 г. № 184-ФЗ «О техническом регулировании», а правила применения национальных стандартов Российской Федерации - ГОСТ Р 1.0-2004 «Стандартизация в Российской Федерации. Основные положения».

Сведения о стандарте

1 РАЗРАБОТАН Федеральным государственным учреждением «Всероссийский ордена «Знак Почета» научно-исследовательский институт противопожарной обороны» Министерства Российской Федерации по делам гражданской обороны, чрезвычайным ситуациям и ликвидации последствий стихийных бедствий (ФГУ ВНИИПО МЧС России)

2 ВНЕСЕН Техническим комитетом по стандартизации ТК 274 «Пожарная безопасность»

3 УТВЕРЖДЕН И ВВЕДЕН В ДЕЙСТВИЕ Приказом Федерального агентства по техническому регулированию и метрологии от 18 февраля 2009 г. № 28-ст

В настоящем стандарте учтены требования международного стандарта EN 136:1998 «Защитные дыхательные устройства. Полнолицевые части. Требования, испытания, маркировка»

4 ВВЕДЕН ВПЕРВЫЕ

Информация об изменениях к настоящему стандарту публикуется в ежегодно издаваемом информационном указателе «Национальные стандарты», а текст изменений и поправок - в ежемесячно издаваемых информационных указателях «Национальные стандарты». В случае пересмотра (замены) или отмены настоящего стандарта соответствующее уведомление будет опубликовано в ежемесячно издаваемом информационном указателе «Национальные стандарты». Соответствующая информация, уведомление и тексты размещаются также в информационной системе общего пользования - на официальном сайте Федерального агентства по техническому регулированию и метрологии в сети Интернет.

Содержание

Предисловие

1 Область применения

2 Нормативные ссылки

3 Термины, определения и сокращения

4 Классификация

5 Общие технические требования

5.1 Требования назначения

5.2 Требования надежности

5.3 Требования стойкости к внешним воздействиям

5.4 Требования эргономики

5.5 Конструктивные требования

5.6 Требования к материалам

5.7 Комплектность

5.8 Маркировка

5.8.1 Маркировка лицевой части

5.8.2 Маркировка подмасочника лицевой части

5.9 Требования к эксплуатационной документации

6 Требования безопасности

7 Правила приемки

7.1 Стадии и этапы разработки и приемки

7.2 Виды испытаний

7.2.1 Предварительные испытания

7.2.2 Приемочные испытания

7.2.4 Приемосдаточные испытания

7.2.5 Периодические испытания

7.2.6 Типовые испытания

8 Методы испытаний

8.1 Проверка нормативно-технической документации на лицевую часть

8.2 Проверка внешнего вида, комплектности и маркировки лицевой части

8.3 Проверка массы лицевой части

8.4 Проверка герметичности лицевой части при вакуумметрическом давлении

8.5 Проверка устойчивости смотрового стекла лицевой части к удару

8.6 Проверка прочности лямок наголовника и пряжек крепления наголовника

8.7 Проверка прочности крепления соединительного узла лицевой части (корпуса клапана выдоха) к корпусу лицевой части

8.8 Проверка давления открытия клапана выдоха лицевой части

8.9 Проверка резьбы в соединительном узле лицевой части

8.10 Проверка сохранения работоспособности лицевой части после воздействия на нее климатических факторов

8.11 Проверка сохранения работоспособности лицевой части после пребывания в среде с температурой (200 ± 20) °С

8.12 Проверка устойчивости лицевой части к воздействию открытого пламени с температурой (800 ± 50) °С

8.13 Проверка устойчивости лицевой части к воздействию теплового потока плотностью (8,5 ± 0,5) кВт/м2

8.14 Проверка устойчивости лицевой части к воздействию дезинфицирующих растворов

8.15 Испытания лицевых частей на стенде «искусственные легкие»

8.16 Испытания лицевых частей с участием испытателей-добровольцев

8.16.1 Испытания в эргометрическом зале, климатической камере

8.16.2 Испытания в теплодымокамере и на свежем воздухе

8.16.3 Определение коэффициента подсоса масляного тумана в подмасочном пространство лицевой части

8.17 Определение общего поля зрения смотрового узла лицевой части

ГОСТ Р 53257-2009

НАЦИОНАЛЬНЫЙ СТАНДАРТ РОССИЙСКОЙ ФЕДЕРАЦИИ

ТЕХНИКА ПОЖАРНАЯ.

ЛИЦЕВЫЕ ЧАСТИ СРЕДСТВ ИНДИВИДУАЛЬНОЙ
ЗАЩИТЫ ОРГАНОВ ДЫХАНИЯ.

Общие технические требования. Методы испытаний

Fire Equipment. Full face masks breathing apparatus.
General technical requirements. Test methods

Дата введения - 2009-05-01

1 Область применения

Настоящий стандарт распространяется на основные лицевые части аппаратов дыхательных со сжатым воздухом с открытым циклом дыхания и аппаратов дыхательных со сжатым кислородом с замкнутым циклом дыхания, применяемые для защиты органов дыхания и зрения пожарных от вредного воздействия непригодной для дыхания токсичной и задымленной газовой среды при тушении пожаров в зданиях, сооружениях и на производственных объектах различного назначения.

Настоящий стандарт устанавливает общие технические требования и методы испытаний основных лицевых частей аппаратов дыхательных.

Стандарт может быть рекомендован для целей сертификации.

2 Нормативные ссылки

В настоящем стандарте использованы нормативные ссылки на следующие стандарты:

ГОСТ 12.4.157-75 ССБТ. Противогазы и респираторы промышленные фильтрующие. Нефелометрические методы определения коэффициента подсоса масляного тумана под лицевую часть

ГОСТ 12.4.189-99 ССБТ. Средства индивидуальной защиты органов дыхания. Маски. Общие технические требования

ГОСТ Р 12.4.216-99 Система стандартов безопасности труда. Средства индивидуальной защиты органов дыхания. Резьба для лицевых частей. Резьбовое соединение М 45´3

ГОСТ 2.103-68 ЕСКД. Стадии разработки

ГОСТ 12.4.061-88 ССБТ. Метод определения работоспособности человека в средствах индивидуальной защиты

ГОСТ Р 15.201-2000 Система разработки и постановки продукции на производство. Продукция производственно-технического назначения. Порядок разработки и постановки продукции на производство

ГОСТ 9150-2002 Основные нормы взаимозаменяемости. Резьба метрическая. Профиль

ГОСТ 15150-69 Машины, приборы и другие технические изделия. Исполнения для различных климатических районов. Категории, условия эксплуатации, хранения и транспортирования в части воздействия климатических факторов внешней среды

ГОСТ 16504-81 Система государственных испытаний продукции. Испытания и контроль качества продукции. Основные термины и определения.

Примечание - При пользовании настоящим стандартом целесообразно проверить действия ссылочных стандартов и классификаторов в информационной системе общего пользования - на официальном сайте национального органа Российской Федерации по стандартизации в сети Интернет или по ежегодно издаваемому информационному указателю «Национальные стандарты», который опубликован по состоянию на 1 января текущего года, и по соответствующим ежемесячно издаваемым информационным указателям, опубликованным в текущем году. Если ссылочный документ заменен (изменен), то при пользовании настоящим стандартом следует руководствоваться замененным (измененным) документом. Если ссылочный документ отменен без замены, то положение, в котором дана ссылка на него, применяется в части, не затрагивающей эту ссылку.

3 Термины, определения и сокращения

В настоящем стандарте применены следующие термины с соответствующими определениями и сокращениями:

3.1 средство индивидуальной защиты органов дыхания пожарных (СИЗОД): Устройство, предназначенное для защиты органов дыхания от опасных факторов пожара, воздействующих ингаляционно.

3.2 газовая дыхательная смесь (ГДС): Смесь газов и паров воды, заполняющая внутренний объем аппарата и используемая для дыхания.

3.3 аппарат дыхательный со сжатым воздухом с открытым циклом дыхания: Автономный изолирующий резервуарный аппарат, в котором запас воздуха хранится в баллонах в сжатом состоянии. При работе аппарата вдох осуществляется из баллонов, а выдох в атмосферу.

3.4 аппарат дыхательный со сжатым кислородом с замкнутым циклом дыхания: Регенеративный аппарат, в котором газовая дыхательная смесь создается за счет регенерации выдыхаемой ГДС путем поглощения химическим веществом из нее диоксида углерода и добавления кислорода из имеющегося в аппарате малолитражного баллона, после чего регенерированная газовая дыхательная смесь поступает на вдох.

3.5 лицевая часть аппарата дыхательного: Устройство, обеспечивающее подключение дыхательного аппарата к органам дыхания человека по полосе обтюрации.

3.6 легочная вентиляция: Объем воздуха, прошедшего при дыхании человека через легкие за одну минуту.

3.7 сопротивление воздушному потоку, оказываемое лицевой частью: Разница между давлением воздуха под лицевой частью и атмосферным давлением при различном расходе воздуха.

3.8 ограничение площади поля зрения в лицевой части: Отношение площади полного поля зрения в лицевой части к площади полного поля зрения без лицевой части.

3.9 аппаратосмена: Период, в течение которого пожарный в ходе выполнения установленного комплекса упражнений расходует основной запас воздуха (кислорода), содержащийся в баллоне СИЗОД.

4 Классификация

4.1 Лицевые части в зависимости от климатического исполнения должны подразделяться на:

- лицевые части общего назначения - лицевые части, рассчитанные на применение при температуре окружающей среды от минус 40 °С до 60 °С, относительной влажности до 95 % (при температуре 35 °С);

- лицевые части специального назначения - лицевые части, рассчитанные на применение при температуре окружающей среды от минус 50 °С до 60 °С, относительной влажности до 95 % (при температуре 35 °С).

4.2 Лицевые части в зависимости от конструктивного исполнения должны подразделяться на:

- лицевые части, предназначенные для работы в составе аппаратов дыхательных со сжатым воздухом с открытым циклом дыхания;

- лицевые части, предназначенные для работы в составе аппаратов дыхательных со сжатым кислородом с замкнутым циклом дыхания.

4.3 Лицевые части аппаратов дыхательных со сжатым кислородом в зависимости от исполнения воздуховодной системы аппарата подразделяются на:

- лицевые части, предназначенные для работы в составе аппаратов с избыточным давлением ГДС в системе;

- лицевые части, предназначенные для работы в составе аппаратов с нормальным давлением ГДС в системе.

5 Общие технические требования

5.1 Требования назначения

5.1.1 Лицевая часть должна защищать глаза, нос, рот и подбородок человека. Проверку следует проводить в соответствии с положениями 8.2, 8.16.1 и 8.16.2.

5.1.2 Конструкция лицевой части аппарата дыхательного со сжатым воздухом должна обеспечивать поддержание избыточного давления в подмасочном пространстве на вдохе и выдохе при работе в составе аппарата.

Испытания следует проводить в соответствии с положениями 8.16.1 и 8.16.2.

5.1.3 Подсос масляного тумана в подмасочное пространство лицевой части при ее испытании в комплекте с аппаратом дыхательным со сжатым воздухом и аппаратом дыхательным со сжатым кислородом с избыточным давлением ГДС в системе не должен превышать 0,001 %.

Испытания следует проводить в соответствии с положениями 8.16.3.

5.1.4 Подсос масляного тумана в подмасочное пространство лицевой части при ее испытании в комплекте с аппаратом дыхательным со сжатым кислородом с нормальным давлением ГДС в системе не должен превышать 0,01 %.

Испытания следует проводить в соответствии с положениями 8.16.3.

5.1.5 Герметичность лицевой части должна быть такой, чтобы при создании вакуумметрического давления, равного (980 ± 20) Па, изменение давления в ней не превышало 50 Па в минуту.

Испытания следует проводить в соответствии с положениями 8.4.

5.1.6 Сопротивление дыханию лицевой части на выдохе должно быть:

не более 650 Па при легочной вентиляции 30 дм3/мин;

не более 700 Па при легочной вентиляции 60 дм3/мин;

не более 900 Па при легочной вентиляции 100 дм3/мин.

Испытания следует проводить в соответствии с положениями 8.15.

5.1.7 Сопротивление дыханию лицевой части на вдохе должно быть не более 300 Па при легочной вентиляции 60 дм3/мин.

Испытания следует проводить в соответствии с положениями 8.15.

5.1.8 Клапан выдоха лицевой части, предназначенной для работы в составе аппаратов дыхательных со сжатым воздухом, должен открываться при избыточном давлении не менее 450 Па.

Испытания следует проводить в соответствии с положениями 8.8.

5.2 Требования надежности

Срок службы лицевой части должен быть не менее 5 лет. Проверку следует проводить в соответствии с положениями 8.1.

5.3 Требования стойкости к внешним воздействиям

5.3.1 Лицевая часть должна сохранять работоспособность после воздействия климатических факторов:

- температуры (50 ± 3) °С в течение (24 ± 1) ч;

- температуры минус (50 ± 3) °С в течение (4,0 ± 0,1) ч;

- температуры (35 ± 2) °С при относительной влажности (90 ± 5) % в течение (24 ± 1) ч.

Испытания следует проводить в соответствии с положениями 8.10.

5.3.2 Лицевая часть должна сохранять работоспособность после пребывания в среде с температурой (200 ± 20) °С в течение (60 ± 5) с.

Испытания следует проводить в соответствии с положениями 8.11.

5.3.3 Лицевая часть должна выдерживать воздействие открытого пламени с температурой (800 ± 50) °С в течение (5,0 ± 0,1) с.

Испытания следует проводить в соответствии с положениями 8.12.

5.3.4 Лицевая часть должна выдерживать воздействие теплового потока плотностью (8,5 ± 0,5) кВт/м2 в течение (20 ± 0,1) мин.

Испытания следует проводить в соответствии с положениями 8.13.

5.3.5 Лицевая часть должна быть устойчивой к воздействию дезинфицирующих растворов, рекомендованных изготовителем, а также ректификованного этилового спирта. Испытания следует проводить в соответствии с положениями 8.14.

5.4 Требования эргономики

5.4.1 Лицевая часть должна быть удобной и комфортной при непрерывном использовании ее:

- в течение 2 ч в составе аппарата дыхательного со сжатым воздухом;

- в течение 4 ч в составе аппарата дыхательного со сжатым кислородом,

при этом лицевая часть не должна вызывать болевых ощущений и наминов в мягких тканях лица и головы человека.

Испытания следует проводить в соответствии с положениями 8.16.1 и 8.16.2.

5.4.2 Лицевая часть должна эргономически сочетаться с аппаратом дыхательным и пожарной каской.

Испытания следует проводить в соответствии с положениями 8.16.1 и 8.16.2.

5.5 Конструктивные требования

5.5.1 Количество размеров корпусов лицевых частей должно быть не более 3. Проверку следует проводить в соответствии с положениями 8.1.

5.5.2 Количество размеров подмасочников должно быть не более 3. Проверку следует проводить в соответствии с положениями 8.1.

5.5.3 Переговорный узел лицевой части должен быть снабжен переговорным устройством, обеспечивающим передачу речевых сообщений.

Примечание - Лицевая часть может быть оборудована телефонно-микрофонной гарнитурой и работать в комплекте с радиостанцией.

Испытания следует проводить в соответствии с положениями 8.1 и 8.2.

5.5.4 Переговорный узел лицевой части должен иметь кожух для защиты переговорного устройства (мембраны, микрофона) от механических повреждений.

Испытания следует проводить в соответствии с положениями 8.2.

5.5.5 Масса лицевой части с резиновым (сетчатым) наголовником (без телефонно-микрофонной гарнитуры) должна быть не более 0,7 кг.

Испытания следует проводить в соответствии с положениями 8.3.

5.5.6 Масса лицевой части, оборудованной телефонно-микрофонной гарнитурой, должна быть не более 0,75 кг.

Испытания следует проводить в соответствии с положениями 8.3.

5.5.7 Масса лицевой части, оборудованной фиксаторами для крепления на каске пожарного, должна быть не более 0,75 кг.

Испытания следует проводить в соответствии с положениями 8.3.

5.5.8 Смотровое стекло не должно искажать изображение в процессе эксплуатации лицевой части.

Испытания следует проводить в соответствии с положениями 8.16.1 и 8.16.2.

5.5.9 Смотровой узел лицевой части должен обеспечивать общее поле зрения не менее 70 % от поля зрения человека без лицевой части.

Испытания следует проводить в соответствии с положениями 8.17.

5.5.10 Смотровое стекло лицевой части не должно запотевать и замерзать в течение всего времени защитного действия при работе в составе аппарата при температуре окружающей среды от минус 40 °С до 60 °С (от минус 50 °С до 60 °С для лицевых частей специального назначения).

Примечание - Допускается применение химических соединений для предотвращения запотевания и замерзания смотрового стекла при температуре эксплуатации минус 40 °С и ниже. Химические соединения не должны оказывать раздражающего или какого-либо иного вредного воздействия на здоровье пользователя. Химические соединения должны иметь санитарно-эпидемиологическое заключение органов Санэпиднадзора.

Испытания следует проводить в соответствии с положениями 8.16.1 и 8.16.2.

5.5.11 Смотровое стекло должно выдерживать удар стального шара массой (45 ± 2) г, падающего с высоты (1,3 ± 0,01) м.

Испытания следует проводить в соответствии с положениями 8.5.

5.5.12 Смотровое стекло лицевой части не должно терять прозрачности в течение всего срока эксплуатации.

Испытания следует проводить в соответствии с положениями 8.16.1 и 8.16.2.

5.5.13 Конструкция наголовника должна позволять быстро, просто и надежно фиксировать лицевую часть на голове человека.

Испытания следует проводить в соответствии с положениями 8.16.1 и 8.16.2.

5.5.14 Наголовник должен быть регулируемым и прочно фиксировать лицевую часть на голове человека. Регулировка не должна самопроизвольно нарушаться в течение всей аппаратосмены.

Испытания следует проводить в соответствии с положениями 8.16.1 и 8.16.2.

5.5.15 Лямки и пряжки наголовника должны выдерживать силу растяжения (150 ± 10) Н, приложенную в направлении растяжения в течение (10 ± 1) с.

Испытания следует проводить в соответствии с положениями 8.6.

5.5.16 Соединение между корпусом лицевой части и корпусом соединительного узла должно выдерживать силу растяжения (500 ± 20) Н, направленную перпендикулярно к плоскости соединительного узла.

Испытания следует проводить в соответствии с положениями 8.7.

5.5.17 Соединительный узел лицевой части, используемой в аппарате дыхательном со сжатым воздухом с избыточным давлением, должен иметь резьбовое соединение с резьбой М 45´3 по ГОСТ 9150 или штекерное (байонетное) соединение. Резьбовое соединение соединительного узла должно соответствовать ГОСТ Р 12.4.216.

Испытания следует проводить в соответствии с положениями 8.9.

5.5.18 Съемные детали соединительного узла (уплотнительные прокладки и т.д.) должны прочно фиксироваться во избежание самопроизвольного выпадения во время работы и обслуживания лицевой части.

Испытания следует проводить в соответствии с положениями 8.16.1 и 8.16.2.

5.5.19 Конструкция клапанов вдоха и выдоха должна быть удобна при обслуживании лицевой части.

Испытания следует проводить в соответствии с положениями 8.16.1 и 8.16.2.

5.5.20 Клапаны вдоха и выдоха должны работать при любых наклонах головы человека, на которого надета лицевая часть.

Испытания следует проводить в соответствии с положениями 8.16.1 и 8.16.2.

5.5.21 Лицевая часть должна иметь кожух для защиты клапана выдоха от загрязнения и механических повреждений в процессе работы и обслуживания.

Испытания следует проводить в соответствии с положениями 8.16.1 и 8.16.2.

5.5.22 Корпус клапана выдоха должен выдерживать силу осевого растяжения (150 ± 10) Н в течение (10 ± 1) с (для лицевых частей, в которых корпус клапана выдоха непосредственно крепится к корпусу лицевой части).

Испытания следует проводить в соответствии с положениями 8.7.

5.5.23 Лицевая часть должна быть оборудована лямкой (лентой) для переноски ее на шее пользователя в режиме ожидания применения.

Проверку следует проводить в соответствии с положениями 8.2.

5.6 Требования к материалам

Материалы, применяемые для изготовления лицевой части и непосредственно соприкасающиеся с кожей пользователя и вдыхаемым воздухом, не должны оказывать раздражающего или иного вредного влияния на человека. Эти материалы должны иметь санитарно-эпидемиологическое заключение органов Санэпиднадзора, определяющее возможность использования лицевой части в качестве индивидуального средства защиты органов дыхания и зрения человека.

Проверку следует проводить в соответствии с положениями 8.1

5.7 Комплектность

Лицевая часть должна иметь сумку (футляр) для ее хранения и переноски.

Проверку следует проводить в соответствии с положениями 8.1

5.8 Маркировка

5.8.1 Маркировка лицевой части

На корпусе лицевой части должны быть нанесены следующие обозначения:

- год и квартал изготовления;

- размер корпуса (если данный тип лицевой части имеет несколько размеров);

- предприятие (фирма) - изготовитель;

- условное обозначение «CL 3» или «F», свидетельствующее, что лицевая часть предназначена для дыхательных аппаратов пожарных.

Проверку следует проводить в соответствии с положениями 8.2

5.8.2 Маркировка подмасочника лицевой части

На подмасочнике должны быть нанесены следующие обозначения:

- год и квартал изготовления;

- размер (если данный тип подмасочника имеет несколько размеров). Проверку следует проводить в соответствии с положениями 8.2.

5.8.3 На деталях и узлах, которые могут легко заменяться во время эксплуатации (смотровое стекло, узел переговорной мембраны, обойма стекла, соединительный узел), должно быть нанесено обозначение маркировки изготовителя.

Информация о маркировке должна быть включена в инструкцию по эксплуатации. Проверку следует проводить в соответствии с положениями 8.2

5.9 Требования к эксплуатационной документации

Каждая лицевая часть должна иметь инструкцию по эксплуатации. Инструкция по эксплуатации должна содержать следующие разделы:

- область применения;

- подбор, подгонка и правила эксплуатации;

- порядок, объем и периодичность проверок;

- правила технического обслуживания;

- правила хранения;

- гарантийные обязательства;

- срок службы.

Примечания:

1 Инструкция не должна иметь двоякого толкования. Иллюстрации, номера деталей, маркировка должны быть расшифрованы.

2 Эксплуатационная документация должна быть выполнена на русском языке.

3 При поставке лицевой части в составе аппарата вышеуказанные сведения допускается оформлять в виде раздела в руководстве по эксплуатации аппарата.

Проверку следует проводить в соответствии с положениями 8.1.

6 Требования безопасности

6.1 Требования безопасности при работе с лицевой частью аппарата дыхательного должны быть изложены в соответствующих разделах инструкции по эксплуатации лицевой части (руководства по эксплуатации аппарата).

6.2 Эксплуатация лицевых частей аппаратов дыхательных должна проводиться в соответствии с положениями нормативных правовых документов по пожарной безопасности.

7 Правила приемки

7.1 Стадии и этапы разработки и приемки

Лицевая часть должна пройти все стадии и этапы разработки и приемки, предусмотренные ГОСТ Р 15.201 и ГОСТ 2.103.

7.2 Виды испытаний

Для контроля качества лицевых частей проводят следующие виды испытаний:

- предварительные (заводские);

- приемочные;

- квалификационные;

- приемосдаточные;

- периодические;

- типовые.

Определения видов испытаний по ГОСТ 16504.

7.2.1 Предварительные испытания

7.2.1.1 Предварительные испытания лицевых частей проводит предприятие-изготовитель с целью предварительной оценки соответствия опытных образцов лицевых частей требованиям технического задания, а также определения готовности опытных образцов к приемочным испытаниям.

7.2.1.2 Программа и методика предварительных и приемочных испытаний должны включать в себя проверку всех показателей и характеристик, указанных в настоящем стандарте, а также другие требования и методы испытаний в соответствии с техническим заданием на конфетный тип лицевой части.

7.2.1.3 К лабораторным испытаниям с участием испытателей-добровольцев допускаются только те лицевые части, которые прошли испытания с использованием приборов, испытания на стенде-имитаторе внешнего дыхания человека и по результатам испытаний рекомендованы для подобных испытаний.

7.2.2 Приемочные испытания

7.2.2.1 Приемочные испытания лицевых частей проводит предприятие-изготовитель с целью оценки всех определенных техническим заданием характеристик лицевой части, а также для принятия решения вопроса о возможности постановки лицевой части на серийное производство.

7.2.2.2 Приемочным испытаниям подвергают опытные образцы лицевых частей.

7.2.3 Квалификационные испытания

7.2.3.1 Квалификационные испытания лицевых частей проводит предприятие-изготовитель с целью определения готовности предприятия к серийному производству аппаратов.

7.2.3.2 Квалификационные испытания проводят по отдельной программе и методике испытаний, утвержденной предприятием-изготовителем.

7.2.4 Приемосдаточные испытания

7.2.4.1 Приемосдаточные испытания проводят в порядке и объеме, установленном в технической документации изготовителя.

7.2.4.2 Приемосдаточным испытаниям подвергают каждую лицевую часть.

7.2.5 Периодические испытания

7.2.5.1 Периодические испытания лицевых частей проводят один раз в 2 года с целью контроля стабильности качества лицевых частей.

7.2.5.2 Периодические испытания проводят в порядке и объеме, установленном в технической документации изготовителя.

7.2.6 Типовые испытания

7.2.6.1 Типовые испытания лицевых частей проводят с целью оценки эффективности и целесообразности внесения изменений в конструкцию лицевых частей.

7.2.6.2 Программа и методика типовых испытаний должна содержать проверку тех характеристик и параметров, на которые могут повлиять данные изменения.

7.2.6.3 Программа и методика типовых испытаний разрабатываются предприятием-изготовителем.

7.2.6.4 Результаты типовых испытаний оформляются протоколом с заключением о целесообразности внесения изменений.

8 Методы испытаний

Испытания проводят при нормальных климатических условиях по ГОСТ 15150; относится ко всем пунктам методов, за исключением специально оговоренных.

Проверку по каждому виду испытаний проводят на 3 лицевых частях одного типа, за исключением специально оговоренных случаев. В отдельных видах испытаний допускается увеличивать количество испытываемых лицевых частей.

8.1 Проверка нормативно-технической документации на лицевую часть

Результат проверки считается положительным, если при рассмотрении нормативно-технической документации на лицевую часть установлено соответствие ее содержания требованиям настоящего стандарта.

8.2 Проверка внешнего вида, комплектности и маркировки лицевой части

Результат проверки считается положительным, если при визуальном осмотре лицевой части установлено ее соответствие требованиям настоящего стандарта.

8.3 Проверка массы лицевой части

8.3.1 Средства измерения:

- весы с погрешностью не более ± 3 %.

8.3.2 Проведение испытаний

Определяют массу лицевой части без вспомогательных устройств, применяющихся эпизодически (телефонно-микрофонная гарнитура) с погрешностью не более ± 0,01 кг.

Результат проверки считается положительным, если выполняются требования 5.5.5 - 5.5.7.

8.4 Проверка герметичности лицевой части при вакуумметрическом давлении

Сущность метода состоит в том, что определяют изменение величины вакуумметрического давления, создаваемого в герметизированном подмасочном пространстве лицевой части после отключения внешнего источника давления (рисунок 1).

8.4.1 Оборудование, средства измерения и приспособления:

- запорный вентиль;

- дроссель;

- соединительный кран;

- соединительные трубки;

- мановакуумметр с диапазоном измерений от минус 1000 до 1000 Па с погрешностью измерений не более ± 20 Па;

- герметизирующий зажим;

- заглушка;

- секундомер с погрешностью измерения не более ± 0,2 с.

8.4.2 Проведение испытаний

В патрубок вдоха лицевой части устанавливают заглушку.

Монтируют лицевую часть на муляж головы человека (сердечник герметизирующего зажима) и герметизируют ее по полосе обтюрации.

Открывают соединительный кран и создают дросселем в подмасочном пространстве лицевой части вакуумметрическое давление 1020 Па, которое контролируется по мановакуумметру.

Выдерживают лицевую часть при установленном вакуумметрическом давлении в течение (30 ± 1) с.

Снижают вакуумметрическое давление в подмасочном пространстве лицевой части до (980 ± 20) Па с помощью дросселя.

Закрывают соединительный кран и ведут наблюдение за показаниями мановакуумметра в течение (60 ± 2) с.

Результат испытания считается положительным, если после проведенного испытания вакуумметрическое давление изменяется не более чем на 50 Па за 1 минуту.

1 - запорный вентиль; 2 - дроссель; 3 - соединительный кран; 4 - соединительные трубки; 5 - мановакуумметр; 6 - герметизирующий зажим; 7 - лицевая часть; 8 - заглушка

Рисунок 1 - Схема стенда для испытания лицевой части на герметичность

8.5 Проверка устойчивости смотрового стекла лицевой части к удару

Испытания проводят на одной лицевой части.

8.5.1 Оборудование:

- муляж головы человека;

- шарик из стали диаметром 22 мм, массой (45 ± 2) г.

8.5.2 Проведение испытания

Лицевая часть надевается на муляж головы человека, который укладывается горизонтально на ровную поверхность.

Шарик сбрасывают на центр смотрового стекла с высоты (1,3 ± 0,01) м, обеспечивая его свободное падение (начальная скорость равна 0, без отклонений от вертикали).

Результат испытания считается положительным, если на поверхности стекла после 3 последовательных соударений его с шаром не образуется видимых трещин, и выполняются требования 5.1.5.

8.6 Проверка прочности лямок наголовника и пряжек крепления наголовника

Испытания проводят на одной лицевой части.

Испытания проводят последовательно на каждой лямке и пряжке наголовника.

8.6.1 Оборудование и средства измерения:

- муляж головы человека;

- оборудование, создающее и измеряющее усилие с погрешностью ± 5 %;

- секундомер с погрешностью измерения не более ± 0,2 с.

8.6.2 Проведение испытаний

Лицевую часть закрепляют на муляже головы человека. Силу (150 ± 10) Н следует прикладывать к концам лямок наголовника и пряжкам крепления наголовника в течение (10 ± 1) с.

После снятия усилия осматривают лямки и пряжки наголовника.

Результат испытания считается положительным, если установлено, что отсутствуют визуально наблюдаемые изменения внешнего вида лямок и пряжек.

8.7 Проверка прочности крепления соединительного узла лицевой части (корпуса клапана выдоха) к корпусу лицевой части

Испытания проводят на одной лицевой части.

8.7.1 Оборудование и средства измерения:

- муляж головы человека;

- система дополнительных ремней, снимающих нагрузку с наголовника лицевой части;

- динамометр для создания и измерения усилия с погрешностью не более ± 5%;

- приспособление для присоединения динамометра;

- секундомер с погрешностью не более ± 0,2 с.

8.7.2 Подготовка к испытаниям

Лицевую часть надевают на муляж головы человека (рисунок 2). Поверх лицевой части (в зависимости от конструкции) надевают дополнительную систему ремней, снимающих нагрузку с наголовника. В соединительном узле лицевой части или в корпусе клапана выдоха (при проверке прочности крепления корпуса клапана выдоха к корпусу лицевой части) закрепляют приспособление для присоединения динамометра. Одним концом динамометр закрепляют за приспособление.

1 - лицевая часть; 2 - приспособление с системой дополнительных ремней, снимающих нагрузку с наголовника лицевой части; 3 - приспособление для присоединения динамометра к соединительному узлу лицевой части; 4 - динамометр; 5 - муляж головы человека

Рисунок 2 - Установка для определения прочности крепления соединительного узла лицевой части (корпуса клапана выдоха) к корпусу лицевой части

8.7.3 Проведение испытаний

Динамометром в осевом направлении создают растягивающее усилие, равное (500 ± 20) Н (при определении прочности крепления соединительного узла к лицевой части) и (150 ± 20) Н (при определении прочности крепления корпуса клапана выдоха к корпусу лицевой части) в течение (10 ± 1) с. Испытание проводят 10 раз с интервалом 10 с.

После окончания испытания лицевую часть осматривают и проверяют ее герметичность по 8.4.

Результат испытания считается положительным, если установлено, что отсутствуют визуально наблюдаемые изменения внешнего вида корпуса лицевой части, соединительного узла и клапана выдоха, а также выполнены требования 5.1.5.

8.8 Проверка давления открытия клапана выдоха лицевой части

8.8.1 Оборудование:

- муляж головы человека

8.8.2 Проведение испытаний

Лицевую часть надевают на муляж головы человека. В патрубок вдоха лицевой части устанавливают заглушку. В подмасочном пространстве лицевой части медленно повышают давление, которое контролируют по манометру. Определяют момент, когда давление в подмасочном пространстве лицевой части перестает возрастать, и фиксируют величину давления.

Результат испытания считается положительным, если клапан выдоха открывается при избыточном давлении не менее 400 Па.

8.9 Проверка резьбы в соединительном узле лицевой части

Проверку резьбы проводят с использованием калибров для резьбы метрической по ГОСТ 24997.

8.10 Проверка сохранения работоспособности лицевой части после воздействия на нее климатических факторов

Испытания проводят последовательно на одной лицевой части.

Испытания заключаются в том, что лицевую часть последовательно подвергают внешним воздействиям с параметрами, изложенными в 8.10.1, и после окончания полного цикла воздействий визуально определяют отсутствие механических повреждений лицевой части, а также определяют соответствие лицевой части требованиям 5.1.5.

8.10.1 Проведение испытаний

Испытания проводят в климатической камере, обеспечивающей поддержание заданных параметров, установленных в 5.3.1.

Испытания проводят в такой последовательности:

- лицевую часть выдерживают в климатической камере при температуре (50 ± 3) °С в течение (24 ± 1) ч. После этого лицевую часть выдерживают при температуре окружающего воздуха (25 ± 5) °С в течение (4,0 ± 0,1) ч;

- лицевую часть в транспортной упаковке выдерживают в климатической камере при температуре минус (50 ± 3) °С в течение (4,0 ± 0,1) ч. После этого лицевую часть выдерживают при температуре окружающего воздуха (25 ± 5) °С в течение (4,0 ± 0,1) ч;

- лицевую часть выдерживают в камере тепла и влаги при температуре (35 ± 2) °С и относительной влажности (90 ± 5) % в течение (24 ± 1) ч. После этого лицевую часть выдерживают при температуре окружающего воздуха (25 ± 5) °С в течение (4,0 ± 0,1) ч.

8.11 Проверка сохранения работоспособности лицевой части после пребывания в среде с температурой (200 ± 20) °С

8.11.1 Оборудование:

- камера тепла, обеспечивающая поддержание температуры до 220 °С с погрешностью не более ± 5°С.

8.11.2 Порядок проведения испытаний

Лицевую часть помещают в камеру тепла с температурой (200 ± 20) °С. Время выдержки лицевой части в камере должно составлять (60 ± 5) с.

Результат проверки считается положительным, если после ее окончания выполняются требования 5.1.5.

8.12 Проверка устойчивости лицевой части к воздействию открытого пламени с температурой (800 ± 50) °С

Испытания проводят на одной лицевой части.

8.12.1 Оборудование и средства измерения:

- металлический муляж головы человека;

- баллон с пропаном;

- горелка с форсунками площадью (450 ± 20) см2;

- прибор для измерения давления газа с верхним пределом измерений до 5 кПа, с погрешностью ± 0,2 кПа;

- прибор для измерения температуры пламени с погрешностью ± 10 °С;

- стойка с кронштейном для подвода лицевой части к пламени;

- секундомер с погрешностью не более ± 0,1 с.

8.12.2 Подготовка к испытаниям

Лицевую часть надевают на металлический муляж головы человека, закрепленный на поворотной стойке (рисунок 3).

Включают прибор для измерения температуры пламени. Открывают запорный вентиль баллона с пропаном. Подносят запальное устройство к горелке с целью воспламенения газа.

Устанавливают с помощью вентиля рабочее давление газа перед горелкой (2,4 ± 0,2) кПа. Проводят замеры температуры пламени, определяют зону над горелкой, в которой температура пламени составляет (800 ± 50) °С.

8.12.3 Порядок проведения испытаний

Включают огневую установку. Подводят лицевую часть в зону открытого пламени, замеряют время по секундомеру. Время выдержки лицевой части в зоне пламени должно составлять (5,0 ± 0,1) с.

В течение этого времени лицевую часть однократно поворачивают над пламенем на 180°. Через (5,0 ± 0,1) с лицевую часть выводят из зоны пламени и проверяют состояние лицевой части. Лицевая часть не должна поддерживать горение или тление более (5,0 ± 0,1) с.

1 - стойка с ложементом для подвода лицевой части в зону пламени; 2 - металлический муляж головы человека; 3 - лицевая часть; 4 - горелка с форсунками; 5, 7 - вентили; 6 - редуктор; 8 - баллон с пропаном; 9 - прибор для измерения давления газа

Рисунок 3 - Схема огневой установки по определению устойчивости лицевой части к воздействию открытого пламени

Результат испытания считается положительным, если после его окончания лицевая часть не поддерживает горение или тление более (5,0 ± 0,1) с, отсутствует разрушение лицевой части, а также выполняются требования 5.1.5.

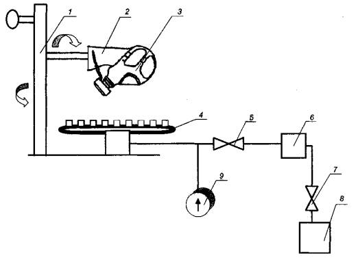
8.13 Проверка устойчивости лицевой части к воздействию теплового потока плотностью (8,5 ± 0,5) кВт/м2

Испытания проводят на одной лицевой части.

8.13.1 Оборудование:

- установка (рисунок 4), включающая в себя:

муляж головы человека;

стенд «искусственные легкие», создающий легочную вентиляцию 30 дм3 /мин (20 циклов за минуту по 1,5 дм3 за 1 цикл).

8.13.2 Средства измерения:

- датчик для измерения плотности теплового потока, диапазон измерений от 2 до 100 кВт/м2 с погрешностью не более ± 5 %;

- мановакуумметр с диапазоном измерений от минус 1000 до плюс 1000 Па с погрешностью не более ± 20 Па;

- секундомер с погрешностью не более ± 0,1 с.

8.13.3 Подготовка к испытаниям

Надевают на муляж головы человека лицевую часть аппарата и каску пожарную. Подключают снаряженный аппарат к стенду «искусственные легкие».

Включают источник теплового потока и с помощью датчика теплового потока определяют место, в котором плотность теплового потока составляет (8,5 ± 0,5) кВт/м2.

1 - металлический муляж головы человека; 2 - лицевая часть; 3 - легочный автомат; 4 - патрубок для подключения стенда «искусственные легкие»; 5 - источник теплового излучения; 6 - рефлектор

Рисунок 4 - Схема установки по определению устойчивости лицевой части к тепловому излучению

Устанавливают на подставку разделительный экран. В границах определенной зоны теплового потока ставят муляж головы человека с надетой лицевой частью.

8.13.4 Проведение испытаний

Включают стенд «искусственные легкие» при легочной вентиляции 30 дм3/мин. Убирают разделительный экран. Испытания проводят в течение (20 ± 0,1) мин. В процессе испытаний контролируют сопротивление дыханию на вдохе и выдохе.

По окончании испытаний проводят визуальный осмотр лицевой части, а также проводят испытания лицевой части на герметичность.

Результат проверки считается положительным, если в процессе испытаний в подмасочном пространстве лицевой части аппарата со сжатым воздухом поддерживается избыточное давление воздуха; сопротивление дыханию на выдохе соответствует требованиям 5.1.6; по окончании испытаний отсутствуют разрушения лицевой части, а также выполняются требования 5.1.5.

8.14 Проверка устойчивости лицевой части к воздействию дезинфицирующих растворов

Испытания проводят на одной лицевой части.

8.14.1 Материалы:

- марлевые салфетки размером 100´100 мм;

- ректификованный этиловый спирт.

8.14.2 Проведение испытаний

Марлевую салфетку смачивают в спирте, отжимают ее и пятикратно обтирают поверхности лицевой части. Интервал между протирками (15 ± 1) мин.

Перед каждой протиркой марлевую салфетку необходимо смачивать заново. Объем спирта должен быть не менее 50 мл.

Результат проверки считается положительным, если после протирок спиртом отсутствуют визуально наблюдаемые разрушения поверхностных слоев обработанной лицевой части.

8.15 Испытания лицевых частей на стенде «искусственные легкие»

8.15.1 Оборудование:

- стенд ««искусственные легкие», создающий легочную вентиляцию от 30 до 100 дм3/мин;

- муляж головы человека.

8.15.2 Подготовка к испытаниям

При подготовке лицевой части к испытаниям допускается вмешательство в ее конструкцию, необходимое для определения некоторых параметров, при условии, что это не нарушит нормальной работы лицевой части. Допускается присоединение к лицевой части приспособления для отбора проб газовоздушной смеси.

Стенд настраивают на дыхательный режим, соответствующий условиям конкретного испытания. Значения показателей режимов работы стенда во время испытаний должны соответствовать значениям, приведенным в таблице 1.

Таблица 1

Наименование показателя

Работа

средней тяжести

тяжелая

очень тяжелая

Легочная вентиляция (ЛУ), дм3/мин

30

60

100

Дыхательный объем (ЛУ), дм3

1,5

2,4

2,5

Частота дыхания, мин-1

20

25

40

8.15.3 Проведение испытаний

Испытания проводят при нормальной температуре окружающей среды.

Лицевую часть надевают на муляж головы человека (рисунок 5), подключенный к стенду.

1 - патрубок для измерения сопротивления дыхания; 2 - патрубок для измерения диоксида углерода

Рисунок 5 - Муляж головы человека (голова «Шеффилда»)

Сопротивление дыханию на вдохе и выдохе определяют в подмасочном пространстве лицевой части. Проверка сопротивления дыханию проводится на каждом требуемом дыхательном режиме в течение (1 ± 0,1) мин.

Результат испытания считается положительным, если выполняются требования 5.1.6 и 5.1.7.

8.16 Испытания лицевых частей с участием испытателей-добровольцев

Лицевые части испытывают в составе аппарата дыхательного, в состав которого они входят. Испытания с участием испытателей-добровольцев проводят в соответствии с ГОСТ 12.4.061. Испытания проводят в эргометрическом зале, климатической камере, на открытом воздухе, в теплодымокамере и камере масляного тумана.

8.16.1 Испытания в эргометрическом зале, климатической камере

Испытания проводятся в соответствии с 7.27.1 ГОСТ Р «Техника пожарная. Аппараты дыхательные со сжатым воздухом с открытым циклом дыхания. Общие технические требованиям. Методы испытаний» и 8.20.1 ГОСТ Р «Техника пожарная. Аппараты дыхательные со сжатым кислородом с замкнутым циклом дыхания. Общие технические требованиям. Методы испытаний».

Испытания лицевых частей с участием испытателей-добровольцев в эргометрическом зале, климатической камере дополняют основную оценку лицевых частей, полученную при испытаниях на установках и на стенде «искусственные легкие».

Испытания проводят с целью определения:

- защитных свойств лицевой части;

- эргономических показателей;

- сочетаемости лицевой части с составными частями аппарата и каской пожарного;

- запотевания смотрового стекла лицевой части;

- замерзания клапанов вдоха (выдоха) и смотрового стекла лицевой части;

- условий дыхания в лицевой части;

- удобства пользования лицевой частью.

8.16.2 Испытания в теплодымокамере и на свежем воздухе

Испытания проводятся в соответствии с 7.27.2 ГОСТ Р «Техника пожарная. Аппараты дыхательные со сжатым воздухом с открытым циклом дыхания. Общие технические требованиям. Методы испытаний» и 8.20.2 ГОСТ Р «Техника пожарная. Аппараты дыхательные со сжатым кислородом с замкнутым циклом дыхания. Общие технические требованиям. Методы испытаний».

8.16.3 Определение коэффициента подсоса масляного тумана в подмасочном пространство лицевой части

8.16.3.1 Аппаратура и материалы

Комплект аппаратуры и материалов в соответствии с ГОСТ 12.4.157 (пункт 2.1).

8.16.3.2 Проведение испытаний

Испытания проводятся в соответствии с ГОСТ 12.4.157, раздел 2 и 3.

В испытаниях должно участвовать не менее 5 человек с различными антропометрическими размерами головы (по вертикальному обхвату - длины круговой линии, проходящей по подбородку и щекам через высшую точку головы (макушки) - от 610 до 720 мм и морфологической высоты лица - расстояния от наиболее углубленной точки спинки носа (переносицы) до наиболее выступающей точки подбородка - от 110 до 140 мм.

Результат проверки считается положительным, если при всех проверках подсос выполнятся требования 5.1.3 и 5.1.4.

8.17 Определение общего поля зрения смотрового узла лицевой части

Испытания проводят в соответствии с п. 7.18 ГОСТ 12.4.189.

Результат испытания считается положительным, если выполняются требования 5.5.8.

Ключевые слова: лицевая часть, газовая дыхательная смесь, легочная вентиляция, сопротивление дыханию.

 

 




ГОСТЫ, СТРОИТЕЛЬНЫЕ и ТЕХНИЧЕСКИЕ НОРМАТИВЫ.
Некоммерческая онлайн система, содержащая все Российские Госты, национальные Стандарты и нормативы.
В Системе содержится более 150000 файлов нормативно-технической документации, действующей на территории РФ.
Система предназначена для широкого круга инженерно-технических специалистов.

Рейтинг@Mail.ru Яндекс цитирования

Copyright © www.gostrf.com, 2008 - 2026