Крупнейшая бесплатная информационно-справочная система онлайн доступа к полному собранию технических нормативно-правовых актов РФ. Огромная база технических нормативов (более 150 тысяч документов) и полное собрание национальных стандартов, аутентичное официальной базе Госстандарта. GOSTRF.com - это более 1 Терабайта бесплатной технической информации для всех пользователей интернета. Все электронные копии представленных здесь документов могут распространяться без каких-либо ограничений. Поощряется распространение информации с этого сайта на любых других ресурсах. Каждый человек имеет право на неограниченный доступ к этим документам! Каждый человек имеет право на знание требований, изложенных в данных нормативно-правовых актах!

  


 

ФЕДЕРАЛЬНОЕ АГЕНТСТВО
ПО ТЕХНИЧЕСКОМУ РЕГУЛИРОВАНИЮ И МЕТРОЛОГИИ

НАЦИОНАЛЬНЫЙ
СТАНДАРТ
РОССИЙСКОЙ
ФЕДЕРАЦИИ

ГОСТ Р
53294-
2009

Материалы текстильные

ПОСТЕЛЬНЫЕ ПРИНАДЛЕЖНОСТИ.
МЯГКИЕ ЭЛЕМЕНТЫ МЕБЕЛИ. ШТОРЫ. ЗАНАВЕСИ

Методы испытаний на воспламеняемость

Москва
Стандартинформ
2009

Предисловие

Цели и принципы стандартизации в Российской Федерации установлены Федеральным законом от 27 декабря 2002 г. № 184-ФЗ «О техническом регулировании», а правила применения национальных стандартов Российской Федерации - ГОСТ Р 1.0-2004 «Стандартизация в Российской Федерации. Основные положения»

Сведения о стандарте

1 РАЗРАБОТАН ФГУ ВНИИПО МЧС России

2 ВНЕСЕН Техническим комитетом по стандартизации ТК 274 «Пожарная безопасность»

3 УТВЕРЖДЕН И ВВЕДЕН В ДЕЙСТВИЕ Приказом Федерального агентства по техническому регулированию и метрологии от 18 февраля 2009 г. № 70-ст

4 ВВЕДЕН ВПЕРВЫЕ

Информация об изменениях к настоящему стандарту публикуется в ежегодно издаваемом информационном указателе «Национальные стандарты», а текст изменений и поправок - в ежемесячно издаваемых информационных указателях «Национальные стандарты». В случае пересмотра (замены) или отмены настоящего стандарта соответствующее уведомление будет опубликовано в ежемесячно издаваемом информационном указателе «Национальные стандарты». Соответствующая информация, уведомление и тексты размещаются также в информационной системе общего пользования - на официальном сайте Федерального агентства по техническому регулированию и метрологии в сети Интернет

Содержание

Предисловие

1 Область применения

2 Нормативные ссылки

3 Термины и определения

4 Определение воспламеняемости постельных принадлежностей

4.1 Общие положения

4.2 Оборудование для испытаний

4.3 Порядок подготовки образцов

4.4 Порядок проведения испытаний

4.5 Оценка результатов испытаний

5 Определение воспламеняемости мягких элементов мебели

5.1 Общие положения

5.2 Оборудование для испытаний

5.3 Порядок подготовки образцов

5.4 Порядок проведения испытаний

5.5 Оценка результатов испытаний

6 Определение воспламеняемости штор и занавесей

7 Определение воспламеняемости материалов, используемых для постельных принадлежностей, мягкой мебели, штор и занавесей, после их огнезащитной обработки

8 Требования безопасности

ГОСТ Р 53294-2009

НАЦИОНАЛЬНЫЙ СТАНДАРТ РОССИЙСКОЙ ФЕДЕРАЦИИ

Материалы текстильные

ПОСТЕЛЬНЫЕ ПРИНАДЛЕЖНОСТИ.
МЯГКИЕ ЭЛЕМЕНТЫ МЕБЕЛИ. ШТОРЫ. ЗАНАВЕСИ

Методы испытаний на воспламеняемость

Textile materials. Bedding articles. Upholstered furniture. Blinds. Curtains.
Flammability test methods

Дата введения - 2010-01-01
с правом досрочного применения

1 Область применения

1.1 Настоящий стандарт является нормативным документом по пожарной безопасности в области стандартизации добровольного применения и устанавливает методы определения воспламеняемости от малокалорийных источников зажигания изделий (постельных принадлежностей, элементов мягкой мебели, штор и занавесей).

1.2 Стандарт применяется для определения воспламеняемости изделий из различных материалов, их классификации и сертификации в области пожарной безопасности.

2 Нормативные ссылки

В настоящем стандарте использованы нормативные ссылки на следующие стандарты:

ГОСТ Р 50810-95 Пожарная безопасность текстильных материалов. Ткани декоративные. Метод испытания на воспламеняемость и классификация

ГОСТ 12.1.005-88 Система стандартов безопасности труда. Общие санитарно-гигиенические требования к воздуху рабочей зоны

ГОСТ 20448-90 Газы углеводородные сжиженные топливные для коммунально-бытового потребления. Технические условия

Примечание - При пользовании настоящим стандартом целесообразно проверить действие ссылочных стандартов в информационной системе общего пользования - на официальном сайте Федерального агентства по техническому регулированию и метрологии в сети Интернет или по ежегодно издаваемому информационному указателю «Национальные стандарты», который опубликован по состоянию на 1 января текущего года, и по соответствующим ежемесячно издаваемым информационным указателям, опубликованным в текущем году. Если ссылочный стандарт заменен (изменен), то при пользовании настоящим стандартом следует руководствоваться заменяющим (измененным) стандартом. Если ссылочный стандарт отменен без замены, то положение, в котором дана ссылка на него, применяется в части, не затрагивающей эту ссылку.

3 Термины и определения

В настоящем стандарте применены следующие термины с соответствующими определениями:

3.1 воспламеняемость: Способность веществ и материалов к самовоспламенению.

3.2 горение: Экзотермическая реакция окисления вещества, сопровождающаяся по крайней мере одним из трех факторов: пламенем, свечением, выделением дыма.

3.3 пламенное горение: Горение веществ и материалов, сопровождающееся пламенем.

3.4 тление: Беспламенное горение материала.

3.5 устойчивое горение: По ГОСТ Р 50810.

3.6 остаточное тление: По ГОСТ Р 50810.

3.7 постельные принадлежности: Изделия, укладываемые на матрас или постель и обеспечивающие потребителю комфорт и тепло, а также используемые для декоративных целей.

3.8 мягкие элементы мебели: Мебель с мягкими элементами, состоящими из обивочного, прокладочного и набивочного материалов.

3.9 огнезащитные составы и вещества; ОЗСВ: Составы, вещества (смесь веществ), обладающие требуемой огнезащитной эффективностью и специально предназначенные для огнезащитной обработки различных текстильных материалов и изделий из них.

3.10 объект огнезащиты: Текстильный материал или изделие из него, подвергаемое обработке ОЗСВ в целях снижения их пожарной опасности.

3.11 огнезащитная обработка: Нанесение огнезащитного состава на поверхность и (или) введение в объем объекта огнезащиты.

4 Определение воспламеняемости постельных принадлежностей

4.1 Общие положения

Испытаниям подвергают наматрасники, чехлы для наматрасников, подушки, одеяла (в том числе стеганые), покрывала, наволочки, простыни, пододеяльники и другие постельные принадлежности.

Метод испытаний постельных принадлежностей на воспламеняемость заключается в воздействии на поверхность образца источников зажигания: тлеющей сигареты или пламени газовой горелки. По результатам испытаний определяют наличие тления или горения поверхности образца, а также степень повреждений, вызванных воздействием источников зажигания.

4.2 Оборудование для испытаний

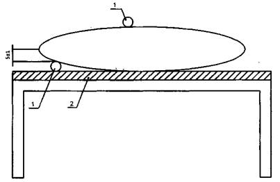
4.2.1 Оборудование для испытаний включает в себя установку для определения воспламеняемости постельных принадлежностей, состоящую из испытательного стенда (рисунок 1), на который помещают образец, источник зажигания и средства измерения.

Испытательный стенд представляет собой станину, изготовленную из металлических уголков размером 25´25´3 мм. Размеры станины: высота (400 ± 50) мм, длина и ширина (400 ± 50) мм. На станине размещена проволочная сетка. На сетку уложена минераловолокнистая плита (подложка) размерами (450 ± 50)´(450 ± 50) мм. Толщина плиты должна составлять от 20 до 30 мм, а ее плотность - от 80 до 200 кг×м-3.

4.2.2 В качестве источников зажигания применяют тлеющую сигарету и пламя газовой горелки.

Сигарета, используемая в качестве малокалорийного источника зажигания, должна быть без фильтра и иметь следующие характеристики: длину (70 ± 4) мм; диаметр (8,0 ± 0,5) мм; массу (1,0 ± 0,1) г. Время тления части сигареты длиной 50 мм должно составлять (12 ± 3) мин.

Для определения времени тления делают метки на сигарете на расстоянии 5 и 55 мм от зажигаемого конца. Зажигают сигарету и пропускают через нее воздух, например, с помощью сильфонного аспиратора АМ-5, до установления тления. На данную операцию следует использовать от 5 до 8 мм длины сигареты. Затем нанизывают сигарету на острие горизонтально расположенной проволоки на расстоянии 13 мм от незажженного конца. Фиксируют время, в течение которого происходит тление сигареты от отметки 5 мм до отметки 55 мм.

Газовая горелка представляет собой трубку, изготовленную из нержавеющей стали, с внутренним диаметром (6,5 ± 0,1) мм и длиной не менее 200 мм.

Газовую горелку подсоединяют гибким шлангом через вентиль и устройство для измерения расхода газа к баллону с пропан-бутановой смесью по ГОСТ 20448. Длина гибкого шланга от 2,5 до 3,0 м.

4.2.3 В качестве средств измерения следует использовать секундомер, линейку и устройство для измерения расхода газа. Секундомер должен обеспечивать измерение времени с точностью ± 1 с, линейка - измерение длины и ширины повреждения с погрешностью ± 1 мм, а устройство для измерения расхода газа - измерение расхода до 60 см3×мин-1 с погрешностью не более ± 0,2 см3×мин-1.

Рисунок 1 - Общий вид испытательного стенда

4.3 Порядок подготовки образцов

4.3.1 Для испытаний постельных принадлежностей, которые в употреблении складываются (простыней, пододеяльников, одеял и покрывал), изготавливают образцы в виде полосы размером (450 ± 50)´(1350 ± 50) мм и складывают в три раза по длине. Для испытаний стеганых и пуховых одеял вырезают образцы размером (450 ± 50)´(450 ± 50) мм, их края при необходимости зашивают. Образцы одеял для испытаний должны сохранить два края. Образцы для испытаний подушек изготавливают размером (450 ± 50)´(450 ± 50) мм следующим образом: из наволочки готового изделия шьют наволочку размером (450 ± 50)´(450 ± 50) мм и заполняют ее наполнителем, применяемым в готовом изделии, в количестве, пропорциональном площади и весу готового изделия. Край наволочки зашивают.

4.3.2 Для испытаний комплекта, состоящего из нескольких постельных принадлежностей, образцы подушек и стеганных одеял изготавливают размером (225 ± 50)´(225 ± 50) мм, а образцы складывающихся в употреблении изделий - размером (450 ± 50)´(450 ± 50) мм.

4.3.3 Подлежащие испытанию образцы, подложку и сигареты выдерживают непосредственно перед испытанием в течение 72 ч внутри помещения при комнатных условиях, а затем кондиционируют в течение не менее 16 ч при температуре (20 ± 2) °С и относительной влажности (65 ± 2) %. Каждый образец после кондиционирования следует поместить в герметичный контейнер. Испытания каждого образца начинают проводить не позднее чем через 10 мин после его изъятия из герметичного контейнера.

4.3.4 Если постельные принадлежности выполнены из огнезащищенных материалов, то они должны испытываться после стирок или чисток проведенных в соответствие с инструкцией производителя.

4.4 Порядок проведения испытаний

4.4.1 Перед испытанием постельных принадлежностей с использованием тлеющей сигареты зажигают сигарету и пропускают через нее воздух до установления тления, расходуя на эту операцию от 5 до 8 мм ее длины.

4.4.2 Тлеющую сигарету помещают в соответствии с 4.4.5-4.4.10 на образец, расположенный на испытательном стенде так, чтобы тлеющий конец сигареты находился на расстоянии не менее 100 мм от края образца. Фиксируют время начала испытания, проводят наблюдение за развитием горения или тления, отмечая любые их проявления.

4.4.3 Если наблюдается остаточное тление или устойчивое горение образца в течение часа после размещения на нем тлеющей сигареты, то следует потушить образец и зарегистрировать этот факт.

4.4.4 Если остаточное тление или устойчивое горение не наблюдалось в течение часа, то следует отметить этот факт и провести еще четыре испытания каждый раз с новой сигаретой, помещенной в другое место на расстоянии не менее 100 мм от места повреждения, полученного образцом в результате предыдущего испытания или на новом образце.

4.4.5 При испытании постельных принадлежностей, которые в употреблении не складываются, на подложку испытательного стенда помещают образец, на него укладывают четыре тлеющие сигареты: две - в направлении длины и две - в направлении ширины. Расстояние между сигаретами, а также между ними и краями образца должно быть не менее 100 мм. Всего проводят пять испытаний.

4.4.6 При испытании складывающихся в употреблении постельных принадлежностей образец, сложенный в три раза по длине, помещают на испытательный стенд. Одну тлеющую сигарету помещают между верхним и вторым слоем образца, а другую - сверху всего сложенного образца (рисунок 2). Расстояние между сигаретами, а также между ними и краями образца должно быть не менее 100 мм. Всего проводят пять испытаний.

4.4.7 При испытании стеганых одеял на помещенный на испытательный стенд образец кладут три тлеющие сигареты: первую - на верхнюю выпуклую часть одеяла, вторую - по линии стежков, а третью - под нижнюю выпуклую часть стеганого одеяла (рисунок 3). Расстояние между сигаретами, а также между ними и краями образца должно быть не менее 100 мм. Всего проводят пять испытаний.

4.4.8 При испытании подушек и пуховых одеял на образец, помещенный на испытательный стенд, воздействуют двумя тлеющими сигаретами: первая должна находиться на верхней плоской поверхности образца, а вторая - на стыке образца и подложки (рисунок 4). Всего проводят пять испытаний.

4.4.9 При испытании комплектов постельных принадлежностей, включающих в себя подушки, пледы, покрывала, стеганые и пуховые одеяла, уложенные поверх простыни и наматрасника, образцы помещают на испытательном стенде в соответствии с реальным расположением постельных принадлежностей в комплекте, и тлеющую сигарету помещают на простыню на стыке подушки и сложенного вдвое покрывала (рисунок 5). Всего проводят пять испытаний.

4.4.10 При испытании комплектов постельных принадлежностей без подушек тлеющую сигарету помещают на стыке простыни и сложенного вдвое покрывала (рисунок 6). Всего проводят пять испытаний.

1 - источник зажигания; 2 - подложка
Рисунок 2 - Расположение источника зажигания при испытании складывающихся в употреблении изделий

1 - источник зажигания; 2 - подложка
Рисунок 3 - Расположение источника зажигания при испытании стеганых одеял

1 - источник зажигания; 2 - подложка
Рисунок 4 - Расположение источника зажигания при испытании подушек

1 - источник зажигания; 2 - подложка; 3 - нижняя простыня; 4 - покрывало (сложено вдвое); 5 - подушка
Рисунок 5 - Расположение источника зажигания при испытании комплектов постельных принадлежностей, включающих подушку

1 - источник зажигания; 2 - подложка; 3 - нижняя простыня; 4 - покрывало (сложено вдвое)
Рисунок 6 - Расположение источника зажигания при испытании комплектов постельных принадлежностей без подушки

4.4.11 Измеряют длину и ширину повреждения (мм) и фиксируют время остаточного тления или устойчивого горения образца (с).

4.4.12 Перед испытанием с использованием в качестве источника зажигания газовой горелки следует зажечь ее и отрегулировать подачу газовой смеси таким образом, чтобы расход газа составлял 44 см3×мин-1.

4.4.13 Газовую горелку помещают в соответствии с 4.4.18-4.4.22 на испытываемый образец так, чтобы трубка газовой горелки проходила горизонтально и соприкасалась с поверхностью образца без нажима. Пламя горелки должно находиться на расстоянии не менее 100 мм от края образца или от места повреждения, оставшегося после предыдущего испытания. Время воздействия пламени газовой горелки на образец составляет (15 ± 1) с.

4.4.14 Горелку выключают и удаляют с испытываемого образца.

4.4.15 Если остаточное тление или устойчивое горение наблюдается по истечении 150 с после удаления газовой горелки, образец тушат с помощью асбестового одеяла и фиксируют степень повреждения образца. Дальнейшие испытания не проводят.

4.4.16 Если остаточное тление или устойчивое горение не наблюдается в течение 150 с, то проводят еще четыре испытания на новом участке образца, помещая горелку на расстоянии не менее 100 мм от места повреждения, полученного образцом в результате предыдущего испытания или на новый образец. Если остаточное тление или устойчивое горение не наблюдается и на этот раз, то испытания прекращают.

4.4.17 Измеряют длину и ширину повреждения (мм) и фиксируют время остаточного тления или устойчивого горения образца (с).

4.4.18 При испытании постельных принадлежностей, имеющих плоскую форму (простыней, покрывал и т.п.), газовую горелку кладут на образец, ровно размещенный на испытательном стенде. Всего проводят пять испытаний.

4.4.19 При испытании стеганых одеял образец помещают на испытательный стенд, а газовую горелку кладут на верхнюю плоскую поверхность образца таким образом, чтобы ее пламя находилось на расстоянии не менее 100 мм от краев образца. При проведении повторного испытания газовую горелку располагают по линии стежков верхней части образца на расстоянии не менее 100 мм от места повреждения, полученного в результате предыдущего испытания. Всего проводят пять испытаний.

4.4.20 При испытании подушек и пуховых одеял образец помещают на испытательный стенд, а газовую горелку кладут на плоскую верхнюю поверхность образца. При проведении повторного испытания газовую горелку располагают горизонтально на стыке образца и подложки (см. рисунок 4). Всего проводят пять испытаний.

4.4.21 При испытании комплектов постельных принадлежностей, включающих в себя подушки, пледы, покрывала, стеганые и пуховые одеяла, уложенные поверх простыни и наматрасника, их образцы помещают на испытательном стенде в соответствии с реальным расположением изделий в комплекте, а газовую горелку располагают горизонтально в центре на простыне на стыке подушки и сложенного вдвое покрывала (см. рисунок 5). Всего проводят пять испытаний.

4.4.22 При испытании комплектов постельных принадлежностей без подушек газовую горелку располагают на стыке образцов простыни и сложенного вдвое покрывала, помещенных на испытательном стенде (см. рисунок 6). Всего проводят пять испытаний.

4.5 Оценка результатов испытаний

4.5.1 Материалы или комбинацию материалов относят к группе легковоспламеняемых по одному из следующих признаков:

- образец продолжает тлеть по истечении часа после удаления тлеющей сигареты;

- при воздействии тлеющей сигареты образец загорелся;

- наблюдается горение образца после удаления пламени газовой горелки в течение более 150 с;

- горение или тление распространилось более чем на 50 мм в горизонтальном направлении от места расположения тлеющей сигареты.

4.5.2 Если по результатам одного испытания комбинация материалов является легковоспламеняемой, а по результатам других испытаний не может быть отнесена к этой группе, то данную комбинацию материалов следует отнести к числу легковоспламеняемых.

4.5.3 Если ни одного из перечисленных признаков не наблюдается, то материал (или комбинация материалов) классифицируется как не относящийся к легковоспламеняемым.

4.5.4 Результаты испытаний оформляют в виде протокола, который должен включать в себя: ссылку на нормативный документ, в соответствии с которым проводилось испытание; дату и условия проведения испытаний; полную характеристику и состав испытываемых изделий; перечень испытательного оборудования; акт отбора образцов при сертификационных испытаниях; размеры повреждения (мм) в каждом испытании; время устойчивого горения или остаточного тления образца при каждом испытании; время воздействия источника зажигания; наличие тления внутри образца; особенности горения или тления образца.

5 Определение воспламеняемости мягких элементов мебели

5.1 Общие положения

В процессе испытаний устанавливают способность мягких элементов мебели к воспламенению, устойчивому горению от источников зажигания.

Испытаниям подвергают обивочные, прокладочные и набивочные (наполнители) материалы, а также комбинации материалов, используемых для изготовления мягкой мебели.

5.2 Оборудование для испытаний

5.2.1 Установка для определения воспламеняемости мягких элементов мебели состоит из испытательного стенда, источников зажигания и средств измерения. Испытательный стенд представляет собой макет сидения и спинки (боковины и сидения) мягкой мебели и состоит из двух прямоугольных рам, соединенных под прямым углом друг к другу (рисунки 7, 8). Рамы изготавливают из стальных уголков размером 25´25´3 мм, к которым крепится стальная сетка. Площадь ячейки стальной сетки составляет от 15 до 150 мм2. Ширина и высота рамы спинки составляют, соответственно (450 ± 10) мм и (300 ± 10) мм, ширина и глубина рамы сидения - соответственно (450 ± 10) мм и (150 ± 10) мм. Боковины рам выступают за пределы каждой из них, образуя ножки (см. рисунок 7).

5.2.2 Требования к источникам зажигания, средствам измерения согласно 4.2.2 и 4.2.3.

5.3 Порядок подготовки образцов

5.3.1 Для испытаний берут образцы обивочного и прокладочного материалов размерами (800 ± 10)´(650 ±10) мм. Материал может быть сшит из кусочков меньшего размера при условии, что в пределах 100 мм от места, подвергаемого воздействию источника зажигания, отсутствуют швы.

5.3.2 Для испытания следует приготовить один образец набивочного материала, состоящий из двух частей размерами (450 ± 10)´(300 ± 10) мм, (450 ± 10)´(150 ± 10) мм. Толщина образцов должна составлять (75 ± 2) мм. Образцы набивочных материалов могут состоять из нескольких слоев. Если толщина образца менее 75 мм, то ее необходимо увеличить, добавив слои набивочного материала.

5.3.3 Если в качестве набивочного материала применяют дисперсный материал (например, пенополиуретановую крошку), то такой материал следует поместить в тканевую оболочку, при этом толщина слоя должна быть (75 ± 2) мм.

5.3.4 Испытываемые материалы выдерживают в течение 16 ч при температуре (20 ± 5) °С и относительной влажности (65 ± 2) %.

1, 2 - стальные рамы; 3 - обивочный материал; 4 - набивочный материал; 5 - зажим
Рисунок 7 - Общий вид испытательного стенда

1, 2 - стальные рамы; 3 - шарнир; 4, 5 - стальные сетки; 6 - болт; 7 - ножка
Рисунок 8 - Конструкция испытательного стенда

5.3.5 Устанавливают испытательный стенд в горизонтальном положении и заправляют обивочную и прокладочную ткань (если таковая имеется) за шарнир.

5.3.6 Помещают образцы набивочного материала под обивочную ткань в углубление рам.

5.3.7 С внешней стороны рам делают напуск и закрепляют обивочную ткань сверху, снизу и с боковых сторон зажимами. Ткань должна быть под натяжением и прочно крепиться к раме.

5.3.8 Закрепляют рамы под прямым углом болтами или штифтами.

5.3.9 Регулируют подачу газовой смеси к горелке таким образом, чтобы высота пламени составляла (35 ± 5) мм.

5.4 Порядок проведения испытаний

5.4.1 Перед проведением испытаний с использованием в качестве источника зажигания тлеющей сигареты зажигают сигарету и пропускают через нее воздух, например с помощью аспиратора сильфонного типа АМ-5, до установления тления, расходуя на эту операцию от 5 до 8 мм длины сигареты.

5.4.2 Тлеющую сигарету помещают горизонтально вдоль соединения вертикальной и горизонтальной частей стенда так, чтобы тлеющий конец сигареты находился на расстоянии не менее 50 мм от ближайшего края. Фиксируют время начала испытания. Проводят наблюдение за развитием горения или тления, отмечая любое их проявление.

5.4.3 Выполняют операции согласно 4.4.4.

5.4.4 После проведения испытаний разбирают испытательный стенд и осматривают его в целях выявления признаков распространения тления внутри образца. Если таковые обнаружены, ликвидируют тление и регистрируют результат.

5.4.5 Измеряют ширину, высоту и глубину повреждения (мм) и фиксируют время устойчивого горения и остаточного тления образца (с).

5.4.6 Перед испытанием с использованием в качестве источника зажигания газовой горелки зажигают газовую горелку, регулируют расход газа таким образом, чтобы высота пламени при вертикальном положении горелки составляла (35 ± 5) мм, и выжидают 120 с до стабилизации пламени.

5.4.7 Горелку направляют вдоль линии соединения вертикальной и горизонтальной частей испытательного стенда так, чтобы она находилась на расстоянии не менее 50 мм от края образца. Время воздействия газовой горелки на образец составляет (20 ± 1) с.

5.4.8 Если остаточное тление или устойчивое горение наблюдается по истечении 120 с после удаления газовой горелки, пламя (тление) ликвидируют и далее испытания прекращают.

5.4.9 Если остаточное тление или устойчивое горение не наблюдается в течение 120 с, то проводят еще четыре испытания на новом участке образца, помещая горелку на расстоянии не менее 50 мм от места повреждения, полученного образцом в результате предыдущего испытания или на новый образец. Если остаточное тление или устойчивое горение не наблюдается и на этот раз, то испытания прекращают.

5.4.10 Измеряют ширину, высоту и глубину повреждения (мм), фиксируют время устойчивого горения образца (с).

5.5 Оценка результатов испытаний

5.5.1 Комбинация материалов классифицируется как легковоспламеняемая при проявлении одного из следующих признаков:

- горение или тление распространилось за время испытаний до верхней или нижней границы испытательного стенда или на всю толщину материала;

- образец обуглился на расстояние более 100 мм в любом из направлений от места воздействия тлеющей сигареты;

- наблюдается устойчивое горение образца после удаления газовой горелки в течение более 120 с.

5.5.2 Если перечисленные признаки не наблюдаются, то комбинация материалов не может быть отнесена к легковоспламеняемой.

5.5.3 Если по результатам одного испытания комбинация материалов является легковоспламеняемой, а по результатам других испытаний не может быть отнесена к этой группе, то данную комбинацию материалов следует отнести к числу легковоспламеняемых.

5.5.4 Результаты испытаний оформляют в виде протокола, который должен включать в себя: ссылку на нормативный документ, в соответствии с которым проводились испытания; дату и условия проведения испытаний; полную характеристику и состав испытываемых изделий; перечень испытательного оборудования; акт отбора образцов при сертификационных испытаниях; размеры повреждения по ширине, глубине и высоте (мм) для вертикальной и горизонтальной частей испытательного стенда (для каждого испытания); время устойчивого горения или остаточного тления (для каждого испытания); время воздействия источника зажигания; наличие признаков тления внутри образца; особенности горения или тления (например, плавление, обугливание и пр.).

6 Определение воспламеняемости штор и занавесей

Определение воспламеняемости штор и занавесей и классификацию проводят по ГОСТ Р 50810.

7 Определение воспламеняемости материалов, используемых для постельных принадлежностей, мягкой мебели, штор и занавесей, после их огнезащитной обработки

7.1 Для оценки эффективности огнезащиты текстильных материалов необходимо определить воспламеняемость этих материалов после их обработки ОЗСВ по методикам, изложенным в настоящем стандарте: постельных принадлежностей - пункт 4, мягкой мебели - пункт 5, штор и занавесей - пункт 6.

7.2 ОЗСВ должны иметь техническую документацию (ТД) на их производство и применение, утвержденную и согласованную в установленном порядке. Применение ОЗСВ должно осуществляться в соответствии с ТД.

7.3 Содержание и построение ТД должно соответствовать требованиям действующих нормативных документов.

7.4 ОЗСВ должны быть упакованы в тару с соответствующей маркировкой, не допускающую утраты их огнезащитных свойств в течение установленного срока годности при соблюдении условий хранения и транспортирования и отвечающую требованиям ТД.

7.5 Рабочий состав (компоненты состава) ОЗСВ должен наноситься рекомендуемыми в ТД способами. Жизнеспособность рабочего состава должна обеспечивать возможность его нанесения в течение времени, определенного в ТД на применение средства огнезащиты.

7.6 Текстильные материалы с огнезащитной обработкой должны быть подвергнуты ускоренному гидролизу и испытаны на воспламеняемость до гидролиза и после него. Ускоренный гидролиз проводят в соответствии с ГОСТ Р 50810 (пункт 5.3).

7.7 Средство огнезащиты считается эффективным, если обработанные им материалы имеют следующие характеристики:

- материалы, используемые для изготовления постельных принадлежностей, а также материалы, применяемые для изготовления элементов мягкой мебели, в соответствии с требованиями настоящего стандарта не могут быть отнесены к группе легковоспламеняемых материалов;

- материалы, используемые для изготовления штор и занавесей, классифицируются как трудновоспламеняемые по ГОСТ Р 50810.

7.8 Последующая обработка текстильных материалов ОЗСВ должна проводиться с периодичностью, указанной в ТД на ОЗСВ.

8 Требования безопасности

Установки для определения воспламеняемости материалов, используемых для постельных принадлежностей, мягкой мебели, штор и занавесей должны быть оборудованы вытяжной вентиляцией. Рабочее место оператора должно соответствовать санитарно-гигиеническим требованиям по ГОСТ 12.1.005.

Ключевые слова: постельные принадлежности, мягкие элементы мебели, шторы, занавеси, огнезащитная эффективность, воспламеняемость

 

 




ГОСТЫ, СТРОИТЕЛЬНЫЕ и ТЕХНИЧЕСКИЕ НОРМАТИВЫ.
Некоммерческая онлайн система, содержащая все Российские Госты, национальные Стандарты и нормативы.
В Системе содержится более 150000 файлов нормативно-технической документации, действующей на территории РФ.
Система предназначена для широкого круга инженерно-технических специалистов.

Рейтинг@Mail.ru Яндекс цитирования

Copyright © www.gostrf.com, 2008 - 2026