Крупнейшая бесплатная информационно-справочная система онлайн доступа к полному собранию технических нормативно-правовых актов РФ. Огромная база технических нормативов (более 150 тысяч документов) и полное собрание национальных стандартов, аутентичное официальной базе Госстандарта. GOSTRF.com - это более 1 Терабайта бесплатной технической информации для всех пользователей интернета. Все электронные копии представленных здесь документов могут распространяться без каких-либо ограничений. Поощряется распространение информации с этого сайта на любых других ресурсах. Каждый человек имеет право на неограниченный доступ к этим документам! Каждый человек имеет право на знание требований, изложенных в данных нормативно-правовых актах!

  


 

ФЕДЕРАЛЬНОЕ АГЕНТСТВО
ПО ТЕХНИЧЕСКОМУ РЕГУЛИРОВАНИЮ И МЕТРОЛОГИИ

НАЦИОНАЛЬНЫЙ
СТАНДАРТ
РОССИЙСКОЙ
ФЕДЕРАЦИИ

ГОСТ Р
53299-
2009

ВОЗДУХОВОДЫ.
Метод испытаний на огнестойкость

Москва
Стандартинформ
2009

Предисловие

Цели и принципы стандартизации в Российской Федерации установлены Федеральным законом от 27 декабря 2002 г. № 184-ФЗ «О техническом регулировании», а правила применения национальных стандартов Российской Федерации - ГОСТ Р 1.0-2004 «Стандартизация в Российской Федерации. Основные положения».

Сведения о стандарте

1 РАЗРАБОТАН ФГУ ВНИИПО МЧС России

2 ВНЕСЕН Техническим комитетом по стандартизации ТК 274 «Пожарная безопасность»

3 УТВЕРЖДЕН И ВВЕДЕН В ДЕЙСТВИЕ Приказом Федерального агентства по техническому регулированию и метрологии от 18 февраля 2009 г. № 75-ст

4 ВВЕДЕН ВПЕРВЫЕ

Информация об изменениях к настоящему стандарту публикуется в ежегодно издаваемом информационном указателе «Национальные стандарты», а текст изменений и поправок - в ежемесячно издаваемых информационных указателях «Национальные стандарты». В случае пересмотра (замены) или отмены настоящего стандарта соответствующее уведомление будет опубликовано в ежемесячно издаваемом информационном указателе «Национальные стандарты». Соответствующая информация, уведомление и тексты размещаются также в информационной системе общего пользования - на официальном сайте Федерального агентства по техническому регулированию и метрологии в сети Интернет.

Содержание

ГОСТ Р 53299-2009

НАЦИОНАЛЬНЫЙ СТАНДАРТ РОССИЙСКОЙ ФЕДЕРАЦИИ

ВОЗДУХОВОДЫ.
Метод испытаний на огнестойкость

The test method for the fire resistance.
Ventilation
ducts

Дата введения - 2010-01-01
с правом досрочного применения

1 Область применения

1.1 Настоящий стандарт устанавливает метод испытания на огнестойкость следующих элементов конструкций:

воздуховодов приточно-вытяжных систем общеобменной, аварийной, противодымной вентиляции, систем местных отсосов, систем кондиционирования воздуха, а также дымоходов различного назначения;

каналов технологической вентиляции, в том числе газоходов.

1.2 Настоящий стандарт не предназначен для проведения испытаний на огнестойкость: вентиляционных каналов, выполненных в пустотах конструкций стен и перекрытий; дымовых вытяжных каналов, выполненных в элементах ограждающих строительных конструкций.

2 Нормативные ссылки

В настоящем стандарте использованы нормативные ссылки на следующие стандарты:

ГОСТ Р 30247.0-94 Конструкции строительные. Методы испытания на огнестойкость. Общие требования

ГОСТ Р 50431-92 Термопары. Номинальные статические характеристики преобразования

ГОСТ 12.1.019-79 Электробезопасность. Общие требования и номенклатура видов защиты

ГОСТ 12.2.003-91 Оборудование производственное. Общие требования безопасности

ГОСТ 6616-94 Преобразователи термоэлектрические ГСП. Общие технические условия.

Примечание - При пользовании настоящим стандартом целесообразно проверить действие ссылочных стандартов и классификаторов в информационной системе общего пользования - на официальном сайте Федерального агентства по техническому регулированию и метрологии в сети Интернет или по ежегодно издаваемому информационному указателю «Национальные стандарты», который опубликован по состоянию на 1 января текущего года, и по соответствующим ежемесячно издаваемым информационным указателям, опубликованным в текущем году. Если ссылочный документ заменен (изменен), то при пользовании настоящим стандартом следует руководствоваться замененным (измененным) документом. Если ссылочный документ отменен без замены, то положение, в котором дана ссылка на него, принимается в части, не затрагивающей эту ссылку.

3. Критерии огнестойкости

3.1 Огнестойкость конструкции воздуховода определяется временем от начала нагревания испытываемой конструкции воздуховода до наступления одного из предельных состояний.

3.1.1 Различаются два вида предельных состояний конструкций воздуховодов по огнестойкости:

потеря теплоизолирующей способности (I);

потеря плотности (Е).

Обозначение предела огнестойкости конструкции воздуховода состоит из условных обозначений нормируемых предельных состояний и цифры, соответствующей времени достижения одного из этих состояний (первого по времени) в минутах, например:

I 120 - предел огнестойкости 120 мин по признаку потери теплоизолирующей способности;

EI 60 - предел огнестойкости 60 мин по признакам теплоизолирующей способности и потери плотности независимо от того, какой из двух признаков достигается ранее.

В тех случаях, когда для конструкции нормируются (или устанавливаются) различные пределы огнестойкости по различным предельным состояниям, обозначение предела огнестойкости состоит из двух частей, разделенных между собой наклонной чертой, например:

Е 120/ I 60 - требуемый предел огнестойкости по признаку потери плотности 120 мин, а по признаку потери теплоизолирующей способности - 60 мин.

При различных значениях пределов огнестойкости одной и той же конструкции по разным предельным состояниям обозначение пределов огнестойкости перечисляется по убыванию.

3.1.2 Потеря теплоизолирующей способности конструкций воздуховодов характеризуется повышением температуры в среднем более чем на 140 °С или локально более чем на 180 °С на наружных поверхностях:

конструкций воздуховодов вне зоны их нагрева на расстояниях 0,05 и 1,0 м от ограждающих конструкций печи (не менее чем в четырех точках каждого сечения на указанных расстояниях);

с необогреваемой стороны узлов уплотнения зазоров в местах прохода воздуховодов через ограждения печи (не менее чем в четырех точках).

Вне зависимости от первоначальной температуры указанных поверхностей значение локальной температуры не должно превышать 220 °С в любых точках (в том числе в тех, где ожидается локальный прогрев - стыки, углы, теплопроводные включения).

3.1.3 Потеря плотности характеризуется:

образованием в узлах уплотнения зазоров в местах прохода воздуховодов через ограждения печи или в конструкциях воздуховодов с необогреваемой стороны визуально обнаруживаемых сквозных трещин или сквозных отверстий, через которые проникают продукты горения или пламя;

превышением допустимых величин подсосов или утечек газа через неплотности конструкций воздуховодов.

Допустимая величина подсосов или утечек на 1 м2 развернутой площади воздуховода определяется по формуле

Qnp = 0,03152P0,68305,                                                                                                            (1)

где Qnp - предельно допустимые подсосы (утечки) через неплотности конструкции воздуховода при температуре 20 °С, м3/ч;

Р - разрежение (избыточное давление) во внутренней полости воздуховода по отношению к атмосферному давлению, Па;

4 Сущность метода и режимы испытаний

4.1 Сущность метода заключается в определении времени, по истечении которого наступает одно из предельных состояний конструкции воздуховода (по 3.1.1 - 3.1.3 настоящего стандарта) при наружном ее обогреве с одновременным нагружением избыточным давлением (разрежением) во внутренней полости.

4.2 Тепловое воздействие на конструкции воздуховодов осуществляется в соответствии с температурным режимом в печи и допускаемыми отклонениями температур согласно требованиям ГОСТ Р 30247.0-94.

4.3 Величина избыточного давления (разрежения) во внутренних полостях конструкций воздуховодов должна быть (300 ± 6) Па.

4.4 С учетом специфики функционального назначения воздуховодов температурные режимы и значение величины избыточного давления (разрежения) во внутренних полостях конструкций воздуховодов, указанные в 4.2, 4.3 настоящего стандарта, могут быть изменены в соответствии с технической документацией на изделие.

4.5 Режимы испытаний дымоходов и газоходов могут быть установлены в соответствии с 4.2, 4.3 при необходимой корректировке с учетом особенностей их исполнения, технических характеристик и условий эксплуатации.

5 Стендовое оборудование и измерительная аппаратура

5.1 Стенд для проведения испытаний воздуховодов состоит (обязательные приложения А, Б) из печи с внутренними размерами не менее 2,5´2,5´2,5 м, вентилятора, дросселирующего устройства, воздуховодов обвязки вентилятора.

Печь должна быть оборудована форсунками, работающими на жидком топливе, и обеспечивать требуемый тепловой режим согласно 4.2 настоящего стандарта.

Дросселирующее устройство должно обеспечивать возможность регулирования подачи и давления вентилятора для поддержания параметров работы оборудования по 4.3 настоящего стандарта.

5.2 Испытательный стенд подлежит оснащению средствами измерения температуры, интервалов времени, расхода газов и давлений.

5.2.1 Для измерения температуры на необогреваемых поверхностях воздуховодов, на поверхности уплотнений воздуховодов в проеме печи и в сечении установки расходомерного устройства (обязательные приложения А, Б) следует применять хромель-алюмелевые термоэлектрические преобразователи (ТЭП) по ГОСТ 6616 с диаметром электродов не более 0,7 мм.

5.2.2 Для измерения температуры в печи следует применять хромель-алюмелевые ТЭП по ГОСТ 6616 с диаметром электродов от 1,2 до 3,0 мм.

5.2.3 ТЭП в сечении установки расходомерного устройства (обязательное приложение Б) должен располагаться на расстоянии не более 0,2d от оси мерного участка воздуховода и от расходомерного устройства, где d - диаметр мерного участка воздуховода.

5.2.4 Для регистрации измеряемых температур следует применять приборы класса точности не менее 1,0 с диапазоном измерений от 0 до 1300 °С.

5.2.5 Для регистрации давления газовой среды следует применять приборы (манометры, микроманометры и т.п.) класса точности не ниже 1,0.

5.2.6 Для измерения расхода газов следует применять расходомерные устройства, позволяющие измерять величины расходов, составляющие не менее чем 15 % Qnp по 3.1.3. настоящего стандарта.

5.2.7 Конструкция расходомерного устройства должна исключать возможность образования осадков и отложений перед ним.

5.2.8 Для измерения интервалов времени должны использоваться секундомеры с погрешностью измерения, составляющей не более 10 с в течение 1 ч.

5.2.9 Расположение ТЭП, а также места отбора давления и установки расходомерного устройства должны соответствовать схемам, приведенным в обязательных приложениях А, Б.

5.2.10 Номинальные статические характеристики и пределы допускаемых отклонений термоэлектродвижущей силы (т.э.д.с.) ТЭП по 5.2.1 - 5.2.2 настоящего стандарта должны соответствовать ГОСТ Р 50431 или индивидуальным градуировкам.

6 Подготовка к испытаниям

6.1 Испытанию на огнестойкость подлежат образцы воздуховодов, поставляемые в сборе, включая предусмотренные конструкторской документацией разработчика покрытия, термоизоляцию, узлы крепления, уплотнения и подвески.

На испытания поставляются образец воздуховода прямоугольного сечения с соотношением внутренних размеров поперечного сечения 1,5 £ b/а £ 2 (рис. А.3 обязательного приложения А).

Длина участка образца, подлежащего нагреву (обогреваемого участка), должна быть не менее 2,5 м, длина необогреваемого участка - не менее 1,5 м. На длине участка, подлежащего нагреву, должно быть не менее двух соединений, выполненных по типовому способу (фланцевых, сварных и т.п.), на длине необогреваемого участка - по крайней мере одно соединение. Обогреваемый участок воздуховода должен быть заглушён с торца пластиной из того же материала, из которого выполнен воздуховод. Присоединение заглушки должно осуществляться тем же способом, что и соединение звеньев воздуховода. Заглушённый торец воздуховода должен быть жестко закреплен в ограждающей конструкции печи.

6.2 Образцы воздуховодов, поставленные для испытаний, должны соответствовать конструкторской документации. Степень соответствия устанавливается входным контролем.

6.3 Для проведения испытаний образец устанавливается на стенде горизонтально (обязательные приложения А, Б). Плотность вентиляционного канала, присоединяемого к испытываемому образцу, по величине утечек и подсосов воздуха должна быть определена предварительно и составлять не более 15 % максимально допустимого расхода газов по 3.1.3 настоящего стандарта.

6.4 В случае предъявления к конструкциям воздуховодов особых требований в соответствии с технической документацией возможно проведение испытаний при вертикальном расположении воздуховодов на стенде (обязательные приложения А, Б), а также воздуховодов непрямоугольного сечения.

7 Последовательность проведения испытаний

7.1 Испытания должны проводиться при температуре окружающей среды от 0 до 40 °С.

7.2 Избыточное давление (разрежение) во внутренней полости образца создается путем подключения мерного участка вентиляционного канала, присоединяемого к образцу, к нагнетательному (всасывающему) патрубку вентилятора.

Регулирование величины избыточного давления (разрежения) осуществляется дросселированием вентилятора посредством заслонок.

7.3 Начало испытаний соответствует моменту включения форсунок печи, непосредственно перед которым включается вентилятор и регулируется величина избыточного давления (разрежения) во внутренней полости образца.

7.4 Во время испытаний регистрируют:

температуру в печи;

температуру на необогреваемых поверхностях образца и узла уплотнения мест его прохода через стенку печи;

избыточное давление (разрежение) и расход газового потока в вентиляционной системе стенда;

температуру газа в сечении установки расходомерного устройства;

момент образования сквозных трещин или отверстий с обогреваемой стороны образца и узла его уплотнения в месте прохода через ограждение печи - по появлению дыма или пламени.

Одновременно визуально контролируется состояние конструкции и узлов сочленения образца как в зоне нагрева, так и снаружи печи, наблюдается поведение узлов крепления (подвески) образца, регистрируются появление и характер возможных деформаций.

Измерения температур, расходов и давлений должны проводиться в интервалах не более 2 мин.

7.5 Испытания должны проводиться до наступления одного из предельных состояний образца по огнестойкости согласно разделу 3.

8 Обработка результатов испытания

8.1. Фактические значения подсосов (утечек) через неплотности конструкций образца, приведенные к температуре 20 °С, определяются по формуле

                                                                                                                 (2)

где  - утечки (подсосы) через образец в i-м измерении, приведенные к температуре газа 20 °С, м3/с;

 - фактические утечки (подсосы) через образец по результатам i-го измерения, м3/с;

ti - температура газа, измеренная в сечении расходомерного устройства, °С.

9 Оценка результатов испытания

9.1 Огнестойкость воздуховода определяется интервалом времени до наступления одного из предельных состояний по 3.1.1 - 3.1.3.

9.2 По итогам испытания воздуховоду присваивается классификационное обозначение в соответствии с 3.1.1 настоящего стандарта, например - EI t, где t - одно из значений временного ряда 15, 30, 45, 60, 90, 120, 180, 240, 360 мин, меньшее или равное пределу огнестойкости воздуховода.

9.3 Результаты испытаний воздуховода могут быть распространены на воздуховоды аналогичной конструкции прямоугольного и круглого сечения, если значение величины их гидравлического диаметра не превышает значения величины гидравлического диаметра испытанного воздуховода более чем на 50 %, а внутренние размеры их поперечного сечения (диаметр или длина большей стороны) не превышают 1000 мм. При этом величина гидравлического диаметра должна определяться по соотношению

                                                                                                                              (3)

где F и П - соответственно площадь и периметр проходного сечения воздуховода.

10 Отчет об испытании

Отчет об испытании, составленный по рекомендуемой форме, должен содержать следующие данные:

1 Наименование организации, производящей испытания;

2 Наименование и адрес завода-изготовителя;

3 Характеристику объекта испытаний;

4 Метод испытания (описание или ссылку);

5 Описание процедуры испытания;

6 Характеристики испытательного оборудования;

7 Результаты испытаний;

8 Оценку результатов испытаний.

11 Техника безопасности

11.1 При испытаниях воздуховодов на огнестойкость должны соблюдаться требования безопасности и производственной санитарии согласно ГОСТ 12.2.003 и ГОСТ 12.1.019.

11.2 К испытанию допускаются лица, ознакомленные с техническим описанием и инструкцией по эксплуатации испытательного стенда.

11.3 Все быстро движущиеся и вращающиеся части стендовой установки должны иметь ограждения.

Приложение А
(обязательное)

1 - печь; 2 - заглушённый торец образца; 3 - места сочленения элементов образца; 4 - испытываемый образец воздуховода (с отверстием или без него); 5 - переходной элемент; 6 - вентилятор; - ТЭП, установленные:
1-4 - на поверхности уплотнений воздуховода в проеме печи;
5-12 - на необогреваемых поверхностях воздуховода;
13-20 - в печи

Рисунок А.1. Схема размещения горизонтальных воздуховодов на испытательном стенде

1 - печь; 2 - заглушённый торец образца; 3 - места сочленения элементов образца; 4 - испытываемый образец воздуховода (с отверстием или без него); 5 - переходной элемент; 6 - вентилятор; - ТЭП, установленные:
1-4 - на поверхности уплотнений воздуховода в проеме печи;
5-12 - на необогреваемых поверхностях воздуховода;
13-20 - в печи

Рисунок А.2. Схема размещения вертикальных воздуховодов на испытательном стенде

1 - печь; 2 - воздуховод; 3 - уплотнение места проходки воздуховода через ограждающую конструкцию печи; - ТЭП; а, b - внутренние размеры поперечного сечения воздуховода; с - толщина заделки

Рисунок А.3 Схема размещения ТЭП в узле уплотнения места проходки воздуховода через ограждающую конструкцию печи

1 - воздуховод; 2 - покрытие воздуховода; - ТЭП; a, b - размеры поперечного сечения воздуховода

Рисунок А.4 Схема размещения ТЭП на необогреваемой поверхности воздуховода

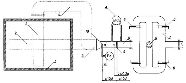
Приложение Б
(обязательное)

1 - печь; 2 - испытываемый образец воздуховода (установленный вертикально или горизонтально); 3 - переходной элемент; 4 - микроманометр; 5 - мерный участок; 6 - регулирующая заслонка; 7 - воздуховоды обвязки вентилятора; 8 - вентилятор; 9 - расходомерная диафрагма; 10 - точка отбора давления в полости испытываемого образца; - ТЭП

Рисунок Б.1 Схема стендового оборудования для испытания воздуховодов на огнестойкость

Ключевые слова: воздуховод, огнестойкость, метод испытаний.

 

 




ГОСТЫ, СТРОИТЕЛЬНЫЕ и ТЕХНИЧЕСКИЕ НОРМАТИВЫ.
Некоммерческая онлайн система, содержащая все Российские Госты, национальные Стандарты и нормативы.
В Системе содержится более 150000 файлов нормативно-технической документации, действующей на территории РФ.
Система предназначена для широкого круга инженерно-технических специалистов.

Рейтинг@Mail.ru Яндекс цитирования

Copyright © www.gostrf.com, 2008 - 2026