Крупнейшая бесплатная информационно-справочная система онлайн доступа к полному собранию технических нормативно-правовых актов РФ. Огромная база технических нормативов (более 150 тысяч документов) и полное собрание национальных стандартов, аутентичное официальной базе Госстандарта. GOSTRF.com - это более 1 Терабайта бесплатной технической информации для всех пользователей интернета. Все электронные копии представленных здесь документов могут распространяться без каких-либо ограничений. Поощряется распространение информации с этого сайта на любых других ресурсах. Каждый человек имеет право на неограниченный доступ к этим документам! Каждый человек имеет право на знание требований, изложенных в данных нормативно-правовых актах!

  


 

ФЕДЕРАЛЬНОЕ АГЕНТСТВО
ПО ТЕХНИЧЕСКОМУ РЕГУЛИРОВАНИЮ И МЕТРОЛОГИИ

НАЦИОНАЛЬНЫЙ
СТАНДАРТ
РОССИЙСКОЙ
ФЕДЕРАЦИИ

ГОСТ Р
53324-
2009

ОГРАЖДЕНИЯ РЕЗЕРВУАРОВ

Требования пожарной безопасности

Москва
Стандартинформ
2009

Предисловие

Цели и принципы стандартизации в Российской Федерации установлены Федеральным законом от 27 декабря 2002 г. № 184-ФЗ «О техническом регулировании», а правила применения национальных стандартов Российской Федерации - ГОСТ Р 1.0-2004 «Стандартизация в Российской Федерации. Основные положения»

Сведения о стандарте

1 РАЗРАБОТАН ФГУ ВНИИПО МЧС России

2 ВНЕСЕН Техническим комитетом по стандартизации ТК 274 «Пожарная безопасность»

3 УТВЕРЖДЕН И ВВЕДЕН В ДЕЙСТВИЕ Приказом Федерального агентства по техническому регулированию и метрологии от 18 февраля 2009 г. № 100-ст

4 ВВЕДЕН ВПЕРВЫЕ

Информация об изменениях к настоящему стандарту публикуется в ежегодно издаваемом информационном указателе «Национальные стандарты», а текст изменений и поправок - в ежемесячно издаваемых информационных указателях «Национальные стандарты». В случае пересмотра (замены) или отмены настоящего стандарта соответствующее уведомление будет опубликовано в ежемесячно издаваемом информационном указателе «Национальные стандарты». Соответствующая информация, уведомление и тексты размещаются также в информационной системе общего пользования - на официальном сайте Федерального агентства по техническому регулированию и метрологии в сети Интернет

Содержание

Предисловие

1 Область применения

2 Термины и определения

3 Общие требования пожарной безопасности к ограждениям резервуаров

4 Требования к ограждениям резервуаров для хранения горючих и легковоспламеняющихся жидкостей

5 Требования к ограждениям резервуаров для хранения сжиженных углеводородных газов и легковоспламеняющихся жидкостей под давлением

ПРИЛОЖЕНИЕ А (рекомендуемое) Метод определения геометрических параметров ограждающей стены с волноотражающим козырьком

ПРИЛОЖЕНИЕ Б (рекомендуемое) Метод определения геометрических параметров дополнительной защитной стены

ГОСТ Р 53324-2009

НАЦИОНАЛЬНЫЙ СТАНДАРТ РОССИЙСКОЙ ФЕДЕРАЦИИ

ОГРАЖДЕНИЯ РЕЗЕРВУАРОВ

Требования пожарной безопасности

Dyking of storage tanks. Fire safety requirements

Дата введения - 2010-01-01
с правом досрочного применения

1 Область применения

Настоящий стандарт устанавливает требования пожарной безопасности к ограждениям резервуаров для хранения горючих и легковоспламеняющихся жидкостей, сжиженных углеводородных газов, размещаемых в резервуарных парках, на сырьевых, товарных, промежуточных и расходных складах производственных объектов.

Стандарт не распространяется на ограждения:

- резервуаров для хранения синтетических жирозаменителей, горючих и легковоспламеняющихся жидкостей, сжиженных углеводородных газов, проектируемых по специальным нормативным документам;

- подземных хранилищ, сооружаемых геотехнологическими и горными способами в непроницаемых для этих продуктов массивах горных пород, и ледогрунтовых хранилищ;

- парков и хранилищ сжиженных газов, имеющих давление насыщенных паров при температуре 223,15 К (-50 °С) более 0,1013 МПа (760 мм рт. ст.);

- резервуаров и емкостей, входящих в состав технологических установок или используемых в качестве технологических аппаратов.

2 Термины и определения

В настоящем стандарте применены следующие термины с соответствующими определениями:

2.1 группа резервуаров: Два и более резервуара, предназначенные для хранения горючих, легковоспламеняющихся жидкостей, сжиженных углеводородных газов, размещенные на территории, ограниченной по периметру ограждением.

2.2 легковоспламеняющаяся жидкость под давлением: Жидкость, давление насыщенного пара которой при температуре 293,15 К (20 °С) более 0,094 МПа (700 мм рт. ст.).

2.3 наземный резервуар: Резервуар, расположенный на поверхности земли, который не удовлетворяет указанным в 2.9 условиям.

2.4 номинальный объем резервуара: Условная округленная величина объема, принятая для идентификации требований нормативных документов для различных конструкций резервуаров при расчетах номенклатуры объемов резервуаров, вместимости складов, компоновки резервуарных парков, а также для выбора установок и средств пожаротушения.

2.5 обвалование: Выполненное из грунта ограждение, предназначенное для ограничения площади разлива жидкости.

2.6 ограждающая стена: Выполненное из строительных материалов ограждение, предназначенное для ограничения площади разлива жидкости.

2.7 ограждающая стена с волноотражающим козырьком: Выполненное из строительных материалов ограждение, рассчитанное на гидродинамическое воздействие и полное удержание волны жидкости, образующейся при разрушении наземного вертикального резервуара.

2.8 ограждение: Естественный барьер, образованный рельефом местности, или искусственное сооружение, ограничивающее участок территории, в пределах которого размещается емкостное оборудование с легковоспламеняющимися и горючими жидкостями, сжиженными углеводородными газами, предназначенное для предотвращения растекания жидкости за пределы этого участка.

2.9 подземный резервуар (заглубленный в грунт или обсыпанный грунтом резервуар): Резервуар, в котором наивысший уровень жидкости ниже не менее чем на 0,2 м низшей планировочной отметки прилегающей площадки (в пределах 3 м от стенки резервуара).

2.10 резервуар: Емкость, как правило, цилиндрической или шарообразной формы, предназначенная для хранения жидкости.

3 Общие требования пожарной безопасности к ограждениям резервуаров

3.1 По периметру отдельно стоящего резервуара или каждой группы наземных резервуаров необходимо предусматривать замкнутое ограждение.

3.2 В качестве ограждения могут использоваться обвалование, ограждающая стена или ограждающая стена с волноотражающим козырьком.

3.3 Ограждающая стена и ограждающая стена с волноотражающим козырьком должны быть сплошными по периметру, выполняться из негорючих материалов и иметь предел огнестойкости не менее Е 150.

3.4 Ширина обвалования должна быть по верху не менее 0,5 м.

3.5 Ограждение должно быть рассчитано на гидростатическое давление разлившейся при разрушении резервуара жидкости.

3.6 В обоснованных случаях для полного удержания волны разливающейся при разрушении резервуара жидкости и предотвращения ее перелива через ограждение следует устанавливать ограждающую стену с волноотражающим козырьком или дополнительную защитную стену. Конструктивное исполнение ограждающей стены с волноотражающим козырьком, а также ее расстояние от ограждения приведены в приложении А.

Ограждающая стена с волноотражающим козырьком должна рассчитываться на максимально возможное гидродинамическое воздействие разливающейся при разрушении резервуара жидкости.

Геометрические параметры дополнительной защитной стены, а также ее расстояние от ограждения приведены в приложении Б.

3.7 Свободный от застройки объем территории внутри ограждения следует определять по расчетному объему разлившейся жидкости.

3.8 Для перехода через ограждение следует предусматривать лестницы-переходы шириной не менее 0,7 м с перилами высотой не менее 1 м.

Количество лестниц-переходов должно быть не менее:

- четырех - для группы резервуаров;

- двух - для отдельно стоящих резервуаров.

Лестницы-переходы должны располагаться, как правило, на противоположных сторонах ограждения.

3.9. При прокладке трубопроводов сквозь ограждения в месте прохода труб должна быть обеспечена герметичность.

4 Требования к ограждениям резервуаров для хранения горючих и легковоспламеняющихся жидкостей

4.1 За расчетный объем разлившейся жидкости следует принимать объем наибольшего резервуара в группе или отдельно стоящего резервуара.

4.2 Высота ограждения должна быть не менее чем на 0,2 м выше уровня расчетного объема разлившейся жидкости, но не менее:

- 1 м - для резервуаров номинальным объемом до 10 000 м3;

- 1,5 м - для резервуаров номинальным объемом 10 000 м3 и более.

4.3 Расстояние от стенок резервуаров до подошвы внутренних откосов обвалования или до ограждающих стен следует принимать не менее:

- 3 м - для резервуаров номинальным объемом до 10 000 м3;

- 6 м - для резервуаров номинальным объемом 10 000 м3 и более.

4.4 Группа из резервуаров объемом 400 м3 и менее общей вместимостью до 4000 м3, расположенная отдельно от общей группы резервуаров (за пределами ее внешнего обвалования), должна быть ограждена сплошным земляным валом или ограждающей стеной высотой не менее:

- 0,8 м - при вертикальных резервуарах;

- 0,5 м - при горизонтальных резервуарах.

Расстояние от стенок этих резервуаров до ограждения не нормируется.

4.5 При размещении резервуара или группы наземных резервуаров на более высоких отметках по сравнению с отметками территорий соседних населенных пунктов, организаций, железных дорог общей сети и автомобильных дорог федерального значения, у берегов рек (водоемов), расположенных на расстоянии менее 200 м, необходимо предусматривать одну из следующих дополнительных мер:

- устройство ограждения, конструктивное исполнение которого обеспечивает сдерживание образующейся при полном разрушении резервуара гидродинамической волны;

- устройство дополнительной защитной стены;

- устройство второго обвалования или ограждающей стены на расстоянии не менее 20 м от основного обвалования (ограждающей стены), рассчитанного на удержание 50 % объема жидкости наибольшего резервуара. В качестве второго обвалования могут быть использованы внутризаводские автомобильные дороги, поднятые до необходимых отметок;

- устройство на расстоянии не менее 20 м от основного ограждения отводных канав (траншей) шириной по верху не менее 2 м, глубиной не менее 1 м. Отводная канава должна заканчиваться в безопасном месте;

- устройство открытых земляных амбаров, объем которых рассчитан на полный объем наибольшего из резервуаров.

4.6 Ограждение подземных резервуаров следует предусматривать только при хранении в этих резервуарах нефти и мазута. Объем пространства внутри ограждения следует определять из условия удержания разлившейся жидкости в количестве, равном 10 % объема наибольшего подземного резервуара в группе.

Обвалование группы подземных резервуаров для хранения нефти и мазутов допускается не предусматривать, если объем, образуемый между откосами земляного полотна автомобильных дорог вокруг группы этих резервуаров, удовлетворяет указанному условию.

4.7 В пределах одной группы наземных резервуаров внутренними земляными валами или ограждающими стенами следует отделять:

- каждый резервуар объемом 20 000 м3 и более или несколько меньших резервуаров суммарной вместимостью 20 000 м3;

- резервуары с маслами и мазутами от резервуаров с другими нефтепродуктами;

- резервуары для хранения этилированных бензинов от других резервуаров группы. Высоту внутреннего земляного вала или стены следует принимать не менее:

- 1,3 м - для резервуаров объемом 10 000 м3 и более;

- 0,8 м - для остальных резервуаров.

4.8 Для каждой группы наземных вертикальных резервуаров, располагаемых в два и более ряда, следует предусматривать заезды внутрь ограждения передвижной пожарной техники, если с внутренних дорог и проездов не обеспечивается подача огнетушащих веществ в резервуары. При этом планировочная отметка проезжей части должна быть на 0,2 м выше уровня расчетного объема разлившейся жидкости.

5 Требования к ограждениям резервуаров для хранения сжиженных углеводородных газов и легковоспламеняющихся жидкостей под давлением

5.1 Расчетный объем разлившейся жидкости должен приниматься равным 85% от общей вместимости резервуаров, размещенных внутри ограждения.

5.2 Высота ограждения резервуаров должна быть не менее чем на 0,3 м выше расчетного уровня разлившейся жидкости, но не менее 1 м.

5.3. Ограждение должно выдерживать гидростатическое давление при условии полного заполнения водой пространства внутри его.

5.4 Расстояние от стенок резервуаров до подошвы внутренних откосов обвалования или ограждающей стены должно быть не менее половины диаметра ближайшего резервуара, но не менее 1 м.

5.5. При размещении складов сжиженных углеводородных газов на площадках, имеющих более высокие уровни по сравнению с отметками территории соседних населенных пунктов, организаций и железных дорог общей сети, расположенных на расстоянии до 300 м от резервуаров, должны быть предусмотрены меры, указанные в 4.5.

ПРИЛОЖЕНИЕ А
(рекомендуемое)
Метод определения геометрических параметров ограждающей стены с волноотражающим козырьком

Настоящий метод устанавливает порядок расчета геометрических параметров ограждающей стены с волноотражающим козырьком, предназначенной для полного удержания волны жидкости при квазимгновенном разрушении наземного вертикального резервуара или группы резервуаров, в диапазоне изменения исходных данных

100 ≤ Vн ≤ 30 000,

3 ≤ L ≤ 30,

где Vн - номинальный объем резервуара, м3;

L - расстояние от ограждающей стены до стенки резервуара, м.

1 Высоту ограждающей стены Нс, м, рассчитывают по формуле

                                                              (А.1)

где Кз - коэффициент запаса, который рекомендуется принимать равным 1,1 для резервуаров вместимостью не более 5000 м3 и равным 1,2 для резервуаров большей вместимости;

а1 = f1(b/Hж), а2 = f2(L/Rp) - переменные, зависящие от длины вылета волноотражающего козырька (b, м) и расстояния от центра резервуара до ограждающей стены (L1, м), соответственно равные

                                                                                                          (А.2)

                                                                                                                        (А.3)

где Нж - максимальный уровень жидкости в резервуаре, м;

Rp - радиус аварийного резервуара, м.

2 Длину вылета волноотражающего козырька рекомендуется принимать:

- для резервуаров вместимостью до 700 м3 - не менее 0,5 м;

- для резервуаров вместимостью от 700 до 5000 м3 - не менее 1,0 м;

- для резервуаров вместимостью от 5000 до 30 000 м3 - не менее 1,5 м.

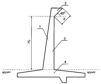
3 Схема ограждающей стены, имеющей волноотражающий козырек, с указанием основных геометрических параметров приведена на рисунке А.1.

1 - защитная стена; 2 - волноотражающий козырек; 3 - площадка отражения потока; 4 - основание стены

Рисунок А.1 - Принципиальная схема ограждающей стены с волноотражающим козырьком

ПРИЛОЖЕНИЕ Б
(рекомендуемое)
Метод определения геометрических параметров дополнительной защитной стены

Настоящий метод устанавливает порядок расчета геометрических параметров дополнительной защитной стены, предназначенной для полного удержания волны жидкости, переливающейся через земляное обвалование или ограждающую стену отдельно стоящего наземного вертикального резервуара или группы таких резервуаров, в следующем диапазоне изменения исходных данных:

400 ≤ Vн 5000,

0,10 ≤ а/Нж ≤ 0,25,

0,4 ≤ L/Dp ≤ 1,0,

0,5 ≤ v ≤ 5,0,

где Vн - номинальный объем резервуара, м3;

а - высота ограждения, м;

Нж - максимальный уровень жидкости в резервуаре, м;

Dp - диаметр резервуара, м;

L - расстояние от резервуара до ограждения, м;

v - коэффициент кинематической вязкости жидкости, сСт.

Дополнительная защитная стена представляет собой вертикальную преграду высотой hст, расположенную с одной, двух, трех сторон или по всему периметру ограждения отдельно стоящего резервуара или группы резервуаров (рисунок Б.1).

Рисунок Б.1 - Расчетная схема дополнительной защитной стены

Рассмотрим формулы и номограммы для определения параметров ограждений.

1 Ограждение - земляное обвалование.

Расстояние от земляного обвалования до дополнительной защитной стены Lв, м, определяют по формуле

Lв = Dp[1,516 - 572,34 (а/Нж)6 - 0,17(L/Dp)3]                                                                      (Б.1)

или по номограмме (рисунок Б.2).

2 Ограждение - вертикальная стена.

Расстояние от ограждающей стены до дополнительной защитной стены Lв, м, определяют по формуле

Lв = Dp[-0,259 - 0,562ln(а/Нж) - 0,543ln(L/Dp)]                                                                   (Б.2)

или по номограмме (рисунок Б.3).

Рисунок Б.2 - Номограмма для определения расстояния обвалования до дополнительной защитной стены

Рисунок Б.3 - Номограмма для определения расстояния от ограждающей стены до дополнительной защитной стены

Высоту вертикальной стены hст, м, вычисляют по формуле

hст = 0,272Нж.                                                                                                                      (Б.3)

Параметры дополнительной защитной стены определяют с учетом следующих положений.

1 Одно-, двух- и трехсторонняя дополнительная защитная стена должна быть длиннее ограждения резервуара или группы резервуаров и выступать за его габариты со стороны торцов на длину не меньше Lв/2 (половины расстояния от основного ограждения до дополнительной защитной стены).

2 Одно-, двух- и трехсторонняя дополнительная защитная стена должна иметь с торцов ограждение (земляное обвалование или стену из негорючих материалов) высотой не менее hст, рассчитанное на гидростатическое давление жидкости.

Ключевые слова: ограждение, обвалование, ограждающая стена, ограждающая стена с волноотражающим козырьком, резервуар, группа резервуаров

 

 




ГОСТЫ, СТРОИТЕЛЬНЫЕ и ТЕХНИЧЕСКИЕ НОРМАТИВЫ.
Некоммерческая онлайн система, содержащая все Российские Госты, национальные Стандарты и нормативы.
В Системе содержится более 150000 файлов нормативно-технической документации, действующей на территории РФ.
Система предназначена для широкого круга инженерно-технических специалистов.

Рейтинг@Mail.ru Яндекс цитирования

Copyright © www.gostrf.com, 2008 - 2026