|
|
КОМБИКОРМА, БЕЛКОВО-ВИТАМИННО-МИНЕРАЛЬНЫЕ КОНЦЕНТРАТЫ, ПРЕМИКСЫ Методы определения металломагнитной примеси
ПредисловиеЦели и принципы
стандартизации в Российской Федерации установлены Федеральным законом от 27
декабря Сведения о стандарте 1. РАЗРАБОТАН Открытым акционерным обществом «Всероссийский научно-исследовательский институт комбикормовой промышленности» (ОАО «ВНИИКП») 2. ВНЕСЕН Техническим комитетом по стандартизации ТК 4 «Комбикорма, белково-витаминно-минеральные концентраты, премиксы» 3. УТВЕРЖДЕН И
ВВЕДЕН В ДЕЙСТВИЕ Приказом Федерального агентства по техническому регулированию
и метрологии от 28 ноября 4. ВВЕДЕН ВПЕРВЫЕ Информация об изменениях к настоящему стандарту публикуется в ежегодно издаваемом информационном указателе «Национальные стандарты», а текст изменений и поправок - в ежемесячно издаваемых информационных указателях «Национальные стандарты». В случае пересмотра (замены) или отмены настоящего стандарта соответствующее уведомление будет опубликовано в ежемесячно издаваемом информационном указателе «Национальные стандарты». Соответствующая информация, уведомление и тексты размещаются в информационной системе общего пользования - на официальном сайте Федерального агентства по техническому регулированию и метрологии в сети Интернет СОДЕРЖАНИЕ НАЦИОНАЛЬНЫЙ СТАНДАРТ РОССИЙСКОЙ ФЕДЕРАЦИИ
Дата введения - 2010-01-01 1. Область примененияНастоящий стандарт распространяется на комбикорма, белково-витаминно-минеральные и амидо-витаминно-минеральные концентраты, кормовые смеси, премиксы и устанавливает методы определения металломагнитной примеси. 2. Нормативные ссылкиВ настоящем стандарте использованы нормативные ссылки на следующие стандарты: ГОСТ Р 51848-2001 Продукция комбикормовая. Термины и определения ГОСТ 111-2001 Стекло листовое. Технические условия ГОСТ 334-73 Бумага масштабно-координатная. Технические условия ГОСТ 892-89 Калька бумажная. Технические условия ГОСТ 3479-85 Бумага папиросная. Технические условия ГОСТ 9147-80 Посуда и оборудование лабораторные фарфоровые. Технические условия ГОСТ 13496.0-80 Комбикорма, сырье. Методы отбора проб ГОСТ 17809-72 Материалы магнитотвердые литые. Марки ГОСТ 18510-87 Бумага писчая. Технические условия ГОСТ 19249-73 Соединения паяные. Основные термины и параметры ГОСТ 23153-78 Кормопроизводство. Термины и определения ГОСТ 23932-90 Посуда и оборудование лабораторные стеклянные. Общие технические требования ГОСТ 24104-2001 Весы лабораторные. Общие технические требования ГОСТ 25706-83 Лупы. Типы, основные параметры. Общие технические требования Примечание - При пользовании настоящим стандартом целесообразно проверить действие ссылочных стандартов в информационной системе общего пользования на официальном сайте Федерального агентства по техническому регулированию и метрологии в сети Интернет или по ежегодно издаваемому информационному указателю «Национальные стандарты», который опубликован по состоянию на 1 января текущего года, и по соответствующим ежемесячно издаваемым информационным указателям, опубликованным в текущем году. Если ссылочный стандарт заменен (изменен), то при пользовании настоящим стандартом следует руководствоваться заменяющим (измененным) стандартом. Если ссылочный стандарт отменен без замены, то положение, в котором дана ссылка на него, применяется в части, не затрагивающей эту ссылку. 3. Термины и определенияВ настоящем стандарте применены термины по ГОСТ Р 51848 и ГОСТ 23153. 4. Требования безопасности4.1. Место испытания
должно быть удалено от ферромагнитных предметов на расстояние не менее чем на 4.2. При проведении испытаний рекомендуется снять наручные часы. 5. Отбор и подготовка проб к проведению испытаний5.1. Отбор проб - по ГОСТ 13496.0. 5.2. Пробы рассыпных продуктов не подвергают дополнительной подготовке. Пробы продукции в виде гранул и крупки предварительно измельчают в фарфоровой ступке, слегка раздавливая их и доводя до состояния однородной россыпи. 6. Определение металломагнитной примесиСущность методов заключается в извлечении из навески испытуемого продукта металломагнитных частиц магнитом и последующем определении их массы, размера и формы. 6.1. Определение металломагнитной примеси с помощью подковообразного магнита (контрольный метод)6.1.1. Средства измерений, оборудование и материалы Весы лабораторные по ГОСТ 24104 с
пределом допускаемой абсолютной погрешности однократного взвешивания не более ± Магнит постоянный подковообразный из сплава марки ЮНI3ДК24 по ГОСТ 17809 с магнитной индукцией не менее 120 мТл. Могут быть использованы и другие магниты с аналогичными характеристиками. Экран для подковообразного
магнита из немагнитного материала (латунь, медь, алюминий), приведенный в приложениях
А и Б.
Для изготовления перегородки используют ленту из немагнитного материала толщиной Прибор типа ИМИ-М - измеритель магнитной индукции (миллитесламетр). Тигель или чашка выпарительная и ступка фарфоровые по ГОСТ 9147, Стекло часовое или стеклянный стаканчик по ГОСТ 23932. Лупа типа ЛП-1-5х или ЛП-1-10х по ГОСТ 25706. Лист стекла по ГОСТ 111 или лист
плексигласа размером 100 × Бумага белая писчая по ГОСТ 18510. Калька бумажная по ГОСТ 892. Бумага папиросная по ГОСТ 3479. Бумага миллиметровая по ГОСТ 334. Палочка стеклянная по ГОСТ 23932 с оплавленным концом. Примечание - Допускается применение средств измерений и оборудования с такими же или лучшими метрологическими и техническими характеристиками, а также материалов по качеству не ниже вышеуказанных. 6.1.2. Подготовка к проведению испытания Магнитную индукцию постоянного подковообразного магнита проверяют периодически, не реже одного раза в 3 мес. При ее ослаблении до значения менее 120 мТл подковообразный магнит должен быть подмагничен или заменен на новый. 6.1.3. Проведение испытания 6.1.3.1. Из средней пробы
испытуемой продукции выделяют навеску массой (500,0 ± 0,01) г. Распределяют ее
на сухой гладкой поверхности стекла или плексигласа ровным слоем толщиной
примерно Затем полюсами подковообразного магнита медленно проводят вдоль и поперек рассыпанного продукта таким образом, чтобы он весь был покрыт бороздками. Ножки магнита должны проходить в самой толще продукта, слегка касаясь поверхности стекла или плексигласа. Периодически с магнита сдувают приставшие частицы испытуемого продукта, а металломагнитные частицы снимают стеклянной палочкой в стеклянный стаканчик или на часовое стекло. Для сбора металломагнитной примеси допускается использовать гладкую белую писчую бумагу, кальку или папиросную бумагу. Полюса магнита проверяют, рассматривая их через лупу. Извлечение металломагнитных частиц из навески испытуемого продукта проводят три раза. Перед каждым извлечением металломагнитных частиц навеску перемешивают и распределяют ровным слоем, как указано выше. 6.1.3.2. Для облегчения снятия металломагнитных частиц с магнита допускается на полюса подковообразного магнита надевать экран из немагнитного материала либо плотно обертывать полюса магнита калькой или папиросной бумагой, которая фиксируется резинкой. Накопившиеся на экране или бумаге металломагнитные частицы легко отделяются от поверхности экрана или бумаги при удалении магнита. Во избежание потерь металломагнитных частиц снятие экранов или бумаги следует проводить над листом белой бумаги. 6.1.3.3. Собранные
металломагнитные частицы рассматривают в лупу. Частицы, вызывающие сомнение,
помещают в фарфоровую чашку или тигель и подвергают раздавливанию стеклянной
палочкой с оплавленным концом. После этого ссыпают их на белую бумагу и вновь притягивают
магнитом. Притянутые магнитом частицы присоединяют к основной примеси и
взвешивают с точностью до 6.1.3.4. Крупные металломагнитные частицы переносят на миллиметровую бумагу таким образом, чтобы они расположились вдоль одной из сторон любого квадрата. Пользуясь лупой, определяют максимальный размер частиц и их форму, выявляя наличие частиц с острыми краями. 6.2. Определение металломагнитной примеси с помощью магнитного устройства6.2.1. Средства измерений, оборудование м материалы Устройство для извлечения металломагнитной примеси марки УЗ-ДИМП-01, снабженное постоянным плоским магнитом с магнитной индукцией не менее 200 мТл в соответствии с приложением В, Остальные средства измерений, оборудование и материалы по 6.1.1, кроме подковообразного магнита и экранов. 6.2.2. Проведение испытания Навеску испытуемого продукта массой (1000,0 ±0,1) г распределяют примерно поровну в три отделения лотка и выравнивают скребком. Магнит с экраном устанавливают на края первого отделения лотка и за ручку медленно перемещают вдоль него от подвижной стенки в виде клапана до противоположной торцевой стороны лотка и обратно. Это движение повторяют непрерывно два раза. Затем переносят магнит поочередно во второе и третье отделение лотка и повторяют его аналогичное перемещение. После этого магнит с экраном вынимают из лотка, взявшись рукой за кольцо экрана, и опускают в стакан из немагнитного металла, предназначенный для сбора металломагнитной примеси. Одной рукой прижимают экран к краям стакана, а другой рукой, держась за ручку, вынимают магнит из экрана и ставят его на немагнитную подставку. При этом извлеченная металломагнитная примесь падает с экрана в стакан. Дальнейшее определение массы извлеченных металломагнитных частиц, их размеров и формы проводят по 6.1.3.3, 6.1.3.4. 6.3. Обработка результатов испытанийМассу выделенной металломагнитной примеси определяют по разности между массой посуды или бумаги с металломагнитными частицами и без них. Содержание
металломагнитной примеси выражают в миллиграммах на За окончательный результат принимают среднеарифметическое значение двух параллельных определений, если выполняется условие приемлемости: |X1 - Х2| ≤ r, где Х1 и Х2 - результаты первого и второго параллельных определений, мг/кг; r - значение предела повторяемости, мг/кг. 7. Контроль точности результатов испытанийАбсолютное расхождение между результатами двух параллельных определений (предел повторяемости г), полученными в условиях повторяемости, и абсолютное расхождение между двумя результатами, полученными в условиях воспроизводимости (предел воспроизводимости R) при доверительной вероятности Р = 0,95, не должны превышать следующих значений: для комбикормов, кормовых смесей, белково-(амидо)-витаминно-минеральных концентратов r ≤ 1,4 мг/кг, R ≤ 2,0 мг/кг; для префиксов r ≤ 0,7 мг/кг, R ≤ 1,1 мг/кг. Если расхождение между результатами параллельных определений превышает предел повторяемости г, то анализ повторяют, начиная со взятия навески испытуемой пробы. Если расхождение между результатами параллельных определений вновь превышает предел повторяемости, выясняют и устраняют причины неудовлетворительной повторяемости результатов испытаний. 8. Оформление результатов испытанийРезультат испытания при доверительной вероятности Р = 0,95 представляют в виде:
где Δ -предел абсолютной погрешности определения для комбикормов, кормовых смесей, белково-(амидо)-витаминно-минеральных концентратов, равный 1,0 мг/кг, для премиксов - 0,5 мг/кг. Приложение
А
|
|||||||||||||||||||||||||
|
|
|
|
Рисунок А.1 - Магнит с экраном в сборе |
Рисунок А.2 - Магнит |
|
|
|
Рисунок А.3 - Экран |
|
|
|
|
Рисунок Б.1 - Экран (вид сбоку) с указанием мест паек металла |
Рисунок Б.2 - Экран (вид сверху) с указанием мест паек металла |
|
|
|
|
Рисунок Б.3 - Перегородка (вид сверху) |
Рисунок Б.4 - Развертка кармана |

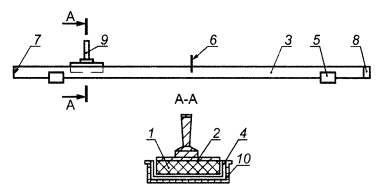
1 - постоянный плоский магнит; 2 - магнитопровод; 3 - лоток с тремя отделениями; 4 - экран из немагнитного материала; 5 - опоры; 6 - скребок; 7 - торцевая неподвижная стенка; 8 - подвижный клапан; 9 - ручка; 10 - стакан
Рисунок В.1 - УЗ-ДИМП-01 (вид сбоку)

Рисунок В.2 - УЗ-ДИМП-01 (вид сверху)
Ключевые слова: комбикорма, белково-витаминно-минеральные концентраты, премиксы, кормовые смеси, магнит, металломагнитная примесь
|
ГОСТЫ, СТРОИТЕЛЬНЫЕ и ТЕХНИЧЕСКИЕ НОРМАТИВЫ. Некоммерческая онлайн система, содержащая все Российские Госты, национальные Стандарты и нормативы. В Системе содержится более 150000 файлов нормативно-технической документации, действующей на территории РФ. Система предназначена для широкого круга инженерно-технических специалистов. Copyright © www.gostrf.com, 2008 - 2026 |