|
|
ИЗДЕЛИЯ ТЕПЛОИЗОЛЯЦИОННЫЕ, Метод определения характеристик паропроницаемости EN 12086:1997
Предисловие Цели и принципы стандартизации в Российской Федерации установлены Федеральным законом от 27 декабря 2002 г. № 184-ФЗ «О техническом регулировании», а правила применения национальных стандартов Российской Федерации - ГОСТ Р 1.0-2004 «Стандартизация в Российской Федерации. Основные положения» Сведения о стандарте 1 ПОДГОТОВЛЕН Некоммерческим партнерством «Производители современной минеральной изоляции «Росизол»» на основе выполненного Открытым акционерным обществом «Центр методологии нормирования и стандартизации в строительстве» (ОАО «ЦНС») аутентичного перевода европейского стандарта, указанного в пункте 4 2 ВНЕСЕН Техническим комитетом по стандартизации ТК 465 «Строительство» 3 УТВЕРЖДЕН И ВВЕДЕН В ДЕЙСТВИЕ Приказом Федерального агентства по техническому регулированию и метрологии от 25 декабря 2008 г. № 782-ст 4 Настоящий стандарт идентичен европейскому стандарту ЕН 12086:1997 «Теплоизоляционные изделия, применяемые в строительстве - Определение характеристик паропроницаемости» (EN 12086:1997 «Thermal insulating products for building applications - Determination of water vapour transmission properties»). Наименование настоящего стандарта изменено по отношению к наименованию европейского стандарта для приведения в соответствие с ГОСТ Р 1.5-2004 (подраздел 3.5). При применении настоящего стандарта рекомендуется использовать вместо ссылочного европейского стандарта соответствующий ему национальный стандарт Российской Федерации, сведения о котором приведены в дополнительном приложении D 5 ВВЕДЕН ВПЕРВЫЕ Информация об изменениях к настоящему стандарту публикуется в ежегодно издаваемом информационном указателе «Национальные стандарты», а текст изменений и поправок - в ежемесячно издаваемых информационных указателях «Национальные стандарты». В случае пересмотра (замены) или отмены настоящего стандарта соответствующее уведомление будет опубликовано в ежемесячно издаваемом информационном указателе «Национальные стандарты». Соответствующая информация, уведомление и тексты размещаются также в информационной системе общего пользования - на официальном сайте Федерального агентства по техническому регулированию и метрологии в сети Интернет Содержание Введение Настоящий стандарт, устанавливающий метод определения характеристик паропроницаемости, позволяет получить адекватную оценку качества теплоизоляционных материалов, производимых в Российской Федерации и странах ЕС, и обеспечить конкурентоспособность российской продукции на международном рынке, активизировать участие Российской Федерации в работе по международной стандартизации. Настоящий стандарт не отменяет ГОСТ 25898-83, который имеет более широкую область применения, т.к. распространяется на различные виды строительных материалов и изделий (листовые, пленочные, лакокрасочные и др.) и который применяют, когда это технически и экономически целесообразно и обоснованно. НАЦИОНАЛЬНЫЙ СТАНДАРТ РОССИЙСКОЙ ФЕДЕРАЦИИ
Дата введения - 2010-01-01 1 Область примененияНастоящий стандарт распространяется на теплоизоляционные изделия (далее - изделия), применяемые в строительстве, и устанавливает требования к средствам испытаний и методике определения плотности потока водяного пара, относительной паропроницаемости и паропроницаемости образцов, вырезанных из изделий, при стационарном режиме в различных заданных условиях испытания. Настоящий стандарт применяют для однородных материалов (см. примечание 1) и слоистых изделий или изделий с облицовкой из различных материалов. Примечания 1 Материал считают однородным в массе, если его плотность по всему материалу является одинаковой, т.е. измеренные значения плотности близки к его средней плотности. 2 Метод, приведенный в настоящем стандарте, как правило, не применяют для определения характеристик паропроницаемости отдельных пароизоляционных материалов заводского изготовления с высоким сопротивлением диффузии пара, например, пленок, фольги, мембран или листов, вследствие большой продолжительности испытаний. Для изделий, содержащих замедлитель паропроницаемости или пароизоляционный слой, паропроницаемость которого эквивалентна паропроницаемости слоя воздуха толщиной sd ³ 1000 м (см. 3.6), для измерения паропроницаемости замедлителя или пароизоляционного слоя могут применяться другие методы, например метод с использованием инфракрасного излучения, при условии, что полученные результаты будут находиться в том же диапазоне, в котором находятся значения, полученные при испытании в соответствии с требованиями настоящего стандарта. Плотность потока водяного пара и относительная паропроницаемость являются характеристиками, зависящими от толщины образца (изделия), подвергаемого испытанию. Паропроницаемость однородных изделий является свойством материала. 2 Нормативные ссылкиВ настоящем стандарте использована ссылка на следующий европейский стандарт: ЕН 12085:1997 Теплоизоляционные изделия, применяемые в строительстве - Определение линейных размеров образцов для испытаний 3 Термины и определенияВ настоящем стандарте применены следующие термины с соответствующими определениями: 3.1 плотность потока водяного пара (water vapour transmission rate) q: Количество пара, проходящего через единицу площади образца в единицу времени при заданной температуре, влажности и толщине образца. 3.2 относительная паропроницаемость (water vapour permeance) W: Отношение плотности потока водяного пара к разности давления пара на лицевых гранях образца в процессе испытания. 3.3 сопротивление паропроницанию (water vapour resistance) Z: Величина, обратная относительной паропроницаемости. 3.4 паропроницаемость (water vapour permeability) d: Произведение относительной паропроницаемости и толщины образца. Паропроницаемость однородного изделия характеризует свойство материала и определяется как количество пара, проходящего в единицу времени через единицу площади образца при разности давления пара на лицевых гранях и толщине образца, равных единице. 3.5 коэффициент сопротивления диффузии водяного пара (water vapour diffusion resistance factor) m: Отношение паропроницаемости воздуха к паропроницаемости материала или рассматриваемого однородного изделия. Данное отношение характеризует относительное значение сопротивления изделия водяному пару и слоя воздуха равной толщины при той же температуре. 3.6 эквивалентная толщина слоя воздуха относительно диффузии водяного пара (water vapour diffusion equivalent air layer thickness) sd: Толщина неподвижного слоя воздуха, обладающего таким же сопротивлением паропроницанию, что и образец толщиной d. Примечание - Таблица перевода единиц измерения характеристик паропроницаемости приведена в приложении А. 4 Сущность методаОбразец герметизируют до боковой поверхности испытательной чашки, содержащей влагопоглотитель или насыщенный водный раствор соли. Чашку с образцом помещают в условия регулируемых температуры и влажности. Вследствие разности между парциальными давлениями водяного пара, возникающей при указанных условиях, поток водяного пара проходит через образец. Для определения плотности потока водяного пара периодически проводят взвешивание чашки с образцом до достижения равновесного состояния. 5 Средства испытаний5.1 Испытательные чашки, предпочтительно круглой формы, стойкие (коррозионностойкие) к любым влагопоглотителям или солевым растворам и непроницаемые для воды или водяного пара. Применяют, как правило, стеклянные или металлические чашки. Размер чашки зависит от размера образца. Разница между размерами открытых верхней А1 и нижней А2 поверхностей образца, подвергаемых воздействию водяного пара, должна быть менее 3 % (см. приложение В). Примечание - Испытательные чашки могут быть непригодны для некоторых видов материалов. Данное ограничение должно быть указано в стандарте на конкретное изделие. 5.2 Измерительные приборы для измерения линейных размеров образцов - в соответствии с требованиями ЕН 12085. 5.3 Ограничительное кольцо конической формы для обеспечения свободного удаления водяного пара, форма и размеры которого должны соответствовать форме и размеру чашки. Площадь внутри ограничительного кольца должна составлять не менее 90 % площади поверхности образца, чтобы обеспечить минимальное влияние краевого эффекта, обусловленного нелинейным потоком пара (см. приложение С). 5.4 Аналитические весы для взвешивания испытательных чашек с образцом с погрешностью ± 1 мг или более высокой точностью. При использовании чашки большего размера точность взвешивания определяют в зависимости от общей массы устройства. 5.5 Шкаф, в котором поддерживают заданные условия в пределах ± 3 % требуемой относительной влажности и ± 1 °С требуемой температуры. Примечание - Требуемые условия в шкафу поддерживают циркуляцией воздуха со скоростью от 0,02 до 0,3 м/с. В шкафу, влажность в котором не создается впрыскиванием воды, используют насыщенные солевые растворы. 5.6 Герметик, стойкий к воздействиям условий испытаний. В качестве герметиков могут применяться: 5.6.1 Смесь из 90 %-го микрокристаллического парафина и 10 %-го пластификатора (например, полиизобутилена с низким молекулярным весом). 5.6.2 Смесь из 60 %-го микрокристаллического парафина и 40 %-го очищенного кристаллического парафина. 6 Образцы для испытаний6.1 Размеры образцовОбразцы должны представлять изделие и содержать любые поверхностные слои или облицовку из различных материалов, если изделие имеет эти слои или облицовку. Для определения паропроницаемости материала образца все поверхностные слои и облицовки следует удалить, толщина образца должна быть не менее 20 мм. Примечание - Для изделий с облицовкой и/или покрытием, сопротивление диффузии водяного пара материала которых m £ 3, паропроницаемость определяют по результатам измерений, проведенных непосредственно на облицовке/покрытии после удаления их с изделия. Образцы вырезают так, чтобы они соответствовали размерам выбранной испытательной чашки (см. приложение В). 6.1.2 Толщина образцов Толщина образцов должна быть равна толщине изделия. Если толщина изделия превышает 100 мм, то толщину образцов уменьшают, срезав часть образца. 6.1.3 Открытый участок образца Площадь образца А (среднеарифметическое площадей верхнего и нижнего участков образца, подвергаемых воздействию пара) должна быть не менее 50 см2. Диаметр круглых образцов или равная диаметру диагональ прямоугольных образцов (вычисленные по площади открытого участка) должны, по крайней мере, в два раза превышать толщину образца. 6.2 Число образцовИспытывают не менее пяти образцов. Если площадь каждого образца превышает 500 см2, испытание следует проводить не менее чем на трех образцах. Испытанию должны подвергаться все вырезанные по 6.1.1 образцы. Если изделие предположительно является анизотропным, то образцы вырезают из этого изделия так, чтобы параллельные лицевые грани были расположены перпендикулярно к направлению потока водяного пара, соответствующего потоку пара при эксплуатации данного изделия. Если изделие имеет поверхностные слои или приклеенную к двум лицевым граням разную облицовку, испытание образцов проводят при воздействии потока водяного пара, проходящего через образец в направлении, которое предполагается при использовании изделия. Если направление потока водяного пара через изделие неизвестно, следует подготовить дополнительное число образцов и провести испытания для каждого возможного направления потока водяного пара. 6.3 Условия кондиционирования образцовОбразцы перед испытанием выдерживают не менее 6 ч при температуре (23 ± 5) °С. В случае разногласий образцы выдерживают при температуре (23 ±2) °С и относительной влажности воздуха (50 ± 5) % в течение времени, указанного в стандарте на конкретное изделие, но не менее 6 ч. 7 Методика проведения испытаний7.1 Условия испытанийУсловия испытаний выбирают из приведенных в таблице 1. Таблица 1 - Условия испытаний
7.2 Проведение испытанийШкаф для испытаний регулируют так, чтобы в нем поддерживались постоянные условия в соответствии с таблицей 1. Выбирают тип испытательной чашки. Рекомендуемые типы испытательных чашек приведены в приложении В. Образцы подготавливают в соответствии с 6.1. Измеряют толщину образцов с погрешностью не более 0,2 мм или 0,5 % толщины образца (выбирают меньшее значение) в соответствии с требованиями ЕН 12085. Влагопоглотитель или водный насыщенный солевой раствор помещают на дно испытательной чашки слоем толщиной не менее 15 мм. С помощью расплавленного парафина образец крепят к боковой поверхности чашки. Воздушное пространство между влагопоглотителем и образцом должно быть (15 ±5) мм. Чашку с образцом выдерживают в шкафу в течение от 1 до 24 ч. Взвешивают чашку с образцом с погрешностью не более 1 мг или в случае применения испытательной чашки большего размера - в зависимости от общей массы чашки с образцом. Периодически взвешивают чашку с образцом с интервалом не менее 24 ч. Если температура помещения, в котором проводят взвешивание, поддерживается в пределах ± 2 °С номинальной температуры испытания, то чашку с образцом взвешивают внутри или вне шкафа. Если взвешивание проводят вне шкафа, то чашку с образцом необходимо вновь поместить в шкаф по возможности быстрее. Необходимо следить, чтобы время нахождения чашки с образцом вне шкафа не оказывало влияния на результаты испытания. Если температура помещения, в котором проводят взвешивание, выходит за пределы допуска ± 2 °С, чашку с образцом следует взвешивать в шкафу в условиях испытания. Взвешивание продолжают до тех пор, пока результаты пяти последовательных определений изменения массы чашки с образцом за единицу времени не будут постоянными и будут находиться в пределах ± 5 % среднего значения для данного образца (см. 8.1). Строят график зависимости изменения массы образца от времени выдержки чашки с образцом в шкафу для подтверждения постоянства изменения массы (стационарный режим). 8 Обработка результатов испытаний8.1 Изменение массы чашки с образцомИзменение массы чашки с образцом G1,2, мг/ч, для каждого образца за заданный интервал времени вычисляют по формуле
где m2 - масса чашки с образцом в момент времени t2, мг; m1 - масса чашки с образцом в момент времени t1, мг; t1 и t2 - моменты времени последовательного взвешивания чашки с образцом, ч. Для каждого образца вычисляют среднее значение G из пяти последовательных значений G1,2, мг/ч. Окончательное значение G вычисляют, когда каждый результат последних пяти последовательных определений G1,2 будет находиться в пределах ± 5 % значения G. 8.2 Плотность потока водяного параПлотность потока водяного пара q, мг/м2 · ч, вычисляют по формуле
где A - среднеарифметическое площадей верхнего и нижнего участков образца, подвергаемых воздействию пара, м2. 8.3 Относительная паропроницаемостьОтносительную паропроницаемость W, мг/м2 · ч · Па, вычисляют по формуле
где Dр - разность давлений в зависимости от условий испытания, Па (см. 7.1, таблица 1):
8.4 Сопротивление паропроницаниюСопротивление паропроницанию Z, м2 · ч · Па/мг, вычисляют по формуле
8.5 ПаропроницаемостьПаропроницаемость 5, мг/м · ч · Па, вычисляют по формуле d= Wd, (5) где d - толщина образца, м. 8.6 Коэффициент сопротивления диффузии водяного параКоэффициент сопротивления диффузии водяного пара m (безразмерная величина) вычисляют по формуле
где dвоэдуха - паропроницаемость воздуха [в зависимости от среднего атмосферного давления в процессе испытания (см. рисунок 1)]. Примечание - Если паропроницаемость воздуха и материала образца зависит от атмосферного давления в одинаковой степени, можно считать, что их отношение (коэффициент m) не зависит от атмосферного давления. При определении плотности потока водяного пара фактическое значение атмосферного давления может быть учтено с помощью формулы
Паропроницаемость воздуха dвоэдуха может быть вычислена по формулам Ширмера:
где D - коэффициент диффузии водяного пара, м2/ч; RD - газовая постоянная водяного пара, равная 462 · 10-6 Н · м/(мг · К); Т - температура испытания, К; р0 - нормальное атмосферное давление, равное 1013,25 гПа; р - среднее атмосферное давление в процессе испытания, гПа. Примечание - Атмосферное давление можно определить барометром или обратиться в метеорологическую службу. 8.7 Эквивалентная толщина слоя воздухаЭквивалентную толщину слоя воздуха sd, м, вычисляют по формулам: sd = md; (9) sd = dвоздуха Z, (10) где d- толщина образца, м. 9 Точность методаПримечание - В настоящий стандарт не представляется возможным включить данные о точности метода, однако при его пересмотре такие данные будут в него включены. Для особых случаев должны быть учтены поправки, приведенные в приложении С.
Рисунок 1 - Паропроницаемость воздуха при 23 °С 10 Отчет об испытанияхОтчет об испытаниях должен содержать: a) ссылку на настоящий стандарт; b) идентификацию изделия: 1) наименование изделия, предприятия-изготовителя или поставщика, 2) код маркировки, 3) вид изделия, 4) вид упаковки, 5) форму поставки изделия в лабораторию, 6) другую информацию, например, номинальную толщину, номинальную плотность изделия, если необходимо; c) методику проведения испытания: 1) подготовку к испытанию и порядок отбора образцов, например, кто и в каком месте проводил отбор образцов, 2) условия кондиционирования, 3) любые отклонения от условий, указанных в разделах 6 и 7, 4) дату проведения испытания, 5) размеры и число образцов, 6) изменение температуры и относительной влажности, а также среднее атмосферное давление во время испытания, 7) схему испытания, 8) общую информацию в части проведения испытания, 9) обстоятельства, которые могли бы повлиять на результаты испытания. Примечание - Сведения об оборудовании и фамилии лаборанта, проводившего испытание, должны находиться в лаборатории, однако в отчете их не следует указывать; d) результаты испытания: 1) характеристики паропроницаемости: i) плотность потока водяного пара и/или, ii) относительная паропроницаемость и/или, iii) паропроницаемость и/или, iv) коэффициент сопротивления диффузии водяного пара и/или, v) толщина слоя воздуха, эквивалентная диффузии водяного пара, и направление потока пара относительно лицевых граней образца с облицовками (если облицовки обеих лицевых граней различны), для которых вычисляют результаты; все характеристики должны быть записаны; 2) результаты отдельных испытаний и средние значения характеристик паропроницаемости. Приложение А
|
||||||||||||||||||||||||||||||||||||||||||||||||||||||||||||||||||||||||||||||||||||||||||||||||||||||||||||||||||||||||||||||||||||||||||||||||||||||||||||||||
|
А1) |
В |
С2) |
|
Параметр в соответствии с настоящим стандартом |
Коэффициент перевода |
Параметр в соответствии с ИСО 9346 [1] |
|
Плотность потока водяного пара q, мг/(м2·ч) |
2,77·10-10 |
Интенсивность расхода влаги q, кг/(м2·с) |
|
Относительная паропроницаемость W, мг/(м2·ч·Па) |
2,778 ·10-10 |
Относительная влагопроницаемость Wp, кг/(м2·с·Па) |
|
Сопротивление паропроницанию Z, м2·ч·Па/мг |
3,60·109 |
Сопротивление проникновению влаги Zp , м2·с·Па/кг |
|
Паропроницаемость d, мг/(м·ч·Па) |
2,778·10-10 |
Влагопроницаемость dР, кг/(м·с·Па) |
|
Коэффициент сопротивления диффузии водяного пара m |
- |
Коэффициент сопротивления проникновению влаги m |
|
Эквивалентная толщина слоя воздуха относительно диффузии водяного пара sd, м |
- |
- |
|
Изменение массы за единицу времени G, мг/ч |
2,778·10-10 |
Расход влаги G, кг/с |
|
1) А=ВС. 2) С = А/В. |
||
Пример 1:
![]()
Пример 2:
![]()
Определения физических величин приведены в ИСО 9346 [1].

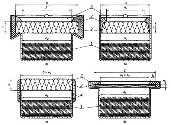
1 - влагопоглотитель/насыщенный водный раствор соли; 2 - образец для испытания; 3 - герметизирующий состав; 4 - герметизирующая лента; 5 - обойма; 6 - ограничительное кольцо; А1 - верхний открытый участок образца; А2 - нижний открытый участок образца; D - площадь образца; d - толщина образца; А - среднее значение площадей открытых участков образца, А = (A1 + A2)/2
Рисунок В.1 - Типы испытательных чашек
В настоящем стандарте не приведена точность результатов испытаний, проводимых в разных условиях, так как данные межлабораторных круговых испытаний изделий, имеющих разную толщину и разные характеристики паропроницаемости, не получены.
Поправка, относящаяся к площади поперечного сечения и площадям верхнего и нижнего открытых участков образца, может быть внесена для образцов большей толщины вследствие «скрытого краевого эффекта». Кроме того, может быть учтена поправка на толщину слоя воздуха внутри испытательной чашки и изменения атмосферного давления во время испытания.
Если площадь образца превышает площади верхнего и нижнего открытых участков (см. приложение В), то часть образца, находящаяся на уступе испытательной чашки является источником погрешности, особенно для образцов большой толщины. Находящаяся на уступе часть образца приводит к увеличению потока водяного пара пропорционально площади открытого участка, который зависит от толщины образца, ширины уступа, площади верхнего/нижнего открытых участков и, возможно, от паропроницаемости изделия.
Подробные сведения по приведенному вопросу изложены в [2].
Сопротивление водяному пару слоя воздуха между влагопоглотителем/солевым раствором и образцом может оказать влияние на результаты испытания в частности для изделий с низким сопротивлением паропроница-нию.
Подробные сведения по приведенному вопросу изложены в [3] и [4].
С.3 Поправка, учитывающая изменение атмосферного давления во время испытания
Для изделий, обладающих низкой паропроницаемостью, значительные ежедневные изменения атмосферного давления могут оказать влияние на результаты испытания. В этом случае при вычислении результата испытания необходимо учесть эффект плавучести путем включения в расчеты изменения массы образца без насыщенного водного раствора соли или влагопоглотителя.
Подробные сведения по приведенному вопросу изложены в [5].
Таблица D.1
|
Обозначение ссылочного европейского стандарта |
Обозначение и наименование соответствующего национального стандарта |
|
ЕН 12085:1997 |
ГОСТ Р ЕН 12085-2008 Изделия теплоизоляционные, применяемые в строительстве. Методы измерения линейных размеров образцов, предназначенных для испытаний |
|
ИСО 9346:1987* |
Теплоизоляция - Массообмен - Физические величины и определения |
|
|
|
(ISO 9346:1987) |
(Thermal insulation - Mass transfer - Physical quantities and definitions) |
|
Джой и Уилсон «Стандартизация метода измерения паропроницаемости. Международный симпозиум по вопросам влажности и пара |
||
|
|
(Joy, F.A. and Wilson H.G.: Standardization of Dish Method for Measuring Water Vapour transmission; International Symposium on Humidity and Moisture, Vol. 4, 1963, pp. 259-270) |
|
|
CMC 021582:1974 |
Определение паропроницаемости строительных материалов |
|
|
|
(SIS 021582:1974) |
(Determination of water vapour transmission of building materials) |
|
ДИН 51615:1987 |
Теплотехнические испытания - Определение паропроницаемости строительных изоляционных материалов |
|
|
|
(DIN 52615:1987) |
(Warmeschutztechnische Prufungen - Bestimmung der Wasserdampf-durchlassigkeit von Bau-und Dammstoffen) |
|
Хансен и Лунд. Метод определения характеристик паропроницаемости строительных материалов. Труды второго симпозиума по строительной физике в странах Скандинавии, 20-22 августа 1990 |
||
|
|
(Hansen, К. К. and Lund, H.B.: Cup Method far Determination of Water Vapour Transmission Properties of Building Materials. Sources of Uncertainty in the Method; Proceedings of the 2nd. Symposium Bunding Physics in Nordic Countries, 20-22 August 1990, Trondheim, Norway, editor Jan Vincent Thue, TAPIR Publishers, 1990) |
|
Ключевые слова: теплоизоляция, теплоизоляционные материалы, испытания, определение, паропроницаемость, водяной пар, проницаемость, условия испытания, методика, вычисление
|
ГОСТЫ, СТРОИТЕЛЬНЫЕ и ТЕХНИЧЕСКИЕ НОРМАТИВЫ. Некоммерческая онлайн система, содержащая все Российские Госты, национальные Стандарты и нормативы. В Системе содержится более 150000 файлов нормативно-технической документации, действующей на территории РФ. Система предназначена для широкого круга инженерно-технических специалистов. Copyright © www.gostrf.com, 2008 - 2026 |