Крупнейшая бесплатная информационно-справочная система онлайн доступа к полному собранию технических нормативно-правовых актов РФ. Огромная база технических нормативов (более 150 тысяч документов) и полное собрание национальных стандартов, аутентичное официальной базе Госстандарта. GOSTRF.com - это более 1 Терабайта бесплатной технической информации для всех пользователей интернета. Все электронные копии представленных здесь документов могут распространяться без каких-либо ограничений. Поощряется распространение информации с этого сайта на любых других ресурсах. Каждый человек имеет право на неограниченный доступ к этим документам! Каждый человек имеет право на знание требований, изложенных в данных нормативно-правовых актах!

  


 

ФЕДЕРАЛЬНОЕ АГЕНТСТВО
ПО
ТЕХНИЧЕСКОМУ РЕГУЛИРОВАНИЮ И МЕТРОЛОГИИ

национальный
стандарт
россиискоЙ

ФЕДЕРАЦИИ

гост р
52034-
2008

ИЗОЛЯТОРЫ КЕРАМИЧЕСКИЕ ОПОРНЫЕ НА НАПРЯЖЕНИЕ СВЫШЕ 1000 В

Общие технические условия

Москва
Стандартинформ
2009

Предисловие

Цели и принципы стандартизации в Российской Федерации установлены Федеральным законом от 27 декабря 2002 г. 184-ФЗ «О техническом регулировании», а правила применения национальных стандартов Российской Федерации - ГОСТ Р 1.0-2004 «Стандартизация в Российской Федерации. Основные положения»

Сведения о стандарте

1. ПОДГОТОВЛЕН Федеральным Государственным Унитарным Предприятием «Всероссийский электротехнический институт имени В.И. Ленина»

2. ВНЕСЕН Техническим комитетом по стандартизации ТК 37 «Электрооборудование для передачи, преобразования и распределения электроэнергии»

3. УТВЕРЖДЕН И ВВЕДЕН В ДЕЙСТВИЕ Приказом Федерального агентства по техническому регулированию и метрологии от 18 декабря 2008 г. № 585-ст

4. Настоящий стандарт разработан с учетом основных нормативных положений международного стандарта МЭК 60168:2001 «Испытания на внутренних и наружных опорных керамических или стеклянных изоляторах для систем с номинальными напряжениями свыше 1000 В» (IEC 60168:2001 «Test on indoor and outdoor post insulators of ceramic material or glass for systems with nominal voltages greater than 1000V», NEQ)

5. ВЗАМЕН ГОСТ Р 52034-2003

Информация об изменениях к настоящему стандарту публикуется в ежегодно издаваемом информационном указателе «Национальные стандарты», а текст изменений и поправок - в ежемесячно издаваемых информационных указателях «Национальные стандарты». В случае пересмотра (замены) или отмены настоящего стандарта соответствующее уведомление будет опубликовано в ежемесячно издаваемом информационном указателе «Национальные стандарты». Соответствующая информация, уведомление и тексты размещаются также в информационной системе общего пользования - на официальном сайте Федерального агентства по техническому регулированию и метрологии в сети Интернет

Содержание

1. Область применения

2. Нормативные ссылки

3. Термины и определения, обозначения и сокращения

4. Общие технические требования

5. Требования безопасности

6. Правила приемки

7. Методы испытаний

8. Транспортирование и хранение

9. Гарантии изготовителя

Приложение А (рекомендуемое) Методы измерений параллельности, эксцентриситета, углового отклонения, изогнутости и угла наклона ребер изоляторов

Приложение Б (обязательное) Материалы, используемые для изготовления арматуры

Приложение В (обязательное) Требования к качеству поверхности арматуры

Приложение Г (обязательное) Паспорт

Приложение Д (обязательное) Методы проведения производственного ультразвукового неразрушающего контроля опорных изоляторов (основные положения)

Библиография

 

НАЦИОНАЛЬНЫЙ СТАНДАРТ РОССИЙСКОЙ ФЕДЕРАЦИИ

ИЗОЛЯТОРЫ КЕРАМИЧЕСКИЕ ОПОРНЫЕ НА НАПРЯЖЕНИЕ СВЫШЕ 1000 В

Общие технические условия

Ceramic support insulators for voltage over 1000 V. General specifications

Дата введения - 2010-01-01

1. Область применения

Настоящий стандарт распространяется на керамические армированные опорные изоляторы наружной и внутренней установки, предназначенные для изоляции и крепления токоведущих частей в электрических аппаратах, распределительных устройствах электрических станций и подстанций, КРУ, токопроводах переменного тока напряжением свыше 1000 В частоты до 100 Гц, расположенных на высоте до 1000 м над уровнем моря.

Предельные температуры окружающего воздуха, при которых допустима работа изоляторов, должны быть приведены в ТУ на конкретные типы изоляторов. Изоляторы, предназначенные для работы в составе электрических аппаратов, КРУ и токопроводов, по предельно допустимым температурам окружающего воздуха должны соответствовать требованиям к электрооборудованию, КРУ и токопроводам.

Настоящий стандарт распространяется как на одноэлементные опорные изоляторы, так и на составные конструкции из изоляторов стержневого типа.

Настоящий стандарт не распространяется на изоляторы штыревого типа.

2. Нормативные ссылки

В настоящем стандарте использованы нормативные ссылки на следующие стандарты:

ГОСТ Р 9.316-2006 Единая система защиты от коррозии и старения. Покрытия термодиффузионные цинковые на крепежных и других мелких изделиях. Общие требования и методы контроля.

ГОСТ 9.307-89 Единая система защиты от коррозии и старения. Покрытия цинковые горячие. Общие требования и методы контроля.

ГОСТ 12.2.007.3-75 Система стандартов безопасности труда. Электротехнические устройства на напряжение свыше 1000 В. Требования безопасности

ГОСТ 20.57.406-81 Комплексная система контроля качества. Изделия электронной техники, квантовой электроники и электротехнические. Методы испытаний

ГОСТ 481-80 Паронит и прокладки из него. Технические условия

ГОСТ 977-88 Отливки стальные. Общие технические условия

ГОСТ 1033-79 Смазка, солидол жировой. Технические условия

ГОСТ 1131-76 Сплавы алюминиевые деформируемые в чушках. Технические условия

ГОСТ 1414-75 Прокат из конструкционной стали высокой обрабатываемости резанием. Технические условия

ГОСТ 1516.2-97 Электрооборудование и электроустановки переменного тока на напряжение 3 кВ и выше. Общие методы испытаний электрической прочности изоляции

ГОСТ 1516.3-96 Электрооборудование переменного тока на напряжение от 1 до 750 кВ. Требования к электрической прочности изоляции

ГОСТ 1583-93 Сплавы алюминиевые литейные. Технические условия

ГОСТ 2697-83 Пергамин кровельный. Технические условия

ГОСТ 2789-73 Шероховатость поверхности. Параметры и характеристики

ГОСТ 2991-85 Ящики дощатые неразборные для грузов массой до 500 кг. Общие технические условия

ГОСТ 5244-79 Стружка древесная. Технические условия

ГОСТ 5781-82 Сталь горячекатаная для армирования железобетонных конструкций. Технические условия

ГОСТ 5862-79 Изоляторы и покрышки керамические на напряжение свыше 1000 В. Общие технические условия

ГОСТ 6267-74 Смазка ЦИАТИМ-201. Технические условия

ГОСТ 9920-89(МЭК 694-80, МЭК 815-86) Электроустановки переменного тока на напряжение от 3 до 750 кВ. Длина пути утечки внешней изоляции

ГОСТ 10178-85 Портландцемент и шлакопортландцемент. Технические условия

ГОСТ 10198-91 Ящики деревянные для грузов массой свыше 200 до 20000 кг. Общие технические условия

ГОСТ 10390-86 Электрооборудование на напряжение свыше 3 кВ. Методы испытаний внешней изоляции в загрязненном состоянии

ГОСТ 14192-96 Маркировка грузов

ГОСТ 15150-69 Машины, приборы и другие технические изделия. Исполнения для различных климатических районов. Категории, условия эксплуатации, хранения и транспортирования в части воздействия климатических факторов внешней среды

ГОСТ 15543.1-89 Изделия электротехнические. Общие требования в части стойкости к климатическим внешним воздействующим факторам

ГОСТ 15846-2002 Продукция, отправляемая в районы Крайнего Севера и приравненные к ним местности. Упаковка, маркировка, транспортирование и хранение

ГОСТ 17412-72 Изделия электротехнические для районов с холодным климатом. Технические требования, приемка и методы испытаний

ГОСТ 18321-73 Статистический контроль качества. Методы случайного отбора выборок штучной продукции

ГОСТ 18620-86 Изделия электротехнические. Маркировка

ГОСТ 20419-83 Материалы керамические электротехнические. Классификация и технические требования

ГОСТ 23216-78 Изделия электротехнические. Хранение, транспортирование, временная противокоррозионная защита, упаковка. Общие требования и методы испытаний

ГОСТ 26093-84 Изоляторы керамические. Методы испытаний

ГОСТ 26358-84 Отливки из чугуна. Общие технические условия

ГОСТ 26663-85 Пакеты транспортные. Формирование с применением средств пакетирования. Общие технические требования

Примечание - При пользовании настоящим стандартом целесообразно проверить действие ссылочных стандартов в информационной системе общего пользования - на официальном сайте Федерального агентства по техническому регулированию и метрологии в сети Интернет или по ежегодно издаваемому информационному указателю «Национальные стандарты», который опубликован по состоянию на 1 января текущего года, и по соответствующим ежемесячно издаваемым информационным указателям, опубликованным в текущем году. Если ссылочный стандарт заменен (изменен), то при пользовании настоящим стандартом следует руководствоваться заменяющим (измененным) стандартом. Если ссылочный стандарт отменен без замены, то положение, в котором дана ссылка на него, применяется в части, не затрагивающей эту ссылку.

3. Термины и определения, обозначения и сокращения

3.1. В настоящем стандарте применены следующие термины с соответствующими определениями:

3.1.1. категория размещения: Характеристика места размещения изолятора соответствующего климатического исполнения при эксплуатации.

3.1.2. климатическое исполнение: Совокупность требований к конструкции изолятора в части воздействия климатических факторов внешней среды и их номинальных значений для эксплуатации в пределах данной географической зоны, транспортирования и хранения.

3.1.3. изолятор: Устройство, предназначенное для электрической изоляции и механического крепления оборудования или проводников, которые находятся под разностью потенциалов.

3.1.4. изолятор внутренней установки: Изолятор категории размещения 2 или 3 по ГОСТ 15150.

3.1.5. изолятор наружной установки: Изолятор категории размещения 1 по ГОСТ 15150.

3.1.6. стержневой изолятор: Опорный изолятор со сплошным телом в форме цилиндра или усеченного конуса, неподвижно соединенным с арматурой.

3.1.7. ребро изолятора: Кольцевой выступ на теле изолятора, предназначенный для увеличения длины пути утечки.

Примечание - Ребро может быть с капельницей и без нее.

3.1.8. арматура изолятора: Арматура изолятора, образующая конструктивный элемент изолятора, предназначенный для соединения его с несущей конструкцией или с узлами электрооборудования, или с другим изолятором.

3.1.9. кривизна изолятора: Максимальное расстояние между теоретической осью изолятора и кривой, проходящей через центры всех поперечных сечений ненагруженного изолятора.

3.1.10. длина пути утечки: Кратчайшее расстояние или сумма кратчайших расстояний вдоль поверхности изолятора между двумя проводящими частями, обычно находящимися под воздействием рабочего напряжения.

Примечание - Поверхность цемента или какого-либо другого неизоляционного армирующего состава присоединяющего материала не рассматривается как часть длины пути утечки.

3.1.11. нормированная удельная длина пути утечки, мм/кВ: Длина пути утечки изолятора, отнесенная к наибольшему рабочему напряжению, приложенному к изолятору.

Примечание - Это определение отличается от того определения удельной длины пути утечки, где использовано наибольшее линейное напряжение электрооборудования. Для изоляции оборудования, находящегося под фазным напряжением, рассматриваемое выше определение означает увеличение удельной длины пути утечки в  раз по сравнению со значениями, нормируемыми МЭК 60815 [1].

3.1.12. перекрытие изолятора: Внешний пробивной разряд изолятора или по его поверхности, соединяющей конструктивные элементы, обычно находящиеся под рабочим напряжением.

3.1.13. пробой (изолятора): Разрушающий разряд, проходящий через структуру изоляционного материала изолятора, который приводит к необратимой утрате электрической прочности.

3.1.14. механическая разрушающая нагрузка: Максимальная достигаемая нагрузка в изоляторе при испытаниях в предписанных условиях.

3.2. В настоящем стандарте применены следующие обозначения и сокращения:

КРУ - комплектное распределительное устройство;

ТУ - технические условия;

КД - конструкторская документация;

М - минимальный разрушающий момент;

Н - строительная высота изолятора;

Р - минимальная разрушающая сила при изгибе;

УЗНК - ультразвуковой неразрушающий контроль;

ОСИ - опорные стержневые изоляторы;

УЗД - ультразвуковая дефектометрия;

УЗС - ультразвуковая структурометрия;

ВТ - верхний торец;

НТ - нижний торец;

ОМАП - обжиговая макроскопическая пористость;

ЗасП - засорочная макроскопическая пористость;

МД - местные дефекты;

ЗИ - зондирующий импульс;

ВОС - верхнее «опасное» сечение;

НОС - нижнее «опасное» сечение;

ОМИП - открытая микроскопическая пористость.

4. Общие технические требования

4.1. Изоляторы следует изготовлять в соответствии с требованиями настоящего стандарта и (или) ТУ, согласованных с основным потребителем, по КД на изоляторы конкретных типов.

4.2. Изоляторы следует изготовлять климатических исполнений У, УХЛ, категорий размещения 1, 2,3 по ГОСТ 15150. Номинальные значения климатических факторов - по ГОСТ 15543.1 и ГОСТ 15150.

4.3. Значения номинальных напряжений (класса напряжения) следует выбирать из ряда:

- 3, 6, 10, 15, 20, 24, 35 кВ - для изоляторов, предназначенных для работы внутри помещений;

- 6, 10, 15, 20, 24, 35, 110, 150, 220, 330, 500,750 кВ - для изоляторов, предназначенных для работы на открытом воздухе.

4.4. Значения минимальной механической разрушающей силы при изгибе, приложенной к верхнему фланцу изолятора, следует выбирать из ряда:

- 2; (3,75); 4; 6; (7,5); 8; 12,5; 16; 20; 25; (30); 31,5 кН - для изоляторов, предназначенных для работы внутри помещений.

Примечание - Значения, указанные в скобках, в новых разработках не применять;

- 2; 3; 4; 5; 6; 8; 10; 12,5; 16; 20; 25; 31,5; 40; 60 кН - для изоляторов, предназначенных для работы на открытом воздухе.

4.5. Для стержневых изоляторов значения минимального разрушающего момента М при приложении изгибающего усилия к верхнему фланцу следует определять по согласованию с потребителем, исходя из условий работы в эксплуатации изоляторов конкретных типов, и указывать в технических условиях на изоляторы конкретных типов.

При этом минимальное значение М должно удовлетворять условию:

М > 0,5 РН - для изоляторов с Н < 1700 мм;

М > 0,2 PH -для изоляторов с Н > 1700 мм.

4.6. Значения минимального разрушающего момента при кручении для изоляторов следует выбирать из ряда: 0,245; 0,6; 0,8; 1,0; 1,2; 1,5; 1,8; 2,0; 2,5; 3,0; 3,5; 4,0; 5,0; 6,0 кН - м.

4.7. Значения минимальной разрушающей силы при центральном сжатии и растяжении должны быть установлены в технически обоснованных случаях по требованию потребителя и указаны в ТУ и/или КД на изоляторы конкретных типов.

4.8. Для стержневых изоляторов значения параметров испытательных одиночных ударов должны быть установлены по требованию потребителя и указаны в ТУ и/или КД на изоляторы конкретных типов.

4.9. Типы, основные параметры и размеры изоляторов должны соответствовать ТУ и/или КД на изоляторы конкретных типов.

Показатели допустимой кривизны (значения стрелы прогиба) должны составлять (1,5 + 0,008Н) мм.

Максимальные значения допусков должны составлять:

- на параллельность, измеряемую для диаметра 250 мм (см. приложение А):

для Н < 1000 мм - 0,5 мм;

для Н > 1000 мм - 0,0005 Н мм;

- на эксцентриситет- 2(1 + Н) мм;

- на угловое отклонение - 1° по (против) часовой стрелке, но не более 3 мм.

4.10. Длина пути утечки изоляторов категории размещения 1 в зависимости от степени загрязнения I - IV в районе их эксплуатации должна соответствовать ГОСТ 9920.

Длина пути утечки изоляторов категории размещения 2 по требованию заказчика должна быть указана в ТУ и/или КД на изоляторы конкретных типов.

4.11. Электрическая прочность изоляторов должна соответствовать требованиям ГОСТ 1516.3. При постановке на производство рекомендуется определять средние разрядные напряжения переменного тока в сухом состоянии (для изоляторов внутренней установки), под дождем (для изоляторов наружной установки) и 50 %-ные разрядные напряжения полного грозового импульса.

4.12. Изоляторы классов напряжения до 35 кВ включительно, у которых длина кратчайшего пути пробоя через изоляционный материал составляет меньше половины внешнего разрядного расстояния между металлической арматурой (фланцами), должны иметь пробивное напряжение не меньше указанного в ТУ на изоляторы конкретных типов.

4.13. Изоляторы классов напряжения до 35 кВ включительно, у которых длина кратчайшего пути пробоя через изоляционный материал составляет меньше половины внешнего разрядного расстояния между металлической арматурой (фланцами), должны выдерживать пятиминутное воздействие непрерывного потока искр по ГОСТ 26093.

4.14. Изоляторы категории размещения 1 при искусственном загрязнении и увлажнении их поверхности должны выдерживать испытательные переменные напряжения не меньше указанных в таблице 1 при удельной поверхностной проводимости слоя загрязнения не менее указанной в таблице 2 в зависимости от степени загрязнения в районе применения изоляторов по ГОСТ 9920.

По требованию потребителя могут быть определены значения 50 %-ного разрядного напряжения при нормированном значении испытательной удельной поверхностной проводимости или зависимости 50 %-ного разрядного напряжения от удельной поверхностной проводимости.

Таблица 1 - Испытательное переменное напряжение изоляторов категории размещения 1 в загрязненном и увлажненном состоянии для I-IV степеней загрязнения

Класс напряжения изоляторов, кВ

6

10

20

35

110

150

220

330

500

750

Испытательное напряжение, кВ, не менее

8

13

26

42

80

110

160

230

335

505

Примечание - Допускается испытывать изоляторы классов напряжения 500 и 750 кВ на отдельных элементах.

Таблица 2 - Нормированная удельная поверхностная проводимость слоя загрязнения изоляторов категории размещения 1 в зависимости от степени загрязнения в районе применения изоляторов

Степень загрязнения

I

II

III

IV

Удельная поверхностная проводимость, мкСм

4,5 ± 0,5

10 ± 1

20 ± 2

30 ± 3

4.15. Изоляторы категории размещения 2 при искусственном загрязнении и увлажнении их поверхности должны выдерживать испытательные переменные напряжения не меньше указанных в таблице 3 при удельной поверхностной проводимости слоя загрязнения не меньше указанной в таблице 4 в зависимости от степени загрязнения в районе применения изоляторов по ГОСТ 9920.

По требованию потребителя могут быть определены значения 50 %-ного разрядного напряжения при нормированном значении испытательной удельной поверхностной проводимости или зависимости 50 %-ного разрядного напряжения от удельной поверхностной проводимости.

Таблица 3 - Испытательное переменное напряжение изоляторов категории размещения 2 в загрязненном и увлажненном состоянии для I-IV степеней загрязнения

Класс напряжения изоляторов, кВ

6

10

15

20

24

35

Испытательное напряжение, кВ, не менее

8

13

20

27

30

45

Таблица 4 - Нормированная удельная поверхностная проводимость слоя загрязнения изоляторов категории размещения 2 в зависимости от степени загрязнения в районе применения изоляторов

Степень загрязнения

I-II

III-IV

Удельная поверхностная проводимость, мкСм

2 ± 0,5

7 ± 1

4.16. Изоляторы категории размещения 1 класса напряжения 20 кВ и выше должны выдерживать воздействие испытательной изгибающей силы, равной (50 ± 2,5) % от минимальной разрушающей силы, при обязательном проведении контроля методом регистрации сигналов акустической эмиссии в процессе нагружения.

В случае проведения испытаний без регистрации сигналов акустической эмиссии изоляторы должны подвергаться воздействию испытательной изгибающей силы, равной (70 ± 2,5) % от минимальной разрушающей силы.

4.17. Изоляторы, предназначенные для работы на растяжение, должны выдерживать воздействие испытательной растягивающей силы, значение которой должно быть согласовано с потребителем.

4.18. Изоляторы должны быть стойкими к резкому изменению температуры.

При этом значение перепада температур должно составлять:

(70 ± 2)°С - для изоляторов диаметром по телу до 150 мм включительно;

(50 ± 2)°С - для изоляторов диаметром по телу более 150 мм.

4.19. Изоляторы должны быть стойкими к воздействию медленного изменения температуры.

При этом изоляторы исполнения У должны выдерживать трехкратный цикл в диапазоне температур от минус (50 ± 2)°С до плюс (45 ± 2)°С. Изоляторы исполнения УХЛ должны выдерживать пятикратный цикл в диапазоне температур от минус (60 ± 2)°С до плюс (45 ± 2)°С.

4.20. Изоляционные части изоляторов должны соответствовать требованиям ГОСТ 5862.

Для изготовления изоляторов на классы напряжений 110 кВ и выше следует использовать электротехнический керамический материал не ниже подгруппы 120 по ГОСТ 20419.

4.21. По всему объему керамической части изолятора должна полностью отсутствовать открытая микроскопическая пористость.

Всю партию стержневых изоляторов на классы напряжений 35 кВ и выше следует контролировать на отсутствие открытой микроскопической пористости по скорости распространения ультразвука с одновременным проведением выборочных испытаний методом фуксиновых проб под давлением в соответствии с ГОСТ 26093, пункт 5.6. Дополнительно отсутствие открытой микроскопической пористости допускается определять также методом фуксиновых проб под давлением на бомзах от каждого изолятора.

4.22. Все стержневые изоляторы категории размещения 1 на напряжение 20 кВ и выше следует проверять на отсутствие внутренних дефектов изоляционной части (до армирования).

4.23. Арматуру изоляторов следует изготовлять из материалов, обеспечивающих необходимую механическую прочность (см. приложение Б).

Дополнительные требования по выбору материала арматуры изоляторов исполнения УХЛ - по ГОСТ 17412.

4.24. Качество поверхности арматуры изоляторов должно соответствовать требованиям приложения В, а также КД на изоляторы конкретных типов.

4.25. Компенсирующие прокладки изоляторов следует изготовлять из паронита по ГОСТ 481, пергамина по ГОСТ 2697 или другого материала с аналогичными техническими характеристиками.

Прокладки изоляторов классов напряжений 110 кВ и выше исполнения УХЛ, категории размещения 1 следует изготовлять из паронита.

4.26. Соединение фарфоровой части с арматурой (армирование) следует проводить армирующей связкой с применением портландцемента марки не ниже ПЦ 500-Д0-Н по ГОСТ 10178 или другого материала с аналогичными техническими характеристиками. Линейное расширение портландцемента должно быть не более 0,03 %, определяемое при автоклавном твердении под давлением 2,1 МПа в течение не менее 3 ч.

Толщина шва армирующей связки должна быть не менее 5 мм для изоляторов категории размещения 1 и не менее 2 мм - для изоляторов категорий размещения 2 и 3.

Соприкасающиеся с армирующей связкой поверхности изоляционных частей и арматуры опорных изоляторов всех категорий размещения и классов напряжений должны быть покрыты ровным слоем компенсирующей промазки толщиной 0,2 - 0,3 мм. Применение ускорителей твердения цемента, вызывающих коррозию металлов, не допускается.

4.27. Арматура изоляторов категории размещения 1, изготовляемая из чугуна или стали, должна иметь антикоррозионное цинковое покрытие по ГОСТ Р 9.316 или ГОСТ 9.307.

Наружная поверхность шва армирующей связки всех изоляторов должна иметь влагостойкое покрытие.

Допускается по согласованию с потребителем не наносить антикоррозийное покрытие на арматуру изоляторов климатических исполнений У, УХЛ, изготовлять из алюминиевых сплавов по ГОСТ 1583.

4.28. Изоляторы категории размещения 1 должны выдерживать испытания на надежность.

4.29. Гамма-процентный срок службы изоляторов с вероятностью 99,7 % - не менее 30 лет.

Интенсивность отказов изоляторов по вине изготовителя - не более 1 ´ 10-8 1/ч в течение всего срока службы.

4.30. Изоляторы должны соответствовать требованиям настоящего стандарта в течение всего срока службы.

4.31. Комплектность

В комплект, предназначенный для поставки, должны входить:

- изолятор (ы);

- паспорт на каждый изолятор классов напряжения 110 кВ и выше и на партию отгружаемых в один адрес изоляторов классов напряжения до 35 кВ включительно (см. приложение Г);

- сертификат качества и/или свидетельство о приемке (если они не входят в паспорт).

Изоляторы, состоящие из не менее чем двух составных частей, должны быть укомплектованы крепежными деталями.

4.32. Маркировка

4.32.1. Маркировка - по ГОСТ 18620 с нанесением следующих данных:

- условного обозначения типа изолятора;

- наименования или товарного знака предприятия-изготовителя;

- порядкового номера изолятора (для изоляторов классов напряжения 110 кВ и выше - обязательно, для изоляторов класса напряжения 35 кВ - рекомендуется), года, месяца изготовления изолятора;

- массы изолятора (для изоляторов классов напряжения 110 кВ и выше).

4.32.2. Место нанесения маркировки устанавливают в ТУ и/или КД на изоляторы конкретных типов. Масса изоляторов должна быть приведена на упаковке или в сопроводительной документации, если иное не указано в ТУ и/или КД.

4.32.3. Транспортная маркировка и маркировка транспортной тары - по ГОСТ 14192 с нанесением манипуляционных знаков «Хрупкое! Осторожно» и «Верх».

4.33. Упаковка

4.33.1. Изоляторы должны быть упакованы по ГОСТ 23216 в дощатые ящики ТЭ, транспортные пакеты по ГОСТ 26663 или универсальные контейнеры К и отделены друг от друга деревянными прокладками или мягким амортизационным материалом (древесная стружка по ГОСТ 5244 влажностью не более 12 %) во избежание перемещения.

4.33.2. Допускается по согласованию между потребителем и предприятием-изготовителем упаковывать изоляторы в многооборотную тару.

4.33.3. Ящики для изоляторов должны соответствовать ГОСТ 2991 и ГОСТ 10198.

4.33.4. Типы ящиков, а также порядок загрузки контейнеров при упаковке изоляторов непосредственно в контейнеры должны быть указаны в ТУ и/или КД на изоляторы конкретных типов.

4.33.5. Масса ящика с упакованными изоляторами - не более 500 кг для изоляторов на классы напряжения до 35 кВ включительно и не более 2000 кг для изоляторов на классы напряжения 110 кВ и выше.

4.33.6. Изоляторы должны иметь упаковку вида  по ГОСТ 23216.

4.33.7. Упаковка изоляторов для районов Крайнего Севера и приравненных к ним местностей - в соответствии с требованиями ГОСТ 15846.

4.34. Консервация резьбы арматуры изоляторов солидолом по ГОСТ 1033. Допускается применение смазки ЦИАТИМ-201 по ГОСТ 6267 для изоляторов всех климатических исполнений. Консервацию резьбы арматуры из алюминиевых сплавов по ГОСТ 1583 допускается не проводить.

4.35. Изоляторы должны выдерживать испытания на воздействие механических факторов при транспортировании. Упаковка изоляторов должна обеспечивать их сохранность при испытании.

5. Требования безопасности

Требования безопасности - в соответствии с ГОСТ 12.2.007.3.

6. Правила приемки

Для проверки соответствия изоляторов требованиям настоящего стандарта устанавливают следующие виды испытаний: приемо-сдаточные, периодические, типовые.

Требования стандарта могут быть использованы также для целей сертификации.

6.1. Приемо-сдаточные испытания

6.1.1. Изоляторы предъявляют к приемке партиями. Партия должна состоять из изоляторов одного типа, изготовленных на одном предприятии в одинаковых технологических условиях в течение не более 30 сут.

Технологическая однородность, предъявляемая к приемке партии изоляторов на классы напряжений 35 кВ и выше, должна быть подтверждена объективными показателями. Технологически однородные партии изоляторов рекомендуется комплектовать по результатам измерений скоростей распространения ультразвука в изоляторах.

6.1.2. Приемо-сдаточные испытания проводят по показателям, последовательности, указанным в таблице 5, и в объеме, указанном в таблице 6.

Таблица 5 - Приемо-сдаточные испытания

Наименование показателя

Объем выборки

Номер пункта

Дополнительное указание

технических требований

методов испытаний

1. Качество изоляционной части

 

4.20

7.5.1

-

1.1. Внешняя поверхность

100 %

 

 

 

1.2. Отклонения от номинальных размеров

По таблице 6

4.9, 4.10, 4.20

7.5.1, 7.5.2

-

1.3. Отсутствие внутренних дефектов

100 %

4.22

7.5.4

Ультразвуковая дефектоскопия (прозвучивание с торцов изолятора, частота 2,5 МГц)*;

ультразвуковая структурометрия (прозвучивание «опасных» сечений изолятора, частота 2,5 или 5,0 МГц)

1.4. Открытая пористость

100 %

4.21

7.5.3

По скорости распространения ультразвука;

дополнительно* - по фуксиновым пробам от бомз

2. Наличие компенсирующей промазки и прокладок

100 %

4.25, 4.26

 

Наличие прокладок, наличие и качество компенсирующих промазок проверяют визуально перед армированием

3. Отклонение от номинального размера по высоте и соответствие расположения арматуры

По таблице 6

4.9

7.5.1

-

4. Наличие покрытия арматуры и шва армирующей связки

100 %

4.27

-

-

5. Толщина шва армирующей связки

По таблице 6

4.26

7.5.1

-

6. Непрерывный поток искр

100 %

4.13

7.1.2

Для изоляторов с внутренней армировкой

7. Испытательная изгибающая сила

100 %

4.16

7.2.1

Для опорных изоляторов категории размещения 1 классов напряжения 20 кВ и выше

8. Испытательный крутящий момент

100 %

4.16

7.2.1

По требованию потребителя

9. Испытательная сила на растяжение

100 %

4.17

7.2.1

По требованию потребителя

10. Стойкость к резкому изменению температуры

По таблице 6

4.18

7.3.1

-

11. Разрушающая механическая сила на изгиб

По таблице 6

4.4

7.2.1

Испытания проводят на изоляторах, прошедших испытание по пункту 10

12. Разрушающий механический крутящий момент

По таблице 6

4.6

7.2.1

По требованию потребителя. Испытания проводят на изоляторах, прошедших испытания по пункту 10

13. Открытая пористость

-

4.21

7.5.3

По три куска от каждого изолятора, испытанного по пункту 11 или 12, проверяют методом фуксиновой пробы

14. Маркировка

100 %

4.32

-

-

15. Комплектность

100 %

4.31

-

Проверяют при формировании отгрузочной партии изоляторов

* Рекомендуемое испытание.

Таблица 6 - Определение объема выборки в зависимости от объема партии

В штуках

Объем партии изоляторов

Объем выборки, не менее

От 10 до 50 включ.

1

Св. 50 до 100 включ.

2

Св. 100 до 500 включ.

5

Св. 500 (но не более 2000)

* Если расчет не дает целого числа, то выбирают следующее целое число.

Примечание - N - объем партии, шт.

6.1.3. Испытания по пунктам 1.1, 1.3, 1.4, 2,4, 6 - 9, 14, 15 таблицы 5 проводят по плану сплошного контроля.

Изоляторы, не удовлетворяющие хотя бы одному из показателей, бракуют.

6.1.4. Испытания по пунктам 1.2, 3, 5, 10, 11, 12 таблицы 5 проводят по плану выборочного двухступенчатого контроля.

При получении удовлетворительных результатов испытаний на всех изоляторах первой выборки партию принимают.

При получении неудовлетворительных результатов испытаний хотя бы на одном изоляторе первой выборки проводят повторные испытания на удвоенной выборке изоляторов, отобранной от той же партии. При получении удовлетворительных результатов испытаний на всех изоляторах второй выборки партию принимают.

При получении неудовлетворительных результатов испытаний хотя бы на одном изоляторе второй выборки партию бракуют.

6.1.5. Результаты приемо-сдаточных испытаний следует записывать в специальные журналы, в которых должны быть указаны:

- тип изолятора;

- предприятие-изготовитель;

- порядковый номер, год, месяц изготовления изолятора (в соответствии с нанесенной на изолятор маркировкой);

- дату проверки и место проведения испытаний по контролю качества;

- результаты испытаний, причины повреждений (если таковые имели место) и принятые меры;

- заключение по результатам испытаний.

6.2. Периодические испытания

6.2.1. Периодические испытания проводят не реже одного раза в пять лет по показателям, указанным в таблице 7.

Таблица 7 - Периодические и типовые испытания

Наименование показателя

Вид испытаний

Номер пункта

Дополнительное указание

Периодические

Типовые

технических требований

методов испытаний

1. Длина пути утечки

X

X

4.10

7.5.2

-

2. Наличие и качество покрытия арматуры и шва армирующей связки

-

X

4.26

7.5.1

-

3. Испытательное переменное одноминутное напряжение в сухом состоянии

-

X

4.11

7.1.1

-

4. Испытательное переменное одноминутное напряжение под дождем

-

X

4.11

7.1.1

Для изоляторов категории размещения 1

5. Испытательное напряжение полного грозового импульса

-

X

4.11

7.1.1

-

6. Испытательное напряжение коммутационного импульса

 

X

4.11

7.1.1

Для изоляторов классов напряжения 330 кВ и выше (под дождем - для изоляторов категории размещения 1 , в сухом состоянии - для остальных изоляторов)

7. Испытательное переменное напряжение в условиях загрязнения

-

X

4.14, 4.15

7.1.3

Для изоляторов категорий размещения 1 и 2

8. Пробивное напряжение

X

X

4.12

7.1.2

Изоляторы классов напряжения до 35 кВ включительно, имеющие длину кратчайшего пути пробоя через изоляционный материал меньше половины внешнего разрядного расстояния между металлической арматурой (фланцами)

9. Среднее разрядное переменное напряжение в сухом состоянии

-

X

4.11

7.1.1

Для изоляторов категорий размещения 2 и 3 по требованию потребителя

10. Среднее разрядное переменное напряжение под дождем

 

X

4.11

7.1.1

Для изоляторов категории размещения 1.

По требованию потребителя

11. 50 %-ное разрядное напряжение полного грозового импульса

-

X

4.11

7.1.1

По требованию потребителя

12. 50 %-ное разрядное переменное напряжение в условиях загрязнения

 

X

4.14, 4.15

7.1.3

Для изоляторов категорий размещения 1 и 2 по требованию потребителя

13. Стойкость к медленному изменению температуры

X

X

4.19

7.3.1

Для изоляторов категорий размещения 1 и 2 в составе испытаний на надежность

14. Стойкость к резкому изменению температуры

X

X

4.18

7.3.1

Для изоляторов категорий размещения 1 и 2 в составе испытаний на надежность

15. Разрушающая механическая сила при центральном сжатии

X

X

4.7

7.2.1

Для изоляторов, работающих на сжатие

16. Разрушающая механическая сила на растяжение

X

X

4.7

7.2.1

Для изоляторов, работающих на растяжение

17. Разрушающий механический крутящий момент

X

X

4.6

7.2.1

Для изоляторов, работающих на кручение

18. Стойкость к воздействию одиночных ударов

X

X

4.8

7.2.2

Только для стержневых изоляторов

19. Надежность

-

X

4.28

7.4

-

20. Прочность при транспортировании

-

X

4.35

7.2.3

-

Примечание - Знак «X» означает, что испытания проводят, знак « - » - не проводят.

Объем выборки по каждому виду испытаний - четыре изолятора, отобранных из одной партии, прошедшей приемо-сдаточные испытания. Комплектование выборки - по ГОСТ 18321.

6.2.2 Изоляторы считают выдержавшими периодические испытания, если по всем показателям на выборке получены удовлетворительные результаты испытаний.

При получении неудовлетворительных результатов испытаний хотя бы по одному показателю приемку изоляторов, изготовленных (но не отгруженных) за контролируемый период, приостанавливают до получения результатов повторных испытаний.

Повторные испытания проводят на изоляторах, изготовленных после внедрения в производство мероприятий, направленных на устранение выявленных результатами испытаний дефектов.

Результаты повторных испытаний являются окончательными.

6.3. Типовые испытания

6.3.1. Типовые испытания проводят при изменении конструкции или технологического процесса изготовления изоляторов, а также при изменении применяемых материалов, если указанные изменения могут оказать влияние на характеристики изоляторов.

Типовые испытания проводят по показателям, указанным в таблице 7.

Испытания по 4.11, 4.13 и 4.14 проводят на одном изоляторе. Объем выборки по другим видам испытаний (кроме испытаний на надежность) - четыре изолятора, отобранных из одной партии, прошедшей приемо-сдаточные испытания. Комплектование выборки - по ГОСТ 18321.

Объем выборки при испытаниях на надежность - по 7.4.1.

В технически обоснованных случаях типовые испытания проводят по специальной программе. При этом состав испытаний определяют в зависимости от степени возможного влияния предлагаемых изменений на качество выпускаемых изоляторов.

6.3.2. Изоляторы считают выдержавшими типовые испытания, если по всем показателям на выборке получены удовлетворительные результаты испытаний.

При получении неудовлетворительных результатов испытаний хотя бы по одному показателю проводят анализ выявленных недостатков и принимают меры к их устранению, после чего изоляторы вновь подвергают испытаниям по этим показателям.

6.3.3. Изоляторы, испытанные по пунктам 14 - 20 таблицы 7, отправке потребителю не подлежат.

6.3.4. Результаты периодических и типовых испытаний следует оформлять в виде протоколов испытаний. В протоколах должны быть указаны:

- тип изолятора;

- предприятие-изготовитель;

- порядковый номер, год, месяц изготовления изолятора (по нанесенной на изолятор маркировке);

- дата проверки и место проведения испытаний (номер аккредитации, наименование испытательной лаборатории, параметры установок);

- результаты испытаний, характер повреждений (если таковые имели место), их причины;

- заключение по результатам испытаний.

6.3.5. Протоколы периодических и типовых испытаний (копии) предприятие-изготовитель должно предъявлять потребителю по его требованию.

7. Методы испытаний

7.1. Электрические испытания

7.1.1. Определение электрической прочности изоляторов в сухом состоянии и под дождем (на промышленной частоте, грозовом и коммутационном импульсах) следует проводить в соответствии с ГОСТ 1516.2 и ГОСТ 26093.

7.1.2. Определение пробивного напряжения изоляторов и испытания изоляторов непрерывным потоком искр следует проводить в соответствии с ГОСТ 26093.

7.1.3. Испытания изоляторов при искусственном загрязнении и увлажнении следует проводить по ГОСТ 10390 с использованием метода предварительного загрязнения и увлажнения. Приложение напряжения осуществляют способом ПД (ПТД) - приложение длительное (приложение толчком длительное) испытательного напряжения и увлажнения либо способом ПТ - приложение толчком испытательного напряжения к предварительно увлажненному изолятору.

Для определения 50 %-ного разрядного напряжения при нормированной удельной поверхностной проводимости должна быть получена зависимость 50 %-ного разрядного напряжения от удельной поверхностной проводимости в области ее нормированного значения.

7.2. Механические испытания

7.2.1. Испытания изоляторов на изгиб, растяжение, сжатие и кручение следует проводить в соответствии с ГОСТ 26093.

7.2.2. Для испытаний на воздействие одиночного удара изолятор закрепляют в горизонтальном положении за нижнюю арматуру. По свободному фланцу в плоскости, перпендикулярной к оси изолятора, наносят одиночный удар свободно падающим или маятниковым металлическим бойком массой не менее 5 кг со сферической ударной частью диаметром не менее 50 мм.

Точка нанесения удара должна находиться на расстоянии (30 ± 10) мм от края фланца со стороны изоляционной части. Энергию удара регулируют за счет изменения высоты падения и массы бойка. Значение энергии удара для изоляторов конкретных типов должно быть согласовано с основным потребителем. После нанесения удара изолятор осматривают и подвергают испытанию разрушающей силой при изгибе.

Изолятор считают выдержавшим испытание, если после нанесения нормированного одиночного удара не произошло разрушение изолятора, не обнаружено трещин, сколов изоляционной части, смещения, покачивания арматуры, а разрушение изолятора после испытания разрушающей силой при изгибе произошло при нагрузке не менее нормированной.

7.2.3. Испытание на прочность при транспортировании следует проводить по ГОСТ 26093. Допускается проводить испытание на типопредставителях. Группой типопредставителя считают изоляторы, имеющие идентичную упаковку или упаковываемые одним способом. Результаты испытаний распространяют на группу и оформляют одним протоколом.

7.3. Климатические испытания

7.3.1. Испытания изоляторов на стойкость к термоударам следует проводить в соответствии с 4.18 настоящего стандарта, по ГОСТ 26093, на стойкость к медленному изменению температур - в соответствии с 4.19 настоящего стандарта, по методу 205-2 ГОСТ 20.57.406 при режиме охлаждения и нагрева по ГОСТ 26093.

7.3.2. Для изоляторов, комплектуемых из составных частей, испытания по 6.3.1 допускается проводить на отдельных элементах конструкции.

7.4. Испытания на надежность

7.4.1. Изоляторы категории размещения 1 должны выдерживать испытания на надежность при постановке изоляторов на производство, а также при типовых испытаниях, если изменение конструкции влияет на надежность изолятора.

7.4.2. Объем выборки для испытаний на надежность - 10 изоляторов при наличии требований на стойкость к воздействию одиночного удара и шесть изоляторов - при отсутствии данного требования. Изоляторы должны быть отобраны из трех партий, прошедших приемо-сдаточные испытания. Комплектование выборки - по ГОСТ 18321.

Изоляторы следует последовательно подвергать испытательным воздействиям согласно 7.4.3 - 7.4.9.

7.4.3. Изоляторы следует испытывать шестью циклами резких изменений температуры с перепадом в соответствии с 4.18 настоящего стандарта и ГОСТ 26093.

7.4.4. Изоляторы следует испытывать однократным приложением нормированной минимальной разрушающей силы на изгиб (кручение, растяжение) по ГОСТ 26093.

7.4.5. Изоляторы следует испытывать пятью циклами медленного изменения температуры с интервалами по 4.19 при режиме охлаждения и нагрева по ГОСТ 26093. После этого изоляторы следует испытывать однократным приложением нормированной минимальной разрушающей силы на изгиб (кручение, растяжение).

7.4.6. Изоляторы следует испытывать шестью циклами резких изменений температуры с перепадом в соответствии с 4.18 настоящего стандарта и ГОСТ 26093.

7.4.7. Изоляторы в количестве 6 шт. следует испытывать однократным приложением нормированной минимальной разрушающей силы на изгиб (кручение, растяжение) с дальнейшим определением механической разрушающей силы.

7.4.8. Изоляторы в количестве 4 шт. следует испытывать однократным приложением нормированной минимальной разрушающей силы на изгиб (кручение, растяжение) с дальнейшим испытанием на стойкость к воздействию одиночных ударов. Метод испытаний - по 7.2.2, значения параметров испытаний - по 4.8.

7.4.9. Изоляторы считают выдержавшими испытания на надежность, если:

- все изоляторы выборки выдержали испытания по 7.4.3 - 7.4.6 без повреждений;

- в результате испытаний по 7.4.7 разрушающая сила на изгиб (кручение, растяжение) составляет не менее нормированной минимальной разрушающей силы;

- в результате испытаний по 7.4.8 изоляторы выдержали без разрушений воздействие одиночного удара, а разрушающая сила на изгиб (кручение, растяжение) составляет не менее нормированной минимальной разрушающей силы.

7.5. Проверка размеров, качества поверхности и качества изготовления изоляторов

7.5.1. Проверку размеров изоляторов, качества поверхности изоляторов и их арматуры, качества и толщины армировочного шва, расположения арматуры следует проводить по ГОСТ 26093 и приложению А.

7.5.2. Проверку длины пути утечки изоляторов следует проводить по ГОСТ 9920.

7.5.3. Испытания изоляторов на определение отсутствия открытой микроскопической пористости следует проводить по ГОСТ 26093 (метод фуксиновой пробы под давлением) и в соответствии с приложением Д (по скорости распространения ультразвука в изоляторе).

7.5.4. Испытания изоляторов на определение отсутствия внутренних дефектов изоляционной части следует проводить в соответствии с приложением Д.

7.6. Проверка показателей надежности

Интенсивность отказов должна подтверждаться опытом эксплуатации изоляторов.

По требованию потребителя предприятие-изготовитель обязано документально подтвердить, что фактическая интенсивность отказов изоляторов по вине изготовителя не превышает нормированного значения (например, на основании сведений об отгрузке и рекламационных материалов для изоляторов конкретных типов).

8. Транспортирование и хранение

8.1. Условия транспортирования изоляторов в части воздействия механических факторов - по группе Ж ГОСТ 23216.

8.2. Условия транспортирования изоляторов в части воздействия климатических факторов - по группе 5 ГОСТ 15150 для изоляторов категорий размещения 2 и 3, по группе 8 - для изоляторов категории размещения 1.

8.3. Транспортирование изоляторов может осуществляться всеми видами крытых транспортных средств в соответствии с правилами, действующими на каждом виде транспорта.

Допускается транспортирование изоляторов в открытых автомобилях с защитой от атмосферных осадков с помощью влагонепроницаемого материала (например, брезента), в том числе без упаковки. При этом изоляторы должны быть переложены амортизационным материалом (древесной стружкой по ГОСТ 5244 влажностью не более 12 %) или отделены друг от друга деревянными прокладками.

Допускается транспортирование изоляторов категории размещения 1, упакованных в контейнеры, в железнодорожных полувагонах.

8.4. Допускается транспортирование изоляторов осуществлять транспортными пакетами по ГОСТ 26663 с указанием массы, параметров, способов и средств пакетирования в нормативном документе. Транспортирование изоляторов, комплектуемых из составных частей, осуществляют в разобранном виде.

8.5. Транспортирование изоляторов в районы Крайнего Севера и труднодоступные районы следует осуществлять в соответствии с ГОСТ 15846.

8.6. Условия хранения изоляторов в части воздействия климатических факторов - по группам 3, 4, 5 ГОСТ 15150.

Для изоляторов категории размещения 1 условия хранения также могут быть по группам 7 и 9 ГОСТ 15150.

При хранении по группам 3 и 4 допускается содержать изоляторы в упаковке предприятия-изготовителя. При хранении по группам 5, 7, 9 изоляторы должны быть распакованы.

Срок сохраняемости по ГОСТ 23216 - не более трех лет.

9. Гарантии изготовителя

9.1. Изготовитель гарантирует соответствие изоляторов требованиям настоящего стандарта в течение всего срока службы при соблюдении условий их транспортирования, хранения и эксплуатации.

Претензии потребителя принимаются к рассмотрению только при наличии выданного изготовителем паспорта на отгрузочную партию изоляторов (см. приложение Г).

9.2. Гарантийный срок службы изоляторов - 10 лет со дня ввода в эксплуатацию, но не более 12 лет с даты отгрузки потребителю.

9.3. В течение гарантийного срока изготовитель осуществляет безвозмездную замену изоляторов как разрушенных (треснувших), так и внешне исправных, относительно которых установлено нарушение требований настоящего стандарта (в том числе с помощью методов неразрушающего контроля качества изоляторов при монтаже и эксплуатации).

Приложение А
(рекомендуемое)
Методы измерений параллельности, эксцентриситета, углового отклонения, изогнутости и угла наклона ребер изоляторов

А.1. Измерение параллельности торцов изолятора

А.1.1. Изолятор устанавливают вертикально и центрируют на жесткой вращающейся опоре (опорной плите) с помощью призматических винтов и промежуточной плоскопараллельной плиты (см. рисунок А.1).

Рисунок А.1

А.1.2. По центру верхнего торца изолятора на крепежных отверстиях фиксируют плоскопараллельную плиту.

А.1.3. При вращении изолятора считывают показания измерительного прибора А. Записывают минимальное и максимальное значения. Разница между этими значениями, рассчитанная по отношению к кругу диаметром 250 мм, представляет собой погрешность параллельности торцов изолятора.

А.2. Измерение эксцентриситета изолятора

А.2.1. Изолятор устанавливают согласно А.1.1 (см. рисунок А.1).

А.2.2. По центру верхнего торца изолятора призматическими винтами на крепежных отверстиях фиксируют плоскопараллельную плиту.

А.2.3. При вращении изолятора на опорной плите считывают показания прибора Б. Записывают минимальное и максимальное значения е и с. Эксцентриситетом опорного изолятора считают половину разности между этими значениями: Э = 0,5 (с - е).

А.2.4. В случае сомнений в верности полученного значения эксцентриситета испытание повторяют, перевернув изолятор и определив эксцентриситет для перевернутого положения.

В этом случае эксцентриситет вычисляют как среднее значение данных, полученных для разных положений изолятора.

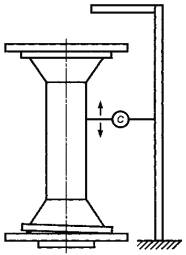
А.3. Измерение углового отклонения монтажных отверстий

А.3.1. Изолятор следует устанавливать горизонтально, например, на призматические опоры (рисунок А.2), с возможностью плавного поворота вокруг оси.

А.3.2. В резьбовые монтажные отверстия изолятора должны быть ввернуты центровочные штыри - винты с хорошо обработанными цилиндрическими хвостовиками (см. рисунок А.2).

1 - пузырьковый уровень; 2 - центровочный штырь

Рисунок А.2

А.3.3. В безрезьбовые монтажные отверстия изолятора по той же схеме закрепляют призматические болты с хорошо обработанными цилиндрическими хвостовиками.

А.3.4. С одного из торцов изолятора должен быть установлен на центровочные штыри пузырьковый уровень. Плавно поворачивая изолятор, приводят уровень в горизонтальное положение и фиксируют изолятор неподвижно.

А.3.5. Переносят уровень на центровочные штыри противоположного торца изолятора и по показанию уровня проводят отсчет углового отклонения монтажных отверстий.

А.4. Измерение изогнутости (стрелы прогиба) изолятора

А.4.1. Изолятор устанавливают таким образом, чтобы его можно было вращать вокруг оси, проходящей через центры окружностей крепежных отверстий верхней и нижней металлической арматуры. Это достигается закреплением изолятора на опорной плите согласно А.1.1 при условии, что верхняя металлическая арматура не имеет эксцентриситета по отношению к нижней. Погрешность параллельности изолятора следует выправить с помощью подкладок между торцом изолятора и опорной плитой (см. рисунок А.3).

Рисунок А.3

А.4.2. Измерительный прибор С устанавливают на различных уровнях вдоль оси изолятора и считывают его показания при вращении изолятора на поворотной плите. На каждом уровне записывают минимальное и максимальное значения. Изгибом считают половину максимального значения разности этих данных.

Примечания

1. При измерении по методам А.1, А.2 и А.4 необходимо убедиться, что поверхность поворотной плиты перпендикулярна к оси вращения.

2. При испытаниях по методам А.1 и А.2 также необходимо обеспечивать правильность центровки окружности крепежных отверстий изолятора относительно оси вращения поворотной плиты. С этой целью следует использовать все четыре крепежных отверстия, установив в них специальные винты (или болты) с конической головкой.

Рисунок А.4

Приложение Б
(обязательное)
Материалы, используемые для изготовления арматуры

Наименование материала

Обозначение стандарта

Примечание

Ковкий чугун

ГОСТ 26358

-

Серый чугун

ГОСТ 26358

Только для стержневых изоляторов классов напряжения до 35 кВ включительно

Высокопрочный чугун

ГОСТ 26358

-

Сталь

ГОСТ 977

-

Алюминиевые сплавы

ГОСТ 1583

-

Сплавы алюминиевые деформируемые в чушках

ГОСТ 1131

-

Арматурная сталь

ГОСТ 5781

-

Сортовая холоднотянутая автоматная сталь

ГОСТ 1414

-

Приложение В
(обязательное)
Требования к качеству поверхности арматуры

В.1. Поверхность арматуры должна быть чистой. Следы литниковой системы, заливы, наросты и ужимины должны быть зачищены.

В.2. На поверхности арматуры не допускаются:

- вскипы глубиной более 1 мм. Общая площадь вскипов глубиной до 1 мм не должна быть более 2 % суммарной площади поверхности отливки;

- раковины глубиной более 1 мм и диаметром более 3 мм. Раковин глубиной до 1 мм и диаметром до 3 мм не должно быть более 4 шт. на 1 см2 и не более 10 шт. - на отливке;

- раковины глубиной более 2 мм на внутренней поверхности арматуры в месте подвода питателя;

- ужимины глубиной более 1 мм и длиной более 30 мм на отливках массой до 1 кг. Ужимин глубиной до 1 мм и длиной до 30 мм на отливке массой до 1 кг не должно быть более 1 шт.;

- ужимины глубиной более 1 мм и длиной более 50 мм на отливках массой более 1 кг. Ужимин глубиной до 1 мм и длиной до 50 мм на отливке массой более 1 кг не должно быть более 2 шт.;

- наросты высотой более 2 мм на поверхностях, не сопрягаемых с другими деталями;

- наросты высотой более 1 мм на внутренней поверхности отливки (шапки);

- наросты высотой более 0,5 мм на донной части внутренней поверхности отливки (шапки);

- наросты на поверхностях, сопрягаемых с другими деталями;

- выломы глубиной более 2 мм;

- шлаковые и другие инородные включения.

В.3. В месте расположения питателя на арматуре высота технологической площадки должна быть не более 2,5 мм. При отсутствии технологической площадки высота питателя должна быть не более 2 мм.

В.4. Допускаются раковины в резьбовых отверстиях суммарной площадью не более 10 % цилиндрической поверхности резьбового отверстия. Величина отдельной раковины не должна превышать 1/10 длины окружности и двух шагов резьбы. На двух крайних витках начала резьбы дефекты недопустимы.

В.5. Требования к качеству поверхности арматуры, имеющей цинковое покрытие:

В.5.1. На поверхностях, обеспечивающих строительную высоту и требование по параллельности торцов изоляторов, наличие наплывов цинка недопустимо.

В.5.2. На внутренней поверхности арматуры допускается наличие непрокрытых участков площадью до 5 % от общей поверхности. Непрокрытые участки защищают цинксодержащими лакокрасочными покрытиями или газотермическим напылением цинка.

Остальные требования к цинковому покрытию - по ГОСТ Р 9.316 и ГОСТ 9.307.

Приложение Г
(обязательное)
Паспорт

ИЗОЛЯТОР

Типа________________________

ПАСПОРТ

1. Общие сведения об изоляторе в условиях его эксплуатации

Изолятор типа _____________изготовлен в соответствии с требованиями ГОСТ Р 52034-2008

Изолятор предназначен для эксплуатации при предельных рабочих температурах от минус ____________________°С до плюс ___________°С.

Предприятие-изготовитель ________________________________________________________

Заводской номер (номер партии для изоляторов классов напряжения 6-35 кВ) _____________

Дата выпуска (месяц, год) _________________________________________________________

2. Основные технические данные и характеристики

2.1. Основные технические характеристики

Номинальное напряжение кВ ______________________________________________________

Испытательное напряжение грозового импульса кВ ___________________________________

Номинальная механическая разрушающая сила при изгибе (растяжении) кН ______________

Масса кг ________________________________________________________________________

2.2. Результаты периодических испытаний

Протокол № ______________________________ от ____________________________________

Изоляторы типа ______________, выпускаемые ______________________________ с _____г.,

наименование предприятия-изготовителя

по результатам периодических испытаний соответствуют требованиям ГОСТ Р 52034-2008

2.3. Результаты приемо-сдаточных испытаний

Изолятор типа ______ входит в состав технологически однородной партии изоляторов № ______, прошедшей все предусмотренные приемо-сдаточные испытания.

Наименование основных показателей

Объем выборки

Норма

Результат испытаний

Строительная высота, мм

Выборочно

 

 

Испытательная изгибающая сила, кН

100%

 

 

Стойкость к резкому изменению температуры

Выборочно

 

 

Механическая разрушающая сила при изгибе, кН

Выборочно

 

 

Открытая пористость

Выборочно

 

 

Отсутствие видимых дефектов

100%

 

 

Скорость прохождения ультразвука в нижнем опасном сечении (для изоляторов классов напряжения не менее 100 кВ)

100%

 

 

Скорость прохождения ультразвука в верхнем опасном сечении (для изоляторов классов напряжения не менее 100 кВ)

100%

 

 

3. Комплект поставки

Наименование

Количество, шт.

Примечание

Изолятор типа

 

 

Паспорт

 

 

Сертификат соответствия _____________* от _________________

 

 

Крепежные детали

 

 

* По согласованию с потребителем.

4. Свидетельство о приемке

Изолятор (ы) типа (ов) ____________________________________________________________

Количество (шт.) _________________________________________________________________

Заводской номер изолятора (номер партии) № _______ (номера изоляторов в партии № _______- № ____________)

Изготовлен (ы) в период с ________________ по ______________________________________

Дата приемки ___________________________ Дата упаковки ___________________________

По результатам типовых, периодических, приемо-сдаточных испытаний изолятор (ы) соответствует (ют) требованиям ГОСТ Р 52034-2008 и признан (ы) годным (и) для эксплуатации.

Штамп ОТК

Начальник ОТК __________________________________________________________________

5. Свидетельство об упаковке

Изолятор (ы) типа (ов) ___ в количестве _______ шт. подвергнут(ы) консервации и упаковке.

Дата упаковки ___________________________________________________________________

Упаковку произвел _______________________________________________________________

Изолятор(ы) после упаковки принял ________________________________________________

Штамп ОТК

6. Гарантийные обязательства

6.1. Изготовитель гарантирует соответствие изолятора (ов) требованиям ГОСТ Р 52034-2008 в течение всего срока службы при соблюдении условий его (их) транспортирования, хранения и эксплуатации.

Претензии потребителя принимаются к рассмотрению только при наличии выданного изготовителем паспорта на изолятор (ы).

6.2. Гарантийный срок службы изолятора (ов) - 10 лет со дня ввода в эксплуатацию, но не более 12 лет с даты отгрузки потребителю.

6.3. В течение гарантийного срока изготовитель осуществляет безвозмездную замену изолятора как разрушенного (треснувшего), так и внешне исправного, относительно которого установлено нарушение требований ГОСТ Р 52034-2008 (в том числе с помощью методов неразрушающего контроля качества изолятора при монтаже и эксплуатации).

6.4. Срок службы изолятора (ов) - не менее 30 лет.

Приложение Д
(обязательное)
Методы проведения производственного ультразвукового неразрушающего контроля опорных изоляторов (основные положения)

Д.1. Объекты ультразвукового неразрушающего контроля

Д.1.1. Производственный УЗНК (ультразвуковая дефектоскопия) является обязательным для ОСИ на классы напряжения 35 кВ и выше.

Д.1.2. Для прочих опорных изоляторов УЗНК является рекомендуемым.

Д.2. Методы производственного ультразвукового неразрушающего контроля опорных стержневых изоляторов

Д.2.1. Производственный УЗНК ОСИ следует проводить двумя методами: УЗД, УЗС.

Д.2.2. УЗД ОСИ проводят упругим ультразвуковым импульсным эхометодом, первичный информационный параметр - амплитудный, способ индикации первичной информации - пьезоэлектрический, способ представления окончательной информации - электронно-лучевой.

УЗД ОСИ проводят при прозвучивании изолятора с торцовых поверхностей в аксиальном направлении прямым совмещенным ультразвуковым преобразователем рабочей частотой (2,5 ± 0,5) МГц. Как правило, контроль первоначально осуществляют с изолятора ВТ, затем с НТ. Результаты контроля с ВТ и НТ сопоставляют между собой. Для изолятора на напряжение 35 кВ допускается проводить прозвучивание только с одного из торцов.

Метод УЗД ОСИ должен выявлять и идентифицировать дефекты типа зон ОМАП и ЗасП, а также сосредоточенные МД типа одиночных трещин, полостей и включений, расположенных в стволовой части изолятора.

В качестве параметров контроля при УЗД ОСИ используют амплитудные и временные характеристики отраженных сигналов, расположенных между ЗИ и первым донным импульсом, а также амплитудные характеристики второго и третьего донных импульсов.

Д.2.3. УЗС ОСИ проводят путем определения распространения ультразвука в изоляторе: в аксиальном направлении, а также в радиальном направлении в верхнем и нижнем «опасных» сечениях, исходя из времени прохождения ультразвукового сигнала по базе определенной протяженности.

Измерение времени прохождения проводят упругим ультразвуковым импульсным эхометодом, первичный информационный параметр - временной, способ индикации первичной информации - пьезоэлектрический, способ предоставления окончательной информации - метрический.

УЗС ОСИ осуществляют:

- прозвучиванием изолятора с торцовой поверхности в аксиальном направлении прямым совмещенным ультразвуковым преобразователем рабочей частотой (2,5 ± 0,5) МГц с целью определения скорости;

- прозвучиванием изолятора в радиальном направлении в ВОС и НОС прямым совмещенным ультразвуковым преобразователем рабочей частотой (2,5 ± 0,5) МГц или (5,0 ± 1,0) МГц.

Метод УЗС ОСИ должен выявлять и оценивать дефекты ОСИ типа ОМИП, а также нарушения состава фарфоровой массы.

Радиальное прозвучивание изоляторов в ВОС и НОС рекомендуется осуществлять для изоляторов напряже­нием не менее 110 кВ, при этом полученные значения вводят в паспорт изолятора.

Д.2.4. По результатам УЗНК ОМИП, ОМАП и ЗасП допускается осуществлять анализ нарушений технологических режимов изготовления изоляторов, а также раннюю диагностику браков вышеуказанных типов.

Д.2.5. При необходимости для уточнения параметров УЗНК наряду с эхометодом допускается использовать и метод сквозного прозвучивания («теневой») с помощью двух ультразвуковых датчиков рабочей частотой (2,5 ± 0,5) МГц или (5,0 ± 1,0) МГц.

Д.2.6. По согласованию с основным потребителем допускается применять дополнительные варианты производственного УЗНК ОСИ, например УЗД околоповерхностных сосредоточенных дефектов с помощью раздельно-совмещенного ультразвукового преобразователя, УЗС поверхностной ОМИП - по скорости распространения поверхностных ультразвуковых волн.

Д.2.7. Метод проведения производственного УЗНКОСИ, используемый на предприятии - изготовителе изоляторов, должен включать в себя дополнительные методические указания и браковочные критерии УЗД и УЗС для изоляторов конкретных типов, выпускаемых данным предприятием.

При изменении технологии изготовления изоляторов браковочные критерии УЗД и УЗС подлежат корректировке предприятием-изготовителем.

Разработку и корректировку метода производственного УЗНК должны проводить организации, имеющие лицензию (разрешение) на этот вид деятельности.

Д.3. Подготовка и проведение производственного ультразвукового неразрушающего контроля опорных стержневых изоляторов

Д.3.1. Аксиальное прозвучивание изолятора осуществляют после отрезки (сошлифовки) технологических припусков. Торцовые поверхности изолятора, являющиеся при этом поверхностями ввода ультразвукового сигнала, должны иметь шероховатость поверхности не ниже 6,3 мкм по ГОСТ 2789. Должны отсутствовать отдельные грубые шероховатости, выступы, выбоины, грязь, краска. Торцовые поверхности должны быть плоскими и параллельными друг другу в соответствии с требованиями ГОСТ 5862. Под шлифовку торцовых поверхностей с помощью ручного пневмо- и электроинструмента следует проводить после УЗНК.

Д.3.2. В случае проведения аксиального прозвучивания изолятора до отрезки (сошлифовки) технологических припусков повторное прозвучивание после отрезки (сошлифовки) является обязательным условием признания данного изделия годным по результатам УЗНК.

Д.3.3. УЗНК проводят в контактном варианте; в качестве контактной жидкости используют питьевую воду.

Положение изолятора при УЗНК - вертикальное либо горизонтальное.

Д.3.4. УЗНК ОСИ с правом принятия самостоятельного решения о годности либо негодности изолятора по результатам УЗНК должен проводить специально обученный работник ОТК.

При возможности рекомендуется осуществлять контроль силами двух операторов, один из которых осуществляет сканирование преобразователя, а другой - регистрацию результатов контроля.

Д.4. Оформление результатов производственного ультразвукового неразрушающего контроля опорных стержневых изоляторов

Д.4.1. Регистрации в журнале контроля подлежат:

- тип, заводской номер, месяц и год выпуска изолятора;

- время и место проведения контроля;

- обозначение (индекс) документа, на основании которого ведется контроль;

- результаты настройки аппаратуры по эталону (обязательно) и проверки по тест-изоляторам (рекомендуется);

- результаты контроля (основные измеренные и расчетные характеристики выявленных дефектов), отдельно для контроля с ВТ, НТ, ВОС и НОС;

- сведения об участках поверхности изделия, не подвергнутых УЗНК из-за несоответствия требованиям, изложенным в Д.3.1;

- заключение о годности или негодности изолятора к выпуску по результатам УЗНК;

- заключение о возможности ранней диагностики брака по дефектам типа ОМИП, ОМАП и ЗасП (рекомендуется);

- фамилия и подпись дефектоскописта.

Д.5. Аппаратура для проведения производственного ультразвукового неразрушающего контроля опорных стержневых изоляторов

Д.5.1. Аппаратура должна обеспечивать контроль изоляторов обоими принятыми методами.

В производственных условиях рекомендуется использовать дефектоскопы общего назначения, работающие в эхо- и «теневом» режимах на частотах мегагерцевого диапазона и позволяющие отображать результаты контроля как в электролучевой, так и в метрической форме, т.е. оборудованные как экраном, так и встроенным цифровым измерителем времени прохождения ультразвукового сигнала длительностью не менее 500 мкс с шагом не более 0,1 мкс.

Д.5.2. Для проведения производственного УЗНК ОСИ изоляторов применяют следующие приспособления и устройства:

- электронный калькулятор;

- приспособления для измерений высоты и диаметров изолятора в ВОС и НОС;

- эластичный резервуар с контактной жидкостью;

- настроечный эталон из электротехнического фарфора высотой 70 - 100 мм;

- тест-образцы изоляторов испытуемого типа как из числа годных, так и забракованных по результатам УЗНК (рекомендуется);

- стол и сиденье для оператора УЗНК;

- устройство для опрокидывания изоляторов (в случае проведения УЗНК при вертикальном положении ОСИ);

- удлиненный кабель для подключения к дефектоскопу ультразвукового преобразователя (при проведении УЗНК двумя операторами);

- журнал для записи результатов контроля.

Д.5.3. Порядок размещения аппаратуры, вспомогательных устройств и контролируемых изделий должен обеспечивать оператору возможность вести контроль, сидя на расстоянии 30 - 40 см от экрана дефектоскопа.

При проведении УЗНК двумя операторами один из них должен прозвучивать контролируемое изделие, одновременно наблюдая за экраном дефектоскопа. Второй оператор, сидя у экрана дефектоскопа, по командам первого должен осуществлять измерение параметров сигналов, запись результатов контроля и, при необходимости, подсчет скоростей распространения ультразвука и местоположения выявленных сосредоточенных дефектов.

Д.5.4. Аппаратура УЗНК должна быть защищена от пыли, вибраций, а экран дефектоскопа - от прямых солнечных лучей. Помещение, где проводят УЗНК, по уровню шума, освещенности и температуре воздуха должно соответствовать помещениям, предназначенным для умственной работы.

Д.6. Требования безопасности

Д.6.1. Перед подключением к электросети дефектоскоп необходимо заземлять и не снимать заземление до отключения прибора от сети.

Д.6.2. Ремонт и эксплуатацию дефектоскопа следует осуществлять в соответствии с правилами, установленными для аппаратуры напряжением до 1000 В.

Библиография

Ключевые слова: изоляторы опорные керамические, технические требования, приемка, методы испытаний

 

 




ГОСТЫ, СТРОИТЕЛЬНЫЕ и ТЕХНИЧЕСКИЕ НОРМАТИВЫ.
Некоммерческая онлайн система, содержащая все Российские Госты, национальные Стандарты и нормативы.
В Системе содержится более 150000 файлов нормативно-технической документации, действующей на территории РФ.
Система предназначена для широкого круга инженерно-технических специалистов.

Рейтинг@Mail.ru Яндекс цитирования

Copyright © www.gostrf.com, 2008 - 2026