Крупнейшая бесплатная информационно-справочная система онлайн доступа к полному собранию технических нормативно-правовых актов РФ. Огромная база технических нормативов (более 150 тысяч документов) и полное собрание национальных стандартов, аутентичное официальной базе Госстандарта. GOSTRF.com - это более 1 Терабайта бесплатной технической информации для всех пользователей интернета. Все электронные копии представленных здесь документов могут распространяться без каких-либо ограничений. Поощряется распространение информации с этого сайта на любых других ресурсах. Каждый человек имеет право на неограниченный доступ к этим документам! Каждый человек имеет право на знание требований, изложенных в данных нормативно-правовых актах!

  


 

ФЕДЕРАЛЬНОЕ АГЕНТСТВО
ПО ТЕХНИЧЕСКОМУ РЕГУЛИРОВАНИЮ И МЕТРОЛОГИИ

НАЦИОНАЛЬНЫЙ
СТАНДАРТ
РОССИЙСКОЙ
ФЕДЕРАЦИИ

ГОСТ Р
53246-
2008

Информационные технологии

СИСТЕМЫ КАБЕЛЬНЫЕ СТРУКТУРИРОВАННЫЕ

Проектирование основных узлов системы.

Общие требования

Москва

Стандартинформ

2009

Предисловие

Цели и принципы стандартизации в Российской Федерации установлены Федеральным законом от 27 декабря 2002 г. № 184-ФЗ "О техническом регулировании", а правила применения национальных стандартов Российской Федерации - ГОСТ Р 1.0-2004 "Стандартизация в Российской Федерации. Основные положения".

Сведения о стандарте

1. Разработан ООО "Стандартпроект" на основе собственного аутентичного перевода стандартов, указанных в пункте 4.

2. Внесен Техническим комитетом по стандартизации ТК 22 "Информационные технологии".

3. Утвержден и введен в действие Приказом Федерального агентства по техническому регулированию и метрологии от 25 декабря 2008 г. № 786-ст.

4. Настоящий стандарт разработан с учетом основных положений международного стандарта ИСО/МЭК 11801:2002 "Информационные технологии. Универсальная кабельная система на территории пользователя" и американских национальных стандартов ANSI/TIA/EIA-568B Commercial Building Telecommunications Cabling Standard, ANSI/TIA/EIA-604-3, FOCIS 3 Fiber Optic Connector Intermeatability Standard.

5. Введен впервые.

Информация об изменениях к настоящему стандарту публикуется в ежегодно издаваемом информационном указателе "Национальные стандарты", а текст изменений и поправок - в ежемесячно издаваемых информационных указателях "Национальные стандарты". В случае пересмотра (замены) или отмены настоящего стандарта соответствующее уведомление будет опубликовано в ежемесячно издаваемом информационном указателе "Национальные стандарты". Соответствующая информация, уведомление и тексты размещаются также в информационной системе общего пользования - на официальном сайте Федерального агентства по техническому регулированию и метрологии в сети Интернет.

Содержание

Предисловие

1. Область применения

2. Термины и определения

3. Кабельная система

3.1. Функциональные элементы структурированной кабельной системы

3.2. Структура структурированных кабельных систем

3.3. Подсистемы телекоммуникационной кабельной системы

3.3.1. Магистральная кабельная подсистема первого уровня

3.3.2. Магистральная кабельная подсистема второго уровня

3.3.3. Горизонтальная кабельная подсистема

3.4. Взаимосвязь подсистем

3.4.1. Интерфейсы

3.4.2. Канал и постоянная линия

3.5. Масштабы и конфигурация кабельной системы

4. Компоненты структурированных кабельных систем

4.1. Среды передачи

4.1.1. Кабели на основе витой пары проводников

4.1.2. Волоконно-оптические кабели

4.2. Коммутационное оборудование

4.2.1. Коммутационное оборудование на основе витой пары проводников

4.2.2. Волоконно-оптическое коммутационное оборудование

4.3. Коммутационные и аппаратные кабели

4.3.1. Коммутационные и аппаратные кабели на основе витой пары проводников

5. Горизонтальная подсистема

5.1. Общие положения

5.1.1. Структура

5.1.2. Расстояния

5.1.3. Среды передачи и коммутационное оборудование

5.1.4. Конфигурация

5.1.5. Монтаж

5.1.6. Администрирование

5.1.7. Защита

5.1.8. Кабельная система открытого офиса

5.1.9. Централизованная волоконно-оптическая кабельная система

6. Магистральная подсистема

6.1. Общие положения

6.2. Топология магистральной кабельной подсистемы

6.2.1. Общая топология

6.2.2. Дополнения к топологии магистральной кабельной подсистемы

6.3. Внешняя магистральная кабельная подсистема

6.4. Внутренняя магистральная кабельная подсистема

6.5. Главный кросс и промежуточные кроссы

6.5.1. Кросс-соединение

6.5.2. Межсоединение

6.6. Модели канала и постоянной линии в магистральной кабельной подсистеме

6.7. Правила построения магистральных кабельных подсистем

6.7.1. Общие правила

6.7.2. Число точек коммутации

6.7.3. Специализированные устройства

6.7.4. Шунтированные отводы

6.7.5. Муфты

6.8. Проектирование магистральной кабельной подсистемы

6.8.1. Среды передачи и коммутационное оборудование

6.8.2. Расстояния

6.9. Монтаж

6.10. Администрирование

6.11. Защита

7. Телекоммуникационные пространства и помещения

7.1. Рабочее место

7.1.1. Общие положения

7.1.2. Кабельная система

7.1.3. Телекоммуникационные трассы и пространства

7.2. Телекоммуникационная

7.2.1. Общие положения

7.2.2. Кабельная система

7.2.3. Телекоммуникационные трассы и пространства

7.3. Аппаратная

7.3.1. Общие положения

7.3.2. Кабельная система

7.3.3. Телекоммуникационные трассы и пространства

7.4. Городской ввод

7.4.1. Общие положения

7.4.2. Кабельная система

7.4.3. Телекоммуникационные трассы и пространства

8. Правила монтажа кабельной системы

8.1. Общие положения

8.1.1. Источники электромагнитных помех (EMI)

8.1.2. Система заземления и уравнивания потенциалов

8.1.3. Система администрирования

8.2. Монтаж кабелей

8.2.1. Общие положения

8.2.2. Минимальный радиус изгиба

8.2.3. Максимальная сила натяжения

8.2.4. Запас кабеля

8.2.5. Терминирование на коммутационном оборудовании

8.3. Монтаж коммутационного оборудования

8.3.1. Коммутационное оборудование на основе витой пары проводников

8.3.2. Волоконно-оптическое коммутационное оборудование

8.4. Телекоммуникационные трассы и пространства горизонтальной подсистемы

8.4.1. Общая информация

8.4.2. Фальшполы

8.4.3. Сквозные трассы

8.4.4. Кондуиты

8.4.5. Кабельные лотки и желоба

8.4.6. Потолочные трассы

8.4.7. Периметральные трассы

8.4.8. Мебельные трассы

8.5. Телекоммуникационные трассы и пространства магистральной подсистемы

9. Администрирование кабельной системы

9.1. Общая информация

9.2. Область применения системы администрирования

9.3. Элементы системы администрирования

9.4. Концепция администрирования

9.4.1. Общие положения

9.4.2. Идентификаторы

9.4.3. Записи

9.4.4. Ссылки

9.4.5. Код пользователя

9.4.6. Формы представления информации

9.5. Администрирование трасс и пространств/помещений

9.5.1. Общие положения

9.5.2. Администрирование трасс

9.5.3. Администрирование пространств/помещений

9.6. Администрирование кабельной системы

9.6.1. Общие положения

9.6.2. Администрирование кабелей

9.6.3. Администрирование коммутационного оборудования и позиций коммутационного оборудования

9.6.4. Администрирование муфт

9.7. Цветовое кодирование и идентификация

9.7.1. Цветовое кодирование полей терминирования

9.8. Правила маркировки

9.8.1. Метки

БИБЛИОГРАФИЯ

НАЦИОНАЛЬНЫЙ СТАНДАРТ РОССИЙСКОЙ ФЕДЕРАЦИИ

Информационные технологии

СИСТЕМЫ КАБЕЛЬНЫЕ СТРУКТУРИРОВАННЫЕ

Проектирование основных узлов системы.

Общие требования

Information technologies. Structured cabling systems. Main system elements design. General requirements

Дата введения - 2010-01-01

1. Область применения

Настоящий стандарт распространяется на структурированные кабельные системы (СКС), способные обслуживать различные типы коммерческих зданий и поддерживать работу разнообразных приложений (таких как передача речи, данные, текст, изображение и видео). При этом размер обслуживания объекта может охватывать площадь диаметром до 3000 м, при полезной площади обслуживания до 1000000 м2 и количестве пользователей до 50000.

Настоящий стандарт устанавливает общие требования проектирования основных элементов структурированной кабельной системы на основе витой пары проводников и волоконно-оптических компонентов.

2. Термины и определения

В настоящем стандарте применены следующие термины с соответствующими определениями:

2.1. Кабельная система: 1. Система телекоммуникационных кабелей, коммутационных и аппаратных шнуров, соединительных устройств и других компонентов, которые поставляются как единый объект. 2. Совокупность телекоммуникационных кабелей, шнуров и коммутационных устройств, предназначенных для подключения к информационно-вычислительной системе различных сетевых устройств.

2.2. Структурированная кабельная система: законченная совокупность кабелей связи и коммутационного оборудования, отвечающая требованиям соответствующих нормативных документов.

2.3. Пользователь: владелец кабельной системы (TIA).

2.4. Канал: путь передачи сигнала между двумя единицами активного оборудования, например, такими как оборудованием ЛВС и терминальным оборудованием.

2.5. Многопарный кабель: кабель, в конструкцию которого входят более 4 пар проводников.

2.6. Жгутованный кабель: узел, содержащий более одного 4-парного кабеля, изготовленный с помощью обмотки кабелей по всей их длине с помощью какого-либо монтажного материала (ленты, жгута и т.п.).

2.7. Постоянная линия: путь передачи сигнала между двумя коннекторами, расположенными на концах кабеля кабельной подсистемы.

2.8. Горизонтальная подсистема: часть кабельной системы от телекоммуникационной розетки/разъема на рабочем месте до горизонтального кросса (этажного распределительного пункта) в телекоммуникационном помещении или кабельная система между розеткой системы автоматизации здания и горизонтальным кроссом, включая саму розетку, или между первой механической заделкой горизонтальной соединительной точки и горизонтальным кроссом (TIA).

Примечание. Телекоммуникационная розетка/разъем на рабочем месте включается в состав горизонтальной кабельной системы.

2.9. Магистральная подсистема: среды передачи и соединительное оборудование, обеспечивающие взаимосвязи между телекоммуникационными, аппаратными и городскими вводами внутри или между зданиями.

2.10. Консолидационная точка: точка соединения горизонтальных (распределительных) кабелей, выходящих из кабелепроводов, и горизонтальных кабелей открытого офиса, входящих в мебельные кабелепроводы.

2.11. Телекоммуникационная розетка/разъем: соединительное устройство на рабочем месте, на котором разделывается горизонтальный или розеточный кабель.

2.12. Кросс-соединение: метод коммутации, в котором для подключения активного оборудования к магистральной кабельной подсистеме или пассивной коммутации между собой кабельных сегментов магистральной подсистемы используются две единицы коммутационного оборудования, соединяемые коммутационными шнурами.

2.13. Межсоединение: метод коммутации, в котором для подключения активного оборудования к магистральной кабельной подсистеме используется одна единица коммутационного оборудования, соединенная непосредственно с кабелем магистральной подсистемы.

2.14. Кросс: установка, обеспечивающая подключение кабельных элементов, их кросс-соединение или межсоединение.

2.15. Шунтированный отвод: метод разводки одной физической линии связи на несколько абонентских устройств.

2.16. Точка ввода: элемент городского ввода, представляющий собой место прохода телекоммуникационной кабельной системы через внешнюю стену здания или перекрытие.

3. Кабельная система

3.1. Функциональные элементы структурированной кабельной системы

Описываемая в настоящем стандарте структурированная кабельная система состоит из следующих функциональных элементов:

- главного кросса (MC);

- кабеля магистральной подсистемы первого уровня;

- промежуточного кросса (IC);

- кабеля магистральной подсистемы второго уровня;

- горизонтального кросса (HC);

- кабеля горизонтальной подсистемы;

- консолидационной точки (CP);

- многопользовательской телекоммуникационной розетки (MuTOA или MuTO);

- телекоммуникационной розетки (TO).

Перечисленные выше функциональные элементы объединяются в группы, формирующие подсистемы.

3.2. Структура структурированных кабельных систем

В настоящем разделе определены способы соединения функциональных элементов СКС в:

- горизонтальную подсистему;

- магистральную подсистему;

- рабочее место;

- телекоммуникационную;

- аппаратную;

- городской ввод;

- администрирование.

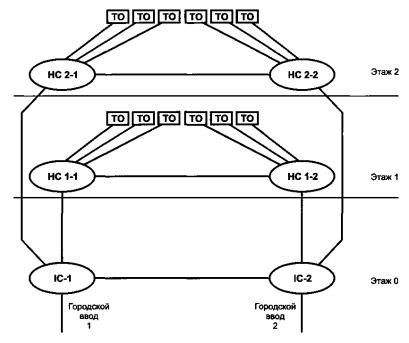
Схематичные модели различных функциональных элементов, входящих в состав СКС, взаимоотношения и взаимодействие между ними при создании законченной системы показаны на рисунках 1 и 2. В структуру СКС входят подсистемы и дополнительные элементы.

Рисунок 1. Пример топологического расположения элементов и подсистем СКС в среде кампуса

Условные обозначения к рисункам 1 и 2:

MC - главный кросс; IC - промежуточный кросс; HC - горизонтальный кросс; TO - телекоммуникационная розетка; TR - телекоммуникационная; ER - аппаратная; EF - городской ввод; WA - рабочее место; CP - консолидационная точка; DP - демаркационная точка; |×| - кросс; I - магистральная подсистема первого уровня; II - магистральная подсистема второго уровня

Рисунок 2. Пример топологического расположения элементов и подсистем СКС в здании

3.3. Подсистемы телекоммуникационной кабельной системы

СКС состоит из трех подсистем:

- магистральной кабельной подсистемы первого уровня;

- магистральной кабельной подсистемы второго уровня;

- горизонтальной кабельной подсистемы.

Подсистемы, будучи соединены вместе, формируют универсальную телекоммуникационную кабельную систему с порядком подчинения, показанным на рисунке 3.

Рисунок 3. Подсистемы СКС

Кроссы выполняют функции интерфейсов между подсистемами и служат средствами создания различных сетевых топологий, например, таких как "шина", "звезда" или "кольцо".

Соединения между подсистемами могут быть активными, требующими использования электронного оборудования, поддерживающего работу конкретных телекоммуникационных приложений, или пассивными.

При подключении активного оборудования используют методы кросс- и межсоединения. Пассивные соединения подсистем выполняют на основе кросс-соединений с помощью коммутационных шнуров или кроссировочных перемычек.

В случае реализации топологии COA (централизованной волоконно-оптической архитектуры) пассивные соединения в горизонтальных кроссах выполняют с помощью создания кросс-соединений, межсоединений или муфт.

3.3.1. Магистральная кабельная подсистема первого уровня

Магистральная кабельная подсистема первого уровня соединяет главный кросс с промежуточными кроссами, которые могут быть расположены в одном или нескольких зданиях, и включает в себя следующие элементы:

- кабели магистральной подсистемы первого уровня;

- коммутационные шнуры и перемычки главного кросса;

- коммутационное оборудование, на котором расположены кабели магистральной подсистемы первого уровня в главном и промежуточном кроссах.

Аппаратные кабели включаются в модель канала при тестировании кабельной системы, но они не считаются частью магистральной кабельной подсистемы первого уровня, поскольку предназначены для поддержки работы конкретного приложения.

В тех случаях, когда в системе отсутствует промежуточный кросс, магистральная кабельная подсистема соединяет главный кросс с горизонтальным кроссом напрямую.

Магистральная кабельная подсистема первого уровня может также соединять между собой промежуточные кроссы. Такие соединения рассматриваются только в качестве дополнений к основной топологии системы типа "звезда".

3.3.2. Магистральная кабельная подсистема второго уровня

Магистральная кабельная подсистема второго уровня соединяет промежуточные кроссы с горизонтальными кроссами и включает в себя следующие элементы:

- кабели магистральной подсистемы второго уровня;

- коммутационные шнуры и перемычки промежуточного кросса;

- коммутационное оборудование, на котором терминированы кабели магистральной подсистемы второго уровня в промежуточном и горизонтальном кроссах.

Аппаратные кабели включаются в модель канала при тестировании кабельной подсистемы, но они не считаются частью магистральной кабельной подсистемы второго уровня, поскольку предназначены для поддержки работы конкретных приложений.

Магистральная кабельная подсистема здания может также соединять между собой горизонтальные кроссы. Такие соединения рассматриваются только в качестве возможных дополнений к основной топологии системы типа "звезда".

3.3.3. Горизонтальная кабельная подсистема

Горизонтальная кабельная подсистема соединяет горизонтальные кроссы с телекоммуникационными розетками на рабочих местах и включает в себя следующие элементы:

- кабель горизонтальной подсистемы;

- коммутационные шнуры и кроссировочные перемычки горизонтального кросса;

- коммутационное оборудование в горизонтальном кроссе, на котором терминирован кабель горизонтальной подсистемы;

- телекоммуникационную розетку на рабочем месте, на которой терминирован кабель горизонтальной подсистемы;

- многопользовательскую розетку на рабочем месте, на которой терминирован кабель горизонтальной подсистемы;

- консолидационную точку.

Аппаратные кабели включаются в модель канала при тестировании кабельной системы, но они не считаются частью горизонтальной кабельной подсистемы, поскольку предназначены для поддержки работы конкретных приложений.

Кабель горизонтальной подсистемы должен проходить непрерывным сегментом от горизонтального кросса до телекоммуникационной розетки на рабочем месте, за исключением случая использования консолидационной точки.

3.4. Взаимосвязь подсистем

В СКС функциональные элементы кабельных подсистем соединяются между собой в иерархическую структуру, приведенную на рисунках 4 и 5.

Рисунок 4. Иерархическая структура кабельной системы

Рисунок 5. Централизованная структура кабельной системы

При использовании централизованной структуры кабельной системы образуется комбинированный канал, сочетающий в себе свойства магистральной и горизонтальной подсистем. Канал создается путем соединения рабочего места с централизованным кроссом тремя методами  - транзитной прокладки, межсоединения или муфты.

В тех случаях, когда кроссы выполняют комбинированные функции (например, главный кросс обслуживает не только все здание, но и этаж, на котором расположен, выполняя, таким образом, функции горизонтального кросса), промежуточные кабельные системы не применяют.

Кроссы располагаются в аппаратных и телекоммуникационных помещениях.

Функциональные элементы кабельной системы располагаются в пространстве здания, которое они обслуживают, в соответствии с рисунком 6.

Рисунок 6. Расположение функциональных элементов кабельной системы в здании

3.4.1. Интерфейсы

3.4.1.1. Подключение активного и тестирующего оборудования

Интерфейсы для подключения активного оборудования к кабельной системе располагаются в конечных точках каждой из подсистем. В любом кроссе может быть создано подключение внешнего оборудования с помощью методов кросс- и межсоединения.

Примечание. Использование консолидационной точки для подключения активного оборудования к горизонтальной кабельной подсистеме запрещено.

Примеры потенциальных интерфейсов кабельной системы для подключения активного оборудования показаны на рисунке 7.

Рисунок 7. Интерфейсы кабельной системы

Расстояния от источников внешних сервисов до главного кросса могут быть достаточно большими, поэтому при проектировании кабельной системы с учетом конкретных приложений, которые будут востребованы конечными пользователями, рекомендуется принимать во внимание рабочие характеристики кабельной системы, соединяющей здание с поставщиками сервиса.

Интерфейсы для подключения тестирующего оборудования к кабельной системе располагаются в конечных точках каждой из подсистем и в консолидационных точках (при необходимости раздельного тестирования сегментов горизонтальной кабельной подсистемы в среде кабельной системы открытого офиса).

3.4.1.2. Подключение к сетям общего пользования

Подключение СКС к телекоммуникационным сетям общего пользования осуществляется в точке расположения интерфейса внешних поставщиков сервиса.

В тех случаях, когда интерфейс сетей общего пользования не соединен непосредственно с одним из интерфейсов кабельной системы, при ее проектировании следует учитывать рабочие характеристики сегмента, соединяющего городской ввод здания с интерфейсом кабельной системы.

3.4.2. Канал и постоянная линия

В случае использования сервисов дальнего радиуса действия (например, аналоговой телефонии) канал может формироваться соединением двух и более подсистем, включая аппаратные кабели на рабочем месте, в кроссах, коммутационные шнуры и перемычки.

Модель канала СКС создана для обеспечения определенной категории рабочих характеристик передачи, способной поддерживать работу телекоммуникационных приложений. При тестировании кабельной системы в модель канала не включаются коннекторы интерфейсов активного оборудования.

В горизонтальной кабельной подсистеме постоянная линия состоит из телекоммуникационной розетки, кабеля горизонтальной подсистемы, консолидационной точки (в качестве дополнительного элемента) и коммутационного оборудования в горизонтальном кроссе.

В модель постоянной линии входят коннекторы на концах кабельной системы.

3.5. Масштабы и конфигурация кабельной системы

Число и тип подсистем, составляющих СКС, зависит от географических особенностей и размеров кампуса или здания, а также от стратегических планов развития системы.

Обычно на одном объекте предусмотрен один главный кросс, один промежуточный кросс на здание и один горизонтальный кросс на этаж здания.

В том случае, когда объект состоит из одного небольшого здания, размеры которого позволяют обслуживать его с помощью одного кросса, отпадает необходимость в магистральной подсистеме.

Крупные здания могут обслуживаться несколькими промежуточными кроссами, объединенными с помощью главного кросса.

Кроссы должны быть расположены на объекте таким образом, чтобы значения длины кабельных сегментов соответствовали пределам, установленным в разделах 5 и 6.

Максимально допустимые расстояния в кабельных подсистемах (расстояния между кроссами) должны соответствовать значениям, приведенным в таблице 1.

Таблица 1

Тип канала

Длина, м

Горизонтальная подсистема (HC - TO)

100

Магистральная подсистема здания (IC - HC)

300

Магистральная подсистема здания + кампуса (MC - HC)

2000 (5000)

Для определения максимально допустимого значения длины канала необходимо обращаться к стандартам на конкретные телекоммуникационные приложения, для которых рассчитывается эта длина.

Рекомендуется проектировать как минимум один горизонтальный кросс для каждого этажа здания, независимо от его размеров, и дополнительные горизонтальные кроссы на каждые 1000 м2 площади обслуживаемого офисного пространства.

В тех случаях, когда плотность рабочих мест на этаже низкая (например, приемные, фойе, вестибюли), допускается обслуживать подобные пространства из кроссов, расположенных на смежных этажах (1 - 2 или 3 - 4).

Кроссы могут выполнять комбинированные функции (рисунок 8).

Рисунок 8. Кабельная система с кроссами, выполняющими комбинированные функции (IC/HC во втором здании)

При определенных условиях, например в случае существования требований к защищенности или повышенной надежности системы, в нее может быть заложена избыточность структуры. На рисунке 9 показан пример соединения элементов в одну из возможных конфигураций системы с избыточностью структуры. Избыточность структуры может быть заложена в проект кабельной системы здания с целью обеспечения защиты от факторов риска (пожара или повреждения кабеля внешней телекоммуникационной сети общего пользования).

Рисунок 9. Взаимодействие элементов в системе с диверсификацией магистральных подсистем, выполненной в целях повышения отказоустойчивости

4. Компоненты структурированных кабельных систем

4.1. Среды передачи

4.1.1. Кабели на основе витой пары проводников

4.1.1.1. Рабочие характеристики передачи

В СКС используют кабельные компоненты с рабочими характеристиками передачи следующих категорий:

6 - неэкранированные (UTP) и экранированные (ScTP, FTP, SFTP) кабели на основе витой пары проводников с волновым сопротивлением 100 Ом и рабочим диапазоном частот до 250 МГц;

5e - неэкранированные (UTP) и экранированные (ScTP, FTP, SFTP) кабели на основе витой пары проводников с волновым сопротивлением 100 Ом и рабочим диапазоном частот до 100 МГц;

5 - неэкранированные (UTP) и экранированные (ScTP, FTP) многопарные кабели на основе витой пары проводников с волновым сопротивлением 100 Ом и рабочим диапазоном частот до 100 МГц;

3 - неэкранированные (UTP) многопарные кабели на основе витой пары проводников с волновым сопротивлением 100 Ом и рабочим диапазоном частот до 16 МГц.

Многопарные кабели на основе витой пары проводников с рабочими характеристиками передачи категорий 3 и 5 могут быть использованы только в магистральных подсистемах СКС для передачи сигналов низкоскоростных приложений (например, аналоговая и цифровая телефония).

Исключение из приведенных выше правил представляют многопарные кабели для внешней прокладки, рабочие характеристики которых обычно не выходят за рамки первого и второго уровней. Такие кабели состоят из одножильных медных проводников калибров 19 AWG (0,9 мм), 22 AWG (0,64 мм), 24 AWG (0,5 мм) или 26 AWG (0,4 мм) в термопластиковой изоляции и предназначены для передачи сигналов приложений передачи речи и низкоскоростных данных (кабели типа OSP) или приложений передачи речи, высокоскоростных данных и видео (широкополосные кабели типа BBOSP).

4.1.1.2. Эксплуатация кабелей в местах с высокими температурами

Монтаж кабельных сегментов возможен в пространствах (например, воздуховодах, шахтах (стояках), помещениях, не оборудованных системами контроля микроклимата (склады), производственных помещениях и т.п.), температура окружающей среды которых может быть выше 20 °C.

Для обеспечения соответствия требованиям к вносимым потерям (IL) моделей канала и постоянной линии рекомендуется уменьшать длины кабельных сегментов в зависимости от средней температуры окружающей среды в местах их прокладки, с помощью применения температурного коэффициента вносимых потерь.

В таблице 2 приведены значения возможных изменений длины кабельных сегментов в зависимости от температуры окружающей среды в месте прокладки кабелей и температурного коэффициента вносимых потерь (0,4% на 1 градус Цельсия).

Таблица 2

Температура, °C

Увеличение вносимых потерь, %

Длина кабеля, м

Уменьшение длины кабеля, м

20

0,0

90,0

0,0

25

2,0

89,0

1,0

30

4,0

87,0

3,0

35

6,0

85,5

4,5

40

8,0

84,0

6,0

45

10,0

82,5

7,5

50

12,0

81,0

9,0

55

14,0

79,5

10,5

60

16,0

78,0

12,0

При расчете данных, приведенных выше, учитывались 10 м аппаратных и коммутационных шнуров в соответствии с моделью канала.

4.1.1.3. Кабели горизонтальной подсистемы

Общие положения

Требования, установленные в настоящем разделе, распространяются на кабели на основе симметричной витой пары проводников, предназначенные для использования в горизонтальной кабельной подсистеме.

Кабели горизонтальной кабельной подсистемы состоят из одножильных проводников калибров 22 - 24 AWG в термопластиковой изоляции, сформированных в четыре витые пары, покрытые общей термопластиковой оболочкой, с одинарным экраном из фольги или двойным экраном из фольги и проволочной сетки в качестве дополнительных элементов.

Все кабели, построенные на основе симметричной витой пары проводников, имеют волновое сопротивление 100 Ом.

Примечания.

1. Запрещено использование многопарных кабелей на основе симметричной витой пары проводников любой категории рабочих характеристик передачи.

2. Не допускается использование жгутованных кабелей.

Формирование пучков кабелей во время монтажа, при соблюдении требований раздела 5, не приводит к образованию жгутованного кабеля и не считается запрещенной практикой.

Цветовое кодирование проводников и пар в 4-парных кабелях горизонтальной подсистемы соответствует схеме, приведенной в таблице 3.

Таблица 3

Пара

Проводник

Цветовой код

Аббревиатура

1

1 (tip)

Бело-голубой

W-BL

2 (ring)

Голубой

BL

2

3 (tip)

Бело-оранжевый

W-O

4 (ring)

Оранжевый

O

3

5 (tip)

Бело-зеленый

W-G

6 (ring)

Зеленый

G

4

7 (tip)

Бело-коричневый

W-BR

8 (ring)

Коричневый

BR

Экранированные кабели

Применение кабелей на основе витой пары проводников для поддержки работы телекоммуникационных приложений иногда требует использования экрана. Экранирование проводников кабеля помогает улучшить защиту от электромагнитного излучения, создаваемого носителями сигналов, и невосприимчивость к воздействию электромагнитных помех от внешних источников. Способность экрана создавать определенные преимущества для кабельной системы зависит от множества факторов. К этим факторам можно отнести рабочие характеристики компонентов кабельной системы, специфические методы и тщательность монтажа, а также конструктивные особенности и способы подключения активного оборудования.

Особенностью экранированных кабелей является добавление к конструкции неэкранированного кабеля гальванически непрерывного экрана, расположенного вокруг четырех пар под общей оболочкой. Одинарный экран состоит из спиральной или продольной металлической или ламинированной металлом пластиковой ленты, двойной - из ленты и сетки, состоящей из луженых неизолированных одножильных медных проводников калибра 26 AWG. К экранам добавляется луженый медный дренажный проводник калибра 26 AWG, находящийся в гальваническом контакте с металлической поверхностью ленты.

4.1.1.4. Кабели магистральной подсистемы

Общие положения

Требования, приведенные в настоящем разделе, распространяются на кабели на основе симметричной витой пары проводников, предназначенных для использования в магистральной кабельной подсистеме.

Кабели магистральной подсистемы построены на основе одножильных проводников калибров 22 - 24 AWG в термопластиковой изоляции, сформированных в четыре витые пары, покрытые общей термопластиковой оболочкой, с одинарным или двойным экраном из фольги и проволочной сеткой в качестве дополнительных элементов.

Все кабели, построенные на основе симметричной пары проводников, имеют волновое сопротивление 100 Ом.

Цветовое кодирование проводников и пар в 4-парных кабелях магистральной подсистемы соответствует схеме, приведенной в таблице 3.

Разрешается использование многопарных кабелей на основе симметричной витой пары проводников с рабочими характеристиками передачи категорий 3 и 5 в магистральной кабельной подсистеме.

Применение многопарных кабелей ограничивается передачей однородных сигналов низкоскоростных телекоммуникационных приложений (с рабочей полосой частот до 1 МГц).

Примечание. Допускается использовать для внешней прокладки многопарные кабели, рабочие характеристики которых не выходят за рамки первого и второго уровней, при условии, что кабели состоят из одножильных медных проводников калибра 19 AWG (0,9 мм), 22 AWG (0,64 мм), 24 AWG (0,5 мм) или 26 AWG (0,4 мм) в термопластиковой изоляции и предназначены для передачи сигналов приложений передачи речи и низкоскоростных данных (кабели типа OSP) или приложений передачи речи, высокоскоростных данных и видео (широкополосные кабели типа BBOSP).

Экранированные кабели

Применение кабелей на основе витой пары проводников для поддержки работы телекоммуникационных приложений иногда требует использования экрана. Экранирование проводников кабеля помогает улучшить защиту от электромагнитного излучения, создаваемого носителями сигналов, и невосприимчивость к воздействию электромагнитных помех от внешних источников. Способность экрана создавать определенные преимущества для кабельной системы зависит от множества факторов, таких как рабочие характеристики компонентов кабельной системы, специфические методы и тщательность монтажа, а также конструктивные особенности и способы подключения активного оборудования.

Экранированные кабели на основе симметричной витой пары проводников, используемые в магистральной кабельной подсистеме, должны соответствовать всем требованиям общих положений.

Особенностью экранированных кабелей является добавление к конструкции неэкранированного кабеля гальванически непрерывного экрана, расположенного вокруг четырех пар под общей оболочкой. Одинарный экран состоит из спиральной или продольной металлической или ламинированной металлом пластиковой ленты, двойной - из ленты и сетки, состоящей из луженых неизолированных одножильных медных проводников калибра 26 AWG. К экранам добавляется луженый медный дренажный проводник калибра 26 AWG, находящийся в гальваническом контакте с металлической поверхностью ленты.

4.1.2. Волоконно-оптические кабели

4.1.2.1. Общие положения

Волоконно-оптические кабели, используемые в СКС, предназначены для внутреннего и внешнего применения. Конструкция волоконно-оптических кабелей содержит от двух до нескольких волокон различного типа и размеров в буфере или оболочке.

Существуют следующие основные типы кабелей:

- распределительный кабель состоит из двух и более волокон, собранных вместе или в виде отдельных многоволоконных элементов; используют при монтаже протяженных сегментов кабельной системы и в тех случаях, когда все волокна терминируются в одном месте (например, на одной коммутационной панели или в одном настенном оптическом шкафу);

- соединительный кабель или шнур состоит из одного или двух волокон, усиленных элементами жесткости (арамидным волокном); предназначен для приложений коммутации на небольших расстояниях. Одноволоконный шнур часто называют "симплексным", а двухволоконный - "дуплексным". Дуплексный шнур может состоять из двух симплексных кабелей, оболочки которых соединены между собой, или из двух волокон, покрытых общей оболочкой. Такие шнуры используют в качестве аппаратных и коммутационных шнуров (перемычек);

- композитный кабель состоит из двух и более кабельных модулей, представляющих собой отдельные распределительные волоконно-оптические кабели, покрытые общей оболочкой так, что при монтаже каждый из таких модулей может быть отделен от общей конструкции и терминирован в отдельном месте.

Цветовое кодирование кабелей представлено в 4.1.2.7.

4.1.2.2. Рабочие характеристики передачи

Рабочие характеристики передачи волоконно-оптических кабелей, используемых в СКС, приведены в таблице 4.

Таблица 4

Тип оптического волокна

Рабочая длина волны,
нм

Максимально допустимое затухание,
дБ/км

Минимально допустимый коэффициент широкополосности,
МГц
· км

Многомодовое 50/125 мкм

850

3,5

500

1300

1,5

500

Многомодовое 62,5/125 мкм

850

3,5

160

1300

1,5

500

Одномодовое внутреннего применения

1310

1,0

-

1550

1,0

-

Одномодовое внешнего применения

1310

0,5

-

1550

0,5

-

4.1.2.3. Характеристики кабелей внутренней подсистемы

Конструкция оптических 2- и 4-волоконных кабелей, предназначенных для использования в горизонтальной кабельной подсистеме и COA, должна обеспечивать минимально допустимый радиус изгиба 25 мм в условиях эксплуатации при отсутствии сил натяжения.

Конструкция оптических 2- и 4-волоконных кабелей, предназначенных для монтажа в трассах горизонтальной подсистемы методом протягивания, должна обеспечивать минимально допустимый радиус изгиба 50 мм при силе натяжения 220 Н.

Конструкцией всех остальных кабелей внутреннего применения должен быть обеспечен минимально допустимый радиус изгиба, эквивалентный 10 внешним диаметрам кабеля при отсутствии сил натяжения и 15 внешним диаметрам кабеля - при силе натяжения, не превышающей максимально допустимые пределы.

4.1.2.4. Характеристики кабелей внешней подсистемы

Конструкцией волоконно-оптических кабелей внешнего применения должна быть исключена возможность проникания влаги во внутреннее пространство кабеля.

Волоконно-оптические кабели внешнего применения должны выдерживать силы натяжения не менее 2670 Н.

Конструкцией волоконно-оптических кабелей внешнего применения должен быть обеспечен минимально допустимый радиус изгиба, эквивалентный 10 внешним диаметрам кабеля при отсутствии сил натяжения и 20 внешним диаметрам кабеля - при силах натяжения, не превышающих максимально допустимые пределы.

4.1.2.5. Кабели горизонтальной подсистемы

Конструкция волоконно-оптических кабелей, используемых в горизонтальной подсистеме, должна быть построена на основе многомодовых оптических волокон 50/125 или 62,5/125 мкм, одномодовых оптических волокон или любой их комбинации. Отдельные волокна или их группы подчиняются правилам цветового кодирования, приведенным в 4.1.2.7.

Примечание. Одномодовые волоконно-оптические кабели используют ограниченно (по требованию пользователя).

4.1.2.6. Кабели магистральной подсистемы

Конструкция волоконно-оптических кабелей - по 4.1.2.5.

4.1.2.7. Цветовое кодирование и нумерация волокон

Нумерация волокон оптических кабелей проводится в соответствии с их цветовым кодированием, что позволяет существенно упростить процедуру монтажа коммутационного оборудования и установки коннекторов, а также последующие администрирование и тестирование кабельной системы.

Нумерация волокон и соответствующие ей цветовые коды волоконно-оптических кабелей, используемых в СКС, могут быть двух типов:

1 тип - нумерация волокон осуществляется на основе цвета модулей, которые имеют различную окраску. Обычно кабель имеет два цветных модуля, один из которых чаще всего бывает красного цвета, остальные - бесцветные. Модули, как правило, нумеруются производителем: 1 - красный, 2 и следующие - других цветов.

При наличии в модуле только одного волокна его номер совпадает с номером модуля. При двух или более волокнах нумерация световодов проводится с привлечением цветов буферных покрытий волокон. Какой-либо системы в выборе цветовой окраски отдельных волокон не существует, поэтому нумерация выполняется в каждом отдельном случае индивидуально. Меньший номер волокна в модуле обычно присваивается световоду с неокрашенным буферным покрытием.

В тех случаях, когда модули красного и других цветов располагаются не рядом друг с другом, принцип нумерации не меняется.

2 тип - нумерация волокон осуществляется в соответствии с индивидуальным стандартным цветовым кодом, приведенным в таблице 5. Цветовому кодированию подлежат буферные оболочки 250 и 900 мкм. В многоволоконных кабелях модульной конструкции аналогичная цветовая кодировка применяется и в отношении модулей.

Таблица 5

Номер волокна

Цвет оболочки и маркировочной нити

Аббревиатура

1

Синий

BL

2

Оранжевый

OR

3

Зеленый

GR

4

Коричневый

BR

5

Серый

SL

6

Белый

WH

7

Красный

RD

8

Черный

BK

9

Желтый

YL

10

Фиолетовый

VI

11

Розовый

RS

12

Голубой

AQ

13

Синий с черной нитью

D/*BL

14

Оранжевый с черной нитью

D/OR

15

Зеленый с черной нитью

D/GR

16

Коричневый с черной нитью

D/BR

17

Серый с черной нитью

D/SL

18

Белый с черной нитью

D/WH

19

Красный с черной нитью

D/RD

20

Черный с желтой нитью

D/BK

21

Желтый с черной нитью

D/YL

22

Фиолетовый с черной нитью

D/VI

23

Розовый с черной нитью

D/RS

24

Голубой с черной нитью

D/AQ

* D/ - пунктирный маркер или нить.

В кабелях со свободным буфером, число волокон в одной трубке которых более 12, может применяться группировка световодов в пучки, скрепляемые цветными нитями.

В некоторых случаях для облегчения парной группировки волокна окрашивают в одинаковые цвета с кольцевыми метками через 2 - 3 см на втором световоде пары.

Параметры цветового кодирования внешних оболочек распределительных, композитных и соединительных кабелей внутреннего применения используются с целью идентификации их классов. В случае использования стандартной системы цвета должны соответствовать требованиям таблицы 5. Некоторые функциональные типы кабелей внутреннего применения ввиду особой конструкции не имеют цветных материалов оболочек.

Внешняя оболочка кабелей внутреннего применения, содержащих волокна только одного типа, имеет цветовой код, идентифицирующий класс волокна в соответствии с цветовой схемой, приведенной в таблице 6. Внешняя оболочка кабелей внутреннего применения, содержащих волокна более одного типа, должна быть черного цвета.

Таблица 6 Маркировка цветовым кодом в зависимости от класса оптического волокна

Тип и класс волокна

Диаметр волокна, мкм

Цвет оболочки

Многомодовое, класс Ia

50/125

Оранжевый

62,5/125

Серый

85/125

Голубой

100/140

Зеленый

Одномодовое, класс IVa

Все указанные диаметры

Желтый

Одномодовое, класс IVb

Красный

В тех случаях, когда кабели содержат волокна более одного типа, волокна одного типа в каждой одноволоконной или двухволоконной оболочке шнура кодируются цветом оболочки элемента.

4.2. Коммутационное оборудование

4.2.1. Коммутационное оборудование на основе витой пары проводников

4.2.1.1. Общие положения

Правила монтажа коммутационного оборудования, управления кабельными потоками, терминирования сред передачи на коннекторах изложены в разделе 8.

Коммутационное оборудование на основе витой пары проводников должно быть оснащено контактами со смещением изоляции (контакт типа IDC), а их применение ограничено следующими функциональными элементами СКС:

- главным кроссом;

- промежуточными кроссами;

- горизонтальными кроссами;

- консолидационными точками;

- телекоммуникационными розетками.

Следующие устройства, содержащие пассивные или активные электронные схемы и предназначенные для обслуживания специфических приложений или обеспечения мер безопасности в системе, не относятся к коммутационному оборудованию, разрешенному для использования в СКС:

- медиаконвертеры и медиаадаптеры;

- трансформаторы согласования волновых сопротивлений;

- резисторы ISDN;

- MAU;

- фильтры;

- сетевые карты;

- устройства первичной и вторичной защиты.

Такие адаптеры и устройства защиты считаются принадлежностью активного электронного оборудования, а не частью кабельной системы.

4.2.1.2. Рабочие характеристики передачи

В СКС используют коммутационное оборудование категорий 6 и 5e с рабочими характеристиками передачи согласно 4.1.1.1.

4.2.1.3. Конструкция

4.2.1.3.1. Конструкция кроссового коммутационного оборудования, используемого для терминирования кабелей на основе витой пары проводников с волновым сопротивлением 100 Ом, обеспечивает:

- коммутацию кабельных подсистем с помощью коммутационных шнуров;

- подключение активного электронного оборудования к кабельной системе;

- средства идентификации цепей с целью их администрирования;

- средства стандартного цветового кодирования с целью функциональной идентификации коммутационных полей;

- средства трассировки и управления кабельными потоками;

- средства для подключения тестирующего и диагностирующего оборудования.

4.2.1.3.2. Конструкция консолидационных точек и телекоммуникационных розеток, используемых для терминирования кабелей на основе витой пары проводников с волновым сопротивлением 100 Ом, обеспечивает:

- терминирование кабельных сегментов горизонтальной кабельной подсистемы;

- средства идентификации проводников кабеля с целью соблюдения требований к схеме разводки.

Коммутационное оборудование, используемое в СКС, не имеет в своей конструкции средств для создания шунтированных отводов и реверсированных пар. В случае необходимости поддержки работы конкретных приложений следует использовать адаптеры и специализированные аппаратные шнуры (например, кроссоверные). Такие устройства не считаются частью СКС.

4.2.1.4. Механические характеристики

Коммутационное оборудование, используемое для терминирования кабелей на основе витой пары проводников с волновым сопротивлением 100 Ом, предназначено для работы при температуре окружающей среды от минус 10 °C до плюс 60 °C.

Модульные гнезда коммутационного оборудования рассчитаны на число сопряжений с модульными вилками соответствующей конструкции (8c8p) не менее 750.

Для обеспечения нормального функционирования коммутационное оборудование должно быть адекватно защищено от механических повреждений, воздействия влаги и агрессивных сред (внутри зданий и при специальной защите).

Коммутационное оборудование должно обеспечивать высокую плотность монтажа, позволяющую экономить монтажное пространство телекоммуникационных помещений, при одновременном обеспечении удобных средств трассировки кабелей и управления кабельными потоками.

4.2.1.5. Экранированное коммутационное оборудование

Экранированное коммутационное оборудование предназначено для терминирования экранированных кабелей типов ScTP/FTP и S/FTP на основе витой пары проводников с волновым сопротивлением 100 Ом.

Модульные гнезда экранированного коммутационного оборудования рассчитаны на число сопряжений с модульными вилками соответствующей конструкции (8c8p) не менее 750.

Для обеспечения эффективности экранирования системы требуется сохранение непрерывности экрана во всех компонентах кабельных подсистем в моделях линий и каналов, а также подключение экранов к телекоммуникационной системе заземления и уравнивание потенциалов в соответствии с требованиями нормативных документов.

4.2.2. Волоконно-оптическое коммутационное оборудование

4.2.2.1. Общие положения

К волоконно-оптическому коммутационному оборудованию относят коннекторы и коммутационное оборудование, монтируемые в главном, промежуточном и горизонтальном кроссах, на рабочих местах, а также в качестве межсоединений и муфт в COA и в качестве консолидационных точек.

Правила монтажа волоконно-оптического коммутационного оборудования изложены в разделе 8.

В СКС используют различные типы и конструкции волоконно-оптических коннекторов, соответствующих требованиям настоящего стандарта [1].

В качестве примера иллюстрации правил монтажа в настоящем стандарте далее используются дуплексные коннекторы и адаптеры типа SC (568SC).

4.2.2.2. Коннекторы и адаптеры

Многомодовые волоконно-оптические коннекторы и адаптеры (или видимая часть их корпуса) должны быть идентифицированы бежевым цветом, одномодовые волоконно-оптические коннекторы и адаптеры (или видимая часть их корпуса) - голубым цветом.

Две позиции дуплексных волоконно-оптических коннекторов и соответствующих адаптеров приведены на рисунке 10 (позиции A и B). Адаптер 568SC обеспечивает логический кроссовер пар волокон при сопряжении двух коннекторов.

Рисунок 10. Конфигурация позиций A и B в коннекторе и адаптере типа 568SC

Позиции A и B могут быть обозначены как заводской маркировкой, так и в полевых условиях на стадии монтажа кабельной системы.

Волоконно-оптические коннекторы должны обладать следующими характеристиками:

вносимые потери - максимум 0,5 дБ в сопряженном состоянии;

возвратные потери - минимум 20 дБ (многомодовое волокно);

       минимум 26 дБ (одномодовое волокно);

рабочая температура - от 0 °C до плюс 60 °C;

долговечность - не менее 500 циклов сопряжения;

сила удержания кабеля - 50 Н при растягивающей нагрузке, приложенной под углом 0° к оси коннектора, и фиксации элементов жесткости в коннекторе; 2,2 Н при растягивающей нагрузке, приложенной под углом 0° к оси коннектора, и отсутствии фиксации элементов жесткости в коннекторе; 19,4 Н при растягивающей нагрузке, приложенной под углом 90° к оси коннектора, и фиксации элементов жесткости в коннекторе; 2,2 Н при растягивающей нагрузке, приложенной под углом 90° к оси коннектора, и отсутствии фиксации элементов жесткости в коннекторе;

крутящие нагрузки - 15 Н при растягивающей нагрузке, приложенной под углом 0° к оси коннектора, на оболочку кабеля, фиксированную в коннекторе; 2,2 Н при растягивающей нагрузке, приложенной под углом 0° к оси коннектора, на буферизованное волокно.

Волоконно-оптические адаптеры должны обладать следующими характеристиками:

вносимые потери - максимум 0,5 дБ в сопряженном состоянии;

рабочая температура - от 0 °C до плюс 60 °C;

долговечность - не менее 500 циклов сопряжения.

4.2.2.3. Муфты

Значения вносимых потерь сварных и механических муфт, используемых в СКС, не должны быть более 0,3 дБ на одно соединение.

Значения возвратных потерь сварных и механических муфт, используемых в СКС, не должны быть более 20 дБ для многомодовых волокон и 26 дБ - для одномодовых волокон на одно соединение. Для уточнения значений параметров, определяемых для работы конкретных телекоммуникационных приложений, следует обращаться к соответствующим нормативным документам (например, для обеспечения нормальной работы приложения передачи сигналов широкополосного аналогового видео CATV требуется обеспечение значения возвратных потерь в точке соединения одномодовых волокон не более 55 дБ).

4.2.2.4. Конструкция

Волоконно-оптическое коммутационное оборудование предназначено для монтажа на стенах или аналогичных поверхностях, в монтажных стойках или любых других типах монтажных рам, а также в стандартном монтажном оборудовании (электромонтажные коробки и подрозетники).

Волоконно-оптическое коммутационное оборудование должно обеспечивать высокую плотность монтажа, позволяющую экономить монтажное пространство телекоммуникационных помещений, при одновременном обеспечении удобных средств трассировки кабелей и управления кабельными потоками.

Конструкция волоконно-оптических коммутационных панелей и шкафов должна обеспечивать выполнение требований следующих компонентов:

- коммутации кабельных подсистем с помощью коммутационных шнуров;

- подключения активного электронного оборудования к кабельной системе;

- средств идентификации сегментов кабельной системы с целью их администрирования;

- средств стандартного цветового кодирования с целью функциональной идентификации коммутационных полей;

- средств трассировки и управления кабельными потоками;

- средств для подключения тестирующего, контрольного и активного оборудования;

- средств защиты коннекторов и адаптеров на стороне кабельной системы от контакта с посторонними предметами, способными временно или постоянно отрицательно влиять на рабочие характеристики системы.

Коробка телекоммуникационной розетки должна обеспечивать возможность размещения как минимум двух оптических волокон, защиту волоконно-оптического кабеля и соблюдение минимально допустимого радиуса изгиба 25 мм.

Конструкция волоконно-оптического коммутационного оборудования, используемого для соединения кабелей горизонтальной подсистемы с кабелями внутренней магистральной подсистемы в конфигурации COA, должна обеспечивать:

- соединение волокон кабелей горизонтальной и магистральной подсистем с помощью разъемных соединений (коннекторов и адаптеров) или муфт. Рекомендуется придерживаться какого-либо одного метода в одной кабельной системе или на одном объекте. Разъемные соединения должны соответствовать положениям 4.2.2.2, сварные или механические муфты - 4.2.2.3;

- технологию соединения волокон, при которой волокна могут соединяться по отдельности или парами при условии их организации и управления на парной основе;

- средства уникальной идентификации каждой позиции соединения;

- возможность отключения существующих соединений горизонтальной кабельной подсистемы и добавления новых;

- средства хранения и идентификации неиспользуемых волокон кабелей горизонтальной и магистральной подсистем;

- возможность добавления в будущем кабелей горизонтальной и магистральной подсистем;

- возможность и средства миграции от межсоединения к муфте или кросс-соединению;

- средства для подключения к кабельной системе тестирующего оборудования.

Для обеспечения приведенных выше условий должны быть выполнены правила, изложенные в разделе 8.

4.3. Коммутационные и аппаратные кабели

4.3.1. Коммутационные и аппаратные кабели на основе витой пары проводников

4.3.1.1. Рабочие характеристики передачи

В СКС могут использоваться аппаратные и коммутационные кабели (шнуры) категорий 6 и 5e с рабочими характеристиками передачи согласно 4.1.1.1.

4.3.1.2. Многожильный кабель

Многожильные кабели, используемые для изготовления коммутационных и аппаратных шнуров, применяемых в СКС, должны соответствовать требованиям, предъявляемым к одножильным кабелям, приведенным в 4.1.1.

Многожильные кабели построены на основе многожильных проводников калибров 24 - 26 AWG в термопластиковой изоляции, сформированных в четыре витые пары, покрытые общей термопластиковой оболочкой, с одинарным экраном из фольги или двойным экраном из фольги и проволочной сетки в качестве дополнительного элемента.

Все многожильные кабели, построенные на основе симметричной пары проводников, должны иметь волновое сопротивление 100 Ом.

Значения вносимых потерь (IL) многожильных кабелей во всем диапазоне рабочих частот не должны быть более значений вносимых потерь одножильных кабелей с аналогичными категориями рабочих характеристик, умноженных на следующие поправочные коэффициенты:

- кабели с рабочими характеристиками категории 5e (1 - 100 МГц):

1,2 - с калибром проводников 24 AWG;

1,5 - с калибром проводников 26 AWG;

1,2 - кабели с рабочими характеристиками категории 6 (1 - 250 МГц) и калибрами проводников 22 - 24 AWG.

Цветовое кодирование проводников в многожильных кабелях может быть выполнено по двум схемам таблицы 7, одна из которых (вариант I) полностью идентична схеме цветового кодирования проводников одножильных 4-парных кабелей, вторая (вариант II) - считается альтернативной.

Таблица 7 Цветовое кодирование проводников в 4-парных кабелях

Пара

Проводник

Цветовой код
(вариант I)

Аббревиатура

Цветовой код
(вариант II)

Аббревиатура

1

1 (tip)

Бело-голубой

W-BL

Зеленый

G

2 (ring)

Голубой

BL

Красный

R

2

3 (tip)

Бело-оранжевый

W-O

Черный

BK

4 (ring)

Оранжевый

O

Желтый

Y

3

5 (tip)

Бело-зеленый

W-G

Голубой

BL

6 (ring)

Зеленый

G

Оранжевый

O

4

7 (tip)

Бело-коричневый

W-BR

Коричневый

BR

8 (ring)

Коричневый

BR

Серый

S

4.3.1.3. Шнуры на основе неэкранированной витой пары проводников

Аппаратные и коммутационные кабели (шнуры), используемые в СКС, относятся к аппаратным шнурам на рабочем месте, в телекоммуникационных, аппаратных и городских вводах, применяемых для подключения активного оборудования к кабельной системе, а также к коммутационным шнурам, применяемым в телекоммуникационных, аппаратных и городских вводах для выполнения кросс-соединений и пассивных соединений кабельных подсистем между собой.

Рабочие характеристики аппаратных и коммутационных шнуров оказывают существенное влияние на суммарные характеристики модели канала.

Допускается изготовление в полевых условиях шнуров, снабженных вилками определенных типов, обеспечивающими собранным узлам рабочие характеристики передачи категорий 5e и 6.

Многожильные проводники кабелей, используемые для изготовления в полевых условиях аппаратных и коммутационных шнуров, должны соответствовать требованиям 4.3.1.2.

Вилки, используемые для изготовления в полевых условиях аппаратных и коммутационных шнуров, должны соответствовать требованиям 4.2.1.

Модульные вилки аппаратных и коммутационных шнуров должны быть рассчитаны на число сопряжений с модульными гнездами как минимум 750.

Примечание. Не допускается использование одножильных кабелей для изготовления в полевых условиях аппаратных и коммутационных шнуров.

Вследствие идентичного группирования пар шнуры со схемами разводок T568A и T568B допускается использовать, заменяя их друг другом, при условии, что оба конца одного шнура снабжены вилками в соответствии с одной схемой разводки.

Примечание. Не допускается использование неэкранированных одножильных и многожильных кабелей, а также пар таких кабелей без внешней оболочки в качестве кроссировочных перемычек. Для подобных соединений должны использоваться только модульные коммутационные шнуры.

4.3.1.4. Шнуры на основе экранированной витой пары проводников

Экранированные аппаратные и коммутационные шнуры должны быть построены на основе многожильных проводников калибра 24 или 26 AWG в термопластиковой изоляции, сформированных в четыре витые пары, покрытые общей термопластиковой оболочкой, с дополнительным одинарным экраном из фольги или двойным экраном из фольги и проволочной сетки.

Примечание. Не допускается изготовление в полевых условиях аппаратных и коммутационных шнуров на основе экранированной витой пары проводников.

Экранированные аппаратные и коммутационные шнуры должны сохранять свойства экранирования (полное передаточное сопротивление) при 500 и более циклах изгиба с допустимым радиусом.

Модульные вилки экранированных аппаратных и коммутационных шнуров должны быть рассчитаны на число сопряжений с модульными гнездами как минимум 750.

При использовании экранированных шнуров с многожильными проводниками калибра 24 AWG следует учитывать, что значения параметров вносимых потерь не должны выходить за пределы, определенные для вносимых потерь одножильного кабеля калибра 24 AWG с учетом поправочного коэффициента 1,2 (4.3.1.2).

При использовании экранированных шнуров с многожильными проводниками калибра 26 AWG следует учитывать, что значения вносимых потерь не должны быть более значений, определенных для вносимых потерь одножильного кабеля калибра 24 AWG с учетом поправочного коэффициента 1,5 (4.3.1.3).

Примечание. Не допускается использование экранированных одножильных и многожильных кабелей, а также пар таких кабелей без внешней оболочки в качестве кроссировочных перемычек. Для подобных соединений должны использоваться только модульные коммутационные шнуры.

4.3.2. Волоконно-оптические коммутационные и аппаратные кабели

Волоконно-оптические кабели (шнуры), используемые в СКС, относятся к аппаратным шнурам на рабочем месте, в телекоммуникационных, аппаратных и городских вводах, применяемых для подключения активного оборудования к кабельной системе, а также к коммутационным шнурам, применяемым в телекоммуникационных, аппаратных и городских вводах для выполнения кросс-соединений и пассивных соединений кабельных подсистем между собой.

Не допускается изготовление в полевых условиях волоконно-оптических шнуров любого типа.

Волоконно-оптические шнуры должны быть изготовлены на основе двухволоконных соединительных кабелей внутреннего применения, рабочие характеристики которых должны соответствовать рабочим характеристикам передачи, приведенным в 4.1.2.2.

Волоконно-оптические коннекторы, используемые в волоконно-оптических шнурах, должны соответствовать требованиям 4.2.2.

Волоконно-оптические шнуры вне зависимости от их назначения (межсоединение, кросс-соединение или подключение активного оборудования) должны иметь кроссоверную логическую ориентацию коннекторов на двух концах шнура - "позиция A" должна быть соединена с "позицией B" на одном волокне, "позиция B" с "позицией A" на другом волокне (рисунок 11). Каждый конец шнура должен быть идентифицирован указанием "позиции A" и "позиции B" в том случае, когда коннектор может быть разделен на симплексные составляющие.

Рисунок 11. Волоконно-оптический коммутационный шнур типа 568SC

В случае использования симплексных коннекторов коннектор, подключаемый к приемнику, должен быть идентифицирован как "позиция A", коннектор, подключаемый к передатчику, - "позиция B".

В тех случаях, когда активное оборудование не оснащено коннектором, выбранным для установленной кабельной системы, следует использовать гибридные шнуры для его подключения к коммутационным панелям и розеткам. Так, например, гибридный коммутационный шнур (патч-корд) с дуплексными коннекторами типа SC на одной стороне и ST-совместимыми коннекторами на другой может решить проблему подключения активного оборудования с ST-совместимыми портами к коммутационной панели с дуплексными коннекторами SC.

При использовании гибридных волоконно-оптических шнуров в случаях, когда интерфейс активного оборудования отличается от дуплексного SC, необходимо соблюдать следующие правила:

- два симплексных коннектора маркируют как "позиция A" и "позиция B";

- дуплексный коннектор, отличный от дуплексного SC (568SC), позиции которого маркируют следующим образом:

"позиция A" - порт приемника и "позиция B" - порт передатчика;

- гибридный волоконно-оптический коммутационный шнур должен иметь следующую конструкцию:

"позиция A" соединяется с "позицией B" на одном волокне пары волокон;

"позиция B" соединяется с "позицией A" на другом волокне пары волокон.

5. Горизонтальная подсистема

5.1. Общие положения

Горизонтальная кабельная подсистема является частью СКС и соединяет телекоммуникационную розетку на рабочем месте с горизонтальным кроссом, расположенным в телекоммуникационной. В горизонтальную кабельную подсистему входят:

- фиксированные кабельные сегменты;

- телекоммуникационные розетки на рабочих местах;

- коммутационное оборудование в горизонтальном кроссе, коммутационные кабели (шнуры);

- кроссировочные перемычки в телекоммуникационной;

- многопользовательские розетки (MuTOA) и консолидационные точки (CP) как дополнительный элемент.

При проектировании горизонтальной кабельной подсистемы рекомендуется учитывать возможность работы в ней телекоммуникационных приложений следующих основных видов:

- телекоммуникационные системы передачи речи;

- коммутационное оборудование зданий;

- цифровые системы связи;

- локальные вычислительные сети;

- видеосистемы;

- сигнальные системы зданий (системы автоматизации зданий, системы безопасности, противопожарные системы и т.п.).

Горизонтальная кабельная подсистема должна планироваться с целью снижения расходов на ее обслуживание и внесение изменений, а также с учетом возможного расширения парка активного оборудования и появления новых сервисов. После окончания строительства здания (или монтажа телекоммуникационной инфраструктуры в уже существующем здании) горизонтальная кабельная подсистема в подавляющем большинстве случаев оказывается менее доступной для проведения работ по сравнению с магистральной подсистемой. Время, затраты и требования к профессиональному уровню персонала, необходимые для выполнения изменений в подсистеме, могут быть весьма значительными. Доступ к горизонтальной кабельной системе довольно сложно осуществить без нарушения нормальной работы пользователей в здании.

5.1.1. Структура

5.1.1.1. Топология

Для горизонтальной кабельной подсистемы определена физическая топология типа "звезда" (рисунок 12). При необходимости реализации других сетевых топологий, таких как "шина", "кольцо" или "дерево", могут быть эффективно использованы кросс-соединения в горизонтальном кроссе.

HC - горизонтальный кросс; TR - телекоммуникационная;
WA - рабочее место; TO - телекоммуникационная розетка;
CP - консолидационная точка

Рисунок 12. Топология типа "звезда" горизонтальной кабельной подсистемы

Все телекоммуникационные розетки на рабочих местах должны быть соединены с горизонтальным кроссом в телекоммуникационной с помощью кабеля.

Рекомендуется, чтобы телекоммуникационная была расположена на одном этаже с обслуживаемыми ею рабочими местами.

Организация расположения горизонтальных кроссов и телекоммуникационных в здании представлена на рисунке 13. Схема "Здание A" является идеальным случаем, к которому должен стремиться проектировщик телекоммуникационной распределительной системы в здании. Однако, в силу ряда причин, таких как архитектурные особенности здания, невозможность выделения владельцем подходящих помещений или нужного их числа, эта схема на практике применяется редко. Практическим приближением к идеальному случаю монтажа кабельных систем в зданиях специалистами телекоммуникационной промышленности была выработана схема "Здание B", которая практически во всех случаях удовлетворяет всех, в то же время не подвергает устанавливаемую систему топологической деформации, способной нарушить ее универсальность. При таком подходе максимально допустимое число этажей, которое разрешено обслуживать одним кроссом, не должно быть более трех - собственный этаж и два примыкающих к нему (смежных с ним).

Рисунок 13. Правила расположения горизонтальных кроссов и телекоммуникационных в здании

Рабочие места должны обслуживаться горизонтальным кроссом, расположенным в телекоммуникационной на том же или на смежном с ними этаже.

5.1.1.2. Число точек коммутации

В горизонтальной кабельной подсистеме на основе витой пары проводников (UTP/FTP/ScTP/SFTP) в модели постоянной линии допускается наличие не более трех точек коммутации (трех коннекторов), рисунки 14 и 15.

1 - коннектор второй единицы коммутационного оборудования в горизонтальном кроссе (HC); 2 – коннектор телекоммуникационной или многопользовательской розетки (TO или MuTOA)

Рисунок 14. Модель постоянной линии горизонтальной кабельной подсистемы с двумя точками коммутации

1 - коннектор второй единицы коммутационного оборудования в горизонтальном кроссе (HC); 2 – коннектор консолидационной точки (CP); 3 – коннектор телекоммуникационной или многопользовательской розетки (TO или MuTOA)

Рисунок 15. Модель постоянной линии горизонтальной кабельной подсистемы с тремя точками коммутации

В горизонтальной кабельной подсистеме на основе витой пары проводников (UTP/FTP/ScTP/SFTP) в модели канала (рисунки 16, 17 и 18) допускается наличие не более четырех точек коммутации (четырех коннекторов).

1 - коннектор телекоммуникационной или многопользовательской розетки (TO или MuTOA); 2 - коннектор коммутационного оборудования в горизонтальном кроссе (HC)

Рисунок 16. Модель канала горизонтальной кабельной подсистемы с двумя точками коммутации

1 - коннектор телекоммуникационной или многопользовательской розетки (TO или MuTOA); 2 - коннектор первой единицы коммутационного оборудования в горизонтальном кроссе (HC); 3 - коннектор второй единицы коммутационного оборудования в горизонтальном кроссе (HC)

1 - коннектор телекоммуникационной или многопользовательской розетки (TO или MuTOA); 2 - коннектор консолидационной точки (CP); 3 - коннектор коммутационного оборудования в горизонтальном кроссе (HC)

Рисунок 17. Модели канала горизонтальной кабельной подсистемы с тремя точками коммутации

1 - коннектор телекоммуникационной или многопользовательской розетки (TO или MuTOA); 2 - коннектор консолидационной точки (CP); 3 – коннектор первой единицы коммутационного оборудования в горизонтальном кроссе (HC); 4 - коннектор второй единицы коммутационного оборудования в горизонтальном кроссе (HC)

Рисунок 18. Модель канала горизонтальной кабельной подсистемы с четырьмя точками коммутации

5.1.1.3. Горизонтальный кросс

В горизонтальном кроссе используются два метода подключения активного оборудования к горизонтальной кабельной подсистеме и один метод для пассивной коммутации между собой горизонтальной и магистральной подсистем:

Кросс-соединение

Кросс-соединение - метод коммутации, в котором для подключения активного оборудования к горизонтальной кабельной подсистеме или пассивной коммутации кабельных сегментов горизонтальной и магистральной подсистем используются две единицы коммутационного оборудования, соединяемые коммутационными шнурами.

В горизонтальном кроссе для подключения активного оборудования с многопортовыми коннекторами к горизонтальной кабельной подсистеме и для пассивной коммутации между собой кабельных сегментов горизонтальной и магистральной подсистем должен применяться метод кросс-соединения.

Под многопортовыми коннекторами подразумеваются коннекторы, имеющие более 8 контактов (4 пар), которые могут быть произвольным образом сгруппированы с присвоением различных адресов - "портов". Наиболее типовым и распространенным многопортовым коннектором является 25-парный 50-контактный коннектор TELCO.

При подключении активного оборудования с однопортовыми коннекторами к кабельной системе метод кросс-соединения обычно не используется, так как с помощью модульных аппаратных шнуров можно осуществлять коммутацию с такой же простотой и гибкостью, которую обеспечивает метод кросс-соединения, но при этом происходит экономия одной единицы коммутационного оборудования и одного шнура.

Межсоединение

Межсоединение - метод коммутации, в котором для подключения активного оборудования к горизонтальной кабельной подсистеме используется одна единица коммутационного оборудования, соединенная непосредственно с кабелем горизонтальной подсистемы.

В горизонтальном кроссе для подключения активного оборудования с однопортовыми коннекторами к горизонтальной кабельной подсистеме разрешено применение метода межсоединения.

Под однопортовыми коннекторами подразумеваются стандартные 8-позиционные 8-контактные модульные коннекторы (типа "RJ-45") и волоконно-оптические коннекторы, которые могут иметь только один адрес - "порт". При подключении активного оборудования с такими коннекторами к кабельной системе методом межсоединения и кросс-соединения обеспечивается в равной степени гибкая и эффективная схема перекоммутации. В случае межсоединения отпадает необходимость в использовании второй единицы коммутационного оборудования и дополнительного коммутационного шнура в кроссе.

В горизонтальном кроссе запрещено применение метода межсоединения для пассивной коммутации между собой кабельных сегментов горизонтальной и магистральной подсистем, за исключением случаев использования топологии COA.

При пассивной коммутации между собой кабельных сегментов горизонтальной и магистральной подсистем методом межсоединения возникают неразрешимые проблемы при необходимости изменения конфигурации подключения сегментов к различным коммутационным полям.

Универсальные правила коммутации

На рисунках 19, 20, 21 и 22 приведены различные способы построений горизонтального кросса в зависимости от типов и видов используемого активного оборудования и соответствующих им видов коммутации.

1 - аппаратный шнур с TELCO-коннекторами в MC; 2 - коммутационный модульный шнур в MC; 3 - магистральная кабельная подсистема; 4 - коммутационный модульный шнур в HC; 5 - горизонтальная кабельная подсистема

Примечание. В настоящем примере показано подключение с помощью метода кросс-соединения в главном кроссе активного оборудования с многопортовыми коннекторами (TELCO) (учрежденческая АТС) и пассивная коммутация магистральной и горизонтальной кабельных подсистем в горизонтальном кроссе.

Рисунок 19. Пример коммутации на основе метода кросс-соединения

1 - аппаратный шнур с TELCO-коннекторами в MC; 2 - коммутационный модульный шнур в HC; 3 - коммутационный шнур к активному оборудованию в HC; 4 - коммутационный модульный шнур в HC; 5 - горизонтальная кабельная подсистема

Примечание. В настоящем примере показано подключение с помощью метода межсоединения активного оборудования с однопортовыми модульными коннекторами - подключение серверного оборудования в главном кроссе к магистральной кабельной подсистеме и сетевого оборудования в горизонтальном кроссе к магистральной и горизонтальной кабельным подсистемам.

Рисунок 20. Пример коммутации на основе метода межсоединения

1 - аппаратный волоконно-оптический шнур в MC; 2 - магистральная волоконно-оптическая кабельная подсистема; 3 - аппаратный волоконно-оптический шнур в HC; 4 - аппаратный шнур с TELCO-коннекторами в HC; 5 - коммутационный модульный шнур в HC; 6 - горизонтальная кабельная подсистема

Примечание. В настоящем примере показано подключение в горизонтальном кроссе активного сетевого оборудования с однопортовыми волоконно-оптическими коннекторами (uplink) к магистральной подсистеме с помощью метода межсоединения и того же оборудования с многопортовыми TELCO-коннекторами (downlink) к горизонтальной кабельной подсистеме с помощью метода кросс-соединения. В этом случае горизонтальный кросс строится на основе одного кросс- и одного межсоединения (3 единицы коммутационного оборудования). В главном кроссе серверное оборудование с волоконно-оптическим интерфейсом подключено методом межсоединения к магистральной кабельной подсистеме.

Рисунок 21. Пример коммутации на основе комбинирования методов кросс- и межсоединения

1 - аппаратный шнур с TELCO-коннекторами в MC; 2 - коммутационный модульный шнур в MC; 3 – магистральная кабельная подсистема; 4 - коммутационный модульный шнур в HC; 5 - аппаратный шнур с TELCO-коннекторами в HC; 6 - аппаратный шнур с TELCO-коннекторами в HC; 7 - коммутационный модульный шнур в HC; 8 - горизонтальная кабельная подсистема

Примечание. В настоящем примере показано подключение в горизонтальном кроссе активного оборудования (вынос учрежденческой АТС) с многопортовыми коннекторами (TELCO) к магистральной и горизонтальной кабельным подсистемам с помощью метода кросс-соединения. В этом случае горизонтальный кросс строится на основе двух кросс-соединений (4 единицы коммутационного оборудования). Основной процессор УПАТС подключен в главном кроссе к магистральной кабельной подсистеме с помощью метода кросс-соединения.

Рисунок 22. Пример коммутации на основе двойного кросс-соединения

5.1.1.4. Специализированные устройства

Некоторые сетевые технологии и приложения требуют использования специализированных устройств, например, предназначенных для согласования импедансов, разветвления 4-парных кабелей на две или четыре отдельные физические линии, кроссоверных шнуров, предназначенных для правильного позиционирования передатчика и приемника относительно друг друга в линии связи, и т.п.

Специализированные устройства, предназначенные для поддержки работы конкретных приложений, не должны использоваться как часть горизонтальной кабельной подсистемы и, в случае необходимости применения, должны устанавливаться снаружи от телекоммуникационной розетки и горизонтального кросса.

Монтаж подобных специализированных устройств за пределами горизонтальной кабельной подсистемы сохраняет ее универсальность и независимость от конкретных приложений.

5.1.1.5. Шунтированные отводы

В горизонтальной кабельной подсистеме запрещено использование шунтированных отводов на основе витой пары проводников.

Использование шунтированных отводов в СКС не допускается по двум причинам:

- нарушение универсальности кабельной системы, так как на кабельных линиях, содержащих шунтированные отводы, может работать крайне ограниченное число телекоммуникационных приложений;

- появление в линии дополнительного коннектора (точки коммутации), которое может привести к ухудшению ее рабочих характеристик передачи.

5.1.1.6. Муфты

В горизонтальной кабельной подсистеме для сращивания кабельных сегментов на основе витой пары проводников использование муфт не допускается.

При сращивании распределительного волоконно-оптического кабеля с односторонними коммутационными шнурами для подключения к коммутационному оборудованию в горизонтальном кроссе и к телекоммуникационной розетке допускается использование волоконно-оптических муфт, общее число которых должно быть не более двух.

Допускается сращивание волоконно-оптических кабелей, поскольку отрицательное влияние оптических муфт на рабочие характеристики передачи волоконно-оптических линий незначительно, а технологически применение муфт в телекоммуникационной и на рабочем месте для осуществления перехода с тонкобуферных волокон (250 - 900 мкм) на односторонние коммутационные шнуры с помощью сварки или механического соединения в значительной степени упрощает монтаж и обслуживание системы.

Не допускается использование разветвителей и смесителей в волоконно-оптических кабельных сегментах горизонтальной кабельной подсистемы.

5.1.2. Расстояния

Расстоянием в горизонтальной кабельной подсистеме является физическая длина кабеля (по внешней оболочке) от точки его терминирования в горизонтальном кроссе телекоммуникационной до точки терминирования в телекоммуникационной розетке на рабочем месте.

Длина кабеля горизонтальной кабельной подсистемы независимо от типа среды передачи не должна превышать 90 м.

В случае применения многопользовательской телекоммуникационной розетки (MuTOA) в конфигурации кабельной системы открытого офиса максимально допустимая длина кабеля горизонтальной кабельной подсистемы на основе витой пары проводников должна быть уменьшена в соответствии с правилами, изложенными в 5.1.8.

Сумма длин коммутационного шнура и аппаратного кабеля, используемых в горизонтальном кроссе для создания кросс-соединений, межсоединений и подключения активного оборудования, не должна превышать 5 м.

Длина аппаратного кабеля, используемого для подключения активного оборудования на рабочем месте к телекоммуникационной розетке, не должна превышать 5 м.

Данное правило не распространяется на аппаратные шнуры, используемые для подключения активного оборудования на рабочем месте к многопользовательской розетке (MuTOA) в конфигурации кабельной системы открытого офиса.

Сумма длин кабеля горизонтальной подсистемы, аппаратного кабеля на рабочем месте, коммутационного шнура и аппаратного кабеля в горизонтальном кроссе не должна превышать 100 м.

Данное правило не распространяется на сумму длин кабелей канала горизонтальной подсистемы при использовании конфигурации открытого офиса.

Минимальная длина кабеля горизонтальной подсистемы на основе витой пары проводников должна составлять 15 м, что обеспечивает нормальные условия функционирования телекоммуникационных приложений в коротких кабельных линиях, когда близкое расположение единиц коммутационного оборудования относительно друг друга (эффект резонансных отражений электромагнитной волны от интерфейсов) отрицательно влияет на возвратные потери (RL) и NEXT.

В случаях, когда длина кабеля в горизонтальной кабельной подсистеме составляет не более 15 м, его излишки следует укладывать в виде запаса в телекоммуникационной, на рабочем месте или в трассах горизонтальной подсистемы. Предпочтительно запас кабеля создавать в виде "U"-образных петель с соблюдением минимального радиуса изгиба или петель в виде "8" с большим радиусом. Не рекомендуется делать запас кабеля в виде бухты небольшого диаметра (до 30 см).

С целью обеспечения в будущем возможности выполнения изменений конфигурации горизонтальной кабельной подсистемы рекомендуется оставлять следующий запас кабеля:

- в телекоммуникационной: кабель на основе витой пары проводников - 3 м; волоконно-оптический кабель - 3 м;

- на рабочем месте: кабель на основе витой пары проводников - 0,3 м; волоконно-оптический кабель - 1 м.

Запас кабеля должен учитываться в общей длине сегментов горизонтальной кабельной подсистемы.

5.1.3. Среды передачи и коммутационное оборудование

В горизонтальной кабельной подсистеме используют следующие типы сред передачи:

- 4-парные кабели на основе неэкранированной витой пары проводников (UTP) с волновым сопротивлением 100 Ом и рабочими характеристиками передачи категорий 5e и 6;

- 4-парные кабели на основе экранированной витой пары проводников (FTP/ScTP/SFTP) с волновым сопротивлением 100 Ом и рабочими характеристиками передачи категорий 5e и 6;

- многомодовые волоконно-оптические кабели с размерами сердечника/оболочки 50/125 мкм;

- многомодовые волоконно-оптические кабели с размерами сердечника/оболочки 62,5/125 мкм;

- одномодовые волоконно-оптические кабели с размерами сердечника/оболочки 9/125 мкм.

5.1.4. Конфигурация

При определении конфигурации горизонтальной кабельной подсистемы основными телекоммуникационными приложениями в коммерческих зданиях являются приложения передачи речи и данных, при этом минимальной считается конфигурация, состоящая из двух телекоммуникационных розеток на рабочем месте (одна для телефонии, другая - для данных). Рекомендуется планировать систему с запасом, превышающим это минимальное требование.

Все рабочие места должны быть построены на основе как минимум двух телекоммуникационных розеток, обслуживаемых двумя кабелями горизонтальной подсистемы:

- розетка/коннектор 1:

коммутационное оборудование, 4-парный кабель на основе витой пары проводников (UTP/FTP/ScTP/SFTP) с рабочими характеристиками передачи категорий 5e или 6;

- розетка/коннектор 2:

коммутационное оборудование, 4-парный кабель на основе витой пары проводников (UTP/FTP/ScTP/SFTP) с рабочими характеристиками передачи категорий 5e или 6,

волоконно-оптическое коммутационное оборудование, 2-волоконный многомодовый кабель с размерами сердечника/оболочки 50/125 мкм,

волоконно-оптическое коммутационное оборудование, 2-волоконный многомодовый кабель с размерами сердечника/оболочки 62,5/125 мкм,

волоконно-оптическое коммутационное оборудование, 2-волоконный одномодовый кабель с размерами сердечника/оболочки 9/125 мкм.

В случае использования в конфигурации горизонтальной кабельной подсистемы на рабочем месте волоконно-оптической розетки рекомендуется устанавливать две розетки/коннектора на основе витой пары проводников.

5.1.5. Монтаж

Горизонтальная кабельная подсистема должна быть установлена (смонтирована) в полном соответствии с требованиями, правилами и рекомендациями раздела 8.

5.1.6. Администрирование

Горизонтальная кабельная подсистема должна проходить администрирование в полном соответствии с требованиями раздела 9.

5.1.7. Защита

Телекоммуникационные системы заземления и уравнивания потенциалов, экранирования, защиты от электромагнитных помех (EMI), электромагнитной совместимости (EMC) и защиты от пиковых напряжений и паразитных токов должны быть спроектированы и установлены в полном соответствии с требованиями нормативных документов.

5.1.8. Кабельная система открытого офиса

В современной конфигурации офисного пространства коммерческих зданий используются схемы, позволяющие наиболее эффективно работать небольшим целевым группам сотрудников. Пространства, занимаемые такими группами, подвержены частым изменениям из-за постоянно меняющихся требований к задачам и составу групп. Кроме подобных случаев, могут встречаться самые разнообразные ситуации, когда необходима частая реконфигурация офисного пространства.

Метод межсоединения в приложении к горизонтальной кабельной системе позволяет проводить частые изменения офисных пространств без необходимости вовлечения в них фиксированных кабельных сегментов горизонтальной подсистемы.

Такая технология получила название "кабельная система открытого офиса". Ключевыми элементами этой технологии являются многопользовательская телекоммуникационная розетка (MuTOA) и консолидационная точка (CP).

5.1.8.1. Многопользовательская телекоммуникационная розетка

Общие положения

Многопользовательская телекоммуникационная розетка является коммутационным узлом для подключения к горизонтальной кабельной подсистеме более одного рабочего места и строится на основе коммутационного оборудования, отвечающего требованиям 4.2, установленного в соответствии с правилами раздела 8.

Применение многопользовательской телекоммуникационной розетки (MuTOA) дает существенные преимущества при создании распределительной кабельной системы в открытых офисных пространствах, подверженных частым изменениям, и позволяет терминировать несколько кабелей горизонтальной подсистемы в одном месте, расположенном, как правило, в центре кластера офисной мебели.

Применение многопользовательских телекоммуникационных розеток сохраняет горизонтальную кабельную подсистему нетронутой при внесении изменений в план открытого офиса. Аппаратные кабели, подключаемые к MuTOA, могут проходить по трассам рабочего места (например, мебельные трассы) и заканчиваться на сетевых интерфейсах активного оборудования.

Правила проектирования

Многопользовательские телекоммуникационные розетки в открытой зоне рабочих мест располагают таким образом, чтобы каждый кластер рабочих мест обслуживался, по крайней мере, одной многопользовательской телекоммуникационной розеткой.

Многопользовательская телекоммуникационная розетка должна обслуживать не более 12 рабочих мест с учетом максимально допустимой длины аппаратных кабелей.

При проектировании конфигурации многопользовательской телекоммуникационной розетки следует предусмотреть запас кабеля на возможность расширения зоны в будущем.

Правила монтажа

Многопользовательские телекоммуникационные розетки должны быть установлены в постоянных местах, обеспечивающих к ним полный доступ (например, структурные колонны здания и капитальные стены).

Не допускается монтировать многопользовательские телекоммуникационные розетки в пространствах фальшпотолков, фальшполов и в любых других пространствах с затрудненным доступом, а также на офисной мебели за исключением случаев, когда единица мебели является продолжением структуры здания и прикреплена к ней на постоянной основе.

Администрирование

Администрирование многопользовательских телекоммуникационных розеток должно выполняться в соответствии с требованиями раздела 9.

Так как длина аппаратных шнуров, подключаемых к многопользовательской телекоммуникационной розетке, может быть до 22 м, с целью упрощения обслуживания MuTOA рекомендуется маркировать шнуры на двух концах уникальными идентификаторами. На стороне MuTOA шнур маркируют идентификатором обслуживаемого им рабочего места, а на стороне рабочего места - идентификаторами MuTOA и соответствующего коннектора MuTOA.

Расстояния в кабельной системе открытого офиса на основе витой пары проводников

Кабели рабочего места на основе витой пары проводников, используемые в конфигурации многопользовательской телекоммуникационной розетки и мебельных систем открытого офиса, должны отвечать требованиям 4.3.1.

На основании стандартных спецификаций значений вносимых потерь (IL) максимальную суммарную длину кабеля на рабочем месте, аппаратного кабеля и коммутационного шнура в телекоммуникационной L1, м, определяют по формуле (1), а максимальную длину кабеля на рабочем месте L2, м, - по формуле (2)

,                                                                                                  (1)

где Lгп - длина кабеля горизонтальной подсистемы, м (Lгп + L2 £ 100 м),

П.К - поправочный коэффициент коммутационных шнуров:

0,2 - для UTP/FTP/ScTP/SFTP с проводниками калибра 24 AWG,

0,5 - для FTP/ScTP/SFTP с проводниками калибра 26 AWG,

L2=L1 - L3,                                                                                                          (2)

где L1 - по формуле (1),

L3- полная длина коммутационных и аппаратных шнуров в телекоммуникационной, м.

Для UTP/FTP/ScTP/SFTP с проводниками калибра 22 AWG длина кабеля должна составлять £ 22 м, для FTP/ScTP/SFTP с проводниками калибра 26 AWG - £ 17 м.

В таблице 8 приведены справочные значения длины кабеля, рассчитанные с помощью формул (1) и (2) при максимально допустимой длине коммутационных и аппаратных шнуров в телекоммуникационной: 5 м - для 24 AWG и 4 м - для 26 AWG.

Таблица 8

В метрах

Длина кабеля горизонтальной подсистемы Lгп

Коммутационные шнуры
UTP/FTP/ScTP/S/FTP, 24 AWG

Коммутационные шнуры
FTP/ScTP/S/FTP, 26 AWG

L2, не более

L1, не более

L2, не более

L1, не более

90

5

10

4

8

85

9

14

7

11

80

13

18

11

15

75

17

22

14

18

70

22

27

17

21

Коннекторы многопользовательской телекоммуникационной розетки на стороне рабочего места должны быть маркированы максимально допустимыми длинами подключаемых к ним аппаратных кабелей.

Максимальная длина горизонтальной кабельной подсистемы в случае использования многопользовательской телекоммуникационной розетки независимо от типа среды передачи не должна превышать 90 м.

При использовании многопользовательской телекоммуникационной розетки сумма длин кабеля горизонтальной подсистемы, аппаратного кабеля на рабочем месте, коммутационного шнура и аппаратного кабеля в горизонтальном кроссе не должна превышать 100 м.

Расстояния в волоконно-оптической кабельной системе открытого офиса

В случае использования волоконно-оптических компонентов в кабельной системе открытого офиса допускается подключение к MuTOA аппаратных шнуров любой длины при условии, что полная длина волоконно-оптического канала не превышает 100 м.

5.1.8.2. Консолидационная точка

Общие положения

Консолидационная точка (CP) предназначена для межсоединения двух сегментов кабеля горизонтальной подсистемы и строится на основе коммутационного оборудования, отвечающего требованиям 4.2 и установленного в соответствии с правилами раздела 8.

Функциональным отличием консолидационной точки от многопользовательской телекоммуникационной розетки в среде открытого офиса является необходимость создания дополнительной точки соединения в сегменте кабеля горизонтальной подсистемы.

С технологической точки зрения консолидационная точка ничем не отличается от муфты.

При построении кабельной системы открытого офиса консолидационная точка дает преимущества, аналогичные MuTOA (в редко изменяемых конфигурациях офисной среды). Наилучшие результаты применения CP дает при использовании ее в технологии зонных кабельных систем.

Не допускается использование консолидационной точки для подключения активного оборудования к горизонтальной кабельной системе; создание кросс-соединений на основе консолидационной точки; использование более одной консолидационной точки на одном сегменте кабеля горизонтальной подсистемы.

Создание кросс-соединений в CP и использование более одной CP противоречат правилам "трех коннекторов" в постоянной линии и "четырех коннекторов" в канале горизонтальной кабельной подсистемы и, кроме того, неоправдано с технологической точки зрения.

В СКС не рекомендуется использование волоконно-оптических консолидационных точек на основе механических и сварных муфт, применение которых снижает гибкость и оперативность внесения изменений в конфигурацию открытого офиса и требует применения сложного и дорогостоящего оборудования.

Минимальная длина кабеля горизонтальной подсистемы на основе витой пары проводников, соединяющего консолидационную точку с горизонтальным кроссом, должна составлять 15 м.

При построении СКС с требованием поддержки горизонтальной подсистемой на основе витой пары проводников с рабочими характеристиками передачи категории 6 работы технологии 10GBASE-T минимальная длина кабеля, соединяющего консолидационную точку с горизонтальным кроссом, должна составлять 15 м. При этом излишки кабеля рекомендуется укладывать как запас в телекоммуникационной, в консолидационной точке, на рабочем месте или в трассах горизонтальной подсистемы. Предпочтительно следует укладывать кабели в виде "U"-образных петель с соблюдением минимального радиуса изгиба и петель в виде "8" с большим радиусом. Не рекомендуется запас кабеля делать в виде бухты диаметром не более 30 см.

Длина горизонтальной кабельной подсистемы в случае использования консолидационной точки независимо от типа среды передачи не должна превышать 90 м.

Сумма длин кабеля горизонтальной подсистемы, аппаратного кабеля на рабочем месте, коммутационного шнура и аппаратного кабеля в горизонтальном кроссе в случае использования консолидационной точки не должна превышать 100 м.

Правила проектирования

Консолидационные точки в открытой зоне рабочих мест рекомендуется располагать таким образом, чтобы каждый кластер рабочих мест обслуживался, по крайней мере, одной консолидационной точкой.

Зона, обслуживаемая консолидационной точкой, может содержать не более 12 рабочих мест.

Также рекомендуется при проектировании конфигурации консолидационной точки принимать во внимание запас кабеля в расчете на возможные расширения зоны.

Правила монтажа

Консолидационная точка может быть размещена в следующих пространствах:

- в фальшпотолках;

- в фальшполах;

- на модульной мебели;

- на рабочем месте.

Консолидационные точки должны быть установлены в постоянных местах, обеспечивающих к ним полный доступ (например, в структурных колоннах здания и капитальных стенах).

Примечания. 1. Запрещено монтировать консолидационные точки в пространствах с затрудненным доступом.

2. Запрещено монтировать консолидационные точки на офисной мебели за исключением случаев, когда единица мебели является продолжением структуры здания и прикреплена к ней на постоянной основе.

Администрирование

Администрирование консолидационных точек должно выполняться в полном соответствии с требованиями раздела 9.

Особенность администрирования консолидационной точки заключается в том, что технологически она является муфтой, которая соединяет два сегмента кабеля горизонтальной подсистемы с одним идентификатором. При администрировании кабеля, на котором установлена CP, ссылка на нее должна быть занесена в поле ссылки на муфту, а не на коммутационное оборудование.

Все процедуры внесения изменений в кабельную систему (MAC) и штатные переключения сервисов, не связанные с кабельной системой открытого офиса, должны выполняться за пределами консолидационной точки - в горизонтальном кроссе.

5.1.9. Централизованная волоконно-оптическая кабельная система

5.1.9.1. Общие положения

Многие пользователи высокопроизводительных волоконно-оптических кабельных систем строят свои сети передачи данных в зданиях на основе централизованной топологии расположения активного оборудования. Централизованная волоконно-оптическая кабельная система - COA (Centralized Optical Architecture - Централизованная Оптическая Архитектура) является дополнением к классической топологии структурированной кабельной системы как альтернатива оптическим кросс-соединениям в телекоммуникационных с целью создания возможности реализации принципа объединения активного оборудования и технологии FTTD (fiber-to-the-desk).

COA позволяет создавать в телекоммуникационной соединения рабочих мест с централизованными кроссами тремя методами: при помощи транзитной прокладки волоконно-оптических кабелей, межсоединений и муфт.

При использовании распределенной архитектуры активных устройств в здании кросс-соединения в горизонтальном кроссе предоставляют пользователю наибольшую гибкость конфигурирования системы. Правильно спроектированная централизованная волоконно-оптическая кабельная система должна обеспечиваться соответствующей гибкой и управляемой кабельной структурой. Для полной реализации возможностей COA необходимо консультироваться с поставщиками активного оборудования и системными интеграторами.

Правила, приведенные далее, предназначены для построения волоконно-оптических сетей для пользователей, планирующих использование централизованной топологии расположения активного оборудования и методов подключения, альтернативных кросс-соединениям в телекоммуникационной, и, в то же время, сохранение адекватной гибкости и управляемости кабельной системы с возможностью последующей миграции, в случае необходимости, на кросс-соединения и подключение активного оборудования.

5.1.9.2. Правила проектирования

Централизованная топология кабельной системы должна допускать в случае необходимости переход от транзитной прокладки, межсоединения или муфты на кросс-соединение. Для этого в телекоммуникационной должно быть оставлено достаточно пространства для дополнительных коммутационных панелей, необходимых для такого перехода, а также оставлен запас кабеля, достаточный для перемещения кабелей при выполнении процедуры перехода от транзитной прокладки на межсоединение или кросс-соединение.

Запас кабеля может состоять как из кабеля в оболочке, так и в виде отдельных волокон с обеспечением их адекватными мерами защиты. При этом должны быть выполнены требования к допустимым радиусам изгиба и силе натяжения. Запас кабеля может быть помещен в специальные контейнеры или на стенах телекоммуникационной. Хранение запаса волокон допускается только в специальных защитных контейнерах.

Конфигурация COA должна обеспечивать возможность добавления и удаления оптических волокон в горизонтальной и магистральной кабельных подсистемах. При выборе размеров и конструкции коммутационного оборудования, предназначенного для настенного монтажа и монтажа в 19-дюймовых конструктивах, должны быть учтены возможности контролируемого расширения системы.

Магистральную подсистему следует проектировать с учетом запаса на случай добавления в будущем новых телекоммуникационных розеток без необходимости прокладки дополнительных кабелей магистральной подсистемы. Число оптических волокон в магистральной подсистеме следует рассчитывать, принимая во внимание существующие и появляющиеся впоследствии приложения, а также максимально возможную плотность рабочих мест в здании, обслуживаемых телекоммуникационной.

Межсоединения и муфты

Использование метода межсоединения для коммутации магистральной и горизонтальной кабельных систем предоставляет пользователям наибольшую гибкость в управлении кабельной системой, сохраняя возможность быстрого перехода на кросс-соединение.

Длина волоконно-оптической линии COA, соединяющей централизованное активное оборудование и оборудование на рабочем месте, включая аппаратные кабели на двух концах, с помощью межсоединения или муфты не должна превышать 200 м в случае использования многомодового оптического волокна 62,5/125 мкм или 500 м - в случае использования волокна 50/125 мкм, или 5 м - в случае использования одномодового волокна 9/125 мкм. Такая длина гарантирует надежную работу линий всех сетевых приложений, включая 1000 BASE-SX/LX.

Длина сегмента волоконно-оптической линии COA, соединяющей коммутационное оборудование в точке межсоединения или муфты в телекоммуникационной и оборудование на рабочем месте, не должна превышать 90 м, что соответствует расстоянию классической горизонтальной кабельной системы для всех видов разрешенных сред передачи.

Топология COA может быть реализована только в пределах того здания, в котором находятся обслуживаемые ею рабочие места. Все процедуры изменения конфигурации COA должны выполняться только в помещении расположения централизованного активного оборудования. Добавление и удаление линий горизонтальной кабельной подсистемы должно проводиться в телекоммуникационной.

Транзитная прокладка

Волоконно-оптические кабели COA при транзитной прокладке от точки расположения централизованного активного оборудования через телекоммуникационную до рабочего места должны проходить без нарушения внешней оболочки, при этом длина линии COA не должна превышать 90 м, а при включении в нее аппаратных кабелей на двух концах - 100 м.

Администрирование

Элементы COA должны обеспечивать возможность выполнения маркировки в соответствии с требованиями раздела 9. Маркировка должна быть нанесена на каждую позицию терминирования коммутационного оборудования, используемого в качестве межсоединений и муфт в телекоммуникационной. Принципы цветового кодирования коммутационного оборудования, используемого в качестве муфт и межсоединений, не применяются. Позиции терминирования централизованного кросса, участвующие в COA и соединенные кабелем с телекоммуникационными розетками, могут иметь голубой цветовой код. При переходе в телекоммуникационной на кросс-соединение все голубые цветовые коды должны переместиться в телекоммуникационную.

6. Магистральная подсистема

6.1. Общие положения

Основу магистральной кабельной подсистемы составляют магистральные линии или магистрали, соединяющие между собой центры коммутации: главный кросс, промежуточные кроссы и горизонтальные кроссы. В этих центрах выполняется коммутация магистральных линий друг с другом с образованием магистральных каналов, которые используются для распределения телекоммуникационных сервисов (приложения передачи речи, данных, изображений и т.д.) до горизонтальной кабельной подсистемы.

В состав магистральной кабельной подсистемы входят следующие элементы:

- главный кросс;

- промежуточные кроссы;

- горизонтальные кроссы;

- магистральные кабельные сегменты (магистральная подсистема первого уровня), соединяющие главный кросс с промежуточными кроссами или с горизонтальными кроссами;

- магистральные кабельные сегменты (магистральная кабельная подсистема второго уровня), соединяющие промежуточные кроссы с горизонтальными кроссами;

- кабельные сегменты, соединяющие городской ввод с главным кроссом или промежуточным кроссом;

- коммутационные шнуры, осуществляющие коммутацию сегментов магистральной подсистемы в главном кроссе и промежуточных кроссах.

Размер магистральной кабельной подсистемы зависит от размера объекта, она может соединять центры коммутации горизонтальной кабельной системы, расположенные на одном этаже, и не выходить за пределы этого этажа; может объединять центры коммутации разных этажей одного здания или может выходить за пределы одного здания и предоставлять каналы связи между центрами коммутации отдельных зданий.

Та часть магистральной кабельной подсистемы, которая находится внутри здания, называется внутренней магистральной кабельной подсистемой. В одном здании вся магистральная кабельная подсистема может быть представлена только этой подсистемой. Другая часть магистральной кабельной подсистемы, объединяющая между собой несколько зданий, называется внешней.

Все связи между внешней и внутренней магистральными кабельными подсистемами, а также горизонтальной и магистральной кабельными системами осуществляются при помощи пассивных элементов - коммутационных шнуров и перемычек, и активных устройств - коммутаторов, концентраторов, маршрутизаторов, выносов телефонных станций и т.п. (вид оборудования зависит от типа использующегося приложения).

6.2. Топология магистральной кабельной подсистемы

6.2.1. Общая топология

Магистральная кабельная подсистема имеет топологию типа "звезда" с двумя уровнями подчинения (рисунок 23).

MC - главный кросс; IC - промежуточный кросс; HC - горизонтальный кросс

Рисунок 23. Топология магистральной кабельной подсистемы

Каждый промежуточный кросс соединен с главным кроссом MC внешними магистральными сегментами. Все линии сходятся к единому центру MC, образуя тип "звезда", - первый уровень подчинения. В свою очередь, каждый горизонтальный кросс соединен с промежуточным кроссом внутренними магистральными сегментами, также образуя тип "звезда" с единым центром в MC, - второй уровень подчинения.

6.2.2. Дополнения к топологии магистральной кабельной подсистемы

В случае если топология реальных кабельных систем в точности соответствует базовой топологии типа "звезда", то к ней допускаются дополнения, представленные на рисунке 24.

MC - главный кросс; IC - промежуточный кросс; HC - горизонтальный кросс

Рисунок 24. Дополнения к базовой топологии типа "звезда" магистральной кабельной подсистемы

6.2.2.1. Совмещение центров коммутации

В одном здании могут быть территориально совмещены главный кросс, промежуточный кросс и горизонтальный кросс.

6.2.2.2. Непосредственное соединение центров коммутации

При необходимости базовая топология типа "звезда" может быть дополнена вспомогательными магистральными линиями, напрямую соединяющими между собой горизонтальные кроссы или промежуточные кроссы. Таким образом, на отдельном участке магистральной кабельной подсистемы может быть реализована топология типов "шина" или "кольцо".

Сегменты, соединяющие равнозначные центры коммутации (например, IC-IC или HC-HC), считаются частью магистральной кабельной подсистемы.

6.3. Внешняя магистральная кабельная подсистема

Часть магистральной кабельной подсистемы, находящаяся вне зданий и связывающая между собой главный кросс и промежуточные кроссы, относится к внешней или к магистральной кабельной подсистеме кампуса (рисунок 25).

MC - главный кросс; IC - промежуточный кросс

Рисунок 25. Внешняя магистральная кабельная подсистема (магистральная подсистема кампуса)

В состав внешней магистральной кабельной подсистемы входит коммутационное оборудование главного кросса, всех промежуточных кроссов и точек городского ввода, фиксированные кабельные сегменты, а также коммутационные шнуры и кроссировочные перемычки, осуществляющие коммутацию сегментов магистральной подсистемы в главном кроссе.

6.4. Внутренняя магистральная кабельная подсистема

Часть магистральной кабельной подсистемы, находящаяся внутри здания и связывающая между собой горизонтальные кроссы с промежуточными кроссами, называется внутренней или магистральной кабельной подсистемой здания (рисунок 26).

IC - промежуточный кросс; HC - горизонтальный кросс

Рисунок 26. Внутренняя магистральная кабельная подсистема (магистральная подсистема здания)

В состав внутренней магистральной кабельной подсистемы входит коммутационное оборудование всех промежуточных кроссов и всех горизонтальных кроссов, фиксированные кабельные сегменты, а также коммутационные шнуры и кроссировочные перемычки, осуществляющие коммутацию сегментов магистральной подсистемы в промежуточном кроссе.

6.5. Главный кросс и промежуточные кроссы

В главном кроссе и промежуточных кроссах используются два метода подключения активного оборудования к магистральной кабельной подсистеме и один метод - для пассивной коммутации между собой кабельных сегментов магистральной подсистемы.

Подробно методы кросс- и межсоединения описаны в разделе 5.

6.5.1. Кросс-соединение

В главном кроссе и промежуточных кроссах для подключения активного оборудования с многопортовыми коннекторами к магистральной кабельной подсистеме и для пассивной коммутации между собой кабельных сегментов магистральной подсистемы должен применяться метод кросс-соединения.

6.5.2. Межсоединение

В главном кроссе и промежуточных кроссах для подключения активного оборудования с однопортовыми коннекторами к магистральной кабельной подсистеме разрешено применение метода межсоединения.

В главном кроссе и промежуточных кроссах запрещено применение метода межсоединения для пассивной коммутации между собой кабельных сегментов магистральной подсистемы.

6.6. Модели канала и постоянной линии в магистральной кабельной подсистеме

В магистральной кабельной подсистеме существуют две модели подключения - постоянная линия и канал.

В модель канала включаются коммутационные шнуры и кроссировочные перемычки (кросс-соединение), а также аппаратные шнуры (кросс- и межсоединение). В модель постоянной линии входят две единицы коммутационного оборудования, расположенные в кроссах, и фиксированный кабель, соединяющий между собой это коммутационное оборудование.

В модель канала, кроме всех компонентов, входящих в состав постоянной линии, включены аппаратные, коммутационные шнуры и кроссировочные перемычки, использующиеся для пассивной коммутации магистральных кабельных линий и подключения активного оборудования в MC, IC и HC. Несмотря на то, что аппаратные шнуры входят в состав канала, элементом магистральной кабельной подсистемы они не являются, так как считаются принадлежностью активного оборудования.

6.7. Правила построения магистральных кабельных подсистем

6.7.1. Общие правила

Магистральная кабельная подсистема строится на основе базовой топологии "звезда" и ограничена двумя уровнями иерархии. Двух уровней иерархии может оказаться недостаточно для охвата объектов, занимающих большие территории, или для большого числа зданий. В этих случаях всю территорию рекомендуется делить на мелкие участки, для каждого из которых двухуровневая модель магистральной кабельной системы должна быть достаточной. Объединение отдельных кабельных систем может быть выполнено с использованием технологий типов MAN, WAN или им подобных. В частности, рекомендуется применять этот подход при необходимости создания в системе более пяти промежуточных кроссов или географических размеров объекта, превышающих 3 км в диаметре.

Магистральная кабельная подсистема может содержать только один главный кросс.

Все горизонтальные кроссы соединяются с главным кроссом напрямую или через промежуточные кроссы.

Между любым горизонтальным кроссом и главным кроссом должно быть не более одного коммутационного центра - промежуточного кросса.

Между двумя любыми горизонтальными кроссами может быть не более трех коммутационных центров (IC, MC).

Коммутационные центры магистральной кабельной подсистемы могут располагаться в телекоммуникационных (TR), аппаратных (ER) или городских вводах (EF).

6.7.2. Число точек коммутации

В магистральной кабельной подсистеме на основе витой пары проводников (UTP/FTP/ScTP/SFTP) в модели постоянной линии (рисунок 27) допускается наличие не более двух точек коммутации (коннекторов):

1 - коннектор коммутационного оборудования в главном кроссе или в промежуточном кроссе;

2 - коннектор коммутационного оборудования в промежуточном кроссе (IC) или в горизонтальном кроссе.

Рисунок 27. Модель "постоянной линии" магистральной кабельной подсистемы (внешней или внутренней) с двумя точками коммутации

В магистральной кабельной подсистеме на основе витой пары проводников (UTP/FTP/ScTP/SFTP) в модели канала (рисунок 28) допускается наличие не более четырех точек коммутации (коннекторов):

1 - коннектор первой единицы коммутационного оборудования в главном или в промежуточном кроссе;

2 - коннектор второй единицы коммутационного оборудования в главном или в промежуточном кроссе;

3 - коннектор первой единицы коммутационного оборудования в промежуточном или в горизонтальном кроссе;

4 - коннектор второй единицы коммутационного оборудования в промежуточном или в горизонтальном кроссе.

Рисунок 28. Модель канала магистральной кабельной подсистемы с четырьмя точками коммутации

6.7.3. Специализированные устройства

Некоторые сетевые технологии и приложения требуют использования специализированных устройств, например, предназначенных для согласования импедансов, разветвления 4-парных кабелей на две или четыре отдельные физические линии и т.п.

Специализированные устройства, предназначенные для поддержки работы конкретных приложений, не должны использоваться как часть магистральной кабельной подсистемы, а в случае необходимости использования должны устанавливаться за пределами главного или промежуточного кросса.

Монтаж подобных специализированных устройств за пределами магистральной кабельной подсистемы сохраняет ее универсальность и независимость от конкретных приложений.

6.7.4. Шунтированные отводы

В магистральной кабельной подсистеме не допускается использование шунтированных отводов по двум причинам:

- нарушается универсальность кабельной системы, так как на кабельных линиях, содержащих шунтированные отводы, может работать крайне ограниченное число телекоммуникационных приложений;

- появление в линии дополнительного коннектора (точки коммутации) может привести к ухудшению рабочих характеристик передачи.

6.7.5. Муфты

Муфты разрешено использовать для сращивания кабельных сегментов длиной более 90 м, предназначенных для поддержки работы низкоскоростных телекоммуникационных приложений (с рабочей полосой частот до 1 МГц). Должно быть не более трех муфт.

В магистральной кабельной подсистеме на основе витой пары проводников муфты используют в следующих случаях:

- при переходе от кабеля внешнего применения к кабелю внутреннего применения в городском вводе;

- при сращивании протяженных кабельных сегментов при сложных условиях прокладки или небольшой строительной длине сегмента.

Не допускается использование муфт для сращивания кабелей, предназначенных для поддержки работы высокоскоростных приложений и ограниченных длиной фиксированного сегмента 90 м, поскольку это может привести к деградации рабочих характеристик линии или канала.

Для сращивания волоконно-оптического кабеля разрешено использовать волоконно-оптические муфты, число которых должно определяться на основе допустимого бюджета мощности магистральной волоконно-оптической линии любой длины.

Использование волоконно-оптических муфт может потребоваться в следующих случаях:

- при переходе от кабеля внешнего применения к кабелю внутреннего применения в городском вводе;

- при переходе от тонкобуферных волокон (250 - 900 мкм) кабелей магистральной подсистемы на односторонние коммутационные перемычки с помощью сварки или механического соединения в кроссах;

- при сращивании протяженных кабельных сегментов при сложных условиях прокладки или небольшой строительной длине сегмента.

Не допускается использование разветвителей.

6.8. Проектирование магистральной кабельной подсистемы

При выборе конфигурации и проектировании магистральной кабельной подсистемы следует принимать во внимание следующие факторы:

- срок службы магистральной кабельной подсистемы рассчитан на период планирования - от 3 до 10 лет, который значительно меньше срока службы всей кабельной системы - несколько десятилетий;

- к началу планируемого периода магистральная кабельная подсистема должна быть спроектирована максимального размера, который может потребоваться в течение всего периода планирования. Все изменения и расширения магистральной кабельной подсистемы в течение этого периода должны проходить без добавления дополнительных кабельных линий;

- доступ к внешним магистральным линиям кабельной системы затруднен или ограничен, что следует учитывать при выборе периода ее планирования, который будет более продолжительным;

- внешние магистральные линии кабельной системы должны содержать набор всех типов сред передачи данных, которые могут потребоваться для планируемых приложений;

- при проектировании магистральных трасс и коммутационных центров следует избегать мест возможного расположения источников электромагнитного излучения.

6.8.1. Среды передачи и коммутационное оборудование

Для использования в магистральной кабельной подсистеме разрешены следующие типы сред передачи:

- 4-парные кабели на основе неэкранированной витой пары проводников (UTP) с волновым сопротивлением 100 Ом и рабочими характеристиками передачи категорий 5e и 6;

- 4-парные кабели на основе экранированной витой пары проводников (FTP/ScTP/SFTP) с волновым сопротивлением 100 Ом и рабочими характеристиками передачи категорий 5e и 6;

- многопарные кабели на основе неэкранированной витой пары проводников (UTP) с волновым сопротивлением 100 Ом и рабочими характеристиками передачи категорий 3 и 5;

- многопарные кабели на основе экранированной витой пары проводников (FTP/ScTP/SFTP) с волновым сопротивлением 100 Ом и рабочими характеристиками передачи категорий 3 и 5;

- многомодовые волоконно-оптические кабели с размерами сердечника/оболочки 50/125 мкм;

- многомодовые волоконно-оптические кабели с размерами сердечника/оболочки 62,5/125 мкм;

- одномодовые волоконно-оптические кабели с размерами сердечника/оболочки 9/125 мкм.

Многопарные кабели на основе витой пары проводников с рабочими характеристиками передачи категорий 3 и 5 предназначены для передачи сигналов низкоскоростных приложений, таких как аналоговая и цифровая телефония.

Исключение из приведенных выше правил представляют многопарные кабели для внешней прокладки, рабочие характеристики которых не выходят за рамки 1 и 2 уровней. Такие кабели изготавливают на основе одножильных медных проводников калибров 19 AWG (0,9 мм), 22 AWG (0,64 мм), 24 AWG (0,5 мм) или 26 AWG (0,4 мм) в термопластиковой изоляции, и они предназначены для передачи сигналов приложений передачи речи и низкоскоростных данных (кабели типа OSP) или приложений передачи речи, высокоскоростных данных и видео (широкополосные кабели типа BBOSP).

Требования и рекомендации, распространяющиеся на среды передачи и коммутационное оборудование магистральной кабельной подсистемы, приведены в разделе 4.

6.8.2. Расстояния

Расстояния в магистральной кабельной подсистеме зависят от конкретных типов приложений и среды передачи.

Под расстоянием подразумевается физическая длина кабеля (по внешней оболочке) между точками его терминирования в кроссах.

Максимально допустимые расстояния в магистральной кабельной подсистеме должны быть ограничены:

- при среде передачи на основе витой пары проводников:

800 м - между MC и HC;

300 м - между IC и HC;

100 м - между MC и HC, IC и HC, или MC и IC в том случае, если магистральная подсистема предназначена для поддержки работы высокоскоростных приложений (с рабочей полосой частот свыше 1 МГц);

- при среде передачи на основе многомодовых оптических волокон 50/125 и 62,5/125 мкм:

2000 м - между MC и HC;

300 м - между IC и HC;

- при среде передачи на основе одномодового оптического волокна:

5000 м - между MC и HC;

300 м - между IC и HC.

В тех случаях, когда расстояние между HC и IC меньше максимально допустимого, оно может быть соответственно увеличено. Тем не менее необходимо иметь в виду, что суммарное расстояние между HC и MC не должно быть более установленных максимальных пределов.

Для определения максимально допустимых расстояний используется модель канала (с учетом коммутационных и аппаратных шнуров).

Ограничение максимально допустимого расстояния внутренней магистральной подсистемы (IC и HC) в 300 м носит административный характер и вызвано сложностью централизованного администрирования объекта, горизонтальные кроссы которого удалены более чем на 300 м от промежуточного кросса.

При определении общей длины канала магистральной кабельной подсистемы должно учитываться расстояние от городского ввода до MC.

Для сокращения расстояний в магистральной кабельной подсистеме рекомендуется располагать MC в географическом центре кабельной системы.

Минимальная длина кабеля магистральной подсистемы на основе витой пары проводников с рабочими характеристиками категорий 5e и 6 должна составлять 15 м, что обеспечивает нормальные условия функционирования телекоммуникационных приложений в коротких кабельных линиях, когда близкое расположение единиц коммутационного оборудования относительно друг друга отрицательно влияет на такие параметры, как возвратные потери (RL) и NEXT (эффект резонансных отражений). При этом излишки кабеля (создаваемые для обеспечения минимально требуемой длины 15 м) следует укладывать в виде запаса в кроссах или в трассах магистральной подсистемы. Запас кабеля предпочтительно хранить в виде "U"-образных петель с соблюдением минимального радиуса изгиба. Петли в виде "8" с большим радиусом также могут обеспечить хорошие результаты. Не рекомендуется хранить запас кабеля в виде бухты небольшого диаметра (до 30 см).

С целью обеспечения в будущем возможности выполнения изменений конфигурации магистральной кабельной подсистемы рекомендуется в кроссах оставлять запас (3 м) кабеля на основе витой пары проводников и волоконно-оптического кабеля.

Запас кабеля должен учитываться в общей длине сегментов магистральной кабельной подсистемы.

Максимально длина аппаратных и коммутационных шнуров в магистральной кабельной подсистеме должна быть ограничена:

- для среды передачи на основе витой пары проводников:

5 м - суммарная длина аппаратных и коммутационных шнуров в MC или IC в том случае, если магистральная подсистема предназначена для поддержания работы высокоскоростных приложений (с рабочей полосой частот свыше 1 МГц);

20 м - длина коммутационных шнуров в MC или IC в том случае, если магистральная подсистема предназначена для поддержания работы низкоскоростных приложений (с рабочей полосой частот до 1 МГц);

30 м - длина аппаратных шнуров в MC или IC в том случае, если магистральная подсистема предназначена для поддержания работы низкоскоростных приложений (с рабочей полосой частот до 1 МГц);

- для среды передачи на основе одномодовых и многомодовых оптических волокон 50/125 и 62,5/125 мкм:

20 м - длина коммутационных шнуров в MC или IC;

30 м - длина аппаратных шнуров в MC или IC.

В магистральной кабельной подсистеме на основе витой пары проводников, предназначенной для поддержания работы высокоскоростных телекоммуникационных приложений (с рабочей полосой частот свыше 1 МГц), с целью повышения гибкости и удобства подключения активного оборудования разрешается увеличивать суммарную длину коммутационных и аппаратных шнуров в кроссах до 27 м в случае, если длина фиксированного кабеля не превышает 70 м.

6.9. Монтаж

Магистральная кабельная подсистема должна быть установлена (смонтирована) в полном соответствии с требованиями, правилами и рекомендациями раздела 8.

6.10. Администрирование

Магистральная кабельная подсистема должна проходить администрирование в полном соответствии с требованиями раздела 9.

6.11. Защита

Телекоммуникационные системы заземления и уравнивания потенциалов, экранирования, защиты от электромагнитных помех (EMI), электромагнитной совместимости (EMC) и защиты от пиковых напряжений и паразитных токов должны быть спроектированы и установлены в полном соответствии с требованиями нормативных документов.

7. Телекоммуникационные пространства и помещения

7.1. Рабочее место

7.1.1. Общие положения

Рабочими местами (WA) называют пространства в здании, где пользователи взаимодействуют с телекоммуникационными устройствами. Особенностью проектирования рабочего места является поиск наиболее удобного варианта как для работы пользователей, так и для нормального функционирования телекоммуникационного оборудования.

Компоненты рабочего места располагают между точкой окончания горизонтальной кабельной подсистемы на телекоммуникационной розетке и активным оборудованием рабочего места. К активному оборудованию рабочего места относят электронные устройства, такие как телефонные аппараты, терминалы систем обработки данных, компьютеры и другие. Эффективность кабельной системы рабочего места оказывает значительное влияние на работу распределительной системы. Особенностью кабельной системы рабочего места является ее непостоянство и возможность довольно легко вносить в нее изменения.

К элементам рабочего места относятся:

- телекоммуникационная розетка или многопользовательская телекоммуникационная розетка;

- аппаратные кабели (шнуры);

- адаптеры, конвертеры, разветвители;

- телекоммуникационное оборудование (телефонные аппараты, компьютеры, модемы, терминалы и т.п.).

Активное телекоммуникационное оборудование и адаптеры (конвертеры, разветвители) не считаются частью телекоммуникационной кабельной системы.

7.1.2. Кабельная система

7.1.2.1. Телекоммуникационная розетка

Телекоммуникационные розетки служат для подключения активного телекоммуникационного оборудования пользователей на рабочих местах и являются физическим окончанием горизонтальной кабельной подсистемы. Телекоммуникационная розетка одновременно является элементом и горизонтальной кабельной подсистемы, и рабочего места.

Телекоммуникационные розетки, используемые на рабочих местах, должны соответствовать требованиям, приведенным в 4.2.

Кабели горизонтальной подсистемы прокладывают на рабочие места в избыточном количестве с целью создания запаса для возможных подключений в будущем. Окончания таких нетерминированных кабелей должны укладываться в скрытых местах в зоне расположения рабочего места (за фальшстеной, в пространстве фальшпотолка или фальшпола и т.д.) или в монтажных коробках розеток, закрытых глухими крышками.

Кабели горизонтальной подсистемы, проложенные до рабочих мест и не терминированные на телекоммуникационных розетках, не входят в состав СКС.

Телекоммуникационные розетки на основе витой пары проводников

Все 4-парные кабели горизонтальной подсистемы должны быть терминированы на коннекторах восьмипозиционных модульных гнезд рабочих мест, на одном коннекторе телекоммуникационной розетки или многопользовательской телекоммуникационной розетки на рабочем месте.

Схемы разводки телекоммуникационной розетки должны соответствовать T568A или T568B.

На рисунке 29 показано назначение контактов гнезда телекоммуникационной розетки для схем разводки T568A и T568B. Цвета проводников приведены относительно схемы цветового кодирования 4-парного кабеля горизонтальной подсистемы.

Рисунок 29. Назначение контактов в схемах разводки T568A и T568B

Допускается одновременно использование в одной СКС двух схем разводки, но вследствие возможных ошибок при монтаже, эксплуатации и подключении активного оборудования к кабельной системе не рекомендуется.

С точки зрения электрической проводимости разъемы со схемами разводки T568A и T568B ничем не отличаются друг от друга и могут быть взаимозаменяемы при условии использования на обоих концах линии коннекторов с одинаковой схемой разводки.

Волоконно-оптические телекоммуникационные розетки

В телекоммуникационной розетке на рабочем месте могут использоваться адаптеры различных типов. Все они должны соответствовать требованиям раздела 4. В качестве образца для иллюстрации правил настоящего стандарта далее используются дуплексные адаптеры типа SC (568SC).

Волоконно-оптические кабели горизонтальной подсистемы должны быть терминированы на рабочем месте в дуплексной телекоммуникационной розетке.

В телекоммуникационных розетках на рабочих местах также рекомендуется использовать адаптеры типа SC или LC.

В телекоммуникационных розетках на рабочих местах не рекомендуется использовать адаптеры типа ST. Их применение рекомендуется ограничить случаями, когда волоконно-оптическое оборудование с разъемами типа ST уже установлено в кабельной системе.

С целью унификации кабельной инфраструктуры и упрощения ее обслуживания в одной кабельной системе рекомендуется использовать один тип волоконно-оптического адаптера для всех телекоммуникационных розеток на всех рабочих местах.

Конструкция адаптеров должна соответствовать требованиям к монтажным размерам, определенным [1]. Многомодовые волоконно-оптические коннекторы и адаптеры (или видимую часть их корпуса) идентифицируют бежевым цветом, одномодовые волоконно-оптические коннекторы и адаптеры (или видимую часть их корпуса) - голубым цветом.

Две позиции дуплексных волоконно-оптических коннекторов и соответствующих адаптеров должны обозначаться как "позиция A" и "позиция B". Адаптер должен обеспечивать логический кроссовер пар волокон при сопряжении двух коннекторов. Позиции "A" и "B" могут быть обозначены как заводской маркировкой на предприятии-изготовителе, так и в полевых условиях при монтаже кабельной системы.

Аппаратные шнуры рабочего места

Аппаратные шнуры на основе витой пары проводников и волоконно-оптические аппаратные шнуры, используемые для подключения активного оборудования к телекоммуникационной розетке на рабочем месте в модели канала горизонтальной кабельной подсистемы, должны соответствовать требованиям 4.3.

Кабельная система рабочего места может меняться в зависимости от конкретного приложения. Наиболее распространенным решением является шнур с одинаковыми коннекторами на обоих концах. К другим часто используемым вариантам подключения активного оборудования относятся:

- специализированный кабель или адаптер в случае активного оборудования с типом коннектора, отличным от типа коннектора телекоммуникационной розетки;

- "Y"-адаптер, используемый для разветвления 4-парных кабелей на две или четыре отдельные физические линии (подача нескольких сервисов на рабочее место по одному кабелю горизонтальной подсистемы);

- пассивные адаптеры, используемые для сопряжения кабелей разнородных типов, используемых в горизонтальной подсистеме и для подключения активного оборудования;

- активные адаптеры, необходимые для подключения устройств с разными схемами сигнализации;

- адаптеры, служащие для перемещения пар с целью создания совместимости схем разводки механических интерфейсов;

- согласующие резисторы терминалов ISDN.

Применение разных кабельных адаптеров может оказать существенное отрицательное влияние на результирующие рабочие характеристики кабельной системы (канала передачи). По этой причине перед использованием следует проверить их на совместимость с кабельной системой, активным оборудованием и приложениями.

Специализированные устройства, предназначенные для поддержания работы конкретных приложений, не должны использоваться как часть горизонтальной кабельной подсистемы и, в случае необходимости применения, должны устанавливаться за пределами телекоммуникационной розетки.

7.1.3. Телекоммуникационные трассы и пространства

7.1.3.1. Места монтажа телекоммуникационных розеток

Телекоммуникационная розетка - узел, состоящий, как минимум, из трех элементов: установочной коробки, монтажной рамки и коннектора.

Коннектор, или модуль (розеточный модуль), представляет собой телекоммуникационное гнездо, установленное в корпус модуля или на его печатную плату и соединенное электрически с гнездом коннектора типа IDC, предназначенное для терминирования кабелей горизонтальной подсистемы.

Телекоммуникационная розетка может состоять из одного и более коннектора.

Монтажная рамка, которая часто одновременно служит и декоративной лицевой панелью, служит для монтажа модуля в установочной коробке.

Установочная коробка телекоммуникационной розетки служит местом перехода между кабелем горизонтальной подсистемы и аппаратным кабелем рабочего места. Наиболее распространенные варианты монтажа установочных коробок:

- в стене или на стене (или на любой пригодной для монтажа поверхности);

- на периметральной трассе (кабельном коробе);

- на мебельной трассе;

- на гибком шланге.

Телекоммуникационная розетка должна быть надежно закреплена на запланированном месте с помощью средств и методов, определенных инструкциями изготовителя, и обеспечивать защиту окончаний, поддержание требуемых радиусов изгиба и хранение рекомендуемого запаса кабеля горизонтальной подсистемы.

Плотность монтажа розеток

Как минимум одна установочная коробка для монтажа телекоммуникационных розеток должна быть отведена на каждое рабочее место.

При планировании мест расположения телекоммуникационных розеток рекомендуется использовать среднее значение площади рабочего места в 10 м2.

Если требования конечного пользователя или определенных норм устанавливают площадь рабочих мест, плотность их расположения должна быть соответственно изменена. В тех местах зданий, где впоследствии будет трудно устанавливать дополнительные телекоммуникационные коробки и розетки, рекомендуется планировать как минимум два отдельных места расположения розеток с учетом создания максимально возможной гибкости при выполнении изменений в конфигурации рабочего места.

Правила выбора мест расположения розеток

Места расположения телекоммуникационных розеток рекомендуется координировать с офисным планом расположения мебели.

На рабочем месте запрещена открытая прокладка (вне закрытых трасс) кабеля горизонтальной подсистемы до установочной телекоммуникационной коробки/розетки.

Розетки офисной системы электроснабжения рекомендуется устанавливать вблизи установочной коробки телекоммуникационной розетки (например, в пределах 1 м).

Рекомендуется монтировать телекоммуникационные розетки на одной высоте с розетками системы электроснабжения за исключением специальных помещений, высота розеток системы электроснабжения в которых регламентируется соответствующими нормами.

Телекоммуникационную розетку рекомендуется устанавливать на расстоянии не более стандартной длины аппаратного шнура активного оборудования рабочего места от места его расположения.

Трассы и пространства офисной мебели

Коэффициент заполнения мебельной трассы рассчитывают в процентах делением суммарной площади поперечного сечения кабелей на площадь поперечного сечения трассы в самом "узком" ее месте. На стадии проектирования системы мебельных трасс должен использоваться коэффициент заполнения 40%. Допускается увеличение заполнения трассы до 60% в случае незапланированных дополнений.

На значение коэффициента заполнения оказывают влияние такие факторы, как спиралевидное пространственное расположение кабелей в канале, места сопряжения трасс, допустимые радиусы изгиба кабелей и пространство, занимаемое розетками и коннекторами. Предпочтительным методом определения реальной емкости мебельной трассы является пробный монтаж.

Мебельные каналы, используемые для прокладки телекоммуникационных кабельных систем, должны обеспечивать площадь поперечного сечения как минимум 10 см2. Эта площадь рассчитана на использование типовых 4-парных кабелей при коэффициенте заполнения 33%.

Минимальный размер трассы должен определяться на основе требования к радиусу изгиба кабелей - 25 мм при максимально допустимом коэффициенте заполнения. В большинстве мебельных трасс кабель может монтироваться методом укладки, а не протягивания, в таких случаях не требуется использования скругленных углов и поворотов.

Периметральные трассы

Практическая емкость телекоммуникационной кабельной системы, которую можно достичь в периметральных трассах в зависимости от требований к радиусу изгиба кабеля, должна составлять от 20% до 40% заполнения. Расчет требуемого размера трассы выполняют делением суммарной площади поперечного сечения всех кабелей на допустимый коэффициент заполнения.

В поверхностных коробах радиус изгиба кабелей должен составлять не менее 25 мм при максимально допустимом коэффициенте заполнения. Для кабелей отдельных типов и сложных условий монтажа могут потребоваться более жесткие требования к радиусам их изгиба.

На стадии проектирования систем коробов должен использоваться максимально допустимый коэффициент заполнения 40%. Впоследствии допускается увеличение заполнения трассы до 60% в случае незапланированных дополнений.

Центры управления, пультовые, приемные

Такие специфические рабочие места, как центры управления (диспетчерские), пультовые различных систем здания (например, системы безопасности) и приемные, предъявляют жесткие требования к телекоммуникационному оборудованию. К таким зонам обслуживания, как правило, подходит большое число разнообразных кабелей, при этом выделенную телекоммуникационную трассу рекомендуется прокладывать от телекоммуникационной, аппаратной или городского ввода.

7.2. Телекоммуникационная

7.2.1. Общие положения

Телекоммуникационные выполняют множество разнообразных функций в кабельной системе и в иерархической структуре телекоммуникационной кабельной системы здания выделяются в подсистему.

Основное назначение телекоммуникационной - обеспечение специально оборудованного пространства для терминирования кабелей горизонтальной и магистральной подсистем на коммутационном оборудовании кроссов. Использование методов кросс-соединения и межсоединения при коммутации с помощью шнуров позволяет гибко осуществлять соединения с целью подачи различных сервисов на телекоммуникационные розетки. Коммутационное оборудование и коммутационные шнуры, используемые для этих целей, составляют горизонтальный кросс.

В телекоммуникационной также могут располагаться промежуточные кроссы и главный кросс. С целью создания сетевых топологий типа "кольцо", "шина" или "дерево" в телекоммуникационных могут создаваться кросс-соединения между сегментами магистральной подсистемы для создания прямых связей между несколькими телекоммуникационными. Телекоммуникационная обеспечивает средства для администрирования и трассировки аппаратных кабелей и шнуров, соединяющих горизонтальный кросс с активным телекоммуникационным оборудованием. В некоторых случаях в телекоммуникационной могут располагаться демаркационная точка (DP) и средства защиты внешних линий.

Одна из основных функций телекоммуникационной - обеспечение контролируемого микроклимата для нормальной работы активного и пассивного телекоммуникационного оборудования.

7.2.2. Кабельная система

7.2.2.1. Общие положения

Кабели горизонтальной и магистральной подсистем должны быть терминированы в телекоммуникационной на коммутационном оборудовании, отвечающем требованиям 4.2.

Запрещено перемещение точек терминирования кабелей горизонтальной и магистральной подсистем в телекоммуникационной с целью внесения штатных изменений в схему коммутации. Для подобных целей должны использоваться коммутационные и аппаратные шнуры.

7.2.2.2. Кросс-соединения и межсоединения

В горизонтальном кроссе, расположенном в телекоммуникационной, для подключения активного оборудования с многопортовыми коннекторами к горизонтальной кабельной подсистеме и для пассивной коммутации между собой кабельных сегментов горизонтальной и магистральной подсистем должны применяться методы кросс-соединения и межсоединения (5.1.1.3).

7.2.3. Телекоммуникационные трассы и пространства

7.2.3.1. Общие положения

Телекоммуникационная рассматривается как точка доступа на каждом этаже к трассам магистральной и горизонтальной подсистем.

Помещение телекоммуникационной должно быть спроектировано с целью обеспечения установки активного телекоммуникационного оборудования, коммутационного оборудования для терминирования кабелей горизонтальной и магистральной подсистем, а также коммутационной кабельной системы (коммутационных и аппаратных шнуров).

Рекомендуется располагать телекоммуникационную как можно ближе к центру обслуживаемой ею зоны этажа (этажей) и предпочтительно в центре здания.

При проектировании телекоммуникационной должны быть учтены все необходимые нормы (электрические, строительные, санитарные и т.п.).

7.2.3.2. Правила и процедуры проектирования

Функциональное назначение

Пространство телекоммуникационной должно быть предназначено только для обеспечения работы телекоммуникационных систем и сопутствующих им сервисных систем.

В телекоммуникационной не допускается размещать оборудование систем электроснабжения, не относящихся к телекоммуникационным системам, и оборудование посторонних сервисов здания (например, систем водоснабжения, управления микроклиматом здания и т.п.).

Расположение и размеры

Телекоммуникационную рекомендуется располагать на одном этаже с обслуживаемыми ею рабочими местами.

Рабочие места должны обслуживаться горизонтальным кроссом, расположенным в телекоммуникационной на том же или на смежном с ними этаже.

При стандартной площади рабочего места 10 м2 рекомендуемые минимальные размеры телекоммуникационной можно определить по таблице 9.

Таблица 9

Площадь обслуживаемого этажа, м2

Размеры телекоммуникационной, м

1000

3,0 × 3,4

800

3,0 × 2,8

500

3,0 × 2,2

Рисунок 30 дает представление о типовой конфигурации помещения телекоммуникационной.

1 - три рукава диаметром 100 мм каждый (минимальное условие); 2 - распределительная система; 3 - лестничный кабельный лоток; 4 - монтажная плита, ДСП 20 мм; 5 - система связи телекоммуникационных, кондуит, калибр как минимум 3 (78 мм); 6 - потолочный светильник; 7 - аппаратная стойка; 8 - пространство доступа к питанию и системе заземления; 9 - технологическое пространство доступа; 10 - питание оборудования; 11 - вспомогательное питание

Рисунок 30

Дополнительные телекоммуникационные на этаже из расчета - одна на каждые 1000 м2 обслуживаемого пространства рекомендуется обеспечивать, если:

- площадь зоны обслуживания этажа превышает 1000 м2;

- длина горизонтальной кабельной подсистемы больше 90 м.

Магистральные связи между телекоммуникационными

С целью создания гибкой распределительной инфраструктуры магистральные связи между несколькими телекоммуникационными, расположенными на одном этаже, рекомендуется устанавливать с помощью телекоммуникационной трассы, эквивалентной как минимум одному кондуиту калибра 3 (78 мм).

Нагрузка на перекрытие

Рекомендуется располагать телекоммуникационные в зонах этажа, обладающих минимальными показателями нагрузки на перекрытие 2,4 кПа (0,025 кг × с/см2) и учитывать возможность установки телекоммуникационного оборудования с определенной суммарной массой в конкретной зоне этажа.

При проектировании телекоммуникационной и установке в ней телекоммуникационного оборудования в зоне ее расположения должны быть соблюдены требования к нагрузкам на перекрытие.

Оборудование помещения

Стены, пол и потолок

Для обеспечения возможности эффективного и экономичного настенного монтажа оборудования рекомендуется устанавливать как минимум на две стены телекоммуникационной монтажные панели, изготовленные из клееной фанеры, ДСП или аналогичного им материала, толщиной 20 мм, без пустот, высотой 2,5 м, способных выдержать массу оборудования. Предпочтительно использовать панели из материала, обладающего противопожарными характеристиками, или наносить на них огнезащитное покрытие.

С целью создания гибкой распределительной системы использование фальшпотолков в телекоммуникационной не рекомендуется по следующим причинам:

- фальшпотолок значительно уменьшает пространство, в котором могут быть установлены распределительные системы на основе кабельных лотков;

- фальшпотолок уменьшает высоту расположения светильников, что приводит к менее равномерному освещению и перекрытию световых потоков кабельными трассами, монтажными стойками и кабинетами (шкафами) при близком их расположении к светильникам;

- фальшпотолок является эффективным накопителем и источником пыли;

- фальшпотолок увеличивает риск механического повреждения установленного оборудования вследствие падения элементов его конструкции.

Полы, стены и потолки в телекоммуникационных рекомендуется обрабатывать средствами, препятствующими оседанию и накоплению пыли. Окончательную отделку поверхностей желательно выполнять в светлых тонах для улучшения условий освещенности.

Освещение

Качество освещения в значительной степени влияет как на число ошибок, совершаемых монтажниками, так и на общее качество монтажа системы. Расположение осветительных приборов должно обеспечивать на всех рабочих местах уровень освещенности не менее 500 лк.

Выполнение этого правила может быть достигнуто расположением светильников на высоте не менее 2,5 м над уровнем чистого пола, координированием расположения светильников относительно кабельных лотков, аппаратных стоек и кабинетов и выбором типа и формы светильников. Следует иметь в виду, что люминесцентные лампы, обеспечивая сравнительно высокие показатели освещенности, обладают крайне отрицательными свойствами создания электромагнитных помех.

Выключатели осветительных устройств рекомендуется располагать непосредственно при входе в помещение телекоммуникационной.

С целью избежания наводок рекомендуется подключать осветительные устройства к электрическим фидерам, не связанным с питанием активного телекоммуникационного оборудования в TR.

Дверь

С целью обеспечения доставки телекоммуникационного оборудования рекомендуется, чтобы минимальные размеры двери в телекоммуникационной составляли 90 см в ширину и 2 м в высоту, дверь не должна иметь порога, должна открываться наружу, быть раздвижной или съемной, а также оборудованной замком для ограничения доступа - вход только для авторизованного персонала.

Электроснабжение

Для обеспечения активного оборудования электропитанием в телекоммуникационной рекомендуется устанавливать как минимум две выделенные, неотключаемые электрические розетки переменного тока 20 А номинальным напряжением 220 В, питаемые от разных фидеров.

Кроме розеток технологического питания, предназначенных для активного оборудования, рекомендуется устанавливать бытовые розетки с интервалом 2 м по периметру стен телекоммуникационной на высоте, не мешающей проведению работ на настенном коммутационном оборудовании, для подключения таких устройств, как тестеры, монтажный электроинструмент и т.п.

При наличии в здании или на этаже источников резервного питания рекомендуется подключать к ним систему электроснабжения телекоммуникационной с помощью автоматического переключения.

Система заземления

Система защитного заземления телекоммуникационной должна соответствовать требованиям соответствующих норм.

Для обеспечения нормального функционирования телекоммуникационных систем рекомендуется обеспечивать в телекоммуникационной доступ к телекоммуникационной системе заземления и уравнивания потенциалов.

Вводы в телекоммуникационную

С целью упрощения процедур монтажа кабельной системы рекомендуется рукава и проемы трасс магистральной и горизонтальной подсистем устанавливать на стороне двери в телекоммуникационную, как это показано на рисунке 30.

Трассы не должны оставаться открытыми, за исключением времени выполнения процедур монтажа кабельной системы, и должны быть закрыты противопожарными заглушками в соответствии с требованиями соответствующих норм.

Меры безопасности и пожарной защиты

Предпочтительно располагать телекоммуникационную на этаже в месте входа или выхода.

В случае использования телекоммуникационной несколькими арендаторами доступ в помещение должен контролировать владелец здания или его представитель.

Системы пожарной защиты в телекоммуникационной должны быть обеспечены соответствующими нормами.

С целью предотвращения случайного срабатывания головки спринклеров рекомендуется закрывать защитными сетчатыми колпаками.

Контроль и управление микроклиматом

При проектировании телекоммуникационной рекомендуется включать в проект систему контроля и управления микроклиматом для поддержания в помещении температуры и уровня влажности, необходимых для нормального функционирования активного телекоммуникационного оборудования. Рекомендуемый режим работы системы управления микроклиматом - 24 ч, 365 дней.

Рекомендуется поддерживать в телекоммуникационной избыточное давление со сменой всей массы воздуха в течение одного часа.

В случае наличия в здании или на этаже источников резервного питания рекомендуется подключить к ним систему управления микроклиматом телекоммуникационной с помощью автоматического переключения.

Телекоммуникационные небольших зданий и альтернативные помещения

В зданиях с суммарной площадью зоны обслуживания до 500 м2, на этажах с площадью зоны обслуживания до 100 м2, а также в тех случаях, когда нет возможности отвести для телекоммуникационной отдельное помещение на этаже, роль телекоммуникационных могут выполнять небольшие шкафы (например, встроенные) и аппаратные кабинеты (напольные и настенные) при условии обеспечения их защиты от несанкционированного доступа, расположения в строго фиксированном месте и соблюдения соответствующих норм (например, электрических и санитарных).

Рекомендуется, чтобы аппаратные шкафы и кабинеты, используемые в качестве телекоммуникационных, соответствовали всем требованиям и рекомендациям, определенным для телекоммуникационных в настоящем разделе.

Рекомендуемые минимальные размеры телекоммуникационной в зоне обслуживания до 500 м2: на основе встроенных стенных шкафов должны составлять 1200 мм в глубину и 1200 мм в ширину; на основе мелких шкафов - 600 мм в глубину и 2500 мм в ширину.

7.3. Аппаратная

7.3.1. Общие положения

Аппаратные (ER) отличаются от телекоммуникационных в основном тем, что они предназначены для размещения большого числа и крупных единиц активного телекоммуникационного оборудования. Аппаратные могут также совмещать функции телекоммуникационных и городских вводов.

Аппаратная представляет собой среду с контролируемыми параметрами, служащую для установки активного телекоммуникационного оборудования, коммутационного оборудования, муфт, элементов системы заземления и уравнивания потенциалов и средств защиты.

Основным назначением аппаратной является обеспечение специально оборудованного пространства для терминирования кабелей магистральной подсистемы на коммутационном оборудовании главного и промежуточного кроссов.

В аппаратной может располагаться горизонтальный кросс, обслуживающий рабочие места, расположенные на одном этаже с аппаратной.

В некоторых случаях в аппаратной могут располагаться демаркационная точка (DP) и средства защиты внешних линий.

Аппаратная обеспечивает средства для администрирования и трассировки аппаратных кабелей и шнуров, соединяющих кроссы с активным телекоммуникационным оборудованием.

7.3.2. Кабельная система

7.3.2.1. Общие положения

Аппаратная может содержать главный и промежуточный кроссы, а также, в качестве частного случая, - горизонтальный кросс.

Аппаратная обеспечивает средства для администрирования и трассировки аппаратных кабелей и шнуров, соединяющих главный, промежуточный или горизонтальный кроссы с активным телекоммуникационным оборудованием.

В некоторых случаях в аппаратной могут располагаться окончания и точки терминирования кабельных линий сети поставщиков сервиса (например, местной АТС), кабельной системы кампуса и вспомогательных телекоммуникационных систем, находящихся в подчинении у администратора кабельной системы на территории владельца.

Кабели горизонтальной и магистральной подсистем должны быть терминированы в аппаратной на коммутационном оборудовании, отвечающем требованиям, изложенным в 4.2.

Запрещено перемещение точек терминирования кабелей горизонтальной и магистральной подсистем в аппаратной с целью внесения штатных изменений в схему коммутации. Для подобных целей должны использоваться коммутационные и аппаратные шнуры.

7.3.2.2. Кросс-соединения и межсоединения

В главном, промежуточном и горизонтальном кроссах, расположенных в аппаратной, для подключения активного оборудования с многопортовыми коннекторами к горизонтальной и магистральной кабельным подсистемам и для пассивной коммутации между собой кабельных сегментов должен применяться метод кросс-соединения (см. 2.12).

В главном, промежуточном и горизонтальном кроссах, расположенных в аппаратной, для подключения активного оборудования с однопортовыми коннекторами к горизонтальной и магистральной кабельным подсистемам разрешено применение метода межсоединения (см. 2.13).

7.3.3. Телекоммуникационные трассы и пространства

7.3.3.1. Общие положения

Аппаратная является местом централизованного расположения активного телекоммуникационного оборудования (например, УАТС, вычислительных комплексов, коммутаторов видеосистем). Аппаратная может также выполнять функции телекоммуникационной и городского ввода.

Помещение аппаратной должно быть спроектировано и оборудовано с целью обеспечения установки активного телекоммуникационного оборудования, коммутационного оборудования для терминирования кабелей горизонтальной и магистральной подсистем, а также коммутационной кабельной системы (коммутационных и аппаратных шнуров).

Рекомендуется располагать аппаратную как можно ближе к центру обслуживаемого ею здания и предпочтительно в области его ядра.

При проектировании аппаратной должны быть учтены соответствующие нормы (электрические, строительные, санитарные и т.п.).

7.3.3.2. Правила и процедуры проектирования

Функциональное назначение

Пространство аппаратной должно быть предназначено только для обеспечения работы телекоммуникационных систем и сопутствующих им сервисных систем. Запрещено размещать в аппаратной оборудование систем электроснабжения, не относящихся к телекоммуникационным системам, и оборудование посторонних сервисов здания (например, систем водоснабжения, управления микроклиматом здания и т.п.).

Допускается располагать в аппаратной оборудование систем контроля и управления микроклиматом и источники бесперебойного питания (ИБП) мощностью до 100 кВ · А, обслуживающие телекоммуникационное оборудование, установленное в аппаратной. ИБП мощностью свыше 100 кВ · А должны быть расположены в отдельных помещениях.

Расположение и размеры

При выборе места расположения аппаратной следует, в первую очередь, избегать помещений здания, окруженных структурными элементами (например, лифтовые шахты, ядро здания, внешние и внутренние капитальные стены, способные ограничить возможное расширение пространства аппаратной). Желательно располагать аппаратную как можно ближе к месту расположения трасс магистральной подсистемы.

Доступ в помещение аппаратной в случае ее использования несколькими арендаторами должен контролироваться владельцем здания или его представителем.

Следует предусматривать возможность доступа в помещение аппаратной для доставки крупного оборудования. Активное телекоммуникационное оборудование может иметь большие габаритные размеры и обладать значительной массой, что требует специальных мер предосторожности при транспортировке и установке, поэтому при выборе места расположения аппаратной должны быть учтены следующие условия:

- удобство подхода к аппаратной при доставке оборудования;

- уклон подъездного пути. Как правило, для полностью собранного аппаратного кабинета (шкафа) максимально допустимый угол наклона составляет 8°;

- ширина проходов и коридоров на пути в аппаратную;

- использование лестничных пролетов при доставке и предельно допустимые нагрузки на них;

- предельно допустимые нагрузки на перекрытия в тех местах здания, по которым оборудование будет доставляться в аппаратную;

- необходимость использования подъемного оборудования.

Размеры аппаратной могут быть определены на основании данных о том оборудовании, которое будет в ней установлено. В расчет следует принимать не только площадь пола, занимаемую какой-либо единицей оборудования, но и пространство доступа, проходы и выделяемую оборудованием тепловую мощность. Также рекомендуется учитывать возможность увеличения числа оборудования в будущем.

В тех случаях, когда площадь аппаратной будет использоваться не только для размещения активного оборудования, но и для размещения коммутационных полей кроссов и оборудования городского ввода, она должна быть соответствующим образом увеличена.

Когда на стадии проектирования аппаратной неизвестно, какое оборудование будет в ней установлено впоследствии (например, при проектировании нового здания общего назначения), следует руководствоваться приведенными ниже правилами.

При проектировании аппаратной рекомендуется рассчитывать ее площадь таким образом, чтобы на каждые 10 м2 обслуживаемого пространства, занятого рабочими местами, приходилось по 0,07 м2 площади пола помещения аппаратной. Минимальная рекомендуемая площадь аппаратной - 14 м2.

В том случае, когда известно, что плотность расположения рабочих мест будет больше одного WA на 10 м2, размеры аппаратной должны быть пропорционально увеличены.

При проектировании аппаратной в многопользовательских зданиях должно быть принято решение о том, где будет располагаться активное оборудование арендаторов, - в общей для всех аппаратной или в помещениях пользователей. При этом желательно увеличить размеры аппаратной, учитывая возможность централизованного расположения активного оборудования арендаторов.

Отдельный подход должен использоваться при определении площади аппаратных в зданиях специального назначения (например, гостиницах, больницах, научно-исследовательских институтах и лабораториях). В таких зданиях расчет площади, необходимой для размещения аппаратной, выполняется на основе фактического числа обслуживаемых рабочих мест (таблица 10).

Таблица 10

Число обслуживаемых WA

Размеры помещения ER, м2

1 - 100

15

101 - 400

35

401 - 800

75

801 - 1200

110

Аппаратная может также выполнять функции телекоммуникационной - содержать горизонтальный кросс.

В случае размещения в аппаратной горизонтального кросса рекомендуется, чтобы аппаратная обслуживала только рабочие места, расположенные на одном с ней этаже.

В этом случае горизонтальный кросс должен обслуживать рабочие места, расположенные на том же или на смежном с аппаратной этаже.

Нагрузка на перекрытие

Несущая способность перекрытия в месте расположения аппаратной должна соответствовать распределенной и сосредоточенной нагрузкам от установленного оборудования.

При проектировании аппаратной максимальная распределенная нагрузка должна составлять 4,8 кПа (0,049 кг·с/см2) и сосредоточенная - 8,8 кН (900 кг·с), при этом следует учитывать возможность установки телекоммуникационного оборудования с определенной суммарной массой в конкретной зоне этажа.

При проектировании аппаратной и установке в ней телекоммуникационного оборудования должны быть соблюдены требования к нагрузкам на перекрытие в зоне ее расположения.

Оборудование помещения

Требования и рекомендации к помещению, освещению и системе заземления совпадают с 7.2.3.2.

План расстановки оборудования

Планы расстановки оборудования должны быть согласованы с поставщиками для определения нагрузок на перекрытие и допустимых расстояний между аппаратными кабинетами (шкафами).

Дверь

Для ограничения доступа в аппаратную только для авторизованного персонала следует исключать использование дверей аппаратной в качестве прохода в другие помещения здания.

С целью обеспечения доставки телекоммуникационного оборудования рекомендуется, чтобы дверь в аппаратной обладала минимальными размерами 90 см в ширину и 2 м в высоту, не имела порога, открывалась наружу, была раздвижной или съемной, а также оборудована замком.

В случае необходимости доставки крупного оборудования рекомендуется оборудовать аппаратную двойной дверью с минимальными размерами 1,8 м в ширину и 2,3 м в высоту, без порога и средней стойки.

Электроснабжение

Для обслуживания аппаратной рекомендуется предусмотреть и выделить источник питания от отдельного электрического щита. Стандартных требований к системе электроснабжения аппаратной не существует, так как она в большой степени зависит от мощности, потребляемой активным оборудованием и вспомогательными системами.

Кроме розеток технологического питания, предназначенных для активного оборудования, рекомендуется устанавливать бытовые розетки с интервалом 2 м по периметру стен аппаратной для подключения таких устройств, как тестеры, монтажный электроинструмент и т.п.

В случае наличия в здании или на этаже источников резервного питания рекомендуется подключать к ним систему электроснабжения аппаратной с помощью автоматического переключения.

Загрязняющие вещества

В аппаратной должны быть обеспечены меры по защите оборудования от воздействия загрязняющих веществ, способных отрицательно влиять на работу установленного в ней оборудования и свойства материалов, входящих в его конструкцию. В случае превышения уровней концентрации загрязняющих веществ в воздухе аппаратной максимально допустимых пределов, приведенных в таблице 11, должны быть применены меры предосторожности - пароизоляция, избыточное давление или абсолютные фильтры.

Таблица 11

Наименование загрязняющего вещества

Предельно допустимая концентрация

Пыль

100 мг/м3

Хлор (молярная доля)

0,01 млн-1

Углеводородные соединения

4 мг/м3

Сероводород (молярная доля)

0,05 млн-1

Оксид азота (молярная доля)

0,1 млн-1

Диоксид серы (сернистый ангидрид, молярная доля)

0,3 млн-1

Меры безопасности и пожарной защиты

Предпочтительно располагать аппаратную в месте с легким доступом (например, с выходом в главный коридор).

При использовании аппаратной несколькими арендаторами доступ в помещение должен контролировать владелец здания или его представитель.

Системы пожарной защиты в аппаратной должны быть обеспечены в соответствии с соответствующими нормами.

В случае необходимости размещения спринклеров в зоне расположения активного оборудования, с целью предотвращения их случайного срабатывания, головки спринклеров рекомендуется закрывать защитными сетчатыми колпаками. Рекомендуется также устанавливать дренажные лотки под трубопроводами сети спринклеров для защиты от протечек на активное оборудование. В некоторых случаях имеет смысл рассматривать установку альтернативных систем пожаротушения (например, сухих).

Контроль и управление микроклиматом

При проектировании аппаратной рекомендуется включать в проект систему контроля и управления микроклиматом с целью поддержания в помещении температуры и уровня влажности, необходимых для нормального функционирования активного телекоммуникационного оборудования.

Рекомендуется, чтобы в помещении аппаратной был обеспечен доступ к системе контроля и управления микроклиматом здания.

Рекомендуемый режим работы системы управления микроклиматом - 24 ч, 365 дней. Если система управления микроклиматом здания не может обеспечить непрерывную работу, следует рассмотреть возможность установки в аппаратной автономной системы.

При наличии в здании или на этаже источников резервного питания рекомендуется подключить к ним систему управления микроклиматом аппаратной с помощью автоматического переключения.

Температура и относительная влажность воздуха в аппаратной должны быть от 18 °C до 24 °C и от 30% до 55% соответственно. Для поддержания заданного уровня влажности может быть использовано специальное оборудование для увлажнения/осушения воздуха. Температура и влажность окружающей среды должны измеряться на высоте 1,5 м над уровнем чистого пола в любой точке в центре прохода во время работы активного оборудования.

Рекомендуется поддерживать в аппаратной избыточное давление при смене всей массы воздуха в течение одного часа.

В случае использования аккумуляторных батарей в качестве источников резервного питания должна быть обеспечена адекватная вентиляция в соответствии с требованиями норм.

Защита от проникания воды

Запрещено располагать помещение аппаратной ниже горизонта воды, если не предприняты специальные меры против ее просачивания.

В помещении запрещено нахождение труб системы водоснабжения и дренажной системы, не предназначенных непосредственно для обеспечения работы оборудования, расположенного в аппаратной.

Если существует риск затопления помещения водой, в полу должно быть предусмотрено спускное отверстие.

Защита от электромагнитных помех (EMI)

Аппаратная должна находиться от источников электромагнитных помех на расстоянии, исключающем их отрицательное влияние на работу телекоммуникационных систем.

Особое внимание следует обращать на такие источники EMI, как трансформаторы источников питания, электрические двигатели и генераторы, рентгеновские установки, радиопередатчики и радары, а также устройства индукционного нагрева. Одним из наиболее серьезных источников EMI в офисной среде являются копировальные машины.

Защита от вибраций

Механические вибрации, передаваемые на активное оборудование и кабельную инфраструктуру, могут привести к отказам в системе (например, к деградации электрических соединений вследствие изнашивания контактов коннекторов).

Потенциальные проблемы, связанные с вибрацией, должны быть учтены на стадии проектирования помещения аппаратной, поскольку вибрации в здании будут передаваться по его каркасу в аппаратную.

7.4. Городской ввод

7.4.1. Общие положения

Городской ввод (EF) состоит из точки ввода телекоммуникационного сервиса в здание, включая проход через стену здания, и помещения (пространства) ввода. Городской ввод может содержать трассы магистральной подсистемы, связывающие его с главным кроссом или промежуточным кроссом и с другими зданиями в системе кампуса. Антенные вводы также могут быть частью городского ввода.

В состав городских вводов входят кабели, коммутационное оборудование, устройства защиты и прочее оборудование, необходимое для соединения внешней кабельной системы с кабельной системой здания.

Демаркационная точка (DP), являющаяся местом разграничения владения сервисом и инфраструктурой между пользователем и поставщиком сервиса, также может входить в состав городского ввода.

7.4.2. Кабельная система

Кабельная система городского ввода состоит в основном из точек соединения внешней кабельной системы с внутренней. Такие соединения могут быть выполнены на основе муфт или любого другого подходящего коммутационного оборудования.

Сетевая демаркационная точка (DP), расположенная между поставщиками сервиса и кабельной системой на территории конечного пользователя, также может рассматриваться в качестве части кабельной системы городского ввода. Место расположения DP определяется соответствующими нормами.

Кабели горизонтальной и магистральной подсистем должны быть терминированы в городском вводе на коммутационном оборудовании, отвечающем требованиям, изложенным в 4.2.

Запрещено перемещение точек терминирования кабелей горизонтальной и магистральной подсистем в городском вводе с целью внесения штатных изменений в схему коммутации. Для подобных целей должны использоваться коммутационные и аппаратные шнуры.

7.4.2.1. Кросс-соединения и межсоединения

В главном, промежуточном и горизонтальном кроссах, расположенных в городском вводе, для подключения активного оборудования с многопортовыми коннекторами к горизонтальной и магистральной кабельным подсистемам и для пассивной коммутации между собой кабельных сегментов горизонтальной и магистральной подсистем должен применяться метод кросс-соединения (2.12).

В главном, промежуточном и горизонтальном кроссах, расположенных в городском вводе, для подключения активного оборудования с однопортовыми коннекторами к горизонтальной и магистральной кабельным подсистемам разрешено применение метода межсоединения (2.13).

7.4.3. Телекоммуникационные трассы и пространства

7.4.3.1. Общие положения

Помещение или пространство ввода является одним из элементов городского ввода, обеспечивающее место для установки сетевых интерфейсов и средств защиты кабелей внешней кабельной системы. В тех случаях, когда городской ввод используется не только для установки средств защиты и интерфейсов, а также для активного оборудования (например, УАТС) и коммутационных полей кроссов, размеры пространства городского ввода должны быть соответствующим образом увеличены.

Размеры трасс, соединяющих точку ввода с помещением или пространством ввода, должны быть такими же, как и размеры трасс ввода в здание, за исключением случаев, когда эти трассы расположены в легкодоступных местах. При выполнении последнего условия достаточно создать трассы, рассчитанные на существующее число кабелей, и предусмотреть создание инфраструктуры для возможных расширений системы в будущем.

Помещение городского ввода должно быть спроектировано и оборудовано с целью обеспечения установки активного телекоммуникационного оборудования, коммутационного оборудования для терминирования кабелей горизонтальной и магистральной подсистем, а также коммутационной кабельной системы (коммутационных и аппаратных шнуров).

При проектировании городского ввода должны быть учтены соответствующие нормы (электрические, санитарные и др.).

7.4.3.2. Правила и процедуры проектирования

Функциональное назначение

Пространство городского ввода должно быть предназначено только для обеспечения работы телекоммуникационных систем и сопутствующих им сервисных систем.

Запрещено размещать в городском вводе оборудование систем электроснабжения, не относящихся к телекоммуникационным системам, и оборудование посторонних сервисов здания (например, систем водоснабжения, управления микроклиматом здания и т.п.).

Расположение и размеры

Решение о том, в каком виде будет создан городской ввод - помещения или открытого пространства, зависит от требований к безопасности, числа и типа устройств защиты, размеров здания и места расположения ввода в здание.

В зданиях, площадь которых превышает 2000 м2, в качестве городского ввода рекомендуется использовать выделенное помещение.

При выборе места расположения городского ввода следует, в первую очередь, избегать помещений здания, окруженных структурными элементами, такими как лифтовые шахты, ядро здания, внешние и внутренние капитальные стены, способные ограничить возможное расширение пространства городского ввода.

При выборе места расположения телекоммуникационного городского ввода рекомендуется принимать во внимание места расположения таких сервисов здания, как системы электроснабжения, водоснабжения, газовой сети, канализационной системы.

Помещение или пространство городского ввода должно быть расположено в сухом месте, не подверженном затоплению водой, как можно ближе к точке ввода системы электроснабжения здания и главной электрощитовой для уменьшения длины шлейфовых проводников системы заземления.

При наличии специальных требований к безопасности или бесперебойному сервису рекомендуется создание в здании альтернативных городских вводов.

От всех предполагаемых поставщиков сервисов в здание должна быть получена информация о существующих требованиях и различных вариантах подвода сервиса.

Следует предусмотреть возможность доступа к помещению городского ввода для доставки крупного оборудования, кабельных катушек и барабанов.

Доступ в помещение городского ввода в случае его использования несколькими арендаторами должен контролироваться владельцем здания или его представителем.

Желательно располагать городской ввод как можно ближе к местам расположения вертикальных трасс магистральной подсистемы, проходящих через здание к аппаратной и телекоммуникационным. Такое расположение может в значительной степени уменьшить протяженность и число трасс.

В случае расположения в городском вводе коммутационных полей кроссов его размеры должны определяться на основании требований, предъявляемых к площади, занимаемой конкретным коммутационным оборудованием при настенном монтаже или в аппаратных стойках с учетом запаса на возможные расширения системы в будущем. Размеры монтажных стоек или настенной панели определяются на основании числа терминируемых на них кабелей, при этом должны быть учтены следующие кабельные потоки:

- входящие кабели поставщиков сервиса;

- кабели внешней системы (кабельная система кампуса);

- кабели внутренней системы (кабельная система здания).

В зданиях полезной обслуживаемой площадью до 10000 м2 экономически выгодно использовать настенный монтаж коммутационного оборудования. В зданиях  размеров может возникнуть необходимость использования напольных монтажных стоек. Размер помещения для установки монтажных стоек должен быть, по крайней мере, 2,5 м в ширину и достаточной длины для размещения всех стоек.

В таблицах 12 и 13 приведены рекомендуемые площади помещения городского ввода, содержащего коммутационные поля, рассчитанные с учетом высоты потолка помещения не менее 2,5 м.

Таблица 12 Минимальная длина стены помещения городского ввода, предназначенной для монтажа оборудования

Общая площадь обслуживаемого здания,
м2

Длина стены, мм, не менее

1000

1000

2000

1100

4000

1750

5000

2300

6000

2400

8000

3000

10000

3650

Таблица 13 Минимальный размер кроссового помещения городского ввода

Общая площадь обслуживаемого здания,
м2

Размеры стены, мм

10000

3500 × 2000

20000

3500 × 2900

40000

3500 × 4200

50000

3500 × 5000

60000

3500 × 5900

80000

3500 × 7100

100000

3500 × 8800

Нагрузка на перекрытие

При планировании городского ввода и установке в нем телекоммуникационного оборудования должны быть соблюдены требования к нагрузкам на перекрытие в зоне его расположения.

Оборудование помещения

Требования и рекомендации к помещению городского ввода и его освещению, а также к плану расстановки оборудования и организации доступа в помещение городского ввода должны соответствовать требованиям 7.3.3.2, 7.4.3.2.

Система заземления и устройства защиты

Система защитного заземления городского ввода должна соответствовать требованиям соответствующих норм.

Для обеспечения нормального функционирования телекоммуникационных систем рекомендуется обеспечивать в городском вводе доступ к телекоммуникационной системе заземления и уравнивания потенциалов.

Правила установки системы защиты внутренней телекоммуникационной кабельной инфраструктуры подчиняются требованиям соответствующих норм.

Меры безопасности и пожарной защиты

Предпочтительно располагать городской ввод на этаже в месте с легким доступом (например, с выходом в главный коридор).

В случае использования городского ввода несколькими арендаторами доступ в помещение должен контролировать владелец здания или его представитель.

Системы пожарной защиты в городском вводе должны быть обеспечены соответствующими нормами.

В случае необходимости размещения спринклеров в помещении городского ввода в зоне расположения активного оборудования, с целью предотвращения случайного срабатывания, головки спринклеров рекомендуется закрывать защитными сетчатыми колпаками. Рекомендуется также устанавливать дренажные лотки под трубопроводами сети спринклеров для защиты от протечек на активное оборудование. В некоторых случаях имеет смысл рассматривать установку альтернативных систем пожаротушения (например, сухих).

Контроль и управление микроклиматом

При проектировании городского ввода рекомендуется включать в проект систему контроля и управления микроклиматом с целью поддержания в помещении температуры и уровня влажности, необходимых для нормального функционирования активного телекоммуникационного оборудования. Желательно, чтобы в помещении городского ввода был обеспечен доступ к системе контроля и управления микроклиматом здания.

Рекомендуемый режим работы системы управления микроклиматом - 24 ч, 365 дней. Если система управления микроклиматом здания не может обеспечить непрерывную работу, следует рассмотреть возможность установки в городском вводе автономной системы.

В случае наличия в здании или на этаже источников резервного питания рекомендуется подключить к ним систему управления микроклиматом городского ввода с помощью автоматического переключения.

Защита от электромагнитных помех

Городской ввод должен находиться от источников электромагнитных помех на расстоянии, исключающем их отрицательное влияние на работу телекоммуникационных систем.

Защита от проникания воды

Запрещено располагать помещение городского ввода ниже горизонта воды, если не предприняты специальные меры против ее просачивания.

В помещении запрещено нахождение труб системы водоснабжения и дренажной системы, не предназначенных непосредственно для обеспечения работы оборудования, расположенного в городском вводе.

Если существует риск затопления помещения водой, в полу должно быть предусмотрено спускное отверстие.

Трасса сервисного ввода

В городском вводе должна быть установлена входная трасса. Существуют три основных метода создания такой трассы:

- подземный (канализационный);

- траншейный;

- воздушный.

При определении типа и необходимого числа трасс должны быть учтены следующие факторы:

- тип и назначение здания;

- возможные расширения системы;

- сложности в добавлении трасс в будущем;

- необходимость создания альтернативных вводов;

- типы и число кабелей, которые могут входить в городской ввод.

Точка ввода

Рекомендуется рассчитывать размер точки ввода на базе кондуитов калибра 4 (103) и, дополнительно, калибра 2 (53). В общем случае, рекомендуется использовать кондуиты калибра 2 (53) для кабелей малых размеров (с диаметрами внешней оболочки до 12 мм), таких, как, например, волоконно-оптические кабели или кабели систем CATV, а кондуиты калибра 4 (103) - для многопарных кабелей. В случае их совместной прокладки и необходимости защиты (например, волоконно-оптических кабелей) в кондуите большего калибра (4) могут помещаться кондуиты меньших калибров.

Для обеспечения возможности затягивания и сращивания кабелей рекомендуется устанавливать проходную коробку в точке ввода на внутренней стороне здания в случаях, когда:

- кондуит, являющийся частью распределительной системы телекоммуникационных трасс здания, служит продолжением кондуита ввода;

- длина кондуита превышает значение, определенное требованиями для закрытых трасс;

- число поворотов трассы превышает 2, каждый на угол в 90°.

8. Правила монтажа кабельной системы

8.1. Общие положения

Назначением системы требований и рекомендаций по монтажу кабельных систем является гарантия сохранения исходных рабочих характеристик отдельных компонентов, собранных в линии, каналы и системы.

Под правилами монтажа понимают методы и аккуратность выполнения соединений компонентов и организаций кабельных потоков.

Значительного уменьшения искажений передаваемых сигналов можно добиться при:

- использовании специальных методов подготовки кабеля;

- терминировании сред передачи на коммутационном оборудовании в соответствии с инструкциями производителя;

- упорядочении организации кабельных потоков;

- правильном пространственном расположении оборудования;

- выполнении правил монтажа и требований производителей к монтажу телекоммуникационного оборудования.

Установленная кабельная система на основе витой пары проводников классифицируется на основании производительности компонента линии или канала, обладающего наихудшими рабочими характеристиками передачи.

Требования к построению кабельных систем:

- целостность и последовательность в проектировании и монтаже;

- гарантия соответствия требованиям к рабочим характеристикам передачи и физическим параметрам линий;

- гарантия возможности выполнения расширения системы и проведения в ней различных изменений;

- стандартная схема документирования и администрирования.

Монтаж всех компонентов и элементов СКС должен быть выполнен с соблюдением инструкций производителя компонентов по монтажу и требований настоящего стандарта.

8.1.1. Источники электромагнитных помех (EMI)

Расположение кабельных трасс на безопасном расстоянии от источников EMI является одним из наиболее важных аспектов монтажа телекоммуникационной распределительной системы здания. Обеспечение разделения источников EMI и телекоммуникационных трасс позволяет гарантированно защищать содержимое последних.

При монтаже телекоммуникационных трасс следует принимать во внимание такие источники электромагнитных помех, как электропроводка, трансформаторы, источники радиочастотного диапазона и передатчики, крупные двигатели и генераторы, индукционные нагреватели, дуговые сварочные аппараты, рентгеновское оборудование и копировальные установки.

С целью предотвращения или уменьшения влияния помех от внешних источников при монтаже телекоммуникационных кабельных систем рекомендуется соблюдать следующие правила:

- для прокладки телекоммуникационных кабелей должны использоваться заземленные металлические трассы. Монтаж кабеля вблизи заземленной металлической поверхности снижает вероятность наведения помех;

- при монтаже кабелей системы электроснабжения должны использоваться заземленные экранированные или бронированные конструкции;

- должны применяться устройства защиты от пиковых перенапряжений и избыточных токов.

8.1.2. Система заземления и уравнивания потенциалов

Выполнение правил заземления элементов телекоммуникационных распределительных систем обеспечивает адекватную защиту от электромагнитных помех, при этом должны быть соблюдены соответствующие нормы и инструкции для обеспечения электрической и пожарной безопасности.

Методы, материалы, узлы и оборудование, используемые при монтаже распределительной системы трасс СКС, должны соответствовать требованиям нормативных документов и инструкций.

8.1.3. Система администрирования

При монтаже СКС должны быть выполнены правила администрирования, изложенные в разделе 9.

8.2. Монтаж кабелей

8.2.1. Общие положения

Рабочие характеристики кабеля и коммутационного оборудования могут существенно изменяться вследствие нарушения правил монтажа и последующих манипуляций с кабельными потоками. Правила монтажа и обслуживания фиксированных кабельных сегментов горизонтальной и магистральной подсистем отличаются от правил организации коммутационных кабелей в кроссах. Кроссировочные соединения предназначены для обеспечения гибкости проведения изменений в схеме коммутации.

К мерам предосторожности, соблюдаемым при монтаже и организации кабельных потоков, относится предотвращение различных механических напряжений в кабеле, вызываемых натяжением, резкими изгибами и чрезмерным стягиванием пучков кабелей.

При монтаже кабелей в трассах и телекоммуникационных помещениях следует использовать средства маршрутизации кабельных потоков, их крепления и фиксации.

Кабельные хомуты (стяжки, бандаж и т.п.), используемые для формирования кабельных пучков, должны располагаться на пучке так, чтобы хомут мог свободно перемещаться в продольном и поперечном направлениях. Не допускается затягивание хомутов, приводящее к деформации оболочки кабелей.

Не допускается крепление телекоммуникационных кабелей с помощью скоб.

Не допускается использование лифтовых шахт для монтажа кабелей на основе любого разрешенного типа среды передачи.

8.2.2. Минимальный радиус изгиба

Необходимость сохранения минимального радиуса изгиба кабеля на основе витой пары проводников обусловлена тем, что при резких изгибах пары внутри кабеля деформируются и нарушается однородность симметричной среды передачи. Это ведет, в первую очередь, к серьезным изменениям такого параметра, как NEXT. Последующее распрямление изгиба может не только не восстановить форму пары, но и привести к еще худшим результатам.

Радиусы изгиба кабелей горизонтальной и магистральной подсистем не должны быть менее:

- 4 внешних диаметров кабеля для 4-парных кабелей на основе неэкранированной витой пары проводников (UTP) в состоянии эксплуатации;

- 8 внешних диаметров кабеля для 4-парных кабелей на основе неэкранированной витой пары проводников (UTP) в процессе монтажа;

- 8 внешних диаметров кабеля для 4-парных кабелей на основе экранированной витой пары проводников (FTP, ScTP, SFTP) в состоянии эксплуатации;

- 10 внешних диаметров кабеля для 4-парных кабелей на основе экранированной витой пары проводников (FTP, ScTP, SFTP) в процессе монтажа;

- 10 внешних диаметров кабеля для многопарных кабелей на основе витой пары проводников в состоянии эксплуатации;

- 15 внешних диаметров кабеля для многопарных кабелей на основе витой пары проводников в процессе монтажа;

- 25 мм для волоконно-оптических кабелей внутреннего применения с количеством волокон 2 и 4 в состоянии эксплуатации;

- 50 мм для волоконно-оптических кабелей внутреннего применения с количеством волокон 2 и 4 в процессе монтажа;

- 10 внешних диаметров кабеля для волоконно-оптических кабелей внутреннего применения с количеством волокон более 4 в состоянии эксплуатации;

- 15 внешних диаметров кабеля для волоконно-оптических кабелей внутреннего применения с количеством волокон более 4 в процессе монтажа;

- 10 внешних диаметров кабеля для волоконно-оптических кабелей внешнего применения в состоянии эксплуатации;

- 20 внешних диаметров кабеля для волоконно-оптических кабелей внешнего применения в процессе монтажа.

В случае, если требования производителя к минимальному радиусу изгиба конкретного кабеля более жесткие, чем приведенные выше, они должны быть выполнены.

Для предотвращения возникновения растяжения, резких перегибов и перекручивания шнуров должны использоваться специальные средства и приспособления, такие как горизонтальные и вертикальные направляющие, устройства, регулирующие длину. В то же время должен быть обеспечен быстрый и простой доступ к шнурам для внесения изменений в систему коммутации и идентификации соединений.

Рекомендуется поддерживать радиус изгиба коммутационных и аппаратных кабелей (шнуров) в процессе эксплуатации не менее:

- 4 внешних диаметров кабеля - для 4-парных шнуров на основе неэкранированной и экранированной витой пары проводников;

- 25 мм - для волоконно-оптических шнуров.

Для выполнения этих правил рекомендуется использовать специально предназначенные для этих целей средства, приспособления и устройства.

8.2.3. Максимальная сила натяжения

При монтаже кабелей и в некоторых случаях в процессе их эксплуатации (вертикальные сегменты) на них действуют силы натяжения, способные привести к деформации пар в кабелях на основе витой пары проводников и механическому повреждению волокон в волоконно-оптических кабелях. Поэтому одним из основных требований, предъявляемых к монтажу, наряду с соблюдением радиуса изгиба является соблюдение предельно допустимой силы натяжения кабелей.

В тех случаях, когда предполагается сложный монтаж с приложением к кабелю повышенных усилий, например при протяжке кабеля через закрытую трассу длиной свыше 30 м или трассу, имеющую более двух поворотов с углами 90°, рекомендуется использовать динамометр или калиброванный вертлюг. После монтажа не должно быть натяжения кабеля за исключением вертикальных сегментов, когда остаточное натяжение может быть вызвано собственной массой кабеля.

Сила натяжения кабелей горизонтальной и магистральной подсистем во время монтажа и в процессе эксплуатации не должна быть более:

- 110 Н - для 4-парных кабелей на основе неэкранированной и экранированной витой пары проводников;

- спецификации производителя - для многопарных кабелей на основе витой пары проводников;

- 220 Н или спецификации производителя в случае, если они более жесткие для волоконно-оптических кабелей внутреннего применения с количеством волокон 2 и 4;

- спецификации производителя - для волоконно-оптических кабелей внутреннего применения с количеством волокон более 4;

- 2700 Н или спецификации производителя в случае, если они более жесткие для волоконно-оптических кабелей внешнего применения.

8.2.4. Запас кабеля

При монтаже кабельной системы рекомендуется предусматривать создание запаса кабеля на обоих концах кабельных сегментов с целью обеспечения возможности внесения изменений в будущем.

Рекомендуется оставлять следующий запас кабеля в TR, ER и EF:

- кабель на основе витой пары проводников - 3 м;

- волоконно-оптический кабель - 3 м;

на WA:

- кабель на основе витой пары проводников - 0,3 м;

- волоконно-оптический кабель - 1 м.

Запас кабеля должен учитываться в общей длине сегментов горизонтальной и магистральной кабельных подсистем.

Предпочтительно запас делать в виде "U"-образных петель с соблюдением минимального радиуса изгиба. Петли в виде "8" с большим радиусом также могут обеспечить хорошие результаты. Не рекомендуется делать запас кабеля в виде бухты небольшого диаметра (до 30 см).

Запас волоконно-оптического кабеля может быть выполнен как в оболочке, так и отдельными волокнами при условии обеспечения их адекватными мерами защиты. При этом должны быть выполнены требования к допустимым радиусам изгиба и силе натяжения. Запас кабеля может быть создан в специальных контейнерах или на стенах телекоммуникационных помещений. Хранение запаса волокон допускается только в специальных защитных контейнерах.

8.2.5. Терминирование на коммутационном оборудовании

Кабели должны быть терминированы на коммутационном оборудовании с эквивалентной или более высокой категорией рабочих характеристик. Категории рабочих характеристик кабелей и коннекторов определены таким образом, чтобы их влияние на рабочие характеристики линии были минимальными.

С целью сохранения геометрии кабеля на основе витой пары проводников при его терминировании на коммутационном оборудовании следует удалять оболочку ровно настолько, сколько требуется для выполнения данной операции. Если в инструкциях изготовителя коммутационного оборудования указано значение удаления оболочки, следует выполнять эти правила.

Рекомендуется удалять оболочку 4-парных кабелей от точки терминирования проводников не более чем на 75 мм.

При терминировании кабелей на основе витой пары проводников повив пар должен сохраняться вплоть до точки терминирования. Расстояние от точки терминирования до ближайшего узла повива пар должно быть не более:

- 13 мм - для кабелей с рабочими характеристиками категорий 5e и 6;

- 25 мм - кабелей с рабочими характеристиками категории 3.

8.3. Монтаж коммутационного оборудования

8.3.1. Коммутационное оборудование на основе витой пары проводников

Способ монтажа коммутационного оборудования должен соответствовать условиям его эксплуатации и удобству обслуживания.

Коммутационное оборудование может быть установлено с помощью адаптеров, контейнеров, на стенах, в стойках, в рамах и других монтажных приспособлениях.

Коннекторы телекоммуникационных розеток должны быть надежно закреплены на рабочих местах.

Расположение розеток на WA должно быть выбрано так, чтобы обеспечить подключение активного оборудования с помощью аппаратного шнура длиной не более 5 м. Рекомендуется устанавливать розетки на WA поблизости от электрических розеток (желательно в пределах 1 м) и на одной с ними высоте.

При монтаже напольных розеток особое внимание следует уделять их расположению относительно офисной мебели, так как аппаратные шнуры, подключенные к ним и проходящие по открытым местам пола, могут представлять опасность для пользователей.

Коммутационное оборудование с модульными гнездами должно быть установлено таким образом, чтобы контакты гнезда находились вверху, а фиксатор вилки - внизу. В таком положении нумерация контактов гнезда выполняется от 1 до 8 слева направо.

Температурный диапазон в местах монтажа должен составлять от минус 10 °C до плюс 60 °C.

Коммутационное оборудование должно быть защищено от механического повреждения, влияния повышенных уровней влажности и других коррозирующих веществ. Такая защита может быть выполнена за счет монтажа внутри помещений здания или в контейнерах, обеспечивающих адекватную защиту.

8.3.2. Волоконно-оптическое коммутационное оборудование

Все волоконно-оптические сегменты в кабельной системе должны быть установлены с соблюдением полярности волокон - волокна с нечетными номерами должны находиться в "позиции A" на одном конце линии и в "позиции B" - на другом ее конце, в то время как волокна с четными номерами должны находиться в "позиции B" на одном конце линии и в "позиции A" - на другом ее конце.

При использовании коннекторов 568SC или аналогичных им правильная полярность подключений достигается за счет последовательной (то есть 1, 2, 3, 4 ...) нумерации волокон на обоих концах волоконно-оптической линии, в то время как адаптеры 568SC устанавливаются в реверсной последовательности (A-B, A-B ... на одном конце и B-A, B-A ... - на другом).

В случае применения дуплексных коннекторов других типов полярность подключения может быть обеспечена так же, как для 568SC, или с помощью реверсного позиционирования пар волокон. Реверсное позиционирование достигается за счет подключения (монтажа) пар волокон в прямой последовательности (1, 2, 3, 4 ....) на одном конце волоконно-оптической линии и в реверсной последовательности (2, 1, 4, 3 ....) - на другом ее конце.

8.4. Телекоммуникационные трассы и пространства горизонтальной подсистемы

8.4.1. Общая информация

Трассы горизонтальной подсистемы являются средствами, служащими для прокладки телекоммуникационных кабелей из телекоммуникационной до телекоммуникационной розетки на рабочем месте. К ним относятся подпольные каналы, фальшполы, кондуиты (трубопроводы), лотки и желоба, потолочные, периметральные и мебельные системы.

Все трассы, в которых устанавливаются кабели горизонтальной кабельной подсистемы, не должны делить свое пространство с другими сервисами здания.

Запрещается использование любых способов открытого монтажа кабелей горизонтальной подсистемы в пространствах общего доступа.

Трассы горизонтальной распределительной системы должны быть спроектированы и установлены с соблюдением местных и государственных строительных норм и норм электробезопасности.

Система трасс должна быть спроектирована, как минимум, для работы со всеми телекоммуникационными средами передачи, описанными в разделах 5 и 6. При определении размеров трассы необходимо учитывать число кабелей, их длины и требования к радиусу изгиба с учетом запаса на развитие системы в будущем.

Характеристики трасс должны обеспечивать соблюдение минимально допустимых радиусов изгиба кабелей, определенных производителем или правилами настоящего стандарта для условий монтажа и эксплуатации.

Рекомендуется, чтобы минимальный внутренний радиус изгиба трассы составлял не менее десяти внешних диаметров самого крупного кабеля, устанавливаемого в ней.

Внутренние трассы горизонтальной подсистемы должны быть установлены в сухих местах для защиты кабелей от воздействия уровней влажности, выходящих за пределы предполагаемого рабочего диапазона для кабелей внутреннего применения.

Система заземления и уравнивания потенциалов трасс горизонтальной распределительной системы должна отвечать требованиям норм электробезопасности и соответствующих документов.

Запрещается размещать трассы горизонтальной распределительной системы в лифтовых шахтах и использовать подковровые и напольные трассы.

8.4.2. Фальшполы

Фальшпол конструктивно представляет собой модульные панели, поддерживаемые цоколями, каркасной системой поперечного крепления (ребрами или стрингерами), узлами, совмещающими в своей конструкции цоколи и ребра, или интегральными цоколями. Фальшполы применяются в серверных и аппаратных, телекоммуникационных и офисных пространствах общего назначения.

Конструкция пола должна обеспечивать отсутствие отрицательного влияния на воздуховодные и противопожарные системы со стороны других систем, монтируемых в тех же пространствах.

Тип используемого фальшпола должен обладать характеристиками, по крайней мере, среднего уровня динамических и статических нагрузок, соответствующими предполагаемым нагрузкам в зоне его использования.

При строительстве новых зданий те пространства этажей, в которых планируется установка фальшполов, должны иметь пониженный уровень пола. Глубина должна соответствовать высоте фальшпола.

В тех случаях, когда плита пола находится на нормальном уровне или глубина недостаточна для выравнивания уровня фальшпола по уровню чистого пола этажа, должны быть предусмотрены пандусы и пороги в местах перехода.

Минимально допустимый просвет для кабельных трасс, организуемых под фальшполом, должен составлять 20 мм от нижней поверхности плиты пола до поверхности несущей плиты перекрытия или нижележащего пола.

Рекомендуемая минимальная высота фальшпола в аппаратных должна составлять 300 мм, но не менее 150 мм.

В офисных пространствах общего назначения рекомендуется устанавливать высоту фальшпола не менее 150 мм и не более 200 мм, если в пространстве фальшпола установлены кабельные лотки или подобные им трассы.

Для управления кабельными потоками в пространстве фальшпола рекомендуется использовать выделенные телекоммуникационные кабельные трассы.

8.4.3. Сквозные трассы

Трассы сквозного типа представляют собой специализированные узлы или устройства, позволяющие выполнять сквозные проходы телекоммуникационных (и питающих) кабелей через несущие перекрытия, позволяя при этом сохранять противопожарные свойства структуры. Установка сквозных трасс в межэтажных перекрытиях может оказаться единственным выбором в тех местах, где нет возможности проложить горизонтальную распределительную систему до рабочих мест, расположенных на том же этаже. Не рекомендуется использовать трассы сквозного типа вследствие снижения прочности несущих перекрытий.

8.4.4. Кондуиты

Использование кондуитов в горизонтальной распределительной подсистеме может быть рекомендовано только тогда, когда этого требуют соответствующие нормы (места расположения розеток жестко фиксированы, плотность подключаемых устройств низкая и не требуется обеспечения гибкости системы).

Непрерывный сегмент кондуита, соединяющий две точки протяжки (например, проходные или распределительные коробки), должен быть не более 30 м в длину и иметь до двух поворотов на угол не более 90°.

В случае необходимости создания в кондуите изгиба с перегибом ("U"-образного поворота) в точке изгиба должна быть установлена проходная коробка.

Внутренний радиус изгиба кондуита в точке поворота должен составлять не менее шести внутренних диаметров кондуита.

Повороты кондуитов не должны иметь выступов, изломов, уступов, вмятин и подобных им дефектов или любых других неоднородностей, способных оказать отрицательное воздействие на оболочку кабелей во время их протяжки.

Любой отдельный кондуит, выходящий из телекоммуникационной, не должен обслуживать более трех розеточных коробок. Рекомендуется последовательно увеличивать калибр распределительных кондуитов на маршруте от самой удаленной розеточной коробки до телекоммуникационной.

Кондуиты, выходящие из пола телекоммуникационной, должны быть терминированы на высоте от 25 до 75 мм над уровнем чистого пола.

При монтаже концы кондуитов должны быть раззенкованы для устранения острых краев. Концы металлических кондуитов должны быть снабжены втулками.

Рекомендуется при монтаже кондуитов помещать в них монтажный трос.

8.4.5. Кабельные лотки и желоба

Кабельные лотки и желоба - изготовленные фабричным способом жесткие конструкции, предназначенные для прокладки и защиты кабелей. Кабели укладываются или затягиваются в лотки и желоба после того, как они смонтированы в виде законченной системы трасс.

Лотки и желоба могут располагаться под и над фальшпотолками и в пространстве фальшполов. В случае использования неметаллических (пластиковых) лотков и желобов внутри здания они должны отвечать требованиям норм пожарной безопасности.

Коэффициент заполнения лотка или желоба не должен превышать 50%.

Средства поддержки лотков должны располагаться в определенных местах так, чтобы точки соединения отдельных секций лотков располагались на отрезке трассы между местом расположения средства поддержки и первой четвертью длины секции лотка. Расстояния между центрами опор должны соответствовать загрузке трассы и ее длине, а также, в определенных случаях, нормам электробезопасности. Рекомендуется располагать средства поддержки не далее 500 мм с каждой из сторон соединения трассы с фитингом. Средства поддержки желобов должны быть расположены с интервалами не более 1500 мм между центрами, за исключением случаев, когда они специально спроектированы для  интервалов.

На внутренней стороне кабельного лотка или желоба не должно быть заусенцев, острых краев или выступающих предметов, способных повредить оболочку кабелей. Средства поддержки, обладающие абразивными свойствами (например, резьбовые стержни подвески), должны быть оборудованы гладкими защитными экранами на отрезках, расположенных внутри кабельного лотка.

В случае необходимости прокладки в одном лотке или желобе разнородных сервисов они должны быть оборудованы физическими разделителями по всей длине параллельного прохождения кабелей, относящихся к разнородным системам. Запрещается использование кабельных лотков и желобов в качестве переходных мостиков или лестниц, за исключением тех случаев, когда они специально спроектированы для такого использования.

Рекомендуется оставлять пространство доступа высотой как минимум 300 мм над кабельными лотками. Следует также следить за тем, чтобы элементы других сервисов здания (например, вентиляционных труб) не затрудняли доступ к лоткам и желобам.

8.4.6. Потолочные трассы

Потолочные пространства (пространства, расположенные между фальшпотолком и несущим межэтажным перекрытием) используются для создания распределительных телекоммуникационных трасс и монтажа коммутационного оборудования.

Потолочные распределительные системы должны соответствовать следующим условиям:

- не должны быть использованы полностью закрытые и недоступные потолочные пространства;

- плиты фальшпотолка должны иметь съемную или разборную конструкцию;

- потолочное пространство должно иметь адекватные размеры для обеспечения возможности создания требуемой распределительной системы;

- применение кабельных каналов должно выполняться в соответствии с требованиями соответствующих строительных норм и норм пожарной и электробезопасности.

При вводе в телекоммуникационную из потолочного пространства зонные лотки и кондуиты должны выступать на 25 - 75 мм (до первого изгиба или поворота) на высоте не ниже 2,4 м над уровнем чистого пола.

Запрещено прокладывать кабели непосредственно на панелях или несущей раме фальшпотолка.

Как минимум 75 мм вертикального пространства доступа должно быть обеспечено между панелями фальшпотолка и потолочными трассами горизонтальной распределительной системы.

Не рекомендуется использовать в качестве средств поддержки кабеля элементы структуры фальшпотолка, его раму и элементы крепежа.

8.4.7. Периметральные трассы

Периметральные трассы (кабельные короба, кабельканалы) используются для обслуживания рабочих мест, на которых телекоммуникационные устройства могут быть подключены к розеткам, расположенным на стенах на удобной высоте. Системы поверхностных коробов обычно монтируются на стенах на уровне плинтусов, защитных реек или потолка, а также в виде вертикальных сегментов.

В поверхностных коробах радиус изгиба кабелей должен составлять не менее 25 мм при максимально допустимом коэффициенте заполнения.

Рекомендуется сохранять относительное расположение разных сервисов в каналах многоканальных коробов в кабельной системе всего здания.

В случае использования в многоканальном коробе металлического разделителя или металлического короба они должны быть заземлены в соответствии с требованиями норм электробезопасности.

На стадии проектирования систем коробов должен использоваться максимально допустимый коэффициент заполнения трассы до 40%. Впоследствии допускается увеличение коэффициента заполнения трассы до 60% в случае незапланированных дополнений. Коэффициент заполнения трассы рассчитывается путем деления суммарной площади сечения всех кабелей, прокладываемых в трассе, на площадь поперечного сечения трассы в самом узком ее месте.

8.4.8. Мебельные трассы

Минимальный размер трассы должен определяться на основе требования к радиусу изгиба кабелей - 25 мм при максимально допустимом коэффициенте заполнения.

Коэффициент заполнения мебельной трассы определяется согласно 8.4.7.

8.5. Телекоммуникационные трассы и пространства магистральной подсистемы

Трассы магистральной подсистемы являются средствами, служащими для прокладки телекоммуникационных кабелей между кроссами. К трассам внутренней магистральной подсистемы относятся подпольные каналы, фальшполы, кондуиты (трубопроводы), лотки и желоба, потолочные, периметральные и мебельные трассы; внешней магистральной подсистемы - подземные (траншейные), канализационные и воздушные каналы.

Все трассы, в которых устанавливаются кабели внутренней магистральной кабельной подсистемы, не должны делить свое пространство с другими сервисами здания.

Запрещается использование любых способов открытого монтажа кабелей внутренней магистральной подсистемы в пространствах общего доступа.

Трассы магистральной распределительной системы должны быть спроектированы и установлены с соблюдением соответствующих строительных норм и норм электробезопасности.

Система трасс должна быть спроектирована, как минимум, для работы со всеми телекоммуникационными средами передачи, описанными в разделах 5 и 6. При определении размеров трассы необходимо учитывать число кабелей, их длину и требования к радиусу изгиба с учетом запаса на развитие системы в будущем.

Характеристики трасс должны обеспечивать соблюдение минимально допустимых радиусов изгиба кабелей, определенных производителем или правилами настоящего стандарта для условий монтажа и эксплуатации.

Внутренние трассы магистральной подсистемы должны быть установлены в сухих местах для защиты кабелей от воздействия уровней влажности, выходящих за пределы предполагаемого рабочего диапазона для кабелей внутреннего применения.

Система заземления и уравнивания потенциалов трасс магистральной распределительной системы должна соответствовать требованиям норм электробезопасности.

Запрещается размещать трассы магистральной распределительной системы в лифтовых шахтах.

Все правила, приведенные в 8.4 и касающиеся монтажа телекоммуникационных распределительных систем, должны быть выполнены для магистральной подсистемы.

9. Администрирование кабельной системы

9.1. Общая информация

Администрирование является неотъемлемой составной частью СКС.

Администрирование включает в себя создание точной системы идентификации и хранения записей всех компонентов, входящих в состав СКС, включая трассы, элементы системы заземления и уравнивания потенциалов, кроссы и другие пространства, в которых она была установлена.

Все изменения, вносимые в кабельную систему, должны быть документированы непосредственно после их выполнения.

Рекомендуется использовать систему администрирования на основе компьютерных технологий.

9.2. Область применения системы администрирования

Требования к системе администрирования касаются кабельной системы, трасс и пространств, в которых она установлена.

Использование системы администрирования имеет своей целью увеличение отдачи от капиталовложений пользователя в телекоммуникационную инфраструктуру за счет снижения расходов на обслуживание кабельной системы, за счет продления полезной экономико-хозяйственной жизни системы, а также за счет предоставления высокоэффективного сервиса.

9.3. Элементы системы администрирования

К функциональным элементам СКС, подлежащим администрированию, относятся:

- горизонтальная кабельная подсистема;

- магистральная кабельная подсистема;

- трассы и пространства (помещения).

Система администрирования может быть применена к телекоммуникационным инфраструктурам коммерческих, промышленных, государственных и жилых объектов. Кабельные системы могут иметь размеры частного жилого дома (квартиры) и крупных кампусов. Методы администрирования телекоммуникационной инфраструктуры применимы к существующим, реконструируемым и вновь строящимся зданиям.

Администрирование телекоммуникационной инфраструктуры конечного пользователя выполняется с помощью следующих процедур:

- присваивания уникальных идентификаторов компонентам инфраструктуры;

- оформления записей (паспортов) для всех присвоенных идентификаторов;

- определения взаимных ссылок записей с целью получения содержащейся в них информации.

9.4. Концепция администрирования

9.4.1. Общие положения

Настоящий раздел устанавливает правила, относящиеся к концепции присвоения идентификаторов, составления записей, определения ссылок между записями и предоставления информации, необходимой для проведения администрирования кабельной системы, трасс и пространств/помещений в зданиях.

9.4.2. Идентификаторы

Идентификатор присваивается элементу телекоммуникационной инфраструктуры для создания связи этого элемента с его записью.

Идентификаторы должны быть нанесены на все элементы, подлежащие администрированию.

Идентификаторы, используемые для осуществления доступа к группе записей одного типа, должны быть уникальными.

Рекомендуется использование уникальных идентификаторов во всех группах записей телекоммуникационной инфраструктуры.

Идентификаторы могут быть кодированными и некодированными. Кодированные идентификаторы предоставляют дополнительную информацию об идентифицируемом элементе, например место его расположения в соответствии с поэтажными планами объекта. Некодированные идентификаторы не несут никакой информации об идентифицируемом элементе.

Маркировка - нанесение на элемент телекоммуникационной инфраструктуры идентификатора и, дополнительно, другой информации. Маркировка должна выполняться двумя методами - надежным креплением отдельных меток к элементу или нанесением маркировки непосредственно на элемент. Правила маркировки приведены в 9.8.

9.4.3. Записи

Запись - совокупность информации об определенном элементе телекоммуникационной инфраструктуры, включающая в себя четыре категории - требуемую информацию, требуемые ссылки, дополнительную информацию и дополнительные ссылки. Поля записи, входящие в категории "требуемая информация" и "требуемые ссылки", представляют собой минимум, который в обязательном порядке должен присутствовать в системе администрирования. Поля записи категорий, дополнительная информация и дополнительные ссылки дают представление о том, какого рода дополнительная информация может быть полезной для включения в систему администрирования.

9.4.4. Ссылки

Ссылки - это логические связи между идентификаторами и записями или между двумя записями в том случае, когда существует необходимость привязки одного идентификатора к другому.

Записи элементов инфраструктуры могут быть связаны с помощью ссылок с записями других систем администрирования (например, базы данных персонала, активного оборудования, систем передачи информации и т.п.), которые не рассматриваются в настоящем стандарте.

9.4.5. Код пользователя

Код пользователя - ссылка, позволяющая связывать запись позиции коммутационного оборудования с другими записями. Обеспечивая единую точку доступа ко всем показанным записям, код пользователя облегчает выполнение таких функций администрирования, как выявление проблем, проведение процедур перемещения, добавления и внесения изменений. Например, такие коды пользователя, как внутренний телефонный номер или номер в сети, могут связывать пользователя с элементами телекоммуникационной инфраструктуры, с помощью которых осуществляется подключение к системе поставщика услуг передачи речи или данных. Такой подход помогает проводить поиск неисправностей, идентифицируя одновременно физические и логические связи на основании одного кода пользователя.

9.4.6. Формы представления информации

9.4.6.1. Общие положения

Система администрирования включает в себя такие элементы, как метки, записи, отчеты, чертежи и наряды на работу.

Отчеты служат для компиляции и предоставления информации, находящейся в записях.

Графическая информация, отображающая связи между телекоммуникационной инфраструктурой и другими инфраструктурами здания, отражается на чертежах.

С помощью нарядов на работу документируются операции, необходимые для выполнения изменений, затрагивающих телекоммуникационную инфраструктуру.

9.4.6.2. Отчеты

Отчеты служат для предоставления информации, отобранной из записей различных элементов телекоммуникационной инфраструктуры. Отчеты могут создаваться как из отдельной группы записей, так из нескольких взаимосвязанных групп. Информация, получаемая с помощью отчетов, может оформляться в различных форматах.

9.4.6.3. Чертежи

Общие положения

Чертежи используются для иллюстрирования различных стадий планирования и монтажа телекоммуникационной инфраструктуры.

В общем случае концептуальные и монтажные чертежи служат источником информации для подготовки регистрационных чертежей, которые графически документируют телекоммуникационную инфраструктуру. Регистрационные чертежи наряду с некоторыми спецификациями и монтажными чертежами (например, планами аппаратных стоек и шкафов) становятся частью документации системы администрирования.

Концептуальные чертежи

Концептуальные чертежи (такие, как, например, диаграммы, однолинейные схемы и т.п.) используются с целью иллюстрирования содержания предлагаемого проекта. На них, как правило, не присутствуют все элементы телекоммуникационной инфраструктуры и их идентификаторы, и они редко включаются в систему администрирования.

Монтажные чертежи

Монтажные чертежи используются для графического документирования монтируемой телекоммуникационной инфраструктуры. На этом типе чертежей рекомендуется отображать все относящиеся к проекту элементы инфраструктуры. Кроме этого, чертежи могут описывать методы монтажа. Идентификаторы изображенных элементов могут присутствовать или отсутствовать на монтажных чертежах.

Регистрационные чертежи

Регистрационные чертежи служат для графического документирования смонтированной телекоммуникационной инфраструктуры. К регистрационным чертежам относятся поэтажные планы, вертикальные проекции и детализированные чертежи. Регистрационные чертежи могут отличаться от монтажных чертежей вследствие определенных изменений, произошедших в первоначальном проекте в процессе монтажа, и за счет особенностей объекта. Для всех ключевых элементов телекоммуникационной инфраструктуры на регистрационных чертежах должны быть нанесены идентификаторы. Для отображения каждой части инфраструктуры, например трасс/пространств или кабельной системы, могут быть использованы отдельные чертежи в случае их высокой сложности, размера или масштаба.

Наряды на работу

Наряды на работу служат для документирования действий, выполняемых при внесении изменений, затрагивающих телекоммуникационную инфраструктуру. Такие изменения могут касаться как телекоммуникационных компонентов, так и других систем, связанных с телекоммуникационной инфраструктурой. С помощью нарядов на работу регистрируют такие операции, как, например, переключение коммутационного шнура, монтаж кондуита или перемещение коробки розетки. Наряды на работу могут оформляться для пространств/помещений, трасс, кабелей, муфт, позиций коммутационного оборудования (точек терминирования сред) как по отдельности, так и группами. Рекомендуется: в наряде на работу должны быть указаны лица, ответственные как за выполнение физических действий, так и за поддержание соответствующей документации в надлежащем порядке.

9.5. Администрирование трасс и пространств/помещений

9.5.1. Общие положения

В настоящем подразделе описаны правила администрирования трасс и пространств/помещений.

Трассы являются транспортным средством для телекоммуникационных сред передачи, соединяющим телекоммуникационные пространства/помещения.

В случае внесения изменений в трассы рекомендуется обновлять все соответствующие метки, записи, отчеты и чертежи.

Для трассы, состоящей из нескольких соединенных между собой трасс различных типов или размеров, рекомендуется выполнять администрирование каждого сегмента как отдельной трассы.

Пространства/помещения (аппаратные, телекоммуникационные, рабочие места, городские вводы, монтажные колодцы и монтажные лючки) - области, в которых может быть расположено телекоммуникационное оборудование и кабельная система.

В случае внесения изменений в пространства/помещения все соответствующие метки, записи, отчеты и чертежи должны быть обновлены.

Записи трасс и пространств/помещений должны содержать информацию об инфраструктуре, служащей для монтажа и поддержки телекоммуникационной кабельной системы, коммутационного оборудования и системы заземления.

Отчеты и чертежи обеспечивают средства эксплуатации трасс и пространств/помещений за счет предоставления суммарной информации, собранной из соответствующих записей. Изменения, вносимые в трассы и пространства/помещения, документируются с помощью нарядов на работу.

9.5.2. Администрирование трасс

9.5.2.1. Идентификаторы и маркировка трасс

Рекомендуется каждой трассе присваивать уникальный идентификатор, служащий ссылкой на запись трассы. Идентификатор рекомендуется наносить на каждую трассу или ее метку.

Для секционированных трасс рекомендуется присваивать уникальный идентификатор каждой из секций.

Для секционированных трасс, таких, как банки кондуитов, многосекционные короба и лотки, рекомендуется выбирать общий идентификатор для всей трассы и идентификаторы для каждой из секций, построенные на основе общего идентификатора.

Рекомендуется наносить маркировку на все концы трасс, расположенных в телекоммуникационных, аппаратных и городских вводах.

Дополнительная маркировка может потребоваться в промежуточных точках (в пространствах доступа, проходных или разветвительных коробках) или может быть выполнена через регулярные интервалы по всей длине трассы. Замкнутые трассы (например, кабельные лотки или короба) рекомендуется маркировать через регулярные интервалы.

В промежуточных точках, где соединяется несколько трасс (например, в проходных коробках, сопряжениях сегментов кабельных лотков), рекомендуется маркировать конец каждой трассы.

Сетчатые и многоканальные распределительные системы с множественными точками доступа (например, ячеистый пол), для которых маркировка с практической точки зрения нецелесообразна, могут быть идентифицированы на регистрационных чертежах.

9.5.2.2. Записи трасс

В записи трассы рекомендуется регистрировать:

- идентификатор трассы;

- тип трассы;

- коэффициент использования;

- коэффициент загрузки;

- ссылки на записи кабелей;

- ссылки на пространства/помещения (на двух концах);

- ссылки на пространства доступа;

- ссылки на другие трассы.

Поля ссылок в записи трассы могут быть использованы для прослеживания непрерывности маршрута прохождения секционированной трассы или для определения взаимосвязи между проходными коробками, монтажными лючками и кондуитами. Коэффициент использования показывает текущий процент заполнения пространства трассы относительно ее максимально допустимой емкости. Коэффициент загрузки дает информацию о текущей весовой нагрузке на трассу.

9.5.2.3. Отчеты трасс

Рекомендуется составление суммарного отчета трасс, в котором следует перечислять все трассы и, как минимум, их типы и текущие коэффициенты использования и загрузки.

Рекомендуется составлять отчет о точном содержимом трасс.

9.5.2.4. Чертежи трасс

Рекомендуется поддерживать в рабочем состоянии регистрационные чертежи всех элементов трасс телекоммуникационной инфраструктуры. На чертежах рекомендуется показывать места расположения трасс, маршруты их прохождения, размеры, радиусы изгиба, места расположения проходных коробок, места прохода через стены. Для каждой трассы рекомендуется указывать ее идентификатор.

9.5.2.5. Наряды на работу трасс

Рекомендуется хранить в архиве все наряды на работу, связанные с внесением изменений в трассы. Часть наряда на работу должна включать в себя идентификатор трассы, ее тип и ссылки на соответствующие записи пространств/помещений. Все записи нарядов на работу рекомендуется корректировать.

9.5.3. Администрирование пространств/помещений

9.5.3.1. Идентификаторы и маркировка пространств/помещений

Уникальный идентификатор должен быть присвоен каждому телекоммуникационному пространству/помещению и должен служить ссылкой на запись пространства/помещения.

Все пространства/помещения должны быть маркированы.

Рекомендуется размещать метки в непосредственной близости от входов в помещения.

9.5.3.2. Записи пространств/помещений

Для каждого пространства/помещения в записи должны быть зарегистрированы:

- идентификатор пространства/помещения;

- тип пространства/помещения.

Рекомендуется в записи пространства/помещения регистрировать:

- ссылки на записи трасс;

- ссылки на записи кабелей.

Поля ссылок на записи трасс и кабелей используются для связи пространств (например, рабочих мест с трассами, их обслуживающими).

9.5.3.3. Отчеты пространств/помещений

Рекомендуется составление суммарного отчета пространств/помещений, в котором рекомендуется перечислить все пространства/помещения и, как минимум, их типы и места расположения.

9.5.3.4. Чертежи пространств/помещений

Регистрационные чертежи всех пространств/помещений телекоммуникационной инфраструктуры должны поддерживаться в рабочем состоянии. На чертежах должны быть показаны места расположения и размеры пространств/помещений. Для каждого пространства/помещения должен быть указан его идентификатор. На поэтажных планах должны быть указаны места расположения всех коробок телекоммуникационных розеток.

На чертежах пространств/помещений рекомендуется показывать виды в плане и вертикальные проекции всех телекоммуникационных, аппаратных и городских вводов.

9.5.3.5. Наряды на работу пространств/помещений

Все наряды на работу, связанные с внесением изменений в пространства/помещения, должны храниться в архиве. Часть наряда на работу, касающаяся помещений/пространств, должна включать в себя идентификатор и тип пространства/помещения. Все записи должны быть скорректированы.

9.6. Администрирование кабельной системы

9.6.1. Общие положения

Настоящий подраздел устанавливает правила администрирования кабелей, коммутационного оборудования, позиций коммутационного оборудования и муфт. Правила администрирования построены на основе иерархической структуры кабельной системы, определенной в настоящем стандарте.

В случае внесения изменений в кабельную систему все соответствующие метки, записи, отчеты и чертежи должны быть обновлены.

9.6.1.1. Записи

Рекомендуется включать в записи конкретную информацию, относящуюся к каждой монтируемой системе (например, имена изготовителей компонентов, скорости передачи информации и т.п.).

9.6.1.2. Отчеты кроссов

Рекомендуется, чтобы для каждого пространства, содержащего кросс, был составлен отчет с перечислением всех кросс-соединений.

9.6.1.3. Чертежи

Регистрационные чертежи элементов кабельной системы должны поддерживаться в рабочем состоянии.

На чертежах должны быть показаны места расположения точек терминирования всех кабелей и нанесены идентификаторы всех элементов кабельной системы.

На поэтажных планах должны быть показаны места расположения всех телекоммуникационных розеток.

На чертежах рекомендуется показывать маршруты прохождения всех кабелей и места расположения всех муфт.

На чертежах магистральной подсистемы рекомендуется показывать виды в плане и вертикальные проекции всех маршрутов прохождения магистральных кабельных сегментов по трассам здания, через телекоммуникационные, аппаратные и городские вводы.

9.6.1.4. Наряды на работу

Все наряды на работу, связанные с ремонтом и внесением изменений в кабельную систему, коммутационное оборудование и муфты, должны храниться в архиве.

Все записи, затрагиваемые нарядами на работу, должны быть скорректированы.

Часть наряда на работу, касающаяся кабельной системы, должна включать в себя идентификатор и тип кабеля, идентификатор и тип коммутационного оборудования, идентификатор и тип муфты.

Наряд на работу может содержать любую дополнительную информацию, способную упростить внесение изменений в связанные с ним записи. После того как наряд на работу выполнен, эта информация используется для корректирования записей системы администрирования.

9.6.2. Администрирование кабелей

9.6.2.1. Идентификаторы кабелей

Уникальный идентификатор должен быть присвоен каждому кабелю и служить ссылкой на запись кабеля. Идентификатор должен быть нанесен на каждый кабель или на его метку.

Идентичные кабели, соединенные с помощью муфты, должны проходить администрирование как один кабель.

Администрирование коммутационных и аппаратных шнуров не требуется.

9.6.2.2. Маркировка кабелей

Кабели горизонтальной и магистральной подсистем должны быть маркированы с двух концов.

В случае, когда кабель разделен муфтой или консолидационной точкой, маркировка должна быть нанесена на оба конца кабеля, терминированные на консолидационной точке или соединенные с помощью муфты.

Рекомендуется маркировать кабели с помощью меток, прикрепляемых на концах кабеля, нежели маркировать сам кабель, в промежуточных точках, таких, как концы кондуитов, монтажные колодцы и проходные коробки, а также наносить на концы кабеля идентификаторы позиций соответствующего коммутационного оборудования.

В случае, когда кабель проходит через несколько сегментов трасс, рекомендуется в поле ссылок на трассы в записи кабеля указывать идентификаторы всех сегментов трасс.

9.6.2.3. Записи кабелей

В записи каждого кабеля должны быть зарегистрированы:

- идентификатор кабеля;

- тип кабеля;

- номера поврежденных элементов;

- ссылки на записи позиций коммутационного оборудования (два конца);

- ссылки на записи муфт.

В записи кабеля рекомендуется регистрировать следующую дополнительную информацию:

- ссылки на трассы, в которых проходит кабель;

- в поле "тип кабеля" - имя производителя и его реквизиты;

- день монтажа или сертификационного тестирования кабеля.

Поле ссылки на позиции коммутационного оборудования используется для документирования всех коннекторов, на которых были терминированы пары/проводники кабеля. Каждая пара/проводник или их группы должны иметь ссылки на записи двух позиций коммутационного оборудования.

9.6.2.4. Отчеты о кабелях

Рекомендуется составлять суммарный отчет о кабелях, в котором рекомендуется перечислить все кабели и, как минимум, их типы и ссылки на позиции коммутационного оборудования.

9.6.3. Администрирование коммутационного оборудования и позиций коммутационного оборудования

9.6.3.1. Идентификаторы коммутационного оборудования и позиций коммутационного оборудования

Уникальные идентификаторы должны быть присвоены каждой единице коммутационного оборудования, соответствующим позициям коммутационного оборудования и должны служить ссылкой на запись коммутационного оборудования и позиций коммутационного оборудования.

Коммутационное оборудование может состоять из одной или нескольких коммутационных позиций (коннекторов). Рекомендуется разбивать многоконнекторные блоки на позиции с максимально возможным для оборудования данного типа уровнем дискретности. В таком случае в остальных записях системы администрирования при создании ссылок на позиции коммутационного оборудования указываются все позиции, на которых был терминирован кабель.

9.6.3.2. Маркировка коммутационного оборудования и позиций коммутационного оборудования

Идентификаторы должны быть нанесены на каждую единицу коммутационного оборудования или его метку и на метки соответствующих позиций коммутационного оборудования.

Каждая позиция коммутационного оборудования должна быть маркирована идентификатором во всех случаях за исключением ситуаций, когда высокая плотность терминирования делает маркировку практически нецелесообразной. В этом случае идентификаторы должны быть присвоены каждой единице коммутационного оборудования, а идентификаторы позиций присваиваются на основании их порядковых номеров в соответствии с правилами, принятыми для коммутационного оборудования данного типа.

Двойную маркировку (оборудования и принадлежащих ему позиций) коммутационного оборудования на рабочем месте можно не выполнять. Нанесение идентификатора на монтажную рамку или коробку розетки в виде отдельной метки не требуется в случае, если для маркировки используется идентификатор позиции (коннектора) розетки.

9.6.3.3. Записи коммутационного оборудования и позиций коммутационного оборудования

В записи каждой единицы коммутационного оборудования и принадлежащих ему позиций коммутационного оборудования должны быть зарегистрированы:

- идентификатор коммутационного оборудования;

- идентификаторы позиций коммутационного оборудования;

- тип коммутационного оборудования;

- типы позиций коммутационного оборудования;

- номера поврежденных позиций коммутационного оборудования;

- ссылки на записи кабелей;

- ссылка на записи пространств/помещений.

В записи коммутационного оборудования и позиций коммутационного оборудования должны быть указаны все идентификаторы принадлежащих данному коммутационному оборудованию позиций. Позиции коммутационного оборудования могут быть использованы как индивидуально, так и группами.

Указание кода пользователя в записи позиции коммутационного оборудования делается только для телекоммуникационной розетки на рабочем месте. В качестве кода пользователя могут быть использованы внутренний телефонный номер, номер линии/канала, имя пользователя или любые другие приемлемые ссылки или обозначения. В некоторых схемах администрирования идентификатор позиции коммутационного оборудования может быть идентичным коду пользователя.

9.6.4. Администрирование муфт

9.6.4.1. Идентификаторы муфт

Уникальный идентификатор должен быть присвоен каждой муфте и служить ссылкой на запись муфты.

9.6.4.2. Маркировка муфт

Идентификатор должен быть нанесен на каждую муфту или ее метку.

9.6.4.3. Записи муфт

В записи каждой муфты должны быть зарегистрированы:

- идентификатор муфты;

- тип муфты;

- ссылки на записи кабелей.

При администрировании муфт, соединяющих кабельные сегменты, которым присвоен один идентификатор, ссылки в записях кабелей на записи таких муфт заносятся в поле ссылки на запись муфты.

При администрировании муфт, соединяющих кабельные сегменты, которым присвоены разные идентификаторы, ссылки в записях кабелей на записи таких муфт заносятся в поля ссылок на позиции коммутационного оборудования.

9.7. Цветовое кодирование и идентификация

Настоящий подраздел определяет правила цветового кодирования элементов телекоммуникационной инфраструктуры в рамках системы администрирования.

9.7.1. Цветовое кодирование полей терминирования

9.7.1.1. Общие положения

Цветовое кодирование полей терминирования делает систему администрирования более эффективной за счет придания кабельной системе интуитивности и простоты ее восприятия и понимания в процессе обслуживания.

Принцип цветового кодирования полей терминирования сред передачи построен на топологии кабельной системы, описанной в разделах 5 и 6, и обеспечивает создание одного уровня коммутации (кросс-соединений) в горизонтальной подсистеме и двух уровней - в магистральной подсистеме.

9.7.1.2. Цветовые коды

Рекомендуемая схема цветового кодирования:

Оранжевый - демаркационная точка, места терминирования сред, приходящих от внешнего поставщика сервиса.

Зеленый - сетевая сторона конечного пользователя (сетевые подключения на пользовательской стороне демаркационной точки).

Лиловый - точки подключения оборудования общего назначения (например, УАТС, компьютеры, устройства ЛВС, мультиплексоры и т.п.).

Белый - точки терминирования сред передачи на двух концах магистральной подсистемы первого уровня, берущей начало в главном кроссе.

Серый - точки терминирования сред передачи на двух концах магистральной подсистемы второго уровня, берущей начало в промежуточном кроссе.

Коричневый - точки терминирования сред передачи на двух концах внешней магистральной подсистемы.

Голубой - точки терминирования сред передачи горизонтальной подсистемы в телекоммуникационных помещениях (TR, ER или EF).

Желтый - точки терминирования сред передачи вспомогательных систем, таких как, например, системы безопасности, управления энергопотреблением, пожароохранные.

В зданиях, не содержащих главного кросса, белый цвет разрешается использовать для идентификации точек терминирования магистральной кабельной системы второго уровня.

Кросс-соединения выполняются между полями терминирования сред с разными цветами кодирования.

9.8. Правила маркировки

9.8.1. Метки

9.8.1.1. Общие положения

Метки делятся на три категории: клейкие, вкладыши и прочие.

Вкладыши должны плотно входить в держатель на компоненте таким образом, чтобы при нормальных условиях эксплуатации они не могли самопроизвольно выпасть из держателя.

При выборе типа клейкой метки для использования в различных условиях должен быть учтен материал как самой метки, так и ее клеевой основы с целью обеспечения качественной идентификации и исключения изменения свойств метки со временем. Для разных типов поверхностей и окружающей среды существуют метки различных типов.

Все метки, используемые для маркировки компонентов СКС, должны быть надежно прикреплены к компонентам, отвечать требованиям к различимости и износоустойчивости, а также оставаться на своем месте на протяжении всего срока эксплуатации кабельной системы.

Общие правила, относящиеся к маркировке отдельных компонентов кабельной системы:

- возможность цветовой идентификации;

- устойчивость к воздействию таких факторов окружающей среды, как повышенная влажность, разность температур, истирание и пр.;

- сочетание простоты установки с надежностью крепления;

- срок службы, не меньший продолжительности эксплуатации маркируемого компонента;

- возможность нанесения идентификационной информации на метки вручную и на печатающих устройствах.

Для повышения удобочитаемости меток рекомендуется изготавливать их с помощью печатающих или других механических устройств в отличие от ручного нанесения идентификаторов.

БИБЛИОГРАФИЯ

[1] ANSI/TIA/EIA-604-3, FOCIS 3 Fiber Optic Connector Intermeatability Standard 1).

1) Стандарт доступен: ФГУ КВФ "Интерстандарт", адрес в Интернете http://www.interstandart.ru.

 

Ключевые слова: кабельная система, оптическая кабельная система, канал, постоянная линия, горизонтальная, магистральная, потери, вносимые потери, затухание, приложение, схема разводки, NEXT, FEXT

 

 




ГОСТЫ, СТРОИТЕЛЬНЫЕ и ТЕХНИЧЕСКИЕ НОРМАТИВЫ.
Некоммерческая онлайн система, содержащая все Российские Госты, национальные Стандарты и нормативы.
В Системе содержится более 150000 файлов нормативно-технической документации, действующей на территории РФ.
Система предназначена для широкого круга инженерно-технических специалистов.

Рейтинг@Mail.ru Яндекс цитирования

Copyright © www.gostrf.com, 2008 - 2026