Крупнейшая бесплатная информационно-справочная система онлайн доступа к полному собранию технических нормативно-правовых актов РФ. Огромная база технических нормативов (более 150 тысяч документов) и полное собрание национальных стандартов, аутентичное официальной базе Госстандарта. GOSTRF.com - это более 1 Терабайта бесплатной технической информации для всех пользователей интернета. Все электронные копии представленных здесь документов могут распространяться без каких-либо ограничений. Поощряется распространение информации с этого сайта на любых других ресурсах. Каждый человек имеет право на неограниченный доступ к этим документам! Каждый человек имеет право на знание требований, изложенных в данных нормативно-правовых актах!

  


 

ФЕДЕРАЛЬНОЕ АГЕНТСТВО
ПО ТЕХНИЧЕСКОМУ РЕГУЛИРОВАНИЮ И МЕТРОЛОГИИ

НАЦИОНАЛЬНЫЙ
СТАНДАРТ
РОССИЙСКОЙ
ФЕДЕРАЦИИ

ГОСТ Р
53167-
2008

МЕТОДЫ ОПРЕДЕЛЕНИЯ СТОЙКОСТИ ПОЛИМЕРНЫХ
ЭЛЕКТРОИЗОЛЯЦИОННЫХ МАТЕРИАЛОВ И СИСТЕМ ПУТЕМ УСКОРЕННЫХ
ИСПЫТАНИЙ В АГРЕССИВНЫХ ГАЗООБРАЗНЫХ СРЕДАХ

Общие требования.

Испытания материалов и систем изоляции для низковольтных электротехнических изделий

Москва
Стандартинформ
2009

Предисловие

Цели и принципы стандартизации в Российской Федерации установлены Федеральным законом от 27 декабря 2002 г. № 184-ФЗ «О техническом регулировании», а правила применения национальных стандартов Российской Федерации - ГОСТ Р 1.0-2004 «Стандартизация в Российской Федерации. Основные положения»

Сведения о стандарте

1 РАЗРАБОТАН Техническим комитетом по стандартизации ТК 341 «Внешние воздействия»

2 ВНЕСЕН Техническим комитетом по стандартизации ТК 341 «Внешние воздействия»

3 УТВЕРЖДЕН И ВВЕДЕН В ДЕЙСТВИЕ Приказом Федерального агентства по техническому регулированию и метрологии от 18 декабря 2008 г. № 606-ст

4 ВВЕДЕН ВПЕРВЫЕ

Информация об изменениях к настоящему стандарту публикуется в ежегодно издаваемом информационном указателе «Национальные стандарты», а текст изменений и поправок - в ежемесячно издаваемых информационных указателях «Национальные стандарты». В случае пересмотра (замены) или отмены настоящего стандарта соответствующее уведомление будет опубликовано в ежемесячно издаваемом информационном указателе «Национальные стандарты». Соответствующая информация, уведомление и тексты размещаются также в информационной системе общего пользования - на официальном сайте Федерального агентства по техническому регулированию и метрологии в сети Интернет

СОДЕРЖАНИЕ

Предисловие

Введение

1 Область применения

2 Нормативные ссылки

3 Термины и определения

4 Общие требования

5 Испытания электроизоляционных паков и систем покрытий

6 Испытания круглых эмалированных проводов

7 Испытания полимерной системы изоляции электрических машин со всыпной обмоткой

8 Испытания листовых и ленточных электроизоляционных материалов

9 Испытания деталей и сборочных единиц из пластмасс

Приложение А (обязательное) Обработка результатов исследовательских испытаний в ускоренных сокращенных режимах ГОСТ Р 51802 для определения сроков L образцов при требуемых условиях эксплуатации и хранения

Приложение Б (обязательное) Метод определения значений испытательного напряжения по значениям стабилизированного пробивного электрического напряжения

 

Введение

Настоящий стандарт дополняет комплекс стандартов «Методы испытаний на стойкость к внешним воздействующим факторам машин, приборов и других технических изделий» (комплекс стандартов ГОСТ 30630), состав которого приведен в приложении Е ГОСТ 30630.0.0-99.

Настоящий стандарт разработан с целью конкретизировать применительно к полимерным электроизоляционным материалам и системам общие требования ГОСТ Р 51372-99, включая требования к выбору видов и значений критериев отказов, выбору методов испытаний, а также установить требования к форме и способам изготовления образцов для испытаний и порядку их проведения.

В международной стандартизации аналогов настоящему стандарту не имеется.

НАЦИОНАЛЬНЫЙ СТАНДАРТ РОССИЙСКОЙ ФЕДЕРАЦИИ

МЕТОДЫ ОПРЕДЕЛЕНИЯ СТОЙКОСТИ ПОЛИМЕРНЫХ ЭЛЕКТРОИЗОЛЯЦИОННЫХ МАТЕРИАЛОВ И СИСТЕМ ПУТЕМ УСКОРЕННЫХ ИСПЫТАНИЙ В АГРЕССИВНЫХ ГАЗООБРАЗНЫХ СРЕДАХ

Общие требования.
Испытания материалов и систем изоляции для низковольтных электротехнических изделий

Methods for determination of endurance of polymer electrical insulation materials and systems by means of acceleration tests in chemically active media. General requirements. Materials and insulation systems for low-voltage electrical products tests

Дата введения - 2009-07-01

1 Область применения

Настоящий стандарт распространяется на полимерные электроизоляционные материалы (далее - электроизоляционные материалы) и полимерные системы электрической изоляции (далее - системы изоляции). В настоящем стандарте конкретизированы требования ГОСТ Р 51372 применительно к общим требованиям (в части общих положений, выбора режимов испытаний и критериев отказа), а также к конкретным методам испытаний электроизоляционных материалов и систем изоляции для низковольтных электротехнических изделий.

Применительно к испытаниям электроизоляционных материалов и систем изоляции для низковольтных электротехнических изделий в настоящем стандарте установлены методы испытаний электроизоляционных лаков и систем покрытий круглых эмалированных проводов (в том числе в сочетании с электроизоляционными лаками), систем изоляции электрических машин со всыпными обмотками, листовых и ленточных электроизоляционных материалов и пластмасс. Для этих объектов установлены выбор формы и способов изготовления образцов для испытаний, выбор видов и значений критерия отказов, в том числе значений испытательных напряжений, выбор методов испытаний и выбор способов обработки результатов испытаний.

Требования разделов 4 - 9 настоящего стандарта в части методов определения или подтверждения показателей долговечности и сохраняемости, а также приложений А и Б являются обязательными как относящиеся к требованиям безопасности.

2 Нормативные ссылки

В настоящем стандарте использованы нормативные ссылки на следующие стандарты:

ГОСТ Р 51369-99 Методы испытаний на стойкость к климатическим внешним воздействующим факторам машин, приборов и других технических изделий. Испытание на воздействие влажности

ГОСТ Р 51372-99 Методы ускоренных испытаний на долговечность и сохраняемость при воздействии агрессивных и других специальных сред для технических изделий, материалов и систем материалов. Общие положения

ГОСТ Р 51801-2001 Общие требования к машинам, приборам и другим техническим изделиям в части стойкости к воздействию агрессивных и других специальных сред

ГОСТ Р 51802-2001 Методы испытаний на стойкость к воздействию агрессивных и других специальных сред машин, приборов и других технических изделий

ГОСТ 1583-93 Сплавы алюминиевые литейные. Технические условия

ГОСТ 4647-80 Пластмассы. Метод определения ударной вязкости по Шарли

ГОСТ 4648-71 Пластмассы. Метод испытания на статический изгиб

ГОСТ 6433.1-71 Материалы электроизоляционные твердые. Условия окружающей среды при подготовке образцов и испытаний

ГОСТ 6433.2-71 Материалы электроизоляционные твердые. Методы определения электрического сопротивления при постоянном напряжении

ГОСТ 6433.3-71 Материалы электроизоляционные твердые. Методы определения электрической прочности при переменном (частоты 50 Гц) и постоянном напряжении

ГОСТ 6433.4-71 Материалы электроизоляционные твердые. Методы определения тангенса угла диэлектрических потерь и диэлектрической проницаемости при частоте 50 Гц

ГОСТ 6613-86 Сетки проволочные тканые с квадратными ячейками. Технические условия

ГОСТ 10315-75 Материалы электроизоляционные твердые. Методы определения влагостойкости и водостойкости

ГОСТ 10518-88 Системы электрической изоляции. Общие требования к методам ускоренных испытаний на нагревостойкость

ГОСТ 10519-76 Провода эмалированные. Метод ускоренного определения нагревостойкости

ГОСТ 11262-80 Пластмассы. Метод испытания на растяжение

ГОСТ 11828-86 Машины электрические вращающиеся. Общие методы испытаний

ГОСТ 13526-79 (МЭК 464-2-74, МЭК 699-81) Лаки и эмали электроизоляционные. Методы испытаний

ГОСТ 14340.1-74 Провода эмалированные круглые. Метод измерения диаметров проводов и проволоки

ГОСТ 15150-69 Машины, приборы и другие технические изделия. Исполнения для различных климатических районов. Категории, условия эксплуатации, хранения и транспортирования в части воздействия климатических факторов внешней среды

ГОСТ 26883-86 Внешние воздействующие факторы. Термины и определения

ГОСТ 30630.0.0-99 Методы испытаний на стойкость к внешним воздействующим факторам машин, приборов и других технических изделий. Общие требования

Примечание - При пользовании настоящим стандартом целесообразно проверить действие ссылочных стандартов в информационной системе общего пользования - на официальном сайте Федерального агентства по техническому регулированию и метрологии в сети Интернет или по ежегодно издаваемому информационному указателю «Национальные стандарты», который опубликован по состоянию на 1 января текущего года, и по соответствующим ежемесячно издаваемым информационным указателям, опубликованным в текущем году. Если ссылочный стандарт заменен (изменен), то при пользовании настоящим стандартом следует руководствоваться заменяющим (измененным) стандартом. Если ссылочный стандарт отменен без замены, то положение, в котором дана ссылка на него, применяется в части, не затрагивающей эту ссылку.

3 Термины и определения

3.1 В настоящем стандарте применены термины с соответствующими определениями и сокращениями, относящиеся к общим понятиям в следующих областях:

- внешние воздействующие факторы (далее - ВВФ) по ГОСТ 15150, ГОСТ 26883, но при этом:

- стойкость объекта к внешним воздействующим факторам: Свойство объекта сохранять работоспособное состояние во время и после воздействия на объект в течение всего срока службы или сохраняемости определенного (основного разрушающего) ВВФ с характеристиками, значения которых находятся в пределах, соответствующих условиям эксплуатации, хранения, транспортирования или испытаний.

Примечания

1 При рассмотрении стойкости объекта к ВВФ учитывают, что ВВФ, приводящие к отказу (т.е. разрушающие), подразделяют на два вида: основной (действие которого оценивают при рассмотрении данного вида стойкости) и дополнительные (способствующие разрушению под действием основного).

2 Необходимо учитывать, что физико-химическая природа некоторых основных разрушающих ВВФ такова, что при оценке их влияния действие их при испытаниях не может быть отделено от действия некоторых дополнительных разрушающих ВВФ. При этом для полной оценки стойкости объекта к основному разрушающему фактору принцип и порядок проведения испытаний должны позволять определить зависимость от интенсивности воздействия не только основного, но и неразделимых с ним дополнительных разрушающих факторов. Это значит, что необходимо проводить исследовательские многофакторные испытания, базирующиеся на использовании математических моделей, общих для основного и дополнительных разрушающих факторов. В частности, это относится к газообразным агрессивным средам, оценка влияния вида и концентрации которых может быть проведена только при одновременном воздействии конкретных значений относительной влажности и температуры газообразной среды;

- воздействие агрессивных и других специальных сред по ГОСТ Р 51372, в том числе:

критерий отказа: Параметр, определяющий работоспособность изделия, систем материалов, покрытия, материала.

[ГОСТ Р 51372-99, статья 3.8]

- испытания на воздействия ВВФ по ГОСТ 30630.0.0.

4 Общие требования

В настоящем разделе содержится конкретизация и уточнение общих требований, установленных ГОСТ Р 51372, применительно к объекту стандартизации настоящего стандарта.

4.1 Долговечность электроизоляционных материалов и систем изоляции определяется сроком L по ГОСТ Р 51372.

В частности, в соответствии с ГОСТ Р 51372:

- для электроизоляционных материалов и систем изоляции, предназначенных для эксплуатации в качестве негреющихся деталей или сборочных единиц, срок L определяется сроком службы детали или сборочной единицы;

- для электроизоляционных материалов и систем изоляции, предназначенных для эксплуатации в качестве греющихся деталей, нагрев которых является следствием выделения тепла изделием или системой при работе по назначению, срок L определяется сроком сохраняемости в эксплуатации. Испытание образцов таких электроизоляционных материалов и систем изоляции (далее - образцы), ресурс которых составляет 10 - 40 тыс. ч (а также образцов других материалов и систем при наличии специального технического обоснования), проводят не только в состоянии изготовления, но и в состоянии после ускоренного термического старения, соответствующего 50% и 80% этого ресурса. Ускоренное старение проводят циклическим методом в соответствии с ГОСТ Р 51372 и ГОСТ 10518 (таблица 2 приложения 2).

4.2 Испытания являются ускоренными. Испытания проводят по методам ГОСТ Р 51372 применительно к электроизоляционным материалам и системам изоляции или группам электроизоляционных материалов и систем изоляции:

а) как исследовательские - в соответствии с ГОСТ Р 51372 (подраздел 4.2);

б) как контрольные - ускоренные сокращенные испытания при одном значении основных ВВФ; при этом применяют либо режимы контрольных испытаний, установленные для конкретного материала или группы материалов в результате исследований по перечислению а), либо обобщенные режимы по перечислению б) примечания к 4.6.

4.3 Исследовательские испытания проводят по одному из вариантов плана проведения эксперимента в соответствии с ГОСТ Р 51372 [приложение А (далее - варианты плана)] с учетом установленного в 4.4 - 4.6, 4.17.

4.4 Поскольку при испытаниях в газообразных агрессивных средах необходимость применения вариантов плана 2 - 5 возникает сравнительно редко, при испытаниях по разделам 5 - 8 настоящего стандарта применяют, как правило, вариант плана 1. Переход на испытания по одному из вариантов плана 2 - 5 осуществляют либо при наличии соответствующих данных предварительных исследований, либо в том случае, если данные текущих испытаний по варианту плана 1 указывают на необходимость такого перехода. При этом перед началом испытаний в режиме плана 1 рекомендуется включать в план эксперимента приемы по методам II и III в соответствии с ГОСТ Р 51372 (подразделы 8.1 б и 8.17).

4.5 Испытания по варианту плана 6 в соответствии с ГОСТ Р 51372 (приложение А) проводят для объектов стандартизации по разделу 9 настоящего стандарта. В других случаях испытания по варианту плана 6 проводят при наличии специального технического обоснования.

4.6 При наличии специального технического обоснования, содержащего, в частности, ссылки на положительные результаты более подробных предварительных исследований и (или) опыта эксплуатации сходных по составу электроизоляционных материалов и систем изоляции, допускается проводить исследовательские испытания при ускоренных сокращенных режимах, установленных в ГОСТ Р 51802. Целью таких испытаний является определение срока службы (сохраняемости) или ресурса образцов. В указанных испытаниях используют приемы испытаний по разделам 5 - 8 настоящего стандарта, но при требуемых (как правило, соответствующих эксплуатационным) температуре, влажности и концентрации агрессивной среды. Такие испытания проводят в условиях, установленных в разделах 5 - 8 настоящего стандарта для соответствующих электроизоляционных материалов и систем изоляции, но при температуре, влажности и концентрации агрессивной среды определенного вида, установленных в ГОСТ Р 51802 (таблица 3). Обработку результатов испытаний проводят в соответствии с приложением А.

Примечание - Ускоренные сокращенные испытания при одном из обобщенных режимов воздействия агрессивных газообразных сред по ГОСТ Р 51802 в результате установления типизированных зависимостей срока службы или ресурса материалов, систем изоляции и готовых изделий от значений температуры, влажности и концентрации агрессивной среды, которые были получены на основе испытаний большого числа видов образцов по вариантам планов в соответствии с ГОСТ Р 51372, могут быть использованы для одной из двух целей:

а) испытания в режимах, установленных в ГОСТ Р 51802, включая продолжительность испытаний, проводят как ускоренные контрольные испытания для подтверждения заданных срока службы или сохраняемости в условиях воздействия агрессивных газообразных сред;

б) испытания в режимах, установленных в ГОСТ Р 51802, но без учета продолжительности испытаний, проводят по требованиям разделов 5 - 9 настоящего стандарта до отказа всех образцов как исследовательские для определения срока службы или сохраняемости в условиях эксплуатации или хранения при воздействии агрессивных газообразных сред.

4.7 При рассмотрении стойкости к ВВФ по ГОСТ Р 51372 (подразделы 4.2 и 8.3) установлено, что ВВФ, приводящие к отказу (т.е. разрушающие), подразделяют на два вида:

- основные (действие которых оценивают при исследовании данного вида стойкости);

- дополнительные (способствующие разрушению под действием основных).

Учитывают также, что одинаковые ВВФ могут либо вызывать разрушение, либо только выявлять уже произведенное разрушение (диагностические ВВФ) в зависимости от значения и продолжительности действия данного ВВФ, его сочетания с другими ВВФ и последовательности приложения испытательных воздействий.

4.8 В соответствий с ГОСТ Р 51372 (подраздел 8.3) испытания по определению стойкости к ВВФ могут быть циклическими или нециклическими.

При циклических испытаниях объект испытаний подвергают воздействию основных разрушающих ВВФ и действующих попеременно с основными дополнительных разрушающих ВВФ. В цикл могут быть включены действия диагностических ВВФ.

При нециклических испытаниях объект испытаний подвергают постоянному воздействию основных разрушающих ВВФ. Испытания могут быть прерывающимися и непрерывными.

При прерывающихся испытаниях образец через установленные промежутки времени извлекают из испытательной камеры и проводят измерения параметров - критериев отказа в условиях, установленных для этих измерений. После этого образец снова возвращают в испытательную камеру для продолжения испытаний.

При непрерывных испытаниях измерения (непрерывно или периодически) параметров - критериев отказа проводят в условиях испытаний без извлечения образца из камеры.

Примечание - При прерывающихся испытаниях изменение условий воздействия во время измерений оказывает определенное влияние на ресурс или срок службы образца. Однако это влияние намного меньше, чем при циклических испытаниях; им обычно пренебрегают.

4.9 Периодичность измерения параметров - критериев отказа определяют по таблице 3. В этой таблице в графе «Продолжительность испытания» приведена общая продолжительность воздействия испытательной среды от начала испытаний. Общая продолжительность разбита на интервалы, для каждого из которых установлено единое значение периодичности измерений; таким образом, достигается одинаковая погрешность при определении ресурса образцов при их отказе в любое время от начала испытаний.

4.10 При выборе критериев отказа, и особенно значений этих критериев для материалов, учитывают наличие критериев двух видов: абсолютного и относительного.

Абсолютный критерий - это значение критерия отказа, при котором материал, примененный в конкретном изделии, прекращает выполнение своих основных функций. Например, при образовании под действием агрессивной среды в электроизоляционном покрытии или другом материале сквозного отверстия значение основного критерия - пробивной электрической прочности такого материала - становится равным значению пробивной электрической прочности воздушного промежутка, равного толщине материала, т.е. материал перестает быть электроизоляционным.

Относительный критерий - это значение критерия отказа, ниже которого материал, примененный в конкретном изделии, перестает обеспечивать выполнение изделием его функций. Например, значение пробивной электрической прочности изоляции эмалированных обмоточных проводов, примененных для конкретного изделия, под действием агрессивной газообразной среды снижается до такой степени, что изоляция этих проводов не выдерживает возможных перенапряжений, образующихся при работе указанного изделия, хотя электрическая прочность этой изоляции остается выше прочности соответствующего воздушного промежутка.

4.11 Для электроизоляционных материалов и систем изоляции силовых электротехнических изделий за критерий отказа рекомендуется принимать пробой при воздействии испытательного напряжения. Значение испытательного напряжения выбирают в зависимости от функции, которую выполняют материалы в изделии или системе изоляции. Значение испытательного напряжения должно быть достаточно высоким, чтобы можно было установить критическую степень деструкции изоляции, но в то же время не настолько высоким, чтобы изменить характер старения изоляции, определяемый воздействием основных ВВФ, или вывести изоляцию из строя в том состоянии, когда она еще способна выполнять свои функции в данном изделии или системе материалов.

В нормативных документах (далее - НД) на методы испытаний указывают длительность приложения испытательного напряжения и стадию цикла, на которой его прилагают.

Для электроизоляционных материалов и систем изоляции неэлектротехнических изделий, а также высокочастотных электротехнических изделий за критерий отказа принимают пробой при воздействии испытательного напряжения или изменение значений других параметров (например, удельного объемного сопротивления, волновых параметров, тангенса угла диэлектрических потерь или механической прочности) до установленных критических значений, если этими параметрами в большей степени, чем приложенным напряжением, определяется работоспособность электроизоляционного материала или системы изоляции.

Для неэлектроизоляционных материалов и систем изоляции критерии отказа указывают в НД на методы испытаний.

4.12 В соответствии с 4.11 для низковольтных силовых электротехнических изделий основным критерием отказа примененных в них электроизоляционных материалов и систем является пробивное электрическое напряжение промышленной частоты. Этот показатель принят в качестве основного в разделах 5 - 8.

4.13 При выборе значений испытательного напряжения учитывают, что при исследовании изменения пробивного электрического напряжения под воздействием основного ВВФ выявлены две формы указанного изменения:

а) постепенное уменьшение пробивного электрического напряжения в начальной стадии воздействия, затем стабилизация пробивного электрического напряжения, затем в ряде случаев резкое уменьшение пробивного электрического напряжения;

б) постепенное уменьшение пробивного электрического напряжения в ряде случаев почти до нулевого значения.

Форма а) наблюдается для тех случаев, когда под воздействием основного разрушающего ВВФ электрические свойства материала снижаются не очень существенно, а механическая прочность - существенно. В этом случае под действием внешних механических факторов и (или) внутренних напряжений в отдельных слабых местах материалов образуются трещины или сквозные отверстия. На этой стадии разрушения электрическая прочность электроизоляционного материала или системы изоляции определяется только электрической прочностью воздушного промежутка, толщина которого равна толщине материала в месте трещины или отверстия. Такой тип разрушения наблюдается, в частности, для тонких лаковых пленок и тонких листовых (ленточных) пленочных или композиционных материалов.

4.14 При выборе значения испытательного напряжения различают, как правило, два вида критериев:

4.14.1 Абсолютный критерий - в этом случае значение испытательного напряжения определяется свойствами самого материала. Например, для некоторых материалов при форме зависимости пробивного напряжения по 4.13, перечисление а) - см. разделы 5, 6, 8.

4.14.2 Относительный критерий - значение электрического испытательного напряжения определяется электрическим напряжением, воздействию которого подвергается электроизоляционный материал или система изоляции в электротехническом устройстве, см., например, раздел 7.

При этом в разделе 7 значение критерия установлено как относительное, а в разделах 5, 6 и 8 - как абсолютное, т.е. как пробивное напряжение воздушного промежутка, равного толщине соответствующего материала.

4.15 В соответствии с настоящим стандартом определение значения испытательного напряжения конкретного испытуемого материала конкретной толщины проводят одним из двух способов.

4.15.1 При испытании материалов принципиально нового состава значение испытательного напряжения рекомендуется определять по приложению Б. При этом, если форма зависимости испытательного напряжения соответствует 4.13, перечисление а), то требования приложения Б применяют полностью. Если зависимость пробивного напряжения соответствует 4.13, перечисление б), то целью исследования является определение конкретной формы зависимости пробивного напряжения от продолжительности воздействия, и испытания проводят только по требованиям приложения Б.

Требования настоящего подпункта рекомендуется применять также для метода по разделу 9 для тех случаев, когда в качестве критерия выбрано пробивное электрическое напряжение.

4.15.2 Для случаев, не указанных в 4.15.1, значение испытательного напряжения определяют по таблицам из разделов 6 и 8. Данные этих таблиц основаны на результатах многочисленных измерений электрической прочности воздушных промежутков разной толщины, образованных в электроизоляционных материалах разных видов. При этих испытаниях испытательные напряжения прилагают в перерывах испытаний на одну минуту.

4.18 При применении испытательного напряжения для сравнительно сложных систем изоляции, особенно после воздействия влажности воздуха как диагностического фактора, следует учитывать, что развитие пробоя при приложении испытательного напряжения данного значения может происходить не сразу, а в течение некоторого промежутка времени. Поэтому при использовании этого ВВФ в качестве критерия отказа принимают продолжительность воздействия испытательного напряжения (см. раздел 7).

4.17 При выборе критерия отказа учитывают фиксированное значение измеряемого параметра, а не степень его изменения по отношению к исходному значению. При исследовании систем изоляции (конструкций), для которых в изделиях различных видов критичными могут быть разные уровни измеряемого параметра, рекомендуется в качестве критерия отказа принимать несколько уровней параметра и соответственно определять разные ресурсы.

Допускается при сравнении электроизоляционных материалов использовать при выборе критерия отказа степень изменения измеряемого параметра по отношению к исходному значению. При этом следует учитывать, что такой способ может привести к необоснованной отбраковке образцов с более высокими начальными значениями параметра, но с несколько большей скоростью его изменения. За исходное значение параметра при этом способе принимают (если иное не установлено в НД на испытания конкретных материалов) среднеарифметическое значение результатов испытаний при числе образцов, определенном по статистическим методам, обеспечивающим попадание среднего (с заданной относительной ошибкой) в интервал с заданной доверительной вероятностью.

Выбранная при этом доверительная вероятность должна соответствовать доверительной вероятности, выбранной для расчетов срока L по ГОСТ Р 51372.

4.18 Требование необходимости и методику предварительной стабилизации свойств образцов (например, тренировку, выдерживание в кондиционированных условиях) устанавливают в стандартах на методы испытаний.

4.19 При ускоренных исследовательских испытаниях необходимо отделить обратимые изменения значений критериев отказа от необратимых. Поскольку испытания проводят в режимах с разными ужесточенными значениями основных разрушающих ВВФ, скорости изменения значений критерия отказа будут разными. Фактические значения критериев отказа представляют собой сумму обратимых и необратимых изменений значений. При этом зависимость значений критериев отказа от значений основных разрушающих ВВФ, как правило, различна для обратимых и необратимых изменений значений.

Для отделения обратимых от необратимых изменений значений необходимо в начале каждого из ужесточенных режимов проводить периодические измерения значений критериев отказа в одинаковых для всех режимов условиях измерений, выявляя тем самым зависимость обратимых изменений значений критериев отказа от продолжительности воздействия условий измерений. Эта испытания проводят в нециклическом прерывающемся режиме, в перерывах между воздействиями основных разрушающих ВВФ до стабилизации значений критерия отказа. Признак стабилизации - в соответствии с указанным в приложении Б. В качестве условий измерений устанавливают либо нормальные испытательные значения климатических факторов по ГОСТ 15150, либо верхние значения рабочих температур и влажности, определенные для соответствующих условий агрессивности по ГОСТ Р 51801 [см., например, ГОСТ Р 51369 (подраздел 4.3)]. На основе этих исследований в НД на испытания устанавливают продолжительность времени от начала помещения образца в условия измерений до начала измерений.

Исследования по настоящему пункту проводят либо в начале каждого режима, либо при специальных предварительных испытаниях.

4.20 Образцы для испытаний должны быть изготовлены из материалов одной партии и быть однородными по внешнему виду и удовлетворяющими требованиям соответствующих стандартов или технических условий.

4.21 Требования к испытательному оборудованию, материалам и реактивам - в соответствии с ГОСТ Р 51372 и ГОСТ Р 51802.

4.22 Требования к подготовке к испытаниям - в соответствии с ГОСТ Р 51802.

5 Испытания электроизоляционных паков и систем покрытий

Испытания электроизоляционных лаков и систем покрытий проводят в соответствии с ГОСТ Р 51372 (вариант 4, приложение Ж).

6 Испытания круглых эмалированных проводов

6.1 Образцы для испытаний

Форма образцов для испытаний соответствует установленной ГОСТ 10519.

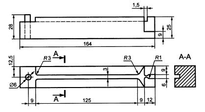
6.1.1 Образцом для испытаний являются два скрученных между собой отрезка провода [(далее - скрутка), рисунок 1]. Скрутки изготовляют из сложенного пополам отрезка провода из проволоки номинальным диаметром от 0,800 до 1,180 мм. Длина скрученной часта образца должна быть 125 мм.

Рисунок 1

Допускается для проводов, которые изготовляют в диапазоне до 0,800 мм, применять образцы проводов номинальным диаметром проволоки 0,125 мм и более.

Натяжение при скручивании провода и число скруток должны соответствовать указанным в таблице 1.

Таблица 1 - Натяжение при изготовлении скруток

Номинальный диаметр проволоки, мм

Натяжение, Н (кгс)

Число скруток на длине 125 мм

для медной проволоки и проволоки из сплавов сопротивления

для алюминиевой проволоки

0,125 - 0,250

0,83 (0,085)

0,415 (0,042)

33

0,280 - 0,355

1,67 (0,17)

0,835 (0,085)

23

0,400 - 0,500

3,33 (0,34)

1,665 (0,17)

16

0,580 - 0,750

6,85 (0,7)

3,425 (0,35)

12

0,800 - 1,06

13,2 (1,35)

6,6 (0,675)

8

1,12 - 1,25

26,5 (2,7)

13,25 (1,35)

6

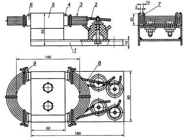
6.1.2 Скручивание провода выполняют на установке, схема которой приведена на рисунке 2. Формовку образца проводят в шаблоне, схема которого изображена на рисунке 3.

1 - скользящий зажим; 2 - вращающийся зажим; 3 - образец провода; 4 - груз; 5 - электродвигатель

Рисунок 2

Рисунок 3

6.1.3 С концов образца (выводные концы) механический способом удаляют (зачищают) изоляцию.

6.1.4 При подборе пропитывающих составов для эмалированного провода конкретного типа образцы в вертикальном положении погружают в соответствующий пропитывающий состав (далее - состав) с последующей их сушкой в режимах, указанных в НД на составы.

При необходимости допускается применять двукратную пропитку с выдержкой в данном составе в течение 3 - 5 мин при каждой пропитке с поворотом образцов на 180°.

Перед сушкой образцы извлекают из состава, который должен быть тщательно удален с их выводных концов.

Скорости погружения образцов в состав и извлечения из него выбирают в соответствии с требованиями ГОСТ 13526.

6.1.5 Перед началом испытаний подготовленные непропитанные, в том числе предназначенные к пропитке, а также пропитанные образцы проверяют в течение 1 - 2 с испытательным напряжением частотой 50 Гц, прилагаемым к их зачищенным концам.

Значение испытательного напряжения в зависимости от диаметральной толщины изоляции выбирают в соответствии с таблицей 2.

Таблица 2 - Выбор испытательных напряжений

Диаметральная толщина изоляции провода, мм

Испытательное напряжение, В (частота тока 50 Гц)

0,015 - 0,024

900

0,025 - 0,035

1200

0,036 - 0,050

1500

0,051 - 0,070

2100

0,071 - 0,090

3000

0,091 - 0,130

3600

Фактическую диаметральную толщину изоляции определяют по ГОСТ 14340.1 перед отбором образцов и после отбора 25 и 50 образцов.

Испытания проводят на образцах в состоянии изготовления, а также на образцах, состаренных в соответствии с ГОСТ 10518, ГОСТ 10519 на 50% и 80% ресурса.

За диаметральную толщину изоляции принимают среднеарифметическое значение результатов всех измерений.

6.1.6 При каждом испытательном режиме испытывают не менее 50 скруток.

6.2 Методика испытаний

6.2.1 Испытания являются прерывающимися. В каждом испытательном режиме образцы подвергают воздействию основных разрушающих ВВФ (температуры, относительной влажности воздуха и агрессивной газообразной среды определенного вида и концентрации). Через промежутки времени в соответствии с таблицей 3 изделия извлекают из камеры и проверяют испытательным напряжением в соответствии с 6.2.2 или 6.2.3 путем приложения на 1 - 2 с его полного значения.

Таблица 3 - Выбор периодичности измерения параметров - критериев отказа

Продолжительность испытания, сут

Периодичность измерения параметра – критерия отказа, ч

Продолжительность испытания, недели

Периодичность измерения ' параметра - критерия отказа, сут

До 0,5 вкпюч.

0,5

Св. 2 до 4 включ.

1

Св. 0,5 до 1 включ.

1,0

»    4  »   7     »

2

»     1     »   2    »

2,0

»   7   »  14    »

4

»     2     »   4    »

4,0

» 14   »  25    »

7

»     4     »   7    »

8,0

» 25   »  50    »

14

»     7     »  14   »

12,0

» 50

30

6.2.2 При исследовательских испытаниях по разделу 5, проводимых путем сравнения влияния газообразных агрессивных сред на пропиточные электроизоляционные составы и на эти пропиточные составы в сочетании с круглыми эмалированными проводами, испытуемые по настоящему разделу, испытательные напряжения выбирают по таблице 4.

Таблица 4 - Выбор испытательных напряжений при исследовательских испытаниях по сравнению влияния газообразных агрессивных сред на пропиточные электроизоляционные составы и на эти пропиточные составы в сочетании с круглыми эмалированными проводами

Диаметральная толщина изоляции провода, мм

Испытательное напряжение, В (частота тока 50 Гц)

0,040 - 0,050

630

0,051 - 0,060

680

0,061 - 0,070

730

0,071 - 0,080

770

0,081 - 0,090

850

0,091 - 0,100

950

0,110 - 0,120

1050

0,130 - 0,150

1170

6.2.3 При испытаниях скруток без исследований по 6.2.2 испытательные напряжения выбирают по таблице 5.

Таблица 5 - Выбор испытательных напряжений при испытаниях скруток (кроме указанных в 6.2.2)

Диаметральная толщина изоляции провода, мм

Испытательное напряжение, В (частота тока 50 Гц)

0,005 - 0,024

300

0,025 - 0,035

400

0,036 - 0,050

500

0,051 - 0,070

700

0,071 - 0,090

1000

0,091 - 0,130

1200

6.3 Методы обработки результатов испытаний - по ГОСТ Р 51372 (приложения А - Е).

7 Испытания полимерной системы изоляции электрических машин со всыпной обмоткой

7.1 Образцы для испытаний

7.1.1 Образцами для испытаний являются макеты всыпных обмоток.

7.1.2 Для испытаний типовых систем изоляции статорной обмотки синхронных и асинхронных машин применяют макеты по 7.1.3.

Для испытаний систем изоляции, предназначенных для отдельных машин конкретных типов, допускается применять макеты других типов, например секторы статоров и якорей.

7.1.3 Конструкция макета статорной обмотки синхронных и асинхронных машин приведена на рисунке 4. Обмотка состоит из двух катушек 3, изолированных от стенок паза пазовой коробочкой 4 и друг от друга межфазовой изоляцией 5 и закрепленных пазовыми клиньями 7. Каждую катушку наматывают из двух параллельных проводов 9. Рекомендуется использовать провод диаметром 1 мм и с таким числом витков, чтобы коэффициент заполнения паза соответствовал 7.1.5.2.

При сборе макета помещают катушки вместе с пазовой изоляцией на наружную пазовую пластину 1, а затем привертывают внутреннюю пазовую пластину 6. Оба провода каждой катушки 2, защищенные стеклочулком или изоляционной трубкой, выводят наружу и каждый закрепляют с помощью стеклочулка на отдельном ролике 8. Второй конец каждого провода обрезают возле ленты, бандажирующей катушки.

7.1.4 При использовании макетов в виде секторов по 7.1.2 катушку наматывают в соответствии с 7.1.3, а укладку обмотки проводят по технологии, принятой для электрических машин соответствующего типа.

7.1.5 Собранный макет подвергают защите путем пропитки электроизоляционным лаком по 7.1.5.1 или заливки по 7.1.5.2, после чего, при необходимости, лобовые части покрывают эмалью. При этом ролики не должны быть покрыты лаком или эмалью.

7.1.5.1 При применении защиты путем пропитки электроизоляционным лаком коэффициент заполнения паза изолированным проводом должен составлять 75% - 80% для проводов с эмалевой изоляцией и 65% - 70% - для проводов с эмалево-волокнистой и волокнистой изоляцией. Вязкость пропитывающего состава и концентрация лака и покровной эмали, число пропиток и покрытий и их режимы, а также режимы сушки должны соответствовать применяемым при изготовлении электрических машин.

7.1.5.2 При применении защиты путем заливки коэффициент заполнения паза изолированным проводом fn, %, определяют по формуле

fn = (nD2)/S,

где п - число проводов в пазу;

D - средний фактический диаметр провода по изоляции, мм;

S - площадь паза в свету за вычетом сечения пазовой изоляции, см2.

Рисунок 4

Режимы заливки и последующей сушки должны соответствовать применяемым при изготовлении электрических машин,

7.1.8 Изоляцию готовых макетов до начала испытаний проверяют испытательным напряжением частоты 50 Гц в течение 1 мин: изоляцию от корпуса и между катушками - напряжением 2500 В; изоляцию между параллельными проводами - напряжением 250 В.

7.1.7 В каждом испытательном режиме должно быть испытано не менее 10 макетов.

7.1.8 Если металлические части макетов по 7.1.3 изготовлены из стали, то для возможности повторного или многократного использования рекомендуется, чтобы они имели кадмиевое покрытие толщиной 21 мкм или цинковое покрытие толщиной 30 мкм.

7.2 Методика испытаний

7.2.1 Испытания являются циклическими с повторяющимися циклами. Каждый цикл состоит из совместного воздействия основных разрушающих ВВФ (температуры, относительной влажности воздуха и агрессивной газообразной среды определенного вида и концентрации) и дополнительных разрушающих ВВФ (механических нагрузок и электрического напряжения).

7.2.2 После выдерживания в камере макеты извлекают из нее, охлаждают до нормальной температуры испытаний по ГОСТ 15150 и подвергают воздействию вибрации на одной фиксированной частоте из диапазона 20 - 50 Гц и ускорением 1,5 g в течение 1 ч (амплитуда порядка 1,9 - 0,3 мм). Направление вибрации должно быть перпендикулярно к плоскости катушек макета.

7.2.3 После воздействия вибрации макеты должны быть подвергнуты увлажнению как диагностическому фактору в режимах в соответствии с ГОСТ Р 51372 (таблица 1).

7.2.4 После увлажнения макеты, находящиеся в камере влажности, подвергают испытанию напряжением переменного тока частоты 50 Гц. Значение напряжения между параллельными проводами в каждой катушке - 120 В, между обмоткой и корпусом и между катушками - 600 В для номинальных напряжений свыше 100 до 500 В и 800 В - для номинальных напряжений свыше 500 до 660 В. Напряжение следует прилагать поочередно: сначала между параллельными проводами катушек, затем между катушками и, в заключение, между катушками и корпусом. Длительность испытаний между параллельными проводами - 5 мин, длительность испытаний остальных элементов - 10 мин.

Допускается испытание всех элементов конструкции одновременно.

Допускается вместо испытания макетов в камере влажности сразу после извлечения из нее каждый макет помещать во влагонепроницаемый мешок, содержащий увлажненную паклю или вату, и выдерживать макет в мешке в течение времени испытания напряжением. Размеры мешка должны позволять помещать в него один макет.

Требования к испытательным установкам и метод приложения испытательного напряжения - по ГОСТ 11828.

7.3 Методы обработки результатов испытаний для установления срока сохраняемости в эксплуатации конструкции изоляции, а также содержание протокола испытаний должны соответствовать ГОСТ 51372 (приложения А, В - Е).

8 Испытания листовых и ленточных электроизоляционных материалов

8.1 Образцы для испытаний

8.1.1 Образцом для испытаний является изготовленный из алюминиевого сплава по ГОСТ 1583 стержень длиной 200 мм, прямоугольного сечения 8×12 мм с радиусами закругления 1 мм. На одном конце стержня должно быть отверстие диаметром 1 - 2 мм для подвески образца и резьбовое отверстие М2 - М3 для возможности присоединения контактного электрического провода. На стержень наносят испытуемый электроизоляционный материал и накладывают наружный электрод для обеспечения электрических измерений и бандажирующую ленту.

8.1.2 В зависимости от формы испытуемого электроизоляционного материала применяют два вида образцов: для испытания материалов в форме электроизоляционных лент (далее - ленточные материалы) и в форме заготовок типа используемых для пазовой изоляции электрических машин со всыпными обмотками (далее - листовые материалы).

8.1.3 При испытании листовых материалов на стержень накладывают заготовку в 1,5 оборота. Длина заготовки должна быть на 10 - 15 мм меньше длины стержня. Заготовку накладывают таким образом, чтобы со стороны отверстия по 8.1.1 оставалось расстояние 10 - 15 мм.

8.1.4 При испытании ленточных материалов на стержень накладывают ленту шириной 20 мм в полнахлеста; натяжение ленты должно соответствовать указанному в НД на ленту. Ленту накладывают таким образом, чтобы со стороны отверстия по 8.1.1 оставалось расстояние 10 - 15 мм.

8.1.5 На изолированную часть накладывают наружный электрод в виде проволочной сетки по ГОСТ 6613 марок 1-1-025-12X18Н9Т, 1-1-025-12X18Н10Т, 1-1-025-12X18Н9, 1-1-025-08X18Н10. Размеры электрода должны быть таковы, чтобы он мог быть наложен в полтора оборота, а его длина позволяла оставлять непокрытую электродом часть электроизоляционного материала по 10 - 15 мм с каждой стороны электрода. На стороне электрода, обращенной к отверстиям на стержне, должен быть припаян изолированный контактный электрический провод с фторопластовой изоляцией.

8.1.6 Поверх электрода накладывают бандажирующую ленту шириной 20 мм из стекломарли (впритык или вразбежку).

8.1.7 К резьбовому отверстию на стержне присоединяют с помощью винта контактный электрический провод с фторопластовой изоляцией. Место присоединения защищают стойким к данной среде герметиком.

8.1.8 Перед началом испытаний подготовленные образцы листовых материалов проверяют испытательным напряжением в соответствии с таблицей 6, а образцы ленточных материалов - удвоенным испытательным напряжением в соответствии с таблицей 6. Напряжение прилагают в течение 1 мин. Требования к испытательным установкам и метод приложения испытательного напряжения - по ГОСТ 11828.

Таблица 6 - Выбор испытательного напряжения в зависимости от толщины электроизоляционного материала

Толщина электроизоляционного материала, мм

Испытательное напряжение, В (частота тока 50 Гц)

Толщина электроизоляционного материала, мм

Испытательное напряжение, В (частота тока 50 Гц)

0,040 - 0,050

630

0,130 - 0,150

1170

0,051 - 0,060

680

0,160 -0,180

1300

0,061 - 0,070

730

0,190 - 0,200

1450

0,071 - 0,080

770

0,210 - 0,250

1750

0,081 - 0,090

850

0,260 - 0,300

2050

0,091 - 0,100

950

0,310 - 0,400

3000

0,110 - 0,120

1050

0,410 - 0,500

4500

8.2 Методика испытаний

8.2.1 Испытания являются прерывающимися. В каждом испытательном режиме образцы подвергают воздействию основных разрушающих ВВФ (температуры, относительной влажности воздуха и агрессивной газообразной среды определенного вида и концентрации). Для испытаний образцы в камере подвешивают вертикально. Через промежутки времени в соответствии с таблицей 3 образцы листовых материалов извлекают из камеры и проверяют испытательным напряжением по таблице 6 путем приложения испытательного напряжения на 1 мин, а ленточных - удвоенным напряжением в соответствии с таблицей 6. Требования к испытательным установкам и метод приложения испытательного напряжения - по ГОСТ 11828.

8.3 Методы обработки результатов испытаний - по ГОСТ Р 51372 (приложения А - Е).

9 Испытания деталей и сборочных единиц из пластмасс

9.1 Общие положения

9.1.1 Долговечность деталей и сборочных единиц (далее - конструкции) из пластмасс ускоренным методом оценивают путем предварительного определения зависимостей сроков L от основных разрушающих ВВФ на стандартных образцах того же вида или марки пластмассы, из которой изготовлены конструкции. Затем определяют срок L реальной конструкции при испытании в режиме одного из наиболее жестких сочетаний значений ВВФ и рассчитывают срок L сборочной единицы или конструкции при рабочих значениях основных разрушающих ВВФ, используя коэффициенты зависимости срока L от основных разрушающих ВВФ, полученные на стандартных испытательных образцах. Данный метод соответствует ГОСТ Р 51372 (вариант 6, приложение А).

Примечание - В ГОСТ Р 51372 (вариант 6, приложение А) применен термин «образцы подобия» вместо примененного в настоящем стандарте термина «стандартные образцы».

9.1.2 Режим испытаний, параметры испытательной среды конструкций определяют по ГОСТ Р 51372.

9.1.3 При испытании стандартных образцов срок L оценивают по изменению следующих свойств пластмасс: внешнего вида (появление трещин, коробление, изменение окраски), размеров, пределов прочности при растяжении и относительного удлинения при разрыве (ГОСТ 11262), предела прочности при статическом изгибе (ГОСТ 4648), двухопорного ударного изгиба (ГОСТ 4647), электрических свойств (ГОСТ 6433.1 - ГОСТ 6433.4, ГОСТ 10315). Перечень определяемых показателей может быть изменен с учетом специфики эксплуатации пластмассовых конструкций.

9.1.4 В зависимости от условий работы конструкций из пластмасс выбирают в качестве критерия отказа один или несколько показателей, перечисленных в 9.1.3. В качестве критического значения критерия отказа выбирают значение, определяемое на основании изучения изменения критериев отказа при воздействии агрессивных сред и (или) на основании требований к конструкции. При этом следует учитывать абсолютное значение показателя по отношению к исходному значению. Например, если в качестве критерия отказа для образца пластмасс со стекловолокнистым наполнителем принято удельное объемное электрическое сопротивление ρv в качестве критического значения принимают ρv = 108 Ом·см.

9.1.5 Пластмассы для электротехнических изделий, а также для других греющихся изделий, ресурс которых при нагрузке, вызывающей нагрев пластмассы, составляет 10 - 40 тыс. ч, испытывают также на образцах после ускоренного термического старения, соответствующего 50% и 80% этого ресурса.

Ускоренное термическое старение проводят циклическим методом в соответствии с ГОСТ Р 51372, подвергая образцы попеременному воздействию температуры и увлажнению. Режимы воздействия температуры выбирают по ГОСТ 10518 (таблица 2 приложения 2). Режимы увлажнения выбирают по ГОСТ Р 51372 (таблица 1) в зависимости от условий эксплуатации пластмасс.

9.2 Образцы для испытаний

9.2.1 В зависимости от показателя, выбранного в качестве критерия отказа, используют стандартные образцы в соответствии со стандартами, указанными в 9.1.3. Используют также реальные детали и их макеты.

9.2.2 Число образцов, требуемых для испытаний в каждом испытательном режиме, устанавливают в зависимости от предполагаемого числа съемов, возможности определения нескольких показателей на одном образце при одном съеме, возможностей определения показателей на одних и тех же образцах в процессе всего режима испытаний.

9.2.3 Каждое значение показателя свойств пластмасс должно быть получено по результатам испытаний не менее 10 образцов.

9.2.4 Перед испытаниями в камерах отбирают по 10 образцов для определения исходных данных и по 10 образцов, которые хранятся в условиях контрольной стандартной атмосферы [(температура (20 ±5)°С, относительная влажность (65 ±5)%)].

9.3 Проведение испытаний

9.3.1 Испытания являются прерывистыми. В каждом испытательном режиме образцы подвергают воздействию основных разрушающих ВВФ (температуры, относительной влажности воздуха и агрессивной газообразной среды определенного вида и концентрации).

9.4 Методы обработки результатов испытаний - по ГОСТ Р 51372 [приложения А (вариант плана 6), Б - Е].

Приложение А
(обязательное)
Обработка результатов исследовательских испытаний в ускоренных сокращенных режимах
ГОСТ Р 51802 для определения сроков L образцов при требуемых условиях эксплуатации и хранения

Даны результаты определения срока L образца в одном из испытательных режимов по таблице 3 или 4 ГОСТ Р 51802 [см. перечисление б) примечания к 4.6] и значения коэффициентов ускорения испытаний при этих режимах по таблицам А.1 и А.2. По этим результатам в соответствии с ГОСТ Р 51372 (приложение А) рассчитывают срок L (включая требуемые статистические показатели) для образца при требуемых (рабочих) воздействующих факторах, используя коэффициенты ускорения K и их логарифмы по таблицам А.1 и А.2,

Примечание - Понятие «Срок L» - по ГОСТ Р 51372 (3.10); обозначения в приведенных ниже формулах расчета соответствуют обозначениям по ГОСТ Р 51372 (приложение А).

Таблица А.1

Вид агрессивной среды

Коэффициент (логарифм коэффициента) ускорения испытаний в режимах по таблице 3 ГОСТ Р 51802 для групп условий агрессивности по ГОСТ Р 51801

Х02.2

Х02.3

Х02.4

Х02.5

Х04.2

Х04.3

Х04.4

Х04.5

Х03.1

Х03.2 ХО3.3

Х03.4

NO2

900

(2,95)

525

(2,72)

60

(2,47)

900

(2,95)

525

(2,72)

60

(2,47)

900

(2,95)

525

(2,72)

60

(2,47)

so2

NH3

H2S

1050

(3,01)

600

(2,78)

365

(2,56)

1050

(3,01)

600

(2,78)

365

(2,56)

1050

(3,01)

600

(2,78)

365

(2,56)

Cl2

525

(2,72)

300

(2,47)

185

(2,26)

525

(2J2)

300

(2,47)

185

(2,26)

525

(2,72)

300

(2,47)

185

(2,26)

HCl

500

(2,56)

300

(2,47)

175

(2,24)

500

(2,56)

300

(2,47)

175

(2,24)

500

(2,56)

300

(2,47)

175

(2,24)

O3

-

4400

(3,64)

4400

(3,64)

-

4400

(3,64)

4400

(3,64)

-

4400

(3,64)

4400

(3,64)

Таблица А.2

Вид агрессивной среды

Коэффициент (логарифм коэффициента) ускорения испытаний в режимах по таблице 3 ГОСТ Р 51802 для групп условий агрессивности по ГОСТ Р 51801

Х1

Х2

Х3

NH3

525(2,72)

365(2,56)

215(2,33)

NO2

730(2,86)

450(2,66)

280(2,45)

Срок L каждого образца вычисляют в часах как суммарное время воздействия среды во всех циклах испытаний при данном режиме испытаний, за вычетом половины длительности воздействия в последнем цикле, после которого наступил отказ образца (половину длительности не вычитают, если методика определения параметров образца позволяет обнаружить момент наступления отказа в процессе воздействия испытательной среды).

Для предварительной оценки при испытаниях в сравнительно легких режимах допускается применять значение срока L для 50%-ного образца (медианное значение).

Затем вычисляют средний срок L как среднеарифметическое всех сроков L образцов, подвергнутых испытаниям в данном режиме.

После этого вычисляют логарифмы каждого срока L (lgL = и) и среднелогарифмический срок L в данном режиме ( - среднеарифметическое значение логарифмов сроков L).

При необходимости результаты испытаний корректируют, исключая из рассмотрения образцы с резко выделяющимися значениями логарифмов. Резко выделяющиеся значения оценивают по ГОСТ Р 51372 (приложение Д).

Затем для данного режима испытаний вычисляют среднеарифметический срок L и среднелогарифмический срок L( - среднеарифметическое значение логарифмов срока L всех оставшихся для рассмотрения образцов).

Вычисляют дисперсию результатов испытаний образца S2 при испытательном режиме:

,

(A.1)

где пi - число образцов, оставленных для рассмотрения.

Вычисляют среднелогарифмический срок L (), значение дисперсии (SТР) и среднеарифметический срок  при значениях температуры, влажности, концентрации агрессивной среды, нормированных для соответствующих групп условий агрессивности по ГОСТ Р 51801 (которые для рассматриваемого случая являются требуемыми воздействующими факторами):

(A.2)

где K - коэффициент ускорения по таблицам А.1 и А.2;

SТР = SlgK,

(A.3)

(A.4)

(A.5)

Приложение Б
(обязательное)
Метод определения значений испытательного напряжения по значениям стабилизированного пробивного электрического напряжения

Для определения испытательного напряжения следует провести испытания образцов в одном из наиболее жестких режимов, при этом:

- определяют зависимость пробивного электрического напряжения образцов от логарифма продолжительности испытаний, для чего периодически для части образцов определяют пробивное электрическое напряжение и по полученным данным строят график указанной зависимости;

- определяют пробивное электрическое напряжение, при котором данная зависимость стабилизируется (при трех последовательных измерениях через промежутки времени, соответствующие 65% - 100% общей продолжительности от начала испытаний до предыдущего измерения, уровень пробивного электрического напряжения уменьшается не более чем на 10% или колеблется в пределах 15%), и вычисляют среднее значение;

- устанавливают испытательное напряжение на 15% - 20% выше среднего значения.

Ключевые слова: агрессивные газообразные среды, методы ускоренных испытаний, стойкость, технические изделия, системы материалов, материалы, электроизоляционные материалы, низковольтные электротехнические изделия

 

 




ГОСТЫ, СТРОИТЕЛЬНЫЕ и ТЕХНИЧЕСКИЕ НОРМАТИВЫ.
Некоммерческая онлайн система, содержащая все Российские Госты, национальные Стандарты и нормативы.
В Системе содержится более 150000 файлов нормативно-технической документации, действующей на территории РФ.
Система предназначена для широкого круга инженерно-технических специалистов.

Рейтинг@Mail.ru Яндекс цитирования

Copyright © www.gostrf.com, 2008 - 2026