Крупнейшая бесплатная информационно-справочная система онлайн доступа к полному собранию технических нормативно-правовых актов РФ. Огромная база технических нормативов (более 150 тысяч документов) и полное собрание национальных стандартов, аутентичное официальной базе Госстандарта. GOSTRF.com - это более 1 Терабайта бесплатной технической информации для всех пользователей интернета. Все электронные копии представленных здесь документов могут распространяться без каких-либо ограничений. Поощряется распространение информации с этого сайта на любых других ресурсах. Каждый человек имеет право на неограниченный доступ к этим документам! Каждый человек имеет право на знание требований, изложенных в данных нормативно-правовых актах!

  


 

ОДМ 218.7.002-2008

ОТРАСЛЕВОЙ ДОРОЖНЫЙ МЕТОДИЧЕСКИЙ ДОКУМЕНТ

РЕКОМЕНДАЦИИ

ПО МЕТОДУ ОПРЕДЕЛЕНИЯ ГЛУБИНЫ ПРОНИКАНИЯ ИГЛЫ
ДЛЯ ВЯЗКИХ НЕФТЯНЫХ ДОРОЖНЫХ БИТУМОВ

ФЕДЕРАЛЬНОЕ ДОРОЖНОЕ АГЕНТСТВО
(РОСАВТОДОР)

Москва 2009

Предисловие

1. РАЗРАБОТАН: Московским автомобильно-дорожным институтом (Государственным техническим университетом).

2. ВНЕСЕН: Управлением строительства и проектирования автомобильных дорог.

3. ИЗДАН: на основании распоряжения Федерального дорожного агентства от 20.10.2008 г. № 436-р.

4. ИМЕЕТ РЕКОМЕНДАТЕЛЬНЫЙ ХАРАКТЕР.

Метод гармонизирован с EN 1426 Bitumen and bituminous binders -Determination of needle penetration.

Содержание

Раздел 1. Область применения

Настоящий отраслевой методический документ распространяется на вязкие дорожные нефтяные битумы (далее битумы), предназначенные в качестве вяжущего материала при строительстве, реконструкции и ремонте дорожных и аэродромных покрытий.

Настоящий отраслевой методический документ устанавливает метод определения глубины проникания иглы пенетрометра в испытуемый образец битума.

Сущность метода заключается в измерении глубины, на которую погружается игла пенетрометра в испытуемый образец битума при заданных рабочих параметрах испытания и выражается в единицах, соответствующих десятым долям миллиметра (0,1 мм).

Раздел 2. Нормативные ссылки

В настоящем отраслевом методическом документе использованы нормативные ссылки на следующие стандарты:

ГОСТ 859-2001 Медь. Марки.

ГОСТ 1440-78 Приборы для определения пенетрации нефтепродуктов. Общие технические условия.

ГОСТ 2386-73 Ампулы уровней. Технические условия.

ГОСТ 2060-2006 Прутки латунные. Технические условия.

ГОСТ 5632-72 Стали высоколегированные и сплавы коррозионностойкие, жаростойкие и жаропрочные. Марки.

ГОСТ 6613-86 Сетки проволочные тканые с квадратными ячейками. Технические условия.

ГОСТ 6709-72 Вода дистиллированная. Технические условия.

ГОСТ 7580-91 Кислота олеиновая техническая. Технические условия.

ГОСТ 9880-76 Толуол каменноугольный и сланцевый. Технические условия.

ГОСТ 14710-78 Толуол нефтяной. Технические условия.

ГОСТ 15527-2004 Сплавы медно-цинковые (латуни), обрабатываемые давлением. Марки.

ГОСТ 17711-93 Сплавы медно-цинковые (латуни) литейные. Марки.

ГОСТ 18143-72 Проволока из высоколегированной коррозионностойкой и жаростойкой стали. Технические условия.

ГОСТ 25336-82 Посуда и оборудование лабораторные стеклянные. Типы, основные параметры и размеры.

Раздел 3. Термины и определения

В настоящем отраслевом методическом документе применены следующие термины с соответствующими определениями:

Пенетрация - показатель консистенции, выраженный как расстояние в десятых долях миллиметра, на которое стандартная игла вертикально проникает в пробу материала при заданной нагрузке, температуре и времени нагружения.

Раздел 4. Аппаратура и реактивы

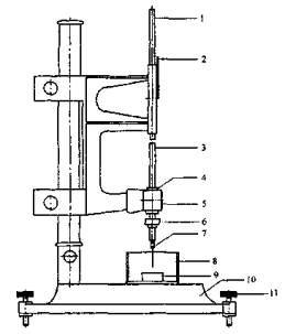
а) Пенетрометр, основные размеры рабочей части которого (размеры и масса иглы, держателя, плунжера, груза) соответствуют требованиям ГОСТ 1440. Схема пенетрометра приведена на рис. а 1.

Рис. а 1. Схема пенетрометра:

1 -рейка кремальеры; 2 - шкала; 3 - плунжер; 4 – направляющая втулка; 5 - тормозное устройство; 6 - груз-шайба; 7 - игла и держатель;
8
- чашка кристаллизационная; 9 - чашка пенетрационная; 10 - опорный столик; 11 -регулируемый винт

Пенетрометр снабжен дополнительным грузом - шайбой массой (50,00 ± 0,05) г или (150,00 ± 0,05) г. Масса иглы с держателем (2,50 ± 0,05) г, масса плунжера (47,50 ± 0,05) г.

Конструкция пенетрометра обеспечивает перпендикулярное положение оси плунжера с иглой к плоскости столика. Неперпендикулярность плоскости столика к оси плунжера при любом угле его поворота не должна быть более 0,5 мм на длине 100 мм.

Свободное вертикальное перемещение плунжера с иглой после отключения тормозного устройства происходит с минимальными потерями на трение, что обеспечивается зазором (от 16 до 52 мкм) между направляющей втулкой и плунжером. Параметр шероховатости соприкасающихся поверхностей направляющей втулки и плунжера Ra 0,8 мкм. Плунжер легко отсоединяется от пенетрометра для проверки его массы.

Основание пенетрометра имеет регулируемые ножки-винты для установки его в вертикальное положение. На основании установлена ампула уровня по ГОСТ 2386.

Пенетрометр имеет устройство, обеспечивающее возможность правильности подводки конца острия иглы к поверхности испытуемых битумов.

Допускается использовать автоматические и полуавтоматические пенетрометры, соответствующие требованиям настоящего отраслевого методического документа.

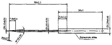
б) Размеры пенетрационной иглы соответствуют указанным на рис. б 1.

Иглы пенетрационные изготавливаются из коррозионно-стойкой стали по ГОСТ 5632 и ГОСТ 18143. Твердость игл (55-61) НRСэ, параметр шероховатости поверхностей игл Ra 0,4 мкм.

Цилиндрическое тело иглы имеет диаметр (1,01 ± 0,01) мм, конец иглы должен быть симметрично сведен к конусу, имеющему угол 9°10' ± 30' по всей длине конуса. Плоскость усеченной части конуса иглы должна быть перпендикулярна к ее оси. Отклонение перпендикулярности не более 2°. Диаметр кончика иглы (0,15 ± 0,01) мм. Длина иглы (50,0 ± 2,5) мм.

Перед испытанием проводят визуальную оценку состояния иглы на предмет коррозии, формы, массы и т.д.

Размеры указаны в миллиметрах

Рис. б 1

в) Держатель иглы изготавливается из латуни (по ГОСТ 2060, ГОСТ 15527, ГОСТ 17711), коррозионностойкой стали (по ГОСТ 5632) или меди (по ГОСТ 859). Держатель имеет диаметр (3,20 ± 0,05) мм и длину (38 ± 1) мм.

Перемещение иглы относительно держателя не должно превышать 1 мм.

г) Чашка металлическая или стеклянная (пенетрационная) цилиндрическая с плоским дном, внутренним диаметром (55 ± 1) мм и внутренней высотой: (35 ± 1) мм - для битумов с пенетрацией до 200, (45 ± 1) мм - для битумов с пенетрацией более 200. Допускается использование чашек высотой (60 ± 1) мм для битумов с пенетрацией более 200.

Чашки, применяемые при испытании, изготавливаются из коррозионностойкой стали (по ГОСТ 5632) или латуни (по ГОСТ 2060, ГОСТ 15527, ГОСТ 17711). Стеклянные пенетрационные чашки изготавливаются из термостойкого стекла.

д) Баня водяная вместимостью не менее 10 дм3 (для термостатирования), допускаемая погрешность температуры воды в бане не более 0,1 °С. В бане находится полка с отверстиями на расстоянии не менее 50 мм от дна и не менее 100 мм ниже уровня жидкости. При определении глубины проникания иглы при 0 °С допускается применять баню меньшей вместимости.

При проведении испытаний рекомендуется использовать дистиллированную (по ГОСТ 6709) или свежевскипяченную воду.

е) Термометр жидкостной стеклянный с диапазоном измерений от минус 5 °С до плюс 55 °С, ценой деления 0,1 °С, внешним диаметром стержня от 6 до 8 мм.

Допускается вместо ртутных стержневых термометров использовать другие температурные измерительные приборы.

ж) Чашка кристаллизационная ЧКЦ по ГОСТ 25336 типа или сосуд металлический плоскодонный вместимостью не менее 0,5 дм3. Диаметр сосуда (100 ± 1) мм и высота (80 ± 1) мм. Сосуд и прилагающаяся к нему перфорированная полка изготавливаются из коррозионностойкой стали по ГОСТ 5632 или других коррозионностойких материалов. Полка с отверстиями располагается на расстоянии 2-4 мм от дна сосуда. Высота сосуда должна быть не менее чем на 15 мм больше высоты пенетрационной чашки.

з) Дополнительное оборудование и реактивы:

- сито с металлической сеткой № 07 по ГОСТ 6613 или другие сита с аналогичными размерами сетки;

- секундомер с точностью отсчета времени 0,1 с;

- стержни тарировочные из коррозионностойкой стали по ГОСТ 5632 с диаметром 10 мм и высотой (40,00 ± 0,05), (50,00 ± 0,05) и (63,00 ± 0,05) мм;

- стакан фарфоровый или металлический для расплавления битума;

- палочка стеклянная или металлическая для перемешивания битума;

- толуол по ГОСТ 14710 или по ГОСТ 9880, бензин или другой растворитель;

- кислота олеиновая по ГОСТ 7580.

Раздел 5. Подготовка к испытанию

а) Испытуемый образец битума нагревают до подвижного состояния, при наличии влаги его обезвоживают путем нагрева до температуры на 80-100 °С выше температуры размягчения, но не выше 160 °С при осторожном перемешивании, избегая местных перегревов. Время нагревания битума при указанных условиях не должно превышать 30 мин.

Обезвоженный и расплавленный до подвижного состояния битум процеживают через металлическое сито и наливают в две пенетрационные чашки не менее чем на 10 мм выше ожидаемой глубины проникания, тщательно перемешивают до полного удаления пузырьков воздуха.

б) Чашку с битумом охлаждают на воздухе при температуре от 15 до 30 °С, предохраняя образец от пыли. Продолжительность охлаждения 60-90 мин при испытании битума с пенетрацией до 250 и 90-120 мин - с пенетрацией более 250.

Затем чашки с битумом помещают в емкость для термостатирования (баню), заполненную дистиллированной или свежевскипяченной водой, при заданной температуре испытания.

Время выдерживания чашек в бане высотой 35 мм - 60-90 мин, а чашек высотой 45 и 60 мм - 90-120 мин.

Примечание. Для испытаний при температуре 0 °С рекомендуется увеличить время термостатирования.

в) Пенетрометр устанавливают горизонтально по уровню или отвесу, после этого проверяют точность показаний. Для этого вынимают иглу, произвольно опускают плунжер пенетрометра. Затем между плунжером и нижним концом рейки кремальеры поочередно вставляют тарировочные стержни различной высоты, устанавливают стрелку на нуль, вынимают тарировочный стержень и опускают рейку кремальеры до касания с верхним концом плунжера. Показание пенетрометра должно соответствовать высоте тарировочного стержня.

Для пенетрометров, снабженных автоматическим реле времени, необходимо проверить выключение их через (5,0 ± 0,1) и (60,00 ± 0,15) с.

Раздел 6. Проведение испытания

а) Температура и рабочие параметры испытания приведены в таблице 1.

Таблица 1

Температура испытания, °С

Общая масса стержня иглы и дополнительного груза, г

Время опускания иглы, с

0,0 ± 0,1

200,00 ± 0,20

60

25,0 ± 0,1

100,00 ± 0,15

5

б) По истечении заданного времени выдерживания чашку с образцом битума вынимают из бани для термостатирования и помещают в плоскодонный сосуд вместимостью не менее 0,5 дм3, наполненный дистиллированной или свежевскипяченной водой так, чтобы высота жидкости над поверхностью битума была не менее 10 мм, температура воды в сосуде должна соответствовать температуре испытания.

Сосуд устанавливают на столик пенетрометра и подводят острие иглы к поверхности битума так, чтобы игла слегка касалась ее.

Правильность подведения иглы к поверхности битума проверяют с помощью зеркальца при освещении поверхности образца источником направленного холодного света.

Допускается применять другие устройства, обеспечивающие проверку правильности подведения конца острия иглы к поверхности битума.

Доводят кремальеру до верхней площадки плунжера, несущего иглу, и устанавливают стрелку на нуль или отмечают ее положение, после чего одновременно включают секундомер и нажимают кнопку пенетрометра, давая игле свободно входить в испытуемый образец в течение времени испытания, по истечении которого отпускают кнопку. После этого доводят кремальеру вновь до верхней площадки плунжера с иглой и отмечают показание пенетрометра.

Если пенетрометр полуавтоматический, то устанавливают шкалу или стрелку на нуль и приводят в действие механизм, который по истечении времени испытания выключается сам.

Определение повторяют не менее трех раз тремя иглами в различных точках на поверхности образца битума, отстоящих от краев чашки и друг от друга не менее чем на 10 мм.

Примечание. При проведении испытания необходимо обеспечивать сохранность острия иглы от затупления, поломки, ее падения.

После погружения иглу вынимают из гнезда, отмывают ее толуолом, бензином или другим растворителем и насухо вытирают в направлении острия. Для отдельных марок битумов, если результаты имеют разброс, перед проведением испытания иглы погружают на 5 мин в раствор толуола с 1 % олеиновой кислоты, затем насухо вытирают. Если глубина проникания иглы образца выше 100 единиц, каждую иглу оставляют в образце до завершения трех определений.

Раздел 7. Обработка результатов

а) За результат испытания принимают среднее арифметическое значение результатов не менее трех определений, округленное до целого числа.

б) Сходимость метода

Два результата испытания, полученные одним исполнителем, признаются достоверными (с 95 %-ной доверительной вероятностью), если расхождение между ними не превышает 3 % от среднего арифметического значения для пенетрации при 25 °С и 6 % от среднего арифметического значения для пенетрации при 0 °С.

Если расхождения результатов определений превышают указанные значения, то испытания повторяют на другом параллельно подготовленном образце. Если разница между тремя значениями вновь превысит указанные значения, то испытание повторяют.

в) Воспроизводимость метода

Два результата испытания, полученные в двух разных лабораториях, признаются достоверными (с 95 %-ной доверительной вероятностью), если расхождение между ними не превышает 10 % от среднего арифметического значения для пенетрации при 25 °С и 18 % от среднего арифметического значения для пенетрации при 0 °С.

Раздел 8. Протокол испытания

Протокол испытания должен содержать следующую информацию:

марку испытуемого битума;

ссылку на нормативный документ, по которому проводилось испытание;

сведения об используемых средствах измерения и другой аппаратуре;

результат испытания;

дату испытания.

Ключевые слова: битумы нефтяные дорожные, пенетрация

 

 




ГОСТЫ, СТРОИТЕЛЬНЫЕ и ТЕХНИЧЕСКИЕ НОРМАТИВЫ.
Некоммерческая онлайн система, содержащая все Российские Госты, национальные Стандарты и нормативы.
В Системе содержится более 150000 файлов нормативно-технической документации, действующей на территории РФ.
Система предназначена для широкого круга инженерно-технических специалистов.

Рейтинг@Mail.ru Яндекс цитирования

Copyright © www.gostrf.com, 2008 - 2026