Крупнейшая бесплатная информационно-справочная система онлайн доступа к полному собранию технических нормативно-правовых актов РФ. Огромная база технических нормативов (более 150 тысяч документов) и полное собрание национальных стандартов, аутентичное официальной базе Госстандарта. GOSTRF.com - это более 1 Терабайта бесплатной технической информации для всех пользователей интернета. Все электронные копии представленных здесь документов могут распространяться без каких-либо ограничений. Поощряется распространение информации с этого сайта на любых других ресурсах. Каждый человек имеет право на неограниченный доступ к этим документам! Каждый человек имеет право на знание требований, изложенных в данных нормативно-правовых актах!

  


 

ФЕДЕРАЛЬНОЕ АГЕНТСТВО
МИНИСТЕРСТВА ТРАНСПОРТА РОССИЙСКОЙ ФЕДЕРАЦИИ

Федеральное государственное унитарное предприятие «Информационный центр по автомобильным дорогам»

АВТОМОБИЛЬНЫЕ ДОРОГИ И МОСТЫ

КАМЕННЫЕ МОСТЫ РОССИИ

(ФЕДЕРАЛЬНЫЕ АВТОМОБИЛЬНЫЕ ДОРОГИ)

ОБЗОРНАЯ ИНФОРМАЦИЯ

Выпуск 7

Москва 2004

Выходит с 1971 г.

7 выпусков в год

СОДЕРЖАНИЕ

1. ВВЕДЕНИЕ

2. КАМЕННЫЕ МОСТЫ ЕВРОПЫ

3. ТРИ ПЕРИОДА СТРОИТЕЛЬСТВА КАМЕННЫХ МОСТОВ

4. МОСТЫ XIX в. НА ГОСУДАРСТВЕННЫХ РОССИЙСКИХ ДОРОГАХ

4.1. Мосты - как трубы

4.2. Мосты Урала и Кавказа

4.3. Мост через р. Виточку

5. МОСТ ЧЕРЕЗ р. ПАХРУ

5.1. Состояние моста через 70 лет после постройки

5.2. Исследования материалов кладки моста

5.3. Выбор решения по ремонту моста

5.4. Особенности технических решений

5.4.1. Разборка конструкций

5.4.2. Фиксация щековых стен

5.4.3. Усиление сводов

5.4.4. Ремонт кладки опор

5.4.5. Устройство железобетонной плиты

5.5. Научное сопровождение работ

6. ДАГЕСТАНСКИЕ ПЕРСПЕКТИВЫ

6.1. Двадцать пять процентов

6.2. Мосты через р. Гюльгеры-Чай

6.3. Каменным мостам - быть!

ЗАКЛЮЧЕНИЕ

СПИСОК ЛИТЕРАТУРЫ

 

Данный выпуск обзорной информации посвящен эксплуатации каменных арочных автодорожных мостов. На федеральной сети таких сооружений осталось очень мало и в настоящее время сохраняется тенденция к замене их на современные конструкции из стали и железобетона, несмотря на то, что по долговечности каменные мосты превосходят сооружения из любых других материалов.

В обзоре показано, что, исходя из опыта строительства и эксплуатации известнейших каменных мостов Европы, а также отечественного опыта, при правильном подходе к проектированию и содержанию срок их службы может измеряться сотнями лет.

Кроме того, дается описание различных сооружений и технологий по ремонту и реконструкции, опробованных па отечественных каменных мостах через реки (например, через p.p. Пахру и Логиновку) и множественные ручейки на федеральных и местных дорогах. Таким образом, появляется надежда, что в России удастся не только сохранить существующие каменные мосты, как национальное достояние, но и возродить каменное мостостроение.

Обзор подготовил д-р техн. наук В. И. Шестериков (ГП «Росдорнии»)

1. ВВЕДЕНИЕ

На федеральной сети автомобильных дорог России эксплуатируется всего 50 каменных мостов. Все они арочного типа с полуциркульным (циркульным) или в редких случаях эллипсоидным очертанием сводов. Всего 50 мостов из почти 6000 сооружений (0,8%). Двадцать пять лет назад подобных сооружений было около 100, а 50 лет назад - более 150 (количество мостов на государственных дорогах тогда было 3500 шт.). Даже если учесть те каменные мосты, которые после ремонта (реконструкции) переведены в разряд «трубы» или сняты с баланса из-за спрямления участков дорог и строительства новых сооружений, их на федеральной сети все равно будет сегодня немногим более 1,0%.

Уменьшение числа каменных мостов характерно и для местной сети. Так, в Московской области из 800 сооружений лишь пять каменных, не более десятка их на Урале. Примерно 20 мостов еще эксплуатируются на улицах и дорогах г. Санкт-Петербурга и Ленинградской области, всего четыре арочных моста осталось в г. Москве. Практически приостановилось их строительство и на северном Кавказе. Даже в Дагестане, где традиционно каменное мостостроение находилось на одном из первых мест (из 2000 мостовых сооружений на местной сети около 500 каменных прочных мостов длиной от 5 до 300 м), за последние 10 лет построено всего три. Получается так, что и в богатых камнем районах нашей страны неоправданно вытесняются каменные мосты более индустриальными железобетонными и металлическими.

Последнее обстоятельство явилось основной причиной подготовки обзорной информации, цель которой - обратить внимание мостовиков на возможность длительной эксплуатации каменных мостов даже при современных условиях движения. Отработанные за последние пять лет технологии их восстановления, усиления, реконструкции позволят сохранить эти уникальнейшие и красивейшие конструкции.

Говоря об особенностях каменных арочных мостов, имеет смысл прежде всего сказать об их достоинствах. Первое из них - большой срок службы, т.е. эксплуатации без каких-либо существенных затрат на ремонт. Известны многие мостовые вооружения (мосты, виадуки, акведуки), построенные до н.э. древними греками и римлянами, которые могли бы эксплуатироваться и сегодня. Большая долговечность каменных ростов определяется, в первую очередь, применением прочного и устойчивого к атмосферным воздействиям природного камня. Однако важны и другие условия, при которых можно обеспечить их «дешевую» эксплуатацию, - хорошая подгонка камней, качественная расшивка швов, правильно уложенная гидроизоляция и обеспеченный водоотвод.

Второе важнейшее преимущество каменных мостов - их архитектурно-планировочные особенности, позволяющие этим вооружениям стать важнейшим компонентом окружающей среды. В своей книге «Архитектура отечественных мостов» [1] А.Л. Пунин так описывал каменные арочные мосты второй половины XVIII в.:

«…Полны подлинного очарования мосты пригородных парков - Павловска, Царского Села, Гатчины... Многие мосты Петербурга и его пригородов, Москвы и Подмосковья по праву принадлежат к подлинным шедеврам зодчества».

Те немногие каменные мосты, которые дошли до наших дней за 2000 лет, независимо от того, где они сооружались, представляют большое материальное и культурное достояние.

К достоинствам каменных мостов следует отнести и их значительную массу, благодаря чему снижается негативное влияние временной нагрузки, а также большую гибкость каменного свода по сравнению с бетонным или железобетонным [2]. С другой стороны, большая масса конструкций каменных мостов является и недостатком таких строений. Это связано с большим объемом трудоемких ручных работ по возведению сложных кружал каменной кладки, по обработке камня и подгонке отдельных камней, особенно камней-клиньев, друг к другу. Камнетесами и каменщиками выполняется значительная доля работы при строительстве каменных мостов. Трудоемкость механизации и индустриализации работ явилась одной из причин, почему подобные сооружения сегодня уже практически не применяют.

Сохранение подобных сооружений на общей сети дорог должно стать одной из отраслевых задач на ближайшее время. В помощь реализации этой задачи в обзорной информации приводится ряд оригинальных технических решений, которые были применены при ремонте арочных мостов в последние годы. Таким образом, дана информация, которая, по мнению автора обзора, была бы полезна не только молодому поколению мостовиков, не изучавшим в институтах курса каменных мостов, но и специалистам с большим стажем проектных и строительных работ.

При выборе объектов для описания технологий автор обзорной информации постарался уделить внимание различным типам конструкций, оставшимся на наших дорогах. В табл. 1, в которую занесены существующие сегодня каменные арочные мосты на федеральной сети дорог России, эти конструкции отмечены:

- мосты с малыми полуциркульными сводами в возрасте 165 лет (автомагистраль М10);

- мост с сегментными сводами пролетами 3×8,6 м в возрасте более 105 лет (автомагистраль М10);

- мост со сводом из пиленого известняка (автомагистраль М27) в возрасте 114 лет;

- представитель уральских мостов в возрасте 114 лет;

- мост через р. Пахру на автомагистрали М4 «Дон».

Таблица 1

Каменные арочные мосты на федеральной сети автомобильных дорог России

Автомобильная дорога

Количество мостов

Пролет свода, м

Годы ремонта (реконструкции)

год постройки

шт.

М10 «Россия» Москва - Санкт-Петербург

1836 - 1838

9

1,9 - 2,0

1951

1847 - 1850

7

1,9 - 2,8

1951 - 1988

1897

1

8,6×3

1956

1312

1

2,0

1979

Итого на дороге:

18

 

В возрасте 59 - 115 лет

М27 (Джубга - Сочи)

1897

1

4,2

~1950

1937; 1941

2

3,4; 4,2

-

Владикавказ - госграница

~1890

3

3,1 - 3,6

1959

1Р.354

1890

2

3,2

-

Екатеринбург - Курган

1890

2

6,5×; 5,3

-

Калининградская область:

 

 

 

 

А216

1905 - 1910

3

1,9 - 3,6

-

А229

1870

1

2,8

-

М4 «Дон» (Москва - Домодедово), р. Пахра

1928

1

35 - 35 - 25

1999

Всего:

50 шт.

Последнее сооружение (мост через р. Пахру) занимает в обзорной информации особенное место, поскольку он является уникальным сооружением, одним из немногих на российских дорогах с классическим очертанием каменных сводов, сложенных из плотных песчаников трех цветов. Ссылки на мост сделаны в отечественных и зарубежных учебниках и монографиях. Мост построен по проекту и под руководством известного русского инженера-мостовика Н.И. Мельникова.

Необходимость дать информационный материал о мостах постройки середины - конца XIX в. и о мосте через р. Пахру спустя более 75 лет после его постройки вызвана несколькими обстоятельствами.

Первое из них то, что каменных мостов в России уже давно не строили, о каменных мостах давно не писали, каменные мосты с каменными сводами давно были вытеснены железобетоном и металлом, из-за чего и образовался почти 100-летний перерыв в их массовом строительстве. Попытку возобновить в 20-е годы XX столетия каменное мостостроение в России можно назвать периодом Российского ренессанса, когда появились интереснейшие конкурсные проекты больших мостов через р. Москву - Крымского, Бородинского, Б. Каменного, Б. Краснохолмского и других, проекты каменных железнодорожных и автодорожных мостов на Кавказе, Урале, Украине. Но реализоваться из этого большого числа проектов посчастливилось не многим.

Вторая причина заключается в уникальности многих из них даже при сравнении с известнейшими каменными мостами Европы: Например, рассматривая с подобной точки зрения мост через р. Пахру, т.е. как памятник российской инженерной мысли, удалось убедить инвесторов и заказчиков в необходимости его сохранения, когда в 1998 г. встал вопрос о его замене, поскольку он не отвечал уже возросшей интенсивности движения и грузонапряженности на участке дороги Москва - Домодедово. Данная причина является, пожалуй, самой главной.

Подготовить настоящий обзор стало возможным только в результате оказанной помощи автору руководством автомагистрали M10 «Россия» и Федеральной дирекции «Урал». При описании дагестанских мостов бесценная помощь была оказана руководством Дагестанавтодора, которое, в память о своем бывшем главном инженере О.М. Аскандарове, отдавшем многие годы своей жизни возрождению каменного мостостроения в Дагестане, предоставило интересный материал о мостах своей республики.

В настоящем обзоре не только дано описание конструкций, технологий, в том числе и новых технологий, примененных при ремонте и реконструкции каменных мостов различной конструкций и возраста, но и приведен краткий анализ трансформации строительных тенденций Европейских стран в разные периоды времени.

Кроме того, обзорная информация подготовлена по результатам диагностики, изысканий, обследования, проектирования, исследования, сопровождения ремонтных работ, выполненных специалистами ГП «Росдорнии» при участии сотрудников Владимирского и Воронежского ПТЦ «Росдорнии», бригадой ВГАСУ (г. Воронеж, В.С. Сафронов), специалистами ремонтно-обследовательской водолазной станции (М.Е. Певунов), ЗАО «Триада-Холдинг» (М.В. Зайцев). От ГП «Росдорнии» в указанных работах также участвовали В.И. Кирилин, А.В. Бугурусланов, В.В. Ладошин, Б.Ф. Яновский, В.В. Мусохранов, Н.В. Гончаров-Андреев, А.И. Капустин, А.Г. Ожерельев, С.Д. Кузичев, В.И. Шестериков.

2. КАМЕННЫЕ МОСТЫ ЕВРОПЫ

Упомянуть об истории каменных мостов, о тенденциях изменения подходов к их сооружению в разные периоды времени, начиная с древних времен, о выработке требований и их постепенной трансформации в каменных мостах более поздней постройки автор обзорной информации посчитал целесообразным, поскольку имело смысл показать, что некоторые российские мосты стоят в одном ряду с известнейшими в мире каменными арочными мостами.

Конструкция расклиниваемой (так называемой «клинчатой») арки моста появилась в Риме в III - I в. до н.э. и уже учитывала опыт кладки каменных сводов в Персии и Греции. В это время, характеризуемое огромным строительством сети дорог (с мостами) не только для связи войск с г. Римом, но и для связи с покоренными странами и торговых целей, строятся уникальные каменные мосты, которые и сегодня удивляют нас своей грандиозностью и архитектурной выразительностью. К числу мостов-чемпионов* того периода, построенных в Европе, можно отнести следующие мостовые сооружения.

* В данном обзоре не рассматриваются акведуки, хотя именно необходимость транспортировки воды в древние города привела к строительству огромнейшего количества сооружений с арочными сводами. Одним из огромнейших древних акведуков является акведук Аква Марция, Построенный в 144 г. до н.э. (более 1000 арок; длина над землей 12 км) (Примеч. авт.).

- Мост Фабриция через р. Тибр в г. Риме (Италия), построенный в 62 г. до н.э. с двумя пролетами по 24,5 м (т.е. как и в Гардском акведуке) и до сих пор удивляющий своими прекрасными пропорциями (в центральной опоре моста впервые сделан дополнительный арочный проем для пропуска высокой воды) (рис. 1,а).

- Гардский мост, построенный на рубеже I - II в. н.э. для пропуска дорожных повозок и людей, а также в качестве водопровода в г. Ним на юге Франции, с наибольшими пролетами сводов 24,5 м (рис. 1,б).

Рис. 1. Древние каменные арочные мосты Европы:
а - мост Фабриция в г. Риме (
II в. до н.э.); б - Гардский мост на юге Франции (начало II в. н.э.)

- Мост Алькантара (на языке мавров обозначает «мост») на р. Таго в Испании, построенный римлянами в I в. н.э. (104 г.), с максимальными пролетами 28 м, высотой 55 м, длиной 200 м.

Строитель моста (pontifex) Гай Юлий Лацер построил его в честь императора Траяна, о чем свидетельствуют надписи, сделанные на мраморной доске, где также указаны города империи, вносившие пожертвования на строительство.

Рис. 2. Древние каменные мосты Европы:

а - мост Святого Ангела в г. Риме, (138 г. н.э.); б - мост через р. Родан в г. Авиньоне (XII в. н.э.)

- Мост Святого Мартина в г. Толедо (Испания) длиной всего лишь 90 м, но с пролетом уже 42 м (!) - наибольшим пролетом в то время.

- Мост Святого Ангела в г. Риме, построенный в 138 г. н.э., просто поражает своим великолепием и органическим слиянием с окружающей архитектурой (рис. 2,а).

Ранее мост носил название моста Элия (по имени императора Элия Адриана) и соединял мавзолей императора с центром г. Рима. Позднее мавзолей принял название замка Святого Ангела и стал тюрьмой, в которой среди других заключенных находились в разное время Джордано Бруно и граф Калиостро.

- Мост через р. Родан в г. Авиньоне, построенный в XII в. н.э. по инициативе служителя монашеского ордена «мостовые братья» Бенезе, в последующем канонизированным церковью, поистине являлся «чемпионом» как по своей длине (900 м!) и очертанию (криволинейный в плане), так и по пологости арки - впервые применено не полуциркульное очертание (рис. 2,б).

Почти все древние мосты, как и мосты 1-го тысячелетия н.э., имели полуциркульные арки. Это отражало опыт и многовековую традицию предшественников. С течением времени пролеты арок стали увеличиваться с 8 - 12 до 20 - 25 м. В отдельных случаях они достигали 30 и даже 40 м (табл. 2).

Помимо увеличения пролета характерным для мостостроителей 1-го тысячелетия н.э. стал поиск и нетрадиционных решений. Впервые в опорах каменных арочных мостов появляются свайные основания из дуба или вяза, деревянные шпунтовые ограждения, существенно облегчившие возведение каменной кладки фундаментов опор. Воистину революционным нововведением был отход, пока еще робкий, от полуциркульных арок с целью уменьшить объем каменной кладки над сводом и сделать более пологим выход на мост. Примером такого осознанного деяния является Авиньонский мост, в котором применены своды с пологостью 1/3, что придало мосту подкупающую элегантность [3] (см. рис. 2).

Таблица 2

Древние каменные арочные мосты (полуциркульные арки)

Название моста

Размер наибольшего пролета l, м

Длина моста, м

Пологость свода f/l

Высота моста, м

Особенность моста

Мост Фабриция, г. Рим (Италия), 62 г. до н.э.

24,5

80

1/2

15

Величина пролета

Мост Святого Ангела, г. Рим (Италия), 138 г. н.э.

16,3

70

1/2

13

Архитектурное великолепие

Мост Алькантара на р. Таго (Испания), I в. н.э.

28,0

200

1/2

55

Величина пролета и высота

Гардский мост через р. Гарду г. Нима (Франция), начало II в. н.э.

24,5

270

1/2

48

Три разные функции: пропуск воды, пешеходов и повозок

Мост Святого Мартина в г. Толедо (Испания), ~800 г. н.э.

42,0 (!)

90

1/2

40

Величина пролета

Мост Бенезе через р. Родан в г. Авиньоне (Франция), 1188г. н.э.

33,0

900 (!)

1/3

15

Пологость свода, длина моста

Старый Лондонский мост через р. Темзу (Англия), ~1209 г. н. э. (разобран в XIX в.)

12,0

285

1/2

18,5

Свайное основание (вяз)

Мост через р. Дунай в г. Регенсбурге (Германия), ~1200 г. н.э.

12,0

303

1/2

15

Свайное основание из дуба (самый широкий)

Санаинский мост в Армении, 1234 г.

18,0

60

1/2

18

-

В средние века применение пологих сводов становится уже системой, приводящей к постепенному увеличению пролетов* (табл. 3). Примером здесь могут служить мосты Италии* где появляется ряд выдающихся сооружений с пролетами от 29 до 72 м и пологостью сводов от 1/3,4 (мост Треццо в Ломбардии) до 1/7,5 (мост Понте-Веккио во Флоренции).

Таблица 3

Известные мосты Средневековья и Эпохи Возрождения

Название моста

Длина моста, м

Размер наибольшего пролета l, м

Пологость свода f/l

Мост Святого Духа через р. Рону Франция, 1307 г.

150

30,5

1/3

Мост Александры* во Флоренции (Италия), конец XIII в.

150

30,0

1/6 (!)

Карлов мост через р. Влтаву в г. Праге (Чехия), 1357 г. (рис. 3)

515 (!)

23,4

1/2

Мост Каcтельвеккио в г. Вероне (Италия), 1356г.

130

48,7 (!)

1/4 (!)

Мост через р. Адду** в г. Треццо в Ломбардии (Северная Италия), 1377 г.

-

72,0 (!)

1/3,4

Мост Понте-Веккио во Флоренции (Италия), 1345 г. (рис. 4,а)

120

29,2

1/7,5 (!)

Мост Риальто в Венеции (Италия), 1591 г. (рис. 4,б)

50

27,0

1/4

Мост в г. Тулузе (Франция), 1632 г.

210

34,4

1/2,5

Мост Самюр через р. Луару (Франция), 1779 г. (рис. 5)

250

19,5

1/3

Мост через р. Уазу*** в г. Сен-Максанс (Франция), 1786 г.

80

23,4

1/11,2 (!!)

* Первый пример моста со столь пологими арками.

** Мост был разрушен во время осады замка Треццо через 40 лет после строительства, но размер его пролета был превышен только через 525 лет инженером П. Сежурне.

*** Здесь нашли отражение идеи Ж.-Р. Перроне - применен самый пологий на тот период свод, очерченный по дуге круга; опоры в виде колонн, опирающихся на общий фундамент.

а - мост Понте-Веккио (Флоренция); б - мост Риальто (Венеция)

Рис. 4. Карлов мост (Чехия, 1357 г.)

Рис. 5. Мост через р. Луару (Франция, XVIII в.)

Но эти робкие шаги основывались только на опыте, и лишь когда в конце XVIII в. был разработан метод расчета пологих сводов [4, 5], пологость 1/4 и больше стала совсем не редкостью:

«Чемпионом» до XIX в. по пологости можно считать свод моста через р. Уазу во Франции (f/l = 1/11,2 !!; пролет 23,4 м).

Рис 6. Каменные мосты через р. Сену в г. Париже: а - Новый мост (1604 г,); б - Королевский мост (1687 г.)

В каменных мостах Средневековья достаточно часто применялись свайные ростверки взамен каменной отсыпки, подошва ростверка закладывалась уже ниже уровня воды в межени [5]. Использовались своды не только кругового или сегментного очертания, но и более сложной геометрии. Наряду с ростом длины пролетов возрастала и ширина моста, а следовательно и ширина сводов. Например, ширина Королевского моста через р. Сену в г. Париже (построен в 1687 г. (рис. 6) была рекордной для своего времени - 24 м. Рекордным для этого моста было и сечение примененных в ростверке деревянных свай - от 27 до 33 см (по 5 свай на 1 м2 площади).

Развитие указанных положительных тенденций явилось следствием учрежденной в Париже в 1681 г. Архитектурно-строительной академии.

Технические решения, выходящие из стен академии, не просто воплощались в мостах ХVII - ХVIII вв., но и часто определяли подход к конструктивной форме мостов или их общей композиции, определяли размеры сводов и их пологость. На примере парижских мостов это особенно заметно (см. рис. 6, 7):

- на мосту Нотр-Дам (1507 г.) впервые в мире использован прием для улучшения прохода паводковых вод, известный под названием «коровьи рога»;

- начиная с Королевского моста, фундаменты промежуточных опор опускали на 5 - 6 м ниже межени, устраивали свайный ростверк и водоотлив от котлована;

- если в XVI - XVII вв. пологость свода мостов еще по инерции соответствовала старым римским традициям (мосты Нотр-Дам, Мари, Меняльный мост), то с начала XIX в. пологость сводов меняется от 1/3 до 1/6 и даже до 1/7,5 (мост Инвалидов постройки 1829 г., табл. 4).

Рис. 7. Каменные мосты через р. Сену в г. Париже: а - мост Менял (1639 г.); б - мост Согласия (1791 г.)

Таблица 4

Некоторые из Парижских каменных мостов

Название мостов

Год постройки

Длина моста, м

Ширина моста, м

Размер наибольшего пролета l, м

Пологость свода f/l

Мост Нотр-Дам

1507

-

20,0

24,0

1/2,5

Новый мост

1604

238 (!)

12,5

20,5

1/4

Мост Мари

1630

92

22,6

22,0

1/3

Меняльный мост

1639

103

30,0

25,0

1/3

Мост Пон-Руаяль

1687

130

16,4

23,4

1/3

Мост Нейи

1773

> 200

16,0

39 (!)

1/8,5 (!)

Мост Согласия

1791

153

42,0 (!!)

31,1

1/8 (!)

Мост Аустерлиц

1807

174

18,0

30,0

1/3

Мост Архиепископства

1828

67

11,0

25,0

1/6,6

Мост Инвалидов

1829

152

18,0

24,0

1/7,5

Малый мост

1853

32

20,0

24,0

1/6

Мост Альма

1855

140

20,0

43,0

1/5

Мост Луи-Филиппа

1862

100

16,0

27,0

1/4,4

Мост Вегсу

1864

175

40,0 (!)

30,0

1/4,8

Мост Националь

1870

188,5

34,0

25,0

1/3,5

Мост Tolbiac

1882

168

20,0

32,0

1/4,2

Повсеместно при укладке камней начинают применять известковые растворы, которые постепенно вытесняются известково-цементными, применявшимися до 1890 г., а в дальнейшем - цементными (впервые цементный раствор был применен на мосту Альма через р. Сену в середине XIX в).

Упоминая парижские каменные мосты, следует сказать несколько слов о человеке, который стал символом Парижского и Французского, а может быть, и европейского мостостроения второй половины XVIII в. - о Жане-Родольфе Перроне.

Ж.-Р. Перроне начал свою деятельность в 1736 г. в должности технического ассистента, а позже - самостоятельного инженера по мостам в одной из провинций Франции. Но уже через 10 лет стал руководителем Школы Мостов и Дорог Франции, созданной министром экономики Франции, а еще через 20 лет - главным инженером Корпуса мостов и дорог Франции.

Это был мастер каменных сводов, изменивший традиционный подход - устройство сводов с пологостью 1/3 с промежуточными опорами шириной l/5. Стремление к легкости в форме каменных сводов было реализовано на его первом пятипролетном мосту через р. Сену (5×39 м) - (мост Нейи, 1773 г.), в котором даже при пологости 1/8,5 ширина опор составляла всего l/9. Оно достигло триумфа на мосту Сен-Максанс через р. Уазу (3×23,4 м), в котором при пологости 1/11,2 ширина опор составила уже l/10. Такой пологости эллиптических арок Европа еще не знала: до сих пор первенство принадлежало старому мосту во Флоренции (мост Понте-Веккио, f/l = 1/7,5), которое сохранялось в течение 430 лет.

В наибольшей степени искусство Ж.-Р. Перроне воплотилось в его последнем творении - мосте через р. Сену на площади Людовика XV в сердце г. Парижа (он же мост Революции, он же мост Согласия, он же мост Людовика XVI и опять мост Согласия). Пологость свода 1/8 при пролете 31,1 м и ширине моста 42 м все равно удивляла, хотя и не была уже столь необычной, как раньше (см. рис. 7).

До строительства моста Согласия для таких арок, выполняемых лучшими мастерами-каменщиками, было характерно их возведение одна за другой. Строители еще не знали способов одновременного сооружения всех сводов. При этом опоры должны были быть очень толстыми для того, чтобы воспринять неравномерный распор арок. Но этого уже больше не требовалось, начиная с того времени, когда Ж.-Р. Перроне удается в 1791 г. построить мост Согласия сплошным, выполнив одновременно раскружаливание пяти арок. Благодаря этому удалось значительно уменьшить толщину опор. Ж.-Р. Перроне, королевский архитектор и первый инженер Школы Мостов и Дорог Франции, стал революционным преобразователем строительства искусственных сооружений. Благодаря таким легким опорам, удлиняемым верховыми и низовыми сторонами быка, открылись новые возможности строительства. Ученики Ж.-Р. Перроне продолжали какой-то период проектирование и строительство каменных мостов с рекордной пологостью:

- мост Немур через р. Луань, 1804 г., 1 = 12 м, f/l =1/15;

- мост Сент-Дие, 1821 г., 1 = 12 м, f/l = 1/17.

Но все же строительство каменных арочных бесшарнирных мостов с большой пологостью приостановилось почти на 100 лет.

Развитие промышленности в Европе в XIX в. необходимость индустриализации и механизации строительных работ не остались незамеченными и в мостостроении. Применение металлических, бетонных и железобетонных конструкций во многом изменило мнение о целесообразности строительства каменных мостов, особенно с пологими сводами. И это было понятно, поскольку в строительстве каменных мостов еще господствовали приемы средневековой техники. Но несмотря на это, даже XIX в. и начало XX в. дали миру ряд уникальных каменных мостов с бесшарнирными сводами, чему во многом способствовали работы профессора Школы Дорог и Мостов Франции П. Сежурне. Выражение «свод Сежурне» до сих пор известно российским мостовикам.

Один из современных польских мостовиков очень удачно назвал П. Сежурне последним хранителем большой традиции [6], которому удалось систематизировать знания о каменных мостах, накапливавшиеся в течение столетий. П. Сежурне не только умело использует существовавшие к концу XIX в. теоретические выкладки по сводам (работы Ла Гира, Купле, Навье, Кульмана, Риттера, Винклера), но и на практике пробует различные приемы производства работ как по кладке сводов, так и по устройству различных систем кружал. Расчет свода, как упругого кривого бруса, увеличение пролетов пологих сводов за счет облегчения надсводного строения, улучшение архитектурной выразительности мостов, усовершенствование технологии кладки свода (укладка отдельными кольцами с перевязкой швов, секционная выкладка колец, использование «полусухих» растворов с зачеканкой) были опробованы им в первых его сооружениях:

- мосты через р. Иль, 1870 - 1880 гг., пролет длиной 1 = 25 м, пологость свода f/l до 1/7;

- виадук Крюэйц, 1883 г., l =25 м, f/l = 1/3,5;

- мост Антуанетт, 1882 г., l =50 м, f/l = 1/3,5;

- мост Лавор, 1884 г., длина пролета доведена до l =61,5 м, f/l = 1/5;

- мост Кастеле, 1884 г., l = 60 м, f/l = 1/4.

В этих мостах все было необычным - и внешний вид, и технология строительства, и конструкция кружал, и результаты: перестали появляться трещины в сводах после раскружаливания, а осадка уменьшилась с десятков сантиметров, как у Ж.-Р. Перроне, до нескольких миллиметров.

И в последующем П. Сежурне старался продемонстрировать, что при умелом проектировании и строительстве каменные мосты могут составить конкуренцию (при определенных длинах пролетов) металлическим и железобетонным сооружениям, конкурируя с ними не только по пологости сводов, но и по величине пролета. Ярким примером такого стремления служит мост Адольфа в г. Люксембурге (1903 г.) (рис. 8) - мост с самым большим в мире пролетом каменного свода (84,6 м). П. Сежурне не только вернул Франции пальму первенства (до этого наибольшим считался пролет моста Кэбин-Джон в г. Вашингтоне, запроектированного учениками Ж.-Р. Перроне), но и закрепил это первенство мостом в г. Плауэне (Саксония), где при пологости арки 1/5 пролет составил 90 м (табл. 5).

Рис. 8. Мост Адольфа в г. Люксембурге (1903 г.)

Таблица 5

Европейские каменные мосты XIX - XX вв. с бесшарнирными пологими каменными сводами пролетами более 30 м

Название моста

Год постройки

Длина пролета l, м

Пологость моста f/l

Особенность моста

Мост Ватерлоо (Англия)

1817

36,4

1/6,5

Пологость свода при l > 30 м

Мост через р. Северн (Англия)

1827

45,7

1/5

Новый Лондонский мост

1831

46,3

1/5

То же

Мост Честер через р. Ди (Англия)

1834

61,0

1/5

Мост Берси в г. Париже (Франция)

1864

40,0

1/4,8

Совмещенный с метрополитеном мост

Мост Питней (Франция)

1883

43,9

1/7,5

Пологость свода

Мост Антуанетт (Франция)

1884

50,0

1/3,1

Архитектурное великолепие

Мост Бусико (Франция)

1890

40,0

1/8

Пологость свода

Мост Адольфа в г. Люксембурге

1903

84,6 (!)

1/3

Величина пролета*

Мост в г. Плауэне (Саксония)

1904

90,0 (!)

1/5

Величина пролета

Мост Меринг (Германия)

1904

46,0

1/7,5

Пологость свода

Мост Краппиц (Германия)

1905

50,0

1/8

Мост Цигехальс (Германия)

1905

40,0

1/9

Мост через р. Зиг (Германия)

1920

36,5

1/6,5

То же

Мост через р. Ильм (Германия)

1922

42,5

1/6

Мост в г. Орлеане (Франция)

1906

43,85

1/7,5

-"-

Мост Амидоннье через р. Гаронну в г. Тулузе (Франция)

1910

46,0

1/4,2

Опоры состоят из двух каменных столбов на одном фундаменте *

Мост Монтанис (Франция)

1910

81,7

1/4,1

Величина пролета

* Мост имеет два коробовых свода, объединенных поверху железобетонной плитой.

Рис. 9. Каменный арочный мост в Швейцарии (ХIХ в.)

Идеи П. Сежурне реализовались не только в мостах Франции, но и в сооружениях других стран вплоть до начала XX в. (рис. 9). В это время появляются виадуки и мосты с большими пролетами и рекордной длиной (например, виадук через р. Вера у г. Эйзенбаха и мост через р. Сааму у г. Иены длиной свыше 800 м, Германия), расширяется применение комбинированных решений - каменные своды с железобетонной плитой (мосты Фонтпедруз в Восточных Пиренеях, Амидоннье через р. Гаронну в г. Тулузе, Франция), строятся мосты в Германии с пологостью сводов 1/6 - 1/9 и пролетами длиной 40 - 75 м.

3. ТРИ ПЕРИОДА СТРОИТЕЛЬСТВА КАМЕННЫХ МОСТОВ

Российский (русский) опыт строительства каменных мостов не имеет столь давних традиций, как европейский, в связи с чем первые российские мосты строились с незначительными пролетами, малой длины и полуциркульным очертанием сводов. Материалом для этих сооружений служил «белый камень» (известняк), которым была богата Восточно-Европейская (Русская) равнина. Именно «белый камень» являлся символом русского каменного дела и зодчества, возникшего в середине ХII в., т.е. со времен Юрия Долгорукого и его сына Андрея Боголюбского. Из известняка (Мячковский карьер) строились культовые сооружения Древней Руси, начиная от церкви Покрова на Нерли (1165 г.), храмов в г.г. Китеже и Переяславле-Залесском (1152 - 1157 гг.), Успенского собора в г. Владимире (1160 г.) и заканчивая Георгиевским собором в г. Юрьеве-Польском (1234 г.). Мячковские каменоломни являлись главными поставщиками дли начатого в 1366 - 1367 гг. при Дмитрии Донском строительства белокаменного Кремля в г. Москве, а в начале XVI в., когда вокруг Кремля устраивался ров, - каменных мостов (рис. 10). Это был период первого планового строительства каменных арочных мостов на Руси, показавший, что отсутствие до этого подобных каменных сооружений объясняется «не отсутствием умения возводить каменные своды, а условиями общественной жизни» [2].

Строительство мостов вокруг Кремля выполнялось под руководством итальянских и русских мастеров. Преимущественно возводились трехпролетные мосты с пролетом арок 8 - 9 м (мосты Никольский, Фроловский, Константино-Еленинский, Тайницкий - по названиям кремлевских башен). Но были и более значительные сооружения - шестипролетный Троицкий мост (1516 г.) с сохранившимися мерлонами, которые были скопированы с миланских сооружений, а также пятипролетный Воскресенский мост (1603 г.), фрагмент которого был откопан в наше время при реконструкции Манежной площади в г. Москве. Подобные мосты, как элементы оборонительной системы, строились в это время в г.г. Пскове и Новгороде Великом.

Рис. 10. Каменные мосты вокруг Московского Кремля (XVI в.):
а - Константино-Еленинский; б - Троицкий

Более длинные мосты по сравнению с Воскресенским и Троицким были построены в г. Москве в конце XVII в. Это Измайловский мост (14 арок пролетом 9 м), возведенный при постройке царского дворца в Измайлове, и Всехсвятский мост (1692 г.) впоследствии названный Большим Каменным (табл. 6), сооруженный при развитии территории г. Москвы, а именно для улучшения связи с Замоскворечьем. Последний имел семь полуциркульных арок пролетами уже 15 м, общую длину 170 м, ширину 22 м между перилами (парапетами), толстые каменные опоры с мощной ледорезной частью и дубовым свайным ростверком (рис. 11)*. Это был единственный каменный мост через р. Москву и стал называться Большим в отличие от малых каменных мостов вокруг Кремля.

* В.М. Надеждин в работе [7] высказал предположение, что мост был построен восьмипролетным (Примеч. авт.)

Таблица 6

Каменные мосты XVI - XVII вв.

Период

Название моста

Схема, наибольший пролет, м

Год постройки

XII - XIV вв.

Единичные случаи строительства (Новгородская летопись)

1-2 пролета по 3-5 м

-

«Первая волна» XVI в. (Никоновская летопись)

Мосты Кремля в г. Москве:

- Еленинский

2×8,0

-

- Спасский (Фроловский)

3×9,0

-

- Никольский

4×8,0

1500 - 1520

- Тайнинский

3×8,0

-

- Троицкий

6×9,0

-

XVII в. (отдельные случаи строительства)

Мосты в г. Пскове

3 моста l =8-10 м

-

Мосты Белого города, г. Москва

5 мостов l =8-10 м

-

Измайловский мост, г. Москва

14×9,0

1680

Б. Каменный мост, г. Москва

7×15,0

1690

.

Рис 11. Б. Каменный мост через р. Москву (XVII в.)

 «Второй волной» строительства каменных мостов в России можно считать период, начавшийся с сооружения гранитных набережных г. Петербурга в середине XVIII в. Первые каменные мосты были построены через Екатерининский канал и р. Фонтанку. Их одновременное сооружение с каменными стенами набережных и лестничными спусками составило единое целое и тем самым вносили «живописное разнообразие в стройный силуэт береговых стен» [8]. Этот «строгий силуэт» особенно проглядывается в ансамбле мостов через Зимнюю канавку, своды которых имели параболическое очертание с пологостью 1/5 - 1/6, - реализованный по идее Ж.-Р. Перроне (рис. 12). В последующем в Петербурге по проекту П.П. Базена были построены еще несколько каменных мостов с очень «смелым» очертанием сводов: Инженерный мост (f/l = 1/7,5; l = 14 м), Ново-Каменный мост-акведук (f/l = 1/11; l =20 м).

За 20 лет (1770 - 1790 гг.) построены десятки мостов, в основном трехпролетных, некоторые из которых сохранились до сих пор и составляют историческое достояние г. Санкт-Петербурга. Столь интенсивному плановому строительству каменных мостов города способствовала деятельность «Комиссии о каменном строении Санкт-Петербурга и Москвы», созданной в 1762 г. и состоящей из ведущих архитекторов и инженеров России [9]. Возглавлял эту Комиссию крупный государственный деятель екатерининской эпохи И.И. Бецкой.

За указанный период русские мастера освоили сложные приемы обработки гранита, достигнув в этой работе совершенства. Опыт именно этих мастеров был использован при строительстве каменных мостов в парках и усадьбах под г. Петербургом и в Подмосковье. Многие из них до сих пор радуют глаз и являются нашей гордостью. К ним, безусловно, следует отнести Фигурный мост и мост через овраг в Царицыне (архитектор В.И. Баженов), Дворцовый мост в Лефортове (русский мастер Семен Яковлев), мосты Павловска, Царского села, Гатчины.

Опыт этого массового строительства нашел отражение в разработанном в 1786 г. типовом проекте («нормальные чертежи») каменных мостов для российских «трактов» и, в первую очередь, для шоссе Петербург - Москва. По этому проекту, начиная с 1790 г., было построено множество одно-трехпролетных мостов с коробовыми сводами пролетом до 12,8 м и пологостью f/l = 1/4,5.

Рис 12. Мосты г. Санкт-Петербурга по проектам Ж.-Р.Перроне:

а - мосты через Зимнюю канавку; б - Прачечный мост через р. Фонтанку

Рис. 13. Типовые каменные мосты г. Санкт-Петербурга:
а - проект Аничкова моста; б - Измайловский мост через р. Фонтанку

В основу «нормальных чертежей» был положен типовой проект каменных мостов через р. Фонтанку (1780 г.) (рис. 13).

В программе строительства сети русских шоссейных дорог, которая была разработана в 1811 г. Главным управлением путей сообщения (учреждено Манифестом 1809 г.), первоочередной задачей считалось сооружение Петербурго-Московского шоссе. Реализация этой задачи началась в 1817 г. со строительства участка от г. Санкт-Петербурга до г. Чудова, а с 1821 г. - от г. Москвы до г. Твери [10, 11].

К сожалению, в настоящее время почти не сохранились мосты «первой волны», начавшейся со строительства мостов вокруг Московского Кремля (сохранился в перестроенном виде лишь Троицкий мост), а некоторые мосты «второй волны» существуют до сих пор, их своды выкладывались не из слабого известняка, а из гранита прочностью 500 - 1000 кг/см2. По различным источникам, в г. Санкт-Петербурге сохранилось от 12 до 15 старых каменных арочных мостов (табл. 7) постройки XVIII в., несмотря на множественные перестройки улиц и набережных.

Таблица 7

Сохранившиеся каменные мосты г. Санкт-Петербурга

Название моста

Схема (пролет), м

Год постройки

Годы ремонта (реконструкции)

Прачечный (применен гранит)

3×11,3

1760

1835; 1905; 1926

Казанский

8,6

1766

1806; 1934

Верхне-Лебяжий

11,3

1768

1928

Эрмитажный

11,3

1768

1934

Каменный

12,8

1776

1900

Измайловский

15+8+15

1787

1861; 1915

Старо-Калинкин

 

1788

1893;1908;1965

Аничков

12,5+12,6+12,5

1786

1841 (устроена кирпичная кладка); 1908; 1945

Белинского (Симеоновский)

12,8

1785

1859; 1890;1995

1-й Зимний

11,3

1785

1964

2-й Инженерный

11,3

1826

1890; 1955; 1985

Из каменных мостов «второй волны» до нас дошли сооружения, построенные на первом этапе строительства шоссейной дороги Санкт-Петербург - Москва и после первой ее реконструкции (конец XIX в.; см. табл. 1). В 1952 г. о каменных мостах московского шоссе академик П.В. Щусев писал [12]:

«При частичной перестройке шоссе Управлением работ канала им. Москвы многие из этих каменных мостов надстроены, но основная их конструкция сохранилась полностью».

Подавляющее большинство сохранившихся каменных мостом имеют один свод пролетом 1,9 - 3,5 м (рис. 14,а), который повторяли и в других проектах конца ХIХ в. (рис. 14,б). Но на государственных дорогах сохранились и сооружения с большими пролетами сводов, сведения о некоторых из них будут изложены в последующих главах.

Рис. 14. Типичные представители малых каменных мостов:
а - постройки 1838-1848 гг. на дороге Москва - Санкт-Петербург: б - постройки 1890-1897 гг. на дороге Джубга - Сочи:
1 - свод из монолитного железобетона; 2
- бутовая кладка; 3 - кладка из пиленого камня

«Третья волна» каменного мостостроения в России относится к первой половине XX в., т.е. ко времени, когда начались реализовываться результаты конкурсов проектов мостов в г. Москве (1922 - 1925 гг.). Из этих мостов, построенных на дорогах общей сети Советского Союза, выгодно отличается от всех других мост через р. Пахру, имеющий большую длину, значительный пролет сводов, рекордную пологость и более благоприятный внешний вид по сравнению с предшествующими и последующими каменными мостами на дорогах России. Ни в одном из последующих сооружений в России не использовались «ломбардские» мерлоны; лишь в одном мосту превзойден пролет 35 м - железнодорожный мост в Башкирии с арочным пролетом 38 м и пологостью свода 1/3,5 [5]; лишь три моста в Дагестане постройки 30-х годов прошлого века имеют большую длину, в том числе два из них - длину более 300 м (мосты через р. Гюльгеры-Чай). Ни в одном из последующих сооружений не использовался прием П. Сежурне - комбинация каменного свода с железобетонной плитой надсводного строения, а также красные и светлые песчаники при кладке сводов.

4. МОСТЫ XIX в. НА ГОСУДАРСТВЕННЫХ РОССИЙСКИХ ДОРОГАХ

4.1. Мосты - как трубы

Наибольшее количество каменных арочных мостов находится на автомагистрали М10 «Россия» (Москва - Санкт-Петербург) (см. табл. 1). И подавляющее большинство из них - маленькие мостики с отверстием 1,9 - 2,4 м через многочисленные ручейки и речки, которые пришлось преодолевать при строительстве первого шоссе России и его нескольких реконструкциях. Необходимость в таких реконструкциях была вызвана либо спрямлением участков дороги, либо ее расширением. Расширение дороги было вызвано недостаточной шириной проезжей части и обочин. В одном из описаний дороги в начале прошлого века приводились следующие данные [10]:

«…Наибольшей ширины полотно достигало около г. Петербурга, Царского Села, Москвы, Новгорода и других населенных пунктов, где она изменялась в пределах от 7 до 9 саж. * Что же касается ширины проезжей части и обочин в отдельности, то первая изменялась в пределах от 2 до 5,7 саж. (причем, чаще всего встречалась ширина проезжей части 3,7 и 4 саж.)...»

* 1 саж. = 2,134 м (Примеч. ред.).

Необходимость уширения дороги стала очевидной еще в 30-х годах прошлого века. В 1938 г. были утверждены новые «Технические условия на сооружение автомобильных дорог и мостов» (Гушосдор НКВД), которые предполагалось использовать при проектировании реконструкции. Но из-за начавшейся Великой Отечественной войны эти работы были отложены, а проект реконструкции дороги был разработан лишь в 1946 г. (Ленинградская контора Союздорпроекта).

В процессе реконструкции дороги в 1951 - 1958 гг. многие маленькие арочные мостики постройки 1838 - 1848 гг. (т.е. в столетнем возрасте) были сохранены, так как оказались неповрежденными ни временем, ни войной. На участках, где дорога уширялась, были уширены и эти мостики на 2 - 3 м при сохранении двухполосного движения и на 5 - 7 м при добавлении третьей полосы. При этом использовался практически один прием: пристраиваемая часть моста имела вид либо сводчатой, либо прямоугольной железобетонной трубы. Те сооружения, которые имели пристроенную часть более длинной, были названы «трубами». А такие же комбинированные сооружения, но с более узкой пристраиваемой частью, сохранили название «мосты».

При проведении первой реконструкции каменных арочных мостов главной задачей являлась ликвидация последствий войны и увеличение ширины проезда. Задачи повышения надежности несущих конструкций в послевоенное десятилетие еще не ставилось, поэтому во многих мостиках-трубах продолжали развиваться уже наметившиеся дефекты. Причем темпы их развития значительно возросли, поскольку увеличился грузопоток по главной трассе страны. Именно последнее обстоятельство явилось основной причиной повторного ремонта, повторной реконструкции или перестройки (замены на трубу) в 80-е годы прошлого века, когда возраст мостов - труб достиг уже 150 лет.

Сохраненные каменные мосты имели традиционные для подобных конструкций дефекты, о причинах появления которых в настоящее время можно сказать более конкретно, чем 50 или 20 лет назад. Результаты обследования и диагностики подобных мостов дают владельцам этих сооружений достаточно аргументов для принятия решений об их сохранении и при будущих ремонтах.

Наиболее распространенным и быстро проявляющимся недостатком рассматриваемых конструкций (постройки 1837 - 1848 гг.) было отсутствие изоляции свода. Этот недостаток можно было бы частично нейтрализовать за счет повышения качества шовного раствора или устройства глиняной обмазки, но эти работы не проводились ни при строительстве, ни во время реконструкции. Отсюда - обильные потеки по кладке с выветриванием (выносом) кладочного раствора, имеющиеся во всех сохраненных мостиках. При наличии бутовой внутренней кладки протечки сопровождаются выщелачиванием.

Отсутствие дренажа усугубляет дефекты гидроизоляции и ускоряет повреждение швов в местах постоянного смачивания. Из-за этого может происходить деформация свода или смещение отдельных камней, которое, в конечном счете, приводит к упиранию камней друг в друга и сколам углов или кромок. Из-за указанного недостатка может начаться отклонение щековой стенки (на опасность потери устойчивости стенки указывает наличие в своде трещин в швах вдоль внутренней границы щековой стенки - рис. 15,а).

Рис. 15. Дефекты в сводах малых мостов:
а
- трещина по границе щековой стенки; б - выщелачивание и смещение камней

Указанные два недостатка многих каменных мостов - неудачные изоляция и водоотвод - легко поддаются устранению при ремонте, т.е. мосты с подобными дефектами являются вполне ремонтопригодными и эти дефекты не должны использоваться в качестве аргументов для перестройки арочных мостов (или мостиков). В настоящее время существует множество долговечных материалов для восстановления кладочных швов и пропитки засыпки над сводом (с целью устройства изоляции или заполнения пустот в засыпке) при работе как сверху, так и снизу. Имеются примеры использования подобных технологий еще в 50-е годы прошлого столетия при восстановлении каменных сооружений [13]. Бесспорно надежным способом восстановления является и обетонирование свода [14, 15, 16]. Таким образом, имеются все предпосылки для продления срока службы малых каменных сводов, сложенных из гранитных или других прочных штучных камней, еще на 50 - 100 лет, а возможно и больше.

4.2. Мосты Урала и Кавказа

На федеральной сети дорог Уральского региона всего четыре каменных арочных моста постройки 1890 г. (±1 год), расположенных на автомобильных дорогах Екатеринбург - Шадринск - Курган (три моста) и Екатеринбург - Тюмень (один мост). В данной обзорной информации подробнее будут упомянуты лишь два из них, представляющие интерес с позиции формы свода (р. Логиновка) и технологии уширения (р. Златогоровка).

Каменный мост через р. Златогоровку построен в 1890 г. и имеет сегментный свод, сложенный из груботесанных камней плотного песчаника. Особенностью состояния моста было то, что почти весь раствор между камнями за 115 лет эксплуатации был вымыт, из-за чего свод, имеющий пологость 1/3, начал деформироваться. Кроме того, мост стал «узким местом» на оживленной дороге II категории - его габарит всего 6 м. Стоял вопрос о перестройке моста, который устарел и морально, и физически. Однако проектировщики (ООО «Кировдормостпроект») и строители (ООО «Кировстроймост») решили использовать «подкупающую прочность» песчаника и сохранить каменный свод, восстановив и усилив его. Использованные авторами проекта технические решения существенно повысили надежность сооружения, которая, будем надеяться на эксплуатирующую организацию, позволит пропускать через свод 1890 г. и нагрузки, существенно превышающие по массе современные (рис. 16).

Рис. 16. Реконструкция каменного моста через р. Златогоровку:
 а - уширение свода; б - вид после реконструкции

К основным техническим решениям и новшествам можно отнести следующие.

1. Вдоль замков сводов устроен железобетонный пояс усиления, который связан с фундаментами пристраиваемых частей сооружения. Наличие этого пояса увеличивает жесткость его опорных узлов и исключает появление недопустимых деформаций основания в условиях постоянно возрастающих нагрузок.

2. Произведена цементация кладки свода, а сам свод усилен сверху железобетонной рубашкой. Использование подрядчиком специального материала для цементации обеспечило хорошее заполнение швов, а их защита набрызг-раствором с внутренней стороны безусловно способствует продлению срока службы раствора. При набрызге использовалось современное высокопроизводительное оборудование.

3. Уширение моста осуществлено с использованием железобетонных арок пролетом 5,78 м со стрелой 1,75 м, которые опираются на сборно-монолитные железобетонные фундаменты (см. рис. 16,б). Между каменным сводом и железобетонными арочными блоками устроен продольный шов специальной конструкции (шов заполнен монтажной пеной «Soudal»).

4. Для усиления отсыпки и земляного полотна перед мостом использовалась георешетка, а щековые стены выполнены из габионов.

Мост через р. Логиновку (рис. 17) является единственным сохранившимся на федеральной сети дорог, построенным с использованием одного из самых первых проектов петербургских каменных мостов. Очертание сводов и пропорции этого моста повторяют примененные архитектором И.Л. Росси в проекте Прачечного моста, построенного в 1760 г. через р. Фонтанку при строительстве набережной левого берега р. Невы (см. рис. 12,б). Кроме того, размеры сегментных сводов моста через р. Логиновку (схема моста 2×6,5 м) очень близки к размерам другого, одного из самых старых мостов г. Санкт-Петербурга - Каменного моста через Екатерининский канал (ныне канал Грибоедова), построенного по проекту 1765 г. Как же попали петербургские проекты в Западную Сибирь?

Рис. 17. Каменный мост через р. Логиновку с двумя сегментными сводами на дороге Тюмень - Курган

Положительно расценивая первый опыт нового строительства в г. Петербурге и удрученная состоянием российских дорог, Екатерина II в 1770 г. продиктовала секретарю записку для генерал-губернаторов о строительстве и «исправлении» дорог. Вслед за этим последовала «губернская реформа» по децентрализации государственного управления, включая управление строительством и «достройкой» государственных дорог через губернские дорожные комиссии при казенных палатах. Именно в рамках этой реформы достраивалась новая дорога на г. Тюмень с мостом через р. Логиновку.

В настоящее время рассматриваются различные варианты реконструкции моста через р. Логиновку, основным из которых является его замена. Главными аргументами в пользу замены выдвигаются недостаточный габарит и неудовлетворительное техническое состояние. При этом последнее вызвано:

- разрушением швов и, как следствие, - смещением некоторых камней;

- вертикальной трещиной в кладке промежуточной опоры, вызванной, скорее всего, подмывом основания (опора на естественном основании);

- сильным выщелачиванием известняка каменной бутовой надсводной кладки;

- незначительным выпучиванием кладки у пяты одного свода;

- сильным заиливанием подмостового пространства.

Все указанные повреждения конструкции вызваны всего лишь одним недостатком первых проектов каменных мостов - в них не был предусмотрен водоотвод. Вполне возможно, что при наличии водоотвода состояние моста даже в возрасте 115 лет не вызывало бы опасений.

Тем не менее, в настоящее время имеется опыт восстановления и таких сооружений, предусматривая усиление основания, цементацию кладки, усиление свода, уширение моста с обеспечением требуемого водоотвода. Использование подобных технологий, как, например, в мосту через р. Златогоровку, успешно решает все вопросы, связанные с моральным и физическим старением конструкций. Примерно в таком же направлении ведутся работы со старыми каменными мостами на кавказских дорогах федеральной сети.

На автомобильных дорогах, относящихся к федеральной сети, всего пять каменных арочных мостов, эксплуатирующихся с 1890 - 1897 гг. Все они ремонтировались один раз в процессе эксплуатации в возрасте 45 - 60 лет, используя одни и те же принципы:

- с одной или двух сторон пристраивались новые железобетонные конструкции арочного очертания (см. рис. 14,б) или с плитным перекрытием;

- засыпка арочного свода менялась или восстанавливалась, русло водотоков укреплялось.

Работ, связанных с восстановлением кладочного раствора, выправкой камней или устройством гидроизоляции и водоотвода над арочной частью, не выполнялось. Фактически каменная кладка этих мостов функционирует от 107 до 115 лет без восстановлений и укрепления: своеобразный эксперимент на выживание, который конструкции выдержали, несмотря на отсутствие ухода. Имеющиеся повреждения каменных сводов и стен сегодня могут быть устранены известными способами (цементацией, укреплением железобетоном), и жизнь конструкций может быть продлена. В некоторых из упомянутых мостов на дорогах Кавказа в более плачевном состоянии находятся пристроенные железобетонные конструкции, особенно плитного типа. И опять-таки главной причиной их повреждения является отсутствие гидроизоляции и должного водоотвода.

4.3. Мост через р. Виточку

Данный мост фактически не эксплуатируется (рядом построен новый железобетонный с предварительно напряженными балками пролетных строений). Но формально он пока еще находится на балансе автомагистрали M10 «Россия» (Москва - Санкт-Петербург., северный подход к г. Новгороду). Интерес к этому объекту вызван тем, что он является последним мостом в России, построенным (примерно в 1897 г.) по первому типовому проекту с использованием эллипсоидных сводов, которые часто применялись учениками Ж.-Р. Перроне в своих проектах. Последний и единственный на дорожной сети трехпролетный (3×8,6 м) мост не функционирует, хотя возможность приносить еще пользу в течение многих лет имеется.

Мост через р. Виточку является классическим примером моста Ж.-Р. Перроне, на что указывают не только очертания сводов, но и вытянутые вдоль реки промежуточные опоры, контуры свода, обозначенные специальной формы камнями, уложенный парапетный ряд камней (рис. 18). Его ремонт, произведенный в 1956 г., не преследовал цели усилить или уширить сооружение: были выправлены щековые стены с восстановлением швов и отремонтирована проезжая часть. Никаких работ, связанных с устранением строительных ошибок, выполнено не было. А они требовались. Прежде всего это касалось не сделанного водоотвода, предусмотренного типовым проектом, разработанным за 60 лет до строительства. Кроме того, не была выполнена гидроизоляция сводов сверху. Все это не приостановило развитие дефектов, появившихся задолго до ремонта. Вот пример недостаточного качества проектирования ремонта, вызванного незнанием работы конструкции.

Рис. 18. Мост через р. Виточку (северный подход к г. Новгороду):
а - общий вид моста; б - чертеж из типового проекта дороги Петербург - Москва, 1856 г.

Еще в большей степени вызывает удивление проект реконструкции участка дороги, где расположен мост через р. Виточку. При проведении проектных и строительных работ по строительству нового (вплотную к каменному) моста совершенно проигнорировалось существование рядом исторического памятника. Мало того, было сделано все, чтобы ускорить его гибель: конуса нового моста фактически закрыли два крайних пролета, в результате чего резко изменилось влияние водного потока на конструкцию. За десять лет после этих «выдающихся» строительных работ из-за увеличенных скоростей паводковой воды, которая теперь проходит только в среднем пролете, начали разрушаться стенки промежуточных опор. Дефекты в швах кладки, имевшие медленное развитие в течение многих десятилетий, привели за эти годы к ситуации, которая может привести к обрушению моста.

Но мост через р. Виточку может и должен быть восстановлен. Правда, теперь для этого потребуется больше затрат по сравнению с теми, которые могли бы быть, если при строительстве нового моста был реставрирован старый.

Что же необходимо сделать, чтобы спасти важный для Российской истории, для истории Российских дорог мост?

Прежде всего необходимо устранить выпучивание стенок промежуточных опор. Для этого можно предусмотреть выполнение следующих работ:

- укрепление временным бандажом деформированных участков;

- удаление всей засыпки с освобождением зоны опор с забутовкой;

- выправку положения камней (стягивание) и фиксирование такого положения внутренней бетонной стенкой;

- цементацию внутренней каменной кладки;

- укрепление (усиление) свода сверху железобетонным поясом;

- перепланировку конусов нового моста, позволяющую освободить крайние пролеты каменного моста и допустить в них высокую воду;

- очистку камней всех сводов и заделку (зачеканку, расшивку) всех швов;

- устройство изоляции сводов и системы водоотвода;

- устройство новой проезжей части.

Только в этом случае наши потомки будут долго любоваться сооружением, с любовью построенным нашими предками.

5. МОСТ ЧЕРЕЗ р. ПАХРУ

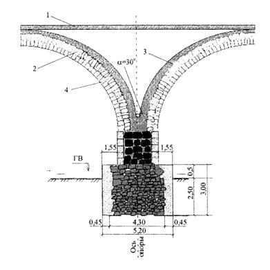
В 2000 г. сдан в эксплуатацию после ремонта каменный арочный мост через р. Пахру на автомобильной дороге М4 «Дон» (участок Москва - Домодедово). На правобережном подходе к мосту располагается пос. Горки-Ленинские, а на левобережном - пос. Ям. Мост построен в 1928 г. к четырехлетней годовщине со дня смерти В.И. Ленина.

Мост пересекает р. Пахру на 35-м км Каширского шоссе и представляет собой каменное трехпролетное арочное сооружение со следующими параметрами.

Общая длина моста, м                                                               113,06

Продольная схема пролетов, м                                                 25,62 + 35,69 + 25,62

Отверстие моста, м                                                                    81,12

Габарит проезжей части, м:

до ремонта                                                                                  6,5 + 2×0,5

после ремонта                                                                            Г-8 + 2×0,75

Проектные нагрузки:

до ремонта                                                                           Н-8 и НГ-30

после ремонта                                                                     А-12 и НК-80

Данные по сводам приведены ниже.

Крайние своды                    Средний свод

Пролет в свету, м                                                            25,0                                        35,0

Стрела подъема, м                                                          4,0                                          5,0

Ширина свода, м                                                            8,5                                          8,5

Толщина в ключе, м                                                       0,9                                          1,0

Толщина в пяте, м                                                          1,13                                        1,21

Пологость свода f/l                                                         1/6,25                                     1/7

Очертание оси свода  (для среднего пролета).

Арочные своды всех трех пролетов выполнены из серого гранита, кроме лицевых граней по фасаду, сделанных из красного кварцита.

Надводное строение среднего пролета выполнено из пяти продольных стен. Три внутренние стены шириной по 0,4 м выполнены из кирпичной кладки. А каждая из двух наружных стен (щековые стены) имеет ширину около 0,8 м и сложена из двух рядов сплошной каменной кладки: наружные фасадные ряды щековых стен выполнены из красного песчаника (кварцита), внутренние - из известняка желтоватого цвета.

Поперек оси моста, между продольными стенами, устроены четыре кирпичные стенки-диафрагмы. Внутренние стены и стенки-диафрагмы имеют сводчатые проходы, позволяющие перемещаться внутри надсводного пространства.

Надсводное строение крайних пролетов выполнено из бутовой кладки с проемами, имеющими объем меньший, чем объем проемов в среднем пролете (рис. 19, 20).

Рис. 19. Крайний пролет моста через р. Пахру до ремонта (l = 25 м)

Рис. 20. Средний пролет моста через р. Пахру до ремонта (l = 35 м)

Все опоры моста, выполненные из бутобетона, покоятся на железобетонных кессонах. Ножи кессона опущены на 8 м ниже горизонта меженных вод и доведены до скалистого основания - трещиноватого известняка средней прочности.

Опоры облицованы каменной шубой - красным плотным песчаником. Кладки опор под пятами сводов выполнены из бетона. Речные опоры с верховой стороны имеют мощные ледорезные грани. К низовым и верховым граням устоев пристроены контрфорсы.

Рис. 21. Пологость сводов в известных мостах Европы:
 - область наиболее смелых решений

Вполне возможно, что опыт предыдущих поколений и, в частности, идеи Ж.-Р. Перроне и П. Сежурне, повлияли на выбор компоновочных, конструктивных и технологических решений при проектировании и строительстве моста через р. Пахру. К такому выводу можно прийти, анализируя примененные инженером Н.И. Мельниковым решения:

- фундаменты из каменной кладки с бетонной плитой заложены ниже уровня меженных вод на 8 м;

- фундаменты из каменной кладки с бетонной плитой заложены ниже уровня меженных вод на 8 м;

- ширина промежуточных опор (1/10·l) принята наименьшей из известных каменных бесшарнирных арочных мостов XVII - XIX вв. и близка к размеру, который был рекомендован Ж.-Р. Перроне, как минимальный, исходя из возможности последовательного раскружаливания сводов;

- при назначении толщины свода использовались формулы Денуае-Круазетт;

- повторен прием П. Сежурне с использованием железобетонной плиты проезжей части в среднем пролете моста;

- использован известный со Средних веков прием облегчения надсводного строения с помощью продольных и поперечных проемов;

- пологость свода приближается к самым смелым решениям для принятой в мосте через р. Пахру величины среднего пролета; свод приближается по своему очертанию к «своду Сежурне».

Неординарность моста через р. Пахру особенно видна из графика на рис. 21, на котором сопоставлены пологости сводов известных каменных мостов при различных пролетах. Есть предположение, что Н.И. Мельников в своем проекте моста через р. Пахру хотел повторить неосуществленный проект Ж.-Р. Перроне - моста через р. Неву, представленный в 1781 г. Екатерине II, с пролетами от 18 до 35 м и пологостью сводов от 1/4 до 1/6. Похожий по внешнему виду арочный каменный мост был представлен и в другом конкурсном проекте через 140 лет - проекте Б. Каменного моста в г. Москве, в котором П.В. Щусев предложил центральную часть моста компоновать из пролетов длиной 25 и 35 м и пологостью сводов 1/6 - 1/7, т.е. так же, как и в проекте Н.И. Мельникова.

Мост через р. Пахру, строительство которого ознаменовало начало «третьей волны» в российском каменном мостостроении, выгодно отличается от его предшественников: имеет большую длину, значительный пролет сводов, рекордную пологость и более благоприятный внешний вид по сравнению с другими мостами.

Все это подтверждает необходимость подхода к мосту через р. Пахру как к прекраснейшему памятнику инженерного искусства начала XX в. и правильность принятого решения о его сохранении.

5.1. Состояние моста через 70 лет после постройки

Единственный в России (в Советском Союзе) каменный арочный мост с пологостью сводов 1/6 - 1/7 через р. Пахру первый раз детально обследовался в 1978 г., т.е. спустя 50 лет после ввода в эксплуатацию. 50 лет эксплуатации без серьезных затрат на обслуживание - это то самое преимущество каменных мостов, о котором говорилось раньше. В то же время первое обследование моста выявило ряд серьезных дефектов, вызывающих опасение в сохранности и надежности сооружения. Тем не менее, никаких ремонтно-восстановительных мероприятий не последовало. Второе обследование моста было проведено специалистами МАДИ только через 12 лет (в 1990 г.), после которого из-за ухудшения состояния конструкций были выполнены мелкие ремонтно-профилактические работы. Таким образом, фактическое наблюдение за состоянием моста началось через 62 г. после его постройки.

Обследование 1999 г. было выполнено по причине начала разрушения конструкций: наклонились щековые стены, стены устоев и контрфорсы, обрушились парапеты с верховой стороны, появились видимые трещины в швах и самих камнях. Именно поэтому серьезно обсуждался вопрос о замене моста на новый, ведь, по сравнению с 1978 г., состояние его резко ухудшилось. Это ухудшение проявилось также в повсеместных протечках и смещениях камней. Эпюра смещения камней на верховой фасадной поверхности показана на рис. 22.

Серьезные повреждения начались после 1978 г. и к 70-летнему возрасту моста приобрели угрожающие размеры. Следует отметить, что перестройка первых каменных мостов г. Петербурга осуществлялась через 70 - 100 лет после их постройки. Она явилась следствием конструктивных недостатков, которые были свойственны многим российским (может быть, и не только российским) каменным мостам.

Из анализа технического состояния моста, динамики повреждения отдельных элементов и узлов, анализа конструктивных особенностей сооружения было установлено, что главной причиной замеченных в 1999 г. повреждений явился неудачный водоотвод.

Рис. 22. Эпюры отклонений рядов кладки по некоторым из 20 сечений (а) и схема, поясняющая причины отклонения щековых стен (б) моста через р. Пахру:
1 - внутренние стены из кирпичной кладки; 2 - внутренняя кладка щековой стены из известняка

На мосту был предусмотрен сброс воды с проезжей части и тротуаров (за счет поперечных уклонов) к бордюру высотой 16 см (после укладки в процессе эксплуатации двух слоев асфальтобетона высота борта составила 6 - 8 см) и транспортировка ее на подходы без специальных водоотводных устройств. Ни лотков, ни трубок не было даже над средним пролетом, имеющим практически нулевой продольный уклон. Скапливающаяся грязь у бордюра среднего пролета сбрасывалась в смотровые шахты над промежуточными опорами во внутреннее пространство конструкций. Из-за отсутствия изоляции шахт во внутрь попадала и вода с проезжей части. Имеющиеся в припятовых участках сводов отверстия для сброса воды фактически не функционировали, а сами шахты и пространство под ними к моменту обследования практически были забиты грязью.

Сомнения в работоспособности такого водоотвода были высказаны еще проф. Н.М. Митропольским в 1936 г. [17]. Сегодняшние требования к водоотводу значительно более жесткие, чем 70 лет назад, и они, безусловно, не допускают организации сброса наружной воды через несущие конструкции. Поэтому сплошное выщелачивание по всем сводам, обнаруженное в 1999 г., является вполне закономерным явлением.

Второй важнейшей конструкторской причиной появившихся дефектов является схема расположения железобетонной плиты в среднем пролете. Состояние самой плиты на момент обследования было не столь катастрофическое по сравнению со щековыми стенами. За 70 лет эксплуатации сохранилась ее работоспособность, даже несмотря на то, что прочность бетона была местами значительно ниже первоначальной: она снижается по низу плиты от середины к краям от 270 до 200 кг/см2, а по верху - от 150 до 110 кг/см2. Но тот факт, что край плиты опирается не на всю ширину щековой стены, а только до середины (до границы известняка), сыграл с конструкцией злую шутку. Вся вода с гидроизоляции и часть воды с тротуара и проезжей части попадала на раздел межу внешней и внутренней кладкой стен, постоянно на протяжении 70 лет разрушала растворную часть кладки не только в стенах, но и в самих сводах. В результате действия воды и отрицательной температуры и произошло отделение внешней кладки от внутренней и падения перил (рис. 22,б).

При обследовании следы выщелачивания были отмечены и на поверхности щековых стен. Особенно интенсивным этот процесс наблюдался в горизонтальных швах второго и третьего рядов кладки, т.е. в уровне существовавшей гидроизоляции проезжей части - места наибольшего скопления воды, проникающей сквозь конструкцию одежды. Эта вода, кроме интенсивного выщелачивания в швах второго и третьего радов кладки, привела к сильному увлажнению и нижележащих швов. Такое увлажнение в сочетании с ветровой эрозией и периодическим замораживанием и оттаиванием адсорбируемой влаги явилось причиной практически полного разрушения швов верхних восьми рядов кладки щековых стен.

Состояние швов кладки, расположенных ниже восьмого ряда, в большинстве случаев удовлетворительное, хотя и там отмечены зоны с полным разрушением раствора швов. В этих местах раствор полностью потерял все свои связующие свойства и прочностные характеристики, превратившись в легко разбираемую пальцами на глубину до 8 см рыхлую массу.

Осмотр внутренней кладки щековых стен, выложенных из известняка, выявил их сильное увлажнение, но сколько-нибудь заметных смещений камней не обнаружено. Однако состояние внутренней кладки следует считать также неудовлетворительным из-за многочисленных трещин и выколов в теле камней и подстилающего слоя раствора. Во время проведения осмотра надсводного строения пролета 2-3 (осмотр проходил в середине марта, когда в течение двух недель стояла ясная солнечная погода с температурой воздуха, доходившей до 10°С) внутренние стороны щековых стен и массивное бутовое заполнение приопорных сечений были покрыты слоем инея толщиной более одного сантиметра. Кроме того, наличие такого слоя инея было отмечено и на бетоне плиты проезжей части.

Не исключено, что именно разрушение швов кладки, вызвавшее перераспределение усилий и дополнительные деформации, явилось причиной растрескивания камней в опорах под пятами. При обследовании сводов моста были обнаружены волосяные трещины и на низовой грани центральных/замковых частях сводов:

- в пролете 2-3 - в 14 камнях,

- в пролете 3-4 - в 4 камнях.

Около 70% этих трещин имеют ориентацию касательной к очертанию сводов. Какая-либо закономерность в ориентации остальных 30% трещин отсутствует. Кроме того, в крайнем с низовой стороны камне плиты свода над опорой № 4 отмечена вертикальная трещина с величиной раскрытия 0,5 мм. И в этом случае причиной повреждения оказались выветренные швы кладки.

Следовательно, для правильной оценки и прогноза состояния каменной кладки важное значение приобретает исследование фактических характеристик раствора. К такому же выводу в 1989 г. пришли и специалисты Центральной лаборатории дорог и мостов Франции, которым пришлось выбирать технологию ремонта (восстановления) одного из пяти арочных пролетов Королевского моста через р. Сену [18]. Вся технология восстановления каменной кладки моста, простоявшего 300 лет, зависела от качества оставшегося материала, в том числе и раствора, на который укладывался тесаный камень из известняка*. Поэтому исследованию качества раствора было уделено большое внимание.

* Из-за расслоения раствора в швах кладки на Королевском мосту получили смещение несколько камней свода, что грозило потере устойчивости свода и его обрушению. Аналогичная картина была обнаружена несколько позже и при ремонте Нового моста через р. Сену [19] (Примеч. авт.).

5.2. Исследования материалов кладки моста

Учитывая опыт Франции по ремонту каменных арочных мостов, специалистами ГП «Росдорнии» были проведены исследования материалов кладки моста через р. Пахру, включая раствор, уложенный в 1928 г.

Определение прочности цементного раствора

Прочность раствора кладки определялась в швах бутовой кладки и швах каменной кладки свода. Прочность по каждому замеру определялась как среднее из десяти измерений.

Прочность раствора бутовой кладки по молотку «Шмидта» составила в среднем (116,8 ±18,5) кг/см2. С обеспеченностью Н = 0,9 прочность раствора швов бутовой кладки по молотку «Шмидта» можно принять 98,2 кг/см2. Кроме того, из крупных кусков растворной части кладки были изготовлены образцы и после их водонасыщения испытаны на прессе. Фактическая прочность растворной части составила (131 ±33,5) кг/см2, что составило 0,4 от показания молотка. С обеспеченностью Н = 0,9 прочность раствора швов бутовой кладки и с учетом испытания на прессе можно принять 98 кг/см2.

Результаты измерения прочности раствора в кладке свода показали следующее:

- прочность раствора кладки сводов значительно ниже прочности раствора в бутовой кладке;

- прочность раствора за 70 лет эксплуатации снижена на 65%;

- на 30-летний период прогнозируемая марка раствора может снизиться до 30 кг/см2, если не принять мер по укреплению раствора;

- в расчетах должно учитываться расчетное сопротивление кладки свода, принимаемое равной марочной прочности раствора, а именно 53 кг/см2; вымытая часть раствора швов должна быть компенсирована укрепляющими составами, чтобы не вводить дополнительного понижающего коэффициента к расчетному сопротивлению.

Прогнозируемые значения марочной прочности раствора представлены на рис. 23.

Рис. 23. Изменение марочной прочности раствора:
1
- кладка сводов и стен; 2 - бутовая кладка

Определение прочности при сжатии каменных материалов

Прочность камней свода определяли с целью нахождения расчетного сопротивления по раствору.

Арочные своды состоят из блоков песчаника с заявленной проектной прочностью не ниже 600 кг/см2. Оценку фактической прочности при сжатии блоков производили по методу пластической деформации, используя молоток «Шмидта» и руководствуясь ГОСТ 21217-86 «Контроль и оценка прочности и однородности с применением неразрушающих методов».

Работы проводились в пролете 3-4 по верху арочного свода, очищенного от строительного мусора в процессе реконструкции моста, а также по низу арки в пролете 1-2. В каждом случае замерялась прочность не менее чем у шести блоков. Прочность по каждому блоку определялась как среднее из десяти измерений. Фактическая прочность блоков облицовки превысила проектную прочность и составила 550 - 810 кг/см2 по низу и 675 - 1175 кг/см2 по верху свода с Н = 0,9.

Учитывая экспериментальные данные, следует принимать расчетные сопротивления для грубооколотых камней при марке не ниже 600 равными:

- Rпр = 60 кг/см2 - при начальной прочности раствора (150 кг/см2);

- Rпр = 45 кг/см2 - при сегодняшней прочности раствора (53 кг/см2);

- Rпр = 25 кг/см2 - при перспективной прочности раствора. Расчетные усилия в своде от всех воздействий приводят к появлению сжимающих напряжений. В пяте они равны ~47 кг/см2 для l =25 м и ~51 кг/см2 для l = 35 м, в замке соответственно ~35 кг/см2 и ~40 кг/см2, что превышает расчетные сопротивления не только на перспективу, но и на настоящий момент. Учитывая степень выветривания (вымывания) швов в замке на 3 - 5%, а в пяте на 12 - 15%, напряжения становятся близки к расчетным сопротивлениям в приопорных участках даже при сегодняшней прочности бетона.

Кроме того, определялась прочность бута и кирпича.

В соответствии с рекомендациями «Справочника по дорожностроительным материалам» были отобраны образцы каменной кладки из известняка. С помощью камнерезного станка вырезаны кубики с ребрами от 45 до 60 мм.

После водонасыщения в течение двух суток образцы испытаны на 10-тонном прессе. Средняя величина прочности составила 144 кг/см2, а фактическая прочность отдельных образцов-кубиков - 62,5, 180 и 188 кг/см2. При такой прочности бутовая кладка может воспринимать на себя часть усилий (разгружая свод), если имеется достаточное сцепление ее со сводом.

Для определения прочности кирпичной кладки было отобрано пять кирпичей. Испытания проводились в соответствии с ГОСТ 8462-85 «Материалы стеновые. Методы определения пределов прочности при сжатии и изгибе». Кирпичи разрезались на две равные половины и объединялись растворной частью на основании требований этого ГОСТа, а затем после трех суток выдерживания испытывались на прессе.

Предел прочности при сжатии составил от 77 до 98 кг/см2, т.е. марка кирпича выше 75.

Таким образом, можно сделать следующие выводы:

- швы кладки перегружены в пятах (на момент обследования толщина свода в пятах оказалась недостаточной);

- адгезия раствора к камням плохая;

- наклон фасадных стен аварийный;

- отсутствует водоотвод.

5.3. Выбор решения по ремонту моста

Выбор технических решений по ремонту осуществлялся, исходя из комплексного подхода к устранению повреждений, который предусматривал не только детальный расчет конструкций на перспективу, но и учет технологии и последовательности работ, многофункциональное использование материалов и конструкций, необходимость усиления (восстановления) швов и увеличения сечения пят, исключение падения щековых стен за счет их поддержки*.

* При ремонте каменных арочных мостов во Франции использовалось выражение «стабилизация неустойчивой части инструкций» (Примеч. авт.).

При этом по требованию Заказчика на мосту после ремонта должно быть двухполосное движение, т.е. вместо габарита Г-6,5 + 2×0,5 м должен быть габарит Г-8 + 2×0,75 м. Кроме того, учитывая, что при строительстве моста в 1928 г. было осуществлено равномерное раскружаливание сразу в трех пролетах, необходимо обеспечить живучесть системы на период разборки конструкций.

Расчеты конструкций, выполненные А.С. Улуповым (МИИТ), предусматривали, прежде всего, создание компьютерной модели всего сооружения, реагирующей на изменение постоянной нагрузки на 1 м2 площади и временной нагрузки различного вида, а также на локальное или общее изменение физико-механических характеристик материалов. Подобная модель в последующем дала возможность исследовать «чувствительность» конструкций, оценивать напряженно-деформированное состояние при «проигрывании» различных этапов ремонта на мосту.

Кроме того, была реализована программа, включающая блок формирования математической модели, блок сбора нагрузок и блок оценки состояния. Для удобства работы с программой инженеру-проектировщику был реализован простой графический интерфейс, позволяющий практически сразу после изменения любого из предусмотренных параметров конструкции увидеть изменение состояния конструкции и результатов оценки.

Расчетная модель конструкции - пространственная, конечно-элементная. Модель включает опоры (до обреза фундамента) и своды арок. Все соединения жесткие (не шарниры). Для моделирования работы арок и опор использовалась изгибная пластина с пятью степенями свободы. Число пластин поперек моста - 8, вдоль - 40. В качестве нагрузки используется подвижная единичная нагрузка. Расчет производится комплексом СПРИНТ. Один из наиболее интересных расчетов по этому комплексу - исследование включения свода арки в работу по ширине (определение редукционного коэффициента). По результатам расчетов было, например, установлено, что интенсивности внутренних усилий в середине арки (по ширине) отстают от соответствующих усилий по краям свода на 2,5 - 3,0 м, т.е. максимальные напряжения уменьшались от пят к замку и от середины к краям свода.

Полученные по расчету поверхности влияния были преобразованы в линии влияния с учетом заданной расчетной ширины свода. Линии влияния загружались постоянными и (или) временными нагрузками заданной интенсивности.

Именно наличие специальной программы позволило определить принципиальные решения, установить наиболее эффективную последовательность работ. Принципиальные решения заключались в следующем.

• Снижение массы надарочного строения для разгрузки краевых участков свода, что можно сделать за счет удаления:

- двух-трех рядов камней стенок;

- лишних слоев одежды толщиной 10 см;

- части бутовой кладки (дополнительные проходы);

- сплошных каменных парапетов;

- части кирпичных стен в пролете 2-3.

Эти мероприятия позволяют уменьшить постоянную нагрузку в пролете l = 25 м на 300 т (~25% первоначальной массы), а в пролете l = 35 м на 350 т (~30% первоначальной массы) и создать благоприятные условия для снижения вертикальной нагрузки на облицовочные камни опор под краями пят.

• Усиление бетонных подпятников за счет перераспределения от второй и третьей частей постоянной нагрузки, а также от временной нагрузки между существующей пятой и бутобетонной кладкой опоры направлено на снижение нагрузки на пяту и облицовочные камни стенок опор.

• Увеличение толщины пят во всех пролетах для более благоприятного восприятия распора, снижения напряжений в растворе кладки. Целесообразно использование железобетонного слоя усиления толщиной в сечении пят 50 - 70 см, что уменьшит эксцентриситет и снизит напряжения в растворе кладки, исключая в нем растягивающие напряжения.

• Закрепление положения щековых стен дополнительной железобетонной стенкой и выправка отдельных участков верхнего уровня оставшихся стен стальными тяжами. Наличие дополнительной стенки совместно с дополнительным железобетонным слоем по своду в приопорной зоне улучшит распределение усилий по длине пяты.

• Усиление швов кладки сводов наиболее целесообразно в приопорных участках и на участках с существенным выветриванием. Усиление существующего раствора возможно за счет инъецирования полимерного раствора через инъекционные отверстия.

• Устройство железобетонной плиты проезжей части, опирающейся в крайних пролетах на стены усиления проемов, а в среднем пролете - на железобетонные стены усиления щек и существующую плиту. Дополнительная железобетонная плита должна фиксировать положение верхних камней фасадных стен и отводить от кладки воду. Ее наличие позволяет одновременно увеличить габарит и повысить жесткость краевых участков свода.

Приведенные принципиальные технические решения, являющиеся следствием детальных расчетов, устраняют имеющиеся недостатки конструкции и могут обеспечить надежную работу сооружения в течение многих десятилетий. При выполнении намеченных работ снижаются напряжения в швах кладки, увеличивается прочность швов, уменьшается распор на краевых участках сводов, снижается вертикальное усилие на поврежденные камни облицовки опор, обеспечивается на отдельных участках совместимость работы со сводом имеющейся забутовки в крайних пролетах и кирпичных стен в среднем пролете, исключается попадание воды вовнутрь и повреждение пролетов из-за отказов элементов в соседних пролетах, уменьшается негативное влияние изменения температуры на напряженное состояние свода и стен.

В частности, при изменении напряжений в ослабленных швах в процессе и после ремонта (табл. 8) будет достигнуто существенное продление срока службы моста через р. Пахру.

Таблица 8

Сопоставление напряжений в растворе швов на разных стадиях ремонта

Этапы ремонта

Расчетные сопротивления, кг/см2

Напряжения в швах у пяты, кг/см2

l = 25м

l = 35 м

Положение до ремонта с учетом пустот. Воздействия

 

 

 

: - постоянной нагрузки

26/12

27/19

- временной нагрузки

10/-8

13/-10

- температуры

11/-10

11/-10

Суммарное воздействие

 

45

 

 

47/-6

 

 

51/-1

 

Напряжения при увеличении габарита без усиления конструкций

45

50/-9

55/-4

Стадия разборки конструкций (постоянная нагрузка)

45

14/0

18/10

После усиления пятовых участков и швов (постоянная нагрузка)

55

14/0

18/10

После усиления сводов

55

15/1

20/12

После бетонирования стен

55

19/6

26/20

После устройства железобетонной плиты и мостового полотна (постоянная нагрузка)

55

23/8

31/24

Температурные воздействия

55

6/-5

6/-5

Временная нагрузка

55

3/-3

4/-3

Итого после ремонта, расчетное воздействие:

 

 

 

 

11

 

 

32/0

 

 

41/14

 

Примечание. В числителе даны напряжения по нижним фибрам, в знаменателе - по верхним (знак «-» - растяжение).

5.4. Особенности технических решений

5.4.1. Разборка конструкций

Предложена последовательность разборки, преследующая цель сохранить устойчивость конструкций, обеспечить минимальные сжимающие напряжения по раствору кладки при движении по мосту технологического транспорта, выровнять напряжения в пятовых участках свода по длине пяты. Для определения последовательности разборки конструкции проводились исследования на разработанной компьютерной модели сооружения. В качестве основных принимались проверки, связанные с положением равнодействующей (по СН 200-62) и сдвига по связующему раствору, по определению величины нормальных растягивающих и сжимающих напряжений (по сопротивлению материалов - упругая работа).

В случае приближения сжимающих напряжений к значениям, близким к расчетным сопротивлениям по прочности (40 - 45 кг/см2), выполнялись соответствующие проверки по внецентренному сжатию. Проверки разделены на проверки по опорам и сводам арок.

На основании расчетов по различным вариантам разборки было установлено следующее:

- удаление слоев одежды по краям проезжей части с оставлением проезжей части шириной 3 м, а также демонтаж тротуаров и разборка парапетов могут производиться в любой последовательности без каких-либо ограничений;

- частичная разборка кладки стен (2 - 3 ряда камней) осуществляется вначале в среднем пролете, а затем в крайних пролетах в любой последовательности по верховой и низовой сторонам моста;

- после частичной разборки кладки и слоев одежды разбирается железобетонная плита среднего пролета на ширине не более 1,5 м, синхронно с каждой стороны с допустимым отставанием 7 м;

- удаляется бутобетон кладки в крайних пролетах на половине пролета, обращенной к устоям, на ширине 1,5 м, синхронно на верховой и низовой сторонах с допустимым отставанием 3 м;

- частичная разборка кирпичных стен под разобранной железобетонной плитой среднего пролета с удалением поврежденного раствора поверх сводов (в любой последовательности);

- завершение разборки бутовой кладки в крайних пролетах.

Подобная последовательность работ не только обеспечила устойчивость всех конструкций, но и снизила в три раза напряжения в крайних участках (верховом и низовом) сводов в пятовом сечении (по сравнению с расчетными величинами; см. табл. 8). Это создало благоприятные условия для эффективного последующего усиления конструкций.*

* При разработке последующих проектов ремонта и реконструкции мостов ГП «Росдорнии» несколько раз использовало прием разгрузки конструкций перед их усилением (Примеч. авт.).

5.4.2. Фиксация щековых стен

Поскольку разборка каменной кладки осуществлялась только в зоне, где смещение камней представляло опасность, остальная часть кладки фиксировалась тремя способами:

- подтяжкой камней верхних двух рядов с фиксацией стальными тяжами;

- фиксацией стальными тяжами без подтяжки;

- устройством дополнительной железобетонной стенки.

Для реализации этих трех приемов необходимы приспособления, с помощью которых можно было бы подтягивать камни, сверлить отверстия для тяжей снаружи и изнутри. Кроме того, для ведения работ и контроля положения стен снаружи требуются технологические проходы (подмости) по фасадным сторонам. Учитывая нежелательность использования подмостового пространства, указанные технологические конструкции не должны занимать пространство над зеркалом воды и должны допускать проход под мостом прогулочных лодок, в том числе с парусом.

Рис. 24. Ремонт моста через р. Пахру;
а - положение монтажных рам; б - схема усиления пяты свода

Для решения указанных выше задач были применены поперечные П-образные рамы из стального проката, устанавливаемые с шагом 3 - 4 м (рис. 24,а). Ригель рамы из сдвоенного швеллера укладывался на железобетонную плиту среднего пролета и бутовую кладку крайних пролетов в специально нарезанных в одежде проезжей части поперечных штрабах. Кроме того, ригель опирался на стойки, устанавливаемые на специальный распределяющий башмак рядом с внутренней поверхностью щековых стен.

Для подтяжки камней снаружи сверлились отверстия диаметром 20 мм между камнями, в отверстия вставлялись тяжи, пропускаемые в продольные балки с внутренней стороны стенки. Балки прикреплялись к стойкам монтажных рам. После перемещения камней тяжи обрезали и соединяли с арматурной сеткой будущей железобетонной стенки усиления.

В центральных участках наиболее высокой части стенок (над промежуточными опорами) горизонтальные анкерные стержни устанавливались без подтяжки камней. Подобным образом были закреплены щековые стены на 25 - 30% их площади, что исключило вероятность их деформаций в последующем.

С помощью поперечных рам решалось еще несколько задач, кроме выправки и поддержки кладки стен. Прежде всего, они позволили обойтись без строительных лесов и обеспечить служебные проходы по фасадам в один и два яруса по настилу, подвешенному к консолям рам. В последующем элементы рам обетонировались при устройстве дополнительной железобетонной плиты проезжей части толщиной 18 см и железобетонной поддерживающей стенки.

Толщина закрепляющей (фиксирующей) железобетонной стены определялась конструктивным путем - по размеру стоек монтажных рам (двутавр № 14) и ниш в стене, образованных после удаления слабых камней известняка. Размер этих ниш достигал в отдельных местах 30 см. В среднем толщина железобетонной стены составила примерно 28 см. Последовательность бетонирования стены была принята от опор к середине пролета, класс бетона В30.

Железобетонные стены были устроены и вдоль оголенной бутовой кладки крайних пролетов. Толщина стены на этих участках составила 48 см.

Устройство бетонных стен вдоль щек и бутовой кладки требовалось по условиям «стабилизации», и они в совместной работе с усиленным сводом расчетом не учитывались. Поэтому в этой части стен возможно появление не только усадочных, но и силовых трещин, которые не представляют опасности для несущей способности арок. В то же время учитывался разгрузочный эффект от совместной работы кирпичных стен и свода при последующем нагружении.

5.4.3. Усиление сводов

Усиление сводов осуществлялось в четыре этапа. Основанием для выбора последовательности работ явились результаты расчета, учитывающие полноту заполнения швов кладки сводов, наличие пустот в бутовом заполнении надарочного пространства и опор. Необходимость усиления установлена, в первую очередь, для кладки за пятой. Это пространство, превращаемое в дополнительную пяту, сможет взять на себя часть распора и вертикальной нагрузки, разгрузив тем самым камни облицовки опор под существующей пятой. Требуется усиление и раствора швов на припятовых участках, и самого свода традиционным, давно использующимся приемом - устройством дополнительной железобетонной плиты поверх камней с увеличением ее толщины к пяте [14, 16, 20].

Этап 1 - усиление швов сводов. Эту работу осуществляло ЗАО «Триада-Холдинг» на припятовых участках всех сводов на длине 4 и 5 м вдоль сводов от опор соответственно в пролетах l = 25 м и l =35 м. Усиление раствора швов достигалось инъецированием в них гидроактивного полиуретана «Сойл» (фирма Hydro Active Soil) в предварительно пробуренные отверстия диаметром 12 мм и глубиной 25 - 30 см (3 - 4 отверстия на 1 м2 поверхности). Расход полиуретана составил 1,5 л на шпур.

Прочность после затвердевания полиуретана (по данным фирмы-производителя) при средней плотности в пределах 1,05 - 1,10 кг/дм3 составила:

- при сжатии 116 кг/см2,

- при растяжении 12 кг/см2,

- при изгибе 26 кг/см2,

- при сдвиге 13 кг/см2 (для раствора в швах - 23 кг/см2).

При подобных характеристиках материала усиления после полимеризации приведенная прочность раствора в пяте приближается к 80 кг/см2, что дает возможность в качестве расчетного сопротивления кладки свода принимать величину 55 кг/см2. Темпы старения таких швов будут значительно ниже и в течение, по крайней мере, 30 - 50 лет не будут представлять опасность для сооружения.

Этап 2 - упрочение кладки в приопорных участках. В данном случае речь идет об упрочении бутовой кладки над и за пятой опор. Для этого в кладке опоры устраивали над пятой ниши глубиной 0,5 м, в которых пробуривали по 18 каналов диаметром 70 мм и длиной 1,0 м. После установки арматурного анкера из четырех стержней периодического профиля диаметром 12 мм в каналы под давлением закачивался цементный раствор. Объем раствора, закачанного в новую пяту, составил около 2 м3, а зона заполнения кладки вдоль пяты - не менее 5 м (объем кладки ~11 м3). На такой дополнительный объем кладки будут передаваться усилия от последующих нагрузок, разгружая подпятовые участки. Фактически были устроены дополнительные разгрузочные пяты (см. рис. 24,б).

Для крайних пролетов упрочняется кладка не только надпятовых участков, но и бутового заполнения в средней части арок. Цементация осуществлялась через шпуры диаметром 40 - 50 мм, пробуренные в бутовой кладке на глубину 1,0 м с частотой 3 - 4 шпура на 1,5 - 2,0 м2 с каждой стороны бутового массива (на один пролет 120 шпуров). В каждую приопорную зону (длина 4 м, ширина ~3,6 м) было закачано около 1000 л раствора: расход ~150 л на 1 м3 бутовой кладки. По данным зарубежных исследований [18], зацементированная кладка участвует в работе совместно со сводом, разгружая его на 5 - 10%.

Во все шпуры (в своде и бутовой кладке) устанавливались арматурные выпуски для последующего усиления сводов.

Этап 3 - усиление свода в припятовых участках. Эти работы осуществлялись бетоном класса В35 с арматурой класса АIII, которая была связана с вьшусками из шпуров, на участке длиной 5,0 - 5,5 м (в пролетах l = 25 м на участках длиной 4,0 - 4,5 м). Одновременно с бетонированием над сводом были взяты в бетон нижние участки стоек монтажных рам, к которым были приварены арматурные стержни каркаса (см. рис. 24,б).

Указанного усиления сводов в припятовых участках достаточно для разгрузки пят и снижения напряжений в швах кладки свода от последующих воздействий постоянной нагрузки (надсводного строения - второй части, железобетонной плиты - третьей части, одежды проезжей части и других элементов мостового полотна - четвертой части) и временной нагрузки.

Этап 4 - усиление свода на оставшемся участке. Эти работы проводились после набора бетоном в припятовых участках 70% прочности. Толщина железобетонной плиты над сводом (δ = 20 - 25 см) определена расчетом как оптимальная при оценке влияния на напряжения в швах среднего участка свода и достаточности усиления по критериям:

- отсутствия растяжения в каменной кладке;

- положения равнодействующей продольного усилия с минимальным эксцентриситетом.

Бетонированию монолитной плиты усиления сводов предшествовало локальное инъецирование полимера в раствор кладки сводов на участках, где этот раствор был поврежден. Использовался состав на основе модифицированной эпоксидной смолы ЭД-20.

5.4.4. Ремонт кладки опор

Особенностью такого ремонта является то, что все работы по опорам (включая контрфорсы) осуществлялись до устройства железобетонной плиты и одежды проезжей части. К этим работам относились цементация кладки на верховой и низовой сторонах опор и разделка швов.

Последовательность работ по цементации включает сверление шпуров, установку патрубков для инъецирования, нагнетание в тело опор (промежуточных опор, устоев, контрфорсов) цементного раствора.

Сверление шпуров выполнялось шнековыми бурами (диаметром 40 и 70 мм, длиной от 1,0 до 1,3 м) и электроперфоратором ТЕ 74 SPIT. В просверленные шпуры устанавливались патрубки и укреплялись цементным раствором. Участки трещин между шпурами также затирались цементным раствором.

Для цементации бутовой кладки применялся нажимной способ нагнетания раствора с использованием инъекционной установки СО-169. По завершении цементации устья шпуров плотно заделывались цементно-песчаным раствором.

Инъецирование цементного раствора за облицовку подтвердило ранее установленный объем пустот в ремонтируемых участках - около 150 л на 1 м3 кладки. Вполне возможно, что при нормальном содержании моста хотя бы за последние 20 лет эксплуатации объем вымытого раствора из бута был бы меньше.

5.4.5. Устройство железобетонной плиты

Необходимость переустройства железобетонной плиты в среднем пролете с сохранением авторского решения 1928 г. с комбинацией четырех различных материалов не вызывала сомнения. Во-первых, сохранялось принятое автором использование двух различных каменных материалов в щековых стенах и промежуточных продольных кирпичных стен, устроенных взамен традиционной бутовой кладки. Во-вторых, сохранялась идея объединения щековых и промежуточных стен в единую пространственную систему, обеспечивающую устойчивость достаточно высоких конструкций - высота стен у опор над сводом среднего пролета превышает 6 м. В то же время использование только существующей плиты, построенной 70 лет назад, было признано не рациональным, в связи с чем над ней была забетонирована новая железобетонная плита из бетона класса B35, которая перекрывала крайние проемы и выходила в виде консоли за границы щековых стен (рис. 25).

Целесообразность устройства железобетонной плиты в крайних пролетах, где частично сохранялась бутовая засыпка, была установлена из рассмотрения трех вариантов. В каждом из этих вариантов сохранялся внутренний короб для возможности прохода при осмотрах в процессе эксплуатации. Первый вариант предусматривал устройство сплошной плиты шириной 10,5 м по аналогии с решением в среднем пролете. По второму варианту плита перекрывала проем, объединяясь с железобетонными стенками, и выходила консолью за пределы стенки. Третий вариант предусматривал устройство перекрытия проема сводами с засыпкой бутом над ними и устройство железобетонной консоли.

Рис. 25. Общий вид моста через р. Пахру после ремонта:
1 - усиление щеки; 2 - усиление свода; 3
- поперечная балка; 4 - стойка рамы; 5 - стена для компенсации выбранного бута

Особенностью принятого к исполнению первого варианта было то, что монолитная железобетонная плита над крайними пролетами была объединена с помощью анкерных стержней и выпусков арматуры с бутовой кладкой, существующей частью железобетонной плиты и верхней частью конструктивных стен укрепления кладки. При таком решении плита участвует в совместной работе со сводом и стенами на четвертую часть постоянной нагрузки (одежда проезжей части и тротуары) и на временную нагрузку, т.е. полученное после усиления надсводное строение на часть нагрузки может быть рассмотрено в поперечном сечении совместно со сводом как коробка, образованная сводом, стенами и плитой. Подобное представление расчетного сечения вполне правомерно (все элементы объединены между собой, а включение в работу бута и кирпичных стен подтверждено), хотя и трудно поддается расчетной проверке. Оно дает возможность дополнительно уменьшить напряжения в несущих элементах и позволяет надеяться, что эксплуатация моста через р. Пахру в более благоприятных условиях будет способствовать его работе еще в течение многих десятилетий.

Особенностью технологии при устройстве железобетонной плиты можно считать последовательность ее бетонирования, которая состояла из укладки бетона вначале на участках над промежуточными опорами, далее над устоями, в средней части среднего пролета и в средней части крайних пролетов. Для такого бетонирования использовались «миксеры».

5.5. Научное сопровождение работ

Научное сопровождение работ по ремонту моста помимо постоянного контроля последовательности, проверки профиля сводов по заранее установленным маркам, контроля правильности применения новых материалов предусматривало еще и контроль напряженного состояния в элементах конструкции. В частности, проводились измерения деформаций камней у пят на различных стадиях разгрузки и нагружения сводов и определялись фактические напряжения от постоянной нагрузки на разных этапах в продольных кирпичных стенах надарочного строения пролета № 2.

Контроль длительных деформаций в каменных арках моста осуществлялся с помощью деформометра с базой измерения 500 мм.

Места установки марок - это места примыкания сводов к устоям. Измерения производились по мере выполнения работ на мосту, т.е. разгрузки пролетного строения, и по мере изменения температуры окружающего воздуха.

Результаты измерений подтвердили незначительный рост напряжений в швах после работ по усилению.

Для определения напряженного состояния в кирпичной кладке был применен метод «разгрузки». Суть метода заключается в вычленении отдельного элемента работающей конструкции с наклеенным на нем тензодатчиком и измерении сопротивления тензодатчика до вычленения из конструкции и после.

Средняя величина продольной максимальной деформации обжатия для обеих кирпичных стен составила δ = 34·10-5 отн. ед. При модуле упругости кирпича марки 75 указанные деформации соответствуют сжимающим напряжениям (δ = 30000·34·10-5 = 10,2 кг/см2), что составляет 34% от предельного значения напряжения сжатия кирпича. Это свидетельствует об активной работе кирпичных стен совместно со сводом и железобетонной плитой.

6. ДАГЕСТАНСКИЕ ПЕРСПЕКТИВЫ

6.1. Двадцать пять процентов

В настоящее время системный подход к строительству каменных (арочных) мостов возможен, в первую очередь, в Дагестане. И одной из причин такого утверждения является наличие в большом количестве на территории республики главного строительного материала - камня. В предгорьях и горах Кавказа, занимающих большую часть территории Дагестана, с древних времен камень безраздельно властвовал в качестве строительного материала.

«...Камень! Безмолвен, величав, тверд и неподатлив! Но как он мягок в руках мастера! Из камня неоднородного, серого, многокрасочного, многоликого возводились еще с доисторических времен монументальные сооружения, украсившие нашу землю. Мосты, мечети, соборы, храмы. Какие только рукотворные сооружения не воздвигало человечество из камня!...» [21].

Данное высказывание О.М. Аскандарова объясняет вторую причину оптимизма о будущем каменного мостостроения. Эта причина - в людях и их многовековом опыте строительства мостов, передаваемом в рассказах, легендах, песнях из поколения в поколения. Возможно этот опыт начинался в скифские времена, когда еще в VI в. до н.э. шел активный поиск торговых и культурных связей с Закавказьем по многим вьючным тропам и другим сухопутным путям. Один из таких путей пролегал вдоль Каспийского моря («Дербентский проход»). Таких древних троп-путей было много в Дагестане (например, на территории нынешних Ахтынского, Рутульского и других районов) и постепенная их трансформация в «дороги» сопровождалась строительством через множество Койсу различных мостов, больших и маленьких, в том числе и каменных. При этом использовались, в основном, только местные трудовые ресурсы, т.е. местное население, в обязанности которого входила доставка на своих плечах строительных материалов, укладка этого материала «в дело», а затем доставка по мосту и дороге военного снаряжения, орудий и провианта.

Плановое строительство мостов в Дагестане началось в середине XIX в., когда уже имелся петербургский опыт и опыт строительства мостов на первом шоссе России. К этому периоду относится возведение каменных мостов через Казикумухское и Аварское Койсу, построенных под руководством инженера Винча.

Существующий парк эксплуатирующихся каменных арочных мостов Дагестана, созданный за 150 лет строительства, включает более 500 сооружений, т.е. 25% от общего их числа в республике. Имеется много каменных мостов и на железнодорожных трассах.

Строились каменные мосты военными строителями, специализированными строительными подразделениями, в том числе по строительству дорог и мостов, дорожными участками и колхозами. Дорожная бригада колхоза, включающая от 5 до 10 человек, имела в своем составе высококвалифицированных каменщиков, от умения которых «делать кладку» зависело очень многое. Подобными бригадами мосты длиной до 50 м строились за 1 - 4 месяца, включая устройство кружал и их демонтаж. Возможно, что благодаря этому во многих районах Дагестана сегодня нет временных мостов.

Большая часть каменных мостов - малые сооружения с одним-тремя пролетами длиной 2 - 8 м. Но есть сооружения, составляющие гордость Дагестана и всей России. Вот некоторые из них, расположенные на местной сети.

• Мост через р. Гюльгеры-Чай в г. Касумкенте, имеющий самую большую длину из действующих мостов (построен в начале 30-х годов XIX в.). Длина моста 260 м (рис. 26,а).

• Мост у с. Ихрек (рис. 26,б), построенный в 1956 г. (длина 75 м) и имеющий форму сводов и местоположение проемов, напоминающие примененные в древних персидских мостах, например, в Красном мосте XI в. или мосте Мианеха XVI в., и многих европейских мостах средневековья, имеющих готические арки.

• Мост через р. Унсатлен, построенный болтхинскими дорожниками (взамен железобетонного моста довоенной постройки) в 1964 г. Мост имеет длину 140,5 м и габарит 8 м.

Рис. 26. Функционирующие большие каменные арочные мосты на дорогах Дагестана:
а - через р. Гюльгеры-Чай в г. Касумкенте; б - через р. Ихрек

Рис. 27. Мост через р. Калачай у с. Кала (l = 115 м)

• Мост через р. Калачай у с. Кала, построенный Рутульским дорожным участком в 1964 г. на дороге Рутул - Мишлеш (рис. 27).

• Мост (рис, 28) на туристической трассе у пос. Гуниб (мост Дружбы) длиной 54 м с самым большим на Кавказе пролетом каменного моста (l =26 м) и самым пологим сводом (f/l = 1/6), вторым по пологости в России после р. Пахры в Подмосковье.

Мост на Вентлящевском перевале (длина 54 м, схема 3×12 м (f/l = 1/3), построенный дорожным участком Советского района в 1985 г.

Рис. 28. Мосту пос. Гуниб (мост Дружбы)

6.2. Мосты через р. Гюльгеры-Чай

На единственной федеральной дороге Дагестана М29 «Кавказ» (Ростов - Баку) нет сегодня каменных арочных мостов. За все время существования Федерального дорожного ведомства (ныне - Федеральное дорожное агентство Минтранса России) перестроены все каменные мосты на этой дороге на железобетонные, сталежелезобетонные или трубы. Но одно из старых сооружений осталось в стороне от существующей трассы: оно не числится ни в федеральных списках и не относится к местной сети, поскольку никакая сеть через этот мост не проходит. И он уже стоит более 30 лет (рис. 29) в стороне от шумной трассы, частью которой он когда-то был.

Возведение в начале 30-х годов прошлого века моста на дороге Ростов - Баку у с. Советское положило начало строительству серии однотипных мостов разной длины через р. Гюльгеры-Чай в г.г. Касумкенте, Хиве, Тпиге. Все мосты строились фактически методом народной стройки, в которой участвовали строительные бригады колхозов, при их возведении использовались одинаковый материал и единая технология.

Рис: 29. Мост через р. Гюльгеры-Чай на автомобильной дороге М29 «Кавказ»:
а - вид на промежуточную опору; б - общий вид моста

Старый неэксшгуатируемый мост через р. Гюльгеры-Чай (см. рис. 29) расположен на 979-м км автомобильной дороги Ростов - Баку рядом с двумя автодорожными мостами более поздней постройки:

- железобетонным мостом постройки 1963 г. в 30 м выше по течению, закрытым для движения из-за значительного физического износа (находится в аварийном состоянии) и недостаточной пропускной способности (имеет габарит 8 м);

- новым железобетонным мостом постройки 1996 г. с габаритом 11,5 м в 70 м выше по течению от каменного моста (по нему в настоящее время осуществляется движение по федеральной дороге).

Каменный мост через р. Гюльгеры-Чай являлся самым длинным в России и Советском Союзе из каменных мостов (длина 322 м), имея габарит 5 м. Он состоит из 17 пролетов длиной 14,5 - 16,5 м в свету с сегментными сводами, имеющими пологость от 1/2,5 до 1/3. Форма сводов очень близка к той, которую имел известный в Дагестане каменный однопролетный арочный мост через р. Ахты-Чай (длиной 14,5 м), расположенный в Ахтынском районе (недалеко от р. Гюльгеры-Чай) и считавшийся до моста через эту реку образцом местного строительства (построен под руководством народного зодчего Дагестанской АССР И. Юнусова в 1930 г. [2]).

Своды моста через р. Гюльгеры-Чай сложены из местного желтоватого песчаника средней прочности в виде грубой кладки «в прикол» с применением тесаных камней чистой и получистой тески на внешнем ряду снизу и по фасаду. Толщина сводов 0,84 - 0,86 м, примененный раствор - известково-пуццолановый марки М10.

Щековые стены выложены из галечника на илисто-песчаном известково-пуццолановом растворе (см. рис. 29,а). Фундаменты опор мелкого заложения выполнены в виде бутовой кладки «в прикол» из постелистого камня, облицовка фундамента - массивная грубая кладка «в прикол» из груботесаного известняка.

Этот мост просуществовал всего лишь 30 лет. Основной причиной его разрушения следует считать расположение объекта в месте косого пересечения водного потока мостом: угол между осью водного потока в межень и осью опор составляет 20 - 30°, а при меандрировании русла доходит до 40°, что фактически снижает рабочее отверстие моста при пропуске паводковых вод вдвое. Из-за этого и недостаточного заглубления фундаментов промежуточных опор имеются размывы и разрушение фундаментов на участке от опоры № 11 до опоры № 17 (износ фундаментов на этом участке близок или выше предельного и составляет 50 - 80%). Величина размыва у некоторых опор превысила отметку заложения фундамента, воронки местного размыва обнажили основание (скальные породы).

Направление водного потока по отношению к оси опор имеет важнейшее значение для долговечности сооружения, что и проявилось в рассматриваемом мосте в полной мере. Данный мост является единственным представителем сооружений с опорами на естественном основании, печальная судьба которого является, в первую очередь, следствием его неудачного расположения.

Аналогичный мост, но выше по течению на 16 км, пересекает р. Гюльгеры-Чай под прямым углом и не имеет подобных проблем с фундаментами вот уже почти 70 лет.

Вторым серьезным недостатком сооружения является малая прочность кладочного раствора. В частности, в кладке фундаментов она находится в пределах 0 - 20 кг/см2, в кладке свода - 10 - 50 кг/см2, а в кладке щековых стен - 50 - 75 кг/см2 (при начальной прочности примерно 100 кг/см2).

Слишком большой темп разрушения раствора в элементах моста объясняется не столько недостаточной начальной прочностью, сколько неправильно подобранным составом, не способным сопротивляться постоянному увлажнению. Эта ситуация усугубилась отсутствием гидроизоляции и должной системы водоотвода, как и на многих российских мостах более ранней постройки.

Таким образом, на данном мосту наблюдается тот же набор недостатков, которые характерны для других объектов - отсутствие гидроизоляции, плохой водоотвод, слабые кладочные швы. К ним следует добавить и отсутствие ремонтных мероприятий, эффективность которых убедительно продемонстрирована французским опытом [18, 19], опытом ремонта Санкт-Петербургских мостов [8, 9] и мостов первого Российского шоссе [10].

Но кроме этих традиционных недостатков каменных арочных мостов на быстрое разрушение моста через р. Гюльгеры-Чай повлияли частые землетрясения, на которые он не был рассчитан. А ведь мост расположен в сейсмоопасной зоне: сейсмичность площадки с мостом, фундаменты которого заложены на аллювиальных водонасыщенных песчано-гравийных речных отложениях, оценивается в 9 баллов (СНиП II.7-81* [22]). За прошедшие после обследования моста четыре года на данном участке произошло еще два землетрясения, в результате которых разрушились еще два пролета (см. рис. 29,б).

Необходимость учета сейсмичности при строительстве и эксплуатации мостов очевидна. Такой учет на мосту через р. Гюльгеры-Чай способствовал бы не только сохранению как памятника народному мужеству, но и использованию его для пропуска скота, коммуникаций или пешеходов. Для этого необходимо было устроить при строительстве антисейсмические пояса в конструкциях и предусмотреть деформационные швы. Это еще не поздно сделать для других многопролетных арочных каменных мостов, эксплуатирующихся на общей сети дорог Дагестана.

В конце 2000 г. специалисты ГП «Росдорнии» проводили детальное обследование моста через р. Гюльгеры-Чай на автомобильной дороге Ростов - Баку по заданию Федеральной дорожной службы. Целью обследования было выяснение возможности и целесообразности восстановления моста, имея в виду возможность его использования в утилитарных целях. Расчеты конструкций с учетом прогноза их поведения до и после восстановления, а также экономический анализ нескольких стратегий эксплуатации, дали неутешительный вывод: восстановление моста для использования его как транспортного сооружения нецелесообразно.

Рис. 30. Схема усиления арок и опор:

1 - железобетонная плита проезжей части толщиной 18 см; 2 - внутренняя кладка свода из глыб известняка; 3- железобетонные своды; 4 - наружная кладка свода из пиленых блоков известняка

Как быть с мостом, который оказался сегодня «не у дел» и вызывает много недоуменных вопросов у сегодняшнего поколения селян - детей и внуков тех, кто собирал по камешку материал для строительства? По мнению автора обзора (учитывая мировой и российский опыт), для увековечивания памяти русских мастеров первой половины XX в., построивших в «Дербентском проходе» самый длинный в России каменный арочный мост, необходимо сохранить и восстановить левобережную часть моста, очистив основную часть русла.

Левобережная часть моста (до опоры № 10) наименее повреждена временем, не мешает потоку воды и имеет хорошую площадку для обозрения, строительства культурно-увеселительных объектов. С технической точки зрения восстановление указанного участка не вызывает никаких трудностей. На рис. 30 показан один из чертежей проектной проработки реставрации, имеющийся в ГП «Росдорнии» и отвечающий современным требованиям по прочности, атмосферо- и сейсмостойкости, надежности и долговечности. Примеров подобных реставрационно-восстановительных работ в мировой практике много. Некоторые из них приведены и в настоящем обзоре. Нужно лишь решение о финансировании.

Рис. 31. Ростокинский акведук в г. Москве постройки 1780 г.

Мудро поступили, например, московские власти, реконструировав и сохранив известнейший Ростокинский акведук. Удачно вписавшись в урбанизированный окружающий ландшафт, он не вызывает впечатления инородного сооружения, хотя возраст его 220 лет (рис. 31).

6.3. Каменным мостам - быть!

Строительство каменных мостов в Дагестане не прекращалось никогда (различные были лишь темпы), с каждым мостом накапливался опыт, который сегодня можно отразить в учебниках или учебных пособиях по дорожно-мостовой специальности, меняется внешний вид и надежность каменных мостов, появляется нормативная база, регламентирующая требования к материалам.

Малопрочные известняки (прочность не менее 200 кг/см2), которыми богат Дагестан, намного легче в обработке, чем плотные известняки или, тем более, песчаники. Малопрочный известняк можно пилить, а следовательно процесс приготовления штучных камней правильной формы можно механизировать. На участке дороги Дербент - Ялама с 1910 г. эксплуатируется железнодорожный мост с каменными сводами (пролет 10,6 м) из пиленого известняка прочностью 115 кг/см2. Мосту почти 100 лет!

Из камня можно построить не только красивые и прочные сооружения, но и экономически выгодные по сравнению с традиционными материалами - железобетоном и сталью. Именно из экономических соображений, учитывающих долговременную прочность, при перестройке железобетонного моста через р. Унсатлен в 1964 г. предпочтение отдали каменному мосту. В этом же году был построен каменный мост через р. Калачай с одиннадцатью пролетами (см. рис. 27), которому также отдали предпочтение по сравнению с предлагаемым железобетонным мостом на основании экономического сравнения: строительство каменного моста сократило материальные и финансовые средства, достаточные для возведения еще одного моста.

Период с 1975 по 1990 гг. был наиболее «продуктивным» по строительству каменных мостов. По всей республике их было построено около 50 (только в Советском районе - 17).

В настоящее время существует проект повторного применения (типовой проект) каменных мостов, разработанный специально для Дагестана и предусматривающий использование малопрочного известняка. Следовательно, появилась возможность более оперативно выполнять работы по проектированию и строительству - например, за счет заготовки на заводах впрок унифицированных штучных камней. Проект и рекомендации к проекту согласованы Федеральной дорожной службой, чем открыта «зеленая улица» для строительства каменных арочных мостов не только на местной сети дорог Дагестана, но и на дорогах республиканского и федерального значения. В этом проекте учтен и негативный опыт прошедших столетий: своды имеют изоляцию и водоотвод, требования к прочности кладочных растворов повышены, предусмотрена система дренажа.

ЗАКЛЮЧЕНИЕ

На общей сети автомобильных дорог России имеется еще много каменных арочных мостов различных лет постройки в возрасте до 170 лет. Лишь незначительная часть из них расположена на федеральной сети. И даже среди этого небольшого количества мостов имеются сооружения, представляющие особенную ценность для нашей страны и истории мостостроения.

Часть из этих сооружений являются «долгожителями» - мосты на автомобильной дороге Москва - Санкт-Петербург, мосты Урала, Северного Кавказа и Закавказья постройки XIX в. Некоторые представляют историческую ценность, т.е. вполне могут рассматриваться как исторические памятники - например, мост через р. Логиновку (единственный сохранившийся мост с сегментным очертанием сводов пролетом 6 м, при проектировании которого использовались проекты первых каменных мостов г. Петербурга) или через р. Виточку на северном подходе к г. Нижнему Новгороду (единственный трехпролетный мост с эллиптическими сводами по первому типовому проекту страны начала XIX в., в котором нашли отражение работы учеников Ж.-Р. Перроне).

Безусловную ценность представляет и мост через р. Пахру - один из немногих больших каменных мостов, сохранившихся и действующих на дорогах России. Ценность его заключается не только в том, что он является одним из интереснейших сооружений начала XX в. (как было сказано раньше - периода Ренессанса в российском каменном мостостроении), но и в том, что в нем сконцентрировались лучшие идеи мастеров каменных мостов прошлых столетий. Именно эти идеи - и конструктивные, и технологические, и архитектурные, умело совмещенные с утилитарными целями, позволяют отнести мост к лучшим образцам технической мысли XX в.

Ремонт, реконструкция или модернизация российских каменных мостов, проводившиеся в процессе их эксплуатации с разным интервалом, преследовали сохранение как можно в большем объеме конструктивных элементов прошлого, сохранение архитектурного вида, выразительности первоначального очертания и пропорций. Этим и объясняется использование большого разнообразия (в том числе и новых) технических и технологических решений по усилению сводов, надарочного пролетного строения, кладочных швов, целесообразность применения которых в других случаях (для тривиальных сооружений) определялась бы из экономических соображений. Однако еще до сих пор имеются руководители (или представители руководства) дорожных организаций (Заказчиков), которые, принимая решение о судьбе того или иного сооружения, не учитывают чрезвычайную важность сохранения нашего национального достояния.

Часто высказывается мнение - зачем вкладывать средства в поддержание старого моста, когда проще построить новый, ведь «новое всегда лучше старого». Опыт восстановления моста через р. Пахру дает дополнительные аргументы в пользу разумного подхода при сопоставлении «старого» и «молодого». И дело здесь не только в том, что сооружение должно эксплуатироваться столько, сколько оно может быть работоспособным, т.е. сколько оно еще может быть полезным людям. Если сооружение действительно исчерпало свои возможности, то приведенное выше высказывание имеет право на существование. А дело еще и в том, что случается не годы работы определяют истинный возраст конструкции, а та память, которую оставило сооружение и его авторы в сердцах поколений.

И примеров этому в нашей стране и в дорожном хозяйстве много.

- Например, всем известно название «Воскресенский мост», хотя ни улицы, ни площади в г. Москве с таким названием нет. При этом нет видимого напоминания, что возле Кремля 400 лет назад был построен мост через р. Неглинку, и от него шла дорога на г. Тверь.

- Триста лет известно название Большой Каменный мост. Так назывался первый каменный мост через р. Москву, который был перестроен вначале в 1859 г., а затем - в 1938 г, а первоначальное название осталось жить.

- Почти 500 лет радует москвичей и гостей столицы Троицкий мост. Всем до сих пор известно и имя строителя - Алевиз Фрязин.

- Каждый въезжающий в г. Москву по Ярославскому шоссе видит слева Ростокинский акведук через р. Яузу, но многие москвичи знают и передают из поколения в поколение народное название сооружения, данное ему 220 лет тому назад, - «Миллионный мост».

Работа по восстановлению мостов, которая проводится последние 10 лет в Росавтодоре и в которой активно участвуют специалисты ГП «Росдорнии», позволила разработать и широко проверить множество новых технических и технологических решений. Часть из них вполне может использоваться при восстановлении и каменных мостов.

Например, в процессе выполнения всего комплекса работ по восстановлению моста через р. Пахру (обследование, проектирование, строительные работы, научное и техническое сопровождение, наблюдение за мостом после завершения работ) сотрудникам ГП «Росдорнии» удалось не только применить уже известные прогрессивные технологии, но и получить апробацию новых технических решений, которые в настоящее время можно рекомендовать к широкому использованию при восстановлении других сооружений. К ним следует, в первую очередь, отнести:

- определение фактического напряженного состояния конструкций и контроль его изменения в процессе эксплуатации, являющегося важнейшим аргументом при оценке состояния;

- усиление элементов путем установки «дублеров» (например, на мосту через р. Пахру - усиление существующих пят путем устройства снизу дополнительных конструкций усиления);

- разгрузка конструкций перед их усилением (используется в настоящее время при усилении железобетонных и сталежелезобетонных пролетных строений);

- разработка математической модели сооружения, позволяющей обосновать (выбрать) основные геометрические размеры и последовательность работ;

- применение современных полимерных материалов для пропитки бутовой кладки и кладочных швов (могут использоваться при инъецировании незаполненных каналов в составных конструкциях).

Только благодаря применению нетрадиционных технологий восстановление такого сложного объекта, каким являлся мост через р. Пахру, было осуществлено за семь месяцев.

Бесспорно, полезным и рациональным следует считать решение по уширению каменных мостов железобетонными арочными конструкциями, что удачно было реализовано при уширении каменного моста через р. Логиновку.

Непростая задача сохранить то, что сделано людьми и обеспечить работоспособность моста в течение такого же времени, которое он уже служил людям. Для того чтобы эта задача была успешно решена, необходимы не только определенные денежные средства, нужно, чтобы изменилась психология людей и пришло понимание эффективности вложения средств в содержание мостов. Это относится и к каменным мостам.

Так что же нужно делать с каменными мостами, чтобы продлить их работоспособное состояние, что входит в понятие «содержание» для этих мостов? Помимо общеизвестных работ по постоянному уходу за сооружением (нормативные затраты на содержание) нужны периодические затраты на работы, выполняемые в рамках содержания, но относящиеся к профилактике и планово-предупредительным работам [23]. В частности, в процессе эксплуатации на мосту должны выполняться следующие работы помимо ухода:

- периодическая диагностика, включающая не только внешний осмотр кладки и швов, но и фиксирующая трещины на поверхности бетона усиления, оценивающая состояние гидроизоляции и водоотвода (один раз в пять лет);

- периодический ремонт деформационных швов в проезжей части (с интервалом в пять лет - срок безремонтной эксплуатации швов с мастичным заполнением [24]);

- профилактика консольных и фасадных поверхностей железобетонной плиты (пропитка бетона) - один раз в три года;

- профилактика кладочных швов с восстановлением поврежденных участков или укреплением их (один раз в десять лет);

- детальное обследование (изнутри и снаружи) конструкции арок с интервалом не реже 15 лет; выявление в процессе обследований мест протечек, ослабления швов кладки, вымывания раствора из бутовой кладки.

Возможно, что частота обследования совпадет с частотой проведения мелких ремонтных работ (15 лет - усредненный интервал проведения ППР).

Для наиболее ответственных сооружений желательно наладить инструментальный контроль - контроль за очертанием сводов по установленным на фасадах маркам, который может проводиться при диагностике сооружения.

Выполнение указанных несложных мероприятий обеспечит дальнейшую долгую жизнь мосту.

СПИСОК ЛИТЕРАТУРЫ

1. Пунин А.Л. Архитектура отечественных мостов. - Л.: Стройиздат, 1982.

2. Калмыков Н.Я. Каменные и бетонные мосты и трубы. - М.: Автотрансиздат, 1957.

3. Ефимов П.П. Архитектура мостов. - М.: ГП «Информавтодор», 2003.

4. Качурин В.К. Расчет бесшарнирных симметричных сводов. - М.: Изд-во «Советская наука», 1942.

5. Передерий Г.П. Курс мостов. Т. I: Каменные мосты. - М.: Трансжелдориздат, 1944.

6. Гламб Ю. Ponifex Maximus. Над пространством и временем. - Гливице: Изд-во Силез. Политехн. ин-та, 1997.

7. Надежин Б.М. Мосты и путепроводы в городах. - М.: Стройиздат, 1964.

8. Бунин М.С. Мосты Ленинграда. - Л.: Стройиздат, 1986.

9. Мосты и набережные Ленинграда / Под ред. П.Л. Степанова. - Л.: Лениздат, 1991.

10. Сорокин Ю.К., Рубин B.C. Первое шоссе России. - М.: Изд-во «Дороги», 1996.

11. Дороги России (страницы истории дорожного дела). - М.: Информавтодор, 2002.

12. Щусев П.В. Мосты и их архитектура. - М.: Изд-во литературы по стр-ву и архитектуре, 1952.

13. Львов И.С., Луга А.А. Об инъектировании кладки фундаментов мостовых опор // Трансп. стр-во. - 1957. - № 1.

14. Герцог А.А. Каменные мосты и трубы на автомобильных дорогах. - М.: Дориздат, 1948.

15. ТУ УПП-47. Технические условия проектирования капитального восстановления и строительства новых мостов и труб под железную дорогу нормальной колеи / Госстрой СССР. - М.: Желдориздат, 1947.

16. Кириллов B.C. Эксплуатация и реконструкция мостов и труб на автомобильных дорогах. - М.: Транспорт, 1971.

17. Митропольский Н.М., Роер Е.Н., Фурман М.М. Мосты на автогужевых дорогах. - Л.: Трансиздат, 1936.

18. Бюстаманте М., Гадре Ж.-П., Марке К. Укрепление цементацией арочного пролета моста «Пон-Руаяль» в Париже: Пер. с франц. из журн.: Bull. liason. P. et Ch. - 1990. - 186, № 3/4.

19. Ponts de Paris. Flammarion. - Paris, 2003.

20. Гайдук К.В. и др. Содержание и ремонт мостов и труб на автомобильных дорогах. - М.: Транспорт, 1976.

21. Аксандаров О.М. Все начинается с дороги. - М.: Стройиздат, 1995.

22. СНиП II.7-81*. Строительство в сейсмических районах / Минстрой России. - М.: ГУП ЦПП, 1995.

23. Методические рекомендации по содержанию мостовых сооружений на автомобильных дорогах / ГП «Росдорнии». - М.: Информавтодор, 1999.

24. Руководство по оценке транспортно-эксплуатационного состояния мостовых конструкций: ОДН 218.017-2003 / Минтранс РФ, Гос. служба дор. хоз-ва. - М.: ФГУП «ИНФОРМАВТОДОР», 2004.

 

 




ГОСТЫ, СТРОИТЕЛЬНЫЕ и ТЕХНИЧЕСКИЕ НОРМАТИВЫ.
Некоммерческая онлайн система, содержащая все Российские Госты, национальные Стандарты и нормативы.
В Системе содержится более 150000 файлов нормативно-технической документации, действующей на территории РФ.
Система предназначена для широкого круга инженерно-технических специалистов.

Рейтинг@Mail.ru Яндекс цитирования

Copyright © www.gostrf.com, 2008 - 2026