Крупнейшая бесплатная информационно-справочная система онлайн доступа к полному собранию технических нормативно-правовых актов РФ. Огромная база технических нормативов (более 150 тысяч документов) и полное собрание национальных стандартов, аутентичное официальной базе Госстандарта. GOSTRF.com - это более 1 Терабайта бесплатной технической информации для всех пользователей интернета. Все электронные копии представленных здесь документов могут распространяться без каких-либо ограничений. Поощряется распространение информации с этого сайта на любых других ресурсах. Каждый человек имеет право на неограниченный доступ к этим документам! Каждый человек имеет право на знание требований, изложенных в данных нормативно-правовых актах!

  


 

Производственный
и научно-исследовательский институт
по инженерным взысканиям в строительстве
(ПНИИИС) Госстроя СССР

Рекомендации

по лабораторному изучению строения мерзлых грунтов

Москва Стройиздат 1984

СОДЕРЖАНИЕ

ОБЩИЕ ПОЛОЖЕНИЯ

2. ФОРМИРОВАНИЕ СТРОЕНИЯ МЕРЗЛОГО ГРУНТА

Основные понятия и определения

Физические условия формирования криогенного строения

3. ОСНОВНЫЕ ПАРАМЕТРЫ, ОПРЕДЕЛЯЕМЫЕ ПРИ ЛАБОРАТОРНЫХ ИССЛЕДОВАНИЯХ

4. МЕТОДИКА ЭКСПЕРИМЕНТАЛЬНОГО ИЗУЧЕНИЯ ФОРМИРОВАНИЯ КРИОГЕННОГО СТРОЕНИЯ ГРУНТОВ

Отбор и подготовка образцов

Основные требования к производству и технике промораживания образцов грунта

Последовательность комплексного моделирования процесса льдообразования в промерзающем грунте

Изучение криогенного строения

5. ГЕОФИЗИЧЕСКИЕ ИССЛЕДОВАНИЯ

Общие положения

Подготовка образцов

Измерение акустических параметров мерзлых грунтов

Акустическое просвечивание

Акустическое профилирование

Измерение электрических параметров мерзлых грунтов

Изучение состава и криогенного строения мерзлого грунта с помощью геофизических методов

 

Рекомендовано к изданию решением научно-технического совета ПНИИИС.

Приведена комплексная методика изучения строения мерзлого грунта и условий его формирования при промерзании (на образцах в лабораторном эксперименте). Рассмотрены геофизические методы учета строения мерзлых грунтов при оценке их физических и физико-механических свойств. Дано обоснование использования этих методов. Приведены рекомендации по лабораторному определению акустических и электрических характеристик на образцах и методика оценки состава и строения мерзлых грунтов по измеренным характеристикам.

Для инженерно-технических работников научно-исследовательских и изыскательских организаций.

Ил. 13.

Рекомендации составлены Ю.Д. Зыковым, М.М. Корейшей, О.П. Червинской, Н.Ю. Рождественским, А.Н. Хименковым.

ОБЩИЕ ПОЛОЖЕНИЯ

1.1. Рекомендации составлены к главам СНиП II-9-78 и СНиП II-18-76 и в дополнение к "Руководству по определению физических, теплофизических и механических характеристик мерзлых грунтов" (М„ Стройиздат, 1973).

1.2. Рекомендации включают определения параметров криогенного строения грунтов, их криогенной текстуры и структуры льда в ходе экспериментального лабораторного моделирования процесса льдообразования при промерзании.

1.3. Строение мерзлых грунтов определяет ряд их физических и механических свойств, а также анизотропию. Оценка и учет строения мерзлого грунта обязательны при полевых и лабораторных определениях физических, теплофизических и механических свойств грунтов. Необходимость лабораторного исследования формирования криогенного строения и связанных с ним свойств грунтов определяется следующими обстоятельствами:

1) прогноз мерзлотных условий в ходе освоения территории требует знания характера и степени изменений свойств естественных и искусственных грунтов, связанных с изменением их строения при промерзании и протаивании;

2) как известно, генезис грунтов определяет их строение и свойства. Экспериментальное моделирование криогенного строения и сравнение полученных моделей с природными грунтами позволит ответить на ряд вопросов, возникающих при изучении как генезиса мерзлых грунтов, так и их свойств при различном криогенном строении;

3) при изысканиях под крупные, долговременные сооружения комплекс выполняемых исследований включает специальные виды работ, выходящие за рамки стандартных изысканий. Программа работ в этом случае предусматривает механические испытания грунтов, определения теплофизических и некоторых физических свойств, например количества незамерзшей воды в широком диапазоне температур. Методика этих исследований разработана применительно к изотропным или квазиизотропным по криогенному строению грунтам. Вместе с тем известно, что грунты со значительным льдовыделением отличаются анизотропией и неоднородностью физических и механических свойств. Объективная оценка свойств таких грунтов возможна только при изучении и учете криогенного строения.

1.4. Изучение криогенного строения всегда проводится для определения конкретных свойств грунта, знание которых необходимо для решения конкретных задач проектирования. Само влияние криогенного строения на те или иные свойства грунтов существенно различно. Поэтому в рекомендациях не дается узкой и однозначной регламентации методики. Выбор применяемых методов должен соответствовать поставленной задаче.

1.5. Геофизические методы могут применяться на всех этапах исследования строения мерзлых грунтов и связанных с ним свойств, начиная от лабораторных экспериментов и кончая изучением грунтов в массиве. С одной стороны, они позволяют получать данные о ряде важных физических свойств мерзлых грунтов, с другой, по измеренным значениям геофизических параметров и их анизотропии можно оценивать криогенное строение и некоторые физико-механические показатели.

1.6. В рекомендациях при изучении формирования криогенного строения основное внимание уделено моделированию льдообразования и исследованию этого процесса. При изучении геофизических параметров объектом является результат законченного процесса. Вместе с тем геофизические исследования могут проводиться во время формирования криогенного строения, однако они требуют разработки дополнительных методических приемов.

1.7. Рекомендации рассчитаны на широкий круг специалистов, ведущих исследования состава, строения и свойств мерзлых грунтов.

1.8. Все стандартные определения свойств мерзлых грунтов следует проводить по ГОСТ 24586-81. Основное пособие - "Руководство по определению физических, теплофизических и механических характеристик мерзлых грунтов" 1.

1 Общепринятые приемы описания криогенной текстуры и кристаллооптические методы исследования структуры льда изложены в следующих работах: Шумский П.А. Основы структурного ледоведения. - М., Изд-во АН СССР, 1955; Савельев Б.А. Физика, химия и строение природных льдов и мерзлых пород. - М., Изд-во МГУ, 1971; Рекомендации по методике изучения подземных льдов и криогенного строения многолетнемерзлых грунтов/ПНИИИС Госстроя СССР. - М., 1969.

2. ФОРМИРОВАНИЕ СТРОЕНИЯ МЕРЗЛОГО ГРУНТА

Основные понятия и определения

2.1. Криогенное строение принято определять понятиями "криогенная текстура" и "структура". Под структурой обычно понимается строение подземного льда, текстурообразующего и залежеобразующего (включения льда крупнее 0,3 м).

2.2. Криогенная текстура - пространственное расположение составных частей грунта: льда и минеральных отдельностей, и степень заполнения ими пространства; она включает признаки сравнительно более крупного масштаба, чем структура, в частности такие, как слоистость, характер отдельности.

2.3. Структура льда - это особенности строения, обусловленные размерами, ориентировкой и формой его кристаллов, относительным количеством и ориентировкой включений.

2.4. Под криогенным строением грунта обычно понимают сумму всех его криотекстурных особенностей и структуры льда. Понятия "криогенная текстура" и "структура" отражают различные признаки единого криогенного строения. Разделение текстуры и структуры имеет методический характер и связано с оценкой признаков криогенного строения различного масштаба.

2.5. Основные компоненты мерзлого грунта - лед, вода (жидкая, незамерзшая), твердые минеральные и органические частицы, агрегаты, растворенные в поровой влаге вещества, ионы обменного комплекса в контактной зоне (поверхность частиц - пленка незамерзшей воды), газовые включения, в том числе вода в виде пара.

2.6. При экспериментальной оценке внешне выраженных характеристик текстуры и структуры грунта необходим учет различий состава его компонентов.

2.7. Основным компонентом мерзлого грунта, определяющим резкое отличие всех его свойств от свойств талого грунта, является лед.

2.8. При промерзании грунтов с участием различных механизмов движения влаги происходит кристаллизация воды и образование разных типов льда. Формирование всех видов льда в промерзающем грунте определяется понятием льдообразование.

2.9. При фиксировании грунтовой влаги на месте, между частицами грунта, без существенного ее перемещения и поступления в промерзающий горизонт извне, формируется лед-цемент, при этом не исключается некоторое перемещение самих частиц.

2.10. При формировании отдельных ледяных включений (шлиров) за счет соответствующего перемещения воды следует говорить о льдовыделении.

2.11. Если общая масса льда в данном горизонте промерзающего грунта со шлировой криогенной текстурой больше, чем масса воды, содержащейся в нем до промерзания, а увеличение объема при промерзании превышает более чем 10%, следует говорить об избыточном льдовыделении.

2.12. При таком же увеличении весовой и объемной льдистости, но при отсутствии признаков льдовыделения следует говорить об избыточном льдонакоплении.

2.13. При формировании льда-цемента образуется массивная криогенная текстура. Строение льда-цемента и его взаимосвязи с минеральными и органическими частицами могут быть различными, поэтому выделяются контактный, пленочный и поровой лед-цемент. Если минеральные, органические частицы или агрегаты со всех сторон окружены льдом, следует говорить о базальной криогенной текстуре. Базальная криотекстура часто бывает связана с избыточным льдонакоплением. Эту текстуру следует отличать от массивной по главе СНиП II-9-78, физико-механические свойства грунта в этом случае резко изменяются.

Физические условия формирования криогенного строения

2.14. При промерзании грунтов протекают различные физико-химические и механические процессы одновременно ► или, в разной последовательности, но всегда взаимосвязано. В результате промерзания формируется криогенное строение, связанное с очень большим числом факторов.

2.15. Эти факторы условно можно разделить на две группы: основные особенности талого грунта до промерзания и условия промерзания. Следует иметь в виду, что любые заданные условия промерзания трансформируются кристаллизующейся водой и воздействуют на талый грунт с самого начала этого процесса и непосредственно, и опосредственно (через лед). Перечисленные ниже основные факторы льдообразования в промерзающем грунте выделены с той или иной степенью условности, поскольку все они взаимосвязаны:

размер частиц, агрегатов грунта, соотношение различных фракций;

минералогический и химический состав всех компонентов грунта;

начальная влажность, категории влаги, их соотношение, степень и сила связи воды частицами скелета;

пористость, капиллярность, водопроницаемость грунта, связанные с составом и структурой талого грунта, микроструктурой глинистых минералов;

сложение грунта к началу льдообразования, неоднородность, перерывы сплошности, плоскости более слабого сцепления;

степень уплотнения грунта до промерзания (бытовое давление, искусственное уплотнение) и в ходе промерзания;

сжимаемость, сопротивление сдвигу (раздвиганию) в разных направлениях, сцепление;

величина усадки, склонность к набуханию, потенциальные возможности грунта к растрескиванию за счет усадки, температурного (объемного и линейного) сокращения;

тепловой режим промерзания: градиенты температуры и их изменения в талой, мёрзлой, промерзающей зоне;

повторное промерзание и оттаивание, колебательные перемещения фронта, зоны кристаллизации;

направление и форма изотермических поверхностей:

миграция влаги, ее направление и скорость в связи с градиентами температуры и влажности, как общими в горизонте грунта, так и частными (минеральный агрегат - растущий кристалл льда), капиллярная миграция, заполнение трещин;

поступление свободной воды в зону льдообразования под напором;

миграции пара по микропорам и трещинам;

количество и распределение включений газа.

2.16. Большое число факторов, влияющих на льдообразование, не исключает практической возможности выявления основных из них для данного опыта, ограниченного поставленной задачей.

2.17. Для решения различных инженерных задач чаще всего требуется получить значение избыточного льдовыделения при промерзании, определяющее как пучение, так и усадку и уплотнение грунта. Известные в настоящее время граничные условия льдовыделения по отдельным факторам, полученные экспериментально, могут использоваться для самого общего предварительного прогноза изменения свойств грунта при промерзании исходя из знания его состава и свойств и заданных условий промерзания. Однако такой прогноз требует осторожности. Для любого конкретного грунта всегда можно найти такое реальное сочетание его состава и свойств и условий промерзания, при котором льдовыделение будет идти и вне границ, установленных по отдельным факторам.

2.18. Наиболее изученными факторами льдовыделения являются степень дисперсности и влажность грунтов. В конечном счете, они определяют льдовыделение, поскольку влияние всех остальных факторов в основном проявляется через дисперсность и влажность грунта.

Большим числом экспериментов установлено, что нижний предел размера минеральных частиц рыхлого дисперсного грунта, допускающий льдовыделение, равен 0,05 мм, при самых благоприятных условиях - 0,1 мм. Верхний предел трудно определим, в особенности если учитывать все механизмы льдовыделения. В общем случае степень льдовыделения в глинах обычно меньше, чем в пылеватых грунтах (в интервале влажности, соответствующем пределам пластичности). Существенный верхний предел льдовыделения составляют частицы размером 0,002 мм. Присутствие в грунте заметного количества частиц размером 0,002 - 0,01 мм при прочих равных условиях способствует существенному льдовыделению. При значительном содержании в породе глинистой и коллоидной фракций (< 0,002 мм) на льдовыделение сильно воздействует степень агрегированности этих частиц в данных физико-химических условиях.

Таким образом, наилучшие условия для избыточного льдовыделения создаются в грунтах с наибольшим содержанием пылеватых частиц и агрегатов того же размера - пылеватых мелких песках, пылеватых супесях и суглинках.

2.19. Торф и оторфованные грунты существенно отличаются по условиям и характеру льдовыделения от минеральных грунтов. Льдовыделение в торфе часто оказывается относительно малым, но общая весовая льдистость может быть значительной. Оторфованность минерального грунта всегда способствует повышенному льдовыделению на контактах органических и минеральных агрегатов.

2.20. Степень дисперсности грунта сама по себе не в полной мере определяет льдовыделение при промерзании. Существенно также конкретное соотношение различных фракций. Например, при сочетании в грунте фракций типа оптимальной смеси условия льдовыделения менее благоприятны, чем в грунтах, аналогичных по содержанию пылеватых фракций.'

2.21. Процессы льдовыделения и избыточного льдонакопления существенным образом зависят от влагосодержания грунта, возможности подтока влаги извне за счет миграции, капиллярного поднятия, фильтрации. На льдовыделение оказывают влияние особенности распределения влаги в талом грунте, обусловленные его сложением и составом, взаимодействием воды с частицами минерального скелета.

2.22. Пределом влажности дисперсного грунта, выше которого возможно льдовыделение, считается максимальная молекулярная влагоемкость или нижний предел пластичности (раскатывания). Полевые и экспериментальные исследования подтверждают практическую возможность пользования этими пределами для общей оценки потенциального льдовыделения, но указанные пределы влажности, определяемые опытным путем для данного грунта, отражают некоторый суммарный эффект, связанный со свойствами данного грунта, особенностями взаимодействия его частиц с водой, и не отражают энергетического состояния самой воды и, тем более, соотношения различных категорий связанной воды. При равенстве этих пределов у различных грунтов не следует ожидать сходного по характеру и объему льдовыделения в них даже при одинаковых условиях промерзания.

2.23. Наибольшее избыточное льдовыделение характерно для грунтов, промерзающих в открытой системе, т.е. при возможности пополнения влаги, идущей на льдообразование, извне (в природных условиях - из водоносного горизонта).

2.24. Минералогический состав грунтов существенно влияет на льдовыделение при равной степени дисперсности в основном только через тонкие фракции: пылеватую и в особенности глинистую. Наибольшая величина льдовыделения свойственна каолиниту, меньшая - гидрослюдам, иллиту и монтмориллониту. Различия льдовыделения в грунтах с указанным составом глинистых минералов могут быть большими или меньшими в зависимости от скорости промерзания. В общем случае имеют значение размеры и форма частиц глинистого минерала, характер и интенсивность связывания ими влаги, способность к коагуляции или диспергации.

2.25. Известно влияние на льдовыделение в глинистых грунтах состава обменных катионов: многовалентные (Fe+++, Ca++ и др.) увеличивают избыточное льдовыделение, одновалентные (Na+, K+) - уменьшают, кроме водородного иона, приближающегося по своему действию к многовалентным катионам, В общем, катионы, увеличивающие степень агрегированности грунтов, улучшают условия льдовыделения.

2.26. Для значительно засоленных грунтов характерно понижение температуры замерзания, уменьшение адсорбционных сил поверхности минеральных частиц. В зависимости от соотношения и количества диссоциированных в растворе ионов при промерзании создаются многокомпонентные физико-химические системы со значительной и сложной пространственной дифференциацией льда, рассола, минеральных частиц, выделившихся кристаллов солей. Анизотропия промерзающих засоленных грунтов связана не только с распределением в них льда, но и с процессами глубокого метаморфизма порового раствора.

2.27. Потенциальная возможность льдовыделения при промерзании определяется степенью уплотнения, сцементированностью грунта, литификацией его в талом состоянии. Один из основных факторов, влияющих на льдовыделение - плотность упаковки частиц, зависящая от давления, которое испытал или испытывает грунт.

2.28. Большое значение имеет степень первичной неоднородности сложения грунта. Неоднородность сложения увеличивает льдовыделение или, по крайней мере, предопределяет распределение ледяных включений, которые концентрируются по контактам разнородных по составу и плотности горизонтов, по макропорам, первичным трещинам и т.п. Влияние первичного сложения проявляется не всегда. Отмечаются случаи полного несовпадения пространственного положения элементов криогенной текстуры и элементов первичного сложения, например слоистости за счет различий в составе грунта.

2.29. Имеющиеся сведения о влиянии уплотняющих нагрузок на льдовыделение довольно разноречивы, так как получены в результате несопоставимых по условиям опытов. В общем известно, что чем меньше степень дисперсности грунта, тем меньшее давление требуется для прекращения льдовыделения. Для ряда грунтов от супесей до глин эти нагрузки изменяются от 0,05 - 0,1 МПа (0,5 - 1 кгс/см2) до 0,8 - 1,6 МПа (8 - 16 кгс/см2). Интенсивность воздействия уплотнения будет заметно отличаться в зависимости от характера и времени приложения нагрузки, соотношения его с темпом промерзания. Следует также учитывать различный ход релаксации напряжений в грунтах различного состава и строения. При воздействии на промерзающий грунт всесторонней даже очень значительной нагрузки в закрытой системе, без возможности отжатия воды, льдовыделение все-таки может происходить за счет внутреннего перераспределения воды и минеральных частиц. При анализе совместного воздействия на льдовыделение в промерзающем грунте температуры, давления и влажности следует учитывать существенный гистерезис и неполную обратимость последнего параметра. Это обстоятельство определяется тем, что деформация сжатия водонасыщенного грунта зависит от скорости выдавливания воды из его пор, т.е. обусловлена водопроницаемостью грунта. Деформация может отставать от процесса удаления воды и продолжаться много дольше за счет объемного сжатия самого скелета грунта.

2.30. При прочих равных условиях считается, что чем медленнее промерзание, тем лучше условия льдовыделения. Практически скорости промерзания грунта, наблюдающиеся в природе, составляют доли 1 мм/ч, в экспериментальной работе - от 0,5 - 1 мм/ч до 5, редко до 10 мм/ч. Все эти скорости находятся внутри еще более широкого интервала скоростей, не препятствующих льдовыделению. Большое значение, очевидно, имеет общая динамика скорости промерзания, его ход во времени. Оптимальная для льдовыделения скорость промерзания (отвода тепла, что точнее) зависит от комплекса свойств данного грунта.

Реальный ход промерзания с льдовыделением как в естественных условиях, так и в эксперименте характеризуется большей или меньшей степенью неоднородности. При переменном во времени ходе промерзания льдовыделение может то увеличиваться до каких-то оптимальных значений как при увеличении скорости промерзания, так и при уменьшении, то уменьшаться. В глинистых грунтах льдовыделение всегда захватывает зону той или иной мощности. Большое значение имеют не только градиенты температуры и влажности в зоне льдовыделения, но и непосредственно между ледяными включениями, с одной стороны, и минеральными агрегатами, отдельностями, еще не сцементированными льдом, с другой.

2.31. В процессе льдообразования происходит как общее увеличение объема промерзающего грунта, так и уплотнение его минерального скелета, т.е. уменьшение его первоначального объема. Различия значений одновременно идущих деформаций пучения и усадки в зоне мерзлый - промерзающий - талый грунт приводят к механической дифференциации грунта, его расслоению, трещинообразованию. Практически все эти процессы воздействуют на формирующееся криогенное строение как непосредственно, подготавливая полости, трещины, заполняющиеся льдом, создавая ослабленные зоны, куда вода мигрирует или внедряется под местным давлением, так и косвенно, через изменение самих условий миграции и взаимосвязи влаги с минеральными частицами.

2.32. Формирующиеся ледяные включения, отдельные кристаллы льда сами тоже создают полости, поднимая перекрывающий грунт, внедряясь в еще преимущественно талый горизонт зоны промерзания. Раздвигая грунт, ледяные включения отжимают из него воду, также идущую на льдообразование и льдовыделение. Создающаяся физико-механическая неоднородность грунта в зоне промерзания не однозначно воздействует на льдовыделение. При малой влажности промерзающего грунта формирование открытых трещин может и препятствовать перемещению воды снизу и, соответственно, ослаблять льдовыделение.

2.33. Криогенная текстура в значительной мере определяется ориентировкой возникающих в грунте кристаллов льда. Ориентирующее влияние растущих кристаллов льда уменьшается с уменьшением влажности грунта, больший вес приобретают теплофизические условия.

2.34. При медленной вынужденной кристаллизации в водонасыщенном грунте может возникнуть пойкилитовая структура, для которой характерно включение минеральных и органических частиц скелета в крупные кристаллы льда-цемента. Эта структура типична для мерзлого торфа.

2.35. Характер и интенсивность воздействия растущих кристаллов льда на подстилающий еще талый грунт различны в зависимости от влажности и скорости промерзания. Сами условия среды льдовыделения изменяются под активным воздействием растущих кристаллов льда.

2.36. Несмотря на изменяющиеся в ходе промерзания условия взаимодействия грунтовой среды и растущих кристаллов льда основные закономерности реального роста последних всегда остаются одними и теми же.

2.37. Таким образом, в зависимости от влажности, состава грунта, его первичного (до промерзания) строения и хода промерзания криогенное строение определяется качественно и количественно различным соотношением свободного роста кристаллов, определяемого положением и ориентировкой зародышей и вынужденного роста, определяемого плотностью, неоднородностью строения грунта, его структурой в данном горизонте на момент кристаллизации. Криогенное строение, сформировавшееся преимущественно при свободном росте кристаллов или при вынужденном росте, отличается соотношениями и связями кристаллов льда с частицами грунта даже при внешнем сходстве рисунка криогенной текстуры. Очевидно, будут различными также и физико-механические свойства грунта и их анизотропия.

3. ОСНОВНЫЕ ПАРАМЕТРЫ, ОПРЕДЕЛЯЕМЫЕ ПРИ ЛАБОРАТОРНЫХ ИССЛЕДОВАНИЯХ

3.1. Криогенное строение: морфология ледяных включений, структура минеральных отдельностей, структура грунтового льда и характер соотношения и связи между ними - определяются методически раздельно в ходе описания и измерения параметров криогенной текстуры и структуры.

3.2. Криогенная текстура характеризуется следующими основными параметрами: размером ледяных включений; их формой; ориентировкой (в образце).

Кроме того, ряд параметров рассчитывается после измерения трех основных. Вычисляются коэффициенты изменения линейных размеров и объема ледяных включений относительно глубины, расстояния от поверхности образца или любой другой характерной плоскости. Таким же образом рассчитывается коэффициент изменения углов наклона (элементов залегания) ледяных включений по глубине.

3.3. Структура льда характеризуется: размерами, формой, ориентировкой кристаллов льда, распределением в нем включений минеральных органических частиц и газа.

Эти основные параметры структуры служат материалом для вычисления различных коэффициентов: удлинения кристаллов, неоднородности их размеров, извилистости границ, коэффициентов этих параметров по глубине.

3.4. Криогенное строение характеризуется также дифференцированной оценкой льдистости, влажности и плотности. В эксперименте определяются или рассчитываются:

объемная льдистость за счет ледяных включений , %, или доли единицы;

влажность за счет ледяных включений WВ;

суммарная влажность WС, равная WВ + WЦ + WН, где WH - влажность за счет незамерзшей воды, определяется непосредственно, WЦ - влажность за счет льда-цемента, определяется по разности WЦ = WС - WВ - WН (для образца, горизонта);

влажность минеральных прослоев WЦ, кроме того, определяется и непосредственно во всех характерных по криогенному строению точках;

плотность определяется как для всего образца, так и для отдельных его горизонтов, минеральных агрегатов, прослоев.

Плотность при известной плотности минеральных частиц может быть рассчитана по влажности.

3.5. Основным параметром является также температура образца в ходе его промерзания на различной глубине, точность изменения которой не должна быть грубее ±0,1°С.

3.6. Деформация образца, внешняя (пучение) и внутренняя должны изменяться с точностью, сопоставимой с точностью измерения плотности, но не грубее 0,2 мм по глубине образца.

3.7. Кроме основных параметров, измеряемых в ходе эксперимента, ряд свойств испытуемого грунта оценивается до эксперимента. Необходимы определения гранулометрического, микроагрегатного, химического и минералогического состава, анализ химического состава и минерализации порового раствора. Очевидна также необходимость определения исходной влажности, плотности грунта и плотности минеральных частиц.

3.8. При изучении изменения механических свойств талого грунта после промерзания-протаивания проводится комплекс идентичных испытаний сжимаемости, прочности, сопротивления сдвигу, сцепления до промерзания и после протаивания.

3.9. При изучении зависимости механических свойств от криогенного строения определяются параметры, указанные в п. 3.8, но для мерзлого грунта; при необходимости также определяются касательные силы пучения.

3.10. При изучении зависимости теплофизических свойств от криогенного строения определяются теплоемкость, теплопроводность, рассчитывается температуропроводность грунта как мерзлого, так и талого (если это необходимо).

3.11. Среди изучаемых физических свойств важное место занимают геофизические параметры, определяемые путем геофизических измерений. Основные из них - электрические и акустические.

Измерение геофизических параметров может производиться до, после и в процессе промерзания грунтов. Если в первом и втором случае по геофизическим параметрам можно судить о составе и криогенном строении грунта, то в последнем геофизические измерения являются способом оценки перераспределения влаги в процессе кристаллизации и изменения структуры льда и криогенной текстуры.

3.12. Кроме основных параметров, указанных в пп. 1.1 - 1.6, может возникнуть необходимость измерения в ходе опыта и некоторых других, таких, например, как химический состав порового раствора засоленных грунтов.

4. МЕТОДИКА ЭКСПЕРИМЕНТАЛЬНОГО ИЗУЧЕНИЯ ФОРМИРОВАНИЯ КРИОГЕННОГО СТРОЕНИЯ ГРУНТОВ

4.1. Ввиду значительной сложности и трудоемкости экспериментального исследования криогенного строения промерзающих и мерзлых грунтов конкретная задача, поставленная перед исполнителем, должна быть сформулирована четко и полно. Эксперименту должна предшествовать подготовительная работа, состоящая из следующих основных этапов:

определение задачи и объема предварительных полевых и лабораторных исследований для характеристики изучаемого грунтового массива в целом и представительности принятых методов отбора образцов, размещения выработок, глубин опробования;

составление технического задания на комплектование лабораторного оборудования, необходимого для экспериментальных исследований.

Отбор и подготовка образцов

4.2. В зависимости от поставленной задачи и особенностей исследуемых грунтов могут использоваться образцы как с нарушенной структурой, так и с ненарушенной (ГОСТ 12071-72).

4.3. При изучении формирования криогенного строения в широком диапазоне влажности и температурного режима образцы с ненарушенной структурой, представляющие собой случайные точки грунтового массива, не всегда могут дать необходимый по объему экспериментальный материал. Доведение ненарушенного образца грунта до заданной влажности представляет собой сложную задачу, часто практически невыполнимую. Влажность талого, оттаявшего грунта на данный момент времени отражает его состояние в связи с рядом условий, не известных исследователю. При задании широкого диапазона влажности и плотности образцам грунта с нарушенным сложением и учете основных его свойств в естественном залегании (плотности, пористости) можно в значительной мере избежать трудностей работы с ненарушенными образцами.

4.4. Подготовка и выбор образцов для эксперимента предусматривает решение следующих вопросов: определение размеров и формы испытуемого образца, способ приведения его в заданное состояние по плотности и влажности.

4.5. Для однородных по составу и сложению грунтов при исследовании только влагопереноса и общего льдосодержания при незначительных по размерам ледяных включениях поперечное сечение испытуемого образца должно быть около 4 - 5 см, но длина должна быть не менее 20 см.

4.6. Изучение криогенного строения при значительном избыточном льдовыделении и крупных размерах ледяных включений требует использования образцов таких размеров, чтобы они примерно в 2 раза превышали размеры элементов криогенной текстуры, предполагаемой по имеющимся для данного или подобных грунтов сведениям. В большинстве случаев, по имеющемуся опыту, размеры образца должны быть от 7 до 10 см в поперечнике и не менее 20 см по высоте. При крупно-сетчатой криогенной текстуре размеры образца следует довести до 15 - 20 см в поперечнике и 30 - 40 см по высоте. Но значительное увеличение размеров образца вызывает существенные технические трудности в проведении массового эксперимента. Для оценки влияния размера образца на криогенное строение изготавливаются контейнеры различного размера или часть эксперимента переносится в натурные условия на опытные площадки и проводится сравнение результатов, полученных на небольших образцах и в натурных условиях.

4.7. Влияние формы образца на криогенное строение менее существенно, чем размеров. Опыт показывает, что удобнее пользоваться разборными прямоугольными контейнерами с прозрачными стенками из органического стекла. Толщина стенок контейнера определяется напряжениями, возникающими при промерзании и опытными нагрузками на образец в ходе опыта, и не должна быть менее 1 см при поперечных размерах образца 7 - 10 см. Контейнеры должны иметь сменные стенки с отверстиями для удаления избытка влаги при предварительном компрессионном уплотнении, устройства для подачи воды при опытах в открытой системе.

4.8. Достижение заданной влажности образца требует компрессионного уплотнения переувлажненной грунтовой массы под нагрузкой в течение более или менее длительного времени в зависимости от размеров образца и состава испытуемого грунта. К образцам размером 7 - 10 см в поперечнике и длиной 20 см и более нагрузка должна прилагаться на боковую грань и, может длиться от 1 - 2 суток до одной-двух недель при величине нагрузки 0,05 - 0,5 МПа (0,5 - 5 кгс/см2). Величина и время приложения нагрузки определяются опытным путем исходя из заданных условий опыта.

4.9. При выдерживании крупного образца под нагрузкой не всегда удается достичь однородной влажности и плотности во всем его объеме. Даже незначительные отклонения этих параметров в различных частях образца могут повлиять на моделируемое криогенное строение. Наблюдались криогенные текстуры, отражающие своим рисунком эпюры напряжений под плоским штампом, что было связано с неоднородностью образца, возникшей при компрессионном отжатии воды.

4.10. Приготовление исходной грунтовой массы, ее загрузка в контейнер, уплотнение требуют постоянного контроля и фиксации отдельных операций. Грунтовая масса может приготовляться перемешиванием воздушно-сухого грунта с водой или ледяным порошком из воды или раствора, предназначенным для опыта. Влажность приготовленной массы определяется несколькими пробами с целью достижения ее однородности. Влажность уплотненного образца (дублирующего основной) определяется во всех характерных точках, вблизи стенок, в средней части и по всей высоте. Особенно тщательно эта работа должна проводиться при изготовлении первой серии образцов из данного грунта. Число проб на влажность в этом случае должно быть не менее 30 - 40 по всему объему образца при его размерах 7 ÷ 10×20 см.

4.11. Даже незначительная степень неоднородности образца по влажности после уплотнения и все особенности приготовления грунта должны фиксироваться и учитываться при анализе результатов опыта.

Основные требования к производству и технике промораживания образцов грунта

4.12. Экспериментальное промораживание образцов грунта в условиях лаборатории является моделированием этого процесса, идущего в естественных условиях. Конечно, полной аналогии как по условиям промерзания, так и из-за масштабного эффекта (см. пп. 4.5, 4.6) достичь нельзя. Вместе с тем общие закономерности льдообразования при задании в опытах широкого интервала плотности, влажности и температурного режима грунта могут быть получены.

4.13. В зависимости от задачи исследования требуется задавать и поддерживать постоянный или переменный (например, по синусоидальному закону) режим промерзания с тем или иным градиентом. Поддержание длительное время по всей глубине образца температурного режима с очень малым градиентом - задача технически сложная. Проще добиться постепенного уменьшения градиента температуры во времени и по глубине образца при незначительной по значению отрицательной температуре на поверхности грунта.

4.14. Современная холодильная техника (в особенности автоматические холодильные камеры фирмы ГДР "ИЛКА") позволяет поддерживать различные, в том числе переменные, режимы промораживания на достаточно стабильном уровне с отклонениями от средней заданной температуры в пределах 0,2 - 0,5°С. Контроль температуры на поверхности промерзающего образца может осуществляться с большей точностью, а с помощью теплоизоляции можно свести влияние колебаний режима рабочей камеры до минимума.

4.15. При использовании для одностороннего промораживания образцов воздушного режима камеры (холодильного шкафа) возникает необходимость тщательной теплоизоляции всего образца за исключением его верхней поверхности. Значительно удобнее и целесообразней автономное промораживание с помощью любого стандартного хладоагента, циркулирующего в системе термостат - промораживающий элемент. Охлаждение в термостате до нужной температуры самого хладоагента производится с помощью обычно фреоновой установки на базе небольшого компрессора (мощность 0,5 - 1,0 кВт). Циркуляция хладоагента в промораживающем элементе осуществляется с помощью насоса на базе электромотора. Промораживающий элемент может быть выполнен в виде плиты или диска с отверстиями для различных датчиков. В этом случае задание и контроль температурного режима промораживания существенно облегчаются, отпадает необходимость в теплоизоляции, если опыт проводится с автономной установкой в холодильной камере, где можно поддерживать температуру воздуха, близкую к 0°С. В обычном помещении с комнатной температурой также можно проводить работу с автономной установкой, но для этого требуется теплоизоляция образца с боков и снизу. Одной пластиной теплосъемника можно промораживать одновременно серию образцов.

4.16. Пример опытной установки автономного промораживания показан на рис. 1. Установка позволяет переходить от промерзания к протаиванию образца переключением охлаждения хладоагента, циркулирующего в пластине теплосъемника, на нагревание.

4.17. Контроль температурного режима в ходе опыта осуществляется с помощью термопар, термометров сопротивлений, термисторов. По всем основным показателям термопары наиболее удобны для экспериментальной работы. С их помощью достигается достаточная точность измерения температуры: до 0,1 - 0,05°С. Небольшие размеры головки термопары несущественно нарушают условия в точке измерения. Число температурных датчиков в образце диктуется требованиями опыта, но следует избегать слишком большого их числа и близкого расположения (ближе 2 см), что приводит к значительному нарушению сплошности образца, не увеличивает точности измерения температуры по глубине образца из-за случайных смещений датчиков в процессе их установки или при промерзании.

4.18. Измерение температур термопарной установкой осуществляется любым гальванометром, потенциометром класса, соответствующего необходимой точности. Предпочтительнее автоматические самопишущие потенциометры с разверткой температурной шкалы на необходимый интервал. Для этой цели стандартный потенциометр, рассчитанный на другой интервал температур (ЭДС), подвергается соответствующей технически несложной модификации.

4.19. При любой конкретной технике эксперимента необходимо соблюдение следующих основных условий: обеспечение требуемого в эксперименте температурного поля в образце промерзающего (протаивающего) грунта и контроль этого поля в течение всего опыта.

4.20. Контроль влажности и ее изменений в ходе опыта осуществляется стандартным способом, обеспечивающим достаточную точность (ошибка не более 1 - 2%) в особенности при пользовании аналитическими весами.

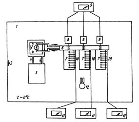
Рис. 1. Схема установки для комплексного моделирования процессов промерзания и льдообразования

1 - холодильная камера; 2 - термометры автоматического регулирования; 3 - компрессор; 4 - термостат; 5 - мотор насоса; 6 - теплосъемник; 7 - контейнеры с образцами грунта; 8 - индуктивные датчики деформации; 9 - потенциометр-самописец для измерения деформации; 10 - термопары; 11 - потенциометры-самописцы для измерения температуры; 12 - бинокулярная лупа для наблюдения за криогенным строением

Частота отбора проб на влажность по глубине образца определяется задачей опыта, но должна быть достаточно дробной. Отбор проб в экспериментальном образце через 2 - 3 см не вызывает особых трудностей.

4.21. Постоянный контроль за ходом изменения влажности в течение всего опыта возможен только с помощью дистанционных датчиков влажности. Существующие датчики не обладают достаточной точностью и имеют слишком большие размеры, что сильно искажает поле влажности в образце. Разработка дистанционных датчиков для эксперимента возможна. Она облегчается применимостью таких систем, которые требуют тарировки по данному грунту. Для полевых исследований подобные разработки нецелесообразны.

4.22. Для режимного контроля влажности в промерзающем грунте устанавливается серия дублирующих образцов, которые последовательно извлекаются из установки, и на данный этап опыта определяется влажность грунта в мерзлой, талой и промерзающей зоне. Параллельно проводится определение льдистости.

4.23. При промораживании образца с заданной плотностью и влажностью за счет льдовыделения и усадки происходят его деформации, внешние, выражающиеся в поднятии и опускании поверхности грунта, и внутренние. Для измерения деформаций могут применяться измеритель деформаций часового типа, индуктивные датчики деформации (разработанные в ПНИИИСе), внутренние марки с выведенными стержнями, тензодатчики, внутренние игольчатые марки.

4.24. В зависимости от типа датчиков и поставленной задачи применяются различные методы измерения деформации: визуальные измерения через различные интервалы времени, автоматическая запись с помощью самопишущих потенциометров, последовательное фотографирование или цайтраферная киносъемка поверхности образца с выходом игольчатых датчиков.

4.25. При эксперименте в открытой системе контроль за режимом осуществляется также путем фиксации объемов воды, поступающей в ходе промерзания в грунт извне. Эта задача не представляет значительных технических трудностей. При необходимости записи хода поступления объемов воды в промерзающий образец в подающей системе устанавливается уровнемер, положение которого фиксируется по электрическому (переменное сопротивление) или световому (фотоэлемент) сигналу.

Последовательность комплексного моделирования процесса льдообразования в промерзающем грунте

4.26. При исследованиях закономерностей льдообразования в промерзающих грунтах отдельные, чаще всего парные, связи между параметрами криогенного строения, влажности и льдистости выявляются при соблюдении равенства остальных условий. Для изучения льдообразования и формирования криогенного строения в конкретных мерзлотных и грунтовых условиях, для решения определенной инженерной задачи такой аналитический подход недостаточен. Можно использовать имеющиеся сведения о закономерностях льдовыделения, которые кратко показаны в разд. 2, но таким путем не удается решать задачи прогноза формирования криогенного строения при данном, а тем более при изменяющемся комплексе природных условий и условий, заданных проектом того или иного инженерного мероприятия. Установление закономерных связей криогенного строения с комплексным воздействием всех факторов, влияющих на льдовыделение, можно осуществить при подходе к лабораторному эксперименту, как к моделированию. Это моделирование должно быть комплексным в том смысле, что одновременно должны фиксироваться, измеряться и определяться все основные условия промерзания и льдовыделения и все параметры криогенного строения.

4.27. Моделирование должно иметь строгую последовательность и полноту охвата измерений всех параметров. Оно включает:

сбор сведений о геологических и мерзлотных условиях в районе изучаемого грунтового массива;

подготовку аналитических материалов о свойствах испытуемых грунтов;

отбор и подготовку образцов;

выбор метода и режима промораживания, в том числе определение необходимости эксперимента в закрытой и открытой системах;

задание вариантов исходной влажности, пористости, плотности, сложения испытуемого грунта;

проведение нужного числа циклов промораживания с контролем основных изучаемых параметров в ходе опыта с помощью соответствующей аппаратуры, желательно автоматической и самопишущей;

контроль и наблюдение за развитием криогенной текстуры в ходе опыта;

анализ криогенного строения после окончания опыта или его этапа;

сопоставление всего комплекса полученных данных о параметрах и условиях промерзания, льдообразования с криогенным строением;

выявление основных, руководящих закономерностей, определяющих льдообразование, распределение льда в грунте, избыточное льдовыделение;

прогноз влияния криогенного строения на свойства грунта и учет его при экспериментальном определении этих свойств.

Изучение криогенного строения

4.28. В течение эксперимента проводится постоянное визуальное наблюдение (через прозрачную стенку контейнера) за ходом промерзания, движением зоны льдообразования, ростом кристаллов льда, ледяных включений. Могут применяться обыкновенные и бинокулярные лупы, микроскопы с увеличением от 5 до 100 крат, в зависимости от размеров ледяных включений; последовательное фотографирование через выбранные интервалы времени, цайтраферная киносъемка. Вне зависимости от применения оптической техники криогенная текстура фиксируется непосредственно у стенки контейнера зарисовкой на кальке.

4.29. По окончании этапа эксперимента или всего опыта одновременно с определением и анализом параметров влажности и льдистости проводится описание криогенной текстуры. Измеряются все необходимые ее параметры (см. п. 3.2). Особое внимание при морфологическом описании обращается на соотношение ледяных включений с минеральными отдельностями, характер их контактов, количество, распределение и ориентировку крупных минеральных и газовых включений во льду. При описании криогенной текстуры каждого выделенного горизонта проводится сравнение с тем строением, которое наблюдалось в этом горизонте в течение опыта. Для правильной интерпретации наблюдений за развитием криогенной текстуры через прозрачную боковую стенку контейнера фиксируются все отличия криогенной текстуры боковой и центральной части образца.

4.30. Для изучения структуры ледяных включений из образца извлекаются те из них, которые имеют ширину не менее 1 см и толщину не менее 0,5 мм. Ледяные включения помещаются на предметные стекла, изолируются покровными стеклами и нейтральными ко льду пластичными материалами (вазелин) или пленками (полиэтилен). Длительное хранение мелких включений в эксикаторе не рекомендуется, но в течение 1 - 2 суток это допустимо. Для каждого извлеченного из грунта ледяного элемента должен составляться подробный адрес: глубина от поверхности образца, расстояние от стенки контейнера, ориентировка (элементы залегания).

4.31. Анализ структуры льда проводится по принятой в мерзлотоведении методике в проходящем поляризованном свете. Измеряются параметры, указанные в п. 3.3. Особое внимание уделяется геометрической ориентировке кристаллов льда, направлению их удлинения, сплющенности и ее соотношению с ориентировкой оптических осей. При измерении ориентировки оптических осей кристаллов льда строятся стереограммы как для однородных по размерам и форме ледяных включений, так и для всего образца. Ориентировка плоскости самих стереограмм выбирается по любому характерному направлению: в горизонтальной плоскости, в плоскости ледяных включений, по вертикальной оси образца. Синтетические стереограммы строятся для всех ледяных включений с выделением цветом, индексом точек выхода осей по интересующему признаку (ориентировке включений, их форме, размерам).

Рис. 2. График соотношений измеренных параметров криогенного строения в конце эксперимента (пример-схема)

W - влажность;  - объемная льдистость; ll - среднее расстояние между ледяными включениями; tгр - температурный градиент (средний); lК - средний размер поперечника кристаллов льда ледяных включений; KН - коэффициент неоднородности структуры; KУ - коэффициент удлинения кристаллов в направлении роста; K0 - степень ориентировки (плотность выходов) оптических осей кристаллов льда в плоскости ледяных включений

4.32. Применение поляроидов и поляризационного микроскопа наиболее успешно в том случае, когда ледяные включения не подвергаются сильным тепловым воздействиям, т.е. вся работа проводится в интервале реальных для грунта отрицательных температур минус 2 - минус 10 °С. Применение сильного переохлаждения для изготовления шлифов с помощью жидкого азота (до 100°С) недопустимо, так как при этом происходит разрушение и необратимое изменение первичной структуры. Поэтому изучение структуры льда-цемента проводится только в тех случаях, когда представляется возможность изготовить шлифы из него обычным методом.

4.33. Сочетание визуальных наблюдений за ростом ледяных включений с последующим изучением их кристаллической структуры дает наиболее полное представление о характере и ходе льдообразования.

Примером может служить следующее наблюдение нескольких стадий роста ледяного включения в процессе эксперимента. Первичный ледяной кристалл, проникающий под углом в еще талый грунт зоны льдовыделения, затем дорастает с обеих сторон, больше с нижней, меньше с верхней. Структурные исследования показали отличия в ориентировке и форме первичного кристалла и кристаллов, достраивающих ледяное включение при дальнейшем льдовыделении. Несмотря на общий для зоны льдовыделения температурный градиент, зафиксированный автоматической записью температуры, направление движения мигрирующей ко льду влаги было искажено первичным кристаллом и трансформировано таким образом, что нижняя часть первичного кристалла росла при направлении миграции, близком к общему в образце, а верхняя - при направлении миграции, практически противоположном.

4.34. После описания и анализа криогенной текстуры и параллельное извлечением ледяных элементов отбирают пробы на влажность минеральных элементов. По дублирующим образцам проводится полный отбор проб для определения всех параметров влажности и льдистости (см. п. 3.4).

4.35. При соблюдении последовательности эксперимента (см. пп. 4.27 - 4.34) к моменту его завершения накапливается достаточно разносторонняя информация о свойствах грунта до и после его промерзания. Сопряженный анализ всех данных о составе и свойствах грунта, с одной стороны, и его криогенном строении, с другой, следует делать по численно выраженным параметрам тех и других (рис. 2). Определение по дублирующим образцам прочностных, деформативных и теплофизических свойств грунта должно проводиться по главным направлениям анизотропии криогенного строения и всех перечисленных выше свойств.

4.36. Чем полнее комплекс предварительных исследований свойств грунта и моделирования процесса промерзания и льдообразования, тем полнее общий анализ и прогноз поведения грунта в заданных условиях.

4.37. Наиболее важным методом при анализе полученных данных является прямое сопоставление кривых изменения основных параметров состояния грунта (его влажности и температурного режима в первую очередь) в ходе опыта во времени и по глубине образца, полученных как расчетом по отдельным точкам, так и путем прямой записи, с соответствующими кривыми изменения параметров криогенной текстуры и структуры льда. При проведении эксперимента в достаточно широком интервале изменений температурного режима и влажности можно получить и некоторые общие закономерности льдообразования для данного типа грунта.

4.38. Учитывая недостаточную разработанность многих теоретических и практических вопросов влияния криогенного строения на свойства мерзлых, промерзающих и протаивающих грунтов, от комплексного моделирования, предложенного в данных рекомендациях, можно ожидать выявления некоторых общих закономерностей этого влияния, в частности при расчете осадки при протаивании, определении прочностных и деформативных свойств. Вероятно, также получение информации о генетических особенностях данного грунта.

5. ГЕОФИЗИЧЕСКИЕ ИССЛЕДОВАНИЯ

Общие положения

5.1. Прямая зависимость геофизических параметров грунтов от их состава, строения и состояния предполагает возможность определения последних по измеренным параметрам. На этой же зависимости основана возможность определения механических свойств по геофизическим данным. Для решения поставленных задач необходимо изучение геофизических параметров и установление их зависимостей от различных факторов.

5.2. Такими факторами являются свойства компонентов, слагающих грунт, процентное или долевое содержание каждого компонента и характер их взаимного расположения и взаимодействия. Соотношение твердой и жидкой фазы воды в мерзлом грунте определяется условиями термодинамического равновесия. Поэтому к факторам, влияющим на физические свойства, добавляются параметры состояния, в первую очередь, температура и давление.

5.3. Трудность установления связей между этими факторами и физическими свойствами грунтов теоретическим путем делает наиболее приемлемым экспериментальный способ их определения.

В случае когда могут быть получены теоретические решения, экспериментальные исследования необходимы для их проверки.

5.4. Для изучения указанных связей целесообразен аналитический путь, включающий следующие этапы:

лабораторное изучение свойств искусственно изготовленных моделей грунтов, при котором исследуются частные зависимости этих свойств от каждого фактора или их совокупности; для этого требуется создание таких моделей, в которых один или несколько параметров изменялись бы в некотором реальном диапазоне при постоянстве остальных, знание всех параметров, перечисленных в пп. 3.4, 3.5, 3.7, обязательно;

опробование полученных зависимостей на монолитах естественных грунтов с известными параметрами;

проверка полученных зависимостей в естественных условиях также при известных параметрах грунтов.

Конечным этапом таких исследований должно явиться использование полученных зависимостей для решения поставленной задачи, а именно, оценка параметров состава, строения и состояния мерзлых грунтов по свойствам, измеренным с помощью геофизических методов.

5.5. При изучении мерзлых грунтов наиболее информативны их электрические и акустические свойства, лежащие в основе электроразведки и сейсмоакустических методов. В настоящее время эти методы являются одними из немногих, которые позволяют определять свойства грунтов в массиве.

Подготовка образцов

5.6. К образцам, используемым в геофизических экспериментах, кроме обычных требований (пп. 4.2, 4.3) предъявляется ряд специфических. Вместе с тем некоторые особенности образцов сами диктуют требования к методике геофизических измерений,

5.7. При использовании волновых полей необходимо, чтобы длина волны λ была много больше линейных размеров неоднородностей; на практике считается достаточным приблизительно десятикратное соотношение.

Это должно в первую очередь учитываться при акустических исследованиях. При электрических измерениях на обычно используемых частотах (до 1 МГц) указанное соотношение выполняется автоматически (λ > 10 м).

5.8. Требования к размерам образцов и их форме диктуются применяемыми методиками геофизических измерений и рассматриваются в соответствующих разделах настоящих рекомендаций (5.24; 5.57).

5.9. При исследовании зависимостей свойств пород от различных факторов на искусственно приготовленных моделях грунтов необходимо, чтобы образцы во всем объеме были гомогенны. В противном случае в образце не удается добиться равномерного или закономерного распределения изучаемого физического поля и результаты измерений не могут быть отнесены к определенным параметрам изучаемого мерзлого грунта.

Даже при изучении влияния неоднородностей, например, таких, как шлировое льдовыделение, необходимо, чтобы эти неоднородности в образцах были распределены равномерно.

5.10. Для создания образцов, моделирующих различные криогенные текстуры и отвечающих требованию п. 4.9, применяются следующие способы: из большого неоднородного образца вырезают куски, визуально определяемые как однородные; промораживание гомогенной грунтовой пасты, проводимое в специальном температурном и влажностном режиме; составление образцов из отдельных равномерно распределенных элементов; в этом случае упорядоченность элементов наибольшая.

5.11. Создание искусственно составленных образцов может быть осуществлено вырезанием элементов правильной формы из заранее изготовленного блока мерзлого грунта с массивной криогенной текстурой заданного состава и компоновки их со льдом в необходимых пропорциях; послойным намораживанием грунтовой массы и льда при создании слоистых криогенных текстур.

5.12. Послойное намораживание рекомендуется проводить в специальных формах, обеспечивающих строгую параллельность и заданную толщину слоев.

5.13. Форма для послойного намораживания представляет собой параллелепипед, внутри которого помещается платформа с направляющими, проходящими через дно. С помощью винта платформа может перемещаться в вертикальном направлении с любым заранее заданным шагом. Платформа снабжается сальником, обеспечивающим гидроизоляцию между нею и стенками формы.

5.14. Приготовление образца с помощью формы производится следующим образом. Платформа устанавливается вровень с верхним краем формы. Затем она опускается на величину, равную заданной толщине слоя, и заполняется охлажденной водой или пастой. После полного промерзания слоя, время которого зависит от заданного температурного режима в холодильной камере, платформа вместе со слоем опускается, и производится намораживание следующего слоя.

5.15. В соответствии с необходимостью знания состава и строения образцов обязательным является определение их характеристик (п. 3.4) как в исходном, так и в конечном состоянии.

5.16. Для предохранения образцов от иссушения, обусловленного сублимацией, применяются различные способы в соответствии с ГОСТ 12071-72.

5.17. В процессе измерений чрезвычайно важно постоянство температуры во всех точках образца и знание точной ее величины. Для контроля за температурой используются различные термоизмерительные датчики, закладываемые в тело образца (термопары, термисторы).

5.18. Поскольку при геофизических исследованиях присутствие в образце термодатчиков может сказаться на результатах измерений, температуру предпочтительнее оценивать в камере, где находится образец. Стабилизация процессов, связанная с изменением температуры, фиксируется постоянством геофизических параметров, измеряемых в течение времени и зависящих от скорости протекания процесса.

5.19. Для контроля за температурой могут быть использованы специально приготовленные (контрольные) образцы с термодатчиками, аналогичные испытываемым.

5.20. Измерения различных геофизических параметров необходимо выполнять на одних и тех же образцах. Это значительно экономит затраты времени на трудоемкие операции по изготовлению и подготовке образцов и обеспечивает возможность сопоставления параметров.

Измерение акустических параметров мерзлых грунтов

5.21. К акустическим параметрам пород относятся скорости распространения упругих волн, показатели поглощения этих волн и спектральные характеристики.

В рекомендациях основное внимание уделено определению скоростей распространения упругих волн и расчету по ним динамических модулей упругости, сжатия, сдвига и коэффициента Пуассона.

5.22. Для акустических измерений используются специальные акустические приборы с пьезоэлектрическими преобразователями различных конструкций. Основные требования, предъявляемые к измерительным приборам и преобразователям, изложены в ГОСТ 21153.7-75.

5.23. Измерение скорости распространения упругих волн производится одним из способов, основными из которых являются акустическое просвечивание и профилирование,

5.24. Общим требованием является соблюдение соотношения r ≥ 1, l 2λ, где r - поперечные размеры образца, l - его длина, λ - длина волны.

При этих условиях волна распространяется со скоростью, соответствующей скорости в безграничной среде.

Акустическое просвечивание

5.25. Скорость продольных волн при акустическом просвечивании определяется по формуле

v = x/(tK - Δt),

(1)

где x - база измерения; t - время первого вступления; Δt - поправка; K - множитель цены деления.

5.26. База x - это расстояние между рабочими поверхностями преобразователей, для однозначного его определения необходима параллельность граней образца, к которому прикладываются пьезопреобразователи.

5.27. Время первого вступления t определяется по временной шкале прибора. Для того чтобы ошибка определения времени первого вступления могла учитываться в каждом цикле измерений, необходимо соблюдение идентичности акустического контакта, достигаемого с помощью смазки (например, фреоновое масло), и постоянства амплитуды и периода первой полуволны сигнала на осциллограмме.

5.28. Множитель цены деления K устраняет возможность ошибок, обусловленных неидеальной калибровкой временного канала акустических приборов.

5.29. Поправка Δt включает аппаратурные задержки, задержку за ошибку определения времени первого вступления и задержку в мембранах пьезопреобразователей.

5.30. Множитель цены деления K и поправку Δt рекомендуется определять по следующим формулам:

(2)

(3)

где tИ - истинное время, мкс; tОТС - время, отсчитанное по шкале прибора, мкс.

Эти значения определяются в результате измерений на различных базах на любой эталонной среде, скорость распространения упругих волн в которой заранее известна. Значения времени  и  соответствуют отсчету времени на двух базах x1 и x2. За базы x1 и x2 принимаются точки годографа t = f(x), наилучшим образом совпадающие с усредняющей прямой. Значения  = vЭТ/x1, и  = vЭТ/x2 определяются по скорости продольной волны v, распространяющейся в среде, и соответствуют истинным.

5.31. В качестве эталонной среды может быть использована дистиллированная вода, температура которой в момент профилирования должна быть известна. На рис. 3 приведена зависимость скорости упругих волн в пресной воде от температуры, с помощью которой определяется v.

5.32. Указанная калибровка прибора и преобразователей проводится до и после каждого цикла измерений.

Рис. 3. Зависимость скорости упругих волн в дистиллированной воде от ее температуры

Рис. 4. Изменение относительной погрешности измерения скорости продольных волн при прозвучивании  в зависимости от базы прозвучивании для разной величины погрешности |dt|
1 - |
dx| = 0,2 мм; 2 - |dx| = 0,1 мм; (v = 3500 м/с)

Рис. 5. Изменение относительной погрешности измерения скорости продольных волн при прозвучивании |dv/v| в зависимости от погрешности измерения времени |dt| для разных баз х (v = 3500 м/с, dx = 0,2 мм)

5.33. Относительная погрешность измерения по методике акустического просвечивания оценивается по формуле

(4)

где dv, dx, dt - абсолютные погрешности определения v, x, t соответственно. Учитывая тот факт, что относительная ошибка измерения базы, как правило, незначительна, формула (4) может быть представлена

(5)

Точность измерения скорости можно оценивать по графикам, приведенным на рис. 4 и 5.

5.34. Формулы и графики п. 5.33 позволяют оценить погрешность измерения скорости распространения упругих волн, необходимую точность ее определения.

5.35. Поскольку каждый результат измерения времени содержит случайную ошибку, подчиняющуюся некоторому нормальному закону распределения, необходимой точности измерения времени ε можно достичь соответствующим количеством измерений п. Согласно законам теории вероятности для получения доверительной оценки измерения времени заданной точности ε с надежностью Р = 0,95, вполне достаточной для геофизических целей, число измерений определяется по формуле

(6)

где t(P) - табличная функция при Р = 0,95; t = 1,96; σ - среднее квадратичное отклонение, оценка значения которого производится предварительно.

Акустическое профилирование

5.36. Акустическое профилирование применяется для одновременного измерения скоростей двух или трех типов волн: продольной vP, поперечной vS и релеевской vR. Методика заключается в измерении времени прихода одной из фаз соответствующей волны при различном расстоянии между пьезопреобразователями, расположенными на одной плоскости образца, построении годографов этой волны t = t(x) и определении по наклону годографа соответствующей скорости.

5.37. Как правило, на осциллограмме лучше всего прослеживаются фазы прямой продольной волны (в первых вступлениях) и релеевской.

5.38. Динамическими особенностями релеевской волны, благодаря которым она хорошо выделяется, являются достаточно большие амплитуды, превосходящие в несколько раз амплитуды продольных колебаний, и значительно больший период.

5.39. Для лучшей корреляции волн употребляется фотографирование волновой картины при каждой стоянке пьезопреобразователей.

5.40. Практически профилирование выполняется путем перемещения одного из датчиков вдоль заранее размеченного профиля с постоянным шагом измерения при фиксированном положении другого.

Для сохранения постоянства отрицательной температуры образца при измерениях следует отдавать предпочтение дистанционным автоматическим системам профилирования.

5.41. Автоматическое профилирование может быть осуществлено при помощи установки, состоящей из станины, в которой помещается испытуемый образец, неподвижно закрепляемого на образце пьезопреобразователя и устройства для перемещения другого пьезопреобразователя. Подвижный преобразователь крепится в каретке, поступательно перемещающейся вдоль червяка параллельно образцу.

Рис. 6. Изменение относительных погрешностей определения скорости упругих волн по годографу |dv/v| (v = 3500 м/с, dt = 0,1 мкс)

Червяк приводится в движение реверсивным мотором. Специальная система управления позволяет двигаться каретке в прямом и обратном направлении с заданным шагом. Прижим преобразователя в момент остановки каретки обеспечивается пружиной. Во время движения выступы на ограничительной планке, расположенной параллельно червяку, отжимают каретку от образца.

5.42. При определении значения скоростей упругих волн способом профилирования задержка Δt автоматически исключается. Значение множителя цены деления К вычисляется по методике, описанной в п. 5.30.

5.43. Осреднение точек годографа прямой производится способом наименьших квадратов или визуальной аппроксимацией с помощью прозрачной линейки, на которой проведена прямая линия.

5.44. Погрешность определения скоростей волн по годографу оценивается по формуле

(7)

где dt - отклонение точки годографа от осредняющей прямой по оси времени; x - общая длина профиля, Δx - шаг профилирования.

В случае если х/ Δx >10, формула (7) может быть заменена следующей

(8)

На рис. 6 приведены изолинии относительных погрешностей определения по годографу dv/v для случая v = 3500 м/с, dt = 0,1 мкс.

5.45. С помощью формул (7, 8) или построенных по ним графиков (см. рис. 6) можно выбирать параметры для измерения с заданной точностью или определять точность измерения при известных параметрах эксперимента.

Рис. 7. Номограммы определения динамического модуля Юнга Е и коэффициента Пуассона μ

а - схема последовательности операций по определению μ и Е

Число опытов, необходимое для достижения заданной точности, оценивается по способу, описанному в п. 5.35.

5.46. По значениям скоростей распространения продольных vP и релеевских vR волн при известной плотности мерзлой породы γ рассчитываются: коэффициент Пуассона μ, модуль Юнга Е, а также модули сдвига G и объемного расширения К, которые используются при расчетах воздействия динамических нагрузок, а также для оценки механических свойств по специально установленным корреляционным связям.

5.47. Для определения μ используются специальные номограммы, представляющие собой зависимость μ = μ(vR/vP) (рис. 7, кривая 1).

5.48. Динамический модуль Юнга E определяется по формуле

(9)

Значение E может быть найдено с помощью номограммы, приведенной на рис. 7. Для этого определяется точка пересечения ординаты, имеющей значение величины μ, с кривой 2 (см. схему рис. 7,а), затем абсциссы этой точки с прямой, соответствующей известному значению γ (3), и далее ординаты этой точки с прямой, соответствующей значению vP (4). Абсцисса этой точки является искомым значением E.

5.49. Вычисления G и K производятся по формулам:

(10)

(11)

5.50. При определении модулей упругости следует иметь в виду, что приведенные формулы и номограммы строго справедливы лишь для изотропных сред.

5.51. Для характеристики анизотропии мерзлых грунтов используется значение коэффициента анизотропии æP, являющегося отношением скоростей продольных волн, измеренных в двух взаимоперпендикулярных направлениях.

При слоистом строении породы направления измерения выбираются вдоль слоистости и перпендикулярно ей, которым соответствуют значения v"P и v'P. Тогда

æP = v"P/vP

(12)

В случае, когда строение заранее неизвестно, v"P и vP соответствуют максимальному и минимальному значениям скорости, измеренной в разных направлениях.

Измерение электрических параметров мерзлых грунтов

5.52. К электрическим параметрам пород относятся: удельное электрическое сопротивление (УЭС), диэлектрическая проницаемость, поляризуемость и электрохимическая активность.

В настоящем разделе рассмотрены рекомендации по измерению УЭС на постоянном и переменном токе.

5.53. Измерения УЭС мерзлых пород на образцах в лабораторных условиях рекомендуется проводить двухэлектродным способом. При измерениях четырехэлектродным способом существенное влияние на получаемые величины оказывают краевые эффекты, связанные с конечными размерами образца. Уменьшение размеров установки для ослабления этих эффектов приводит к тому, что ее размеры становятся соизмеримыми с неоднородностями структурного характера мерзлых пород, и, соответственно, делают невозможным измерение УЭС, характеризующих породу в целом.

5.54. При использовании двухэлектродного способа применение охранного кольца нецелесообразно в связи с тем, что вносимые им искажения электрического поля приводят к ошибкам более значительным, чем обусловленные недоучетом поверхностных токов.

5.55. В результате измерений двухэлектродным способом определяется общее сопротивление, включающее как сопротивление самого образца, так и переходное сопротивление контакта электрод-образец, количественная оценка которого может производиться двумя способами.

5.56. Первый способ основан на измерении общего сопротивления образца при двух базовых длинах l1, и lг и последующем определении УЭС и переходного сопротивления из системы уравнений:

(13)

где , . - общие сопротивления образцов длиной l1 и l2 соответственно; Rn - переходное сопротивление контакта электрод-образец; ρ - УЭС измеряемого образца; S - поперечное сечение образца.

;

(14)

(15)

5.57. Вторым способом является использование специальных номограмм ρ = ρ(Rобщ), которые строятся по результатам измерений УЭС на эталонных образцах с использованием первого способа оценки ρ. На рис. 8 приведена одна из таких номограмм, построенная для образцов размером 100×100×100 мм.

5.58. При двухэлектродном способе измерения УЭС необходимо, чтобы образцы имели правильную форму с постоянным сечением, перпендикулярным граням, к которым прикладываются электроды. В качестве электродов рекомендуется использовать медные пластины (фольгированный гетинакс) с графитовым порошком, который в виде промежуточного слоя располагается между медной пластиной и образцом, обеспечивая хороший электрический контакт. Естественная поляризация и временные поляризационные процессы при этом малы, что облегчает процесс измерения.

5.59. Сборку измерительной ячейки удобно производить следующим образом (рис. 9): один из электродов 1 помещается в кювету 4, покрывается тонким слоем графитового порошка 2; сверху ставится образец 5, по верхней кромке которого примораживается бортик из тонкой бумаги 3; в образовавшийся ограниченный объем насыпается графитовый порошок 2, электрод 1 помещается сверху с некоторой пригрузкой 7. При таком способе сборки исключается попадание порошка на боковые поверхности образца, которое может исказить определяемую величину УЭС. Толщина слоя графита между электродами и образцом не влияет на измеряемые параметры. Определяемое значение УЭС характеризует образец в направлении, перпендикулярном плоскости электродов.

5.60. Измерения на постоянном токе выполняются по схеме, представленной на рис. 10. Измеряемыми величинами являются падение напряжения на образце ΔV и ток I в питающей цепи. Для определения ΔV необходимо использовать вольтметры с большим внутренним сопротивлением (≥ 107 Ом), что обусловлено высокими значениями УЭС мерзлых пород. Наиболее целесообразно применение высокоточных цифровых вольтметров типа ВК7-10, В7-22. По этой же причине питание цепи осуществляется электрическими батареями с высоким значением ЭДС (типа 100-АМЦГ-4-180, 100-А4-190 и т.п.). Компенсатор поляризации собирается по мостовой схеме.

5.61. Перед каждым измерением необходимо произвести компенсацию ЭДС поляризаций. Отсчет значений ΔV и I следует производить одновременно и по возможности сразу после включения питания. Каждое измерение следует проводить не менее трех раз и в качестве результата брать среднее арифметическое.

Рис. 8. Номограмма определения УЭС по величине общего сопротивления образца Rобщ.

Рис. 9. Электроизмерительная ячейка

1 - медные электроды; 2 - графитовый порошок; 3 - бортик; 4 - кювета; 5 - образец; 6 - провода; 7 - пригруз

Рис. 10. Схема измерений на постоянном токе

1 - образец; 2 - электроды; 3 - источник питания (батарея); 4 - измеритель силы тока; 5 - компенсатор поляризации; 6 - измеритель напряжения

Рис. 11. Схема измерений на переменном токе

1 - образец; 2 - электроды; 3 - источник питания (генератор); 4 - эталонное сопротивление

По результатам измеренных ΔV и I вычисляется общее сопротивление образца Rобщ с учетом внутреннего сопротивления вольтметра Rпр:

(16)

5.62. Оценка точности измерений общего сопротивления производится обычным способом по формуле (14) с использованием паспортных данных применяемых приборов.

(17)

Относительная ошибка измерения УЭС равна сумме δRобщ и ошибки определения линейных размеров образца.

5.63. Специфические особенности измерений на переменном токе состоят в следующем.

При измерении электрического сопротивления на переменном токе прежде всего необходимо учитывать комплексный характер этого параметра

Z = R + ix,

(18)

где R - активная составляющая, равная омическому сопротивлению на постоянном токе; x - реактивная составляющая, которая может иметь емкостный или индуктивный характер.

Определение УЭС на переменном токе предполагает измерение активной составляющей R комплексного сопротивления мерзлой породы. Следовательно, условия проведения эксперимента должны максимально исключать влияние реактивной составляющей x на результаты измерения. Для этого частота переменного тока пои измерении УЭС мерзлых пород должна выбираться не выше 106 Гц. При f < 106 Гц влиянием токов смещения как одной из причин появления реактивной составляющей можно пренебречь.

5.64. Измерения на переменном токе выполняются по схеме, представленной на рис. 11. Измеряемыми величинами при данной схеме установки являются падение напряжения на образце ΔV и на эталонном сопротивлении ΔVЭТ, по которому определяется ток в питающей цепи I = ΔVЭТ/RЭТ. Установка должна быть собрана таким образом, чтобы были исключены паразитные емкостные связи между соединительными проводами. Это достигается пространственным разнесением соединительных проводов с применением экранизирующей металлической оплетки. Для исключения непосредственного влияния генератора на измеритель через общий источник питания (сетевое питание) желательно, чтобы генератор и измерители переменного тока имели не сетевое, а автономное (батарейное) питание, или, по крайней мере, генератор - батарейное питание, а измерители - сетевое, или наоборот: генератор - сетевое, а измерители - батарейное.

5.65. При измерении УЭС на переменном токе необходима защита от электромагнитных помех, приводящих к существенным ошибкам определения ΔV и I.

Наиболее эффективным средством против помех является экранирование помещения. При измерениях в климатических камерах с металлическим корпусом экранные оплетки соединительных проводов, находящихся вне камеры, необходимо соединять с корпусом. Значительное снижение уровня помех может быть достигнуто применением селективных вольтметров (типа В6-14).

5.66. По результатам измерений ΔV и ΔVЭT вычисляется общее сопротивление образца по формуле

Rобщ = (ΔVRЭТ)/ΔVЭТ.

(19)

По найденному значению Rобщ определяется УЭС одним из способов, описанных в пп. 5.55; 5.56. Методические исследования показали, что на переменном токе переходные сопротивления незначительны и в первом приближении могут вообще не учитываться. В таком случае

ρ = (RобщS)/l.

(20)

5.67. Точность определения УЭС на переменном токе оценивается по тем же принципам, что и на постоянном (п. 4.62).

5.68. Для образцов со слоистой и слоисто-сетчатой криотекстурой следует определять коэффициент анизотропии УЭС по формуле

(21)

где ρn - УЭС, измеренное в направлении, перпендикулярном слоистости; ρt - УЭC в направлении вдоль слоистости.

Изучение состава и криогенного строения мерзлого грунта с помощью геофизических методов

5.69. Разработка методики исследований предполагает:

изучение связей между геофизическими параметрами мерзлых грунтов и факторами, определяющими состав и строение грунтов;

анализ возможностей использования различных геофизических параметров для комплексной оценки состава и криогенного строения мерзлых грунтов.

5.70. Изучение связей геофизических параметров с параметрами состава и строения наиболее целесообразно проводить на искусственных образцах, приготовленных одним из способов, описанных в п. 4.10 и отвечающих требованиям п. 4.10.

5.71. Совокупность образцов должна представлять, собой некоторую последовательность по каждому из изучаемых факторов. Диапазон измерения этих факторов должен охватывать возможные реальные их значения в натурных условиях. Шаг дискретного варьирования факторов выбирается с учетом необходимой детальности исследований.

5.72. Из основных факторов, перечисленных в пп. 3.4; 3.5, в первую очередь следует рассматривать температуру, литологический состав и объемную влажность грунтов. Целесообразность выбора объемной влажности обусловливается тем, что ее изменение приводит к изменению содержания газовой компоненты в грунтах при неполном заполнении пор водой и льдом, и к изменению содержания минеральной части, а следовательно, и объема льда и незамерзшей воды во влагонасыщенных мерзлых грунтах.

5.73. Основными параметрами криогенной текстуры в соответствии с п. 3.2 являются размеры и ориентировка шлиров льда.

В наиболее простом случае слоистой криотекстуры строение может быть описано относительной толщиной шлиров льда.

(22)

где  - толщина единичного шлира льда; hn - толщина единичного минерального прослоя; i - номер слоя; N - число шлиров льда или минеральных прослоев в образце.

5.74. Исследования, выполненные с учетом вышеизложенных положений, должны дать зависимости удельных электрических сопротивлений ρ, скорости распространения продольных упругих волн vp и коэффициентов анизотропии этих параметров λ, æ от температуры θ, объемной влажности Wоб и относительной толщины шлиров льда Q для каждой из исследуемых литологических разностей пород.

5.75. В качестве примера изучения указанных зависимостей могут быть рассмотрены результаты лабораторных экспериментов, выполненных на образцах со слоистой криогенной текстурой. Независимыми переменными были выбраны четыре фактора: литологический состав - эксперименты проводились на двух видах грунта с разным содержанием глинистой фракции, влажность - при изготовлении образцов влажность минеральной пасты составляла 48, 52 и 63%, параметры текстуры - относительная толщина ледяных шлиров Q задавалась дискретным рядом от 0 до 1 с шагом 0,25, температура - диапазон ее изменений минус 1 -минус 12°С.

5.76. Для глинистых и суглинистых грунтов получены следующие закономерности изменения акустических свойств, схематично показанные на рис. 12.

Увеличение объемной влажности и понижение температуры вызывает увеличение скоростей продольных волн как при распространении их вдоль v"P, так и поперек v'P слоистости.

Зависимость v'P от объемной влажности Wоб при любой мощности шлиров льда совпадает с зависимостями vP(Wоб) для грунтов с массивной или равномерно-сетчатой криотекстурой. В данном случае изменение скоростей с достаточной степенью точности описывается законом среднего времени, т.е.

(23)

где vобщ, , vМ - скорость упругих волн, распространяющихся в породе, во льду и в минеральной части соответственно.

Скорости продольных волн, распространяющихся вдоль слоистости, при увеличении влажности минеральных прослоев изменяются таким же образом, как и vp, в то время как при увеличении относительной толщины шлиров льда, ее изменение носит существенно другой характер. В первом случае интенсивность возрастания скорости увеличивается (см. рис. 12), во втором - уменьшается.

Величина коэффициента анизотропии упругих скоростей æ при повышении отрицательной температуры увеличивается. Зависимость æ от относительной толщины параллельных шлиров льда Q носит экстремальный характер. В силу этого определение величины Q неоднозначно даже при фиксированной температуре.

5.77. Совпадение скоростей упругих волн, распространяющихся в разных направлениях, указывает на то, что исследуемая порода имеет массивную или равномерно-сетчатую текстуру. В этом случае значение vр для данной литологической разности грунта при некоторой фиксированной температуре позволяет определить объемную влажность и оценить льдистость за счет ледяных включений.

Рис. 12. Характер зависимостей vР, æ, р и λ от температуры θ и относительной толщины слоев Q

Для решения последней задачи необходимо знать характерную для данного грунта минимальную влажность минеральных прослоев, которая обусловлена только льдом-цементом.

5.78. Отличие скоростей упругих волн в различных направлениях указывает на наличие ориентированной системы шлиров. Для нахождения их ориентировки необходимо определить взаимоперпендикулярные направления, значения скоростей, по которым vР отличаются максимально. Большему значению скорости  отвечает направление преимущественной ориентировки шлиров льда.

Рис. 13. Схема определения параметров грунтов со шлировыми криогенными текстурами по скоростям упругих волн:

1 - исходные параметры; 2 - определяемые параметры

Минимальное значение скорости , как и в случае массивной или равномерно-сетчатой криогенной текстуры, определяет величину объемной влажности и льдистости.

5.79. Вычисленное значение æ. в случае слоистой криотекстуры грунта позволяет определить среднюю относительную толщину шлиров льда Q. Для устранения неоднозначности определения Q необходимо принимать во внимание полученные значения льдистости за счет ледяных включений .

5.80. Оценка параметров слоисто-сетчатых текстур представляется возможной с помощью номограмм, связывающих льдистость за счет ледяных включений и относительную среднюю толщину шлиров льда. Схематично связь между этими величинами может быть описана следующим образом. Одному и тому же значению  может соответствовать различная толщина шлиров основной системы. Малые значения æ указывают на сетчатую криотекстуру, большие - на преимущественно слоистую криотекстуру.

5.81. Пути определения параметров грунтов со шлировой криотекстурой по значениям скоростей упругих волн могут быть пояснены схемой, показанной на рис. 13.

5.82. Для электрических свойств основные установленные закономерности имеют принципиально тот же характер, что и для акустических, но значение УЭС и λ изменяются в существенно больших пределах (см. рис. 12).

УЭС мерзлых пород с повышением объемной льдистости возрастает; чем ниже температура, тем эта зависимость имеет больший наклон. Интенсивность возрастания УЭС в направлении, перпендикулярном слоям, при этом меньше, чем для УЭС вдоль слоистости.

Понижение температуры вызывает повышение УЭС мерзлых пород в обоих направлениях.

Коэффициент анизотропии УЭС λ для пород со слоистой криогенной текстурой как функция относительной толщины слоев льда Q имеет максимум при Q = 0,5. Коэффициент λ для сильнольдистых пород обладает ярко выраженной температурной зависимостью, резко убывая при понижении температуры. Для слабольдистых грунтов график λ(θ) более плавный и величина λ существенно меньше.

5.83. По значениям УЭС и λ могут быть оценены те же параметры, что и по значениям vР и æ на основе использования зависимостей и приемов, аналогичных рассмотренным в пп. 5.77 - 5.81.

5.84. Параметры криогенных текстур могут быть оценены аналитическим способом при наличии информации об УЭС льда в породе и УЭС породы с массивной криогенной текстурой, которая может быть получена в результате специально проведенных экспериментов.

5.85. Для слоистых криогенных текстур ρП и ρt через объемную льдистость Q выражаются следующими формулами:

ρП = ρМ(1 - Q) + Q;

(24)

(25)

где ρМ - УЭС минеральных прослоев;  - УЭС льда шлиров.

Эти уравнения позволяют рассчитывать объемную льдистость различными способами в зависимости от наличия тех или иных измеренных значений УЭС.

5.86. На основании аналитических зависимостей могут быть построены специальные монограммы, связывающие льдистость и текстурные характеристики с величиной УЭС минеральных прослоев (породы с массивной криотекстурой), льда всей породы и коэффициентом анизотропии.

5.87. Связь УЭС с минерализацией поровой воды и замкнутостью проводящих каналов, кроме того, открывает принципиальную возможность получения информации о специфических особенностях состава и строения - засоленности грунта и степени прерывистости шлиров.

Информацию о засоленности мерзлых грунтов можно получить с помощью зависимости ρ от льдистости к минерализации, опираясь на данные о льдистости, предварительно полученные по упругим характеристикам.

Замкнутость системы шлиров льда может быть оценена по результатам анализа данных всех зависимостей акустических и электрических измерений.

5.88. Совместное использование полученных зависимостей делает возможным определение основных параметров, характеризующих состав и строение мерзлых грунтов, по результатам измерения скоростей продольных волн и УЭС в различных направлениях.

5.89. Одновременное использование электрических и акустических характеристик для оценки одних и тех же параметров состава и строения грунта позволяет значительно повысить достоверность получаемых результатов.

 

 




ГОСТЫ, СТРОИТЕЛЬНЫЕ и ТЕХНИЧЕСКИЕ НОРМАТИВЫ.
Некоммерческая онлайн система, содержащая все Российские Госты, национальные Стандарты и нормативы.
В Системе содержится более 150000 файлов нормативно-технической документации, действующей на территории РФ.
Система предназначена для широкого круга инженерно-технических специалистов.

Рейтинг@Mail.ru Яндекс цитирования

Copyright © www.gostrf.com, 2008 - 2026