Крупнейшая бесплатная информационно-справочная система онлайн доступа к полному собранию технических нормативно-правовых актов РФ. Огромная база технических нормативов (более 150 тысяч документов) и полное собрание национальных стандартов, аутентичное официальной базе Госстандарта. GOSTRF.com - это более 1 Терабайта бесплатной технической информации для всех пользователей интернета. Все электронные копии представленных здесь документов могут распространяться без каких-либо ограничений. Поощряется распространение информации с этого сайта на любых других ресурсах. Каждый человек имеет право на неограниченный доступ к этим документам! Каждый человек имеет право на знание требований, изложенных в данных нормативно-правовых актах!

  


 

ФЕДЕРАЛЬНОЕ ДОРОЖНОЕ АГЕНТСТВО
МИНИСТЕРСТВА ТРАНСПОРТА РОССИЙСКОЙ ФЕДЕРАЦИИ

Федеральное государственное унитарное предприятие
«Информационный центр по автомобильным дорогам»

Автомобильные дороги и мосты

Инновационные конструктивно-технологические решения в транспортном тоннелестроении

Обзорная информация

Выпуск 1 - 2005

СОДЕРЖАНИЕ

1. ВВЕДЕНИЕ

2. РАЦИОНАЛЬНЫЕ КОНСТРУКТИВНЫЕ РЕШЕНИЯ ТОННЕЛЕЙ

2.1. Конструкции из монолитного железобетона

2.2. Крупногабаритные сборные железобетонные конструкции

2.3. Сталебетонные композитные конструкции

2.4. Контрфорсные конструкции, возводимые по технологии «стена в грунте»

3. ЭФФЕКТИВНЫЕ СПОСОБЫ СТРОИТЕЛЬСТВА ТОННЕЛЕЙ

3.1. Полуоткрытые способы

3.2. Применение щитов прямоугольного поперечного сечения

3.3. Адаптивная опережающая крепь

3.4. Применение компенсационного нагнетания стабилизирующих составов

3.5. Меры по защите тоннелей от подземных вод

ЗАКЛЮЧЕНИЕ

СПИСОК ЛИТЕРАТУРЫ

 

В данном выпуске обзорной информации отражены прогрессивные тенденции современного мирового опыта проектирования и строительства транспортных тоннелей в разнообразных топографических, градостроительных и инженерно-геологических условиях.

В первом разделе описано строительство рациональных конструкций тоннелей мелкого заложения. Анализируются конструкции из монолитного железобетона, а также крупногабаритные конструкции кругового и сводчатого очертания из сборного железобетона в качестве обделок тоннелей, сооружаемых как закрытым, так и открытым способом. Рассмотрены эффективные композитные сталебетонные конструкции тоннелей в виде стальных оболочек с ребрами жесткости, между которыми укладывается монолитный бетон. Уделено внимание рациональным контрфорсным конструкциям, выполненным по технологии «стена в грунте» из монолитного или сборно-монолитного железобетона.

Во втором разделе обзора рассматриваются нетрадиционные технологии проходки тоннелей: полуоткрытый способ и его разновидности («кернтнерский», «рамной крепи» и др.); применение механизированных щитов прямоугольного поперечного сечения; использование специальных видов опережающей крепи (экраны из труб, бетонные своды, стабилизированный грунт). На примерах из отечественной и зарубежной практики подземного строительства рассмотрены различные методы и средства компенсационного нагнетания и стабилизационные меры, включающие искусственное водопонижение с компенсирующей доливкой воды в грунт, создание противофильтрационных завес и дренажных систем.

Обзор подготовили кандидаты техн. наук Л.В. Маковский, С.В. Чеботарев, инж. Н.А. Сула (МАДИ - ГТУ).

1. ВВЕДЕНИЕ

В последние десятилетия наблюдается интенсивное развитие транспортного тоннелестроения, обусловленное расширением сети магистральных дорог, увеличением объемов пассажирских и грузовых перевозок, дальнейшим совершенствованием транспортной инфраструктуры.

В настоящее время в Европе эксплуатируются более 10 тыс. км транспортных тоннелей, причем только за последние 15 лет их протяженность увеличилась на 2 тыс. км [1].

Аналогичная картина характерна и для стран юго-восточной Азии, где с 1990 г. построено 2350 км тоннелей, Северной и Южной Америки. Сегодня в мире реализуются около 650 проектов крупных тоннельных сооружений, причем годовые капиталовложения достигли уровня (без Японии) 40 млрд. долл. США [2].

Среди крупнейших горных автодорожных тоннелей, построенных за последние годы, можно выделить тоннель Лаердал длиной 24,5 км в Норвегии, дна параллельных тоннеля длиной по 19,6 км через Тюрингский лес в Германии, два параллельных тоннеля Хида длиной по 10,75 км между г.г. Нагоей и Тоями в Японии.

Наиболее крупные подводные автодорожные тоннели построены под Токийской бухтой в Японии (два параллельных тоннеля длиной по 10 км и диаметром 14,14 м), под р. Эльбой в Германии (длиной 3,1 км, диаметром 14,2 м), тоннель Бэмлафиорд в Норвегии длиной 7,9 км, тоннель Вестершельде длиной 6,6 км и диаметром 11,33 м в Нидерландах [3].

К крупнейшим городским тоннелям можно отнести подземную сеть Central Artery в г. Бостоне (США) общей протяженностью 11,3 км, два тоннеля на автомагистрали А86 в г. Париже (Франция) длиной 10 и 7,5 км и диаметром 11,75 м, железнодорожные тоннели между аэропортами в г. Нью-Йорке (США).

Ведется строительство грандиозных базовых Tранcальпийских железнодорожных тоннелей: Сент-Готард (длиной 57 км), Бреннер (длиной 55 км), Летчберг (длиной 37,6 км), Земмеринг (длиной 20,9 км), тоннеля Квинлинг длиной 18,5 км в Китае и др.

Намечено строительство уникальных подводных тоннелей: под проливами Ла-Манш (второй тоннель длиной около 50 км), Босфор (длиной 13,3 км), Гибралтар (длиной 38,7 км), под p.p. Гудзон и Ист-Ривер в г. Нью-Йорке (соответственно длиной 1,8 и 1,7 км).

В нашей стране за последние годы построены горные автодорожные тоннели на Кавказе (Краснополянскнй длиной 2,5 км, Мацестинский длиной 1,31 км, Шаумяновскнй длиной 1,1 км), а также протяженные городские автотранспортные тоннели в г. Москве (Кутузовская развязка из шеста тоннелей общей длиной 3,05 км, Гагаринская развязка, включающая автодорожный тоннель длиной 900 м, Лефортовские тоннели глубокого и мелкого заложения соответственно длиной 3,2 и 2,5 км) и г. Уфе (два параллельных тоннеля длиной по 1,25 км каждый).

Ведется строительство двухъярусного транспортного тоннеля по трассе Краснопресненского проспекта в г. Москве. Два параллельных тоннеля длиной 2,5 км предназначены для пропуска автомобилей в верхнем ярусе и поездов метрополитена в нижнем ярусе [4].

В последнее время достигнут значительный прогресс в науке и технике тоннелестроения. Ежегодно на основе результатов научных исследований появляются новые конструктивные и технологические решения, внедряются более совершенные механизмы и оборудование, развиваются прогрессивные приемы и методы ведения тоннелестроительных работ.

Многие достижения в области тоннельного строительства становятся возможными за счет использования наукоемких инновационных технологий в сочетании с использованием компьютерной техники, автоматизированных систем управления технологическими процессами.

Благодаря прогрессивным информационным технологиям создается единая база для необходимых инженерных решений при проектировании тоннелей на конкретных строительных площадках в любом регионе, в различных топографических, градостроительных и инженерно-геологических условиях. Наиболее эффективные решения и новации быстро становятся достоянием специалистов многих стран и реализуются на практике.

Таким образом, тоннелестроение становится наукоемкой индустриальной отраслью и характеризуется все более широким применением инновационных и адаптивных технологий на основе прогрессивных экономичных конструкций и высокопроизводительных автоматизированных тоннелепроходческих комплексов, современных строительных материалов, рациональных методов организации работ, обеспечивающих высокие темпы строительства при соблюдении технической и экологической безопасности.

Ниже приводится описание новых конструкций и технологии строительства тоннелей, применение которых повысит эффективность тоннелестроения. Из-за ограниченности объема вопросы гидроизоляции тоннелей не нашли отражение в обзорной информации и будут рассмотрены в 2005 г. в виде отдельной статьи, помещенной в одном из научно-технических информационных сборников Информавтодора.

2. РАЦИОНАЛЬНЫЕ КОНСТРУКТИВНЫЕ РЕШЕНИЯ ТОННЕЛЕЙ

2.1. Конструкции из монолитного железобетона

В настоящее время при строительстве транспортных тоннелей горным и открытым способами в нашей стране и за рубежом применяют преимущественно конструкции из монолитного бетона и железобетона. Использование универсальных облегченных опалубок и подмостей, мощного и высокопроизводительного бетонодоставочного и бетоноукладочного оборудования приближает процесс возведения конструкций к заводской технологии, обеспечивая высокое качество сооружения при высоких темпах строительства.

Об этом, в частности, свидетельствует опыт строительства многочисленных тоннельных и мостовых сооружений в г. Москве (по трассе МКАД, на Третьем транспортном кольце) [5, 6] и в других городах России и за рубежом.

За последние годы в г. Москве, в связи с реализацией программы строительства внутригородского транспортного кольца, было построено и введено в эксплуатацию множество инженерных сооружений, включающих в себя автотранспортные мосты, эстакады, тоннели, подпорные стены. Конструкции практически всех сооружений выполнены из монолитного железобетона. Среди них наибольший интерес представляют новые тоннельные транспортные развязки под Кутузовским проспектом и площадью Гагарина, тоннели мелкого заложения в районе Лефортово.

Кутузовская транспортная развязка включает в себя два центральных автотранспортных тоннеля длиной 610 м для движения автомобилей по Третьему транспортному кольцу, четыре боковых тоннеля для обеспечения движения в разных направлениях (съезды и выезды на Кутузовский проспект), а также подземный комплекс с технологическими и торговыми помещениями, пешеходной зоной и переходом под Кутузовским проспектом [7].

Конструкция закрытой части тоннеля представляет собой многопролетную рамную систему, в которой впервые удалось объединить шесть автотранспортных тоннелей. Ширина двух центральных тоннелей, предназначенных для трехполосного движения в каждом направлении, составляет 10,75 м, ширина боковых тоннелей - 7 м, высотный габарит проезда - 5 м. Все несущие конструкции выполнены из монолитного железобетона. Перекрытие тоннеля представляет собой плоскую плиту, опирающуюся на стены, выполненные по технологии «стена в грунте», и на промежуточные колонны из буронабивных свай.

Конструкция открытых (рамповых) участков тоннеля представляет собой П-образную раму с монолитным железобетонным лотком и стенами, перекрытую сверху на некоторых участках защитной металлической рамной конструкцией.

Крупной транспортной развязкой, введенной в эксплуатацию в конце 2001 г., является тоннельный комплекс под площадью Гагарина [8]. Он включает в себя автотранспортный тоннель с длиной закрытой части 894 м и рамповой - 211 м, железнодорожный тоннель длиной 925 м, одно- и двухъярусные подземные автостоянки, пешеходные переходы, а также служебные и технологические помещения для обслуживания и нормальной эксплуатации тоннелей.

Конструкция тоннельного комплекса представляет собой прямоугольную многоярусную раму, выполненную из монолитного железобетона (рис. 1). В верхней части конструкции расположен автотранспортный тоннель. Он включает в себя две основные проезжие части шириной 16,5 м для четырехполосного автомобильного движения в каждом направлении, разделенные центральным вентиляционным каналом шириной 3 м. Высота проезда в тоннеле составляет 5,25 м. Кроме того, предусмотрены боковые тоннели для съездов и выездов на поверхность, обеспечивающие двухуровневую развязку автомобильного движения с Ленинским проспектом. Перекрытие тоннеля выполнено в виде монолитной ребристой предварительно напрягаемой конструкции общей толщиной 1,2 - 1,6 м. Такое решение было принято исходя из необходимости перекрытия больших пролетов закрытой части тоннеля, изменяющихся от 19 до 30 м. Перекрытие опирается на монолитные степы толщиной 0,8 - 1,0 м. Лоток автотранспортного тоннеля имеет толщину 0,6 м и является одновременно перекрытием для подземной автостоянки, расположенной под проезжей частью.

Рис. 1. Конструкция автотранспортного тоннеля под площадью Гагарина:

1 - автотранспортный тоннель; 2 - вентиляционный канал; 3 - автостоянка, 4 - кабели коммуникаций; 5 - облицовка

Подземная автостоянка на 637 автомобилей располагается под автотранспортным тоннелем практически на всем его протяжении. Автостоянка имеет одно- либо двухъярусную конструкцию и является частью всего тоннельного комплекса. Перекрытия автостоянки толщиной 0,4 - 0,6 м опираются на колонны размером 0,6×0,6 м с шагом 7,5 м и заделаны в ограждающие продольные железобетонные стены тоннеля. Высота ярусов автостоянки составляет 3,1 - 3,4 м в зависимости от уклонов приезжей части автотранспортного тоннеля.

Уникальными подземными инженерными сооружениями являются автотранспортные тоннели мелкого заложения в районе Лефортово [9]. Здесь построены и сданы в эксплуатацию и конце 2003 г. два тоннеля. Тоннель № 1 длиной 1,43 км предназначен для одностороннего движения автомобилей от Спартаковской площади до набережной р. Яузы с возможностью бокового выезда на поверхность в районе улицы Малая Почтовая. По тоннелю № 2 длиной 1,30 км осуществляется одностороннее движение автомобилей от набережной р. Яузы до шоссе Энтузиастов с возможностью бокового въезда в тоннель со стороны улицы Золоторожский вал. В настоящее время эти тоннели считаются самыми длинными автотранспортными тоннелями мелкого заложения в г. Москве. Уникальность этих тоннелей объясняется не только их длиной, но и новыми конструктивными и технологическими решениями, принятыми при проектировании тоннелей, а также трудностями строительства, связанными со стесненными условиями городской застройки и насыщенностью инженерными коммуникациями. Необходимо отметить и высокие темпы строительства тоннелей - последнего замыкающего участка Третьего транспортного кольца.

Конструкция тоннельной обделки представляет собой прямоугольную рамную систему на естественном основании, выполненную из монолитного железобетона (рис. 2). При проектировании тоннельной обделки впервые было принято новое необычное решение, касающееся конструкции перекрытия.

Рис. 2. Конструкция тоннеля мелкого заложения в районе Лефортово:

1 - проезжая часть; 2 - кабельный канал; 3 - световой канал; 4 - вентиляционный капал; 5 - водоотводная труба

Оно представляет собой железобетонную ферму с двумя параллельными поясами (плитами), объединенными со стенами тоннеля, и вертикальными перегородками. Нижняя плита перекрытия имеет толщину 0,6 м, верхняя - 0,5 м. Перегородки выполнены разной ширины: две крайние по 0,6 м, центральные по 0,3 м.

Такое решение позволило перекрыть большие пролеты длиной 18, 20, а местами и до 30 м, а также разместить между поясами фермы-перекрытия технологические и служебные помещения. Кроме того, удалось отказаться от сооружения ребристого, а также предварительно напряженного перекрытия при больших пролетах и на участках с большой глубиной засыпки (до 6 м).

Перекрытие тоннеля опирается на монолитные стены толщиной 0,6 м. В стенах тоннеля предусмотрены ниши под пожарные и электрические шкафы, светильники, указатели путей эвакуации, а также дверные проемы (через каждые 100 м) для эвакуации людей из тоннеля через аварийные выходы в случае чрезвычайных ситуаций. Стены тоннеля покрыты облицовкой «Краспан» для защиты их от внешних неблагоприятных воздействий транспортных средств. Облицовка создает благоприятный внешний вид стен, а также удобна при их мойке специальной техникой.

Толщина лотка изменяется в зависимости от поперечного уклона проезжей части и составляет не менее 1,0 - 1,2 м в самом узком месте. Под лотком с правой стороны по ходу движения по всей длине тоннеля предусмотрена водоотводная железобетонная труба диаметром 0,6 м для отвода сточных вод с проезжей части.

Сбоку от тоннелей через 250 - 300 м, а также сверху, в местах наибольшей глубины заложения, расположены комплексы технологических помещений.

По длине конструкция тоннельной обделки разделена на отдельные секции длиной 40 - 60 м деформационными швами, которые обеспечивают возможность взаимного перемещения секций от температурных воздействий и возможных неравномерных осадок по длине тоннеля.

Наряду с подземными сооружениями Третьего транспортного кольца за последние годы в г. Москве построен ряд новых тоннелей мелкого заложения в монолитном исполнении. Среди них тоннель на Волоколамском шоссе под каналом им. Москвы, тоннель вдоль проспекта Мира у улицы Б. Галушкина, тоннель в створе Новоалексеевской улицы.

Тоннель под проспектом Мира у Новоалексеевской улицы предназначен для одностороннего двухполосного движения транспортных средств [10]. Тоннель имеет общую длину 500 м, из них закрытая часть - 150 м. Ширина тоннеля в свету составляет 11,5 м, высотный габарит - 5 м (рис. 3). Обделка тоннеля выполнена в виде однопролетной монолитной рамной конструкции. Стены толщиной 0,8 м тоннеля возведены по технологии «стена в грунте». На них опирается перекрытие толщиной 0,8 м, имеющее боковые выступы длиной по 7,2 м, выполняющие роль переходных плит. Лоток тоннеля толщиной 0,6 м служит постоянной распоркой между стенами.

Рис. 3. Конструкция тоннеля на проспекте Мира:

1 - безбалочное перекрытие; 2 - переходные плиты; 3 - стена; 4 - лотковая плита; 5 - песчаная отсыпка

Тенденции в развитии строительного производства в г. Москве указывают на то, что в последнее время в строительной практике происходит вытеснение сборных железобетонных конструкций подземных сооружений и замена их монолитными. Применение монолитного железобетона обеспечивает достаточно высокое качество несущих элементов строительных конструкций за счет укладки бетонной смеси новым современным бетонолитным оборудованием с соблюдением всех требований к состоянию бетонной смеси и технологии ее укладки, за счет твердения бетона в естественных условиях и надлежащего ухода за ним, применения высококачественной щитовой опалубки. Монолитный железобетон обеспечивает возможность устройства узлов требуемой жесткости и исключает концентрацию напряжений в элементах конструкций. Возможность создания из монолитного железобетона конструкций различных размеров и конфигураций на месте строительства исключает проблемы, связанные с транспортировкой крупноблочных элементов на стройплощадку в городских условиях. Отсутствие стыковочных швов и зазоров обеспечивает более хорошую работу конструкции в целом, делает ее приемлемой с точки зрения более надежной гидроизоляции элементов, а также благоприятного внешнего вида.

2.2. Крупногабаритные сборные железобетонные конструкции

Несмотря на широкое применение конструкций тоннелей из монолитного железобетона, полное вытеснение из строительного процесса сборного и сборно-монолитного железобетона представляется нецелесообразным. Сборные конструкции имеют целый ряд неоспоримых преимуществ перед монолитными, особенно при строительстве протяженных («линейных») сооружений, имеющих постоянные форму и размеры поперечного сечения на всем протяжении. Это гарантированное заводское качество изготовления, подтвержденное строгим технологическим контролем, быстрота возведения, моментальное вступление конструкции в работу. При наличии сплошной наружной гидроизоляции и надежных деформационных швов отрицательное влияние стыков сборных элементов на работу конструкции несущественно.

Как свидетельствует современный опыт транспортного строительства, применение наряду с монолитным сборного железобетона при соответствующих условиях (наличие вблизи места строительства завода ЖБК, благоприятные условия транспортирования и монтажа сборных элементов) дает существенный технико-экономический эффект, сокращая сроки и стоимость строительства.

Во многих странах успешно применяют крупноблочные тоннельные обделки из железобетонных элементов повышенной водонепроницаемости с упругими уплотнителями в стыках. Такие блоки массой до 20 т использовали на строительстве подводных тоннелей под Суэцким каналом в АРЕ, под Токийской бухтой в Японии, под р. Эльбой в Германии, на ряде тоннелей метрополитена, в том числе в г.г. Москве и Казани и закрытой части автотранспортного тоннеля глубокого заложения в районе Лефортово по трассе Третьего транспортного кольца в г. Москве [11, 12].

Обделка Лефортовского тоннеля глубокого заложения на участке щитовой проходки длиной 2,21 км выполнена в виде колец наружным диаметром 13,75 м и внутренним - 12,35 м. Каждое кольцо состоит из крупных железобетонных блоков толщиной 0,7 м, шириной 2 м и массой 18 т (рис. 4). Блоки изготовлены из высокопрочного (В55) и водонепроницаемого бетона в специальных формах, обеспечивающих точность геометрических размеров ±2 мм.

Рис. 4. Конструкция тоннеля глубокого заложения в районе Лефортово:

1 - сборные железобетонные блоки; 2 - монолитные опорные тумбы; 3 - монолитная плита проезжей части

Радиальные стыки между блоками плоские, а кольцевые имеют выступы и пазы. Для связи блоков между собой по кольцевым и радиальным граням предусмотрены временные болты, которые демонтируют после монтажа очередного кольца обделки.

Для повышения жесткости обделки предусмотрена перевязка швов соседних колец. В качестве гидроизоляции обделки используют два контура уплотнительных прокладок из эластомера.

Аналогичную обделку применяют на строительстве двухъярусного автотранспортного тоннеля под Серебряноборским лесничеством в г. Москве.

Обделка подводного тоннеля под Токийской бухтой в Японии состоит из сборных железобетонных колец наружным диаметром 13,9 м, толщиной 0,65 м и шириной 1,5 м. Связь между блоками обеспечивается длинными болтами в кольцевом и радиальном направлениях. Для компенсации возможных деформаций во время землетрясений в точках соединения обделки со стволом тоннеля установлены гибкие блоки. Сборная обделка рассчитана на все действующие нагрузки от грунта, воды и сейсмических воздействий. Для предотвращения всплытия тоннеля предусмотрена вторичная обделка из монолитного железобетона толщиной 0,35 м.

Для изготовления блоков, работающих в условиях агрессивного воздействия морской воды, был применен бетон высокой прочности и минимальной водопроницаемости на основе доменных шлаков. Блоки испытывали па уменьшенных и полноразмерных моделях с микроскопическим исследованием структуры бетона.

Примером успешного применения крупногабаритных сборных железобетонных конструкций может служить строительство участка тоннеля Майко в Японии [13]. Тоннель расположен в г. Кобе по трассе автомагистрали Хонсю - Сикоку и рассчитан на шестиполосное движение транспортных средств в обоих направлениях. Длина тоннеля 3,3 км, площадь поперечного сечения - 150 м2.

Южный участок тоннеля длиной 232 м, проходящий по плотнозастроенной городской территории, сооружен открытым способом. Площадь над тоннелем в настоящее время используется под муниципальный парк. С целью минимизации сроков строительства, сокращения трудозатрат, снижения шума и вибрации, обеспечения безопасности работ применили новое конструктивно-технологическое решение: преднапряженные арочные конструкции из сборного железобетона с омоноличеннымн стыками.

Двухсводчатая арочная конструкция с центральным пилоном, толщина которого изменяется от 0,6 до 2,95 м, расположена на глубине 1,5 м от поверхности земли. Лотковая часть и стены тоннеля выполнены из монолитного железобетона, а сводчатое перекрытие - из сборных железобетонных элементов: двух бесшарнирных арок с омоноличеннымн стыками в замковом и пятовом сечениях в местах соединения со стенами и пилоном. Общий вид конструкции тоннеля приведен на рис. 5.

Использование сборного железобетона оправдано, в частности, тем, что на протяжении всего 232-метрового участка размеры и форма тоннеля не меняются. Введение преднапряжения в стыках позволило снять концентрацию напряжений в углах и других сечениях свода, где имеет место резкое изменение размеров, и уменьшить деформации конструкции. Такая обделка характеризуется также повышенной сейсмостойкостью.

Блоки арочного перекрытия изготовлены из бетона класса по прочности на сжатие В45, что позволило снизить их массу и лучше воспринимать усилия предварительного натяжения арматуры.

Рис. 5. Общий вид двухсводчатой конструкции:

1 - сборные железобетонные полуарки; 2 - монолитный железобетон; 3 - пилон; 4 - лоток; 5 - стена

Поскольку монолитные пилоны воспринимают усилия преднапряжения в верхней части, их выполняли из бетона класса В30, а для лотковой плиты использовали бетон класса В24. Преднапрягаемая арматура имела расчетные сопротивления 930 и 1080 Н/мм2, а ненапрягаемая - 345 Н/мм2.

Строительство участка тоннеля вели в открытом котловане по поточной схеме. Сборные железобетонные блоки были изготовлены с использованием жестких стальных опалубочных форм и арматурных каркасов и доставлены на стройплощадку трейлерами. Монтаж блоков выполняли гидравлическим гусеничным краном. По мере монтажа производили инструментальный контроль за деформациями конструкций. Арочные элементы устанавливали на временные подмости, удерживая их до обжатия и омоноличивания стыков.

Стыковка полуарок в замковом сечении осуществлялась путем объединения выпусков арматуры и омоноличивания зазора. Для временной фиксации стыков использовали высокопрочные болты.

После монтажа очередной секции тоннеля длиной 12 м производили обжатие стыков в поперечном направлении. Вначале выполнили натяжение арматуры диаметром 26 мм в замке свода, где в дополнение к высокопрочным болтам использовали эпоксидный клей, обладающий высокой адгезией к бетону. На втором этапе обжимали пятовые участки свода в местах примыкания к верхней части стен и пилонов. «Мертвые» концы анкеров были заранее заделаны в стены (пилоны). После установки полуарок преднапрягаемые стержни диаметром 32 мм были установлены и соединены на муфтах. Конструктивный зазор между сводом и стенами был заполнен стальными пластинами, а пустоты в стыках - безусадочной уплотняющей смесью.

Особое внимание было уделено точности изготовления блоков и установки их в проектное положение, которая составила +2 мм на каждый блок шириной 1 м. Для обеспечения водонепроницаемости конструкции тоннеля зазоры между блоками заполняли герметиком, а поверхность свода покрывали двухслойной водонепроницаемой мембраной.

Опыт применения комбинированной сборно-монолитной конструкции тоннеля Майко свидетельствует о ряде преимуществ такого решения. Прежде всего, появилась возможность одновременного ведения работ по возведению монолитных (лотка, стен, пилона) и сборных (сводчатого перекрытия) конструкций, что позволило сократить сроки строительства тоннеля с 28 до 18 месяцев по сравнению с полностью монолитным вариантом. Отпала необходимость в устройстве сложной и громоздкой опалубки для возведения монолитного двухсводчатого перекрытия.

Использование бесшарнирной арочной конструкции предпочтительно с точки зрения сейсмической стойкости сооружения, поскольку жесткие стыки обеспечивают перераспределение изгибающих моментов в конструкции за счет образования пластических шарниров, которые существенно поглощают энергию землетрясения. Кроме того, удалось значительно снизить уровень шума и вибрации в процессе строительства и повысить безопасность производства работ.

Рассмотренные конструкции и технология их возведения применимы также к крупнопролетным ответственным транспортным сооружениям: многополосным автотранспортным тоннелям, станциям метрополитена, подземным автостоянкам, гаражам и комплексам, а также к мостам, опорам и фундаментам.

2.3. Сталебетонные композитные конструкции

Совершенствование конструкций транспортных тоннелей предусматривает повышение степени индустриальности их изготовления, снижение расхода конструкционных материалов, трудоемкости и темпов возведения при обеспечении требуемой прочности, водонепроницаемости, надежности и долговечности.

В связи с этим представляет интерес разработанная в Великобритании рациональная и экономичная композитная конструкция прямоугольного поперечного сечения, предназначенная для строительства подводных тоннелей способом опускных секций, а также для других подводных или подземных сооружений, возводимых открытыми способами [14, 15].

Рис. 6. Поперечное сечение тоннельной обделки из композитных материалов:

1 - соединительные стержни; 2 - стальная оболочка; 3 - монолитный бетон

Конструкция, выполненная в виде сэндвича, состоит из внутренней и наружной стальных оболочек толщиной 8 - 12 мм, между которыми укладывают монолитный бетон. Для связи оболочек с бетоном и восприятия нормальных и поперечных сил предусмотрены стальные стержни диаметром 20 - 22 мм с высаженными головками, приваренные к стальным листам. Поперечное сечение тоннельной обделки из композитных материалов приведено на рис. 6.

Таким образом можно устраивать однопролетные или многопролетные облегченные обделки шириной до 20 - 25 м и высотой до 10 м и более и толщиной порядка 0,5 м. В отличие от традиционных обделок прямоугольного очертания из монолитного или сборного железобетона с толщинами перекрытия, стен и лотка до 1 м и более новая конструкция получается более тонкостенной и легкой. Стальные оболочки выполняют функции арматуры, опалубки и гидроизоляции, что значительно упрощает возведение конструкций и снижает их материалоемкость. Наличие двухслойной гидроизоляции обеспечивает надежную защиту от воды как тоннеля, так и обделки.

Конструкции подводных тоннелей могут быть изготовлены на любой строительной площадке и доставлены к месту опускания в проектное положение на плаву, причем стройплощадка может находиться достаточно далеко от места строительства. Кроме того, значительно ускоряется процесс возведения тоннельных конструкций, достигается надежный контроль их качества.

Сравнительно небольшая масса опускных секций подводных тоннелей требует создания специального пригруза, предотвращающего возможность всплытия секций под действием выталкивающей силы. Пригруз в виде сплошных железобетонных блоков может быть размещен под проезжей частью тоннеля, а также на перекрытии секций.

Для оценки возможностей и экономической эффективности композитной сталебетонной конструкции в Университете г. Кардиффа (Великобритания) проведены комплексные научные исследования, включавшие математическое моделирование, лабораторные и натурные эксперименты [15]. При этом рассматривались конструкции обделок различного поперечного сечения в виде одно- и двухконтурных рам с плоским и сводчатым перекрытием, с прямыми и закругленными углами в местах примыкания стен к лотку и перекрытия.

Результаты проведенных исследований подтвердили эффективность и экономичность композитных сталебетонных конструкций и их преимущества перед традиционными железобетонными обделками, что явилось основанием для внедрения таких обделок в практику тоннелестроения.

Первая попытка практического применения сталебетонных конструкций была предпринята при строительстве подводного тоннеля под р. Конвей в Северном Уэльсе (Великобритания) [16]. Четырехполосный автодорожный тоннель длиной 1089 м расположен на трассе автомагистрали А55 в устье р. Конвей. Подводная часть тоннеля длиной 708 м запроектирована из шести железобетонных опускных секций длиной по 118 м, шириной 24,1 м, высотой 10,5 м, водоизмещением 30 тыс.м3. По наружной поверхности секций предусмотрена металлоизоляция из стальных листов толщиной 6 мм.

В качестве альтернативного решения была рассмотрена конструкция сталебетонной секции прямоугольного поперечного сечения.

Сравнение вариантов конструкций показало, что за счет уменьшения толщины перекрытия, лотка и стен сталебетонной секции ее пролет может быть сокращен до 23,972 м, а высота - до 10,198 м по сравнению с 24,1 и 10,5 м для железобетонной секции, базовая стоимость сокращена на 10%. Несмотря на очевидные преимущества сталебетонных секций, они не были применены из-за недостаточной проработки конструктивных решений.

Первый опыт практического применения композитных сталебетонных секций модифицированной конструкции был осуществлен в Японии на строительстве 520-метрового участка подводного тоннеля в порту Мииатоджима в г. Кобе [17].

На основе проведенных в Великобритании и Японии научных исследований композитных конструкций были запроектированы две тоннельные секции. Конструкция прямоугольного поперечного сечения выполнена в виде двойной стальной оболочки, усиленной стальными диафрагмами и ребрами жесткости из стальных пластин. Поперечное сечение и объемный фрагмент секции показаны на рис. 7.

Рис. 7. Секция тоннеля в г. Кобе (Япония):

а - поперечное сечение; б - объемный фрагмент;
1 - стальная оболочка; 2 - ребра жесткости; 3 - диафрагма; 4 - арматурный каркас; 5 - стяжка; 6 - ячейка; 7 - стальные пластины; 8 - монолитный бетон

Основным отличием такой конструкции от разработанных в Великобритании является использование вместо поперечных стержней стальных пластин, что повышает пространственную жесткость каркаса и улучшает его совместную работу с бетоном заполнения.

Модифицированные конструкции были тщательно рассчитаны на неблагоприятные сочетания действующих нагрузок на всех этапах строительства и эксплуатации тоннеля. Анализ стоимостных показателей показал экономичность сталебетонных секций по сравнению с железобетонными. Исключение передвижной опалубки и арматурных каркасов, отказ от применения дорогостоящего сухого дока для изготовления секций определили целесообразность применения композитных конструкций.

Стальные элементы были изготовлены на заводе, а укрупнительная сборка производилась на строительной площадке. После спуска стальных каркасов на воду выполняли бетонирование конструкций на плаву, используя высокопластичную бетонную смесь. Строительство тоннеля было завершено в 1999 г.

Успешный опыт применения тонкостенных сталебетонных конструкций в Японии является основанием для более широкого внедрения их в практику мирового тоннелестроения. Помимо конструктивных, технологических и экономических преимуществ композитные конструкции обладают также повышенной огнестойкостью и более высоким сопротивлением взрывным воздействиям, чем обычные железобетонные.

Их целесообразно применять не только на строительстве подводных, но и береговых участков тоннелей и других подземных сооружений мелкого заложения (тоннелей и станций метрополитена, автотранспортных и пешеходных тоннелей, подземных автостоянок и гаражей, транспортных комплексов и др.), возводимых открытыми и опускными способами, а также способом продавливания.

Сталебетонные конструкции могут быть использованы в качестве одно- и многопролетных обделок прямоугольного и сводчатого очертания, несущих и ограждающих конструкций, выполненных по технологии «стена в грунте», опускных колодцев и кессонов.

2.4. Контрфорсные конструкции, возводимые по технологии «стена в грунте»

При строительстве тоннелей широко используется прогрессивная технология «стена в грунте». Траншейные стены из монолитного, сборного и сборно-монолитного железобетона толщиной 0,5 - 0,8 м и более и глубиной до 25 - 30 м и более могут выполнять функции временного ограждения котлованов, а также входить в состав постоянной конструкции тоннеля, возводимого котлованным или траншейным (полуоткрытым) способом [18].

С применением технологии «стена в грунте» построены многочисленные подземные и заглубленные сооружения в крупнейших городах нашей страны и за рубежом. Ограждающие конструкции, возводимые по технологии «стена в грунте», при глубине котлована до 4 - 5 м могут работать консольно, а при большей глубине требуют усиления в виде распорной или анкерной крепи.

Установка распределительных поясов, расстрелов, раскосов, подкосов и грунтовых анкеров существенно осложняет и удлиняет процесс производства работ и повышает стоимость строительства.

В связи с этим при большой глубине траншейных стен и повышенном боковом давлении грунта весьма эффективно применение контрфорсных стен ребристой конструкции. Такие стены из монолитного, сборного или сборно-монолитного железобетона, возводимые на поверхности земли или в открытых котлованах, находят применение в транспортном и гидротехническом строительстве. Однако устройство заглубленных контрфорсных стен в траншеях под глинистым раствором требует применения специального оборудования и технологии работ.

Необходимо разработать траншею с чередующимися местными уширениями для устройства ребер жесткости, объединенных с основной конструкцией стены. Для этого могут быть использованы различные способы разработки траншей, основанные на применении трехчелюстного грейфера, гидрофрезы или двухчелюстного грейфера в сочетании с буровой установкой.

Трехчелюстной грейфер разработан и применяется итальянской фирмой Soilmec Drilling and Foundation Equipment в двух модификациях: BH-N и BH-S, отличающихся размерами и массой. Грейфер BH-N позволяет разрабатывать траншеи для контрфорсных стен длиной 2 - 3 м и шириной 0,5 - 0,8 м, а грейфер BH-N - длиной 3,00 - 3,65 м и шириной 0,8 - 1,0 м. Таким образом, шаг ребер жесткости вдоль основной стены будет изменяться от 2,00 до 3,65 м.

Закрепленные на моноблоке съемные челюсти грейфера выполнены в двух вариантах: с прямыми и полуцилиндрическими кромками и изготовлены из высокопрочной противоударной и износоустойчивой стали, а зубья армированы твердым сплавом. Моноблок может быть оснащен двухчелюстным грейфером для образования прямоугольной в плане траншеи, а также трехчелюстным грейфером для устройства контрфорсных стен.

Предусмотрено принудительное закрытие челюстей грейфера гидравлическими цилиндрами двойного действия с усилием 72 и 97 т и крутящим моментом до 95 и 145 тм.

Вертикальность разрабатываемой траншеи обеспечивается внешними и внутренними направляющими, закрепленными на моноблоке, который, в свою очередь, крепится на жесткой штанге базовой машины на гусеничном ходу.

Предусмотрена электронная система контроля за положением ковша грейфера в плане и профиле с выдачей информации на пульт управления в кабине оператора. Основные характеристики грейферного оборудования приведены в таблице.

Наименование показателей

Грейфер BH-N

Грейфер BH-S

двухчелюстной

трехчелюстной

двухчелюстной

трехчелюстной

Ширина разработки, м

0,5 - 1,0

0,5 - 0,8

0,8 - 1,2

0,8 - 1,0

Раскрытие челюстей, м

2,0 - 3,0

2,0 - 3,0

2,0 - 4,0

3,0 - 3,65

Максимальная глубина разработки, м

48

36

56

48

Максимальная грузоподъемность крана, т

45

50

75

75

Размеры челюстей грейфера, м

0,8×2,5

0,8×2,5×1,3

0,8×3,5

0,8×3,5×2,0

Масса грейфера, т

5,6

9,6

6,3

11,0

Вместимость ковша грейфера, м3

1,2

1,8

1,7

2,3

Рассмотренное выше грейферное оборудование успешно используется для создания постоянных несущих конструкций, выполненных по технологии «стена в грунте», временных ограждающих стен, причальных стенок и др.

Контрфорсные конструкции, возводимые по технологии «стена в грунте», могут быть выполнены из монолитного, сборного и сборно-монолитного железобетона. В первом случае в каждую захватку траншеи опускают Т-образные арматурные каркасы, а затем осуществляют бетонирование (рис. 8,а). Возможно опускание в траншею сборных железобетонных элементов таврового сечения без объединения между собой (рис. 8,б) или с омоноличиванием вертикальных стыков (рис. 8, в).

Рис. 8. Контрфорсные конструкции, выполненные по технологии «стена в грунте»:

а - монолитная; б - сборная; в - сборно-монолитная;
1 - контур траншеи; 2 - арматурный каркас; 3 - монолитный бетон; 4 - сборные железобетонные блоки; 5 - цементнопесчаный раствор; 6 - участок омоноличивания

Контрфорсные конструкции, выполненные по технологии «стена в грунте» из монолитного железобетона, применяли на строительстве тоннелей метрополитена в г.г. Риме и Брюсселе, национального стадиона в г. Каракасе, гидротехнических сооружений в Мехико-Сити.

Вторая технология предусматривает разработку траншей гидрофрезой - буровой машиной, состоящей из стального корпуса с направляющими, гидромоторами и реверсной системой циркуляции глинистого раствора. Две фрезы с твердосплавными резцами вращаются в противоположные стороны, разрабатывая грунт, который перемешивается с глинистым раствором и выдается по шлангам на поверхность [19].

Гидрофреза подвешивается на тяжелом гусеничном кране и может работать в широком диапазоне грунтовых условий: от слабых несвязных до крепких скальных грунтов прочностью при сжатии до 50 - 100 МПа. Темпы разработки грунта зависят от его твердости и изменяются от 20 м3/ч в несвязных до 1 м3/ч в крепких скальных грунтах.

К достоинствам гидрофрезы относятся ее высокая производительность и точность разработки траншеи в плане и профиле, исключение многократного подъема и опускания в процессе разработки грунта (в отличие от грейферного оборудования), минимальные переборы грунта, возможность фрезерования свежеуложенного бетона соседних захваток траншеи на толщину в несколько сантиметров для обеспечения качественного сопряжения соседних участков стен. Кроме того, следует отметить отсутствие вибрации и ударов, что делает этот агрегат эффективным для работы в городских условиях.

Французской фирмой «Солетанш» разработано стандартное оборудование гидрофрез для устройства стен различной глубины (до 125 м) и ширины (0,63; 0,8; 1,0; 1,2; 1,5 м) при длине разработки 2,4 м [20].

Основные характеристики гидрофрезы приведены ниже.

Стандартная глубина разработки, м                                                                30

Максимальная глубина разработки, м                                                             125

Скорость вращения фрез, мин-1                                                                        10 - 20

Диаметр фрез, мм                                                                                              1200

Максимальный вращающий момент, кг·м                                                      3800

Производительность циркуляционного насоса, м3                                     300

Высота корпуса, м                                                                                             15

Масса агрегата, т                                                                                                16 - 20

Потребляемая мощность, кВт                                                                           270

Разработка грунта гидрофрезой ведется захватками по 6 м в три этапа. Вначале разрабатывают крайние участки траншеи шириной по 2,4 м, а затем промежуточный грунтовый целик шириной 1,2 м.

В разработанную траншею опускают один или два арматурных каркаса и методом вертикально-перемещающейся трубы или напорного бетонирования возводят участок стены.

При разработке промежуточных захваток между ранее возведенными участками стены бетон соседних захваток срезают фрезами.

Гидрофрезу применяли для устройства траншейных стен ряда подземных и гидротехнических сооружений во Франции, Бельгии, Англии, Австралии, Венгрии, США и других странах.

В частности, с использованием гидрофрезы в 1987 г. были возведены стены монтажной щитовой камеры в г. Сангатте (Франция) при строительстве подводного тоннеля под проливом Ла-Манш. Камера в виде колодца диаметром 58 м и глубиной 21 м была ограждена траншейными стенами толщиной 0,6 м, глубиной до 60 м и общей площадью 28920 м2 [20].

Гидрофрезу германской фирмы «Бауэр» применили для вскрытия траншеи при строительстве в г. Москве подземной автостоянки на площади Революции и ограждения монтажной щитовой камеры Лефортовского автодорожного тоннеля [21, 22]. Камера размером в плане 50,3×24,3 м имела ограждающие конструкции, выполненные по технологии «стена в грунте» шириной 0,75 м, возводимые в траншеях, которые разрабатывали захватками длиной 6,3 - 6,4 м в три прохода гидрофрезы длиной 2,2 м (крайние) и 1,9 - 2,0 м (средняя).

Предлагаемая технология работ по возведению контрфорсных траншейных стен с применением гидрофрезы показана на рис. 9.

Рис. 9. Контрфорсные стены, устраиваемые с применением гидрофрезы:

1 - контур траншеи; 2 - глинистый раствор; 3 - арматурные каркасы; 4 - монолитный железобетон

На I этапе гидрофрезой разрабатывают продольные захватки траншеи первой очереди длиной порядка 6 м за три прохода, а на II этапе - поперечные захватки за один проход гидрофрезы. После того, как участки траншеи с выступами для ребер жесткости разработаны, в них опускают арматурные каркасы (III этап) и бетонируют стены (IV этап). Аналогичным образом разрабатывают и возводят промежуточные участки стен между ранее возведенными стенами.

Третья технология устройства контрфорсных конструкций, выполненных по технологии «стена в грунте», предусматривает разработку продольных захваток траншей грейферным оборудованием с последующим разбуриванием скважин диаметром 0,6 - 1,0 м буровым агрегатом для образования ребер жесткости полуцилиндрического очертания.

Технологическая последовательность производства работ, предполагающая разработку прямых участков траншеи (I этап), бурение скважин (II этап), опускание арматурных каркасов (III этап) и бетонирование стен (IV этап) вначале в основных, а затем в промежуточных захватках показана на рис. 10.

Для бурения скважин под глинистым раствором можно использовать стандартное отечественное оборудование со шнековым буром или роторной желонкой (СО-2, СО-1200, МБС-1,7, МСО-1 и др.) или буровые станки зарубежных фирм «Баде» и «Зальгиттер» (Германия), «Беното» (Франция), BSP, «Мак-Алпайн» (Англия), «Соилмек» (Италия), «Като» (Япония) и др. Технические характеристики буровых агрегатов приведены в специальной литературе [23].

Выбор той или иной технологии возведения контрфорсных конструкций, выполненных по технологии «стена в грунте», зависит от степени разрабатываемости грунтов, глубины траншеи и наличия у подрядчика специализированного оборудования.

Применение в городском подземном строительстве таких контрфорсных конструкций в качестве несущих или несущее-ограждающих конструкций, обладающих повышенной несущей способностью и жесткостью, позволяет во многих случаях отказаться от трудоемких в возведении и дорогостоящих усиливающих элементов. Эти конструкции могут входить в состав постоянной конструкции подземного сооружения, воспринимая не только значительное горизонтальное давление грунта, но и вертикальные нагрузки от массы зданий, верхнего и промежуточных перекрытий подземного сооружения.

Для установления рациональных геометрических и конструктивных параметров контрфорсных конструкций, выполненных по технологии «стена в грунте», а также их прочностно-деформационных характеристик необходимо, в первую очередь, выполнить исследования пространственного напряженно-деформированного состояния стен во взаимодействии с грунтовым массивом на различных этапах строительства и эксплуатации подземного сооружения.

Рис. 10. Контрфорсные стены, устраиваемые с применением грейферов и буровых агрегатов:

1 - контур траншеи; 2 - глинистый раствор; 3 - буровая скважина; 4 - арматурный каркас; 5 - монолитный железобетон

По результатам исследований надлежит разработать рекомендации для проектирования и строительства таких стен в составе зданий и подземных сооружений, возводимых в г. Москве и других крупных городах России.

3. ЭФФЕКТИВНЫЕ СПОСОБЫ СТРОИТЕЛЬСТВА ТОННЕЛЕЙ

3.1. Полуоткрытые способы

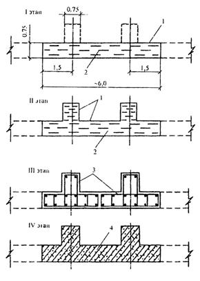
Строительство тоннелей мелкого заложения под дорогами, насыпями, дамбами, а также на застроенных городских территориях открытым способом сопряжено с необходимостью устройства объездных дорог, длительным закрытием пересекаемых магистралей и другими нарушениями поверхностных условий.

С целью минимизации этих нарушений в практике тоннелестроения находит применение траншейный вариант полуоткрытого способа, предусматривающий, в первую очередь, возведение конструкций по технологии «стена в грунте», на которые опирают перекрытие тоннеля. После обратной засыпки перекрытия восстанавливают поверхностные условия, а затем закрытым способом разрабатывают грунтовое ядро и возводят лотковую плиту [2].

С применением траншейного способа построены многочисленные транспортные тоннели и подземные сооружения мелкого заложения в крупных городах Европы, Америки и Японии. В г. Москве таким способом сооружены автотранспортные тоннели на Ленинском проспекте и проспекте Мира, подземный гараж на улице Эйзенштейна, многофункциональные подземные комплексы на Манежной площади и Софийской набережной и др. [24].

В последние десятилетия разработаны новые модификации полуоткрытого способа, основанные на использовании плоского или сводчатого перекрытия, опирающегося непосредственно на грунт, фундаменты из свай или массив закрепленного грунта. Под защитой перекрытия по технологии горного способа раскрывают тоннельную выработку и возводят обделку из набрызг-бетона, усиленного сплошными или решетчатыми арками. На рис. 11 показана технологическая последовательность сооружения тоннеля полуоткрытым способом.

Рис. 11. Технологическая последовательность сооружения тоннеля полуоткрытым способом:

1 - вскрытие котлована; 2 - устройство защитного свода; 3, 4, 5 - поэтапное раскрытие выработки

Такой способ сочетает в себе достоинства и недостатки открытого и закрытого способов работ и наиболее эффективен и экономичен в полускальных и мягких грунтах средней и слабой устойчивости при глубине заложения тоннеля от 2 до 12 м, причем с ее увеличением стоимость строительства снижается примерно на 25%.

В плотных и устойчивых грунтах, позволяющих опереть на них свод тоннеля, весьма эффективна разновидность полуоткрытого способа - так называемый «кернтнерский» способ, получивший наибольшее распространение в Австрии и Германии [2]. Последовательность технологических операций при «кернтнерском» способе представлена на рис. 12.

Рис. 12. Последовательность технологических операций при «кернтнерском» способе:

1 - котлован; 2 - свод; 3 - грунт обратной засыпки; 4 - грунтовое ядро; 5 - обделка стен и обратного свода

При глубине заложения тоннеля свыше 2 - 3 м и значительных нагрузках устраивают сводчатое перекрытие переменной жесткости с усиленными пятами. Его бетонируют на грунте или с использованием опалубки. В первом случае котлован разрабатывают вначале до шелыги свода, а затем профилируют в соответствии с очертанием последнего. Такую технологию применяют в достаточно плотных грунтах, способных воспринимать давление от свода и обратной засыпки. При наличии мягких слоев их удаляют, заменяя тощим бетоном. До бетонирования перекрытия на грунт укладывают пластиковую пленку, чтобы предотвратить сцепление с ним бетона, и ставят арматурные каркасы. Если несущая способность грунтов недостаточна для восприятия давления от свода, котлован вскрывают до уровня пят свода и устанавливают стационарную или передвижную опалубку. После набора бетоном требуемой прочности выполняют гидроизоляцию свода, засыпают оставшимся от вскрытия котлована грунтом и восстанавливают дорожную одежду над тоннелем. Дальнейшие работы ведут под сводом по технологии нового австрийского способа. Грунт разрабатывают экскаватором или тоннельной машиной со стреловым рабочим органом и удаляют автомобилями-самосвалами. Калотту проходят с опережением штроссы на 20 - 40 м.

По мере раскрытия профиля тоннеля наносят покрытие из набрызг-бетона, армированного стальными сетками или арками. После стабилизации деформаций контура выработки, определяемых приборами, разрабатывают лотковую часть и бетонируют обратный свод. Своевременное замыкание контура выработки значительно повышает степень ее устойчивости. В последнюю очередь возводят вторичную обделку из набрызг-бетона или монолитного бетона в передвижной опалубке.

Для повышения надежности сопряжения свода со стенами тоннеля под его пяты до бетонирования укладывают стальную ленту и прокладки из стиропора; после бетонирования во время раскрытия выработки устанавливают стальные арки, сопрягая их с арматурным каркасом пят.

В соответствии с вышеизложенной технологией полуоткрытого способа строительства многократно меняются условия статической работы свода, что необходимо учитывать при его расчете. Так, после его возведения конструкция практически не испытывает напряжений. Если свод устраивают в опалубке, в нем возникают напряжения от массы конструкции, а по окончании засыпки - от массы грунта и временной нагрузки. После разработки калотты свод работает, в основном, в поперечном направлении как бесшарнирная арка с упругим опиранием на грунт. В процессе разработки штроссы происходит перераспределение напряжений в своде и его работа приобретает пространственный характер. После возведения оболочки из набрызг-бетона вновь изменяется напряженное состояние свода: к продольным напряжениям (по мере твердения бетона) добавляются поперечные.

Впервые эту разновидность полуоткрытого способа применили в 1978 - 1979 гг. при строительстве автотранспортного тоннеля в г. Кернтене (Австрия). Четыре участка длиной 30 - 50 м и площадью поперечного сечения 85 - 125 м2 пройдены под защитой сводчатого перекрытия. По этой же технологии сооружены автотранспортные тоннели в гг. Бохуме, Бад-Бертрихе и Зингене, а также тоннели метрополитена в г. Кельне (Германия) [25, 26].

В г. Бохуме тоннель проложен в разрушенных от тектонических воздействий песчаниках и сланцах. На глубине до 4,5 м сверху располагался культурный слой, песок, щебень и грубый шлам. Работы вели на четырех участках общей длиной 350 м. Аналогично вели проходку тоннелей в гг. Бад-Бертрихе и Зингене. При строительстве метрополитена в г. Кельне на участке длиной 505 м (410 м перегонных и 95 м станционных тоннелей) прежде всего по технологии «стена в грунте» устраивали ограждение котлована, под защитой которого разрабатывали грунт на глубину 4 м от поверхности земли и бетонировали перекрытие; под его защитой после обратной засыпки и восстановления движения транспортных средств проходили тоннели.

В слабоустойчивых грунтах применяют так называемый метод «рамной крепи», при котором для опирания пят свода устраивают искусственные фундаменты из стальных или железобетонных свай, по верху которых возводят обвязочную балку. Разработанный известным австрийским ученым Г. Зауэром метод предусматривает поэтапное строительство подземных сооружений мелкого заложения в следующей технологической последовательности (рис. 13).

На I этапе на участке длиной 50 - 100 м вскрывают неглубокий котлован с естественными откосами или креплением стен до низа перекрытия подземного сооружения. Дно котлована может быть плоским или криволинейным в соответствии с очертанием перекрытия, которое чаще всего выполняют арочной формы. В первом случае конструкция свода бетонируется в специальной опалубке, а во втором - непосредственно на грунте.

Работы II этапа включают устройство фундаментов сводчатого перекрытия из наклонных буровых свай, располагаемых по направлению радиуса кривизны свода в его пятовых сечениях. Конструкция и параметры свай определяются необходимой несущей способностью с учетом действующих нагрузок и прочностно-деформационных свойств грунтов в основании.

Рис. 13. Последовательность строительства тоннеля по технологии «рамной крепи»:

1 - котлован; 2 - сваи; 3 - железобетонная обделка свода; 4 - грунт обратной засыпки; 5 - обделка тоннеля; 6 - проезжая часть

На III этапе устанавливают арматурные каркасы и бетонируют свод на грунтовой или деревометаллической опалубке. После необходимой выстойки бетона свод покрывают гидроизоляционным и защитным слоями и засыпают грунтом, восстанавливая поверхностные условия над строящимся подземным сооружением.

Работы IV этапа предусматривают проходку подземной выработки под сводом закрытым способом. В зависимости от свойств грунтов и размеров поперечного сечения подземного сооружения могут быть реализованы технологии сплошного или ступенчатого забоя, нижнего уступа или нового австрийского способа (НАТМ).

По мере разработки и удаления грунта возводят обделку из монолитного бетона или набрызг-бетона, усиленного в случае необходимости сплошными или решетчатыми стальными арками. Таким образом, основные работы по проходке подземной выработки ведутся по хорошо известной и отработанной технологии с повышенной степенью безопасности под прикрытием ранее забетонированного свода, что благоприятно отражается на темпах строительства. Так, по данным практики, темпы возведения свода составляют 200 - 400 м/мес., а проходки - 150 - 300 м/мес.

Однако основные достоинства метода «рамной крепи» заключаются в том, что достигается быстрое восстановление движения транспортных средств над строящимся подземным сооружением, сводятся к минимуму перекладки подземных коммуникаций, нарушения грунтового массива и поверхности земли, сокращаются сроки производства работ. Это технически простое и эффективное решение впервые было применено на строительстве тоннеля у г. Бад-Бетриха. Под пяту свода заранее подводили фундаменты из буровых свай с обвязкой, которую объединяли со сводом.

В настоящее время по такой технологии сооружаются отдельные участки железнодорожного тоннеля Дернбах длиной 3,3 км [27]. На северном участке тоннеля, проходящем на мелком заложении, в перемежающихся песчаниках и кварцитах с прослойками глины и ила, железобетонный свод опирали на буронабивные сваи длиной до 30 м и диаметром 1 м. Свод возводили в котловане с естественными откосами, с одной стороны, и ограждающей заанкеренной в грунт стенкой, с другой стороны.

Аналогичным образом сооружали центральный участок тоннеля под автомагистралью А48 на глубине от 4 до 8 м. Движение транспортных средств было прервано на две недели. На южном участке свод тоннеля также опирали на буровые сваи диаметром 1 м и длиной до 30 м.

В ряде случаев свод опирают на наклонные микросваи диаметром 0,4 - 0,6 м и длиной 4 - 6 м, устраиваемые по дну котлована. Сваи предназначены не только для восприятия усилий со свода, но и для крепления стен тоннеля во время подземной экскавации грунта. Такую технологию применили при строительстве тоннелей метрополитена в г. Бразилиа (Бразилия) в сложных инженерно-геологических условиях (сжимаемые и неустойчивые водоносные грунты) при глубине заложения около 3 м [28].

Микросваи из стальных двутавровых балок высотой 20,32 см и длиной 5 - 9 м погружали вибратором, закрепленным на стреле экскаватора. Свод бетонировали на грунте и частично в опалубке. Выработку раскрывали сплошным и ступенчатым забоем и закрепляли стальными арками и набрызг-бетоном.

При строительстве тоннелей в неустойчивых грунтах свод опирают на массив из закрепленного глубинным инъецированием грунта (цементным раствором, жидким стеклом с хлоридом кальция или синтетической смолой). При недостаточном боковом отпоре грунта, а также смещениях свода в горизонтальном и вертикальном направлениях свыше допустимых величин, последний закрепляют стальными затяжками, что возможно только при бетонировании его в опалубке. После завершения всех работ затяжки снимают.

Для устройства опорных элементов весьма перспективен метод струйной цементации, обеспечивающий быстрое и надежное закрепление как связных, так и несвязных неустойчивых грунтов.

При заложении тоннелей на глубине 2 - 4 м вместо сводчатого часто устраивают плоское перекрытие, устойчивость которого повышают, опирая его концы на короткие наклонные буровые сваи или столбы из искусственно закрепленного грунта. Таким образом, можно сооружать одно- и двухпролетные тоннели. В последнем случае по мере раскрытия профиля выработки в средней части устанавливают промежуточный ряд колонн или сплошную стенку. Схемы сооружения однопролетного и двухпролетного тоннелей с плоским перекрытием представлены на рис. 14.

Новая разновидность полуоткрытого способа - «зиллертальский» способ - был разработан и реализован австрийской фирмой «Бетон и Мониербау» на строительстве тоннеля Бретфол длиной 1,33 км на трассе федеральной автомагистрали В169 (Германия) [29]. На южном участке тоннеля длиной 60 м свод из монолитного железобетона опирали на стены из буросекущихся свай, которые доходили до поверхности земли, что позволило сократить размеры котлована.

Технологическая последовательность работ показана на рис. 15. В первую очередь возводили стены из буросекущихся свай, а затем вскрывали котлован с криволинейной подошвой до низа сводчатого перекрытия.

Рис. 14. Схема сооружения тоннелей с плоским перекрытием:

а - однопролетный тоннель; б - двухпролетный тоннель;
1 - бетонирование перекрытия; 2 - вскрытие котлована; 3 - устройство наклонных стенок; 4 - тоннельная выработка; 5 - плита перекрытия; 6 - обратная засыпка

Последнее возводили из монолитного железобетона, упирая его в стены из буро-секущихся свай. Далее работы вели по традиционной технологии полуоткрытого способа, разрабатывая грунтовое ядро и бетонируя обратный свод.

«Зиллертальский» способ предусматривает иную статическую работу конструкции тоннеля по сравнению с «кернтнерским». Распор свода передается на стены из буровых свай, компенсируя активное боковое давление грунта в верхней части стен. После разработки грунтового ядра свод удерживается силами трения. Для увеличения сил трения между сводом и стеной в последнюю заделывают стальные стержни диаметром 36 мм и длиной 60 мм.

Рис. 15. Технологическая последовательность работ при «Зиллертальском» способе строительства:

1 - конструкция, выполненная по технологии «стена в грунте»; 2 - котлован; 3 - свод; 4 - грунтовое ядро; 5 - внутренняя обделка тоннеля

Таким образом, перекрытие тоннеля, а также обратный свод работают как арочные распорки, что исключает необходимость заанкеривания стен в грунт.

Опыт применения различных модификаций полуоткрытого способа работ показал его надежность и безопасность. Основные горнопроходческие операции выполняются открытым способом под защитой перекрытия с высокой степенью жесткости и несущей способности как в продольном, так и в поперечном направлениях.

Скорость строительства составляет 200 - 400 м/мес. при устройстве перекрытия и 150 - 300 м/мес. при проходке и креплении выработки. Достигается быстрое восстановление движения транспортных средств над строящимся тоннелем, сводятся к минимуму перекладка подземных коммуникаций, нарушения грунтового массива и поверхности земли, уровень шума и вибрации, сокращаются сроки производства работ. Несмотря на некоторые недостатки, полуоткрытый способ может составить конкуренцию традиционным - открытому и закрытому, особенно при сооружении тоннелей мелкого заложения в слабоустойчивых грунтах.

3.2. Применение щитов прямоугольного поперечного сечения

Сооружение тоннелей мелкого заложения на застроенных городских территориях открытыми способами вызывает нарушения нормальной жизни города, связанные с ограничением движения транспортных средств и пешеходов в районе строительства, загрязнением воздушного бассейна, повышением уровня шума и вибрации, возможным повреждением фундаментов расположенных поблизости зданий и др.

Применение закрытых способов (горного и щитового) не требует вскрытия дневной поверхности по всей трассе тоннеля и не вызывает существенных нарушений городской жизни. Вместе с тем при строительстве тоннелей мелкого заложения традиционным горным способом неизбежны осадки грунтового массива, вызванные переборами грунта, многочисленными перекреплениями и др.

При щитовом способе работ возможно ограничение осадок грунтового массива, однако круговая форма поперечного сечения, характерная для щитового способа, является нерациональной для тоннелей мелкого заложения, не испытывающих значительных внешних нагрузок. Так, проходка пешеходных тоннелей щитами кругового поперечного сечения неэффективна, поскольку площадь выработки используется лишь на 60%.

Применяемые в практике городского подземного строительства прямоугольные щиты незамкнутого сверху профиля требуют вскрытия дневной поверхности на всем протяжении тоннеля. В связи с вышеизложенным заслуживает внимания опыт Японии по созданию и внедрению щитовых агрегатов прямоугольного поперечного сечения для проходки городских тоннелей мелкого заложения закрытым способом [2].

Основные преимущества прямоугольных щитов перед круговыми следующие:

- рациональное использование всего выработанного пространства;

- уменьшение объемов разрабатываемого грунта (примерно на 40%) и снижение стоимости строительных работ;

- увеличение толщины защитной кровли над тоннелем и возможность проходки под инженерными коммуникациями;

- снижение осадок поверхности земли в процессе проходки;

- повышение степени устойчивости тоннельной обделки против неуравновешенного давления грунта, вызванного проходческими работами или устройством фундаментов вблизи строящегося тоннеля.

Щиты прямоугольного поперечного сечения могут быть использованы при строительстве перегонных тоннелей метрополитена, тоннелей для пропуска легковых автомобилей, пешеходных и коллекторных тоннелей в мягких и слабых грунтах [30].

Первый прямоугольный щит замкнутого профиля был создан для проходки коллекторного тоннеля длиной 534 м в г. Нагоя (Япония). Трасса тоннеля проходит на глубине 4 м от поверхности земли в толще аллювиальных отложений, представленных илистыми глинами, крупно- и среднезернистыми песками и илистыми песками. Уровень грунтовых вод расположен на глубине 10 м от дневной поверхности.

Щитовой агрегат длиной 5,0 м, шириной 4,3 м, высотой 3,1 м и массой 48 т состоит из ножевой, опорной и хвостовой частей и оснащен 14 гидравлическими домкратами с ходом поршня 1,2 м и усилием 1400 кН. В ножевой части смонтирован удлиненный шандорный козырек, выдвигаемый 20-тонным домкратом и поддерживаемый шестью вертикальными домкратами. Наличие выдвижного козырька и забойных домкратов предотвращает выпуски грунта в забое щита.

На хвостовой оболочке щита монтировали секции прямоугольной обделки тоннеля из шести железобетонных блоков шириной 1,0 м и толщиной 0,25 м и центральной стальной подпорки.

Рис. 16. Схема прямоугольного щитового агрегата:

1 - железобетонные блоки; 2 - хвостовая оболочка щита; 3 - стальная подпорка; 4 - арматура; 5 - накладки; 6 - болт

Стыки между блоками устраивали на болтах, скрепляющих накладки, приваренные к рабочей арматуре блоков. На рис. 16 приведена схема прямоугольного щитового агрегата.

Для монтажа обделки использовали рычажный укладчик, способный перемещаться как в горизонтальном, так и в вертикальном направлении. Вначале монтаж одной секции обделки занимал 150 мин, а затем 80 мин (на 200-й секции) и 65 мин (на 350-й секции); соответственно время проходческого цикла было уменьшено с 400 до 200 мин.

По мере монтажа обделки в строительный зазор на участке хвостовой оболочки щита нагнетали стабилизирующую смесь из песка, мелкого гравия, бентонита и воды. Измеренное во время передвижки щита смещение относительно вертикальной оси не превышало ±20 мм и стабилизаторы не потребовались. При этом линейные горизонтальные смещения щита и обделки составляли соответственно 0,6 и 1,8 см, а вертикальные - соответственно 5,5 и 3,8 см.

По результатам систематических измерений были построены графики изменения осадок поверхности земли над тоннелем при разных расстояниях от расчетного створа до забоя щита. Максимальные значения составили 42 мм, что не превышает осадок при проходке круговыми щитами.

В период строительства тоннеля производили также измерения давления грунта и усилий в обделке, для чего на контакте обделки с грунтом установили 36 датчиков давления. Анализ результатов длительных измерений показал, что нагрузки на тоннель и усилия в обделке не превышали расчетных.

В процессе проектирования и строительства тоннеля возникли различные проблемы, для решения которых были проведены комплексные экспериментальные исследования в лабораторных и натурных условиях [31]. Одной из проблем явилось обеспечение требуемой жесткости стыков между блоками, которые под действием изгибающих моментов имеют тенденцию к раскрытию. Были проведены исследования работы обделки под нагрузкой для трех типов стыков: омоноличенного, болтового и болтового в сочетании со сваркой закладных деталей и обмазкой торцовых поверхностей эпоксидным клеем.

Модель секции обделки в масштабе 1/2 натуральной величины обжимали со всех сторон гидравлическими домкратами, имитируя постоянную вертикальную равномерно распределенную нагрузку интенсивностью 100 кН/м2 и изменяющееся по высоте стен горизонтальное давление грунта.

В результате экспериментальных исследований было установлено, что наиболее подходящими следует считать болтовые стыки с приваренными к рабочей арматуре блоков накладками и покрытые эпоксидным клеем. Несущая способность и жесткость таких стыков незначительно отличаются от несущей способности и жесткости тела блоков. Этот вывод был подтвержден полномасштабными испытаниями обделки под нагрузкой, в натурных условиях.

Вторая проблема касалась создания специализированного укладчика блоков обделки. Как правило, при монтаже круговых обделок рабочий орган рычажного укладчика вращается вокруг центральной оси, удлиняется и укорачивается. Для монтажа прямоугольных обделок, помимо этого, необходимо обеспечить вертикальное и горизонтальное перемещение блокоукладчика. Такой агрегат с гидравлическим приводом был создан и испытан в производственных условиях. Кроме того, была изготовлена специальная тележка с поворотным столом для перевозки блоков обделки.

Третья проблема связана с опасностью поворота щита относительно его вертикальной оси при передвижке. Если в щитах кругового сечения их закручивание не препятствует точному монтажу колец обделки, то даже незначительный крен прямоугольного щита не позволит соединить соседние секции обделки между собой.

Для оценки возможного диапазона углов поворота щита и разработки мер по их предотвращению были проведены экспериментальные исследования. Модели щитов кругового, эллиптического и прямоугольного сечения помещали в желатиновую среду, имитирующую грунтовый массив. Были установлены соотношения между крутящим моментом и углом поворота модели и показано, что для закручивания модели прямоугольного щита на тот же угол, что и круглого, требуется в 4 - 5 раз больший крутящей момент. Были созданы специальные электронные и оптические приборы для контроля за поворотами щита, его вертикальными и горизонтальными смещениями, а также ножевые стабилизаторы, вдавливаемые в грунт домкратами и препятствующие закручиванию щита.

Четвертая проблема относится к осуществлению безосадочной проходки и решается своевременным заполнением строительного зазора в зоне хвостовой оболочки щита. Опытным путем определили оптимальный состав нагнетаемой смеси (на 1 м3 смеси - 600 кг песка, 780 кг мелкого гравия, 600 л воды, 60 кг бентонита и 2 кг добавок) и давление нагнетания.

Опыт строительства тоннеля в г. Нагое (Япония) и результаты экспериментальных исследований были использованы при строительстве двух коллекторных тоннелей в г. Токио (Япония). Один из них длиной 370 м и сечением 5×4,15 м заложен под руслом реки на глубине до 20 м от поверхности воды между двумя шахтными стволами.

Щит со скругленными углами имел длину 6,6 м (хвостовая оболочка - 2,05 м, ножевая часть - 1,8 м), высоту 4,38 м и ширину 5,23 м. Породу в забое щита разрабатывали буровзрывным способом. Обделку тоннеля собирали из железобетонных рамных элементов толщиной 0,35 м, шириной 1,0 м и средней вертикальной перегородки толщиной 0,25 м, расположенной несимметрично относительно оси тоннеля. Обделку монтировали с перевязкой продольных швов соседних секций.

Дальнейшее развитие щитовой техники для проходки тоннельных выработок прямоугольного поперечного сечения связано с созданием механизированных щитовых агрегатов нового поколения. В настоящее время в Японии применяются механизированные щиты прямоугольной формы с нетрадиционными рабочими органами:

- барабанного типа с двумя и более барабанами, расположенными перпендикулярно оси тоннеля и оснащенными резцами, скалывателями или шарошками (рис. 17,а);

- роторного типа, состоящими из нескольких режущих дисков одинаковых или разных размеров, несущих породоразрушающие инструменты (рис. 17,б).

Рис. 17. Механизированные щиты прямоугольного поперечного сечения:

а - с рабочим органом барабанного типа; б - с рабочим органом роторного типа;
1 - корпус щита; 2 - двухбарабанный рабочий режущий диск; 3 - центральный режущий диск; 4 - боковые режущие диски

Разработаны щиты с различным соотношением размеров рабочего органа для проходки как «горизонтальных» прямоугольных выработок, пролет которых в 2 - 3 раза превышает высоту, так и «вертикальных» с высотой более пролета.

В зависимости от инженерно-геологических условий щиты оборудуют пригрузочными камерами с бентонитовым или грунтовым пригрузом.

Применение прямоугольных механизированных щитов лежит в основе двух новых технологий строительства тоннелей мелкого заложения в слабоустойчивых грунтах, получивших название [32]:

-«проходка коробчатыми щитами» (BSM);

-«мульти-микрощитовая проходка» (MMST).

Технология BSM предназначена для строительства подземных сооружений мелкого заложения на застроенных городских территориях при наличии густой сети подземных коммуникаций, не подлежащей перекладке.

В этом случае ограждающие конструкции, выполненные по технологии «стена в грунте», а также буровые или забивные сваи не могут быть устроены с поверхности земли и применение классического котлованного или траншейного способов оказывается невозможным.

Сущность технологии BSM заключается в том, что непосредственно под инженерными коммуникациями с помощью прямоугольного щита проходят одну или несколько подземных выработок, объединяют их между собой, а затем из объединенной выработки устраивают ограждающие конструкции, выполненные по технологии «стена в грунте», в виде буровых или виброопускных свай. Под защитой ограждающей конструкции разрабатывают грунт и возводят обделку подземного сооружения.

Данная технология впервые была апробирована на строительстве подземной автостоянки вместимостью 111 автомобилей в центральном районе г. Токио [33]. Стоянка расположена под проезжей частью автомагистрали вблизи зданий, непосредственно под инженерными коммуникациями (электрическими кабелями, газопроводом, водопроводом, канализацией, телефонными кабелями).

Стоянка заложена в толще аллювиальных песков и глинистых грунтов. Уровень грунтовых вод находится на глубине 3 - 4 м от поверхности земли. При выборе метода строительства традиционные технологии устройства ограждения стен оказались неприемлемыми из-за невозможности перекладок подземных коммуникаций. Была предложена технология BSM с применением прямоугольного коробчатого щита с двухбарабанным рабочим органом и поэтапным ведением работ (рис. 18).

Рис. 18. Последовательность строительства подземной автостоянки по технологии BSM:

1 - подземные коммуникации; 2 - зона укрепленного грунта; 3 - скважины для инъецирования; 4 - нижняя вспомогательная выработка; 5 - верхняя вспомогательная выработка; 6 - объединенная выработка; 7- буровая свая Ø 0,45 м; 8 - временные сваи; 9 - покрытие проезжей части; 10 - конструкция автостоянки; 11 - грунт обратной засыпки

На I этапе прямоугольным щитом была пройдена вспомогательная выработка длиной 163 м, низ которой совпадает с серединой лотковой плиты подземной автостоянки. Из этой выработки забурили восстающие вертикальные скважины, через которые выполнили укрепительную цементацию грунта под подземными коммуникациями.

На II этапе была пройдена верхняя вспомогательная выработка, верх которой совпадает с верхом плиты перекрытия автостоянки, а низ - на 0,25 - 1,20 м превышает отметку верха нижней вспомогательной. Обделки обеих выработок объединили между собой при помощи скользящих стальных листов, а грунт из зазора между обделками удалили.

Работы III этапа включали устройство ограждающих буроопускных свай рядом с объединенной выработкой и непосредственно из выработки. В пробуренные скважины диаметром 0,45 м опускали двутавровые балки с последующим обетонированием. На внутренний ряд свай опирали покрытие проезжей части, по которому пропускали наземные транспортные средства в период строительства подземной автостоянки.

Работы IV этапа предусматривали последовательную разработку грунта по схеме «сверху - вниз» между ограждающими конструкциями.

На V этапе выполняли бетонирование конструкций подземной стоянки по схеме «снизу- вверх». Готовую конструкцию засыпали грунтом, полностью восстанавливая поверхностные условия.

В процессе строительства проводили мониторинг напряженно-деформированного состояния конструкций подземной автостоянки и окружающего грунтового массива. Максимальные осадки грунта после проходки нижней вспомогательной выработки составили 5 мм, а верхней - 15 мм; горизонтальные смещения не превышали 1,1 мм.

Опыт строительства подземной автостоянки с применением технологии BSM оказался успешным и намечается к использованию при сооружении других подземных объектов в Японии.

Применение технологии MMST предусматривает щитовую проходку нескольких прямоугольных выработок по контуру будущего подземного сооружения. Каждая из выработок закрепляется стальными коробами, а затем заполняется бетонной смесью, образуя элементы обделки подземного сооружения. Отдельные сталебетонные элементы объединяют между собой. Под защитой замкнутой обделки разрабатывают грунтовое ядро и возводят внутренние конструкции подземного сооружения (рис. 19).

Рис. 19. Последовательность строительства подземного сооружения по технологии MMST:

1 - вспомогательная выработка, сооружаемая прямоугольным щитом; 2 - зазор; 3 - экскаватор; 4 - проезжая часть; 5 - стальной короб; 6 - зона химического закрепления грунта; 7 - выдвижной стальной лист; 8 - зона обетонирования

К преимуществам данной технологии по сравнению с традиционными относятся: рациональная форма и размеры поперечного сечения; возможность строительства подземного сооружения с минимальной глубиной заложения (до 1 м), что практически невозможно при проходке щитами кругового поперечного сечения; исключение нарушений на поверхности земли.

Новая технология запатентована в 1991 г. и апробирована в 1997 г. на опытном участке строительства системы вентиляционных тоннелей А, В и С длиной соответственно 75,4; 77,7; 60,0 м, примыкающих к вентиляционной станции на трассе экспрессной автомагистрали Транс-Кавасаки [32]. Между вентиляционными тоннелями предусмотрены четыре шахтных ствола.

Тоннели имеют прямоугольное очертание пролетом от 13,6 до 14,8 м и высотой от 14,2 до 15,6 м. Глубина заложения тоннелей изменяется от 4,7 до 7,3 м.

Проведению опытной проходки предшествовали крупномасштабные эксперименты на физических моделях в масштабе 1:2. Измеряли напряженно-деформированное состояние обделки и грунтового массива.

Работы по строительству тоннелей начали с проходки вспомогательных контурных выработок прямоугольного сечения механизированными щитами двух типов: «горизонтальным» шириной 7,0 м и высотой 2,5 м и «вертикальным» шириной 2,5 м и высотой 7,5 м. Всего на строительстве каждого тоннеля использовали по два щита.

В тоннеле А работали щиты с барабанным рабочим органом и бентонитовым пригрузом, в тоннеле В - с комбинированным рабочим органом и грунтовым пригрузом, а в тоннеле С - с роторным рабочим органом и бентонитовым пригрузом.

Контур каждой выработки закрепляли коробчатой конструкцией длиной 1,2 м из стальных листов, усиленных ребрами жесткости. Короба соединяли между собой на сварке.

Проходку вспомогательных выработок вели со средней скоростью 2,4 м/сут и максимальной 4,8 м/сут. Сравнительно невысокие темпы проходки объясняются небольшой длиной выработок, что не позволяет обеспечить режим скоростной проходки. На начальной стадии максимальные отклонения щитов от проектной трассы достигали 195 мм (по вертикали) и 124 мм (в плане), а затем не превышали 100 мм.

После проходки вспомогательных выработок разрабатывали грунтовые целики между ними шириной от 0,5 до 1,0 м в вертикальном направлении и от 0,8 до 1,6 м в горизонтальном направлении. Образующиеся зазоры герметизировали с помощью скользящих стальных листов, выдвигаемых домкратными устройствами, и нагнетанием в грунт стабилизирующих составов. После этого вспомогательные выработки заполняли бетонной смесью, создавая сплошную сталебетонную обделку основного тоннеля. Под защитой обделки разрабатывали грунтовое ядро с помощью гусеничного экскаватора и возводили внутренние конструкции.

В настоящее время применение технологии MMST предусматривается на строительстве четырехполосного автодорожного тоннеля по трассе автомагистрали в районе г. Токио [32]. Наличие плотной капитальной застройки и интенсивного уличного движения затрудняют применение траншейного способа работ, традиционной щитовой проходки и НАТМ, при которых в данных условиях неизбежны нарушения поверхности.

Рассмотренные выше новые технологии строительства городских подземных сооружений мелкого заложения в слабоустойчивых грунтах характеризуются достаточно высокой эффективностью и обеспечивают минимизацию нарушений поверхностных условий.

Выбор той или иной технологии определяется видом подземного сооружения, его размерами, конструктивными особенностями, а также градостроительными, топографическими и инженерно-геологическими условиями района строительства.

3.3. Адаптивная опережающая крепь

В практике современного тоннелестроения широко используют различные виды опережающих крепей: экраны из труб, бетонные своды, экраны из грунта, стабилизированного искусственным замораживанием, химическим закреплением, струйной цементацией и др. [2, 34].

Опережающее крепление - превентивная мера, гарантирующая безопасное раскрытие тоннельной выработки и устойчивость окружающего грунтового массива. Опережающую крепь применяют преимущественно на участках нарушенных скальных, слабоустойчивых и неустойчивых мягких водоносных грунтов, которые встречаются по трассе горных, подводных и городских тоннелей, сооружаемых закрытыми способами. Выбор того или иного вида опережающей крепи и технологии ее устройства определяются протяженностью нарушенных зон, типом и свойствами пересекаемых грунтов, расположением уровня грунтовых вод и т.д.

Рассматриваемая технология характеризуется достаточной гибкостью и адаптивностью к изменяющимся инженерно-геологическим условиям, сводит к минимуму нарушения окружающей среды и имеет ряд преимуществ перед другими способами крепления тоннельных выработок.

С применением опережающей крепи построены многие тоннели и городские подземные сооружения в Англии, Германии, Франции, Италии, России, США, Японии, Сингапуре и других странах [2]. Ниже приводятся данные современного опыта строительства транспортных тоннелей с опережающей крепью, анализируются наиболее эффективные конструктивно-технологические решения и выявляются прогрессивные тенденции развития рассматриваемых методов.

Экраны из труб

В последние годы наряду с традиционными способами устройства опережающих экранов из стальных труб находят применение новые технологии, предусматривающие использование перфорированных труб в сочетании с закреплением грунта инъецированием в затрубном пространстве.

В Японии строится тоннель Сатсума Тагами длиной 3297 м по трассе железнодорожной линии Синкансен [35]. В пределах застроенной территории г. Кагошима трасса тоннеля проходит на глубине от 25 до 70 м в сложных инженерно-геологических условиях, характеризующихся чередованием участков достаточно устойчивых полускальных пород и локальных эрозионных зон, распространяющихся с поверхности земли до уровня горизонтального диаметра тоннеля. Эрозионные зоны заполнены твердыми минеральными композициями, которые под действием грунтовых вод разрушаются, превращаясь в текучую несвязную массу, не способную к консолидации.

В связи с этим проходку эрозионных зон вели под защитой опережающих экранов из стальных перфорированных труб в сочетании с закреплением грунта инъецированием. Для этого через трубы экрана производили нагнетание химически активных стабилизирующих составов. Применение традиционных способов искусственного замораживания грунтов и понижения уровня грунтовых вод в данных условиях оказалось неприемлемым из-за опасности осадок грунтового массива и поверхности земли.

Экран из стальных труб наружным диаметром 1,02 м был создан в сводовой части тоннеля.

Рис. 20. Схема расположения труб экрана и зон химически закрепленного грунта при строительстве тоннеля Сатсума Тагами (Япония):

1 - заполнительное нагнетание; 2 - первичное закрепление; 3 - вторичное закрепление; 4 - трубы экрана.
Приведенные цифры соответствуют номерам труб экрана

Схема расположения труб экрана и зон химически закрепленного грунта представлена на рис. 20.

Для прокладки труб экрана с шагом 0,3 м применили микротоннельную технологию, используя микрощиты диаметром 0,8 м с бентонитовым пригрузом и установку для продавливания труб. Такая технология считается более надежной, чем бурение скважин, с точки зрения предотвращения вывалов грунта в забое и преодоления возможных препятствий в виде валунов, стволов деревьев, старых свай.

Трубы продавливали звеньями длиной по 2 м по мере продвижения микрощитового комплекса, соединяя их между собой на болтах. Для снижения усилий продавливания труб их поверхность покрывали антифрикционным составом.

По мере проходки зазоры между трубами заполняли двухстадийным инъецированием стабилизирующего состава, создавая над экраном воротник из закрепленного грунта толщиной до 1,5 м и прочностью 1 МПа. Параллельное ведение работ по продавливанию труб и закреплению грунта существенно сократило сроки строительства. Длина экрана из труб в пределах первой нарушенной зоны достигала 96 м.

Для оценки напряженно-деформированного состояния грунтового массива и прогнозирования возможных осадок были выполнены расчеты методом конечных элементов. Исследования двухразмерных моделей показали, что характер и интенсивность развития мульды оседания грунтов не выходят за допустимые пределы. Это было подтверждено данными мониторинга сдвижений и деформаций в натурных условиях.

Проходку тоннеля под защитой экрана из труб вели заходками по 10,5 м (первая заходка - 15 м) ступенчатым забоем, устанавливая в калотте арочную крепь из двутавровых балок Н 200 и нанося слой набрызг-бетона толщиной 0,2 м. Во избежание нарушения устойчивости забоя его закрепляли набрызг-бетоном и возводили временный обратный свод толщиной 0,25 м в калотте. Вторичную обделку возводили из железобетона толщиной 0,4.м с обратным сводом толщиной 0,5 м.

Опережающие экраны из грунтоцементных столбов в сочетании с арочной крепью и опорными элементами из микросвай применяют в настоящее время на строительстве в Японии двухъярусного автодорожного тоннеля Оуме длиной 2095 м и площадью поперечного сечения от 221 до 261 м1 [36].

Центральный участок тоннеля длиной 1093 м проходит под застроенной территорией на мелком заложении (6,9 - 7,8 м) в слабоустойчивых водоносных гравелистых грунтах (крупностью частиц от 2 до 20 см) с включением ила. Проходку тоннеля ведут по технологии НАТМ с поэтапным раскрытием выработки пролетом 15,75 м (рис. 21). Породу разрабатывают механизированным способом с погрузкой ковшовым погрузчиком в транспортные средства.

В первую очередь устраивали экран из стальных труб длиной 12,5 м в сводовой части тоннеля. Перфорированные трубы диаметром 0,11 м с толщиной стенок 6 мм располагали в поперечном направлении с шагом 0,6 м (на припортальном участке - 0,3 м) и через них в грунт инъецировали цементный раствор под давлением 0,5 МПа. Раствор проникал в грунт примерно на 20 см, образуя вокруг труб грунтоцементные столбы диаметром 0,50 - 0,55 м.

Рис. 21. Поперечное сечение двухъярусного тоннели Оуме (Япония) и этапы работ по его сооружению:

1 - грунтоцементные столбы; 2 - экран из труб; 3 - наклонные микросваи; 4 - обделка из монолитного бетона; 5 - промежуточное перекрытие

Под экраном из грунтоцементных столбов вдоль стен тоннеля были пробурены две горизонтальные скважины с обсадкой из труб для обеспечения дренажа (до 100 л/мин). Для закрепления призабойной зоны под сводом калотты устраивали слабонаклонные (под углом 3° к оси тоннеля) столбы диаметром 0,8 м из грунта, закрепленного струйной цементацией, прочностью 7 МПа,

Тоннельную выработку раскрывали сверху вниз четырьмя ступенями: вначале малую и большую калотту с возведением промежуточного перекрытия, а затем штроссу и лотковую часть выработки. По мере раскрытия калоттного профиля устанавливали арочную крепь из стальных профилей Н 200 и наносили набрызг-бетонное покрытие по верхнему своду толщиной 0,25 м, а по временному обратному своду - толщиной 0,2 м.

Давление от массы свода тоннеля (100 - 110 т/м2) временно передавали на опорные микросваи (четыре сваи на участке длиной 9 м), которые возводили до бетонирования промежуточного перекрытия тоннеля. До раскрытия нижних ступеней под промежуточное перекрытие методом струйной цементации были устроены вертикальные сваи диаметром 0,8 м и прочностью 4 МПа.

Применение комбинированной крепи в сочетании с поэтапным раскрытием выработки позволило свести к минимуму деформации грунтового массива и поверхности земли. Так, по результатам геотехнического мониторинга максимальные осадки дневной поверхности после раскрытия калоттного профиля составили 15 мм, а после раскрытия штроссы - 20 мм.

Новую технологию устройства защитного экрана из микросвай применили на строительстве тоннеля на кольцевой автомагистрали в г. Праге [37]. Два параллельных тоннеля мелкого заложения длиной свыше 2 км заложены в слабоустойчивых грунтах и сооружаются новым австрийским способом (НАТМ). На участках плотно застроенной территории во избежание нарушений поверхностных условий были приняты дополнительные защитные меры, включающие консолидирующее и компенсационное нагнетание, а также экраны из микросвай.

Сваи длиной от 12 до 15 м, располагаемые под углом 5 - 6° к оси тоннеля, устраивали с использованием специализированного бурового оборудования BOODEX шведской фирмы «Атлас Копко». В сечении тоннеля располагали от 18 до 25 микросвай с шагом 400 - 500 мм.

Для бурения скважин диаметром 0,12 м по трассе тоннеля раскрывали камеры с превышением над контуром выработки на 0,68 м и длиной 8,9 или 12 м в соответствии с длиной микросвай и величиной перекрытия соседних секций (3 - 4 м). В пробуренные скважины проталкивали перфорированные стальные трубы диаметром 0,11 м с толщиной стенки 6,3 мм, через которые в грунт нагнетали цементный раствор под давлением 0,2 - 0,5 МПа.

В 2002 г. завершено строительство железнодорожного тоннеля Вольфсгрубен длиной 1743 м в Австрийских Альпах [38]. На припортальных участках тоннеля залегают неустойчивые водоносные грунты, в связи с чем проходку тоннеля вели под защитой опережающей крепи из двух рядов микросвай длиной до 20 м с перекрытием соседних участков на 2 м.

Работы вели по технологии НАТМ с раскрытием выработки сечением 120 - 130 м2 в два этапа и двухслойной крепью из набрызг-бетона. После проходки 50 м со стороны восточного портала в набрызг-бетонной крепи обнаружили трещины и возникла опасность вывалов грунта. В связи с этим потребовалось устройство наклонных столбов длиной 3 - 4 м под пяты свода и инъекционных анкеров длиной до 10 м в радиальном направлении.

Наиболее сложные условия были у западного портала на участке длиной 60 м. Здесь также устраивали защитный экран из двух рядов микросвай, выполненных из 76-миллиметровых перфорированных стальных труб, через которые в грунт нагнетали цементный раствор. Применением микросвай удалось стабилизировать грунтовый массив и обеспечить безосадочную проходку калоттного профиля способом сплошного забоя.

Крепь из грунта, закрепленного струйной цементацией

Развитие струйной цементации в тоннелестроении во многом связано с устройством опережающей крепи. При этом в грунт по контуру будущего тоннеля с определенным интервалом погружают мониторы с насадками, через которые под большим давлением подают воду и цементный раствор. Окружающий скважину грунт разрушается струей воды и интенсивно перемешивается с цементным раствором. Постепенно извлекая монитор из скважины, создают области закрепленного грунта.

С применением струйной цементации пройдены отдельные участки тоннелей метрополитена в г.г. Милане, Вене, Лионе, Сингапуре, железнодорожных тоннелей в Италии, Германии, Швейцарии, автодорожных тоннелей в Австрии, Югославии, Швейцарии [2]. В последние годы опережающую струйную цементацию применяют в сочетании с устройством опорных столбов в пятовых сечениях свода тоннеля.

В Швейцарских Альпах сооружают тоннель Зюгвальд длиной 2,6 км, по которому будет осуществляться перевозка автомобилей на железнодорожных платформах [39]. Трасса строящегося тоннеля проходит рядом с эксплуатируемым тоннелем Киостерс и пересекает участки выветрелых и разрушенных скальных пород с включениями водоносных песков. Для безопасной проходки этих участков применили опережающую крепь, устраиваемую методом струйной цементации, и вертикальные столбы под пяты свода тоннеля.

На припортальном участке тоннеля было устроено 17 секций экрана из 28 грунтоцементных столбов диаметром 0,6 м и длиной по 16,8 м. Перекрытие соседних секций экрана составляло 2,5 м.

При устройстве экрана в пробуренные скважины помещали мониторы и нагнетали водоцементную смесь под давлением до 50 МПа через насадки диаметром 2,2 мм. На 1 м столба расходовали 350 кг водоцементной смеси. Процесс бурения одной скважины занимал от 30 до 60 мин, нагнетания - 4 - 5 мин.

Проходку тоннеля под экраном вели ступенчатым забоем заходками по 1 м с использованием тоннелепроходческой машины Эйскхоф-110 с рабочим органом избирательного действия. После проходки 12,5 м тоннеля возводили первичную крепь из слоя набрызг-бетона толщиной 3 - 4 см, армированного стальной сеткой, и стальных арок из прокатного металла. Одновременно методом струйной цементации устраивали 12 наклонных (под углом 10° к вертикали) столбов длиной 3 - 4 м и диаметром 0,6 м под пяты свода.

Опережающую крепь из стабилизированного струйной цементацией грунта применили также на строительстве тоннеля в г. Сан-Пауло (Бразилия) в слабых неустойчивых грунтах [40]. Тоннель овоидального поперечного сечения пролетом 4,26 м и высотой 4,52 м проходит под застроенной городской территорией и пересекает канал Тамандате на глубине до 25 м от поверхности воды.

По трассе тоннеля залегают в основном аллювиальные грунты: пески, илистые и твердые серые глины. Уровень грунтовых вод в период затяжных дождей повышается почти до дневной поверхности. В этих условиях проходку тоннеля было решено вести горным способом по технологии НАТМ под защитой опережающих экранов из грунта, закрепленного струйной цементацией. На тех участках, где в нижней части тоннеля залегают плотные глины, защитный экран устраивали только по своду и боковым стенам, а на участках неустойчивых грунтов - по всему периметру тоннеля. Схемы расположения экранов показаны на рис. 22.

Секции опережающей крепи на первом участке состояли из 21 столба закрепленного грунта диаметром 0,6 м и длиной 8,5 м, а на втором участке - из 34 таких же столбов. При проходке подводной части тоннеля в водоносных грунтах помимо опережающей крепи по контуру тоннеля, по концам каждой секции, методом струйной цементации устраивали торцовые диафрагмы толщиной 1,5 - 2,0 м. Для этого по всей площади забоя выработки забуривали горизонтальные скважины длиной 8,5 м, в донную часть которых нагнетали цементный раствор. В процессе бурения скважин во избежание прорыва воды в выработку использовали превенторы. В пробуренные скважины нагнетали смесь из портландцемента и воды в соотношении 1:1 в песчаных и 1:0,8 в глинистых грунтах. Прочность закрепленного струйной цементацией грунта составила 4 МПа.

На участке тоннеля длиной 82 м было выполнено 316 контурных столбов длиной по 7,5 м и диаметром 0,6 м и 514 горизонтальных столбов длиной по 1,5 - 2,0 м и диаметром 0,8 м (для диафрагм).

Рис. 22. Схема расположения экранов незамкнутого (а) и замкнутого (б) очертания при строительстве тоннеля в г. Сан-Пауло (Бразилия):

1 - песок; 2 - илистая глина; 3, 4 - соответственно экран и диафрагмы из грунта, закрепленного струйной цементацией

Проходку под защитным экраном вели горным способом с установкой арочной крепи и возведением обделки из набрызг-бетона. В процессе проходки контролировали размеры колонн стабилизированного грунта, их положение в плане и профиле, прочность, водонепроницаемость и др. Принятая технология проходки позволила осуществить безаварийное строительство тоннеля под каналом в сложных инженерно-геологических условиях.

В сложных инженерно-геологических условиях построен также автодорожный тоннель Прапонтин длиной 4,4 км (Италия) [41]. Две параллельные выработки пересекают горный массив, сложенный разнородными грунтами. Восточный участок тоннеля длиной 700 м проходит под застроенной территорией на мелком заложении в аллювиальных грунтах с крупными валунами. Центральный участок тоннеля глубокого заложения проходит под действующим железнодорожным тоннелем в гнейсах и глинистых сланцах, а западный участок длиной 200 м пересекает трассу железной дороги и заложен на небольшой глубине в слабых водоносных грунтах (песках и глине).

В соответствии с инженерно-геологическими условиями и глубиной заложения тоннеля проходку его вели различными способами. Восточный участок сооружали под экраном из грунтоцементных столбов с опиранием свода на микросваи. Центральный участок был пройден с применением буровзрывного способа при ограничении глубины заходок до 1,0 - 1,5 м в зоне пересечения с действующим железнодорожным тоннелем.

На западном участке проходку вели с поэтапным раскрытием выработки под защитой опережающих экранов из 38 грунтоцементных столбов диаметром 0,6 м по контуру выработки, выполненных методом струйной цементации, и 40 фибергласовых нагелей длиной 12 м в призабойной зоне и скальных анкеров в пятах арок (рис. 23).

Рис. 23. Этапы проходки тоннеля Прапонтин (Италия):

1 - экран из грунтоцементных столбов; 2 - фибергласовые нагели; 3 - арочная крепь; 4 - анкеры; 5 - наклонные микросваи; 6 - обделка тоннеля

На I этапе устраивали опережающую крепь, под защитой которой на II этапе раскрывали калоттный профиль, закрепляя его стальными арками и горизонтальными анкерами. На этом же этапе под пяты арок подводили наклонные столбы из микросвай. Работы III этапа включали раскрытие штроссы, а IV этапа - возведение обделки из монолитного бетона. По мере проходки фибергласовые нагели срезали.

Представляет интерес опыт строительства тоннелей на автомагистрали Е71 между г.г. Римом и Равенной в Аппенинах (Италия) [42]. Тоннели заложены в сланцах различной крепости, для разработки которых использовали гидравлические молоты Rummer S86 и S84, смонтированные на экскаваторе Fiat Allis.

Для крепления выработок площадью поперечного сечения 95 м2 использовали 12-метровые экраны из столбов, выполненные методом струйной цементации фирмой «Родио», скальные анкеры длиной 5 и 6 м, стальные арки из двутавровых профилей с шагом 1,5 м, между которыми наносили покрытие из набрызг-бетона. Под пяты свода и стен были подведены микросваи длиной 6, 10 и 20 м. Обделку из монолитного бетона толщиной в замке 0,7 м и в обратном своде 0,8 м возводили в тоннельной опалубке «CIFA».

Опережающая бетонная крепь

При строительстве тоннелей горным способом в нарушенных скальных и мягких связных грунтах применяют опережающую бетонную крепь (ОБК). Ее устраивают путем бетонирования предварительно нарезанной контурной щели в пределах свода или свода и стен выработки. Отдельные бетонные оболочки конической формы перекрывают одна другую, образуя непрерывную крепь, которая после проходки тоннеля входит в состав постоянной конструкции [2].

Впервые ОБК применили во Франции в конце 70-х годов прошлого века и с тех пор с ее использованием построены многочисленные тоннели метрополитена, железнодорожные и автодорожные тоннели во Франции, Италии, Испании, Швейцарии, Венесуэле и Японии. С применением ОБК сооружен участок станционного комплекса «Адмиралтейская» в г. Санкт-Петербурге.

В последние годы рассматриваемая технология существенно усовершенствована за счет применения более мобильного и производительного щеленарезного и бетоноукладочного оборудования, увеличения размеров нарезаемой щели и бетонной оболочки, устройства криволинейных в продольном направлении оболочек и др. Во Франции щеленарезные машины «Супремек» и «Перфорекс» выпускает фирма «Сершар», в Германии - фирма «Вирт», в Японии - фирма «Ниппон кокудо кайхацу», в Италии - фирма «Родио».

Щеленарезные машины последнего поколения включают жесткую раму с направляющей дугой, по которой перемещается каретка с баровым рабочим органом. Мощность гидропривода таких машин изменяется от 120 до 400 кВт, скорость нарезания щели - от 1 до 10 м/мин и более. Контроль за нарезанием щели осуществляется лазерными геодезическими приборами.

Щели глубиной от 1,5 до 5,0 м и высотой от 0,1 до 0,4 м заполняют высокопрочным набрызг-бетоном или фибронабрызг-бетоном по «сухой» или «мокрой» технологии робот-методом или подают удобоукладываемую бетонную смесь бетононасосами. Время выстойки бетона в щели до требуемой прочности (8 - 10 МПа) изменяется от 4 - 6 до 10 - 15 ч.

В последние годы с применением ОБК построен ряд транспортных тоннелей. Два параллельных тоннеля Пеш Брюнет длиной 218 и 258 м пройдены в 1997 г. на автомобильной дороге А20 на юге Франции [43]. Тоннели для трехполосного движения пролетом 14,31 м и высотой 12 м заложены на глубине 7 - 21 м от поверхности земли в перемежающихся песчаных, глинистых и мергелистых грунтах прочностью от 0,2 до 2,4 МПа.

Для устройства контурной щели длиной 5 м и высотой 0,25 м применили щеленарезную машину массой 165 т и мощностью привода 350 кВт с баровым рабочим органом. Скорость нарезания щели составила 30 м/смену. Щель заполняли набрызг-бетоном, создавая взаимно перекрываемые на 1,00 - 1,25 м бетонные оболочки.

Проходку тоннеля вели с использованием тоннельного экскаватора «Либхер-954» и автомобилей-самосвалов «Вольво А-25». Забой закрепляли набрызг-бетоном и фибергласовыми анкерами диаметром 32 мм плотностью распределения 0,25 ед./м2. На участках неустойчивых грунтов устанавливали стальные арки и скальные анкеры длиной 5,5 м и диаметром 25 мм. Применение ОБК позволило пройти тоннель с осадками вышележащей грунтовой толщи не более 12 мм.

В горах Эль Пардо (Испания) ведется строительство двух параллельных автодорожных тоннелей для трехполосного движения каждый длиной по 300 м [44]. Тоннели заложены на глубине 15 - 30 м в нарушенных скальных и осадочных мягких грунтах и сооружаются по технологии НАТМ с опережающей проходкой боковых штолен, в которых бетонируются стены тоннеля.

При раскрытии калоттного профиля применили ОБК в виде конических оболочек длиной 4,5 м и высотой 0,3 м с перекрытием в 1,0 м. Щель нарезали агрегатами массой 40 и 75 т и мощностью 225 и 280 кВт и заполняли набрызг-бетоном робот-методом по «сухой» технологии. Через четыре часа прочность бетона на сжатие составила 9 МПа, а через 24 ч - 50 МПа.

Под защитой ОБК раскрывали штроссу, разрушали внутреннюю крепь штольни, бетонировали центральную часть обратного свода и верхний свод. Скорость проходки тоннеля возросла с 1,3 м/сут в первые четыре месяца до 2,7 м/сут в дальнейшем. Мониторинг напряженно-деформированного состояния массива показал, что осадки кровли не превышали допустимых.

При строительстве автодорожного тоннеля длиной 3,3 км и площадью поперечного сечения 108 м2 в г. Тулоне (Франция) на участке плотнозастроенной территории на глубине до 35 м от поверхности земли в мягких водоносных грунтах во избежание осадок поверхности земли применили ОБК [45]. Контурную щель конической формы глубиной 4 м и высотой 0,22 м с перекрытием 0,5; 1,0 и 1,5 м прорезали щеленарезной машиной с баровым рабочим органом и заполняли фибробетоном. Через четыре часа прочность бетона достигала 8 МПа. Забой закрепляли фибергласовыми анкерами длиной 18 м.

В марте 1996 г. при проходке через нарушенную зону в тоннеле произошел вывал породы с образованием двух воронок на поверхности. Это потребовало усиления конструкции тоннеля обратным сводом, радиальными скальными анкерами длиной 3 - 5 м и стальными решетчатыми арками. После этого проходка тоннеля была завершена без нарушения поверхностных условий.

Односводчатую станцию Римского метрополитена «Убальди» длиной 120 м, пролетом 21,5 м и высотой 16 м сооружали по технологии НАТМ с проходкой вначале боковых штолен, в которых возводили стены станции, а затем калоттного профиля. Схема сооружения станции показана на рис. 24.

Рис. 24. Схема сооружения станции «Убальди» Римского метрополитена:

1 - стальные арки; 2 - фибергласовые нагели; 3 - сборная железобетонная обделка; 4 - опережающая бетонная крепь; 5 - уровень головки рельсов; 6 - стены тоннеля

После раскрытия калоттного профиля устраивали ОБК путем нарезания контурной щели глубиной 3,5 м и высотой 0,2 м и заполнения ее фибробетоном. Под защитой ОБК возводили обделку свода станции из железобетонных блоков с последующим обжатием в грунт замковым элементом с усилием 3000 кН. За восемь месяцев было возведено 45 секций ОБК и смонтированы 134 секции сборной обделки. В последнюю очередь раскрывали штроссу и бетонировали обратный свод.

В Японии разработана новая технология устройства ОБК в виде серии жестких арочных оболочек, образующих непрерывную первичную крепь, под прикрытием которой разрабатывают грунт и возводят вторичную крепь - обделку [46]. Технологическая схема устройства такой крепи представлена на рис. 25.

Рис. 25. Технологическая схема устройства опережающей бетонной крепи в виде жестких арочных оболочек:

1 - забой тоннеля; 2 - арочная бетонная крепь; 3 - привод рабочего органа щеленарезной машины; 4 - тоннельный экскаватор; 5 - автобетоносмеситель; 6 - автобетононасос; 7 - щеленарезная машина

По сравнению с плоской арочная крепь характеризуется более высокой жесткостью и несущей способностью за счет проявления арочного эффекта не только в поперечном, но и в продольном направлении. Таким образом достигается стабилизация забоя тоннельной выработки, предотвращаются осадки породного массива и сводятся к минимуму нарушения близлежащих зданий и сооружений.

Для устройства криволинейных в продольном направлении прорезей в породном массиве созданы автоматизированный щеленарезной агрегат PLS с баровым рабочим органом дугового типа, перемещающимся по направляющей арке, и бетоноукладочное оборудование. Радиус кривизны направляющей дуги составляет 6,5 м, глубина нарезаемой щели - 3,8 м, высота - 0,4 м.

Новая технология была апробирована при строительстве участка двухполосного автодорожного тоннеля в городском районе на глубине до 11 м от поверхности земли. Трасса тоннеля пересекает трубопроводы и автомобильные дороги. Тоннель сводчатого очертания пролетом 13,01 м и высотой 8,67 м проходит частично в слабоустойчивых несвязных грунтах, а частично в аргиллитах. Допустимые осадки поверхности земли составляют 20 мм.

Устройство опережающей крепи вели со скоростью 3 м/сут. При появлении в забое слабоустойчивых грунтов выполняли набрызг-бетонирование лба забоя, устанавливали опережающие фибергласовые анкеры и выполняли струйную цементацию с поверхности земли. В процессе строительства тоннеля осуществляли мониторинг деформаций ОБК и осадок поверхности земли. На участках тоннеля с глубиной заложения менее 11 м вертикальные смещения крепи не превышали 9 мм, а осадки поверхности земли - 19 мм в слабых грунтах и 6 мм в аргиллитах.

Опыт применения новой технологии устройства ОБК показал ее высокую эффективность и целесообразность распространения па другие объекты в сложных градостроительных и инженерно-геологических условиях. В качестве примера можно привести автодорожный тоннель Ходогайя, проходящий на глубине 2 - 17 м от поверхности земли в сложных инженерно-геологических условиях [47]. Проходку вели под защитой ОБК способом сплошного забоя. По контуру выработки щеленарезной машиной PLS создавали щель длиной 2,8 м и высотой 0,4 м; на длине 2,1 м щель заполняли бетонной смесью.

Благодаря применению ОБК повышенной жесткости удалось ограничить осадки поверхности земли над строящимся тоннелем до 8 - 18 мм и избежать повреждений наземных зданий и сооружений.

Забойная крепь из армирующих фибергласовых элементов

За последние 15 лет в Италии была разработана и внедрена новая эффективная технология закрепления неустойчивого грунтового массива перед забоем тоннеля с использованием армирующих фибергласовых элементов [48]. Сущность ее заключается в том, что из забоя строящегося тоннеля равномерно по всей его площади забуривают систему горизонтальных и слабо наклонных скважин, в которые помещают фибергласовые элементы различной конструкции и инъецируют стабилизирующий состав (чаще всего цементный раствор) (рис. 26).

Рис. 26. Технологическая схема закрепления грунтового массива фибергласовыми элементами;

1 - тоннель; 2 - буровой агрегат; 3 - фибергласовые армирующие элементы; S - глубина заходки; L - длина зоны армирования

Длина зоны армирования составляет 15 - 18 м и более, превышая глубину заходки (1,0 - 1,5)D, где D - диаметр тоннеля. Лбу забоя придают вогнутую форму для реализации арочного эффекта. Через закрепленный таким образом грунтовый массив ведут проходку тоннеля способом сплошного забоя, срезая фибергласовые элементы рабочим органом тоннелепроходческой машины. Из вновь образованного забоя забуривают следующую серию скважин и устанавливают армирующие элементы, обеспечивая перекрытие ранее установленных элементов на 5 - 6 м.

Такая технология используется в связных и малосвязных слабоустойчивых и неустойчивых грунтах естественной влажности с небольшим количеством каменистых включений, что позволяет обеспечить заданное направление скважин. Основным достоинством данной технологии является возможность вести проходку тоннеля практически в любых грунтах способом сплошного забоя с применением высокопроизводительного тоннелепроходческого оборудования.

В зависимости от типа пересекаемого грунта и степени его устойчивости армирование зоны перед забоем тоннеля выполняют без дополнительного крепления или в сочетании с опережающей крепью по контуру выработки. Для усиления забойной зоны применяют опережающую бетонную крепь, выполненную в нарезанной по контуру выработки прорези. Возможно устройство опережающей контурной крепи в виде экрана из труб, из грунта, закрепленного струйной цементацией или из тех же фибергласовых элементов с инъецированием в них стабилизирующего состава.

В настоящее время в практике тоннелестроения применяют различные профили армирующих фибергласовых элементов: гладкие и гофрированные трубчатые, Y-образные и плоские, закрепленные на специальных кондукторах и объединенные с трубками для инъецирования и отвода воздуха (рис. 27).

Основные параметры трубчатых элементов составляют: диаметр 40 - 60 мм, толщина стенки 10 мм, длина 15 - 25 м, плотность распределения по плоскости забоя 0,35 - 0,50 ед./м2, перекрытие элементов соседних заходок 5 - 6 м.

Эффективность технологии подтверждается успешным опытом проектирования и строительства многочисленных тоннелей в Италии, Франции, а также базисных Альпийских тоннелей. С 1985 г. в Италии на железнодорожной линии Флоренция - Ареззо было пройдено более 11 км тоннелей. Проходка велась в сложных инженерно-геологических условиях и продемонстрировала надежность фибергласовых элементов и устойчивость армированного грунтового массива.

В 1988 г. были построены шесть тоннелей на скоростной железнодорожной линии Рим - Флоренция. Тоннели условным диаметром 7 и 13 м и длиной от 0,7 до 2,7 км заложены в супесчаных и илистых грунтах на глубине 50 - 90 м от поверхности земли. В четырех тоннелях ограничились армированием зоны перед забоем фибергласовыми трубчатыми элементами длиной 15 м, а в двух тоннелях эту крепь применяли в сочетании с опережающей бетонной крепью.

Рис. 27. Конструкция армирующих фибергласовых элементов:

а - поперечные сечения; б - продольный разрез;
1 - трубчатый элемент; 2 -
Y-образный элемент; 3 - трубка для инъецирования; 4 - плоский элемент; 5 - кондуктор; 6 - пробка из расширяющегося пластического материала; 7 - трубка для отвода воздуха; 8 - скважина; 9 - фибергласовая трубка

В тоннелях диаметром 7 м устанавливали по 25 элементов, а диаметром 13 м - по 50 - 60 элементов на заходку. При этом плотность распределения армирующих элементов составляла соответственно 0,35 и 0,43 - 0,51 ед./м2. Средняя скорость проходки способом сплошного забоя составляла 50 м/мес.

В 1991 г. был введен в эксплуатацию железнодорожный тоннель Сан Витали на линии Гасерта - Фоджия. Тоннель длиной 2,5 км и диаметром 12,7 м заложен в глинистых грунтах на глубине 100 м от поверхности земли. При проходке тоннеля сплошным забоем использовали опережающую крепь из фибергласовых элементов по контуру выработки и фибергласовые элементы трубчатого профиля длиной 18 м в забое. На одну заходку приходилось 50 элементов с плотностью распределения 0,41 ед./м2.

Пятикилометровый тоннель Васто был построен в 1993 г. на железнодорожной линии Анкона - Бари. Проходку вели сплошным забоем в илистых глинах с песчаными линзами на глубине от 8 до 135 м от поверхности земли, используя опережающую крепь из грунта, стабилизированного струйной цементацией. Трубчатые фибергласовые элементы длиной 18 м в количестве 55 шт. на одну заходку располагались с плотностью 0,45 ед./м2.

С применением плоских армирующих фибергласовых элементов длиной 25 м был пройден 120-метровый станционный тоннель Римского метрополитена в 1997 г. Работы вели в глинах и песчаных илах на сравнительно небольшой глубине (22 м) от поверхности. Раскрытие выработки осуществляли с предварительной проходкой боковых и верхней штолен. Было установлено 47 армирующих элементов с плотностью 0,37 ед./м2. Наряду с креплением грунтового массива перед забоем тоннеля применяли опережающую бетонную крепь. Строительные работы были завершены за 18 месяцев. Осадки поверхности земли зафиксированы не были.

В настоящее время в Италии ведется строительство шести тоннелей общей протяженностью 12 км и трех соединительных камер на железнодорожной линии Генуя - Волтри [49]. Тоннели заложены на глубине до 220 м от поверхности земли в слабоустойчивых полускальных грунтах, представленных серпентиновыми сланцами.

При проходке тоннелей и раскрытии крупнопролетных камер сечением 160,0 - 338,5 м2 широко использовали армирующие фибергласовые элементы длиной 15 м в сочетании с радиальными анкерами типа «Суперсвеллекс» фирмы «Атлас Копко» длиной 6 м и несущей способностью 200 кН, преднапряженными прядевыми анкерами длиной 18 м и несущей способностью 750 кН, а также экранами из труб.

В 1998 г. завершено строительство железнодорожного тоннеля на скоростной линии TGV Марсель - Лион во Франции [48]. Девятисотметровый тоннель условным диаметром 15 м заложен на глубине 100 м в толще консолидированных глин. Для стабилизации грунтового массива перед забоем тоннеля использовали плоские фибергласовые элементы длиной 24 м. На каждую заходку приходилось 90 элементов; плотность распределения - 0,5 ед./м2, скорость проходки - 1,5 м/сут.

Для установления оптимальных параметров армирующих элементов, работающих совместно с окружающим грунтовым массивом, в Италии проводятся теоретические исследования и расчеты с использованием метода конечных элементов, на основе которого разработаны плоские и пространственные модели. В процессе строительства тоннелей выполняют мониторинг напряженно-деформированного состояния грунтового массива и армирующих элементов, измеряют осадки поверхности земли и конвергенцию контура выработки. По результатам теоретических и экспериментальных исследований устанавливают закономерности взаимодействия армирующих элементов с грунтовым массивом и корректируют основные конструктивно-технологические параметры.

В настоящее время применение армирующих фибергласовых элементов предусмотрено на строительстве крупнейших базисных Альпийских тоннелей: Сен-Готард длиной 57 км, Летчберг длиной 36 км и Зиммерберг длиной 21 км [50, 51]. Так, при проходке Летчбергского тоннеля в сжимаемых грунтах было принято решение вести работы сплошным забоем с закреплением массива фибергласовыми трубами длиной 13 - 15 м. Перекрытие элементов составило 3 - 4 м. В тоннеле устанавливают стальную арочную крепь и скальные анкеры.

Применение опережающей крепи из фибергласовых элементов позволяет:

- вести проходку крупнопролетных выработок способом сплошного забоя в слабоустойчивых и неустойчивых грунтах с применением однотипного высокопроизводительного оборудования, обеспечивая безопасность и высокие темпы работ;

- использовать рассматриваемый метод в широком диапазоне инженерно-геологических условий путем варьирования параметрами армирующих элементов (формой поперечного сечения, длиной, перекрытием соседних заходок, плотностью на 1 м2 площади забоя) и выполняя систематический мониторинг напряженно-деформированного состояния грунтового массива;

- свести к минимуму сдвижения и деформации грунтового массива и поверхности земли в процессе проходки тоннеля за счет стабилизации грунтового массива в предзабойной зоне;

- применять фибергласовые армирующие элементы в сочетании с опережающей крепью из анкеров, экранов из труб, бетонных сводов, грунта, закрепленного струйной цементацией. В настоящее время рядом компаний (H. Weidmann, Durglass FL и др.) разработаны новые высокопрочные сплошные и трубчатые армирующие элементы различной формы из синтетических материалов на основе стекловолокна, обеспечивающие упрочнение грунтов инъецированием и легко разрушающиеся при проходке [52].

Дополнительные затраты на изготовление и установку армирующих элементов окупаются вышеуказанными достоинствами технологии, которую целесообразно использовать в нашей стране при строительстве транспортных тоннелей, метрополитенов и других подземных сооружений в сложных инженерно-геологических условиях.

3.4. Применение компенсационного нагнетания стабилизирующих составов

Строительство городских тоннелей закрытым способом вызывает осадки грунтового массива в окрестности подземной выработки, а в ряде случаев и поверхности земли, что влечет за собой повреждения фундаментов расположенных поблизости зданий, инженерных коммуникаций, дорожного покрытия и т.д. [53].

Осадки грунтового массива и поверхности земли при щитовой проходке обусловлены, главным образом, выпусками грунта в забое щита, несвоевременным или некачественным заполнением строительного зазора, деформациями оболочки щита и тоннельной обделки. Основными причинами осадок при проходке тоннелей горным способом являются переборы грунта в забое, отставание временной крепи от забоя, недостаточная ее жесткость, а также несвоевременное возведение постоянной обделки.

В практике городского подземного строительства применяют различные планировочные, конструктивно-технологические и защитные меры по минимизации осадок поверхности земли и сохранности здании и сооружений. Имеется в виду использование рациональных конструкций обжатых в грунт обделок, механизированных щитов с призабойными прнгрузочными камерами, уплотнителей строительного зазора, анкерной и набрызгбетонной временной крепи, а также усиление конструкций зданий и их фундаментов, устройство защитных экранов, физико-химическое закрепление грунта под фундаментами и т.д. Все это приводит к существенному удлинению сроков и повышению стоимости строительства.

В последние годы для стабилизации грунтового массива в зоне влияния строящегося тоннеля получает распространение метод компенсационного нагнетания строительного раствора в определенные области грунтового массива между фундаментами зданий и тоннельной выработкой.

В большинстве случаев до начала основных работ по компенсационному нагнетанию выполняют так называемую преконсолидацию грунтового массива для его предварительного подкрепления и создания своеобразного «строительного подъема» с целью последующей компенсации перемещений грунта. Эффект ограничения осадок за счет нагнетания раствора в грунт виден на рис. 28.

Рис. 28. Эффект ограничения осадок поверхности земли за счет нагнетания раствора в грунт:

1 - застройка; 2 - зона нагнетания; 3 - тоннель; 4 - прогнозируемые осадки поверхности земли; 5 - ожидаемый «строительный подъем»; 6 - окончательные осадки поверхности земли

Таким образом, значительно уменьшаются потери грунта вследствие возможных выпусков в забое и предотвращается разуплотнение грунтовой толщи, а следовательно, сводятся к минимуму осадки грунтового массива и поверхности земли. Об эффективности рассматриваемого метода свидетельствует успешный опыт его применения в Великобритании, Австрии, Германии, Португалии, США и Канаде [54].

Компенсационное нагнетание применяют при проходке тоннелей закрытыми способами практически в любых нескальных грунтах естественной влажности, за исключением неустойчивых и закарстованных. Использование рассматриваемого метода наиболее целесообразно на участках тоннелей под фундаментами зданий, дорогами, другими подземными сооружениями и коммуникациями, повреждения которых недопустимы.

Основное отличие компенсационного нагнетания от других специальных способов стабилизации грунтового массива (цементации, химического закрепления, замораживания) заключается в том, что зона нагнетания ограничена сравнительно тонким слоем грунтового массива, выполняющим роль своеобразного домкрата, обжимающего вышележащую толщу [54].

Зона нагнетания может размещаться в непосредственной близости от поверхности земли (фундаментов зданий) или примыкать к подземному сооружению. Это зависит от инженерно-геологических условий, характера распределения и интенсивности внешних нагрузок, напряжений в подошве фундаментов и ряда технологических факторов (наличия пригруза в забое щита, скорости проходки, системы нагнетания за обделку и др.).

В качестве стабилизирующих грунт составов используют цементно-песчаный или цементно-бентонитовый раствор с добавками, регулирующими вязкость, сроки схватывания и твердения и т.д. Объем и давление нагнетания определяются соответствующими расчетами и корректируются в зависимости от поведения грунтового массива и наземных сооружений и зданий.

В настоящее время для определения параметров компенсационного нагнетания широко используют численные методы расчета, в основном метод конечных элементов, а также опытные работы в натурных условиях. На всех этапах строительства тоннеля и в процессе компенсационного нагнетания осуществляется геотехнический мониторинг напряженно-деформированного состояния грунтового массива, тоннельной обделки, фундаментов зданий и сооружений. Для этого используют автоматизированные следящие системы, включающие электронную контрольно-измерительную аппаратуру и современную компьютерную технику [55].

Работы по компенсационному нагнетанию производят либо с поверхности земли, либо из существующих или вновь устраиваемых подземных выработок (шахтных стволов, камер, котлованов), забуривая вертикальные, горизонтальные или наклонные скважины, либо погружая в грунт специальные ииъекторы. Схема компенсационного нагнетания с поверхности земли и из шахтного ствола приведена на рис. 29.

Рис. 29. Схема компенсационного нагнетания с поверхности земли (а) и из шахтного ствола (б):

1 - застройка; 2 - скважины для нагнетания; 3 - зона нагнетания; 4 - станция метрополитена; 5 - тоннель; 6 - шахтный ствол

Разработаны и применяются различные технологические схемы компенсационного нагнетания, предназначенные для разных грунтов [54]. Так, в несвязных грунтах с низкой степенью проницаемости используют уплотняющее нагнетание жесткого строительного раствора, обладающего высокой вязкостью. Для этого в цементный раствор вводят мелкодисперсные добавки, а для обеспечения необходимого угла внутреннего трения - песок. Таким образом, раствор не проникает в поры грунта, а остается в нем в виде инородного тела. За счет этого происходит уплотнение и обжатие части грунтового массива и предотвращается развитие осадок ниже горизонта нагнетания.

В несвязных грунтах с высокой степенью проницаемости применяют фильтрационное нагнетание текучего раствора с высоким содержанием частиц твердой фракции, которые оседают вблизи инъектора, а жидкая среда фильтруется в грунтовый массив.

В глинистых грунтах эффективно кливажное нагнетание под большим давлением растворов, обладающих малой вязкостью, что способствует раскрытию в грунте трещин с образованием кливажа и обеспечивает проникание раствора в грунт. Такая технологическая схема осуществляется в постадийном режиме с выдерживанием между отдельными стадиями интервалов, достаточных для схватывания раствора, нагнетаемого на предыдущей стадии.

Вне зависимости от применяемой технологии нагнетания инъекторы погружают в грунт до приближения фронта горнопроходческих работ. При фильтрационной и кливажной схемах нагнетания, когда используют текучие растворы, предпочтительнее манжетные инъекторы малого диаметра и многоразового применения. При уплотняющем режиме применяют вязкие растворы, при этом требуются инъекторы большого диаметра, которые забиваются раствором на каждом этапе нагнетания и нуждаются в периодическом разбуривании.

Широкомасштабные работы по компенсационному нагнетанию были проведены на строительстве двух подземных линий метрополитена в г. Лиссабоне (Португалия) [56]. Трасса тоннелей проходит в плотно застроенной части города под ценными историческими зданиями в толще неоднородных грунтов, представленных сыпучими и плотными песками с прослойками мягких связных грунтов. Глубина заложения тоннелей относительно подошвы фундаментов зданий изменяется от 3,5 до 10,0 м.

Проходку тоннелей вели механизированными щитами с грунтовым пригрузом, а возведение станции - новым австрийским способом. При проектировании компенсационного нагнетания учитывали опыт работ на строительстве тоннелей в Австрии, Германии, Великобритании и Канаде.

Для оценки напряженно-деформационного состояния грунтового массива в результате компенсационного нагнетания были выполнены расчеты методом конечных и граничных элементов. Моделировались все стадии проходки тоннелей и компенсационного нагнетания. Кроме того, были организованы опытные работы в натурных условиях.

Из шахтного ствола в грунт задавили 726 манжетных инъекторов ниже уровня грунтовых вод на расстоянии 1,1 м от обделки тоннеля. Нагнетание цементно-бентонитового раствора выполняли в течение 12 сут в две стадии: вначале для создания «строительного подъема», используя для этого только 54 инъектора, а затем для окончательного закрепления массива грунта площадью 364 м2 и толщиной 2 м.

Мониторинг смещений осуществляли с использованием электронных и оптических датчиков, прецизионных нивелиров, электроуровней, датчиков давления грунта, вертикальных и горизонтальных инклинометров, мультиэкстензометров.

В результате теоретических и экспериментальных исследований были получены характер распределения и интенсивность прогнозируемых и фактических осадок поверхности земли без компенсационного нагнетания и с нагнетанием при глубине заложения тоннеля 5 и 10 м.

Показано, что применение компенсационного нагнетания приводит к снижению окончательных осадок примерно в два раза. Так, по результатам расчетов и измерений на участке тоннеля с глубиной заложения 5 м осадки по оси выработки снизились с 65 до 51 мм (без преконсолидации) и до 32 мм, а на участке тоннеля с глубиной заложения 10 м - соответственно с 59 до 51 и 22 мм (рис. 30).

Были разработаны рекомендации по установлению оптимальной ширины и толщины слоя закрепленного грунта и его расположению относительно кровли тоннеля и фундаментов зданий.

Результаты расчета методом конечных элементов показали, что при заложении тоннеля на глубине 10 м зону нагнетания следует располагать как можно ближе к поверхности земли, что приводит к минимизации осадок дневной поверхности без дополнительной их компенсации за счет преконсолидации грунтового массива.

Трасса участка строящейся в Лондоне Юбилейной линии метрополитена от станции «Грин Парк» до станции «Ватерлоо» проходит под густо застроенной территорией со множеством зданий, имеющих историческо-архитектурную ценность [57].

В районе Вестминстера при строительстве одноименной пересадочной станции было выполнено компенсационное нагнетание в толщу лондонских глин, подстилаемых слоем гравия. Из пяти шахтных стволов были задавлены манжетные инъекторы с шагом 1 м. Общая длина инъекторов составила около 10 км.

Рис. 30. Графики снижения окончательных осадок поверхности земли в результате применения компенсационного нагнетания для тоннелей с глубиной заложения 5 м (а) и 10 м (б):

 - без нагнетания;  - нагнетание без преконсолидации;  - нагнетание с преконсолидацией

Контроль за смещениями грунтового массива над станционными тоннелями осуществляли с помощью измерительной аппаратуры. Применение компенсационного нагнетания позволило избежать чрезмерных осадок грунтового массива и поверхности земли.

Компенсационное нагнетание применяли также при строительстве станции «Ватерлоо» [58]. Трехсводчатая станция длиной 140 м с путевыми тоннелями диаметром 8 м и средним - 10 м заложена на небольшой глубине от поверхности земли в непосредственной близости от фундаментов зданий и двухпутного железнодорожного тоннеля мелкого заложения.

Вследствие щитовой проходки станционных тоннелей прогнозировали осадки поверхности земли до 0,2 м, исходя из 2%-ного объема выпусков грунта в забое щита. Компенсационное нагнетание должно было ограничить осадки до 25 мм и защитить наземные здания и сооружения.

В процессе производства работ применили трехстадийное нагнетание, предусматривающее:

- предварительную консолидацию грунтового массива до начала проходки тоннелей;

- фильтрационное нагнетание по время проходки тоннелей для предотвращения распространения смещений до поверхности земли;

- контрольное нагнетание для ограничения случайных осадок.

Работы выполняли через шесть временных и три постоянных шахтных ствола, задавливая в грунт горизонтальные манжетные инъекторы (общей длиной около 27 км). Цементно-бентонитовую смесь с добавками силиката нагнетали в шестиметровую зону контакта между пластами галечниковых отложений р. Темзы и лондонскими глинами над сводом станции.

Во время строительства станции осуществляли мониторинг осадок и нагрузок на несущие конструкции тоннелей с использованием электрических уровней в наклонных и горизонтальных скважинах, электрооптических нивелиров и гидравлических датчиков.

Применение компенсационного нагнетания позволило ограничить осадки наземных сооружений 10 - 15 мм, а отклонения их от вертикали 1:1000 и исключить повреждения конструкций. При отсутствии нагнетания осадки могли достигать 50 - 100 мм, что повлекло бы за собой нарушение устойчивости сооружений.

Кливажная технология компенсационного нагнетания была использована также при строительстве ряда подземных объектов в Австрии [59]. Так, при возведении трехсводчатой станции длиной 110 м, пролетом 30 м и высотой до 8 м Венского метрополитена в 1992 г. применили новый австрийский тоннельный метод с раскрытием выработки по частям.

Станция заложена в жестких третичных глинах и плотных илистых грунтах на 12 м ниже подошвы фундамента пятиэтажного кирпичного здания административного назначения, построенного в начале XX в. Для производства инъекционных работ из специально пройденной вспомогательной выработки в грунт задавили горизонтальные манжетные инъекторы, расположив их в три яруса примерно посередине между подошвой фундамента здания и шелыгой свода станционного тоннеля.

В первую очередь выполнили предварительное нагнетание для преконсолидации грунтового массива. После этого начали нагнетание укрепляющего раствора в семь этапов в соответствии с технологической последовательностью раскрытия станционной выработки.

В процессе проходки тоннелей и компенсационного нагнетания проводили мониторинг перемещений грунтового массива и состояния наземного здания с помощью деформометров и экстензометров. Кроме того, измеряли осадки поверхности земли на территории прилегающего парка.

По результатам мониторинга было установлено, что по окончании проходки станционных тоннелей осадки непосредственно под фундаментом здания не превышали 35 мм, а за пределами зоны нагнетания составляли 75 - 80 мм. На отдельных этапах нагнетания были зафиксированы «подъемы» здания до 10 мм.

С применением компенсационного нагнетания построены два параллельных однопутных перегонных тоннеля метрополитена в г. Балтиморе (США) [54, 59]. Тоннели диаметром по 5,8 м заложены в толще песчаных грунтов выше уровня грунтовых вод. На одном из участков трасса тоннелей проходит под плотно застроенной территорией, где около 40 кирпичных зданий, фундаменты которых расположены на 3 м ниже уровня грунтовых вод.

Как показали данные мониторинга, проведение компенсационного нагнетания позволило значительно снизить осадки грунтового массива, которые, согласно прогнозу, могли достигать 125 мм над сводом станции и 200 мм на поверхности земли.

Уплотняющее компенсационное нагнетание применили также для предотвращения деформаций и разрушений водопропускной трубы арочного сечения с кирпичной обделкой, залегающей в 4 м над строящимся коммуникационным тоннелем диаметром 3,7 м в г. Миннеаполисе [США] [54].

Проходку тоннеля в плотных песках выше уровня грунтовых вод вели горным способом со стальной арочной крепью и дощатой затяжкой. Для производства работ по компенсационному нагнетанию с поверхности земли и непосредственно из водопропускной трубы были пробурены скважины для нагнетания.

Нагнетание осуществляли постадийно по мере проходки коммуникационного тоннеля. По данным мониторинга, перед подходом забоя тоннеля в контролируемую зону осадки грунта в уровне шелыги свода тоннельной выработки достигали 100 мм, а в уровне подошвы водопропускной трубы - 30 мм. По окончании горнопроходческих работ и компенсационного нагнетания смещения конструкций трубы не превышали 8 мм.

В нашей стране компенсационное нагнетание в широких масштабах не применялось, однако в связи со значительно возросшими объемами подземного строительства в г. Москве и ряде других крупных городов подобная технология должна быть востребована. Так, в связи со строительством крупнейшего Лефортовского тоннеля в г. Москве возникла необходимость выработки защитных мер по ограничению сдвижений и деформаций грунтового массива, поверхности земли и ряда ценных архитектурно-исторических ансамблей.

О необходимости принятия защитных мер свидетельствовали результаты геотехнического прогнозирования и визуальных обследований зданий, которые подвергались опасности деформаций в связи с проходкой тоннеля диаметром 14,2 м в толще слабоустойчивых водоносных грунтов [60].

В качестве наиболее эффективной меры по ограничению осадок и деформаций зданий было признано компенсационное нагнетание [61]. Была разработана технологическая схема производства работ по нагнетанию твердеющих смесей в грунтовый массив между кровлей тоннелей и фундаментами зданий.

Для реализации указанной схемы потребовались предварительные исследования, на основе которых были установлены оптимальные режимы и параметры нагнетания, состав смесей и подобраны специализированное технологическое оборудование и контрольно-измерительная аппаратура.

Опыт применения компенсационного нагнетания в разных странах свидетельствует о его эффективности, гибкости и адаптивности технологии к изменяющимся инженерно-геологическим и градостроительным условиям. Следует отметить, что рассматриваемый метод не заменяет другие методы стабилизации грунтового массива, а лишь дополняет их, обеспечивая возможность минимизации осадок поверхности земли, фундаментов зданий и инженерных коммуникаций непосредственно над строящимися тоннелями путем закрепления ограниченной области грунтового массива.

Результативность метода во многом зависит от правильного назначения места расположения и размеров зоны нагнетания, состава укрепляющих растворов, технологии и режима нагнетания и т.д. в строгом соответствии с конкретными условиями строительства.

Расчетные параметры нагнетания определяются на основе математического моделирования и экспериментальных исследований в лабораторных и натурных условиях. Для контроля за поведением грунтового массива и поверхностных сооружений в процессе проходки тоннеля обязательно проведение геотехнического мониторинга с использованием современной измерительной и компьютерной техники.

Таким образом, применение метода компенсационного нагнетания расширяет возможности тоннелестроителей по ограничению осадок грунтового массива при строительстве городских тоннелей закрытыми способами.

3.5. Меры по защите тоннелей от подземных вод

Строительство и эксплуатация городских тоннелей мелкого заложения в водоносных грунтах сопряжены с многочисленными проблемами как технического, так и экологического характера.

В последние десятилетия в крупных городах нашей страны наблюдаются нарушение баланса подземных вод и значительные колебания уровней грунтовых вод, вызванные природными и техногенными факторами, наиболее важными из которых являются откачка подземных и инфильтрация грунтовых вод [62].

Интенсивная откачка напорных подземных вод, главным образом для нужд промышленных предприятий, вызывает разуплотнение грунтовой толщи и, как следствие, деформации грунтового массива, поверхности земли, зданий и сооружений, дорог и инженерных коммуникаций. Так, в г. Москве из-за откачки подземных вод зафиксированы оседания ряда территорий до 0,12 - 0,15 м и более.

В ближайшем к поверхности земли грунтовом горизонте наблюдается подтопление, вызванное значительными потерями из водонесущих коммуникаций, многие из которых построены давно и капитально не ремонтировались. Кроме того, следует учитывать сезонные подтопления, вызываемые атмосферными осадками, таянием снега и др.

К отрицательным последствиям подтопления территорий относятся оползни, эрозия почвы, образование суффозионно-карстовых провалов, усиление коррозии подземных трубопроводов, затопление фундаментов и подвалов зданий, снижение несущей способности грунтов и др.

До некоторого времени в г. Москве откачка воды из подземных горизонтов и инфильтрация в верхние слои грунта в какой-то степени компенсировали друг друга, однако затем баланс был нарушен, что привело к подтоплению около 40% территории города (с поднятием первого водоносного горизонта к поверхности земли до 3 м и менее), а к 2010 г. специалисты прогнозируют подтопление около 70% городской территории [62].

В этих условиях строительство тоннелей вносит дополнительные нарушения в режим подземных вод, вызывая увеличение скоростей фильтрации и активизацию физико-химического действия воды. Взаимодействие эксплуатируемого тоннеля с подземными водами проявляется в гидростатическом давлении на конструкцию, опасности всплытия сооружения, нарушении устойчивости грунтового массива за счет размягчения твердых и разжижения несвязных грунтов. Для предотвращения указанных нарушений как на стадии строительства, так и в процессе эксплуатации тоннеля необходимы специальные стабилизационные меры, обеспечивающие безопасность производства работу надежность эксплуатации сооружения и минимизацию нарушений городской среды.

Для выработки конкретных рекомендаций технико-экологического характера помимо детальных инженерно-геологических изысканий необходимы научные исследования по прогнозированию изменения гидрогеологической связи с созданием тоннеля.

При строительстве крупных подземных объектов выполняют комплексные теоретические, лабораторные и натурные исследования взаимодействия тоннеля с водным потоком. В последние годы широко используют объемное математическое моделирование на основе численных методов (конечных элементов, конечных разностей, граничных элементов).

Расчет геофильтрационной математической модели дает возможность прогнозировать изменение уровней подземных вод и скоростей фильтрации в основных водоносных горизонтах на стадиях строительства и эксплуатации тоннеля. Результаты расчетов корректируются натурными наблюдениями и измерениями, как это было сделано, например, при строительстве подземной автостоянки на площади Революции в г. Москве [63].

Далее приведены наиболее эффективные технические меры по стабилизации грунтового массива и режима подземных вод, успешно реализованные при строительстве и эксплуатации тоннелей мелкого заложения в крупных городах.

Стабилизационные меры на стадии строительства

По данным мирового опыта, при строительстве тоннелей мелкого заложения в слабых водоносных грунтах с коэффициентом фильтрации от 0,3 до 100 м/сут наиболее распространенным и экологически чистым способом осушения грунтового массива является искусственное водопонижение.

В зависимости от глубины заложения тоннеля относительно уровня грунтовых вод, способа его строительства и степени водоотдачи грунтов применяют различные системы водопонижения с использованием легких иглофильтровых, вакуумных, эжекторных или вакуумно-эрлифтных установок.

При строительстве тоннелей котлованным способом со свайным ограждением водопонижающие скважины располагают обычно с наружной стороны стен выработки, однако при наличии ограждающих конструкций, выполненных по технологии «стена в грунте», или стального шпунта целесообразно устройство внутреннего поярусного водопонижения с размещением скважин внутри котлована.

В Австрии разработана и применяется технология глубокого водопонижения непосредственно через ограждающие конструкции, выполненные по технологии «стена в грунте», при которой донную часть траншеи под стены ограждения набивают гравием и опускают водопонижающие трубы (рис. 31) [64]. При этом отпадает необходимость в бурении многочисленных скважин.

Рис. 31. Схема водопонижения через ограждающую конструкцию, выполненную по технологии «степа в грунте»:

1 - обсадная труба; 2 - железобетонная конструкция, выполненная по технологии «стена в грунте»; 3 - дно котлована; 4 - депрессионная кривая

Независимо от способа и технологии водопонижения последствия его часто бывают негативными, поскольку из-за осушения массива значительно возрастают напряжения в грунте от его массы (исключается «взвешивающий» эффект воды), что вызывает осадки грунтового массива, сопровождающиеся в ряде случаев нарушением устойчивости близлежащих зданий и сооружений, особенно если ограждающие котлован конструкции не достигают водоупорного пласта. Кроме того, в процессе откачки воды возможен суффозионный вынос мелких пылеватых частиц, что также отражается на деформативных свойствах грунта.

Во избежание вышеуказанных нарушений целесообразно применение технологии компенсирующей доливки воды в грунт через специально устроенные скважины. Такой способ апробировали, в частности, на строительстве одной из станций метрополитена в г. Брюсселе (Бельгия), сооруженной траншейным способом с применением внутреннего водопонижения [65].

Исследованиями было установлено, что эффективность компенсирующей доливки зависит от степени проницаемости грунта, гидростатического давления доливки и расположения уровня грунтовых вод. Как показали расчеты на двухмерной конечноэлементной модели, вследствие возрастания дебита водопонижающих скважин увеличивается опасность выбросов грунта, в связи с чем давление долива должно быть ограничено.

Скважины для компенсирующей доливки располагали с шагом 5 - 10 м, заглубляя их на 5 м в пласт обводненных грунтов (рис. 32). Зазор вокруг доливочных трубок на верхней границе этого пласта уплотняли пробкой из мятой глины. Доливку воды производили при избыточном гидростатическом давлении от 0,02 до 0,04 МПа во избежание повышения уровня воды в доливочных скважинах.

Рис, 32. Схема внутреннего водопонижения без компенсирующей доливки (а) и с доливкой (б):

1 - глина; 2 - песок; 3 - ил и торф; 4 - строящийся тоннель; 5 - водопонижающие скважины; 6 - всасывающий насос; 7 - сливная труба для удаления избыточной воды в канализацию; 8 - пригрузочный бак для создания гидростатического давления; 9 - резервуар для воды; 10 - доливочные скважины; 11 - депрессионная кривая

Измерения расхода воды в доливочных скважинах позволили сделать следующие выводы:

- среднесуточный расход в установившемся режиме составлял 4,65×106 м3/с на 1 м скважины;

- на начальной стадии доливки расход в 2 - 3 раза превышал вышеуказанное значение;

- приблизительно через два месяца после начала доливки расход воды начинал падать из-за засорения доливочных труб, в связи с этим потребовалась очистка доливочных скважин путем откачки из них воды и продувки сжатым воздухом.

Как видно из рис. 32, применение компенсирующей доливки практически не отразилось на эффективности внутреннего водопонижения, однако исключило резкое опускание кривой депрессии и возможные деформации грунтового массива вблизи подземной станции метрополитена.

В тех случаях, когда водопонижение оказывается неэффективным или практически невозможным, применяют подводную разработку грунта и подводное бетонирование фундаментной плиты, а также специальные способы стабилизации основания (струйную цементацию, искусственное замораживание, химическое закрепление). При этом следует учитывать высокую стоимость работ по замораживанию и химическому закреплению грунтов и опасность загрязнения подземных вод химическими реагентами.

Подводную разработку грунта ниже уровня грунтовых вод осуществляют при помощи грейферов, установленных на бровке котлована, закрепленного водонепроницаемым ограждением (стальной шпунт или конструкция, выполненная по технологии «стена в грунте»). После разработки котлована до проектной отметки методом вертикально-перемещающейся трубы бетонируют фундаментную плиту. Затем котлован осушают и возводят перекрытие и лоток подземного сооружения (рис. 33). Во избежание всплытия фундаментной плиты ее делают массивной или заанкеривают в коренные грунты.

Рис. 33. Технологическая последовательность возведения тоннеля в водоносных грунтах:

а - подводная разработка грунта; б - подводное бетонирование фундаментной плиты;
в - откачка воды, возведение лотка и перекрытия;
1 - грейфер; 2 - ограждающая конструкция, выполненная по технологии «стена в грунте»; 3 - бетонолитная труба; 4 - фундаментная плита; 5 - перекрытие; 6 - лоток

При строительстве автотранспортного тоннеля длиной 500 м в г. Дюссельдорфе (Германия) работы вели в котловане со шпунтовой крепью (шпунт типа Ларсен на глубину 16,8 м) [66]. По длине котлован был разделен на отсеки временными поперечными стенками. Из двух вариантов фундаментной плиты - толщиной 4 м без анкеров и толщиной 1,3 м с анкерными сваями длиной 7,9 м - был принят последний. Плиту бетонировали подводным способом.

Аналогичным образом сооружен тоннель на кольцевой автомобильной дороге вокруг г. Мюнхена (Германия) [67]. Котлован длиной 1400 м был разделен на девять отсеков длиной от 110 до 220 м.

Фундаментную плиту станции метрополитена в г. Брюсселе заанкерили в прочный водоупорный пласт с помощью буронабивных свай с уширенным основанием [65].

Помимо свайных фундаментов устраивают фундаменты из закрепленного грунта. Например, при строительстве подземной автостоянки в Италии в толще водоносных гравелистых грунтов после разработки котлована на 0,5 м выше уровня грунтовых вод методом струйной цементации возвели противофильтрационную грунтоцементную плиту толщиной 2 м, заложенную на 2,5 м ниже днища подземного сооружения [68].

При глубоком залегании водоупорных пластов для уменьшения притока грунтовых вод в котлован ниже ограждающих стен устраивают противофильтрационные завесы из глиногрунтовых или глиноцементных материалов. В случае если ограждения представляют собой конструкции, выполненные по технологии «стена в грунте», нижняя их часть может быть устроена как противофильтрационная (до водоупора).

Стабилизационные меры на стадии эксплуатации

Расположенный в водоносных грунтах ниже уровня грунтовых вод тоннель в зависимости от его длины представляет собой локальную или протяженную преграду для воды в направлении ее движения. Перед тоннелем возникает подпор, а с противоположной стороны - понижение уровня грунтовых вод. Вследствие этого увеличивается одностороннее давление воды на стены и лоток тоннеля, повышается опасность его всплытия, возрастают скорости фильтрации, что может вызвать суффозию под лотком и осадки основания.

Характер обтекания водой тоннеля зависит от глубины его заложения, расположения в плане относительно направления водного потока и расстояния от лотка до водоупора. В наибольшей степени «эффект плотины» проявляется при эксплуатации многоярусных тоннелей, в состав которых входят конструкции, выполненные по технологии «стена в грунте», заглубленные ниже подошвы.

Если стены не заделаны в водоупор (рис. 34,а), то под тоннелем происходит возрастание скоростей фильтрации, что может привести к размыву грунта основания, особенно при близком залегании водоупора.

При заделке стен характер обтекания сооружения фильтрационным потоком изменяется и может произойти перелив воды через перекрытие тоннеля (см. рис. 34,б).

Рис. 34. Характер обтекания фильтрационным потоком тоннеля без заделки (а) и с заделкой (б) стен в водоупор;

1 - уровень грунтовых вод с верховой стороны; 2 - тоннель; 3 - уровень грунтовых вод с низовой стороны; 4 - водопроницаемый грунт; 5 - водонепроницаемый грунт; 6 - направление фильтрационного потока

С целью предотвращения подпора подземных вод перед тоннелем во избежание нарушений его конструкций принимают следующие меры: устраивают проемы в нижней части стен тоннеля;

- прокладывают дюкеры-трубопроводы в стенах и лотковой части тоннеля с водоприемными и инфильтрационными трубами;

- устраивают дренажную систему с удалением грунтовых вод вне или внутри тоннеля.

При заглублении несущих конструкций, выполненных по технологии «стена в грунте», в водоупор в них следует предусматривать проемы для пропуска потоков грунтовых вод (до 20% площади стен) или чередовать секции траншейных стен разной глубины (так называемая «гребенка»). На период строительства тоннеля грунт в проемах стен может быть заморожен.

В качестве примера такого решения можно привести опыт строительства и эксплуатации тоннелей в г. Эссене (Германия) [69]. В стенах из буровых свай были предусмотрены вертикальные зазоры шириной 1 м, занимающие около 12% площади стен.

Для сохранения режима подземных вод предусматривают систему продольных и поперечных дюкеров. В процессе строительства участка тоннелей метрополитена в г. Франкфурте-на-Майне (Германия) в водоносных грунтах под подошвой тоннеля были заложены продольные трубопроводы диаметром 0,15 м и длиной по 50 м, объединенные с поперечными дюкерами в виде заполненных гравием траншей глубиной 1,5 м и шириной 10 м. В траншеи уложены пять водопропускных труб диаметром 0,15 м.

В некоторых случаях для выравнивания уровней грунтовых вод по разные стороны от тоннеля поперечные дюкеры пропускают через сооружение и снабжают устройствами для регулирования давления воды (рис. 35). Весьма эффективным оказывается устройство дренажной системы в основании и по наружной поверхности стен тоннеля из слоя хорошо фильтрующего грунта или специальных дренирующих конструкций. В настоящее время созданы разнообразные одно- и многослойные дренирующие конструкции из синтетических материалов, в состав которых входят гидроизолирующий и фильтрующий слои. Наибольшее распространение получили фильтрующие мембраны из геотекстиля (полипропилена), пропускающие воду и задерживающие частицы грунта, предотвращая тем самым заиливание дренажной системы, вымывание и вынос грунта [70].

Рис. 35. Схема устройства для выравнивания уровней грунтовых вод по разные стороны подземного сооружения:

1 - водопроводном труба; 2 - манометр; 3 - вентиль; 4 - оцинкованная дренажная трубка; 5 - стена тоннеля; 6 - фильтрующий материт; 7 - защитная поливинилхлоридная пленка; 8 - ил и торф; 9 - гравий; 10 - мелкозернистый песок; 11 - фундаментная плита

В Австрии, Швейцарии, Германии, Франции и других странах широко используют специальные ковровые материалы (энкамат, энкадрен и др.), которые крепятся дисковыми анкерами к изолируемой поверхности из расчета 1 - 4 анкера на 1 м2. Фильтрующую воду отводят по водосборным лоткам или трубам. Благодаря пространственному расположению волокон такие материалы обладают большой прочностью и пластичностью, сохраняя высокие дренирующие свойства в течение длительного времени.

Для обоснованного проектирования городских подземных сооружений мелкого заложения в водоносных грунтах наряду с детальными гидрогеологическими изысканиями необходимы исследования характера взаимодействия водного потока с тоннелем в процессе его строительства и эксплуатации.

В качестве методов исследований целесообразно использовать объемное математическое моделирование на основе численных методов, а также лабораторные и натурные наблюдения и измерения. По результатам исследований должны быть разработаны и обоснованы конкретные инженерные решения, обеспечивающие минимизацию нарушений тоннеля и городской среды и предотвращающие возникновение аварийных ситуаций.

На основе анализа данных современного опыта в качестве возможных стабилизационных мер на стадии строительства подземного сооружения следует рекомендовать:

- применение различных систем искусственного водопонижения с компенсирующей доливкой воды в грунт;

- подводную разработку грунта в котловане ниже уровня грунтовых вод и подводное бетонирование фундаментной плиты с разделением котлована на отдельные отсеки;

- усиление фундаментной плиты буровыми анкерными сваями или грунтовыми анкерами;

- устройство искусственного основания из закрепленного струйной цементацией грунта;

- создание противофильтрационных завес ниже подошвы тоннеля по технологии «стена в грунте».

Стабилизационные меры на стадии эксплуатации тоннеля включают в себя:

- устройство проемов в нижней части конструкций, выполненных по технологии «стена в грунте» (до 20% площади стен);

- прокладку дюкеров-трубопроводов в стенах и лотковой части тоннеля с водоприемными и инфильтрационными трубами,

- устройство дренажной системы в днище и стенах тоннеля из слоя фильтрующего грунта или синтетических дренирующих конструкций типа энкамата, энкадрена и др.

Приведенные выше положения затрагивают лишь некоторые аспекты важной и сложной проблемы взаимодействия тоннелей мелкого заложения с подземными водами. Актуальность проблемы обусловлена возрастающими объемами подземного строительства в г. Москве и других крупных городах России в условиях прогрессирующего подтопления территорий. В связи с этим возникает необходимость дальнейшего анализа и обобщения отечественного и зарубежного опыта в рассматриваемой области и проведения теоретических и экспериментальных исследований для выработки конкретных рекомендаций технического и экологического характера, которые должны найти отражение в соответствующих нормативных документах, регламентирующих вопросы проектирования, строительства и эксплуатации тоннелей мелкого заложения в водоносных грунтах.

ЗАКЛЮЧЕНИЕ

Анализ современного опыта проектирования и строительства транспортных тоннелей свидетельствует о существенном прогрессе в области конструирования тоннельных обделок, технологии и организации подземно-строительных работ на основе применения специализированных машин, механизмов и оборудования, автоматизированных систем управления технологическими процессами.

При строительстве тоннелей открытыми способами применяют преимущественно конструкции из монолитного железобетона. Однопролетные и многопролетные рамные системы характеризуются высокой несущей способностью и жесткостью. За счет применения универсальной опалубки и высокопроизводительного бетоноукладочного оборудования достигаются высокие темпы возведения таких конструкций, обеспечивается надлежащее качество сооружения.

В ряде случаев может оказаться целесообразным использование одно- и двухсводчатых арочных конструкций из преднапряженного сборно-монолитного железобетона с омоноличенными стыками.

При проходке тоннелей щитовым способом применяют сборные обделки из крупных блоков со связями растяжения и упругими уплотнителями в стыках. Эффективность таких конструкций подтверждена успешным опытом их применения на строительстве закрытого участка Лефортовского тоннеля в г. Москве и ряда тоннелей за рубежом.

Представляются перспективными тонкостенные композитные сталебетонные конструкции, характеризующиеся повышенной прочностью, жесткостью, огнестойкостью и сопротивляемостью динамическим воздействиям.

Дальнейшее совершенствование конструкций тоннелей, сооружаемых траншейным способом, предусматривает в частности внедрение контрфорсных конструкций, выполненных по технологии «стена в грунте» из монолитного, сборного и сборно-монолитного железобетона, входящих в состав постоянных несущих конструкций тоннеля. Применение таких стен позволяет во многих случаях отказаться от трудоемких в возведении и дорогостоящих усиливающих элементов.

При сооружении тоннелей в сложных топографических, градостроительных и инженерно-геологических условиях следует ориентироваться на инновационные технологии: полуоткрытый способ работ, проходку щитами прямоугольного поперечного сечения, проходку под защитой опережающих крепей.

В практике тоннелестроения хорошо зарекомендовали себя различные модификации полуоткрытого способа: «кернтнерский», «рамной крепи» и «зиллертальский», обеспечивающие высокие темпы проходки (до 400 м/мес.), быстрое восстановление движения транспортных средств над строящимся тоннелем, минимизацию перекладок подземных коммуникаций и нарушений поверхностных условий.

Весьма перспективным направлением проходки тоннелей на застроенных территориях следует считать применение механизированных щитов замкнутого прямоугольного сечения, оснащенных рабочими органами барабанного или роторного типа. Внедрение таких щитов в практику отечественного тоннелестроения будет способствовать рациональному использованию сечения выработки, сокращению объемов разрабатываемого грунта, ограничению осадок поверхности земли и снижению стоимости строительства.

Современный опыт сооружения тоннелей в нарушенных и слабоустойчивых грунтах свидетельствует об эффективности применения опережающих крепей в виде экранов из труб, грунтоцементных свай, бетонных сводов, забойных фибергласовых элементов.

Развитие технологии проходки тоннелей под экраном из труб предусматривает использование микротоннельной щитовой техники, струйной цементации для устройства грунтоцементных свай, армированных стальными перфорированными трубами.

Для устройства опережающих бетонных сводов созданы и применяются мобильные и универсальные щеленарезные машины, позволяющие возводить как плоские, так и криволинейные бетонные оболочки повышенной жесткости и несущей способности.

С целью стабилизации грунтового массива в призабойной зоне тоннеля целесообразно использование опережающей крепи из фибергласовых элементов, что позволяет вести проходку тоннеля сплошным забоем с ограничением сдвижений и деформаций поверхности земли.

Опыт применения компенсационного нагнетания свидетельствует о его эффективности и приспособленности технологии к изменяющимся инженерно-геологическим и градостроительным условиям. Рассмотренный метод не заменяет другие методы стабилизации грунтов, а лишь дополняет их, обеспечивая возможность минимизации осадок поверхности земли, фундаментов зданий и инженерных коммуникаций непосредственно над строящимися тоннелями путем закрепления ограниченной области грунтового массива.

В процессе строительства тоннелей мелкого заложения в водоносных грунтах в последние годы применяют специальные меры по защите подземных выработок от воды: искусственное водопонижение с компенсирующей доливкой воды в грунт, подводную разработку грунта и подводное бетонирование лотковой плиты тоннеля, создание противофильтрационных завес ниже подошвы тоннеля по технологии «стена в грунте» или струйной геотехнологии.

В процессе эксплуатации тоннеля в качестве защитных мер предусматривают проемы в нижней части конструкций, выполненных по технологии «стена в грунте», прокладку дюкеров-трубопроводов в стенах и лотковой части тоннеля с водоприемными и инфильтрационными трубами, устройство пластового и застенного дренажа.

Дальнейшее развитие и совершенствование тоннелестроения должно быть направлено на ускорение темпов и снижение стоимости строительства при обеспечении технической и экологической безопасности, надежности и долговечности тоннельных сооружений.

С этой целью необходимо проведение комплекса теоретических и экспериментальных исследований и опытно-конструкторских работ, по результатам которых должны быть усовершенствованы существующие и созданы новые конструкции, методы их расчета, технологические схемы и тоннелепроходческое оборудование, а также необходимая нормативная база.

СПИСОК ЛИТЕРАТУРЫ

1. Петренко С.В., Федунец В.И. Итоги работы Международного тоннельного конгресса и 29-ой Генеральной ассамблеи МТА // Подземное пространство мира. 2001. № 3 - 4. С. 3-8.

2. Меркин В.Е., Маковский Л.В. Прогрессивный опыт и тенденции развития современного тоннелестроения. - М.: Информ.-издат. центр «ТИМР», 1997. - 192 с.

3. Маковский Л.В. Подводное транспортное тоннелестроение на рубеже веков // Подземное пространство мира. - 1999. - № 5 - С. 11-15.

4. Абрамсон В.М., Закиров A.3., Муравин П.И. Автодорожный тоннель на трассе Краснопресненского проспекта от МКАД до проспекта Маршала Жукова // Метро и тоннели. - 2003. - № 3. - С. 22-25.

5. Панкина С.Ф. Третье внутригородское транспортное кольцо в Москве // Транспортное стр-во. - 1998. - № 12. - С. 7-11.

6. Никольский Б.В. Тоннели третьего кольца - крупнейшие подземные сооружения Москвы // Метро и тоннели. - 2001. - № 2. - С. 2-5.

7. Климов Д.В. Кутузовская транспортная развязка // Подземное пространство мира. - 2000. - № 5-6. - С. 25-27.

8. Панкина С.Ф. Транспортные тоннели на площади Гагарина в Москве // Подземное пространство мира. - 2000. - № 4. - С. 8-30.

9. Черняков А.В. Опыт строительства обхода Лефортово по тоннельно-эстакадному варианту // Метро и тоннели. - 2003. - № 5. - С. 10-15.

10. Варшавский В.В. Особенности строительства транспортных тоннелей // Метро и тоннели. - 2001. - № 3. - С. 28-30.

11. Фролов Ю.С., Саламех А. Сборные железобетонные обделки при проходке тоннелей щитами // Подземное пространство мира. - 2001. - № 3. - С. 38-43.

12. Рахимов Р.З., Габидуллин М.Г., Смирнов Д.С. Производство блоков колец обделки для Казанского метрополитена // Подземное пространство мира. - 2001. - № 1 -2. - С. 18-24.

13. Tunnels and Metropolises. - Rotterdam: Balkema, 1998. - P. 727-731.

14. Маковский Л.В. Современное строительство подводных тоннелей способом опускных секций // Транспорт: наука, техника, управление. - 1993. - № 5. - С. 20-27.

15. Options for Tunnelling. - 1998. - P. 193-203.

16. Tunnels and Tunnelling. - 1995. - 27, № 10. - P. 39.

17. Tunnels and Tunnelling International. - 1999. - 31, № 9. - P. 7.

18. Маковский Л.В., Чеботарев СВ., Зеге С.О. Системы крепления котлованов подземных сооружений. - М.: МАДИ, 2000. - 120 с.

19. Tunnel. - 2001. - № 3. - Р. 66-67.

20. High-Tech. Developments in Ground Engineering: XII 1CSMFE. - Rio de Janeiro, 1999. - 38 p.

21. Юркевич П. Подземная автостоянка в Москве // Подземное пространство мира. - 1998. - № 4. - С. 30-31.

22. Неретин В.В., Иванов В.Д., Васильев С.А. «Стена в грунте» и водонепроницаемость заглубленных конструкций // Подземное пространство мира. - 2001. - № 1-2. С. 51-54.

23. Меркин В.Е., Маковский Л.В. Ограждение котлованов подземных сооружений. - М.: Информ.-издат. центр «ТИМР», 1995. 83 с.

24. Лернер В.Г., Петренко Р.В. Систематизация и совершенствование технологии строительства подземных объектов. М: Информ.-издат. центр «ТИМР», 1999. - 188 с.

25. Tiefbau - Berufsgennosenschaft. - 1985. - 95, № 6. S. 382-392.

26. ETR Eiscnbahntedmische Rdsch. 1988. - 37, № 7. - S. 411 415.

27. Proceeding of the Aites-ITA 2001 World Tunnel Congress. Vol. III. - Milan-Italy, 2001. - P. 49-56.

28. Challenges for the 21-st Century. - Rotterdam: Balkema, 1999. - P. 369-373.

29. Tunnel. - 1994. - № 2. - P. 37-42.

30. Тоннелепроходческие агрегаты и горнопроходческие комбайны // Подземное пространство мира. - 1997. - № 5-6. С. 48-52.

31. Takenaka Tech. Res. Repl. - 1990. - № 23. - P. 1 -13.

32. Egava S., Saito R. Large rectangular cross-section tunnels by the MMST Method. Challenges for the 21-st Century. Vol. 2. - Rotterdam: Balkema. - P. 507-514.

33. Ukegava M., Shizeki A. Taniguchi Т., Hotta T. Construction of Earth - retaining wails by the Box Shield Method. - В кн.: Tunnels and Metropolises. - Rotterdam: Balkema, 1998. P. 811-816.

34. Маковский Л.В. Применение микротоннельной технологии в подземном строительстве // Транспорт: наука, техника, управление. - 1999. - № 10. - С. 13-18.

35. Proceeding of the Aites-ITA 2001 World Tunnel Congress. Vol. FT. - Milan-Italy, 2001. - p. 337-344.

36. Proceeding of the Aites-ITA 2001 World Tunnel Congress. Vol. II. - Milan-Italy; 2001. - P. 177-192.

37. Proceedings of the Conference on Progress in Tunnelling after 2000. - Milan-Italy, 2001. - P. 477-485.

38. Tunnels and Tunnelling International. - 1999. - 31, № 10. - P. 18-20.

39. World Tunnelling. - 1993. - № 2. - P. 26-30.

40. Proceeding of the Aites-ITA 2001 World Tunnel Congress. Vol. III. - Milan - Italy, 2001. - P. 177-184.

41. Tunnels for People, Golser, Hinkel & Shubert. - Rotterdam: Balkema, 1997. - P. 279-282.

42. World Tunnelling. - 1993. - № 2. - P. 26-30.

43. Tunnels and Tunnelling International. - 1997. - 29, № 9. - P.43-44.

44. Tunnels for People, Golser, Hinkel & Shubert. - Rotterdam: Balkema, 1997. - P. 461-466.

45. Tunnels and Tunnelling International. - 1997. - 30, № 10. - P. 34-37.

46. Proceeding of the Aites-ITA 2001 World Tunnel Congress. Vol. II. - Milan - Italy, 2001. - P. 19-24.

47. Tunnels and Metropolises, Negro Jr & Ferreira. - Rotterdam: Balkema, 1998. - P. 685-690.

48. Proceeding of the Aites-ITA 2001 World Tunnel Congress. Vol. II. - Milan - Italy, 2001. - P. 309-322.

49. Tunnels for People, Golser, Hinkel & Shubert. - Rotterdam: Balkema, 1997. - P. 807-813.

50. Tunnel. - 1997. - № 7. - P. 64-65.

51. Rock Mechanics and Rock Engineering. - 1996. - 29, № 4. - P 203-210.

52. World Tunnelling. - 2000. - 13, № 5. - 253 p.

53. Маковский Л.В. Городские подземные транспортные сооружения. - М: Стройиздат, 1985. - 439 с.

54. Мэйр Р., Хаит Д. Технология компенсирующего инъецирования растворов в грунт // Дайджест зарубеж. информ. - М: Информ.-издат. центр «ТИМР». - 1995. - № 2. - С. 43-45.

55. Tunnels et ouvrages souterrains. - 1998. - № 149. - С. 423-426.

56. Tunnels and Metropolises. - Rotterdam: Balkema, 1998. - P. 1047-1052.

57. Ground Engineer. - 1992. - 25, № 9. - P. 30-31.

58. Tunnels and Tunnelling International. - 1998. - 30. № 3. - P. 35-38.

59. World Tunnelling and Subsurface Excavation. - 1994. - 7, № 8. - P. 65-68.

60. Общая геотехническая концепция строительства тоннеля в Лефортово (Москва) и мероприятия по защите исторических зданий от деформаций / С.Ф. Панкина, В.В. Чеботаев, В.Л. Ильичев и др. // Основания, фундаменты и механика грунтов. - 1998. - № 2. С. 17-21.

61. Смолдырев А.Е. Технологическая схема компенсационного нагнетания твердеющих смесей в грунты при строительстве тоннеля в Лефортово // Основания, фундаменты механика грунтов. - 2000. - № 1. - С. 21-22.

62. Сорочан Е.А., Косыгин Е.В., Скальный B.C. Концептуальные проблемы подтопления подземных городов и проектирование инженерных эколого-защитных мероприятий // Подземный город: геотехнология и архитектура. - Санкт-Петербург. 1998. - С.488-493. - (Тр. Междунар. коиф.).

63. Ильин В.В., Шевлягин Ю.С., Юдкевич А.И. Опыт моделирования геофильтрации при проектировании подземных сооружений // Подземный город.: геотехнология и архитектура. Санкт-Петербург, 1998. - С.451-454. - (Тр. Междунар. Конф.)

64. Tiefbau-Ingenieurbau-Strassenbau. - 1992. - № 10. S. 630-631.

65. Tunnels and Tunnelling. - 1994. - 26, № 1. - P. 35-39.

66. ETR: Eisenbantechn. Rdsch. - 1991. - 40, № 11. - S. 737-740.

67. Baumaschinendienst. 1902. 28, № 5. - S. 574.

68. Юркевич П. Подземные автостоянки и гаражи в Италии // Подземное пространство мира. - 1997. - № 4. - С. 26, 31-38.

69. Wasser und Boden. - 1997 - 39, № 11. - S. 562-564.

70. Шнлин А.А., Зайцев М.В. Система пластового дренажа при строительстве заглубленных частей зданий и сооружений в Москве // Подземное пространство мира. - 1998. - № 1. - С. 20-26.

 




ГОСТЫ, СТРОИТЕЛЬНЫЕ и ТЕХНИЧЕСКИЕ НОРМАТИВЫ.
Некоммерческая онлайн система, содержащая все Российские Госты, национальные Стандарты и нормативы.
В Системе содержится более 150000 файлов нормативно-технической документации, действующей на территории РФ.
Система предназначена для широкого круга инженерно-технических специалистов.

Рейтинг@Mail.ru Яндекс цитирования

Copyright © www.gostrf.com, 2008 - 2026