|
|
|
Министерство жилищно-коммунального хозяйства PCФCP Ленинградский научно-исследовательский институт ТЕХНОЛОГИЧЕСКАЯ КАРТА № 26 УТЕПЛЕНИЕ ПРОМЕРЗАЮЩИХ ВЕРТИКАЛЬНЫХ И ГОРИЗОНТАЛЬНЫХ СТЫКОВ ЖИЛЫХ ДОМОВ СЕРИИ ОД Ленинград 1974 СОДЕРЖАНИЕ
|
||||||||||||||||||||||||||||||||||||||||||||||||||||||||||||||||||||||||||||||||||||||||||||||||||||||||||||||||||||||||||||||||||||||||||||||||||||||||||||||||||||||||||||||||||||||||||||||||||||||||||||||||||||||||||||||||||||||||||||||||||||||||||||||||||||||||||||||||||||||||||||||||||||||||||||||||||||||||||||||||||||||||||||||||||||||||||||||||||||||||||||||||||||||||||||||||||||||||||||||||||||||||||||||||||||||||||||||||||||||||||||||||||||||||||||||||||||||||||||||||||||||||||||||||||||||||||
|
Разработана |
Утверждена |
Срок введения |
3. До начала работ в доме необходимо произвести осмотр всех квартир и выявить те из них, где имеются промерзания стыковых соединений.
4. Характерными признаками промерзания являются сырые полосы на внутренних поверхностях стеновых панелей вдоль вертикальных и горизонтальных стыковых соединений, пятна плесени в углах, появление инея или наледи вдоль стыков во время сильных морозов.
Особенно интенсивно дефекты проявляются на вертикальных и горизонтальных стыках пятого (последнего) этажа.
4. Причинами промерзания стыковых соединений между наружными стеновыми панелями являются:
а) неплотное замоноличивание стыков бетоном или раствором;
б) заполнение шпонки между панелями тяжелым бетоном;
в) образование мостиков холода в местах расположения металлических закладных деталей;
г) недостаточная герметизация вертикальных и горизонтальных стыков между стеновыми панелями.
6. Сведения о подлежащих утеплению стыках фиксируются в специальном журнале, форма которого приводится (табл. 1).
7. Подлежащие утеплению стыковые соединения отмечаются на специальных бланках с изображенными на них чертежами - развертками фасадов (рис. 1), на панелях которых проставляются номера квартир.
8. При осмотре следует выявить причины промерзания, в зависимости от которых и установить комплекс выполняемых с целью их устранения работ.
9. При всех случаях промерзания стыковых соединений следует, наряду с утеплением стыков изнутри (со стороны жилых помещений), произвести их герметизацию снаружи тиоколовой мастикой (типа ГС-1) или полиизобутиленовой мастикой (типа УМС-50), как указано в технологической карте.


Рис. 1. Развертка фасадов дома серии ОД
а – главный фасад
б - фасад со стороны лестничных клеток
Примечание: На фасадах отмечаются стыки панелей, подлежащие утеплению, и проставляются номера квартир
|
ЖУРНАЛ |
|
|
наблюдения за работами по устранению дефектов крупнопанельных жилых домов |
|
|
Город ………. |
Район ………… |
|
Вид ремонта ………. |
ЖЭК № ………. |
|
|
ул. …………. |
|
|
дом № ………. |
|
Задание на ремонт |
Выполнение ремонта |
||||||||
|
№№ квартир |
этаж |
Наименование работ (в соответствии с технологической картой) |
Объем |
Дата |
Наименование работ |
Объем |
Оценка качества работ за подписью мастера и главного инженера ЖЭК |
||
|
ед. изм. |
к-во |
ед. изм. |
к-во |
||||||
|
|
|
|
|
|
|
|
|
|
|
|
Задание выдал |
Работы выполнил: |
||||||||
|
Гл. инженер ЖЭК №……….. |
Производитель работ (мастер) ……… |
||||||||
При наличии протечек через оконные заполнения следует их устранить, как указано в технологической карте № 17.
11. В случае, если промерзают участки самих стеновых панелей, следует произвести их утепление, как указано в технологической карте № 28 (после выполнения работ по утеплению стыков).
12. Работы по утеплению горизонтальных стыков (рис. 2) производятся в следующем порядке:
- удалить обои на утепляемом участке;
- снять плинтус и разобрать пол на участке шириной 30 см возле наружной стеновой панели;
- сколоть кромки стеновой панели и бетонную заделку перекрытия, прилегающую к стеновой панели, на глубину 100 мм при ширине участка скола 100 мм;
- отбить штукатурный слой стеновой панели на участке шириной 200 мм от горизонтального стыка;
- проверить состояние утеплителя. Сырой и просевший утеплитель следует удалить, заменив его (после просушки полости) минеральной ватой;
- произвести уплотнение стыка керамзитобетоном М-50 и добетонирование сколотых углов стеновой панели и перекрытия; объемный вес керамзитобетона должен соответствовать тому, которым производилась первоначальная заделка стыков;
- натянуть тканую металлическую сетку на отбитых участках стеновых панелей, закрепив ее за выпуски арматуры штукатурного слоя;
- произвести оштукатуривание наружной стеновой панели цементно-песчаным раствором в тех местах, где был сбит штукатурный слой, с последующей затиркой штукатурного слоя;
- восстановить разобранный участок пола и плинтус;
- оклеить стену обоями или произвести окраску (после высыхания штукатурного слоя).


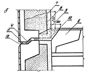
Рис.
2. Горизонтальный стык панелей наружных стен домов серии
ОД
а - по типовому проекту
б - после утепления и герметизации стыка при ремонте
1 - железобетонный элемент наружной стеновой панели, 2 - утеплитель - минеральная вата, 3 - армированная штукатурка, 4 - просмоленная пакля, 5 - цементно-песчаный раствор М-100, 6 - раствор на газобетонном щебне, 7 - заменяемый участок утеплителя. 8 - металлическая сетка (крепится за выпуски арматуры), 9 - заменяемый участок штукатурки, 10 - керамзитобетон M-50, γ = 1200 кг/м3, 11 - пористая резиновая прокладка, 12 - тиоколовая мастика типа У-30м, δ = 2 - 2,5 мм.
13. Работы по утеплению вертикальных стыков (рис. 3) следует производить в такой последовательности:
- удалить обои на утепляемом участке;
- снять плинтус и разобрать пол на участке шириной 30 см от угла стеновой панели;
- отбить штукатурный слой на ширину 25 см по всей высоте панели (вдоль стыка);
- сколоть внутренний угол стеновой панели на глубину 40 мм при ширине до 200 мм;
- проверить состояние утеплителя. Удалить просевший или сырой утеплитель из полости стеновой панели в тех местах, где сбит штукатурный спой;
- просушить полость стеновой панели;
- произвести бетонирование углов стеновой панели керамзитобетоном М-50 с тщательным уплотнением; объемный вес керамзитобетона не должен превышать того, которым первоначально был заделан стык;
- уложить новый утеплитель из минеральной ваты;
- натянуть тканую металлическую сетку на участках, на которых был сбит штукатурный слой, закрепив ее с одной стороны в слой бетона при бетонировании стыка, а с другой - к выпускам арматуры внутреннего штукатурного слоя стеновой панели;
- произвести оштукатуривание наружной стеновой панели цементно-песчаным раствором в тех местах, где был сбит штукатурный слой, с последующей затиркой штукатурного слоя;
- восстановить разобранный участок пола и плинтус;
- оклеить стену обоями или произвести окраску (после высыхания штукатурного слоя).
Примечания: 1. Трубы и приборы центрального отопления должны оставаться открытыми.
2. В случае невозможности подобрать обои такого же рисунка, как были, следует переклеить обои во всей комнате.


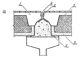
Рис. 3. Утепление вертикальных стыков панелей наружных стен домов серии ОД
а - по типовому проекту
б - после утепления и герметизации
стыка при ремонте
1 - железобетонный элемент наружной стеновой панели, 2 - утеплительная
минеральная вата, 3 - армированная штукатурка, 4 - цементнопесчаный раствор
М-100, 5 - просмоленная пакля, 6 - раствор на газобетонном щебне, 7 -
заменяемый участок утеплителя, 8 - металлическая сетка, крепится за выпуски
арматуры, 9 - заменяемый участок штукатурки, 10 - керамзитобетон типа М-50 γ
= 1200 кг/м3, 11 - пористая резиновая прокладка, 12 - тиоколовая
мастика типа
14. В отдельных случаях для ликвидации промерзания вертикальных стыков может быть рекомендовано устройство вута из керамзитобетона с установкой сборно-разборной опалубки (см. технологическую карту № 27).
15. Приготовление раствора и бетонкой смеси должно производиться в централизованном порядке на растворном узле. Ручное приготовление раствора и бетона на объекте допускается только при незначительней объеме выполняемых работ.
16. Подъем материалов, учитывая их небольшой вес, можно производить вручную.
Контроль качества
17. В процессе производства работ мастер должен осуществлять пооперационный контроль за ходом их выполнения, фиксируя последовательность и качество выполняемых работ в специальном журнале (табл. 1).
Техника безопасности
18.: Перед началом работ следует провести инструктаж рабочих по технике безопасности на рабочем месте.
19. Все работы выполнять только исправным инструментом.
20. Сколку углов стеновой панели следует выполнять с применением защитных средств: рукавиц, шлема, защитных очков.
21. При утеплении стыков работы на высоте производить с инвентарных подмостей.
22. Утепление минеральной ватой выполнять в рукавицах с использованием защитных очков и респираторов.
23. К работе с электрическими приборами для сушки стыка должны допускаться лица, обученные обращению с ними и проинструктированные по специальным инструкциям.
24. Ввиду того, что работы выполняются без переселения жильцов, последние не должны находиться в зоне производства ремонтных работ.
Следует также обеспечить защиту мебели от повреждения.
25. Работы выполняются комплексным звеном, состоящим из двух человек: штукатура-маляра IV разряда и бетонщика II разряда.
Перечень всех работ, подлежащих выполнению при утеплении горизонтальных и вертикальных стыков, трудовые затраты на производство работ и их стоимости приведены в калькуляции трудовых затрат (табл. 2 - 3)
Продолжительность производства работ по утеплению горизонтального стыка длиной 3,2 м - 9,75 чел.час, вертикального - 8,04 чел.час.
Перерывы во времени, вызванные необходимостью набора прочности штукатурного слоя, следует использовать для производства аналогичных работ в других квартирах.
Предполагается использование приборов для искусственной сушки полости стыков без постоянного присутствия рабочих.
Работы по разборке и последующему восстановлению паркетного пола выполняются квалифицированным паркетчиком, специально вызываемым на объект.
Таблица 2
Калькуляция трудовых затрат
на производство работ по утеплению
углов и стыков в крупнопанельных жилых домах серии ОД (составлена на утепление
одного горизонтального стыка длиной 3,2 м)
|
№№ пп |
Основание к принятым нормам |
Наименование работ |
Единица измерения |
Объем работ |
Нормы времени на единицу измерения в чел.час |
Затраты труда на весь объем работ в чел.час |
Расценка на единицу измерения в руб.коп. |
Стоимость затрат труда на весь объем, руб.коп. |
|
1 |
2 |
3 |
4 |
5 |
6 |
7 |
8 |
9 |
|
|
|
Подготовительные работы |
|
|
|
|
|
|
|
1 |
ЕНиР (1969) 1-11 п. 2а, д 1-14 п. 2а, б |
Погрузка материалов и выгрузка с автомашины с отноской на 10 м. Подъем вручную на высоту 10 м |
т |
0,2 |
4,78 |
0,95 |
5-09 |
0-12 |
|
|
|
Основные работы |
|
|
|
|
|
|
|
2 |
ЕНиР (1969) 20-1-40 п. 3 |
Разборка паркетного пола с разборкой дощатого основания |
м2 |
0,8 |
0,43 |
0,34 |
0-21,2 |
0-17 |
|
3 |
ЕНиР (1969) 20-1-140 т.2, п.3в |
Сколка кромок стеновой панели и пола на глубину 100 мм при ширине до 100 мм |
п. м. борозды |
3,2 |
0,95 |
3,06 |
0-47 |
1-50 |
|
4 |
ЕНиР (1969) 20-1-20 К = 1,7 |
Отбивка штукатурного слоя наружной стеновой панели на участке шириной 200 мм от уровня горизонтального стыка |
м2 |
0,54 |
0,20 |
0,13 |
0,10 |
0-06 |
|
5 |
ЕНиР (1969) 11-70 п. 4 |
Удаление старого утеплителя (минеральной ваты) в местах отбитого слоя штукатурки |
" |
0,64 |
0,14 |
0,09 |
0-0,69 |
0-04,3 |
|
6 |
По тарифу 2 разряда |
Сушка полости стыка и вскрытой полости панели |
ч.ч. |
0,5 |
1,0 |
0,5 |
0-49,3 |
0-25 |
|
7 |
ЕНиР 1966 г. г. Минск 2-13 К = 0,835 |
Бетонирование стыка керамзитобетоном с утрамбовкой |
п. м |
3,2 |
0,22 |
0,70 |
0-13 |
0-41 |
|
8 |
ЕНиР 1955 г. г. Минск K = 0,835 |
Укладка нового утеплителя (минеральной ваты) вместо удаленного шириной 300 мм |
п. м. |
3,2 |
0,28 |
0,90 |
0-15 |
0-48 |
|
9 |
ЕНиР (1969) 8-5, т. 3 п. 1в |
Натягивание тканой металлической сетки полосой шириной 200 мм, длиной 3200ии |
м2 |
0,64 |
0,750 |
0,48 |
0-39,3 |
0-25 |
|
10 |
ЕНиР (1959) 20-1-115 1б |
Оштукатуривание стеновой панели по металлической сетке, где сбит штукатурный слой |
" |
0,54 |
1,70 |
1,09 |
0-91,3 |
0-58 |
|
11 |
ЕНиР (1959) 20-1-49 1д минус 20-1-40, п. 3 |
Настилка паркетного пола |
м2 паркета |
0,8 |
1,12 |
0,90 |
0-55,4 |
0-52 |
|
12 |
EHиP (1969) 10-1-131 n. 2 |
Смена обоев в местах утепления |
м2 |
1,5 |
0,38 |
0,61 |
0-212 |
0-34 |
|
|
|
Итого |
|
|
|
9,75 |
|
5-02 |
Калькуляция трудовых затрат
на производство работ по утеплению углов и стыков в крупнопанельных жилых домах серии ОД (составлена на утепление одного вертикального стыка с одной стороны перегородки)
|
№№ пп |
Основание к принятым нормам |
Наименование работ |
Единица измерения |
Объем работ |
Нормы времени на единицу измерения в чел.час |
Затраты труда на весь объем работ в чел.час |
Расценка на единицу измерения в руб.коп. |
Стоимость затрат труда на весь объем, руб.коп. |
|
1 |
2 |
3 |
4 |
5 |
6 |
7 |
8 |
9 |
|
|
|
Подготовительные работы |
|
|
|
|
|
|
|
1 |
ЕНиР 1969 г. 1-11, п.2а. д 1-14 п. 2a, б |
Погрузка материалов на автомашины и выгрузка с отноской на 10 м, подъем вручную на высоту 10 м |
т |
0,2 |
4,78 |
0,95 |
2-09 |
0-42 |
|
|
|
Основные работы |
|
|
|
|
|
|
|
2 |
ЕНиР 1969 г. 20-1-180 П. 1a K = 1,7 |
Отбивка штукатурки с внутренней стороны наружной стеновой панели шириной 250 мм по всей высоте стыка |
м2 |
0,75 |
0,20 |
0,15 |
0-10 |
0-075 |
|
3 |
ЕНиР 1969 г. 20-1-140 т. 2, п. 5в |
Обрубка углов стеновой панели (при глубине пробивки 40 мм и ширине до 200 мм) вручную |
п. м. |
2,5 |
0,90 |
2,25 |
0-44,4 |
1-11 |
|
4 |
ЕНиР 1969 г. 11-70 п. 4 |
Удаление осевшего или сырого утеплителя (минеральной ваты) в местах сбитого штукатурного слоя |
м2 |
0,75 |
0,14 |
0,10 |
0-069 |
0-052 |
|
5 |
По тарифу 2 разряда |
Просушка полости стеновой панели в местах удаленного утеплителя |
ч.ч. |
0,5 |
1 |
0,5 |
0-49,3 |
0-25 |
|
6 |
ЕНиР 1965 г. г. Минск 2-13 К = 0,835 |
Бетонирование углов керамзитобетоном на глубину 100 мм, шириной 200 мм с плотной утрамбовкой |
п. м |
2,5 |
0,22 |
0,55 |
0-13 |
0-33 |
|
7 |
-"- 7-8 К = 0,835 |
Укладка нового утеплителя (минеральной ваты) вместо удаленного 300×2500×140 мм |
" |
2,5 |
0,28 |
0,70 |
0-15 |
0-38 |
|
8 |
ЕНиР 1969 г. 8-5, г. 3 |
Натягивание тканой металлической сетки шириной 800 мм (одна большая сторона полосы сетки заделывается в бетон при бетонировании стыка, другая крепится к арматуре армированной штукатурки) |
м2 |
0,75 |
0,75 |
0,56 |
0-39,3 |
0-29 |
|
9 |
ЕНиР 1969 г. 4-1-27 п. 8а |
Устройство опалубки из отдельных элементов (общая ширина 250 мм высота 2,5 м) |
п. м |
2,5 |
0,175 |
0,44 |
0-11 |
0-25 |
|
10 |
ЕНиР 1969 г. 20-1-115 1б |
Оштукатуривание стеновой панели, где был сбит штукатурный слой, по металлической сетке цементнопесчаным раствором |
м2 |
0,62 |
1,70 |
1,05 |
0-31,3 |
0-61 |
|
11 |
ЕНиР 1969 г. 4-1-27 т. 8б |
Разборка опалубки |
п. м |
2,5 |
0,12 |
0,30 |
0-063 |
0-16 |
|
12 |
ЕНиР 1969 г. 20-1-131 п. 2 |
Смена обоев в углу комнаты с подборкой обоев по расцветке |
м2 |
1,3 |
0,38 |
0,49 |
0-21,2 |
0-27 |
|
|
|
Итого |
|
|
|
8,04 |
|
4-20 |
1. Материалы
а) На один вертикальный стык с одной стороны перегородки.
|
№№ пп |
Наименование материалов |
Един. изм. |
К-во |
Примечание |
|
1 |
Полужесткие минераловатные плиты на фенольной связке |
м3 |
0,11 |
|
|
2 |
Керамзитобетон М-50 |
м3 |
0,02 |
- |
|
8 |
Металлическая тканая сетка (10×10) |
м2 |
0,75 |
ГОСТ 12184-66 |
|
4 |
Цементно-песчаный штукатурный раствор |
м3 |
0,03 |
- |
|
5 |
Обои |
м2 |
33 |
|
|
a |
Клей обойный |
кг |
2,3 |
- |
6) На один горизонтальный стык длиной 3,2 м
|
1 |
Полужесткие минераловатные плиты на фенольной связке |
м3 |
0,1 |
|
|
2 |
Керамзитобетон М-50 |
м3 |
0,02 |
- |
|
3 |
Металлическая тканая сетка (10×10) |
м2 |
0,75 |
ГОСТ 12184-66 |
|
4 |
Цементно-песчаный штукатурный раствор |
м3 |
0,02 |
- |
|
5 |
Обои |
м2 |
1,7 |
|
|
6 |
Клей обойный |
кг |
0,13 |
- |
2. Инструменты и приспособления,
используемые при производстве работ по
утеплению стыков в крупнопанельных жилых домах серии ОД
(из расчета на одно звено)
|
№№ пп |
Наименование инструмента или приспособлений |
ГОСТ, ОСТ, нормаль или организация-калькодержатель |
Потребное количество в шт. |
|
1 |
2 |
3 |
4 |
|
1 |
Скарпели ручные твердосплавные типов CTP-16-6, CTP-20-2 |
НИИ синтетических сверхтвердых материалов и инструментов Госплана УССР |
2 |
|
2 |
Молоток слесарный типа А-5 |
НИИ Монтажспецстрой Минмонтажспецстрой СССР |
1 |
|
3 |
Конопатка стальная типа К-500 |
ГОСТ 11618-65 |
1 |
|
4 |
Кельма для бетонных и каменных работ типа КБ |
1 |
|
|
5 |
Ящик (металлический или деревянный) для раствора емк. 0,06 м3 |
- |
1 |
|
6 |
Кельма для штукатурных работ типа КШ |
1 |
|
|
7 |
Сокол дюралюминиевый |
черт.13100000 ВНИИСЦ Минстройдоркоммунмаш. |
1 |
|
8 |
Полутерок деревянный 800 мм |
Оргстрой Минстрой СССР |
1 |
|
9 |
Правило прижимное |
Трест Мосоргстрой Главмосстроя при Мосгорисполкоме |
1 |
|
10 |
Гладилка типа ГШ-1 |
ГОСТ 10403-63 |
1 |
|
11 |
Ножницы обойные |
НИИ СП Госстроя УССР |
1 |
|
12 |
Кисть-макловица типа КМА-1 |
1 |
|
|
13 |
Подмости инвентарные - трубчато-раздвижной столик |
Альбом машин, приспособлений, инструментов для кап. ремонта жилых домов. МКХ РСФСР, ЦНИИ АКХ, 4962 г. |
1 |
|
ГОСТЫ, СТРОИТЕЛЬНЫЕ и ТЕХНИЧЕСКИЕ НОРМАТИВЫ. Некоммерческая онлайн система, содержащая все Российские Госты, национальные Стандарты и нормативы. В Системе содержится более 150000 файлов нормативно-технической документации, действующей на территории РФ. Система предназначена для широкого круга инженерно-технических специалистов. Copyright © www.gostrf.com, 2008 - 2026 |