Крупнейшая бесплатная информационно-справочная система онлайн доступа к полному собранию технических нормативно-правовых актов РФ. Огромная база технических нормативов (более 150 тысяч документов) и полное собрание национальных стандартов, аутентичное официальной базе Госстандарта. GOSTRF.com - это более 1 Терабайта бесплатной технической информации для всех пользователей интернета. Все электронные копии представленных здесь документов могут распространяться без каких-либо ограничений. Поощряется распространение информации с этого сайта на любых других ресурсах. Каждый человек имеет право на неограниченный доступ к этим документам! Каждый человек имеет право на знание требований, изложенных в данных нормативно-правовых актах!

  


 

Распоряжение Федерального дорожного агентства
от 28 июля 2009 г. № 270-Р

Об издании и применении ОДМ 218.2.002-2009 "Методические рекомендации по применению современных материалов в сопряжении дорожной одежды с деформационными швами мостовых сооружений"

В целях реализации в дорожном хозяйстве основных положений Федерального закона от 27 декабря 2002 г. № 184-ФЗ "О техническом регулировании" и обеспечения дорожных организаций методическими рекомендациями для повышения эксплуатационных качеств и срока службы деформационных швов с металлическим окаймлением, одежды с асфальтобетонными и цементобетонными покрытиями и в целом конструкции мостового сооружения:

1. Структурным подразделениям центрального аппарата Росавтодора, федеральным управлениям автомобильных дорог, управлениям автомобильных магистралей и межрегиональным дирекциям по дорожному строительству автомобильных дорог федерального значения рекомендовать к применению с 01 сентября 2009 г. прилагаемый ОДМ 218.2.002-2009 "Методические рекомендации по применению современных материалов в сопряжении дорожной одежды с деформационными швами мостовых сооружений" (далее - ОДМ 218.2.002-2009).

2. Территориальным органам управления дорожным хозяйством субъектов Российской Федерации рекомендовать к применению с 01 сентября 2009 г. ОДМ 218.2.002-2009.

3. Управлению научно-технических исследований, информационного обеспечения и ценообразования (В.А. Попов) в установленном порядке обеспечить издание ОДМ 218.2.002-2009 и направить его в подразделения и организации, упомянутые в п. 1 настоящего распоряжения.

4. Контроль за исполнением настоящего распоряжения возложить на заместителя руководителя С.Е. Полещука.

 

Руководитель                                A.M. Чабунин

Методические рекомендации
по применению современных материалов в сопряжении дорожной одежды с деформационными швами мостовых сооружений

ОДМ 218.2.002-2009

Рекомендован к применению с 1 сентября 2009 г.

Вводится впервые

ПРЕДИСЛОВИЕ

1. РАЗРАБОТАН: Федеральным государственным унитарным предприятием «Российский дорожный научно-исследовательский институт» (ФГУП «РОСДОРНИИ») - зав. отделением искусственных сооружений Шестериковым В.И., зав. отделом новых материалов Лысенко В.Е., зам. зав. отделом новых материалов Гриневичем С.В., ведущим научным сотрудником Паткиной И.А., ведущим инженером Кузнецовой Е.А. В разработке Рекомендаций принимала участие зам. Генерального директора ООО «НПП СК «МОСТ» Сахарова И.Д.

2. ВНЕСЕН: Управлением эксплуатации и сохранности автомобильных дорог.

3. ПРИНЯТ И ВВЕДЕН В ДЕЙСТВИЕ: распоряжением Федерального дорожного агентства Министерства транспорта Российской Федерации от 28.07.2009 №270-р.

4. ВВОДИТСЯ ВПЕРВЫЕ.

5. ИМЕЕТ РЕКОМЕНДАТЕЛЬНЫЙ ХАРАКТЕР.

Содержание

Раздел 1. Область применения

Раздел 2. Нормативные ссылки

Раздел 3. Термины и определения, обозначения

Раздел 4. Введение

Раздел 5. Конструктивные решения узла примыкания одежды ездового полотна к окаймлениям деформационных швов

Раздел 6. Конструкции одежды ездового полотна

Раздел 7. Материалы, рекомендуемые для применения в узлах сопряжения дорожной одежды ездового полотна с конструкциями деформационных швов

Раздел 8. Схемы сопряжения дорожной одежды с окаймлением деформационных швов

Раздел 1. Область применения

Отраслевой дорожный методический документ "Методические рекомендации по применению современных материалов в сопряжении дорожной одежды с деформационными швами мостовых сооружений" (далее - "Рекомендации") обращает внимание на важность правильного сопряжения всех слоев дорожной одежды ездового полотна (далее - "одежды") со стальным окаймлением деформационных швов в мостовых сооружениях на автомобильных дорогах. В "Рекомендациях" приведены схемы сопряжений, рекомендуемые для случаев использования различных конструкций деформационных швов при различной интенсивности движения на дороге в различных климатических районах.

Рекомендации направлены на повышение эксплуатационных качеств и срока службы деформационных швов с металлическим окаймлением, одежды с асфальтобетонными и цементобетонными покрытиями и в целом конструкции мостового сооружения. Они предназначены для использования при разработке проектов ремонта, капитального ремонта, реконструкции и строительства мостовых сооружений, а также при ремонте деформационных швов, выполняемых в рамках работ по содержанию мостовых сооружений (в соответствии с Классификацией работ по капитальному ремонту, ремонту и содержанию автомобильных дорог общего пользования и искусственных сооружений на них, утвержденной приказом Минтранса России 12.11.2007 № 160).

Раздел 2. Нормативные ссылки

- ГОСТ 7.32-2001. Система стандартов по информации, библиотечному и издательскому делу.

- ГОСТ 9128-97*. Смеси асфальтобетонные, дорожные, аэродромные и асфальтобетон. Технические условия.

- ГОСТ 31015-2002. Смеси асфальтобетонные и асфальтобетон щебеночно-мастичные. Технические условия.

- ГОСТ 22245-90 Битумы нефтяные дорожные вязкие. Технические условия.

- ГОСТ 7473-94 Смеси бетонные. Технические условия.

- ГОСТ 10060.0-95 Бетон. Методы определения морозостойкости.

- ГОСТ 26633-91 Бетоны тяжелые и мелкозернистые. Технические условия.

- ГОСТ 8736-93 Песок для строительных работ. Технические условия.

- ГОСТ 8267-93 Щебень и гравий из плотных горных пород для строительных работ. Технические условия.

- ГОСТ 9757-90 Гравий, щебень и песок искусственные. Технические условия.

- ГОСТ 10178-85 Портландцемент и шлакопортландцемент. Технические условия.

- ГОСТ 310.1 - 310.4-81 Цемент. Методы определения.

- ГОСТ Р 52128-03 Эмульсии битумные дорожные. Технические условия.

- СНиП 2.05.03-84 Мосты и трубы.

- СНиП 3.06.03-85. Автомобильные дороги/Госстрой России.

- ОДН 218.017.03. Руководство по оценке транспортно-эксплуатационного состояния мостовых конструкций.

- СНиП 23-01-99. Строительная климатология

- ГОСТ 22245-90 Битумы нефтяные дорожные вязкие. Технические условия

- ГОСТ Р 52128-03 Эмульсии битумные дорожные. Технические условия.

- ГОСТ 12730.5-84 Бетоны. Методы определения пористости.

- ГОСТ 3900-85 Нефть и нефтепродукты. Методы определения плотности

- ГОСТ 22567.5-77 Средства моющие синтетические и вещества поверхностно-активные.

- ГОСТ 2678-94 Материалы рулонные кровельные и гидроизоляционные. Методы испытаний

- ГОСТ 30740-2000 Материалы, герметизирующие для швов аэродромных покрытий. Технические условия

- ГОСТ 25945-98 Материалы и изделия полимерные строительные герметизирующие. Методы испытаний.

- ГОСТ 11501-78. Битумы нефтяные. Методы определения глубины проникновения иглы.

- ГОСТ 14925-79. Каучук синтетический цис-изопреновый. Технические условия

- ГОСТ 305-82. Топливо дизельное. Технические условия.

- ГОСТ 12871-93. Асбест хризотиловый-хризотил. Технические условия

- ГОСТ 2770-74 Масло каменноугольное для пропитки древесины. Технические условия

- ГОСТ 16557-78 Порошок минеральный для асфальтобетонных смесей. Технические условия.

- ОДМ 218.1.001-2005. Рекомендации по разработке и применению документов технического регулирования в сфере дорожного хозяйства.

Раздел 3. Термины и определения, обозначения

а) В настоящих рекомендациях использованы следующие термины с соответствующими определениями.

Мостовое сооружение - искусственное сооружение, расположенное на автомобильной дороге и являющееся ее конструктивной частью, предназначенное для перевода транспортного пути (дороги) и водовода через различные препятствия. К этой группе сооружений относятся мосты, путепроводы, эстакады, виадуки, скотопрогоны. Мостовое сооружение состоит из опор, пролетных строений, мостового полотна и регуляционных сооружений.

Надежность - применительно к деформационным швам - свойство конструкций сохранять во времени значения всех параметров, характеризующих способность выполнять заданные функции, то есть сохранять прочность, устойчивость, герметичность, способность воспринимать заданные величины перемещений концов пролетных строений, долговечность.

Долговечность сооружения - свойство сооружения сохранять работоспособное состояние в течение длительного периода времени с необходимыми перерывами на ремонт.

Срок службы - календарная продолжительность эксплуатации элементов пролетных строений от начала эксплуатации до перехода в предельное состояние.

Композиционный материал - конструкционный (металлический или неметаллический) материал, в котором имеются усиливающие его элементы в виде нитей, волокон или хлопьев более прочного материала. Примеры композиционных материалов: пластик, армированный борными, углеродными, стеклянными волокнами, жгутами или тканями на их основе; алюминий, армированный нитями стали, бериллия. Комбинируя объемное содержание компонентов, можно получать композиционные материалы с требуемыми значениями прочности, жаропрочности, модуля упругости, абразивной стойкости, а также создавать композиции с необходимыми магнитными, диэлектрическими, радиопоглощающими и другими специальными свойствами. Путем подбора состава и свойств наполнителя и матрицы (связывающего), их соотношения, ориентации наполнителя можно получить материалы с требуемым сочетанием эксплуатационных и технологических свойств. Использование в одном материале несколько матриц (полиматричные композиционные материалы) или наполнителей различной природы (гибридные композиционные материалы) значительно расширяет возможности регулирования свойств композиционных материалов. Армирующие наполнители воспринимают основную долю нагрузки композиционных материалов.

Ремонт - комплекс работ по восстановлению транспортно-эксплуатационных характеристик сооружения, при выполнении которых не затрагиваются и иные характеристики надежности и безопасности сооружения.

Конструкция деформационного шва - конструктивный элемент мостового полотна, перекрывающий или заполняющий зазор между пролетными строениями или между пролетным строением и головной частью опоры (шкафной стенки устоя) в уровне проезжей части, не препятствующий их взаимным перемещениям, связанный анкерными устройствами с несущей конструкцией пролетного строения или дорожной одеждой и передающий на них усилия от взаимодействия транспортных средств, температуры и других факторов.

Заполнение деформационного шва - элемент конструкции деформационного шва, заполняющий зазор в уровне проезжей части.

Компенсатор - элемент конструкции деформационного шва, за счет деформации которого обеспечивается компенсация перемещений концов пролетного строения и сохраняется герметичность швов.

Дренаж - элемент одежды ездового полотна, обеспечивающий быстрый отвод воды из слоев одежды и состоящий из дренажного канала, дренирующего материала и дренажных трубок.

Мастика - смесь минерального порошка (наполнителя) с битумом или дегтем в горячем и холодном состоянии, применяемая для заполнения температурных (деформационных) швов и трещин (щелей). В зависимости от основы и наполнителя различают мастики: резинобитумная, битумно-полимерная, и др.

Окаймление деформационного шва - элементы конструкции деформационного шва, окаймляющие в зазоре контуры сопрягаемых конструкций (торец пролетного строения, грань головной части опоры или шкафной стенки устоя), заанкеренные в них и предназначенные для восприятия усилий от перекрывающих зазор элементов и предохранения окаймляемых элементов конструкции от разрушения при воздействии транспортных средств.

Одежда ездового полотна (дорожная одежда) - конструктивный элемент мостового полотна, включающий в себя все слои, уложенные поверх плит проезжей части или мостового настила (выравнивающий слой, гидроизоляция, защитный слой, покрытие.)

Полимербетон - разновидность бетона, приготовленного из цементобетонной смеси на минеральном вяжущем с добавкой полимера.

Пластбетон - разновидность полимербетона, приготовленного из смеси, в составе которой в качестве вяжущего материала применены полимерные смолы.

Асфальтобетонная смесь - рационально подобранная смесь минеральных материалов (щебня, песка, минерального порошка) с битумом, взятых в определенных соотношениях и перемешанных в горячем состоянии.

Асфальтобетон - уплотненная асфальтобетонная смесь.

Щебеночно-мастичная асфальтобетонная смесь - рационально подобранная смесь минеральных материалов (щебня, песка из отсевов дробления и минерального порошка), дорожного битума (с полимерными или другими добавками или без них) и стабилизирующей добавки, взятых в определенных пропорциях и перемешанных в нагретом состоянии.

Щебеночно-мастичный асфальтобетон - уплотненная щебеночно-мастичная асфальтобетонная смесь.

Мастично-щебеночная смесь - смесь кубовидного щебня и высокоэластичной мастики, перемешанных в горячем состоянии, которая используется, как правило, в конструкциях деформационных швов закрытого типа в качестве вставки над зазором концов сопрягаемых пролетных строений в уровне покрытия.

Стабилизирующая добавка - вещество, оказывающее стабилизирующее влияние на ЩМАС и обеспечивающее устойчивость ее к расслаиванию.

Литая асфальтобетонная смесь - рационально подобранная смесь минеральных материалов (щебня песка), минерального порошка и битума, взятых в определенных пропорциях, перемешанных в нагретом состоянии, и укладываемая механизированным способом по литьевой технологии.

Армирующая геосетка - материал жесткой сетчатой структуры с плоскими ребрами, скрепленными в узлах с образованием ячеек.

б) Условные обозначения

В настоящих рекомендациях приняты следующие условные обозначения:

ЩМА - щебеночно-мастичный асфальтобетон

ЩМАС - щебеночно-мастичная асфальтобетонная смесь

СКЗ - строительная климатическая зона

БРМ - битумно-резиновые мастики

СКИ - синтетический каучук изопреновый

МБИ - мастика битумно-изопреновая

РБМ - резинобитумная мастика

ПБМ - полимерно-битумная мастика

ВМБ - высококачественный мелкозернистый бетон

МБ - модификатор бетона

ПЭПА - отвердитель полиэтиленполиамин

ПАВ - поверхностно-активные вещества

КАП - катионно-адгезионная полимерная добавка

Раздел 4. Введение

Методические рекомендации разработаны для повышения эксплуатационных качеств и срока службы мостовых сооружений за счет использования новых современных материалов при устройстве сопряжения деформационных швов с одеждой. При разработке "Рекомендаций" использованы материалы многочисленных обследований мостовых сооружений с различными конструктивными решениями перекрытия деформационных швов и узлов примыкания к ним конструкций одежд, а также опытных работ по применению различных материалов для покрытий.

Рекомендации содержат указания по выбору материалов и схем сопряжения одежды с окаймлением деформационных швов с целью повышения надежности (работоспособности, ремонтопригодности и срока службы) участков сопряжения. Это обеспечит улучшение показателей долговечности несущих конструкций пролетных строений и всего сооружения в целом, а также непосредственно конструкций деформационных швов.

Раздел 5. Конструктивные решения узла примыкания одежды ездового полотна к окаймлению деформационных швов

а) Конструкции окаймлений деформационных швов должны быть заанкерены в несущих конструкциях пролетных строений посредством омоноличивания арматурных элементов окаймлений, либо с помощью "химических" анкеров, устанавливаемых в пробуренных в несущих конструкциях отверстиях, и связанных с арматурными элементами окаймлений.

Анкеровка окаймлений шва омоноличиванием их в пределах толщины дорожной одежды без арматурной связи с несущими конструкциями пролетных строений на проезжей части не допускается.

б) Применение конструкций деформационных швов с анкеровкой окаймлений в толще одежды допускается на пешеходных мостах, на тротуарах. Применение указанного способа анкеровки окаймлений возможно при устройстве перекрытия деформационного шва в двухуровневом исполнении:

- в уровне плиты проезжей части устраивают конструкцию перекрытия капитального типа с анкеровкой в несущей конструкции;

- в уровне проезжей части выполняют легко заменяемую конструкцию, анкеруемую в пределах толщины дорожной одежды. Такое техническое решение может быть применено на мостовых сооружениях на автомагистралях в городах и вблизи больших городов с интенсивностью движения по одной полосе, превышающей 10 тыс. авт. в сутки, что связано со сложностью ремонта и замены конструкций, заанкеренных в несущих конструкциях, при высокой интенсивности движения.

в) Конструктивное решение узла примыкания одежды на мостовом сооружении к окаймлению деформационного шва зависит от ее толщины, размеров по высоте краевого элемента окаймления, способа его анкеровки.

При выборе и привязке конструкции деформационного шва к сооружению и ее заказе следует отдавать предпочтение конструкциям, высота окаймлений которых позволяет осуществить укладку дорожной одежды таким образом, чтобы покрытие проезжей части непосредственно примыкало к окаймлению.

При применении конструкций деформационных швов, окаймления которых имеют горизонтальный элемент, обращенный в сторону пролета, покрытие проезжей части (независимо от его материала) может быть заведено на этот элемент (на горизонтальную площадку) только при условии, что над ним толщина покрытия не уменьшается по сравнению с его толщиной в пролете.

То есть устройство в зоне узла сопряжения покрытия переменной толщины не допускается.

г) Укладка асфальтобетонного покрытия непосредственно на металлические элементы конструкции деформационного шва допускается только при условии, что на этом элементе имеется надежное прикрепление гидроизоляционного покрытия (защитно-сцепляющий слой), которое после укладки на него асфальтобетонного покрытия обеспечит их совместную работу (т.е. "приклеит" асфальтобетон к металлу).

При этом материал гидроизоляции должен иметь теплостойкость, обеспечивающую возможность укладки на него асфальтобетона определенного типа, а именно:

- теплостойкость гидроизоляционного материала при укладке на него уплотняемого асфальтобетона (температура смеси в момент уплотнения 145°С) должна быть не ниже 130°С;

- теплостойкость гидроизоляционного материала при укладке на него литого асфальтобетона с температурой до 220°С должна быть не ниже 150°С.

При этом материал гидроизоляции должен быть стоек против продавливания.

Заведение гидроизоляционного материала на горизонтальный элемент окаймления возможно только при устройстве конструкции дорожной одежды без бетонного защитного слоя над гидроизоляцией. Допускается заведение гидроизоляции под "козырек" окаймления при интенсивности движения до 5 тыс. авт. в сутки по дороге (рис. 1).

Рис. 1. Примеры заведения гидроизоляции "под козырек" окаймления

д) В случае, если над горизонтальным элементом окаймления или над элементами анкеровки окаймления не может быть уложено покрытие такой же толщины, как в пролете, окаймление деформационного шва должно быть заанкерено в бетонном массиве, верх которого находится на уровне проезжей части (рис. 2). При этом узел омоноличивания окаймления не должен быть отделен от несущей конструкции слоем гидроизоляции (рис. 3).

Рис. 2. Возможные схемы армирования бетонного прилива в местах анкеровки конструкций деформационных швов

1 - несущая способность,

2 - окаймление деформационного шва,

3 - анкеровка окаймления,

4 - участок омоноличивания окаймления,

5 - резиновый компенсатор,

6 - одежда ездового полотна мостового сооружения,

7 - гидроизоляция

8 - защитный бетонный слой,

9 - покрытие,

10 - дренажный канал

11 - выравнивающий слой,

12 - мастичное заполнение.

Рис. 3. Недопустимое разделение бетона омоноличивания слоем гидроизоляции

е) Для обеспечения долговременной бездефектной работы конструкций деформационных швов и примыкающих к ним участков дорожной одежды перед деформационными швами с верховой по продольному уклону стороны пролетного строения, а при расположении пролетного строения на горизонтальной площадке или с продольным уклоном до 5% - с обеих сторон, необходимо устройство дренажных систем для вывода воды, проникшей на уровень гидроизоляции.

Нумерация пунктов приводится в соответствии с источником

и) При интенсивности движения по полосе свыше 5 тыс. автомобилей (грузовых и легковых) в сутки в примыкании покрытия к деформационному шву (к металлу или бетону) следует устраивать переходной участок шириной 30¸50 см по всей длине шва, в котором верхний слой покрытия выполняют из более прочного материала: ЩМА, полимерасфальтобетона или мастично-щебеночной смеси. Область рационального применения этих материалов приведена в разделе 9.

Раздел 6. Конструкции одежды ездового полотна

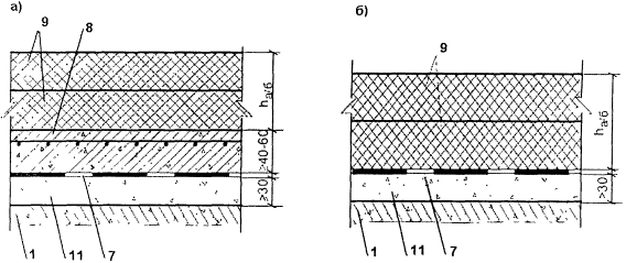
а) На пролетных строениях с железобетонной плитой проезжей части

аI) Применяемые конструкции одежд в значительной мере определяют конструктивное решение узла сопряжения их с конструкциями деформационных швов. Применяемые конструкции одежды ездового полотна приведены на рис. 4.

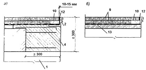
Рис. 4. Конструкция дорожной одежды

а) конструкция дорожной одежды с защитным слоем над гидроизоляцией, уложенной по выравнивающему слою;

б) то же с укладкой асфальтобетонного покрытия на гидроизоляцию

аII) Выравнивающий слой выполняют из мелкозернистого бетона (не из цементно-песчаного раствора) с минимальной прочностью В25, F200-300, W6 и минимальной толщиной 30 мм. Его максимальная толщина зависит от способа придания поперечного уклона проезжей части. В табл. 1 приведены значения толщин выравнивающего слоя для различных габаритов проезжей части при поперечном уклоне 20‰.

Толщины выравнивающего слоя

Таблица 1

Толщина слоя, мм

Габарит, м

Г-8

Г-9

Г-10

Г-11

min

30

30

30

30

max

110

120

130

140

Из таблицы следует, что толщина выравнивающего слоя существенно влияет на размер (по вертикали) зоны омоноличивания конструкций деформационных швов, что дополнительно подтверждает целесообразность придания поперечного уклона проезжей части за счет постановки балок на опорные площадки разной высоты.

На пролетных строениях с монолитной плитой выравнивающий слой, как правило, не устраивают.

Выравнивающий слой может быть выполнен из мелкозернистого асфальтобетона типа Б марки I толщиной не менее 40 мм. При этом толщина слоя по ширине проезжей части должна быть постоянной по избежание недоуплотнения слоя.

аIII) Преимущественное применение для гидроизоляции на железобетонной плите проезжей части имеют битумно-полимерные рулонные наплавляемые гидроизоляционные материалы. Их толщина 5 мм.

Гидроизоляционные материалы, на которые непосредственно может быть уложено асфальтобетонное покрытие, должны иметь:

- теплостойкость не ниже 130°С (под литой асфальтобетон - не ниже 150°С), прочность на растяжение при разрыве не менее 1000 kN (100 кгс) для полоски шириной 50 мм,

- толщину битумно-полимерного нижнего слоя не менее 2,5 мм (при укладке уплотняемого асфальтобетона),

- толщину верхнего слоя (при укладке литого асфальтобетона) - не более 1 мм; материалы должны быть испытаны на продавливание.

Все прочие битумно-полимерные, полимерные напыляемые и рулонные резиноподобные гидроизоляционные материалы требуют устройства защитного бетонного слоя, армированного сварной дорожной сеткой.

аIV) Защитный слой гидроизоляции выполняют из мелкозернистого армированного бетона толщиной 40-60 мм. Бетон должен иметь класс по прочности на сжатие не выше В30, марку по морозостойкости F300 при испытании в хлористых слоях, марку по водонепроницаемости не ниже W6.

б) На пролетных строениях с ортотропной плитой проезжей части

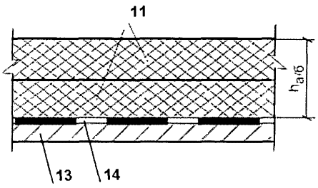
бI) На ортотропной плите конструкцию дорожной одежды выполняют состоящей из защитно-сцепляющего слоя и асфальтобетонного покрытия, укладываемого непосредственно на защитно-сцепляющий слой (рис. 5).

Рис. 5. Конструкция дорожной одежды на ортотропной плите

11 - покрытие,

13 - лист ортотропной плиты,

14 - защитно-сцепляющий слой

бII) Асфальтобетонное покрытие на мостовых сооружениях устраивают двухслойным.

При применении уплотняемого асфальтобетона в общем случае покрытие выполняют из асфальтобетонной смеси типа Б марки I: в конструкциях одежд с защитным слоем над гидроизоляцией - толщиной не менее 70 мм; в конструкциях, где отсутствует защитный слой над гидроизоляцией, - толщиной не менее 110 мм.

При применении в верхнем слое покрытия ЩМА (как правило, ЩМА 15 толщиной 40 мм) суммарная толщина покрытия должна быть не менее 90 мм.

При применении в одном из слоев либо в обоих слоях литого асфальтобетона толщиной 40 мм суммарная толщина покрытия должна быть также не менее 90 мм; при применении асфальтобетона типа Б марки I в обоих слоях покрытия суммарная толщина покрытия должна быть не менее 80 мм.

бIII) При применении для покрытия цементобетона толщина слоя покрытия, укладываемого на гидроизоляцию, должна быть не менее 120 мм. Бетон должен иметь класс по прочности на сжатие не ниже В35, W8, F300 в хлористых солях.

При укладке особо плотного бетона, выполняющего функции гидроизоляции, дорожную одежду выполняют однослойной, совмещающей все функции в одном, так называемом, выравнивающем слое минимальной толщиной не менее 80 мм, прочностью на сжатие не ниже В35, маркой водонепроницаемости не ниже W8, маркой по морозостойкости F300 при испытании в хлористых солях.

Раздел 7. Материалы, рекомендуемые для применения в узлах сопряжения дорожной одежды ездового полотна с конструкциями деформационных швов

а) Асфальтобетоны

При "новом" строительстве, реконструкции и ремонте мостовых сооружений, в процессе которых производят укладку покрытия на всем протяжении мостового сооружения (пролетного строения), в узле примыкания к конструкции деформационного шва асфальтобетонное покрытие должно устраиваться "в потоке" таким же, как на всем протяжении мостового сооружения (пролетного строения).

Физико-механические характеристики рекомендуемых к применению асфальтобетонов, укладываемых на проезжей части мостовых сооружений, тип Б марка 1, ЩМА должны соответствовать требованиям ГОСТ 9128-97*, ГОСТ 31015-02.

В соответствии с ГОСТ 8267-93 марка щебня по прочности должна быть не ниже 1200, по истираемости - не ниже И1, по морозостойкости - не ниже F50. По форме зерен щебень должен относиться к I группе.

При применении литого асфальтобетона к показателям его свойств должны соответствовать таблице 2.

Физико-механические характеристики литого асфальтобетона

Таблица 2.

Тип асфальтобетона

I

Пористость минерального остова, % по объему, не более

20

Водонасыщение, % по объему, не более

1,0

Подвижность смеси при 200°С, мм, не менее

30

Глубина вдавливания штампа при температуре 40°С, мм, в пределах

1-6

При выполнении работ по установке конструкций деформационных швов с необходимостью укладки конструкции дорожной одежды только в зоне сопряжения деформационного шва с дорожной одеждой, покрытие может быть выполнено такого же типа, как на всем протяжении мостового сооружения (пролетного строения).

В процессе ремонтных работ, вскрытие покрытия и последующее его восстановление при применении уплотняемого асфальтобетона должно быть выполнено на длине (от конца пролетного строения) в пределах 0,75¸3 м для обеспечения необходимой степени уплотнения асфальтобетона. Длина участка удаления покрытия (для выполнения сопряжения с деформационным швом) принимается с учетом имеющейся техники, дальности возки и объема материала, доставляемого за одну ездку.

На мостовых сооружениях автомобильных дорог с интенсивностью на одну полосу движения более 3000 авт./сут. в узлах сопряжения дорожной одежды ездового полотна с конструкциями деформационных швов рекомендуется применение специальных асфальтобетонов с повышенными показателями прочности, сдвигоустойчивости, трещиностойкости.

аI) Литой асфальтобетон на битумно-резиновом композиционном вяжущем

Асфальтобетоны с применением битумно-резиновых вяжущих, являются композиционными материалами, в которых битумно-резиновое вяжущее, помимо присущих ему функций, также выполняет функцию дисперсно-эластичного армирования.

К композиционным битумно-резиновым вяжущим предъявляются более высокие требования по сравнению с ГОСТ 22245-90 по таким показателям, как температура размягчения, температура хрупкости и растяжимость при 0°С, т.е. по показателям, определяющим повышенную устойчивость к изменениям окружающей температуры.

Показатель эластичности при низких температурах характеризует упругость композиционного вяжущего. Значение этого параметра достаточно, чтобы обеспечить релаксацию возникающих в асфальтобетонных покрытиях циклических деформаций.

Технические характеристики к композиционным битумно-резиновым вяжущим представлены в таблице 3.

Технические требования для битумно-резиновых вяжущих

Таблица 3.

Наименование показателей

Нормы

Глубина проникания иглы, дмм, при 25°С при 0°С, не менее*

91-130

61-90

40-60

20

15

 

Температура размягчения, °С, не менее

48

52

56

Температура хрупкости, °С не выше

-24

-20

-16

Растяжимость при 0°С, см, не менее

8

6

4

Растяжимость при 25°С, см, не менее)

14

12

10

Изменение температуры размягчения после прогрева, °С, не более

5

5

5

Эластичность при 0°С, %, не менее

30

30

30

Сцепление с песком

Выдерживает по образцу № 2

Размер неоднородностей, мм, не выше

2

Для получения битумно-резинового вяжущего используется мелкодисперсная резиновая крошка.

При выборе вяжущего для смеси покрытия переходной зоны примыкания дорожной одежды с деформационным швом рекомендуется вязкие битумы с показателями глубины проникания 60/90, 40/60.

Используемые для приготовления литого асфальтобетона исходные минеральные материалы щебень, песок природный и из отсевов дробления горных пород, минеральный порошок должны соответствовать требованиям ГОСТ 9128-97*.

Особенность определения оптимального состава асфальтобетона на битумно-резиновом вяжущем заключается в том, что при введении в состав вяжущего резиновой крошки в количестве 5-10% (по массе) содержание минерального порошка в смеси целесообразно снижать по сравнению со стандартным. Окончательно оптимальное содержание компонентов в составе асфальтобетонной смеси уточняется на основании результатов лабораторных испытаний вариантов составов с целью учета особенностей свойств реально используемых в производственных условиях материалов.

Требуемые показатели свойств литого асфальтобетона машинной и ручной укладки на битумно-резиновом вяжущем представлены в таблицах 4 и 5.

Физико-механические свойства литого асфальтобетона на битумно-резиновом вяжущем машинной укладки

Таблица 4.

Наименование показателя

Значение показателя

Водонасыщение, %

0,0-0,1

Предел прочности при сжатии, МПа

 

при +50°С

1,2-1,5

при 0°С

8,0-9,0

Водостойкость

1,0

Средняя плотность, г/см3

2,39-2,40

Глубина вдавливания штампа при +50°С, мм

0,3-0,8

Физико-механические свойства литого асфальтобетона на битумно-резиновом вяжущем ручной укладки

Таблица 5.

Устойчивость смеси при 200°С (осадка конуса), мм

20-30

Глубина вдавливания штампа при 50°С, мм

2-5

Водонасыщение при стандартном уплотнении, %

0

Предел прочности при сжатии, МПа:

 

при 50°С

0,7-1,0

при 0°С

5,0-6,0

Средняя плотность, г/см3

2,20

Количество вяжущего в составе литой смеси должно быть не менее 7.7% от массы минерального материала Содержание резиновой крошки в составе вяжущего рекомендуется 8-10%.

Приготовление смеси осуществляется на асфальтосмесительных установках, оборудованных смесителями принудительного перемешивания периодического или непрерывного действия, например типа ДС-158. Рекомендуемая температура смеси при выпуске из смесителя 210-220°С.

Укладка смеси может осуществляться машинным способом или вручную. При машинном способе на подготовленное покрытие укладывается смесь асфальтоукладчиком с последующим доуплотнением и выравниванием легким гладковольцовым катком. Температура доуплотнения должна быть не ниже 180°С.

Для укладки вручную горячая смесь 210-220°С поставляется на место производства работ в кохере с непрерывно работающей мешалкой. Из кохера литая смесь выкладывается на отфрезерованные и подготовленные карты зоны сопряжения дорожной одежды с деформационным швом. Смесь распределяется вручную, разравнивается и профилируется ручной виброплитой.

Уложенное покрытие из литой асфальтобетонной смеси на битумно-резиновом композиционном вяжущем не требует дополнительных операций по распределению и втапливанию щебня.

аII) Специальный мастично-щебеночный асфальтобетон

В переходной зоне могут применяться специальные мастично-щебеночные смеси, обычно используемые для укладки над зазорами пролетных строений при перемещениях до 30 мм (смеси для швов закрытого типа). Асфальтобетон характеризуются показателями, приведенными в таблице 6.

Физико-механические свойства специального мастично-щебеночного асфальтобетона

Таблица 6.

Наименование показателя

Значение показателя

Предел прочности при сжатии, МПа при температуре:

 

20°С

3,0-6,0

50°С

1,5-2,5

Пористость минерального остова, %

10-15

Сцепление при сдвиге при температуре 50°С, МПа

0,3-0,5

аIII) ЩМА дисперсно-демпфированный резиновой крошкой

Дисперсные демпфирующие наполнители, такие как резиновая крошка, используются в асфальтобетонах, отвечающих требованиям ГОСТ 9128-97, 31015-2002 для дополнительного повышения показателей сдвигоустойчивости и трещиностойкости, обеспечивающих повышение деформационной способности асфальтобетонного покрытия в переходной зоне примыкания деформационного шва с дорожной одеждой.

Минеральные материалы и битум, применяемые для приготовления ЩМАС с резиновой крошкой, должны отвечать требованиям ГОСТ 31015-2002.

Резиновая крошка, применяемая для приготовления асфальтобетонных смесей должна отвечать требованиям, приведенным в табл. 7.

Показатели свойств резиновой крошки

Таблица 7.

№ п/п

Наименование показателя

Норма

1

Массовая доля частиц, прошедших через сито, % не менее:

 

Марка 0,5

0,63

100

 

0,5

90

Марка 0,8

1,0

100

 

0,8

90

2

Массовая доля кордного волокна, % не более, для марки

 

0,5

 

5,0

0,8

 

7,0

3

Массовая доля воды, % не более,

1,5

4

Массовая доля металлов, % не более,

0,2

Рекомендуется применять резиновую крошку, содержащую не менее 80% частиц размером 0,63 мм.

В качестве вяжущих рекомендуются битумы нефтяные дорожные вязкие по ГОСТ 22245-90 марок БНД 60/90, БНД 90/130. Для повышения сдвигоустойчивости, прочностных характеристик асфальтобетона рекомендуется применение катионно-адгезионной добавки КАП.

КАП представляет собой смесь катионного поверхностно-активного вещества на основе триэтаноламина, с продуктом полимеризации ненасыщенных углеводородов фракции C8 - C9.

По показателям свойств КАП должна удовлетворять характеристикам и нормам, приведенным в таблице 8.

Технические требования к катионно-адгезионной добавке КАП

Таблица 8.

Наименование показателей

Характеристика и норма

Внешний вид и цвет при 20°С

Паста коричневого цвета

Кислотное число, мг. КОН/г, в пределах

20-40

Аминное число, мг. НС1/г, не менее

1,0

Сцепление битума с минеральным материалом после введения КАП

Выдерживает испытание по контрольным образцам №1-№2

Щебеночно-мастичные смеси проектируются в соответствии с ГОСТ 31015-02.

Зерновые составы минеральной части ЩМАС с содержанием дробленой резины должны соответствовать ГОСТ 31015-02.

При проектировании состава ЩМА с резиновой крошкой, ее зерновой состав не нужно учитывать в общем зерновом составе ЩМА. Резиновая крошка вводится в состав смеси в количестве 0,3-0,5% от массы минеральной части смеси. Показатели физико-механических свойств ЩМА с резиновой крошкой приведены в таблице 9.

Физико-механические свойства дисперсно-демпфированного резиновой крошкой ЩМА

Таблица 9.

Наименование показателей

Значения показателя для дорожно-климатических зон

 

I

II, III

IV, V

Пористость минеральной части, %

15-19

15-19

15-19

Остаточная пористость, %

1,5-4,0

1,5-4,5

2,0-4,5

Водонасыщение, % по объему:

 

 

 

образцов, отформованных смесей

1,0-3,5

1,0-4,0

1,5-4,0

вырубки кернов готового покрытия

3,0

3,5

4,0

Предел прочности при сжатии, МПа не менее, при температуре:

 

 

 

20°С

3,0

3,2

3,4

50°С

1,05

1,1

1,15

Водостойкость при длительном водонасыщении, не менее

0,95

0,90

0,85

Трещиностойкость - предел прочности на растяжение при расколе при температуре 0°С, МПа:

 

 

 

не менее

2,0

2,5

3,0

не более

5,5

6,0

6,5

Сдвигоустойчивость: коэффициент внутреннего трения, МПА не менее

0,93

0,94

0,95

Сцепление при сдвиге при температуре 50°С, МПа, не менее

0,22

0,24

0,26

Показатель стекания вяжущего, % не более

0,15

ЩМАС рекомендуется приготовлять в асфальтосмесительных установках, оборудованных смесителями принудительного перемешивания периодического или непрерывного действия с точностью дозирования предусмотренной ГОСТ 9128-97 и ГОСТ 31015-02.

При введении резиновой крошки непосредственно в минеральную часть рекомендуемое общее время перемешивания компонентов составляет 60-90 с, при этом сухое перемешивание минеральных материалов и резиновой крошки составляет 15-20 с.

Предварительно, перед подачей в смеситель в битум вводится КАП в количестве 1-1,5% от его массы. Добавка объединяется с битумом путем перемешивания или циркуляции. Температура смесей с КАП при отгрузке может быть снижена на 10°С.

Для устройства зоны сопряжения дорожной одежды с деформационным швом, небольшие объемы смеси с резиновой крошкой могут доставляться термосом-бункером (кохером). В предварительно разогретый кохер выгружается смесь указанной температуры и транспортируется к месту производства работ. Выдерживание смеси в кохере за время доставки повышает качество смеси.

Из кохера смесь выкладывается на отфрезерованную подготовленную карту переходной зоны сопряжения дорожной одежды с деформационным швом, разравнивается и профилируется ручной виброплитой с последующими проходами гладковальцового мини-катка.

Правила приемки и методы контроля осуществляются в соответствии с ГОСТ 31015-02.

При строительстве, реконструкции и ремонте мостовых сооружений, в процессе которых производят укладку покрытия на всем протяжении ездового полотна пролетного строении, включая узел примыкания к конструкции деформационного шва, рекомендуется в процессе приготовлении смеси ЩМА, предварительно перед подачей в смеситель, в битум разогретый до температуры 160-170°С вводить добавку КАП совместно с резиновой крошкой (КАП-Р) в количестве 2,5-3% от массы битума с последующей циркуляцией или перемешиванием. Введение комплексной добавки (КАП-Р) позволит обеспечить стабилизацию битума без применения целлюлозных добавок.

аIV) Полимерасфальтобетон, армированный добавками базальтового волокна (фиброй)

Волокнистые наполнители используются в асфальтобетонах, отвечающих требованиям ГОСТ 9128-97, ГОСТ 31015-02 для дополнительного повышения показателей прочности, сдвигоустойчивости и трещиностойкости, обеспечивающих повышение деформационной способности асфальтобетонного покрытия в переходной зоне примыкания деформационного шва с дорожной одеждой.

Физико-механические показатели рубленого базальтового волокна, должны удовлетворять характеристикам, представленным в таблице 10.

Показатели рубленого базальтового волокна

Таблица 10.

Наименование показателей

Значения показателей

Диаметр волокна, мкм

8-17

Длина отрезка, мм

5-15

Влажность, %, не более

0,27-0,5

Плотность, г/см3

2,5-3,0

Водопоглощение за 24 ч, %

£0,2

Химическая устойчивость, потеря в весе после 3 ч. кипячения в Н2О, г

£1,6

Определение оптимального состава армированного асфальтобетона для устройства переходной зоны сопряжения дорожной одежды с деформационным швом осуществляется в соответствии с основными принципами подбора оптимального состава асфальтобетонных смесей, изложенных в разделе 3 Пособия к СНиП 3.06.03-85.

Базальтовое волокно вводится в количестве 0,35-0,4% по массе минеральной части смеси сверх 100% минеральной части.

Окончательное оптимальное содержание компонентов в составе асфальтобетонной смеси уточняется на основании результатов лабораторных испытаний вариантов составов с учетом особенностей свойств реально используемых в производственных условиях материалов.

Для устройства зоны сопряжения дорожной одежды с деформационным швом следует использовать плотный горячий мелкозернистый асфальтобетон типа Б марка 1 согласно классификации ГОСТ 9128-97*. Используемые для приготовления армированного асфальтобетона исходные материалы - щебень, песок, минеральный порошок и битум должны отвечать требованиям ГОСТ 9128-97*.

Выбор марки битума выполняется в соответствии с рекомендациями, содержащимися в приложении А ГОСТ 9128-97*.

Для повышения релаксационной способности асфальтобетона, обеспечения его водостойкости показателей сдвигоустойчивости рекомендуется применять битум, модифицированный комплексной добавкой КАП в количестве 2-3% от его массы.

Физико-механические показатели свойств армированного полимер-асфальтобетона типа Б марка 1 должны соответствовать требованиям ГОСТ 9128-97*. Улучшенные показатели асфальтобетона на модифицированном битуме с применением КАП в количестве 2% от его массы и базальтовым волокном представленными в таблице 11.

Физико-механические свойства армированного полимерасфальтобетона типа Б марка 1.

Таблица 11.

Наименование показателей

Значения показателя для строительных климатических зон

I

II, III

IV, V

Предел прочности при сжатии, МПа, не менее:

 

 

 

при температуре 20°С

3,5

3,5

3,5

50°С

1,3

1,35

1,4

при температуре 0°С, не более

9

11

13

Водостойкость при длительном водонасыщении, не менее

0,95

0,90

0,85

Трещиностойкость - предел прочности на растяжение при расколе при температуре 0°С, МПа:

 

 

 

не менее

3,5

4,0

4,5

не более

5,5

6,0

6,5

Сдвигоустойчивость:

 

 

 

Коэффициент внутреннего трения, МПа, не менее

0,90

0,91

0,92

Сцепление при сдвиге при температуре 50°С. МПа, не менее

0,25

0,27

0,28

Технология приготовления, укладки и уплотнения полимерасфальтобетонной смеси с базальтовыми волокнами осуществляется следующим образом:

Полимерасфальтобетонную смесь с базальтовыми волокнами укладывают асфальтоукладчиком и уплотняют звеном катков, обеспечивающим требуемый темп строительства слоя покрытия. Укладку и уплотнение полимерасфальтобетонной смеси с базальтовым волокном ведут по типовым технологическим схемам с особым контролем температурного режима. Все работы по подготовке поверхности основания или нижнего слоя покрытия следует производить в сухую погоду, на сухом нижележащем слое при температуре воздуха не ниже +5°С и силе ветра не более 6 м/с. Обработку поверхности нижележащего слоя битумом (битумной эмульсией) выполняют на ширину укладки плюс 0,1-0,15 с плотным слоем без разрывов. Температура битума должна составлять 140-160°С, температура битумной эмульсии при температуре воздуха 20°С и выше равна температуре воздуха, ниже 20°С - не ниже 50°С. Температура асфальтобетонной смеси в автомобилях-самосвалах на месте укладки, в начале уплотнения уложенной смеси и в конце процесса уплотнения должна соответствовать требованиям таблицы 12.

Температура асфальтобетонной смеси при укладки

Таблица 12.

Марка вяжущего по глубине проникания иглы

Температура асфальтобетонной смеси, °С

В автомобиле-самосвале на месте укладки (не ниже)

В слое в начале укладки (не выше)

В слое в конце укладки (не ниже)

40-60

150

170

115

60-90

145

165

110

90-130

140

160

105

130-200

130

150

100

аV) Армирование асфальтобетонного покрытия геосетками в переходной зоне сопряжения дорожной одежды с деформационным швом

Для усиления слоя асфальтобетона в переходной зоне сопряжения дорожной одежды с деформационным швом рекомендуется применение армирующих геосеток.

Геосетки обеспечивают усиление слоя асфальтобетона, распределение вертикальных нагрузок в горизонтальную плоскость, перераспределение горизонтальных напряжений в слое асфальтобетона и снижение активных мест динамического напряжения, поглощая их. Поверхность материала сетки составляет 5% и не нарушает сцепление слоев асфальтобетона.

Для усиления зоны сопряжения дорожной одежды с деформационным швом рекомендуется применение геосеток из стекловолокна, базальтовых волокон, тугоплавких полимерных волокон (полиэфирные сетки и сетки из полиэстера), металлических сеток.

Сцепление между асфальтобетоном и армирующей сеткой должно быть достаточным, чтобы распределить растягивающие напряжения в смежные участки асфальтобетонного покрытия. Для улучшения сцепления геосетки пропитываются битумом, латексом или другими составами полимерными материалами. Для армирования слоя асфальтобетона применяются геосетки с размером ячейки, превышающим максимальный размер щебня.

Физико-механические характеристики геосеток приведены в таблице 13.

Физико-механические характеристики геосеток

Таблица 13.

Наименование показателей

Геосетка из полиэфирных нитей 20´20-50´50

Геосетка из базальтового волокна 25´25

Металлическая оцинкованная сетка 80´100

Ширина полотна, см

150-450

200

300-400

Поверхностная плотность, г/м

140-350

320

 

Разрывная нагрузка по длине кН/м, не менее:

 

 

 

по длине

50-90

45

39-50

по ширине

50-90

40

49-62

Удлинение при нагрузке, %, не более

 

 

 

по длине

12

6

12

по ширине

12

6

12

При проектировании слоя усиления в зоне сопряжения деформационного шва с дорожной одеждой тип геосетки определяется в зависимости от интенсивности дорожного движения, величины транспортных нагрузок и дорожно-климатической зоны.

Геосетку укладывают на отфрезерованную поверхность асфальтобетонного покрытия или выравнивающего слоя вдоль деформационного шва на всю длину в примыкании с его окаймлением. Уложенная геосетка по обеим сторонам шва должна перекрывать переходную зону сопряжения деформационного шва с дорожной одеждой вдоль пролетного строения. Ширина зоны усиления 1,5-2,0 м.

Технология работ по усилению асфальтобетонного покрытия геосетками включает следующие операции:

- подготовку поверхности основания дорожной одежды;

- розлив вяжущего;

- укладку, выравнивание и крепление сетки;

- укладку вышележащего асфальтобетонного слоя.

Вяжущее следует применять в виде дорожной катионной битумной эмульсии классов ЭБК1 и ЭБК2 по ГОСТ Р 52128-03. Розлив вяжущего производят из расчета 0,6-0,8 л/м2. Работа по устройству армирующей прослойки с использованием сетки должна выполняться в сухую погоду:

- весной и летом - при температуре воздуха не ниже +5°С;

- осенью - при температуре воздуха не ниже +10°С

Укладку геосеток для армирования асфальтобетонного покрытия в переходной зоне сопряжения деформационного шва с дорожной одеждой осуществляют вручную. Предварительное натяжение геосетки приводит к увеличению эффективности армирования конструкции. Поэтому рулон следует раскатывать с небольшим продольным натяжением полотна, не допуская образования складок. При укладке геосетки для обеспечения плотного контакта и надежного прилипания сетки к основанию, применяют прикатку полотен ручным катком или прижатие геосетки к поверхности укладки грубой щеткой. Полотно каждого рулона должно быть прикреплено к поверхности основания в поперечном и продольном направлениях с помощью анкеров. В качестве анкеров рекомендуется использовать дюбели ДГП или ДГПШ длиной 40-60 мм и диаметром 3,7-4,5 мм, шаг дюбелей 1,0-1,5 м. После чего до укладки асфальтобетонного слоя предусмотрен технологический перерыв продолжительностью в 2-3 часа. Производство работ по усилению асфальтобетонного покрытия в зоне сопряжения дорожной одежды с деформационным швом должно выполняться в соответствии с технологическим регламентом, разработанным с учетом характеристик геосетки, применяемой для усиления.

б) Цементобетоны

бI) Тяжелый бетон

При строительстве переходную зону примыкания дорожной одежды к деформационному шву рекомендуется устраивать с применением тяжелого бетона по ГОСТ 26633-91 на основе портландцементов, используемых в мостостроении, с использованием комплексного модификатора, содержащего воздухововлекающую добавку и суперпластификатор.

Бетон должен иметь класс по прочности на сжатие не ниже В30, марку по морозостойкости при испытании в хлористых солях F300 (ГОСТ 10060.0 - 4-95), марку по водонепроницаемости не ниже W8 (ГОСТ 12730.5-84). Бетонная смесь должна отвечать требованиям ГОСТ 7473-94. Водоцементное отношение бетонной смеси не должно превышать 0,42. Объем вовлеченного воздуха в бетонной смеси не должно превышать 5%. Расслаиваемость бетонной смеси должна быть не более 5%.

бII) Специальные бетоны

Для омоноличивания окаймлений при ремонте деформационных швов, участки между асфальтобетонным покрытием на мосту и окаймлениями деформационного шва могут заполняться бетонами на основе сухих быстротвердеющих смесей, в том числе армированных полимерной фиброй. Требования к спецбетонам приведены в таблице 14.

Показатели специальных бетонов

Таблица 14.

Наименование показателей

24 часа

7 суток

28 суток

Прочность при 10°С, не менее. МПа

10

25

40

Водонепроницаемость, не менее

 

 

W14

Морозостойкость в солях

 

 

F300

бIII) Высокопрочный мелкозернистый полимербетон (ВМБ).

Для устройства цементобетонных приливов рекомендуется применение ВМБ, обладающего повышенной прочностью.

ВМБ представляет собой цементобетон, модифицированный комплексной органоминеральной добавкой, состоящей из минеральной части, которая включает микрокремнезем или его смесь с золой уноса в разных соотношениях и органической составляющей - суперпластификатора.

Характеристики бетона ВМБ приведены в таблицах 15 и 16.

Показатели физико-механических свойств высокопрочного мелкозернистого полимербетона

Таблица 15.

Показатель

Значение

Прочность при сжатии, МПа

100

Прочность при растяжении при изгибе, МПа

10

Водопоглощение, %

1,8

Истираемость, г/см2

0,4

Морозостойкость, марка F

800

Водонепроницаемость, W

20

Скорость набора прочности высокопрочного мелкозернистого полимербетона на сжатие и изгиб

Таблица 16.

Время, час.

Rсж, МПа

Rизг МПа

4 часа

14,2

5,4

6 часов

20,4

5,5

8 часов

23,8

5,7

24 часа

50,7

7,35

Технологические свойства бетонной смеси с комплексными модификаторами следует назначать, исходя из обеспечения заданных свойств бетона и качества производства работ с учетом требуемой производительности, вида распределяющих и уплотняющих машин.

Бетонные смеси с комплексным модификатором следует приготавливать в смесителях принудительного действия.

Материалы, применяемые в ВМБ бетонах с комплексными модификаторами, должны соответствовать требованиям ГОСТ 26633-91*.

бIV) Безусадочные бетоны

Для устройства приливов может быть применен безусадочный бетон на основе сухой смеси или аналогичные бетоны, имеющие прочность на сжатие через 24 часа - 30 МПа, через 28 суток - 60 МПа, прочность на растяжение соответственно 10,0 МПа и 15,0 МПа. Морозостойкость бетона не ниже F300, марка по водонепроницаемости - не ниже W12. Применение безусадочных высокопрочных бетонов позволяет открывать движение через 10-14 часов. Основной особенностью данного материала является содержание гальванизированной стальной жесткой фибры. Используется для восстановления конструкций, подвергающихся динамическим и ударным воздействиям.

При бетонировании при отрицательных температурах следует применять бетоны, обеспечивающие набор прочности при температурах ниже на 5°С, чем температура воздуха при бетонировании.

Технология устройства бетонных приливов с использованием безусадочных бетонов, включая композиционные составы, состоит из следующих этапов:

- удаление поврежденного бетона;

- очистка арматурных стержней;

- установка анкеров;

- очистка и насыщение бетона;

- приготовление бетона.

Толщина слоя, подлежащего удалению, определяется при обследовании и уточняется на начальной стадии производства работ: удаляется бетон с прочностью менее 20 МПа. Поврежденный бетон следует удалять водой под давлением или посредством механической обработки с помощью легких отбойных молотков, соблюдая все возможные меры предосторожности по недопущению разрушения железобетонной плиты. Поверхность бетона, на который предполагается наносить раствор, должна иметь ясно выраженную шероховатость (неровности порядка 5 мм в глубину) в целях надежного сцепления с ремонтным материалом.

Поврежденный бетон, имеющийся вокруг арматурных стержней, подлежит удалению. Открытые арматурные стержни должны быть очищены от ржавчины. При удалении поврежденного бетона водой под давлением обычно обеспечивается также и очистка арматурных стержней.

В тех случаях, когда для укрепления бетона необходимо дополнительное армирование, его следует производить до установки окаймления. При этом должен быть предусмотрен защитный слой толщиной не менее 2,5 см.

Установка анкеров осуществляется для соединения укладываемого бетона со старым бетоном. Количество анкеров определяют при проектировании.

Для обеспечения высокой степени сцепления между ремонтируемой поверхностью и ремонтным материалом очистка и насыщение бетонной поверхности, на которую наносится ремонтный раствор, должны производиться с помощью воды под давлением (80-100 атм., в зимний период - горячая вода). Применение воды под давлением обеспечивает также хорошую очистку поверхности от пыли и мелких частиц, которые еще могут присутствовать после удаления поврежденного бетона.

Замешивание должно производиться в бетоносмесителе с опрокидываемым барабаном в течение 5-10 минут: готовая продукция должна быть пластичной, гомогенной, без комков и с равномерно распределенными волокнами. Замешивание вручную не рекомендуется. Всякий раз необходимо замешивать все содержимое упаковочного мешка. На один 25-килограммовый мешок сухой смеси должно идти 2,8-3 литра (11-12%) воды.

При необходимости создания слоя толщиной более 5 см рекомендуется применение щебеночного заполнителя крупностью не менее 5 мм в объеме 35% от общего веса сухой смеси. Заполнитель должен быть промыт, очищен от инородных вкраплений. При соблюдении этих требований заполнитель не меняет существенным образом характеристик сопротивления сжатию.

При создании слоя толщиной до 5 мм максимальная крупность заполнителя составляет не более 3 мм. Такие слои рекомендуются для восстановления поврежденного слоя бетонного прилива, уложенного до верха проезжей части.

бV) Ударостойкий бетон с демпфирующими добавками

Введение демпфирующих добавок в цементобетоны является одним из способов управления его структурообразованием и позволяет повысить однородность, ударостойкость, динамическую выносливость, релаксационные и деформативные свойства бетонов. Применение бетонов, содержащих в своем составе, кроме добавок ПАВ, демпфирующий компонент, способствует уменьшению трещинообразования, замедлению скорости прорастания трещин (ударостойкий бетон).

Эффективность бетонов с демпфирующими добавками по сравнению с традиционными видами бетонов достигается за счет:

- повышение однородности и качества бетонной смеси;

- снижения трещинообразования, сколов и шелушения в бетоне;

- повышение межремонтного срока службы бетонного прилива

- повышение комфортности движения

Материалы, применяемые в бетонах, должны соответствовать требованиям ГОСТ 26633-91*

В качестве вяжущих в бетонах с демпфирующими добавками для бетонных приливов рекомендуется применять портландцемент М400, М500 нормированного состава без добавок, удовлетворяющий требованиям ГОСТ 10178-85. Цемент целесообразно повторно испытать по методике ГОСТ 310.1-310.4-81, если с момента изготовления цемента до его применения в бетоне прошло более двух месяцев.

Для обеспечения ударостойкости повышения динамической выносливости, релаксационных и деформативных свойств бетонного прилива в сопряжении дорожной одежды с деформационным швом рекомендуется применение комплексного полифункционального модификатора, состоящего из:

- водной композиции специального тонкодисперсного наполнителя с поверхностно-активными веществами и добавками. Водная композиция позволяет обеспечить пластифицирующий и структурирующий эффект,

- резиновой крошки крупностью 0,1-0,8 мм.

Оптимальное количество водной композиции тонкодисперсного наполнителя в зависимости от минералогического состава цемента следует принимать в пределах 1-2% от массы цемента. Количество резиновой крошки назначается в пределах 4-6% от массы песка.

Физико-химические показатели водной композиции тонкодисперсного наполнителя должны соответствовать требованиям и нормам, указанным в таблице 17.

Физико-химические показатели водной композиции тонкодисперсного наполнителя

Таблица 17.

№ п/п

Наименование показателя

Норма

Метод испытания

1

Внешний вид добавки

Темная, вязкая, слабоподвижная водная дисперсия

Визуально

2

Плотность при температуре (20±2)°С, г/см3

1,06-1,09

По ГОСТ 3900

3

Водородный показатель рН

6,0-7,0

ГОСТ 22567.5

4

Температура замерзания

Около 0°С

ГОСТ Р 52128

5

Массовая доля сухого остатка, %

Не менее 14

 

Резиновая крошка марок 0,5-0,8 должна соответствовать требованиям табл. 18.

Показатели свойств резиновой крошки

Таблица 18.

№ п/п

Наименование показателя

Норма

1

Массовая доля частиц, прошедших через сито, % не менее:

 

Марка 0,5

0,63

100

 

0,5

90

Марка 0,8

1,0

100

 

0,8

90

2

Массовая доля кордного волокна, % не более, для марки

 

0,5

 

5,0

0,8

 

7,0

3

Массовая доля воды, % не более,

1,5

4

Массовая доля металлов, % не более,

0,2

При подборе состава бетонов с комплексным полифункциональным модификатором при равной прочности на растяжение при изгибе целесообразно выбрать составы, имеющие удельную ударную вязкость и число циклов динамической нагрузки не менее чем в 1,2-1,5 раза выше, чем у бетонов без добавок.

Целесообразно, чтобы бетонная смесь с комплексным полифункциональным модификатором имела подобранный с минимальной пустотностью зерновой состав, обладала достаточной связностью, не расслаивалась при транспортировании и распределении и соответствовала требованиям ГОСТ 7473-94.

В таблице 19 приведены показатели физико-механических свойств бетонных образцов с комплексным полифункциональным модификатором состава:

- водная композиция специального тонкодисперсного наполнителя 1,0%,

- резиновая крошка 5%

Физико-механические свойства бетонных образцов с комплексным полифункциональным модификатором

Таблица 19.

В/Ц

Осадка конуса, с

Средняя плотность, г/см3

Предел прочности в возрасте 7 сут, МПа

Предел прочности в возрасте 28 сут, МПа

Число циклов динамической нагрузки до разрушения

Коэффициент Kмрз после 200 циклов

При сжатии Rсж

При изгибе Rизг

При сжатии Rсж

При изгибе Rизг

0,51

8-10

2,22

Не менее 30,0

4,4

Не менее 40,0

5,5

Не менее 11000

0,98

в) Пластбетоны

В качестве полимерного вяжущего могут использоваться эпоксидные полиэфирные, мочевиноформальдегидные смолы. В зависимости от размера максимальной фракции минеральной части пластбетона различают крупнозернистый, среднезернистый, и песчаный пластбетон.

При применения эпоксидно-полимерных вяжущих на основе эпоксидно-диановых смол, используемых в отечественной практике строительства, рекомендуемые составы и свойства вяжущих для пластбетонов переходной зоны примыкания дорожной одежды к деформационному шву приведены в таблице 20.

Составы вяжущих на основе эпоксидных смол

Таблица 20.

№ клеевого состава

Компоненты вяжущего

Вязкость по ВЗ-4, с

Количество весовых частей

1

Смола ЭД-20

23

100

Ацетон

 

20

Пластификатор

 

25

Отвердитель (сложный амин)

18

15

Ацетон

 

20

2

Смола ЭД-20

23

100

Ацетон

 

20

Пластификатор (фуриловый спирт)

 

20

Отвердитель (полиэтилен полиамин или диэтилен тиамин)

17

20

Ацетон

 

30

3

Смола ЭД-20

26

100

Ацетон

 

30

Отвердитель (диэтилен тиамин)

12

18

Фуриловый спирт

 

50

4

Смола ЭД-5

24

100

Отвердитель (полиэтилен полиамин)

 

12

Растворитель (Толуол)

 

23

Песок мелкозернистый, кварцевый

 

600

Цемент марки 500

 

250

В качестве минеральных заполнителей в пластбетонах используются гранитный щебень фракции 10-20 мм, кварцевый песок фракции 1,25-0,63 мм и кварцевый песок фракции 0,14-0,07 мм. Минеральные материалы, применяемые в бетонах, соответствовали требованиям ГОСТ 8736-93, ГОСТ 8267-93, ГОСТ 9757-90, ГОСТ 26633-91*.

Рекомендуется использовать пластбетон на гранитном заполнителе следующего состава (в весовых частях):

Щебень

- 730-760

Песок фр. 1,25-0,63 мм

- 320-350

Песок фр. 0,14-0,07 мм

- 160-210

Полимерное вяжущее

- 100

Отвердитель

- 13

Свойства пластбетонов, применяемых в переходной зоне примыкания дорожной одежды к деформационному шву должны соответствовать показателям, приведенным в таблице 21.

Показатели свойств пластбетонов

Таблица 21.

Свойства

Показатели

Прочность при сжатии, МПа

³65

Прочность на растяжение при изгибе, МПа

³10

Водопоглощение, %

£1,9

Истираемость, г/см2

£0,4

Деформации усадки, с´10-5

£11,5

г) Герметизирующие мастики

Все примыкания асфальтобетонного покрытия к металлическим окаймлениям деформационных швов и к бетону омоноличивания окаймлений деформационных швов должны быть выполнены с образованием штрабы в асфальтобетонном покрытии шириной 10-15 мм на полную глубину верхнего слоя покрытия при наличии дренажного канала и на полную толщину покрытия.

Штраба заполняется резино-битумной или полимер-битумной мастикой, имеющей достаточно высокую адгезию к металлу (не менее 1,0 МПа), температуру хрупкости не выше, чем температура воздуха Тmin °C наиболее холодных суток в районе применения с обеспеченностью 0,98 по СНиП 23-01-99. Важным показателем для мастик является относительное удлинение в момент разрыва при температуре минус 20°С. Для районов с различной температурой воздуха Тmin этот показатель не должен быть меньше 40-100%.

Указанным требованиям удовлетворяют мастики, широко используемые в мостостроении и характеристики которых приведены в таблицах 8-12 и которые рекомендуется использовать при сопряжении с деформационными швами.

гI) Битумно-резиновые мастики

Рекомендуется применять битумно-резиновые мастики для деформационных швов с физико-механическими характеристиками, приведенными в таблице 22.

Физико-механические характеристики битумно-резиновой мастики

Таблица 22.

Наименование показателей

Характеристика

Методы испытаний

Теплостойкость в течение 5 ч, °С, не менее

+85

ГОСТ 2678-94

Гибкость на стержне d 20 мм, °С, не выше

минус 35

ГОСТ 30740

Относительное удлинение в момент разрыва, %, не менее, при t минус 20°С

100

ГОСТ 30740

Водопоглощение, %, не более

0,4

ГОСТ 25945

Пенетрация при +25°С, мм(-1), не более

100

ГОСТ 11501

гII) Битумно-изопреновые мастики

При проведении работ по устройству узла сопряжения во IIб и IIIа климатических зонах рекомендуется применение в штрабе битумно-изопреновой мастики, состав и свойства которой приведены в таблице 23.

Состав и свойства битумно-изопреновой мастики

Таблица 23.

Наименование компонентов

Содержание по массе, %

Температура, °С

размягчения

хрупкости

Битум марки БНД 60/90 (ГОСТ 22245-90)

90

-

-

Пластификатор (нефтяной гудрон)

10

60

-45

Изопреновый каучук СКИ-3 по ГОСТ 14925-79* или отходы его производства с растворимостью в бензине 90%

8

-

-

Антисептик - каменноугольная смола по ОСТ 1462-80

1-3 (от массы мастики)

60

-45

гIII) Резинобитумные мастики

Резинобитумные мастики приготавливаются из исходных материалов на строительной площадке. Для климатических районов с расчетной минимальной температурой воздуха до -35°С. Рекомендуемые составы резинобитумных мастик приведены в таблице 24.

Рекомендуемые составы резинобитумных мастик

Таблица 24.

№ составов мастик

Содержание компонентов, % по массе

Область применения (СКЗ)

Битум марки БНД 60/90 (ГОСТ 22245-90)

Минеральный порошок (ГОСТ 16557-78)

Асбестовая крошка (ГОСТ 12871-93)

Резиновая крошка размером до 1 мм

Каменно угольное масло (ГОСТ 2770-74 *Е)

Температура размягчения, °С

1

60

20

20

-

-

70-80

I

2

50

35

10

5

-

65

I

3

65

-

-

20

15

60-70

I, II а

4

60

25

15

-

-

60-65

I, II а

5

70

-

-

20

10

60

I, II а

гIV) Полимербитумные мастики

Мастики приготавливаются на строительной площадке из компонентов, указанных в таблице 25.

Рекомендуемый состав полимербитумной мастики

Таблица 25.

Наименование компонентов

Содержание по массе, %

Битум марки БНД 60/90 (ГОСТ 22245-90)

95

Летнее дизельное топливо (ГОСТ 305-82)

5

Дивинилстирольный термоэластпласт

4

Асбест хризолитовый 7 сортов (ГОСТ 12871-93)

0-15

Рекомендуемые показатели свойств полимербитумной мастики приведены в таблице 26

Физико-механические характеристики полимербитумной мастики

Таблица 26.

Наименование показателя

Величина показателя

Внешний вид

Гомогенная масса черного цвета (отсутствие признаков расслоения, комков, сгустков)

Температура размягчения по КиШ, °С

57-70

Температура хрупкости по Фраасу, °С

(-47) - (-50)

Гибкость на стержне d 10 мм, °С

-35

Относительное удлинение, %, при температуре, °С

 

+20

450

-20

100

Предел прочности при растяжении, МПа, при температуре, °С

 

+20

0,15

-20 (в течение 5 ч)

-

Водопоглощение, %

0,1

Прочность сцепления на отрыв с металлом при температуре +20°С

Отслоение при e ³300%

Усадка при охлаждении, %

£10

Битумполимерные мастики, удовлетворяющие требованиям таблицы 25, рекомендуется применять в любой дорожно-климатической зоне.

д) Пропиточные составы

Для предотвращения проникания воды в бетон омоноличивания окаймления, не защищенный гидроизоляцией, поверхность бетона перед укладкой на него покрытия пропитывается защитными составами на основе акрилатов и модифицированных кремнийорганических соединений.

Раздел 8. Схемы сопряжения дорожной одежды с окаймлением деформационных швов

а) Узлы примыкания дорожной одежды к окаймлению деформационных швов, зависят от конструкций деформационного шва и дорожной одежды.

Применяемые разновидности конструкций деформационных швов можно объединить, по конструктивным признакам: - по конструкции окаймления и по схемам сопряжения дорожной одежды с окаймлением деформационного шва. При этом возможны конструкции окаймлений:

- обетонируемых бетоном, выходящим на уровень проезда;

- с вертикальным ребром, контактирующим с покрытием, и гидроизоляцией, доходящей до ребра;

- с вертикальным ребром, к которому примыкает гидроизоляция, и переходным участком покрытия.

Учитывая это, рекомендуется использовать четыре схемы сопряжения одежды с окаймлением деформационных швов.

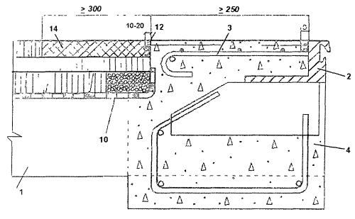
б) Схема № 1 сопряжения одежды с железобетонным приливом (рис. 6).

Рис. 6

2 - окаймление деформационного шва,

7 - гидроизоляция,

8 - защитный бетонный слой,

9 - покрытие,

10 - дренажный канал,

11 - выравнивающий слой,

12 - мастичное заполнение

На рис. 6 приведен вариант сопряжения, предусматривающий в качестве переходного участка железобетон, в котором заанкерено окаймление с вертикальным ребром (а) или горизонтальной площадкой (б). К железобетону омоноличивания, который часто называют железобетонным приливом, примыкает традиционная конструкция одежды, состоящая из выравнивающего слоя, гидроизоляции, защитного слоя, двухслойного асфальтобетонного покрытия. В пределах толщины защитного слоя предусмотрен дренажный канал.

При интенсивности движения свыше 8 тыс. автомобилей в сутки хотя бы по одной из полос движения перед бетонным приливом в уровне верхнего слоя покрытия (перед бетоном омоноличивания) устраивают переходной участок из более прочного асфальтобетона, чем на проезжей части моста. Ширину переходного участка принимают равной 0,30-0,50 м. Материал, используемый на переходном участке, должен отвечать требованиям, приведенным в таблице 27. Пример сопряжения приведен на рис. 7.

Рис. 7. Пример деформационного шва со схемой примыкания № 1 и переходным участком в уровне верхнего слоя покрытия

1 - несущая конструкция,

2 - окаймление деформационного шва,

3 - анкеровка окаймления,

4 - участок омоноличивания окаймления,

10 - дренажный канал,

12 - мастичное заполнение,

14 - переходный участок

Материал переходного участка (к схеме № 1)

Таблица 27

Строительная климатическая зона

Интенсивность движения по одной полосе, тыс. а/с

Характеристики материала переходной зоны

R50 (МПа)

R20 (МПа)

Тр, °С

I, II*

до 8,0

-

-

 

8<N£15,0

³1,2

³2,5

>+50

N>15,0

³1,3

³3.0

 

III*

до 8,0

³1,1

-

 

8<N£15,0

³1,4

³3,0

>+60

 

³1,6

³3.5

 

IV, V

до 5,0

³1,2

³2,9

 

5<N£15,0

³1,7

³3,5

>+75

N>15,0

³2,0

³4,0

 

* Прочерк означает, что переходного участка не требуется.

ТР - температура размягчения асфальтобетона.

в) Схема № 2 - примыкание одежды ездового полотна к окаймлению деформационного шва без разборки плиты проезжей части.

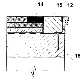
Крепление окаймления в этом случае осуществляют с помощью анкеров в клеевой рубашке (так называемые "химические анкера", рис. 8). Переходная зона состоит из двух участков:

Участок № 1 (поз. 15 на рис. 8) из

- обычного армированного тяжелого бетона (как для схемы № 1) при интенсивности движения до 10 тыс. авт./сут по полосе;

- модифицированного бетона при интенсивности движения свыше 10 тыс. и до 15 тыс. автомобилей в сутки по полосе;

- пластбетон при интенсивности движения по полосе свыше 15 тыс. автомобилей в сутки.

Участок № 2 (поз. 14 на рис. 8) шириной не менее 25 см из более прочного асфальтобетона (чем на проезжей части сооружения) с характеристиками по таблице 28 и шириной 30-50 см.

Рис. 8. Сопряжение для случая крепления окаймления «химическими анкерами»

12 - мастичное заполнение,

14 - переходный участок,

15 - бетонный прилив

16 - анкер на клею

г) Схема № 3 - примыкание слоев одежды к стальному окаймлению в случаях, когда высота окаймления позволяет завести гидроизоляцию и покрытие над ней на горизонтальную поверхность окаймления.

Схема предусматривает устройство двух слоев покрытия над гидроизоляцией общей толщиной 110 мм, из которых нижний слой толщиной 40 мм. При интенсивности движения свыше 5 тыс. авт./сут по одной полосе устраивают переходной участок на ширине 0,25-0,5 м из более прочного материала с характеристиками по таблице 28. Схема № 3 справедлива для пролетных строений с железобетонной монолитной плитой, с железобетонной плитой и выравнивающим слоем по ней (без выравнивающего слоя, рис. 9,а), а также с ортотропной плитой (рис. 9,б).

Рис. 9 Сопряжение одежды с вертикальным ребром окаймления: а) при железобетонной плите проезжей части; б) при ортотропной плите

1 - несущая конструкция (плита, балка, настил),

2 - Окаймление деформационного шва,

4 - участок омоноличивания окаймления,

9 - покрытие,

10- дренажный канал,

12 - мастичное заполнение,

13- лист ортотропной плиты,

Материал переходного участка в верхнем слое покрытия

Таблица 28

Строительная климатическая зона

Интенсивность движения по одной полосе, тыс. авт./сут

Характеристики материала переходной зоны

R50 (МПа)

R20 (МПа)

Тр, °С

I, II а

до 5,0

-

-

 

5,0<N£10,0

³1,0

³2,0

>+55

10,0<N>15,0

³1,2

³2,5

 

N>15,0

³1,3

³3,0

 

IIб, III

до 5,0

³1,1

-

 

5,0<N£10,0

³1,2

³2,5

>+65

10,0<N>15,0

³1,4

³3,0

 

N>15,0

³1,6

³3,5

 

IV, V

до 5,0

³1,2

³2,5

 

5,0<N£10,0

³1,4

³3,0

>+80

10,0<N>15,0

³1,7

³3,5

 

N>15,0

³2,0

³4,0

 

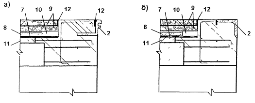
д) Схема № 4 - примыкание слоев одежды к окаймлению со стальным ребром окаймления высотой меньше, чем толщина слоев. Схема представлена в трех вариантах:

- для случая с наличием железобетонного прилива перед ребром окаймления и отсутствием бетонного защитного слоя;

- для случая без железобетонного прилива перед ребром окаймления и с бетонным защитным слоем (рис. 10, а);

- для случая с переходной зоной на бетоне омоноличивания (рис. 10, б).

В первом случае, когда к бетону примыкает покрытие толщиной ³110 мм с дренажем в уровне нижнего слоя (аналогично схеме, приведенной на рис. 5) и с переходным участком в уровне верхнего слоя покрытия, требования к материалу переходного участка, - по таблице 28.

Во втором и третьем случаях предусмотрена пропитка бетонного слоя пропиточными составами, предусмотренными в разделе 7 (п. 7, д).

Требования к материалу переходного участка для случая по рис. 10, а соответствует требованиям, приведенным в таблице 28.

Для случая по рис. 10, б рекомендуется применять в переходном участке:

- стандартный ЩМА 15 - в I и II строительных климатических зонах, независимо от интенсивности движения;

- модифицированный асфальтобетон (см. Раздел 7), в I-III строительных климатических зонах при интенсивности до 10 тыс. а/с по одной полосе;

- модифицированный ЩМА (см. Раздел 8) - в III-V строительных климатических зонах при интенсивности до 10 тыс. а/с по одной полосе;

- мастично-щебеночную смесь, используемую для устройства деформационных швов закрытого типа с непрерывным покрытием - без ограничений.

Рис. 10 Варианты примыкания дорожной одежды к деформационному шву по схеме № 4

1 - несущая конструкция,

2 - окаймление деформационного шва,

3 - анкеровка окаймления,

7 - гидроизоляция,

8 - защитный бетонный слой,

9 - покрытие,

10 - дренажный канал,

12 - мастичное заполнение,

14 - переходный участок,

17 - пропиточный слой

 

Ключевые слова: Мостовые сооружения, деформационные швы, одежда ездового полотна, окаймление, анкеровка, железобетонная плита, ортотропная плита, переходный участок, щебеночно-мастичный асфальтобетон, полимербетон, пластбетон, модифицированный асфальтобетон, мастика, пропиточный материал.

 

Текст документа соответствует источнику.

 

 




ГОСТЫ, СТРОИТЕЛЬНЫЕ и ТЕХНИЧЕСКИЕ НОРМАТИВЫ.
Некоммерческая онлайн система, содержащая все Российские Госты, национальные Стандарты и нормативы.
В Системе содержится более 150000 файлов нормативно-технической документации, действующей на территории РФ.
Система предназначена для широкого круга инженерно-технических специалистов.

Рейтинг@Mail.ru Яндекс цитирования

Copyright © www.gostrf.com, 2008 - 2026