|
|
|
ГОССТРОЙ СССР ЦЕНТРАЛЬНЫЙ
НАУЧНО-ИССЛЕДОВАТЕЛЬСКИЙ МЕТОДИЧЕСКИЕ РЕКОМЕНДАЦИИ MOCKВA - 1987 СОДЕРЖАНИЕ
Рекомендовано к изданию решением секции технологии строительного производства Научно-технического совета ЦНИИОМТП Госстроя СССР. В рекомендациях рассмотрены вопросы организации и технологии разработки мерзлых грунтов бульдозерами с рыхлителями, намечены пути снижения технологических простоев этих машин в процессе разработки, приведены результаты исследовании оптимизации работы рыхлителя, рассмотрен пример определения рационального состава технологического комплекса землеройных машин. Методические рекомендации предназначены для инженерно-технических работников строительных организаций, а также сотрудников институтов и трестов Оргтехстрой. Методические рекомендации подготовлены отделом земляных работ ЦНИИОМТП Госстроя СССР (к.т.н. А.З. Голуб). Одним из наиболее трудоемких процессов производства земляных работ является разработка мерзлых грунтов, объем которых по стране составляет около 13% всего объема разрабатываемого мерзлого грунте. В настоящее время для разработки мерзлых грунтов промышленностью выпускаются серийно следующие землеройные машины: цепные и роторные траншейные экскаваторы ЭТР-134, ЭТЦ-165, ЭТЦ-208Ц, ЭТР-223 и др. - для разработки траншей; .бульдозеры с рыхлителями на базе тракторов Т-130.1.Г-1, T-180KC, ДЭТ-250М, Т-330 и экскаваторы с навесными гидропневматическими, пневматическими молотами марок СП-62, СП-71, ГПМ-300, ГПМ-120, с захватно-клещевым устройством и рабочим органом рыхлителя (зубом) - для рыхления мерзлых грунтов. Наряду с механическим способом разработки мерзлого грунта применяется взрывной, щелевзрывной и буровзрывной способы. Для бурения шпуров и скважин в мерзлых грунтах используют буровые машины. Для щелевзрывного способа рыхления мерзлого грунта при нарезании щелей используются баровые машины и траншейные экскаваторы. В данных рекомендациях отражены вопросы разработки, сезонно-мерзлых грунтов бульдозерами с рыхлителями. Эффективность использования бульдозеров с рыхлителями на разработке мерзлых грунтов во многом зависит от рациональной организации работ на строительной площадке, наиболее важными условиями которой являются: организация работ с минимальными технологическими простоями, исключающая повторное смерзание разрыхлённого грунта; применение технологических схем, обеспечивающих минимальный объем разрабатываемого мерзлого грунта, наименьшее время, его разработки и минимальные приведенные затраты. В данных рекомендациях рассмотрены вопросы рациональной организации работы бульдозеров с рыхлителями на рыхлении и сдвижке грунта, работающих в комплексе с одноковшовыми экскаваторами на погрузке и разработке немерзлого грунта; рациональный состав комплекса землеройных машин определен графоаналитическим методом по критериям безопасности, несмерзаемости разрыхленного и непромерзаемости разрабатываемого грунта, минимизации времени разработки и технологических простоев машин. 1. ОБЩИЕ ПОЛОЖЕНИЯБульдозеры с рыхлителями относятся к землеройным машинам, широко применяемым на разработке мерзлых грунтов. Технические характеристики бульдозеров с рыхлителями даны в табл. 1. Таблица 1 Технические характеристики бульдозеров с рыхлителямиj
Применение бульдозеров с, рыхлителями повышенной мощности наиболее эффективно на разработке мерзлых грунтов. Такое рыхление производят, как правило, одним зубом рыхлителя. На сдвижке разрыхленного грунта можно использовать менее мощные бульдозеры с рыхлителями. Для эффективной работы бульдозера на сдвижке направление его движения должно совпадать с направлением движения рыхлителя. С понижением температуры и увеличением влажности грунта увеличивается его прочность, в результате чего уменьшается эффективности рыхления. Кроме того, эффективность рыхления снижается и при рыхлении высокотемпературных пластичных мерзлых грунтов. 2. ТЕХНОЛОГИЯ РАЗРАБОТКИ МЕРЗЛЫХ ГРУНТОВ БУЛЬДОЗЕРАМИ С ВОДИТЕЛЯМИ.Разработку мерзлых грунтов, в основном, производят, при последовательном рыхлении и сдвижке разрыхленного грунта. Учитывая, что мощные бульдозеры с рыхлителями дефицитны, строители часто, параллельно с ними, применяют на сдвижке разрыхленного грунта в отвал менее мощные бульдозеры тягового класса 10 - 15 тс. В этом случае сначала производят рыхление мерзлого грунта в объеме (Vзад), необходимом для включения в работу менее мощного бульдозера (или бульдозера с рыхлителем) на сдвижку грунта. Затем разработку мерзлого грунта производят при параллельной работе машин на рыхлении и сдвижке грунта При значительных объемах работ рыхление и сдвижку мерзлого грунта производят захватками. Величину захватки (Vзах) устанавливают из условия исключения повторного смерзания разрыхленного грунта в объеме работ, не менее сменной и не более 1…5 суточной выработки машины (в зависимости от температуры наружного воздуха). При этом в процессе разработки мерзлого грунта часто появляются вынужденные простои рыхлителя или бульдозера из-за отсутствия фронта работ. Технологическая последовательность работы рыхлителя и бульдозера в этом случае зависит от вида неравенства производительностей машин на рыхлении (Прых) и сдвижке (Пб) грунта. Если Прых
> Пб, рыхлитель закончит рыхление мерзлого грунта на захватке
раньше бульдозера и будет вынужден простаивать, так как при его непрерывной
работе разрыхленный грунт в заделе начнет смерзаться. Время вынужденного
простоя Если производительность
рыхлителя меньше производительности бульдозера, технологическая
последовательность работы машин на разработке мерзлого грунта отличается от
вышеописанной. В этом случае первоначальный объем разрыхленного грунта ( Практика показала, что при чрезмерно большом назначении числа захваток уменьшается производительность машин в результате увеличенная, переводов машин с захватки на захватку и доли вспомогательных операций внутри цикла для таких машин, как рыхлитель. Чрезмерное же уменьшение числа захваток снижает производительность бульдозера из-за увеличения расстояния перемещения грунта, увеличивает время разработки мерзлого грунта из-за уменьшения доли совмещения операций и повторного смерзания разрыхленного грунта. При глубине промерзания грунта 0,5...0,6 м производится разработка одним слоем (при достаточном тяговом усилии трактора), то есть Нр = 0,5...0,6 м. При большей глубине промерзания разработку мерзлого грунта производят послойно. Расстояние между параллельными проходами рыхлителя машинист устанавливает с таким условием, чтобы происходил скол мерзлого грунта, и гребешки, получаемые от проходов рыхлителя, не превышали 0,1 - 0,15 м, что способствует более эффективной последующей работе бульдозера. При невыполнении этого условия и работе на прочных грунтах (число ударов ударника ДорНИИ около 60) рыхление производят при движении рыхлителя и в перпендикулярном направлении или под некоторым углом, не допуская смещения стойки зуба в ранее сделанную прорезь. При послойной разработке выемок (траншей, котлованов и т.п.) в мерзлом грунте необходимо учитывать технологическое сужение выемки на величину ширины рыхлителя после рыхления каждого слоя вследствие расположения зуба рыхлителя по продольной оси. Сдвижку разрыхленного грунта наиболее эффективно производить бульдозером при лобовом толкании грунта траншейным способом. Для улучшения тягово-сцепных качеств базового трактора необходимо: перед началом рыхления удалить снежный покров с разрабатываемого участка (снег рекомендуется убирать с площади, которая может быть разрыхлена в течение 4 - 5 ч); на неровной местности рыхление мерзлого грунта производить при движении рыхлителя в направлении уклона. 3. ГРАФОАНАЛИТИЧЕСКИЙ МЕТОД ОПРЕДЕЛЕНИЯ РАЦИОНАЛЬНОГО СОСТАВА КОМПЛЕКСА ЗЕМЛЕРОЙНЫХ МАШИН И КАЛЕНДАРНОГО ПЛАНА ИХ РАБОТЫ НА РАЗРАБОТКЕ ЗЕМЛЯНЫХ СООРУЖЕНИЙ В МЕРЗЛЫХ ГРУНТАХПри последовательном выполнении операций рыхления и сдвижки на разработке мерзлого грунта календарный план работы бульдозера и рыхлителя определяют послойно по аналитическим формулам. Величину задела ( При параллельной работе рыхлителя и бульдозера подбор оптимального состава комплекса машин и определение календарного плана их работы производят в результате построения графиков Ганта, которые являются одновариантной статической моделью, отображающей картину фиксированного во времени положения работ. Для этого определяют: рациональную глубину рыхления НР (по табл. 2 или расчетом); количество разрабатываемых слоев мерзлого грунта (п); технологический объем грунта (Vраз) с учетом сужения выемки на величину ширины рыхлителя после рыхления каждого разрабатываемого слоя мерзлого грунта; схему производства работ; путь перемещения разрыхленного грунта в отвал; производительность рыхлителя и бульдозера (по нормативным данным). Таблица 2 Опытные значения для некоторых грунтовых условий глубины рыхления НР в зависимости от прочности грунта
Расчет рациональной глубины рыхления производят в зависимости от вида неравенства производительностей рыхлителя и бульдозера. При большей (или равной)
производительности рыхлителя относительно бульдозера величину заделов
Для
наиболее часто применяемой на практике схемы расположения рыхлителя и
бульдозера на участке разрабатываемого мерзлого грунта (рис. 1).
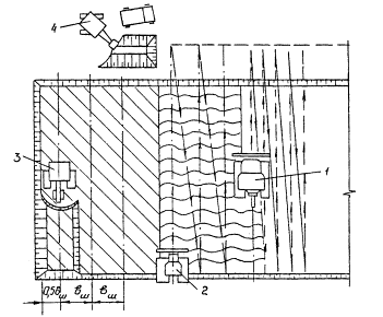
где Аб.р. - безопасное расстояние между работающими машинами (определяют по СНиП III-4-80), м; Nобщ - общее количество машин, участвующих в процессе разработки грунта; Вб - ширина отвала бульдозера, м; Вр - ширина отвала рыхлителя, м; Nб, - количество бульдозеров; Nр - количество рыхлителей; хi - послойная длина рабочего хода рыхлителя (принимается согласно принятой схеме производства работ, м;
Рис. 1. Схема расположения бульдозера и рыхлителя на разрабатываемой площадке: 1 - бульдозер; 2 - рыхлитель Чтобы исключить возможность повторного смерзания разрыхленного мерзлого грунта в процессе его разработки, необходимо выполнение следующего условия:
где Vсм - объем повторно смерзшегося разрыхленного грунта за время Тсм = Время TCМl зависит от климатических условий. При температуре воздуха от -20 до -25°С (средняя полоса) ТСМ принимают равным продолжительности смены (8,2 ч) или суток (24 ч). При температуре воздуха выше -20°С значение TСМ принимают равным двум-трем суткам. Если При выполнении условия (2)
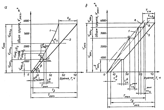
строят графики работы рыхлителя и бульдозера в координатах: ось абсцисс - время
Т, ось ординат – объем
работ (грунта) Vраз
(рис.
2а). По оси ординат последовательно
откладывают объем послойно разрабатываемого мерзлого грунта на каждом слое ( Затем строят график
работы рыхлителя. Для этого из начала координат проводят прямую с углом наклона
αi(tg αi = Затем строят график
работы бульдозера в виде прямой с углом наклона β (tg β
= Пб). При этом
необходимо иметь в виду, что если время начала работы бульдозера на разработке II-го слоя мерзлого грунта ( ( При построении графика работы бульдозера на разработке последующих слоев мерзлого грунта также предусматривают (если это необходимо) технологические простои бульдозера. По построенным графикам определяют промежуток времени между окончанием работы-рыхлителя и бульдозера (tР). Если величина tР удовлетворяет условию
то по графикам определяют календарный план работы рыхлителя и бульдозера. Невыполнение условия (3) означает, что для эффективной работы рыхлителя и бульдозера необходимо разделить площадку разрабатываемого мерзлого грунта на захватки (рис. 2,б). В этом случае для определения календарного плана работы рыхлителя и бульдозера на ранее построенных графиках (рис. 3,а) устанавливают зону эффективной pa6oты рыхлителя, ограничивая ее с одной стороны линией А, характеризующей работу рыхлителя без повторного рыхления мерзлого грунта, проведенной параллельно графику работы бульдозера на расстояние ТСМ. С другой стороны - линией В, характеризующей безопасную работу рыхлителя относительно бульдозера и проведенной параллельно графику работы бульдозера, но на расстоянии, равном
Переносом
точек пересечения графика работы рыхлителя с линией А на ось ординат определяют
объем грунта на захватках ( Возможно использование рыхлителя во время его технологического простоя на совместной с бульдозером сдвижке разрыхленного грунта в отвал. Для этого на захватках определяют время совместной работы машин, ч, на сдвижке разрыхленного грунта в отвал по формуле где f - порядковый номер захватки; П'б - производительность рыхлителя на сдвижке разрыхленного грунта в отвал бульдозерным оборудованием (по нормативным данным), м3/ч. Из точки начала
технологического простоя рыхлителя а
(см. рис. 3,а) проводят вертикальную прямую до пересечения с графиком работы
бульдозера и из полученной точки б строят график совместной работы машин
на сдвижке разрыхленного грунта в отвал в виде прямой с углом наклона η
(tg η = Пб
+ П'б), ограничивая его
(график) временем Последовательное построение графиков совместной работы рыхлителя и бульдозера на сдвижке грунта на других захватках аналогично.
Рис/ 2/ Графики работы рыхлителя и бульдозера на разработке мерзлого грунта (Прых > Пб) a = tp ≤ TCM; б - tp > ТСМ 1 - график работы рыхлителя; 2 - то же, бульдозера; А - линия, характеризующая работу рыхлителя без повторного рыхления мерзлого грунта; В - линия, характеризующая безопасную работу рыхлителя относительно бульдозера С целью сокращения времени разработки мерзлого грунта уточняют график работы бульдозера на последней захватке. Для этого определяют время совместной работы машин на сдвижке грунта на последней захватке по формуле где Vост - объем разрыхленного грунта на момент окончания работы рыхлителя (определяют графически). График совместной работы машин на сдвижке грунта в отвал на последней захватке строят так же, как и графики работы машин на сдвижке грунта на предыдущих захватках. По построенным графикам определяют календарный план работы машин (рис. 3,б). В
случае, когда производительность рыхлителя меньше производительности бульдозера
(рис.
4,а), величину задела (
где Vn - часть задела, покрывающая разницу производительностей рыхлителя и бульдозера. При При Если 3
случае
С другой стороны - линией В, характеризующей работу бульдозера без повторного смерзания разрыхленного грунта и проводимой также параллельно графику работы рыхлителя, но на расстоянии ТСМ.
а - рациональные графики; б - календарный план 1 - график работы рыхлителя; 2 - то же, бульдозера; 3 - графики совместной работы рыхлителя и бульдозера на сдвижке грунта Рис. 4. Графики работы рыхлителя и бульдозера на разработке мерзлого грунта (Прых < Пб) а - графики
работы машин при 1 - график работы рыхлителя; 2 - график работы бульдозера; А - линия, характеризующая безопасную работу бульдозера относительно рыхлителя; В - линия, характеризующая работу бульдозера без повторного смерзания разрыхленного грунта Переносом точек
пересечения графика работы бульдозера с линией А на ось ординат определяют
объем грунта на захватках, а на ось абсцисс - время начала технологического
простоя бульдозера. Переносом на ось абсцисс точки пересечения линии
технологического простоя бульдозера (прямая, параллельная оси абсцисс) с линией
В определяют продолжительность технологического простоя бульдозера (аб = Возможно использование бульдозера во время его технологического простоя на рыхлении (при наличии у бульдозера рыхлительного оборудования) вместе с рыхлителем (рис. 5a). Время совместной работы машин на рыхлении грунта, ч, определяют по формуле
где П'рых - производительность бульдозера на рыхлении мерзлого грунта рыхлительным оборудованием (по нормативным данным), м3/ч. Из точки а проводят
вертикальную прямую до пересечения с графиком работы рыхлителя и из полученной
точки б строят график совместной работы машин на рыхлении грунта в виде
прямой с углом наклона ξ(tgξ = Прых + Пб) до точки в (бв = Аналогично строят графики совместной работы рыхлителя и бульдозера на рыхлении грунта на других захватках. По построенным графикам определяют календарный план работы рыхлителя и бульдозера на разработке мерзлого грунта (рис. 5,б). Графоаналитическим методом может быть определен также рациональный состав технологического комплекса землеройных машин и календарный план их работы. В этом случае после построения графиков работы рыхлителя и бульдозера на разработке мерзлого грунта переходят к построению графиков работы других машин, входящих в комплекс. Последовательность построения показана на примере разработки котлована, в мерзлом грунте. В технологический комплекс машин входит рыхлитель, бульдозер, одноковшовый экскаватор № 1 для погрузки разрыхленного грунта в автотранспорт и одноковшовый экскаватор № 2 для разработки немерзлого грунта до проектной отметки. Графики работы экскаваторов № 1 и № 2 строят в последовательности, зависящей от принятой схемы разработки мерзлого грунта. При параллельной схеме разработки определяют толщину слоя сдвигаемого бульдозером грунта в отвал, м, по формуле где Bотв, lотв - соответственно ширина и длина отвала (принимают с учетом конкретных условий производства работ), м.
а - рациональные графики; б - календарный план 1 - график работы рыхлителя; 2 - график работы бульдозера; 3 - график совместной работы, рыхлителя и бульдозера на рыхлении мерзлого грунта; А. - линия безопасной работы бульдозера относительно рыхлителя; В - линия, характеризующая работу бульдозера без повторного смерзания разрыхленного грунта Затем устанавливают марку одноковшового экскаватора № 1 по величине его оптимальной производительности, которую определяют в последовательности, зависящей от вида графика работы бульдозера. Если график работы
бульдозера имеет вид прямой (мерзлый грунт разрабатывают одной захваткой), то
принимают оптимальную производительность одноковшового экскаватора № 1 по
производительности бульдозера ( Если график работы
бульдозера имеет вид ломаной линии (мерзлый грунт разрабатывают захватками), то
через две крайние точки графика бульдозера проводят прямую С.(рис.
6) и по тангенсу угла ее наклона β определяют значение
оптимальной производительности одноковшового экскаватора № 1 (tg β = Построение графика работы
одноковшового экскаватора № 1 зависит от вида неравенства его
производительности ( При где Rк.с. - максимальный радиус копания одноковшового экскаватора № 1, м; Аб.p. - безопасное расстояние между бульдозером и экскаватором принимают по СНиП III-4-80), м; Вотв, Нотв - соответственно, ширина и высота отвала грунта, м. При Если При
где Vп - часть задела, покрывающая разность производительностей бульдозера и экскаватора Если Таким образом» двумя прямыми А и В определяется область эффективной работы одноковшового экскаватора № 1. Затем из точки 1 строят
график работы экскаватора № 1 в виде прямой с углом наклона γ (tg γ =
Рис. 6. Рациональные графики и календарный план работы землеройных машин в технологическом комплексе на разработке котлована а - рациональные графики; б - календарный план I - график работы рыхлителя; II - график работы бульдозера; III - график работы одноковшового экскаватора № 2 на разработке немерзлого грунта; IV - граница II-го разрабатываемого слоя мерзлого грунта; V - график работы одноковшового экскаватора № 1 на погрузке разрыхленного грунта; VI - граница I-го разрабатываемого слоя мерзлого грунта;
TСМ - время повторного смерзания разрыхленного мерзлого грунта;
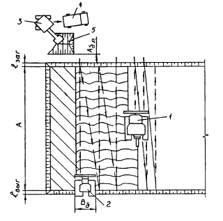
Рис. 7. Схема работы рыхлителя, бульдозера и одноковшового экскаватора 1 - рыхлитель; 2 - бульдозер; 3 - одноковшовый экскаватор; 4 - самосвал; 5 - отвал грунта; А - ширина котлована; Аб.р. - безопасное расстояние между работающими машинами; lзаг - длина пути заглубления стойки рыхлителя; lвыг - длина пути выглубления стойки рыхлителя; Вб - длина отвала бульдозера;
На оси ординат точка 3
укажет величину захватки ( Дальнейшее
построение графика работы одноковшового экскаватора № 1 на захватках может
повторяться. На последней неполной захватке время
С этой целью
от точки окончания работы бульдозера (точка 4) откладывают величину Затем переходят к определению оптимальной производительности, м3/ч, одноковшового экскаватора № 2 где
По Величину
задела ( где вщ - ширина выемки от одноковшового экскаватора № 2, м; Rк.с. - наибольший радиус копания одноковшового экскаватора № 2 на уровне стоянки, м;
lотв - длина захватки, м;
Рис. 8.
Графики для определения времени промерзания грунта на допустимую для
экскаваторной разработки глубину в зависимости от температуры воздуха ( Величину вш определяют графически. Для этого от точки 1, обозначающей край котлована, откладывают величину, равную 1,2Rк.с. (рис. 10) и проводят ось симметрии, являющейся фактически направлением движения одноковшового экскаватора № 2. Затем из точек 1 и 2 строят сечение выемки с откосами. Далее от точки пересечения линии откоса с основанием выемки (точка 3) откладывают расстояние 1,2 Rк.с. (точка 4) и проводят ось симметрии. Измерением расстояния между осями симметрии (линиями направления движения одноковшовых экскаваторов № 2) определяют величину вш. Построение графика работы
одноковшового экскаватора № 2 начинают
с определения времени начала его работы. Для этого на графиках работы машин
(см. рис.
6а) от начала работы бульдозера на разработке последнего слоя
мерзлого грунта (точка 7), в направлении оси ординат откладывают величину
задела tg ξ = где По построенным
графикам работы бульдозера и одноковшового экскаватора № 2 определяют
промежуток времени между окончанием их работы (
Рис. 9. Схема разработки немерзлого грунта одноковшовыми экскаваторами 1 - одноковшовый экскаватор; 2 – бульдозер с рыхлителем Rк.с. -наибольший радиус копания на уровне стоянки; вш - ширина выемки (осевое расстояние между работающими одноковшовыми экскаваторами); Lш - расстояние (шаг) между работающими одноковшовыми экскаваторами; Aб.р. - безопасное расстояние между машинами Рис. 10. Графический метод определения технологических параметров работы одноковшовых экскаваторов При выполнении условия по
безопасности и при Возможно подключить одноковшовый экскаватор № 1 после окончания его работы на погрузке грунта к разработке немерзлого грунта совместно с экскаватором № 2 в течение времени, определяемом по формуле где
График совместной работы
экскаваторов № 1 и № 2 строят от точки 10 в виде прямой с углом наклона δ (tg δ =
Затем переходят к определению календарного плана работы одноковшового экскаватора № 2 (см. рис. 6,б). При последовательной схеме разработки мерзлого грунта на основании расчетных данных строят график работы бульдозера с рыхлителем на рыхлении и сдвижке грунта, а также графики работы одноковшовых экскаваторов № 1 и № 2. Все построения аналогичны построению графиков работы этих машин при параллельной схеме разработки мерзлого грунта. По построенным графикам определяют календарный план работы машин на разработке котлована. 4. определение рациональной Технологии разработки выемок в мерзлых грунтахРациональную технологическую схему разработки выемок в мерзлых грунтах с применением бульдозеров с рыхлителями определяют из возможных вариантов технологического решения в результате сравнения удельной себестоимости, приведенных затрат и времени разработки грунта. Из выше рассмотренных вариантов технологического решения разработки мерзлого грунта наиболее часто применяемыми являются: последовательная и параллельная схемы. Рациональный состав комплекса машин внутри технологического решения, технологические: параметры разработки выемок и календарный план работы машин определяют разработанным графоаналитическим методом. Для расчета себестоимости и приведенных затрат на разработку грунта необходимо определить стоимость машино-часа (Сi) эксплуатации каждой машина, входящей в комплекс, и количество часов (Т2) их работы в году (для условий г. Петрозаводска Ci и Т2 приведены в табл. 3 и 4). Удельная себестоимость разработки грунтов, руб./м3, определяется по формуле
где Праз - производительность, машин на разработке выемки, м3/ч,
Удельные приведенные затраты, руб./м3, определяются по формуле
где Цмi - стоимость i-ой машины, руб.; Nм - количество машин данной марки;
Таблица 3
Примечания. 1. Ci - числитель; Т2 - знаменатель. 2. Среднее время перебазирования бульдозеров с рыхлителями принято 0,5 дн. Таблица 4
Примечания 1. Ci - числитель; Т2 - знаменатель. 2. Среднее время перебазирования одноковшовых экскаваторов принято 0,5 дн. Приложение
|
|||||||||||||||||||||||||||||||||||||||||||||||||||||||||||||||||||||||||||||||||||||||||||||||||||||||||||||||||||||||||||||||||||||||||||||||||||||||||||||||||||||||||||||||||||||||||||||||||||||||||||||||||||||||||||||||||||||||||||||||||||||||||||||||||||||||||||||||||||||||||||||||||||||||||||||||||||||||||||||||||||||||||||||||||||||||||||||||||||||||||||||||||||||||||||||||||||||||||||||||||||||||||||||||||||||||||||||||||||||||||||||||||||||||||||||||||||||||||||||||||||||||||||||||||||||||||||||||||||||||||||||||||||||||||||||||||||||||||||
|
Грунтовые условия |
Размета поперечного сечения борозды, м |
Регистрируемые параметры |
|||||
|
Тип грунта |
Температур pa, °C |
Прочность, число ударов ударника ДорНИИ |
В |
НР |
h1 |
Путь S, м |
Время t, с |
|
Суглинок |
-2 |
130 |
1,0 |
0,51 |
0,2 |
8,9 |
25 |
|
0,6 |
0,39 |
0,18 |
|||||
|
0,45 |
0,17 |
0,06 |
4.4 |
10 |
|||
|
0,65 |
0,26 |
0,1 |
|||||
Расчет оптимальной глубины рыхления

где
А - 0,5а1(1 - К1); В' = 2в + (l - в)(1 - К1);
l = 0,8 м; в = 0,105 м;


= 6 км/ч -
скорость бульдозера с рыхлителем при Нр = 0.
Составляющие для расчета опытных коэффициентов а1, К1 и параметра d2.
|
Hpj |
Bj |
Bj - в |
|
Hpj(Bj - в) |
h1j |
Hpjhij |
Vpj |
|
|
|
|
0,51 |
1.0 |
0,895 |
0,2601 |
0,4565 |
0,2 |
0,102 |
1,28 |
7,34 |
1,993 |
1,016 |
|
0,39 |
0,6 |
0,495 |
0,1521 |
0,1931 |
0,18 |
0,0702 |
1,28 |
7,34 |
1,993 |
0,777 |
|
0,17 |
0,45 |
0,345 |
0,0289 |
0,0587 |
0,06 |
0,0102 |
1,58 |
5,95 |
1,783 |
0,303 |
|
0,26 |
0,65 |
0,545 |
0,0676 |
0,1417 |
0,1 |
0,026 |
1,58 |
5,95 |
1,783 |
0,464 |
![]()
А' = 0,4932; В' = 0.6203; F = -0,085.
![]()
Исходные данные:
Габаритные размеры котлована, м
длина Впр 100,4
ширина Апр 17,8
глубина Hpаз 2,69
Грунтовые условия
Грунт Суглинок, IV гр.
глубина промерзания грунта НМ.Г. 1.0
Климатические условия
время повторного смерзания разрыхленного грунта Тсм, ч 24
температура окружающего
воздуха
, °С -20
Плановое время разработки мерзлого грунта
Тпл, суток 13
Продолжительность смены tcм, ч 8,2
Коэффициент сменности Ксм 2
Продолжительность техобслуживания, ТТ.П., ч 8
Климатические и грунтовые данные взяты для условий г. Петрозаводска. Все графические построения аналогичны методике, рассмотренной выше (см. рис. 6).
Технология разработки котлована
Разработку котлована
начинают с работы рыхлителя, который создает задел (
) для работы бульдозера. После выполнения рыхлителем задела в
работу вступает бульдозер на сдвижку разрыхленного слоя мерзлого грунта (рис. 11).
Погрузку разрыхленного
грунта в автотранспорт производят одноковшовым экскаватором № 1 после
выполнения бульдозером задела
.
Разработка последующих слоев мерзлого грунта производится аналогично разработки I-го слоя мерзлого грунта.
Разработку немерзлого грунта до проектной отметки котлована производят одноковшовым экскаватором № 2, вступающим в работу после подготовки фронта работ бульдозером на последнем слое разрабатываемого мерзлого грунта.
1. Для послойного
рыхления мерзлого грунта принимаем из парка машин строительной организации
наиболее мощный рыхлитель ДЗ-94С с производительностью
- 13,3 м3/ч и
= 16,6 м3/ч
(табл.1).
Таблица 1
Производительность рыхлителя ДЗ-94С на рыхлении мерзлого грунта, м3/ч (местные нормы)
|
Рыхление слоя |
Группа грунта |
|
|
IIIм |
IVм |
|
|
I-го на 0,2 м |
18,5 |
13,3 |
|
II-го и последующих на 0,4 м |
25,6 |
16,6 |
2. Оптимальную глубину рыхления
1-го слоя принимаем равной
= 0,40 м (опытные данные ЦНИИОМТП).

Рис. II. Разработка котлована з мерзлом грунте
I - рыхлитель ДЗ-94С; 2 - бульдозер Д-606; 3 - одноковшовый экскаватор № 1 с вместимостью ковша 1,25 м3; 4 - одноковшовый экскаватор № 2 с вместимостью ковша 0,65 м3
Оптимальную глубину рыхления II-го и последующего слоев мерзлого грунта принимаем равными
=
= ...
= 0,63 м (опытные данные ЦНИИОМТП).
3. Определяем толщину разрыхляемого слоя
= 1,25[
- (0,338
+ 0,1)] = 1,25 [0,4 - (0,338×0,4 + 0,1)] = 0,2 м
=
=…=
= 1,25[0,63
- (0,338•0,63 + 0,1)] = 0,4 м.
4. Определяем технологический объем разрабатываемого мерзлого грунта в зависимости от схемы движения рыхлителя:
а) при движении рыхлителя вдоль короткой стороны котлована (рис. III)
![]()
где Апер, Впер - ширина и длина котлована на плоскости перехода мерзлого грунта в немерзлый
Апер = Апр + 2mНН.Г. = 17,8 + 2•0,67•1,69 = 20,6 м,
где Апр - ширина котлована по дну (исходные данные), м;
m - величина допустимого откоса (принимается в зависимости от грунтовых условий), m = 0,67;
НН.Г. - глубина разработки немерзлого грунта
НН.Г. = Нраз - НМ.Г. = 2,69 - 1,0 = 1,69 м.
Впер = Впр + 2тНН.Г. = 100.4 + 2•0,67•1,69 = 102,6 м.
Lз.в. - путь заглубления-выглубления стойки рыхлителя, Lз.в. - 3 м;
i - порядковый номер разрабатываемого слоя мерзлого грунта. Количество разрабатываемых слоев мерзлого грунта определяем из равенства
=
= ….=
= НМ.Г.
0,2 + 0,4 + 0,4 = 1,0 м.
Таким образом, п = 3.
= [20,06 + 3,0 (3 - 1)]0,2[102,6 +
2,747•0,2 (2•1 - 1)] = 537,7 м3
= [20.06 +
3,0(3 - 2)]0,4[102,6 + 2,747•0,4(2•2 - 1)] = 977 м3
= [20,06 +
3,0(3 - 3)]0,4[102,6 + 2,747•0,4(2•3 - 1)] = 867,5 м3
= 537,7 + 977 + 867,5 = 2382 м3.

Рис. III Схема технологического сечения котлована (продольного и поперечного).
При движении рыхлителя вдоль длинной стороны котлована:
а - поперечное сечение; б - продольное сечение.
При движении рыхлителя вдоль короткой стороны котлована:
а - продольное сечение; б - поперечное сечение.
б) при движении рыхлителя вдоль длинной стороны котлована
![]()
= [102,6 + 3,0(3 - 1)]0,2[20,06 +
2,747•0,2(2•1 - 1)] = 459,4 м3,
= [102,6
+ 3,0(3 - 2)]0,4[20,06 + 2,747•0,4(2•2 - 1)] = 1009,5 м3,
= [102,6 +
3,0(3 - 3)]0,4[20,06 + 2,747•0,4(2•3 - 1)] = 1071,1 м3,
= 459,4 +
1009,5 + 1071,1 = 2540 м3.
По минимальному значению
принимаем движение рыхлителя вдоль короткой стороны. Принятая
схема движения рыхлителя согласовывается с условиями производства работ на
разработке котлована.
5. Определяем габаритные размеры котлована для его разметки (А - ширина, В - длина)
А = Апер + ВР(п - 1) = 20,06 + 4,73(3 - 1) = 29,5 м,
где ВР - ширина рыхлителя, ВР = 4,73 м.
В = Впер + Lз.в. + 2•2,747п = 102,6 + 3 + 2•2,747•3 = 122 м.
6. Определяем объем разрабатываемого немерзлого грунта
= АПРВПРНН.Г.
+ тНН.ГАПР + тНН.Г.ВПР +
т2НН.Г. = (17,8•100,4•1,69) +
(0,67•1,69•17,8) + (0,67•1,69•100,4) +
•0,672•1,69 = 3155 м3.
7. Определяем общий объем разрабатываемого грунта
Vpaз = 2382 + 3155 = 5537 м3.
8. Определяем метод движения рыхлителя:
а) время цикла при движении рыхлителя с поворотами в конце рабочего хода равно, ч,
![]()
где LРХ - длина рабочего хода рыхлителя, LРХ = А = 29,5 м;
tP - время разворота рыхлителя, tP = 20 с (по справочным данным);
VРХ - средняя рабочая (расчетная) скорость рыхлителя, VРХ = 2,5 км/ч.
![]()
б) время цикла при челночном движении рыхлителя, ч,
![]()
где LОХ - длина обратного хода рыхлителя, LОХ.= LРХ = 29,5 м;
VХХ - средняя скорость холостого хода рыхлителя (по опытным данным ЦНИИОМТП), VХХ = 6 км/ч;
tОРХ, tООХ - среднее время остановки соответственно после рабочего и обратного хода;
tОРХ, = 2 с; tООХ = 3 с (по справочным данным).
![]()
Тц.пов < Тц.челн.
По минимальному значению цикла принимаем движение рыхлителя с поворотами в конце рабочего хода.
Принятый метод движения рыхлителя согласовывается с условиями производства работ на разработке котлована.
9. Устанавливаем схему разработки мерзлого грунта.
Вариант № 1 - параллельная схема (применение мощного бульдозера с рыхлителем на рыхлении, а на параллельной сдвижке разрыхленного грунта - менее мощного бульдозера). Вариант № 2 - последовательная схема (применение мощного бульдозера с рыхлителем на рыхлении и последовательной сдвижке разрыхленного грунта).
Принимаем параллельную схему разработки мерзлого грунта (вариант № 1).
10. Определяем необходимое количество рыхлителей для разработки мерзлого грунта в плановый срок.

Принимаем один рыхлитель, Nрых - 1.
По таблице II устанавливаем марку
базового трактора бульдозера (бульдозеров).
Для сдвижки грунта в отвал на расстояние 60 м принимаем ДТ-75 с
производительностью, близкой к
(Пб = 12,4 м3/ч).
Таблица II
Производительность бульдозера на перемещении разрыхленного мерзлого грунта в отвал на расстояние до 60 м, м3/ч
|
Базовый трактор бульдозера |
Группа грунта |
|
|
IIм |
IIIм |
|
|
ДТ-75 |
14,5 |
12,4 |
|
T-100 |
36,1 |
30,86 |
|
T-130 |
59,5 |
51,0 |
|
T-180 |
57,1 |
49,3 |
|
Т-330 |
65,8 |
56,5 |
Примечание. Применяется зимний коэффициент К: ноябрь - 0,94; декабрь, март - 0,92; январь, февраль - 0,88.
11. Строим графики работы
рыхлителя в виде прямой с углом наклона α1(tgα1 =
) на рыхлении 1-го слоя мерзлого грунта и αi(tg αi =
) на
рыхлении II-го и
последующих слоев мерзлого грунта.
12. Определяем величину
задела (
), выполняемого рыхлителем для бульдозера на разработке I-го, II-го и III-го слоев мерзлого грунта для случая
> Пб по формуле (1)
при Aб,p. = 5 м; Nобщ = 2; Вб = 2,5 м; Вр = 4,73 м;
Nб = Nр = 1; х1 = Lpx = 29,5 м; x2 = 29,5 - (1,5 + 1,5) = 26,5 м;
х3 =
26,5 - (1,5 + 1,5) = 23,5 м;
= 0,2 м;
=
= 0,4 м
= [5(2 -
1) + 2,5•1 + 2,5(1 - 1) + 0,5•4,73]29,5•0,2 = 9,9•29;5•0,2 = 58,4 м3;
= 9,9•26,5•0,4 = 104,9 м3;
= 9,9•23,5•0,4 = 93,1 м3.
Определяем время начала работы бульдозера относительно рыхлителя

13. Строим график работы
бульдозера от точки
= 4,4 ч в виде
прямой с углом наклона β (tg β = Пб).
По графикам работы машин определяем промежуток времени между окончанием работы рыхлителя и бульдозера (tp). Так как tp > TCM разработку мерзлого грунта планируем захватками. Объем грунта на захватках и ТТ.П. определяем графически.
14. Для сокращения технологических простоев планируем совместную работу рыхлителя с бульдозером на сдвижке грунта в течение времени, определяемом по формуле (5)
при Vcm = ПбТСМ = 12,4•24 = 297,6 м3; П'б = 56,5 м3/ч (производительность ДЗ-94С на сдвижке грунта в отвал).
=
= 3,5 ч.
Зная
уточняем графики работы
рыхлителя и бульдозера в последовательности, приведенной выше.
На последней захватке планируем использовать рыхлитель на сдвижке разрыхленного грунта совместно с бульдозером в течение времени, определяемом по формуле (6) при VОСТ = 240 м3 (определяют графически)
![]()
Уточняем графики работы рыхлителя и бульдозера на последней захватке.
15. Принимаем схему работы одноковшового экскаватора № 1, показанную на рис. II.
16. По графикам работы рыхлителя и бульдозера определяем оптимальную производительность одноковшового экскаватора № 1 (см. методику, описанную ранее). Устанавливаем производительность экскаватора (близкую к оптимальной) из числа имеющихся в парке организации.
Производительность одноковшового экскаватора на разработке (погрузке) разрыхленного мерзлого грунта выбирается с учетом вместимости его рабочего органа.
Вместимость ковша, м3 0,5 0,65 1,0 1,25
Погрузка в автотранспорт,
м3/ч 12,8 17,9 10,6 15,2
При повороте стрелы свыше 135° применяют коэффициент К = 0,91, а при повороте на 180° - К = 0,83.
Принимаем одноковшовый
экскаватор № 1 производительностью
= 17,9 м3/ч
(вместимость ковша 0,65 м3).
17. Определяем высоту отвала на разработке i-го слоя мерзлого грунта по формуле (10) при ВОТВ = 10 м.
![]()
![]()
![]()
18. Определяем задел грунта, обеспечивающий соблюдение безопасного расстояния между работающими машинами, по формуле (11) при RМ.С. = 9,2 м.
= (9,2 + 5)0,54•10 = 76,7 м3;
= (9,2 +
5)0,97•10 = 137,7 м3;
= (9,2 + 5)0,86•10 = 122 м3.
19. Определяем часть задела, покрывающую разность производительностей бульдозера и одноковшового экскаватора № 1, по формуле (13)
= 537,7
= 537,7•0,31 = 165 м3;
= 977•0,31 = 300 м3;
=
867,5•0,31 = 269 м3.
20. Определяем величину задела, выполняемого бульдозером для одноковшового экскаватора № 1 (схему работы см. рис. II) на разработке I-го, II-го и III-го слоев мерзлого грунта для случая
ПЭ(№ 1) > Пб, по формуле (12)
= 76,7 + 165 = 241,7 м3;
= 137,7
+ 300 = 437,7 м3;
= 122 +
269 = 391 м3.
21. Определяем время начала работы одноковшового экскаватора № 1 относительно бульдозера
![]()
На графике работы рыхлителя и бульдозера строим график работы одноковшового экскаватора № 1 по методике, рассмотренной ранее. Для сокращения технологического простоя экскаватора принимаем
= ТСМ = 24 ч.
22. По формуле (15)
определяем оптимальную производительность одноковшового экскаватора № 2 при
= ТПР КСМ tСМ, где ТПР
= 3,75 ч - время промерзания, грунта, определяется по рис.
9 (при вместимости ковша одноковшового экскаватора q ≤ 0,65 м3)
НПР = 0,2 м,
а при q > 0,65 м3 НПР = 0,4 м)
= 3,75•2•8,2 =
61,5 ч.
Таким образом,
24,0 м3/ч.
Определяем производительность экскаватора большую или равную оптимальной из числа имеющихся в парке организации.
Производительность одноковшового экскаватора с оборудованием обратная лопата на разработке немерзлого грунта выбирается с учетом вместимости его рабочего органа.
Вместимость ковша, м3 0,5 0,65 1,0 1,25
Погрузка в автотранспорт, м3/ч 14,9 17,9 21,7 28,2
Применяют понижающие коэффициенты:
при повороте стрелы на 135° 0,91
то же на 180° 0,83
при намерзании на ковш 0,91
в зимний период: ноябрь 0,94
март, декабрь 0,92
январь, февраль 0,88
Принимаем одноковшовый
экскаватор № 2 производительностью
= 28,2 м3/ч.
23. Определяем величину задела, выполняемого бульдозером для одноковшового экскаватора № 2, по формуле (16) при lОТВ = AПЕР = 20,06 м; вШ = 10,2 м.
= [0,5(10,2 + 9,6) +
10,2(1 - 1) + 0,5•9,6 + 5 + 0,5•2,5]20,06•0,4 = 168,1 м3.
24. Для построения графика работы одноковшового экскаватора № 2 приводим его фактическую производительность к загрузке бульдозера по формуле (17)
6,7 м3/ч.
25. Для сокращения времени разработки котлована планируем переход одноковшового экскаватора № 1, после окончания его работы на погрузке грунта, на совместную с одноковшовым экскаватором № 2 разработку немерзлого грунта.
Для построения графика
работы одноковшового экскаватора № 1 на разработке немерзлого грунта (последняя
захватка) производительность
приводим к загрузке
бульдозера по формуле
(20).
= 17,9
= 4,2 м3/ч.
26. Определяем по формуле (19) величину задела, который необходимо иметь для безопасной работы двух экскаваторов, при Lш = 18,4 м (Lш определяют графически. См. рис. 10)
= 18,4•10,2
= 44,4 м3.
27. По построенному
графику определяем объем грунта
, подлежащего разработке одноковшовым экскаватором № 2 и
приведенного к загрузке бульдозера
= 550 м3/ч.
28. Определяем время совместной работы одноковшовых экскаваторов № 1 и № 2 по формуле (18)
![]()
29. На основании данных, полученных в п.п. 25 - 28, уточняем графики работы одноковшовых экскаваторов № 1 и № 2 и определяем календарный план работы машин.
Результаты расчета технико-экономических показателей разработки котлована комплексом машин сведены в таблицу III. Здесь также приведены результаты аналогичного расчета технологического комплекса машин для варианта № 2 (последовательная схема разработки грунта).
Из анализа табл. III следует, что увеличение состава технологического комплекса машин (вариант № 2) в результате дополнительного включения бульдозера и применение параллельной схемы разработки мерзлого грунта эффективно только при рациональной организации работы машин в комплексе.
В этом случае возможно уменьшение времени разработки котлована на 12,5% и снижение затрат на 6 - 10%.
Таблица III
Технико-экономические показатели разработки котлована 100,4×17,8×2,59
м комплексом машин в суглинистых грунтах с глубиной сезонного промерзания до
1,0 м
(левая сторона)
|
Вариант № 2 (бульдозер с рыхлителем последовательно рыхлит и сдвигает грунт) |
Вариант № 1 (мощный бульдозер с рыхлителем рыхлит грунт, менее мощный бульдозер параллельно сдвигает грунт) |
|||||||
|
Состав бригады |
Время пребывания машины на объекте, ч |
Технологический простой, % |
Время разработки, Траз, ч |
Удельная себестоимость, Суд, руб./м3 |
Уд. привёденные затраты, Z, руб./м3 |
Показатели базисной технологии (БТ) |
||
|
Состав бригады |
Время пребывания машины на объекте, ч |
|||||||
|
общее |
работы |
общее |
||||||
|
Машинист (6 разр. - 1). На бульдозере с рыхлителем ДЗ-94С (трактор Т-330) |
193* 24 |
193 24 |
- |
|
|
|
Машинист (6 разр. - 1) на рыхлителе Д3-94С (трактор Т-330) |
182,4 22,8 |
|
Машинист (6 разр. - 1) на ЭО-4121А (№ 1) на погрузке грунта |
224 28 |
164 20,5 |
27,0 3,4 |
257 32,1 |
1,9 |
3,06 |
Машинист (5 разр. – 1) на бульдозере Д-606 (трактор ДТ-75) |
199,5 24,9 |
|
Машинист (6 разр. - 1) на Э0-4121А (№ 2) на разработке немерзлого грунта |
87,0 10,9 |
87,0 10,9 |
- |
|
|
|
Машинист (6 разр. - 1) на ЭО-4121A (№ 1) на погрузке грунта" |
218,0 27,3 |
|
Шофер (3 разр. - 1) на КРАЗ-256Б |
230 28,8 |
|
|
|
|
|
Машинист (6 разр.-1) на ЭО-4121А (№ 2) на разработке немерзлого грунта |
93,0 11,6 |
|
Шофер (3 разр. – 1) на КРАЗ-256Б |
225 28,1 |
|||||||
|
В числителе - часы; в знаменателе - смены. |
||||||||
Продолжение таблицы (правая сторона)
|
Вариант № 1 (мощный бульдозер с рыхлителем рыхлит грунт, менее мощный бульдозер параллельно сдвигает грунт) |
|
|||||||||||
|
Показатели базисной технологии (БТ) |
Показатели технологии с рациональной организации работы машин в комплексе |
|
||||||||||
|
Время пребывания машины на объекте, ч общее |
Технологический простой, % |
Траз, ч |
Суд, ру6./м3 м3 |
Z, руб./м3 м3 |
||||||||
|
Время пребывания машины на объекте, ч |
Технологический простой, % |
Траз, ч |
Суд, руб./м3 |
Z. руб./м3 |
Экономическая эффективность, руб. |
|||||||
|
работы |
||||||||||||
|
общее |
работы |
|
||||||||||
|
152 19 |
17,0 |
|
|
|
162,7 20,3 |
162,7 20,3 |
- |
|
|
|
1529 - по сравнению с вариантом технологии № 2 |
|
|
198,5 24,8 |
1,0 |
|
|
|
155 19,3 |
154 19,2 |
1,0 |
225 28,1 |
1,82 |
2,88 |
|
|
|
160,0 20 |
26,0 3,3 |
259 32,3 |
2,09 |
3,15 |
187 23,4 |
166,5 20,3 |
20,5 2,5 |
|
- |
- |
1008 - по сравнению с вариантом технологии № 1 (БТ) |
|
|
93,0 11,6 |
- |
|
|
|
87,0 10,9 |
87,0 10,9 |
- |
|
|
|
|
|
|
|
|
|
|
|
192 24 |
|
|
|
|
|
|
|
|
ГОСТЫ, СТРОИТЕЛЬНЫЕ и ТЕХНИЧЕСКИЕ НОРМАТИВЫ. Некоммерческая онлайн система, содержащая все Российские Госты, национальные Стандарты и нормативы. В Системе содержится более 150000 файлов нормативно-технической документации, действующей на территории РФ. Система предназначена для широкого круга инженерно-технических специалистов. Copyright © www.gostrf.com, 2008 - 2026 |