Крупнейшая бесплатная информационно-справочная система онлайн доступа к полному собранию технических нормативно-правовых актов РФ. Огромная база технических нормативов (более 150 тысяч документов) и полное собрание национальных стандартов, аутентичное официальной базе Госстандарта. GOSTRF.com - это более 1 Терабайта бесплатной технической информации для всех пользователей интернета. Все электронные копии представленных здесь документов могут распространяться без каких-либо ограничений. Поощряется распространение информации с этого сайта на любых других ресурсах. Каждый человек имеет право на неограниченный доступ к этим документам! Каждый человек имеет право на знание требований, изложенных в данных нормативно-правовых актах!

  


 

ЦЕНТРАЛЬНЫЙ ИНСТИТУТ НОРМАТИВНЫХ ИССЛЕДОВАНИЙ И
НАУЧНО-ТЕХНИЧЕСКОЙ ИНФОРМАЦИИ "ОРГТРАНСТРОЙ"
МИНИСТЕРСТВА ТРАНСПОРТНОГО СТРОИТЕЛЬСТВА

ТЕХНОЛОГИЧЕСКАЯ КАРТА

СООРУЖЕНИЕ СВАЙНО-РОСТВЕРКОВЫХ ФУНДАМЕНТОВ
ПОД МЕТАЛЛИЧЕСКИЕ ОПОРЫ В «ОКНО» С ПРИМЕНЕНИЕМ
ВИБРОПОГРУЖАТЕЛЯ ВП-1

СОДЕРЖАНИЕ

I. ОБЛАСТЬ ПРИМЕНЕНИЯ

Технологическая карта составлена на основе применения методов научной организации труда и предназначена для использования при разработке проекта производства работ, а также при организации труда на объекте.

Карта составлена на сооружение свайно-ростверковых фундаментов на 6 сваях под металлические опоры. Сборные свайные фундаменты сооружают «с пути» установочным поездом, который состоит из мотовоза-электростанции МЭС-200, четырехосной платформы прикрытия стрелы крана, на которой перевозятся ростверки и сваи, крана МК-15 (или КМ-16), оборудованного навесной направляющей рамой, двухосной платформы для перевозки сваебойного оборудования (вибропогружателя ВП-1), кабеля, инструмента и другого инвентаря. Мотовоз-электростанция МЭС-200 может быть заменен тепловозом ТГК и вагоном-электростанцией мощностью не менее 100 квт для питания вибропогружателя.

Свайно-ростверковые фундаменты состоят из плит-ростверков типа РС-1 размером 600×2300×3800 мм и железобетонных свай сечением 300×300 мм длиной 6, 8, 10 м.

Работа по сооружению фундаментов выполняется в «окно».

В технологическую карту включены:

- разработка котлована под плиту ростверка; погрузка ростверка и свай на платформу; транспортировка ростверка и свай к месту сооружения свайно-ростверкового фундамента; укладка ростверка и погружение свай вибропогружателем, смонтированным на стреле крана МК-15 (или КМ-16).

В карту не включены сварка анкерных выпусков с закладными частями ростверка, омоноличивание свай с ростверком и устройство оголовника.

В карте не учтены затраты труда машинистов мотовоза-электростанции и вибропогружателя. Их работа оплачивается повременно.

II. УКАЗАНИЯ ПО ТЕХНОЛОГИИ ПРОИЗВОДСТВА РАБОТ

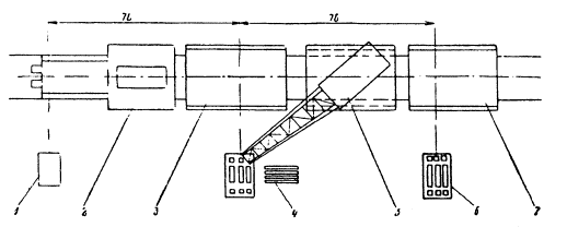
Сооружение свайно-ростверковых фундаментов с применением вибропогружателя ВП-1 производится «с пути» в «окно» (рисунок).

До начала работ необходимо произвести разбивку свайно-ростверковых фундаментов, разметить контуры площадки для укладки плиты-ростверка, скомплектовать плиту и сваи на базе и транспортировать их к месту сооружения фундамента, уложить плиту-ростверк в проектное положение и произвести раскладку свай, забить сваи, выправить, прогнать и смазать анкерные болты свай.

Плита-ростверк может укладываться с. заглублением в грунт на 0,2 - 0,5 м.

До получения «окна» на комплектовочной базе краном МК-15 (или КМ-16) в поезд погружают плиту-ростверк и сваи. По прибытии поезда к месту работ расставляют сигналистов. Машинист приводит кран в рабочее положение. По команде производителя работ или строительного мастера тепловоз ТГМ подает кран с платформой к подготовленному месту укладки плиты-ростверка. Краном укладывают плиту на спланированное основание и выгружают необходимое количество свай. Свайно-ростверковый фундамент на шести сваях сооружают в «окно» продолжительностью 2 ч 55 мин, на четырех или восьми сваях - в «окно» продолжительностью 2 ч 30 мин и 3 ч 30 мин.

Схема организации работ по сооружению свайно-ростверковых фундаментов:

1 - основание, подготовленное к укладке плиты-ростверка; 2 - мотовоз-электростанция МЭС-200; 3 - четырехосная платформа прикрытия стрелы крана; 4 - сваи, уложенные возле ростверка; 5 - кран МК-15; 6 - свайно-ростверковый фундамент; 7 - двухосная платформа для перевозки свайного оборудования

После укладки плиты-ростверка установленный на платформе вибропогружатель стропят к крюку крана. Краном выгружают вибропогружатель на бровку земляного полотна. Направляющую от стрелы крана отсоединяют и устанавливают телескопические распорки, при помощи которых фиксируется вертикальное положение направляющей во время забивки свай. Другим концом распорки крепят к основанию стрелы крана.

Для соединения вибропогружателя со сваей применяют приспособление, состоящее из конусного стакана и стального конуса (наголовника). Конусный стакан крепится на болтах к днищу вибропогружателя, а наголовник - к свае.

Краном поднимают вибропогружатель и его ролик заводят в пазы направляющей рамы. Машинист крана и один электролинейщик монтируют вибропогружатель на крюке крана, а остальные электролинейщики вручную надевают наголовник на анкерные болты сваи и закрепляют его гайками. Соединение конусного наголовника со сваей - одна из самых трудоемких операций. Поэтому для увеличения производительности труда необходимо иметь не менее двух комплектов наголовников.

Для предохранения сваи от ударных воздействий между ее головой и наголовником укладывают фанерную прокладку толщиной 10 мм.

Вибропогружатель, опущенный по направляющей, подводят к лежащей на земле свае с наголовником и при помощи коротких тросов, пропущенных через ушки вибропогружателя и крючков на нижней и верхней частях наголовника, соединяют его со сваей.

Сваю вместе с вибропогружателем поднимают краном и устанавливают вертикально в отверстие плиты-ростверка.

Зазор между нижней частью конусного стакана и конусом при вертикально поднятой свае должен составлять не более 2 - 3 см.

При установке сваи в отверстие плиты конус должен войти в конусный стакан. Соединение вибропогружателя со сваей обеспечивается возникающей силой трения между соприкасающимися поверхностями.

Машинист включает вибропогружатель. После погружения сваи до проектной отметки конусный наголовник отсоединяют от головы сваи. Поворотом стрелы машинист отводит наголовник вместе с вибропогружателем в сторону и конус наголовника из конусного стакана выбивают.

По окончании работ в «окно» убирают телескопические распорки, крепят направляющую раму к стреле, краном поднимают вибропогружатель, укладывают его на платформу и устанавливают кран в транспортное положение.

Свайно-ростверковые фундаменты сооружают под непосредственным руководством производителя работ или строительного мастера.

При сооружении свайно-ростверковых фундаментов необходимо выполнять требования «Правил технической эксплуатации железных дорог Союза ССР», «Инструкции по движению поездов на железных дорогах Союза ССР», «Инструкции по обеспечению безопасности движения поездов при производстве путевых работ», «Инструкции по сигнализации на железных дорогах Союза ССР», «Правил техники безопасности и производственной санитарии для строительно-монтажных работ при электрификации железных дорог».

III. УКАЗАНИЯ ПО ОРГАНИЗАЦИИ ТРУДА

Сооружение свайно-ростверковых фундаментов с применением вибропогружателя ВП-1 выполняет бригада в составе машиниста крана 5 разр. - 1; электролинейщиков: 5 разр. - 1, 4 разр. - 1, 3 разр. - 2 и двух землекопов - 2 разр.

До получения «окна» землекопы разрабатывают котлован под плиту-ростверк, а машинист крана и электролинейщики выполняют погрузочно-разгрузочные работы на базе.

Закончив разработку первого котлована, землекопы переходят к следующему.

Погрузку плиты-ростверка и свай на базе выполняет звено из 5 чел., в том числе: машинист крана 5 разр. - 1; электролинейщики: 5 разр. - 1, 4 разр. - 1 и 3 разр. - 2.

Электролинейщик 5 разр. руководит установкой плиты-ростверка на спланированное основание и вместе с машинистом крана готовит вибропогружатель к погружению сваи, а электролинейщики 4 разр. - 1 и двое 3 разр. надевают и закрепляют наголовник на свае. Затем электролинейщики (5 разр. - 1, 4 разр. - 1 и 3 разр. - 2) стропят сваю с наголовником, а машинист поднимает вибропогружатель со сваей, устанавливает ее в отверстие плиты-ростверка и включает вибропогружатель. Погрузив сваю, электролинейщики отсоединяют наголовник от сваи.

Процесс погружения очередной сваи повторяется.

По окончании работ в «окно» электролинейщики убирают телескопические распорки, крепят направляющую раму к стреле крана, машинист поднимает вибропогружатель, укладывает его на платформу и приводит кран в транспортное положение.


IV. ГРАФИК ПРОИЗВОДСТВА РАБОТ ПО СООРУЖЕНИЮ СВАЙНО-РОСТВЕРКОВЫХ ФУНДАМЕНТОВ

V. КАЛЬКУЛЯЦИЯ ЗАТРАТ ТРУДА НА СООРУЖЕНИЕ СВАЙНО-РОСТВЕРКОВОГО ФУНДАМЕНТА В «ОКНО»

Шифр нормативного источника

Описание работ

Состав бригады (звена)

Единица измерения

Объем работ

На единицу измерения

На весь объем работ

норма времени,

чел-ч

расценка,

руб.-коп.

нормативное время,

чел-ч

сумка заработной платы,

руб.-коп.

1

ЕНиР,

§ 2-1-31,

табл. 3,

№ 1е

Копание вручную котлована в грунте II группы под плиту-ростверк на глубину до 1 м

Землекоп

2 разр. - 1

1 м3

3,9

1,25

0-61,6

4,88

2-40

2

B1-1-41

Погрузка плиты-ростверка на платформу на базе краном на железнодорожном ходу

Машинист крана

5 разр. – 1

Электролинейщики

3 разр. - 3

1 плита-ростверк

1

0,34

0-20,1

0,34

0-20

3

В1-1-41

(применительно)

Погрузка железобетонных свай на железнодорожную платформу краном грузоподъемностью 15 Т

Машинист крана

5 разр. – 1

Электролинейщики

3 разр. - 3

1 т

7,5

0,34

0-20,1

2,55

1-51

4

В1-1-12,

№ 2а

Устройство сборного железобетонного       фундамента под опору с укладкой плиты-ростверка на подготовленное основание, выгрузкой свай в междупутье, подготовкой и присоединением вибропогружателя к свае, погружением сваи в грунт и перемещение установочного поезда к следующей опоре  при длительности окна до 3 ч

Машинист крана

5 разр. – 1

Электролинейщики

5 разр. – 1

4    »   - 1

3    »    - 2

1 фундамент

1

21,0

13-18

21,0

13-18

 

 

Итого

 

 

 

 

 

28,77

17-20

 


VI. ОСНОВНЫЕ ТЕХНИКО-ЭКОНОМИЧЕСКИЕ ПОКАЗАТЕЛИ НА ОДИН СВАЙНО-РОСТВЕРКОВЫИ ФУНДАМЕНТ

Наименование показателей

Единица измерения

По калькуляции А

По графику Б

На сколько процентов показатели по графику больше (+) или меньше (-), чем по калькуляции

Трудоемкость работ.

чел-дн

3,60

3,13

-13,1

Средний разряд рабочих .

 

3,5

3,5

 

Среднедневная заработная плата одного рабочего,

руб.-коп.

4-80

5-43

+13,1

VII. МАТЕРИАЛЬНО-ТЕХНИЧЕСКИЕ РЕСУРСЫ

а) Конструкции, изделия, полуфабрикаты и основные материалы на одну плиту-ростверк

Наименование

Марка

Единица измерения

Количество

Плита-ростверк размером 600×2800×2800 мм

РС-1

шт.

1

Железобетонные сваи сечением 300×300 мм длиной 6 м

 

»

6

б) Машины, оборудование, инструменты и приспособления

Наименование

Марка

Единица измерения

Количество

Вибропогружатель

ВП-1

шт.

1

Кран

МК-15

»

1

Тепловоз

ТГК

»

1

Четырехосная платформа

-

»

1

Двухосная платформа

-

»

1

Мотовоз-электростанция

МЭС

»

1

Наголовники для свай

-

»

2

Тросик для строповки наголовника к вибратору

-

»

1

Шаблон для проверки габарита при установке плиты-ростверка

-

»

1

Уровень

-

»

1

 

 




ГОСТЫ, СТРОИТЕЛЬНЫЕ и ТЕХНИЧЕСКИЕ НОРМАТИВЫ.
Некоммерческая онлайн система, содержащая все Российские Госты, национальные Стандарты и нормативы.
В Системе содержится более 150000 файлов нормативно-технической документации, действующей на территории РФ.
Система предназначена для широкого круга инженерно-технических специалистов.

Рейтинг@Mail.ru Яндекс цитирования

Copyright © www.gostrf.com, 2008 - 2026